Art IX Definitions
For the purposes of this chapter, certain terms or words used herein shall be interpreted as follows:
ACCESSORY APARTMENT. A dwelling unit located within a permitted, detached, single-family dwelling unit which is incidental and subordinate to the single-family dwelling unit in terms of size, location and appearance and which provides complete housekeeping facilities for an individual or family. [Added 12-18-2001 by Ord. No. 10-01]
ACCESSORY DWELLING UNIT. A separate, complete housekeeping unit with a separate entrance, kitchen, sleeping area, and full bathroom facilities, which is an attached or detached extension to an existing single-family structure. [Added 9-18-2025 by Ord. No. 12-2025]
ACCESSORY USE OR STRUCTURE. A use or structure on the same lot with, and of a nature customarily incidental and subordinate to, the principal use or structure.
ADULT DAY-CARE CENTER. A licensed commercial or public establishment designed to provide care during the daytime hours without overnight supervision. [Added 9-18-2025 by Ord. No. 12-2025]
AGRICULTURE. The use of land for the purposes of farming, dairying, pasturing, agriculture, horticulture, floriculture, viticulture, fish culture, and animal and poultry husbandry. The processing, packaging or manufacture of agricultural products is not included.
ALLEY. A public or private way permanently reserved as a secondary means of access to abutting property and not intended for general traffic circulation. [Added 1-2-2014 by Ord. No. 13-2013]
ANIMAL SERVICES. A public or private agency responsible for enforcing ordinances related to animal control and welfare, impoundment, and disposition, including tasks like shelter operations and adoption programs, provided that any open pen or runway is at least 200 feet from any residential district boundary. [Added 9-18-2025 by Ord. No. 12-2025]
APPARENT FRONT YARD. In properties with more than one front yard, the apparent front yard shall be that front yard to which the street address for the property is designated. [Added 12-7-2006 by Ord. No. 07-06]
ASSISTED LIVING FACILITY. A facility licensed pursuant to § 19-1801 et seq. of the Health General Article of the Maryland Annotated Code or corresponding future provision thereof, that provides housing and supportive services, supervision, personalized assistance, health-related services, or a combination thereof that meets the needs of individuals who are unable to perform or who need assistance in performing the activities of daily living or instrumental activities of daily living in a way that promotes optimum dignity and independence for the individual. This use also includes personal care and dementia/Alzheimers facilities.1 [Added 2-18-2016 by Ord. No. 01-2016]
BED-AND-BREAKFAST. A residential building that: [Added 4-3-2014 by Ord. No. 02-20142]
BLOCK. A unit of land bounded by streets or by a combination of streets and public land, railroad rights-of-way, waterways, or any other barrier to the continuity of development. [Added 1-2-2014 by Ord. No. 13-2013]
BOARDINGHOUSE. A residential use consisting of at least one dwelling unit with more than two rooms that are not separate dwelling units and are rented or designed or intended to be rented. This use is designed to be occupied by nontransient guests (at least month-to-month tenants), as distinguished from a bed-and-breakfast which is occupied by overnight or weekly guests. [Added 4-3-2014 by Ord. No. 02-2014]
BUILDING, FOOTPRINT. The area delineated by the outer face of the foundation of a building, and the term shall include the area contained within the outer walls of any building or part thereof that may be constructed on piles or similar supports for flood elevation clearance. [Added 9-2-2021 by Ord. No. 09-2021]
BUILDING LINE. The furthest point to which the foundation wall and/or any porch, vestibule, or other architectural feature shall project. [Added 12-7-2006 by Ord. No. 07-06]
BUILDING MASS. The three-dimensional bulk of a structure: height, width, and depth. [Added 1-2-2014 by Ord. No. 13-2013]
BUILDING OR STRUCTURE, HEIGHT OF. The vertical distance from the average finished grade to the highest point of the coping of a flat roof, the deckline of a mansard roof, the mean height level between eaves and ridge for gable, hip, and gambrel roofs, or the highest point on other structures.
BUILDING SCALE. The proportional relationship between the mass and shape of a building and its surroundings, including the width of street, open space, and surrounding buildings. [Added 1-2-2014 by Ord. No. 13-2013]
CANNABIS LICENSED DISPENSARY. An entity licensed by the Maryland Cannabis Commission that acquires, possesses, repackages, processes. transfers, transports, sells, distributes. or dispenses products containing cannabis, related supplies, related products, including tinctures, aerosols, oils, or ointments, or educational materials. [Amended 09-05-2024 by Ord. No. 09-2024]
CHILD-CARE CENTER. Any place, home, or institution which receives five or more children under 14 years and not of common parentage, for care apart from their natural parents, legal guardians or custodians, when received for regular periods of time for compensation, provided that this definition shall not include public or private schools organized, operated or approved under the laws of the State of Maryland. This definition shall not apply to the care of children related by blood or marriage within the third degree to the care provider or to churches or other religious, private or public institutions caring for children within the institutional building while their parents or legal guardians are attending services or activities or meetings. [Added 12-7-2006 by Ord. No. 07-06]
CHILD-CARE HOME. A home for not more than nine orphaned, abandoned, dependent, abused or neglected children, together with not more than two adults who supervise such children, all of whom live together as a single housekeeping units. [Added 12-7-2006 by Ord. No. 07-06]
COMMON OPEN SPACE. Open areas set aside for public use or for private agricultural use. Open space requirements are determined by Ch. 170, Attachment 2: Schedule of Zone Regulations. [Added 1-2-2014 by Ord. No. 13-2013; amended 11-4-2021 by Ord. No. 12-2021; amended 9-18-2025 by Ord. No. 12-2025]
CONTINUING CARE FACILITY. Continuing Care Facility includes nursing home and assisted living facility uses and multifamily dwellings, provided the dwellings are located on the same lot as an approved and licensed assisted living facility or continuing care facility and are designed for and rented to individuals over 55 years of age who are able to perform the activities of daily living or instrumental activities of daily living, but who may require occasional assistance with meal preparation, prescription management, housekeeping and adult day care. The number of multifamily dwellings shall not exceed the number of persons for which the assisted living or continuing care facility is licensed to provide care. [Added 9-18-2025 by Ord. No. 12-2025]
CONVENIENCE STORE. A one-story retail store containing less than 2,000 square feet of gross floor area that is designed and stocked to sell primarily food, beverages, and other household supplies to customers who purchase only a relatively few items. It is designed to attract and depends upon a large volume of stop-and-go traffic. [Amended 4-3-2014 by Ord. No. 03-2014]
DAY-CARE CENTER. A licensed commercial or public establishment designed to provide care for children, elderly, or handicapped persons during the daytime hours without overnight supervision. [Amended 12-7-2006 by Ord. No. 07-06]
DAY-CARE HOME. A residence in which care is given to a child in place of parental care for less than 24 hours a day, in a residence other that the child's, for which the day-care provider is paid. No more than two children under age two and no more than six children, including the provider's own, may be provided for herein. [Added 12-7-2006 by Ord. No. 07-06]
DEVELOPMENT ENVELOPE. The area comprised of lots, structures, buffer yards, impervious surfaces, utilities, SWM, sewage disposal areas and any area subject to regular human use such as active recreation areas. [Added 12-18-2001 by Ord. No. 10-01]
DWELLING. Any building or portion thereof occupied or intended to be occupied exclusively for residence purposes, but not including a tent or room in a hotel or motel.
FAMILY. One or more persons related by blood, marriage, adoption or guardianship, or not more than five persons not so related, occupying a dwelling unit and living as a single housekeeping unit. [Amended 4-3-2014 by Ord. No. 03-2014]
FLOOR AREA RATIO (FAR). The gross floor area of the building or buildings on a lot divided by the area of the lot. The floor area ratio requirements set forth in the bulk regulations or in the zoning district regulations determines the maximum floor area allowable for the building or buildings (total gross floor area of both principal and accessory buildings) in direct ratio to the gross area of the lot on which the buildings were constructed. [Added 9-18-2025 by Ord. No. 12-2025]
GOVERNMENTAL USE. Uses of land, buildings, or other structures by the federal, state, county, or town government for governmental uses or services. [Added 9-18-2025 by Ord. No. 12-2025]
HISTORIC BUILDING. A historic building is one that is at least 100 years old.
HOME OCCUPATION. An occupation or business conducted only by members of a family residing on the premises, and conducted within the dwelling or a secondary structure, provided that no product is sold or stocked except as is produced on the premises or dispensed in connection with a service that is rendered. In addition to members of the immediate family, up to two additional employees may be permitted by special exception. Home occupations shall include such customary and incidental uses such as, but not limited to, the office of a resident physician, dentist, architect, engineer, attorney, contractor, real estate agent, insurance agent, accountant, or similar professional person.
HOTEL. A building in which lodging or boarding is provided for persons, primarily transient, and offered to the public for compensation, and in which ingress and egress to and from all rooms is made through an inside lobby or office supervised by a person in charge at all hours. A hotel may include restaurants, taverns or club rooms, public banquet halls, ballrooms, and meeting rooms.3
INSTITUTIONAL USE. The use of land, buildings or other structures for some public or social purpose, including but not limited to schools, churches, community organizations and non-profit agencies. Not to include commercial, retail use, or for other commercial purpose. [Amended 9-18-2025 by Ord. No. 12-2025]
JUNKYARD. Any land or building or part thereof used for the abandonment, sale, storage, collecting, or baling of paper, rags, scrap metals, other scrap or discarded materials, or for the abandonment, demolition, dismantling, storage, salvaging or sale of automobiles or other vehicles not in running condition, or machinery, or parts thereof.
KENNEL. Any place that provides for the food, shelter and care of animals for purposes not incidental to veterinary care, where more than two adult animals (over six months) are kept for a boarding or other fee, or any place that engages in the breeding of animals for sale. [Added 12-7-2006 by Ord. No. 07-06]
LANDSCAPE REQUIREMENT. Plantings inside a development envelope. Inclusive of bufferyards, parking area plantings, screening, etc. Does not include tree canopy requirements for existing forest cover. [Added 9-18-2025 by Ord. No. 12-2025]
LOT. For zoning purposes, as covered by this chapter, a parcel of land of at least sufficient size to meet minimum zoning requirements for use, coverage and area, and to provide such yards and other open spaces as are herein required. Such a lot shall have frontage on an improved public street and may consist of a) a single lot of record; a portion of a lot of record; a combination of complete lots of record and portions of lots of record; a parcel of land described by meets and bounds, provided that in no case of divisions or combination shall any residual lot or parcel be created which does not meet the requirements of this chapter.
LOT COVERAGE. The percentage of a total lot or parcel that is: occupied by a structure, accessory structure, parking area, driveway, walkway, or roadway; or covered with a paver, walkway gravel, stone, shell, impermeable decking, permeable pavement, or any other manmade material. Lot coverage includes the ground area covered or occupied by a stairway or impermeable deck, but does not include: a fence or wall that is less than one foot in width that has not been constructed with a footer; a walkway in the Buffer or expanded Buffer, including a stairway, that provides direct access to a community or private pier; a wood mulch pathway; or a deck with gaps to allow water to pass freely. [Amended 9-18-2025 by Ord. No. 12-2025]
LOT FRONTAGE. The front of a lot shall be construed to be the portion nearest the street. For the purpose of determining yard requirements of corner lots and through lots, all sides of a lot adjacent to streets shall be considered frontage, and yards shall be provided as indicated under "yards" in this section. [Amended 12-7-2006 by Ord. No. 07-06]
LOT RECORD. A lot which is part of a subdivision recorded in the office of the Clerk of the Circuit Court, or a lot or parcel described by metes and bounds, the description of which has been so recorded.
LOT TYPES. The diagram which follows illustrates terminology used in this chapter with reference to corner lots, interior lots, reversed frontage lots and through lots: 
A = CORNER LOT — A lot located at the intersection of two or more streets. A lot abutting on a curved street or streets shall be considered a corner lot if straight lines drawn from the foremost points of the side lot lines to the foremost points of the lot meet at an interior angle of less than 135°. See lots marked A(1) in diagram.
B = INTERIOR LOT — A lot other than a corner lot with only one frontage on a street other than an alley.
C = THROUGH LOT — A lot other than a corner lot with frontage on more than one street other than an alley. Through lots with frontage on two streets may be referred to as "double frontage lots."
D = REVERSED FRONTAGE LOT — A lot to which the frontage is at right angles to the general pattern in the area involved. A reversed frontage lot may also be a corner lot or an interior lot. (See A-D and B-D in the diagram.)
MICRO DISTILLERY. A plant for distilling, rectifying and blending and selling not more than 27,500 gallons of brandy, rum, whiskey, alcohol or neutral spirits per year and holds a valid Class 1 or Class 9 distillery license. [Added 10-18-2018 by Ord. No. 06-2018]
MOBILE HOME. A detached single-family living unit designed for long-term occupancy, containing indoor sanitary facilities to be connected to on-site utility systems, designed to be transported on a truck or towed to the site, with all wheels off the ground and situated on a solid foundation, except for crawl spaces, of block or brick, and situated in accordance with all other requirements of a single-family dwelling.
MOBILE HOME PARK. Any site designed to accommodate mobile homes, planned and developed in accordance with the provisions contained in § 170-21D(1).
MOBILE HOME SUBDIVISION. Any site designed to accommodate mobile homes in accordance with the provisions of § 170-21, provided that the lots within said subdivision conform to the lot area requirements for a single detached dwelling in the zone in which the site is located.
MOTEL. An establishment consisting of a group of attached or detached living or sleeping accommodations with bathroom and closet space, located on a single lot and designed for use by tourists. A motel furnishes customary hotel services such as maid service and laundering of linen, telephone and secretarial or desk service, and the use and upkeep of furniture. In a motel, not more than 20% of the living and sleeping accommodations are occupied or designed for occupancy by persons other than tourists.
MOTOR VEHICLE SERVICE ESTABLISHMENT. Any building or establishment where the following activities may occur: general repair, engine rebuilding, reconditioning of motor vehicles, collision repair, painting, or general maintenance. No more than two abandoned vehicles shall be stored on the premises. Motor vehicle fuel sales are expressly not allowed as a part of this use. [Added 3-20-2003 by Ord. No. 14-02]
MUSEUM. A building, place, or institution devoted to the acquisition, conservation, study, exhibition, and educational interpretation of objects having scientific, historical, or artistic value. [Added 6-3-2021 by Ord. No. 11-2020]
NEIGHBORHOOD COMMERCIAL. Small-scale commercial businesses and services that primarily serve the surrounding neighborhood and cater to the daily needs of nearby residents. [Added 9-18-2025 by Ord. No. 12-2025]
NEIGHBORHOOD SHOPPING CENTERS. A group of commercial establishments planned, developed, owned and/or managed as a unit which contains a minimum gross floor area of 30,000 square feet. [Amended 3-18-1993 by Ord. No. 615A]
NANO BREWERY. A beer brewing facility which brews not more than 3,000 barrels of beer per year on site, and holds a valid Class 5-M, Class 6-M or Class 7-M state brewing license. Accessory retail sales are allowed, which include, but are not limited to: growlers or refillable containers, home-brewing supplies and ingredients, and other related retail items. All federal, state and local laws must be complied with at all times. [Added 1-21-2016 by Ord. No. 02-2016]
NURSING HOME. A facility licensed pursuant to § 19-1401 et seq. of the Health General Article of the Maryland Annotated Code or corresponding future provision thereof, which offers nonacute inpatient care to patients suffering from a disease, chronic illness, condition, disability of advanced age, or terminal disease requiring maximum nursing care without continuous hospital services and who require medical services and nursing services rendered by or under the supervision of a licensed nurse together with convalescent, restorative, or rehabilitative services. This use also includes skilled nursing and convalescent facilities. [Added 2-18-2016 by Ord. No. 01-2016]
ON-SITE CANNABIS CONSUMPTION ESTABLISHMENT. An indoor or outdoor location, which is open to the public, and licensed to allow individuals who are 21 years or older to consume cannabis on its premises. On-site consumption establishments shall be prohibited in all zoning districts. [Added 09-05-2024 by Ord. No. 09-2024]
OUTDOOR TABLE AREA. An outdoor area where food, refreshments, and/or beverages are sold by a restaurant for public consumption at tables located on the sidewalk fronting the restaurant. [Added 10-4-2019 by Ord. No. 11-2019]
OUTDOOR DINING AREA. Any outdoor dining area situated on a public sidewalk with any of the following: [Added 10-4-2019 by Ord. No. 11-2019]
PATTERN BOOK. A compilation of conceptual renderings which shall accompany a tentative site plan, when required. A pattern book displays the architectural and site design styles of a proposed development. The architectural style is conveyed with conceptual drawings of typical proposed building elevations, including dimensions of building height and width, and facade treatment. Multiple options of typical elevations for various housing styles may be provided. The site design style shall be conveyed with conceptual street cross sections and plan view details showing example block and building location patterns. [Added 1-2-2014 by Ord. No. 13-2013]
PENT ROOF. A roof of a single sloping plane. Example: a shed or lean-to roof. [Added 9-18-2025 by Ord. No. 12-2025]
PLANNED COMMERCIAL CENTERS. A group of commercial uses compatible with the residential nature of the applicable district. These may include, but are not limited to, medical and professional offices, general retail stores, and food stores. Commercial centers shall be permitted only in a zoning district (PUD/TND) of 200 acres or more. No construction on the Commercial Center shall begin until 50% of the total planned residential units are completed.
PRELIMINARY REGULATING PLAN. A draft of the Regulating Plan used for the purpose of tentative sketch plan review during the Subdivision Review and Site Plan Review processes. [Added 9-18-2025 by Ord. No. 12-2025]
PRIVATE CLUBHOUSE. A community operated building, room, or facility used for social or recreational activities and operated for the initial exclusive use of a residential subdivision or development. [Added 9-18-2025 by Ord. No. 12-2025]
PRIVATE CLUBS AND LODGES. Any building which serves as a meeting place for a selected membership, together with recreation and dining facilities which are not open to the general public.
PRODUCE STAND. A temporary stand, structure, trailer or similar facility that is utilized to sell local produce to passing motorists or pedestrians. For the purpose of the zoning code, local produce is defined as originating within a fifty-mile radius of Centreville Town limits. [Added 3-7-2019 by Ord. No. 08-2018]
QUEUING AREAS. An area within a street where parking is prohibited in order to allow cars to pass or for emergency vehicle use. [Added 1-2-2014 by Ord. No. 13-2013]
QUEUING STREET. A narrowed street which contains a single travel lane and which may occasionally require an opposing driver to pull over to allow an oncoming vehicle to pass. [Added 1-2-2014 by Ord. No. 13-2013]
RECREATIONAL CAMP OR RESORT. Any area of land or water on which accommodations for temporary occupancy are located or may be placed, including hotels, cabins and tents, and which is primarily used for recreational purposes and retains an open-air or natural character.
REGULATING PLAN. A detailed document which establishes density, use, patterns, open space and parks, street hierarchies, block schematics and their general locations within the property, conceptual street cross-sections, connection to existing or adjacent development, and any other elements the Planning Commission deems necessary to determine consistency wit the Town code, regulations, and comprehensive plan. [Added 9-18-2025 by Ord. No. 12-2025]
RELIGIOUS ASSEMBLY, PLACES OF. A development where worship and related religious philanthropic and social activities occur. Religious Assembly buildings include churches, temples, synagogues, mosques, parish halls, convents and monasteries. Accessory buildings include rectories, manses, classrooms and dormitories. [Added 9-18-2025 by Ord. No. 12-2025]
RESTAURANTS. Includes any of the following types:
SHORT TERM RENTAL. Any lease or other transfer of the right to occupy a primary dwelling unit on the parcel other than a hotel, motel, inn, or bed-and-breakfast for not less than one night and not exceeding four months. [Added 4-3-2014 by Ord. No. 02-2014]
SIGN. A structure or device designed or intended to convey information to the public in written or pictorial form. For the purposes of this definition, the term "sign" shall not include scoreboards. More specific sign definitions are given below. [Amended 3-7-2019 by Ord. No. 01-2018;4 6-6-2019 by Ord. No. 07-2019]

SMALL CELL FACILITY. A facility designed to provide wireless voice, data and/or image transmission in concentrated areas that meets both of the following qualifications: [Added 3-21-2019 by Ord. No. 03-2019]
SOLAR ARRAY. A ground-mounted or ballast-mounted solar collection system consisting of a linked series of photovoltaic modules associated with a net-metering or aggregate net-metering arrangement, excluding rooftop net-metering residential applications. A solar array, as defined here, excludes any associated with an independent power producer arrangement or for delivery of power or energy to a third party. [Added 8-4-2016 by Ord. No. 06-2016]
SOLAR ENERGY. Energy generated by the sun that is infinite or constantly renewed. [Added 8-4-2016 by Ord. No. 06-2016]
SPECIAL EXCEPTION. A use that would not be appropriate generally or without restriction throughout the zone, but which, if controlled as to number, area, location, or relation to the neighborhood, would promote the health, safety, welfare, morals, order, comfort, convenience, appearance, prosperity, or general welfare. Such uses may be permitted in such zone as special exceptions, if specific provision for such special exceptions is made in this chapter.
STREET LINE. The right-of-way of a street.
STRUCTURE. Anything constructed or erected which requires location on the ground, or attached to something having location on the ground. Among other things, structures include buildings, mobile homes, walls, fences, billboards, sandwich boards, and mobile signboards used on the premises for more than 14 days in a calendar year.
TELECOMMUNICATIONS TOWER. A tower, pole, or similar structure of any size which supports wireless telecommunication equipment, transmission or reception, and is utilized by commercial, governmental, or other public or quasi-public users, aboveground in a fixed location, freestanding, guyed, or on a structure for the purpose of providing wireless voice, data and image transmission within a designated service area. This definition does not include communication towers for amateur radio operators licensed by the Federal Communications Commission (FCC), which are exempt from local zoning restrictions. [Added 3-21-2019 by Ord. No. 03-2019]
TEMPORARY PRODUCT STAND STRUCTURE. An assembly of materials forming a shelter, building, or enclosure to protect people, products, material, equipment, or inventory without any foundation or footing. There shall be no more than one structure per tax parcel, and the maximum size of the temporary structure is 200 square feet. [Added 3-7-2019 by Ord. No. 08-2018]
TRADITIONAL NEIGHBORHOOD. A compact, walkable neighborhood with mixed residential housing types integrated with small scale retail, public open space and civic uses. [Added 1-2-2014 by Ord. No. 13-2013]
TRAILER. Any vehicle or portable structure designed for temporary occupancy or which contains holding tanks for waste disposal or can operate independently of sewer, water and electrical systems, including travel trailers, pickup campers, bus campers, tent campers, tents, or other temporary vehicles, which require installation to utility systems.
TRAILER PARKS. Any site designed to accommodate trailers planned and developed in accordance with the provisions contained in § 170-21.
UNIT. A dwelling space designed for and occupied by a single family consisting of one or more individuals permanently living together and using certain rooms and housekeeping facilities in common. (Example: An apartment building may contain a number of dwelling units.)
USE. The activity or function that actually takes place or is intended to take place on or in a building, structure or lot, including everything that is done to, on, or in a building structure or lot. [Added 9-18-2025 by Ord. No. 12-2025]
VARIANCE. A relaxation of the terms of this chapter where such variance will not be contrary to the public interest and where, owing to conditions peculiar to the property and not the result of the applicant, a literal enforcement of the chapter would result in unnecessary and undue hardship. As used in this chapter, a variance is authorized only for height, area, and size of structure or size of yards and open spaces, and off-street parking requirements. Establishment or expansion of a use otherwise prohibited shall not be allowed by variance, nor shall a variance be granted because of the presence of nonconformities in the zones or adjoining zones.
YARD, FRONT. A yard extending between side lot lines across the front of a lot.
YARD, REAR. A yard extending across the rear of the lot between inner side yard lines.

YARD SALE or GARAGE SALE. A public sale conducted by an individual on his or her own premises for the purpose of selling personal property, so long as such sales are not conducted on the same lot for more than three days (whether consecutive or not) during any ninety-day period. [Added 12-7-2006 by Ord. No. 07-06]
YARD, SIDE. A yard extending from the rear line of the required front yard to the rear lot line.
1 Editor’s Note: The former definition of “banner,” which immediately followed, was repealed 3-7-2019 by Ord. No. 01-2018.2 Editor's Note: This ordinance also repealed the former definition of "bed-and-breakfasts, boardinghouses or lodging houses."3 Editor’s Note: The former definition of “indirectly illumination sign,” which immediately followed, was repealed 3-7-2019 by Ord. No. 01-2018.4 Editor's Note: This ordinance also repealed the former definitions of "sign, off-site" and "sign, on-site," which immediately followed.
Art IX Definitions
For the purposes of this chapter, certain terms or words used herein shall be interpreted as follows:
ACCESSORY APARTMENT. A dwelling unit located within a permitted, detached, single-family dwelling unit which is incidental and subordinate to the single-family dwelling unit in terms of size, location and appearance and which provides complete housekeeping facilities for an individual or family. [Added 12-18-2001 by Ord. No. 10-01]
ACCESSORY DWELLING UNIT. A separate, complete housekeeping unit with a separate entrance, kitchen, sleeping area, and full bathroom facilities, which is an attached or detached extension to an existing single-family structure. [Added 9-18-2025 by Ord. No. 12-2025]
ACCESSORY USE OR STRUCTURE. A use or structure on the same lot with, and of a nature customarily incidental and subordinate to, the principal use or structure.
ADULT DAY-CARE CENTER. A licensed commercial or public establishment designed to provide care during the daytime hours without overnight supervision. [Added 9-18-2025 by Ord. No. 12-2025]
AGRICULTURE. The use of land for the purposes of farming, dairying, pasturing, agriculture, horticulture, floriculture, viticulture, fish culture, and animal and poultry husbandry. The processing, packaging or manufacture of agricultural products is not included.
ALLEY. A public or private way permanently reserved as a secondary means of access to abutting property and not intended for general traffic circulation. [Added 1-2-2014 by Ord. No. 13-2013]
ANIMAL SERVICES. A public or private agency responsible for enforcing ordinances related to animal control and welfare, impoundment, and disposition, including tasks like shelter operations and adoption programs, provided that any open pen or runway is at least 200 feet from any residential district boundary. [Added 9-18-2025 by Ord. No. 12-2025]
APPARENT FRONT YARD. In properties with more than one front yard, the apparent front yard shall be that front yard to which the street address for the property is designated. [Added 12-7-2006 by Ord. No. 07-06]
ASSISTED LIVING FACILITY. A facility licensed pursuant to § 19-1801 et seq. of the Health General Article of the Maryland Annotated Code or corresponding future provision thereof, that provides housing and supportive services, supervision, personalized assistance, health-related services, or a combination thereof that meets the needs of individuals who are unable to perform or who need assistance in performing the activities of daily living or instrumental activities of daily living in a way that promotes optimum dignity and independence for the individual. This use also includes personal care and dementia/Alzheimers facilities.1 [Added 2-18-2016 by Ord. No. 01-2016]
BED-AND-BREAKFAST. A residential building that: [Added 4-3-2014 by Ord. No. 02-20142]
BLOCK. A unit of land bounded by streets or by a combination of streets and public land, railroad rights-of-way, waterways, or any other barrier to the continuity of development. [Added 1-2-2014 by Ord. No. 13-2013]
BOARDINGHOUSE. A residential use consisting of at least one dwelling unit with more than two rooms that are not separate dwelling units and are rented or designed or intended to be rented. This use is designed to be occupied by nontransient guests (at least month-to-month tenants), as distinguished from a bed-and-breakfast which is occupied by overnight or weekly guests. [Added 4-3-2014 by Ord. No. 02-2014]
BUILDING, FOOTPRINT. The area delineated by the outer face of the foundation of a building, and the term shall include the area contained within the outer walls of any building or part thereof that may be constructed on piles or similar supports for flood elevation clearance. [Added 9-2-2021 by Ord. No. 09-2021]
BUILDING LINE. The furthest point to which the foundation wall and/or any porch, vestibule, or other architectural feature shall project. [Added 12-7-2006 by Ord. No. 07-06]
BUILDING MASS. The three-dimensional bulk of a structure: height, width, and depth. [Added 1-2-2014 by Ord. No. 13-2013]
BUILDING OR STRUCTURE, HEIGHT OF. The vertical distance from the average finished grade to the highest point of the coping of a flat roof, the deckline of a mansard roof, the mean height level between eaves and ridge for gable, hip, and gambrel roofs, or the highest point on other structures.
BUILDING SCALE. The proportional relationship between the mass and shape of a building and its surroundings, including the width of street, open space, and surrounding buildings. [Added 1-2-2014 by Ord. No. 13-2013]
CANNABIS LICENSED DISPENSARY. An entity licensed by the Maryland Cannabis Commission that acquires, possesses, repackages, processes. transfers, transports, sells, distributes. or dispenses products containing cannabis, related supplies, related products, including tinctures, aerosols, oils, or ointments, or educational materials. [Amended 09-05-2024 by Ord. No. 09-2024]
CHILD-CARE CENTER. Any place, home, or institution which receives five or more children under 14 years and not of common parentage, for care apart from their natural parents, legal guardians or custodians, when received for regular periods of time for compensation, provided that this definition shall not include public or private schools organized, operated or approved under the laws of the State of Maryland. This definition shall not apply to the care of children related by blood or marriage within the third degree to the care provider or to churches or other religious, private or public institutions caring for children within the institutional building while their parents or legal guardians are attending services or activities or meetings. [Added 12-7-2006 by Ord. No. 07-06]
CHILD-CARE HOME. A home for not more than nine orphaned, abandoned, dependent, abused or neglected children, together with not more than two adults who supervise such children, all of whom live together as a single housekeeping units. [Added 12-7-2006 by Ord. No. 07-06]
COMMON OPEN SPACE. Open areas set aside for public use or for private agricultural use. Open space requirements are determined by Ch. 170, Attachment 2: Schedule of Zone Regulations. [Added 1-2-2014 by Ord. No. 13-2013; amended 11-4-2021 by Ord. No. 12-2021; amended 9-18-2025 by Ord. No. 12-2025]
CONTINUING CARE FACILITY. Continuing Care Facility includes nursing home and assisted living facility uses and multifamily dwellings, provided the dwellings are located on the same lot as an approved and licensed assisted living facility or continuing care facility and are designed for and rented to individuals over 55 years of age who are able to perform the activities of daily living or instrumental activities of daily living, but who may require occasional assistance with meal preparation, prescription management, housekeeping and adult day care. The number of multifamily dwellings shall not exceed the number of persons for which the assisted living or continuing care facility is licensed to provide care. [Added 9-18-2025 by Ord. No. 12-2025]
CONVENIENCE STORE. A one-story retail store containing less than 2,000 square feet of gross floor area that is designed and stocked to sell primarily food, beverages, and other household supplies to customers who purchase only a relatively few items. It is designed to attract and depends upon a large volume of stop-and-go traffic. [Amended 4-3-2014 by Ord. No. 03-2014]
DAY-CARE CENTER. A licensed commercial or public establishment designed to provide care for children, elderly, or handicapped persons during the daytime hours without overnight supervision. [Amended 12-7-2006 by Ord. No. 07-06]
DAY-CARE HOME. A residence in which care is given to a child in place of parental care for less than 24 hours a day, in a residence other that the child's, for which the day-care provider is paid. No more than two children under age two and no more than six children, including the provider's own, may be provided for herein. [Added 12-7-2006 by Ord. No. 07-06]
DEVELOPMENT ENVELOPE. The area comprised of lots, structures, buffer yards, impervious surfaces, utilities, SWM, sewage disposal areas and any area subject to regular human use such as active recreation areas. [Added 12-18-2001 by Ord. No. 10-01]
DWELLING. Any building or portion thereof occupied or intended to be occupied exclusively for residence purposes, but not including a tent or room in a hotel or motel.
FAMILY. One or more persons related by blood, marriage, adoption or guardianship, or not more than five persons not so related, occupying a dwelling unit and living as a single housekeeping unit. [Amended 4-3-2014 by Ord. No. 03-2014]
FLOOR AREA RATIO (FAR). The gross floor area of the building or buildings on a lot divided by the area of the lot. The floor area ratio requirements set forth in the bulk regulations or in the zoning district regulations determines the maximum floor area allowable for the building or buildings (total gross floor area of both principal and accessory buildings) in direct ratio to the gross area of the lot on which the buildings were constructed. [Added 9-18-2025 by Ord. No. 12-2025]
GOVERNMENTAL USE. Uses of land, buildings, or other structures by the federal, state, county, or town government for governmental uses or services. [Added 9-18-2025 by Ord. No. 12-2025]
HISTORIC BUILDING. A historic building is one that is at least 100 years old.
HOME OCCUPATION. An occupation or business conducted only by members of a family residing on the premises, and conducted within the dwelling or a secondary structure, provided that no product is sold or stocked except as is produced on the premises or dispensed in connection with a service that is rendered. In addition to members of the immediate family, up to two additional employees may be permitted by special exception. Home occupations shall include such customary and incidental uses such as, but not limited to, the office of a resident physician, dentist, architect, engineer, attorney, contractor, real estate agent, insurance agent, accountant, or similar professional person.
HOTEL. A building in which lodging or boarding is provided for persons, primarily transient, and offered to the public for compensation, and in which ingress and egress to and from all rooms is made through an inside lobby or office supervised by a person in charge at all hours. A hotel may include restaurants, taverns or club rooms, public banquet halls, ballrooms, and meeting rooms.3
INSTITUTIONAL USE. The use of land, buildings or other structures for some public or social purpose, including but not limited to schools, churches, community organizations and non-profit agencies. Not to include commercial, retail use, or for other commercial purpose. [Amended 9-18-2025 by Ord. No. 12-2025]
JUNKYARD. Any land or building or part thereof used for the abandonment, sale, storage, collecting, or baling of paper, rags, scrap metals, other scrap or discarded materials, or for the abandonment, demolition, dismantling, storage, salvaging or sale of automobiles or other vehicles not in running condition, or machinery, or parts thereof.
KENNEL. Any place that provides for the food, shelter and care of animals for purposes not incidental to veterinary care, where more than two adult animals (over six months) are kept for a boarding or other fee, or any place that engages in the breeding of animals for sale. [Added 12-7-2006 by Ord. No. 07-06]
LANDSCAPE REQUIREMENT. Plantings inside a development envelope. Inclusive of bufferyards, parking area plantings, screening, etc. Does not include tree canopy requirements for existing forest cover. [Added 9-18-2025 by Ord. No. 12-2025]
LOT. For zoning purposes, as covered by this chapter, a parcel of land of at least sufficient size to meet minimum zoning requirements for use, coverage and area, and to provide such yards and other open spaces as are herein required. Such a lot shall have frontage on an improved public street and may consist of a) a single lot of record; a portion of a lot of record; a combination of complete lots of record and portions of lots of record; a parcel of land described by meets and bounds, provided that in no case of divisions or combination shall any residual lot or parcel be created which does not meet the requirements of this chapter.
LOT COVERAGE. The percentage of a total lot or parcel that is: occupied by a structure, accessory structure, parking area, driveway, walkway, or roadway; or covered with a paver, walkway gravel, stone, shell, impermeable decking, permeable pavement, or any other manmade material. Lot coverage includes the ground area covered or occupied by a stairway or impermeable deck, but does not include: a fence or wall that is less than one foot in width that has not been constructed with a footer; a walkway in the Buffer or expanded Buffer, including a stairway, that provides direct access to a community or private pier; a wood mulch pathway; or a deck with gaps to allow water to pass freely. [Amended 9-18-2025 by Ord. No. 12-2025]
LOT FRONTAGE. The front of a lot shall be construed to be the portion nearest the street. For the purpose of determining yard requirements of corner lots and through lots, all sides of a lot adjacent to streets shall be considered frontage, and yards shall be provided as indicated under "yards" in this section. [Amended 12-7-2006 by Ord. No. 07-06]
LOT RECORD. A lot which is part of a subdivision recorded in the office of the Clerk of the Circuit Court, or a lot or parcel described by metes and bounds, the description of which has been so recorded.
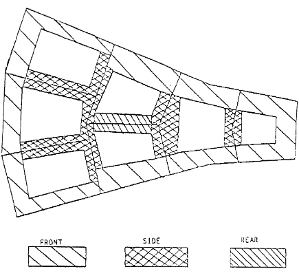
LOT TYPES. The diagram which follows illustrates terminology used in this chapter with reference to corner lots, interior lots, reversed frontage lots and through lots: 
A = CORNER LOT — A lot located at the intersection of two or more streets. A lot abutting on a curved street or streets shall be considered a corner lot if straight lines drawn from the foremost points of the side lot lines to the foremost points of the lot meet at an interior angle of less than 135°. See lots marked A(1) in diagram.
B = INTERIOR LOT — A lot other than a corner lot with only one frontage on a street other than an alley.
C = THROUGH LOT — A lot other than a corner lot with frontage on more than one street other than an alley. Through lots with frontage on two streets may be referred to as "double frontage lots."
D = REVERSED FRONTAGE LOT — A lot to which the frontage is at right angles to the general pattern in the area involved. A reversed frontage lot may also be a corner lot or an interior lot. (See A-D and B-D in the diagram.)
MICRO DISTILLERY. A plant for distilling, rectifying and blending and selling not more than 27,500 gallons of brandy, rum, whiskey, alcohol or neutral spirits per year and holds a valid Class 1 or Class 9 distillery license. [Added 10-18-2018 by Ord. No. 06-2018]
MOBILE HOME. A detached single-family living unit designed for long-term occupancy, containing indoor sanitary facilities to be connected to on-site utility systems, designed to be transported on a truck or towed to the site, with all wheels off the ground and situated on a solid foundation, except for crawl spaces, of block or brick, and situated in accordance with all other requirements of a single-family dwelling.
MOBILE HOME PARK. Any site designed to accommodate mobile homes, planned and developed in accordance with the provisions contained in § 170-21D(1).
MOBILE HOME SUBDIVISION. Any site designed to accommodate mobile homes in accordance with the provisions of § 170-21, provided that the lots within said subdivision conform to the lot area requirements for a single detached dwelling in the zone in which the site is located.
MOTEL. An establishment consisting of a group of attached or detached living or sleeping accommodations with bathroom and closet space, located on a single lot and designed for use by tourists. A motel furnishes customary hotel services such as maid service and laundering of linen, telephone and secretarial or desk service, and the use and upkeep of furniture. In a motel, not more than 20% of the living and sleeping accommodations are occupied or designed for occupancy by persons other than tourists.
MOTOR VEHICLE SERVICE ESTABLISHMENT. Any building or establishment where the following activities may occur: general repair, engine rebuilding, reconditioning of motor vehicles, collision repair, painting, or general maintenance. No more than two abandoned vehicles shall be stored on the premises. Motor vehicle fuel sales are expressly not allowed as a part of this use. [Added 3-20-2003 by Ord. No. 14-02]
MUSEUM. A building, place, or institution devoted to the acquisition, conservation, study, exhibition, and educational interpretation of objects having scientific, historical, or artistic value. [Added 6-3-2021 by Ord. No. 11-2020]
NEIGHBORHOOD COMMERCIAL. Small-scale commercial businesses and services that primarily serve the surrounding neighborhood and cater to the daily needs of nearby residents. [Added 9-18-2025 by Ord. No. 12-2025]
NEIGHBORHOOD SHOPPING CENTERS. A group of commercial establishments planned, developed, owned and/or managed as a unit which contains a minimum gross floor area of 30,000 square feet. [Amended 3-18-1993 by Ord. No. 615A]
NANO BREWERY. A beer brewing facility which brews not more than 3,000 barrels of beer per year on site, and holds a valid Class 5-M, Class 6-M or Class 7-M state brewing license. Accessory retail sales are allowed, which include, but are not limited to: growlers or refillable containers, home-brewing supplies and ingredients, and other related retail items. All federal, state and local laws must be complied with at all times. [Added 1-21-2016 by Ord. No. 02-2016]
NURSING HOME. A facility licensed pursuant to § 19-1401 et seq. of the Health General Article of the Maryland Annotated Code or corresponding future provision thereof, which offers nonacute inpatient care to patients suffering from a disease, chronic illness, condition, disability of advanced age, or terminal disease requiring maximum nursing care without continuous hospital services and who require medical services and nursing services rendered by or under the supervision of a licensed nurse together with convalescent, restorative, or rehabilitative services. This use also includes skilled nursing and convalescent facilities. [Added 2-18-2016 by Ord. No. 01-2016]
ON-SITE CANNABIS CONSUMPTION ESTABLISHMENT. An indoor or outdoor location, which is open to the public, and licensed to allow individuals who are 21 years or older to consume cannabis on its premises. On-site consumption establishments shall be prohibited in all zoning districts. [Added 09-05-2024 by Ord. No. 09-2024]
OUTDOOR TABLE AREA. An outdoor area where food, refreshments, and/or beverages are sold by a restaurant for public consumption at tables located on the sidewalk fronting the restaurant. [Added 10-4-2019 by Ord. No. 11-2019]
OUTDOOR DINING AREA. Any outdoor dining area situated on a public sidewalk with any of the following: [Added 10-4-2019 by Ord. No. 11-2019]
PATTERN BOOK. A compilation of conceptual renderings which shall accompany a tentative site plan, when required. A pattern book displays the architectural and site design styles of a proposed development. The architectural style is conveyed with conceptual drawings of typical proposed building elevations, including dimensions of building height and width, and facade treatment. Multiple options of typical elevations for various housing styles may be provided. The site design style shall be conveyed with conceptual street cross sections and plan view details showing example block and building location patterns. [Added 1-2-2014 by Ord. No. 13-2013]
PENT ROOF. A roof of a single sloping plane. Example: a shed or lean-to roof. [Added 9-18-2025 by Ord. No. 12-2025]
PLANNED COMMERCIAL CENTERS. A group of commercial uses compatible with the residential nature of the applicable district. These may include, but are not limited to, medical and professional offices, general retail stores, and food stores. Commercial centers shall be permitted only in a zoning district (PUD/TND) of 200 acres or more. No construction on the Commercial Center shall begin until 50% of the total planned residential units are completed.
PRELIMINARY REGULATING PLAN. A draft of the Regulating Plan used for the purpose of tentative sketch plan review during the Subdivision Review and Site Plan Review processes. [Added 9-18-2025 by Ord. No. 12-2025]
PRIVATE CLUBHOUSE. A community operated building, room, or facility used for social or recreational activities and operated for the initial exclusive use of a residential subdivision or development. [Added 9-18-2025 by Ord. No. 12-2025]
PRIVATE CLUBS AND LODGES. Any building which serves as a meeting place for a selected membership, together with recreation and dining facilities which are not open to the general public.
PRODUCE STAND. A temporary stand, structure, trailer or similar facility that is utilized to sell local produce to passing motorists or pedestrians. For the purpose of the zoning code, local produce is defined as originating within a fifty-mile radius of Centreville Town limits. [Added 3-7-2019 by Ord. No. 08-2018]
QUEUING AREAS. An area within a street where parking is prohibited in order to allow cars to pass or for emergency vehicle use. [Added 1-2-2014 by Ord. No. 13-2013]
QUEUING STREET. A narrowed street which contains a single travel lane and which may occasionally require an opposing driver to pull over to allow an oncoming vehicle to pass. [Added 1-2-2014 by Ord. No. 13-2013]
RECREATIONAL CAMP OR RESORT. Any area of land or water on which accommodations for temporary occupancy are located or may be placed, including hotels, cabins and tents, and which is primarily used for recreational purposes and retains an open-air or natural character.
REGULATING PLAN. A detailed document which establishes density, use, patterns, open space and parks, street hierarchies, block schematics and their general locations within the property, conceptual street cross-sections, connection to existing or adjacent development, and any other elements the Planning Commission deems necessary to determine consistency wit the Town code, regulations, and comprehensive plan. [Added 9-18-2025 by Ord. No. 12-2025]
RELIGIOUS ASSEMBLY, PLACES OF. A development where worship and related religious philanthropic and social activities occur. Religious Assembly buildings include churches, temples, synagogues, mosques, parish halls, convents and monasteries. Accessory buildings include rectories, manses, classrooms and dormitories. [Added 9-18-2025 by Ord. No. 12-2025]
RESTAURANTS. Includes any of the following types:
SHORT TERM RENTAL. Any lease or other transfer of the right to occupy a primary dwelling unit on the parcel other than a hotel, motel, inn, or bed-and-breakfast for not less than one night and not exceeding four months. [Added 4-3-2014 by Ord. No. 02-2014]
SIGN. A structure or device designed or intended to convey information to the public in written or pictorial form. For the purposes of this definition, the term "sign" shall not include scoreboards. More specific sign definitions are given below. [Amended 3-7-2019 by Ord. No. 01-2018;4 6-6-2019 by Ord. No. 07-2019]

SMALL CELL FACILITY. A facility designed to provide wireless voice, data and/or image transmission in concentrated areas that meets both of the following qualifications: [Added 3-21-2019 by Ord. No. 03-2019]
SOLAR ARRAY. A ground-mounted or ballast-mounted solar collection system consisting of a linked series of photovoltaic modules associated with a net-metering or aggregate net-metering arrangement, excluding rooftop net-metering residential applications. A solar array, as defined here, excludes any associated with an independent power producer arrangement or for delivery of power or energy to a third party. [Added 8-4-2016 by Ord. No. 06-2016]
SOLAR ENERGY. Energy generated by the sun that is infinite or constantly renewed. [Added 8-4-2016 by Ord. No. 06-2016]
SPECIAL EXCEPTION. A use that would not be appropriate generally or without restriction throughout the zone, but which, if controlled as to number, area, location, or relation to the neighborhood, would promote the health, safety, welfare, morals, order, comfort, convenience, appearance, prosperity, or general welfare. Such uses may be permitted in such zone as special exceptions, if specific provision for such special exceptions is made in this chapter.
STREET LINE. The right-of-way of a street.
STRUCTURE. Anything constructed or erected which requires location on the ground, or attached to something having location on the ground. Among other things, structures include buildings, mobile homes, walls, fences, billboards, sandwich boards, and mobile signboards used on the premises for more than 14 days in a calendar year.
TELECOMMUNICATIONS TOWER. A tower, pole, or similar structure of any size which supports wireless telecommunication equipment, transmission or reception, and is utilized by commercial, governmental, or other public or quasi-public users, aboveground in a fixed location, freestanding, guyed, or on a structure for the purpose of providing wireless voice, data and image transmission within a designated service area. This definition does not include communication towers for amateur radio operators licensed by the Federal Communications Commission (FCC), which are exempt from local zoning restrictions. [Added 3-21-2019 by Ord. No. 03-2019]
TEMPORARY PRODUCT STAND STRUCTURE. An assembly of materials forming a shelter, building, or enclosure to protect people, products, material, equipment, or inventory without any foundation or footing. There shall be no more than one structure per tax parcel, and the maximum size of the temporary structure is 200 square feet. [Added 3-7-2019 by Ord. No. 08-2018]
TRADITIONAL NEIGHBORHOOD. A compact, walkable neighborhood with mixed residential housing types integrated with small scale retail, public open space and civic uses. [Added 1-2-2014 by Ord. No. 13-2013]
TRAILER. Any vehicle or portable structure designed for temporary occupancy or which contains holding tanks for waste disposal or can operate independently of sewer, water and electrical systems, including travel trailers, pickup campers, bus campers, tent campers, tents, or other temporary vehicles, which require installation to utility systems.
TRAILER PARKS. Any site designed to accommodate trailers planned and developed in accordance with the provisions contained in § 170-21.
UNIT. A dwelling space designed for and occupied by a single family consisting of one or more individuals permanently living together and using certain rooms and housekeeping facilities in common. (Example: An apartment building may contain a number of dwelling units.)
USE. The activity or function that actually takes place or is intended to take place on or in a building, structure or lot, including everything that is done to, on, or in a building structure or lot. [Added 9-18-2025 by Ord. No. 12-2025]
VARIANCE. A relaxation of the terms of this chapter where such variance will not be contrary to the public interest and where, owing to conditions peculiar to the property and not the result of the applicant, a literal enforcement of the chapter would result in unnecessary and undue hardship. As used in this chapter, a variance is authorized only for height, area, and size of structure or size of yards and open spaces, and off-street parking requirements. Establishment or expansion of a use otherwise prohibited shall not be allowed by variance, nor shall a variance be granted because of the presence of nonconformities in the zones or adjoining zones.
YARD, FRONT. A yard extending between side lot lines across the front of a lot.
YARD, REAR. A yard extending across the rear of the lot between inner side yard lines.

YARD SALE or GARAGE SALE. A public sale conducted by an individual on his or her own premises for the purpose of selling personal property, so long as such sales are not conducted on the same lot for more than three days (whether consecutive or not) during any ninety-day period. [Added 12-7-2006 by Ord. No. 07-06]
YARD, SIDE. A yard extending from the rear line of the required front yard to the rear lot line.
1 Editor’s Note: The former definition of “banner,” which immediately followed, was repealed 3-7-2019 by Ord. No. 01-2018.2 Editor's Note: This ordinance also repealed the former definition of "bed-and-breakfasts, boardinghouses or lodging houses."3 Editor’s Note: The former definition of “indirectly illumination sign,” which immediately followed, was repealed 3-7-2019 by Ord. No. 01-2018.4 Editor's Note: This ordinance also repealed the former definitions of "sign, off-site" and "sign, on-site," which immediately followed.