- SITE DEVELOPMENT
The purpose of this section is to ensure that:
A.
Adequate off-street motor vehicle and bicycle parking is provided for uses that are permitted by this UDC. See Section 11-502, Land Use Tables;
B.
Parking and accessible routes are provided for disabled individuals in accordance with the Americans with Disabilities Act ("ADA"), as may be amended from time to time.
C.
Alternative demand models including special studies and shared parking programs are taken into consideration;
D.
The design and use of parking and loading areas are regulated for consistency;
E.
Adequate loading areas are provided that do not interfere with the function of other vehicular use areas;
F.
Adequate stacking areas are provided to ensure safe and efficient circulation within sites that contain drive-in or drive-through uses;
G.
Access to sites is managed to maintain the desired function and safety of the adjacent street(s); and
H.
Vehicular use areas and sites are designed and lighted to promote public safety without creating undue light pollution and off-site glare (See Section 11-830, Exterior Lighting).
A.
Application. This section sets out how the provisions of Section 11-800, Parking, Loading, and Access, are applied and how they relate to other provisions of this UDC.
1.
Set out in Subsection 11-803.01., Calculation of Required Parking Spaces, is the methodology for calculating the number of required parking spaces, including the measurement of independent variables. All new development, redevelopment, substantial improvements, expansions of existing development, and changes in the use(s) of existing buildings that require additional parking shall provide the quantity of parking spaces required by Subsection 11-803.02., Required Parking and Loading, and comply with all other provisions of this section.
Exception: Any use within the Downtown Commercial (DC) District is exempt from the off-street parking requirements provided by Subsection 11-803.02., Required Parking and Loading. However, any off-street parking facility constructed in the DC District after the effective date must comply with the design standards set out in this UDC.
2.
The size and configuration of parking and loading spaces shall be set out in Section 11-804, Use and Design, and the Right-of-Way Manual.
3.
Standards for the surfacing, use, and maintenance of parking and loading areas are set out in Subsection 11-804.06., Surfacing and Maintenance. Standards that apply to temporary uses in parking and loading areas are set out in Section 11-505, Temporary Uses.
B.
Timing and Degree of Compliance. No building permit, or certificate of occupancy shall be issued unless and until off-street parking and loading is provided in accordance with Section 11-800, Parking, Loading, and Access.
A.
Generally. The standards of this subsection set out the means for calculating the number of parking spaces that are required for each land use that is listed in Section 11-502, Land Use Tables.
B.
Calculations. The number of required parking spaces is calculated according to the formulas set out in Subsection 11-803.02., Required Parking and Loading. Parking requirements may be adjusted as follows:
1.
According to the standards of Subsection 11-803. 04., Special Studies; or
2.
According to the standards of Subsection 11-803.05., Shared Parking, if applicable.
C.
Rounding. If the final calculated number of required parking spaces includes a fractional space, the number of required parking spaces is rounded up to the nearest whole number, regardless of the fraction.
D.
Variables for Calculating the Required Parking. The variables used for parking calculations are measured as follows:
1.
Per Square Foot (SF) of Parking Floor Area (PFA). The phrase "per SF of PFA" means that the number of parking spaces is calculated based on the number of "parking-related" square feet of floor area put to the use. The "PFA" is 50 percent of the gross floor area, plus (unless otherwise specified) the area of any parts of the lot or tract proposed for development that are delineated and used in a manner that is comparable in function and intensity to the use inside of the building (e.g., outdoor dining areas, outdoor sales and service, or outdoor storage).
2.
Per Dwelling Unit (DU) or Per Bedroom (BR). The phrase "per DU" or "per BR" means that the number of parking spaces is calculated based on the number of dwelling units, or the number of bedrooms in the dwelling unit(s), respectively.
3.
Per Bed. The phrase "per bed" means that the number of parking spaces is based on the number of beds in the facility instead of the number of sleeping rooms or some other measure. Per bed calculations are normally applied to uses that offer residential care or overnight accommodations with shared rooms.
4.
Per Seat Capacity. The phrase "per seat" means that the number of parking spaces is based on the number of seats that are provided for guests (patrons, members, etc.), with benches or pews measured as one seat for every 18 inches of seating length.
5.
Per Person Design Capacity. The phrase "per person design capacity" means that the number of parking spaces is based on the maximum number of people who may occupy the use pursuant to applicable building codes.
6.
Per Square Feet (SF) of Assembly Area. The phrase "per SF of assembly area" means that the number of parking spaces is based on the number of square feet dedicated to assembly group occupancies, as that class is defined by the most recently adopted version of the International building code.
7.
Others. Other variables are measured according to their common meanings.
A.
Generally. The minimum off-street parking requirements for the uses set out in these regulations, as provided in Article 5, Land Uses, are set out in the following tables:
1.
Table 11-803.02.01, Parking for Residential and Commercial Use of the Home;
2.
Table 11-803.02.02, Parking for Institutional, Recreation, and Amusement Uses;
3.
Table 11-803.02.03, Parking for Commercial Uses; and
4.
Table 11-803.02.04, Parking for Agriculture, Industrial, Utility, Transportation, and Communication Uses.
B.
Uses that Involve Fleets or Vehicle Inventory. Uses that involve fleets of vehicles (e.g., post offices, police stations, fire stations, etc.) and uses that involve vehicle inventories (e.g., auto sales and service establishments) shall provide adequate on-site parking for the fleet or inventory. Such parking shall not count towards the requirements of Subsection 11-803.02., Required Parking and Loading.
C.
Multiple Nonresidential Uses. If several nonresidential uses occupy a single lot, tract, or building, the off-street parking and loading requirements shall be the cumulative total for all uses, unless:
1.
Alternative parking regulations, in accordance with Subsection 11-803.04., Special Studies, are accepted by the city; or
2.
The uses are of different categories, such that the standards of Subsection 11-803.05., Shared Parking, apply.
D.
Uses Not Listed. The zoning administrator shall determine the parking requirements for uses that are not listed based on the uses that are most similar to the proposed uses (see Section 11-503, Unlisted or Functionally Similar Uses) or based on parking studies of similar uses that are provided by the applicant and certified by a qualified transportation planner or professional engineer. See Subsection 11-803.04., Special Studies.
E.
Residential and Commercial Use of the Home. Set out in Table 11-803.02.01, Parking for Residential and Commercial Use of the Home, is the parking requirements for residential uses and commercial uses of dwelling units.
F.
Institutional, Recreation, and Amusement Uses. Set out in Table 11-803.02.02,Parking for Institutional, Recreation, and Amusement Uses, is the parking requirements for institutional, recreation, and amusement uses.
G.
Commercial Uses. Set out in Table 11-803.02.03, Parking for Commercial Uses, is the parking requirements for commercial uses.
H.
Agriculture, Industrial, Utility, Transportation, and Communication Uses. Set out in Table 11-803.02.04, Parking for Agriculture, Industrial, Utility, Transportation, and Communication Use;i§ .....i;, is the parking requirements for agricultural, industrial, utility, transportation, and communication uses.
Parking spaces for the use of persons with disabilities shall be provided as set out in Table 11-803.03., Accessible Parking Requirement;i§\i;, or as set forth in the American National Standards Institute ("ANSI") reference standard A117.1-2009 titled Accessible and Usable Buildings and Facilities, whichever requires more accessible parking. Accessible parking is included in the total number of required parking spaces as set out in Subsection 11-803.02., Required Parking and Loading. For every six or fraction of six parking spaces required, at least one shall be a van-accessible parking space. Design criteria and dimensions are set forth in ANSI A117.1-2009, as amended from time to time. Parking facilities for single-family attached, single-family detached, manufactured housing, and mobile home uses are exempt from the requirements of this subsection.
A.
Generally. Some of the uses that are listed in the tables set out in Subsection 11-803.02., Required Parking and Loading, have nonlinear or widely varying parking demand characteristics. Accordingly, their parking requirements are listed in the table as "See Subsection 11-803.04., Special Studies." Required parking for these uses, or uses where alternative requirements can be demonstrated (e.g. "best practice"), shall be established according to the standards of this subsection.
B.
Requirements.
1.
A special study shall be conducted by the developer, at the developer's expense.
2.
The special study shall provide:
a.
A peak parking analysis of at least three functionally comparable uses.
b.
Documentation regarding the comparability of the referenced uses, including: name, function, location, floor area, parking availability, access to transportation networks (including vehicular, bicycle, and pedestrian facilities), use restrictions, and other factors that could affect the parking demand.
3.
Where functionally comparable uses cannot be identified, the zoning administrator shall determine the parking requirements based on the uses that are most similar to the proposed use(s).
C.
Approval of Special Study.
1.
The city may rely upon the special study or may request additional information or analysis, including, but not limited to: alternative or new uses, or consideration of additional or alternative factors related to comparability or peak demand.
2.
As a condition of approval, the city may require that land be reserved or land-banked for additional parking if:
a.
It is demonstrated that there is a relatively high probability the use could change, resulting in a higher demand for parking; or
b.
The variability in the special study justifies the reservation of additional land to mitigate insufficient on-site parking.
3.
Areas that are reserved or land-banked shall be of appropriate location and dimension to provide for the additional parking by connection to existing parking lots.
A.
Generally. The city recognizes that uses may have different hours of operation and peak parking demand hours. For this reason, the city desires to encourage the sharing of parking for its potential to reduce paved areas and/or to enhance the efficiency of land use. Where a mix of uses creates synergy with respect to the use of parking spaces due to differences in when the spaces are most likely to be used, the city may reduce the required number of spaces according to the provisions of this subsection.
B.
Shared Parking Table. Shared parking allows a reduction in the total number of required parking spaces when a lot or tract is occupied by two or more uses which typically do not experience peak use of parking areas at the same time. When any land or building is used for two or more uses that are listed below, the minimum total number of required parking spaces may be determined by the following procedures:
1.
Multiply the minimum required parking for each individual use, excluding spaces reserved for use by specified individuals or classes of individuals (e.g., spaces that are either posted "reserved," or secured behind a gate), by the appropriate percentage listed in Table 11-803.06.01, Shared Parking, for each of the designated time periods.
2.
Calculate a sum for all uses for each of the five time periods (columns). The minimum parking requirement is the highest of these sums. Set out in Table 11-803.06.02, Illustrative Shared Parking Credit Calculation, is an example of how to calculate shared parking credits.
3.
In general, the maximum reduction allowed shall be no more than 25 percent. However, a greater reduction may be permitted by the planning commission, provided that:
a.
Sufficient land is set aside for each parking space in excess of the 25 percent reduction that is not constructed, so that the spaces may be constructed at a later date should the planning commission determine that they are necessary; and
b.
The property owner provides sufficient security in the form of cash escrow or, where authorized by the city, a performance bond or letter of credit or other security acceptable to the city council and the city attorney, as security for the promises contained.
C.
Shared Parking Among Lots Under Different Ownership. When a shared parking reduction is to be applied to uses on several lots under different ownership, the following shall be provided:
1.
A plan that provides for interconnected parking lots; and
2.
Recorded easements, accepted as to form by the city attorney, that provide, at a minimum, for:
a.
Cross-access among the parking areas and connections to allow parking by the different uses anywhere on the connected properties;
b.
Allocation of maintenance responsibilities;
c.
A pedestrian circulation system that connects uses and parking areas, making it easy and convenient for pedestrians to move between uses; and
d.
A right of enforcement by the city.
A.
Applicability. Bicycle parking shall be required pursuant to this subsection for:
1.
All lots or tracts proposed for development that have parking lots with 20 or more off-street parking spaces; and
2.
All park or recreation areas within neighborhoods.
B.
Exemptions. This subsection does not apply to single-family attached, single-family detached, manufactured housing, and mobile home uses.
C.
Number of Bicycle Parking Spaces. One bicycle parking space is required for each twenty (20) required off-street parking spaces; however, not less than three (3) nor more than ten (10) shall be required on any lot or tract proposed for development.
D.
Bicycle Parking Design Standards. Bicycle parking shall be designed so that racks are securely anchored to a hard surface to prevent easy removal. See Figure 11-803.07., Illustrative Permitted Bicycle Parking Systems.
E.
Bicycle Parking Location Standards.
1.
The location of bicycle parking facilities shall be at least as convenient to the main entrance of the primary use as the most convenient vehicular parking not reserved for disabled users.
2.
An aisle at least five feet wide shall be provided behind all required bicycle parking to allow room for bicycle maneuvering and to prevent hazards or obstructions to the normal flow of pedestrians into a use.
A.
Prohibited Use(s) of Parking Areas.
1.
Required off-street parking spaces shall be available for operable passenger vehicles of the residents, customers, clients, patrons, and employees of the use to which they relate.
2.
Storing or displaying materials, boats, campers, recreational vehicles, trucks, trailers, or inoperable vehicles, is prohibited in parking areas.
3.
The storage of trailers in loading spaces for a period in excess of 48 hours is prohibited. Such spaces shall be available for routine use by delivery vehicles.
4.
Trash enclosures, dumpsters, recycling or donation bins, and transformers shall not be located in required parking areas or in locations that interfere with the circulation or use of parking spaces.
5.
No vehicle work of any kind or nature is permitted in parking facilities.
6.
The hosting of events and sale of goods in a parking facility is prohibited, except when the applicable requirements for temporary sales are met, as set out in Section 11-505, Temporary Uses.
B.
Blocking Access Prohibited.
1.
Blocking loading or parking spaces is prohibited.
2.
Loading or parking spaces shall not be designed or located in a manner that blocks access to other loading spaces, parking spaces, drive aisles, fire lanes, ingress or egress points, or building entrances. However, tandem parking spaces may be used in valet lots.
3.
Parking within a drive approach or across public sidewalks is prohibited.
A.
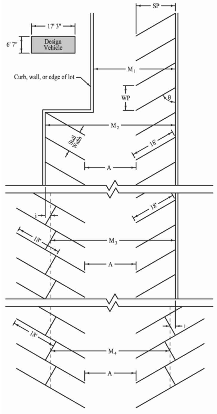
Dimensions of Parking Spaces. Parking spaces shall have the following dimensions.
1.
Standard depth parking spaces shall be nine feet in width and 18 feet in depth.
2.
Reduced depth parking spaces that abut a landscape island (allowing for a minimum two foot overhang), shall be nine feet in width, but may be reduced to 16 feet in depth, provided there is a minimum five foot planting area. See Figure 11-804.02.01, Illustrative Parking Space Dimensions.
3.
Parallel parking spaces shall be eight feet in width and 20 feet in length.
4.
Spaces designated as accessible shall be striped in accordance with ANSI A117.1, as amended from time to time. Each accessible space shall provide a barrier free route to an accessible building entrance; where possible, it is preferable that the accessible route not pass behind parked cars.
B.
Parking Space Markings.
1.
All parking spaces that are located in parking facilities or provided on a street shall be clearly marked. All handicap accessible spaces shall be designed with an upright sign exhibiting the universal symbol for accessibility by the handicapped. All such spaces shall be designed in compliance with the standards of the Americans with Disabilities Act.
2.
Parking spaces for residential uses that are located in private garages, carports, or individual driveways do not have to be marked. An area on a private residential lot is considered a parking space if:
a.
The area is at least nine feet in width and 20 feet in depth;
b.
The area does not encroach upon a public sidewalk;
c.
The area has an all-weather surface; and
d.
The area is accessible from the street. See Figure 11-804.02.02, Private Residential Parking Spaces.
C.
Traffic Control Devices. All traffic control devices (signs, marking, and signals) shall conform to the Manual on Uniform Traffic Control Devices, latest edition, published by the Federal Highway Administration ("FHWA") under 23 Code of Federal Regulations ("CFR"), Part 655, Subpart F. Parking facilities shall be designed to provide visibility of and between pedestrians and vehicles when circulating within or entering or leaving the facility; and shall not create blind, hidden, or hazardous areas.
D.
Vertical Clearance. A vertical clearance of not less than eight feet shall be provided over all parking spaces. Additional clearance shall be provided for larger vans, sports utility vehicles, and light trucks that require such clearance if parking demand from such vehicles is anticipated. All parking garage entrances shall include an overhead bar to alert oversized vehicles regarding clearance.
E.
Parking Module Dimensions. Parking modules shall be dimensioned as shown in Table 11-804.02., Parking Module Dimensions, and illustrated in Figure 11-804.02.03, Parking Module Standards.
A.
On-Site, Off-Street Parking. On-site, off-street parking shall be set back behind any required bufferyard as set out in Section 11-810, Landscaping, Buffering, and Screening. Parking spaces, drive aisles, and areas necessary for vehicular maneuvering shall not encroach upon or overhang any street, street easement, or public right-of-way.
B.
Off-Site, Off-Street Parking. Parking may be satisfied off-site and off-street if the parking facility is within 300 feet of the principle structure, does not serve any other use except in conformance with Subsection 11-803.05, Shared Parking, and within a district that permits the Off-Street Parking use type, as set out in Section 11-400, Zoning Districts.
Exception: Single-family attached, single-family detached, manufactured housing, and mobile homes shall provide parking on-site and off-street.
A.
Generally. Loading spaces shall be provided and designed as laid out in this subsection. Off-street loading areas are subject to the landscaping and buffering requirements for parking facilities set forth in Section 11-810, Landscaping, Buffering, and Screening.
B.
Dimensions of Loading Spaces. Each required loading space for an industrial use must be at least 12 feet in width and 35 feet in length. All other required loading spaces must be at least 12 feet in width and 18 feet in length. All required loading spaces must be designated by signs as loading spaces. Larger loading spaces may be required where the size of the design vehicle exceeds these specifications.
C.
Vertical Clearance. Vertical clearance for loading spaces shall be at least 14 feet in height.
D.
Number of Loading Spaces. In any district with every building or part thereof hereafter erected, altered, or modified, having a gross floor area of 10,000 square feet or more, which is to be occupied by uses requiring the receipt of material or merchandise or distribution of the same, by vehicles, there shall be provided and maintained on the same lot with such building, at least one off-street loading space, plus one additional such loading space for each 60,000 square feet, or major fraction thereof, of gross floor area, so used, in excess of 40,000 square feet (see Table 11-804.04., Required Loading Spaces).
E.
Use of Right-of-Way. Where off-street loading areas are required, at no time shall any part of a truck or van be allowed to extend into a public right-of-way while being loaded or unloaded.
F.
Maneuvering Space. Adequate off-street truck maneuvering space shall be provided on-site and off-street.
G.
Location. All loading areas shall be located on the same lot as the use served by the loading area.
H.
Loading and Truck Access. Except as provided in Subsections I. or J. below, loading and truck access facilities shall be:
1.
Located behind a principal building; and
2.
In an area screened from view of public rights-of-way by building walls, fences, or landscaping (including earthen berms).
I.
Service Areas Adjacent to District Boundaries.
1.
Generally, if loading and truck access are located between a principal building and property that is used or zoned for residential purposes, or between a principal building and a right-of-way (e.g., on a through lot), then the following additional standards apply:
a.
The loading and truck access area is screened by a bufferyard that is one level higher than that set out for the applicable district set out in Section 11-815, Bufferyards; or
b.
The loading and truck access area is enclosed as indicated in Figure 11-804.04., Service Area Enclosure. If this option is used, the bufferyard along the length of the enclosure may be reduced by one level from that which is set out for the applicable district in Subsection 11-815.02., District Bufferyard Standards.
2.
Notwithstanding subsection I.1., above, loading and truck access that is within 50 feet of property that is used or zoned for residential purposes shall be enclosed as illustrated in Figure 11-804.04., Service Area Enclosure, and shall be landscaped along the length of the enclosure pursuant to the bufferyard requirement set out in Subsection 11-815.02., District Bufferyard Standards.
J.
Front Loading in LI and GI Districts. In the LI and GI districts, truck loading may be in the front yard of the building if it is demonstrated that:
1.
The frontage is not an arterial street or highway; and
2.
The property on the other side of the street is also zoned LI or GI.
K.
Fire Exit or Emergency Access. Off-street loading facilities shall be designed so as not to interfere with any fire exits or emergency access facilities.
A.
Generally. Stacking spaces are used to measure the capacity of a drive-through lane to hold cars while transactions are taking place at drive-through stations. Stacking spaces measure eight feet in width and 18 feet in length and provide direct access to a service station. The position in front of a service station (e.g., a service window, ATM, or station at a drive-through bank) is counted as a stacking space.
B.
Requirements. Uses that include drive-through service shall not have fewer than the following numbers of stacking spaces:
1.
Financial institutions, retail sales, or retail service establishments: A minimum of three stacking spaces per service station, including the position at the service station.
2.
Restaurant (with drive-through):
a.
If two service windows are provided (one for payments and one for pick-up):
1.
A minimum of four stacking spaces to each menu board (including the position at the menu board);
2.
A minimum of two stacking spaces between the menu board and the first window (including the position at the first window but not including the position at the menu board); and
3.
Two spaces between the first window and the second window (including the position at the second window but not including the position at the first window). See Figure 11-804.05., Illustrative Stacking Requirements.
b.
If one service window is provided (for both payments and pick up):
1.
A minimum of four stacking spaces to each menu board (including the position at the menu board); and
2.
A minimum of two stacking spaces between the menu board and the service window (including the position at the service window but not including the position at the menu board);
a.
In buildings with less than 300 square feet of gross floor area and no separate menu board (e.g., coffee stands, photo processing): Three stacking spaces per service window, including the position at the window.
b.
Stacking lanes shall be designed with unobstructed access to an abutting bypass/escape lane no less than eight feet in width.
3.
Laundromat or Dry Cleaners: Two stacking spaces, including the position at the window.
4.
Service Stations: Two stacking spaces per fuel pump, including the position at the pump; three stacking spaces per service/wash bay, including the service/wash bay; and two stacking spaces per service station (i.e. vacuum station), including the service station for all other automotive related services.
C.
Design.
1.
Stacking lanes shall be clearly marked and shall not interfere with either on-site or off-site traffic circulation.
2.
Stacking areas shall not be located in street yards or where parking spaces are otherwise prohibited.
A.
Surfacing. Off-street parking facilities shall not be located in required bufferyards, shall be designed and built to prevent the free flow of water onto adjacent properties, and shall be surfaced as follows:
1.
In general, off-street parking facilities shall be graded and surfaced with an all-weather material, approved by the zoning administrator, such as concrete, asphalt or asphaltic concrete, permeable paving, driveway pavers, or pavestones.
2.
For properties located in R Rural and GI General Industrial zoning districts, adjacent to a public or private road improved with concrete or asphalt, areas that are required to be surfaced with an all-weather material include:
a.
Driveways, drive aisles, parking facilities, and all associated off-street maneuvering and circulation located in front and street [side] yards;
b.
Loading areas; and
c.
An apron, 25 feet in length measured from the edge of parking facilities and loading areas, of an all-weather material, into the outdoor storage area.
3.
For temporary uses or overflow parking needs, the zoning administrator may permit construction of parking facilities using alternative materials (such as grass pavers, coarse aggregate), provided that:
a.
The perimeter of such parking facility is defined by curbs, bollards, or other similar device(s), to control vehicular traffic; and
b.
The use of such facility shall be limited to temporary uses and overflow parking needs for periods not to exceed 30 days in any given year.
B.
Maintenance. Off-street parking surfaces and traffic control devices shall be kept in good condition and parking space lines or markings on hard-surfaced lots shall be kept clearly visible and distinct. Acceptable maintenance includes keeping the facility free of refuse, debris, and litter; maintaining parking surfaces in sound condition; and providing proper care of landscaped and buffer areas.
In establishing these procedures and standards, it is the city's purpose to encourage the preservation of trees and their value to the community, increase the compatibility of adjacent uses, and to minimize the effects of noise, dust, debris, artificial light intrusions, and other impacts created by the use of land. The standards and requirements set out in this section are intended to:
A.
Protect and preserve the appearance and character of the community;
B.
Promote the health and quality of life of the residents of the city through the protection of trees;
C.
Promote the planting of trees and shrubs that are native to Nebraska; and
D.
Establish standards for removal, maintenance, and planting of trees.
A.
Generally. This section requires four general types of landscaping, including:
1.
Landscaping. See Section 11-814, Landscaping. There are four types of development landscaping:
a.
Lot landscaping;
b.
Site landscaping;
c.
Parking lot landscaping; and
d.
Street trees in certain locations.
2.
Buffering. See Section 11-815, Bufferyards. Bufferyards are required based on the zoning, development type, or right-of-way type that abuts proposed development. Bufferyards may be required along:
a.
District boundaries and between residential and nonresidential uses;
b.
Street and railroad rights-of-way; and
c.
Around parking and vehicular use areas.
3.
Screening. See Section 11-816, Screening.
4.
Open Space. See Section 11-817, Open Space.
B.
Application of Standards. This section applies to all new development, redevelopment, substantial improvements, additions, alterations, and changes of occupancy, and where specifically indicated, to existing trees and landscaping. The application of Section 11-810, Landscaping, Buffering, and Screening, may be limited by Section 11-320, Nonconformities.
C.
Exceptions. The following are exceptions to the standards of this section:
1.
Modifications to single-family attached, single-family detached, manufactured housing, and mobile homes where the addition or alteration does not cumulatively exceed the gross floor area of the existing building by more than 10 percent or 300 square feet, whichever is less.
2.
Modifications to nonresidential buildings where the addition or alteration does not cumulatively exceed the gross floor area of the existing building by more than 10 percent or 3,000 square feet, whichever is less.
3.
Development that was approved in the city prior to the effective date of this UDC shall comply with the terms of the development approval (and not this section) to the extent that alternative landscaping requirements are already specified. Such approved development shall not be required to install bufferyards if there is insufficient land area identified on the approved plans to accommodate them.
D.
Adjustments and Changes.
1.
Necessary or requested adjustments or changes to the requirements of Section 11-810, Landscaping, Buffering, and Screening, may only be by reason of:
a.
Site constraints or impracticalities that are due to special conditions of the property that do not exist on other properties in the same zoning district;
b.
Conditions that have not been brought about by action of the applicant or owner; and
c.
Unnecessary hardship caused by the strict interpretation of this UDC.
2.
In these instances, the planning commission may consider authorizing a special exception, or if the standards of approval may not be met, by considering approval, approval with conditions, or denial of the site plan, as set out in Section 11-315.08., Site Plan.
A.
Generally. Compliance with the standards of this section shall be demonstrated by schematic landscape and irrigation plans and a landscape installation and maintenance plan. Collectively, these documents shall be referred to as the "landscape plan."
B.
Contents of Schematic Landscape Plan. The landscape plan shall include the elements that are set out in this subsection. The schematic landscape plan shall include all of the following information:
1.
A plan view drawing prepared at a standard scale that ensures clarity of the proposal (scale shall be approved by the zoning administrator), which shall indicate:
a.
Existing and proposed topography of the site, shown at one-foot contours, or spot elevations where contours are unable to illustrate topography in sufficient detail;
b.
Dimensions and surfacing of all easements, pedestrian walkways, and pedestrian-oriented areas (existing and proposed);
c.
Location and dimensions of maintenance easements for drainage facilities;
d.
Location of existing and proposed overhead and underground utilities;
e.
Location and base flood elevation of floodplains;
f.
Dimensions and slopes of storm water detention areas;
g.
Dimensions, surface area, and type of planting area (e.g., bufferyard, parking lot landscaping, etc.) for each planting area;
h.
The location and quantity of trees and shrubs to be installed, which shall be drawn at three-fourths (¾) of mature size and annotated with genus, species, common name, drought tolerance, and size at planting;
i.
The location, quality, size (DBH), and protected root zone of trees that are to be preserved on the site;
j.
The location and extent of areas of groundcover; the groundcovers, turf, seed, or inorganic materials to be installed or planted; and the type of underlayment proposed to be used (if any);
k.
Dimensions of all landscape elements, including fences, walls, border edge treatments, berms, water features, trash enclosures, street furniture, public art, and recreational facilities, as applicable (the zoning administrator may require details or specifications for landscape features or structures to be attached to the landscape plan in order to facilitate subsequent inspection);
l.
General layout, design, and the wet coverage area of irrigation systems;
m.
Special landscape features for storm water detention and treatment, such as green roofs, rain gardens, or bioswales;
n.
Dimensions and locations of sight distance triangles; and
o.
Any credits that are requested for preserving existing trees pursuant to Subsection 11-813.02., Credit for Existing Trees, or Section 11-815.03., Credits for Existing Buffer Treatments.
2.
Information regarding specific design techniques that will be used to prevent water infiltration or damage at the street section may be required by the zoning administrator if it is found that there is good cause to believe that such damage could occur.
C.
Landscape Installation and Maintenance Plan. Subject to the exceptions set out in Section 11-812, Application, a landscape installation and maintenance plan shall identify the proposed plant installation methods and both short- and long-term landscape maintenance programs for all landscaped areas except landscaping of private lots (unless a property owners' association is to maintain the landscaping on private lots). The maintenance plans shall provide a detailed explanation of the work to be done, the reason it is needed, the frequency of the work, and the estimated annual cost of the work. Specifically, the following is required to be addressed in the maintenance programs:
1.
Landscape Surface Area Landscaping (including parking lots). Landscaping in designated landscape areas of nonresidential and mixed-use development shall be maintained by the applicant or successor in interest. In nonresidential and mixed-use developments that are subdivided or divided into condominium ownership, such successor in interest must be a mandatory property owners' association that collects dues for common area maintenance and that has a lien right for said dues. The maintenance responsibility shall be set out in the landscape plan that is required by this subsection.
2.
Private Lot Landscaping. Landscaping of private lots shall be the responsibility of the lot owner, unless a declaration of covenants, conditions, and restrictions assigns the responsibility to a property owners' association. The maintenance responsibility shall be noted in the landscape plan that is required by this subsection.
3.
Street Trees (as applicable). Existing street trees and street trees that are installed within adequate rights-of-way in new development shall be maintained by a subdivider, lot owner, tenant, property owners' association, or other entity having a legal interest in the ownership of the subdivision or lots in the subdivision. The maintenance responsibility shall be set out in the landscape plan that is required by this subsection.
D.
Approval and Timing of Approval.
1.
Plans meeting the standards of this UDC shall be approved. However, in reviewing the plans, adjustments in the location of plants may be required where the city finds such alterations would better serve the purposes for which they are intended.
2.
Landscape plans containing street trees and open spaces shall be submitted for approval at the preliminary plat application stage.
3.
Landscape plans containing site features, bufferyards, and required landscaping shall be submitted for approval at the building permit stage.
A.
Generally. Where there is existing vegetation on site, the zoning administrator, or an appointee, may require an inventory of plant material. Land clearing and removal of existing, healthy trees shall not be removed in accordance with Subsection 11-813.08, Land Clearing. Existing trees qualify for credit as per the allowances of this subsection.
B.
Quality of Existing Trees. Existing trees that are protected according to Section 11-813.07, Tree Protection, and Section 11-813Landscape Plan, Installation, and Maintenance, count towards the planting requirements of this subsection, provided that they are at least three and one-half inches in diameter at breast height ("DBH"), four and one-half feet above grade, and not on the state of Nebraska's invasive species plant list.
C.
Credit for Preservation of Trees. Healthy, mature trees that are preserved on-site shall count as more than one tree for the purposes of the landscaping requirements, as set out in Table 11-813.02., Credit for Preservation of Trees.
D.
Application of Tree Preservation Credit. The tree preservation credit is applied towards the requirements for the area in which the tree is planted. If there are no requirements for that area, the credit applies in the following order of descending priority:
1.
Lot and site landscaping requirements;
2.
Parking lot landscaping requirements; and
3.
Bufferyard requirements, provided that the tree is located between the bufferyard to which the credit applies and the building or use that is being buffered.
A.
Approved Plant List. A list of Nebraska Native Trees and Shrubs, which are approved by the city for meeting the requirements of this section, can be obtained online from the Nebraska Statewide Arboretum (NSA) website, http://arboretum.unl.edu/.
B.
Prohibited Plant List. A list of invasive plants, which are not allowed anywhere in the city, can be obtained online from the Nebraska Invasive Species Program website, http://neinvasives.com/. Invasive plants must be removed from lots or tracts proposed for development prior to the issuance of a certificate of occupancy.
A.
Generally. The size and quantity of landscape material that is installed in accordance with the requirements of this section shall meet the standards of this subsection.
B.
Size and Quantity Requirements.
1.
All plant materials shall be of good quality, container grown or balled and burlapped in accordance with the most current edition of the American Standard for Nursery Stock. Tree size is measured as a diameter at breast height (DBH), four and one-half feet above grade.
2.
Large trees shall be at least two and one-half inches DBH.
3.
Small trees that are planted in parkways shall be at least two inches DBH.
4.
Understory trees shall be at least one and one-half inches DBH.
5.
Evergreens shall be six feet tall at the time of planting.
6.
Shrubs shall be in five-gallon containers at planting.
C.
Additional Standards for Street Trees. Street trees planted in parkways shall be branched no lower than six feet above the ground (for visibility purposes).
A.
Surety Required. The applicant shall submit the bid for the landscape plan for review by the city. A bond, landscape contractor guarantee, or other acceptable surety equal to 120 percent of the cost of implementing the landscape plan shall be provided to ensure proper installation and maintenance of the landscaping for a period of two years from the date of installation.
B.
Replacement Required. The applicant shall warrant all landscaping materials for a period of two years after installation. All plant materials that die within two years from the date of installation shall be replaced by the applicant. If the applicant fails to replace the plant materials, the city may use the performance guarantee to replace dead materials. For all required landscaping on individual residential lots, the developer shall convey a two-year warranty to the purchaser at the time of closing.
C.
Return or Release of Surety. The city shall return or release the surety after the two-year period is expired upon request of the applicant and demonstration that the landscaping that is protected by the guarantee is established and in good condition.
A.
Completion of Landscape Improvements.
1.
Bufferyard landscaping must be completed prior to a final inspection being approved. If this requirement would result in the installation of landscaping during an inappropriate season, then the city may approve the final inspection and issue a temporary certificate of occupancy with the following conditions:
a.
Surety, in a form acceptable to the city attorney, is provided for the installation of the required landscaping prior to approval of the final inspection and issuance of a temporary certificate of occupancy; and
b.
A permanent certificate of occupancy will not be issued unless and until the required landscaping is installed.
2.
All other landscaping must be installed before a final inspection will be approved. A final inspection may be approved after receipt of surety, in a form acceptable to the city attorney, if necessary to allow for the planting of landscaping improvements during an appropriate season or weather condition; a permanent certificate of occupancy will not be issued unless and until the required landscaping is installed.
B.
Periodic Inspections. The city may inspect each site periodically after approval of a subdivision plat or issuance of the certificate of occupancy to ensure compliance with the subsection.
A.
Purpose. Existing trees, because of the beneficial qualities and natural beauty they add to the community, shall be retained to the maximum extent practicable in any development or for any redevelopment or substantial improvement of an existing property.
B.
Preservation of Significant Stands. Development shall be designed to the maximum extent practicable so that significant stands of trees are preserved and located in designated open spaces or landscape surface areas. See Article 9, Word Usage and Definitions, to understand the criteria for a "significant stand" of trees."
C.
Tree Protection during Construction and Development. The following efforts shall be utilized to retain existing trees during construction and development on a site:
1.
Parking areas and building sites shall be located to preserve existing trees.
2.
Grates or other pervious surfaces shall be utilized within the dripline (outermost limit of horizontal branch extension) of existing trees to allow water and air to reach the tree roots.
3.
Fill shall be prohibited in areas under the dripline of existing trees.
4.
Drastic changes in drainage patterns which might negatively affect existing trees shall be avoided.
5.
All trees to be retained shall have temporary construction fencing of sufficient size and protective quality at the extreme outer edge of the tree canopy, and shall remain in place throughout the construction period. There shall be no activity of any kind inside the perimeter. No land clearing or building permits shall be issued until the perimeter of all trees and tree stands have been properly fenced.
A.
Determination of Land Clearing. A determination of land clearing is predicated on a finding by the zoning administrator of any of the following:
1.
Removal of five or more trees per lot or tract, in any one year period, for which the trees have a diameter of three and one-half inches or greater, measured as a diameter at breast height (DBH), four and one-half feet above grade; or
2.
Removal of a significant stand of trees.
B.
Land Clearing Prohibited. Sites that include significant stands of trees shall not, in any case or under any circumstance, be clear cut in preparation for development. Instead, trees shall be removed and a land clearing or tree removal permit issued only if in the determination of the zoning administrator:
1.
They are a prohibited species as set out in Section 11-813.03, Species;
2.
They are unhealthy or structurally unsound and pose a safety hazard to buildings, pedestrians, or vehicular traffic or threaten to cause disruption of public services;
3.
They are weakened by age, storm, fire, disease, or insects;
4.
They are within five feet of an approved building footprint or a paved area of an approved street or parking area or an area required for site grading, surface water drainage, and/or utility installations;
5.
They are within five feet of a utility easement and would interfere with the use of the easement as determined by the Utilities General Manager; or
6.
They are necessary to remove to observe good tree maintenance practices which will strengthen and protect other existing trees.
C.
Land Clearing or Tree Removal Permit Required. Any land clearing or tree removal in preparation of development or the redevelopment or substantial improvement of an existing property within the city shall require a permit as set out in Section 11-310, Permits and Procedures. A land clearing and tree removal permit may be issued for the removal of trees that qualify under Subsection B., above, if it is demonstrated that:
1.
No reasonable alternative site design at the same density and intensity could be approved that:
a.
Would preserve a significant stand of trees;
b.
If large-scale preservation is not possible, would preserve the largest number of trees; or
c.
If protection of the largest number of trees is not possible, would preserve a greater number of trees than the proposed development design.
2.
Relocation of the trees to another location on-site or within the city is not practical or economically feasible; and
3.
The trees are replaced with the number of new trees for which credit would be given if the trees were preserved. See Subsection 11-813.02., Credit for Existing Trees.
D.
Pre-clearing or Removal Inspection Required. The applicant issued a land clearing or tree removal permit shall notify the zoning administrator in writing at least 24 hours prior to any land clearing or tree removal activity. The zoning administrator, or an appointee, shall inspect the site prior to the start of clearing or removal to ensure that the significant stands of trees are identified as indicated in the land clearing and tree removal permit application.
E.
Penalty. A penalty may be assessed for failure to comply with the provisions of this subsection as set out in Subsection 11-333.02., Violations.
F.
Tree Removal for Municipal Projects. To the maximum extent practicable, the city shall design construction projects that will avoid damage or require the clearing or removal of trees. The zoning administrator and director of public works shall decide if construction activity will cause severe damage to the trees and determine the need for their clearing or removal. If a significant stand is cleared from a public right-of-way, or easement, an appropriate species of tree shall be replaced with the number of new trees for which credit would be given if the trees were preserved. See Subsection 11-813.02., Credit for Existing Trees.
A.
Generally. Single-family attached, single-family detached, and manufactured housing residential lots, and mobile home parks or mobile home subdivisions, shall be surrounded by yard areas. These yard areas count towards the coverage ratio requirements set out in Table 11-602.01., Residential Development Standards.
B.
Planting Location. Any plants in excess of the minimum required plants may be installed in any location on the lot provided there is adequate room for healthy growth and stability. Required plants shall be installed as follows:
1.
Front Yards. Front yards shall be planted with at least one large tree.
Exception. If the abutting rights-of-way are planted with street trees within 15 feet of the front property line.
2.
Rear Yards. Rear yards abutting an arterial street shall be planted with at least one tree.
C.
Substitution of Trees. Small trees may be substituted for large trees if the dimensions of the lot are such that the canopy trees would not have room to grow to a full canopy without conflicting with buildings or each other. For the purposes of this substitution, one large tree equals two small trees.
D.
Groundcovers and Sod. Areas of residential lots that are not covered by buildings, driveways, or other all-weather surfaces shall be sodded or planted with permitted groundcovers, unless they are covered by woodlands or other natural areas.
A.
Generally. Nonresidential, mixed-use, and multifamily buildings shall be surrounded by landscape surface areas (see Table 11-603.01.01, Nonresidential and Mixed Use Standards, for the minimum landscape surface ratios for each district), as set out in Table 11-814.02., Site Landscaping Requirements.
B.
Planting Location. The planting areas are not required in areas that are designed for direct vehicular access to the building, such as loading bays, service bays, and drive-through lanes on the side of the building with a service window, but shall be installed adjacent to the building foundation and between the parking and vehicular use areas and the property line under all other conditions, as illustrated in Figure 11-814.02., Site Landscape Planting Area;i§i;.
C.
Planting Requirements. The required planting area shall be planted as follows:
1.
Front and Street Yard. One small tree and four shrubs shall be planted for every 250 square feet of front and street yard planting areas, as identified in Table 11-714.02., Site Landscaping Requirements. Trees and shrubs shall be spaced in accordance with common horticulture practices and shall be protected from vehicular encroachment or overhang by way of wheel stops or six-inch curbs or other means approved by the zoning administrator. Ornamental grasses may be used to meet up to 25 percent of the shrubbery requirement. All remaining ground surface areas shall be groundcover, which may include sod, ornamental grasses, mulch, or perennial or seasonal plantings. As approved by the zoning administrator, wet ponds with fountains, vegetated rain gardens, naturalized wetlands, and/or xeriscape gardens may be used in lieu of or together with the required shrubbery and groundcover. Sculptures, monuments, and other public art installations are encouraged, subject to approval of the planning commission, but shall not be construed to satisfy any landscaping requirement described herein.
2.
Side and Rear. One small tree and two shrubs shall be planted for every 250 square feet of side and rear planting areas, as identified in Table 11-714.02., Site Landscaping Requirements. Trees and shrubs shall be spaced in accordance with common horticulture practices and shall be protected from vehicular encroachment by way of wheel stops or six-inch curbs or other means approved by the zoning administrator. All remaining ground surface areas shall be groundcover, which may include sod, ornamental grasses, mulch, or perennial or seasonal plantings.
3.
Side and Rear Adjacent to Drive-Through Lanes or Parking Lots. A side or rear planting area that is adjacent to a drive-through lane or a parking lot with a parking module width of 40 feet or more shall meet the requirements of Subsection C.2, above. All other rear planting and ground surface areas shall be groundcover, which may include sod, ornamental grasses, mulch, or perennial or seasonal plantings.
4.
Substitution. Small trees may be substituted for large trees in areas where there is insufficient room for the healthy growth and stability of the tree at a rate of two small trees for every one large tree required. Small trees may be substituted for shrubs in areas where there is sufficient room for the healthy growth and stability of the tree at a rate of one small tree for every four shrubs required.
(Ord. No. 5642, § 1, 6-13-23)
A.
Generally. Parking lot landscaping is required within and around parking lots that contain five or more parking spaces.
B.
Parking Lot Landscape Areas. As illustrated in Figure 11-814.03., Parking Lot Landscaping, landscaping is required in all of the following areas:
1.
At the ends of drive aisles, planted in islands that are not less than nine feet in width and 18 feet in length for a single row of spaces, or 36 feet in length for a double row of spaces, with ten-foot curb radii on the side that faces outward from the drive aisle.
2.
In the middle of parking rows at intervals required by Subsection C., below, planted in interior islands that are not less than nine feet in width and 18 feet in length for a single row of spaces, or 36 feet in length for a double row of spaces, with five-foot curb radii at both ends.
3.
At the corners of parking lots, planted in corner islands, which is the area defined by the extension of the edges of intersecting parking modules.
4.
Between parking lots and abutting properties, except in areas where:
a.
The area between the parking lot and the abutting property is occupied by an access point to the lot or tract proposed for development; or
b.
Another type of bufferyard is required (e.g., a district bufferyard or a bufferyard required for a conditional or limited use).
5.
Between parking lots and streets, except in areas where:
a.
The area between the parking lot and the street is occupied by an access point to the lot or tract proposed for development; or
b.
Another type of bufferyard is required (e.g., a district bufferyard or a bufferyard required for a conditional or limited use).
C.
Planting Requirements. Parking lot landscape areas shall be provided at an interval of one island for every 30 parking spaces, or fraction thereof, planted as follows:
1.
Each interior and endcap island shall be planted with a minimum of:
a.
One large tree or two small trees; and
b.
Groundcover, which may be sod, ornamental grasses, mulch, or perennial or seasonal plantings, or shrubs spaced in accordance with common horticulture practices, with the remaining area in groundcover.
2.
Each parking lot corner shall be planted with two large trees or five small trees spaced in accordance with common horticulture practices, with the remaining area in groundcover.
3.
Each bufferyard between a parking lot and an abutting property or between a parking lot and a street shall be planted with a minimum of one tree for every 500 square feet of bufferyard, spaced in accordance with common horticulture practices. All remaining ground surface areas shall be groundcover, which may include sod, ornamental grasses, mulch, or perennial or seasonal plantings.
Exception. Where another type of bufferyard is required (e.g., a district bufferyard or a bufferyard required for a conditional or limited use) plantings shall be in accordance with said bufferyard planting requirements.
D.
Protection of Planting Areas. Planting areas shall be protected by wheel stops or six-inch curbs. Curbs may be punctuated to allow for storm water flows into biological treatment areas, as applicable, pursuant to an approved drainage plan, provided that the punctuations do not interfere with their protective function.
A.
Generally. Street trees shall be planted according to the standards of Subsection B., below, in the following circumstances:
1.
Along street rights-of-way in the Suburban Commercial (SC) and Business Park (BP) districts (except where the street is an existing street without room for the installation of street trees); and
2.
Along both sides of new streets in planned developments (see Table 11-602.01., Residential Development Standards).
B.
Spacing. Street trees shall be spaced 60 feet on center between the sidewalk and either back of curb or edge of pavement, but shall not be installed in locations that interfere with required sight distance triangles (see Subsection 11-713.05., Sight Distance Requirements). Special plantings may be clustered if it is demonstrated that the cluster arrangement will not negatively affect the long-term health of the clustered trees.
C.
Tree Selection. All trees planted within parkways shall be large trees with single-stemmed trunks, branched no lower than six feet above grade (for visibility purposes).
D.
Substitution of Large Trees. Small trees may be substituted for large trees in locations where building setbacks or build-to lines would create conflicts between buildings and large trees, or where overhead utilities require trees with a mature height that is less than the elevation of the power lines. However, if such substitutions are made, then:
1.
Small trees shall be:
a.
Clustered in groups of three; or
b.
Spaced at intervals of 20 feet on center.
2.
If used, small trees shall be selected which will fit within the street tree lawn without interfering with the street or sidewalk right-of-way.
A.
Generally. Bufferyards are based on the amount of screening they provide, which are classified from less screening (type A) to more screening (type D).
B.
Bufferyard Types. There are four types of bufferyards, each of which vary in width and the numbers and types of plants required per 100 linear feet, or portion thereof. The minimum planting requirements for each type and composition of bufferyard are set out in Table 11-815.01., Bufferyard Classifications, except that bufferyards for corridors is set out in Subsection 11-815.04., Corridor Bufferyards.
C.
Composition of Bufferyards. Bufferyards may be classified as:
1.
Structural bufferyards, which include the use of a wall or a fence to achieve the required level of screening; and
2.
Natural bufferyards, which include the use of an earthen berm and a higher density of plant materials to achieve the required level of screening.
D.
Bufferyard Locations. Bufferyards are required in three locations:
1.
Between districts and between residential and nonresidential uses within a particular district;
2.
Along street and railroad rights-of-way; and
3.
Around parking and vehicular use areas.
E.
Use of Bufferyards in Certain Locations.
1.
Between Districts. Structural bufferyards are the preferred composition along a district boundary that is not a street, or where there is a specific privacy or security need that requires a wall or fence.
2.
Between Residential and Nonresidential Uses. Structural or natural bufferyards may be used between residential and nonresidential uses within a particular district, depending on the use types and intensities and the desired compatibility, privacy, and/or security.
3.
Along Street Rights-of-Way.
a.
Natural bufferyards are the preferred composition along collector and arterial streets.
b.
For multifamily and single-family attached development, the rear walls of detached garages that are located at the perimeter of vehicular use areas may be used as a bufferyard structure (in lieu of a wall or fence) along arterial streets, provided that:
1.
The garage building(s) are set back a distance at least equal to the required width of the bufferyard, and if set back further, the area between the garage and the required bufferyard boundary is landscaped with a type A bufferyard;
2.
The wall is not taller than six feet from the adjacent grade to the underside of the eave; and
3.
The garage has a pitched roof that slopes down towards the street and the height of the garage building is not greater than 16 feet to the peak of the roof.
(Ord. No. 5642, § 1, 6-13-23)
A.
Generally. Set out in Table 11-815.02., District Bufferyard Standards, is the classification of bufferyards that is required between districts that are not separated by a public street.
B.
Interpretation of Table. The table is a matrix in which all districts are shown. Rows show the zoning of the lot or tract proposed for development, and columns show the zoning of the adjoining land. Two letters are shown for each condition. The bufferyard required for the proposed use is listed first. The letter listed second is the buffer that is required on the adjoining property. Where "-" is found there is no bufferyard required.
C.
Existing Adjacent Development without Bufferyards. Where the adjoining property is an existing single-family attached, single-family detached, manufactured housing residential property, or mobile home park or mobile home subdivision, or neighborhood that does not have the required bufferyard, the proposed multifamily, mixed use, or nonresidential development shall provide a bufferyard of the next higher classification than the greater screening of the two bufferyards required (e.g., if the requirement is C/A, then the screening of the lot or tract proposed for development must install a type D bufferyard).
D.
Relationship to Other Bufferyard Requirements. Some limited or conditional uses have different requirements for bufferyards, as specified in Section 11-504, Limited and Conditional Uses. If bufferyards are required by another section of this UDC along property boundaries that are also district boundaries, then the greater bufferyard requirement shall supersede the lesser one (only one bufferyard is required).
(Ord. No. 5642, § 1, 6-13-23)
A.
Generally. Existing trees, fences, and walls may be counted towards the bufferyard requirements, provided that the trees are in good health and the fences or walls are structurally sound, in good repair, and of an upright condition.
B.
Existing Landscaping Credit. Credit shall be given for existing trees that are located within bufferyards according to the standards of Subsection 11-813.02., Credit for Existing Trees.
C.
Existing Fences and Walls. If a fence or wall is the preferred bufferyard and there is already a fence or wall on the property line, then the city may waive the fence or wall requirement, provided:
1.
The zoning administrator, or an appointee, verifies that the existing fence or wall is structurally sound, in good repair, and of an upright condition;
2.
The height and level of screening of the fence or wall meets the intent of this subsection with regard to buffering;
3.
The applicant records an agreement with the city that includes appropriate assurances that if the existing fence or wall deteriorates, or is damaged, destroyed, or removed, the applicant will cause it to be repaired or replaced with a fence or wall that meets the bufferyard standards of this subsection, as well as the requirements and standards of Subsection 11-614.02., Fences and Walls, or Subsection 11-615.02., Fences and Walls, as applicable; and
4.
The applicant's final plat or, if no plat is required, development approval, includes an annotation regarding the applicant's responsibilities under the agreement required by Subsection C.3., above.
A.
Generally. Set out in Table 11-815.04., Bufferyard Requirements for Corridors, is the bufferyard standards of any development adjacent to arterial, collector, and local streets (for bufferyard types, see Table 11-815.01., Bufferyard Classifications).
B.
Existing Landscaping Credit. Credit shall be given for existing trees that are located within the corridor bufferyard according to the standards of Subsection 11-813.02., Credit for Existing Trees.
C.
Relationship to Other Bufferyard Requirements. Some limited or conditional uses have different requirements for corridor bufferyards, as specified in Section 11-504, Limited and Conditional Uses. If bufferyards are required by another section of this UDC along corridor rights-of-way, then the greater bufferyard requirement shall supersede the lesser one (only one bufferyard is required).
In addition to the other requirements of this subsection, the following rules apply to the installation of plants.
A.
Distance from Utilities.
1.
No large trees shall be planted under or within 10 lateral feet of any overhead utility lines.
2.
No trees, except street tree species that are approved by the director of public works, shall be planted over or within five lateral feet of any underground water line, sewer line, transmission line, or other utility line, or as required by the owner of the utility or the requirements of the easement.
B.
Sight Distance Triangles. Trees shall not be installed in locations where there is a substantial likelihood that the mature form of the tree may be compromised in order to maintain sight distance triangles. See Subsection 11-713.05., Sight Distance Requirements.
The purpose of this section is to provide for visual shielding or obscuring of an abutting or nearby use or structure from another by fencing, walls, berms, or densely planted vegetation.
A.
Generally. Dumpsters and community recycling bins may be provided for single-family attached residential development. Dumpsters shall be provided for multifamily residential, nonresidential, and mixed use development for solid waste collection services. Such dumpsters and community recycling bins are subject to the standards of this section.
B.
Standards for Dumpsters.
1.
The facilities shall be located no more than 300 feet (walking distance) from the individual uses that they are intended to serve;
2.
Access to the facilities shall be configured to meet the requirements of the refuse hauler and approved by the city. Access shall be provided from an alley if an alley exists;
3.
The areas where dumpsters are stored shall be fully enclosed by an opaque wall with a minimum height of six feet constructed of brick, stone, or stucco-finished concrete block to match the principal building;
4.
The enclosure(s) shall:
a.
Have opaque metal service gates which remain closed at all times except when the dumpster is being serviced;
b.
Include separate, opaque metal pedestrian access gates or a pedestrian access opening that screens the dumpster from view;
c.
Be large enough to accommodate:
1.
One or more dumpsters that are of sufficient size to serve the development, based on the frequency of solid waste collection; and
2.
One or more recycling bins (whether provided at the time of development or not), based on the anticipated generation of recyclable materials and the frequency of collection.
d.
Provide for adequate access, turning radii, and maneuvering space to accommodate the refuse trucks, subject to approval of the zoning administrator;
5.
The facilities shall be located in a side or rear yard of the lot or tract proposed for development, unless it is not possible to provide service access in such locations; and
6.
If an enclosure must be located in a front yard to meet the requirements of the refuse service provider, it shall be designated and constructed with the same cladding materials used for the principal building walls.
C.
Standards for Community Recycling Bins.
1.
Community recycling bins may be made available for use by the general public;
2.
Community recycling bins may be located:
a.
In loading or service areas that are at least 50 feet from property lines or screened from public view and abutting uses by a six foot tall masonry wall (which may be a part of a bufferyard); or
b.
In a dumpster enclosure (see Subsection B, above);
3.
Community recycling bins shall be constructed of a durable waterproof and rustproof material;
4.
Community recycling bins shall be clearly marked to identify the type of material to be deposited and the identity, address, and phone number of the operator; and
5.
Community recycling bins shall be maintained at all times in a clean, litter-free condition.
A.
Generally. All boundaries of open space, whether for resource protection or other purposes, shall be identified as out-lots on a site plan with specific identification. Open spaces that are delineated in order to protect natural resources or to be otherwise left in a natural state shall have their boundaries with lots or rights-of-way identified with signs, which shall be approved with the subdivision plat or site plan.
B.
Identification of Open Space Area. The sign shall identify the open space area, the entity dedicating or preserving the area, and the date the area was designated for preservation.
A.
Purpose. The purpose of these regulations is to provide standards for communicating information in the environment of the city and its extraterritorial jurisdiction. The regulations recognize the need to:
1.
Protect public health, safety, and welfare;
2.
Maintain the city's attractive appearance;
3.
Provide for adequate business identification, advertising, and communication of information; and
4.
Encourage the fair enforcement of sign regulations.
B.
Authority. The city has the authority to regulate signs under the United States Constitution. This section advances important and substantial governmental interests. The regulations set out in this section are unrelated to the suppression of constitutionally-protected free expression and do not involve the content of protected messages which may be displayed on signs, nor do they involve the viewpoint of individual speakers. The incidental restriction on the freedom of speech is no greater than is essential to the furtherance of the interests protected by this section. Certain types of speech are not protected by the First Amendment due to the harm that they cause to individuals or the community, and speech that is harmful to minors may be prohibited in places that are accessible to minors.
C.
General Findings of Fact and Objectives.
1.
The ability to display signs of reasonable size and dimensions is vital to the health and sustainability of many businesses, and the display of signs with noncommercial messages is a traditional component of the freedom of speech;
2.
The city has an important and substantial interest in preventing a proliferation of signs because a proliferation of signs distracts motorists causing a hazard to traffic safety, degrades the character of the community, makes the community a less attractive place for commerce and private investment, and dilutes all the messages displayed along the city's streets by creating visual confusion and aesthetic blight;
3.
A proliferation of signs can be prevented by regulations that balance the legitimate needs of individual property owners to convey their commercial and noncommercial messages against the comparable needs of adjacent and nearby property owners and the interest of the community in safeguarding life, health, property and public welfare, as well as providing for a high quality community character;
4.
Signs that are not constructed of weather-resistant materials are often damaged or destroyed by wind, rain, and sun, and after such damage or destruction, degrade the aesthetics of the city's commercial corridors;
5.
The city has an important and substantial interest in keeping its rights-of-way clear of obstructions and litter; and
6.
The use of outdoor advertising signs and their location, density, size, shape, motion, illumination, and demand for attention can be injurious to the purposes of this section, and destructive to community character and property values, and that, as such, restrictions on outdoor advertising signs are necessary and desirable.
A.
Generally. All construction, relocation, enlargement, alteration, and modification of signs within the city and extraterritorial jurisdiction shall conform to the requirements of this section, all state and federal regulations concerning signs and advertising, and applicable building and electrical codes as adopted by this city, as amended from time to time. Approval of a sign shall be by sign permit.
1.
Unless specifically exempted, a permit must be obtained from the code official for the erection, alteration, modification and maintenance of all signs erected, altered, modified or maintained within this jurisdiction and in accordance with other ordinances of this jurisdiction. Exemptions from the necessity of securing a permit, however, shall not be construed to relieve the owner of the sign involved from responsibility for its erection and maintenance in a safe manner and in a manner in accordance with all the other provisions of these regulations.
2.
Before any permit is granted for the erection of a sign or sign structure requiring such permit, construction documents shall be filed with the code official showing the dimensions, materials and required details of construction, including loads, stresses, anchorage and any other pertinent data. The permit application shall be accompanied by the written consent of the owner or lessee of the premises upon which the sign is to be erected and by engineering calculations signed and sealed by a registered design professional where required by the International Building Code.
3.
No sign shall be structurally altered, enlarged or relocated except in conformity to the provisions herein, nor until a property permit, if required, has been secured. The changing or maintenance of movable parts or components of an approved sign that is designed for such changes, or the changing of copy, business names, lettering, sign faces, colors, display and/or graphic matter, or the content of any sign shall not be deemed a structural alteration.
4.
Permit fees to erect, alter or relocate a sign shall be in accordance with the fee schedule adopted within this jurisdiction.
B.
Exempt Signs. The following are exempt from the application of this section, but may be subject to building or electrical codes or other provisions of this UDC if they involve structures or equipment that are regulated by such ordinances or other sections:
1.
Any public purpose/safety sign and any other notice or warning required by a valid and applicable federal, state, or local law, regulation, or resolution;
2.
Works of art that do not include a commercial message.
3.
Signs that are not visible from a public roadway and not intended to be visible to and readable from the public way or from adjacent property;
4.
Incidental building markers, provided they are less than two square feet in area, containing no commercial message;
5.
Religious and other holiday lights and decorations, containing no commercial message, and displayed only during the appropriate time of year;
6.
Flags of the United States, the state, foreign nations having diplomatic relations with the United States, and any other flag adopted or sanctioned by an elected legislative body of competent jurisdiction. These flags must be flown in accordance with protocol established by the Congress of the United States for the Stars and Stripes. Any flag not meeting these conditions shall be considered a sign and shall be subject to regulations as such.
7.
Freestanding/portable signs provided they meet all of the freestanding/portable sign regulations set forth in either Table 11-826.01.01. Permissible Temporary Sign Types, or Table 11-826.01.02. Permissible Temporary Sign Types.
C.
Signs Permitted Before Effective Date. If a permit for a sign was issued in accordance with all city ordinances in effect prior to the effective date of these regulations, and provided that construction began within six months of the effective date and diligently proceeded to completion, said sign may be completed in accordance with the approved plans on the basis of which the permit was issued, subject thereafter, if applicable, to the provisions of this UDC regarding nonconforming signs (see Subsection 11-323.07., Signs, and Subsection 11-324.01., Termination, Restoration, and Removal).
A.
Generally. The regulations of this section shall be applied using the measurements set out in this subsection.
B.
Clearance. Clearance is the distance between the bottom of a sign and the nearest point on the surface under it. See Figure 11-823.01.01., Sign Clearance.
C.
Sign Height.
1.
Generally. Sign height is the distance from the lowest adjacent grade to the top of the sign or sign structure, whichever is higher.
2.
Freestanding Signs. The height of freestanding signs is measured as provide in Subsection C.1., above, unless 1) the surface under the sign is lower than the centerline of the abutting street, or 2) the sign is constructed on a graded earthen mound or berm higher than the centerline of the abutting street, in which case the height is measured from the elevation of the centerline of the abutting street to the top of the sign or sign structure, whichever is higher. See Figure 11-823.01.02, Monument Sign Height.
A.
Generally. The calculations required by the regulations of this section shall be according to the methodologies of this subsection.
B.
Setback. The setback of a sign is measured from the property line to the line projected to the ground plane of the nearest portion of the sign.
C.
Sign Area. Sign area is calculated by computing the entire area of the smallest, square, circle, rectangle, or triangle that encompasses the outer limits of the sign face, including any open areas within the sign face or faces individually. The area excludes the structure upon which the sign is placed (unless the structure is an integral part of the display or used to differentiate it). When the signage consists of individual letters, comprising individual words on a building, the area is calculated by computing the smallest square, circle, rectangle, or triangle that will encompass each word, logo, or symbol. See Figure 11-823.02.01., Sign Area, Generally, below. For projecting or double-faced signs (see Figure 11-823.02.02., Sign Area, Illustration of Double-Faced Signs, below), only one display face is measured in computing sign area where the sign faces are parallel, or where the interior angle formed by the faces is 60 degrees or less, provided that the signs are mounted on the same structure. If the two faces of a double-faced sign are of unequal area, the area of the sign shall be taken as the area of the larger face.
A.
Generally. The guidelines set out in this subsection address issues related to sign compatibility, legibility, placement, and illumination. They are intended to complement the standards of Section 11-820, Signs, and to guide design decisions so as to result in quality visual environs.
B.
Compatibility. Signs that are well-designed are those that complement rather than detract from a building's architecture. Generally, all signs must be designed in a manner so as to be compatible with the building and property for which they are attached or located.
1.
Quality Design and Materials. Signs should contribute positively to the streetscape aesthetic and the character of development.
2.
Proportional Size and Scale. The scale of a sign relative to the building and other site improvements should be appropriate for the building on which it is place and the area where it is located.
3.
Integrated Signs. Signs should be designed as an integrated element of the building whereby its materials, colors, and shapes complement the building architecture. New signs proposed for existing multi-tenant buildings should be compatible in size, scale, and type with the existing signage of other tenants.
C.
Legibility. A sign that is effective in conveying its message should be designed to communicate its message clearly. To a large degree, this is accomplished by the readability of words and phrases. The most significant influence on legibility is lettering style and spacing. Legible signs tend to:
1.
Use a brief message as it is less cluttered and easier to read.
2.
Use common typefaces.
3.
Limit the number of lettering styles to no more than two for most signs.
4.
Occupy no less than 50 percent and no more than 75 percent of the sign area.
5.
Use recognizable symbols and logos.
6.
Use regular shapes.
7.
Use substantially contrasting colors and materials between the background and the letter or symbols.
D.
Placement. The placement of signs on buildings should be clearly visible and in logical locations where most patrons would expect to see a sign. Appropriate sign locations are as follows:
1.
Respect Building Architecture. Signs should align to and be compatible with the architectural details of the building's facade.
2.
Create Visual Interest. On buildings that have a monolithic or plain facade, signs can be used to established or continue appropriate design rhythm, scale, and proportion. Well-designed signs create visual interest and continuity with other storefronts on the same or adjacent buildings.
3.
Place within Structural Boundaries. Signs should not project above the edge of the roof lines or building walls.
4.
Mark Main Building Entries. Signs should be placed at or near the main entrance to a building or parking area to indicate that most direct access to the business.
E.
Illumination. Well-designed signs are appropriately illuminated with careful consideration as to the type and strength of illumination.
1.
Use Illumination Only as Necessary. Not all signs warrant illumination. In fact, non-illuminated signs and window displays may be sufficient to identify many businesses.
2.
Use a Projected Light Source. Illumination by a projected light, such as an indirect spotlight or gooseneck down light, is preferred to internal illumination. External lighting fixtures should be small and unobtrusive and should not cast light or glare above the horizontal plane of the top of the sign.
3.
Shield the Light Source. The light source, whether internal or external, should be shielded from view or directed so that the light intensity or brightness is not objectionable to surrounding areas. Signs should feature the minimum level required for nighttime readability.
4.
Illuminated Signs. Individual illuminated letters, either internally illuminated or backlit (halo lit) solid letters (reverse channel) are preferred. Signs comprised of individual letters mounted directly on a structure can often use a distinctive element of the structure's facade as a backdrop better integrating them with the structure.
5.
Neon Lighting. Generally, neon lighting is discouraged. Where artistically appropriate exposed neon tubing may be used in conjunction with other types of materials to attractively emphasize the business name and/or logo.
6.
Sign Electrical Raceways and Conduits:
a.
Electrical transformer boxes and raceways should be concealed from public view. If a raceway cannot be mounted internally behind the finished exterior wall, the exposed metal surfaces of the raceway should be finished to match the background wall or integrated into the overall sign design.
b.
If raceways are necessary, they should be as thin and narrow as possible and should never extend in width or height beyond the area of the sign's lettering or graphics.
A.
Generally. This subsection identifies signs and sign elements that are not allowed anywhere in the city.
B.
Prohibited Signs. The following signs are prohibited in all areas of the city:
1.
Signs that are a traffic hazard because they simulate or imitate (in size, color, lettering, or design) any traffic sign or signal, or signs located in such a manner as to obstruct or otherwise interfere with a drivers view of approaching, merging or intersecting traffic.
2.
Except as provided for elsewhere in this code, signs encroaching upon or overhanging public right-of-way. No sign shall be attached to any utility pole, light standard, street tree or any other public facility located within the public right-of-way.
3.
Animated or moving signs that are visible from public rights-of-way, including any moving, swinging, rotation, flashing, blinking, scintillating, fluctuating, or otherwise (except as allowed in Subsection 11-825.04., Changeable Copy Message Centers).
4.
Portable signs except as allowed for temporary signs.
5.
Signs attached to or placed on a vehicle or trailer parked on public or private property except for signs meeting the following conditions;
a.
The primary purpose of such a vehicle or trailer is not the display of signs.
b.
The signs are magnetic, decals or painted upon an integral part of the vehicle or equipment as originally design by the manufacturer, and do not break the silhouette of the vehicle.
c.
The vehicle or trailer is in operating condition, currently registered and licensed to operate on public streets when applicable, and actively used or available for use in the daily function of the business to which such signs relate.
d.
Vehicles and trailers are not used primarily as static displays, advertising a product or service, nor utilized as storage, shelter or distribution points for commercial products or services for the general public.
6.
Signs which contain or consist of balloons (including signs which are inflatable or may otherwise be inflated), posters, pennants, ribbons, streamers, spinners, or other similarly moving devices. These devices when not part of any sign shall also be prohibited.
7.
Off premise signs, except as allowed in 11-825.05.
8.
Outdoor advertising signs, except as allowed in 11-825.05.
9.
All other signs not expressly permitted herein.
(Ord. No. 5657, § 1, 11-14-22)
A.
Prohibited Obstructions. In no event shall a sign, whether temporary or permanent, obstruct:
1.
Building ingress or egress, including doors, egress windows, and fire escapes.
2.
Features of the building or site that are necessary for public safety, including standpipes and fire hydrants.
3.
Sight distance triangles that are required by Subsection 11-713.05., Sight Distance Requirements.
B.
Prohibited Mounts. No sign, whether temporary or permanent, shall be posted, installed, or mounted on any of the following location:
1.
Trees or shrubs.
2.
Utility poles.
3.
On utility cabinets, except signs posted by the utility that are necessary for public safety or identification of the facility by the utility provider.
C.
Prohibited Locations. In addition to the setback requirements, and other restrictions, no sign shall be located in any of the following locations:
1.
In or over public rights-of-way, except:
a.
Traffic control signs installed by a governmental entity or which are required to be installed by a governmental entity (e.g., permanent traffic control devices such as stop, yield, and speed limit signs, as well as temporary signs related to street construction or repair);
b.
Signs in the Downtown Commercial (DC) district;
c.
Signs posted by governmental entities that support emergency management, such as way-finding to disaster relief locations; and
d.
Way-finding signage where reviewed and approved by the city council as part of a way-finding signage plan that implements an adopted community identity program.
2.
In locations that have less horizontal or vertical clearance from authorized communication or energized electrical power lines than that prescribed by the laws of the state of Nebraska and the regulations duly promulgated by agencies thereof.
3.
Within easements for access, drainage, or utilities.
A.
Generally. Signs shall be internally illuminated or, if external illumination is used, the source of illumination shall be shielded.
B.
Shielding of Light Source/Prevention of Glare. The source of light shall be oriented or otherwise controlled to prevent glare toward any party of an existing residence, a residential area or district, or a public street or highway.
C.
Color. External illumination shall be in white light only.
D.
Code Compliance. Illuminated signs shall be constructed in accordance with all applicable building and electrical codes.
E.
Sign Illumination. Signs shall not exceed the illumination levels set out in Table 11-824.04., Maximum Sign Illumination Standards.
F.
Electrical Service. Signs may not be served by overhead electrical service.
A.
Generally. Signs and sign structures of all types (attached, detached, and temporary) shall be maintained as provided in this subsection. Signs shall be maintained in a good state of repair, including but not limited to, the structural components, the lighting, if any, the portion attaching the sign to the ground or structure, and the surface features.
B.
Message. Signs shall display messages. Signs that do not display a message for a period of more than 90 days shall be considered abandoned. See Subsection 11-324.01., Termination, Restoration, and Removal.
C.
Paint and Finishes. Paint and other finishes shall be maintained in good condition. Peeling finishes shall be repaired. Signs with running colors shall be repainted, repaired, or removed if the running colors were not part of the original design.
D.
Mineral Deposits and Stains. Mineral deposits and stains shall be promptly removed.
E.
Corrosion and Rust. Permanent signs and sign structures shall be finished and maintained to prevent corrosion and rust. A patina on copper elements is not considered rust.
F.
Level position. Signs that are designed to be level, whether temporary or permanent, shall be installed and maintained in a level position. See Figure 11-824.05., Level Position.
A.
Generally. There are many forms of attached signs. This subsection sets out which forms of attached signs are allowed in each district and the standards that apply to them. Attached signs that are not listed in either Table 11-825.01.01., Permissible Attached Sign Types, or Table 11-825.01.02, Permissible Attached Sign Types, are not allowed.
B.
Rural, Residential, Campus/University, and Parks and Open Space Districts.
1.
The standards of Table 11-825.01.01., Permissible Attached Sign Types, apply to rural, residential including multifamily, mixed-uses including campuses and universities, and nonresidential uses including parks and open space in the districts that are set out in the table.
2.
Attached signs are not allowed for home occupations or home based businesses, except for required address signs.
C.
Nonresidential Districts. The standards of Table 11-825.01.02., Permissible Attached Sign Types, apply to the districts that are set out in the table.
(Ord. No. 5483, § 1, 1-29-19)
A.
Generally. This subsection sets out which forms of detached signs are allowed in each district, and the size and height standards that apply to them. Detached signs that are not listed in Table 11-825.02.01., Permissible Detached Sign Types, are not allowed.
B.
Design and Materials of Freestanding Signs. All freestanding signs shall be designed and constructed to substantially appear as a solid mass, such as cylinder, block, rectangle, or square, from ground level to the highest portion of the sign. All freestanding signs must be made of masonry, stucco, metal, routed wood planks or beams, or durable plastic.
C.
Required Setbacks. All detached signs shall be set back at least five feet from all property lines.
D.
Identification Signs for Multi-Tenant Center or Buildings. A multi-tenant center or multi-occupancy development complex such as shopping centers or planned industrial parks, may include, in addition to or as an attachment to an otherwise permissible freestanding sign, identification of the center or complex, provided that:
1.
No such identification sign, when considered independent of any other permissible freestanding sign (i.e. no business identification being included), may exceed the area allowance for freestanding signs as set forth in Table 11-825.02.02. Permissible Detached Sign Types;
2.
No such identification sign, when attached to any otherwise permissible freestanding sign, may exceed 20 percent of the sign area of the freestanding sign to which it is attached (identification signage shall be considered signage in addition to the maximum signage allowed per freestanding sign); and
3.
Any such sign must conform to the character, materials, and type of the identifying sign to which it is attached.
E.
In all zoning districts on-premises temporary construction signs or banners with a sign area less than or equal to 32 square feet may be erected, provided that only one such sign may be permitted along any street frontage up to 200 feet and two signs may be permitted on sites with more than 201 feet of frontage. Such signs may remain in place during the construction of a building.
(Ord. No. 5657, § 1, 11-14-22; Ord. No. 5702, § 1(Att. A), 12-30-24)
A.
Generally. Downtown is the symbolic center of the community, which is conducive to a pedestrian environment. Signs help to convey an image and communicate a message of businesses, which also contribute significantly to the character and visual harmony of Downtown Fremont. Therefore, signs in Downtown must be pedestrian-scaled and be of an artistic quality and creative design to reinforce the aesthetic and historic integrity of the area. The standards set out in this subsection are to implement this vision. The appropriate types of signs in the DC district are set out below and illustrated in Figure 11-825.03., Downtown Commercial (CD) District Signage.
B.
Attached Signage. The standards for attached signs set out in Table 11-825.01.02, Permissible Attached Sign Types, are applicable in the DC district.
C.
Detached Signage. The standards for detached signs set out in Table 11-825.02.02., Permissible Detached Sign Types, are applicable in the DC district.
D.
Temporary Signage. The standards for temporary signs set out in Table 11-826.01.02., Permissible Temporary Sign Types, are applicable in the DC district.
E.
The planning commission may recommend and the city council may increase the size of a projecting sign if it can be shown that the proposed sign is of a pedestrian scale and enhances the downtown district.
(Ord. No. 5483, § 1, 1-29-19)
A.
Generally. Manual and electrically activated changeable copy message centers may be used in freestanding signs and marquee signs to a limited degree, pursuant to the applicable standards of this subsection.
B.
Removal of Portable Changeable Copy Message Centers. If a permanent changeable copy message center is incorporated into a new or existing sign, then all portable changeable copy message centers shall be removed from the property upon completion of the new or modified sign as a condition of the sign permit.
C.
Electrically Activated Changeable Copy Message Centers. Electrically activated changeable copy message centers may be incorporated into signage as follows:
1.
Design Requirements.
a.
Electrically activated changeable copy message centers are only permitted on freestanding signs or marquee signs which enclose the electrically activated changeable copy message center component on all sides with a finish of brick, stone, stucco, or sign face that extends not less than six inches from the electrically activated changeable copy message center component in all directions.
b.
Electrically activated changeable copy message center components shall make up not more than 25 percent of the sign area of a freestanding sign or 40 percent of the sign area of a marquee sign. The balance of the sign area shall utilize permanent, dimensional letters or symbols.
c.
No sign structure that includes a cabinet, box, or manual changeable copy message center may also include an electronically activated changeable copy message center. See Figure 11-824.06.01., Electrically Activated Changeable Copy Message Center Design Requirements, below.
2.
Operational Requirements. Electrically activated changeable copy message centers:
a.
Shall contain static messages only;
b.
Shall display messages for a period of not less than one minute;
c.
Shall not use transitions or frame effects between messages; and
d.
Shall include an automatic dimmer that dims the sign at dusk or low-light conditions.
D.
Manual Changeable Copy Message Centers. Manual changeable copy message centers may be incorporated into signage as follows:
1.
Manual changeable copy message centers are only permitted on freestanding signs or marquee signs which enclose the manual changeable copy message center component on all sides with a finish of brick, stone, stucco, or sign face that extends not less than six inches from the manual changeable copy message center component in all directions.
2.
Manual changeable copy message centers, including their frames, shall make up not more than 50 percent of the sign area. The balance of the sign area shall utilize permanent, dimensional letters or symbols. See Figure 11-824.06.02., Manual Changeable Copy Message Centers, below.
A.
Generally. This subsection sets out the location and districts in which off-premises electronic changeable message (ECM) advertising signs may be permitted, and the size and height standards that apply to them. New static off-premises advertising signs shall not be not permitted except as provided in 11-825.04.H.
B.
Corridor. Off-Premises ECM signs with one sign face facing each direction may be permitted by Conditional Use Permit in the following areas:
1.
The edge of the ECM off-premises advertising sign closest to the right-of-way shall be within one-hundred (100) feet of the following corridors: Highway 77 south of Inglewood; the north side of the Highway 77 south by-pass; on any side of the intersection of Highway 77 and Highway 30/275; Highway 77 north of Highway 30/275; or on any side of the intersection of Highway 275 and Highway 30 (23rd St).
a.
Sign-faces shall not be greater than fourteen (14) feet tall by forty-eight (48) feet wide.
b.
The total height of the sign and structure shall not exceed forty-five (45) feet from the ground.
c.
ECM off-premises advertising sign-faces facing the same direction in the corridor shall be at least five thousand (5,000) feet apart.
d.
An existing static off-premises advertising sign within the permitted area described in 11-825.04.B.1 may be modified or replaced in the same general location with one ECM sign face on one side and the other side may contain an equal size static face. No other new static faces would be permitted.
e.
There shall not be more than two sign-faces per pole, each facing in an opposite direction.
2.
Off-premises ECM advertising signs with one ECM sign-face in each direction may be permitted by Conditional Use Permit along the 23rd Street corridor between Seaton Street and Highway 275 and along the N. Broad Street corridor north of 23rd Street under the following conditions:
a.
The sign-face shall be a minimum of six thousand (6,000) feet from another EMC off-premises sign facing the same direction;
b.
The permittee shall remove four (4) existing static sign-faces and their support structures from within the city limits;
c.
The maximum height of the signs along these corridors shall be thirty-five (35) feet;
d.
There shall not be more than two ECM sign-faces per pole, each facing in an opposite direction.
e.
The size of the sign-face shall be no greater than 10'6" by 36'.
C.
Additional Standards.
1.
The underlying property shall be zoned LI, Light Industrial; GI, General Industrial; PA, Port Authority; or GC, General Commercial.
2.
ECM off-premises advertising signs shall be mounted on a monopole structure constructed of tubular steel.
3.
ECM sign-faces shall be self-dimming, oriented toward the roadway and oriented away from any residential uses.
4.
ECM off-premises signs shall meet all federal, state and local regulations.
5.
All ECM off-premises advertising signs shall conform to the requirements of Chapter 3 Section 002.05D of Title 410, Nebraska Administrative Code.
6.
Signs shall not be placed within one hundred (100) feet from property that contains a residential use or is zoned for residential use.
(Ord. No. 5657, § 1, 11-14-22)
A.
Generally. This subsection sets out which forms of temporary signs are allowed in each district, and the size and height standards that apply to them. Sign types that are not listed in Table 15-626.01., Permissible Freestanding Temporary Sign Types, are not permitted as temporary signs.
B.
Residential Districts. Temporary signs for campaign purposes may be located on private property or in the area between the sidewalk and the curb provided said signs are at least two feet (2') back of the curb and does not obstruct traffic. Said signs may be in place for up to sixty (60) days prior to an election. The City Council may by resolution grant a variance to the provisions stated above to permit temporary signs at a construction site to be larger in area and in place for a longer duration than specified above.
C.
Commercial and Industrial Districts. Temporary signs for campaign purposes which are under nine (9) square feet in area may be erected on private property or in the area between the sidewalk and the curb provided said signs are at least two feet (2') back of the curb and do not obstruct traffic. Said signs may be in place for up to sixty (60) days prior to an election.
Temporary signs for campaign purposes over nine (9) square feet in area and under thirty two (32) square feet in area maybe located on private property if located so as not to obstruct traffic and for a period of time not to exceed sixty (60) days prior to an election.
D.
Temporary Signs for all other purposes shall be set back at least two feet from all property lines.
(Ord. No. 5465, 8-28-18)
A.
Generally.
1.
Purpose. The requirements of Section 11-820, Signs, ensure that signs that meet certain minimum standards that are consistent with the character and quality of development in Fremont may be quickly approved and displayed. For some development, alternative standards may contribute to the aesthetic qualities of the development. Approval of a sign plan pursuant to the standards of this section allows for unified presentation of signage throughout a lot or tract for development, flexibility to provide for unique environments, and pre-approval of designs and design elements to make subsequent applications for sign permits more efficient. To this end, a sign plan alternative is created.
2.
Approval Criteria. The planning commission may approve a sign plan if it results in a substantially improved, comprehensive, and unified proposal compared to what is allowed through strict compliance with the sign regulations of this section. The zoning administrator shall review all sign types (e.g., attached, detached, temporary, etc.) for the lots or tracts proposed for development, to determine the degree of compliance with this section, and shall report to the planning commission with regard to the degree of deviation from these standards that is sought by the applicant. The degree of deviation sought by the applicant shall be measured against the degree of compliance with the standards of this section.
3.
Conditions of Approval. The planning commission may impose reasonable conditions on the sign plan that are not related to the content of the signs or the viewpoints of the sign users, in order to ensure continuing compliance with the standards of this section and approved sign design programs.
B.
Contents of Sign Plan. A sign plan shall set out a master plan for signage for the lots or tracts proposed for development. For example, shopping center sign plan shall include all tenants and lots; and office or industrial parks shall include all types of signs for way-finding and tenants or uses within the development. Sign plan shall set out:
1.
Sign locations;
2.
Sign heights and dimensions;
3.
Materials and colors;
4.
Proposed illumination, including illumination levels;
5.
A design theme with illustrative examples of each sign and the proposed locations of each sign; and
6.
A demonstration that the sign plan will improve the aesthetics of the development and will not have an adverse impact on the use, enjoyment, or value of property in adjacent or nearby residential districts or uses.
C.
Effect of Approval. Upon approval of a sign plan, issuance of a sign permit shall be based on compliance with the standards set out in the sign plan for the lot or tracts proposed for development.
A.
Generally. Signage which is proposed as part of a sign plan may deviate from the standards of this section in terms of the types and numbers of signs allowed, the maximum sign area, and materials and illumination standards (including changeable copy message centers), subject to compliance with a sign plan that is approved according to the criteria set out in this subsection.
B.
Prohibited Signs and Sign Elements. Prohibited signs and sign elements are not eligible for inclusion in a sign plan unless specifically indicated in this subsection.
C.
Modification of Sign Setbacks. Setbacks for detached signs may deviate from the requirements of this subsection if it is demonstrated that there is no impact on public safety or utility easements, and all other requirements for approval of a sign plan are met.
D.
Architectural Theme.
1.
All signs shall be architecturally integrated into or complimentary to the design of the building and character of the site, and shall use similar and coordinated design features, materials, and colors. The sign plan shall establish an integrated architectural vocabulary and cohesive theme for the lot or tract proposed for development.
2.
The design, character, location, and/or materials of all detached and attached signs proposed in a sign plan shall be demonstrably more attractive than signs otherwise permitted on the lot or tract proposed for development under the minimum standards of this subsection.
E.
Lighting. Lighting standards shall not deviate from the standards of this subsection.
F.
Height, Area, Number, and Location of Signs.
1.
The height, area, number, and location of signs permitted through the sign plan shall be determined by the planning commission based on the following criteria:
a.
The overall size of the lot or tracts proposed for development and the scale of the use or uses located or anticipated to be located there (larger land areas and scales of use tend to favor larger signs and/or more signs);
b.
Relationship between the building setback and sign location (additional signage may be appropriate for buildings with less visibility, particularly where buffering is providing an aesthetic and/or environmental benefit to the city);
c.
Frontage (larger frontages may justify more or larger signs, particularly, if the size of the frontage tends to prevent sign clutter from multiple adjacent lots or tracts);
d.
Access and visibility to the site;
e.
Intended traffic circulation pattern and the need for way-finding;
f.
Hierarchy of signage;
g.
Relationship between the site and adjacent uses;
h.
The desired function of the site (e.g., an urban center or activity center would tend to include signage that is more urban and more dynamic in character than a strip shopping center); and
i.
Consistency with the objectives and design policies of the comprehensive plan and any applicable sub-area plans.
2.
Additionally, the maximum permitted sign area shall be based on the following formula when evaluated against the above criteria:
a.
The maximum area permitted for attached signage shall range from one percent up to a maximum of six percent of the building facade to which the sign is to be attached.
b.
The maximum total permitted area of all freestanding signs on a lot or tracts proposed for development shall not exceed 10 percent more than the total sign area that would otherwise be permitted by Subsection 11-825.02., Detached Signs.
G.
Community Character. The signage proposed in a sign plan shall not have an adverse impact on the community character of the district in which the lot or tracts proposed for development is located, or of the city.
H.
Property Values. The signage proposed in a sign plan will not have an adverse impact on the value of property in the immediate vicinity of the lot or tracts proposed for development.
I.
Elimination of Nonconforming Signs. If there are existing signs on-site, they shall be brought into conformance with the standards of the approved sign plan.
A.
Purpose. Vehicular use areas and sites are designed and lighted to promote public safety without creating undue light pollution and off-site glare onto either residential or mixed-use property.
B.
Application. All new development, redevelopment, substantial improvements, expansions of existing development, and changes in the use(s) of existing buildings shall provide lighting which promotes public safety without creating undue light pollution and off-site glare onto either residential or mixed-use property.
Maximum illumination for nonresidential lighting standards includes:
A.
Outdoor lighting shall be deflected, shaded, and focused away from adjacent properties and shall not be a nuisance to such adjacent properties.
B.
Outdoor lighting shall be designed so that any trespass of lighting onto adjacent properties shall not exceed three-tenths foot-candles, measured vertically, and three-tenths foot-candles, measured horizontally, on adjacent properties.
C.
The ground-level luminance ratio (the ratio between the luminance of the brightest point on the property and the darkest point on the property) shall not exceed 12 to one.
D.
If additional light is necessary, it shall be provided within an enclosed structure.
E.
Nonresidential property adjacent to residential property shall only allow two-tenths foot-candles light trespass onto the residential property.
F.
Illumination of sidewalks shall not exceed five foot-candles at ground level.
A.
Generally. Light fixtures shall be "full cut-off" designated or "fully shielded" fixtures that limit lighting that is visible or measureable at the property line.
B.
Unshielded Fixtures. Unshielded fixtures may be used only for decorative purposes as provided:
1.
They have luminaires that produce no more than 1,500 lumens (approximately equal to a 100 watt (W) incandescent bulb);
2.
They have a maximum height of 15 feet; and
3.
They use energy-efficient bulbs.
C.
Full Cut-Off and Fully Shielded Fixture Requirements.
1.
Except as otherwise allowed in this section, all lighting (including, but not limited to street, parking lot, security, walkway, and building) shall conform with the Illuminating Engineering Society of North American ("IES") criteria for full cut-off and fully shielded fixtures, which is 100 percent of light output below 90 degrees, and 90 percent of light output below 80 degrees from a vertical line through the fixture.
2.
Lighting fixtures that illuminate landscape plantings, pedestrian walkways, signage, or product display areas shall also conform to the full cut-off and fully shielded fixture requirement.
3.
All lighting fixtures that are mounted within 15 feet of a residential property line or public right-of-way boundary shall be classified as IES Type III or Type F (asymmetric forward throw). These fixtures shall be fitted with a "house side shielding" reflector on the side facing the residential property line or public right-of-way.
4.
Light fixtures used to illuminate flags, statues, or any other objects mounted on a pole, pedestal, or platform shall use a narrow cone beam of light that will not extend beyond the illuminated object.
5.
For upward-directed architectural, landscape, and decorative lighting, direct light emission shall not be visible above the primary building roof line.
D.
Canopy Lighting. Canopy lighting for uses that have sheltered outside work or service areas, such as gas stations, shall meet the standards of this subsection. All luminaires shall be recessed into the canopy so that they cannot be viewed off-site from an eye height of four feet (to protect motor vehicle operators from glare).
E.
Outside Wall-Mounted Lighting. Outside wall-mounted lighting shall also comply with the standards of this section, except that lighting that is required by the FAA shall comply with federal standards.
A.
Maximum Freestanding Fixture Height. No freestanding light fixture shall be greater than 25 feet in height.
B.
Shut-Off Controls. The use of shut off timers is encouraged to extinguish unnecessary lighting (e.g., sensors, motion detectors, and timers).
A.
Generally. No outdoor lighting may be used in any manner that is likely to interfere with the safe movement of motor vehicles on public thoroughfares.
B.
Prohibitions. The following are prohibited:
1.
Any fixed light not designed for roadway illumination that produces incident or reflected light that could impair the operator of a motor vehicle;
2.
The installation, use, or maintenance of beacons or searchlights;
3.
Lights that are mounted on the ground or poles for the purpose of illuminating a building facade where not visible from other districts or public rights-of-way; and
4.
Exposed strip lighting or neon tubing used to illuminate building facades or outline buildings or windows or flickering or flashing lights installed in like fashion, except for temporary decorative seasonal lighting.
A.
Generally. The city may require the modification or removal or limited operation of existing or new lighting fixtures found to be a public hazard or public nuisance according to the criteria of this subsection.
B.
Hazards. Criteria for finding illumination to be a public hazard are as follows:
1.
Light trespass or glare which is sufficiently intense or contrast excessively with surrounding illumination, regardless of the intensity of the surrounding illumination, in a manner to cause impairment of visual performance or to distract from or impair the safe operation of a vehicle.
2.
Light trespass or glare that impairs a person's visual performance or ability to avoid obstacles in their path.
C.
Nuisance. Criteria for finding illumination to be a public nuisance are as follows:
1.
Light trespass or glare that deprives an owner or occupant of usual and reasonable use and enjoyment of their property.
2.
A high frequency and/or duration of periods when light trespass or glare is sufficient to interrupt or interfere with usual and reasonable use and enjoyment of a property.
3.
Light trespass or glare that causes visual discomfort or impairment of visual performance in a manner that deprives any person from the usual and reasonable enjoyment of the public streets and properties of the city.
A.
Generally. The operation and maintenance cost of the exterior lighting system is the responsibility of the property owner.
B.
Maintenance Requirements. Exterior lighting systems shall be maintained in good working order. Maintenance shall include replacement of bulbs and light fixtures that are not working, and regular cleaning of light fixtures as needed.
- SITE DEVELOPMENT
The purpose of this section is to ensure that:
A.
Adequate off-street motor vehicle and bicycle parking is provided for uses that are permitted by this UDC. See Section 11-502, Land Use Tables;
B.
Parking and accessible routes are provided for disabled individuals in accordance with the Americans with Disabilities Act ("ADA"), as may be amended from time to time.
C.
Alternative demand models including special studies and shared parking programs are taken into consideration;
D.
The design and use of parking and loading areas are regulated for consistency;
E.
Adequate loading areas are provided that do not interfere with the function of other vehicular use areas;
F.
Adequate stacking areas are provided to ensure safe and efficient circulation within sites that contain drive-in or drive-through uses;
G.
Access to sites is managed to maintain the desired function and safety of the adjacent street(s); and
H.
Vehicular use areas and sites are designed and lighted to promote public safety without creating undue light pollution and off-site glare (See Section 11-830, Exterior Lighting).
A.
Application. This section sets out how the provisions of Section 11-800, Parking, Loading, and Access, are applied and how they relate to other provisions of this UDC.
1.
Set out in Subsection 11-803.01., Calculation of Required Parking Spaces, is the methodology for calculating the number of required parking spaces, including the measurement of independent variables. All new development, redevelopment, substantial improvements, expansions of existing development, and changes in the use(s) of existing buildings that require additional parking shall provide the quantity of parking spaces required by Subsection 11-803.02., Required Parking and Loading, and comply with all other provisions of this section.
Exception: Any use within the Downtown Commercial (DC) District is exempt from the off-street parking requirements provided by Subsection 11-803.02., Required Parking and Loading. However, any off-street parking facility constructed in the DC District after the effective date must comply with the design standards set out in this UDC.
2.
The size and configuration of parking and loading spaces shall be set out in Section 11-804, Use and Design, and the Right-of-Way Manual.
3.
Standards for the surfacing, use, and maintenance of parking and loading areas are set out in Subsection 11-804.06., Surfacing and Maintenance. Standards that apply to temporary uses in parking and loading areas are set out in Section 11-505, Temporary Uses.
B.
Timing and Degree of Compliance. No building permit, or certificate of occupancy shall be issued unless and until off-street parking and loading is provided in accordance with Section 11-800, Parking, Loading, and Access.
A.
Generally. The standards of this subsection set out the means for calculating the number of parking spaces that are required for each land use that is listed in Section 11-502, Land Use Tables.
B.
Calculations. The number of required parking spaces is calculated according to the formulas set out in Subsection 11-803.02., Required Parking and Loading. Parking requirements may be adjusted as follows:
1.
According to the standards of Subsection 11-803. 04., Special Studies; or
2.
According to the standards of Subsection 11-803.05., Shared Parking, if applicable.
C.
Rounding. If the final calculated number of required parking spaces includes a fractional space, the number of required parking spaces is rounded up to the nearest whole number, regardless of the fraction.
D.
Variables for Calculating the Required Parking. The variables used for parking calculations are measured as follows:
1.
Per Square Foot (SF) of Parking Floor Area (PFA). The phrase "per SF of PFA" means that the number of parking spaces is calculated based on the number of "parking-related" square feet of floor area put to the use. The "PFA" is 50 percent of the gross floor area, plus (unless otherwise specified) the area of any parts of the lot or tract proposed for development that are delineated and used in a manner that is comparable in function and intensity to the use inside of the building (e.g., outdoor dining areas, outdoor sales and service, or outdoor storage).
2.
Per Dwelling Unit (DU) or Per Bedroom (BR). The phrase "per DU" or "per BR" means that the number of parking spaces is calculated based on the number of dwelling units, or the number of bedrooms in the dwelling unit(s), respectively.
3.
Per Bed. The phrase "per bed" means that the number of parking spaces is based on the number of beds in the facility instead of the number of sleeping rooms or some other measure. Per bed calculations are normally applied to uses that offer residential care or overnight accommodations with shared rooms.
4.
Per Seat Capacity. The phrase "per seat" means that the number of parking spaces is based on the number of seats that are provided for guests (patrons, members, etc.), with benches or pews measured as one seat for every 18 inches of seating length.
5.
Per Person Design Capacity. The phrase "per person design capacity" means that the number of parking spaces is based on the maximum number of people who may occupy the use pursuant to applicable building codes.
6.
Per Square Feet (SF) of Assembly Area. The phrase "per SF of assembly area" means that the number of parking spaces is based on the number of square feet dedicated to assembly group occupancies, as that class is defined by the most recently adopted version of the International building code.
7.
Others. Other variables are measured according to their common meanings.
A.
Generally. The minimum off-street parking requirements for the uses set out in these regulations, as provided in Article 5, Land Uses, are set out in the following tables:
1.
Table 11-803.02.01, Parking for Residential and Commercial Use of the Home;
2.
Table 11-803.02.02, Parking for Institutional, Recreation, and Amusement Uses;
3.
Table 11-803.02.03, Parking for Commercial Uses; and
4.
Table 11-803.02.04, Parking for Agriculture, Industrial, Utility, Transportation, and Communication Uses.
B.
Uses that Involve Fleets or Vehicle Inventory. Uses that involve fleets of vehicles (e.g., post offices, police stations, fire stations, etc.) and uses that involve vehicle inventories (e.g., auto sales and service establishments) shall provide adequate on-site parking for the fleet or inventory. Such parking shall not count towards the requirements of Subsection 11-803.02., Required Parking and Loading.
C.
Multiple Nonresidential Uses. If several nonresidential uses occupy a single lot, tract, or building, the off-street parking and loading requirements shall be the cumulative total for all uses, unless:
1.
Alternative parking regulations, in accordance with Subsection 11-803.04., Special Studies, are accepted by the city; or
2.
The uses are of different categories, such that the standards of Subsection 11-803.05., Shared Parking, apply.
D.
Uses Not Listed. The zoning administrator shall determine the parking requirements for uses that are not listed based on the uses that are most similar to the proposed uses (see Section 11-503, Unlisted or Functionally Similar Uses) or based on parking studies of similar uses that are provided by the applicant and certified by a qualified transportation planner or professional engineer. See Subsection 11-803.04., Special Studies.
E.
Residential and Commercial Use of the Home. Set out in Table 11-803.02.01, Parking for Residential and Commercial Use of the Home, is the parking requirements for residential uses and commercial uses of dwelling units.
F.
Institutional, Recreation, and Amusement Uses. Set out in Table 11-803.02.02,Parking for Institutional, Recreation, and Amusement Uses, is the parking requirements for institutional, recreation, and amusement uses.
G.
Commercial Uses. Set out in Table 11-803.02.03, Parking for Commercial Uses, is the parking requirements for commercial uses.
H.
Agriculture, Industrial, Utility, Transportation, and Communication Uses. Set out in Table 11-803.02.04, Parking for Agriculture, Industrial, Utility, Transportation, and Communication Use;i§ .....i;, is the parking requirements for agricultural, industrial, utility, transportation, and communication uses.
Parking spaces for the use of persons with disabilities shall be provided as set out in Table 11-803.03., Accessible Parking Requirement;i§\i;, or as set forth in the American National Standards Institute ("ANSI") reference standard A117.1-2009 titled Accessible and Usable Buildings and Facilities, whichever requires more accessible parking. Accessible parking is included in the total number of required parking spaces as set out in Subsection 11-803.02., Required Parking and Loading. For every six or fraction of six parking spaces required, at least one shall be a van-accessible parking space. Design criteria and dimensions are set forth in ANSI A117.1-2009, as amended from time to time. Parking facilities for single-family attached, single-family detached, manufactured housing, and mobile home uses are exempt from the requirements of this subsection.
A.
Generally. Some of the uses that are listed in the tables set out in Subsection 11-803.02., Required Parking and Loading, have nonlinear or widely varying parking demand characteristics. Accordingly, their parking requirements are listed in the table as "See Subsection 11-803.04., Special Studies." Required parking for these uses, or uses where alternative requirements can be demonstrated (e.g. "best practice"), shall be established according to the standards of this subsection.
B.
Requirements.
1.
A special study shall be conducted by the developer, at the developer's expense.
2.
The special study shall provide:
a.
A peak parking analysis of at least three functionally comparable uses.
b.
Documentation regarding the comparability of the referenced uses, including: name, function, location, floor area, parking availability, access to transportation networks (including vehicular, bicycle, and pedestrian facilities), use restrictions, and other factors that could affect the parking demand.
3.
Where functionally comparable uses cannot be identified, the zoning administrator shall determine the parking requirements based on the uses that are most similar to the proposed use(s).
C.
Approval of Special Study.
1.
The city may rely upon the special study or may request additional information or analysis, including, but not limited to: alternative or new uses, or consideration of additional or alternative factors related to comparability or peak demand.
2.
As a condition of approval, the city may require that land be reserved or land-banked for additional parking if:
a.
It is demonstrated that there is a relatively high probability the use could change, resulting in a higher demand for parking; or
b.
The variability in the special study justifies the reservation of additional land to mitigate insufficient on-site parking.
3.
Areas that are reserved or land-banked shall be of appropriate location and dimension to provide for the additional parking by connection to existing parking lots.
A.
Generally. The city recognizes that uses may have different hours of operation and peak parking demand hours. For this reason, the city desires to encourage the sharing of parking for its potential to reduce paved areas and/or to enhance the efficiency of land use. Where a mix of uses creates synergy with respect to the use of parking spaces due to differences in when the spaces are most likely to be used, the city may reduce the required number of spaces according to the provisions of this subsection.
B.
Shared Parking Table. Shared parking allows a reduction in the total number of required parking spaces when a lot or tract is occupied by two or more uses which typically do not experience peak use of parking areas at the same time. When any land or building is used for two or more uses that are listed below, the minimum total number of required parking spaces may be determined by the following procedures:
1.
Multiply the minimum required parking for each individual use, excluding spaces reserved for use by specified individuals or classes of individuals (e.g., spaces that are either posted "reserved," or secured behind a gate), by the appropriate percentage listed in Table 11-803.06.01, Shared Parking, for each of the designated time periods.
2.
Calculate a sum for all uses for each of the five time periods (columns). The minimum parking requirement is the highest of these sums. Set out in Table 11-803.06.02, Illustrative Shared Parking Credit Calculation, is an example of how to calculate shared parking credits.
3.
In general, the maximum reduction allowed shall be no more than 25 percent. However, a greater reduction may be permitted by the planning commission, provided that:
a.
Sufficient land is set aside for each parking space in excess of the 25 percent reduction that is not constructed, so that the spaces may be constructed at a later date should the planning commission determine that they are necessary; and
b.
The property owner provides sufficient security in the form of cash escrow or, where authorized by the city, a performance bond or letter of credit or other security acceptable to the city council and the city attorney, as security for the promises contained.
C.
Shared Parking Among Lots Under Different Ownership. When a shared parking reduction is to be applied to uses on several lots under different ownership, the following shall be provided:
1.
A plan that provides for interconnected parking lots; and
2.
Recorded easements, accepted as to form by the city attorney, that provide, at a minimum, for:
a.
Cross-access among the parking areas and connections to allow parking by the different uses anywhere on the connected properties;
b.
Allocation of maintenance responsibilities;
c.
A pedestrian circulation system that connects uses and parking areas, making it easy and convenient for pedestrians to move between uses; and
d.
A right of enforcement by the city.
A.
Applicability. Bicycle parking shall be required pursuant to this subsection for:
1.
All lots or tracts proposed for development that have parking lots with 20 or more off-street parking spaces; and
2.
All park or recreation areas within neighborhoods.
B.
Exemptions. This subsection does not apply to single-family attached, single-family detached, manufactured housing, and mobile home uses.
C.
Number of Bicycle Parking Spaces. One bicycle parking space is required for each twenty (20) required off-street parking spaces; however, not less than three (3) nor more than ten (10) shall be required on any lot or tract proposed for development.
D.
Bicycle Parking Design Standards. Bicycle parking shall be designed so that racks are securely anchored to a hard surface to prevent easy removal. See Figure 11-803.07., Illustrative Permitted Bicycle Parking Systems.
E.
Bicycle Parking Location Standards.
1.
The location of bicycle parking facilities shall be at least as convenient to the main entrance of the primary use as the most convenient vehicular parking not reserved for disabled users.
2.
An aisle at least five feet wide shall be provided behind all required bicycle parking to allow room for bicycle maneuvering and to prevent hazards or obstructions to the normal flow of pedestrians into a use.
A.
Prohibited Use(s) of Parking Areas.
1.
Required off-street parking spaces shall be available for operable passenger vehicles of the residents, customers, clients, patrons, and employees of the use to which they relate.
2.
Storing or displaying materials, boats, campers, recreational vehicles, trucks, trailers, or inoperable vehicles, is prohibited in parking areas.
3.
The storage of trailers in loading spaces for a period in excess of 48 hours is prohibited. Such spaces shall be available for routine use by delivery vehicles.
4.
Trash enclosures, dumpsters, recycling or donation bins, and transformers shall not be located in required parking areas or in locations that interfere with the circulation or use of parking spaces.
5.
No vehicle work of any kind or nature is permitted in parking facilities.
6.
The hosting of events and sale of goods in a parking facility is prohibited, except when the applicable requirements for temporary sales are met, as set out in Section 11-505, Temporary Uses.
B.
Blocking Access Prohibited.
1.
Blocking loading or parking spaces is prohibited.
2.
Loading or parking spaces shall not be designed or located in a manner that blocks access to other loading spaces, parking spaces, drive aisles, fire lanes, ingress or egress points, or building entrances. However, tandem parking spaces may be used in valet lots.
3.
Parking within a drive approach or across public sidewalks is prohibited.
A.
Dimensions of Parking Spaces. Parking spaces shall have the following dimensions.
1.
Standard depth parking spaces shall be nine feet in width and 18 feet in depth.
2.
Reduced depth parking spaces that abut a landscape island (allowing for a minimum two foot overhang), shall be nine feet in width, but may be reduced to 16 feet in depth, provided there is a minimum five foot planting area. See Figure 11-804.02.01, Illustrative Parking Space Dimensions.
3.
Parallel parking spaces shall be eight feet in width and 20 feet in length.
4.
Spaces designated as accessible shall be striped in accordance with ANSI A117.1, as amended from time to time. Each accessible space shall provide a barrier free route to an accessible building entrance; where possible, it is preferable that the accessible route not pass behind parked cars.
B.
Parking Space Markings.
1.
All parking spaces that are located in parking facilities or provided on a street shall be clearly marked. All handicap accessible spaces shall be designed with an upright sign exhibiting the universal symbol for accessibility by the handicapped. All such spaces shall be designed in compliance with the standards of the Americans with Disabilities Act.
2.
Parking spaces for residential uses that are located in private garages, carports, or individual driveways do not have to be marked. An area on a private residential lot is considered a parking space if:
a.
The area is at least nine feet in width and 20 feet in depth;
b.
The area does not encroach upon a public sidewalk;
c.
The area has an all-weather surface; and
d.
The area is accessible from the street. See Figure 11-804.02.02, Private Residential Parking Spaces.
C.
Traffic Control Devices. All traffic control devices (signs, marking, and signals) shall conform to the Manual on Uniform Traffic Control Devices, latest edition, published by the Federal Highway Administration ("FHWA") under 23 Code of Federal Regulations ("CFR"), Part 655, Subpart F. Parking facilities shall be designed to provide visibility of and between pedestrians and vehicles when circulating within or entering or leaving the facility; and shall not create blind, hidden, or hazardous areas.
D.
Vertical Clearance. A vertical clearance of not less than eight feet shall be provided over all parking spaces. Additional clearance shall be provided for larger vans, sports utility vehicles, and light trucks that require such clearance if parking demand from such vehicles is anticipated. All parking garage entrances shall include an overhead bar to alert oversized vehicles regarding clearance.
E.
Parking Module Dimensions. Parking modules shall be dimensioned as shown in Table 11-804.02., Parking Module Dimensions, and illustrated in Figure 11-804.02.03, Parking Module Standards.
A.
On-Site, Off-Street Parking. On-site, off-street parking shall be set back behind any required bufferyard as set out in Section 11-810, Landscaping, Buffering, and Screening. Parking spaces, drive aisles, and areas necessary for vehicular maneuvering shall not encroach upon or overhang any street, street easement, or public right-of-way.
B.
Off-Site, Off-Street Parking. Parking may be satisfied off-site and off-street if the parking facility is within 300 feet of the principle structure, does not serve any other use except in conformance with Subsection 11-803.05, Shared Parking, and within a district that permits the Off-Street Parking use type, as set out in Section 11-400, Zoning Districts.
Exception: Single-family attached, single-family detached, manufactured housing, and mobile homes shall provide parking on-site and off-street.
A.
Generally. Loading spaces shall be provided and designed as laid out in this subsection. Off-street loading areas are subject to the landscaping and buffering requirements for parking facilities set forth in Section 11-810, Landscaping, Buffering, and Screening.
B.
Dimensions of Loading Spaces. Each required loading space for an industrial use must be at least 12 feet in width and 35 feet in length. All other required loading spaces must be at least 12 feet in width and 18 feet in length. All required loading spaces must be designated by signs as loading spaces. Larger loading spaces may be required where the size of the design vehicle exceeds these specifications.
C.
Vertical Clearance. Vertical clearance for loading spaces shall be at least 14 feet in height.
D.
Number of Loading Spaces. In any district with every building or part thereof hereafter erected, altered, or modified, having a gross floor area of 10,000 square feet or more, which is to be occupied by uses requiring the receipt of material or merchandise or distribution of the same, by vehicles, there shall be provided and maintained on the same lot with such building, at least one off-street loading space, plus one additional such loading space for each 60,000 square feet, or major fraction thereof, of gross floor area, so used, in excess of 40,000 square feet (see Table 11-804.04., Required Loading Spaces).
E.
Use of Right-of-Way. Where off-street loading areas are required, at no time shall any part of a truck or van be allowed to extend into a public right-of-way while being loaded or unloaded.
F.
Maneuvering Space. Adequate off-street truck maneuvering space shall be provided on-site and off-street.
G.
Location. All loading areas shall be located on the same lot as the use served by the loading area.
H.
Loading and Truck Access. Except as provided in Subsections I. or J. below, loading and truck access facilities shall be:
1.
Located behind a principal building; and
2.
In an area screened from view of public rights-of-way by building walls, fences, or landscaping (including earthen berms).
I.
Service Areas Adjacent to District Boundaries.
1.
Generally, if loading and truck access are located between a principal building and property that is used or zoned for residential purposes, or between a principal building and a right-of-way (e.g., on a through lot), then the following additional standards apply:
a.
The loading and truck access area is screened by a bufferyard that is one level higher than that set out for the applicable district set out in Section 11-815, Bufferyards; or
b.
The loading and truck access area is enclosed as indicated in Figure 11-804.04., Service Area Enclosure. If this option is used, the bufferyard along the length of the enclosure may be reduced by one level from that which is set out for the applicable district in Subsection 11-815.02., District Bufferyard Standards.
2.
Notwithstanding subsection I.1., above, loading and truck access that is within 50 feet of property that is used or zoned for residential purposes shall be enclosed as illustrated in Figure 11-804.04., Service Area Enclosure, and shall be landscaped along the length of the enclosure pursuant to the bufferyard requirement set out in Subsection 11-815.02., District Bufferyard Standards.
J.
Front Loading in LI and GI Districts. In the LI and GI districts, truck loading may be in the front yard of the building if it is demonstrated that:
1.
The frontage is not an arterial street or highway; and
2.
The property on the other side of the street is also zoned LI or GI.
K.
Fire Exit or Emergency Access. Off-street loading facilities shall be designed so as not to interfere with any fire exits or emergency access facilities.
A.
Generally. Stacking spaces are used to measure the capacity of a drive-through lane to hold cars while transactions are taking place at drive-through stations. Stacking spaces measure eight feet in width and 18 feet in length and provide direct access to a service station. The position in front of a service station (e.g., a service window, ATM, or station at a drive-through bank) is counted as a stacking space.
B.
Requirements. Uses that include drive-through service shall not have fewer than the following numbers of stacking spaces:
1.
Financial institutions, retail sales, or retail service establishments: A minimum of three stacking spaces per service station, including the position at the service station.
2.
Restaurant (with drive-through):
a.
If two service windows are provided (one for payments and one for pick-up):
1.
A minimum of four stacking spaces to each menu board (including the position at the menu board);
2.
A minimum of two stacking spaces between the menu board and the first window (including the position at the first window but not including the position at the menu board); and
3.
Two spaces between the first window and the second window (including the position at the second window but not including the position at the first window). See Figure 11-804.05., Illustrative Stacking Requirements.
b.
If one service window is provided (for both payments and pick up):
1.
A minimum of four stacking spaces to each menu board (including the position at the menu board); and
2.
A minimum of two stacking spaces between the menu board and the service window (including the position at the service window but not including the position at the menu board);
a.
In buildings with less than 300 square feet of gross floor area and no separate menu board (e.g., coffee stands, photo processing): Three stacking spaces per service window, including the position at the window.
b.
Stacking lanes shall be designed with unobstructed access to an abutting bypass/escape lane no less than eight feet in width.
3.
Laundromat or Dry Cleaners: Two stacking spaces, including the position at the window.
4.
Service Stations: Two stacking spaces per fuel pump, including the position at the pump; three stacking spaces per service/wash bay, including the service/wash bay; and two stacking spaces per service station (i.e. vacuum station), including the service station for all other automotive related services.
C.
Design.
1.
Stacking lanes shall be clearly marked and shall not interfere with either on-site or off-site traffic circulation.
2.
Stacking areas shall not be located in street yards or where parking spaces are otherwise prohibited.
A.
Surfacing. Off-street parking facilities shall not be located in required bufferyards, shall be designed and built to prevent the free flow of water onto adjacent properties, and shall be surfaced as follows:
1.
In general, off-street parking facilities shall be graded and surfaced with an all-weather material, approved by the zoning administrator, such as concrete, asphalt or asphaltic concrete, permeable paving, driveway pavers, or pavestones.
2.
For properties located in R Rural and GI General Industrial zoning districts, adjacent to a public or private road improved with concrete or asphalt, areas that are required to be surfaced with an all-weather material include:
a.
Driveways, drive aisles, parking facilities, and all associated off-street maneuvering and circulation located in front and street [side] yards;
b.
Loading areas; and
c.
An apron, 25 feet in length measured from the edge of parking facilities and loading areas, of an all-weather material, into the outdoor storage area.
3.
For temporary uses or overflow parking needs, the zoning administrator may permit construction of parking facilities using alternative materials (such as grass pavers, coarse aggregate), provided that:
a.
The perimeter of such parking facility is defined by curbs, bollards, or other similar device(s), to control vehicular traffic; and
b.
The use of such facility shall be limited to temporary uses and overflow parking needs for periods not to exceed 30 days in any given year.
B.
Maintenance. Off-street parking surfaces and traffic control devices shall be kept in good condition and parking space lines or markings on hard-surfaced lots shall be kept clearly visible and distinct. Acceptable maintenance includes keeping the facility free of refuse, debris, and litter; maintaining parking surfaces in sound condition; and providing proper care of landscaped and buffer areas.
In establishing these procedures and standards, it is the city's purpose to encourage the preservation of trees and their value to the community, increase the compatibility of adjacent uses, and to minimize the effects of noise, dust, debris, artificial light intrusions, and other impacts created by the use of land. The standards and requirements set out in this section are intended to:
A.
Protect and preserve the appearance and character of the community;
B.
Promote the health and quality of life of the residents of the city through the protection of trees;
C.
Promote the planting of trees and shrubs that are native to Nebraska; and
D.
Establish standards for removal, maintenance, and planting of trees.
A.
Generally. This section requires four general types of landscaping, including:
1.
Landscaping. See Section 11-814, Landscaping. There are four types of development landscaping:
a.
Lot landscaping;
b.
Site landscaping;
c.
Parking lot landscaping; and
d.
Street trees in certain locations.
2.
Buffering. See Section 11-815, Bufferyards. Bufferyards are required based on the zoning, development type, or right-of-way type that abuts proposed development. Bufferyards may be required along:
a.
District boundaries and between residential and nonresidential uses;
b.
Street and railroad rights-of-way; and
c.
Around parking and vehicular use areas.
3.
Screening. See Section 11-816, Screening.
4.
Open Space. See Section 11-817, Open Space.
B.
Application of Standards. This section applies to all new development, redevelopment, substantial improvements, additions, alterations, and changes of occupancy, and where specifically indicated, to existing trees and landscaping. The application of Section 11-810, Landscaping, Buffering, and Screening, may be limited by Section 11-320, Nonconformities.
C.
Exceptions. The following are exceptions to the standards of this section:
1.
Modifications to single-family attached, single-family detached, manufactured housing, and mobile homes where the addition or alteration does not cumulatively exceed the gross floor area of the existing building by more than 10 percent or 300 square feet, whichever is less.
2.
Modifications to nonresidential buildings where the addition or alteration does not cumulatively exceed the gross floor area of the existing building by more than 10 percent or 3,000 square feet, whichever is less.
3.
Development that was approved in the city prior to the effective date of this UDC shall comply with the terms of the development approval (and not this section) to the extent that alternative landscaping requirements are already specified. Such approved development shall not be required to install bufferyards if there is insufficient land area identified on the approved plans to accommodate them.
D.
Adjustments and Changes.
1.
Necessary or requested adjustments or changes to the requirements of Section 11-810, Landscaping, Buffering, and Screening, may only be by reason of:
a.
Site constraints or impracticalities that are due to special conditions of the property that do not exist on other properties in the same zoning district;
b.
Conditions that have not been brought about by action of the applicant or owner; and
c.
Unnecessary hardship caused by the strict interpretation of this UDC.
2.
In these instances, the planning commission may consider authorizing a special exception, or if the standards of approval may not be met, by considering approval, approval with conditions, or denial of the site plan, as set out in Section 11-315.08., Site Plan.
A.
Generally. Compliance with the standards of this section shall be demonstrated by schematic landscape and irrigation plans and a landscape installation and maintenance plan. Collectively, these documents shall be referred to as the "landscape plan."
B.
Contents of Schematic Landscape Plan. The landscape plan shall include the elements that are set out in this subsection. The schematic landscape plan shall include all of the following information:
1.
A plan view drawing prepared at a standard scale that ensures clarity of the proposal (scale shall be approved by the zoning administrator), which shall indicate:
a.
Existing and proposed topography of the site, shown at one-foot contours, or spot elevations where contours are unable to illustrate topography in sufficient detail;
b.
Dimensions and surfacing of all easements, pedestrian walkways, and pedestrian-oriented areas (existing and proposed);
c.
Location and dimensions of maintenance easements for drainage facilities;
d.
Location of existing and proposed overhead and underground utilities;
e.
Location and base flood elevation of floodplains;
f.
Dimensions and slopes of storm water detention areas;
g.
Dimensions, surface area, and type of planting area (e.g., bufferyard, parking lot landscaping, etc.) for each planting area;
h.
The location and quantity of trees and shrubs to be installed, which shall be drawn at three-fourths (¾) of mature size and annotated with genus, species, common name, drought tolerance, and size at planting;
i.
The location, quality, size (DBH), and protected root zone of trees that are to be preserved on the site;
j.
The location and extent of areas of groundcover; the groundcovers, turf, seed, or inorganic materials to be installed or planted; and the type of underlayment proposed to be used (if any);
k.
Dimensions of all landscape elements, including fences, walls, border edge treatments, berms, water features, trash enclosures, street furniture, public art, and recreational facilities, as applicable (the zoning administrator may require details or specifications for landscape features or structures to be attached to the landscape plan in order to facilitate subsequent inspection);
l.
General layout, design, and the wet coverage area of irrigation systems;
m.
Special landscape features for storm water detention and treatment, such as green roofs, rain gardens, or bioswales;
n.
Dimensions and locations of sight distance triangles; and
o.
Any credits that are requested for preserving existing trees pursuant to Subsection 11-813.02., Credit for Existing Trees, or Section 11-815.03., Credits for Existing Buffer Treatments.
2.
Information regarding specific design techniques that will be used to prevent water infiltration or damage at the street section may be required by the zoning administrator if it is found that there is good cause to believe that such damage could occur.
C.
Landscape Installation and Maintenance Plan. Subject to the exceptions set out in Section 11-812, Application, a landscape installation and maintenance plan shall identify the proposed plant installation methods and both short- and long-term landscape maintenance programs for all landscaped areas except landscaping of private lots (unless a property owners' association is to maintain the landscaping on private lots). The maintenance plans shall provide a detailed explanation of the work to be done, the reason it is needed, the frequency of the work, and the estimated annual cost of the work. Specifically, the following is required to be addressed in the maintenance programs:
1.
Landscape Surface Area Landscaping (including parking lots). Landscaping in designated landscape areas of nonresidential and mixed-use development shall be maintained by the applicant or successor in interest. In nonresidential and mixed-use developments that are subdivided or divided into condominium ownership, such successor in interest must be a mandatory property owners' association that collects dues for common area maintenance and that has a lien right for said dues. The maintenance responsibility shall be set out in the landscape plan that is required by this subsection.
2.
Private Lot Landscaping. Landscaping of private lots shall be the responsibility of the lot owner, unless a declaration of covenants, conditions, and restrictions assigns the responsibility to a property owners' association. The maintenance responsibility shall be noted in the landscape plan that is required by this subsection.
3.
Street Trees (as applicable). Existing street trees and street trees that are installed within adequate rights-of-way in new development shall be maintained by a subdivider, lot owner, tenant, property owners' association, or other entity having a legal interest in the ownership of the subdivision or lots in the subdivision. The maintenance responsibility shall be set out in the landscape plan that is required by this subsection.
D.
Approval and Timing of Approval.
1.
Plans meeting the standards of this UDC shall be approved. However, in reviewing the plans, adjustments in the location of plants may be required where the city finds such alterations would better serve the purposes for which they are intended.
2.
Landscape plans containing street trees and open spaces shall be submitted for approval at the preliminary plat application stage.
3.
Landscape plans containing site features, bufferyards, and required landscaping shall be submitted for approval at the building permit stage.
A.
Generally. Where there is existing vegetation on site, the zoning administrator, or an appointee, may require an inventory of plant material. Land clearing and removal of existing, healthy trees shall not be removed in accordance with Subsection 11-813.08, Land Clearing. Existing trees qualify for credit as per the allowances of this subsection.
B.
Quality of Existing Trees. Existing trees that are protected according to Section 11-813.07, Tree Protection, and Section 11-813Landscape Plan, Installation, and Maintenance, count towards the planting requirements of this subsection, provided that they are at least three and one-half inches in diameter at breast height ("DBH"), four and one-half feet above grade, and not on the state of Nebraska's invasive species plant list.
C.
Credit for Preservation of Trees. Healthy, mature trees that are preserved on-site shall count as more than one tree for the purposes of the landscaping requirements, as set out in Table 11-813.02., Credit for Preservation of Trees.
D.
Application of Tree Preservation Credit. The tree preservation credit is applied towards the requirements for the area in which the tree is planted. If there are no requirements for that area, the credit applies in the following order of descending priority:
1.
Lot and site landscaping requirements;
2.
Parking lot landscaping requirements; and
3.
Bufferyard requirements, provided that the tree is located between the bufferyard to which the credit applies and the building or use that is being buffered.
A.
Approved Plant List. A list of Nebraska Native Trees and Shrubs, which are approved by the city for meeting the requirements of this section, can be obtained online from the Nebraska Statewide Arboretum (NSA) website, http://arboretum.unl.edu/.
B.
Prohibited Plant List. A list of invasive plants, which are not allowed anywhere in the city, can be obtained online from the Nebraska Invasive Species Program website, http://neinvasives.com/. Invasive plants must be removed from lots or tracts proposed for development prior to the issuance of a certificate of occupancy.
A.
Generally. The size and quantity of landscape material that is installed in accordance with the requirements of this section shall meet the standards of this subsection.
B.
Size and Quantity Requirements.
1.
All plant materials shall be of good quality, container grown or balled and burlapped in accordance with the most current edition of the American Standard for Nursery Stock. Tree size is measured as a diameter at breast height (DBH), four and one-half feet above grade.
2.
Large trees shall be at least two and one-half inches DBH.
3.
Small trees that are planted in parkways shall be at least two inches DBH.
4.
Understory trees shall be at least one and one-half inches DBH.
5.
Evergreens shall be six feet tall at the time of planting.
6.
Shrubs shall be in five-gallon containers at planting.
C.
Additional Standards for Street Trees. Street trees planted in parkways shall be branched no lower than six feet above the ground (for visibility purposes).
A.
Surety Required. The applicant shall submit the bid for the landscape plan for review by the city. A bond, landscape contractor guarantee, or other acceptable surety equal to 120 percent of the cost of implementing the landscape plan shall be provided to ensure proper installation and maintenance of the landscaping for a period of two years from the date of installation.
B.
Replacement Required. The applicant shall warrant all landscaping materials for a period of two years after installation. All plant materials that die within two years from the date of installation shall be replaced by the applicant. If the applicant fails to replace the plant materials, the city may use the performance guarantee to replace dead materials. For all required landscaping on individual residential lots, the developer shall convey a two-year warranty to the purchaser at the time of closing.
C.
Return or Release of Surety. The city shall return or release the surety after the two-year period is expired upon request of the applicant and demonstration that the landscaping that is protected by the guarantee is established and in good condition.
A.
Completion of Landscape Improvements.
1.
Bufferyard landscaping must be completed prior to a final inspection being approved. If this requirement would result in the installation of landscaping during an inappropriate season, then the city may approve the final inspection and issue a temporary certificate of occupancy with the following conditions:
a.
Surety, in a form acceptable to the city attorney, is provided for the installation of the required landscaping prior to approval of the final inspection and issuance of a temporary certificate of occupancy; and
b.
A permanent certificate of occupancy will not be issued unless and until the required landscaping is installed.
2.
All other landscaping must be installed before a final inspection will be approved. A final inspection may be approved after receipt of surety, in a form acceptable to the city attorney, if necessary to allow for the planting of landscaping improvements during an appropriate season or weather condition; a permanent certificate of occupancy will not be issued unless and until the required landscaping is installed.
B.
Periodic Inspections. The city may inspect each site periodically after approval of a subdivision plat or issuance of the certificate of occupancy to ensure compliance with the subsection.
A.
Purpose. Existing trees, because of the beneficial qualities and natural beauty they add to the community, shall be retained to the maximum extent practicable in any development or for any redevelopment or substantial improvement of an existing property.
B.
Preservation of Significant Stands. Development shall be designed to the maximum extent practicable so that significant stands of trees are preserved and located in designated open spaces or landscape surface areas. See Article 9, Word Usage and Definitions, to understand the criteria for a "significant stand" of trees."
C.
Tree Protection during Construction and Development. The following efforts shall be utilized to retain existing trees during construction and development on a site:
1.
Parking areas and building sites shall be located to preserve existing trees.
2.
Grates or other pervious surfaces shall be utilized within the dripline (outermost limit of horizontal branch extension) of existing trees to allow water and air to reach the tree roots.
3.
Fill shall be prohibited in areas under the dripline of existing trees.
4.
Drastic changes in drainage patterns which might negatively affect existing trees shall be avoided.
5.
All trees to be retained shall have temporary construction fencing of sufficient size and protective quality at the extreme outer edge of the tree canopy, and shall remain in place throughout the construction period. There shall be no activity of any kind inside the perimeter. No land clearing or building permits shall be issued until the perimeter of all trees and tree stands have been properly fenced.
A.
Determination of Land Clearing. A determination of land clearing is predicated on a finding by the zoning administrator of any of the following:
1.
Removal of five or more trees per lot or tract, in any one year period, for which the trees have a diameter of three and one-half inches or greater, measured as a diameter at breast height (DBH), four and one-half feet above grade; or
2.
Removal of a significant stand of trees.
B.
Land Clearing Prohibited. Sites that include significant stands of trees shall not, in any case or under any circumstance, be clear cut in preparation for development. Instead, trees shall be removed and a land clearing or tree removal permit issued only if in the determination of the zoning administrator:
1.
They are a prohibited species as set out in Section 11-813.03, Species;
2.
They are unhealthy or structurally unsound and pose a safety hazard to buildings, pedestrians, or vehicular traffic or threaten to cause disruption of public services;
3.
They are weakened by age, storm, fire, disease, or insects;
4.
They are within five feet of an approved building footprint or a paved area of an approved street or parking area or an area required for site grading, surface water drainage, and/or utility installations;
5.
They are within five feet of a utility easement and would interfere with the use of the easement as determined by the Utilities General Manager; or
6.
They are necessary to remove to observe good tree maintenance practices which will strengthen and protect other existing trees.
C.
Land Clearing or Tree Removal Permit Required. Any land clearing or tree removal in preparation of development or the redevelopment or substantial improvement of an existing property within the city shall require a permit as set out in Section 11-310, Permits and Procedures. A land clearing and tree removal permit may be issued for the removal of trees that qualify under Subsection B., above, if it is demonstrated that:
1.
No reasonable alternative site design at the same density and intensity could be approved that:
a.
Would preserve a significant stand of trees;
b.
If large-scale preservation is not possible, would preserve the largest number of trees; or
c.
If protection of the largest number of trees is not possible, would preserve a greater number of trees than the proposed development design.
2.
Relocation of the trees to another location on-site or within the city is not practical or economically feasible; and
3.
The trees are replaced with the number of new trees for which credit would be given if the trees were preserved. See Subsection 11-813.02., Credit for Existing Trees.
D.
Pre-clearing or Removal Inspection Required. The applicant issued a land clearing or tree removal permit shall notify the zoning administrator in writing at least 24 hours prior to any land clearing or tree removal activity. The zoning administrator, or an appointee, shall inspect the site prior to the start of clearing or removal to ensure that the significant stands of trees are identified as indicated in the land clearing and tree removal permit application.
E.
Penalty. A penalty may be assessed for failure to comply with the provisions of this subsection as set out in Subsection 11-333.02., Violations.
F.
Tree Removal for Municipal Projects. To the maximum extent practicable, the city shall design construction projects that will avoid damage or require the clearing or removal of trees. The zoning administrator and director of public works shall decide if construction activity will cause severe damage to the trees and determine the need for their clearing or removal. If a significant stand is cleared from a public right-of-way, or easement, an appropriate species of tree shall be replaced with the number of new trees for which credit would be given if the trees were preserved. See Subsection 11-813.02., Credit for Existing Trees.
A.
Generally. Single-family attached, single-family detached, and manufactured housing residential lots, and mobile home parks or mobile home subdivisions, shall be surrounded by yard areas. These yard areas count towards the coverage ratio requirements set out in Table 11-602.01., Residential Development Standards.
B.
Planting Location. Any plants in excess of the minimum required plants may be installed in any location on the lot provided there is adequate room for healthy growth and stability. Required plants shall be installed as follows:
1.
Front Yards. Front yards shall be planted with at least one large tree.
Exception. If the abutting rights-of-way are planted with street trees within 15 feet of the front property line.
2.
Rear Yards. Rear yards abutting an arterial street shall be planted with at least one tree.
C.
Substitution of Trees. Small trees may be substituted for large trees if the dimensions of the lot are such that the canopy trees would not have room to grow to a full canopy without conflicting with buildings or each other. For the purposes of this substitution, one large tree equals two small trees.
D.
Groundcovers and Sod. Areas of residential lots that are not covered by buildings, driveways, or other all-weather surfaces shall be sodded or planted with permitted groundcovers, unless they are covered by woodlands or other natural areas.
A.
Generally. Nonresidential, mixed-use, and multifamily buildings shall be surrounded by landscape surface areas (see Table 11-603.01.01, Nonresidential and Mixed Use Standards, for the minimum landscape surface ratios for each district), as set out in Table 11-814.02., Site Landscaping Requirements.
B.
Planting Location. The planting areas are not required in areas that are designed for direct vehicular access to the building, such as loading bays, service bays, and drive-through lanes on the side of the building with a service window, but shall be installed adjacent to the building foundation and between the parking and vehicular use areas and the property line under all other conditions, as illustrated in Figure 11-814.02., Site Landscape Planting Area;i§i;.
C.
Planting Requirements. The required planting area shall be planted as follows:
1.
Front and Street Yard. One small tree and four shrubs shall be planted for every 250 square feet of front and street yard planting areas, as identified in Table 11-714.02., Site Landscaping Requirements. Trees and shrubs shall be spaced in accordance with common horticulture practices and shall be protected from vehicular encroachment or overhang by way of wheel stops or six-inch curbs or other means approved by the zoning administrator. Ornamental grasses may be used to meet up to 25 percent of the shrubbery requirement. All remaining ground surface areas shall be groundcover, which may include sod, ornamental grasses, mulch, or perennial or seasonal plantings. As approved by the zoning administrator, wet ponds with fountains, vegetated rain gardens, naturalized wetlands, and/or xeriscape gardens may be used in lieu of or together with the required shrubbery and groundcover. Sculptures, monuments, and other public art installations are encouraged, subject to approval of the planning commission, but shall not be construed to satisfy any landscaping requirement described herein.
2.
Side and Rear. One small tree and two shrubs shall be planted for every 250 square feet of side and rear planting areas, as identified in Table 11-714.02., Site Landscaping Requirements. Trees and shrubs shall be spaced in accordance with common horticulture practices and shall be protected from vehicular encroachment by way of wheel stops or six-inch curbs or other means approved by the zoning administrator. All remaining ground surface areas shall be groundcover, which may include sod, ornamental grasses, mulch, or perennial or seasonal plantings.
3.
Side and Rear Adjacent to Drive-Through Lanes or Parking Lots. A side or rear planting area that is adjacent to a drive-through lane or a parking lot with a parking module width of 40 feet or more shall meet the requirements of Subsection C.2, above. All other rear planting and ground surface areas shall be groundcover, which may include sod, ornamental grasses, mulch, or perennial or seasonal plantings.
4.
Substitution. Small trees may be substituted for large trees in areas where there is insufficient room for the healthy growth and stability of the tree at a rate of two small trees for every one large tree required. Small trees may be substituted for shrubs in areas where there is sufficient room for the healthy growth and stability of the tree at a rate of one small tree for every four shrubs required.
(Ord. No. 5642, § 1, 6-13-23)
A.
Generally. Parking lot landscaping is required within and around parking lots that contain five or more parking spaces.
B.
Parking Lot Landscape Areas. As illustrated in Figure 11-814.03., Parking Lot Landscaping, landscaping is required in all of the following areas:
1.
At the ends of drive aisles, planted in islands that are not less than nine feet in width and 18 feet in length for a single row of spaces, or 36 feet in length for a double row of spaces, with ten-foot curb radii on the side that faces outward from the drive aisle.
2.
In the middle of parking rows at intervals required by Subsection C., below, planted in interior islands that are not less than nine feet in width and 18 feet in length for a single row of spaces, or 36 feet in length for a double row of spaces, with five-foot curb radii at both ends.
3.
At the corners of parking lots, planted in corner islands, which is the area defined by the extension of the edges of intersecting parking modules.
4.
Between parking lots and abutting properties, except in areas where:
a.
The area between the parking lot and the abutting property is occupied by an access point to the lot or tract proposed for development; or
b.
Another type of bufferyard is required (e.g., a district bufferyard or a bufferyard required for a conditional or limited use).
5.
Between parking lots and streets, except in areas where:
a.
The area between the parking lot and the street is occupied by an access point to the lot or tract proposed for development; or
b.
Another type of bufferyard is required (e.g., a district bufferyard or a bufferyard required for a conditional or limited use).
C.
Planting Requirements. Parking lot landscape areas shall be provided at an interval of one island for every 30 parking spaces, or fraction thereof, planted as follows:
1.
Each interior and endcap island shall be planted with a minimum of:
a.
One large tree or two small trees; and
b.
Groundcover, which may be sod, ornamental grasses, mulch, or perennial or seasonal plantings, or shrubs spaced in accordance with common horticulture practices, with the remaining area in groundcover.
2.
Each parking lot corner shall be planted with two large trees or five small trees spaced in accordance with common horticulture practices, with the remaining area in groundcover.
3.
Each bufferyard between a parking lot and an abutting property or between a parking lot and a street shall be planted with a minimum of one tree for every 500 square feet of bufferyard, spaced in accordance with common horticulture practices. All remaining ground surface areas shall be groundcover, which may include sod, ornamental grasses, mulch, or perennial or seasonal plantings.
Exception. Where another type of bufferyard is required (e.g., a district bufferyard or a bufferyard required for a conditional or limited use) plantings shall be in accordance with said bufferyard planting requirements.
D.
Protection of Planting Areas. Planting areas shall be protected by wheel stops or six-inch curbs. Curbs may be punctuated to allow for storm water flows into biological treatment areas, as applicable, pursuant to an approved drainage plan, provided that the punctuations do not interfere with their protective function.
A.
Generally. Street trees shall be planted according to the standards of Subsection B., below, in the following circumstances:
1.
Along street rights-of-way in the Suburban Commercial (SC) and Business Park (BP) districts (except where the street is an existing street without room for the installation of street trees); and
2.
Along both sides of new streets in planned developments (see Table 11-602.01., Residential Development Standards).
B.
Spacing. Street trees shall be spaced 60 feet on center between the sidewalk and either back of curb or edge of pavement, but shall not be installed in locations that interfere with required sight distance triangles (see Subsection 11-713.05., Sight Distance Requirements). Special plantings may be clustered if it is demonstrated that the cluster arrangement will not negatively affect the long-term health of the clustered trees.
C.
Tree Selection. All trees planted within parkways shall be large trees with single-stemmed trunks, branched no lower than six feet above grade (for visibility purposes).
D.
Substitution of Large Trees. Small trees may be substituted for large trees in locations where building setbacks or build-to lines would create conflicts between buildings and large trees, or where overhead utilities require trees with a mature height that is less than the elevation of the power lines. However, if such substitutions are made, then:
1.
Small trees shall be:
a.
Clustered in groups of three; or
b.
Spaced at intervals of 20 feet on center.
2.
If used, small trees shall be selected which will fit within the street tree lawn without interfering with the street or sidewalk right-of-way.
A.
Generally. Bufferyards are based on the amount of screening they provide, which are classified from less screening (type A) to more screening (type D).
B.
Bufferyard Types. There are four types of bufferyards, each of which vary in width and the numbers and types of plants required per 100 linear feet, or portion thereof. The minimum planting requirements for each type and composition of bufferyard are set out in Table 11-815.01., Bufferyard Classifications, except that bufferyards for corridors is set out in Subsection 11-815.04., Corridor Bufferyards.
C.
Composition of Bufferyards. Bufferyards may be classified as:
1.
Structural bufferyards, which include the use of a wall or a fence to achieve the required level of screening; and
2.
Natural bufferyards, which include the use of an earthen berm and a higher density of plant materials to achieve the required level of screening.
D.
Bufferyard Locations. Bufferyards are required in three locations:
1.
Between districts and between residential and nonresidential uses within a particular district;
2.
Along street and railroad rights-of-way; and
3.
Around parking and vehicular use areas.
E.
Use of Bufferyards in Certain Locations.
1.
Between Districts. Structural bufferyards are the preferred composition along a district boundary that is not a street, or where there is a specific privacy or security need that requires a wall or fence.
2.
Between Residential and Nonresidential Uses. Structural or natural bufferyards may be used between residential and nonresidential uses within a particular district, depending on the use types and intensities and the desired compatibility, privacy, and/or security.
3.
Along Street Rights-of-Way.
a.
Natural bufferyards are the preferred composition along collector and arterial streets.
b.
For multifamily and single-family attached development, the rear walls of detached garages that are located at the perimeter of vehicular use areas may be used as a bufferyard structure (in lieu of a wall or fence) along arterial streets, provided that:
1.
The garage building(s) are set back a distance at least equal to the required width of the bufferyard, and if set back further, the area between the garage and the required bufferyard boundary is landscaped with a type A bufferyard;
2.
The wall is not taller than six feet from the adjacent grade to the underside of the eave; and
3.
The garage has a pitched roof that slopes down towards the street and the height of the garage building is not greater than 16 feet to the peak of the roof.
(Ord. No. 5642, § 1, 6-13-23)
A.
Generally. Set out in Table 11-815.02., District Bufferyard Standards, is the classification of bufferyards that is required between districts that are not separated by a public street.
B.
Interpretation of Table. The table is a matrix in which all districts are shown. Rows show the zoning of the lot or tract proposed for development, and columns show the zoning of the adjoining land. Two letters are shown for each condition. The bufferyard required for the proposed use is listed first. The letter listed second is the buffer that is required on the adjoining property. Where "-" is found there is no bufferyard required.
C.
Existing Adjacent Development without Bufferyards. Where the adjoining property is an existing single-family attached, single-family detached, manufactured housing residential property, or mobile home park or mobile home subdivision, or neighborhood that does not have the required bufferyard, the proposed multifamily, mixed use, or nonresidential development shall provide a bufferyard of the next higher classification than the greater screening of the two bufferyards required (e.g., if the requirement is C/A, then the screening of the lot or tract proposed for development must install a type D bufferyard).
D.
Relationship to Other Bufferyard Requirements. Some limited or conditional uses have different requirements for bufferyards, as specified in Section 11-504, Limited and Conditional Uses. If bufferyards are required by another section of this UDC along property boundaries that are also district boundaries, then the greater bufferyard requirement shall supersede the lesser one (only one bufferyard is required).
(Ord. No. 5642, § 1, 6-13-23)
A.
Generally. Existing trees, fences, and walls may be counted towards the bufferyard requirements, provided that the trees are in good health and the fences or walls are structurally sound, in good repair, and of an upright condition.
B.
Existing Landscaping Credit. Credit shall be given for existing trees that are located within bufferyards according to the standards of Subsection 11-813.02., Credit for Existing Trees.
C.
Existing Fences and Walls. If a fence or wall is the preferred bufferyard and there is already a fence or wall on the property line, then the city may waive the fence or wall requirement, provided:
1.
The zoning administrator, or an appointee, verifies that the existing fence or wall is structurally sound, in good repair, and of an upright condition;
2.
The height and level of screening of the fence or wall meets the intent of this subsection with regard to buffering;
3.
The applicant records an agreement with the city that includes appropriate assurances that if the existing fence or wall deteriorates, or is damaged, destroyed, or removed, the applicant will cause it to be repaired or replaced with a fence or wall that meets the bufferyard standards of this subsection, as well as the requirements and standards of Subsection 11-614.02., Fences and Walls, or Subsection 11-615.02., Fences and Walls, as applicable; and
4.
The applicant's final plat or, if no plat is required, development approval, includes an annotation regarding the applicant's responsibilities under the agreement required by Subsection C.3., above.
A.
Generally. Set out in Table 11-815.04., Bufferyard Requirements for Corridors, is the bufferyard standards of any development adjacent to arterial, collector, and local streets (for bufferyard types, see Table 11-815.01., Bufferyard Classifications).
B.
Existing Landscaping Credit. Credit shall be given for existing trees that are located within the corridor bufferyard according to the standards of Subsection 11-813.02., Credit for Existing Trees.
C.
Relationship to Other Bufferyard Requirements. Some limited or conditional uses have different requirements for corridor bufferyards, as specified in Section 11-504, Limited and Conditional Uses. If bufferyards are required by another section of this UDC along corridor rights-of-way, then the greater bufferyard requirement shall supersede the lesser one (only one bufferyard is required).
In addition to the other requirements of this subsection, the following rules apply to the installation of plants.
A.
Distance from Utilities.
1.
No large trees shall be planted under or within 10 lateral feet of any overhead utility lines.
2.
No trees, except street tree species that are approved by the director of public works, shall be planted over or within five lateral feet of any underground water line, sewer line, transmission line, or other utility line, or as required by the owner of the utility or the requirements of the easement.
B.
Sight Distance Triangles. Trees shall not be installed in locations where there is a substantial likelihood that the mature form of the tree may be compromised in order to maintain sight distance triangles. See Subsection 11-713.05., Sight Distance Requirements.
The purpose of this section is to provide for visual shielding or obscuring of an abutting or nearby use or structure from another by fencing, walls, berms, or densely planted vegetation.
A.
Generally. Dumpsters and community recycling bins may be provided for single-family attached residential development. Dumpsters shall be provided for multifamily residential, nonresidential, and mixed use development for solid waste collection services. Such dumpsters and community recycling bins are subject to the standards of this section.
B.
Standards for Dumpsters.
1.
The facilities shall be located no more than 300 feet (walking distance) from the individual uses that they are intended to serve;
2.
Access to the facilities shall be configured to meet the requirements of the refuse hauler and approved by the city. Access shall be provided from an alley if an alley exists;
3.
The areas where dumpsters are stored shall be fully enclosed by an opaque wall with a minimum height of six feet constructed of brick, stone, or stucco-finished concrete block to match the principal building;
4.
The enclosure(s) shall:
a.
Have opaque metal service gates which remain closed at all times except when the dumpster is being serviced;
b.
Include separate, opaque metal pedestrian access gates or a pedestrian access opening that screens the dumpster from view;
c.
Be large enough to accommodate:
1.
One or more dumpsters that are of sufficient size to serve the development, based on the frequency of solid waste collection; and
2.
One or more recycling bins (whether provided at the time of development or not), based on the anticipated generation of recyclable materials and the frequency of collection.
d.
Provide for adequate access, turning radii, and maneuvering space to accommodate the refuse trucks, subject to approval of the zoning administrator;
5.
The facilities shall be located in a side or rear yard of the lot or tract proposed for development, unless it is not possible to provide service access in such locations; and
6.
If an enclosure must be located in a front yard to meet the requirements of the refuse service provider, it shall be designated and constructed with the same cladding materials used for the principal building walls.
C.
Standards for Community Recycling Bins.
1.
Community recycling bins may be made available for use by the general public;
2.
Community recycling bins may be located:
a.
In loading or service areas that are at least 50 feet from property lines or screened from public view and abutting uses by a six foot tall masonry wall (which may be a part of a bufferyard); or
b.
In a dumpster enclosure (see Subsection B, above);
3.
Community recycling bins shall be constructed of a durable waterproof and rustproof material;
4.
Community recycling bins shall be clearly marked to identify the type of material to be deposited and the identity, address, and phone number of the operator; and
5.
Community recycling bins shall be maintained at all times in a clean, litter-free condition.
A.
Generally. All boundaries of open space, whether for resource protection or other purposes, shall be identified as out-lots on a site plan with specific identification. Open spaces that are delineated in order to protect natural resources or to be otherwise left in a natural state shall have their boundaries with lots or rights-of-way identified with signs, which shall be approved with the subdivision plat or site plan.
B.
Identification of Open Space Area. The sign shall identify the open space area, the entity dedicating or preserving the area, and the date the area was designated for preservation.
A.
Purpose. The purpose of these regulations is to provide standards for communicating information in the environment of the city and its extraterritorial jurisdiction. The regulations recognize the need to:
1.
Protect public health, safety, and welfare;
2.
Maintain the city's attractive appearance;
3.
Provide for adequate business identification, advertising, and communication of information; and
4.
Encourage the fair enforcement of sign regulations.
B.
Authority. The city has the authority to regulate signs under the United States Constitution. This section advances important and substantial governmental interests. The regulations set out in this section are unrelated to the suppression of constitutionally-protected free expression and do not involve the content of protected messages which may be displayed on signs, nor do they involve the viewpoint of individual speakers. The incidental restriction on the freedom of speech is no greater than is essential to the furtherance of the interests protected by this section. Certain types of speech are not protected by the First Amendment due to the harm that they cause to individuals or the community, and speech that is harmful to minors may be prohibited in places that are accessible to minors.
C.
General Findings of Fact and Objectives.
1.
The ability to display signs of reasonable size and dimensions is vital to the health and sustainability of many businesses, and the display of signs with noncommercial messages is a traditional component of the freedom of speech;
2.
The city has an important and substantial interest in preventing a proliferation of signs because a proliferation of signs distracts motorists causing a hazard to traffic safety, degrades the character of the community, makes the community a less attractive place for commerce and private investment, and dilutes all the messages displayed along the city's streets by creating visual confusion and aesthetic blight;
3.
A proliferation of signs can be prevented by regulations that balance the legitimate needs of individual property owners to convey their commercial and noncommercial messages against the comparable needs of adjacent and nearby property owners and the interest of the community in safeguarding life, health, property and public welfare, as well as providing for a high quality community character;
4.
Signs that are not constructed of weather-resistant materials are often damaged or destroyed by wind, rain, and sun, and after such damage or destruction, degrade the aesthetics of the city's commercial corridors;
5.
The city has an important and substantial interest in keeping its rights-of-way clear of obstructions and litter; and
6.
The use of outdoor advertising signs and their location, density, size, shape, motion, illumination, and demand for attention can be injurious to the purposes of this section, and destructive to community character and property values, and that, as such, restrictions on outdoor advertising signs are necessary and desirable.
A.
Generally. All construction, relocation, enlargement, alteration, and modification of signs within the city and extraterritorial jurisdiction shall conform to the requirements of this section, all state and federal regulations concerning signs and advertising, and applicable building and electrical codes as adopted by this city, as amended from time to time. Approval of a sign shall be by sign permit.
1.
Unless specifically exempted, a permit must be obtained from the code official for the erection, alteration, modification and maintenance of all signs erected, altered, modified or maintained within this jurisdiction and in accordance with other ordinances of this jurisdiction. Exemptions from the necessity of securing a permit, however, shall not be construed to relieve the owner of the sign involved from responsibility for its erection and maintenance in a safe manner and in a manner in accordance with all the other provisions of these regulations.
2.
Before any permit is granted for the erection of a sign or sign structure requiring such permit, construction documents shall be filed with the code official showing the dimensions, materials and required details of construction, including loads, stresses, anchorage and any other pertinent data. The permit application shall be accompanied by the written consent of the owner or lessee of the premises upon which the sign is to be erected and by engineering calculations signed and sealed by a registered design professional where required by the International Building Code.
3.
No sign shall be structurally altered, enlarged or relocated except in conformity to the provisions herein, nor until a property permit, if required, has been secured. The changing or maintenance of movable parts or components of an approved sign that is designed for such changes, or the changing of copy, business names, lettering, sign faces, colors, display and/or graphic matter, or the content of any sign shall not be deemed a structural alteration.
4.
Permit fees to erect, alter or relocate a sign shall be in accordance with the fee schedule adopted within this jurisdiction.
B.
Exempt Signs. The following are exempt from the application of this section, but may be subject to building or electrical codes or other provisions of this UDC if they involve structures or equipment that are regulated by such ordinances or other sections:
1.
Any public purpose/safety sign and any other notice or warning required by a valid and applicable federal, state, or local law, regulation, or resolution;
2.
Works of art that do not include a commercial message.
3.
Signs that are not visible from a public roadway and not intended to be visible to and readable from the public way or from adjacent property;
4.
Incidental building markers, provided they are less than two square feet in area, containing no commercial message;
5.
Religious and other holiday lights and decorations, containing no commercial message, and displayed only during the appropriate time of year;
6.
Flags of the United States, the state, foreign nations having diplomatic relations with the United States, and any other flag adopted or sanctioned by an elected legislative body of competent jurisdiction. These flags must be flown in accordance with protocol established by the Congress of the United States for the Stars and Stripes. Any flag not meeting these conditions shall be considered a sign and shall be subject to regulations as such.
7.
Freestanding/portable signs provided they meet all of the freestanding/portable sign regulations set forth in either Table 11-826.01.01. Permissible Temporary Sign Types, or Table 11-826.01.02. Permissible Temporary Sign Types.
C.
Signs Permitted Before Effective Date. If a permit for a sign was issued in accordance with all city ordinances in effect prior to the effective date of these regulations, and provided that construction began within six months of the effective date and diligently proceeded to completion, said sign may be completed in accordance with the approved plans on the basis of which the permit was issued, subject thereafter, if applicable, to the provisions of this UDC regarding nonconforming signs (see Subsection 11-323.07., Signs, and Subsection 11-324.01., Termination, Restoration, and Removal).
A.
Generally. The regulations of this section shall be applied using the measurements set out in this subsection.
B.
Clearance. Clearance is the distance between the bottom of a sign and the nearest point on the surface under it. See Figure 11-823.01.01., Sign Clearance.
C.
Sign Height.
1.
Generally. Sign height is the distance from the lowest adjacent grade to the top of the sign or sign structure, whichever is higher.
2.
Freestanding Signs. The height of freestanding signs is measured as provide in Subsection C.1., above, unless 1) the surface under the sign is lower than the centerline of the abutting street, or 2) the sign is constructed on a graded earthen mound or berm higher than the centerline of the abutting street, in which case the height is measured from the elevation of the centerline of the abutting street to the top of the sign or sign structure, whichever is higher. See Figure 11-823.01.02, Monument Sign Height.
A.
Generally. The calculations required by the regulations of this section shall be according to the methodologies of this subsection.
B.
Setback. The setback of a sign is measured from the property line to the line projected to the ground plane of the nearest portion of the sign.
C.
Sign Area. Sign area is calculated by computing the entire area of the smallest, square, circle, rectangle, or triangle that encompasses the outer limits of the sign face, including any open areas within the sign face or faces individually. The area excludes the structure upon which the sign is placed (unless the structure is an integral part of the display or used to differentiate it). When the signage consists of individual letters, comprising individual words on a building, the area is calculated by computing the smallest square, circle, rectangle, or triangle that will encompass each word, logo, or symbol. See Figure 11-823.02.01., Sign Area, Generally, below. For projecting or double-faced signs (see Figure 11-823.02.02., Sign Area, Illustration of Double-Faced Signs, below), only one display face is measured in computing sign area where the sign faces are parallel, or where the interior angle formed by the faces is 60 degrees or less, provided that the signs are mounted on the same structure. If the two faces of a double-faced sign are of unequal area, the area of the sign shall be taken as the area of the larger face.
A.
Generally. The guidelines set out in this subsection address issues related to sign compatibility, legibility, placement, and illumination. They are intended to complement the standards of Section 11-820, Signs, and to guide design decisions so as to result in quality visual environs.
B.
Compatibility. Signs that are well-designed are those that complement rather than detract from a building's architecture. Generally, all signs must be designed in a manner so as to be compatible with the building and property for which they are attached or located.
1.
Quality Design and Materials. Signs should contribute positively to the streetscape aesthetic and the character of development.
2.
Proportional Size and Scale. The scale of a sign relative to the building and other site improvements should be appropriate for the building on which it is place and the area where it is located.
3.
Integrated Signs. Signs should be designed as an integrated element of the building whereby its materials, colors, and shapes complement the building architecture. New signs proposed for existing multi-tenant buildings should be compatible in size, scale, and type with the existing signage of other tenants.
C.
Legibility. A sign that is effective in conveying its message should be designed to communicate its message clearly. To a large degree, this is accomplished by the readability of words and phrases. The most significant influence on legibility is lettering style and spacing. Legible signs tend to:
1.
Use a brief message as it is less cluttered and easier to read.
2.
Use common typefaces.
3.
Limit the number of lettering styles to no more than two for most signs.
4.
Occupy no less than 50 percent and no more than 75 percent of the sign area.
5.
Use recognizable symbols and logos.
6.
Use regular shapes.
7.
Use substantially contrasting colors and materials between the background and the letter or symbols.
D.
Placement. The placement of signs on buildings should be clearly visible and in logical locations where most patrons would expect to see a sign. Appropriate sign locations are as follows:
1.
Respect Building Architecture. Signs should align to and be compatible with the architectural details of the building's facade.
2.
Create Visual Interest. On buildings that have a monolithic or plain facade, signs can be used to established or continue appropriate design rhythm, scale, and proportion. Well-designed signs create visual interest and continuity with other storefronts on the same or adjacent buildings.
3.
Place within Structural Boundaries. Signs should not project above the edge of the roof lines or building walls.
4.
Mark Main Building Entries. Signs should be placed at or near the main entrance to a building or parking area to indicate that most direct access to the business.
E.
Illumination. Well-designed signs are appropriately illuminated with careful consideration as to the type and strength of illumination.
1.
Use Illumination Only as Necessary. Not all signs warrant illumination. In fact, non-illuminated signs and window displays may be sufficient to identify many businesses.
2.
Use a Projected Light Source. Illumination by a projected light, such as an indirect spotlight or gooseneck down light, is preferred to internal illumination. External lighting fixtures should be small and unobtrusive and should not cast light or glare above the horizontal plane of the top of the sign.
3.
Shield the Light Source. The light source, whether internal or external, should be shielded from view or directed so that the light intensity or brightness is not objectionable to surrounding areas. Signs should feature the minimum level required for nighttime readability.
4.
Illuminated Signs. Individual illuminated letters, either internally illuminated or backlit (halo lit) solid letters (reverse channel) are preferred. Signs comprised of individual letters mounted directly on a structure can often use a distinctive element of the structure's facade as a backdrop better integrating them with the structure.
5.
Neon Lighting. Generally, neon lighting is discouraged. Where artistically appropriate exposed neon tubing may be used in conjunction with other types of materials to attractively emphasize the business name and/or logo.
6.
Sign Electrical Raceways and Conduits:
a.
Electrical transformer boxes and raceways should be concealed from public view. If a raceway cannot be mounted internally behind the finished exterior wall, the exposed metal surfaces of the raceway should be finished to match the background wall or integrated into the overall sign design.
b.
If raceways are necessary, they should be as thin and narrow as possible and should never extend in width or height beyond the area of the sign's lettering or graphics.
A.
Generally. This subsection identifies signs and sign elements that are not allowed anywhere in the city.
B.
Prohibited Signs. The following signs are prohibited in all areas of the city:
1.
Signs that are a traffic hazard because they simulate or imitate (in size, color, lettering, or design) any traffic sign or signal, or signs located in such a manner as to obstruct or otherwise interfere with a drivers view of approaching, merging or intersecting traffic.
2.
Except as provided for elsewhere in this code, signs encroaching upon or overhanging public right-of-way. No sign shall be attached to any utility pole, light standard, street tree or any other public facility located within the public right-of-way.
3.
Animated or moving signs that are visible from public rights-of-way, including any moving, swinging, rotation, flashing, blinking, scintillating, fluctuating, or otherwise (except as allowed in Subsection 11-825.04., Changeable Copy Message Centers).
4.
Portable signs except as allowed for temporary signs.
5.
Signs attached to or placed on a vehicle or trailer parked on public or private property except for signs meeting the following conditions;
a.
The primary purpose of such a vehicle or trailer is not the display of signs.
b.
The signs are magnetic, decals or painted upon an integral part of the vehicle or equipment as originally design by the manufacturer, and do not break the silhouette of the vehicle.
c.
The vehicle or trailer is in operating condition, currently registered and licensed to operate on public streets when applicable, and actively used or available for use in the daily function of the business to which such signs relate.
d.
Vehicles and trailers are not used primarily as static displays, advertising a product or service, nor utilized as storage, shelter or distribution points for commercial products or services for the general public.
6.
Signs which contain or consist of balloons (including signs which are inflatable or may otherwise be inflated), posters, pennants, ribbons, streamers, spinners, or other similarly moving devices. These devices when not part of any sign shall also be prohibited.
7.
Off premise signs, except as allowed in 11-825.05.
8.
Outdoor advertising signs, except as allowed in 11-825.05.
9.
All other signs not expressly permitted herein.
(Ord. No. 5657, § 1, 11-14-22)
A.
Prohibited Obstructions. In no event shall a sign, whether temporary or permanent, obstruct:
1.
Building ingress or egress, including doors, egress windows, and fire escapes.
2.
Features of the building or site that are necessary for public safety, including standpipes and fire hydrants.
3.
Sight distance triangles that are required by Subsection 11-713.05., Sight Distance Requirements.
B.
Prohibited Mounts. No sign, whether temporary or permanent, shall be posted, installed, or mounted on any of the following location:
1.
Trees or shrubs.
2.
Utility poles.
3.
On utility cabinets, except signs posted by the utility that are necessary for public safety or identification of the facility by the utility provider.
C.
Prohibited Locations. In addition to the setback requirements, and other restrictions, no sign shall be located in any of the following locations:
1.
In or over public rights-of-way, except:
a.
Traffic control signs installed by a governmental entity or which are required to be installed by a governmental entity (e.g., permanent traffic control devices such as stop, yield, and speed limit signs, as well as temporary signs related to street construction or repair);
b.
Signs in the Downtown Commercial (DC) district;
c.
Signs posted by governmental entities that support emergency management, such as way-finding to disaster relief locations; and
d.
Way-finding signage where reviewed and approved by the city council as part of a way-finding signage plan that implements an adopted community identity program.
2.
In locations that have less horizontal or vertical clearance from authorized communication or energized electrical power lines than that prescribed by the laws of the state of Nebraska and the regulations duly promulgated by agencies thereof.
3.
Within easements for access, drainage, or utilities.
A.
Generally. Signs shall be internally illuminated or, if external illumination is used, the source of illumination shall be shielded.
B.
Shielding of Light Source/Prevention of Glare. The source of light shall be oriented or otherwise controlled to prevent glare toward any party of an existing residence, a residential area or district, or a public street or highway.
C.
Color. External illumination shall be in white light only.
D.
Code Compliance. Illuminated signs shall be constructed in accordance with all applicable building and electrical codes.
E.
Sign Illumination. Signs shall not exceed the illumination levels set out in Table 11-824.04., Maximum Sign Illumination Standards.
F.
Electrical Service. Signs may not be served by overhead electrical service.
A.
Generally. Signs and sign structures of all types (attached, detached, and temporary) shall be maintained as provided in this subsection. Signs shall be maintained in a good state of repair, including but not limited to, the structural components, the lighting, if any, the portion attaching the sign to the ground or structure, and the surface features.
B.
Message. Signs shall display messages. Signs that do not display a message for a period of more than 90 days shall be considered abandoned. See Subsection 11-324.01., Termination, Restoration, and Removal.
C.
Paint and Finishes. Paint and other finishes shall be maintained in good condition. Peeling finishes shall be repaired. Signs with running colors shall be repainted, repaired, or removed if the running colors were not part of the original design.
D.
Mineral Deposits and Stains. Mineral deposits and stains shall be promptly removed.
E.
Corrosion and Rust. Permanent signs and sign structures shall be finished and maintained to prevent corrosion and rust. A patina on copper elements is not considered rust.
F.
Level position. Signs that are designed to be level, whether temporary or permanent, shall be installed and maintained in a level position. See Figure 11-824.05., Level Position.
A.
Generally. There are many forms of attached signs. This subsection sets out which forms of attached signs are allowed in each district and the standards that apply to them. Attached signs that are not listed in either Table 11-825.01.01., Permissible Attached Sign Types, or Table 11-825.01.02, Permissible Attached Sign Types, are not allowed.
B.
Rural, Residential, Campus/University, and Parks and Open Space Districts.
1.
The standards of Table 11-825.01.01., Permissible Attached Sign Types, apply to rural, residential including multifamily, mixed-uses including campuses and universities, and nonresidential uses including parks and open space in the districts that are set out in the table.
2.
Attached signs are not allowed for home occupations or home based businesses, except for required address signs.
C.
Nonresidential Districts. The standards of Table 11-825.01.02., Permissible Attached Sign Types, apply to the districts that are set out in the table.
(Ord. No. 5483, § 1, 1-29-19)
A.
Generally. This subsection sets out which forms of detached signs are allowed in each district, and the size and height standards that apply to them. Detached signs that are not listed in Table 11-825.02.01., Permissible Detached Sign Types, are not allowed.
B.
Design and Materials of Freestanding Signs. All freestanding signs shall be designed and constructed to substantially appear as a solid mass, such as cylinder, block, rectangle, or square, from ground level to the highest portion of the sign. All freestanding signs must be made of masonry, stucco, metal, routed wood planks or beams, or durable plastic.
C.
Required Setbacks. All detached signs shall be set back at least five feet from all property lines.
D.
Identification Signs for Multi-Tenant Center or Buildings. A multi-tenant center or multi-occupancy development complex such as shopping centers or planned industrial parks, may include, in addition to or as an attachment to an otherwise permissible freestanding sign, identification of the center or complex, provided that:
1.
No such identification sign, when considered independent of any other permissible freestanding sign (i.e. no business identification being included), may exceed the area allowance for freestanding signs as set forth in Table 11-825.02.02. Permissible Detached Sign Types;
2.
No such identification sign, when attached to any otherwise permissible freestanding sign, may exceed 20 percent of the sign area of the freestanding sign to which it is attached (identification signage shall be considered signage in addition to the maximum signage allowed per freestanding sign); and
3.
Any such sign must conform to the character, materials, and type of the identifying sign to which it is attached.
E.
In all zoning districts on-premises temporary construction signs or banners with a sign area less than or equal to 32 square feet may be erected, provided that only one such sign may be permitted along any street frontage up to 200 feet and two signs may be permitted on sites with more than 201 feet of frontage. Such signs may remain in place during the construction of a building.
(Ord. No. 5657, § 1, 11-14-22; Ord. No. 5702, § 1(Att. A), 12-30-24)
A.
Generally. Downtown is the symbolic center of the community, which is conducive to a pedestrian environment. Signs help to convey an image and communicate a message of businesses, which also contribute significantly to the character and visual harmony of Downtown Fremont. Therefore, signs in Downtown must be pedestrian-scaled and be of an artistic quality and creative design to reinforce the aesthetic and historic integrity of the area. The standards set out in this subsection are to implement this vision. The appropriate types of signs in the DC district are set out below and illustrated in Figure 11-825.03., Downtown Commercial (CD) District Signage.
B.
Attached Signage. The standards for attached signs set out in Table 11-825.01.02, Permissible Attached Sign Types, are applicable in the DC district.
C.
Detached Signage. The standards for detached signs set out in Table 11-825.02.02., Permissible Detached Sign Types, are applicable in the DC district.
D.
Temporary Signage. The standards for temporary signs set out in Table 11-826.01.02., Permissible Temporary Sign Types, are applicable in the DC district.
E.
The planning commission may recommend and the city council may increase the size of a projecting sign if it can be shown that the proposed sign is of a pedestrian scale and enhances the downtown district.
(Ord. No. 5483, § 1, 1-29-19)
A.
Generally. Manual and electrically activated changeable copy message centers may be used in freestanding signs and marquee signs to a limited degree, pursuant to the applicable standards of this subsection.
B.
Removal of Portable Changeable Copy Message Centers. If a permanent changeable copy message center is incorporated into a new or existing sign, then all portable changeable copy message centers shall be removed from the property upon completion of the new or modified sign as a condition of the sign permit.
C.
Electrically Activated Changeable Copy Message Centers. Electrically activated changeable copy message centers may be incorporated into signage as follows:
1.
Design Requirements.
a.
Electrically activated changeable copy message centers are only permitted on freestanding signs or marquee signs which enclose the electrically activated changeable copy message center component on all sides with a finish of brick, stone, stucco, or sign face that extends not less than six inches from the electrically activated changeable copy message center component in all directions.
b.
Electrically activated changeable copy message center components shall make up not more than 25 percent of the sign area of a freestanding sign or 40 percent of the sign area of a marquee sign. The balance of the sign area shall utilize permanent, dimensional letters or symbols.
c.
No sign structure that includes a cabinet, box, or manual changeable copy message center may also include an electronically activated changeable copy message center. See Figure 11-824.06.01., Electrically Activated Changeable Copy Message Center Design Requirements, below.
2.
Operational Requirements. Electrically activated changeable copy message centers:
a.
Shall contain static messages only;
b.
Shall display messages for a period of not less than one minute;
c.
Shall not use transitions or frame effects between messages; and
d.
Shall include an automatic dimmer that dims the sign at dusk or low-light conditions.
D.
Manual Changeable Copy Message Centers. Manual changeable copy message centers may be incorporated into signage as follows:
1.
Manual changeable copy message centers are only permitted on freestanding signs or marquee signs which enclose the manual changeable copy message center component on all sides with a finish of brick, stone, stucco, or sign face that extends not less than six inches from the manual changeable copy message center component in all directions.
2.
Manual changeable copy message centers, including their frames, shall make up not more than 50 percent of the sign area. The balance of the sign area shall utilize permanent, dimensional letters or symbols. See Figure 11-824.06.02., Manual Changeable Copy Message Centers, below.
A.
Generally. This subsection sets out the location and districts in which off-premises electronic changeable message (ECM) advertising signs may be permitted, and the size and height standards that apply to them. New static off-premises advertising signs shall not be not permitted except as provided in 11-825.04.H.
B.
Corridor. Off-Premises ECM signs with one sign face facing each direction may be permitted by Conditional Use Permit in the following areas:
1.
The edge of the ECM off-premises advertising sign closest to the right-of-way shall be within one-hundred (100) feet of the following corridors: Highway 77 south of Inglewood; the north side of the Highway 77 south by-pass; on any side of the intersection of Highway 77 and Highway 30/275; Highway 77 north of Highway 30/275; or on any side of the intersection of Highway 275 and Highway 30 (23rd St).
a.
Sign-faces shall not be greater than fourteen (14) feet tall by forty-eight (48) feet wide.
b.
The total height of the sign and structure shall not exceed forty-five (45) feet from the ground.
c.
ECM off-premises advertising sign-faces facing the same direction in the corridor shall be at least five thousand (5,000) feet apart.
d.
An existing static off-premises advertising sign within the permitted area described in 11-825.04.B.1 may be modified or replaced in the same general location with one ECM sign face on one side and the other side may contain an equal size static face. No other new static faces would be permitted.
e.
There shall not be more than two sign-faces per pole, each facing in an opposite direction.
2.
Off-premises ECM advertising signs with one ECM sign-face in each direction may be permitted by Conditional Use Permit along the 23rd Street corridor between Seaton Street and Highway 275 and along the N. Broad Street corridor north of 23rd Street under the following conditions:
a.
The sign-face shall be a minimum of six thousand (6,000) feet from another EMC off-premises sign facing the same direction;
b.
The permittee shall remove four (4) existing static sign-faces and their support structures from within the city limits;
c.
The maximum height of the signs along these corridors shall be thirty-five (35) feet;
d.
There shall not be more than two ECM sign-faces per pole, each facing in an opposite direction.
e.
The size of the sign-face shall be no greater than 10'6" by 36'.
C.
Additional Standards.
1.
The underlying property shall be zoned LI, Light Industrial; GI, General Industrial; PA, Port Authority; or GC, General Commercial.
2.
ECM off-premises advertising signs shall be mounted on a monopole structure constructed of tubular steel.
3.
ECM sign-faces shall be self-dimming, oriented toward the roadway and oriented away from any residential uses.
4.
ECM off-premises signs shall meet all federal, state and local regulations.
5.
All ECM off-premises advertising signs shall conform to the requirements of Chapter 3 Section 002.05D of Title 410, Nebraska Administrative Code.
6.
Signs shall not be placed within one hundred (100) feet from property that contains a residential use or is zoned for residential use.
(Ord. No. 5657, § 1, 11-14-22)
A.
Generally. This subsection sets out which forms of temporary signs are allowed in each district, and the size and height standards that apply to them. Sign types that are not listed in Table 15-626.01., Permissible Freestanding Temporary Sign Types, are not permitted as temporary signs.
B.
Residential Districts. Temporary signs for campaign purposes may be located on private property or in the area between the sidewalk and the curb provided said signs are at least two feet (2') back of the curb and does not obstruct traffic. Said signs may be in place for up to sixty (60) days prior to an election. The City Council may by resolution grant a variance to the provisions stated above to permit temporary signs at a construction site to be larger in area and in place for a longer duration than specified above.
C.
Commercial and Industrial Districts. Temporary signs for campaign purposes which are under nine (9) square feet in area may be erected on private property or in the area between the sidewalk and the curb provided said signs are at least two feet (2') back of the curb and do not obstruct traffic. Said signs may be in place for up to sixty (60) days prior to an election.
Temporary signs for campaign purposes over nine (9) square feet in area and under thirty two (32) square feet in area maybe located on private property if located so as not to obstruct traffic and for a period of time not to exceed sixty (60) days prior to an election.
D.
Temporary Signs for all other purposes shall be set back at least two feet from all property lines.
(Ord. No. 5465, 8-28-18)
A.
Generally.
1.
Purpose. The requirements of Section 11-820, Signs, ensure that signs that meet certain minimum standards that are consistent with the character and quality of development in Fremont may be quickly approved and displayed. For some development, alternative standards may contribute to the aesthetic qualities of the development. Approval of a sign plan pursuant to the standards of this section allows for unified presentation of signage throughout a lot or tract for development, flexibility to provide for unique environments, and pre-approval of designs and design elements to make subsequent applications for sign permits more efficient. To this end, a sign plan alternative is created.
2.
Approval Criteria. The planning commission may approve a sign plan if it results in a substantially improved, comprehensive, and unified proposal compared to what is allowed through strict compliance with the sign regulations of this section. The zoning administrator shall review all sign types (e.g., attached, detached, temporary, etc.) for the lots or tracts proposed for development, to determine the degree of compliance with this section, and shall report to the planning commission with regard to the degree of deviation from these standards that is sought by the applicant. The degree of deviation sought by the applicant shall be measured against the degree of compliance with the standards of this section.
3.
Conditions of Approval. The planning commission may impose reasonable conditions on the sign plan that are not related to the content of the signs or the viewpoints of the sign users, in order to ensure continuing compliance with the standards of this section and approved sign design programs.
B.
Contents of Sign Plan. A sign plan shall set out a master plan for signage for the lots or tracts proposed for development. For example, shopping center sign plan shall include all tenants and lots; and office or industrial parks shall include all types of signs for way-finding and tenants or uses within the development. Sign plan shall set out:
1.
Sign locations;
2.
Sign heights and dimensions;
3.
Materials and colors;
4.
Proposed illumination, including illumination levels;
5.
A design theme with illustrative examples of each sign and the proposed locations of each sign; and
6.
A demonstration that the sign plan will improve the aesthetics of the development and will not have an adverse impact on the use, enjoyment, or value of property in adjacent or nearby residential districts or uses.
C.
Effect of Approval. Upon approval of a sign plan, issuance of a sign permit shall be based on compliance with the standards set out in the sign plan for the lot or tracts proposed for development.
A.
Generally. Signage which is proposed as part of a sign plan may deviate from the standards of this section in terms of the types and numbers of signs allowed, the maximum sign area, and materials and illumination standards (including changeable copy message centers), subject to compliance with a sign plan that is approved according to the criteria set out in this subsection.
B.
Prohibited Signs and Sign Elements. Prohibited signs and sign elements are not eligible for inclusion in a sign plan unless specifically indicated in this subsection.
C.
Modification of Sign Setbacks. Setbacks for detached signs may deviate from the requirements of this subsection if it is demonstrated that there is no impact on public safety or utility easements, and all other requirements for approval of a sign plan are met.
D.
Architectural Theme.
1.
All signs shall be architecturally integrated into or complimentary to the design of the building and character of the site, and shall use similar and coordinated design features, materials, and colors. The sign plan shall establish an integrated architectural vocabulary and cohesive theme for the lot or tract proposed for development.
2.
The design, character, location, and/or materials of all detached and attached signs proposed in a sign plan shall be demonstrably more attractive than signs otherwise permitted on the lot or tract proposed for development under the minimum standards of this subsection.
E.
Lighting. Lighting standards shall not deviate from the standards of this subsection.
F.
Height, Area, Number, and Location of Signs.
1.
The height, area, number, and location of signs permitted through the sign plan shall be determined by the planning commission based on the following criteria:
a.
The overall size of the lot or tracts proposed for development and the scale of the use or uses located or anticipated to be located there (larger land areas and scales of use tend to favor larger signs and/or more signs);
b.
Relationship between the building setback and sign location (additional signage may be appropriate for buildings with less visibility, particularly where buffering is providing an aesthetic and/or environmental benefit to the city);
c.
Frontage (larger frontages may justify more or larger signs, particularly, if the size of the frontage tends to prevent sign clutter from multiple adjacent lots or tracts);
d.
Access and visibility to the site;
e.
Intended traffic circulation pattern and the need for way-finding;
f.
Hierarchy of signage;
g.
Relationship between the site and adjacent uses;
h.
The desired function of the site (e.g., an urban center or activity center would tend to include signage that is more urban and more dynamic in character than a strip shopping center); and
i.
Consistency with the objectives and design policies of the comprehensive plan and any applicable sub-area plans.
2.
Additionally, the maximum permitted sign area shall be based on the following formula when evaluated against the above criteria:
a.
The maximum area permitted for attached signage shall range from one percent up to a maximum of six percent of the building facade to which the sign is to be attached.
b.
The maximum total permitted area of all freestanding signs on a lot or tracts proposed for development shall not exceed 10 percent more than the total sign area that would otherwise be permitted by Subsection 11-825.02., Detached Signs.
G.
Community Character. The signage proposed in a sign plan shall not have an adverse impact on the community character of the district in which the lot or tracts proposed for development is located, or of the city.
H.
Property Values. The signage proposed in a sign plan will not have an adverse impact on the value of property in the immediate vicinity of the lot or tracts proposed for development.
I.
Elimination of Nonconforming Signs. If there are existing signs on-site, they shall be brought into conformance with the standards of the approved sign plan.
A.
Purpose. Vehicular use areas and sites are designed and lighted to promote public safety without creating undue light pollution and off-site glare onto either residential or mixed-use property.
B.
Application. All new development, redevelopment, substantial improvements, expansions of existing development, and changes in the use(s) of existing buildings shall provide lighting which promotes public safety without creating undue light pollution and off-site glare onto either residential or mixed-use property.
Maximum illumination for nonresidential lighting standards includes:
A.
Outdoor lighting shall be deflected, shaded, and focused away from adjacent properties and shall not be a nuisance to such adjacent properties.
B.
Outdoor lighting shall be designed so that any trespass of lighting onto adjacent properties shall not exceed three-tenths foot-candles, measured vertically, and three-tenths foot-candles, measured horizontally, on adjacent properties.
C.
The ground-level luminance ratio (the ratio between the luminance of the brightest point on the property and the darkest point on the property) shall not exceed 12 to one.
D.
If additional light is necessary, it shall be provided within an enclosed structure.
E.
Nonresidential property adjacent to residential property shall only allow two-tenths foot-candles light trespass onto the residential property.
F.
Illumination of sidewalks shall not exceed five foot-candles at ground level.
A.
Generally. Light fixtures shall be "full cut-off" designated or "fully shielded" fixtures that limit lighting that is visible or measureable at the property line.
B.
Unshielded Fixtures. Unshielded fixtures may be used only for decorative purposes as provided:
1.
They have luminaires that produce no more than 1,500 lumens (approximately equal to a 100 watt (W) incandescent bulb);
2.
They have a maximum height of 15 feet; and
3.
They use energy-efficient bulbs.
C.
Full Cut-Off and Fully Shielded Fixture Requirements.
1.
Except as otherwise allowed in this section, all lighting (including, but not limited to street, parking lot, security, walkway, and building) shall conform with the Illuminating Engineering Society of North American ("IES") criteria for full cut-off and fully shielded fixtures, which is 100 percent of light output below 90 degrees, and 90 percent of light output below 80 degrees from a vertical line through the fixture.
2.
Lighting fixtures that illuminate landscape plantings, pedestrian walkways, signage, or product display areas shall also conform to the full cut-off and fully shielded fixture requirement.
3.
All lighting fixtures that are mounted within 15 feet of a residential property line or public right-of-way boundary shall be classified as IES Type III or Type F (asymmetric forward throw). These fixtures shall be fitted with a "house side shielding" reflector on the side facing the residential property line or public right-of-way.
4.
Light fixtures used to illuminate flags, statues, or any other objects mounted on a pole, pedestal, or platform shall use a narrow cone beam of light that will not extend beyond the illuminated object.
5.
For upward-directed architectural, landscape, and decorative lighting, direct light emission shall not be visible above the primary building roof line.
D.
Canopy Lighting. Canopy lighting for uses that have sheltered outside work or service areas, such as gas stations, shall meet the standards of this subsection. All luminaires shall be recessed into the canopy so that they cannot be viewed off-site from an eye height of four feet (to protect motor vehicle operators from glare).
E.
Outside Wall-Mounted Lighting. Outside wall-mounted lighting shall also comply with the standards of this section, except that lighting that is required by the FAA shall comply with federal standards.
A.
Maximum Freestanding Fixture Height. No freestanding light fixture shall be greater than 25 feet in height.
B.
Shut-Off Controls. The use of shut off timers is encouraged to extinguish unnecessary lighting (e.g., sensors, motion detectors, and timers).
A.
Generally. No outdoor lighting may be used in any manner that is likely to interfere with the safe movement of motor vehicles on public thoroughfares.
B.
Prohibitions. The following are prohibited:
1.
Any fixed light not designed for roadway illumination that produces incident or reflected light that could impair the operator of a motor vehicle;
2.
The installation, use, or maintenance of beacons or searchlights;
3.
Lights that are mounted on the ground or poles for the purpose of illuminating a building facade where not visible from other districts or public rights-of-way; and
4.
Exposed strip lighting or neon tubing used to illuminate building facades or outline buildings or windows or flickering or flashing lights installed in like fashion, except for temporary decorative seasonal lighting.
A.
Generally. The city may require the modification or removal or limited operation of existing or new lighting fixtures found to be a public hazard or public nuisance according to the criteria of this subsection.
B.
Hazards. Criteria for finding illumination to be a public hazard are as follows:
1.
Light trespass or glare which is sufficiently intense or contrast excessively with surrounding illumination, regardless of the intensity of the surrounding illumination, in a manner to cause impairment of visual performance or to distract from or impair the safe operation of a vehicle.
2.
Light trespass or glare that impairs a person's visual performance or ability to avoid obstacles in their path.
C.
Nuisance. Criteria for finding illumination to be a public nuisance are as follows:
1.
Light trespass or glare that deprives an owner or occupant of usual and reasonable use and enjoyment of their property.
2.
A high frequency and/or duration of periods when light trespass or glare is sufficient to interrupt or interfere with usual and reasonable use and enjoyment of a property.
3.
Light trespass or glare that causes visual discomfort or impairment of visual performance in a manner that deprives any person from the usual and reasonable enjoyment of the public streets and properties of the city.
A.
Generally. The operation and maintenance cost of the exterior lighting system is the responsibility of the property owner.
B.
Maintenance Requirements. Exterior lighting systems shall be maintained in good working order. Maintenance shall include replacement of bulbs and light fixtures that are not working, and regular cleaning of light fixtures as needed.