- ZONING
The provisions of this article shall constitute the "zoning code" of the city, and may be so cited.
(Code 1979, ch. 21, § 5.1)
The following words, terms and phrases when used in this article, shall have the meanings ascribed to them in this section, except where the context clearly indicates a different meaning:
Accessory building means a subordinate building located on the same lot as the main building or on an adjacent lot, the use of which is clearly incidental to the use of the main building.
Accessory use means a use customarily incident to the principal use as permitted.
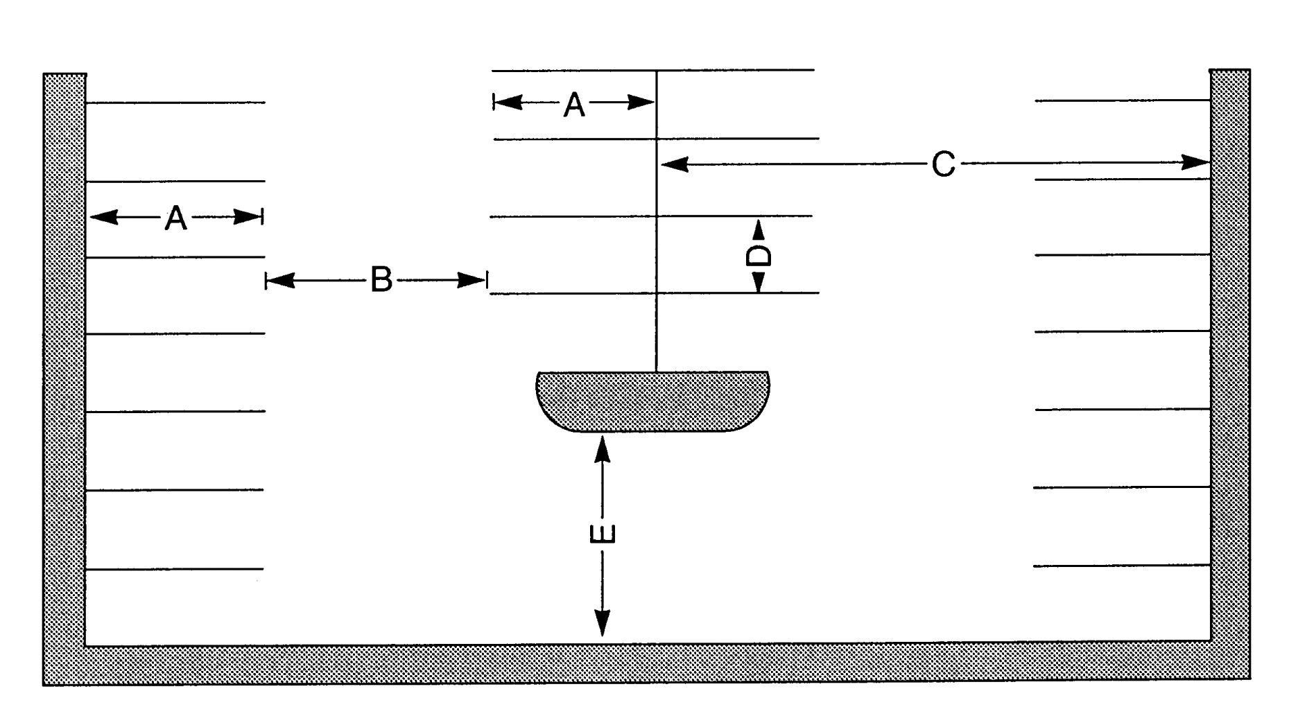
Airline measurement. The straight line, as the crow flies, measured from the property line of one property to the nearest property line of the second property, regardless of streets, walkways, or intervening structures, physical barriers or other obstructions.
Alcoholic beverages shall be as defined in chapter 6 of this Code.
Amendment means any change to an adopted comprehensive plan except corrections, updates and modifications of the capital improvements element concerning costs, revenue services, acceptance of facilities or facility construction dates consistent with the plan as provided in F.S. § 163.3177(3)(b), and corrections, updates or modifications of current costs in other elements, as provided in F.S. § 163.3187(2).
Apartment or apartment house mean a building occupied or intended to be occupied by more than two families living separately and with separate kitchens or facilities for doing their own cooking on the premises, or by more than two families, individuals or groups of individuals.
Bank or financial institution means an establishment designed and used to provide banking, monetary and related services to individuals and businesses including, but not limited to, commercial banks, savings and loans, loan companies, and mortgage brokers.
Building means any structure or part thereof, either temporary or permanent, having a roof, which gives protection or shelter for occupancy. The term "building" shall be included within the term "structure."
Building permit means:
(1)
Any permit for the erection or construction of a new building required by the Florida Building Code, and Broward County Administrative Provisions, as may be amended from time to time.
(2)
Any permit for an addition to an existing building which would:
a.
Create one or more dwelling units; or
b.
Involve a change in the occupancy of a building as described in the Florida Building Code, and Broward County Administrative Provisions, as may be amended from time to time.
(3)
Any permit which would be required for the nonresidential operations included in the Florida Building Code, and Broward County Administrative Provisions, as may be amended from time to time.
Certified land use plan means a local land use plan which has been certified by the county planning council as being in substantial conformity with the county land use plan and which has been adopted by a unit of local government in conformance with the requirements of the Local Government Comprehensive Planning and Land Development Regulation Act (F.S. § 163.3161 et seq.).
Comprehensive plan means a plan that meets the requirements of F.S. §§ 163.3177 and 163.3178.
Cone of influence (zone of influence) means an area around one or more major water wells the boundary of which is determined by the government agency having specific authority to make such a determination based on ground water travel or drawdown depth.
Continuous planting means the growing of any bush, tree or other plant material (i.e. ficus, sea grape, or pine tree) in a line so that when taking any given section thereof, there is more lineal area covered by such continuous planting than there are gaps or open areas therein.
Convenience store means a small retail business that may sell a range of everyday items such as groceries, snack foods, candy, toiletries, soft drinks, tobacco products, beer, wine, magazines and newspapers.
County land use plan means the future land use plan element for all of the county adopted by the county commission in conformance with the requirements of the county charter and the Local Government Comprehensive Planning and Land Development Regulation Act (F.S. § 163.3161 et seq.).
Developer means any person, including a government agency, undertaking any development.
Development means:
(1)
The carrying out of any building activity or mining operation, the making of any material change in the use or appearance of any structure or land, or the dividing of land into two or more parcels.
(2)
The following activities or uses shall be taken for the purposes of this chapter to involve "development," as defined in this section:
a.
A reconstruction, alteration of the size, or material change in the external appearance of a structure on land.
b.
A change in the intensity of use of land, such as an increase in the number of dwelling units in a structure or on land or a material increase in the number of businesses, manufacturing establishments, offices, or dwelling units in a structure or on land.
c.
Alteration of a shore or bank of a seacoast, river, stream, lake, pond, or canal, including any "coastal construction" as defined in F.S. § 161.021.
d.
Commencement of drilling, except to obtain soil samples, mining, or excavation on a parcel of land.
e.
Demolition of a structure.
f.
Clearing of land as an adjunct of construction.
g.
Deposit of refuse, solid or liquid waste, or fill on a parcel of land.
(3)
The following operations or uses shall not be taken for the purpose of this chapter to involve "development" as defined herein:
a.
Work by a highway or road agency or railroad company for the maintenance or improvement of a road or railroad tract, if the work is carried out on land within the boundaries or the right-of-way.
b.
Work by any utility and other persons engaged in the distribution or transmission of gas or water, for the purposes of inspecting, repairing, renewing, or constructing on established rights-of-way any sewers, mains, pipes, cables, utility tunnels, powerlines, towers, poles, tracks, or the like.
c.
Work for the maintenance, renewal, improvement, or alteration of any structure, if the work affects only the interior or the color of the structure or the decoration of the exterior of the structure.
d.
The use of any structure or land devoted to dwelling uses or any purpose customarily incidental to enjoyment of the dwelling.
e.
A change in use of land or structure form a use within a class specified in an ordinance or rule to another use in the same class.
f.
A change in the ownership or form of ownership of any parcel or structure.
g.
The creation or termination of rights of access, riparian rights, easements, covenants concerning development of land, or other rights in land.
(4)
"Development," as designated in an ordinance, rule, or development rule includes all other development customarily associated with it unless otherwise specified. When appropriate to the context, "development" refers to the act of developing to the result of development. Reference to any specific operation is not intended to mean that operation or activity, when part of other operations or activities, is not development. Reference to particular operations is not intended to limit the generality of subsection (1) of this definition.
Dwelling unit means a house, apartment, or condominium unit, trailer, group of rooms, or a single room intended for occupancy as separate living quarters with direct access from outside of the building or through a common hall and with complete kitchen facilities for the exclusive use of the occupants, including the rental units contained in a multi-unit structure or complex which are licensed by the state department of business and professional regulation, division of hotels and restaurants, as "apartments," "rental condominiums" and "retirement housing."
Easement means any strip of land created by a subdivider for public or private utilities, drainage, sanitation, or other specified uses having limitations, the title to which shall remain in the name of the property owner, subject to the right of use designated in the reservation of the servitude.
Family means one or more persons living together in a single housekeeping unit supplied with a kitchen or facilities for doing their cooking on the premises.
Floodplains means areas inundated during an identified flood event or identified by the National Flood Insurance Program as an A Zone or V Zone on flood insurance rate maps or flood hazard boundary maps.
Gross acre means the total number of acres within a parcel of land.
Gross density means the number of dwelling units constructed or proposed to be constructed within a parcel of land, divided by the gross acreage of the parcel of land. In determining the gross acreage of the parcel, the area encompassed by an extension of the parcel's boundaries to the centerline of adjacent public right-of-way such as streets, roadways, alleys, canals and waterways (exclusive of the Intracoastal Waterway) can be added to the parcel area.
Group home means a facility which provides a living environment for unrelated residents who operate as the functional equivalent of a family, including such supervision and care as may be necessary to meet the physical, emotional and social needs of the residents. Adult congregate living facilities comparable in size to group homes are included in this definition. It shall not include rooming or boarding homes, clubs, fraternities, sororities, monasteries or convents, hotels, residential treatment facilities, nursing homes, or emergency shelters.
Halfway house means a facility where persons who have served time in incarceration (which shall include state supervised parole, probation, or time in any other facility where a resident's ability to come and go as they please is restricted by the state) are placed immediately after release from incarceration or where some or all of the residents are referred to the facility by the judicial system. Also, includes places that allow people with physical, mental and emotional disabilities to learn the social and other skills necessary to integrate or re-integrate into society. This shall not apply to facilities which accept only persons who are handicapped, as defined in 42 U.S.C. 3602(H), where such disabled persons do not receive treatment for their disability at the facility.
Hedge means a boundary formed by a row of closely planted shrubs or low-growing trees or combination thereof.
Height means the vertical distance of any structure as measured from normal ground level to the highest point thereof.
Landing wharf means a floating dock attached to a seawall or dock which is no wider than eight feet.
Lot means a parcel of land fronting on a street which is or may be occupied by a building and its accessory buildings, including required open spaces. The word "lot" shall include the words "plot" and "tract."
Lot, corner, means a lot abutting on two or more streets as their intersection.
Lot, depth, means the distance measured in a minimum direction of the side lines of the lot from the midpoint of the street lot line to the opposite main rear line of the lot.
Lot, interior, means a lot other than a corner lot.
Lot lines means the lines bounding a lot.
Mean sea level means the mean sea level measurement as established by North American Vertical Datum of 1988 (NAVD).
Medical office means a small scale facility where patients are admitted for examination and treatment by one or more physicians, dentists, surgeons, chiropractors, pediatricians, family practice, psychologists, pharmacists, osteopaths, physical therapists, nurses, acupuncturists, podiatrists, optometrists, psychiatrists, or others who are duly licensed to practice their respective professions in the State of Florida, as well as others, including but not limited to technicians and assistants, who are acting under the supervision and control of a licensed health care practitioner. Retail pharmacies staffed by pharmacists that sell prescription drugs, nonprescription drugs or both and other retail goods for sale to the public, are not medical offices. This definition does not include healthcare uses as described in section 42-371.
Nicotine dispensing devise retail store means a retail store whose principal use is the sale of nicotine dispensing devices, or which predominantly markets such through product inventory, business name, signage and/or advertising, nicotine dispensing devices. For purposes of this Chapter 42, a "nicotine dispensing devise" means any product that employs an electronic, chemical or mechanical means to produce vapor from a nicotine product, including, but not limited to, an electronic cigarette, electronic cigar, electronic cigarillo, electronic pipe, or other similar device or product, any replacement cartridge for such device, and any other container of nicotine in a solution or other form intended to be used with or within an electronic cigarette, electronic cigar, electronic cigarillo, electronic pipe, or other similar device or product.
Normal ground level means the level of the lot or parcel of land in question, whether the land is in its natural state or has had fill placed upon it, but in no event shall the normal ground level be more than 18 inches above the crown of the road on which such lot or parcel of land fronts.
Open air shade structure means a freestanding structure which is supported by columns or poles, open on all sides, and covered by a roof that is either open or solid, such as a tiki hut, chickee hut, canopy, gazebo, pergola, or open cabana.
Package store shall be as defined in chapter 6 of this Code.
Parcel of land means any quantity of land capable of being described with such definiteness that its location and boundaries may be established, which is designated by its owner or developer as land to be used or developed as a unit or which has been used or developed as a unit.
Residence, one-family, means a building used or intended to be used as a home or residence, in which all living rooms are accessible to each other from within the building, and in which such living rooms are accessible without using an entrance vestibule, stairway or common stairway or common hallway that is designed as an entrance, vestibule or common stairway or common hallway for more than one family, and in which the use, arrangement, and management of all sleeping quarters, all appliances for cooking, ventilation, heating or lighting, or that public or community service, are under one control.
Residence, two-family, means a building used or in tended to be used as a place of residence for not more than two families, with the same definition of each place or residence within the building, or upon the same lot, as applies to "one-family residence."
Residence, four-family, means a building used or intended to be used as a place of residence for not more than four families, with the families living separately and with separate kitchens or facilities for cooking in the premises for each family.
Right-of-way means land dedicated, deeded, used, or to be used for a street, alley, walkway, boulevard, drainage facility, access or ingress, or other purpose by the public, certain designated individuals, or governing bodies.
Setback means the minimum horizontal distance between a building and the boundary lines of the lot on which it is situated.
Shelter means a facility providing temporary support, transitional housing and living accommodations to individuals including but not limited to: kitchen and dining facilities, meal provision, 24-hour crisis intervention, transportation, clothing and other similar functions.
Shopping center means a group of at least three commercial establishments, built on a site that is planned, developed, owned or managed as an operating unit related in location, size and type of shops to the trade areas that the unit serves. A shopping center provides on-site parking in definite relationship to the type and total size of the stores. The minimum gross leasable area of a shopping center shall be not less than 10,000 square feet.
Story means that portion of a building included between the upper surface of a floor and the upper surface of the floor or underside of the roof next above. A story consists of no less than eight feet and no more than 14 feet in height.
Street means a thoroughfare which affords principal means of access to abutting property and including avenues, boulevards, courts, terraces or public ways over 20 feet in width.
Structural alteration means any change in the supporting members of a building, such as bearing walls, columns, beams or girders.
Structure means anything constructed or erected, the use of which requires more or less permanent location on the land, or attached to something having a permanent location on the land, including fences. The term "structure" shall include buildings.
Subdivision means the platting of real property into two or more lots, parcels, tracts, tiers, blocks, sites, units, or any other division of land; and includes establishment of new streets and alleys, additions, and resubdivisions; and, when appropriate to the context, relates to the process of subdividing or to the lands or area subdivided.
Synthetic turf means a dense and continuous surface of synthetic fibers mounted on a permeable backing and of sufficient density and green color to replicate the appearance of healthy natural grass.
(Code 1979, ch. 21, § 5.2; Ord. No. 2002-0812, § 6, 6-11-2002; Ord. No. 2014-0911, § 2, 7-8-2014; Ord. No. 2014-0912, § 3, 9-10-2014; Ord. No. 2015-0922, § 4, 1-27-2015; Ord. No. 2016-0940, § 2, 6-28-2016; Ord. No. 2017-0944 , § 5, 1-24-2017; Ord. No. 2017-0957 , § 2, 1-9-2018)
Cross reference— Definitions generally, § 1-2.
(a)
The issuance or granting of a permit or approval of plans and specifications shall not be deemed or construed to be a permit for, or an approval of, any violation of the provisions of this article.
(b)
No permit presuming to give authority to violate or cancel the provisions of this article shall be valid except insofar as the work or use which it authorizes is legal.
(c)
The issuance of a permit upon plans and specifications shall not prevent the building inspector from thereafter requiring correction of errors in the plans and specifications, or preventing building operations being carried on thereunder when in violation of this article.
(Code 1979, ch. 21, § 5.5)
(a)
The failure of any person who owns, has possession of or is in control of real property in the city to comply with any provision of this article shall constitute a violation of the ordinances of the city and upon being found guilty of such violation, shall be punishable in accordance with the provisions of section 1-7 of this Code.
(b)
With respect to any lot or parcel of land affected by the provisions of all sections of this article, the owner, the tenant or other person in possession and their agent, if any, shall be responsible for compliance with all of the provisions of this article.
(Code 1979, ch. 21, § 5.6)
(a)
The provisions of this article shall be interpreted and applied as minimum requirements for the promotion of public health, morals and general welfare of the community.
(b)
This article shall not interfere with, abrogate or annul any easements, covenants or other agreements between persons. Provided, however, that where this article imposes a restriction on the use of buildings or requires open spaces greater than are imposed or required by other ordinances, rules, regulations, or by easements, covenants or agreements, the provisions of this article shall control.
(Code 1979, ch. 21, § 5.3)
No building shall be erected, constructed or structurally altered, nor shall any building or land be used for any purpose other than that permitted in the district in which such building or land is located. Every building hereafter erected shall be located on a lot, except where two or more lots are acquired as a single building site, the side lot lines shall refer only to the lot lines bordering the adjoining property lines, upon approval of the planning and zoning board.
(Code 1979, ch. 21, § 5.4)
(a)
The construction of any new structure, or the interior renovation of an existing structure shall receive a certificate of occupancy or final inspection and approval, as applicable, and all construction material, equipment and debris removed from the property no later than two years from the date of the issuance of the first building permit.
(b)
The exterior elements of any repair or restoration to an existing structure, which requires a building permit shall be completed, a final inspection with approval, and all construction material, equipment, and debris shall be removed within six months of the issuance of the first building permit. For purposes of this section, the terms "repair or restoration" and "renovation" shall mean to restore, upgrade, or otherwise improve the general condition of the existing structure.
(c)
When there are extenuating circumstances which prohibit completion of construction, or repair or restoration within the time periods set forth above, the property owner may file with the city clerk a request for extension of time. The request for extension shall be reviewed by the city administrator, who will have the authority to grant an extension, as deemed appropriate, based on the extenuating circumstances.
(d)
In the event the city administrator denies the time extension request, the property owner may file with the city clerk a request for an appeal of the denial of the time extension request. The planning and zoning board shall hear the appeal at a public meeting following notice of the request being mailed to property owners within 400 feet of the property where the work is being performed. The mailing shall be postmarked no less than ten calendar days prior to the public meeting. The cost of notice shall be borne by the property owner seeking the extension of time.
(e)
For purposes of this section, structure shall be defined as a single family home on a single family lot in the RS-3 and RS-5 zoning districts, a duplex on a single lot in the RD-10 zoning district, and structures in the RM-16, RM-25, B-1, B-2, B-2A, B-3, and B-3A zoning districts undergoing renovations, or repair or restoration that did not require site plan approval from the Planning and Zoning Board, as well as structures associated with current development that had site plan approval prior to October 27, 2015.
(f)
Enforcement and penalty for violation of this subsection of the Code shall be as follows:
(1)
Each day of violation, day 1—30 ..... $50.00
(2)
Each day of violation, day 31—60 ..... $100.00
(3)
Each day of violation, day 61 or greater ..... $250.00
Each calendar day on which a violation exists shall constitute a separate violation for the purpose of determining the fine.
(4)
A violation of this article may be prosecuted as a nuisance. The city attorney may bring suit on behalf of the city, or any affected citizen may bring suit in his/her name against the person or persons causing or maintaining the violation, or against the owner/agent of the building or property on which the violation exists. Relief may be granted according to the terms and conditions of F.S. ch. 60 entitled "Abatement of Nuisances."
(g)
Prior to initiating enforcement action, the city shall first provide a minimum of 60 days' notice of the requirements of this section of this section to the property owner. The notice shall be in substantially the following form:
NOTICE TO OWNER
Be advised that pursuant to Ordinance ____________ , you are required to complete construction, restoration and repairs to the structure located at ____________ , on or before the ____________ day of ____________ , 20 ____________ . Failure to do so can result in a fine or legal action by the City of Lighthouse Point. If there are extenuating circumstances that prohibit you from completing the construction in the time allowed by time stated above, you can seek an extension from the city administrator subject to appeal with the Lighthouse Point Planning and Zoning Board. A form application for extension can be obtained from the office of the city clerk.
(h)
This section is applicable to all building permits issued for the construction of a new structure, the renovation, or repair or restoration of an existing structure, as well as any building permit for a new structure, the renovation, or repair or restoration of an existing structure which was issued prior to the adoption of this section. For structures being constructed, renovated, or repaired or restored pursuant to a building permit issued prior to the effective date of this section, the time for completion will be the greater of:
(1)
one year from the effective date of this section; or,
(2)
two years from the date of issuance of the original building permit
(i)
The planning and zoning board can stipulate time limits for the completion of construction, and the clearing of a construction site as a condition of site plan approval on all construction projects in all zoning districts.
(Ord. No. 2015-0927, § 2, 10-27-2015)
In order to regulate and limit the height and bulk of buildings erected or altered; to regulate and limit the density of population; to regulate and determine the area of yards and other open spaces; to regulate and restrict the location of trades and industries; and the location of buildings erected and altered for specific uses, the city is hereby divided into the following classifications or districts:
(1)
RS-3 Single-family residence.
(2)
RS-5 Single-family residence.
(3)
RD-10 Two-family residence.
(4)
RM-16 Four-family residence.
(5)
RM-25 Apartment.
(6)
B-1 Neighborhood business district.
(7)
B-2 Community business district.
(8)
B-2A Planned business center district.
(9)
B-3 General business district.
(10)
B-3A Special business district.
(11)
CF Community facilities district.
(12)
S-1 Park and recreation facilities district.
(Code 1979, ch. 21, § 5.31)
(a)
The districts enumerated in section 42-321 and their boundaries, as shown on the zoning map on file in the office of the city clerk and designated "Zoning Map of the City of Lighthouse Point, Florida," are hereby adopted and made a part of this article.
(b)
The zoning map and all notations, references and other information shown thereon shall be as much a part of this article as if such matters and information set forth on the map were all fully described and set out in this article.
(Code 1979, ch. 21, § 5.32)
If, because of error or omission in the "Zoning Map of the City of Lighthouse Point, Florida," any property in the city is not shown as being within a zoning district, the classification of such property shall be RS-3, single-family residence, unless changed by amendment to this article.
(Code 1979, ch. 21, § 5.33)
(a)
Uses permitted. Uses permitted in the RS-3 single-family residential district shall be as follows:
(1)
One-family residences.
(2)
Private docks and landing wharfs for use off premises.
(b)
Setback lines. The building or structure setback lines for all property zoned RS-3 single-family residential shall be as follows:
(1)
Waterfront interior lots. Setback lines for waterfront interior lots shall be as follows:
a.
Twenty-five feet from front lot line.
b.
Eight feet from side lot line.
c.
Twenty-five feet from rear lot line, except in Lighthouse Point Subdivision Sections 1, 2 and 3, where setback shall be 30 feet from the rear lot line, and except in Venetian Isles Subdivision Sections 1, 2 and 3, where a screened patio or pool may extend to a point 20 feet from the rear lot line.
(2)
Corner lots. Setback lines for corner lots shall be as follows:
a.
Twenty-five feet from front lot line.
b.
Eight feet from side lot line.
c.
Twenty feet from street or waterway side lot line.
(3)
Cul-de-sac lots. Setback lines for cul-de-sac lots shall be as follows:
a.
Building: Fifty feet measured from the geometric center of the cul-de-sac.
b.
Garage: Fifty-five feet measured from the geometric center of the cul-de-sac.
(c)
Minimum floor area. No building in the RS-3 district shall be constructed without a first story minimum floor area of 1,500 square feet for a one-story building, 1,000 square feet for a one and a half-story building, and 1,000 square feet for a two-story building.
(d)
Building height limitation—Limitations on number of stories and building height. No building in the RS-3 district shall exceed two stories. The maximum height of a building in the RS-3 district shall not be more than 34.5 feet above the crown of the adjoining roadway, or no higher than 33 feet above the minimum finished floor elevation when FEMA requires the finished floor elevation to be raised more than 18 inches above the crown of the road, measured to the highest point of any roof or parapet. In addition, no building shall exceed a height of more than 28.5 feet above the crown of the adjoining roadway, or no higher than 27 feet above the minimum finished floor elevation when FEMA requires the finished floor elevation to be raised more than 18 inches above the crown of the road, at any setback line or within any setback area. An additional setback, from any applicable setback line, of two feet horizontal for every one foot vertical is required for any portion of the building above 28.5 feet to the maximum height limitation. Chimneys and ornamental features, such as spires and weather vanes, shall not exceed a height of 36.5 feet above the crown of the adjoining roadway, or no higher than 35 feet above the minimum finished floor elevation when FEMA requires the finished floor elevation to be raised more than 18 inches above the crown of the road. A roof-top observation platform above the second story is permitted only if it is not roofed or covered in any manner, does not exceed 400 square feet in area, and does not exceed the roof height limitation at the top of the safety railing or parapet. No equipment, fixtures or furniture shall be placed on any such observation platform located above the second floor.
(e)
Maximum density. Dwelling units constructed in the RS-3 district shall not exceed a gross density of three dwelling units per gross acre.
(f)
RS-3 zoning in enumerated subdivision. This subsection shall pertain to RS-3 zoned single-family residence districts in the following subdivisions:
Coral Key Villas, 1st Section (waterfront lots only).
Coral Key Villas, 2nd Section (waterfront lots only).
Coral Key Villas, 3rd Section (waterfront lots only).
Coral Key Villas, 5th Section (waterfront lots only).
Coral Key Villas, 6th Section (waterfront lots only).
Coral Key Villas, 8th Section (waterfront lots only).
Coral Key Harbor (waterfront lots only).
Eastside Villas
Pompano Waterway Estates (waterfront lots only).
(1)
Size of plot. Every plot upon which a residential structure is hereafter erected shall not be less in size than 75 feet in width and a plot area of not less than 7,500 square feet. Provided, however, that in areas subdivided prior to the effective date of this subsection, a plot consisting of a lot of record may be utilized for a one-family dwelling.
(2)
Plot coverage. The combined area occupied by all principal and accessory buildings shall not exceed 40 percent of the area of the plot.
(3)
Side yards. Every plot used for a one-family dwelling shall have a side yard on each side, each of which shall be at least 7½ feet wide, except that if plot is less than 60 feet in width, each side yard shall be at least five feet in width.
(4)
Corner plots. Upon corner plots there shall be a front yard, as hereinbefore specified, and in addition thereto a side yard at least 15 feet in width on the side of the plot abutting on the side street.
(5)
Rear yard setback line. The rear yard setback lines shall be as follows:
(6)
Waterfront lots. The rear setback line for all waterfront lots shall not be less than 25 feet in depth.
(7)
Minimum floor area. A one-family dwelling shall have a minimum floor area of 1,000 square feet.
In the event any of the restrictions imposed upon the RS-3 lots described in this subsection are in conflict with any other provisions of this Code, the foregoing provisions shall control.
(g)
Setback lines. The building or structure setback lines for all residential structures in the RS-3 district on all lots located in the subdivision "Cap's Island" according to plat thereof recorded in Plat Book 141, at Page 34, of the county public records, shall be as follows:
(1)
Rear setback line. The rear building or structure setback line for Lots 1 through 10, both inclusive, shall be 25 feet from the westerly right-of-way line of the Intracoastal Waterway. For Lots 11 and 12 the rear setback line shall be a line 135 feet west of and parallel to the southerly extension of the centerline of N.E. 31st Avenue, as shown on the Plat of Lake Placid, as recorded in Plat Book 35, at Page 23, of the public records of the county.
(2)
Side setback line. The side building structure setback line shall be eight feet from the side lot line with the exception of the southerly side setback line of Lots 1 and 11. The southerly side setback line on Lot 1 shall be 25 feet from the mean high waterline as determined at time a residential building permit is applied for at the city. The southerly side setback line on Lot 11 shall be an average side setback of 25 feet with no portion of any building being located any closer than 17 feet to the waterfront side lot line with the proviso that no building shall be constructed to a height greater than 15 feet within 20 feet of the southerly waterway side property line.
(3)
Front setback line. The front building or structure setback line shall be as follows:
a.
Lots 5 through 10, both inclusive, 40 feet from the southerly extension of the centerline of N.E. 31st Avenue, as shown on the Plat of Lake Placid, as recorded in Plat Book 35, at Page 23, of the Public Records of the county.
b.
Lots 3 and 4 shall be 55 feet from the mean high waterline as shown on the plat of Cap's Island. Lot 3, less the north 35 feet, shall also have a separate eight foot setback from any portion of the cul-de-sac/turnaround area located on Lot 3, less the north 35 feet thereof.
c.
Lots 1 and 2 shall be 25 feet from the mean high waterline as shown on the plat of Cap's Island.
d.
Lots 11 and 12 shall be 40 feet from the southerly extension of the centerline of N.E. 31st Avenue, as shown on the Plat of Lake Placid, as recorded in Plat Book 35, at Page 23, of the public records of the county.
(Code 1979, ch. 21, § 5.34; Ord. No. 728, § 1, 12-22-98; Ord. No. 2002-0809, § 2, 3-26-2002; Ord. No. 2017-0944 , § 2, 1-24-2017; Ord. No. 2017-0947 , § 2, 8-22-2017)
(a)
Uses permitted. Uses permitted in the RS-5 single-family residential district shall be one-family residences.
(b)
Setback lines. The building or structure setback lines for all property zoned RS-5 shall be as follows:
(1)
Nonwaterfront interior lots. Setback lines for nonwaterfront interior lots shall be as follows:
a.
Twenty-five feet from front lot line.
b.
Eight feet from side lot line.
c.
Eight feet from rear lot line.
(2)
Corner lots. Setback lines for corner lots shall be as follows:
a.
Twenty-five feet from front lot line.
b.
Eight feet from side lot line.
c.
Twenty feet from street side lot line.
d.
Eight feet from rear lot line on nonwaterfront corner lots.
(3)
Lots facing on two streets. On all lots facing on two streets, except corner lots, the front setback line shall be considered as applying to the side facing on each street and shall be as follows:
a.
Twenty-five feet from front lot line.
b.
Eight feet from side lot line.
(4)
Cul-de-sac lots. Setback lines for cul-de-sac lots shall be as follows:
a.
Building: Fifty feet measured from the geometric center of the cul-de-sac.
b.
Garage: Fifty-five feet measured from the geometric center of the cul-de-sac.
(c)
Minimum floor area. No building in the RS-5 district shall be constructed without a first story minimum floor area of 1,500 square feet for a one-story building, 1,000 square feet for a one and a half-story building, and 1,000 square feet for a two-story building.
(d)
Building height limitation—Limitations on number of stories and building height. No building in the RS-5 district shall exceed two stories. The maximum height of a building in the RS-5 district shall not be more than 34.5 feet above the crown of the adjoining roadway, or no higher than 33 feet above the minimum finished floor elevation when FEMA requires the finished floor elevation to be raised more than 18 inches above the crown of the road measured to the highest point of any roof or parapet. In addition, no building shall exceed a height of more than 28.5 feet above the crown of the adjoining roadway, or no higher than 27 feet above the minimum finished floor elevation when FEMA requires the finished floor elevation to be raised more than 18 inches above the crown of the road, at any setback line or within any setback area. An additional setback, from any applicable setback line, of two feet horizontal for every one foot vertical is required for any portion of the building above 28.5 feet to the maximum height limitation. Chimneys and ornamental features, such as spires and weather vanes, shall not exceed a height of 36.5 feet above the crown of the adjoining roadway, or no higher than 35 feet above the minimum finished floor elevation when FEMA requires the finished floor elevation to be raised more than 18" above the crown of the road. A roof-top observation platform above the second story is permitted only if it is not roofed or covered in any manner, does not exceed 400 square feet in area, and does not exceed the roof height limitation at the top of the safety railing or parapet. No equipment, fixtures or furniture shall be placed on any such observation platform located above the second floor.
(e)
Maximum density. Dwelling units constructed in the RS-5 district shall not exceed a gross density of five dwelling units per gross acre.
(f)
RS-5 zoning in enumerated subdivision. This subsection shall pertain to RS-5 zoned single-family residence districts in the following subdivisions:
Coral Key Villas, 1st Section.
Coral Key Villas, 2nd Section.
Coral Key Villas, 3rd Section.
Coral Key Villas, 5th Section.
Coral Key Villas, 6th Section.
Coral Key Villas, 8th Section.
Coral Villas.
Coral Key Harbor.
Deer-Pomp Estates.
Eastside Villas.
Pompano Waterway Estates.
Pompano Waterway Estates, 1st Addition.
(1)
Size of plot. Every plot upon which a residential structure is hereafter erected shall not be less in size than 75 feet in width and a plot area of not less than 7,500 square feet. Provided, however, that in areas subdivided prior to the effective date of this subsection, a plot consisting of a lot of record may be utilized for a one-family dwelling.
(2)
Plot coverage. The combined area occupied by all principal and accessory buildings shall not exceed 40 percent of the area of the plot.
(3)
Side yards. Every plot used for a one-family dwelling shall have a side yard on each side, each of which shall be at least 7½ feet wide, except that if plot is less than 60 feet in width, each side yard shall be at least five feet in width.
(4)
Corner plots. Upon corner plots there shall be a front yard, as hereinbefore specified, and in addition thereto a side yard at least 15 feet in width on the side of the plot abutting on the side street.
(5)
Rear yard setback line. In all enumerated subdivisions the rear yard setback lines shall be eight feet.
(6)
Minimum floor area. A one-family dwelling shall have a minimum floor area of 1,000 square feet.
In the event any of the restrictions imposed upon the RS-5 lots described in this subsection are in conflict with any other provisions of this Code, the foregoing provisions shall control.
(Code 1979, ch. 21, § 5.35; Ord. No. 2002-0809, § 3, 3-26-2002; Ord. No. 2017-0944 , § 3, 1-24-2017; Ord. No. 2017-0947 , § 3, 8-22-2017)
(a)
Uses permitted. Uses permitted in the RD-10 district shall be as follows:
(1)
Any use permitted in single-family residence districts.
(2)
Two-family residences.
(b)
Setback lines. Setback lines in the RD-10 district shall be as follows:
(1)
The same limits as provided in sections 42-341 and 42-342 shall apply to two-family residence districts except as herein modified.
(2)
Two-family residences may be constructed so that there are two independent living units or one living unit divided by a common wall. There shall be no internal side setback requirements for either of such two-family type construction but all other front, rear and outside side setback requirements shall apply.
(c)
Minimum floor area. No building shall be constructed in the RD-10 district without a first story minimum floor area of 1,500 square feet for a one-story building, 1,000 square feet for a one and a half-story building, and 1,000 square feet for a two-story building.
(d)
Building height limitation—Limitation on number of stories and building height. No building in the RD-10 district shall exceed two stories. The maximum height of a building in the RD-10 district shall not be more than 34.5 feet above the crown of the adjoining roadway, or no higher than 33 feet above the minimum finished floor elevation when FEMA requires the finished floor elevation to be raised more than 18 inches above the crown of the road, measured to the highest point of any roof or parapet. In addition, no building shall exceed a height of more than 28.5 feet above the crown of the adjoining roadway, or no higher than 27 feet above the minimum finished floor elevation when FEMA requires the finished floor elevation to be raised more than 18 inches above the crown of the road, at any setback line or within any setback area. An additional setback, from any applicable setback line, of two feet horizontal for every one foot vertical is required for any portion of the building above 28.5 feet to the maximum height limitation. Chimneys and ornamental features, such as spires and weather vanes, shall not exceed a height of 36.5 feet above the crown of the adjoining roadway, or no higher than 35 feet above the minimum finished floor elevation when FEMA requires the finished floor elevation to be raised more than 18" above the crown of the road. A roof-top observation platform above the second story is permitted only if it is not roofed or covered in any manner, does not exceed 400 square feet in area, and does not exceed the roof height limitation at the top of the safety railing or parapet. No equipment, fixtures or furniture shall be placed on any such observation platform located above the second floor.
(e)
Maximum density. Dwelling units constructed in the RD-10 district shall not exceed a gross density of ten dwelling units per gross acre.
(f)
Lot sizes and fee title. There shall be permitted in RD-10 zoned property the construction of two-family residences which may be either one continuous building with a common wall dividing such two-family residences or may be two independent freestanding buildings located within the RD-10 zoned lot. It shall further be permitted that the fee simple title to the two independent free-standing buildings or one-half of the continuous two-family building divided at the common wall, and the accompanying portion of the RD-10 zoned lot, may be conveyed independent of the other. The division of the RD-10 lot shall be so that any of the resulting parcel shall be at least 40 percent of the size of the original lot prior to division. The remaining provisions of this section shall be complied with. To the extent that the provision of this subsection conflicts with section 42-194, these provisions shall apply.
(g)
Applicability. The provisions of subsection (b)(2) and subsection (f) of this section shall not apply to any property in the city which is zoned other than RD-10.
(Code 1979, ch. 21, § 5.36; Ord. No. 2002-0809, § 4, 3-26-2002; Ord. No. 2017-0944 , § 4, 1-24-2017; Ord. No. 2017-0947 , § 4, 8-22-2017)
(a)
Uses permitted. Uses permitted in RM-16 district shall be as follows:
(1)
Any use permitted in two-family residence districts.
(2)
Four-family residences.
(3)
Community facilities with the operation of a day care center as an authorized use for churches and places of worship in the community facility category.
(4)
Group and foster homes categories 1 and 2 as defined in the supporting documents of the city's comprehensive plan.
(b)
Conditional uses.
(1)
Three-story townhouse developments subject to the building height limitations in subsection (e) below. Development standards set forth in section 42-361, and the conditional use requirements.
(2)
Two-story townhouse developments subject to the building height limitations in subsection (e) below. Development standards are set forth in section 42-361.1, and the conditional use requirements.
(c)
Setback lines. The same setback limits as provided in sections 42-341 and 42-342 shall apply to the RM-16, four-family residence districts.
(d)
Minimum floor area. No building in the RM-16 district shall be constructed without a first story minimum floor area of 1,500 square feet for a one-story building, 1,000 square feet for a 1½-story building, and 1,000 square feet for a two-story building.
(e)
Building height limitations. No building in the RM-16 district shall exceed two stories in height except three-story townhouse developments as a conditional use nor more than 34.5 feet above the crown of the adjoining roadway, or no higher than 33 feet above the minimum finished floor elevation when FEMA requires the finished floor elevation to be raised more than 18 inches above the crown of the road, measured to the highest point of any roof or parapet. Chimneys and ornamental features, such as spires and weather vanes, shall not exceed a height of 36.5 feet above the crown of the adjoining roadway, or no higher than 35 feet above the minimum finished floor elevation when FEMA requires the finished floor elevation to be raised more than 18 inches above the crown of the road. A roof-top observation platform above the second story is permitted only if it is not roofed or covered in any manner, does not exceed 400 square feet in area, and does not exceed the roof height limitation at the top of the safety railing or parapet. No equipment, fixtures or furniture shall be placed on any such observation platform located above the second floor. There shall be a further exception to this height limitation which shall apply to church steeples and church bell towers, the height of which steeple or bell tower shall not exceed 66.5 feet above the crown of the adjoining roadway.
(f)
Maximum density. Dwelling units constructed in the RM-16 district shall not exceed a gross density of 16 dwelling units per gross acre.
(Code 1979, ch. 21, § 5.37; Ord. No. 2002-0809, § 5, 3-26-2002; Ord. No. 2006-861, § 3, 4-11-2006; Ord. No. 2017-0947 , § 5, 8-22-2017; Ord. No. 2018-0966 , § 2, 6-12-2018)
(a)
Uses permitted. Uses permitted in the RM-25 district shall be as follows:
(1)
Any use permitted in four-family residence districts.
(2)
Apartment buildings.
(3)
Community center buildings and similar structures.
(4)
Tennis courts and shuffleboard courts.
(b)
Setback lines. The same setback limits as provided in sections 42-341 and 42-342 shall apply to RM-25 apartment districts.
(c)
Building height limitations. No building in the RM-25 district shall exceed three stories in height nor more than 46.5 feet above the crown of the adjoining roadway, or no higher than 45 feet above the minimum finished floor elevation when FEMA requires the finished floor elevation to be raised more than 18 inches above the crown of the road, measured to the highest point of any roof or parapet.
(d)
Maximum density. Dwelling units constructed in the RM-25 district shall not exceed a gross density of 25 dwelling units per gross acre.
(Code 1979, ch. 21, § 5.38; Ord. No. 2002-0809, § 6, 3-26-2002; Ord. No. 2017-0947 , § 6, 8-22-2017)
(a)
Uses permitted. Uses permitted in the B-1 district shall be as follows:
(1)
Stores for the retail sale, of confectionery, dairy products, dressed poultry, drug products, flowers, fruit and vegetables, garden supplies, gift, groceries, hardware, hobby supplies, ice cream, jewelry, meats, music, notions, pet supplies; dressed, frozen or otherwise prepared seafood; souvenirs, sundries, tobacco, toys and wearing apparel; notwithstanding the provisions of subsection (b)(7) of this section, stores, which are engaged primarily in the sale of foodstuffs at retail may in addition sell beer and wine for consumption on or off the premises.
(2)
Bakeries or delicatessens, provided any food which is prepared is for retail sale, not to be consumed on the premises, and no such establishment shall employ more than six persons.
(3)
Personal service shops, including barbershops, beauty parlors, hat cleaning and blocking, pressing and mending, shoe repair and shoeshine shops.
(4)
Day nurseries and nursery schools, dressmaking shops, laundry and dry cleaning pickup stations; medical office, attorneys, engineers, architects, accountants and other professionals; nonalcoholic beverage sales, restaurants, self-service ice stations, tailor shops, watch and jewelry repair, self-service laundries; sporting goods sales provided that the sale of live bait shall be prohibited but the sale of frozen bait or iced fresh bait no more than 24 hours old, shall be permitted and further, under no circumstances shall any bait or fish odors emanate from the building so as to be detectable from the outside in any way.
(5)
Residential uses accessory to a permitted use.
(6)
Banks and financial institutions, custom brokers and manufacturers' agencies, employment offices, post office and other governmental offices, messenger offices, public utility offices, stockbroker offices, ticket offices, travel agencies, and newspaper news and circulation offices.
(7)
Convenience stores. No similar use in the city can be located within a 1,000 feet of each other, by airline measurement.
(8)
Any use of a similar nature.
(9)
All merchandise offered for sale, displayed or stored must be new merchandise, and cannot be secondhand or used.
(b)
Conditional uses. Conditional uses permitted in the B-1 district shall be as follows and subject to the requirements of section 42-360, 42-362 and 42-363 as applicable:
(1)
Full service dry cleaning establishments.
(2)
Children's dance school.
(c)
Uses prohibited. Uses permitted in the B-1 district shall not be construed or interpreted to include as either principal or accessory use any of the following:
(1)
Automobile, truck, trailer, motorcycle, boat or machinery sales, storage or service outlets, including repair garages, used car lots, service stations or car washes.
(2)
Mortuaries.
(3)
Drive-in restaurants or refreshment stands.
(4)
Wholesale establishments.
(5)
Pawnshops.
(6)
Lumber or building materials sales, storage or display outlets.
(7)
Movie theaters, drive-in movie theaters, theaters, nightclubs, or establishments for consumption of alcoholic beverages on the premises.
(8)
Plumbing, electrical or sheet-metal shops.
(9)
Animal hospitals or veterinary clinics.
(10)
Cabinet or carpenter shops.
(11)
Storage or warehouse uses, except as incidental to a permitted use.
(12)
Sign shops or any other use first permitted in a less restricted district.
(13)
Nicotine dispensing device retail store.
(14)
Fortune teller or similar use.
(15)
Package stores.
(16)
Amusement arcade or gaming arcade and similar uses.
(17)
Animal/pet related uses such as kennels, pet boarding, pet shops, shelters and similar uses.
(18)
Retail sale of animals.
(19)
Check cashing stores or payday loans or similar uses.
(20)
Healthcare uses as described in section 42-371.
(21)
Sale of alcoholic beverages for consumption on premises.
(22)
Shelters and halfway houses.
(23)
Any use of a similar nature.
Any sale of goods or merchandise unless under roof and within the confines of the building for which the local business license for the sale or display of such goods or merchandise is issued.
(d)
Maximum floor area. In the B-1 district, the maximum floor area for the first floor of stores shall be 5,000 square feet, including the display surface or sales areas open to the public.
(e)
Building height limitations. No building or structure in the B-1 district shall be erected or altered to a height greater than two stories, or 30 feet. The 30-foot height shall be the vertical distance from grade to the highest finished roof surface of a flat roof or the average level of a gable, or hip roof. On a flat roof, air-conditioning units, elevator shafts, walkout bulkhead doors, atrium skylights or other accessory mechanical equipment may be located on top of the flat roof so long as the maximum height of any of such additions does not exceed ten feet above the flat roof and there is constructed on the flat roof a four-foot parapet wall set in a minimum of four feet from the roof edge which parapet wall shall enclose the rooftop equipment.
(f)
Setback limits. Structures in the B-1 district shall be set back 15 feet from rear lot lines.
(g)
Property abutting residential property. In any instance where B-1 zoned property abuts property with a residential classification, the owner of the B-1 property shall, before using such property, construct a fence or hedge in accordance with applicable construction and zoning standards, over and across that portion of his property which abuts the residential property.
(Code 1979, ch. 21, § 5.39; Ord. No. 2006-865, § 2, 11-14-2006; Ord. No. 2007-0872, § 2, 8-28-2007; Ord. No. 2014-0909, § 2, 3-25-2014; Ord. No. 2014-0912, 9-10-2014; Ord. No. 2016-0940, § 3, 6-28-2016)
(a)
Uses permitted. Uses permitted in the B-2 district shall be as follows:
(1)
Any use permitted in a B-1 district.
(2)
Retail stores intended primarily to service, shopping and limited service needs of several neighborhoods, including, fashions and durable goods, including the following and similar retail outlets:
a.
Antiques, art supplies, automobile accessories, new automobile parts, bait and tackle, business machines, camera and photographic supplies and optical goods, corsetiere, department, dry goods, furniture and household furnishings, furriers, greeting cards, home appliances, leather goods and luggage, draperies, linens and other fabrics, millinery and modiste, musical instruments, newsstands, office furniture and furnishings and equipment, package store without a drive-thru, paint, pet shops provided that the sale of cats and dogs shall be subject to the regulations of section 42-358, books and stationery, television, radio and phonograph sales and service, wallpaper, locksmith and garden supplies.
b.
Automobile service stations, provided that no service station shall be erected or constructed within 700 feet of another service station, lying between the same two consecutive streets. Service stations shall not include the incidental display and storage of more than five rental trailers or five rental trucks, or any combination thereof, the total combined number not to exceed five. All rental trailers shall be limited to a maximum size of 50 square feet of floor area in the rental trailer and all rental trucks shall be limited in size so as not to exceed a rated capacity of one ton or less.
c.
Spa uses, commercial gymnasiums, fur storage, quick service laundries, establishments for dining and consumption of alcoholic beverages on the premises, and outdoor dining at establishments for dining and consumption of alcoholic beverages on the premises.
d.
Dry cleaning establishments directly servicing customers, subject to the following limitations:
1.
Service shall be rendered directly to customers who personally bring in and pick up articles to be cleaned, and establishment shall not provide pickup or delivery service.
2.
No more than five persons shall be employed in the operation of the establishment.
3.
No more than two cleaning units, each with a rated capacity of 40 pounds or less, shall be used in any establishment.
4.
The entire cleaning and drying process shall be carried on within completely enclosed solvent-reclaiming units. All solvents used in the cleaning process and their vapors shall be nonexplosive and noninflammable.
e.
Schools teaching art, charm, dancing, dramatics, music, business or commercial courses, artists' studios, auctions of art goods, jewelry, rugs and similar items, costumers, dental laboratories, interior decorators, motor bus terminals, lawn furniture sales, photographic studios, radio and television studios, swimming pools and cabanas for commercial public use.
f.
Museums and similar nonprofit institutions, publicly owned or operated facilities, including community buildings, parks and playgrounds.
g.
Marine supplies and similar retail items.
h.
Automobile parking lots and parking areas.
(3)
All merchandise offered for sale, displayed or stored shall be new merchandise, and shall not be secondhand or used.
(4)
Hotels and motels.
(5)
Community facilities.
(6)
Group home.
(7)
Nicotine dispensing device retail stores, subject to the following limitations:
a.
It shall not be located within 250 feet from any- church or school, measured from the main entrance to main entrance, except in the case of a school the measurement shall be the nearest point of the school property used as part of school facilities; provided that if the nicotine dispensing device retail store has been lawfully established and thereafter a church or school is established within a distance prohibited herein, the establishment of such church or school shall not render the location of the store illegal.
b.
Commercially reasonable efforts will be made to rapidly identify minors (meaning persons under the age of 18 years of age) in the premises, including examining the identification of any person who a reasonably prudent person would believe is 18 years of age or younger, and cause such minors to leave the premises immediately upon identification unless accompanied by a parent or legal guardian.
c.
It shall be prohibited from selling, gifting or delivering to a person under 18 years of age, or a person who appears to be under the age of 27 years without first examining identification to confirm that the recipient is at least 18 years of age, of any:
1.
Nicotine dispensing device, including electronic cigarettes (or e- cigarette), personal vaporizers (PV), electronic nicotine delivery systems (ENDS), or any similar product, or any part thereof or accessory thereto; or
2.
E-juice, e-liquid, any other product intended for use in a nicotine dispensing device or any similar product.
d.
No part of the premises shall be used for the possession, manufacture, display, sale or viewing of paraphernalia, as defined below, including, but not limited to, (a) metal, wooden, acrylic, glass, stone, plastic, or ceramic pipes with or without screens, permanent screens, hashish heads, or punctured metal bowls, (b) hash pipes, (c) water pipes, (d) carburetion tubes and devices, (e) smoking and carburetion masks, (f) roach clips, meaning objects used to hold burning material, such as marijuana cigarette, that has become too small or too thin to be held in the hand, (g) miniature cocaine spoons, and cocaine vials, (h) chamber pipes, (i) carburetor pipes, (j) electric pipes, (k) air-driven pipes. (l) chillums, (m) bongs, (n) ice pipes or chillers, (o) blow tubes, (p) hookah pipes, (q) rolling papers, cigarette rollers or other items used to make cigarettes or cigars, (r) other objects or products used, intended for use, or designed for use in ingesting, inhaling, or otherwise introducing marijuana, cocaine, hashish, hashish oil, or other controlled substances into the human body, or (s) other objects or products used, intended for use, or designed for use in the combustive smoking of tobacco, herbs, or any other product;
"Paraphernalia" means all equipment, products, and materials of any kind which are intended for use or designed for use, in planting, propagating, cultivating. growing, harvesting, manufacturing, compounding, converting, producing, processing, preparing, testing, analyzing, packaging, repackaging, storing, containing, concealing, injecting, ingesting, inhaling, or otherwise introducing into the human body a controlled substance, tobacco, or herbs.
e.
The sale of products with names similar to, or which resemble, illegal substances, such as, by way of example only, but not of limitation, "liqweed," "cocoa e-juice," and "hash oil e-juice," or similar names or descriptions is prohibited.
f.
The sale of products that imply, infer or otherwise indicate that they may be used by or provide the user an experience (euphoria, etc.) similar to but not limited to marijuana, hemp, cocaine, LSD, heroin, ecstasy, or angel dust, is prohibited.
g.
The sale of products such as butane lighters, vaporizer pens, acetone, vaporizers for waxy oils, alcohol vaporizers, dabs, or other delivery devices not associated with nicotine dispensing devices is prohibited.
(8)
Any uses of a similar nature.
(b)
Uses prohibited. The following uses shall be prohibited in the B-2 district:
(1)
Dumps, sanitary fills or incinerators.
(2)
All uses prohibited in B-1 districts except as specifically permitted in subsection (a)(2) of this section.
(3)
Any use of a similar nature of those prohibited by B-1 district.
(c)
Building height limitations. No building or structure in the B-2 district shall be erected or altered to exceed a height of 50 feet as measured to the highest finished roof surface of a flat roof or to the average level of a gable, or hip roof. There shall be permitted to be constructed on the flat roof air conditioners, mechanical equipment, elevator shafts, walkout bulkhead doors or atrium sky lights so long as the maximum height of any of the additions does not exceed ten feet above the flat roof and there is constructed on the flat roof a four-foot parapet wall set in a minimum of four feet from the roof edge which parapet wall shall enclose the rooftop equipment.
(d)
Setback limits. Structures in the B-2 district shall be set back a minimum of 15 feet from rear lot lines.
(e)
Property abutting residential property. In any instance where B-2 zoned property abuts property with a residential classification, the owner of the B-2 property shall, before using the such property, construct a fence or hedge in accordance with applicable construction and zoning standards, over and across that portion of his property as abuts the residential property.
(Code 1979, ch. 21, § 5.40; Ord. No. 778, § 2, 3-13-2001; Ord. No. 2014-0912, § 3, 9-10-2014; Ord. No. 2016-0940, § 4, 6-28-2016)
(a)
Uses permitted. Uses permitted in the B-2A district shall be as follows:
(1)
Any use permitted in B-2 districts.
(2)
Yacht clubs, including as incidental to the operation thereof, swimming pools, tennis courts, shuffleboard courts, sport and fishing boats, and similar uses for either public or private use.
(3)
All merchandise offered for sale, displayed or stored shall be new merchandise, and shall not be secondhand or used unless as incidental (not to exceed 40% of the main use retail area) to the sale of new merchandise.
(4)
Diagnostic testing center.
(5)
Any use of a similar nature.
(b)
Uses prohibited. The following uses shall be prohibited in the B-2A district:
(1)
Uses permitted shall not be construed or interpreted to include as either principal or accessory uses any use prohibited in B-2 districts, or any use of a similar nature prohibited in B-2 districts.
(2)
Stand-alone baths and massage parlors.
(c)
Building height limitations. No building or structure in the B-2A district shall be erected or altered to exceed a height of 50 feet as measured to the highest finished roof surface of a flat roof or to the average level of a gable, or hip roof. There shall be permitted to be constructed on the flat roof air conditioners, mechanical equipment, elevator shafts, walkout bulkhead doors or atrium sky lights so long as the maximum height of any of the additions does not exceed ten feet above the flat roof and there is constructed on the flat roof a four-foot parapet wall set in a minimum of four feet from the roof edge which parapet wall shall enclose the rooftop equipment.
(d)
Plot size. Every development in the B-2A district shall be located on a plot owned or substantially controlled by the developer, at least 100 feet in width and 10,000 feet in total area.
(e)
Approval of development plan.
(1)
No building or structure shall be erected or structurally altered, or any land or water used, or use consummated, in area zoned B-2A, nor shall any building permit be issued therefor, unless and until a development plan for such building, structure and/or use shall have been presented to and approved by the development and review committee and planning and zoning board. After such approval all buildings, structures and/or use shall be erected, altered, installed, maintained and operated in full conformity with the approved development plan.
(2)
In considering the approval of development plans for B-2A districts, the development review committee and planning and zoning board shall consider the site plan procedures and requirements of article II, division 3, subdivision II, of this chapter; the location, size, height, spacing, appearance, character, type of construction and use of any building, structure or proposed operations and their appurtenances; access and circulation for vehicles and pedestrians; streets, parking areas, yard and open spaces, and relationship to adjacent properties. The development and review committee and planning and zoning board shall not approve any such development plan unless such plan conforms to all applicable provisions relating to B-2A districts in this section, and such committee and board find that the public safety and convenience are assured by architectural compatibility and space separation to contiguous and nearby residential properties. Any reasonable conditions, limitations or requirements found necessary by the board to effectuate the purpose of this section and carry out the spirit and purpose of the B-2A zoning district requirements may be attached to the board's approval of a development plan.
(f)
Setback limits. Structures in the B-2A district shall be set back a minimum of 15 feet from rear lot lines.
(g)
Property abutting residential property. In any instance where B-2A zoned property abuts property with a residential classification, the owner of the B-2A property shall, before using the such property, construct a fence or hedge in accordance with applicable construction and zoning standards, over and across that portion of his property which abuts the residential property.
(Code 1979, ch. 21, § 5.41; Ord. No. 2016-0940, § 5, 6-28-2016)
(a)
Uses permitted. Uses permitted in the B-3 district shall be as follows:
(1)
Any use permitted in B-1, B-2 or B-2A districts.
(2)
Drive-in restaurants.
(3)
Armory, telephone exchange, taxidermist, veterinary, pest-control agency, plant nursery and landscaping.
(4)
Tire and battery, retail plumbing and electrical fixtures, lawn mower rental, sales and service.
(5)
Product research and testing laboratory.
(6)
Any use of a similar nature.
(b)
Uses prohibited. The following uses shall be prohibited in the B-3 district:
(1)
All uses prohibited in B-1 and B-2 districts.
(2)
Open air sale or display of machinery, farm implements or construction equipment.
(3)
Manufacturing, except as accessory to a permitted use, all products thus produced to be sold at retail on the premises.
(4)
Wholesale warehouse or storage uses.
(5)
Any use of a similar nature.
(c)
Building height limitations. No building or structure in the B-3 district shall be erected or altered to exceed a height of 50 feet as measured to the highest finished roof surface of a flat roof or to the average level of a gable, or hip roof. There shall be permitted to be constructed on the flat roof air conditioners, mechanical equipment, elevator shafts, walkout bulkhead doors or atrium sky lights so long as the maximum height of any of such additions does not exceed ten feet above the flat roof and there is constructed on the flat roof a four-foot parapet wall set in a minimum of four feet from the roof edge which parapet wall shall enclose the rooftop equipment.
(d)
Setback limits. Structures in the B-3 district shall be set back a minimum of 15 feet from the rear lot lines.
(e)
Property abutting residential property. In any instance where B-3 zoned property abuts property with a residential classification, the owner of the B-3 zoned property shall, before using such property, construct a fence or hedge in accordance with applicable construction and zoning standards, over and across that portion of his property which abuts the residential property.
(Code 1979, ch. 21, § 5.42; Ord. No. 2016-0940, § 6, 6-28-2016)
(a)
Uses permitted. Uses permitted in the B-3A district shall be as follows:
(1)
Any use permitted in B-1, B-2, B-2A or B-3 districts.
(2)
Hotels and motels.
(3)
New automobile sales, display and service; used car sales, repairs, service garage and car wash as are incidental to new automobile sales only.
(4)
New boat sales, display and service; used boat sales, repairs, service and boat wash as are incidental to new boat sales only.
(5)
Kennels and pet boarding uses shall be located in a stand-alone building directly abutting federal highway and be soundproofed for any noise, vibration, base, etc. produced by any activity occurring inside the building.
(6)
Automobile rental and leasing agencies. As an incident thereto when such automobile rental and leasing agency is licensed and situated upon and conducted from premises comprising a free-standing singular structure not part of a shopping center or strip store, mall or center and acquires new vehicles from a dealership or through the factory and uses the same exclusively for its rental and leasing fleet for a minimum of a six-month period, at such thereafter when it is determined that such vehicles are no longer needed for the rental and leasing business, they may be sold by the rental and leasing agency, on premises, subject to the following limiting conditions: (1) no more than five cars may be for sale at any one time; (2) no "for sale" or other signs signifying that the cars are being offered for sale on the premises shall be displayed except that a single sign not to exceed 12 inches × 18 inches may be placed inside no more than two vehicles; (3) all signage and other requirements of the city Code are complied with. This authority to sell used rental vehicles shall apply only to new vehicles purchased and used in the rental and leasing business and shall not apply to any used vehicles acquired by the rental or leasing agency for rental use and/or sale.
(7)
Mortuary or undertaker.
(8)
Any use of a similar nature.
(b)
Conditional uses. Conditional uses permitted in the B-3A district shall be as follows and subject to the requirements of section 42-360 and sections 42-364 through 42-373 as applicable:
Due to the operation and nature of conditional uses (1) through (3), a minimum distance separation of 1,000 feet by airline measurement shall be provided from one another, in addition to the conditional use requirements established for each individual use.
(1)
Pawnshop.
(2)
Fortune teller or similar use.
(3)
Check cashing or payday loans or similar use.
(4)
Gaming establishment, golf driving range, miniature golf course, playground, playfield, or similar use (indoor/outdoor).
(5)
Nightclub or similar use.
(6)
Theater, sports arena and similar uses.
(7)
Consignment shop as described in section 42-370 or similar use.
(8)
Healthcare uses as described in section 42-371.
(9)
Hospital
(10)
Thrift and donated item stores as described in section 42-373.
(c)
Uses prohibited. The following uses shall be prohibited in the B-3A district:
(1)
Any uses prohibited in B-2A and B-3 districts.
(2)
Any uses of a nature similar to those prohibited in B-2A and B-3 districts.
(3)
Multifamily apartment buildings.
(d)
Building height limitations. No building or structure in the B-3A district shall be erected or altered to exceed a height of 50 feet as measured to the highest finished roof surface of a flat roof or to the average level of a gable, or hip roof. There shall be permitted to be constructed on the flat roof air conditioners, mechanical equipment, elevator shafts, walkout bulkhead doors or atrium skylights so long as the maximum height of any of such additions does not exceed ten feet above the flat roof and there is constructed on the flat roof a four-foot parapet wall set in a minimum of four feet from the roof edge which parapet wall shall enclose the rooftop equipment.
(e)
Setback limits. Buildings within B-3A districts shall be set back a minimum of 15 feet from the rear lot lines.
(f)
Property abutting residential property. In any instance where B-3A zoned property abuts property with a residential classification, the owner of the B-3A property shall, before using the such property, construct a fence or hedge in accordance with applicable construction and zoning standards, over and across that portion of his property which abuts the residential property.
(g)
Approval of development plan.
(1)
No building or structure shall be erected or structurally altered, or any land or water used, or use consummated, in areas zoned B-3A, nor shall any building permit be issued therefor, unless and until a development plan for such building, structure and/or use shall have been presented to and approved by the development review committee and planning and zoning board. After such approval all buildings, structures and/or uses shall be erected, altered, installed, maintained and operated in full conformity with the approved development plan.
(2)
In considering the approval of development plans for B-3A districts, the development review committee and planning and zoning board shall consider the site plan procedures and requirements of article II, division 3, subdivision II, of this chapter; the location, size, height, spacing, appearance, character, type of construction and use of any building, structure or proposed operations and their appurtenances, yard and open spaces, and relationship to adjacent properties. The development review committee and planning and zoning board shall not approve any such development plan unless such plan conforms to all applicable provisions relating to B-3A districts in this section, and such committee and board find that the public safety and convenience are assured by architectural compatibility and space separation to contiguous and nearby residential properties.
(3)
Any reasonable conditions or requirements found necessary by the committee and board to effectuate the purposes of this section and carry out the spirit and purpose of the B-3A zoning district requirements may be attached to the committee and board's approval of a development plan.
(Code 1979, ch. 21, § 5.43; Ord. No. 732, § 1, 2-23-99; Ord. No. 2016-0940, § 7, 6-28-2016)
(a)
Uses permitted. Uses permitted in the CF district shall be as follows:
(1)
Schools and education facilities.
(2)
Churches and places of worship.
(3)
Government administration, services and maintenance facilities.
(4)
Recreation and open space uses.
(b)
Uses prohibited. The following uses shall be prohibited in the CF district:
(1)
Hospitals and clinics.
(2)
Nursing homes.
(3)
Auditoriums and convention centers.
(4)
Public utilities.
(5)
Retail business and office uses.
(6)
Residential uses.
(c)
Building height limitations. No building or structure in the CF district shall be erected or altered to exceed a height of 50 feet as measured to the highest finished roof surface of a flat roof or to the average level of a gable, or hip roof. There shall be permitted to be constructed on the flat roof air conditioners, mechanical equipment, elevator shafts, walkout bulkhead doors or atrium skylights so long as the maximum height of any of such additions does not exceed ten feet above the flat roof and there is constructed on the flat roof a four-foot parapet wall set in a minimum of four feet from the roof edge which parapet wall shall enclose the rooftop equipment.
(d)
Setback limits. Buildings within the CF district shall be set back a minimum of 15 feet from the rear lot lines.
(e)
Property abutting residential property. In any instance where CF zoned property abuts property with a residential classification, the owner of the CF property shall, before using the such property, construct a fence or hedge in accordance with applicable construction and zoning standards, over and across that portion of his property which abuts the residential property.
(f)
Approval of development plan.
(1)
No building or structure shall be erected or structurally altered, or any land or water used, or use consummated, in areas zoned CF, nor shall any building permit be issued therefor, unless and until a development plan for such building, structure and/or use shall have been presented to and approved by the development review committee and planning and zoning board. After such approval all buildings, structures and/or uses shall be erected, altered, installed, maintained and operated in full conformity with the approved development plan.
(2)
In considering the approval of development plans for CF districts, the development review committee and planning and zoning board shall consider the site plan procedures and requirements of article II, division 3, subdivision II, of this chapter; the location, size, height, spacing, appearance, character, type of construction and use of any building, structure or proposed operations and their appurtenances; yard and open spaces, and relationship to adjacent properties. The development review committee and planning and zoning board shall not approve any such development plan unless such plan conforms to all applicable provisions relating to CF districts in this section, and such committee and board find that the public safety and convenience are assured by architectural compatibility and space separation to contiguous and nearby residential properties.
(3)
Any reasonable conditions or requirements found necessary by the committee and board to effectuate the purposes of this section and carry out the spirit and purpose of the CF zoning district requirements may be attached to the committee and board's approval of a development plan.
(Code 1979, ch. 21, § 5.44)
(a)
Uses permitted. Uses permitted in the S-1 district shall be as follows:
(1)
Parks.
(2)
Athletic facilities, including tennis courts, basketball courts, ball fields, swimming pools and clubhouses.
(3)
Playgrounds, shuffleboard courts and lawn bowling.
(4)
Outdoor entertainment, beaches, boat launching and anchorage, and picnic areas.
(b)
Uses prohibited. The following uses shall be prohibited in the S-1 district:
(1)
Hospitals and clinics.
(2)
Nursing homes.
(3)
Auditoriums and convention centers.
(4)
Public utilities.
(5)
Retail business and office uses.
(6)
Residential uses.
(c)
Building height limitations. No building nor structure (exclusive of field light poles) in the S-1 district shall be erected or altered to exceed a height of 25 feet.
(d)
Setback limits. Buildings within S-1 district shall be set back a minimum of 15 feet from the rear lot lines.
(e)
Property abutting residential property. In any instance where S-1 zoned property abuts property with a residential classification, the owner of the S-1 property shall, before using the such property, construct a fence or hedge in accordance with applicable construction and zoning standards, over and across that portion of his property which abuts the residential property.
(Code 1979, ch. 21, § 5.45)
Cross reference— Parks and recreation, ch. 58.
(a)
Definitions. For purposes of this section, the following definitions shall apply:
Animal rescue organization. The humane society or other duly incorporated nonprofit organization operated as a bona fide charitable organization under Section 501(c)3 of the Internal Revenue Code, which organization is devoted to the rescue, care and/or adoption of stray, abandoned or surrendered animals and which does not breed animals.
Animal shelter. A municipal or related public animal shelter or duly incorporated nonprofit organization devoted to the rescue, care and/or adoption of stray, abandoned or surrendered animals, and which does not breed animals.
Cat. An animal of any age of the Felidae family of the order Carnivora.
Certificate of source. A document from the source city or county animal shelter or animal control agency, humane society, non-profit rescue organization or hobby breeder declaring the source of origin of a dog or cat on the premises to be sold or transferred or offered for sale or transfer. A certificate of source shall include at a minimum, a brief description of the dog or cat, the name, address, telephone number and e-mail address of the source of the dog or cat, and shall be signed by both the pet store certifying the accuracy of the certificate and by the purchaser or transferee of the dog or cat acknowledging receipt of the certificate of source.
Dog. An animal of any age of the Canidae family of the order Carnivora.
Hobby breeder. Any person or entity that causes or allows the breeding or studding of a dog or cat resulting in no more than a total of one litter per adult animal per calendar year whether or not the animals in such litter are offered for sale or other transfer.
Pet store. Any retail establishment open to the public that sells or transfers, or offers for sale or transfer, dogs and/or cats, regardless of the age of the dog or cat.
Pet store operator. A person who owns or operates a pet store.
(b)
Sale or transfer of dogs and/or cats. No pet store shall display, sell, trade, deliver, barter, lease, rent, auction, give away, transfer, offer for sale or transfer, or otherwise dispose of dogs or cats in the city on or after the effective date of this section.
(c)
Exemptions . This section does not apply to:
(1)
A hobby breeder as defined herein.
(2)
An animal shelter.
(3)
An animal rescue organization.
(4)
An animal shelter or animal rescue organization that operates out of or in connection with a pet store or other retail store.
(d)
Certificate of source. A pet store shall post and maintain in a conspicuous place, on or within three feet of each dog's or cat's kennel, cage or enclosure, a certificate of source of each dog or cat offered for sale or transfer, and shall provide a copy of such certificate to the purchaser or transferee of any dog or cat sold or transferred.
(Ord. No. 2016-0940, § 8, 6-28-2016)
(a)
This section implements the policy of the City of Lighthouse Point for processing of requests for reasonable accommodation to its ordinances, rules, policies, and procedures for persons with disabilities as provided by the Federal Fair Housing Amendments Act (42 U.S.C. 3601, et seq.) ("FHA") and Title II of the Americans with Disabilities Act (42 U.S.C. Section 12131 et seq.) ("ADA"). For purposes of this section, a "disabled" individual or person is an individual that qualifies as disabled and/or handicapped under the FHA and/or ADA. Any person who is disabled (or qualifying entities) may request a reasonable accommodation with respect to the City's land use or zoning laws, rules, policies, practices and/or procedures as provided by the FHA and the ADA pursuant to the procedures set out in this section.
(b)
A request by an applicant for reasonable accommodation under this section shall be made in writing by completion of a reasonable accommodation request form, which form is maintained by (and shall be submitted to) the city administrator. The reasonable accommodation request form shall contain such questions and requests for information as are necessary for processing the reasonable accommodation request. The reasonable accommodation request form shall be substantially in the form set forth herein.
(c)
Should the information provided by the applicant or disabled individual to the city include medical information or records, including records indicating the medical condition, diagnosis or medical history of the disabled individual, such individual may, at the time of submitting such medical information, request that the city, to the extent allowed by law, treat such medical information as confidential information of the disabled individual. The city shall thereafter endeavor to provide written notice to the applicant or disabled individual, and/or their representative, of any request received by the city for disclosure of the medical information or documentation which the disabled individual has previously requested, be treated as confidential by the city. The city will cooperate with the applicant or disabled individual, to the extent allowed by law, in actions initiated by such individual to oppose the disclosure of such medical information or documentation, but the city shall have no obligation to initiate, prosecute or pursue any such action, or to incur any legal or other expenses (whether by retention of outside counselor allocation of internal resources) in connection therewith, and may comply with any judicial order without prior notice to the applicant or disabled individual.
(d)
The city administrator shall have the authority to consider and act on requests for reasonable accommodation, after notice and public hearing to receive comments, input and information from the public (provided, however, the city administrator or designee shall not be required to render their decision at said public hearing). Alternatively, the city administrator may refer an application to the city's planning and zoning board for determination.
(e)
When a reasonable accommodation request form has been completed and submitted to the city administrator, the city administrator or planning and zoning board for matters referred to it by the city administrator, shall issue a written determination within 45 days of the date of the city's receipt of a completed reasonable accommodation request form, subject to additional time for additional information pursuant to subsection (f), and may, in accordance with federal law:
1.
Grant the accommodation request;
2.
Grant a portion of the request and deny a portion of the request, and/or impose conditions upon the grant of the request; or
3.
Deny the request, in accordance with applicable law.
Any such denial shall be in writing and shall state the grounds therefor. All written determinations shall give notice of the right to appeal. The notice of determination shall be sent to the requesting party (i.e. the disabled individual or his/her representative) by certified mail, return receipt requested.
(g)
If reasonably necessary to reach a determination on the request for reasonable accommodation, the city administrator or planning and zoning board, may, prior to the end of said 45-day period, request additional information from the requesting party, specifying in sufficient detail what information is required. The requesting party shall have 15 days after the date of the request for additional information to provide the requested information. In the event a request for additional information is made, the 45-day period to issue a written determination shall no longer be applicable, and the city administrator or planning and zoning board shall issue a written determination within 30 days after the city's receipt of the additional information. If the requesting party fails to provide the requested additional information within said 15-day period, the city administrator or planning and zoning board shall issue and written notice advising that the requesting party had failed to timely submit the additional information, and therefore the request for reasonable accommodation shall be deemed abandoned and/or withdrawn and no further action by the city with regard to said reasonable accommodation request shall be required.
(h)
In determining whether the reasonable accommodation request shall be granted or denied, the requesting party shall be required to establish that they are protected under the FHA and/or ADA by demonstrating that they are a disabled person. For purposes of this section, a "disabled person" is an individual that qualifies as disabled and/or handicapped under the FHA and/or ADA. The word "individual" shall include, for purposes of this section, multiple people, or qualified entities.
The requesting party will have to demonstrate that the proposed accommodations being sought are reasonable and necessary to afford handicapped/disabled person equal opportunity to use and enjoy housing. The foregoing (as interpreted by the courts) shall be the basis for a decision, upon a reasonable accommodation request, made by the city administrator, planning and zoning board, or by the city commission in the event of an appeal.
(i)
The city administrator's determination on a reasonable accommodation request may be appealed pursuant to sections 42-281 through 42-284 of the city's Code. A determination by the planning and zoning board may be appealed pursuant to section 42-284 of the city's Code. Unless the timeframe is waived by the applicant, appeals to the planning and zoning board shall be conducted within 30 days of the request for appeal, and appeals from the planning and zoning board to the city commission shall be conducted within 30 days of the request for the appeal
(j)
There shall be no fee imposed by the city in connection with a request for reasonable accommodation under this section. An appeal of a determination of the city administration or of the planning and zoning board shall be subject to the same fee as other appeals filed pursuant sections 42-281 through 42-284 of the city's Code. The city shall have no obligation to pay a requesting party's (or an appealing party's, as applicable) attorneys' fees or costs in connection with the request, or an appeal.
(k)
While a request for a reasonable accommodation, or appeal of a determination of same, is pending before the city, the city will not enforce the subject zoning ordinance, rules, policies, and procedures against the applicant.
(l)
The following general provisions shall be applicable:
(1)
The city shall display a notice in the city's public notice bulletin board (and shall maintain copies available for review in the city clerk's office), advising the public disabled individuals (and qualifying entities) may request reasonable accommodation as provided herein.
(2)
A disabled individual may apply for a reasonable accommodation on his/her own behalf or may be represented at all stages of the reasonable accommodation process by a person designated by the disabled individual.
(3)
The city shall provide such assistance and accommodation as is required pursuant to FHA and ADA in connection with a disabled person's request for reasonable accommodation, including, without limitation, assistance with reading application questions, responding to questions, completing the reasonable accommodation request form, filing an appeal, and appearing at a hearing etc. to ensure the process is accessible.
(m)
Reasonable accommodation request form:
(1)
Name of applicant: ____________
(2)
Telephone number: ____________
(3)
Address: ____________
(4)
Address of housing or other location at which accommodation is requested:
(5)
Describe qualifying disability or handicap:
(6)
Describe the accommodation and the specific regulation(s) and or procedure(s) from which accommodation is sought:
(7)
Reasons the reasonable accommodation may be necessary for the individual with disabilities to use and enjoy the housing or other service:
(8)
Name address and telephone number of representative if applicable:
(9)
Signature of disabled individual or representative, if applicable, or qualifying entity.
(Ord. No. 2016-0940, § 9, 6-28-2016)
(a)
Purpose. Conditional uses may be compatible with the other land uses permitted in a zoning district but, because of their unique characteristics and potential impacts on the surrounding neighborhood and city as a whole, require individual review of their location, design, configuration, and/or operation in order to ensure that the use is appropriate at a particular location.
(b)
Applicability. No use designated as a conditional use by the district regulations shall be established until the use has received approval under the provisions of this section and has received a certificate of compliance, a building permit, a certificate of occupancy, and an occupational license, as applicable, pursuant to the requirements of these regulations.
(c)
Supplemental application requirements.
(1)
A site plan meeting the requirements of section 42-113, application for final site plan approval.
(2)
Any other information as may be required for a determination of the nature of the proposed use and its effect on the surrounding properties and the neighborhood.
(d)
Application processing and review standards.
(1)
Copies of the complete application shall be forwarded to the development review committee (DRC) for review to determine whether the conditional use complies with these regulations, and whether conditions of approval are recommended in order to mitigate concerns related to the review criteria of subsection (2), below.
(2)
Planning and zoning board review.
a.
The planning and zoning board shall establish a public hearing pursuant to the quasi-judicial public hearing procedures to consider public testimony, if any, and the staff recommendation, and based upon the criteria for review in this section, shall deny, approve or approve with conditions the application as it deems necessary to have the proposed use meet the standards set forth in the review criteria, below, and to prevent or minimize adverse effects on other property in the neighborhood. Conditions may include, but are not limited to: limitations on size, bulk and location; duration of construction period; signage; requirements for landscaping and other screening, outdoor lighting, and the provision of adequate ingress and egress; duration of the approval; hours of operation; and the mitigation of environmental impacts. Conditions may be imposed for a specific period of time, after which time the condition shall expire and the obligations of the applicant pertaining to such condition shall automatically terminate.
b.
The standards of review are as follows:
1.
The proposed use shall be consistent with the comprehensive plan;
2.
The establishment, maintenance or operation of the proposed use shall not be detrimental to or endanger the public health, safety, comfort, or general welfare;
3.
The proposed use shall not diminish the use or enjoyment of other property in the immediate neighborhood for the purposes permitted in the district;
4.
The establishment of the conditional use shall not impede the normal and orderly development and improvement of surrounding properties for uses permitted in the zoning district;
5.
The proposed use shall not diminish property values in the neighborhood;
6.
Adequate utilities, road access, drainage, and other necessary facilities already exist, shall be provided by the applicant, or are programmed to serve the proposed use;
7.
Adequate measures already exist or shall be taken to provide ingress and egress to the proposed use in a manner that minimizes traffic congestion in the public streets, to provide safe and adequate pedestrian and vehicular circulation and to provide adequate parking;
8.
The proposed use shall be consistent with the community character of the immediate neighborhood of the proposed development;
9.
Development of the proposed use shall not adversely affect a known archaeological, historical, or cultural resource located on or off the parcel proposed for development;
10.
The design of the proposed use shall minimize adverse effects, including visual impacts, of the proposed use on adjacent property;
11.
The applicant has the financial and technical capacity to complete, operate, and maintain the conditional use as proposed and has made adequate legal provisions to guarantee the provision, development and maintenance of any buffers, landscaping, public open space, and other improvements associated with the proposed use; and
12.
The proposed use shall meet all other standards or requirements set forth in the zoning code which apply to that use in the zoning district in which it is located.
c.
The decision of the planning and zoning board shall be recorded in the minutes of its meeting, and thereafter an order shall be prepared as evidence of such decision, which shall set out with sufficient clarity the exact legal description of the land and premises affected, and the decision, including conditions, made by the board. One copy of the order shall be kept by the city clerk to become a public record, one copy shall be kept by the department, and one copy forwarded to the applicant.
(e)
Effect of conditional use approval; expiration.
(1)
Approval of a conditional use request, unless otherwise provided by the planning and zoning board approval, shall become null and void unless a development permit (if required for use or occupancy) pursuant thereto is issued within 12 months of the date of any such action by the board, and construction or use of the premises is underway.
(2)
Permits issued under a conditional use approval shall be revoked by the city in the case of failure to comply with conditions of approval or applicable regulations.
(3)
Any discontinuation of an approved conditional use for a period of 180 consecutive days shall constitute abandonment, and shall rescind the approval of the conditional use.
(f)
Amendments and alterations to approved conditional uses.
(1)
Except as provided below, any modifications to an approved conditional use and any addition to or expansion of an existing conditional use shall require the same application, review and approval as required under this section for the original approval of the conditional use.
(2)
Minor changes in the site plan or design details of an approved conditional use which are consistent with the standards and conditions applying to the conditional use and which do not result in additional external impacts, including but not limited to, a minor shift in the location of a building or structure, the realignment of parking spaces and aisles, and the relocation of a driveway, may be approved by the city administrator.
(Ord. No. 2006-861, § 4, 4-11-2006)
(a)
Definition.
Townhouse means a building divided vertically into two or more attached dwelling units such that the individual dwelling units are side by side, where each dwelling unit is designed for occupancy by one family, and has its own, independent entrance at grade level.
(b)
Purpose. The intent of the following provisions is to allow as a conditional use three-story townhouses developments in RM-16.
(c)
Criteria. Along with the criteria specified in sections 42-344 and 42-360, the following conditional use criteria shall apply to each three-story townhouse development in RM-16:
(1)
Density. The overall density of a townhouse development shall not exceed the density allowed by the applicable zoning district.
(2)
Design. The overall design of the development must be superior in architectural and aesthetic quality and remain compatible in scale and mass with abutting and surrounding residential buildings.
(3)
Facades. Straight front and rear facades are prohibited. The street front, street side and rear facades shall vary along both the vertical and horizontal planes to create visual interest and character.
(4)
Roofline. Straight rooflines in the front and rear are prohibited. No more than 60 percent of the roof can be of the same height. Roof variations must be a minimum of five feet. The street front street side and rear roofline shall vary along the horizontal plane to create visual interest and character.
(5)
Roofs. Flat roofs shall be discouraged unless the flat roof is an integral part of the architectural style proposed for the development. Mansards and other roof design techniques shall be used to create the appearance of a pitched roof.
(6)
Building length. No single grouping of townhouse units shall exceed a maximum of 90 feet in length and shall include no more than four units. Buildings must be separated by at least ten feet.
(7)
Required parking, number and location.
a.
Number of parking spaces. Each townhouse unit shall provide three parking spaces.
b.
Garages. A garage, a fully enclosed structure designed for storage of at least one automobile shall be required for each individual townhouse unit. In order for garage spaces to be counted towards the required parking spaces, a declaration of covenants shall be recorded in the county public records requiring the area in the garage be designated for parking and is required to remain available for vehicular use as a parking space.
c.
Minimum exterior parking spaces. Each townhouse unit shall provide a minimum of two exterior spaces which may be tandem to parking spaces located in garages.
d.
Location of guest parking spaces. In addition to the minimum parking requirements in subsection (a) above, each townhouse development shall provide guest spaces in the amount of 15 percent of the total number of parking spaces required for the project. Any fraction in the number of required guest spaces when calculated shall be rounded to the next highest whole number. Each townhouse unit shall have reasonable access to required guest parking spaces. Guest parking may be located in a parking bay, parking lot, or driveway.
(8)
Pervious space. The minimum pervious requirement for each townhouse development shall be 30 percent.
(9)
Landscaping requirements.
a.
Townhouse developments must meet the minimum commercial landscape requirements in division 7.
b.
Townhouse developments shall be required to employ appropriately scaled landscaping, with a variety of colors, heights, textures and species throughout the site.
c.
Lush tropical landscaping is encouraged to improve the aesthetics of the property.
(10)
Amenities. Townhouse developments without amenities such as pools, decks, courtyards and/or common areas shall be strongly discouraged.
(11)
Green building. Townhouse developments are encouraged to incorporate green and sustainable designs and materials as recognized through leadership in energy and environmental design (LEED) of the U.S. Green Building Council.
(d)
Conflict with other provisions. In the event that any provision of this section conflicts with any other provisions of the land development code, the provisions of this section shall control to the extent of such conflict.
(Ord. No. 2006-861, § 4, 4-11-2006; Ord. No. 2008-0875, § 2, 5-27-2008)
(a)
Definition. The term "townhouse" shall have the meaning given in section 42-361.
(b)
Purpose. The purpose of this section is to establish criteria for two-story townhouse developments in the RM-16 district, and to provide for waiver or modification of certain standards and requirements of this chapter upon determination by the planning and zoning board that such flexibility is warranted by the merits of the project design and the project siting.
(c)
Intent. It is the intent of this section to acknowledge that two-story townhouse developments may be appropriate if designed to a high architectural standard that emphasizes quality, minimizes mass, creates visual interest, blends with the context of the adjacent neighborhood, and provides amenities for its residents. It is the further intent of this section to provide for relief of certain standards and requirements of this chapter to encourage innovative and high-quality design.
(d)
Criteria. Along with the criteria specified in section 42-360, the following supplemental requirements and criteria shall apply to each two-story townhouse development in the RM-16 zoning district:
(1)
Building length and spacing. No single attached group of townhouses shall exceed four units and 90 feet in length unless the Planning and Zoning Board finds that a larger attached group is fully consistent with the intent of this section. Each attached group must be separated from all other attached groups within the same development, by at least 10 feet.
(2)
Density. The overall density of a townhouse development shall not exceed the density allowed by the RM-16 zoning district.
(3)
Design. The overall design of the development must be superior in architectural and aesthetic quality and remain compatible in scale and mass with abutting and surrounding residential buildings.
(4)
Facades. The street front, street side and rear facades shall vary along both the vertical and horizontal planes to create visual interest and character.
(5)
Roofline. No more than 60 percent of the roof can be of the same height, with a minimum variation of five feet unless otherwise approved by the planning and zoning board. The street front street side and rear roofline shall vary along the horizontal plane to create visual interest and character.
(6)
Roofs. Flat roofs shall be discouraged unless the flat roof is an integral part of the architectural style proposed for the development. Mansards and other roof design techniques shall be used to create the appearance of a pitched roof.
(7)
Garages. A garage, a fully enclosed structure designed for storage of at least one automobile shall be required for each individual townhouse unit. In order for garage spaces to be counted towards the required parking spaces, a declaration of covenants shall be recorded in the county public records requiring the area in the garage be designated for parking and is required to remain available for vehicular use as a parking space.
(8)
Location of guest parking spaces. In addition to the minimum parking requirements in section 42-410, each townhouse development shall provide guest spaces in the amount of 15 percent of the total number of parking spaces required for the project. Any fraction in the number of required guest spaces when calculated shall be rounded to the next highest whole number. Each townhouse unit shall have reasonable access to required guest parking spaces. Guest parking may be located in a parking bay, parking lot, or driveway.
(9)
Landscaping requirements.
a.
Townhouse developments must meet the minimum commercial landscape requirements in division 7.
b.
Townhouse developments shall be required to employ appropriately scaled landscaping, with a variety of colors, heights, textures and species throughout the site.
c.
Lush tropical landscaping is encouraged to improve the aesthetics of the property.
(10)
Amenities. Townhouse developments without amenities such as pools, decks, courtyards and/or common areas shall be strongly discouraged.
(11)
Green building. Townhouse developments are encouraged to incorporate green and sustainable designs and materials as recognized through leadership in energy and environmental design (LEED) of the U.S. Green Building Council.
(e)
Modifications and waivers. In addition to authority already granted in other provisions of this chapter, the planning and zoning board may modify or waive standards and requirements in the following sections of this chapter when the board determines that such modification or waiver is necessary to facilitate innovative and high quality design on a particular parcel, and that such modification or waiver is not contrary to the public health safety and welfare, including but not limited to, traffic safety, emergency vehicle access, pedestrian and cyclist safety, and stormwater drainage:
(1)
The following sections of article II, "Administration and enforcement," Division 4, "Site Plans":
a.
Section 42-132(b), paragraphs (2), "Driveway standards," (3) "Circulation design" and (4), "Parking and loading areas to be curbed."
b.
Section 42-134, "Vehicular reservoir areas," as applicable to non-trafficway streets only.
c.
Section 42-142, "Pervious area and greenspace."
(2)
The following sections of article IV, "Zoning":
a.
Section 42-344, "RM-16, four-family residence district" pertaining to setback lines, minimum first story floor area and building height limitation.
b.
Section 42-371, "Yard encroachments."
c.
Section 42-372, "Pools, terraces, hot tubs and spas."
d.
Section 42-374, "Lot coverage."
e.
Section 42-376, "Walls, fences, hedges in nonwaterfront residential lots."
f.
Section 42-383, "Construction of driveways."
(f)
Public notice requirements for modifications and waivers. The public notice provided for the conditional use application shall identify each requirement of this chapter that the applicant seeks to modify or waive as authorized in this section.
(g)
Conflict with other provisions. In the event that any provision of this section conflicts with any other provisions of the land development code, the provisions of this section shall control to the extent of such conflict.
( Ord. No. 2018-0966 , § 3, 6-12-2018)
(a)
Definition.
Full service drycleaner means a business establishment which provides the cleansing and pressing of clothing and fabrics with substantially nonaqueous organic solvents.
(b)
Purpose. The intent of the following provisions is to allow as a conditional use full service dry cleaners in B-1 district.
(c)
Criteria. Along with the criteria specified in sections 42-347 and 42-360, the following conditional use criteria shall apply to each full service dry cleaning establishment in B-1:
(1)
Service shall be rendered directly to customers who personally bring in and pick up articles to be cleaned, and establishment shall not provide pickup or delivery service.
(2)
The hours of operation shall be limited from 7:00 a.m. to 7:00 p.m.
(3)
No more than five persons shall be employed during any one shift in the operation of the establishment.
(4)
No more than two cleaning units, each with a rated capacity of 40 pounds or less, shall be used in any establishment.
(5)
The entire cleaning and drying process shall be carried on within completely enclosed solvent-reclaiming units. The reclaiming units shall be third generation version or newer. All solvents used in the cleaning process and their vapors shall be nonexplosive and nonflammable.
(d)
Conflict with other provisions. In the event that any provision of this section conflicts with any other provisions of the land development code, the provisions of this section shall control to the extent of such conflict.
(Ord. No. 2007-0872, § 3, 8-28-2007)
(a)
Definition. Children's dance school means a school of dance instruction for children between the ages of 2—18 only.
(b)
Purpose. The intent of the following provisions is to allow as a conditional use a children's dance school.
(c)
Criteria. Along with the criteria specified in section 42-360, the following conditional use criteria shall apply to each children's dance school in B-l:
(1)
Only students between the ages of 2—18 are permitted. No adult classes are permitted.
(2)
A maximum of 34 students shall be present on the premises at any one time.
(3)
Consistent with the standards of review contained in subsection 42-360(d)(2)b,7, the children's dance school shall prepare a drop-off and pick-up plan for students which the city shall approve prior to the issuance of a certificate of occupancy for the children's dance school. This plan may be reviewed by the city on an annual basis. The plan shall take into consideration such site specific issues as existing parking spaces, adjacent businesses and homes, the number of students, time of classes, and shall not permit students to be dropped off or picked up in city public right-of-way.
(4)
Recitals are prohibited at the children's dance school site.
(d)
Conflict with other provisions. In the event that any provision of this section conflicts with any other provisions of the land development code, the provisions of this section shall control to the extent of such conflict.
(Ord. No. 2014-0909, § 2, 3-25-2014)
(a)
Definition.Fortune teller means an establishment offering the telling of fortunes, forecasting of future events, or the furnishing of information not otherwise obtainable by the ordinary process of knowledge by means of any occult or psychic power, faculty, or force, including, but is not limited to: clairvoyants; clairaudience; cartomancy; hypnotist, phrenologists; numerologists, spirits; tea leaves or other such reading; mediums; seership; prophecy; augury; astrologers; palmists; necromancy; mind readers; telepathy; crystal gazing; magic; or other craft art, cards, talisman, charm, potion, magnetized article, or substance, and others of a similar nature, whether or not in connection with another business.
(b)
Purpose. The intent of the following provisions is to allow as a conditional use a fortune teller or similar uses in the B-3A district.
(c)
Criteria. Along with the criteria specified in section 42-360, the following conditional use criteria shall apply to fortune teller or similar us in the B-3A district:
(1)
Fortune teller or similar uses in the city shall be separated 2,500 feet from another by airline measurement.
(d)
Conflict with other provisions. In the event that any provision of this section conflicts with any other provisions of the land development code, the provisions of this section shall control to the extent of such conflict.
(Ord. No. 2016-0940, § 10, 6-28-2016)
(a)
Definition. This category includes establishments providing indoor/outdoor entertainment, gaming and sports activities including, but not limited to: multiple machines or devices (mechanical or electronic), skill testing such as clues, puzzles, detective games, played for entertainment, or amusement and including golf driving range, miniature golf course, playgrounds and playfield. Such machines and devices include, but are not limited to video games, pinball machines, mechanical grab machines, pool tables, foosball tables, and other games of skill or scoring. This use does not include any machines or devices regulated under state gambling laws.
(b)
Purpose. The intent of the following provisions is to allow as a conditional use a gaming establishment, golf driving range, miniature golf course, playground, playfield, or similar use (indoor/outdoor) in the B-3A district.
(c)
Criteria. Along with the criteria specified in section 42-360, the following conditional use criteria shall apply to gaming establishment, golf driving range, miniature golf course, playground, playfield, or similar use (indoor/outdoor) in the B-3A district:
(1)
Gaming establishment or similar uses shall be located in a building directly abutting and with a main entrance along federal highway.
(2)
The space shall be soundproofed for any noise, vibration or base sound produced by any activity occurring inside the building.
(3)
All gaming related activities shall occur indoors except for golf driving range, miniature golf course, playground and playfield.
(4)
Outdoor activities as allowed in this section shall be separated from a residential district by a minimum of 100 feet and provide an eight-foot concrete wall with a five-foot landscape buffer along any property line abutting residential. The landscape buffer shall provide one tree for each 30 linear feet.
(5)
Any lighting whether originating from the interior of the building or from exterior lighting shall be zero foot-candles when measured at grade level from any residential the property line.
(d)
Conflict with other provisions. In the event that any provision of this section conflicts with any other provisions of the land development code, the provisions of this section shall control to the extent of such conflict.
(Ord. No. 2016-0940, § 10, 6-28-2016)
(a)
Definition.Nightclub means any place of business operating after 11:00 p.m. where food, alcoholic beverages and refreshments are served and sold to the public in connection with dancing, vaudeville, theatrical or similar entertainment, and where, in addition to the space occupied by chairs and tables for service of meals, there shall be provided a floor space of at least 400 square feet, suitably prepared for dancing, and a band, orchestra or other form of music is provided.
(b)
Purpose. The intent of the following provisions is to allow as a conditional use Nightclub or similar use in the B-3A district.
(c)
Criteria. Along with the criteria specified in section 42-360, the following conditional use criteria shall apply to a Nightclub or similar uses in the B-3A district:
(1)
Nightclub or similar uses shall be separated 2,500 feet from each other by airline measurement.
(2)
Nightclub or similar uses shall be located in a building abutting and with a main entrance facing federal highway.
(3)
The space shall be soundproofed for any noise, vibration or base sound produced by any activity occurring inside the building.
(4)
Any lighting whether originating from the interior of the building or from exterior lighting shall be zero foot-candles when measured at grade level from any residential the property line.
(5)
No valet parking services including drives or parking allowed in any side of the building abutting a residential district.
(d)
Conflict with other provisions. In the event that any provision of this section conflicts with any other provisions of the land development code, the provisions of this section shall control to the extent of such conflict.
(Ord. No. 2016-0940, § 10, 6-28-2016)
(a)
Definition.Check cashing store means an establishment subject to regulation by F.S. ch. 560, money services businesses, and that provides check cashing and/or deferred presentment transactions.
(b)
Purpose. The intent of the following provisions is to allow as a conditional use check cashing stores or payday loans or similar use in the B-3A district.
(c)
Criteria. Along with the criteria specified in section 42-360, the following conditional use criteria shall apply to a check cashing stores or payday loans or similar use in the B-3A district:
(1)
Check cashing stores or payday loans in the city shall be separated 2,500 feet, by airline measurement, from each other and from a pawnshop in the city.
(d)
Conflict with other provisions. In the event that any provision of this section conflicts with any other provisions of the land development code, the provisions of this section shall control to the extent of such conflict.
(Ord. No. 2016-0940, § 10, 6-28-2016)
(a)
Definition.Theater or sports arena means a building or structure designed or intended for use for presentation of motion picture, dramatic, musical, or live performances, other entertainment and cultural events, spectator sports, entertainment events, expositions and/or other public gatherings, all occurring inside an enclosed structure.
(b)
Purpose. The intent of the following provisions is to allow as a conditional use theater, sports arena or similar use in the B-3A districts.
(c)
Criteria. Along with the criteria specified in section 42-360, the following conditional use criteria shall apply to a theater or similar use in the B-3A district:
(1)
Theater, sports arena or similar use with more than 100 seats shall be located in a stand-alone building.
(2)
The space shall be soundproofed for any noise, vibration or base sound produced by any activity occurring inside the building.
(3)
Any parking demand created by the proposed use shall not exceed the supply of parking spaces legally available within the parking areas allocated on the site as required by section 42-410 (minimum parking requirements). An applicant may be required to demonstrate that on-site traffic flow and parking will be sufficient to accommodate parking demands generated by the use, based on a current traffic and parking study prepared by a certified professional, if requested by the city.
(d)
Conflict with other provisions. In the event that any provision of this section conflicts with any other provisions of the land development code, the provisions of this section shall control to the extent of such conflict.
(Ord. No. 2016-0940, § 10, 6-28-2016)
(a)
Definition.Pawnshop means a business activity described in F.S. ch. 538, and which main purpose is to provide advances funds to a person on the security of pledged tangible personal property on condition that the pledged property is left in the possession of the pawnbroker until redeemed by the pledger within an established default time period, after which title in unredeemed property vests in the pawnbroker, who may then sell the property.
(b)
Purpose. The intent of the following provisions is to allow as a conditional use pawnshop or similar use in the B-3A district.
(c)
Criteria. Along with the criteria specified in section 42-360, the following conditional use criteria shall apply to a pawnshop or similar use in the B-3A district:
(1)
Pawnshops in the city shall be separated 2,500 feet, by airline measurement, from each other and from check cashing stores or payday loan stores in the city.
(d)
Conflict with other provisions. In the event that any provision of this section conflicts with any other provisions of the land development code, the provisions of this section shall control to the extent of such conflict.
(Ord. No. 2016-0940, § 10, 6-28-2016)
(a)
Definition.Consignment shop means a retail establishment primarily engaged in selling used non-donated, second-hand merchandise, and the merchandise is placed for sale with the establishment by the owner of the merchandise and upon sale of the merchandise, the purchase price is divided between the establishment owner and the owner of the merchandise.
(b)
Purpose. The intent of the following provisions is to allow as a conditional use consignment shop or similar use in the B-3A district.
(c)
Criteria. Along with the criteria specified in section 42-360, the following conditional use criteria shall apply to a consignment shop or similar use in the B-3A district:
(1)
Consignment shop shall be separated 2,500 feet, by airline measurement from one another.
(2)
No outdoor storage or display of items or merchandise allowed.
(3)
The establishment shall be limited to one type of merchandise, including but not limited to, clothing and related accessories, children's apparel and furniture, sporting equipment, or home furnishings.
(d)
Conflict with other provisions. In the event that any provision of this section conflicts with any other provisions of the land development code, the provisions of this section shall control to the extent of such conflict.
(Ord. No. 2016-0940, § 10, 6-28-2016)
(a)
Definition.Healthcare uses other than medical offices means small-scale facilities, with no overnight care treatment, where patients are admitted for examination and treatment by one or more physicians, other health practitioners on a short-term basis. These include, ambulatory surgical clinics, biofeedback centers, sleep disorder clinics, family planning clinics, birthing facilities, community health clinics, establishments offering services such as blood donor centers, surgical centers, 24-hour minor emergency centers, tissue and organ collection centers, and outpatient rehabilitation centers, substance abuse treatment centers, detox centers, medication and maintenance centers or similar use. This use does not include hospitals (which are much larger in scale) or in-patient drug or alcohol treatment facilities.
(b)
Purpose. The intent of the following provisions is to allow Healthcare Uses or similar uses in the B-3A district.
(c)
Criteria. Along with the criteria specified in section 42-360, the following conditional use criteria shall apply to Healthcare uses or similar use in the B-3A district:
(1)
Healthcare uses in the city as described in this section 42-371 shall be separated from similar uses 2,500 feet, by airline measurement.
(2)
Such uses shall be located in a stand-alone building directly abutting and with main access along federal highway.
(3)
No treatment or services shall be provided between the hours of 10:00 p.m. and 7:00 a.m. unless the facility provides services related to sleep disorders or an urgent care facility providing services 24 hours.
(4)
No overnight stay or care allowed unless the facility provides services related to sleep disorders or an urgent care facility providing services 24 hours.
(5)
Vehicular access, circulation systems and exterior signage shall be designed to provide safe and separate emergency vehicle access and parking to the facility with minimal conflicts with other vehicular or pedestrian traffic in the area.
(6)
Any parking demand created by the proposed use shall not exceed the supply of parking spaces legally available within the parking areas allocated on the site as required by section 42-410 (minimum parking requirements). An applicant may be required to demonstrate that on-site traffic flow and parking will be sufficient to accommodate parking demands generated by the use, based on a current traffic and parking study prepared by a certified professional, if requested by the city.
(d)
Conflict with other provisions. In the event that any provision of this section conflicts with any other provisions of the land development code, the provisions of this section shall control to the extent of such conflict.
(Ord. No. 2016-0940, § 10, 6-28-2016)
Editor's note— Ord. No. 2016-0940, § 10, adopted June 28, 2016, set out provisions intended for use as § 42-371. Inasmuch as there were already provisions so designated, and at the editor's discretion, these provisions have been included herein as a new § 42-370.1.
(a)
Definition. A state-licensed institution that provides primary health services and medical or surgical care to humans, primarily inpatients, who are sick or injured, and including as an integral part of the institution, related facilities such as clinical laboratories, outpatient facilities, training facilities, central service facilities and staff offices. Hospitals offer facilities and beds for use beyond 24 hours by persons needing medical treatment or service.
(b)
Purpose. The intent of the following provisions is to allow Hospitals or similar uses in the B-3A district.
(c)
Criteria. Along with the criteria specified in section 42-360, the following conditional use criteria shall apply to hospitals or similar use in the B-3A district:
(1)
Hospitals in the city shall be separated from similar uses 2,500 feet, by airline measurement.
(2)
Shall be located in a site with a minimum of 3 acres.
(3)
Such use shall be located in a stand-alone building directly abutting and with main access along federal highway.
(4)
No valet parking services including drives or parking allowed in any side of the building abutting a residential district.
(5)
Vehicular access, circulation systems and exterior signage shall be designed to provide safe and separate emergency vehicle access and parking to the facility with minimal conflicts with other vehicular of pedestrian traffic in the area.
(6)
Any parking demand created by the proposed use shall not exceed the supply of parking spaces legally available within the parking areas allocated on the site as required by section 42-410 (minimum parking requirements). An applicant may be required to demonstrate that on-site traffic flow and parking will be sufficient to accommodate parking demands generated by the based on a current traffic and parking study prepared by a certified professional, if requested by the city.
(7)
A perimeter security plan is required and shall address at a minimum the vehicular and pedestrian access to the site, parking area, and lighting.
(8)
Outdoor recreation or passive space shall be provided for both patients and visitors.
(d)
Conflict with other provisions. In the event that any provision of this section conflicts with any other provisions of the land development code, the provisions of this section shall control to the extent of such conflict.
(Ord. No. 2016-0940, § 10, 6-28-2016)
Editor's note— Ord. No. 2016-0940, § 10, adopted June 28, 2016, set out provisions intended for use as § 42-372. Inasmuch as there were already provisions so designated, and at the editor's discretion, these provisions have been included herein as a new § 42-370.2.
(a)
Definition. A shop in which the items sold (or given away to the needy) have been obtained through donations or gifts and where the donor receives no value upon the sale (or gift) of such merchandise to a thrift shop customer, and where the use is designed to sell donated merchandise at a price below reasonable market value, or where the revenue received from selling same is retained by a charitable or not-for-profit organization or institution.
(b)
Purpose. The intent of the following provisions is to allow as a conditional use thrift shops or similar use in the B-3A district.
(c)
Criteria. Along with the criteria specified in section 42-360, the following conditional use criteria shall apply to a thrift shop or similar use in the B-3A district:
(1)
Thrift shops shall be separated 2,500 feet, by airline measurement from one another.
(2)
Such use shall be located in a stand-alone building directly abutting and with main access along federal highway.
(3)
No outdoor storage or display of items or merchandise allowed.
(4)
Drop off, pick up and sorting area shall be located at the rear of the building and not be visible from adjacent properties.
(5)
All donation transactions shall occur inside the building. Exterior drop-offs, including permanent or temporary placement of exterior donation boxes, is prohibited.
(6)
A thrift store shall be a minimum of 12,000 square feet of total gross floor area and operated by a single tenant.
(d)
Conflict with other provisions. In the event that any provision of this section conflicts with any other provisions of the land development code, the provisions of this section shall control to the extent of such conflict.
(Ord. No. 2016-0940, § 10, 6-28-2016)
Editor's note— Ord. No. 2016-0940, § 10, adopted June 28, 2016, set out provisions intended for use as § 42-373. Inasmuch as there were already provisions so designated, and at the editor's discretion, these provisions have been included herein as a new § 42-370.3.
(a)
Exceptions . The side, street side, rear, and front setback spaces of any lot or parcel of land shall be open and unobstructed from the ground to the sky, with the exception of the following:
(1)
Ordinary projection of cornices, eaves, gutters, belt courses, and window sills, none of which to exceed three feet.
(2)
Flagpoles.
(3)
Fixed or movable window and door awnings limited to a projection not to exceed one-third of the minimum setback (side, rear or front) applicable to such lot. No such awning shall be supported from the ground in the setback area.
(4)
Mechanical equipment such as air-conditioning compressors, pool filters, water softeners, LP gas tanks, sprinkler controls, pool heaters, and any concrete pads used to support such mechanical equipment.
(5)
Underground garbage containers.
(6)
Unenclosed patios located no closer than four feet from the side lot line between the rear building setback line and the rear property line. Street side yards are exempt from this four foot setback requirement.
(7)
Landscaping, including grass, low growing ground cover that covers the ground in place of grass, mulch, pebbles, bark chips, or other horticulturally suitable and pervious ground cover, shrubs, vines, trees, palms, or hedges. Hedges shall be subject to height limitations as provided elsewhere in this Code.
(8)
Walls and fences with height limitations as provided elsewhere in this Code.
(9)
Unenclosed pools, spas, and hot tubs subject to limitations as provided elsewhere in the Code.
(10)
Diving boards, sliding boards, and children's playground equipment. Children's playground equipment is defined to include swing sets with or without slides and other similar type appurtenances that do not exceed ten feet in height nor a foot print of no more than 100 square feet, measured on the ground by creating a square or rectangle around the ground contacts and not in the front setback area.
(11)
Driveways and walkways. Walkways located closer than three feet from the side lot line shall be constructed to retain rainwater on the property. Rain gutters shall be installed as necessary. Driveways are subject to setbacks from property lines, as provided elsewhere in this Code.
(12)
Permanent structures of not more than three feet in height nor more than 100 square feet in area and not located within eight feet of the rear and side lot line.
(13)
With respect to any front or rear setback or any side setback area which fronts on a dedicated public street, any bay window or balcony may intrude into such setback area, as follows:
a.
No more than two bay windows allowed per setback, provided that each bay window is limited in length to 12 feet and does not extend into the setback area any further than three feet and is cantilevered off the ground at least 12 inches from the lowest finished floor elevation of the first floor.
b.
For any parcel that has a setback area of 15 feet or more on the facade where balconies are located, the combined total length of balconies allowed per setback shall not exceed 40 percent of the facade measured along the ground from the side walls in a straight line, may not extend into the setback any further than five feet, and may not be supported from the ground within the setback area. The same criteria shall apply to any parcel that has a setback area of less than 15 feet on the facade where the balconies are located except that they may not extend further than one-third of the setback area.
(14)
Open air shade structures as defined in section 42-242, and which satisfy all of the following requirements:
a.
No portion shall encroach closer than ten feet from the rear lot line;
b.
No portion shall encroach closer than the required building setback from a side lot line;
c.
For any open air shade structure constructed with combustible thatched materials, no portion of the structure shall be closer than five feet from the residential structure;
d.
No portion shall exceed 15 feet in height from normal grade level, and in no instance should any portion of the structure be higher than the roofline of the principal structure;
e.
The covered portion of the structure shall not exceed 150 square feet, as measured from the center of support posts;
f.
The maximum roof projection from the structure shall be no greater than three feet;
g.
The structure must be open on all sides, from normal grade level to the roof beam;
h.
No more than one open air shade structure shall be permitted per lot;
i.
All required building permits shall have been obtained; and
j.
The roof of the open air shade structure shall not be used as a deck, balcony, or for any other use, and no stairs shall extend to the roof of the open air shade structure.
(b)
Prohibited. The following is a list of structures that are specifically prohibited in the side, street side, rear, and front setback spaces of any lot or parcel of land, but it is not intended to be a complete exclusive list of prohibited structures:
(1)
Awnings, canopies, or other roof-like structures supported from the ground in the setback area.
(2)
Any above-the-ground pool.
(3)
Except as permitted in subsection 42-371(a)(14), gazebos, cabanas, chickee huts, and orchid or flower enclosures.
(4)
Sheds.
(5)
Clothesline poles.
(6)
Satellite dish antennae and television receiving antennae in the front yard.
(c)
Administration deviation from the requirements in subsection 42-37l(a)(14) for existing open air shade structures. A property owner may apply for an administrative deviation from the requirements of subsection 42-371(a)(14) of this Code for an open air shade structure, in existence as of May 20, 2014, and/or any improvements contained within the open air shade structure in existence as of May 20, 2014, pursuant to the procedure described herein.
(1)
The application for an administrative deviation shall be executed and submitted by the property owner, or their authorized representative, to the city's building department. The property owner may request approval for an administrative deviation from the requirements contained only in subsections 42- 371(a)(14)a., b., c., d., e. and f. The city commission may establish a fee for the application for an administrative deviation. An administrative deviation shall permit the structure to remain as a legal non-conforming use.
(2)
The application for an administrative deviation shall be reviewed by the city administrator, fire chief, and city planner.
(3)
The decision on an application shall be made in writing and is final. In the event the property owner desires to appeal a denial of the request for an administrative deviation, the appeal shall be considered by the planning and zoning board. For purposes of this consideration of the appeal, an appeal of a denial of an administrative deviation shall be considered to be an appeal of a decision or determination of an administrative official.
(Code 1979, ch. 21, § 5.12; Ord. No. 2004-837, § 2, 1-27-2004; Ord. No. 2014-0911, § 2, 7-8-2014)
(a)
Construction of a new pool or terrace shall be completed such that the elevation shall be at a point not less than six inches below a horizontal line extended from the lowest residence living area ground floor level.
(b)
Where an existing terrace or pool coping is to be resurfaced, the resurfacing may be constructed such that the elevation shall be at a point of not less than two inches below a horizontal line extended from the lowest residence living area ground floor level.
(c)
The elevation limitations for terraces shall not apply to pervious surfacing materials.
(d)
All water-bearing wall surfaces of swimming pools shall be located within the following setback limitations:
(1)
Twenty-five feet from the front lot line on noncorner lots.
(2)
On all corner lots, five feet from the side lot line which abuts and faces any street, with the proviso that should any pool be located within the side building setback area of any lot as established in sections 42-341, 42-342, 42-343, 42-344 and 42-345, then the pool shall be surrounded by a fence adjacent to the pool of the maximum height allowable under other provisions of this Code and of such solid design or construction so as to completely and fully screen the pool from view from the adjacent property and the road right-of-way upon which the property abuts.
(3)
Eight feet from all other lot lines.
(e)
On all residential properties in the city zoned RS-5 (single-family residential nonwaterfront), the side and rear setback requirement for all water-bearing wall surfaces of swimming pools shall be five feet from the rear and side lot line. When any pool is constructed under these provisions then such pool shall be fenced with a solid fence; or a solid green hedge permanently maintained in a healthy, green condition along with a barrier as required by the Residential Swimming Pool Safety Act. Such solid fence or green hedge shall be maintained no less than five feet in height nor more than six feet in height from normal ground level, or no more than six feet plus one-half of the required increase of the minimum finished floor elevation when FEMA requires the finished floor elevation to be raised more than 18 inches above the crown of the road, measured from normal ground level. By way of example, if FEMA requires the finished floor elevation to exceed 18 inches above the crown of the road by 12 additional inches, then the maximum height of the solid fence may increase by six inches, so then the maximum height of the solid fence shall not exceed six feet, six inches as measured from normal ground level. To the extent that these provisions conflict with subsection (c) of this section, these provisions shall apply.
(f)
All of the provisions of subsections (a), (b) (c) and (d) of this section shall apply to spas or hot tubs, whether they are constructed as an integral part of a pool, or freestanding, with the exception that a spa or hot tub may be constructed to a height of three feet above the pool or terrace height.
(Code 1979, ch. 21, § 5.13; Ord. No. 2002-815, § 2, 7-9-2002; Ord. No. 2017-0953 , § 2, 10-24-2017)
(a)
There is hereby established within the city a line to be known as the "Lighthouse Point Easterly Building Construction Line." The Lighthouse Point Easterly Building Construction Line shall be located on and coincident with the westerly right-of-way line of the Intracoastal Waterway as the such westerly right-of-way line is now established and located as of the date of this section.
(b)
With respect to any lots or properties adjacent to the Lighthouse Point Easterly Building Construction Line all platted lots together with the properties lying east of such lots shall for the purpose of this section be deemed one lot.
(c)
The Lighthouse Point Easterly Building Construction Line shall be the line used for rear setback calculations with respect to any residence or detached garage being built on such lots or properties. The mean high water line shall be the rear lot line for all other construction setback purposes and calculations. The building official may require a sealed survey showing the mean high water line if needed to verify the location of improvements to be constructed near or adjacent thereto. All property owners are hereby notified that the construction is being placed in an area which is subject to an easement owned by the United States of America and any such construction is placed at the risk of the property owner and the city disclaims any liability respecting the such construction.
(d)
No construction shall be authorized east of the mean high water line other than docks and pilings permitted by the city and the corps of engineers.
(Code 1979, ch. 21, § 5.15)
On any lot or parcel of land which is zoned residential pursuant to the provisions of sections 42-341, 42-342 and 42-343, in order to provide proper drainage, no more than 75 percent of such lot or parcel of land may be improved with buildings and other structures. The remaining 25 percent shall remain in its unconstructed state and its use restricted to landscaping. The only exceptions to this shall be the following:
(1)
In the case of a patio deck which is constructed of wood and there are spaces between the wood boards sufficient to allow water to drain through the deck, then such wooden deck shall be permitted in the setback area, but no closer than four feet from the side lot line.
(2)
In any situation where the property has been designed to retain and percolate all water on the property and not to shed such water on adjacent properties then the retention and percolation of such water shall be permitted. The drainage plan must be established to the satisfaction of the city engineer who shall be provided a copy of such plan which must be prepared by a registered engineer and under seal.
(Code 1979, ch. 21, § 5.16)
(a)
All walls and fences constructed after January 23, 1990 shall be constructed so as the finished side of the fence faces out or away from the property upon which the fence is constructed, and all support posts and the unfinished side of the fence shall be on the inside of the fence facing the property upon which such fence is being constructed. All fences other than wood and chainlink shall be constructed so as to have a finished surface, to wit, concrete block fence shall have a plastered finish on all sides above ground level.
(b)
All fences shall be constructed pursuant to the maintained plumb and square and substantially in the same condition as when originally constructed so that all loose boards be nailed tight and missing or rotten boards replaced as required.
(c)
Columns shall be allowed to exceed the height limitations of walls and fences by 25 percent in both waterfront and nonwaterfront residential areas under the following conditions:
(1)
The column shall not be any wider than 18 inches.
(2)
Columns are permitted at each end of the fence or wall, at any location where the fence line makes at least a 45 degree turn, and any other point where a clear distance of ten feet between columns is maintained.
(3)
Light fixtures and other ornamental features are permitted on top of the columns as long as they are limited to a height of 18 inches above the column.
(4)
In front and side yards, gates which are at least 75 percent see-through are permitted to a height of eight feet, otherwise gates in all residential areas shall not exceed the height restrictions of walls and fences.
(Code 1979, ch. 21, § 5.17)
(a)
In nonwaterfront residential lots, walls or fences of either open or solid design and construction may be erected and maintained on or between the rear building setback line, as extended, and the rear lot line to a maximum height of not more than six feet from normal ground level, or not more than six feet plus one-half of the required increase of the minimum finished floor elevation when FEMA requires the finished floor elevation to be raised more than 18 inches above the crown of the road, measured from normal ground level. By way of example, if FEMA requires the finished floor elevation to exceed 18 inches above the crown of the road by 12 additional inches, then the maximum height of the wall or fence for the nonwaterfront residential lot may increase by six inches, so then the maximum height of the wall or fence shall not exceed six feet, six inches as measured from normal ground level.
(b)
Walls or fences of either open or solid design and construction may be erected and maintained on or between the rear building setback line, as extended, and the front building setback line, to a maximum height of not more than six feet from normal ground level, or not more than six feet plus one-half of the required increase of the minimum finished floor elevation when FEMA requires the finished floor elevation to be raised more than 18" above the crown of the road, measured from normal ground level. By way of example, if FEMA requires the finished floor elevation to exceed 18 inches above the crown of the road by 12 additional inches, then the maximum height of the wall or fence between the rear setback line and the front building setback line may increase by six inches, so then the maximum height of the wall or fence shall not exceed six feet, six inches as measured from normal ground level. From the front setback line to the front lot line the maximum height of any wall or fence shall exceed no more than five feet from normal ground level.
(c)
Hedges may be erected and maintained as follows:
(1)
Along the rear lot line to a maximum height of not more than eight feet from normal ground level, subject to adjustment for FEMA required minimum floor elevation as permitted by subsections (6) and (7) below.
(2)
On or between the rear lot line and the front setback line to a maximum height of not more than eight feet from normal ground level, subject to adjustment for FEMA required minimum floor elevation as permitted by subsections (6) and (7) below.
(3)
Hedges that face the street at or behind the front setback line in a straight line, parallel to the front setback line, from the side lot line to the corner on the same side of the main residential structure nearest to the front setback, may be erected and maintained to a maximum height of not more than eight feet from normal ground level, subject to adjustment for FEMA required minimum floor elevation as permitted by subsections (6) and (7) below.
(4)
From the front setback line to the front lot line the maximum height of any hedge shall exceed no more than five feet from normal ground level.
(5)
All other permitted hedges to a maximum height of not more than six feet from normal ground level, subject to adjustment for FEMA required minimum floor elevation as permitted by subsections (6) and (7) below.
(6)
The maximum heights shall be permitted to be increased by one-half of the required increase of the minimum finished floor elevation when FEMA requires the finished floor elevation to be raised more than 18 inches above the crown of the road, measured from normal ground level. By way of example, if FEMA requires the finished floor elevation to exceed 18 inches above the crown of the road by 12 additional inches, then the maximum height of the hedge for the lot may increase by six inches, so then the maximum height of the hedge otherwise permitted to be eight feet shall not exceed eight feet, six inches as measured from normal ground level.
(7)
Hedges installed on properties directly adjacent to a property that is required by FEMA to increase the minimum finished floor elevation, and does increase the finished floor elevation, may be erected and maintained at the height authorized by this subsection as if they were subject to the FEMA mandated increased finished floor elevations of the adjacent property.
(8)
No such wall, fence or hedge, erected or maintained on a corner lot within 25 feet of the corner, shall obstruct the vision of drivers of vehicles approaching the street intersection.
(9)
Except as provided in subsection (f), a wall or fence which faces a street whether on the property line or within the building setback area shall be landscaped with a hedge. The hedge must be a minimum of 18 inches at time of planting. The hedge must be irrigated, trimmed, and maintained at a height of a minimum of three feet to the maximum hedge height permitted by this ordinance at the location of the wall or fence. The hedge must be installed along a minimum of two-thirds of the length of the wall or fence which faces a street excluding gates and other openings. When a fence or wall is adjacent to a city sidewalk or street pavement, a setback of a minimum of two feet will be required between the sidewalk or street pavement and fence or wall to allow for the installation of a hedge.
(10)
The following shall not be required to meet the landscaping requirements of subsection (e):
a.
Fences which are 75 percent see-through or portions thereof, except chainlink fences;
b.
Fences and walls determined by the city's planner to be decorative based upon guidelines established by the city's administration;
c.
A wall or fence setback 25 feet from the front street property line.
(Code 1979, ch. 21, § 5.18; Ord. No. 2005-856, § 2, 11-22-2005; Ord. No. 2017-0953 , § 3, 10-24-2017; Ord. No. 2017-0956 , § 2, 2-13-2018)
(a)
On waterfront residential lots, walls, fences, hedges and similar structures or continuous plantings may be located between the rear setback line and the rear or side yard property line adjacent to a canal as follows:
(1)
Solid fence or wall and contiguous hedge as not to exceed three feet in height over normal ground level.
(2)
Chainlink fences which are 90 percent see-through not to exceed four feet in height over normal ground level.
(3)
Picket fences with spindles which are no thicker than one and one-half inches by one and one-half inches with a clear separation between spindles of at least four inches and which fence shall not exceed four feet in height over normal ground level.
(b)
A terrace or patio constructed to a point between the rear setback line and the rear lot line may be constructed with the following conditions:
(1)
Construction of the terrace or patio should be at least six inches below the horizontal line extended from the residence ground floor level.
(2)
The height of the terrace or patio at the seawall shall not exceed three feet above the height of the seawall or in the event there is no seawall, six feet NAVD (seven feet six inches NGVD) above mean sea level. As the terrace or patio recedes away from the seawall, the elevation thereof may increase one-half foot in height for each one foot distance from the seawall. The terrace or patio may never be higher than six inches below the horizontal extension of the lowest floor elevation in the house.
(3)
A wall or fences, which shall not exceed four feet in height, that is constructed so as to be at least 75 percent see-through and which does not obstruct the view of the canal from the immediately adjacent lots may be erected and maintained on any terrace or patio.
(4)
Terraces and patios shall not extend beyond the seawall. Any extension of the terrace or patio past the landward side of the seawall shall be considered part of the dock and the height limitations of docks shall apply to such terrace or patio extension.
(c)
No wall, hedge, step or other structure shall be erected upon a seawall or dock, with the exception that a chainlink or aluminum fence of 90 percent see-through visibility, not more than four feet above the top of the seawall or dock, may be erected only upon the seawall or dock along the side property line or extension of the adjacent side property line.
(d)
Walls, or fences of either open or solid design and construction may be erected and maintained on or between the rear building setback line, as extended, and the front building setback line, to a maximum height of not more than six feet from normal ground level, or not more than six feet plus one-half of the required increase of the minimum finished floor elevation when FEMA requires the finished floor elevation to be raised more than 18 inches above the crown of the road, measured from normal ground level. By way of example, if FEMA requires the finished floor elevation to exceed 18 inches above the crown of the road by 12 additional inches), then the maximum height of the wall or fence, or hedge for the waterfront residential lot may increase by six inches, so then the maximum height of the wall, fence, shall not exceed six feet, six inches as measured from normal ground level. From the front setback line to the front lot line the maximum height of any wall or fence, shall exceed no more than five feet from normal ground level. No such wall or fence or hedge, erected or maintained on a comer lot within 25 feet of the comer, shall obstruct the vision of drivers of vehicles approaching the street intersection.
(e)
Hedges located on the property other than between the rear setback line and the rear or side yard property line adjacent to a canal may be erected and maintained as follows:
(1)
On or between rear building setback line, as extended, and the front building setback line to a maximum height of not more than eight feet from normal ground level subject to adjustment for FEMA required minimum floor elevation as permitted by subsections (5) and (6) below;
(2)
Hedges that face the street at or behind the front setback line in a straight line, parallel to the front setback line, from the side lot line to the corner on the same side of the main residential structure nearest to the front setback, may be erected and maintained to a maximum height of not more than eight feet from normal ground level, subject to adjustment for FEMA required minimum floor elevation as permitted by subsections (5) and (6) below;
(3)
From the front setback line to the front lot line the maximum height of any hedge shall exceed no more than five feet from normal ground level:
(4)
All other permitted hedges in areas of the property addressed in this subsection (e) to a maximum height of not more than six feet from normal ground level, subject to adjustment for FEMA required minimum floor elevation as permitted by subsections (5) and (6) below;
(5)
The maximum heights of hedges in areas of the property addressed in this subsection (e) shall be permitted to be increased by one-half of the required increase of the minimum finished floor elevation when FEMA requires the finished floor elevation to be raised more than 18 inches above the crown of the road, measured from normal ground level. By way of example, if FEMA requires the finished floor elevation to exceed 18 inches above the crown of the road by 12 additional inches, then the maximum height of the hedge for the lot may increase by six inches, so then the maximum height of the hedge otherwise permitted to be eight feet shall not exceed eight feet, six inches as measured from normal ground level;
(6)
Hedges installed on properties directly adjacent to a property that is required by FEMA to increase the minimum finished floor elevation, and does increase the finished floor elevation, may be erected and maintained at the height authorized by this subsection as if they were subject to the FEMA mandated increased finished floor elevations of the adjacent property.
(f)
Except as provided in subsection (g), a wall or fence which faces a front or side street yard or a wall or fence within the front or side street yard setback which faces the street or streets shall be landscaped with a hedge. The hedge must be a minimum of 18 inches at time of planting. The hedge must be irrigated, trimmed, and maintained at a height of a minimum of three feet to the maximum hedge height permitted by this article at the location of the wall or fence. The hedge must be installed along a minimum of two-thirds of the length of the wall or fence which faces a street excluding gates and other openings. When a fence or wall is adjacent to a city sidewalk or street pavement, a setback of a minimum of two feet will be required between the sidewalk or street pavement and fence or wall to allow for the installation of a hedge.
(g)
The following shall not be required to meet the landscaping requirements of subsection (f):
(1)
Fences which are 75 percent see-through or portions thereof, except chainlink fences;
(2)
Fences and walls determined by the city's planner to be decorative based upon guidelines established by the city's administration;
(3)
A wall or fence setback 25 feet from the front street property line.
(Code 1979, ch. 21, § 5.19; Ord. No. 2005-849, § 2, 4-12-2005; Ord. No. 2005-856, § 3, 11-22-2005; Ord. No. 2015-0922, § 5, 1-27-2015; Ord. No. 2017-0953 , § 4, 10-24-2017; Ord. No. 2018-0958 , § 2, 2-13-2018)
In all waterfront residential lots boat davits, lifts, elevators, floating vessel platforms, and floating boat lifts shall not be constructed on nor supported by the seawall cap and:
(1)
Boat lifts installed on all canals and waterways of the city which are supported from the landward side of the lift and boat davits shall maintain the residential structure side yard setback from the side property lot line. No boat shall be docked or placed on a lift in such position that it extends beyond the side yard lot line.
(2)
Boat elevators installed in all canals and waterways of the city shall set back a minimum of 25 feet from the side yard lot line. For a waterway or canal that is 100 feet or more in width, boat elevators shall be placed at least 25 feet from the centerline of the waterway. For a waterway or canal that is less than 100 feet in width, boat elevators shall be placed at least 20 feet from the centerline of the canal or waterway.
(3)
Boat ramps are not permitted in any residential zone of the city.
(4)
Floating vessel platforms and floating boat lifts shall have the same meaning as set forth in F.S. § 403.813(1)(s). Floating vessel platforms and floating boat lifts shall comply with the residential side setback requirement. For a waterway or canal that is 100 feet or more in width, floating vessel platforms and floating boat lifts shall be placed at least 25 feet from the centerline of the waterway. For a waterway or canal that is less than 100 feet in width, floating vessel platforms and floating boat lifts shall be placed at least 20 feet from the centerline of the canal or waterway.
(5)
Awnings, roofs, bimini tops, or other similar structures are not permitted on boat davits, lifts, elevators, floating vessel platforms, and floating boat lifts.
(Ord. No. 2016-0942, § 2, 9-12-2016; Ord. No. 2017-0949 , § 2, 9-13-2017)
Editor's note— Ord. No. 2016-0942, § 2, adopted Sep. 12, 2016, amended § 42-378 in its entirety to read as herein set out. Former § 42-378 pertained to boat davits, lifts, elevators and ramps and derived from Code 1979, ch. 21, § 5.20.
(a)
Except as provided hereinafter in this subsection (a), in any instance where business property abuts property with residential zoning classification, the owner of the business property shall, before using the such property, construct a CBS or poured concrete fence of eight feet in height on the business property so as to adequately screen such business property from the abutting residential property. In the event of a conflict with a recorded utility or government easement, the owner of the business property shall be permitted to construct a PVC fence, provided that:
(1)
The owner of the business property provides the city's zoning department with a sealed copy of a survey showing the recorded easement in relation to the proposed location of the wall;
(2)
The owner of the business property provides written documentation from the easement holder to the city's zoning department objecting to the use of CBS and poured concrete within the easement;
(3)
The use of PVC shall be limited to only the portion of the wall affected by the conflicting easement and the easement holder's objection;
(4)
The height of the PVC wall shall be eight feet;
(5)
The PVC fence shall be constructed without any gaps or openings, particularly at grade.
(b)
In any instance where residentially zoned property abuts property zoned for business classification, the owner of the residential property shall have the option to construct a wooden, CBS, concrete, or shrubbery fence not to exceed eight feet in height on the residential property where the residentially zoned property abuts the business property so as to adequately screen the business property from the residential property.
(Code 1979, ch. 21, § 5.21; Ord. No. 2005-845, § 2, 1-25-2005)
(a)
No dock on any canal or waterway within the city shall extend more than eight feet from the landward side of the seawall cap or from the property line, whichever is closer to the water. Where canals or waterways are at least 100 feet wide, such docks or piers shall not extend more than ten feet from the landward side of the seawall cap or from the property line, whichever is closer to the water. In no case, however, may the width of the dock be more than six feet wide on a canal less than 100 feet, or more than eight feet wide on a canal 100 feet wide or greater.
(b)
All docks shall be provided with safety ladders from the dock or pier to the low-water mark of the canal.
(c)
All docks, pilings and safety ladders shall be maintained in a safe condition.
(d)
For the purpose of assisting in the mooring of boats parallel to adjoining property, freestanding pilings or dolphins unconnected to any dock, may be placed in the waterways and canals of the city, subject to the provisions of this section. A freestanding piling or dolphin installed within a waterway or canal within the city shall be constructed and maintained in conformance with the following requirements:
(1)
Number of pilings. The number of individual pilings which may be installed adjacent to any property shall be as follows:
(2)
Distance from centerline and rear lot line. Pilings shall be placed at least 25 feet from the centerline of a waterway or canal that is 100 feet or more in width. For a waterway or canal that is less than 100 feet in width, pilings shall be placed at least 20 feet from the centerline of the canal or waterway. In no case, however, shall a piling be placed more than 30 feet from the rear lot line.
(3)
Side setback requirement. Pilings shall not be placed within the area bounded by the extension of the adjacent side property line extended into the canal and the extension of the adjacent side setback line extended into the canal.
(4)
Construction and removal. Pilings shall be constructed of preservative-treated wood, with a minimum butt diameter of at least 12 inches, and a length of 30 feet. Wrapping of pilings with any protective materials, such as but not limited to, metal, plastic or other similar materials, is prohibited. The piling shall be set in the canal or waterway so that, after being driven into the bottom of the canal or waterway, the piling extends no less than six feet nor more than eight feet above the water level at mean high tide. All pilings shall have reflective devices installed parallel to the canal or waterway located no more than two feet below the top of the piling. Any piling that is broken, or has lost at least 50 percent of the diameter of the wood at any location on the piling due to deterioration or damage shall be removed. Concrete or cement patches are prohibited to be used to repair or replace pilings. Property owners shall not install pilings or dolphins unless all necessary permits or approvals are obtained from other agencies that may have regulatory authority, such as but not limited to the United States Army Corps of Engineers, the Florida Department of Environmental Protection and Broward County Department of Planning and Environmental Protection, and the Property Owner shall be responsible for obtaining all such necessary permits or approvals.
(5)
Two or more pilings bound together, commonly referred to as a "dolphin," may not be installed in any canal or waterway of the city other than the intracoastal waterway. Each dolphin must meet all requirements of this subsection (d). For purposes of this subsection (d), each dolphin shall be considered to be the equivalent of one piling and all references to pilings shall include dolphins.
(6)
Subsequent to the installation of the piling, the property owner shall provide the city with a certified survey depicting the actual location of the installed piling(s).
(e)
No dock shall be constructed to a height greater than four inches above the height of the seawall. In the event a seawall is not constructed, a dock shall be limited in height to 4.0 feet NAVD (5.5 feet NGVD) above mean sea level. Any extension of a terrace or patio past the landward side of the seawall shall be considered part of the dock and the height limitations continued herein shall apply to such terrace or patio extension.
(Code 1979, ch. 21, § 5.22; Ord. No. 2001-797, § 2, 11-13-2001; Ord. No. 2002-0811, § 2, 5-28-2002; Ord. No. 2015-0922, § 6, 1-27-2015)
(a)
All seawalls within the city shall have a cap elevation of 4.0 feet NAVD (5.5 feet NGVD) above mean sea level. Owners of all real property on canals or waterways in the city as described in all waterfront property in Blocks 48, 51, 52, 57, 58, 60, 61, 63, 64, Venetian Isles 3rd Section, Plat Book 47, Page 13 of the public records of the county are hereby authorized to raise or cap existing seawalls to a height after improvement of 4.0 NAVD (5.5 feet NGVD) feet above mean sea level. In recognition of construction difficulties and soils settling, a seawall cap elevation of not less than three feet eight inches nor more than four feet four inches NAVD (not less than five foot two inches nor more than five feet ten inches NGVD) above mean sea level shall be considered to be in conformance with this subsection.
(b)
Any seawalls existing as of the effective date of this section with a cap elevation of less than three feet eight inches NAVD above mean sea level shall be permitted to remain, except that the seawall shall be reconstructed to meet the requirements in subsection (a) above when an area of 50 percent or more of the existing seawall is repaired or reconstructed or when the property is developed or redeveloped for a new principal building or for improvements exceeding 50 percent of the value of existing improvements on the property.
(c)
Any seawalls existing as of the effective date of this section with a cap elevation greater than four feet four inches NAVD (five feet ten inches NGVD) above mean sea level shall be permitted to remain, provided that the seawall is structurally sound. When an existing seawall is to be repaired, the seawall shall be inspected by a licensed structural engineer and, if the engineer certifies that the seawall is structurally sound, the seawall may remain at its current height. If the seawall is determined not to be structurally sound, or if the seawall is to be removed and reconstructed, then the seawall shall be reconstructed to meet the requirements of subsection (a).
(d)
If a retaining wall is constructed behind a seawall, then the retaining wall shall be independently supported, and the top of any such retaining wall shall not exceed a height of three feet or an elevation of six feet NAVD (seven and one-half feet NGVD), at the seawall cap, whichever is less.
(Code 1979, ch. 21, § 5.23; Ord. No. 2002-0807, § 2, 2-26-2002; Ord. No. 2015-0922, § 7, 1-27-2015)
On those waterfront properties within the city where rip-rap seawalls are required, the following criteria shall apply in all cases:
(1)
The rip-rap seawall shall be constructed at the property line. The owner of the property shall present a sealed site plan depicting the water depth and position of the wall and the plans shall be presented to the planning and zoning board of the city.
(2)
The ultimate location and configuration of the wall shall be as approved by the planning and zoning board.
(3)
The rip-rap seawall shall be constructed with a one over three slope.
(4)
The slope of the ground in the water leading away from the property line shall be a one over four slope.
(5)
The land underneath the rip-rap rock shall be stabilized with a layer of permeable cloth to prevent washout of the soil from under such rip-rap rock.
(6)
When rip-rap walls abut a property that has a precast concrete or a rubble concrete seawall, then the property upon which the rip-rap wall is being installed shall take such steps as may be required to protect the adjacent seawall property from washout.
(7)
All rip-rap material shall consist of indigenous stone measuring between one foot to three feet in diameter.
(Code 1979, ch. 21, § 5.24)
On all single-family and duplex lots of the city, driveways shall be permitted in the city rights-of-way with the following limitations:
(1)
On all lots fronting on one street, two driveways shall be permitted with a maximum combined width of 40 percent of the front property line. There shall always be maintained a clear distance of at least 20 feet between driveways.
(2)
On all lots fronting on two streets, a third driveway may be constructed on the second street not to exceed 18 feet in width if a two- or three-car garage or carport is located on the second street; otherwise, the maximum width of a driveway on the second street shall be 12 feet.
(3)
All driveways must maintain a four-foot setback from the adjacent properties and must connect to a solid surface on the lot measuring at least ten feet by 20 feet which would allow for the parking of a motor vehicle completely off the city right-of-way.
(4)
On lots with less than 70 feet of street frontage, a driveway up to 20 feet in width is permitted with the provision that a four-foot setback from adjacent properties is maintained.
(Code 1979, ch. 21, § 5.25)
(a)
Before any structure is erected upon a lot, the lot shall be graded to a minimum elevation equal to the crown of the road, but not to exceed a maximum elevation of three feet above the crown of the road.
(b)
No lot, at the lot line, shall be graded to a level higher than 18 inches above the crown of the adjoining roadway.
(c)
The minimum elevation of any ground floor used as living area shall be not less than 18 inches above the crown of the road or the lowest floor elevation required by the Florida Building Code, whichever is highest; however, in no event shall the ground floor elevation be more than three feet above the crown of the road unless required by the Florida Building Code.
(Code 1979, ch. 21, § 5.26; Ord. No. 2002-0809, § 7, 3-26-2002; Ord. No. 2012-0902, § 4, 9-13-2012)
(a)
As used herein, "satellite dish antenna" means any device incorporating a reflective surface that is solid, open mesh, or bar configured and is in the shape of a shallow dish, cone, horn, cornucopia, or flat plate. Such device shall be used to receive or transmit radio or electromagnetic waves between terrestrially and/or orbitally based units. This definition is meant to include but not be limited to what is commonly referred to as satellite earth stations, satellite receivers, satellite discs, direct broadcast system (DBSs), television reception only systems (TVROs), and satellite microwave antennas.
(b)
No satellite dish antenna shall be erected within the boundaries of the city without a permit from the city. No satellite dish antenna shall be erected on any property without complying with all of the following applicable provisions. No more than one satellite dish antenna may be located on a parcel of land zoned as set forth above except as hereinafter provided.
(c)
Application for a permit shall be made to the city building department by the owners of the land and the persons in possession of the land accompanied by a dimensioned site plan of the parcel of land upon which the satellite dish antenna is to be located, which plan shall show the parcel of land in question, all structures located on such land and the proposed location of the satellite dish antenna. It shall also be accompanied by the manufacturer's installation requirements and product specifications. The city building official may require any additional information that would assist in determining visual intrusion, structural safety or otherwise assist in issuing the permit.
(d)
All satellite dish antennas and supporting reinforced concrete slabs, except for those permitted for roof installation as hereinafter provided, shall be permanently affixed to the ground and shall be constructed in accordance with the provisions of the Florida Building Code, and Broward County Administrative Provisions, as may be amended from time to time, and the city building code.
(e)
The location of the satellite dish antenna shall be in the following locations on the property with priority to the lower numbered locations over any higher numbered locations:
(1)
Within the building area of the lot.
(2)
Within the rear setback area of the lot. If the rear of the property is located on water the satellite dish antennas shall be located as close to the house as possible, but no closer than ten feet to the water. In rear waterfront lots the dish shall be at least four feet from the side lot line.
(3)
Within the side setback except that no dish shall be permitted in a street side setback area.
(4)
If all of the above locations do not provide for receipt of a reasonable number of satellite signals due to tree, structure or other interference, then the dish may be mounted on an approved support pole so that the dish may be raised to a height not in excess of 30 feet, but in no event any higher than is necessary to receive a reasonable amount of transmitted satellite signals. In all such pole-support structures the pole shall be anchored to the house for safety and support purposes. If the satellite dish antenna cannot receive a reasonable amount of transmitted satellite signals at the 30-foot height, then the owner and occupant may petition the city planning and zoning board for a variance to exceed such height, but in no event any higher than 40 feet. The planning and zoning board shall consider applicant's right to reasonable satellite signal reception but not necessarily optimal signal reception in considering the height variance. The variance application shall be accompanied by a fee as provided in Appendix A of this Code, and notice shall be sent to the owners of properties lying within 200 feet of the applicant's property. All height measurements, whether 30 feet in height or up to 40 feet in height, shall be measured from normal ground level.
(5)
The choice of locations in sequence order shall be based on each location's ability to receive direct reception of unencrypted and authorized reception of encrypted satellite television transmissions. This shall not mean any one location must be able to receive optimal number of signals but such that satellite signal reception is not unreasonably hindered or technically impossible.
(f)
No satellite dish antenna shall be placed upon the roof of any structure situated on any property within the city other than property zoned RM-25, B-1, B-2, B-2A, B-3, or B-3A, and on such RM-25 and commercial-zoned property two satellite dish antennas may be installed.
(g)
The dish or bowl of the satellite dish antenna shall not exceed ten feet in diameter.
(h)
On property zoned RM-25 or for business use, the satellite dish antenna shall be placed either within the 15-foot rear setback area or on the roof of the commercial building, at the option of the owner or person in possession of the property. No more than two satellite dish antennas shall be located on any such zoned property.
(i)
All satellite dish antennas and supporting masts shall be made of noncombustible and corrosive-resistant materials, be black or gray in color or such other color that is neutral or such that it may blend with the surrounding area where it is to be installed. The administrative assistant to the mayor shall make such determination that any other color is neutral if such color blends with the surrounding dominant color, such color helps camouflage the satellite dish antenna and such color is neither bright nor metallic. All satellite dish antennas shall be adequately grounded for protection against a direct stroke of lightning, with an adequate ground wire.
(j)
No advertising in any form shall be permitted on any part of the satellite dish antenna, except for a maximum 11-inch by four-inch display of the manufacturer's or distributor's company name. Such display may not be on the convex side, nor on the upper 50 percent of the concave side. Such advertising may be divided into two parts, the total not exceeding 11 inches by four inches, one located on the feedhorn and one located in the center of the dish on the concave side.
(Code 1979, ch. 21, § 5.29; Ord. No. 2002-0812, § 7, 6-11-2002; Ord. No. 2017-0950 , § 2, 9-13-2017)
(a)
This section shall apply to all radio and television transmission and receiving antennas located within the city with the exception of television dish satellite receiving antennas which are specifically covered by other regulations set forth in this Code.
(b)
The following definitions shall apply in the interpretation and enforcement of this section:
(1)
Antenna shall mean the arrangement of wires or metal rods used in the sending and receiving of electromagnetic waves.
(2)
Antenna support structure shall mean any structure, mast, pole, tripod, or tower utilized for the purpose of supporting an antenna or antennas for the purpose of transmission or reception of electromagnetic waves by federally licensed amateur radio or citizens' band radio operators, or unlicensed private citizens receiving television signals.
(3)
Antenna height shall mean the overall vertical length of the antenna or antenna support structure, whichever is higher, above ground level grade.
(c)
It shall be unlawful for any person to install, construct or increase the height of any antenna support structure without first obtaining a building permit, except that no permit shall be required if the height of the antenna or antenna support structure is less than 20 feet. The application for the building permit shall comply with all of the requirements of the 1996 South Florida Building Code Broward Edition and this Code.
(d)
No antenna or antenna support structure shall be installed, constructed or increased so as to exceed 65 feet above normal ground level of the property upon which it is to be located. The maximum width of the antenna support structure at normal ground level, not including the support base (which support base must not exceed six inches above ground level) or guy wires, shall not exceed a width dimension to the extent that any portion of such antenna support structure will protrude beyond the perimeter of a circle having a diameter of three feet. There shall be no restriction on the number of antenna support structures on any given parcel of land so long as the height of each such additional antenna support structure is 40 feet or less above normal ground level. In any event, such parcel of land shall be limited to only one antenna support structure or antenna that exceeds the height of 40 feet above normal ground level.
(e)
No antenna support structure shall be located in the front yard or front setback area of any property but may be located in the side or rear setback area of the property to the extent that the width of the antenna support structure necessitates with the proviso that such antenna support structure, when located in a rear or side setback area, shall be located adjacent and as close as is practicably possible to the building structure next to which it is being installed. No part of the antenna may extend over the side or rear line of the property without the consent of the adjacent property owner, which consent shall be in writing with two witnesses and the owner's signature notarized and the consent shall be filed with the city when the building permit is applied for.
(f)
All antenna support structures shall be affixed to the ground and shall comply with the Florida Building Code, and Broward County Administrative Provisions, as may be amended from time to time, as to structural quality and, also, as to method and manner of erection or installation.
(g)
The antenna and the antenna support structure must be adequately grounded for protection against a direct stroke of lighting with an adequate ground wire.
(h)
No antenna support structure and antenna shall be installed nearer to any electrical current-bearing line, other than the applicant's service line, than the height of the antenna support structure and antenna when fully extended, plus ten feet.
(i)
All antenna support structures must be constructed from one of the following materials: Aluminum, galvanized steel, or equally weather-resistant steel. All ground-mounted antenna support structures exceeding 20 feet in height shall be mounted on concrete, and erected in such a manner so as to be able to comply with the provisions of the Florida Building Code, and Broward County Administrative Provisions, as may be amended from time to time. All such antenna support structures shall also be grounded. Grounding shall be in accordance with the provisions of the Florida Building Code, and Broward County Administrative Provisions, as may be amended from time to time, for ground-mounted towers but shall at least consist of a minimum of one ground rod a minimum of five-eighths inch in diameter and eight feet in length. The ground conductor shall be a minimum of No. 10 GA copper, however, in all instances, construction shall follow the manufacturer's requirements for grounding.
(j)
There is attached hereto and made a part hereof by reference a list of owners' names, property addresses and legal descriptions upon which property existing antenna support structures and antennas are located which were installed prior to the adoption of this section without a building permit. All of the antenna support structures and antennas are nonconforming uses and declared to be provisionally legal so long as the present property owner remains the owner of such property. At such time as the title to any of such properties is sold, then any antenna support structures and antennas located on such properties shall be required to apply for a building permit to establish that such antenna support structures and antennas are in conformity with the provisions of this section and, if the such antenna support structures and antennas are not, they will either be brought into conformity or shall be forthwith removed from the property.
(Code 1979, ch. 21, § 5.30; Ord. No. 2002-0812, §§ 8, 9, 6-11-2002)
The continued existing authorized use on any property designated by the city commission as an historic structure, site or place regardless of the zoning classification assigned to such property shall be authorized provided the following requirements have been complied with:
(1)
The owner of an historic structure, site or place proposed for designation shall submit an application for designation and evidence to the city clerk or designated building official that a structure, site or place is historically significant as defined herein and the use is an "existing authorized use" as defined herein. Upon verification by the appropriate official that the structure, site or place meets the requirements specified herein the appropriate official shall issue a certificate evidencing the existing authorized use and the location of the designated historic structures, site or place.
a.
A designated historic structure, site or place is:
1.
A structure, site or place individually listed in the National Register of Historic Places;
2.
A structure or site certified by the National Park Service as contributing to a registered historic district that is listed in the National Register of Historic Places; or
3.
A structure, landmark or site which has been recommended by the planning and zoning board, with the owner's approval, and designated by the city commission as possessing a special character of special historical or aesthetic interest or value as part of the development, heritage, or cultural characteristics of the city, state or nation.
b.
"Existing authorized use" is defined as:
1.
Any use permitted in accordance with the city land use plan for the location; or
2.
Existing lawful use of a building and/or land on the date of application for designation or recommendation for designation, including accessory uses as existing on such date and associated with the use of a main building located on the site.
(2)
The owner of the designated historic structure, site or place shall register with the city clerk, each of which shall be certified as complete and accurate, bearing the seal of a currently licensed and state registered architect, land surveyor, or engineer, the following documents:
a.
A current complete "as built" architectural plan depicting all structures and improvements on the site;
b.
A plot plan showing the location of all structures and improvements and the boundary lines of the property; and
c.
A statement of the current principal use of the structure, site or place.
(3)
Upon receipt of the full and complete application for designation of an historic structure, site or place, the city clerk shall submit the application to the city commission. The commission shall consider the application and shall signify its approval of the "historic structure, site or place" designation by the passage of an ordinance so stating.
(4)
If the owner of a designated historical structure, site or place submits plans to repair, restore or rehabilitate the designated historic structures, site or place or any portion thereof, the city shall issue a developmental plan or building permit consistent with the "as built" architectural plan and the plot plan registered hereunder.
(5)
Re-establishment of use. If an existing authorized use shall be discontinued due to illness of the owner, or total or partial destruction caused by the effects of a catastrophe such as, but not limited to, fire, hurricane, tidal wave or rising water, and/or reconstruction is required to comply with appropriate safety and building codes and such discontinued use shall continue for a period not in excess of three years, the existing authorized use shall be re-established upon the filing of an application with the city building department for a building permit with plans reflecting the reconstruction of the premises in accordance with the plans on file with the city clerk. If the discontinuance was caused by illness, the actual re-commencement of the authorized use during the three-year period by the owner of the designated structure, site or place shall be authorized.
(6)
Nothing herein shall prevent alterations or modification to a designated historic structure, site, or place ordered by an authorized officer for health or safety or any repair, restoration, or rehabilitation to a designated historic structure, site, or place from being in conformity with the Florida Building Code, and Broward County Administrative Provisions, as may be amended from time to time, and the city building code.
(Code 1979, ch. 21, § 5.45.1; Ord. No. 2002-0812, § 10, 6-11-2002)
(a)
Definitions. The following words, terms and phrases when used in this section shall have the meanings ascribed to them in this subsection, except where the context clearly indicates a different meaning:
Adult bookstores means any establishment having as a substantial or significant portion of its stock in trade, books, magazines, and other periodicals which are distinguished or characterized by their emphasis on matter depicting, describing or relating to "specified sexual activities" or "specified anatomical areas," defined herein, or an establishment with a segment or section devoted to the sale or display of such material.
Adult motion picture theater means any enclosed building, or any area or section within any enclosed building, used for presenting material distinguished or characterized by an emphasis on matter depicting, describing, or relating to "specified sexual activities" or "specified anatomical areas," as defined herein, for observation by patrons therein.
Alcoholic beverage means all beverages containing more than one percent of alcohol by weight.
Church means an edifice or building designed and/or arranged for religious services, on land held in fee or on long-term lease by an organized group, which group utilizes such edifice or building for regular and continuing religious services, and for which the appropriate certificate of occupancy has been issued under the applicable building code.
Specified anatomical areas means:
(1)
Less than completely and opaquely covered:
a.
Human genitals, pubic region;
b.
Buttock;
c.
Female breast below a point immediately above the top of the aureole; and
(2)
Human male genitals in a discernibly turgid state, even if completely and opaquely covered.
Specified sexual activities means:
(1)
Human genitals in a state of sexual stimulation or arousal;
(2)
Acts of human masturbation, sexual intercourse or sodomy; and
(3)
Fondling or other erotic touching of human genitals, pubic region, buttock or female breast.
(b)
Authorization zone location. Adult bookstores and adult motion picture theaters shall be a permitted use in any location within the city zoned B-1, B-2 or B-3. Adult bookstores and adult motion picture theaters shall be a prohibited use in any location within the city zones B-2A and B-3A.
(c)
Distance between establishments. No adult bookstore or adult motion picture theater shall be located within 1,000 feet, to be measured from main entrance to main entrance of such establishment by airline route, of an existing adult bookstore or adult motion picture theater located within or without the corporate limits of the city.
(d)
Distance from church or school. No adult bookstore or adult motion picture theater shall be located within 500 feet of any established church or school located within or without the corporate limits of the city, measured from the main normal public entrance of the adult bookstore or adult motion picture theater to the nearest point of the church or school property used as a part of such facility measured along public thoroughfares by the shortest route of ordinary pedestrian traffic, or within 300 feet airline measurement.
(e)
Distance from alcoholic beverage establishment. No adult bookstore or adult motion picture theater shall be located within 1,000 feet, to be measured from main entrance to main entrance by airline route, of an existing establishment which sells any alcoholic beverage for consumption on the premises located within or without the corporate limits of the city.
(f)
Distance from residential district. No adult bookstore or adult motion picture theater shall be located within 500 feet airline measurement from any RS-3, RS-5, RD-10, RM-16 and RM-25 zoned districts.
(g)
Application to new churches or schools. When an adult bookstore or adult motion picture theater is located in conformity with the provisions of this section the subsequent location of a church or school in the proximity of such existing establishment shall not be construed to cause such establishment to be deemed a nonconforming use.
(h)
Existing establishments. The provisions of this section shall not be construed to be retroactive, and any existing adult bookstore or adult motion picture theater which conformed to the regulations in effect when such establishment was established shall not be rendered illegal or in violation through the adoption of these regulations.
(Code 1979, ch. 21, § 5.46)
It shall be unlawful to excavate into any residentially-zoned property for the purpose of constructing a boat slip.
(Ord. No. 736, § 1, 5-25-99)
(a)
Notwithstanding any other provision in chapter 42, chain link fences which are 90 percent see-through may be built up to ten feet in height to surround or secure maintained tennis courts located within the city's business zoning districts and the RM-25 zoning district. The dimensions for fences permitted by this subsection (a) shall not exceed 60 feet by 120 feet.
(b)
Chain link fences which are 90 percent see-through or picket fences as articulated in section 42-377 may be built up to five feet in height to secure waterfront docking areas at marinas and yacht clubs in business zoning districts.
(c)
All recreational fences must meet the requirements for material and minimum setbacks provided in this chapter as applicable to the zoning district in which the recreational fence is located.
(Ord. No. 780, § 2, 6-12-2001)
(a)
Purpose. It is the purpose of this section to prohibit medical marijuana treatment centers created under Art. X, § 29 of the Florida Constitution from establishing medical marijuana treatment center dispensing facilities within the municipal limits of the City of Lighthouse Point.
(b)
Findings. Based on authority granted to municipalities in F.S. § 381.986(11) the city commission finds that a ban on the establishment of medical marijuana treatment center dispensing facilities within the City of Lighthouse Point is in the best interest of the city.
(c)
Prohibition. Medical marijuana treatment center dispensing facilities are prohibited within the boundaries of the City of Lighthouse Point.
( Ord. No. 2017-0948 , § 2, 9-13-2017)
(a)
Synthetic turf may be permitted on all properties used for residential or commercial purposes, subject to the requirements and procedures set forth in this section.
(b)
Synthetic turf shall comply with all of the following design standards and shall:
(1)
Simulate the appearance of live turf, organic turf, grass, sod or lawn, as determined by the city, and shall have a minimum eight-year "no fade" warranty.
(2)
Be of a type known as cut pile infill with pile fibers of a minimum height of 1.75 inches and a maximum height of 2.5 inches.
(3)
Have a minimum face weight of 75 ounces per square yard.
(4)
Be manufactured from polyethylene monofilament, dual yarn system, and manufactured in the United States.
(5)
Have backing that is permeable.
(6)
Be lead free and flame retardant.
(c)
Synthetic turf shall comply with all of the following installation standards and shall:
(1)
Be installed by a Florida-licensed general contractor or Florida-licensed landscape architect in a manner prescribed by the manufacturer.
(2)
Be installed over a subgrade prepared to provide positive drainage and an evenly graded mass of compacted, porous crushed rock aggregate material that is a minimum of three inches in depth.
(3)
Be anchored at all edges and seams.
(4)
Not have visible seams between multiple panels.
(5)
Have seams that are joined in a tight and secure manner.
(6)
Have an infill medium consisting of clean silica sand or other mixture, pursuant to the manufacturer's specifications or as approved by the city engineer, that shall:
a.
Be brushed into the fibers to ensure that the fibers remain in an upright position;
b.
Provide ballast that will help hold the turf in place; and
c.
Provide a cushioning effect.
(d)
Synthetic turf shall comply with all of the following additional standards:
(1)
Areas of living plant material shall be installed and/or maintained in conjunction with the installation of synthetic turf when utilized in the front yard area. Living plant material shall include a combination of two or more shrubs, vines, trees, or groundcovers in separate planter areas and tree wells.
(2)
Synthetic turf shall be separated from planter areas and tree wells by a concrete mow strip, bender board or other barrier with a minimum three-eighths-inch thickness to prevent the intrusion of living plant material into the synthetic turf.
(3)
Irrigation systems proximate to the synthetic turf shall be capped, directed or otherwise treated so that no irrigation affects the synthetic turf.
(e)
Synthetic turf shall comply with all of the following maintenance standards and shall:
(1)
Be maintained in an attractive and clean condition, and shall not contain holes, tears, stains, discoloration, seam separations, uplifted surfaces or edges, heat degradation or excessive wear.
(2)
Be maintained in a green fadeless condition and free of weeds, debris, and impressions.
(f)
The following uses are prohibited:
(1)
Synthetic turf in the public rights-of-way or swales.
(2)
Synthetic turf treated as a filler for landscaping that is not part of a planned element of landscaping.
(g)
All uses of synthetic turf shall require a building permit. The building permit application shall include, at a minimum, all of the following information:
(1)
A complete landscape plan showing the area of synthetic turf, area of living plant material, and area and method of separation between these areas.
(2)
Details regarding existing or proposed irrigation proximate to the synthetic turf.
(3)
Brand and type of synthetic turf, including all manufacturer specifications and warranties.
(4)
A scaled cross section and details of the proposed materials and installation, including but not limited to subgrade, drainage, base or leveling layer, and infill.
(5)
A survey of the property, signed and sealed by a licensed surveyor, depicting all existing easements located on the property.
(6)
A form signed by any holder of an easement on the property consenting to the installation of the synthetic turf within the easement, with an accompanying acknowledgement by the property owner that in the event the easement holder performs work in the easement that it is the property owner's responsibility to repair and replace the synthetic turf disturbed as a result of the work in the easement.
( Ord. No. 2017-0957 , § 3, 1-9-2018)
Editor's note— Ord. No. 2017-0957 , § 3, adopted January 9, 2018, set out provisions intended for use as § 42-391. For purposes of classification, and at the editor's discretion, these provisions have been included as § 42-392.
(a)
Purpose. The purpose of this division is to provide off-street parking provisions which are intended for and in the interest of the citizens of the city. This division shall be construed to be the minimum requirements for the promotion of the public health, safety, moral and general welfare of the community.
(b)
Scope.
(1)
Any building, structure, or use instituted with the city after January 23, 1990 shall provide off-street parking facilities in accordance with the provisions of this division for the use of occupants, employees, visitors, and/or patrons thereof. Such off-street parking facilities shall be maintained and continued as long as the uses are continued.
(2)
Any building, structure or use instituted or erected prior to January 23, 1990 need not provide additional off-street parking facilities in accordance with the provisions of this division provided that such buildings, structures or uses are not altered so as to enlarge or increase the capacity, floor area or seats therein.
(3)
Any building, structure or use altered to increase or enlarge the capacity, floor area or seats, shall provide off-street parking facilities in accordance with the provisions of this division. When any building, structure or use is changed in use, off-street parking facilities shall be provided for that new use as specified in this division. The provisions of this subsection shall apply to any building, structure or use instituted or erected prior to January 23, 1990 as well as any such building, structure or use subsequently instituted or erected.
(4)
It shall be unlawful for an owner or operator of any building, structure or use affected by this division to discontinue, change or dispense with, or to cause discontinuance or reduction of the required parking facilities apart from the discontinuance sale or transfer of such structure or use, without establishing alternative vehicle parking facilities which meet the requirements of this division. All such alternative vehicle parking facilities must be approved by the mayor or his designee, in writing, before such alternative vehicle parking facilities may be used. It shall be unlawful for any person to utilize such building, structure or use without providing the off-street facilities to meet the requirements of and be in compliance with this chapter.
(Code 1979, ch. 21, § 5.51)
(a)
Fractional measurements. When units or measurements determining number of required off-street parking spaces result in requirement of a fractional space, any such fraction equal to or greater than one-half shall require a full off-street parking space.
(b)
Mixed uses. In the case of mixed uses, the total requirements for off-street parking shall be the sum of the requirements of the various uses computed separately, and off-street parking spaces for one use shall not be considered as providing the required off-street parking for any other use.
(c)
Measurement. For the purposes of this division, floor area shall mean the gross floor area inside of the exterior walls. In hospitals, bassinets shall not count as beds. In churches and other places of assembly in which occupants utilize benches, pews or other similar seating facilities, each 20 lineal inches of such seating facilities shall be counted as one seat for the purpose of computing off-street parking requirements.
(Code 1979, ch. 21, § 5.52)
Plans shall be submitted with every application for a building permit for any use or structure required to provide off-street parking under this division, which plans shall clearly and accurately designate the required parking spaces, access aisles and driveways, entrances and exits, adequate drainage, lighting, curbs and curb cuts, surface materials used thereon, and relation to the uses or structure these off-street parking facilities are intended to serve.
(Code 1979, ch. 21, § 5.53)
(a)
Area requirement. Each standard parking space required and provided shall be not less than nine feet in width and 18 feet in length, with a net area of at least 162 square feet.
(b)
Access from street or alley. Each parking space shall be directly accessible from a street or alley.
(c)
Access to buildings. Parking shall not interfere with ingress/egress, doors for stairwells, transformer rooms, elevator machine rooms, trash rooms or any other use requiring clear access aisles for services.
(d)
Lighting. Adequate lighting shall be provided if off-street parking spaces are to be used at night. The lighting shall be installed, maintained and regulated so as to reflect the light away from adjoining property and avoid annoyance to such premises.
(e)
Plans. All required parking spaces must be indicated on the plans for zoning and building permit approvals and shall be clearly and accurately designated, including access drives, lanes and aisles.
(f)
Parking drives, lanes and aisles. All parking drives, lanes and aisles shall be as established pursuant to Table 1 which is attached hereto and made a part hereof.
Table 1
PARKING SPACE SIZE AND CONFIGURATION
Dimensions (in feet) are as follows:
All spaces shall be provided with concrete wheel stops or extruded curbing placed thirty (30) inches from the edge of the pavement.
*Assumes one-way traffic for parking angle 0 to 60. Two-way traffic driveway must be 23′.
(g)
Maneuvering of vehicles. Off-street parking areas should be designed to prevent the maneuvering of vehicles within any portion of an entrance driveway or driveway line that is within 20 feet of the right-of-way line of any public street. In all but single-family zoning districts, off-street parking areas should be so designed to prevent any vehicle from backing onto any public street.
(h)
Curb cuts. Curb cuts shall be at least 25 feet from the curb line of any intersecting streets. In parking areas for commercial uses the maximum width of the curb cut shall be 30 feet, with not more than one curb cut per 100 feet of frontage.
(i)
Use of right-of-way, street or alley prohibited. No required off-street parking space including adjacent parking access lanes or maneuvering space shall be located within the existing or proposed right-of-way of any public street or alley.
(j)
Tandem parking. Tandem parking is prohibited except in single-family zoning districts.
(k)
Stalls. Stalls shall be provided with bumper guards, wheel stops, or continuous curbing when necessary for safety or protection to adjacent structures or landscaped areas. In the event continuous curbing is utilized, the landscape area shall be increased in width by 30 inches, (60 inches for head-to-head spaces) and the parking space size may be reduced to nine feet by 16½ feet.
(l)
Composition. Parking facilities, including access aisles and driveways shall be surfaced with brick, asphaltic or concrete surfacing maintained in a smooth, well-graded condition with standards set forth according to the office of the city engineer.
(m)
Drainage. All off-street parking facilities shall be drained so as not to cause any nuisance on adjacent or public property. Such drainage facilities shall be arranged for convenient access and safety of pedestrians and vehicles with standards set forth according to the office of the city engineer.
(n)
Identification. Each parking space required and provided pursuant to the provisions of this article shall be distinguished and separated from adjoining parking spaces by means of three-inch painted stripes. It shall be the responsibility and obligation of the owner or operator of any building, structure or use affected by this article to maintain such identification markings so that parking spaces at all times are distinguishable from one another.
(Code 1979, ch. 21, § 5.54)
Minimum parking requirements shall be as follows:
(1)
Dwellings, single-family and two-family. Dwellings, single-family and two-family shall have two parking spaces for each dwelling.
(2)
Dwellings, multiple-family. Dwellings, multiple-family shall have two parking spaces for each dwelling unit constructed on lots containing more than 11,000 square feet and 1½ parking spaces for each dwelling unit constructed on lots containing less than 11,000 square feet. If in addition to dwelling limits, there are other uses operated in conjunction with and/or as a part of the multiple dwelling, additional off-street parking spaces shall be provided for such other uses as would be required by this section, if such uses were separate from the multiple dwelling to the extent of 35 percent of the off-street parking specified in this division for retail stores, offices, service establishments, bars, restaurants, dining rooms, night clubs, cabarets, ballrooms, banquet halls, meeting rooms, and auditoriums.
(3)
Hotels and motels, including clubs. Hotels and motels, including clubs shall have one parking space for each sleeping room. If, in addition to sleeping rooms, there are other uses operated in conjunction with and/or as part of the hotel/motel, additional off-street parking spaces shall be provided for such other uses as would be required by this section if such uses were separate from the hotel/motel, to the extent of 35 percent of the off-street parking specified in this division for retail stores, offices, service establishments, bars, restaurants, dining rooms, nightclubs, cabarets, ballrooms, banquet halls, meeting rooms and auditoriums.
(4)
Hospitals, sanitariums, asylums, orphanages, convalescent homes, homes for aged and infirm. Hospitals, sanitariums, asylums, orphanages, convalescent homes, homes for aged and infirm shall have one parking space for each bed for patients plus one parking space for each two employees including nurses on the maximum shift.
(5)
Places of public assembly, including assembly halls, private clubs, exhibition halls, convention halls, dance halls, skating rinks, sports areas, community centers, libraries and museums. Places of public assembly, including assembly halls, private clubs, exhibition halls, convention halls, dance halls, skating rinks, sports areas, community centers, libraries and museums shall have one parking space for each 200 square feet of gross floor area.
(6)
Churches. Churches shall have one parking space for each three seats, plus one parking space for each 200 square feet of floor area in assembly rooms with movable seats.
(7)
Bowling lanes. Bowling lanes shall have two parking spaces for each lane, plus additional spaces for other uses as otherwise provided in this section.
(8)
Funeral homes. Funeral homes shall have one parking space for each four seats in public rooms.
(9)
Medical, dental, chiropractic, health studio, etc., clinics (separate buildings) Medical, dental, chiropractic, health studio, etc., clinics (separate buildings) shall have one parking space for each 250 square feet of gross floor area.
(10)
Business, professional and governmental offices. Business, professional and governmental offices shall have one parking space for each 250 square feet of floor area of office space.
(11)
Restaurants, bars, beer gardens, night clubs. Restaurants, bars, beer gardens, night clubs shall have one parking space for each 50 square feet of interior floor area in rooms for customer service. Parking for outdoor dining shall be as follows:
a.
No additional parking spaces shall be required so long as the number of outdoor seats does not exceed the following:
b.
For establishments exceeding the permitted number of outdoor seats listed in paragraph a., the parking requirement shall be one additional parking space per 100 square feet of exterior serving areas. For purposes of this subsection, "serving area" shall exclude areas not accessible by customers, including, but not limited to, food and drink preparation areas, or fenced areas.
(12)
Elementary schools, public, private or parochial, schools of instruction. Elementary schools, public, private or parochial, schools of instruction shall have one parking space for each classroom, plus one parking space for each two employees, plus additional parking spaces for rooms used for public assembly as required by this section.
(13)
Retail stores, motor vehicle salesrooms. Retail stores, motor vehicle salesrooms shall have one parking space for each 200 square feet of floor area.
(14)
Furniture stores. Furniture stores shall have one parking space for each 400 square feet of floor area of the building.
(15)
Warehouses and storage buildings. Warehouses and storage buildings shall have one parking space for each 800 square feet of floor area of the building.
(16)
Charter, sightseeing or fishing boats. Charter, sightseeing or fishing boats shall have one parking space for each two seats or fraction thereof, required spaces shall be adjacent to the docks regularly used by the boat or within 700 feet thereof.
(17)
Uses not specifically mentioned. The requirements of off-street parking for any uses not specifically mentioned in this section shall be one space for every 200 square feet of gross floor area.
(18)
Marinas and yacht basins. Marinas and yacht basins shall have one parking space for each boat slip and one parking space for each employee.
(19)
Banks and savings and loan associations. Banks and savings and loan associations shall have one parking space for each 200 square feet of gross building floor area.
(20)
Gasoline service stations. Gasoline service stations shall have a minimum of three spaces plus one additional parking space for each 200 square feet of building or service floor area in excess of the first 600 square feet.
(21)
Leased and rental vehicles. Leased and rental vehicles shall have one space for each leased car maintained on premises plus one space for each employee.
_____
(22)
Shopping centers. For shopping centers parking space requirements vary depending on the size on the size in gross leasable area (GLA) and composition of the center according to the following table:
In no event will the parking requirements for the shopping center be less than the most stringent parking requirements for any individual store in the shopping center as established by the various parking requirement provisions of this section.
_____
(23)
Convenience stores, grocery stores:
a.
Convenience stores shall have one parking space for each 100 square feet of floor area.
b.
Grocery stores shall have one parking space for each 175 square feet of floor area.
(24)
Auto and boat repair shops and service. Auto and boat repair shops and service shall have one parking space for each 200 square feet.
(25)
Personal service shops. Personal service shops shall have one parking space for each 200 square feet of service floor area including barber shops and beauty shops.
(26)
Theaters, movies or otherwise. Theaters, movies or otherwise shall have one space for every three seats.
(Code 1979, ch. 21, § 5.55; Ord. No. 715, §§ 1, 2, 2-24-1998; Ord. No. 778, § 3, 3-13-2001; Ord. No. 786, § 2, 7-24-2001; Ord. No. 2017-0951 , § 2, 9-13-2017)
On any property which is zoned B-1, B-2, B-2A, B-3 and B-3A, the following uses and activities shall not be permitted in required parking facilities.
(1)
Parking to serve an off-site building unless in accordance with an off-street parking agreement approved by the city in accordance with section 42-412.
(2)
Storage, repair or display of any vehicles, equipment or merchandise.
(3)
Parking of vehicles, which due to their size, shape, contents or location creates an obstruction or public safety hazard, or which cannot be contained within a single designated parking space.
(4)
Off-street parking facilities supplied by the owner or operator to meet the requirements of this article shall not be used by commercial vehicles owned, operated or used in the business of such owner during regular hours.
(5)
Required parking areas, landscape areas, swales, parkways, traveled rights-of-way, and sidewalks shall not be used for either parking, repair or storage of inoperative or unregistered vehicles, boats or trailers, except in an emergency situation and for no longer than 24 hours within a seven-day period.
(Code 1979, ch. 21, § 5.56)
(a)
The off-street parking facilities required under this article shall be located on the same lot or parcel of land the facilities are intended to serve, or upon an additional parcel of land, the nearest property line of which is located within 500 or 1000 feet in the case of valet parking, airline measurement, of the nearest property line of the premises it is intended to serve. All off-street parking facilities required under this article shall be located on property whereon off-street parking use is a permissible use and shall be designed, developed, and maintained in accordance with all applicable provisions of this Code.
(b)
Except for required off-street parking associated solely with outdoor dining, when the required off-street parking is to be provided upon an additional parcel of land as hereinabove provided, the owner of the additional parcel of land to be used for off-street parking facilities, and the owner of the land intended to be served by the off-street parking facilities located on the additional parcel, shall enter into an agreement with the city whereby the land providing the additional parking area shall never be sold or disposed of except in conjunction with the sale of the building or the use which the additional parking area serves, so long as the parking facilities are required. The agreement shall be approved by the city attorney and recorded in the public records of the county, at the expense of the owner, and shall be considered to be a restriction running with the land and shall bind the heirs, successors, and assigns of the owner. However, another additional parcel or parcels complying with the provisions of this article and subject to a recorded agreement as above specified may be substituted for the additional parcel of land. In the case of a new or substitute agreement for the use of a parcel of additional land to meet off-street parking requirements, the original or preceding agreement shall become void by the execution and recording of the new agreement.
(c)
For purposes of this section, "owner" shall be deemed to include lessees of property under long-term leases wherein the lessees right to possession of the property is for a period of not less than 50 years from the date of the agreement and where the owner of the fee has joined in the execution of the agreement for purposes of consenting to the terms of the agreement. Any termination of a lease for additional parking area as between the lessee and the fee owner will not negate the lessee's requirement to maintain adequate parking for all permissible use.
(d)
When an establishment for dining and consumption of alcoholic beverages on premises requires additional off-street parking pursuant to section 42-410(11)(b), the required off-street parking may be provided on an additional parcel that meets the criteria listed in subsection (a) herein, through an arrangement acceptable to and approved by the city commission, such as cross-parking agreements, shared parking agreements, and parking leases, provided:
(1)
Any such arrangement shall not be permitted unless the parking available on the additional parcel exceeds the parking required for all uses on the additional parcel, unless a traffic study approved by the city's community development director supports shared parking based on peak and off-peak hours for the outdoor dining and the uses on the additional parcel; and,
(2)
If, at any time, the parking arrangement terminates, or the parking on the additional parcel ceases to be sufficient for all uses on the additional parcel as well as the outdoor dining, then the establishment for dining and consumption of alcoholic beverages shall cease all outdoor dining that required the parking on the additional parcel until such time as another arrangement is approved by the city commission.
(Code 1979, ch. 21, § 5.57; Ord. No. 778, § 4, 3-13-2001)
(a)
Adequate space for loading and unloading of materials, goods or things, and for delivery and shopping, shall be provided and maintained as required by the planning and zoning board on the same plot as the building which it serves.
(b)
Where any structure is enlarged or any use is extended so that the size of the resulting occupancy comes within the scope of this section, the full amount of off-street loading space shall be supplied and maintained for the structure or use in its enlarged or extended size. Where the use of a structure or land or any part thereof is changed to a use requiring an off-street loading space, such space shall be supplied and maintained to comply with this section.
(c)
For the purposes of this section, an off-street loading space shall be an area at the grade level at least ten feet wide by 25 feet long with a 14-foot vertical clearance. Each off-street loading space shall be directly accessible from a street or alley without crossing or entering any other required loading space, and shall be arranged for convenient and safe ingress and egress by motor truck and/or trailer combination. Such loading space shall also be accessible from the interior of any building it is intended to serve.
(d)
No off-street parking space may be used to meet off-street loading requirements.
(Code 1979, ch. 21, § 5.58)
The failure or neglect on the part of the owner or operator of a use or structure within the city, which is encompassed within the provisions of article IV, division 7, of this subsection to comply with all of the provisions of such article IV, division 7, of this subsection shall constitute a violation of this Code.
(Code 1979, ch. 21, § 5.60)
The first objective of this division is to improve the appearance of certain setback and other property areas, including off-street parking and service areas, for business-zoned properties located in the city. The second objective is to protect and preserve the appearance, character and value of the business-zoned properties in the city. The third objective is to preserve and improve the tree canopy of our community in order to protect air and water quality. The three objectives would thereby promote the general health and welfare of the city by providing for the installation and maintenance of landscaping on business-zoned properties for screening, ecological and aesthetic purposes. The regulations set out in this division shall be a minimum standard and shall apply to all lands within the corporate limits of the city which are zoned B-1, B-2, B-2A, B-3 and B-3A.
(Code 1979, ch. 21, § 5.61)
The following general provisions shall apply throughout all of the sections of this division:
(1)
Installation.
a.
All landscaping shall be installed in a sound, workmanlike manner according to good planting procedures with the quality of plant materials as hereinafter described. All elements of landscaping shall be installed so as to meet all of the provisions of this division and all other applicable ordinances and requirements of the city. All landscape areas shall require protection from vehicular encroachment as hereinafter provided, and all landscaped areas shall provide for adequate watering.
b.
Right tree/right place. The planting of trees and other landscaping in proximity to utility lines shall be consistent with the principles and guidelines described in the Florida Urban Forestry Council publication "Right Tree/Right Place." In addition, no canopy trees as designated in the "Right Tree/Right Place" guidelines shall be located closer than 12 feet from street lights and no palm trees that reach an expected height of 25 feet or more at maturity shall be located closer than seven feet from street lights.
(2)
Maintenance.
a.
Responsibility. The owner of the property subject to the provisions of this division, the tenant and their agent, if any, shall be severally responsible for the maintenance and protection of all landscaping that shall be installed, and the landscaping shall be maintained in good working order and a healthy growing condition and shall be kept free from refuse and debris. Maintenance shall include, but not be limited to, watering, weeding, mowing, fertilizing, treating, mulching, pruning, removal and replacement of dead or diseased plants and trees, and removal of refuse and debris on a regular basis so as to present a neat and well-kept appearance at all times.
b.
Inspections. Landscaping shall be inspected periodically by the appropriate code enforcement officer to ensure proper maintenance. The owner, tenant or their agent, shall be notified by the appropriate code enforcement officer, in writing, of any areas which are not being properly maintained and shall, within the time specified in such written notice, but in no event later than 30 calendar days from the date of notification, restore the landscaping to a healthy condition.
c.
Compliance. It shall be unlawful for an owner, tenant or their agent, to fail to comply with the terms of the written notice within the time specified after notice has been given under subsection (2)b of this section.
(3)
Plant material.
a.
Standards. All trees and plant material used in conformance with this subchapter shall conform to the Standards for Florida Fancy or Florida No. 1 Grade as given in "Grades and Standards for Nursery Plants." Part 1 and Part 11, 1963, State of Florida, Department of Agriculture, Tallahassee. Grass sod shall be clean and reasonably free of noxious weeds and pests or diseases. The following approved list of trees and shrubs may be used for minimum landscaping requirements. The listing is by the common name that the tree or shrub is known by and they are not listed under their botanical names. All trees and shrubs listed under subsection (3)a.1 of this section shall qualify for the minimum landscape requirements, but other species, such as those contained in subsection (3)a.2 of this section, but not being limited solely to those listed in subsection (3)a.2 of this section, may be used in landscaping and shall not be counted towards minimum landscape requirements.
Common Names Of
Approved List Of
Trees And Shrubs
1.
Recommended species of trees to be used for minimum landscape requirements (other species may be used with planning department approval provided species listed in subsection (3)a.2 of this section are not counted with minimum required):
Shade
Black Olive
Indian Rosewood
Mahogany
Bald Cypress
Bischoffia
Laurel Oak
Earleaf Acacia
Water Oak
Live Oak
Sweetgum
Silver Buttonwood
Paradise Tree
Gumbo Limbo
Red Maple
Pitch Apple
Beauty Leaf
Wild Tammerian
Pigeon Plum
Ficus Benjamin
Sea Grape
Ficus Nitida
Geiger Tree
Ficus Rubiginosa
Jacaranda
Ficus Laevigata
Cherry Laurel
Wax Myrtle
Hrpulia
Green Buttonwood
Flowering
Jerusalem Thorn
Crape Myrtle
Weeping Bottlebrush
Cassia Elata
Sweet Acacia
Yellow Poinciana
Tabebuia (pink, yellow, red and white)
Royal Poinciana
Loquat
Orchid Tree
Earleaf Acacia
Tree of Gold
Silver Trumpet Tree
Hibiscus Tree
Palms
Cabbage Palm
Alexandra Palm
Paurotis
Queen Palm
Jamaican Thatch Palm
Chinese Fan Palm
Areca (large clumps)
Pygmy Date Palm
Species of shrubs to
be used for minimum
landscape requirements:
Orange Jasmine
Hibiscus*
Ixora*
Snow Queen Hibiscus*
Chenile plant*
Carissa*
Copper leaf*
Yucca Elephantipes
Ligustrum
Yucca Gloriosa*
Pittosporum
Pampas grass*
Viburnum
Duranta*
Cocoplum
Texas sage*
Pineapple Guave*
Crown of Thorns*
Ferns
Ponytail "Palm"
Bird-of-Paradise*
Juniper
*Flowering shrubs
2.
Species not allowed for minimum landscape requirements (may be used but not counted unless noted below):
Norfolk Island Pine (may not be planted)
Ficus (except those listed above)
Silk Oak Australian Pine (may not be planted)
Melaleuca (may not be planted)
Florida Holly (may not be planted)
b.
Shrubs and hedges. All shrubs and hedges shall be a minimum of 24 inches in height, full to the base, when measured immediately after planting. All hedges and shrubs shall be trimmed on a regular basis so as after their initial growth subsequent to planting shall be maintained so as not to be less than three feet nor more than four feet in height above ground level.
c.
Trees. All trees shall have a minimum of ten feet overall height immediately after planting and shall have a three-inch caliper measured at a point five feet above ground level. Trees shall have a minimum clear trunk of five feet. A grouping of three palm trees will be counted as the equivalent of one required canopy tree.
d.
Ground cover : All planting areas, whether perimeter planting or interior planting other than that portion where a tree or shrub has been planted, shall be covered by fully sodded grass which is normally grown as permitted lawns in the county, or covered by mulch, decorative stone, bark chips or other horticulturally suitable ground cover.
(4)
Plans. All improved properties encompassed within the zoning categories set out in this article shall submit plans to the city building department, which plans shall be reviewed and approved by the planning and zoning board. The plans shall include a survey, landscape plan and irrigation plan. Any of such plans may be incorporated into one or more plans. Such plans shall contain, but not be limited to, the following requirements.
a.
Surveys. The survey shall be true and accurate, drawn to scale, shown the property boundaries and dimensions, all existing structures, parking areas, improvements and utilities, and shall be prepared by and bear the seal of a state registered land surveyor.
b.
Landscape plans. The landscape plan shall be drawn to scale and bear the name, signature and address of the person who drew the landscape plan. Such person, or his agent, shall visit the site to become familiar with the physical location as well as the actual ground dimensions, building locations, parking space locations and proposed landscape plans. All landscaping shall be installed according to plans submitted and as finally approved as provided for in subsection (4)e of this section. A landscape plan shall delineate the location of all plant material whether the plant material be trees, shrubs or grass, and shall set forth the common name, size and specifications of all plant material. The landscape plan shall also include dimensions of all planting areas whether they be within the perimeter planting strip or part of the planting areas within the interior area of the lot or parcel of land.
c.
Irrigation plans. If an underground irrigation system will be used then detailed plans drawn to scale shall depict the irrigation system to be employed including location of underground pipes and sprinkler heads. If no underground irrigation system is to be used then a plan shall be submitted setting forth the watering system that will be used to provide adequate irrigation to maintain all planting in a healthy condition.
d.
Changes. In the event changes from the submitted and approved plans are necessitated during construction, all such changes must be approved as provided for in paragraph e below.
e.
Plan approval. All plans set out in subsection (4) of this section shall be submitted to the city building department and shall be reviewed by the city planning and zoning board who shall assure compliance with the provisions of this article.
f.
Time to comply. All properties which are zoned B-1, B-2, B-2A, B-3 and B-3A which have improvements thereon, whether the improvements be structure or vehicular parking areas, or other improvements, shall by January 23, 1990, if such property is vacant, prior to issuance of a certificate of occupancy at the time of any future construction, cause such lot or parcel of land to be landscaped based on the criteria set forth in section 42-434.
(Code 1979, ch. 21, § 5.62; Ord. No. 2015-0921, § 2, 1-27-2015)
The following landscape specifications shall be considered as the minimum acceptable standard. The planning and zoning board may, where the owner of a parcel of land shows substantial compliance with provisions of this division, amend or change any requirements whenever such amendment or change would be in the best interest of the city and where the literal enforcement of the minimum standards would impose an undue hardship on the property owner. As used herein substantial compliance shall be deemed to require that if a given provision can not be complied with due to the unusual shape or nature of the property, then the number of plants, shrubs, ground cover and trees as would be required shall be located on another portion of the property as to meet the objectives of this division, taking into consideration the particular configuration and location of the parcel of land and the existing structures located thereon.
(1)
Perimeter landscaping. Perimeter landscaping shall be as follows:
a.
Layout. The two-foot perimeter landscape area shall be determined by starting at the outside perimeter lot or parcel line and measuring perpendicularly there from two feet to the interior perimeter planting strip line. Where two parcels of land are adjacent to each other on the side or rear lot lines and both are business-zoned properties then they shall have one of the two following options available to them:
1.
The owners of the two parcels, or the lessees with the written consent of the owners, can agree to cooperate on a contiguous boarder strip of 1½ feet on each parcel, making a three-foot interior perimeter planting strip. If such option is elected the owners and lessees of both parcels shall be responsible for the full maintenance and care of the entire three-foot strip.
2.
Each owner or lessee shall place a full two-foot interior perimeter landscaping strip on their property without any consideration being given to the adjacent parcel or its two-foot planting strip. There shall be exempted from the perimeter landscaping strip the following areas:
i.
Any portion of the two-foot perimeter strip upon which a building is physically located.
ii.
Any portion of the rear perimeter lot line which is adjacent to any residentially zoned property, provided there is a wall in existence along such rear perimeter lot line in compliance with this Code. If there be no wall in existence or not in compliance with such Code then the rear perimeter lot line shall be landscaped in full compliance with this division.
iii.
Any portion required by subsection 42-409(h) for an access way from the parcel of land through the two-foot perimeter planting strip to a dedicated public road. The balance of the street frontage not involved with access ways shall be landscaped in accordance with the perimeter planting strip provisions set out herein.
b.
Planting requirements. Within the two-foot perimeter landscaping area and commencing at the intersection of the side lot or parcel line and the main street frontage lot or parcel line, westerly along the main street frontage there shall be two trees planted for the first 45 lineal feet, thereafter there shall be one tree planted for each additional 30 lineal feet or a major fraction thereof. Such trees shall be properly spaced allowing for access ways. In addition to the planting of trees, shrubs and hedging material shall be planted, at most, on 2½-foot centers between all trees. All portions of the two-foot perimeter landscaping area, not covered by shrubs and hedging material or trees, shall be planted with full grass sod which shall be clean and reasonably free of noxious weeds, or shall be covered by mulch, decorative stone, bark chips or other horticulturally suitable ground cover.
(2)
Interior landscaping. Interior landscaping shall be as follows:
a.
Interior planting area. The gross square footage of the lot or parcel of land shall be calculated. There shall be subtracted from such gross square footage the square footage of any structures and any area encompassed under the overhang of any roof that may extend beyond the side walls of the building. There shall further be subtracted from such gross square footage the total square footage of the total two-foot perimeter planting strip provided for under subsection (1) of this section. Ten percent of the square footage thus arrived at shall be called the "interior planting area." The "interior planting area" shall be the minimum amount of interior area of the lot or parcel of land which shall be planted with trees, shrubs or ground cover as provided for in subsection (2)b of this section.
b.
Location requirement. The "interior planting area" shall include planter islands. Each planter island shall be a minimum of five feet wide by 15 feet long and shall be placed among parking spaces on such interior lot or parcel of land and shall further be placed no more than ten parking spaces apart nor less than five parking spaces apart and shall also be at the terminus of all rows of parking unless the row of parking ends at a perimeter planting strip. Each planter island shall contain at least one tree and five shrubs. All portions of the planter island not covered by shrubs or trees shall be planted in full grass sod which shall be clean and reasonably free of noxious weeds, or shall be covered by mulch, decorative stone, bark chips or other horticulturally suitable ground cover. The perimeter of all planter islands shall be encased in a barrier made of either concrete curbing, railroad ties, car stop bumpers or other solid permanent material, all of which shall be at least six inches in height and be placed so as to inhibit any vehicles from encroaching onto the planter islands. Any remaining portion of the "interior planting area" that is not contained in the planter islands, thus leaving a portion of the "interior planting area" still unlandscaped, shall be designed and located and planted within the lot or parcel of land in accordance with accepted practices of landscape architects so that when completed the lot or parcel of land shall contain a landscaped area equal to the total square footage required for the "interior planting area" calculated in subsection (2)a of this section.
(3)
Exemption. There shall be exempted from the provisions of subsection (2) of this section, which deals with interior landscaping, any property for which a current city local business license is issued for the following permitted business uses, to wit: New and used automobile sales as provided for in subsection 42-350(a)(3). Should any such property cease to operate under the above business category, then the property shall forthwith comply with the interior landscaping requirements of subsection (2) of this section and shall thereafter continue to comply with such provisions regardless of whatever future permitted use the property may be used for.
(Code 1979, ch. 21, § 5.63; Ord. No. 2006-865, § 2, 11-14-2006)
Prior to the two-year waiting period within which compliance with the provisions of this chapter shall be required, should any building, presently in existence, apply for a building permit to renovate the building so as the renovation costs equal 20 percent of the assessed valuation of the present structure then the plans shall provide for the compliance with all of the provisions of this division and no certificate of occupancy shall issue until there has been full compliance with all of the provisions of this division and no certificate of occupancy shall issue until there has been full compliance with all of the provisions of this division.
(Code 1979, ch. 21, § 5.64)
There shall be a filing permit fee as provided in Appendix A of this Code to accompany all plans filed pursuant to this division.
(Code 1979, ch. 21, § 5.65)
With the exception of land that is unimproved on January 23, 1990, any parcel of land that has lost any parking spaces due to the construction of a required planter island shall be given credit for such parking spaces with respect to any other provisions of this Code dealing with off-street parking. As to unimproved land on the effective date of the ordinance from which this division is derived, at such time as improvements are constructed upon such land, then, should such parcel of land be capable of providing all off-street parking, in addition to the planter islands required herein, then all such off-street parking shall be provided on such property. To the extent than any off-street parking cannot be provided on such parcel of land due to the construction of the required planter island, then, only to the extent necessary, credit for parking spaces shall be given for the number of planter islands constructed and needed for compliance with the off-street parking requirements.
(Code 1979, ch. 21, § 5.66)
Any person who is charged with the responsibility of the compliance of this division, and who violates this division, shall be punishable as provided for in section 1-7 of this Code, or, at the option of the city, should the violation be processed through the city code enforcement board, then punishment shall be as provided for in section 2-260 of this Code.
(Code 1979, ch. 21, § 5.67)
(a)
Application and consideration.
(1)
The owner of any property affected by this division shall have the right to apply for a special exception which may be granted where due to extreme unusual nature of the property, including but not being limited to:
a.
Unusual lot and configuration, i.e. (triangular);
b.
Lack of area to comply because property is completely covered by structures and/or has no available parking area or perimeter area within which to comply with the landscaping provisions;
c.
Existing landscaping in place which, though it does not literally conform to the terms of the ordinance, may be given some consideration or credit for landscaping materials; or
d.
Other extreme unusual conditions except that such may not be based upon the fact that the ordinance requires extensive landscaping due to the size of the property or causes a loss of usable parking spaces.
(2)
Such application shall be filed with the city clerk, shall be accompanied by a survey as provided for in subsection 42-433(4)a, plus a drawing prepared to scale depicting the property, building, parking spaces and landscape material and reflecting what the property would look like if the special exception requested by the applicant were granted, all of the above so as to enable the planning and zoning board and city commission to determine the criteria for the granting of a special exception, if any. All applications for granting of a special exception shall be accompanied by the fee provided in Appendix A of this Code. The application shall set forth in detail the special exception requested and the reasons and existing conditions which the applicant feels justify the granting of the requested special exception.
(3)
The planning and zoning board shall consider all facts and conditions that they may deem appropriate under the circumstances and shall either grant the special exception, deny the special exception or grant a conditional special exception, which conditional exception shall specify, in detail, the requirements that shall be considered in compliance with the provisions of this division.
(b)
Orders and decisions.
(1)
The order and decision of the planning and zoning board, in every case submitted to it for consideration, shall be in writing and shall be in conformity with the decision made and contained in the minutes of the planning and zoning board meeting.
(2)
The concurring vote of a majority of the entire planning and zoning board shall be necessary to grant a special exception to the provisions of the commercial landscape ordinance.
(3)
In granting any special exception, the planning and zoning board shall record in its minutes the circumstances and conditions constituting the extreme unusual nature of the property upon which the special exception is based.
(4)
Any application considered by the board and received less than an affirmative majority vote of the entire planning and zoning board is automatically denied.
(5)
In granting any special exception, the planning and zoning board shall have the power to attach to its approval any reasonable conditions, limitations or requirements found necessary by the board to effectuate the provisions of this article and to carry out the spirit and purpose of the commercial landscape ordinance of the city. Such conditions, limitations or requirements shall remain in full force and effect thereafter so long as the special exception status is continued and any violation of such conditions, limitations and requirements shall constitute a violation of this chapter.
(c)
Appeals from board to or review by city commission.
(1)
All appeals or reviews of the action of the zoning board, whether with respect to the denial of a special exception application or the approval of the special exception application, shall be as provided for in section 42-284.
(2)
No permit shall be issued for work or improvements pursuant to such special exception until after the grant of such special exception has become final.
(3)
The grant or denial of such application for special exception shall become final upon:
a.
The latest to occur of the times set for filing appeal or moving for review, if no appeal or review occurs; or
b.
Upon final action by the city commission, if appeal or review occurs.
(Code 1979, ch. 21, § 5.68)
The city commission finds that transitory uses of residential property tend to adversely affect the residential character of the community and are injurious to the health of the community. Therefore, it is necessary and in the interest of the public health, safety, and welfare to monitor and provide reasonable means for citizens of the city to mitigate impacts created by such transitory uses of residential property within the city. It is unlawful for any owner of any property within the geographic bounds of the city, to rent or operate a transient rental contrary to the procedures and regulations established in this article or applicable state statute, except as provided in subsection 42-442(b).
(Ord. No. 2015-0926, § 1, 10-13-2015)
For the purpose of this article, the following terms, phrases, words, abbreviations and their derivations shall have the meaning given herein. When not inconsistent with the context, words used in the present tense include the future tense, words in the plural number include the singular number, and words in the singular number include the plural number. The word "shall" is always mandatory . Words not defined shall be given their meaning as provided in section 42-242 of the Code of Ordinances of the city.
Garbage as defined in the city Code of Ordinances.
Residential property shall mean "residence, one-family;" "residence, two-family;" and "residence, three-family" and "residence, four-family" as defined in section 42-242 of the city's Code.
Responsible party shall mean the owner or the person designated by the owner of the transient rental to be called upon to answer for the maintenance of the transient rental and the conduct and acts of transient occupant of residential properties.
Transient occupants means any person, or guest or invitee of such person, who occupies or is in actual or apparent control or possession of residential property required to obtain a certificate of compliance as a transient rental. It shall be a rebuttable presumption that any person who holds themselves out as being an occupant or guest of an occupant of the transient rental is a transient occupant.
Transient rental shall mean any unit or group of units in a condominium or cooperative or any individually or collectively owned single-family, two-family, three-family, or four-family house or dwelling unit that is rented to transient occupants for periods of six months or less, or which is advertised or held out to the public as a place rented to transient occupants, including, but not limited to, vacation rentals.
Vacation rentals shall have the same meaning as F.S. § 509.242(c).
(Ord. No. 2015-0926, § 1, 10-13-2015)
(a)
It is unlawful for any person to allow another person to occupy any transient rental within the city, or offer any residential property for rent and/or lease as a transient rental within the city, unless the person has obtained the certificate of compliance for the transient rental with the city in accordance with the provisions of this article, except as provided in 42-442(b).
(b)
A person may allow another person to occupy any transient rental without the issuance of a certificate of compliance from the city if all of the following are met:
(1)
The residential property to be occupied by a transient occupant, or any other property owned by the titled owner of the residential property to be occupied by a transient occupant, is not in violation of any section of the Code of Ordinances of the city; and,
(2)
There are no unsatisfied liens recorded against the residential property to be occupied by a transient occupant, or any other property owned by the titled owner of the residential property to be occupied by a transient occupant, as a result of any violation of any section of the code of ordinances of the city; and,
(3)
A complete application for a certificate of compliance for the residential property as a transient rental has been filed pursuant to section 42-443 and all applicable fees have been paid; and,
(4)
That said occupancy was scheduled prior to November 1, 2015 as evidenced by a written and validly executed rental agreement or contract provided to the city administrator no later than February 1, 2016; however, any renewal terms of any occupancies scheduled after November 1, 2015 shall require a certificate of compliance; and
(5)
For a vacation rental, the transient rental has an effective and valid license as a vacation rental, the classification of public lodging establishment issued by the Florida Department of Business and Professional Regulations prior to November 1, 2015.
(Ord. No. 2015-0926, § 1, 10-13-2015)
(a)
Application for a certificate of compliance of a transient rental shall be made by the owner of the transient rental to the city administrator or his or her designee, and applications for a certificate of compliance shall be certified as true and complete, and sworn to in the presence of a notary, and shall set forth at a minimum:
(1)
The legal description of the transient rental offered for rental (i.e., address, lot, block and subdivision name);
(2)
Name, address, and phone number of owner of property that is the subject of the application;
(3)
Name, address, and emergency contact phone number of responsible party for the transient rental, which shall be a 24-hour, seven days' a week contact number;
(4)
That the phone number for the responsible party will be answered 24 hours a day, seven days a week by the responsible party;
(5)
Acknowledgements by owner of the residential property of the following:
a.
That all vehicles associated with the transient rental must be parked on hard surface off-street parking provided on the property, and no more than one vehicle per bedroom in the transient rental shall be permitted;
b.
That the transient occupant of any transient rental shall comply with the limitations of section 42-448(4)(a);
c.
That the owner of residential property shall comply with all applicable city, county, state and federal laws, rules, regulations, ordinances and statutes.
d.
The residential property, or any other property owned by the titled owner of the residential property, is not in violation of any section of the Code of Ordinances of the city;
e.
That there are no unsatisfied liens recorded against the residential property, or any other property owned by the titled owner of the residential property, as a result of any violation of any section of the Code of Ordinances of the city; and
f.
That no solid waste or recycling container for the residential property shall be located at the curb for pickup before 6:00 p.m. of the day prior to pick up, and the solid waste and recycling containers shall be removed before 9:00 p.m. of the day of pickup;
g.
That whoever, without being authorized, licensed, or invited, willfully enters or remains in any structure or conveyance of a residential property, or, having been authorized, licensed, or invited, is warned by the owner or lessee, to depart the property and refuses to do so, commits the offense of trespass in a structure or conveyance;
h.
That other properties are not jointly shared commodities and should not be considered available for use by transient occupants of the transient rental subject of the application; and,
i.
That prior to permitting occupancy by a transient occupant, the owner shall confirm that such occupancy is not prohibited by the city's sexual offender and predator residency prohibitions set forth in sections 54-9 through 54-12 of the city's Code of Ordinances.
(6)
Proof of owner's current ownership of the residential property;
(7)
For vacation rentals, and where required by state law, proof of registration with the Florida Department of Revenue for sales tax collection and Broward County for Tourist Development Tax; however, if the vacation rental is exempt from sales tax collection then the owner shall provide an affidavit confirming the exemption and a copy of the exemption certificate issued by the State of Florida Department of Revenue; and
(8)
For vacation rentals, and where required by state law, proof of licensure with the Florida Department of Business and Professional Regulation for a transient public lodging establishment; and
Submission of an incomplete application form shall result in rejection of the application.
(Ord. No. 2015-0926, § 1, 10-13-2015)
The city shall charge reasonable fees for a certificate of compliance in order to compensate for administrative expenses. The fees for a certificate of compliance under this article shall be provided for, from time to time, by resolution adopted by the city commission.
(Ord. No. 2015-0926, § 1, 10-13-2015)
Whenever any residential property is required to obtain a certificate of compliance under this article, the owner of the transient rental shall appoint a natural person who resides within 25 miles of the transient rental, the distance measured using airline measurement from the closest property lines of the transient rental and the responsible party's residence, to serve as the responsible party for service of notices as are specified herein, and notices given to the responsible party shall be sufficient to satisfy any requirement of notice to the owner of the transient rental. An initial responsible party shall be designated and name submitted with the application for the certificate of compliance, and the city administrator or his designee shall thereafter be notified of any change of responsible party within five business days of such change. Further, it is the affirmative duty of the responsible party to:
(1)
Inform all transient occupants, in writing, prior to occupancy of the transient rental of applicable city ordinances concerning noise, residency prohibitions for sexual offenders and predators, vehicle parking, garbage, and common area usage;
(2)
Maintain all transient rentals under their control in compliance with the occupancy limits, as specified in the Florida Building Code and section 42-448 of the Code of Ordinances of the city, as determined by the building official or his designee;
(3)
See that the provisions of this article are complied with and promptly address any violations of this article or any violations of law which may come to the attention of the responsible party;
(4)
Be available with authority to address and coordinate solutions to problems with the transient rental 24 hours a day, seven days a week;
(5)
Be able to, and shall, respond to, emergency calls within one (1) hour of notification;
(6)
Keep available a register of all transient occupants, which shall be open to inspection by authorized personnel of the city of Lighthouse Point at all times; and
(7)
Maintain the entire transient rental free of garbage and litter; provided however, that this subsection shall not prohibit the storage of garbage, recyclables, and litter in wheeled receptacles with hinged lids and in good repair.
(Ord. No. 2015-0926, § 1, 10-13-2015)
It shall be unlawful for any person to give any false or misleading information in connection with the application required by this article.
(Ord. No. 2015-0926, § 1, 10-13-2015)
The city administrator or his designee may issue a certificate of compliance to the applicant upon proof of the following:
(a)
The owner of the transient rental completes the city certificate of compliance application form;
(b)
The application fee has been paid to the city;
(c)
A business tax receipt from the city pursuant to chapter 78 of the Code of Ordinances;
(d)
A business tax receipt from Broward County, if applicable;
(e)
A Florida Department of Revenue certificate of registration for purposes of collecting and remitting tourist development taxes, sales surtaxes and transient rental taxes;
(f)
For vacation rentals, a Florida Department of Business and Professional Regulation license as a transient public lodging establishment;
(g)
An affidavit, demonstrating maintaining initial and on-going compliance with transient rental standards contained herein, plus any other applicable local, state and federal laws, regulations and standards to include, but not be limited to F.S. ch. 509, and Rules, Chapter 61C and 69A, Florida Administrative Code, as may be applicable;
(h)
A copy of the form lease agreement to be used when contracting with transient occupants; and
(i)
Complete inspection required by section 42-449.
(Ord. No. 2015-0926, § 1, 10-13-2015)
The following standards shall govern the use of any transient rental as a permitted use:
(1)
Minimum life/safety requirements:
a.
Swimming pool, spa and hot tub safety. A swimming pool, spa or hot tub shall comply with the current standards of the Residential Swimming Pool Safety Act, F.S. ch. 515.
b.
Bedrooms. All bedrooms shall meet the single- and two-family dwelling minimum requirements of the Florida Building Code.
c.
Smoke and carbon monoxide (CO) detection and notification system. If an interconnected and hard-wired smoke and carbon monoxide (CO) detection and notification system is not in place within the transient rental, then an interconnected, hard-wired smoke alarm and carbon monoxide (CO) alarm system shall be required to be installed and maintained on a continuing basis consistent with the requirements of Section R314, Smoke Alarms, and Section R315, Carbon Monoxide Alarms, of the Florida Building Code — Residential.
d.
Fire extinguisher. A portable, multi-purpose dry chemical 2A:10B:C fire extinguisher shall be installed, inspected and maintained in accordance with NFPA 10 on each floor/level of the unit. The extinguisher(s) shall be installed on the wall in an open common area or in an enclosed space with appropriate markings visibly showing the location.
(2)
Maximum occupancy. The following specific site considerations in subsections a., b., and c. shall limit any transient rental occupancy to whichever is less, as applicable, below:
a.
One person per 150 gross square feet of permitted, air-conditioned living space.
b.
Two persons per bedroom, as the term bedroom is defined in the Florida Building Code.
c.
In the RS-3 and RS-5 zoning districts, the maximum occupancy shall be limited to eight transient occupants per transient rental. In all other zoning districts and developments predominantly developed with greater than two-family dwelling units, the maximum occupancy shall be limited to 16 transient occupants per transient rental.
(3)
Solid waste handling and containment. Based on the maximum transient occupancy permitted, city solid waste and recycling containers shall be as required in chapter 74-61 of the city's Code of Ordinances. Appropriate screening and storage requirements for solid waste containers shall apply per any development approval and be incorporated into the certificate of compliance. For purposes of this section, a solid waste container shall not be placed at curbside before 6:00 p.m. of the day prior to solid waste pickup, and the solid waste container shall be removed from curbside before 9:00 p.m. of the day of pickup.
(4)
Minimum transient occupant information. The transient occupant shall be provided with a copy of the information required in this section, and the following shall be posted conspicuously within the transient rental:
a.
A statement advising the transient occupant that any sound shall not be plainly audible for a period of one minute or longer at a distance of 25 feet or more when measured from the source property line between the hours of 10:00 p.m. and 8:00 a.m. daily and at a distance of 50 feet or more when measured from the source property line between the hours of 8:00 a.m. and 10:00 p.m. daily;
b.
A sketch of the location of the off-street parking spaces for the transient rental;
c.
The days and times of trash and recycling pickup as well as the permitted times for placement of receptacles for collection;
d.
The location of the nearest hospital;
e.
Notice that sexual offenders and predators are subject to residency prohibitions in the city's Code and occupancy of the transient rental in violation of such ordinance is a violation of law; and
f.
The city's non-emergency police phone number.
g.
There shall be posted, next to the interior door of each bedroom a legible copy of the building evacuation map—Minimum eight and one-half inches by 11 inches.
(5)
Minimum wording for agreement relating to transient rental. Any agreement utilized by an occupant of the transient rental shall contain the minimum transient occupant information as provided for in this section.
(6)
Designation of a transient rental responsible party capable of meeting the duties provided in section 42-445.
(7)
Advertising. Any advertising of a transient rental shall conform to information included in the transient rental certificate of compliance, particularly as this pertains to maximum occupancy.
(8)
Sexual offenders and sexual predators. It is unlawful to allow any person to occupy any transient rental within the city, with the knowledge that it will be occupied by a person prohibited from establishing a permanent residence or temporary residence at said transient rental, if such place, structure, or part thereof, trailer or other conveyance, is located within 2,500 feet of any school, designated public school bus stop, child day care facility, park or playground or other place where children regularly congregate as described in sections 54-9 through 54-12 of the Code of Ordinances.
(9)
Posting of certificate of compliance. The certificate of compliance shall be posted on the back of or next to the main entrance door and shall include at a minimum the name, address and phone number of the responsible party and the maximum occupancy of the transient rental.
(10)
Other standards. Any other standards contained with the Code of Ordinances and the Unified Land Development Regulations of the city to include, but not be limited to: noise, setbacks, stormwater and similar provisions.
(Ord. No. 2015-0926, § 1, 10-13-2015)
(a)
An initial inspection of the residential property proposed to be used as a transient rental for compliance with this article is required prior to issuance of an initial transient rental certificate of compliance. If violations are found, all violations must be corrected and the transient rental must be re-inspected prior to issuance of the initial transient rental certificate of compliance as provided herein.
(b)
Once issued, a transient rental must be properly maintained in accordance with this article, and will be re-inspected annually. For an inspection, all violations must be corrected and re-inspected within 30 calendar days. Failure to correct such inspection deficiencies in the timeframes provided herein shall result in the suspension of the transient rental certificate of compliance until such time as the violations are corrected and re-inspected.
(c)
The responsible party shall make the appointment for the inspections. If the inspector has an appointment with the responsible party to complete an inspection, and the responsible party fails to admit the inspector at the scheduled time, the owner shall be charged a "no show" fee in an amount to be determined by resolution of the city commission to cover the inspection expense incurred by the city.
(d)
As part of the initial and subsequent inspections, the city shall be provided annual certifications by a qualified inspector that smoke and carbon monoxide (CO) detection and notification system and the fire extinguishers are in good working order.
(e)
If the inspector(s) is denied admittance by the responsible party or if the inspector fails in at least three attempts to complete an initial or subsequent inspection of the transient rental, the inspector(s) shall provide notice of failure of inspection to the owner to the address shown on the existing transient rental certificate of compliance or the application for transient rental.
(1)
For an initial inspection, the notice of failure of inspection results in the certificate of compliance not being issued; the transient rental is not permitted to operate without a valid certificate of compliance.
(2)
For a subsequent inspection, the notice of failure of inspection is considered a violation and is subject to enforcement remedies as provided herein.
(Ord. No. 2015-0926, § 1, 10-13-2015)
No certificate of compliance issued under this article shall be transferred or assigned or used by any person other than the one to whom it is issued, or at any location other than the one for which it is issued.
(Ord. No. 2015-0926, § 1, 10-13-2015)
All certificates of compliance issued under the provisions of this Article shall be valid for no more than one year, and all certificates of compliance shall expire on September 30 of each year, regardless of when issued. The annual fee shall be the same regardless of when the application is submitted. Renewal and applicable late renewal fees shall be established by resolution of the city commission.
(Ord. No. 2015-0926, § 1, 10-13-2015)
(a)
Any certificate of compliance issued pursuant to this article may be denied, revoked, or suspended by the city administrator upon the adjudication of a violation of this article, any city ordinance, or state law by the owner or responsible party. Such denial, revocation or suspension is in addition to any penalty provided herein.
(b)
Offenses/violations.
(1)
Non-compliance with any provisions of this article shall constitute a violation of this article.
(2)
Separate violations. Each day a violation exists shall constitute a separate and distinct violation, except that occupancy violations shall be governed by subsection 42-452(d).
(c)
Remedies/enforcement.
(1)
Violations of this article shall be subject to penalties as part of a progressive enforcement program with the primary focus on compliance and compatibility with adjoining properties, versus penalties and legal actions. To accomplish a safe and effective transient rental program it is the city's objective that the transient rental owners and responsible parties are responsive and responsible in the management of the transient rental for compliance with this article. Code enforcement activities will be in accordance with F.S. ch. 162, and chapter 2, article VII, division 2, of the Code of Ordinances of the city.
(2)
Warnings. Warnings shall be issued for first-time violations and have a correction/compliance period associated with it. Such warnings may include notice to other agencies for follow-up by such agencies, if applicable, such as the Florida Department of Business and Professional Regulation, the Florida Department of Revenue, the Broward County Tax Collector and the Broward County Property Appraiser. Non-compliance with a correction compliance period shall result in the issuance of a citation.
(3)
Fines per violation may be set by resolution of the city commission of the city for the first, second, third and further repeat violations. The city may utilize F.S. ch. 162, to prosecute a code violation and in such case a code enforcement board or special magistrate shall hold hearings, assess fines and order other relief. Alternatively, the city may utilize F.S. ch. 162, part 2, and pursue violations by way of a civil citation system as provided in its Code of Ordinances. The city may also rely on an appropriate enforcing agency at the state or local level.
(4)
Additional remedies. Nothing contained herein shall prevent the city from seeking all other available remedies which may include, but not be limited to, suspension or revocation of a transient rental certificate of compliance, injunctive relief, liens and other civil and criminal penalties as provided by law, as well as referral to other enforcing agencies.
(d)
Suspension or revocation of transient rental certificate of compliance. In addition to any fines and any other remedies described herein or provided for by law, the code enforcement board or special magistrate may suspend or revoke a transient rental certificate of compliance for multiple violations of the maximum occupancy limits in this article in any continuous 36-month period, in accordance with the following:
(1)
Suspension time frames.
a.
Upon a third violation of the maximum occupancy limits contained in this article the transient rental certificate of compliance shall be suspended for a period of 30 calendar days.
b.
Upon a fourth violation of the maximum occupancy limits contained in this article the transient rental certificate of compliance shall be suspended for a period of 12 calendar months.
c.
For each additional violation of the maximum occupancy this article the transient rental certificate of compliance shall be suspended for an additional period of 12 calendar months.
(2)
Suspension restrictions. A transient rental may not provide transient occupancy during any period of suspension of a certificate of compliance.
a.
The suspension shall begin immediately following notice, commencing on the earlier of:
1.
the expiration of the current transient rental agreement period; or
2.
if multiple separate rental agreements are simultaneously applicable to a transient rental, the expiration of all agreements for the transient occupants utilizing the transient rental on the date of delivery of a notice of violation to the owner or responsible party; or
3.
thirty calendar days, or as otherwise determined by the city code enforcement board or special magistrate.
b.
Operation during any period of suspension shall be deemed a violation pursuant to this article and shall be subject to daily fine, up to the maximum amount as otherwise provided in Florida Statues for repeat violations, for each day that the transient rental operates during a period of violation.
(3)
Revocation of certificate of compliance. A residential property shall not be used as a transient rental after revocation of a certificate of compliance. A transient rental certificate of compliance may be revoked by the city's code enforcement board or special magistrate following a hearing in which multiple violations of this article have occurred, and the special magistrate or code enforcement board finds violations are intentional, and affect the health, safety, and welfare of surrounding properties and residents. A transient rental certificate of compliance may also be revoked if the special magistrate or code enforcement board finds that the owner made material misrepresentations on the transient rental certificate of compliance application.
(e)
During any period of suspension or revocation of a certificate of compliance, no advertisements for the transient rental shall occur.
(f)
The transient rental owner shall not be entitled to any refund of the annual fee paid for the certificate of compliance for any portion of the unexpired term of a certificate of compliance due to suspension or revocation of the certificate of compliance.
(Ord. No. 2015-0926, § 1, 10-13-2015)
Whenever a violation of this article occurs, or is alleged to have occurred, any person may file a written complaint. Such complaint, stating fully the causes and basis thereof, shall be filed with the city administrator or his designee. The city administrator or his designee shall promptly record such complaint, investigate, and take action thereon in accordance with this article and chapter 2 of the Code of Ordinances of the city.
(Ord. No. 2015-0926, § 1, 10-13-2015)
The city administrator or his designee shall enforce the provisions of this article as provided in chapter 2, article VII, division 2 of the Code of Ordinances of the city.
(Ord. No. 2015-0926, § 1, 10-13-2015)
(a)
This section implements the policy of the city for processing of requests for reasonable accommodation to its ordinances, rules, policies, and procedures for persons with disabilities as provided by the Federal Fair Housing Amendments Act (42 U.S.C. 3601, et seq.) ("FHA") and Title II of the Americans with Disabilities Act (42 U.S.C. Section 12131 et seq.) ("ADA"). For purposes of this section, a "disabled" individual or person is an individual that qualifies as disabled and/or handicapped under the FHA and/or ADA. Any person who is disabled (or qualifying entities) may request a reasonable accommodation with respect to the City's land use or zoning laws, rules, policies, practices and/or procedures as provided by the FHA and the ADA pursuant to the procedures set out in this section.
(b)
A request by an applicant for reasonable accommodation under this section shall be made in writing by completion of a reasonable accommodation request form, which form is maintained by (and shall be submitted to) the city administrator. The reasonable accommodation request form shall contain such questions and requests for information as are necessary for processing the reasonable accommodation request. The reasonable accommodation request form shall be substantially in the form set forth herein.
(c)
Should the information provided by the disabled individual to the city include medical information or records, including records indicating the medical condition, diagnosis or medical history of the disabled individual, such individual may, at the time of submitting such medical information, request that the city, to the extent allowed by law, treat such medical information as confidential information of the disabled individual. The city shall thereafter endeavor to provide written notice to the disabled individual, and/or their representative, of any request received by the city for disclosure of the medical information or documentation which the disabled individual has previously requested, be treated as confidential by the city. The city will cooperate with the disabled individual, to the extent allowed by law, in actions initiated by such individual to oppose the disclosure of such medical information or documentation, but the city shall have no obligation to initiate, prosecute or pursue any such action, or to incur any legal or other expenses (whether by retention of outside counselor allocation of internal resources) in connection therewith, and may comply with any judicial order without prior notice to the disabled individual.
(d)
The city administrator shall have the authority to consider and act on requests for reasonable accommodation, after notice and public hearing to receive comments, input and information from the public (provided, however, the city administrator or designee shall not be required to render their decision at said public hearing). When a reasonable accommodation request form has been completed and submitted to the city administrator, the city administrator shall issue a written determination within 45 days of the date of receipt of a completed reasonable accommodation request form and may, in accordance with federal law:
(1)
Grant the accommodation request;
(2)
Grant a portion of the request and deny a portion of the request, and/or impose conditions upon the grant of the request; or
(3)
Deny the request, in accordance with applicable law.
Any such denial shall be in writing and shall state the grounds therefor. All written determinations shall give notice of the right to appeal. The notice of determination shall be sent to the requesting party (i.e. the disabled individual or his/her representative) by certified mail, return receipt requested. If reasonably necessary to reach a determination on the request for reasonable accommodation, the city administrator, may, prior to the end of said 45-day period, request additional information from the requesting party, specifying in sufficient detail what information is required. The requesting party shall have 15 days after the date of the request for additional information to provide the requested information. In the event a request for additional information is made, the 45-day period to issue a written determination shall no longer be applicable, and the city administrator shall issue a written determination within 30 days after receipt of the additional information. If the requesting party fails to provide the requested additional information within said 15-day period, the city administrator shall issue and written notice advising that the requesting party had failed to timely submit the additional information, and therefore the request for reasonable accommodation shall be deemed abandoned and/or withdrawn and no further action by the city with regard to said reasonable accommodation request shall be required.
(e)
In determining whether the reasonable accommodation request shall be granted or denied, the requesting party shall be required to establish that they are protected under the FHA and/or ADA by demonstrating that they are a disabled person. For purposes of this section, a "disabled person" is an individual that qualifies as disabled and/or handicapped under the FHA and/or ADA. The word "individual" shall include, for purposes of this section, multiple people, or qualified entities.
The requesting party will have to demonstrate that the proposed accommodations being sought are reasonable and necessary to afford handicapped/disabled person equal opportunity to use and enjoy housing. The foregoing (as interpreted by the courts) shall be the basis for a decision, upon a reasonable accommodation request, made by the city administrator, planning and zoning board, or by the city commission in the event of an appeal.
(f)
The city administrator's determination on a reasonable accommodation request may be appealed pursuant to sections 42-281 through 42-284 of the city's Code of Ordinances.
(g)
There shall be no fee imposed by the city in connection with a request for reasonable accommodation under this section. An appeal of a determination of the city administration shall be subject to the same fee as other appeals filed pursuant sections 42-281 through 42-284 of the city's Code of Ordinances. The city shall have no obligation to pay a requesting party's (or an appealing party's, as applicable) attorneys' fees or costs in connection with the request, or an appeal.
(h)
While a request for a reasonable accommodation, or appeal of a determination of same, is pending before the city, the city will not enforce the subject zoning ordinance, rules, policies, and procedures against the applicant.
(i)
The following general provisions shall be applicable:
(1)
The city shall display a notice in the city's public notice bulletin board (and shall maintain copies available for review in the city clerk's office), advising the public disabled individuals (and qualifying entities) may request reasonable accommodation as provided herein.
(2)
A disabled individual may apply for a reasonable accommodation on his/her own behalf or may be represented at all stages of the reasonable accommodation process by a person designated by the disabled individual.
(3)
The city shall provide such assistance and accommodation as is required pursuant to FHA and ADA in connection with a disabled person's request for reasonable accommodation, including, without limitation, assistance with reading application questions, responding to questions, completing the reasonable accommodation request form, filing an appeal, and appearing at a hearing etc. to ensure the process is accessible.
(j)
Reasonable accommodation request form:
(1)
Name of applicant: ____________
(2)
Telephone number: ____________
(3)
Address: ____________
(4)
Address of housing or other location at which accommodation is requested: ____________
(5)
Describe qualifying disability or handicap: ____________
(6)
Describe the accommodation and the specific regulation(s) and or procedure(s) from which accommodation is sought: ____________
(7)
Reasons the reasonable accommodation may be necessary for the individual with disabilities to use and enjoy the housing or other service: ____________
(8)
Name address and telephone number of representative if applicable: ____________
(9)
Signature of disabled individual or representative, if applicable, or qualifying entity: ____________
(Ord. No. 2015-0926, § 1, 10-13-2015)
(a)
The five regular members of the planning and zoning board may be recommended for selection from the following professions:
(1)
Business person;
(2)
General contractor;
(3)
Attorney;
(4)
Realtor;
(5)
Architect; or
(6)
Engineer.
(b)
The two alternate members of the planning and zoning board may also be recommended for selection from the professions referenced in subsection (a) above.
(c)
The planning and zoning board shall perform the following duties:
(1)
Grant temporary permits for nonconforming uses of buildings or lands within the city for short periods of time, but such temporary permits shall expire on September 30 next after their issuance.
(2)
Hear and decide appeals where it is alleged that there is an error in any order, requirement, decision or determination made by an administrative official in the enforcement of zoning regulations, and modify or reverse such ruling made upon misinterpretation of fact or misinterpretation of law.
(3)
Hear and determine applications for and grant variances in specific cases, where such variances shall not be contrary to public interest or the general purposes sought to be accomplished by zoning regulations and where, owing to special conditions, a literal enforcement of the provisions of this chapter would result in unnecessary hardship in the use of the property involved, except where the use of property is to be changed.
(4)
Review conditional use approval applications as required by the Code.
(5)
For any matter properly before the board, it shall consider the appropriate aesthetics based upon the scale, color, architectural style, materials used to construct the facilities, and the landscape design and landscape materials around the facilities. The board may rely upon the recommendations of the community appearance board for all matters of aesthetics.
(d)
The planning and zoning board shall also include a nonvoting member designated by the School Board of Broward County, Florida in accordance with F.S. § 63.3174(1), as may be amended from time to time. The school board-appointed member may attend meetings where comprehensive plan amendments or re-zonings are considered which, if approved, could increase residential density on the property that is the subject of the application. The school board-appointed member shall not be permitted to vote on any application. Notwithstanding the requirements of this subsection, any applications for development orders in which the school board-appointed member participates shall be reviewed and considered upon the criteria in the city's land development regulations and applicable provisions of state law.
(Code 1979, ch. 21, § 5.7; Ord. No. 717, § 1, 3-10-1998; Ord. No. 779, § 2, 4-24-2001; Ord. No. 2004-839, § 2, 6-22-2004; Ord. No. 2006-861, § 2, 4-11-2006)
(a)
Every appeal or petition to the planning and zoning board shall be in writing and specify the grounds for such petition or appeal.
(b)
Any appeal taken pursuant to subsection 42-281(2) shall be delivered to the city clerk within ten days from the date of the order, requirement, decision or determination from which the appeal is taken.
(c)
Any appeal taken pursuant to subsections 42-281(1) and (3) shall be heard by the planning and zoning board no sooner than ten days from the date of which owners of all lands affected thereby and the owners of all lands lying within 500 feet of any of the lands affected are notified by the city clerk of the proposal, appeal or petition, and of the meeting in which the proposal, appeal or petition is scheduled for public discussion. For this purpose the owners shall be deemed to be the persons shown upon the tax rolls of the county as having an interest in or relation to the particular property.
(d)
Meetings of the planning and zoning board shall be held at the call of the chairman and at such times as the planning and zoning board may determine.
(e)
All meetings of the planning and zoning board shall be open to the public.
(f)
All calls for meetings of the planning and zoning board shall be recorded and immediately filed in the office of the city clerk and shall there upon be a public record.
(g)
Every appeal or petition to the planning and zoning board for rezoning shall be accompanied by cash or cashier's check in the amount provided in Appendix A to this Code. Every appeal or petition to the planning and zoning board for a variance shall be accompanied by cash or a cashier's check in the amount provided in Appendix A to this Code. All other petitions or appeals to the planning and zoning board shall be accompanied by cash or cashier's check in the amount provided in Appendix A to this Code.
(h)
The board may waive or refund all or any part of the fee.
(Code 1979, ch. 21, § 5.8)
(a)
The order and decision of the planning and zoning board, in every case submitted to it for consideration, shall be in writing and shall be in conformity with the decision made and contained in the minutes of the planning and zoning board meeting.
(b)
The concurring vote of a majority of the entire planning and zoning board shall be necessary to reverse any order, requirement, decision or determination of any official upon zoning matters, or to grant a variance or special exception to the provisions of an existing zoning regulation.
(c)
In granting any variance, the planning and zoning board shall record in its minutes the circumstances and conditions constituting the hardship or practical difficulty upon which the variance is based.
(d)
Any appeal considered by the planning and zoning board and receiving less than an affirmative majority of the entire planning and zoning board is automatically denied.
(e)
In granting any variance, the planning and zoning board shall have the power to attach to its approval any reasonable conditions, limitations or requirements found necessary by the board to effectuate the provisions of this article and to carry out the spirit and purpose of the zoning regulations of the city. Such conditions, limitations or requirements shall remain in full force and effect thereafter so long as the varied use is continued. Provided, that any violation of such conditions, limitations and requirements shall constitute a violation of this article.
(Code 1979, ch. 21, § 5.9)
(a)
Should any application, appeal or petition be made to the planning and zoning board, whether the application, appeal or petition is for requests for variance or otherwise, and such application, appeal or petition be denied, the applicant therefor shall have the right to appeal to the city commission, who shall sit as a board of appeals to consider such appeal based upon the record as established before the planning and zoning board. All such appeals to the city commission shall be taken within ten calendar days after any denial of any application, appeal or petition by the planning and zoning board by filing a written notice of such appeal, specifying the action of the planning and zoning board being appealed from, but no particular form shall be required.
(b)
Should any application, appeal or petition be made to the planning and zoning board, whether the application, appeal or petition is for requests for variance or otherwise, and such application, appeal or petition be granted by the planning and zoning board, then the mayor or administrative assistant of the city, or any other resident of the city, shall have the right to appeal the approval of such application, appeal or petition to the city commission, who shall sit as the board of appeals to consider the granting of the application, appeal or petition based upon the record as established before the planning and zoning board. Any such appeal to the city commission shall be taken within ten calendar days after the granting of the application, appeal or petition by the planning and zoning board by filing a written notice of such appeal and specifying the application, appeal or petition granted by the planning and zoning board being appealed from but no particular form shall be required.
(c)
Should any application, appeal or petition be granted by the planning and zoning board, the city commission shall have the right, power and authority to, upon its own motion, review the decision of the planning and zoning board, and upon such motion the city commission shall set a date and time at which it shall sit as the board of appeals to consider the granting of the application, appeal or petition based on the record as established before the planning and zoning board. Any such motion of the city commission shall be not later than the next regular city commission meeting or ten days after the date the planning and zoning board grants such application, appeal or petition, whichever is later to occur.
(d)
In the event of any appeal to or review by the city commission based on subsections (a), (b) or (c) of this section, the city commission shall have the power to confirm the action of the planning and zoning board, to reject, overrule or change any action of the planning and zoning board upon any such application, appeal or petition.
(e)
All appeals to the city commission except appeals initiated by the mayor, the administrative assistant or by motion of the city commission to review action of the zoning board, shall require a filing fee in the amount as provided in Appendix A to this Code and the check therefor must be filed with the appeal papers when the appeal papers are filed with the city clerk.
(Code 1979, ch. 21, § 5.10)
(a)
Where any petition for a change in zoning has been heard by the planning and zoning board and the planning and zoning board has recommended a denial of the petition, then upon dismissal, withdrawal, or denial by the city commission of such petition, no further application for appeal for a change in zoning on the same property or any part thereof to the same zoning classifications as formerly applied for shall be accepted by the city for a period of one year from such action.
(b)
Where any petition for a variance has been heard and denied by the planning and zoning board, no application for appeal for a variance from the same provisions of the zoning code formerly applied for upon the same property, or any part thereof, shall be accepted by the city for a period of six months from such denial.
(c)
Where any petition for a variance for change of use of property has been heard by the planning and zoning board and the planning and zoning board has recommended a denial, then upon dismissal, withdrawal, or denial by the city commission of such petition, no further application for appeal for a variance thereof, shall be accepted by the city for a period of one year from such action.
(d)
In any instance in which the planning and zoning board shall determine, in its discretion, that any unnecessary hardship in the use of the property involved will result from the enforcement of this section by reason of any error, omission, excusable neglect, change in circumstances, or other cause outside the control of the person or persons presenting such petition, the planning and zoning board may waive the application and enforcement of this section.
(Code 1979, ch. 21, § 5.11)
(a)
The lawful use of a building, except such use permitted under temporary nonconforming permits existing on May 26, 1964, may be continued although such use does not conform to the provisions of this article.
(b)
Such use may be extended throughout the building, provided no structural alterations except those required by law or ordinance, or ordered by an authorized officer to assure the safety of the building, are made therein.
(c)
No such use shall be extended to occupy any land outside such building.
(d)
If such nonconforming building is removed, or the nonconforming use of such building is discontinued for a continuous period of 90 days, every future use of such premises shall be in conformity with the provisions of this article.
(e)
There shall be exempted from the provisions of this section:
(1)
Any screen enclosure found to be in violation of the setback restrictions of this Code which was constructed prior to May 8, 1962, or thereafter with a city building permit or, in the alternative, for which the owner of the property on which it is located can demonstrate to the satisfaction of the building official that construction of this structure was completed prior to the annexation of such property into the city.
(2)
Any screen enclosure meeting the criteria of subsection (e)(1) of this section may be replaced with a new screen enclosure structure of no greater size, to include frame and screen, on the exact location of the original screen enclosure construction, providing a city building permit is issued prior to replacement.
(Code 1979, ch. 21, § 5.47)
(a)
The lawful use of land, except such uses as are permitted under temporary nonconforming permits, existing on May 26, 1964, although such use does not conform to the provisions of this article, may be continued, provided, that no such nonconforming use shall be enlarged or increased, nor shall any nonconforming use be extended to occupy a greater area of land than that occupied by such use at the time of the adoption of this article.
(b)
If such nonconforming use is discontinued for a continuous period of 90 days, any future use of the land shall be in conformity with the provisions of this article.
(c)
Where land is used on May 25, 1965, for a use excluded from the district in which the land is located, and such use is not an accessory to the use of a main building located on the same lot or grounds, such nonconforming use of land shall be discontinued and all material completely removed by its owner not later than May 25, 1967.
(Code 1979, ch. 21, § 5.48)
(a)
If no structural alterations are made, a nonconforming use, except temporary nonconforming uses, may be changed to a use of the same or higher classification, according to the provisions of this article.
(b)
When a district shall hereafter be changed, any then existing nonconforming use in such changed district may be continued or changed to a use of similar or higher classification, provided all other regulations governing the new use are complied with.
(c)
Whenever a nonconforming use of a building has been discontinued or changed to a higher classification, or to a conforming use, such use shall not thereafter be changed to a nonconforming use of a lower classification.
(Code 1979, ch. 21, § 5.49)
Nothing in this article shall be taken to prevent the restoration of a building destroyed to the extent of not more than 50 percent of its replacement value by fire, explosion or other casualty, or act of God, or the public enemy, nor the continued occupancy or use of such building or part hereof which existed at the time of such partial destruction.
(Code 1979, ch. 21, § 5.50)
- ZONING
The provisions of this article shall constitute the "zoning code" of the city, and may be so cited.
(Code 1979, ch. 21, § 5.1)
The following words, terms and phrases when used in this article, shall have the meanings ascribed to them in this section, except where the context clearly indicates a different meaning:
Accessory building means a subordinate building located on the same lot as the main building or on an adjacent lot, the use of which is clearly incidental to the use of the main building.
Accessory use means a use customarily incident to the principal use as permitted.
Airline measurement. The straight line, as the crow flies, measured from the property line of one property to the nearest property line of the second property, regardless of streets, walkways, or intervening structures, physical barriers or other obstructions.
Alcoholic beverages shall be as defined in chapter 6 of this Code.
Amendment means any change to an adopted comprehensive plan except corrections, updates and modifications of the capital improvements element concerning costs, revenue services, acceptance of facilities or facility construction dates consistent with the plan as provided in F.S. § 163.3177(3)(b), and corrections, updates or modifications of current costs in other elements, as provided in F.S. § 163.3187(2).
Apartment or apartment house mean a building occupied or intended to be occupied by more than two families living separately and with separate kitchens or facilities for doing their own cooking on the premises, or by more than two families, individuals or groups of individuals.
Bank or financial institution means an establishment designed and used to provide banking, monetary and related services to individuals and businesses including, but not limited to, commercial banks, savings and loans, loan companies, and mortgage brokers.
Building means any structure or part thereof, either temporary or permanent, having a roof, which gives protection or shelter for occupancy. The term "building" shall be included within the term "structure."
Building permit means:
(1)
Any permit for the erection or construction of a new building required by the Florida Building Code, and Broward County Administrative Provisions, as may be amended from time to time.
(2)
Any permit for an addition to an existing building which would:
a.
Create one or more dwelling units; or
b.
Involve a change in the occupancy of a building as described in the Florida Building Code, and Broward County Administrative Provisions, as may be amended from time to time.
(3)
Any permit which would be required for the nonresidential operations included in the Florida Building Code, and Broward County Administrative Provisions, as may be amended from time to time.
Certified land use plan means a local land use plan which has been certified by the county planning council as being in substantial conformity with the county land use plan and which has been adopted by a unit of local government in conformance with the requirements of the Local Government Comprehensive Planning and Land Development Regulation Act (F.S. § 163.3161 et seq.).
Comprehensive plan means a plan that meets the requirements of F.S. §§ 163.3177 and 163.3178.
Cone of influence (zone of influence) means an area around one or more major water wells the boundary of which is determined by the government agency having specific authority to make such a determination based on ground water travel or drawdown depth.
Continuous planting means the growing of any bush, tree or other plant material (i.e. ficus, sea grape, or pine tree) in a line so that when taking any given section thereof, there is more lineal area covered by such continuous planting than there are gaps or open areas therein.
Convenience store means a small retail business that may sell a range of everyday items such as groceries, snack foods, candy, toiletries, soft drinks, tobacco products, beer, wine, magazines and newspapers.
County land use plan means the future land use plan element for all of the county adopted by the county commission in conformance with the requirements of the county charter and the Local Government Comprehensive Planning and Land Development Regulation Act (F.S. § 163.3161 et seq.).
Developer means any person, including a government agency, undertaking any development.
Development means:
(1)
The carrying out of any building activity or mining operation, the making of any material change in the use or appearance of any structure or land, or the dividing of land into two or more parcels.
(2)
The following activities or uses shall be taken for the purposes of this chapter to involve "development," as defined in this section:
a.
A reconstruction, alteration of the size, or material change in the external appearance of a structure on land.
b.
A change in the intensity of use of land, such as an increase in the number of dwelling units in a structure or on land or a material increase in the number of businesses, manufacturing establishments, offices, or dwelling units in a structure or on land.
c.
Alteration of a shore or bank of a seacoast, river, stream, lake, pond, or canal, including any "coastal construction" as defined in F.S. § 161.021.
d.
Commencement of drilling, except to obtain soil samples, mining, or excavation on a parcel of land.
e.
Demolition of a structure.
f.
Clearing of land as an adjunct of construction.
g.
Deposit of refuse, solid or liquid waste, or fill on a parcel of land.
(3)
The following operations or uses shall not be taken for the purpose of this chapter to involve "development" as defined herein:
a.
Work by a highway or road agency or railroad company for the maintenance or improvement of a road or railroad tract, if the work is carried out on land within the boundaries or the right-of-way.
b.
Work by any utility and other persons engaged in the distribution or transmission of gas or water, for the purposes of inspecting, repairing, renewing, or constructing on established rights-of-way any sewers, mains, pipes, cables, utility tunnels, powerlines, towers, poles, tracks, or the like.
c.
Work for the maintenance, renewal, improvement, or alteration of any structure, if the work affects only the interior or the color of the structure or the decoration of the exterior of the structure.
d.
The use of any structure or land devoted to dwelling uses or any purpose customarily incidental to enjoyment of the dwelling.
e.
A change in use of land or structure form a use within a class specified in an ordinance or rule to another use in the same class.
f.
A change in the ownership or form of ownership of any parcel or structure.
g.
The creation or termination of rights of access, riparian rights, easements, covenants concerning development of land, or other rights in land.
(4)
"Development," as designated in an ordinance, rule, or development rule includes all other development customarily associated with it unless otherwise specified. When appropriate to the context, "development" refers to the act of developing to the result of development. Reference to any specific operation is not intended to mean that operation or activity, when part of other operations or activities, is not development. Reference to particular operations is not intended to limit the generality of subsection (1) of this definition.
Dwelling unit means a house, apartment, or condominium unit, trailer, group of rooms, or a single room intended for occupancy as separate living quarters with direct access from outside of the building or through a common hall and with complete kitchen facilities for the exclusive use of the occupants, including the rental units contained in a multi-unit structure or complex which are licensed by the state department of business and professional regulation, division of hotels and restaurants, as "apartments," "rental condominiums" and "retirement housing."
Easement means any strip of land created by a subdivider for public or private utilities, drainage, sanitation, or other specified uses having limitations, the title to which shall remain in the name of the property owner, subject to the right of use designated in the reservation of the servitude.
Family means one or more persons living together in a single housekeeping unit supplied with a kitchen or facilities for doing their cooking on the premises.
Floodplains means areas inundated during an identified flood event or identified by the National Flood Insurance Program as an A Zone or V Zone on flood insurance rate maps or flood hazard boundary maps.
Gross acre means the total number of acres within a parcel of land.
Gross density means the number of dwelling units constructed or proposed to be constructed within a parcel of land, divided by the gross acreage of the parcel of land. In determining the gross acreage of the parcel, the area encompassed by an extension of the parcel's boundaries to the centerline of adjacent public right-of-way such as streets, roadways, alleys, canals and waterways (exclusive of the Intracoastal Waterway) can be added to the parcel area.
Group home means a facility which provides a living environment for unrelated residents who operate as the functional equivalent of a family, including such supervision and care as may be necessary to meet the physical, emotional and social needs of the residents. Adult congregate living facilities comparable in size to group homes are included in this definition. It shall not include rooming or boarding homes, clubs, fraternities, sororities, monasteries or convents, hotels, residential treatment facilities, nursing homes, or emergency shelters.
Halfway house means a facility where persons who have served time in incarceration (which shall include state supervised parole, probation, or time in any other facility where a resident's ability to come and go as they please is restricted by the state) are placed immediately after release from incarceration or where some or all of the residents are referred to the facility by the judicial system. Also, includes places that allow people with physical, mental and emotional disabilities to learn the social and other skills necessary to integrate or re-integrate into society. This shall not apply to facilities which accept only persons who are handicapped, as defined in 42 U.S.C. 3602(H), where such disabled persons do not receive treatment for their disability at the facility.
Hedge means a boundary formed by a row of closely planted shrubs or low-growing trees or combination thereof.
Height means the vertical distance of any structure as measured from normal ground level to the highest point thereof.
Landing wharf means a floating dock attached to a seawall or dock which is no wider than eight feet.
Lot means a parcel of land fronting on a street which is or may be occupied by a building and its accessory buildings, including required open spaces. The word "lot" shall include the words "plot" and "tract."
Lot, corner, means a lot abutting on two or more streets as their intersection.
Lot, depth, means the distance measured in a minimum direction of the side lines of the lot from the midpoint of the street lot line to the opposite main rear line of the lot.
Lot, interior, means a lot other than a corner lot.
Lot lines means the lines bounding a lot.
Mean sea level means the mean sea level measurement as established by North American Vertical Datum of 1988 (NAVD).
Medical office means a small scale facility where patients are admitted for examination and treatment by one or more physicians, dentists, surgeons, chiropractors, pediatricians, family practice, psychologists, pharmacists, osteopaths, physical therapists, nurses, acupuncturists, podiatrists, optometrists, psychiatrists, or others who are duly licensed to practice their respective professions in the State of Florida, as well as others, including but not limited to technicians and assistants, who are acting under the supervision and control of a licensed health care practitioner. Retail pharmacies staffed by pharmacists that sell prescription drugs, nonprescription drugs or both and other retail goods for sale to the public, are not medical offices. This definition does not include healthcare uses as described in section 42-371.
Nicotine dispensing devise retail store means a retail store whose principal use is the sale of nicotine dispensing devices, or which predominantly markets such through product inventory, business name, signage and/or advertising, nicotine dispensing devices. For purposes of this Chapter 42, a "nicotine dispensing devise" means any product that employs an electronic, chemical or mechanical means to produce vapor from a nicotine product, including, but not limited to, an electronic cigarette, electronic cigar, electronic cigarillo, electronic pipe, or other similar device or product, any replacement cartridge for such device, and any other container of nicotine in a solution or other form intended to be used with or within an electronic cigarette, electronic cigar, electronic cigarillo, electronic pipe, or other similar device or product.
Normal ground level means the level of the lot or parcel of land in question, whether the land is in its natural state or has had fill placed upon it, but in no event shall the normal ground level be more than 18 inches above the crown of the road on which such lot or parcel of land fronts.
Open air shade structure means a freestanding structure which is supported by columns or poles, open on all sides, and covered by a roof that is either open or solid, such as a tiki hut, chickee hut, canopy, gazebo, pergola, or open cabana.
Package store shall be as defined in chapter 6 of this Code.
Parcel of land means any quantity of land capable of being described with such definiteness that its location and boundaries may be established, which is designated by its owner or developer as land to be used or developed as a unit or which has been used or developed as a unit.
Residence, one-family, means a building used or intended to be used as a home or residence, in which all living rooms are accessible to each other from within the building, and in which such living rooms are accessible without using an entrance vestibule, stairway or common stairway or common hallway that is designed as an entrance, vestibule or common stairway or common hallway for more than one family, and in which the use, arrangement, and management of all sleeping quarters, all appliances for cooking, ventilation, heating or lighting, or that public or community service, are under one control.
Residence, two-family, means a building used or in tended to be used as a place of residence for not more than two families, with the same definition of each place or residence within the building, or upon the same lot, as applies to "one-family residence."
Residence, four-family, means a building used or intended to be used as a place of residence for not more than four families, with the families living separately and with separate kitchens or facilities for cooking in the premises for each family.
Right-of-way means land dedicated, deeded, used, or to be used for a street, alley, walkway, boulevard, drainage facility, access or ingress, or other purpose by the public, certain designated individuals, or governing bodies.
Setback means the minimum horizontal distance between a building and the boundary lines of the lot on which it is situated.
Shelter means a facility providing temporary support, transitional housing and living accommodations to individuals including but not limited to: kitchen and dining facilities, meal provision, 24-hour crisis intervention, transportation, clothing and other similar functions.
Shopping center means a group of at least three commercial establishments, built on a site that is planned, developed, owned or managed as an operating unit related in location, size and type of shops to the trade areas that the unit serves. A shopping center provides on-site parking in definite relationship to the type and total size of the stores. The minimum gross leasable area of a shopping center shall be not less than 10,000 square feet.
Story means that portion of a building included between the upper surface of a floor and the upper surface of the floor or underside of the roof next above. A story consists of no less than eight feet and no more than 14 feet in height.
Street means a thoroughfare which affords principal means of access to abutting property and including avenues, boulevards, courts, terraces or public ways over 20 feet in width.
Structural alteration means any change in the supporting members of a building, such as bearing walls, columns, beams or girders.
Structure means anything constructed or erected, the use of which requires more or less permanent location on the land, or attached to something having a permanent location on the land, including fences. The term "structure" shall include buildings.
Subdivision means the platting of real property into two or more lots, parcels, tracts, tiers, blocks, sites, units, or any other division of land; and includes establishment of new streets and alleys, additions, and resubdivisions; and, when appropriate to the context, relates to the process of subdividing or to the lands or area subdivided.
Synthetic turf means a dense and continuous surface of synthetic fibers mounted on a permeable backing and of sufficient density and green color to replicate the appearance of healthy natural grass.
(Code 1979, ch. 21, § 5.2; Ord. No. 2002-0812, § 6, 6-11-2002; Ord. No. 2014-0911, § 2, 7-8-2014; Ord. No. 2014-0912, § 3, 9-10-2014; Ord. No. 2015-0922, § 4, 1-27-2015; Ord. No. 2016-0940, § 2, 6-28-2016; Ord. No. 2017-0944 , § 5, 1-24-2017; Ord. No. 2017-0957 , § 2, 1-9-2018)
Cross reference— Definitions generally, § 1-2.
(a)
The issuance or granting of a permit or approval of plans and specifications shall not be deemed or construed to be a permit for, or an approval of, any violation of the provisions of this article.
(b)
No permit presuming to give authority to violate or cancel the provisions of this article shall be valid except insofar as the work or use which it authorizes is legal.
(c)
The issuance of a permit upon plans and specifications shall not prevent the building inspector from thereafter requiring correction of errors in the plans and specifications, or preventing building operations being carried on thereunder when in violation of this article.
(Code 1979, ch. 21, § 5.5)
(a)
The failure of any person who owns, has possession of or is in control of real property in the city to comply with any provision of this article shall constitute a violation of the ordinances of the city and upon being found guilty of such violation, shall be punishable in accordance with the provisions of section 1-7 of this Code.
(b)
With respect to any lot or parcel of land affected by the provisions of all sections of this article, the owner, the tenant or other person in possession and their agent, if any, shall be responsible for compliance with all of the provisions of this article.
(Code 1979, ch. 21, § 5.6)
(a)
The provisions of this article shall be interpreted and applied as minimum requirements for the promotion of public health, morals and general welfare of the community.
(b)
This article shall not interfere with, abrogate or annul any easements, covenants or other agreements between persons. Provided, however, that where this article imposes a restriction on the use of buildings or requires open spaces greater than are imposed or required by other ordinances, rules, regulations, or by easements, covenants or agreements, the provisions of this article shall control.
(Code 1979, ch. 21, § 5.3)
No building shall be erected, constructed or structurally altered, nor shall any building or land be used for any purpose other than that permitted in the district in which such building or land is located. Every building hereafter erected shall be located on a lot, except where two or more lots are acquired as a single building site, the side lot lines shall refer only to the lot lines bordering the adjoining property lines, upon approval of the planning and zoning board.
(Code 1979, ch. 21, § 5.4)
(a)
The construction of any new structure, or the interior renovation of an existing structure shall receive a certificate of occupancy or final inspection and approval, as applicable, and all construction material, equipment and debris removed from the property no later than two years from the date of the issuance of the first building permit.
(b)
The exterior elements of any repair or restoration to an existing structure, which requires a building permit shall be completed, a final inspection with approval, and all construction material, equipment, and debris shall be removed within six months of the issuance of the first building permit. For purposes of this section, the terms "repair or restoration" and "renovation" shall mean to restore, upgrade, or otherwise improve the general condition of the existing structure.
(c)
When there are extenuating circumstances which prohibit completion of construction, or repair or restoration within the time periods set forth above, the property owner may file with the city clerk a request for extension of time. The request for extension shall be reviewed by the city administrator, who will have the authority to grant an extension, as deemed appropriate, based on the extenuating circumstances.
(d)
In the event the city administrator denies the time extension request, the property owner may file with the city clerk a request for an appeal of the denial of the time extension request. The planning and zoning board shall hear the appeal at a public meeting following notice of the request being mailed to property owners within 400 feet of the property where the work is being performed. The mailing shall be postmarked no less than ten calendar days prior to the public meeting. The cost of notice shall be borne by the property owner seeking the extension of time.
(e)
For purposes of this section, structure shall be defined as a single family home on a single family lot in the RS-3 and RS-5 zoning districts, a duplex on a single lot in the RD-10 zoning district, and structures in the RM-16, RM-25, B-1, B-2, B-2A, B-3, and B-3A zoning districts undergoing renovations, or repair or restoration that did not require site plan approval from the Planning and Zoning Board, as well as structures associated with current development that had site plan approval prior to October 27, 2015.
(f)
Enforcement and penalty for violation of this subsection of the Code shall be as follows:
(1)
Each day of violation, day 1—30 ..... $50.00
(2)
Each day of violation, day 31—60 ..... $100.00
(3)
Each day of violation, day 61 or greater ..... $250.00
Each calendar day on which a violation exists shall constitute a separate violation for the purpose of determining the fine.
(4)
A violation of this article may be prosecuted as a nuisance. The city attorney may bring suit on behalf of the city, or any affected citizen may bring suit in his/her name against the person or persons causing or maintaining the violation, or against the owner/agent of the building or property on which the violation exists. Relief may be granted according to the terms and conditions of F.S. ch. 60 entitled "Abatement of Nuisances."
(g)
Prior to initiating enforcement action, the city shall first provide a minimum of 60 days' notice of the requirements of this section of this section to the property owner. The notice shall be in substantially the following form:
NOTICE TO OWNER
Be advised that pursuant to Ordinance ____________ , you are required to complete construction, restoration and repairs to the structure located at ____________ , on or before the ____________ day of ____________ , 20 ____________ . Failure to do so can result in a fine or legal action by the City of Lighthouse Point. If there are extenuating circumstances that prohibit you from completing the construction in the time allowed by time stated above, you can seek an extension from the city administrator subject to appeal with the Lighthouse Point Planning and Zoning Board. A form application for extension can be obtained from the office of the city clerk.
(h)
This section is applicable to all building permits issued for the construction of a new structure, the renovation, or repair or restoration of an existing structure, as well as any building permit for a new structure, the renovation, or repair or restoration of an existing structure which was issued prior to the adoption of this section. For structures being constructed, renovated, or repaired or restored pursuant to a building permit issued prior to the effective date of this section, the time for completion will be the greater of:
(1)
one year from the effective date of this section; or,
(2)
two years from the date of issuance of the original building permit
(i)
The planning and zoning board can stipulate time limits for the completion of construction, and the clearing of a construction site as a condition of site plan approval on all construction projects in all zoning districts.
(Ord. No. 2015-0927, § 2, 10-27-2015)
In order to regulate and limit the height and bulk of buildings erected or altered; to regulate and limit the density of population; to regulate and determine the area of yards and other open spaces; to regulate and restrict the location of trades and industries; and the location of buildings erected and altered for specific uses, the city is hereby divided into the following classifications or districts:
(1)
RS-3 Single-family residence.
(2)
RS-5 Single-family residence.
(3)
RD-10 Two-family residence.
(4)
RM-16 Four-family residence.
(5)
RM-25 Apartment.
(6)
B-1 Neighborhood business district.
(7)
B-2 Community business district.
(8)
B-2A Planned business center district.
(9)
B-3 General business district.
(10)
B-3A Special business district.
(11)
CF Community facilities district.
(12)
S-1 Park and recreation facilities district.
(Code 1979, ch. 21, § 5.31)
(a)
The districts enumerated in section 42-321 and their boundaries, as shown on the zoning map on file in the office of the city clerk and designated "Zoning Map of the City of Lighthouse Point, Florida," are hereby adopted and made a part of this article.
(b)
The zoning map and all notations, references and other information shown thereon shall be as much a part of this article as if such matters and information set forth on the map were all fully described and set out in this article.
(Code 1979, ch. 21, § 5.32)
If, because of error or omission in the "Zoning Map of the City of Lighthouse Point, Florida," any property in the city is not shown as being within a zoning district, the classification of such property shall be RS-3, single-family residence, unless changed by amendment to this article.
(Code 1979, ch. 21, § 5.33)
(a)
Uses permitted. Uses permitted in the RS-3 single-family residential district shall be as follows:
(1)
One-family residences.
(2)
Private docks and landing wharfs for use off premises.
(b)
Setback lines. The building or structure setback lines for all property zoned RS-3 single-family residential shall be as follows:
(1)
Waterfront interior lots. Setback lines for waterfront interior lots shall be as follows:
a.
Twenty-five feet from front lot line.
b.
Eight feet from side lot line.
c.
Twenty-five feet from rear lot line, except in Lighthouse Point Subdivision Sections 1, 2 and 3, where setback shall be 30 feet from the rear lot line, and except in Venetian Isles Subdivision Sections 1, 2 and 3, where a screened patio or pool may extend to a point 20 feet from the rear lot line.
(2)
Corner lots. Setback lines for corner lots shall be as follows:
a.
Twenty-five feet from front lot line.
b.
Eight feet from side lot line.
c.
Twenty feet from street or waterway side lot line.
(3)
Cul-de-sac lots. Setback lines for cul-de-sac lots shall be as follows:
a.
Building: Fifty feet measured from the geometric center of the cul-de-sac.
b.
Garage: Fifty-five feet measured from the geometric center of the cul-de-sac.
(c)
Minimum floor area. No building in the RS-3 district shall be constructed without a first story minimum floor area of 1,500 square feet for a one-story building, 1,000 square feet for a one and a half-story building, and 1,000 square feet for a two-story building.
(d)
Building height limitation—Limitations on number of stories and building height. No building in the RS-3 district shall exceed two stories. The maximum height of a building in the RS-3 district shall not be more than 34.5 feet above the crown of the adjoining roadway, or no higher than 33 feet above the minimum finished floor elevation when FEMA requires the finished floor elevation to be raised more than 18 inches above the crown of the road, measured to the highest point of any roof or parapet. In addition, no building shall exceed a height of more than 28.5 feet above the crown of the adjoining roadway, or no higher than 27 feet above the minimum finished floor elevation when FEMA requires the finished floor elevation to be raised more than 18 inches above the crown of the road, at any setback line or within any setback area. An additional setback, from any applicable setback line, of two feet horizontal for every one foot vertical is required for any portion of the building above 28.5 feet to the maximum height limitation. Chimneys and ornamental features, such as spires and weather vanes, shall not exceed a height of 36.5 feet above the crown of the adjoining roadway, or no higher than 35 feet above the minimum finished floor elevation when FEMA requires the finished floor elevation to be raised more than 18 inches above the crown of the road. A roof-top observation platform above the second story is permitted only if it is not roofed or covered in any manner, does not exceed 400 square feet in area, and does not exceed the roof height limitation at the top of the safety railing or parapet. No equipment, fixtures or furniture shall be placed on any such observation platform located above the second floor.
(e)
Maximum density. Dwelling units constructed in the RS-3 district shall not exceed a gross density of three dwelling units per gross acre.
(f)
RS-3 zoning in enumerated subdivision. This subsection shall pertain to RS-3 zoned single-family residence districts in the following subdivisions:
Coral Key Villas, 1st Section (waterfront lots only).
Coral Key Villas, 2nd Section (waterfront lots only).
Coral Key Villas, 3rd Section (waterfront lots only).
Coral Key Villas, 5th Section (waterfront lots only).
Coral Key Villas, 6th Section (waterfront lots only).
Coral Key Villas, 8th Section (waterfront lots only).
Coral Key Harbor (waterfront lots only).
Eastside Villas
Pompano Waterway Estates (waterfront lots only).
(1)
Size of plot. Every plot upon which a residential structure is hereafter erected shall not be less in size than 75 feet in width and a plot area of not less than 7,500 square feet. Provided, however, that in areas subdivided prior to the effective date of this subsection, a plot consisting of a lot of record may be utilized for a one-family dwelling.
(2)
Plot coverage. The combined area occupied by all principal and accessory buildings shall not exceed 40 percent of the area of the plot.
(3)
Side yards. Every plot used for a one-family dwelling shall have a side yard on each side, each of which shall be at least 7½ feet wide, except that if plot is less than 60 feet in width, each side yard shall be at least five feet in width.
(4)
Corner plots. Upon corner plots there shall be a front yard, as hereinbefore specified, and in addition thereto a side yard at least 15 feet in width on the side of the plot abutting on the side street.
(5)
Rear yard setback line. The rear yard setback lines shall be as follows:
(6)
Waterfront lots. The rear setback line for all waterfront lots shall not be less than 25 feet in depth.
(7)
Minimum floor area. A one-family dwelling shall have a minimum floor area of 1,000 square feet.
In the event any of the restrictions imposed upon the RS-3 lots described in this subsection are in conflict with any other provisions of this Code, the foregoing provisions shall control.
(g)
Setback lines. The building or structure setback lines for all residential structures in the RS-3 district on all lots located in the subdivision "Cap's Island" according to plat thereof recorded in Plat Book 141, at Page 34, of the county public records, shall be as follows:
(1)
Rear setback line. The rear building or structure setback line for Lots 1 through 10, both inclusive, shall be 25 feet from the westerly right-of-way line of the Intracoastal Waterway. For Lots 11 and 12 the rear setback line shall be a line 135 feet west of and parallel to the southerly extension of the centerline of N.E. 31st Avenue, as shown on the Plat of Lake Placid, as recorded in Plat Book 35, at Page 23, of the public records of the county.
(2)
Side setback line. The side building structure setback line shall be eight feet from the side lot line with the exception of the southerly side setback line of Lots 1 and 11. The southerly side setback line on Lot 1 shall be 25 feet from the mean high waterline as determined at time a residential building permit is applied for at the city. The southerly side setback line on Lot 11 shall be an average side setback of 25 feet with no portion of any building being located any closer than 17 feet to the waterfront side lot line with the proviso that no building shall be constructed to a height greater than 15 feet within 20 feet of the southerly waterway side property line.
(3)
Front setback line. The front building or structure setback line shall be as follows:
a.
Lots 5 through 10, both inclusive, 40 feet from the southerly extension of the centerline of N.E. 31st Avenue, as shown on the Plat of Lake Placid, as recorded in Plat Book 35, at Page 23, of the Public Records of the county.
b.
Lots 3 and 4 shall be 55 feet from the mean high waterline as shown on the plat of Cap's Island. Lot 3, less the north 35 feet, shall also have a separate eight foot setback from any portion of the cul-de-sac/turnaround area located on Lot 3, less the north 35 feet thereof.
c.
Lots 1 and 2 shall be 25 feet from the mean high waterline as shown on the plat of Cap's Island.
d.
Lots 11 and 12 shall be 40 feet from the southerly extension of the centerline of N.E. 31st Avenue, as shown on the Plat of Lake Placid, as recorded in Plat Book 35, at Page 23, of the public records of the county.
(Code 1979, ch. 21, § 5.34; Ord. No. 728, § 1, 12-22-98; Ord. No. 2002-0809, § 2, 3-26-2002; Ord. No. 2017-0944 , § 2, 1-24-2017; Ord. No. 2017-0947 , § 2, 8-22-2017)
(a)
Uses permitted. Uses permitted in the RS-5 single-family residential district shall be one-family residences.
(b)
Setback lines. The building or structure setback lines for all property zoned RS-5 shall be as follows:
(1)
Nonwaterfront interior lots. Setback lines for nonwaterfront interior lots shall be as follows:
a.
Twenty-five feet from front lot line.
b.
Eight feet from side lot line.
c.
Eight feet from rear lot line.
(2)
Corner lots. Setback lines for corner lots shall be as follows:
a.
Twenty-five feet from front lot line.
b.
Eight feet from side lot line.
c.
Twenty feet from street side lot line.
d.
Eight feet from rear lot line on nonwaterfront corner lots.
(3)
Lots facing on two streets. On all lots facing on two streets, except corner lots, the front setback line shall be considered as applying to the side facing on each street and shall be as follows:
a.
Twenty-five feet from front lot line.
b.
Eight feet from side lot line.
(4)
Cul-de-sac lots. Setback lines for cul-de-sac lots shall be as follows:
a.
Building: Fifty feet measured from the geometric center of the cul-de-sac.
b.
Garage: Fifty-five feet measured from the geometric center of the cul-de-sac.
(c)
Minimum floor area. No building in the RS-5 district shall be constructed without a first story minimum floor area of 1,500 square feet for a one-story building, 1,000 square feet for a one and a half-story building, and 1,000 square feet for a two-story building.
(d)
Building height limitation—Limitations on number of stories and building height. No building in the RS-5 district shall exceed two stories. The maximum height of a building in the RS-5 district shall not be more than 34.5 feet above the crown of the adjoining roadway, or no higher than 33 feet above the minimum finished floor elevation when FEMA requires the finished floor elevation to be raised more than 18 inches above the crown of the road measured to the highest point of any roof or parapet. In addition, no building shall exceed a height of more than 28.5 feet above the crown of the adjoining roadway, or no higher than 27 feet above the minimum finished floor elevation when FEMA requires the finished floor elevation to be raised more than 18 inches above the crown of the road, at any setback line or within any setback area. An additional setback, from any applicable setback line, of two feet horizontal for every one foot vertical is required for any portion of the building above 28.5 feet to the maximum height limitation. Chimneys and ornamental features, such as spires and weather vanes, shall not exceed a height of 36.5 feet above the crown of the adjoining roadway, or no higher than 35 feet above the minimum finished floor elevation when FEMA requires the finished floor elevation to be raised more than 18" above the crown of the road. A roof-top observation platform above the second story is permitted only if it is not roofed or covered in any manner, does not exceed 400 square feet in area, and does not exceed the roof height limitation at the top of the safety railing or parapet. No equipment, fixtures or furniture shall be placed on any such observation platform located above the second floor.
(e)
Maximum density. Dwelling units constructed in the RS-5 district shall not exceed a gross density of five dwelling units per gross acre.
(f)
RS-5 zoning in enumerated subdivision. This subsection shall pertain to RS-5 zoned single-family residence districts in the following subdivisions:
Coral Key Villas, 1st Section.
Coral Key Villas, 2nd Section.
Coral Key Villas, 3rd Section.
Coral Key Villas, 5th Section.
Coral Key Villas, 6th Section.
Coral Key Villas, 8th Section.
Coral Villas.
Coral Key Harbor.
Deer-Pomp Estates.
Eastside Villas.
Pompano Waterway Estates.
Pompano Waterway Estates, 1st Addition.
(1)
Size of plot. Every plot upon which a residential structure is hereafter erected shall not be less in size than 75 feet in width and a plot area of not less than 7,500 square feet. Provided, however, that in areas subdivided prior to the effective date of this subsection, a plot consisting of a lot of record may be utilized for a one-family dwelling.
(2)
Plot coverage. The combined area occupied by all principal and accessory buildings shall not exceed 40 percent of the area of the plot.
(3)
Side yards. Every plot used for a one-family dwelling shall have a side yard on each side, each of which shall be at least 7½ feet wide, except that if plot is less than 60 feet in width, each side yard shall be at least five feet in width.
(4)
Corner plots. Upon corner plots there shall be a front yard, as hereinbefore specified, and in addition thereto a side yard at least 15 feet in width on the side of the plot abutting on the side street.
(5)
Rear yard setback line. In all enumerated subdivisions the rear yard setback lines shall be eight feet.
(6)
Minimum floor area. A one-family dwelling shall have a minimum floor area of 1,000 square feet.
In the event any of the restrictions imposed upon the RS-5 lots described in this subsection are in conflict with any other provisions of this Code, the foregoing provisions shall control.
(Code 1979, ch. 21, § 5.35; Ord. No. 2002-0809, § 3, 3-26-2002; Ord. No. 2017-0944 , § 3, 1-24-2017; Ord. No. 2017-0947 , § 3, 8-22-2017)
(a)
Uses permitted. Uses permitted in the RD-10 district shall be as follows:
(1)
Any use permitted in single-family residence districts.
(2)
Two-family residences.
(b)
Setback lines. Setback lines in the RD-10 district shall be as follows:
(1)
The same limits as provided in sections 42-341 and 42-342 shall apply to two-family residence districts except as herein modified.
(2)
Two-family residences may be constructed so that there are two independent living units or one living unit divided by a common wall. There shall be no internal side setback requirements for either of such two-family type construction but all other front, rear and outside side setback requirements shall apply.
(c)
Minimum floor area. No building shall be constructed in the RD-10 district without a first story minimum floor area of 1,500 square feet for a one-story building, 1,000 square feet for a one and a half-story building, and 1,000 square feet for a two-story building.
(d)
Building height limitation—Limitation on number of stories and building height. No building in the RD-10 district shall exceed two stories. The maximum height of a building in the RD-10 district shall not be more than 34.5 feet above the crown of the adjoining roadway, or no higher than 33 feet above the minimum finished floor elevation when FEMA requires the finished floor elevation to be raised more than 18 inches above the crown of the road, measured to the highest point of any roof or parapet. In addition, no building shall exceed a height of more than 28.5 feet above the crown of the adjoining roadway, or no higher than 27 feet above the minimum finished floor elevation when FEMA requires the finished floor elevation to be raised more than 18 inches above the crown of the road, at any setback line or within any setback area. An additional setback, from any applicable setback line, of two feet horizontal for every one foot vertical is required for any portion of the building above 28.5 feet to the maximum height limitation. Chimneys and ornamental features, such as spires and weather vanes, shall not exceed a height of 36.5 feet above the crown of the adjoining roadway, or no higher than 35 feet above the minimum finished floor elevation when FEMA requires the finished floor elevation to be raised more than 18" above the crown of the road. A roof-top observation platform above the second story is permitted only if it is not roofed or covered in any manner, does not exceed 400 square feet in area, and does not exceed the roof height limitation at the top of the safety railing or parapet. No equipment, fixtures or furniture shall be placed on any such observation platform located above the second floor.
(e)
Maximum density. Dwelling units constructed in the RD-10 district shall not exceed a gross density of ten dwelling units per gross acre.
(f)
Lot sizes and fee title. There shall be permitted in RD-10 zoned property the construction of two-family residences which may be either one continuous building with a common wall dividing such two-family residences or may be two independent freestanding buildings located within the RD-10 zoned lot. It shall further be permitted that the fee simple title to the two independent free-standing buildings or one-half of the continuous two-family building divided at the common wall, and the accompanying portion of the RD-10 zoned lot, may be conveyed independent of the other. The division of the RD-10 lot shall be so that any of the resulting parcel shall be at least 40 percent of the size of the original lot prior to division. The remaining provisions of this section shall be complied with. To the extent that the provision of this subsection conflicts with section 42-194, these provisions shall apply.
(g)
Applicability. The provisions of subsection (b)(2) and subsection (f) of this section shall not apply to any property in the city which is zoned other than RD-10.
(Code 1979, ch. 21, § 5.36; Ord. No. 2002-0809, § 4, 3-26-2002; Ord. No. 2017-0944 , § 4, 1-24-2017; Ord. No. 2017-0947 , § 4, 8-22-2017)
(a)
Uses permitted. Uses permitted in RM-16 district shall be as follows:
(1)
Any use permitted in two-family residence districts.
(2)
Four-family residences.
(3)
Community facilities with the operation of a day care center as an authorized use for churches and places of worship in the community facility category.
(4)
Group and foster homes categories 1 and 2 as defined in the supporting documents of the city's comprehensive plan.
(b)
Conditional uses.
(1)
Three-story townhouse developments subject to the building height limitations in subsection (e) below. Development standards set forth in section 42-361, and the conditional use requirements.
(2)
Two-story townhouse developments subject to the building height limitations in subsection (e) below. Development standards are set forth in section 42-361.1, and the conditional use requirements.
(c)
Setback lines. The same setback limits as provided in sections 42-341 and 42-342 shall apply to the RM-16, four-family residence districts.
(d)
Minimum floor area. No building in the RM-16 district shall be constructed without a first story minimum floor area of 1,500 square feet for a one-story building, 1,000 square feet for a 1½-story building, and 1,000 square feet for a two-story building.
(e)
Building height limitations. No building in the RM-16 district shall exceed two stories in height except three-story townhouse developments as a conditional use nor more than 34.5 feet above the crown of the adjoining roadway, or no higher than 33 feet above the minimum finished floor elevation when FEMA requires the finished floor elevation to be raised more than 18 inches above the crown of the road, measured to the highest point of any roof or parapet. Chimneys and ornamental features, such as spires and weather vanes, shall not exceed a height of 36.5 feet above the crown of the adjoining roadway, or no higher than 35 feet above the minimum finished floor elevation when FEMA requires the finished floor elevation to be raised more than 18 inches above the crown of the road. A roof-top observation platform above the second story is permitted only if it is not roofed or covered in any manner, does not exceed 400 square feet in area, and does not exceed the roof height limitation at the top of the safety railing or parapet. No equipment, fixtures or furniture shall be placed on any such observation platform located above the second floor. There shall be a further exception to this height limitation which shall apply to church steeples and church bell towers, the height of which steeple or bell tower shall not exceed 66.5 feet above the crown of the adjoining roadway.
(f)
Maximum density. Dwelling units constructed in the RM-16 district shall not exceed a gross density of 16 dwelling units per gross acre.
(Code 1979, ch. 21, § 5.37; Ord. No. 2002-0809, § 5, 3-26-2002; Ord. No. 2006-861, § 3, 4-11-2006; Ord. No. 2017-0947 , § 5, 8-22-2017; Ord. No. 2018-0966 , § 2, 6-12-2018)
(a)
Uses permitted. Uses permitted in the RM-25 district shall be as follows:
(1)
Any use permitted in four-family residence districts.
(2)
Apartment buildings.
(3)
Community center buildings and similar structures.
(4)
Tennis courts and shuffleboard courts.
(b)
Setback lines. The same setback limits as provided in sections 42-341 and 42-342 shall apply to RM-25 apartment districts.
(c)
Building height limitations. No building in the RM-25 district shall exceed three stories in height nor more than 46.5 feet above the crown of the adjoining roadway, or no higher than 45 feet above the minimum finished floor elevation when FEMA requires the finished floor elevation to be raised more than 18 inches above the crown of the road, measured to the highest point of any roof or parapet.
(d)
Maximum density. Dwelling units constructed in the RM-25 district shall not exceed a gross density of 25 dwelling units per gross acre.
(Code 1979, ch. 21, § 5.38; Ord. No. 2002-0809, § 6, 3-26-2002; Ord. No. 2017-0947 , § 6, 8-22-2017)
(a)
Uses permitted. Uses permitted in the B-1 district shall be as follows:
(1)
Stores for the retail sale, of confectionery, dairy products, dressed poultry, drug products, flowers, fruit and vegetables, garden supplies, gift, groceries, hardware, hobby supplies, ice cream, jewelry, meats, music, notions, pet supplies; dressed, frozen or otherwise prepared seafood; souvenirs, sundries, tobacco, toys and wearing apparel; notwithstanding the provisions of subsection (b)(7) of this section, stores, which are engaged primarily in the sale of foodstuffs at retail may in addition sell beer and wine for consumption on or off the premises.
(2)
Bakeries or delicatessens, provided any food which is prepared is for retail sale, not to be consumed on the premises, and no such establishment shall employ more than six persons.
(3)
Personal service shops, including barbershops, beauty parlors, hat cleaning and blocking, pressing and mending, shoe repair and shoeshine shops.
(4)
Day nurseries and nursery schools, dressmaking shops, laundry and dry cleaning pickup stations; medical office, attorneys, engineers, architects, accountants and other professionals; nonalcoholic beverage sales, restaurants, self-service ice stations, tailor shops, watch and jewelry repair, self-service laundries; sporting goods sales provided that the sale of live bait shall be prohibited but the sale of frozen bait or iced fresh bait no more than 24 hours old, shall be permitted and further, under no circumstances shall any bait or fish odors emanate from the building so as to be detectable from the outside in any way.
(5)
Residential uses accessory to a permitted use.
(6)
Banks and financial institutions, custom brokers and manufacturers' agencies, employment offices, post office and other governmental offices, messenger offices, public utility offices, stockbroker offices, ticket offices, travel agencies, and newspaper news and circulation offices.
(7)
Convenience stores. No similar use in the city can be located within a 1,000 feet of each other, by airline measurement.
(8)
Any use of a similar nature.
(9)
All merchandise offered for sale, displayed or stored must be new merchandise, and cannot be secondhand or used.
(b)
Conditional uses. Conditional uses permitted in the B-1 district shall be as follows and subject to the requirements of section 42-360, 42-362 and 42-363 as applicable:
(1)
Full service dry cleaning establishments.
(2)
Children's dance school.
(c)
Uses prohibited. Uses permitted in the B-1 district shall not be construed or interpreted to include as either principal or accessory use any of the following:
(1)
Automobile, truck, trailer, motorcycle, boat or machinery sales, storage or service outlets, including repair garages, used car lots, service stations or car washes.
(2)
Mortuaries.
(3)
Drive-in restaurants or refreshment stands.
(4)
Wholesale establishments.
(5)
Pawnshops.
(6)
Lumber or building materials sales, storage or display outlets.
(7)
Movie theaters, drive-in movie theaters, theaters, nightclubs, or establishments for consumption of alcoholic beverages on the premises.
(8)
Plumbing, electrical or sheet-metal shops.
(9)
Animal hospitals or veterinary clinics.
(10)
Cabinet or carpenter shops.
(11)
Storage or warehouse uses, except as incidental to a permitted use.
(12)
Sign shops or any other use first permitted in a less restricted district.
(13)
Nicotine dispensing device retail store.
(14)
Fortune teller or similar use.
(15)
Package stores.
(16)
Amusement arcade or gaming arcade and similar uses.
(17)
Animal/pet related uses such as kennels, pet boarding, pet shops, shelters and similar uses.
(18)
Retail sale of animals.
(19)
Check cashing stores or payday loans or similar uses.
(20)
Healthcare uses as described in section 42-371.
(21)
Sale of alcoholic beverages for consumption on premises.
(22)
Shelters and halfway houses.
(23)
Any use of a similar nature.
Any sale of goods or merchandise unless under roof and within the confines of the building for which the local business license for the sale or display of such goods or merchandise is issued.
(d)
Maximum floor area. In the B-1 district, the maximum floor area for the first floor of stores shall be 5,000 square feet, including the display surface or sales areas open to the public.
(e)
Building height limitations. No building or structure in the B-1 district shall be erected or altered to a height greater than two stories, or 30 feet. The 30-foot height shall be the vertical distance from grade to the highest finished roof surface of a flat roof or the average level of a gable, or hip roof. On a flat roof, air-conditioning units, elevator shafts, walkout bulkhead doors, atrium skylights or other accessory mechanical equipment may be located on top of the flat roof so long as the maximum height of any of such additions does not exceed ten feet above the flat roof and there is constructed on the flat roof a four-foot parapet wall set in a minimum of four feet from the roof edge which parapet wall shall enclose the rooftop equipment.
(f)
Setback limits. Structures in the B-1 district shall be set back 15 feet from rear lot lines.
(g)
Property abutting residential property. In any instance where B-1 zoned property abuts property with a residential classification, the owner of the B-1 property shall, before using such property, construct a fence or hedge in accordance with applicable construction and zoning standards, over and across that portion of his property which abuts the residential property.
(Code 1979, ch. 21, § 5.39; Ord. No. 2006-865, § 2, 11-14-2006; Ord. No. 2007-0872, § 2, 8-28-2007; Ord. No. 2014-0909, § 2, 3-25-2014; Ord. No. 2014-0912, 9-10-2014; Ord. No. 2016-0940, § 3, 6-28-2016)
(a)
Uses permitted. Uses permitted in the B-2 district shall be as follows:
(1)
Any use permitted in a B-1 district.
(2)
Retail stores intended primarily to service, shopping and limited service needs of several neighborhoods, including, fashions and durable goods, including the following and similar retail outlets:
a.
Antiques, art supplies, automobile accessories, new automobile parts, bait and tackle, business machines, camera and photographic supplies and optical goods, corsetiere, department, dry goods, furniture and household furnishings, furriers, greeting cards, home appliances, leather goods and luggage, draperies, linens and other fabrics, millinery and modiste, musical instruments, newsstands, office furniture and furnishings and equipment, package store without a drive-thru, paint, pet shops provided that the sale of cats and dogs shall be subject to the regulations of section 42-358, books and stationery, television, radio and phonograph sales and service, wallpaper, locksmith and garden supplies.
b.
Automobile service stations, provided that no service station shall be erected or constructed within 700 feet of another service station, lying between the same two consecutive streets. Service stations shall not include the incidental display and storage of more than five rental trailers or five rental trucks, or any combination thereof, the total combined number not to exceed five. All rental trailers shall be limited to a maximum size of 50 square feet of floor area in the rental trailer and all rental trucks shall be limited in size so as not to exceed a rated capacity of one ton or less.
c.
Spa uses, commercial gymnasiums, fur storage, quick service laundries, establishments for dining and consumption of alcoholic beverages on the premises, and outdoor dining at establishments for dining and consumption of alcoholic beverages on the premises.
d.
Dry cleaning establishments directly servicing customers, subject to the following limitations:
1.
Service shall be rendered directly to customers who personally bring in and pick up articles to be cleaned, and establishment shall not provide pickup or delivery service.
2.
No more than five persons shall be employed in the operation of the establishment.
3.
No more than two cleaning units, each with a rated capacity of 40 pounds or less, shall be used in any establishment.
4.
The entire cleaning and drying process shall be carried on within completely enclosed solvent-reclaiming units. All solvents used in the cleaning process and their vapors shall be nonexplosive and noninflammable.
e.
Schools teaching art, charm, dancing, dramatics, music, business or commercial courses, artists' studios, auctions of art goods, jewelry, rugs and similar items, costumers, dental laboratories, interior decorators, motor bus terminals, lawn furniture sales, photographic studios, radio and television studios, swimming pools and cabanas for commercial public use.
f.
Museums and similar nonprofit institutions, publicly owned or operated facilities, including community buildings, parks and playgrounds.
g.
Marine supplies and similar retail items.
h.
Automobile parking lots and parking areas.
(3)
All merchandise offered for sale, displayed or stored shall be new merchandise, and shall not be secondhand or used.
(4)
Hotels and motels.
(5)
Community facilities.
(6)
Group home.
(7)
Nicotine dispensing device retail stores, subject to the following limitations:
a.
It shall not be located within 250 feet from any- church or school, measured from the main entrance to main entrance, except in the case of a school the measurement shall be the nearest point of the school property used as part of school facilities; provided that if the nicotine dispensing device retail store has been lawfully established and thereafter a church or school is established within a distance prohibited herein, the establishment of such church or school shall not render the location of the store illegal.
b.
Commercially reasonable efforts will be made to rapidly identify minors (meaning persons under the age of 18 years of age) in the premises, including examining the identification of any person who a reasonably prudent person would believe is 18 years of age or younger, and cause such minors to leave the premises immediately upon identification unless accompanied by a parent or legal guardian.
c.
It shall be prohibited from selling, gifting or delivering to a person under 18 years of age, or a person who appears to be under the age of 27 years without first examining identification to confirm that the recipient is at least 18 years of age, of any:
1.
Nicotine dispensing device, including electronic cigarettes (or e- cigarette), personal vaporizers (PV), electronic nicotine delivery systems (ENDS), or any similar product, or any part thereof or accessory thereto; or
2.
E-juice, e-liquid, any other product intended for use in a nicotine dispensing device or any similar product.
d.
No part of the premises shall be used for the possession, manufacture, display, sale or viewing of paraphernalia, as defined below, including, but not limited to, (a) metal, wooden, acrylic, glass, stone, plastic, or ceramic pipes with or without screens, permanent screens, hashish heads, or punctured metal bowls, (b) hash pipes, (c) water pipes, (d) carburetion tubes and devices, (e) smoking and carburetion masks, (f) roach clips, meaning objects used to hold burning material, such as marijuana cigarette, that has become too small or too thin to be held in the hand, (g) miniature cocaine spoons, and cocaine vials, (h) chamber pipes, (i) carburetor pipes, (j) electric pipes, (k) air-driven pipes. (l) chillums, (m) bongs, (n) ice pipes or chillers, (o) blow tubes, (p) hookah pipes, (q) rolling papers, cigarette rollers or other items used to make cigarettes or cigars, (r) other objects or products used, intended for use, or designed for use in ingesting, inhaling, or otherwise introducing marijuana, cocaine, hashish, hashish oil, or other controlled substances into the human body, or (s) other objects or products used, intended for use, or designed for use in the combustive smoking of tobacco, herbs, or any other product;
"Paraphernalia" means all equipment, products, and materials of any kind which are intended for use or designed for use, in planting, propagating, cultivating. growing, harvesting, manufacturing, compounding, converting, producing, processing, preparing, testing, analyzing, packaging, repackaging, storing, containing, concealing, injecting, ingesting, inhaling, or otherwise introducing into the human body a controlled substance, tobacco, or herbs.
e.
The sale of products with names similar to, or which resemble, illegal substances, such as, by way of example only, but not of limitation, "liqweed," "cocoa e-juice," and "hash oil e-juice," or similar names or descriptions is prohibited.
f.
The sale of products that imply, infer or otherwise indicate that they may be used by or provide the user an experience (euphoria, etc.) similar to but not limited to marijuana, hemp, cocaine, LSD, heroin, ecstasy, or angel dust, is prohibited.
g.
The sale of products such as butane lighters, vaporizer pens, acetone, vaporizers for waxy oils, alcohol vaporizers, dabs, or other delivery devices not associated with nicotine dispensing devices is prohibited.
(8)
Any uses of a similar nature.
(b)
Uses prohibited. The following uses shall be prohibited in the B-2 district:
(1)
Dumps, sanitary fills or incinerators.
(2)
All uses prohibited in B-1 districts except as specifically permitted in subsection (a)(2) of this section.
(3)
Any use of a similar nature of those prohibited by B-1 district.
(c)
Building height limitations. No building or structure in the B-2 district shall be erected or altered to exceed a height of 50 feet as measured to the highest finished roof surface of a flat roof or to the average level of a gable, or hip roof. There shall be permitted to be constructed on the flat roof air conditioners, mechanical equipment, elevator shafts, walkout bulkhead doors or atrium sky lights so long as the maximum height of any of the additions does not exceed ten feet above the flat roof and there is constructed on the flat roof a four-foot parapet wall set in a minimum of four feet from the roof edge which parapet wall shall enclose the rooftop equipment.
(d)
Setback limits. Structures in the B-2 district shall be set back a minimum of 15 feet from rear lot lines.
(e)
Property abutting residential property. In any instance where B-2 zoned property abuts property with a residential classification, the owner of the B-2 property shall, before using the such property, construct a fence or hedge in accordance with applicable construction and zoning standards, over and across that portion of his property as abuts the residential property.
(Code 1979, ch. 21, § 5.40; Ord. No. 778, § 2, 3-13-2001; Ord. No. 2014-0912, § 3, 9-10-2014; Ord. No. 2016-0940, § 4, 6-28-2016)
(a)
Uses permitted. Uses permitted in the B-2A district shall be as follows:
(1)
Any use permitted in B-2 districts.
(2)
Yacht clubs, including as incidental to the operation thereof, swimming pools, tennis courts, shuffleboard courts, sport and fishing boats, and similar uses for either public or private use.
(3)
All merchandise offered for sale, displayed or stored shall be new merchandise, and shall not be secondhand or used unless as incidental (not to exceed 40% of the main use retail area) to the sale of new merchandise.
(4)
Diagnostic testing center.
(5)
Any use of a similar nature.
(b)
Uses prohibited. The following uses shall be prohibited in the B-2A district:
(1)
Uses permitted shall not be construed or interpreted to include as either principal or accessory uses any use prohibited in B-2 districts, or any use of a similar nature prohibited in B-2 districts.
(2)
Stand-alone baths and massage parlors.
(c)
Building height limitations. No building or structure in the B-2A district shall be erected or altered to exceed a height of 50 feet as measured to the highest finished roof surface of a flat roof or to the average level of a gable, or hip roof. There shall be permitted to be constructed on the flat roof air conditioners, mechanical equipment, elevator shafts, walkout bulkhead doors or atrium sky lights so long as the maximum height of any of the additions does not exceed ten feet above the flat roof and there is constructed on the flat roof a four-foot parapet wall set in a minimum of four feet from the roof edge which parapet wall shall enclose the rooftop equipment.
(d)
Plot size. Every development in the B-2A district shall be located on a plot owned or substantially controlled by the developer, at least 100 feet in width and 10,000 feet in total area.
(e)
Approval of development plan.
(1)
No building or structure shall be erected or structurally altered, or any land or water used, or use consummated, in area zoned B-2A, nor shall any building permit be issued therefor, unless and until a development plan for such building, structure and/or use shall have been presented to and approved by the development and review committee and planning and zoning board. After such approval all buildings, structures and/or use shall be erected, altered, installed, maintained and operated in full conformity with the approved development plan.
(2)
In considering the approval of development plans for B-2A districts, the development review committee and planning and zoning board shall consider the site plan procedures and requirements of article II, division 3, subdivision II, of this chapter; the location, size, height, spacing, appearance, character, type of construction and use of any building, structure or proposed operations and their appurtenances; access and circulation for vehicles and pedestrians; streets, parking areas, yard and open spaces, and relationship to adjacent properties. The development and review committee and planning and zoning board shall not approve any such development plan unless such plan conforms to all applicable provisions relating to B-2A districts in this section, and such committee and board find that the public safety and convenience are assured by architectural compatibility and space separation to contiguous and nearby residential properties. Any reasonable conditions, limitations or requirements found necessary by the board to effectuate the purpose of this section and carry out the spirit and purpose of the B-2A zoning district requirements may be attached to the board's approval of a development plan.
(f)
Setback limits. Structures in the B-2A district shall be set back a minimum of 15 feet from rear lot lines.
(g)
Property abutting residential property. In any instance where B-2A zoned property abuts property with a residential classification, the owner of the B-2A property shall, before using the such property, construct a fence or hedge in accordance with applicable construction and zoning standards, over and across that portion of his property which abuts the residential property.
(Code 1979, ch. 21, § 5.41; Ord. No. 2016-0940, § 5, 6-28-2016)
(a)
Uses permitted. Uses permitted in the B-3 district shall be as follows:
(1)
Any use permitted in B-1, B-2 or B-2A districts.
(2)
Drive-in restaurants.
(3)
Armory, telephone exchange, taxidermist, veterinary, pest-control agency, plant nursery and landscaping.
(4)
Tire and battery, retail plumbing and electrical fixtures, lawn mower rental, sales and service.
(5)
Product research and testing laboratory.
(6)
Any use of a similar nature.
(b)
Uses prohibited. The following uses shall be prohibited in the B-3 district:
(1)
All uses prohibited in B-1 and B-2 districts.
(2)
Open air sale or display of machinery, farm implements or construction equipment.
(3)
Manufacturing, except as accessory to a permitted use, all products thus produced to be sold at retail on the premises.
(4)
Wholesale warehouse or storage uses.
(5)
Any use of a similar nature.
(c)
Building height limitations. No building or structure in the B-3 district shall be erected or altered to exceed a height of 50 feet as measured to the highest finished roof surface of a flat roof or to the average level of a gable, or hip roof. There shall be permitted to be constructed on the flat roof air conditioners, mechanical equipment, elevator shafts, walkout bulkhead doors or atrium sky lights so long as the maximum height of any of such additions does not exceed ten feet above the flat roof and there is constructed on the flat roof a four-foot parapet wall set in a minimum of four feet from the roof edge which parapet wall shall enclose the rooftop equipment.
(d)
Setback limits. Structures in the B-3 district shall be set back a minimum of 15 feet from the rear lot lines.
(e)
Property abutting residential property. In any instance where B-3 zoned property abuts property with a residential classification, the owner of the B-3 zoned property shall, before using such property, construct a fence or hedge in accordance with applicable construction and zoning standards, over and across that portion of his property which abuts the residential property.
(Code 1979, ch. 21, § 5.42; Ord. No. 2016-0940, § 6, 6-28-2016)
(a)
Uses permitted. Uses permitted in the B-3A district shall be as follows:
(1)
Any use permitted in B-1, B-2, B-2A or B-3 districts.
(2)
Hotels and motels.
(3)
New automobile sales, display and service; used car sales, repairs, service garage and car wash as are incidental to new automobile sales only.
(4)
New boat sales, display and service; used boat sales, repairs, service and boat wash as are incidental to new boat sales only.
(5)
Kennels and pet boarding uses shall be located in a stand-alone building directly abutting federal highway and be soundproofed for any noise, vibration, base, etc. produced by any activity occurring inside the building.
(6)
Automobile rental and leasing agencies. As an incident thereto when such automobile rental and leasing agency is licensed and situated upon and conducted from premises comprising a free-standing singular structure not part of a shopping center or strip store, mall or center and acquires new vehicles from a dealership or through the factory and uses the same exclusively for its rental and leasing fleet for a minimum of a six-month period, at such thereafter when it is determined that such vehicles are no longer needed for the rental and leasing business, they may be sold by the rental and leasing agency, on premises, subject to the following limiting conditions: (1) no more than five cars may be for sale at any one time; (2) no "for sale" or other signs signifying that the cars are being offered for sale on the premises shall be displayed except that a single sign not to exceed 12 inches × 18 inches may be placed inside no more than two vehicles; (3) all signage and other requirements of the city Code are complied with. This authority to sell used rental vehicles shall apply only to new vehicles purchased and used in the rental and leasing business and shall not apply to any used vehicles acquired by the rental or leasing agency for rental use and/or sale.
(7)
Mortuary or undertaker.
(8)
Any use of a similar nature.
(b)
Conditional uses. Conditional uses permitted in the B-3A district shall be as follows and subject to the requirements of section 42-360 and sections 42-364 through 42-373 as applicable:
Due to the operation and nature of conditional uses (1) through (3), a minimum distance separation of 1,000 feet by airline measurement shall be provided from one another, in addition to the conditional use requirements established for each individual use.
(1)
Pawnshop.
(2)
Fortune teller or similar use.
(3)
Check cashing or payday loans or similar use.
(4)
Gaming establishment, golf driving range, miniature golf course, playground, playfield, or similar use (indoor/outdoor).
(5)
Nightclub or similar use.
(6)
Theater, sports arena and similar uses.
(7)
Consignment shop as described in section 42-370 or similar use.
(8)
Healthcare uses as described in section 42-371.
(9)
Hospital
(10)
Thrift and donated item stores as described in section 42-373.
(c)
Uses prohibited. The following uses shall be prohibited in the B-3A district:
(1)
Any uses prohibited in B-2A and B-3 districts.
(2)
Any uses of a nature similar to those prohibited in B-2A and B-3 districts.
(3)
Multifamily apartment buildings.
(d)
Building height limitations. No building or structure in the B-3A district shall be erected or altered to exceed a height of 50 feet as measured to the highest finished roof surface of a flat roof or to the average level of a gable, or hip roof. There shall be permitted to be constructed on the flat roof air conditioners, mechanical equipment, elevator shafts, walkout bulkhead doors or atrium skylights so long as the maximum height of any of such additions does not exceed ten feet above the flat roof and there is constructed on the flat roof a four-foot parapet wall set in a minimum of four feet from the roof edge which parapet wall shall enclose the rooftop equipment.
(e)
Setback limits. Buildings within B-3A districts shall be set back a minimum of 15 feet from the rear lot lines.
(f)
Property abutting residential property. In any instance where B-3A zoned property abuts property with a residential classification, the owner of the B-3A property shall, before using the such property, construct a fence or hedge in accordance with applicable construction and zoning standards, over and across that portion of his property which abuts the residential property.
(g)
Approval of development plan.
(1)
No building or structure shall be erected or structurally altered, or any land or water used, or use consummated, in areas zoned B-3A, nor shall any building permit be issued therefor, unless and until a development plan for such building, structure and/or use shall have been presented to and approved by the development review committee and planning and zoning board. After such approval all buildings, structures and/or uses shall be erected, altered, installed, maintained and operated in full conformity with the approved development plan.
(2)
In considering the approval of development plans for B-3A districts, the development review committee and planning and zoning board shall consider the site plan procedures and requirements of article II, division 3, subdivision II, of this chapter; the location, size, height, spacing, appearance, character, type of construction and use of any building, structure or proposed operations and their appurtenances, yard and open spaces, and relationship to adjacent properties. The development review committee and planning and zoning board shall not approve any such development plan unless such plan conforms to all applicable provisions relating to B-3A districts in this section, and such committee and board find that the public safety and convenience are assured by architectural compatibility and space separation to contiguous and nearby residential properties.
(3)
Any reasonable conditions or requirements found necessary by the committee and board to effectuate the purposes of this section and carry out the spirit and purpose of the B-3A zoning district requirements may be attached to the committee and board's approval of a development plan.
(Code 1979, ch. 21, § 5.43; Ord. No. 732, § 1, 2-23-99; Ord. No. 2016-0940, § 7, 6-28-2016)
(a)
Uses permitted. Uses permitted in the CF district shall be as follows:
(1)
Schools and education facilities.
(2)
Churches and places of worship.
(3)
Government administration, services and maintenance facilities.
(4)
Recreation and open space uses.
(b)
Uses prohibited. The following uses shall be prohibited in the CF district:
(1)
Hospitals and clinics.
(2)
Nursing homes.
(3)
Auditoriums and convention centers.
(4)
Public utilities.
(5)
Retail business and office uses.
(6)
Residential uses.
(c)
Building height limitations. No building or structure in the CF district shall be erected or altered to exceed a height of 50 feet as measured to the highest finished roof surface of a flat roof or to the average level of a gable, or hip roof. There shall be permitted to be constructed on the flat roof air conditioners, mechanical equipment, elevator shafts, walkout bulkhead doors or atrium skylights so long as the maximum height of any of such additions does not exceed ten feet above the flat roof and there is constructed on the flat roof a four-foot parapet wall set in a minimum of four feet from the roof edge which parapet wall shall enclose the rooftop equipment.
(d)
Setback limits. Buildings within the CF district shall be set back a minimum of 15 feet from the rear lot lines.
(e)
Property abutting residential property. In any instance where CF zoned property abuts property with a residential classification, the owner of the CF property shall, before using the such property, construct a fence or hedge in accordance with applicable construction and zoning standards, over and across that portion of his property which abuts the residential property.
(f)
Approval of development plan.
(1)
No building or structure shall be erected or structurally altered, or any land or water used, or use consummated, in areas zoned CF, nor shall any building permit be issued therefor, unless and until a development plan for such building, structure and/or use shall have been presented to and approved by the development review committee and planning and zoning board. After such approval all buildings, structures and/or uses shall be erected, altered, installed, maintained and operated in full conformity with the approved development plan.
(2)
In considering the approval of development plans for CF districts, the development review committee and planning and zoning board shall consider the site plan procedures and requirements of article II, division 3, subdivision II, of this chapter; the location, size, height, spacing, appearance, character, type of construction and use of any building, structure or proposed operations and their appurtenances; yard and open spaces, and relationship to adjacent properties. The development review committee and planning and zoning board shall not approve any such development plan unless such plan conforms to all applicable provisions relating to CF districts in this section, and such committee and board find that the public safety and convenience are assured by architectural compatibility and space separation to contiguous and nearby residential properties.
(3)
Any reasonable conditions or requirements found necessary by the committee and board to effectuate the purposes of this section and carry out the spirit and purpose of the CF zoning district requirements may be attached to the committee and board's approval of a development plan.
(Code 1979, ch. 21, § 5.44)
(a)
Uses permitted. Uses permitted in the S-1 district shall be as follows:
(1)
Parks.
(2)
Athletic facilities, including tennis courts, basketball courts, ball fields, swimming pools and clubhouses.
(3)
Playgrounds, shuffleboard courts and lawn bowling.
(4)
Outdoor entertainment, beaches, boat launching and anchorage, and picnic areas.
(b)
Uses prohibited. The following uses shall be prohibited in the S-1 district:
(1)
Hospitals and clinics.
(2)
Nursing homes.
(3)
Auditoriums and convention centers.
(4)
Public utilities.
(5)
Retail business and office uses.
(6)
Residential uses.
(c)
Building height limitations. No building nor structure (exclusive of field light poles) in the S-1 district shall be erected or altered to exceed a height of 25 feet.
(d)
Setback limits. Buildings within S-1 district shall be set back a minimum of 15 feet from the rear lot lines.
(e)
Property abutting residential property. In any instance where S-1 zoned property abuts property with a residential classification, the owner of the S-1 property shall, before using the such property, construct a fence or hedge in accordance with applicable construction and zoning standards, over and across that portion of his property which abuts the residential property.
(Code 1979, ch. 21, § 5.45)
Cross reference— Parks and recreation, ch. 58.
(a)
Definitions. For purposes of this section, the following definitions shall apply:
Animal rescue organization. The humane society or other duly incorporated nonprofit organization operated as a bona fide charitable organization under Section 501(c)3 of the Internal Revenue Code, which organization is devoted to the rescue, care and/or adoption of stray, abandoned or surrendered animals and which does not breed animals.
Animal shelter. A municipal or related public animal shelter or duly incorporated nonprofit organization devoted to the rescue, care and/or adoption of stray, abandoned or surrendered animals, and which does not breed animals.
Cat. An animal of any age of the Felidae family of the order Carnivora.
Certificate of source. A document from the source city or county animal shelter or animal control agency, humane society, non-profit rescue organization or hobby breeder declaring the source of origin of a dog or cat on the premises to be sold or transferred or offered for sale or transfer. A certificate of source shall include at a minimum, a brief description of the dog or cat, the name, address, telephone number and e-mail address of the source of the dog or cat, and shall be signed by both the pet store certifying the accuracy of the certificate and by the purchaser or transferee of the dog or cat acknowledging receipt of the certificate of source.
Dog. An animal of any age of the Canidae family of the order Carnivora.
Hobby breeder. Any person or entity that causes or allows the breeding or studding of a dog or cat resulting in no more than a total of one litter per adult animal per calendar year whether or not the animals in such litter are offered for sale or other transfer.
Pet store. Any retail establishment open to the public that sells or transfers, or offers for sale or transfer, dogs and/or cats, regardless of the age of the dog or cat.
Pet store operator. A person who owns or operates a pet store.
(b)
Sale or transfer of dogs and/or cats. No pet store shall display, sell, trade, deliver, barter, lease, rent, auction, give away, transfer, offer for sale or transfer, or otherwise dispose of dogs or cats in the city on or after the effective date of this section.
(c)
Exemptions . This section does not apply to:
(1)
A hobby breeder as defined herein.
(2)
An animal shelter.
(3)
An animal rescue organization.
(4)
An animal shelter or animal rescue organization that operates out of or in connection with a pet store or other retail store.
(d)
Certificate of source. A pet store shall post and maintain in a conspicuous place, on or within three feet of each dog's or cat's kennel, cage or enclosure, a certificate of source of each dog or cat offered for sale or transfer, and shall provide a copy of such certificate to the purchaser or transferee of any dog or cat sold or transferred.
(Ord. No. 2016-0940, § 8, 6-28-2016)
(a)
This section implements the policy of the City of Lighthouse Point for processing of requests for reasonable accommodation to its ordinances, rules, policies, and procedures for persons with disabilities as provided by the Federal Fair Housing Amendments Act (42 U.S.C. 3601, et seq.) ("FHA") and Title II of the Americans with Disabilities Act (42 U.S.C. Section 12131 et seq.) ("ADA"). For purposes of this section, a "disabled" individual or person is an individual that qualifies as disabled and/or handicapped under the FHA and/or ADA. Any person who is disabled (or qualifying entities) may request a reasonable accommodation with respect to the City's land use or zoning laws, rules, policies, practices and/or procedures as provided by the FHA and the ADA pursuant to the procedures set out in this section.
(b)
A request by an applicant for reasonable accommodation under this section shall be made in writing by completion of a reasonable accommodation request form, which form is maintained by (and shall be submitted to) the city administrator. The reasonable accommodation request form shall contain such questions and requests for information as are necessary for processing the reasonable accommodation request. The reasonable accommodation request form shall be substantially in the form set forth herein.
(c)
Should the information provided by the applicant or disabled individual to the city include medical information or records, including records indicating the medical condition, diagnosis or medical history of the disabled individual, such individual may, at the time of submitting such medical information, request that the city, to the extent allowed by law, treat such medical information as confidential information of the disabled individual. The city shall thereafter endeavor to provide written notice to the applicant or disabled individual, and/or their representative, of any request received by the city for disclosure of the medical information or documentation which the disabled individual has previously requested, be treated as confidential by the city. The city will cooperate with the applicant or disabled individual, to the extent allowed by law, in actions initiated by such individual to oppose the disclosure of such medical information or documentation, but the city shall have no obligation to initiate, prosecute or pursue any such action, or to incur any legal or other expenses (whether by retention of outside counselor allocation of internal resources) in connection therewith, and may comply with any judicial order without prior notice to the applicant or disabled individual.
(d)
The city administrator shall have the authority to consider and act on requests for reasonable accommodation, after notice and public hearing to receive comments, input and information from the public (provided, however, the city administrator or designee shall not be required to render their decision at said public hearing). Alternatively, the city administrator may refer an application to the city's planning and zoning board for determination.
(e)
When a reasonable accommodation request form has been completed and submitted to the city administrator, the city administrator or planning and zoning board for matters referred to it by the city administrator, shall issue a written determination within 45 days of the date of the city's receipt of a completed reasonable accommodation request form, subject to additional time for additional information pursuant to subsection (f), and may, in accordance with federal law:
1.
Grant the accommodation request;
2.
Grant a portion of the request and deny a portion of the request, and/or impose conditions upon the grant of the request; or
3.
Deny the request, in accordance with applicable law.
Any such denial shall be in writing and shall state the grounds therefor. All written determinations shall give notice of the right to appeal. The notice of determination shall be sent to the requesting party (i.e. the disabled individual or his/her representative) by certified mail, return receipt requested.
(g)
If reasonably necessary to reach a determination on the request for reasonable accommodation, the city administrator or planning and zoning board, may, prior to the end of said 45-day period, request additional information from the requesting party, specifying in sufficient detail what information is required. The requesting party shall have 15 days after the date of the request for additional information to provide the requested information. In the event a request for additional information is made, the 45-day period to issue a written determination shall no longer be applicable, and the city administrator or planning and zoning board shall issue a written determination within 30 days after the city's receipt of the additional information. If the requesting party fails to provide the requested additional information within said 15-day period, the city administrator or planning and zoning board shall issue and written notice advising that the requesting party had failed to timely submit the additional information, and therefore the request for reasonable accommodation shall be deemed abandoned and/or withdrawn and no further action by the city with regard to said reasonable accommodation request shall be required.
(h)
In determining whether the reasonable accommodation request shall be granted or denied, the requesting party shall be required to establish that they are protected under the FHA and/or ADA by demonstrating that they are a disabled person. For purposes of this section, a "disabled person" is an individual that qualifies as disabled and/or handicapped under the FHA and/or ADA. The word "individual" shall include, for purposes of this section, multiple people, or qualified entities.
The requesting party will have to demonstrate that the proposed accommodations being sought are reasonable and necessary to afford handicapped/disabled person equal opportunity to use and enjoy housing. The foregoing (as interpreted by the courts) shall be the basis for a decision, upon a reasonable accommodation request, made by the city administrator, planning and zoning board, or by the city commission in the event of an appeal.
(i)
The city administrator's determination on a reasonable accommodation request may be appealed pursuant to sections 42-281 through 42-284 of the city's Code. A determination by the planning and zoning board may be appealed pursuant to section 42-284 of the city's Code. Unless the timeframe is waived by the applicant, appeals to the planning and zoning board shall be conducted within 30 days of the request for appeal, and appeals from the planning and zoning board to the city commission shall be conducted within 30 days of the request for the appeal
(j)
There shall be no fee imposed by the city in connection with a request for reasonable accommodation under this section. An appeal of a determination of the city administration or of the planning and zoning board shall be subject to the same fee as other appeals filed pursuant sections 42-281 through 42-284 of the city's Code. The city shall have no obligation to pay a requesting party's (or an appealing party's, as applicable) attorneys' fees or costs in connection with the request, or an appeal.
(k)
While a request for a reasonable accommodation, or appeal of a determination of same, is pending before the city, the city will not enforce the subject zoning ordinance, rules, policies, and procedures against the applicant.
(l)
The following general provisions shall be applicable:
(1)
The city shall display a notice in the city's public notice bulletin board (and shall maintain copies available for review in the city clerk's office), advising the public disabled individuals (and qualifying entities) may request reasonable accommodation as provided herein.
(2)
A disabled individual may apply for a reasonable accommodation on his/her own behalf or may be represented at all stages of the reasonable accommodation process by a person designated by the disabled individual.
(3)
The city shall provide such assistance and accommodation as is required pursuant to FHA and ADA in connection with a disabled person's request for reasonable accommodation, including, without limitation, assistance with reading application questions, responding to questions, completing the reasonable accommodation request form, filing an appeal, and appearing at a hearing etc. to ensure the process is accessible.
(m)
Reasonable accommodation request form:
(1)
Name of applicant: ____________
(2)
Telephone number: ____________
(3)
Address: ____________
(4)
Address of housing or other location at which accommodation is requested:
(5)
Describe qualifying disability or handicap:
(6)
Describe the accommodation and the specific regulation(s) and or procedure(s) from which accommodation is sought:
(7)
Reasons the reasonable accommodation may be necessary for the individual with disabilities to use and enjoy the housing or other service:
(8)
Name address and telephone number of representative if applicable:
(9)
Signature of disabled individual or representative, if applicable, or qualifying entity.
(Ord. No. 2016-0940, § 9, 6-28-2016)
(a)
Purpose. Conditional uses may be compatible with the other land uses permitted in a zoning district but, because of their unique characteristics and potential impacts on the surrounding neighborhood and city as a whole, require individual review of their location, design, configuration, and/or operation in order to ensure that the use is appropriate at a particular location.
(b)
Applicability. No use designated as a conditional use by the district regulations shall be established until the use has received approval under the provisions of this section and has received a certificate of compliance, a building permit, a certificate of occupancy, and an occupational license, as applicable, pursuant to the requirements of these regulations.
(c)
Supplemental application requirements.
(1)
A site plan meeting the requirements of section 42-113, application for final site plan approval.
(2)
Any other information as may be required for a determination of the nature of the proposed use and its effect on the surrounding properties and the neighborhood.
(d)
Application processing and review standards.
(1)
Copies of the complete application shall be forwarded to the development review committee (DRC) for review to determine whether the conditional use complies with these regulations, and whether conditions of approval are recommended in order to mitigate concerns related to the review criteria of subsection (2), below.
(2)
Planning and zoning board review.
a.
The planning and zoning board shall establish a public hearing pursuant to the quasi-judicial public hearing procedures to consider public testimony, if any, and the staff recommendation, and based upon the criteria for review in this section, shall deny, approve or approve with conditions the application as it deems necessary to have the proposed use meet the standards set forth in the review criteria, below, and to prevent or minimize adverse effects on other property in the neighborhood. Conditions may include, but are not limited to: limitations on size, bulk and location; duration of construction period; signage; requirements for landscaping and other screening, outdoor lighting, and the provision of adequate ingress and egress; duration of the approval; hours of operation; and the mitigation of environmental impacts. Conditions may be imposed for a specific period of time, after which time the condition shall expire and the obligations of the applicant pertaining to such condition shall automatically terminate.
b.
The standards of review are as follows:
1.
The proposed use shall be consistent with the comprehensive plan;
2.
The establishment, maintenance or operation of the proposed use shall not be detrimental to or endanger the public health, safety, comfort, or general welfare;
3.
The proposed use shall not diminish the use or enjoyment of other property in the immediate neighborhood for the purposes permitted in the district;
4.
The establishment of the conditional use shall not impede the normal and orderly development and improvement of surrounding properties for uses permitted in the zoning district;
5.
The proposed use shall not diminish property values in the neighborhood;
6.
Adequate utilities, road access, drainage, and other necessary facilities already exist, shall be provided by the applicant, or are programmed to serve the proposed use;
7.
Adequate measures already exist or shall be taken to provide ingress and egress to the proposed use in a manner that minimizes traffic congestion in the public streets, to provide safe and adequate pedestrian and vehicular circulation and to provide adequate parking;
8.
The proposed use shall be consistent with the community character of the immediate neighborhood of the proposed development;
9.
Development of the proposed use shall not adversely affect a known archaeological, historical, or cultural resource located on or off the parcel proposed for development;
10.
The design of the proposed use shall minimize adverse effects, including visual impacts, of the proposed use on adjacent property;
11.
The applicant has the financial and technical capacity to complete, operate, and maintain the conditional use as proposed and has made adequate legal provisions to guarantee the provision, development and maintenance of any buffers, landscaping, public open space, and other improvements associated with the proposed use; and
12.
The proposed use shall meet all other standards or requirements set forth in the zoning code which apply to that use in the zoning district in which it is located.
c.
The decision of the planning and zoning board shall be recorded in the minutes of its meeting, and thereafter an order shall be prepared as evidence of such decision, which shall set out with sufficient clarity the exact legal description of the land and premises affected, and the decision, including conditions, made by the board. One copy of the order shall be kept by the city clerk to become a public record, one copy shall be kept by the department, and one copy forwarded to the applicant.
(e)
Effect of conditional use approval; expiration.
(1)
Approval of a conditional use request, unless otherwise provided by the planning and zoning board approval, shall become null and void unless a development permit (if required for use or occupancy) pursuant thereto is issued within 12 months of the date of any such action by the board, and construction or use of the premises is underway.
(2)
Permits issued under a conditional use approval shall be revoked by the city in the case of failure to comply with conditions of approval or applicable regulations.
(3)
Any discontinuation of an approved conditional use for a period of 180 consecutive days shall constitute abandonment, and shall rescind the approval of the conditional use.
(f)
Amendments and alterations to approved conditional uses.
(1)
Except as provided below, any modifications to an approved conditional use and any addition to or expansion of an existing conditional use shall require the same application, review and approval as required under this section for the original approval of the conditional use.
(2)
Minor changes in the site plan or design details of an approved conditional use which are consistent with the standards and conditions applying to the conditional use and which do not result in additional external impacts, including but not limited to, a minor shift in the location of a building or structure, the realignment of parking spaces and aisles, and the relocation of a driveway, may be approved by the city administrator.
(Ord. No. 2006-861, § 4, 4-11-2006)
(a)
Definition.
Townhouse means a building divided vertically into two or more attached dwelling units such that the individual dwelling units are side by side, where each dwelling unit is designed for occupancy by one family, and has its own, independent entrance at grade level.
(b)
Purpose. The intent of the following provisions is to allow as a conditional use three-story townhouses developments in RM-16.
(c)
Criteria. Along with the criteria specified in sections 42-344 and 42-360, the following conditional use criteria shall apply to each three-story townhouse development in RM-16:
(1)
Density. The overall density of a townhouse development shall not exceed the density allowed by the applicable zoning district.
(2)
Design. The overall design of the development must be superior in architectural and aesthetic quality and remain compatible in scale and mass with abutting and surrounding residential buildings.
(3)
Facades. Straight front and rear facades are prohibited. The street front, street side and rear facades shall vary along both the vertical and horizontal planes to create visual interest and character.
(4)
Roofline. Straight rooflines in the front and rear are prohibited. No more than 60 percent of the roof can be of the same height. Roof variations must be a minimum of five feet. The street front street side and rear roofline shall vary along the horizontal plane to create visual interest and character.
(5)
Roofs. Flat roofs shall be discouraged unless the flat roof is an integral part of the architectural style proposed for the development. Mansards and other roof design techniques shall be used to create the appearance of a pitched roof.
(6)
Building length. No single grouping of townhouse units shall exceed a maximum of 90 feet in length and shall include no more than four units. Buildings must be separated by at least ten feet.
(7)
Required parking, number and location.
a.
Number of parking spaces. Each townhouse unit shall provide three parking spaces.
b.
Garages. A garage, a fully enclosed structure designed for storage of at least one automobile shall be required for each individual townhouse unit. In order for garage spaces to be counted towards the required parking spaces, a declaration of covenants shall be recorded in the county public records requiring the area in the garage be designated for parking and is required to remain available for vehicular use as a parking space.
c.
Minimum exterior parking spaces. Each townhouse unit shall provide a minimum of two exterior spaces which may be tandem to parking spaces located in garages.
d.
Location of guest parking spaces. In addition to the minimum parking requirements in subsection (a) above, each townhouse development shall provide guest spaces in the amount of 15 percent of the total number of parking spaces required for the project. Any fraction in the number of required guest spaces when calculated shall be rounded to the next highest whole number. Each townhouse unit shall have reasonable access to required guest parking spaces. Guest parking may be located in a parking bay, parking lot, or driveway.
(8)
Pervious space. The minimum pervious requirement for each townhouse development shall be 30 percent.
(9)
Landscaping requirements.
a.
Townhouse developments must meet the minimum commercial landscape requirements in division 7.
b.
Townhouse developments shall be required to employ appropriately scaled landscaping, with a variety of colors, heights, textures and species throughout the site.
c.
Lush tropical landscaping is encouraged to improve the aesthetics of the property.
(10)
Amenities. Townhouse developments without amenities such as pools, decks, courtyards and/or common areas shall be strongly discouraged.
(11)
Green building. Townhouse developments are encouraged to incorporate green and sustainable designs and materials as recognized through leadership in energy and environmental design (LEED) of the U.S. Green Building Council.
(d)
Conflict with other provisions. In the event that any provision of this section conflicts with any other provisions of the land development code, the provisions of this section shall control to the extent of such conflict.
(Ord. No. 2006-861, § 4, 4-11-2006; Ord. No. 2008-0875, § 2, 5-27-2008)
(a)
Definition. The term "townhouse" shall have the meaning given in section 42-361.
(b)
Purpose. The purpose of this section is to establish criteria for two-story townhouse developments in the RM-16 district, and to provide for waiver or modification of certain standards and requirements of this chapter upon determination by the planning and zoning board that such flexibility is warranted by the merits of the project design and the project siting.
(c)
Intent. It is the intent of this section to acknowledge that two-story townhouse developments may be appropriate if designed to a high architectural standard that emphasizes quality, minimizes mass, creates visual interest, blends with the context of the adjacent neighborhood, and provides amenities for its residents. It is the further intent of this section to provide for relief of certain standards and requirements of this chapter to encourage innovative and high-quality design.
(d)
Criteria. Along with the criteria specified in section 42-360, the following supplemental requirements and criteria shall apply to each two-story townhouse development in the RM-16 zoning district:
(1)
Building length and spacing. No single attached group of townhouses shall exceed four units and 90 feet in length unless the Planning and Zoning Board finds that a larger attached group is fully consistent with the intent of this section. Each attached group must be separated from all other attached groups within the same development, by at least 10 feet.
(2)
Density. The overall density of a townhouse development shall not exceed the density allowed by the RM-16 zoning district.
(3)
Design. The overall design of the development must be superior in architectural and aesthetic quality and remain compatible in scale and mass with abutting and surrounding residential buildings.
(4)
Facades. The street front, street side and rear facades shall vary along both the vertical and horizontal planes to create visual interest and character.
(5)
Roofline. No more than 60 percent of the roof can be of the same height, with a minimum variation of five feet unless otherwise approved by the planning and zoning board. The street front street side and rear roofline shall vary along the horizontal plane to create visual interest and character.
(6)
Roofs. Flat roofs shall be discouraged unless the flat roof is an integral part of the architectural style proposed for the development. Mansards and other roof design techniques shall be used to create the appearance of a pitched roof.
(7)
Garages. A garage, a fully enclosed structure designed for storage of at least one automobile shall be required for each individual townhouse unit. In order for garage spaces to be counted towards the required parking spaces, a declaration of covenants shall be recorded in the county public records requiring the area in the garage be designated for parking and is required to remain available for vehicular use as a parking space.
(8)
Location of guest parking spaces. In addition to the minimum parking requirements in section 42-410, each townhouse development shall provide guest spaces in the amount of 15 percent of the total number of parking spaces required for the project. Any fraction in the number of required guest spaces when calculated shall be rounded to the next highest whole number. Each townhouse unit shall have reasonable access to required guest parking spaces. Guest parking may be located in a parking bay, parking lot, or driveway.
(9)
Landscaping requirements.
a.
Townhouse developments must meet the minimum commercial landscape requirements in division 7.
b.
Townhouse developments shall be required to employ appropriately scaled landscaping, with a variety of colors, heights, textures and species throughout the site.
c.
Lush tropical landscaping is encouraged to improve the aesthetics of the property.
(10)
Amenities. Townhouse developments without amenities such as pools, decks, courtyards and/or common areas shall be strongly discouraged.
(11)
Green building. Townhouse developments are encouraged to incorporate green and sustainable designs and materials as recognized through leadership in energy and environmental design (LEED) of the U.S. Green Building Council.
(e)
Modifications and waivers. In addition to authority already granted in other provisions of this chapter, the planning and zoning board may modify or waive standards and requirements in the following sections of this chapter when the board determines that such modification or waiver is necessary to facilitate innovative and high quality design on a particular parcel, and that such modification or waiver is not contrary to the public health safety and welfare, including but not limited to, traffic safety, emergency vehicle access, pedestrian and cyclist safety, and stormwater drainage:
(1)
The following sections of article II, "Administration and enforcement," Division 4, "Site Plans":
a.
Section 42-132(b), paragraphs (2), "Driveway standards," (3) "Circulation design" and (4), "Parking and loading areas to be curbed."
b.
Section 42-134, "Vehicular reservoir areas," as applicable to non-trafficway streets only.
c.
Section 42-142, "Pervious area and greenspace."
(2)
The following sections of article IV, "Zoning":
a.
Section 42-344, "RM-16, four-family residence district" pertaining to setback lines, minimum first story floor area and building height limitation.
b.
Section 42-371, "Yard encroachments."
c.
Section 42-372, "Pools, terraces, hot tubs and spas."
d.
Section 42-374, "Lot coverage."
e.
Section 42-376, "Walls, fences, hedges in nonwaterfront residential lots."
f.
Section 42-383, "Construction of driveways."
(f)
Public notice requirements for modifications and waivers. The public notice provided for the conditional use application shall identify each requirement of this chapter that the applicant seeks to modify or waive as authorized in this section.
(g)
Conflict with other provisions. In the event that any provision of this section conflicts with any other provisions of the land development code, the provisions of this section shall control to the extent of such conflict.
( Ord. No. 2018-0966 , § 3, 6-12-2018)
(a)
Definition.
Full service drycleaner means a business establishment which provides the cleansing and pressing of clothing and fabrics with substantially nonaqueous organic solvents.
(b)
Purpose. The intent of the following provisions is to allow as a conditional use full service dry cleaners in B-1 district.
(c)
Criteria. Along with the criteria specified in sections 42-347 and 42-360, the following conditional use criteria shall apply to each full service dry cleaning establishment in B-1:
(1)
Service shall be rendered directly to customers who personally bring in and pick up articles to be cleaned, and establishment shall not provide pickup or delivery service.
(2)
The hours of operation shall be limited from 7:00 a.m. to 7:00 p.m.
(3)
No more than five persons shall be employed during any one shift in the operation of the establishment.
(4)
No more than two cleaning units, each with a rated capacity of 40 pounds or less, shall be used in any establishment.
(5)
The entire cleaning and drying process shall be carried on within completely enclosed solvent-reclaiming units. The reclaiming units shall be third generation version or newer. All solvents used in the cleaning process and their vapors shall be nonexplosive and nonflammable.
(d)
Conflict with other provisions. In the event that any provision of this section conflicts with any other provisions of the land development code, the provisions of this section shall control to the extent of such conflict.
(Ord. No. 2007-0872, § 3, 8-28-2007)
(a)
Definition. Children's dance school means a school of dance instruction for children between the ages of 2—18 only.
(b)
Purpose. The intent of the following provisions is to allow as a conditional use a children's dance school.
(c)
Criteria. Along with the criteria specified in section 42-360, the following conditional use criteria shall apply to each children's dance school in B-l:
(1)
Only students between the ages of 2—18 are permitted. No adult classes are permitted.
(2)
A maximum of 34 students shall be present on the premises at any one time.
(3)
Consistent with the standards of review contained in subsection 42-360(d)(2)b,7, the children's dance school shall prepare a drop-off and pick-up plan for students which the city shall approve prior to the issuance of a certificate of occupancy for the children's dance school. This plan may be reviewed by the city on an annual basis. The plan shall take into consideration such site specific issues as existing parking spaces, adjacent businesses and homes, the number of students, time of classes, and shall not permit students to be dropped off or picked up in city public right-of-way.
(4)
Recitals are prohibited at the children's dance school site.
(d)
Conflict with other provisions. In the event that any provision of this section conflicts with any other provisions of the land development code, the provisions of this section shall control to the extent of such conflict.
(Ord. No. 2014-0909, § 2, 3-25-2014)
(a)
Definition.Fortune teller means an establishment offering the telling of fortunes, forecasting of future events, or the furnishing of information not otherwise obtainable by the ordinary process of knowledge by means of any occult or psychic power, faculty, or force, including, but is not limited to: clairvoyants; clairaudience; cartomancy; hypnotist, phrenologists; numerologists, spirits; tea leaves or other such reading; mediums; seership; prophecy; augury; astrologers; palmists; necromancy; mind readers; telepathy; crystal gazing; magic; or other craft art, cards, talisman, charm, potion, magnetized article, or substance, and others of a similar nature, whether or not in connection with another business.
(b)
Purpose. The intent of the following provisions is to allow as a conditional use a fortune teller or similar uses in the B-3A district.
(c)
Criteria. Along with the criteria specified in section 42-360, the following conditional use criteria shall apply to fortune teller or similar us in the B-3A district:
(1)
Fortune teller or similar uses in the city shall be separated 2,500 feet from another by airline measurement.
(d)
Conflict with other provisions. In the event that any provision of this section conflicts with any other provisions of the land development code, the provisions of this section shall control to the extent of such conflict.
(Ord. No. 2016-0940, § 10, 6-28-2016)
(a)
Definition. This category includes establishments providing indoor/outdoor entertainment, gaming and sports activities including, but not limited to: multiple machines or devices (mechanical or electronic), skill testing such as clues, puzzles, detective games, played for entertainment, or amusement and including golf driving range, miniature golf course, playgrounds and playfield. Such machines and devices include, but are not limited to video games, pinball machines, mechanical grab machines, pool tables, foosball tables, and other games of skill or scoring. This use does not include any machines or devices regulated under state gambling laws.
(b)
Purpose. The intent of the following provisions is to allow as a conditional use a gaming establishment, golf driving range, miniature golf course, playground, playfield, or similar use (indoor/outdoor) in the B-3A district.
(c)
Criteria. Along with the criteria specified in section 42-360, the following conditional use criteria shall apply to gaming establishment, golf driving range, miniature golf course, playground, playfield, or similar use (indoor/outdoor) in the B-3A district:
(1)
Gaming establishment or similar uses shall be located in a building directly abutting and with a main entrance along federal highway.
(2)
The space shall be soundproofed for any noise, vibration or base sound produced by any activity occurring inside the building.
(3)
All gaming related activities shall occur indoors except for golf driving range, miniature golf course, playground and playfield.
(4)
Outdoor activities as allowed in this section shall be separated from a residential district by a minimum of 100 feet and provide an eight-foot concrete wall with a five-foot landscape buffer along any property line abutting residential. The landscape buffer shall provide one tree for each 30 linear feet.
(5)
Any lighting whether originating from the interior of the building or from exterior lighting shall be zero foot-candles when measured at grade level from any residential the property line.
(d)
Conflict with other provisions. In the event that any provision of this section conflicts with any other provisions of the land development code, the provisions of this section shall control to the extent of such conflict.
(Ord. No. 2016-0940, § 10, 6-28-2016)
(a)
Definition.Nightclub means any place of business operating after 11:00 p.m. where food, alcoholic beverages and refreshments are served and sold to the public in connection with dancing, vaudeville, theatrical or similar entertainment, and where, in addition to the space occupied by chairs and tables for service of meals, there shall be provided a floor space of at least 400 square feet, suitably prepared for dancing, and a band, orchestra or other form of music is provided.
(b)
Purpose. The intent of the following provisions is to allow as a conditional use Nightclub or similar use in the B-3A district.
(c)
Criteria. Along with the criteria specified in section 42-360, the following conditional use criteria shall apply to a Nightclub or similar uses in the B-3A district:
(1)
Nightclub or similar uses shall be separated 2,500 feet from each other by airline measurement.
(2)
Nightclub or similar uses shall be located in a building abutting and with a main entrance facing federal highway.
(3)
The space shall be soundproofed for any noise, vibration or base sound produced by any activity occurring inside the building.
(4)
Any lighting whether originating from the interior of the building or from exterior lighting shall be zero foot-candles when measured at grade level from any residential the property line.
(5)
No valet parking services including drives or parking allowed in any side of the building abutting a residential district.
(d)
Conflict with other provisions. In the event that any provision of this section conflicts with any other provisions of the land development code, the provisions of this section shall control to the extent of such conflict.
(Ord. No. 2016-0940, § 10, 6-28-2016)
(a)
Definition.Check cashing store means an establishment subject to regulation by F.S. ch. 560, money services businesses, and that provides check cashing and/or deferred presentment transactions.
(b)
Purpose. The intent of the following provisions is to allow as a conditional use check cashing stores or payday loans or similar use in the B-3A district.
(c)
Criteria. Along with the criteria specified in section 42-360, the following conditional use criteria shall apply to a check cashing stores or payday loans or similar use in the B-3A district:
(1)
Check cashing stores or payday loans in the city shall be separated 2,500 feet, by airline measurement, from each other and from a pawnshop in the city.
(d)
Conflict with other provisions. In the event that any provision of this section conflicts with any other provisions of the land development code, the provisions of this section shall control to the extent of such conflict.
(Ord. No. 2016-0940, § 10, 6-28-2016)
(a)
Definition.Theater or sports arena means a building or structure designed or intended for use for presentation of motion picture, dramatic, musical, or live performances, other entertainment and cultural events, spectator sports, entertainment events, expositions and/or other public gatherings, all occurring inside an enclosed structure.
(b)
Purpose. The intent of the following provisions is to allow as a conditional use theater, sports arena or similar use in the B-3A districts.
(c)
Criteria. Along with the criteria specified in section 42-360, the following conditional use criteria shall apply to a theater or similar use in the B-3A district:
(1)
Theater, sports arena or similar use with more than 100 seats shall be located in a stand-alone building.
(2)
The space shall be soundproofed for any noise, vibration or base sound produced by any activity occurring inside the building.
(3)
Any parking demand created by the proposed use shall not exceed the supply of parking spaces legally available within the parking areas allocated on the site as required by section 42-410 (minimum parking requirements). An applicant may be required to demonstrate that on-site traffic flow and parking will be sufficient to accommodate parking demands generated by the use, based on a current traffic and parking study prepared by a certified professional, if requested by the city.
(d)
Conflict with other provisions. In the event that any provision of this section conflicts with any other provisions of the land development code, the provisions of this section shall control to the extent of such conflict.
(Ord. No. 2016-0940, § 10, 6-28-2016)
(a)
Definition.Pawnshop means a business activity described in F.S. ch. 538, and which main purpose is to provide advances funds to a person on the security of pledged tangible personal property on condition that the pledged property is left in the possession of the pawnbroker until redeemed by the pledger within an established default time period, after which title in unredeemed property vests in the pawnbroker, who may then sell the property.
(b)
Purpose. The intent of the following provisions is to allow as a conditional use pawnshop or similar use in the B-3A district.
(c)
Criteria. Along with the criteria specified in section 42-360, the following conditional use criteria shall apply to a pawnshop or similar use in the B-3A district:
(1)
Pawnshops in the city shall be separated 2,500 feet, by airline measurement, from each other and from check cashing stores or payday loan stores in the city.
(d)
Conflict with other provisions. In the event that any provision of this section conflicts with any other provisions of the land development code, the provisions of this section shall control to the extent of such conflict.
(Ord. No. 2016-0940, § 10, 6-28-2016)
(a)
Definition.Consignment shop means a retail establishment primarily engaged in selling used non-donated, second-hand merchandise, and the merchandise is placed for sale with the establishment by the owner of the merchandise and upon sale of the merchandise, the purchase price is divided between the establishment owner and the owner of the merchandise.
(b)
Purpose. The intent of the following provisions is to allow as a conditional use consignment shop or similar use in the B-3A district.
(c)
Criteria. Along with the criteria specified in section 42-360, the following conditional use criteria shall apply to a consignment shop or similar use in the B-3A district:
(1)
Consignment shop shall be separated 2,500 feet, by airline measurement from one another.
(2)
No outdoor storage or display of items or merchandise allowed.
(3)
The establishment shall be limited to one type of merchandise, including but not limited to, clothing and related accessories, children's apparel and furniture, sporting equipment, or home furnishings.
(d)
Conflict with other provisions. In the event that any provision of this section conflicts with any other provisions of the land development code, the provisions of this section shall control to the extent of such conflict.
(Ord. No. 2016-0940, § 10, 6-28-2016)
(a)
Definition.Healthcare uses other than medical offices means small-scale facilities, with no overnight care treatment, where patients are admitted for examination and treatment by one or more physicians, other health practitioners on a short-term basis. These include, ambulatory surgical clinics, biofeedback centers, sleep disorder clinics, family planning clinics, birthing facilities, community health clinics, establishments offering services such as blood donor centers, surgical centers, 24-hour minor emergency centers, tissue and organ collection centers, and outpatient rehabilitation centers, substance abuse treatment centers, detox centers, medication and maintenance centers or similar use. This use does not include hospitals (which are much larger in scale) or in-patient drug or alcohol treatment facilities.
(b)
Purpose. The intent of the following provisions is to allow Healthcare Uses or similar uses in the B-3A district.
(c)
Criteria. Along with the criteria specified in section 42-360, the following conditional use criteria shall apply to Healthcare uses or similar use in the B-3A district:
(1)
Healthcare uses in the city as described in this section 42-371 shall be separated from similar uses 2,500 feet, by airline measurement.
(2)
Such uses shall be located in a stand-alone building directly abutting and with main access along federal highway.
(3)
No treatment or services shall be provided between the hours of 10:00 p.m. and 7:00 a.m. unless the facility provides services related to sleep disorders or an urgent care facility providing services 24 hours.
(4)
No overnight stay or care allowed unless the facility provides services related to sleep disorders or an urgent care facility providing services 24 hours.
(5)
Vehicular access, circulation systems and exterior signage shall be designed to provide safe and separate emergency vehicle access and parking to the facility with minimal conflicts with other vehicular or pedestrian traffic in the area.
(6)
Any parking demand created by the proposed use shall not exceed the supply of parking spaces legally available within the parking areas allocated on the site as required by section 42-410 (minimum parking requirements). An applicant may be required to demonstrate that on-site traffic flow and parking will be sufficient to accommodate parking demands generated by the use, based on a current traffic and parking study prepared by a certified professional, if requested by the city.
(d)
Conflict with other provisions. In the event that any provision of this section conflicts with any other provisions of the land development code, the provisions of this section shall control to the extent of such conflict.
(Ord. No. 2016-0940, § 10, 6-28-2016)
Editor's note— Ord. No. 2016-0940, § 10, adopted June 28, 2016, set out provisions intended for use as § 42-371. Inasmuch as there were already provisions so designated, and at the editor's discretion, these provisions have been included herein as a new § 42-370.1.
(a)
Definition. A state-licensed institution that provides primary health services and medical or surgical care to humans, primarily inpatients, who are sick or injured, and including as an integral part of the institution, related facilities such as clinical laboratories, outpatient facilities, training facilities, central service facilities and staff offices. Hospitals offer facilities and beds for use beyond 24 hours by persons needing medical treatment or service.
(b)
Purpose. The intent of the following provisions is to allow Hospitals or similar uses in the B-3A district.
(c)
Criteria. Along with the criteria specified in section 42-360, the following conditional use criteria shall apply to hospitals or similar use in the B-3A district:
(1)
Hospitals in the city shall be separated from similar uses 2,500 feet, by airline measurement.
(2)
Shall be located in a site with a minimum of 3 acres.
(3)
Such use shall be located in a stand-alone building directly abutting and with main access along federal highway.
(4)
No valet parking services including drives or parking allowed in any side of the building abutting a residential district.
(5)
Vehicular access, circulation systems and exterior signage shall be designed to provide safe and separate emergency vehicle access and parking to the facility with minimal conflicts with other vehicular of pedestrian traffic in the area.
(6)
Any parking demand created by the proposed use shall not exceed the supply of parking spaces legally available within the parking areas allocated on the site as required by section 42-410 (minimum parking requirements). An applicant may be required to demonstrate that on-site traffic flow and parking will be sufficient to accommodate parking demands generated by the based on a current traffic and parking study prepared by a certified professional, if requested by the city.
(7)
A perimeter security plan is required and shall address at a minimum the vehicular and pedestrian access to the site, parking area, and lighting.
(8)
Outdoor recreation or passive space shall be provided for both patients and visitors.
(d)
Conflict with other provisions. In the event that any provision of this section conflicts with any other provisions of the land development code, the provisions of this section shall control to the extent of such conflict.
(Ord. No. 2016-0940, § 10, 6-28-2016)
Editor's note— Ord. No. 2016-0940, § 10, adopted June 28, 2016, set out provisions intended for use as § 42-372. Inasmuch as there were already provisions so designated, and at the editor's discretion, these provisions have been included herein as a new § 42-370.2.
(a)
Definition. A shop in which the items sold (or given away to the needy) have been obtained through donations or gifts and where the donor receives no value upon the sale (or gift) of such merchandise to a thrift shop customer, and where the use is designed to sell donated merchandise at a price below reasonable market value, or where the revenue received from selling same is retained by a charitable or not-for-profit organization or institution.
(b)
Purpose. The intent of the following provisions is to allow as a conditional use thrift shops or similar use in the B-3A district.
(c)
Criteria. Along with the criteria specified in section 42-360, the following conditional use criteria shall apply to a thrift shop or similar use in the B-3A district:
(1)
Thrift shops shall be separated 2,500 feet, by airline measurement from one another.
(2)
Such use shall be located in a stand-alone building directly abutting and with main access along federal highway.
(3)
No outdoor storage or display of items or merchandise allowed.
(4)
Drop off, pick up and sorting area shall be located at the rear of the building and not be visible from adjacent properties.
(5)
All donation transactions shall occur inside the building. Exterior drop-offs, including permanent or temporary placement of exterior donation boxes, is prohibited.
(6)
A thrift store shall be a minimum of 12,000 square feet of total gross floor area and operated by a single tenant.
(d)
Conflict with other provisions. In the event that any provision of this section conflicts with any other provisions of the land development code, the provisions of this section shall control to the extent of such conflict.
(Ord. No. 2016-0940, § 10, 6-28-2016)
Editor's note— Ord. No. 2016-0940, § 10, adopted June 28, 2016, set out provisions intended for use as § 42-373. Inasmuch as there were already provisions so designated, and at the editor's discretion, these provisions have been included herein as a new § 42-370.3.
(a)
Exceptions . The side, street side, rear, and front setback spaces of any lot or parcel of land shall be open and unobstructed from the ground to the sky, with the exception of the following:
(1)
Ordinary projection of cornices, eaves, gutters, belt courses, and window sills, none of which to exceed three feet.
(2)
Flagpoles.
(3)
Fixed or movable window and door awnings limited to a projection not to exceed one-third of the minimum setback (side, rear or front) applicable to such lot. No such awning shall be supported from the ground in the setback area.
(4)
Mechanical equipment such as air-conditioning compressors, pool filters, water softeners, LP gas tanks, sprinkler controls, pool heaters, and any concrete pads used to support such mechanical equipment.
(5)
Underground garbage containers.
(6)
Unenclosed patios located no closer than four feet from the side lot line between the rear building setback line and the rear property line. Street side yards are exempt from this four foot setback requirement.
(7)
Landscaping, including grass, low growing ground cover that covers the ground in place of grass, mulch, pebbles, bark chips, or other horticulturally suitable and pervious ground cover, shrubs, vines, trees, palms, or hedges. Hedges shall be subject to height limitations as provided elsewhere in this Code.
(8)
Walls and fences with height limitations as provided elsewhere in this Code.
(9)
Unenclosed pools, spas, and hot tubs subject to limitations as provided elsewhere in the Code.
(10)
Diving boards, sliding boards, and children's playground equipment. Children's playground equipment is defined to include swing sets with or without slides and other similar type appurtenances that do not exceed ten feet in height nor a foot print of no more than 100 square feet, measured on the ground by creating a square or rectangle around the ground contacts and not in the front setback area.
(11)
Driveways and walkways. Walkways located closer than three feet from the side lot line shall be constructed to retain rainwater on the property. Rain gutters shall be installed as necessary. Driveways are subject to setbacks from property lines, as provided elsewhere in this Code.
(12)
Permanent structures of not more than three feet in height nor more than 100 square feet in area and not located within eight feet of the rear and side lot line.
(13)
With respect to any front or rear setback or any side setback area which fronts on a dedicated public street, any bay window or balcony may intrude into such setback area, as follows:
a.
No more than two bay windows allowed per setback, provided that each bay window is limited in length to 12 feet and does not extend into the setback area any further than three feet and is cantilevered off the ground at least 12 inches from the lowest finished floor elevation of the first floor.
b.
For any parcel that has a setback area of 15 feet or more on the facade where balconies are located, the combined total length of balconies allowed per setback shall not exceed 40 percent of the facade measured along the ground from the side walls in a straight line, may not extend into the setback any further than five feet, and may not be supported from the ground within the setback area. The same criteria shall apply to any parcel that has a setback area of less than 15 feet on the facade where the balconies are located except that they may not extend further than one-third of the setback area.
(14)
Open air shade structures as defined in section 42-242, and which satisfy all of the following requirements:
a.
No portion shall encroach closer than ten feet from the rear lot line;
b.
No portion shall encroach closer than the required building setback from a side lot line;
c.
For any open air shade structure constructed with combustible thatched materials, no portion of the structure shall be closer than five feet from the residential structure;
d.
No portion shall exceed 15 feet in height from normal grade level, and in no instance should any portion of the structure be higher than the roofline of the principal structure;
e.
The covered portion of the structure shall not exceed 150 square feet, as measured from the center of support posts;
f.
The maximum roof projection from the structure shall be no greater than three feet;
g.
The structure must be open on all sides, from normal grade level to the roof beam;
h.
No more than one open air shade structure shall be permitted per lot;
i.
All required building permits shall have been obtained; and
j.
The roof of the open air shade structure shall not be used as a deck, balcony, or for any other use, and no stairs shall extend to the roof of the open air shade structure.
(b)
Prohibited. The following is a list of structures that are specifically prohibited in the side, street side, rear, and front setback spaces of any lot or parcel of land, but it is not intended to be a complete exclusive list of prohibited structures:
(1)
Awnings, canopies, or other roof-like structures supported from the ground in the setback area.
(2)
Any above-the-ground pool.
(3)
Except as permitted in subsection 42-371(a)(14), gazebos, cabanas, chickee huts, and orchid or flower enclosures.
(4)
Sheds.
(5)
Clothesline poles.
(6)
Satellite dish antennae and television receiving antennae in the front yard.
(c)
Administration deviation from the requirements in subsection 42-37l(a)(14) for existing open air shade structures. A property owner may apply for an administrative deviation from the requirements of subsection 42-371(a)(14) of this Code for an open air shade structure, in existence as of May 20, 2014, and/or any improvements contained within the open air shade structure in existence as of May 20, 2014, pursuant to the procedure described herein.
(1)
The application for an administrative deviation shall be executed and submitted by the property owner, or their authorized representative, to the city's building department. The property owner may request approval for an administrative deviation from the requirements contained only in subsections 42- 371(a)(14)a., b., c., d., e. and f. The city commission may establish a fee for the application for an administrative deviation. An administrative deviation shall permit the structure to remain as a legal non-conforming use.
(2)
The application for an administrative deviation shall be reviewed by the city administrator, fire chief, and city planner.
(3)
The decision on an application shall be made in writing and is final. In the event the property owner desires to appeal a denial of the request for an administrative deviation, the appeal shall be considered by the planning and zoning board. For purposes of this consideration of the appeal, an appeal of a denial of an administrative deviation shall be considered to be an appeal of a decision or determination of an administrative official.
(Code 1979, ch. 21, § 5.12; Ord. No. 2004-837, § 2, 1-27-2004; Ord. No. 2014-0911, § 2, 7-8-2014)
(a)
Construction of a new pool or terrace shall be completed such that the elevation shall be at a point not less than six inches below a horizontal line extended from the lowest residence living area ground floor level.
(b)
Where an existing terrace or pool coping is to be resurfaced, the resurfacing may be constructed such that the elevation shall be at a point of not less than two inches below a horizontal line extended from the lowest residence living area ground floor level.
(c)
The elevation limitations for terraces shall not apply to pervious surfacing materials.
(d)
All water-bearing wall surfaces of swimming pools shall be located within the following setback limitations:
(1)
Twenty-five feet from the front lot line on noncorner lots.
(2)
On all corner lots, five feet from the side lot line which abuts and faces any street, with the proviso that should any pool be located within the side building setback area of any lot as established in sections 42-341, 42-342, 42-343, 42-344 and 42-345, then the pool shall be surrounded by a fence adjacent to the pool of the maximum height allowable under other provisions of this Code and of such solid design or construction so as to completely and fully screen the pool from view from the adjacent property and the road right-of-way upon which the property abuts.
(3)
Eight feet from all other lot lines.
(e)
On all residential properties in the city zoned RS-5 (single-family residential nonwaterfront), the side and rear setback requirement for all water-bearing wall surfaces of swimming pools shall be five feet from the rear and side lot line. When any pool is constructed under these provisions then such pool shall be fenced with a solid fence; or a solid green hedge permanently maintained in a healthy, green condition along with a barrier as required by the Residential Swimming Pool Safety Act. Such solid fence or green hedge shall be maintained no less than five feet in height nor more than six feet in height from normal ground level, or no more than six feet plus one-half of the required increase of the minimum finished floor elevation when FEMA requires the finished floor elevation to be raised more than 18 inches above the crown of the road, measured from normal ground level. By way of example, if FEMA requires the finished floor elevation to exceed 18 inches above the crown of the road by 12 additional inches, then the maximum height of the solid fence may increase by six inches, so then the maximum height of the solid fence shall not exceed six feet, six inches as measured from normal ground level. To the extent that these provisions conflict with subsection (c) of this section, these provisions shall apply.
(f)
All of the provisions of subsections (a), (b) (c) and (d) of this section shall apply to spas or hot tubs, whether they are constructed as an integral part of a pool, or freestanding, with the exception that a spa or hot tub may be constructed to a height of three feet above the pool or terrace height.
(Code 1979, ch. 21, § 5.13; Ord. No. 2002-815, § 2, 7-9-2002; Ord. No. 2017-0953 , § 2, 10-24-2017)
(a)
There is hereby established within the city a line to be known as the "Lighthouse Point Easterly Building Construction Line." The Lighthouse Point Easterly Building Construction Line shall be located on and coincident with the westerly right-of-way line of the Intracoastal Waterway as the such westerly right-of-way line is now established and located as of the date of this section.
(b)
With respect to any lots or properties adjacent to the Lighthouse Point Easterly Building Construction Line all platted lots together with the properties lying east of such lots shall for the purpose of this section be deemed one lot.
(c)
The Lighthouse Point Easterly Building Construction Line shall be the line used for rear setback calculations with respect to any residence or detached garage being built on such lots or properties. The mean high water line shall be the rear lot line for all other construction setback purposes and calculations. The building official may require a sealed survey showing the mean high water line if needed to verify the location of improvements to be constructed near or adjacent thereto. All property owners are hereby notified that the construction is being placed in an area which is subject to an easement owned by the United States of America and any such construction is placed at the risk of the property owner and the city disclaims any liability respecting the such construction.
(d)
No construction shall be authorized east of the mean high water line other than docks and pilings permitted by the city and the corps of engineers.
(Code 1979, ch. 21, § 5.15)
On any lot or parcel of land which is zoned residential pursuant to the provisions of sections 42-341, 42-342 and 42-343, in order to provide proper drainage, no more than 75 percent of such lot or parcel of land may be improved with buildings and other structures. The remaining 25 percent shall remain in its unconstructed state and its use restricted to landscaping. The only exceptions to this shall be the following:
(1)
In the case of a patio deck which is constructed of wood and there are spaces between the wood boards sufficient to allow water to drain through the deck, then such wooden deck shall be permitted in the setback area, but no closer than four feet from the side lot line.
(2)
In any situation where the property has been designed to retain and percolate all water on the property and not to shed such water on adjacent properties then the retention and percolation of such water shall be permitted. The drainage plan must be established to the satisfaction of the city engineer who shall be provided a copy of such plan which must be prepared by a registered engineer and under seal.
(Code 1979, ch. 21, § 5.16)
(a)
All walls and fences constructed after January 23, 1990 shall be constructed so as the finished side of the fence faces out or away from the property upon which the fence is constructed, and all support posts and the unfinished side of the fence shall be on the inside of the fence facing the property upon which such fence is being constructed. All fences other than wood and chainlink shall be constructed so as to have a finished surface, to wit, concrete block fence shall have a plastered finish on all sides above ground level.
(b)
All fences shall be constructed pursuant to the maintained plumb and square and substantially in the same condition as when originally constructed so that all loose boards be nailed tight and missing or rotten boards replaced as required.
(c)
Columns shall be allowed to exceed the height limitations of walls and fences by 25 percent in both waterfront and nonwaterfront residential areas under the following conditions:
(1)
The column shall not be any wider than 18 inches.
(2)
Columns are permitted at each end of the fence or wall, at any location where the fence line makes at least a 45 degree turn, and any other point where a clear distance of ten feet between columns is maintained.
(3)
Light fixtures and other ornamental features are permitted on top of the columns as long as they are limited to a height of 18 inches above the column.
(4)
In front and side yards, gates which are at least 75 percent see-through are permitted to a height of eight feet, otherwise gates in all residential areas shall not exceed the height restrictions of walls and fences.
(Code 1979, ch. 21, § 5.17)
(a)
In nonwaterfront residential lots, walls or fences of either open or solid design and construction may be erected and maintained on or between the rear building setback line, as extended, and the rear lot line to a maximum height of not more than six feet from normal ground level, or not more than six feet plus one-half of the required increase of the minimum finished floor elevation when FEMA requires the finished floor elevation to be raised more than 18 inches above the crown of the road, measured from normal ground level. By way of example, if FEMA requires the finished floor elevation to exceed 18 inches above the crown of the road by 12 additional inches, then the maximum height of the wall or fence for the nonwaterfront residential lot may increase by six inches, so then the maximum height of the wall or fence shall not exceed six feet, six inches as measured from normal ground level.
(b)
Walls or fences of either open or solid design and construction may be erected and maintained on or between the rear building setback line, as extended, and the front building setback line, to a maximum height of not more than six feet from normal ground level, or not more than six feet plus one-half of the required increase of the minimum finished floor elevation when FEMA requires the finished floor elevation to be raised more than 18" above the crown of the road, measured from normal ground level. By way of example, if FEMA requires the finished floor elevation to exceed 18 inches above the crown of the road by 12 additional inches, then the maximum height of the wall or fence between the rear setback line and the front building setback line may increase by six inches, so then the maximum height of the wall or fence shall not exceed six feet, six inches as measured from normal ground level. From the front setback line to the front lot line the maximum height of any wall or fence shall exceed no more than five feet from normal ground level.
(c)
Hedges may be erected and maintained as follows:
(1)
Along the rear lot line to a maximum height of not more than eight feet from normal ground level, subject to adjustment for FEMA required minimum floor elevation as permitted by subsections (6) and (7) below.
(2)
On or between the rear lot line and the front setback line to a maximum height of not more than eight feet from normal ground level, subject to adjustment for FEMA required minimum floor elevation as permitted by subsections (6) and (7) below.
(3)
Hedges that face the street at or behind the front setback line in a straight line, parallel to the front setback line, from the side lot line to the corner on the same side of the main residential structure nearest to the front setback, may be erected and maintained to a maximum height of not more than eight feet from normal ground level, subject to adjustment for FEMA required minimum floor elevation as permitted by subsections (6) and (7) below.
(4)
From the front setback line to the front lot line the maximum height of any hedge shall exceed no more than five feet from normal ground level.
(5)
All other permitted hedges to a maximum height of not more than six feet from normal ground level, subject to adjustment for FEMA required minimum floor elevation as permitted by subsections (6) and (7) below.
(6)
The maximum heights shall be permitted to be increased by one-half of the required increase of the minimum finished floor elevation when FEMA requires the finished floor elevation to be raised more than 18 inches above the crown of the road, measured from normal ground level. By way of example, if FEMA requires the finished floor elevation to exceed 18 inches above the crown of the road by 12 additional inches, then the maximum height of the hedge for the lot may increase by six inches, so then the maximum height of the hedge otherwise permitted to be eight feet shall not exceed eight feet, six inches as measured from normal ground level.
(7)
Hedges installed on properties directly adjacent to a property that is required by FEMA to increase the minimum finished floor elevation, and does increase the finished floor elevation, may be erected and maintained at the height authorized by this subsection as if they were subject to the FEMA mandated increased finished floor elevations of the adjacent property.
(8)
No such wall, fence or hedge, erected or maintained on a corner lot within 25 feet of the corner, shall obstruct the vision of drivers of vehicles approaching the street intersection.
(9)
Except as provided in subsection (f), a wall or fence which faces a street whether on the property line or within the building setback area shall be landscaped with a hedge. The hedge must be a minimum of 18 inches at time of planting. The hedge must be irrigated, trimmed, and maintained at a height of a minimum of three feet to the maximum hedge height permitted by this ordinance at the location of the wall or fence. The hedge must be installed along a minimum of two-thirds of the length of the wall or fence which faces a street excluding gates and other openings. When a fence or wall is adjacent to a city sidewalk or street pavement, a setback of a minimum of two feet will be required between the sidewalk or street pavement and fence or wall to allow for the installation of a hedge.
(10)
The following shall not be required to meet the landscaping requirements of subsection (e):
a.
Fences which are 75 percent see-through or portions thereof, except chainlink fences;
b.
Fences and walls determined by the city's planner to be decorative based upon guidelines established by the city's administration;
c.
A wall or fence setback 25 feet from the front street property line.
(Code 1979, ch. 21, § 5.18; Ord. No. 2005-856, § 2, 11-22-2005; Ord. No. 2017-0953 , § 3, 10-24-2017; Ord. No. 2017-0956 , § 2, 2-13-2018)
(a)
On waterfront residential lots, walls, fences, hedges and similar structures or continuous plantings may be located between the rear setback line and the rear or side yard property line adjacent to a canal as follows:
(1)
Solid fence or wall and contiguous hedge as not to exceed three feet in height over normal ground level.
(2)
Chainlink fences which are 90 percent see-through not to exceed four feet in height over normal ground level.
(3)
Picket fences with spindles which are no thicker than one and one-half inches by one and one-half inches with a clear separation between spindles of at least four inches and which fence shall not exceed four feet in height over normal ground level.
(b)
A terrace or patio constructed to a point between the rear setback line and the rear lot line may be constructed with the following conditions:
(1)
Construction of the terrace or patio should be at least six inches below the horizontal line extended from the residence ground floor level.
(2)
The height of the terrace or patio at the seawall shall not exceed three feet above the height of the seawall or in the event there is no seawall, six feet NAVD (seven feet six inches NGVD) above mean sea level. As the terrace or patio recedes away from the seawall, the elevation thereof may increase one-half foot in height for each one foot distance from the seawall. The terrace or patio may never be higher than six inches below the horizontal extension of the lowest floor elevation in the house.
(3)
A wall or fences, which shall not exceed four feet in height, that is constructed so as to be at least 75 percent see-through and which does not obstruct the view of the canal from the immediately adjacent lots may be erected and maintained on any terrace or patio.
(4)
Terraces and patios shall not extend beyond the seawall. Any extension of the terrace or patio past the landward side of the seawall shall be considered part of the dock and the height limitations of docks shall apply to such terrace or patio extension.
(c)
No wall, hedge, step or other structure shall be erected upon a seawall or dock, with the exception that a chainlink or aluminum fence of 90 percent see-through visibility, not more than four feet above the top of the seawall or dock, may be erected only upon the seawall or dock along the side property line or extension of the adjacent side property line.
(d)
Walls, or fences of either open or solid design and construction may be erected and maintained on or between the rear building setback line, as extended, and the front building setback line, to a maximum height of not more than six feet from normal ground level, or not more than six feet plus one-half of the required increase of the minimum finished floor elevation when FEMA requires the finished floor elevation to be raised more than 18 inches above the crown of the road, measured from normal ground level. By way of example, if FEMA requires the finished floor elevation to exceed 18 inches above the crown of the road by 12 additional inches), then the maximum height of the wall or fence, or hedge for the waterfront residential lot may increase by six inches, so then the maximum height of the wall, fence, shall not exceed six feet, six inches as measured from normal ground level. From the front setback line to the front lot line the maximum height of any wall or fence, shall exceed no more than five feet from normal ground level. No such wall or fence or hedge, erected or maintained on a comer lot within 25 feet of the comer, shall obstruct the vision of drivers of vehicles approaching the street intersection.
(e)
Hedges located on the property other than between the rear setback line and the rear or side yard property line adjacent to a canal may be erected and maintained as follows:
(1)
On or between rear building setback line, as extended, and the front building setback line to a maximum height of not more than eight feet from normal ground level subject to adjustment for FEMA required minimum floor elevation as permitted by subsections (5) and (6) below;
(2)
Hedges that face the street at or behind the front setback line in a straight line, parallel to the front setback line, from the side lot line to the corner on the same side of the main residential structure nearest to the front setback, may be erected and maintained to a maximum height of not more than eight feet from normal ground level, subject to adjustment for FEMA required minimum floor elevation as permitted by subsections (5) and (6) below;
(3)
From the front setback line to the front lot line the maximum height of any hedge shall exceed no more than five feet from normal ground level:
(4)
All other permitted hedges in areas of the property addressed in this subsection (e) to a maximum height of not more than six feet from normal ground level, subject to adjustment for FEMA required minimum floor elevation as permitted by subsections (5) and (6) below;
(5)
The maximum heights of hedges in areas of the property addressed in this subsection (e) shall be permitted to be increased by one-half of the required increase of the minimum finished floor elevation when FEMA requires the finished floor elevation to be raised more than 18 inches above the crown of the road, measured from normal ground level. By way of example, if FEMA requires the finished floor elevation to exceed 18 inches above the crown of the road by 12 additional inches, then the maximum height of the hedge for the lot may increase by six inches, so then the maximum height of the hedge otherwise permitted to be eight feet shall not exceed eight feet, six inches as measured from normal ground level;
(6)
Hedges installed on properties directly adjacent to a property that is required by FEMA to increase the minimum finished floor elevation, and does increase the finished floor elevation, may be erected and maintained at the height authorized by this subsection as if they were subject to the FEMA mandated increased finished floor elevations of the adjacent property.
(f)
Except as provided in subsection (g), a wall or fence which faces a front or side street yard or a wall or fence within the front or side street yard setback which faces the street or streets shall be landscaped with a hedge. The hedge must be a minimum of 18 inches at time of planting. The hedge must be irrigated, trimmed, and maintained at a height of a minimum of three feet to the maximum hedge height permitted by this article at the location of the wall or fence. The hedge must be installed along a minimum of two-thirds of the length of the wall or fence which faces a street excluding gates and other openings. When a fence or wall is adjacent to a city sidewalk or street pavement, a setback of a minimum of two feet will be required between the sidewalk or street pavement and fence or wall to allow for the installation of a hedge.
(g)
The following shall not be required to meet the landscaping requirements of subsection (f):
(1)
Fences which are 75 percent see-through or portions thereof, except chainlink fences;
(2)
Fences and walls determined by the city's planner to be decorative based upon guidelines established by the city's administration;
(3)
A wall or fence setback 25 feet from the front street property line.
(Code 1979, ch. 21, § 5.19; Ord. No. 2005-849, § 2, 4-12-2005; Ord. No. 2005-856, § 3, 11-22-2005; Ord. No. 2015-0922, § 5, 1-27-2015; Ord. No. 2017-0953 , § 4, 10-24-2017; Ord. No. 2018-0958 , § 2, 2-13-2018)
In all waterfront residential lots boat davits, lifts, elevators, floating vessel platforms, and floating boat lifts shall not be constructed on nor supported by the seawall cap and:
(1)
Boat lifts installed on all canals and waterways of the city which are supported from the landward side of the lift and boat davits shall maintain the residential structure side yard setback from the side property lot line. No boat shall be docked or placed on a lift in such position that it extends beyond the side yard lot line.
(2)
Boat elevators installed in all canals and waterways of the city shall set back a minimum of 25 feet from the side yard lot line. For a waterway or canal that is 100 feet or more in width, boat elevators shall be placed at least 25 feet from the centerline of the waterway. For a waterway or canal that is less than 100 feet in width, boat elevators shall be placed at least 20 feet from the centerline of the canal or waterway.
(3)
Boat ramps are not permitted in any residential zone of the city.
(4)
Floating vessel platforms and floating boat lifts shall have the same meaning as set forth in F.S. § 403.813(1)(s). Floating vessel platforms and floating boat lifts shall comply with the residential side setback requirement. For a waterway or canal that is 100 feet or more in width, floating vessel platforms and floating boat lifts shall be placed at least 25 feet from the centerline of the waterway. For a waterway or canal that is less than 100 feet in width, floating vessel platforms and floating boat lifts shall be placed at least 20 feet from the centerline of the canal or waterway.
(5)
Awnings, roofs, bimini tops, or other similar structures are not permitted on boat davits, lifts, elevators, floating vessel platforms, and floating boat lifts.
(Ord. No. 2016-0942, § 2, 9-12-2016; Ord. No. 2017-0949 , § 2, 9-13-2017)
Editor's note— Ord. No. 2016-0942, § 2, adopted Sep. 12, 2016, amended § 42-378 in its entirety to read as herein set out. Former § 42-378 pertained to boat davits, lifts, elevators and ramps and derived from Code 1979, ch. 21, § 5.20.
(a)
Except as provided hereinafter in this subsection (a), in any instance where business property abuts property with residential zoning classification, the owner of the business property shall, before using the such property, construct a CBS or poured concrete fence of eight feet in height on the business property so as to adequately screen such business property from the abutting residential property. In the event of a conflict with a recorded utility or government easement, the owner of the business property shall be permitted to construct a PVC fence, provided that:
(1)
The owner of the business property provides the city's zoning department with a sealed copy of a survey showing the recorded easement in relation to the proposed location of the wall;
(2)
The owner of the business property provides written documentation from the easement holder to the city's zoning department objecting to the use of CBS and poured concrete within the easement;
(3)
The use of PVC shall be limited to only the portion of the wall affected by the conflicting easement and the easement holder's objection;
(4)
The height of the PVC wall shall be eight feet;
(5)
The PVC fence shall be constructed without any gaps or openings, particularly at grade.
(b)
In any instance where residentially zoned property abuts property zoned for business classification, the owner of the residential property shall have the option to construct a wooden, CBS, concrete, or shrubbery fence not to exceed eight feet in height on the residential property where the residentially zoned property abuts the business property so as to adequately screen the business property from the residential property.
(Code 1979, ch. 21, § 5.21; Ord. No. 2005-845, § 2, 1-25-2005)
(a)
No dock on any canal or waterway within the city shall extend more than eight feet from the landward side of the seawall cap or from the property line, whichever is closer to the water. Where canals or waterways are at least 100 feet wide, such docks or piers shall not extend more than ten feet from the landward side of the seawall cap or from the property line, whichever is closer to the water. In no case, however, may the width of the dock be more than six feet wide on a canal less than 100 feet, or more than eight feet wide on a canal 100 feet wide or greater.
(b)
All docks shall be provided with safety ladders from the dock or pier to the low-water mark of the canal.
(c)
All docks, pilings and safety ladders shall be maintained in a safe condition.
(d)
For the purpose of assisting in the mooring of boats parallel to adjoining property, freestanding pilings or dolphins unconnected to any dock, may be placed in the waterways and canals of the city, subject to the provisions of this section. A freestanding piling or dolphin installed within a waterway or canal within the city shall be constructed and maintained in conformance with the following requirements:
(1)
Number of pilings. The number of individual pilings which may be installed adjacent to any property shall be as follows:
(2)
Distance from centerline and rear lot line. Pilings shall be placed at least 25 feet from the centerline of a waterway or canal that is 100 feet or more in width. For a waterway or canal that is less than 100 feet in width, pilings shall be placed at least 20 feet from the centerline of the canal or waterway. In no case, however, shall a piling be placed more than 30 feet from the rear lot line.
(3)
Side setback requirement. Pilings shall not be placed within the area bounded by the extension of the adjacent side property line extended into the canal and the extension of the adjacent side setback line extended into the canal.
(4)
Construction and removal. Pilings shall be constructed of preservative-treated wood, with a minimum butt diameter of at least 12 inches, and a length of 30 feet. Wrapping of pilings with any protective materials, such as but not limited to, metal, plastic or other similar materials, is prohibited. The piling shall be set in the canal or waterway so that, after being driven into the bottom of the canal or waterway, the piling extends no less than six feet nor more than eight feet above the water level at mean high tide. All pilings shall have reflective devices installed parallel to the canal or waterway located no more than two feet below the top of the piling. Any piling that is broken, or has lost at least 50 percent of the diameter of the wood at any location on the piling due to deterioration or damage shall be removed. Concrete or cement patches are prohibited to be used to repair or replace pilings. Property owners shall not install pilings or dolphins unless all necessary permits or approvals are obtained from other agencies that may have regulatory authority, such as but not limited to the United States Army Corps of Engineers, the Florida Department of Environmental Protection and Broward County Department of Planning and Environmental Protection, and the Property Owner shall be responsible for obtaining all such necessary permits or approvals.
(5)
Two or more pilings bound together, commonly referred to as a "dolphin," may not be installed in any canal or waterway of the city other than the intracoastal waterway. Each dolphin must meet all requirements of this subsection (d). For purposes of this subsection (d), each dolphin shall be considered to be the equivalent of one piling and all references to pilings shall include dolphins.
(6)
Subsequent to the installation of the piling, the property owner shall provide the city with a certified survey depicting the actual location of the installed piling(s).
(e)
No dock shall be constructed to a height greater than four inches above the height of the seawall. In the event a seawall is not constructed, a dock shall be limited in height to 4.0 feet NAVD (5.5 feet NGVD) above mean sea level. Any extension of a terrace or patio past the landward side of the seawall shall be considered part of the dock and the height limitations continued herein shall apply to such terrace or patio extension.
(Code 1979, ch. 21, § 5.22; Ord. No. 2001-797, § 2, 11-13-2001; Ord. No. 2002-0811, § 2, 5-28-2002; Ord. No. 2015-0922, § 6, 1-27-2015)
(a)
All seawalls within the city shall have a cap elevation of 4.0 feet NAVD (5.5 feet NGVD) above mean sea level. Owners of all real property on canals or waterways in the city as described in all waterfront property in Blocks 48, 51, 52, 57, 58, 60, 61, 63, 64, Venetian Isles 3rd Section, Plat Book 47, Page 13 of the public records of the county are hereby authorized to raise or cap existing seawalls to a height after improvement of 4.0 NAVD (5.5 feet NGVD) feet above mean sea level. In recognition of construction difficulties and soils settling, a seawall cap elevation of not less than three feet eight inches nor more than four feet four inches NAVD (not less than five foot two inches nor more than five feet ten inches NGVD) above mean sea level shall be considered to be in conformance with this subsection.
(b)
Any seawalls existing as of the effective date of this section with a cap elevation of less than three feet eight inches NAVD above mean sea level shall be permitted to remain, except that the seawall shall be reconstructed to meet the requirements in subsection (a) above when an area of 50 percent or more of the existing seawall is repaired or reconstructed or when the property is developed or redeveloped for a new principal building or for improvements exceeding 50 percent of the value of existing improvements on the property.
(c)
Any seawalls existing as of the effective date of this section with a cap elevation greater than four feet four inches NAVD (five feet ten inches NGVD) above mean sea level shall be permitted to remain, provided that the seawall is structurally sound. When an existing seawall is to be repaired, the seawall shall be inspected by a licensed structural engineer and, if the engineer certifies that the seawall is structurally sound, the seawall may remain at its current height. If the seawall is determined not to be structurally sound, or if the seawall is to be removed and reconstructed, then the seawall shall be reconstructed to meet the requirements of subsection (a).
(d)
If a retaining wall is constructed behind a seawall, then the retaining wall shall be independently supported, and the top of any such retaining wall shall not exceed a height of three feet or an elevation of six feet NAVD (seven and one-half feet NGVD), at the seawall cap, whichever is less.
(Code 1979, ch. 21, § 5.23; Ord. No. 2002-0807, § 2, 2-26-2002; Ord. No. 2015-0922, § 7, 1-27-2015)
On those waterfront properties within the city where rip-rap seawalls are required, the following criteria shall apply in all cases:
(1)
The rip-rap seawall shall be constructed at the property line. The owner of the property shall present a sealed site plan depicting the water depth and position of the wall and the plans shall be presented to the planning and zoning board of the city.
(2)
The ultimate location and configuration of the wall shall be as approved by the planning and zoning board.
(3)
The rip-rap seawall shall be constructed with a one over three slope.
(4)
The slope of the ground in the water leading away from the property line shall be a one over four slope.
(5)
The land underneath the rip-rap rock shall be stabilized with a layer of permeable cloth to prevent washout of the soil from under such rip-rap rock.
(6)
When rip-rap walls abut a property that has a precast concrete or a rubble concrete seawall, then the property upon which the rip-rap wall is being installed shall take such steps as may be required to protect the adjacent seawall property from washout.
(7)
All rip-rap material shall consist of indigenous stone measuring between one foot to three feet in diameter.
(Code 1979, ch. 21, § 5.24)
On all single-family and duplex lots of the city, driveways shall be permitted in the city rights-of-way with the following limitations:
(1)
On all lots fronting on one street, two driveways shall be permitted with a maximum combined width of 40 percent of the front property line. There shall always be maintained a clear distance of at least 20 feet between driveways.
(2)
On all lots fronting on two streets, a third driveway may be constructed on the second street not to exceed 18 feet in width if a two- or three-car garage or carport is located on the second street; otherwise, the maximum width of a driveway on the second street shall be 12 feet.
(3)
All driveways must maintain a four-foot setback from the adjacent properties and must connect to a solid surface on the lot measuring at least ten feet by 20 feet which would allow for the parking of a motor vehicle completely off the city right-of-way.
(4)
On lots with less than 70 feet of street frontage, a driveway up to 20 feet in width is permitted with the provision that a four-foot setback from adjacent properties is maintained.
(Code 1979, ch. 21, § 5.25)
(a)
Before any structure is erected upon a lot, the lot shall be graded to a minimum elevation equal to the crown of the road, but not to exceed a maximum elevation of three feet above the crown of the road.
(b)
No lot, at the lot line, shall be graded to a level higher than 18 inches above the crown of the adjoining roadway.
(c)
The minimum elevation of any ground floor used as living area shall be not less than 18 inches above the crown of the road or the lowest floor elevation required by the Florida Building Code, whichever is highest; however, in no event shall the ground floor elevation be more than three feet above the crown of the road unless required by the Florida Building Code.
(Code 1979, ch. 21, § 5.26; Ord. No. 2002-0809, § 7, 3-26-2002; Ord. No. 2012-0902, § 4, 9-13-2012)
(a)
As used herein, "satellite dish antenna" means any device incorporating a reflective surface that is solid, open mesh, or bar configured and is in the shape of a shallow dish, cone, horn, cornucopia, or flat plate. Such device shall be used to receive or transmit radio or electromagnetic waves between terrestrially and/or orbitally based units. This definition is meant to include but not be limited to what is commonly referred to as satellite earth stations, satellite receivers, satellite discs, direct broadcast system (DBSs), television reception only systems (TVROs), and satellite microwave antennas.
(b)
No satellite dish antenna shall be erected within the boundaries of the city without a permit from the city. No satellite dish antenna shall be erected on any property without complying with all of the following applicable provisions. No more than one satellite dish antenna may be located on a parcel of land zoned as set forth above except as hereinafter provided.
(c)
Application for a permit shall be made to the city building department by the owners of the land and the persons in possession of the land accompanied by a dimensioned site plan of the parcel of land upon which the satellite dish antenna is to be located, which plan shall show the parcel of land in question, all structures located on such land and the proposed location of the satellite dish antenna. It shall also be accompanied by the manufacturer's installation requirements and product specifications. The city building official may require any additional information that would assist in determining visual intrusion, structural safety or otherwise assist in issuing the permit.
(d)
All satellite dish antennas and supporting reinforced concrete slabs, except for those permitted for roof installation as hereinafter provided, shall be permanently affixed to the ground and shall be constructed in accordance with the provisions of the Florida Building Code, and Broward County Administrative Provisions, as may be amended from time to time, and the city building code.
(e)
The location of the satellite dish antenna shall be in the following locations on the property with priority to the lower numbered locations over any higher numbered locations:
(1)
Within the building area of the lot.
(2)
Within the rear setback area of the lot. If the rear of the property is located on water the satellite dish antennas shall be located as close to the house as possible, but no closer than ten feet to the water. In rear waterfront lots the dish shall be at least four feet from the side lot line.
(3)
Within the side setback except that no dish shall be permitted in a street side setback area.
(4)
If all of the above locations do not provide for receipt of a reasonable number of satellite signals due to tree, structure or other interference, then the dish may be mounted on an approved support pole so that the dish may be raised to a height not in excess of 30 feet, but in no event any higher than is necessary to receive a reasonable amount of transmitted satellite signals. In all such pole-support structures the pole shall be anchored to the house for safety and support purposes. If the satellite dish antenna cannot receive a reasonable amount of transmitted satellite signals at the 30-foot height, then the owner and occupant may petition the city planning and zoning board for a variance to exceed such height, but in no event any higher than 40 feet. The planning and zoning board shall consider applicant's right to reasonable satellite signal reception but not necessarily optimal signal reception in considering the height variance. The variance application shall be accompanied by a fee as provided in Appendix A of this Code, and notice shall be sent to the owners of properties lying within 200 feet of the applicant's property. All height measurements, whether 30 feet in height or up to 40 feet in height, shall be measured from normal ground level.
(5)
The choice of locations in sequence order shall be based on each location's ability to receive direct reception of unencrypted and authorized reception of encrypted satellite television transmissions. This shall not mean any one location must be able to receive optimal number of signals but such that satellite signal reception is not unreasonably hindered or technically impossible.
(f)
No satellite dish antenna shall be placed upon the roof of any structure situated on any property within the city other than property zoned RM-25, B-1, B-2, B-2A, B-3, or B-3A, and on such RM-25 and commercial-zoned property two satellite dish antennas may be installed.
(g)
The dish or bowl of the satellite dish antenna shall not exceed ten feet in diameter.
(h)
On property zoned RM-25 or for business use, the satellite dish antenna shall be placed either within the 15-foot rear setback area or on the roof of the commercial building, at the option of the owner or person in possession of the property. No more than two satellite dish antennas shall be located on any such zoned property.
(i)
All satellite dish antennas and supporting masts shall be made of noncombustible and corrosive-resistant materials, be black or gray in color or such other color that is neutral or such that it may blend with the surrounding area where it is to be installed. The administrative assistant to the mayor shall make such determination that any other color is neutral if such color blends with the surrounding dominant color, such color helps camouflage the satellite dish antenna and such color is neither bright nor metallic. All satellite dish antennas shall be adequately grounded for protection against a direct stroke of lightning, with an adequate ground wire.
(j)
No advertising in any form shall be permitted on any part of the satellite dish antenna, except for a maximum 11-inch by four-inch display of the manufacturer's or distributor's company name. Such display may not be on the convex side, nor on the upper 50 percent of the concave side. Such advertising may be divided into two parts, the total not exceeding 11 inches by four inches, one located on the feedhorn and one located in the center of the dish on the concave side.
(Code 1979, ch. 21, § 5.29; Ord. No. 2002-0812, § 7, 6-11-2002; Ord. No. 2017-0950 , § 2, 9-13-2017)
(a)
This section shall apply to all radio and television transmission and receiving antennas located within the city with the exception of television dish satellite receiving antennas which are specifically covered by other regulations set forth in this Code.
(b)
The following definitions shall apply in the interpretation and enforcement of this section:
(1)
Antenna shall mean the arrangement of wires or metal rods used in the sending and receiving of electromagnetic waves.
(2)
Antenna support structure shall mean any structure, mast, pole, tripod, or tower utilized for the purpose of supporting an antenna or antennas for the purpose of transmission or reception of electromagnetic waves by federally licensed amateur radio or citizens' band radio operators, or unlicensed private citizens receiving television signals.
(3)
Antenna height shall mean the overall vertical length of the antenna or antenna support structure, whichever is higher, above ground level grade.
(c)
It shall be unlawful for any person to install, construct or increase the height of any antenna support structure without first obtaining a building permit, except that no permit shall be required if the height of the antenna or antenna support structure is less than 20 feet. The application for the building permit shall comply with all of the requirements of the 1996 South Florida Building Code Broward Edition and this Code.
(d)
No antenna or antenna support structure shall be installed, constructed or increased so as to exceed 65 feet above normal ground level of the property upon which it is to be located. The maximum width of the antenna support structure at normal ground level, not including the support base (which support base must not exceed six inches above ground level) or guy wires, shall not exceed a width dimension to the extent that any portion of such antenna support structure will protrude beyond the perimeter of a circle having a diameter of three feet. There shall be no restriction on the number of antenna support structures on any given parcel of land so long as the height of each such additional antenna support structure is 40 feet or less above normal ground level. In any event, such parcel of land shall be limited to only one antenna support structure or antenna that exceeds the height of 40 feet above normal ground level.
(e)
No antenna support structure shall be located in the front yard or front setback area of any property but may be located in the side or rear setback area of the property to the extent that the width of the antenna support structure necessitates with the proviso that such antenna support structure, when located in a rear or side setback area, shall be located adjacent and as close as is practicably possible to the building structure next to which it is being installed. No part of the antenna may extend over the side or rear line of the property without the consent of the adjacent property owner, which consent shall be in writing with two witnesses and the owner's signature notarized and the consent shall be filed with the city when the building permit is applied for.
(f)
All antenna support structures shall be affixed to the ground and shall comply with the Florida Building Code, and Broward County Administrative Provisions, as may be amended from time to time, as to structural quality and, also, as to method and manner of erection or installation.
(g)
The antenna and the antenna support structure must be adequately grounded for protection against a direct stroke of lighting with an adequate ground wire.
(h)
No antenna support structure and antenna shall be installed nearer to any electrical current-bearing line, other than the applicant's service line, than the height of the antenna support structure and antenna when fully extended, plus ten feet.
(i)
All antenna support structures must be constructed from one of the following materials: Aluminum, galvanized steel, or equally weather-resistant steel. All ground-mounted antenna support structures exceeding 20 feet in height shall be mounted on concrete, and erected in such a manner so as to be able to comply with the provisions of the Florida Building Code, and Broward County Administrative Provisions, as may be amended from time to time. All such antenna support structures shall also be grounded. Grounding shall be in accordance with the provisions of the Florida Building Code, and Broward County Administrative Provisions, as may be amended from time to time, for ground-mounted towers but shall at least consist of a minimum of one ground rod a minimum of five-eighths inch in diameter and eight feet in length. The ground conductor shall be a minimum of No. 10 GA copper, however, in all instances, construction shall follow the manufacturer's requirements for grounding.
(j)
There is attached hereto and made a part hereof by reference a list of owners' names, property addresses and legal descriptions upon which property existing antenna support structures and antennas are located which were installed prior to the adoption of this section without a building permit. All of the antenna support structures and antennas are nonconforming uses and declared to be provisionally legal so long as the present property owner remains the owner of such property. At such time as the title to any of such properties is sold, then any antenna support structures and antennas located on such properties shall be required to apply for a building permit to establish that such antenna support structures and antennas are in conformity with the provisions of this section and, if the such antenna support structures and antennas are not, they will either be brought into conformity or shall be forthwith removed from the property.
(Code 1979, ch. 21, § 5.30; Ord. No. 2002-0812, §§ 8, 9, 6-11-2002)
The continued existing authorized use on any property designated by the city commission as an historic structure, site or place regardless of the zoning classification assigned to such property shall be authorized provided the following requirements have been complied with:
(1)
The owner of an historic structure, site or place proposed for designation shall submit an application for designation and evidence to the city clerk or designated building official that a structure, site or place is historically significant as defined herein and the use is an "existing authorized use" as defined herein. Upon verification by the appropriate official that the structure, site or place meets the requirements specified herein the appropriate official shall issue a certificate evidencing the existing authorized use and the location of the designated historic structures, site or place.
a.
A designated historic structure, site or place is:
1.
A structure, site or place individually listed in the National Register of Historic Places;
2.
A structure or site certified by the National Park Service as contributing to a registered historic district that is listed in the National Register of Historic Places; or
3.
A structure, landmark or site which has been recommended by the planning and zoning board, with the owner's approval, and designated by the city commission as possessing a special character of special historical or aesthetic interest or value as part of the development, heritage, or cultural characteristics of the city, state or nation.
b.
"Existing authorized use" is defined as:
1.
Any use permitted in accordance with the city land use plan for the location; or
2.
Existing lawful use of a building and/or land on the date of application for designation or recommendation for designation, including accessory uses as existing on such date and associated with the use of a main building located on the site.
(2)
The owner of the designated historic structure, site or place shall register with the city clerk, each of which shall be certified as complete and accurate, bearing the seal of a currently licensed and state registered architect, land surveyor, or engineer, the following documents:
a.
A current complete "as built" architectural plan depicting all structures and improvements on the site;
b.
A plot plan showing the location of all structures and improvements and the boundary lines of the property; and
c.
A statement of the current principal use of the structure, site or place.
(3)
Upon receipt of the full and complete application for designation of an historic structure, site or place, the city clerk shall submit the application to the city commission. The commission shall consider the application and shall signify its approval of the "historic structure, site or place" designation by the passage of an ordinance so stating.
(4)
If the owner of a designated historical structure, site or place submits plans to repair, restore or rehabilitate the designated historic structures, site or place or any portion thereof, the city shall issue a developmental plan or building permit consistent with the "as built" architectural plan and the plot plan registered hereunder.
(5)
Re-establishment of use. If an existing authorized use shall be discontinued due to illness of the owner, or total or partial destruction caused by the effects of a catastrophe such as, but not limited to, fire, hurricane, tidal wave or rising water, and/or reconstruction is required to comply with appropriate safety and building codes and such discontinued use shall continue for a period not in excess of three years, the existing authorized use shall be re-established upon the filing of an application with the city building department for a building permit with plans reflecting the reconstruction of the premises in accordance with the plans on file with the city clerk. If the discontinuance was caused by illness, the actual re-commencement of the authorized use during the three-year period by the owner of the designated structure, site or place shall be authorized.
(6)
Nothing herein shall prevent alterations or modification to a designated historic structure, site, or place ordered by an authorized officer for health or safety or any repair, restoration, or rehabilitation to a designated historic structure, site, or place from being in conformity with the Florida Building Code, and Broward County Administrative Provisions, as may be amended from time to time, and the city building code.
(Code 1979, ch. 21, § 5.45.1; Ord. No. 2002-0812, § 10, 6-11-2002)
(a)
Definitions. The following words, terms and phrases when used in this section shall have the meanings ascribed to them in this subsection, except where the context clearly indicates a different meaning:
Adult bookstores means any establishment having as a substantial or significant portion of its stock in trade, books, magazines, and other periodicals which are distinguished or characterized by their emphasis on matter depicting, describing or relating to "specified sexual activities" or "specified anatomical areas," defined herein, or an establishment with a segment or section devoted to the sale or display of such material.
Adult motion picture theater means any enclosed building, or any area or section within any enclosed building, used for presenting material distinguished or characterized by an emphasis on matter depicting, describing, or relating to "specified sexual activities" or "specified anatomical areas," as defined herein, for observation by patrons therein.
Alcoholic beverage means all beverages containing more than one percent of alcohol by weight.
Church means an edifice or building designed and/or arranged for religious services, on land held in fee or on long-term lease by an organized group, which group utilizes such edifice or building for regular and continuing religious services, and for which the appropriate certificate of occupancy has been issued under the applicable building code.
Specified anatomical areas means:
(1)
Less than completely and opaquely covered:
a.
Human genitals, pubic region;
b.
Buttock;
c.
Female breast below a point immediately above the top of the aureole; and
(2)
Human male genitals in a discernibly turgid state, even if completely and opaquely covered.
Specified sexual activities means:
(1)
Human genitals in a state of sexual stimulation or arousal;
(2)
Acts of human masturbation, sexual intercourse or sodomy; and
(3)
Fondling or other erotic touching of human genitals, pubic region, buttock or female breast.
(b)
Authorization zone location. Adult bookstores and adult motion picture theaters shall be a permitted use in any location within the city zoned B-1, B-2 or B-3. Adult bookstores and adult motion picture theaters shall be a prohibited use in any location within the city zones B-2A and B-3A.
(c)
Distance between establishments. No adult bookstore or adult motion picture theater shall be located within 1,000 feet, to be measured from main entrance to main entrance of such establishment by airline route, of an existing adult bookstore or adult motion picture theater located within or without the corporate limits of the city.
(d)
Distance from church or school. No adult bookstore or adult motion picture theater shall be located within 500 feet of any established church or school located within or without the corporate limits of the city, measured from the main normal public entrance of the adult bookstore or adult motion picture theater to the nearest point of the church or school property used as a part of such facility measured along public thoroughfares by the shortest route of ordinary pedestrian traffic, or within 300 feet airline measurement.
(e)
Distance from alcoholic beverage establishment. No adult bookstore or adult motion picture theater shall be located within 1,000 feet, to be measured from main entrance to main entrance by airline route, of an existing establishment which sells any alcoholic beverage for consumption on the premises located within or without the corporate limits of the city.
(f)
Distance from residential district. No adult bookstore or adult motion picture theater shall be located within 500 feet airline measurement from any RS-3, RS-5, RD-10, RM-16 and RM-25 zoned districts.
(g)
Application to new churches or schools. When an adult bookstore or adult motion picture theater is located in conformity with the provisions of this section the subsequent location of a church or school in the proximity of such existing establishment shall not be construed to cause such establishment to be deemed a nonconforming use.
(h)
Existing establishments. The provisions of this section shall not be construed to be retroactive, and any existing adult bookstore or adult motion picture theater which conformed to the regulations in effect when such establishment was established shall not be rendered illegal or in violation through the adoption of these regulations.
(Code 1979, ch. 21, § 5.46)
It shall be unlawful to excavate into any residentially-zoned property for the purpose of constructing a boat slip.
(Ord. No. 736, § 1, 5-25-99)
(a)
Notwithstanding any other provision in chapter 42, chain link fences which are 90 percent see-through may be built up to ten feet in height to surround or secure maintained tennis courts located within the city's business zoning districts and the RM-25 zoning district. The dimensions for fences permitted by this subsection (a) shall not exceed 60 feet by 120 feet.
(b)
Chain link fences which are 90 percent see-through or picket fences as articulated in section 42-377 may be built up to five feet in height to secure waterfront docking areas at marinas and yacht clubs in business zoning districts.
(c)
All recreational fences must meet the requirements for material and minimum setbacks provided in this chapter as applicable to the zoning district in which the recreational fence is located.
(Ord. No. 780, § 2, 6-12-2001)
(a)
Purpose. It is the purpose of this section to prohibit medical marijuana treatment centers created under Art. X, § 29 of the Florida Constitution from establishing medical marijuana treatment center dispensing facilities within the municipal limits of the City of Lighthouse Point.
(b)
Findings. Based on authority granted to municipalities in F.S. § 381.986(11) the city commission finds that a ban on the establishment of medical marijuana treatment center dispensing facilities within the City of Lighthouse Point is in the best interest of the city.
(c)
Prohibition. Medical marijuana treatment center dispensing facilities are prohibited within the boundaries of the City of Lighthouse Point.
( Ord. No. 2017-0948 , § 2, 9-13-2017)
(a)
Synthetic turf may be permitted on all properties used for residential or commercial purposes, subject to the requirements and procedures set forth in this section.
(b)
Synthetic turf shall comply with all of the following design standards and shall:
(1)
Simulate the appearance of live turf, organic turf, grass, sod or lawn, as determined by the city, and shall have a minimum eight-year "no fade" warranty.
(2)
Be of a type known as cut pile infill with pile fibers of a minimum height of 1.75 inches and a maximum height of 2.5 inches.
(3)
Have a minimum face weight of 75 ounces per square yard.
(4)
Be manufactured from polyethylene monofilament, dual yarn system, and manufactured in the United States.
(5)
Have backing that is permeable.
(6)
Be lead free and flame retardant.
(c)
Synthetic turf shall comply with all of the following installation standards and shall:
(1)
Be installed by a Florida-licensed general contractor or Florida-licensed landscape architect in a manner prescribed by the manufacturer.
(2)
Be installed over a subgrade prepared to provide positive drainage and an evenly graded mass of compacted, porous crushed rock aggregate material that is a minimum of three inches in depth.
(3)
Be anchored at all edges and seams.
(4)
Not have visible seams between multiple panels.
(5)
Have seams that are joined in a tight and secure manner.
(6)
Have an infill medium consisting of clean silica sand or other mixture, pursuant to the manufacturer's specifications or as approved by the city engineer, that shall:
a.
Be brushed into the fibers to ensure that the fibers remain in an upright position;
b.
Provide ballast that will help hold the turf in place; and
c.
Provide a cushioning effect.
(d)
Synthetic turf shall comply with all of the following additional standards:
(1)
Areas of living plant material shall be installed and/or maintained in conjunction with the installation of synthetic turf when utilized in the front yard area. Living plant material shall include a combination of two or more shrubs, vines, trees, or groundcovers in separate planter areas and tree wells.
(2)
Synthetic turf shall be separated from planter areas and tree wells by a concrete mow strip, bender board or other barrier with a minimum three-eighths-inch thickness to prevent the intrusion of living plant material into the synthetic turf.
(3)
Irrigation systems proximate to the synthetic turf shall be capped, directed or otherwise treated so that no irrigation affects the synthetic turf.
(e)
Synthetic turf shall comply with all of the following maintenance standards and shall:
(1)
Be maintained in an attractive and clean condition, and shall not contain holes, tears, stains, discoloration, seam separations, uplifted surfaces or edges, heat degradation or excessive wear.
(2)
Be maintained in a green fadeless condition and free of weeds, debris, and impressions.
(f)
The following uses are prohibited:
(1)
Synthetic turf in the public rights-of-way or swales.
(2)
Synthetic turf treated as a filler for landscaping that is not part of a planned element of landscaping.
(g)
All uses of synthetic turf shall require a building permit. The building permit application shall include, at a minimum, all of the following information:
(1)
A complete landscape plan showing the area of synthetic turf, area of living plant material, and area and method of separation between these areas.
(2)
Details regarding existing or proposed irrigation proximate to the synthetic turf.
(3)
Brand and type of synthetic turf, including all manufacturer specifications and warranties.
(4)
A scaled cross section and details of the proposed materials and installation, including but not limited to subgrade, drainage, base or leveling layer, and infill.
(5)
A survey of the property, signed and sealed by a licensed surveyor, depicting all existing easements located on the property.
(6)
A form signed by any holder of an easement on the property consenting to the installation of the synthetic turf within the easement, with an accompanying acknowledgement by the property owner that in the event the easement holder performs work in the easement that it is the property owner's responsibility to repair and replace the synthetic turf disturbed as a result of the work in the easement.
( Ord. No. 2017-0957 , § 3, 1-9-2018)
Editor's note— Ord. No. 2017-0957 , § 3, adopted January 9, 2018, set out provisions intended for use as § 42-391. For purposes of classification, and at the editor's discretion, these provisions have been included as § 42-392.
(a)
Purpose. The purpose of this division is to provide off-street parking provisions which are intended for and in the interest of the citizens of the city. This division shall be construed to be the minimum requirements for the promotion of the public health, safety, moral and general welfare of the community.
(b)
Scope.
(1)
Any building, structure, or use instituted with the city after January 23, 1990 shall provide off-street parking facilities in accordance with the provisions of this division for the use of occupants, employees, visitors, and/or patrons thereof. Such off-street parking facilities shall be maintained and continued as long as the uses are continued.
(2)
Any building, structure or use instituted or erected prior to January 23, 1990 need not provide additional off-street parking facilities in accordance with the provisions of this division provided that such buildings, structures or uses are not altered so as to enlarge or increase the capacity, floor area or seats therein.
(3)
Any building, structure or use altered to increase or enlarge the capacity, floor area or seats, shall provide off-street parking facilities in accordance with the provisions of this division. When any building, structure or use is changed in use, off-street parking facilities shall be provided for that new use as specified in this division. The provisions of this subsection shall apply to any building, structure or use instituted or erected prior to January 23, 1990 as well as any such building, structure or use subsequently instituted or erected.
(4)
It shall be unlawful for an owner or operator of any building, structure or use affected by this division to discontinue, change or dispense with, or to cause discontinuance or reduction of the required parking facilities apart from the discontinuance sale or transfer of such structure or use, without establishing alternative vehicle parking facilities which meet the requirements of this division. All such alternative vehicle parking facilities must be approved by the mayor or his designee, in writing, before such alternative vehicle parking facilities may be used. It shall be unlawful for any person to utilize such building, structure or use without providing the off-street facilities to meet the requirements of and be in compliance with this chapter.
(Code 1979, ch. 21, § 5.51)
(a)
Fractional measurements. When units or measurements determining number of required off-street parking spaces result in requirement of a fractional space, any such fraction equal to or greater than one-half shall require a full off-street parking space.
(b)
Mixed uses. In the case of mixed uses, the total requirements for off-street parking shall be the sum of the requirements of the various uses computed separately, and off-street parking spaces for one use shall not be considered as providing the required off-street parking for any other use.
(c)
Measurement. For the purposes of this division, floor area shall mean the gross floor area inside of the exterior walls. In hospitals, bassinets shall not count as beds. In churches and other places of assembly in which occupants utilize benches, pews or other similar seating facilities, each 20 lineal inches of such seating facilities shall be counted as one seat for the purpose of computing off-street parking requirements.
(Code 1979, ch. 21, § 5.52)
Plans shall be submitted with every application for a building permit for any use or structure required to provide off-street parking under this division, which plans shall clearly and accurately designate the required parking spaces, access aisles and driveways, entrances and exits, adequate drainage, lighting, curbs and curb cuts, surface materials used thereon, and relation to the uses or structure these off-street parking facilities are intended to serve.
(Code 1979, ch. 21, § 5.53)
(a)
Area requirement. Each standard parking space required and provided shall be not less than nine feet in width and 18 feet in length, with a net area of at least 162 square feet.
(b)
Access from street or alley. Each parking space shall be directly accessible from a street or alley.
(c)
Access to buildings. Parking shall not interfere with ingress/egress, doors for stairwells, transformer rooms, elevator machine rooms, trash rooms or any other use requiring clear access aisles for services.
(d)
Lighting. Adequate lighting shall be provided if off-street parking spaces are to be used at night. The lighting shall be installed, maintained and regulated so as to reflect the light away from adjoining property and avoid annoyance to such premises.
(e)
Plans. All required parking spaces must be indicated on the plans for zoning and building permit approvals and shall be clearly and accurately designated, including access drives, lanes and aisles.
(f)
Parking drives, lanes and aisles. All parking drives, lanes and aisles shall be as established pursuant to Table 1 which is attached hereto and made a part hereof.
Table 1
PARKING SPACE SIZE AND CONFIGURATION
Dimensions (in feet) are as follows:
All spaces shall be provided with concrete wheel stops or extruded curbing placed thirty (30) inches from the edge of the pavement.
*Assumes one-way traffic for parking angle 0 to 60. Two-way traffic driveway must be 23′.
(g)
Maneuvering of vehicles. Off-street parking areas should be designed to prevent the maneuvering of vehicles within any portion of an entrance driveway or driveway line that is within 20 feet of the right-of-way line of any public street. In all but single-family zoning districts, off-street parking areas should be so designed to prevent any vehicle from backing onto any public street.
(h)
Curb cuts. Curb cuts shall be at least 25 feet from the curb line of any intersecting streets. In parking areas for commercial uses the maximum width of the curb cut shall be 30 feet, with not more than one curb cut per 100 feet of frontage.
(i)
Use of right-of-way, street or alley prohibited. No required off-street parking space including adjacent parking access lanes or maneuvering space shall be located within the existing or proposed right-of-way of any public street or alley.
(j)
Tandem parking. Tandem parking is prohibited except in single-family zoning districts.
(k)
Stalls. Stalls shall be provided with bumper guards, wheel stops, or continuous curbing when necessary for safety or protection to adjacent structures or landscaped areas. In the event continuous curbing is utilized, the landscape area shall be increased in width by 30 inches, (60 inches for head-to-head spaces) and the parking space size may be reduced to nine feet by 16½ feet.
(l)
Composition. Parking facilities, including access aisles and driveways shall be surfaced with brick, asphaltic or concrete surfacing maintained in a smooth, well-graded condition with standards set forth according to the office of the city engineer.
(m)
Drainage. All off-street parking facilities shall be drained so as not to cause any nuisance on adjacent or public property. Such drainage facilities shall be arranged for convenient access and safety of pedestrians and vehicles with standards set forth according to the office of the city engineer.
(n)
Identification. Each parking space required and provided pursuant to the provisions of this article shall be distinguished and separated from adjoining parking spaces by means of three-inch painted stripes. It shall be the responsibility and obligation of the owner or operator of any building, structure or use affected by this article to maintain such identification markings so that parking spaces at all times are distinguishable from one another.
(Code 1979, ch. 21, § 5.54)
Minimum parking requirements shall be as follows:
(1)
Dwellings, single-family and two-family. Dwellings, single-family and two-family shall have two parking spaces for each dwelling.
(2)
Dwellings, multiple-family. Dwellings, multiple-family shall have two parking spaces for each dwelling unit constructed on lots containing more than 11,000 square feet and 1½ parking spaces for each dwelling unit constructed on lots containing less than 11,000 square feet. If in addition to dwelling limits, there are other uses operated in conjunction with and/or as a part of the multiple dwelling, additional off-street parking spaces shall be provided for such other uses as would be required by this section, if such uses were separate from the multiple dwelling to the extent of 35 percent of the off-street parking specified in this division for retail stores, offices, service establishments, bars, restaurants, dining rooms, night clubs, cabarets, ballrooms, banquet halls, meeting rooms, and auditoriums.
(3)
Hotels and motels, including clubs. Hotels and motels, including clubs shall have one parking space for each sleeping room. If, in addition to sleeping rooms, there are other uses operated in conjunction with and/or as part of the hotel/motel, additional off-street parking spaces shall be provided for such other uses as would be required by this section if such uses were separate from the hotel/motel, to the extent of 35 percent of the off-street parking specified in this division for retail stores, offices, service establishments, bars, restaurants, dining rooms, nightclubs, cabarets, ballrooms, banquet halls, meeting rooms and auditoriums.
(4)
Hospitals, sanitariums, asylums, orphanages, convalescent homes, homes for aged and infirm. Hospitals, sanitariums, asylums, orphanages, convalescent homes, homes for aged and infirm shall have one parking space for each bed for patients plus one parking space for each two employees including nurses on the maximum shift.
(5)
Places of public assembly, including assembly halls, private clubs, exhibition halls, convention halls, dance halls, skating rinks, sports areas, community centers, libraries and museums. Places of public assembly, including assembly halls, private clubs, exhibition halls, convention halls, dance halls, skating rinks, sports areas, community centers, libraries and museums shall have one parking space for each 200 square feet of gross floor area.
(6)
Churches. Churches shall have one parking space for each three seats, plus one parking space for each 200 square feet of floor area in assembly rooms with movable seats.
(7)
Bowling lanes. Bowling lanes shall have two parking spaces for each lane, plus additional spaces for other uses as otherwise provided in this section.
(8)
Funeral homes. Funeral homes shall have one parking space for each four seats in public rooms.
(9)
Medical, dental, chiropractic, health studio, etc., clinics (separate buildings) Medical, dental, chiropractic, health studio, etc., clinics (separate buildings) shall have one parking space for each 250 square feet of gross floor area.
(10)
Business, professional and governmental offices. Business, professional and governmental offices shall have one parking space for each 250 square feet of floor area of office space.
(11)
Restaurants, bars, beer gardens, night clubs. Restaurants, bars, beer gardens, night clubs shall have one parking space for each 50 square feet of interior floor area in rooms for customer service. Parking for outdoor dining shall be as follows:
a.
No additional parking spaces shall be required so long as the number of outdoor seats does not exceed the following:
b.
For establishments exceeding the permitted number of outdoor seats listed in paragraph a., the parking requirement shall be one additional parking space per 100 square feet of exterior serving areas. For purposes of this subsection, "serving area" shall exclude areas not accessible by customers, including, but not limited to, food and drink preparation areas, or fenced areas.
(12)
Elementary schools, public, private or parochial, schools of instruction. Elementary schools, public, private or parochial, schools of instruction shall have one parking space for each classroom, plus one parking space for each two employees, plus additional parking spaces for rooms used for public assembly as required by this section.
(13)
Retail stores, motor vehicle salesrooms. Retail stores, motor vehicle salesrooms shall have one parking space for each 200 square feet of floor area.
(14)
Furniture stores. Furniture stores shall have one parking space for each 400 square feet of floor area of the building.
(15)
Warehouses and storage buildings. Warehouses and storage buildings shall have one parking space for each 800 square feet of floor area of the building.
(16)
Charter, sightseeing or fishing boats. Charter, sightseeing or fishing boats shall have one parking space for each two seats or fraction thereof, required spaces shall be adjacent to the docks regularly used by the boat or within 700 feet thereof.
(17)
Uses not specifically mentioned. The requirements of off-street parking for any uses not specifically mentioned in this section shall be one space for every 200 square feet of gross floor area.
(18)
Marinas and yacht basins. Marinas and yacht basins shall have one parking space for each boat slip and one parking space for each employee.
(19)
Banks and savings and loan associations. Banks and savings and loan associations shall have one parking space for each 200 square feet of gross building floor area.
(20)
Gasoline service stations. Gasoline service stations shall have a minimum of three spaces plus one additional parking space for each 200 square feet of building or service floor area in excess of the first 600 square feet.
(21)
Leased and rental vehicles. Leased and rental vehicles shall have one space for each leased car maintained on premises plus one space for each employee.
_____
(22)
Shopping centers. For shopping centers parking space requirements vary depending on the size on the size in gross leasable area (GLA) and composition of the center according to the following table:
In no event will the parking requirements for the shopping center be less than the most stringent parking requirements for any individual store in the shopping center as established by the various parking requirement provisions of this section.
_____
(23)
Convenience stores, grocery stores:
a.
Convenience stores shall have one parking space for each 100 square feet of floor area.
b.
Grocery stores shall have one parking space for each 175 square feet of floor area.
(24)
Auto and boat repair shops and service. Auto and boat repair shops and service shall have one parking space for each 200 square feet.
(25)
Personal service shops. Personal service shops shall have one parking space for each 200 square feet of service floor area including barber shops and beauty shops.
(26)
Theaters, movies or otherwise. Theaters, movies or otherwise shall have one space for every three seats.
(Code 1979, ch. 21, § 5.55; Ord. No. 715, §§ 1, 2, 2-24-1998; Ord. No. 778, § 3, 3-13-2001; Ord. No. 786, § 2, 7-24-2001; Ord. No. 2017-0951 , § 2, 9-13-2017)
On any property which is zoned B-1, B-2, B-2A, B-3 and B-3A, the following uses and activities shall not be permitted in required parking facilities.
(1)
Parking to serve an off-site building unless in accordance with an off-street parking agreement approved by the city in accordance with section 42-412.
(2)
Storage, repair or display of any vehicles, equipment or merchandise.
(3)
Parking of vehicles, which due to their size, shape, contents or location creates an obstruction or public safety hazard, or which cannot be contained within a single designated parking space.
(4)
Off-street parking facilities supplied by the owner or operator to meet the requirements of this article shall not be used by commercial vehicles owned, operated or used in the business of such owner during regular hours.
(5)
Required parking areas, landscape areas, swales, parkways, traveled rights-of-way, and sidewalks shall not be used for either parking, repair or storage of inoperative or unregistered vehicles, boats or trailers, except in an emergency situation and for no longer than 24 hours within a seven-day period.
(Code 1979, ch. 21, § 5.56)
(a)
The off-street parking facilities required under this article shall be located on the same lot or parcel of land the facilities are intended to serve, or upon an additional parcel of land, the nearest property line of which is located within 500 or 1000 feet in the case of valet parking, airline measurement, of the nearest property line of the premises it is intended to serve. All off-street parking facilities required under this article shall be located on property whereon off-street parking use is a permissible use and shall be designed, developed, and maintained in accordance with all applicable provisions of this Code.
(b)
Except for required off-street parking associated solely with outdoor dining, when the required off-street parking is to be provided upon an additional parcel of land as hereinabove provided, the owner of the additional parcel of land to be used for off-street parking facilities, and the owner of the land intended to be served by the off-street parking facilities located on the additional parcel, shall enter into an agreement with the city whereby the land providing the additional parking area shall never be sold or disposed of except in conjunction with the sale of the building or the use which the additional parking area serves, so long as the parking facilities are required. The agreement shall be approved by the city attorney and recorded in the public records of the county, at the expense of the owner, and shall be considered to be a restriction running with the land and shall bind the heirs, successors, and assigns of the owner. However, another additional parcel or parcels complying with the provisions of this article and subject to a recorded agreement as above specified may be substituted for the additional parcel of land. In the case of a new or substitute agreement for the use of a parcel of additional land to meet off-street parking requirements, the original or preceding agreement shall become void by the execution and recording of the new agreement.
(c)
For purposes of this section, "owner" shall be deemed to include lessees of property under long-term leases wherein the lessees right to possession of the property is for a period of not less than 50 years from the date of the agreement and where the owner of the fee has joined in the execution of the agreement for purposes of consenting to the terms of the agreement. Any termination of a lease for additional parking area as between the lessee and the fee owner will not negate the lessee's requirement to maintain adequate parking for all permissible use.
(d)
When an establishment for dining and consumption of alcoholic beverages on premises requires additional off-street parking pursuant to section 42-410(11)(b), the required off-street parking may be provided on an additional parcel that meets the criteria listed in subsection (a) herein, through an arrangement acceptable to and approved by the city commission, such as cross-parking agreements, shared parking agreements, and parking leases, provided:
(1)
Any such arrangement shall not be permitted unless the parking available on the additional parcel exceeds the parking required for all uses on the additional parcel, unless a traffic study approved by the city's community development director supports shared parking based on peak and off-peak hours for the outdoor dining and the uses on the additional parcel; and,
(2)
If, at any time, the parking arrangement terminates, or the parking on the additional parcel ceases to be sufficient for all uses on the additional parcel as well as the outdoor dining, then the establishment for dining and consumption of alcoholic beverages shall cease all outdoor dining that required the parking on the additional parcel until such time as another arrangement is approved by the city commission.
(Code 1979, ch. 21, § 5.57; Ord. No. 778, § 4, 3-13-2001)
(a)
Adequate space for loading and unloading of materials, goods or things, and for delivery and shopping, shall be provided and maintained as required by the planning and zoning board on the same plot as the building which it serves.
(b)
Where any structure is enlarged or any use is extended so that the size of the resulting occupancy comes within the scope of this section, the full amount of off-street loading space shall be supplied and maintained for the structure or use in its enlarged or extended size. Where the use of a structure or land or any part thereof is changed to a use requiring an off-street loading space, such space shall be supplied and maintained to comply with this section.
(c)
For the purposes of this section, an off-street loading space shall be an area at the grade level at least ten feet wide by 25 feet long with a 14-foot vertical clearance. Each off-street loading space shall be directly accessible from a street or alley without crossing or entering any other required loading space, and shall be arranged for convenient and safe ingress and egress by motor truck and/or trailer combination. Such loading space shall also be accessible from the interior of any building it is intended to serve.
(d)
No off-street parking space may be used to meet off-street loading requirements.
(Code 1979, ch. 21, § 5.58)
The failure or neglect on the part of the owner or operator of a use or structure within the city, which is encompassed within the provisions of article IV, division 7, of this subsection to comply with all of the provisions of such article IV, division 7, of this subsection shall constitute a violation of this Code.
(Code 1979, ch. 21, § 5.60)
The first objective of this division is to improve the appearance of certain setback and other property areas, including off-street parking and service areas, for business-zoned properties located in the city. The second objective is to protect and preserve the appearance, character and value of the business-zoned properties in the city. The third objective is to preserve and improve the tree canopy of our community in order to protect air and water quality. The three objectives would thereby promote the general health and welfare of the city by providing for the installation and maintenance of landscaping on business-zoned properties for screening, ecological and aesthetic purposes. The regulations set out in this division shall be a minimum standard and shall apply to all lands within the corporate limits of the city which are zoned B-1, B-2, B-2A, B-3 and B-3A.
(Code 1979, ch. 21, § 5.61)
The following general provisions shall apply throughout all of the sections of this division:
(1)
Installation.
a.
All landscaping shall be installed in a sound, workmanlike manner according to good planting procedures with the quality of plant materials as hereinafter described. All elements of landscaping shall be installed so as to meet all of the provisions of this division and all other applicable ordinances and requirements of the city. All landscape areas shall require protection from vehicular encroachment as hereinafter provided, and all landscaped areas shall provide for adequate watering.
b.
Right tree/right place. The planting of trees and other landscaping in proximity to utility lines shall be consistent with the principles and guidelines described in the Florida Urban Forestry Council publication "Right Tree/Right Place." In addition, no canopy trees as designated in the "Right Tree/Right Place" guidelines shall be located closer than 12 feet from street lights and no palm trees that reach an expected height of 25 feet or more at maturity shall be located closer than seven feet from street lights.
(2)
Maintenance.
a.
Responsibility. The owner of the property subject to the provisions of this division, the tenant and their agent, if any, shall be severally responsible for the maintenance and protection of all landscaping that shall be installed, and the landscaping shall be maintained in good working order and a healthy growing condition and shall be kept free from refuse and debris. Maintenance shall include, but not be limited to, watering, weeding, mowing, fertilizing, treating, mulching, pruning, removal and replacement of dead or diseased plants and trees, and removal of refuse and debris on a regular basis so as to present a neat and well-kept appearance at all times.
b.
Inspections. Landscaping shall be inspected periodically by the appropriate code enforcement officer to ensure proper maintenance. The owner, tenant or their agent, shall be notified by the appropriate code enforcement officer, in writing, of any areas which are not being properly maintained and shall, within the time specified in such written notice, but in no event later than 30 calendar days from the date of notification, restore the landscaping to a healthy condition.
c.
Compliance. It shall be unlawful for an owner, tenant or their agent, to fail to comply with the terms of the written notice within the time specified after notice has been given under subsection (2)b of this section.
(3)
Plant material.
a.
Standards. All trees and plant material used in conformance with this subchapter shall conform to the Standards for Florida Fancy or Florida No. 1 Grade as given in "Grades and Standards for Nursery Plants." Part 1 and Part 11, 1963, State of Florida, Department of Agriculture, Tallahassee. Grass sod shall be clean and reasonably free of noxious weeds and pests or diseases. The following approved list of trees and shrubs may be used for minimum landscaping requirements. The listing is by the common name that the tree or shrub is known by and they are not listed under their botanical names. All trees and shrubs listed under subsection (3)a.1 of this section shall qualify for the minimum landscape requirements, but other species, such as those contained in subsection (3)a.2 of this section, but not being limited solely to those listed in subsection (3)a.2 of this section, may be used in landscaping and shall not be counted towards minimum landscape requirements.
Common Names Of
Approved List Of
Trees And Shrubs
1.
Recommended species of trees to be used for minimum landscape requirements (other species may be used with planning department approval provided species listed in subsection (3)a.2 of this section are not counted with minimum required):
Shade
Black Olive
Indian Rosewood
Mahogany
Bald Cypress
Bischoffia
Laurel Oak
Earleaf Acacia
Water Oak
Live Oak
Sweetgum
Silver Buttonwood
Paradise Tree
Gumbo Limbo
Red Maple
Pitch Apple
Beauty Leaf
Wild Tammerian
Pigeon Plum
Ficus Benjamin
Sea Grape
Ficus Nitida
Geiger Tree
Ficus Rubiginosa
Jacaranda
Ficus Laevigata
Cherry Laurel
Wax Myrtle
Hrpulia
Green Buttonwood
Flowering
Jerusalem Thorn
Crape Myrtle
Weeping Bottlebrush
Cassia Elata
Sweet Acacia
Yellow Poinciana
Tabebuia (pink, yellow, red and white)
Royal Poinciana
Loquat
Orchid Tree
Earleaf Acacia
Tree of Gold
Silver Trumpet Tree
Hibiscus Tree
Palms
Cabbage Palm
Alexandra Palm
Paurotis
Queen Palm
Jamaican Thatch Palm
Chinese Fan Palm
Areca (large clumps)
Pygmy Date Palm
Species of shrubs to
be used for minimum
landscape requirements:
Orange Jasmine
Hibiscus*
Ixora*
Snow Queen Hibiscus*
Chenile plant*
Carissa*
Copper leaf*
Yucca Elephantipes
Ligustrum
Yucca Gloriosa*
Pittosporum
Pampas grass*
Viburnum
Duranta*
Cocoplum
Texas sage*
Pineapple Guave*
Crown of Thorns*
Ferns
Ponytail "Palm"
Bird-of-Paradise*
Juniper
*Flowering shrubs
2.
Species not allowed for minimum landscape requirements (may be used but not counted unless noted below):
Norfolk Island Pine (may not be planted)
Ficus (except those listed above)
Silk Oak Australian Pine (may not be planted)
Melaleuca (may not be planted)
Florida Holly (may not be planted)
b.
Shrubs and hedges. All shrubs and hedges shall be a minimum of 24 inches in height, full to the base, when measured immediately after planting. All hedges and shrubs shall be trimmed on a regular basis so as after their initial growth subsequent to planting shall be maintained so as not to be less than three feet nor more than four feet in height above ground level.
c.
Trees. All trees shall have a minimum of ten feet overall height immediately after planting and shall have a three-inch caliper measured at a point five feet above ground level. Trees shall have a minimum clear trunk of five feet. A grouping of three palm trees will be counted as the equivalent of one required canopy tree.
d.
Ground cover : All planting areas, whether perimeter planting or interior planting other than that portion where a tree or shrub has been planted, shall be covered by fully sodded grass which is normally grown as permitted lawns in the county, or covered by mulch, decorative stone, bark chips or other horticulturally suitable ground cover.
(4)
Plans. All improved properties encompassed within the zoning categories set out in this article shall submit plans to the city building department, which plans shall be reviewed and approved by the planning and zoning board. The plans shall include a survey, landscape plan and irrigation plan. Any of such plans may be incorporated into one or more plans. Such plans shall contain, but not be limited to, the following requirements.
a.
Surveys. The survey shall be true and accurate, drawn to scale, shown the property boundaries and dimensions, all existing structures, parking areas, improvements and utilities, and shall be prepared by and bear the seal of a state registered land surveyor.
b.
Landscape plans. The landscape plan shall be drawn to scale and bear the name, signature and address of the person who drew the landscape plan. Such person, or his agent, shall visit the site to become familiar with the physical location as well as the actual ground dimensions, building locations, parking space locations and proposed landscape plans. All landscaping shall be installed according to plans submitted and as finally approved as provided for in subsection (4)e of this section. A landscape plan shall delineate the location of all plant material whether the plant material be trees, shrubs or grass, and shall set forth the common name, size and specifications of all plant material. The landscape plan shall also include dimensions of all planting areas whether they be within the perimeter planting strip or part of the planting areas within the interior area of the lot or parcel of land.
c.
Irrigation plans. If an underground irrigation system will be used then detailed plans drawn to scale shall depict the irrigation system to be employed including location of underground pipes and sprinkler heads. If no underground irrigation system is to be used then a plan shall be submitted setting forth the watering system that will be used to provide adequate irrigation to maintain all planting in a healthy condition.
d.
Changes. In the event changes from the submitted and approved plans are necessitated during construction, all such changes must be approved as provided for in paragraph e below.
e.
Plan approval. All plans set out in subsection (4) of this section shall be submitted to the city building department and shall be reviewed by the city planning and zoning board who shall assure compliance with the provisions of this article.
f.
Time to comply. All properties which are zoned B-1, B-2, B-2A, B-3 and B-3A which have improvements thereon, whether the improvements be structure or vehicular parking areas, or other improvements, shall by January 23, 1990, if such property is vacant, prior to issuance of a certificate of occupancy at the time of any future construction, cause such lot or parcel of land to be landscaped based on the criteria set forth in section 42-434.
(Code 1979, ch. 21, § 5.62; Ord. No. 2015-0921, § 2, 1-27-2015)
The following landscape specifications shall be considered as the minimum acceptable standard. The planning and zoning board may, where the owner of a parcel of land shows substantial compliance with provisions of this division, amend or change any requirements whenever such amendment or change would be in the best interest of the city and where the literal enforcement of the minimum standards would impose an undue hardship on the property owner. As used herein substantial compliance shall be deemed to require that if a given provision can not be complied with due to the unusual shape or nature of the property, then the number of plants, shrubs, ground cover and trees as would be required shall be located on another portion of the property as to meet the objectives of this division, taking into consideration the particular configuration and location of the parcel of land and the existing structures located thereon.
(1)
Perimeter landscaping. Perimeter landscaping shall be as follows:
a.
Layout. The two-foot perimeter landscape area shall be determined by starting at the outside perimeter lot or parcel line and measuring perpendicularly there from two feet to the interior perimeter planting strip line. Where two parcels of land are adjacent to each other on the side or rear lot lines and both are business-zoned properties then they shall have one of the two following options available to them:
1.
The owners of the two parcels, or the lessees with the written consent of the owners, can agree to cooperate on a contiguous boarder strip of 1½ feet on each parcel, making a three-foot interior perimeter planting strip. If such option is elected the owners and lessees of both parcels shall be responsible for the full maintenance and care of the entire three-foot strip.
2.
Each owner or lessee shall place a full two-foot interior perimeter landscaping strip on their property without any consideration being given to the adjacent parcel or its two-foot planting strip. There shall be exempted from the perimeter landscaping strip the following areas:
i.
Any portion of the two-foot perimeter strip upon which a building is physically located.
ii.
Any portion of the rear perimeter lot line which is adjacent to any residentially zoned property, provided there is a wall in existence along such rear perimeter lot line in compliance with this Code. If there be no wall in existence or not in compliance with such Code then the rear perimeter lot line shall be landscaped in full compliance with this division.
iii.
Any portion required by subsection 42-409(h) for an access way from the parcel of land through the two-foot perimeter planting strip to a dedicated public road. The balance of the street frontage not involved with access ways shall be landscaped in accordance with the perimeter planting strip provisions set out herein.
b.
Planting requirements. Within the two-foot perimeter landscaping area and commencing at the intersection of the side lot or parcel line and the main street frontage lot or parcel line, westerly along the main street frontage there shall be two trees planted for the first 45 lineal feet, thereafter there shall be one tree planted for each additional 30 lineal feet or a major fraction thereof. Such trees shall be properly spaced allowing for access ways. In addition to the planting of trees, shrubs and hedging material shall be planted, at most, on 2½-foot centers between all trees. All portions of the two-foot perimeter landscaping area, not covered by shrubs and hedging material or trees, shall be planted with full grass sod which shall be clean and reasonably free of noxious weeds, or shall be covered by mulch, decorative stone, bark chips or other horticulturally suitable ground cover.
(2)
Interior landscaping. Interior landscaping shall be as follows:
a.
Interior planting area. The gross square footage of the lot or parcel of land shall be calculated. There shall be subtracted from such gross square footage the square footage of any structures and any area encompassed under the overhang of any roof that may extend beyond the side walls of the building. There shall further be subtracted from such gross square footage the total square footage of the total two-foot perimeter planting strip provided for under subsection (1) of this section. Ten percent of the square footage thus arrived at shall be called the "interior planting area." The "interior planting area" shall be the minimum amount of interior area of the lot or parcel of land which shall be planted with trees, shrubs or ground cover as provided for in subsection (2)b of this section.
b.
Location requirement. The "interior planting area" shall include planter islands. Each planter island shall be a minimum of five feet wide by 15 feet long and shall be placed among parking spaces on such interior lot or parcel of land and shall further be placed no more than ten parking spaces apart nor less than five parking spaces apart and shall also be at the terminus of all rows of parking unless the row of parking ends at a perimeter planting strip. Each planter island shall contain at least one tree and five shrubs. All portions of the planter island not covered by shrubs or trees shall be planted in full grass sod which shall be clean and reasonably free of noxious weeds, or shall be covered by mulch, decorative stone, bark chips or other horticulturally suitable ground cover. The perimeter of all planter islands shall be encased in a barrier made of either concrete curbing, railroad ties, car stop bumpers or other solid permanent material, all of which shall be at least six inches in height and be placed so as to inhibit any vehicles from encroaching onto the planter islands. Any remaining portion of the "interior planting area" that is not contained in the planter islands, thus leaving a portion of the "interior planting area" still unlandscaped, shall be designed and located and planted within the lot or parcel of land in accordance with accepted practices of landscape architects so that when completed the lot or parcel of land shall contain a landscaped area equal to the total square footage required for the "interior planting area" calculated in subsection (2)a of this section.
(3)
Exemption. There shall be exempted from the provisions of subsection (2) of this section, which deals with interior landscaping, any property for which a current city local business license is issued for the following permitted business uses, to wit: New and used automobile sales as provided for in subsection 42-350(a)(3). Should any such property cease to operate under the above business category, then the property shall forthwith comply with the interior landscaping requirements of subsection (2) of this section and shall thereafter continue to comply with such provisions regardless of whatever future permitted use the property may be used for.
(Code 1979, ch. 21, § 5.63; Ord. No. 2006-865, § 2, 11-14-2006)
Prior to the two-year waiting period within which compliance with the provisions of this chapter shall be required, should any building, presently in existence, apply for a building permit to renovate the building so as the renovation costs equal 20 percent of the assessed valuation of the present structure then the plans shall provide for the compliance with all of the provisions of this division and no certificate of occupancy shall issue until there has been full compliance with all of the provisions of this division and no certificate of occupancy shall issue until there has been full compliance with all of the provisions of this division.
(Code 1979, ch. 21, § 5.64)
There shall be a filing permit fee as provided in Appendix A of this Code to accompany all plans filed pursuant to this division.
(Code 1979, ch. 21, § 5.65)
With the exception of land that is unimproved on January 23, 1990, any parcel of land that has lost any parking spaces due to the construction of a required planter island shall be given credit for such parking spaces with respect to any other provisions of this Code dealing with off-street parking. As to unimproved land on the effective date of the ordinance from which this division is derived, at such time as improvements are constructed upon such land, then, should such parcel of land be capable of providing all off-street parking, in addition to the planter islands required herein, then all such off-street parking shall be provided on such property. To the extent than any off-street parking cannot be provided on such parcel of land due to the construction of the required planter island, then, only to the extent necessary, credit for parking spaces shall be given for the number of planter islands constructed and needed for compliance with the off-street parking requirements.
(Code 1979, ch. 21, § 5.66)
Any person who is charged with the responsibility of the compliance of this division, and who violates this division, shall be punishable as provided for in section 1-7 of this Code, or, at the option of the city, should the violation be processed through the city code enforcement board, then punishment shall be as provided for in section 2-260 of this Code.
(Code 1979, ch. 21, § 5.67)
(a)
Application and consideration.
(1)
The owner of any property affected by this division shall have the right to apply for a special exception which may be granted where due to extreme unusual nature of the property, including but not being limited to:
a.
Unusual lot and configuration, i.e. (triangular);
b.
Lack of area to comply because property is completely covered by structures and/or has no available parking area or perimeter area within which to comply with the landscaping provisions;
c.
Existing landscaping in place which, though it does not literally conform to the terms of the ordinance, may be given some consideration or credit for landscaping materials; or
d.
Other extreme unusual conditions except that such may not be based upon the fact that the ordinance requires extensive landscaping due to the size of the property or causes a loss of usable parking spaces.
(2)
Such application shall be filed with the city clerk, shall be accompanied by a survey as provided for in subsection 42-433(4)a, plus a drawing prepared to scale depicting the property, building, parking spaces and landscape material and reflecting what the property would look like if the special exception requested by the applicant were granted, all of the above so as to enable the planning and zoning board and city commission to determine the criteria for the granting of a special exception, if any. All applications for granting of a special exception shall be accompanied by the fee provided in Appendix A of this Code. The application shall set forth in detail the special exception requested and the reasons and existing conditions which the applicant feels justify the granting of the requested special exception.
(3)
The planning and zoning board shall consider all facts and conditions that they may deem appropriate under the circumstances and shall either grant the special exception, deny the special exception or grant a conditional special exception, which conditional exception shall specify, in detail, the requirements that shall be considered in compliance with the provisions of this division.
(b)
Orders and decisions.
(1)
The order and decision of the planning and zoning board, in every case submitted to it for consideration, shall be in writing and shall be in conformity with the decision made and contained in the minutes of the planning and zoning board meeting.
(2)
The concurring vote of a majority of the entire planning and zoning board shall be necessary to grant a special exception to the provisions of the commercial landscape ordinance.
(3)
In granting any special exception, the planning and zoning board shall record in its minutes the circumstances and conditions constituting the extreme unusual nature of the property upon which the special exception is based.
(4)
Any application considered by the board and received less than an affirmative majority vote of the entire planning and zoning board is automatically denied.
(5)
In granting any special exception, the planning and zoning board shall have the power to attach to its approval any reasonable conditions, limitations or requirements found necessary by the board to effectuate the provisions of this article and to carry out the spirit and purpose of the commercial landscape ordinance of the city. Such conditions, limitations or requirements shall remain in full force and effect thereafter so long as the special exception status is continued and any violation of such conditions, limitations and requirements shall constitute a violation of this chapter.
(c)
Appeals from board to or review by city commission.
(1)
All appeals or reviews of the action of the zoning board, whether with respect to the denial of a special exception application or the approval of the special exception application, shall be as provided for in section 42-284.
(2)
No permit shall be issued for work or improvements pursuant to such special exception until after the grant of such special exception has become final.
(3)
The grant or denial of such application for special exception shall become final upon:
a.
The latest to occur of the times set for filing appeal or moving for review, if no appeal or review occurs; or
b.
Upon final action by the city commission, if appeal or review occurs.
(Code 1979, ch. 21, § 5.68)
The city commission finds that transitory uses of residential property tend to adversely affect the residential character of the community and are injurious to the health of the community. Therefore, it is necessary and in the interest of the public health, safety, and welfare to monitor and provide reasonable means for citizens of the city to mitigate impacts created by such transitory uses of residential property within the city. It is unlawful for any owner of any property within the geographic bounds of the city, to rent or operate a transient rental contrary to the procedures and regulations established in this article or applicable state statute, except as provided in subsection 42-442(b).
(Ord. No. 2015-0926, § 1, 10-13-2015)
For the purpose of this article, the following terms, phrases, words, abbreviations and their derivations shall have the meaning given herein. When not inconsistent with the context, words used in the present tense include the future tense, words in the plural number include the singular number, and words in the singular number include the plural number. The word "shall" is always mandatory . Words not defined shall be given their meaning as provided in section 42-242 of the Code of Ordinances of the city.
Garbage as defined in the city Code of Ordinances.
Residential property shall mean "residence, one-family;" "residence, two-family;" and "residence, three-family" and "residence, four-family" as defined in section 42-242 of the city's Code.
Responsible party shall mean the owner or the person designated by the owner of the transient rental to be called upon to answer for the maintenance of the transient rental and the conduct and acts of transient occupant of residential properties.
Transient occupants means any person, or guest or invitee of such person, who occupies or is in actual or apparent control or possession of residential property required to obtain a certificate of compliance as a transient rental. It shall be a rebuttable presumption that any person who holds themselves out as being an occupant or guest of an occupant of the transient rental is a transient occupant.
Transient rental shall mean any unit or group of units in a condominium or cooperative or any individually or collectively owned single-family, two-family, three-family, or four-family house or dwelling unit that is rented to transient occupants for periods of six months or less, or which is advertised or held out to the public as a place rented to transient occupants, including, but not limited to, vacation rentals.
Vacation rentals shall have the same meaning as F.S. § 509.242(c).
(Ord. No. 2015-0926, § 1, 10-13-2015)
(a)
It is unlawful for any person to allow another person to occupy any transient rental within the city, or offer any residential property for rent and/or lease as a transient rental within the city, unless the person has obtained the certificate of compliance for the transient rental with the city in accordance with the provisions of this article, except as provided in 42-442(b).
(b)
A person may allow another person to occupy any transient rental without the issuance of a certificate of compliance from the city if all of the following are met:
(1)
The residential property to be occupied by a transient occupant, or any other property owned by the titled owner of the residential property to be occupied by a transient occupant, is not in violation of any section of the Code of Ordinances of the city; and,
(2)
There are no unsatisfied liens recorded against the residential property to be occupied by a transient occupant, or any other property owned by the titled owner of the residential property to be occupied by a transient occupant, as a result of any violation of any section of the code of ordinances of the city; and,
(3)
A complete application for a certificate of compliance for the residential property as a transient rental has been filed pursuant to section 42-443 and all applicable fees have been paid; and,
(4)
That said occupancy was scheduled prior to November 1, 2015 as evidenced by a written and validly executed rental agreement or contract provided to the city administrator no later than February 1, 2016; however, any renewal terms of any occupancies scheduled after November 1, 2015 shall require a certificate of compliance; and
(5)
For a vacation rental, the transient rental has an effective and valid license as a vacation rental, the classification of public lodging establishment issued by the Florida Department of Business and Professional Regulations prior to November 1, 2015.
(Ord. No. 2015-0926, § 1, 10-13-2015)
(a)
Application for a certificate of compliance of a transient rental shall be made by the owner of the transient rental to the city administrator or his or her designee, and applications for a certificate of compliance shall be certified as true and complete, and sworn to in the presence of a notary, and shall set forth at a minimum:
(1)
The legal description of the transient rental offered for rental (i.e., address, lot, block and subdivision name);
(2)
Name, address, and phone number of owner of property that is the subject of the application;
(3)
Name, address, and emergency contact phone number of responsible party for the transient rental, which shall be a 24-hour, seven days' a week contact number;
(4)
That the phone number for the responsible party will be answered 24 hours a day, seven days a week by the responsible party;
(5)
Acknowledgements by owner of the residential property of the following:
a.
That all vehicles associated with the transient rental must be parked on hard surface off-street parking provided on the property, and no more than one vehicle per bedroom in the transient rental shall be permitted;
b.
That the transient occupant of any transient rental shall comply with the limitations of section 42-448(4)(a);
c.
That the owner of residential property shall comply with all applicable city, county, state and federal laws, rules, regulations, ordinances and statutes.
d.
The residential property, or any other property owned by the titled owner of the residential property, is not in violation of any section of the Code of Ordinances of the city;
e.
That there are no unsatisfied liens recorded against the residential property, or any other property owned by the titled owner of the residential property, as a result of any violation of any section of the Code of Ordinances of the city; and
f.
That no solid waste or recycling container for the residential property shall be located at the curb for pickup before 6:00 p.m. of the day prior to pick up, and the solid waste and recycling containers shall be removed before 9:00 p.m. of the day of pickup;
g.
That whoever, without being authorized, licensed, or invited, willfully enters or remains in any structure or conveyance of a residential property, or, having been authorized, licensed, or invited, is warned by the owner or lessee, to depart the property and refuses to do so, commits the offense of trespass in a structure or conveyance;
h.
That other properties are not jointly shared commodities and should not be considered available for use by transient occupants of the transient rental subject of the application; and,
i.
That prior to permitting occupancy by a transient occupant, the owner shall confirm that such occupancy is not prohibited by the city's sexual offender and predator residency prohibitions set forth in sections 54-9 through 54-12 of the city's Code of Ordinances.
(6)
Proof of owner's current ownership of the residential property;
(7)
For vacation rentals, and where required by state law, proof of registration with the Florida Department of Revenue for sales tax collection and Broward County for Tourist Development Tax; however, if the vacation rental is exempt from sales tax collection then the owner shall provide an affidavit confirming the exemption and a copy of the exemption certificate issued by the State of Florida Department of Revenue; and
(8)
For vacation rentals, and where required by state law, proof of licensure with the Florida Department of Business and Professional Regulation for a transient public lodging establishment; and
Submission of an incomplete application form shall result in rejection of the application.
(Ord. No. 2015-0926, § 1, 10-13-2015)
The city shall charge reasonable fees for a certificate of compliance in order to compensate for administrative expenses. The fees for a certificate of compliance under this article shall be provided for, from time to time, by resolution adopted by the city commission.
(Ord. No. 2015-0926, § 1, 10-13-2015)
Whenever any residential property is required to obtain a certificate of compliance under this article, the owner of the transient rental shall appoint a natural person who resides within 25 miles of the transient rental, the distance measured using airline measurement from the closest property lines of the transient rental and the responsible party's residence, to serve as the responsible party for service of notices as are specified herein, and notices given to the responsible party shall be sufficient to satisfy any requirement of notice to the owner of the transient rental. An initial responsible party shall be designated and name submitted with the application for the certificate of compliance, and the city administrator or his designee shall thereafter be notified of any change of responsible party within five business days of such change. Further, it is the affirmative duty of the responsible party to:
(1)
Inform all transient occupants, in writing, prior to occupancy of the transient rental of applicable city ordinances concerning noise, residency prohibitions for sexual offenders and predators, vehicle parking, garbage, and common area usage;
(2)
Maintain all transient rentals under their control in compliance with the occupancy limits, as specified in the Florida Building Code and section 42-448 of the Code of Ordinances of the city, as determined by the building official or his designee;
(3)
See that the provisions of this article are complied with and promptly address any violations of this article or any violations of law which may come to the attention of the responsible party;
(4)
Be available with authority to address and coordinate solutions to problems with the transient rental 24 hours a day, seven days a week;
(5)
Be able to, and shall, respond to, emergency calls within one (1) hour of notification;
(6)
Keep available a register of all transient occupants, which shall be open to inspection by authorized personnel of the city of Lighthouse Point at all times; and
(7)
Maintain the entire transient rental free of garbage and litter; provided however, that this subsection shall not prohibit the storage of garbage, recyclables, and litter in wheeled receptacles with hinged lids and in good repair.
(Ord. No. 2015-0926, § 1, 10-13-2015)
It shall be unlawful for any person to give any false or misleading information in connection with the application required by this article.
(Ord. No. 2015-0926, § 1, 10-13-2015)
The city administrator or his designee may issue a certificate of compliance to the applicant upon proof of the following:
(a)
The owner of the transient rental completes the city certificate of compliance application form;
(b)
The application fee has been paid to the city;
(c)
A business tax receipt from the city pursuant to chapter 78 of the Code of Ordinances;
(d)
A business tax receipt from Broward County, if applicable;
(e)
A Florida Department of Revenue certificate of registration for purposes of collecting and remitting tourist development taxes, sales surtaxes and transient rental taxes;
(f)
For vacation rentals, a Florida Department of Business and Professional Regulation license as a transient public lodging establishment;
(g)
An affidavit, demonstrating maintaining initial and on-going compliance with transient rental standards contained herein, plus any other applicable local, state and federal laws, regulations and standards to include, but not be limited to F.S. ch. 509, and Rules, Chapter 61C and 69A, Florida Administrative Code, as may be applicable;
(h)
A copy of the form lease agreement to be used when contracting with transient occupants; and
(i)
Complete inspection required by section 42-449.
(Ord. No. 2015-0926, § 1, 10-13-2015)
The following standards shall govern the use of any transient rental as a permitted use:
(1)
Minimum life/safety requirements:
a.
Swimming pool, spa and hot tub safety. A swimming pool, spa or hot tub shall comply with the current standards of the Residential Swimming Pool Safety Act, F.S. ch. 515.
b.
Bedrooms. All bedrooms shall meet the single- and two-family dwelling minimum requirements of the Florida Building Code.
c.
Smoke and carbon monoxide (CO) detection and notification system. If an interconnected and hard-wired smoke and carbon monoxide (CO) detection and notification system is not in place within the transient rental, then an interconnected, hard-wired smoke alarm and carbon monoxide (CO) alarm system shall be required to be installed and maintained on a continuing basis consistent with the requirements of Section R314, Smoke Alarms, and Section R315, Carbon Monoxide Alarms, of the Florida Building Code — Residential.
d.
Fire extinguisher. A portable, multi-purpose dry chemical 2A:10B:C fire extinguisher shall be installed, inspected and maintained in accordance with NFPA 10 on each floor/level of the unit. The extinguisher(s) shall be installed on the wall in an open common area or in an enclosed space with appropriate markings visibly showing the location.
(2)
Maximum occupancy. The following specific site considerations in subsections a., b., and c. shall limit any transient rental occupancy to whichever is less, as applicable, below:
a.
One person per 150 gross square feet of permitted, air-conditioned living space.
b.
Two persons per bedroom, as the term bedroom is defined in the Florida Building Code.
c.
In the RS-3 and RS-5 zoning districts, the maximum occupancy shall be limited to eight transient occupants per transient rental. In all other zoning districts and developments predominantly developed with greater than two-family dwelling units, the maximum occupancy shall be limited to 16 transient occupants per transient rental.
(3)
Solid waste handling and containment. Based on the maximum transient occupancy permitted, city solid waste and recycling containers shall be as required in chapter 74-61 of the city's Code of Ordinances. Appropriate screening and storage requirements for solid waste containers shall apply per any development approval and be incorporated into the certificate of compliance. For purposes of this section, a solid waste container shall not be placed at curbside before 6:00 p.m. of the day prior to solid waste pickup, and the solid waste container shall be removed from curbside before 9:00 p.m. of the day of pickup.
(4)
Minimum transient occupant information. The transient occupant shall be provided with a copy of the information required in this section, and the following shall be posted conspicuously within the transient rental:
a.
A statement advising the transient occupant that any sound shall not be plainly audible for a period of one minute or longer at a distance of 25 feet or more when measured from the source property line between the hours of 10:00 p.m. and 8:00 a.m. daily and at a distance of 50 feet or more when measured from the source property line between the hours of 8:00 a.m. and 10:00 p.m. daily;
b.
A sketch of the location of the off-street parking spaces for the transient rental;
c.
The days and times of trash and recycling pickup as well as the permitted times for placement of receptacles for collection;
d.
The location of the nearest hospital;
e.
Notice that sexual offenders and predators are subject to residency prohibitions in the city's Code and occupancy of the transient rental in violation of such ordinance is a violation of law; and
f.
The city's non-emergency police phone number.
g.
There shall be posted, next to the interior door of each bedroom a legible copy of the building evacuation map—Minimum eight and one-half inches by 11 inches.
(5)
Minimum wording for agreement relating to transient rental. Any agreement utilized by an occupant of the transient rental shall contain the minimum transient occupant information as provided for in this section.
(6)
Designation of a transient rental responsible party capable of meeting the duties provided in section 42-445.
(7)
Advertising. Any advertising of a transient rental shall conform to information included in the transient rental certificate of compliance, particularly as this pertains to maximum occupancy.
(8)
Sexual offenders and sexual predators. It is unlawful to allow any person to occupy any transient rental within the city, with the knowledge that it will be occupied by a person prohibited from establishing a permanent residence or temporary residence at said transient rental, if such place, structure, or part thereof, trailer or other conveyance, is located within 2,500 feet of any school, designated public school bus stop, child day care facility, park or playground or other place where children regularly congregate as described in sections 54-9 through 54-12 of the Code of Ordinances.
(9)
Posting of certificate of compliance. The certificate of compliance shall be posted on the back of or next to the main entrance door and shall include at a minimum the name, address and phone number of the responsible party and the maximum occupancy of the transient rental.
(10)
Other standards. Any other standards contained with the Code of Ordinances and the Unified Land Development Regulations of the city to include, but not be limited to: noise, setbacks, stormwater and similar provisions.
(Ord. No. 2015-0926, § 1, 10-13-2015)
(a)
An initial inspection of the residential property proposed to be used as a transient rental for compliance with this article is required prior to issuance of an initial transient rental certificate of compliance. If violations are found, all violations must be corrected and the transient rental must be re-inspected prior to issuance of the initial transient rental certificate of compliance as provided herein.
(b)
Once issued, a transient rental must be properly maintained in accordance with this article, and will be re-inspected annually. For an inspection, all violations must be corrected and re-inspected within 30 calendar days. Failure to correct such inspection deficiencies in the timeframes provided herein shall result in the suspension of the transient rental certificate of compliance until such time as the violations are corrected and re-inspected.
(c)
The responsible party shall make the appointment for the inspections. If the inspector has an appointment with the responsible party to complete an inspection, and the responsible party fails to admit the inspector at the scheduled time, the owner shall be charged a "no show" fee in an amount to be determined by resolution of the city commission to cover the inspection expense incurred by the city.
(d)
As part of the initial and subsequent inspections, the city shall be provided annual certifications by a qualified inspector that smoke and carbon monoxide (CO) detection and notification system and the fire extinguishers are in good working order.
(e)
If the inspector(s) is denied admittance by the responsible party or if the inspector fails in at least three attempts to complete an initial or subsequent inspection of the transient rental, the inspector(s) shall provide notice of failure of inspection to the owner to the address shown on the existing transient rental certificate of compliance or the application for transient rental.
(1)
For an initial inspection, the notice of failure of inspection results in the certificate of compliance not being issued; the transient rental is not permitted to operate without a valid certificate of compliance.
(2)
For a subsequent inspection, the notice of failure of inspection is considered a violation and is subject to enforcement remedies as provided herein.
(Ord. No. 2015-0926, § 1, 10-13-2015)
No certificate of compliance issued under this article shall be transferred or assigned or used by any person other than the one to whom it is issued, or at any location other than the one for which it is issued.
(Ord. No. 2015-0926, § 1, 10-13-2015)
All certificates of compliance issued under the provisions of this Article shall be valid for no more than one year, and all certificates of compliance shall expire on September 30 of each year, regardless of when issued. The annual fee shall be the same regardless of when the application is submitted. Renewal and applicable late renewal fees shall be established by resolution of the city commission.
(Ord. No. 2015-0926, § 1, 10-13-2015)
(a)
Any certificate of compliance issued pursuant to this article may be denied, revoked, or suspended by the city administrator upon the adjudication of a violation of this article, any city ordinance, or state law by the owner or responsible party. Such denial, revocation or suspension is in addition to any penalty provided herein.
(b)
Offenses/violations.
(1)
Non-compliance with any provisions of this article shall constitute a violation of this article.
(2)
Separate violations. Each day a violation exists shall constitute a separate and distinct violation, except that occupancy violations shall be governed by subsection 42-452(d).
(c)
Remedies/enforcement.
(1)
Violations of this article shall be subject to penalties as part of a progressive enforcement program with the primary focus on compliance and compatibility with adjoining properties, versus penalties and legal actions. To accomplish a safe and effective transient rental program it is the city's objective that the transient rental owners and responsible parties are responsive and responsible in the management of the transient rental for compliance with this article. Code enforcement activities will be in accordance with F.S. ch. 162, and chapter 2, article VII, division 2, of the Code of Ordinances of the city.
(2)
Warnings. Warnings shall be issued for first-time violations and have a correction/compliance period associated with it. Such warnings may include notice to other agencies for follow-up by such agencies, if applicable, such as the Florida Department of Business and Professional Regulation, the Florida Department of Revenue, the Broward County Tax Collector and the Broward County Property Appraiser. Non-compliance with a correction compliance period shall result in the issuance of a citation.
(3)
Fines per violation may be set by resolution of the city commission of the city for the first, second, third and further repeat violations. The city may utilize F.S. ch. 162, to prosecute a code violation and in such case a code enforcement board or special magistrate shall hold hearings, assess fines and order other relief. Alternatively, the city may utilize F.S. ch. 162, part 2, and pursue violations by way of a civil citation system as provided in its Code of Ordinances. The city may also rely on an appropriate enforcing agency at the state or local level.
(4)
Additional remedies. Nothing contained herein shall prevent the city from seeking all other available remedies which may include, but not be limited to, suspension or revocation of a transient rental certificate of compliance, injunctive relief, liens and other civil and criminal penalties as provided by law, as well as referral to other enforcing agencies.
(d)
Suspension or revocation of transient rental certificate of compliance. In addition to any fines and any other remedies described herein or provided for by law, the code enforcement board or special magistrate may suspend or revoke a transient rental certificate of compliance for multiple violations of the maximum occupancy limits in this article in any continuous 36-month period, in accordance with the following:
(1)
Suspension time frames.
a.
Upon a third violation of the maximum occupancy limits contained in this article the transient rental certificate of compliance shall be suspended for a period of 30 calendar days.
b.
Upon a fourth violation of the maximum occupancy limits contained in this article the transient rental certificate of compliance shall be suspended for a period of 12 calendar months.
c.
For each additional violation of the maximum occupancy this article the transient rental certificate of compliance shall be suspended for an additional period of 12 calendar months.
(2)
Suspension restrictions. A transient rental may not provide transient occupancy during any period of suspension of a certificate of compliance.
a.
The suspension shall begin immediately following notice, commencing on the earlier of:
1.
the expiration of the current transient rental agreement period; or
2.
if multiple separate rental agreements are simultaneously applicable to a transient rental, the expiration of all agreements for the transient occupants utilizing the transient rental on the date of delivery of a notice of violation to the owner or responsible party; or
3.
thirty calendar days, or as otherwise determined by the city code enforcement board or special magistrate.
b.
Operation during any period of suspension shall be deemed a violation pursuant to this article and shall be subject to daily fine, up to the maximum amount as otherwise provided in Florida Statues for repeat violations, for each day that the transient rental operates during a period of violation.
(3)
Revocation of certificate of compliance. A residential property shall not be used as a transient rental after revocation of a certificate of compliance. A transient rental certificate of compliance may be revoked by the city's code enforcement board or special magistrate following a hearing in which multiple violations of this article have occurred, and the special magistrate or code enforcement board finds violations are intentional, and affect the health, safety, and welfare of surrounding properties and residents. A transient rental certificate of compliance may also be revoked if the special magistrate or code enforcement board finds that the owner made material misrepresentations on the transient rental certificate of compliance application.
(e)
During any period of suspension or revocation of a certificate of compliance, no advertisements for the transient rental shall occur.
(f)
The transient rental owner shall not be entitled to any refund of the annual fee paid for the certificate of compliance for any portion of the unexpired term of a certificate of compliance due to suspension or revocation of the certificate of compliance.
(Ord. No. 2015-0926, § 1, 10-13-2015)
Whenever a violation of this article occurs, or is alleged to have occurred, any person may file a written complaint. Such complaint, stating fully the causes and basis thereof, shall be filed with the city administrator or his designee. The city administrator or his designee shall promptly record such complaint, investigate, and take action thereon in accordance with this article and chapter 2 of the Code of Ordinances of the city.
(Ord. No. 2015-0926, § 1, 10-13-2015)
The city administrator or his designee shall enforce the provisions of this article as provided in chapter 2, article VII, division 2 of the Code of Ordinances of the city.
(Ord. No. 2015-0926, § 1, 10-13-2015)
(a)
This section implements the policy of the city for processing of requests for reasonable accommodation to its ordinances, rules, policies, and procedures for persons with disabilities as provided by the Federal Fair Housing Amendments Act (42 U.S.C. 3601, et seq.) ("FHA") and Title II of the Americans with Disabilities Act (42 U.S.C. Section 12131 et seq.) ("ADA"). For purposes of this section, a "disabled" individual or person is an individual that qualifies as disabled and/or handicapped under the FHA and/or ADA. Any person who is disabled (or qualifying entities) may request a reasonable accommodation with respect to the City's land use or zoning laws, rules, policies, practices and/or procedures as provided by the FHA and the ADA pursuant to the procedures set out in this section.
(b)
A request by an applicant for reasonable accommodation under this section shall be made in writing by completion of a reasonable accommodation request form, which form is maintained by (and shall be submitted to) the city administrator. The reasonable accommodation request form shall contain such questions and requests for information as are necessary for processing the reasonable accommodation request. The reasonable accommodation request form shall be substantially in the form set forth herein.
(c)
Should the information provided by the disabled individual to the city include medical information or records, including records indicating the medical condition, diagnosis or medical history of the disabled individual, such individual may, at the time of submitting such medical information, request that the city, to the extent allowed by law, treat such medical information as confidential information of the disabled individual. The city shall thereafter endeavor to provide written notice to the disabled individual, and/or their representative, of any request received by the city for disclosure of the medical information or documentation which the disabled individual has previously requested, be treated as confidential by the city. The city will cooperate with the disabled individual, to the extent allowed by law, in actions initiated by such individual to oppose the disclosure of such medical information or documentation, but the city shall have no obligation to initiate, prosecute or pursue any such action, or to incur any legal or other expenses (whether by retention of outside counselor allocation of internal resources) in connection therewith, and may comply with any judicial order without prior notice to the disabled individual.
(d)
The city administrator shall have the authority to consider and act on requests for reasonable accommodation, after notice and public hearing to receive comments, input and information from the public (provided, however, the city administrator or designee shall not be required to render their decision at said public hearing). When a reasonable accommodation request form has been completed and submitted to the city administrator, the city administrator shall issue a written determination within 45 days of the date of receipt of a completed reasonable accommodation request form and may, in accordance with federal law:
(1)
Grant the accommodation request;
(2)
Grant a portion of the request and deny a portion of the request, and/or impose conditions upon the grant of the request; or
(3)
Deny the request, in accordance with applicable law.
Any such denial shall be in writing and shall state the grounds therefor. All written determinations shall give notice of the right to appeal. The notice of determination shall be sent to the requesting party (i.e. the disabled individual or his/her representative) by certified mail, return receipt requested. If reasonably necessary to reach a determination on the request for reasonable accommodation, the city administrator, may, prior to the end of said 45-day period, request additional information from the requesting party, specifying in sufficient detail what information is required. The requesting party shall have 15 days after the date of the request for additional information to provide the requested information. In the event a request for additional information is made, the 45-day period to issue a written determination shall no longer be applicable, and the city administrator shall issue a written determination within 30 days after receipt of the additional information. If the requesting party fails to provide the requested additional information within said 15-day period, the city administrator shall issue and written notice advising that the requesting party had failed to timely submit the additional information, and therefore the request for reasonable accommodation shall be deemed abandoned and/or withdrawn and no further action by the city with regard to said reasonable accommodation request shall be required.
(e)
In determining whether the reasonable accommodation request shall be granted or denied, the requesting party shall be required to establish that they are protected under the FHA and/or ADA by demonstrating that they are a disabled person. For purposes of this section, a "disabled person" is an individual that qualifies as disabled and/or handicapped under the FHA and/or ADA. The word "individual" shall include, for purposes of this section, multiple people, or qualified entities.
The requesting party will have to demonstrate that the proposed accommodations being sought are reasonable and necessary to afford handicapped/disabled person equal opportunity to use and enjoy housing. The foregoing (as interpreted by the courts) shall be the basis for a decision, upon a reasonable accommodation request, made by the city administrator, planning and zoning board, or by the city commission in the event of an appeal.
(f)
The city administrator's determination on a reasonable accommodation request may be appealed pursuant to sections 42-281 through 42-284 of the city's Code of Ordinances.
(g)
There shall be no fee imposed by the city in connection with a request for reasonable accommodation under this section. An appeal of a determination of the city administration shall be subject to the same fee as other appeals filed pursuant sections 42-281 through 42-284 of the city's Code of Ordinances. The city shall have no obligation to pay a requesting party's (or an appealing party's, as applicable) attorneys' fees or costs in connection with the request, or an appeal.
(h)
While a request for a reasonable accommodation, or appeal of a determination of same, is pending before the city, the city will not enforce the subject zoning ordinance, rules, policies, and procedures against the applicant.
(i)
The following general provisions shall be applicable:
(1)
The city shall display a notice in the city's public notice bulletin board (and shall maintain copies available for review in the city clerk's office), advising the public disabled individuals (and qualifying entities) may request reasonable accommodation as provided herein.
(2)
A disabled individual may apply for a reasonable accommodation on his/her own behalf or may be represented at all stages of the reasonable accommodation process by a person designated by the disabled individual.
(3)
The city shall provide such assistance and accommodation as is required pursuant to FHA and ADA in connection with a disabled person's request for reasonable accommodation, including, without limitation, assistance with reading application questions, responding to questions, completing the reasonable accommodation request form, filing an appeal, and appearing at a hearing etc. to ensure the process is accessible.
(j)
Reasonable accommodation request form:
(1)
Name of applicant: ____________
(2)
Telephone number: ____________
(3)
Address: ____________
(4)
Address of housing or other location at which accommodation is requested: ____________
(5)
Describe qualifying disability or handicap: ____________
(6)
Describe the accommodation and the specific regulation(s) and or procedure(s) from which accommodation is sought: ____________
(7)
Reasons the reasonable accommodation may be necessary for the individual with disabilities to use and enjoy the housing or other service: ____________
(8)
Name address and telephone number of representative if applicable: ____________
(9)
Signature of disabled individual or representative, if applicable, or qualifying entity: ____________
(Ord. No. 2015-0926, § 1, 10-13-2015)
(a)
The five regular members of the planning and zoning board may be recommended for selection from the following professions:
(1)
Business person;
(2)
General contractor;
(3)
Attorney;
(4)
Realtor;
(5)
Architect; or
(6)
Engineer.
(b)
The two alternate members of the planning and zoning board may also be recommended for selection from the professions referenced in subsection (a) above.
(c)
The planning and zoning board shall perform the following duties:
(1)
Grant temporary permits for nonconforming uses of buildings or lands within the city for short periods of time, but such temporary permits shall expire on September 30 next after their issuance.
(2)
Hear and decide appeals where it is alleged that there is an error in any order, requirement, decision or determination made by an administrative official in the enforcement of zoning regulations, and modify or reverse such ruling made upon misinterpretation of fact or misinterpretation of law.
(3)
Hear and determine applications for and grant variances in specific cases, where such variances shall not be contrary to public interest or the general purposes sought to be accomplished by zoning regulations and where, owing to special conditions, a literal enforcement of the provisions of this chapter would result in unnecessary hardship in the use of the property involved, except where the use of property is to be changed.
(4)
Review conditional use approval applications as required by the Code.
(5)
For any matter properly before the board, it shall consider the appropriate aesthetics based upon the scale, color, architectural style, materials used to construct the facilities, and the landscape design and landscape materials around the facilities. The board may rely upon the recommendations of the community appearance board for all matters of aesthetics.
(d)
The planning and zoning board shall also include a nonvoting member designated by the School Board of Broward County, Florida in accordance with F.S. § 63.3174(1), as may be amended from time to time. The school board-appointed member may attend meetings where comprehensive plan amendments or re-zonings are considered which, if approved, could increase residential density on the property that is the subject of the application. The school board-appointed member shall not be permitted to vote on any application. Notwithstanding the requirements of this subsection, any applications for development orders in which the school board-appointed member participates shall be reviewed and considered upon the criteria in the city's land development regulations and applicable provisions of state law.
(Code 1979, ch. 21, § 5.7; Ord. No. 717, § 1, 3-10-1998; Ord. No. 779, § 2, 4-24-2001; Ord. No. 2004-839, § 2, 6-22-2004; Ord. No. 2006-861, § 2, 4-11-2006)
(a)
Every appeal or petition to the planning and zoning board shall be in writing and specify the grounds for such petition or appeal.
(b)
Any appeal taken pursuant to subsection 42-281(2) shall be delivered to the city clerk within ten days from the date of the order, requirement, decision or determination from which the appeal is taken.
(c)
Any appeal taken pursuant to subsections 42-281(1) and (3) shall be heard by the planning and zoning board no sooner than ten days from the date of which owners of all lands affected thereby and the owners of all lands lying within 500 feet of any of the lands affected are notified by the city clerk of the proposal, appeal or petition, and of the meeting in which the proposal, appeal or petition is scheduled for public discussion. For this purpose the owners shall be deemed to be the persons shown upon the tax rolls of the county as having an interest in or relation to the particular property.
(d)
Meetings of the planning and zoning board shall be held at the call of the chairman and at such times as the planning and zoning board may determine.
(e)
All meetings of the planning and zoning board shall be open to the public.
(f)
All calls for meetings of the planning and zoning board shall be recorded and immediately filed in the office of the city clerk and shall there upon be a public record.
(g)
Every appeal or petition to the planning and zoning board for rezoning shall be accompanied by cash or cashier's check in the amount provided in Appendix A to this Code. Every appeal or petition to the planning and zoning board for a variance shall be accompanied by cash or a cashier's check in the amount provided in Appendix A to this Code. All other petitions or appeals to the planning and zoning board shall be accompanied by cash or cashier's check in the amount provided in Appendix A to this Code.
(h)
The board may waive or refund all or any part of the fee.
(Code 1979, ch. 21, § 5.8)
(a)
The order and decision of the planning and zoning board, in every case submitted to it for consideration, shall be in writing and shall be in conformity with the decision made and contained in the minutes of the planning and zoning board meeting.
(b)
The concurring vote of a majority of the entire planning and zoning board shall be necessary to reverse any order, requirement, decision or determination of any official upon zoning matters, or to grant a variance or special exception to the provisions of an existing zoning regulation.
(c)
In granting any variance, the planning and zoning board shall record in its minutes the circumstances and conditions constituting the hardship or practical difficulty upon which the variance is based.
(d)
Any appeal considered by the planning and zoning board and receiving less than an affirmative majority of the entire planning and zoning board is automatically denied.
(e)
In granting any variance, the planning and zoning board shall have the power to attach to its approval any reasonable conditions, limitations or requirements found necessary by the board to effectuate the provisions of this article and to carry out the spirit and purpose of the zoning regulations of the city. Such conditions, limitations or requirements shall remain in full force and effect thereafter so long as the varied use is continued. Provided, that any violation of such conditions, limitations and requirements shall constitute a violation of this article.
(Code 1979, ch. 21, § 5.9)
(a)
Should any application, appeal or petition be made to the planning and zoning board, whether the application, appeal or petition is for requests for variance or otherwise, and such application, appeal or petition be denied, the applicant therefor shall have the right to appeal to the city commission, who shall sit as a board of appeals to consider such appeal based upon the record as established before the planning and zoning board. All such appeals to the city commission shall be taken within ten calendar days after any denial of any application, appeal or petition by the planning and zoning board by filing a written notice of such appeal, specifying the action of the planning and zoning board being appealed from, but no particular form shall be required.
(b)
Should any application, appeal or petition be made to the planning and zoning board, whether the application, appeal or petition is for requests for variance or otherwise, and such application, appeal or petition be granted by the planning and zoning board, then the mayor or administrative assistant of the city, or any other resident of the city, shall have the right to appeal the approval of such application, appeal or petition to the city commission, who shall sit as the board of appeals to consider the granting of the application, appeal or petition based upon the record as established before the planning and zoning board. Any such appeal to the city commission shall be taken within ten calendar days after the granting of the application, appeal or petition by the planning and zoning board by filing a written notice of such appeal and specifying the application, appeal or petition granted by the planning and zoning board being appealed from but no particular form shall be required.
(c)
Should any application, appeal or petition be granted by the planning and zoning board, the city commission shall have the right, power and authority to, upon its own motion, review the decision of the planning and zoning board, and upon such motion the city commission shall set a date and time at which it shall sit as the board of appeals to consider the granting of the application, appeal or petition based on the record as established before the planning and zoning board. Any such motion of the city commission shall be not later than the next regular city commission meeting or ten days after the date the planning and zoning board grants such application, appeal or petition, whichever is later to occur.
(d)
In the event of any appeal to or review by the city commission based on subsections (a), (b) or (c) of this section, the city commission shall have the power to confirm the action of the planning and zoning board, to reject, overrule or change any action of the planning and zoning board upon any such application, appeal or petition.
(e)
All appeals to the city commission except appeals initiated by the mayor, the administrative assistant or by motion of the city commission to review action of the zoning board, shall require a filing fee in the amount as provided in Appendix A to this Code and the check therefor must be filed with the appeal papers when the appeal papers are filed with the city clerk.
(Code 1979, ch. 21, § 5.10)
(a)
Where any petition for a change in zoning has been heard by the planning and zoning board and the planning and zoning board has recommended a denial of the petition, then upon dismissal, withdrawal, or denial by the city commission of such petition, no further application for appeal for a change in zoning on the same property or any part thereof to the same zoning classifications as formerly applied for shall be accepted by the city for a period of one year from such action.
(b)
Where any petition for a variance has been heard and denied by the planning and zoning board, no application for appeal for a variance from the same provisions of the zoning code formerly applied for upon the same property, or any part thereof, shall be accepted by the city for a period of six months from such denial.
(c)
Where any petition for a variance for change of use of property has been heard by the planning and zoning board and the planning and zoning board has recommended a denial, then upon dismissal, withdrawal, or denial by the city commission of such petition, no further application for appeal for a variance thereof, shall be accepted by the city for a period of one year from such action.
(d)
In any instance in which the planning and zoning board shall determine, in its discretion, that any unnecessary hardship in the use of the property involved will result from the enforcement of this section by reason of any error, omission, excusable neglect, change in circumstances, or other cause outside the control of the person or persons presenting such petition, the planning and zoning board may waive the application and enforcement of this section.
(Code 1979, ch. 21, § 5.11)
(a)
The lawful use of a building, except such use permitted under temporary nonconforming permits existing on May 26, 1964, may be continued although such use does not conform to the provisions of this article.
(b)
Such use may be extended throughout the building, provided no structural alterations except those required by law or ordinance, or ordered by an authorized officer to assure the safety of the building, are made therein.
(c)
No such use shall be extended to occupy any land outside such building.
(d)
If such nonconforming building is removed, or the nonconforming use of such building is discontinued for a continuous period of 90 days, every future use of such premises shall be in conformity with the provisions of this article.
(e)
There shall be exempted from the provisions of this section:
(1)
Any screen enclosure found to be in violation of the setback restrictions of this Code which was constructed prior to May 8, 1962, or thereafter with a city building permit or, in the alternative, for which the owner of the property on which it is located can demonstrate to the satisfaction of the building official that construction of this structure was completed prior to the annexation of such property into the city.
(2)
Any screen enclosure meeting the criteria of subsection (e)(1) of this section may be replaced with a new screen enclosure structure of no greater size, to include frame and screen, on the exact location of the original screen enclosure construction, providing a city building permit is issued prior to replacement.
(Code 1979, ch. 21, § 5.47)
(a)
The lawful use of land, except such uses as are permitted under temporary nonconforming permits, existing on May 26, 1964, although such use does not conform to the provisions of this article, may be continued, provided, that no such nonconforming use shall be enlarged or increased, nor shall any nonconforming use be extended to occupy a greater area of land than that occupied by such use at the time of the adoption of this article.
(b)
If such nonconforming use is discontinued for a continuous period of 90 days, any future use of the land shall be in conformity with the provisions of this article.
(c)
Where land is used on May 25, 1965, for a use excluded from the district in which the land is located, and such use is not an accessory to the use of a main building located on the same lot or grounds, such nonconforming use of land shall be discontinued and all material completely removed by its owner not later than May 25, 1967.
(Code 1979, ch. 21, § 5.48)
(a)
If no structural alterations are made, a nonconforming use, except temporary nonconforming uses, may be changed to a use of the same or higher classification, according to the provisions of this article.
(b)
When a district shall hereafter be changed, any then existing nonconforming use in such changed district may be continued or changed to a use of similar or higher classification, provided all other regulations governing the new use are complied with.
(c)
Whenever a nonconforming use of a building has been discontinued or changed to a higher classification, or to a conforming use, such use shall not thereafter be changed to a nonconforming use of a lower classification.
(Code 1979, ch. 21, § 5.49)
Nothing in this article shall be taken to prevent the restoration of a building destroyed to the extent of not more than 50 percent of its replacement value by fire, explosion or other casualty, or act of God, or the public enemy, nor the continued occupancy or use of such building or part hereof which existed at the time of such partial destruction.
(Code 1979, ch. 21, § 5.50)