13 - SHORELINE MASTER PROGRAM
A.
Authority. This chapter is adopted as part of the shoreline master program of the city. It is adopted pursuant to the authority and requirements of RCW Chapter 90.58 and WAC Chapter 173-26.
B.
Applicability. The requirements of this chapter apply to all uses, activities and development within the shorelands, unless specifically exempted by RCW Chapter 90.58 or WAC Chapter 173-27, or as specified in subsection F of this section. All proposed uses and development occurring within shoreline jurisdiction must conform to RCW Chapter 90.58, the Shoreline Management Act.
C.
Purpose and intent. It is the purpose and intent of this chapter to achieve the shoreline master program (SMP) mandates of the state of Washington and to adopt property development standards within the shorelands that protect the health, safety, welfare, values and property interests of the city of Mercer Island and its residents.
D.
Relationship with other Mercer Island codes and ordinances. This chapter is an integrated element of the city of Mercer Island Unified Land Development Code (MICC title 19) and other applicable development regulations contained in the Mercer Island City Code, including the storm water management regulations in MICC title 15, and building and construction regulations in MICC title 17. The provisions of the critical areas ordinance (MICC 19.07.010 through and including 19.07.190, Ordinance 19C-05) are hereby incorporated as specific regulations of the shoreline master program. To the extent this chapter conflicts with any other section of the Mercer Island City Code, the provisions of this chapter shall govern within the shorelands. In general, provisions related to administration and reasonable use do not apply in shoreline jurisdiction. Activities proposed within the shoreline jurisdiction that required a critical area review 1 or 2 should complete these reviews concurrently with the required shoreline permit.
1.
MICC 19.07.120, Exemptions, is excluded from this shoreline master program. Exemptions and exceptions within shoreline jurisdiction are found in WAC 173-27-040, 173-27-044, and 173-27-045.
2.
MICC 19.07.130, Modifications, is excluded from this shoreline master program.
3.
MICC 19.07.140, Reasonable use exception, and MICC 19.07.150, Public agency exception, are excluded from this shoreline master program and shall not apply in shoreline jurisdiction.
4.
MICC 19.07.180(C)(5) and 19.07.190(C)(6), pertaining to buffer reductions, are excluded from the shoreline master program.
5.
MICC 19.07.190(D)(1) is excluded from this master program.
6.
In order to use the wetland buffer table in MICC 19.07.190(C), all of the applicable minimizing measures listed in MICC 19.07.190(D)(3) must be implemented. For wetlands with a habitat score of six or more, if a protected corridor of relatively undisturbed vegetation exists between the wetland and a nearby priority habitat, the portion on the subject property must be protected. Otherwise the following buffers shall be established from the wetland boundary within shoreline jurisdiction:
E.
Relationship with other federal and state law. The provisions of this chapter shall not relieve any responsibility to comply with other federal and state laws or permits. The shoreline management permit and enforcement procedures contained within Chapter 173-27 WAC as presently constituted or hereinafter amended, are adopted by reference. All work at or waterward of the OHWM may require permits from one or all of the following: U.S. Army Corps of Engineers, Washington Department of Fish and Wildlife, Washington Department of Natural Resources or Washington Department of Ecology.
F.
The following development is not required to obtain shoreline permits or local reviews:
1.
Remedial actions. Pursuant to RCW 90.58.355, any person conducting a remedial action at a facility pursuant to a consent decree, order, or agreed order issued pursuant to RCW Chapter 70.105D, or to the Department of Ecology when it conducts a remedial action under RCW Chapter 70.105D.
2.
Boatyard improvements to meet NPDES permit requirements. Pursuant to RCW 90.58.355, any person installing site improvements for storm water treatment in an existing boatyard facility to meet requirements of a national pollutant discharge elimination system storm water general permit.
3.
WSDOT facility maintenance and safety improvements. Pursuant to RCW 90.58.356, Washington State Department of Transportation projects and activities meeting the conditions of RCW 90.58.356 are not required to obtain a substantial development permit, conditional use permit, variance, letter of exemption, or other local review.
4.
Projects consistent with an environmental excellence program agreement pursuant to RCW 90.58.045.
5.
Projects authorized through the Energy Facility Site Evaluation Council process, pursuant to RCW Chapter 80.50.
(Ord. 19C-06 § 1 (Att. A); Ord. No. 23C-15, § 1(Exh. A), 10-3-2023)
A.
Legal nonconforming uses and structures may continue. Overwater uses and structures, and uses and structures 25 feet landward from the OHWM, which were legally created may be maintained, repaired, renovated, remodeled and completely replaced to the extent that nonconformance with the standards and regulations of this chapter is not increased.
B.
Expansion of legal nonconforming structures. Expansions of legal nonconforming overwater structures and structures upland 25 feet from the OHWM are permitted; provided, that the expanded portion of the structure is constructed in compliance with this chapter and all other standards and provisions of the Mercer Island development regulations, including this chapter.
C.
No net loss standard and mitigation sequencing. No development shall be approved unless the applicant demonstrates to the code official's satisfaction that the shoreline development will not create a net loss of ecological function in the shorelands.
1.
Standards presumed to meet no net loss. When all individual development standards that apply to a development project do not explicitly require a determination of no net loss and the project conforms with all such standards, there is a rebuttable presumption that the project does not create a net loss of ecological function to the shorelands.
2.
No net loss plan. Whenever an applicant seeks a variance or conditional use permit or an applicable development standard explicitly requires a determination of no net loss of ecological function, the applicant shall provide the city with a plan that demonstrates the proposed project will not create a net loss in ecological function to the shorelands. The plan shall accomplish no net loss of ecological function by avoiding adverse ecological impacts that are not reasonably necessary to complete the project, minimizing adverse ecological impacts that are reasonably necessary to complete the project, and mitigating or offsetting any adverse impacts to ecological functions or ecosystem-wide processes caused by the project. The code official may require the plan to include reports from qualified professionals with expertise in ecological function. The plan's compliance with the no net loss requirement may be considered through the SEPA process.
i.
Off-site mitigation permitted. While on-site mitigation is preferred, off-site mitigation may be permitted at the discretion of the code official.
ii.
Demonstration of no net loss supported by a qualified professional. The code official may require any applicant to provide reports by qualified professionals that demonstrate to the code official's satisfaction that the applicant's proposed plan avoids a net loss in ecological function.
D.
Shoreline habitat and natural enhancements held harmless. In those instances where the OHWM moves further landward as a result of any action required by this chapter, or in accordance with permits involving a shoreline habitat and nature systems enhancement approved by the city, or a state or federal agency, the shoreline setback shall be measured from the location of the OHWM that existed immediately prior to the action or enhancement project.
E.
The development of two or more dwelling units on a lot abutting the OHWM should provide joint use or community dock facilities, when feasible, rather than allow individual docks for each lot.
F.
New development should be located and designed to avoid the need for future shoreline stabilization to the extent feasible. This future shoreline stabilization standard does not apply to stabilization that occurs pursuant to MICC 19.13.050(B)(1). New structural stabilization measures in support of new non-water-dependent development, including single-family residences, shall only be allowed when all of the conditions below apply:
1.
The erosion is not being caused by upland conditions, such as the loss of vegetation and drainage.
2.
Nonstructural measures, such as placing the development further from the shoreline, planting vegetation, or installing on-site drainage improvements, are not feasible or not sufficient.
3.
The need to protect primary structures from damage due to erosion is demonstrated through a geotechnical report, in compliance with subsection MICC 19.13.050(B)(7). The damage must be caused by natural processes, such as currents and waves.
4.
The erosion control structure will not result in a net loss of shoreline ecological functions.
(Ord. 19C-06 § 1 (Att. A))
The shoreline environmental designations map, dated March 3, 2011, as shown in appendix F, is adopted as the official Mercer Island shoreline environmental designations map. The digital map is available in the online version of the Mercer Island City Code at http://www.mercergov.org. All shorelands within the city are designated. Different areas of the city's shorelands have different natural characteristics and development patterns. As a result, two shoreline designated environments are established to regulate developments and uses consistent with the specific conditions of the designated environments and to protect resources of the Mercer Island shorelands. They are:
A.
Urban park environment. This environment consists of shoreland areas designated for public access and active and passive public recreation. The areas include, but are not limited to, parks, street ends, public utilities and other publicly owned rights-of-way. The uses located in this environment should be water-dependent and designed with no net loss to the ecological functions of the shorelands. Restoration of ecological functions is planned for these areas and is strongly encouraged. The preferred and priority use in the urban park environment is public access to, and enjoyment of, Lake Washington.
B.
Urban residential environment. The purpose of the urban residential environment is to provide for residential and recreational utilization of the shorelands, compatible with the existing residential character in terms of bulk, scale, type of development and no net loss of ecological functions of the shorelands. The preferred and priority use in the urban residential environment is single-family residential use.
(Ord. 19C-06 § 1 (Att. A))
The following tables specify the shoreline uses and developments which may take place or be conducted within the designated environments. The uses and developments listed in the matrix are allowed only if they are not in conflict with more restrictive regulations of the Mercer Island development code and are in compliance with the standards specified in MICC 19.13.050.
The following regulations apply to all uses and development within the shorelands, whether or not that development is exempt from the permit requirements:
(Ord. 19C-06 § 1 (Att. A); Ord. No. 23C-15, § 2(Exh. B), 10-3-2023)
All development within the shoreline jurisdiction shall be in compliance with all development requirements specified in this chapter.
A.
Standards landward of the OWHM. The standards in Table C shall apply to development located landward of the OHWM:
B.
Bulkheads and shoreline stabilization structures.
1.
An existing shoreline stabilization structure may be replaced with a similar structure if there is a demonstrated need to protect principal uses or structures from erosion caused by currents or waves, and the following conditions shall apply:
i.
The replacement structure should be designed, located, sized, and constructed to assure no net loss of ecological functions.
ii.
Replacement walls or bulkheads shall not encroach waterward of the ordinary high water mark or existing structure unless the primary structure was occupied prior to January 1, 1992, and there are overriding safety or environmental concerns. In such cases, the replacement structure shall abut the existing shoreline stabilization structure. Soft shoreline stabilization measures that provide restoration of shoreline ecological functions may be permitted waterward of the ordinary high water mark.
iii.
For purposes of this section standards on shoreline stabilization measures, "replacement" means the construction of a new structure to perform a shoreline stabilization function of an existing structure which can no longer adequately serve its purpose. Additions to or increases in size of existing shoreline stabilization measures shall be considered new structures.
iv.
Construction and maintenance of normal protective bulkhead common to single-family dwellings requires only a shoreline exemption permit, unless a report is required by the code official to ensure compliance with the above conditions; however, if the construction of the bulkhead is undertaken wholly or in part on lands covered by water, such construction shall comply with SEPA mitigation.
2.
New structures for existing primary structures. New or enlarged structural shoreline stabilization measures for an existing primary structure, including residences, are not allowed unless there is conclusive evidence, documented by a geotechnical analysis, that the structure is in danger from shoreline erosion caused by currents or waves. Normal sloughing, erosion of steep bluffs, or shoreline erosion itself, without a scientific or geotechnical analysis, is not demonstration of need. The geotechnical analysis should evaluate on-site drainage issues and address drainage problems away from the shoreline edge before considering structural shoreline stabilization. New or enlarged erosion control structure shall not result in a net loss of shoreline ecological functions.
3.
New development on steep slopes or bluffs shall be set back sufficiently to ensure that shoreline stabilization is unlikely to be necessary during the life of the structure, as demonstrated by a geotechnical analysis, in compliance with subsection (B)(7) of this section and building and construction codes.
4.
New structural stabilization measures in support of water-dependent development shall only be allowed when all of the conditions below apply:
i.
The erosion is not being caused by upland conditions, such as the loss of vegetation and drainage.
ii.
Nonstructural measures, planting vegetation, or installing on-site drainage improvements, are not feasible or not sufficient.
iii.
The need to protect primary structures from damage due to erosion is demonstrated through a geotechnical report, in compliance with subsection (B)(7) of this section and building and construction codes.
iv.
The erosion control structure will not result in a net loss of shoreline ecological functions.
5.
New structural stabilization measures to protect projects for the restoration of ecological functions or hazardous substance remediation projects pursuant to RCW Chapter 70.105D shall only be allowed when all of the conditions below apply:
i.
Nonstructural measures, planting vegetation, or installing on-site drainage improvements, are not feasible or not sufficient.
ii.
The erosion control structure will not result in a net loss of shoreline ecological functions.
6.
Bulkheads shall be located generally parallel to the natural shoreline. No filling may be allowed waterward of the ordinary high water mark, unless there has been severe and unusual erosion within two years immediately preceding the application for the bulkhead. In this event the city may allow the placement of the bulkhead to recover the dry land area lost by erosion.
7.
Geotechnical reports pursuant to this section that address the need to prevent potential damage to a primary structure shall address the necessity for shoreline stabilization by estimating time frames and rates of erosion and report on the urgency associated with the specific situation. As a general matter, hard armoring solutions should not be authorized except when a report confirms that there is a significant possibility that such a structure will be damaged within three years as a result of shoreline erosion in the absence of such hard armoring measures, or where waiting until the need is that immediate would foreclose the opportunity to use measures that avoid impacts on ecological functions. Thus, where the geotechnical report confirms a need to prevent potential damage to a primary structure, but the need is not as immediate as the three years, that report may still be used to justify more immediate authorization to protect against erosion using soft measures.
8.
When any structural shoreline stabilization measures are demonstrated to be necessary, pursuant to above provisions, the following shall apply:
i.
Limit the size of stabilization measures to the minimum necessary. Use measures designed to assure no net loss of shoreline ecological functions. Soft approaches shall be used unless demonstrated not to be sufficient to protect primary structures, dwellings, and businesses.
ii.
Ensure that publicly financed or subsidized shoreline erosion control measures do not permanently restrict appropriate public access to the shoreline except where such access is determined to be infeasible because of incompatible uses, safety, security, or harm to ecological functions. See public access provisions: WAC 173-26-221(4). Where feasible, incorporate ecological restoration and public access improvements into the project.
iii.
Mitigate new erosion control measures, including replacement structures, on feeder bluffs or other actions that affect beach sediment-producing areas to avoid and, if that is not possible, to minimize adverse impacts to sediment conveyance systems. Where sediment conveyance systems cross jurisdictional boundaries, local governments should coordinate shoreline management efforts. If beach erosion is threatening existing development, local governments should adopt master program provisions for a beach management district or other institutional mechanism to provide comprehensive mitigation for the adverse impacts of erosion control measures.
C.
Transportation and parking.
1.
Shoreline circulation system planning shall include safe, reasonable, and adequate systems for pedestrian, bicycle, and public transportation where appropriate. Circulation planning and projects should support existing and proposed shoreline uses that are consistent with all regulations.
2.
Transportation and parking facilities shall be planned, located, and designed where routes will have the least possible adverse effect on unique or fragile shoreline features, and will not result in a net loss of shoreline ecological functions or adversely impact existing or planned water-dependent uses.
3.
Where other options are available and feasible, new roads or road expansions should not be built within shorelands.
4.
Parking facilities in shorelands shall be allowed only as necessary to support an authorized use.
D.
Standards waterward of the OHWM. Moorage facilities may be developed and used as an accessory to dwellings on shoreline lots. Only one noncommercial, residential moorage facility per upland residential waterfront lot authorized. The standards in Table D shall apply to development located waterward of the OHWM:
E.
The covered portion of a moorage shall be restricted to the area lying within a triangle as illustrated in Figure A, except as otherwise provided in subsection (E)(1) of this section. The base of the triangle shall be a line drawn between the points of intersection of the property lateral lines with the ordinary high water mark. The location of the covered moorage shall not extend more than 100 feet from the center of the base line of such triangle. In cases where water depth is less than 11.85 feet from OHWM, the location of the covered moorage may extend up to 150 feet from the center of the base line or to the point where water depth is 11.85 feet at OHWM, whichever is less. The required ten-foot setbacks from the side property lines shall be deducted from the triangle area.
1.
A covered moorage is allowed outside the triangle, or a canopy up to 21 feet in height, if the covered moorage meets all other regulations and:
i.
Will not constitute a hazard to the public health, welfare, and safety, or be injurious to affected shoreline properties in the vicinity;
ii.
Will constitute a lower impact for abutting property owners; and
iii.
Is not in conflict with the general intent and purpose of the SMA, the shoreline master program and the development code.
Figure A: Area of Permitted Covered Moorage, Individual Lots
2.
Where a covered moorage or moorage facility is built pursuant to the agreement of owners of adjoining single-family lots located on the shoreline, the covered moorage area shall be deemed to include, subject to limitations of such joint agreement, all of the combined areas lying within the triangles extended upon each adjoining property and the inverted triangle situated between the aforesaid triangles, as illustrated in Figure B below.
Figure B: Area of Permitted Covered Moorage and Moorage Facilities, Two Adjoining
Single-Family Lots
3.
Covered moorage is not allowed within the first 30 feet from the OHWM unless the applicant:
i.
Demonstrates to the code official's satisfaction that proposed project will not create a net loss in ecological function of the shorelands; and
ii.
Provides the city with documentation of approval of the moorage facilities by both the U.S. Army Corps of Engineers and the Washington Department of Fish and Wildlife.
F.
Moorage facilities. All permits for new and expanded moorage facility, other than marinas and public access piers or boardwalks, shall meet the following standards unless otherwise exempted. Moorage facilities have the option of meeting either the development standards prescribed in subsection (F)(1) or (F)(2) of this section, or the "alternative development standards" in subsection (F)(3) of this section.
1.
Development standards for new and expanded moorage facilities. A proposed moorage facility shall be presumed to not create a net loss of ecological functions pursuant to subsection (B)(2) of this section if:
i.
The surface coverage area of the moorage facility is:
a.
Four hundred eighty square feet or less for a single property owner;
b.
Seven hundred square feet or less for two residential property owners (residential); or
c.
One thousand square feet or less for three or more residential property owners;
ii.
Piers, docks, and platform lifts must be fully grated with materials that allow a minimum of 40 percent light transmittance;
iii.
Vegetation. The code official approves a vegetation plan that conforms to the following:
Vegetation must be planted as provided in Figure C and as follows: Within the 25-foot shoreline setback, a 20-foot vegetation area shall be established, measured landward from the OHWM. Twenty-five percent of the area shall contain vegetation coverage. The five feet nearest the OHWM shall contain at least 25 percent native vegetation coverage. A shoreline vegetation plan shall be submitted to the city for approval. The vegetation coverage shall consist of a variety of ground cover shrubs and trees, excluding nonnative grasses. No plants on the current King County noxious weed lists shall be planted within the shorelands.
iv.
Only docks, ramps, and boatlifts may be within the first 30 feet from the OHWM. No skirting is allowed on any structure;
v.
The height above the OHWM for docks shall be a minimum of one and one-half feet and a maximum of five feet;
vi.
The first in-water (nearest the OHWM) set of pilings shall be steel, ten inches in diameter or less, and at least 18 feet from the OHWM. Piling sets beyond the first shall also be spaced at least 18 feet apart and shall not be greater than 12 inches in diameter. Piles shall not be treated with pentachlorophenol, creosote, CCA or comparably toxic compounds. If ammoniacal copper zinc arsenate (ACZA) pilings are proposed, the applicant shall meet all of the best management practices, including a post-treatment procedure, as outlined in the amended Best Management Practices of the Western Wood Preservers. All piling sizes are in nominal diameter;
vii.
Any paint, stain or preservative applied to components of the dock must be leach resistant, completely dried or cured prior to installation. Materials shall not be treated with pentachlorophenol, creosote, CCA or comparably toxic compounds;
viii.
No more than two mooring piles shall be installed per structure. Joint-use structures may have up to four mooring piles. The limits include existing mooring piles. Moorage piling shall not be installed within 30 feet of the OHWM. These piles shall be as far offshore as possible;
ix.
The applicant shall abide by the work windows for listed species established by the U.S. Army Corps of Engineers and Washington Fish and Wildlife; and
x.
Disturbance of bank vegetation shall be limited to the minimum amount necessary to accomplish the project. Disturbed bank vegetation shall be replaced with native, locally adapted herbaceous and/or woody vegetation. Herbaceous plantings shall occur within 48 hours of the completion of construction. Woody vegetation components shall be planted in the fall or early winter, whichever occurs first. The applicant shall take appropriate measures to ensure revegetation success.
2.
Development standards for replacement, repair and maintenance of overwater structures, including moorage facilities. The maintenance, repair and complete replacement of legally existing overwater structures is permitted; provided, that:
i.
All permit requirements of federal and state agencies are met;
ii.
The area, width, or length of the structure is not increased, but may be decreased;
iii.
The height of any structure is not increased, but may be decreased; provided, that the height above the OHWM may be increased as provided in subsection (F)(2)(ix)(b) of this section;
iv.
The location of any structure is not changed unless the applicant demonstrates to the director's satisfaction that the proposed change in location results in: (A) a net gain in ecological function, and (B) a higher degree of conformity with the location standards for a new overwater structure;
v.
Piles shall not be treated with pentachlorophenol, creosote, CCA or comparably toxic compounds. If ammoniacal copper zinc arsenate (ACZA) pilings are proposed, the applicant shall meet all of the best management practices, including a post-treatment procedure, as outlined in the amended best management practices of the Western Wood Preservers. All piling sizes are in nominal diameter;
vi.
Any paint, stain or preservative applied to components of the overwater structure must be leach resistant, completely dried or cured prior to installation. Materials shall not be treated with pentachlorophenol, creosote, CCA or comparably toxic compounds;
vii.
The applicant shall abide by the work windows for listed species established by the U.S. Army Corps of Engineers and Washington Fish and Wildlife;
viii.
Disturbance of bank vegetation shall be limited to the minimum amount necessary to accomplish the project. Disturbed bank vegetation shall be replaced with native, locally adapted herbaceous and/or woody vegetation. Herbaceous plantings shall occur within 48 hours of the completion of construction. Woody vegetation components shall be planted in the fall or early winter, whichever occurs first. The applicant shall take appropriate measures to ensure revegetation success;
ix.
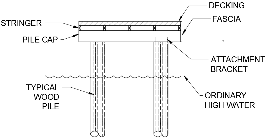
Structural repair. The structural repair, which may include replacement of framing elements, of moorage facilities that results in the repair of more than 50 percent of the structure's framing elements within a five-year period shall comply with subsections (F)(2)(ix)(a) through (F)(2)(ix)(c) of this section. For this section, framing elements include, but are not limited to, stringers, piles, pile caps, and attachment brackets, as shown in Figure D:
a.
One hundred percent of the decking area of the pier, dock, and any platform lifts must be fully grated with materials that allow a minimum of 40 percent light transmittance;
b.
The height above the OHWM for moorage facilities, except floats, shall be a minimum of one and one-half feet and a maximum of five feet; and
c.
An existing moorage facility that is five feet wide or more within 30 feet waterward from the OHWM shall be replaced or repaired with a moorage facility that complies with the width of moorage facilities standards specified in Table D of this section;
Figure D: Example of Overwater Structure
x.
Exterior surface repair. The exterior surface repair, which may include the replacement of exterior surface materials of moorage facilities that results in the repair of more than 50 percent of the surface area of the moorage facility's decking, fascia, and platform lifts within a five-year period (see Figure D), shall be required to utilize materials that allow a minimum of 40 percent light transmittance over 100 percent of the dock; and
xi.
Any decking that is removed in the course of repair shall be replaced with decking materials that allow a minimum of 40 percent light transmittance.
3.
Alternative development standards. The code official shall approve moorage facilities not in compliance with the development standards in subsection (F)(1) or (F)(2) of this section subject to both U.S. Army Corps of Engineers and Washington Department of Fish and Wildlife approval to an alternate project design. The following requirements and all other applicable provisions in this chapter shall be met:
i.
The dock must be no larger than authorized through state and federal approval;
ii.
The maximum width must comply with the width of moorage facilities standards specified in standards specified in subsection D of this section (Table D);
iii.
The minimum water depth must be no shallower than authorized through state and federal approval;
iv.
The applicant must demonstrate to the code official's satisfaction that the proposed project will not create a net loss in ecological function of the shorelands; and
v.
The applicant must provide the city with documentation of approval of the moorage facilities by both the U.S. Army Corps of Engineers and the Washington Department of Fish and Wildlife.
G.
Breakwaters, jetties, groins, and weirs. Breakwaters, jetties, groins, weirs, and similar structures are prohibited, except for those structures installed to protect or restore ecological functions, such as woody debris installed in streams. Breakwaters, jetties, groins, and weirs shall be designed to protect critical areas and shall provide for mitigation according to the sequence defined in WAC 173-26-201(2)(e).
H.
Public access piers, docks, or boardwalk. New public access piers, docks, or boardwalks on public lands shall comply with the following:
1.
Public access piers, docks, or boardwalks shall be designed and constructed using WDFW-approved methods and materials;
2.
With the exception of the requirements for moorage facilities related to width and length, public access piers, docks, or boardwalks shall comply with design standards required for moorage facilities listed in Table D, Requirements for Moorage Facilities and Development Located Waterward from OHWM;
3.
There is no dock length or area limit for public access piers, docks, or boardwalks; however, public access piers, docks, and boardwalks shall not interfere with navigation and shall be the minimum size necessary to meet the needs of the proposed water-dependent use;
4.
Public access piers, docks, or boardwalks may have a width of up to six feet subject to Army Corps of Engineers and/or Washington Department of Fish and Wildlife approval;
5.
Public access piers, docks, or boardwalks must be fully grated with materials that allow a minimum of 40 percent light transmittance;
6.
Minimum of one and one-half feet above ordinary high water to bottom of pier stringer, except the floating section of a dock attached to a pier;
7.
The first in-water (nearest the OHWM) set of pilings shall be steel, ten inches in diameter or less, and at least 18 feet from the OHWM. Piling sets beyond the first shall also be spaced at least 18 feet apart and shall not be greater than 12 inches in diameter. Piles shall not be treated with pentachlorophenol, creosote, CCA or comparably toxic compounds. If ammoniacal copper zinc arsenate (ACZA) pilings are proposed, the applicant shall meet all of the best management practices, including a post-treatment procedure, as outlined in the amended Best Management Practices of the Western Wood Preservers. All piling sizes are in nominal diameter;
8.
Any paint, stain or preservative applied to components of the overwater structure must be leach resistant, completely dried or cured prior to installation. Materials shall not be treated with pentachlorophenol, creosote, CCA or comparably toxic compounds;
9.
Disturbance of bank vegetation shall be limited to the minimum amount necessary to accomplish the project. Disturbed bank vegetation shall be replaced with native, locally adapted herbaceous and/or woody vegetation;
10.
Construction of public access piers, docks, or boardwalks shall abide by the work windows for listed species established by the U.S. Army Corps of Engineers and Washington Fish and Wildlife; and
11.
A no net loss plan shall be prepared pursuant to MICC 19.13.020 demonstrating that the proposed project will not create a net loss in ecological function of the shorelands.
I.
Restoration of ecological functions. The code official may grant relief from shoreline master program development standards and use regulations resulting from shoreline restoration projects consistent with the criteria and procedures in WAC 173-27-215.
J.
Dredging.
1.
Dredging shall be permitted only if navigational access has been unduly restricted or other extraordinary conditions in conjunction with water-dependent use; provided, that the use meets all state and federal regulations.
2.
Dredging shall be the minimum necessary to accommodate the proposed use.
3.
Dredging shall utilize techniques that cause the least possible environmental and aesthetic impact.
4.
Dredging is prohibited in the following locations:
i.
Fish spawning areas except when the applicant conclusively demonstrated that fish habitat will be significantly improved as a result of the project.
ii.
In unique environments such as lake logging of the underwater forest.
5.
Dredging and the disposal of dredged material shall comply with ecology water quality certification process and U.S. Army Corps of Engineers permit requirements. The location and manner of the disposal shall be approved by the city.
K.
General requirements. The following requirements apply to the following types of activities that may be waterward and/or landward of the OHWM:
1.
Critical areas within the shorelands are regulated by Chapter 19.07 MICC, as adopted in the MICC on June 18, 2019, except: MICC 19.06.110(B), Variances; MICC 19.06.110(C), Setback deviations; and MICC 19.07.140, Reasonable use exception.
2.
Utilities.
i.
Utilities shall be placed underground and in common rights-of-way wherever economically and technically practical.
ii.
Shoreline public access shall be encouraged on publicly owned utility rights-of-way, when such access will not unduly interfere with utility operations or endanger public health and safety. Utility easements on private property will not be used for public access, unless otherwise provided for in such easement.
iii.
Restoration of the site is required upon completion of utility installation.
3.
Archaeological and historic resources.
i.
If archaeological resources are uncovered during excavation, the developer and property owner shall immediately stop work and notify the city, the office of archaeology and historic preservation, and affected Indian tribes.
ii.
In areas documented to contain archaeological resources by the office of archaeology and historic preservation, a site inspection or evaluation is required by a professional archaeologist in coordination with affected Indian tribes.
4.
New development totaling 500 square feet or more of any combination of additional gross floor area, lot coverage or hardscape, including the primary structures and appurtenances, shall be required to provide native vegetation coverage over 50 percent of the 20-foot vegetation area shown on Figure C. This total shall include all gross floor area, lot coverage, and hardscape added in the five years immediately prior to the development proposal.
i.
New development totaling 1,000 square feet or more of any combination of additional gross floor area, lot coverage or hardscape, including the primary structures and appurtenances, shall be required to provide native vegetation coverage over 75 percent of the 20-foot vegetation area shown in Figure C.
ii.
A shoreline vegetation plan shall be submitted to the city for approval.
iii.
The vegetation coverage shall consist of a variety of ground cover shrubs and trees indigenous to the central Puget Sound lowland ecoregion and suitable to the specific site conditions. Existing mature trees and shrubs, but excluding noxious weeds, may be included in the coverage requirement if located in the 20-foot vegetation area shown in Figure C.
iv.
No plants on the current King County noxious weed lists shall be planted within the shorelands.
L.
Marinas. Marinas must comply with the following standards:
1.
With the exception of the requirements for moorage facilities related to width and length, marinas shall comply with design standards required for moorage facilities listed in Table D, Requirements for Moorage Facilities and Development Located Waterward from OHWM.
2.
Marinas are only allowed if they provide significant public access to the shoreline. A proposed marina provides significant public access by meeting one of the following conditions.
a.
The marina is owned or operated by the city of Mercer Island;
b.
The marina is owned or operated by an organization or corporation serving at least 50 people; or
c.
The marina is open to the general public and access is not limited to membership in an organization.
3.
Application requirements. Applications for marinas must include the following.
a.
A no net loss plan, consistent with MICC 19.13.020(C), which demonstrates that the proposed project will not create a net loss in ecological function of the shorelands.
b.
A demand analysis or master plan that projects future needs for pier or dock space during the life of the development.
i.
The total amount of moorage spaces proposed;
ii.
The total number of commercial moorage spaces in the city of Mercer Island within a one-mile radius of the proposed facility; and
iii.
The expected population and vessel characteristics of the potential users of the facility and how these characteristics relate to specific facility design elements including slip sizes, pier and dock length, and necessary water depth.
4.
General requirements. The following standards apply to all marinas.
a.
Marinas shall be designed and operated consistent with federal and state water quality laws and established best management practices (BMPs) for marina operators, such as BMPs for bilge water discharge, hazardous waste, waste oil and spills, sewer management, and spill prevention and response. Rules for spill prevention and response, including reporting requirements, shall be posted on site.
b.
Marinas shall be designed and sited to prevent the need for maintenance dredging during the life of the development. Moorage must be designed to avoid vessels resting on the lakebed.
c.
Marinas must not be larger than necessary to accommodate the expected need as determined by the required demand analysis, this includes:
i.
Overwater structures must not be wider or longer than necessary to accommodate the expected need;
ii.
The number of slips provided must not exceed the expected need; and
iii.
The slip dimensions must not be larger than necessary to moor the expected vessels moored.
d.
Marinas shall be marked with reflectors, or otherwise identified to prevent unnecessarily hazardous conditions for water surface users during the day or night. All other exterior finishes above the waterline must be nonreflective.
e.
Marinas must not include materials treated with pentachlorophenol, creosote, chromated copper arsenate, or comparably toxic compounds. Any paint, stain or preservative applied to components of the marina must be leach resistant and completely dried or cured prior to installation.
f.
Marinas must not interfere with the public use and enjoyment of the water or create a hazard to navigation.
g.
At least one restroom must be provided upland of the OHWM.
h.
At least one covered and secured waste receptacle must be provided upland of the OHWM.
i.
Utility and service lines located waterward of the OHWM must be affixed below the pier deck and above the water. Utility and service lines located upland of the OHWM shall be underground, where feasible.
j.
Covered moorage is prohibited in marinas.
k.
Floating homes and living within vessels are prohibited in marinas.
l.
Disturbance of bank vegetation shall be limited to the minimum amount necessary to accomplish the project. Disturbed bank vegetation shall be replaced with native, locally adapted herbaceous and/or woody vegetation. Herbaceous plantings must occur prior to final approval of the building permit. Woody vegetation components shall be planted in the fall or early winter, whichever occurs first. The applicant shall take appropriate measures to ensure revegetation success.
m.
Exterior lighting mounted on piers, docks or other overwater components of a marina shall be at ground or dock level, be directed away from adjacent properties and the water, be of the lowest intensity needed, and designed and located to prevent light from spilling onto the lake water. The following development activities are exempt from this requirement:
i.
Emergency lighting required for public safety incidents;
ii.
Lighting required by state or federal regulations;
iii.
Lighting for public rights-of-way;
iv.
Outdoor lighting for temporary or periodic events (e.g., community events at public parks); and
v.
Seasonal decorative lighting beyond 30 feet of the ordinary high water mark.
n.
The applicant must provide documentation of approval of the marina by both the U.S. Army Corps of Engineers and the Washington Department of Fish and Wildlife.
o.
Vessels shall be restricted from extended mooring on waters of the state, except as allowed by applicable state regulations and unless a lease or permission is obtained from the state and impacts to navigation and public access are mitigated.
5.
Piles. Piles associated with a marina must comply with the following requirements.
a.
Piles shall be placed at least 18 feet from the OHWM.
b.
Piles shall not be treated with pentachlorophenol, creosote, chromated copper arsenate or comparably toxic compounds.
c.
Piles must be spaced at least 18 feet apart. The code official may authorize alternate spacing of piles provided the applicant demonstrates that the alternate spacing reduces the total number of piles needed for the project.
d.
Piles must not exceed 12 inches in diameter. The code official may authorize larger piles provided the applicant demonstrates that the larger piles reduce the total number of piles needed for the project.
e.
Piles must be fitted with devices to prevent perching by fish-eating birds.
6.
Overwater structures. Overwater structures associated with a marina must comply with the following requirements.
a.
Overwater structures must be designed to minimize the lakebed shading to the greatest degree feasible.
i.
Overwater structures within 30 feet of the OHWM must not exceed six feet in width.
ii.
Overwater structures more than 30 feet from the OHWM may be wider than six feet provided:
A.
Overwater structures wider than six feet must be approved by the Army Corps of Engineers and/or Washington Department of Fish and Wildlife;
B.
Potential environmental impacts of overwater structures with a width greater than six feet must addressed in the required no net loss plan; and
C.
The code official may condition approval to require mitigation for any overwater structure exceeding six feet in width.
iii.
Overwater structures must be grated in compliance with state and federal law.
b.
Length. Overwater structures that compose a marina must be designed to avoid adversely affecting navigability of waterways.
i.
Overwater structures associated with the marina shall not exceed the minimum length necessary to accommodate facility needs as demonstrated in the required demand analysis or master plan.
ii.
The code official may condition approval of the length to reduce the effects of overwater structures on navigability of the waterway.
c.
Floats. Floats must comply with the following requirements.
i.
All floats shall be designed to prevent the bottom of the float from resting on the lakebed.
ii.
All floats must be fully enclosed and contained in a shell, tub, or wrap. The shell, tub, or wrap must prevent breakup or loss of the flotation material into the water. The shell or wrap must not be readily subject to damage by ultraviolet radiation and abrasion.
7.
New marinas. New marinas shall only be located where there are existing marinas on the effective date of this chapter.
(Ord. 20C-13 § 1; Ord. 19C-06 § 1 (Att. A); Ord. No. 23C-15, § 3(Exh. C), 10-3-2023)
Editor's note— The cross-references in subsection (K)(1) was corrected at the city's request, as a scrivener's error.
13 - SHORELINE MASTER PROGRAM
A.
Authority. This chapter is adopted as part of the shoreline master program of the city. It is adopted pursuant to the authority and requirements of RCW Chapter 90.58 and WAC Chapter 173-26.
B.
Applicability. The requirements of this chapter apply to all uses, activities and development within the shorelands, unless specifically exempted by RCW Chapter 90.58 or WAC Chapter 173-27, or as specified in subsection F of this section. All proposed uses and development occurring within shoreline jurisdiction must conform to RCW Chapter 90.58, the Shoreline Management Act.
C.
Purpose and intent. It is the purpose and intent of this chapter to achieve the shoreline master program (SMP) mandates of the state of Washington and to adopt property development standards within the shorelands that protect the health, safety, welfare, values and property interests of the city of Mercer Island and its residents.
D.
Relationship with other Mercer Island codes and ordinances. This chapter is an integrated element of the city of Mercer Island Unified Land Development Code (MICC title 19) and other applicable development regulations contained in the Mercer Island City Code, including the storm water management regulations in MICC title 15, and building and construction regulations in MICC title 17. The provisions of the critical areas ordinance (MICC 19.07.010 through and including 19.07.190, Ordinance 19C-05) are hereby incorporated as specific regulations of the shoreline master program. To the extent this chapter conflicts with any other section of the Mercer Island City Code, the provisions of this chapter shall govern within the shorelands. In general, provisions related to administration and reasonable use do not apply in shoreline jurisdiction. Activities proposed within the shoreline jurisdiction that required a critical area review 1 or 2 should complete these reviews concurrently with the required shoreline permit.
1.
MICC 19.07.120, Exemptions, is excluded from this shoreline master program. Exemptions and exceptions within shoreline jurisdiction are found in WAC 173-27-040, 173-27-044, and 173-27-045.
2.
MICC 19.07.130, Modifications, is excluded from this shoreline master program.
3.
MICC 19.07.140, Reasonable use exception, and MICC 19.07.150, Public agency exception, are excluded from this shoreline master program and shall not apply in shoreline jurisdiction.
4.
MICC 19.07.180(C)(5) and 19.07.190(C)(6), pertaining to buffer reductions, are excluded from the shoreline master program.
5.
MICC 19.07.190(D)(1) is excluded from this master program.
6.
In order to use the wetland buffer table in MICC 19.07.190(C), all of the applicable minimizing measures listed in MICC 19.07.190(D)(3) must be implemented. For wetlands with a habitat score of six or more, if a protected corridor of relatively undisturbed vegetation exists between the wetland and a nearby priority habitat, the portion on the subject property must be protected. Otherwise the following buffers shall be established from the wetland boundary within shoreline jurisdiction:
E.
Relationship with other federal and state law. The provisions of this chapter shall not relieve any responsibility to comply with other federal and state laws or permits. The shoreline management permit and enforcement procedures contained within Chapter 173-27 WAC as presently constituted or hereinafter amended, are adopted by reference. All work at or waterward of the OHWM may require permits from one or all of the following: U.S. Army Corps of Engineers, Washington Department of Fish and Wildlife, Washington Department of Natural Resources or Washington Department of Ecology.
F.
The following development is not required to obtain shoreline permits or local reviews:
1.
Remedial actions. Pursuant to RCW 90.58.355, any person conducting a remedial action at a facility pursuant to a consent decree, order, or agreed order issued pursuant to RCW Chapter 70.105D, or to the Department of Ecology when it conducts a remedial action under RCW Chapter 70.105D.
2.
Boatyard improvements to meet NPDES permit requirements. Pursuant to RCW 90.58.355, any person installing site improvements for storm water treatment in an existing boatyard facility to meet requirements of a national pollutant discharge elimination system storm water general permit.
3.
WSDOT facility maintenance and safety improvements. Pursuant to RCW 90.58.356, Washington State Department of Transportation projects and activities meeting the conditions of RCW 90.58.356 are not required to obtain a substantial development permit, conditional use permit, variance, letter of exemption, or other local review.
4.
Projects consistent with an environmental excellence program agreement pursuant to RCW 90.58.045.
5.
Projects authorized through the Energy Facility Site Evaluation Council process, pursuant to RCW Chapter 80.50.
(Ord. 19C-06 § 1 (Att. A); Ord. No. 23C-15, § 1(Exh. A), 10-3-2023)
A.
Legal nonconforming uses and structures may continue. Overwater uses and structures, and uses and structures 25 feet landward from the OHWM, which were legally created may be maintained, repaired, renovated, remodeled and completely replaced to the extent that nonconformance with the standards and regulations of this chapter is not increased.
B.
Expansion of legal nonconforming structures. Expansions of legal nonconforming overwater structures and structures upland 25 feet from the OHWM are permitted; provided, that the expanded portion of the structure is constructed in compliance with this chapter and all other standards and provisions of the Mercer Island development regulations, including this chapter.
C.
No net loss standard and mitigation sequencing. No development shall be approved unless the applicant demonstrates to the code official's satisfaction that the shoreline development will not create a net loss of ecological function in the shorelands.
1.
Standards presumed to meet no net loss. When all individual development standards that apply to a development project do not explicitly require a determination of no net loss and the project conforms with all such standards, there is a rebuttable presumption that the project does not create a net loss of ecological function to the shorelands.
2.
No net loss plan. Whenever an applicant seeks a variance or conditional use permit or an applicable development standard explicitly requires a determination of no net loss of ecological function, the applicant shall provide the city with a plan that demonstrates the proposed project will not create a net loss in ecological function to the shorelands. The plan shall accomplish no net loss of ecological function by avoiding adverse ecological impacts that are not reasonably necessary to complete the project, minimizing adverse ecological impacts that are reasonably necessary to complete the project, and mitigating or offsetting any adverse impacts to ecological functions or ecosystem-wide processes caused by the project. The code official may require the plan to include reports from qualified professionals with expertise in ecological function. The plan's compliance with the no net loss requirement may be considered through the SEPA process.
i.
Off-site mitigation permitted. While on-site mitigation is preferred, off-site mitigation may be permitted at the discretion of the code official.
ii.
Demonstration of no net loss supported by a qualified professional. The code official may require any applicant to provide reports by qualified professionals that demonstrate to the code official's satisfaction that the applicant's proposed plan avoids a net loss in ecological function.
D.
Shoreline habitat and natural enhancements held harmless. In those instances where the OHWM moves further landward as a result of any action required by this chapter, or in accordance with permits involving a shoreline habitat and nature systems enhancement approved by the city, or a state or federal agency, the shoreline setback shall be measured from the location of the OHWM that existed immediately prior to the action or enhancement project.
E.
The development of two or more dwelling units on a lot abutting the OHWM should provide joint use or community dock facilities, when feasible, rather than allow individual docks for each lot.
F.
New development should be located and designed to avoid the need for future shoreline stabilization to the extent feasible. This future shoreline stabilization standard does not apply to stabilization that occurs pursuant to MICC 19.13.050(B)(1). New structural stabilization measures in support of new non-water-dependent development, including single-family residences, shall only be allowed when all of the conditions below apply:
1.
The erosion is not being caused by upland conditions, such as the loss of vegetation and drainage.
2.
Nonstructural measures, such as placing the development further from the shoreline, planting vegetation, or installing on-site drainage improvements, are not feasible or not sufficient.
3.
The need to protect primary structures from damage due to erosion is demonstrated through a geotechnical report, in compliance with subsection MICC 19.13.050(B)(7). The damage must be caused by natural processes, such as currents and waves.
4.
The erosion control structure will not result in a net loss of shoreline ecological functions.
(Ord. 19C-06 § 1 (Att. A))
The shoreline environmental designations map, dated March 3, 2011, as shown in appendix F, is adopted as the official Mercer Island shoreline environmental designations map. The digital map is available in the online version of the Mercer Island City Code at http://www.mercergov.org. All shorelands within the city are designated. Different areas of the city's shorelands have different natural characteristics and development patterns. As a result, two shoreline designated environments are established to regulate developments and uses consistent with the specific conditions of the designated environments and to protect resources of the Mercer Island shorelands. They are:
A.
Urban park environment. This environment consists of shoreland areas designated for public access and active and passive public recreation. The areas include, but are not limited to, parks, street ends, public utilities and other publicly owned rights-of-way. The uses located in this environment should be water-dependent and designed with no net loss to the ecological functions of the shorelands. Restoration of ecological functions is planned for these areas and is strongly encouraged. The preferred and priority use in the urban park environment is public access to, and enjoyment of, Lake Washington.
B.
Urban residential environment. The purpose of the urban residential environment is to provide for residential and recreational utilization of the shorelands, compatible with the existing residential character in terms of bulk, scale, type of development and no net loss of ecological functions of the shorelands. The preferred and priority use in the urban residential environment is single-family residential use.
(Ord. 19C-06 § 1 (Att. A))
The following tables specify the shoreline uses and developments which may take place or be conducted within the designated environments. The uses and developments listed in the matrix are allowed only if they are not in conflict with more restrictive regulations of the Mercer Island development code and are in compliance with the standards specified in MICC 19.13.050.
The following regulations apply to all uses and development within the shorelands, whether or not that development is exempt from the permit requirements:
(Ord. 19C-06 § 1 (Att. A); Ord. No. 23C-15, § 2(Exh. B), 10-3-2023)
All development within the shoreline jurisdiction shall be in compliance with all development requirements specified in this chapter.
A.
Standards landward of the OWHM. The standards in Table C shall apply to development located landward of the OHWM:
B.
Bulkheads and shoreline stabilization structures.
1.
An existing shoreline stabilization structure may be replaced with a similar structure if there is a demonstrated need to protect principal uses or structures from erosion caused by currents or waves, and the following conditions shall apply:
i.
The replacement structure should be designed, located, sized, and constructed to assure no net loss of ecological functions.
ii.
Replacement walls or bulkheads shall not encroach waterward of the ordinary high water mark or existing structure unless the primary structure was occupied prior to January 1, 1992, and there are overriding safety or environmental concerns. In such cases, the replacement structure shall abut the existing shoreline stabilization structure. Soft shoreline stabilization measures that provide restoration of shoreline ecological functions may be permitted waterward of the ordinary high water mark.
iii.
For purposes of this section standards on shoreline stabilization measures, "replacement" means the construction of a new structure to perform a shoreline stabilization function of an existing structure which can no longer adequately serve its purpose. Additions to or increases in size of existing shoreline stabilization measures shall be considered new structures.
iv.
Construction and maintenance of normal protective bulkhead common to single-family dwellings requires only a shoreline exemption permit, unless a report is required by the code official to ensure compliance with the above conditions; however, if the construction of the bulkhead is undertaken wholly or in part on lands covered by water, such construction shall comply with SEPA mitigation.
2.
New structures for existing primary structures. New or enlarged structural shoreline stabilization measures for an existing primary structure, including residences, are not allowed unless there is conclusive evidence, documented by a geotechnical analysis, that the structure is in danger from shoreline erosion caused by currents or waves. Normal sloughing, erosion of steep bluffs, or shoreline erosion itself, without a scientific or geotechnical analysis, is not demonstration of need. The geotechnical analysis should evaluate on-site drainage issues and address drainage problems away from the shoreline edge before considering structural shoreline stabilization. New or enlarged erosion control structure shall not result in a net loss of shoreline ecological functions.
3.
New development on steep slopes or bluffs shall be set back sufficiently to ensure that shoreline stabilization is unlikely to be necessary during the life of the structure, as demonstrated by a geotechnical analysis, in compliance with subsection (B)(7) of this section and building and construction codes.
4.
New structural stabilization measures in support of water-dependent development shall only be allowed when all of the conditions below apply:
i.
The erosion is not being caused by upland conditions, such as the loss of vegetation and drainage.
ii.
Nonstructural measures, planting vegetation, or installing on-site drainage improvements, are not feasible or not sufficient.
iii.
The need to protect primary structures from damage due to erosion is demonstrated through a geotechnical report, in compliance with subsection (B)(7) of this section and building and construction codes.
iv.
The erosion control structure will not result in a net loss of shoreline ecological functions.
5.
New structural stabilization measures to protect projects for the restoration of ecological functions or hazardous substance remediation projects pursuant to RCW Chapter 70.105D shall only be allowed when all of the conditions below apply:
i.
Nonstructural measures, planting vegetation, or installing on-site drainage improvements, are not feasible or not sufficient.
ii.
The erosion control structure will not result in a net loss of shoreline ecological functions.
6.
Bulkheads shall be located generally parallel to the natural shoreline. No filling may be allowed waterward of the ordinary high water mark, unless there has been severe and unusual erosion within two years immediately preceding the application for the bulkhead. In this event the city may allow the placement of the bulkhead to recover the dry land area lost by erosion.
7.
Geotechnical reports pursuant to this section that address the need to prevent potential damage to a primary structure shall address the necessity for shoreline stabilization by estimating time frames and rates of erosion and report on the urgency associated with the specific situation. As a general matter, hard armoring solutions should not be authorized except when a report confirms that there is a significant possibility that such a structure will be damaged within three years as a result of shoreline erosion in the absence of such hard armoring measures, or where waiting until the need is that immediate would foreclose the opportunity to use measures that avoid impacts on ecological functions. Thus, where the geotechnical report confirms a need to prevent potential damage to a primary structure, but the need is not as immediate as the three years, that report may still be used to justify more immediate authorization to protect against erosion using soft measures.
8.
When any structural shoreline stabilization measures are demonstrated to be necessary, pursuant to above provisions, the following shall apply:
i.
Limit the size of stabilization measures to the minimum necessary. Use measures designed to assure no net loss of shoreline ecological functions. Soft approaches shall be used unless demonstrated not to be sufficient to protect primary structures, dwellings, and businesses.
ii.
Ensure that publicly financed or subsidized shoreline erosion control measures do not permanently restrict appropriate public access to the shoreline except where such access is determined to be infeasible because of incompatible uses, safety, security, or harm to ecological functions. See public access provisions: WAC 173-26-221(4). Where feasible, incorporate ecological restoration and public access improvements into the project.
iii.
Mitigate new erosion control measures, including replacement structures, on feeder bluffs or other actions that affect beach sediment-producing areas to avoid and, if that is not possible, to minimize adverse impacts to sediment conveyance systems. Where sediment conveyance systems cross jurisdictional boundaries, local governments should coordinate shoreline management efforts. If beach erosion is threatening existing development, local governments should adopt master program provisions for a beach management district or other institutional mechanism to provide comprehensive mitigation for the adverse impacts of erosion control measures.
C.
Transportation and parking.
1.
Shoreline circulation system planning shall include safe, reasonable, and adequate systems for pedestrian, bicycle, and public transportation where appropriate. Circulation planning and projects should support existing and proposed shoreline uses that are consistent with all regulations.
2.
Transportation and parking facilities shall be planned, located, and designed where routes will have the least possible adverse effect on unique or fragile shoreline features, and will not result in a net loss of shoreline ecological functions or adversely impact existing or planned water-dependent uses.
3.
Where other options are available and feasible, new roads or road expansions should not be built within shorelands.
4.
Parking facilities in shorelands shall be allowed only as necessary to support an authorized use.
D.
Standards waterward of the OHWM. Moorage facilities may be developed and used as an accessory to dwellings on shoreline lots. Only one noncommercial, residential moorage facility per upland residential waterfront lot authorized. The standards in Table D shall apply to development located waterward of the OHWM:
E.
The covered portion of a moorage shall be restricted to the area lying within a triangle as illustrated in Figure A, except as otherwise provided in subsection (E)(1) of this section. The base of the triangle shall be a line drawn between the points of intersection of the property lateral lines with the ordinary high water mark. The location of the covered moorage shall not extend more than 100 feet from the center of the base line of such triangle. In cases where water depth is less than 11.85 feet from OHWM, the location of the covered moorage may extend up to 150 feet from the center of the base line or to the point where water depth is 11.85 feet at OHWM, whichever is less. The required ten-foot setbacks from the side property lines shall be deducted from the triangle area.
1.
A covered moorage is allowed outside the triangle, or a canopy up to 21 feet in height, if the covered moorage meets all other regulations and:
i.
Will not constitute a hazard to the public health, welfare, and safety, or be injurious to affected shoreline properties in the vicinity;
ii.
Will constitute a lower impact for abutting property owners; and
iii.
Is not in conflict with the general intent and purpose of the SMA, the shoreline master program and the development code.
Figure A: Area of Permitted Covered Moorage, Individual Lots
2.
Where a covered moorage or moorage facility is built pursuant to the agreement of owners of adjoining single-family lots located on the shoreline, the covered moorage area shall be deemed to include, subject to limitations of such joint agreement, all of the combined areas lying within the triangles extended upon each adjoining property and the inverted triangle situated between the aforesaid triangles, as illustrated in Figure B below.
Figure B: Area of Permitted Covered Moorage and Moorage Facilities, Two Adjoining
Single-Family Lots
3.
Covered moorage is not allowed within the first 30 feet from the OHWM unless the applicant:
i.
Demonstrates to the code official's satisfaction that proposed project will not create a net loss in ecological function of the shorelands; and
ii.
Provides the city with documentation of approval of the moorage facilities by both the U.S. Army Corps of Engineers and the Washington Department of Fish and Wildlife.
F.
Moorage facilities. All permits for new and expanded moorage facility, other than marinas and public access piers or boardwalks, shall meet the following standards unless otherwise exempted. Moorage facilities have the option of meeting either the development standards prescribed in subsection (F)(1) or (F)(2) of this section, or the "alternative development standards" in subsection (F)(3) of this section.
1.
Development standards for new and expanded moorage facilities. A proposed moorage facility shall be presumed to not create a net loss of ecological functions pursuant to subsection (B)(2) of this section if:
i.
The surface coverage area of the moorage facility is:
a.
Four hundred eighty square feet or less for a single property owner;
b.
Seven hundred square feet or less for two residential property owners (residential); or
c.
One thousand square feet or less for three or more residential property owners;
ii.
Piers, docks, and platform lifts must be fully grated with materials that allow a minimum of 40 percent light transmittance;
iii.
Vegetation. The code official approves a vegetation plan that conforms to the following:
Vegetation must be planted as provided in Figure C and as follows: Within the 25-foot shoreline setback, a 20-foot vegetation area shall be established, measured landward from the OHWM. Twenty-five percent of the area shall contain vegetation coverage. The five feet nearest the OHWM shall contain at least 25 percent native vegetation coverage. A shoreline vegetation plan shall be submitted to the city for approval. The vegetation coverage shall consist of a variety of ground cover shrubs and trees, excluding nonnative grasses. No plants on the current King County noxious weed lists shall be planted within the shorelands.
iv.
Only docks, ramps, and boatlifts may be within the first 30 feet from the OHWM. No skirting is allowed on any structure;
v.
The height above the OHWM for docks shall be a minimum of one and one-half feet and a maximum of five feet;
vi.
The first in-water (nearest the OHWM) set of pilings shall be steel, ten inches in diameter or less, and at least 18 feet from the OHWM. Piling sets beyond the first shall also be spaced at least 18 feet apart and shall not be greater than 12 inches in diameter. Piles shall not be treated with pentachlorophenol, creosote, CCA or comparably toxic compounds. If ammoniacal copper zinc arsenate (ACZA) pilings are proposed, the applicant shall meet all of the best management practices, including a post-treatment procedure, as outlined in the amended Best Management Practices of the Western Wood Preservers. All piling sizes are in nominal diameter;
vii.
Any paint, stain or preservative applied to components of the dock must be leach resistant, completely dried or cured prior to installation. Materials shall not be treated with pentachlorophenol, creosote, CCA or comparably toxic compounds;
viii.
No more than two mooring piles shall be installed per structure. Joint-use structures may have up to four mooring piles. The limits include existing mooring piles. Moorage piling shall not be installed within 30 feet of the OHWM. These piles shall be as far offshore as possible;
ix.
The applicant shall abide by the work windows for listed species established by the U.S. Army Corps of Engineers and Washington Fish and Wildlife; and
x.
Disturbance of bank vegetation shall be limited to the minimum amount necessary to accomplish the project. Disturbed bank vegetation shall be replaced with native, locally adapted herbaceous and/or woody vegetation. Herbaceous plantings shall occur within 48 hours of the completion of construction. Woody vegetation components shall be planted in the fall or early winter, whichever occurs first. The applicant shall take appropriate measures to ensure revegetation success.
2.
Development standards for replacement, repair and maintenance of overwater structures, including moorage facilities. The maintenance, repair and complete replacement of legally existing overwater structures is permitted; provided, that:
i.
All permit requirements of federal and state agencies are met;
ii.
The area, width, or length of the structure is not increased, but may be decreased;
iii.
The height of any structure is not increased, but may be decreased; provided, that the height above the OHWM may be increased as provided in subsection (F)(2)(ix)(b) of this section;
iv.
The location of any structure is not changed unless the applicant demonstrates to the director's satisfaction that the proposed change in location results in: (A) a net gain in ecological function, and (B) a higher degree of conformity with the location standards for a new overwater structure;
v.
Piles shall not be treated with pentachlorophenol, creosote, CCA or comparably toxic compounds. If ammoniacal copper zinc arsenate (ACZA) pilings are proposed, the applicant shall meet all of the best management practices, including a post-treatment procedure, as outlined in the amended best management practices of the Western Wood Preservers. All piling sizes are in nominal diameter;
vi.
Any paint, stain or preservative applied to components of the overwater structure must be leach resistant, completely dried or cured prior to installation. Materials shall not be treated with pentachlorophenol, creosote, CCA or comparably toxic compounds;
vii.
The applicant shall abide by the work windows for listed species established by the U.S. Army Corps of Engineers and Washington Fish and Wildlife;
viii.
Disturbance of bank vegetation shall be limited to the minimum amount necessary to accomplish the project. Disturbed bank vegetation shall be replaced with native, locally adapted herbaceous and/or woody vegetation. Herbaceous plantings shall occur within 48 hours of the completion of construction. Woody vegetation components shall be planted in the fall or early winter, whichever occurs first. The applicant shall take appropriate measures to ensure revegetation success;
ix.
Structural repair. The structural repair, which may include replacement of framing elements, of moorage facilities that results in the repair of more than 50 percent of the structure's framing elements within a five-year period shall comply with subsections (F)(2)(ix)(a) through (F)(2)(ix)(c) of this section. For this section, framing elements include, but are not limited to, stringers, piles, pile caps, and attachment brackets, as shown in Figure D:
a.
One hundred percent of the decking area of the pier, dock, and any platform lifts must be fully grated with materials that allow a minimum of 40 percent light transmittance;
b.
The height above the OHWM for moorage facilities, except floats, shall be a minimum of one and one-half feet and a maximum of five feet; and
c.
An existing moorage facility that is five feet wide or more within 30 feet waterward from the OHWM shall be replaced or repaired with a moorage facility that complies with the width of moorage facilities standards specified in Table D of this section;
Figure D: Example of Overwater Structure
x.
Exterior surface repair. The exterior surface repair, which may include the replacement of exterior surface materials of moorage facilities that results in the repair of more than 50 percent of the surface area of the moorage facility's decking, fascia, and platform lifts within a five-year period (see Figure D), shall be required to utilize materials that allow a minimum of 40 percent light transmittance over 100 percent of the dock; and
xi.
Any decking that is removed in the course of repair shall be replaced with decking materials that allow a minimum of 40 percent light transmittance.
3.
Alternative development standards. The code official shall approve moorage facilities not in compliance with the development standards in subsection (F)(1) or (F)(2) of this section subject to both U.S. Army Corps of Engineers and Washington Department of Fish and Wildlife approval to an alternate project design. The following requirements and all other applicable provisions in this chapter shall be met:
i.
The dock must be no larger than authorized through state and federal approval;
ii.
The maximum width must comply with the width of moorage facilities standards specified in standards specified in subsection D of this section (Table D);
iii.
The minimum water depth must be no shallower than authorized through state and federal approval;
iv.
The applicant must demonstrate to the code official's satisfaction that the proposed project will not create a net loss in ecological function of the shorelands; and
v.
The applicant must provide the city with documentation of approval of the moorage facilities by both the U.S. Army Corps of Engineers and the Washington Department of Fish and Wildlife.
G.
Breakwaters, jetties, groins, and weirs. Breakwaters, jetties, groins, weirs, and similar structures are prohibited, except for those structures installed to protect or restore ecological functions, such as woody debris installed in streams. Breakwaters, jetties, groins, and weirs shall be designed to protect critical areas and shall provide for mitigation according to the sequence defined in WAC 173-26-201(2)(e).
H.
Public access piers, docks, or boardwalk. New public access piers, docks, or boardwalks on public lands shall comply with the following:
1.
Public access piers, docks, or boardwalks shall be designed and constructed using WDFW-approved methods and materials;
2.
With the exception of the requirements for moorage facilities related to width and length, public access piers, docks, or boardwalks shall comply with design standards required for moorage facilities listed in Table D, Requirements for Moorage Facilities and Development Located Waterward from OHWM;
3.
There is no dock length or area limit for public access piers, docks, or boardwalks; however, public access piers, docks, and boardwalks shall not interfere with navigation and shall be the minimum size necessary to meet the needs of the proposed water-dependent use;
4.
Public access piers, docks, or boardwalks may have a width of up to six feet subject to Army Corps of Engineers and/or Washington Department of Fish and Wildlife approval;
5.
Public access piers, docks, or boardwalks must be fully grated with materials that allow a minimum of 40 percent light transmittance;
6.
Minimum of one and one-half feet above ordinary high water to bottom of pier stringer, except the floating section of a dock attached to a pier;
7.
The first in-water (nearest the OHWM) set of pilings shall be steel, ten inches in diameter or less, and at least 18 feet from the OHWM. Piling sets beyond the first shall also be spaced at least 18 feet apart and shall not be greater than 12 inches in diameter. Piles shall not be treated with pentachlorophenol, creosote, CCA or comparably toxic compounds. If ammoniacal copper zinc arsenate (ACZA) pilings are proposed, the applicant shall meet all of the best management practices, including a post-treatment procedure, as outlined in the amended Best Management Practices of the Western Wood Preservers. All piling sizes are in nominal diameter;
8.
Any paint, stain or preservative applied to components of the overwater structure must be leach resistant, completely dried or cured prior to installation. Materials shall not be treated with pentachlorophenol, creosote, CCA or comparably toxic compounds;
9.
Disturbance of bank vegetation shall be limited to the minimum amount necessary to accomplish the project. Disturbed bank vegetation shall be replaced with native, locally adapted herbaceous and/or woody vegetation;
10.
Construction of public access piers, docks, or boardwalks shall abide by the work windows for listed species established by the U.S. Army Corps of Engineers and Washington Fish and Wildlife; and
11.
A no net loss plan shall be prepared pursuant to MICC 19.13.020 demonstrating that the proposed project will not create a net loss in ecological function of the shorelands.
I.
Restoration of ecological functions. The code official may grant relief from shoreline master program development standards and use regulations resulting from shoreline restoration projects consistent with the criteria and procedures in WAC 173-27-215.
J.
Dredging.
1.
Dredging shall be permitted only if navigational access has been unduly restricted or other extraordinary conditions in conjunction with water-dependent use; provided, that the use meets all state and federal regulations.
2.
Dredging shall be the minimum necessary to accommodate the proposed use.
3.
Dredging shall utilize techniques that cause the least possible environmental and aesthetic impact.
4.
Dredging is prohibited in the following locations:
i.
Fish spawning areas except when the applicant conclusively demonstrated that fish habitat will be significantly improved as a result of the project.
ii.
In unique environments such as lake logging of the underwater forest.
5.
Dredging and the disposal of dredged material shall comply with ecology water quality certification process and U.S. Army Corps of Engineers permit requirements. The location and manner of the disposal shall be approved by the city.
K.
General requirements. The following requirements apply to the following types of activities that may be waterward and/or landward of the OHWM:
1.
Critical areas within the shorelands are regulated by Chapter 19.07 MICC, as adopted in the MICC on June 18, 2019, except: MICC 19.06.110(B), Variances; MICC 19.06.110(C), Setback deviations; and MICC 19.07.140, Reasonable use exception.
2.
Utilities.
i.
Utilities shall be placed underground and in common rights-of-way wherever economically and technically practical.
ii.
Shoreline public access shall be encouraged on publicly owned utility rights-of-way, when such access will not unduly interfere with utility operations or endanger public health and safety. Utility easements on private property will not be used for public access, unless otherwise provided for in such easement.
iii.
Restoration of the site is required upon completion of utility installation.
3.
Archaeological and historic resources.
i.
If archaeological resources are uncovered during excavation, the developer and property owner shall immediately stop work and notify the city, the office of archaeology and historic preservation, and affected Indian tribes.
ii.
In areas documented to contain archaeological resources by the office of archaeology and historic preservation, a site inspection or evaluation is required by a professional archaeologist in coordination with affected Indian tribes.
4.
New development totaling 500 square feet or more of any combination of additional gross floor area, lot coverage or hardscape, including the primary structures and appurtenances, shall be required to provide native vegetation coverage over 50 percent of the 20-foot vegetation area shown on Figure C. This total shall include all gross floor area, lot coverage, and hardscape added in the five years immediately prior to the development proposal.
i.
New development totaling 1,000 square feet or more of any combination of additional gross floor area, lot coverage or hardscape, including the primary structures and appurtenances, shall be required to provide native vegetation coverage over 75 percent of the 20-foot vegetation area shown in Figure C.
ii.
A shoreline vegetation plan shall be submitted to the city for approval.
iii.
The vegetation coverage shall consist of a variety of ground cover shrubs and trees indigenous to the central Puget Sound lowland ecoregion and suitable to the specific site conditions. Existing mature trees and shrubs, but excluding noxious weeds, may be included in the coverage requirement if located in the 20-foot vegetation area shown in Figure C.
iv.
No plants on the current King County noxious weed lists shall be planted within the shorelands.
L.
Marinas. Marinas must comply with the following standards:
1.
With the exception of the requirements for moorage facilities related to width and length, marinas shall comply with design standards required for moorage facilities listed in Table D, Requirements for Moorage Facilities and Development Located Waterward from OHWM.
2.
Marinas are only allowed if they provide significant public access to the shoreline. A proposed marina provides significant public access by meeting one of the following conditions.
a.
The marina is owned or operated by the city of Mercer Island;
b.
The marina is owned or operated by an organization or corporation serving at least 50 people; or
c.
The marina is open to the general public and access is not limited to membership in an organization.
3.
Application requirements. Applications for marinas must include the following.
a.
A no net loss plan, consistent with MICC 19.13.020(C), which demonstrates that the proposed project will not create a net loss in ecological function of the shorelands.
b.
A demand analysis or master plan that projects future needs for pier or dock space during the life of the development.
i.
The total amount of moorage spaces proposed;
ii.
The total number of commercial moorage spaces in the city of Mercer Island within a one-mile radius of the proposed facility; and
iii.
The expected population and vessel characteristics of the potential users of the facility and how these characteristics relate to specific facility design elements including slip sizes, pier and dock length, and necessary water depth.
4.
General requirements. The following standards apply to all marinas.
a.
Marinas shall be designed and operated consistent with federal and state water quality laws and established best management practices (BMPs) for marina operators, such as BMPs for bilge water discharge, hazardous waste, waste oil and spills, sewer management, and spill prevention and response. Rules for spill prevention and response, including reporting requirements, shall be posted on site.
b.
Marinas shall be designed and sited to prevent the need for maintenance dredging during the life of the development. Moorage must be designed to avoid vessels resting on the lakebed.
c.
Marinas must not be larger than necessary to accommodate the expected need as determined by the required demand analysis, this includes:
i.
Overwater structures must not be wider or longer than necessary to accommodate the expected need;
ii.
The number of slips provided must not exceed the expected need; and
iii.
The slip dimensions must not be larger than necessary to moor the expected vessels moored.
d.
Marinas shall be marked with reflectors, or otherwise identified to prevent unnecessarily hazardous conditions for water surface users during the day or night. All other exterior finishes above the waterline must be nonreflective.
e.
Marinas must not include materials treated with pentachlorophenol, creosote, chromated copper arsenate, or comparably toxic compounds. Any paint, stain or preservative applied to components of the marina must be leach resistant and completely dried or cured prior to installation.
f.
Marinas must not interfere with the public use and enjoyment of the water or create a hazard to navigation.
g.
At least one restroom must be provided upland of the OHWM.
h.
At least one covered and secured waste receptacle must be provided upland of the OHWM.
i.
Utility and service lines located waterward of the OHWM must be affixed below the pier deck and above the water. Utility and service lines located upland of the OHWM shall be underground, where feasible.
j.
Covered moorage is prohibited in marinas.
k.
Floating homes and living within vessels are prohibited in marinas.
l.
Disturbance of bank vegetation shall be limited to the minimum amount necessary to accomplish the project. Disturbed bank vegetation shall be replaced with native, locally adapted herbaceous and/or woody vegetation. Herbaceous plantings must occur prior to final approval of the building permit. Woody vegetation components shall be planted in the fall or early winter, whichever occurs first. The applicant shall take appropriate measures to ensure revegetation success.
m.
Exterior lighting mounted on piers, docks or other overwater components of a marina shall be at ground or dock level, be directed away from adjacent properties and the water, be of the lowest intensity needed, and designed and located to prevent light from spilling onto the lake water. The following development activities are exempt from this requirement:
i.
Emergency lighting required for public safety incidents;
ii.
Lighting required by state or federal regulations;
iii.
Lighting for public rights-of-way;
iv.
Outdoor lighting for temporary or periodic events (e.g., community events at public parks); and
v.
Seasonal decorative lighting beyond 30 feet of the ordinary high water mark.
n.
The applicant must provide documentation of approval of the marina by both the U.S. Army Corps of Engineers and the Washington Department of Fish and Wildlife.
o.
Vessels shall be restricted from extended mooring on waters of the state, except as allowed by applicable state regulations and unless a lease or permission is obtained from the state and impacts to navigation and public access are mitigated.
5.
Piles. Piles associated with a marina must comply with the following requirements.
a.
Piles shall be placed at least 18 feet from the OHWM.
b.
Piles shall not be treated with pentachlorophenol, creosote, chromated copper arsenate or comparably toxic compounds.
c.
Piles must be spaced at least 18 feet apart. The code official may authorize alternate spacing of piles provided the applicant demonstrates that the alternate spacing reduces the total number of piles needed for the project.
d.
Piles must not exceed 12 inches in diameter. The code official may authorize larger piles provided the applicant demonstrates that the larger piles reduce the total number of piles needed for the project.
e.
Piles must be fitted with devices to prevent perching by fish-eating birds.
6.
Overwater structures. Overwater structures associated with a marina must comply with the following requirements.
a.
Overwater structures must be designed to minimize the lakebed shading to the greatest degree feasible.
i.
Overwater structures within 30 feet of the OHWM must not exceed six feet in width.
ii.
Overwater structures more than 30 feet from the OHWM may be wider than six feet provided:
A.
Overwater structures wider than six feet must be approved by the Army Corps of Engineers and/or Washington Department of Fish and Wildlife;
B.
Potential environmental impacts of overwater structures with a width greater than six feet must addressed in the required no net loss plan; and
C.
The code official may condition approval to require mitigation for any overwater structure exceeding six feet in width.
iii.
Overwater structures must be grated in compliance with state and federal law.
b.
Length. Overwater structures that compose a marina must be designed to avoid adversely affecting navigability of waterways.
i.
Overwater structures associated with the marina shall not exceed the minimum length necessary to accommodate facility needs as demonstrated in the required demand analysis or master plan.
ii.
The code official may condition approval of the length to reduce the effects of overwater structures on navigability of the waterway.
c.
Floats. Floats must comply with the following requirements.
i.
All floats shall be designed to prevent the bottom of the float from resting on the lakebed.
ii.
All floats must be fully enclosed and contained in a shell, tub, or wrap. The shell, tub, or wrap must prevent breakup or loss of the flotation material into the water. The shell or wrap must not be readily subject to damage by ultraviolet radiation and abrasion.
7.
New marinas. New marinas shall only be located where there are existing marinas on the effective date of this chapter.
(Ord. 20C-13 § 1; Ord. 19C-06 § 1 (Att. A); Ord. No. 23C-15, § 3(Exh. C), 10-3-2023)
Editor's note— The cross-references in subsection (K)(1) was corrected at the city's request, as a scrivener's error.