64 - OFF-STREET PARKING
Sections:
A.
All regulations set forth in this chapter are for the purpose of providing convenient off-street parking space for vehicles. The parking requirements of this chapter are to be considered as the minimum necessary for such uses permitted by the respective zone.
B.
The intent of these regulations is to provide adequately designed parking areas with sufficient capacity and adequate circulation to minimize traffic congestion and promote public safety. It shall be the responsibility of the developer, owner, or operator of the specific use to provide and maintain adequate off-street parking.
C.
Off-street parking facilities required and established pursuant to this chapter shall be continuously maintained for off-street parking and the temporary parking (not storage) of motor vehicles and shall not be utilized for any other purpose.
D.
All parking, loading, storage, driveway, and vehicle maneuvering areas within any lot or parcel designated subject to the provisions of this chapter shall be kept and maintained so as not to detract from the appearance of the immediate neighborhood and to protect the health, safety, and welfare of the user, occupant, and general public. Such areas shall be kept in a neat and clean condition, free of inoperative vehicles, abandoned items, trash, debris, or rubbish, and free of potholes, sinkholes, standing water, cracks, and/or broken areas. Parking space delineation, pavement striping and related features, and signs shall be repainted, refurbished, and/or replaced when the same become faded, damaged or destroyed to such an extent as to no longer be effective. Such areas shall, further, be periodically resurfaced or sealed in order to minimize seepage of water through such areas into the ground below such areas.
(Ord. 494 § 3, 1995: Ord. 177 § 2(part), 1966: prior code § 9361).
A.
Off-street parking facilities, for both motor vehicles and bicycles, shall be provided for any new building constructed, for any new use established, for any addition or enlargement of an existing building or use, and for any change in the occupancy of an existing building.
B.
For additions or enlargements of any existing building or use, or any change of occupancy of manner of operation that would increase the number of parking spaces required, the additional parking spaces shall be required only for such addition, enlargement, or change and not for the entire building or use, unless required as a condition of approval or a conditional use permit.
C.
The required parking facilities needed for any development shall be located on the same site or, if an irrevocable access and/or parking easement is obtained, the parking may be on an abutting site. Property within the ultimate right-of-way of a street or highway shall not be used to provide required parking or loading or unloading facilities.
D.
The requirements of this chapter shall apply to temporary as well as permanent uses.
E.
No existing use of land or structure shall be deemed to be nonconforming solely because of the lack of off-street parking facilities prescribed in this chapter. However, the facilities being used for off-street parking on the effective date of the ordinance codified in this chapter shall not be reduced in capacity to less than the minimum standards prescribed in this section.
F.
Projects with unexpired site approvals or conditional use permits approved prior to the effective date of the ordinance codified in this title shall meet the requirements of the parking ordinance in effect on the date the site approvals or conditional use permits were approved.
G.
All required off-street parking spaces shall be designed, located, constructed, and maintained so as to be fully usable during workday periods or as needed by the use of the premises.
H.
Where the application of these schedules results in a fractional space, then the fraction shall be rounded to the higher whole number.
I.
The parking requirements for uses not specifically listed in the matrix shall be determined by the approval body for the proposed use on the basis of requirements for similar uses, and on any traffic engineering and planning data that is appropriate to the establishment of a minimum requirement.
J.
In the calculation of parking requirements for centers, off-peak-hour uses from the normal operating hours of the center shall not be counted toward the parking requirement.
K.
In situations where a combination of uses are developed on a site, parking shall be provided for each of the uses on the site according to the schedule given in this chapter.
(Ord. 494 § 4, 1995: Ord. 273 § 2, 1974: prior code § 9361.1).
The off-street parking spaces required for each use permitted by this title shall be not less than the following, provided that any fractional parking space shall be computed as a whole:
(Ord. 494 § 5-9, 1995; Ord. 424 §§ 1, 2, 1988; Ord. 417 § 3, 1987; Ord. 271 § 2, 1974; Ord. 177 § 2(part), 1966: prior code § 9362).
(Ord. No. 636, § 7, 6-10-09; Ord. No. 677, § 2, 5-14-14)
Where the parking requirements for a use are not specifically set forth in Section 17.64.030, the parking requirements for such use shall be resolved as a clarification of ambiguity.
(Ord. 177 § 2(part), 1966: prior code § 9363).
The commission may, by resolution, waive or modify the provisions as set forth in this chapter establishing required parking areas for uses such as steam electric generating stations, electric distribution and transmission substations, public utility or corporation service yards, or other uses of a similar or like nature, which require a very limited number of persons for operation.
(Ord. 177 § 2 (part), 1966: prior code § 9364).
In the case of mixed uses in a building or on a lot, the total requirements for off-street parking facilities shall be the sum of the requirements for the various uses computed separately. Off-street parking facilities for one use shall not be considered as providing required parking facilities for any other use except as specified in Section 17.64.070 for joint use.
(Ord. 177 § 2(part), 1966: prior code § 9365).
The commission may, upon application by the owner or lessees of any property, authorize the joint use of parking facilities for the following uses or activities, under the conditions specified herein:
A.
Up to fifty percent of the parking facilities required by this chapter for a use considered to be primarily a daytime use may be provided by the parking facilities of a use considered to be primarily a nighttime and/or Sunday use; up to fifty percent of the parking facilities required by this chapter for a use considered to be primarily a nighttime and/or Sunday use may be provided by the parking facilities of a use considered to be primarily a daytime use; provided, such reciprocal parking area shall be subject to conditions set forth in subsection D of this section.
B.
Up to one hundred percent of the parking facilities required by this chapter for a church or for an auditorium incidental to a public or parochial school may be supplied by parking facilities of a use considered to be primarily a daytime use; provided, such reciprocal parking area shall be subject to conditions as set forth in subsection D of this section.
C.
The following uses shall be daytime uses: banks, business offices, retail stores, personal services shops, clothing or shoe repair or service shops, manufacturing or wholesale buildings and similar uses. The following uses shall be nighttime and/or Sunday uses: auditoriums incidental to a public or parochial school, churches, dancehalls, theaters and bars.
D.
The conditions required for joint use are as follows:
1.
The buildings or use for which application is being made for authority to utilize the existing off-street parking facilities provided by another building or use shall be located within one hundred fifty feet of such parking facility.
2.
The applicant shall show that there is no substantial conflict in the principal operating hours of the buildings or uses for which the joint use of off-street parking facilities is proposed.
3.
Parties concerned in the joint use of off-street parking facilities shall evidence agreement for such joint use by a proper legal instrument approved by the city attorney as to form and content. Such instrument, when approved, shall be recorded in the office of the county recorder and copies thereof filed with the building and planning departments.
(Ord. 177 § 2(part), 1966: prior code § 9366).
Common parking facilities may be provided in lieu of the individual requirements contained in this chapter, but a site or plot plan shall be required for such facilities; provided, that the total of such off-street parking space, when used together, shall not be less than the sum of the various uses computed separately.
(Ord. 177 § 1(part), 1966: prior code § 9367).
The plan of the proposed parking area shall be submitted to the building department at the time of the application for the building permit for the building to which the parking area is accessory. The plans shall clearly indicate the proposed development, including location, size, shape, design, curb cuts, lighting, landscaping and other features and appurtenances of the proposed parking lot.
(Ord. 177 § 1(part), 1966: prior code § 9368).
A.
Each off-street parking space shall have an area of not less than two hundred square feet, exclusive of drives or aisles, and a width of not less than ten feet except as hereinafter provided. Each such space shall be provided with adequate ingress and egress.
B.
Chart.
1.
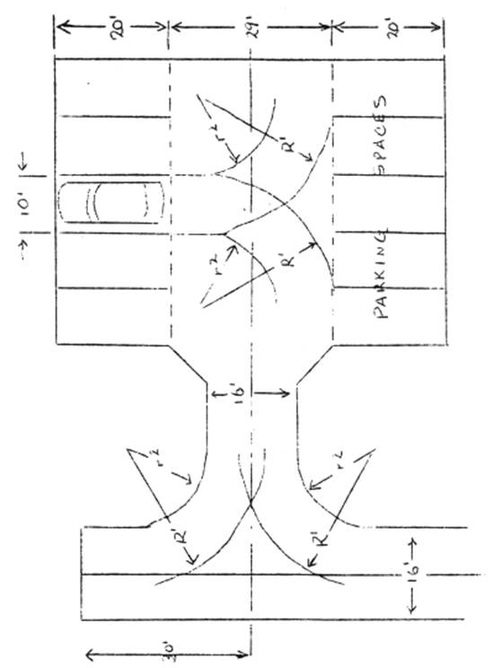
The minimum dimensions for designing parking layouts shall be in accordance with the following chart:
2.
For parallel parking there shall be a sixteen- foot minimum aisle, and an area eight feet by twenty-four feet shall be the minimum size parking space.
3.
When the required parking space in any R zone is not to be provided in a covered garage, each such required car space shall be not less than two hundred square feet in area.
C.
The dimensions of standard car stalls are established at nine feet by nineteen feet and a compact size stall of fifteen feet by eight feet and the aisle width of ninety-degree parking is established at twenty-six feet. Future developers must provide for a maximum twenty-five percent of the required stalls to be compact.
(Ord. 424 § 3, 1988; Ord. 177 § 2(part), 1966: prior code § 9369(1)).
A.
All driveways serving parking areas for less than five vehicles shall be a minimum of ten feet in width.
B.
All driveways serving parking areas for five or more vehicles shall be a minimum of twelve feet in width.
C.
Where both egress and ingress are provided on a single driveway, the minimum width thereof shall be eighteen feet. Parking areas for more than thirty vehicles shall be provided with separate driveways for ingress and egress, each of which shall be not less than ten feet in width.
D.
All parking areas, driveways, aisles and accessways shall conform to the following minimum dimensions in accordance with the following chart and formulae:
E.
Joint-use driveways used in conjunction with abutting properties shall be allowed when proper easement or agreement, approved as to form by the city attorney, have been executed, recorded, and filed with the city; provided that no such driveway shall exceed a total length of five hundred feet from the street to the parking area served.
F.
All parking areas for five or more vehicles shall be designed to allow forward motion only for all vehicles entering a street, unless the access drive is a minimum of eighteen feet in width.
(Ord. 177 § 2(part), 1966: prior code § 9369(2)).
All off-street parking areas, including driveways, aisles and access, shall be paved with asphaltic pavement or equivalent materials. Such surfacing shall be designed, constructed and maintained so as to dispose of all surface water.
(Ord. 177 § 2(part), 1966: prior code § 9369(3)).
Off-street parking facilities shall be located in the manner specified in this section. Where a distance is indicated, such distance shall be the distance measured from the nearest point of the parking facility to the nearest point of the building that such facility is required to serve.
A.
For dwelling units, parking facilities shall be located on the same lot or building site as the buildings they are required to serve.
B.
For hospitals, sanitariums, homes for the aged, and similar uses, parking facilities shall be located not more than one hundred fifty feet from the buildings they are required to serve.
C.
For uses other than those specified above in this section, parking facilities shall be located not over three hundred feet from the building they are required to serve, except as otherwise provided herein.
(Ord. 177 § 2(part), 1966: prior code § 9369(4)).
All parking areas shall be subject to the same setback restrictions which govern accessory buildings as prescribed for the zone in which said parking area is located.
(Ord. 177 § 2(part), 1966: prior code § 9369(5)).
Every parking area that is not separated by a fence from any street or alley right-of-way line upon which it abuts shall be provided with a suitable concrete curb or timber barrier not less than six inches in height, located not less than a distance of two feet from such street or alley right-of-way lines; such curb or barrier shall be securely installed and maintained; provided, no such barrier shall be maintained across any driveway or entrance to such parking area.
(Ord. 177 § 2(part), 1966: prior code § 9369(6)).
Every parking area designed for five or more vehicles abutting property located in one of the R zones shall be separated from such property by a solid view-obscuring fence or wall six feet in height, measured from the grade of the finished surface of such parking lot closest to the contiguous R zone property; provided, that along the required front yard on which the facilities are located the fence or wall shall not exceed thirty inches in height. No such wall or fence need be provided where the elevation of that portion of the parking areas immediately adjacent to an R zone is six feet or more below the elevation of such R zone property along the common property line.
(Ord. 177 § 2(part), 1966: prior code § 9369 (7)).
Suitable lights shall be provided so as to properly illuminate any parking area or used car sales area; such lighting shall be arranged so as to reflect the light away from any premises upon which a dwelling unit is located.
(Ord. 177 § 2(part), 1966: prior code § 9369(8)).
The location and design of all entrances and exits shall be subject to the approval of the city engineer; provided, no entrance or exit other than on or from an alley shall be closer than five feet to any lot located in an R zone.
(Ord. 177 § 2(part), 1966: prior code § 9369(9)).
All parking spaces shall be striped in a manner clearly showing the layout of the individual parking stalls. Such striping shall be permanently maintained in a clear, visible and orderly manner.
(Ord. 177 § 2(part), 1966: prior code § 9369(10)).
Where required for public safety, for entering or leaving parking lots from public streets, appropriate exit, entrance and directional signs.shall be posted and maintained.
(Ord. 177 § 2(part), 1966: prior code § 9369(11)).
All parking areas shall be kept clean and free of dust, mud, debris, and trash. Parking areas shall be used only for the purpose of parking vehicles. Where landscaping is provided and required within or along parking areas, adequate irrigation and maintenance shall be provided.
(Ord. 177 § 2(part), 1966: prior code § 9369(12)).
A.
Where more than twenty automobile parking spaces exist on a lot or parcel of land, not less than two percent of the gross area devoted to such parking shall be devoted to interior landscaping. No occupancy permit shall be issued until the landscaping required under section has been installed.
B.
Where a parking area of five or more vehicles is across a street from property in any R zone, a decorative masonry wall not more than three feet in height, measured from the finished surface of the parking area, shall be erected and maintained a minimum of five feet from the front property line. The setback area, between the property line and the fence, shall be landscaped and continuously maintained.
C.
The type of wall required in subsection A of this section, shall be set back to conform with any setback required on abutting property within a distance of fifty feet from the common boundary line. This setback area shall be landscaped and continuously maintained.
(Ord. 177 § 2(part), 1966: prior code § 9370).
Off-street parking facilities shall be permitted in any of the R zones, subject to the following conditions:
A.
No parking lot to be used as an accessory use to a commercial or industrial establishment shall be established until it has first been reviewed by the planning commission and its location approved by a conditional use permit.
B.
Such parking lots referred to in subsection A of this section, shall be used exclusively for the parking of private passenger vehicles.
C.
No sign of any kind, other than one designating entrances, exits or conditions or use, shall be maintained on such parking lot. No such sign shall exceed more than eight square feet in area.
(Ord. 177 § 2(part), 1966: prior code § 9371).
64 - OFF-STREET PARKING
Sections:
A.
All regulations set forth in this chapter are for the purpose of providing convenient off-street parking space for vehicles. The parking requirements of this chapter are to be considered as the minimum necessary for such uses permitted by the respective zone.
B.
The intent of these regulations is to provide adequately designed parking areas with sufficient capacity and adequate circulation to minimize traffic congestion and promote public safety. It shall be the responsibility of the developer, owner, or operator of the specific use to provide and maintain adequate off-street parking.
C.
Off-street parking facilities required and established pursuant to this chapter shall be continuously maintained for off-street parking and the temporary parking (not storage) of motor vehicles and shall not be utilized for any other purpose.
D.
All parking, loading, storage, driveway, and vehicle maneuvering areas within any lot or parcel designated subject to the provisions of this chapter shall be kept and maintained so as not to detract from the appearance of the immediate neighborhood and to protect the health, safety, and welfare of the user, occupant, and general public. Such areas shall be kept in a neat and clean condition, free of inoperative vehicles, abandoned items, trash, debris, or rubbish, and free of potholes, sinkholes, standing water, cracks, and/or broken areas. Parking space delineation, pavement striping and related features, and signs shall be repainted, refurbished, and/or replaced when the same become faded, damaged or destroyed to such an extent as to no longer be effective. Such areas shall, further, be periodically resurfaced or sealed in order to minimize seepage of water through such areas into the ground below such areas.
(Ord. 494 § 3, 1995: Ord. 177 § 2(part), 1966: prior code § 9361).
A.
Off-street parking facilities, for both motor vehicles and bicycles, shall be provided for any new building constructed, for any new use established, for any addition or enlargement of an existing building or use, and for any change in the occupancy of an existing building.
B.
For additions or enlargements of any existing building or use, or any change of occupancy of manner of operation that would increase the number of parking spaces required, the additional parking spaces shall be required only for such addition, enlargement, or change and not for the entire building or use, unless required as a condition of approval or a conditional use permit.
C.
The required parking facilities needed for any development shall be located on the same site or, if an irrevocable access and/or parking easement is obtained, the parking may be on an abutting site. Property within the ultimate right-of-way of a street or highway shall not be used to provide required parking or loading or unloading facilities.
D.
The requirements of this chapter shall apply to temporary as well as permanent uses.
E.
No existing use of land or structure shall be deemed to be nonconforming solely because of the lack of off-street parking facilities prescribed in this chapter. However, the facilities being used for off-street parking on the effective date of the ordinance codified in this chapter shall not be reduced in capacity to less than the minimum standards prescribed in this section.
F.
Projects with unexpired site approvals or conditional use permits approved prior to the effective date of the ordinance codified in this title shall meet the requirements of the parking ordinance in effect on the date the site approvals or conditional use permits were approved.
G.
All required off-street parking spaces shall be designed, located, constructed, and maintained so as to be fully usable during workday periods or as needed by the use of the premises.
H.
Where the application of these schedules results in a fractional space, then the fraction shall be rounded to the higher whole number.
I.
The parking requirements for uses not specifically listed in the matrix shall be determined by the approval body for the proposed use on the basis of requirements for similar uses, and on any traffic engineering and planning data that is appropriate to the establishment of a minimum requirement.
J.
In the calculation of parking requirements for centers, off-peak-hour uses from the normal operating hours of the center shall not be counted toward the parking requirement.
K.
In situations where a combination of uses are developed on a site, parking shall be provided for each of the uses on the site according to the schedule given in this chapter.
(Ord. 494 § 4, 1995: Ord. 273 § 2, 1974: prior code § 9361.1).
The off-street parking spaces required for each use permitted by this title shall be not less than the following, provided that any fractional parking space shall be computed as a whole:
(Ord. 494 § 5-9, 1995; Ord. 424 §§ 1, 2, 1988; Ord. 417 § 3, 1987; Ord. 271 § 2, 1974; Ord. 177 § 2(part), 1966: prior code § 9362).
(Ord. No. 636, § 7, 6-10-09; Ord. No. 677, § 2, 5-14-14)
Where the parking requirements for a use are not specifically set forth in Section 17.64.030, the parking requirements for such use shall be resolved as a clarification of ambiguity.
(Ord. 177 § 2(part), 1966: prior code § 9363).
The commission may, by resolution, waive or modify the provisions as set forth in this chapter establishing required parking areas for uses such as steam electric generating stations, electric distribution and transmission substations, public utility or corporation service yards, or other uses of a similar or like nature, which require a very limited number of persons for operation.
(Ord. 177 § 2 (part), 1966: prior code § 9364).
In the case of mixed uses in a building or on a lot, the total requirements for off-street parking facilities shall be the sum of the requirements for the various uses computed separately. Off-street parking facilities for one use shall not be considered as providing required parking facilities for any other use except as specified in Section 17.64.070 for joint use.
(Ord. 177 § 2(part), 1966: prior code § 9365).
The commission may, upon application by the owner or lessees of any property, authorize the joint use of parking facilities for the following uses or activities, under the conditions specified herein:
A.
Up to fifty percent of the parking facilities required by this chapter for a use considered to be primarily a daytime use may be provided by the parking facilities of a use considered to be primarily a nighttime and/or Sunday use; up to fifty percent of the parking facilities required by this chapter for a use considered to be primarily a nighttime and/or Sunday use may be provided by the parking facilities of a use considered to be primarily a daytime use; provided, such reciprocal parking area shall be subject to conditions set forth in subsection D of this section.
B.
Up to one hundred percent of the parking facilities required by this chapter for a church or for an auditorium incidental to a public or parochial school may be supplied by parking facilities of a use considered to be primarily a daytime use; provided, such reciprocal parking area shall be subject to conditions as set forth in subsection D of this section.
C.
The following uses shall be daytime uses: banks, business offices, retail stores, personal services shops, clothing or shoe repair or service shops, manufacturing or wholesale buildings and similar uses. The following uses shall be nighttime and/or Sunday uses: auditoriums incidental to a public or parochial school, churches, dancehalls, theaters and bars.
D.
The conditions required for joint use are as follows:
1.
The buildings or use for which application is being made for authority to utilize the existing off-street parking facilities provided by another building or use shall be located within one hundred fifty feet of such parking facility.
2.
The applicant shall show that there is no substantial conflict in the principal operating hours of the buildings or uses for which the joint use of off-street parking facilities is proposed.
3.
Parties concerned in the joint use of off-street parking facilities shall evidence agreement for such joint use by a proper legal instrument approved by the city attorney as to form and content. Such instrument, when approved, shall be recorded in the office of the county recorder and copies thereof filed with the building and planning departments.
(Ord. 177 § 2(part), 1966: prior code § 9366).
Common parking facilities may be provided in lieu of the individual requirements contained in this chapter, but a site or plot plan shall be required for such facilities; provided, that the total of such off-street parking space, when used together, shall not be less than the sum of the various uses computed separately.
(Ord. 177 § 1(part), 1966: prior code § 9367).
The plan of the proposed parking area shall be submitted to the building department at the time of the application for the building permit for the building to which the parking area is accessory. The plans shall clearly indicate the proposed development, including location, size, shape, design, curb cuts, lighting, landscaping and other features and appurtenances of the proposed parking lot.
(Ord. 177 § 1(part), 1966: prior code § 9368).
A.
Each off-street parking space shall have an area of not less than two hundred square feet, exclusive of drives or aisles, and a width of not less than ten feet except as hereinafter provided. Each such space shall be provided with adequate ingress and egress.
B.
Chart.
1.
The minimum dimensions for designing parking layouts shall be in accordance with the following chart:
2.
For parallel parking there shall be a sixteen- foot minimum aisle, and an area eight feet by twenty-four feet shall be the minimum size parking space.
3.
When the required parking space in any R zone is not to be provided in a covered garage, each such required car space shall be not less than two hundred square feet in area.
C.
The dimensions of standard car stalls are established at nine feet by nineteen feet and a compact size stall of fifteen feet by eight feet and the aisle width of ninety-degree parking is established at twenty-six feet. Future developers must provide for a maximum twenty-five percent of the required stalls to be compact.
(Ord. 424 § 3, 1988; Ord. 177 § 2(part), 1966: prior code § 9369(1)).
A.
All driveways serving parking areas for less than five vehicles shall be a minimum of ten feet in width.
B.
All driveways serving parking areas for five or more vehicles shall be a minimum of twelve feet in width.
C.
Where both egress and ingress are provided on a single driveway, the minimum width thereof shall be eighteen feet. Parking areas for more than thirty vehicles shall be provided with separate driveways for ingress and egress, each of which shall be not less than ten feet in width.
D.
All parking areas, driveways, aisles and accessways shall conform to the following minimum dimensions in accordance with the following chart and formulae:
E.
Joint-use driveways used in conjunction with abutting properties shall be allowed when proper easement or agreement, approved as to form by the city attorney, have been executed, recorded, and filed with the city; provided that no such driveway shall exceed a total length of five hundred feet from the street to the parking area served.
F.
All parking areas for five or more vehicles shall be designed to allow forward motion only for all vehicles entering a street, unless the access drive is a minimum of eighteen feet in width.
(Ord. 177 § 2(part), 1966: prior code § 9369(2)).
All off-street parking areas, including driveways, aisles and access, shall be paved with asphaltic pavement or equivalent materials. Such surfacing shall be designed, constructed and maintained so as to dispose of all surface water.
(Ord. 177 § 2(part), 1966: prior code § 9369(3)).
Off-street parking facilities shall be located in the manner specified in this section. Where a distance is indicated, such distance shall be the distance measured from the nearest point of the parking facility to the nearest point of the building that such facility is required to serve.
A.
For dwelling units, parking facilities shall be located on the same lot or building site as the buildings they are required to serve.
B.
For hospitals, sanitariums, homes for the aged, and similar uses, parking facilities shall be located not more than one hundred fifty feet from the buildings they are required to serve.
C.
For uses other than those specified above in this section, parking facilities shall be located not over three hundred feet from the building they are required to serve, except as otherwise provided herein.
(Ord. 177 § 2(part), 1966: prior code § 9369(4)).
All parking areas shall be subject to the same setback restrictions which govern accessory buildings as prescribed for the zone in which said parking area is located.
(Ord. 177 § 2(part), 1966: prior code § 9369(5)).
Every parking area that is not separated by a fence from any street or alley right-of-way line upon which it abuts shall be provided with a suitable concrete curb or timber barrier not less than six inches in height, located not less than a distance of two feet from such street or alley right-of-way lines; such curb or barrier shall be securely installed and maintained; provided, no such barrier shall be maintained across any driveway or entrance to such parking area.
(Ord. 177 § 2(part), 1966: prior code § 9369(6)).
Every parking area designed for five or more vehicles abutting property located in one of the R zones shall be separated from such property by a solid view-obscuring fence or wall six feet in height, measured from the grade of the finished surface of such parking lot closest to the contiguous R zone property; provided, that along the required front yard on which the facilities are located the fence or wall shall not exceed thirty inches in height. No such wall or fence need be provided where the elevation of that portion of the parking areas immediately adjacent to an R zone is six feet or more below the elevation of such R zone property along the common property line.
(Ord. 177 § 2(part), 1966: prior code § 9369 (7)).
Suitable lights shall be provided so as to properly illuminate any parking area or used car sales area; such lighting shall be arranged so as to reflect the light away from any premises upon which a dwelling unit is located.
(Ord. 177 § 2(part), 1966: prior code § 9369(8)).
The location and design of all entrances and exits shall be subject to the approval of the city engineer; provided, no entrance or exit other than on or from an alley shall be closer than five feet to any lot located in an R zone.
(Ord. 177 § 2(part), 1966: prior code § 9369(9)).
All parking spaces shall be striped in a manner clearly showing the layout of the individual parking stalls. Such striping shall be permanently maintained in a clear, visible and orderly manner.
(Ord. 177 § 2(part), 1966: prior code § 9369(10)).
Where required for public safety, for entering or leaving parking lots from public streets, appropriate exit, entrance and directional signs.shall be posted and maintained.
(Ord. 177 § 2(part), 1966: prior code § 9369(11)).
All parking areas shall be kept clean and free of dust, mud, debris, and trash. Parking areas shall be used only for the purpose of parking vehicles. Where landscaping is provided and required within or along parking areas, adequate irrigation and maintenance shall be provided.
(Ord. 177 § 2(part), 1966: prior code § 9369(12)).
A.
Where more than twenty automobile parking spaces exist on a lot or parcel of land, not less than two percent of the gross area devoted to such parking shall be devoted to interior landscaping. No occupancy permit shall be issued until the landscaping required under section has been installed.
B.
Where a parking area of five or more vehicles is across a street from property in any R zone, a decorative masonry wall not more than three feet in height, measured from the finished surface of the parking area, shall be erected and maintained a minimum of five feet from the front property line. The setback area, between the property line and the fence, shall be landscaped and continuously maintained.
C.
The type of wall required in subsection A of this section, shall be set back to conform with any setback required on abutting property within a distance of fifty feet from the common boundary line. This setback area shall be landscaped and continuously maintained.
(Ord. 177 § 2(part), 1966: prior code § 9370).
Off-street parking facilities shall be permitted in any of the R zones, subject to the following conditions:
A.
No parking lot to be used as an accessory use to a commercial or industrial establishment shall be established until it has first been reviewed by the planning commission and its location approved by a conditional use permit.
B.
Such parking lots referred to in subsection A of this section, shall be used exclusively for the parking of private passenger vehicles.
C.
No sign of any kind, other than one designating entrances, exits or conditions or use, shall be maintained on such parking lot. No such sign shall exceed more than eight square feet in area.
(Ord. 177 § 2(part), 1966: prior code § 9371).