Other Development Standards
3-1.1 GENERAL REQUIREMENTS
(A)
Applicability .....In all zoning districts, every use of a building, structure, or piece of land hereafter erected, modified, enlarged, or increased in capacity shall comply with the dimensional requirements as set forth in this section.
(B)
Nonconforming Situations and Variances .....There shall be no variations from the dimensional requirements of this section except in nonconforming situations (Section B.5) or where the Board of Adjustment may waive the dimensional requirements (Section B.6-1.4(B)).
(C)
Dimensional Requirements .....The dimensional requirements which specify minimum lot area, minimum lot width, minimum setbacks, maximum impervious surface cover, maximum height, and minimum contiguous area, where applicable, are set forth in Table B.3.1, Table B.3.2, Table B.3.3, and Table B.3.4. Dimensional and other requirements of zoning districts are set forth in Section B.2-1.
Table B.3.1
Residential Districts General Dimensional Requirements
1,2,3
1.
These dimensional requirements are subject to additional provisions in Section B.3-1.2; Section B.2-5; Section B.2-1.6(C); Section B.3-4; Section B.3-5; and Section B.3-8.
2.
Larger lot width, depth, or area may be required by the Public Health Department for the installation of septic systems.
3.
Additional dimensional requirements for residential uses in other districts are listed in Tables B.3.3 and B.3.4.
4.
No setback is required for twin homes; all other uses must be set back a minimum of five (5) feet.
5.
Ranges of requirements for RSQ are listed; dimensional requirements are based on use in the district. Please refer to Section B.2-1.2(J)(2).
6.
Ranges of requirements for RM-5 are listed; dimensional requirements are based on use in the district. Please refer to Section B.2-1.2(K)(2).
7.
Nonconforming lots in the YR and AG Districts meeting the provisions of Section B.5-3.2(C) must meet the minimum setback requirements of the RS-20 zoning district.
8.
Three story structures in RM-8 must be setback a minimum of fifty (50) feet from adjacent properties zoned for single family residential development.
9.
Where the main entrance to a single family residence is located on a side yard, the setback for the portion of the wall on which the door is located shall be equal to the front yard setback.
Table B.3.2
Nonresidential Districts General Dimensional Requirements
1,2
1.
These dimensional requirements are subject to additional provisions in Section B.3-1.2; Section B.2-5; Section B.2-1.6(C); Section B.3-4; Section B.3-5; and Section B.3-8.
2.
Larger lot width, depth, or area may be required by the Public Health Department for the installation of septic systems.
3.
Certain districts have an option for height (e.g., 60/unlimited). The first number indicates the maximum height allowed at the minimum setback required adjacent to property zoned RS, RM (except RM-U), YR, AG, or H. Heights may be increased according to the provisions of Section B.3-1.2(D) and (E). Height limits for the C District vary per Growth Management Areas (see Section B.2-1.5(B)(2)).
4.
Minimum area and width requirements may be reduced for the CPO, NSB, and CPI Districts under the respective subsections of Section B.2-1.5(B)(2).
5.
The eighty percent (80%) limit applies only in GMA 3, per Section B.2-1.3(D).
6.
Side yards are not required, however any side yard provided adjacent to an interior lot line shall be not less than twelve (12) feet in width. A space less than six (6) inches in width between an interior lot line and a building wall shall not be regarded as a side yard.
7.
The seventy percent (70%) limit does not apply to GMAs 1 and 2, per Section B.2-1.5(B)(2).
8.
Whenever a lot in a nonresidential district other than the NB or NO Districts shares a common boundary line with a lot in a residential district (except RM-U), YR, AG, or H District with no intervening street or highway, the lot in the nonresidential district shall have a required setback along the shared boundary line of not less than forty (40) feet or shall have the required setback for the nonresidential district, whichever is greater.
Table B.3.3
Minimum Lot Sizes (Square Feet) for Permitted Single Family,
Two-Family, and Multifamily Residential Buildings
on Small Lots in RM Districts
1.
Permitted densities for other multifamily developments not shown in this table are calculated based upon the suffix number of the RM District (e.g., RM-5 allows five (5) units per acre).
Table B.3.4
Other Dimensional Requirements
(UDO L-164, § 2, 7-8-21)
3-1.2 SUPPLEMENTARY DIMENSIONAL REQUIREMENTS
The following supplementary dimensional regulations shall apply to all buildings and structures not subject to the general dimensional requirements of Section B.3-1.1:
(A)
Structures Permitted Above Height Limits .....The height limitations of Section B.3-1.1 shall not apply to the following structures and the Downtown Overlay District (see Appendix).
(1)
Buildings used in support of agricultural operations;
(2)
Chimneys, unoccupiable steeples, spires, flagpoles, cupolas, roofventing pipes, and freestanding rooftop mechanical equipment (including unenclosed screening);
(3)
Transmission towers;
(4)
Water towers, observation towers, silos, and power transmission towers;
(5)
Mixing plants, and screening or loading towers for sand or rock; and,
(6)
Derricks and conveyors.
(B)
Structures Which may Encroach into Required Yards .....The following structures may encroach into required yards as follows:
(1)
Open Porch. .....An open porch may project into a required front or rear yard not more than ten (10) feet, provided that such projection does not reduce the remaining open portion of the yard to a depth of less than fifteen (15) feet.
(2)
Above Grade Decks. .....Unenclosed above grade decks at the main living level of a single family residence may encroach into a required side yard, but may not extend closer than seven (7) feet to the property line and ten (10) feet to the nearest building.
(3)
Bay Window. .....A bay window may project into any required front or rear yard not more than three (3) feet.
(4)
Architectural Features. .....Architectural features, such as sills, belt courses, and cornices, may project into any required yard not more than one foot.
(5)
Roof, Eave, Chimney, or Awning. .....A roof, eave, chimney, or awning may project into any required yard not more than three (3) feet.
(6)
Canopy. .....Canopies, either attached or detached, used in conjunction with retail uses in business, office, or industrial districts, may project into a required front yard, provided that such projection does not reduce the remaining open portion of such yard to a depth of less than ten (10) feet.
(7)
Open Stairs. .....Open stairs to a second story of a residence may project into any required side or rear yard but shall not encroach into the required front yard.
(8)
Satellite Dishes. .....Satellite dishes greater than two (2) feet in height shall meet the requirements of accessory structures in required yards in Section B.3-1.2(F).
(C)
Improvements Permitted in Required Yards .....The following improvements are permitted in required yards provided there is no interference with any recorded sight easement:
(1)
Landscape Features. .....Landscape features, including, but not limited to, ornamental pools, planting boxes, sculpture, birdbaths, open terraces, walkways, walls, or fences; and,
(2)
Other Improvements. .....Other constructed improvements specifically exempted in the definition of Structure, including, but not limited to, gate houses or bus shelters, mailboxes, pump houses or wells, shelter for pets, playhouses, outdoor fireplaces, flagpoles, underground fallout shelters not extending more than four (4) feet above grade, and wharves unless otherwise regulated under Section B.3-11.2. Air conditioning compressors are exempted, subject to the provisions of Section B.3-11.2.
(D)
Setbacks for Taller Structures in GO, CPO, GB, GI and MU-C Districts
(1)
Purpose. .....The purpose of setback standards for taller structures in these districts is to give flexibility to nonresidential development while preventing structures significantly taller than single family dwellings from being constructed in close proximity to such homes; thereby maintaining the privacy and outdoor enjoyment typically provided in single family districts and neighborhoods.
(2)
Setback and Measurement. .....The height of any building may be increased above the normal maximum by one foot for each foot of additional setback beyond the minimum setback required if adjacent to property zoned RS, RM (except RM-U), or H. If adjacent to other zoning districts, there is no height limit. Please refer to appropriate subsections in Section B.2-1.
(3)
Exceptions. .....Buildings above the normal height maximums are not allowed in the following situations:
(a)
Where the proposed development is for single family detached, duplex, or twin home uses; or,
(b)
Where the proposed development involves redevelopment or change of use of an existing site and does not increase the height or reduce the setback of the existing primary structure closest to the single family use or district.
(E)
Setbacks for Taller Structures in the C District
(1)
Purpose. .....The purpose of special setbacks for taller structures in the C District is to give flexibility in designing and developing structures for these districts while at the same time protecting residential development adjacent to the C District from the impacts on privacy and outdoor enjoyment that structures built above the standard height limits might have.
(2)
Exception From Height Limits. .....Existing buildings or buildings under construction on or before April 15, 1991 shall be exempt from the height requirement.
(3)
Setback and Measurement. .....No new building, or an addition to an existing building which is exempt from the height requirement, shall exceed the normal maximum height of sixty (60) feet allowed in the C District unless the building is set back at least forty (40) feet from any property zoned RS, RM (except RM-U), or H. For each foot of setback from property zoned RS, RM (except RM-U), or H beyond forty (40) feet, the maximum permitted height of a building may be increased by one foot. If the building is set back at least one hundred twenty (120) feet from all property zoned RS, RM (except RM-U), or H, or is adjacent to other zoning districts, there is no height limit. Please refer to Section B.2-1.5(B).
(F)
Accessory Structures Permitted in Required Yards
(1)
Interior Lots. .....An accessory structure seventeen (17) feet or less in height and structurally detached from the principal structure on the zoning lot may be erected on any interior lot in either the required side or rear yards, if no part of said structure is less than seventy-five (75) feet from the front lot line nor less than three (3) feet from a side or rear lot line.
(2)
Corner Lot. .....An accessory structure less than seventeen (17) feet in height and structurally detached from the principal structure on the zoning lot may be erected on a corner lot, provided that:
(a)
Said structure shall be erected in the required side yard not abutting the street, and no part of said structure is less than seventy-five (75) feet from the front line nor less than three (3) feet from a side or rear lot line; or,
(b)
Said structure shall be erected in the required rear yard and shall not project beyond, or nearer to, the street than the front setback line of the district, as extended, of the adjacent lot whose front yard abuts the corner lot in question.
(3)
Height. .....For purposes of this section, the height shall be measured from the average grade of the midpoint of the front wall to the ridge of the roof of the accessory building.
(G)
Size Limits for Accessory Structures.
(1)
Maximum Area. .....Accessory structure may not exceed five percent (5%) of the actual size of the zoning lot or the minimum permitted lot size of the zoning district, whichever is smaller. However, an accessory structure up to five hundred seventy-six (576) square feet in area shall be permitted in all districts.
(2)
Board of Adjustment. .....Requests for structures containing greater area than prescribed in Section B.3-1.2(G)(1) may be considered under the special use permit process through the Board of Adjustment.
(3)
Required Yard. .....Accessory structures may not occupy more than twenty-five percent (25%) of the area of the required yard.
(H)
Accessory Structures Prohibited in Required Yards .....An accessory structure any part of which is within three (3) feet of the principal building or which is more than seventeen (17) feet in height shall comply with all the zoning regulations applicable to the principal building.
(I)
Special Yard Requirements for Older Neighborhoods .....Alternative dimensional requirements are available for neighborhoods which were originally platted or developed prior to March 3, 1948, and where at least fifty percent (50%) of the other lots on the block in question are developed. See Section B.3-8.
(J)
Special Yard Requirements Where Nonresidential Districts Adjoin Residential Districts .....Where a lot in a nonresidential district other than the NB or NO Districts shares a common boundary line with a lot in a residential district (except RM-U), YR, AG, or H District with no intervening street or highway, the lot in the nonresidential district shall have a required setback along the shared boundary line of not less than forty (40) feet or shall have the required setback for the nonresidential district, whichever is greater.

Business/Residential Zone
(K)
Building Spacing Requirements for Multifamily, Townhouse, or Twin Home Residential Buildings .....If a zoning lot is developed for multifamily, townhouse, or twin home residential buildings, the following method shall be used to determine the minimum spacing of buildings. The spacing of buildings shall be shown on a site plan prepared according to the provisions of Section B.7.
(1)
Calculation of Triangle. .....For yards exclusive of those on the project perimeter, each wall of every dwelling shall have a minimum yard space in the shape of an imaginary isosceles triangle. The base of said triangle shall be a line connecting the extreme ends of the wall of the building and whose altitude shall be the length of the base line multiplied by a factor related to the height of the dwelling as provided in Table B.3.5 and illustrated in the accompanying figure. There shall be a minimum distance of fifteen (15) feet between any walls of one-story buildings and twenty (20) feet between two-story buildings. Any wall over ten (10) feet long shall be treated as a separate wall.
TABLE B.3.5
Altitude Factors Used to Determine Building Height
(2)
Overlapping Triangles Prohibited. .....The yard spaces thus established by the isosceles triangles shall not overlap the yard space for any other wall of the same or any other dwelling.
(3)
Other Spacing Requirements. .....Building spacing for twin home and three (3) and four (4) unit multifamily and townhouse residential buildings may be reduced to a minimum of twenty (20) feet.
Building Spacing Requirements
(4)
Alternative Compliance. .....A developer may propose spacing for buildings that varies from the strict application of the provisions of the section in order to accommodate the unique character of the site or to utilize innovative design. Application for alternative compliance shall include a site plan following the requirements of Section B.7 and any additional architectural plans, elevations, or perspective drawings to illustrate the proposed building design and/or placement alternative. Alternative compliance shall be approved by the Planning Board only upon a finding that the building architecture and site plan fulfills the following criteria as well or better than would strict conformance with the requirements of this Ordinance:
(a)
The project provides adequate air and light to the development and surrounding properties.
(b)
Through the use of a variety of fenestration patterns, building facade offsets, roof line treatments, and other architectural features, the perceived bulk, scale, and length and width of the building is congruous with surrounding buildings.
(c)
The development provides for orderly and easy movement of traffic and pedestrians.
(d)
The project will not be injurious to property or improvements in the affected area.
(e)
The project is in accordance with all development criteria established by the Elected Bodies' adopted plans and policies including Vision 2005, area plans, and development guides.
(L)
Double Frontage Lots .....Double frontage lots shall provide a front yard abutting each fronting street, in the depth as required in the applicable district.
(M)
Double Counting of Yard, Lot Area, Loading Area or Parking Area .....No space which has been counted as part of a yard, lot area, parking area or loading area required under this Ordinance for one building or use shall be counted to satisfy or comply with a yard, lot area, loading area or parking area requirements for any other building or use, except where shared parking is permitted in Section B.3-3.5(B). The minimum required yards, lot area, parking area or loading area for any building or use existing or under construction at the time of the passage of this Ordinance shall not be encroached upon or counted to satisfy such requirements for any other building or use, except as permitted in Section B.3-3.5(B).
(N)
Width of Private Access Easements and Private Streets .....An access easement, or private street, connecting a public street or highway to principal uses which depend upon such easement for access, shall be not less than twenty-five (25) feet in width and shall be recorded in the office of the Register of Deeds. Any use abutting such easement shall be located on a zoning lot and shall comply with all dimensional requirements of the applicable district. No zoning permit shall be issued for a principal use not abutting upon a public street or a private street which complies with this provision. This width requirement does not apply to any driveway located on a zoning lot or to any alley.
(O)
Utility Easements .....No part of any building shall be constructed within the boundaries of a utility easement unless specifically granted and authorized by the grantor of such easement in a written and properly recorded easement.
(P)
Minimum Lot Size
(1)
RS and RM Zoning Districts. .....In all RS and RM zoning districts, the minimum area of a zoning lot to be used for a single family dwelling where public or community water supply and sewage disposal systems are not available for connection shall be as determined by the Public Health Department, but in no case shall the area of such lot be less than the greater of twenty thousand (20,000) square feet or the minimum lot size required in the zoning district.
(2)
MH Zoning District. .....In the MH zoning district, the minimum area of a zoning lot to be used for a manufactured home park where public or community water supply and sewage disposal systems are not available for connection shall be as determined by the Public Health Department, but in no case shall the area of such lot be less than four (4) acres. The minimum area of a zoning lot to be used for a single family dwelling where public or community water supply and sewage disposal facilities are not available and used shall be determined by the Public Health Department, but in no case shall the area of such lot be less than twenty thousand (20,000) square feet.
(Q)
Flag Lots
(1)
Driveway Access. .....Twenty-five (25) feet of the width of the "pole" or driveway access to the flag lot may not be used in the calculation of the lot area of the flag lot;
(2)
Lot Area and Yard Calculation. .....The pole may not be used for either lot area or yard calculation of any other lot; and,
(3)
Multiple Flag Lots. .....If more than one flag lot is proposed to the rear of another lot or stacked off the street, a special use permit from the Board of Adjustment is required.
(R)
Lot Area in Right-of-Way .....No land area of the lot which lies within the public street right-of-way may be used for the purposes of lot area or any other lot dimensional requirements.
(S)
Setback Exemption from Private Access Easements .....A private access easement to one single family lot shall not be considered a street requiring an additional setback as a side against a street or as a corner lot.
(UDO L-164, § 2, 7-8-21)
3-2.1 SIGN REGULATIONS
(A)
General Requirements
(1)
Applicability. .....Signs, in the districts where they are permitted, shall hereafter be erected or placed only in compliance with the provisions of this section, provided that any sign permitted by this Ordinance, regardless of location on- or off-premises, orientation, sign structure, or subject matter, may display noncommercial messages.
(2)
Zoning Permit Required. .....A zoning permit shall be secured from the Zoning Officer prior to the construction, reconstruction, erection, enlargement, relocation, or structural alteration.
(3)
Prohibited Signs. .....The following signs or use of signs is prohibited:
(a)
Flashing Lights. .....Signs displaying intermittent or flashing lights similar to those used in governmental traffic signals or used by police, fire, ambulance, or other emergency vehicles.
(b)
Use of Warning Words or Symbology. .....Signs using the words stop, danger, or any other word, phrase, symbol, or character similar to terms used in a public safety warning or traffic signs.
(c)
Temporary, Nonpermanent Signs. .....Temporary, nonpermanent signs, including over-head streamers, are not permitted in any zoning district, unless otherwise specified in these regulations.
(d)
Moving and Flashing Signs .....(excludes electronic time, temperature, and message signs). Moving and flashing signs, excluding electronic time, temperature, and message signs, are not permitted in any zoning district.
(e)
Roof Signs.
(f)
Neon, plastic panel, and internally lighted signs are prohibited in any zoning district.
(4)
Illumination. .....Illuminated signs shall be so shielded as not to cast direct light onto any residential district.
(5)
Materials. .....Signs shall be made of wood, brick, metal, stone, or other substantial opaque materials.
(B)
Permitted Signs
(1)
Signs Permitted in Any District.
(a)
Entrance and Exit Signs. .....One entrance and one exit sign containing a maximum of two (2) square feet each and a maximum height of three (3) feet shall be permitted per driveway. Entrance and exit signs shall contain no commercial content other than a symbol, name or logo of the establishment it serves.
(b)
Emergency, Safety, Warning, or Traffic Signs. .....Emergency, safety, warning, or traffic signs installed by or at the direction of a governmental authority or with its approval shall be permitted without size limitations.
(c)
Local, State, and National Flags. .....Local, state, and national flags shall have no size limitations.
(d)
Real Estate Signs. .....In all RS and RM Districts, a real estate sign is limited to six (6) square feet. In all other districts, real estate signs shall not exceed a maximum sign size of four (4) feet long and four (4) feet wide with a maximum height of four (4) feet. Lead-in (directional) signs are allowed from Friday noon to Monday noon.
(e)
Political Signs. .....Political signs shall not exceed three hundred eight (308) square inches in size.
(f)
On-premises Religious Institution Signs. .....On-premises signs for religious institutions are permitted with the following conditions:
(i)
Freestanding Identification Signs. .....One sign permitted per street frontage; maximum copy area eighteen (18) square feet; maximum height five (5) feet. Other standards of Sections B.3-2.1(E)(2), (3)(a), (4) and (9) shall apply.
(ii)
Wall Signs. .....One wall sign per street frontage permitted, consistent with the requirements of Section 3-2.1(F). No roof signs are permitted.
(iii)
Projecting Signs. .....Projecting sign permitted consistent with Sections 3-2.1(E)(2), (3)(a), (4) and (9) shall apply.
(iv)
Awing Signs. .....Awning signs not permitted.
(v)
Bulletin Boards. .....One on-premises bulletin board with changeable copy permitted per church entrance; maximum exterior sign dimension eighteen (18) square feet permitted. Bulletin board signs shall be located within twenty (20) feet of a building on the church property.
(vi)
Building Materials. .....Materials consistent with the character of the main structures of the religious institution.
(vii)
Prohibited Signs. .....No neon, plastic panel, plastic panel rear lighted, flashing signs or other signs listed in Section B.3-2.1(A)(3) permitted.
(g)
Occupancy Signs. .....Occupancy signs shall be limited to one sign per dwelling unit or principal use, and no such sign shall exceed one square foot in area.
(h)
Historical Markers. .....Historical markers shall be erected or placed by a bona fide historical association or by a governmental agency and shall not exceed twelve (12) square feet in area.
(i)
Landmark Indicators. .....Landmark indicators including signs, banners or streamers displayed in the downtown, center city, or other limited areas, which promote special points of interest and events and do not exceed fourteen (14) square feet in area are permitted. Said signs shall be installed by the jurisdiction, its agents, or employees, at the direction of, or with the approval of, the Elected Body.
(j)
Information, Direction, and Identification Signs. .....Information, direction, and identification signs installed by or at the direction of a governmental authority or with its approval and institutional use signs: On-premises ground and projecting signs not to exceed thirty-six (36) square feet. Signs shall be so located to not obstruct the vision of drivers of motor vehicles. Wall and roof signs shall also be permitted.
(k)
Agricultural Signs. .....Up to two (2) off-premises directional signs are permitted for agricultural produce grown and sold on the premises.
(l)
Residential Construction and Development Signs. .....Temporary signs that identify construction and marketing information for residential subdivisions and planned residential developments are permitted during construction provided:
(i)
Maximum number: one;
(ii)
Maximum copy area: thirty-two (32) square feet;
(iii)
Maximum height: ten (10) feet;
(iv)
Maximum duration: no such sign shall exist beyond issuance of the development's last Certificate of Occupancy or when construction ceases for twelve (12) months, whichever occurs first.
(m)
Commercial Construction and Development Signs. .....Temporary signs that identify construction and marketing information for commercial properties are permitted provided they meet the following requirements:
(i)
Signs at construction sites for new development
[A]
Maximum number: one;
[B]
Maximum copy area: thirty-two (32) square feet;
[C]
Removal: upon issuance of a Certificate of Occupancy;
[D]
Additional signage: following receipt of a Certificate of Occupancy, one additional sign is permitted with a maximum sign size of four (4) feet long and four (4) feet wide with a maximum height of four (4) feet for a period not to exceed one year.
(ii)
Signs at construction sites for redevelopment of building(s) with one to three (3) tenants are permitted provided the developer displays leasing or construction information on the existing permitted ground, wall or projecting sign.
(iii)
Signs at construction sites for redevelopment of building(s) with four (4) or more tenants shall be permitted a maximum sign size of four (4) feet long and four (4) feet wide with a maximum height of four (4) feet to display only marketing and leasing information.
(n)
Job Site Signs. .....Signs placed in RSQ and RM districts that help contractors identify job sites are permitted provided they shall be removed when that trade is no longer active at the site.
(o)
Grand Opening Signs. .....Signs that advertise grand opening events for new business locations on that site in nonresidential zoning districts are permitted once provided they meet the following criteria:
(i)
Maximum duration: fourteen (14) days;
(ii)
Maximum copy are: forty-eight (48) square feet for wall signs and six (6) square feet for ground and projecting signs; roof signs are prohibited;
(iii)
Maximum height for ground signs: four (4) feet.
(2)
Application of Table of Permitted Districts for Signs. .....The following signs shall be permitted in the zoning districts as indicated in Table B.3.6, and shall comply with all regulations of the applicable district unless otherwise regulated by specific regulations of this section.
Table B.3.6
Permitted Districts for Signs
Z =
Districts in which signs permitted; zoning permit required.
(C)
Off-Premises Ground Signs
(1)
Zoning Districts. .....Ground signs (off-premises) are permitted only in the districts as shown in Table B.3.6 and only along designated roads which are not identified as view corridors listed in Section B.3-2.1(C)(2).
(2)
View Corridors. .....No off-premises sign shall be permitted in any view corridor as described below and shown on the View Corridor Map located in the office of the Planning Board.
Table B.3.7
View Corridors
(3)
Designated Roads.
(a)
Permitted Areas. .....Ground signs (off-premises) are permitted only along roads in the Interstate System or the National Highway System.
(4)
Location and Setbacks.
(a)
Distance from the centerline. .....Ground signs (off-premises) shall be located within six hundred sixty (660) feet of the centerline of the roadway to which they are oriented.
(b)
Spacing. .....Ground signs (off-premises) shall be located no closer than one thousand (1,000) feet from other off-premises signs on the same side of the road.
(c)
Setback. .....Ground signs (off-premises) shall be set back from each property line a minimum of one-half the distance required by the Zoning Ordinance for principal structures as defined in Section B.2-1 and Tables B.3.1 and B.3.2.
(d)
Distance from Residential Zones. .....Ground signs (off-premises) shall be located no closer than the following distances from residentially zoned property:
(i)
Freeways/Expressways in the Interstate System. .....On freeways/expressways in the Interstate System:
[A]
Twenty-five (25) feet from any residence;
[B]
Fifty (50) feet from any residential zone abutting the permitted zone away from the roadway; and,
[C]
One hundred (100) feet from any residential zone abutting the permitted zone parallel to the roadway.
(ii)
Other Roads in the National Highway System. .....On other roads in the National Highway System:
[A]
Twenty-five (25) feet from any residence;
[B]
One hundred (100) feet from any residential zone abutting the permitted zone away from the roadway; and,
[C]
One hundred (100) feet from any residential zone abutting the permitted zone parallel to the roadway.
(5)
Size Measurement.
(a)
Area Calculation. .....The sign area for ground signs (off-premises) shall be computed by means of the smallest square, circle, rectangle, triangle, or combination thereof, which will encompass the entire sign designated to attract attention, including any molding, trim, border, or frame. Any such measurements shall be taken on only one face of the sign; however, informational or advertising matter may be displayed on both sides of any permitted sign.
(b)
Maximum Sign Area. .....The maximum sign area of an off-premises ground sign shall be limited, depending on location, as follows:
(i)
On freeways/expressways in the Interstate System outside the Center City Area, maximum sign size shall be six hundred seventy-two (672) square feet plus one hundred (100) square feet for extensions.
(ii)
On freeways/expressways in the Interstate System inside the Center City Area maximum sign size shall be four hundred fifty (450) square feet.
(iii)
On other roads in the National Highway System outside the Center City Area maximum sign size shall be three hundred (300) square feet.
(c)
Height. .....Off-premises ground signs shall be limited to a maximum height of thirty-five (35) feet above the roadway to which it is oriented or grade of the site on which the sign is located, whichever is higher. Sign height shall be measured to the highest portion of the sign, including any molding, trim, border, or frame designed to attract attention, excluding any extensions.
(6)
Number of Faces. .....Off-premises ground signs shall be permitted to have a maximum of two (2) faces, provided, however, that stacked and/or rooftop locations of off-premises signs shall not be permitted.
(D)
On-Premises Signs - Awning Signs
(1)
Zoning Districts. .....Awning signs are permitted only in the districts as shown in Table B.3.6.
(2)
Illumination. .....No background illumination of an awning sign is permitted.
(3)
CB District Restriction. .....In the CB District, printed information, limited to the name, street number, and address, or logo of the establishment(s) occupying the building to which the awning is attached, may be printed on the outside surface area of the awning. Printed information and/or logo shall not exceed one square foot per linear foot of building frontage on the street or thirty percent (30%) of the total outside surface area of the awning, whichever is less.
(4)
Restrictions in NO and NB Districts. .....In the NO and NB Districts, only one of the following signs is permitted for each business: awning, ground (on-premises), projecting, or wall.
(E)
On-Premises Signs - Ground Signs, Projecting Signs
(1)
Zoning Districts. .....Ground signs (on-premises) and projecting signs are permitted only in the districts as shown in Table B.3.6 or as specified in Section B.3-2.1(E)(9).
(2)
Location and Setbacks.
(a)
All parts of ground signs (on-premises) must be completely out of the right-of-way.
(b)
On premises projecting signs that come within six (6) feet of the edge of a right-of-way should be ten feet above the grade and should not extend into the right-of-way.
(c)
Ground signs (on-premises) shall be set back a minimum of one linear foot per square foot of sign area from any structure used exclusively as a residence.
(3)
Sign Measurement.
(a)
Area Calculation. .....Sign area shall be computed by means of the smallest square, circle, rectangle, triangle, or combination thereof, measuring the copy area. The outside dimensions of the sign, exclusive of structural support shall not increase the overall dimensions by more than twenty-five percent (25%).
(b)
Maximum Sign Area. .....The maximum sign area of ground (on-premises) signs in any zoning district shall be limited in area to a maximum of eighteen (18) square feet. Projecting signs in any zoning district shall not exceed an area of six (6) square feet.
(c)
Height. .....The maximum height of a ground (on-premises) sign shall be five (5) feet, measured from the road to which the sign is oriented or grade of the site, whichever is higher. Where a sign interferes with pedestrian clearance or sight distance, the lowest part of the sign shall be a minimum of nine (9) feet from the grade of the site on which the sign is located. Sign height shall be measured from the highest portion of the copy area.
(4)
Number of Faces. .....Ground signs (on-premises) which contain two (2) faces may contain up to the maximum sign area as computed under size requirements in this section. Signs with three (3) faces shall contain a minimum of fifteen percent (15%) less sign area for each face than the standard maximum. A sign with four (4) faces shall contain a minimum of thirty percent (30%) less sign area for each face than the standard maximum.
(5)
Number.
(a)
Maximum. .....Every zoning lot frontage shall be allowed one on-premises ground or projecting sign per property. If the frontage abuts more than one street, one on-premises ground or projecting sign shall be permitted per street
(b)
Restrictions in NO and NB Districts. .....In the NO and NB Districts, only one of the following signs is permitted for each business: awning, ground (on-premises), projecting, and wall.
(6)
Exceptions.
(a)
Corner Lots and Lots with Two Hundred Fifty (250) Feet of Frontage. .....Corner lots and lots with two hundred fifty (250) or more feet of frontage are permitted a fifty percent (50%) addition in maximum ground and projecting sign size for using one sign where two (2) would be allowed.
(b)
Lots on Freeways/Expressways in the Interstate System. .....Signs located within four hundred (400) feet of the centerline of a freeway/expressway in the Interstate System, except in any RM District, may display additional sign area up to a maximum of two hundred (200) square feet and a maximum height of fifty (50) feet. This exception will become void along any highway which installs a government sponsored highway logo sign system.
(c)
Lots of Three (3) Acres or More. .....On zoning lots containing three (3) acres or more, the maximum size of ground and projecting signs shall be that permitted in the zoning district where the sign is permitted, regardless of the amount of road frontage of the lot.
(d)
Shopping Centers.
(i)
Number and Size. .....Any shopping center or multiple proprietorship in one building or connected buildings occupied by four (4) or more tenants shall be permitted a fifty percent (50%) increase in ground sign (on-premises) area. If the lot frontage is greater than one hundred fifty (150) feet, two (2) ground signs may be used with seventy-five (75) feet separation between signs and the fifty percent (50%) addition applies to both signs.
(ii)
Freestanding Building Signs. .....A freestanding building located within designated shopping center parking lots and containing eight hundred (800) square feet or more shall be permitted one additional ground sign (on-premises) not to exceed thirty-six (36) square feet.
(7)
Movie Theaters and Performance Halls. .....A changeable copy marquee may apply to either a ground or projecting sign with a fifty percent (50%) addition to the maximum size permitted in the district.
(8)
Illumination in RM Districts. .....In any RM District, internally illuminated signs are not permitted, except such internally illuminated signs in RM District which existed as of the effective date of this Ordinance .
(9)
On-Premises Ground and Projecting Signs in the YR, AG, MH, and RS Districts.
(a)
Permitted Districts and Uses. .....On-premises ground and projecting signs are allowed with the following uses in the YR, AG, and MH Districts, and in any RS District:
(i)
Agriculture production
(ii)
Cemetery, licensed or unlicensed
(iii)
Child day care center accessory to a church or school
(iv)
Church or Religious Institution, Neighborhood and Community
(v)
Fish hatchery
(vi)
Golf course
(vii)
Golf driving range
(viii)
Manufactured housing development
(ix)
Park and shuttle lot
(x)
Planned residential development and subdivision
(xi)
Riding stable
(xii)
Shooting range, outdoor
(xiii)
Utilities
(b)
Number and Size. .....Only one sign per use with a maximum of eighteen (18) square feet per zoning lot per street or right-of-way frontage. If a zoning lot is permitted more than one sign, there shall be at least fifty (50) feet of spacing between each sign.
(c)
Height. .....Fifteen (15) feet maximum, measured from the road or grade of the site to which the sign is oriented, whichever is higher.
(d)
Illumination. .....Internally illuminated signs are not permitted for these uses, except such internally illuminated signs which existed as of the time of the adoption of this Ordinance.
(F)
On-Premises Signs - Roof Signs, Wall Signs
(1)
Zoning Districts. .....Wall signs are permitted only in the districts as shown in Table B.3.6 or as specified in Section B.3-2.1(F)(5). Roof signs shall not be permitted except such roof signs which existed as the effective of this Ordinance.
(2)
Size.
(a)
Maximum Size. .....On-premises wall signs shall be limited to ten percent (10%) of the wall size. In calculating the size of a wall sign, the square footage of the principal building and accessory building(s) may be combined and the wall sign may be located on the wall of the accessory building; providing, however, the maximum size of such wall sign on the wall of an accessory building shall be no greater than thirty-six (36) square feet in area and not higher than ten (10) feet in height. Total wall face, for the purposes of calculating the sign area of a wall sign shall be determined as follows:
(i)
In a single story building:
[A]
All of the vertical surface of a single plane wall; and
[B]
For recessed or projecting surfaces, the sum of all the vertical surfaces.
(ii)
In a multi-story building, all of the vertical surface of the main floor only; or if multi-tenant or multi-levels, then the vertical surface of each level may be used in determining the area of each sign.
(iii)
For the purposes hereof, the term "single story" shall mean a maximum of fourteen (14) feet as it pertains to determining the maximum area of sign.
(iv)
Sign area of a wall sign placed on an irregular area, such as a gable or dormer, shall be based on the vertical surface area of that feature.
(v)
The maximum area of any wall sign shall not exceed one hundred fifty (150) square feet.
(b)
Restrictions in NO and NB Districts. .....In the NO District, sign size shall be limited to eight (8) square feet; in the NB District, sign size shall be limited to four (4) square feet.
(3)
Height.
(a)
Flat Roof Building. .....On a flat roof building, no roof signs are allowed. No wall sign shall project more than fifty percent (50%) of its height above the wall on which it is placed, but in no case shall extend more than two (2) feet above the wall.
(b)
Peaked Roof Building. .....Signs on a peaked roof building shall not extend above the peak of the roof.
(4)
Number.
(a)
Maximum Number. .....Only one wall sign per tenant and per wall shall be permitted.
(b)
Restrictions in NO and NB Districts. .....In the NO and NB Districts, only one of the following signs is permitted for each business: awning, ground (on-premises), projecting, and wall.
(5)
Wall Signs in the YR, AG, MH, and RS Districts. .....Wall signs are allowed with the following uses in the YR, AG, and MH Districts, and in any RS District:
(a)
Agriculture production
(b)
Cemetery, licensed or unlicensed
(c)
Child day care center accessory to a church or school
(d)
Church or Religious Institution, Neighborhood and Community
(e)
Fish hatchery
(f)
Golf course
(g)
Golf driving range
(h)
Manufactured housing development
(i)
Park and shuttle lot
(j)
Planned residential development
(k)
Riding stable
(l)
Shooting range, outdoor
(m)
Utilities
(6)
Rooftop Penthouses or Unenclosed Screening. .....No signage is permitted on either roof top penthouses or unenclosed screening of roof top mechanical equipment.
(7)
Roof Signs Not Permitted. .....Roof signs are not permitted, except such roof signs which existed as of the effective date of this Ordinance.
(G)
Other Sign Regulations
(1)
Menu Boards, Fast Food Restaurants. .....Menu boards for fast food restaurants must be located in such a way as to be viewed from a designated drive-through lane and not located within the required front, side, or rear yards.
(2)
Adult Establishment Advertisements. .....Adult establishments shall not be permitted to display promotional materials visible to the public from pedestrian sidewalks or walkways; nor shall any signage contain lewd or offensive language, or any sort of sexually explicit graphics.
(3)
Nonconforming Uses. .....Nonconforming uses shall be permitted on-premises ground, projecting, roof, or wall signs, provided such signs are on the premises of the use and provided:
(a)
Existing signs as of the time of adoption of this Ordinance which advertise a nonconforming use on a site shall comply with the requirements of any zoning district which would permit such use. These existing signs may be replaced, or may be replaced and increased by a maximum of twenty-five percent (25%) provided that such increase would not exceed the requirements of any zoning district which would permit such use. Existing signs meeting these requirements may be replaced due to deterioration or destruction.
(b)
Signs existing as of the time of the adoption of this Ordinance which advertise a nonconforming use on a site that do not comply with the requirements of any zoning district which would permit such use, shall have one hundred eighty (180) days after the time of the adoption of this Ordinance to come into compliance or the signs shall be removed.
(c)
Nonconforming uses which do not have ground (on-premises) signs on the site as of the time of the adoption of this Ordinance shall not be permitted to install such signs.
(4)
Parks and Recreation Areas Open to the Public With One Thousand (1,000) Acres or More. .....On-premises ground and projecting signs not to exceed seventy-five (75) square feet. Maximum height of signs shall be fifteen (15) feet. Signs shall be spaced at least four hundred (400) feet apart. Exempt from this spacing requirement are signs located within fifty (50) feet of the centerline of the main entrance to the park or recreation area. The main entrance shall be defined as the one major controlled access point from a major or minor thoroughfare to the park or recreation area. The nearest sign located to the main entrance signs shall meet the four hundred (400) foot spacing requirement. Signs shall be so located as to not obstruct the vision of drivers of motor vehicles.
(5)
Removal of Nonconforming Temporary Sign. .....Town employees and their designees may remove nonconforming temporary signs in the Town's right-of-way. Whenever a noncompliance sign on private property is found to exist within the Town, the Town Manager or his assigns shall give written notice to the owner or occupant of the property upon which such sign exists or upon the person causing or maintaining the sign. The issued notice to remove a sign shall contain:
(a)
An order to remove the sign or to request, in writing, a hearing within a stated time which shall be reasonable under the circumstances;
(b)
The location of the sign;
(c)
A description of the sign;
(d)
A statement of acts necessary to abate the situation;
(e)
A statement that if the sign is not removed or the situation abated as directed and no request for hearing is made within the prescribed time, the Town will remove such sign and assess the cost thereof against such person.
The opportunity for a hearing with the Town Manager shall be granted upon written request, properly delivered to the Town Manager within the allotted time.
(H)
Amortization Schedule
(1)
Nonconforming Signs. .....All nonconforming signs shall be removed or brought into compliance with the requirements of this Ordinance within seven (7) years from October 14, 1999, or until removed, renovated, altered, destroyed, or damaged as specified in this section, whichever is earlier. All nonconforming signs in any areas annexed into the Town of Lewisville after October 14, 1999 shall also be removed or brought into compliance with the requirements of this Ordinance within seven (7) years from the date of annexation or until removed, renovated, altered, destroyed, or damaged as specified in this section, whichever is earlier. Nonconforming signs situated on zoning lots used for any use allowed under the IP, RS zoning classifications and existing as of August 10, 2000, shall not be subject to amortization hereunder; provided such nonconforming signs shall be removed or brought into compliance if renovated, altered, destroyed or damaged as specified in this section; provided, further, however, with respect to all on-premises religious signs in any or all districts made nonconforming per Section B.3-2.1(B)(f), if any such religious sign is renovated, altered, destroyed or damaged, then such sign may be replaced with an identical sign so long as such sign is rebuilt within six (6) months or such renovation, alternation, destruction or damage.
(UDO L-134, § 11, 10-8-09; UDO L-138, § 1, 9-9-10; UDO L-164, § 2, 7-8-21; UDO L-168, 10-10-24)
3-3.1 GENERAL REQUIREMENTS
(A)
Parking, Stacking, Loading and Driveway Access Required .....In all districts except the CB and CI Districts, off-street parking, stacking, loading and driveway access shall be provided in compliance with this section, unless otherwise provided in this Ordinance.
(B)
Change in Size .....Only those portions of existing buildings or structures enlarged after the adoption of this Ordinance shall comply with the requirements of this section.
(C)
Changes in Use .....If a change in principal use causes an increase in the required number of off-street parking, stacking, or loading spaces, such additional spaces shall be provided in accordance with the requirements of this section. However, if the change in use requires an increase of less than five percent (5%) in the required number of spaces, no additional off-street parking, stacking, or loading spaces shall be required.
(D)
Use for No Other Purpose .....Land used to provide required parking, stacking, and loading shall not be used for any other purposes except for temporary events.
(E)
Separation of Parking and Loading Areas .....No loading area or access drive to serve such loading area shall be considered as required parking area. No parking area or access drive to serve such parking area shall be considered as required loading area.
(F)
Maintenance and Operation
(1)
Maintenance. .....All parking, stacking, and loading areas shall be permanently maintained by the owners or occupants for as long as the principal use exists.
(2)
Operation. .....All required parking areas shall be used exclusively for the parking of vehicles. Parking areas shall not be used for the storage of merchandise, location of dumpsters, or for the storage or repair of vehicles or equipment. Parking areas shall not be used for the sale of merchandise except on a temporary basis for special events.
(G)
Access .....The principal access to all parking, stacking and loading areas shall have vehicular access to a publicly dedicated street, road or highway maintained by either the North Carolina Department of Transportation (NCDOT) or the Town of Lewisville. Alleyways may be used for secondary access and maneuvering areas.
(H)
Prohibited Locations .....No parking, stacking, or loading area, access drive or driveway shall be located over a sand filter or nitrification field.
(UDO L-132, §§ 1—4, 6-11-09)
3-3.2 OFF-STREET PARKING REQUIREMENTS
(A)
Number of Spaces .....Table B.3.8 contains the off-street parking requirements for motor vehicles. Special requirements, including maximum allowed spaces applicable to new uses constructed after the effective date of this Ordinance, are provided under the Notes column where appropriate.
Table B.3.8
OFF-STREET PARKING REQUIREMENTS
;sz=8q;* ;hg;SF GFA* equals Square Feet of Gross Floor Area - see Section B.3-3.2(B)(5)
** NOTE: Off-street parking for other accessory uses meeting the requirements of Section B.2-6 shall be provided at the rate for the principal uses specified in this Table B.3.8.
(B)
Computing Parking Requirements
(1)
Multiple Use. .....In cases of mixed use or where a combination of uses are developed on a site, the minimum number of off-street parking spaces shall be the cumulative total of each of the uses on the site according to the requirements of this Ordinance unless a reduction is granted pursuant to Section B.3-3.5.
(2)
Fractional Space Computations. .....When the computation of the number of off-street parking spaces required by this section results in a fractional parking space requirement, any fraction less than one-half may be disregarded, and any fraction equaling or exceeding one-half shall be construed as requiring one full parking space.
(3)
Seating Computations. .....Where parking is based on seating which consists of benches or pews, each eighteen (18) inches of a bench or pew shall be considered as one seat.
(4)
Number of Employees Computations. .....For the purpose of computing parking requirements based on the number of employees, the owners or managers of the establishment shall be considered employees. Where more than one work shift is employed for any operation, the number of employees shall be calculated as the largest number of persons on any single shift.
(5)
Square Fee of Gross Floor Area (SF GFA). .....For the purpose of calculating requirements based on square feet of gross floor area (SF GFA), rooms used solely for mechanical equipment and/or rooms in excess of fifty (50) square feet used solely for storage may be subtracted from SF GFA.
(C)
Unlisted Uses .....The Zoning Officer shall establish the minimum number of parking spaces required and may establish the maximum number of parking spaces permitted for any use not specifically listed in Table B.3.8. The Zoning Officer may consider, but is not limited to, the following in establishing parking requirements for an unlisted use:
(1)
Documentation. .....Documentation supplied by the applicant regarding actual parking demand for the proposed use;
(2)
Evidence. .....Evidence in available planning and technical studies relating to the proposed use;
(3)
Other jurisdictions. .....Required parking for the proposed use as determined by other comparable jurisdictions; or,
(4)
Examination of similar uses. .....Examination of the parking requirements for uses most similar to the proposed use.
(D)
Authority to Approve Parking Exceeding the Maximum Permitted .....Except within the CB and CI Districts, the Zoning Officer may approve the installation of more than the maximum number of parking spaces if the property owner demonstrates each of the following:
(1)
Such additional parking is necessary to meet the parking demand for a specified use;
(2)
Cooperative use of parking is not available or adequate to meet demand; and,
(3)
The maximum number of compact size automobile, motorcycle and bicycle spaces has been used.
(E)
Location of Parking Areas
(1)
Same Zoning Lot. .....All parking areas required in this section shall be located on the same zoning lot as the principal use, except as authorized in the off-site parking provisions in Section B.3-3.4.
(2)
Unoccupied Recreational Vehicles. .....In residential districts, an unoccupied recreational vehicle or travel trailer may be stored on a privately owned lot, provided that it is not located within any required front or side yard nor nearer than six (6) feet to a rear property line, except that it may be stored in an accessory structure, provided that such structure is enclosed and meets the setback requirements for either a principal or accessory structure.
(3)
Parking for Multifamily Dwellings. .....A minimum three (3) foot wide landscaped area shall be provided between any parking area and building wall providing access into the unit(s).
(UDO L-151, § 5, 2-9-17; UDO L-159, § 4, 3-12-20; UDO L-164, § 2, 7-8-21)
3-3.3 DESIGN STANDARDS FOR PARKING AREAS
(A)
General Requirements .....All parking areas shall meet the following design standards:
(1)
Unobstructed Movement. .....Parking areas shall be designed to allow unobstructed movement into and out of each parking space without interfering with fixed objects such as lighting fixtures, dumpsters, signage, or vehicles.
(2)
Access. .....All parking spaces in parking areas shall be designed to have access only from parking area driveways and not directly from public streets.
(3)
Maneuvering Area. .....Except for single family dwellings, twin homes, duplexes, and for multifamily developments of four (4) dwelling units or less, all maneuvers associated with parking and loading must occur in the off-street parking area or structure. Private alleys may be used to conduct parking maneuvers.
(4)
Internal Circulation. .....All parking areas shall be designed to provide for internal circulation such that each parking space is accessible to all other parking spaces without necessitating the use of a public street or alley.
(B)
Dimensional Requirements .....All parking areas shall be designed and constructed to meet minimum parking space dimensions, aisle dimensions, and other standards shown in Table B.3.9. Aisle widths for aisles composed of combinations of different angles of parking shall be the widest aisle width required for any angle of parking found on the entire aisle.
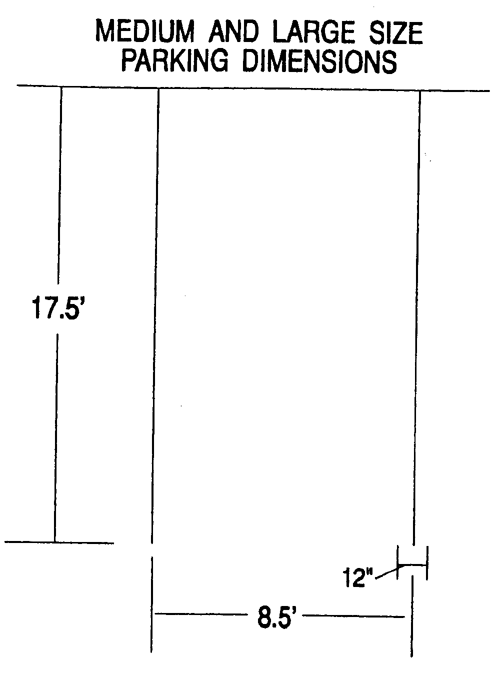
Table B.3.9
PARKING DIMENSIONS
• 7.5 feet = Compact size motor vehicles only
• 8.5 and 9.0 feet - Medium or large size motor vehicles

Parking Dimensions
(1)
Medium and Large-Size Motor Vehicle Spaces. .....Each medium or large-size motor vehicle parking space shall be an unobstructed rectangle of not less than eight and one-half (8.5) feet in width by seventeen and one-half (17.5) feet in length. Medium and large-size motor vehicles are those with an overall length of fifteen (15) feet or greater.

(2)
Compact-Size Motor Vehicle Spaces. .....Each compact parking space shall be an unobstructed rectangle of not less than seven and one-half (7.5) feet in width by fifteen (15) feet in length. Compact-size motor vehicle spaces are those with an overall length of fifteen (15) feet or less.
(3)
Motorcycle Spaces. .....A motorcycle parking space shall be a minimum of four and one-half (4.5) feet in width by seven (7) feet in length.
(4)
Bicycle Spaces. .....A bicycle parking space shall be a minimum of two and one-half (2.5) feet in width by six (6) feet in length. Bicycle racks shall be installed with adequate space (one foot minimum) beside the parked bicycle allowing a bicyclist to reach and operate a locking mechanism.
(5)
Recreational Vehicle Spaces. .....A recreational vehicle parking space shall be a minimum of ten (10) feet in width by twenty-five (25) feet in length.
(6)
Parking Structures. .....In parking structures, aisle and stall dimensions may be reduced in accordance with the Recommended Guidelines for Parking Geometrics, published by the National Parking Association (August 1989) or as subsequently amended.
(7)
Disabled Parking. .....Please see Volume 1C of the North Carolina Building Code.
(C)
Parking Surfaces
(1)
Paving. .....In GMA 1, any required parking, stacking, and loading area, and all access drives and maneuvering areas shall be paved and permanently maintained with asphalt, concrete, or similar material of sufficient thickness and consistency to support anticipated traffic volumes and weights, except as noted in Section B.3-3.3(C)(3).
(2)
Gravel. .....All other parking areas shall be improved with a minimum of four (4) inches of crushed rock, except as noted in Section B.3-3.3(C)(3).
(3)
Exceptions. .....Paving or graveling shall not be required for the following:
(a)
Temporary parking or parking for construction purposes. .....Parking areas used on an irregular or temporary basis for churches, clubs or lodges, other similar nonprofit organizations, or structures under construction.
(b)
Agricultural Uses. .....Parking areas for agricultural uses.
(c)
Parking for Construction Equipment. .....Parking areas for tracked heavy construction equipment, skid-mounted equipment, and similar equipment, are exempt from the paving requirements provided these parking areas are constructed with an all-weather surface.
(d)
Overflow Parking. .....Parking areas identified specifically as overflow parking or parking exceeding the minimum number of spaces required.
(e)
Neighborhood Shopping Center Business District (NSB). .....In the NSB District, up to ten percent (10%) of the required parking spaces may be unpaved and used for open space purposes during off peak hours, under the provisions of Section B.2-1.3(H)(3)(f).
(f)
Private Swimming Pools in Planned Residential Developments. .....Porous pavement surfaces may be substituted for asphalt, concrete, or gravel parking surfaces at private swimming pools in Planned Residential Developments (PRD) provided the parking spaces are identified with wheel stops or other approved space identifier.
(D)
Markings and Traffic Control Devices
(1)
Delineation. .....The property owner shall delineate all required parking and loading spaces, stacking lanes, disabled parking spaces, directional arrows, crosswalks, and maneuvering areas within parking areas using paint or other methods approved by the Zoning Officer.
(2)
Signage. .....The Zoning Officer may require a developer to install signage in addition to directional arrows to ensure the safe and efficient flow of vehicles in a parking area or structure.
(E)
Driveways
(1)
Approvals. .....The design and location of all entrance or exit driveways to parking or loading areas from a public street or highway shall be approved by the NCDOT (when applicable) and the Town of Lewisville. The applicant is responsible for determining and adhering to local government requirements within the Town's jurisdiction. In the case of joint jurisdiction, concurrent reviews should be coordinated by the applicant between officials of the Town and the NCDOT in order to avoid conflicts between requirements and to streamline the review process. All driveways shall be approved by the Town of Lewisville prior to the issuance of a zoning or building permit. This includes driveways serving single-family dwellings. Applicants are encouraged to contact the Director of Public Works to identify safety and design issues, coordinate with other construction projects affecting the proposed driveway and to arrange for the installation of driveway pipe if applicable.
(2)
Combined Driveways and Access. .....The owners of adjoining properties may be required to provide combined driveways and connections as established in B-3.3(7). Please refer to Section B.3-3.5(L) for an incentive to provide combined driveways and connections.

(3)
Dimensional Requirements for Access Drives. .....Internal circulation driveways and access drives that do not provide direct access to parking spaces shall be a minimum of twenty-four (24) feet in width for two-way traffic and twelve (12) feet in width for one-way traffic unless otherwise specified by the Zoning Officer. Residential uses containing six (6) or fewer dwelling units or having parking areas designed and clearly marked for one-way traffic shall have access drives a minimum of twelve (12) feet in width.
(4)
Driveways for Large Parking Areas (One Hundred (100) or More Spaces). .....For each zoning lot containing parking areas with one hundred (100) or more required spaces, a minimum forty (40) foot deep unobstructed driveway shall be provided from the right-of-way line to a traffic aisle or access to a parking space to accommodate the ingress and egress of at least two (2) vehicles without interference to parking maneuvers or access drives, unless:
(a)
Frontage Road Access. .....Internal access to the parking area is provided by a private frontage road which parallels the public street, provided no parking is provided along the access drive or frontage road and a minimum forty (40) foot distance without left turn movements is provided along the access drive;
(b)
Spaces per Driveway Ratio. .....The ratio of parking spaces to driveway access points does not exceed 100:1, where multiple driveways provide access to the zoning lot; or,
(c)
Other Stacking Area. .....Adequate unobstructed off-street stacking area to accommodate two (2) vehicles is otherwise provided.

(F)
Drive-Through Facility Stacking Lanes
(1)
Number. .....In addition to the parking required by Section B.3, drive-through facilities requiring stacking lanes shall be provided as follows:
(2)
Width. .....Each lane of stacking space shall be a minimum of nine (9) feet in width and must be delineated with pavement markings.
(3)
Length. .....Each stacking space shall be a minimum of sixteen (16) feet in length, however, individual spaces within the lane shall not be delineated with pavement markings.
(4)
No Conflict of Use. .....Stacking lanes shall not interfere with access to required parking or ingress or egress from a public street.
(5)
Automatic Teller Machines. .....Automatic teller machines located in parking areas of shopping centers or on internally oriented out lots are not required to provide stacking spaces.
(G)
Wheel Stops or Curbs .....Where concrete curbs are not installed adjacent to public sidewalks, public rights-of-way, landscaped areas, or internal roadways, anchored wheel stops shall be installed to prevent vehicles from encroaching into these areas. All wheel stops shall be two (2) feet from the front end of the parking space for front-end parking and four (4) feet from the front of the parking space for rear-end parking.
(H)
Parking in Required Yards .....A parking area may be located in a required yard provided that wheel stops are installed and maintained to protect required screening.
(I)
Landscaping and Screening .....All motor vehicle surface areas shall be landscaped as required in Section B.3-4 and bufferyards shall be provided as required in Section B.3-5.
(J)
Lighting .....Any lighting in parking, stacking, and loading areas shall be so shielded as to cast no direct light upon adjacent properties or structures.
(K)
Drainage .....All parking, stacking and loading areas shall be designed to meet the applicable requirements of Chapter C of the UDO.
(L)
Parking Lot Location .....Parking lots shall, in most circumstances, be located to the rear or side of the primary structure. Outparcel development should be sited so as to create a courtyard-style site plan which surrounds the development's parking. Large parking lots shall be divided into smaller parking rooms that are defined by landscape planting and site furniture. If parking is to be located to the front of the structure the parking must be screened from the road through the use of a planted streetyard no less than twenty (20) feet wide. "Front" and "Rear" shall be determined, for the purpose of this subsection, by the orientation of the primary structure(s) to the street, and not in relation to the location(s) of entrance(s) to the structure(s).
(M)
Internal Parking Lot Circulation .....Connection(s) to existing roads shall be coordinated to provide efficient automobile traffic flow and to prevent congestion at major intersections. Parking lots shall be designed to allow pedestrians to move safely from their vehicles to the building along well-defined pathways. The pathway network should be logical and uninterrupted. Pathways are to be protected from automobile traffic. Pathways are to be spatially defined by architectural and landscape architectural elements. Each pathway's trajectory should have a desirable or useful destination.
(UDO L-132, §§ 4—8, 6-11-09; UDO L-141, §§ 2, 3, 2-14-13)
(A)
Off-Site Parking Requirements .....For all uses a portion of the required parking may be located on a site other than the principal use. Off-site parking facilities shall meet the following requirements:
(1)
Ownership. .....The off-site parking shall be located on a separate zoning lot from the principal use where both lots are owned by the same person or the off-site parking shall be leased by the owner of the principal use.
(2)
Zoning District. .....The secondary parking lot shall be in a zoning district in which the principal use it supports is a permitted use, with the exception that a secondary parking lot supporting any twin home, duplex, townhouse, multifamily, or institutional use may be located in any nonresidential zoning district.
(3)
Visitor Parking. .....Adequate visitor parking shall exist at the principal use location.
(4)
Pedestrian Access. .....Adequate pedestrian, van, or shuttle connection between the sites shall exist.
(5)
Certain Retail Uses. .....Off-site parking for retail uses requiring off-street parking at a rate of one space per two hundred (200) square feet gross floor area or greater, per Table B.3.8, shall not be permitted, except where such parking is located on a contiguous zoning lot within a zoning district which permits the principal use and is located within two hundred fifty (250) feet of the zoning lot containing the principal use.
(6)
Contract for Parking. .....Where established by lease, the lease shall make the secondary parking lot or lots available for a minimum term of ten (10) years and grant subsequent options for two (2) additional five-year lease periods. A copy of the contract, properly executed, shall be filed with the Zoning Officer prior to the issuance of a zoning permit for the secondary parking lot.
(7)
Other Uses. .....Where parking is established on a secondary lot or lots owned by the owner of the lot on which the principal use is located, the secondary lot or lots may not be used for any purpose other than parking required for the principal use unless there is sufficient room for: shared parking; any use which may be placed on the secondary lot or lots; and any parking required for the use placed on the secondary lot or lots.
(8)
Continuance of Use. .....The continuance of the principal use shall be contingent upon the continuance of the off-site parking or the substitution of other parking consistent with the terms of this Ordinance. A parking covenant shall be drawn to the satisfaction of either the City or County Attorney, executed by all parties concerned, and recorded. The contract shall assure the continued availability of the off-site parking facilities for the life of the use that the parking is intended to serve.
(UDO L-166, § 3, 9-9-21)
3-3.5 ALTERNATIVES AND INCENTIVES
(A)
Purpose .....The purpose of this section is to encourage the property owner to reduce the amount of impervious surface cover needed for parking by providing a variety of alternatives and incentives. Any parking alternative proposed or incentive utilized by the property owner must be approved by the Zoning Officer and shall accomplish the following:
(1)
Intent. .....The intent of the parking requirements is preserved;
(2)
Sufficient parking. .....The parking provided will be sufficient to serve the use for which it is intended; and,
(3)
Impact. .....The modification will not be detrimental to the public health, safety, or welfare.
(B)
Shared Parking
(1)
Reduction of Parking Requirements. .....The Zoning Officer may authorize a reduction of the parking requirements or parking spaces for any mixed use project or nearby uses where peak parking demand characteristics or hours of operation are distinctly different in accordance with this section. All reductions of parking requirements authorized by the Zoning Officer within the corporate limits of any municipality must also receive approval from the Director of Public Works or Town Manager, whichever is applicable.
(2)
Requirements. .....A request for approval of shared parking shall be accompanied by such information determined by the Zoning Officer as necessary to evaluate the relevant factors listed in the section below, including, but not limited to, a description of the uses, a site plan, and a transportation engineering report. Calculations shall be based on the Shared Parking Standards developed by the Urban Land Institute, as amended.
(3)
Accessibility. .....All shared parking spaces shall be located in a parking facility providing reasonably equivalent accessibility and usability to all uses which the parking is intended to serve.
(4)
Ownership. .....In cases where the uses for which shared parking is requested are located on lots under different ownership, a contract pursuant to Section B.3-3.4(A)(6) shall be provided.
(5)
Conditions. .....In determining whether to approve a reduction for shared parking, the Zoning Officer shall consider all relevant factors, including the following:
(a)
Peak Parking Demand. .....The characteristics of each use and the differences in projected peak parking demand, including days or hours of operation;
(b)
Reduction in Vehicle Movements. .....Potential reduction in vehicle movements afforded by multi-purpose use of the parking facility by employees, customers, or residents of the uses served; and,
(c)
Potential Improvements. .....Potential improvements in parking facility design, circulation, and access afforded by a shared parking facility.
(C)
Park and Shuttle Lots in Business and Industrial Zoning Districts
(1)
Conditions. .....The Zoning Officer may authorize any business use(s), industrial use(s), or zoning lot which has a minimum of one hundred seventy-five (175) contiguous parking spaces to establish a park and shuttle lot provided that:
(a)
Maximum. .....Not more than ten percent (10%) of the required parking spaces for the use(s) or for the zoning lot may be designated as a park and shuttle lot.
(b)
Location. .....All designated park and shuttle spaces shall be located in outlying areas of the parking lot so as not to interfere with customer or employee parking needs.
(2)
Short-term Parking. .....All designated park and shuttle areas shall be for short-term (less than twenty-four (24) hours) parking for commuters of any public carpooling, vanpooling, or transit program.
(D)
Reductions in the NB, LO, NO, LD1-C and LD2-C Districts
(1)
In the NB District:
(a)
Amount Required. .....For any permitted use in the NB District, the required amount of parking may be reduced by thirty percent (30%). This reduction shall not affect the required disabled parking or loading spaces for that use.
(b)
Location. .....All off-street parking shall be provided to the rear or to the side of the principal structure with the exception of two (2) parking spaces which may be located in front of the structure. The side parking area may be no closer to the street than the principal structure.
(2)
In the NO District:
(a)
Amount Required. .....For any permitted use in the NO District, the required amount of parking may be reduced by fifteen percent (15%). This reduction shall not affect the required disabled parking or loading spaces for that use.
(b)
Location. .....All off-street parking shall be provided to the rear or to the side of the principal structure with the exception of two (2) parking spaces which may be located in front of the structure. The side parking area may be no closer to the street than the principal structure.
(3)
In the LD1-C and LD2-C Districts. See Section B.2-1.5(D)(7).
(E)
Compact Parking
(1)
Maximum Amount. .....For all uses, the property owner may design and construct up to a maximum of twenty-five percent (25%) of the required parking spaces for compact stalls in accordance with the dimensions provided in Section B.3-3.3(B)(2).
(2)
Identification.
(a)
Markings. .....The property owner shall identify all compact parking stalls within the parking area with pavement markings. Each compact parking space shall be individually designated as a compact space in letters not less than twelve (12) inches high and seven (7) inches wide in size, which state: COMPACT.
(b)
Symbols. .....A symbol may be used in lieu of letters if approved by the Zoning Officer.

Compact Parking Dimensions
(3)
Signs. .....Signs shall be provided to indicate the location of the compact parking.
(4)
Location. .....All compact parking spaces shall be conveniently located and dispersed throughout the required parking area.
(F)
Motorcycle Parking
(1)
Maximum Amount. .....For all uses, the property owner may design and construct up to a maximum of two percent (2%) of the required number of parking spaces as motorcycle stalls in accordance with the dimensions provided in Section B.3-3.3(B)(3).
(2)
Identification.
(a)
Markings. .....The property owner shall identify any motorcycle parking stalls within the parking area with pavement markings. Each motorcycle parking space shall be individually designated as a motorcycle space in letters not less than twelve (12) inches high and seven (7) inches wide in size, which state: MOTORCYCLE.
(b)
Symbols. .....A symbol may be used in lieu of letters if approved by the Zoning Officer.

Motorcycle Parking Dimensions
(3)
Fulfilling Requirements. .....Motorcycle parking spaces allowed by this section shall count toward fulfilling the total motor vehicle parking requirements.
(G)
Bicycle Parking
(1)
Maximum Amount. .....For all uses, the property owner may design and construct up to a maximum of two percent (2%) of the required number of parking spaces as bicycle stalls in accordance with the dimensions provided in Section B.3-3.3(B)(4).
(2)
Location. .....Bicycle parking stalls and racks shall be located to be highly visible from the street or building entrance from where bicyclists approach. Bicycle racks shall not be installed in isolated locations but shall be located near the main entrance(s) of the building for which they are intended or in a comparably convenient location where there is constant pedestrian traffic.
(3)
Use. .....Bicycle racks shall be for use by the general public as well as employees.
(4)
Separation from Motor Vehicle Parking. .....Bicycle parking areas shall be separated from motor vehicle parking areas (automobiles, trucks, motorcycles, etc.) by at least a curb barrier which would prevent vehicles from damaging bicycles.
(5)
Bicycle Rack Design. .....Bicycle racks shall be designed to be capable of supporting the bicycle in an upright position. Bicycle racks shall be securely anchored to the supporting surface(s). Bicycle racks shall be at least three (3) feet in height unless the bicycle parking area is surrounded by a railing, hedge, or wall three (3) feet in height which is readily visible to pedestrians.
(H)
Parking Reduction for Required Landscaping in Motor Vehicle Use Areas .....A reduction of five percent (5%) of the total number of required parking spaces is permitted in order to preserve an existing tree with a caliper of twenty-four (24) inches or greater in all zones. Additionally, for each large variety tree planted in accordance with the provisions of section B.3-4.3 and located within an interior landscaped area (ILA) the amount of required parking is reduced by four (4) spaces. The maximum overall parking reduction allowed for this subsection is twenty percent (20%) of the total parking required.
(I)
Parking Reduction on Winston-Salem Transit Authority Regular-Route Transit Line .....For all uses located within five hundred (500) feet of a Winston-Salem Transit Authority regular-route transit line, the property owner may reduce the amount of required parking up to a maximum of three percent (3%). This reduction shall not affect the required disabled parking or loading spaces for that use.
(J)
Parking Reduction for Public Greenways and Sidewalks .....For all uses abutting an existing or publicly adopted planned public greenway or sidewalk, the property owner may reduce the amount of required parking up to a maximum of three percent (3%). This reduction shall not affect the required disabled parking or loading spaces for that use.
(K)
Alternative Parking Allowance in NSB District .....In the NSB District, up to ten percent (10%) of the required parking spaces may be unpaved or unimproved with gravel, and used for open space under the provisions of Section B.2-1.3(H)(3)(f).
(L)
Combined Driveways and Access .....For all uses providing a combined driveway with or a private access connection to adjoining properties, the property owner may reduce the amount of required parking up to a maximum of five percent (5%).
(M)
On-Street Parking Supplements for Pedestrian Oriented Developments .....The pedestrian nature of a site can be enhanced by permitted on-street parking connected to exterior and interior sidewalks.
(1)
On-street parking satisfying the off-street parking requirements of Table B.3.8 may be permitted for sites in the PB and LB Special Use District Zoning Districts, MU-S zoning district, or Planned Residential Developments, if the following requirements are met:
(a)
Sites eligible for the credit below shall not generally be located on streets classified as collectors or thoroughfares. However, the Town of Lewisville, North Carolina Department of Transportation (NCDOT), or other applicable agency may consider locations on collectors or thoroughfares on a case-by-case basis.
(b)
Parking shall be located on road frontage contiguous to the site;
(c)
All parking shall be angled or parallel meeting the requirements of Table B.3.9, and must be approved by the Public Works Department of the Town of Lewisville, the NCDOT, or other agency, whichever is applicable;
(d)
Credit for on-street parking shall not exceed thirty-five percent (35%) of the total off-street parking requirements of the site;
(e)
Sidewalks meeting Section B.3-3.5(M) shall be constructed immediately adjacent to on-street parking spaces and connected to a well defined interior pedestrian system;
(f)
No off-street parking shall be located between a building and any on-street parking except as approved for temporary parking for an earlier phase of a multi-phase development;
(g)
Developer shall dedicate public right-of-way or public road maintenance easements necessary to meet the requirements of Table B.3.9 and must be approved either by the Public Works Department of the Town of Lewisville or the North Carolina Department of Transportation, whichever is applicable;
(h)
Owner shall construct all required improvements within public rights-of-way to applicable public design standards;
(i)
All buildings shall face the street and provide the principal entrance to the structure from the front or side of the structure; and,
(j)
All buildings shall front on at least one side preferably the entrance side of the building, on a street with no intervening parking area.
(UDO L-142, § 3, 11-14-13; UDO L-164, § 2, 7-8-21; UDO L-166, § 3, 9-9-21)
3-3.6 OFF-STREET LOADING AND UNLOADING AREAS
(A)
Requirements .....In all districts except the CB and CI Districts, any building or land used for commercial, industrial, or institutional purposes, shall be designed to provide adequate space for off-street parking to accommodate the loading and unloading of goods and materials consistent with the size and proposed use of the building or land. Such space, whether inside or outside a building, shall be in addition to the parking requirements in Table B.3.8 and shall be designed so as not to impede normal vehicular and pedestrian circulation.
(B)
Location .....Off-street loading and unloading areas shall be located on the same lot or adjoining lots as the use for which they are provided.
(C)
Design Standards
(1)
Dimensional Requirements. .....Each loading area shall be at least twelve (12) feet wide, sixty-five (65) feet long, and shall have a minimum height clearance of fifteen (15) feet.
(2)
Reduction. .....The Zoning Officer may reduce the required stall length and maneuvering length if the property owner demonstrates that known delivery vehicles can park and maneuver within the proposed loading and maneuvering spaces such that no part of the vehicle projects into a public right-of-way, access easement, private road, or required landscaping. The reduction shall be based on the nature of the use, or combination of uses, as well as the specific design characteristics of the project.
(3)
Maneuvering Area. .....Loading areas shall be designed and located such that commercial vehicles shall not back into a public street or alley.
(4)
Alley Access. .....When the lot upon which loading areas are located abuts upon an alley, such loading areas may have access from the alley. Where such loading area is parallel with the alley and the lot is sixty (60) feet or less in width, the loading area shall extend across the full width of the lot.
(5)
Industrial Developments. .....Industrial developments shall be designed with the following loading area design standards:
(a)
Location. .....Loading facilities shall be located either to the rear or side of the industrial structure(s) to alleviate unsightly appearances often created by loading facilities. Where such location is not feasible, a streetyard according to the standards of Section B.3-4.3(B) shall be installed along the entire length of road which the loading docks face.

Loading Area Design
(b)
Maneuvering. .....Each industrial site shall be self contained and capable of handling its own truck maneuvering and docking requirements. The use of public streets for commercial vehicles staging and/or maneuvering is prohibited.
(c)
Depth. .....Minimum depth of eighty-five (85) feet is required for commercial vehicle docking and maneuvering.
(d)
Turning Radius. .....At least one driveway approach capable of accommodating a forty-eight (48) foot wheel track turning radius and at least one on-site maneuvering area which provides a forty-eight (48) foot wheel track turning radius through the parking area shall be provided for each industrial site.
(D)
Number of Loading Spaces Required
(1)
Uses Handling Goods in Quantity. .....Uses which normally handle large quantities of goods, including, but not limited to manufacturing plants, wholesale establishments, warehouses, freight terminals, hospitals, and shopping centers, shall provide off-street loading facilities as shown in Table B.3.10.
Table B.3.10
Loading Space Requirements for Uses Handling Goods in Quantity
(2)
Uses Not Handling Goods in Quantity. .....Commercial establishments which do not handle large quantities of goods, including, but not limited to, office buildings, restaurants, auditoriums, convention halls, stadiums, exhibition halls, funeral homes, hotels, and motels shall provide off-street loading as shown in Table B.3.11.
Table B.3.11
Loading Space Requirements for Uses
Not Handling Goods in Quantity
3-3.7 DRIVEWAY ACCESS (MANAGEMENT)
(A)
General Requirements .....Where the property is to be served by a driveway opening onto a state highway or public street located within the Town of Lewisville, a driveway permit shall be first submitted to the Public Works Director. The requirements of this section or those of the Uniform Traffic Code Manual and Roadway Design Manual, published by the NCDOT, whichever is greater, shall be the minimum standards for development. The requirements of this ordinance shall only apply to driveways and road accesses installed after the effective date of this ordinance.
(1)
It shall be unlawful for any person to cut, break or remove any curb along a street except as herein authorized.
(2)
All development shall be located on a lot that has vehicular access that abuts or has easement access to a street that is approved by the Town as being in compliance with Town standards and/or is currently maintained by the State of North Carolina (NCDOT). All commercial development shall have direct access to public/private right-of-way.
(3)
All driveways governed by this section shall meet the Town's minimum standard specification for driveway construction and connection requirements.
(4)
This section shall be deemed to be supplemental to other sections regulating the use of the public right-of-way, and in the case of conflict, this section shall govern.
(5)
The specifications and guidelines set forth in this ordinance are to be applied to all roadways and properties that abut the roadways within the Town, unless otherwise indicated.
(6)
Existing driveway approaches shall not be relocated, altered, or reconstructed without a permit approving such relocation, alteration, or reconstruction. Such driveway approaches when so relocated, altered or reconstructed shall be subject to the limitations set forth in this section.
The term alteration or reconstruction shall not include the resealing of driveways.
(7)
The Public Works Director may grant Temporary Street and Driveway permits for the construction and operation of access connections to Town roadways and roads maintained by the NCDOT for a specific period of time. Temporary Permits will clearly indicate that the access connections are temporary and are to be removed by the applicant at the end of the specified time period.
Said temporary permits shall expire after one (1) year or upon approval of a Certificate of Occupancy (CO) by the WS/FC Inspections Department if new construction and/or applicable renovations are the reason(s) for the initial issuance of the temporary driveway permit. Such permits may be renewed as determined by the Public Works Director upon a showing by the holder of reasonable need for renewal and no abuse of the renewal process by the holder of the temporary permit. Temporary driveways for bonafide farm activities shall be exempt from this ordinance.
Performance bonds or other indemnity may be required to ensure the proper removal of the access and restoration of the right-of-way. Examples of types of temporary permits include but are not limited to farm operations, utility operations, site construction accesses and logging operations.
Temporary accesses should meet minimum required design, site distance and general placement criteria. The applicant will be financially responsible for any damage caused to the pavement, guardrail, signing, landscaping or other improvements within the right-of-way. The Public Works Director may require that a sign be erected by the applicant indicating that the driveway is temporary and may be removed at a future time.
(8)
As determined by the Public Works Director, sound engineering judgment may override the recommended dimensions set forth in this ordinance as warranted by specific traffic conditions.
(B)
Location and Design of Driveway Access
(1)
In making a determination as to the location of driveway access, the Public Works Director shall consider:
(a)
The characteristics of the proposed land use;
(b)
The existing traffic flow conditions and the future demand anticipated on the development and the adjacent street system;
(c)
The location and size of the property;
(d)
The orientation of structures on the site;
(e)
The number of driveways needed to accommodate anticipated traffic;
(f)
The number and location of driveways on existing adjacent and opposite properties;
(g)
The location and carrying capacity of intersections;
(h)
The proper geometric design of driveways;
(i)
The spacing between opposite and adjacent driveways;
(j)
The internal circulation between driveways;
(k)
The speed of the adjoining roadway.
(2)
Maneuvering Area. .....Driveway access to thoroughfares shall not be permitted for parking or loading areas that require backing maneuvers in a public street right-of-way. All maneuvers associated with parking and loading must occur in the off-street parking area or structure pursuant to Section B.3-3.3(A)(3).
(3)
Sight Distance. .....Adequate sight distance shall be provided for a passenger motor vehicle making a left or right turn exiting from a driveway. This determination shall be made by the Public Works Director or his agent. New driveways will have triangular sight distance easements shown in dashed lines and so noted on the driveway permit and approved site plan. Site easements shall be ten (10) feet by seventy (70) feet running from the intersection along the right-of-way of the pertinent street. [refer to UDO Chapter D.4(B)(p)]
(4)
Side Clearance. .....The side clearance, measured parallel to the centerline of the road, from the side property line to the nearest point of the projected edge of the driveway, shall be a minimum of five (5) feet. All portions of the driveway, including the returns, shall be between the side property lines of the property served.
(5)
Street Structures. .....No driveway shall interfere with municipal facilities such as street light or traffic poles, signs, fire hydrants, cross walks, utility poles, drainage structures or other necessary street structures without the approval of the Public Works Director. The Public Works Director is authorized to order and effect the removal or reconstruction of any driveway which is constructed in conflict with existing or proposed street structures. The cost of reconstructing or relocating such driveways shall be at the expense of the property owner.
(6)
Drainage Tile Requirement. .....All driveways within the Town, whether residential or commercial, shall have tile placed underneath or a sufficient stormwater pipe system to adequately handle water within the Town's right-of-way. The required tile shall conform to the Uniform Traffic Code Manual and Roadway Design Manual published by the NCDOT, or standards found in this section. The required tile shall have a minimum diameter of fifteen (15) inches and shall be of corrugated metal (100% asphalt dipped,) plastic (type S only,) or of reinforced concrete.
(7)
Paving. .....Generally, all driveway entrances constructed or reconstructed within the street right-of-way of the Town shall be paved in the manner described in this section.
(a)
Thickness of pavement shall not be less than six (6) inches when reinforced cement concrete is used. Where asphalt pavement is used, the thickness shall not be less than eight (8) inches including the top coat and stone base for residential drives. For commercial drives, a stone base of ten (10) inches and two (2) inches of top coat shall be required.
(b)
All entrances to residential driveways constructed shall be paved with reinforced concrete for a distance of not less than twenty-four (24) inches from the back of vertical curb. If no paved sidewalk parallels the property line or is planned to parallel the property line, the remainder of the distance to the property line may be paved with either bituminous concrete, reinforced concrete or crushed gravel of appropriate size. For town streets that do not have vertical curbs and paved sidewalks, drives may be constructed of existing dirt or crushed gravel from the traveled portion of the street to the property line.
(8)
Driveway Location (Corner Lots). .....Property having frontage on two (2) intersecting streets within one hundred (100) feet of the intersection of such streets shall have access only from the minor or less intensively used street except as may be authorized by the Public Works Director.
(a)
No cuts through a left turn reservoir of a median shall be permitted in order to provide for left turn movements to driveway approaches.
(b)
Driveways in right turn transition areas shall not be permitted.
(9)
Driveway Approach Angle. .....The angle of driveway approach shall be approximately ninety (90°) degrees for two-way drives and between forty-five (45°) degrees and ninety (90°) degrees for one-way drives.
(10)
Replacement of Sidewalk. .....When a driveway is constructed or reconstructed, any existing four (4) inch sidewalk shall be replaced with reinforced cement concrete of not less than six (6) inches in thickness where the driveway crosses the sidewalk. The pedestrian walk shall be indicated by false cracks or lines in the pavement.
(C)
Roadway Classifications
(1)
Application of the driveway access location and design ordinance requires identification of the functional classification of the streets on which access is being requested and then applying the appropriate spacing requirements as per this ordinance. Town streets subject to this ordinance are:
(a)
Major Thoroughfare;
(b)
Minor Thoroughfare;
(c)
Collector/Local Street
(2)
Major thoroughfare, minor thoroughfare/collector and local streets in the Town are indicated in the Lewisville UDO, Thoroughfare Plan and in the Lewisville Comprehensive Plan. The functional classification of any street in the Town not indicated as a thoroughfare, collector or local street in this plan shall be determined using the functional street classification defined by the American Association of State Highway and Transportation Officials (AASHTO) "A Policy on Geometric Design of Highways and Streets."
(3)
Driveway access spacing shall be measured from the centerline of the proposed driveway pavement to the nearest edge of the roadway of the adjacent or opposite driveway or street as indicated in Figure B.3.1.
(D)
Residential Driveways Standards
(1)
Maximum Number of Residential Drives. .....A maximum of one curb cut (driveway connection) shall be allowed for access to single-family and duplex residential tracts. More than one curb cut may be allowed upon review and approval by the Public Works Director. All residential driveways shall receive an approved permit in accordance with Section H(1) of this ordinance.
(2)
Residential Properties. .....The width of single-family and duplex residential driveway entrances shall be limited to eighteen (18) feet each as measured along the street or curb line with not more than two (2) such entrances to the same property. The minimum width of a residential driveway approach measured at the property line shall not be less than twelve (12) feet in width. If the property is adjacent to both a local street and collector or other thoroughfare, as defined in Chapter D of the UDO, access shall only be from the local street. When two (2) entrances are constructed to serve the same residence, there shall be a minimum distance of twenty-five (25) feet of vertical curb or distance to remain between the driveway entrances measured along the edge of street.
(3)
Two-Family Dwellings. .....The width of the driveway entrances shall be limited to eighteen (18) feet each as measured along the curb line when two (2) entrances are made to the same property, provided there shall be a minimum distance of twenty-five (25) feet of vertical curb or distance to remain between the driveway entrances measured along the edge of street. The width of a single driveway entrance to serve a duplex shall be limited to twenty-four (24) feet.
There shall be no more than two (2) entrances to the same property.
(4)
Multi-family Dwellings. .....When driveway entrances are constructed to serve apartment houses, such entrances to the same property may be twenty-four (24) feet in width measured at the street or curb line with not more than two (2) such entrances to the same property from the same street. When two (2) driveway entrances are constructed, there shall be at least twenty-five (25) feet between driveway entrances measured at the street or curb line.
(5)
Joint Driveways. .....The width of a joint driveway, as may be authorized by the Public Works Director, serving two (2) adjacent pieces of residential property, shall be limited to twenty-four (24) feet along the street or curb line, provided no other means of driveway access is reasonably available and the permit for such driveway is signed by the owners of the adjacent property. There shall be no more than one joint driveway for each two (2) adjacent pieces of general residential property and no more than two (2) joint driveways for each two (2) adjacent pieces of duplex or multi-family property.
(6)
Residential Driveways Beyond the Town's Downtown Core. .....Residential (subdivision) lots shall not have direct access onto a major or minor thoroughfare unless it can be demonstrated that the proposed driveway cannot be feasibly designed, or that no reasonable alternative exists, to avoid direct access onto one of these type roadways. The expectation is that all new residential subdivisions will have internal roadways that will serve all lots eliminating the need for multiple driveways along major and minor thoroughfares. Any driveways for individual lots having access to major or minor thoroughfares shall be designed so that there shall be no more than one (1) driveway connection per two hundred fifty (250) feet along the same side of the road in areas outside the Town's Downtown core or similarly established business district, including, but not limited to, the Vienna Business District.
(7)
Subdivided Lots on Local Roads. .....Subdivided lots located along collector/local roads shall be so designed that there shall be no more than one (1) driveway connection per fifty-five (55) feet along the same side of the road within a suburban neighborhood or two hundred fifty (250) feet along the same side of the road in the areas outside the Town's Downtown core or similarly established business district, unless the driveway cannot be physically designed or no other reasonable alternative exists. The Public Works Director may waive the two hundred fifty (250) foot distance should sufficient hardship be proved by the applicant as found within the driveway permit.
(8)
Minimum Driveway Spacing. .....See Table B.3.11.1.
(9)
Paving of Residential Drives. .....See Section B.3-3.7(B)(7)(a)(b).
(E)
Commercial Driveway Standards - (LD1-C, LD2-C, and VBD Districts)
(1)
Number of Commercial Drives. .....When a commercial or multi-family development abuts more than one (1) public street, access to each abutting street may be allowed only if the following criteria are met:
(a)
It is determined that such access is required to adequately serve driveway projected volumes and will not be detrimental or unsafe to traffic operations on public streets. The Public Works Director may require the preparation of a traffic impact analysis (TIA) for the use of the Town which demonstrates that such access is required. The applicant shall be required to reimburse the Town of Lewisville for all costs associated with the preparation of a required TIA prepared pursuant to Section B.7-3.7 of the Lewisville UDO.
(b)
The minimum for corner clearance for said driveways are met.
(2)
Maximum Width for Commercial Driveways. .....The maximum width of a commercial driveway approach for two-way operation, shall not exceed thirty-six (36) feet measured at the property line and include separate left and right turn lanes, except that the Public Works Director may issue permits for driveway approaches greater than thirty-six (36) feet in width on major streets to handle special traffic conditions. The minimum width of a commercial driveway approach for two-way operation shall not be less than twenty-four (24) feet in width.
(3)
Driveway Throat Distances. .....A minimum driveway throat length for commercial and multi-family drives shall be forty (40) feet pursuant to Section B.3-3(E)(4)(c). The preferred minimum throat length for minor thoroughfares is fifty (50) feet and one hundred (100) feet for major thoroughfares. This distance may be required to allow for traffic entering the site to be stored on site in order to avoid a queue of traffic from the development from being out on the roadway causing delays to the through traffic stream.
(4)
Minimum Driveway Spacing. .....See Table B.3.11.1.
(5)
Paving of Commercial Drives. .....See Section B.3-3.7(B)(7)(a)(b).
(6)
Drives Outside of the LD1-C, LD2-C and VBD Districts. .....All driveways located outside of these districts shall comply with Sections B.3-3.7(A)(1-6) and B.3-3.7(B)(2-10).
(F)
Measuring Driveway Access
Table B.3.11.1
Minimum Driveway Spacing
[1]
(1)—(3)
Reserved.
Figure B.3.1. Driveway Access Diagram
(4)
Opposite Right Driveways shall be located no closer than the minimum requirements of Table B.3.11.2.
Table B.3.11.2
Opposite Right (downstream) Driveway Spacing
[2]
(5)
Additional opposite right spacing over and above that set forth in Table B.3.11.2 may be required if it is determined by the Public Works Director or his designee that there is insufficient left turn queue storage or weave maneuver area between the opposite right and proposed driveway. This determination shall be made under peak traffic conditions.
(6)
A minimum of one hundred twenty-five (125) feet shall be required for opposite left drives for major and minor thoroughfare streets.
(7)
If the centerline of an opposite drive is less than fifteen (15) feet from the centerline of the proposed drive, the drives form an intersection and the minimum spacing requirements shall apply for the closest drive.
(8)
Adjacent drives shall be located no closer than the minimum requirements of Table B.3.11.3.
Table B.3.11.3
Adjacent Drive Spacing
[3]
(G)
Corner Clearance .....Corner clearance for driveway access shall meet or exceed the minimum driveway spacing requirements for that roadway. When minimum spacing requirements cannot be met due to the lack of road frontage, sound engineering judgment may override the recommended dimensions set forth in this ordinance as warranted by specific traffic conditions.
(1)
No driveway approach may be closer to the corner than fifty (50) feet on local streets, one hundred (100) feet on collector/minor thoroughfares and one hundred twenty (120) feet for major thoroughfares. This measurement shall be taken from the intersection of property lines at the corner. When these requirements cannot be met due to the lack of frontage, the driveway may be located such that the radius will begin at the farthest property line.
(H)
Geometric Design of Driveway Access
(1)
Curb cuts for driveways shall not be permitted in the curb return of an intersection.
(2)
The curb return radii for driveways intersecting at right angles with the roadway and without a deceleration lane shall be as follows:
(a)
The curb return radii for residential driveways located on local or collector streets shall be a minimum of two and a half (2.5) feet and a maximum of ten (10) feet. Flare type residential driveways must also adhere to these dimensional criteria. Residential driveways located on thoroughfare streets must adhere to the specifications set forth in B.3-3.7(G)(2)(b) where and when applicable.
(b)
Curb return radii for commercial driveways may vary between twenty (20) feet and fifty (50) feet.
(c)
Curb return radii for driveway types not included in (a) or (b) above shall be determined by the Public Works Director.
(I)
Modified Access Requirements
(1)
To enhance traffic safety and flows on collector and thoroughfare streets, access points may be required to be designed to prohibit certain types of turning movements. Driveways not meeting the spacing guidelines in Tables B.3.11.2 and B.3.11.3 may be designed for limited access by the addition of a median to the driveway or may be required to be removed if access is available through a shared public access easement to an adjoining lot or access can be facilitated by the construction of a shared driveway that meets the spacing guidelines found in Tables B.3.11.2 and B.3.11.3.
(2)
For the benefit of traffic safety and flow on collector and thoroughfare streets, tapered or channelized deceleration lanes for vehicles turning right into high volume or intersection type driveways may be required if warranted. Design of right-turn deceleration lanes shall be in accordance with the AASHTO standards for auxiliary lanes.
(a)
The spacing requirements for driveways not meeting the specifications in Tables B.3.11.2 and B.3.11.3 may be lessened or waived if tapered or channelized deceleration lanes are used.
(3)
At those locations where it is determined by the Town that a street or driveway connection requires improvements to existing roadway facilities to provide for safe and efficient traffic operation, the applicant shall be fully responsible for roadway improvements. These improvements may include, but are not limited to, separate turn lanes, deceleration lanes, acceleration lanes, lane tapers and transitions, right-of-way to contain new widening, traffic signals and roundabouts.
(J)
Shared Access Requirements .....A joint public access easement shall be required between adjacent lots fronting on arterial and collector streets in order to minimize the total number of access points along those streets and to facilitate traffic flow between lots. The development and use of shared driveways, access drives, service drives, and similar means of shared access connecting two (2) or more lots or uses shall be required in accordance with the purpose of this Section. Upon determination that the number of vehicular access points along a collector street or thoroughfare is greater than necessary based on the standards of this Article, the Planning Board shall require the use of a shared driveway, access drive or service drive to provide primary or secondary vehicular access as part of a site plan approval.
(1)
Pursuant to this section:
(a)
Owners must record an easement in the Office of Register of Deeds allowing access to and from adjoining properties served by the joint use driveways and access or service drive;
(b)
All subsequent property owners sharing access to a driveway constructed pursuant to this subsection, shall construct any necessary improvements to comply with NCDOT and Town driveway standards, and as a condition of site plan approval, shall maintain the said driveway (including any improvements thereto) for a period of five (5) years, after which period the parties shall share equally the cost of maintaining the said driveway to NCDOT and Town standards. Under no circumstance shall the Town be responsible for maintenance of driveways.
(K)
Permit Required
(1)
Plans submitted for building approval which include or involve new, relocated, altered, or reconstructed driveways shall be approved by the Public Works Director (for Town-maintained roads) and the North Carolina Department of Transportation (NCDOT) (for state-maintained roads) before a zoning permit and building permit is issued.
(2)
All driveways are subject to the terms and standards of this section. New development, changes of use or building expansions of greater than twenty-five (25%) percent shall cause the requirements of this section to apply.
(3)
A driveway permit fee shall be set by resolution of the Town Council as deemed appropriate by the Council and shall be of an amount to cover the costs incidental to the driveway review and approval by Town staff.
(4)
All permits granted for access to publicly maintained roadways under the terms of this section may be revocable at the recommendation of the Town Council. The Town Council shall have the authority to rescind by resolution any permit granted for a driveway after proper notice and public hearing when the Council finds such action to be in the public interest. Provided, however, any such revocation may not leave a property owner without access to such owners property.
(5)
When an existing driveway permit is rescinded by action of the Town Council or the NCDOT, the driveway connection shall be removed (and replaced with applicable street yards, curbing, street trees, lighting and other street structures as necessary to comply all ordinances and development standards), such removal and replacement to be completed by the deadline set by Town Council, provided that the property owner(s) shall have not less than six (6) months to complete the removal and replacement of the driveway. The Town may place any barrier to access to the former driveway pending said removal and replacement by the property owner(s). All costs incidental to said removal and replacement shall be borne by the equally by the property owner(s) having access to the said driveway, notwithstanding the provisions of section (I)(1)(b) above.
(6)
Deviations from these criteria may be approved by the Public Works Director as described in the previous sections. Disputes will be referred to and resolved by the Town Council. All access management disputes may be accompanied by a Traffic Impact Analysis (TIA) to the Town of Lewisville, prepared at developer's cost.
(7)
The Public Works Director shall have the right to supervise and inspect any and all work performed under the provisions of this Section, provided, however, this provision shall not be construed to require the Public Works Director to supervise or inspect any work performed under the provisions of this Section.
(L)
Site Plan Modifications .....The Town may, at the request of a property owner, modify site plans to accommodate development of adjoining access and parking by minor staff change as allowed by Section B.7-5.5 of the Lewisville UDO.
(UDO L-132, § 9, 6-11-09; UDO L-141, § 4, 2-14-13; UDO L-164, § 2, 7-8-21)
Editor's note— Unified Development Ordinance No. L-141, § 4, adopted Feb. 14, 2013, amended § 3-3.7 which included Tables B.3.12—B.3.14. Chapter B, Art. II already contained tables identified as B.3.12—B.3.14, therefore, at the editor's discretion, the tables in § 3-3.7 have been renamed Tables B.3.11.1—B.3.11.3.
Note— See note to Table B.3.11.1.
Note— See note to Table B.3.11.1.
3-4.1 GENERAL REQUIREMENTS
(A)
Purpose of Landscaping Standards .....It is the intent of this section to modify and enhance the character of motor vehicle use areas, outdoor storage areas, utility service areas, and other public or institutional areas, through the introduction and/or preservation of natural vegetation and landscaping, without unduly burdening property owners, in order to:
(1)
Enhance the Appearance of Areas Near Rights-of-Way .....by improving the appearance of motor vehicle use areas within close proximity of vehicular rights-of-way;
(2)
Enhance the Appearance of Large Areas .....by breaking the visual blight created by large expanses of un-vegetated areas;
(3)
Property Value and Investments. .....Enhance property values and protect public and private investments by emphasizing the importance of trees and vegetation as visual and physical bufferyards to protect property values on adjacent properties;
(4)
Improve Water and Erosion Control .....and increase site stormwater infiltration capacity, improve groundwater recharge, and reduce erosion and urban runoff pollution hazards by preserving vegetated areas to slow and absorb stormwater runoff;
(5)
Comfort. .....Improve human comfort and moderate the climate by providing shade and reducing noise levels;
(6)
Enhance Environmental Sensitivity. .....Encourage environmental sensitivity to natural features in design and construction;
(7)
Reduce Glare. .....Filter and reduce reflected sunlight and headlight glare from parked vehicles onto street rights-of-way; and,
(8)
Improve Air Quality .....by filtration and reduce motor vehicle fumes and dust.
(9)
Enhance Public Properties. .....Improve the appearance of public properties.
(B)
Applicability of Landscaping Standards .....Unless otherwise provided in this section, an occupancy permit shall not be issued until all required planting and landscaping materials are installed. The following motor vehicle use areas are required to be landscaped:
(1)
Motor Vehicle Surface Areas;
(2)
Motor Vehicle Display Areas;
(3)
Outdoor Storage Areas;
(4)
Utility Service Areas;
(5)
Parking Buildings or Structures; and,
(6)
Public or Private Schools.
(C)
Exclusions .....The following uses shall be exempt from the landscaping requirements of section B.3-4.
(1)
Existing Development;
(2)
A single family detached dwelling on its own lot;
(3)
An attached dwelling unit which possesses an individually separated driveway and/or garage; and,
(4)
Fire hydrants and other utility devices, the visibility of which is vital to public safety.
(D)
Alternative Compliance .....An applicant may propose a landscaping plan that varies from the strict application of the provisions of this section in order to accommodate unique characteristics of the site or to utilize innovative design. Applications for alternative compliance shall include a site plan following the requirements specified in Section B.7 and shall be approved by the Planning Board only upon a finding that the proposed landscaping plan fulfills the intent and purposes of this section as well as or better than would strict conformance with the requirements of this section.
(UDO L-142, § 4, 11-14-13)
3-4.2 APPLICATION PROCEDURES AND GENERAL REQUIREMENTS.
(A)
Application .....When an application is made for a building permit or a land disturbing permit, whichever is first necessary, on any land where the landscaping requirements of this section are applicable, such building or land disturbing permit application shall be accompanied by the information cited in Sections B.3-4.2(A)(1)—(4) below. Submittal of said information shall be provided by a registered landscape architect, architect, surveyor, or registered engineer.
(1)
Storage, Surface, and Service Areas. .....A site plan indicating the location, dimensions, and square footage of motor vehicle surface areas, motor vehicle display areas, outdoor storage areas, private utility service areas, proposed parking space striping, and overhead utility lines;
(2)
Landscaping. .....A site plan indicating existing and proposed landscaping used to satisfy the requirements of this section, including the number, species, location, and heights of trees, shrubs, and groundcover; the location and dimensions of planting areas and streetyards; the location and size of earthen berms; and, the location, size, and construction material of fences, walls, and wall planters;
(3)
Existing Trees to be Preserved. .....The number, location, species, height, and diameter at six (6) inches above ground level of existing trees to be preserved for credit as per Section B.3-4.2(H); and,
(4)
Barriers. .....The location and description of any barriers to be erected to protect any existing vegetation from damage during construction.
(B)
Delay of Landscaping .....If the required landscaping has not been installed at the time of a request for an occupancy permit, and the Zoning Officer determines that the unavailability of plant materials or adverse weather conditions prohibit the timely completion of planting, an occupancy permit may be issued prior to installation of required landscaping, subject to the following:
(1)
Completion Schedule. .....The applicant shall sign a contract specifying that the work shall be completed within the six (6) months immediately following the date of application for an occupancy permit; and,
(2)
Security. .....An improvement security in the form of an escrow account or other instrument shall be required prior to issuance of an occupancy permit. The improvement security shall be in an amount deemed sufficient by the Zoning Officer or designee to cover all costs of required landscaping or screening which has not been installed. Such security shall be held by the Town of Lewisville until the work is completed in accordance with the permit. The security shall be forfeited upon violation of this section and shall be used toward completion of all planned improvements. Any moneys in excess of the cost of installing required landscaping shall be refunded to the applicant. The security shall be released when the Zoning Officer or designee certifies that all requirements of this section have been met.
(C)
Compliance with Sight Easement Requirements .....Landscaping required by this section shall comply with the minimum State or local sight easement requirements for street intersections and driveways.
(D)
Obstruction of Pedestrian Routes .....Required landscaping shall not obstruct or impede public pedestrian routes including sidewalks and greenway trails.
(E)
Protection of Planting Areas .....Whenever any planting areas required by this section are adjacent to motor vehicle surface areas, motor vehicle display areas, or outdoor storage areas, the planting areas shall be protected from motor vehicle intrusion and damage from excessive motor vehicle lubricants or fuels.
(F)
Stabilization of Soil Surface .....The soil surface of all planting areas required by this section shall be stabilized to prevent erosion. In addition to required interior trees and shrubs, the soil surfaces of planting areas shall contain live groundcover, mulch, live shrubs, permeable pedestrian paver blocks, or a combination thereof.
(G)
Planting and Maintenance of Trees Used to Meet Landscape Standards .....The Planting and Maintenance provisions of this ordinance shall apply to new trees and existing trees planted after November 14, 2013 which satisfies the requirements of this ordinance.
(1)
Planting and Maintenance Standards. .....The use of American National Standards Institute (ANSI) standards shall be required for the planting and maintenance of all required landscaping.
(2)
Tree Topping. .....Topping of any tree required by this Ordinance as defined by the ANSI
(3)
Maintenance of Plantings. .....The landowner is responsible for maintaining all required plant materials in good health. Any dead or missing plants must be replaced with new planting which meets the minimum installation dimension standards of this section. Plant replacement shall take place within one (1) month of written notification by the Zoning Officer or designee. In the event that plant material is severely damaged due to an unusual weather occurrence or other act of nature, or if replacement plantings are unavailable within one (1) month of written notification, the land owner will have six (6) months from the date of written notification to replace plantings. Modifications of landscaping may be approved by staff if the plantings meet the required standards, without further hearing. Requirements for the maintenance of existing or newly planted trees required by the planting standards of this Ordinance, and located on individual lots within residential subdivisions, are in Section B.3-4.2.(E) above.
(H)
Use of Existing Trees for Credit .....Existing trees may be preserved and used for credit in satisfying the requirements of this section, according to the conditions that follow:
(1)
Maximum Credits for Tree Preservation. .....Maximum credits for tree preservation shall be determined by Table B.3.12.
Table B.3.12
Use of Existing Trees for Credit
(2)
Minimum Planting Area. .....Each tree to be preserved for credit shall be provided with a minimum planting area which coincides with the tree's dripline. The tree's dripline is defined as the area underneath a tree which would be encompassed by perpendicular lines dropped from the outermost edges of the crown of the tree.
(3)
Protection from Encroachment. .....Tree preservation planting areas shall be cordoned off during construction and protected from encroachment. The minimum area to be cordoned off shall consist of the critical root zone of the tree or an area ten (10) feet from the tree's trunk in all directions, whichever is the greater area. The protection measures shall be properly maintained during site development and shall not be removed prior to final landscaping. For the purposes of this section, encroachment is defined as the ground surface disturbance caused by grading; impervious surface cover; equipment, material, or earth storage; or by temporary or permanent construction vehicle access or circulation.
(4)
Minimum Streetyard Requirement. .....Tree preservation credits may be used to reduce the number of trees required in this section; however, in no instance shall a required streetyard contain less than one tree, nor shall any required streetyard contain no trees for seventy-five (75) continuous feet; nor shall any parking space be more than fifty (50) feet from the trunk of a tree, unless otherwise authorized in Section B.3-4.3(C)(8).
(5)
Planting Area Used for Streetyard or Interior Plantings. .....Planting areas required for tree preservation credit may be used to install streetyard or interior shrubs as required in this section.
(6)
Loss of Tree Credits. .....Removal or death of any preserved tree shall result in the loss of all associated tree credits for that particular tree. Replacement of trees shall be subject to the planting requirements of Section B.3-4. Developers and landowners are urged to seek professional expertise to preserve properly existing trees for credit.
(I)
Combining Planting Area and Bufferyard Requirements .....Where motor vehicle surface area plant materials and bufferyard plant materials are required on the same property, trees may be located in such a manner as to simultaneously satisfy both requirements. Required planting areas shall not be cumulative; however, the greater of the planting areas specified in Section B.3-5 or this section shall be the required planting area.
(J)
Street Trees .....Street trees are required along all collector and local classified roadways. Street trees may be provided in the public right-of-way with permission of the agency having jurisdiction over the right-of-way. If the agency refuses to allow plantings within the right-of-way, street trees shall be provided adjacent to the right-of-way in accordance with Chapter B Article III 3-4.3(B)(3). Street trees may be regularly spaced and planted at a ratio of no less than one large or medium tree per fifty (50') feet or one small tree per twenty-five (25') feet excluding points of driveway ingress or egress. Small trees are permitted under utility lines or in other locations where site constraints will not allow the installation of a large or medium tree.
(K)
Overhead Utility Lines .....The location of overhead utility lines shall be considered during the placement or preservation of required trees. The maximum mature height of required trees shall be determined as follows: (Suggested plant materials are listed in Section B.3-4.10.)
(1)
Small varieties. .....Small variety trees shall be used when located within twenty-five (25) feet, measured horizontally, from the nearest overhead utility lines(s).
(2)
Small or medium varieties. .....Small or medium variety trees shall be used when located twenty-five (25) to thirty-five (35) feet, measured horizontally, from the nearest overhead utility line(s).
(3)
Small, medium, or large varieties. .....Small, medium, or large variety trees may be used when located more than thirty-five (35) feet, measured horizontally, from the nearest overhead utility line(s).
(L)
Safety and Security .....Safety and security concerns should receive prominent consideration during the selection and placement of landscape materials.
(M)
Fire Protection Equipment .....A minimum five (5) foot radius containing no plant materials or structural elements other than groundcover plants shall be maintained around all fire protection equipment, including fire hydrants, post indicator valves, and siamese connectors. Obvious sight lines to the fire protection equipment shall be maintained at all times.
(N)
Off-Street Parking Reduction .....A reduction in the amount of required off-street parking is permitted in accordance with the alternatives and incentives provisions of the parking requirements Section B.3-3.5(H) for the installation of landscaping required by the landscaping standards of this Ordinance.
(UDO L-142, §§ 5—14, 11-14-13)
3-4.3 MOTOR VEHICLE SURFACE AREA LANDSCAPING STANDARDS
(A)
General Requirements
(1)
Exemption. .....This section shall not apply to single family residential buildings.
(2)
Applicability. .....This section shall apply to any motor vehicle surface area or portions thereof built after November 14, 2013.
(3)
Expansion of Preexisting Motor Vehicle Surface Areas. .....When preexisting motor vehicle surface areas are expanded:
(a)
Internal Landscaped Area. .....Required interior plantings may be dispersed throughout the entire interior landscaped area in accordance with Section B.3-4.3(C)(9).
(b)
Streetyard Width. .....Streetyard width may be reduced to a minimum of fifty percent (50%) of the required width, provided the minimum required streetyard area and plant quantities for the expansion are installed; and provided such streetyard trees shall be provided a planting area with a minimum radius of seven (7) feet.
(B)
Streetyards .....A landscaped streetyard shall be required for all motor vehicle surface areas located within one hundred (100) feet of a street right-of-way or vehicular right-of-way, including controlled access highways, whether or not it may provide access to the site, unless separated by an intervening building.
(1)
Width. .....Minimum streetyard width is ten (10) feet, and shall be measured perpendicular to the street right-of-way. The streetyard shall be positioned between the motor vehicle surface area and street right-of-way.
(2)
Impervious Surface Cover. .....A maximum of fifteen percent (15%) of the required streetyard may be covered with impervious surface cover which may be used for walkways, fountains, walls, wall planters, or utility meters and vaults, but may not be used for motor vehicle surface or display, outdoor storage, private utility service, or service areas.
(3)
Number and Spacing of Trees. .....Each streetyard shall contain a minimum of one (1) tree per forty (40) linear feet. In no case shall any streetyard contain less than one (1) tree. Required trees must be a minimum of eight (8) feet in height at installation and shall be at least two (2) inches in caliper measured six (6) inches above ground level. Where two (2) or more streetyard trees are required, all trees shall be planted with the center of the main trunks twenty (20) to fifty (50) feet apart. Existing deciduous trees located in the abutting street right-of-way may be used to satisfy the distribution requirements in this section. Small or medium variety trees may be used where overhead utility lines exist in accordance with Section B.3-4.2(K) or within ten (10) feet of building foundations.
(4)
Other Streetyard Components. .....In addition to required trees, the landowner or developer shall use one (1) of the following to satisfy streetyard requirements: natural shrubs, closed fences, walls, wall planters, earthen berms, or a combination thereof, as follows:
(a)
Natural Shrubs. .....Streetyard shrubs must be a minimum of eighteen (18) inches in height at installation, with a minimum height of thirty-six (36) inches within three (3) years after installation. Shrubs must be a locally adapted species which retain foliage to within six (6) inches above ground level. Said shrubs shall be spaced no more than eighteen (18) inches, edge to edge. No more than thirty percent (30%) of streetyard shrubs shall be deciduous.
(b)
Fences and Walls. .....A streetyard fence or wall shall be a minimum of thirty-six (36) inches in height, opaque, and shall be constructed of masonry, stone, or wooden material, or of the same material as that of the principal building.
(c)
Wall planters. .....A streetyard wall planter shall be constructed of masonry, stone, or other permanent material. At installation, the minimum combined height of wall planters and shrubs shall be twenty-four (24) inches. Within three (3) years after installation, the combined height of wall planters and shrubs shall be no less than thirty-six (36) inches. The effective planting width of a streetyard wall planter shall be no less than thirty-six (36) inches; however, where required streetyard trees are installed in wall planters, the effective planting width of the wall planters shall be no less than seven (7) feet. A minimum of one (1) shrub shall be required for every five (5) square feet of wall planter area.
(d)
Earthen berms. .....At installation, streetyard berms shall have a minimum height of eighteen (18) inches, a minimum crown width of two (2) feet, and a side slope with a width to height ratio of no greater than two (2) to one (2:1). The entire berm shall be planted and covered with live vegetation. Berm shrubs shall be a minimum of one (1) foot in height at installation and shall be spaced no greater than eighteen (18) inches, edge to edge. Within three (3) years after installation, the combined height of berm and shrubs must be at least thirty-six (36) inches. Streetyard berms which are thirty-six (36) inches or greater in height at installation shall not be required to contain shrubs; however, streetyard trees shall still be required as specified in this section.
(5)
LD1-C, LD2-C, VBD-C and PB Districts. .....A minimum four (4) foot wide strip planted with trees and shrubs in accordance with this section or a three (3) foot high masonry wall shall be provided. Unfinished concrete masonry unit (CMU) walls shall be prohibited. Split face CMU is permitted.
(C)
Interior Parking Area Plantings .....In addition to the required streetyard, all motor vehicle surface areas shall contain landscaped planting areas, as follows:
(1)
Location of Plantings. .....Internal landscaped area planting areas shall be located adjacent to motor vehicle surface area edges or within the interior as islands or medians, and may contain berms of the minimum dimensions specified in Section B.3-4.3(B)(4)(d).
(2)
Size. .....Each planting area shall allocate a minimum of one hundred fifty (150) square feet, with a minimum radius of seven (7) feet for small or medium variety trees. A minimum planting area of six hundred (600) square feet shall be required for each large variety tree.
(3)
Required Trees in Planting Area. .....Each planting area shall contain at least one (1) deciduous or evergreen large variety tree with a minimum height of eight (8) feet at the time of installation, and a minimum caliper of two (2) inches measured six (6) inches above ground level. Small or medium variety trees may be used where overhead utility lines exist in accordance with Section B.3-4.2(K) or within ten (10') feet of building foundations.
(4)
Ratio. .....One (1) large variety tree shall be used for every five thousand (5,000) square feet of motor vehicle surface area. One (1) small or medium variety deciduous or evergreen tree shall be required for every two thousand five hundred (2,500) square feet of motor vehicle surface area where overhead utility lines exist in accordance with Section B.3-4.2(K).
(5)
Distance of Parking Spaces to Trees. .....No parking space shall be located more than seventy-five (75) feet from the trunk of a required large variety tree, except where overhead utility lines exist in accordance with Section B.3-4.2(K) no parking space shall be located more than fifty (50) feet from the trunk of a required small or medium variety tree, unless otherwise authorized in this Ordinance.
(6)
Loading/Maneuvering Areas. .....For loading docks or other maneuvering areas where placement of trees in the interior of the site is impractical, the required number of trees may be clustered around the edge of such areas, with the approval of the Zoning Officer.
(7)
Credit for Streetyard or Bufferyard Trees. .....Deciduous or broadleaf evergreen trees used as streetyard or bufferyard plantings may be used as credit toward interior planting area requirements, provided that streetyard or bufferyard plantings meet the size requirements of Section B.3-5.3(B)(1)(a) and the distance requirements of Section B.3-4.3(C)(5).
(8)
Credit for Bufferyard Area. .....The landscaped bufferyard area provided to meet the requirements of Section B.3-5 and located adjacent to a motor vehicle use area may be counted toward the interior planting requirement.
(9)
Expansion of Preexisting Areas. .....When preexisting motor vehicle surface areas are expanded, required interior plantings may be dispersed throughout the entire motor vehicle surface area if the landowner so desires, subject to the following conditions:
(a)
The required plant material will be calculated with reference to the expansion area only;
(b)
Such planting may be dispersed throughout the entire, combined, existing, and new motor vehicle surface area; and,
(c)
The provisions of this section shall preempt the spacing requirement contained in Section B.3-4.2(H)(4) and Section B.3-4.3(C)(5).
(10)
Alternative Compliance. .....An applicant whose contiguous parking area exceeds five hundred (500) spaces may propose a landscaping plan which varies from the strict application of the provisions of this section in order to accommodate unique characteristics of the site or to utilize innovative design. Application for alternative compliance shall include a site plan following the requirements 3-4.3 specified in Section B.7 and shall be approved by the Planning Board only upon a finding that the proposed landscaping plan fulfills the intent and purposes of this section as well as or better than would strict conformance with the requirements of this section.
(11)
Landscape Plantings. .....Landscape plantings along front façades are required at a ratio of six (6) square feet of planting area for each one (1) foot of horizontal wall. Plantings are to be located between the building and the parking area. Planting areas are to be planted with a mix of small trees and shrubs as defined in Sections B.3-4.10(C) and (D). Plantings are to be installed at a rate of one (1) small tree or three (3) shrubs per three hundred (300) square feet of required planting area. Plantings are not required along any frontage that has a required bufferyard.
(UDO L-142, §§ 15—17, 11-14-13; UDO L-164, § 2, 7-8-21)
3-4.4 MOTOR VEHICLE DISPLAY AREA LANDSCAPING STANDARDS
(A)
General Requirements
(1)
Applicability. .....This section shall apply to any motor vehicle display area, or portions thereof, built after November 14, 2013.
(2)
Expansion of Preexisting Motor Vehicle Surface Areas. .....When preexisting motor vehicle display areas are expanded, streetyard width may be reduced to a minimum of five (5) feet, provided the minimum required streetyard area and plant quantities for the expansion are installed, and provided each streetyard tree shall be provided a planting area with a minimum radius of seven (7) feet.
(3)
Landscaping Requirements. .....Motor vehicle display areas shall comply with the general landscaping requirements of Section B.3-4.3.
(B)
Streetyards .....A landscaped streetyard shall be required as specified in Section B.3-4.3(B) except:
(1)
Natural Shrubs. .....Any streetyard shrubs, wall planters, earthen berms, or combinations thereof, shall be installed at a minimum height of eighteen (18) inches, and shall reach a minimum height of thirty (30) inches within three (3) years after installation.
(2)
Fences and Walls. .....Closed fences or walls shall be installed at a minimum height of thirty (30) inches.
(UDO L-142, § 18, 11-14-13)
3-4.5 OUTDOOR STORAGE AREA SCREENING STANDARDS
(A)
Applicability .....Any outdoor storage area not screened from any public or private street by an intervening building built after the adoption of this Ordinance with a linear dimension of fifteen (15) feet or greater, or any dumpster with a linear dimension of five (5) feet or greater and not screened by an intervening building shall be screened from view from any street right-of-way or vehicular right-of-way including controlled access highways, whether or not it may provide access to the site, for its entire length except for necessary access.
(B)
Screening .....Outdoor storage area screening shall be provided as specified in either of the conditions below or as a combination of the two (2) conditions:
(1)
Fencing. .....A fence or wall may be used to screen an outdoor storage area. The fence or wall shall be at least six (6) feet in height, opaque and of masonry, stone or wooden material, or of the same material as that of the principal building.
(2)
Plantings. .....Natural evergreen plant materials may also be used to screen an outdoor storage area as follows: (Suggested plant materials are listed in Section B.3-4.10.)
(a)
Minimum Height. .....The minimum height of the plant material shall be six (6) feet at installation; and,
(b)
Spacing. .....The spacing of the planting shall be in a double-row configuration, staggered, with five (5) foot spacing between the centers of the main trunks.
3-4.6 UTILITY SERVICE AREA SCREENING STANDARDS
(A)
Applicability .....Utility service area structures built after the adoption of this Ordinance are required to be screened from street rights-of-way or vehicular rights-of-way, whether or not it may provide access to the site, provided that said structures have vertical dimensions exceeding three (3) feet or horizontal dimensions in excess of five (5) feet, and are located less than one hundred (100) feet from the nearest street right-of-way.
(B)
Screening .....Where screening for utility service areas is not provided by an intervening building, said screening may be accomplished by locally adapted evergreen or deciduous plantings or an opaque fence or wall.
(1)
Installation Height. .....Plantings shall have a minimum installation height of eighteen (18) inches, be spaced no more than eighteen (18) inches, edge to edge, and be expected to reach a height and width equal to or greater than the utility service structures that are being screened.
(2)
Fences or Walls. .....Fences or walls shall be opaque, of masonry, stone, or wooden material, or of the same material as that of the principal building, if applicable, and of a height and width equal to or greater than the utility service structures that are being screened.
(C)
Responsible Party .....Screening for utility service areas in a street right-of-way is to be installed by the utility or party who installed the service; in all other instances the property owners shall install required screening. Where screening for public utility service areas is to be provided by private property owners, such screening shall be installed only after consultation with the utility who owns the device to be concealed. No screening shall be installed that would impair the safe operations, maintenance, or function of the utility equipment.
3-4.7 PARKING STRUCTURES OR BUILDINGS
Any parking structure or building, or expansion thereof, built after the adoption of this Ordinance that exceeds two thousand five hundred (2,500) square feet in gross floor area shall be provided with a landscaped streetyard as specified in Section B.3-4.3(B). This provision shall apply only to structures whose principal use is parking, and shall not apply to vertical expansion of preexisting parking structures.
3-4.8 PUBLIC OR PRIVATE SCHOOLS
(A)
Applicability .....A landscape plan for the school campus shall be prepared and installed prior to occupancy for any new school or any improvement to an existing school which results in an increase in building area or footprint.
(B)
Standards .....Landscaping plans shall meet the following standards:
(1)
Number of Trees. .....A minimum of one tree of either large or medium variety as described in Section B.3-4.10 shall be provided per thirty-five (35) linear feet of public road frontage. In any event, a minimum of fifteen (15) trees shall be planned for and provided on each campus.
(2)
Existing Trees. .....Existing trees to be incorporated into the design of the school or currently on the campus may be preserved and used for credit in meeting the site plan requirements, per Section B.3-4.2(H)(1). Existing trees may be used in lieu of not more than eighty percent (80%) of the required new plantings; except that where property or site constraints prohibit the placement of additional trees, additional credit for existing trees up to one hundred percent (100%) may by given.
(3)
Height at Installation. .....New plantings shall meet the requirements of Section B.3-5.3(B).
(4)
Variety of Trees. .....Notwithstanding Section B.3-4.8(B)(2), at least one-half of the trees on the campus shall be large variety as described in Section B.3-4.10.
(5)
Other Plant Material. .....Other plant material described in Section B.3-4.10 may be installed and may be used for credit in meeting the requirements of Section B.3-4.8(B)(1) with approval of Planning Staff.
(6)
Location. .....Trees and other plant material may be located in any required yards or in the interior of the campus, and may function as a bufferyard to screen or soften uses, structures, or activities which may be incompatible. Landscaping should be placed to enhance entryways into campuses and upgrade previously disturbed areas. On existing campuses built prior to the landscaping requirements for motor vehicle surface areas, trees and other plant materials may also be located in parking areas or other motor vehicle surface areas.
Applications for variances from the requirements of the landscaping and screening standards may be approved by the Board of Adjustment after such Board of Adjustment holds a duly advertised public hearing in each case. Said application for a variance will be governed by the procedures set forth in Section B.6-1.4(B). Approval of a variance shall include the determination that there are practical difficulties or unnecessary hardships in the way of carrying out the strict letter of the Ordinance because of one or more of the following conditions:
(A)
Narrow .....Unusually narrow (less than ten (10) feet) sections of land available for planting because of existing permanent structures, existing paving, or natural features such as rock outcroppings.
(B)
Elevation Change .....Elevation change of more than twelve (12) feet within the area where the screening would be located.
(C)
Public Safety .....Specialized land uses such as public utilities, airports, etc. where strict adherence to the screening standard would significantly interfere with the function of that use and would create a public safety problem.
(D)
Public Agency .....Actions of a public agency.
(E)
Platting or Deeding .....Difficulties arising from the recording platting or deeding of land prior to the adoption of this Ordinance.
3-4.10 SUGGESTED PLANT MATERIALS LIST
The suggested plant materials list includes common trees and shrubs suitable for use in the Forsyth County area. Due to individual site soil, moisture, and microclimate conditions, professional expertise should be sought to determine the appropriate plant materials for any particular development project. Other appropriate plants not included in the list may also be used with the approval of the Zoning Officer or designee.
(A)
Large Variety Trees .....(mature height: fifty (50) feet or greater):
(B)
Medium Variety Trees .....(mature height: thirty (30) to less than fifty (50) feet):
(C)
Small Variety Trees .....(mature height: less than thirty (30) feet):
(D)
Streetyard and Interior Shrubs .....(mature height: approximately thirty-six (36) inches):
(1)
Evergreen.
(2)
Deciduous.
(E)
Outdoor Storage Area Screening Plants .....(installation height: six (6) feet):
(F)
Groundcovers .....(planting areas, berms, wall planters):
(G)
The following trees shall not be credited toward the requirements of Section B.3-4.2.1:
(UDO L-142, § 19, 11-14-13; UDO L-163, § 4, 6-3-21)
3-5.1 GENERAL REQUIREMENTS
(A)
Purpose .....Bufferyard standards are designed to provide visual and functional separation between different land uses to:
(1)
Reduce potential nuisances, such as glare, dirt, noise, unsightly views, and other adverse impacts;
(2)
Safeguard property values and preserve the character and integrity of the community; and,
(3)
Protect the health, safety, and welfare of the public.
(B)
Applicability .....Every use, change of use, or expansion of a structure or land hereafter established shall meet the bufferyard requirements of this section, except for the following:
(1)
Single family, duplex, or twin home uses;
(2)
Development or redevelopment in the CB or CI Districts;
(3)
Between component parts of a planned residential development or MU-S District; or,
(4)
Where no bufferyard requirement is shown in Table B.3.13.
3-5.2 DETERMINATION OF BUFFERYARD
(A)
Procedure .....The type of bufferyard required shall be determined as follows:
(1)
Identify the Zoning Type for the Proposed Project .....and all adjacent properties, excluding properties across a public right-of-way. The zoning types are defined below for the purposes of this section only.
(a)
Single Family Residential (SFR) Zoning Types. .....Single family residential zoning types include the H, YR, AG, all RS Districts (including RSQ), and the MH District where an individual manufactured home on a single lot is involved.
(b)
Multifamily Residential (MFR) Zoning Types. .....Multifamily residential zoning types include all RM Districts and the MH District where a manufactured housing development is involved.
(c)
Low Intensity Commercial (LIC) Zoning Types. .....Low intensity commercial zoning types include the NO, LO, NB, PB, LB, IP, and C Districts.
(d)
High Intensity Commercial (HIC) Zoning Types. .....High intensity commercial zoning types include the CPO, GO, NSB, HB, GB, CB, and MU-S Districts.
(e)
Industrial (IND) Zoning Types. .....Industrial zoning types include the LI, CPI, GI, and CI Districts and certain uses which require outdoor storage, have high trip generation rates, or have the potential for nuisance to adjacent properties due to noise, light and glare, or typical hours of operations. The following list of specific uses identified in Table B.2.6 shall be classified as industrial zoning types for bufferyard purposes:
(i)
Banking and Financial Services, with Drive-Through Facilities;
(ii)
Car Wash;
(iii)
Convenience Store with Gasoline Sales;
(iv)
Implement Sales and Service;
(v)
Kennels;
(vi)
Outdoor Display Retail;
(vii)
Motor Vehicle Repair and Maintenance;
(viii)
Motor Vehicle Storage Yard;
(ix)
Outdoor Display Retail;
(x)
Recreational Vehicle Park;
(xi)
Recreation Services, Outdoor;
(xii)
Restaurants (With Drive-Through Service);
(xiii)
Storage and Salvage Yard; and,
(xiv)
Dirt Storage Sites.
(2)
Determine the Bufferyard Type .....(I, II, III, or IV) required for each adjacent zoning type from Table B.3.13.
Table B.3.13
Bufferyard Requirements
* =
No bufferyard requirement
+ =
Type I bufferyard required if no bufferyard is provided on developed adjacent property designated as high intensity commercial (HIC) or industrial (IND) zoning types.
1.
In residential districts, the subdivider of property shall provide a type III bufferyard within the required yard adjacent to all thoroughfares and collector streets, except collector streets interior to the subdivision, and all railroad rights-of-way. Use of earthen berms as described in Section B.3-5.2(B)(4) is encouraged. The bufferyard shall be shown on the plat.
(3)
Select the Desired Bufferyard Option .....for the required bufferyard type from those described below.
(a)
Type I Bufferyard. .....A type I bufferyard is a low density screen designed to partially block visual contact and create spatial separation between adjacent uses. The four (4) design options that may be used to satisfy this bufferyard requirement are identified in Table B.3.14.
Table B.3.14
Type I Bufferyard Design Options
(b)
Type II Bufferyard. .....A type II bufferyard is a medium density screen designed to block visual contact and create spatial separation between adjacent uses. The four (4) design options that may be used to satisfy this bufferyard requirement are identified in Table B.3.15.
Table B.3.15
Type II Bufferyard Design Options
(c)
Type III Bufferyard. .....A type III bufferyard is a high density screen designed to eliminate visual contact and create spatial separation between adjacent uses. The five (5) design options that may be used to satisfy this bufferyard requirement are identified in Table B.3.16.
Table B.3.16
Type III Bufferyard Design Options
(d)
Type IV Bufferyard. .....A type IV bufferyard is a high density screen designed to eliminate visual contact and create spatial separation between adjacent uses. The six (6) design options that may be used to satisfy this bufferyard requirement are identified in Table B.3.17.
Table B.3.17
Type IV Bufferyard Design Options
(B)
Additional Requirements
(1)
Fractional Calculations. .....Fractional planting requirement calculations shall be rounded to the next higher whole number.
(2)
Existing Plant Material. .....Existing plant material within the required bufferyard may be included in the computation of the required plantings with approval of the Zoning Officer.
(3)
Fence or Wall Option. .....An opaque fence or wall may be used in lieu of not more than fifty percent (50%) of the required evergreen bufferyard plantings with the approval of the Zoning Officer and providing the following conditions are met, where applicable:
(a)
Fence Height for Industrial Zoning Type. .....The minimum required fence height shall be eight (8) feet above ground level when the proposed project zoning type is classified as an industrial zoning type.
(b)
Fence Height for Zoning Types Except Industrial. .....The minimum required fence height shall be six (6) feet above ground level when the proposed project zoning type is classified as any zoning type except those classified as industrial.
(c)
Vegetation Planted on Exterior Sides. .....Where a fence or wall is used as part of the required screening, all required vegetation shall be planted on the exterior side of the fence or wall.
(d)
Screening Multifamily Residential Zoning Type. .....Where the fence option is used to screen multifamily residential zoning types from more intense zoning types, the required vegetation may be planted on the interior side of the fence or wall.
(e)
Remaining Vegetation Distribution. .....Where a fence is used in lieu of not more than fifty percent (50%) of the required vegetation, the remaining percentage of vegetation to be used in conjunction with the fence or wall shall be evenly distributed in the bufferyard.
(4)
Earthen Berms. .....Earthen berms six (6) feet high or greater, or earthen berms with combined evergreen shrub plantings reaching a minimum height of six (6) feet, may be used in lieu of not more than fifty percent (50%) of the evergreen bufferyard plantings providing the following conditions are met:
(a)
Live Vegetation. .....The entire berm shall be planted and covered with live vegetation.
(b)
Evergreen Shrubs. .....On berms less than six (6) feet in height, evergreen shrubs, if used, shall be a minimum of one foot in height at installation and shall be placed no greater than eighteen (18) inches edge to edge.
(c)
Shape. .....Berms shall be naturally shaped, shall have a minimum crown width of two (2) feet, and shall have side slopes stabilized to sedimentation and erosion control standards.
(C)
Alternative Compliance for CD1-C, IP, NO, NB, PB, and MU-C Districts .....In the CD1-C, IP, NO, NB, PB, and MU-C Districts, a developer may propose a bufferyard plan that varies from the strict application of the provisions of this section in order to accommodate unique characteristics of the site, utilize innovative design, or provide an appropriate degree of buffering for separate phases and types of development. Application for alternative compliance shall include a site plan following the requirements specified in Section B.7, and shall be approved by the Planning Board only upon a finding that the proposed bufferyard plan fulfills the intent and purposes of this section better than would strict conformance with the requirements of this section.
(D)
Subdivisions .....In residential districts, the subdivider of property shall provide a type III bufferyard within the required yard adjacent to all thoroughfares and collector streets, except collector streets interior to the subdivision, and all railroad rights-of-way. Use of earthen berms as described in Section B.3-5.2(B)(4) of this Ordinance is encouraged. The bufferyard shall be shown on the plat with the following statement: "This area is reserved for the planting of trees or shrubs by the owner; the building of structures hereon is prohibited."
(E)
Special Provisions for LD1-C and LD2-C. .....See Section B.2-1.5(E)(8).
(F)
Alternative Compliance for Schools .....The bufferyard requirements of this section otherwise required for development of public or private schools in certain zones may be met by the submittal and approval of tree preservation and planting plan according to the provisions of Section B.3-4.8.
(UDO L-135, §§ 1, 2, 11-12-09; UDO L-142, § 20, 11-14-13; UDO L-164, § 2, 7-8-21)
3-5.3 BUFFERYARD LOCATION AND DESIGN REQUIREMENTS
(A)
Location of Bufferyards
(1)
Location. .....Bufferyards shall be located on the outer perimeter of a lot or parcel, extending to the lot or parcel boundary line, with the following exceptions:
(a)
On Adjacent Property. .....All or part of the bufferyard may be located on adjacent property within a permanent easement dedicated for such purpose with approval of the Zoning Officer.
(b)
Portion of Site Proposed for Development. .....If only a portion of a site is proposed for development, the required bufferyard may be located at the limit of construction perimeter with approval of the Zoning Officer.
(c)
Topographic Irregularities. .....Where topographic irregularities require a different location to meet the intent of this section, the location of the bufferyard may be varied with approval of the Zoning Officer.
(d)
Slope Ratios. .....Required bufferyard plantings shall not be installed on cut or fill slopes with slope ratios greater than two (2) to one (2:1).
(2)
Cut Slope. .....Where bufferyards include any part of a cut slope greater than ten (10) feet in height, grading for such cut slope shall not encroach closer than ten (10) feet to the property line.
(3)
Rights-of-way and Streets. .....Bufferyards shall not be located on any portion of an existing, dedicated, or proposed right-of-way, or a private street.
(4)
Existing Easement Within Bufferyard. .....Where an existing easement that prohibits bufferyard-type plantings is partially or wholly within a required bufferyard, the developer shall design the bufferyard to meet the planting limitation of the easement. Such design may necessitate choosing a bufferyard with more land area and fewer required plantings.
(B)
Design Requirements
(1)
Size of Plant Material.
(a)
Deciduous trees in bufferyards shall be large variety trees except where overhead utility lines exist in accordance with Section B.3-4.2(K). Suggested plant materials are listed in Section B.3-4.10.
(b)
All deciduous trees used for bufferyard screening must be a minimum of eight (8) feet in height at installation and shall be at least two (2) inches in diameter measured six (6) inches above ground level.
(c)
All primary evergreen plants shall be a minimum of six (6) feet in height at time of installation unless combined with an approved earthen berm, and shall be not less than ten (10) feet in height at maturity.
(d)
All supplemental evergreen shrubs shall be a minimum of eighteen (18) inches in height at installation, and shall attain a minimum height of thirty-six (36) inches three (3) years after installation.
(2)
Spacing of Plant Material
(a)
All deciduous trees shall be installed with tree trunks spaced a minimum distance of thirty (30) feet apart and a maximum distance of sixty (60) feet apart.
(b)
All primary evergreen plants shall be distributed evenly along the length of the bufferyard and shall be staggered where quantities permit. Primary evergreen plants shall be installed with tree trunks spaced a minimum of seven (7) feet apart and a maximum of fifteen (15) feet from other primary evergreen plants and from any required deciduous tree.
(c)
All supplemental evergreen shrubs shall be distributed evenly along the length of the bufferyard and shall be staggered where quantities permit.
(3)
Maintenance .....Any fence, earthen berm, or plant material used for screening shall be maintained in sound condition by the bufferyard provider. Maintenance includes replacement of any required bufferyard materials which are damaged and/or dying.
(C)
Application to Nonconforming Situations .....The bufferyard standards shall apply to the entire zoning lot in nonconforming situations per the requirements of Section B.5-4.3(C)(2).
(UDO L-142, § 21, 11-14-13)
3-5.4 MULTIPLE USE OF BUFFERYARDS
(A)
To Satisfy Other Requirements .....Areas set aside as required bufferyards may also be used to satisfy the following:
(1)
Minimum setback requirements;
(2)
Minimum open space requirements; and,
(3)
Minimum landscaping requirements.
(B)
For Other Purposes .....Required bufferyards may also be used for the following additional purposes:
(1)
Bufferyards may contain stormwater retention or detention areas, provided:
(a)
The required bufferyard plantings shall be provided and the design and landscaping of the bufferyard do not interfere with the proper functioning of the drainage system; and,
(b)
The designed water depth shall not harm the viability of the plantings.
(2)
Bufferyards may be used for passive recreation, such as pedestrian, bicycle, or equestrian trails, subject to the following limitations:
(a)
No plant material shall be eliminated;
(b)
The total width of the bufferyard shall be maintained; and,
(c)
All other requirements of this Ordinance shall be met.
(3)
Bufferyards may be used for the installation of underground utilities, provided the location and use of the utility lines do not interfere with the required bufferyard plantings.
(C)
Reduction for Driveway to Rear Parking Areas .....A side or rear bufferyard may be reduced to five (5) feet if the Planning Board or Zoning Officer determines that such reduction is necessary, due to lot size, shape, or topographic features, to allow a driveway which accesses off-street parking to the rear of the property.
(D)
Prohibited Uses .....The following uses shall be prohibited in a required bufferyard: playfields, stables, swimming pools, tennis courts, or similar active recreation uses, and storage or parking facilities.
(UDO L-142, § 22, 11-14-13)
Application for variances from the requirements of the bufferyard standards may be approved by the Board of Adjustment in accordance with the procedures in Section B.6-1.4(B). Approval of a variance shall include the determination that there are practical difficulties or unnecessary hardships in the way of carrying out the strict letter of the ordinance because of one or more of the following conditions:
(A)
Narrow .....Unusually narrow (less than ten (10) feet) sections of land available for planting within the back and/or side yards because of existing permanent structures, existing paving, or natural features such as rock outcroppings.
(B)
Steep Slopes/Elevation Change .....Existing slopes in excess of two (2) to one (2:1) in locations where a bufferyard is required.
(C)
Public Safety .....Specialized land uses such as public utilities, airports, etc. where strict adherence to the screening standard would significantly interfere with the function of that use and would create a public safety problem.
(D)
Public Agency .....Actions of a public agency.
(E)
Platting or Deeding .....Difficulties arising from the recorded platting or deeding of land prior to the adoption of this Ordinance.
3-6.1 APPLICABILITY
All multifamily developments containing forty (40) or more units, and all manufactured home developments, shall provide on site common recreation area as required in this section. Elderly housing, life care communities, and other developments occupied exclusively by persons who are at least fifty-five (55) years old or disabled are exempt from the requirements of this section.
(UDO L-142, § 23, 11-14-13)
A minimum of one hundred (100) square feet per unit shall be devoted to common recreation areas.
(UDO L-142, § 23, 11-14-13)
The total common recreation area may be divided into areas not less than four thousand (4,000) square feet each where the average length of the space does not exceed twice the average width.
(UDO L-142, § 23, 11-14-13)
Common recreation areas shall be easily accessible by pedestrian walkways so they can be conveniently and safely reached and used.
(UDO L-142, § 23, 11-14-13)
Common recreation areas shall be constructed on land where the average finished grade of the slope does not exceed five percent (5%), is well drained, and is otherwise capable of serving the purposes intended.
(UDO L-142, § 23, 11-14-13)
Common recreation areas shall be attractively landscaped and provided with sufficient natural or constructed screening to minimize any negative impacts upon adjacent residences within the development. Additionally, one (1) large variety tree shall be required for every two thousand five hundred (2,500) square feet of common recreation area.
(UDO L-142, § 23, 11-14-13)
Common recreation areas shall not include streets, access easements, rights-of-way, parking areas, required perimeter bufferyards or streetyards or required building setbacks; shall be closed to motor vehicle traffic except for maintenance and service vehicles; and, shall not be located over a septic system drainage field.
(UDO L-142, § 23, 11-14-13)
3-7.1 PUBLIC RIGHTS-OF-WAY
(A)
Dedication of Right-of-Way with Density Transfer
(1)
Dedication. .....Whenever a tract of land is proposed for subdivision or for use pursuant to a zoning or building permit, and a portion of it is located within a corridor for a street or highway on a plan established and adopted pursuant to State law for a street or highway that is included in the Department of Transportation's Transportation Improvement Program, the right-of-way within that corridor shall be dedicated to the appropriate agency.
(2)
Required Findings. .....No dedication of right-of-way shall be required pursuant to this section unless the Planning Board or Elected Body granting final subdivision plat approval, the special use permit, or other approval or permission finds prior to the grant that the dedication does not result in the deprivation of a reasonable use of the original tract and that the dedication is either reasonably related to the traffic generated by the proposed subdivision or use of the remaining land or the impact of the dedication is mitigated by measures provided in this Ordinance.
(3)
Transfer of Density Credits. .....The applicant may transfer density credits attributable to the dedicated right-of-way to contiguous land owned by the applicant. If the dedication of right-of-way is not required, an applicant for subdivision plat approval on a zoning or building permit, or any other permission pursuant to this Ordinance elects to dedicate the right-of-way, the applicant may transfer density credits attributable to the dedicated right-of-way to contiguous land that is part of a common development plan.
(4)
Definition of Density Credit. .....As used in Section B.3-7.1(A)(3), the term density credit means the potential for the improvement or subdivision of part or all of a parcel of real property, as permitted by this Ordinance or the Subdivision Ordinance, as set forth in Section B.3-7.1(A)(5).
(5)
Transferable Percentage. .....One hundred percent (100%) of the density credit or development potential of the property dedicated pursuant to Section B.3-7.1(A)(4) may be transferred to contiguous land that is part of a common development plan as identified in Section B.3-7.1(A)(3).
(B)
Transportation PlanCorridors
(1)
Limits on Approvals. .....Whenever a tract of land is proposed for subdivision or for use pursuant to a zoning or building permit, and a portion of it is located within a corridor for a thoroughfare identified on the Transportation Plan, no building permit shall be issued for any building or structure or part thereof located within the roadway corridor, nor shall approval of a subdivision be granted with respect to property within the roadway corridor. The City Traffic Engineer and/or the North Carolina Department of Transportation district engineer shall be notified within ten (10) days of all such requests for building permits or subdivision approvals within the roadway corridor.
(2)
Exemptions. .....The provisions of this section shall not apply to valid building permits issued prior to the effective date of this Ordinance, or to building permits for buildings and structures which existed prior to the filing of the roadway corridor, provided the size of the building or structure is not increased and the type of building code occupancy as set forth in the North Carolina Building Code is not changed. If, within one year following the establishment of a roadway corridor official map or amendment, work shall not have begun on an environmental impact statement or preliminary engineering, the corridor shall be deemed abandoned, and the provisions of this section shall no longer apply to properties or portions of properties located within the roadway corridor.
(3)
Time Limits. .....No application for building permit issuance or subdivision plat approval shall be delayed by the provisions of this section for more than three (3) years from the date of the original building permit or subdivision plat submittal.
(4)
Waiver of Requirements. .....The Board of Adjustment shall hear and decide requests to waive the requirements of this section. A variance may be granted by the Board of Adjustment upon a showing that:
(a)
Even with the tax benefits provided as authorized by State Law, no reasonable return may be earned from the land; and
(b)
The requirements of this section result in practical difficulties or unnecessary hardships.
Before any zoning permit is approved for a lot which lies within fifty (50) feet of a stream identified for a greenway in the adopted Greenway Plan, the Zoning Officer shall notify the County Manager/City Manager/Town Manager. The adopting jurisdiction will assess the potential impact of the development on future greenway construction and may then offer to purchase or undertake other action to protect the potential greenway corridor. The Zoning Officer shall not approve any permit which would authorize disturbance of the potential greenway corridor, nor shall the property owner or his/her agent disturb the potential greenway corridor, until the County Manager/City Manager/Town Manager formally responds to the Zoning Officer regarding the intent of the adopting jurisdiction. If no response is received within fifteen (15) days, the Zoning Officer may issue the requested permit.
3-8.1 APPLICABILITY
These supplementary standards for older neighborhoods apply to development on blocks which:
(A)
Date Platted or Developed .....Were originally platted or developed prior to March 3, 1948;
(B)
Percentage of Lots Developed .....Have at least fifty percent (50%) of the lots developed; and,
(C)
Permitted in Certain Zoning Districts .....Are zoned in whole or in part, RS, RM, NO or NB.
3-8.2 ALTERNATIVE SETBACKS AND STANDARDS
(A)
Alternative Setbacks .....In older neighborhoods the required setbacks for the underlying zoning district may be replaced by the following alternative method of compliance. No building or part of a building, other than steps, open porches, overhanging eaves and cornices, shall extend nearer to the front, side or rear property lines than the average distance of the respective setbacks of the principal buildings on the same block and on the same side of the street within one hundred (100) feet from the zoning lot in either direction. Any fractional amounts calculated shall be rounded up. However, in no case shall the front setback be less than eight (8) feet nor more than forty (40) feet.

Alternative Setbacks
(B)
Development Standards .....If the alternative method of compliance is used, the following development standards apply:
(1)
Impervious Surface Cover. .....For new construction on vacant lots, impervious surface cover is limited to a maximum of sixty percent (60%). Impervious surface cover is otherwise limited to seventy percent (70%).
(2)
Building Height. .....No building shall exceed a height of forty (40) feet.
(3)
Bufferyard. .....Bufferyard requirements of Section B.3-5 must be met for multifamily developments containing more than four (4) units, or for nonresidential uses.
(4)
Off-Street Parking.
(a)
Number of Spaces. .....Off-street parking for multifamily uses shall meet the standards for Efficiency units, if applicable, or Urban Residential Building in Table B.3.8.
(b)
Parking in Rear. .....All off-street parking shall be provided to the rear of the principal building(s) unless the Planning Board determines that, due to lot size, shape or topographic features, some or all parking cannot be placed to the rear.
(c)
Reduction in Bufferyard. .....A side or rear bufferyard width may be reduced to allow a driveway to the rear of the property which accesses the off-street parking if the provisions of Section B.3-5.4(C) are met.
(d)
Landscaped Separation From Building. .....A minimum three (3) foot wide landscaped area shall be provided between any parking area and building wall providing access into the unit(s).
(5)
Vehicular Use Landscaping Requirements. .....Vehicular use landscaping requirements of Section B.3-4 must be met for multifamily developments containing more than four (4) units or nonresidential uses.
(6)
Building Size. .....For projects located on two (2) acres or less, multifamily buildings shall contain no more than six (6) units.
(7)
Roofs. .....A roof having a pitch with a minimum vertical rise of four (4) feet for each twelve (12) feet of horizontal run is required on all buildings.
3-8.3 ALTERATION OR EXPANSION NOT AFFECTING OCCUPANCY OR INTENSITY
For any existing residential building containing four (4) units or less, any expansion or alteration of the principal building which meets the dimensional requirements of Section B.3-8.2(A) and which does not increase the occupancy capacity of the building, including expansion or alteration of kitchen, bathroom, closet, or patio areas, shall not be subject to the provisions of Section B.5-4.3.
3-9.1 DENSITY INCREASE PERMITTED
An increase in the density otherwise permitted in the zoning district may be permitted for developments which provide on-site or off-site housing opportunities for low- or moderate-income households. A contract shall be approved by the County Attorney or City Attorney and the Forsyth County Department of Housing (FCDH) or the Winston-Salem Housing and Neighborhood Development Department (HND) as a condition of special use district zoning, preliminary subdivision approval, or other site plan review guaranteeing that the reserved units will be purchased by or rented to qualifying households, and shall be binding for a period of not less than fifteen (15) years from the date on which the unit is first occupied. The reserved lots or rental units shall be indicated on the site plan submitted.
(A)
Duplex or Multifamily Units .....A twenty-five percent (25%) density bonus for duplex or multifamily units may be approved if:
(1)
A minimum of forty percent (40%) of the units are to be rented to families earning less than sixty percent (60%) of Forsyth County median income, adjusted for family size, as determined by the United States Department of Housing and Urban Development (HUD). (Hereinafter, median income); or
(2)
A minimum of twenty percent (20%) of the units are to be rented to families earning less than fifty percent (50%) of median income.
(B)
Single Family Detached Units .....A twenty-five percent (25%) density bonus for single family residential development may be approved if twenty-five percent (25%) of all units, or a minimum two units, are to be sold to families earning less than eighty percent (80%) of median income.
(C)
Donation of Land .....A twenty-five percent (25%) density bonus for single family residential development may be approved if land with suitable soils or access to public water and sewer is donated to Forsyth County or the City of Winston-Salem Housing Authority for the purpose of the development of affordable housing within the same census tract or adjoining tracts. The donated land shall contain at a minimum the land area needed to develop the total number of the bonus units, in accordance with the zoning requirements of the district in which the donated land is located.
3-9.3 CONTRACT FOR SALE OF SINGLE FAMILY RESIDENCES
Approval of the special use district zoning, preliminary subdivision, or other site plan review shall not occur until there is a contract between the property owner and Forsyth County or the City of Winston-Salem, which shall also be binding on future owners of the reserved lots. The contract shall be administered by FCDH, and shall include the following provisions:
(A)
Approval of Sales and Resales .....All sales and resales shall be approved by FCDH or the HND to assure ownership by qualifying buyers in accordance with the following eligibility criteria.
(1)
Income. .....Family income at the time of purchase shall not exceed the limits set forth in Section B.3-9.2.
(2)
Residency. .....At least one member of a qualifying household must have lived or worked in Forsyth County for the past twelve (12) months.
(B)
Duration of Contract .....The contract shall apply to each of the reserved lots, and shall continue to affect a particular lot for a minimum period of fifteen (15) years after the initial sale of that lot.
(C)
Occupancy .....There shall be no occupancy of the unit prior to its sale to a qualifying buyer.
(D)
Schedule .....The contract shall include a schedule by which construction and sale of the reserved units will be accomplished.
(E)
Resale Price .....The resale price of any reserved housing unit shall not, at any time during the life of the contract, exceed the maximum amount affordable to the purchasing low or moderate income household. The maximum sale or resale price shall be determined by FCDH or HND (depending on jurisdiction), calculated by using HUD modeling for housing affordability. HUD modeling takes into consideration assumptions such as interest rates, percentage of annual income allowed for housing, and amount of down payment.
(F)
Violation of Contract .....Violation of any of the terms of the contract required by this section may constitute grounds for revocation of the special use district zoning, preliminary subdivision, or other site plan review.
3-9.4 CONTRACT FOR RENTAL OF DUPLEX OR MULTIFAMILY UNITS
Approval of the special use district zoning, preliminary subdivision, or other site plan review shall not occur until there is a contract between the property owner or developer and Forsyth County or the City of Winston-Salem, which shall also be binding on future owners of the development. The contract shall be administered by the County, the City, or the Housing Authority, and shall include the following provisions:
(A)
Approval of Rentals .....All rentals shall be approved by FCDH, HND, or the Housing Authority to assure occupancy by qualifying households in accordance with the following eligibility criteria:
(1)
Income. .....Family income at the time of purchase shall not exceed the limits set forth by FCDH or HND. Families whose income increases above the eligibility requirements may continue to occupy the rental unit, unless otherwise required through terms of the rental agreement between the lessor and lessee.
(2)
Residency. .....At least one member of a qualifying household must have lived or worked in Forsyth County for the past twelve (12) months.
(B)
Change in Occupancy .....Every change in occupancy during the fifteen (15) year term of the contract shall be approved by FCDH or HND to assure continued compliance with eligibility criteria.
(C)
Maximum Rent .....The maximum rent allowed shall be computed by multiplying the applicable percentage of median income by the value of median income at the time of the transaction, then multiplying the resulting value by the maximum percentage of income spent for housing, as recommended by the mortgage banking industry. The value for median income used in calculating maximum allowable rent shall be adjusted to reflect the maximum family size appropriate for the number of bedrooms, as determined by FCDH or HND.
3-9.5 DISCLOSURE OF CONTRACT TERMS TO POTENTIAL HOME-BUYERS
(A)
Explanation to Prospective Buyer .....Staff from the FCDH or HND shall meet with the prospective buyer prior to the purchase to assure that all terms of the contract are fully understood. Such explanation shall communicate that although building permits for the improvements to the structure may be obtained if the owner wishes to remodel or construct an addition or accessory structures, there is no assurance that the investment will be regained if the unit is sold prior to the expiration of the contract due to the requirement that it be purchased by a moderate income household.
(B)
Home Ownership Counseling .....Home ownership counseling shall be made available to first-time buyers to provide information on such topics as insurance and maintenance. The counseling shall be provided by FCDH or HND.
3-9.6 CONVEYANCE OF PROPERTY TO FORSYTH COUNTY, CITY OF WINSTON-SALEM OR THE HOUSING AUTHORITY
Land donated to Forsyth County or Winston-Salem pursuant to Section B.3-9.2(C) to enable a developer to obtain a density bonus shall be donated in trust for the purpose of the development of affordable housing. An agreement between the developer and Forsyth County or Winston-Salem and the instruments of conveyance shall insure this trust as determined by the County or City Attorney.
3-10.1 APPROVAL
(A)
Wherever water supply and sanitary sewer facilities of Winston-Salem/Forsyth County Utilities are not available, application for a zoning permit or a special use permit shall not be deemed acceptable unless the proposed methods of water supply and sewage disposal have been specifically approved in writing by an authorized officer of the appropriate agency. No excavation or construction for any building or use of land shall be commenced until such approval is noted on the plan of proposed development and a zoning permit is issued.
(B)
Connections and/or extensions to the Winston-Salem/Forsyth County Utility Commission Water and Sanitary Sewer System must be reviewed and approved by the Plan Review Section of the Utilities Department of the City of Winston-Salem.
(C)
Private water supply and/or sanitary sewer system must be reviewed and approved by North Carolina Department of Natural Resources.
(D)
Any privately owned water supply and/or sanitary sewer system must be built in accordance with current Winston-Salem/Forsyth County Utility Commission standards and specifications. Winston-Salem/Forsyth County Utility Commission reserves the right to deny acceptance of any existing privately owned water supply or sanitary sewer systems.
(E)
All preliminary development plans, which include privately owned water supply and/or sanitary sewer systems, must be certified and sealed by a licensed North Carolina civil engineer that the water supply and/or sanitary sewer systems will comply with the current Winston-Salem/Forsyth County Utilities Commission standards.
(F)
At the request of CCUC and/or the Town of Lewisville, the developer or its successors shall connect all privately held water and/or sewer collection lines, at its own expense, to public water and sewer when such services are made available.
(G)
No permitted package treatment plant as of the effective date shall sell or transfer any excess capacity outside of the subject subdivision or PRD within the LRO.
(UDO L-144, §§ 6, 7, 4-10-14)
Any such approval shall specify the method or methods approved and shall describe any special conditions to be met. Such methods, and the approvals required, may include the following:
(A)
Public Sewer .....Connection to community sewerage and water systems operated by a responsible person, firm or corporation other than a governmental agency, where the proposed connection is approved by an authorized officer of each system.
(B)
Private Sewer .....Installation of facilities other than public or community sewerage systems, for which design approval by the Public Health Department has been obtained.
The sewerage and water systems to which connections are to be made shall be only those systems approved as follows:
(A)
Water Supply
(1)
For ten (10) to twenty-five (25) dwelling units, approval by the State Board of Health.
(2)
For twenty-five (25) or more dwelling units, approval by the State Board of Health and the State Utilities Commission.
(B)
Sewage Collection and Treatment
(1)
For a septic tank, approval by the Public Health Department.
(2)
For a sewerage system serving facilities regulated by the State Board of Health, i.e., institutions, restaurants, motels, etc., approval by the Public Health Department.
(3)
For a sewerage system serving all other uses, i.e., industry, commerce, communities, etc., approval by the North Carolina Department of Water and Air Resources when applicable.
The person, firm, or corporation operating a community water system for twenty-five (25) or more customers or a sewerage system for which a rate is charged shall hold a certificate of public convenience and necessity from the State Utilities Commission, and there shall be recorded with a plat of the property the written affidavit of a registered engineer, engaged in the independent practice of civil engineering, that water and sewer mains and laterals comply with pertinent standards of the city, as existing on the date of the affidavit, and that such mains and laterals are installed in accordance with plans and specification which have been submitted to and approved in writing by the Director of Public Works of the City of Winston-Salem; and a bond or bonds, or other form of written assurance, satisfactory to the Planning Board, assuring the continuous proper maintenance and operation of such sewerage and water systems.
3-11.1 LIGHTING
(A)
The purpose of this section is to regulate the intensity of exterior lighting and seek conformity with International Dark Sky Association recommendations. The intent is to prevent light from commercial and residential developments from excessively illuminating the property in question, other properties, or the night sky.
(B)
Only light fixtures which are categorized as full cut-off (FCO) fixtures shall be permitted. The use of fully shielded (FCO) floodlights are permitted but not encouraged.
(C)
The following are specific standards for lighting intensity based upon the land use involved. Values are presented in allowable foot-candles (fc) maintained (measured horizontally) at grade and are to be averaged throughout the site to avoid hot spots, i.e. areas of extreme light intensity relative to the remainder of the site:
(D)
Athletic fields must be illuminated with fixtures equipped with the manufacturer's glare control package. If the manufacturer does not offer a glare control package, the fixture specifications must be changed to a manufacturer that does offer a glare control package.
(E)
Gas station canopies shall be illuminated at a maximum illuminance of thirty (30) fc and individual fixtures shall be flush mounted or have the canopy edge below the lowest light-emitting point on the fixtures. All existing gas station canopies which exceed this standard shall be made compliant within seven (7) years of the date of adoption of this article.
(F)
Up-lighting may be used to illuminate a building, landscaping element or architectural feature, provided the lighting design has a maximum illuminance of twelve (12) fc, measured in a vertical plane. Down lighting is preferred.
(G)
Any replacements or changes to existing lighting on commercial or residential property shall follow the requirements as stated above. Lighting attached to single family residential structures and light poles less than eight (8) feet in height on residential property shall be exempt from this requirement.
(UDO L-154, § 2, 6-14-18)
All air handling machinery, dumpsters, compressors or water coolers for nonresidential uses shall be set back a minimum distance of fifty (50) feet from any property line adjacent to residential uses or residentially zoned land.
Other Development Standards
3-1.1 GENERAL REQUIREMENTS
(A)
Applicability .....In all zoning districts, every use of a building, structure, or piece of land hereafter erected, modified, enlarged, or increased in capacity shall comply with the dimensional requirements as set forth in this section.
(B)
Nonconforming Situations and Variances .....There shall be no variations from the dimensional requirements of this section except in nonconforming situations (Section B.5) or where the Board of Adjustment may waive the dimensional requirements (Section B.6-1.4(B)).
(C)
Dimensional Requirements .....The dimensional requirements which specify minimum lot area, minimum lot width, minimum setbacks, maximum impervious surface cover, maximum height, and minimum contiguous area, where applicable, are set forth in Table B.3.1, Table B.3.2, Table B.3.3, and Table B.3.4. Dimensional and other requirements of zoning districts are set forth in Section B.2-1.
Table B.3.1
Residential Districts General Dimensional Requirements
1,2,3
1.
These dimensional requirements are subject to additional provisions in Section B.3-1.2; Section B.2-5; Section B.2-1.6(C); Section B.3-4; Section B.3-5; and Section B.3-8.
2.
Larger lot width, depth, or area may be required by the Public Health Department for the installation of septic systems.
3.
Additional dimensional requirements for residential uses in other districts are listed in Tables B.3.3 and B.3.4.
4.
No setback is required for twin homes; all other uses must be set back a minimum of five (5) feet.
5.
Ranges of requirements for RSQ are listed; dimensional requirements are based on use in the district. Please refer to Section B.2-1.2(J)(2).
6.
Ranges of requirements for RM-5 are listed; dimensional requirements are based on use in the district. Please refer to Section B.2-1.2(K)(2).
7.
Nonconforming lots in the YR and AG Districts meeting the provisions of Section B.5-3.2(C) must meet the minimum setback requirements of the RS-20 zoning district.
8.
Three story structures in RM-8 must be setback a minimum of fifty (50) feet from adjacent properties zoned for single family residential development.
9.
Where the main entrance to a single family residence is located on a side yard, the setback for the portion of the wall on which the door is located shall be equal to the front yard setback.
Table B.3.2
Nonresidential Districts General Dimensional Requirements
1,2
1.
These dimensional requirements are subject to additional provisions in Section B.3-1.2; Section B.2-5; Section B.2-1.6(C); Section B.3-4; Section B.3-5; and Section B.3-8.
2.
Larger lot width, depth, or area may be required by the Public Health Department for the installation of septic systems.
3.
Certain districts have an option for height (e.g., 60/unlimited). The first number indicates the maximum height allowed at the minimum setback required adjacent to property zoned RS, RM (except RM-U), YR, AG, or H. Heights may be increased according to the provisions of Section B.3-1.2(D) and (E). Height limits for the C District vary per Growth Management Areas (see Section B.2-1.5(B)(2)).
4.
Minimum area and width requirements may be reduced for the CPO, NSB, and CPI Districts under the respective subsections of Section B.2-1.5(B)(2).
5.
The eighty percent (80%) limit applies only in GMA 3, per Section B.2-1.3(D).
6.
Side yards are not required, however any side yard provided adjacent to an interior lot line shall be not less than twelve (12) feet in width. A space less than six (6) inches in width between an interior lot line and a building wall shall not be regarded as a side yard.
7.
The seventy percent (70%) limit does not apply to GMAs 1 and 2, per Section B.2-1.5(B)(2).
8.
Whenever a lot in a nonresidential district other than the NB or NO Districts shares a common boundary line with a lot in a residential district (except RM-U), YR, AG, or H District with no intervening street or highway, the lot in the nonresidential district shall have a required setback along the shared boundary line of not less than forty (40) feet or shall have the required setback for the nonresidential district, whichever is greater.
Table B.3.3
Minimum Lot Sizes (Square Feet) for Permitted Single Family,
Two-Family, and Multifamily Residential Buildings
on Small Lots in RM Districts
1.
Permitted densities for other multifamily developments not shown in this table are calculated based upon the suffix number of the RM District (e.g., RM-5 allows five (5) units per acre).
Table B.3.4
Other Dimensional Requirements
(UDO L-164, § 2, 7-8-21)
3-1.2 SUPPLEMENTARY DIMENSIONAL REQUIREMENTS
The following supplementary dimensional regulations shall apply to all buildings and structures not subject to the general dimensional requirements of Section B.3-1.1:
(A)
Structures Permitted Above Height Limits .....The height limitations of Section B.3-1.1 shall not apply to the following structures and the Downtown Overlay District (see Appendix).
(1)
Buildings used in support of agricultural operations;
(2)
Chimneys, unoccupiable steeples, spires, flagpoles, cupolas, roofventing pipes, and freestanding rooftop mechanical equipment (including unenclosed screening);
(3)
Transmission towers;
(4)
Water towers, observation towers, silos, and power transmission towers;
(5)
Mixing plants, and screening or loading towers for sand or rock; and,
(6)
Derricks and conveyors.
(B)
Structures Which may Encroach into Required Yards .....The following structures may encroach into required yards as follows:
(1)
Open Porch. .....An open porch may project into a required front or rear yard not more than ten (10) feet, provided that such projection does not reduce the remaining open portion of the yard to a depth of less than fifteen (15) feet.
(2)
Above Grade Decks. .....Unenclosed above grade decks at the main living level of a single family residence may encroach into a required side yard, but may not extend closer than seven (7) feet to the property line and ten (10) feet to the nearest building.
(3)
Bay Window. .....A bay window may project into any required front or rear yard not more than three (3) feet.
(4)
Architectural Features. .....Architectural features, such as sills, belt courses, and cornices, may project into any required yard not more than one foot.
(5)
Roof, Eave, Chimney, or Awning. .....A roof, eave, chimney, or awning may project into any required yard not more than three (3) feet.
(6)
Canopy. .....Canopies, either attached or detached, used in conjunction with retail uses in business, office, or industrial districts, may project into a required front yard, provided that such projection does not reduce the remaining open portion of such yard to a depth of less than ten (10) feet.
(7)
Open Stairs. .....Open stairs to a second story of a residence may project into any required side or rear yard but shall not encroach into the required front yard.
(8)
Satellite Dishes. .....Satellite dishes greater than two (2) feet in height shall meet the requirements of accessory structures in required yards in Section B.3-1.2(F).
(C)
Improvements Permitted in Required Yards .....The following improvements are permitted in required yards provided there is no interference with any recorded sight easement:
(1)
Landscape Features. .....Landscape features, including, but not limited to, ornamental pools, planting boxes, sculpture, birdbaths, open terraces, walkways, walls, or fences; and,
(2)
Other Improvements. .....Other constructed improvements specifically exempted in the definition of Structure, including, but not limited to, gate houses or bus shelters, mailboxes, pump houses or wells, shelter for pets, playhouses, outdoor fireplaces, flagpoles, underground fallout shelters not extending more than four (4) feet above grade, and wharves unless otherwise regulated under Section B.3-11.2. Air conditioning compressors are exempted, subject to the provisions of Section B.3-11.2.
(D)
Setbacks for Taller Structures in GO, CPO, GB, GI and MU-C Districts
(1)
Purpose. .....The purpose of setback standards for taller structures in these districts is to give flexibility to nonresidential development while preventing structures significantly taller than single family dwellings from being constructed in close proximity to such homes; thereby maintaining the privacy and outdoor enjoyment typically provided in single family districts and neighborhoods.
(2)
Setback and Measurement. .....The height of any building may be increased above the normal maximum by one foot for each foot of additional setback beyond the minimum setback required if adjacent to property zoned RS, RM (except RM-U), or H. If adjacent to other zoning districts, there is no height limit. Please refer to appropriate subsections in Section B.2-1.
(3)
Exceptions. .....Buildings above the normal height maximums are not allowed in the following situations:
(a)
Where the proposed development is for single family detached, duplex, or twin home uses; or,
(b)
Where the proposed development involves redevelopment or change of use of an existing site and does not increase the height or reduce the setback of the existing primary structure closest to the single family use or district.
(E)
Setbacks for Taller Structures in the C District
(1)
Purpose. .....The purpose of special setbacks for taller structures in the C District is to give flexibility in designing and developing structures for these districts while at the same time protecting residential development adjacent to the C District from the impacts on privacy and outdoor enjoyment that structures built above the standard height limits might have.
(2)
Exception From Height Limits. .....Existing buildings or buildings under construction on or before April 15, 1991 shall be exempt from the height requirement.
(3)
Setback and Measurement. .....No new building, or an addition to an existing building which is exempt from the height requirement, shall exceed the normal maximum height of sixty (60) feet allowed in the C District unless the building is set back at least forty (40) feet from any property zoned RS, RM (except RM-U), or H. For each foot of setback from property zoned RS, RM (except RM-U), or H beyond forty (40) feet, the maximum permitted height of a building may be increased by one foot. If the building is set back at least one hundred twenty (120) feet from all property zoned RS, RM (except RM-U), or H, or is adjacent to other zoning districts, there is no height limit. Please refer to Section B.2-1.5(B).
(F)
Accessory Structures Permitted in Required Yards
(1)
Interior Lots. .....An accessory structure seventeen (17) feet or less in height and structurally detached from the principal structure on the zoning lot may be erected on any interior lot in either the required side or rear yards, if no part of said structure is less than seventy-five (75) feet from the front lot line nor less than three (3) feet from a side or rear lot line.
(2)
Corner Lot. .....An accessory structure less than seventeen (17) feet in height and structurally detached from the principal structure on the zoning lot may be erected on a corner lot, provided that:
(a)
Said structure shall be erected in the required side yard not abutting the street, and no part of said structure is less than seventy-five (75) feet from the front line nor less than three (3) feet from a side or rear lot line; or,
(b)
Said structure shall be erected in the required rear yard and shall not project beyond, or nearer to, the street than the front setback line of the district, as extended, of the adjacent lot whose front yard abuts the corner lot in question.
(3)
Height. .....For purposes of this section, the height shall be measured from the average grade of the midpoint of the front wall to the ridge of the roof of the accessory building.
(G)
Size Limits for Accessory Structures.
(1)
Maximum Area. .....Accessory structure may not exceed five percent (5%) of the actual size of the zoning lot or the minimum permitted lot size of the zoning district, whichever is smaller. However, an accessory structure up to five hundred seventy-six (576) square feet in area shall be permitted in all districts.
(2)
Board of Adjustment. .....Requests for structures containing greater area than prescribed in Section B.3-1.2(G)(1) may be considered under the special use permit process through the Board of Adjustment.
(3)
Required Yard. .....Accessory structures may not occupy more than twenty-five percent (25%) of the area of the required yard.
(H)
Accessory Structures Prohibited in Required Yards .....An accessory structure any part of which is within three (3) feet of the principal building or which is more than seventeen (17) feet in height shall comply with all the zoning regulations applicable to the principal building.
(I)
Special Yard Requirements for Older Neighborhoods .....Alternative dimensional requirements are available for neighborhoods which were originally platted or developed prior to March 3, 1948, and where at least fifty percent (50%) of the other lots on the block in question are developed. See Section B.3-8.
(J)
Special Yard Requirements Where Nonresidential Districts Adjoin Residential Districts .....Where a lot in a nonresidential district other than the NB or NO Districts shares a common boundary line with a lot in a residential district (except RM-U), YR, AG, or H District with no intervening street or highway, the lot in the nonresidential district shall have a required setback along the shared boundary line of not less than forty (40) feet or shall have the required setback for the nonresidential district, whichever is greater.

Business/Residential Zone
(K)
Building Spacing Requirements for Multifamily, Townhouse, or Twin Home Residential Buildings .....If a zoning lot is developed for multifamily, townhouse, or twin home residential buildings, the following method shall be used to determine the minimum spacing of buildings. The spacing of buildings shall be shown on a site plan prepared according to the provisions of Section B.7.
(1)
Calculation of Triangle. .....For yards exclusive of those on the project perimeter, each wall of every dwelling shall have a minimum yard space in the shape of an imaginary isosceles triangle. The base of said triangle shall be a line connecting the extreme ends of the wall of the building and whose altitude shall be the length of the base line multiplied by a factor related to the height of the dwelling as provided in Table B.3.5 and illustrated in the accompanying figure. There shall be a minimum distance of fifteen (15) feet between any walls of one-story buildings and twenty (20) feet between two-story buildings. Any wall over ten (10) feet long shall be treated as a separate wall.
TABLE B.3.5
Altitude Factors Used to Determine Building Height
(2)
Overlapping Triangles Prohibited. .....The yard spaces thus established by the isosceles triangles shall not overlap the yard space for any other wall of the same or any other dwelling.
(3)
Other Spacing Requirements. .....Building spacing for twin home and three (3) and four (4) unit multifamily and townhouse residential buildings may be reduced to a minimum of twenty (20) feet.
Building Spacing Requirements
(4)
Alternative Compliance. .....A developer may propose spacing for buildings that varies from the strict application of the provisions of the section in order to accommodate the unique character of the site or to utilize innovative design. Application for alternative compliance shall include a site plan following the requirements of Section B.7 and any additional architectural plans, elevations, or perspective drawings to illustrate the proposed building design and/or placement alternative. Alternative compliance shall be approved by the Planning Board only upon a finding that the building architecture and site plan fulfills the following criteria as well or better than would strict conformance with the requirements of this Ordinance:
(a)
The project provides adequate air and light to the development and surrounding properties.
(b)
Through the use of a variety of fenestration patterns, building facade offsets, roof line treatments, and other architectural features, the perceived bulk, scale, and length and width of the building is congruous with surrounding buildings.
(c)
The development provides for orderly and easy movement of traffic and pedestrians.
(d)
The project will not be injurious to property or improvements in the affected area.
(e)
The project is in accordance with all development criteria established by the Elected Bodies' adopted plans and policies including Vision 2005, area plans, and development guides.
(L)
Double Frontage Lots .....Double frontage lots shall provide a front yard abutting each fronting street, in the depth as required in the applicable district.
(M)
Double Counting of Yard, Lot Area, Loading Area or Parking Area .....No space which has been counted as part of a yard, lot area, parking area or loading area required under this Ordinance for one building or use shall be counted to satisfy or comply with a yard, lot area, loading area or parking area requirements for any other building or use, except where shared parking is permitted in Section B.3-3.5(B). The minimum required yards, lot area, parking area or loading area for any building or use existing or under construction at the time of the passage of this Ordinance shall not be encroached upon or counted to satisfy such requirements for any other building or use, except as permitted in Section B.3-3.5(B).
(N)
Width of Private Access Easements and Private Streets .....An access easement, or private street, connecting a public street or highway to principal uses which depend upon such easement for access, shall be not less than twenty-five (25) feet in width and shall be recorded in the office of the Register of Deeds. Any use abutting such easement shall be located on a zoning lot and shall comply with all dimensional requirements of the applicable district. No zoning permit shall be issued for a principal use not abutting upon a public street or a private street which complies with this provision. This width requirement does not apply to any driveway located on a zoning lot or to any alley.
(O)
Utility Easements .....No part of any building shall be constructed within the boundaries of a utility easement unless specifically granted and authorized by the grantor of such easement in a written and properly recorded easement.
(P)
Minimum Lot Size
(1)
RS and RM Zoning Districts. .....In all RS and RM zoning districts, the minimum area of a zoning lot to be used for a single family dwelling where public or community water supply and sewage disposal systems are not available for connection shall be as determined by the Public Health Department, but in no case shall the area of such lot be less than the greater of twenty thousand (20,000) square feet or the minimum lot size required in the zoning district.
(2)
MH Zoning District. .....In the MH zoning district, the minimum area of a zoning lot to be used for a manufactured home park where public or community water supply and sewage disposal systems are not available for connection shall be as determined by the Public Health Department, but in no case shall the area of such lot be less than four (4) acres. The minimum area of a zoning lot to be used for a single family dwelling where public or community water supply and sewage disposal facilities are not available and used shall be determined by the Public Health Department, but in no case shall the area of such lot be less than twenty thousand (20,000) square feet.
(Q)
Flag Lots
(1)
Driveway Access. .....Twenty-five (25) feet of the width of the "pole" or driveway access to the flag lot may not be used in the calculation of the lot area of the flag lot;
(2)
Lot Area and Yard Calculation. .....The pole may not be used for either lot area or yard calculation of any other lot; and,
(3)
Multiple Flag Lots. .....If more than one flag lot is proposed to the rear of another lot or stacked off the street, a special use permit from the Board of Adjustment is required.
(R)
Lot Area in Right-of-Way .....No land area of the lot which lies within the public street right-of-way may be used for the purposes of lot area or any other lot dimensional requirements.
(S)
Setback Exemption from Private Access Easements .....A private access easement to one single family lot shall not be considered a street requiring an additional setback as a side against a street or as a corner lot.
(UDO L-164, § 2, 7-8-21)
3-2.1 SIGN REGULATIONS
(A)
General Requirements
(1)
Applicability. .....Signs, in the districts where they are permitted, shall hereafter be erected or placed only in compliance with the provisions of this section, provided that any sign permitted by this Ordinance, regardless of location on- or off-premises, orientation, sign structure, or subject matter, may display noncommercial messages.
(2)
Zoning Permit Required. .....A zoning permit shall be secured from the Zoning Officer prior to the construction, reconstruction, erection, enlargement, relocation, or structural alteration.
(3)
Prohibited Signs. .....The following signs or use of signs is prohibited:
(a)
Flashing Lights. .....Signs displaying intermittent or flashing lights similar to those used in governmental traffic signals or used by police, fire, ambulance, or other emergency vehicles.
(b)
Use of Warning Words or Symbology. .....Signs using the words stop, danger, or any other word, phrase, symbol, or character similar to terms used in a public safety warning or traffic signs.
(c)
Temporary, Nonpermanent Signs. .....Temporary, nonpermanent signs, including over-head streamers, are not permitted in any zoning district, unless otherwise specified in these regulations.
(d)
Moving and Flashing Signs .....(excludes electronic time, temperature, and message signs). Moving and flashing signs, excluding electronic time, temperature, and message signs, are not permitted in any zoning district.
(e)
Roof Signs.
(f)
Neon, plastic panel, and internally lighted signs are prohibited in any zoning district.
(4)
Illumination. .....Illuminated signs shall be so shielded as not to cast direct light onto any residential district.
(5)
Materials. .....Signs shall be made of wood, brick, metal, stone, or other substantial opaque materials.
(B)
Permitted Signs
(1)
Signs Permitted in Any District.
(a)
Entrance and Exit Signs. .....One entrance and one exit sign containing a maximum of two (2) square feet each and a maximum height of three (3) feet shall be permitted per driveway. Entrance and exit signs shall contain no commercial content other than a symbol, name or logo of the establishment it serves.
(b)
Emergency, Safety, Warning, or Traffic Signs. .....Emergency, safety, warning, or traffic signs installed by or at the direction of a governmental authority or with its approval shall be permitted without size limitations.
(c)
Local, State, and National Flags. .....Local, state, and national flags shall have no size limitations.
(d)
Real Estate Signs. .....In all RS and RM Districts, a real estate sign is limited to six (6) square feet. In all other districts, real estate signs shall not exceed a maximum sign size of four (4) feet long and four (4) feet wide with a maximum height of four (4) feet. Lead-in (directional) signs are allowed from Friday noon to Monday noon.
(e)
Political Signs. .....Political signs shall not exceed three hundred eight (308) square inches in size.
(f)
On-premises Religious Institution Signs. .....On-premises signs for religious institutions are permitted with the following conditions:
(i)
Freestanding Identification Signs. .....One sign permitted per street frontage; maximum copy area eighteen (18) square feet; maximum height five (5) feet. Other standards of Sections B.3-2.1(E)(2), (3)(a), (4) and (9) shall apply.
(ii)
Wall Signs. .....One wall sign per street frontage permitted, consistent with the requirements of Section 3-2.1(F). No roof signs are permitted.
(iii)
Projecting Signs. .....Projecting sign permitted consistent with Sections 3-2.1(E)(2), (3)(a), (4) and (9) shall apply.
(iv)
Awing Signs. .....Awning signs not permitted.
(v)
Bulletin Boards. .....One on-premises bulletin board with changeable copy permitted per church entrance; maximum exterior sign dimension eighteen (18) square feet permitted. Bulletin board signs shall be located within twenty (20) feet of a building on the church property.
(vi)
Building Materials. .....Materials consistent with the character of the main structures of the religious institution.
(vii)
Prohibited Signs. .....No neon, plastic panel, plastic panel rear lighted, flashing signs or other signs listed in Section B.3-2.1(A)(3) permitted.
(g)
Occupancy Signs. .....Occupancy signs shall be limited to one sign per dwelling unit or principal use, and no such sign shall exceed one square foot in area.
(h)
Historical Markers. .....Historical markers shall be erected or placed by a bona fide historical association or by a governmental agency and shall not exceed twelve (12) square feet in area.
(i)
Landmark Indicators. .....Landmark indicators including signs, banners or streamers displayed in the downtown, center city, or other limited areas, which promote special points of interest and events and do not exceed fourteen (14) square feet in area are permitted. Said signs shall be installed by the jurisdiction, its agents, or employees, at the direction of, or with the approval of, the Elected Body.
(j)
Information, Direction, and Identification Signs. .....Information, direction, and identification signs installed by or at the direction of a governmental authority or with its approval and institutional use signs: On-premises ground and projecting signs not to exceed thirty-six (36) square feet. Signs shall be so located to not obstruct the vision of drivers of motor vehicles. Wall and roof signs shall also be permitted.
(k)
Agricultural Signs. .....Up to two (2) off-premises directional signs are permitted for agricultural produce grown and sold on the premises.
(l)
Residential Construction and Development Signs. .....Temporary signs that identify construction and marketing information for residential subdivisions and planned residential developments are permitted during construction provided:
(i)
Maximum number: one;
(ii)
Maximum copy area: thirty-two (32) square feet;
(iii)
Maximum height: ten (10) feet;
(iv)
Maximum duration: no such sign shall exist beyond issuance of the development's last Certificate of Occupancy or when construction ceases for twelve (12) months, whichever occurs first.
(m)
Commercial Construction and Development Signs. .....Temporary signs that identify construction and marketing information for commercial properties are permitted provided they meet the following requirements:
(i)
Signs at construction sites for new development
[A]
Maximum number: one;
[B]
Maximum copy area: thirty-two (32) square feet;
[C]
Removal: upon issuance of a Certificate of Occupancy;
[D]
Additional signage: following receipt of a Certificate of Occupancy, one additional sign is permitted with a maximum sign size of four (4) feet long and four (4) feet wide with a maximum height of four (4) feet for a period not to exceed one year.
(ii)
Signs at construction sites for redevelopment of building(s) with one to three (3) tenants are permitted provided the developer displays leasing or construction information on the existing permitted ground, wall or projecting sign.
(iii)
Signs at construction sites for redevelopment of building(s) with four (4) or more tenants shall be permitted a maximum sign size of four (4) feet long and four (4) feet wide with a maximum height of four (4) feet to display only marketing and leasing information.
(n)
Job Site Signs. .....Signs placed in RSQ and RM districts that help contractors identify job sites are permitted provided they shall be removed when that trade is no longer active at the site.
(o)
Grand Opening Signs. .....Signs that advertise grand opening events for new business locations on that site in nonresidential zoning districts are permitted once provided they meet the following criteria:
(i)
Maximum duration: fourteen (14) days;
(ii)
Maximum copy are: forty-eight (48) square feet for wall signs and six (6) square feet for ground and projecting signs; roof signs are prohibited;
(iii)
Maximum height for ground signs: four (4) feet.
(2)
Application of Table of Permitted Districts for Signs. .....The following signs shall be permitted in the zoning districts as indicated in Table B.3.6, and shall comply with all regulations of the applicable district unless otherwise regulated by specific regulations of this section.
Table B.3.6
Permitted Districts for Signs
Z =
Districts in which signs permitted; zoning permit required.
(C)
Off-Premises Ground Signs
(1)
Zoning Districts. .....Ground signs (off-premises) are permitted only in the districts as shown in Table B.3.6 and only along designated roads which are not identified as view corridors listed in Section B.3-2.1(C)(2).
(2)
View Corridors. .....No off-premises sign shall be permitted in any view corridor as described below and shown on the View Corridor Map located in the office of the Planning Board.
Table B.3.7
View Corridors
(3)
Designated Roads.
(a)
Permitted Areas. .....Ground signs (off-premises) are permitted only along roads in the Interstate System or the National Highway System.
(4)
Location and Setbacks.
(a)
Distance from the centerline. .....Ground signs (off-premises) shall be located within six hundred sixty (660) feet of the centerline of the roadway to which they are oriented.
(b)
Spacing. .....Ground signs (off-premises) shall be located no closer than one thousand (1,000) feet from other off-premises signs on the same side of the road.
(c)
Setback. .....Ground signs (off-premises) shall be set back from each property line a minimum of one-half the distance required by the Zoning Ordinance for principal structures as defined in Section B.2-1 and Tables B.3.1 and B.3.2.
(d)
Distance from Residential Zones. .....Ground signs (off-premises) shall be located no closer than the following distances from residentially zoned property:
(i)
Freeways/Expressways in the Interstate System. .....On freeways/expressways in the Interstate System:
[A]
Twenty-five (25) feet from any residence;
[B]
Fifty (50) feet from any residential zone abutting the permitted zone away from the roadway; and,
[C]
One hundred (100) feet from any residential zone abutting the permitted zone parallel to the roadway.
(ii)
Other Roads in the National Highway System. .....On other roads in the National Highway System:
[A]
Twenty-five (25) feet from any residence;
[B]
One hundred (100) feet from any residential zone abutting the permitted zone away from the roadway; and,
[C]
One hundred (100) feet from any residential zone abutting the permitted zone parallel to the roadway.
(5)
Size Measurement.
(a)
Area Calculation. .....The sign area for ground signs (off-premises) shall be computed by means of the smallest square, circle, rectangle, triangle, or combination thereof, which will encompass the entire sign designated to attract attention, including any molding, trim, border, or frame. Any such measurements shall be taken on only one face of the sign; however, informational or advertising matter may be displayed on both sides of any permitted sign.
(b)
Maximum Sign Area. .....The maximum sign area of an off-premises ground sign shall be limited, depending on location, as follows:
(i)
On freeways/expressways in the Interstate System outside the Center City Area, maximum sign size shall be six hundred seventy-two (672) square feet plus one hundred (100) square feet for extensions.
(ii)
On freeways/expressways in the Interstate System inside the Center City Area maximum sign size shall be four hundred fifty (450) square feet.
(iii)
On other roads in the National Highway System outside the Center City Area maximum sign size shall be three hundred (300) square feet.
(c)
Height. .....Off-premises ground signs shall be limited to a maximum height of thirty-five (35) feet above the roadway to which it is oriented or grade of the site on which the sign is located, whichever is higher. Sign height shall be measured to the highest portion of the sign, including any molding, trim, border, or frame designed to attract attention, excluding any extensions.
(6)
Number of Faces. .....Off-premises ground signs shall be permitted to have a maximum of two (2) faces, provided, however, that stacked and/or rooftop locations of off-premises signs shall not be permitted.
(D)
On-Premises Signs - Awning Signs
(1)
Zoning Districts. .....Awning signs are permitted only in the districts as shown in Table B.3.6.
(2)
Illumination. .....No background illumination of an awning sign is permitted.
(3)
CB District Restriction. .....In the CB District, printed information, limited to the name, street number, and address, or logo of the establishment(s) occupying the building to which the awning is attached, may be printed on the outside surface area of the awning. Printed information and/or logo shall not exceed one square foot per linear foot of building frontage on the street or thirty percent (30%) of the total outside surface area of the awning, whichever is less.
(4)
Restrictions in NO and NB Districts. .....In the NO and NB Districts, only one of the following signs is permitted for each business: awning, ground (on-premises), projecting, or wall.
(E)
On-Premises Signs - Ground Signs, Projecting Signs
(1)
Zoning Districts. .....Ground signs (on-premises) and projecting signs are permitted only in the districts as shown in Table B.3.6 or as specified in Section B.3-2.1(E)(9).
(2)
Location and Setbacks.
(a)
All parts of ground signs (on-premises) must be completely out of the right-of-way.
(b)
On premises projecting signs that come within six (6) feet of the edge of a right-of-way should be ten feet above the grade and should not extend into the right-of-way.
(c)
Ground signs (on-premises) shall be set back a minimum of one linear foot per square foot of sign area from any structure used exclusively as a residence.
(3)
Sign Measurement.
(a)
Area Calculation. .....Sign area shall be computed by means of the smallest square, circle, rectangle, triangle, or combination thereof, measuring the copy area. The outside dimensions of the sign, exclusive of structural support shall not increase the overall dimensions by more than twenty-five percent (25%).
(b)
Maximum Sign Area. .....The maximum sign area of ground (on-premises) signs in any zoning district shall be limited in area to a maximum of eighteen (18) square feet. Projecting signs in any zoning district shall not exceed an area of six (6) square feet.
(c)
Height. .....The maximum height of a ground (on-premises) sign shall be five (5) feet, measured from the road to which the sign is oriented or grade of the site, whichever is higher. Where a sign interferes with pedestrian clearance or sight distance, the lowest part of the sign shall be a minimum of nine (9) feet from the grade of the site on which the sign is located. Sign height shall be measured from the highest portion of the copy area.
(4)
Number of Faces. .....Ground signs (on-premises) which contain two (2) faces may contain up to the maximum sign area as computed under size requirements in this section. Signs with three (3) faces shall contain a minimum of fifteen percent (15%) less sign area for each face than the standard maximum. A sign with four (4) faces shall contain a minimum of thirty percent (30%) less sign area for each face than the standard maximum.
(5)
Number.
(a)
Maximum. .....Every zoning lot frontage shall be allowed one on-premises ground or projecting sign per property. If the frontage abuts more than one street, one on-premises ground or projecting sign shall be permitted per street
(b)
Restrictions in NO and NB Districts. .....In the NO and NB Districts, only one of the following signs is permitted for each business: awning, ground (on-premises), projecting, and wall.
(6)
Exceptions.
(a)
Corner Lots and Lots with Two Hundred Fifty (250) Feet of Frontage. .....Corner lots and lots with two hundred fifty (250) or more feet of frontage are permitted a fifty percent (50%) addition in maximum ground and projecting sign size for using one sign where two (2) would be allowed.
(b)
Lots on Freeways/Expressways in the Interstate System. .....Signs located within four hundred (400) feet of the centerline of a freeway/expressway in the Interstate System, except in any RM District, may display additional sign area up to a maximum of two hundred (200) square feet and a maximum height of fifty (50) feet. This exception will become void along any highway which installs a government sponsored highway logo sign system.
(c)
Lots of Three (3) Acres or More. .....On zoning lots containing three (3) acres or more, the maximum size of ground and projecting signs shall be that permitted in the zoning district where the sign is permitted, regardless of the amount of road frontage of the lot.
(d)
Shopping Centers.
(i)
Number and Size. .....Any shopping center or multiple proprietorship in one building or connected buildings occupied by four (4) or more tenants shall be permitted a fifty percent (50%) increase in ground sign (on-premises) area. If the lot frontage is greater than one hundred fifty (150) feet, two (2) ground signs may be used with seventy-five (75) feet separation between signs and the fifty percent (50%) addition applies to both signs.
(ii)
Freestanding Building Signs. .....A freestanding building located within designated shopping center parking lots and containing eight hundred (800) square feet or more shall be permitted one additional ground sign (on-premises) not to exceed thirty-six (36) square feet.
(7)
Movie Theaters and Performance Halls. .....A changeable copy marquee may apply to either a ground or projecting sign with a fifty percent (50%) addition to the maximum size permitted in the district.
(8)
Illumination in RM Districts. .....In any RM District, internally illuminated signs are not permitted, except such internally illuminated signs in RM District which existed as of the effective date of this Ordinance .
(9)
On-Premises Ground and Projecting Signs in the YR, AG, MH, and RS Districts.
(a)
Permitted Districts and Uses. .....On-premises ground and projecting signs are allowed with the following uses in the YR, AG, and MH Districts, and in any RS District:
(i)
Agriculture production
(ii)
Cemetery, licensed or unlicensed
(iii)
Child day care center accessory to a church or school
(iv)
Church or Religious Institution, Neighborhood and Community
(v)
Fish hatchery
(vi)
Golf course
(vii)
Golf driving range
(viii)
Manufactured housing development
(ix)
Park and shuttle lot
(x)
Planned residential development and subdivision
(xi)
Riding stable
(xii)
Shooting range, outdoor
(xiii)
Utilities
(b)
Number and Size. .....Only one sign per use with a maximum of eighteen (18) square feet per zoning lot per street or right-of-way frontage. If a zoning lot is permitted more than one sign, there shall be at least fifty (50) feet of spacing between each sign.
(c)
Height. .....Fifteen (15) feet maximum, measured from the road or grade of the site to which the sign is oriented, whichever is higher.
(d)
Illumination. .....Internally illuminated signs are not permitted for these uses, except such internally illuminated signs which existed as of the time of the adoption of this Ordinance.
(F)
On-Premises Signs - Roof Signs, Wall Signs
(1)
Zoning Districts. .....Wall signs are permitted only in the districts as shown in Table B.3.6 or as specified in Section B.3-2.1(F)(5). Roof signs shall not be permitted except such roof signs which existed as the effective of this Ordinance.
(2)
Size.
(a)
Maximum Size. .....On-premises wall signs shall be limited to ten percent (10%) of the wall size. In calculating the size of a wall sign, the square footage of the principal building and accessory building(s) may be combined and the wall sign may be located on the wall of the accessory building; providing, however, the maximum size of such wall sign on the wall of an accessory building shall be no greater than thirty-six (36) square feet in area and not higher than ten (10) feet in height. Total wall face, for the purposes of calculating the sign area of a wall sign shall be determined as follows:
(i)
In a single story building:
[A]
All of the vertical surface of a single plane wall; and
[B]
For recessed or projecting surfaces, the sum of all the vertical surfaces.
(ii)
In a multi-story building, all of the vertical surface of the main floor only; or if multi-tenant or multi-levels, then the vertical surface of each level may be used in determining the area of each sign.
(iii)
For the purposes hereof, the term "single story" shall mean a maximum of fourteen (14) feet as it pertains to determining the maximum area of sign.
(iv)
Sign area of a wall sign placed on an irregular area, such as a gable or dormer, shall be based on the vertical surface area of that feature.
(v)
The maximum area of any wall sign shall not exceed one hundred fifty (150) square feet.
(b)
Restrictions in NO and NB Districts. .....In the NO District, sign size shall be limited to eight (8) square feet; in the NB District, sign size shall be limited to four (4) square feet.
(3)
Height.
(a)
Flat Roof Building. .....On a flat roof building, no roof signs are allowed. No wall sign shall project more than fifty percent (50%) of its height above the wall on which it is placed, but in no case shall extend more than two (2) feet above the wall.
(b)
Peaked Roof Building. .....Signs on a peaked roof building shall not extend above the peak of the roof.
(4)
Number.
(a)
Maximum Number. .....Only one wall sign per tenant and per wall shall be permitted.
(b)
Restrictions in NO and NB Districts. .....In the NO and NB Districts, only one of the following signs is permitted for each business: awning, ground (on-premises), projecting, and wall.
(5)
Wall Signs in the YR, AG, MH, and RS Districts. .....Wall signs are allowed with the following uses in the YR, AG, and MH Districts, and in any RS District:
(a)
Agriculture production
(b)
Cemetery, licensed or unlicensed
(c)
Child day care center accessory to a church or school
(d)
Church or Religious Institution, Neighborhood and Community
(e)
Fish hatchery
(f)
Golf course
(g)
Golf driving range
(h)
Manufactured housing development
(i)
Park and shuttle lot
(j)
Planned residential development
(k)
Riding stable
(l)
Shooting range, outdoor
(m)
Utilities
(6)
Rooftop Penthouses or Unenclosed Screening. .....No signage is permitted on either roof top penthouses or unenclosed screening of roof top mechanical equipment.
(7)
Roof Signs Not Permitted. .....Roof signs are not permitted, except such roof signs which existed as of the effective date of this Ordinance.
(G)
Other Sign Regulations
(1)
Menu Boards, Fast Food Restaurants. .....Menu boards for fast food restaurants must be located in such a way as to be viewed from a designated drive-through lane and not located within the required front, side, or rear yards.
(2)
Adult Establishment Advertisements. .....Adult establishments shall not be permitted to display promotional materials visible to the public from pedestrian sidewalks or walkways; nor shall any signage contain lewd or offensive language, or any sort of sexually explicit graphics.
(3)
Nonconforming Uses. .....Nonconforming uses shall be permitted on-premises ground, projecting, roof, or wall signs, provided such signs are on the premises of the use and provided:
(a)
Existing signs as of the time of adoption of this Ordinance which advertise a nonconforming use on a site shall comply with the requirements of any zoning district which would permit such use. These existing signs may be replaced, or may be replaced and increased by a maximum of twenty-five percent (25%) provided that such increase would not exceed the requirements of any zoning district which would permit such use. Existing signs meeting these requirements may be replaced due to deterioration or destruction.
(b)
Signs existing as of the time of the adoption of this Ordinance which advertise a nonconforming use on a site that do not comply with the requirements of any zoning district which would permit such use, shall have one hundred eighty (180) days after the time of the adoption of this Ordinance to come into compliance or the signs shall be removed.
(c)
Nonconforming uses which do not have ground (on-premises) signs on the site as of the time of the adoption of this Ordinance shall not be permitted to install such signs.
(4)
Parks and Recreation Areas Open to the Public With One Thousand (1,000) Acres or More. .....On-premises ground and projecting signs not to exceed seventy-five (75) square feet. Maximum height of signs shall be fifteen (15) feet. Signs shall be spaced at least four hundred (400) feet apart. Exempt from this spacing requirement are signs located within fifty (50) feet of the centerline of the main entrance to the park or recreation area. The main entrance shall be defined as the one major controlled access point from a major or minor thoroughfare to the park or recreation area. The nearest sign located to the main entrance signs shall meet the four hundred (400) foot spacing requirement. Signs shall be so located as to not obstruct the vision of drivers of motor vehicles.
(5)
Removal of Nonconforming Temporary Sign. .....Town employees and their designees may remove nonconforming temporary signs in the Town's right-of-way. Whenever a noncompliance sign on private property is found to exist within the Town, the Town Manager or his assigns shall give written notice to the owner or occupant of the property upon which such sign exists or upon the person causing or maintaining the sign. The issued notice to remove a sign shall contain:
(a)
An order to remove the sign or to request, in writing, a hearing within a stated time which shall be reasonable under the circumstances;
(b)
The location of the sign;
(c)
A description of the sign;
(d)
A statement of acts necessary to abate the situation;
(e)
A statement that if the sign is not removed or the situation abated as directed and no request for hearing is made within the prescribed time, the Town will remove such sign and assess the cost thereof against such person.
The opportunity for a hearing with the Town Manager shall be granted upon written request, properly delivered to the Town Manager within the allotted time.
(H)
Amortization Schedule
(1)
Nonconforming Signs. .....All nonconforming signs shall be removed or brought into compliance with the requirements of this Ordinance within seven (7) years from October 14, 1999, or until removed, renovated, altered, destroyed, or damaged as specified in this section, whichever is earlier. All nonconforming signs in any areas annexed into the Town of Lewisville after October 14, 1999 shall also be removed or brought into compliance with the requirements of this Ordinance within seven (7) years from the date of annexation or until removed, renovated, altered, destroyed, or damaged as specified in this section, whichever is earlier. Nonconforming signs situated on zoning lots used for any use allowed under the IP, RS zoning classifications and existing as of August 10, 2000, shall not be subject to amortization hereunder; provided such nonconforming signs shall be removed or brought into compliance if renovated, altered, destroyed or damaged as specified in this section; provided, further, however, with respect to all on-premises religious signs in any or all districts made nonconforming per Section B.3-2.1(B)(f), if any such religious sign is renovated, altered, destroyed or damaged, then such sign may be replaced with an identical sign so long as such sign is rebuilt within six (6) months or such renovation, alternation, destruction or damage.
(UDO L-134, § 11, 10-8-09; UDO L-138, § 1, 9-9-10; UDO L-164, § 2, 7-8-21; UDO L-168, 10-10-24)
3-3.1 GENERAL REQUIREMENTS
(A)
Parking, Stacking, Loading and Driveway Access Required .....In all districts except the CB and CI Districts, off-street parking, stacking, loading and driveway access shall be provided in compliance with this section, unless otherwise provided in this Ordinance.
(B)
Change in Size .....Only those portions of existing buildings or structures enlarged after the adoption of this Ordinance shall comply with the requirements of this section.
(C)
Changes in Use .....If a change in principal use causes an increase in the required number of off-street parking, stacking, or loading spaces, such additional spaces shall be provided in accordance with the requirements of this section. However, if the change in use requires an increase of less than five percent (5%) in the required number of spaces, no additional off-street parking, stacking, or loading spaces shall be required.
(D)
Use for No Other Purpose .....Land used to provide required parking, stacking, and loading shall not be used for any other purposes except for temporary events.
(E)
Separation of Parking and Loading Areas .....No loading area or access drive to serve such loading area shall be considered as required parking area. No parking area or access drive to serve such parking area shall be considered as required loading area.
(F)
Maintenance and Operation
(1)
Maintenance. .....All parking, stacking, and loading areas shall be permanently maintained by the owners or occupants for as long as the principal use exists.
(2)
Operation. .....All required parking areas shall be used exclusively for the parking of vehicles. Parking areas shall not be used for the storage of merchandise, location of dumpsters, or for the storage or repair of vehicles or equipment. Parking areas shall not be used for the sale of merchandise except on a temporary basis for special events.
(G)
Access .....The principal access to all parking, stacking and loading areas shall have vehicular access to a publicly dedicated street, road or highway maintained by either the North Carolina Department of Transportation (NCDOT) or the Town of Lewisville. Alleyways may be used for secondary access and maneuvering areas.
(H)
Prohibited Locations .....No parking, stacking, or loading area, access drive or driveway shall be located over a sand filter or nitrification field.
(UDO L-132, §§ 1—4, 6-11-09)
3-3.2 OFF-STREET PARKING REQUIREMENTS
(A)
Number of Spaces .....Table B.3.8 contains the off-street parking requirements for motor vehicles. Special requirements, including maximum allowed spaces applicable to new uses constructed after the effective date of this Ordinance, are provided under the Notes column where appropriate.
Table B.3.8
OFF-STREET PARKING REQUIREMENTS
;sz=8q;* ;hg;SF GFA* equals Square Feet of Gross Floor Area - see Section B.3-3.2(B)(5)
** NOTE: Off-street parking for other accessory uses meeting the requirements of Section B.2-6 shall be provided at the rate for the principal uses specified in this Table B.3.8.
(B)
Computing Parking Requirements
(1)
Multiple Use. .....In cases of mixed use or where a combination of uses are developed on a site, the minimum number of off-street parking spaces shall be the cumulative total of each of the uses on the site according to the requirements of this Ordinance unless a reduction is granted pursuant to Section B.3-3.5.
(2)
Fractional Space Computations. .....When the computation of the number of off-street parking spaces required by this section results in a fractional parking space requirement, any fraction less than one-half may be disregarded, and any fraction equaling or exceeding one-half shall be construed as requiring one full parking space.
(3)
Seating Computations. .....Where parking is based on seating which consists of benches or pews, each eighteen (18) inches of a bench or pew shall be considered as one seat.
(4)
Number of Employees Computations. .....For the purpose of computing parking requirements based on the number of employees, the owners or managers of the establishment shall be considered employees. Where more than one work shift is employed for any operation, the number of employees shall be calculated as the largest number of persons on any single shift.
(5)
Square Fee of Gross Floor Area (SF GFA). .....For the purpose of calculating requirements based on square feet of gross floor area (SF GFA), rooms used solely for mechanical equipment and/or rooms in excess of fifty (50) square feet used solely for storage may be subtracted from SF GFA.
(C)
Unlisted Uses .....The Zoning Officer shall establish the minimum number of parking spaces required and may establish the maximum number of parking spaces permitted for any use not specifically listed in Table B.3.8. The Zoning Officer may consider, but is not limited to, the following in establishing parking requirements for an unlisted use:
(1)
Documentation. .....Documentation supplied by the applicant regarding actual parking demand for the proposed use;
(2)
Evidence. .....Evidence in available planning and technical studies relating to the proposed use;
(3)
Other jurisdictions. .....Required parking for the proposed use as determined by other comparable jurisdictions; or,
(4)
Examination of similar uses. .....Examination of the parking requirements for uses most similar to the proposed use.
(D)
Authority to Approve Parking Exceeding the Maximum Permitted .....Except within the CB and CI Districts, the Zoning Officer may approve the installation of more than the maximum number of parking spaces if the property owner demonstrates each of the following:
(1)
Such additional parking is necessary to meet the parking demand for a specified use;
(2)
Cooperative use of parking is not available or adequate to meet demand; and,
(3)
The maximum number of compact size automobile, motorcycle and bicycle spaces has been used.
(E)
Location of Parking Areas
(1)
Same Zoning Lot. .....All parking areas required in this section shall be located on the same zoning lot as the principal use, except as authorized in the off-site parking provisions in Section B.3-3.4.
(2)
Unoccupied Recreational Vehicles. .....In residential districts, an unoccupied recreational vehicle or travel trailer may be stored on a privately owned lot, provided that it is not located within any required front or side yard nor nearer than six (6) feet to a rear property line, except that it may be stored in an accessory structure, provided that such structure is enclosed and meets the setback requirements for either a principal or accessory structure.
(3)
Parking for Multifamily Dwellings. .....A minimum three (3) foot wide landscaped area shall be provided between any parking area and building wall providing access into the unit(s).
(UDO L-151, § 5, 2-9-17; UDO L-159, § 4, 3-12-20; UDO L-164, § 2, 7-8-21)
3-3.3 DESIGN STANDARDS FOR PARKING AREAS
(A)
General Requirements .....All parking areas shall meet the following design standards:
(1)
Unobstructed Movement. .....Parking areas shall be designed to allow unobstructed movement into and out of each parking space without interfering with fixed objects such as lighting fixtures, dumpsters, signage, or vehicles.
(2)
Access. .....All parking spaces in parking areas shall be designed to have access only from parking area driveways and not directly from public streets.
(3)
Maneuvering Area. .....Except for single family dwellings, twin homes, duplexes, and for multifamily developments of four (4) dwelling units or less, all maneuvers associated with parking and loading must occur in the off-street parking area or structure. Private alleys may be used to conduct parking maneuvers.
(4)
Internal Circulation. .....All parking areas shall be designed to provide for internal circulation such that each parking space is accessible to all other parking spaces without necessitating the use of a public street or alley.
(B)
Dimensional Requirements .....All parking areas shall be designed and constructed to meet minimum parking space dimensions, aisle dimensions, and other standards shown in Table B.3.9. Aisle widths for aisles composed of combinations of different angles of parking shall be the widest aisle width required for any angle of parking found on the entire aisle.
Table B.3.9
PARKING DIMENSIONS
• 7.5 feet = Compact size motor vehicles only
• 8.5 and 9.0 feet - Medium or large size motor vehicles

Parking Dimensions
(1)
Medium and Large-Size Motor Vehicle Spaces. .....Each medium or large-size motor vehicle parking space shall be an unobstructed rectangle of not less than eight and one-half (8.5) feet in width by seventeen and one-half (17.5) feet in length. Medium and large-size motor vehicles are those with an overall length of fifteen (15) feet or greater.

(2)
Compact-Size Motor Vehicle Spaces. .....Each compact parking space shall be an unobstructed rectangle of not less than seven and one-half (7.5) feet in width by fifteen (15) feet in length. Compact-size motor vehicle spaces are those with an overall length of fifteen (15) feet or less.
(3)
Motorcycle Spaces. .....A motorcycle parking space shall be a minimum of four and one-half (4.5) feet in width by seven (7) feet in length.
(4)
Bicycle Spaces. .....A bicycle parking space shall be a minimum of two and one-half (2.5) feet in width by six (6) feet in length. Bicycle racks shall be installed with adequate space (one foot minimum) beside the parked bicycle allowing a bicyclist to reach and operate a locking mechanism.
(5)
Recreational Vehicle Spaces. .....A recreational vehicle parking space shall be a minimum of ten (10) feet in width by twenty-five (25) feet in length.
(6)
Parking Structures. .....In parking structures, aisle and stall dimensions may be reduced in accordance with the Recommended Guidelines for Parking Geometrics, published by the National Parking Association (August 1989) or as subsequently amended.
(7)
Disabled Parking. .....Please see Volume 1C of the North Carolina Building Code.
(C)
Parking Surfaces
(1)
Paving. .....In GMA 1, any required parking, stacking, and loading area, and all access drives and maneuvering areas shall be paved and permanently maintained with asphalt, concrete, or similar material of sufficient thickness and consistency to support anticipated traffic volumes and weights, except as noted in Section B.3-3.3(C)(3).
(2)
Gravel. .....All other parking areas shall be improved with a minimum of four (4) inches of crushed rock, except as noted in Section B.3-3.3(C)(3).
(3)
Exceptions. .....Paving or graveling shall not be required for the following:
(a)
Temporary parking or parking for construction purposes. .....Parking areas used on an irregular or temporary basis for churches, clubs or lodges, other similar nonprofit organizations, or structures under construction.
(b)
Agricultural Uses. .....Parking areas for agricultural uses.
(c)
Parking for Construction Equipment. .....Parking areas for tracked heavy construction equipment, skid-mounted equipment, and similar equipment, are exempt from the paving requirements provided these parking areas are constructed with an all-weather surface.
(d)
Overflow Parking. .....Parking areas identified specifically as overflow parking or parking exceeding the minimum number of spaces required.
(e)
Neighborhood Shopping Center Business District (NSB). .....In the NSB District, up to ten percent (10%) of the required parking spaces may be unpaved and used for open space purposes during off peak hours, under the provisions of Section B.2-1.3(H)(3)(f).
(f)
Private Swimming Pools in Planned Residential Developments. .....Porous pavement surfaces may be substituted for asphalt, concrete, or gravel parking surfaces at private swimming pools in Planned Residential Developments (PRD) provided the parking spaces are identified with wheel stops or other approved space identifier.
(D)
Markings and Traffic Control Devices
(1)
Delineation. .....The property owner shall delineate all required parking and loading spaces, stacking lanes, disabled parking spaces, directional arrows, crosswalks, and maneuvering areas within parking areas using paint or other methods approved by the Zoning Officer.
(2)
Signage. .....The Zoning Officer may require a developer to install signage in addition to directional arrows to ensure the safe and efficient flow of vehicles in a parking area or structure.
(E)
Driveways
(1)
Approvals. .....The design and location of all entrance or exit driveways to parking or loading areas from a public street or highway shall be approved by the NCDOT (when applicable) and the Town of Lewisville. The applicant is responsible for determining and adhering to local government requirements within the Town's jurisdiction. In the case of joint jurisdiction, concurrent reviews should be coordinated by the applicant between officials of the Town and the NCDOT in order to avoid conflicts between requirements and to streamline the review process. All driveways shall be approved by the Town of Lewisville prior to the issuance of a zoning or building permit. This includes driveways serving single-family dwellings. Applicants are encouraged to contact the Director of Public Works to identify safety and design issues, coordinate with other construction projects affecting the proposed driveway and to arrange for the installation of driveway pipe if applicable.
(2)
Combined Driveways and Access. .....The owners of adjoining properties may be required to provide combined driveways and connections as established in B-3.3(7). Please refer to Section B.3-3.5(L) for an incentive to provide combined driveways and connections.

(3)
Dimensional Requirements for Access Drives. .....Internal circulation driveways and access drives that do not provide direct access to parking spaces shall be a minimum of twenty-four (24) feet in width for two-way traffic and twelve (12) feet in width for one-way traffic unless otherwise specified by the Zoning Officer. Residential uses containing six (6) or fewer dwelling units or having parking areas designed and clearly marked for one-way traffic shall have access drives a minimum of twelve (12) feet in width.
(4)
Driveways for Large Parking Areas (One Hundred (100) or More Spaces). .....For each zoning lot containing parking areas with one hundred (100) or more required spaces, a minimum forty (40) foot deep unobstructed driveway shall be provided from the right-of-way line to a traffic aisle or access to a parking space to accommodate the ingress and egress of at least two (2) vehicles without interference to parking maneuvers or access drives, unless:
(a)
Frontage Road Access. .....Internal access to the parking area is provided by a private frontage road which parallels the public street, provided no parking is provided along the access drive or frontage road and a minimum forty (40) foot distance without left turn movements is provided along the access drive;
(b)
Spaces per Driveway Ratio. .....The ratio of parking spaces to driveway access points does not exceed 100:1, where multiple driveways provide access to the zoning lot; or,
(c)
Other Stacking Area. .....Adequate unobstructed off-street stacking area to accommodate two (2) vehicles is otherwise provided.

(F)
Drive-Through Facility Stacking Lanes
(1)
Number. .....In addition to the parking required by Section B.3, drive-through facilities requiring stacking lanes shall be provided as follows:
(2)
Width. .....Each lane of stacking space shall be a minimum of nine (9) feet in width and must be delineated with pavement markings.
(3)
Length. .....Each stacking space shall be a minimum of sixteen (16) feet in length, however, individual spaces within the lane shall not be delineated with pavement markings.
(4)
No Conflict of Use. .....Stacking lanes shall not interfere with access to required parking or ingress or egress from a public street.
(5)
Automatic Teller Machines. .....Automatic teller machines located in parking areas of shopping centers or on internally oriented out lots are not required to provide stacking spaces.
(G)
Wheel Stops or Curbs .....Where concrete curbs are not installed adjacent to public sidewalks, public rights-of-way, landscaped areas, or internal roadways, anchored wheel stops shall be installed to prevent vehicles from encroaching into these areas. All wheel stops shall be two (2) feet from the front end of the parking space for front-end parking and four (4) feet from the front of the parking space for rear-end parking.
(H)
Parking in Required Yards .....A parking area may be located in a required yard provided that wheel stops are installed and maintained to protect required screening.
(I)
Landscaping and Screening .....All motor vehicle surface areas shall be landscaped as required in Section B.3-4 and bufferyards shall be provided as required in Section B.3-5.
(J)
Lighting .....Any lighting in parking, stacking, and loading areas shall be so shielded as to cast no direct light upon adjacent properties or structures.
(K)
Drainage .....All parking, stacking and loading areas shall be designed to meet the applicable requirements of Chapter C of the UDO.
(L)
Parking Lot Location .....Parking lots shall, in most circumstances, be located to the rear or side of the primary structure. Outparcel development should be sited so as to create a courtyard-style site plan which surrounds the development's parking. Large parking lots shall be divided into smaller parking rooms that are defined by landscape planting and site furniture. If parking is to be located to the front of the structure the parking must be screened from the road through the use of a planted streetyard no less than twenty (20) feet wide. "Front" and "Rear" shall be determined, for the purpose of this subsection, by the orientation of the primary structure(s) to the street, and not in relation to the location(s) of entrance(s) to the structure(s).
(M)
Internal Parking Lot Circulation .....Connection(s) to existing roads shall be coordinated to provide efficient automobile traffic flow and to prevent congestion at major intersections. Parking lots shall be designed to allow pedestrians to move safely from their vehicles to the building along well-defined pathways. The pathway network should be logical and uninterrupted. Pathways are to be protected from automobile traffic. Pathways are to be spatially defined by architectural and landscape architectural elements. Each pathway's trajectory should have a desirable or useful destination.
(UDO L-132, §§ 4—8, 6-11-09; UDO L-141, §§ 2, 3, 2-14-13)
(A)
Off-Site Parking Requirements .....For all uses a portion of the required parking may be located on a site other than the principal use. Off-site parking facilities shall meet the following requirements:
(1)
Ownership. .....The off-site parking shall be located on a separate zoning lot from the principal use where both lots are owned by the same person or the off-site parking shall be leased by the owner of the principal use.
(2)
Zoning District. .....The secondary parking lot shall be in a zoning district in which the principal use it supports is a permitted use, with the exception that a secondary parking lot supporting any twin home, duplex, townhouse, multifamily, or institutional use may be located in any nonresidential zoning district.
(3)
Visitor Parking. .....Adequate visitor parking shall exist at the principal use location.
(4)
Pedestrian Access. .....Adequate pedestrian, van, or shuttle connection between the sites shall exist.
(5)
Certain Retail Uses. .....Off-site parking for retail uses requiring off-street parking at a rate of one space per two hundred (200) square feet gross floor area or greater, per Table B.3.8, shall not be permitted, except where such parking is located on a contiguous zoning lot within a zoning district which permits the principal use and is located within two hundred fifty (250) feet of the zoning lot containing the principal use.
(6)
Contract for Parking. .....Where established by lease, the lease shall make the secondary parking lot or lots available for a minimum term of ten (10) years and grant subsequent options for two (2) additional five-year lease periods. A copy of the contract, properly executed, shall be filed with the Zoning Officer prior to the issuance of a zoning permit for the secondary parking lot.
(7)
Other Uses. .....Where parking is established on a secondary lot or lots owned by the owner of the lot on which the principal use is located, the secondary lot or lots may not be used for any purpose other than parking required for the principal use unless there is sufficient room for: shared parking; any use which may be placed on the secondary lot or lots; and any parking required for the use placed on the secondary lot or lots.
(8)
Continuance of Use. .....The continuance of the principal use shall be contingent upon the continuance of the off-site parking or the substitution of other parking consistent with the terms of this Ordinance. A parking covenant shall be drawn to the satisfaction of either the City or County Attorney, executed by all parties concerned, and recorded. The contract shall assure the continued availability of the off-site parking facilities for the life of the use that the parking is intended to serve.
(UDO L-166, § 3, 9-9-21)
3-3.5 ALTERNATIVES AND INCENTIVES
(A)
Purpose .....The purpose of this section is to encourage the property owner to reduce the amount of impervious surface cover needed for parking by providing a variety of alternatives and incentives. Any parking alternative proposed or incentive utilized by the property owner must be approved by the Zoning Officer and shall accomplish the following:
(1)
Intent. .....The intent of the parking requirements is preserved;
(2)
Sufficient parking. .....The parking provided will be sufficient to serve the use for which it is intended; and,
(3)
Impact. .....The modification will not be detrimental to the public health, safety, or welfare.
(B)
Shared Parking
(1)
Reduction of Parking Requirements. .....The Zoning Officer may authorize a reduction of the parking requirements or parking spaces for any mixed use project or nearby uses where peak parking demand characteristics or hours of operation are distinctly different in accordance with this section. All reductions of parking requirements authorized by the Zoning Officer within the corporate limits of any municipality must also receive approval from the Director of Public Works or Town Manager, whichever is applicable.
(2)
Requirements. .....A request for approval of shared parking shall be accompanied by such information determined by the Zoning Officer as necessary to evaluate the relevant factors listed in the section below, including, but not limited to, a description of the uses, a site plan, and a transportation engineering report. Calculations shall be based on the Shared Parking Standards developed by the Urban Land Institute, as amended.
(3)
Accessibility. .....All shared parking spaces shall be located in a parking facility providing reasonably equivalent accessibility and usability to all uses which the parking is intended to serve.
(4)
Ownership. .....In cases where the uses for which shared parking is requested are located on lots under different ownership, a contract pursuant to Section B.3-3.4(A)(6) shall be provided.
(5)
Conditions. .....In determining whether to approve a reduction for shared parking, the Zoning Officer shall consider all relevant factors, including the following:
(a)
Peak Parking Demand. .....The characteristics of each use and the differences in projected peak parking demand, including days or hours of operation;
(b)
Reduction in Vehicle Movements. .....Potential reduction in vehicle movements afforded by multi-purpose use of the parking facility by employees, customers, or residents of the uses served; and,
(c)
Potential Improvements. .....Potential improvements in parking facility design, circulation, and access afforded by a shared parking facility.
(C)
Park and Shuttle Lots in Business and Industrial Zoning Districts
(1)
Conditions. .....The Zoning Officer may authorize any business use(s), industrial use(s), or zoning lot which has a minimum of one hundred seventy-five (175) contiguous parking spaces to establish a park and shuttle lot provided that:
(a)
Maximum. .....Not more than ten percent (10%) of the required parking spaces for the use(s) or for the zoning lot may be designated as a park and shuttle lot.
(b)
Location. .....All designated park and shuttle spaces shall be located in outlying areas of the parking lot so as not to interfere with customer or employee parking needs.
(2)
Short-term Parking. .....All designated park and shuttle areas shall be for short-term (less than twenty-four (24) hours) parking for commuters of any public carpooling, vanpooling, or transit program.
(D)
Reductions in the NB, LO, NO, LD1-C and LD2-C Districts
(1)
In the NB District:
(a)
Amount Required. .....For any permitted use in the NB District, the required amount of parking may be reduced by thirty percent (30%). This reduction shall not affect the required disabled parking or loading spaces for that use.
(b)
Location. .....All off-street parking shall be provided to the rear or to the side of the principal structure with the exception of two (2) parking spaces which may be located in front of the structure. The side parking area may be no closer to the street than the principal structure.
(2)
In the NO District:
(a)
Amount Required. .....For any permitted use in the NO District, the required amount of parking may be reduced by fifteen percent (15%). This reduction shall not affect the required disabled parking or loading spaces for that use.
(b)
Location. .....All off-street parking shall be provided to the rear or to the side of the principal structure with the exception of two (2) parking spaces which may be located in front of the structure. The side parking area may be no closer to the street than the principal structure.
(3)
In the LD1-C and LD2-C Districts. See Section B.2-1.5(D)(7).
(E)
Compact Parking
(1)
Maximum Amount. .....For all uses, the property owner may design and construct up to a maximum of twenty-five percent (25%) of the required parking spaces for compact stalls in accordance with the dimensions provided in Section B.3-3.3(B)(2).
(2)
Identification.
(a)
Markings. .....The property owner shall identify all compact parking stalls within the parking area with pavement markings. Each compact parking space shall be individually designated as a compact space in letters not less than twelve (12) inches high and seven (7) inches wide in size, which state: COMPACT.
(b)
Symbols. .....A symbol may be used in lieu of letters if approved by the Zoning Officer.

Compact Parking Dimensions
(3)
Signs. .....Signs shall be provided to indicate the location of the compact parking.
(4)
Location. .....All compact parking spaces shall be conveniently located and dispersed throughout the required parking area.
(F)
Motorcycle Parking
(1)
Maximum Amount. .....For all uses, the property owner may design and construct up to a maximum of two percent (2%) of the required number of parking spaces as motorcycle stalls in accordance with the dimensions provided in Section B.3-3.3(B)(3).
(2)
Identification.
(a)
Markings. .....The property owner shall identify any motorcycle parking stalls within the parking area with pavement markings. Each motorcycle parking space shall be individually designated as a motorcycle space in letters not less than twelve (12) inches high and seven (7) inches wide in size, which state: MOTORCYCLE.
(b)
Symbols. .....A symbol may be used in lieu of letters if approved by the Zoning Officer.

Motorcycle Parking Dimensions
(3)
Fulfilling Requirements. .....Motorcycle parking spaces allowed by this section shall count toward fulfilling the total motor vehicle parking requirements.
(G)
Bicycle Parking
(1)
Maximum Amount. .....For all uses, the property owner may design and construct up to a maximum of two percent (2%) of the required number of parking spaces as bicycle stalls in accordance with the dimensions provided in Section B.3-3.3(B)(4).
(2)
Location. .....Bicycle parking stalls and racks shall be located to be highly visible from the street or building entrance from where bicyclists approach. Bicycle racks shall not be installed in isolated locations but shall be located near the main entrance(s) of the building for which they are intended or in a comparably convenient location where there is constant pedestrian traffic.
(3)
Use. .....Bicycle racks shall be for use by the general public as well as employees.
(4)
Separation from Motor Vehicle Parking. .....Bicycle parking areas shall be separated from motor vehicle parking areas (automobiles, trucks, motorcycles, etc.) by at least a curb barrier which would prevent vehicles from damaging bicycles.
(5)
Bicycle Rack Design. .....Bicycle racks shall be designed to be capable of supporting the bicycle in an upright position. Bicycle racks shall be securely anchored to the supporting surface(s). Bicycle racks shall be at least three (3) feet in height unless the bicycle parking area is surrounded by a railing, hedge, or wall three (3) feet in height which is readily visible to pedestrians.
(H)
Parking Reduction for Required Landscaping in Motor Vehicle Use Areas .....A reduction of five percent (5%) of the total number of required parking spaces is permitted in order to preserve an existing tree with a caliper of twenty-four (24) inches or greater in all zones. Additionally, for each large variety tree planted in accordance with the provisions of section B.3-4.3 and located within an interior landscaped area (ILA) the amount of required parking is reduced by four (4) spaces. The maximum overall parking reduction allowed for this subsection is twenty percent (20%) of the total parking required.
(I)
Parking Reduction on Winston-Salem Transit Authority Regular-Route Transit Line .....For all uses located within five hundred (500) feet of a Winston-Salem Transit Authority regular-route transit line, the property owner may reduce the amount of required parking up to a maximum of three percent (3%). This reduction shall not affect the required disabled parking or loading spaces for that use.
(J)
Parking Reduction for Public Greenways and Sidewalks .....For all uses abutting an existing or publicly adopted planned public greenway or sidewalk, the property owner may reduce the amount of required parking up to a maximum of three percent (3%). This reduction shall not affect the required disabled parking or loading spaces for that use.
(K)
Alternative Parking Allowance in NSB District .....In the NSB District, up to ten percent (10%) of the required parking spaces may be unpaved or unimproved with gravel, and used for open space under the provisions of Section B.2-1.3(H)(3)(f).
(L)
Combined Driveways and Access .....For all uses providing a combined driveway with or a private access connection to adjoining properties, the property owner may reduce the amount of required parking up to a maximum of five percent (5%).
(M)
On-Street Parking Supplements for Pedestrian Oriented Developments .....The pedestrian nature of a site can be enhanced by permitted on-street parking connected to exterior and interior sidewalks.
(1)
On-street parking satisfying the off-street parking requirements of Table B.3.8 may be permitted for sites in the PB and LB Special Use District Zoning Districts, MU-S zoning district, or Planned Residential Developments, if the following requirements are met:
(a)
Sites eligible for the credit below shall not generally be located on streets classified as collectors or thoroughfares. However, the Town of Lewisville, North Carolina Department of Transportation (NCDOT), or other applicable agency may consider locations on collectors or thoroughfares on a case-by-case basis.
(b)
Parking shall be located on road frontage contiguous to the site;
(c)
All parking shall be angled or parallel meeting the requirements of Table B.3.9, and must be approved by the Public Works Department of the Town of Lewisville, the NCDOT, or other agency, whichever is applicable;
(d)
Credit for on-street parking shall not exceed thirty-five percent (35%) of the total off-street parking requirements of the site;
(e)
Sidewalks meeting Section B.3-3.5(M) shall be constructed immediately adjacent to on-street parking spaces and connected to a well defined interior pedestrian system;
(f)
No off-street parking shall be located between a building and any on-street parking except as approved for temporary parking for an earlier phase of a multi-phase development;
(g)
Developer shall dedicate public right-of-way or public road maintenance easements necessary to meet the requirements of Table B.3.9 and must be approved either by the Public Works Department of the Town of Lewisville or the North Carolina Department of Transportation, whichever is applicable;
(h)
Owner shall construct all required improvements within public rights-of-way to applicable public design standards;
(i)
All buildings shall face the street and provide the principal entrance to the structure from the front or side of the structure; and,
(j)
All buildings shall front on at least one side preferably the entrance side of the building, on a street with no intervening parking area.
(UDO L-142, § 3, 11-14-13; UDO L-164, § 2, 7-8-21; UDO L-166, § 3, 9-9-21)
3-3.6 OFF-STREET LOADING AND UNLOADING AREAS
(A)
Requirements .....In all districts except the CB and CI Districts, any building or land used for commercial, industrial, or institutional purposes, shall be designed to provide adequate space for off-street parking to accommodate the loading and unloading of goods and materials consistent with the size and proposed use of the building or land. Such space, whether inside or outside a building, shall be in addition to the parking requirements in Table B.3.8 and shall be designed so as not to impede normal vehicular and pedestrian circulation.
(B)
Location .....Off-street loading and unloading areas shall be located on the same lot or adjoining lots as the use for which they are provided.
(C)
Design Standards
(1)
Dimensional Requirements. .....Each loading area shall be at least twelve (12) feet wide, sixty-five (65) feet long, and shall have a minimum height clearance of fifteen (15) feet.
(2)
Reduction. .....The Zoning Officer may reduce the required stall length and maneuvering length if the property owner demonstrates that known delivery vehicles can park and maneuver within the proposed loading and maneuvering spaces such that no part of the vehicle projects into a public right-of-way, access easement, private road, or required landscaping. The reduction shall be based on the nature of the use, or combination of uses, as well as the specific design characteristics of the project.
(3)
Maneuvering Area. .....Loading areas shall be designed and located such that commercial vehicles shall not back into a public street or alley.
(4)
Alley Access. .....When the lot upon which loading areas are located abuts upon an alley, such loading areas may have access from the alley. Where such loading area is parallel with the alley and the lot is sixty (60) feet or less in width, the loading area shall extend across the full width of the lot.
(5)
Industrial Developments. .....Industrial developments shall be designed with the following loading area design standards:
(a)
Location. .....Loading facilities shall be located either to the rear or side of the industrial structure(s) to alleviate unsightly appearances often created by loading facilities. Where such location is not feasible, a streetyard according to the standards of Section B.3-4.3(B) shall be installed along the entire length of road which the loading docks face.

Loading Area Design
(b)
Maneuvering. .....Each industrial site shall be self contained and capable of handling its own truck maneuvering and docking requirements. The use of public streets for commercial vehicles staging and/or maneuvering is prohibited.
(c)
Depth. .....Minimum depth of eighty-five (85) feet is required for commercial vehicle docking and maneuvering.
(d)
Turning Radius. .....At least one driveway approach capable of accommodating a forty-eight (48) foot wheel track turning radius and at least one on-site maneuvering area which provides a forty-eight (48) foot wheel track turning radius through the parking area shall be provided for each industrial site.
(D)
Number of Loading Spaces Required
(1)
Uses Handling Goods in Quantity. .....Uses which normally handle large quantities of goods, including, but not limited to manufacturing plants, wholesale establishments, warehouses, freight terminals, hospitals, and shopping centers, shall provide off-street loading facilities as shown in Table B.3.10.
Table B.3.10
Loading Space Requirements for Uses Handling Goods in Quantity
(2)
Uses Not Handling Goods in Quantity. .....Commercial establishments which do not handle large quantities of goods, including, but not limited to, office buildings, restaurants, auditoriums, convention halls, stadiums, exhibition halls, funeral homes, hotels, and motels shall provide off-street loading as shown in Table B.3.11.
Table B.3.11
Loading Space Requirements for Uses
Not Handling Goods in Quantity
3-3.7 DRIVEWAY ACCESS (MANAGEMENT)
(A)
General Requirements .....Where the property is to be served by a driveway opening onto a state highway or public street located within the Town of Lewisville, a driveway permit shall be first submitted to the Public Works Director. The requirements of this section or those of the Uniform Traffic Code Manual and Roadway Design Manual, published by the NCDOT, whichever is greater, shall be the minimum standards for development. The requirements of this ordinance shall only apply to driveways and road accesses installed after the effective date of this ordinance.
(1)
It shall be unlawful for any person to cut, break or remove any curb along a street except as herein authorized.
(2)
All development shall be located on a lot that has vehicular access that abuts or has easement access to a street that is approved by the Town as being in compliance with Town standards and/or is currently maintained by the State of North Carolina (NCDOT). All commercial development shall have direct access to public/private right-of-way.
(3)
All driveways governed by this section shall meet the Town's minimum standard specification for driveway construction and connection requirements.
(4)
This section shall be deemed to be supplemental to other sections regulating the use of the public right-of-way, and in the case of conflict, this section shall govern.
(5)
The specifications and guidelines set forth in this ordinance are to be applied to all roadways and properties that abut the roadways within the Town, unless otherwise indicated.
(6)
Existing driveway approaches shall not be relocated, altered, or reconstructed without a permit approving such relocation, alteration, or reconstruction. Such driveway approaches when so relocated, altered or reconstructed shall be subject to the limitations set forth in this section.
The term alteration or reconstruction shall not include the resealing of driveways.
(7)
The Public Works Director may grant Temporary Street and Driveway permits for the construction and operation of access connections to Town roadways and roads maintained by the NCDOT for a specific period of time. Temporary Permits will clearly indicate that the access connections are temporary and are to be removed by the applicant at the end of the specified time period.
Said temporary permits shall expire after one (1) year or upon approval of a Certificate of Occupancy (CO) by the WS/FC Inspections Department if new construction and/or applicable renovations are the reason(s) for the initial issuance of the temporary driveway permit. Such permits may be renewed as determined by the Public Works Director upon a showing by the holder of reasonable need for renewal and no abuse of the renewal process by the holder of the temporary permit. Temporary driveways for bonafide farm activities shall be exempt from this ordinance.
Performance bonds or other indemnity may be required to ensure the proper removal of the access and restoration of the right-of-way. Examples of types of temporary permits include but are not limited to farm operations, utility operations, site construction accesses and logging operations.
Temporary accesses should meet minimum required design, site distance and general placement criteria. The applicant will be financially responsible for any damage caused to the pavement, guardrail, signing, landscaping or other improvements within the right-of-way. The Public Works Director may require that a sign be erected by the applicant indicating that the driveway is temporary and may be removed at a future time.
(8)
As determined by the Public Works Director, sound engineering judgment may override the recommended dimensions set forth in this ordinance as warranted by specific traffic conditions.
(B)
Location and Design of Driveway Access
(1)
In making a determination as to the location of driveway access, the Public Works Director shall consider:
(a)
The characteristics of the proposed land use;
(b)
The existing traffic flow conditions and the future demand anticipated on the development and the adjacent street system;
(c)
The location and size of the property;
(d)
The orientation of structures on the site;
(e)
The number of driveways needed to accommodate anticipated traffic;
(f)
The number and location of driveways on existing adjacent and opposite properties;
(g)
The location and carrying capacity of intersections;
(h)
The proper geometric design of driveways;
(i)
The spacing between opposite and adjacent driveways;
(j)
The internal circulation between driveways;
(k)
The speed of the adjoining roadway.
(2)
Maneuvering Area. .....Driveway access to thoroughfares shall not be permitted for parking or loading areas that require backing maneuvers in a public street right-of-way. All maneuvers associated with parking and loading must occur in the off-street parking area or structure pursuant to Section B.3-3.3(A)(3).
(3)
Sight Distance. .....Adequate sight distance shall be provided for a passenger motor vehicle making a left or right turn exiting from a driveway. This determination shall be made by the Public Works Director or his agent. New driveways will have triangular sight distance easements shown in dashed lines and so noted on the driveway permit and approved site plan. Site easements shall be ten (10) feet by seventy (70) feet running from the intersection along the right-of-way of the pertinent street. [refer to UDO Chapter D.4(B)(p)]
(4)
Side Clearance. .....The side clearance, measured parallel to the centerline of the road, from the side property line to the nearest point of the projected edge of the driveway, shall be a minimum of five (5) feet. All portions of the driveway, including the returns, shall be between the side property lines of the property served.
(5)
Street Structures. .....No driveway shall interfere with municipal facilities such as street light or traffic poles, signs, fire hydrants, cross walks, utility poles, drainage structures or other necessary street structures without the approval of the Public Works Director. The Public Works Director is authorized to order and effect the removal or reconstruction of any driveway which is constructed in conflict with existing or proposed street structures. The cost of reconstructing or relocating such driveways shall be at the expense of the property owner.
(6)
Drainage Tile Requirement. .....All driveways within the Town, whether residential or commercial, shall have tile placed underneath or a sufficient stormwater pipe system to adequately handle water within the Town's right-of-way. The required tile shall conform to the Uniform Traffic Code Manual and Roadway Design Manual published by the NCDOT, or standards found in this section. The required tile shall have a minimum diameter of fifteen (15) inches and shall be of corrugated metal (100% asphalt dipped,) plastic (type S only,) or of reinforced concrete.
(7)
Paving. .....Generally, all driveway entrances constructed or reconstructed within the street right-of-way of the Town shall be paved in the manner described in this section.
(a)
Thickness of pavement shall not be less than six (6) inches when reinforced cement concrete is used. Where asphalt pavement is used, the thickness shall not be less than eight (8) inches including the top coat and stone base for residential drives. For commercial drives, a stone base of ten (10) inches and two (2) inches of top coat shall be required.
(b)
All entrances to residential driveways constructed shall be paved with reinforced concrete for a distance of not less than twenty-four (24) inches from the back of vertical curb. If no paved sidewalk parallels the property line or is planned to parallel the property line, the remainder of the distance to the property line may be paved with either bituminous concrete, reinforced concrete or crushed gravel of appropriate size. For town streets that do not have vertical curbs and paved sidewalks, drives may be constructed of existing dirt or crushed gravel from the traveled portion of the street to the property line.
(8)
Driveway Location (Corner Lots). .....Property having frontage on two (2) intersecting streets within one hundred (100) feet of the intersection of such streets shall have access only from the minor or less intensively used street except as may be authorized by the Public Works Director.
(a)
No cuts through a left turn reservoir of a median shall be permitted in order to provide for left turn movements to driveway approaches.
(b)
Driveways in right turn transition areas shall not be permitted.
(9)
Driveway Approach Angle. .....The angle of driveway approach shall be approximately ninety (90°) degrees for two-way drives and between forty-five (45°) degrees and ninety (90°) degrees for one-way drives.
(10)
Replacement of Sidewalk. .....When a driveway is constructed or reconstructed, any existing four (4) inch sidewalk shall be replaced with reinforced cement concrete of not less than six (6) inches in thickness where the driveway crosses the sidewalk. The pedestrian walk shall be indicated by false cracks or lines in the pavement.
(C)
Roadway Classifications
(1)
Application of the driveway access location and design ordinance requires identification of the functional classification of the streets on which access is being requested and then applying the appropriate spacing requirements as per this ordinance. Town streets subject to this ordinance are:
(a)
Major Thoroughfare;
(b)
Minor Thoroughfare;
(c)
Collector/Local Street
(2)
Major thoroughfare, minor thoroughfare/collector and local streets in the Town are indicated in the Lewisville UDO, Thoroughfare Plan and in the Lewisville Comprehensive Plan. The functional classification of any street in the Town not indicated as a thoroughfare, collector or local street in this plan shall be determined using the functional street classification defined by the American Association of State Highway and Transportation Officials (AASHTO) "A Policy on Geometric Design of Highways and Streets."
(3)
Driveway access spacing shall be measured from the centerline of the proposed driveway pavement to the nearest edge of the roadway of the adjacent or opposite driveway or street as indicated in Figure B.3.1.
(D)
Residential Driveways Standards
(1)
Maximum Number of Residential Drives. .....A maximum of one curb cut (driveway connection) shall be allowed for access to single-family and duplex residential tracts. More than one curb cut may be allowed upon review and approval by the Public Works Director. All residential driveways shall receive an approved permit in accordance with Section H(1) of this ordinance.
(2)
Residential Properties. .....The width of single-family and duplex residential driveway entrances shall be limited to eighteen (18) feet each as measured along the street or curb line with not more than two (2) such entrances to the same property. The minimum width of a residential driveway approach measured at the property line shall not be less than twelve (12) feet in width. If the property is adjacent to both a local street and collector or other thoroughfare, as defined in Chapter D of the UDO, access shall only be from the local street. When two (2) entrances are constructed to serve the same residence, there shall be a minimum distance of twenty-five (25) feet of vertical curb or distance to remain between the driveway entrances measured along the edge of street.
(3)
Two-Family Dwellings. .....The width of the driveway entrances shall be limited to eighteen (18) feet each as measured along the curb line when two (2) entrances are made to the same property, provided there shall be a minimum distance of twenty-five (25) feet of vertical curb or distance to remain between the driveway entrances measured along the edge of street. The width of a single driveway entrance to serve a duplex shall be limited to twenty-four (24) feet.
There shall be no more than two (2) entrances to the same property.
(4)
Multi-family Dwellings. .....When driveway entrances are constructed to serve apartment houses, such entrances to the same property may be twenty-four (24) feet in width measured at the street or curb line with not more than two (2) such entrances to the same property from the same street. When two (2) driveway entrances are constructed, there shall be at least twenty-five (25) feet between driveway entrances measured at the street or curb line.
(5)
Joint Driveways. .....The width of a joint driveway, as may be authorized by the Public Works Director, serving two (2) adjacent pieces of residential property, shall be limited to twenty-four (24) feet along the street or curb line, provided no other means of driveway access is reasonably available and the permit for such driveway is signed by the owners of the adjacent property. There shall be no more than one joint driveway for each two (2) adjacent pieces of general residential property and no more than two (2) joint driveways for each two (2) adjacent pieces of duplex or multi-family property.
(6)
Residential Driveways Beyond the Town's Downtown Core. .....Residential (subdivision) lots shall not have direct access onto a major or minor thoroughfare unless it can be demonstrated that the proposed driveway cannot be feasibly designed, or that no reasonable alternative exists, to avoid direct access onto one of these type roadways. The expectation is that all new residential subdivisions will have internal roadways that will serve all lots eliminating the need for multiple driveways along major and minor thoroughfares. Any driveways for individual lots having access to major or minor thoroughfares shall be designed so that there shall be no more than one (1) driveway connection per two hundred fifty (250) feet along the same side of the road in areas outside the Town's Downtown core or similarly established business district, including, but not limited to, the Vienna Business District.
(7)
Subdivided Lots on Local Roads. .....Subdivided lots located along collector/local roads shall be so designed that there shall be no more than one (1) driveway connection per fifty-five (55) feet along the same side of the road within a suburban neighborhood or two hundred fifty (250) feet along the same side of the road in the areas outside the Town's Downtown core or similarly established business district, unless the driveway cannot be physically designed or no other reasonable alternative exists. The Public Works Director may waive the two hundred fifty (250) foot distance should sufficient hardship be proved by the applicant as found within the driveway permit.
(8)
Minimum Driveway Spacing. .....See Table B.3.11.1.
(9)
Paving of Residential Drives. .....See Section B.3-3.7(B)(7)(a)(b).
(E)
Commercial Driveway Standards - (LD1-C, LD2-C, and VBD Districts)
(1)
Number of Commercial Drives. .....When a commercial or multi-family development abuts more than one (1) public street, access to each abutting street may be allowed only if the following criteria are met:
(a)
It is determined that such access is required to adequately serve driveway projected volumes and will not be detrimental or unsafe to traffic operations on public streets. The Public Works Director may require the preparation of a traffic impact analysis (TIA) for the use of the Town which demonstrates that such access is required. The applicant shall be required to reimburse the Town of Lewisville for all costs associated with the preparation of a required TIA prepared pursuant to Section B.7-3.7 of the Lewisville UDO.
(b)
The minimum for corner clearance for said driveways are met.
(2)
Maximum Width for Commercial Driveways. .....The maximum width of a commercial driveway approach for two-way operation, shall not exceed thirty-six (36) feet measured at the property line and include separate left and right turn lanes, except that the Public Works Director may issue permits for driveway approaches greater than thirty-six (36) feet in width on major streets to handle special traffic conditions. The minimum width of a commercial driveway approach for two-way operation shall not be less than twenty-four (24) feet in width.
(3)
Driveway Throat Distances. .....A minimum driveway throat length for commercial and multi-family drives shall be forty (40) feet pursuant to Section B.3-3(E)(4)(c). The preferred minimum throat length for minor thoroughfares is fifty (50) feet and one hundred (100) feet for major thoroughfares. This distance may be required to allow for traffic entering the site to be stored on site in order to avoid a queue of traffic from the development from being out on the roadway causing delays to the through traffic stream.
(4)
Minimum Driveway Spacing. .....See Table B.3.11.1.
(5)
Paving of Commercial Drives. .....See Section B.3-3.7(B)(7)(a)(b).
(6)
Drives Outside of the LD1-C, LD2-C and VBD Districts. .....All driveways located outside of these districts shall comply with Sections B.3-3.7(A)(1-6) and B.3-3.7(B)(2-10).
(F)
Measuring Driveway Access
Table B.3.11.1
Minimum Driveway Spacing
[1]
(1)—(3)
Reserved.
Figure B.3.1. Driveway Access Diagram
(4)
Opposite Right Driveways shall be located no closer than the minimum requirements of Table B.3.11.2.
Table B.3.11.2
Opposite Right (downstream) Driveway Spacing
[2]
(5)
Additional opposite right spacing over and above that set forth in Table B.3.11.2 may be required if it is determined by the Public Works Director or his designee that there is insufficient left turn queue storage or weave maneuver area between the opposite right and proposed driveway. This determination shall be made under peak traffic conditions.
(6)
A minimum of one hundred twenty-five (125) feet shall be required for opposite left drives for major and minor thoroughfare streets.
(7)
If the centerline of an opposite drive is less than fifteen (15) feet from the centerline of the proposed drive, the drives form an intersection and the minimum spacing requirements shall apply for the closest drive.
(8)
Adjacent drives shall be located no closer than the minimum requirements of Table B.3.11.3.
Table B.3.11.3
Adjacent Drive Spacing
[3]
(G)
Corner Clearance .....Corner clearance for driveway access shall meet or exceed the minimum driveway spacing requirements for that roadway. When minimum spacing requirements cannot be met due to the lack of road frontage, sound engineering judgment may override the recommended dimensions set forth in this ordinance as warranted by specific traffic conditions.
(1)
No driveway approach may be closer to the corner than fifty (50) feet on local streets, one hundred (100) feet on collector/minor thoroughfares and one hundred twenty (120) feet for major thoroughfares. This measurement shall be taken from the intersection of property lines at the corner. When these requirements cannot be met due to the lack of frontage, the driveway may be located such that the radius will begin at the farthest property line.
(H)
Geometric Design of Driveway Access
(1)
Curb cuts for driveways shall not be permitted in the curb return of an intersection.
(2)
The curb return radii for driveways intersecting at right angles with the roadway and without a deceleration lane shall be as follows:
(a)
The curb return radii for residential driveways located on local or collector streets shall be a minimum of two and a half (2.5) feet and a maximum of ten (10) feet. Flare type residential driveways must also adhere to these dimensional criteria. Residential driveways located on thoroughfare streets must adhere to the specifications set forth in B.3-3.7(G)(2)(b) where and when applicable.
(b)
Curb return radii for commercial driveways may vary between twenty (20) feet and fifty (50) feet.
(c)
Curb return radii for driveway types not included in (a) or (b) above shall be determined by the Public Works Director.
(I)
Modified Access Requirements
(1)
To enhance traffic safety and flows on collector and thoroughfare streets, access points may be required to be designed to prohibit certain types of turning movements. Driveways not meeting the spacing guidelines in Tables B.3.11.2 and B.3.11.3 may be designed for limited access by the addition of a median to the driveway or may be required to be removed if access is available through a shared public access easement to an adjoining lot or access can be facilitated by the construction of a shared driveway that meets the spacing guidelines found in Tables B.3.11.2 and B.3.11.3.
(2)
For the benefit of traffic safety and flow on collector and thoroughfare streets, tapered or channelized deceleration lanes for vehicles turning right into high volume or intersection type driveways may be required if warranted. Design of right-turn deceleration lanes shall be in accordance with the AASHTO standards for auxiliary lanes.
(a)
The spacing requirements for driveways not meeting the specifications in Tables B.3.11.2 and B.3.11.3 may be lessened or waived if tapered or channelized deceleration lanes are used.
(3)
At those locations where it is determined by the Town that a street or driveway connection requires improvements to existing roadway facilities to provide for safe and efficient traffic operation, the applicant shall be fully responsible for roadway improvements. These improvements may include, but are not limited to, separate turn lanes, deceleration lanes, acceleration lanes, lane tapers and transitions, right-of-way to contain new widening, traffic signals and roundabouts.
(J)
Shared Access Requirements .....A joint public access easement shall be required between adjacent lots fronting on arterial and collector streets in order to minimize the total number of access points along those streets and to facilitate traffic flow between lots. The development and use of shared driveways, access drives, service drives, and similar means of shared access connecting two (2) or more lots or uses shall be required in accordance with the purpose of this Section. Upon determination that the number of vehicular access points along a collector street or thoroughfare is greater than necessary based on the standards of this Article, the Planning Board shall require the use of a shared driveway, access drive or service drive to provide primary or secondary vehicular access as part of a site plan approval.
(1)
Pursuant to this section:
(a)
Owners must record an easement in the Office of Register of Deeds allowing access to and from adjoining properties served by the joint use driveways and access or service drive;
(b)
All subsequent property owners sharing access to a driveway constructed pursuant to this subsection, shall construct any necessary improvements to comply with NCDOT and Town driveway standards, and as a condition of site plan approval, shall maintain the said driveway (including any improvements thereto) for a period of five (5) years, after which period the parties shall share equally the cost of maintaining the said driveway to NCDOT and Town standards. Under no circumstance shall the Town be responsible for maintenance of driveways.
(K)
Permit Required
(1)
Plans submitted for building approval which include or involve new, relocated, altered, or reconstructed driveways shall be approved by the Public Works Director (for Town-maintained roads) and the North Carolina Department of Transportation (NCDOT) (for state-maintained roads) before a zoning permit and building permit is issued.
(2)
All driveways are subject to the terms and standards of this section. New development, changes of use or building expansions of greater than twenty-five (25%) percent shall cause the requirements of this section to apply.
(3)
A driveway permit fee shall be set by resolution of the Town Council as deemed appropriate by the Council and shall be of an amount to cover the costs incidental to the driveway review and approval by Town staff.
(4)
All permits granted for access to publicly maintained roadways under the terms of this section may be revocable at the recommendation of the Town Council. The Town Council shall have the authority to rescind by resolution any permit granted for a driveway after proper notice and public hearing when the Council finds such action to be in the public interest. Provided, however, any such revocation may not leave a property owner without access to such owners property.
(5)
When an existing driveway permit is rescinded by action of the Town Council or the NCDOT, the driveway connection shall be removed (and replaced with applicable street yards, curbing, street trees, lighting and other street structures as necessary to comply all ordinances and development standards), such removal and replacement to be completed by the deadline set by Town Council, provided that the property owner(s) shall have not less than six (6) months to complete the removal and replacement of the driveway. The Town may place any barrier to access to the former driveway pending said removal and replacement by the property owner(s). All costs incidental to said removal and replacement shall be borne by the equally by the property owner(s) having access to the said driveway, notwithstanding the provisions of section (I)(1)(b) above.
(6)
Deviations from these criteria may be approved by the Public Works Director as described in the previous sections. Disputes will be referred to and resolved by the Town Council. All access management disputes may be accompanied by a Traffic Impact Analysis (TIA) to the Town of Lewisville, prepared at developer's cost.
(7)
The Public Works Director shall have the right to supervise and inspect any and all work performed under the provisions of this Section, provided, however, this provision shall not be construed to require the Public Works Director to supervise or inspect any work performed under the provisions of this Section.
(L)
Site Plan Modifications .....The Town may, at the request of a property owner, modify site plans to accommodate development of adjoining access and parking by minor staff change as allowed by Section B.7-5.5 of the Lewisville UDO.
(UDO L-132, § 9, 6-11-09; UDO L-141, § 4, 2-14-13; UDO L-164, § 2, 7-8-21)
Editor's note— Unified Development Ordinance No. L-141, § 4, adopted Feb. 14, 2013, amended § 3-3.7 which included Tables B.3.12—B.3.14. Chapter B, Art. II already contained tables identified as B.3.12—B.3.14, therefore, at the editor's discretion, the tables in § 3-3.7 have been renamed Tables B.3.11.1—B.3.11.3.
Note— See note to Table B.3.11.1.
Note— See note to Table B.3.11.1.
3-4.1 GENERAL REQUIREMENTS
(A)
Purpose of Landscaping Standards .....It is the intent of this section to modify and enhance the character of motor vehicle use areas, outdoor storage areas, utility service areas, and other public or institutional areas, through the introduction and/or preservation of natural vegetation and landscaping, without unduly burdening property owners, in order to:
(1)
Enhance the Appearance of Areas Near Rights-of-Way .....by improving the appearance of motor vehicle use areas within close proximity of vehicular rights-of-way;
(2)
Enhance the Appearance of Large Areas .....by breaking the visual blight created by large expanses of un-vegetated areas;
(3)
Property Value and Investments. .....Enhance property values and protect public and private investments by emphasizing the importance of trees and vegetation as visual and physical bufferyards to protect property values on adjacent properties;
(4)
Improve Water and Erosion Control .....and increase site stormwater infiltration capacity, improve groundwater recharge, and reduce erosion and urban runoff pollution hazards by preserving vegetated areas to slow and absorb stormwater runoff;
(5)
Comfort. .....Improve human comfort and moderate the climate by providing shade and reducing noise levels;
(6)
Enhance Environmental Sensitivity. .....Encourage environmental sensitivity to natural features in design and construction;
(7)
Reduce Glare. .....Filter and reduce reflected sunlight and headlight glare from parked vehicles onto street rights-of-way; and,
(8)
Improve Air Quality .....by filtration and reduce motor vehicle fumes and dust.
(9)
Enhance Public Properties. .....Improve the appearance of public properties.
(B)
Applicability of Landscaping Standards .....Unless otherwise provided in this section, an occupancy permit shall not be issued until all required planting and landscaping materials are installed. The following motor vehicle use areas are required to be landscaped:
(1)
Motor Vehicle Surface Areas;
(2)
Motor Vehicle Display Areas;
(3)
Outdoor Storage Areas;
(4)
Utility Service Areas;
(5)
Parking Buildings or Structures; and,
(6)
Public or Private Schools.
(C)
Exclusions .....The following uses shall be exempt from the landscaping requirements of section B.3-4.
(1)
Existing Development;
(2)
A single family detached dwelling on its own lot;
(3)
An attached dwelling unit which possesses an individually separated driveway and/or garage; and,
(4)
Fire hydrants and other utility devices, the visibility of which is vital to public safety.
(D)
Alternative Compliance .....An applicant may propose a landscaping plan that varies from the strict application of the provisions of this section in order to accommodate unique characteristics of the site or to utilize innovative design. Applications for alternative compliance shall include a site plan following the requirements specified in Section B.7 and shall be approved by the Planning Board only upon a finding that the proposed landscaping plan fulfills the intent and purposes of this section as well as or better than would strict conformance with the requirements of this section.
(UDO L-142, § 4, 11-14-13)
3-4.2 APPLICATION PROCEDURES AND GENERAL REQUIREMENTS.
(A)
Application .....When an application is made for a building permit or a land disturbing permit, whichever is first necessary, on any land where the landscaping requirements of this section are applicable, such building or land disturbing permit application shall be accompanied by the information cited in Sections B.3-4.2(A)(1)—(4) below. Submittal of said information shall be provided by a registered landscape architect, architect, surveyor, or registered engineer.
(1)
Storage, Surface, and Service Areas. .....A site plan indicating the location, dimensions, and square footage of motor vehicle surface areas, motor vehicle display areas, outdoor storage areas, private utility service areas, proposed parking space striping, and overhead utility lines;
(2)
Landscaping. .....A site plan indicating existing and proposed landscaping used to satisfy the requirements of this section, including the number, species, location, and heights of trees, shrubs, and groundcover; the location and dimensions of planting areas and streetyards; the location and size of earthen berms; and, the location, size, and construction material of fences, walls, and wall planters;
(3)
Existing Trees to be Preserved. .....The number, location, species, height, and diameter at six (6) inches above ground level of existing trees to be preserved for credit as per Section B.3-4.2(H); and,
(4)
Barriers. .....The location and description of any barriers to be erected to protect any existing vegetation from damage during construction.
(B)
Delay of Landscaping .....If the required landscaping has not been installed at the time of a request for an occupancy permit, and the Zoning Officer determines that the unavailability of plant materials or adverse weather conditions prohibit the timely completion of planting, an occupancy permit may be issued prior to installation of required landscaping, subject to the following:
(1)
Completion Schedule. .....The applicant shall sign a contract specifying that the work shall be completed within the six (6) months immediately following the date of application for an occupancy permit; and,
(2)
Security. .....An improvement security in the form of an escrow account or other instrument shall be required prior to issuance of an occupancy permit. The improvement security shall be in an amount deemed sufficient by the Zoning Officer or designee to cover all costs of required landscaping or screening which has not been installed. Such security shall be held by the Town of Lewisville until the work is completed in accordance with the permit. The security shall be forfeited upon violation of this section and shall be used toward completion of all planned improvements. Any moneys in excess of the cost of installing required landscaping shall be refunded to the applicant. The security shall be released when the Zoning Officer or designee certifies that all requirements of this section have been met.
(C)
Compliance with Sight Easement Requirements .....Landscaping required by this section shall comply with the minimum State or local sight easement requirements for street intersections and driveways.
(D)
Obstruction of Pedestrian Routes .....Required landscaping shall not obstruct or impede public pedestrian routes including sidewalks and greenway trails.
(E)
Protection of Planting Areas .....Whenever any planting areas required by this section are adjacent to motor vehicle surface areas, motor vehicle display areas, or outdoor storage areas, the planting areas shall be protected from motor vehicle intrusion and damage from excessive motor vehicle lubricants or fuels.
(F)
Stabilization of Soil Surface .....The soil surface of all planting areas required by this section shall be stabilized to prevent erosion. In addition to required interior trees and shrubs, the soil surfaces of planting areas shall contain live groundcover, mulch, live shrubs, permeable pedestrian paver blocks, or a combination thereof.
(G)
Planting and Maintenance of Trees Used to Meet Landscape Standards .....The Planting and Maintenance provisions of this ordinance shall apply to new trees and existing trees planted after November 14, 2013 which satisfies the requirements of this ordinance.
(1)
Planting and Maintenance Standards. .....The use of American National Standards Institute (ANSI) standards shall be required for the planting and maintenance of all required landscaping.
(2)
Tree Topping. .....Topping of any tree required by this Ordinance as defined by the ANSI
(3)
Maintenance of Plantings. .....The landowner is responsible for maintaining all required plant materials in good health. Any dead or missing plants must be replaced with new planting which meets the minimum installation dimension standards of this section. Plant replacement shall take place within one (1) month of written notification by the Zoning Officer or designee. In the event that plant material is severely damaged due to an unusual weather occurrence or other act of nature, or if replacement plantings are unavailable within one (1) month of written notification, the land owner will have six (6) months from the date of written notification to replace plantings. Modifications of landscaping may be approved by staff if the plantings meet the required standards, without further hearing. Requirements for the maintenance of existing or newly planted trees required by the planting standards of this Ordinance, and located on individual lots within residential subdivisions, are in Section B.3-4.2.(E) above.
(H)
Use of Existing Trees for Credit .....Existing trees may be preserved and used for credit in satisfying the requirements of this section, according to the conditions that follow:
(1)
Maximum Credits for Tree Preservation. .....Maximum credits for tree preservation shall be determined by Table B.3.12.
Table B.3.12
Use of Existing Trees for Credit
(2)
Minimum Planting Area. .....Each tree to be preserved for credit shall be provided with a minimum planting area which coincides with the tree's dripline. The tree's dripline is defined as the area underneath a tree which would be encompassed by perpendicular lines dropped from the outermost edges of the crown of the tree.
(3)
Protection from Encroachment. .....Tree preservation planting areas shall be cordoned off during construction and protected from encroachment. The minimum area to be cordoned off shall consist of the critical root zone of the tree or an area ten (10) feet from the tree's trunk in all directions, whichever is the greater area. The protection measures shall be properly maintained during site development and shall not be removed prior to final landscaping. For the purposes of this section, encroachment is defined as the ground surface disturbance caused by grading; impervious surface cover; equipment, material, or earth storage; or by temporary or permanent construction vehicle access or circulation.
(4)
Minimum Streetyard Requirement. .....Tree preservation credits may be used to reduce the number of trees required in this section; however, in no instance shall a required streetyard contain less than one tree, nor shall any required streetyard contain no trees for seventy-five (75) continuous feet; nor shall any parking space be more than fifty (50) feet from the trunk of a tree, unless otherwise authorized in Section B.3-4.3(C)(8).
(5)
Planting Area Used for Streetyard or Interior Plantings. .....Planting areas required for tree preservation credit may be used to install streetyard or interior shrubs as required in this section.
(6)
Loss of Tree Credits. .....Removal or death of any preserved tree shall result in the loss of all associated tree credits for that particular tree. Replacement of trees shall be subject to the planting requirements of Section B.3-4. Developers and landowners are urged to seek professional expertise to preserve properly existing trees for credit.
(I)
Combining Planting Area and Bufferyard Requirements .....Where motor vehicle surface area plant materials and bufferyard plant materials are required on the same property, trees may be located in such a manner as to simultaneously satisfy both requirements. Required planting areas shall not be cumulative; however, the greater of the planting areas specified in Section B.3-5 or this section shall be the required planting area.
(J)
Street Trees .....Street trees are required along all collector and local classified roadways. Street trees may be provided in the public right-of-way with permission of the agency having jurisdiction over the right-of-way. If the agency refuses to allow plantings within the right-of-way, street trees shall be provided adjacent to the right-of-way in accordance with Chapter B Article III 3-4.3(B)(3). Street trees may be regularly spaced and planted at a ratio of no less than one large or medium tree per fifty (50') feet or one small tree per twenty-five (25') feet excluding points of driveway ingress or egress. Small trees are permitted under utility lines or in other locations where site constraints will not allow the installation of a large or medium tree.
(K)
Overhead Utility Lines .....The location of overhead utility lines shall be considered during the placement or preservation of required trees. The maximum mature height of required trees shall be determined as follows: (Suggested plant materials are listed in Section B.3-4.10.)
(1)
Small varieties. .....Small variety trees shall be used when located within twenty-five (25) feet, measured horizontally, from the nearest overhead utility lines(s).
(2)
Small or medium varieties. .....Small or medium variety trees shall be used when located twenty-five (25) to thirty-five (35) feet, measured horizontally, from the nearest overhead utility line(s).
(3)
Small, medium, or large varieties. .....Small, medium, or large variety trees may be used when located more than thirty-five (35) feet, measured horizontally, from the nearest overhead utility line(s).
(L)
Safety and Security .....Safety and security concerns should receive prominent consideration during the selection and placement of landscape materials.
(M)
Fire Protection Equipment .....A minimum five (5) foot radius containing no plant materials or structural elements other than groundcover plants shall be maintained around all fire protection equipment, including fire hydrants, post indicator valves, and siamese connectors. Obvious sight lines to the fire protection equipment shall be maintained at all times.
(N)
Off-Street Parking Reduction .....A reduction in the amount of required off-street parking is permitted in accordance with the alternatives and incentives provisions of the parking requirements Section B.3-3.5(H) for the installation of landscaping required by the landscaping standards of this Ordinance.
(UDO L-142, §§ 5—14, 11-14-13)
3-4.3 MOTOR VEHICLE SURFACE AREA LANDSCAPING STANDARDS
(A)
General Requirements
(1)
Exemption. .....This section shall not apply to single family residential buildings.
(2)
Applicability. .....This section shall apply to any motor vehicle surface area or portions thereof built after November 14, 2013.
(3)
Expansion of Preexisting Motor Vehicle Surface Areas. .....When preexisting motor vehicle surface areas are expanded:
(a)
Internal Landscaped Area. .....Required interior plantings may be dispersed throughout the entire interior landscaped area in accordance with Section B.3-4.3(C)(9).
(b)
Streetyard Width. .....Streetyard width may be reduced to a minimum of fifty percent (50%) of the required width, provided the minimum required streetyard area and plant quantities for the expansion are installed; and provided such streetyard trees shall be provided a planting area with a minimum radius of seven (7) feet.
(B)
Streetyards .....A landscaped streetyard shall be required for all motor vehicle surface areas located within one hundred (100) feet of a street right-of-way or vehicular right-of-way, including controlled access highways, whether or not it may provide access to the site, unless separated by an intervening building.
(1)
Width. .....Minimum streetyard width is ten (10) feet, and shall be measured perpendicular to the street right-of-way. The streetyard shall be positioned between the motor vehicle surface area and street right-of-way.
(2)
Impervious Surface Cover. .....A maximum of fifteen percent (15%) of the required streetyard may be covered with impervious surface cover which may be used for walkways, fountains, walls, wall planters, or utility meters and vaults, but may not be used for motor vehicle surface or display, outdoor storage, private utility service, or service areas.
(3)
Number and Spacing of Trees. .....Each streetyard shall contain a minimum of one (1) tree per forty (40) linear feet. In no case shall any streetyard contain less than one (1) tree. Required trees must be a minimum of eight (8) feet in height at installation and shall be at least two (2) inches in caliper measured six (6) inches above ground level. Where two (2) or more streetyard trees are required, all trees shall be planted with the center of the main trunks twenty (20) to fifty (50) feet apart. Existing deciduous trees located in the abutting street right-of-way may be used to satisfy the distribution requirements in this section. Small or medium variety trees may be used where overhead utility lines exist in accordance with Section B.3-4.2(K) or within ten (10) feet of building foundations.
(4)
Other Streetyard Components. .....In addition to required trees, the landowner or developer shall use one (1) of the following to satisfy streetyard requirements: natural shrubs, closed fences, walls, wall planters, earthen berms, or a combination thereof, as follows:
(a)
Natural Shrubs. .....Streetyard shrubs must be a minimum of eighteen (18) inches in height at installation, with a minimum height of thirty-six (36) inches within three (3) years after installation. Shrubs must be a locally adapted species which retain foliage to within six (6) inches above ground level. Said shrubs shall be spaced no more than eighteen (18) inches, edge to edge. No more than thirty percent (30%) of streetyard shrubs shall be deciduous.
(b)
Fences and Walls. .....A streetyard fence or wall shall be a minimum of thirty-six (36) inches in height, opaque, and shall be constructed of masonry, stone, or wooden material, or of the same material as that of the principal building.
(c)
Wall planters. .....A streetyard wall planter shall be constructed of masonry, stone, or other permanent material. At installation, the minimum combined height of wall planters and shrubs shall be twenty-four (24) inches. Within three (3) years after installation, the combined height of wall planters and shrubs shall be no less than thirty-six (36) inches. The effective planting width of a streetyard wall planter shall be no less than thirty-six (36) inches; however, where required streetyard trees are installed in wall planters, the effective planting width of the wall planters shall be no less than seven (7) feet. A minimum of one (1) shrub shall be required for every five (5) square feet of wall planter area.
(d)
Earthen berms. .....At installation, streetyard berms shall have a minimum height of eighteen (18) inches, a minimum crown width of two (2) feet, and a side slope with a width to height ratio of no greater than two (2) to one (2:1). The entire berm shall be planted and covered with live vegetation. Berm shrubs shall be a minimum of one (1) foot in height at installation and shall be spaced no greater than eighteen (18) inches, edge to edge. Within three (3) years after installation, the combined height of berm and shrubs must be at least thirty-six (36) inches. Streetyard berms which are thirty-six (36) inches or greater in height at installation shall not be required to contain shrubs; however, streetyard trees shall still be required as specified in this section.
(5)
LD1-C, LD2-C, VBD-C and PB Districts. .....A minimum four (4) foot wide strip planted with trees and shrubs in accordance with this section or a three (3) foot high masonry wall shall be provided. Unfinished concrete masonry unit (CMU) walls shall be prohibited. Split face CMU is permitted.
(C)
Interior Parking Area Plantings .....In addition to the required streetyard, all motor vehicle surface areas shall contain landscaped planting areas, as follows:
(1)
Location of Plantings. .....Internal landscaped area planting areas shall be located adjacent to motor vehicle surface area edges or within the interior as islands or medians, and may contain berms of the minimum dimensions specified in Section B.3-4.3(B)(4)(d).
(2)
Size. .....Each planting area shall allocate a minimum of one hundred fifty (150) square feet, with a minimum radius of seven (7) feet for small or medium variety trees. A minimum planting area of six hundred (600) square feet shall be required for each large variety tree.
(3)
Required Trees in Planting Area. .....Each planting area shall contain at least one (1) deciduous or evergreen large variety tree with a minimum height of eight (8) feet at the time of installation, and a minimum caliper of two (2) inches measured six (6) inches above ground level. Small or medium variety trees may be used where overhead utility lines exist in accordance with Section B.3-4.2(K) or within ten (10') feet of building foundations.
(4)
Ratio. .....One (1) large variety tree shall be used for every five thousand (5,000) square feet of motor vehicle surface area. One (1) small or medium variety deciduous or evergreen tree shall be required for every two thousand five hundred (2,500) square feet of motor vehicle surface area where overhead utility lines exist in accordance with Section B.3-4.2(K).
(5)
Distance of Parking Spaces to Trees. .....No parking space shall be located more than seventy-five (75) feet from the trunk of a required large variety tree, except where overhead utility lines exist in accordance with Section B.3-4.2(K) no parking space shall be located more than fifty (50) feet from the trunk of a required small or medium variety tree, unless otherwise authorized in this Ordinance.
(6)
Loading/Maneuvering Areas. .....For loading docks or other maneuvering areas where placement of trees in the interior of the site is impractical, the required number of trees may be clustered around the edge of such areas, with the approval of the Zoning Officer.
(7)
Credit for Streetyard or Bufferyard Trees. .....Deciduous or broadleaf evergreen trees used as streetyard or bufferyard plantings may be used as credit toward interior planting area requirements, provided that streetyard or bufferyard plantings meet the size requirements of Section B.3-5.3(B)(1)(a) and the distance requirements of Section B.3-4.3(C)(5).
(8)
Credit for Bufferyard Area. .....The landscaped bufferyard area provided to meet the requirements of Section B.3-5 and located adjacent to a motor vehicle use area may be counted toward the interior planting requirement.
(9)
Expansion of Preexisting Areas. .....When preexisting motor vehicle surface areas are expanded, required interior plantings may be dispersed throughout the entire motor vehicle surface area if the landowner so desires, subject to the following conditions:
(a)
The required plant material will be calculated with reference to the expansion area only;
(b)
Such planting may be dispersed throughout the entire, combined, existing, and new motor vehicle surface area; and,
(c)
The provisions of this section shall preempt the spacing requirement contained in Section B.3-4.2(H)(4) and Section B.3-4.3(C)(5).
(10)
Alternative Compliance. .....An applicant whose contiguous parking area exceeds five hundred (500) spaces may propose a landscaping plan which varies from the strict application of the provisions of this section in order to accommodate unique characteristics of the site or to utilize innovative design. Application for alternative compliance shall include a site plan following the requirements 3-4.3 specified in Section B.7 and shall be approved by the Planning Board only upon a finding that the proposed landscaping plan fulfills the intent and purposes of this section as well as or better than would strict conformance with the requirements of this section.
(11)
Landscape Plantings. .....Landscape plantings along front façades are required at a ratio of six (6) square feet of planting area for each one (1) foot of horizontal wall. Plantings are to be located between the building and the parking area. Planting areas are to be planted with a mix of small trees and shrubs as defined in Sections B.3-4.10(C) and (D). Plantings are to be installed at a rate of one (1) small tree or three (3) shrubs per three hundred (300) square feet of required planting area. Plantings are not required along any frontage that has a required bufferyard.
(UDO L-142, §§ 15—17, 11-14-13; UDO L-164, § 2, 7-8-21)
3-4.4 MOTOR VEHICLE DISPLAY AREA LANDSCAPING STANDARDS
(A)
General Requirements
(1)
Applicability. .....This section shall apply to any motor vehicle display area, or portions thereof, built after November 14, 2013.
(2)
Expansion of Preexisting Motor Vehicle Surface Areas. .....When preexisting motor vehicle display areas are expanded, streetyard width may be reduced to a minimum of five (5) feet, provided the minimum required streetyard area and plant quantities for the expansion are installed, and provided each streetyard tree shall be provided a planting area with a minimum radius of seven (7) feet.
(3)
Landscaping Requirements. .....Motor vehicle display areas shall comply with the general landscaping requirements of Section B.3-4.3.
(B)
Streetyards .....A landscaped streetyard shall be required as specified in Section B.3-4.3(B) except:
(1)
Natural Shrubs. .....Any streetyard shrubs, wall planters, earthen berms, or combinations thereof, shall be installed at a minimum height of eighteen (18) inches, and shall reach a minimum height of thirty (30) inches within three (3) years after installation.
(2)
Fences and Walls. .....Closed fences or walls shall be installed at a minimum height of thirty (30) inches.
(UDO L-142, § 18, 11-14-13)
3-4.5 OUTDOOR STORAGE AREA SCREENING STANDARDS
(A)
Applicability .....Any outdoor storage area not screened from any public or private street by an intervening building built after the adoption of this Ordinance with a linear dimension of fifteen (15) feet or greater, or any dumpster with a linear dimension of five (5) feet or greater and not screened by an intervening building shall be screened from view from any street right-of-way or vehicular right-of-way including controlled access highways, whether or not it may provide access to the site, for its entire length except for necessary access.
(B)
Screening .....Outdoor storage area screening shall be provided as specified in either of the conditions below or as a combination of the two (2) conditions:
(1)
Fencing. .....A fence or wall may be used to screen an outdoor storage area. The fence or wall shall be at least six (6) feet in height, opaque and of masonry, stone or wooden material, or of the same material as that of the principal building.
(2)
Plantings. .....Natural evergreen plant materials may also be used to screen an outdoor storage area as follows: (Suggested plant materials are listed in Section B.3-4.10.)
(a)
Minimum Height. .....The minimum height of the plant material shall be six (6) feet at installation; and,
(b)
Spacing. .....The spacing of the planting shall be in a double-row configuration, staggered, with five (5) foot spacing between the centers of the main trunks.
3-4.6 UTILITY SERVICE AREA SCREENING STANDARDS
(A)
Applicability .....Utility service area structures built after the adoption of this Ordinance are required to be screened from street rights-of-way or vehicular rights-of-way, whether or not it may provide access to the site, provided that said structures have vertical dimensions exceeding three (3) feet or horizontal dimensions in excess of five (5) feet, and are located less than one hundred (100) feet from the nearest street right-of-way.
(B)
Screening .....Where screening for utility service areas is not provided by an intervening building, said screening may be accomplished by locally adapted evergreen or deciduous plantings or an opaque fence or wall.
(1)
Installation Height. .....Plantings shall have a minimum installation height of eighteen (18) inches, be spaced no more than eighteen (18) inches, edge to edge, and be expected to reach a height and width equal to or greater than the utility service structures that are being screened.
(2)
Fences or Walls. .....Fences or walls shall be opaque, of masonry, stone, or wooden material, or of the same material as that of the principal building, if applicable, and of a height and width equal to or greater than the utility service structures that are being screened.
(C)
Responsible Party .....Screening for utility service areas in a street right-of-way is to be installed by the utility or party who installed the service; in all other instances the property owners shall install required screening. Where screening for public utility service areas is to be provided by private property owners, such screening shall be installed only after consultation with the utility who owns the device to be concealed. No screening shall be installed that would impair the safe operations, maintenance, or function of the utility equipment.
3-4.7 PARKING STRUCTURES OR BUILDINGS
Any parking structure or building, or expansion thereof, built after the adoption of this Ordinance that exceeds two thousand five hundred (2,500) square feet in gross floor area shall be provided with a landscaped streetyard as specified in Section B.3-4.3(B). This provision shall apply only to structures whose principal use is parking, and shall not apply to vertical expansion of preexisting parking structures.
3-4.8 PUBLIC OR PRIVATE SCHOOLS
(A)
Applicability .....A landscape plan for the school campus shall be prepared and installed prior to occupancy for any new school or any improvement to an existing school which results in an increase in building area or footprint.
(B)
Standards .....Landscaping plans shall meet the following standards:
(1)
Number of Trees. .....A minimum of one tree of either large or medium variety as described in Section B.3-4.10 shall be provided per thirty-five (35) linear feet of public road frontage. In any event, a minimum of fifteen (15) trees shall be planned for and provided on each campus.
(2)
Existing Trees. .....Existing trees to be incorporated into the design of the school or currently on the campus may be preserved and used for credit in meeting the site plan requirements, per Section B.3-4.2(H)(1). Existing trees may be used in lieu of not more than eighty percent (80%) of the required new plantings; except that where property or site constraints prohibit the placement of additional trees, additional credit for existing trees up to one hundred percent (100%) may by given.
(3)
Height at Installation. .....New plantings shall meet the requirements of Section B.3-5.3(B).
(4)
Variety of Trees. .....Notwithstanding Section B.3-4.8(B)(2), at least one-half of the trees on the campus shall be large variety as described in Section B.3-4.10.
(5)
Other Plant Material. .....Other plant material described in Section B.3-4.10 may be installed and may be used for credit in meeting the requirements of Section B.3-4.8(B)(1) with approval of Planning Staff.
(6)
Location. .....Trees and other plant material may be located in any required yards or in the interior of the campus, and may function as a bufferyard to screen or soften uses, structures, or activities which may be incompatible. Landscaping should be placed to enhance entryways into campuses and upgrade previously disturbed areas. On existing campuses built prior to the landscaping requirements for motor vehicle surface areas, trees and other plant materials may also be located in parking areas or other motor vehicle surface areas.
Applications for variances from the requirements of the landscaping and screening standards may be approved by the Board of Adjustment after such Board of Adjustment holds a duly advertised public hearing in each case. Said application for a variance will be governed by the procedures set forth in Section B.6-1.4(B). Approval of a variance shall include the determination that there are practical difficulties or unnecessary hardships in the way of carrying out the strict letter of the Ordinance because of one or more of the following conditions:
(A)
Narrow .....Unusually narrow (less than ten (10) feet) sections of land available for planting because of existing permanent structures, existing paving, or natural features such as rock outcroppings.
(B)
Elevation Change .....Elevation change of more than twelve (12) feet within the area where the screening would be located.
(C)
Public Safety .....Specialized land uses such as public utilities, airports, etc. where strict adherence to the screening standard would significantly interfere with the function of that use and would create a public safety problem.
(D)
Public Agency .....Actions of a public agency.
(E)
Platting or Deeding .....Difficulties arising from the recording platting or deeding of land prior to the adoption of this Ordinance.
3-4.10 SUGGESTED PLANT MATERIALS LIST
The suggested plant materials list includes common trees and shrubs suitable for use in the Forsyth County area. Due to individual site soil, moisture, and microclimate conditions, professional expertise should be sought to determine the appropriate plant materials for any particular development project. Other appropriate plants not included in the list may also be used with the approval of the Zoning Officer or designee.
(A)
Large Variety Trees .....(mature height: fifty (50) feet or greater):
(B)
Medium Variety Trees .....(mature height: thirty (30) to less than fifty (50) feet):
(C)
Small Variety Trees .....(mature height: less than thirty (30) feet):
(D)
Streetyard and Interior Shrubs .....(mature height: approximately thirty-six (36) inches):
(1)
Evergreen.
(2)
Deciduous.
(E)
Outdoor Storage Area Screening Plants .....(installation height: six (6) feet):
(F)
Groundcovers .....(planting areas, berms, wall planters):
(G)
The following trees shall not be credited toward the requirements of Section B.3-4.2.1:
(UDO L-142, § 19, 11-14-13; UDO L-163, § 4, 6-3-21)
3-5.1 GENERAL REQUIREMENTS
(A)
Purpose .....Bufferyard standards are designed to provide visual and functional separation between different land uses to:
(1)
Reduce potential nuisances, such as glare, dirt, noise, unsightly views, and other adverse impacts;
(2)
Safeguard property values and preserve the character and integrity of the community; and,
(3)
Protect the health, safety, and welfare of the public.
(B)
Applicability .....Every use, change of use, or expansion of a structure or land hereafter established shall meet the bufferyard requirements of this section, except for the following:
(1)
Single family, duplex, or twin home uses;
(2)
Development or redevelopment in the CB or CI Districts;
(3)
Between component parts of a planned residential development or MU-S District; or,
(4)
Where no bufferyard requirement is shown in Table B.3.13.
3-5.2 DETERMINATION OF BUFFERYARD
(A)
Procedure .....The type of bufferyard required shall be determined as follows:
(1)
Identify the Zoning Type for the Proposed Project .....and all adjacent properties, excluding properties across a public right-of-way. The zoning types are defined below for the purposes of this section only.
(a)
Single Family Residential (SFR) Zoning Types. .....Single family residential zoning types include the H, YR, AG, all RS Districts (including RSQ), and the MH District where an individual manufactured home on a single lot is involved.
(b)
Multifamily Residential (MFR) Zoning Types. .....Multifamily residential zoning types include all RM Districts and the MH District where a manufactured housing development is involved.
(c)
Low Intensity Commercial (LIC) Zoning Types. .....Low intensity commercial zoning types include the NO, LO, NB, PB, LB, IP, and C Districts.
(d)
High Intensity Commercial (HIC) Zoning Types. .....High intensity commercial zoning types include the CPO, GO, NSB, HB, GB, CB, and MU-S Districts.
(e)
Industrial (IND) Zoning Types. .....Industrial zoning types include the LI, CPI, GI, and CI Districts and certain uses which require outdoor storage, have high trip generation rates, or have the potential for nuisance to adjacent properties due to noise, light and glare, or typical hours of operations. The following list of specific uses identified in Table B.2.6 shall be classified as industrial zoning types for bufferyard purposes:
(i)
Banking and Financial Services, with Drive-Through Facilities;
(ii)
Car Wash;
(iii)
Convenience Store with Gasoline Sales;
(iv)
Implement Sales and Service;
(v)
Kennels;
(vi)
Outdoor Display Retail;
(vii)
Motor Vehicle Repair and Maintenance;
(viii)
Motor Vehicle Storage Yard;
(ix)
Outdoor Display Retail;
(x)
Recreational Vehicle Park;
(xi)
Recreation Services, Outdoor;
(xii)
Restaurants (With Drive-Through Service);
(xiii)
Storage and Salvage Yard; and,
(xiv)
Dirt Storage Sites.
(2)
Determine the Bufferyard Type .....(I, II, III, or IV) required for each adjacent zoning type from Table B.3.13.
Table B.3.13
Bufferyard Requirements
* =
No bufferyard requirement
+ =
Type I bufferyard required if no bufferyard is provided on developed adjacent property designated as high intensity commercial (HIC) or industrial (IND) zoning types.
1.
In residential districts, the subdivider of property shall provide a type III bufferyard within the required yard adjacent to all thoroughfares and collector streets, except collector streets interior to the subdivision, and all railroad rights-of-way. Use of earthen berms as described in Section B.3-5.2(B)(4) is encouraged. The bufferyard shall be shown on the plat.
(3)
Select the Desired Bufferyard Option .....for the required bufferyard type from those described below.
(a)
Type I Bufferyard. .....A type I bufferyard is a low density screen designed to partially block visual contact and create spatial separation between adjacent uses. The four (4) design options that may be used to satisfy this bufferyard requirement are identified in Table B.3.14.
Table B.3.14
Type I Bufferyard Design Options
(b)
Type II Bufferyard. .....A type II bufferyard is a medium density screen designed to block visual contact and create spatial separation between adjacent uses. The four (4) design options that may be used to satisfy this bufferyard requirement are identified in Table B.3.15.
Table B.3.15
Type II Bufferyard Design Options
(c)
Type III Bufferyard. .....A type III bufferyard is a high density screen designed to eliminate visual contact and create spatial separation between adjacent uses. The five (5) design options that may be used to satisfy this bufferyard requirement are identified in Table B.3.16.
Table B.3.16
Type III Bufferyard Design Options
(d)
Type IV Bufferyard. .....A type IV bufferyard is a high density screen designed to eliminate visual contact and create spatial separation between adjacent uses. The six (6) design options that may be used to satisfy this bufferyard requirement are identified in Table B.3.17.
Table B.3.17
Type IV Bufferyard Design Options
(B)
Additional Requirements
(1)
Fractional Calculations. .....Fractional planting requirement calculations shall be rounded to the next higher whole number.
(2)
Existing Plant Material. .....Existing plant material within the required bufferyard may be included in the computation of the required plantings with approval of the Zoning Officer.
(3)
Fence or Wall Option. .....An opaque fence or wall may be used in lieu of not more than fifty percent (50%) of the required evergreen bufferyard plantings with the approval of the Zoning Officer and providing the following conditions are met, where applicable:
(a)
Fence Height for Industrial Zoning Type. .....The minimum required fence height shall be eight (8) feet above ground level when the proposed project zoning type is classified as an industrial zoning type.
(b)
Fence Height for Zoning Types Except Industrial. .....The minimum required fence height shall be six (6) feet above ground level when the proposed project zoning type is classified as any zoning type except those classified as industrial.
(c)
Vegetation Planted on Exterior Sides. .....Where a fence or wall is used as part of the required screening, all required vegetation shall be planted on the exterior side of the fence or wall.
(d)
Screening Multifamily Residential Zoning Type. .....Where the fence option is used to screen multifamily residential zoning types from more intense zoning types, the required vegetation may be planted on the interior side of the fence or wall.
(e)
Remaining Vegetation Distribution. .....Where a fence is used in lieu of not more than fifty percent (50%) of the required vegetation, the remaining percentage of vegetation to be used in conjunction with the fence or wall shall be evenly distributed in the bufferyard.
(4)
Earthen Berms. .....Earthen berms six (6) feet high or greater, or earthen berms with combined evergreen shrub plantings reaching a minimum height of six (6) feet, may be used in lieu of not more than fifty percent (50%) of the evergreen bufferyard plantings providing the following conditions are met:
(a)
Live Vegetation. .....The entire berm shall be planted and covered with live vegetation.
(b)
Evergreen Shrubs. .....On berms less than six (6) feet in height, evergreen shrubs, if used, shall be a minimum of one foot in height at installation and shall be placed no greater than eighteen (18) inches edge to edge.
(c)
Shape. .....Berms shall be naturally shaped, shall have a minimum crown width of two (2) feet, and shall have side slopes stabilized to sedimentation and erosion control standards.
(C)
Alternative Compliance for CD1-C, IP, NO, NB, PB, and MU-C Districts .....In the CD1-C, IP, NO, NB, PB, and MU-C Districts, a developer may propose a bufferyard plan that varies from the strict application of the provisions of this section in order to accommodate unique characteristics of the site, utilize innovative design, or provide an appropriate degree of buffering for separate phases and types of development. Application for alternative compliance shall include a site plan following the requirements specified in Section B.7, and shall be approved by the Planning Board only upon a finding that the proposed bufferyard plan fulfills the intent and purposes of this section better than would strict conformance with the requirements of this section.
(D)
Subdivisions .....In residential districts, the subdivider of property shall provide a type III bufferyard within the required yard adjacent to all thoroughfares and collector streets, except collector streets interior to the subdivision, and all railroad rights-of-way. Use of earthen berms as described in Section B.3-5.2(B)(4) of this Ordinance is encouraged. The bufferyard shall be shown on the plat with the following statement: "This area is reserved for the planting of trees or shrubs by the owner; the building of structures hereon is prohibited."
(E)
Special Provisions for LD1-C and LD2-C. .....See Section B.2-1.5(E)(8).
(F)
Alternative Compliance for Schools .....The bufferyard requirements of this section otherwise required for development of public or private schools in certain zones may be met by the submittal and approval of tree preservation and planting plan according to the provisions of Section B.3-4.8.
(UDO L-135, §§ 1, 2, 11-12-09; UDO L-142, § 20, 11-14-13; UDO L-164, § 2, 7-8-21)
3-5.3 BUFFERYARD LOCATION AND DESIGN REQUIREMENTS
(A)
Location of Bufferyards
(1)
Location. .....Bufferyards shall be located on the outer perimeter of a lot or parcel, extending to the lot or parcel boundary line, with the following exceptions:
(a)
On Adjacent Property. .....All or part of the bufferyard may be located on adjacent property within a permanent easement dedicated for such purpose with approval of the Zoning Officer.
(b)
Portion of Site Proposed for Development. .....If only a portion of a site is proposed for development, the required bufferyard may be located at the limit of construction perimeter with approval of the Zoning Officer.
(c)
Topographic Irregularities. .....Where topographic irregularities require a different location to meet the intent of this section, the location of the bufferyard may be varied with approval of the Zoning Officer.
(d)
Slope Ratios. .....Required bufferyard plantings shall not be installed on cut or fill slopes with slope ratios greater than two (2) to one (2:1).
(2)
Cut Slope. .....Where bufferyards include any part of a cut slope greater than ten (10) feet in height, grading for such cut slope shall not encroach closer than ten (10) feet to the property line.
(3)
Rights-of-way and Streets. .....Bufferyards shall not be located on any portion of an existing, dedicated, or proposed right-of-way, or a private street.
(4)
Existing Easement Within Bufferyard. .....Where an existing easement that prohibits bufferyard-type plantings is partially or wholly within a required bufferyard, the developer shall design the bufferyard to meet the planting limitation of the easement. Such design may necessitate choosing a bufferyard with more land area and fewer required plantings.
(B)
Design Requirements
(1)
Size of Plant Material.
(a)
Deciduous trees in bufferyards shall be large variety trees except where overhead utility lines exist in accordance with Section B.3-4.2(K). Suggested plant materials are listed in Section B.3-4.10.
(b)
All deciduous trees used for bufferyard screening must be a minimum of eight (8) feet in height at installation and shall be at least two (2) inches in diameter measured six (6) inches above ground level.
(c)
All primary evergreen plants shall be a minimum of six (6) feet in height at time of installation unless combined with an approved earthen berm, and shall be not less than ten (10) feet in height at maturity.
(d)
All supplemental evergreen shrubs shall be a minimum of eighteen (18) inches in height at installation, and shall attain a minimum height of thirty-six (36) inches three (3) years after installation.
(2)
Spacing of Plant Material
(a)
All deciduous trees shall be installed with tree trunks spaced a minimum distance of thirty (30) feet apart and a maximum distance of sixty (60) feet apart.
(b)
All primary evergreen plants shall be distributed evenly along the length of the bufferyard and shall be staggered where quantities permit. Primary evergreen plants shall be installed with tree trunks spaced a minimum of seven (7) feet apart and a maximum of fifteen (15) feet from other primary evergreen plants and from any required deciduous tree.
(c)
All supplemental evergreen shrubs shall be distributed evenly along the length of the bufferyard and shall be staggered where quantities permit.
(3)
Maintenance .....Any fence, earthen berm, or plant material used for screening shall be maintained in sound condition by the bufferyard provider. Maintenance includes replacement of any required bufferyard materials which are damaged and/or dying.
(C)
Application to Nonconforming Situations .....The bufferyard standards shall apply to the entire zoning lot in nonconforming situations per the requirements of Section B.5-4.3(C)(2).
(UDO L-142, § 21, 11-14-13)
3-5.4 MULTIPLE USE OF BUFFERYARDS
(A)
To Satisfy Other Requirements .....Areas set aside as required bufferyards may also be used to satisfy the following:
(1)
Minimum setback requirements;
(2)
Minimum open space requirements; and,
(3)
Minimum landscaping requirements.
(B)
For Other Purposes .....Required bufferyards may also be used for the following additional purposes:
(1)
Bufferyards may contain stormwater retention or detention areas, provided:
(a)
The required bufferyard plantings shall be provided and the design and landscaping of the bufferyard do not interfere with the proper functioning of the drainage system; and,
(b)
The designed water depth shall not harm the viability of the plantings.
(2)
Bufferyards may be used for passive recreation, such as pedestrian, bicycle, or equestrian trails, subject to the following limitations:
(a)
No plant material shall be eliminated;
(b)
The total width of the bufferyard shall be maintained; and,
(c)
All other requirements of this Ordinance shall be met.
(3)
Bufferyards may be used for the installation of underground utilities, provided the location and use of the utility lines do not interfere with the required bufferyard plantings.
(C)
Reduction for Driveway to Rear Parking Areas .....A side or rear bufferyard may be reduced to five (5) feet if the Planning Board or Zoning Officer determines that such reduction is necessary, due to lot size, shape, or topographic features, to allow a driveway which accesses off-street parking to the rear of the property.
(D)
Prohibited Uses .....The following uses shall be prohibited in a required bufferyard: playfields, stables, swimming pools, tennis courts, or similar active recreation uses, and storage or parking facilities.
(UDO L-142, § 22, 11-14-13)
Application for variances from the requirements of the bufferyard standards may be approved by the Board of Adjustment in accordance with the procedures in Section B.6-1.4(B). Approval of a variance shall include the determination that there are practical difficulties or unnecessary hardships in the way of carrying out the strict letter of the ordinance because of one or more of the following conditions:
(A)
Narrow .....Unusually narrow (less than ten (10) feet) sections of land available for planting within the back and/or side yards because of existing permanent structures, existing paving, or natural features such as rock outcroppings.
(B)
Steep Slopes/Elevation Change .....Existing slopes in excess of two (2) to one (2:1) in locations where a bufferyard is required.
(C)
Public Safety .....Specialized land uses such as public utilities, airports, etc. where strict adherence to the screening standard would significantly interfere with the function of that use and would create a public safety problem.
(D)
Public Agency .....Actions of a public agency.
(E)
Platting or Deeding .....Difficulties arising from the recorded platting or deeding of land prior to the adoption of this Ordinance.
3-6.1 APPLICABILITY
All multifamily developments containing forty (40) or more units, and all manufactured home developments, shall provide on site common recreation area as required in this section. Elderly housing, life care communities, and other developments occupied exclusively by persons who are at least fifty-five (55) years old or disabled are exempt from the requirements of this section.
(UDO L-142, § 23, 11-14-13)
A minimum of one hundred (100) square feet per unit shall be devoted to common recreation areas.
(UDO L-142, § 23, 11-14-13)
The total common recreation area may be divided into areas not less than four thousand (4,000) square feet each where the average length of the space does not exceed twice the average width.
(UDO L-142, § 23, 11-14-13)
Common recreation areas shall be easily accessible by pedestrian walkways so they can be conveniently and safely reached and used.
(UDO L-142, § 23, 11-14-13)
Common recreation areas shall be constructed on land where the average finished grade of the slope does not exceed five percent (5%), is well drained, and is otherwise capable of serving the purposes intended.
(UDO L-142, § 23, 11-14-13)
Common recreation areas shall be attractively landscaped and provided with sufficient natural or constructed screening to minimize any negative impacts upon adjacent residences within the development. Additionally, one (1) large variety tree shall be required for every two thousand five hundred (2,500) square feet of common recreation area.
(UDO L-142, § 23, 11-14-13)
Common recreation areas shall not include streets, access easements, rights-of-way, parking areas, required perimeter bufferyards or streetyards or required building setbacks; shall be closed to motor vehicle traffic except for maintenance and service vehicles; and, shall not be located over a septic system drainage field.
(UDO L-142, § 23, 11-14-13)
3-7.1 PUBLIC RIGHTS-OF-WAY
(A)
Dedication of Right-of-Way with Density Transfer
(1)
Dedication. .....Whenever a tract of land is proposed for subdivision or for use pursuant to a zoning or building permit, and a portion of it is located within a corridor for a street or highway on a plan established and adopted pursuant to State law for a street or highway that is included in the Department of Transportation's Transportation Improvement Program, the right-of-way within that corridor shall be dedicated to the appropriate agency.
(2)
Required Findings. .....No dedication of right-of-way shall be required pursuant to this section unless the Planning Board or Elected Body granting final subdivision plat approval, the special use permit, or other approval or permission finds prior to the grant that the dedication does not result in the deprivation of a reasonable use of the original tract and that the dedication is either reasonably related to the traffic generated by the proposed subdivision or use of the remaining land or the impact of the dedication is mitigated by measures provided in this Ordinance.
(3)
Transfer of Density Credits. .....The applicant may transfer density credits attributable to the dedicated right-of-way to contiguous land owned by the applicant. If the dedication of right-of-way is not required, an applicant for subdivision plat approval on a zoning or building permit, or any other permission pursuant to this Ordinance elects to dedicate the right-of-way, the applicant may transfer density credits attributable to the dedicated right-of-way to contiguous land that is part of a common development plan.
(4)
Definition of Density Credit. .....As used in Section B.3-7.1(A)(3), the term density credit means the potential for the improvement or subdivision of part or all of a parcel of real property, as permitted by this Ordinance or the Subdivision Ordinance, as set forth in Section B.3-7.1(A)(5).
(5)
Transferable Percentage. .....One hundred percent (100%) of the density credit or development potential of the property dedicated pursuant to Section B.3-7.1(A)(4) may be transferred to contiguous land that is part of a common development plan as identified in Section B.3-7.1(A)(3).
(B)
Transportation PlanCorridors
(1)
Limits on Approvals. .....Whenever a tract of land is proposed for subdivision or for use pursuant to a zoning or building permit, and a portion of it is located within a corridor for a thoroughfare identified on the Transportation Plan, no building permit shall be issued for any building or structure or part thereof located within the roadway corridor, nor shall approval of a subdivision be granted with respect to property within the roadway corridor. The City Traffic Engineer and/or the North Carolina Department of Transportation district engineer shall be notified within ten (10) days of all such requests for building permits or subdivision approvals within the roadway corridor.
(2)
Exemptions. .....The provisions of this section shall not apply to valid building permits issued prior to the effective date of this Ordinance, or to building permits for buildings and structures which existed prior to the filing of the roadway corridor, provided the size of the building or structure is not increased and the type of building code occupancy as set forth in the North Carolina Building Code is not changed. If, within one year following the establishment of a roadway corridor official map or amendment, work shall not have begun on an environmental impact statement or preliminary engineering, the corridor shall be deemed abandoned, and the provisions of this section shall no longer apply to properties or portions of properties located within the roadway corridor.
(3)
Time Limits. .....No application for building permit issuance or subdivision plat approval shall be delayed by the provisions of this section for more than three (3) years from the date of the original building permit or subdivision plat submittal.
(4)
Waiver of Requirements. .....The Board of Adjustment shall hear and decide requests to waive the requirements of this section. A variance may be granted by the Board of Adjustment upon a showing that:
(a)
Even with the tax benefits provided as authorized by State Law, no reasonable return may be earned from the land; and
(b)
The requirements of this section result in practical difficulties or unnecessary hardships.
Before any zoning permit is approved for a lot which lies within fifty (50) feet of a stream identified for a greenway in the adopted Greenway Plan, the Zoning Officer shall notify the County Manager/City Manager/Town Manager. The adopting jurisdiction will assess the potential impact of the development on future greenway construction and may then offer to purchase or undertake other action to protect the potential greenway corridor. The Zoning Officer shall not approve any permit which would authorize disturbance of the potential greenway corridor, nor shall the property owner or his/her agent disturb the potential greenway corridor, until the County Manager/City Manager/Town Manager formally responds to the Zoning Officer regarding the intent of the adopting jurisdiction. If no response is received within fifteen (15) days, the Zoning Officer may issue the requested permit.
3-8.1 APPLICABILITY
These supplementary standards for older neighborhoods apply to development on blocks which:
(A)
Date Platted or Developed .....Were originally platted or developed prior to March 3, 1948;
(B)
Percentage of Lots Developed .....Have at least fifty percent (50%) of the lots developed; and,
(C)
Permitted in Certain Zoning Districts .....Are zoned in whole or in part, RS, RM, NO or NB.
3-8.2 ALTERNATIVE SETBACKS AND STANDARDS
(A)
Alternative Setbacks .....In older neighborhoods the required setbacks for the underlying zoning district may be replaced by the following alternative method of compliance. No building or part of a building, other than steps, open porches, overhanging eaves and cornices, shall extend nearer to the front, side or rear property lines than the average distance of the respective setbacks of the principal buildings on the same block and on the same side of the street within one hundred (100) feet from the zoning lot in either direction. Any fractional amounts calculated shall be rounded up. However, in no case shall the front setback be less than eight (8) feet nor more than forty (40) feet.

Alternative Setbacks
(B)
Development Standards .....If the alternative method of compliance is used, the following development standards apply:
(1)
Impervious Surface Cover. .....For new construction on vacant lots, impervious surface cover is limited to a maximum of sixty percent (60%). Impervious surface cover is otherwise limited to seventy percent (70%).
(2)
Building Height. .....No building shall exceed a height of forty (40) feet.
(3)
Bufferyard. .....Bufferyard requirements of Section B.3-5 must be met for multifamily developments containing more than four (4) units, or for nonresidential uses.
(4)
Off-Street Parking.
(a)
Number of Spaces. .....Off-street parking for multifamily uses shall meet the standards for Efficiency units, if applicable, or Urban Residential Building in Table B.3.8.
(b)
Parking in Rear. .....All off-street parking shall be provided to the rear of the principal building(s) unless the Planning Board determines that, due to lot size, shape or topographic features, some or all parking cannot be placed to the rear.
(c)
Reduction in Bufferyard. .....A side or rear bufferyard width may be reduced to allow a driveway to the rear of the property which accesses the off-street parking if the provisions of Section B.3-5.4(C) are met.
(d)
Landscaped Separation From Building. .....A minimum three (3) foot wide landscaped area shall be provided between any parking area and building wall providing access into the unit(s).
(5)
Vehicular Use Landscaping Requirements. .....Vehicular use landscaping requirements of Section B.3-4 must be met for multifamily developments containing more than four (4) units or nonresidential uses.
(6)
Building Size. .....For projects located on two (2) acres or less, multifamily buildings shall contain no more than six (6) units.
(7)
Roofs. .....A roof having a pitch with a minimum vertical rise of four (4) feet for each twelve (12) feet of horizontal run is required on all buildings.
3-8.3 ALTERATION OR EXPANSION NOT AFFECTING OCCUPANCY OR INTENSITY
For any existing residential building containing four (4) units or less, any expansion or alteration of the principal building which meets the dimensional requirements of Section B.3-8.2(A) and which does not increase the occupancy capacity of the building, including expansion or alteration of kitchen, bathroom, closet, or patio areas, shall not be subject to the provisions of Section B.5-4.3.
3-9.1 DENSITY INCREASE PERMITTED
An increase in the density otherwise permitted in the zoning district may be permitted for developments which provide on-site or off-site housing opportunities for low- or moderate-income households. A contract shall be approved by the County Attorney or City Attorney and the Forsyth County Department of Housing (FCDH) or the Winston-Salem Housing and Neighborhood Development Department (HND) as a condition of special use district zoning, preliminary subdivision approval, or other site plan review guaranteeing that the reserved units will be purchased by or rented to qualifying households, and shall be binding for a period of not less than fifteen (15) years from the date on which the unit is first occupied. The reserved lots or rental units shall be indicated on the site plan submitted.
(A)
Duplex or Multifamily Units .....A twenty-five percent (25%) density bonus for duplex or multifamily units may be approved if:
(1)
A minimum of forty percent (40%) of the units are to be rented to families earning less than sixty percent (60%) of Forsyth County median income, adjusted for family size, as determined by the United States Department of Housing and Urban Development (HUD). (Hereinafter, median income); or
(2)
A minimum of twenty percent (20%) of the units are to be rented to families earning less than fifty percent (50%) of median income.
(B)
Single Family Detached Units .....A twenty-five percent (25%) density bonus for single family residential development may be approved if twenty-five percent (25%) of all units, or a minimum two units, are to be sold to families earning less than eighty percent (80%) of median income.
(C)
Donation of Land .....A twenty-five percent (25%) density bonus for single family residential development may be approved if land with suitable soils or access to public water and sewer is donated to Forsyth County or the City of Winston-Salem Housing Authority for the purpose of the development of affordable housing within the same census tract or adjoining tracts. The donated land shall contain at a minimum the land area needed to develop the total number of the bonus units, in accordance with the zoning requirements of the district in which the donated land is located.
3-9.3 CONTRACT FOR SALE OF SINGLE FAMILY RESIDENCES
Approval of the special use district zoning, preliminary subdivision, or other site plan review shall not occur until there is a contract between the property owner and Forsyth County or the City of Winston-Salem, which shall also be binding on future owners of the reserved lots. The contract shall be administered by FCDH, and shall include the following provisions:
(A)
Approval of Sales and Resales .....All sales and resales shall be approved by FCDH or the HND to assure ownership by qualifying buyers in accordance with the following eligibility criteria.
(1)
Income. .....Family income at the time of purchase shall not exceed the limits set forth in Section B.3-9.2.
(2)
Residency. .....At least one member of a qualifying household must have lived or worked in Forsyth County for the past twelve (12) months.
(B)
Duration of Contract .....The contract shall apply to each of the reserved lots, and shall continue to affect a particular lot for a minimum period of fifteen (15) years after the initial sale of that lot.
(C)
Occupancy .....There shall be no occupancy of the unit prior to its sale to a qualifying buyer.
(D)
Schedule .....The contract shall include a schedule by which construction and sale of the reserved units will be accomplished.
(E)
Resale Price .....The resale price of any reserved housing unit shall not, at any time during the life of the contract, exceed the maximum amount affordable to the purchasing low or moderate income household. The maximum sale or resale price shall be determined by FCDH or HND (depending on jurisdiction), calculated by using HUD modeling for housing affordability. HUD modeling takes into consideration assumptions such as interest rates, percentage of annual income allowed for housing, and amount of down payment.
(F)
Violation of Contract .....Violation of any of the terms of the contract required by this section may constitute grounds for revocation of the special use district zoning, preliminary subdivision, or other site plan review.
3-9.4 CONTRACT FOR RENTAL OF DUPLEX OR MULTIFAMILY UNITS
Approval of the special use district zoning, preliminary subdivision, or other site plan review shall not occur until there is a contract between the property owner or developer and Forsyth County or the City of Winston-Salem, which shall also be binding on future owners of the development. The contract shall be administered by the County, the City, or the Housing Authority, and shall include the following provisions:
(A)
Approval of Rentals .....All rentals shall be approved by FCDH, HND, or the Housing Authority to assure occupancy by qualifying households in accordance with the following eligibility criteria:
(1)
Income. .....Family income at the time of purchase shall not exceed the limits set forth by FCDH or HND. Families whose income increases above the eligibility requirements may continue to occupy the rental unit, unless otherwise required through terms of the rental agreement between the lessor and lessee.
(2)
Residency. .....At least one member of a qualifying household must have lived or worked in Forsyth County for the past twelve (12) months.
(B)
Change in Occupancy .....Every change in occupancy during the fifteen (15) year term of the contract shall be approved by FCDH or HND to assure continued compliance with eligibility criteria.
(C)
Maximum Rent .....The maximum rent allowed shall be computed by multiplying the applicable percentage of median income by the value of median income at the time of the transaction, then multiplying the resulting value by the maximum percentage of income spent for housing, as recommended by the mortgage banking industry. The value for median income used in calculating maximum allowable rent shall be adjusted to reflect the maximum family size appropriate for the number of bedrooms, as determined by FCDH or HND.
3-9.5 DISCLOSURE OF CONTRACT TERMS TO POTENTIAL HOME-BUYERS
(A)
Explanation to Prospective Buyer .....Staff from the FCDH or HND shall meet with the prospective buyer prior to the purchase to assure that all terms of the contract are fully understood. Such explanation shall communicate that although building permits for the improvements to the structure may be obtained if the owner wishes to remodel or construct an addition or accessory structures, there is no assurance that the investment will be regained if the unit is sold prior to the expiration of the contract due to the requirement that it be purchased by a moderate income household.
(B)
Home Ownership Counseling .....Home ownership counseling shall be made available to first-time buyers to provide information on such topics as insurance and maintenance. The counseling shall be provided by FCDH or HND.
3-9.6 CONVEYANCE OF PROPERTY TO FORSYTH COUNTY, CITY OF WINSTON-SALEM OR THE HOUSING AUTHORITY
Land donated to Forsyth County or Winston-Salem pursuant to Section B.3-9.2(C) to enable a developer to obtain a density bonus shall be donated in trust for the purpose of the development of affordable housing. An agreement between the developer and Forsyth County or Winston-Salem and the instruments of conveyance shall insure this trust as determined by the County or City Attorney.
3-10.1 APPROVAL
(A)
Wherever water supply and sanitary sewer facilities of Winston-Salem/Forsyth County Utilities are not available, application for a zoning permit or a special use permit shall not be deemed acceptable unless the proposed methods of water supply and sewage disposal have been specifically approved in writing by an authorized officer of the appropriate agency. No excavation or construction for any building or use of land shall be commenced until such approval is noted on the plan of proposed development and a zoning permit is issued.
(B)
Connections and/or extensions to the Winston-Salem/Forsyth County Utility Commission Water and Sanitary Sewer System must be reviewed and approved by the Plan Review Section of the Utilities Department of the City of Winston-Salem.
(C)
Private water supply and/or sanitary sewer system must be reviewed and approved by North Carolina Department of Natural Resources.
(D)
Any privately owned water supply and/or sanitary sewer system must be built in accordance with current Winston-Salem/Forsyth County Utility Commission standards and specifications. Winston-Salem/Forsyth County Utility Commission reserves the right to deny acceptance of any existing privately owned water supply or sanitary sewer systems.
(E)
All preliminary development plans, which include privately owned water supply and/or sanitary sewer systems, must be certified and sealed by a licensed North Carolina civil engineer that the water supply and/or sanitary sewer systems will comply with the current Winston-Salem/Forsyth County Utilities Commission standards.
(F)
At the request of CCUC and/or the Town of Lewisville, the developer or its successors shall connect all privately held water and/or sewer collection lines, at its own expense, to public water and sewer when such services are made available.
(G)
No permitted package treatment plant as of the effective date shall sell or transfer any excess capacity outside of the subject subdivision or PRD within the LRO.
(UDO L-144, §§ 6, 7, 4-10-14)
Any such approval shall specify the method or methods approved and shall describe any special conditions to be met. Such methods, and the approvals required, may include the following:
(A)
Public Sewer .....Connection to community sewerage and water systems operated by a responsible person, firm or corporation other than a governmental agency, where the proposed connection is approved by an authorized officer of each system.
(B)
Private Sewer .....Installation of facilities other than public or community sewerage systems, for which design approval by the Public Health Department has been obtained.
The sewerage and water systems to which connections are to be made shall be only those systems approved as follows:
(A)
Water Supply
(1)
For ten (10) to twenty-five (25) dwelling units, approval by the State Board of Health.
(2)
For twenty-five (25) or more dwelling units, approval by the State Board of Health and the State Utilities Commission.
(B)
Sewage Collection and Treatment
(1)
For a septic tank, approval by the Public Health Department.
(2)
For a sewerage system serving facilities regulated by the State Board of Health, i.e., institutions, restaurants, motels, etc., approval by the Public Health Department.
(3)
For a sewerage system serving all other uses, i.e., industry, commerce, communities, etc., approval by the North Carolina Department of Water and Air Resources when applicable.
The person, firm, or corporation operating a community water system for twenty-five (25) or more customers or a sewerage system for which a rate is charged shall hold a certificate of public convenience and necessity from the State Utilities Commission, and there shall be recorded with a plat of the property the written affidavit of a registered engineer, engaged in the independent practice of civil engineering, that water and sewer mains and laterals comply with pertinent standards of the city, as existing on the date of the affidavit, and that such mains and laterals are installed in accordance with plans and specification which have been submitted to and approved in writing by the Director of Public Works of the City of Winston-Salem; and a bond or bonds, or other form of written assurance, satisfactory to the Planning Board, assuring the continuous proper maintenance and operation of such sewerage and water systems.
3-11.1 LIGHTING
(A)
The purpose of this section is to regulate the intensity of exterior lighting and seek conformity with International Dark Sky Association recommendations. The intent is to prevent light from commercial and residential developments from excessively illuminating the property in question, other properties, or the night sky.
(B)
Only light fixtures which are categorized as full cut-off (FCO) fixtures shall be permitted. The use of fully shielded (FCO) floodlights are permitted but not encouraged.
(C)
The following are specific standards for lighting intensity based upon the land use involved. Values are presented in allowable foot-candles (fc) maintained (measured horizontally) at grade and are to be averaged throughout the site to avoid hot spots, i.e. areas of extreme light intensity relative to the remainder of the site:
(D)
Athletic fields must be illuminated with fixtures equipped with the manufacturer's glare control package. If the manufacturer does not offer a glare control package, the fixture specifications must be changed to a manufacturer that does offer a glare control package.
(E)
Gas station canopies shall be illuminated at a maximum illuminance of thirty (30) fc and individual fixtures shall be flush mounted or have the canopy edge below the lowest light-emitting point on the fixtures. All existing gas station canopies which exceed this standard shall be made compliant within seven (7) years of the date of adoption of this article.
(F)
Up-lighting may be used to illuminate a building, landscaping element or architectural feature, provided the lighting design has a maximum illuminance of twelve (12) fc, measured in a vertical plane. Down lighting is preferred.
(G)
Any replacements or changes to existing lighting on commercial or residential property shall follow the requirements as stated above. Lighting attached to single family residential structures and light poles less than eight (8) feet in height on residential property shall be exempt from this requirement.
(UDO L-154, § 2, 6-14-18)
All air handling machinery, dumpsters, compressors or water coolers for nonresidential uses shall be set back a minimum distance of fifty (50) feet from any property line adjacent to residential uses or residentially zoned land.