- ZONING
(A)
Reserved.
(A)
The purpose of this article is to implement development review requirements of the city's comprehensive plan and the Broward County Land Use Plan; discourage haphazard land development; ensure that urban delivery services are not unduly overburdened by premature development; coordinate departmental review; and protect the health, safety and general welfare of the residents of the city.
(A)
The areas assigned to the districts referred to in the preceding section, the designation of same, and the boundaries of said districts are shown upon the zoning map on file in the office of the building inspector of the City of Margate and said zoning map and the districts thereon are hereby adopted and established as fully and to the same effect as though set out in length herein. Said zoning map shall be considered a part of this chapter and shall be identified by the signatures of the president of the city council and the city clerk of the City of Margate, together with the number of this chapter and its effective date. Each district designated on the zoning map shall be subject to the regulations set forth herein unless otherwise shown, the district boundaries are street lines, alley lines or the subdividing or boundary lines of recorded plats, or the extension thereof, and where the districts designated on maps accompanying and made a part of this chapter are approximately bounded by street lines, alley lines or the subdividing or boundary lines of recorded plats, such lines or the extensions thereof shall be considered to be district boundaries.
(A)
No permits for the development or use of a property shall hereafter be issued from the city unless said development or use is located on a lot with an approved zoning designation from the city.
(A)
The lot requirements as prescribed in this chapter for each classification are stated as they apply to regular lots. It is recognized that lots of irregular shape will occur in the platting of areas. Such irregular lots shall contain the minimum area specified for the applicable zoning district and any building erected thereon must conform to all specified front, side and rear setbacks.
(A)
All required setbacks from an abutting waterway, canal or body of water shall be measured from the horizontal natural water line of said waterway, canal or body of water. The horizontal natural waterline is the mean horizontal or vertical level reached by water, visible as a line on a boat, beach, dock or bank.
(B)
Use of premises without buildings.
1.
Where a lot is to be occupied for a permitted use without buildings, the side setbacks and front setbacks required for such lot shall be provided and maintained unless otherwise stipulated in this chapter, except that side setbacks and rear setbacks shall not be required on lots used for private garden purposes without buildings or structures nor on lots used for public recreational areas.
(A)
It is hereby prohibited for any persons presently having property previously zoned T-1 in the City of Margate to permit or allow therein any campers or other trailers on an over night or other temporary basis. It shall be construed to be a violation of this chapter where any camper or travel trailer connects itself to utilities or dumping stations for any period of time without having removed from said camper or travel trailer all means of mobile locomotion.
(B)
It is hereby declared to be the legislative intent that the city council of the City of Margate shall not permit and deems it not in the best interests of the citizens of the City of Margate to permit the opening or use of T-1 zoned areas for open camp grounds or temporary or transient use of T-1 zoned property by travel trailers for any purposes other than permanent tie down.
(C)
These provisions shall not apply to areas zoned RVRP Recreational Vehicle Resort Park district.
(A)
Purpose, Intent and Applicability.
1.
Purpose. The purpose of this article is to:
a.
Provide regulations for the construction and improvement of detached single-family dwellings in the R-1, R-1A, R-1B, R-1C, and R-1D District; and
b.
Restore the development standards in the Code for the Districts that were repealed so that property owners may easily obtain them.
2.
Intent. The intent of this article is to implement the allowed uses for properties with a residential Future Land Use Plan Map designation and to provide development standards that allow property owners to have reasonable use of and enjoyment of their properties.
3.
Applicability. These regulations apply to R-1, R-1A, R-1B, R-1C, and R-1D Districts.
a.
Repealed Districts. The R-1, R-1C, and R-1D Districts were repealed, and no property owner may apply for a rezoning to any of them. These developed properties are considered legal conforming uses and may be reconstructed and improved according to these standards and may be reconstructed with them in the event of destruction.
b.
Uses. Whenever the permitted uses of these Districts are referred to in this Code, R-1 shall be used only for the reference to the permitted uses.
c.
Developed properties.
i.
The development standards contained within this article apply to all properties developed before the adoption of this Code.
ii.
All properties developed according to these regulations are considered legal conforming uses and may be reconstructed and improved according to these standards and may be reconstructed with them in the event of destruction or undergoes a substantial change pursuant to FEMA regulations.
iii.
Any residential property that is redeveloped or undergoes a substantial change pursuant to FEMA regulations may voluntarily use the regulations contained in Section 40.721, Single-family dwelling to redevelop the property.
d.
New development. Any residential property developed after the adoption of this Code shall only be developed according to the standards in Section 40.721, Single-family dwelling.
(B)
Permitted uses.
1.
No building or structure, or part thereof, shall be erected, altered or used, or land or water used, in whole or in part, for other than one (1) of the following uses:
a.
Single-family detached dwellings.
b.
Recreation buildings and facilities, playgrounds, play fields, parks, beaches, owned and operated by the city.
c.
Recreational and social centers, not operated for profit and constructed as an integral part of the surrounding residential neighborhood.
d.
Public or private elementary, middle or high school, subject to Section 40.620, Public or Private Elementary, Middle, or High School of this Code.
e.
Place of Assembly, subject to the requirements of Section 40.619, Place of Assembly of this Code.
f.
Sewage or water treating, pumping and storage plants to serve the surrounding residential area. Such plants shall conform to the following requirements:
i.
The lot shall be not less than two hundred (200) feet in width and forty thousand (40,000) square feet in area, and as large as necessary to provide required setback areas.
ii.
No building or structure shall be located nearer to any other residentially zoned property or any street line than a distance equal to the height of such building or structure.
iii.
No water pumping or treatment facility shall be located nearer than (thirty-five (35) feet to any street line or nearer than fifty (50) feet to any other residentially zoned property.
iv.
All lots shall have a landscaped setback area at least (thirty-five (35) feet in width or depth adjacent to all lot lines separating the subject lot from other residentially zoned property. The landscaped setback area shall not be used for any building, structure, fence, wall, parking, storage or other use except that a fence not over six (6) feet in height may be erected in any such setback area at least (thirty-five (35) feet from any street line. The landscaped setback area shall be planted with grass, shrubbery and trees, and no part shall be paved or surfaced except for minimum driveways and walkways for access.
v.
All machinery, equipment and mechanical or electrical facilities shall be visually screened so designed and operated as to minimize noise effects upon surrounding residential properties.
vi.
Lots shall not be used for business, storage or service purposes for a franchised area.
g.
Sewage lift or pumping stations, containing no treatment facilities, shall be subject to the following requirements:
i.
Where the station is of the underground type, all parts of which are at least three (3) feet below grade except for an access tube not over five (5) feet in maximum horizontal dimension extending not over three (3) feet above grade, and meters and switches on a post extending not over five (5) feet above grade, such access tube and meter or switch post may be located within a utility easement.
ii.
Where the station is wholly or partially above grade, there shall be a setback at least thirty (30) feet in depth adjacent to all residentially zoned property, and screened according to the requirements for the perimeter wall and landscape requirements for when a nonresidential property abuts a residential use pursuant to the Code.
h.
Transformer substation subject to the following requirements:
i.
The lot shall be provided with setbacks not less than thirty (30) feet in depth or width adjacent to all street lines and lot lines of other residentially zoned property and a setback at least twenty-five (25) feet in depth adjacent to a rear lot line.
The setbacks required under this paragraph shall be fully landscaped with grass, shrubbery and trees, and shall not be used for any fence, wall, building or structure, except that a fence not over six (6) feet in height may be erected at least thirty (30) feet from any street line. Minimum driveways or walkways necessary for access may cross required setbacks.
i.
Uses accessory and clearly incidental to any of the above uses when located on the same lot and not involving the conduct of any business, trade, occupation or profession.
j.
Home occupations as allowed by this Code.
k.
Community residential home, Type 1 as defined in Section 40.201.
l.
Recovery residence, as defined in Section 40.201.
(C)
Detached single family dwelling development standards.
Footnotes:
1. Minimum
2. Maximum
3. The dimensions of the property determine what standards apply.
(D)
Lot coverage for residential and nonresidential uses.
1.
The combined area occupied by all principal and accessory structures buildings shall not exceed forty (40) per cent of the area of the lot.
(E)
Minimum lot area, nonresidential structure or use.
1.
Every lot a permitted non-residential structure or use is erected or placed shall be a minimum one hundred (100) feet in width and ten thousand (10,000) square feet in area.
(F)
Nonresidential structure heights.
1.
Maximum height. Thirty-five (35) feet.
a.
Exception. A steeple or tower on a Place of Assembly may extend to a height of fifty (50) feet.
(G)
Nonresidential minimum setbacks.
1.
Front. Thirty-five (35) feet.
2.
Side. Twenty (20) feet plus one (1) foot for every two (2) feet over twenty (20) feet in height.
a.
Exception. Accessory buildings, structures or uses.
3.
Rear. Twenty-five (25) feet.
a.
Exception. Accessory buildings, structures or uses.
(A)
Purpose, Intent, and Applicability.
1.
Purpose. The purpose of these regulations is to provide for development standards for properties within the R-2 District and any other zoning district that allows the development with the standards contained herein.
2.
Intent. The intent of this article is to implement the allowed uses for properties with the Future Land Use Plan Map designation of Residential Low (5 DU/AC) and greater.
3.
Applicability.
a.
Developed properties.
i.
The development standards contained within this article apply to all properties developed before the adoption of this Code.
ii.
All properties developed according to these regulations are considered legal conforming uses and may be reconstructed and improved according to these standards and may be reconstructed with them in the event of destruction or undergoes a substantial change pursuant to FEMA regulations.
iii.
Any residential property that is redeveloped or undergoes a substantial change pursuant to FEMA regulations may voluntarily use the regulations contained in Article 7, Division 2, Supplemental Residential Development Standards, Duplex/two-family dwelling to redevelop the property.
(B)
Uses permitted.
1.
No building or structure, or part thereof, shall be erected, altered, or used, or land or water used, in whole or in part, for other than one (1) or more of the following uses:
a.
Any use permitted in the R-1 district, subject to requirements, limitations, and procedures contained therein.
(C)
Size of lot.
1.
One-family dwellings. Lot width of seventy-five (75) feet and lot area of seven thousand five hundred (7,500) square feet.
2.
Two-family dwellings. Every lot upon which a two-family dwelling is hereafter erected shall be at least eighty-five (85) feet in width and contain at least (eight thousand five hundred (8,500) square feet area. In areas platted prior to the effective date of this section, a lot consisting of a lot of record may be utilized for principal and accessory buildings and structural additions provided that same meet all other requirements of this district.
3.
Nonresidential uses. Every lot upon which a permitted nonresidential structure or use is erected or placed shall be not less than one hundred (100) feet in width and ten thousand (10,000) square feet in area.
(D)
Lot coverage.
1.
The combined area occupied by all main and accessory buildings shall not exceed sixty (60) per cent of the area of the lot.
(E)
Height.
1.
No building or structure, or part thereof, shall be erected or altered to a height greater than thirty-five (35) feet, except that a steeple or tower on a Place of Assembly may extend to a height of fifty (50) feet.
(F)
Front setback.
1.
Residential uses. Every lot used for dwelling purposes shall have a front setback not less than twenty-five (25) feet in depth.
2.
Non-residential use. Every lot whose principal use is non-residential shall have a front setback not less than thirty (30) feet in depth.
(G)
Side setback.
1.
Residential uses. Every lot used for dwelling purposes shall have a side setback on each side, each of which shall not be less than seven and one-half (7½) feet in width.
2.
Non-residential uses. Every lot whose principal use is non-residential shall have side setbacks on each side, each of which shall be not less than twenty (20) feet in width, with an increase of one (1) foot in width of each side setback for each two (2) feet in height of structure in excess of twenty (20) feet.
3.
Corner lots. Upon corner lots there shall be a front setback as here before specified, and also a street side setback at least fifteen (15) feet in width on the side of the lot abutting on the side street.
(H)
Rear setback.
1.
Residential uses. Every lot whose principal use is residential shall have a rear setback not less than fifteen (15) feet in depth.
2.
Non-residential uses. Every lot whose principal use is non-residential shall have a rear setback not less than twenty-five (25) feet in depth.
(I)
Minimum floor area.
1.
The minimum floor area of a one-family dwelling shall be (one thousand (1,000) square feet and the minimum floor area of a dwelling unit in a two-family dwelling shall be seven hundred ninety (790) square feet.
(A)
Purpose, Intent, and Applicability.
1.
Purpose. The purpose of these regulations is to provide for development standards for properties within the R-3 District.
2.
Intent. The intent of this article is to implement the allowed uses for properties with the Future Land Use Plan Map designations of between seven (7) and sixteen (16) dwelling units per acre.
3.
Applicability.
a.
Developed properties.
i.
The development standards contained within this article apply to all properties developed before the adoption of this Code.
ii.
All properties developed according to these regulations are considered legal conforming uses and may be reconstructed and improved according to these standards and may be reconstructed with them in the event of destruction or undergoes a substantial change pursuant to FEMA regulations.
iii.
Any residential property that is redeveloped or undergoes a substantial change pursuant to FEMA regulations may voluntarily use the regulations contained in Article 7, Division 2, Supplemental Residential Development Standards.
b.
New development. Any residential property developed after the adoption of this Code shall only be developed according to the standards in Article 7, Division 2 Supplemental Residential Development Standards.
(B)
Uses permitted.
1.
No building or structure, or part thereof, shall be erected, altered or used, or land or water used, in whole or in part, for other than one (1) or more of the following specified uses:
a.
Permitted use specified:
i.
All uses permitted in the R-2 district, subject to the limitations, requirements and procedures contained therein.
ii.
A lot containing multiple unit dwelling(s).
iii.
Community residential home, Type 2 as defined in Section 40.201.
iv.
Recovery residence, as defined in Section 40.201.
(C)
Size of lot or site required.
1.
Every building erected or structurally altered shall provide a site or lot or not less than the following size:
a.
For a one-family dwelling, seven thousand five hundred (7,500) square feet in area and seventy-five (75) feet in width.
b.
For a two-family dwelling, eight thousand five hundred (8,500) square feet in area and eighty-five (85) feet in width.
c.
For multiple dwellings and special exception uses, wherein any structure thereon does not exceed the height of twenty-five (25) feet, one hundred (100) feet in width and one hundred (100) feet in depth and ten thousand (10,000) square feet in area. When any structure thereon exceeds the height of twenty-five (25) feet, then the required site shall contain a minimum of two hundred (200) feet of street frontage and one (1) acre in area.
(D)
Site coverage.
1.
Within the perimeter of a developed site containing four (4) or more dwelling units, excluding those areas located below the design water elevation, the maximum combined area occupied by all main and accessory structures shall be thirty (30) per cent of the site.
(E)
Building height limits.
1.
One- and two-family dwellings shall not exceed thirty-five (35) feet in height.
2.
Buildings for all other permitted uses shall not exceed four (4) stories or fifty (50) feet in height.
(F)
Setbacks.
1.
One-Family Dwellings. As provided for in the R-1B zoning district.
2.
Two-Family Dwellings. As provided for in the R-2 zoning district.
3.
Multiple Dwellings:
a.
Street setback. No building or structure shall be located less than twenty-five (25) feet from a street right-of-way that is less than eighty (80) feet in width. No building or structure shall be located less than thirty-five (35) feet from a street right-of-way that is eighty (80) feet in width or wider, with the exception of Holiday Springs Boulevard.
b.
Front setback. Every lot shall have a front setback of not less than twenty-five (25) feet in depth or a depth equal to the height of the building, whichever is greater.
i.
Dumpsters and Garbage Containers. Front setbacks or street setbacks shall not be used for storage of dumpsters or other garbage or trash containers.
c.
Side setbacks. Every lot shall have side setbacks of at least fifteen (15) feet or one-half the height of the building, whichever is greater.
d.
Rear setback. Every lot shall have a rear setback of not less than twenty (20) feet in depth plus one (1) additional foot for each two (2) feet in building height, or portion thereof, over twenty-five (25) feet.
(G)
Defining required setbacks.
1.
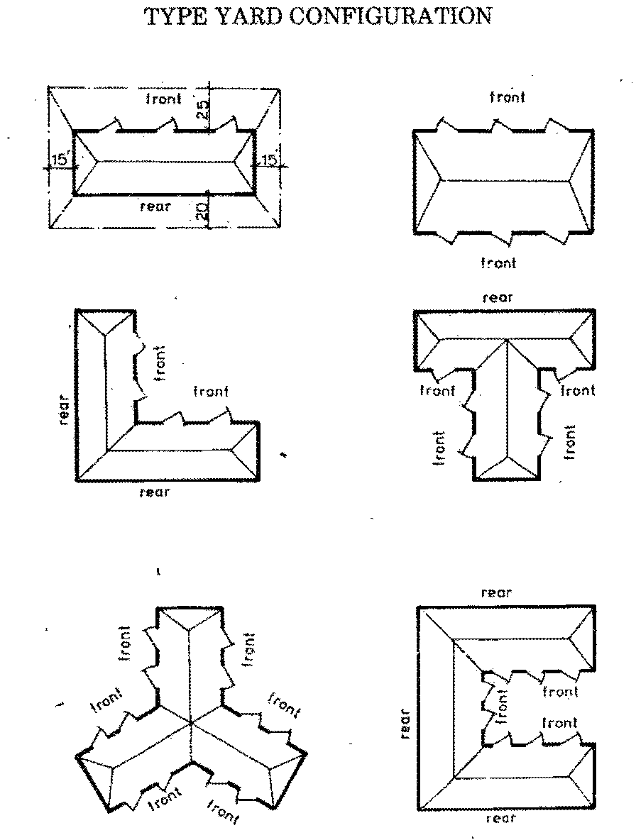
For purposes of determining the setbacks the front of a multiple dwelling is defined as any side or facade of the building which contains a door, other than a sliding glass door which opens to a patio or terrace, that is used for ingress and egress to one (1) or more dwelling units. There can be more than one (1) front as used herein. The rear of a multiple dwelling shall be that side which is most nearly opposite the front as defined above. The side of a multiple dwelling shall be any side or facade not defined as a front or rear. See Table Y (which follows this section) for a graphic illustration.
2.
The required setbacks of any building may not overlap those of any other building. Therefore, buildings placed side-to-side shall have at least a thirty-foot separation; buildings placed rear-to-rear shall have at least a forty-foot separation; and so forth.
3.
Buildings may be connected, side wall to side wall to form a larger single building. This interconnection shall be accomplished by means of open walkways, common roofline, or open connecting stairways. However, the total perimeter length of any building (the sum of all fronts, sides and rears at first floor level) shall not exceed seven hundred (700) feet.
Determination of setbacks in multiple-family developments. Use building type, or combinations thereof, which most closely approximate the proposed development.
Table Y
(H)
Minimum separation from vehicular use areas.
1.
All vehicular use areas (as defined in the landscape code) shall be separated from any multiple dwelling by at least a ten-foot unpaved area. Said areas may only contain sidewalks, landscaping, patios, air conditioners, lights and mailboxes.
(I)
Use of setback area of any setbacks abutting a street right-of-way for multiple dwellings.
1.
If the lot is separated by a street from a one- or two-family district, the landscaped area shall be increased to ten (10) feet. Within said landscaped area no paving shall be permitted except for permissible driveways and walkways leading to a structure on the premises. Said landscaped area shall be bermed and contain trees and hedges as provided for in the landscape code.
(J)
Minimum floor area for residential usage.
1.
The minimum floor area for a one-family dwelling, exclusive of porches, terraces, carports and attached garages, shall be one thousand (1,000) square feet.
2.
The minimum floor area of each dwelling unit in a two-family dwelling, exclusive of porches, terraces, carports, and attached garages, shall be seven hundred ninety (790) square feet.
(K)
Maintenance of common areas.
1.
Within a multiple-family site, all land and improvements (except that which has been dedicated for public use) which are located outside of the exterior walls of structures, including, but not limited to, landscaping, paving, drainage, recreational facilities and lighting, shall be under the control of a single ownership, condominium association or homeowner's association. The owner or association shall be responsible for the maintenance of all improvements as well as the common portions of individual buildings. The owner or association shall be responsible for the maintenance of all improvements as well as the common portions of individual buildings. The association shall establish rules and regulations governing improvements made to the exterior of all buildings.
(A)
Purpose, Intent, and Applicability.
This zoning district is intended for those parcels which have been designated as residential, with a density no greater than twenty-five (25) dwelling units per acre, by the Future Land Use Element of the Margate Comprehensive Plan. The following regulations of this article shall apply in all R-3A districts.
(B)
Uses permitted.
1.
No building or structure, or part thereof, shall be erected, altered, or used, or land or water used, in whole or in part, for other than one (1) or more of the following specified uses: Any use permitted in an R-1, R-2, or R-3 district, subject to the limitations, requirements and procedure specified for such district.
(C)
Size of lot.
1.
Every building erected or structurally altered shall provide a site or lot of not less than the following size:
a.
For a one-family dwelling seven thousand five hundred (7,500) square feet in area and seventy-five (75) feet in width.
b.
For a two-family dwelling eight thousand five hundred (8,500) square feet in area and eighty-five (85) feet in width.
c.
For multiple dwellings wherein any structure thereon does not exceed the height of twenty-five (25) feet; one hundred (100) feet in width and one hundred (100) feet in depth and ten thousand (10,000) square feet in area. When any structure thereon exceeds the height of twenty-five (25) feet, then the required site shall contain a minimum of two hundred (200) feet of street frontage and one (1) acre in area.
(D)
Site coverage.
1.
Within the perimeter of a developed site containing three (3) or more dwelling units, excluding those areas located below the design water elevation, the maximum combined area occupied by all main and accessory structures shall be thirty-seven and one-half (37½) per cent of the site.
(E)
Building height limits.
1.
One- and two-family dwellings shall not exceed thirty-five (35) feet in height.
2.
Buildings for all other permitted uses shall not exceed six (6) stories or sixty (60) feet in height.
(F)
Setbacks.
1.
One-Family Dwellings. As provided for in the R-1B zoning district.
2.
Two-Family Dwellings. As provided for in the R-2 zoning district.
3.
Multiple Dwellings:
a.
Street setback. No building or structure shall be located less than twenty-five (25) feet from a street right-of-way that is less than eighty (80) feet in width. No building or structure shall be located less than thirty-five (35) feet from a street right-of-way that is eighty (80) feet in width or wider, with the exception of Holiday Springs Boulevard.
b.
Front setback. Every lot shall have a front setback of not less than twenty-five (25) feet in depth or a depth equal to the height of the building, whichever is greater.
c.
Side setbacks. Every lot shall have side setbacks of at least fifteen (15) feet or one-half the height of the building, whichever is greater.
d.
Rear setback. Every lot shall have a rear setback of not less than twenty (20) feet in depth plus one (1) additional foot for each two (2) feet in building height, or portion thereof, over twenty-five (25) feet.
4.
Accessory Buildings. No accessory buildings shall be located in any required street setback.
5.
Dumpsters and Garbage Containers. Front setbacks or street setbacks shall not be used for storage of dumpsters or other garbage or trash containers.
(G)
Defining required setbacks; maximum building length; building separation.
1.
For purposes of determining the setbacks the front of a multiple dwelling is defined as any facade of the building which contains a door, other than a sliding glass or screen door which opens to a patio or terrace, that is used for ingress and egress to one (1) or more dwelling units. There can be more than one (1) front as used herein. The rear of a multiple dwelling shall be that facade which is most nearly opposite the front as defined above. The side of a multiple dwelling shall be any length or facade not defined as a front or rear. See Table Y following Section 40.512 for a graphic illustration.
2.
The required setbacks of any building may not overlap those of any other building. Therefore, buildings placed side-to-side shall have at least a thirty-foot separation; buildings placed rear-to-rear shall have at least a forty-foot separation; and so forth.
3.
Buildings may be connected, side wall to side wall, so as to form a larger single building. This interconnection shall be accomplished by means of open walkways, common roofline or open connecting stairways. However, the total perimeter length of any building (the sum of all fronts, sides and rears at first floor level) shall not exceed seven hundred fifty (750) feet.
(H)
Minimum separation from vehicular use areas.
1.
All vehicular use areas as defined in the landscape code) shall be separated from any multiple dwelling by at least a ten-foot-wide buffer area. Said areas may only contain sidewalks, landscaping, patios, air conditioners, lights or mailboxes.
(I)
Minimum floor area for residential usage.
1.
The minimum floor area for a one-family dwelling, exclusive of porches, terraces, carports and attached garages, shall be one thousand (1,000) square feet.
2.
The minimum floor area of each dwelling unit in a two-family dwelling, exclusive of porches, terraces, carports, and attached garages, shall be seven hundred ninety (790) square feet.
3.
The minimum floor area of a unit without cooking facilities in a group care facility shall contain at least one hundred ten (110) square feet of floor space for rooms intended for occupancy by one (1) person and shall contain at least ninety (90) square feet per occupant for rooms intended for occupancy by two (2) or more persons. The required area does not include bathrooms, closets or other similar appurtenances.
(J)
Maintenance of common areas.
1.
Within a multiple-family site, all land and improvements (except that which has been dedicated for public use), which are located outside of the exterior walls of structures, including, but not limited to, landscaping, paving, drainage and lighting, shall be under the control of a single ownership, condominium association or homeowner's association. The owner or association shall be responsible for the maintenance of all improvements as well as the common portions of individual buildings. The owner or association shall establish rules and regulations governing improvements made to the exterior of all buildings.
(A)
Purpose, Intent, and Applicability.
1.
Purpose. The purpose of the R-3U District is to provide regulations for the construction of dwellings containing three (3) or more dwelling units, which are designed, arranged and constructed for the ownership of each dwelling unit and the land thereunder by separate and different owner.
2.
Applicability. The R-3U District was repealed by the City Commission. No property owner may apply for a rezoning to the R-3U District. These developed properties are considered legal conforming uses and may be improved and reconstructed according to these standards in the event of destruction.
(B)
Uses permitted.
1.
No building or structure, or part thereof, shall be erected, altered or used, or land or water used, in whole or in part, for other than the following specified uses:
a.
Multiple dwellings which are designed, arranged and constructed for the ownership of each dwelling unit and the land thereunder by a separate and different owner.
b.
Uses accessory to any of the above when located on the same lot and not involving the conduct of any business, trade, occupation or profession other than a home occupation.
(C)
Size of lot.
1.
Every lot upon which a residential structure is erected shall be not less than seventy-five (75) feet in width and seven thousand five hundred (7,500) square feet in area, provided that each dwelling unit of a multiple family dwelling may be located on a lot not less than twenty-five (25) feet in width and one hundred (100) feet in depth, except that a portion of a common party wall separating two (2) such separate dwellings, units may be located on an adjoining lot.
(D)
Lot coverage.
1.
The combined area covered by all main and accessory buildings and roofed structures shall not exceed forty (40) per cent of the area of the lot.
(E)
Height.
1.
No building or structure, or part thereof, shall be erected or altered to a height exceeding four (4) stories or fifty (50) feet.
(F)
Front Setback.
1.
Every lot shall have a front setback not less than twenty-five (25) feet in depth.
(G)
Side setbacks.
1.
Every lot used for a multiple dwelling shall have a side setback on each side, each of which shall be at least ten (10) feet in width provided that where a multiple dwelling in the form of a row house is erected on three (3) or more platted lots with the dividing party walls between separated dwelling units centered on the common lot line between two (2) platted lots, a side setback shall not be required adjacent to and on either side of said common lot line.
2.
Side Setbacks Abutting - One Family Lot Lines.
a.
Every lot used for a multiple dwelling having a side setback abutting the lot line of one-family dwellings the said side setback shall be not less than twenty (20) feet in width, which shall be increased by feet for each ten (10) feet, or major fraction thereof by which the height of the building exceeds twenty (20) feet.
3.
Corner Lots.
a.
Upon corner lots shall be a front setback as herein before specified and also a side setback at least fifteen (15) feet in width on the side of the lot abutting on side street.
4.
Rear Setbacks.
a.
Every lot shall have a rear setback not less than fifteen (15) feet in depth.
(H)
Minimum living area.
1.
The minimum living area of a dwelling unit in a multiple dwelling shall be seven hundred (700) square feet.
(I)
Off-street parking.
1.
Every building shall be provided with off-street parking facilities in accordance with the provisions of this Code for the use of occupants, employees or visitors.
2.
Open Parking Areas. Open parking areas for parking of private, self-propelled passenger vehicles, shall be arranged, maintained and used in accordance with the following:
a.
All front and side setbacks as above required, shall be planted and kept in lawn that is maintained so as to present a healthy, neat and orderly appearance. The required setback shall be kept free from refuse and debris. The parking facilities shall not be included as a portion of or as constituting the required setbacks.
b.
The parking area shall be provided and maintained with a stable asphalt cement surface and graded so as to prevent surface water accumulation.
c.
Each parking space required and provided pursuant to the provisions of this article shall be not less than nine (9) feet in width and eighteen (18) feet in length. Each parking space shall be directly accessible from an adequate aisle or driveway leading to a street or alley. Access aisles and driveways shall be of sufficient size to permit convenient maneuvering of cars, and each parking space shall be accessible without driving over or through any other parking space.
(J)
Off-street parking required by this Code shall be provided and maintained on the basis of the following minimum requirements:
1.
Dwelling, multiple family: one and one quarter (1¼) parking spaces for each dwelling unit.
(A)
Application of article.
1.
The following regulations of this article shall apply in all B-1 districts. All minimum separation distances shall be measured in the shortest airline distance between nearest property lines unless otherwise specified.
(B)
Purpose and general description.
1.
The following regulations of this article shall apply in all B-1 districts. All minimum separation distances shall be measured in the shortest airline distance between nearest property lines unless otherwise specified.
(C)
Permitted uses. Permitted uses specified. No building or structure, or part thereof, shall be erected, altered or used, or land or water used, in whole or in part, for other than one (1) of the following specified uses:
1.
Accessory uses and structures to a permitted use.
2.
Artisans, studio or workshop. A workshop or studio of an artist, sculptor, photographer, jeweler, potter, craftsperson, furniture maker, cabinet maker, or other artist or artisan primarily used for on-site production of unique custom goods.
3.
Bakery, retail, subject to the following limitation(s):
a.
Must be less than one thousand (1,000) square feet in area.
4.
Banks, subject to the following limitation(s):
a.
Drive-through facilities are not permitted.
5.
Business office, no stock or storage.
6.
Child care facility, subject to the following limitation(s):
a.
Same shall contain a contiguous outdoor, grassed and fenced play area located away from vehicular traffic. See Section 40.705.
7.
Clubs—Civic, noncommercial.
8.
Dance academy, subject to the following limitation(s):
i.
Must be less than three thousand (3,000) square feet in area.
9.
Delicatessen.
10.
Dollar store. (Not permitted within one thousand (1,000) of like use, Check Cashing including Payday Loans, or secondhand merchant and/or used merchandise.)
11.
Fire station.
12.
Groceries, retail.
13.
Health studio or club, gymnasium, subject to the following limitation(s):
i.
Must be less than three thousand (3,000) square feet in area.
14.
Interior decoration shop, retail.
15.
Jewelry, watch and electronic repairs.
16.
Laundries, coin-operated, subject to the following limitations:
i.
Hours of operation limited to 7:00 a.m. to 11:00 p.m.
17.
Mail-plus service (Less than one thousand five hundred (1,500) square feet).
18.
Massage services, permitted as accessory use only within an approved medical office or physical therapy office.
19.
Medical office,
i.
Not including correctional and mental, nor institutions for care of drug or liquor patients, nor veterinary hospitals.
20.
Merchant, retail, subject to the limitations in Section 40.520(E).
21.
Personal care services, except massage, subject to the following limitation(s):
i.
Body art studios are not permitted.
22.
Pet grooming, subject to the following limitations:
i.
Must be less than three thousand (3,000) square feet in area.
ii.
Soundproofing required.
23.
Pet shop, subject to the following limitations:
i.
Must be less than three thousand (3,000) square feet in area.
ii.
Not permitted within one hundred (100) feet of any residential district.
iii.
No outdoor pens or runs permitted.
iv.
Subject to the restrictions set forth in Chapter 6 of the Margate Code of Ordinances.
24.
Pharmacy, subject to the following limitations:
i.
No more than ten (10) per cent of all prescription medication dispensed shall be from the list of Schedule II controlled substances provided in F.S. § 893.03.
ii.
No less than fifty (50) per cent of the floor area shall be used for retail display and transactions.
25.
Picture framing.
26.
Place of assembly, subject to the requirements of Section 40.619 of this Code.
27.
Professional office.
28.
Restaurant with dining room, subject to the following limitations:
i.
May have cocktail lounge as accessory.
ii.
Live entertainment not permitted.
29.
Sales office—No inventory.
30.
Savings and loan institution.
31.
School of instruction, nonacademic, subject to the following limitation(s):
i.
Must be less than three thousand (3,000) square feet in area.
32.
Shoe repair shops.
33.
Substation for utilities (as required).
34.
Tailor shop, seamstress.
35.
Travel agency.
36.
Vending machine (outdoor), permitted as an accessory use to a permitted use and subject to the limitations contained in Section 40.621, Vending machine (outdoor).
37.
Walkway cafes less than one thousand (1,000) square feet in area subject to the requirements in section 40.622 of this Code.
(D)
Special exception uses. The following uses are authorized upon a finding by the City Commission that a special exception to the article is warranted. The City Commission shall consider all applications for a special exception approval pursuant to the procedure and criteria set forth in Section 40.705 of this Code.
a.
Animal clinic, pet hospital, subject to the following limitations:
i.
Must be less than three thousand (3,000) square feet in area.
ii.
Adequate soundproofing in any area where animals are contained or treated.
iii.
All boarding activities shall be ancillary to the primary use.
iv.
Subject to the restrictions set forth in Chapter 6 of the Margate Code of Ordinances.
b.
Massage services.
c.
Outdoor sales, service and display, as an accessory to a permitted use.
d.
Public or private elementary, middle or high school, subject to Article 7, Division 2, Supplemental Residential Development Standards.
(E)
Uses prohibited.
1.
Body art studio;
2.
Pain management clinics, as defined in Section 40.201.
3.
Any use not specifically listed in Section 40.520(C) is prohibited.
(F)
Limitations on uses.
1.
All activities of permitted uses, including sale, display, preparation and storage, shall be conducted entirely within a completely enclosed building. This prohibition shall not apply to customer and employee parking, loading zones, and play areas accessory to a child care center.
2.
No secondhand or used merchandise shall be offered for sale, displayed or stored.
3.
All products shall be sold at retail in connection with a permitted use. The sale of automobiles and automotive accessories, heavy machinery, chemicals and all uses specifically permitted in any other business district shall be prohibited.
4.
Drive-through facilities shall not be permitted.
5.
No retail store shall have a floor area open to the public, including display, service and sales, greater than five thousand (5,000) square feet.
(G)
Height.
1.
No building or structure shall be erected or altered for a use permitted in the B-1 district to a height exceeding two (2) stories or thirty (30) feet.
(H)
Lot size.
1.
The minimum lot size excluding public rights-of-way shall be ten thousand (10,000) square feet with a minimum of no less than one hundred (100) feet of street frontage.
(I)
Setback.
1.
All lots shall provide setbacks in accordance with the following:
a.
Street setbacks.
i.
The minimum building setback from all street rights-of-way less than eighty (80) feet in width shall be twenty-five (25) feet.
ii.
The minimum building setback from all street rights-of-way of eighty (80) feet in width or greater shall be thirty-five (35) feet.
b.
Side setbacks.
i.
When abutting a non-residentially zoned property, there is no side setback requirement.
ii.
When abutting a residentially zoned property, the minimum building setback shall be thirty-eight (38) feet.
c.
Rear setbacks.
i.
When abutting a non-residentially zoned property, the minimum building setback shall be twenty (20) feet.
ii.
When abutting a residentially zoned property the minimum building setback shall be thirty-eight (38) feet.
d.
Uses, limited. Where a setback is required in this section, such setback may be used for walkways, parking of passenger cars, driveways, loading zones and landscaping, but not for any other use or purpose.
e.
Dumpsters and Garbage Containers. Front setbacks or street setbacks shall not be used for storage of dumpsters or other garbage or trash containers.
(A)
Application of article. The following regulations of this article shall apply in all B-2 districts. All minimum separation distances shall be measured in the shortest airline distance between nearest property lines unless otherwise specified.
(B)
Purpose and general description. The B-2 community business district is intended to provide a full range of office, retail and service uses. The location of this district may be along major and minor arterials in close proximity to residential districts. The permitted uses are relatively free of objectionable influences in their operation and appearance and exclude heavy commercial uses.
(C)
Permitted uses. Permitted uses specified. No building or structure, or part thereof, shall be erected, altered or used, or land or water used, in whole or in part, for other than the following specified uses:
1.
Accessory uses and structures to a permitted use.
2.
Adult day care center.
3.
Answering service, subject to the following limitation(s):
a.
No sales and/or service shall be rendered therefrom.
4.
Art gallery.
5.
Artisans, studio or workshop. A workshop or studio of an artist, sculptor, photographer, jeweler, potter, craftsperson, furniture maker, cabinet maker, or other artist or artisan primarily used for on-site production of unique custom goods.
6.
Auto parts, equipment and accessories, retail.
7.
Auto tag agency.
8.
Automatic teller machine (outdoor).
9.
Bakery, retail (wholesale permitted provided the storage area is less than four thousand five hundred (4,500) square feet).
10.
Banks.
11.
Bars and taverns.
12.
Bowling alley.
13.
Business office, no stock or storage.
14.
Caterers.
15.
Ceramic studio.
16.
Check cashing including Payday Loans. (Not permitted within one thousand (1,000) feet of like use, Dollar Store, Pawn Shop, or Secondhand and/or used merchandise, retail).
17.
Child care facility, subject to the following limitation(s):
a.
Shall contain a contiguous outdoor, grassed and fenced play area located away from vehicular traffic. See Section 40.705.
18.
Clubs—Civic, noncommercial.
19.
Collection agency.
20.
Commercial recreation, indoors.
21.
Costume rentals.
22.
Dance academy.
23.
Delicatessen.
24.
Dental laboratory.
25.
Detective agency.
26.
Dollar store. (Not permitted within one thousand (1,000) feet of like use, Check cashing including Payday Loans, Pawn Shop, or Secondhand and/or used merchandise, retail.)
27.
Dry cleaning establishment subject to the following limitations and requirements:
a.
Ventilation shall direct exhaust away from residential districts.
b.
Not more than ten (10) individual cleaning units shall be used in any establishment, and the total combined rated capacity shall not exceed eighty (80) pounds.
c.
See Section 40.705.
28.
Employment agency.
29.
Finance and mortgage institutions.
30.
Fire station.
31.
Groceries, retail.
32.
Formal wear rentals.
33.
Funeral home.
34.
Health studio or club, gymnasium.
35.
Janitorial service.
36.
Jewelry, watch and electronic repairs.
37.
Landscaping and plant nursery.
38.
Laundries, coin-operated, subject to the following limitation(s):
a.
Hours of operation limited to 7:00 a.m. to 11:00 p.m.
39.
Locksmith.
40.
Mail-plus service.
41.
Massage services, permitted as accessory use only within an approved medical office or physical therapy office.
42.
Medical office, subject to the following limitation(s):
a.
Not including correctional and mental, nor institutions for care of drug or liquor patients, nor veterinary hospitals. May have a magnetic resonance imaging (MRI) unit as an accessory.
43.
Medical supply rentals.
44.
Merchant, retail, subject to the limitations in Section 40.521(E).
45.
Museum.
46.
Municipal buildings, parks, playgrounds.
47.
Music, instruction, subject to the following limitation(s):
a.
Soundproofing required.
48.
Nightclubs, teen clubs, catering halls or dance halls, with an occupant load of less than two hundred fifty (250) persons.
49.
Package store.
50.
Personal care services, except massage, subject to the following limitation(s):
a.
Body art studios are not permitted.
51.
Pet grooming, subject to the following limitation(s):
a.
Soundproofing required.
52.
Pet shop, subject to the following limitation(s):
a.
Not permitted within one hundred (100) feet of any residential district.
b.
No outdoor pens or runs permitted.
c.
Subject to the restrictions set forth in Chapter 6 of the Margate Code of Ordinances.
53.
Pharmacy, subject to the following limitations:
a.
No more than ten (10) per cent of all prescription medication dispensed shall be from the list of Schedule II controlled substances provided in F.S. § 893.03.
b.
No less than fifty (50) per cent of floor area shall be used for retail display and transactions.
54.
Photograph developing and printing. See Section 40.705.
55.
Photograph galleries.
56.
Photographer.
57.
Place of Assembly, subject to the requirements of Section 40.619 Place of Assembly in this Code.
58.
Printing, photocopying, blueprinting shop with no more than twenty-five (25) employees.
59.
Picture framing.
60.
Professional office.
61.
Real estate and appraisal office.
62.
Recording studio, subject to the following limitation(s):
a.
Soundproofing required.
63.
Restaurants.
64.
Sales office—No inventory.
65.
Savings and loan institution.
66.
School of instruction, non-academic.
67.
Shoe repair shops.
68.
Small appliance repair, subject to the following limitation(s):
a.
Not permitted within one hundred (100) feet of any residential district.
69.
Stocks and bonds brokerage office.
70.
Substation for utilities (as required).
71.
Tailor shop, seamstress.
72.
Take-out foods.
73.
Theater, indoor.
74.
Travel agency.
75.
Utilities, public offices.
76.
Vending machine (outdoor), permitted as an accessory use to a permitted use and subject to the following limitations contained in Section 40.621 Vending machine (outdoor).
77.
Walkway cafes less than one thousand (1,000) square feet in area and subject to the following limitations contained in Section 40.622 Walkway Cafes.
78.
Weight loss clinic.
(D)
Special exception uses. The following uses are authorized upon a finding by the City Commission that a special exception to the article is warranted, pursuant to the procedure and criteria set forth in Section 40.306 of this Code.
1.
Amusement arcade center, in accordance with all provisions of Section 40.612 of the Margate Zoning Code and Chapter 849 of the Florida Statutes as may be amended from time to time.
2.
Animal clinic, pet hospital, subject to the following limitation(s):
a.
Adequate soundproofing in any area where animals are contained or treated.
b.
All boarding activities shall be ancillary to the primary use.
c.
Subject to the restrictions set forth in Chapter 6 of the Margate Code of Ordinances.
3.
Convenience store.
4.
Drive-thru facilities (with a permitted use). See Section 40.705.
5.
Hotels, subject to the following conditions and limitations:
a.
The minimum lot area shall be two (2) acres.
b.
Any outdoor recreation areas including swimming pools shall be located at least twenty-five (25) feet from the lot line of any adjacent residentially zoned property unless the adjacent property is being utilized for business related parking.
c.
The minimum floor area of a rental sleeping room in a motel or hotel, which includes all areas to be individually rented by a customer, shall be three hundred (300) square feet.
d.
On-site common (not in room) dining facilities sufficient to serve anticipated hotel/motel patrons.
6.
Laundries, coin-operated (extended hours of operation).
7.
Massage services.
8.
Nightclubs, teen clubs, catering halls or dance halls, with an occupancy greater than two hundred fifty (250) feet.
9.
Outside sales, display, service, and/or storage with a permitted use.
10.
Public or private elementary, middle or high school, subject to Section 40.620 Public or Private Elementary, Middle, or High School.
11.
Restaurants with curb or automobile service, subject to the following restrictions:
a.
Subject property shall be located a minimum of seven hundred fifty (750) feet from single-family property; such distance shall be measured from the front door of the establishment to the single-family property line;
b.
Such restaurant must be a free-standing building.
12.
Swimming pool equipment and chemicals, retail, subject to the following conditions and limitations:
a.
All swimming pool supplies, including pre-packaged chemicals, except bulk quantities of sodium hypochlorite, shall be dispensed strictly through retail sales and shall be stored and sold within a completely enclosed structure.
b.
Bulk quantities shall mean any quantity stored in any container, which quantity is to be removed for repackaging. Bulk storage shall mean any storage of any material, which material is to be removed for repackaging.
c.
No wholesale or bulk non-packaged storage or sale of calcium hypochlorite or muriatic acid shall be permitted. Muriatic acid shall be sold only if prepackaged.
d.
The handling and storage of all swimming pool related chemicals and other such supplies shall be regulated by the standards set forth in the Florida Building Code, the Florida Fire Prevention Code, the provisions of the National Fire Protection Association relating to storage of liquid and solid oxidizing materials and storage of gaseous oxidizing materials, and applicable regulations established by Broward County, as such standards be amended from time to time.
e.
No chemical storage area shall be permitted within one hundred (100) feet of any residential district or use.
13.
Walkway cafes greater than one thousand (1,000) square feet in area, subject to the limitations of Section 40.622, Walkway Cafes.
(E)
Permitted uses for mixed-use.
1.
Within any mixed-use structure permitted by the Live Local Act of 2023 (Senate Bill 102) only the uses permitted by the City Center District shall be allowed.
(F)
Uses prohibited.
1.
Tattoo parlors;
2.
Body art studio as a principle use;
3.
Pain management clinics, as defined in Section 40.201.
4.
Any use not specifically listed in Section 40.521(C) is prohibited.
(G)
Limitations on uses.
1.
Except for automobile parking lots, loading zones, temporary promotional events, drive-through facilities accessory to and serving pharmacies which are located within enclosed buildings containing no less than ten thousand (10,000) square feet, and drive-in banks, all activities or permitted uses, including sale, display, preparation and storage, shall be conducted entirely within a completely enclosed building.
2.
No secondhand or used merchandise shall be offered for sale, displayed or stored.
3.
All products produced incidental to a permitted use shall be sold at retail on the premises.
4.
No more than three (3) vehicles per user allowed on site of business.
5.
All equipment and products stored incidental to a permitted use shall be within the enclosed building proper. No trailers allowed.
(H)
Height.
1.
No building or structure shall be erected or altered to a height exceeding one hundred (100) feet. However, no building or structure abutting a residential parcel shall exceed in height its horizontal setback to the residential lot line.
(I)
Lot size.
1.
The minimum lot size excluding public rights-of-way shall be ten thousand (10,000) square feet with a minimum of one hundred (100) feet of street frontage.
(J)
Setbacks. All lots shall provide setbacks in accordance with the following:
1.
Street setbacks.
a.
The minimum building setback from all street rights-of-way less than eighty (80) feet in width shall be twenty-five (25) feet.
b.
The minimum building setback from all street rights-of-way eighty (80) feet in width of greater shall be thirty-five (35) feet.
2.
Side setbacks.
a.
When abutting a non-residentially zoned property, there is no side setback requirement.
b.
When abutting a residentially zoned property, the minimum building setback shall be thirty-eight (38) feet.
3.
Rear setbacks.
a.
When abutting a non-residentially zoned property, the minimum building setback shall be twenty (20) feet.
b.
When abutting a residentially zoned property the minimum building setback shall be thirty-eight (38) feet.
4.
Uses, limited. Where a setback is required in this section, such setbacks may be used for walkways, parking for passenger cars, driveways, loading zones and landscaping, but not for any other use or purpose.
(A)
Purpose and Applicability.
1.
Purpose. The B-2A regional business district allows a wide range of office, retail, and service uses. These uses deemed to have possible negative influences on adjoining properties because of attendant nuisances in their operation are allowed only through the granting of a special exception upon a finding by the City Commission that the same meets conditions and safeguards specified herein. This district is reserved for parcels of at least six (6) acres in size which have direct, controlled access to arterial highways or major thoroughfares. Commercial developments adjacent to residential or recreational areas, as designed by the Margate Comprehensive Plan, should be planned with generous setbacks, buffer landscaping, and traffic patterns leading away from those areas.
2.
Applicability. The B-2A District was repealed. These regulations apply to the only property in the City that has this designation at 5350 West Sample Road, FOLIO # 484219270020. No property owner may apply for a rezoning to the B-2A District. The property developed with these regulations is considered to be a legal conforming use and may be improved and reconstructed according to these standards in the event of destruction.
(B)
Permitted use. No building or structure, or part thereof, shall be erected, altered, or used, or land or water used, in whole or in part, for other than the following specified uses:
1.
Promotional events that are accessory to a permitted use and temporary in nature shall be permitted pursuant to the Temporary Use Permit requirements in this Code.
2.
Coin operated amusement devices incidental to permitted uses as defined and subject to all regulations provided in Section 40.612, Arcade Amusement Centers and Devices of this Code.
The following additional uses are permitted as a right provided that all sales, display, preparation and storage are conducted within a completely enclosed building and that all goods and services are sold at retail. No manufacturing is permitted in this district.
3.
All uses permitted in the B-1 district, unless specified otherwise by this article.
4.
Advertising agency.
5.
Answering service. No sales and/or service shall be rendered there from.
6.
Antique shop.
7.
Art gallery.
8.
Art Studio.
9.
Auto parts, equipment and accessories, new.
10.
Auto tag agency.
11.
Automotive teller machine (outdoor).
12.
Billiard rooms, pool rooms.
13.
Bingo, only as an accessory use to a listed permitted use.
14.
Caterers.
15.
Ceramic studio.
16.
Check cashing service.
17.
Civic clubs.
18.
Collection agency.
19.
Consignment shop, secondhand stores. Any such use shall exclusively occupy at least one thousand (1,000) square feet.
20.
Costume rentals.
21.
Dental Laboratory.
22.
Detective agency.
23.
Employment agency.
24.
Finance and mortgage institution.
25.
Formal wear rentals.
26.
Funeral home.
27.
Health studio or club, gymnasium.
28.
Janitorial service.
29.
Mail plus service.
30.
Medical laboratory.
31.
Medical supply rentals.
32.
Newspaper office.
33.
Package store.
34.
Pet grooming.
35.
Pet shop, without kennel facilities.
36.
Photograph developing and printing.
37.
Photograph galleries.
38.
Photographer.
39.
Picture framing.
40.
Place of Assembly, subject to the requirements of Section 40.619, Place of Assembly of this Code.
41.
Printing shop, blueprinting business, photocopying. (Maximum sheet press twenty-five and one-half (25.5) inches.)
42.
Racquetball and handball courts, indoor.
43.
Recording studio (soundproofed).
44.
Schools of instruction, other than academic.
45.
Stocks and bonds brokerage office.
46.
Take-out foods.
47.
Television and radio studio. No tower or antennas.
48.
Telegraph office.
49.
Theater, indoor.
50.
Ticket office.
51.
Video rentals.
52.
Weight loss clinic.
(C)
Special exception uses. Special exception uses are deemed as necessary to provide a complete distribution of commercial uses within the City, but because of their operational characteristics or area requirements need to be given individual consideration with respect to their location, access and relationship to adjacent properties and public rights-of-way. The following uses are authorized upon a finding by the city commission that a special exception to the article is warranted:
1.
Animal clinics, pet hospitals.
2.
Auction gallery. All storage of inventory and sales shall be conducted within a completely enclosed building.
3.
Bars, taverns, nightclubs, teen clubs.
4.
Bowling alley, whirleyball.
5.
Convenience store.
6.
Hotel or motel with recreational and dining facilities.
7.
Landscape nursery.
8.
Outside sales, display, service, and/or storage with a permitted use.
9.
Post office, public utility service yard.
10.
Repairs with a permitted use.
11.
Restaurant with curb or automobile service.
12.
Sales agency for new automobiles on a site not less than seven (7) contiguous acres. Used or pre-owned automobiles shall be sold only as an accessory use. A copy of the franchise agreement for new automobile sales shall be filed with the City Clerk's office of the City of Margate and shall be subject to inspection by the City upon reasonable times subsequent to initial permitting. Prior to sales of any automobiles, all improvements provided for by the site plan approved by special exception shall be completed and a certificate of occupancy issued.
13.
Swimming pool equipment and related chemicals.
14.
Wholesaling with a permitted use.
(D)
Permitted uses for mixed-use.
1.
Within any mixed-use structure permitted by the Live Local Act of 2023 (Senate Bill 102) only the uses permitted by the City Center District shall be allowed.
(E)
Height limitation.
1.
No building or structure, or portion thereof, shall be erected or altered to a height exceeding the following:
a.
Retail stores. Thirty (30) feet.
b.
Office buildings. Sixty (60) feet.
c.
All other permitted uses. Twenty-five (25) feet.
(F)
Minimum site and lot required.
1.
The minimum site shall be six (6) acres with a minimum of six hundred sixty (660) feet of street frontage.
2.
The minimum lot size of an out parcel shall be thirty thousand (30,000) square feet with a minimum of one hundred fifty (150) feet of street frontage.
(G)
Setback requirements.
1.
Street setback: No building or structure shall be located less than fifty (50) feet from a street right-of-way line.
2.
Side setback:
a.
Abutting nonresidential property. Zero (0) feet.
b.
Abutting residential or recreational property. Sixty (60) feet.
3.
Rear setback:
a.
Abutting nonresidential property. Zero (0) feet.
b.
Abutting residential or recreational property. Sixty (60) feet.
(A)
Application of article.
1.
The following regulations of this article shall apply in all B-3 districts. All minimum separation distances shall be measured in the shortest airline distance between nearest property lines unless otherwise specified.
(B)
Purpose and general description.
1.
The B-3 liberal business district is intended primarily to meet the general service and heavy commercial needs of large sections of this city, adjacent areas, and the subregion. Uses which generate a substantial amount of short-duration traffic, as well as uses which produce noise, dirt, visual pollution and other emissions, vibrations and hazards, or which would have deleterious effects on nearby residents and property values, are first permitted in this district, subject to additional regulations as specified. B-3 districts are generally located with access to major arterial roadways and do not directly abut residential districts.
(C)
Permitted uses. No building or structure, or part thereof, shall be erected, altered or used, or land or water used, in whole or in part, for other than the following specified uses. The B-3 liberal business district is intended primarily to meet the general service and heavy Accessory uses and structures to a permitted use.
1.
Adult day care center.
2.
Animal clinics, pet hospitals, subject to the following limitation(s):
a.
Adequate soundproofing in any area where animals are contained or treated.
b.
All boarding activities shall be ancillary to the primary use.
c.
Subject to the restrictions set forth in Chapter 6 of the Margate Code of Ordinances.
3.
Answering service, subject to the following limitation(s):
a.
No sales and/or service shall be rendered therefrom.
4.
Art gallery.
5.
Artisans, studio or workshop. A workshop or studio of an artist, sculptor, photographer, jeweler, potter, craftsperson, furniture maker, cabinet maker, or other artist or artisan primarily used for on-site production of unique custom goods.
6.
Auto parts, equipment and accessories, retail.
7.
Auto tag agency.
8.
Automatic teller machine (outdoor).
9.
Bakery, retail (wholesale permitted provided the storage area is less than four thousand five hundred (4,500) square feet).
10.
Banks, not including Payday Loans.
11.
Bars and taverns.
12.
Boats and accessories, retail.
13.
Body art studios, subject to the following limitations:
a.
No body art studio shall be located within one thousand (1,000) feet from any other body art studio.
b.
No body art studio shall be located within one thousand (1,000) feet from any school or child care facility.
c.
Body art studios shall be required to have a separate room for the purpose of tattooing and piercing. Each room shall be limited to one (1) customer chair and shall be apart from the waiting room and the public. The room(s) shall not be visible to the general public.
14.
Bottled gas, subject to the following limitation(s):
a.
Not permitted within one hundred (100) feet of residential districts.
15.
Business office, no stock or storage.
16.
Carpet cleaning, subject to the following limitation(s):
a.
Not permitted within one hundred (100) feet of any residential district.
17.
Caterers.
18.
Check cashing including Payday Loans. (Not permitted within one thousand (1,000) feet of like use, Dollar Store, Pawn Shop, or Secondhand and/or used merchandise, retail).
19.
Child care facility, subject to the following limitation(s):
a.
Same shall contain a contiguous outdoor, grassed and fenced play area located away from vehicular traffic. See Section 40.705.
20.
Clubs—Civic, noncommercial.
21.
Collection agency.
22.
Commercial recreation (indoor).
23.
Contractor's office.
24.
Costume rentals.
25.
Dance academy.
26.
Delicatessen.
27.
Dental laboratory.
28.
Detective agency.
29.
Dollar store (not permitted within one thousand (1,000) of like use, Check cashing including Payday Loans, Pawn Shop, or Secondhand and/or used merchandise, retail).
30.
Dry cleaning establishment subject to the following limitations and requirements:
a.
Ventilation shall direct exhaust away from residential districts.
b.
Not more than ten (10) individual cleaning units shall be used in any establishment, and the total combined rated capacity shall not exceed eighty (80) pounds.
c.
See Section 40.705.
31.
Employment agency.
32.
Feed and seed suppliers.
33.
Finance and mortgage institution.
34.
Fire station.
35.
Formal wear rentals.
36.
Glass tinting.
37.
Groceries, retail.
38.
Gun shop and gun ranges (indoors and soundproofed).
39.
Health studio or club, gymnasium.
40.
Interior decoration shop, retail.
41.
Janitorial service.
42.
Jewelry, watch and electronic repairs.
43.
Landscaping and plant nursery.
44.
Laundries, coin-operated, subject to the following limitation(s):
a.
Hours of operation limited to 7:00 a.m. to 11:00 p.m.
45.
Locksmith.
46.
Mail-plus services.
47.
Massage services, permitted as accessory use only within an approved medical office or physical therapy office.
48.
Medical office, subject to the following limitation(s):
a.
Not including correctional or mental, nor institutions for care of drug or liquor patients. May have a magnetic resonance imaging (MRI) unit as an accessory.
49.
Medical supply rentals.
50.
Merchant, retail, subject to the limitations in Section 40.523(E).
51.
Municipal buildings, parks, playgrounds.
52.
Museum.
53.
Music, instruction, subject to the following limitation(s):
a.
Soundproofing required.
54.
Nightclubs, teen clubs, catering halls or dance halls, with an occupant load of less than two hundred fifty (250) persons.
55.
Package store.
56.
Personal care services, except massage.
57.
Pet grooming, subject to the following limitation(s):
a.
Soundproofing required.
58.
Pet shop, without kennel facilities, subject to the following limitation(s):
a.
Not permitted within one hundred (100) feet of any residential district.
b.
No outdoor pens or runs permitted.
c.
Subject to the restrictions set forth in Chapter 6 of the Margate Code of Ordinances.
59.
Pharmacy, subject to the following limitations:
a.
No more than ten (10) per cent of all prescription medication dispensed shall be from the list of Schedule II controlled substances provided in F.S. 893.03.
b.
No less than fifty (50) per cent of the floor area shall be used for retail display and transactions.
60.
Photograph developing and printing. See Section 40.705.
61.
Photograph galleries.
62.
Photographer.
63.
Picture framing.
64.
Place of Assembly, subject to the requirements of Section 40.619, Place of Assembly of this Code.
65.
Printing, photocopying, blueprinting shop with no more than twenty-five (25) employees.
66.
Printing, photocopying, blueprinting shop.
67.
Professional office.
68.
Real estate and appraisal office.
69.
Recording studio, subject to the following limitation(s):
a.
Soundproofing required.
70.
Rental business.
71.
Restaurants.
72.
Sales office—No inventory.
73.
Savings and loan institution.
74.
Secondhand and/or used merchandise, retail. Not permitted within one thousand (1,000) feet of like use, Check Cashing including Payday Loans, Dollar Store, or Pawn Shop.
75.
School of instruction, nonacademic.
76.
Shoe repair shops.
77.
Small appliance repair, subject to the following limitation(s):
a.
Not permitted within one hundred (100) feet of any residential district.
78.
Special residential facilities, category (2), subject to the following limitation(s):
a.
These facilities shall not be located within the approved boundaries of the Margate Community Redevelopment Area.
79.
Special residential facility, category (3), subject to the following limitation(s):
a.
These facilities shall not be located within the approved boundaries of the Margate Community Redevelopment Agency.
80.
Stocks and bonds brokerage office.
81.
Substation for utilities (as required).
82.
Swimming pool equipment and chemicals, retail, subject to the following conditions and limitations.
a.
All swimming pool supplies, including pre-packaged chemicals, except bulk quantities of sodium hypochlorite, shall be dispensed strictly through retail sales and shall be stored and sold within a completely enclosed structure.
b.
Bulk quantities shall mean quantity stored in any container, which quantity is to be removed for repackaging. Bulk storage shall mean any storage or any material, which material is to be removed for repackaging.
c.
No wholesale or bulk non-packaged storage or sale of calcium hypochlorite or muriatic acid shall be permitted. Muriatic acid shall be sold only if prepackaged.
d.
No chemical storage area permitted within one hundred (100) feet of any residential district.
83.
Tailor shop, seamstress.
84.
Take-out foods.
85.
Television, radio and movie studios, subject to the following:
a.
No towers permitted.
86.
Theater, indoor.
87.
Theater, outdoor.
88.
Travel agency.
89.
Utilities, public offices.
90.
Vending machine (outdoor), permitted as an accessory use to a permitted use and subject to the following limitations contained in Section 40.621 Vending machine (outdoor).
91.
Video rentals.
92.
Vinyl graphics.
93.
Walkway cafes less than one thousand (1,000) square feet subject to the limitations in Section 40.622, Walkway Cafes.
94.
Weight loss clinic.
(D)
Special exception uses. The following uses are authorized upon a finding by the City Commission that a special exception to the article is warranted, pursuant to the procedure and criteria set forth in Article 6, Division 4 of the Margate Code of Ordinances.
1.
Amusement arcade center, in accordance with all provisions of section 40.612 Arcade Amusement Centers and Devices of this Code and Chapter 849 of the Florida Statutes as may be amended from time to time.
2.
Auction gallery, subject to the following limitation(s):
a.
Limited to auctions of art goods, jewelry, rugs, furniture and like items.
3.
Automobile storage.
a.
Any designated storage area shall be in a B-3, C, or M-1 district, and enclosed by an eight-foot concrete block wall stuccoed or precast concrete wall on any side visible from areas outside of the property where it is situated. No storage area or wall surrounding same shall be located in a required setback area.
4.
Automobile tires, new, subject to the following limitation(s):
a.
Not permitted within one hundred (100) feet of any residential district.
5.
Bowling alley.
6.
Car wash, automatic, subject to the following limitations:
a.
Only permitted as an accessory use to a vehicle fuel station when the lot occupied by the service station and accessory uses has not less than one hundred thirty-five (135) feet of street frontage and twenty-seven thousand (27,000) square feet of area.
b.
Not permitted within one thousand (1,000) feet of any other automatic car wash.
c.
Not permitted within one hundred (100) feet from any residential district.
d.
See Section 40.705.
7.
Car wash, including detailing, hand washing, polishing, and self-service. Not permitted within one thousand (1,000) feet of any other car wash. Not permitted within one hundred (100) feet of any residential district or use. All washing requires a water containment and reclamation system.
8.
Commercial recreation (outdoor).
9.
Convenience store, subject to the following limitation(s):
a.
Not permitted within one thousand (1,000) feet of any other convenience store.
10.
Drive-thru facilities (with a permitted use).
a.
See Section 40.705.
11.
Flea market.
12.
Hotels, subject to the conditions and limitations listed in Section 40.521(D).
13.
Laundries, coin-operated (extended hours of operation).
14.
Limousine service three (3) or fewer vehicles, subject to the following limitation(s):
a.
Proof of adequate parking facilities shall be demonstrated prior to approval.
15.
Massage services.
16.
Nightclubs, teen clubs, catering halls or dance halls, with an occupancy greater than two hundred fifty (250).
17.
Outside sales, display, service and/or storage, subject to the following:
a.
Shall only be permitted as an accessory to a permitted use.
b.
All areas not completely enclosed, which are used for the storage or processing of raw materials, must be effectively screened from view of the adjoining streets and parcels through the use of a durable fence, wall or hedge, or combinations thereof.
18.
Pain management clinic, subject to limitations and requirements of Section 40.616, Pain Management Clinics of this Code.
19.
Pharmacy, subject to the following limitations:
a.
No more than ten (10) per cent of all prescription medication dispensed shall be from the list of Schedule II controlled substances provided in F.S. § 893.03.
b.
No less than fifty (50) per cent of floor area shall be used for retail display and transactions.
20.
Public or private elementary, middle or high school, subject to Section 40.620, Public or Private Elementary, Middle, or High School.
21.
Restaurants with curb or automobile service.
a.
Subject property shall be located a minimum of seven hundred fifty (750) feet from single-family property; such distance shall be measured from the front door of the establishment to the single-family property line;
b.
Such restaurant must be a free-standing building.
22.
Taxi service, subject to the following limitations:
a.
Limited to three (3) or fewer vehicles.
b.
Proof of adequate parking facilities shall be demonstrated prior to approval.
23.
Vehicle fuel station. Subject to requirements and limitations of Section 40.613, Vehicle Fuel Station of this Code.
24.
Vehicle sales agency (new and/or used vehicles). Not permitted within one hundred (100) feet of any residential district.
25.
Walkway cafes greater than one thousand (1,000) square feet in area subject to the limitations of Section 40.622, Walkway Cafes of this Code.
(E)
Uses prohibited.
1.
Any use not specifically listed in Section 40.523.
(F)
Limitation on uses.
1.
No required front or side street setback may be used for other than customer and employee parking, landscaping, drives and walkways.
2.
Wholesale sales are prohibited except as an accessory use, same not to exceed twenty (20) per cent of floor area nor total number of sales transactions.
(G)
Height.
1.
No building or structure shall be erected or altered to a height exceeding one hundred (100) feet.
(H)
Lot size.
1.
The minimum lot size, excluding public rights-of-way, shall be ten thousand (10,000) square feet with a minimum of one hundred (100) feet of street frontage.
(I)
Setbacks. All lots shall provide setbacks in accordance with the following:
1.
Street setbacks.
a.
The minimum building setback from all street rights-of-way less than eighty (80) feet in width shall be twenty-five (25) feet.
b.
The minimum building setback from all street rights-of-way eighty (80) feet in width of greater shall be thirty-five (35) feet.
2.
Side setbacks.
a.
When abutting a non-residentially zoned property, there is no side setback requirement.
b.
When abutting a residentially zoned property, the minimum building setback shall be sixty (60) feet.
3.
Rear setbacks.
a.
When abutting a non-residentially zoned property, the minimum building setback shall be twenty (20) feet.
b.
When abutting a residentially zoned property the minimum building setback shall be sixty (60) feet.
4.
Uses, limited. Where a setback is required in this section, such setbacks may be used for walkways, parking for passenger cars, driveways, loading zones and landscaping, but not for any other use or purpose.
(A)
Application of article.
1.
The M-1 light industrial district is intended to provide for light manufacturing and heavy commercial uses for large corporations as well as small entrepreneurs in multitenant warehouse space.
(B)
Permitted uses. No building or structure or part thereof shall be erected, altered or used, or land or water used, in whole or in part, for other than the following specified uses:
1.
Accessory uses and structures which are clearly incidental and subordinate to a permitted use.
2.
Ambulance service, subject to the following limitation(s):
a.
Proof of adequate parking facilities shall be demonstrated.
3.
Armored car service.
4.
Automobile body, tops and upholstery shop.
5.
Automobile, motorcycle and small engine repair, subject to the following limitation(s):
a.
Not permitted within one hundred (100) feet of any residential district.
6.
Automobile painting, subject to the following limitation(s):
a.
No outdoor spraying.
7.
Automobile parts, equipment and accessories, wholesale.
8.
Automobile storage.
9.
Automobile tires, vulcanizing or retreading.
10.
Bakery, wholesale.
11.
Bookbinding.
12.
Bottled gas, retail, subject to the following limitation(s):
a.
Not permitted within one hundred (100) feet of any residential district.
13.
Bottling plant.
14.
Bus company, charter, subject to the following limitation(s):
a.
Three (3) or fewer vehicles.
b.
Proof of adequate parking facilities shall be demonstrated.
15.
Bus terminals.
16.
Cabinetmaking, carpentry shops.
17.
Carpet cleaning, subject to the following limitation(s):
a.
Not permitted within one hundred (100) feet of any residential district.
18.
Catering, including shared kitchens.
19.
Ceramic manufacturing.
20.
Cleaning service—Pressure, chemical, industrial.
21.
Concrete testing lab.
22.
Contractor's shop - licensure not required.
23.
Contractor's storage setbacks, subject to the following limitation(s):
a.
Perimeter wall required.
24.
Commissary.
25.
Delivery service.
26.
Dental laboratory.
27.
Diaper service, subject to the following limitation(s):
a.
Not permitted within three hundred (300) feet of any residential district.
28.
Distribution service.
29.
Dry cleaning and dyeing plant, subject to the following limitation(s):
a.
Not permitted within three hundred (300) feet of any residential district.
30.
Electrical utility setback.
31.
Electroplating.
32.
Engraving.
33.
Fire station.
34.
Food processing, subject to the following limitation(s):
a.
No fish, fat rendering, or restaurants.
b.
Processing shall only be done indoors and without the emission of any external noxious odors.
35.
Frozen food locker.
36.
Fruit packing and shipping.
37.
Glass cutting.
38.
Glass tinting.
39.
Grocery, wholesale.
40.
Gun range (indoors and soundproofed).
41.
Janitorial service.
42.
Kennels, subject to restrictions set forth in Chapter 6 of the Margate Code of Ordinances.
43.
Laboratories—Chemical, medical, testing, research.
44.
Laundry, commercial.
45.
Light manufacturing, subject to the following limitations:
a.
Shall include products from aluminum, brass, bronze, copper, steel or other metal or from cloth, leather, paper, rubber, shell, plastic, wood or other materials,
46.
Limousine service four (4) or more vehicles, subject to the following limitation(s):
a.
Proof of adequate parking facilities shall be demonstrated.
47.
Liquor cutting and blending.
48.
Locksmith.
49.
Machine shops.
50.
Magazine wholesale agency.
51.
Mail order business.
52.
Major appliance repair.
53.
Merchant, wholesale.
54.
Metalizing processes.
55.
Mirror silvering.
56.
Motion picture studio.
57.
Moving and storage.
58.
Ornamental iron and metal working shops.
59.
Parking, commercial auto, subject to the following limitation(s):
a.
Not permitted within one thousand (1,000) feet of any other commercial auto parking facility.
60.
Pest control.
61.
Photograph developing and printing.
62.
Printing, photocopying, blueprinting shop with no more than twenty-five (25) employees.
63.
Public utility service yard.
64.
Recording studio, subject to the following limitation(s):
a.
Soundproofing required.
65.
Refrigeration plants.
66.
Rental business.
67.
Research—Educational, scientific, and industrial.
68.
Restaurant and dining room subject to the following limitation(s):
a.
Only permitted as accessory to a permitted use.
69.
Sheet metal shop, subject to the following limitation(s):
a.
When so located that no land allocated to such use or building occupied by such use lies within one hundred (100) feet of any residential-zoned property; provided that this separation requirement shall apply only to principal uses and not to accessory uses.
70.
Sign shop.
71.
Sign painting, car lettering.
72.
Spray painting business.
73.
Stonecutting.
74.
Substation for utilities (as required).
75.
Swimming pool equipment and chemicals, wholesale, subject to the following limitation(s):
a.
No chemical storage area permitted within one hundred (100) feet of any residential district.
76.
Taxi service four (4) or more vehicles, subject to the following limitation(s)
a.
Proof of adequate parking facilities shall be demonstrated.
77.
Television, radio and movie studios.
78.
Theater (outdoor).
79.
Tinsmiths.
80.
Tool-and-die shops.
81.
Towing service, subject to the following limitation(s):
a.
No wrecking.
82.
Tractor, retail.
83.
Trailers of all kinds, campers, mobile homes, retail.
84.
Trash hauler, subject to the following limitation(s):
a.
No dumping.
85.
Truck and large engine repair.
86.
Upholstery shop.
87.
Vehicle sales agency (new and/or used vehicles). Not permitted within one hundred (100) feet of any residential district.
88.
Warehousing and distribution.
(C)
Special exception uses. Special exception uses may be deemed appropriate to provide a complete distribution of uses within the city, but because of their operational characteristics or area requirements need to be given individual consideration with respect to their location, access and relationship to adjacent properties and public rights-of-way, and conformity with the city's current and future redevelopment efforts.
1.
The following uses are authorized upon a finding by the city commission that a special exception to the article is warranted, pursuant to the procedure and criteria set forth in Section 40.306 of the Margate Code of Ordinances.
a.
Recreation and open space;
b.
Commercial recreation uses (indoor and outdoor);
c.
Business and professional office center, subject to the following:
i.
Said use shall be located in a building or development of at least thirty thousand (30,000) square feet.
(D)
Prohibited uses.
1.
Pain management clinics, as defined in Section 40.616.
2.
Any use not specifically listed in Section 40.530(A) is prohibited.
3.
Retail sales are prohibited except where specifically permitted in Section 40.530(A) or as an accessory use, same not to exceed twenty (20) per cent of floor area nor total number of sales transaction.
(E)
Permitted uses for mixed-use.
1.
Within any mixed-use structure permitted by the Live Local Act of 2023 (Senate Bill 102) only the uses permitted by the City Center District shall be allowed.
(F)
Height.
1.
No building or structure shall be erected or altered to a height exceeding sixty (60) feet.
(G)
Lot size.
1.
There shall be no minimum required size of lot.
(H)
Setbacks. All lots shall provide setbacks in accordance with the following:
1.
Street setbacks.
a.
The minimum building setback from all street rights-of-way less than eighty (80) feet in width shall be twenty-five (25) feet.
b.
The minimum building setback from all street rights-of-way eighty (80) feet in width of greater shall be thirty-five (35) feet.
c.
This setback may be used for walkways, parking of passenger cars, driveways and landscaping, but not for any other use or purpose.
2.
Side setbacks.
a.
When abutting a non-residentially zoned or used property, there is no side setback requirement.
b.
When abutting a residentially zoned or used property, the minimum building setback shall be sixty (60) feet.
c.
When a mixed-use development is permitted, the minimum setback shall be sixty (60) feet from any nonresidential use or district.
3.
Rear setbacks.
a.
When abutting a non-residentially zoned or used property, there shall be no minimum building setback.
b.
When abutting a residentially zoned or used property the minimum building setback shall be sixty (60) feet.
c.
When a mixed-use development is permitted, the minimum setback shall be sixty (60) feet from any nonresidential use or district.
4.
Outside storage areas. May be permitted when fully enclosed by a fence and continuous, dense shrubs where abutting a lot line. No required off-street parking or interior landscaped areas may be utilized for such purpose.
(A)
Application of article.
1.
The M-1A, industrial park district is intended to provide land for business and industry which expands the economic base of the City. Permitted uses are intended to include those businesses and industries primarily involved in the manufacture of goods and provision of services for sale and use outside of the limits of the City of Margate. These uses shall include research, development, and manufacture of products and large office buildings providing increased employment opportunities within the City.
(B)
Purpose and general description.
1.
The M-1A, industrial park district is intended to provide land for business and industry which expands the economic base of the City. Permitted uses are intended to include those businesses and industries primarily involved in the manufacture of goods and provision of services for sale and use outside of the limits of the City of Margate. These uses shall include research, development, and manufacture of products and large office buildings providing increased employment opportunities within the City.
(C)
Permitted uses. No building or structure, or any part thereof, shall be erected, altered or used, or land or water used, in whole or in part, for other than one (1) or more of the following uses:
1.
Primary uses.
a.
Apparel from finished textiles;
b.
Bottling plant;
c.
Contractors, including service contractors;
d.
Educational, scientific and industrial research;
e.
Food processing;
f.
Light manufacturing;
g.
Meat or fish processing or slaughtering. Processing shall only be done indoors and without the emission of any external noxious odors.
h.
Office buildings, including business, professional, and medical offices.
i.
Minimum of thirty thousand (30,000) square feet of gross building area per development required.
i.
Warehousing, trucking and distribution;
j.
Wholesaling;
2.
Accessory uses.
a.
Corporate or business offices which serve or represent other specifically permitted industrially related users;
b.
Restaurants and cafeterias allowed as an accessory use only in connection with a permitted office building;
c.
Sales of goods to the general public only as an accessory use;
i.
Sales of goods shall not exceed twenty-five (25) per cent of floor area nor total number of sales transactions.
d.
Sewage pumping station;
e.
Transformer and electrical switching station;
3.
Special exception uses. The following uses are authorized upon a finding by the City Commission that a special exception use to this article is warranted:
a.
Children's activity center as an accessory use only. For the purposes of this section, "children's activity center" is defined as any establishment containing modular retail play/soft play structures, indoor playgrounds, children's party rooms or food services. Retail play/soft play areas of children's activity centers may also contain up to ten (10) coin-operated machines designed specifically for children, ages twelve (12) and under. Access to retail play/soft play areas of children's activity centers (including areas containing permitted coin-operated machines) shall be restricted to children, ages twelve (12) and under, and persons accompanying such children for supervisory purposes.
b.
The city commission shall consider all applications for special exception approval pursuant to the procedure set forth in Article 3, Section 40.306, Special Exception of this Code.
(D)
Prohibited uses. Except as specifically permitted in this district, the following uses are expressly prohibited as either principal or accessory uses:
1.
Airport.
2.
Any use or operation which creates continuous or intermittent physical effects which exceed the performance standards specified in Section 40.531(E).
3.
Automotive: maintenance, service and repair.
4.
Die casting.
5.
Drop forging.
6.
Foundry.
7.
Hotels, motels and any other residential use other than as a permitted accessory use.
8.
Institutions for the aged, infirm or minors or any kind of group housing.
9.
Manufacturing of asphalt, brick, tile, cement, lime, plaster, concrete, acids, carbon, disinfectants, poison, insecticides and batteries.
10.
Oil compounding or barreling.
11.
Open air storage in bulk of material inputs of finished products. This prohibition does not apply to storage of these materials in a warehouse or fully enclosed by a fence and continuous, dense shrubs where abutting a lot line. No required off-street parking or interior landscaped areas may be utilized for such purpose.
12.
Pain management clinics, as defined in Section 40.201.
13.
Paint or varnish manufacture.
14.
Vehicular rental.
(E)
Permitted uses for mixed-use.
1.
Within any mixed-use structure permitted by the Live Local Act of 2023 (Senate Bill 102) only the uses permitted by the City Center District shall be allowed.
(F)
Performance standards. The performance standards listed hereunder shall be the minimum standards that shall be permitted to be constructed, maintained and operated:
1.
Noise and sound: A maximum of seventy (70) decibels at the property line is permitted. Noise is required to be muffled so as not to become objectionable due to intermittence, beat frequency or shrillness. Sound may equal but not exceed street traffic noise in the vicinity during a normal day shift work period.
2.
Dust, odors, gases and vapors: No dust, odors, gases and vapors, except those odors associated with food preparation, shall be permitted beyond the lot line so as to be readily detectable without the use of instruments.
3.
Smoke: No emission shall be permitted from any chimney or otherwise of visible grey smoke of a shade equal to or darker than No. 2 on the Power's Micro-Ringlemann Chart, published by McGraw-Hill Publishing Company, Inc., (being a direct facsimile reduction of a standard Ringlemann Chart as issued by the United States Bureau of Mines), except that visible grey smoke of a shade equal to No. 3 on said chart may be emitted for four (4) minutes in any thirty (30) minute period.
4.
Vibration: No vibration shall be permitted which is readily detectable at the lot line without the use of instruments.
5.
Glare: No direct or sky-reflected glare, whether from floodlights or from high-temperature processes such as combustion or welding or otherwise, so as to cast a distinct shadow of an object at the property line.
6.
Radioactivity or electrical disturbance: No activities shall be permitted which emit dangerous radioactivity or electrical disturbance adversely affecting the operation of any equipment other than that of the creator of such disturbance. All applicable federal regulations shall be complied with.
(G)
Height.
1.
No building or structure shall be erected or altered to a height exceeding fifty (50) feet.
(H)
Lot size.
1.
Minimum lot size shall be twenty thousand (20,000) square feet. Lots created through a condominium association shall have no minimum size.
(I)
Minimum floor area standards.
1.
No building containing a primary use shall be constructed to a size of less than ten thousand (10,000) square feet.
2.
No separately owned or leased area shall be constructed or subdivided into an area smaller than eight hundred (800) square feet.
(J)
Setbacks.
1.
No building or roofed structure shall be located less than thirty-five (35) feet from Banks Road or Copans Road; twenty-five (25) feet from any other street line.
2.
Where an M-1A parcel is separated by a canal from a residential property, no building or roofed structure shall be located closer than twenty (20) feet from the lot line adjoining said canal.
3.
When abutting a residential property the minimum building setback shall be sixty (60) feet.
4.
When a mixed-use development is permitted, the minimum setback shall be sixty (60) feet from any nonresidential use or district.
(A)
Application of article.
1.
The following regulations of this article shall apply in all community facility districts.
(B)
Purpose of district.
1.
The community facility district is intended to provide for the orderly development of those educational, cultural, religious, health care, recreational, and governmental facilities required to meet the needs of the community in which they are located.
(C)
Permitted uses. No building or structure, or part thereof, shall be erected, altered, or used, or land or water used in whole or in part, for other than one (1) of the following:
1.
Place of Assembly, subject to the requirements of Section 40.619, Place of Assembly of this Code.
2.
Hospitals, detoxification facilities, pain management clinics, and long-term care facilities not including correctional or mental institutions, nor veterinary hospitals. Such use shall be located on a lot having at least forty thousand (40,000) square feet, at least two hundred (200) feet of street frontage, and shall only be located on roadways classified by Broward County Metropolitan Organization's Broward Highway Functional Classifications Map as arterial roadways.
3.
Municipal buildings, fire stations, libraries, public offices, parks, playgrounds, reservations, parking.
4.
Medical office, subject to the following limitation(s):
a.
Not including correctional or mental, nor institutions for care of drug or liquor patients. May have a magnetic resonance imaging (MRI) unit as an accessory.
5.
Accessory structure or use which is clearly incidental or subordinate to the principal use and which use is located on the same lot.
(D)
Special exception uses. Special exception uses may be deemed appropriate to provide a complete distribution of uses within the City, but because of their operational characteristics or area requirements need to be given individual consideration with respect to their location, access and relationship to adjacent properties and public rights-of-way, and conformity with the City's current and future redevelopment efforts.
The following uses are authorized upon a finding by the City Commission that a special exception to the article is warranted. The City Commission shall consider all applications for special exception approval pursuant to the procedures and criteria set forth in Article 3, section 40.306 Special Exception of the Margate Code of Ordinances.
1.
Public or private elementary, middle, or high school, subject to Section 40.620, Public or Private Elementary, Middle, or High School.
2.
Public or private postsecondary educational facilities, including vocational schools. Any associated residence shall be ancillary to the permitted use and permitted only for full-time students of the post-secondary educational facility and any staff required to preserve the safety and welfare of resident students.
3.
Pain Management Clinics that are located on roadways classified by the Broward County Trafficways Plan as arterial or collector roadways subject to Section 40.616, Pain Management Clinics.
(E)
Height.
1.
Limitations.
a.
No building or structure, or part thereof, shall be erected or altered to a height exceeding four (4) stories, or fifty (50) feet.
2.
Exceptions.
a.
A steeple or tower on a Place of Assembly may extend to height of sixty-five (65) feet.
b.
Hospitals with more than two hundred (200) beds for overnight patient treatment, located on a campus of at least twenty (20) acres may be a maximum height of one hundred twenty-two (122) feet.
c.
Any property owned or operated by the City of Margate or City of Margate CRA.
(F)
Lot coverage.
1.
The combined ground area occupied by all buildings and structures shall not exceed the following:
(G)
Exceptions.
1.
As an exception to the above limitations:
a.
Hospitals with more than two hundred (200) beds for overnight patient treatment, located on a campus of at least twenty (20) acres may have a maximum lot coverage of thirty-five (35) per cent.
b.
Any property owned or operated by the City of Margate or City of Margate CRA.
(H)
Setbacks.
1.
No building or roofed structure shall be located within forty (40) feet of any residentially zoned property, nor shall any parking areas be located within twenty (20) feet of any residentially zoned property.
2.
Exception. Any property owned or operated by the City of Margate or City of Margate CRA.
(I)
Uses prohibited.
1.
Any use not specifically listed in (C) Permitted uses is prohibited.
(A)
Application of article.
1.
The following regulations shall apply in all CON districts.
(B)
Purpose of district.
1.
The conservation district is intended to provide for the continuing conservation of the natural resources located within the district. The uses within this district shall be consistent with but may be more restrictive than those permitted in the conservation areas of the land use plan. This zoning district shall be applied to land designated conservation on the City's Future Land Use Map.
(C)
Permitted uses. No building or structure, or part thereof, shall be erected, altered, or used, or land or water used in whole or in part, for other than one (1) of the following:
1.
Passive outdoor recreational uses such as wildlife sanctuaries and feeding stations, nature centers and trails, outdoor research stations and walkways.
2.
Structures used for flood control, drainage and stormwater storage.
3.
Uses which do not impair the natural environment or disturb the natural ecosystem of the area and which are not in conflict with applicable water management and wildlife protection policies of local, state and federal agencies.
4.
Waterways.
(A)
Purpose.
1.
The S-2 open space district is intended to preserve areas designated or used for active or passive recreation and to preserve areas designated or used for active or passive recreational needs of the people and to preserve open space.
(B)
Uses permitted. No building or structure or part thereof shall be erected, altered or used, or land or water used, in whole or in part, for other than one (1) or more of the following specified uses:
1.
Boat ramp.
2.
Bridle, foot or bicycle path.
3.
Open land areas or commons.
4.
Open water areas.
5.
Picnic area.
6.
Country clubs and similar uses may be operated as an accessory use to a golf course in a structure does not exceed one (1) per cent of the net land area of the property.
7.
Golf course (eighteen-hole, nine-hole, par three-course, pitch and putt, executive, etc.), excluding miniature golf course.
8.
Municipal structures intended to provide for the health, safety, and welfare of the community.
9.
Accessory uses or structures to uses permitted in this section.
10.
Place of assembly, subject to the requirements of Section 40.619 of this Code.
a.
Such use shall not exceed one (1) per cent of the net land area of the property.
(C)
Uses prohibited. The permissible uses enumerated above shall not be construed to include either as a principal or accessory use any of the following which are listed for emphasis:
1.
Any business or commercial use not permitted as a principal use except when meeting the requirements of an accessory use.
2.
Any industrial or manufacturing use.
3.
Drive-in theatre, drive-in restaurant, or drive-in refreshment stand.
4.
Any residential use.
(D)
Height.
1.
No building or structure or part thereof shall be erected or altered to a height exceeding two (2) stories or thirty (30) feet.
(E)
Lot size.
1.
There shall be no minimum lot size.
(F)
Setbacks.
1.
No parking area shall be located within fifteen (15) feet of any residential lot.
2.
No structure, except municipal structures, fences or walls as hereinafter provided for, shall be located within twenty (20) feet of any residentially zoned property nor within twenty-five (25) feet of any public or private street.
3.
No building or roofed portion of any structure, except municipal structures, shall be located within ten (10) feet of any lot line.
4.
No required open space, setback, or setback area shall be used or developed for any purpose other than landscaping and walkways and/or driveways needed to serve the permitted use.
(A)
Purpose.
1.
The S-1 recreational district is intended to provide public and private open spaces and recreational facilities for active use by the patrons thereof. The permitted uses of the S-1 district may take place in open air or in a building or structure.
(B)
Uses permitted. No building or structure or part thereof shall be erected, altered or used, or land or water used, in whole or in part, for other than one (1) or more of the following:
1.
Passive recreational uses, including, but not limited to: nature centers and trails, scenic areas, wildlife sanctuaries and feeding stations, aquatic preserves and picnic areas.
2.
Active recreational uses, including, but not limited to: tennis courts, playgrounds, swimming pools, athletic fields and courts, beaches and bikeways.
3.
Boat dock.
4.
Cabanas.
5.
Country clubs and similar uses may be operated as an accessory use to a golf course if said structure does not exceed one (1) per cent of the net land area of the property.
6.
Municipal structures intended to provide for the health, safety, and welfare of the community.
(C)
Accessory uses.
1.
Coin-operated amusement devices as specifically defined in Section 40.612 with the addition that:
a.
Same shall be allowed only in recognized structures or facilities, such as clubhouses, recreation halls, teen centers, etc., that are open for the patronage of individuals using said halls for private recreational purposes.
b.
All proceeds from the above coin-operated amusement devices will be utilized for nonprofit purposes relating to the organization or association maintaining the above recreation facilities.
2.
Place of Assembly, subject to the requirements of Section 40.619 of this Code.
a.
Such use shall not exceed one (1) per cent of the net land area of the property.
(D)
Uses prohibited.
1.
The permissible uses enumerated in Section 40.543(B) above shall not be construed to include either as a principal or accessory use of any of the following which are listed for emphasis:
a.
Any business or commercial use not permitted as a principal use except when meeting requirements of an accessory use.
b.
Any industrial or manufacturing use.
c.
Drive-in theater, drive-in restaurant or drive-in refreshment stand.
(E)
Height.
1.
No building or structure or part thereof shall be erected or altered to a height greater than thirty-five (35) feet, except that municipal structures may be built to a height of sixty-five (65) feet.
(F)
Lot size.
1.
Every lot shall be not less than one hundred (100) feet in width and ten thousand (10,000) square feet in area.
(G)
Setbacks.
1.
No parking area shall be located within fifteen (15) feet of any residential plot.
2.
No structure, except municipal structures, fences or walls as hereinafter provided for, shall be located within twenty (20) feet of any residentially zoned property nor within twenty-five (25) feet of any public or private street.
3.
No building or roofed portion of any structure, except municipal structures, shall be located within ten (10) feet of any plot line.
4.
No required open space, yard, or setback area shall be used or developed for any purpose other than landscaping and walkways and/or driveways needed to serve the permitted use.
(A)
Applicability.
1.
The following regulations shall apply in all U-1 districts.
(B)
Purpose of district.
1.
The utilities U-1 district is intended to provide for all utility uses. The uses within this district shall be consistent with but may be more restrictive than those permitted in the utilities land use plan designation areas. This zoning district may be applied to land designated utilities on the City's Future Land Use Map.
(C)
Permitted uses. No building or structure, or part thereof, shall be erected, altered, or used, or land or water used in whole or in part, for other than one of the following:
1.
Communication facilities, subject to requirements of Section 40.618 of this Code.
2.
Electrical utility substations.
3.
Telecommunications transmission facilities, subject to requirements of Section 40.618 of this Code.
4.
Water and wastewater plants.
5.
Wellfields.
6.
Uses accessory to any of the above uses when located on the same lot.
(D)
Special exception uses. The following uses are authorized upon a finding by the City Commission that a special exception to the article is warranted, pursuant to the procedure and criteria set forth in Section 40.306 of this Code.
1.
Power plants.
2.
Solid waste disposal facility.
3.
Waste transfer station.
(E)
Prohibited uses.
1.
Landfills.
2.
Resource recovery facility.
3.
Solid waste disposal facility.
(F)
Minimum lot area and width.
1.
Every lot upon which a structure is hereafter erected shall have a minimum lot size of ten thousand (10,000) square feet in area and a lot width of not less than one hundred (100) feet.
2.
Exception. Any property owned or operated by the City of Margate or City of Margate CRA.
(G)
Maximum height.
1.
No building or structure, or part thereof shall be erected to a height exceeding seven (7) stories or eighty (80) feet, whichever is less.
2.
Exception. Any property owned or operated by the City of Margate or City of Margate CRA.
(H)
Setbacks.
Every lot upon which a structure is hereafter erected shall have minimum setbacks as follows:
1.
25 feet from all property lines.
2.
No parking areas shall be located within ten (10) feet of any residentially zoned property.
3.
Exception. Any property owned or operated by the City of Margate or City of Margate CRA.
(A)
Purpose. This district may be applied to parcels that have been designated residential by the Margate Future Land Use Element. It is applicable to land under single ownership and places an emphasis on overall planning and design as a prerequisite for site plan approval. The city intends this district to result in the reduction of land development costs, energy consumption, and maintenance demands per dwelling unit without compromising individual unit privacy of property value. It encourages the creation of common recreation areas and amenities. Within all PRC developments, a condominium or homeowner's association must be created and made responsible for the perpetual control and maintenance of common elements, architectural features, fences, accessory structures, and landscaping.
(B)
Applicability. The following regulations shall apply in all PRC districts, subject to the specific criteria contained in the approved site development plan or as otherwise specified.
(C)
Uses permitted. No building or structure, or part thereof, shall be erected, altered, or used, or land used, in whole or in part, for other than one (1) or more of the following uses:
1.
One-family detached dwellings, each located so that one (1) side abuts a side lot line. The walls of adjoining units shall not abut.
2.
Recreational facilities, only if constructed as an accessory use to the surrounding residential area.
3.
Multiple-family dwellings subject to the requirements of the R-3 Zoning District, except as otherwise provided herein.
4.
Uses and structures which are accessory, service-oriented, or incidental to the principal uses may be permitted. These may include accessory amenity structures such as clubhouses, meeting rooms, pool houses or other structures.
(D)
Size of lot. Every detached one-family dwelling unit which is erected, placed, or structurally altered shall provide a site or lot of not less than forty-five (45) feet in width and ninety (90) feet in depth and four thousand five hundred (4,500) square feet in area.
(E)
Height limitation. No building or structure, or part thereof, shall be erected or structurally altered in excess of the following height:
1.
For one-family detached dwellings, two (2) stories or thirty (30) feet.
2.
For recreational buildings, two (2) stories or 35 feet.
(F)
Minimum required setbacks for one-family dwellings.
1.
Front setback. Every lot shall provide a front setback of not less than fifteen (15) feet in depth as measured from a right-of-way or roadway easement line. However, front entry garages must provide at least twenty (20) feet between the garage and a right-of-way or roadway easement line.
2.
Side setbacks. The side setback may be zero (0) on one (1) side of the lot provided that:
a.
The lot contiguous to that side setback is held under the same ownership at the time of construction; and
b.
The opposite side setback is not less than ten (10) feet, it being the intent of this district to provide for a minimum of ten (10) feet between one-family dwellings. This setback shall be perpetually maintained free of encroachments other than in-ground swimming pools (subject to all regulations of Section 40.708), air conditioners, patios and appurtenance, fences, and landscaping; and
c.
Except for units whose zero setback directly abuts common open space, the wall located at the zero-side setback shall not have any openings; and
d.
The zero-side setback does not abut a public or private street without an intervening side setback of at least ten (10) feet in depth; and
e.
Except for a maximum twenty-four (24)-inch roof overhang, no portion of the dwelling or architectural features project over any property line; and
f.
A four (4) foot maintenance easement is provided adjacent and parallel to the zero side wall allowing for the maintenance of that wall; and
g.
Storm gutters are required to ensure stormwater runoff from roofs does not spill directly onto the adjoining lot.
3.
Rear setback. Every lot shall have a rear setback of not less than fifteen (15) feet in depth. However, for a one-story structure the rear setback may be reduced to ten (10) feet in depth for no more than fifty (50) per cent of the lot width. When a lot has double frontage, the rear setback abutting a street shall not be less than twenty (20) feet in depth.
(G)
Site plan required.
1.
Prior to the issuance of a building permit within a PRC zoning district, an overall site development plan shall be approved by the development review committee. Said development plan shall specify and clearly delineate the location, relationship, design, and usage of all existing and proposed buildings and structures, public and private roads, utility and drainage areas, parking areas, landscaped open spaces, sidewalks, and lighting standards. Illustrative floor plans and elevations of proposed structures shall be submitted with the site plan. The committee shall consider all site plans pursuant to the criteria of Section 40.301 of this Code and the provisions of this section.
(H)
Unified control required.
1.
Following site development plan approval, the developer shall submit documentation evidencing unified control of the subject property and the creation of a legally constituted maintenance association having responsibility for the perpetual care of common areas, recreational facilities, and architectural control. Membership in this association shall be mandatory for all property owners and successors in title to any land and improvements within the subject development, except for that which has been dedicated to the public. The city attorney shall approve said documents as meeting the requirements of this section prior to the issuance of the first certificate of occupancy.
(I)
Development standards. Every site development plan shall meet or exceed the following design standards in addition to all other applicable zoning and subdivision regulations:
1.
Street design. Private streets may serve developments within this district. The design of streets shall meet the criteria of section 40.403 of this Code. The design and cross-section shall be approved by the city engineer. Streets shall be illuminated to an average intensity of at least one (1) footcandle per square foot. At no point shall the intensity of illumination fall below one-half (½) footcandle.
2.
Parking. Every single-family dwelling unit shall provide a fully enclosed garage, attached to the main structure, and finished in an architecturally compatible manner with the particular house. Each such dwelling shall provide a double wide driveway of not less than sixteen (16) feet in width and zero (0) feet in depth. Multiple-family dwellings shall meet or exceed the parking requirements set forth in Section 40.705 of this Zoning Code.
3.
Fences. Except when constructed as an integral part of the main structure, no fences or walls shall be permitted within the front or street side setback of any residence. Where the rear of any lot abuts a trafficway, a buffer consisting of masonry and wood or metal rail and post, together with landscaping shall be provided along the full length of said perimeter which shall be in an area under unified control and ownership. This buffer must effectively protect the abutting residences from traffic noise and light and shall be compatible with the landscaping and architecture of the subject development and surrounding residential areas.
4.
Screen enclosures. No screen enclosure shall be permitted within the front setback of any single-family lot. Any screen enclosure shall be subject to the side and rear setback requirements of Section 40.550(F) above.
5.
Staggered setbacks. The use of varying setback distances for adjoining lots is recommended to provide visual relief.
6.
Roof material. The roof of all main structures shall be standing seam metal, barrel tile, S tile, or cement tile, or other decorative material.
7.
Minimum parcel size. All PRC districts shall contain at least five (5) contiguous acres.
(A)
General. These regulations prescribe rules and regulations governing the submission and approval of planned unit developments within the City of Margate, Florida.
(B)
Intent and purpose.
1.
It is intended that this district be utilized to permit great flexibility in the use and design of structures and land in situations where modification of specific provisions of this Code will not be contrary to the intent and purposes or inconsistent with the comprehensive plan upon which they are based and will not be harmful to the neighborhood in which they occur.
(C)
Applicability.
1.
Developed properties.
a.
The development standards contained within this article apply to all properties developed before the adoption of this Code.
b.
All properties developed according to these regulations are considered legal conforming uses and may be reconstructed and improved according to these standards and may be reconstructed with them in the event of destruction or undergoes a substantial change pursuant to FEMA regulations.
c.
Any residential subdivision that is redeveloped may voluntarily use the regulations contained in Article 7, Division 2, Supplemental Residential Development Standards for the development of new residential dwellings.
2.
New Residential Development. Any residential dwellings developed within a PUD approved after the adoption of this Code shall only be developed according to the standards in Article 7, Division 2, Supplemental Residential Development Standards.
(D)
Definitions.
1.
Gross area: The total surface (land and water) area contained within the proposed PUD, including on-site streets and rights-of-way, but excluding previously dedicated rights-of-way.
2.
Gross density: The density of a building site calculated by dividing the total number of dwelling units by the total acreage of the site without reduction of any nonresidential uses such as parks, waterways, shops, Places of Assembly, schools, etc.
3.
Master development plan: Shall mean the total site plan of a planned unit development drawn in conformity with the requirements of this section. Said development plan shall specify and clearly illustrate the location, relationship, design, nature and character of all primary and secondary uses, public and private easements, structures, parking area, public and private roads, and common open space.
4.
Open space: A generally unobstructed parcel or area of land permanently dedicated or reserved for the use and enjoyment of owners and occupants of the land within the PUD. Required open space shall be of a pervious nature and shall not be used for private roadways open to vehicular circulation or above grade utility infrastructure; off-street parking or loading berths, lakes, canals, and other features may be considered as required open spaces to the extent of the limitations contained herein at Section 40.551(N), Open Space Requirement and Computation.
5.
Phase: Shall mean a specified portion of a planned unit development that may be developed as an individual component and shall be in the final development plan, and which is specified within the development schedule.
(E)
Planned unit development defined.
1.
A "planned unit development" shall be defined as follows:
a.
A PUD is land under unified control, planned and developed as a whole in a single development operation or an approved programmed series of development operations for dwelling units and related uses and facilities.
b.
A PUD may include principal and accessory uses and structures substantially related to the character of the development itself and the surrounding area of which it is a part.
c.
A PUD shall be developed according to comprehensive and detailed plans which include streets, utilities, lots, building sites and the like, and site plans, floor plans and elevations for all buildings intended to be located, constructed, used, and related to one another, and detailed plans for other uses and improvements on the land related to the buildings; and a PUD shall include a program for full provision maintenance and operation of such areas, improvements, facilities and services for common use by the occupants of the planned unit development which will not necessarily be provided, operated or maintained at public expense.
(F)
Unified control. All land included for the purpose of development within a PUD district shall be under the control of the applicant (an individual, partnership or corporation, or group of individuals, partnerships, or corporations). The applicant shall present satisfactory legal documents to constitute evidence of the unified control of the entire area within the proposed PUD, which shall be certified by the city attorney. Applicant shall agree in the application for rezoning to the following:
1.
To proceed with the proposed development according to the provisions of these regulations and conditions attached to the rezoning of the land to PUD;
2.
To provide agreements, contracts, covenants, deed restrictions, and sureties acceptable to the city for completion of the development according to the plans approved at the time of rezoning to PUD and for continuing operation and maintenance of such areas, functions and facilities which are not proposed to be provided, operated or maintained at public expense; and
3.
To bind their successors in title to any commitments made under the above. All agreements and evidence of unified control shall be examined by the city attorney, and no rezoning of land to PUD classification shall be adopted without a certification by the city attorney that such agreements and evidence of unified control meet the requirements of these regulations.
4.
If the developer elects to administer common open space through an association or nonprofit corporation, said organization shall conform to the following requirements:
5.
The developer shall establish by charter the association or nonprofit corporation prior to any sale;
6.
Membership in the association or nonprofit corporation shall be mandatory for all property owners within the planned unit development, and said association or corporation shall not discriminate in its members or shareholders;
7.
The association or nonprofit corporation shall manage all common open space and recreational and cultural facilities which are not dedicated to the public, shall provide for the maintenance, administration and operation of said land and any other land within the planned unit development not publicly or privately owned, and shall secure and show evidence of adequate liability insurance on the land.
(G)
Uses permitted and nonresidential development standards. No building or structure, or part thereof, shall be erected, altered or used, or land or water used, in whole or in part, for other than one (1) or more of the following uses:
1.
All uses permitted in the R-1 residential districts of the zoning regulations, i.e., R-1, R-2, R-3.
2.
All uses permitted and the development standards in the B-1 Neighborhood Business District.
3.
All uses permitted and the development standards in the S-1 district.
(H)
General requirements and special regulations.
1.
Minimum size: All planned unit developments shall contain a minimum of ten (10) acres of contiguous land.
2.
Maximum area limitations: Pursuant to more specific requirements and regulations as hereinafter prescribed, the following per centages express the maximum land area of the planned unit development that the special land use may occupy:
a.
Commercial: Two (2) per cent of gross area.
b.
Governmental services: Five (5) per cent of gross area. (Said land shall be dedicated to the City of Margate.)
3.
Minimum area limitations: Planned unit developments shall contain areas at least equal to the following:
a.
Open space: Thirty-five (35) per cent pervious of gross area.
4.
Maximum density: The maximum gross density of residential dwelling units per acre permitted within any proposed PUD shall not exceed the combined density recommendations of the Broward County and/or Margate comprehensive land use plan over the area where a particular PUD is proposed. For the purpose of density calculations, nonresidential land uses recommended by the plan shall be considered as "low-density residential."
For example, consider a proposed PUD of fifty (50) acres. The recommended land uses of the comprehensive plan are:
(I)
Minimum lot area, distance between structures, frontage and setbacks.
1.
Each dwelling unit or other permitted use shall have access to a public street, either directly or indirectly, via a private approach road, pedestrian way, court or other area dedicated by common easement guaranteeing access. Permitted uses are not necessarily required to front on a dedicated road. The city shall be allowed access on privately owned roadways, easements and common open space to ensure the police and fire protection of the area, to meet emergency needs, to conduct city services, and to generally ensure the health and safety of the residents of the planned unit development.
2.
There shall be a setback of not less than twenty-five (25) feet in depth abutting all public road rights-of-way within or abutting a planned unit development district.
3.
There shall be a peripheral setback from boundary lines of the PUD of not less than twenty-five (25) feet in depth. Except for only the portion of accessways that cross this setback to access any adjacent road, no portion of this peripheral setback may be used for parking or other vehicular use areas.
(J)
Off-street parking and loading requirements.
1.
Off-street parking and loading requirements shall not deviate from Section 40.705 of this Code.
(K)
Landscaping requirements.
1.
Landscaping shall meet or exceed the requirements of this Code.
(L)
Underground utilities.
1.
Within the planned unit development, all utilities, including telephone, television cable, and electrical systems, shall be installed underground. Primary facilities providing service to the site may be exempted from this requirement. Large transformers shall be placed on the ground and contained within pad mounts, enclosures or vaults. The developer shall provide adequate landscaping with shrubs and plants to screen all utility facilities permitted aboveground.
(M)
Open space requirements and computation. A planned unit development shall exhibit and maintain a total open space requirement at least equal to thirty-five (35) per cent of the gross area of the PUD. The following areas qualify wholly or partially as open space:
1.
If the major recreation use is concentrated in a localized section of the PUD with less than thirty (30) per cent of the residential dwelling units abutting it, only fifty (50) per cent of the area adjacent to the facility may count toward the open space requirement.
2.
If, however, the major recreation use is dispersed throughout the PUD with between thirty (30) and sixty (60) per cent of the residential dwelling units abutting it, seventy-five (75) per cent of the area contained therein may count toward the open space requirement.
3.
If more than sixty (60) per cent of the residential dwelling units abut the major recreation use, one hundred (100) per cent of the area contained therein may count toward the open space requirement.
4.
The area occupied by a multiple-use recreation building and its attendant outdoor recreation facilities, excluding a golf course, may be included as open space.
5.
Only pervious land areas within the required peripheral setback may be included.
6.
The area contained in public and private street rights-of-way is not considered as open space and receives no credit toward the open space requirement. All privately owned common open space shall conform to its intended use and remain as expressed in the master development plan through the inclusion in all deeds of appropriate covenants. Said deed restrictions shall run with the land and be for the benefit of present as well as future property owners. All common open space as well as public and recreation facilities shall be specifically included in the development plan schedule and be constructed and fully improved by the developer at an equivalent or greater rate than the construction of residential structures. At least once every sixty (60) days the building official shall inspect the PUD site and examine the construction which has taken place on the site. If the rate of construction of dwelling units is greater than the rate which common open space and recreational facilities have been constructed and provided, no further building permits shall be issued until the proper ratio has been provided.
7.
Fifty (50) per cent of the area contained in man-made water bodies and canals with average water width of more than sixty (60) feet may be considered toward meeting the open space requirements. Man-made water bodies with average water width of less than fifty (50) feet shall not be considered toward meeting the open space requirements.
8.
If the natural habitats of unique and significant value are determined to exist, the planning and zoning board may require that the area so defined be left in an undisturbed state and adequately protected or incorporated into the design of the PUD as a passive recreation area, with a minimum of improvements permitted. In either case, one hundred (100) per cent of the area contained therein may be counted as open space.
9.
The area contained in a continuous open space pedestrian system, consisting of permanently maintained walks and trails not less than six (6) feet wide leading to a natural amenity, recreation facility or commercial use, offering internal pedestrian walkways that are divorced from roads and streets, may be included as open space.
10.
The area contained in miniparks which may or may not be a part of the open space system, but contain at least one (1) acre and have a minimum dimension of one hundred (100) feet together with, but not limited to, one (1) of the following:
a.
Benches;
b.
Playground apparatus;
c.
Barbeque pits;
d.
May be included as open space.
(N)
Limitations applying to commercial uses.
1.
No business shall be permitted in a planned unit development until certificates of occupancy for no less than twenty-five (25) per cent of the total planned residential floor area or one hundred (100) residential dwelling units have been issued by the city.
2.
All business uses located within the interior of the proposed planned unit development shall be designed having no storefronts, signs or advertisements visible from outside the property line so there is no indication that the business uses are within.
3.
In a planned unit development having fifty (50) acres or more, business uses may be located other than in the interior of the proposed planned unit development and do not have to meet the limitations imposed on interior business uses.
4.
All products produced shall be for sale on the premises.
5.
All business activities and storage of merchandise, equipment and material shall be within an enclosed building.
6.
Business activities operated within a planned unit development shall not provide delivery service to locations outside the planned unit development.
(O)
Professional services required.
1.
Any plans submitted as part of a petition for a planned unit development shall certify that the services of two (2) or more of the following professionals were utilized in the design or planning process, and shall state their names and businesses and addresses:
a.
A certified planner of the American Planning Association; and/or
b.
An architect licensed by the State of Florida; together with;
c.
A professional engineer registered by the State of Florida and trained in the field of civil engineering.
(P)
Information required.
1.
Rezoning application.
2.
Site plan approved by the Development Review Committee.
3.
Plat or subdivision resurvey application (as applicable) approved by the Development Review Committee.
4.
Legal documents assuring unified control of the proposed PUD and any agreements required.
5.
Generalized land use plan and development program (phasing) in terms of uses, densities, and population projections.
6.
Residential plan and program in terms of density and housing types, and projected population.
7.
The projected net fiscal impact on the tax base of the city.
8.
Staging plan, showing the proposed order of development.
(Q)
Time limitations of approval.
1.
Failure to obtain a final development plan approval within eighteen (18) months of the rezoning to planned unit development by the city commission shall automatically negate the rezoning of such land. The zoning shall immediately thereafter revert to the district(s) as they existed prior to the rezoning to PUD. At its discretion and for good cause, the city commission may extend, for one (1) additional year, the PUD rezoning.
(A)
This article is intended for all lands designated as Activity Center on the Margate Future Land Use Map. The regulations of this article shall apply to the following zoning districts.
1.
Corridor;
2.
Gateway;
3.
City Center.
(B)
After the effective date of this article, the building design and site design standards and any and all other land use and development requirements, standards, regulations, or other provisions set forth in this article shall apply to all new development and redevelopment within these districts.
(C)
After the effective date of this article, the building design and site design standards and any and all other land use and development requirements, standards, regulations, or other provisions set forth in this article shall apply to all new development and redevelopment within these districts.
(D)
Purpose and general description. The Corridor, Gateway, and City Center districts are specifically created to implement and encourage the redevelopment of lands designated as Activity Center on the future land use plan map of the City of Margate Comprehensive Plan. These districts generally include right-of-way and private properties abutting or proximate to the State Road 7/U.S. 441 corridor and comprising approximately 1,184 acres. This area is designated on the City of Margate Future Land Use Map (FLUM) and the Broward County Land Use Plan Map as Activity Center.
This article provides general guidance and specific standards necessary to promote the goals, objectives and policies contained within the future land use element and is designed to maximize the development potential of the State Road 7/U.S. 441 corridor, foster a mix [of] land uses, promote shopfronts and commercial uses at street level, accommodate wide pedestrian-friendly and multimodal sidewalks, encourage upper story office uses, and provide on-site parking facilities in the rear setback and accesses when possible through rear alleys or side streets.
The city encourages development and redevelopment projects that contribute to the following objectives:
1.
Promoting well-planned development and redevelopment;
2.
Encouraging the reduction of impacts on adjacent neighborhoods through building placement and sensitivity of building design and green building standards;
3.
Encouraging infill and redevelopment with an emphasis on pedestrian orientation, increased mobility and integration of transit and bicycle systems that provide alternatives to the automobile and promote a sustainable environment;
4.
Encouraging a closer relationship between primary building entrances, the public sidewalk, and pedestrians with entrances to building shopfronts, workplace and housing oriented directly to the public street;
5.
Providing opportunities for a range of housing types and price levels to accommodate diverse ages and incomes;
6.
Planning transportation corridors in coordination with land use and coordinating the intensity of development proximate to mass transit and encouraging a sustainable environment;
7.
Encouraging development that is pedestrian-oriented with a variety of uses including mixed-use development;
8.
Providing that ordinary activities of daily living may occur within walking distance of most dwellings, allowing independence to those who do not drive;
9.
Providing for interconnected networks of tree-lined or shaded roads to be designed and created incrementally to improve pedestrian access to transit and to disperse and reduce the length of automobile trips;
10.
Creating an interconnected rear alleyway system;
11.
Promoting the small scale of newly formed blocks with public open spaces to serve corridor residents, workers and visitors for increasing social gathering, active and passive recreation, and visual amenities;
12.
Promoting appropriate building densities and land uses be provided within walking distance of transit stops;
13.
Creating a range of open space including parks, squares, and playgrounds and positioning buildings to front streets and open spaces;
14.
Encouraging buildings, streetscapes and landscaping to contribute to creating community living spaces;
15.
Promoting a street environment and building orientation that emphasize comfort, safety, and distinctive identity, with the provision of urban greenways along major corridor roadways containing a variety of shopfronts that provide a high level of transparency at the sidewalk level;
16.
Maximizing the development potential for the Corridor, Gateway, and City Center districts; and
17.
Encouraging energy efficiency through building design and site development.
(E)
Corridor permitted uses. No building or structure, or part thereof, shall be erected, altered or used, or land or water used, in whole or in part, for other than any of the uses specified below. All minimum separation distances shall be measured in the shortest airline distance between nearest property lines unless otherwise specified.
1.
Accessory uses and structures to a permitted use.
2.
Adult day care center.
3.
Art gallery.
4.
Artisans, studio or workshop. A workshop or studio of an artist, sculptor, photographer, jeweler, potter, craftsperson, furniture maker, cabinet maker, or other artist or artisan primarily used for on-site production of unique custom goods.
5.
Automatic teller machine (outdoor).
6.
Bakery, retail (wholesale permitted provided the storage area is less than four thousand five hundred (4,500) square feet).
7.
Banks and other financial institutions, not including Payday Loans.
8.
Bars, and taverns.
9.
Body art studios, subject to the following limitations:
a.
No body art studio shall be located within one thousand (1,000) feet from any other body art studio; and
b.
No body art studio shall be located within one thousand (1,000) feet from any academic school for minors or child care facility; and
c.
Body art studios shall be required to have a separate room for the purpose of tattooing and piercing. Each room shall be limited to one (1) customer chair and shall be apart from the waiting room. The rooms shall not be visible to the general public.
10.
Bowling Alley.
11.
Bottled gas (not permitted within one hundred (100) feet of any residential district or use).
12.
Brewery, distillery or winery. Permitted if the use does not exceed fifteen thousand (15,000) square feet in floor area and includes a tasting room and includes manufacturing of goods to be sold primarily on-site and to the general public as retail sales.
13.
Business office, no stock or storage.
14.
Carpet cleaning (Not permitted within one hundred (100) feet of any residential district).
15.
Caterers.
16.
Check cashing including Payday Loans (Not permitted within one thousand (1,000) feet of like use, Dollar Store, Pawn Shop, or Secondhand and/or used merchandise, retail).
17.
Child care facility. Same shall contain a contiguous outdoor fenced or walled-in play area located away from vehicular traffic and providing no less than thirty (30) per cent shade coverage. The outdoor play area shall be covered in turf, mulch, sand or other nonhazardous pervious materials. The outdoor play area shall not be credited toward open space requirements.
18.
Clubs—Civic, noncommercial.
19.
Commercial recreation (indoor).
20.
Dental laboratory.
21.
Dollar store (Not permitted within one thousand (1,000) of like use, Check cashing including Payday Loans, Pawn Shop, or Secondhand and/or used merchandise, retail).
22.
Dry cleaning establishment subject to the following limitations and requirements:
a.
Ventilation shall direct exhaust away from residential districts and uses; and
b.
Not more than ten (10) individual cleaning units shall be used in any establishment, and the total combined rated capacity shall not exceed eighty (80) pounds; and
23.
Fire station.
24.
Funeral home.
25.
Groceries, retail.
26.
Gun shop and gun ranges (indoors and soundproofed).
27.
Health studio or club, gymnasium.
28.
Janitorial service.
29.
Jewelry, watch, and electronic repairs.
30.
Landscaping and plant nursery.
31.
Laundries, coin-operated (may only be open for operation from 7:00 a.m. to 11:00 p.m.).
32.
Locksmith.
33.
Mail-plus service.
34.
Massage services, permitted as accessory use only within an approved medical office or physical therapy office.
35.
Medical office. Not including correctional or mental, nor institutions for care of drug or liquor patients.
36.
Merchant, retail.
37.
Municipal buildings, parks, playgrounds.
38.
Museum.
39.
Music, instruction (indoors and soundproofed only).
40.
Nightclubs, teen clubs, catering halls or dance halls, with an occupant load of less than two hundred fifty (250) persons.
41.
Package store.
42.
Personal care services, except massage.
43.
Pet grooming (soundproofed only).
44.
Pet shop, subject to restrictions set forth in Chapter 6 of the Margate Code of Ordinances.
45.
Pharmacy, subject to the following limitations:
a.
No more than ten (10) per cent of all prescription medication dispensed shall be from the list of Schedule II controlled substances provided in F.S. § 893.03.
b.
No less than fifty (50) per cent of floor area shall be used for retail display and transactions. Photography studio and developing. Subject to requirements of Section 40.705 of this Code.
46.
Picture framing.
47.
Place of Assembly, subject to the requirements of Section 40.619 of this Code.
48.
Printing, photocopying, blueprinting shop with no more than twenty-five (25) employees.
49.
Professional office.
50.
Recording studio (indoors and soundproofed only).
51.
Rental business. (Not vehicular.)
52.
Restaurant.
53.
School of instruction, non-academic.
54.
Secondhand and/or used merchandise, retail. Not permitted within one thousand (1,000) feet of like use, Check cashing including Payday Loans, Pawn Shop, or Dollar Store.
55.
Shoe repair shop.
56.
Small appliance repair. Not permitted within one hundred (100) feet of any residential district.
57.
Substation for utilities.
58.
Swimming pool equipment and chemicals, retail, subject to the following conditions and limitations:
a.
All swimming pool supplies, including prepackaged chemicals, except bulk quantities of sodium hypochlorite, shall be dispensed strictly through retail sales and shall be stored and sold within a completely enclosed structure.
b.
No wholesale or bulk nonpackaged storage or sale of calcium hypochlorite or muriatic acid shall be permitted. Muriatic acid shall be sold only if prepackaged.
c.
Chemical storage area not permitted within one hundred (100) feet of any residential district.
59.
Tailor shop, seamstress.
60.
Television, radio and movie studios (no towers).
61.
Theater, indoor. Subject to requirements of Section 40.705 of this Code.
62.
Utilities, facility offices.
63.
Vehicle dealership, new, subject to the following limitations and requirements:
a.
Minimum size of three (3) acres of contiguous land.
64.
Vending machine (outdoor), permitted as an accessory use to a permitted use and subject to the following limitations contained in Section 40.621 of this Code.
65.
Walkway cafes less than one thousand (1,000) square feet in area; permitted subject to the limitations contained in Section 40.622 of this Code.
(F)
Special exception uses. Special exception uses may be deemed appropriate to provide a complete distribution of uses within the City, but because of their operational characteristics or area requirements need to be given individual consideration with respect to their location, access and relationship to adjacent properties and public rights-of-way, and conformity with the City's current and future redevelopment efforts.
The following uses are authorized upon a finding by the City Commission that a special exception to the article is warranted, pursuant to the procedure and criteria set forth in Section 40.306 of the Margate Code of Ordinances.
1.
Amusement arcade centers in accordance with all provisions of Section 40.612 of this Code and F.S. Chapter 849.
2.
Animal clinics, pet hospitals, subject to the following limitations:
a.
Adequate soundproofing in any area where animals are contained or treated; and
b.
All boarding activities shall be ancillary to the primary use; and
c.
Subject to restrictions set forth in Chapter 6 of the Margate Code of Ordinances.
3.
Auction gallery for art goods, jewelry, rugs, furniture, and other similar items.
4.
Automobile tires, new. Not permitted within one hundred (100) feet of any residential district or use.
5.
Car wash, including automated tunnels, brushless, detailing, hand washing, and polishing. Not permitted within one thousand (1,000) feet of any other car wash rack. Not permitted within one hundred (100) feet of any residential district or use. All washing requires a water containment and reclamation system.
6.
Commercial recreation (outdoor).
7.
Drive through facilities (with a permitted use).
8.
Vehicle fuel station. Subject to requirements and limitations of Section 40.613 of this Code. Fuel pumps are not permitted within sixty (60) feet of any residential district or use.
9.
Hotels and motels, subject to the following conditions and limitations:
a.
Any outdoor recreation areas including swimming pools shall be located at least twenty-five (25) feet from the lot line of any adjacent residentially zoned property; and
b.
The minimum floor area of rental sleeping room in a motel or hotel, which includes all areas to be individually rented by a customer, shall be three hundred (300) square feet.
10.
Laundries, coin operated (extended hours of operation).
11.
Limousine or taxi service three (3) or fewer vehicles; proof of adequate parking facilities shall be demonstrated).
12.
Night clubs, teen clubs, catering halls or dance halls, with an occupancy greater than two hundred fifty (250).
13.
Massage services.
14.
Outside sales, display, service, and/or storage. Outside sales, display, service, and/or storage with a permitted use are authorized upon a finding by the city commission that a special exception to this article is warranted. In addition, all areas not completely enclosed which are used for the storage or processing of raw materials must be effectively screened from view of the adjoining streets and parcels through the use of durable fence, wall or hedge, or combination thereof.
15.
Pain management clinic, subject to limitations and requirements of Section 40.616 of this Code.
16.
Public or private elementary, middle, or high school, subject to Section 40.620 of this Code.
17.
Residential multiple-family dwellings, including horizontal and vertical mixed use.
18.
Restaurants with curb or automobile service. Such approval shall also be subject to the following restrictions:
a.
Subject property shall be located a minimum of seven hundred fifty (750) feet from one-family dwelling districts; such distance shall be measured from front door of the establishment to the single-family property line; and
19.
Theater, outdoor.
20.
Vehicle sales agency (new and/or used vehicles). Not permitted within one hundred (100) feet of any residential district or use.
21.
Vehicle rental business.
22.
Walkway cafes greater than one thousand (1,000) square feet in area, subject to the limitations in Section 40.622 of this Code.
(G)
Lands previously zoned Business Special.
1.
Lands located within the Corridor district that were previously zoned Business Special may utilize all uses currently permitted in the Business Special district as provided in Ordinance 1500.505 and Ordinance 1500.575, until such a time that said properties have been redeveloped or rebuilt after catastrophe under Corridor district regulations.
2.
After redevelopment occurs, as described above, this special extension of rights shall expire.
(H)
Specific design standards.
1.
Development and design standards for types of streets, buildings, heights, building design, site design, access, mixes of uses and other development components are all those that apply in Section 40.554(E).
(A)
Permitted uses. No building or structure, or part thereof, shall be erected, altered or used, or land or water used, in whole or in part, for other than any of the uses specified below. All minimum separation distances shall be measured in the shortest airline distance between nearest property lines unless otherwise specified.
1.
Accessory uses and structures to a permitted use.
2.
Adult day care center.
3.
Art gallery.
4.
Artisans, studio or workshop. A workshop or studio of an artist, sculptor, photographer, jeweler, potter, craftsperson, furniture maker, cabinet maker, or other artist or artisan primarily used for on-site production of unique custom goods.
5.
Automatic teller machine (outdoor).
6.
Banks and other financial institutions, not including Payday Loans.
7.
Bars and taverns.
8.
Bowling alley.
9.
Brewery, distillery or winery. Permitted if the use does not exceed fifteen thousand (15,000) square feet in floor area and includes a tasting room and includes manufacturing of goods to be sold primarily on-site and to the general public as retail sales.
10.
Business office, no stock or storage.
11.
Caterers.
12.
Child care facility. Same shall contain a contiguous outdoor fenced or walled-in play area located away from vehicular traffic and providing no less than thirty (30) per cent shade coverage. The outdoor play area shall be covered in turf, mulch, sand or other nonhazardous pervious materials. The outdoor play area shall not be credited toward open space requirements. Subject to requirements of Section 40.705.
13.
Clubs—Civic, noncommercial.
14.
Commercial recreation (indoor).
15.
Dental laboratory.
16.
Dollar store (not permitted within one thousand (1,000) feet of a like use, Check Cashing or Payday loans, or Secondhand and/or used merchandise, or Pawn Shop).
17.
Dry cleaning establishment subject to the following limitations and requirements:
a.
Ventilation shall direct exhaust away from residential districts and uses; and
b.
Not more than ten (10) individual cleaning units shall be used in any establishment, and the total combined rated capacity shall not exceed eighty (80) pounds.
18.
Fire station.
19.
Groceries, retail.
20.
Health studio or club, gymnasium.
21.
Janitorial service.
22.
Jewelry, watch, and electronic repairs.
23.
Locksmith.
24.
Mail-plus service.
25.
Massage services, permitted as accessory use only within an approved medical office or physical therapy office.
26.
Medical office. Not including correctional or mental, nor institutions for care of drug or liquor patients.
27.
Merchant, retail.
28.
Municipal buildings, parks, playgrounds.
29.
Museum.
30.
Music, instruction (indoors and soundproofed only).
31.
Nightclubs, teen clubs, catering halls or dance halls, with an occupant load of less than two hundred fifty (250) persons.
32.
Package store.
33.
Personal care services, except massage.
34.
Pet grooming (soundproofed only).
35.
Pet shop, subject to restrictions set forth in Chapter 6 of the Margate Code of Ordinances.
36.
Pharmacy, subject to the following limitations:
a.
No more than ten (10) per cent of all prescription medication dispensed shall be from the list of Schedule II controlled substances provided in F.S. § 893.03.
b.
No less than fifty (50) per cent of the floor area shall be used for retail display and transactions.
37.
Photography studio and developing. Subject to requirements of Section 40.705.
38.
Picture framing.
39.
Place of Assembly, subject to the requirements of Section 40.619 of this Code.
40.
Professional office.
41.
Recording studio (indoors and soundproofed only).
42.
Rental business. (Not vehicular.)
43.
Restaurant.
44.
School of instruction, non-academic.
45.
Secondhand and/or used merchandise, retail; subject to the following limitations:
a.
Not permitted within one thousand (1,000) feet from any other secondhand dealer selling like merchandise; and
b.
Not permitted within one thousand (1,000) feet of any pawn shop; and
c.
Not permitted within one thousand (1,000) feet of a Check Cashing or Payday loans; or Dollar Store; and
d.
No consignment.
46.
Substation for utilities.
47.
Tailor shop, seamstress.
48.
Television, radio and movie studios (no towers).
49.
Theater, indoor.
50.
Vehicle dealership, new, subject to the following limitations and requirements:
a.
Minimum size of three (3) acres of contiguous land.
51.
Vending machine (outdoor), permitted as an accessory use to a permitted use and subject to the following limitations contained in section 40.621.
52.
Walkway cafes less than one thousand (1,000) square feet in area; permitted subject to the limitations contained in Section 40.622.
(B)
Special exception uses. Special exception uses may be deemed appropriate to provide a complete distribution of uses with the City, but because of their operational characteristics or area requirements need to be given individual consideration with respect to their location, access and relationship to adjacent properties and public rights-of-way, and conformity with the City's current and future redevelopment efforts.
The following uses are authorized upon a finding by the City Commission that a special exception to the article is warranted, pursuant to the procedure and criteria set forth in Section 40.306, Special Exception of the Margate Code of Ordinances.
1.
Amusement arcade centers in accordance with all provisions of Section 40.612, Arcade Amusement Centers and Devices and Chapter 849 of the Florida Statutes as may be amended from time to time.
2.
Animal clinics, pet hospitals, subject to the following limitations:
a.
Adequate soundproofing in any area where animals are contained or treated; and
b.
All boarding activities shall be ancillary to the primary use; [and]
c.
Subject to restrictions set forth in Chapter 6 of the Margate Code of Ordinances.
3.
Automobile detailing, washing and polishing. Not permitted within one thousand (1,000) feet of the same use or a car wash. Not permitted within one hundred (100) feet of any residential district or use. All washing requires a water containment and reclamation system.
4.
Commercial recreation (outdoor).
5.
Drive through facilities (with a permitted use).
6.
Hotels, subject to the following conditions and limitations:
a.
Any outdoor recreation areas including swimming pools shall be located at least twenty-five (25) feet from the lot line of any adjacent residentially zoned property; and
b.
The minimum floor area of rental sleeping room in a motel or hotel, which includes all areas to be individually rented by a customer, shall be three hundred (300) square feet.
7.
Massage services.
8.
Night clubs, teen clubs, catering halls or dance halls, with an occupancy greater than two hundred fifty (250) persons.
9.
Outside sales, display and/or service. Outside sales, display and/or service with a permitted use are authorized upon a finding by the city commission that a special exception to this article is warranted.
10.
Public or private elementary, middle, or high school, subject to Section 40.620 of this Code.
11.
Vehicle fuel station. Subject to the limitations of Section 40.621 of this Code.
12.
Residential multiple-family dwellings, including horizontal and vertical mixed use.
13.
Theater, outdoor.
14.
Walkway cafes greater than one thousand (1,000) square feet in area, subject to the limitations in Section 40.622 of this Code.
(C)
Specific design standards.
1.
Development and design standards for types of streets, buildings, heights, building design, site design, access, mixes of uses and other development components are those that apply in Section 40.554(E).
(A)
Permitted uses. No building or structure, or part thereof, shall be erected, altered or used, or land or water used, in whole or in part, for other than any of the uses specified below. All minimum separation distances shall be measured in the shortest airline distance between nearest property lines unless otherwise specified.
1.
Accessory uses and structures to a permitted use.
2.
Adult day care center.
3.
Art gallery.
4.
Artisans, studio or workshop. A workshop or studio of an artist, sculptor, photographer, jeweler, potter, craftsperson, furniture maker, cabinet maker, or other artist or artisan primarily used for on-site production of unique custom goods.
5.
Automatic teller machine (outdoor).
6.
Banks and other financial institutions, not including Payday Loans.
7.
Bars and taverns.
8.
Brewery, distillery or winery. Permitted if the use does not exceed fifteen thousand (15,000) square feet in floor area and includes a tasting room and includes manufacturing of goods to be sold primarily on-site and to the general public as retail sales.
9.
Business office.
10.
Child care facility, permitted on secondary streets only. Same shall contain a contiguous outdoor fenced or walled-in play area located away from vehicular traffic and providing no less than thirty (30) per cent shade coverage. The outdoor play area shall be covered in turf, mulch, sand or other non-hazardous pervious materials. The outdoor play area shall not be credited toward open space requirements. Subject to requirements of Section 40.705 of this Code.
11.
Clubs—Civic, noncommercial.
12.
Dry cleaning establishment subject to the following limitations and requirements:
a.
Ventilation shall direct exhaust away from residential districts and uses; and
b.
Not more than ten (10) individual cleaning units shall be used in any establishment, and the total combined rated capacity shall not exceed eighty (80) pounds.
13.
Fire station.
14.
Groceries, retail.
15.
Health studio or club, gymnasium.
16.
Jewelry, watch, and electronic repairs.
17.
Locksmith.
18.
Mail-plus service.
19.
Massage services, permitted as accessory use only within an approved medical office or physical therapy office.
20.
Merchant, retail.
21.
Municipal buildings, parks, playgrounds.
22.
Museum.
23.
Music, instruction (indoors and soundproofed only).
24.
Package store.
25.
Personal care services, except massage.
26.
Pet grooming (soundproofed only).
27.
Pharmacy, subject to the following limitations:
a.
No more than ten (10) per cent of all prescription medication dispensed shall be from the list of Schedule II controlled substances provided in F.S. § 893.03.
b.
No less than fifty (50) per cent of the floor area shall be used for retail display and transactions.
28.
Photography studio and developing.
29.
Place of Assembly, subject to the requirements of Section 40.619 of this Code.
30.
Professional office.
31.
Restaurant.
32.
Tailor shop, seamstress.
33.
Theater, indoor. Subject to requirements of Section 40.705 of this Code.
34.
Vending machine (outdoor), permitted as an accessory use to a permitted use and subject to the following limitations contained in section 40.621.
35.
Walkway cafes less than one thousand (1,000) square feet in area; permitted subject to the criteria and limitations in Section 40.622 of this Code.
(B)
Special exception uses. Special exception uses may be deemed appropriate to provide a complete distribution of commercial uses within the City, but because of their operational characteristics or area requirements need to be given individual consideration with respect to their location, access and relationship to adjacent properties and public rights-of-way, and conformity with the City's current and future redevelopment efforts. The following uses are authorized upon a finding by the City Commission that a special exception to the article is warranted, pursuant to the procedure and criteria set forth in Section 40.306, Special Exception.
1.
Amusement arcade centers in accordance with all provisions of Section 40.612 of this Code and Chapter 849 of the Florida Statutes as may be amended from time to time.
2.
Commercial recreation (indoor).
3.
Hotels.
a.
Any outdoor recreation areas including swimming pools shall be located at least twenty-five (25) feet from the lot line of any adjacent residentially zoned property; and
b.
The minimum floor area of rental sleeping room in a hotel, which includes all areas to be individually rented by a customer, shall be three hundred (300) square feet.
4.
Massage services.
5.
Nightclubs, teen clubs, catering halls or dance halls.
6.
Outside sales, display and/or service. Outside sales, display and/or service with a permitted use are authorized upon a finding by the city commission that a special exception to this article is warranted.
7.
Residential multiple-family dwellings, including vertical and horizontal mixed use.
8.
Theater, outdoor.
9.
Walkway cafes greater than one thousand (1,000) square feet in area, subject to the criteria and limitations in Section 40.622.
(C)
Lands previously zoned M-1 Light Industrial District.
1.
Lands located within the City Center District that were previously zoned M-1 Light Industrial and developed under M-1 Light Industrial regulations may utilize all uses currently permitted in the M-1 Light Industrial district until such a time that the approximately seventeen-acre parcel of land located at 1000 North State Road 7 (Parcel A of "MARGATE THIRD ADDITION", according to the plat thereof, as recorded in Plat Book 44, Page 48 of the public records of Broward County, Florida) has been fully developed under City Center District regulations.
2.
After the above-mentioned development occurs, this special extension of rights shall expire, and all lands located within the City Center District that were previously zoned M-1 Light Industrial shall be considered legally non-conforming until such time as those lands have been redeveloped under City Center District regulations. While in legally nonconforming status, said lands shall comply with all provisions of section 40.308 of this Code.
(D)
Uses prohibited.
1.
Any use not specifically listed in Section 40.552 is prohibited in Corridor District.
2.
Any use not specifically listed in Section 40.553 is prohibited in Gateway District.
3.
Any use not specifically listed in Section 40.554 is prohibited in City Center District.
4.
Pain management clinics are prohibited in Gateway and City Center districts District.
(E)
Specific design standards.
1.
Intent. This article illustrates the types of streets, buildings, heights, and mixes of uses that create the desired "form" presented in the master plan and Corridor, Gateway, and City Center Districts. Guidelines for building design, site design, access, and other development components are transect-based with a corresponding regulating plan that prescribes the appropriate land uses, and project and site design principles relating to the appropriate form for the pedestrian orientation, streetscape, and public realm in the subject area.
2.
In general, development is able to maximize developable heights and developable volume by positioning buildings at the back of the public sidewalk. Parcels with less than two hundred (200) feet of lot depth will also find increased flexibility in achieving greater developable height and building volume while maintaining or increasing separation from adjacent residential properties located to the rear.
3.
A minimum height of two (2) enclosed floors of active use is required for all new development and redevelopment in the City Center District.
4.
Building placement. The building placement regulations contained in this article assume the implementation of a one hundred fifty-foot minimum trafficways reservation width for parcels fronting the State Road 7 corridor and one hundred seventy-five (175) minimum trafficways reservation at the intersection of State Road 7 and Atlantic Boulevard as described in Appendix 2, Broward County Trafficways Map Series.
5.
Setbacks along street frontages. The building placement regulations contained in this article assume the implementation of sidewalk improvements and associated adjustments to the State Road 7 corridor right-of-way widths and related back-of-sidewalk locations as described in subsection (O) "Streets and blocks" and Appendix 2, Broward County Trafficways Map Series Placement of future buildings is encouraged to reflect either:
a.
Location of back of sidewalk following street reconstruction, or
b.
If street reconstruction has not yet taken place, approved city plans for sidewalk reconstruction that relocate the back of sidewalk.
6.
Front setback. The minimum required distance from the back-of-sidewalk line along a primary street to the primary building façade.
a.
Minimum primary frontage setbacks for roads classified by the Broward Metropolitan Planning Organization's Federal Functional Classification are:
i.
Arterial roadway: Eighteen (18) feet.
ii.
All other roadways: Sixteen (16) feet.
7.
Secondary frontage setback. The minimum required distance from the right-of-way line back of curb along the side street to the side street building facade. Minimum secondary frontage setbacks are:
a.
Arterial roadway: Eighteen (18) feet.
b.
All other roadways where an urban greenway is required: Sixteen (16) feet.
8.
Side setback. For the purposes of this article side setback is defined as the required minimum distance from the side property line to the primary building. There is no minimum side setback between buildings or minimum space between buildings.
9.
Rear setback. Rear setback is defined as the required minimum distance from the rear property line to the nearest building. The creation and maintenance of a new and interconnected rear alleyway system is a major goal of this section. Rear setbacks must be maintained to accommodate rear alleyway creation and provide separation between nonresidential uses in the Corridor, Gateway, and City Center Districts and residential uses outside of the Corridor, Gateway, and City Center Districts.
a.
The minimum rear setback shall be thirty-eight (38) feet when new development abuts a residential district or use.
10.
Alleyway setback. An alleyway setback is defined as the required minimum distance from the alleyway edge of pavement to any building. The minimum alleyway setback shall be twelve (12) feet. The minimum paved width of a one-way alley in the Corridor, Gateway, and City Center Districts shall be ten (10) feet, the minimum width of a two-way alley in the Corridor, Gateway, and City Center Districts shall be eighteen (18) feet. Portions of an alley which serve parking spaces shall meet minimum dimensions provided in Section 40.705 of this Code.
11.
Space between buildings. There is no minimum space between buildings on the same parcel, except for the provision of pedestrian zones.
12.
Height limits. Standards:
a.
Corridor District. Maximum height of four (4) floors not to exceed sixty-six (66) feet.
b.
Gateway District. Maximum height of six (6) floors not to exceed ninety-four (94) feet.
i.
Buildings with more than one hundred fifty (150) feet roadway frontage are limited such that:
a.
Not more than seventy-five (75) per cent of the building may exceed four (4) floors not to exceed sixty-six (66) feet.
b.
This massing limitation shall not apply to buildings that are setback at least seventy-five (75) feet from a right-of-way.
c.
This massing limitation shall not apply to buildings that have one hundred fifty (150) feet or less of roadway frontage.
c.
City Center District.
i.
Minimum of two (2) floors of active use for all new development and redevelopment.
ii.
Maximum of eight (8) floors not to exceed one hundred twenty-two (122) feet.
13.
Lot size. The minimum lot size, excluding public rights-of-way, shall be ten thousand (10,000) square feet with a minimum of one hundred (100) feet of street frontage.
14.
Streets and blocks.
a.
The maximum primary block face is seven hundred (700) feet and total block perimeter is two thousand one hundred (2,100) feet. New development and redeveloped sites are encouraged to share connections to roadways and provide rear alley connections.
(F)
Standards for urban greenways:
1.
Shall consist of a landscape buffer and broad multi-modal path lying between travel lanes of adjacent roadways and buildings within the Corridor, Gateway, and City Center Districts;
2.
Are intended to replace existing sidewalks;
3.
May be required to be wider than the minimum requirement if any right-of-way reservation dedications, or roadway, utility, or other easements have been previously granted;
4.
Shall maintain a minimum width of eighteen (18) feet along all roads classified as an arterial roadway by the Broward Metropolitan Planning Organization's Federal Functional Classification Map;
5.
Shall have a minimum width of sixteen (16) feet along all other roads, except for rear alleys and connections;
6.
Beginning from the curb or edge of travel lanes, a landscape buffer shall be provided within the urban greenway which meets the minimum design criteria of the City's landscape code. Behind the landscape buffer, a multi-modal paved path of at least ten (10) feet in width shall be provided within urban greenways built along arterial roadways.
7.
When built along all other roads, shall provide a multi-modal path of at least eight (8) feet in width behind the landscape buffer and within the urban greenway. The paved multi-modal path shall be made of a uniform material, and concrete paths shall not have seams or joints running the length of the path. No obstructions, temporary or permanent, are allowed within the minimum required width of the multi-modal path. Multi-modal paths and landscape buffers wider than the above described minimums are also encouraged. A public access easement shall be dedicated and recorded for any portion of an urban greenway located on privately owned property.
8.
Up to fifty (50) per cent of the length of the required landscape buffer within an urban greenway on a local street owned by the City of Margate or a private entity may be utilized for parallel on-street parking if approved by the Department of Environmental and Engineering Services, provided that one (1) tree is planted every three (3) parking spaces. Said tree shall meet the meet the minimum requirements described in this Code. The minimum width of the paved multi-modal path shall not be reduced to accommodate on-street parking and shall be elevated at least six (6) above the grade of the on-street parking.
(G)
Limitations on uses.
1.
All activities or permitted uses, including sale, display, preparation and storage, shall be conducted entirely within a completely enclosed building unless otherwise specified in the Code. This prohibition shall not apply to the following:
a.
Access to any drive-through via rear access drive is required. No more than two (2) drive-through lanes per user allowed on site of business.
b.
All equipment and products stored incidental to a permitted use shall be located entirely within an enclosed building proper with the exception of propane or natural gas tanks which shall be completely screened from with a screening structure. No storage trailers allowed.
(H)
Mixing of uses.
1.
The mixing of residential and nonresidential uses may be authorized in all Corridor, Gateway, and City Center Districts by Special Exception, provided that residential uses are not facing nonresidential loading areas or dumpster enclosures.
2.
Mixing of residential and nonresidential uses within the same building of at least four (4) stories in height may be authorized within the Corridor, Gateway, and City Center Districts by Special Exception, subject to the following functionally appropriate separation of the uses, including, but not limited to:
a.
Separate stories.
b.
Separate access.
c.
Separation and buffering of residential units from loading areas and noisy nonresidential uses via any or all of the following:
i.
One (1) or more intervening stories of office use;
ii.
Extra-thick concrete floors;
iii.
Soundproofing ceilings, walls and sound-containing openings;
iv.
Operational standards and time limits;
v.
Or other proven technique acceptable to the city.
3.
The following uses shall not be located within a building containing residential use:
a.
Bars, taverns and nightclubs.
b.
Body art studios.
c.
Bottled gas.
d.
Caterers and catering halls.
e.
Check cashing, Payday Loans.
f.
Commercial recreation.
g.
Gun shop.
h.
Music instruction and dance instruction.
i.
Dance halls.
j.
Package store.
k.
Pet grooming and pet shop.
l.
Recording studio.
m.
Pain management clinic.
(I)
Allocation of dwelling units.
1.
Within the Activity Center land use designation, the city has a bank of seven hundred ten (710) dwelling units to allocate. Of the seven hundred ten (710) units, not more than three hundred (300) units shall be utilized north of the city center, and not more than three hundred (300) units shall be utilized south of the city center. The city planner shall maintain an inventory of available dwelling units to be used within the Activity Center. Activity Center dwelling units shall be allocated on a "first-come, first-served" basis; however, before any dwelling units may be allocated to a development or redevelopment site, the following criteria must be satisfied:
a.
There are a sufficient number of available dwelling units to allocate within the specified area of the Activity Center.
b.
The proposed development shall maintain a valid site plan approval from the development review committee.
c.
A total of fifteen (15) per cent of the Activity Center residential units shall be provided as affordable housing. For the purposes of this policy, the term "affordable housing" shall include the meaning as defined by the Broward County Land Use Plan. New development and redevelopment shall at minimum provide a proportionate share of affordable housing until at least fifteen (15) per cent of the total number of Activity Center units have been reserved as affordable. Affordable housing shall be recorded on a covenant running with the land for a minimum of fifteen (15) years.
d.
The proposed development shall demonstrate a high level of connectivity and access to adjacent properties and transit stops.
e.
The proposed development shall demonstrate the residential use as a principal component of a mixed-use development, or be located within one thousand (1,000) feet of supportive commercial, office, and other nonresidential uses.
f.
The proposed development shall be designed to enhance and support pedestrian travel and the use of public transportation.
g.
The proposed development shall demonstrate that the residential use will be both compatible and able to successfully integrate into the surrounding neighborhoods and developments. Demonstration shall be implemented through the incorporation of adequate buffers and effective site design.
h.
The proposed development shall demonstrate adequate public plazas, urban open spaces, or green spaces that are accessible to the public.
i.
That the developer shall begin construction of the proposed development within one (1) year of a successful petition for an allocation of dwelling units within the Activity Center, and that construction of the proposed development shall be completed in no more than five (5) years.
i.
If construction of the proposed development has not started within one (1) year of a successful petition for an allocation of dwelling units, then any and all approvals for the allocation of dwelling units shall become null and void. A one-year waiting period, starting from the date of the nullification of approval, shall be required prior to any future petition for an allocation of dwelling units.
ii.
If after five (5) years the project has started but has not been completed, the developer may petition the Development Services Department for an extension of the allocation of dwelling units. An extension may be granted, provided the following criteria have been satisfied:
a.
That certain extenuating circumstances created a genuine hardship that prevented completion of the development within the allotted time.
b.
That the developer can demonstrate the means and ability to complete construction.
c.
That a lapse in active development permits have been no greater than six (6) months during the previous five-year period.
d.
The proposed development has a valid site plan approval. Site plans may be resubmitted to the development review committee, if necessary.
e.
That any extension of an allocation of Activity Center dwelling units shall not exceed three (3) years. Only one (1) extension may be granted before an allocation expires.
2.
If a proposed development has not been completed within the allotted time (including extensions), then any and all approvals for the allocation of dwelling units shall become null and void. A one-year waiting period, starting from the date of the nullification of approval shall be required prior to any future petition for an allocation of dwelling units.
3.
If the development plans for a proposed development that has been allocated dwelling units are significantly modified, to the extent of changing the nature or intensity of the proposed development, then any and all approvals for the allocation of dwelling units shall become null and void. The applicant must then petition the City for the use of available dwelling units; however, no waiting period(s) shall be imposed for modifying development plans.
(J)
The Regulating Plan.
1.
Any property within the Activity Center Future Land Use Plan Map designation shall only be zoned according to the adopted Regulating Plan Map.
(K)
Parking standards.
1.
Regulation of parking. This section contains development standards and design guidelines to ensure that parking throughout Corridor, Gateway, and City Center Districts is convenient and accessible, accommodates all land uses, and supports the Regulating Plan's intended goals, including:
a.
Enable people to park once at a convenient location and to access a variety of commercial enterprises in pedestrian friendly environments by encouraging shared parking.
b.
Avoid adverse parking impacts on neighborhoods adjacent to redevelopment areas.
c.
Maximize on-street parking.
d.
Encourage parking to be located to the rear of buildings.
e.
Provide flexibility for redevelopment of small sites.
f.
Parking shall be connected with the street by a driveway.
g.
New on-street parking spaces provided adjoining ground floor residential uses may be counted toward the minimum parking requirement for that property.
h.
Parking types are defined as either surface or structured.
2.
Surface parking.
a.
Open. The location of surface parking lots to the rear of buildings is encouraged in order to showcase the buildings, provide more visual interest to passersby and provide superior visibility to businesses.
3.
Parking structure.
a.
Exposed. An above-ground parking structure that is fully or partially exposed to the primary front street(s) on the ground level. Exposed parking structures shall not be located between the street and habitable buildings they serve. The parking structure may be exposed to the building's street frontage(s) on upper levels. Lights with the structure shall be recessed and shielded so they are not visible to any surrounding properties.
b.
Wrapped with liner use on ground level. An above-ground parking structure where non-parking uses are integrated into the ground level of the building along the parcel's primary street frontage(s). Non-parking uses are encouraged to be integrated into the building along secondary street frontages, further hiding the parking structure from view. The parking structure may be exposed to the building's street frontage(s) on upper levels.
c.
Wrapped with liner use on all levels. An above-ground parking structure where non-parking uses are integrated into the building along the parcel's front street frontage(s) on all levels of the building. Non-parking uses are encouraged to be integrated into the building along all street frontages, further hiding the parking structure from view.
4.
Access.
a.
Access to parking facilities shall be provided from alleyways, rear roads, or side streets wherever possible. Parking facilities on adjoining lots are encouraged to share access points and driveways subject to a recorded covenant running with the affected uses.
b.
The total width of parking access openings on the ground level of structured parking may not exceed thirty (30) feet.
5.
Parking calculations.
a.
Buildable density on a lot shall be determined by the sum of the actual parking calculated as that provided:
i.
Within the lot,
ii.
Along the parking lane corresponding to the lot frontage,
b.
Lots immediately adjacent to, or within four hundred (400) linear feet (on the same side of a roadway) of a designated Broward County Transit stop, Margate Circulator, or other mass transit stop, shall be eligible for a parking credit.
i.
A standard transit stop shall provide a credit of two (2) per cent of required parking spaces, or no less than three (3) spaces.
ii.
If the transit stop has a shelter from sun and rain, the transit stop shall provide a credit of five (5) per cent of required parking, or no less than seven (7) spaces.
iii.
If a transit station no less than four hundred (400) square feet in area has been incorporated into the primary facade of a principal structure the transit station shall provide a credit of seven (7) per cent of required parking, or no less than ten (10) spaces.
iv.
A standard transit stop shall provide a credit of two (2) per cent of required parking spaces, or no less than three (3) spaces.
v.
If the transit stop has a shelter from sun and rain, the transit stop shall provide a credit of five (5) per cent of required parking, or no less than seven (7) spaces.
vi.
If a transit station no less than four hundred (400) square feet in area has been incorporated into the primary facade of a principal structure the transit station shall provide a credit of seven (7) per cent of required parking, or no less than ten (10) spaces.
c.
Minimum parking requirements are described in Section 40.705 of this Code, unless specifically provided for below.
i.
Residential. Residential parking requirements shall be those provided in Section 40.705(C) of this Code, and subject to:
a.
Required parking for residential use shall be located within three hundred (300) feet of the entrance(s) to the building it serves, and
b.
Two and one-half (2½) per cent parking reduction for multiple-family dwelling units within developments containing at least fifty (50) dwelling units, and a
c.
Five-per cent reduction for multiple-family dwelling units within developments containing at least one hundred (100) dwelling units.
d.
Bicycle parking.
i.
For residential development, the developer must provide one (1) tenant bicycle parking rack or bicycle locker (i.e., storage for one (1) bicycle) per three (3) units and one (1) visitor bicycle parking rack per fifty (50) units.
ii.
For retail development, the developer must provide one (1) bicycle parking rack or bicycle locker per two thousand five hundred (2,500) square feet of gross floor area.
iii.
For office development, the developer must provide one (1) bicycle parking rack or bicycle locker per (two thousand (2,000) square feet of gross floor area.
iv.
All bicycle parking facilities are to be highly visible to intended users. Bicycle racks provided at designated transit stops shall not count towards meeting the bicycle parking requirements, unless said transit stop is located wholly on the site to be developed or redeveloped. The bicycle parking facilities, including the bicycle, shall not encroach on any area in the public right-of-way intended for use by pedestrians, shall not occupy space on a multi-use or shared pathway, nor shall they encroach on any required fire egress.
(L)
Open space and computation.
1.
The Margate Comprehensive Plan requires an additional twelve (12) acres of open space to be provided in the Corridor, Gateway, and City Center District. This goal will be accomplished by the following open space standards and computations:
a.
For lots of less than three (3) acres, the provision of urban greenways or front sidewalks and street trees shall satisfy open space requirements.
b.
Lots of three (3) acres or more shall provide a minimum of three (3) per cent of gross acreage of the development as open space in addition to the urban greenway. Each open space area shall be subject to the following:
i.
At least thirty (30) per cent of the area shall be shaded by trees or decorative shade structures; and
ii.
Shall provide a paved pedestrian connection to the public sidewalk that is at least six (6) feet wide, and further shall remain accessible to the general public; and
iii.
Shall provide pedestrian amenities such as benches, waste cans, public art, fountains, etc.; and
iv.
Shall be located away from dumpster enclosures, loading zones, and other incompatible uses; and
v.
Shall be one (1) contiguous area.
(A)
Purpose and applicability.
1.
Purpose. The purpose of the T-1, Mobile Home Park District is to provide regulations for the parking or placement of mobile homes and travel trailers for occupancy as living quarters, wherein the park is owned or operated as a unit and individual spaces are occupied on a rental basis.
2.
Applicability. The T-1 District was repealed. No property owner may apply for a rezoning to the T-1 District. These developed properties are considered legal conforming uses and may be reconstructed according to these standards in the event of destruction. The following regulations are provided to only regulate the existing developed residential properties with this designation.
(B)
Definitions.
1.
For the purpose of this Section 40.560 Mobile Home Park T-1 District Regulations, the following definitions shall apply:
a.
Travel trailer. A trailer coach twenty-eight (28) feet or under in over-all length.
b.
Mobile Home. A trailer coach over twenty-eight (28) feet in overall length.
(C)
Uses permitted.
1.
No building or structure or part thereof, shall be erected, altered or used, or land or water used, in whole or in part, for other than one (1) or more of the following specified uses:
a.
Mobile home parks for rental of sites for occupancy by mobile homes and/or travel trailers as living quarters, wherein the mobile home park is owned and/or operated as a unit.
b.
Accessory uses and structures, including recreational facilities.
c.
No businesses except for home occupations.
d.
The sale, by its owner or licensed dealer, of used mobile homes or travel trailers on sites presently or previously occupied by the owner of such mobile home or travel trailer.
e.
The sale of new display models by dealers preparatory to occupancy or between periods of occupancy.
f.
Storage or parking of mobile homes or travel trailers on sites preparatory to occupancy or between periods of occupancy.
(D)
Prohibited uses.
1.
The following uses are prohibited:
a.
A separate utility building on any mobile home or travel trailer site, except for a demountable, Code-approved storage closet or shed.
b.
Cooking or sanitary facilities other than in the mobile home or travel trailer.
c.
Storage or parking of mobile homes or travel trailers except when a mobile home or travel trailer is located on a site preparatory to occupancy or between periods of occupancy.
(E)
Height.
1.
No building or structure, or part thereof, shall be erected or altered to a height exceeding two (2) stories or thirty (30) feet.
(F)
Development Standards. The following development standards to be applied to each site:
1.
Minimum site requirements.
a.
Mobile Home. A mobile home consisting of one (1) or more units designed as a single dwelling shall be placed upon a lot a minimum of two thousand four hundred (2,400) square feet in area and forty (40) feet in average width.
b.
Travel Trailer. A travel trailer shall be placed upon a lot that is a minimum of one thousand (1,000) square feet in area and thirty (30) feet in average width.
2.
Minimum setbacks.
a.
Front. Ten (10) from the edge of a street, twenty-five (25) feet when the property across such street is zoned in any Residential District.
b.
Side. Ten (10) between homes.
c.
Rear. Ten (10) feet.
3.
Sheds, storage buildings, and temporary storage containers in accordance with Section 40.600, General Provisions.
4.
Minimum Separations.
a.
No part of any mobile home or travel trailer, or any addition or addition or appurtenance thereto shall be placed within ten (10) feet of any other mobile home or travel trailer, addition or appurtenance thereto.
b.
No part of any mobile home or travel trailer or addition or appurtenance thereto shall be located within twenty-five (25) feet of any accessory or service building, or structure used in connection with a mobile home park.
5.
Driveways and parking. Each site shall have a driveway that provides the following:
a.
Driveways.
i.
Paved area according to this Code.
ii.
Minimum thirty (30) feet in length for a minimum two (2) vehicles.
iii.
Adequate lighting.
6.
Porches and additions.
a.
Structures of a permanent nature added to or attached to a mobile home or travel trailer such as enclosed porches, screened enclosures, storage closets and carports shall conform to all applicable development standards of this Code.
b.
On travel trailer sites there shall be no addition or attachment except a demountable canvas awning.
7.
All portable or demountable awnings, roofs or appurtenances which are not permitted as permanent structures shall be dismantled and stored either within the mobile home or travel trailer or in some permanent building during the following circumstances:
a.
Within one (1) hour after any advisory for potentially hazardous weather events.
b.
If the mobile home or travel trailer is not to be occupied for a period of thirty (30) days or more.
(A)
Intent and application.
1.
This zoning district is intended for those parcels which have been designated as residential, with a density of ten (10) dwelling units per acre to fourteen (14) dwelling units per acre, in the future land use element of the Margate Comprehensive Plan. Development of a recreational vehicle resort park is subject to final site development plan review by the development review committee and approval by the city commission.
2.
An RVRP is land under unified control, planned and developed as a whole in a single development operation or an approved programmed series of development operations for dwelling units and related uses and facilities.
3.
An RVRP may include principal and accessory uses and structures substantially related to the character of the development itself and the surrounding area of which it is a part.
4.
An RVRP shall be developed according to comprehensive and detailed plans which include streets, utilities, lots, buildings, sites and the like, and site plans, floor plans and elevations for all buildings intended to be located, constructed, used, and related to one another, and detailed plans for buildings. An RVRP shall also include a program for full provision of maintenance and operation of such areas, improvements, facilities and services for common use by the occupants of the recreational vehicle resort park which shall not be provided, operated, or maintained at public expense.
5.
The following regulations of this article shall apply in all RVRP districts.
(B)
Unified control.
1.
All land included for the purpose of development within an RVRP district shall be under the control of the applicant (an individual, partnership or corporation, or group of individuals, partnerships, or corporations). The applicant shall present satisfactory legal documents to constitute evidence of the unified control of the entire area within the proposed RVRP via a condominium association established pursuant to F.S. chapter 718, which shall be certified by the city attorney. The applicant shall agree in the application for rezoning to the following:
a.
To proceed with the proposed development according to the provisions of these regulations and conditions attached to the rezoning of the land to RVRP;
b.
To provide agreements, contracts, covenants, deed restrictions, and sureties acceptable to the city for completion of the development according to the plans approved at the time of rezoning to RVRP and for continuing operation and maintenance of such areas, functions and facilities which are not proposed to be provided, operated or maintained at public expense;
c.
To bind their successors in title to any commitments made under the above. All agreements and evidence of unified control shall be examined by the city attorney, and no rezoning of land to RVRP classification shall be adopted without a certification by the city attorney that such agreements and evidence of unified control meet the requirements of these regulations.
2.
The developer shall administer common open space through a condominium association which shall conform to the following requirements:
a.
The developer shall establish by charter the condominium association prior to any sale;
b.
Membership in the condominium association shall be mandatory for all property owners within the recreational vehicle resort park, and said condominium association shall not discriminate in its members or shareholders;
c.
The condominium association shall manage all common open space and recreational and cultural facilities which are dedicated to the public, shall provide for the maintenance, administration and operation of said land and any other land within the recreational vehicle resort park not publicly or privately owned, and shall secure and show evidence of adequate liability insurance on the land.
3.
Every recreational vehicle park manager or operator shall maintain a register containing a record of all recreational vehicle occupants using the recreational vehicle park. Such register shall be available to any authorized person inspecting the park, and shall be preserved for one (1) year from the date of listing herein. Such register shall contain the names and addresses of all recreational vehicle occupants stopping at the park and the make, model and license number of the motor vehicle and the recreational vehicle.
(C)
Uses permitted. No building or structure, or part thereof, shall be erected, altered or used, or land or water used, in whole or in part, for other than one (1) of the following specified uses:
1.
Recreational vehicle (RV) parks of no less than five (5) RV sites.
2.
Recreational vehicle (RV) sites, within an RV park, for ownership or tenant usage, for nonpermanent residency.
3.
Clubhouses, recreational buildings and facilities, and social centers.
4.
Common storage areas for trailers and vehicles, for use by owners and tenants of the recreational vehicle resort park only.
5.
Place of Assembly, subject to the requirements of Section 40.619 of this Code.
6.
Uses accessory and clearly incidental to any of the above uses.
(D)
Uses prohibited.
1.
No building or structure, or part thereof, shall be erected, altered or used, or land or water used, in whole or in part, for any of the following specified uses:
a.
Tents utilized for sleeping, camping, group camping, or building to be used as hostel or hotel is prohibited.
b.
The conduct of any business or trade by any tenant or nonpermanent resident, other than selling or leasing RV sites.
2.
Where RV sites are being sold to individuals, the developer/owner of the lot(s) shall include in the title transfer document a covenant attesting to the fact that the lot cannot be used as a place of permanent occupancy.
3.
Any use not specifically listed in Section 40.561(C).
(E)
Design standards.
1.
RV park standards:
a.
Minimum park size: Ten (10) acres.
b.
Setbacks:
i.
No building or structure, except fences or walls as hereinafter provided for, shall be located within one (1) foot of any property outside of the RVRP district.
ii.
No recreational vehicle site pad shall be located within one (1) foot of the recreational vehicle park perimeter.
c.
Density: RV sites are subject to the density limitations set forth in the applicable land use category of the future land use element of the Margate Comprehensive Plan.
2.
Landscaping:
a.
All required landscape buffers and landscaped common areas are subject to the planting and maintenance requirements of this Code, and shall utilize the principles of Naturescape Broward, or a similar native landscape program acceptable to the city.
b.
Each RV park shall create and maintain a ten-foot-wide unpaved perimeter buffer along the perimeter property line. This perimeter buffer shall provide a six-foot-high unpierced decorative masonry wall, constructed in conformance to applicable building codes and painted on both sides. Said wall shall be located wholly on the RV park side of the perimeter property line and shall run its full length, except whereas provided for below. No decorative wall or fence shall be required on portions of an RV park perimeter that are contiguous to a body of water that provides a minimum of eighty (80) feet of separation from the nearest property on the opposite side of the body of water; except that a decorative aluminum fence may be installed in such areas.
c.
Trees shall be planted every fifteen (15) linear feet of the perimeter, in a staggered pattern, within and throughout the entire length of the ten-foot perimeter buffer. The tree species used shall be Category I (as provided for in this Code) and nondeciduous. The pruning, trimming, removal, or replanting of, or mitigation to, a tree on residential property shall be in accordance with the City's landscape code.
d.
Each RV site shall be subject to the following minimum landscape requirements:
i.
Lawns shall be placed on all areas not covered by buildings, shrubs, ground cover landscape elements, walks or drives and shall extend to any abutting street pavement edge and the mean waterline of any abutting lake, canal or waterway. Required landscaping for RV sites within an approved RV park may be planted in any area within the RV site that is appropriate to accommodate such landscaping.
3.
RV site standards:
a.
Minimum site size: three thousand one hundred (3,100) square feet.
b.
Improvements:
i.
RV sites shall be clearly defined and shall be exclusive of any space used for common areas, such as roadways, walkways, and recreation areas.
ii.
All RV sites shall include a pad and driveway, and shall be paved with concrete or pavers, or as approved by the city, and be designed to provide runoff of surface water. The use of asphalt as a paving material for RV pads and driveways shall not be permitted unless specifically provided for on a temporary basis pursuant to a recorded agreement with the city. RV parking on any unpaved surface is strictly prohibited.
iii.
Each RV site shall not exceed sixty-five (65) per cent impervious area. The minimum thirty-five (35) per cent pervious area(s) of each RV site shall contain the minimum landscaping requirements for the site and any remaining areas in the pervious area shall be covered in turf.
c.
Separation: No RV pad shall be within five (5) feet of any RV site lot line.
d.
Occupancy: Occupancy of each RV site is limited to one (1) recreational vehicle, one (1) automobile or truck, one (1) motorcycle and one (1) golf cart, accommodating one (1) party. Permanent RV lot structures and decorative features are allowed, as permitted in the individual recreational vehicle site, and all such structures shall conform to the Florida Building Code and the Broward County Surface Water Management Division permit for the RVRP.
e.
Parking: Each site shall include adequate parking space for allowable vehicles. Any vehicles not accommodated within this parking space shall be stored offsite or within a screened storage yard.
f.
Access: Each site shall have direct access to a driveway or interior road.
g.
Utilities: Each site shall have direct connections to water, sewer, and electric service.
h.
RV lot structure: Each site may include an RV lot structure, subject to the following conditions:
i.
One (1) satellite dish or antenna may be attached to each RV lot structure in accordance with Section 40.618.
ii.
All RV lot structures shall be located on an approved RV pad.
iii.
No RV lot structure shall be located within five (5) feet of an RV site lot line.
iv.
The maximum height for any RV lot structure to be located on an RV site shall be twenty-five (25) feet, measured from the finished floor elevation to the peak of the roof.
v.
RV lot structures may include interior improvements such as a bathroom with shower, washer and dryer, utility sink, work bench, golf cart charger, storage cabinets, lighting, air conditioning, general purpose electrical receptacles, kitchens, sleeping quarters and adequate space for the storage of a golf cart.
i.
Decorative features: Each site may include decorative features such as gazebos, tiki huts, decorative railings, walls, benches, patios, steps, decks, trellises, arbors, water fountains, ponds, waterfalls, bridges, planters and flower beds, fire pits, fireplaces, barbecues, outdoor kitchens and bars, outdoor lighting, outdoor living and entertainment areas, heaters, furniture, and additional landscaping improvements.
i.
All features must comply with individual lot setbacks as provided for in this article.
ii.
No decorative feature shall be installed on any lot without first obtaining a permit from the Margate Building Department.
iii.
All applications for decorative features proposed to be located off of the approved pad on a site must demonstrate compliance with the approved drainage permit for the RV Resort Park.
iv.
Decks. Shall be permitted in drainage easements with a minimum of setback of five (5) feet from adjacent RV sites with approval from Broward County Surface Water Management Division, the RV Resort Park Condominium Association, and compliance with the Florida Building Code.
v.
Viewing platforms. Shall be permitted in canal maintenance easements, whether they are publicly or privately maintained, subject to the requirements of Section 11-21 of this Code with the exception that a minimum setback of five (5) feet from adjacent RV sites shall be required, with approval from Broward County Surface Water Management Division, the RV Resort Park Condominium Association and compliance with the Florida Building Code.
4.
Underground utilities:
a.
Within the recreational vehicle resort park, all utilities, including telephone, television cable, and electrical systems, shall be installed underground. Primary facilities providing service to the site may be exempted from this requirement. Large transformers shall be placed on the ground and contained within pad mounts, enclosures or vaults. The developer shall provide adequate landscaping with shrubs and plants to screen all utility facilities permitted above ground.
- ZONING
(A)
Reserved.
(A)
The purpose of this article is to implement development review requirements of the city's comprehensive plan and the Broward County Land Use Plan; discourage haphazard land development; ensure that urban delivery services are not unduly overburdened by premature development; coordinate departmental review; and protect the health, safety and general welfare of the residents of the city.
(A)
The areas assigned to the districts referred to in the preceding section, the designation of same, and the boundaries of said districts are shown upon the zoning map on file in the office of the building inspector of the City of Margate and said zoning map and the districts thereon are hereby adopted and established as fully and to the same effect as though set out in length herein. Said zoning map shall be considered a part of this chapter and shall be identified by the signatures of the president of the city council and the city clerk of the City of Margate, together with the number of this chapter and its effective date. Each district designated on the zoning map shall be subject to the regulations set forth herein unless otherwise shown, the district boundaries are street lines, alley lines or the subdividing or boundary lines of recorded plats, or the extension thereof, and where the districts designated on maps accompanying and made a part of this chapter are approximately bounded by street lines, alley lines or the subdividing or boundary lines of recorded plats, such lines or the extensions thereof shall be considered to be district boundaries.
(A)
No permits for the development or use of a property shall hereafter be issued from the city unless said development or use is located on a lot with an approved zoning designation from the city.
(A)
The lot requirements as prescribed in this chapter for each classification are stated as they apply to regular lots. It is recognized that lots of irregular shape will occur in the platting of areas. Such irregular lots shall contain the minimum area specified for the applicable zoning district and any building erected thereon must conform to all specified front, side and rear setbacks.
(A)
All required setbacks from an abutting waterway, canal or body of water shall be measured from the horizontal natural water line of said waterway, canal or body of water. The horizontal natural waterline is the mean horizontal or vertical level reached by water, visible as a line on a boat, beach, dock or bank.
(B)
Use of premises without buildings.
1.
Where a lot is to be occupied for a permitted use without buildings, the side setbacks and front setbacks required for such lot shall be provided and maintained unless otherwise stipulated in this chapter, except that side setbacks and rear setbacks shall not be required on lots used for private garden purposes without buildings or structures nor on lots used for public recreational areas.
(A)
It is hereby prohibited for any persons presently having property previously zoned T-1 in the City of Margate to permit or allow therein any campers or other trailers on an over night or other temporary basis. It shall be construed to be a violation of this chapter where any camper or travel trailer connects itself to utilities or dumping stations for any period of time without having removed from said camper or travel trailer all means of mobile locomotion.
(B)
It is hereby declared to be the legislative intent that the city council of the City of Margate shall not permit and deems it not in the best interests of the citizens of the City of Margate to permit the opening or use of T-1 zoned areas for open camp grounds or temporary or transient use of T-1 zoned property by travel trailers for any purposes other than permanent tie down.
(C)
These provisions shall not apply to areas zoned RVRP Recreational Vehicle Resort Park district.
(A)
Purpose, Intent and Applicability.
1.
Purpose. The purpose of this article is to:
a.
Provide regulations for the construction and improvement of detached single-family dwellings in the R-1, R-1A, R-1B, R-1C, and R-1D District; and
b.
Restore the development standards in the Code for the Districts that were repealed so that property owners may easily obtain them.
2.
Intent. The intent of this article is to implement the allowed uses for properties with a residential Future Land Use Plan Map designation and to provide development standards that allow property owners to have reasonable use of and enjoyment of their properties.
3.
Applicability. These regulations apply to R-1, R-1A, R-1B, R-1C, and R-1D Districts.
a.
Repealed Districts. The R-1, R-1C, and R-1D Districts were repealed, and no property owner may apply for a rezoning to any of them. These developed properties are considered legal conforming uses and may be reconstructed and improved according to these standards and may be reconstructed with them in the event of destruction.
b.
Uses. Whenever the permitted uses of these Districts are referred to in this Code, R-1 shall be used only for the reference to the permitted uses.
c.
Developed properties.
i.
The development standards contained within this article apply to all properties developed before the adoption of this Code.
ii.
All properties developed according to these regulations are considered legal conforming uses and may be reconstructed and improved according to these standards and may be reconstructed with them in the event of destruction or undergoes a substantial change pursuant to FEMA regulations.
iii.
Any residential property that is redeveloped or undergoes a substantial change pursuant to FEMA regulations may voluntarily use the regulations contained in Section 40.721, Single-family dwelling to redevelop the property.
d.
New development. Any residential property developed after the adoption of this Code shall only be developed according to the standards in Section 40.721, Single-family dwelling.
(B)
Permitted uses.
1.
No building or structure, or part thereof, shall be erected, altered or used, or land or water used, in whole or in part, for other than one (1) of the following uses:
a.
Single-family detached dwellings.
b.
Recreation buildings and facilities, playgrounds, play fields, parks, beaches, owned and operated by the city.
c.
Recreational and social centers, not operated for profit and constructed as an integral part of the surrounding residential neighborhood.
d.
Public or private elementary, middle or high school, subject to Section 40.620, Public or Private Elementary, Middle, or High School of this Code.
e.
Place of Assembly, subject to the requirements of Section 40.619, Place of Assembly of this Code.
f.
Sewage or water treating, pumping and storage plants to serve the surrounding residential area. Such plants shall conform to the following requirements:
i.
The lot shall be not less than two hundred (200) feet in width and forty thousand (40,000) square feet in area, and as large as necessary to provide required setback areas.
ii.
No building or structure shall be located nearer to any other residentially zoned property or any street line than a distance equal to the height of such building or structure.
iii.
No water pumping or treatment facility shall be located nearer than (thirty-five (35) feet to any street line or nearer than fifty (50) feet to any other residentially zoned property.
iv.
All lots shall have a landscaped setback area at least (thirty-five (35) feet in width or depth adjacent to all lot lines separating the subject lot from other residentially zoned property. The landscaped setback area shall not be used for any building, structure, fence, wall, parking, storage or other use except that a fence not over six (6) feet in height may be erected in any such setback area at least (thirty-five (35) feet from any street line. The landscaped setback area shall be planted with grass, shrubbery and trees, and no part shall be paved or surfaced except for minimum driveways and walkways for access.
v.
All machinery, equipment and mechanical or electrical facilities shall be visually screened so designed and operated as to minimize noise effects upon surrounding residential properties.
vi.
Lots shall not be used for business, storage or service purposes for a franchised area.
g.
Sewage lift or pumping stations, containing no treatment facilities, shall be subject to the following requirements:
i.
Where the station is of the underground type, all parts of which are at least three (3) feet below grade except for an access tube not over five (5) feet in maximum horizontal dimension extending not over three (3) feet above grade, and meters and switches on a post extending not over five (5) feet above grade, such access tube and meter or switch post may be located within a utility easement.
ii.
Where the station is wholly or partially above grade, there shall be a setback at least thirty (30) feet in depth adjacent to all residentially zoned property, and screened according to the requirements for the perimeter wall and landscape requirements for when a nonresidential property abuts a residential use pursuant to the Code.
h.
Transformer substation subject to the following requirements:
i.
The lot shall be provided with setbacks not less than thirty (30) feet in depth or width adjacent to all street lines and lot lines of other residentially zoned property and a setback at least twenty-five (25) feet in depth adjacent to a rear lot line.
The setbacks required under this paragraph shall be fully landscaped with grass, shrubbery and trees, and shall not be used for any fence, wall, building or structure, except that a fence not over six (6) feet in height may be erected at least thirty (30) feet from any street line. Minimum driveways or walkways necessary for access may cross required setbacks.
i.
Uses accessory and clearly incidental to any of the above uses when located on the same lot and not involving the conduct of any business, trade, occupation or profession.
j.
Home occupations as allowed by this Code.
k.
Community residential home, Type 1 as defined in Section 40.201.
l.
Recovery residence, as defined in Section 40.201.
(C)
Detached single family dwelling development standards.
Footnotes:
1. Minimum
2. Maximum
3. The dimensions of the property determine what standards apply.
(D)
Lot coverage for residential and nonresidential uses.
1.
The combined area occupied by all principal and accessory structures buildings shall not exceed forty (40) per cent of the area of the lot.
(E)
Minimum lot area, nonresidential structure or use.
1.
Every lot a permitted non-residential structure or use is erected or placed shall be a minimum one hundred (100) feet in width and ten thousand (10,000) square feet in area.
(F)
Nonresidential structure heights.
1.
Maximum height. Thirty-five (35) feet.
a.
Exception. A steeple or tower on a Place of Assembly may extend to a height of fifty (50) feet.
(G)
Nonresidential minimum setbacks.
1.
Front. Thirty-five (35) feet.
2.
Side. Twenty (20) feet plus one (1) foot for every two (2) feet over twenty (20) feet in height.
a.
Exception. Accessory buildings, structures or uses.
3.
Rear. Twenty-five (25) feet.
a.
Exception. Accessory buildings, structures or uses.
(A)
Purpose, Intent, and Applicability.
1.
Purpose. The purpose of these regulations is to provide for development standards for properties within the R-2 District and any other zoning district that allows the development with the standards contained herein.
2.
Intent. The intent of this article is to implement the allowed uses for properties with the Future Land Use Plan Map designation of Residential Low (5 DU/AC) and greater.
3.
Applicability.
a.
Developed properties.
i.
The development standards contained within this article apply to all properties developed before the adoption of this Code.
ii.
All properties developed according to these regulations are considered legal conforming uses and may be reconstructed and improved according to these standards and may be reconstructed with them in the event of destruction or undergoes a substantial change pursuant to FEMA regulations.
iii.
Any residential property that is redeveloped or undergoes a substantial change pursuant to FEMA regulations may voluntarily use the regulations contained in Article 7, Division 2, Supplemental Residential Development Standards, Duplex/two-family dwelling to redevelop the property.
(B)
Uses permitted.
1.
No building or structure, or part thereof, shall be erected, altered, or used, or land or water used, in whole or in part, for other than one (1) or more of the following uses:
a.
Any use permitted in the R-1 district, subject to requirements, limitations, and procedures contained therein.
(C)
Size of lot.
1.
One-family dwellings. Lot width of seventy-five (75) feet and lot area of seven thousand five hundred (7,500) square feet.
2.
Two-family dwellings. Every lot upon which a two-family dwelling is hereafter erected shall be at least eighty-five (85) feet in width and contain at least (eight thousand five hundred (8,500) square feet area. In areas platted prior to the effective date of this section, a lot consisting of a lot of record may be utilized for principal and accessory buildings and structural additions provided that same meet all other requirements of this district.
3.
Nonresidential uses. Every lot upon which a permitted nonresidential structure or use is erected or placed shall be not less than one hundred (100) feet in width and ten thousand (10,000) square feet in area.
(D)
Lot coverage.
1.
The combined area occupied by all main and accessory buildings shall not exceed sixty (60) per cent of the area of the lot.
(E)
Height.
1.
No building or structure, or part thereof, shall be erected or altered to a height greater than thirty-five (35) feet, except that a steeple or tower on a Place of Assembly may extend to a height of fifty (50) feet.
(F)
Front setback.
1.
Residential uses. Every lot used for dwelling purposes shall have a front setback not less than twenty-five (25) feet in depth.
2.
Non-residential use. Every lot whose principal use is non-residential shall have a front setback not less than thirty (30) feet in depth.
(G)
Side setback.
1.
Residential uses. Every lot used for dwelling purposes shall have a side setback on each side, each of which shall not be less than seven and one-half (7½) feet in width.
2.
Non-residential uses. Every lot whose principal use is non-residential shall have side setbacks on each side, each of which shall be not less than twenty (20) feet in width, with an increase of one (1) foot in width of each side setback for each two (2) feet in height of structure in excess of twenty (20) feet.
3.
Corner lots. Upon corner lots there shall be a front setback as here before specified, and also a street side setback at least fifteen (15) feet in width on the side of the lot abutting on the side street.
(H)
Rear setback.
1.
Residential uses. Every lot whose principal use is residential shall have a rear setback not less than fifteen (15) feet in depth.
2.
Non-residential uses. Every lot whose principal use is non-residential shall have a rear setback not less than twenty-five (25) feet in depth.
(I)
Minimum floor area.
1.
The minimum floor area of a one-family dwelling shall be (one thousand (1,000) square feet and the minimum floor area of a dwelling unit in a two-family dwelling shall be seven hundred ninety (790) square feet.
(A)
Purpose, Intent, and Applicability.
1.
Purpose. The purpose of these regulations is to provide for development standards for properties within the R-3 District.
2.
Intent. The intent of this article is to implement the allowed uses for properties with the Future Land Use Plan Map designations of between seven (7) and sixteen (16) dwelling units per acre.
3.
Applicability.
a.
Developed properties.
i.
The development standards contained within this article apply to all properties developed before the adoption of this Code.
ii.
All properties developed according to these regulations are considered legal conforming uses and may be reconstructed and improved according to these standards and may be reconstructed with them in the event of destruction or undergoes a substantial change pursuant to FEMA regulations.
iii.
Any residential property that is redeveloped or undergoes a substantial change pursuant to FEMA regulations may voluntarily use the regulations contained in Article 7, Division 2, Supplemental Residential Development Standards.
b.
New development. Any residential property developed after the adoption of this Code shall only be developed according to the standards in Article 7, Division 2 Supplemental Residential Development Standards.
(B)
Uses permitted.
1.
No building or structure, or part thereof, shall be erected, altered or used, or land or water used, in whole or in part, for other than one (1) or more of the following specified uses:
a.
Permitted use specified:
i.
All uses permitted in the R-2 district, subject to the limitations, requirements and procedures contained therein.
ii.
A lot containing multiple unit dwelling(s).
iii.
Community residential home, Type 2 as defined in Section 40.201.
iv.
Recovery residence, as defined in Section 40.201.
(C)
Size of lot or site required.
1.
Every building erected or structurally altered shall provide a site or lot or not less than the following size:
a.
For a one-family dwelling, seven thousand five hundred (7,500) square feet in area and seventy-five (75) feet in width.
b.
For a two-family dwelling, eight thousand five hundred (8,500) square feet in area and eighty-five (85) feet in width.
c.
For multiple dwellings and special exception uses, wherein any structure thereon does not exceed the height of twenty-five (25) feet, one hundred (100) feet in width and one hundred (100) feet in depth and ten thousand (10,000) square feet in area. When any structure thereon exceeds the height of twenty-five (25) feet, then the required site shall contain a minimum of two hundred (200) feet of street frontage and one (1) acre in area.
(D)
Site coverage.
1.
Within the perimeter of a developed site containing four (4) or more dwelling units, excluding those areas located below the design water elevation, the maximum combined area occupied by all main and accessory structures shall be thirty (30) per cent of the site.
(E)
Building height limits.
1.
One- and two-family dwellings shall not exceed thirty-five (35) feet in height.
2.
Buildings for all other permitted uses shall not exceed four (4) stories or fifty (50) feet in height.
(F)
Setbacks.
1.
One-Family Dwellings. As provided for in the R-1B zoning district.
2.
Two-Family Dwellings. As provided for in the R-2 zoning district.
3.
Multiple Dwellings:
a.
Street setback. No building or structure shall be located less than twenty-five (25) feet from a street right-of-way that is less than eighty (80) feet in width. No building or structure shall be located less than thirty-five (35) feet from a street right-of-way that is eighty (80) feet in width or wider, with the exception of Holiday Springs Boulevard.
b.
Front setback. Every lot shall have a front setback of not less than twenty-five (25) feet in depth or a depth equal to the height of the building, whichever is greater.
i.
Dumpsters and Garbage Containers. Front setbacks or street setbacks shall not be used for storage of dumpsters or other garbage or trash containers.
c.
Side setbacks. Every lot shall have side setbacks of at least fifteen (15) feet or one-half the height of the building, whichever is greater.
d.
Rear setback. Every lot shall have a rear setback of not less than twenty (20) feet in depth plus one (1) additional foot for each two (2) feet in building height, or portion thereof, over twenty-five (25) feet.
(G)
Defining required setbacks.
1.
For purposes of determining the setbacks the front of a multiple dwelling is defined as any side or facade of the building which contains a door, other than a sliding glass door which opens to a patio or terrace, that is used for ingress and egress to one (1) or more dwelling units. There can be more than one (1) front as used herein. The rear of a multiple dwelling shall be that side which is most nearly opposite the front as defined above. The side of a multiple dwelling shall be any side or facade not defined as a front or rear. See Table Y (which follows this section) for a graphic illustration.
2.
The required setbacks of any building may not overlap those of any other building. Therefore, buildings placed side-to-side shall have at least a thirty-foot separation; buildings placed rear-to-rear shall have at least a forty-foot separation; and so forth.
3.
Buildings may be connected, side wall to side wall to form a larger single building. This interconnection shall be accomplished by means of open walkways, common roofline, or open connecting stairways. However, the total perimeter length of any building (the sum of all fronts, sides and rears at first floor level) shall not exceed seven hundred (700) feet.
Determination of setbacks in multiple-family developments. Use building type, or combinations thereof, which most closely approximate the proposed development.
Table Y
(H)
Minimum separation from vehicular use areas.
1.
All vehicular use areas (as defined in the landscape code) shall be separated from any multiple dwelling by at least a ten-foot unpaved area. Said areas may only contain sidewalks, landscaping, patios, air conditioners, lights and mailboxes.
(I)
Use of setback area of any setbacks abutting a street right-of-way for multiple dwellings.
1.
If the lot is separated by a street from a one- or two-family district, the landscaped area shall be increased to ten (10) feet. Within said landscaped area no paving shall be permitted except for permissible driveways and walkways leading to a structure on the premises. Said landscaped area shall be bermed and contain trees and hedges as provided for in the landscape code.
(J)
Minimum floor area for residential usage.
1.
The minimum floor area for a one-family dwelling, exclusive of porches, terraces, carports and attached garages, shall be one thousand (1,000) square feet.
2.
The minimum floor area of each dwelling unit in a two-family dwelling, exclusive of porches, terraces, carports, and attached garages, shall be seven hundred ninety (790) square feet.
(K)
Maintenance of common areas.
1.
Within a multiple-family site, all land and improvements (except that which has been dedicated for public use) which are located outside of the exterior walls of structures, including, but not limited to, landscaping, paving, drainage, recreational facilities and lighting, shall be under the control of a single ownership, condominium association or homeowner's association. The owner or association shall be responsible for the maintenance of all improvements as well as the common portions of individual buildings. The owner or association shall be responsible for the maintenance of all improvements as well as the common portions of individual buildings. The association shall establish rules and regulations governing improvements made to the exterior of all buildings.
(A)
Purpose, Intent, and Applicability.
This zoning district is intended for those parcels which have been designated as residential, with a density no greater than twenty-five (25) dwelling units per acre, by the Future Land Use Element of the Margate Comprehensive Plan. The following regulations of this article shall apply in all R-3A districts.
(B)
Uses permitted.
1.
No building or structure, or part thereof, shall be erected, altered, or used, or land or water used, in whole or in part, for other than one (1) or more of the following specified uses: Any use permitted in an R-1, R-2, or R-3 district, subject to the limitations, requirements and procedure specified for such district.
(C)
Size of lot.
1.
Every building erected or structurally altered shall provide a site or lot of not less than the following size:
a.
For a one-family dwelling seven thousand five hundred (7,500) square feet in area and seventy-five (75) feet in width.
b.
For a two-family dwelling eight thousand five hundred (8,500) square feet in area and eighty-five (85) feet in width.
c.
For multiple dwellings wherein any structure thereon does not exceed the height of twenty-five (25) feet; one hundred (100) feet in width and one hundred (100) feet in depth and ten thousand (10,000) square feet in area. When any structure thereon exceeds the height of twenty-five (25) feet, then the required site shall contain a minimum of two hundred (200) feet of street frontage and one (1) acre in area.
(D)
Site coverage.
1.
Within the perimeter of a developed site containing three (3) or more dwelling units, excluding those areas located below the design water elevation, the maximum combined area occupied by all main and accessory structures shall be thirty-seven and one-half (37½) per cent of the site.
(E)
Building height limits.
1.
One- and two-family dwellings shall not exceed thirty-five (35) feet in height.
2.
Buildings for all other permitted uses shall not exceed six (6) stories or sixty (60) feet in height.
(F)
Setbacks.
1.
One-Family Dwellings. As provided for in the R-1B zoning district.
2.
Two-Family Dwellings. As provided for in the R-2 zoning district.
3.
Multiple Dwellings:
a.
Street setback. No building or structure shall be located less than twenty-five (25) feet from a street right-of-way that is less than eighty (80) feet in width. No building or structure shall be located less than thirty-five (35) feet from a street right-of-way that is eighty (80) feet in width or wider, with the exception of Holiday Springs Boulevard.
b.
Front setback. Every lot shall have a front setback of not less than twenty-five (25) feet in depth or a depth equal to the height of the building, whichever is greater.
c.
Side setbacks. Every lot shall have side setbacks of at least fifteen (15) feet or one-half the height of the building, whichever is greater.
d.
Rear setback. Every lot shall have a rear setback of not less than twenty (20) feet in depth plus one (1) additional foot for each two (2) feet in building height, or portion thereof, over twenty-five (25) feet.
4.
Accessory Buildings. No accessory buildings shall be located in any required street setback.
5.
Dumpsters and Garbage Containers. Front setbacks or street setbacks shall not be used for storage of dumpsters or other garbage or trash containers.
(G)
Defining required setbacks; maximum building length; building separation.
1.
For purposes of determining the setbacks the front of a multiple dwelling is defined as any facade of the building which contains a door, other than a sliding glass or screen door which opens to a patio or terrace, that is used for ingress and egress to one (1) or more dwelling units. There can be more than one (1) front as used herein. The rear of a multiple dwelling shall be that facade which is most nearly opposite the front as defined above. The side of a multiple dwelling shall be any length or facade not defined as a front or rear. See Table Y following Section 40.512 for a graphic illustration.
2.
The required setbacks of any building may not overlap those of any other building. Therefore, buildings placed side-to-side shall have at least a thirty-foot separation; buildings placed rear-to-rear shall have at least a forty-foot separation; and so forth.
3.
Buildings may be connected, side wall to side wall, so as to form a larger single building. This interconnection shall be accomplished by means of open walkways, common roofline or open connecting stairways. However, the total perimeter length of any building (the sum of all fronts, sides and rears at first floor level) shall not exceed seven hundred fifty (750) feet.
(H)
Minimum separation from vehicular use areas.
1.
All vehicular use areas as defined in the landscape code) shall be separated from any multiple dwelling by at least a ten-foot-wide buffer area. Said areas may only contain sidewalks, landscaping, patios, air conditioners, lights or mailboxes.
(I)
Minimum floor area for residential usage.
1.
The minimum floor area for a one-family dwelling, exclusive of porches, terraces, carports and attached garages, shall be one thousand (1,000) square feet.
2.
The minimum floor area of each dwelling unit in a two-family dwelling, exclusive of porches, terraces, carports, and attached garages, shall be seven hundred ninety (790) square feet.
3.
The minimum floor area of a unit without cooking facilities in a group care facility shall contain at least one hundred ten (110) square feet of floor space for rooms intended for occupancy by one (1) person and shall contain at least ninety (90) square feet per occupant for rooms intended for occupancy by two (2) or more persons. The required area does not include bathrooms, closets or other similar appurtenances.
(J)
Maintenance of common areas.
1.
Within a multiple-family site, all land and improvements (except that which has been dedicated for public use), which are located outside of the exterior walls of structures, including, but not limited to, landscaping, paving, drainage and lighting, shall be under the control of a single ownership, condominium association or homeowner's association. The owner or association shall be responsible for the maintenance of all improvements as well as the common portions of individual buildings. The owner or association shall establish rules and regulations governing improvements made to the exterior of all buildings.
(A)
Purpose, Intent, and Applicability.
1.
Purpose. The purpose of the R-3U District is to provide regulations for the construction of dwellings containing three (3) or more dwelling units, which are designed, arranged and constructed for the ownership of each dwelling unit and the land thereunder by separate and different owner.
2.
Applicability. The R-3U District was repealed by the City Commission. No property owner may apply for a rezoning to the R-3U District. These developed properties are considered legal conforming uses and may be improved and reconstructed according to these standards in the event of destruction.
(B)
Uses permitted.
1.
No building or structure, or part thereof, shall be erected, altered or used, or land or water used, in whole or in part, for other than the following specified uses:
a.
Multiple dwellings which are designed, arranged and constructed for the ownership of each dwelling unit and the land thereunder by a separate and different owner.
b.
Uses accessory to any of the above when located on the same lot and not involving the conduct of any business, trade, occupation or profession other than a home occupation.
(C)
Size of lot.
1.
Every lot upon which a residential structure is erected shall be not less than seventy-five (75) feet in width and seven thousand five hundred (7,500) square feet in area, provided that each dwelling unit of a multiple family dwelling may be located on a lot not less than twenty-five (25) feet in width and one hundred (100) feet in depth, except that a portion of a common party wall separating two (2) such separate dwellings, units may be located on an adjoining lot.
(D)
Lot coverage.
1.
The combined area covered by all main and accessory buildings and roofed structures shall not exceed forty (40) per cent of the area of the lot.
(E)
Height.
1.
No building or structure, or part thereof, shall be erected or altered to a height exceeding four (4) stories or fifty (50) feet.
(F)
Front Setback.
1.
Every lot shall have a front setback not less than twenty-five (25) feet in depth.
(G)
Side setbacks.
1.
Every lot used for a multiple dwelling shall have a side setback on each side, each of which shall be at least ten (10) feet in width provided that where a multiple dwelling in the form of a row house is erected on three (3) or more platted lots with the dividing party walls between separated dwelling units centered on the common lot line between two (2) platted lots, a side setback shall not be required adjacent to and on either side of said common lot line.
2.
Side Setbacks Abutting - One Family Lot Lines.
a.
Every lot used for a multiple dwelling having a side setback abutting the lot line of one-family dwellings the said side setback shall be not less than twenty (20) feet in width, which shall be increased by feet for each ten (10) feet, or major fraction thereof by which the height of the building exceeds twenty (20) feet.
3.
Corner Lots.
a.
Upon corner lots shall be a front setback as herein before specified and also a side setback at least fifteen (15) feet in width on the side of the lot abutting on side street.
4.
Rear Setbacks.
a.
Every lot shall have a rear setback not less than fifteen (15) feet in depth.
(H)
Minimum living area.
1.
The minimum living area of a dwelling unit in a multiple dwelling shall be seven hundred (700) square feet.
(I)
Off-street parking.
1.
Every building shall be provided with off-street parking facilities in accordance with the provisions of this Code for the use of occupants, employees or visitors.
2.
Open Parking Areas. Open parking areas for parking of private, self-propelled passenger vehicles, shall be arranged, maintained and used in accordance with the following:
a.
All front and side setbacks as above required, shall be planted and kept in lawn that is maintained so as to present a healthy, neat and orderly appearance. The required setback shall be kept free from refuse and debris. The parking facilities shall not be included as a portion of or as constituting the required setbacks.
b.
The parking area shall be provided and maintained with a stable asphalt cement surface and graded so as to prevent surface water accumulation.
c.
Each parking space required and provided pursuant to the provisions of this article shall be not less than nine (9) feet in width and eighteen (18) feet in length. Each parking space shall be directly accessible from an adequate aisle or driveway leading to a street or alley. Access aisles and driveways shall be of sufficient size to permit convenient maneuvering of cars, and each parking space shall be accessible without driving over or through any other parking space.
(J)
Off-street parking required by this Code shall be provided and maintained on the basis of the following minimum requirements:
1.
Dwelling, multiple family: one and one quarter (1¼) parking spaces for each dwelling unit.
(A)
Application of article.
1.
The following regulations of this article shall apply in all B-1 districts. All minimum separation distances shall be measured in the shortest airline distance between nearest property lines unless otherwise specified.
(B)
Purpose and general description.
1.
The following regulations of this article shall apply in all B-1 districts. All minimum separation distances shall be measured in the shortest airline distance between nearest property lines unless otherwise specified.
(C)
Permitted uses. Permitted uses specified. No building or structure, or part thereof, shall be erected, altered or used, or land or water used, in whole or in part, for other than one (1) of the following specified uses:
1.
Accessory uses and structures to a permitted use.
2.
Artisans, studio or workshop. A workshop or studio of an artist, sculptor, photographer, jeweler, potter, craftsperson, furniture maker, cabinet maker, or other artist or artisan primarily used for on-site production of unique custom goods.
3.
Bakery, retail, subject to the following limitation(s):
a.
Must be less than one thousand (1,000) square feet in area.
4.
Banks, subject to the following limitation(s):
a.
Drive-through facilities are not permitted.
5.
Business office, no stock or storage.
6.
Child care facility, subject to the following limitation(s):
a.
Same shall contain a contiguous outdoor, grassed and fenced play area located away from vehicular traffic. See Section 40.705.
7.
Clubs—Civic, noncommercial.
8.
Dance academy, subject to the following limitation(s):
i.
Must be less than three thousand (3,000) square feet in area.
9.
Delicatessen.
10.
Dollar store. (Not permitted within one thousand (1,000) of like use, Check Cashing including Payday Loans, or secondhand merchant and/or used merchandise.)
11.
Fire station.
12.
Groceries, retail.
13.
Health studio or club, gymnasium, subject to the following limitation(s):
i.
Must be less than three thousand (3,000) square feet in area.
14.
Interior decoration shop, retail.
15.
Jewelry, watch and electronic repairs.
16.
Laundries, coin-operated, subject to the following limitations:
i.
Hours of operation limited to 7:00 a.m. to 11:00 p.m.
17.
Mail-plus service (Less than one thousand five hundred (1,500) square feet).
18.
Massage services, permitted as accessory use only within an approved medical office or physical therapy office.
19.
Medical office,
i.
Not including correctional and mental, nor institutions for care of drug or liquor patients, nor veterinary hospitals.
20.
Merchant, retail, subject to the limitations in Section 40.520(E).
21.
Personal care services, except massage, subject to the following limitation(s):
i.
Body art studios are not permitted.
22.
Pet grooming, subject to the following limitations:
i.
Must be less than three thousand (3,000) square feet in area.
ii.
Soundproofing required.
23.
Pet shop, subject to the following limitations:
i.
Must be less than three thousand (3,000) square feet in area.
ii.
Not permitted within one hundred (100) feet of any residential district.
iii.
No outdoor pens or runs permitted.
iv.
Subject to the restrictions set forth in Chapter 6 of the Margate Code of Ordinances.
24.
Pharmacy, subject to the following limitations:
i.
No more than ten (10) per cent of all prescription medication dispensed shall be from the list of Schedule II controlled substances provided in F.S. § 893.03.
ii.
No less than fifty (50) per cent of the floor area shall be used for retail display and transactions.
25.
Picture framing.
26.
Place of assembly, subject to the requirements of Section 40.619 of this Code.
27.
Professional office.
28.
Restaurant with dining room, subject to the following limitations:
i.
May have cocktail lounge as accessory.
ii.
Live entertainment not permitted.
29.
Sales office—No inventory.
30.
Savings and loan institution.
31.
School of instruction, nonacademic, subject to the following limitation(s):
i.
Must be less than three thousand (3,000) square feet in area.
32.
Shoe repair shops.
33.
Substation for utilities (as required).
34.
Tailor shop, seamstress.
35.
Travel agency.
36.
Vending machine (outdoor), permitted as an accessory use to a permitted use and subject to the limitations contained in Section 40.621, Vending machine (outdoor).
37.
Walkway cafes less than one thousand (1,000) square feet in area subject to the requirements in section 40.622 of this Code.
(D)
Special exception uses. The following uses are authorized upon a finding by the City Commission that a special exception to the article is warranted. The City Commission shall consider all applications for a special exception approval pursuant to the procedure and criteria set forth in Section 40.705 of this Code.
a.
Animal clinic, pet hospital, subject to the following limitations:
i.
Must be less than three thousand (3,000) square feet in area.
ii.
Adequate soundproofing in any area where animals are contained or treated.
iii.
All boarding activities shall be ancillary to the primary use.
iv.
Subject to the restrictions set forth in Chapter 6 of the Margate Code of Ordinances.
b.
Massage services.
c.
Outdoor sales, service and display, as an accessory to a permitted use.
d.
Public or private elementary, middle or high school, subject to Article 7, Division 2, Supplemental Residential Development Standards.
(E)
Uses prohibited.
1.
Body art studio;
2.
Pain management clinics, as defined in Section 40.201.
3.
Any use not specifically listed in Section 40.520(C) is prohibited.
(F)
Limitations on uses.
1.
All activities of permitted uses, including sale, display, preparation and storage, shall be conducted entirely within a completely enclosed building. This prohibition shall not apply to customer and employee parking, loading zones, and play areas accessory to a child care center.
2.
No secondhand or used merchandise shall be offered for sale, displayed or stored.
3.
All products shall be sold at retail in connection with a permitted use. The sale of automobiles and automotive accessories, heavy machinery, chemicals and all uses specifically permitted in any other business district shall be prohibited.
4.
Drive-through facilities shall not be permitted.
5.
No retail store shall have a floor area open to the public, including display, service and sales, greater than five thousand (5,000) square feet.
(G)
Height.
1.
No building or structure shall be erected or altered for a use permitted in the B-1 district to a height exceeding two (2) stories or thirty (30) feet.
(H)
Lot size.
1.
The minimum lot size excluding public rights-of-way shall be ten thousand (10,000) square feet with a minimum of no less than one hundred (100) feet of street frontage.
(I)
Setback.
1.
All lots shall provide setbacks in accordance with the following:
a.
Street setbacks.
i.
The minimum building setback from all street rights-of-way less than eighty (80) feet in width shall be twenty-five (25) feet.
ii.
The minimum building setback from all street rights-of-way of eighty (80) feet in width or greater shall be thirty-five (35) feet.
b.
Side setbacks.
i.
When abutting a non-residentially zoned property, there is no side setback requirement.
ii.
When abutting a residentially zoned property, the minimum building setback shall be thirty-eight (38) feet.
c.
Rear setbacks.
i.
When abutting a non-residentially zoned property, the minimum building setback shall be twenty (20) feet.
ii.
When abutting a residentially zoned property the minimum building setback shall be thirty-eight (38) feet.
d.
Uses, limited. Where a setback is required in this section, such setback may be used for walkways, parking of passenger cars, driveways, loading zones and landscaping, but not for any other use or purpose.
e.
Dumpsters and Garbage Containers. Front setbacks or street setbacks shall not be used for storage of dumpsters or other garbage or trash containers.
(A)
Application of article. The following regulations of this article shall apply in all B-2 districts. All minimum separation distances shall be measured in the shortest airline distance between nearest property lines unless otherwise specified.
(B)
Purpose and general description. The B-2 community business district is intended to provide a full range of office, retail and service uses. The location of this district may be along major and minor arterials in close proximity to residential districts. The permitted uses are relatively free of objectionable influences in their operation and appearance and exclude heavy commercial uses.
(C)
Permitted uses. Permitted uses specified. No building or structure, or part thereof, shall be erected, altered or used, or land or water used, in whole or in part, for other than the following specified uses:
1.
Accessory uses and structures to a permitted use.
2.
Adult day care center.
3.
Answering service, subject to the following limitation(s):
a.
No sales and/or service shall be rendered therefrom.
4.
Art gallery.
5.
Artisans, studio or workshop. A workshop or studio of an artist, sculptor, photographer, jeweler, potter, craftsperson, furniture maker, cabinet maker, or other artist or artisan primarily used for on-site production of unique custom goods.
6.
Auto parts, equipment and accessories, retail.
7.
Auto tag agency.
8.
Automatic teller machine (outdoor).
9.
Bakery, retail (wholesale permitted provided the storage area is less than four thousand five hundred (4,500) square feet).
10.
Banks.
11.
Bars and taverns.
12.
Bowling alley.
13.
Business office, no stock or storage.
14.
Caterers.
15.
Ceramic studio.
16.
Check cashing including Payday Loans. (Not permitted within one thousand (1,000) feet of like use, Dollar Store, Pawn Shop, or Secondhand and/or used merchandise, retail).
17.
Child care facility, subject to the following limitation(s):
a.
Shall contain a contiguous outdoor, grassed and fenced play area located away from vehicular traffic. See Section 40.705.
18.
Clubs—Civic, noncommercial.
19.
Collection agency.
20.
Commercial recreation, indoors.
21.
Costume rentals.
22.
Dance academy.
23.
Delicatessen.
24.
Dental laboratory.
25.
Detective agency.
26.
Dollar store. (Not permitted within one thousand (1,000) feet of like use, Check cashing including Payday Loans, Pawn Shop, or Secondhand and/or used merchandise, retail.)
27.
Dry cleaning establishment subject to the following limitations and requirements:
a.
Ventilation shall direct exhaust away from residential districts.
b.
Not more than ten (10) individual cleaning units shall be used in any establishment, and the total combined rated capacity shall not exceed eighty (80) pounds.
c.
See Section 40.705.
28.
Employment agency.
29.
Finance and mortgage institutions.
30.
Fire station.
31.
Groceries, retail.
32.
Formal wear rentals.
33.
Funeral home.
34.
Health studio or club, gymnasium.
35.
Janitorial service.
36.
Jewelry, watch and electronic repairs.
37.
Landscaping and plant nursery.
38.
Laundries, coin-operated, subject to the following limitation(s):
a.
Hours of operation limited to 7:00 a.m. to 11:00 p.m.
39.
Locksmith.
40.
Mail-plus service.
41.
Massage services, permitted as accessory use only within an approved medical office or physical therapy office.
42.
Medical office, subject to the following limitation(s):
a.
Not including correctional and mental, nor institutions for care of drug or liquor patients, nor veterinary hospitals. May have a magnetic resonance imaging (MRI) unit as an accessory.
43.
Medical supply rentals.
44.
Merchant, retail, subject to the limitations in Section 40.521(E).
45.
Museum.
46.
Municipal buildings, parks, playgrounds.
47.
Music, instruction, subject to the following limitation(s):
a.
Soundproofing required.
48.
Nightclubs, teen clubs, catering halls or dance halls, with an occupant load of less than two hundred fifty (250) persons.
49.
Package store.
50.
Personal care services, except massage, subject to the following limitation(s):
a.
Body art studios are not permitted.
51.
Pet grooming, subject to the following limitation(s):
a.
Soundproofing required.
52.
Pet shop, subject to the following limitation(s):
a.
Not permitted within one hundred (100) feet of any residential district.
b.
No outdoor pens or runs permitted.
c.
Subject to the restrictions set forth in Chapter 6 of the Margate Code of Ordinances.
53.
Pharmacy, subject to the following limitations:
a.
No more than ten (10) per cent of all prescription medication dispensed shall be from the list of Schedule II controlled substances provided in F.S. § 893.03.
b.
No less than fifty (50) per cent of floor area shall be used for retail display and transactions.
54.
Photograph developing and printing. See Section 40.705.
55.
Photograph galleries.
56.
Photographer.
57.
Place of Assembly, subject to the requirements of Section 40.619 Place of Assembly in this Code.
58.
Printing, photocopying, blueprinting shop with no more than twenty-five (25) employees.
59.
Picture framing.
60.
Professional office.
61.
Real estate and appraisal office.
62.
Recording studio, subject to the following limitation(s):
a.
Soundproofing required.
63.
Restaurants.
64.
Sales office—No inventory.
65.
Savings and loan institution.
66.
School of instruction, non-academic.
67.
Shoe repair shops.
68.
Small appliance repair, subject to the following limitation(s):
a.
Not permitted within one hundred (100) feet of any residential district.
69.
Stocks and bonds brokerage office.
70.
Substation for utilities (as required).
71.
Tailor shop, seamstress.
72.
Take-out foods.
73.
Theater, indoor.
74.
Travel agency.
75.
Utilities, public offices.
76.
Vending machine (outdoor), permitted as an accessory use to a permitted use and subject to the following limitations contained in Section 40.621 Vending machine (outdoor).
77.
Walkway cafes less than one thousand (1,000) square feet in area and subject to the following limitations contained in Section 40.622 Walkway Cafes.
78.
Weight loss clinic.
(D)
Special exception uses. The following uses are authorized upon a finding by the City Commission that a special exception to the article is warranted, pursuant to the procedure and criteria set forth in Section 40.306 of this Code.
1.
Amusement arcade center, in accordance with all provisions of Section 40.612 of the Margate Zoning Code and Chapter 849 of the Florida Statutes as may be amended from time to time.
2.
Animal clinic, pet hospital, subject to the following limitation(s):
a.
Adequate soundproofing in any area where animals are contained or treated.
b.
All boarding activities shall be ancillary to the primary use.
c.
Subject to the restrictions set forth in Chapter 6 of the Margate Code of Ordinances.
3.
Convenience store.
4.
Drive-thru facilities (with a permitted use). See Section 40.705.
5.
Hotels, subject to the following conditions and limitations:
a.
The minimum lot area shall be two (2) acres.
b.
Any outdoor recreation areas including swimming pools shall be located at least twenty-five (25) feet from the lot line of any adjacent residentially zoned property unless the adjacent property is being utilized for business related parking.
c.
The minimum floor area of a rental sleeping room in a motel or hotel, which includes all areas to be individually rented by a customer, shall be three hundred (300) square feet.
d.
On-site common (not in room) dining facilities sufficient to serve anticipated hotel/motel patrons.
6.
Laundries, coin-operated (extended hours of operation).
7.
Massage services.
8.
Nightclubs, teen clubs, catering halls or dance halls, with an occupancy greater than two hundred fifty (250) feet.
9.
Outside sales, display, service, and/or storage with a permitted use.
10.
Public or private elementary, middle or high school, subject to Section 40.620 Public or Private Elementary, Middle, or High School.
11.
Restaurants with curb or automobile service, subject to the following restrictions:
a.
Subject property shall be located a minimum of seven hundred fifty (750) feet from single-family property; such distance shall be measured from the front door of the establishment to the single-family property line;
b.
Such restaurant must be a free-standing building.
12.
Swimming pool equipment and chemicals, retail, subject to the following conditions and limitations:
a.
All swimming pool supplies, including pre-packaged chemicals, except bulk quantities of sodium hypochlorite, shall be dispensed strictly through retail sales and shall be stored and sold within a completely enclosed structure.
b.
Bulk quantities shall mean any quantity stored in any container, which quantity is to be removed for repackaging. Bulk storage shall mean any storage of any material, which material is to be removed for repackaging.
c.
No wholesale or bulk non-packaged storage or sale of calcium hypochlorite or muriatic acid shall be permitted. Muriatic acid shall be sold only if prepackaged.
d.
The handling and storage of all swimming pool related chemicals and other such supplies shall be regulated by the standards set forth in the Florida Building Code, the Florida Fire Prevention Code, the provisions of the National Fire Protection Association relating to storage of liquid and solid oxidizing materials and storage of gaseous oxidizing materials, and applicable regulations established by Broward County, as such standards be amended from time to time.
e.
No chemical storage area shall be permitted within one hundred (100) feet of any residential district or use.
13.
Walkway cafes greater than one thousand (1,000) square feet in area, subject to the limitations of Section 40.622, Walkway Cafes.
(E)
Permitted uses for mixed-use.
1.
Within any mixed-use structure permitted by the Live Local Act of 2023 (Senate Bill 102) only the uses permitted by the City Center District shall be allowed.
(F)
Uses prohibited.
1.
Tattoo parlors;
2.
Body art studio as a principle use;
3.
Pain management clinics, as defined in Section 40.201.
4.
Any use not specifically listed in Section 40.521(C) is prohibited.
(G)
Limitations on uses.
1.
Except for automobile parking lots, loading zones, temporary promotional events, drive-through facilities accessory to and serving pharmacies which are located within enclosed buildings containing no less than ten thousand (10,000) square feet, and drive-in banks, all activities or permitted uses, including sale, display, preparation and storage, shall be conducted entirely within a completely enclosed building.
2.
No secondhand or used merchandise shall be offered for sale, displayed or stored.
3.
All products produced incidental to a permitted use shall be sold at retail on the premises.
4.
No more than three (3) vehicles per user allowed on site of business.
5.
All equipment and products stored incidental to a permitted use shall be within the enclosed building proper. No trailers allowed.
(H)
Height.
1.
No building or structure shall be erected or altered to a height exceeding one hundred (100) feet. However, no building or structure abutting a residential parcel shall exceed in height its horizontal setback to the residential lot line.
(I)
Lot size.
1.
The minimum lot size excluding public rights-of-way shall be ten thousand (10,000) square feet with a minimum of one hundred (100) feet of street frontage.
(J)
Setbacks. All lots shall provide setbacks in accordance with the following:
1.
Street setbacks.
a.
The minimum building setback from all street rights-of-way less than eighty (80) feet in width shall be twenty-five (25) feet.
b.
The minimum building setback from all street rights-of-way eighty (80) feet in width of greater shall be thirty-five (35) feet.
2.
Side setbacks.
a.
When abutting a non-residentially zoned property, there is no side setback requirement.
b.
When abutting a residentially zoned property, the minimum building setback shall be thirty-eight (38) feet.
3.
Rear setbacks.
a.
When abutting a non-residentially zoned property, the minimum building setback shall be twenty (20) feet.
b.
When abutting a residentially zoned property the minimum building setback shall be thirty-eight (38) feet.
4.
Uses, limited. Where a setback is required in this section, such setbacks may be used for walkways, parking for passenger cars, driveways, loading zones and landscaping, but not for any other use or purpose.
(A)
Purpose and Applicability.
1.
Purpose. The B-2A regional business district allows a wide range of office, retail, and service uses. These uses deemed to have possible negative influences on adjoining properties because of attendant nuisances in their operation are allowed only through the granting of a special exception upon a finding by the City Commission that the same meets conditions and safeguards specified herein. This district is reserved for parcels of at least six (6) acres in size which have direct, controlled access to arterial highways or major thoroughfares. Commercial developments adjacent to residential or recreational areas, as designed by the Margate Comprehensive Plan, should be planned with generous setbacks, buffer landscaping, and traffic patterns leading away from those areas.
2.
Applicability. The B-2A District was repealed. These regulations apply to the only property in the City that has this designation at 5350 West Sample Road, FOLIO # 484219270020. No property owner may apply for a rezoning to the B-2A District. The property developed with these regulations is considered to be a legal conforming use and may be improved and reconstructed according to these standards in the event of destruction.
(B)
Permitted use. No building or structure, or part thereof, shall be erected, altered, or used, or land or water used, in whole or in part, for other than the following specified uses:
1.
Promotional events that are accessory to a permitted use and temporary in nature shall be permitted pursuant to the Temporary Use Permit requirements in this Code.
2.
Coin operated amusement devices incidental to permitted uses as defined and subject to all regulations provided in Section 40.612, Arcade Amusement Centers and Devices of this Code.
The following additional uses are permitted as a right provided that all sales, display, preparation and storage are conducted within a completely enclosed building and that all goods and services are sold at retail. No manufacturing is permitted in this district.
3.
All uses permitted in the B-1 district, unless specified otherwise by this article.
4.
Advertising agency.
5.
Answering service. No sales and/or service shall be rendered there from.
6.
Antique shop.
7.
Art gallery.
8.
Art Studio.
9.
Auto parts, equipment and accessories, new.
10.
Auto tag agency.
11.
Automotive teller machine (outdoor).
12.
Billiard rooms, pool rooms.
13.
Bingo, only as an accessory use to a listed permitted use.
14.
Caterers.
15.
Ceramic studio.
16.
Check cashing service.
17.
Civic clubs.
18.
Collection agency.
19.
Consignment shop, secondhand stores. Any such use shall exclusively occupy at least one thousand (1,000) square feet.
20.
Costume rentals.
21.
Dental Laboratory.
22.
Detective agency.
23.
Employment agency.
24.
Finance and mortgage institution.
25.
Formal wear rentals.
26.
Funeral home.
27.
Health studio or club, gymnasium.
28.
Janitorial service.
29.
Mail plus service.
30.
Medical laboratory.
31.
Medical supply rentals.
32.
Newspaper office.
33.
Package store.
34.
Pet grooming.
35.
Pet shop, without kennel facilities.
36.
Photograph developing and printing.
37.
Photograph galleries.
38.
Photographer.
39.
Picture framing.
40.
Place of Assembly, subject to the requirements of Section 40.619, Place of Assembly of this Code.
41.
Printing shop, blueprinting business, photocopying. (Maximum sheet press twenty-five and one-half (25.5) inches.)
42.
Racquetball and handball courts, indoor.
43.
Recording studio (soundproofed).
44.
Schools of instruction, other than academic.
45.
Stocks and bonds brokerage office.
46.
Take-out foods.
47.
Television and radio studio. No tower or antennas.
48.
Telegraph office.
49.
Theater, indoor.
50.
Ticket office.
51.
Video rentals.
52.
Weight loss clinic.
(C)
Special exception uses. Special exception uses are deemed as necessary to provide a complete distribution of commercial uses within the City, but because of their operational characteristics or area requirements need to be given individual consideration with respect to their location, access and relationship to adjacent properties and public rights-of-way. The following uses are authorized upon a finding by the city commission that a special exception to the article is warranted:
1.
Animal clinics, pet hospitals.
2.
Auction gallery. All storage of inventory and sales shall be conducted within a completely enclosed building.
3.
Bars, taverns, nightclubs, teen clubs.
4.
Bowling alley, whirleyball.
5.
Convenience store.
6.
Hotel or motel with recreational and dining facilities.
7.
Landscape nursery.
8.
Outside sales, display, service, and/or storage with a permitted use.
9.
Post office, public utility service yard.
10.
Repairs with a permitted use.
11.
Restaurant with curb or automobile service.
12.
Sales agency for new automobiles on a site not less than seven (7) contiguous acres. Used or pre-owned automobiles shall be sold only as an accessory use. A copy of the franchise agreement for new automobile sales shall be filed with the City Clerk's office of the City of Margate and shall be subject to inspection by the City upon reasonable times subsequent to initial permitting. Prior to sales of any automobiles, all improvements provided for by the site plan approved by special exception shall be completed and a certificate of occupancy issued.
13.
Swimming pool equipment and related chemicals.
14.
Wholesaling with a permitted use.
(D)
Permitted uses for mixed-use.
1.
Within any mixed-use structure permitted by the Live Local Act of 2023 (Senate Bill 102) only the uses permitted by the City Center District shall be allowed.
(E)
Height limitation.
1.
No building or structure, or portion thereof, shall be erected or altered to a height exceeding the following:
a.
Retail stores. Thirty (30) feet.
b.
Office buildings. Sixty (60) feet.
c.
All other permitted uses. Twenty-five (25) feet.
(F)
Minimum site and lot required.
1.
The minimum site shall be six (6) acres with a minimum of six hundred sixty (660) feet of street frontage.
2.
The minimum lot size of an out parcel shall be thirty thousand (30,000) square feet with a minimum of one hundred fifty (150) feet of street frontage.
(G)
Setback requirements.
1.
Street setback: No building or structure shall be located less than fifty (50) feet from a street right-of-way line.
2.
Side setback:
a.
Abutting nonresidential property. Zero (0) feet.
b.
Abutting residential or recreational property. Sixty (60) feet.
3.
Rear setback:
a.
Abutting nonresidential property. Zero (0) feet.
b.
Abutting residential or recreational property. Sixty (60) feet.
(A)
Application of article.
1.
The following regulations of this article shall apply in all B-3 districts. All minimum separation distances shall be measured in the shortest airline distance between nearest property lines unless otherwise specified.
(B)
Purpose and general description.
1.
The B-3 liberal business district is intended primarily to meet the general service and heavy commercial needs of large sections of this city, adjacent areas, and the subregion. Uses which generate a substantial amount of short-duration traffic, as well as uses which produce noise, dirt, visual pollution and other emissions, vibrations and hazards, or which would have deleterious effects on nearby residents and property values, are first permitted in this district, subject to additional regulations as specified. B-3 districts are generally located with access to major arterial roadways and do not directly abut residential districts.
(C)
Permitted uses. No building or structure, or part thereof, shall be erected, altered or used, or land or water used, in whole or in part, for other than the following specified uses. The B-3 liberal business district is intended primarily to meet the general service and heavy Accessory uses and structures to a permitted use.
1.
Adult day care center.
2.
Animal clinics, pet hospitals, subject to the following limitation(s):
a.
Adequate soundproofing in any area where animals are contained or treated.
b.
All boarding activities shall be ancillary to the primary use.
c.
Subject to the restrictions set forth in Chapter 6 of the Margate Code of Ordinances.
3.
Answering service, subject to the following limitation(s):
a.
No sales and/or service shall be rendered therefrom.
4.
Art gallery.
5.
Artisans, studio or workshop. A workshop or studio of an artist, sculptor, photographer, jeweler, potter, craftsperson, furniture maker, cabinet maker, or other artist or artisan primarily used for on-site production of unique custom goods.
6.
Auto parts, equipment and accessories, retail.
7.
Auto tag agency.
8.
Automatic teller machine (outdoor).
9.
Bakery, retail (wholesale permitted provided the storage area is less than four thousand five hundred (4,500) square feet).
10.
Banks, not including Payday Loans.
11.
Bars and taverns.
12.
Boats and accessories, retail.
13.
Body art studios, subject to the following limitations:
a.
No body art studio shall be located within one thousand (1,000) feet from any other body art studio.
b.
No body art studio shall be located within one thousand (1,000) feet from any school or child care facility.
c.
Body art studios shall be required to have a separate room for the purpose of tattooing and piercing. Each room shall be limited to one (1) customer chair and shall be apart from the waiting room and the public. The room(s) shall not be visible to the general public.
14.
Bottled gas, subject to the following limitation(s):
a.
Not permitted within one hundred (100) feet of residential districts.
15.
Business office, no stock or storage.
16.
Carpet cleaning, subject to the following limitation(s):
a.
Not permitted within one hundred (100) feet of any residential district.
17.
Caterers.
18.
Check cashing including Payday Loans. (Not permitted within one thousand (1,000) feet of like use, Dollar Store, Pawn Shop, or Secondhand and/or used merchandise, retail).
19.
Child care facility, subject to the following limitation(s):
a.
Same shall contain a contiguous outdoor, grassed and fenced play area located away from vehicular traffic. See Section 40.705.
20.
Clubs—Civic, noncommercial.
21.
Collection agency.
22.
Commercial recreation (indoor).
23.
Contractor's office.
24.
Costume rentals.
25.
Dance academy.
26.
Delicatessen.
27.
Dental laboratory.
28.
Detective agency.
29.
Dollar store (not permitted within one thousand (1,000) of like use, Check cashing including Payday Loans, Pawn Shop, or Secondhand and/or used merchandise, retail).
30.
Dry cleaning establishment subject to the following limitations and requirements:
a.
Ventilation shall direct exhaust away from residential districts.
b.
Not more than ten (10) individual cleaning units shall be used in any establishment, and the total combined rated capacity shall not exceed eighty (80) pounds.
c.
See Section 40.705.
31.
Employment agency.
32.
Feed and seed suppliers.
33.
Finance and mortgage institution.
34.
Fire station.
35.
Formal wear rentals.
36.
Glass tinting.
37.
Groceries, retail.
38.
Gun shop and gun ranges (indoors and soundproofed).
39.
Health studio or club, gymnasium.
40.
Interior decoration shop, retail.
41.
Janitorial service.
42.
Jewelry, watch and electronic repairs.
43.
Landscaping and plant nursery.
44.
Laundries, coin-operated, subject to the following limitation(s):
a.
Hours of operation limited to 7:00 a.m. to 11:00 p.m.
45.
Locksmith.
46.
Mail-plus services.
47.
Massage services, permitted as accessory use only within an approved medical office or physical therapy office.
48.
Medical office, subject to the following limitation(s):
a.
Not including correctional or mental, nor institutions for care of drug or liquor patients. May have a magnetic resonance imaging (MRI) unit as an accessory.
49.
Medical supply rentals.
50.
Merchant, retail, subject to the limitations in Section 40.523(E).
51.
Municipal buildings, parks, playgrounds.
52.
Museum.
53.
Music, instruction, subject to the following limitation(s):
a.
Soundproofing required.
54.
Nightclubs, teen clubs, catering halls or dance halls, with an occupant load of less than two hundred fifty (250) persons.
55.
Package store.
56.
Personal care services, except massage.
57.
Pet grooming, subject to the following limitation(s):
a.
Soundproofing required.
58.
Pet shop, without kennel facilities, subject to the following limitation(s):
a.
Not permitted within one hundred (100) feet of any residential district.
b.
No outdoor pens or runs permitted.
c.
Subject to the restrictions set forth in Chapter 6 of the Margate Code of Ordinances.
59.
Pharmacy, subject to the following limitations:
a.
No more than ten (10) per cent of all prescription medication dispensed shall be from the list of Schedule II controlled substances provided in F.S. 893.03.
b.
No less than fifty (50) per cent of the floor area shall be used for retail display and transactions.
60.
Photograph developing and printing. See Section 40.705.
61.
Photograph galleries.
62.
Photographer.
63.
Picture framing.
64.
Place of Assembly, subject to the requirements of Section 40.619, Place of Assembly of this Code.
65.
Printing, photocopying, blueprinting shop with no more than twenty-five (25) employees.
66.
Printing, photocopying, blueprinting shop.
67.
Professional office.
68.
Real estate and appraisal office.
69.
Recording studio, subject to the following limitation(s):
a.
Soundproofing required.
70.
Rental business.
71.
Restaurants.
72.
Sales office—No inventory.
73.
Savings and loan institution.
74.
Secondhand and/or used merchandise, retail. Not permitted within one thousand (1,000) feet of like use, Check Cashing including Payday Loans, Dollar Store, or Pawn Shop.
75.
School of instruction, nonacademic.
76.
Shoe repair shops.
77.
Small appliance repair, subject to the following limitation(s):
a.
Not permitted within one hundred (100) feet of any residential district.
78.
Special residential facilities, category (2), subject to the following limitation(s):
a.
These facilities shall not be located within the approved boundaries of the Margate Community Redevelopment Area.
79.
Special residential facility, category (3), subject to the following limitation(s):
a.
These facilities shall not be located within the approved boundaries of the Margate Community Redevelopment Agency.
80.
Stocks and bonds brokerage office.
81.
Substation for utilities (as required).
82.
Swimming pool equipment and chemicals, retail, subject to the following conditions and limitations.
a.
All swimming pool supplies, including pre-packaged chemicals, except bulk quantities of sodium hypochlorite, shall be dispensed strictly through retail sales and shall be stored and sold within a completely enclosed structure.
b.
Bulk quantities shall mean quantity stored in any container, which quantity is to be removed for repackaging. Bulk storage shall mean any storage or any material, which material is to be removed for repackaging.
c.
No wholesale or bulk non-packaged storage or sale of calcium hypochlorite or muriatic acid shall be permitted. Muriatic acid shall be sold only if prepackaged.
d.
No chemical storage area permitted within one hundred (100) feet of any residential district.
83.
Tailor shop, seamstress.
84.
Take-out foods.
85.
Television, radio and movie studios, subject to the following:
a.
No towers permitted.
86.
Theater, indoor.
87.
Theater, outdoor.
88.
Travel agency.
89.
Utilities, public offices.
90.
Vending machine (outdoor), permitted as an accessory use to a permitted use and subject to the following limitations contained in Section 40.621 Vending machine (outdoor).
91.
Video rentals.
92.
Vinyl graphics.
93.
Walkway cafes less than one thousand (1,000) square feet subject to the limitations in Section 40.622, Walkway Cafes.
94.
Weight loss clinic.
(D)
Special exception uses. The following uses are authorized upon a finding by the City Commission that a special exception to the article is warranted, pursuant to the procedure and criteria set forth in Article 6, Division 4 of the Margate Code of Ordinances.
1.
Amusement arcade center, in accordance with all provisions of section 40.612 Arcade Amusement Centers and Devices of this Code and Chapter 849 of the Florida Statutes as may be amended from time to time.
2.
Auction gallery, subject to the following limitation(s):
a.
Limited to auctions of art goods, jewelry, rugs, furniture and like items.
3.
Automobile storage.
a.
Any designated storage area shall be in a B-3, C, or M-1 district, and enclosed by an eight-foot concrete block wall stuccoed or precast concrete wall on any side visible from areas outside of the property where it is situated. No storage area or wall surrounding same shall be located in a required setback area.
4.
Automobile tires, new, subject to the following limitation(s):
a.
Not permitted within one hundred (100) feet of any residential district.
5.
Bowling alley.
6.
Car wash, automatic, subject to the following limitations:
a.
Only permitted as an accessory use to a vehicle fuel station when the lot occupied by the service station and accessory uses has not less than one hundred thirty-five (135) feet of street frontage and twenty-seven thousand (27,000) square feet of area.
b.
Not permitted within one thousand (1,000) feet of any other automatic car wash.
c.
Not permitted within one hundred (100) feet from any residential district.
d.
See Section 40.705.
7.
Car wash, including detailing, hand washing, polishing, and self-service. Not permitted within one thousand (1,000) feet of any other car wash. Not permitted within one hundred (100) feet of any residential district or use. All washing requires a water containment and reclamation system.
8.
Commercial recreation (outdoor).
9.
Convenience store, subject to the following limitation(s):
a.
Not permitted within one thousand (1,000) feet of any other convenience store.
10.
Drive-thru facilities (with a permitted use).
a.
See Section 40.705.
11.
Flea market.
12.
Hotels, subject to the conditions and limitations listed in Section 40.521(D).
13.
Laundries, coin-operated (extended hours of operation).
14.
Limousine service three (3) or fewer vehicles, subject to the following limitation(s):
a.
Proof of adequate parking facilities shall be demonstrated prior to approval.
15.
Massage services.
16.
Nightclubs, teen clubs, catering halls or dance halls, with an occupancy greater than two hundred fifty (250).
17.
Outside sales, display, service and/or storage, subject to the following:
a.
Shall only be permitted as an accessory to a permitted use.
b.
All areas not completely enclosed, which are used for the storage or processing of raw materials, must be effectively screened from view of the adjoining streets and parcels through the use of a durable fence, wall or hedge, or combinations thereof.
18.
Pain management clinic, subject to limitations and requirements of Section 40.616, Pain Management Clinics of this Code.
19.
Pharmacy, subject to the following limitations:
a.
No more than ten (10) per cent of all prescription medication dispensed shall be from the list of Schedule II controlled substances provided in F.S. § 893.03.
b.
No less than fifty (50) per cent of floor area shall be used for retail display and transactions.
20.
Public or private elementary, middle or high school, subject to Section 40.620, Public or Private Elementary, Middle, or High School.
21.
Restaurants with curb or automobile service.
a.
Subject property shall be located a minimum of seven hundred fifty (750) feet from single-family property; such distance shall be measured from the front door of the establishment to the single-family property line;
b.
Such restaurant must be a free-standing building.
22.
Taxi service, subject to the following limitations:
a.
Limited to three (3) or fewer vehicles.
b.
Proof of adequate parking facilities shall be demonstrated prior to approval.
23.
Vehicle fuel station. Subject to requirements and limitations of Section 40.613, Vehicle Fuel Station of this Code.
24.
Vehicle sales agency (new and/or used vehicles). Not permitted within one hundred (100) feet of any residential district.
25.
Walkway cafes greater than one thousand (1,000) square feet in area subject to the limitations of Section 40.622, Walkway Cafes of this Code.
(E)
Uses prohibited.
1.
Any use not specifically listed in Section 40.523.
(F)
Limitation on uses.
1.
No required front or side street setback may be used for other than customer and employee parking, landscaping, drives and walkways.
2.
Wholesale sales are prohibited except as an accessory use, same not to exceed twenty (20) per cent of floor area nor total number of sales transactions.
(G)
Height.
1.
No building or structure shall be erected or altered to a height exceeding one hundred (100) feet.
(H)
Lot size.
1.
The minimum lot size, excluding public rights-of-way, shall be ten thousand (10,000) square feet with a minimum of one hundred (100) feet of street frontage.
(I)
Setbacks. All lots shall provide setbacks in accordance with the following:
1.
Street setbacks.
a.
The minimum building setback from all street rights-of-way less than eighty (80) feet in width shall be twenty-five (25) feet.
b.
The minimum building setback from all street rights-of-way eighty (80) feet in width of greater shall be thirty-five (35) feet.
2.
Side setbacks.
a.
When abutting a non-residentially zoned property, there is no side setback requirement.
b.
When abutting a residentially zoned property, the minimum building setback shall be sixty (60) feet.
3.
Rear setbacks.
a.
When abutting a non-residentially zoned property, the minimum building setback shall be twenty (20) feet.
b.
When abutting a residentially zoned property the minimum building setback shall be sixty (60) feet.
4.
Uses, limited. Where a setback is required in this section, such setbacks may be used for walkways, parking for passenger cars, driveways, loading zones and landscaping, but not for any other use or purpose.
(A)
Application of article.
1.
The M-1 light industrial district is intended to provide for light manufacturing and heavy commercial uses for large corporations as well as small entrepreneurs in multitenant warehouse space.
(B)
Permitted uses. No building or structure or part thereof shall be erected, altered or used, or land or water used, in whole or in part, for other than the following specified uses:
1.
Accessory uses and structures which are clearly incidental and subordinate to a permitted use.
2.
Ambulance service, subject to the following limitation(s):
a.
Proof of adequate parking facilities shall be demonstrated.
3.
Armored car service.
4.
Automobile body, tops and upholstery shop.
5.
Automobile, motorcycle and small engine repair, subject to the following limitation(s):
a.
Not permitted within one hundred (100) feet of any residential district.
6.
Automobile painting, subject to the following limitation(s):
a.
No outdoor spraying.
7.
Automobile parts, equipment and accessories, wholesale.
8.
Automobile storage.
9.
Automobile tires, vulcanizing or retreading.
10.
Bakery, wholesale.
11.
Bookbinding.
12.
Bottled gas, retail, subject to the following limitation(s):
a.
Not permitted within one hundred (100) feet of any residential district.
13.
Bottling plant.
14.
Bus company, charter, subject to the following limitation(s):
a.
Three (3) or fewer vehicles.
b.
Proof of adequate parking facilities shall be demonstrated.
15.
Bus terminals.
16.
Cabinetmaking, carpentry shops.
17.
Carpet cleaning, subject to the following limitation(s):
a.
Not permitted within one hundred (100) feet of any residential district.
18.
Catering, including shared kitchens.
19.
Ceramic manufacturing.
20.
Cleaning service—Pressure, chemical, industrial.
21.
Concrete testing lab.
22.
Contractor's shop - licensure not required.
23.
Contractor's storage setbacks, subject to the following limitation(s):
a.
Perimeter wall required.
24.
Commissary.
25.
Delivery service.
26.
Dental laboratory.
27.
Diaper service, subject to the following limitation(s):
a.
Not permitted within three hundred (300) feet of any residential district.
28.
Distribution service.
29.
Dry cleaning and dyeing plant, subject to the following limitation(s):
a.
Not permitted within three hundred (300) feet of any residential district.
30.
Electrical utility setback.
31.
Electroplating.
32.
Engraving.
33.
Fire station.
34.
Food processing, subject to the following limitation(s):
a.
No fish, fat rendering, or restaurants.
b.
Processing shall only be done indoors and without the emission of any external noxious odors.
35.
Frozen food locker.
36.
Fruit packing and shipping.
37.
Glass cutting.
38.
Glass tinting.
39.
Grocery, wholesale.
40.
Gun range (indoors and soundproofed).
41.
Janitorial service.
42.
Kennels, subject to restrictions set forth in Chapter 6 of the Margate Code of Ordinances.
43.
Laboratories—Chemical, medical, testing, research.
44.
Laundry, commercial.
45.
Light manufacturing, subject to the following limitations:
a.
Shall include products from aluminum, brass, bronze, copper, steel or other metal or from cloth, leather, paper, rubber, shell, plastic, wood or other materials,
46.
Limousine service four (4) or more vehicles, subject to the following limitation(s):
a.
Proof of adequate parking facilities shall be demonstrated.
47.
Liquor cutting and blending.
48.
Locksmith.
49.
Machine shops.
50.
Magazine wholesale agency.
51.
Mail order business.
52.
Major appliance repair.
53.
Merchant, wholesale.
54.
Metalizing processes.
55.
Mirror silvering.
56.
Motion picture studio.
57.
Moving and storage.
58.
Ornamental iron and metal working shops.
59.
Parking, commercial auto, subject to the following limitation(s):
a.
Not permitted within one thousand (1,000) feet of any other commercial auto parking facility.
60.
Pest control.
61.
Photograph developing and printing.
62.
Printing, photocopying, blueprinting shop with no more than twenty-five (25) employees.
63.
Public utility service yard.
64.
Recording studio, subject to the following limitation(s):
a.
Soundproofing required.
65.
Refrigeration plants.
66.
Rental business.
67.
Research—Educational, scientific, and industrial.
68.
Restaurant and dining room subject to the following limitation(s):
a.
Only permitted as accessory to a permitted use.
69.
Sheet metal shop, subject to the following limitation(s):
a.
When so located that no land allocated to such use or building occupied by such use lies within one hundred (100) feet of any residential-zoned property; provided that this separation requirement shall apply only to principal uses and not to accessory uses.
70.
Sign shop.
71.
Sign painting, car lettering.
72.
Spray painting business.
73.
Stonecutting.
74.
Substation for utilities (as required).
75.
Swimming pool equipment and chemicals, wholesale, subject to the following limitation(s):
a.
No chemical storage area permitted within one hundred (100) feet of any residential district.
76.
Taxi service four (4) or more vehicles, subject to the following limitation(s)
a.
Proof of adequate parking facilities shall be demonstrated.
77.
Television, radio and movie studios.
78.
Theater (outdoor).
79.
Tinsmiths.
80.
Tool-and-die shops.
81.
Towing service, subject to the following limitation(s):
a.
No wrecking.
82.
Tractor, retail.
83.
Trailers of all kinds, campers, mobile homes, retail.
84.
Trash hauler, subject to the following limitation(s):
a.
No dumping.
85.
Truck and large engine repair.
86.
Upholstery shop.
87.
Vehicle sales agency (new and/or used vehicles). Not permitted within one hundred (100) feet of any residential district.
88.
Warehousing and distribution.
(C)
Special exception uses. Special exception uses may be deemed appropriate to provide a complete distribution of uses within the city, but because of their operational characteristics or area requirements need to be given individual consideration with respect to their location, access and relationship to adjacent properties and public rights-of-way, and conformity with the city's current and future redevelopment efforts.
1.
The following uses are authorized upon a finding by the city commission that a special exception to the article is warranted, pursuant to the procedure and criteria set forth in Section 40.306 of the Margate Code of Ordinances.
a.
Recreation and open space;
b.
Commercial recreation uses (indoor and outdoor);
c.
Business and professional office center, subject to the following:
i.
Said use shall be located in a building or development of at least thirty thousand (30,000) square feet.
(D)
Prohibited uses.
1.
Pain management clinics, as defined in Section 40.616.
2.
Any use not specifically listed in Section 40.530(A) is prohibited.
3.
Retail sales are prohibited except where specifically permitted in Section 40.530(A) or as an accessory use, same not to exceed twenty (20) per cent of floor area nor total number of sales transaction.
(E)
Permitted uses for mixed-use.
1.
Within any mixed-use structure permitted by the Live Local Act of 2023 (Senate Bill 102) only the uses permitted by the City Center District shall be allowed.
(F)
Height.
1.
No building or structure shall be erected or altered to a height exceeding sixty (60) feet.
(G)
Lot size.
1.
There shall be no minimum required size of lot.
(H)
Setbacks. All lots shall provide setbacks in accordance with the following:
1.
Street setbacks.
a.
The minimum building setback from all street rights-of-way less than eighty (80) feet in width shall be twenty-five (25) feet.
b.
The minimum building setback from all street rights-of-way eighty (80) feet in width of greater shall be thirty-five (35) feet.
c.
This setback may be used for walkways, parking of passenger cars, driveways and landscaping, but not for any other use or purpose.
2.
Side setbacks.
a.
When abutting a non-residentially zoned or used property, there is no side setback requirement.
b.
When abutting a residentially zoned or used property, the minimum building setback shall be sixty (60) feet.
c.
When a mixed-use development is permitted, the minimum setback shall be sixty (60) feet from any nonresidential use or district.
3.
Rear setbacks.
a.
When abutting a non-residentially zoned or used property, there shall be no minimum building setback.
b.
When abutting a residentially zoned or used property the minimum building setback shall be sixty (60) feet.
c.
When a mixed-use development is permitted, the minimum setback shall be sixty (60) feet from any nonresidential use or district.
4.
Outside storage areas. May be permitted when fully enclosed by a fence and continuous, dense shrubs where abutting a lot line. No required off-street parking or interior landscaped areas may be utilized for such purpose.
(A)
Application of article.
1.
The M-1A, industrial park district is intended to provide land for business and industry which expands the economic base of the City. Permitted uses are intended to include those businesses and industries primarily involved in the manufacture of goods and provision of services for sale and use outside of the limits of the City of Margate. These uses shall include research, development, and manufacture of products and large office buildings providing increased employment opportunities within the City.
(B)
Purpose and general description.
1.
The M-1A, industrial park district is intended to provide land for business and industry which expands the economic base of the City. Permitted uses are intended to include those businesses and industries primarily involved in the manufacture of goods and provision of services for sale and use outside of the limits of the City of Margate. These uses shall include research, development, and manufacture of products and large office buildings providing increased employment opportunities within the City.
(C)
Permitted uses. No building or structure, or any part thereof, shall be erected, altered or used, or land or water used, in whole or in part, for other than one (1) or more of the following uses:
1.
Primary uses.
a.
Apparel from finished textiles;
b.
Bottling plant;
c.
Contractors, including service contractors;
d.
Educational, scientific and industrial research;
e.
Food processing;
f.
Light manufacturing;
g.
Meat or fish processing or slaughtering. Processing shall only be done indoors and without the emission of any external noxious odors.
h.
Office buildings, including business, professional, and medical offices.
i.
Minimum of thirty thousand (30,000) square feet of gross building area per development required.
i.
Warehousing, trucking and distribution;
j.
Wholesaling;
2.
Accessory uses.
a.
Corporate or business offices which serve or represent other specifically permitted industrially related users;
b.
Restaurants and cafeterias allowed as an accessory use only in connection with a permitted office building;
c.
Sales of goods to the general public only as an accessory use;
i.
Sales of goods shall not exceed twenty-five (25) per cent of floor area nor total number of sales transactions.
d.
Sewage pumping station;
e.
Transformer and electrical switching station;
3.
Special exception uses. The following uses are authorized upon a finding by the City Commission that a special exception use to this article is warranted:
a.
Children's activity center as an accessory use only. For the purposes of this section, "children's activity center" is defined as any establishment containing modular retail play/soft play structures, indoor playgrounds, children's party rooms or food services. Retail play/soft play areas of children's activity centers may also contain up to ten (10) coin-operated machines designed specifically for children, ages twelve (12) and under. Access to retail play/soft play areas of children's activity centers (including areas containing permitted coin-operated machines) shall be restricted to children, ages twelve (12) and under, and persons accompanying such children for supervisory purposes.
b.
The city commission shall consider all applications for special exception approval pursuant to the procedure set forth in Article 3, Section 40.306, Special Exception of this Code.
(D)
Prohibited uses. Except as specifically permitted in this district, the following uses are expressly prohibited as either principal or accessory uses:
1.
Airport.
2.
Any use or operation which creates continuous or intermittent physical effects which exceed the performance standards specified in Section 40.531(E).
3.
Automotive: maintenance, service and repair.
4.
Die casting.
5.
Drop forging.
6.
Foundry.
7.
Hotels, motels and any other residential use other than as a permitted accessory use.
8.
Institutions for the aged, infirm or minors or any kind of group housing.
9.
Manufacturing of asphalt, brick, tile, cement, lime, plaster, concrete, acids, carbon, disinfectants, poison, insecticides and batteries.
10.
Oil compounding or barreling.
11.
Open air storage in bulk of material inputs of finished products. This prohibition does not apply to storage of these materials in a warehouse or fully enclosed by a fence and continuous, dense shrubs where abutting a lot line. No required off-street parking or interior landscaped areas may be utilized for such purpose.
12.
Pain management clinics, as defined in Section 40.201.
13.
Paint or varnish manufacture.
14.
Vehicular rental.
(E)
Permitted uses for mixed-use.
1.
Within any mixed-use structure permitted by the Live Local Act of 2023 (Senate Bill 102) only the uses permitted by the City Center District shall be allowed.
(F)
Performance standards. The performance standards listed hereunder shall be the minimum standards that shall be permitted to be constructed, maintained and operated:
1.
Noise and sound: A maximum of seventy (70) decibels at the property line is permitted. Noise is required to be muffled so as not to become objectionable due to intermittence, beat frequency or shrillness. Sound may equal but not exceed street traffic noise in the vicinity during a normal day shift work period.
2.
Dust, odors, gases and vapors: No dust, odors, gases and vapors, except those odors associated with food preparation, shall be permitted beyond the lot line so as to be readily detectable without the use of instruments.
3.
Smoke: No emission shall be permitted from any chimney or otherwise of visible grey smoke of a shade equal to or darker than No. 2 on the Power's Micro-Ringlemann Chart, published by McGraw-Hill Publishing Company, Inc., (being a direct facsimile reduction of a standard Ringlemann Chart as issued by the United States Bureau of Mines), except that visible grey smoke of a shade equal to No. 3 on said chart may be emitted for four (4) minutes in any thirty (30) minute period.
4.
Vibration: No vibration shall be permitted which is readily detectable at the lot line without the use of instruments.
5.
Glare: No direct or sky-reflected glare, whether from floodlights or from high-temperature processes such as combustion or welding or otherwise, so as to cast a distinct shadow of an object at the property line.
6.
Radioactivity or electrical disturbance: No activities shall be permitted which emit dangerous radioactivity or electrical disturbance adversely affecting the operation of any equipment other than that of the creator of such disturbance. All applicable federal regulations shall be complied with.
(G)
Height.
1.
No building or structure shall be erected or altered to a height exceeding fifty (50) feet.
(H)
Lot size.
1.
Minimum lot size shall be twenty thousand (20,000) square feet. Lots created through a condominium association shall have no minimum size.
(I)
Minimum floor area standards.
1.
No building containing a primary use shall be constructed to a size of less than ten thousand (10,000) square feet.
2.
No separately owned or leased area shall be constructed or subdivided into an area smaller than eight hundred (800) square feet.
(J)
Setbacks.
1.
No building or roofed structure shall be located less than thirty-five (35) feet from Banks Road or Copans Road; twenty-five (25) feet from any other street line.
2.
Where an M-1A parcel is separated by a canal from a residential property, no building or roofed structure shall be located closer than twenty (20) feet from the lot line adjoining said canal.
3.
When abutting a residential property the minimum building setback shall be sixty (60) feet.
4.
When a mixed-use development is permitted, the minimum setback shall be sixty (60) feet from any nonresidential use or district.
(A)
Application of article.
1.
The following regulations of this article shall apply in all community facility districts.
(B)
Purpose of district.
1.
The community facility district is intended to provide for the orderly development of those educational, cultural, religious, health care, recreational, and governmental facilities required to meet the needs of the community in which they are located.
(C)
Permitted uses. No building or structure, or part thereof, shall be erected, altered, or used, or land or water used in whole or in part, for other than one (1) of the following:
1.
Place of Assembly, subject to the requirements of Section 40.619, Place of Assembly of this Code.
2.
Hospitals, detoxification facilities, pain management clinics, and long-term care facilities not including correctional or mental institutions, nor veterinary hospitals. Such use shall be located on a lot having at least forty thousand (40,000) square feet, at least two hundred (200) feet of street frontage, and shall only be located on roadways classified by Broward County Metropolitan Organization's Broward Highway Functional Classifications Map as arterial roadways.
3.
Municipal buildings, fire stations, libraries, public offices, parks, playgrounds, reservations, parking.
4.
Medical office, subject to the following limitation(s):
a.
Not including correctional or mental, nor institutions for care of drug or liquor patients. May have a magnetic resonance imaging (MRI) unit as an accessory.
5.
Accessory structure or use which is clearly incidental or subordinate to the principal use and which use is located on the same lot.
(D)
Special exception uses. Special exception uses may be deemed appropriate to provide a complete distribution of uses within the City, but because of their operational characteristics or area requirements need to be given individual consideration with respect to their location, access and relationship to adjacent properties and public rights-of-way, and conformity with the City's current and future redevelopment efforts.
The following uses are authorized upon a finding by the City Commission that a special exception to the article is warranted. The City Commission shall consider all applications for special exception approval pursuant to the procedures and criteria set forth in Article 3, section 40.306 Special Exception of the Margate Code of Ordinances.
1.
Public or private elementary, middle, or high school, subject to Section 40.620, Public or Private Elementary, Middle, or High School.
2.
Public or private postsecondary educational facilities, including vocational schools. Any associated residence shall be ancillary to the permitted use and permitted only for full-time students of the post-secondary educational facility and any staff required to preserve the safety and welfare of resident students.
3.
Pain Management Clinics that are located on roadways classified by the Broward County Trafficways Plan as arterial or collector roadways subject to Section 40.616, Pain Management Clinics.
(E)
Height.
1.
Limitations.
a.
No building or structure, or part thereof, shall be erected or altered to a height exceeding four (4) stories, or fifty (50) feet.
2.
Exceptions.
a.
A steeple or tower on a Place of Assembly may extend to height of sixty-five (65) feet.
b.
Hospitals with more than two hundred (200) beds for overnight patient treatment, located on a campus of at least twenty (20) acres may be a maximum height of one hundred twenty-two (122) feet.
c.
Any property owned or operated by the City of Margate or City of Margate CRA.
(F)
Lot coverage.
1.
The combined ground area occupied by all buildings and structures shall not exceed the following:
(G)
Exceptions.
1.
As an exception to the above limitations:
a.
Hospitals with more than two hundred (200) beds for overnight patient treatment, located on a campus of at least twenty (20) acres may have a maximum lot coverage of thirty-five (35) per cent.
b.
Any property owned or operated by the City of Margate or City of Margate CRA.
(H)
Setbacks.
1.
No building or roofed structure shall be located within forty (40) feet of any residentially zoned property, nor shall any parking areas be located within twenty (20) feet of any residentially zoned property.
2.
Exception. Any property owned or operated by the City of Margate or City of Margate CRA.
(I)
Uses prohibited.
1.
Any use not specifically listed in (C) Permitted uses is prohibited.
(A)
Application of article.
1.
The following regulations shall apply in all CON districts.
(B)
Purpose of district.
1.
The conservation district is intended to provide for the continuing conservation of the natural resources located within the district. The uses within this district shall be consistent with but may be more restrictive than those permitted in the conservation areas of the land use plan. This zoning district shall be applied to land designated conservation on the City's Future Land Use Map.
(C)
Permitted uses. No building or structure, or part thereof, shall be erected, altered, or used, or land or water used in whole or in part, for other than one (1) of the following:
1.
Passive outdoor recreational uses such as wildlife sanctuaries and feeding stations, nature centers and trails, outdoor research stations and walkways.
2.
Structures used for flood control, drainage and stormwater storage.
3.
Uses which do not impair the natural environment or disturb the natural ecosystem of the area and which are not in conflict with applicable water management and wildlife protection policies of local, state and federal agencies.
4.
Waterways.
(A)
Purpose.
1.
The S-2 open space district is intended to preserve areas designated or used for active or passive recreation and to preserve areas designated or used for active or passive recreational needs of the people and to preserve open space.
(B)
Uses permitted. No building or structure or part thereof shall be erected, altered or used, or land or water used, in whole or in part, for other than one (1) or more of the following specified uses:
1.
Boat ramp.
2.
Bridle, foot or bicycle path.
3.
Open land areas or commons.
4.
Open water areas.
5.
Picnic area.
6.
Country clubs and similar uses may be operated as an accessory use to a golf course in a structure does not exceed one (1) per cent of the net land area of the property.
7.
Golf course (eighteen-hole, nine-hole, par three-course, pitch and putt, executive, etc.), excluding miniature golf course.
8.
Municipal structures intended to provide for the health, safety, and welfare of the community.
9.
Accessory uses or structures to uses permitted in this section.
10.
Place of assembly, subject to the requirements of Section 40.619 of this Code.
a.
Such use shall not exceed one (1) per cent of the net land area of the property.
(C)
Uses prohibited. The permissible uses enumerated above shall not be construed to include either as a principal or accessory use any of the following which are listed for emphasis:
1.
Any business or commercial use not permitted as a principal use except when meeting the requirements of an accessory use.
2.
Any industrial or manufacturing use.
3.
Drive-in theatre, drive-in restaurant, or drive-in refreshment stand.
4.
Any residential use.
(D)
Height.
1.
No building or structure or part thereof shall be erected or altered to a height exceeding two (2) stories or thirty (30) feet.
(E)
Lot size.
1.
There shall be no minimum lot size.
(F)
Setbacks.
1.
No parking area shall be located within fifteen (15) feet of any residential lot.
2.
No structure, except municipal structures, fences or walls as hereinafter provided for, shall be located within twenty (20) feet of any residentially zoned property nor within twenty-five (25) feet of any public or private street.
3.
No building or roofed portion of any structure, except municipal structures, shall be located within ten (10) feet of any lot line.
4.
No required open space, setback, or setback area shall be used or developed for any purpose other than landscaping and walkways and/or driveways needed to serve the permitted use.
(A)
Purpose.
1.
The S-1 recreational district is intended to provide public and private open spaces and recreational facilities for active use by the patrons thereof. The permitted uses of the S-1 district may take place in open air or in a building or structure.
(B)
Uses permitted. No building or structure or part thereof shall be erected, altered or used, or land or water used, in whole or in part, for other than one (1) or more of the following:
1.
Passive recreational uses, including, but not limited to: nature centers and trails, scenic areas, wildlife sanctuaries and feeding stations, aquatic preserves and picnic areas.
2.
Active recreational uses, including, but not limited to: tennis courts, playgrounds, swimming pools, athletic fields and courts, beaches and bikeways.
3.
Boat dock.
4.
Cabanas.
5.
Country clubs and similar uses may be operated as an accessory use to a golf course if said structure does not exceed one (1) per cent of the net land area of the property.
6.
Municipal structures intended to provide for the health, safety, and welfare of the community.
(C)
Accessory uses.
1.
Coin-operated amusement devices as specifically defined in Section 40.612 with the addition that:
a.
Same shall be allowed only in recognized structures or facilities, such as clubhouses, recreation halls, teen centers, etc., that are open for the patronage of individuals using said halls for private recreational purposes.
b.
All proceeds from the above coin-operated amusement devices will be utilized for nonprofit purposes relating to the organization or association maintaining the above recreation facilities.
2.
Place of Assembly, subject to the requirements of Section 40.619 of this Code.
a.
Such use shall not exceed one (1) per cent of the net land area of the property.
(D)
Uses prohibited.
1.
The permissible uses enumerated in Section 40.543(B) above shall not be construed to include either as a principal or accessory use of any of the following which are listed for emphasis:
a.
Any business or commercial use not permitted as a principal use except when meeting requirements of an accessory use.
b.
Any industrial or manufacturing use.
c.
Drive-in theater, drive-in restaurant or drive-in refreshment stand.
(E)
Height.
1.
No building or structure or part thereof shall be erected or altered to a height greater than thirty-five (35) feet, except that municipal structures may be built to a height of sixty-five (65) feet.
(F)
Lot size.
1.
Every lot shall be not less than one hundred (100) feet in width and ten thousand (10,000) square feet in area.
(G)
Setbacks.
1.
No parking area shall be located within fifteen (15) feet of any residential plot.
2.
No structure, except municipal structures, fences or walls as hereinafter provided for, shall be located within twenty (20) feet of any residentially zoned property nor within twenty-five (25) feet of any public or private street.
3.
No building or roofed portion of any structure, except municipal structures, shall be located within ten (10) feet of any plot line.
4.
No required open space, yard, or setback area shall be used or developed for any purpose other than landscaping and walkways and/or driveways needed to serve the permitted use.
(A)
Applicability.
1.
The following regulations shall apply in all U-1 districts.
(B)
Purpose of district.
1.
The utilities U-1 district is intended to provide for all utility uses. The uses within this district shall be consistent with but may be more restrictive than those permitted in the utilities land use plan designation areas. This zoning district may be applied to land designated utilities on the City's Future Land Use Map.
(C)
Permitted uses. No building or structure, or part thereof, shall be erected, altered, or used, or land or water used in whole or in part, for other than one of the following:
1.
Communication facilities, subject to requirements of Section 40.618 of this Code.
2.
Electrical utility substations.
3.
Telecommunications transmission facilities, subject to requirements of Section 40.618 of this Code.
4.
Water and wastewater plants.
5.
Wellfields.
6.
Uses accessory to any of the above uses when located on the same lot.
(D)
Special exception uses. The following uses are authorized upon a finding by the City Commission that a special exception to the article is warranted, pursuant to the procedure and criteria set forth in Section 40.306 of this Code.
1.
Power plants.
2.
Solid waste disposal facility.
3.
Waste transfer station.
(E)
Prohibited uses.
1.
Landfills.
2.
Resource recovery facility.
3.
Solid waste disposal facility.
(F)
Minimum lot area and width.
1.
Every lot upon which a structure is hereafter erected shall have a minimum lot size of ten thousand (10,000) square feet in area and a lot width of not less than one hundred (100) feet.
2.
Exception. Any property owned or operated by the City of Margate or City of Margate CRA.
(G)
Maximum height.
1.
No building or structure, or part thereof shall be erected to a height exceeding seven (7) stories or eighty (80) feet, whichever is less.
2.
Exception. Any property owned or operated by the City of Margate or City of Margate CRA.
(H)
Setbacks.
Every lot upon which a structure is hereafter erected shall have minimum setbacks as follows:
1.
25 feet from all property lines.
2.
No parking areas shall be located within ten (10) feet of any residentially zoned property.
3.
Exception. Any property owned or operated by the City of Margate or City of Margate CRA.
(A)
Purpose. This district may be applied to parcels that have been designated residential by the Margate Future Land Use Element. It is applicable to land under single ownership and places an emphasis on overall planning and design as a prerequisite for site plan approval. The city intends this district to result in the reduction of land development costs, energy consumption, and maintenance demands per dwelling unit without compromising individual unit privacy of property value. It encourages the creation of common recreation areas and amenities. Within all PRC developments, a condominium or homeowner's association must be created and made responsible for the perpetual control and maintenance of common elements, architectural features, fences, accessory structures, and landscaping.
(B)
Applicability. The following regulations shall apply in all PRC districts, subject to the specific criteria contained in the approved site development plan or as otherwise specified.
(C)
Uses permitted. No building or structure, or part thereof, shall be erected, altered, or used, or land used, in whole or in part, for other than one (1) or more of the following uses:
1.
One-family detached dwellings, each located so that one (1) side abuts a side lot line. The walls of adjoining units shall not abut.
2.
Recreational facilities, only if constructed as an accessory use to the surrounding residential area.
3.
Multiple-family dwellings subject to the requirements of the R-3 Zoning District, except as otherwise provided herein.
4.
Uses and structures which are accessory, service-oriented, or incidental to the principal uses may be permitted. These may include accessory amenity structures such as clubhouses, meeting rooms, pool houses or other structures.
(D)
Size of lot. Every detached one-family dwelling unit which is erected, placed, or structurally altered shall provide a site or lot of not less than forty-five (45) feet in width and ninety (90) feet in depth and four thousand five hundred (4,500) square feet in area.
(E)
Height limitation. No building or structure, or part thereof, shall be erected or structurally altered in excess of the following height:
1.
For one-family detached dwellings, two (2) stories or thirty (30) feet.
2.
For recreational buildings, two (2) stories or 35 feet.
(F)
Minimum required setbacks for one-family dwellings.
1.
Front setback. Every lot shall provide a front setback of not less than fifteen (15) feet in depth as measured from a right-of-way or roadway easement line. However, front entry garages must provide at least twenty (20) feet between the garage and a right-of-way or roadway easement line.
2.
Side setbacks. The side setback may be zero (0) on one (1) side of the lot provided that:
a.
The lot contiguous to that side setback is held under the same ownership at the time of construction; and
b.
The opposite side setback is not less than ten (10) feet, it being the intent of this district to provide for a minimum of ten (10) feet between one-family dwellings. This setback shall be perpetually maintained free of encroachments other than in-ground swimming pools (subject to all regulations of Section 40.708), air conditioners, patios and appurtenance, fences, and landscaping; and
c.
Except for units whose zero setback directly abuts common open space, the wall located at the zero-side setback shall not have any openings; and
d.
The zero-side setback does not abut a public or private street without an intervening side setback of at least ten (10) feet in depth; and
e.
Except for a maximum twenty-four (24)-inch roof overhang, no portion of the dwelling or architectural features project over any property line; and
f.
A four (4) foot maintenance easement is provided adjacent and parallel to the zero side wall allowing for the maintenance of that wall; and
g.
Storm gutters are required to ensure stormwater runoff from roofs does not spill directly onto the adjoining lot.
3.
Rear setback. Every lot shall have a rear setback of not less than fifteen (15) feet in depth. However, for a one-story structure the rear setback may be reduced to ten (10) feet in depth for no more than fifty (50) per cent of the lot width. When a lot has double frontage, the rear setback abutting a street shall not be less than twenty (20) feet in depth.
(G)
Site plan required.
1.
Prior to the issuance of a building permit within a PRC zoning district, an overall site development plan shall be approved by the development review committee. Said development plan shall specify and clearly delineate the location, relationship, design, and usage of all existing and proposed buildings and structures, public and private roads, utility and drainage areas, parking areas, landscaped open spaces, sidewalks, and lighting standards. Illustrative floor plans and elevations of proposed structures shall be submitted with the site plan. The committee shall consider all site plans pursuant to the criteria of Section 40.301 of this Code and the provisions of this section.
(H)
Unified control required.
1.
Following site development plan approval, the developer shall submit documentation evidencing unified control of the subject property and the creation of a legally constituted maintenance association having responsibility for the perpetual care of common areas, recreational facilities, and architectural control. Membership in this association shall be mandatory for all property owners and successors in title to any land and improvements within the subject development, except for that which has been dedicated to the public. The city attorney shall approve said documents as meeting the requirements of this section prior to the issuance of the first certificate of occupancy.
(I)
Development standards. Every site development plan shall meet or exceed the following design standards in addition to all other applicable zoning and subdivision regulations:
1.
Street design. Private streets may serve developments within this district. The design of streets shall meet the criteria of section 40.403 of this Code. The design and cross-section shall be approved by the city engineer. Streets shall be illuminated to an average intensity of at least one (1) footcandle per square foot. At no point shall the intensity of illumination fall below one-half (½) footcandle.
2.
Parking. Every single-family dwelling unit shall provide a fully enclosed garage, attached to the main structure, and finished in an architecturally compatible manner with the particular house. Each such dwelling shall provide a double wide driveway of not less than sixteen (16) feet in width and zero (0) feet in depth. Multiple-family dwellings shall meet or exceed the parking requirements set forth in Section 40.705 of this Zoning Code.
3.
Fences. Except when constructed as an integral part of the main structure, no fences or walls shall be permitted within the front or street side setback of any residence. Where the rear of any lot abuts a trafficway, a buffer consisting of masonry and wood or metal rail and post, together with landscaping shall be provided along the full length of said perimeter which shall be in an area under unified control and ownership. This buffer must effectively protect the abutting residences from traffic noise and light and shall be compatible with the landscaping and architecture of the subject development and surrounding residential areas.
4.
Screen enclosures. No screen enclosure shall be permitted within the front setback of any single-family lot. Any screen enclosure shall be subject to the side and rear setback requirements of Section 40.550(F) above.
5.
Staggered setbacks. The use of varying setback distances for adjoining lots is recommended to provide visual relief.
6.
Roof material. The roof of all main structures shall be standing seam metal, barrel tile, S tile, or cement tile, or other decorative material.
7.
Minimum parcel size. All PRC districts shall contain at least five (5) contiguous acres.
(A)
General. These regulations prescribe rules and regulations governing the submission and approval of planned unit developments within the City of Margate, Florida.
(B)
Intent and purpose.
1.
It is intended that this district be utilized to permit great flexibility in the use and design of structures and land in situations where modification of specific provisions of this Code will not be contrary to the intent and purposes or inconsistent with the comprehensive plan upon which they are based and will not be harmful to the neighborhood in which they occur.
(C)
Applicability.
1.
Developed properties.
a.
The development standards contained within this article apply to all properties developed before the adoption of this Code.
b.
All properties developed according to these regulations are considered legal conforming uses and may be reconstructed and improved according to these standards and may be reconstructed with them in the event of destruction or undergoes a substantial change pursuant to FEMA regulations.
c.
Any residential subdivision that is redeveloped may voluntarily use the regulations contained in Article 7, Division 2, Supplemental Residential Development Standards for the development of new residential dwellings.
2.
New Residential Development. Any residential dwellings developed within a PUD approved after the adoption of this Code shall only be developed according to the standards in Article 7, Division 2, Supplemental Residential Development Standards.
(D)
Definitions.
1.
Gross area: The total surface (land and water) area contained within the proposed PUD, including on-site streets and rights-of-way, but excluding previously dedicated rights-of-way.
2.
Gross density: The density of a building site calculated by dividing the total number of dwelling units by the total acreage of the site without reduction of any nonresidential uses such as parks, waterways, shops, Places of Assembly, schools, etc.
3.
Master development plan: Shall mean the total site plan of a planned unit development drawn in conformity with the requirements of this section. Said development plan shall specify and clearly illustrate the location, relationship, design, nature and character of all primary and secondary uses, public and private easements, structures, parking area, public and private roads, and common open space.
4.
Open space: A generally unobstructed parcel or area of land permanently dedicated or reserved for the use and enjoyment of owners and occupants of the land within the PUD. Required open space shall be of a pervious nature and shall not be used for private roadways open to vehicular circulation or above grade utility infrastructure; off-street parking or loading berths, lakes, canals, and other features may be considered as required open spaces to the extent of the limitations contained herein at Section 40.551(N), Open Space Requirement and Computation.
5.
Phase: Shall mean a specified portion of a planned unit development that may be developed as an individual component and shall be in the final development plan, and which is specified within the development schedule.
(E)
Planned unit development defined.
1.
A "planned unit development" shall be defined as follows:
a.
A PUD is land under unified control, planned and developed as a whole in a single development operation or an approved programmed series of development operations for dwelling units and related uses and facilities.
b.
A PUD may include principal and accessory uses and structures substantially related to the character of the development itself and the surrounding area of which it is a part.
c.
A PUD shall be developed according to comprehensive and detailed plans which include streets, utilities, lots, building sites and the like, and site plans, floor plans and elevations for all buildings intended to be located, constructed, used, and related to one another, and detailed plans for other uses and improvements on the land related to the buildings; and a PUD shall include a program for full provision maintenance and operation of such areas, improvements, facilities and services for common use by the occupants of the planned unit development which will not necessarily be provided, operated or maintained at public expense.
(F)
Unified control. All land included for the purpose of development within a PUD district shall be under the control of the applicant (an individual, partnership or corporation, or group of individuals, partnerships, or corporations). The applicant shall present satisfactory legal documents to constitute evidence of the unified control of the entire area within the proposed PUD, which shall be certified by the city attorney. Applicant shall agree in the application for rezoning to the following:
1.
To proceed with the proposed development according to the provisions of these regulations and conditions attached to the rezoning of the land to PUD;
2.
To provide agreements, contracts, covenants, deed restrictions, and sureties acceptable to the city for completion of the development according to the plans approved at the time of rezoning to PUD and for continuing operation and maintenance of such areas, functions and facilities which are not proposed to be provided, operated or maintained at public expense; and
3.
To bind their successors in title to any commitments made under the above. All agreements and evidence of unified control shall be examined by the city attorney, and no rezoning of land to PUD classification shall be adopted without a certification by the city attorney that such agreements and evidence of unified control meet the requirements of these regulations.
4.
If the developer elects to administer common open space through an association or nonprofit corporation, said organization shall conform to the following requirements:
5.
The developer shall establish by charter the association or nonprofit corporation prior to any sale;
6.
Membership in the association or nonprofit corporation shall be mandatory for all property owners within the planned unit development, and said association or corporation shall not discriminate in its members or shareholders;
7.
The association or nonprofit corporation shall manage all common open space and recreational and cultural facilities which are not dedicated to the public, shall provide for the maintenance, administration and operation of said land and any other land within the planned unit development not publicly or privately owned, and shall secure and show evidence of adequate liability insurance on the land.
(G)
Uses permitted and nonresidential development standards. No building or structure, or part thereof, shall be erected, altered or used, or land or water used, in whole or in part, for other than one (1) or more of the following uses:
1.
All uses permitted in the R-1 residential districts of the zoning regulations, i.e., R-1, R-2, R-3.
2.
All uses permitted and the development standards in the B-1 Neighborhood Business District.
3.
All uses permitted and the development standards in the S-1 district.
(H)
General requirements and special regulations.
1.
Minimum size: All planned unit developments shall contain a minimum of ten (10) acres of contiguous land.
2.
Maximum area limitations: Pursuant to more specific requirements and regulations as hereinafter prescribed, the following per centages express the maximum land area of the planned unit development that the special land use may occupy:
a.
Commercial: Two (2) per cent of gross area.
b.
Governmental services: Five (5) per cent of gross area. (Said land shall be dedicated to the City of Margate.)
3.
Minimum area limitations: Planned unit developments shall contain areas at least equal to the following:
a.
Open space: Thirty-five (35) per cent pervious of gross area.
4.
Maximum density: The maximum gross density of residential dwelling units per acre permitted within any proposed PUD shall not exceed the combined density recommendations of the Broward County and/or Margate comprehensive land use plan over the area where a particular PUD is proposed. For the purpose of density calculations, nonresidential land uses recommended by the plan shall be considered as "low-density residential."
For example, consider a proposed PUD of fifty (50) acres. The recommended land uses of the comprehensive plan are:
(I)
Minimum lot area, distance between structures, frontage and setbacks.
1.
Each dwelling unit or other permitted use shall have access to a public street, either directly or indirectly, via a private approach road, pedestrian way, court or other area dedicated by common easement guaranteeing access. Permitted uses are not necessarily required to front on a dedicated road. The city shall be allowed access on privately owned roadways, easements and common open space to ensure the police and fire protection of the area, to meet emergency needs, to conduct city services, and to generally ensure the health and safety of the residents of the planned unit development.
2.
There shall be a setback of not less than twenty-five (25) feet in depth abutting all public road rights-of-way within or abutting a planned unit development district.
3.
There shall be a peripheral setback from boundary lines of the PUD of not less than twenty-five (25) feet in depth. Except for only the portion of accessways that cross this setback to access any adjacent road, no portion of this peripheral setback may be used for parking or other vehicular use areas.
(J)
Off-street parking and loading requirements.
1.
Off-street parking and loading requirements shall not deviate from Section 40.705 of this Code.
(K)
Landscaping requirements.
1.
Landscaping shall meet or exceed the requirements of this Code.
(L)
Underground utilities.
1.
Within the planned unit development, all utilities, including telephone, television cable, and electrical systems, shall be installed underground. Primary facilities providing service to the site may be exempted from this requirement. Large transformers shall be placed on the ground and contained within pad mounts, enclosures or vaults. The developer shall provide adequate landscaping with shrubs and plants to screen all utility facilities permitted aboveground.
(M)
Open space requirements and computation. A planned unit development shall exhibit and maintain a total open space requirement at least equal to thirty-five (35) per cent of the gross area of the PUD. The following areas qualify wholly or partially as open space:
1.
If the major recreation use is concentrated in a localized section of the PUD with less than thirty (30) per cent of the residential dwelling units abutting it, only fifty (50) per cent of the area adjacent to the facility may count toward the open space requirement.
2.
If, however, the major recreation use is dispersed throughout the PUD with between thirty (30) and sixty (60) per cent of the residential dwelling units abutting it, seventy-five (75) per cent of the area contained therein may count toward the open space requirement.
3.
If more than sixty (60) per cent of the residential dwelling units abut the major recreation use, one hundred (100) per cent of the area contained therein may count toward the open space requirement.
4.
The area occupied by a multiple-use recreation building and its attendant outdoor recreation facilities, excluding a golf course, may be included as open space.
5.
Only pervious land areas within the required peripheral setback may be included.
6.
The area contained in public and private street rights-of-way is not considered as open space and receives no credit toward the open space requirement. All privately owned common open space shall conform to its intended use and remain as expressed in the master development plan through the inclusion in all deeds of appropriate covenants. Said deed restrictions shall run with the land and be for the benefit of present as well as future property owners. All common open space as well as public and recreation facilities shall be specifically included in the development plan schedule and be constructed and fully improved by the developer at an equivalent or greater rate than the construction of residential structures. At least once every sixty (60) days the building official shall inspect the PUD site and examine the construction which has taken place on the site. If the rate of construction of dwelling units is greater than the rate which common open space and recreational facilities have been constructed and provided, no further building permits shall be issued until the proper ratio has been provided.
7.
Fifty (50) per cent of the area contained in man-made water bodies and canals with average water width of more than sixty (60) feet may be considered toward meeting the open space requirements. Man-made water bodies with average water width of less than fifty (50) feet shall not be considered toward meeting the open space requirements.
8.
If the natural habitats of unique and significant value are determined to exist, the planning and zoning board may require that the area so defined be left in an undisturbed state and adequately protected or incorporated into the design of the PUD as a passive recreation area, with a minimum of improvements permitted. In either case, one hundred (100) per cent of the area contained therein may be counted as open space.
9.
The area contained in a continuous open space pedestrian system, consisting of permanently maintained walks and trails not less than six (6) feet wide leading to a natural amenity, recreation facility or commercial use, offering internal pedestrian walkways that are divorced from roads and streets, may be included as open space.
10.
The area contained in miniparks which may or may not be a part of the open space system, but contain at least one (1) acre and have a minimum dimension of one hundred (100) feet together with, but not limited to, one (1) of the following:
a.
Benches;
b.
Playground apparatus;
c.
Barbeque pits;
d.
May be included as open space.
(N)
Limitations applying to commercial uses.
1.
No business shall be permitted in a planned unit development until certificates of occupancy for no less than twenty-five (25) per cent of the total planned residential floor area or one hundred (100) residential dwelling units have been issued by the city.
2.
All business uses located within the interior of the proposed planned unit development shall be designed having no storefronts, signs or advertisements visible from outside the property line so there is no indication that the business uses are within.
3.
In a planned unit development having fifty (50) acres or more, business uses may be located other than in the interior of the proposed planned unit development and do not have to meet the limitations imposed on interior business uses.
4.
All products produced shall be for sale on the premises.
5.
All business activities and storage of merchandise, equipment and material shall be within an enclosed building.
6.
Business activities operated within a planned unit development shall not provide delivery service to locations outside the planned unit development.
(O)
Professional services required.
1.
Any plans submitted as part of a petition for a planned unit development shall certify that the services of two (2) or more of the following professionals were utilized in the design or planning process, and shall state their names and businesses and addresses:
a.
A certified planner of the American Planning Association; and/or
b.
An architect licensed by the State of Florida; together with;
c.
A professional engineer registered by the State of Florida and trained in the field of civil engineering.
(P)
Information required.
1.
Rezoning application.
2.
Site plan approved by the Development Review Committee.
3.
Plat or subdivision resurvey application (as applicable) approved by the Development Review Committee.
4.
Legal documents assuring unified control of the proposed PUD and any agreements required.
5.
Generalized land use plan and development program (phasing) in terms of uses, densities, and population projections.
6.
Residential plan and program in terms of density and housing types, and projected population.
7.
The projected net fiscal impact on the tax base of the city.
8.
Staging plan, showing the proposed order of development.
(Q)
Time limitations of approval.
1.
Failure to obtain a final development plan approval within eighteen (18) months of the rezoning to planned unit development by the city commission shall automatically negate the rezoning of such land. The zoning shall immediately thereafter revert to the district(s) as they existed prior to the rezoning to PUD. At its discretion and for good cause, the city commission may extend, for one (1) additional year, the PUD rezoning.
(A)
This article is intended for all lands designated as Activity Center on the Margate Future Land Use Map. The regulations of this article shall apply to the following zoning districts.
1.
Corridor;
2.
Gateway;
3.
City Center.
(B)
After the effective date of this article, the building design and site design standards and any and all other land use and development requirements, standards, regulations, or other provisions set forth in this article shall apply to all new development and redevelopment within these districts.
(C)
After the effective date of this article, the building design and site design standards and any and all other land use and development requirements, standards, regulations, or other provisions set forth in this article shall apply to all new development and redevelopment within these districts.
(D)
Purpose and general description. The Corridor, Gateway, and City Center districts are specifically created to implement and encourage the redevelopment of lands designated as Activity Center on the future land use plan map of the City of Margate Comprehensive Plan. These districts generally include right-of-way and private properties abutting or proximate to the State Road 7/U.S. 441 corridor and comprising approximately 1,184 acres. This area is designated on the City of Margate Future Land Use Map (FLUM) and the Broward County Land Use Plan Map as Activity Center.
This article provides general guidance and specific standards necessary to promote the goals, objectives and policies contained within the future land use element and is designed to maximize the development potential of the State Road 7/U.S. 441 corridor, foster a mix [of] land uses, promote shopfronts and commercial uses at street level, accommodate wide pedestrian-friendly and multimodal sidewalks, encourage upper story office uses, and provide on-site parking facilities in the rear setback and accesses when possible through rear alleys or side streets.
The city encourages development and redevelopment projects that contribute to the following objectives:
1.
Promoting well-planned development and redevelopment;
2.
Encouraging the reduction of impacts on adjacent neighborhoods through building placement and sensitivity of building design and green building standards;
3.
Encouraging infill and redevelopment with an emphasis on pedestrian orientation, increased mobility and integration of transit and bicycle systems that provide alternatives to the automobile and promote a sustainable environment;
4.
Encouraging a closer relationship between primary building entrances, the public sidewalk, and pedestrians with entrances to building shopfronts, workplace and housing oriented directly to the public street;
5.
Providing opportunities for a range of housing types and price levels to accommodate diverse ages and incomes;
6.
Planning transportation corridors in coordination with land use and coordinating the intensity of development proximate to mass transit and encouraging a sustainable environment;
7.
Encouraging development that is pedestrian-oriented with a variety of uses including mixed-use development;
8.
Providing that ordinary activities of daily living may occur within walking distance of most dwellings, allowing independence to those who do not drive;
9.
Providing for interconnected networks of tree-lined or shaded roads to be designed and created incrementally to improve pedestrian access to transit and to disperse and reduce the length of automobile trips;
10.
Creating an interconnected rear alleyway system;
11.
Promoting the small scale of newly formed blocks with public open spaces to serve corridor residents, workers and visitors for increasing social gathering, active and passive recreation, and visual amenities;
12.
Promoting appropriate building densities and land uses be provided within walking distance of transit stops;
13.
Creating a range of open space including parks, squares, and playgrounds and positioning buildings to front streets and open spaces;
14.
Encouraging buildings, streetscapes and landscaping to contribute to creating community living spaces;
15.
Promoting a street environment and building orientation that emphasize comfort, safety, and distinctive identity, with the provision of urban greenways along major corridor roadways containing a variety of shopfronts that provide a high level of transparency at the sidewalk level;
16.
Maximizing the development potential for the Corridor, Gateway, and City Center districts; and
17.
Encouraging energy efficiency through building design and site development.
(E)
Corridor permitted uses. No building or structure, or part thereof, shall be erected, altered or used, or land or water used, in whole or in part, for other than any of the uses specified below. All minimum separation distances shall be measured in the shortest airline distance between nearest property lines unless otherwise specified.
1.
Accessory uses and structures to a permitted use.
2.
Adult day care center.
3.
Art gallery.
4.
Artisans, studio or workshop. A workshop or studio of an artist, sculptor, photographer, jeweler, potter, craftsperson, furniture maker, cabinet maker, or other artist or artisan primarily used for on-site production of unique custom goods.
5.
Automatic teller machine (outdoor).
6.
Bakery, retail (wholesale permitted provided the storage area is less than four thousand five hundred (4,500) square feet).
7.
Banks and other financial institutions, not including Payday Loans.
8.
Bars, and taverns.
9.
Body art studios, subject to the following limitations:
a.
No body art studio shall be located within one thousand (1,000) feet from any other body art studio; and
b.
No body art studio shall be located within one thousand (1,000) feet from any academic school for minors or child care facility; and
c.
Body art studios shall be required to have a separate room for the purpose of tattooing and piercing. Each room shall be limited to one (1) customer chair and shall be apart from the waiting room. The rooms shall not be visible to the general public.
10.
Bowling Alley.
11.
Bottled gas (not permitted within one hundred (100) feet of any residential district or use).
12.
Brewery, distillery or winery. Permitted if the use does not exceed fifteen thousand (15,000) square feet in floor area and includes a tasting room and includes manufacturing of goods to be sold primarily on-site and to the general public as retail sales.
13.
Business office, no stock or storage.
14.
Carpet cleaning (Not permitted within one hundred (100) feet of any residential district).
15.
Caterers.
16.
Check cashing including Payday Loans (Not permitted within one thousand (1,000) feet of like use, Dollar Store, Pawn Shop, or Secondhand and/or used merchandise, retail).
17.
Child care facility. Same shall contain a contiguous outdoor fenced or walled-in play area located away from vehicular traffic and providing no less than thirty (30) per cent shade coverage. The outdoor play area shall be covered in turf, mulch, sand or other nonhazardous pervious materials. The outdoor play area shall not be credited toward open space requirements.
18.
Clubs—Civic, noncommercial.
19.
Commercial recreation (indoor).
20.
Dental laboratory.
21.
Dollar store (Not permitted within one thousand (1,000) of like use, Check cashing including Payday Loans, Pawn Shop, or Secondhand and/or used merchandise, retail).
22.
Dry cleaning establishment subject to the following limitations and requirements:
a.
Ventilation shall direct exhaust away from residential districts and uses; and
b.
Not more than ten (10) individual cleaning units shall be used in any establishment, and the total combined rated capacity shall not exceed eighty (80) pounds; and
23.
Fire station.
24.
Funeral home.
25.
Groceries, retail.
26.
Gun shop and gun ranges (indoors and soundproofed).
27.
Health studio or club, gymnasium.
28.
Janitorial service.
29.
Jewelry, watch, and electronic repairs.
30.
Landscaping and plant nursery.
31.
Laundries, coin-operated (may only be open for operation from 7:00 a.m. to 11:00 p.m.).
32.
Locksmith.
33.
Mail-plus service.
34.
Massage services, permitted as accessory use only within an approved medical office or physical therapy office.
35.
Medical office. Not including correctional or mental, nor institutions for care of drug or liquor patients.
36.
Merchant, retail.
37.
Municipal buildings, parks, playgrounds.
38.
Museum.
39.
Music, instruction (indoors and soundproofed only).
40.
Nightclubs, teen clubs, catering halls or dance halls, with an occupant load of less than two hundred fifty (250) persons.
41.
Package store.
42.
Personal care services, except massage.
43.
Pet grooming (soundproofed only).
44.
Pet shop, subject to restrictions set forth in Chapter 6 of the Margate Code of Ordinances.
45.
Pharmacy, subject to the following limitations:
a.
No more than ten (10) per cent of all prescription medication dispensed shall be from the list of Schedule II controlled substances provided in F.S. § 893.03.
b.
No less than fifty (50) per cent of floor area shall be used for retail display and transactions. Photography studio and developing. Subject to requirements of Section 40.705 of this Code.
46.
Picture framing.
47.
Place of Assembly, subject to the requirements of Section 40.619 of this Code.
48.
Printing, photocopying, blueprinting shop with no more than twenty-five (25) employees.
49.
Professional office.
50.
Recording studio (indoors and soundproofed only).
51.
Rental business. (Not vehicular.)
52.
Restaurant.
53.
School of instruction, non-academic.
54.
Secondhand and/or used merchandise, retail. Not permitted within one thousand (1,000) feet of like use, Check cashing including Payday Loans, Pawn Shop, or Dollar Store.
55.
Shoe repair shop.
56.
Small appliance repair. Not permitted within one hundred (100) feet of any residential district.
57.
Substation for utilities.
58.
Swimming pool equipment and chemicals, retail, subject to the following conditions and limitations:
a.
All swimming pool supplies, including prepackaged chemicals, except bulk quantities of sodium hypochlorite, shall be dispensed strictly through retail sales and shall be stored and sold within a completely enclosed structure.
b.
No wholesale or bulk nonpackaged storage or sale of calcium hypochlorite or muriatic acid shall be permitted. Muriatic acid shall be sold only if prepackaged.
c.
Chemical storage area not permitted within one hundred (100) feet of any residential district.
59.
Tailor shop, seamstress.
60.
Television, radio and movie studios (no towers).
61.
Theater, indoor. Subject to requirements of Section 40.705 of this Code.
62.
Utilities, facility offices.
63.
Vehicle dealership, new, subject to the following limitations and requirements:
a.
Minimum size of three (3) acres of contiguous land.
64.
Vending machine (outdoor), permitted as an accessory use to a permitted use and subject to the following limitations contained in Section 40.621 of this Code.
65.
Walkway cafes less than one thousand (1,000) square feet in area; permitted subject to the limitations contained in Section 40.622 of this Code.
(F)
Special exception uses. Special exception uses may be deemed appropriate to provide a complete distribution of uses within the City, but because of their operational characteristics or area requirements need to be given individual consideration with respect to their location, access and relationship to adjacent properties and public rights-of-way, and conformity with the City's current and future redevelopment efforts.
The following uses are authorized upon a finding by the City Commission that a special exception to the article is warranted, pursuant to the procedure and criteria set forth in Section 40.306 of the Margate Code of Ordinances.
1.
Amusement arcade centers in accordance with all provisions of Section 40.612 of this Code and F.S. Chapter 849.
2.
Animal clinics, pet hospitals, subject to the following limitations:
a.
Adequate soundproofing in any area where animals are contained or treated; and
b.
All boarding activities shall be ancillary to the primary use; and
c.
Subject to restrictions set forth in Chapter 6 of the Margate Code of Ordinances.
3.
Auction gallery for art goods, jewelry, rugs, furniture, and other similar items.
4.
Automobile tires, new. Not permitted within one hundred (100) feet of any residential district or use.
5.
Car wash, including automated tunnels, brushless, detailing, hand washing, and polishing. Not permitted within one thousand (1,000) feet of any other car wash rack. Not permitted within one hundred (100) feet of any residential district or use. All washing requires a water containment and reclamation system.
6.
Commercial recreation (outdoor).
7.
Drive through facilities (with a permitted use).
8.
Vehicle fuel station. Subject to requirements and limitations of Section 40.613 of this Code. Fuel pumps are not permitted within sixty (60) feet of any residential district or use.
9.
Hotels and motels, subject to the following conditions and limitations:
a.
Any outdoor recreation areas including swimming pools shall be located at least twenty-five (25) feet from the lot line of any adjacent residentially zoned property; and
b.
The minimum floor area of rental sleeping room in a motel or hotel, which includes all areas to be individually rented by a customer, shall be three hundred (300) square feet.
10.
Laundries, coin operated (extended hours of operation).
11.
Limousine or taxi service three (3) or fewer vehicles; proof of adequate parking facilities shall be demonstrated).
12.
Night clubs, teen clubs, catering halls or dance halls, with an occupancy greater than two hundred fifty (250).
13.
Massage services.
14.
Outside sales, display, service, and/or storage. Outside sales, display, service, and/or storage with a permitted use are authorized upon a finding by the city commission that a special exception to this article is warranted. In addition, all areas not completely enclosed which are used for the storage or processing of raw materials must be effectively screened from view of the adjoining streets and parcels through the use of durable fence, wall or hedge, or combination thereof.
15.
Pain management clinic, subject to limitations and requirements of Section 40.616 of this Code.
16.
Public or private elementary, middle, or high school, subject to Section 40.620 of this Code.
17.
Residential multiple-family dwellings, including horizontal and vertical mixed use.
18.
Restaurants with curb or automobile service. Such approval shall also be subject to the following restrictions:
a.
Subject property shall be located a minimum of seven hundred fifty (750) feet from one-family dwelling districts; such distance shall be measured from front door of the establishment to the single-family property line; and
19.
Theater, outdoor.
20.
Vehicle sales agency (new and/or used vehicles). Not permitted within one hundred (100) feet of any residential district or use.
21.
Vehicle rental business.
22.
Walkway cafes greater than one thousand (1,000) square feet in area, subject to the limitations in Section 40.622 of this Code.
(G)
Lands previously zoned Business Special.
1.
Lands located within the Corridor district that were previously zoned Business Special may utilize all uses currently permitted in the Business Special district as provided in Ordinance 1500.505 and Ordinance 1500.575, until such a time that said properties have been redeveloped or rebuilt after catastrophe under Corridor district regulations.
2.
After redevelopment occurs, as described above, this special extension of rights shall expire.
(H)
Specific design standards.
1.
Development and design standards for types of streets, buildings, heights, building design, site design, access, mixes of uses and other development components are all those that apply in Section 40.554(E).
(A)
Permitted uses. No building or structure, or part thereof, shall be erected, altered or used, or land or water used, in whole or in part, for other than any of the uses specified below. All minimum separation distances shall be measured in the shortest airline distance between nearest property lines unless otherwise specified.
1.
Accessory uses and structures to a permitted use.
2.
Adult day care center.
3.
Art gallery.
4.
Artisans, studio or workshop. A workshop or studio of an artist, sculptor, photographer, jeweler, potter, craftsperson, furniture maker, cabinet maker, or other artist or artisan primarily used for on-site production of unique custom goods.
5.
Automatic teller machine (outdoor).
6.
Banks and other financial institutions, not including Payday Loans.
7.
Bars and taverns.
8.
Bowling alley.
9.
Brewery, distillery or winery. Permitted if the use does not exceed fifteen thousand (15,000) square feet in floor area and includes a tasting room and includes manufacturing of goods to be sold primarily on-site and to the general public as retail sales.
10.
Business office, no stock or storage.
11.
Caterers.
12.
Child care facility. Same shall contain a contiguous outdoor fenced or walled-in play area located away from vehicular traffic and providing no less than thirty (30) per cent shade coverage. The outdoor play area shall be covered in turf, mulch, sand or other nonhazardous pervious materials. The outdoor play area shall not be credited toward open space requirements. Subject to requirements of Section 40.705.
13.
Clubs—Civic, noncommercial.
14.
Commercial recreation (indoor).
15.
Dental laboratory.
16.
Dollar store (not permitted within one thousand (1,000) feet of a like use, Check Cashing or Payday loans, or Secondhand and/or used merchandise, or Pawn Shop).
17.
Dry cleaning establishment subject to the following limitations and requirements:
a.
Ventilation shall direct exhaust away from residential districts and uses; and
b.
Not more than ten (10) individual cleaning units shall be used in any establishment, and the total combined rated capacity shall not exceed eighty (80) pounds.
18.
Fire station.
19.
Groceries, retail.
20.
Health studio or club, gymnasium.
21.
Janitorial service.
22.
Jewelry, watch, and electronic repairs.
23.
Locksmith.
24.
Mail-plus service.
25.
Massage services, permitted as accessory use only within an approved medical office or physical therapy office.
26.
Medical office. Not including correctional or mental, nor institutions for care of drug or liquor patients.
27.
Merchant, retail.
28.
Municipal buildings, parks, playgrounds.
29.
Museum.
30.
Music, instruction (indoors and soundproofed only).
31.
Nightclubs, teen clubs, catering halls or dance halls, with an occupant load of less than two hundred fifty (250) persons.
32.
Package store.
33.
Personal care services, except massage.
34.
Pet grooming (soundproofed only).
35.
Pet shop, subject to restrictions set forth in Chapter 6 of the Margate Code of Ordinances.
36.
Pharmacy, subject to the following limitations:
a.
No more than ten (10) per cent of all prescription medication dispensed shall be from the list of Schedule II controlled substances provided in F.S. § 893.03.
b.
No less than fifty (50) per cent of the floor area shall be used for retail display and transactions.
37.
Photography studio and developing. Subject to requirements of Section 40.705.
38.
Picture framing.
39.
Place of Assembly, subject to the requirements of Section 40.619 of this Code.
40.
Professional office.
41.
Recording studio (indoors and soundproofed only).
42.
Rental business. (Not vehicular.)
43.
Restaurant.
44.
School of instruction, non-academic.
45.
Secondhand and/or used merchandise, retail; subject to the following limitations:
a.
Not permitted within one thousand (1,000) feet from any other secondhand dealer selling like merchandise; and
b.
Not permitted within one thousand (1,000) feet of any pawn shop; and
c.
Not permitted within one thousand (1,000) feet of a Check Cashing or Payday loans; or Dollar Store; and
d.
No consignment.
46.
Substation for utilities.
47.
Tailor shop, seamstress.
48.
Television, radio and movie studios (no towers).
49.
Theater, indoor.
50.
Vehicle dealership, new, subject to the following limitations and requirements:
a.
Minimum size of three (3) acres of contiguous land.
51.
Vending machine (outdoor), permitted as an accessory use to a permitted use and subject to the following limitations contained in section 40.621.
52.
Walkway cafes less than one thousand (1,000) square feet in area; permitted subject to the limitations contained in Section 40.622.
(B)
Special exception uses. Special exception uses may be deemed appropriate to provide a complete distribution of uses with the City, but because of their operational characteristics or area requirements need to be given individual consideration with respect to their location, access and relationship to adjacent properties and public rights-of-way, and conformity with the City's current and future redevelopment efforts.
The following uses are authorized upon a finding by the City Commission that a special exception to the article is warranted, pursuant to the procedure and criteria set forth in Section 40.306, Special Exception of the Margate Code of Ordinances.
1.
Amusement arcade centers in accordance with all provisions of Section 40.612, Arcade Amusement Centers and Devices and Chapter 849 of the Florida Statutes as may be amended from time to time.
2.
Animal clinics, pet hospitals, subject to the following limitations:
a.
Adequate soundproofing in any area where animals are contained or treated; and
b.
All boarding activities shall be ancillary to the primary use; [and]
c.
Subject to restrictions set forth in Chapter 6 of the Margate Code of Ordinances.
3.
Automobile detailing, washing and polishing. Not permitted within one thousand (1,000) feet of the same use or a car wash. Not permitted within one hundred (100) feet of any residential district or use. All washing requires a water containment and reclamation system.
4.
Commercial recreation (outdoor).
5.
Drive through facilities (with a permitted use).
6.
Hotels, subject to the following conditions and limitations:
a.
Any outdoor recreation areas including swimming pools shall be located at least twenty-five (25) feet from the lot line of any adjacent residentially zoned property; and
b.
The minimum floor area of rental sleeping room in a motel or hotel, which includes all areas to be individually rented by a customer, shall be three hundred (300) square feet.
7.
Massage services.
8.
Night clubs, teen clubs, catering halls or dance halls, with an occupancy greater than two hundred fifty (250) persons.
9.
Outside sales, display and/or service. Outside sales, display and/or service with a permitted use are authorized upon a finding by the city commission that a special exception to this article is warranted.
10.
Public or private elementary, middle, or high school, subject to Section 40.620 of this Code.
11.
Vehicle fuel station. Subject to the limitations of Section 40.621 of this Code.
12.
Residential multiple-family dwellings, including horizontal and vertical mixed use.
13.
Theater, outdoor.
14.
Walkway cafes greater than one thousand (1,000) square feet in area, subject to the limitations in Section 40.622 of this Code.
(C)
Specific design standards.
1.
Development and design standards for types of streets, buildings, heights, building design, site design, access, mixes of uses and other development components are those that apply in Section 40.554(E).
(A)
Permitted uses. No building or structure, or part thereof, shall be erected, altered or used, or land or water used, in whole or in part, for other than any of the uses specified below. All minimum separation distances shall be measured in the shortest airline distance between nearest property lines unless otherwise specified.
1.
Accessory uses and structures to a permitted use.
2.
Adult day care center.
3.
Art gallery.
4.
Artisans, studio or workshop. A workshop or studio of an artist, sculptor, photographer, jeweler, potter, craftsperson, furniture maker, cabinet maker, or other artist or artisan primarily used for on-site production of unique custom goods.
5.
Automatic teller machine (outdoor).
6.
Banks and other financial institutions, not including Payday Loans.
7.
Bars and taverns.
8.
Brewery, distillery or winery. Permitted if the use does not exceed fifteen thousand (15,000) square feet in floor area and includes a tasting room and includes manufacturing of goods to be sold primarily on-site and to the general public as retail sales.
9.
Business office.
10.
Child care facility, permitted on secondary streets only. Same shall contain a contiguous outdoor fenced or walled-in play area located away from vehicular traffic and providing no less than thirty (30) per cent shade coverage. The outdoor play area shall be covered in turf, mulch, sand or other non-hazardous pervious materials. The outdoor play area shall not be credited toward open space requirements. Subject to requirements of Section 40.705 of this Code.
11.
Clubs—Civic, noncommercial.
12.
Dry cleaning establishment subject to the following limitations and requirements:
a.
Ventilation shall direct exhaust away from residential districts and uses; and
b.
Not more than ten (10) individual cleaning units shall be used in any establishment, and the total combined rated capacity shall not exceed eighty (80) pounds.
13.
Fire station.
14.
Groceries, retail.
15.
Health studio or club, gymnasium.
16.
Jewelry, watch, and electronic repairs.
17.
Locksmith.
18.
Mail-plus service.
19.
Massage services, permitted as accessory use only within an approved medical office or physical therapy office.
20.
Merchant, retail.
21.
Municipal buildings, parks, playgrounds.
22.
Museum.
23.
Music, instruction (indoors and soundproofed only).
24.
Package store.
25.
Personal care services, except massage.
26.
Pet grooming (soundproofed only).
27.
Pharmacy, subject to the following limitations:
a.
No more than ten (10) per cent of all prescription medication dispensed shall be from the list of Schedule II controlled substances provided in F.S. § 893.03.
b.
No less than fifty (50) per cent of the floor area shall be used for retail display and transactions.
28.
Photography studio and developing.
29.
Place of Assembly, subject to the requirements of Section 40.619 of this Code.
30.
Professional office.
31.
Restaurant.
32.
Tailor shop, seamstress.
33.
Theater, indoor. Subject to requirements of Section 40.705 of this Code.
34.
Vending machine (outdoor), permitted as an accessory use to a permitted use and subject to the following limitations contained in section 40.621.
35.
Walkway cafes less than one thousand (1,000) square feet in area; permitted subject to the criteria and limitations in Section 40.622 of this Code.
(B)
Special exception uses. Special exception uses may be deemed appropriate to provide a complete distribution of commercial uses within the City, but because of their operational characteristics or area requirements need to be given individual consideration with respect to their location, access and relationship to adjacent properties and public rights-of-way, and conformity with the City's current and future redevelopment efforts. The following uses are authorized upon a finding by the City Commission that a special exception to the article is warranted, pursuant to the procedure and criteria set forth in Section 40.306, Special Exception.
1.
Amusement arcade centers in accordance with all provisions of Section 40.612 of this Code and Chapter 849 of the Florida Statutes as may be amended from time to time.
2.
Commercial recreation (indoor).
3.
Hotels.
a.
Any outdoor recreation areas including swimming pools shall be located at least twenty-five (25) feet from the lot line of any adjacent residentially zoned property; and
b.
The minimum floor area of rental sleeping room in a hotel, which includes all areas to be individually rented by a customer, shall be three hundred (300) square feet.
4.
Massage services.
5.
Nightclubs, teen clubs, catering halls or dance halls.
6.
Outside sales, display and/or service. Outside sales, display and/or service with a permitted use are authorized upon a finding by the city commission that a special exception to this article is warranted.
7.
Residential multiple-family dwellings, including vertical and horizontal mixed use.
8.
Theater, outdoor.
9.
Walkway cafes greater than one thousand (1,000) square feet in area, subject to the criteria and limitations in Section 40.622.
(C)
Lands previously zoned M-1 Light Industrial District.
1.
Lands located within the City Center District that were previously zoned M-1 Light Industrial and developed under M-1 Light Industrial regulations may utilize all uses currently permitted in the M-1 Light Industrial district until such a time that the approximately seventeen-acre parcel of land located at 1000 North State Road 7 (Parcel A of "MARGATE THIRD ADDITION", according to the plat thereof, as recorded in Plat Book 44, Page 48 of the public records of Broward County, Florida) has been fully developed under City Center District regulations.
2.
After the above-mentioned development occurs, this special extension of rights shall expire, and all lands located within the City Center District that were previously zoned M-1 Light Industrial shall be considered legally non-conforming until such time as those lands have been redeveloped under City Center District regulations. While in legally nonconforming status, said lands shall comply with all provisions of section 40.308 of this Code.
(D)
Uses prohibited.
1.
Any use not specifically listed in Section 40.552 is prohibited in Corridor District.
2.
Any use not specifically listed in Section 40.553 is prohibited in Gateway District.
3.
Any use not specifically listed in Section 40.554 is prohibited in City Center District.
4.
Pain management clinics are prohibited in Gateway and City Center districts District.
(E)
Specific design standards.
1.
Intent. This article illustrates the types of streets, buildings, heights, and mixes of uses that create the desired "form" presented in the master plan and Corridor, Gateway, and City Center Districts. Guidelines for building design, site design, access, and other development components are transect-based with a corresponding regulating plan that prescribes the appropriate land uses, and project and site design principles relating to the appropriate form for the pedestrian orientation, streetscape, and public realm in the subject area.
2.
In general, development is able to maximize developable heights and developable volume by positioning buildings at the back of the public sidewalk. Parcels with less than two hundred (200) feet of lot depth will also find increased flexibility in achieving greater developable height and building volume while maintaining or increasing separation from adjacent residential properties located to the rear.
3.
A minimum height of two (2) enclosed floors of active use is required for all new development and redevelopment in the City Center District.
4.
Building placement. The building placement regulations contained in this article assume the implementation of a one hundred fifty-foot minimum trafficways reservation width for parcels fronting the State Road 7 corridor and one hundred seventy-five (175) minimum trafficways reservation at the intersection of State Road 7 and Atlantic Boulevard as described in Appendix 2, Broward County Trafficways Map Series.
5.
Setbacks along street frontages. The building placement regulations contained in this article assume the implementation of sidewalk improvements and associated adjustments to the State Road 7 corridor right-of-way widths and related back-of-sidewalk locations as described in subsection (O) "Streets and blocks" and Appendix 2, Broward County Trafficways Map Series Placement of future buildings is encouraged to reflect either:
a.
Location of back of sidewalk following street reconstruction, or
b.
If street reconstruction has not yet taken place, approved city plans for sidewalk reconstruction that relocate the back of sidewalk.
6.
Front setback. The minimum required distance from the back-of-sidewalk line along a primary street to the primary building façade.
a.
Minimum primary frontage setbacks for roads classified by the Broward Metropolitan Planning Organization's Federal Functional Classification are:
i.
Arterial roadway: Eighteen (18) feet.
ii.
All other roadways: Sixteen (16) feet.
7.
Secondary frontage setback. The minimum required distance from the right-of-way line back of curb along the side street to the side street building facade. Minimum secondary frontage setbacks are:
a.
Arterial roadway: Eighteen (18) feet.
b.
All other roadways where an urban greenway is required: Sixteen (16) feet.
8.
Side setback. For the purposes of this article side setback is defined as the required minimum distance from the side property line to the primary building. There is no minimum side setback between buildings or minimum space between buildings.
9.
Rear setback. Rear setback is defined as the required minimum distance from the rear property line to the nearest building. The creation and maintenance of a new and interconnected rear alleyway system is a major goal of this section. Rear setbacks must be maintained to accommodate rear alleyway creation and provide separation between nonresidential uses in the Corridor, Gateway, and City Center Districts and residential uses outside of the Corridor, Gateway, and City Center Districts.
a.
The minimum rear setback shall be thirty-eight (38) feet when new development abuts a residential district or use.
10.
Alleyway setback. An alleyway setback is defined as the required minimum distance from the alleyway edge of pavement to any building. The minimum alleyway setback shall be twelve (12) feet. The minimum paved width of a one-way alley in the Corridor, Gateway, and City Center Districts shall be ten (10) feet, the minimum width of a two-way alley in the Corridor, Gateway, and City Center Districts shall be eighteen (18) feet. Portions of an alley which serve parking spaces shall meet minimum dimensions provided in Section 40.705 of this Code.
11.
Space between buildings. There is no minimum space between buildings on the same parcel, except for the provision of pedestrian zones.
12.
Height limits. Standards:
a.
Corridor District. Maximum height of four (4) floors not to exceed sixty-six (66) feet.
b.
Gateway District. Maximum height of six (6) floors not to exceed ninety-four (94) feet.
i.
Buildings with more than one hundred fifty (150) feet roadway frontage are limited such that:
a.
Not more than seventy-five (75) per cent of the building may exceed four (4) floors not to exceed sixty-six (66) feet.
b.
This massing limitation shall not apply to buildings that are setback at least seventy-five (75) feet from a right-of-way.
c.
This massing limitation shall not apply to buildings that have one hundred fifty (150) feet or less of roadway frontage.
c.
City Center District.
i.
Minimum of two (2) floors of active use for all new development and redevelopment.
ii.
Maximum of eight (8) floors not to exceed one hundred twenty-two (122) feet.
13.
Lot size. The minimum lot size, excluding public rights-of-way, shall be ten thousand (10,000) square feet with a minimum of one hundred (100) feet of street frontage.
14.
Streets and blocks.
a.
The maximum primary block face is seven hundred (700) feet and total block perimeter is two thousand one hundred (2,100) feet. New development and redeveloped sites are encouraged to share connections to roadways and provide rear alley connections.
(F)
Standards for urban greenways:
1.
Shall consist of a landscape buffer and broad multi-modal path lying between travel lanes of adjacent roadways and buildings within the Corridor, Gateway, and City Center Districts;
2.
Are intended to replace existing sidewalks;
3.
May be required to be wider than the minimum requirement if any right-of-way reservation dedications, or roadway, utility, or other easements have been previously granted;
4.
Shall maintain a minimum width of eighteen (18) feet along all roads classified as an arterial roadway by the Broward Metropolitan Planning Organization's Federal Functional Classification Map;
5.
Shall have a minimum width of sixteen (16) feet along all other roads, except for rear alleys and connections;
6.
Beginning from the curb or edge of travel lanes, a landscape buffer shall be provided within the urban greenway which meets the minimum design criteria of the City's landscape code. Behind the landscape buffer, a multi-modal paved path of at least ten (10) feet in width shall be provided within urban greenways built along arterial roadways.
7.
When built along all other roads, shall provide a multi-modal path of at least eight (8) feet in width behind the landscape buffer and within the urban greenway. The paved multi-modal path shall be made of a uniform material, and concrete paths shall not have seams or joints running the length of the path. No obstructions, temporary or permanent, are allowed within the minimum required width of the multi-modal path. Multi-modal paths and landscape buffers wider than the above described minimums are also encouraged. A public access easement shall be dedicated and recorded for any portion of an urban greenway located on privately owned property.
8.
Up to fifty (50) per cent of the length of the required landscape buffer within an urban greenway on a local street owned by the City of Margate or a private entity may be utilized for parallel on-street parking if approved by the Department of Environmental and Engineering Services, provided that one (1) tree is planted every three (3) parking spaces. Said tree shall meet the meet the minimum requirements described in this Code. The minimum width of the paved multi-modal path shall not be reduced to accommodate on-street parking and shall be elevated at least six (6) above the grade of the on-street parking.
(G)
Limitations on uses.
1.
All activities or permitted uses, including sale, display, preparation and storage, shall be conducted entirely within a completely enclosed building unless otherwise specified in the Code. This prohibition shall not apply to the following:
a.
Access to any drive-through via rear access drive is required. No more than two (2) drive-through lanes per user allowed on site of business.
b.
All equipment and products stored incidental to a permitted use shall be located entirely within an enclosed building proper with the exception of propane or natural gas tanks which shall be completely screened from with a screening structure. No storage trailers allowed.
(H)
Mixing of uses.
1.
The mixing of residential and nonresidential uses may be authorized in all Corridor, Gateway, and City Center Districts by Special Exception, provided that residential uses are not facing nonresidential loading areas or dumpster enclosures.
2.
Mixing of residential and nonresidential uses within the same building of at least four (4) stories in height may be authorized within the Corridor, Gateway, and City Center Districts by Special Exception, subject to the following functionally appropriate separation of the uses, including, but not limited to:
a.
Separate stories.
b.
Separate access.
c.
Separation and buffering of residential units from loading areas and noisy nonresidential uses via any or all of the following:
i.
One (1) or more intervening stories of office use;
ii.
Extra-thick concrete floors;
iii.
Soundproofing ceilings, walls and sound-containing openings;
iv.
Operational standards and time limits;
v.
Or other proven technique acceptable to the city.
3.
The following uses shall not be located within a building containing residential use:
a.
Bars, taverns and nightclubs.
b.
Body art studios.
c.
Bottled gas.
d.
Caterers and catering halls.
e.
Check cashing, Payday Loans.
f.
Commercial recreation.
g.
Gun shop.
h.
Music instruction and dance instruction.
i.
Dance halls.
j.
Package store.
k.
Pet grooming and pet shop.
l.
Recording studio.
m.
Pain management clinic.
(I)
Allocation of dwelling units.
1.
Within the Activity Center land use designation, the city has a bank of seven hundred ten (710) dwelling units to allocate. Of the seven hundred ten (710) units, not more than three hundred (300) units shall be utilized north of the city center, and not more than three hundred (300) units shall be utilized south of the city center. The city planner shall maintain an inventory of available dwelling units to be used within the Activity Center. Activity Center dwelling units shall be allocated on a "first-come, first-served" basis; however, before any dwelling units may be allocated to a development or redevelopment site, the following criteria must be satisfied:
a.
There are a sufficient number of available dwelling units to allocate within the specified area of the Activity Center.
b.
The proposed development shall maintain a valid site plan approval from the development review committee.
c.
A total of fifteen (15) per cent of the Activity Center residential units shall be provided as affordable housing. For the purposes of this policy, the term "affordable housing" shall include the meaning as defined by the Broward County Land Use Plan. New development and redevelopment shall at minimum provide a proportionate share of affordable housing until at least fifteen (15) per cent of the total number of Activity Center units have been reserved as affordable. Affordable housing shall be recorded on a covenant running with the land for a minimum of fifteen (15) years.
d.
The proposed development shall demonstrate a high level of connectivity and access to adjacent properties and transit stops.
e.
The proposed development shall demonstrate the residential use as a principal component of a mixed-use development, or be located within one thousand (1,000) feet of supportive commercial, office, and other nonresidential uses.
f.
The proposed development shall be designed to enhance and support pedestrian travel and the use of public transportation.
g.
The proposed development shall demonstrate that the residential use will be both compatible and able to successfully integrate into the surrounding neighborhoods and developments. Demonstration shall be implemented through the incorporation of adequate buffers and effective site design.
h.
The proposed development shall demonstrate adequate public plazas, urban open spaces, or green spaces that are accessible to the public.
i.
That the developer shall begin construction of the proposed development within one (1) year of a successful petition for an allocation of dwelling units within the Activity Center, and that construction of the proposed development shall be completed in no more than five (5) years.
i.
If construction of the proposed development has not started within one (1) year of a successful petition for an allocation of dwelling units, then any and all approvals for the allocation of dwelling units shall become null and void. A one-year waiting period, starting from the date of the nullification of approval, shall be required prior to any future petition for an allocation of dwelling units.
ii.
If after five (5) years the project has started but has not been completed, the developer may petition the Development Services Department for an extension of the allocation of dwelling units. An extension may be granted, provided the following criteria have been satisfied:
a.
That certain extenuating circumstances created a genuine hardship that prevented completion of the development within the allotted time.
b.
That the developer can demonstrate the means and ability to complete construction.
c.
That a lapse in active development permits have been no greater than six (6) months during the previous five-year period.
d.
The proposed development has a valid site plan approval. Site plans may be resubmitted to the development review committee, if necessary.
e.
That any extension of an allocation of Activity Center dwelling units shall not exceed three (3) years. Only one (1) extension may be granted before an allocation expires.
2.
If a proposed development has not been completed within the allotted time (including extensions), then any and all approvals for the allocation of dwelling units shall become null and void. A one-year waiting period, starting from the date of the nullification of approval shall be required prior to any future petition for an allocation of dwelling units.
3.
If the development plans for a proposed development that has been allocated dwelling units are significantly modified, to the extent of changing the nature or intensity of the proposed development, then any and all approvals for the allocation of dwelling units shall become null and void. The applicant must then petition the City for the use of available dwelling units; however, no waiting period(s) shall be imposed for modifying development plans.
(J)
The Regulating Plan.
1.
Any property within the Activity Center Future Land Use Plan Map designation shall only be zoned according to the adopted Regulating Plan Map.
(K)
Parking standards.
1.
Regulation of parking. This section contains development standards and design guidelines to ensure that parking throughout Corridor, Gateway, and City Center Districts is convenient and accessible, accommodates all land uses, and supports the Regulating Plan's intended goals, including:
a.
Enable people to park once at a convenient location and to access a variety of commercial enterprises in pedestrian friendly environments by encouraging shared parking.
b.
Avoid adverse parking impacts on neighborhoods adjacent to redevelopment areas.
c.
Maximize on-street parking.
d.
Encourage parking to be located to the rear of buildings.
e.
Provide flexibility for redevelopment of small sites.
f.
Parking shall be connected with the street by a driveway.
g.
New on-street parking spaces provided adjoining ground floor residential uses may be counted toward the minimum parking requirement for that property.
h.
Parking types are defined as either surface or structured.
2.
Surface parking.
a.
Open. The location of surface parking lots to the rear of buildings is encouraged in order to showcase the buildings, provide more visual interest to passersby and provide superior visibility to businesses.
3.
Parking structure.
a.
Exposed. An above-ground parking structure that is fully or partially exposed to the primary front street(s) on the ground level. Exposed parking structures shall not be located between the street and habitable buildings they serve. The parking structure may be exposed to the building's street frontage(s) on upper levels. Lights with the structure shall be recessed and shielded so they are not visible to any surrounding properties.
b.
Wrapped with liner use on ground level. An above-ground parking structure where non-parking uses are integrated into the ground level of the building along the parcel's primary street frontage(s). Non-parking uses are encouraged to be integrated into the building along secondary street frontages, further hiding the parking structure from view. The parking structure may be exposed to the building's street frontage(s) on upper levels.
c.
Wrapped with liner use on all levels. An above-ground parking structure where non-parking uses are integrated into the building along the parcel's front street frontage(s) on all levels of the building. Non-parking uses are encouraged to be integrated into the building along all street frontages, further hiding the parking structure from view.
4.
Access.
a.
Access to parking facilities shall be provided from alleyways, rear roads, or side streets wherever possible. Parking facilities on adjoining lots are encouraged to share access points and driveways subject to a recorded covenant running with the affected uses.
b.
The total width of parking access openings on the ground level of structured parking may not exceed thirty (30) feet.
5.
Parking calculations.
a.
Buildable density on a lot shall be determined by the sum of the actual parking calculated as that provided:
i.
Within the lot,
ii.
Along the parking lane corresponding to the lot frontage,
b.
Lots immediately adjacent to, or within four hundred (400) linear feet (on the same side of a roadway) of a designated Broward County Transit stop, Margate Circulator, or other mass transit stop, shall be eligible for a parking credit.
i.
A standard transit stop shall provide a credit of two (2) per cent of required parking spaces, or no less than three (3) spaces.
ii.
If the transit stop has a shelter from sun and rain, the transit stop shall provide a credit of five (5) per cent of required parking, or no less than seven (7) spaces.
iii.
If a transit station no less than four hundred (400) square feet in area has been incorporated into the primary facade of a principal structure the transit station shall provide a credit of seven (7) per cent of required parking, or no less than ten (10) spaces.
iv.
A standard transit stop shall provide a credit of two (2) per cent of required parking spaces, or no less than three (3) spaces.
v.
If the transit stop has a shelter from sun and rain, the transit stop shall provide a credit of five (5) per cent of required parking, or no less than seven (7) spaces.
vi.
If a transit station no less than four hundred (400) square feet in area has been incorporated into the primary facade of a principal structure the transit station shall provide a credit of seven (7) per cent of required parking, or no less than ten (10) spaces.
c.
Minimum parking requirements are described in Section 40.705 of this Code, unless specifically provided for below.
i.
Residential. Residential parking requirements shall be those provided in Section 40.705(C) of this Code, and subject to:
a.
Required parking for residential use shall be located within three hundred (300) feet of the entrance(s) to the building it serves, and
b.
Two and one-half (2½) per cent parking reduction for multiple-family dwelling units within developments containing at least fifty (50) dwelling units, and a
c.
Five-per cent reduction for multiple-family dwelling units within developments containing at least one hundred (100) dwelling units.
d.
Bicycle parking.
i.
For residential development, the developer must provide one (1) tenant bicycle parking rack or bicycle locker (i.e., storage for one (1) bicycle) per three (3) units and one (1) visitor bicycle parking rack per fifty (50) units.
ii.
For retail development, the developer must provide one (1) bicycle parking rack or bicycle locker per two thousand five hundred (2,500) square feet of gross floor area.
iii.
For office development, the developer must provide one (1) bicycle parking rack or bicycle locker per (two thousand (2,000) square feet of gross floor area.
iv.
All bicycle parking facilities are to be highly visible to intended users. Bicycle racks provided at designated transit stops shall not count towards meeting the bicycle parking requirements, unless said transit stop is located wholly on the site to be developed or redeveloped. The bicycle parking facilities, including the bicycle, shall not encroach on any area in the public right-of-way intended for use by pedestrians, shall not occupy space on a multi-use or shared pathway, nor shall they encroach on any required fire egress.
(L)
Open space and computation.
1.
The Margate Comprehensive Plan requires an additional twelve (12) acres of open space to be provided in the Corridor, Gateway, and City Center District. This goal will be accomplished by the following open space standards and computations:
a.
For lots of less than three (3) acres, the provision of urban greenways or front sidewalks and street trees shall satisfy open space requirements.
b.
Lots of three (3) acres or more shall provide a minimum of three (3) per cent of gross acreage of the development as open space in addition to the urban greenway. Each open space area shall be subject to the following:
i.
At least thirty (30) per cent of the area shall be shaded by trees or decorative shade structures; and
ii.
Shall provide a paved pedestrian connection to the public sidewalk that is at least six (6) feet wide, and further shall remain accessible to the general public; and
iii.
Shall provide pedestrian amenities such as benches, waste cans, public art, fountains, etc.; and
iv.
Shall be located away from dumpster enclosures, loading zones, and other incompatible uses; and
v.
Shall be one (1) contiguous area.
(A)
Purpose and applicability.
1.
Purpose. The purpose of the T-1, Mobile Home Park District is to provide regulations for the parking or placement of mobile homes and travel trailers for occupancy as living quarters, wherein the park is owned or operated as a unit and individual spaces are occupied on a rental basis.
2.
Applicability. The T-1 District was repealed. No property owner may apply for a rezoning to the T-1 District. These developed properties are considered legal conforming uses and may be reconstructed according to these standards in the event of destruction. The following regulations are provided to only regulate the existing developed residential properties with this designation.
(B)
Definitions.
1.
For the purpose of this Section 40.560 Mobile Home Park T-1 District Regulations, the following definitions shall apply:
a.
Travel trailer. A trailer coach twenty-eight (28) feet or under in over-all length.
b.
Mobile Home. A trailer coach over twenty-eight (28) feet in overall length.
(C)
Uses permitted.
1.
No building or structure or part thereof, shall be erected, altered or used, or land or water used, in whole or in part, for other than one (1) or more of the following specified uses:
a.
Mobile home parks for rental of sites for occupancy by mobile homes and/or travel trailers as living quarters, wherein the mobile home park is owned and/or operated as a unit.
b.
Accessory uses and structures, including recreational facilities.
c.
No businesses except for home occupations.
d.
The sale, by its owner or licensed dealer, of used mobile homes or travel trailers on sites presently or previously occupied by the owner of such mobile home or travel trailer.
e.
The sale of new display models by dealers preparatory to occupancy or between periods of occupancy.
f.
Storage or parking of mobile homes or travel trailers on sites preparatory to occupancy or between periods of occupancy.
(D)
Prohibited uses.
1.
The following uses are prohibited:
a.
A separate utility building on any mobile home or travel trailer site, except for a demountable, Code-approved storage closet or shed.
b.
Cooking or sanitary facilities other than in the mobile home or travel trailer.
c.
Storage or parking of mobile homes or travel trailers except when a mobile home or travel trailer is located on a site preparatory to occupancy or between periods of occupancy.
(E)
Height.
1.
No building or structure, or part thereof, shall be erected or altered to a height exceeding two (2) stories or thirty (30) feet.
(F)
Development Standards. The following development standards to be applied to each site:
1.
Minimum site requirements.
a.
Mobile Home. A mobile home consisting of one (1) or more units designed as a single dwelling shall be placed upon a lot a minimum of two thousand four hundred (2,400) square feet in area and forty (40) feet in average width.
b.
Travel Trailer. A travel trailer shall be placed upon a lot that is a minimum of one thousand (1,000) square feet in area and thirty (30) feet in average width.
2.
Minimum setbacks.
a.
Front. Ten (10) from the edge of a street, twenty-five (25) feet when the property across such street is zoned in any Residential District.
b.
Side. Ten (10) between homes.
c.
Rear. Ten (10) feet.
3.
Sheds, storage buildings, and temporary storage containers in accordance with Section 40.600, General Provisions.
4.
Minimum Separations.
a.
No part of any mobile home or travel trailer, or any addition or addition or appurtenance thereto shall be placed within ten (10) feet of any other mobile home or travel trailer, addition or appurtenance thereto.
b.
No part of any mobile home or travel trailer or addition or appurtenance thereto shall be located within twenty-five (25) feet of any accessory or service building, or structure used in connection with a mobile home park.
5.
Driveways and parking. Each site shall have a driveway that provides the following:
a.
Driveways.
i.
Paved area according to this Code.
ii.
Minimum thirty (30) feet in length for a minimum two (2) vehicles.
iii.
Adequate lighting.
6.
Porches and additions.
a.
Structures of a permanent nature added to or attached to a mobile home or travel trailer such as enclosed porches, screened enclosures, storage closets and carports shall conform to all applicable development standards of this Code.
b.
On travel trailer sites there shall be no addition or attachment except a demountable canvas awning.
7.
All portable or demountable awnings, roofs or appurtenances which are not permitted as permanent structures shall be dismantled and stored either within the mobile home or travel trailer or in some permanent building during the following circumstances:
a.
Within one (1) hour after any advisory for potentially hazardous weather events.
b.
If the mobile home or travel trailer is not to be occupied for a period of thirty (30) days or more.
(A)
Intent and application.
1.
This zoning district is intended for those parcels which have been designated as residential, with a density of ten (10) dwelling units per acre to fourteen (14) dwelling units per acre, in the future land use element of the Margate Comprehensive Plan. Development of a recreational vehicle resort park is subject to final site development plan review by the development review committee and approval by the city commission.
2.
An RVRP is land under unified control, planned and developed as a whole in a single development operation or an approved programmed series of development operations for dwelling units and related uses and facilities.
3.
An RVRP may include principal and accessory uses and structures substantially related to the character of the development itself and the surrounding area of which it is a part.
4.
An RVRP shall be developed according to comprehensive and detailed plans which include streets, utilities, lots, buildings, sites and the like, and site plans, floor plans and elevations for all buildings intended to be located, constructed, used, and related to one another, and detailed plans for buildings. An RVRP shall also include a program for full provision of maintenance and operation of such areas, improvements, facilities and services for common use by the occupants of the recreational vehicle resort park which shall not be provided, operated, or maintained at public expense.
5.
The following regulations of this article shall apply in all RVRP districts.
(B)
Unified control.
1.
All land included for the purpose of development within an RVRP district shall be under the control of the applicant (an individual, partnership or corporation, or group of individuals, partnerships, or corporations). The applicant shall present satisfactory legal documents to constitute evidence of the unified control of the entire area within the proposed RVRP via a condominium association established pursuant to F.S. chapter 718, which shall be certified by the city attorney. The applicant shall agree in the application for rezoning to the following:
a.
To proceed with the proposed development according to the provisions of these regulations and conditions attached to the rezoning of the land to RVRP;
b.
To provide agreements, contracts, covenants, deed restrictions, and sureties acceptable to the city for completion of the development according to the plans approved at the time of rezoning to RVRP and for continuing operation and maintenance of such areas, functions and facilities which are not proposed to be provided, operated or maintained at public expense;
c.
To bind their successors in title to any commitments made under the above. All agreements and evidence of unified control shall be examined by the city attorney, and no rezoning of land to RVRP classification shall be adopted without a certification by the city attorney that such agreements and evidence of unified control meet the requirements of these regulations.
2.
The developer shall administer common open space through a condominium association which shall conform to the following requirements:
a.
The developer shall establish by charter the condominium association prior to any sale;
b.
Membership in the condominium association shall be mandatory for all property owners within the recreational vehicle resort park, and said condominium association shall not discriminate in its members or shareholders;
c.
The condominium association shall manage all common open space and recreational and cultural facilities which are dedicated to the public, shall provide for the maintenance, administration and operation of said land and any other land within the recreational vehicle resort park not publicly or privately owned, and shall secure and show evidence of adequate liability insurance on the land.
3.
Every recreational vehicle park manager or operator shall maintain a register containing a record of all recreational vehicle occupants using the recreational vehicle park. Such register shall be available to any authorized person inspecting the park, and shall be preserved for one (1) year from the date of listing herein. Such register shall contain the names and addresses of all recreational vehicle occupants stopping at the park and the make, model and license number of the motor vehicle and the recreational vehicle.
(C)
Uses permitted. No building or structure, or part thereof, shall be erected, altered or used, or land or water used, in whole or in part, for other than one (1) of the following specified uses:
1.
Recreational vehicle (RV) parks of no less than five (5) RV sites.
2.
Recreational vehicle (RV) sites, within an RV park, for ownership or tenant usage, for nonpermanent residency.
3.
Clubhouses, recreational buildings and facilities, and social centers.
4.
Common storage areas for trailers and vehicles, for use by owners and tenants of the recreational vehicle resort park only.
5.
Place of Assembly, subject to the requirements of Section 40.619 of this Code.
6.
Uses accessory and clearly incidental to any of the above uses.
(D)
Uses prohibited.
1.
No building or structure, or part thereof, shall be erected, altered or used, or land or water used, in whole or in part, for any of the following specified uses:
a.
Tents utilized for sleeping, camping, group camping, or building to be used as hostel or hotel is prohibited.
b.
The conduct of any business or trade by any tenant or nonpermanent resident, other than selling or leasing RV sites.
2.
Where RV sites are being sold to individuals, the developer/owner of the lot(s) shall include in the title transfer document a covenant attesting to the fact that the lot cannot be used as a place of permanent occupancy.
3.
Any use not specifically listed in Section 40.561(C).
(E)
Design standards.
1.
RV park standards:
a.
Minimum park size: Ten (10) acres.
b.
Setbacks:
i.
No building or structure, except fences or walls as hereinafter provided for, shall be located within one (1) foot of any property outside of the RVRP district.
ii.
No recreational vehicle site pad shall be located within one (1) foot of the recreational vehicle park perimeter.
c.
Density: RV sites are subject to the density limitations set forth in the applicable land use category of the future land use element of the Margate Comprehensive Plan.
2.
Landscaping:
a.
All required landscape buffers and landscaped common areas are subject to the planting and maintenance requirements of this Code, and shall utilize the principles of Naturescape Broward, or a similar native landscape program acceptable to the city.
b.
Each RV park shall create and maintain a ten-foot-wide unpaved perimeter buffer along the perimeter property line. This perimeter buffer shall provide a six-foot-high unpierced decorative masonry wall, constructed in conformance to applicable building codes and painted on both sides. Said wall shall be located wholly on the RV park side of the perimeter property line and shall run its full length, except whereas provided for below. No decorative wall or fence shall be required on portions of an RV park perimeter that are contiguous to a body of water that provides a minimum of eighty (80) feet of separation from the nearest property on the opposite side of the body of water; except that a decorative aluminum fence may be installed in such areas.
c.
Trees shall be planted every fifteen (15) linear feet of the perimeter, in a staggered pattern, within and throughout the entire length of the ten-foot perimeter buffer. The tree species used shall be Category I (as provided for in this Code) and nondeciduous. The pruning, trimming, removal, or replanting of, or mitigation to, a tree on residential property shall be in accordance with the City's landscape code.
d.
Each RV site shall be subject to the following minimum landscape requirements:
i.
Lawns shall be placed on all areas not covered by buildings, shrubs, ground cover landscape elements, walks or drives and shall extend to any abutting street pavement edge and the mean waterline of any abutting lake, canal or waterway. Required landscaping for RV sites within an approved RV park may be planted in any area within the RV site that is appropriate to accommodate such landscaping.
3.
RV site standards:
a.
Minimum site size: three thousand one hundred (3,100) square feet.
b.
Improvements:
i.
RV sites shall be clearly defined and shall be exclusive of any space used for common areas, such as roadways, walkways, and recreation areas.
ii.
All RV sites shall include a pad and driveway, and shall be paved with concrete or pavers, or as approved by the city, and be designed to provide runoff of surface water. The use of asphalt as a paving material for RV pads and driveways shall not be permitted unless specifically provided for on a temporary basis pursuant to a recorded agreement with the city. RV parking on any unpaved surface is strictly prohibited.
iii.
Each RV site shall not exceed sixty-five (65) per cent impervious area. The minimum thirty-five (35) per cent pervious area(s) of each RV site shall contain the minimum landscaping requirements for the site and any remaining areas in the pervious area shall be covered in turf.
c.
Separation: No RV pad shall be within five (5) feet of any RV site lot line.
d.
Occupancy: Occupancy of each RV site is limited to one (1) recreational vehicle, one (1) automobile or truck, one (1) motorcycle and one (1) golf cart, accommodating one (1) party. Permanent RV lot structures and decorative features are allowed, as permitted in the individual recreational vehicle site, and all such structures shall conform to the Florida Building Code and the Broward County Surface Water Management Division permit for the RVRP.
e.
Parking: Each site shall include adequate parking space for allowable vehicles. Any vehicles not accommodated within this parking space shall be stored offsite or within a screened storage yard.
f.
Access: Each site shall have direct access to a driveway or interior road.
g.
Utilities: Each site shall have direct connections to water, sewer, and electric service.
h.
RV lot structure: Each site may include an RV lot structure, subject to the following conditions:
i.
One (1) satellite dish or antenna may be attached to each RV lot structure in accordance with Section 40.618.
ii.
All RV lot structures shall be located on an approved RV pad.
iii.
No RV lot structure shall be located within five (5) feet of an RV site lot line.
iv.
The maximum height for any RV lot structure to be located on an RV site shall be twenty-five (25) feet, measured from the finished floor elevation to the peak of the roof.
v.
RV lot structures may include interior improvements such as a bathroom with shower, washer and dryer, utility sink, work bench, golf cart charger, storage cabinets, lighting, air conditioning, general purpose electrical receptacles, kitchens, sleeping quarters and adequate space for the storage of a golf cart.
i.
Decorative features: Each site may include decorative features such as gazebos, tiki huts, decorative railings, walls, benches, patios, steps, decks, trellises, arbors, water fountains, ponds, waterfalls, bridges, planters and flower beds, fire pits, fireplaces, barbecues, outdoor kitchens and bars, outdoor lighting, outdoor living and entertainment areas, heaters, furniture, and additional landscaping improvements.
i.
All features must comply with individual lot setbacks as provided for in this article.
ii.
No decorative feature shall be installed on any lot without first obtaining a permit from the Margate Building Department.
iii.
All applications for decorative features proposed to be located off of the approved pad on a site must demonstrate compliance with the approved drainage permit for the RV Resort Park.
iv.
Decks. Shall be permitted in drainage easements with a minimum of setback of five (5) feet from adjacent RV sites with approval from Broward County Surface Water Management Division, the RV Resort Park Condominium Association, and compliance with the Florida Building Code.
v.
Viewing platforms. Shall be permitted in canal maintenance easements, whether they are publicly or privately maintained, subject to the requirements of Section 11-21 of this Code with the exception that a minimum setback of five (5) feet from adjacent RV sites shall be required, with approval from Broward County Surface Water Management Division, the RV Resort Park Condominium Association and compliance with the Florida Building Code.
4.
Underground utilities:
a.
Within the recreational vehicle resort park, all utilities, including telephone, television cable, and electrical systems, shall be installed underground. Primary facilities providing service to the site may be exempted from this requirement. Large transformers shall be placed on the ground and contained within pad mounts, enclosures or vaults. The developer shall provide adequate landscaping with shrubs and plants to screen all utility facilities permitted above ground.