- IN GENERAL
This chapter is enacted under Public Act No. 207 of 1921 (MCL 125.581 et seq.), as amended, and governs the incorporated portions of the village; regulates and restricts the location and use of buildings, structures and land for trade, industry, residence and for public and semipublic or other specified uses; regulates and limits the height and bulk of buildings, and other structures; accommodates energy conservation; regulates and determines the size of yards, courts and open spaces; regulates and limits the density of population; and for such purposes divides the village into districts and establishes the boundaries thereof; provides for changes in the regulations, restrictions and boundaries of such districts; defines certain terms used in this chapter; provides for enforcement; establishes a board of appeals; and imposes penalties for the violation of this chapter.
(Ord. of 3-28-1988, Title)
This chapter is established pursuant to the authority conferred by the public acts of the state, and in such case is made and provided and exists for the purpose of promoting and protecting the public health, safety, peace, morals, comfort, convenience and general welfare of the inhabitants of the village, by protecting and conserving the character and social and economic stability of the residential, commercial, industrial and other use areas; by securing the most appropriate use of land; preventing overcrowding of the land and undue congestion of population; providing adequate light, air and reasonable access; and facilitating adequate and economical provision of transportation, water, sewers, schools, recreation and other public requirements, and by other means, all in accordance with a comprehensive plan.
(Ord. of 3-28-1988, Preamble)
The following rules of construction apply to the text of this chapter:
(1)
The particular shall control the general.
(2)
In case of any difference of meaning or implication between the text of this chapter and any caption or illustration, the text shall control.
(3)
The term "shall" is always mandatory and not discretionary. The term "may" is permissive.
(4)
Words used in the present tense shall include the future; and words used in the singular number shall include the plural, and the plural the singular, unless the context clearly indicates the contrary.
(5)
A "building" or "structure" includes any part thereof.
(6)
The phrase "used for" includes "arranged for," "designed for," "intended for," "maintained for," or "occupied for."
(7)
The term "person" includes an individual, a corporation, a partnership, and an incorporated association, or any other similar entity.
(8)
Unless the context clearly indicates the contrary, where a regulation involves two or more items, conditions, provisions or events connected by the conjunction "and," "or," or "either … or," the conjunction shall be interpreted as follows:
a.
The term "and" indicates that all the connected items, conditions, provisions or events shall apply.
b.
The term "or" indicates that the connected items, conditions, provisions or events may apply singly or in any combination.
c.
The term "either … or" indicates that the connected items, conditions, provisions or events shall apply singly but not in combination.
(9)
Terms not defined in this section shall have the meaning customarily assigned to them.
(Ord. of 3-28-1988, § 200)
The following words, terms and phrases, when used in this chapter, shall have the meanings ascribed to them in this section, except where the context clearly indicates a different meaning:
Accessory use and accessory mean a use which is clearly incidental to, customarily found in connection with, and, unless otherwise specified, located on the same zoning lot as the principal use to which it is related. When the term "accessory" is used in this text, it shall have the same meaning as accessory use. An accessory use includes, but is not limited to, the following:
(1)
Residential accommodations for servants and/or caretakers.
(2)
Swimming pools for the use of the occupants of a residence or their guests.
(3)
Domestic or agricultural storage in a barn, shed, toolroom or similar accessory building or other structure.
(4)
A newsstand primarily for the convenience of the occupants of a building which is located wholly within such building and has no exterior signs or displays.
(5)
Storage of merchandise normally carried in stock in connection with a business or industrial use, unless such storage is excluded in the applicable district regulations.
(6)
Storage of goods used in or produced by industrial uses or related activities, unless such storage is excluded in the applicable district regulations.
(7)
Accessory off-street parking spaces, open or enclosed, subject to the accessory off-street parking regulations for the district in which the zoning lot is located.
(8)
Uses clearly incidental to a main use such as, but not limited to, offices of an industrial or commercial complex located on the site of the commercial or industrial complex.
(9)
Accessory off-street loading, subject to the off-street loading regulations for the district in which the zoning lot is located.
(10)
Accessory signs, subject to the sign regulations for the district in which the zoning lot is located.
Adult regulated use shall include the following:
(1)
Adult entertainment business means one or a combination of more than one of the following types of businesses: adult bookstore, adult motion picture theater, adult mini-motion theater, adult personal service business, adult novelty business, adult nightclub.
(2)
Adult book or supply store means an establishment having as a principle activity the sale of books, magazines, newspapers, video tapes, video discs and motion picture films which are characterized by their emphasis on portrayals of human genitals and pubic regions or acts of human masturbation, sexual intercourse or sodomy.
(3)
Adult motion picture theater means an enclosed building with a capacity of 50 or more persons having as a principal activity displaying motion pictures characterized by their emphasis on portrayals of human genitals and pubic regions or acts of human masturbation, sexual intercourse or sodomy for observation by patrons therein.
(4)
Adult mini-motion picture theater means an enclosed building having as a principal activity the presenting of material characterized by emphasis of portrayals of human genitals and pubic regions or acts of human masturbation, sexual intercourse or sodomy for observation by patrons therein in individual viewing booths.
(5)
Adult novelty business means a business which has a principal activity the sale of devices of simulated human genitals or devices designed for sexual stimulation.
(6)
Adult personal service business means a business which has as a principle activity a person of one sex, while nude or partially nude, providing personal services for a person of the other sex on an individual basis in a closed room. It includes, but it is not limited to, the following activities and services; massage parlors, exotic rubs, modeling studios, body painting studios, wrestling studios, individual theatrical performances. It does not include activities performed by persons pursuant to, and in accordance with, licenses issued to such persons by the State of Michigan.
(7)
Adult night club means a business with the principal activity of providing entertainment by nude or partially nude performers.
(8)
Partially nude means having any or all of the following bodily parts exposed: buttocks, genitals, pubic area or female breasts.
Alley means any dedicated public way affording a secondary means of access to abutting property, and not intended for general traffic circulation.
Alterations means any change, addition or modification in construction or type of occupancy, or in the structural members of a building, such as walls or partitions, columns, beams or girders, the consummated act of which may be referred to in this chapter as "altered" or "reconstructed."
Apartments means a suite of rooms or a room in a multiple-family building arranged and intended for a place of residence of a single-family or a group of individuals living together as a single housekeeping unit.
Auto repair means the following services: general repair; engine rebuilding; rebuilding or reconditioning of motor vehicles; collision service, such as body, frame or fender straightening and repair; overall painting and undercoating of automobiles; incidental sale of engine fuels or lubricants.
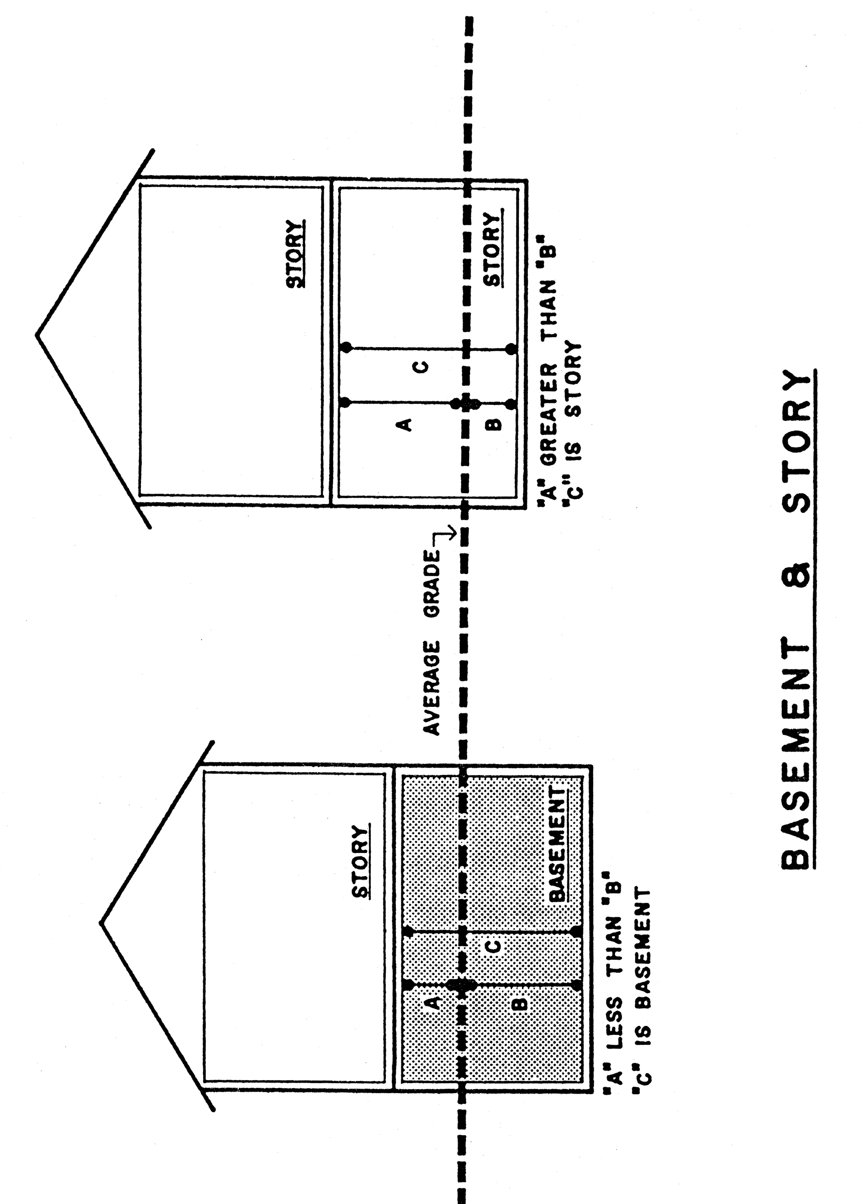
Basement means that portion of a building which is partly or wholly below grade but so located that the vertical distance from the average grade to the floor is greater than the vertical distance from the average grade to the ceiling. A basement shall not be counted as a story.
Bed and breakfast means an accessory use that is subordinate to a one-family dwelling unit in which transient guests are provided sleeping room and board for payment.
Block means the property abutting one side of a street and lying between the two nearest intersecting streets (crossing or terminating) or between the nearest such street and railroad right-of-way, unsubdivided acreage, lake, river or live stream; or between any of the foregoing and any other barrier to the continuity of development, or corporate boundary lines of the village.
Building means any structure, either temporary or permanent, having a roof supported by columns or walls, and intended for the shelter or enclosure of persons, animals, chattels or property of any kind.
Building envelope means the area defined by lines drawn parallel to the front, rear, and side area lines, at a distance designated by the setback requirements of the zoning district and within which the main building must be located.
Building height
means the vertical distance measured from the established grade to the highest point
of the roof surface for flat roofs; to the deck line of mansard roofs; and to the
average height between eaves and ridge for gable, hip and gambrel roofs.

Basement and Story

Building Height

Building Line
Club means an organization of persons for special purposes or for the promulgation of sports, arts, sciences, literature, politics, or the like, but not operated for profit.
Condominium lot means all areas bounded by the front yard area line, the rear yard area line and the side yard area lines.
Convalescent or nursing home means a structure with sleeping rooms where persons are housed or lodged and are furnished with meals, nursing and medical care.
Development means the construction of a new building or other structure on a zoning lot, the relocation of an existing building on another zoning lot, or the use of open land for a new use.
District means a portion of the incorporated area of the village within which certain regulations and requirements or various combinations thereof apply under the provisions of this chapter.
Drive-in means a business establishment so developed that its retail or service character is dependent on providing a driveway approach or parking spaces for motor vehicles so as to serve patrons while in the motor vehicle rather than within a building or structure, including customer communication facilities for banks or other uses. (See also definition of Restaurant, drive-in ).
Dwelling, multiple-family, means a building, or a portion thereof, designed exclusively for occupancy by three or more families living independently of each other.
Dwelling, one-family, means a building designed exclusively for and occupied exclusively by one family.
Dwelling, two-family, means a building designed exclusively for occupancy by two families living independently of each other.
Dwelling unit means a building, or portion thereof, designed for occupancy by one family for residential purposes and having cooking facilities.
Erected means built, constructed, altered, reconstructed, moved upon, or any physical operations on the premises which are required for construction, excavation, fill, drainage, and the like, shall be considered a part of erection.
Essential services means the erections, construction, alteration or maintenance by public utilities or municipal departments of underground, surface or overhead gas, electrical, steam, fuel or water transmission or distribution system, collection, communication, supply or disposal systems, including towers, poles, wires, mains, drains, sewers, pipes, conduits, cables, fire alarm and police call boxes, traffic signals, hydrants and similar equipment in connection herewith, but not including buildings which are necessary for the furnishing of adequate service by such utilities or municipal departments for the general health, safety or welfare.
Excavation means any breaking of ground, except common household gardening and ground care.
Exception means a designated modification to the standards required by this chapter only after review of an application by the board of appeals or planning commission, such review being necessary because the provisions of this chapter covering conditions precedent or subsequent are not precise enough to all applications without interpretation, and such review and exception is provided for by this chapter. An exception does not require "undue hardship" in order to be allowable.
Family means a single individual or a number of individuals domiciled together whose relationship is of a continuing, nontransient, domestic character and who are cooking and living together as a single, nonprofit housekeeping unit. This shall not include any society, club, fraternity, sorority, association, lodge, coterie, organization, or group of students or other individuals whose relationship is of a transitory or seasonal nature or for anticipated limited duration of school terms or other similar determinable period.
Farm means the carrying on of any agricultural activity or the raising of livestock or small animals as a source of income.
Floor area, residential, means for the purpose of computing the minimum allowable floor area in a residential dwelling unit, the sum of the horizontal areas of each story of the building shall be measured from the exterior faces of the exterior walls or from the centerline of walls separating two dwellings. The floor area measurement is exclusive of areas of basements, unfinished attics, attached garages, breezeways and enclosed and unenclosed porches.
Floor area, usable (for the purposes of computing parking),
means that area used for or intended to be used for the sale of merchandise or services,
or for use to serve patrons, clients or customers. Such floor area which is used or
intended to be used principally for the storage or processing of merchandise, hallways
or for utilities or sanitary facilities shall be excluded from this computation of
usable floor area. Measurement of usable floor area shall be the sum of the horizontal
areas of the several floors of the building, measured from the interior faces of the
exterior walls.

Floor Area
Gasoline service station means a place for the dispensing, sale or offering for sale of motor fuels or lubricants directly to users of motor vehicles, together with the sale of minor accessories and incidental services for motor vehicles, but not including auto repair.
General commons area means all areas outside of the condominium lots.
Grade means the ground elevation established for the purpose of regulating the number of stories and the height of buildings. The building grade shall be the level of the ground adjacent to the walls of the building if the finished grade is level. If the ground is not entirely level, the grade shall be determined by averaging the elevation of the ground for each face of the building.
Home occupation means an occupation or profession customarily carried on by an occupant of a dwelling unit as a secondary use which is clearly incidental to the use of the dwelling unit for residential purposes.
Hotel means a building, or part of a building, with a common entrance in which the dwelling units or rooming units are used primarily for transient occupancy, and in which one or more of the following services are offered: maid service, furnishing of linen, telephone, secretarial or desk service and bellboy service. A hotel may include a restaurant or cocktail lounge, public banquet halls, ballrooms or meeting rooms.
Junkyard means an open area where waste, used or secondhand materials are bought and sold, exchanged, stored, baled, packed, disassembled or handled including, but not limited to, scrap iron and other metals, paper, rags, rubber tires and bottles. A junkyard includes automobile wrecking yards and any area of more than 200 square feet for storage, keeping or abandonment of junk but does not include uses established entirely within enclosed buildings.
Kennel, commercial, means any lot or premises on which three or more dogs, cats or other household pets are either permanently or temporarily boarded. A kennel shall also include any lot or premises where household pets are bred or sold.
Loading space means an off-street space on the same lot with a building, or group of buildings, for the temporary parking of a commercial vehicle while loading and unloading merchandise or materials.
Lot
means a parcel of land occupied, or intended to be occupied, by a main building or
a group of such buildings and accessory buildings, or utilized for the principal use
and uses accessory thereto, together with such yards and open spaces as are required
under the provision of this chapter. A lot may or may not be specifically designated
as such on public records.

Interior, Through and Corner Lots
Lot area means the total horizontal area within the lot lines of the lot.
Lot, corner, means a lot where the interior angle of two adjacent sides at the intersection of two streets is less than 135 degrees. A lot abutting upon a curbed street shall be considered a corner lot for the purposes of this chapter if the arc is of less radius than 150 feet and the tangents to the curve, at the two points where the lot lines meet the curve or the straight street line extended, form an interior angle of less than 135 degrees. (See Interior, Through, and Corner lots diagram.)
Lot coverage means the part or percent of the lot occupied by a building including accessory buildings.
Lot depth means the horizontal distance between the front and rear lot lines, measured along the median between the side lot lines.
Lot, interior, means any lot other than a corner lot. (See Interior, Through, and Corner lots diagram.)
Lot lines means the lines bounding a lot as defined as follows:
(1)
Front lot line. In the case of an interior lot, the line separating such lot from the street. In the case of a corner lot or through lot, the line separating such lot from that street which is designated as the front street in the plat and the request for a zoning compliance permit.
(2)
Rear lot line. That lot line opposite the front lot line. In the case of a lot pointed at the rear, the rear lot line shall be an imaginary line parallel to the front lot line, not less than ten feet long lying farthest from the front lot line and wholly within the lot.
(3)
Side lot line. Any lot line other than the front lot line or rear lot line. A side lot line separating a lot from a street is a side street lot line. A side lot line separating a lot from another lot or lots is an interior side lot line.
Lot of record means a parcel of land, the dimensions of which are shown on a document or map on file with the county register of deeds or in common use by municipal or county officials, and which actually exists as so shown, or any part of such parcel held in a record ownership separate from that of the remainder thereof.
Lot, through, means any interior lot having frontage on two more or less parallel streets as distinguished from a corner lot. In the case of a row of double frontage lots, all yards of such lots adjacent to streets shall be considered frontage, and front yard setbacks shall be provided as required. (See Interior, Through, and Corner lots diagram.)
Lot width means the horizontal straight line distance between the side lot lines, measured between the two points where the required minimum front yard setback line intersects the side lot lines.
Lot, zoning, means a single tract of land located within a single block which, at the time of filing for a building permit, is designated by its owner or developer as a tract to be used, developed or built upon as a unit under single ownership or control. A zoning lot shall satisfy this chapter with respect to area, size, dimensions and frontage as required in the district in which the zoning lot is located. A zoning lot, therefore, may not coincide with a lot of record as filed with the county register of deeds, but may include one or more lots of record.
Main building means a building in which is conducted the principal use of the lot upon which it is situated.
Master deed means the condominium document recording the condominium project to which are attached as exhibits and incorporated by reference the bylaws for the project and the plan for the project.
Master plan means the comprehensive community plan including graphic and written proposals indicating the general location for streets, parks, schools, public buildings, and all physical development of the village, and any unit or part of such plan, and any amendment to such plan or parts thereof. Such plan may or may not be adopted by the planning commission and/or the village council.
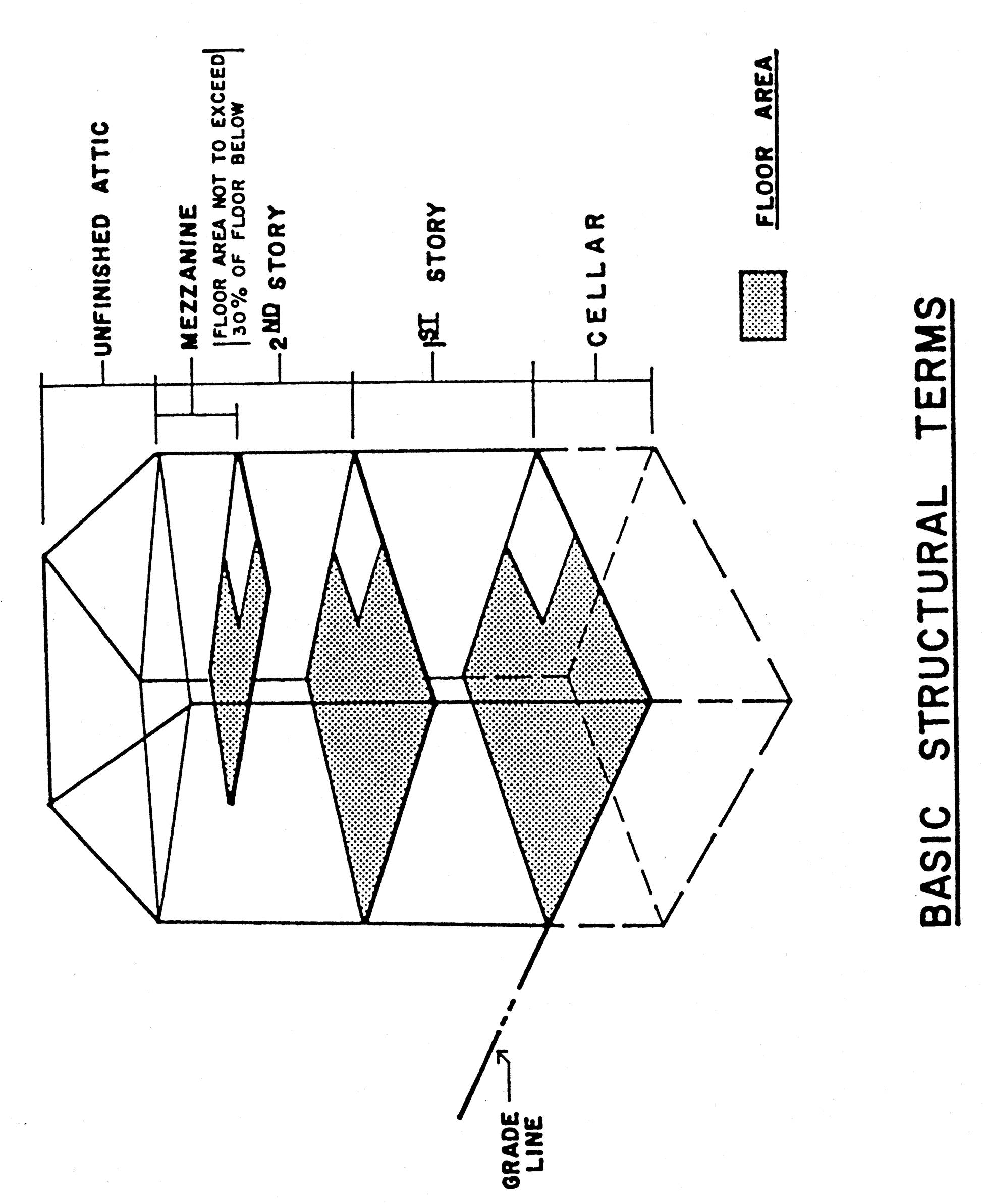
Mezzanine means an intermediate floor in any story occupying not to exceed one-third of the floor area of such story.
Mobile home means a manufactured dwelling unit, transportable in one or more sections, which is built on a chassis and designed to be used as a dwelling with or without permanent foundation, when connected to the required utilities, and includes the plumbing, heating, air conditioning, and electrical systems contained in the structure. The term "mobile home" does not include a recreational vehicle.
Mobile home park means a parcel or tract of land under the control of a person upon which three or more mobile homes are located on a continual, nonrecreational basis and which is offered to the public for that purpose, regardless of whether a charge is made therefor, together with any building, structure, enclosure, street, equipment or facility, used or intended for use, incident to the occupancy of a mobile home and which is not intended for use as a temporary trailer park.
Motel means a series of attached, semidetached or detached rental units containing a bedroom, bathroom and closet space. Units shall provide for overnight lodging and are offered to the public for compensation and shall cater primarily to the public traveling by motor vehicle.
Nonconforming building means a building or portion thereof lawfully existing at the effective date of the ordinance from which this chapter is derived, or amendments thereto, and that does not conform to the provisions of the chapter in the district in which it is located.
Nonconforming use means a use which lawfully occupied a building or land at the effective date of the ordinance from which this chapter is derived, or amendments thereto, and that does not conform to the use regulations of the district in which it is located.
Nuisance factors means an offensive, annoying, unpleasant or obnoxious thing or practice, a cause or source of annoyance, especially a continuing or repeating invasion of any physical characteristics of activity or use across a property line which can be perceived by or affects a human being, or the generation of an excessive or concentrated movement of people or things, such as, but not limited to, noise, dust, smoke, odor, glare, fumes, flashes, vibration, shock waves, heat, electronic or atomic radiation, objectionable effluent, noise of congregation of people (particularly at night), passenger traffic, and invasion of nonabutting street frontage by traffic.
Nursery, plant materials, means a space, building or structure, or combination thereof, for the storage of live trees, shrubs or plants offered for retail sale on the premises including products used for gardening or landscaping. The definition of nursery within the meaning of this chapter does not include any space, building or structure used for the sale of fruits, vegetables or Christmas trees.
Off-street parking lot means a facility providing vehicular parking spaces along with adequate drives and aisles for maneuvering so as to provide access for entrance and exit for the parking of more than three vehicles.
Open front store means a business establishment so developed that service to the patron may be extended beyond the walls of the structure not requiring the patron to enter the structure. The term "open front store" shall not include automobile repair stations or gasoline service stations.
Parking space means an area of definite length and width. Such area shall be exclusive of drives, aisles or entrances giving access thereto, and shall be fully accessible for the parking of permitted vehicles.
Principal use means the main use to which the premises are devoted and the principal purpose for which the premises exist.
Public utility means a person, firm or corporation, municipal department, board or commission duly authorized to furnish and furnishing under federal, state or municipal regulations to the public: gas, steam, electricity, sewage disposal, communication, telegraph, and transportation of water.
Restaurant, carryout, means an establishment for the selling of cooked foods or beverages which are served in disposable containers or wrappers for consumption off the premises.
Restaurant, drive-in/fast food, means an establishment at which patrons are served from a counter or a drive-in window, or where employees serve patrons in motor vehicles for consumption of food within the motor vehicle on the premises.
Room means, for the purpose of determining lot area requirements and density in a multiple-family district, a room, dining room or bedroom, equal to at least 80 square feet in area. A room shall not include the area in a kitchen, sanitary facilities, utility provisions, corridors, hallways and storage.
Setback means the distance required to obtain minimum front, side or rear yard open space provision of this chapter.
Sign means the use of any words, numerals, figures, devices, designs or trademarks by which anything is made known such as are used to show an individual, firm, profession, or business, and are visible to the general public.
Sign, accessory, means a sign pertaining to the principal use of the premises.
Sign, nonaccessory, means a sign which is not pertaining to the principal use of the premises.
Special land use means a use that may be permitted after review and approval by the planning commission upon a finding that the standards applicable to such uses have been met. Uses permitted subject to special approval shall be considered special land uses.
Story means that part of a building, except a mezzanine, included between the surface of one floor and the surface of the next floor, or if there is no floor above, then the ceiling next above. A basement shall not be counted as a story.
Street means a dedicated public right-of-way, other than an alley, which affords the principal means of access to abutting property.
Structure means anything constructed or erected, the use of which requires location on the ground or attachment to something having location on the ground.
Use means the principal purpose for which land or a building is arranged, designed or intended, or for which land or a building is or may be occupied.
Variance means a modification of the literal provisions of this chapter granted when strict enforcement of this chapter would cause undue hardship owing to circumstances unique to the individual property on which the variance is granted. The crucial points of variance are undue hardship and unique circumstances applying to the property. A variance is not justified unless both elements are present in the case.
Wall, obscuring, means a structure of definite height and location to serve as an obscuring screen in carrying out the requirements of this chapter.
Yard area lines means, in reference to site condominium developments, lines considered equal to lot lines.
Yards means the open spaces on the same lot with a main building unoccupied and unobstructed from the ground upward except as otherwise provided in this chapter, and further defined as follows:
(1)
Front yard. An open space extending the full width of the lot, the depth of which is the minimum horizontal distance between the front lot line and the nearest point of the main building.
(2)
Rear yard. An open space extending the full width of the lot, the depth of which is the minimum horizontal distance between the rear lot line and the nearest point of the main building.
(3)
Side yard. An open space between a main building and the side lot line, extending from the front yard to the rear yard, the width of which is the horizontal distance from the nearest point on the side lot line to the nearest point of the main building.
(Ord. of 3-28-1988, § 201; Ord. No. 130, § 1, 1-26-1993; Ord. No. 159, § 1, 7-25-2005)
Cross reference— Definitions generally, § 1-2.

Site Condominium Terminology

Basic Structural Terms

Yards
- IN GENERAL
This chapter is enacted under Public Act No. 207 of 1921 (MCL 125.581 et seq.), as amended, and governs the incorporated portions of the village; regulates and restricts the location and use of buildings, structures and land for trade, industry, residence and for public and semipublic or other specified uses; regulates and limits the height and bulk of buildings, and other structures; accommodates energy conservation; regulates and determines the size of yards, courts and open spaces; regulates and limits the density of population; and for such purposes divides the village into districts and establishes the boundaries thereof; provides for changes in the regulations, restrictions and boundaries of such districts; defines certain terms used in this chapter; provides for enforcement; establishes a board of appeals; and imposes penalties for the violation of this chapter.
(Ord. of 3-28-1988, Title)
This chapter is established pursuant to the authority conferred by the public acts of the state, and in such case is made and provided and exists for the purpose of promoting and protecting the public health, safety, peace, morals, comfort, convenience and general welfare of the inhabitants of the village, by protecting and conserving the character and social and economic stability of the residential, commercial, industrial and other use areas; by securing the most appropriate use of land; preventing overcrowding of the land and undue congestion of population; providing adequate light, air and reasonable access; and facilitating adequate and economical provision of transportation, water, sewers, schools, recreation and other public requirements, and by other means, all in accordance with a comprehensive plan.
(Ord. of 3-28-1988, Preamble)
The following rules of construction apply to the text of this chapter:
(1)
The particular shall control the general.
(2)
In case of any difference of meaning or implication between the text of this chapter and any caption or illustration, the text shall control.
(3)
The term "shall" is always mandatory and not discretionary. The term "may" is permissive.
(4)
Words used in the present tense shall include the future; and words used in the singular number shall include the plural, and the plural the singular, unless the context clearly indicates the contrary.
(5)
A "building" or "structure" includes any part thereof.
(6)
The phrase "used for" includes "arranged for," "designed for," "intended for," "maintained for," or "occupied for."
(7)
The term "person" includes an individual, a corporation, a partnership, and an incorporated association, or any other similar entity.
(8)
Unless the context clearly indicates the contrary, where a regulation involves two or more items, conditions, provisions or events connected by the conjunction "and," "or," or "either … or," the conjunction shall be interpreted as follows:
a.
The term "and" indicates that all the connected items, conditions, provisions or events shall apply.
b.
The term "or" indicates that the connected items, conditions, provisions or events may apply singly or in any combination.
c.
The term "either … or" indicates that the connected items, conditions, provisions or events shall apply singly but not in combination.
(9)
Terms not defined in this section shall have the meaning customarily assigned to them.
(Ord. of 3-28-1988, § 200)
The following words, terms and phrases, when used in this chapter, shall have the meanings ascribed to them in this section, except where the context clearly indicates a different meaning:
Accessory use and accessory mean a use which is clearly incidental to, customarily found in connection with, and, unless otherwise specified, located on the same zoning lot as the principal use to which it is related. When the term "accessory" is used in this text, it shall have the same meaning as accessory use. An accessory use includes, but is not limited to, the following:
(1)
Residential accommodations for servants and/or caretakers.
(2)
Swimming pools for the use of the occupants of a residence or their guests.
(3)
Domestic or agricultural storage in a barn, shed, toolroom or similar accessory building or other structure.
(4)
A newsstand primarily for the convenience of the occupants of a building which is located wholly within such building and has no exterior signs or displays.
(5)
Storage of merchandise normally carried in stock in connection with a business or industrial use, unless such storage is excluded in the applicable district regulations.
(6)
Storage of goods used in or produced by industrial uses or related activities, unless such storage is excluded in the applicable district regulations.
(7)
Accessory off-street parking spaces, open or enclosed, subject to the accessory off-street parking regulations for the district in which the zoning lot is located.
(8)
Uses clearly incidental to a main use such as, but not limited to, offices of an industrial or commercial complex located on the site of the commercial or industrial complex.
(9)
Accessory off-street loading, subject to the off-street loading regulations for the district in which the zoning lot is located.
(10)
Accessory signs, subject to the sign regulations for the district in which the zoning lot is located.
Adult regulated use shall include the following:
(1)
Adult entertainment business means one or a combination of more than one of the following types of businesses: adult bookstore, adult motion picture theater, adult mini-motion theater, adult personal service business, adult novelty business, adult nightclub.
(2)
Adult book or supply store means an establishment having as a principle activity the sale of books, magazines, newspapers, video tapes, video discs and motion picture films which are characterized by their emphasis on portrayals of human genitals and pubic regions or acts of human masturbation, sexual intercourse or sodomy.
(3)
Adult motion picture theater means an enclosed building with a capacity of 50 or more persons having as a principal activity displaying motion pictures characterized by their emphasis on portrayals of human genitals and pubic regions or acts of human masturbation, sexual intercourse or sodomy for observation by patrons therein.
(4)
Adult mini-motion picture theater means an enclosed building having as a principal activity the presenting of material characterized by emphasis of portrayals of human genitals and pubic regions or acts of human masturbation, sexual intercourse or sodomy for observation by patrons therein in individual viewing booths.
(5)
Adult novelty business means a business which has a principal activity the sale of devices of simulated human genitals or devices designed for sexual stimulation.
(6)
Adult personal service business means a business which has as a principle activity a person of one sex, while nude or partially nude, providing personal services for a person of the other sex on an individual basis in a closed room. It includes, but it is not limited to, the following activities and services; massage parlors, exotic rubs, modeling studios, body painting studios, wrestling studios, individual theatrical performances. It does not include activities performed by persons pursuant to, and in accordance with, licenses issued to such persons by the State of Michigan.
(7)
Adult night club means a business with the principal activity of providing entertainment by nude or partially nude performers.
(8)
Partially nude means having any or all of the following bodily parts exposed: buttocks, genitals, pubic area or female breasts.
Alley means any dedicated public way affording a secondary means of access to abutting property, and not intended for general traffic circulation.
Alterations means any change, addition or modification in construction or type of occupancy, or in the structural members of a building, such as walls or partitions, columns, beams or girders, the consummated act of which may be referred to in this chapter as "altered" or "reconstructed."
Apartments means a suite of rooms or a room in a multiple-family building arranged and intended for a place of residence of a single-family or a group of individuals living together as a single housekeeping unit.
Auto repair means the following services: general repair; engine rebuilding; rebuilding or reconditioning of motor vehicles; collision service, such as body, frame or fender straightening and repair; overall painting and undercoating of automobiles; incidental sale of engine fuels or lubricants.
Basement means that portion of a building which is partly or wholly below grade but so located that the vertical distance from the average grade to the floor is greater than the vertical distance from the average grade to the ceiling. A basement shall not be counted as a story.
Bed and breakfast means an accessory use that is subordinate to a one-family dwelling unit in which transient guests are provided sleeping room and board for payment.
Block means the property abutting one side of a street and lying between the two nearest intersecting streets (crossing or terminating) or between the nearest such street and railroad right-of-way, unsubdivided acreage, lake, river or live stream; or between any of the foregoing and any other barrier to the continuity of development, or corporate boundary lines of the village.
Building means any structure, either temporary or permanent, having a roof supported by columns or walls, and intended for the shelter or enclosure of persons, animals, chattels or property of any kind.
Building envelope means the area defined by lines drawn parallel to the front, rear, and side area lines, at a distance designated by the setback requirements of the zoning district and within which the main building must be located.
Building height
means the vertical distance measured from the established grade to the highest point
of the roof surface for flat roofs; to the deck line of mansard roofs; and to the
average height between eaves and ridge for gable, hip and gambrel roofs.

Basement and Story

Building Height

Building Line
Club means an organization of persons for special purposes or for the promulgation of sports, arts, sciences, literature, politics, or the like, but not operated for profit.
Condominium lot means all areas bounded by the front yard area line, the rear yard area line and the side yard area lines.
Convalescent or nursing home means a structure with sleeping rooms where persons are housed or lodged and are furnished with meals, nursing and medical care.
Development means the construction of a new building or other structure on a zoning lot, the relocation of an existing building on another zoning lot, or the use of open land for a new use.
District means a portion of the incorporated area of the village within which certain regulations and requirements or various combinations thereof apply under the provisions of this chapter.
Drive-in means a business establishment so developed that its retail or service character is dependent on providing a driveway approach or parking spaces for motor vehicles so as to serve patrons while in the motor vehicle rather than within a building or structure, including customer communication facilities for banks or other uses. (See also definition of Restaurant, drive-in ).
Dwelling, multiple-family, means a building, or a portion thereof, designed exclusively for occupancy by three or more families living independently of each other.
Dwelling, one-family, means a building designed exclusively for and occupied exclusively by one family.
Dwelling, two-family, means a building designed exclusively for occupancy by two families living independently of each other.
Dwelling unit means a building, or portion thereof, designed for occupancy by one family for residential purposes and having cooking facilities.
Erected means built, constructed, altered, reconstructed, moved upon, or any physical operations on the premises which are required for construction, excavation, fill, drainage, and the like, shall be considered a part of erection.
Essential services means the erections, construction, alteration or maintenance by public utilities or municipal departments of underground, surface or overhead gas, electrical, steam, fuel or water transmission or distribution system, collection, communication, supply or disposal systems, including towers, poles, wires, mains, drains, sewers, pipes, conduits, cables, fire alarm and police call boxes, traffic signals, hydrants and similar equipment in connection herewith, but not including buildings which are necessary for the furnishing of adequate service by such utilities or municipal departments for the general health, safety or welfare.
Excavation means any breaking of ground, except common household gardening and ground care.
Exception means a designated modification to the standards required by this chapter only after review of an application by the board of appeals or planning commission, such review being necessary because the provisions of this chapter covering conditions precedent or subsequent are not precise enough to all applications without interpretation, and such review and exception is provided for by this chapter. An exception does not require "undue hardship" in order to be allowable.
Family means a single individual or a number of individuals domiciled together whose relationship is of a continuing, nontransient, domestic character and who are cooking and living together as a single, nonprofit housekeeping unit. This shall not include any society, club, fraternity, sorority, association, lodge, coterie, organization, or group of students or other individuals whose relationship is of a transitory or seasonal nature or for anticipated limited duration of school terms or other similar determinable period.
Farm means the carrying on of any agricultural activity or the raising of livestock or small animals as a source of income.
Floor area, residential, means for the purpose of computing the minimum allowable floor area in a residential dwelling unit, the sum of the horizontal areas of each story of the building shall be measured from the exterior faces of the exterior walls or from the centerline of walls separating two dwellings. The floor area measurement is exclusive of areas of basements, unfinished attics, attached garages, breezeways and enclosed and unenclosed porches.
Floor area, usable (for the purposes of computing parking),
means that area used for or intended to be used for the sale of merchandise or services,
or for use to serve patrons, clients or customers. Such floor area which is used or
intended to be used principally for the storage or processing of merchandise, hallways
or for utilities or sanitary facilities shall be excluded from this computation of
usable floor area. Measurement of usable floor area shall be the sum of the horizontal
areas of the several floors of the building, measured from the interior faces of the
exterior walls.

Floor Area
Gasoline service station means a place for the dispensing, sale or offering for sale of motor fuels or lubricants directly to users of motor vehicles, together with the sale of minor accessories and incidental services for motor vehicles, but not including auto repair.
General commons area means all areas outside of the condominium lots.
Grade means the ground elevation established for the purpose of regulating the number of stories and the height of buildings. The building grade shall be the level of the ground adjacent to the walls of the building if the finished grade is level. If the ground is not entirely level, the grade shall be determined by averaging the elevation of the ground for each face of the building.
Home occupation means an occupation or profession customarily carried on by an occupant of a dwelling unit as a secondary use which is clearly incidental to the use of the dwelling unit for residential purposes.
Hotel means a building, or part of a building, with a common entrance in which the dwelling units or rooming units are used primarily for transient occupancy, and in which one or more of the following services are offered: maid service, furnishing of linen, telephone, secretarial or desk service and bellboy service. A hotel may include a restaurant or cocktail lounge, public banquet halls, ballrooms or meeting rooms.
Junkyard means an open area where waste, used or secondhand materials are bought and sold, exchanged, stored, baled, packed, disassembled or handled including, but not limited to, scrap iron and other metals, paper, rags, rubber tires and bottles. A junkyard includes automobile wrecking yards and any area of more than 200 square feet for storage, keeping or abandonment of junk but does not include uses established entirely within enclosed buildings.
Kennel, commercial, means any lot or premises on which three or more dogs, cats or other household pets are either permanently or temporarily boarded. A kennel shall also include any lot or premises where household pets are bred or sold.
Loading space means an off-street space on the same lot with a building, or group of buildings, for the temporary parking of a commercial vehicle while loading and unloading merchandise or materials.
Lot
means a parcel of land occupied, or intended to be occupied, by a main building or
a group of such buildings and accessory buildings, or utilized for the principal use
and uses accessory thereto, together with such yards and open spaces as are required
under the provision of this chapter. A lot may or may not be specifically designated
as such on public records.

Interior, Through and Corner Lots
Lot area means the total horizontal area within the lot lines of the lot.
Lot, corner, means a lot where the interior angle of two adjacent sides at the intersection of two streets is less than 135 degrees. A lot abutting upon a curbed street shall be considered a corner lot for the purposes of this chapter if the arc is of less radius than 150 feet and the tangents to the curve, at the two points where the lot lines meet the curve or the straight street line extended, form an interior angle of less than 135 degrees. (See Interior, Through, and Corner lots diagram.)
Lot coverage means the part or percent of the lot occupied by a building including accessory buildings.
Lot depth means the horizontal distance between the front and rear lot lines, measured along the median between the side lot lines.
Lot, interior, means any lot other than a corner lot. (See Interior, Through, and Corner lots diagram.)
Lot lines means the lines bounding a lot as defined as follows:
(1)
Front lot line. In the case of an interior lot, the line separating such lot from the street. In the case of a corner lot or through lot, the line separating such lot from that street which is designated as the front street in the plat and the request for a zoning compliance permit.
(2)
Rear lot line. That lot line opposite the front lot line. In the case of a lot pointed at the rear, the rear lot line shall be an imaginary line parallel to the front lot line, not less than ten feet long lying farthest from the front lot line and wholly within the lot.
(3)
Side lot line. Any lot line other than the front lot line or rear lot line. A side lot line separating a lot from a street is a side street lot line. A side lot line separating a lot from another lot or lots is an interior side lot line.
Lot of record means a parcel of land, the dimensions of which are shown on a document or map on file with the county register of deeds or in common use by municipal or county officials, and which actually exists as so shown, or any part of such parcel held in a record ownership separate from that of the remainder thereof.
Lot, through, means any interior lot having frontage on two more or less parallel streets as distinguished from a corner lot. In the case of a row of double frontage lots, all yards of such lots adjacent to streets shall be considered frontage, and front yard setbacks shall be provided as required. (See Interior, Through, and Corner lots diagram.)
Lot width means the horizontal straight line distance between the side lot lines, measured between the two points where the required minimum front yard setback line intersects the side lot lines.
Lot, zoning, means a single tract of land located within a single block which, at the time of filing for a building permit, is designated by its owner or developer as a tract to be used, developed or built upon as a unit under single ownership or control. A zoning lot shall satisfy this chapter with respect to area, size, dimensions and frontage as required in the district in which the zoning lot is located. A zoning lot, therefore, may not coincide with a lot of record as filed with the county register of deeds, but may include one or more lots of record.
Main building means a building in which is conducted the principal use of the lot upon which it is situated.
Master deed means the condominium document recording the condominium project to which are attached as exhibits and incorporated by reference the bylaws for the project and the plan for the project.
Master plan means the comprehensive community plan including graphic and written proposals indicating the general location for streets, parks, schools, public buildings, and all physical development of the village, and any unit or part of such plan, and any amendment to such plan or parts thereof. Such plan may or may not be adopted by the planning commission and/or the village council.
Mezzanine means an intermediate floor in any story occupying not to exceed one-third of the floor area of such story.
Mobile home means a manufactured dwelling unit, transportable in one or more sections, which is built on a chassis and designed to be used as a dwelling with or without permanent foundation, when connected to the required utilities, and includes the plumbing, heating, air conditioning, and electrical systems contained in the structure. The term "mobile home" does not include a recreational vehicle.
Mobile home park means a parcel or tract of land under the control of a person upon which three or more mobile homes are located on a continual, nonrecreational basis and which is offered to the public for that purpose, regardless of whether a charge is made therefor, together with any building, structure, enclosure, street, equipment or facility, used or intended for use, incident to the occupancy of a mobile home and which is not intended for use as a temporary trailer park.
Motel means a series of attached, semidetached or detached rental units containing a bedroom, bathroom and closet space. Units shall provide for overnight lodging and are offered to the public for compensation and shall cater primarily to the public traveling by motor vehicle.
Nonconforming building means a building or portion thereof lawfully existing at the effective date of the ordinance from which this chapter is derived, or amendments thereto, and that does not conform to the provisions of the chapter in the district in which it is located.
Nonconforming use means a use which lawfully occupied a building or land at the effective date of the ordinance from which this chapter is derived, or amendments thereto, and that does not conform to the use regulations of the district in which it is located.
Nuisance factors means an offensive, annoying, unpleasant or obnoxious thing or practice, a cause or source of annoyance, especially a continuing or repeating invasion of any physical characteristics of activity or use across a property line which can be perceived by or affects a human being, or the generation of an excessive or concentrated movement of people or things, such as, but not limited to, noise, dust, smoke, odor, glare, fumes, flashes, vibration, shock waves, heat, electronic or atomic radiation, objectionable effluent, noise of congregation of people (particularly at night), passenger traffic, and invasion of nonabutting street frontage by traffic.
Nursery, plant materials, means a space, building or structure, or combination thereof, for the storage of live trees, shrubs or plants offered for retail sale on the premises including products used for gardening or landscaping. The definition of nursery within the meaning of this chapter does not include any space, building or structure used for the sale of fruits, vegetables or Christmas trees.
Off-street parking lot means a facility providing vehicular parking spaces along with adequate drives and aisles for maneuvering so as to provide access for entrance and exit for the parking of more than three vehicles.
Open front store means a business establishment so developed that service to the patron may be extended beyond the walls of the structure not requiring the patron to enter the structure. The term "open front store" shall not include automobile repair stations or gasoline service stations.
Parking space means an area of definite length and width. Such area shall be exclusive of drives, aisles or entrances giving access thereto, and shall be fully accessible for the parking of permitted vehicles.
Principal use means the main use to which the premises are devoted and the principal purpose for which the premises exist.
Public utility means a person, firm or corporation, municipal department, board or commission duly authorized to furnish and furnishing under federal, state or municipal regulations to the public: gas, steam, electricity, sewage disposal, communication, telegraph, and transportation of water.
Restaurant, carryout, means an establishment for the selling of cooked foods or beverages which are served in disposable containers or wrappers for consumption off the premises.
Restaurant, drive-in/fast food, means an establishment at which patrons are served from a counter or a drive-in window, or where employees serve patrons in motor vehicles for consumption of food within the motor vehicle on the premises.
Room means, for the purpose of determining lot area requirements and density in a multiple-family district, a room, dining room or bedroom, equal to at least 80 square feet in area. A room shall not include the area in a kitchen, sanitary facilities, utility provisions, corridors, hallways and storage.
Setback means the distance required to obtain minimum front, side or rear yard open space provision of this chapter.
Sign means the use of any words, numerals, figures, devices, designs or trademarks by which anything is made known such as are used to show an individual, firm, profession, or business, and are visible to the general public.
Sign, accessory, means a sign pertaining to the principal use of the premises.
Sign, nonaccessory, means a sign which is not pertaining to the principal use of the premises.
Special land use means a use that may be permitted after review and approval by the planning commission upon a finding that the standards applicable to such uses have been met. Uses permitted subject to special approval shall be considered special land uses.
Story means that part of a building, except a mezzanine, included between the surface of one floor and the surface of the next floor, or if there is no floor above, then the ceiling next above. A basement shall not be counted as a story.
Street means a dedicated public right-of-way, other than an alley, which affords the principal means of access to abutting property.
Structure means anything constructed or erected, the use of which requires location on the ground or attachment to something having location on the ground.
Use means the principal purpose for which land or a building is arranged, designed or intended, or for which land or a building is or may be occupied.
Variance means a modification of the literal provisions of this chapter granted when strict enforcement of this chapter would cause undue hardship owing to circumstances unique to the individual property on which the variance is granted. The crucial points of variance are undue hardship and unique circumstances applying to the property. A variance is not justified unless both elements are present in the case.
Wall, obscuring, means a structure of definite height and location to serve as an obscuring screen in carrying out the requirements of this chapter.
Yard area lines means, in reference to site condominium developments, lines considered equal to lot lines.
Yards means the open spaces on the same lot with a main building unoccupied and unobstructed from the ground upward except as otherwise provided in this chapter, and further defined as follows:
(1)
Front yard. An open space extending the full width of the lot, the depth of which is the minimum horizontal distance between the front lot line and the nearest point of the main building.
(2)
Rear yard. An open space extending the full width of the lot, the depth of which is the minimum horizontal distance between the rear lot line and the nearest point of the main building.
(3)
Side yard. An open space between a main building and the side lot line, extending from the front yard to the rear yard, the width of which is the horizontal distance from the nearest point on the side lot line to the nearest point of the main building.
(Ord. of 3-28-1988, § 201; Ord. No. 130, § 1, 1-26-1993; Ord. No. 159, § 1, 7-25-2005)
Cross reference— Definitions generally, § 1-2.

Site Condominium Terminology

Basic Structural Terms

Yards