Table of Area and Bulk Requirements
| Zoning District |
Minimum
Lot Size (sf) |
Minimum
Lot Width (ft) |
Minimum
Lot Depth (ft) |
Maximum
Building Height (ft) |
Minimum
Front Setback (ft) |
Minimum
Side Setback (ft) |
Minimum
Rear Setback (ft) |
Minimum
Floor Area** (sf) |
Maximum
Floor Ratio (none) |
Maximum
Building Coverage (%) |
Maximum
Lot Coverage (%) | |
|---|---|---|---|---|---|---|---|---|---|---|---|---|
| OS- | Open Space | 35 | 25 | 10 | 25 | 0.2 | 10 | 15 | ||||
| R1- | Single-Family | 10,000 | 80 | 120 | 35 | 30 | 7.5 | 35 | 0.5 | 35 | 50 | |
| One-Story | 1,500 | |||||||||||
| Two-Story | 2,000 | |||||||||||
| Tri-/Bi-Level | 1,800 | |||||||||||
| R2- | Single-Family | 8,750 | 70 | 120 | 35 | 30 | 7.5 | 35 | 0.5 | 35 | 50 | |
| One-Story | 1,200 | |||||||||||
| Two-Story | 1,800 | |||||||||||
| Tri-/Bi-Level | 1,600 | |||||||||||
| R3- | Medium Density Res. | 35 | 30 | 35 | 0.5 | 35 | 50 | |||||
| One- or Two-Family | 8,750 | 80 | 7.5 | |||||||||
| Three- or Four-Family | 10,000 | 90 | 10 | |||||||||
| R4- | Multifamily | 50 | 30 | 10 | 35 | 0.5 | 35 | 50 | ||||
| Five or More Family | 12,000 | 100 | ||||||||||
| PB- | Planned Business | 35 | 30 | 7.5 | 35 | 1.0 | 35 | 50 | ||||
| B1- | Neighborhood Business | 35 | 25 | 0, 20, 10 | 20 | 1.5 | 50 | |||||
| B2- | Central Business | 40 | 0 | 0, 20, 10 | 20 | 3.0 | ||||||
| B3- | General Business | 40 | 25 | 0, 20, 10 | 20 | 3.0 | ||||||
| B4- | Highway Business | 40 | 25 | 0, 20, 10 | 20 | 3.0 | ||||||
| I1- | Light Industry | 40 | 20 | 20 | 2.0 | |||||||
| I2- | Heavy Industry | 60 | 30 | 30 | 1.5 | |||||||
| F1- | Floodplain | * | * | * | * | * | * | * | * | * | * | * |
| PUD- | Planned Unit Development | * | * | * | * | * | * | * | * | * | * | * |
| Mobile Home Parks | 4,500 | 20 | 20, 10 | 15 | ||||||||
*
negotiated
**
excludes garages
Table reflects minimums only; check district regulations for complete requirements.
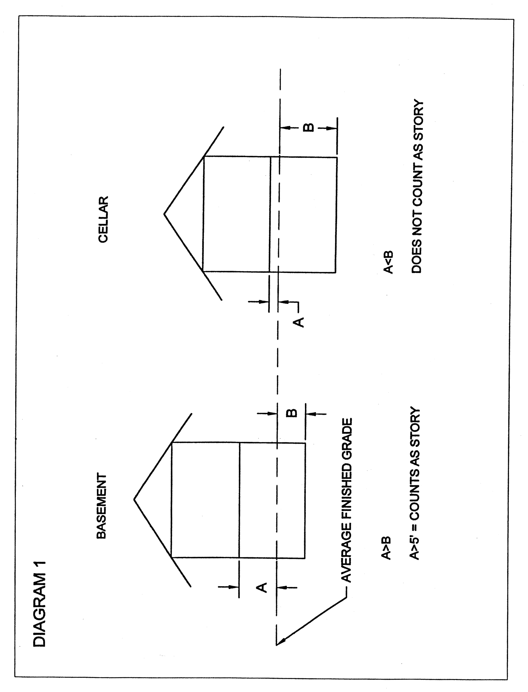
Basement vs. Cellar
Lot Configuration
Yards
Corner Lots
Table of Area and Bulk Requirements
| Zoning District |
Minimum
Lot Size (sf) |
Minimum
Lot Width (ft) |
Minimum
Lot Depth (ft) |
Maximum
Building Height (ft) |
Minimum
Front Setback (ft) |
Minimum
Side Setback (ft) |
Minimum
Rear Setback (ft) |
Minimum
Floor Area** (sf) |
Maximum
Floor Ratio (none) |
Maximum
Building Coverage (%) |
Maximum
Lot Coverage (%) | |
|---|---|---|---|---|---|---|---|---|---|---|---|---|
| OS- | Open Space | 35 | 25 | 10 | 25 | 0.2 | 10 | 15 | ||||
| R1- | Single-Family | 10,000 | 80 | 120 | 35 | 30 | 7.5 | 35 | 0.5 | 35 | 50 | |
| One-Story | 1,500 | |||||||||||
| Two-Story | 2,000 | |||||||||||
| Tri-/Bi-Level | 1,800 | |||||||||||
| R2- | Single-Family | 8,750 | 70 | 120 | 35 | 30 | 7.5 | 35 | 0.5 | 35 | 50 | |
| One-Story | 1,200 | |||||||||||
| Two-Story | 1,800 | |||||||||||
| Tri-/Bi-Level | 1,600 | |||||||||||
| R3- | Medium Density Res. | 35 | 30 | 35 | 0.5 | 35 | 50 | |||||
| One- or Two-Family | 8,750 | 80 | 7.5 | |||||||||
| Three- or Four-Family | 10,000 | 90 | 10 | |||||||||
| R4- | Multifamily | 50 | 30 | 10 | 35 | 0.5 | 35 | 50 | ||||
| Five or More Family | 12,000 | 100 | ||||||||||
| PB- | Planned Business | 35 | 30 | 7.5 | 35 | 1.0 | 35 | 50 | ||||
| B1- | Neighborhood Business | 35 | 25 | 0, 20, 10 | 20 | 1.5 | 50 | |||||
| B2- | Central Business | 40 | 0 | 0, 20, 10 | 20 | 3.0 | ||||||
| B3- | General Business | 40 | 25 | 0, 20, 10 | 20 | 3.0 | ||||||
| B4- | Highway Business | 40 | 25 | 0, 20, 10 | 20 | 3.0 | ||||||
| I1- | Light Industry | 40 | 20 | 20 | 2.0 | |||||||
| I2- | Heavy Industry | 60 | 30 | 30 | 1.5 | |||||||
| F1- | Floodplain | * | * | * | * | * | * | * | * | * | * | * |
| PUD- | Planned Unit Development | * | * | * | * | * | * | * | * | * | * | * |
| Mobile Home Parks | 4,500 | 20 | 20, 10 | 15 | ||||||||
*
negotiated
**
excludes garages
Table reflects minimums only; check district regulations for complete requirements.
Basement vs. Cellar
Lot Configuration
Yards
Corner Lots




