180 - OFF-STREET PARKING44
Editor's note— Ord. No. 4538, § 47(Exh. A), adopted September 10, 2024, repealed Ch. 20.180 and enacted a new Ch. 20.180 as set out herein and as may later be amended. Former Ch. 20.180 pertained to similar subject matter and derived from Ord. No. 3639, adopted 1987; Ord. No. 4017, adopted 1988; Ord. No. 4213, adopted December 9, 2008.
The purpose of this Chapter is to require off-street parking spaces for all land uses in the unincorporated areas of Mendocino County in sufficient numbers to accommodate vehicles which will be congregated at a given location by drivers using or occupying the facility. On street parking will be minimized and traffic and pedestrian safety increased. It is also the purpose of this Chapter to facilitate livable, walkable communities, by allowing shared parking between compatible uses that have different peak usage times (for example Multi-family Residential above Commercial).
(Ord. No. 4538, § 47(Exh. A), 9-10-2024)
(A)
Accessible off-street parking areas shall be provided and maintained as set forth in this Division to provide minimum parking and maneuvering room for motor vehicles and for pedestrian safety based on the anticipated occupancy of a given building, structure or area of land or water.
(B)
At the time of initial occupancy of a site or of construction of a structure or of a major alteration or enlargement of a site or structure, there shall be provided off-street parking facilities for automobiles in accordance with the regulations prescribed in this Chapter. For the purposes of this section the term "major alteration or enlargement" shall mean a change of use or an addition which would increase the number of parking spaces required by not less than ten (10) percent of the total number required.
(C)
The required parking spaces shall be on-site except that an exception may be granted from the parking requirements of this Division in order that some or all of the required parking spaces be located off-site, including locations in other local jurisdictions, if the following conditions are met:
(1)
The exception will be an incentive to, and a benefit for, the non-residential development.
(2)
The exception will facilitate access to the non-residential development by patrons of public transit facilities, particularly guideway facilities.
(3)
The exception shall not impact existing or proposed traffic patterns or parking conditions on residential or other adjacent property use types.
(D)
Shared parking facilities for more than one (1) use may be developed under the following requirements. If a shared parking facility is developed, the total number of required parking spaces may be reduced by twenty-five (25) percent with the Director's approval if the following findings can be made:
(1)
The peak hours of use will not overlap or coincide to the degree that peak demand for parking spaces from all uses will be greater than the total supply of spaces;
(2)
The proposed shared parking provided will be adequate to serve each use;
(3)
A shared parking agreement shall be submitted for review and approval by the County. Once approved for recording, the applicant shall record the agreement and provide a conformed copy to the Department.
(E)
Where strict application of certain provisions of this Chapter results in an unnecessary hardship or where said application will reduce the affordability of a residential project, a waiver may be granted by the Director.
(F)
If an applicant can demonstrate that an apartment complex for seniors or residents with special needs will not generate a need for as much parking as regular multi-family residential, the Director may reduce the number of required spaces.
(G)
All parking spaces shall meet required yard setbacks for the zoning district in which they are located; however, one (1) of the required parking spaces for any parcel may be located in the front or side yard setback area.
(H)
Pursuant to California Government Code section 65863.2, if a residential, commercial, or other development project is located within one-half mile of public transit, no off-street parking is required.
(Ord. No. 4538, § 47(Exh. A), 9-10-2024)
For any use not specified in the following paragraphs, the same number of parking spaces shall be provided as required for the most similar specified use, as determined by the Director. Off-street parking for all uses shall be consistent with Table 20.180-A, below.
(A)
Where there is a question of primary use of any given site the use requiring the most parking spaces shall be used.
(B)
Where there is a combination of principal uses in any one (1) facility, the sum of the parking requirements of these uses shall be provided unless the uses are known to have separate peak use times.
(C)
Uses with differing peak use times may be eligible for shared parking arrangements. If the calculation of parking needs results in the requirement for a fraction of a parking space, such a parking space need not be provided unless the fraction exceeds fifty (50) percent.
(D)
This Division shall not be construed to prohibit the installation and maintenance of more parking spaces than the minimums required.
(E)
The number of Accessible parking spaces shall be as required by the California Building Code.
(Ord. No. 4538, § 47(Exh. A), 9-10-2024)
(A)
At least fifty (50) percent of parking areas shall be surfaced with gravel, permeable pavers, or other permeable surfacing materials to encourage on-site infiltration of stormwater runoff. The remaining fifty (50) percent may be impermeable surfaces.
(B)
At least fifty (50) percent of required parking spaces shall be regular spaces. A maximum of fifty (50) percent may be compact car spaces.
(C)
All lighting within the parking area shall be downcast and shielded.
(D)
Parking space dimensions shall be consistent with Table 20.180-B and Figures 20.180-A.
(E)
Maneuvering aisles shall be consistent with Tables 20.180-C and -D.
(F)
Electric Vehicle Charging Stations.
(1)
Electric vehicle charging stations may be provided in any area designed for the parking of vehicles.
(2)
Electric vehicle ready charging infrastructure shall be provided in multi-family housing developments and non-residential developments according to the standards outlined by CALGreen (Title 24 California Code of Regulations, Part 11).
(3)
Parking spaces with electric vehicle charging shall be counted as a two (2) standard parking space for the purpose of providing required parking per this Chapter.
(4)
If an electric vehicle charging station and any associated equipment interfere with, reduce, eliminate or in any way impact the required parking spaces for existing uses, the Director may reduce the number of required parking spaces for the existing uses by the amount necessary to accommodate the electric vehicle charging station and associated equipment.
(G)
Bicycle Parking. Parking lots with twenty (20) or more spaces shall provide one (1) bicycle parking space for each ten (10) parking spaces, either as a bicycle rack designed to enable bicycles to be locked to the rack or in a secured enclosed location.
(H)
Striping and Marking.
(1)
Space Outline. All parking spaces shall be clearly outlined with double striping three (3) inches in width, in durable white paint designed for that purpose.
(2)
Maneuvering Areas. All aisles, approach lanes, and turning areas shall be clearly marked with directional arrows and lines as necessary to provide for safe movement.
(3)
Compact Spaces. All compact spaces shall be clearly marked as such.
(4)
Striping and Marking for Accessible spaces and electric vehicle charging spaces shall be as required by the California Building Code.
Figure 20.180-A—Parking Space Dimensions
Measuring parking space dimensions in a 90-degree configuration.
(Ord. No. 4538, § 47(Exh. A), 9-10-2024)
Any use which proposes drive-through or drive-up facilities shall require an Administrative Permit pursuant to Chapter 20.192 and comply with the following requirements:
(A)
A pedestrian and vehicular circulation plan shall be submitted along with any building permit application. Such plan shall indicate how pedestrian and vehicular traffic will be accommodated to provide pedestrian safety. The plan shall also indicate how vehicles will circulate to and through the drive-through or drive-up facilities in a manner that will not impede traffic flow on any public right-of-way. Such plan will be reviewed against the following standards:
(1)
Drive-through aisles shall be inwardly focused within the site and located away from adjoining streets to the extent feasible.
(2)
Pedestrian walkways shall not intersect the drive-through access aisles unless they have clear visibility and are emphasized by enhanced paving or markings.
(3)
Parking for drive-through and drive-in uses shall be provided as required by this Chapter.
(4)
Drive-through access aisles shall be located entirely within the property and shall account for the stacking of a minimum of five (5) vehicles. The Director may determine that more stacking is required depending on the need of the specific business. In such instances, the Applicant shall have a stacking study prepared by a qualified expert.
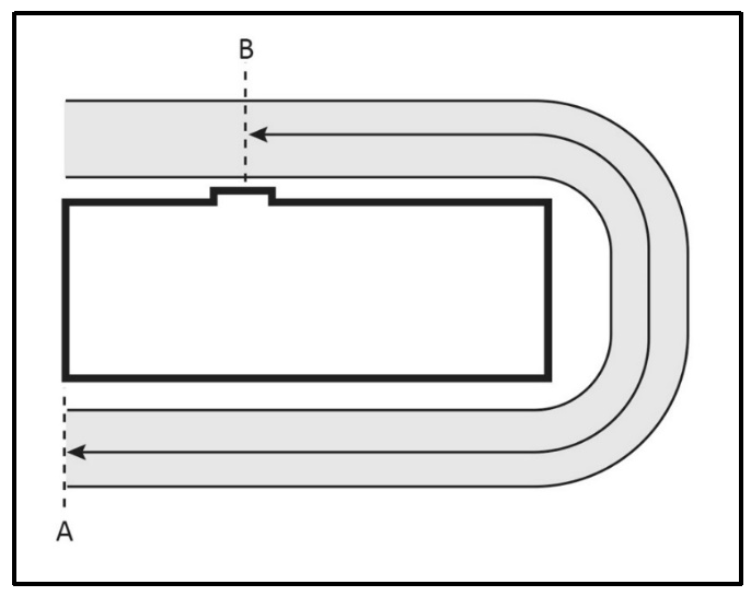
Figure 20.180-B—Drive-through Aisle
Drive aisle length is measured from the start of the drive aisle (A) to the pickup window (B).
(Ord. No. 4538, § 47(Exh. A), 9-10-2024)
180 - OFF-STREET PARKING44
Editor's note— Ord. No. 4538, § 47(Exh. A), adopted September 10, 2024, repealed Ch. 20.180 and enacted a new Ch. 20.180 as set out herein and as may later be amended. Former Ch. 20.180 pertained to similar subject matter and derived from Ord. No. 3639, adopted 1987; Ord. No. 4017, adopted 1988; Ord. No. 4213, adopted December 9, 2008.
The purpose of this Chapter is to require off-street parking spaces for all land uses in the unincorporated areas of Mendocino County in sufficient numbers to accommodate vehicles which will be congregated at a given location by drivers using or occupying the facility. On street parking will be minimized and traffic and pedestrian safety increased. It is also the purpose of this Chapter to facilitate livable, walkable communities, by allowing shared parking between compatible uses that have different peak usage times (for example Multi-family Residential above Commercial).
(Ord. No. 4538, § 47(Exh. A), 9-10-2024)
(A)
Accessible off-street parking areas shall be provided and maintained as set forth in this Division to provide minimum parking and maneuvering room for motor vehicles and for pedestrian safety based on the anticipated occupancy of a given building, structure or area of land or water.
(B)
At the time of initial occupancy of a site or of construction of a structure or of a major alteration or enlargement of a site or structure, there shall be provided off-street parking facilities for automobiles in accordance with the regulations prescribed in this Chapter. For the purposes of this section the term "major alteration or enlargement" shall mean a change of use or an addition which would increase the number of parking spaces required by not less than ten (10) percent of the total number required.
(C)
The required parking spaces shall be on-site except that an exception may be granted from the parking requirements of this Division in order that some or all of the required parking spaces be located off-site, including locations in other local jurisdictions, if the following conditions are met:
(1)
The exception will be an incentive to, and a benefit for, the non-residential development.
(2)
The exception will facilitate access to the non-residential development by patrons of public transit facilities, particularly guideway facilities.
(3)
The exception shall not impact existing or proposed traffic patterns or parking conditions on residential or other adjacent property use types.
(D)
Shared parking facilities for more than one (1) use may be developed under the following requirements. If a shared parking facility is developed, the total number of required parking spaces may be reduced by twenty-five (25) percent with the Director's approval if the following findings can be made:
(1)
The peak hours of use will not overlap or coincide to the degree that peak demand for parking spaces from all uses will be greater than the total supply of spaces;
(2)
The proposed shared parking provided will be adequate to serve each use;
(3)
A shared parking agreement shall be submitted for review and approval by the County. Once approved for recording, the applicant shall record the agreement and provide a conformed copy to the Department.
(E)
Where strict application of certain provisions of this Chapter results in an unnecessary hardship or where said application will reduce the affordability of a residential project, a waiver may be granted by the Director.
(F)
If an applicant can demonstrate that an apartment complex for seniors or residents with special needs will not generate a need for as much parking as regular multi-family residential, the Director may reduce the number of required spaces.
(G)
All parking spaces shall meet required yard setbacks for the zoning district in which they are located; however, one (1) of the required parking spaces for any parcel may be located in the front or side yard setback area.
(H)
Pursuant to California Government Code section 65863.2, if a residential, commercial, or other development project is located within one-half mile of public transit, no off-street parking is required.
(Ord. No. 4538, § 47(Exh. A), 9-10-2024)
For any use not specified in the following paragraphs, the same number of parking spaces shall be provided as required for the most similar specified use, as determined by the Director. Off-street parking for all uses shall be consistent with Table 20.180-A, below.
(A)
Where there is a question of primary use of any given site the use requiring the most parking spaces shall be used.
(B)
Where there is a combination of principal uses in any one (1) facility, the sum of the parking requirements of these uses shall be provided unless the uses are known to have separate peak use times.
(C)
Uses with differing peak use times may be eligible for shared parking arrangements. If the calculation of parking needs results in the requirement for a fraction of a parking space, such a parking space need not be provided unless the fraction exceeds fifty (50) percent.
(D)
This Division shall not be construed to prohibit the installation and maintenance of more parking spaces than the minimums required.
(E)
The number of Accessible parking spaces shall be as required by the California Building Code.
(Ord. No. 4538, § 47(Exh. A), 9-10-2024)
(A)
At least fifty (50) percent of parking areas shall be surfaced with gravel, permeable pavers, or other permeable surfacing materials to encourage on-site infiltration of stormwater runoff. The remaining fifty (50) percent may be impermeable surfaces.
(B)
At least fifty (50) percent of required parking spaces shall be regular spaces. A maximum of fifty (50) percent may be compact car spaces.
(C)
All lighting within the parking area shall be downcast and shielded.
(D)
Parking space dimensions shall be consistent with Table 20.180-B and Figures 20.180-A.
(E)
Maneuvering aisles shall be consistent with Tables 20.180-C and -D.
(F)
Electric Vehicle Charging Stations.
(1)
Electric vehicle charging stations may be provided in any area designed for the parking of vehicles.
(2)
Electric vehicle ready charging infrastructure shall be provided in multi-family housing developments and non-residential developments according to the standards outlined by CALGreen (Title 24 California Code of Regulations, Part 11).
(3)
Parking spaces with electric vehicle charging shall be counted as a two (2) standard parking space for the purpose of providing required parking per this Chapter.
(4)
If an electric vehicle charging station and any associated equipment interfere with, reduce, eliminate or in any way impact the required parking spaces for existing uses, the Director may reduce the number of required parking spaces for the existing uses by the amount necessary to accommodate the electric vehicle charging station and associated equipment.
(G)
Bicycle Parking. Parking lots with twenty (20) or more spaces shall provide one (1) bicycle parking space for each ten (10) parking spaces, either as a bicycle rack designed to enable bicycles to be locked to the rack or in a secured enclosed location.
(H)
Striping and Marking.
(1)
Space Outline. All parking spaces shall be clearly outlined with double striping three (3) inches in width, in durable white paint designed for that purpose.
(2)
Maneuvering Areas. All aisles, approach lanes, and turning areas shall be clearly marked with directional arrows and lines as necessary to provide for safe movement.
(3)
Compact Spaces. All compact spaces shall be clearly marked as such.
(4)
Striping and Marking for Accessible spaces and electric vehicle charging spaces shall be as required by the California Building Code.
Figure 20.180-A—Parking Space Dimensions
Measuring parking space dimensions in a 90-degree configuration.
(Ord. No. 4538, § 47(Exh. A), 9-10-2024)
Any use which proposes drive-through or drive-up facilities shall require an Administrative Permit pursuant to Chapter 20.192 and comply with the following requirements:
(A)
A pedestrian and vehicular circulation plan shall be submitted along with any building permit application. Such plan shall indicate how pedestrian and vehicular traffic will be accommodated to provide pedestrian safety. The plan shall also indicate how vehicles will circulate to and through the drive-through or drive-up facilities in a manner that will not impede traffic flow on any public right-of-way. Such plan will be reviewed against the following standards:
(1)
Drive-through aisles shall be inwardly focused within the site and located away from adjoining streets to the extent feasible.
(2)
Pedestrian walkways shall not intersect the drive-through access aisles unless they have clear visibility and are emphasized by enhanced paving or markings.
(3)
Parking for drive-through and drive-in uses shall be provided as required by this Chapter.
(4)
Drive-through access aisles shall be located entirely within the property and shall account for the stacking of a minimum of five (5) vehicles. The Director may determine that more stacking is required depending on the need of the specific business. In such instances, the Applicant shall have a stacking study prepared by a qualified expert.
Figure 20.180-B—Drive-through Aisle
Drive aisle length is measured from the start of the drive aisle (A) to the pickup window (B).
(Ord. No. 4538, § 47(Exh. A), 9-10-2024)