Definitions
For the purpose of this Title, certain terms or words used herein shall be interpreted as follows:
(1)
The word person includes a firm, association, organization, partnership, trust, company or corporation, as well as an individual.
(2)
The present tense includes the future tense, the singular number includes the plural, and the plural number includes the singular.
(3)
The word shall is mandatory; the word may is permissive.
(4)
The word used or occupied includes the word intended, designed or arranged to be used or occupied.
(5)
The word lot includes the word plot or parcel.
(6)
Addition means any construction or change to a building or structure or a part of a building or structure that increases the size of a building in terms of site coverage, height, length, width, or gross floor area.
(7)
Administrative Official shall mean the person designated by the Mayor to administer and enforce this Title.
(8)
Alley means a narrow public way which is used primarily for vehicular service access to the back or side of properties otherwise abutting on a street.
(9)
Alternative tower structure means man-made trees, clock towers, bell steeples, light poles and similar alternative-design mounting structures that camouflage or conceal the presence of antennas or towers.
(10)
Antenna means any exterior transmitting or receiving device mounted on a tower, building or structure and used in communications that radiate or capture electromagnetic waves, digital signals, analog signals, radio frequencies (excluding radar signals), wireless communications signals or other communication signals.
(11)
Attached means a building or structure which has at least one (1) wall in common with another building or structure.
(12)
Buildable area means the portion of a lot remaining after required yards (setbacks) have been provided.
(13)
Building, accessory means a subordinate structure located on the same lot as a principal building. The use of an accessory structure must be incidental and subordinate to the use of the principal building. Accessory structures include garages, carports, storage sheds, decks and similar structures
(14)
Building, principal means a building in which the principal use is conducted.
(15)
Carport means a permanent accessory structure providing shelter for automotive vehicles. Carports shall include freestanding roofed structures, and supported roofed structures projecting from a principal or accessory structure, provided that not more than two (2) sides are enclosed.
(16)
Dwelling unit means a room, or rooms, adjacent to each other within a permanent shelter that constitutes a separate independent housekeeping unit designed for occupancy by one (1) family for living purposes. An independent housekeeping unit includes kitchen, sanitary and sleeping facilities.
(17)
Electrical feeder line means a three-phase electrical distribution line with a conductor ampacity of two hundred fifty (250) amperes or more that serves as the distribution system backbone and is the main supply of electrical energy to smaller sub-circuits at a voltage of fewer than thirty thousand (30,000) volts.
(18)
Engineer, professional means one having a valid engineering license issued by the Colorado Board of Registration for Professional Engineers.
(19)
FAA means the Federal Aviation Administration.
(20)
FCC means the Federal Communications Commission.
(21)
Family means one (1) or more persons living together as a separate, independent housekeeping unit, all related by blood, adoption or marriage, or in the alternative, a group of not more than three (3) unrelated persons living together as a separate, independent housekeeping unit. Domestic servants employed on the premises may be housed on the premises without being counted as part of a family.
(22)
Farm or ranch means land on which produce, crops or flowers are grown primarily for off-premises consumption, use or sale, or on which horses or livestock are housed or raised for personal use.
(23)
Fence means an enclosing structure other than part of a building of sufficient strength and dimension to prevent straying from within or intrusion from without.
(24)
Floor area.
a.
Floor area, gross means the sum of gross horizontal areas measured between the exterior faces of exterior walls of the several floors of a building and accessory buildings, including interior walls, balconies, mezzanines, hallways, wells, basements and cellars, and including the area of roofed porches, patios and carports having more than one (1) wall.
b.
Floor area, net means the sum of the gross horizontal areas measured between the interior faces of the exterior walls of the several floors of a building and accessory buildings, including interior balconies, mezzanines, retail or wholesale floor areas, basements, cellars and surrounding open spaces used in conjunction with the building and accessory buildings, but excluding interior walls, enclosed hallways, wells, shafts, lavatories, furnace rooms, janitor supply rooms or closets, accessory storerooms and roofed porches, patios and carports enclosed by less than three (3) walls.
(25)
Floor area ratio (F.A.R.) means the quotient of the gross floor area of all buildings on a parcel divided by the area of said parcel, for example:
Floor area = 100 sq. ft.= F.A.R. 2
Land area = 50 sq. ft.
(26)
Front facade means the façade of the building which has the primary or public entrance to the uses therein and abuts the required front yard as stipulated in this title.
(27)
Garage, private means an enclosed attached or detached accessory structure designed and used primarily for parking the automotive vehicles of the residents of the principal structure.
(28)
Grade (ground level) means the average of the finished surface of the ground adjacent to the exterior walls of the building.
(29)
Height, building means the vertical distance from the grade plane to the average height of the highest roof surface. Height means, when referring to a tower or other antenna structure, the distance measured from the finished grade of the parcel to the highest point on the tower or other structure, including the base and any antenna. (See Section 17-4, Article IV, Tower and Antenna Requirements.)
a.
Flat roof: Building height shall be measured as the vertical distance from the mean level of the finished grade of the front of the building to the highest point on the finished roof.
b.
Pitched roof: Building height shall be measured as the vertical distance from the mean level of the finished grade of the front of the building to the average height of the rise of the pitched roof.
c.
Curved roof: Building height shall be measured as the vertical distance from the mean level of the finished grade of the front of the building to a point two-thirds (⅔) the vertical height of the curve.
d.
Other forms: Building height shall be measured and determined by the Administrative Officer in a manner that most closely reflects the intent of subsections (24)a through (24)c and attains a height which is similar to adjacent complying structures.
e.
Corner lots: Building height for corner lots shall be measured as the vertical distance from the mean level of the front of the building along the street having the lower record grade.
f.
Lots fronting on two (2) streets: Where a parcel, other than a corner lot, fronts on two (2) streets, the maximum height shall then be measured separately for each of the two (2) frontages of the building from the mean level of the finished grade. The maximum height so measured shall apply on each street.
g.
Lots fronting on more than two (2): Where a lot fronts on three (3) or more streets, building height shall be measured from the mean level of the front of the building along the street having the lowest record grade.
h.
Antenna or tower structure: Height shall be measured from the finished grade of the parcel to the highest point on the tower or other structure, which shall include the base and any antenna. (See Section 17-4, Article IV, Tower and Antenna Requirements.)
(30)
Loading space, off-street means space logically and conveniently located for bulk pickups and deliveries, scaled to delivery vehicles expected to be used, and accessible to such vehicles when required off-street parking spaces are filled. Required off-street loading space is not to be included as off-street parking space in computation of required off-street parking space.
(31)
Lot means, for purposes of this Title, a parcel of land of at least sufficient size to meet minimum zoning requirements for use, coverage and area, and to provide such yards and other open spaces as are herein required. Such lot shall have frontage on an improved public street, or on an approved private street, and may consist of:
a.
A single lot of record.
b.
A portion of a lot of record.
c.
A combination of complete lots of record, of complete lots of record and portions of lots of record, or of portions of lots of record.
d.
A parcel of land described by metes and bounds. Provided that in no case of division or combination shall any residual lot or parcel be created which does not meet the requirements in this Code.
(32)
Lot frontage shall be construed to be the portion nearest the street. For purposes of determining yard requirements on corner lots and through lots, all sides of a lot adjacent to streets shall be considered frontage and yards shall be provided as indicated under yards in this Chapter.
(33)
Lot measurements.
a.
Depth of a lot shall be considered to be the distance between the midpoints of straight lines connecting the foremost points of the side lot lines in front and the rearmost points of the side lot lines in the rear.
b.
Width of a lot shall be considered to be the distance between straight lines connecting front and rear lot lines at each side of the lot, measured across the rear of the required front yard; provided, however, that width between side lot lines at their foremost points (where they intersect with the street line) shall not be less than eighty percent (80%) of the required lot width except in the case of lots on the turning circle of cul-de-sacs, where the eighty-percent requirement shall not apply.
(34)
Lot of record means a lot which is part of a subdivision recorded in the office of the County Clerk, or a lot or parcel described by metes and bounds, the description of which has been so recorded.
(35)
Lot types. The diagram (Figure 1) which follows illustrates terminology used in this Title with reference to corner lots, interior lots, reversed frontage lots and through lots:
Figure 1
In the diagram:
A = corner lot, defined as a lot located at the intersection of two (2) or more streets. A lot abutting on a curved street or streets shall be considered a corner lot if straight lines drawn from the foremost point of the lot meet at an interior angle of less than one hundred thirty-five degrees (135°). See lots marked A(1) in the diagram.
B = interior lot, defined as a lot other than a corner lot with only one (1) frontage on a street.
C = through lot, defined as a lot other than a corner lot with frontage on more than one (1) street. Through lots abutting two (2) streets may be referred to as double frontage lots.
D = reversed frontage lot, defined as a lot on which the frontage is at right angles or approximately right angles (interior angle less than one hundred thirty-five degrees [135°]) to the general pattern in the area. A reversed frontage lot may also be a corner lot (A-D in the diagram), an interior lot (B-D) or a through lot (C-D).
(36)
Manufactured home subdivision means a tract of land, which has been designed and improved in its entirety in accordance with the City Subdivision Regulations and this Title where single-family manufactured homes can be located on individually platted and owned lots for dwelling purposes.
(37)
Marijuana means all parts of the plant of the genus cannabis whether growing or not, the seeds thereof, the resin extracted from any part of the plant, and every compound, manufacture, salt, derivative, mixture, or preparation of the plant, its seeds, or its resin.
a.
Marijuana accessories means any equipment, products, or materials of any kind, which are used, intended for use, or designed for use in planting, propagating, cultivating, growing, harvesting, composting, manufacturing, compounding, converting, producing, processing, preparing, testing, analyzing, packaging, repackaging, storing, vaporizing, or containing marijuana, or for ingesting, inhaling, or otherwise introducing marijuana into the human body.
b.
Marijuana products means concentrated marijuana products and marijuana products that are comprised of marijuana and other ingredients and are intended for use or consumption, such as, but not limited to, edible products, ointments, and tinctures.
c.
Medical marijuana means any form of marijuana that is grown and sold pursuant to the provisions of the Colorado Medical Marijuana Code and for a purpose authorized by Section 14 of Article 18 of the State Constitution. See Chapter 15 for additional definitions and regulations.
d.
Retail marijuana means all parts of the plant of the genus cannabis whether growing or not, the seeds thereof, the resin extracted from any part of the plant, and every compound, manufacture, salt, derivative, mixture, or preparation of the plant, its seeds, or its resin, including marijuana concentrate, that is cultivated, manufactured, distributed, or sold by a licensed retail marijuana establishment. Retail marijuana does not include industrial hemp, nor does it include fiber produced from stalks, oil, or cake made from the seeds of the plant, sterilized seed of the plant which is incapable of germination, or the weight of any other ingredient combined with marijuana to prepare topical or oral administrations, food, drink, or other product.
(38)
Parking space means a designated area upon which motor vehicles are transiently placed.
(39)
Parking space, off-street, for the purposes of this Title, shall consist of a space adequate for parking an automobile with room for opening doors on both sides, together with properly related access to a public street or alley and maneuvering room. Required off-street parking areas for three (3) or more automobiles shall have individual spaces marked, and shall be so designed, maintained and regulated that no parking or maneuvering incidental to parking shall be on any public street, walk or alley, and so that any automobile may be parked and unparked without moving another. For purposes of rough computation, an off-street parking space and necessary access and maneuvering room may be estimated at three hundred (300) square feet, but off-street parking requirements will be considered to be met only when actual spaces meeting the requirements above are provided and maintained, improved in a manner appropriate to the circumstances of the case, and in accordance with all regulations of the City.
(40)
Person aggrieved means any unsuccessful applicant for a particular interpretation or administration of this Title or for a variance or special use permit or zoning or rezoning, or any officer or Administrative Official of the City affected by any final action. In the case of an application for a variance, special use permit, zoning or rezoning, all persons to whom notice of such application is required to be given under the terms of this Title may also be deemed aggrieved persons for the purpose of prosecuting an appeal from the final action, Zoning Board of Appeals or City Council as the case may be.
(40.5)
Pole barn means a farm building with no foundation, and sides typically consisting of corrugated steel or aluminum panels, supported by poles set in the ground. Pole barns are typically unfinished, and uninsulated and are normally used for agricultural purposes, for construction trade storage, or for general storage and not intended for human inhabitation.
(41)
Preexisting towers and preexisting antennas means any tower or antenna for which a building permit or special use permit has been properly issued prior to the effective date of the ordinance adopting Article VI of Chapter 4 of this Title, including permitted towers or antennas that have not yet been constructed so long as such approval is current and not expired.
(42)
Primarily engaged means the principal use of a building or structure, with not more than thirty percent (30%) of the gross floor area of the building or structure devoted to an accessory use, which is not otherwise permitted in the zone district.
(43)
Processing means the series of continuous actions that changes one (1) or more materials into a finished or semi-finished product. Examples of industrial processing include but are not limited to: chemical processing as in the processing of photographic materials; a special processing method such as processing butter or cheese; or mechanical processing such as packaging a base product.
(44)
Professional means a person who practices an occupation or vocation in which a knowledge of some department of science or learning is used by practical application to the affairs of others, either advising, guiding or teaching them and in serving their interests or welfare in the practice of an art founded on it. The word implies attainment of professional knowledge as distinguished from mere skill and the application of such knowledge to users as a vocation.
(45)
Recreational vehicle means a vehicular type unit primarily designed as temporary living quarters for recreational, camping or travel use, which either has its own motive power or is mounted on or drawn by another vehicle. Vehicles included are: travel trailer, camping trailer, truck camper and motor home.
(46)
Recreational vehicle site means a property lot within a recreational park designed for either a recreational vehicle, tent or other individual camping unit on a temporary basis.
(47)
Recyclable material means newspaper, magazines, cardboard, telephone books, loose paper, glass containers, plastic containers, steel cans, aluminum cans and scraps, leaves and organic materials, and reusable clothing and household items.
(48)
Retail marijuana consumer means a person twenty-one (21) years of age or older who purchases marijuana or marijuana products for personal use by persons age twenty-one (21) years of age or older, but not for resale to others.
(49)
Retail marijuana cultivation means the planting, growing, or harvesting of marijuana, including but not limited to hydroponic cultivation and cloning.
(50)
Roadside memorial means a single item or collection of items, including but not limited to real or plastic flowers, crosses or other mementos, made of any material placed on City owned property, City maintained trails or in a public right-of-way to mark the site where a person has suddenly and unexpectedly died and/or to commemorate a person.
(50.5)
Shipping container means a standardized, reusable vessel that appears to be originally, specifically or formerly designed for or used in the transportation of freight and capable of being mounted and moved on a rail car or mounted on a chassis for movement by truck trailer or a ship. The shipping containers may be temporary or permanent per the regulations in Section 17-4-23. Shipping containers include moving pods, shipping containers, and other similar metal containers.
(51)
Sight-distance triangle means a pentahedron-shaped area at the intersection of two (2) or more streets in which the unregulated placement of structures and improvements could reduce the visibility of motor vehicle operators and create a hazardous condition. Two (2) feet above the centerline grades of the intersecting streets, and extend to a height of eight (8) feet above the centerline grade. The Department of Transportation shall determine the area of the sight-distance triangle.
(52)
Sign means any device designed to inform or attract the attention of persons not on the premises on which the sign is located and including any words, lettering, figures, numerals, phrases, sentences, devices, designs, pictures, symbols or trademarks by which anything is made known, such as are used to designate a firm, association, corporation, business, service or commodity or product, or any type of publicity, whether placed on natural objects or on a building, fence or other man-made structure, which are visible from any public street or public road right-of-way. See Chapter 10 of Title XVII for additional sign regulations and definitions.
(52.5)
Site plan means a plan of proposed improvements to a given lot. A site plan usually shows a building footprint, travelways, parking, drainage facilities, sanitary sewer lines, water lines, trails, lighting, and landscaping and garden elements.
(53)
Solid wastes means garbage, refuse, sludge of sewage disposal plants and other discarded solid materials, including solid waste materials resulting from residential, industrial, commercial and community activities but does not include agricultural wastes, animal parts or remains, or hazardous waste as defined by Section 25-15-101(6), C.R.S.
(54)
Solid wastes disposal means the collection, storage, treatment, utilization, processing or final disposal of solid wastes.
(55)
Street line means the right-of-way line of a street.
(56)
Structurally altered means changes which increase, extend or enlarge the building, extend the life of the building, convert the building into a different structure or affect the form or character of an existing building or structural quality.
(57)
Structure means anything constructed or erected with a fixed location on the ground, or attached to something having a fixed location on the ground. Among other things, structures include buildings, mobile homes, walls, billboards, poster panels, signs, towers (antennas), wind turbines and satellite dishes. Below are definitions of the specific types of structures:
a.
Structure, accessory means a subordinate structure located on the same lot as a principal building. The use of an accessory structure must be incidental and subordinate to the use of the principal building. Accessory structures include garages, carports, storage sheds, decks and similar structures, but do not include wind turbines.
b.
Structure,attached means sharing at least one (1) common wall or at least fifty percent (50%) of the larger of the two (2) walls and sharing a common and integrated roof. A breezeway connecting two (2) structures, even with a common roof, does not constitute an attached structure.
c.
Structure, detached means a structure with no common wall with another structure. For the purposes of this Title, two (2) structures connected by a breezeway or other partial attachment, is considered a detached structure.
d.
Structure, greenhouse means a structure, primarily of glass or glasslike, in which temperature and humidity can be controlled for the cultivation or protection of plants. Greenhouses with plastic tarp, material or cloth for walls or roof are not considered greenhouse structures.
e.
Structure, principal means a structure in which the principal use is conducted.
(58)
Use types:
a.
Accessory use means a use on the same lot with, and of a nature customarily incidental and subordinate to, the principal use. Unless otherwise provided in this Title, an accessory use shall not exceed thirty percent (30%) of the gross floor area of the principal structure, and must be located in the same principal structure.
b.
Conditional use means a use that, due to special characteristics associated with the specific type of use, requires the review and approval of the Administrative Official to ensure that any adverse impacts that may be generated by the use be mitigated by demonstrating compliance with certain stated conditions.
c.
Permitted use means a use of any lot, building or structure which is specifically enumerated as a permitted use by the regulations of the zoning district in which the lot, building or structure is located.
d.
Principal use means the primary or predominant use of any lot, building or structure.
e.
Temporary use means a means any activity, occupation, business or operation carried on, or intended to be carried on, in or from a tent, movable stand, portable equipment or any temporary building or structure, or in or from a truck, trailer or other vehicle, for a period not to exceed thirty (30) days in any calendar year, with the exception of mobile food units. (See temporary uses at Section 17-4-32.)
f.
Use by review is a use that would not be appropriate generally or without restriction throughout the zoning division or district but which, if controlled as to number, area, location or relation to the neighborhood, would promote the public health, safety, welfare, morals, order, comfort, convenience, appearance, prosperity or general welfare. Such uses may be permitted in such zoning division or district as uses by review if specific provisions for such uses by review are made in this Title.
(59)
Variance is a relaxation of the terms of this Title where such variance will not be contrary to the public interest and where, owing to conditions peculiar to the property and not the result of the actions of the applicant, a literal enforcement of the Title would result in unnecessary and undue hardship. See section 17-5-34 for full requirements for a variance.
(60)
Vehicle conditions types:
a.
Inoperable means any motorized vehicle incapable of immediately being driven and moved under its own power. A vehicle that is not currently licensed or registered to operate legally on a public right-of-way, including a recreational vehicle or trailer that is designed for travel on the public roads is also considered an inoperable vehicle.
b.
Junk means any motor vehicle, trailer or semi trailer that is inoperable and which, by virtue of its condition, cannot be economically restored to operable condition; provided, that such vehicle, trailer, or semi trailer shall be presumed to be a junk vehicle if no license plates are displayed or if the license plates displayed have been invalid for more than sixty (60) days.
(61)
Yard means a required open space other than a court unoccupied and unobstructed by any structure or portion of a structure from thirty (30) inches above the general ground level of the graded lot upward, except where projections and encroachments are permitted by this Code; provided, however, that fences, walls, poles, posts and other customary yard accessories, ornaments and furniture may be permitted in any yard subject to height limitations and requirements limiting obstruction of visibility.
a.
Yard, front means a yard extending between side lot lines across the front of a lot adjoining a public or approved private street. The depth of required front yards shall be measured at right angles to a straight line joining the foremost points of the side lot lines. The foremost point of the side lot line, in the case of rounded property corners at street intersections, shall be assumed to be the point at which the side and front lot lines would have met without such rounding.
1.
In the case of through lots, unless the prevailing front yard pattern on adjoining lots indicates otherwise, front yards shall be provided on all frontages. Where one (1) of the front yards that would normally be required on a through lot is not in keeping with the prevailing yard pattern, the Administrative Official may waive the requirements for the normal front yard and substitute therefor a special yard requirement which shall not exceed the average of the yards provided on adjacent lots.
2.
In the case of corner lots which do not have reversed frontage, a front yard of the required depth shall be provided in accordance with the prevailing yard pattern and a second front yard of half the depth required generally for front yards in the district shall be provided on the other frontage.
3.
In the case of reversed frontage corner lots, a front yard of the required depth shall be provided on either frontage, and a second front yard of half the depth required generally for front yards in the district shall be provided on the other frontage.
4.
In the case of corner lots with more than two (2) frontages, the Administrative Official shall determine the front yard requirements subject to the following limitations: (1) at least one (1) front yard shall be provided having the full depth required generally in the district; and (2) no other front yard on such lot shall have less than half the full depth required generally.
b.
Yard, side means a yard extending from the rear line of the required front yard to the rear lot line, or in the absence of any clearly defined rear lot line, to the point on the lot farthest from the intersection of the lot line involved with the public street. In the case of through lots, side yards shall extend from the rear lines of front yards required. In the case of corner lots, yards remaining after full- and half-depth front yards have been established shall be considered side yards. The width of a required side yard shall be measured in such a manner that the yard established is a strip of the minimum width required by district regulations with its inner edge parallel with the side lot line.
c.
Yard, rear means a yard extending across the rear of the lot between inner side yard lines. In the case of through lots and corner lots, there will be no rear yards, but only front and side yards. Depth of a required rear yard shall be measured in such a manner that the yard established is a strip of the minimum width required by district regulations with its inner edge parallel with the rear lot line.
d.
Yard, special means a yard behind any required yard adjacent to a public or approved private street, required to perform the same functions as a side or rear yard, but adjacent to a lot line so placed or oriented that neither the term side yard nor the term rear yard clearly applies. In such cases, the Administrative Official shall require a yard with minimum dimensions as generally required for a side yard or a rear yard in the district, determining which shall apply by the relation of the portion of the lot on which the yard is to be located to the adjoining lot or lots, with due regard to the orientation and location of structures and buildable areas thereon.
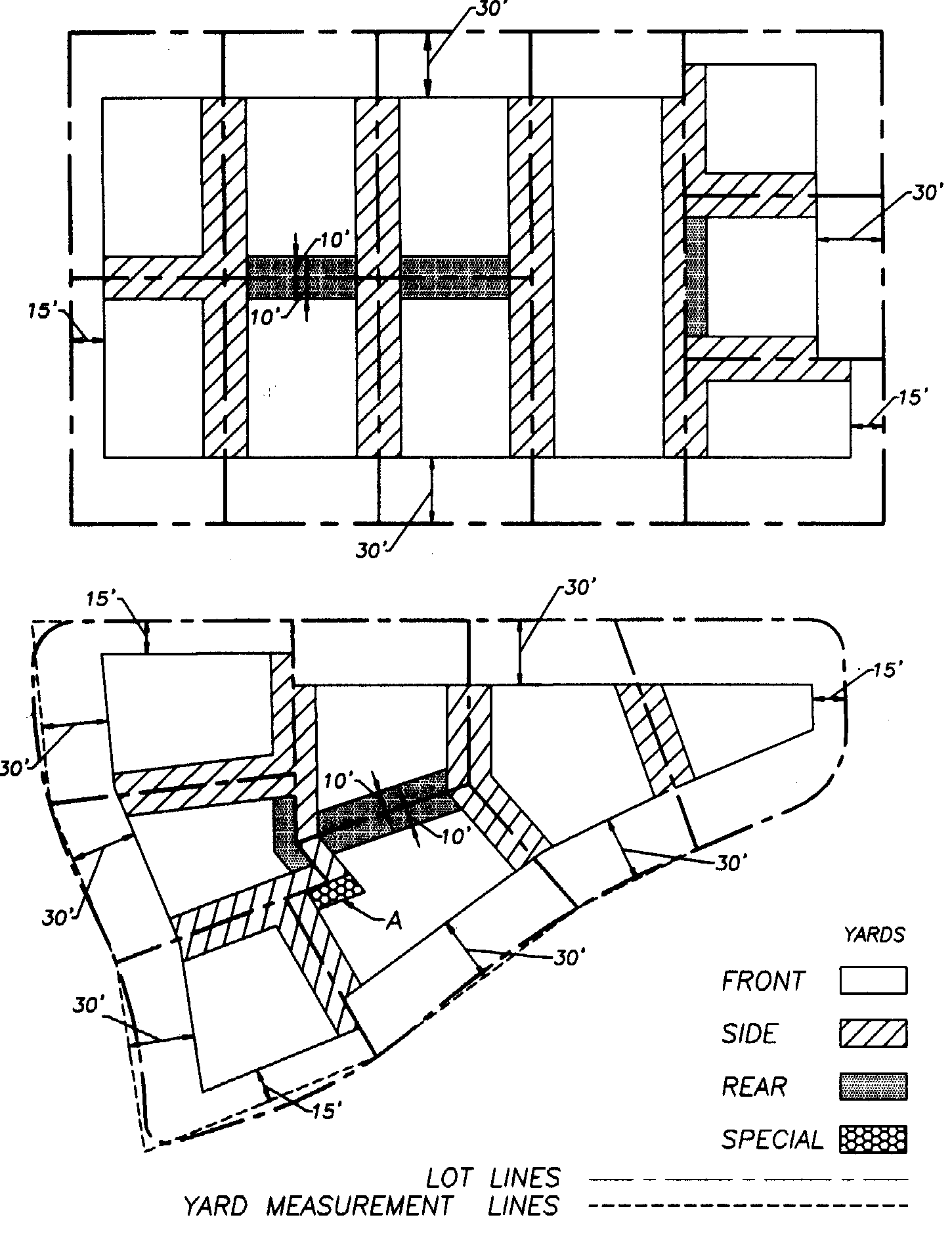
The diagram below illustrates the location and methods of measuring yards on rectangular and nonrectangular lots.
Figure 2
Location and Measurement of Yards on Lots
The illustration here assumes front yard depths required at thirty (30) feet (half-depth front yards fifteen [15] feet), side yard widths ten (10) feet, and rear yard depth ten (10) feet. Note that at A, a special yard is shown, indicating treatment where usual side or rear yard terminology would be difficult to apply but purpose of the yard is clear.
(1957 Code, App. A §20; Ord. No. 3522 §10, 1-24-72; Ord. No. 3693, 4-9-73; Ord. No. 3738, 8-27-73; Ord. No. 3842 §1, 4-8-74; Ord. No. 3960, 1-13-75; Ord. No. 4916, 11-9-81; Ord. No. 5000, 8-23-82; Ord. No. 5102, 12-12-83; Ord. No. 5123, 1-23-84; Ord. No. 5175, 9-24-84; Ord. No. 5194, 12-10-84; Ord. No. 5319, 5-27-86; Ord. No. 5387, 3-23-87; Ord. No. 5475, 5-23-88; Ord. No. 5476, 5-23-88; Ord. No. 5631, 9-24-90; Ord. No. 6021, 10-23-95; Ord. No. 6055, 1-22-96; Ord. No. 6228, 7-28-97; Ord. No. 6470, 8-23-99; Ord. No. 6545, 5-22-00; Ord. No. 6745 §§1-3, 10-22-01; Ord. No. 6912 §2, 11-25-02; Ord. No. 6942 §§1-3, 1-27-03; Ord. No. 6966 §1, 4-14-03; Ord. No. 6993 §§1, 2, 5-27-03; Ord. No. 6998 §§1, 2, 6-9-03; Ord. No. 7083 §2, 11-24-03; Ord. No. 7107 §1, 2-23-04; Ord. No. 7285 §§3—5. 4-11-05; Ord. No. 7357 §2, 8-22-05; Ord. No. 7560 §2, 1-8-07; Ord. No. 7842 §1, 7-28-2008; Ord. No. 7975 §§1—3, 2-23-09; Ord. No. 8001 §1, 4-27-09; Ord. No. 8207 §1, 5-24-10; Ord. No. 8245 §1, 7-26-2010; Ord. No. 8327 §1, 3-28-11; Ord. No. 8370 §1, 7-11-11; Ord. No. 8489 §2, 6-11-12; Ord. No. 8677 §1, 12-9-13; Ord. No. 8734 §1, 5-12-14; Ord. No. 8747 §1, 6-23-14; Ord. No. 8841 §1, 2-23-15; Ord. No. 8933 §1, 11-23-15; Ord. No. 9139 §1, 6-26-17; Ord. No. 9296 §1, 6-11-18; Ord. No. 9380 §1, 11-26-18; Ord. No. 9469 §1, 5-28-19)
For the purpose of this Title, certain terms or words used herein shall be interpreted as follows:
(0.5)
Accessory dwelling unit, established means an attached, detached, or integrated accessory dwelling unit that was occupied prior to February 1, 1968. This will allow the same accessory use to be reestablished. The discontinuance of the accessory dwelling unit will not prevent reestablishing the preexisting accessory dwelling unit. The number of dwelling units shall not be more than the same number of dwelling units that existed when the accessory dwelling use was first legally established.
(1)
Adult day service center means a facility providing health and social services, individual therapeutic and psychological activities for the elderly and/or persons with disabilities for a portion of a twenty-four-hour day. Such facility may be operated with or without compensation for such services. A facility shall be properly licensed and/or certified as required by the State.
(2)
Adult entertainment is entertainment which is distinguished or characterized by an emphasis on acts or material depicting, describing or relating to specified sexual activities or specified anatomical areas, as defined herein, customarily not open to the public at large generally, but only to one (1) or more classes of the public excluding any minor by reason of age as a prevailing practice. See Section 17-11-3 for specific adult entertainment definitions.
(3)
Airport:
a.
Commercial or public means facilities for the takeoff and landing of aircraft, including runways, aircraft storage buildings, and helicopter pads. When part of the larger airport facility, also includes, air traffic control facilities, informational facilities and devices, terminal buildings, aircraft maintenance facilities, aviation instruction facilities, and airport auxiliary facilities such as car rentals companies.
b.
Private means private facilities for the takeoff and landing of aircraft, including runways, aircraft storage buildings, and helicopter pads. When part of the larger airport facility, also includes, air traffic control facilities, informational facilities and devices, terminal buildings, aircraft maintenance facilities, aviation instruction facilities, and airport auxiliary facilities such as car rentals companies.
(4)
Ambulance service means a privately-owned facility for the dispatch, storage, and maintenance of emergency medical care vehicles.
(5)
Antenna means any exterior transmitting or receiving device mounted on a tower, building or structure and used in communications that radiate or capture electromagnetic waves, digital signals, analog signals, radio frequencies (excluding radar signals), wireless communications signals or other communication signals.
(6)
Art gallery means an establishment engaged in the sale, loan, or display of art books, paintings, sculpture, or other works of art.
(7)
Artist studio means the workspace for the creation of works of art, such as but not limited to drawing, painting, sculpture, writing and crafts.
(8)
Assisted living facility means a place of permanent residency, designed to provide housing, supportive services, personalized assistance and limited health care for more than eight (8) persons who need help with activities of daily living, but who do not require hospitalization, or skilled or intermediate nursing care, or the services of a long-term care facility.
(9)
Auction house means structure or enclosure used for the public sale of goods, wares, merchandise or equipment to the highest bidder. This specifically excludes the sale of livestock or motor vehicles.
(10)
Auditorium means an open, partially enclosed, or fully enclosed facility used or intended to be used primarily for spectator sports, entertainment events, expositions, and other public gatherings. Typical uses include convention and exhibition halls, sports arenas, and amphitheaters.
(11)
Automobile auction means a place where vehicles, operable or inoperable, are offered for sale to persons who bid on the vehicle in competition with each other.
(12)
Automobile dealership means a retail establishment that sells, rents, or leases new or used automobiles. An automobile dealership does not include the sale or service of recreational equipment but accessory uses may include vehicle maintenance, repair and service areas, parts storage areas, and financial service areas.
(13)
Automobile rental means an establishment engaged in the rental of automobiles and light trucks and vans, including incidental parking and servicing of vehicles for rent. Typical uses include auto rental agencies and taxicab dispatch areas.
(14)
Automobile repair:
a.
Body shop means a facility which provides collision repair services for vehicles with a gross vehicle weight of ten thousand (10,000) pounds or less, including body frame straightening, replacement of damaged parts and painting. The use specifically excludes mechanical or power train repair.
b.
Lube shop means a facility that provides lubrication and or checking, changing, or additions of those fluids and filters necessary to the maintenance of a vehicle. It is intended that these services will be provided while customers wait.
c.
Paintless dent repair shop means a facility that provides repair services of minor dents from the body of motor vehicles without the use of paint, Bondo, harsh chemicals or sanding. General repairs include hail damage, door dings and small dents.
d.
Repair shop means a facility for the general repair, rebuilding or reconditioning of engines, transmissions, differentials, drivetrains, or any parts thereof. This use includes muffler shops, auto repair garages, tire repair and installation, wheel and brake shops, and similar repair and service activities but excludes body shops, dismantling or salvage.
(15)
Bakery, retail means an establishment primarily engaged in the retail sale of baked goods for consumption off site. The products may be prepared either on or off site. Such use may include incidental food service but shall not include the sale of baked goods containing medical or retail marijuana.
(16)
Bar means an establishment, which is primarily engaged in the sale of fermented malt beverages, vinous and spirituous liquors for consumption on the premises. Accessory uses may include the sale of meals and entertainment. Bar shall include beer gardens, drinking places, cocktail lounges, cabarets, discotheques, nightclub, saloons, taprooms and taverns, but does not include a brewpub or microbrewery.
(17)
Banquet hall means an establishment, which is rented by individuals or groups to accommodate private functions including, but not limited to, banquets, weddings, anniversaries and other similar celebrations. Such use may or may not include: 1) kitchen facilities for the preparation or catering of food; 2) the sale of alcoholic beverages for on-premises consumption, only during scheduled events and not open to the general public; and 3) outdoor gardens or reception facilities.
(18)
Batch plant means an industrial facility used for the production of asphalt or concrete, or asphalt or concrete products, used in building or construction, and includes facilities for the administration or management of the business, the stockpiling of bulk materials used in the production process or of finished products manufactured on the premises and the storage and maintenance of required equipment.
(19)
Beauty salon, barbershop means a facility which offers personal service and hygienic treatment including massage, manicure, hair styling, facials and other associated treatments.
(20)
Bed and breakfast:
a.
Home means an owner-occupied and -operated, detached, single-family residence where no more than three (3) guest bedrooms are rented to the general public on a nightly basis and where a breakfast meal is provided only to registered guests.
b.
Inn means a commercial enterprise which rents more than three (3) guest bedrooms to the general public. Such facility may offer meeting facilities and meals to the general public, but would be subject to all laws and regulations governing the operation of a restaurant.
(21)
Blood bank or donor station means an establishment primarily engaged in the collection of human blood form donors. The term does not include a health care facility.
(22)
Boarding house means a residential structure providing individual sleeping accommodations but not individual kitchen facilities. Meals are prepared and served to only members in residence in a common eating area. No supervision, medical treatment or rehabilitation is provided as an accessory use.
(23)
Body art studio means an establishment which is primarily engaged in physical body adornment by artists using, but not limited to the techniques of body piercing and tattooing. This definition does not include ear piercing.
(24)
Bowling Alley means an indoor establishment that devotes more than fifty percent (50%) of its gross floor area to bowling lanes, equipment, and playing area, with customary accessory uses such as bars, snack bars, and retail sales of incidental merchandise.
(25)
Brewpub means an establishment that is primarily an eating place which manufactures malt liquors or fermented malt beverages as an accessory use. In addition, the use may permit the sale of sealed containers of malt liquors or fermented malt beverages which are manufactured and packed on site. The brewing operation processes water, malt, hops and yeast into beer or ale by mashing, cooking and fermenting. The brewing operation does not include the production of any other alcoholic beverage. The area used for brewing, including bottling and kegging, shall not exceed thirty percent (30%) of the total floor area of the commercial space.
(26)
Broadcasting studio means an establishment containing one (1) or more broadcasting studios for over-the-air, cable or satellite delivery of radio or television programs, or studios for the audio or video recording or filming of musical performances, radio or television programs or motion pictures. This term does not include a transmission tower, which may be allowed as an accessory use.
(27)
Butcher shop means a retail store supplying meat and poultry products where meat processing is limited to making cuts of meat from pre-processed carcasses.
(28)
Car wash means a business primarily engaged in washing and cleaning of passenger vehicles, recreational vehicles, or other light duty equipment self-service, automated or using personnel.
(29)
Carnival means a temporary outdoor amusement center where there may or may not be an admission charge, and which may include such activities as a circus, rides, entertainment, games, booths, food services and sales, exhibitions, and animal displays. Carnivals shall not include activities conducted at the fairgrounds or temporary outdoor events conducted as a public or semi-public use.
(30)
Catering service means an establishment in which the principal use is the preparation of food and meals on the premises, and where such food and meals are delivered to another location for consumption.
(31)
Cemetery means a place used for interment of human or animal remains or cremated remains, including a burial park for earth interments, a mausoleum for vault or crypt interments, a columbarium for cinerary interments, or a combination thereof.
(32)
Charitable institution means an organization which performs benevolent actions for the needy with no expectation of material reward. It shall include the lands and buildings used for offices and public facilities of such a charitable institution, but specifically excludes such facilities as homeless shelters, shelters for animals and other related facilities.
(33)
Child care facilities:
a.
Child care center means a facility, by whatever name known, which is maintained for the whole or part of a day for the care of five (5) or more children under the age of eighteen (18) years who are not related to the owner, operator or manager. Such facility may be operated with or without compensation for such care and with or without stated educational purposes. The term includes facilities commonly known as day care centers, day nurseries, nursery schools, kindergartens, preschools, play groups, day camps, summer camps and centers for developmentally disabled children, and those facilities which give twenty-four-hour care for dependent and neglected children. The term includes those facilities for children under the age of six (6) years, with stated educational purposes operated in conjunction with a public, private or parochial college or a private or parochial school. The term child care center shall not apply to any kindergarten maintained in conjunction with a public, private or parochial elementary school system of at least six (6) grades or to any preschool established pursuant to the provisions of Article 28 of Title 22, C.R.S. The term shall not include any facility licensed as a family child care home, a foster care home, or a specialized group facility that is licensed to provide care for three (3) or more children pursuant to Subsection (10) of this Section, but that is providing care for three (3) or fewer children who are determined to have a developmental disability by a community centered board or who are diagnosed with a serious emotional disturbance.
b.
Child care home means a type of family child care home, licensed by the State, which provides less than twenty-four-hour care for no more than eight (8) children on a regular basis in the care provider's place of residence. Children in care are from different family households and are not related by blood, adoption or marriage to the caregiver. Residents of the home under twelve (12) years of age who are on the premises and all children on the premises for supervision are counted against the approved capacity of eight (8) children. The definition of child care home includes a family child care home, an infant/toddler home, and a large (older) child care home as defined by the State Department of Human Services, Division of Child Care.
(34)
Civic Club means an association of individuals joining together for social interaction or some other common objective. It is an association with limited membership controlled by its members into which admission cannot be obtained by any person at his or her pleasure, and in which property is actually owned or secured in common, or held for the benefit of the members. Civic clubs include associations and lodges, but does not include smoking clubs. Examples include Masonic Lodge, Elks Club, etc.
(35)
Commercial, established means a commercial establishment that was operational in a commercial structure any time prior to February 1, 1968; therefore, allowing the same use may be reinstated if authorized by the Zoning Board of Appeals.
(36)
Commercial patio means an outdoor patio for the associated and contiguous restaurant or bar. The patio may used as a seating area with tables and chairs and the seating may be in addition to the indoor seating or it may be the only seating available for the establishment.
(37)
Commissary means a commercial establishment where food, containers, or supplies are kept, handled, prepared, packaged or stored for use by a mobile food unit.
(38)
Community center means a facility used as a place of meeting, recreation, or social activity and not operated for profit and in which neither alcoholic beverages nor meals are normally dispensed or consumed.
(39)
Community correctional facility or program means a community-based or community-oriented facility or program; which is operated either by a unit of local government, the Colorado Department of Corrections, a private nonprofit agency or organization, or any corporation, association or labor organization; which may provide residential accommodations for offenders; and which provides programs and services to aid offenders in obtaining and holding regular employment, enrolling in and maintaining academic courses, participating in vocational training programs and utilizing the resources of the community in meeting their personal and family needs and providing treatment, and in participating in whatever specialized programs exist within the community.
(40)
Community garden means a parcel of land that is managed by a nonprofit organization, public entity or a group of individuals for the purposes of growing and harvesting legal plants for donation, personal use or off-site incidental sales. Community gardens that operate as a primary use of a parcel must obtain a Community Garden permit from the Department of Planning and Community Development and abide by performance standards set forth in Section 17-4-13. Community gardens that operate as accessory uses are encouraged to abide by the performance standards described in Section 17-4-13 but are not required to obtain a community garden permit.
(41)
Composting facility means a facility where organic matter that is derived primarily from off-site is to be processed by composting and/or is processed for commercial purposes. Activities of a composting facility may include management, collection, transportation, staging, composting, curing, storage, marketing, or use of compost.
(42)
Construction yard means an area on or immediately adjacent to a construction or demolition site used on a temporary basis for the parking and storage of equipment used in the project, and the storage and preparation of materials and other items used in the project. Such yard may include construction offices and such shops as are necessary for work on the immediate project.
(43)
Contractor's facilities:
a.
Contractor's shop means an establishment used for the indoor repair, maintenance, or storage of a contractor's vehicles, equipment, or materials, and may include the contractor's business office, but excludes an outdoor yard, unless otherwise permitted.
b.
Contractor'syard means land or buildings used primarily for the storage of equipment, vehicles, machinery, building materials, paints, pipe, or electrical components used by the owner or occupant of the premises in the conduct of any building trades or building craft.
(44)
Convent means a building or group of buildings designed to provide group housing for persons under religious vows or orders. By definition a convent is the same as a monastery.
(45)
Crematory means a facility to incinerate dead human or animal bodies. This facility may or may not be associated with a funeral home. A crematory is neither an accessory use nor a use by right for a funeral home or mortuary or cemetery.
(46)
Dairy operation means the producing, processing and/or distribution of milk and milk by-products. Production shall include the keeping of milk-producing animals.
(47)
Dog care facility means a facility providing such services as canine care for all or part of a day, obedience classes, training, grooming, or behavioral counseling, provided that overnight boarding is not permitted.
(48)
Drive-thru means a building opening, including windows, doors, or mechanical devices, through which occupants of a motor vehicle receive or obtain a product or service and is generally an accessory use to restaurants, banks, etc.
(49)
Emergency generator means an electrical generator powered by an emergency standby engine. See Chapter 13 of this Title for additional definitions and requirements.
(50)
Equestrian event facilities means a facility for the exhibition or competition involving horses whose purpose is to test or advance the skills of a horse or its rider, such as but not limited to horse shows, schooling events, horse training seminars or clinics, open houses, cutting competitions, rodeos, or jackpot roping contests. This land use includes barns, stables, corrals, and paddocks accessory and incidental to the above uses.
(51)
Exterminator means a business primarily engaged in exterminating and fumigating of troublesome insects and rodents.
(52)
Farmers market means a facility used for the retail sales of fresh fruits, vegetables, flowers, herbs, or plants on a periodic basis by farmers. May also involve the accessory sales of other unprocessed foodstuffs, home processed food products such as jams, jellies, pickles, sauces, or baked goods, and home-made handicrafts. The term does not include commercially packaged handicrafts, commercially processed or packaged foodstuffs, or a roadside stand.
(53)
Farming or ranching means the act or business of cultivating land, producing crops and/or keeping livestock, but specifically excludes the cultivation or production of medical or retail marijuana.
(54)
Feedlot means an establishment engaged in the fattening, raising, or breeding of animals typically for the commercial production of food, where the animals are fed primarily in pens, lots, or buildings (partially or wholly enclosed). Uses include but are not limited to hog ranches, poultry/egg farms, and cattle feed lots. The term does not include slaughterhouses.
(55)
Financial drive-up facility means a separate and detached facility designed to permit minor financial transactions, such as deposits and withdrawals, by the customers while remaining in their vehicles. Drive-up facilities normally do not offer the complete financial services, such as loans, new accounts and direct contact with the officers, as provided by the parent financial institution. The financial drive-up facility is the principal building on the site. This definition shall not include such drive-up facilities as are attached to or contained within a financial institution, said drive-up facility then being an accessory use or structure.
(56)
Financial institution means a facility designed to offer complete banking services, such as loans, new accounts and commercial financial transactions. A drive-up facility must be attached and will be considered an accessory use to the primary function of the financial institution. Financial institution includes banks, savings and loans, payday loans or credit unions.
(57)
Flea market means a commercial activity (not including shopping centers, individual retail operations, or sales conducted by a nonprofit or charitable organization) that is open to the general public and composed of two (2) or more semi-enclosed stalls, rooms, stands, or spaces used for the purpose of display and sale, exchange, or barter of merchandise.
(58)
Food and drink processing facility:
a.
Major means an establishment producing or processing foods for human consumption and certain related products. Includes: (1) dairy products processing; (2) fats and oil products (not including rendering plants); (3) grain mill products and by-products; (4) meat, poultry, and seafood canning, curing, and byproduct processing (not including facilities that also slaughter animals); (5) processing and packaging of alcoholic and non-alcoholic beverages; and (6) other similar food preparation from raw products where the impacts are major, as determined by the Administrative Official. Use permits wholesaling of food produced on site.
b.
Minor means an establishments producing or processing foods for human consumption and certain related products with relatively minor impacts to the surrounding neighborhood. Includes: (1) bakery products, sugar and confectionery products (except facilities that produce goods only for on-site sales with no wider distribution); (2) fruit and vegetable canning, preserving, and related processing; (3) non-potentially hazardous foods and foods that do not require refrigeration, such as spices, teas, dehydrated produce, nuts, seeds, jams, jellies, preserves, fruit butter, and baked goods, including candies; and (4) other similar food preparation from raw products where the impacts are minor, as determined by the Administrative Official. Use allows retail sale of food produced on site.
(59)
Food warehousing means an establishment or place of business primarily engaged in selling and/or distributing food products to retailers; to industrial, commercial, institutional, or professional business users, or to other wholesalers; or acting as agents or brokers and buying food for, or selling food products to, such individuals or companies. This is not considered a general commercial use.
(60)
Funeral home means a facility used primarily for human funeral services, provided that such facility shall not contain facilities for (a) embalming; (b) performance of autopsies or other similar surgical procedures; (c) cremation; or (d) storage of funeral caskets and funeral urns, except those on display on the premises; and that funeral vehicles shall not be stored on the premises except in a garage or other accessory building with no direct public street frontage.
(61)
Gas station means a facility limited to retail sales of gasoline, motor oil, lubricants, motor fuels, travel aids, and minor accessories for passenger type vehicles. In addition, such facility may provide for sale prepackaged food items and tangible consumer goods, primarily for self-service by the customer. Does not include Automobile repair, minor, major or body shop. Car wash and fast food permitted as accessory use by right.
(62)
General service means a use that provides results of useful labor, which does not in itself produce a tangible commodity.
(63)
Golf course means the grounds or course over which golf is played, including accessory uses and structures such as a club house, swimming pool, tennis courts and maintenance buildings. It does not include the amusement commonly known as miniature golf which is played with a single club and ball, in which each very short grassless hole constitutes an obstacle course.
(64)
Governmental use means any use or activity which is reasonably necessary in the discharge of a public or governmental function or purpose, including any department or branch of government, federal, state, county, municipal, school or special district, whether it is performed by governmental entity or another person for or on behalf of a governmental entity.
(65)
Group care facility means a facility providing custodial care and treatment in a protective living environment for persons residing voluntarily or by court placement including, without limitation, correctional and post-correctional facilities, drug or alcohol abuse centers, juvenile detention facilities, and temporary custody facilities.
(66)
Guest ranch means an establishment incorporating lodging, and including outdoor recreational facilities, such as but not limited to horseback riding, swimming, tennis courts, shuffleboard courts, barbecue and picnic facilities, and dining facilities intended primarily for use by the guests of the guest ranch. Bars and restaurants for patrons other than guests of the guest ranch are not permitted.
(67)
Halfway house means a facility whose primary purpose is the rehabilitation of persons and where housing, food, treatment or supportive services are provided to not more than eight (8) individuals. Such services include but are not limited to drug and alcohol rehabilitation and halfway houses for prison parolees and juveniles.
(68)
Health club means a facility designed and equipped for the conduct of sports, exercise, leisure time activities, or other customary and usual recreational activities, as well as locker rooms, showers, massage rooms, saunas and related accessory uses, which is operated for profit or not-for-profit and open only to members and guests of the organization or open to the public for a fee.
(69)
Heliport:
a.
Commercial or private means a heliport, helipad, or helistop that is restricted in use to the owner or operator of the facility or to persons authorized by the owner or operator per licensing requirements of the state or FAA.
b.
Emergency medical means a private use heliport, helipad, or helistop which provides helicopter landing area for the transport of persons in need of emergency medical care; the transport of patients needing specialized treatment; or the emergency transport of organs, blood, medicine, or medical equipment.
(70)
Home:
a.
Children means a place of residence which provides lodging, board and personal services other than medical or nursing care, for the health, safety and comfort of more than four (4) persons less than eighteen (18) years of age, and only such other persons who are employed in an official capacity for the operation and maintenance of the home. Examples include orphanages and residential child care facilities.
b.
Disabled, means a place of residence which provides lodging, board and personal services other than medical or nursing care, but may include programs of rehabilitation, for the health, safety and comfort of not more than eight (8) persons having physical disabilities or mental disabilities, and only such other persons who are employed in an official capacity for the operation and maintenance of the home. According to Section 31-23-303 of the C.R.S. home, disabled are a matter of statewide concern and is considered a residential use of property.
c.
Elderly means a place of residence which provides lodging, board and personal services other than medical or nursing care, for the health, safety and comfort of not more than eight (8) persons sixty (60) years of age or older and the co-habitation spouses of persons sixty (60) years of age or older, and only such other persons who are employed in an official capacity for the operation and maintenance of the home.
d.
Elderly foster means an owner-occupied residence which provides room and board to not more than eight (8) persons who are sixty (60) years of age or older, are unrelated to the owner, and who by reason of age and impaired capacity are unable to live independently of personal services provided by the owner-occupant. The term home, elderly foster does not include a home or facility which provides medical or nursing care or services. The term personal services, for purposes of this definition, means those services provided by the owner-occupant for each resident, including: housekeeping and laundry services; an environment which is sanitary and safe from physical harm; individualized social supervision; assistance with transportation; and assistance with activities of daily living, including but not limited to bathing, dressing and eating.
e.
Foster means a place of residence which provides on a regular twenty-four-hour basis room, board, ordinary care and supervision for at least three (3) but not more than four (4) minors who are unrelated to the caretaker. Before commencing operation, and as a continuing requirement, every foster home shall be certified or licensed by the State, shall be periodically inspected, approved and supervised by the County Department of Social Services, and shall obtain a special use permit if such home is to be located on property zoned R-1, R-2 or R-3 as defined in this Chapter. Such special use permit shall be personal and shall not run with the land.
(71)
Homeless shelter means a facility providing temporary lodging, with or without charge or meals, for indigent adults with no residence within the City.
(72)
Home based business means an accessory use carried on in a single or two-family residential structure only by the residents thereof; provided that the use is limited in extent and incidental and secondary to the use of the dwelling unit, does not change the character thereof, or affects the residential character of the neighborhood.
(73)
Hospice care facility means a coordinated program of home care with provision for inpatient care for terminally ill patients and their families. A medically directed interdisciplinary team provides this care, directly or through an agreement under the direction of an identifiable hospice administration. A hospice program of care provides palliative and supportive medical and other health services to meet the physical, psychological, social, spiritual, and special needs of patients and their families, which are experienced during the final stages of terminal illness and during dying and bereavement.
(74)
Hospital means an establishment primarily engaged in providing diagnostic services, extensive medical treatment, including surgical services, and other hospital services, as well as continuous nursing services. Hospitals have an organized medical staff, inpatient beds and equipment and facilities to provide complete health care. Includes accessory residential uses for nurses and physicians.
(75)
Hotel means a commercial establishment offering lodging to transients on a day-to-day basis, and often having as accessory uses eating and drinking areas, public rooms, retail and service businesses that are also available to the general public. By definition, hotel shall also include motel, motor hotel, motor inn, motor lodge and tourist court.
(76)
Instructional studio means a facility established to provide classes for the teaching of the various arts (e.g. dance, painting, sculpting, singing, karate).
(77)
Kennel means an establishment where domestic pets are bred, raised, trained, groomed and boarded. The keeping of more than four (4) dogs and/or cats over the age of six (6) months shall constitute a kennel. Includes catteries.
(78)
Laboratory means a facility for scientific laboratory research, investigation, testing, or experimentation, but not facilities for the manufacture or sale of products, except as accessory and incidental to the main purpose of the laboratory. Examples include biotechnology, pharmaceuticals, genetics, plastics, polymers, resins, coatings, fibers, fabrics, films, heat transfer, and radiation research facilities.
(79)
Laundromat means an establishment providing washing, drying, ironing or dry-cleaning machines for hire to be used by the customers on the premises.
(80)
Laundry service means a service establishment or business that provides washing, drying, dry cleaning, tailoring, mending, or other clothing alteration for customers.
(81)
Library means a public or nonprofit facility in which literary, musical, artistic, or reference materials such as but not limited to books, manuscripts, computers, recordings, or films are kept for use by or loaning to patrons of the facility, but are not normally offered for sale.
(82)
Livestock market means an establishment wherein livestock are collected and held for the purposes sale or transfer by auction, consignment, or other means.
(83)
Live-work unit means a single-family detached dwelling for both residential purpose and any nonresidential use permitted in the zone district in which the unit is located, provided that not more than one (1) person who does not reside in the unit are employed on the premises.
(84)
Manufactured home, one-family means a single-family dwelling which:
a.
Is partially or entirely manufactured in a factory;
b.
Is designed for and placed upon an engineered foundation;
c.
Has brick, wood or cosmetically equivalent exterior siding on all exterior walls which provides a consistent, continuous facade from the bottom of the soffit (top of wall section) downward to the exposed perimeter wall, foundation or to grade, whichever is applicable, and has a pitched roof; and
d.
Is manufactured after 1976 and certified pursuant to the National Manufactured Housing Construction and Safety Standards Act of 1974, 42 U.S.C. § 5401 et seq., as amended (commonly referred to as the "HUD" Code; effective in 1976) and all regulations enacted pursuant thereto, including any local modifications that are expressly allowed by federal law, or which have been certified by the State as being in compliance with the requirements of the Colorado Division of Housing's Building Codes and Standards (BCS).
(85)
Manufacturing and production means the manufacturing, processing, fabrication, packaging, or assembly of goods. Natural, man-made, raw, secondary, or partially completed materials may be used. Products may be finished or semi-finished and are generally made for the wholesale market, for transfer to other plants, or to order for firms or consumers. Includes the assembling of component parts, the manufacturing of products, and the blending of materials, such as lubricating oils, plastics, resins, or liquors. Determination of use is based upon gross floor area.
(86)
Massage establishment means an establishment or business wherein massage is practiced, including establishments commonly known as health clubs, physical culture studios, massage studios, or massage parlors. Includes massage establishments accessory to hospitality uses.
(87)
Medical marijuana uses:
a.
Center means the use of any property or structure to distribute, transmit, give, dispense or otherwise provide marijuana in any manner to patients or primary caregivers in accordance with Amendment 20, and the implementing state statutes and administrative regulations. The medical marijuana center may include an optional cultivation premises as an accessory use by right.
b.
Cultivation facility means an entity which cultivates, prepares, and packages marijuana and sells marijuana to medical marijuana stores, to medical marijuana product manufacturing facilities, and to other medical marijuana cultivation facilities, but not to consumers.
c.
Home cultivation means the use of any residential property for the cultivation and growing of medical marijuana for personal use only. The operation of a home cultivation shall require compliance with Section 17-15-20 of this Title.
d.
Infused product manufacturing means a manufacturing or processing facility in which a product is infused with medical marijuana that is intended for use or consumption other than by smoking, including but not limited to edible products, ointments, and tinctures. The medical marijuana infused product manufacturing use may include an optional cultivation premises as an accessory use by right.
e.
Testing facility means an entity which may analyze and certify the safety and potency of medical marijuana.
(88)
Microbrewery means an establishment that is primarily used for producing beer and may include retail or food service as an accessory use. The brewing operation processes water, malt, hops and yeast into beer or ale by mashing, cooking and fermenting. The brewing operation does not include the production of any other alcoholic beverage.
(89)
Mineral springs means a facility where naturally occurring springs that produce water containing minerals, or other dissolved substances, that alter its taste or give it a purported therapeutic value are used or bottled for retail sales.
(90)
Mixed-use means a development that includes nonresidential and residential principal uses within the same structure. The commercial uses are restricted to those permitted in the district.
(91)
Mobile auto repair means an establishment which provides temporary automobile repair service from a tent, truck, vending cart, or other area outside of a permanent structure.
(92)
Mobile food unit means retail food establishment that is not intended to be permanent and is a motorized wheeled vehicle, or a trailer that is licensed for use on public roadways, designed and equipped to serve food and beverages, operating in either a static or transitory location and serving the public. The sale and distribution of frozen milk, frozen dairy or ice confection products, candy gum or other confection products shall be permitted for mobile food units.
(93)
Mobile home, one-family means a dwelling unit with all the following characteristics:
a.
Designed as a detached single-family dwelling unit for long-term occupancy and containing sleeping accommodation, a flush toilet, a tub or shower bath, kitchen facilities, plumbing, sewer and electrical connections provided for attachment to outside systems;
b.
Designed to be transported after fabrication on its own wheels, on flatbed, other trailers or detachable wheels;
c.
Arrives at the site where it is to be occupied as a complete dwelling and is ready for occupancy except for minor and incidental unpacking and assembly operation, location on foundation supports or jacks, underpinned, connections to utilities and the like;
d.
Is not less than eight (8) feet in width and thirty-two (32) feet in length, excluding towing gear and bumpers;
e.
Is without motive power;
f.
Is manufactured after 1976 and certified pursuant to the "National Manufactured Housing Construction and Safety Standards Act of 1974," 42 U.S.C. § 5401 et seq., as amended, and all regulations enacted pursuant thereto; and
g.
Complies with City ordinance modifications as authorized by state or federal law.
(94)
Mobile home park means an area under single ownership which has been so designated and improved that it contains two (2) or more mobile home spaces available to the general public for the placement thereon of mobile homes for occupancy.
(95)
Mobile home sales means the retail sales of mobile and manufactured homes.
(96)
Model home means a dwelling unit temporarily used for display purposes as an example of dwelling units available or to be available for sale or rental in a particular subdivision or other residential development approved by the City. Model homes may also incorporate sales or rental offices for dwellings within the development.
(97)
Mortuary means an establishment engaged in undertaking or funeral services, such as preparing dead human bodies for burial and arranging and managing funerals. A funeral home is considered a mortuary, however a crematory is neither an accessory use nor a use by right for a mortuary.
(98)
Museum means an establishment displaying objects of historical, educational or cultural interest, with items not generally being offered for sale. Receipts of funding of a museum are not primarily from admission charges.
(99)
Natural deposits:
a.
Extraction means the exploration for or extraction of surface or subterranean compounds and materials; this includes oil and gas exploration and production, and the mining of metallic and nonmetallic minerals, sand, gravel, and rock.
b.
Processing means the processing of surface or subterranean compounds and materials.
(99.5)
Natural Medicine:
a.
Natural medicine, healing center means a facility where an entity is licensed by the state licensing authority that permits a facilitator, as defined by state laws, and regulations, to provide and supervise natural medicine services for a participant as defined by state laws and regulations, which includes a participant consuming and experiencing the effects of regulated natural medicine or regulated natural medicine product under the supervision of a facilitator.
b.
Natural medicine, cultivation facility means an entity which is licensed by the state licensing authority, that cultivates, prepares, and packages natural medicine products and sells natural medicine products to natural medicine product manufacturing facilities, natural medicine healing centers, and to other natural medicine cultivation facilities, but not to consumers.
c.
Natural medicine, products manufacturer, means an entity which may purchase natural medicine; manufacture, prepare, and package natural medicine; and sell natural medicine products to other natural medicine product manufacturing facilities, but not to consumers.
d.
Natural medicine, testing facility means an entity which may analyze and certify the safety and potency of natural medicine.
(100)
Non-governmental use means a use not classified as a governmental use defined in Subsection (65) above.
(101)
Nursery means an establishment whose principal activity is the selling of plants, flowers, shrubbery, trees, and other horticultural and floricultural products that are propagated and grown on the site, typically within a greenhouse structure or building, but specifically does not permit the cultivation or production of medical marijuana.
(102)
Nursing home means a place of permanent residency which provides lodging, board and personal services to more than eight (8) persons who are sick, infirmed or convalescent who are attended by nurses caring for their physical and mental requirements. It may also include only such other persons who are employed in an official capacity for the operation and maintenance of the home. Nursing home includes long-term health care, but does not include hospitals.
(103)
Office:
a.
General means an establishment where business is transacted, such business being primarily a service with the sale of merchandise being secondary and incidental to the performance of the service.
b.
Medical means an establishment used exclusively by physicians, dentists, and similar personnel for the treatment and examination of patients solely on an outpatient basis, provided that no overnight patients shall be kept on the premises. Includes but is not limited to doctor and dentist office, outpatient surgery centers and medical laboratories.
c.
Professional means an office of a member of a recognized profession maintained for the conduct of business in any of the following related categories: architectural, engineering, planning, law, interior design, accounting, insurance, real estate, or any similar type of profession.
(104)
Outdoor sales, seasonal means a business or use (primary or accessory) that is conducted primarily out of doors, on a limited seasonal basis which may include but not be limited to: the sale of fruits and vegetables, plants, flowers, Christmas trees, pumpkins and other similar businesses or uses.
(105)
Parking lot means an open, hard-surfaced area, other than a parking structure, street or public way, to be used for the transient parking of operable passenger automobiles, whether for compensation or free.
(106)
Parking structure means a semi-enclosed structure or portion thereof composed of one (1) level or floor, with an occupiable building above or below the parking structure, or more than one (1) level or floor, with or without a building above or below, used exclusively for the parking of motor vehicles. A parking structure may be totally below grade (as in an underground parking garage) or either partially or totally above grade with those levels being either open or enclosed. This definition does not include single-level parking lots that are covered, unless covered by an occupiable building.
(107)
Parks, trails, and open space means an area of open space provided for recreational purposes, including both active and passive recreation. This definition includes parks, trails and open space owned and maintained by the City or by a home owners association, for the purpose of the residences in the vicinity.
(108)
Pawnshop means an establishment that engages, in whole or in part, in the business of loaning money on the security of pledges of personal property, or consignment sales of personal property. Includes general pawnshops and jewelry pawnshops, but excludes automobile pawnshops.
(109)
Pawnshop, automobile means an establishment that engages, in whole or in part, in the business of loaning money on the security of pledges of automobiles, or consignment sales of automobiles.
(110)
Payday loan agency means a business that for compensation engages, in whole or in part, in the business of cashing checks, warrants, drafts, money orders, or other commercial paper serving the same purpose. Payday load agency does not include a state or federally chartered bank, savings association, credit union, or industrial loan company, but includes check cashing facilities.
(111)
Pet shop means a retail establishment which sells domesticated or tamed animals, birds and fish as household pets, and related supplies. Pet shop may also include as an accessory use the grooming of pets. Pet shop does not include the sale of large agricultural animals such as horses, cattle, pigs, sheep or goats, nor the boarding of animals, birds or fish.
(112)
Pharmacy means an establishment primarily engaged in the retail dispensing of prescription drugs and may offer nonprescription drugs, medical aids and convenience goods, but shall not permit the sale or distribution of medical or retail marijuana. The definition of pharmacy includes a drug store.
(112.5)
Photography studio means a workspace to take, develop, print and duplicate photographs.
(113)
Pigeon and dove keeping means the keeping, breeding, maintaining and flying of more than forty (40) but not more than one hundred (100) adult birds of a species of the family Columbidae, more commonly known as pigeons and doves. An adult pigeon or dove is defined as over the age of three (3) months.
(114)
Power plant means a facility that converts one (1) or more energy sources, including but not limited to waterpower, fossil fuels, nuclear, solar or wind power, into electrical energy or steam for the use off-site. A power generation plant may also perform either or both of the following: (a) operation of a transmission system that conveys the energy or steam from the generation facility to a power distribution system; (b) operation of a distribution system that conveys energy or steam from the generation facility or the transmission system to final consumers.
(115)
Precious metal purchaser means a person or business engaged in the purchasing of any item containing, in whole or in part, gold or silver or any allow of gold or silver.
(116)
Print shop means an establishment in which the principal business consists of duplicating and printing services using photocopy, blueprint, or offset printing equipment, including publishing, binding, and engraving.
(117)
Public utilities means a water, irrigation, sewer, gas, electric, telephone, bus, taxi, ambulance or railroad system or installation which serves five (5) or more customers, whether or not it is franchised or organized as a corporation or district. Public utility installation shall comply with Section 17-4-30.
(118)
Racetrack means a measured course where animals, vehicles or machines are entered in competition against one another or against time, including tracks used only for training or practice. A racetrack may include accessory offices, seating, concession areas, suites, and related retail sales of memorabilia and merchandise. This definition shall also include any facility used for simulated racing or driving conditions (test tracks, "shakedown" tracks, or other similar facilities).
(119)
Recreation facilities:
a.
General means a facility, with or without seating for spectators, and providing accommodations for a variety of recreation uses including but not limited to golf driving ranges (not associated with a golf course), miniature golf, firing ranges, water parks, amusement parks, skateboard parks, sports fields and courts, batting cages, swimming pools, laser tag, paint ball and motorized cart tracks where recreation facilities may be provided indoor or outdoor.
b.
Indoor means a fully indoor facility, with or without seating for spectators, and providing accommodations for a variety of active or passive recreation, including but not limited to basketball, ice hockey, wrestling, skating rinks, soccer, tennis, volleyball, racquetball or handball. Such facility may also provide other accessory uses including health and fitness club facilities, swimming pool, snack bar, restaurant, retail sales of related sports, health or fitness items, and other support facilities.
(120)
Recreational park means a property upon which two (2) or more recreational vehicle sites, cabins or tent sites are located, established or maintained for occupancy as temporary living quarters for recreation or vacation purposes. Also includes sanitary facilities, laundry facilities and disposition of waste, rubbish and debris created or deposited by its patrons. No person shall be permitted to camp for a period longer than twenty-one (21) days.
(121)
Recreational vehicle, sales and service means a retail establishment that sells, rents, leases, repairs and services new or used recreational vehicles. A recreational vehicle sales establishment does not permit the sale or service of automobiles unless otherwise permitted in the zone district.
(122)
Recycling:
a.
Center means an enclosed building used for storing recyclable material and unenclosed premises on which recyclable material is stored for one (1) week or less.
b.
Collection center means a center for the acceptance by donation, redemption, or purchase of recyclable materials for transshipment to a recycling center or an industrial processing facility. Collection centers include: reverse vending machines or groups of reverse vending machines occupying more than seventy-five (75) square feet, a mobile recycling unit, kiosk-type units that may include permanent structures, unattended containers placed for the donation of recyclable materials.
c.
Processing facility means an indoor or outdoor facility that is not a salvage yard and in which recyclable materials are collected, processed, recycled, and treated to return such products to a condition for efficient shipment or to an end-user's specifications by baling, compacting, composting, flattening, grinding, crushing, mechanical sorting, cleaning or remanufacturing. Does not include processing of tires.
d.
Tire processing facility means a site actively used to produce or manufacture usable materials, including fuel, from scrap tires.
(123)
Refinery means a facility where the unwanted substances in something (such as sugar or oil) are removed.
(124)
Refuse collection company means an establishment primarily engaged in the pick up of trash and refuse. Includes curbside pickup, port-o-let rental and roll off dumpster service.
(125)
Religious institution means a establishment where people regularly assemble for religious worship and which is maintained and controlled by a religious body organized to sustain public worship, together with all accessory uses customarily associated with such primary use. Includes church, synagogue, temple, mosque, or other such place of worship or religious activities.
(126)
Rental shop:
a.
Equipmentmeans an establishment providing the rental of goods and equipment including but not limited to tools, trucks, tractors, construction equipment, agricultural implements, and similar commercial and industrial equipment. Included in this use type is the incidental storage, maintenance, and servicing of such equipment.
b.
General means an establishment providing the rental of general merchandise to the general public. General merchandise includes clothing and other apparel, electronics, videos, small tools and garden equipment, furniture and other household appliances, special occasion or seasonal items, and similar consumer goods.
(127)
Repair shop:
a.
Consumer items means an establishment primarily providing repair services to consumer items, but excluding automotive, household appliance, small engine and equipment repair. Typical uses include shoe, watch or jewelry, or musical instruments repair.
b.
Durable goods means an establishment primarily providing repair services to non-consumer items including household appliances, small engines and equipment, but excluding automobiles.
(128)
Residence:
a.
Condominium means a residential structure of two (2) or more dwelling units in which the dwelling units are individually owned; each owner receiving a recordable deed enabling him or her to sell, mortgage, exchange, etc., his or her dwelling unit independent of the owners of the other dwelling units in the structure. The maintenance of the structure and common improvements is provided through a homeowners' association or similar contractual group. Condominium structures with three (3) or more dwelling units shall be considered multifamily residential structure and adhere to C.R.S. § 17-4-14 of the Pueblo Municipal Code.
b.
Established means a residence, one-, two-, or multifamily that was occupied any time prior to February 1, 1968; therefore, allowing the same use to be reinstated. The discontinuance of the residence does not preclude the residence from returning; the number of dwelling units shall not be increased above the number of dwelling units that existed when the use was legally established.
c.
Multifamily, means a residential structure, containing three (3) or more dwelling units. Each dwelling unit is designed for occupancy by not more than one (1) family. Condominiums with three (3) or more dwelling units and townhouses are defined as multifamily residences.
d.
One-family means a detached single-family residential dwelling unit designed for and occupied by not more than one (1) family, including a manufactured home but excluding a mobile home.
e.
Accessory Dwelling Unit means an attached, detached, or integrated dwelling unit that is incidental and accessory to a one-family residence on the same lot and provides complete and independent facilities for one or more individuals, including facilities for living, sleeping, eating, cooking, and sanitation.
1.
Attached accessory dwelling unit: the accessory dwelling unit shares at least one (1) wall in common with the one-family residence on the same lot, increasing the footprint of the one-family residence.
2.
Detached accessory dwelling unit: the accessory dwelling unit shares no common wall with the one-family residence on the same lot with its own footprint.
3.
Integrated accessory dwelling unit: the accessory dwelling unit is contained completely within the building envelope of the one-family residence on the same lot with no increase to the footprint of the one-family residence.
f.
Townhouse means a residential structure containing a single-family dwelling unit, located on an individually owned and platted lot, which is joined in a continuous group or row of three (3) or more dwellings which may vary in uniformity of structure, appearance or setback and may be joined by a common side wall.
g.
Two-family means a residential building designed as a single structure, containing two (2) dwelling units and designed for occupancy by not more than two (2) families.
h.
Watchman or caretaker means a residence located on a premises with a main nonresidential use and occupied only by a caretaker or guard employed on the premises, and his or her family.
(129)
Restaurant means a commercial establishment whose primary function is providing prepared meals to customers for consumption within the structure. Accessory uses may include drive up service or outdoor commercial patio, if separately permitted in the zone district.
(130)
Restaurant, carry-out means a commercial establishment where food is prepared on the premises for consumption off the premises, with no seating or other area provided on the premises for consumption. The establishment may deliver food to the customer, or the customer may pick food up.
(131)
Retail marijuana:
a.
Cultivation facility means an entity which cultivates, prepares, and packages marijuana and sells marijuana to retail marijuana stores, to retail marijuana product manufacturing facilities, and to other retail marijuana cultivation facilities, but not to consumers.
b.
Product manufacturing facility means an entity which may purchase marijuana; manufacture, prepare, and package marijuana products; and sell marijuana and marijuana products to other marijuana product manufacturing facilities and to retail marijuana stores, but not to consumers.
c.
Store means an entity licensed to purchase marijuana from marijuana cultivation facilities, and marijuana products from marijuana product manufacturing facilities, and to sell marijuana and marijuana products to retail marijuana consumers.
d.
Testing facility means an entity which may analyze and certify the safety and potency of marijuana.
(132)
Retail sales:
a.
Reserved.
b.
Auto parts means an establishment primarily engaged in selling new automobile parts and accessories to the general public. Excludes salvage operations.
c.
Big box means retail or wholesale, single tenant or multiple tenants in a single development, who occupy no less than forty thousand (40,000) square feet of single-plate ground floor area, typically having a regional sales market. Regional retail/wholesale sales can include but are not limited to membership warehouse clubs that emphasize bulk sales, discount stores, department stores, and pad sites with structures of fewer than forty thousand (40,000) square feet, which are associated with the primary big box retail development and which are included in the original subdivision and/or master plan of the overall development. Zone districts that have a regulatory design review process, such as HB, HARP districts and designated Urban Renewal project areas, are exempt from the big box retail standards.
d.
Building materials means an establishment engaged in selling lumber, or lumber and a general line of building materials, to the general public and construction contractors. Includes products such as rough and dressed lumber, flooring, molding, doors, sashes, frames, fencing, roofing, siding, shingles, wallboard, paint, brick, tile, cement, hardware, and other building materials and supplies. Shall also include bagged sand, gravel, and other bagged landscape material, but shall specifically exclude landscape materials sold in bulk.
e.
Garden center means a retail business whose principal activity is the selling of plants, flowers, shrubbery, trees, and other horticultural and floricultural products that are maintained, but not propagated, on the site, but specifically does not permit the sale of medical marijuana. The sale of other nursery accessories, including but not limited to potting soil, hardware, hoes, rakes, shovels, and other garden tools is permitted.
f.
General means a commercial enterprise that provides goods and/or services directly to the consumer, where such goods are available for immediate purchase but excludes those classified more specifically by definition.
g.
Liquor store means an establishment primarily engaged in the retail sale of packaged alcoholic beverages and related non-alcoholic goods for consumption off the premises.
h.
Intermittent means a temporary retail establishment which only occurs at irregular intervals.
i.
Reserved.
j.
Reserved.
k.
Tires means commercial establishment where the principal use is the sale or installation of new, used, or retread tires and tubes.
(133)
Salvage yard or salvage shop means any place at which salvage is collected, received, stored, accumulated, sold or otherwise handled. Salvage shall mean any personal property which is or may be salvaged for reuse, resale, reduction or similar disposition, or which is possessed, transported, owned, collected, accumulated, dismantled or assorted for any of the aforesaid purposes. Used household furniture, used wearing apparel, used lumber, used brick, used tile, used plumbing fixtures, used electrical fixtures, used articles made of precious metal or metals, used jewelry, used tools and other used articles of personal property, which are bought and sold as secondhand property and which are not handled as what is ordinarily called salvage shall not be included in the term salvage as used herein. Without limiting the aforesaid definition of salvage, the term shall include used or salvaged iron, brass, lead, copper and other base metals, and their compounds or combinations, used or salvaged rope, bags, paper, rags, glass, rubber and similar articles and used motor vehicles or machinery used, owned or possessed for the purpose of wrecking or salvaging parts therefrom.
(134)
School means an education facility and includes parochial, private, professional, college, university and public schools. Specific types of schools are defined below:
a.
College or university means an educational facility and related educational accessory uses other than a trade school which provides full-time or part-time instruction designed to secure a degree in a general field or a specialized professional field.
b.
General means a public, parochial, or private institution and related educational accessory uses that provides educational instruction to students. This definition does not include trade or business schools, colleges, or universities.
c.
Preschool means a facility and related educational accessory uses for the organized instruction of children who have not reached the age for enrollment in kindergarten, excluding child care, homes.
d.
Trade means a specialized instructional facility and related educational accessory uses established to provide for the teaching of industrial, clerical, managerial, or artistic skills. This definition applies to schools that are owned and operated privately for profit and that do not offer a complete educational curriculum (e.g., beauty school, modeling school). This use excludes establishments providing training in an activity that is not otherwise permitted in the zone. Incidental instructional services in conjunction with another primary use shall not be considered a business and trade school.
(135)
Shooting range means an area or structure specially designed for the safe discharge and use of rifles, shotguns, pistols, silhouettes, skeet, trap, black powder, archery, or any similar firearm for the purpose of sport shooting or military/ law enforcement training.
(136)
Sign, billboard (off-premises sign) means a sign structure advertising an establishment, merchandise, event, service or entertainment, which is not sold, produced, manufactured or furnished at the property on which the sign is located; and any other outdoor advertising prohibited by the provisions of Section 43-1-415, C.R.S. and Section 24-4-103, C.R.S.
(137)
Smoking lounge means an establishment where patrons share shisha from a communal hookah or nargile. Smoking lounges do not permit the consumption of marijuana or related products. Smoking lounges are also regulated by Chapter 6 of Title VII of the Pueblo Municipal Code and the Colorado Clean Indoor Air Act.
(138)
Solar array means a freestanding or building mounted device or combination of devices or elements that use direct sunlight as a source of energy for such purposes as heating or cooling a structure, heating or pumping water, or generating electricity.
(139)
Solid wastes transfer station means a facility where non-hazardous solid waste materials are taken from a collection vehicle, temporarily stored or stockpiled, and ultimately placed in a transportation unit for movement to another facility.
(140)
Stable, commercial means a facility commercially available to the general public for the purpose of boarding riding animals on a rent, lease or fee basis.
(141)
Storage facility:
a.
Outdoor means a facility for the exterior stockpiling or safekeeping of materials, products, vehicles, recreational vehicles, cargo containers, trailers, and the like.
b.
Self-storage means a building or group of buildings, pods or shipping containers divided into separate compartments used to meet the temporary storage needs of small businesses, apartment dwellers, and other residential uses; and may include refrigerated facilities.
(142)
Student housing means a residence for occupancy by groups of people not defined as a family, where such building is specifically designed for students of a college, university, trade school or nonprofit organization for the purpose of providing rooms for sleeping and living purposes. Common gathering spaces, kitchen, cafeteria and sanitary facilities may also be provided. Typical uses include, but are not limited to, fraternity or sorority houses, dormitories, residence halls and boarding/lodging houses.
(143)
Taxidermist means a business primarily engaged in preparing, stuffing, and mounting the skins of animals.
(144)
Theater:
a.
Drive-in means an outdoor movie theater where patrons view movies or any other form of entertainment on a screen from their vehicles. This definition does not include an adult theater.
b.
General means a structure for presentation of films, plays or other dramatic performances on two (2) or fewer stages or screens. A theater does not include an adult theater.
c.
Multiplex means structure with three (3) or more movie theaters in which each theater is capable of showing moves independent of the others in the complex. Theaters in a multiplex are grouped in a manner that allows them to share box or ticket offices, parking facilities, lobby area, restrooms, concession stands, signs and marquee displays, and other service and maintenance facilities.
(145)
Tow service means an establishment that provides for the removal of vehicles but does not include storage, overnight storage, disposal, permanent disassembly, salvage, or accessory storage of inoperable vehicles.
(146)
Tow yard means an outdoor storage facility for the temporary storage of towed vehicles.
(147)
Tower (antenna) means any structure that is designed and constructed primarily for the purpose of supporting one (1) or more antennas for telephone, radio and similar communication purposes, including self-supporting lattice towers, guyed towers or monopole towers. The term includes radio and television transmission towers, microwave towers, common-carrier towers, cellular telephone towers, alternative tower structures and the like. The term includes the structure and any support thereto.
(148)
Transit station means a facility that is primarily used, as part of the transit system, for the purpose of loading, unloading, or transferring passengers or accommodating the movement of passengers from one (1) mode of transportation to another.
(149)
Tree service means an establishment primarily providing some of all of the following services related to the establishment, maintaining or removal of trees: cabling and bracing, drought services, fertilization and soil management, insect and disease management, lightning protection, plant analysis and diagnostics, pruning, storm damage, tree inspections, tree inventory, tree removal, and tree structure evaluation.
(150)
Truck parking means an open, hard-surfaced area, other than a parking structure, street or public way, to be used for the transient parking of operable tractor trucks or similar heavy commercial vehicles, whether for compensation or free.
(151)
Truck sales and service means a retail establishment that sells, rents, leases or provides repair service for new or used tractor trucks or similar heavy commercial vehicles, including the sale of accessories and equipment for such vehicles.
(152)
Truck stop means an establishment primarily engaged in the fueling, servicing, repair, or parking of tractor trucks or similar heavy commercial vehicles, including the sale of accessories and equipment for such vehicles. A truck stop may also include overnight accommodations, showers, or restaurant facilities primarily for the use of truck crews as permitted by the zone district.
(153)
Trucking terminal means a facility for the receipt, transfer, short term storage, dispatching of goods transported by truck, and storage and distribution facility for heavy trucks, tractor trailers or similar heavy commercial vehicles. Included in the use type would be express and other mail and package distribution facilities, including such facilities operated by the U.S. Post Office and trucking companies, but excludes trucking accessory to another industrial site.
(154)
Urgent care facility means a facility providing medical service for sick or injured persons exclusively on an urgent out-patient basis, including emergency treatment, diagnostic services, training, administration, and services to outpatients, employees, or visitors. Medical marijuana associated uses are not permitted at a health care facility.
(155)
Veterinary clinic means a facility for the use of a licensed veterinarian in the diagnosis, treatment, or prevention of animal diseases wherein the animals are generally limited to dogs, cats, or other comparable household pets and wherein the overnight care of said animals is prohibited except when necessary in the medical treatment of the animal. The definition of Veterinary clinic includes veterinary hospitals.
(156)
Warehousing use means a use engaged in storage, wholesale, and distribution of manufactured products, supplies, and equipment.
(157)
Wedding facility means an establishment that primarily provides the facilities and services for weddings on a commercial basis. This definition does not include churches and similar congregations where weddings are an ancillary use.
(158)
Wholesaling uses means an establishment primarily engaged in selling and/or distributing merchandise to retailers; to industrial, commercial, institutional, or professional business users, or to other wholesalers; or acting as agents or brokers and buying merchandise for, or selling merchandise to, such individuals or companies for resale.
(159)
Wind turbine means a structure or device fitted with a set of revolving blades designed to move with or harness the power of the wind to generate electricity or mechanical energy and can include pole- or building-mounted turbines. The term wind turbine includes the tower on which it is built.
(160)
Woodworking means a business primarily engaged in manufacturing of wood products, including but not limited to furniture and cabinetry.
(Ord. No. 8933, §1, 11-23-15; Ord. No. 9082 , §1, 12-27-16; Ord. No. 9139, §2, 6-26-17; Ord. No. 9207, §1, 12-11-17; Ord. No. 9469, §2, 5-28-19; Ord. No. 9482, §4, 6-10-19; Ord. No. 9525, §1, 8-26-19; Ord. No. 9709, §1, 5-26-20; Ord. No. 9710, §1, 5-26-20; Ord. No. 10132, §1, 3-14-22; Ord. No. 10693 §1, 4-22-2024; Ord. No. 10941 §1, 4-28-25; Ord. No. 11022 §1, 8-25-25)
Definitions
For the purpose of this Title, certain terms or words used herein shall be interpreted as follows:
(1)
The word person includes a firm, association, organization, partnership, trust, company or corporation, as well as an individual.
(2)
The present tense includes the future tense, the singular number includes the plural, and the plural number includes the singular.
(3)
The word shall is mandatory; the word may is permissive.
(4)
The word used or occupied includes the word intended, designed or arranged to be used or occupied.
(5)
The word lot includes the word plot or parcel.
(6)
Addition means any construction or change to a building or structure or a part of a building or structure that increases the size of a building in terms of site coverage, height, length, width, or gross floor area.
(7)
Administrative Official shall mean the person designated by the Mayor to administer and enforce this Title.
(8)
Alley means a narrow public way which is used primarily for vehicular service access to the back or side of properties otherwise abutting on a street.
(9)
Alternative tower structure means man-made trees, clock towers, bell steeples, light poles and similar alternative-design mounting structures that camouflage or conceal the presence of antennas or towers.
(10)
Antenna means any exterior transmitting or receiving device mounted on a tower, building or structure and used in communications that radiate or capture electromagnetic waves, digital signals, analog signals, radio frequencies (excluding radar signals), wireless communications signals or other communication signals.
(11)
Attached means a building or structure which has at least one (1) wall in common with another building or structure.
(12)
Buildable area means the portion of a lot remaining after required yards (setbacks) have been provided.
(13)
Building, accessory means a subordinate structure located on the same lot as a principal building. The use of an accessory structure must be incidental and subordinate to the use of the principal building. Accessory structures include garages, carports, storage sheds, decks and similar structures
(14)
Building, principal means a building in which the principal use is conducted.
(15)
Carport means a permanent accessory structure providing shelter for automotive vehicles. Carports shall include freestanding roofed structures, and supported roofed structures projecting from a principal or accessory structure, provided that not more than two (2) sides are enclosed.
(16)
Dwelling unit means a room, or rooms, adjacent to each other within a permanent shelter that constitutes a separate independent housekeeping unit designed for occupancy by one (1) family for living purposes. An independent housekeeping unit includes kitchen, sanitary and sleeping facilities.
(17)
Electrical feeder line means a three-phase electrical distribution line with a conductor ampacity of two hundred fifty (250) amperes or more that serves as the distribution system backbone and is the main supply of electrical energy to smaller sub-circuits at a voltage of fewer than thirty thousand (30,000) volts.
(18)
Engineer, professional means one having a valid engineering license issued by the Colorado Board of Registration for Professional Engineers.
(19)
FAA means the Federal Aviation Administration.
(20)
FCC means the Federal Communications Commission.
(21)
Family means one (1) or more persons living together as a separate, independent housekeeping unit, all related by blood, adoption or marriage, or in the alternative, a group of not more than three (3) unrelated persons living together as a separate, independent housekeeping unit. Domestic servants employed on the premises may be housed on the premises without being counted as part of a family.
(22)
Farm or ranch means land on which produce, crops or flowers are grown primarily for off-premises consumption, use or sale, or on which horses or livestock are housed or raised for personal use.
(23)
Fence means an enclosing structure other than part of a building of sufficient strength and dimension to prevent straying from within or intrusion from without.
(24)
Floor area.
a.
Floor area, gross means the sum of gross horizontal areas measured between the exterior faces of exterior walls of the several floors of a building and accessory buildings, including interior walls, balconies, mezzanines, hallways, wells, basements and cellars, and including the area of roofed porches, patios and carports having more than one (1) wall.
b.
Floor area, net means the sum of the gross horizontal areas measured between the interior faces of the exterior walls of the several floors of a building and accessory buildings, including interior balconies, mezzanines, retail or wholesale floor areas, basements, cellars and surrounding open spaces used in conjunction with the building and accessory buildings, but excluding interior walls, enclosed hallways, wells, shafts, lavatories, furnace rooms, janitor supply rooms or closets, accessory storerooms and roofed porches, patios and carports enclosed by less than three (3) walls.
(25)
Floor area ratio (F.A.R.) means the quotient of the gross floor area of all buildings on a parcel divided by the area of said parcel, for example:
Floor area = 100 sq. ft.= F.A.R. 2
Land area = 50 sq. ft.
(26)
Front facade means the façade of the building which has the primary or public entrance to the uses therein and abuts the required front yard as stipulated in this title.
(27)
Garage, private means an enclosed attached or detached accessory structure designed and used primarily for parking the automotive vehicles of the residents of the principal structure.
(28)
Grade (ground level) means the average of the finished surface of the ground adjacent to the exterior walls of the building.
(29)
Height, building means the vertical distance from the grade plane to the average height of the highest roof surface. Height means, when referring to a tower or other antenna structure, the distance measured from the finished grade of the parcel to the highest point on the tower or other structure, including the base and any antenna. (See Section 17-4, Article IV, Tower and Antenna Requirements.)
a.
Flat roof: Building height shall be measured as the vertical distance from the mean level of the finished grade of the front of the building to the highest point on the finished roof.
b.
Pitched roof: Building height shall be measured as the vertical distance from the mean level of the finished grade of the front of the building to the average height of the rise of the pitched roof.
c.
Curved roof: Building height shall be measured as the vertical distance from the mean level of the finished grade of the front of the building to a point two-thirds (⅔) the vertical height of the curve.
d.
Other forms: Building height shall be measured and determined by the Administrative Officer in a manner that most closely reflects the intent of subsections (24)a through (24)c and attains a height which is similar to adjacent complying structures.
e.
Corner lots: Building height for corner lots shall be measured as the vertical distance from the mean level of the front of the building along the street having the lower record grade.
f.
Lots fronting on two (2) streets: Where a parcel, other than a corner lot, fronts on two (2) streets, the maximum height shall then be measured separately for each of the two (2) frontages of the building from the mean level of the finished grade. The maximum height so measured shall apply on each street.
g.
Lots fronting on more than two (2): Where a lot fronts on three (3) or more streets, building height shall be measured from the mean level of the front of the building along the street having the lowest record grade.
h.
Antenna or tower structure: Height shall be measured from the finished grade of the parcel to the highest point on the tower or other structure, which shall include the base and any antenna. (See Section 17-4, Article IV, Tower and Antenna Requirements.)
(30)
Loading space, off-street means space logically and conveniently located for bulk pickups and deliveries, scaled to delivery vehicles expected to be used, and accessible to such vehicles when required off-street parking spaces are filled. Required off-street loading space is not to be included as off-street parking space in computation of required off-street parking space.
(31)
Lot means, for purposes of this Title, a parcel of land of at least sufficient size to meet minimum zoning requirements for use, coverage and area, and to provide such yards and other open spaces as are herein required. Such lot shall have frontage on an improved public street, or on an approved private street, and may consist of:
a.
A single lot of record.
b.
A portion of a lot of record.
c.
A combination of complete lots of record, of complete lots of record and portions of lots of record, or of portions of lots of record.
d.
A parcel of land described by metes and bounds. Provided that in no case of division or combination shall any residual lot or parcel be created which does not meet the requirements in this Code.
(32)
Lot frontage shall be construed to be the portion nearest the street. For purposes of determining yard requirements on corner lots and through lots, all sides of a lot adjacent to streets shall be considered frontage and yards shall be provided as indicated under yards in this Chapter.
(33)
Lot measurements.
a.
Depth of a lot shall be considered to be the distance between the midpoints of straight lines connecting the foremost points of the side lot lines in front and the rearmost points of the side lot lines in the rear.
b.
Width of a lot shall be considered to be the distance between straight lines connecting front and rear lot lines at each side of the lot, measured across the rear of the required front yard; provided, however, that width between side lot lines at their foremost points (where they intersect with the street line) shall not be less than eighty percent (80%) of the required lot width except in the case of lots on the turning circle of cul-de-sacs, where the eighty-percent requirement shall not apply.
(34)
Lot of record means a lot which is part of a subdivision recorded in the office of the County Clerk, or a lot or parcel described by metes and bounds, the description of which has been so recorded.
(35)
Lot types. The diagram (Figure 1) which follows illustrates terminology used in this Title with reference to corner lots, interior lots, reversed frontage lots and through lots:
Figure 1
In the diagram:
A = corner lot, defined as a lot located at the intersection of two (2) or more streets. A lot abutting on a curved street or streets shall be considered a corner lot if straight lines drawn from the foremost point of the lot meet at an interior angle of less than one hundred thirty-five degrees (135°). See lots marked A(1) in the diagram.
B = interior lot, defined as a lot other than a corner lot with only one (1) frontage on a street.
C = through lot, defined as a lot other than a corner lot with frontage on more than one (1) street. Through lots abutting two (2) streets may be referred to as double frontage lots.
D = reversed frontage lot, defined as a lot on which the frontage is at right angles or approximately right angles (interior angle less than one hundred thirty-five degrees [135°]) to the general pattern in the area. A reversed frontage lot may also be a corner lot (A-D in the diagram), an interior lot (B-D) or a through lot (C-D).
(36)
Manufactured home subdivision means a tract of land, which has been designed and improved in its entirety in accordance with the City Subdivision Regulations and this Title where single-family manufactured homes can be located on individually platted and owned lots for dwelling purposes.
(37)
Marijuana means all parts of the plant of the genus cannabis whether growing or not, the seeds thereof, the resin extracted from any part of the plant, and every compound, manufacture, salt, derivative, mixture, or preparation of the plant, its seeds, or its resin.
a.
Marijuana accessories means any equipment, products, or materials of any kind, which are used, intended for use, or designed for use in planting, propagating, cultivating, growing, harvesting, composting, manufacturing, compounding, converting, producing, processing, preparing, testing, analyzing, packaging, repackaging, storing, vaporizing, or containing marijuana, or for ingesting, inhaling, or otherwise introducing marijuana into the human body.
b.
Marijuana products means concentrated marijuana products and marijuana products that are comprised of marijuana and other ingredients and are intended for use or consumption, such as, but not limited to, edible products, ointments, and tinctures.
c.
Medical marijuana means any form of marijuana that is grown and sold pursuant to the provisions of the Colorado Medical Marijuana Code and for a purpose authorized by Section 14 of Article 18 of the State Constitution. See Chapter 15 for additional definitions and regulations.
d.
Retail marijuana means all parts of the plant of the genus cannabis whether growing or not, the seeds thereof, the resin extracted from any part of the plant, and every compound, manufacture, salt, derivative, mixture, or preparation of the plant, its seeds, or its resin, including marijuana concentrate, that is cultivated, manufactured, distributed, or sold by a licensed retail marijuana establishment. Retail marijuana does not include industrial hemp, nor does it include fiber produced from stalks, oil, or cake made from the seeds of the plant, sterilized seed of the plant which is incapable of germination, or the weight of any other ingredient combined with marijuana to prepare topical or oral administrations, food, drink, or other product.
(38)
Parking space means a designated area upon which motor vehicles are transiently placed.
(39)
Parking space, off-street, for the purposes of this Title, shall consist of a space adequate for parking an automobile with room for opening doors on both sides, together with properly related access to a public street or alley and maneuvering room. Required off-street parking areas for three (3) or more automobiles shall have individual spaces marked, and shall be so designed, maintained and regulated that no parking or maneuvering incidental to parking shall be on any public street, walk or alley, and so that any automobile may be parked and unparked without moving another. For purposes of rough computation, an off-street parking space and necessary access and maneuvering room may be estimated at three hundred (300) square feet, but off-street parking requirements will be considered to be met only when actual spaces meeting the requirements above are provided and maintained, improved in a manner appropriate to the circumstances of the case, and in accordance with all regulations of the City.
(40)
Person aggrieved means any unsuccessful applicant for a particular interpretation or administration of this Title or for a variance or special use permit or zoning or rezoning, or any officer or Administrative Official of the City affected by any final action. In the case of an application for a variance, special use permit, zoning or rezoning, all persons to whom notice of such application is required to be given under the terms of this Title may also be deemed aggrieved persons for the purpose of prosecuting an appeal from the final action, Zoning Board of Appeals or City Council as the case may be.
(40.5)
Pole barn means a farm building with no foundation, and sides typically consisting of corrugated steel or aluminum panels, supported by poles set in the ground. Pole barns are typically unfinished, and uninsulated and are normally used for agricultural purposes, for construction trade storage, or for general storage and not intended for human inhabitation.
(41)
Preexisting towers and preexisting antennas means any tower or antenna for which a building permit or special use permit has been properly issued prior to the effective date of the ordinance adopting Article VI of Chapter 4 of this Title, including permitted towers or antennas that have not yet been constructed so long as such approval is current and not expired.
(42)
Primarily engaged means the principal use of a building or structure, with not more than thirty percent (30%) of the gross floor area of the building or structure devoted to an accessory use, which is not otherwise permitted in the zone district.
(43)
Processing means the series of continuous actions that changes one (1) or more materials into a finished or semi-finished product. Examples of industrial processing include but are not limited to: chemical processing as in the processing of photographic materials; a special processing method such as processing butter or cheese; or mechanical processing such as packaging a base product.
(44)
Professional means a person who practices an occupation or vocation in which a knowledge of some department of science or learning is used by practical application to the affairs of others, either advising, guiding or teaching them and in serving their interests or welfare in the practice of an art founded on it. The word implies attainment of professional knowledge as distinguished from mere skill and the application of such knowledge to users as a vocation.
(45)
Recreational vehicle means a vehicular type unit primarily designed as temporary living quarters for recreational, camping or travel use, which either has its own motive power or is mounted on or drawn by another vehicle. Vehicles included are: travel trailer, camping trailer, truck camper and motor home.
(46)
Recreational vehicle site means a property lot within a recreational park designed for either a recreational vehicle, tent or other individual camping unit on a temporary basis.
(47)
Recyclable material means newspaper, magazines, cardboard, telephone books, loose paper, glass containers, plastic containers, steel cans, aluminum cans and scraps, leaves and organic materials, and reusable clothing and household items.
(48)
Retail marijuana consumer means a person twenty-one (21) years of age or older who purchases marijuana or marijuana products for personal use by persons age twenty-one (21) years of age or older, but not for resale to others.
(49)
Retail marijuana cultivation means the planting, growing, or harvesting of marijuana, including but not limited to hydroponic cultivation and cloning.
(50)
Roadside memorial means a single item or collection of items, including but not limited to real or plastic flowers, crosses or other mementos, made of any material placed on City owned property, City maintained trails or in a public right-of-way to mark the site where a person has suddenly and unexpectedly died and/or to commemorate a person.
(50.5)
Shipping container means a standardized, reusable vessel that appears to be originally, specifically or formerly designed for or used in the transportation of freight and capable of being mounted and moved on a rail car or mounted on a chassis for movement by truck trailer or a ship. The shipping containers may be temporary or permanent per the regulations in Section 17-4-23. Shipping containers include moving pods, shipping containers, and other similar metal containers.
(51)
Sight-distance triangle means a pentahedron-shaped area at the intersection of two (2) or more streets in which the unregulated placement of structures and improvements could reduce the visibility of motor vehicle operators and create a hazardous condition. Two (2) feet above the centerline grades of the intersecting streets, and extend to a height of eight (8) feet above the centerline grade. The Department of Transportation shall determine the area of the sight-distance triangle.
(52)
Sign means any device designed to inform or attract the attention of persons not on the premises on which the sign is located and including any words, lettering, figures, numerals, phrases, sentences, devices, designs, pictures, symbols or trademarks by which anything is made known, such as are used to designate a firm, association, corporation, business, service or commodity or product, or any type of publicity, whether placed on natural objects or on a building, fence or other man-made structure, which are visible from any public street or public road right-of-way. See Chapter 10 of Title XVII for additional sign regulations and definitions.
(52.5)
Site plan means a plan of proposed improvements to a given lot. A site plan usually shows a building footprint, travelways, parking, drainage facilities, sanitary sewer lines, water lines, trails, lighting, and landscaping and garden elements.
(53)
Solid wastes means garbage, refuse, sludge of sewage disposal plants and other discarded solid materials, including solid waste materials resulting from residential, industrial, commercial and community activities but does not include agricultural wastes, animal parts or remains, or hazardous waste as defined by Section 25-15-101(6), C.R.S.
(54)
Solid wastes disposal means the collection, storage, treatment, utilization, processing or final disposal of solid wastes.
(55)
Street line means the right-of-way line of a street.
(56)
Structurally altered means changes which increase, extend or enlarge the building, extend the life of the building, convert the building into a different structure or affect the form or character of an existing building or structural quality.
(57)
Structure means anything constructed or erected with a fixed location on the ground, or attached to something having a fixed location on the ground. Among other things, structures include buildings, mobile homes, walls, billboards, poster panels, signs, towers (antennas), wind turbines and satellite dishes. Below are definitions of the specific types of structures:
a.
Structure, accessory means a subordinate structure located on the same lot as a principal building. The use of an accessory structure must be incidental and subordinate to the use of the principal building. Accessory structures include garages, carports, storage sheds, decks and similar structures, but do not include wind turbines.
b.
Structure,attached means sharing at least one (1) common wall or at least fifty percent (50%) of the larger of the two (2) walls and sharing a common and integrated roof. A breezeway connecting two (2) structures, even with a common roof, does not constitute an attached structure.
c.
Structure, detached means a structure with no common wall with another structure. For the purposes of this Title, two (2) structures connected by a breezeway or other partial attachment, is considered a detached structure.
d.
Structure, greenhouse means a structure, primarily of glass or glasslike, in which temperature and humidity can be controlled for the cultivation or protection of plants. Greenhouses with plastic tarp, material or cloth for walls or roof are not considered greenhouse structures.
e.
Structure, principal means a structure in which the principal use is conducted.
(58)
Use types:
a.
Accessory use means a use on the same lot with, and of a nature customarily incidental and subordinate to, the principal use. Unless otherwise provided in this Title, an accessory use shall not exceed thirty percent (30%) of the gross floor area of the principal structure, and must be located in the same principal structure.
b.
Conditional use means a use that, due to special characteristics associated with the specific type of use, requires the review and approval of the Administrative Official to ensure that any adverse impacts that may be generated by the use be mitigated by demonstrating compliance with certain stated conditions.
c.
Permitted use means a use of any lot, building or structure which is specifically enumerated as a permitted use by the regulations of the zoning district in which the lot, building or structure is located.
d.
Principal use means the primary or predominant use of any lot, building or structure.
e.
Temporary use means a means any activity, occupation, business or operation carried on, or intended to be carried on, in or from a tent, movable stand, portable equipment or any temporary building or structure, or in or from a truck, trailer or other vehicle, for a period not to exceed thirty (30) days in any calendar year, with the exception of mobile food units. (See temporary uses at Section 17-4-32.)
f.
Use by review is a use that would not be appropriate generally or without restriction throughout the zoning division or district but which, if controlled as to number, area, location or relation to the neighborhood, would promote the public health, safety, welfare, morals, order, comfort, convenience, appearance, prosperity or general welfare. Such uses may be permitted in such zoning division or district as uses by review if specific provisions for such uses by review are made in this Title.
(59)
Variance is a relaxation of the terms of this Title where such variance will not be contrary to the public interest and where, owing to conditions peculiar to the property and not the result of the actions of the applicant, a literal enforcement of the Title would result in unnecessary and undue hardship. See section 17-5-34 for full requirements for a variance.
(60)
Vehicle conditions types:
a.
Inoperable means any motorized vehicle incapable of immediately being driven and moved under its own power. A vehicle that is not currently licensed or registered to operate legally on a public right-of-way, including a recreational vehicle or trailer that is designed for travel on the public roads is also considered an inoperable vehicle.
b.
Junk means any motor vehicle, trailer or semi trailer that is inoperable and which, by virtue of its condition, cannot be economically restored to operable condition; provided, that such vehicle, trailer, or semi trailer shall be presumed to be a junk vehicle if no license plates are displayed or if the license plates displayed have been invalid for more than sixty (60) days.
(61)
Yard means a required open space other than a court unoccupied and unobstructed by any structure or portion of a structure from thirty (30) inches above the general ground level of the graded lot upward, except where projections and encroachments are permitted by this Code; provided, however, that fences, walls, poles, posts and other customary yard accessories, ornaments and furniture may be permitted in any yard subject to height limitations and requirements limiting obstruction of visibility.
a.
Yard, front means a yard extending between side lot lines across the front of a lot adjoining a public or approved private street. The depth of required front yards shall be measured at right angles to a straight line joining the foremost points of the side lot lines. The foremost point of the side lot line, in the case of rounded property corners at street intersections, shall be assumed to be the point at which the side and front lot lines would have met without such rounding.
1.
In the case of through lots, unless the prevailing front yard pattern on adjoining lots indicates otherwise, front yards shall be provided on all frontages. Where one (1) of the front yards that would normally be required on a through lot is not in keeping with the prevailing yard pattern, the Administrative Official may waive the requirements for the normal front yard and substitute therefor a special yard requirement which shall not exceed the average of the yards provided on adjacent lots.
2.
In the case of corner lots which do not have reversed frontage, a front yard of the required depth shall be provided in accordance with the prevailing yard pattern and a second front yard of half the depth required generally for front yards in the district shall be provided on the other frontage.
3.
In the case of reversed frontage corner lots, a front yard of the required depth shall be provided on either frontage, and a second front yard of half the depth required generally for front yards in the district shall be provided on the other frontage.
4.
In the case of corner lots with more than two (2) frontages, the Administrative Official shall determine the front yard requirements subject to the following limitations: (1) at least one (1) front yard shall be provided having the full depth required generally in the district; and (2) no other front yard on such lot shall have less than half the full depth required generally.
b.
Yard, side means a yard extending from the rear line of the required front yard to the rear lot line, or in the absence of any clearly defined rear lot line, to the point on the lot farthest from the intersection of the lot line involved with the public street. In the case of through lots, side yards shall extend from the rear lines of front yards required. In the case of corner lots, yards remaining after full- and half-depth front yards have been established shall be considered side yards. The width of a required side yard shall be measured in such a manner that the yard established is a strip of the minimum width required by district regulations with its inner edge parallel with the side lot line.
c.
Yard, rear means a yard extending across the rear of the lot between inner side yard lines. In the case of through lots and corner lots, there will be no rear yards, but only front and side yards. Depth of a required rear yard shall be measured in such a manner that the yard established is a strip of the minimum width required by district regulations with its inner edge parallel with the rear lot line.
d.
Yard, special means a yard behind any required yard adjacent to a public or approved private street, required to perform the same functions as a side or rear yard, but adjacent to a lot line so placed or oriented that neither the term side yard nor the term rear yard clearly applies. In such cases, the Administrative Official shall require a yard with minimum dimensions as generally required for a side yard or a rear yard in the district, determining which shall apply by the relation of the portion of the lot on which the yard is to be located to the adjoining lot or lots, with due regard to the orientation and location of structures and buildable areas thereon.
The diagram below illustrates the location and methods of measuring yards on rectangular and nonrectangular lots.
Figure 2
Location and Measurement of Yards on Lots
The illustration here assumes front yard depths required at thirty (30) feet (half-depth front yards fifteen [15] feet), side yard widths ten (10) feet, and rear yard depth ten (10) feet. Note that at A, a special yard is shown, indicating treatment where usual side or rear yard terminology would be difficult to apply but purpose of the yard is clear.
(1957 Code, App. A §20; Ord. No. 3522 §10, 1-24-72; Ord. No. 3693, 4-9-73; Ord. No. 3738, 8-27-73; Ord. No. 3842 §1, 4-8-74; Ord. No. 3960, 1-13-75; Ord. No. 4916, 11-9-81; Ord. No. 5000, 8-23-82; Ord. No. 5102, 12-12-83; Ord. No. 5123, 1-23-84; Ord. No. 5175, 9-24-84; Ord. No. 5194, 12-10-84; Ord. No. 5319, 5-27-86; Ord. No. 5387, 3-23-87; Ord. No. 5475, 5-23-88; Ord. No. 5476, 5-23-88; Ord. No. 5631, 9-24-90; Ord. No. 6021, 10-23-95; Ord. No. 6055, 1-22-96; Ord. No. 6228, 7-28-97; Ord. No. 6470, 8-23-99; Ord. No. 6545, 5-22-00; Ord. No. 6745 §§1-3, 10-22-01; Ord. No. 6912 §2, 11-25-02; Ord. No. 6942 §§1-3, 1-27-03; Ord. No. 6966 §1, 4-14-03; Ord. No. 6993 §§1, 2, 5-27-03; Ord. No. 6998 §§1, 2, 6-9-03; Ord. No. 7083 §2, 11-24-03; Ord. No. 7107 §1, 2-23-04; Ord. No. 7285 §§3—5. 4-11-05; Ord. No. 7357 §2, 8-22-05; Ord. No. 7560 §2, 1-8-07; Ord. No. 7842 §1, 7-28-2008; Ord. No. 7975 §§1—3, 2-23-09; Ord. No. 8001 §1, 4-27-09; Ord. No. 8207 §1, 5-24-10; Ord. No. 8245 §1, 7-26-2010; Ord. No. 8327 §1, 3-28-11; Ord. No. 8370 §1, 7-11-11; Ord. No. 8489 §2, 6-11-12; Ord. No. 8677 §1, 12-9-13; Ord. No. 8734 §1, 5-12-14; Ord. No. 8747 §1, 6-23-14; Ord. No. 8841 §1, 2-23-15; Ord. No. 8933 §1, 11-23-15; Ord. No. 9139 §1, 6-26-17; Ord. No. 9296 §1, 6-11-18; Ord. No. 9380 §1, 11-26-18; Ord. No. 9469 §1, 5-28-19)
For the purpose of this Title, certain terms or words used herein shall be interpreted as follows:
(0.5)
Accessory dwelling unit, established means an attached, detached, or integrated accessory dwelling unit that was occupied prior to February 1, 1968. This will allow the same accessory use to be reestablished. The discontinuance of the accessory dwelling unit will not prevent reestablishing the preexisting accessory dwelling unit. The number of dwelling units shall not be more than the same number of dwelling units that existed when the accessory dwelling use was first legally established.
(1)
Adult day service center means a facility providing health and social services, individual therapeutic and psychological activities for the elderly and/or persons with disabilities for a portion of a twenty-four-hour day. Such facility may be operated with or without compensation for such services. A facility shall be properly licensed and/or certified as required by the State.
(2)
Adult entertainment is entertainment which is distinguished or characterized by an emphasis on acts or material depicting, describing or relating to specified sexual activities or specified anatomical areas, as defined herein, customarily not open to the public at large generally, but only to one (1) or more classes of the public excluding any minor by reason of age as a prevailing practice. See Section 17-11-3 for specific adult entertainment definitions.
(3)
Airport:
a.
Commercial or public means facilities for the takeoff and landing of aircraft, including runways, aircraft storage buildings, and helicopter pads. When part of the larger airport facility, also includes, air traffic control facilities, informational facilities and devices, terminal buildings, aircraft maintenance facilities, aviation instruction facilities, and airport auxiliary facilities such as car rentals companies.
b.
Private means private facilities for the takeoff and landing of aircraft, including runways, aircraft storage buildings, and helicopter pads. When part of the larger airport facility, also includes, air traffic control facilities, informational facilities and devices, terminal buildings, aircraft maintenance facilities, aviation instruction facilities, and airport auxiliary facilities such as car rentals companies.
(4)
Ambulance service means a privately-owned facility for the dispatch, storage, and maintenance of emergency medical care vehicles.
(5)
Antenna means any exterior transmitting or receiving device mounted on a tower, building or structure and used in communications that radiate or capture electromagnetic waves, digital signals, analog signals, radio frequencies (excluding radar signals), wireless communications signals or other communication signals.
(6)
Art gallery means an establishment engaged in the sale, loan, or display of art books, paintings, sculpture, or other works of art.
(7)
Artist studio means the workspace for the creation of works of art, such as but not limited to drawing, painting, sculpture, writing and crafts.
(8)
Assisted living facility means a place of permanent residency, designed to provide housing, supportive services, personalized assistance and limited health care for more than eight (8) persons who need help with activities of daily living, but who do not require hospitalization, or skilled or intermediate nursing care, or the services of a long-term care facility.
(9)
Auction house means structure or enclosure used for the public sale of goods, wares, merchandise or equipment to the highest bidder. This specifically excludes the sale of livestock or motor vehicles.
(10)
Auditorium means an open, partially enclosed, or fully enclosed facility used or intended to be used primarily for spectator sports, entertainment events, expositions, and other public gatherings. Typical uses include convention and exhibition halls, sports arenas, and amphitheaters.
(11)
Automobile auction means a place where vehicles, operable or inoperable, are offered for sale to persons who bid on the vehicle in competition with each other.
(12)
Automobile dealership means a retail establishment that sells, rents, or leases new or used automobiles. An automobile dealership does not include the sale or service of recreational equipment but accessory uses may include vehicle maintenance, repair and service areas, parts storage areas, and financial service areas.
(13)
Automobile rental means an establishment engaged in the rental of automobiles and light trucks and vans, including incidental parking and servicing of vehicles for rent. Typical uses include auto rental agencies and taxicab dispatch areas.
(14)
Automobile repair:
a.
Body shop means a facility which provides collision repair services for vehicles with a gross vehicle weight of ten thousand (10,000) pounds or less, including body frame straightening, replacement of damaged parts and painting. The use specifically excludes mechanical or power train repair.
b.
Lube shop means a facility that provides lubrication and or checking, changing, or additions of those fluids and filters necessary to the maintenance of a vehicle. It is intended that these services will be provided while customers wait.
c.
Paintless dent repair shop means a facility that provides repair services of minor dents from the body of motor vehicles without the use of paint, Bondo, harsh chemicals or sanding. General repairs include hail damage, door dings and small dents.
d.
Repair shop means a facility for the general repair, rebuilding or reconditioning of engines, transmissions, differentials, drivetrains, or any parts thereof. This use includes muffler shops, auto repair garages, tire repair and installation, wheel and brake shops, and similar repair and service activities but excludes body shops, dismantling or salvage.
(15)
Bakery, retail means an establishment primarily engaged in the retail sale of baked goods for consumption off site. The products may be prepared either on or off site. Such use may include incidental food service but shall not include the sale of baked goods containing medical or retail marijuana.
(16)
Bar means an establishment, which is primarily engaged in the sale of fermented malt beverages, vinous and spirituous liquors for consumption on the premises. Accessory uses may include the sale of meals and entertainment. Bar shall include beer gardens, drinking places, cocktail lounges, cabarets, discotheques, nightclub, saloons, taprooms and taverns, but does not include a brewpub or microbrewery.
(17)
Banquet hall means an establishment, which is rented by individuals or groups to accommodate private functions including, but not limited to, banquets, weddings, anniversaries and other similar celebrations. Such use may or may not include: 1) kitchen facilities for the preparation or catering of food; 2) the sale of alcoholic beverages for on-premises consumption, only during scheduled events and not open to the general public; and 3) outdoor gardens or reception facilities.
(18)
Batch plant means an industrial facility used for the production of asphalt or concrete, or asphalt or concrete products, used in building or construction, and includes facilities for the administration or management of the business, the stockpiling of bulk materials used in the production process or of finished products manufactured on the premises and the storage and maintenance of required equipment.
(19)
Beauty salon, barbershop means a facility which offers personal service and hygienic treatment including massage, manicure, hair styling, facials and other associated treatments.
(20)
Bed and breakfast:
a.
Home means an owner-occupied and -operated, detached, single-family residence where no more than three (3) guest bedrooms are rented to the general public on a nightly basis and where a breakfast meal is provided only to registered guests.
b.
Inn means a commercial enterprise which rents more than three (3) guest bedrooms to the general public. Such facility may offer meeting facilities and meals to the general public, but would be subject to all laws and regulations governing the operation of a restaurant.
(21)
Blood bank or donor station means an establishment primarily engaged in the collection of human blood form donors. The term does not include a health care facility.
(22)
Boarding house means a residential structure providing individual sleeping accommodations but not individual kitchen facilities. Meals are prepared and served to only members in residence in a common eating area. No supervision, medical treatment or rehabilitation is provided as an accessory use.
(23)
Body art studio means an establishment which is primarily engaged in physical body adornment by artists using, but not limited to the techniques of body piercing and tattooing. This definition does not include ear piercing.
(24)
Bowling Alley means an indoor establishment that devotes more than fifty percent (50%) of its gross floor area to bowling lanes, equipment, and playing area, with customary accessory uses such as bars, snack bars, and retail sales of incidental merchandise.
(25)
Brewpub means an establishment that is primarily an eating place which manufactures malt liquors or fermented malt beverages as an accessory use. In addition, the use may permit the sale of sealed containers of malt liquors or fermented malt beverages which are manufactured and packed on site. The brewing operation processes water, malt, hops and yeast into beer or ale by mashing, cooking and fermenting. The brewing operation does not include the production of any other alcoholic beverage. The area used for brewing, including bottling and kegging, shall not exceed thirty percent (30%) of the total floor area of the commercial space.
(26)
Broadcasting studio means an establishment containing one (1) or more broadcasting studios for over-the-air, cable or satellite delivery of radio or television programs, or studios for the audio or video recording or filming of musical performances, radio or television programs or motion pictures. This term does not include a transmission tower, which may be allowed as an accessory use.
(27)
Butcher shop means a retail store supplying meat and poultry products where meat processing is limited to making cuts of meat from pre-processed carcasses.
(28)
Car wash means a business primarily engaged in washing and cleaning of passenger vehicles, recreational vehicles, or other light duty equipment self-service, automated or using personnel.
(29)
Carnival means a temporary outdoor amusement center where there may or may not be an admission charge, and which may include such activities as a circus, rides, entertainment, games, booths, food services and sales, exhibitions, and animal displays. Carnivals shall not include activities conducted at the fairgrounds or temporary outdoor events conducted as a public or semi-public use.
(30)
Catering service means an establishment in which the principal use is the preparation of food and meals on the premises, and where such food and meals are delivered to another location for consumption.
(31)
Cemetery means a place used for interment of human or animal remains or cremated remains, including a burial park for earth interments, a mausoleum for vault or crypt interments, a columbarium for cinerary interments, or a combination thereof.
(32)
Charitable institution means an organization which performs benevolent actions for the needy with no expectation of material reward. It shall include the lands and buildings used for offices and public facilities of such a charitable institution, but specifically excludes such facilities as homeless shelters, shelters for animals and other related facilities.
(33)
Child care facilities:
a.
Child care center means a facility, by whatever name known, which is maintained for the whole or part of a day for the care of five (5) or more children under the age of eighteen (18) years who are not related to the owner, operator or manager. Such facility may be operated with or without compensation for such care and with or without stated educational purposes. The term includes facilities commonly known as day care centers, day nurseries, nursery schools, kindergartens, preschools, play groups, day camps, summer camps and centers for developmentally disabled children, and those facilities which give twenty-four-hour care for dependent and neglected children. The term includes those facilities for children under the age of six (6) years, with stated educational purposes operated in conjunction with a public, private or parochial college or a private or parochial school. The term child care center shall not apply to any kindergarten maintained in conjunction with a public, private or parochial elementary school system of at least six (6) grades or to any preschool established pursuant to the provisions of Article 28 of Title 22, C.R.S. The term shall not include any facility licensed as a family child care home, a foster care home, or a specialized group facility that is licensed to provide care for three (3) or more children pursuant to Subsection (10) of this Section, but that is providing care for three (3) or fewer children who are determined to have a developmental disability by a community centered board or who are diagnosed with a serious emotional disturbance.
b.
Child care home means a type of family child care home, licensed by the State, which provides less than twenty-four-hour care for no more than eight (8) children on a regular basis in the care provider's place of residence. Children in care are from different family households and are not related by blood, adoption or marriage to the caregiver. Residents of the home under twelve (12) years of age who are on the premises and all children on the premises for supervision are counted against the approved capacity of eight (8) children. The definition of child care home includes a family child care home, an infant/toddler home, and a large (older) child care home as defined by the State Department of Human Services, Division of Child Care.
(34)
Civic Club means an association of individuals joining together for social interaction or some other common objective. It is an association with limited membership controlled by its members into which admission cannot be obtained by any person at his or her pleasure, and in which property is actually owned or secured in common, or held for the benefit of the members. Civic clubs include associations and lodges, but does not include smoking clubs. Examples include Masonic Lodge, Elks Club, etc.
(35)
Commercial, established means a commercial establishment that was operational in a commercial structure any time prior to February 1, 1968; therefore, allowing the same use may be reinstated if authorized by the Zoning Board of Appeals.
(36)
Commercial patio means an outdoor patio for the associated and contiguous restaurant or bar. The patio may used as a seating area with tables and chairs and the seating may be in addition to the indoor seating or it may be the only seating available for the establishment.
(37)
Commissary means a commercial establishment where food, containers, or supplies are kept, handled, prepared, packaged or stored for use by a mobile food unit.
(38)
Community center means a facility used as a place of meeting, recreation, or social activity and not operated for profit and in which neither alcoholic beverages nor meals are normally dispensed or consumed.
(39)
Community correctional facility or program means a community-based or community-oriented facility or program; which is operated either by a unit of local government, the Colorado Department of Corrections, a private nonprofit agency or organization, or any corporation, association or labor organization; which may provide residential accommodations for offenders; and which provides programs and services to aid offenders in obtaining and holding regular employment, enrolling in and maintaining academic courses, participating in vocational training programs and utilizing the resources of the community in meeting their personal and family needs and providing treatment, and in participating in whatever specialized programs exist within the community.
(40)
Community garden means a parcel of land that is managed by a nonprofit organization, public entity or a group of individuals for the purposes of growing and harvesting legal plants for donation, personal use or off-site incidental sales. Community gardens that operate as a primary use of a parcel must obtain a Community Garden permit from the Department of Planning and Community Development and abide by performance standards set forth in Section 17-4-13. Community gardens that operate as accessory uses are encouraged to abide by the performance standards described in Section 17-4-13 but are not required to obtain a community garden permit.
(41)
Composting facility means a facility where organic matter that is derived primarily from off-site is to be processed by composting and/or is processed for commercial purposes. Activities of a composting facility may include management, collection, transportation, staging, composting, curing, storage, marketing, or use of compost.
(42)
Construction yard means an area on or immediately adjacent to a construction or demolition site used on a temporary basis for the parking and storage of equipment used in the project, and the storage and preparation of materials and other items used in the project. Such yard may include construction offices and such shops as are necessary for work on the immediate project.
(43)
Contractor's facilities:
a.
Contractor's shop means an establishment used for the indoor repair, maintenance, or storage of a contractor's vehicles, equipment, or materials, and may include the contractor's business office, but excludes an outdoor yard, unless otherwise permitted.
b.
Contractor'syard means land or buildings used primarily for the storage of equipment, vehicles, machinery, building materials, paints, pipe, or electrical components used by the owner or occupant of the premises in the conduct of any building trades or building craft.
(44)
Convent means a building or group of buildings designed to provide group housing for persons under religious vows or orders. By definition a convent is the same as a monastery.
(45)
Crematory means a facility to incinerate dead human or animal bodies. This facility may or may not be associated with a funeral home. A crematory is neither an accessory use nor a use by right for a funeral home or mortuary or cemetery.
(46)
Dairy operation means the producing, processing and/or distribution of milk and milk by-products. Production shall include the keeping of milk-producing animals.
(47)
Dog care facility means a facility providing such services as canine care for all or part of a day, obedience classes, training, grooming, or behavioral counseling, provided that overnight boarding is not permitted.
(48)
Drive-thru means a building opening, including windows, doors, or mechanical devices, through which occupants of a motor vehicle receive or obtain a product or service and is generally an accessory use to restaurants, banks, etc.
(49)
Emergency generator means an electrical generator powered by an emergency standby engine. See Chapter 13 of this Title for additional definitions and requirements.
(50)
Equestrian event facilities means a facility for the exhibition or competition involving horses whose purpose is to test or advance the skills of a horse or its rider, such as but not limited to horse shows, schooling events, horse training seminars or clinics, open houses, cutting competitions, rodeos, or jackpot roping contests. This land use includes barns, stables, corrals, and paddocks accessory and incidental to the above uses.
(51)
Exterminator means a business primarily engaged in exterminating and fumigating of troublesome insects and rodents.
(52)
Farmers market means a facility used for the retail sales of fresh fruits, vegetables, flowers, herbs, or plants on a periodic basis by farmers. May also involve the accessory sales of other unprocessed foodstuffs, home processed food products such as jams, jellies, pickles, sauces, or baked goods, and home-made handicrafts. The term does not include commercially packaged handicrafts, commercially processed or packaged foodstuffs, or a roadside stand.
(53)
Farming or ranching means the act or business of cultivating land, producing crops and/or keeping livestock, but specifically excludes the cultivation or production of medical or retail marijuana.
(54)
Feedlot means an establishment engaged in the fattening, raising, or breeding of animals typically for the commercial production of food, where the animals are fed primarily in pens, lots, or buildings (partially or wholly enclosed). Uses include but are not limited to hog ranches, poultry/egg farms, and cattle feed lots. The term does not include slaughterhouses.
(55)
Financial drive-up facility means a separate and detached facility designed to permit minor financial transactions, such as deposits and withdrawals, by the customers while remaining in their vehicles. Drive-up facilities normally do not offer the complete financial services, such as loans, new accounts and direct contact with the officers, as provided by the parent financial institution. The financial drive-up facility is the principal building on the site. This definition shall not include such drive-up facilities as are attached to or contained within a financial institution, said drive-up facility then being an accessory use or structure.
(56)
Financial institution means a facility designed to offer complete banking services, such as loans, new accounts and commercial financial transactions. A drive-up facility must be attached and will be considered an accessory use to the primary function of the financial institution. Financial institution includes banks, savings and loans, payday loans or credit unions.
(57)
Flea market means a commercial activity (not including shopping centers, individual retail operations, or sales conducted by a nonprofit or charitable organization) that is open to the general public and composed of two (2) or more semi-enclosed stalls, rooms, stands, or spaces used for the purpose of display and sale, exchange, or barter of merchandise.
(58)
Food and drink processing facility:
a.
Major means an establishment producing or processing foods for human consumption and certain related products. Includes: (1) dairy products processing; (2) fats and oil products (not including rendering plants); (3) grain mill products and by-products; (4) meat, poultry, and seafood canning, curing, and byproduct processing (not including facilities that also slaughter animals); (5) processing and packaging of alcoholic and non-alcoholic beverages; and (6) other similar food preparation from raw products where the impacts are major, as determined by the Administrative Official. Use permits wholesaling of food produced on site.
b.
Minor means an establishments producing or processing foods for human consumption and certain related products with relatively minor impacts to the surrounding neighborhood. Includes: (1) bakery products, sugar and confectionery products (except facilities that produce goods only for on-site sales with no wider distribution); (2) fruit and vegetable canning, preserving, and related processing; (3) non-potentially hazardous foods and foods that do not require refrigeration, such as spices, teas, dehydrated produce, nuts, seeds, jams, jellies, preserves, fruit butter, and baked goods, including candies; and (4) other similar food preparation from raw products where the impacts are minor, as determined by the Administrative Official. Use allows retail sale of food produced on site.
(59)
Food warehousing means an establishment or place of business primarily engaged in selling and/or distributing food products to retailers; to industrial, commercial, institutional, or professional business users, or to other wholesalers; or acting as agents or brokers and buying food for, or selling food products to, such individuals or companies. This is not considered a general commercial use.
(60)
Funeral home means a facility used primarily for human funeral services, provided that such facility shall not contain facilities for (a) embalming; (b) performance of autopsies or other similar surgical procedures; (c) cremation; or (d) storage of funeral caskets and funeral urns, except those on display on the premises; and that funeral vehicles shall not be stored on the premises except in a garage or other accessory building with no direct public street frontage.
(61)
Gas station means a facility limited to retail sales of gasoline, motor oil, lubricants, motor fuels, travel aids, and minor accessories for passenger type vehicles. In addition, such facility may provide for sale prepackaged food items and tangible consumer goods, primarily for self-service by the customer. Does not include Automobile repair, minor, major or body shop. Car wash and fast food permitted as accessory use by right.
(62)
General service means a use that provides results of useful labor, which does not in itself produce a tangible commodity.
(63)
Golf course means the grounds or course over which golf is played, including accessory uses and structures such as a club house, swimming pool, tennis courts and maintenance buildings. It does not include the amusement commonly known as miniature golf which is played with a single club and ball, in which each very short grassless hole constitutes an obstacle course.
(64)
Governmental use means any use or activity which is reasonably necessary in the discharge of a public or governmental function or purpose, including any department or branch of government, federal, state, county, municipal, school or special district, whether it is performed by governmental entity or another person for or on behalf of a governmental entity.
(65)
Group care facility means a facility providing custodial care and treatment in a protective living environment for persons residing voluntarily or by court placement including, without limitation, correctional and post-correctional facilities, drug or alcohol abuse centers, juvenile detention facilities, and temporary custody facilities.
(66)
Guest ranch means an establishment incorporating lodging, and including outdoor recreational facilities, such as but not limited to horseback riding, swimming, tennis courts, shuffleboard courts, barbecue and picnic facilities, and dining facilities intended primarily for use by the guests of the guest ranch. Bars and restaurants for patrons other than guests of the guest ranch are not permitted.
(67)
Halfway house means a facility whose primary purpose is the rehabilitation of persons and where housing, food, treatment or supportive services are provided to not more than eight (8) individuals. Such services include but are not limited to drug and alcohol rehabilitation and halfway houses for prison parolees and juveniles.
(68)
Health club means a facility designed and equipped for the conduct of sports, exercise, leisure time activities, or other customary and usual recreational activities, as well as locker rooms, showers, massage rooms, saunas and related accessory uses, which is operated for profit or not-for-profit and open only to members and guests of the organization or open to the public for a fee.
(69)
Heliport:
a.
Commercial or private means a heliport, helipad, or helistop that is restricted in use to the owner or operator of the facility or to persons authorized by the owner or operator per licensing requirements of the state or FAA.
b.
Emergency medical means a private use heliport, helipad, or helistop which provides helicopter landing area for the transport of persons in need of emergency medical care; the transport of patients needing specialized treatment; or the emergency transport of organs, blood, medicine, or medical equipment.
(70)
Home:
a.
Children means a place of residence which provides lodging, board and personal services other than medical or nursing care, for the health, safety and comfort of more than four (4) persons less than eighteen (18) years of age, and only such other persons who are employed in an official capacity for the operation and maintenance of the home. Examples include orphanages and residential child care facilities.
b.
Disabled, means a place of residence which provides lodging, board and personal services other than medical or nursing care, but may include programs of rehabilitation, for the health, safety and comfort of not more than eight (8) persons having physical disabilities or mental disabilities, and only such other persons who are employed in an official capacity for the operation and maintenance of the home. According to Section 31-23-303 of the C.R.S. home, disabled are a matter of statewide concern and is considered a residential use of property.
c.
Elderly means a place of residence which provides lodging, board and personal services other than medical or nursing care, for the health, safety and comfort of not more than eight (8) persons sixty (60) years of age or older and the co-habitation spouses of persons sixty (60) years of age or older, and only such other persons who are employed in an official capacity for the operation and maintenance of the home.
d.
Elderly foster means an owner-occupied residence which provides room and board to not more than eight (8) persons who are sixty (60) years of age or older, are unrelated to the owner, and who by reason of age and impaired capacity are unable to live independently of personal services provided by the owner-occupant. The term home, elderly foster does not include a home or facility which provides medical or nursing care or services. The term personal services, for purposes of this definition, means those services provided by the owner-occupant for each resident, including: housekeeping and laundry services; an environment which is sanitary and safe from physical harm; individualized social supervision; assistance with transportation; and assistance with activities of daily living, including but not limited to bathing, dressing and eating.
e.
Foster means a place of residence which provides on a regular twenty-four-hour basis room, board, ordinary care and supervision for at least three (3) but not more than four (4) minors who are unrelated to the caretaker. Before commencing operation, and as a continuing requirement, every foster home shall be certified or licensed by the State, shall be periodically inspected, approved and supervised by the County Department of Social Services, and shall obtain a special use permit if such home is to be located on property zoned R-1, R-2 or R-3 as defined in this Chapter. Such special use permit shall be personal and shall not run with the land.
(71)
Homeless shelter means a facility providing temporary lodging, with or without charge or meals, for indigent adults with no residence within the City.
(72)
Home based business means an accessory use carried on in a single or two-family residential structure only by the residents thereof; provided that the use is limited in extent and incidental and secondary to the use of the dwelling unit, does not change the character thereof, or affects the residential character of the neighborhood.
(73)
Hospice care facility means a coordinated program of home care with provision for inpatient care for terminally ill patients and their families. A medically directed interdisciplinary team provides this care, directly or through an agreement under the direction of an identifiable hospice administration. A hospice program of care provides palliative and supportive medical and other health services to meet the physical, psychological, social, spiritual, and special needs of patients and their families, which are experienced during the final stages of terminal illness and during dying and bereavement.
(74)
Hospital means an establishment primarily engaged in providing diagnostic services, extensive medical treatment, including surgical services, and other hospital services, as well as continuous nursing services. Hospitals have an organized medical staff, inpatient beds and equipment and facilities to provide complete health care. Includes accessory residential uses for nurses and physicians.
(75)
Hotel means a commercial establishment offering lodging to transients on a day-to-day basis, and often having as accessory uses eating and drinking areas, public rooms, retail and service businesses that are also available to the general public. By definition, hotel shall also include motel, motor hotel, motor inn, motor lodge and tourist court.
(76)
Instructional studio means a facility established to provide classes for the teaching of the various arts (e.g. dance, painting, sculpting, singing, karate).
(77)
Kennel means an establishment where domestic pets are bred, raised, trained, groomed and boarded. The keeping of more than four (4) dogs and/or cats over the age of six (6) months shall constitute a kennel. Includes catteries.
(78)
Laboratory means a facility for scientific laboratory research, investigation, testing, or experimentation, but not facilities for the manufacture or sale of products, except as accessory and incidental to the main purpose of the laboratory. Examples include biotechnology, pharmaceuticals, genetics, plastics, polymers, resins, coatings, fibers, fabrics, films, heat transfer, and radiation research facilities.
(79)
Laundromat means an establishment providing washing, drying, ironing or dry-cleaning machines for hire to be used by the customers on the premises.
(80)
Laundry service means a service establishment or business that provides washing, drying, dry cleaning, tailoring, mending, or other clothing alteration for customers.
(81)
Library means a public or nonprofit facility in which literary, musical, artistic, or reference materials such as but not limited to books, manuscripts, computers, recordings, or films are kept for use by or loaning to patrons of the facility, but are not normally offered for sale.
(82)
Livestock market means an establishment wherein livestock are collected and held for the purposes sale or transfer by auction, consignment, or other means.
(83)
Live-work unit means a single-family detached dwelling for both residential purpose and any nonresidential use permitted in the zone district in which the unit is located, provided that not more than one (1) person who does not reside in the unit are employed on the premises.
(84)
Manufactured home, one-family means a single-family dwelling which:
a.
Is partially or entirely manufactured in a factory;
b.
Is designed for and placed upon an engineered foundation;
c.
Has brick, wood or cosmetically equivalent exterior siding on all exterior walls which provides a consistent, continuous facade from the bottom of the soffit (top of wall section) downward to the exposed perimeter wall, foundation or to grade, whichever is applicable, and has a pitched roof; and
d.
Is manufactured after 1976 and certified pursuant to the National Manufactured Housing Construction and Safety Standards Act of 1974, 42 U.S.C. § 5401 et seq., as amended (commonly referred to as the "HUD" Code; effective in 1976) and all regulations enacted pursuant thereto, including any local modifications that are expressly allowed by federal law, or which have been certified by the State as being in compliance with the requirements of the Colorado Division of Housing's Building Codes and Standards (BCS).
(85)
Manufacturing and production means the manufacturing, processing, fabrication, packaging, or assembly of goods. Natural, man-made, raw, secondary, or partially completed materials may be used. Products may be finished or semi-finished and are generally made for the wholesale market, for transfer to other plants, or to order for firms or consumers. Includes the assembling of component parts, the manufacturing of products, and the blending of materials, such as lubricating oils, plastics, resins, or liquors. Determination of use is based upon gross floor area.
(86)
Massage establishment means an establishment or business wherein massage is practiced, including establishments commonly known as health clubs, physical culture studios, massage studios, or massage parlors. Includes massage establishments accessory to hospitality uses.
(87)
Medical marijuana uses:
a.
Center means the use of any property or structure to distribute, transmit, give, dispense or otherwise provide marijuana in any manner to patients or primary caregivers in accordance with Amendment 20, and the implementing state statutes and administrative regulations. The medical marijuana center may include an optional cultivation premises as an accessory use by right.
b.
Cultivation facility means an entity which cultivates, prepares, and packages marijuana and sells marijuana to medical marijuana stores, to medical marijuana product manufacturing facilities, and to other medical marijuana cultivation facilities, but not to consumers.
c.
Home cultivation means the use of any residential property for the cultivation and growing of medical marijuana for personal use only. The operation of a home cultivation shall require compliance with Section 17-15-20 of this Title.
d.
Infused product manufacturing means a manufacturing or processing facility in which a product is infused with medical marijuana that is intended for use or consumption other than by smoking, including but not limited to edible products, ointments, and tinctures. The medical marijuana infused product manufacturing use may include an optional cultivation premises as an accessory use by right.
e.
Testing facility means an entity which may analyze and certify the safety and potency of medical marijuana.
(88)
Microbrewery means an establishment that is primarily used for producing beer and may include retail or food service as an accessory use. The brewing operation processes water, malt, hops and yeast into beer or ale by mashing, cooking and fermenting. The brewing operation does not include the production of any other alcoholic beverage.
(89)
Mineral springs means a facility where naturally occurring springs that produce water containing minerals, or other dissolved substances, that alter its taste or give it a purported therapeutic value are used or bottled for retail sales.
(90)
Mixed-use means a development that includes nonresidential and residential principal uses within the same structure. The commercial uses are restricted to those permitted in the district.
(91)
Mobile auto repair means an establishment which provides temporary automobile repair service from a tent, truck, vending cart, or other area outside of a permanent structure.
(92)
Mobile food unit means retail food establishment that is not intended to be permanent and is a motorized wheeled vehicle, or a trailer that is licensed for use on public roadways, designed and equipped to serve food and beverages, operating in either a static or transitory location and serving the public. The sale and distribution of frozen milk, frozen dairy or ice confection products, candy gum or other confection products shall be permitted for mobile food units.
(93)
Mobile home, one-family means a dwelling unit with all the following characteristics:
a.
Designed as a detached single-family dwelling unit for long-term occupancy and containing sleeping accommodation, a flush toilet, a tub or shower bath, kitchen facilities, plumbing, sewer and electrical connections provided for attachment to outside systems;
b.
Designed to be transported after fabrication on its own wheels, on flatbed, other trailers or detachable wheels;
c.
Arrives at the site where it is to be occupied as a complete dwelling and is ready for occupancy except for minor and incidental unpacking and assembly operation, location on foundation supports or jacks, underpinned, connections to utilities and the like;
d.
Is not less than eight (8) feet in width and thirty-two (32) feet in length, excluding towing gear and bumpers;
e.
Is without motive power;
f.
Is manufactured after 1976 and certified pursuant to the "National Manufactured Housing Construction and Safety Standards Act of 1974," 42 U.S.C. § 5401 et seq., as amended, and all regulations enacted pursuant thereto; and
g.
Complies with City ordinance modifications as authorized by state or federal law.
(94)
Mobile home park means an area under single ownership which has been so designated and improved that it contains two (2) or more mobile home spaces available to the general public for the placement thereon of mobile homes for occupancy.
(95)
Mobile home sales means the retail sales of mobile and manufactured homes.
(96)
Model home means a dwelling unit temporarily used for display purposes as an example of dwelling units available or to be available for sale or rental in a particular subdivision or other residential development approved by the City. Model homes may also incorporate sales or rental offices for dwellings within the development.
(97)
Mortuary means an establishment engaged in undertaking or funeral services, such as preparing dead human bodies for burial and arranging and managing funerals. A funeral home is considered a mortuary, however a crematory is neither an accessory use nor a use by right for a mortuary.
(98)
Museum means an establishment displaying objects of historical, educational or cultural interest, with items not generally being offered for sale. Receipts of funding of a museum are not primarily from admission charges.
(99)
Natural deposits:
a.
Extraction means the exploration for or extraction of surface or subterranean compounds and materials; this includes oil and gas exploration and production, and the mining of metallic and nonmetallic minerals, sand, gravel, and rock.
b.
Processing means the processing of surface or subterranean compounds and materials.
(99.5)
Natural Medicine:
a.
Natural medicine, healing center means a facility where an entity is licensed by the state licensing authority that permits a facilitator, as defined by state laws, and regulations, to provide and supervise natural medicine services for a participant as defined by state laws and regulations, which includes a participant consuming and experiencing the effects of regulated natural medicine or regulated natural medicine product under the supervision of a facilitator.
b.
Natural medicine, cultivation facility means an entity which is licensed by the state licensing authority, that cultivates, prepares, and packages natural medicine products and sells natural medicine products to natural medicine product manufacturing facilities, natural medicine healing centers, and to other natural medicine cultivation facilities, but not to consumers.
c.
Natural medicine, products manufacturer, means an entity which may purchase natural medicine; manufacture, prepare, and package natural medicine; and sell natural medicine products to other natural medicine product manufacturing facilities, but not to consumers.
d.
Natural medicine, testing facility means an entity which may analyze and certify the safety and potency of natural medicine.
(100)
Non-governmental use means a use not classified as a governmental use defined in Subsection (65) above.
(101)
Nursery means an establishment whose principal activity is the selling of plants, flowers, shrubbery, trees, and other horticultural and floricultural products that are propagated and grown on the site, typically within a greenhouse structure or building, but specifically does not permit the cultivation or production of medical marijuana.
(102)
Nursing home means a place of permanent residency which provides lodging, board and personal services to more than eight (8) persons who are sick, infirmed or convalescent who are attended by nurses caring for their physical and mental requirements. It may also include only such other persons who are employed in an official capacity for the operation and maintenance of the home. Nursing home includes long-term health care, but does not include hospitals.
(103)
Office:
a.
General means an establishment where business is transacted, such business being primarily a service with the sale of merchandise being secondary and incidental to the performance of the service.
b.
Medical means an establishment used exclusively by physicians, dentists, and similar personnel for the treatment and examination of patients solely on an outpatient basis, provided that no overnight patients shall be kept on the premises. Includes but is not limited to doctor and dentist office, outpatient surgery centers and medical laboratories.
c.
Professional means an office of a member of a recognized profession maintained for the conduct of business in any of the following related categories: architectural, engineering, planning, law, interior design, accounting, insurance, real estate, or any similar type of profession.
(104)
Outdoor sales, seasonal means a business or use (primary or accessory) that is conducted primarily out of doors, on a limited seasonal basis which may include but not be limited to: the sale of fruits and vegetables, plants, flowers, Christmas trees, pumpkins and other similar businesses or uses.
(105)
Parking lot means an open, hard-surfaced area, other than a parking structure, street or public way, to be used for the transient parking of operable passenger automobiles, whether for compensation or free.
(106)
Parking structure means a semi-enclosed structure or portion thereof composed of one (1) level or floor, with an occupiable building above or below the parking structure, or more than one (1) level or floor, with or without a building above or below, used exclusively for the parking of motor vehicles. A parking structure may be totally below grade (as in an underground parking garage) or either partially or totally above grade with those levels being either open or enclosed. This definition does not include single-level parking lots that are covered, unless covered by an occupiable building.
(107)
Parks, trails, and open space means an area of open space provided for recreational purposes, including both active and passive recreation. This definition includes parks, trails and open space owned and maintained by the City or by a home owners association, for the purpose of the residences in the vicinity.
(108)
Pawnshop means an establishment that engages, in whole or in part, in the business of loaning money on the security of pledges of personal property, or consignment sales of personal property. Includes general pawnshops and jewelry pawnshops, but excludes automobile pawnshops.
(109)
Pawnshop, automobile means an establishment that engages, in whole or in part, in the business of loaning money on the security of pledges of automobiles, or consignment sales of automobiles.
(110)
Payday loan agency means a business that for compensation engages, in whole or in part, in the business of cashing checks, warrants, drafts, money orders, or other commercial paper serving the same purpose. Payday load agency does not include a state or federally chartered bank, savings association, credit union, or industrial loan company, but includes check cashing facilities.
(111)
Pet shop means a retail establishment which sells domesticated or tamed animals, birds and fish as household pets, and related supplies. Pet shop may also include as an accessory use the grooming of pets. Pet shop does not include the sale of large agricultural animals such as horses, cattle, pigs, sheep or goats, nor the boarding of animals, birds or fish.
(112)
Pharmacy means an establishment primarily engaged in the retail dispensing of prescription drugs and may offer nonprescription drugs, medical aids and convenience goods, but shall not permit the sale or distribution of medical or retail marijuana. The definition of pharmacy includes a drug store.
(112.5)
Photography studio means a workspace to take, develop, print and duplicate photographs.
(113)
Pigeon and dove keeping means the keeping, breeding, maintaining and flying of more than forty (40) but not more than one hundred (100) adult birds of a species of the family Columbidae, more commonly known as pigeons and doves. An adult pigeon or dove is defined as over the age of three (3) months.
(114)
Power plant means a facility that converts one (1) or more energy sources, including but not limited to waterpower, fossil fuels, nuclear, solar or wind power, into electrical energy or steam for the use off-site. A power generation plant may also perform either or both of the following: (a) operation of a transmission system that conveys the energy or steam from the generation facility to a power distribution system; (b) operation of a distribution system that conveys energy or steam from the generation facility or the transmission system to final consumers.
(115)
Precious metal purchaser means a person or business engaged in the purchasing of any item containing, in whole or in part, gold or silver or any allow of gold or silver.
(116)
Print shop means an establishment in which the principal business consists of duplicating and printing services using photocopy, blueprint, or offset printing equipment, including publishing, binding, and engraving.
(117)
Public utilities means a water, irrigation, sewer, gas, electric, telephone, bus, taxi, ambulance or railroad system or installation which serves five (5) or more customers, whether or not it is franchised or organized as a corporation or district. Public utility installation shall comply with Section 17-4-30.
(118)
Racetrack means a measured course where animals, vehicles or machines are entered in competition against one another or against time, including tracks used only for training or practice. A racetrack may include accessory offices, seating, concession areas, suites, and related retail sales of memorabilia and merchandise. This definition shall also include any facility used for simulated racing or driving conditions (test tracks, "shakedown" tracks, or other similar facilities).
(119)
Recreation facilities:
a.
General means a facility, with or without seating for spectators, and providing accommodations for a variety of recreation uses including but not limited to golf driving ranges (not associated with a golf course), miniature golf, firing ranges, water parks, amusement parks, skateboard parks, sports fields and courts, batting cages, swimming pools, laser tag, paint ball and motorized cart tracks where recreation facilities may be provided indoor or outdoor.
b.
Indoor means a fully indoor facility, with or without seating for spectators, and providing accommodations for a variety of active or passive recreation, including but not limited to basketball, ice hockey, wrestling, skating rinks, soccer, tennis, volleyball, racquetball or handball. Such facility may also provide other accessory uses including health and fitness club facilities, swimming pool, snack bar, restaurant, retail sales of related sports, health or fitness items, and other support facilities.
(120)
Recreational park means a property upon which two (2) or more recreational vehicle sites, cabins or tent sites are located, established or maintained for occupancy as temporary living quarters for recreation or vacation purposes. Also includes sanitary facilities, laundry facilities and disposition of waste, rubbish and debris created or deposited by its patrons. No person shall be permitted to camp for a period longer than twenty-one (21) days.
(121)
Recreational vehicle, sales and service means a retail establishment that sells, rents, leases, repairs and services new or used recreational vehicles. A recreational vehicle sales establishment does not permit the sale or service of automobiles unless otherwise permitted in the zone district.
(122)
Recycling:
a.
Center means an enclosed building used for storing recyclable material and unenclosed premises on which recyclable material is stored for one (1) week or less.
b.
Collection center means a center for the acceptance by donation, redemption, or purchase of recyclable materials for transshipment to a recycling center or an industrial processing facility. Collection centers include: reverse vending machines or groups of reverse vending machines occupying more than seventy-five (75) square feet, a mobile recycling unit, kiosk-type units that may include permanent structures, unattended containers placed for the donation of recyclable materials.
c.
Processing facility means an indoor or outdoor facility that is not a salvage yard and in which recyclable materials are collected, processed, recycled, and treated to return such products to a condition for efficient shipment or to an end-user's specifications by baling, compacting, composting, flattening, grinding, crushing, mechanical sorting, cleaning or remanufacturing. Does not include processing of tires.
d.
Tire processing facility means a site actively used to produce or manufacture usable materials, including fuel, from scrap tires.
(123)
Refinery means a facility where the unwanted substances in something (such as sugar or oil) are removed.
(124)
Refuse collection company means an establishment primarily engaged in the pick up of trash and refuse. Includes curbside pickup, port-o-let rental and roll off dumpster service.
(125)
Religious institution means a establishment where people regularly assemble for religious worship and which is maintained and controlled by a religious body organized to sustain public worship, together with all accessory uses customarily associated with such primary use. Includes church, synagogue, temple, mosque, or other such place of worship or religious activities.
(126)
Rental shop:
a.
Equipmentmeans an establishment providing the rental of goods and equipment including but not limited to tools, trucks, tractors, construction equipment, agricultural implements, and similar commercial and industrial equipment. Included in this use type is the incidental storage, maintenance, and servicing of such equipment.
b.
General means an establishment providing the rental of general merchandise to the general public. General merchandise includes clothing and other apparel, electronics, videos, small tools and garden equipment, furniture and other household appliances, special occasion or seasonal items, and similar consumer goods.
(127)
Repair shop:
a.
Consumer items means an establishment primarily providing repair services to consumer items, but excluding automotive, household appliance, small engine and equipment repair. Typical uses include shoe, watch or jewelry, or musical instruments repair.
b.
Durable goods means an establishment primarily providing repair services to non-consumer items including household appliances, small engines and equipment, but excluding automobiles.
(128)
Residence:
a.
Condominium means a residential structure of two (2) or more dwelling units in which the dwelling units are individually owned; each owner receiving a recordable deed enabling him or her to sell, mortgage, exchange, etc., his or her dwelling unit independent of the owners of the other dwelling units in the structure. The maintenance of the structure and common improvements is provided through a homeowners' association or similar contractual group. Condominium structures with three (3) or more dwelling units shall be considered multifamily residential structure and adhere to C.R.S. § 17-4-14 of the Pueblo Municipal Code.
b.
Established means a residence, one-, two-, or multifamily that was occupied any time prior to February 1, 1968; therefore, allowing the same use to be reinstated. The discontinuance of the residence does not preclude the residence from returning; the number of dwelling units shall not be increased above the number of dwelling units that existed when the use was legally established.
c.
Multifamily, means a residential structure, containing three (3) or more dwelling units. Each dwelling unit is designed for occupancy by not more than one (1) family. Condominiums with three (3) or more dwelling units and townhouses are defined as multifamily residences.
d.
One-family means a detached single-family residential dwelling unit designed for and occupied by not more than one (1) family, including a manufactured home but excluding a mobile home.
e.
Accessory Dwelling Unit means an attached, detached, or integrated dwelling unit that is incidental and accessory to a one-family residence on the same lot and provides complete and independent facilities for one or more individuals, including facilities for living, sleeping, eating, cooking, and sanitation.
1.
Attached accessory dwelling unit: the accessory dwelling unit shares at least one (1) wall in common with the one-family residence on the same lot, increasing the footprint of the one-family residence.
2.
Detached accessory dwelling unit: the accessory dwelling unit shares no common wall with the one-family residence on the same lot with its own footprint.
3.
Integrated accessory dwelling unit: the accessory dwelling unit is contained completely within the building envelope of the one-family residence on the same lot with no increase to the footprint of the one-family residence.
f.
Townhouse means a residential structure containing a single-family dwelling unit, located on an individually owned and platted lot, which is joined in a continuous group or row of three (3) or more dwellings which may vary in uniformity of structure, appearance or setback and may be joined by a common side wall.
g.
Two-family means a residential building designed as a single structure, containing two (2) dwelling units and designed for occupancy by not more than two (2) families.
h.
Watchman or caretaker means a residence located on a premises with a main nonresidential use and occupied only by a caretaker or guard employed on the premises, and his or her family.
(129)
Restaurant means a commercial establishment whose primary function is providing prepared meals to customers for consumption within the structure. Accessory uses may include drive up service or outdoor commercial patio, if separately permitted in the zone district.
(130)
Restaurant, carry-out means a commercial establishment where food is prepared on the premises for consumption off the premises, with no seating or other area provided on the premises for consumption. The establishment may deliver food to the customer, or the customer may pick food up.
(131)
Retail marijuana:
a.
Cultivation facility means an entity which cultivates, prepares, and packages marijuana and sells marijuana to retail marijuana stores, to retail marijuana product manufacturing facilities, and to other retail marijuana cultivation facilities, but not to consumers.
b.
Product manufacturing facility means an entity which may purchase marijuana; manufacture, prepare, and package marijuana products; and sell marijuana and marijuana products to other marijuana product manufacturing facilities and to retail marijuana stores, but not to consumers.
c.
Store means an entity licensed to purchase marijuana from marijuana cultivation facilities, and marijuana products from marijuana product manufacturing facilities, and to sell marijuana and marijuana products to retail marijuana consumers.
d.
Testing facility means an entity which may analyze and certify the safety and potency of marijuana.
(132)
Retail sales:
a.
Reserved.
b.
Auto parts means an establishment primarily engaged in selling new automobile parts and accessories to the general public. Excludes salvage operations.
c.
Big box means retail or wholesale, single tenant or multiple tenants in a single development, who occupy no less than forty thousand (40,000) square feet of single-plate ground floor area, typically having a regional sales market. Regional retail/wholesale sales can include but are not limited to membership warehouse clubs that emphasize bulk sales, discount stores, department stores, and pad sites with structures of fewer than forty thousand (40,000) square feet, which are associated with the primary big box retail development and which are included in the original subdivision and/or master plan of the overall development. Zone districts that have a regulatory design review process, such as HB, HARP districts and designated Urban Renewal project areas, are exempt from the big box retail standards.
d.
Building materials means an establishment engaged in selling lumber, or lumber and a general line of building materials, to the general public and construction contractors. Includes products such as rough and dressed lumber, flooring, molding, doors, sashes, frames, fencing, roofing, siding, shingles, wallboard, paint, brick, tile, cement, hardware, and other building materials and supplies. Shall also include bagged sand, gravel, and other bagged landscape material, but shall specifically exclude landscape materials sold in bulk.
e.
Garden center means a retail business whose principal activity is the selling of plants, flowers, shrubbery, trees, and other horticultural and floricultural products that are maintained, but not propagated, on the site, but specifically does not permit the sale of medical marijuana. The sale of other nursery accessories, including but not limited to potting soil, hardware, hoes, rakes, shovels, and other garden tools is permitted.
f.
General means a commercial enterprise that provides goods and/or services directly to the consumer, where such goods are available for immediate purchase but excludes those classified more specifically by definition.
g.
Liquor store means an establishment primarily engaged in the retail sale of packaged alcoholic beverages and related non-alcoholic goods for consumption off the premises.
h.
Intermittent means a temporary retail establishment which only occurs at irregular intervals.
i.
Reserved.
j.
Reserved.
k.
Tires means commercial establishment where the principal use is the sale or installation of new, used, or retread tires and tubes.
(133)
Salvage yard or salvage shop means any place at which salvage is collected, received, stored, accumulated, sold or otherwise handled. Salvage shall mean any personal property which is or may be salvaged for reuse, resale, reduction or similar disposition, or which is possessed, transported, owned, collected, accumulated, dismantled or assorted for any of the aforesaid purposes. Used household furniture, used wearing apparel, used lumber, used brick, used tile, used plumbing fixtures, used electrical fixtures, used articles made of precious metal or metals, used jewelry, used tools and other used articles of personal property, which are bought and sold as secondhand property and which are not handled as what is ordinarily called salvage shall not be included in the term salvage as used herein. Without limiting the aforesaid definition of salvage, the term shall include used or salvaged iron, brass, lead, copper and other base metals, and their compounds or combinations, used or salvaged rope, bags, paper, rags, glass, rubber and similar articles and used motor vehicles or machinery used, owned or possessed for the purpose of wrecking or salvaging parts therefrom.
(134)
School means an education facility and includes parochial, private, professional, college, university and public schools. Specific types of schools are defined below:
a.
College or university means an educational facility and related educational accessory uses other than a trade school which provides full-time or part-time instruction designed to secure a degree in a general field or a specialized professional field.
b.
General means a public, parochial, or private institution and related educational accessory uses that provides educational instruction to students. This definition does not include trade or business schools, colleges, or universities.
c.
Preschool means a facility and related educational accessory uses for the organized instruction of children who have not reached the age for enrollment in kindergarten, excluding child care, homes.
d.
Trade means a specialized instructional facility and related educational accessory uses established to provide for the teaching of industrial, clerical, managerial, or artistic skills. This definition applies to schools that are owned and operated privately for profit and that do not offer a complete educational curriculum (e.g., beauty school, modeling school). This use excludes establishments providing training in an activity that is not otherwise permitted in the zone. Incidental instructional services in conjunction with another primary use shall not be considered a business and trade school.
(135)
Shooting range means an area or structure specially designed for the safe discharge and use of rifles, shotguns, pistols, silhouettes, skeet, trap, black powder, archery, or any similar firearm for the purpose of sport shooting or military/ law enforcement training.
(136)
Sign, billboard (off-premises sign) means a sign structure advertising an establishment, merchandise, event, service or entertainment, which is not sold, produced, manufactured or furnished at the property on which the sign is located; and any other outdoor advertising prohibited by the provisions of Section 43-1-415, C.R.S. and Section 24-4-103, C.R.S.
(137)
Smoking lounge means an establishment where patrons share shisha from a communal hookah or nargile. Smoking lounges do not permit the consumption of marijuana or related products. Smoking lounges are also regulated by Chapter 6 of Title VII of the Pueblo Municipal Code and the Colorado Clean Indoor Air Act.
(138)
Solar array means a freestanding or building mounted device or combination of devices or elements that use direct sunlight as a source of energy for such purposes as heating or cooling a structure, heating or pumping water, or generating electricity.
(139)
Solid wastes transfer station means a facility where non-hazardous solid waste materials are taken from a collection vehicle, temporarily stored or stockpiled, and ultimately placed in a transportation unit for movement to another facility.
(140)
Stable, commercial means a facility commercially available to the general public for the purpose of boarding riding animals on a rent, lease or fee basis.
(141)
Storage facility:
a.
Outdoor means a facility for the exterior stockpiling or safekeeping of materials, products, vehicles, recreational vehicles, cargo containers, trailers, and the like.
b.
Self-storage means a building or group of buildings, pods or shipping containers divided into separate compartments used to meet the temporary storage needs of small businesses, apartment dwellers, and other residential uses; and may include refrigerated facilities.
(142)
Student housing means a residence for occupancy by groups of people not defined as a family, where such building is specifically designed for students of a college, university, trade school or nonprofit organization for the purpose of providing rooms for sleeping and living purposes. Common gathering spaces, kitchen, cafeteria and sanitary facilities may also be provided. Typical uses include, but are not limited to, fraternity or sorority houses, dormitories, residence halls and boarding/lodging houses.
(143)
Taxidermist means a business primarily engaged in preparing, stuffing, and mounting the skins of animals.
(144)
Theater:
a.
Drive-in means an outdoor movie theater where patrons view movies or any other form of entertainment on a screen from their vehicles. This definition does not include an adult theater.
b.
General means a structure for presentation of films, plays or other dramatic performances on two (2) or fewer stages or screens. A theater does not include an adult theater.
c.
Multiplex means structure with three (3) or more movie theaters in which each theater is capable of showing moves independent of the others in the complex. Theaters in a multiplex are grouped in a manner that allows them to share box or ticket offices, parking facilities, lobby area, restrooms, concession stands, signs and marquee displays, and other service and maintenance facilities.
(145)
Tow service means an establishment that provides for the removal of vehicles but does not include storage, overnight storage, disposal, permanent disassembly, salvage, or accessory storage of inoperable vehicles.
(146)
Tow yard means an outdoor storage facility for the temporary storage of towed vehicles.
(147)
Tower (antenna) means any structure that is designed and constructed primarily for the purpose of supporting one (1) or more antennas for telephone, radio and similar communication purposes, including self-supporting lattice towers, guyed towers or monopole towers. The term includes radio and television transmission towers, microwave towers, common-carrier towers, cellular telephone towers, alternative tower structures and the like. The term includes the structure and any support thereto.
(148)
Transit station means a facility that is primarily used, as part of the transit system, for the purpose of loading, unloading, or transferring passengers or accommodating the movement of passengers from one (1) mode of transportation to another.
(149)
Tree service means an establishment primarily providing some of all of the following services related to the establishment, maintaining or removal of trees: cabling and bracing, drought services, fertilization and soil management, insect and disease management, lightning protection, plant analysis and diagnostics, pruning, storm damage, tree inspections, tree inventory, tree removal, and tree structure evaluation.
(150)
Truck parking means an open, hard-surfaced area, other than a parking structure, street or public way, to be used for the transient parking of operable tractor trucks or similar heavy commercial vehicles, whether for compensation or free.
(151)
Truck sales and service means a retail establishment that sells, rents, leases or provides repair service for new or used tractor trucks or similar heavy commercial vehicles, including the sale of accessories and equipment for such vehicles.
(152)
Truck stop means an establishment primarily engaged in the fueling, servicing, repair, or parking of tractor trucks or similar heavy commercial vehicles, including the sale of accessories and equipment for such vehicles. A truck stop may also include overnight accommodations, showers, or restaurant facilities primarily for the use of truck crews as permitted by the zone district.
(153)
Trucking terminal means a facility for the receipt, transfer, short term storage, dispatching of goods transported by truck, and storage and distribution facility for heavy trucks, tractor trailers or similar heavy commercial vehicles. Included in the use type would be express and other mail and package distribution facilities, including such facilities operated by the U.S. Post Office and trucking companies, but excludes trucking accessory to another industrial site.
(154)
Urgent care facility means a facility providing medical service for sick or injured persons exclusively on an urgent out-patient basis, including emergency treatment, diagnostic services, training, administration, and services to outpatients, employees, or visitors. Medical marijuana associated uses are not permitted at a health care facility.
(155)
Veterinary clinic means a facility for the use of a licensed veterinarian in the diagnosis, treatment, or prevention of animal diseases wherein the animals are generally limited to dogs, cats, or other comparable household pets and wherein the overnight care of said animals is prohibited except when necessary in the medical treatment of the animal. The definition of Veterinary clinic includes veterinary hospitals.
(156)
Warehousing use means a use engaged in storage, wholesale, and distribution of manufactured products, supplies, and equipment.
(157)
Wedding facility means an establishment that primarily provides the facilities and services for weddings on a commercial basis. This definition does not include churches and similar congregations where weddings are an ancillary use.
(158)
Wholesaling uses means an establishment primarily engaged in selling and/or distributing merchandise to retailers; to industrial, commercial, institutional, or professional business users, or to other wholesalers; or acting as agents or brokers and buying merchandise for, or selling merchandise to, such individuals or companies for resale.
(159)
Wind turbine means a structure or device fitted with a set of revolving blades designed to move with or harness the power of the wind to generate electricity or mechanical energy and can include pole- or building-mounted turbines. The term wind turbine includes the tower on which it is built.
(160)
Woodworking means a business primarily engaged in manufacturing of wood products, including but not limited to furniture and cabinetry.
(Ord. No. 8933, §1, 11-23-15; Ord. No. 9082 , §1, 12-27-16; Ord. No. 9139, §2, 6-26-17; Ord. No. 9207, §1, 12-11-17; Ord. No. 9469, §2, 5-28-19; Ord. No. 9482, §4, 6-10-19; Ord. No. 9525, §1, 8-26-19; Ord. No. 9709, §1, 5-26-20; Ord. No. 9710, §1, 5-26-20; Ord. No. 10132, §1, 3-14-22; Ord. No. 10693 §1, 4-22-2024; Ord. No. 10941 §1, 4-28-25; Ord. No. 11022 §1, 8-25-25)