FIGURES AND ILLUSTRATIONS
Figure 1 Basement Definition
Figure 2 Measuring Building Height
Figure 3 Grade
Figure 4 Lot Lines, Width, Depth
Figure 5 Lot Types
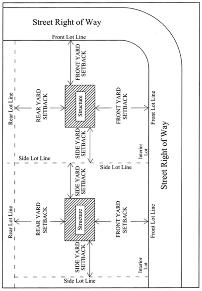
Figure 6 Yards and Setbacks
Figure 7 Visibility at Intersections
Figure 8 Parallel Parking
Figure 9 Parking (30° - 53°)
Figure 10 Parking (54° - 74°)
Figure 11 Parking (75° - 90°)
Figure 12 Off-Street Stacking Spaces and Lanes for Drive-Through Facilities
Figure 13 Screening Between Conflicting Land Uses
Figure 14 Parking Lot Landscaping-Interior Parking Areas
Figure 15 Parking Lot Landscaping-Perimeter Parking Lot
Figure 16 Greenbelt Buffer
Figure 17 Trash Container Screening
Figure 18 Pedestrian Plaza Design Elements
Figure 19 Knee Wall Design Elements
FIGURES AND ILLUSTRATIONS
Figure 1 Basement Definition
Figure 2 Measuring Building Height
Figure 3 Grade
Figure 4 Lot Lines, Width, Depth
Figure 5 Lot Types
Figure 6 Yards and Setbacks
Figure 7 Visibility at Intersections
Figure 8 Parallel Parking
Figure 9 Parking (30° - 53°)
Figure 10 Parking (54° - 74°)
Figure 11 Parking (75° - 90°)
Figure 12 Off-Street Stacking Spaces and Lanes for Drive-Through Facilities
Figure 13 Screening Between Conflicting Land Uses
Figure 14 Parking Lot Landscaping-Interior Parking Areas
Figure 15 Parking Lot Landscaping-Perimeter Parking Lot
Figure 16 Greenbelt Buffer
Figure 17 Trash Container Screening
Figure 18 Pedestrian Plaza Design Elements
Figure 19 Knee Wall Design Elements