Review Procedures
The purpose of Division 1, Common Review Procedures, is to establish the procedures that apply to all development applications within the Town. These common procedures apply to the following types of development applications: interpretations, amendments to the text of the Land Use and Development Code, amendments to the Official Zone District Map, planned unit developments (PUD) and PUD amendments, special reviews, variances, administrative modifications, subdivision exemptions, subdivisions and subdivision amendments and temporary use permits.
(Ord. 4-1998 §1; Ord. 15-2000 §1)
(a)
Common Procedure. Figure 5-1, Common Review Procedure, generally illustrates how the Town processes land development applications and the activities an applicant may have to complete in order to obtain approval of a development application. In general, the steps that comprise the common procedure are as follows:
(1)
Attend pre-application conference;
(2)
Submit application;
(3)
Staff reviews application;
(4)
Provision of public notice;
(5)
Action by decision-making body; and
(6)
Actions following development approval.
The following sections of this Division describe the common procedures associated with each of these steps.
(b)
How the Common Procedure Applies to Particular Applications. Table 5-1, Summary of Development Review Procedures, indicates how certain elements of the common procedure apply to each type of application. It describes whether the pre-application conference is mandatory or optional for each type of application, which body is authorized to review, act upon or hear appeals for each type of application and whether public notice is required for the application.
(Ord. 4-1998 §1; Ord. 6-1999 §1; Ord. 11-1999 §3; Ord. 15-2000 §1)
(Ord. 6-2015 §5(Exh. A))
(a)
General. At the pre-application conference the applicant may confer with the Planning Director to obtain information and guidance as to the Town's development procedures and standards. Table 5-1, Summary of Development Review Procedures, lists the application types for which a pre-application conference is mandatory and those for which it is optional. It shall be the applicant's responsibility to schedule the pre-application conference.
(b)
Purpose of Pre-Application Conference. The purpose of the pre-application conference is to determine, in general, what provisions of this Development Code apply to the proposed development.
(c)
Contents of Pre-Application Conference. Items to be discussed during the pre-application conference include the following:
(1)
Applicant's proposal. The applicant should provide a verbal description of the proposed development, accompanied by a survey, site plan or other map that illustrates the property's boundaries and the applicant's initial development concepts. The applicant should also provide a general indication of when the application is likely to be submitted.
(2)
Review procedure. The Planning Director should identify the procedures that will apply to the proposed development, including which decision-making body or bodies will review the application, whether public notice will be required and the sequence of actions and the likely time required to complete the development review process.
(3)
Review agencies. The Planning Director should identify those agencies that will review the development application. Upon request, the Planning Director shall provide the applicant with the names of contact persons at these agencies.
(4)
Application contents. The Planning Director should describe the materials required to be submitted as part of the development application, provide any applicable Town application forms, identify the number of copies of the application to be submitted and indicate the fee for the development application.
(d)
Written Summary. Upon request by the applicant, the Planning Director shall, within seven (7) calendar days, issue a written summary of the specific procedures and information requirements for the project.
(Ord. 4-1998 §1; Ord. 15-2000 §1)
(a)
Authorization. A development application may only be submitted to the Planning Department by the owner, or any other person having a recognized interest in the land for which the development is proposed, or their authorized agent.
(1)
Owner's permission. If the applicant is not the owner of the land, or is a contract purchaser of the land, the applicant shall submit a letter signed by the owner consenting to the submission of the application. If the applicant is not the sole owner of the land, the applicant shall submit a letter signed by the other owners, or an association representing the owners, consenting to or joining in the development application.
(b)
Minimum Contents. The development application shall include the information and materials specified for that particular type of application in the applicable section of this Article V. In addition, all development applications shall, at a minimum, include the following information and materials:
(1)
Name, address, telephone number and power of attorney. The applicant's name, address and telephone number. If the applicant is to be represented by an agent, a letter signed by the applicant granting power of attorney to the agent shall be submitted, authorizing the agent to represent the applicant and stating the representative's name, address and phone number.
(2)
Legal description. The legal description and street address, if such exists, of the parcel on which development is proposed.
(3)
Disclosure of ownership. A current certificate from a title insurance company or attorney licensed in the State which shall set forth the names of all owners of property included in the application and shall include a list of all mortgages, judgments, liens, contracts, easements or agreements of record that affect the property. At the Town's option, the holders or owners of such mortgages, judgments, liens, contracts, easements or agreements of record may be required to consent to the application before it is acted upon by the Town.
(4)
Written description. A written description of the proposal and an explanation, in written, graphic or model form, of how the proposed development complies with the review standards applicable to the application, found in the applicable section of this Article V.
(5)
Vicinity map. An eight and one-half inch by eleven inch (8½" x 11") vicinity map locating the subject parcel within the Town.
(6)
Other maps. All other maps required for the application shall be prepared at a scale of one inch equals one hundred feet (1" = 100') or larger, on sheets no larger than thirty inches by forty-two inches (30" x 42"), with an unencumbered margin of one and one-half inches (1.5") on the left hand side of the sheet and one-half inch (0.5") around the other three (3) sides of the sheet. Sheets of twenty-four by thirty-six inches (24" x 36") are preferred. If it is necessary to place information on more than one (1) sheet, an index shall be included on the first sheet. Report-size versions of all maps, reduced to a sheet size of no greater than eleven inches by seventeen inches (11" x 17"), shall also be submitted.
(7)
Base fee. The application shall be accompanied by the applicable base fee from the Planning Department's fee schedule. The fee schedule shall be established and may be revised from time-to-time by the Planning Director. The fee schedule shall be available for review in the Planning Department during normal business hours.
a.
Actual fee. The actual review fee shall be computed by the Planning Director, based upon a staff hourly rate determined by the Planning Director to be an estimate of the fully allocated hourly cost of review of the application by the Town staff, plus the actual costs incurred by the Town in employing consultants, including attorneys and engineers, performing services for the Town directly related to the application.
b.
Reimbursement due. The applicant shall reimburse the Town for such amounts in excess of the base fee as determined by the Planning Director. The reimbursement to the Town by the applicant shall be due and payable within fifteen (15) days of the date of billing.
(c)
Consolidation. The Town's development review process is intended to encourage efficient processing of applications. Applicants may request, and the Planning Director may permit, the consolidated submission and review of all necessary development applications for a parcel of land. The Planning Director is authorized to waive any overlapping submission requirements in the consolidated review.
(Ord. 4-1998 §1; Ord. 15-2000 §1; Ord. 16-2010 §1)
(a)
Determination of Completeness. The Planning Director shall determine whether the application is complete and includes information in sufficient detail to determine whether it complies with the applicable substantive standards of this Development Code. The Planning Director shall endeavor to make said determination and notify the applicant accordingly within fifteen (15) days of receiving the application.
(1)
Incomplete application. If the application is not complete, the Planning Director shall inform the applicant of the deficiencies in writing within fifteen (15) days and shall take no further action on the application until the deficiencies are remedied. The Town Council, upon the recommendation of the Planning Director, may authorize the waiver or deferral of the requirement to submit certain application items if determined that they are not necessary to commence review of the application. The authorization of the waiver or deferral request by the Town Council shall occur by adopting a resolution at a regularly scheduled meeting and shall reserve the right for the Town to require that any material initially waived or deferred may be required to be submitted by the applicant at any time during the review process if needed to evaluate the applicant's proposal. If the applicant fails to correct the deficiencies within sixty (60) days, the application shall be considered withdrawn and returned to the applicant.
(2)
Complete application. If the application is complete, the Planning Director shall certify as complete, determine the required number of copies of the submission documents to be submitted and assign the application an agenda date with the applicable review body. Unless not required by the Planning Director, the applicant shall also submit the application material in an acceptable digital form for distribution and archival storage.
(3)
Completeness is not a determination of compliance. A determination that an application is complete shall not constitute a determination that it complies with the substantive standards of this Development Code.
(b)
Staff Review. Within thirty (30) days from the date of the completeness determination, the Planning Director shall review the development application to determine its conformance with the requirements of this Development Code. The Planning Director may solicit the professional analysis and recommendations of any other agency, organization or technical consultant deemed appropriate and necessary to complete the review, such as: (1) members of the Town staff; (2) county, state or federal entities having an interest in or authority over the proposed development or any portion thereof; (3) utility companies, special service districts serving the proposed development and the school district; and (4) engineers, designers and legal consultants.
(c)
Report. Prior to the date of the review body meeting, the Planning Director shall compile a written report that sets forth how the application complies with, or does not comply with, the applicable standards of this Development Code. At least three (3) days prior to the first public review of the application, the Planning Director shall distribute a copy of the report to each member of the review body and to the applicant, and shall make the report available to the public.
(Ord. 4-1998 §1; Ord. 15-2000 §1; Ord. 16-2010 §1)
(a)
Notice Required. Table 5-1, Summary of Development Review Procedures, identifies the types of land development applications that require a public hearing, and at what step during the review process that hearing shall occur. Public notice shall be provided for each application type that is listed as requiring notice to be given. Notice shall be provided as specified below.
(b)
Manner and Timing of Notice. Public notice shall be given by publication of notice in the newspaper, mailing of notice to property owners surrounding the subject property and posting of notice on the property, as specified herein. The number of days prior to the hearing that each type of notice must be given is summarized in Table 5-2, Timing of Required Public Notices.
(1)
Publication of notice. Publication of notice shall be accomplished by the staff, who shall place a legal notice in a newspaper of general circulation in the Town. The legal notice shall state the date, time, location and purpose of the public hearing, and the name of the decision-making body conducting the hearing and shall be published once.
(2)
Mailing of notice. Mailing of notice shall be accomplished by the applicant. The notice that the applicant shall mail shall be prepared by the Planning Director and provided to the applicant. Notice shall be sent by first-class mail to all property owners located wholly or in part within three hundred (300) feet of the subject property. In certain circumstances involving multi-family uses or larger parcels, the Planning Director may define the three-hundred-foot notification boundary to be measured from the perimeter of the proposed project or area within the property being affected by the proposed development, rather than being measured from the entire property boundary.
a.
Source of list. The applicant shall compile the list of property owners to whom notice will be mailed by using the most current list of property owners on file with the County Tax Assessor.
b.
Contents of mailed notice. The notice that is mailed shall contain the following information:
1.
Description of proposal. A description of the proposed application, including a reference to the Code section under which the application will be processed and the name of the decision-making body that will conduct the hearing. An exhibit depicting the proposed development shall also be included.
2.
Description of property. A description of the subject property.
3.
Date time and place. The date, time and place of the public hearing for which notice is being given.
4.
Map amendment. If the application is for an amendment to the Official Zone District Map, a map illustrating the proposed amendment shall be included with the mailed notice. The notice shall state what the present zoning is and what the new zoning will be and shall set forth the dimensional limitations for the proposed zone, as established in this Code.
________________________________________________________
TABLE 5-2
Timing of Required Public Notices
1 No public hearing occurs before the Planning Commission; the required public notice is for the joint meeting, pursuant to Section 16A-5-320(c)(4), Joint Meeting.
2 Mailed notice shall be by United States mail postage prepaid.
5.
Subdivision. If the application is for approval of a subdivision, the notice shall specify the proposed types of uses and gross residential density.
6.
Additional hearings. The written notice shall also state that additional public hearings may be held before the Planning Commission and/or Town Council at later dates, for which only published notice shall be required, and shall indicate that additional information regarding the proposal is available for inspection at the Town offices during normal business hours.
7.
Contact person. The address and telephone number of the Planning Department, and the name of the person to whom written comments should be directed prior to the public hearing.
(3)
Posting of notice. Posting of notice shall be accomplished by the applicant. The applicant shall prepare and use a form approved by the staff. The applicant shall enter onto the sign the date, time, location and purpose of the public hearing, and the name of the decision-making body conducting the hearing. The applicant shall post the sign in a conspicuous location on the subject property.
a.
Dimensions. The dimensions of the sign shall be not less than twenty-two inches wide by twenty-six inches high (22" x 26"). Lettering on the sign shall be not less than one (1) inch in height.
b.
Materials. The materials to which the notice form is affixed shall be sturdy and waterproof or shall have a waterproof covering. The applicant shall maintain the sign in a legible manner until the closure of the public hearing and shall remove it on the day following closure of the public hearing.
(4)
Validity of notice. If the applicant follows the procedures indicated above in good faith, the failure of any particular property owner to receive notice shall not affect the validity of the proceedings which require such notice. By way of example, notice shall not be considered invalid because of unrecorded or subsequent transfers of title, or uncertainties concerning ownership not discernible from the tax assessment rolls.
(5)
Proof of notice. At or before the actual public hearing, the applicant shall provide the Town with an affidavit certifying that notice was posted. A copy of the list of property owners to whom notice was mailed shall be attached to the affidavit. A photograph of the posted sign shall also be attached to the affidavit.
(Ord. 4-1998 §1; Ord. 6-1999 §1; Ord. 10-1999 §1; Ord. 11-1999 §3; Ord. 15-2000 §1; Ord. 32-2004 §A-5; Ord. 16-2010 §1; Ord. 4-2013 §3; Ord. 6-2015 §6(Exh. A))
The decision-making body shall comply with the following procedures in taking action on the development application.
(1)
Site inspection. As part of its consideration of the development application, the decision-making body may, as a group or through a committee appointed for that purpose, inspect the site of the proposed development. Upon reasonable request by the Planning Director, the applicant shall mark the development site before the site visit is to occur to locate property boundaries, building envelopes and other key site development features.
(2)
Conduct of public hearing. A public hearing shall be conducted in accordance with the following procedures:
a.
Rights of all persons. Any person may appear at a public hearing and submit evidence, either individually or as a representative of an organization.
b.
Order of proceedings. The order of the proceedings shall be as follows:
1.
Description. The Planning Director shall present a narrative and/or graphic description of the application and a staff report on the application, which includes a written recommendation.
2.
Applicant presentation. The applicant shall be prepared to present any information that has been previously submitted in the application or that is pertinent to the review body's consideration of the application. The Chairman conducting the public hearing may define the scope, topical nature and time frame within which the presentation shall be given. The burden shall be on the applicant to demonstrate through competent evidence that the application complies with all applicable provisions of this Development Code.
3.
Public testimony. Public testimony shall be heard.
4.
Applicant response. The applicant may respond to any testimony or evidence presented by the public.
5.
Staff response. The Planning Director and any other staff member may respond to any statement made by the applicant or the public.
c.
Exclusion of testimony. The Chairman conducting the public hearing may exclude testimony or evidence that is found to be irrelevant, immaterial or unduly repetitious. If any testimony or evidence is so excluded, the person offering such testimony or evidence shall have an opportunity to make a proffer in regard to such testimony or evidence for the record. Such proffer shall be made at the public hearing.
d.
Continuance of public hearing. The body conducting the public hearing may, on its own motion or at the request of the applicant, continue the public hearing to a fixed date, time and place. An applicant shall have the right to request and be granted one (1) continuance. All subsequent continuances shall be granted at the discretion of the body conducting the public hearing only upon good cause shown.
e.
Withdrawal of application. An applicant shall have the right to withdraw an application at any time prior to the action on the application by the decision-making body.
f.
Record of public hearing. The body conducting the public hearing shall record the public hearing by any appropriate means, including transcription, audiotape or videotape. The written or taped record of oral proceedings, including testimony and statements of personal opinions; the minutes of the Clerk; all applications, exhibits and papers submitted in any proceeding before the decision-making, administrative or advisory body; the staff report and the decision of the body shall constitute the record.
(3)
Amendment. If an applicant wishes to amend a submission after a Planning Commission recommendation thereon, such request shall be made in writing and presented to the Town Council during the public hearing. The Town Council shall consider and make a determination as to whether the changes alter the nature of the project from that described in the original submission to such an extent that:
a.
The amendment should not be allowed;
b.
The amendment should be allowed, but the Planning Commission should have an opportunity to review the amendment and make a recommendation thereon; or
c.
The amendment should be allowed, and the application should proceed without additional hearings or consideration thereof. If the amendment is not allowed, the Town Council shall continue to consider the application without the amendment in accordance with the provisions of this Section. If an additional Planning Commission recommendation is to be made, the Town Council may, at its discretion, table the application until it has received the Planning Commission's recommendation on the amendment.
Remand. An application may also be remanded to the Planning Commission when the Town Council determines that the application as amended has otherwise been altered in a significant manner following the Planning Commission's action on the preliminary PUD. The Town Council shall table the application until it has received the Planning Commission's recommendation on the changes.
(4)
Action. After hearing the evidence and considering the comments of all persons interested in the matter, the decision-making body shall make its decision and findings and have them entered in its minutes. The decision-making body shall not be required to take final action on an application during the same meeting when testimony from interested persons is taken, but action shall be taken as promptly as is reasonable.
a.
Findings. In its findings, the decision-making body shall report the facts, whether the application complies with the applicable review standards, and whether the application is approved, approved with conditions, recommended for approval by another body, tabled pending receipt of additional information or denied.
b.
Copy to applicant. A copy of the decision-making body's decision shall be provided to the applicant within a reasonable period of time after the decision has been made.
(5)
Re-application. An applicant may not resubmit an application for a project having been denied by a decision-making body for a period of one (1) year from the date when said action was taken, unless there has been a clear, substantial and material change in the conditions or circumstances affecting the subject parcel and the surrounding neighborhood that supports reconsideration, as determined by the Planning Director, or where the new application substantively amends the project so as to essentially constitute a new development proposal.
(6)
Inactive applications. The decision-making body may deny any application that remains inactive. An application may be deemed inactive and be denied when the moving the application towards final approval.
a.
Determination of inactivity. A project shall be considered inactive if more than two (2) months have passed since a written request for additional information was made by the Planning Director or the review body, and the request has not been complied with, or more than three (3) months have passed since the last official contact between the applicant and the decision-making body.
b.
Written notice. The Planning Director shall provide written notice, fifteen (15) days in advance, to the applicant stating the time, place and date when the decision-making body will consider denial of the application due to its inactivity.
(Ord. 4-1998 §1; Ord. 15-2000 §1; Ord. 5-2001 §1; Ord. 16-2010 §1)
(a)
General. Table 5-1, Summary of Development Review Procedures, identifies those types of actions by decision-making bodies that may be appealed. Appeals of actions by decision-making bodies shall comply with the following procedures.
(b)
Written Appeal. An appeal of an action by a decision-making body shall be submitted in writing to the Planning Director within fifteen (15) days after the date of the decision being appealed. The written appeal shall state the basis of the appeal in detail, and the relief that is requested, and shall include any materials or evidence to support the appeal.
(c)
Standing to Appeal. The following persons shall be deemed to have standing to submit an appeal:
(1)
Applicant. The applicant or the owner of the property;
(2)
Person who testified. Any parties in interest who testified at the public hearing on the application; or
(3)
Person who submitted written comments. Any parties in interest who submitted written comments on the application before final action was taken, excluding persons who only signed petitions or form letters.
(d)
Procedure. The appeal shall be heard by the body authorized to hear the appeal at a regularly scheduled meeting within thirty (30) days after the date of the filing of the written appeal. The Planning Director shall inform the applicant, the appellant, and anyone who testified at the public hearing or submitted written comments on the application of the date, time and place of the meeting. The body hearing the appeal shall either affirm, affirm with modifications or reverse the original action. The original action shall only be modified or reversed if it is determined that: (1) there is not substantial evidence in the record to support the original decision, or (2) the original action was inconsistent with the applicable provisions of this Land Use and Development Code. The decision of the appellate body shall be final and shall not be further appealed, but may be subject to review by the courts pursuant to law.
(Ord. 4-1998 §1; Ord. 15-2000 §1)
(a)
General. Consistent with the provisions of Section 24-68-101 et seq., C.R.S., a vested property right shall attach to and run with the applicable real property upon the approval of a site specific development plan.
(b)
Site Specific Development Plan. A site specific development plan, for the purpose of vesting a property right under Section 24-68-102(4), C.R.S., shall specifically include the following:
(1)
Final PUD plan. A final planned unit development plan approved pursuant to Article V, Division 3, Planned Unit Development.
(2)
Subdivision. A final plat of a subdivision approved pursuant to Article V, Division 4, Subdivision Regulations.
(3)
Special review. A special review use approved pursuant to Section 16A-5-230, Special Review.
Where none of the foregoing approvals is required by the nature of an application for any land use approval, the final approval granted by resolution of the Town Council shall be deemed a site specific development plan, except that under no circumstances shall a variance be deemed to be a site specific development plan. Furthermore, the establishment of a zoning designation or a zone district with respect to any real property, either original or by an amendment to the Official Zone District Map or to the text of this Development Code, shall not constitute a site specific development plan, unless the amendment is approved simultaneously with any of the specific types of approvals listed above.
(c)
Conditional Approval. Approval of a site specific development plan may be made with or without condition, and the failure to fully abide by the terms of any conditional approval will result in a forfeiture of a vested property right.
(d)
Term of Vested Right. Rights which have been vested as provided herein shall remain so vested for a period of three (3) years, unless extended by the Town Council in its complete discretion on a case-by-case basis. The Town Council shall consider both the needs of the Town and the property owner in determining to extend a vested property right beyond three (3) years. Any such extension shall be in the form of a development agreement duly authorized and executed by the landowner or landowners involved and approved by ordinance. The Town Council may impose reasonable conditions upon any such extension.
(e)
Applicability of Other Town Codes. The establishment of a vested property right shall not exempt the property owner from requirements for building permits, other necessary permits or other approvals required subsequent to the approval of a site specific development plan. The establishment of a vested property right shall not preclude the application of the requirements of the building code, fire code, plumbing code, electrical code, mechanical code or other requirements necessary for the protection of the public health, safety and welfare.
(f)
Judicial Review. Approval of a site specific development plan shall be subject to judicial review, and the period of time permitted by law for the filing of any such action shall begin to run from the date of site specific development plan approval.
(g)
Approvals Granted Prior to June 1, 1988. The provisions of this Section shall not apply to any site specific development plan or other land use approval granted prior to June 1, 1988. The applicable law on the date of such prior approval shall apply to such projects.
(Ord. 4-1998 §1; Ord. 15-2000 §1)
The purpose of Division 2 is to establish the procedures, submission contents and standards that apply to each type of development application within the Town. This Division addresses the following types of development applications: amendments to the text of the Land Use and Development Code, amendments to the Official Zone District Map, planned unit development (PUD), special review, variances, administrative modifications, subdivision exemptions, subdivision and temporary use permits.
(Ord. 4-1998 §1; Ord. 15-2000 §1)
(a)
Purpose. The purpose of this Section is to provide the means by which the Town Council may, from time to time, amend, supplement or repeal the text of this Land Use and Development Code.
(b)
Initiation. An amendment to the text of this Development Code may be initiated by resolution of the Town Council, by the Planning Commission, by the Planning Director, by any person who holds a recognized interest in land within the Town or by any citizen or business owner within the Town.
(c)
Procedure. The following procedures shall apply to an application for an amendment to the text of this Development Code. These procedures are illustrated in Figure 5-2, Text or Map Amendment Procedures.
(1)
Pre-application conference. Attendance at a pre-application conference is optional, but recommended, prior to submission of an application for an amendment to the text of this Development Code.
(2)
Submission of application. The applicant shall submit an application to the Planning Director that contains those materials specified in Section 16A-5-210(d), Submission Contents.
(3)
Staff review. Staff review of the application shall be accomplished, as specified in Section 16A-5-50, Staff Review of Application.
(4)
Planning Commission review. A complete copy of the application shall be forwarded to the Planning Commission, together with a copy of the staff review. The Planning Commission shall review the application, considering the standards of Section 16A-5-210(e), Review Standards, and shall make its recommendations to the Town Council.
(5)
Town Council first reading. The Planning Commission's recommendations shall be forwarded to the Town Council at a regular meeting, together with a complete copy of the application and a copy of the staff's review. The Town Council shall consider all relevant materials and shall adopt an ordinance on first reading amending the Development Code as recommended or with modifications, or shall adopt a resolution denying the application, citing specific reasons therefor.
(6)
Public hearing. Prior to second reading of such ordinance, the Town Council shall hold a public hearing. Public notice of the hearing shall be given by publication of notice, pursuant to Section 16A-5-60(b), Manner and Timing of Notice. The Town Council shall consider the application, any relevant support materials, the staff report, the Planning Commission's recommendation and the public testimony given at the public hearing. Following closure of the public hearing, the Town Council shall either adopt the ordinance, adopt the ordinance with modifications or deny the ordinance, considering the standards in Section 16A-5-210(e), Review Standards. If the Council shall make modifications to the ordinance prior to adoption it may, but need not, remand the application to the Planning Commission for further recommendations.
(d)
Submission Contents. An application for amendment to the text of this Development Code shall contain the following materials:
(1)
Minimum contents. The minimum contents for any application, as specified in Section 16A-5-40(b), Minimum Contents.
(2)
Precise wording. The precise wording of the proposed amendment.
(e)
Review Standards. An application for an amendment to the text of the Development Code shall comply with the following standards:
(1)
Consistent with purposes. The proposed amendment shall be consistent with the purposes of this Development Code.
(2)
Not conflict with other provisions. The proposed amendment shall not conflict with any other applicable provisions of this Development Code.
(3)
Consistent with Comprehensive Plan. The proposed amendment shall be consistent with the Town of Snowmass Village Comprehensive Plan.
(4)
Public health, safety and welfare. The proposed amendment shall preserve the public health, safety, general welfare and environment and contribute to the orderly development of the Town.
(Ord. 4-1998 §1; Ord. 1-1999 §1; Ord. 23-1999 §1; Ord. 15-2000 §1)
(a)
Purpose. The purpose of this Section is to provide the means by which the Town Council may, from time to time, amend, supplement or repeal the contents of the Official Zone District Map. No rezoning of a specific parcel of real property by a change in zoning classification resulting in a change to the Official Zone District Map shall be valid unless approved by the Town Council pursuant to the provisions set forth herein.
(b)
Initiation of Map Amendment. An amendment to the Official Zone District Map may be initiated by resolution of the Town Council, by the Planning Commission, by the Planning Director or by any person who holds a recognized interest in the land affected by the proposed amendment or their authorized agent.
(c)
Procedure. The following procedures shall apply to an application for an amendment to the Official Zone District Map. These procedures are illustrated in Figure 5-2, Text or Map Amendment Procedures.
(1)
Pre-application conference. Attendance at a pre-application conference is optional, but recommended, prior to submission of an application for an amendment to the Official Zone District Map.
(2)
Submission of application. The applicant shall submit an application to the Planning Director that contains the applicable materials specified in Section 16A-5-210(d), Submission Contents.
(3)
Staff review. Staff review of the application shall be accomplished, as specified in Section 16A-5-50, Staff Review of Application.
(4)
Planning Commission review. A complete copy of the application shall be forwarded to the Planning Commission, together with a copy of the staff review. The Planning Commission shall review the application, considering the standards of Section 16A-5-220(e), Review Standards, and shall make its recommendations to the Town Council.
(5)
Town Council first reading. The Planning Commission's recommendations shall be forwarded to the Town Council at a regular meeting, together with a complete copy of the application and a copy of the staff's review. The Town Council shall consider all relevant materials and shall adopt an ordinance on first reading amending the Official Zone District Map as recommended or with modifications, or shall adopt a resolution denying the application, citing specific reasons therefor.
(6)
Public hearing. Prior to second reading and final adoption of such ordinance, the Town Council shall hold a public hearing. Public notice of the hearing shall be given by publication, mailing and posting of notice, pursuant to Section 16A-5-60(b), Manner and Timing of Notice. The Town Council shall consider the application, any relevant support materials, the staff report, the Planning Commission's recommendation and the public testimony given at the public hearing. Following closure of the public hearing, the Town Council shall either adopt the ordinance, adopt the ordinance with modifications or deny the ordinance, considering the standards in Section 16A-5-220(e), Review Standards.
(d)
Submission Contents. An application for an amendment to the Official Zone District Map shall contain the following materials:
(1)
Minimum contents. The minimum contents for any application, as specified in Section 16A-5-40(b), Minimum Contents.
(2)
Survey map. An accurate survey map of the property proposed for amendment, stating the area of the property proposed to be amended in square feet or acres.
(3)
Zone districts. A map showing the present zone district designation(s) of the property and the zoning of all adjacent properties, as depicted on the Official Zone District Map.
(4)
Existing uses. A description of the existing uses on the property and on all adjacent properties.
(5)
Petition. Except as provided below, a petition in favor of the rezoning, signed by real property owners representing at least eighty percent (80%) of the land area included in the application, shall be submitted if property other than that owned by the applicant is included in the area of the proposed rezoning. An amendment to the Official Zone District Map may be initiated by a condominium association without said petition, provided that each unit owner within the association receives a notice of public hearing by United States mail postage prepaid in accordance with Section 16A-5-60 of this Code.
(6)
Private applications. For any private application for an amendment to the Official Zone District Map, the application shall contain a development proposal for the entire parcel, submitted in conformance with Article V, Division 3, Planned Unit Development, or any other applicable section of this Article V.
a.
Rezoning of a portion of a parcel. The Town Council may permit the rezoning of only a portion of a larger parcel when the Town Council has determined that said rezoning is consistent with the standards of Section 16A-5-220(e), Review Standards, and said action is necessary to promote the public health, safety and welfare.
b.
Conditional approval. The application for rezoning will be considered for conditional approval subject to subsequent approval of a development proposal for the area to be rezoned.
(e)
Review Standards. An application for an amendment to the Official Zone District Map shall comply with the following standards and, whenever applicable, shall also comply with the standards of Section 16A-5-220(f), Review Standards for Rezoning of Lands Zoned Open Space or Conservation.
(1)
Consistent with Comprehensive Plan. The proposed amendment shall be consistent with the Town of Snowmass Village Comprehensive Plan.
(2)
Consistent with purpose of zone district. The proposed amendment shall be consistent with the purpose of the zone district to which the property will be designated.
(3)
Compatibility with surrounding zone districts and uses. The development permitted by the proposed amendment shall be compatible with surrounding zone districts, land uses and neighborhood character and shall result in a logical and orderly development pattern within the overall community.
(4)
Necessary circumstances. The applicant shall demonstrate that the following circumstances exist:
a.
Error. There has been a technical error in the boundaries shown on the Official Zone District Map; or
b.
Changed conditions. There have been changed conditions affecting the subject parcel and the surrounding neighborhood that justify the proposed amendment; and
c.
Community need. The proposed amendment addresses and helps to resolve a community need that is documented in or is consistent with the intent of the Comprehensive Plan.
(f)
Review Standards for Rezoning of Lands Zoned Open Space or Conservation. Certain lands have previously been zoned Open Space or Conservation within Snowmass Village by the Town, with the approval of the property owner at the time of the zoning. The preservation of these parcels in their open and natural character has been determined to be in the best interest of the public welfare. There are, however, certain circumstances where a change of zoning may be desirable in order to facilitate a development that is in the public interest. Any amendment to the Official Zone District Map that would change the zoning of any land designated Open Space or Conservation to any other zone district category established in Article III, Zone Districts, of this Development Code shall only be permitted when the application complies with the following standards:
(1)
Areas of five (5) acres or less. An area of up to but not exceeding five (5) acres that is zoned Open Space or Conservation may be rezoned to another zone district established in Article III, Zone Districts, provided that such amendment to the Official Zone District Map is necessary to facilitate a development proposal that is determined to be in the public interest, and the application is approved by a two-thirds (⅔) vote of the entire Town Council.
(2)
Areas in excess of five (5) acres. An area exceeding five (5) acres that is zoned Open Space or Conservation may be rezoned to another zone district established in Article III, Zone Districts, in order to facilitate a development proposal only when the developer shall rezone a suitable amount of land that is zoned other than Open Space or Conservation to Open Space. The suitability of the amount and location of land to be rezoned to Open Space by the developer shall be at the discretion of the Town Council. The objective shall be to ensure that there is not a diminishment of quality open space within the Town. The Town Council shall, prior to approving the application, find that the proposed amendment to the Official Zone District Map is in the public interest. Approval of the application shall require a two-thirds (⅔) vote of the entire Town Council.
(3)
Election required. In an instance where the parcel to be rezoned from Open Space or Conservation to another category identified in Article III, Zone Districts, does not comply with the standards of Subsections (f)(1) or (2) above, said amendment to the Official Zone District Map shall only be permitted by the Town Council after such application is approved by a majority of the electors voting on the proposal in a special municipal election.
(Ord. 4-1998 §1; Ord. 15-2000 §1; Ord. 32-2004 §A-6)
(a)
Purpose. There are certain uses which, because of their unusual character and potential impact upon the use and enjoyment of neighboring property, cannot be classified into a particular district or districts without site specific consideration of their impacts upon neighboring lands and upon the public need for the particular use at the particular location. These uses require special review of their location, design, intensity, density, configuration, operating characteristics and impacts on public facilities, and may require the imposition of appropriate conditions to ensure the use will be compatible at a particular location and mitigates its adverse impacts.
(b)
Permit Required. Only those uses designated as a special review use in the underlying zone district in Article III, Zone Districts, may be approved by special review, after issuance of a permit in accordance with the procedures set forth herein. No approved special review use may be modified, structurally enlarged or expanded in ground area unless such modification, enlargement or expansion receives the prior approval of the Town.
(c)
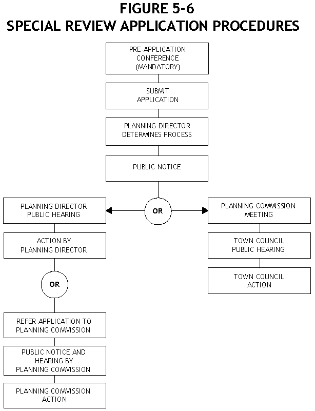
Procedure. The following procedures shall apply to an application for a special review permit. These procedures are illustrated in Figure 5-6, Special Review Application Procedures.
(1)
Pre-application conference. Attendance at a pre-application conference is required prior to submission of an application for a special review permit. At this meeting or within ten (10) days afterward, the Planning Director shall decide if the application can be processed administratively by staff or if it must be forwarded to the Planning Commission and Town Council as the decision-maker.
(2)
Submission of application. The applicant shall submit an application to the Planning Director that contains those materials specified in Subsection (d), Application Contents.
(3)
Administrative staff review. Staff review of the application shall be accomplished, as specified in Section 16A-5-50, Staff Review of Application. For applications being processed administratively, a public notice that the staff is considering an application for a special review use shall be given by publication, mailing and posting of notice, pursuant to Section 16A-5-60(b), Manner and Timing of Notice. Notice of the public hearing shall also be provided to the Planning Commission.
a.
Public hearing. A complete copy of the application shall be forwarded to the Planning Director, together with a copy of the staff review. The Planning Director shall hold a public hearing to consider the application. The public hearing shall be conducted pursuant to Section 16A-5-70(2), Conduct of Public Hearing.
b.
Action by Planning Director. Within three (3) days after the closure of the public hearing, the Planning Director shall approve, approve with conditions or deny the application, considering the relevant materials and testimony and the standards in Subsection (e), Review Standards. If, during the staff review or during the public hearing, any issues arise that cannot be resolved to the satisfaction of the Planning Director or the applicant, then the staff shall refer the application within thirty (30) days to the Planning Commission, which shall approve, approve with conditions or deny the application, based on the standards in Subsection (e), Review Standards. Public notice that an application for a special review use has been referred to the Planning Commission shall be given by publication, mailing and posting of notice, pursuant to Section 16A-5-60(b), Manner and Timing of Notice.
c.
Appeal. A decision by the Planning Director or the Planning Commission on a special review application may be appealed, pursuant to Section 16A-5-80, Appeals. The appeal shall be referred to the Town Council, which shall consider the matter pursuant to Section 16A-5-80(d), Procedure.
(4)
Action by decision-making body. The following procedure shall apply to an application for special review if, due to its scale or potential impacts upon surrounding properties due to the nature and intensity of the proposed activity or use, it is determined by the Planning Director to warrant referral to the Planning Commission and Town Council for final determination.
a.
Staff review. Staff review of the application shall be accomplished, as specified in Section 16A-5-50, Staff Review of Application.
b.
Planning Commission review. A complete copy of the application shall be forwarded to the Planning Commission, together with a copy of the staff review. The Planning Commission shall review the application, considering the relevant materials and testimony and the standards in Subsection (e), Review Standards, and shall make its recommendations to the Town Council.
(5)
Action by Town Council. A complete copy of the application shall be forwarded to the Town Council, together with a copy of the staff review. Public notice that the Town Council will consider the application shall be given by publication, posting and mailing of notice, pursuant to Section 16A-5-60(b), Manner and Timing of Notice. The Town Council shall hold a public hearing to consider the application, which shall be conducted pursuant to Section 16A-5-70(2), Conduct of Public Hearing. The Town Council shall consider all relevant materials and testimony, shall consider the standards of Subsection (e), Review Standards, and shall approve, approve with conditions or deny the application.
(d)
Application Contents. A special review application shall contain the following:
(1)
Minimum contents. The minimum contents for any application, as specified in Section 16A-5-40(b), Minimum Contents.
(2)
Improvements survey. An improvements survey, showing the location and dimensions of all existing structures, streets, alleys, easements, drainage areas, irrigation ditches, public and private utilities and other significant features within the property.
(3)
Site plan. A site plan, showing proposed features that are relevant to the special review application.
(4)
Other information. The Planning Director may request the applicant to submit such other information as is necessary to evaluate the impacts of the special review application. Examples of the information that may be requested are elevations of proposed new or remodeled structures, analysis of the traffic impacts of the proposed use or evaluation of the environmental impacts of the proposed use.
(e)
Review Standards. An application for a special review use shall comply with the following standards:
(1)
Consistent with Comprehensive Plan. The proposed use shall be consistent with the intent of the Town of Snowmass Village Comprehensive Plan.
(2)
Comply with standards of Development Code. The proposed use shall comply with all other applicable standards of this Development Code, including, but not limited to:
a.
Zone district standards. The purpose of the zone district in which it is located, the dimensional limitations of that zone district and any standards applicable to the particular use, all as specified in Article III, Zone Districts.
b.
Development evaluation standards. The applicable standards specified in Article IV, Development Evaluation Standards.
(3)
Compatible. The proposed use shall be appropriate to its proposed location and be compatible with the character of surrounding land uses in the area, and shall not adversely affect the future development of the surrounding area.
(4)
Adequacy of access. Access to the site shall be adequate for the proposed use, considering the width of adjacent streets, their grades, intersection safety, visibility and entrance into the area to be developed. When appropriate, public transportation, or other public or private transportation services, and appropriate pedestrian facilities, shall be made available to serve the use.
(5)
Design minimizes adverse impact. The design and operation of the proposed use shall minimize adverse impacts and shall not create a nuisance, considering such impacts as traffic congestion or traffic hazards, service delivery, parking and loading, trash removal, odors, noise, glare and vibration.
(6)
Design minimizes environmental impact. The proposed use shall minimize environmental impacts and shall not cause significant deterioration of water and air resources, wildlife habitat, scenic resources and other natural resources.
(7)
Facilities. There shall be adequate public facilities available to serve the proposed use, or the applicant shall propose necessary improvements to address service deficiencies that the use would cause. In particular, the applicant shall demonstrate that adequate water supply and sewage disposal service is available for the proposed use, including sufficient water pressure and proximity to fire hydrants to provide for fire protection needs.
(8)
Parking. Sufficient off-street parking shall be provided for the proposed use.
(f)
Conditions Authorized. The Planning Director, Planning Commission or the Town Council may, in approving the special review permit, impose such restrictions and conditions on such approval, the proposed use, and the premises to be developed or used pursuant to such approval, as it determines are required by the Comprehensive Plan and this Development Code to prevent or minimize adverse effects from the proposed use and development on surrounding land uses and on the general health, safety and welfare of the Town. The Town shall be authorized to set limits on the length of any special review permit that it issues and to obtain assurances that the ongoing operation of the use will comply with all of the applicant's representations and all conditions of approval, such as by requiring an annual compliance review. All conditions imposed in any special review approval, with the exception of conditions made applicable to such approval by the express terms of this Development Code, shall be set forth in the special review permit.
(g)
Expiration. A special review permit shall be valid for three (3) years from the date of its issuance. If, within three (3) years, the applicant shall not have obtained a building permit to develop the special review use, or shall not have placed the special review use into operation, if the use does not require a building permit, then the permit shall expire.
(1)
Extension. An applicant may request an extension of these expiration provisions. The request shall be submitted to the Planning Director and must be submitted prior to the date on which the permit is to expire. Submission of a request for an extension shall stay the expiration of the permit until such time as the extension request is approved or denied by the Town Council.
(2)
Town Council authority. Authority to grant an extension of up to one (1) year shall be at the sole discretion of the Town Council, which shall consider whether it has been demonstrated that: (a) the applicant has diligently pursued the permit; (b) failure to proceed with the permit was beyond the applicant's control; and (c) there is a reasonable likelihood that the permit will be developed within the next year.
(Ord. 4-1998 §1; Ord. 15-2000 §1)
(a)
Purpose. This Section sets forth the procedures and standards for obtaining a variance from the standards of the Land Use and Development Code. A variance is a deviation from the standards of the Development Code that is necessitated by special circumstances or conditions of the physical site (such as exceptional topography, or the narrowness, shallowness or shape of a particular piece of property), that would create practical difficulties for, or an unusual hardship upon, the owners of the land if the provisions of this Code were to be strictly enforced.
(b)
Procedure. The following procedures shall apply to an application for a variance. These procedures are illustrated in Figure 5-7, Variance Application Procedures.
(1)
Pre-application conference. Attendance at a pre-application conference is optional prior to submission of an application for a variance.
(2)
Submission of application. The applicant shall submit an application to the Planning Director that contains the following materials:
a.
Minimum contents. The minimum contents for any application, as specified in Section 16A-5-40(b), Minimum Contents.
b.
Site plan. A site plan of the subject property, showing existing improvements and proposed development features that are relevant to the review of the proposed variance application.
c.
Other information. The applicant shall submit such other written or graphic information as is necessary to describe and evaluate the proposed variance, such as proposed building elevations.
(3)
Staff review. Staff review of the application shall be accomplished, as specified in Section 16A-5-50, Staff Review of Application.
(4)
Action by Planning Commission. A complete copy of the application shall be forwarded to the Planning Commission, together with a copy of the staff review. Public notice that the Planning Commission will consider the application shall be given by publication, posting and mailing of notice, pursuant to Section 16A-5-60(b), Manner and Timing of Notice. The Planning Commission shall hold a public hearing to consider the application, which shall be conducted pursuant to Section 16A-5-70(2), Conduct of Public Hearing. The Planning Commission shall consider all relevant materials and testimony, shall consider the standards of Subsection (c), Review Standards, and shall approve, approve with conditions or deny the application.
(5)
Appeal. A decision by the Planning Commission on a variance application may be appealed, pursuant to Section 16A-5-80, Appeals. The appeal shall be referred to the Town Council, which shall consider the matter pursuant to Section 16A-5-80(d), Procedure.
(c)
Review Standards. An application for a variance shall comply with all of the following standards:
(1)
Special circumstances exist. There are special circumstances or conditions, such as exceptional topography, or the narrowness, shallowness or shape of the property, that are peculiar to the land or building for which the variance is sought, and do not apply generally to land or buildings in the neighborhood;
(2)
Not result of applicant. The special circumstances and conditions have not resulted from any act of the applicant;
(3)
Strict application causes practical difficulties. The special circumstances and conditions are such that the strict application of the provisions of this Development Code would result in practical difficulties to and undue hardship upon the use of the land or building;
(4)
Necessary to relieve practical difficulties. The granting of the variance is necessary to relieve the applicant of the practical difficulties and undue hardship in the use of the land or building and is the minimum variance that could be granted to achieve said relief;
(5)
Not adversely affect neighborhood. The granting of the variance will not change the character or otherwise adversely affect the neighborhood surrounding the land where the variance is proposed, will not have a substantially adverse impact on the enjoyment of land abutting upon or across the street from the property in question, will not impair an adequate supply of light or air to adjacent property, will not increase the danger of fire or otherwise endanger public safety or the public interest and will not substantially diminish or impair property values within the neighborhood;
(6)
Harmony with Development Code. The granting of the variance will be in harmony with the purposes and intent of this Development Code, including the intent of the underlying zone district. No variance shall be approved that permits the construction or enlargement of any building or decks and related structures for any use prohibited in the underlying zone district; and
(7)
Consistent with Comprehensive Plan. The granting of the variance will be consistent with the intent of the Comprehensive Plan.
(Ord. 4-1998 §1; Ord. 15-2000 §1)
(a)
Purpose. This Section sets forth the procedures and standards for obtaining an administrative modification. An administrative modification is a staff-level or Planning Commission review procedure that allows minor changes to be made to certain dimensional limitations or other design features in order to address technical constraints or unanticipated circumstances that arise prior to or during final design and actual construction. Activities that shall not be considered administrative include changes to the overall character of the project, changes that substantially increase trip generation or the demand for public facilities and changes that are inconsistent with a condition or a representation of the project's original approval, or that require granting a further variation from that granted in the original approval.
An administrative modification shall only be granted for the following types of activities:
(1)
Setback. The intrusion of a building or an above-grade structure into a required setback by one (1) foot or less for new construction in a manner that exceeds the limitations established in Section 16A-3-200(b), Construction in Required Setbacks and Outside Designated Building Envelopes.
(2)
Floor area. An increase in the maximum allowable floor area of a structure by no more than two percent (2%) or fifty (50) square feet, whichever is less.
(3)
Building height. An increase in a building's height by one (1) foot or less.
(4)
Parking space size. A decrease in the size of a required parking space by one (1) foot or less.
(5)
Crawl space or attic space. A crawl space or attic space that is greater than five and one-half (5½) feet at any point when rational construction methods will not allow compliance with the maximum height of five and one-half (5½) feet, provided that the Planning Director may impose reasonable conditions to limit or restrict the use of said space.
(6)
On-grade or below-grade structures. The projection of an on-grade or below-grade structure into a required setback in a manner that exceeds the limitations established in Section 16A-3-200(b)(1), Structures On or Below Finished Grade. The Planning Director may impose reasonable conditions to ensure that such structures will not hinder road maintenance and snow plowing operations and will have minimal visual impacts, and to ensure that the owner indemnifies the Town against any damage that may occur to said structures.
(7)
Building outside of established envelope. An encroachment outside of building envelope where a building or portion thereof was previously constructed.
(8)
Adjustment to building envelope. Adjustment of a building envelope to correct an existing condition or to allow it to better conform to the standards of this Development Code, such as by allowing less vegetation to be removed from the site, helping to lessen impacts from drainage or site grading or permitting better access to the site to be provided.
(9)
Administrative amendments. An administrative amendment to any other design feature of an approved PUD, subdivision or building lot, or an administrative amendment to the uses approved for a PUD.
(10)
Interim SPA (SPA-1 and SPA-2) authorization. Improvements to existing development within Specially Planned Area (SPA-1 and SPA-2) and Governmental Specially Planned Area zone districts that have not been reviewed pursuant to the procedures and standards of Article V, Division 3, Planned Unit Development, provided: a) the improvements are necessary for the maintenance and repair or remodeling of an existing building; b) there will be no change in type of use except as may be accessory to or customary in connection with the existing principal use(s) of the building; c) the total square footage of the floor space of the building is not increased by more than ten percent (10%) or five hundred (500) square feet, whichever is less, except in the case of Governmental Specially Planned Areas it shall be ten percent (10%) of the building floor space; d) the proposed improvements will be consistent with Section 16A-4-340, Building Design Guidelines to Preserve Community Character; and e) all future development improvements within the property proposed after an initial administrative modification approved by means of a) through d) above shall be reviewed pursuant to the procedures and standards of Article V, Division 3, Planned Unit Development. The Planning Director may require the preparation of an interim site development and land use plan and may impose reasonable conditions to ensure that such structures will not change the basic character of existing buildings or surrounding areas or have a substantially adverse impact upon surrounding properties.
(11)
Site disturbance outside building envelope. Earth berms located outside the building envelope which do not satisfy the criteria specified within Section 16A-4-320(b)(2)a, Earth Berm Outside Building Envelope. The Planning Director may impose reasonable conditions to ensure that such berm will be located and designed to reasonably fit the site and to minimize the visual impact upon surrounding property owners.
(b)
Procedure. The following procedures shall apply to an application for an administrative modification. These procedures are illustrated in Figure 5-8, Administrative Modification Application Procedures.
(1)
Pre-application conference. Attendance at a pre-application conference is optional prior to submission of an administrative modification application.
(2)
Submission of application. The applicant shall submit an application to the Planning Director that contains the materials specified in subsection (c), application contents.
(3)
Process Determination. Within ten (10) days after the pre-application meeting or after the application is deemed complete, the Planning Director shall decide if the application can be processed administratively or if it must be forwarded to the Planning Commission as the decision-maker.
(4)
Administrative staff review. Staff review of the application shall be accomplished, as specified in Section 16A-5-50, Staff Review of Application. For applications being processed by the Planning Director, no public notice shall be required. Notice of the issuance of the Planning Director's approved administrative modification, including copy of the record of decision, shall be provided to the Planning Commission.
a.
Action by Planning Director. The Planning Director shall approve, approve with conditions or deny the application, considering the relevant materials and testimony and the standards in Subsection (d), Review Standards. If, during the staff review any issues arise that cannot be resolved to the satisfaction of the Planning Director or the applicant, then the staff shall refer the application within thirty (30) days to the Planning Commission pursuant to subsection (5), action by decision-making body.
b.
Public notice that an application for an administrative modification has been referred to the Planning Commission shall be given pursuant to Section 16A-5-60(b), Manner and Timing of Notice.
(5)
Action by decision-making body. The following procedure shall apply to an application for administrative modification if, due to its scale or potential impacts upon surrounding properties or due to the nature and intensity of the proposed activity or use, it is determined by the Planning Director to warrant referral to the Planning Commission for final determination. This procedure shall apply regardless of whether the Planning Director refers the application prior to after a formal staff review.
a.
Staff review. Staff review of the application shall be accomplished, as specified in Section 16A-5-50, Staff Review of Application.
b.
Planning Commission review. A complete copy of the application shall be forwarded to the Planning Commission, together with a copy of the staff review, which shall approve, approve with conditions or deny the application, based on the standards in subsection (d), review standards.
(6)
Appeal. A decision by the Planning Director or Planning Commission on an administrative modification may be appealed, pursuant to Section 16A-5-80, Appeals. The appeal shall be referred to the Town Council, which shall consider the matter pursuant to Section 16A-5-80(d), Procedure.
(7)
Recording of decision. If the Planning Director or Planning Commission approves the administrative modification, the applicant shall, within thirty (30) days of the date of said approval, cause the written decision notice or resolution, with applicable exhibits, to be recorded in the records of the County Clerk and Recorder.
(c)
Application Contents. An administrative modification application shall contain the following:
(1)
Minimum contents. The minimum contents for any application, as specified in Section 16A-5-40(b), Minimum Contents.
(2)
Improvements survey. If deemed necessary in the discretion of the Planning Director, an improvements survey, showing the location and dimensions of all existing structures, streets, alleys, easements, drainage areas, irrigation ditches, public and private utilities and other significant features within the property.
(3)
Site plan. A site plan of the subject property, showing existing improvements and proposed development features that are relevant to the review of the proposed administrative modification. As necessary, the applicant shall also submit such other written or graphic information as is necessary to describe the proposed modification, such as a sketch of those elements of the proposed structure for which an administrative modification is requested.
(4)
Other information. The Planning Director may request the applicant to submit such other information as is necessary to evaluate the impacts of the application. Examples of the information that may be requested are elevations of proposed structures, analysis of the traffic impacts of the proposed use or evaluation of the environmental impacts of the proposed use.
(d)
Review Standards. An application for an administrative modification shall comply with the following standards:
(1)
Unforeseen circumstances. The proposed modification shall be the result of circumstances that could not have been reasonably anticipated by the applicant prior to or during the original approval process; and
(2)
Insubstantial impacts. Any adverse impacts on surrounding properties from the proposed modification shall be insubstantial.
(Ord. 4-1998 §1; Ord. 1-1999 §1; Ord. 10-1999 §1; Ord. 15-2000 §1; Ord. 32-2004 §A-7; Ord. 4-2013 §3; Ord. 6-2015 §3 (Exh. A); 3-2017, §1(Exh. A))
(a)
Purpose and Authority. This Section is intended to provide a mechanism for the Town to consider land use changes of a temporary or seasonal nature that provide or facilitate an overall benefit to the community or further an official policy or objective of the Town and to consider special events, such as short-term activities of a civic, educational, cultural or entertainment-oriented nature.
(1)
Special event permit. A special event permit may be issued to any short-term event that is civic, educational, cultural or entertainment-oriented in nature that may or may not be open to participation by the general public. Because of the dynamic nature of special events, the special event permit will not be subject to subsections (b) Review Procedure and (c) Application Contents herein, but shall be of such application and procedure as prescribed by the Town Manager with the intent to efficiently process the permit and to ensure appropriate mitigation of community impacts by the applicant. Special event permits shall adhere to the following subsections herein; (d) Review Standards, (e) Conditions Authorized, and (f) Penalties.
(2)
Administrative temporary use permit. An administrative temporary use permit may be issued to any short-term use not allowed as a use by right, or as an accessory use or special review use in the particular zone district where the use is proposed, or that involves the construction of any structure, provided that the described use shall last for a period of time not to exceed ten (10) days.
(3)
Annual temporary use permit. An annual temporary use permit may be issued to any short-term use not allowed as a use by right, or as an accessory use or special review use in the particular zone district where the use is proposed, or that involves the construction of any structure, provided that the described use lasts for a period of time in excess of ten (10) days, but not to exceed one (1) year.
(b)
Review Procedure. The following procedures shall apply to an application for an annual or an administrative temporary use permit. These procedures are illustrated in Figure 5-11, Temporary Use Application Procedures.
(1)
Pre-application conference. Attendance at a pre-application conference is optional prior to submission of an application for an annual or an administrative temporary use permit. The topics of discussion at the pre-application conference shall include, but not be limited to:
a.
Use and timing. The nature of the use in question and the time frame for which the temporary use permit is proposed to be in effect.
b.
Site characteristics. Physical characteristics of the site and surrounding area that will influence the determination of the suitability of the site for the proposed temporary use.
c.
Applicable provisions. The provisions of this section that apply to the proposal, including the applicable review procedures, submission requirements and review standards.
d.
Emergency plans. Provisions and plans for dealing with potential emergency situations.
e.
Water and sanitation. Necessity for and availability of drinking water and sanitary facilities.
f.
Food and beverage service. If food and beverage service is to be provided, a plan to provide such services and evidence of other necessary approvals or licenses.
g.
Parking and transportation. A parking and transportation plan and the necessity for police assistance.
h.
Admissions schedule. A rate, fee or admissions schedule for all or a portion of the activity, if applicable.
i.
Unique concerns. Any other concerns unique to the particular activity.
(2)
Submission of application. The applicant shall submit an application to the planning director that contains those materials specified in Subsection (c), Application Contents.
(3)
Staff review. Staff review of the application shall be accomplished, as specified in Section 16a-5-50, Staff Review of Application.
(4)
Action by decision-making body. A complete copy of the application shall be forwarded to the decision-making body, together with a copy of the staff review.
a.
Administrative temporary use. If the application is for an administrative temporary use permit, or is for the renewal of a previously issued annual temporary use permit that will remain substantially as previously approved, then the Planning Director shall issue a written decision notice approving, approving with conditions or denying the application, based on the standards in Subsection (d), Review Standards. Prior to issuance of any administrative temporary use permit, the Planning Director shall forward a complete copy of the application to the Town Council, to notify the Council members of the pending action.
b.
Annual temporary use permit. If the application is for an annual temporary use permit, then the planning Commission shall review the application, considering the standards of Subsection (d), Review Standards, and shall make its recommendations to the Town Council. Public notice that the Town Council will consider the application shall be given by publication and posting of notice, pursuant to Section 16A-5-60(b), Manner and Timing of Notice. The Town Council shall hold a public hearing to consider the application. The public hearing shall be conducted pursuant to Section 16A-5-70(2), Conduct of Public Hearing. The Town Council shall consider all relevant materials and testimony, shall consider the standards in Subsection (d), Review Standards, and shall, by resolution, approve, approve with conditions or deny the application.
(5)
Actions subsequent to approval.
a.
Appeal of administrative temporary use permit. A decision by the planning director concerning an application for an administrative temporary use permit may be appealed, pursuant to the provisions of Section 16A-5-80, Appeals. The appeal shall be referred to the Town Council, which shall consider the matter pursuant to Section 16A-5-80(d), Procedure.
b.
Changes or modifications. Any proposed changes or modifications to an approved temporary use permit may be approved by the Planning Director, provided such changes or modifications are insubstantial in nature and are generally consistent with the original approval. All other proposed changes shall require repetition of the procedures for obtaining the temporary use permit.
c.
Expiration. An administrative temporary use permit shall expire at the conclusion of the period for which it was granted, and shall not be extended or continued.
(c)
Application Contents. An application for an annual or an administrative temporary use permit shall contain the following materials:
(1)
Minimum contents. The minimum contents for any application, as specified in Section 16a-5-40(b), Minimum Contents.
(2)
Site drawing. A drawing illustrating the characteristics of the site and surrounding area that are pertinent to the application, including its location, significant natural and manmade features, with particular attention to natural hazards, resources or other special areas of concern, the size and accessibility of the site and surrounding development and land use.
(3)
Notice of traffic disruption. Should the temporary use involve major disruptions in normal traffic flow, the applicant shall provide evidence as to how traffic disruption will be mitigated.
(4)
Liquor license. Evidence that a liquor license or any other necessary town application has been submitted to the Town Clerk, whenever applicable.
(5)
Approval by landowner. If the applicant is not the landowner, then the applicant shall present evidence to show approval of the landowner for the particular use.
(d)
Review Standards. An application for special event or an annual or an administrative temporary use permit shall comply with the following standards.
(1)
Use shall be appropriate. The proposed temporary use or special event shall be appropriate in the particular location, taking into consideration the nature of the use, its relationship to surrounding land uses and its impact with respect to environmental, social and economic matters.
(2)
Use shall comply with policies and regulations. The proposed temporary use or special event shall comply with the Town's adopted policies and regulations, and shall not violate any applicable state, county or federal laws.
(3)
Applicant's skills and experience. The applicant shall demonstrate that he or she possesses the requisite skill and experience to ensure that the particular activity will be conducted in a safe and orderly manner.
(4)
Written approval. The applicant shall obtain written approval from all reviewing agencies having jurisdiction over the proposed temporary use or special event.
(e)
Conditions Authorized. In granting a temporary use or special event, the Town Manager, Planning Director or Town Council may impose reasonable conditions upon the permit, but shall in any event require the applicant to abide by at least the following conditions:
(1)
Disruptions in traffic. Should the temporary use or special event involve major disruptions in normal traffic flow, the applicant shall mitigate for traffic disruption.
(2)
Liquor license. Should the temporary use or special event involve obtaining a liquor license, the applicant shall comply with all applicable Town liquor license requirements.
(3)
Other considerations. Such other considerations as may be necessary including, but not limited to, provision for a damage or clean-up deposit, additional fees, hours of operation, sanitation requirements, traffic control, parking, transportation and provisions for utility service.
(f)
Penalties. Violation of any term or condition of a special event or an annual or an administrative temporary use permit by the permittee, its agents or employees shall subject the permittee to the penalties set forth in Section 1-72 of the Municipal Code. In addition, where probable cause exists to suspect that a violation of any term or condition of a special event or temporary use permit will pose a threat to public health, safety or welfare, the Chief of Police is hereby authorized to revoke a special event or temporary use permit and to require that any activity authorized thereby cease and desist immediately.
(Ord. 4-1998 §1; Ord. 15-2000 §1; Ord. 6-2015 §§2, 7(Exh. A))
Editor's note— Ord. No. 6-2015 §2(Exh. A), adopted July 20, 2015, changed the title of § 16A-5-260 from "Temporary uses" to read as herein set out.
(a)
Purpose. The purpose of zoning plan review is to allow detailed administrative review of development proposals that would not otherwise require submission of a development application, in order to ensure compliance of the proposal with the provisions of this Land Use and Development Code.
(b)
Applicability. Zoning plan review shall be required for the following types of activities:
(1)
Construction. All construction, reconstruction, exterior renovation, conversion, expansion, enlargement, structural alteration, relocation, change in use, or change in intensity of use of any, multi-family, hotel, or commercial or other nonresidential dwelling, structure or property. The construction, reconstruction or addition of site or structural retaining walls within single-family residential property shall also require zoning plan review.
(2)
Grading. All grading, berming, filling, clearing, excavating, site preparation or significant vegetation removal or landscaping for any property used or to be used for any single-family, multi-family, hotel or commercial or other nonresidential dwelling, structure or property.
(3)
PUD. Any development proposed to a property designated Planned Unit Development (PUD) on the Official Zone District Map or any development proposed to property within a previously approved PUD that would not otherwise require submission of a PUD or PUD amendment application. Zoning plan review shall not be required for any single-family dwelling or duplex dwelling within a previously approved PUD except as may be required by Subparagraphs (1) and (2) above.
(c)
Procedure. The following procedures shall apply to an application for zoning plan review. The procedures are the same as the steps illustrated in Figure 5-8, Administrative Modification Application Procedures.
(1)
If building permit required. Zoning plan review for development involving construction, grading or landscaping submitted to be reviewed pursuant to Chapter 18, Building Regulations, of the Snowmass Village Municipal Code shall be reviewed as part of the building permit process. The building permit plans shall be sufficiently detailed to show the extent of the development proposed and shall contain the information specified in Section 16A-5-270(d), to the extent that the information is applicable to the proposed development. Zoning plan approval may be granted if it is determined:
a.
The development proposed within the building permit plans comply with all applicable standards of the Land Use and Development Code, including but not limited to, the Development Evaluation Standards; and
b.
Any applicable terms and conditions imposed by the Town on any prior approval granted to the property have been satisfied.
(2)
If building permit not required. The following procedures shall apply to an application for zoning plan review of any development not reviewed pursuant to Chapter 18, Building Regulations, of the Snowmass Village Municipal Code:
a.
Pre-application conference. Attendance at a pre-application conference is optional prior to submission of an application for site plan review. Applicants are encouraged to attend the pre-application conference to discuss whether any other application procedures apply to the proposed development and to determine which of the submission contents for site plan review will apply to the application.
b.
Submission of application. The applicant shall submit an application to the Planning Director that contains the following applicable materials:
1.
Minimum contents. The minimum contents for any application, as specified in Section 16A-5-40(b), Minimum Contents.
2.
Site plan. A site plan of the subject property. The site plan shall be sufficiently detailed to show the extent of the development proposed. The site plan shall contain the information specified in Section 16A-5-270(d), as that information is applicable to the proposed development.
3.
Other reports and plans. Any other reports or plans that the Planning Director determines are necessary to demonstrate the proposal's conformance with the Town's Development Evaluation Standards contained in Article IV of the Land Use and Development Code.
c.
Staff review. Staff review of the application shall be accomplished, as specified in Section 16A-5-50, Staff Review of Application.
d.
Action by Planning Director. Following staff review of the application, the Planning Director shall determine whether the application complies with the standards of this Section. Based on this determination, the Planning Director shall issue a written decision notice approving the application, approving the application with conditions or denying the application. Provided, however, that the Planning Director may determine that the scope and nature of the development proposed in the zoning plan may create impacts that would be of significance to the community, or may determine that issues have arisen that cannot be resolved between staff and the applicant, and may refer the application to the Planning Commission, or to the Planning Commission for recommendation to the Town Council. The standards for zoning plan review by the Planning Director, Planning Commission or Town Council are as follows:
1.
Compliance with Code. The zoning plan shall comply with all applicable standards of the Land Use and Development Code, including but not limited to, the Development Evaluation Standards; and
2.
Compliance with prior conditions. The zoning plan shall comply with any applicable terms and conditions imposed by the Town on any prior approval granted to the property.
e.
Appeal. A decision by the Planning Director or Planning Commission on a zoning plan may be appealed, pursuant to Section 16A-5-80, Appeals. The appeal shall be referred to the Town Council, which shall consider the matter pursuant to Section 16A-5-80(d), Procedure.
f.
Recording. When required as a condition of zoning plan approval, the applicant shall submit two (2) Mylar copies of the zoning plan, together with any other documents that are to be recorded. The required documents shall be submitted within ninety (90) days of the date of the site plan's approval. The Planning Director shall review the documents to ensure they comply with the terms and conditions of the approval, shall obtain signatures for all of the applicable certificates on the zoning plan and shall return the documents to the applicant. The applicant shall promptly cause the documents to be recorded in the records of the County Clerk and Recorder, at the applicant's expense.
g.
Amendments. An amendment to an approved zoning plan shall be reviewed by the Planning Director, who may approve the application, approve it with conditions or deny it, based on whether the proposed amendment complies with the standards for site plan review, above.
(d)
Submission Contents for Zoning Plan. The zoning plan shall contain the materials listed below. The information may be provided on a single sheet or a set of sheets, as appropriate. The Planning Director is authorized to waive any of these requirements if the material would not be applicable to the proposed development. The Planning Director is also authorized to allow an applicant who wishes to obtain zoning plan approval for a particular phase of development to seek approval for just that phase. For example, an applicant who proposes to grade a site or to install utilities might only be required to submit the applicable grading or utilities plan.
(1)
Site information.
a.
Boundaries. Perimeter boundary of the subject site and lot lines, if the application is for multiple lots.
b.
Natural features. Natural site features, including watercourses, one-hundred-year flood plain, wetlands, riparian areas, sensitive wildlife habitat areas, geologic hazard areas and ridgeline protection areas. Topography shall be depicted at two-foot contour intervals.
c.
Easements and building envelopes. All easements affecting the property, and any building envelopes that may have previously been designated for the property.
(2)
Proposed development.
a.
Footprints and setbacks. Proposed footprints of all principal and accessory structures. The setbacks from structures to property lines shall be dimensioned. Any required setbacks to flood plain, riparian, wetland or ridgeline areas shall also be dimensioned.
b.
Streets, parking areas and utilities. Location and width of any existing or proposed streets, driveways, points of access, sidewalks and trails. Existing and proposed parking areas shall be shown, including the location and dimensions of all parking spaces and driving aisles. The location of existing and proposed water lines, fire hydrants, sewer lines, drainage facilities and other utilities shall also be shown.
c.
Public spaces. Locations of any public spaces, plazas, outdoor seating areas, trash enclosures, recycling facilities and loading docks.
d.
Landscape plan. A landscape plan depicting the type, amount, size, species and location of all plant materials, with a planting schedule. Plans for irrigating landscaped areas shall be provided, if applicable. The plan shall show the location of all existing trees with a trunk circumference of fourteen (14) inches or more measured four and one-half (4½) feet above the ground and shall indicate which trees are proposed to be removed. Where large groves of trees are to remain undisturbed, single trees need not be located. The landscape plan shall also show the location of proposed light fixtures and the location and dimensions of all snow storage areas.
e.
Building elevations. Building elevations at a vertical scale of not less than one-eighth inch equals one foot (⅛" = 1') or larger of all significant facades of the proposed buildings. Building elevations shall be of sufficient detail to indicate building openings, materials proposed for the roof and exterior of the buildings, decks and other architectural features of the building, including chimneys and mechanical areas and features affecting the roof lines of all proposed buildings.
f.
Grading plan. Existing and proposed grades at a contour interval of two (2) feet or less, based on field survey controls, including location with proposed grades and elevations for all buildings, roads, walks, storm sewers and other drainage structures and devices, retaining walls and other landscape features. The plan shall provide designs for sediment control devices to be employed, including specifications of how graded areas will be stabilized and revegetated after construction is completed.
(Ord. 15-2000 §1)
(a)
Purpose. The purpose of the planned unit development (PUD) process is to permit variations from the strict application of certain standards of the Town's zone districts in order to allow flexibility for landowners to creatively plan for the overall development of their land and thereby, to achieve a more desirable environment than would be possible through the strict application of the minimum standards of this Development Code. Specifically, it is the purpose of the planned unit development process to:
(1)
Allow creativity. Allow a creative approach to the development and use of land and related physical facilities to produce better developments and to obtain amenities for residents of the PUD and the public in general.
(2)
Allow variations. Allow a developer variations from certain requirements of the underlying zone district, provided such variations are consistent with the Comprehensive Plan, and will result in benefits for the community.
(3)
Maximize choice. Maximize choice in the type of developments available to the public.
(4)
Preserve natural features. Create patterns of development that preserve valued environmental resource lands and avoid the development of natural hazard areas.
(5)
Create efficient land use patterns. Relate residential, commercial and community facilities in a manner that promotes cost effective transportation systems and population distribution, and enhances pedestrian access and movement that might not otherwise be achieved under the strict application of the requirements of underlying zoning.
(6)
Ensure public input. Ensure appropriate levels of public input to the planning process, so that sensitive areas of the community can be developed in accordance with community goals and objectives.
(7)
Increase community value. Allow flexibility for landowners to beneficially plan for the overall development of their land to the extent that the final product presents a net positive result for the community.
(b)
Overview of PUD Procedure. A PUD application shall be reviewed pursuant to the procedures and standards of this Section.
(1)
Major or minor PUD. The procedures applicable to a particular PUD are dependent on whether the project is classified as a minor or a major PUD. The criteria for classifying projects as major or minor are described in Table 5-3, Criteria for Classifying PUD's as Major or Minor. If a proposed development activity does not fit within the criteria listed in the table, then the Planning Director shall determine whether the proposal should be classified as a major or minor development, taking into consideration whether or not it would be beneficial for the Town to review a sketch plan of the proposed development.
Table 5-3
Criteria for Classifying PUD as Major or Minor
(2)
Steps in PUD review process. A major PUD shall be processed according to the following review steps, as further described herein:
a.
Sketch PUD plan review by the Planning Commission and Town Council.
b.
Preliminary PUD plan review by the Planning Commission.
c.
Preliminary PUD plan review by the Town Council.
d.
Final PUD plan review by the Town Council.
A minor PUD shall be processed according to the same review steps as a major PUD, except that a minor PUD shall not be required to proceed through sketch PUD plan review.
(3)
One (1) major PUD under review. Unless otherwise authorized by resolution of the Town Council, there shall only be one (1) major PUD application under review by the Planning Commission and one (1) other major PUD application under review by the Town Council at any time. The Planning Director shall establish procedures to administer this policy, based on the following provisions:
a.
Priority to first complete application. Scheduling priority shall be given to the first complete major PUD application received, provided that:
1.
Any project that has received sketch plan approval shall receive scheduling priority upon submission of its preliminary and final plan applications; and
2.
Any major PUD application that the Town Council determines serves a public purpose shall receive scheduling priority over all other development applications.
b.
Requests for additional information. In order to allow for development review to proceed in a timely and fair manner, applicants who are requested by the Planning Commission or Town Council to submit additional information or to amend their application which are necessary for the uninterrupted continuous review shall submit a complete package of the requested materials to the Planning Director at least fourteen (14) days prior to the next scheduled meeting of that board. If an applicant does not submit the requested materials in a timely manner or if the applicant requests that the processing of their application be delayed, the next prioritized application will be scheduled before that review board. However, once the applicant submits a complete package of the requested materials to the Planning Director or the applicant has requested that the review of their application recommence, the application shall receive the next available scheduling priority, as determined by the Planning Director, over all other development applications. The provisions of this paragraph shall also apply to a submission being processed under the provisions of Chapter 16.
c.
Sketch plan review accommodation. If the processing status of an existing application with scheduling priority allows, the Planning Director may schedule a new sketch plan application for review before the Planning Commission or the Town Council at meetings that do not delay the processing of the existing application.
(c)
General Restrictions. Although one (1) of the purposes of these PUD regulations is to provide flexibility in the land development process, this Section is intended to define the limits of that flexibility. The following restrictions shall apply to all PUDs:
(1)
Minimum land area. There shall be no minimum land area qualification in order to be eligible to apply for a PUD, provided that PUD approval shall not be granted solely to permit variations to develop a single lot, building or use.
(2)
Location. A PUD may be developed on any land located within the Town.
(3)
Uses. The land uses permitted in a PUD shall be limited to those uses that are allowed, or are allowed by special review, in the underlying zone district.
(4)
Maximum buildout. The Comprehensive Plan contains an analysis of future buildout of single-family subdivisions and other developments within the Town limits. It identifies the maximum number of future lots/units and commercial/other space that may be developed within each subdivision, parcel or other development. The Unit Equivalency Chart, found in Table 5-4, defines what constitutes a unit by distinguishing between the various dwelling types and sizes and specifying an equivalency factor to be utilized to establish the number of existing units within a currently developed parcel and/or the future buildout units that will be generated by the proposed new development. The buildout analysis, for the purpose of determining maximum buildout, shall be conducted as follows:
a.
Undeveloped parcels. For undeveloped parcels containing no dwelling units, the Comprehensive Plan future buildout chart shall be used to establish the maximum number of future lots/units and commercial/other space that may be developed within the parcel, and the Unit Equivalency Chart shall be used to determine the number of future buildout units that are being proposed by the new development.
b.
Partially developed parcels. For partially developed parcels, each existing dwelling unit or residential lot shall first be counted as one (1) unit. The total number shall then be subtracted from the future buildout number specified within the Comprehensive Plan buildout chart to establish the available buildout unit amount. The Unit Equivalency Chart shall then be used to evaluate the existing development and to establish the existing buildout unit amount. The total of the available and existing unit/lot amounts shall then be considered as the future buildout unit amount used for determining maximum buildout, and the Unit Equivalency Chart shall be used to determine the number of future buildout units that are being proposed by the new development.
c.
Fully developed parcels. For parcels where the total number of the existing dwelling units, where each dwelling unit or residential lot is counted as one (1) unit, equals the future buildout number specified within the Comprehensive Plan buildout chart, the Unit Equivalency Chart shall be used to evaluate the existing development and to establish the existing buildout unit amount. The existing buildout unit amount shall then be considered as the future buildout unit amount for determining maximum buildout, and the Unit Equivalency Chart shall be used to determine the number of future buildout units that are being proposed by the new development.
If the Town Council determines that the PUD complies with the applicable provisions of this Subsection (c), General Restrictions, the standards of Section 16A-5-310, Review Standards, and any other applicable provisions of this Code, then a PUD may develop up to, but not more than, sixty-five percent (65%) of the maximum number of future lots/units and commercial/other space identified for that subdivision or other development in the buildout analysis. The Town Council may approve a buildout that is less than or greater than sixty-five percent (65%), based on the following standards:
a.
Lesser buildout. A lesser buildout may be approved by the Town if, during the evaluation of the compliance of the PUD with the applicable review standards, it is determined that there are site specific physical constraints on the property that would limit its appropriateness for buildout (such as the presence of wetlands, flood plains, steep slopes or wildlife habitat), or the applicant has been unable to adequately provide public improvements or services necessary for the development, or the buildout would be incompatible with surrounding land uses or with the character of the community as described in Section 16A-4-340, Building Design Guidelines to Preserve Community Character, or if other pertinent limitations are identified.
b.
Greater buildout. A greater buildout may be approved if the Town Council finds that the PUD achieves one (1) or more of the purposes described in Subsection (c)(6), Community Purposes for PUDs, and the PUD complies with the other applicable provisions of this Subsection (c), General Restrictions, the standards of Section 16A-5-310, Review Standards, and any other applicable provisions of this Code. No buildout may be permitted to exceed one hundred percent (100%) of the maximum number of future lots/units and commercial/other space listed for that subdivision, parcel or other development, except that under unique and exceptional circumstances where it can be sufficiently demonstrated by the applicant that the resulting development will, for good cause shown, exceed the PUD review criteria standards, a reconsideration and amendment of the future buildout analysis chart allocation for that subdivision, parcel or other development may be considered. The Town Council shall then adopt an ordinance, approved by at least three-quarters (¾) of the members of the Town Council present and voting, amending the future buildout analysis chart and identifying the reasons why the amendment is warranted.
(5)
Dimensional limitations. Certain dimensional limitations applicable to the property may be varied within a PUD. The limitations that may be varied are those of the underlying zone district; or, for properties for which a PUD or other development plan has previously been approved, the limitations set by that approval. For any property designated PUD or SPA without an underlying zone district, the applicant shall submit an application for an amendment to the Official Zone District Map to designate the underlying zone district for the property. This application shall be submitted in conjunction with the preliminary PUD application and shall be used to rezone the property at the time of final PUD approval to a zone district containing dimensional limitations in order to establish the applicable dimensional limitations for the property. Only the following dimensional limitations may be varied:
a.
Maximum allowable height of any structure within the PUD;
b.
Minimum open space requirement for the PUD;
c.
Maximum allowable floor area of the PUD;
d.
Minimum area of lots within the PUD; and
e.
Minimum setbacks for buildings within the PUD.
A dimensional limitation may be varied when the Town Council finds that the PUD achieves one (1) or more of the applicable purposes listed in Subsection (c)(6), Community Purposes for PUDs, that granting of the variation is necessary for that purpose to be achieved, and that the resulting development will be consistent with the provisions of Subsection (c)(7), Standards for Granting of Variations, and Section 16A-5-310, Review Standards.
(6)
Community purposes for PUDs. The Comprehensive Plan identifies certain purposes the community intends to achieve as it develops. The following purposes shall be used in determining whether the buildout for a PUD may exceed sixty-five percent (65%) of that identified in the buildout analysis and whether any of the parcel's dimensional limitations should be varied:
a.
Provision of restricted housing. A parcel's maximum buildout may be achieved and its dimensional limitations may be varied to offer an incentive to applicants to provide more restricted housing within the PUD than would otherwise be required by this Development Code, particularly in those priority locations for such housing identified within the Comprehensive Plan.
b.
Encourage sustainable development. A parcel's maximum buildout may be achieved and its dimensional limitations may be varied to encourage sustainable development within the Town that diversifies the mix of lodging, retail and dining uses and that is consistent with the intent of the Comprehensive Plan. Sustainable development may be of the type that creates a sense of place where one can live and work within a small defined service area as well as where recreation, public transportation, open space, personal services and shopping are within reasonable walking distance. It may also be where the development includes positive social, environmental or economic benefits that significantly contribute to, greatly enhance or are determined necessary for the sustainability of the community as a whole.
c.
Provide open space and/or avoid wildlife habitat. A parcel's maximum buildout may be achieved and its dimensional limitations may be varied to provide necessary site planning flexibility to enable the development to provide more and higher quality open space or to conserve critical wildlife habitat lands. This shall be accomplished in such a way as to maintain these lands as large, contiguous areas. Such lands shall not be fragmented into small, unconnected areas by development, unless the applicant demonstrates that this arrangement will result in the most suitable development pattern for the property, and that the lands providing valued open space or critical wildlife habitat have been protected. Where applicable, connections of such lands on the site to such lands on adjacent properties shall be accomplished.
d.
Encourage better design. A parcel's dimensional limitations may be varied (but its maximum buildout may not be achieved) to allow for greater variety in the type, design and layout of buildings. Structures shall be designed to be compatible, in terms of height, mass, scale, orientation and configuration, with other buildings in the PUD and with surrounding uses, yet shall avoid uniformity of design. Various types of residential uses may be combined within the PUD (when allowed by the underlying zone district), to promote more efficient land use patterns and increased open space.
e.
Develop necessary public facilities. A parcel's maximum buildout may be achieved and its dimensional limitations may be varied to provide an incentive for an applicant to develop, or contribute to the development of, necessary public facilities, such as public parking and transportation facilities, public recreation facilities and other public facilities consistent with the intent of the Comprehensive Plan and the Town's goals and objectives. The facilities may be located within or outside of the PUD, but shall be facilities beyond the required mitigation for the project that meet the needs not only of project residents, but also of other residents of and visitors to the Town and shall promote, generally, the public health, safety and welfare.
Achieving one (1) or more of the applicable purposes listed above does not, by itself, grant any development entitlement for the buildout of a PUD to exceed sixty-five percent (65%) of that identified in the buildout analysis or for any of the parcel's dimensional limitations to be varied.
(7)
Standards for granting of variations. Any PUD dimensional limitation variation authorized in Subsection (c)(5), Dimensional limitations, may be granted by the Town Council, provided that it complies with the following standards:
a.
Height. Variations to increase the maximum allowable height of structures may be obtained pursuant to the following provisions:
1.
A request to grant a variation to increase the maximum allowable height for any individual structure may be granted by the Town Council, provided that at least fifty percent (50%) of the structure for which the variation is sought, as measured utilizing the structure's footprint, conforms to the height limits of the underlying zone district, provided further that no portion of the structure exceeds the height limit of the underlying zone district by more than seventy-five percent (75%).
2.
In exceptional and special circumstances, a request to grant a variation to increase the maximum allowable height for individual structures may be permitted to exceed the fifty-percent or seventy-five-percent limitation described in the preceding paragraph, if the applicant is able to sufficiently demonstrate to the satisfaction of the Town Council that:
a)
Views from surrounding properties, as determined through the use of detailed view plane analysis, which may include computer-generated visualizations, story poles and other methods acceptable to the Planning Director, will not be substantially adversely affected. The surrounding properties to be considered will include those immediately adjacent to the PUD and those that are identified by the Planning Commission and the Town Council during their respective review and public comment periods.
b)
The proposed structure will be compatible, in terms of height, mass, scale, orientation and configuration, with other structures in the PUD and with adjacent structures.
If the variation exceeds the fifty-percent or seventy-five-percent limitations described in the preceding paragraph, the variation and the Preliminary PUD Plan resolution must be approved by at least three-quarters (¾) of the Town Council members present and voting, for good cause shown and by identifying the reasons why the height variation is warranted.
3.
For the purposes of administering paragraph (7)a, the Town Council may grant by simple majority vote, a height variation for certain structures, such as flagpoles, antennas and other similar structures which have only a nominal footprint. Ski-lift towers and related facilities are exempt from requiring height variation approval.
4.
In circumstances where two (2) structures have been connected by an enclosed walkway, corridor, atrium or other enclosed space whose width or height is less than fifty percent (50%) of either the width or height of either of the otherwise separate structures measured from the side being connected, the provisions of paragraph (7) shall be applied to each structure separately rather than as one (1) structure.
b.
Open space and minimum lot area. A variation to reduce the minimum open space requirement or to reduce minimum lot area (in order to cluster lots) may be permitted if:
1.
Such variation will not be detrimental to the character of the proposed development or to surrounding properties;
2.
The proposed development shall include open space for the mutual benefit of the entire development; and
3.
The open space that is provided is accessible and available to at least all dwelling units and lots for which the open space is intended.
c.
Minimum building setbacks. Minimum building setbacks shall be established by the PUD plan, provided adequate distance shall be left between buildings for necessary access and fire protection, and to ensure proper ventilation, light, air and snowmelt between buildings, and to minimize the effects of transmission of noise between units and between buildings.
(8)
Parking. The number of parking spaces in the PUD shall be that required for the underlying zone district, unless a reduction in that requirement is granted, pursuant to Section 16A-4-310(c), Reduction of Required Parking.
(9)
Road standards. A PUD may be permitted to deviate from the Town's road standards, to enable the development to achieve greater efficiency of infrastructure design and installation through clustered or compact forms of development or to achieve greater sensitivity to environmental features, when the following minimum design principles are followed:
a.
Safe, efficient access. The circulation system shall be designed to provide safe, convenient access to all areas of the proposed development using the minimum practical roadway length. Access shall be by a public right-of-way, private vehicular or pedestrian way or a commonly owned easement.
b.
Internal pathways. Internal pathways shall be provided to form a logical, safe and convenient system for pedestrian access to dwelling units and common areas, with appropriate linkages off-site.
c.
Emergency vehicles. Roadways shall be designed to permit access by emergency vehicles to all lots or units. An access easement shall be granted for emergency and utility vehicles, as applicable, to use private roadways in the development for the purpose of providing emergency services and for installation, maintenance and repair of utilities.
d.
Principal access points. Principal vehicular access points shall be designed to provide for smooth traffic flow, minimizing hazards to vehicular, pedestrian or bicycle traffic. Where a PUD abuts a major collector, arterial road or highway, direct access to such road or highway from individual lots, units or buildings shall be prohibited when other reasonable access options are available.
e.
Snow storage. Adequate areas shall be provided to store snow removed from the internal street network and from off-street parking areas.
(10)
Adequate public facilities. A final plan shall not be approved unless the Town Council determines that public facilities will be adequate to support and service the area of the proposed development or that needed public facilities and services will be made available concurrently to offset the potential impacts of such development. Public facilities and services to be examined will include, but not be limited to: storm drainage, roads and their maintenance, public transportation service and facilities, pedestrian circulation, sewerage and sanitary facilities, water availability and serviceability, solid waste disposal, fire and emergency medical services and electrical service. The applicant shall show that:
a.
Adequate facilities and carrying capacity exist at the time of development or will be provided to the PUD and affected areas prior to completion of each building or phase of the development necessitating the demand for said facilities or capacity;
b.
The PUD has been located so as to be reasonably convenient in relation to police and fire protection, emergency medical services and schools;
c.
The PUD will accommodate the efficient provision of local and regional transit facilities and services.
(Ord. 4-1998 §1; Ord. 13-1998 §1; Ord. 1-1999 §1; Ord. 6-1999 §1; Ord. 15-2000 §1; Ord. 05-2004 §1; Ord. 08-2004 §1; Ord. 16-2010 §1)
In addition to demonstrating compliance with the provisions of Section 16A-5-300(c), General Restrictions, and with all other applicable provisions of this Code, a proposed PUD shall also comply with the following review standards.
(1)
Consistency with Comprehensive Plan. The PUD shall be consistent with the intent of the Town's Comprehensive Plan.
(2)
Preservation of community character. The development proposed for the PUD shall be consistent with the standards of Section 16A-4-340, Building Design Guidelines to Preserve Community Character, shall be compatible with, or an enhancement of, the character of existing land uses in the area and shall not adversely affect the future development of the surrounding area.
(3)
Creative approach. The development proposed for the PUD represents a creative approach to the development and use of land and related physical facilities to produce better developments and to provide amenities for residents of the PUD and the public in general.
(4)
Landscaping. Proposed landscaping for the PUD shall provide sufficient buffering of uses from one another (both within the PUD and between the PUD and surrounding lands) to minimize noise, glare and other adverse impacts, shall create attractive streetscapes and parking areas and shall be consistent with the character of the Town.
(5)
Comply with development evaluation standards. The PUD shall comply with all applicable provisions of Article IV of this Development Code, Development Evaluation Standards.
(6)
Suitability for development. The property proposed for the PUD shall be suitable for development, considering its topography, environmental features and any natural or man-made hazards that affect its development potential.
(7)
Spatial pattern shall be efficient. The PUD shall be located to avoid creating spatial patterns that cause inefficiencies in the delivery of public services, or that require duplication or premature extension of public facilities.
a.
Roads. Any new road developed to serve the PUD shall be continuous and in alignment with existing platted streets to which the street is to be connected. Where appropriate, new streets shall be planned so that they can create an interconnected Town road network, with provision for adequate road and utility easements. Where cul-de-sacs are used in the development, the applicant is encouraged to provide a trail or similar pedestrian link between them.
b.
Water and sewer lines. Any water or sewer line extension necessary to serve the PUD shall be consistent with the Snowmass Water and Sanitation District's service plan and the Town's Comprehensive Plan.
(8)
Phasing. If the PUD is to be developed in phases, then each phase shall contain the required streets, utilities, landscaping and other public facilities or improvements that are necessary and desirable for residents of the project. If the PUD incorporates any amenities for the benefit of the Town, such as trail connections, these shall be constructed within the first phase of the project, or, if this is not possible, then as early in the project as is reasonable. The pace and phasing shall be evaluated with regard to construction impacts along with possible interruption of construction as it would affect the community as a whole.
(9)
Construction interruptions. The development application shall provide a reasonable restoration and/or remediation contingency plan to mitigate impacts resulting from any potential extended interruption of construction affecting the community as a whole. Surety or security may be necessary to ensure implementation of the plan.
(Ord. 4-1998 §1; Ord. 13-1998 §1; Ord. 1-1999 §1; Ord. 15-2000 §1; Ord. 16-2010 §1)
(a)
Purpose. The sketch plan review is an opportunity for the Town and the applicant to engage in an exploratory discussion of a development proposal, to raise issues and concerns and to examine alternative approaches to development of the property. The applicant is encouraged to provide a written or graphic description of any alternative ideas that were considered as the sketch plan was being prepared. It should be expected that the development proposal may evolve during the course of sketch plan review.
(b)
Sketch Plan Review Intent and Issues. To encourage the consideration of alternatives and to allow the sketch plan to evolve, overly detailed preliminary plan level sketch plans will not be considered. The questions the Planning Commission and Town Council should consider in a conceptual manner during review of the sketch plan (depending upon the size and complexity of the proposal) include the following:
(1)
Use. Is the use proposed for the property generally appropriate in this location? Is it consistent with the intent of the underlying zone district and the character of surrounding uses?
(2)
Comprehensive Plan. Is the proposed development generally consistent with the Town's Comprehensive Plan? Is the proposed buildout within the range anticipated for the property? If the applicant proposes a buildout in excess of sixty-five percent (65%) of that identified in the Comprehensive Plan, then are the community purposes the applicant proposes to achieve the appropriate ones for this development to accomplish?
(3)
Architecture and landscaping. Are the buildings proposed to be developed in appropriate locations? Is the mass, scale and density of the buildings generally compatible with the character of the community and that of surrounding buildings? How much of the site is proposed to be common or dedicated open space? Is this an adequate amount of open space and does it appear to be in the appropriate locations?
(4)
Natural resource and hazard areas. What are the natural resource and hazard areas on the property? Is mitigation appropriate?
(5)
Access and circulation. Is the conceptual location, alignment and type of entry roads and the primary on-site roads acceptable? Should the applicant provide transportation options for residents, visitors, guests and employees and, if so, what type of options may be most appropriate?
(6)
Parking. Should the applicant provide on-site parking for the development in compliance with the standards of this Code, or should the applicant reduce parking below these standards, as provided in Section 16A-4-310, Off-Street Parking Standards?
(7)
Timetable. What is the proposed timetable for the development? Is it most appropriate for the development to occur all at once or in phases? If phasing is appropriate, then which portions of the project should proceed first?
(8)
Community welfare. Do the concepts contained in the proposed development promote the public health, safety and welfare?
(c)
Sketch Plan Review Procedure. The following procedures shall apply to an application for review of a sketch PUD plan. These procedures are illustrated in Figure 5-3, Sketch PUD Application Procedures.
(1)
Pre-application conference. Attendance at a pre-application conference is mandatory prior to submission of an application for sketch PUD plan review.
(2)
Submission of application. The applicant shall submit an application to the Planning Director that contains the following materials:
a.
Minimum contents. The minimum contents for any application, as specified in Section 16A-5-40(b), Minimum Contents.
b.
Location map. A scale map showing the location and size of the site, and existing land uses, zone districts and major roads within three hundred (300) feet of the site. The name, location and boundaries of any subdivisions that are part of the larger tract shall also be shown.
c.
Statement of objectives. A written description of the proposed development. This shall include a statement of the objectives to be achieved by the planned unit development and a conceptual description of any proposed variations from the standards of the underlying zone district that are being requested.
d.
Sketch plan. A sketch development plan, which shall include the following:
1.
General. The property boundaries of the site, title of the proposed development, date of preparation, bar-type or graphic scale and north arrow (designated as true north).
2.
Site characteristics. Existing site characteristics, showing existing groves of trees and other major types of vegetation, structures within the site, the location of roads and structures within three hundred (300) feet of the site, wildfire hazard areas, wildlife habitat areas, streams, flood plains, drainage ways, topography (depicted at a minimum of ten-foot contour intervals), areas of natural and disturbed slopes in excess of thirty-percent grade, prominent ridgelines, avalanche areas and any other prominent geologic hazards or features.
3.
Utilities. Approximate locations of existing major utility lines and easements, irrigation ditches, bridges and similar physical features, and existing development on adjacent property. Conceptual plans for water supply, sewage disposal, fire protection and drainage facilities shall also be provided, which plans may be in a prose format.
4.
Proposed land use. General location and configuration of proposed land use types, including setbacks and common and public open space. The plan shall show the proposed lots or development tracts and street layout, indicating the approximate area of individual lots or tracts, access to the property, connection of proposed streets to existing streets and plans for pedestrian circulation and trails. If the applicant intends to develop the PUD in phases, then the sketch plan shall provide a land use master plan for the applicant's entire land ownership, unless the applicant shall demonstrate to the Town Council, at its sole discretion, that preparation of a land use master plan for the entire ownership would place an unreasonable burden on the applicant or would be premature at this time. Following approval of the sketch plan, the applicant may, if so authorized by the Town Council, submit the preliminary plan in phases and need not submit detailed land use information for the entire ownership in order to be deemed to have submitted a complete preliminary plan.
5.
Landscaping. A simple conceptual depiction and/or narrative description of the intended revegetation and landscaping components of the plan.
e.
Simple sketches. Simple sketches, massing diagrams or models, that are not required to show detailed fenestration or architectural details, which show building mass, scale and height in a conceptual manner in relation to natural features, and the relationship of the various development components to their respective sites, the surrounding area and each other. A sketch or narrative description should be included that adequately expresses the typical or overall intended architectural theme, character and fenestration for the project.
f.
Summary. A sketch plan summary containing the following:
1.
Type. A description of the type of dwelling units and other buildings or structures.
2.
Size. The average square footage of all dwelling units, buildings and other structures proposed by type of unit, the total square footage of all structures by type, the approximate number of bedrooms and the gross residential density in units per acre.
3.
Floor area. The ratio of the total floor area of all proposed structures, by type, to the area of land within the development.
4.
Population. The anticipated population to be generated by the development (permanent residents, employees and tourists).
5.
Market. A general statement of the target market and form of ownership for the dwelling units.
6.
Open space. The amount of common and/or public dedicated open space.
7.
Height. The maximum and average height of all buildings and structures, by type.
8.
Employees. The number of employees required to operate the proposed development, together with a calculation of employee housing requirements and a conceptual proposal for how required employee housing will be provided.
9.
Water supply and sewage disposal. Source of domestic water supply and general means of sewage disposal.
10.
Access and easements. Evidence of the existence of legal access to the property, together with a description of any existing easements and covenants affecting any land within the subject property.
11.
Parking, circulation and transit. The anticipated number of parking spaces, the proposed locations of these spaces and a statement of whether the project will comply with the underlying zone district standards or is requesting a reduction from those standards. Additionally, a conceptual plan setting forth on- and off-site circulation patterns and any transit facilities associated with the project.
12.
Timetable. The proposed timetable and phasings for the development, identifying the number of anticipated PUD filings.
(3)
Staff review. Staff review of the application shall be accomplished, as specified in Section 16A-5-50, Staff Review of Application. Staff shall then meet with the applicant to provide preliminary comments, discuss issues and concerns, request additional information necessary to adequately evaluate the proposal and make recommendations regarding the application. The applicant will then have the opportunity to amend their application or provide additional information in response to the staff comments. Upon receipt of the requested information, or within ten (10) days of the staff meeting, whichever occurs first, a public notice that the Planning Commission and Town Council will hold a joint hearing to consider the application shall be given by publication, mailing and posting of notice, pursuant to Section 16A-5-60(b), Manner and Timing of Notice.
(4)
Joint meeting. A complete copy of the application shall be forwarded to the Planning Commission and Town Council, together with a copy of the staff review. The Planning Commission and Town Council shall hold one (1) joint meeting to hear the initial presentation of the application by the applicant. Thereafter, the Planning Commission shall conduct its review of the application.
(5)
Resolution. Upon completion of its review of the application, the Planning Commission shall, by resolution, provide direction to the applicant on the sketch plan. The resolution shall either authorize the applicant to submit a preliminary plan or shall state that the applicant must submit a new sketch plan prior to proceeding to preliminary plan review. When preparing the resolution, the Planning Commission shall consider all relevant materials and testimony, and whether the application is generally consistent with Section 16A-5-300(c), General Restrictions, and Section 16A-5-310, Review Standards.
a.
Resolution authorizing preliminary plan. If the resolution authorizes the applicant to submit a preliminary plan, then the resolution shall identify any aspects of the sketch plan that should be modified for the preliminary plan to be acceptable to the Town, and the types of modifications the applicant should consider. The resolution shall also identify any other issues the applicant should consider when preparing the preliminary plan, the materials the applicant will be required to submit and the studies the applicant will be required to conduct.
b.
Resolution requiring new sketch plan. If the resolution states that the applicant must submit a new sketch plan prior to proceeding to preliminary plan review, then the resolution shall identify any areas of disagreement between the Town and the applicant, including those standards of the Development Code or elements of the Comprehensive Plan with which the sketch plan failed to comply.
(6)
Town Council action. The Planning Commission's resolution shall be forwarded to the Town Council. The Town Council shall hold a public hearing to consider the application and the Planning Commission's resolution. The public hearing shall be conducted pursuant to Section 16A-5-70(2), Conduct of Public Hearing. The Town Council shall prepare its own resolution taking action on the application that may accept the Planning Commission's resolution, or that may modify any aspect of said resolution. When preparing the resolution, the Town Council shall consider all relevant materials and testimony, and whether the application is generally consistent with Section 16A-5-300(c), General Restrictions, and Section 16A-5-310, Review Standards.
(7)
Effect of resolution. Adoption of the sketch plan resolution by the Town shall not constitute approval of a PUD, or permission to proceed with construction of any aspect of the development. Such action shall only constitute authorization for the applicant to submit a preliminary PUD, in accordance with the representations made by the applicant and in response to the direction on the sketch plan provided by the Town in the resolution.
(8)
Expiration. The applicant shall be required to submit the preliminary plan application within twelve (12) months after the date of approval of the resolution. Failure to submit the application within this time period shall render the resolution null and void, and require the applicant to submit a new sketch plan for review by the Town. The Town Council may, at its sole discretion and for good cause shown, grant an extension of the deadline to submit a preliminary plan application, provided that the applicant requests the extension in writing no less than thirty (30) days prior to such lapse and said extension is approved by at least three-quarters (¾) of the Town Council members of the Town Council present and voting.
(Ord. 4-1998 §1; Ord. 1-1999 §1; Ord. 6-1999 §1; Ord. 15-2000 §1; Ord. 3-2023, § 2(Exh. A))
(a)
Purpose. The purpose of preliminary plan review is for the applicant to formulate detailed, properly designed/engineered solutions to the issues and concerns identified during sketch plan review, and to address, in a detailed manner, all other issues that are relevant to the preliminary plan. For minor PUD applications, where no sketch plan was submitted, the purpose of the preliminary plan is to present detailed, properly designed/engineered plans for consideration by the Town and the public. The burden at the preliminary plan stage is on the applicant to provide detailed information and mitigation proposals to be evaluated by the Town and the public. For any PUD application that also involves subdivision or that requires approval of an amendment of the Official Zone District Map, the application for subdivision or rezoning shall be submitted with, and considered at the same time as, the preliminary PUD plan review.
(b)
Preliminary Plan Review Intent and Issues. The questions the Planning Commission and Town Council should consider in a detailed manner during review of the preliminary plan (depending upon the size and complexity of the proposal) include the following:
(1)
Response to sketch plan issues and concerns. Has the applicant provided detailed, sufficient and appropriate responses to each of the issues and concerns identified during the sketch plan review?
(2)
Zone district limitations. Does the proposed development comply with all of the limitations of the underlying zone district? If the applicant proposes to vary any of the property's dimensional limitations, then does the application comply with all of the applicable standards for granting of the variation?
(3)
Comprehensive Plan. Is the proposed development consistent with all relevant policies and recommendations of the Town's Comprehensive Plan? If the applicant proposes a buildout in excess of sixty-five percent (65%) of that identified in the Comprehensive Plan, then will the community purposes that are most appropriate to be accomplished by the proposed development be achieved?
(4)
Architectural plans. Are the proposed mass, scale, height, density, volume, materials, colors and detailed design elements of the buildings compatible with, appropriate for or an enhancement of the character of the community and with surrounding buildings?
(5)
Landscaping and open space. Is the type, amount, size, species and location of proposed landscaping adequate and suitable for the development? Has adequate landscaping been provided as a buffer between uses and around the perimeter of the development? Has the applicant demonstrated that existing vegetation and trees on the site that should be protected will be so protected? Which specific areas of the site will be designated as open space; what is the proposed size, use and landscaping of each area? What are the preliminary plans for the homeowner's association or condominium association to maintain said open space?
(6)
Natural hazard areas. What is the site specific location and characteristics of any geologic hazards, steep slopes, flood plains and similar hazards on the property? Will any of these natural areas pose a potential threat to life or property? If so, what specific measures will be employed to avoid, minimize or mitigate these dangers?
(7)
Natural resource areas. What is the site specific location and characteristics of any wildlife habitat areas, riparian areas, wetlands and other valued natural features on the property? What are the anticipated impacts of the proposed development on these features? Has the proposed development been designed so it will comply with the standards of this Development Code that apply to these natural resource areas?
(8)
Grading and drainage. What is the extent of soil and vegetation disturbance planned for the site? How will disturbed areas be stabilized both during construction and following completion of the project? Where will excavated materials be stockpiled? Will any retaining structures be employed and, if so, what will be their design specifications and materials? How will storm water be handled both during construction and following completion of the project?
(9)
Transportation impact. How many vehicle trips will be generated, and what is the anticipated public transportation ridership from the proposed development? What is the capacity of the intersections that the proposed development will impact? What will be the impacts of the proposed development on the Town's public transportation system, road capacities and parking facilities and how will these impacts be mitigated? What measures will the project employ to ensure that following development roadways within the Town will continue to function at the adopted level of service standard? Have roads on- and off-site been designed in a safe and efficient manner, to connect the site to other activity areas and destination points?
(10)
Necessary facilities. Has the applicant provided detailed engineering plans and reports demonstrating the type, location and capacity of the water supply, sewage disposal, solid waste disposal, fire protection and other necessary facilities that will be constructed to serve the project? Will needed public facilities and services be made available concurrently to offset the potential impacts of such development?
(11)
Pace and phasing. Has the applicant provided a sufficiently detailed phasing proposal to ensure that the development phasing will occur in an efficient and orderly manner with consideration given to construction and other impacts to the community? Have all phases, including the initial phase, been designed to sustain itself and function as a complete development not reliant on subsequent phases to operate in an efficient and orderly manner? Has the applicant provided a reasonable contingency plan to mitigate impacts resulting from any possible interruption of construction as it would affect the community as a whole?
(12)
Restricted housing. What is the specific mix and configuration of housing that will be provided to meet the Town's restricted housing requirements? What guarantees has the applicant agreed to provide to ensure that such housing will be available at the time it has been required by the Town?
(13)
Fiscal impact. Will the proposed development have a positive or negative fiscal impact upon the Town and other taxing districts that provide services to it? If the proposal is shown to have a negative fiscal impact, then what measures will the applicant employ to mitigate those costs?
(14)
Energy conservation. What will be the energy utilization of the significant energy-consuming elements of the project (such as heating systems, swimming pools, saunas, Jacuzzis, etc.). What specific active and passive techniques will the development employ to promote energy conservation and take advantage of solar and alternative energy source opportunities?
(15)
Air quality. What will be the primary sources of air pollution from the project? What will be the quantity and composition of pollutants that will be discharged on a daily and seasonal basis and what are the dispersal qualities of the site that will affect the pollutants that are generated? What geographic area will be impacted by these pollutants? What techniques will the development employ to reduce the impacts of these pollutants?
(16)
Construction management plan. What is the proposed plan for phasing of the project? What is its construction schedule? What measures will be employed to mitigate construction impacts?
(17)
Community welfare. Does the proposed development in its totality promote the public health, safety and welfare?
(c)
Preliminary Plan Review Procedure. The following procedure shall apply to an application for review of a preliminary PUD plan. This procedure is illustrated in Figure 5-4, Preliminary PUD Application Procedures.
(1)
Pre-application conference. Attendance at a pre-application conference is mandatory prior to submission of an application for PUD preliminary plan review.
(2)
Submission of application. The applicant shall submit an application to the Planning Director that contains the following materials:
a.
Minimum contents. The minimum contents for any application, as specified in Section 16A-5-40(b), Minimum Contents.
b.
Preliminary development plan. A preliminary development plan, which shall include the following:
1.
General. The property boundaries of the site, title of the proposed development, date of preparation, bar-type or graphic scale, north arrow (designated as true north) and legal description of the property.
2.
Proposed development. The preliminary plan shall show the proposed dimensions and locations of all buildings, public and private roadways, existing and proposed utility lines and fire hydrants, service areas, emergency vehicle access areas, parking facilities, pedestrian pathways, trails and use areas, common open areas, public open spaces, public transportation facilities, drainage facilities and detention areas, snow storage/removal areas, trash storage areas and other information necessary to allow detailed review of the project design. Existing and proposed contours shall be shown at two-foot intervals, or less.
3.
Surrounding structures. The preliminary plan shall depict structures and landmarks within three hundred (300) feet of the site, so as to show the relationship of the proposed development to its surroundings.
4.
Chart. The preliminary plan shall contain a chart of proposed land uses by acreage, including the percentage of land coverage by each type of use, together with a detailed listing of the following development parameters:
a)
Dimensions. Proposed square footage and height of buildings.
b)
Dwelling units. Proposed number of bedrooms; square footage of dwelling units by type of unit; proposed number of dwelling units per acre.
c)
Size of commercial space. Proposed square footage of commercial space.
d)
Floor area. Proposed maximum allowable floor area (FAR).
e)
Parking. Proposed number of parking spaces.
f)
Open space. Proposed amount of open space.
g)
Restricted housing. Proposed number of restricted housing units, with number of bedrooms and amount of square footage.
c.
Comparison to sketch plan. When applicable, a statement shall be provided comparing the preliminary plan to the sketch plan, noting any changes, including those made in response to comments provided by the Town in its review of the sketch plan.
d.
Listing of proposed variations. A statement identifying each proposed variation from the underlying zone district standards, describing how the variations conform with those authorized for a PUD.
e.
Architectural plans. Preliminary architectural plans for all multiple-family and single-family attached dwellings, hotels and lodges, and other nonresidential buildings. These plans shall include:
1.
Elevations. Elevations at a vertical scale of not less than one-eighth inch equals one foot (⅛" = 1') or larger of all significant facades of the proposed buildings. Building elevations shall be of sufficient detail to indicate building openings, alternate materials proposed for the roof and exterior of the buildings, decks and other architectural features of the buildings, including chimneys and mechanical areas and features affecting the roof lines of all proposed buildings.
2.
Floor plans. Proposed floor plans drawn at a scale of one-eighth inch equals one foot (⅛" = 1') or larger of all floors of the proposed buildings showing all living, sleeping, cooking, bathroom and storage areas. Typical floor plans with a floor layout plan may be substituted.
3.
Block model. A block model illustrating the cubic volume and design of the aboveground portion of all proposed major structures included in the development. The descriptive materials shall also be sufficient to demonstrate the relationship, in terms of cubic volume, between such proposed structures in the development and other major structures encompassing a significant portion of existing development surrounding the development. The Planning Director may accept computer-generated three-dimensional or other visual imagery in place of the block model if it is felt that it would better aid the public and reviewing bodies to visually understand the spatial, mass, scale and visual relationships of the development to surrounding properties. A model may still be required during the course of the review process if determined necessary to adequately evaluate the development proposal. Before preparing the block model or visual imagery, the applicant shall confer with the Planning Director to determine the contextual boundary needed and level of detail required for properties surrounding the subject property in order to provide a neighborhood context for the proposed development. The visual imagery and/or model shall roughly depict the building colors and materials proposed for the development.
4.
Color and materials. A color and materials sample board or sufficiently detailed visual imagery to represent the materials and colors for the buildings and other architectural features being proposed.
f.
Landscape plan. A detailed landscape plan, depicting the type, amount, size, species and location of all plant materials, with a planting schedule. The plan shall also include conceptual irrigation plans for landscaped areas if applicable. The plan shall show the location of all existing trees with a trunk circumference of fourteen (14) inches or more measured four and one-half (4½) feet above the ground and shall indicate which trees are proposed to be removed. Where large groves of trees are to remain undisturbed, single trees need not be located.
g.
Fiscal impact report. A report analyzing the anticipated fiscal impacts of the proposed development upon the Town, school district and other taxing districts that provide services to the development. This report shall be based on criteria and assumptions established in advance by the Town, as provided to the applicant by the Planning Department prior to the submission.
h.
Solid waste disposal plan. A proposed solid waste disposal plan, including the anticipated volume (cubic yards) of solid waste that will be generated by the development, proposed trash container size and location of said facilities.
i.
Energy conservation plan. A comprehensive energy conservation plan demonstrating how the development will comply with the provisions of Section 16A-4-330, Energy Conservation, together with a detailed description of the use of solar and other alternative energy resources, including an energy utilization analysis in relation to heating systems, swimming pools, saunas, Jacuzzis and other significant energy-consuming project elements.
j.
Development in proximity to ski lift. A report, plan or other documentation showing that any development located in proximity to any existing or proposed ski lift complies with all appropriate rules and regulations governing said lifts, including those of the Colorado Tramway Board.
k.
Open space map. A map shall be submitted showing all areas to be designated as common open space and the proposed use of each common open space area, including size of each area in acres and the size of the total common open space in acres and as a percentage of the total site. In addition, the type, size and general location of the planting and other screening techniques to be used in the perimeter buffer area shall be shown on this map and the landscape plan.
l.
Homeowner's or condominium association documents. Whenever there is common open space within a proposed development, the following documents shall be submitted in a preliminary form, describing how the homeowner's or condominium association will maintain said open space.
1.
Articles of incorporation. The form of articles of incorporation of any homeowner's association or other organization to maintain common open space within the development.
2.
Bylaws. The form of bylaws of any such organization, defining its rights, duties and responsibilities.
3.
Master deed. A copy of the master deed detailing the rights and privileges of individual owners in the common open space areas.
4.
Covenants. The language of covenants or easements restricting the use of common open space, together with the language of covenants or agreements requiring homeowners or residents to pay any organization for maintenance of common space, and the language of deed restrictions or other covenants running with the land which provide for the maintenance of common space.
m.
Water supply and sewage disposal. Detailed plans and reports, prepared by a registered professional engineer or water supply expert acceptable to the Snowmass Water and Sanitation District, describing the location, type and timing of proposed water supply and sewage disposal facilities and lines to be constructed. The report shall describe water conservation methods to be employed and shall provide a detailed estimate of the project's average daily and maximum water requirements and sewer impacts. This report shall be based on criteria and assumptions established and provided by the District prior to the submission of the report. The applicant shall then obtain from the District a confirmation that, based upon the data submitted for this review, the assumptions, conclusions and calculations remain valid. In the alternative, the District shall identify those changes or revisions to the conceptual water and sewer reports required as a result of the District's analysis of the preliminary submission.
n.
Clearing, grading and drainage plans. A detailed report identifying plans for clearing, grading and drainage including:
1.
Limits of clearing. The location and defined limits of all clearing and/or removal of vegetation cover.
2.
Grading plan. Existing and proposed grades at a contour interval of two (2) feet or less, based on field survey controls, including location with proposed grades and elevations for all buildings, roads, walks, storm sewers and other drainage structures and devices, retaining walls and other landscape features. The plan shall provide designs for sediment control devices to be employed, including specifications of how graded areas will be stabilized and revegetated after construction is completed. Any changes from the grading and drainage plan submitted with the sketch plan shall be described.
o.
Transportation impact analysis. All development proposals shall analyze the impact of the proposal on the Town's transportation system, road capacities and parking facilities, including if the parking provisions exceed the minimum off-street parking standards up to the maximum parking amount allowed. The Planning Director may, however, waive this requirement for proposed development that contains less than five (5) dwelling units, or less than two thousand (2,000) square feet of nonresidential space and does not exceed the minimum off-street parking requirements, or an addition to a ski area if it is determined that the transportation impacts generated by the development are negligible and that requiring a detailed analysis is not warranted. If required, the applicant shall submit the following information in a manner that permits the Town to evaluate the impacts of the proposed development:
1.
Daily traffic counts. All total daily traffic counts shall be actual machine counts and not based on factored peak hour sampling. All raw traffic count data, including average daily volumes and peak hour turning movements, shall be provided in the appendices of the report.
2.
Trip generation rates. The applicant shall use the following vehicular trip generation rates to calculate the development's impact on the Town road network:
The Planning Director shall determine the trip generation rates for uses not listed above by consulting recognized professional publications, or studies completed for resort communities similar to the Town.
The Town Council may, upon request by the applicant, accept different trip generation rates than those listed above, considering whether any special transit features are planned for the development, or if there are unusual land use, occupancy or other features of the development.
3.
Existing conditions. The report shall identify the exact limits of the study area, which should be determined based on engineering judgment and an understanding of existing traffic conditions at the site. Within the study area, the applicant shall describe existing roadways and intersections, including geometry and traffic control. The report shall describe existing traffic volumes and the existing level of service at intersections and roadway segments. Daily and peak hour traffic counts shall be obtained by the applicant at locations determined by the Town.
4.
Anticipated ridership. A determination of the anticipated public transportation ridership, using data supplied by the Town's Transportation Department for similar projects with the Town, and the potential cost to the Town for providing public transportation services to the development. The report shall also analyze the proposal's impact on the Town's transportation system and provide a description of shuttle stop improvements that may be necessary to safely and effectively provide service to the development.
5.
Trip generation and design hour volumes. A summary table shall be provided listing each type of land use, the number of units or the amount of nonresidential square footage involved, the average trip generation for each use (total daily traffic and a.m. and p.m. peaks) and the resultant total trips generated.
6.
Trip distribution. The direction of approach for site-generated traffic shall be presented in the report. The technical analysis steps, basic methods and assumptions used shall be clearly stated.
7.
Trip assignments. Internal trips shall not exceed ten percent (10%) without analytical support to demonstrate how the larger figures were determined. Nongenerated passerby traffic reductions in generation volumes may be considered if applicable. The trip assignment shall include filling out a copy of the Trip Table (provided by the Planning Department) for links in the transportation network.
8.
Existing and projected traffic volumes. The report shall include the following illustrations:
a)
Peak hour traffic. Illustrations of current a.m. and p.m. peak hour site traffic (in and out), including turning movements.
b)
Future peak hour traffic. Illustrations of future a.m. and p.m. peak hour site traffic (in and out), including turning movements for current conditions and future buildout of the project, with background traffic projected five (5) years into the future.
c)
Other peak hours. Illustrations of other peak hours that may be critical to site traffic and the road system in the study area. Other peak hours will be mutually agreed upon by the Town and the applicant.
9.
Capacity analysis. The report shall include a capacity analysis for all public street intersections impacted by the proposed development and for all private property access points to streets adjacent to the proposed development identified in the previously defined study area, including an assessment of the off-street parking provisions and how it might impact trip generation. The a.m., p.m. and any other possible peak periods shall be tested to determine which peak hours need to be analyzed. Capacity calculations (intersection and roadway segments) shall be based upon the techniques described in the "1985 Highway Capacity Manual," Transportation Research Board, Special Report 209. All capacity analysis work sheets shall be included in the appendices of the report.
10.
Level of service. Level of service "C" or better on all but the ten (10) peak traffic days of the year has been determined to be the acceptable design standard for all intersection and roadway segment operations. All modes of transportation shall be addressed including any negative impacts according to the Comprehensive Plan's Strategic Initiatives. The applicant shall propose mitigation measures that are consistent with the Comprehensive Plan, including illustrations of each improvement showing the length, width and other pertinent geometric features for any operation in the transportation network that is caused to exceed a level of service "C" by the proposed development.
11.
Traffic accidents. Traffic accident data for affected street corridors may be required for the study. The study period will normally be three (3) years. Such locations will be specified by the Town. Where this is necessary, estimates of increased or decreased accident potential shall be evaluated for the development, particularly if the proposed development might impact existing traffic safety problems in the study area. Safety improvements shall be proposed where necessary.
12.
Conclusions. The report shall contain a clear and concise executive summary, describing the study's findings. If the analysis indicates unsatisfactory levels of service, a description of proposed improvements to remedy deficiencies shall be included in the executive summary.
p.
Air quality analysis. All development proposals shall conduct an analysis of the proposed development's impacts on air quality. The Planning Director may, however, waive this requirement for proposed development that contains less than five (5) dwelling units, or less than two thousand (2,000) square feet of nonresidential space if it is determined that the air quality impacts generated by the development are negligible and that requiring a detailed analysis is not warranted. If required, analysis shall be prepared by a recognized expert in air pollution and shall include examinations and recommendations concerning those characteristics of the site and the proposed development that could affect air quality, including, but not necessarily limited to, the following:
1.
Dispersal qualities. Dispersal qualities of the site and the extent to which those qualities are expected to provide for the efficient dispersal of air pollutants generated directly by on-site activities, including such sources as space heating, fireplaces, restaurants, etc., or indirectly by traffic within and around the proposed development site.
2.
Pollutants to be discharged. Quantity and composition of pollutants expected to be discharged within the site and daily (including peak period portions thereof) or seasonal variation in these characteristics.
3.
Trip generation and impacts. Estimated current and future trip characteristics, including average daily traffic and peak volumes for each mode on each route linking the site to significant related destinations within the relevant air shed and implied pollutant emissions. Dispersal qualities of routes related to the proposed development site and anticipated effects of any added traffic on air quality on and along such routes or their damages.
4.
Construction impacts. Anticipated air pollution caused by construction of the proposed project, including impacts caused by machinery, clearing of vegetation, rock and earth moving, paving operations, preparation of materials such as gravel, hot mix and cement, and any methods proposed to mitigate such pollution and its effect.
5.
Special mitigation techniques. A statement regarding any special mitigation related to design, construction methods, operating policies or public or private improvements that would reduce the quantitative or qualitative impacts of pollutants produced by the proposed development and use of the proposed site and their estimated effectiveness and costs to proponents and the public.
6.
Improvement of site characteristics. A statement regarding any special design construction methods, operating policies or public or private improvements that could improve the proposed development site characteristics relative to air quality of the site and of the estimated effectiveness and costs to the applicant and the public.
7.
Conform with regulations. A statement regarding the extent to which the proposal and resultant air quality levels (on the proposed development site and other portions of the relevant air sheds) will conform with existing federal, state and local air quality regulations and standards with and without any special design features, construction methods, operating policies or public or private improvements.
8.
Description of area to be impacted. A geographic description of the area expected to be most significantly impacted by air pollutants generated on the proposed development site or generated by increased transportation and other activities related to its development and use.
q.
Geologic report. A report evaluating geologic and soils conditions, including:
1.
Potential geologic hazards. A site specific analysis of the geologic characteristics on, or in the vicinity of, the site that could have a significant impact on the proposed development shall be conducted. It shall be prepared by a geologist or engineer who is qualified to map and evaluate geologic hazards and to assess their potential impacts on the development. It shall discuss any recent activity associated with the geologic hazards and shall provide an expert opinion as to the degree of severity of the potential geologic hazards. It shall also include recommendations as to how the development will avoid or mitigate any dangers posed to life or property from these hazards.
2.
Soils study. A study prepared by a qualified professional describing existing surface and sub-surface soil characteristics on the site, and evaluating the suitability of such soils for the planned construction.
r.
Brush Creek impact report. A site specific analysis shall be prepared for lands within the boundaries of the Brush Creek Impact Area, and for lands located outside of the Brush Creek Impact Area whose development is determined to have the potential to impact Brush Creek and its associated riparian habitat. The analysis shall be prepared to comply with the provisions of Section 16A-4-30(d), Brush Creek Impact Report.
s.
Wildlife habitat analysis. A site specific analysis shall be prepared for lands designated as sensitive wildlife habitat on the Environmental Sensitivity Map in the Comprehensive Plan and for lands not so designated on the map that are determined to be sensitive wildlife habitat. The analysis shall be prepared to comply with the provisions of Section 16A-4-20(d), Wildlife Habitat Analysis.
t.
Parking management plan. If the application proposes a reduction of the minimum off-street parking requirement, a Parking Management Plan shall be submitted pursuant to the provisions of Article IV Development Evaluation Standards, Division 3 Site Design Standards, in Section 16A-4-310. Off-street parking standards, of this Code.
u.
Construction management plan. A detailed construction management plan describing development phasing, construction schedules and measures for mitigating impacts associated with all aspects of the project. This would include a reasonable contingency plan to mitigate visual, safety and public welfare impacts resulting from any interruption of construction as it would affect the community. Surety or security may be necessary to ensure implementation of the plan.
v.
Adequate public facilities report. A detailed public facilities report demonstrating that public facilities will be adequate to support and service the area of the proposed development or that needed public facilities and services will be made available concurrently to offset the potential impacts of development as such impacts commence. Public facilities and services to be examined will include, but not be limited to: storm drainage, roads and their maintenance, public transportation service and facilities, pedestrian circulation, sewerage and sanitary facilities, water availability and serviceability, solid waste disposal, fire and emergency medical services and electrical service. The report may summarize the applicable capacity and demand analysis information and recommendations contained within other submission reports and shall:
1.
Identify the public facilities, service levels and carrying capacity that exist prior to the submission of the development application;
2.
Specifically identify and describe the additional public facilities, service levels and carrying capacity that will be necessary and provided to the PUD and affected areas prior to completion of each phase and/or building within the development necessitating the demand for said facilities, services or capacity;
3.
Describe the intended provisions to be made for the timing, location and financing of the public facilities, service levels and carrying capacity that will be needed to adequately support and service the area of the proposed development.
(d)
Joint Meeting.
(1)
A complete copy of the application shall be forwarded to the Planning Commission and Town Council. The Planning Commission and Town Council shall hold one (1) joint meeting to hear the initial presentation of the application by the applicant. This joint meeting may occur while referral comments are being collected by the staff. It is the intent of this meeting to simultaneously inform the Town Council and Planning Commission as to what is being submitted in the Preliminary Plan application. Following the presentation or at a subsequent regularly scheduled meeting, the Town Council shall identify the specific components within the application, including project elements, specific areas of the Land Use and Development Code or core issues, that the Planning Commission should focus upon during the course of its review.
(2)
The Town Council determination and direction shall occur by adopting a resolution at a regularly scheduled meeting. Thereafter, the Planning Commission and Town Council shall commence conducting their reviews of the application.
(3)
The Town Council may determine that some minor PUD applications, due to the reduced scale, negligible potential impacts upon surrounding properties and limited nature or intensity of the proposed development, do not warrant referral to the Planning Commission and shall proceed directly to the Town Council and be processed in accordance with Subsections (h) and (i) below.
(e)
Staff Review. Staff review of the application shall be accomplished as specified in Section 16A-5-50, Staff Review of Application. Staff shall then meet with the applicant to provide preliminary comments, discuss issues and concerns, request additional information necessary to adequately evaluate the proposal and make recommendations regarding the application. The applicant will then have the opportunity to amend their application or provide additional information in response to the staff comments. Upon receipt of the requested information and following its review by staff, a complete copy of the requested supplemental application information shall be forwarded to the Planning Commission and Town Council, together with a copy of the completed staff review.
(f)
Concurrent Town Council and Planning Commission Review. Following the joint meeting, the Planning Commission and Town Council may begin reviewing the development application in accordance with Subsections (g), (h), (i) and (j) below. The Planning Commission shall direct its review to those areas identified at the joint meeting as components upon which the Town Council wanted detailed recommendations, as well as other components on which the Planning Commission wishes to make recommendations to the Town Council. The Town Council may review the remaining project components until the Planning Commission has concluded its review. The Town Council may request that the Planning Commission forward to the Town Council their recommendations in reasonable segments. In such a case, the Town Council may move forward with their review of those sections of the application which have Planning Commission recommendations.
(g)
Planning Commission Public Hearing. Within twenty-one (21) days of the joint meeting, the Planning Commission shall hold a public hearing pursuant to Section 16A-5-70(2) to receive and consider public input regarding those portions of the application upon which Town Council has requested its review and those portions of the application upon which the Planning Commission chooses to make comment. The Planning Commission shall specifically consider those components within the application, including project elements, specific areas of the Land Use and Development Code or core issues, that the Town Council requested that the Planning Commission direct its attention to. It shall consider all relevant materials and testimony. Following closure of the hearing, the Planning Commission shall, by resolution, provide recommendations to the Town Council as described within the joint meeting resolution described in Subsection (d) above as well as any other matters upon which the Planning Commission chooses to comment. Notice that the Planning Commission will hold a public hearing under this Section shall be given by publication, mailing and posting of notice, pursuant to Section 16A-5-60(b), Manner and Timing of Notice.
(h)
Public Notice. Public notice that the Town Council will hold a public hearing during the course of its review to receive and consider public input regarding the application shall be given by publication, mailing and posting of notice, pursuant to Section 16A-5-60(b), Manner and Timing of Notice. A complete copy of the application shall be forwarded to the Town Council, together with a copy of the staff review and a copy of the Planning Commission's recommendation when completed.
(i)
Town Council Public Hearing. A public hearing shall be conducted during the course of its review pursuant to Section 16A-5-70(2), Conduct of Public Hearing. The Town Council shall consider: all relevant materials and testimony; the Planning Commission's recommendation if and when available; whether the application complies with Section 16A-5-300(c), General Restrictions and Section 16A-5-310, Review Standards; and, as applicable, whether the preliminary plan has responded to the direction given by the Town concerning the sketch plan. Following closure of the hearing, the Town Council shall, by resolution, either approve, approve with conditions or deny the application. If the Town Council approves the preliminary plan, it may require, as a condition of that approval, that the final plan be reviewed by the Planning Commission before it is reviewed by the Town Council. The Planning Commission's review of the final plan shall be accomplished pursuant to Section 16A-5-360(c)(4), Planning Commission Review.
(j)
Further Review by the Planning Commission. At any time during its review, the Town Council may request further review by the Planning Commission on any matter of the application. The Town Council may continue to consider the application in accordance with the provisions of this Section while the Planning Commission is given an opportunity to review the supplemental request and make a recommendation thereon, or the Town Council may, at its discretion, table the application until it has received the Planning Commission's supplemental recommendation.
(k)
Amendment. If an applicant wishes to amend a submission after a Planning Commission recommendation thereon, such request shall be made in writing and presented to the Town Council during the public hearing. The Town Council shall consider and make a determination as to whether the changes alter the nature of the project from that described in the original submission to such an extent that:
(1)
The amendment should not be allowed;
(2)
The amendment should be allowed, but the Planning Commission should have an opportunity to review the amendment and make a recommendation thereon; or
(3)
The amendment should be allowed, and the application should proceed without additional hearings or consideration thereof. If the amendment is not allowed, the Town Council shall continue to consider the application without the amendment in accordance with the provisions of this Section. If an additional Planning Commission recommendation is to be made, the Town Council may, at its discretion, table the application until it has received the Planning Commission's recommendation on the amendment.
(l)
Remand. An application may also be remanded to the Planning Commission when the Town Council determines that the application has otherwise been altered in a significant manner following the Planning Commission's action on the preliminary PUD. The Town Council shall table the application until it has received the Planning Commission's recommendation on the changes.
(m)
Effect of Preliminary Plan Approval. Approval of the preliminary plan shall not constitute approval of a PUD or permission to proceed with construction of any aspect of the development. Such action shall only constitute authorization for the applicant to prepare and submit a final PUD, in accordance with the representations made by the applicant and any conditions applied by the Town upon the preliminary plan approval.
(n)
Expiration. The applicant shall be required to submit the final plan application within twelve (12) months after the date of preliminary plan approval. Failure to submit the application within this time period shall render the preliminary plan null and void, and require the applicant to submit a new sketch plan for review by the Town. The Town Council may, at its sole discretion and for good cause shown, grant an extension of the deadline to submit a final plan application, provided that the applicant requests such an extension in writing no less than thirty (30) days prior to such lapse and said extension is approved by at least three-quarters (¾) of the Town Council members of the Town Council present and voting.
(Ord. 4-1998 §1; Ord. 15-2000 §1; Ord. 7-2003 §1; Ord. 16-2010 §1; Ord. 3-2023, § 2(Exh. A))
(a)
Purpose. The purpose of final plan review is for the applicant to provide the Town with documentation of how the PUD will comply with all of the representations made during the application process, and will address all issues or concerns raised during that process. This documentation shall include a final development plan, a guarantee of public improvements and covenants, as applicable. The final development plan shall specify the zone district limitations and development regulations that will guide the future development of the property. This may be referred to as the "PUD Guide."
(b)
Final Plan Review Intent and Issues. The questions the Planning Commission (if required) and Town Council should fully resolve during review of the final plan (depending upon the size and complexity of the proposal) include the following:
(1)
Response to preliminary plan conditions. Has the applicant provided detailed, sufficient and appropriate responses to each of the conditions identified applied to the preliminary plan?
(2)
Agreements and guarantees. Has the applicant submitted an adequate subdivision improvements agreement and pledge of security to guarantee the performance of any public improvements required by the Town?
(3)
Other plans and documents. Has the applicant submitted such other documents (final development plan, final landscaping plan, final grading plan, final utility plan and final architectural plan) that set out the specifications for all relevant features of the development proposal? Has a final version of the homeowner's association or condominium association documents or covenants been submitted, describing how the association will maintain any common open space?
(c)
Final Plan Review. The following procedures shall apply to an application for review of a final PUD plan. These procedures are illustrated in Figure 5-5, Final PUD Application Procedures.
(1)
Pre-application conference. Attendance at a pre-application conference is optional, but recommended, prior to submission of an application for final PUD plan review.
(2)
Submission of application. The applicant shall submit an application to the Planning Director that contains the following materials:
a.
Minimum contents. The minimum contents for any application, as specified in Section 16A-5-40(b), Minimum Contents.
b.
Final plat. A final subdivision plat that conforms to the specification of Section 16A-5-430(3), Plat.
c.
Other drawings. Final versions of such other drawings as may be required to document the approved final PUD plan, such as the final development plan, final landscaping/grading plan, final architectural plan and final utility plan. The final development plan shall specify the zone district limitations and development regulations that will guide the future development of the property. This may be referred to as the "PUD Guide."
d.
Covenants. A final version of the homeowner's association or condominium association documents or covenants, as applicable, describing how the association will maintain any common open space.
e.
Guarantee of public improvements.
1.
Applicant is responsible for public improvements. The applicant shall be responsible for constructing or providing public improvements that are necessary for the development. The applicant shall also be responsible for submitting a guarantee for said improvements, in a form and amount satisfactory to the Town.
2.
Required public improvements. Required public improvements include: permanent survey monuments, range points and lot pins; paved streets; curbs, gutters, sidewalks, trails and other pedestrian ways; paved alleys; traffic-control signs, signals or devices; street lights; street name signs in accordance with Town design standards; water lines and fire hydrants; bridges or culverts; storm drainage improvements and storm sewers; sanitary sewers; electrical lines; telephone lines; natural gas lines; and landscaping. In the event that additional improvements or items are required, they shall also be guaranteed in the manner provided below.
3.
Subdivision improvements agreement. The guarantee of public improvements shall be in the form of a written subdivision improvements agreement and pledge of security for performance of such agreement. The subdivision improvements agreement shall obligate the applicant to make and install, according to a specific schedule, any improvements required by the Town.
a)
Security. The applicant shall secure the faithful and diligent performance of its obligations under such agreement with a pledge of security sufficient to provide a reasonable guaranty of not less than one hundred percent (100%) of the current estimated cost of the improvements described in the agreement, which estimate shall be approved by the Town Engineer.
b)
Form of security. The pledge of security may, at the option of the Town, be in the form of a mortgage on real property, cash escrow, security bond, irrevocable letter of credit from a financially responsible lending institution, adequate construction loan commitment on which the Town is permitted to draw, evidence of fully prepaid construction contracts, or any combination of the above satisfactory to the Town; provided that the Town shall have the unconditional and irrevocable right upon default by the applicant to withdraw or acquire funds upon demand to partially or fully complete and/or pay for any improvements. In no case shall the Town be obligated, pursuant to any subdivision improvements agreement, to complete any improvements due to the applicant's default if the security should be determined inadequate.
c)
Agreement to repair. The subdivision improvements agreement shall contain language by which the applicant agrees to repair any existing improvements damaged during construction and such other items as the Town Council deems appropriate.
d)
Partial release of security. The subdivision improvements agreement may provide for the partial release of security as portions of the improvements are completed, provided that no such partial or final release shall be granted until the improvements guaranteed have been inspected and accepted by the Town Engineer and a report of such inspection and acceptance is filed with the Planning Director. The Town Council shall release the amount held for the completed items. The agreement shall make provisions for the Town to retain an appropriate amount in the event of partial releases.
e)
Recording. The agreement and pledge of security shall be recorded in the records of the County Clerk and Recorder together with the final plat.
4.
Warranty. The applicant shall warrant the quality, workmanship and function of all improvements dedicated to the Town, the public or a utility for a period of two (2) years, or until July 1 of the year during which the second winter terminates after acceptance by the Town, whichever is greater.
5.
Default. In the event of default by the applicant, under the terms of any subdivision improvement agreement, no building permit or certificate of occupancy shall be issued within the subdivision until the default is corrected.
f.
Landscape Guarantee. The landscape guarantee shall be in the form of a written agreement to ensure implementation of the landscape plan and maintenance of the landscaping. Such agreement shall include a pledge of security for performance of said agreement. The agreement shall obligate the applicant to purchase and install the landscaping improvements and irrigation according to the specific planting schedule, landscape and irrigation plan and to guarantee the continued maintenance and replacement of the landscaping for a period of two (2) years after installation. The amount and form of the security shall be as described in Subparagraph 16A-5-360(c)(2)e.3.a) and b). Such agreement shall provide that an appropriate amount shall be retained until the fully completed improvements have been maintained in a satisfactory condition for two (2) years.
g.
Development Agreement. In connection with any discretionary development approval, the Town Council may enter into a development agreement with the applicant. Development agreements are voluntary contracts between the applicant and the Town that may include provisions clarifying the phasing of construction, the timing, location and financing of public or private infrastructure, reimbursement for oversized infrastructure, vesting of property rights, assurances that adequate public facilities (including roads, water, sewer, fire protection and emergency medical services) will be available as they are needed to serve the development and mitigation impacts of the development on the general public. Development agreements may, without limitation, contain the following:
1.
Provisions for the reservation or dedication of land for public purposes;
2.
Provision for the timing, location and financing of public facilities (including roads, water, sewer, fire protection and emergency medical services);
3.
Provision for the timing, location and maintenance of private on-site improvements, including landscaping of common open space, trails and amenities for residents, users or the public;
4.
Provisions for the reimbursement of oversized infrastructure or other facilities;
5.
Proposed timing and phasing of public and/or private construction;
6.
Provisions to mitigate the impacts of the proposed development on the general public or nearby properties, including off-site improvements and the protection of environmentally sensitive lands;
7.
Provisions for public benefits or improvements in excess of what is required by current Municipal Code;
8.
Terms for subsequent discretionary actions, provided such terms shall not prevent the development of the property for the uses set forth in the agreement;
9.
Provisions that construction shall begin by a specified date or that certain phases shall be completed within a specified time;
10.
Provisions for the implementation of a reasonable contingency plan to mitigate visual, safety and public welfare impacts resulting from any possible extended interruption of construction as it would affect the community as a whole;
11.
Provisions for the vesting of property rights pursuant to Section 16A-5-90 of the this Code;
12.
A termination date for the development agreement; and/or
13.
Any other provisions appropriate to guide the completion of the development as approved.
(3)
Staff review. Staff review of the application shall be accomplished, as specified in Section 16A-5-50, Staff Review of Application. Staff shall then meet with the applicant to provide preliminary comments, discuss issues and concerns, request additional information necessary to adequately evaluate the proposal and make recommendations regarding the application. The applicant will then have the opportunity to amend their application or provide additional information in response to the staff comments. Upon receipt of the requested information, or within ten (10) days of the staff meeting, whichever occurs first, the Planning Commission and/or Town Council meeting(s) shall be scheduled by the Planning Director.
(4)
Planning Commission review. If, as a condition of its preliminary plan approval, the Town Council has required that the final plan be reviewed by the Planning Commission, then a complete copy of the application shall be forwarded to the Planning Commission, together with a copy of the staff review. The Planning Commission shall consider: all relevant materials and testimony; whether the application complies with Section 16A-5-300(c), General Restrictions, and Section 16A-5-310, Review Standards; and whether the final plan is consistent with the approved preliminary plan, and shall, by resolution, recommend that the Town Council approve, approve with conditions or deny the application.
(5)
Town Council public hearing and action.
a.
Public notice and public hearing. The Town Council shall hold a public hearing to consider a major amendment to an approved PUD, Section 16A-5-390(1)c, only. Public notice that the Town Council will consider the application shall be given by publication, posting and mailing of notice, pursuant to Section 16A-5-60(b), Manner and Timing of Notice. The Town Council shall hold a public hearing to consider the application. The public hearing shall be conducted pursuant to Section 16A-5-70(2), Conduct of Public Hearing.
b.
Town Council action. A complete copy of the application shall be forwarded to the Town Council, together with a copy of the staff review. The Town Council shall consider: all relevant materials and testimony; whether the application complies with Section 16A-5-300(c), General Restrictions, and Section 16A-5-310, Review Standards; whether the final plan is consistent with the approved preliminary plan; and, when applicable, the Planning Commission's recommendations, and shall, by ordinance, approve, approve with conditions or deny the application.
(6)
Effect of final PUD approval. Approval of the final PUD plan shall confer upon the owner of all or a portion of such property the right to apply for a building permit for development that is consistent with the limitations, restrictions, conditions and parameters set forth in the final PUD plan. Following recording of the final plat, the applicant shall be authorized to convey individual ownership interests. Final PUD plan approval shall remain in effect for a period of up to but not more than three (3) years, unless the time frame is extended by the Town Council.
(7)
Recording of final plan. Within ninety (90) days of the date of approval of the final PUD plan, the applicant shall submit three (3) copies of the final plan to the Planning Director, together with any other documents that are to be recorded, at minimum including the site plan together with the PUD Guide or land use summary chart or table. All documents shall be executed and suitable for recording. The final PUD plan, maps and plat shall also be submitted in a digital form acceptable to the Planning Director, for incorporation in the Town's geographic information system (GIS) and archival storage.
a.
Planning Director review. The Planning Director shall review the documents to ensure they comply with the terms and conditions of approval, and shall obtain Town signatures for all of the applicable certificates on the final plan and documents.
b.
Recording of final documents. The Planning Director shall thereafter cause the documents to be recorded in the records of the County Clerk and Recorder, at the applicant's expense.
(Ord. 4-1998 §1; Ord. 11-1999 §3; Ord. 15-2000 §1; Ord. 16-2010 §1)
(a)
Provisions run in favor of Town. To further the mutual interests of the residents, occupants and owners of a PUD, and of the public in the preservation of the integrity of the final PUD plan, the provisions of the plan relating to the use of land and the location of common open space shall run in favor of the Town and shall be enforceable at law or in equity by the Town without limitation on any power or regulation otherwise granted by law.
(b)
Provisions run in favor of residents. All provisions of the final PUD plan shall run in favor of the residents, occupants and owners of the planned unit development, but only to the extent expressly provided in the plan and in accordance with its terms and, to the extent, said provisions, whether recorded by plat, covenant, easement or owners acting individually, jointly or through an organization designated in the plan to act in their behalf. However, no provisions of the plan shall be implied to exist in favor of residents, occupants and owners except as to those portions which have been finally approved.
(c)
Rights to maintain and enforce remain in effect. No modification, removal or release of the provisions of the final plan by the Town, pursuant to the provisions of this Code, shall affect the rights of residents, occupants and owners of the PUD to maintain and enforce those provisions at law or in equity, subject to the limitations contained in the plan and Subsection (b), Provisions Run in Favor of Residents.
(Ord. 4-1998 §1; Ord. 15-2000 §1)
An applicant may amend an approved final PUD by complying with the following procedures and standards.
(1)
Overview of amendment procedures. There are three (3) types of amendments, with corresponding procedures, that an applicant may propose to a PUD. The Planning Director shall determine whether the amendment proposal should be classified as an administrative, major or minor amendment, taking into consideration the totality of the circumstances of the proposed amendment together with the procedures set forth in this Article. The determination of the Planning Director may be immediately appealed by the applicant to the Town Council pursuant to the provisions of Section 16A-5-80, Appeals. The applicable procedures for each type of amendment are as follows:
a.
Administrative amendment. An administrative amendment to an approved PUD may be considered pursuant to Section 16A-5-250, Administrative Modifications.
b.
Minor amendment. A minor amendment to an approved PUD shall comply with the procedures of Paragraph (2), Procedures for minor amendment of final PUD, and with the standards of Paragraph (3), Review standards.
c.
Major amendment. A major amendment that would substantially modify all or a part of an approved PUD, or any amendment to an approved PUD that does not comply with the provisions of Paragraph (3), Review standards, shall require a full PUD process. During the full PUD process, the Town shall determine whether the application complies with the standards of Subsection 16A-5-300(c), General Restrictions, and Section 16A-5-310, Review Standards, and shall also consider (but not be bound by) whether the application complies with the standards of Subsection (3), Review standards.
(2)
Procedures for minor amendment of final PUD.
a.
Pre-application conference. Attendance at a pre-application conference is mandatory prior to submission of an application for a minor amendment to a final PUD.
b.
Submission of application. The applicant shall submit an application to the Planning Director that contains the following materials:
1.
Minimum contents. The minimum contents for any application, as specified in Section 16A-5-40(b), Minimum Contents.
2.
Written statement. A written statement describing those elements of the original PUD that are proposed to be modified.
3.
Other information. The applicant shall submit such other written or graphic information as is necessary to describe and evaluate the proposed amendment, such as revised building elevations, or a marked-up copy of the final development plan.
4.
Amendment of PUD approved under prior code. An applicant proposing to amend a PUD approved prior to the effective date of this Development Code shall, as part of the application, propose any other amendments that are necessary to make the PUD conform with the provisions of this Division 3, Planned Unit Development.
c.
Staff review. Staff review of the application shall be accomplished, as specified in Section 16A-5-50, Staff Review of Application.
d.
Action by Planning Commission. A complete copy of the application shall be forwarded to the Planning Commission, together with a copy of the staff review. The Planning Commission shall review the application, considering the standards of Subsection (3), Review Standards, and shall make its recommendations to the Town Council.
e.
Public hearing. Public notice that the Town Council will consider the application shall be given by publication, posting and mailing of notice, pursuant to Section 16A-5-60(b), Manner and Timing of Notice. The Town Council shall hold a public hearing to consider the application. The public hearing shall be conducted pursuant to Section 16A-5-70(2), Conduct of Public Hearing. A complete copy of the application shall be forwarded to the Town Council, together with a copy of the staff review. The Town Council shall consider all relevant materials and testimony, shall consider the standards of Section 16A-5-390(3), Review Standards, and shall, by ordinance, approve, approve with conditions or deny the application.
f.
Recording of amended plan. Within ninety (90) days of the date of approval of the amendment, the applicant shall submit three (3) copies, suitable for recording, of the amended plan to the Planning Director, together with any other documents that are to be recorded at a minimum including the site plan together with the revised PUD Guide or land use summary chart or table. All documents shall be executed and suitable for recording. The Planning Director shall review the documents to ensure that they comply with the terms and conditions of approval, shall obtain Town signatures for all of the applicable documents and shall record the documents in the records of the County Clerk and Recorder, at the applicant's expense. The final amended plan maps and documents shall also be submitted in a digital form acceptable to the Planning Director, for incorporation in the Town's geographic information system (GIS) and archival storage.
(3)
Review standards. An application for a minor amendment to a final PUD shall comply with the following standards:
a.
Consistent with original PUD. The proposed amendment shall be consistent with, or an enhancement of, the original PUD approval.
b.
No substantially adverse impact. The proposed amendment shall not have a substantially adverse effect on the neighborhood surrounding the land where the amendment is proposed, or have a substantially adverse impact on the enjoyment of land abutting upon or across the street from the subject property.
c.
Not change character. The proposed amendment shall not change the basic character of the PUD or surrounding areas.
d.
Comply with other applicable standards. The proposed amendment shall comply with the other applicable standards of this Division 3, Planned Unit Development, including but not limited to Section 16A-5-300(c), General Restrictions, and Section 16A-5-310, Review Standards.
(Ord. 4-1998 §1; Ord. 13-1998 §1; Ord. 1-1999 §1; Ord. 6-1999 §1; Ord. 15-2000 §1; Ord. 16-2010 §1)
This Section shall apply to the subdivision of all land in the Town, unless exempted pursuant to Article V, Division 5, Subdivision Exemptions.
(Ord. 4-1998 §1; Ord. 15-2000 §1)
(a)
No land shall be transferred, conveyed, sold or subdivided. No lot or parcel of land, nor any interest therein, shall be transferred, conveyed, sold, subdivided or acquired either in whole or in part, so as to create a new nonconforming use or to avoid, circumvent or subvert any provision of this Section, or the provisions of any final PUD plan.
(b)
No lot line shall be altered. No structure shall be constructed, nor building permit issued for a structure, on any parcel of land within a subdivision approved pursuant to this Section except where such structure is to be constructed upon a lot separately designated on the plat of such approved subdivision. The lot lines established in such approved subdivision shall not be altered by conveyance of a part of any lot, nor shall any part of any lot be joined with a part of any other lot for conveyance or construction without approval of the Town Council as a subdivision or subdivision exemption.
(c)
No dwelling unit shall be occupied. No dwelling unit shall be occupied or used in violation of any of the provisions of this Section.
(d)
Action in event of violation.
(1)
Action to enjoin. The Town Council shall have the power to bring an action to enjoin any subdivider from selling or otherwise conveying, before full compliance with the provisions of this Section, any parcel of land or other interest, which activity would constitute a subdivision.
(2)
Permits shall not issue. The Building Official shall not issue permits of any kind for the construction of any building or other improvements upon any land for which an approved final plat is required, unless and until the requirements of this Section have been complied with.
(3)
Town Council may withdraw approval. The Town Council may withdraw any approval of a plat if and when it is determined that information provided by the subdivider in the application upon which such decision was based is false, materially inaccurate, or the subdivider has failed to comply with the terms of the approval, or with the provisions of Section 16A-5-420(7), Recording of Final Plat. The Town Council shall cause written notice to be served upon the subdivider or his or her agents, directing the subdivider to appear at a certain time and place for a hearing before the Town Council not less than thirty (30) nor more than sixty (60) days after the date of service of such notice. At the hearing, the allegations shall be examined by the Town Council, which shall have the power, upon good cause being shown, to withdraw any previous approval or to require such corrective or additional measures to be taken by the subdivider as are found to be proper.
(Ord. 4-1998 §1; Ord. 15-2000 §1)
The following procedures shall apply to a subdivision application. These procedures are illustrated in Figure 5-10, Subdivision Application Procedures.
(1)
Pre-application conference. Attendance at a pre-application conference is mandatory prior to submission of a subdivision application.
(2)
Submission of application. The applicant shall submit an application to the Planning Director that contains those materials specified in Section 16A-5-430, Application Contents.
(3)
Staff review. Staff review of the application shall be accomplished, as specified in Section 16A-5-50, Staff Review of Application. A complete copy of the application shall be forwarded to the Planning Commission, together with a copy of the staff review.
(4)
Planning Commission review. The Planning Commission shall consider the application. The Planning Commission shall consider all relevant materials and testimony, and whether the application complies with Section 16A-5-440, Review Standards, and shall recommend to the Town Council that the application either be approved, approved with conditions or denied.
(5)
Public notice. Public notice that the Town Council will hold a hearing to consider the application shall be given by publication, mailing and posting of notice, pursuant to Section 16A-5-60(b), Manner and Timing of Notice. A complete copy of the application shall be forwarded to the Town Council, together with the staff review and the Planning Commission recommendation.
(6)
Town Council public hearing. The Town Council shall hold a public hearing to consider the application. The public hearing shall be conducted pursuant to Section 16A-5-70(2), Conduct of Public Hearing. The Town Council shall consider all relevant materials and testimony, the Planning Commission's recommendation and whether the application complies with Section 16A-5-440, Review Standards. Following closure of the hearing, the Town Council shall, by resolution, either approve, approve with conditions or deny the application.
(7)
Recording of final plat. Within ninety (90) days of the date of approval of the subdivision, the applicant shall submit three (3) Mylar copies of a final plat to the Planning Director. The final plat shall also be submitted in a digital form acceptable to the Planning Department, for incorporation in the Town's geographic information system (GIS).
a.
Planning Director review. The Planning Director shall review the final plat to ensure it complies with the terms and conditions of approval, shall obtain signatures for all of the applicable certificates on the plat and shall return the exemption plat to the applicant.
b.
Recording by applicant. The applicant shall thereafter cause the final plat to be recorded in the records of the County Clerk and Recorder, at the applicant's expense.
(8)
Effect of final plat approval. Recording of the final plat shall confer upon the applicant the right to establish individual ownership interests, according to the final plat, within the area defined in said final approval, subject to any conditions imposed as part of the final approval and subject to the provisions of this Development Code, and any other applicable municipal ordinances and regulations.
(9)
Consolidation with PUD review. If the application requests both subdivision and planned unit development approval, then in lieu of the above procedures, the subdivision application shall be considered at the same time and following the same procedures as preliminary PUD plan review by the Planning Commission and final PUD plan review by the Town Council.
(Ord. 4-1998 §1; Ord. 15-2000 §1; Ord. 16-2010 §1)
An application for subdivision shall include the following information:
(1)
Minimum contents. The minimum contents for any application, as specified in Section 16A-5-40(b), Minimum Contents.
(2)
Improvements survey. An improvements survey, showing the location and dimensions of all existing structures, streets, alleys, easements, drainage areas, irrigation ditches, public and private utilities and other significant features within the proposed subdivision.
(3)
Plat. A proposed subdivision plat, which shall have accurate dimensions for all lines, angles and curves used to describe boundaries, streets, setbacks, alleys and easements. Areas to be reserved or dedicated for public or common use or other important features shall be shown with appropriate dimensions. All curves shall be circular arcs and shall be defined by the radius, central angle, tangent, arc and chord distances. All dimensions, both linear and angular, are to be determined by an accurate control survey on the field which must balance and close within a limit of one (1) in ten thousand (10,000). The plat shall depict the following information:
a.
Lots, blocks and streets. A systematic identification of all lots and blocks and names for all streets.
b.
Adjoining subdivisions. Names of all immediately adjoining subdivisions with dotted lines of abutting lots. If adjoining land is unplatted, it shall be shown as such.
c.
Public areas and facilities. An identification of the streets, alleys, parks and other public areas or facilities as shown on the plat, and a dedication thereof to the public use, when required. An identification of the easements as shown on the plat and a grant thereof to those persons identified on the plat. Areas reserved for future public acquisition shall also be shown on the plat.
d.
Survey description. A written survey description of the area, including the total acreage and a description of areas to be dedicated.
e.
Survey monuments. A description of all survey monuments, both found and set, which mark boundaries of the subdivision, and a description of all monuments used in conducting the survey. The Colorado Coordinate System may be used.
f.
Surveyor's certificates. A certificate of a registered land surveyor explaining how bearings, if used, were determined. A certificate by the registered land surveyor as to the accuracy of the survey and plat, stating that the survey was performed by him or her in accordance with Title 38, Article 51, C.R.S.
g.
Certificate by attorney or title insurer. A certificate by an attorney admitted to practice in the State, or corporate title insurer, that the person or persons dedicating the public rights-of-way, areas or facilities as shown thereon are the owners thereof in fee simple, free and clear of all liens and encumbrances that would adversely affect the intended use of the property to which dedications are made to the public.
h.
Town signature blocks. Certificates providing for "Approval as to Form" by the Town Attorney and "Approval as to Content" by the Planning Director and a certificate providing for approval of the plat and acceptance of dedications and easements by the Town Council, with signature by the Mayor and attestation by the Town Clerk.
i.
Clerk and Recorder's Certificate. A certificate of recording for the County Clerk and Recorder.
(4)
Additional material. The application shall also contain the following material:
a.
Engineering plans. Complete engineering plans and specifications for all public improvements on- and off-site, including roads, trails, bridges and storm drainage improvements. Plans and specifications for improvements to be designed and constructed by special districts or utility companies shall not be required.
b.
Landscape plan. A detailed landscape plan showing locations, size and type of landscape features and planting schedule.
c.
Monument records. Copies of any monument records required of the land surveyor in accordance with Title 38, Article 53, C.R.S.
d.
Agreements. Any agreements with utility or ditch companies, when applicable.
(Ord. 4-1998 §1; Ord. 15-2000 §1)
The proposed subdivision shall comply with the following review standards.
(1)
Consistency with Comprehensive Plan. The proposed subdivision shall be consistent with the intent of the Comprehensive Plan.
(2)
Compatibility with surrounding land uses. The proposed subdivision shall be compatible with the character of existing land uses in the area and shall not adversely affect the future development of the surrounding area.
(3)
Comply with other applicable provisions. The proposed subdivision shall comply with all other applicable provisions of this Development Code, including, but not limited to, the applicable standards of Article III, Zone Districts, and Article IV, Development Evaluation Standards.
(4)
Suitability for development. The property proposed to be subdivided shall be suitable for development, considering its topography, environmental features and any natural or man-made hazards that may affect its development potential.
(5)
Adequate public facilities. The proposed subdivision shall not be approved unless the Town Council determines that public facilities will be adequate to support and service the area of the proposed development or that needed public facilities and services will be made available concurrently to offset the potential impacts of such development. Public facilities and services to be examined will include, but not be limited to: storm drainage; roads and their maintenance; public transportation service and facilities; pedestrian circulation, sewerage and water service; solid waste disposal, fire and emergency medical services; and electrical service. The applicant shall show that:
a.
Adequate facilities and carrying capacity exist at the time of development or will be provided to the subdivision and affected areas prior to the issuance of a building permit for any lot or phase of the development necessitating the demand for said facilities or capacity.
b.
The subdivision has been located so as to be reasonably convenient in relation to police and fire protection, emergency medical services and schools.
c.
The subdivision will accommodate the efficient provision of local and regional transit facilities and services.
(6)
Spatial pattern shall be efficient. The proposed subdivision shall be located so as not to create spatial patterns that cause inefficiencies in the delivery of public services, or that require duplication or premature extension of public facilities.
a.
Roads. Any new road developed to serve the proposed subdivision shall be continuous and in alignment with existing platted streets to which the street is to be connected. Where appropriate, new streets shall be planned so that they can create an interconnected Town road network, with provision for adequate road and utility easements. Where cul-de-sacs are incorporated in a subdivision, the applicant is encouraged to provide a trail or similar pedestrian link between them.
b.
Water and sewer lines. Any water or sewer line extension necessary to serve the proposed subdivision shall be consistent with the Snowmass Water and Sanitation District's service plan and with the Town's Comprehensive Plan.
(7)
Phasing. If the proposed subdivision is to be developed in phases, then each phase shall contain the required streets, utilities, landscaping and other improvements that are necessary and desirable for residents of the project. If the subdivision incorporates any amenities for the benefit of the Town, such as trail connections, these shall be constructed within the first phase of the project, or, if this is not possible, then as early in the project as is reasonable.
(Ord. 4-1998 §1; Ord. 15-2000 §1; Ord. 16-2010 §1)
An applicant may amend an approved final subdivision plat by complying with the following procedures and standards.
(1)
Overview of amendment procedures. There are three (3) types of amendments that an applicant may propose to an approved subdivision. The applicable procedures for each type of amendment are as follows:
a.
Administrative amendment. An administrative amendment to an approved subdivision may be considered pursuant to Section 16A-5-250, Administrative Modifications.
b.
Minor amendment. A minor amendment to an approved subdivision shall comply with the procedures of Subsection (2), Procedures for Minor Amendment of Final Plat, and with the standards of Subsection (3), Review Standards.
c.
Major amendment. A major amendment that would substantially modify all or a part of an approved subdivision, or any amendment to an approved subdivision that does not comply with the provisions of Subsection (3), Review Standards, shall require a full subdivision process. During the full subdivision process, the Town shall determine whether the application complies with the standards of Section 16A-5-440, Review Standards, and shall also consider (but not be bound by) whether the application complies with the standards of Subsection (3), Review Standards.
(2)
Procedures for minor amendment of final plat.
a.
Pre-application conference. Attendance at a pre-application conference is mandatory prior to submission of an application for a minor amendment to a final plat.
b.
Submission of application. The applicant shall submit an application to the Planning Director that contains the following materials:
1.
Minimum contents. The minimum contents for any application, as specified in Section 16A-5-40(b), Minimum Contents.
2.
Written statement. A written statement describing those elements of the original subdivision approval that are proposed to be modified.
3.
Other information. The applicant shall submit such other written or graphic information as is necessary to describe and evaluate the proposed amendment, such as a marked-up copy of the final plat.
c.
Staff review. Staff review of the application shall be accomplished, as specified in Section 16A-5-50, Staff Review of Application.
d.
Public notice. A complete copy of the application shall be forwarded to the Town Council, together with a copy of the staff review. Public notice that the Town Council will consider the application shall be given by publication, posting and mailing of notice, pursuant to Section 16A-5-60(b), Manner and Timing of Notice.
e.
Town Council action. The Town Council shall hold a public hearing to consider the application. The public hearing shall be conducted pursuant to Section 16A-5-70(2), Conduct of Public Hearing. The Town Council shall consider all relevant materials and testimony and the standards in Subsection (3), Review Standards, and shall, by resolution, approve, approve with conditions or deny the application.
f.
Recording of amended plat. Within ninety (90) days of the date of approval of the amendment, the applicant shall submit three (3) Mylar copies, suitable for recording, of the amended plat to the Planning Director, together with any other documents that are to be recorded. The Planning Director shall review the documents to ensure that they comply with the terms and conditions of approval, shall obtain signatures for all of the applicable certificates on the final plan and shall return the documents to the applicant. The applicant shall thereafter cause the documents to be recorded in the records of the County Clerk and Recorder, at the applicant's expense.
(3)
Review standards. An application for a minor amendment to a final plat shall comply with the following standards:
a.
Consistent with original subdivision. The proposed amendment shall be consistent with or an enhancement of the original subdivision approval.
b.
No substantially adverse impact. The proposed amendment shall not have a substantially adverse effect on the neighborhood surrounding the land where the amendment is proposed, or have a substantially adverse impact on the enjoyment of land abutting upon or across the street from the subject property.
c.
Not change character. The proposed amendment shall not change the basic character of the subdivision or surrounding areas.
d.
Comply with other applicable standards. The proposed amendment shall comply with the applicable standards for review of a subdivision application, as specified in Subsection (3), Review Standards.
(Ord. 4-1998 §1; Ord. 1-1999 §1; Ord. 15-2000 §1)
Vacation of a recorded plat, or portion thereof, such as a public right-of-way or a dedicated easement, shall only be approved by the adoption of an ordinance by the Town Council. The following procedures shall apply to an application to vacate a recorded plat or portion thereof:
(1)
Pre-application conference. Attendance at a pre-application conference is optional, but recommended, prior to submission of an application to vacate a recorded plat or portion thereof.
(2)
Submission of application. The applicant shall submit an application to the Planning Director that contains the minimum contents for any application, as specified in Section 16A-5-40(b), Minimum Contents, together with a copy of the recorded plat, indicating the portions of the plat proposed to be vacated.
(3)
Staff review. Staff review of the application shall be accomplished, as specified in Section 16A-5-50, Staff Review of Application. A copy of the staff review shall be forwarded to the Town Council, together with a complete copy of the application.
(4)
Town Council action. Town Council action on the proposed vacation shall comply with the Town's procedures for adoption of an ordinance. The Town Council shall consider the following standards in determining whether to approve, approve with conditions or deny the application:
a.
Access to a public road. No roadway shall be vacated so as to leave any adjoining land without a means of access to another public road.
b.
Easements. When vacating a public road, the Town may reserve easements for the installation or maintenance of utilities, ditches and similar improvements.
c.
Transfers or sales of lots. A subdivision plat may be vacated if none of its lots have been sold or transferred, or if there have been sales or transfers, then if there has been no development on any lots in the subdivision and all of the owners agree to the vacation of the plat.
d.
Comprehensive Plan. The proposed vacation shall be consistent with the Comprehensive Plan.
(5)
Actions following approval.
a.
Documentation. The applicant shall record the documentation of the approved vacation in the office of the County Clerk and Recorder. The documentation shall also be submitted in a digital form acceptable to the Planning Department, for incorporation in the Town's geographic information system (GIS).
b.
Quit claim deeds. Whenever the Town shall approve an application vacating a public right-of-way, abutting land owners shall be provided with a quit claim deed for the vacated lands. Each abutting land owner shall be deeded that portion of the vacated right-of-way to which the owner's land is nearest in proximity.
(Ord. 4-1998 §1; Ord. 15-2000 §1; Ord. 16-2010 §1)
The Town Council shall be authorized to exempt the following activities from the terms of the subdivision regulations:
(1)
Lot line adjustments. Lot line adjustments between previously platted lots.
(2)
Lot combinations. Lot combinations of platted lots.
(3)
Conveying title. Conveying title and/or fulfilling legal obligations when no development will result thereafter, without subdivision or PUD approval.
(4)
Condominiumization and time share. Condominiumization of a development, or approval of time share estates.
(Ord. 4-1998 §1; Ord. 15-2000 §1)
The following procedures shall apply to a subdivision exemption application. These procedures are illustrated in Figure 5-9, Subdivision Exemption Application Procedures.
(1)
Pre-application conference. Attendance at a pre-application conference is optional, but recommended, prior to submission of an application for subdivision exemption.
(2)
Submission of application. The applicant shall submit an application to the Planning Director that contains those materials specified in Section 16A-5-520, Application Contents.
(3)
Staff review. Staff review of the application shall be accomplished, as specified in Section 16A-5-50, Staff Review of Application.
(4)
Town Council action. A complete copy of the application shall be forwarded to the Town Council, together with a copy of the staff review. The Town Council shall consider all relevant materials and testimony, shall consider whether the application complies with the standards in Section 16A-5-530, Review Standards, and shall, by resolution, approve, approve with conditions or deny the application.
(5)
Recording of exemption plat. Within ninety (90) days of the date of approval of the subdivision exemption, the applicant shall submit three (3) Mylar copies, suitable for recording, of an exemption plat to the Planning Director. The Planning Director shall review the exemption plat to ensure it complies with the terms and conditions of approval, shall obtain signatures for all of the applicable plat certificates and return the exemption plat to the applicant.
The
applicant shall thereafter cause the exemption plat to be recorded in the records of the County Clerk and Recorder, at the applicant's expense.
(Ord. 4-1998 §1; Ord. 15-2000 §1)
An application for a subdivision exemption shall contain the following materials:
(1)
Minimum contents. The minimum contents for any application, as specified in Section 16A-5-40(b), Minimum Contents.
(2)
Improvements survey. An improvements survey, showing the location and dimensions of all existing structures, streets, alleys, easements, drainage areas, irrigation ditches, public and private utilities and other significant features within the property.
(3)
Exemption plat. The applicant shall submit a proposed exemption plat, which shall contain the applicable information for a final plat, as specified in Section 16A-5-430(3), Application Contents.
(4)
Condominium documents. For an application for condominiumization, the applicant shall also submit proposed condominium documents, including condominium declaration, articles of condominium association, bylaws, maps and all other applicable information, including the Secretary of State disclosure statement, as required by the Colorado Common Interest Ownership Act, Section 38-33.3-101 et. seq., C.R.S. The application shall also include a proposal for restricting owner usage and how the units will remain in the short-term rental market, if applicable.
(Ord. 4-1998 §1; Ord. 15-2000 §1)
An application for a subdivision exemption shall comply with the following standards:
(1)
Exemption is necessary. The exemption shall be necessary for the preservation and enjoyment of substantial property rights of the applicant.
(2)
Consistent with subdivision. The exemption shall be consistent with the preservation of the goals, objectives and standards of the particular subdivision or land area involved.
(3)
No new lots created. Granting of the exemption shall not create any new lots in any single-family subdivision.
(4)
Comply with Development Code. The exemption shall comply with the standards of the zoning district in which the property is located and all other applicable standards of this Development Code. With respect to an application for a lot line adjustment, if any of the lots or structures thereon are nonconforming prior to the adjustment, then no adjustment shall be allowed that increases the nonconformity of the lot or structure.
(5)
No adverse impacts. Granting of the exemption shall not be detrimental to the public welfare and shall not affect in a substantially adverse manner the enjoyment of land abutting upon or within the area in which the subject property is situated.
(6)
Not increase total allowable floor area. Granting of the exemption shall not increase the total allowable floor area on a lot or lots affected by the proposed exemption beyond the total allowed without the exemption, and any change in allowable floor area permitted by the exemption within those totals shall be consistent with the surrounding area.
(7)
Special circumstances. In the instance where the Town Council is unable to find that an application is consistent with any of the above standards, the exemption may only be granted if the Town Council finds that there are special circumstances or conditions affecting the subject property such that the strict application of these standards would result in undue hardship and deprive the applicant of the reasonable use of the land.
(Ord. 4-1998 §1; Ord. 15-2000 §1)
(a)
Purpose. The purpose of this Section is to make available a development technique that under controlled conditions and in certain circumstances may be of economic benefit to the community through increased investment and greater utilization of facilities. This is accomplished by:
(1)
Avoid problems. Setting high standards for time share projects to avoid the undesirable aspects that have been associated with these programs in other resort communities. Based on research of past experience with time share, special attention is directed to problems related to: (a) long-term maintenance, repair and replacement; (b) market and sales practices; (c) management arrangements; and (d) full disclosure provisions.
(2)
Consumer protection. Protecting the consumer, the interest of the public and the present character and ambience of the community are principal objectives of these regulations.
(3)
Innovation. Providing certainty that all appropriate innovative planning and development measures may be utilized for the betterment of the Town with strong enforceable safeguards against abuse.
(b)
Applicability and authority. No time share estates shall be created with respect to any dwelling unit, hotel/lodge or suite unless the applicant therefor has complied with the requirements of this Section and the underlying zone district. The objectives, standards, application contents and other provisions of this Section shall be applied to the review of any application which proposes or contemplates the creation and sale of time share estates, to the extent specifically provided herein. It is acknowledged that, depending upon the type of time share estate created and the manner in which it is sold, the ownership right in and to such estate, as evidenced by contract, license, membership or otherwise, may be considered personal property under state law. Since the object of ownership and use is a dwelling unit or room which in and of itself is considered real property, the fact that the ownership right may be considered personalty (i.e., for the purpose of imposition of sales tax), does not exempt the sale, exchange, rental, transfer or use of time share estate from this Section. For the purpose of this Section, an interest in a time share estate shall be considered an interest in real property. This Section is intended to supplement the provisions of the Colorado Common Interest Ownership Act as applied in the Town by adding the right-to-use estate to the definition of a time share estate and by imposing the specific local review standards and requirements set forth herein.
(Ord. 4-1998 §1; Ord. 15-2000 §1)
Review Procedures
The purpose of Division 1, Common Review Procedures, is to establish the procedures that apply to all development applications within the Town. These common procedures apply to the following types of development applications: interpretations, amendments to the text of the Land Use and Development Code, amendments to the Official Zone District Map, planned unit developments (PUD) and PUD amendments, special reviews, variances, administrative modifications, subdivision exemptions, subdivisions and subdivision amendments and temporary use permits.
(Ord. 4-1998 §1; Ord. 15-2000 §1)
(a)
Common Procedure. Figure 5-1, Common Review Procedure, generally illustrates how the Town processes land development applications and the activities an applicant may have to complete in order to obtain approval of a development application. In general, the steps that comprise the common procedure are as follows:
(1)
Attend pre-application conference;
(2)
Submit application;
(3)
Staff reviews application;
(4)
Provision of public notice;
(5)
Action by decision-making body; and
(6)
Actions following development approval.
The following sections of this Division describe the common procedures associated with each of these steps.
(b)
How the Common Procedure Applies to Particular Applications. Table 5-1, Summary of Development Review Procedures, indicates how certain elements of the common procedure apply to each type of application. It describes whether the pre-application conference is mandatory or optional for each type of application, which body is authorized to review, act upon or hear appeals for each type of application and whether public notice is required for the application.
(Ord. 4-1998 §1; Ord. 6-1999 §1; Ord. 11-1999 §3; Ord. 15-2000 §1)
(Ord. 6-2015 §5(Exh. A))
(a)
General. At the pre-application conference the applicant may confer with the Planning Director to obtain information and guidance as to the Town's development procedures and standards. Table 5-1, Summary of Development Review Procedures, lists the application types for which a pre-application conference is mandatory and those for which it is optional. It shall be the applicant's responsibility to schedule the pre-application conference.
(b)
Purpose of Pre-Application Conference. The purpose of the pre-application conference is to determine, in general, what provisions of this Development Code apply to the proposed development.
(c)
Contents of Pre-Application Conference. Items to be discussed during the pre-application conference include the following:
(1)
Applicant's proposal. The applicant should provide a verbal description of the proposed development, accompanied by a survey, site plan or other map that illustrates the property's boundaries and the applicant's initial development concepts. The applicant should also provide a general indication of when the application is likely to be submitted.
(2)
Review procedure. The Planning Director should identify the procedures that will apply to the proposed development, including which decision-making body or bodies will review the application, whether public notice will be required and the sequence of actions and the likely time required to complete the development review process.
(3)
Review agencies. The Planning Director should identify those agencies that will review the development application. Upon request, the Planning Director shall provide the applicant with the names of contact persons at these agencies.
(4)
Application contents. The Planning Director should describe the materials required to be submitted as part of the development application, provide any applicable Town application forms, identify the number of copies of the application to be submitted and indicate the fee for the development application.
(d)
Written Summary. Upon request by the applicant, the Planning Director shall, within seven (7) calendar days, issue a written summary of the specific procedures and information requirements for the project.
(Ord. 4-1998 §1; Ord. 15-2000 §1)
(a)
Authorization. A development application may only be submitted to the Planning Department by the owner, or any other person having a recognized interest in the land for which the development is proposed, or their authorized agent.
(1)
Owner's permission. If the applicant is not the owner of the land, or is a contract purchaser of the land, the applicant shall submit a letter signed by the owner consenting to the submission of the application. If the applicant is not the sole owner of the land, the applicant shall submit a letter signed by the other owners, or an association representing the owners, consenting to or joining in the development application.
(b)
Minimum Contents. The development application shall include the information and materials specified for that particular type of application in the applicable section of this Article V. In addition, all development applications shall, at a minimum, include the following information and materials:
(1)
Name, address, telephone number and power of attorney. The applicant's name, address and telephone number. If the applicant is to be represented by an agent, a letter signed by the applicant granting power of attorney to the agent shall be submitted, authorizing the agent to represent the applicant and stating the representative's name, address and phone number.
(2)
Legal description. The legal description and street address, if such exists, of the parcel on which development is proposed.
(3)
Disclosure of ownership. A current certificate from a title insurance company or attorney licensed in the State which shall set forth the names of all owners of property included in the application and shall include a list of all mortgages, judgments, liens, contracts, easements or agreements of record that affect the property. At the Town's option, the holders or owners of such mortgages, judgments, liens, contracts, easements or agreements of record may be required to consent to the application before it is acted upon by the Town.
(4)
Written description. A written description of the proposal and an explanation, in written, graphic or model form, of how the proposed development complies with the review standards applicable to the application, found in the applicable section of this Article V.
(5)
Vicinity map. An eight and one-half inch by eleven inch (8½" x 11") vicinity map locating the subject parcel within the Town.
(6)
Other maps. All other maps required for the application shall be prepared at a scale of one inch equals one hundred feet (1" = 100') or larger, on sheets no larger than thirty inches by forty-two inches (30" x 42"), with an unencumbered margin of one and one-half inches (1.5") on the left hand side of the sheet and one-half inch (0.5") around the other three (3) sides of the sheet. Sheets of twenty-four by thirty-six inches (24" x 36") are preferred. If it is necessary to place information on more than one (1) sheet, an index shall be included on the first sheet. Report-size versions of all maps, reduced to a sheet size of no greater than eleven inches by seventeen inches (11" x 17"), shall also be submitted.
(7)
Base fee. The application shall be accompanied by the applicable base fee from the Planning Department's fee schedule. The fee schedule shall be established and may be revised from time-to-time by the Planning Director. The fee schedule shall be available for review in the Planning Department during normal business hours.
a.
Actual fee. The actual review fee shall be computed by the Planning Director, based upon a staff hourly rate determined by the Planning Director to be an estimate of the fully allocated hourly cost of review of the application by the Town staff, plus the actual costs incurred by the Town in employing consultants, including attorneys and engineers, performing services for the Town directly related to the application.
b.
Reimbursement due. The applicant shall reimburse the Town for such amounts in excess of the base fee as determined by the Planning Director. The reimbursement to the Town by the applicant shall be due and payable within fifteen (15) days of the date of billing.
(c)
Consolidation. The Town's development review process is intended to encourage efficient processing of applications. Applicants may request, and the Planning Director may permit, the consolidated submission and review of all necessary development applications for a parcel of land. The Planning Director is authorized to waive any overlapping submission requirements in the consolidated review.
(Ord. 4-1998 §1; Ord. 15-2000 §1; Ord. 16-2010 §1)
(a)
Determination of Completeness. The Planning Director shall determine whether the application is complete and includes information in sufficient detail to determine whether it complies with the applicable substantive standards of this Development Code. The Planning Director shall endeavor to make said determination and notify the applicant accordingly within fifteen (15) days of receiving the application.
(1)
Incomplete application. If the application is not complete, the Planning Director shall inform the applicant of the deficiencies in writing within fifteen (15) days and shall take no further action on the application until the deficiencies are remedied. The Town Council, upon the recommendation of the Planning Director, may authorize the waiver or deferral of the requirement to submit certain application items if determined that they are not necessary to commence review of the application. The authorization of the waiver or deferral request by the Town Council shall occur by adopting a resolution at a regularly scheduled meeting and shall reserve the right for the Town to require that any material initially waived or deferred may be required to be submitted by the applicant at any time during the review process if needed to evaluate the applicant's proposal. If the applicant fails to correct the deficiencies within sixty (60) days, the application shall be considered withdrawn and returned to the applicant.
(2)
Complete application. If the application is complete, the Planning Director shall certify as complete, determine the required number of copies of the submission documents to be submitted and assign the application an agenda date with the applicable review body. Unless not required by the Planning Director, the applicant shall also submit the application material in an acceptable digital form for distribution and archival storage.
(3)
Completeness is not a determination of compliance. A determination that an application is complete shall not constitute a determination that it complies with the substantive standards of this Development Code.
(b)
Staff Review. Within thirty (30) days from the date of the completeness determination, the Planning Director shall review the development application to determine its conformance with the requirements of this Development Code. The Planning Director may solicit the professional analysis and recommendations of any other agency, organization or technical consultant deemed appropriate and necessary to complete the review, such as: (1) members of the Town staff; (2) county, state or federal entities having an interest in or authority over the proposed development or any portion thereof; (3) utility companies, special service districts serving the proposed development and the school district; and (4) engineers, designers and legal consultants.
(c)
Report. Prior to the date of the review body meeting, the Planning Director shall compile a written report that sets forth how the application complies with, or does not comply with, the applicable standards of this Development Code. At least three (3) days prior to the first public review of the application, the Planning Director shall distribute a copy of the report to each member of the review body and to the applicant, and shall make the report available to the public.
(Ord. 4-1998 §1; Ord. 15-2000 §1; Ord. 16-2010 §1)
(a)
Notice Required. Table 5-1, Summary of Development Review Procedures, identifies the types of land development applications that require a public hearing, and at what step during the review process that hearing shall occur. Public notice shall be provided for each application type that is listed as requiring notice to be given. Notice shall be provided as specified below.
(b)
Manner and Timing of Notice. Public notice shall be given by publication of notice in the newspaper, mailing of notice to property owners surrounding the subject property and posting of notice on the property, as specified herein. The number of days prior to the hearing that each type of notice must be given is summarized in Table 5-2, Timing of Required Public Notices.
(1)
Publication of notice. Publication of notice shall be accomplished by the staff, who shall place a legal notice in a newspaper of general circulation in the Town. The legal notice shall state the date, time, location and purpose of the public hearing, and the name of the decision-making body conducting the hearing and shall be published once.
(2)
Mailing of notice. Mailing of notice shall be accomplished by the applicant. The notice that the applicant shall mail shall be prepared by the Planning Director and provided to the applicant. Notice shall be sent by first-class mail to all property owners located wholly or in part within three hundred (300) feet of the subject property. In certain circumstances involving multi-family uses or larger parcels, the Planning Director may define the three-hundred-foot notification boundary to be measured from the perimeter of the proposed project or area within the property being affected by the proposed development, rather than being measured from the entire property boundary.
a.
Source of list. The applicant shall compile the list of property owners to whom notice will be mailed by using the most current list of property owners on file with the County Tax Assessor.
b.
Contents of mailed notice. The notice that is mailed shall contain the following information:
1.
Description of proposal. A description of the proposed application, including a reference to the Code section under which the application will be processed and the name of the decision-making body that will conduct the hearing. An exhibit depicting the proposed development shall also be included.
2.
Description of property. A description of the subject property.
3.
Date time and place. The date, time and place of the public hearing for which notice is being given.
4.
Map amendment. If the application is for an amendment to the Official Zone District Map, a map illustrating the proposed amendment shall be included with the mailed notice. The notice shall state what the present zoning is and what the new zoning will be and shall set forth the dimensional limitations for the proposed zone, as established in this Code.
________________________________________________________
TABLE 5-2
Timing of Required Public Notices
1 No public hearing occurs before the Planning Commission; the required public notice is for the joint meeting, pursuant to Section 16A-5-320(c)(4), Joint Meeting.
2 Mailed notice shall be by United States mail postage prepaid.
5.
Subdivision. If the application is for approval of a subdivision, the notice shall specify the proposed types of uses and gross residential density.
6.
Additional hearings. The written notice shall also state that additional public hearings may be held before the Planning Commission and/or Town Council at later dates, for which only published notice shall be required, and shall indicate that additional information regarding the proposal is available for inspection at the Town offices during normal business hours.
7.
Contact person. The address and telephone number of the Planning Department, and the name of the person to whom written comments should be directed prior to the public hearing.
(3)
Posting of notice. Posting of notice shall be accomplished by the applicant. The applicant shall prepare and use a form approved by the staff. The applicant shall enter onto the sign the date, time, location and purpose of the public hearing, and the name of the decision-making body conducting the hearing. The applicant shall post the sign in a conspicuous location on the subject property.
a.
Dimensions. The dimensions of the sign shall be not less than twenty-two inches wide by twenty-six inches high (22" x 26"). Lettering on the sign shall be not less than one (1) inch in height.
b.
Materials. The materials to which the notice form is affixed shall be sturdy and waterproof or shall have a waterproof covering. The applicant shall maintain the sign in a legible manner until the closure of the public hearing and shall remove it on the day following closure of the public hearing.
(4)
Validity of notice. If the applicant follows the procedures indicated above in good faith, the failure of any particular property owner to receive notice shall not affect the validity of the proceedings which require such notice. By way of example, notice shall not be considered invalid because of unrecorded or subsequent transfers of title, or uncertainties concerning ownership not discernible from the tax assessment rolls.
(5)
Proof of notice. At or before the actual public hearing, the applicant shall provide the Town with an affidavit certifying that notice was posted. A copy of the list of property owners to whom notice was mailed shall be attached to the affidavit. A photograph of the posted sign shall also be attached to the affidavit.
(Ord. 4-1998 §1; Ord. 6-1999 §1; Ord. 10-1999 §1; Ord. 11-1999 §3; Ord. 15-2000 §1; Ord. 32-2004 §A-5; Ord. 16-2010 §1; Ord. 4-2013 §3; Ord. 6-2015 §6(Exh. A))
The decision-making body shall comply with the following procedures in taking action on the development application.
(1)
Site inspection. As part of its consideration of the development application, the decision-making body may, as a group or through a committee appointed for that purpose, inspect the site of the proposed development. Upon reasonable request by the Planning Director, the applicant shall mark the development site before the site visit is to occur to locate property boundaries, building envelopes and other key site development features.
(2)
Conduct of public hearing. A public hearing shall be conducted in accordance with the following procedures:
a.
Rights of all persons. Any person may appear at a public hearing and submit evidence, either individually or as a representative of an organization.
b.
Order of proceedings. The order of the proceedings shall be as follows:
1.
Description. The Planning Director shall present a narrative and/or graphic description of the application and a staff report on the application, which includes a written recommendation.
2.
Applicant presentation. The applicant shall be prepared to present any information that has been previously submitted in the application or that is pertinent to the review body's consideration of the application. The Chairman conducting the public hearing may define the scope, topical nature and time frame within which the presentation shall be given. The burden shall be on the applicant to demonstrate through competent evidence that the application complies with all applicable provisions of this Development Code.
3.
Public testimony. Public testimony shall be heard.
4.
Applicant response. The applicant may respond to any testimony or evidence presented by the public.
5.
Staff response. The Planning Director and any other staff member may respond to any statement made by the applicant or the public.
c.
Exclusion of testimony. The Chairman conducting the public hearing may exclude testimony or evidence that is found to be irrelevant, immaterial or unduly repetitious. If any testimony or evidence is so excluded, the person offering such testimony or evidence shall have an opportunity to make a proffer in regard to such testimony or evidence for the record. Such proffer shall be made at the public hearing.
d.
Continuance of public hearing. The body conducting the public hearing may, on its own motion or at the request of the applicant, continue the public hearing to a fixed date, time and place. An applicant shall have the right to request and be granted one (1) continuance. All subsequent continuances shall be granted at the discretion of the body conducting the public hearing only upon good cause shown.
e.
Withdrawal of application. An applicant shall have the right to withdraw an application at any time prior to the action on the application by the decision-making body.
f.
Record of public hearing. The body conducting the public hearing shall record the public hearing by any appropriate means, including transcription, audiotape or videotape. The written or taped record of oral proceedings, including testimony and statements of personal opinions; the minutes of the Clerk; all applications, exhibits and papers submitted in any proceeding before the decision-making, administrative or advisory body; the staff report and the decision of the body shall constitute the record.
(3)
Amendment. If an applicant wishes to amend a submission after a Planning Commission recommendation thereon, such request shall be made in writing and presented to the Town Council during the public hearing. The Town Council shall consider and make a determination as to whether the changes alter the nature of the project from that described in the original submission to such an extent that:
a.
The amendment should not be allowed;
b.
The amendment should be allowed, but the Planning Commission should have an opportunity to review the amendment and make a recommendation thereon; or
c.
The amendment should be allowed, and the application should proceed without additional hearings or consideration thereof. If the amendment is not allowed, the Town Council shall continue to consider the application without the amendment in accordance with the provisions of this Section. If an additional Planning Commission recommendation is to be made, the Town Council may, at its discretion, table the application until it has received the Planning Commission's recommendation on the amendment.
Remand. An application may also be remanded to the Planning Commission when the Town Council determines that the application as amended has otherwise been altered in a significant manner following the Planning Commission's action on the preliminary PUD. The Town Council shall table the application until it has received the Planning Commission's recommendation on the changes.
(4)
Action. After hearing the evidence and considering the comments of all persons interested in the matter, the decision-making body shall make its decision and findings and have them entered in its minutes. The decision-making body shall not be required to take final action on an application during the same meeting when testimony from interested persons is taken, but action shall be taken as promptly as is reasonable.
a.
Findings. In its findings, the decision-making body shall report the facts, whether the application complies with the applicable review standards, and whether the application is approved, approved with conditions, recommended for approval by another body, tabled pending receipt of additional information or denied.
b.
Copy to applicant. A copy of the decision-making body's decision shall be provided to the applicant within a reasonable period of time after the decision has been made.
(5)
Re-application. An applicant may not resubmit an application for a project having been denied by a decision-making body for a period of one (1) year from the date when said action was taken, unless there has been a clear, substantial and material change in the conditions or circumstances affecting the subject parcel and the surrounding neighborhood that supports reconsideration, as determined by the Planning Director, or where the new application substantively amends the project so as to essentially constitute a new development proposal.
(6)
Inactive applications. The decision-making body may deny any application that remains inactive. An application may be deemed inactive and be denied when the moving the application towards final approval.
a.
Determination of inactivity. A project shall be considered inactive if more than two (2) months have passed since a written request for additional information was made by the Planning Director or the review body, and the request has not been complied with, or more than three (3) months have passed since the last official contact between the applicant and the decision-making body.
b.
Written notice. The Planning Director shall provide written notice, fifteen (15) days in advance, to the applicant stating the time, place and date when the decision-making body will consider denial of the application due to its inactivity.
(Ord. 4-1998 §1; Ord. 15-2000 §1; Ord. 5-2001 §1; Ord. 16-2010 §1)
(a)
General. Table 5-1, Summary of Development Review Procedures, identifies those types of actions by decision-making bodies that may be appealed. Appeals of actions by decision-making bodies shall comply with the following procedures.
(b)
Written Appeal. An appeal of an action by a decision-making body shall be submitted in writing to the Planning Director within fifteen (15) days after the date of the decision being appealed. The written appeal shall state the basis of the appeal in detail, and the relief that is requested, and shall include any materials or evidence to support the appeal.
(c)
Standing to Appeal. The following persons shall be deemed to have standing to submit an appeal:
(1)
Applicant. The applicant or the owner of the property;
(2)
Person who testified. Any parties in interest who testified at the public hearing on the application; or
(3)
Person who submitted written comments. Any parties in interest who submitted written comments on the application before final action was taken, excluding persons who only signed petitions or form letters.
(d)
Procedure. The appeal shall be heard by the body authorized to hear the appeal at a regularly scheduled meeting within thirty (30) days after the date of the filing of the written appeal. The Planning Director shall inform the applicant, the appellant, and anyone who testified at the public hearing or submitted written comments on the application of the date, time and place of the meeting. The body hearing the appeal shall either affirm, affirm with modifications or reverse the original action. The original action shall only be modified or reversed if it is determined that: (1) there is not substantial evidence in the record to support the original decision, or (2) the original action was inconsistent with the applicable provisions of this Land Use and Development Code. The decision of the appellate body shall be final and shall not be further appealed, but may be subject to review by the courts pursuant to law.
(Ord. 4-1998 §1; Ord. 15-2000 §1)
(a)
General. Consistent with the provisions of Section 24-68-101 et seq., C.R.S., a vested property right shall attach to and run with the applicable real property upon the approval of a site specific development plan.
(b)
Site Specific Development Plan. A site specific development plan, for the purpose of vesting a property right under Section 24-68-102(4), C.R.S., shall specifically include the following:
(1)
Final PUD plan. A final planned unit development plan approved pursuant to Article V, Division 3, Planned Unit Development.
(2)
Subdivision. A final plat of a subdivision approved pursuant to Article V, Division 4, Subdivision Regulations.
(3)
Special review. A special review use approved pursuant to Section 16A-5-230, Special Review.
Where none of the foregoing approvals is required by the nature of an application for any land use approval, the final approval granted by resolution of the Town Council shall be deemed a site specific development plan, except that under no circumstances shall a variance be deemed to be a site specific development plan. Furthermore, the establishment of a zoning designation or a zone district with respect to any real property, either original or by an amendment to the Official Zone District Map or to the text of this Development Code, shall not constitute a site specific development plan, unless the amendment is approved simultaneously with any of the specific types of approvals listed above.
(c)
Conditional Approval. Approval of a site specific development plan may be made with or without condition, and the failure to fully abide by the terms of any conditional approval will result in a forfeiture of a vested property right.
(d)
Term of Vested Right. Rights which have been vested as provided herein shall remain so vested for a period of three (3) years, unless extended by the Town Council in its complete discretion on a case-by-case basis. The Town Council shall consider both the needs of the Town and the property owner in determining to extend a vested property right beyond three (3) years. Any such extension shall be in the form of a development agreement duly authorized and executed by the landowner or landowners involved and approved by ordinance. The Town Council may impose reasonable conditions upon any such extension.
(e)
Applicability of Other Town Codes. The establishment of a vested property right shall not exempt the property owner from requirements for building permits, other necessary permits or other approvals required subsequent to the approval of a site specific development plan. The establishment of a vested property right shall not preclude the application of the requirements of the building code, fire code, plumbing code, electrical code, mechanical code or other requirements necessary for the protection of the public health, safety and welfare.
(f)
Judicial Review. Approval of a site specific development plan shall be subject to judicial review, and the period of time permitted by law for the filing of any such action shall begin to run from the date of site specific development plan approval.
(g)
Approvals Granted Prior to June 1, 1988. The provisions of this Section shall not apply to any site specific development plan or other land use approval granted prior to June 1, 1988. The applicable law on the date of such prior approval shall apply to such projects.
(Ord. 4-1998 §1; Ord. 15-2000 §1)
The purpose of Division 2 is to establish the procedures, submission contents and standards that apply to each type of development application within the Town. This Division addresses the following types of development applications: amendments to the text of the Land Use and Development Code, amendments to the Official Zone District Map, planned unit development (PUD), special review, variances, administrative modifications, subdivision exemptions, subdivision and temporary use permits.
(Ord. 4-1998 §1; Ord. 15-2000 §1)
(a)
Purpose. The purpose of this Section is to provide the means by which the Town Council may, from time to time, amend, supplement or repeal the text of this Land Use and Development Code.
(b)
Initiation. An amendment to the text of this Development Code may be initiated by resolution of the Town Council, by the Planning Commission, by the Planning Director, by any person who holds a recognized interest in land within the Town or by any citizen or business owner within the Town.
(c)
Procedure. The following procedures shall apply to an application for an amendment to the text of this Development Code. These procedures are illustrated in Figure 5-2, Text or Map Amendment Procedures.
(1)
Pre-application conference. Attendance at a pre-application conference is optional, but recommended, prior to submission of an application for an amendment to the text of this Development Code.
(2)
Submission of application. The applicant shall submit an application to the Planning Director that contains those materials specified in Section 16A-5-210(d), Submission Contents.
(3)
Staff review. Staff review of the application shall be accomplished, as specified in Section 16A-5-50, Staff Review of Application.
(4)
Planning Commission review. A complete copy of the application shall be forwarded to the Planning Commission, together with a copy of the staff review. The Planning Commission shall review the application, considering the standards of Section 16A-5-210(e), Review Standards, and shall make its recommendations to the Town Council.
(5)
Town Council first reading. The Planning Commission's recommendations shall be forwarded to the Town Council at a regular meeting, together with a complete copy of the application and a copy of the staff's review. The Town Council shall consider all relevant materials and shall adopt an ordinance on first reading amending the Development Code as recommended or with modifications, or shall adopt a resolution denying the application, citing specific reasons therefor.
(6)
Public hearing. Prior to second reading of such ordinance, the Town Council shall hold a public hearing. Public notice of the hearing shall be given by publication of notice, pursuant to Section 16A-5-60(b), Manner and Timing of Notice. The Town Council shall consider the application, any relevant support materials, the staff report, the Planning Commission's recommendation and the public testimony given at the public hearing. Following closure of the public hearing, the Town Council shall either adopt the ordinance, adopt the ordinance with modifications or deny the ordinance, considering the standards in Section 16A-5-210(e), Review Standards. If the Council shall make modifications to the ordinance prior to adoption it may, but need not, remand the application to the Planning Commission for further recommendations.
(d)
Submission Contents. An application for amendment to the text of this Development Code shall contain the following materials:
(1)
Minimum contents. The minimum contents for any application, as specified in Section 16A-5-40(b), Minimum Contents.
(2)
Precise wording. The precise wording of the proposed amendment.
(e)
Review Standards. An application for an amendment to the text of the Development Code shall comply with the following standards:
(1)
Consistent with purposes. The proposed amendment shall be consistent with the purposes of this Development Code.
(2)
Not conflict with other provisions. The proposed amendment shall not conflict with any other applicable provisions of this Development Code.
(3)
Consistent with Comprehensive Plan. The proposed amendment shall be consistent with the Town of Snowmass Village Comprehensive Plan.
(4)
Public health, safety and welfare. The proposed amendment shall preserve the public health, safety, general welfare and environment and contribute to the orderly development of the Town.
(Ord. 4-1998 §1; Ord. 1-1999 §1; Ord. 23-1999 §1; Ord. 15-2000 §1)
(a)
Purpose. The purpose of this Section is to provide the means by which the Town Council may, from time to time, amend, supplement or repeal the contents of the Official Zone District Map. No rezoning of a specific parcel of real property by a change in zoning classification resulting in a change to the Official Zone District Map shall be valid unless approved by the Town Council pursuant to the provisions set forth herein.
(b)
Initiation of Map Amendment. An amendment to the Official Zone District Map may be initiated by resolution of the Town Council, by the Planning Commission, by the Planning Director or by any person who holds a recognized interest in the land affected by the proposed amendment or their authorized agent.
(c)
Procedure. The following procedures shall apply to an application for an amendment to the Official Zone District Map. These procedures are illustrated in Figure 5-2, Text or Map Amendment Procedures.
(1)
Pre-application conference. Attendance at a pre-application conference is optional, but recommended, prior to submission of an application for an amendment to the Official Zone District Map.
(2)
Submission of application. The applicant shall submit an application to the Planning Director that contains the applicable materials specified in Section 16A-5-210(d), Submission Contents.
(3)
Staff review. Staff review of the application shall be accomplished, as specified in Section 16A-5-50, Staff Review of Application.
(4)
Planning Commission review. A complete copy of the application shall be forwarded to the Planning Commission, together with a copy of the staff review. The Planning Commission shall review the application, considering the standards of Section 16A-5-220(e), Review Standards, and shall make its recommendations to the Town Council.
(5)
Town Council first reading. The Planning Commission's recommendations shall be forwarded to the Town Council at a regular meeting, together with a complete copy of the application and a copy of the staff's review. The Town Council shall consider all relevant materials and shall adopt an ordinance on first reading amending the Official Zone District Map as recommended or with modifications, or shall adopt a resolution denying the application, citing specific reasons therefor.
(6)
Public hearing. Prior to second reading and final adoption of such ordinance, the Town Council shall hold a public hearing. Public notice of the hearing shall be given by publication, mailing and posting of notice, pursuant to Section 16A-5-60(b), Manner and Timing of Notice. The Town Council shall consider the application, any relevant support materials, the staff report, the Planning Commission's recommendation and the public testimony given at the public hearing. Following closure of the public hearing, the Town Council shall either adopt the ordinance, adopt the ordinance with modifications or deny the ordinance, considering the standards in Section 16A-5-220(e), Review Standards.
(d)
Submission Contents. An application for an amendment to the Official Zone District Map shall contain the following materials:
(1)
Minimum contents. The minimum contents for any application, as specified in Section 16A-5-40(b), Minimum Contents.
(2)
Survey map. An accurate survey map of the property proposed for amendment, stating the area of the property proposed to be amended in square feet or acres.
(3)
Zone districts. A map showing the present zone district designation(s) of the property and the zoning of all adjacent properties, as depicted on the Official Zone District Map.
(4)
Existing uses. A description of the existing uses on the property and on all adjacent properties.
(5)
Petition. Except as provided below, a petition in favor of the rezoning, signed by real property owners representing at least eighty percent (80%) of the land area included in the application, shall be submitted if property other than that owned by the applicant is included in the area of the proposed rezoning. An amendment to the Official Zone District Map may be initiated by a condominium association without said petition, provided that each unit owner within the association receives a notice of public hearing by United States mail postage prepaid in accordance with Section 16A-5-60 of this Code.
(6)
Private applications. For any private application for an amendment to the Official Zone District Map, the application shall contain a development proposal for the entire parcel, submitted in conformance with Article V, Division 3, Planned Unit Development, or any other applicable section of this Article V.
a.
Rezoning of a portion of a parcel. The Town Council may permit the rezoning of only a portion of a larger parcel when the Town Council has determined that said rezoning is consistent with the standards of Section 16A-5-220(e), Review Standards, and said action is necessary to promote the public health, safety and welfare.
b.
Conditional approval. The application for rezoning will be considered for conditional approval subject to subsequent approval of a development proposal for the area to be rezoned.
(e)
Review Standards. An application for an amendment to the Official Zone District Map shall comply with the following standards and, whenever applicable, shall also comply with the standards of Section 16A-5-220(f), Review Standards for Rezoning of Lands Zoned Open Space or Conservation.
(1)
Consistent with Comprehensive Plan. The proposed amendment shall be consistent with the Town of Snowmass Village Comprehensive Plan.
(2)
Consistent with purpose of zone district. The proposed amendment shall be consistent with the purpose of the zone district to which the property will be designated.
(3)
Compatibility with surrounding zone districts and uses. The development permitted by the proposed amendment shall be compatible with surrounding zone districts, land uses and neighborhood character and shall result in a logical and orderly development pattern within the overall community.
(4)
Necessary circumstances. The applicant shall demonstrate that the following circumstances exist:
a.
Error. There has been a technical error in the boundaries shown on the Official Zone District Map; or
b.
Changed conditions. There have been changed conditions affecting the subject parcel and the surrounding neighborhood that justify the proposed amendment; and
c.
Community need. The proposed amendment addresses and helps to resolve a community need that is documented in or is consistent with the intent of the Comprehensive Plan.
(f)
Review Standards for Rezoning of Lands Zoned Open Space or Conservation. Certain lands have previously been zoned Open Space or Conservation within Snowmass Village by the Town, with the approval of the property owner at the time of the zoning. The preservation of these parcels in their open and natural character has been determined to be in the best interest of the public welfare. There are, however, certain circumstances where a change of zoning may be desirable in order to facilitate a development that is in the public interest. Any amendment to the Official Zone District Map that would change the zoning of any land designated Open Space or Conservation to any other zone district category established in Article III, Zone Districts, of this Development Code shall only be permitted when the application complies with the following standards:
(1)
Areas of five (5) acres or less. An area of up to but not exceeding five (5) acres that is zoned Open Space or Conservation may be rezoned to another zone district established in Article III, Zone Districts, provided that such amendment to the Official Zone District Map is necessary to facilitate a development proposal that is determined to be in the public interest, and the application is approved by a two-thirds (⅔) vote of the entire Town Council.
(2)
Areas in excess of five (5) acres. An area exceeding five (5) acres that is zoned Open Space or Conservation may be rezoned to another zone district established in Article III, Zone Districts, in order to facilitate a development proposal only when the developer shall rezone a suitable amount of land that is zoned other than Open Space or Conservation to Open Space. The suitability of the amount and location of land to be rezoned to Open Space by the developer shall be at the discretion of the Town Council. The objective shall be to ensure that there is not a diminishment of quality open space within the Town. The Town Council shall, prior to approving the application, find that the proposed amendment to the Official Zone District Map is in the public interest. Approval of the application shall require a two-thirds (⅔) vote of the entire Town Council.
(3)
Election required. In an instance where the parcel to be rezoned from Open Space or Conservation to another category identified in Article III, Zone Districts, does not comply with the standards of Subsections (f)(1) or (2) above, said amendment to the Official Zone District Map shall only be permitted by the Town Council after such application is approved by a majority of the electors voting on the proposal in a special municipal election.
(Ord. 4-1998 §1; Ord. 15-2000 §1; Ord. 32-2004 §A-6)
(a)
Purpose. There are certain uses which, because of their unusual character and potential impact upon the use and enjoyment of neighboring property, cannot be classified into a particular district or districts without site specific consideration of their impacts upon neighboring lands and upon the public need for the particular use at the particular location. These uses require special review of their location, design, intensity, density, configuration, operating characteristics and impacts on public facilities, and may require the imposition of appropriate conditions to ensure the use will be compatible at a particular location and mitigates its adverse impacts.
(b)
Permit Required. Only those uses designated as a special review use in the underlying zone district in Article III, Zone Districts, may be approved by special review, after issuance of a permit in accordance with the procedures set forth herein. No approved special review use may be modified, structurally enlarged or expanded in ground area unless such modification, enlargement or expansion receives the prior approval of the Town.
(c)
Procedure. The following procedures shall apply to an application for a special review permit. These procedures are illustrated in Figure 5-6, Special Review Application Procedures.
(1)
Pre-application conference. Attendance at a pre-application conference is required prior to submission of an application for a special review permit. At this meeting or within ten (10) days afterward, the Planning Director shall decide if the application can be processed administratively by staff or if it must be forwarded to the Planning Commission and Town Council as the decision-maker.
(2)
Submission of application. The applicant shall submit an application to the Planning Director that contains those materials specified in Subsection (d), Application Contents.
(3)
Administrative staff review. Staff review of the application shall be accomplished, as specified in Section 16A-5-50, Staff Review of Application. For applications being processed administratively, a public notice that the staff is considering an application for a special review use shall be given by publication, mailing and posting of notice, pursuant to Section 16A-5-60(b), Manner and Timing of Notice. Notice of the public hearing shall also be provided to the Planning Commission.
a.
Public hearing. A complete copy of the application shall be forwarded to the Planning Director, together with a copy of the staff review. The Planning Director shall hold a public hearing to consider the application. The public hearing shall be conducted pursuant to Section 16A-5-70(2), Conduct of Public Hearing.
b.
Action by Planning Director. Within three (3) days after the closure of the public hearing, the Planning Director shall approve, approve with conditions or deny the application, considering the relevant materials and testimony and the standards in Subsection (e), Review Standards. If, during the staff review or during the public hearing, any issues arise that cannot be resolved to the satisfaction of the Planning Director or the applicant, then the staff shall refer the application within thirty (30) days to the Planning Commission, which shall approve, approve with conditions or deny the application, based on the standards in Subsection (e), Review Standards. Public notice that an application for a special review use has been referred to the Planning Commission shall be given by publication, mailing and posting of notice, pursuant to Section 16A-5-60(b), Manner and Timing of Notice.
c.
Appeal. A decision by the Planning Director or the Planning Commission on a special review application may be appealed, pursuant to Section 16A-5-80, Appeals. The appeal shall be referred to the Town Council, which shall consider the matter pursuant to Section 16A-5-80(d), Procedure.
(4)
Action by decision-making body. The following procedure shall apply to an application for special review if, due to its scale or potential impacts upon surrounding properties due to the nature and intensity of the proposed activity or use, it is determined by the Planning Director to warrant referral to the Planning Commission and Town Council for final determination.
a.
Staff review. Staff review of the application shall be accomplished, as specified in Section 16A-5-50, Staff Review of Application.
b.
Planning Commission review. A complete copy of the application shall be forwarded to the Planning Commission, together with a copy of the staff review. The Planning Commission shall review the application, considering the relevant materials and testimony and the standards in Subsection (e), Review Standards, and shall make its recommendations to the Town Council.
(5)
Action by Town Council. A complete copy of the application shall be forwarded to the Town Council, together with a copy of the staff review. Public notice that the Town Council will consider the application shall be given by publication, posting and mailing of notice, pursuant to Section 16A-5-60(b), Manner and Timing of Notice. The Town Council shall hold a public hearing to consider the application, which shall be conducted pursuant to Section 16A-5-70(2), Conduct of Public Hearing. The Town Council shall consider all relevant materials and testimony, shall consider the standards of Subsection (e), Review Standards, and shall approve, approve with conditions or deny the application.
(d)
Application Contents. A special review application shall contain the following:
(1)
Minimum contents. The minimum contents for any application, as specified in Section 16A-5-40(b), Minimum Contents.
(2)
Improvements survey. An improvements survey, showing the location and dimensions of all existing structures, streets, alleys, easements, drainage areas, irrigation ditches, public and private utilities and other significant features within the property.
(3)
Site plan. A site plan, showing proposed features that are relevant to the special review application.
(4)
Other information. The Planning Director may request the applicant to submit such other information as is necessary to evaluate the impacts of the special review application. Examples of the information that may be requested are elevations of proposed new or remodeled structures, analysis of the traffic impacts of the proposed use or evaluation of the environmental impacts of the proposed use.
(e)
Review Standards. An application for a special review use shall comply with the following standards:
(1)
Consistent with Comprehensive Plan. The proposed use shall be consistent with the intent of the Town of Snowmass Village Comprehensive Plan.
(2)
Comply with standards of Development Code. The proposed use shall comply with all other applicable standards of this Development Code, including, but not limited to:
a.
Zone district standards. The purpose of the zone district in which it is located, the dimensional limitations of that zone district and any standards applicable to the particular use, all as specified in Article III, Zone Districts.
b.
Development evaluation standards. The applicable standards specified in Article IV, Development Evaluation Standards.
(3)
Compatible. The proposed use shall be appropriate to its proposed location and be compatible with the character of surrounding land uses in the area, and shall not adversely affect the future development of the surrounding area.
(4)
Adequacy of access. Access to the site shall be adequate for the proposed use, considering the width of adjacent streets, their grades, intersection safety, visibility and entrance into the area to be developed. When appropriate, public transportation, or other public or private transportation services, and appropriate pedestrian facilities, shall be made available to serve the use.
(5)
Design minimizes adverse impact. The design and operation of the proposed use shall minimize adverse impacts and shall not create a nuisance, considering such impacts as traffic congestion or traffic hazards, service delivery, parking and loading, trash removal, odors, noise, glare and vibration.
(6)
Design minimizes environmental impact. The proposed use shall minimize environmental impacts and shall not cause significant deterioration of water and air resources, wildlife habitat, scenic resources and other natural resources.
(7)
Facilities. There shall be adequate public facilities available to serve the proposed use, or the applicant shall propose necessary improvements to address service deficiencies that the use would cause. In particular, the applicant shall demonstrate that adequate water supply and sewage disposal service is available for the proposed use, including sufficient water pressure and proximity to fire hydrants to provide for fire protection needs.
(8)
Parking. Sufficient off-street parking shall be provided for the proposed use.
(f)
Conditions Authorized. The Planning Director, Planning Commission or the Town Council may, in approving the special review permit, impose such restrictions and conditions on such approval, the proposed use, and the premises to be developed or used pursuant to such approval, as it determines are required by the Comprehensive Plan and this Development Code to prevent or minimize adverse effects from the proposed use and development on surrounding land uses and on the general health, safety and welfare of the Town. The Town shall be authorized to set limits on the length of any special review permit that it issues and to obtain assurances that the ongoing operation of the use will comply with all of the applicant's representations and all conditions of approval, such as by requiring an annual compliance review. All conditions imposed in any special review approval, with the exception of conditions made applicable to such approval by the express terms of this Development Code, shall be set forth in the special review permit.
(g)
Expiration. A special review permit shall be valid for three (3) years from the date of its issuance. If, within three (3) years, the applicant shall not have obtained a building permit to develop the special review use, or shall not have placed the special review use into operation, if the use does not require a building permit, then the permit shall expire.
(1)
Extension. An applicant may request an extension of these expiration provisions. The request shall be submitted to the Planning Director and must be submitted prior to the date on which the permit is to expire. Submission of a request for an extension shall stay the expiration of the permit until such time as the extension request is approved or denied by the Town Council.
(2)
Town Council authority. Authority to grant an extension of up to one (1) year shall be at the sole discretion of the Town Council, which shall consider whether it has been demonstrated that: (a) the applicant has diligently pursued the permit; (b) failure to proceed with the permit was beyond the applicant's control; and (c) there is a reasonable likelihood that the permit will be developed within the next year.
(Ord. 4-1998 §1; Ord. 15-2000 §1)
(a)
Purpose. This Section sets forth the procedures and standards for obtaining a variance from the standards of the Land Use and Development Code. A variance is a deviation from the standards of the Development Code that is necessitated by special circumstances or conditions of the physical site (such as exceptional topography, or the narrowness, shallowness or shape of a particular piece of property), that would create practical difficulties for, or an unusual hardship upon, the owners of the land if the provisions of this Code were to be strictly enforced.
(b)
Procedure. The following procedures shall apply to an application for a variance. These procedures are illustrated in Figure 5-7, Variance Application Procedures.
(1)
Pre-application conference. Attendance at a pre-application conference is optional prior to submission of an application for a variance.
(2)
Submission of application. The applicant shall submit an application to the Planning Director that contains the following materials:
a.
Minimum contents. The minimum contents for any application, as specified in Section 16A-5-40(b), Minimum Contents.
b.
Site plan. A site plan of the subject property, showing existing improvements and proposed development features that are relevant to the review of the proposed variance application.
c.
Other information. The applicant shall submit such other written or graphic information as is necessary to describe and evaluate the proposed variance, such as proposed building elevations.
(3)
Staff review. Staff review of the application shall be accomplished, as specified in Section 16A-5-50, Staff Review of Application.
(4)
Action by Planning Commission. A complete copy of the application shall be forwarded to the Planning Commission, together with a copy of the staff review. Public notice that the Planning Commission will consider the application shall be given by publication, posting and mailing of notice, pursuant to Section 16A-5-60(b), Manner and Timing of Notice. The Planning Commission shall hold a public hearing to consider the application, which shall be conducted pursuant to Section 16A-5-70(2), Conduct of Public Hearing. The Planning Commission shall consider all relevant materials and testimony, shall consider the standards of Subsection (c), Review Standards, and shall approve, approve with conditions or deny the application.
(5)
Appeal. A decision by the Planning Commission on a variance application may be appealed, pursuant to Section 16A-5-80, Appeals. The appeal shall be referred to the Town Council, which shall consider the matter pursuant to Section 16A-5-80(d), Procedure.
(c)
Review Standards. An application for a variance shall comply with all of the following standards:
(1)
Special circumstances exist. There are special circumstances or conditions, such as exceptional topography, or the narrowness, shallowness or shape of the property, that are peculiar to the land or building for which the variance is sought, and do not apply generally to land or buildings in the neighborhood;
(2)
Not result of applicant. The special circumstances and conditions have not resulted from any act of the applicant;
(3)
Strict application causes practical difficulties. The special circumstances and conditions are such that the strict application of the provisions of this Development Code would result in practical difficulties to and undue hardship upon the use of the land or building;
(4)
Necessary to relieve practical difficulties. The granting of the variance is necessary to relieve the applicant of the practical difficulties and undue hardship in the use of the land or building and is the minimum variance that could be granted to achieve said relief;
(5)
Not adversely affect neighborhood. The granting of the variance will not change the character or otherwise adversely affect the neighborhood surrounding the land where the variance is proposed, will not have a substantially adverse impact on the enjoyment of land abutting upon or across the street from the property in question, will not impair an adequate supply of light or air to adjacent property, will not increase the danger of fire or otherwise endanger public safety or the public interest and will not substantially diminish or impair property values within the neighborhood;
(6)
Harmony with Development Code. The granting of the variance will be in harmony with the purposes and intent of this Development Code, including the intent of the underlying zone district. No variance shall be approved that permits the construction or enlargement of any building or decks and related structures for any use prohibited in the underlying zone district; and
(7)
Consistent with Comprehensive Plan. The granting of the variance will be consistent with the intent of the Comprehensive Plan.
(Ord. 4-1998 §1; Ord. 15-2000 §1)
(a)
Purpose. This Section sets forth the procedures and standards for obtaining an administrative modification. An administrative modification is a staff-level or Planning Commission review procedure that allows minor changes to be made to certain dimensional limitations or other design features in order to address technical constraints or unanticipated circumstances that arise prior to or during final design and actual construction. Activities that shall not be considered administrative include changes to the overall character of the project, changes that substantially increase trip generation or the demand for public facilities and changes that are inconsistent with a condition or a representation of the project's original approval, or that require granting a further variation from that granted in the original approval.
An administrative modification shall only be granted for the following types of activities:
(1)
Setback. The intrusion of a building or an above-grade structure into a required setback by one (1) foot or less for new construction in a manner that exceeds the limitations established in Section 16A-3-200(b), Construction in Required Setbacks and Outside Designated Building Envelopes.
(2)
Floor area. An increase in the maximum allowable floor area of a structure by no more than two percent (2%) or fifty (50) square feet, whichever is less.
(3)
Building height. An increase in a building's height by one (1) foot or less.
(4)
Parking space size. A decrease in the size of a required parking space by one (1) foot or less.
(5)
Crawl space or attic space. A crawl space or attic space that is greater than five and one-half (5½) feet at any point when rational construction methods will not allow compliance with the maximum height of five and one-half (5½) feet, provided that the Planning Director may impose reasonable conditions to limit or restrict the use of said space.
(6)
On-grade or below-grade structures. The projection of an on-grade or below-grade structure into a required setback in a manner that exceeds the limitations established in Section 16A-3-200(b)(1), Structures On or Below Finished Grade. The Planning Director may impose reasonable conditions to ensure that such structures will not hinder road maintenance and snow plowing operations and will have minimal visual impacts, and to ensure that the owner indemnifies the Town against any damage that may occur to said structures.
(7)
Building outside of established envelope. An encroachment outside of building envelope where a building or portion thereof was previously constructed.
(8)
Adjustment to building envelope. Adjustment of a building envelope to correct an existing condition or to allow it to better conform to the standards of this Development Code, such as by allowing less vegetation to be removed from the site, helping to lessen impacts from drainage or site grading or permitting better access to the site to be provided.
(9)
Administrative amendments. An administrative amendment to any other design feature of an approved PUD, subdivision or building lot, or an administrative amendment to the uses approved for a PUD.
(10)
Interim SPA (SPA-1 and SPA-2) authorization. Improvements to existing development within Specially Planned Area (SPA-1 and SPA-2) and Governmental Specially Planned Area zone districts that have not been reviewed pursuant to the procedures and standards of Article V, Division 3, Planned Unit Development, provided: a) the improvements are necessary for the maintenance and repair or remodeling of an existing building; b) there will be no change in type of use except as may be accessory to or customary in connection with the existing principal use(s) of the building; c) the total square footage of the floor space of the building is not increased by more than ten percent (10%) or five hundred (500) square feet, whichever is less, except in the case of Governmental Specially Planned Areas it shall be ten percent (10%) of the building floor space; d) the proposed improvements will be consistent with Section 16A-4-340, Building Design Guidelines to Preserve Community Character; and e) all future development improvements within the property proposed after an initial administrative modification approved by means of a) through d) above shall be reviewed pursuant to the procedures and standards of Article V, Division 3, Planned Unit Development. The Planning Director may require the preparation of an interim site development and land use plan and may impose reasonable conditions to ensure that such structures will not change the basic character of existing buildings or surrounding areas or have a substantially adverse impact upon surrounding properties.
(11)
Site disturbance outside building envelope. Earth berms located outside the building envelope which do not satisfy the criteria specified within Section 16A-4-320(b)(2)a, Earth Berm Outside Building Envelope. The Planning Director may impose reasonable conditions to ensure that such berm will be located and designed to reasonably fit the site and to minimize the visual impact upon surrounding property owners.
(b)
Procedure. The following procedures shall apply to an application for an administrative modification. These procedures are illustrated in Figure 5-8, Administrative Modification Application Procedures.
(1)
Pre-application conference. Attendance at a pre-application conference is optional prior to submission of an administrative modification application.
(2)
Submission of application. The applicant shall submit an application to the Planning Director that contains the materials specified in subsection (c), application contents.
(3)
Process Determination. Within ten (10) days after the pre-application meeting or after the application is deemed complete, the Planning Director shall decide if the application can be processed administratively or if it must be forwarded to the Planning Commission as the decision-maker.
(4)
Administrative staff review. Staff review of the application shall be accomplished, as specified in Section 16A-5-50, Staff Review of Application. For applications being processed by the Planning Director, no public notice shall be required. Notice of the issuance of the Planning Director's approved administrative modification, including copy of the record of decision, shall be provided to the Planning Commission.
a.
Action by Planning Director. The Planning Director shall approve, approve with conditions or deny the application, considering the relevant materials and testimony and the standards in Subsection (d), Review Standards. If, during the staff review any issues arise that cannot be resolved to the satisfaction of the Planning Director or the applicant, then the staff shall refer the application within thirty (30) days to the Planning Commission pursuant to subsection (5), action by decision-making body.
b.
Public notice that an application for an administrative modification has been referred to the Planning Commission shall be given pursuant to Section 16A-5-60(b), Manner and Timing of Notice.
(5)
Action by decision-making body. The following procedure shall apply to an application for administrative modification if, due to its scale or potential impacts upon surrounding properties or due to the nature and intensity of the proposed activity or use, it is determined by the Planning Director to warrant referral to the Planning Commission for final determination. This procedure shall apply regardless of whether the Planning Director refers the application prior to after a formal staff review.
a.
Staff review. Staff review of the application shall be accomplished, as specified in Section 16A-5-50, Staff Review of Application.
b.
Planning Commission review. A complete copy of the application shall be forwarded to the Planning Commission, together with a copy of the staff review, which shall approve, approve with conditions or deny the application, based on the standards in subsection (d), review standards.
(6)
Appeal. A decision by the Planning Director or Planning Commission on an administrative modification may be appealed, pursuant to Section 16A-5-80, Appeals. The appeal shall be referred to the Town Council, which shall consider the matter pursuant to Section 16A-5-80(d), Procedure.
(7)
Recording of decision. If the Planning Director or Planning Commission approves the administrative modification, the applicant shall, within thirty (30) days of the date of said approval, cause the written decision notice or resolution, with applicable exhibits, to be recorded in the records of the County Clerk and Recorder.
(c)
Application Contents. An administrative modification application shall contain the following:
(1)
Minimum contents. The minimum contents for any application, as specified in Section 16A-5-40(b), Minimum Contents.
(2)
Improvements survey. If deemed necessary in the discretion of the Planning Director, an improvements survey, showing the location and dimensions of all existing structures, streets, alleys, easements, drainage areas, irrigation ditches, public and private utilities and other significant features within the property.
(3)
Site plan. A site plan of the subject property, showing existing improvements and proposed development features that are relevant to the review of the proposed administrative modification. As necessary, the applicant shall also submit such other written or graphic information as is necessary to describe the proposed modification, such as a sketch of those elements of the proposed structure for which an administrative modification is requested.
(4)
Other information. The Planning Director may request the applicant to submit such other information as is necessary to evaluate the impacts of the application. Examples of the information that may be requested are elevations of proposed structures, analysis of the traffic impacts of the proposed use or evaluation of the environmental impacts of the proposed use.
(d)
Review Standards. An application for an administrative modification shall comply with the following standards:
(1)
Unforeseen circumstances. The proposed modification shall be the result of circumstances that could not have been reasonably anticipated by the applicant prior to or during the original approval process; and
(2)
Insubstantial impacts. Any adverse impacts on surrounding properties from the proposed modification shall be insubstantial.
(Ord. 4-1998 §1; Ord. 1-1999 §1; Ord. 10-1999 §1; Ord. 15-2000 §1; Ord. 32-2004 §A-7; Ord. 4-2013 §3; Ord. 6-2015 §3 (Exh. A); 3-2017, §1(Exh. A))
(a)
Purpose and Authority. This Section is intended to provide a mechanism for the Town to consider land use changes of a temporary or seasonal nature that provide or facilitate an overall benefit to the community or further an official policy or objective of the Town and to consider special events, such as short-term activities of a civic, educational, cultural or entertainment-oriented nature.
(1)
Special event permit. A special event permit may be issued to any short-term event that is civic, educational, cultural or entertainment-oriented in nature that may or may not be open to participation by the general public. Because of the dynamic nature of special events, the special event permit will not be subject to subsections (b) Review Procedure and (c) Application Contents herein, but shall be of such application and procedure as prescribed by the Town Manager with the intent to efficiently process the permit and to ensure appropriate mitigation of community impacts by the applicant. Special event permits shall adhere to the following subsections herein; (d) Review Standards, (e) Conditions Authorized, and (f) Penalties.
(2)
Administrative temporary use permit. An administrative temporary use permit may be issued to any short-term use not allowed as a use by right, or as an accessory use or special review use in the particular zone district where the use is proposed, or that involves the construction of any structure, provided that the described use shall last for a period of time not to exceed ten (10) days.
(3)
Annual temporary use permit. An annual temporary use permit may be issued to any short-term use not allowed as a use by right, or as an accessory use or special review use in the particular zone district where the use is proposed, or that involves the construction of any structure, provided that the described use lasts for a period of time in excess of ten (10) days, but not to exceed one (1) year.
(b)
Review Procedure. The following procedures shall apply to an application for an annual or an administrative temporary use permit. These procedures are illustrated in Figure 5-11, Temporary Use Application Procedures.
(1)
Pre-application conference. Attendance at a pre-application conference is optional prior to submission of an application for an annual or an administrative temporary use permit. The topics of discussion at the pre-application conference shall include, but not be limited to:
a.
Use and timing. The nature of the use in question and the time frame for which the temporary use permit is proposed to be in effect.
b.
Site characteristics. Physical characteristics of the site and surrounding area that will influence the determination of the suitability of the site for the proposed temporary use.
c.
Applicable provisions. The provisions of this section that apply to the proposal, including the applicable review procedures, submission requirements and review standards.
d.
Emergency plans. Provisions and plans for dealing with potential emergency situations.
e.
Water and sanitation. Necessity for and availability of drinking water and sanitary facilities.
f.
Food and beverage service. If food and beverage service is to be provided, a plan to provide such services and evidence of other necessary approvals or licenses.
g.
Parking and transportation. A parking and transportation plan and the necessity for police assistance.
h.
Admissions schedule. A rate, fee or admissions schedule for all or a portion of the activity, if applicable.
i.
Unique concerns. Any other concerns unique to the particular activity.
(2)
Submission of application. The applicant shall submit an application to the planning director that contains those materials specified in Subsection (c), Application Contents.
(3)
Staff review. Staff review of the application shall be accomplished, as specified in Section 16a-5-50, Staff Review of Application.
(4)
Action by decision-making body. A complete copy of the application shall be forwarded to the decision-making body, together with a copy of the staff review.
a.
Administrative temporary use. If the application is for an administrative temporary use permit, or is for the renewal of a previously issued annual temporary use permit that will remain substantially as previously approved, then the Planning Director shall issue a written decision notice approving, approving with conditions or denying the application, based on the standards in Subsection (d), Review Standards. Prior to issuance of any administrative temporary use permit, the Planning Director shall forward a complete copy of the application to the Town Council, to notify the Council members of the pending action.
b.
Annual temporary use permit. If the application is for an annual temporary use permit, then the planning Commission shall review the application, considering the standards of Subsection (d), Review Standards, and shall make its recommendations to the Town Council. Public notice that the Town Council will consider the application shall be given by publication and posting of notice, pursuant to Section 16A-5-60(b), Manner and Timing of Notice. The Town Council shall hold a public hearing to consider the application. The public hearing shall be conducted pursuant to Section 16A-5-70(2), Conduct of Public Hearing. The Town Council shall consider all relevant materials and testimony, shall consider the standards in Subsection (d), Review Standards, and shall, by resolution, approve, approve with conditions or deny the application.
(5)
Actions subsequent to approval.
a.
Appeal of administrative temporary use permit. A decision by the planning director concerning an application for an administrative temporary use permit may be appealed, pursuant to the provisions of Section 16A-5-80, Appeals. The appeal shall be referred to the Town Council, which shall consider the matter pursuant to Section 16A-5-80(d), Procedure.
b.
Changes or modifications. Any proposed changes or modifications to an approved temporary use permit may be approved by the Planning Director, provided such changes or modifications are insubstantial in nature and are generally consistent with the original approval. All other proposed changes shall require repetition of the procedures for obtaining the temporary use permit.
c.
Expiration. An administrative temporary use permit shall expire at the conclusion of the period for which it was granted, and shall not be extended or continued.
(c)
Application Contents. An application for an annual or an administrative temporary use permit shall contain the following materials:
(1)
Minimum contents. The minimum contents for any application, as specified in Section 16a-5-40(b), Minimum Contents.
(2)
Site drawing. A drawing illustrating the characteristics of the site and surrounding area that are pertinent to the application, including its location, significant natural and manmade features, with particular attention to natural hazards, resources or other special areas of concern, the size and accessibility of the site and surrounding development and land use.
(3)
Notice of traffic disruption. Should the temporary use involve major disruptions in normal traffic flow, the applicant shall provide evidence as to how traffic disruption will be mitigated.
(4)
Liquor license. Evidence that a liquor license or any other necessary town application has been submitted to the Town Clerk, whenever applicable.
(5)
Approval by landowner. If the applicant is not the landowner, then the applicant shall present evidence to show approval of the landowner for the particular use.
(d)
Review Standards. An application for special event or an annual or an administrative temporary use permit shall comply with the following standards.
(1)
Use shall be appropriate. The proposed temporary use or special event shall be appropriate in the particular location, taking into consideration the nature of the use, its relationship to surrounding land uses and its impact with respect to environmental, social and economic matters.
(2)
Use shall comply with policies and regulations. The proposed temporary use or special event shall comply with the Town's adopted policies and regulations, and shall not violate any applicable state, county or federal laws.
(3)
Applicant's skills and experience. The applicant shall demonstrate that he or she possesses the requisite skill and experience to ensure that the particular activity will be conducted in a safe and orderly manner.
(4)
Written approval. The applicant shall obtain written approval from all reviewing agencies having jurisdiction over the proposed temporary use or special event.
(e)
Conditions Authorized. In granting a temporary use or special event, the Town Manager, Planning Director or Town Council may impose reasonable conditions upon the permit, but shall in any event require the applicant to abide by at least the following conditions:
(1)
Disruptions in traffic. Should the temporary use or special event involve major disruptions in normal traffic flow, the applicant shall mitigate for traffic disruption.
(2)
Liquor license. Should the temporary use or special event involve obtaining a liquor license, the applicant shall comply with all applicable Town liquor license requirements.
(3)
Other considerations. Such other considerations as may be necessary including, but not limited to, provision for a damage or clean-up deposit, additional fees, hours of operation, sanitation requirements, traffic control, parking, transportation and provisions for utility service.
(f)
Penalties. Violation of any term or condition of a special event or an annual or an administrative temporary use permit by the permittee, its agents or employees shall subject the permittee to the penalties set forth in Section 1-72 of the Municipal Code. In addition, where probable cause exists to suspect that a violation of any term or condition of a special event or temporary use permit will pose a threat to public health, safety or welfare, the Chief of Police is hereby authorized to revoke a special event or temporary use permit and to require that any activity authorized thereby cease and desist immediately.
(Ord. 4-1998 §1; Ord. 15-2000 §1; Ord. 6-2015 §§2, 7(Exh. A))
Editor's note— Ord. No. 6-2015 §2(Exh. A), adopted July 20, 2015, changed the title of § 16A-5-260 from "Temporary uses" to read as herein set out.
(a)
Purpose. The purpose of zoning plan review is to allow detailed administrative review of development proposals that would not otherwise require submission of a development application, in order to ensure compliance of the proposal with the provisions of this Land Use and Development Code.
(b)
Applicability. Zoning plan review shall be required for the following types of activities:
(1)
Construction. All construction, reconstruction, exterior renovation, conversion, expansion, enlargement, structural alteration, relocation, change in use, or change in intensity of use of any, multi-family, hotel, or commercial or other nonresidential dwelling, structure or property. The construction, reconstruction or addition of site or structural retaining walls within single-family residential property shall also require zoning plan review.
(2)
Grading. All grading, berming, filling, clearing, excavating, site preparation or significant vegetation removal or landscaping for any property used or to be used for any single-family, multi-family, hotel or commercial or other nonresidential dwelling, structure or property.
(3)
PUD. Any development proposed to a property designated Planned Unit Development (PUD) on the Official Zone District Map or any development proposed to property within a previously approved PUD that would not otherwise require submission of a PUD or PUD amendment application. Zoning plan review shall not be required for any single-family dwelling or duplex dwelling within a previously approved PUD except as may be required by Subparagraphs (1) and (2) above.
(c)
Procedure. The following procedures shall apply to an application for zoning plan review. The procedures are the same as the steps illustrated in Figure 5-8, Administrative Modification Application Procedures.
(1)
If building permit required. Zoning plan review for development involving construction, grading or landscaping submitted to be reviewed pursuant to Chapter 18, Building Regulations, of the Snowmass Village Municipal Code shall be reviewed as part of the building permit process. The building permit plans shall be sufficiently detailed to show the extent of the development proposed and shall contain the information specified in Section 16A-5-270(d), to the extent that the information is applicable to the proposed development. Zoning plan approval may be granted if it is determined:
a.
The development proposed within the building permit plans comply with all applicable standards of the Land Use and Development Code, including but not limited to, the Development Evaluation Standards; and
b.
Any applicable terms and conditions imposed by the Town on any prior approval granted to the property have been satisfied.
(2)
If building permit not required. The following procedures shall apply to an application for zoning plan review of any development not reviewed pursuant to Chapter 18, Building Regulations, of the Snowmass Village Municipal Code:
a.
Pre-application conference. Attendance at a pre-application conference is optional prior to submission of an application for site plan review. Applicants are encouraged to attend the pre-application conference to discuss whether any other application procedures apply to the proposed development and to determine which of the submission contents for site plan review will apply to the application.
b.
Submission of application. The applicant shall submit an application to the Planning Director that contains the following applicable materials:
1.
Minimum contents. The minimum contents for any application, as specified in Section 16A-5-40(b), Minimum Contents.
2.
Site plan. A site plan of the subject property. The site plan shall be sufficiently detailed to show the extent of the development proposed. The site plan shall contain the information specified in Section 16A-5-270(d), as that information is applicable to the proposed development.
3.
Other reports and plans. Any other reports or plans that the Planning Director determines are necessary to demonstrate the proposal's conformance with the Town's Development Evaluation Standards contained in Article IV of the Land Use and Development Code.
c.
Staff review. Staff review of the application shall be accomplished, as specified in Section 16A-5-50, Staff Review of Application.
d.
Action by Planning Director. Following staff review of the application, the Planning Director shall determine whether the application complies with the standards of this Section. Based on this determination, the Planning Director shall issue a written decision notice approving the application, approving the application with conditions or denying the application. Provided, however, that the Planning Director may determine that the scope and nature of the development proposed in the zoning plan may create impacts that would be of significance to the community, or may determine that issues have arisen that cannot be resolved between staff and the applicant, and may refer the application to the Planning Commission, or to the Planning Commission for recommendation to the Town Council. The standards for zoning plan review by the Planning Director, Planning Commission or Town Council are as follows:
1.
Compliance with Code. The zoning plan shall comply with all applicable standards of the Land Use and Development Code, including but not limited to, the Development Evaluation Standards; and
2.
Compliance with prior conditions. The zoning plan shall comply with any applicable terms and conditions imposed by the Town on any prior approval granted to the property.
e.
Appeal. A decision by the Planning Director or Planning Commission on a zoning plan may be appealed, pursuant to Section 16A-5-80, Appeals. The appeal shall be referred to the Town Council, which shall consider the matter pursuant to Section 16A-5-80(d), Procedure.
f.
Recording. When required as a condition of zoning plan approval, the applicant shall submit two (2) Mylar copies of the zoning plan, together with any other documents that are to be recorded. The required documents shall be submitted within ninety (90) days of the date of the site plan's approval. The Planning Director shall review the documents to ensure they comply with the terms and conditions of the approval, shall obtain signatures for all of the applicable certificates on the zoning plan and shall return the documents to the applicant. The applicant shall promptly cause the documents to be recorded in the records of the County Clerk and Recorder, at the applicant's expense.
g.
Amendments. An amendment to an approved zoning plan shall be reviewed by the Planning Director, who may approve the application, approve it with conditions or deny it, based on whether the proposed amendment complies with the standards for site plan review, above.
(d)
Submission Contents for Zoning Plan. The zoning plan shall contain the materials listed below. The information may be provided on a single sheet or a set of sheets, as appropriate. The Planning Director is authorized to waive any of these requirements if the material would not be applicable to the proposed development. The Planning Director is also authorized to allow an applicant who wishes to obtain zoning plan approval for a particular phase of development to seek approval for just that phase. For example, an applicant who proposes to grade a site or to install utilities might only be required to submit the applicable grading or utilities plan.
(1)
Site information.
a.
Boundaries. Perimeter boundary of the subject site and lot lines, if the application is for multiple lots.
b.
Natural features. Natural site features, including watercourses, one-hundred-year flood plain, wetlands, riparian areas, sensitive wildlife habitat areas, geologic hazard areas and ridgeline protection areas. Topography shall be depicted at two-foot contour intervals.
c.
Easements and building envelopes. All easements affecting the property, and any building envelopes that may have previously been designated for the property.
(2)
Proposed development.
a.
Footprints and setbacks. Proposed footprints of all principal and accessory structures. The setbacks from structures to property lines shall be dimensioned. Any required setbacks to flood plain, riparian, wetland or ridgeline areas shall also be dimensioned.
b.
Streets, parking areas and utilities. Location and width of any existing or proposed streets, driveways, points of access, sidewalks and trails. Existing and proposed parking areas shall be shown, including the location and dimensions of all parking spaces and driving aisles. The location of existing and proposed water lines, fire hydrants, sewer lines, drainage facilities and other utilities shall also be shown.
c.
Public spaces. Locations of any public spaces, plazas, outdoor seating areas, trash enclosures, recycling facilities and loading docks.
d.
Landscape plan. A landscape plan depicting the type, amount, size, species and location of all plant materials, with a planting schedule. Plans for irrigating landscaped areas shall be provided, if applicable. The plan shall show the location of all existing trees with a trunk circumference of fourteen (14) inches or more measured four and one-half (4½) feet above the ground and shall indicate which trees are proposed to be removed. Where large groves of trees are to remain undisturbed, single trees need not be located. The landscape plan shall also show the location of proposed light fixtures and the location and dimensions of all snow storage areas.
e.
Building elevations. Building elevations at a vertical scale of not less than one-eighth inch equals one foot (⅛" = 1') or larger of all significant facades of the proposed buildings. Building elevations shall be of sufficient detail to indicate building openings, materials proposed for the roof and exterior of the buildings, decks and other architectural features of the building, including chimneys and mechanical areas and features affecting the roof lines of all proposed buildings.
f.
Grading plan. Existing and proposed grades at a contour interval of two (2) feet or less, based on field survey controls, including location with proposed grades and elevations for all buildings, roads, walks, storm sewers and other drainage structures and devices, retaining walls and other landscape features. The plan shall provide designs for sediment control devices to be employed, including specifications of how graded areas will be stabilized and revegetated after construction is completed.
(Ord. 15-2000 §1)
(a)
Purpose. The purpose of the planned unit development (PUD) process is to permit variations from the strict application of certain standards of the Town's zone districts in order to allow flexibility for landowners to creatively plan for the overall development of their land and thereby, to achieve a more desirable environment than would be possible through the strict application of the minimum standards of this Development Code. Specifically, it is the purpose of the planned unit development process to:
(1)
Allow creativity. Allow a creative approach to the development and use of land and related physical facilities to produce better developments and to obtain amenities for residents of the PUD and the public in general.
(2)
Allow variations. Allow a developer variations from certain requirements of the underlying zone district, provided such variations are consistent with the Comprehensive Plan, and will result in benefits for the community.
(3)
Maximize choice. Maximize choice in the type of developments available to the public.
(4)
Preserve natural features. Create patterns of development that preserve valued environmental resource lands and avoid the development of natural hazard areas.
(5)
Create efficient land use patterns. Relate residential, commercial and community facilities in a manner that promotes cost effective transportation systems and population distribution, and enhances pedestrian access and movement that might not otherwise be achieved under the strict application of the requirements of underlying zoning.
(6)
Ensure public input. Ensure appropriate levels of public input to the planning process, so that sensitive areas of the community can be developed in accordance with community goals and objectives.
(7)
Increase community value. Allow flexibility for landowners to beneficially plan for the overall development of their land to the extent that the final product presents a net positive result for the community.
(b)
Overview of PUD Procedure. A PUD application shall be reviewed pursuant to the procedures and standards of this Section.
(1)
Major or minor PUD. The procedures applicable to a particular PUD are dependent on whether the project is classified as a minor or a major PUD. The criteria for classifying projects as major or minor are described in Table 5-3, Criteria for Classifying PUD's as Major or Minor. If a proposed development activity does not fit within the criteria listed in the table, then the Planning Director shall determine whether the proposal should be classified as a major or minor development, taking into consideration whether or not it would be beneficial for the Town to review a sketch plan of the proposed development.
Table 5-3
Criteria for Classifying PUD as Major or Minor
(2)
Steps in PUD review process. A major PUD shall be processed according to the following review steps, as further described herein:
a.
Sketch PUD plan review by the Planning Commission and Town Council.
b.
Preliminary PUD plan review by the Planning Commission.
c.
Preliminary PUD plan review by the Town Council.
d.
Final PUD plan review by the Town Council.
A minor PUD shall be processed according to the same review steps as a major PUD, except that a minor PUD shall not be required to proceed through sketch PUD plan review.
(3)
One (1) major PUD under review. Unless otherwise authorized by resolution of the Town Council, there shall only be one (1) major PUD application under review by the Planning Commission and one (1) other major PUD application under review by the Town Council at any time. The Planning Director shall establish procedures to administer this policy, based on the following provisions:
a.
Priority to first complete application. Scheduling priority shall be given to the first complete major PUD application received, provided that:
1.
Any project that has received sketch plan approval shall receive scheduling priority upon submission of its preliminary and final plan applications; and
2.
Any major PUD application that the Town Council determines serves a public purpose shall receive scheduling priority over all other development applications.
b.
Requests for additional information. In order to allow for development review to proceed in a timely and fair manner, applicants who are requested by the Planning Commission or Town Council to submit additional information or to amend their application which are necessary for the uninterrupted continuous review shall submit a complete package of the requested materials to the Planning Director at least fourteen (14) days prior to the next scheduled meeting of that board. If an applicant does not submit the requested materials in a timely manner or if the applicant requests that the processing of their application be delayed, the next prioritized application will be scheduled before that review board. However, once the applicant submits a complete package of the requested materials to the Planning Director or the applicant has requested that the review of their application recommence, the application shall receive the next available scheduling priority, as determined by the Planning Director, over all other development applications. The provisions of this paragraph shall also apply to a submission being processed under the provisions of Chapter 16.
c.
Sketch plan review accommodation. If the processing status of an existing application with scheduling priority allows, the Planning Director may schedule a new sketch plan application for review before the Planning Commission or the Town Council at meetings that do not delay the processing of the existing application.
(c)
General Restrictions. Although one (1) of the purposes of these PUD regulations is to provide flexibility in the land development process, this Section is intended to define the limits of that flexibility. The following restrictions shall apply to all PUDs:
(1)
Minimum land area. There shall be no minimum land area qualification in order to be eligible to apply for a PUD, provided that PUD approval shall not be granted solely to permit variations to develop a single lot, building or use.
(2)
Location. A PUD may be developed on any land located within the Town.
(3)
Uses. The land uses permitted in a PUD shall be limited to those uses that are allowed, or are allowed by special review, in the underlying zone district.
(4)
Maximum buildout. The Comprehensive Plan contains an analysis of future buildout of single-family subdivisions and other developments within the Town limits. It identifies the maximum number of future lots/units and commercial/other space that may be developed within each subdivision, parcel or other development. The Unit Equivalency Chart, found in Table 5-4, defines what constitutes a unit by distinguishing between the various dwelling types and sizes and specifying an equivalency factor to be utilized to establish the number of existing units within a currently developed parcel and/or the future buildout units that will be generated by the proposed new development. The buildout analysis, for the purpose of determining maximum buildout, shall be conducted as follows:
a.
Undeveloped parcels. For undeveloped parcels containing no dwelling units, the Comprehensive Plan future buildout chart shall be used to establish the maximum number of future lots/units and commercial/other space that may be developed within the parcel, and the Unit Equivalency Chart shall be used to determine the number of future buildout units that are being proposed by the new development.
b.
Partially developed parcels. For partially developed parcels, each existing dwelling unit or residential lot shall first be counted as one (1) unit. The total number shall then be subtracted from the future buildout number specified within the Comprehensive Plan buildout chart to establish the available buildout unit amount. The Unit Equivalency Chart shall then be used to evaluate the existing development and to establish the existing buildout unit amount. The total of the available and existing unit/lot amounts shall then be considered as the future buildout unit amount used for determining maximum buildout, and the Unit Equivalency Chart shall be used to determine the number of future buildout units that are being proposed by the new development.
c.
Fully developed parcels. For parcels where the total number of the existing dwelling units, where each dwelling unit or residential lot is counted as one (1) unit, equals the future buildout number specified within the Comprehensive Plan buildout chart, the Unit Equivalency Chart shall be used to evaluate the existing development and to establish the existing buildout unit amount. The existing buildout unit amount shall then be considered as the future buildout unit amount for determining maximum buildout, and the Unit Equivalency Chart shall be used to determine the number of future buildout units that are being proposed by the new development.
If the Town Council determines that the PUD complies with the applicable provisions of this Subsection (c), General Restrictions, the standards of Section 16A-5-310, Review Standards, and any other applicable provisions of this Code, then a PUD may develop up to, but not more than, sixty-five percent (65%) of the maximum number of future lots/units and commercial/other space identified for that subdivision or other development in the buildout analysis. The Town Council may approve a buildout that is less than or greater than sixty-five percent (65%), based on the following standards:
a.
Lesser buildout. A lesser buildout may be approved by the Town if, during the evaluation of the compliance of the PUD with the applicable review standards, it is determined that there are site specific physical constraints on the property that would limit its appropriateness for buildout (such as the presence of wetlands, flood plains, steep slopes or wildlife habitat), or the applicant has been unable to adequately provide public improvements or services necessary for the development, or the buildout would be incompatible with surrounding land uses or with the character of the community as described in Section 16A-4-340, Building Design Guidelines to Preserve Community Character, or if other pertinent limitations are identified.
b.
Greater buildout. A greater buildout may be approved if the Town Council finds that the PUD achieves one (1) or more of the purposes described in Subsection (c)(6), Community Purposes for PUDs, and the PUD complies with the other applicable provisions of this Subsection (c), General Restrictions, the standards of Section 16A-5-310, Review Standards, and any other applicable provisions of this Code. No buildout may be permitted to exceed one hundred percent (100%) of the maximum number of future lots/units and commercial/other space listed for that subdivision, parcel or other development, except that under unique and exceptional circumstances where it can be sufficiently demonstrated by the applicant that the resulting development will, for good cause shown, exceed the PUD review criteria standards, a reconsideration and amendment of the future buildout analysis chart allocation for that subdivision, parcel or other development may be considered. The Town Council shall then adopt an ordinance, approved by at least three-quarters (¾) of the members of the Town Council present and voting, amending the future buildout analysis chart and identifying the reasons why the amendment is warranted.
(5)
Dimensional limitations. Certain dimensional limitations applicable to the property may be varied within a PUD. The limitations that may be varied are those of the underlying zone district; or, for properties for which a PUD or other development plan has previously been approved, the limitations set by that approval. For any property designated PUD or SPA without an underlying zone district, the applicant shall submit an application for an amendment to the Official Zone District Map to designate the underlying zone district for the property. This application shall be submitted in conjunction with the preliminary PUD application and shall be used to rezone the property at the time of final PUD approval to a zone district containing dimensional limitations in order to establish the applicable dimensional limitations for the property. Only the following dimensional limitations may be varied:
a.
Maximum allowable height of any structure within the PUD;
b.
Minimum open space requirement for the PUD;
c.
Maximum allowable floor area of the PUD;
d.
Minimum area of lots within the PUD; and
e.
Minimum setbacks for buildings within the PUD.
A dimensional limitation may be varied when the Town Council finds that the PUD achieves one (1) or more of the applicable purposes listed in Subsection (c)(6), Community Purposes for PUDs, that granting of the variation is necessary for that purpose to be achieved, and that the resulting development will be consistent with the provisions of Subsection (c)(7), Standards for Granting of Variations, and Section 16A-5-310, Review Standards.
(6)
Community purposes for PUDs. The Comprehensive Plan identifies certain purposes the community intends to achieve as it develops. The following purposes shall be used in determining whether the buildout for a PUD may exceed sixty-five percent (65%) of that identified in the buildout analysis and whether any of the parcel's dimensional limitations should be varied:
a.
Provision of restricted housing. A parcel's maximum buildout may be achieved and its dimensional limitations may be varied to offer an incentive to applicants to provide more restricted housing within the PUD than would otherwise be required by this Development Code, particularly in those priority locations for such housing identified within the Comprehensive Plan.
b.
Encourage sustainable development. A parcel's maximum buildout may be achieved and its dimensional limitations may be varied to encourage sustainable development within the Town that diversifies the mix of lodging, retail and dining uses and that is consistent with the intent of the Comprehensive Plan. Sustainable development may be of the type that creates a sense of place where one can live and work within a small defined service area as well as where recreation, public transportation, open space, personal services and shopping are within reasonable walking distance. It may also be where the development includes positive social, environmental or economic benefits that significantly contribute to, greatly enhance or are determined necessary for the sustainability of the community as a whole.
c.
Provide open space and/or avoid wildlife habitat. A parcel's maximum buildout may be achieved and its dimensional limitations may be varied to provide necessary site planning flexibility to enable the development to provide more and higher quality open space or to conserve critical wildlife habitat lands. This shall be accomplished in such a way as to maintain these lands as large, contiguous areas. Such lands shall not be fragmented into small, unconnected areas by development, unless the applicant demonstrates that this arrangement will result in the most suitable development pattern for the property, and that the lands providing valued open space or critical wildlife habitat have been protected. Where applicable, connections of such lands on the site to such lands on adjacent properties shall be accomplished.
d.
Encourage better design. A parcel's dimensional limitations may be varied (but its maximum buildout may not be achieved) to allow for greater variety in the type, design and layout of buildings. Structures shall be designed to be compatible, in terms of height, mass, scale, orientation and configuration, with other buildings in the PUD and with surrounding uses, yet shall avoid uniformity of design. Various types of residential uses may be combined within the PUD (when allowed by the underlying zone district), to promote more efficient land use patterns and increased open space.
e.
Develop necessary public facilities. A parcel's maximum buildout may be achieved and its dimensional limitations may be varied to provide an incentive for an applicant to develop, or contribute to the development of, necessary public facilities, such as public parking and transportation facilities, public recreation facilities and other public facilities consistent with the intent of the Comprehensive Plan and the Town's goals and objectives. The facilities may be located within or outside of the PUD, but shall be facilities beyond the required mitigation for the project that meet the needs not only of project residents, but also of other residents of and visitors to the Town and shall promote, generally, the public health, safety and welfare.
Achieving one (1) or more of the applicable purposes listed above does not, by itself, grant any development entitlement for the buildout of a PUD to exceed sixty-five percent (65%) of that identified in the buildout analysis or for any of the parcel's dimensional limitations to be varied.
(7)
Standards for granting of variations. Any PUD dimensional limitation variation authorized in Subsection (c)(5), Dimensional limitations, may be granted by the Town Council, provided that it complies with the following standards:
a.
Height. Variations to increase the maximum allowable height of structures may be obtained pursuant to the following provisions:
1.
A request to grant a variation to increase the maximum allowable height for any individual structure may be granted by the Town Council, provided that at least fifty percent (50%) of the structure for which the variation is sought, as measured utilizing the structure's footprint, conforms to the height limits of the underlying zone district, provided further that no portion of the structure exceeds the height limit of the underlying zone district by more than seventy-five percent (75%).
2.
In exceptional and special circumstances, a request to grant a variation to increase the maximum allowable height for individual structures may be permitted to exceed the fifty-percent or seventy-five-percent limitation described in the preceding paragraph, if the applicant is able to sufficiently demonstrate to the satisfaction of the Town Council that:
a)
Views from surrounding properties, as determined through the use of detailed view plane analysis, which may include computer-generated visualizations, story poles and other methods acceptable to the Planning Director, will not be substantially adversely affected. The surrounding properties to be considered will include those immediately adjacent to the PUD and those that are identified by the Planning Commission and the Town Council during their respective review and public comment periods.
b)
The proposed structure will be compatible, in terms of height, mass, scale, orientation and configuration, with other structures in the PUD and with adjacent structures.
If the variation exceeds the fifty-percent or seventy-five-percent limitations described in the preceding paragraph, the variation and the Preliminary PUD Plan resolution must be approved by at least three-quarters (¾) of the Town Council members present and voting, for good cause shown and by identifying the reasons why the height variation is warranted.
3.
For the purposes of administering paragraph (7)a, the Town Council may grant by simple majority vote, a height variation for certain structures, such as flagpoles, antennas and other similar structures which have only a nominal footprint. Ski-lift towers and related facilities are exempt from requiring height variation approval.
4.
In circumstances where two (2) structures have been connected by an enclosed walkway, corridor, atrium or other enclosed space whose width or height is less than fifty percent (50%) of either the width or height of either of the otherwise separate structures measured from the side being connected, the provisions of paragraph (7) shall be applied to each structure separately rather than as one (1) structure.
b.
Open space and minimum lot area. A variation to reduce the minimum open space requirement or to reduce minimum lot area (in order to cluster lots) may be permitted if:
1.
Such variation will not be detrimental to the character of the proposed development or to surrounding properties;
2.
The proposed development shall include open space for the mutual benefit of the entire development; and
3.
The open space that is provided is accessible and available to at least all dwelling units and lots for which the open space is intended.
c.
Minimum building setbacks. Minimum building setbacks shall be established by the PUD plan, provided adequate distance shall be left between buildings for necessary access and fire protection, and to ensure proper ventilation, light, air and snowmelt between buildings, and to minimize the effects of transmission of noise between units and between buildings.
(8)
Parking. The number of parking spaces in the PUD shall be that required for the underlying zone district, unless a reduction in that requirement is granted, pursuant to Section 16A-4-310(c), Reduction of Required Parking.
(9)
Road standards. A PUD may be permitted to deviate from the Town's road standards, to enable the development to achieve greater efficiency of infrastructure design and installation through clustered or compact forms of development or to achieve greater sensitivity to environmental features, when the following minimum design principles are followed:
a.
Safe, efficient access. The circulation system shall be designed to provide safe, convenient access to all areas of the proposed development using the minimum practical roadway length. Access shall be by a public right-of-way, private vehicular or pedestrian way or a commonly owned easement.
b.
Internal pathways. Internal pathways shall be provided to form a logical, safe and convenient system for pedestrian access to dwelling units and common areas, with appropriate linkages off-site.
c.
Emergency vehicles. Roadways shall be designed to permit access by emergency vehicles to all lots or units. An access easement shall be granted for emergency and utility vehicles, as applicable, to use private roadways in the development for the purpose of providing emergency services and for installation, maintenance and repair of utilities.
d.
Principal access points. Principal vehicular access points shall be designed to provide for smooth traffic flow, minimizing hazards to vehicular, pedestrian or bicycle traffic. Where a PUD abuts a major collector, arterial road or highway, direct access to such road or highway from individual lots, units or buildings shall be prohibited when other reasonable access options are available.
e.
Snow storage. Adequate areas shall be provided to store snow removed from the internal street network and from off-street parking areas.
(10)
Adequate public facilities. A final plan shall not be approved unless the Town Council determines that public facilities will be adequate to support and service the area of the proposed development or that needed public facilities and services will be made available concurrently to offset the potential impacts of such development. Public facilities and services to be examined will include, but not be limited to: storm drainage, roads and their maintenance, public transportation service and facilities, pedestrian circulation, sewerage and sanitary facilities, water availability and serviceability, solid waste disposal, fire and emergency medical services and electrical service. The applicant shall show that:
a.
Adequate facilities and carrying capacity exist at the time of development or will be provided to the PUD and affected areas prior to completion of each building or phase of the development necessitating the demand for said facilities or capacity;
b.
The PUD has been located so as to be reasonably convenient in relation to police and fire protection, emergency medical services and schools;
c.
The PUD will accommodate the efficient provision of local and regional transit facilities and services.
(Ord. 4-1998 §1; Ord. 13-1998 §1; Ord. 1-1999 §1; Ord. 6-1999 §1; Ord. 15-2000 §1; Ord. 05-2004 §1; Ord. 08-2004 §1; Ord. 16-2010 §1)
In addition to demonstrating compliance with the provisions of Section 16A-5-300(c), General Restrictions, and with all other applicable provisions of this Code, a proposed PUD shall also comply with the following review standards.
(1)
Consistency with Comprehensive Plan. The PUD shall be consistent with the intent of the Town's Comprehensive Plan.
(2)
Preservation of community character. The development proposed for the PUD shall be consistent with the standards of Section 16A-4-340, Building Design Guidelines to Preserve Community Character, shall be compatible with, or an enhancement of, the character of existing land uses in the area and shall not adversely affect the future development of the surrounding area.
(3)
Creative approach. The development proposed for the PUD represents a creative approach to the development and use of land and related physical facilities to produce better developments and to provide amenities for residents of the PUD and the public in general.
(4)
Landscaping. Proposed landscaping for the PUD shall provide sufficient buffering of uses from one another (both within the PUD and between the PUD and surrounding lands) to minimize noise, glare and other adverse impacts, shall create attractive streetscapes and parking areas and shall be consistent with the character of the Town.
(5)
Comply with development evaluation standards. The PUD shall comply with all applicable provisions of Article IV of this Development Code, Development Evaluation Standards.
(6)
Suitability for development. The property proposed for the PUD shall be suitable for development, considering its topography, environmental features and any natural or man-made hazards that affect its development potential.
(7)
Spatial pattern shall be efficient. The PUD shall be located to avoid creating spatial patterns that cause inefficiencies in the delivery of public services, or that require duplication or premature extension of public facilities.
a.
Roads. Any new road developed to serve the PUD shall be continuous and in alignment with existing platted streets to which the street is to be connected. Where appropriate, new streets shall be planned so that they can create an interconnected Town road network, with provision for adequate road and utility easements. Where cul-de-sacs are used in the development, the applicant is encouraged to provide a trail or similar pedestrian link between them.
b.
Water and sewer lines. Any water or sewer line extension necessary to serve the PUD shall be consistent with the Snowmass Water and Sanitation District's service plan and the Town's Comprehensive Plan.
(8)
Phasing. If the PUD is to be developed in phases, then each phase shall contain the required streets, utilities, landscaping and other public facilities or improvements that are necessary and desirable for residents of the project. If the PUD incorporates any amenities for the benefit of the Town, such as trail connections, these shall be constructed within the first phase of the project, or, if this is not possible, then as early in the project as is reasonable. The pace and phasing shall be evaluated with regard to construction impacts along with possible interruption of construction as it would affect the community as a whole.
(9)
Construction interruptions. The development application shall provide a reasonable restoration and/or remediation contingency plan to mitigate impacts resulting from any potential extended interruption of construction affecting the community as a whole. Surety or security may be necessary to ensure implementation of the plan.
(Ord. 4-1998 §1; Ord. 13-1998 §1; Ord. 1-1999 §1; Ord. 15-2000 §1; Ord. 16-2010 §1)
(a)
Purpose. The sketch plan review is an opportunity for the Town and the applicant to engage in an exploratory discussion of a development proposal, to raise issues and concerns and to examine alternative approaches to development of the property. The applicant is encouraged to provide a written or graphic description of any alternative ideas that were considered as the sketch plan was being prepared. It should be expected that the development proposal may evolve during the course of sketch plan review.
(b)
Sketch Plan Review Intent and Issues. To encourage the consideration of alternatives and to allow the sketch plan to evolve, overly detailed preliminary plan level sketch plans will not be considered. The questions the Planning Commission and Town Council should consider in a conceptual manner during review of the sketch plan (depending upon the size and complexity of the proposal) include the following:
(1)
Use. Is the use proposed for the property generally appropriate in this location? Is it consistent with the intent of the underlying zone district and the character of surrounding uses?
(2)
Comprehensive Plan. Is the proposed development generally consistent with the Town's Comprehensive Plan? Is the proposed buildout within the range anticipated for the property? If the applicant proposes a buildout in excess of sixty-five percent (65%) of that identified in the Comprehensive Plan, then are the community purposes the applicant proposes to achieve the appropriate ones for this development to accomplish?
(3)
Architecture and landscaping. Are the buildings proposed to be developed in appropriate locations? Is the mass, scale and density of the buildings generally compatible with the character of the community and that of surrounding buildings? How much of the site is proposed to be common or dedicated open space? Is this an adequate amount of open space and does it appear to be in the appropriate locations?
(4)
Natural resource and hazard areas. What are the natural resource and hazard areas on the property? Is mitigation appropriate?
(5)
Access and circulation. Is the conceptual location, alignment and type of entry roads and the primary on-site roads acceptable? Should the applicant provide transportation options for residents, visitors, guests and employees and, if so, what type of options may be most appropriate?
(6)
Parking. Should the applicant provide on-site parking for the development in compliance with the standards of this Code, or should the applicant reduce parking below these standards, as provided in Section 16A-4-310, Off-Street Parking Standards?
(7)
Timetable. What is the proposed timetable for the development? Is it most appropriate for the development to occur all at once or in phases? If phasing is appropriate, then which portions of the project should proceed first?
(8)
Community welfare. Do the concepts contained in the proposed development promote the public health, safety and welfare?
(c)
Sketch Plan Review Procedure. The following procedures shall apply to an application for review of a sketch PUD plan. These procedures are illustrated in Figure 5-3, Sketch PUD Application Procedures.
(1)
Pre-application conference. Attendance at a pre-application conference is mandatory prior to submission of an application for sketch PUD plan review.
(2)
Submission of application. The applicant shall submit an application to the Planning Director that contains the following materials:
a.
Minimum contents. The minimum contents for any application, as specified in Section 16A-5-40(b), Minimum Contents.
b.
Location map. A scale map showing the location and size of the site, and existing land uses, zone districts and major roads within three hundred (300) feet of the site. The name, location and boundaries of any subdivisions that are part of the larger tract shall also be shown.
c.
Statement of objectives. A written description of the proposed development. This shall include a statement of the objectives to be achieved by the planned unit development and a conceptual description of any proposed variations from the standards of the underlying zone district that are being requested.
d.
Sketch plan. A sketch development plan, which shall include the following:
1.
General. The property boundaries of the site, title of the proposed development, date of preparation, bar-type or graphic scale and north arrow (designated as true north).
2.
Site characteristics. Existing site characteristics, showing existing groves of trees and other major types of vegetation, structures within the site, the location of roads and structures within three hundred (300) feet of the site, wildfire hazard areas, wildlife habitat areas, streams, flood plains, drainage ways, topography (depicted at a minimum of ten-foot contour intervals), areas of natural and disturbed slopes in excess of thirty-percent grade, prominent ridgelines, avalanche areas and any other prominent geologic hazards or features.
3.
Utilities. Approximate locations of existing major utility lines and easements, irrigation ditches, bridges and similar physical features, and existing development on adjacent property. Conceptual plans for water supply, sewage disposal, fire protection and drainage facilities shall also be provided, which plans may be in a prose format.
4.
Proposed land use. General location and configuration of proposed land use types, including setbacks and common and public open space. The plan shall show the proposed lots or development tracts and street layout, indicating the approximate area of individual lots or tracts, access to the property, connection of proposed streets to existing streets and plans for pedestrian circulation and trails. If the applicant intends to develop the PUD in phases, then the sketch plan shall provide a land use master plan for the applicant's entire land ownership, unless the applicant shall demonstrate to the Town Council, at its sole discretion, that preparation of a land use master plan for the entire ownership would place an unreasonable burden on the applicant or would be premature at this time. Following approval of the sketch plan, the applicant may, if so authorized by the Town Council, submit the preliminary plan in phases and need not submit detailed land use information for the entire ownership in order to be deemed to have submitted a complete preliminary plan.
5.
Landscaping. A simple conceptual depiction and/or narrative description of the intended revegetation and landscaping components of the plan.
e.
Simple sketches. Simple sketches, massing diagrams or models, that are not required to show detailed fenestration or architectural details, which show building mass, scale and height in a conceptual manner in relation to natural features, and the relationship of the various development components to their respective sites, the surrounding area and each other. A sketch or narrative description should be included that adequately expresses the typical or overall intended architectural theme, character and fenestration for the project.
f.
Summary. A sketch plan summary containing the following:
1.
Type. A description of the type of dwelling units and other buildings or structures.
2.
Size. The average square footage of all dwelling units, buildings and other structures proposed by type of unit, the total square footage of all structures by type, the approximate number of bedrooms and the gross residential density in units per acre.
3.
Floor area. The ratio of the total floor area of all proposed structures, by type, to the area of land within the development.
4.
Population. The anticipated population to be generated by the development (permanent residents, employees and tourists).
5.
Market. A general statement of the target market and form of ownership for the dwelling units.
6.
Open space. The amount of common and/or public dedicated open space.
7.
Height. The maximum and average height of all buildings and structures, by type.
8.
Employees. The number of employees required to operate the proposed development, together with a calculation of employee housing requirements and a conceptual proposal for how required employee housing will be provided.
9.
Water supply and sewage disposal. Source of domestic water supply and general means of sewage disposal.
10.
Access and easements. Evidence of the existence of legal access to the property, together with a description of any existing easements and covenants affecting any land within the subject property.
11.
Parking, circulation and transit. The anticipated number of parking spaces, the proposed locations of these spaces and a statement of whether the project will comply with the underlying zone district standards or is requesting a reduction from those standards. Additionally, a conceptual plan setting forth on- and off-site circulation patterns and any transit facilities associated with the project.
12.
Timetable. The proposed timetable and phasings for the development, identifying the number of anticipated PUD filings.
(3)
Staff review. Staff review of the application shall be accomplished, as specified in Section 16A-5-50, Staff Review of Application. Staff shall then meet with the applicant to provide preliminary comments, discuss issues and concerns, request additional information necessary to adequately evaluate the proposal and make recommendations regarding the application. The applicant will then have the opportunity to amend their application or provide additional information in response to the staff comments. Upon receipt of the requested information, or within ten (10) days of the staff meeting, whichever occurs first, a public notice that the Planning Commission and Town Council will hold a joint hearing to consider the application shall be given by publication, mailing and posting of notice, pursuant to Section 16A-5-60(b), Manner and Timing of Notice.
(4)
Joint meeting. A complete copy of the application shall be forwarded to the Planning Commission and Town Council, together with a copy of the staff review. The Planning Commission and Town Council shall hold one (1) joint meeting to hear the initial presentation of the application by the applicant. Thereafter, the Planning Commission shall conduct its review of the application.
(5)
Resolution. Upon completion of its review of the application, the Planning Commission shall, by resolution, provide direction to the applicant on the sketch plan. The resolution shall either authorize the applicant to submit a preliminary plan or shall state that the applicant must submit a new sketch plan prior to proceeding to preliminary plan review. When preparing the resolution, the Planning Commission shall consider all relevant materials and testimony, and whether the application is generally consistent with Section 16A-5-300(c), General Restrictions, and Section 16A-5-310, Review Standards.
a.
Resolution authorizing preliminary plan. If the resolution authorizes the applicant to submit a preliminary plan, then the resolution shall identify any aspects of the sketch plan that should be modified for the preliminary plan to be acceptable to the Town, and the types of modifications the applicant should consider. The resolution shall also identify any other issues the applicant should consider when preparing the preliminary plan, the materials the applicant will be required to submit and the studies the applicant will be required to conduct.
b.
Resolution requiring new sketch plan. If the resolution states that the applicant must submit a new sketch plan prior to proceeding to preliminary plan review, then the resolution shall identify any areas of disagreement between the Town and the applicant, including those standards of the Development Code or elements of the Comprehensive Plan with which the sketch plan failed to comply.
(6)
Town Council action. The Planning Commission's resolution shall be forwarded to the Town Council. The Town Council shall hold a public hearing to consider the application and the Planning Commission's resolution. The public hearing shall be conducted pursuant to Section 16A-5-70(2), Conduct of Public Hearing. The Town Council shall prepare its own resolution taking action on the application that may accept the Planning Commission's resolution, or that may modify any aspect of said resolution. When preparing the resolution, the Town Council shall consider all relevant materials and testimony, and whether the application is generally consistent with Section 16A-5-300(c), General Restrictions, and Section 16A-5-310, Review Standards.
(7)
Effect of resolution. Adoption of the sketch plan resolution by the Town shall not constitute approval of a PUD, or permission to proceed with construction of any aspect of the development. Such action shall only constitute authorization for the applicant to submit a preliminary PUD, in accordance with the representations made by the applicant and in response to the direction on the sketch plan provided by the Town in the resolution.
(8)
Expiration. The applicant shall be required to submit the preliminary plan application within twelve (12) months after the date of approval of the resolution. Failure to submit the application within this time period shall render the resolution null and void, and require the applicant to submit a new sketch plan for review by the Town. The Town Council may, at its sole discretion and for good cause shown, grant an extension of the deadline to submit a preliminary plan application, provided that the applicant requests the extension in writing no less than thirty (30) days prior to such lapse and said extension is approved by at least three-quarters (¾) of the Town Council members of the Town Council present and voting.
(Ord. 4-1998 §1; Ord. 1-1999 §1; Ord. 6-1999 §1; Ord. 15-2000 §1; Ord. 3-2023, § 2(Exh. A))
(a)
Purpose. The purpose of preliminary plan review is for the applicant to formulate detailed, properly designed/engineered solutions to the issues and concerns identified during sketch plan review, and to address, in a detailed manner, all other issues that are relevant to the preliminary plan. For minor PUD applications, where no sketch plan was submitted, the purpose of the preliminary plan is to present detailed, properly designed/engineered plans for consideration by the Town and the public. The burden at the preliminary plan stage is on the applicant to provide detailed information and mitigation proposals to be evaluated by the Town and the public. For any PUD application that also involves subdivision or that requires approval of an amendment of the Official Zone District Map, the application for subdivision or rezoning shall be submitted with, and considered at the same time as, the preliminary PUD plan review.
(b)
Preliminary Plan Review Intent and Issues. The questions the Planning Commission and Town Council should consider in a detailed manner during review of the preliminary plan (depending upon the size and complexity of the proposal) include the following:
(1)
Response to sketch plan issues and concerns. Has the applicant provided detailed, sufficient and appropriate responses to each of the issues and concerns identified during the sketch plan review?
(2)
Zone district limitations. Does the proposed development comply with all of the limitations of the underlying zone district? If the applicant proposes to vary any of the property's dimensional limitations, then does the application comply with all of the applicable standards for granting of the variation?
(3)
Comprehensive Plan. Is the proposed development consistent with all relevant policies and recommendations of the Town's Comprehensive Plan? If the applicant proposes a buildout in excess of sixty-five percent (65%) of that identified in the Comprehensive Plan, then will the community purposes that are most appropriate to be accomplished by the proposed development be achieved?
(4)
Architectural plans. Are the proposed mass, scale, height, density, volume, materials, colors and detailed design elements of the buildings compatible with, appropriate for or an enhancement of the character of the community and with surrounding buildings?
(5)
Landscaping and open space. Is the type, amount, size, species and location of proposed landscaping adequate and suitable for the development? Has adequate landscaping been provided as a buffer between uses and around the perimeter of the development? Has the applicant demonstrated that existing vegetation and trees on the site that should be protected will be so protected? Which specific areas of the site will be designated as open space; what is the proposed size, use and landscaping of each area? What are the preliminary plans for the homeowner's association or condominium association to maintain said open space?
(6)
Natural hazard areas. What is the site specific location and characteristics of any geologic hazards, steep slopes, flood plains and similar hazards on the property? Will any of these natural areas pose a potential threat to life or property? If so, what specific measures will be employed to avoid, minimize or mitigate these dangers?
(7)
Natural resource areas. What is the site specific location and characteristics of any wildlife habitat areas, riparian areas, wetlands and other valued natural features on the property? What are the anticipated impacts of the proposed development on these features? Has the proposed development been designed so it will comply with the standards of this Development Code that apply to these natural resource areas?
(8)
Grading and drainage. What is the extent of soil and vegetation disturbance planned for the site? How will disturbed areas be stabilized both during construction and following completion of the project? Where will excavated materials be stockpiled? Will any retaining structures be employed and, if so, what will be their design specifications and materials? How will storm water be handled both during construction and following completion of the project?
(9)
Transportation impact. How many vehicle trips will be generated, and what is the anticipated public transportation ridership from the proposed development? What is the capacity of the intersections that the proposed development will impact? What will be the impacts of the proposed development on the Town's public transportation system, road capacities and parking facilities and how will these impacts be mitigated? What measures will the project employ to ensure that following development roadways within the Town will continue to function at the adopted level of service standard? Have roads on- and off-site been designed in a safe and efficient manner, to connect the site to other activity areas and destination points?
(10)
Necessary facilities. Has the applicant provided detailed engineering plans and reports demonstrating the type, location and capacity of the water supply, sewage disposal, solid waste disposal, fire protection and other necessary facilities that will be constructed to serve the project? Will needed public facilities and services be made available concurrently to offset the potential impacts of such development?
(11)
Pace and phasing. Has the applicant provided a sufficiently detailed phasing proposal to ensure that the development phasing will occur in an efficient and orderly manner with consideration given to construction and other impacts to the community? Have all phases, including the initial phase, been designed to sustain itself and function as a complete development not reliant on subsequent phases to operate in an efficient and orderly manner? Has the applicant provided a reasonable contingency plan to mitigate impacts resulting from any possible interruption of construction as it would affect the community as a whole?
(12)
Restricted housing. What is the specific mix and configuration of housing that will be provided to meet the Town's restricted housing requirements? What guarantees has the applicant agreed to provide to ensure that such housing will be available at the time it has been required by the Town?
(13)
Fiscal impact. Will the proposed development have a positive or negative fiscal impact upon the Town and other taxing districts that provide services to it? If the proposal is shown to have a negative fiscal impact, then what measures will the applicant employ to mitigate those costs?
(14)
Energy conservation. What will be the energy utilization of the significant energy-consuming elements of the project (such as heating systems, swimming pools, saunas, Jacuzzis, etc.). What specific active and passive techniques will the development employ to promote energy conservation and take advantage of solar and alternative energy source opportunities?
(15)
Air quality. What will be the primary sources of air pollution from the project? What will be the quantity and composition of pollutants that will be discharged on a daily and seasonal basis and what are the dispersal qualities of the site that will affect the pollutants that are generated? What geographic area will be impacted by these pollutants? What techniques will the development employ to reduce the impacts of these pollutants?
(16)
Construction management plan. What is the proposed plan for phasing of the project? What is its construction schedule? What measures will be employed to mitigate construction impacts?
(17)
Community welfare. Does the proposed development in its totality promote the public health, safety and welfare?
(c)
Preliminary Plan Review Procedure. The following procedure shall apply to an application for review of a preliminary PUD plan. This procedure is illustrated in Figure 5-4, Preliminary PUD Application Procedures.
(1)
Pre-application conference. Attendance at a pre-application conference is mandatory prior to submission of an application for PUD preliminary plan review.
(2)
Submission of application. The applicant shall submit an application to the Planning Director that contains the following materials:
a.
Minimum contents. The minimum contents for any application, as specified in Section 16A-5-40(b), Minimum Contents.
b.
Preliminary development plan. A preliminary development plan, which shall include the following:
1.
General. The property boundaries of the site, title of the proposed development, date of preparation, bar-type or graphic scale, north arrow (designated as true north) and legal description of the property.
2.
Proposed development. The preliminary plan shall show the proposed dimensions and locations of all buildings, public and private roadways, existing and proposed utility lines and fire hydrants, service areas, emergency vehicle access areas, parking facilities, pedestrian pathways, trails and use areas, common open areas, public open spaces, public transportation facilities, drainage facilities and detention areas, snow storage/removal areas, trash storage areas and other information necessary to allow detailed review of the project design. Existing and proposed contours shall be shown at two-foot intervals, or less.
3.
Surrounding structures. The preliminary plan shall depict structures and landmarks within three hundred (300) feet of the site, so as to show the relationship of the proposed development to its surroundings.
4.
Chart. The preliminary plan shall contain a chart of proposed land uses by acreage, including the percentage of land coverage by each type of use, together with a detailed listing of the following development parameters:
a)
Dimensions. Proposed square footage and height of buildings.
b)
Dwelling units. Proposed number of bedrooms; square footage of dwelling units by type of unit; proposed number of dwelling units per acre.
c)
Size of commercial space. Proposed square footage of commercial space.
d)
Floor area. Proposed maximum allowable floor area (FAR).
e)
Parking. Proposed number of parking spaces.
f)
Open space. Proposed amount of open space.
g)
Restricted housing. Proposed number of restricted housing units, with number of bedrooms and amount of square footage.
c.
Comparison to sketch plan. When applicable, a statement shall be provided comparing the preliminary plan to the sketch plan, noting any changes, including those made in response to comments provided by the Town in its review of the sketch plan.
d.
Listing of proposed variations. A statement identifying each proposed variation from the underlying zone district standards, describing how the variations conform with those authorized for a PUD.
e.
Architectural plans. Preliminary architectural plans for all multiple-family and single-family attached dwellings, hotels and lodges, and other nonresidential buildings. These plans shall include:
1.
Elevations. Elevations at a vertical scale of not less than one-eighth inch equals one foot (⅛" = 1') or larger of all significant facades of the proposed buildings. Building elevations shall be of sufficient detail to indicate building openings, alternate materials proposed for the roof and exterior of the buildings, decks and other architectural features of the buildings, including chimneys and mechanical areas and features affecting the roof lines of all proposed buildings.
2.
Floor plans. Proposed floor plans drawn at a scale of one-eighth inch equals one foot (⅛" = 1') or larger of all floors of the proposed buildings showing all living, sleeping, cooking, bathroom and storage areas. Typical floor plans with a floor layout plan may be substituted.
3.
Block model. A block model illustrating the cubic volume and design of the aboveground portion of all proposed major structures included in the development. The descriptive materials shall also be sufficient to demonstrate the relationship, in terms of cubic volume, between such proposed structures in the development and other major structures encompassing a significant portion of existing development surrounding the development. The Planning Director may accept computer-generated three-dimensional or other visual imagery in place of the block model if it is felt that it would better aid the public and reviewing bodies to visually understand the spatial, mass, scale and visual relationships of the development to surrounding properties. A model may still be required during the course of the review process if determined necessary to adequately evaluate the development proposal. Before preparing the block model or visual imagery, the applicant shall confer with the Planning Director to determine the contextual boundary needed and level of detail required for properties surrounding the subject property in order to provide a neighborhood context for the proposed development. The visual imagery and/or model shall roughly depict the building colors and materials proposed for the development.
4.
Color and materials. A color and materials sample board or sufficiently detailed visual imagery to represent the materials and colors for the buildings and other architectural features being proposed.
f.
Landscape plan. A detailed landscape plan, depicting the type, amount, size, species and location of all plant materials, with a planting schedule. The plan shall also include conceptual irrigation plans for landscaped areas if applicable. The plan shall show the location of all existing trees with a trunk circumference of fourteen (14) inches or more measured four and one-half (4½) feet above the ground and shall indicate which trees are proposed to be removed. Where large groves of trees are to remain undisturbed, single trees need not be located.
g.
Fiscal impact report. A report analyzing the anticipated fiscal impacts of the proposed development upon the Town, school district and other taxing districts that provide services to the development. This report shall be based on criteria and assumptions established in advance by the Town, as provided to the applicant by the Planning Department prior to the submission.
h.
Solid waste disposal plan. A proposed solid waste disposal plan, including the anticipated volume (cubic yards) of solid waste that will be generated by the development, proposed trash container size and location of said facilities.
i.
Energy conservation plan. A comprehensive energy conservation plan demonstrating how the development will comply with the provisions of Section 16A-4-330, Energy Conservation, together with a detailed description of the use of solar and other alternative energy resources, including an energy utilization analysis in relation to heating systems, swimming pools, saunas, Jacuzzis and other significant energy-consuming project elements.
j.
Development in proximity to ski lift. A report, plan or other documentation showing that any development located in proximity to any existing or proposed ski lift complies with all appropriate rules and regulations governing said lifts, including those of the Colorado Tramway Board.
k.
Open space map. A map shall be submitted showing all areas to be designated as common open space and the proposed use of each common open space area, including size of each area in acres and the size of the total common open space in acres and as a percentage of the total site. In addition, the type, size and general location of the planting and other screening techniques to be used in the perimeter buffer area shall be shown on this map and the landscape plan.
l.
Homeowner's or condominium association documents. Whenever there is common open space within a proposed development, the following documents shall be submitted in a preliminary form, describing how the homeowner's or condominium association will maintain said open space.
1.
Articles of incorporation. The form of articles of incorporation of any homeowner's association or other organization to maintain common open space within the development.
2.
Bylaws. The form of bylaws of any such organization, defining its rights, duties and responsibilities.
3.
Master deed. A copy of the master deed detailing the rights and privileges of individual owners in the common open space areas.
4.
Covenants. The language of covenants or easements restricting the use of common open space, together with the language of covenants or agreements requiring homeowners or residents to pay any organization for maintenance of common space, and the language of deed restrictions or other covenants running with the land which provide for the maintenance of common space.
m.
Water supply and sewage disposal. Detailed plans and reports, prepared by a registered professional engineer or water supply expert acceptable to the Snowmass Water and Sanitation District, describing the location, type and timing of proposed water supply and sewage disposal facilities and lines to be constructed. The report shall describe water conservation methods to be employed and shall provide a detailed estimate of the project's average daily and maximum water requirements and sewer impacts. This report shall be based on criteria and assumptions established and provided by the District prior to the submission of the report. The applicant shall then obtain from the District a confirmation that, based upon the data submitted for this review, the assumptions, conclusions and calculations remain valid. In the alternative, the District shall identify those changes or revisions to the conceptual water and sewer reports required as a result of the District's analysis of the preliminary submission.
n.
Clearing, grading and drainage plans. A detailed report identifying plans for clearing, grading and drainage including:
1.
Limits of clearing. The location and defined limits of all clearing and/or removal of vegetation cover.
2.
Grading plan. Existing and proposed grades at a contour interval of two (2) feet or less, based on field survey controls, including location with proposed grades and elevations for all buildings, roads, walks, storm sewers and other drainage structures and devices, retaining walls and other landscape features. The plan shall provide designs for sediment control devices to be employed, including specifications of how graded areas will be stabilized and revegetated after construction is completed. Any changes from the grading and drainage plan submitted with the sketch plan shall be described.
o.
Transportation impact analysis. All development proposals shall analyze the impact of the proposal on the Town's transportation system, road capacities and parking facilities, including if the parking provisions exceed the minimum off-street parking standards up to the maximum parking amount allowed. The Planning Director may, however, waive this requirement for proposed development that contains less than five (5) dwelling units, or less than two thousand (2,000) square feet of nonresidential space and does not exceed the minimum off-street parking requirements, or an addition to a ski area if it is determined that the transportation impacts generated by the development are negligible and that requiring a detailed analysis is not warranted. If required, the applicant shall submit the following information in a manner that permits the Town to evaluate the impacts of the proposed development:
1.
Daily traffic counts. All total daily traffic counts shall be actual machine counts and not based on factored peak hour sampling. All raw traffic count data, including average daily volumes and peak hour turning movements, shall be provided in the appendices of the report.
2.
Trip generation rates. The applicant shall use the following vehicular trip generation rates to calculate the development's impact on the Town road network:
The Planning Director shall determine the trip generation rates for uses not listed above by consulting recognized professional publications, or studies completed for resort communities similar to the Town.
The Town Council may, upon request by the applicant, accept different trip generation rates than those listed above, considering whether any special transit features are planned for the development, or if there are unusual land use, occupancy or other features of the development.
3.
Existing conditions. The report shall identify the exact limits of the study area, which should be determined based on engineering judgment and an understanding of existing traffic conditions at the site. Within the study area, the applicant shall describe existing roadways and intersections, including geometry and traffic control. The report shall describe existing traffic volumes and the existing level of service at intersections and roadway segments. Daily and peak hour traffic counts shall be obtained by the applicant at locations determined by the Town.
4.
Anticipated ridership. A determination of the anticipated public transportation ridership, using data supplied by the Town's Transportation Department for similar projects with the Town, and the potential cost to the Town for providing public transportation services to the development. The report shall also analyze the proposal's impact on the Town's transportation system and provide a description of shuttle stop improvements that may be necessary to safely and effectively provide service to the development.
5.
Trip generation and design hour volumes. A summary table shall be provided listing each type of land use, the number of units or the amount of nonresidential square footage involved, the average trip generation for each use (total daily traffic and a.m. and p.m. peaks) and the resultant total trips generated.
6.
Trip distribution. The direction of approach for site-generated traffic shall be presented in the report. The technical analysis steps, basic methods and assumptions used shall be clearly stated.
7.
Trip assignments. Internal trips shall not exceed ten percent (10%) without analytical support to demonstrate how the larger figures were determined. Nongenerated passerby traffic reductions in generation volumes may be considered if applicable. The trip assignment shall include filling out a copy of the Trip Table (provided by the Planning Department) for links in the transportation network.
8.
Existing and projected traffic volumes. The report shall include the following illustrations:
a)
Peak hour traffic. Illustrations of current a.m. and p.m. peak hour site traffic (in and out), including turning movements.
b)
Future peak hour traffic. Illustrations of future a.m. and p.m. peak hour site traffic (in and out), including turning movements for current conditions and future buildout of the project, with background traffic projected five (5) years into the future.
c)
Other peak hours. Illustrations of other peak hours that may be critical to site traffic and the road system in the study area. Other peak hours will be mutually agreed upon by the Town and the applicant.
9.
Capacity analysis. The report shall include a capacity analysis for all public street intersections impacted by the proposed development and for all private property access points to streets adjacent to the proposed development identified in the previously defined study area, including an assessment of the off-street parking provisions and how it might impact trip generation. The a.m., p.m. and any other possible peak periods shall be tested to determine which peak hours need to be analyzed. Capacity calculations (intersection and roadway segments) shall be based upon the techniques described in the "1985 Highway Capacity Manual," Transportation Research Board, Special Report 209. All capacity analysis work sheets shall be included in the appendices of the report.
10.
Level of service. Level of service "C" or better on all but the ten (10) peak traffic days of the year has been determined to be the acceptable design standard for all intersection and roadway segment operations. All modes of transportation shall be addressed including any negative impacts according to the Comprehensive Plan's Strategic Initiatives. The applicant shall propose mitigation measures that are consistent with the Comprehensive Plan, including illustrations of each improvement showing the length, width and other pertinent geometric features for any operation in the transportation network that is caused to exceed a level of service "C" by the proposed development.
11.
Traffic accidents. Traffic accident data for affected street corridors may be required for the study. The study period will normally be three (3) years. Such locations will be specified by the Town. Where this is necessary, estimates of increased or decreased accident potential shall be evaluated for the development, particularly if the proposed development might impact existing traffic safety problems in the study area. Safety improvements shall be proposed where necessary.
12.
Conclusions. The report shall contain a clear and concise executive summary, describing the study's findings. If the analysis indicates unsatisfactory levels of service, a description of proposed improvements to remedy deficiencies shall be included in the executive summary.
p.
Air quality analysis. All development proposals shall conduct an analysis of the proposed development's impacts on air quality. The Planning Director may, however, waive this requirement for proposed development that contains less than five (5) dwelling units, or less than two thousand (2,000) square feet of nonresidential space if it is determined that the air quality impacts generated by the development are negligible and that requiring a detailed analysis is not warranted. If required, analysis shall be prepared by a recognized expert in air pollution and shall include examinations and recommendations concerning those characteristics of the site and the proposed development that could affect air quality, including, but not necessarily limited to, the following:
1.
Dispersal qualities. Dispersal qualities of the site and the extent to which those qualities are expected to provide for the efficient dispersal of air pollutants generated directly by on-site activities, including such sources as space heating, fireplaces, restaurants, etc., or indirectly by traffic within and around the proposed development site.
2.
Pollutants to be discharged. Quantity and composition of pollutants expected to be discharged within the site and daily (including peak period portions thereof) or seasonal variation in these characteristics.
3.
Trip generation and impacts. Estimated current and future trip characteristics, including average daily traffic and peak volumes for each mode on each route linking the site to significant related destinations within the relevant air shed and implied pollutant emissions. Dispersal qualities of routes related to the proposed development site and anticipated effects of any added traffic on air quality on and along such routes or their damages.
4.
Construction impacts. Anticipated air pollution caused by construction of the proposed project, including impacts caused by machinery, clearing of vegetation, rock and earth moving, paving operations, preparation of materials such as gravel, hot mix and cement, and any methods proposed to mitigate such pollution and its effect.
5.
Special mitigation techniques. A statement regarding any special mitigation related to design, construction methods, operating policies or public or private improvements that would reduce the quantitative or qualitative impacts of pollutants produced by the proposed development and use of the proposed site and their estimated effectiveness and costs to proponents and the public.
6.
Improvement of site characteristics. A statement regarding any special design construction methods, operating policies or public or private improvements that could improve the proposed development site characteristics relative to air quality of the site and of the estimated effectiveness and costs to the applicant and the public.
7.
Conform with regulations. A statement regarding the extent to which the proposal and resultant air quality levels (on the proposed development site and other portions of the relevant air sheds) will conform with existing federal, state and local air quality regulations and standards with and without any special design features, construction methods, operating policies or public or private improvements.
8.
Description of area to be impacted. A geographic description of the area expected to be most significantly impacted by air pollutants generated on the proposed development site or generated by increased transportation and other activities related to its development and use.
q.
Geologic report. A report evaluating geologic and soils conditions, including:
1.
Potential geologic hazards. A site specific analysis of the geologic characteristics on, or in the vicinity of, the site that could have a significant impact on the proposed development shall be conducted. It shall be prepared by a geologist or engineer who is qualified to map and evaluate geologic hazards and to assess their potential impacts on the development. It shall discuss any recent activity associated with the geologic hazards and shall provide an expert opinion as to the degree of severity of the potential geologic hazards. It shall also include recommendations as to how the development will avoid or mitigate any dangers posed to life or property from these hazards.
2.
Soils study. A study prepared by a qualified professional describing existing surface and sub-surface soil characteristics on the site, and evaluating the suitability of such soils for the planned construction.
r.
Brush Creek impact report. A site specific analysis shall be prepared for lands within the boundaries of the Brush Creek Impact Area, and for lands located outside of the Brush Creek Impact Area whose development is determined to have the potential to impact Brush Creek and its associated riparian habitat. The analysis shall be prepared to comply with the provisions of Section 16A-4-30(d), Brush Creek Impact Report.
s.
Wildlife habitat analysis. A site specific analysis shall be prepared for lands designated as sensitive wildlife habitat on the Environmental Sensitivity Map in the Comprehensive Plan and for lands not so designated on the map that are determined to be sensitive wildlife habitat. The analysis shall be prepared to comply with the provisions of Section 16A-4-20(d), Wildlife Habitat Analysis.
t.
Parking management plan. If the application proposes a reduction of the minimum off-street parking requirement, a Parking Management Plan shall be submitted pursuant to the provisions of Article IV Development Evaluation Standards, Division 3 Site Design Standards, in Section 16A-4-310. Off-street parking standards, of this Code.
u.
Construction management plan. A detailed construction management plan describing development phasing, construction schedules and measures for mitigating impacts associated with all aspects of the project. This would include a reasonable contingency plan to mitigate visual, safety and public welfare impacts resulting from any interruption of construction as it would affect the community. Surety or security may be necessary to ensure implementation of the plan.
v.
Adequate public facilities report. A detailed public facilities report demonstrating that public facilities will be adequate to support and service the area of the proposed development or that needed public facilities and services will be made available concurrently to offset the potential impacts of development as such impacts commence. Public facilities and services to be examined will include, but not be limited to: storm drainage, roads and their maintenance, public transportation service and facilities, pedestrian circulation, sewerage and sanitary facilities, water availability and serviceability, solid waste disposal, fire and emergency medical services and electrical service. The report may summarize the applicable capacity and demand analysis information and recommendations contained within other submission reports and shall:
1.
Identify the public facilities, service levels and carrying capacity that exist prior to the submission of the development application;
2.
Specifically identify and describe the additional public facilities, service levels and carrying capacity that will be necessary and provided to the PUD and affected areas prior to completion of each phase and/or building within the development necessitating the demand for said facilities, services or capacity;
3.
Describe the intended provisions to be made for the timing, location and financing of the public facilities, service levels and carrying capacity that will be needed to adequately support and service the area of the proposed development.
(d)
Joint Meeting.
(1)
A complete copy of the application shall be forwarded to the Planning Commission and Town Council. The Planning Commission and Town Council shall hold one (1) joint meeting to hear the initial presentation of the application by the applicant. This joint meeting may occur while referral comments are being collected by the staff. It is the intent of this meeting to simultaneously inform the Town Council and Planning Commission as to what is being submitted in the Preliminary Plan application. Following the presentation or at a subsequent regularly scheduled meeting, the Town Council shall identify the specific components within the application, including project elements, specific areas of the Land Use and Development Code or core issues, that the Planning Commission should focus upon during the course of its review.
(2)
The Town Council determination and direction shall occur by adopting a resolution at a regularly scheduled meeting. Thereafter, the Planning Commission and Town Council shall commence conducting their reviews of the application.
(3)
The Town Council may determine that some minor PUD applications, due to the reduced scale, negligible potential impacts upon surrounding properties and limited nature or intensity of the proposed development, do not warrant referral to the Planning Commission and shall proceed directly to the Town Council and be processed in accordance with Subsections (h) and (i) below.
(e)
Staff Review. Staff review of the application shall be accomplished as specified in Section 16A-5-50, Staff Review of Application. Staff shall then meet with the applicant to provide preliminary comments, discuss issues and concerns, request additional information necessary to adequately evaluate the proposal and make recommendations regarding the application. The applicant will then have the opportunity to amend their application or provide additional information in response to the staff comments. Upon receipt of the requested information and following its review by staff, a complete copy of the requested supplemental application information shall be forwarded to the Planning Commission and Town Council, together with a copy of the completed staff review.
(f)
Concurrent Town Council and Planning Commission Review. Following the joint meeting, the Planning Commission and Town Council may begin reviewing the development application in accordance with Subsections (g), (h), (i) and (j) below. The Planning Commission shall direct its review to those areas identified at the joint meeting as components upon which the Town Council wanted detailed recommendations, as well as other components on which the Planning Commission wishes to make recommendations to the Town Council. The Town Council may review the remaining project components until the Planning Commission has concluded its review. The Town Council may request that the Planning Commission forward to the Town Council their recommendations in reasonable segments. In such a case, the Town Council may move forward with their review of those sections of the application which have Planning Commission recommendations.
(g)
Planning Commission Public Hearing. Within twenty-one (21) days of the joint meeting, the Planning Commission shall hold a public hearing pursuant to Section 16A-5-70(2) to receive and consider public input regarding those portions of the application upon which Town Council has requested its review and those portions of the application upon which the Planning Commission chooses to make comment. The Planning Commission shall specifically consider those components within the application, including project elements, specific areas of the Land Use and Development Code or core issues, that the Town Council requested that the Planning Commission direct its attention to. It shall consider all relevant materials and testimony. Following closure of the hearing, the Planning Commission shall, by resolution, provide recommendations to the Town Council as described within the joint meeting resolution described in Subsection (d) above as well as any other matters upon which the Planning Commission chooses to comment. Notice that the Planning Commission will hold a public hearing under this Section shall be given by publication, mailing and posting of notice, pursuant to Section 16A-5-60(b), Manner and Timing of Notice.
(h)
Public Notice. Public notice that the Town Council will hold a public hearing during the course of its review to receive and consider public input regarding the application shall be given by publication, mailing and posting of notice, pursuant to Section 16A-5-60(b), Manner and Timing of Notice. A complete copy of the application shall be forwarded to the Town Council, together with a copy of the staff review and a copy of the Planning Commission's recommendation when completed.
(i)
Town Council Public Hearing. A public hearing shall be conducted during the course of its review pursuant to Section 16A-5-70(2), Conduct of Public Hearing. The Town Council shall consider: all relevant materials and testimony; the Planning Commission's recommendation if and when available; whether the application complies with Section 16A-5-300(c), General Restrictions and Section 16A-5-310, Review Standards; and, as applicable, whether the preliminary plan has responded to the direction given by the Town concerning the sketch plan. Following closure of the hearing, the Town Council shall, by resolution, either approve, approve with conditions or deny the application. If the Town Council approves the preliminary plan, it may require, as a condition of that approval, that the final plan be reviewed by the Planning Commission before it is reviewed by the Town Council. The Planning Commission's review of the final plan shall be accomplished pursuant to Section 16A-5-360(c)(4), Planning Commission Review.
(j)
Further Review by the Planning Commission. At any time during its review, the Town Council may request further review by the Planning Commission on any matter of the application. The Town Council may continue to consider the application in accordance with the provisions of this Section while the Planning Commission is given an opportunity to review the supplemental request and make a recommendation thereon, or the Town Council may, at its discretion, table the application until it has received the Planning Commission's supplemental recommendation.
(k)
Amendment. If an applicant wishes to amend a submission after a Planning Commission recommendation thereon, such request shall be made in writing and presented to the Town Council during the public hearing. The Town Council shall consider and make a determination as to whether the changes alter the nature of the project from that described in the original submission to such an extent that:
(1)
The amendment should not be allowed;
(2)
The amendment should be allowed, but the Planning Commission should have an opportunity to review the amendment and make a recommendation thereon; or
(3)
The amendment should be allowed, and the application should proceed without additional hearings or consideration thereof. If the amendment is not allowed, the Town Council shall continue to consider the application without the amendment in accordance with the provisions of this Section. If an additional Planning Commission recommendation is to be made, the Town Council may, at its discretion, table the application until it has received the Planning Commission's recommendation on the amendment.
(l)
Remand. An application may also be remanded to the Planning Commission when the Town Council determines that the application has otherwise been altered in a significant manner following the Planning Commission's action on the preliminary PUD. The Town Council shall table the application until it has received the Planning Commission's recommendation on the changes.
(m)
Effect of Preliminary Plan Approval. Approval of the preliminary plan shall not constitute approval of a PUD or permission to proceed with construction of any aspect of the development. Such action shall only constitute authorization for the applicant to prepare and submit a final PUD, in accordance with the representations made by the applicant and any conditions applied by the Town upon the preliminary plan approval.
(n)
Expiration. The applicant shall be required to submit the final plan application within twelve (12) months after the date of preliminary plan approval. Failure to submit the application within this time period shall render the preliminary plan null and void, and require the applicant to submit a new sketch plan for review by the Town. The Town Council may, at its sole discretion and for good cause shown, grant an extension of the deadline to submit a final plan application, provided that the applicant requests such an extension in writing no less than thirty (30) days prior to such lapse and said extension is approved by at least three-quarters (¾) of the Town Council members of the Town Council present and voting.
(Ord. 4-1998 §1; Ord. 15-2000 §1; Ord. 7-2003 §1; Ord. 16-2010 §1; Ord. 3-2023, § 2(Exh. A))
(a)
Purpose. The purpose of final plan review is for the applicant to provide the Town with documentation of how the PUD will comply with all of the representations made during the application process, and will address all issues or concerns raised during that process. This documentation shall include a final development plan, a guarantee of public improvements and covenants, as applicable. The final development plan shall specify the zone district limitations and development regulations that will guide the future development of the property. This may be referred to as the "PUD Guide."
(b)
Final Plan Review Intent and Issues. The questions the Planning Commission (if required) and Town Council should fully resolve during review of the final plan (depending upon the size and complexity of the proposal) include the following:
(1)
Response to preliminary plan conditions. Has the applicant provided detailed, sufficient and appropriate responses to each of the conditions identified applied to the preliminary plan?
(2)
Agreements and guarantees. Has the applicant submitted an adequate subdivision improvements agreement and pledge of security to guarantee the performance of any public improvements required by the Town?
(3)
Other plans and documents. Has the applicant submitted such other documents (final development plan, final landscaping plan, final grading plan, final utility plan and final architectural plan) that set out the specifications for all relevant features of the development proposal? Has a final version of the homeowner's association or condominium association documents or covenants been submitted, describing how the association will maintain any common open space?
(c)
Final Plan Review. The following procedures shall apply to an application for review of a final PUD plan. These procedures are illustrated in Figure 5-5, Final PUD Application Procedures.
(1)
Pre-application conference. Attendance at a pre-application conference is optional, but recommended, prior to submission of an application for final PUD plan review.
(2)
Submission of application. The applicant shall submit an application to the Planning Director that contains the following materials:
a.
Minimum contents. The minimum contents for any application, as specified in Section 16A-5-40(b), Minimum Contents.
b.
Final plat. A final subdivision plat that conforms to the specification of Section 16A-5-430(3), Plat.
c.
Other drawings. Final versions of such other drawings as may be required to document the approved final PUD plan, such as the final development plan, final landscaping/grading plan, final architectural plan and final utility plan. The final development plan shall specify the zone district limitations and development regulations that will guide the future development of the property. This may be referred to as the "PUD Guide."
d.
Covenants. A final version of the homeowner's association or condominium association documents or covenants, as applicable, describing how the association will maintain any common open space.
e.
Guarantee of public improvements.
1.
Applicant is responsible for public improvements. The applicant shall be responsible for constructing or providing public improvements that are necessary for the development. The applicant shall also be responsible for submitting a guarantee for said improvements, in a form and amount satisfactory to the Town.
2.
Required public improvements. Required public improvements include: permanent survey monuments, range points and lot pins; paved streets; curbs, gutters, sidewalks, trails and other pedestrian ways; paved alleys; traffic-control signs, signals or devices; street lights; street name signs in accordance with Town design standards; water lines and fire hydrants; bridges or culverts; storm drainage improvements and storm sewers; sanitary sewers; electrical lines; telephone lines; natural gas lines; and landscaping. In the event that additional improvements or items are required, they shall also be guaranteed in the manner provided below.
3.
Subdivision improvements agreement. The guarantee of public improvements shall be in the form of a written subdivision improvements agreement and pledge of security for performance of such agreement. The subdivision improvements agreement shall obligate the applicant to make and install, according to a specific schedule, any improvements required by the Town.
a)
Security. The applicant shall secure the faithful and diligent performance of its obligations under such agreement with a pledge of security sufficient to provide a reasonable guaranty of not less than one hundred percent (100%) of the current estimated cost of the improvements described in the agreement, which estimate shall be approved by the Town Engineer.
b)
Form of security. The pledge of security may, at the option of the Town, be in the form of a mortgage on real property, cash escrow, security bond, irrevocable letter of credit from a financially responsible lending institution, adequate construction loan commitment on which the Town is permitted to draw, evidence of fully prepaid construction contracts, or any combination of the above satisfactory to the Town; provided that the Town shall have the unconditional and irrevocable right upon default by the applicant to withdraw or acquire funds upon demand to partially or fully complete and/or pay for any improvements. In no case shall the Town be obligated, pursuant to any subdivision improvements agreement, to complete any improvements due to the applicant's default if the security should be determined inadequate.
c)
Agreement to repair. The subdivision improvements agreement shall contain language by which the applicant agrees to repair any existing improvements damaged during construction and such other items as the Town Council deems appropriate.
d)
Partial release of security. The subdivision improvements agreement may provide for the partial release of security as portions of the improvements are completed, provided that no such partial or final release shall be granted until the improvements guaranteed have been inspected and accepted by the Town Engineer and a report of such inspection and acceptance is filed with the Planning Director. The Town Council shall release the amount held for the completed items. The agreement shall make provisions for the Town to retain an appropriate amount in the event of partial releases.
e)
Recording. The agreement and pledge of security shall be recorded in the records of the County Clerk and Recorder together with the final plat.
4.
Warranty. The applicant shall warrant the quality, workmanship and function of all improvements dedicated to the Town, the public or a utility for a period of two (2) years, or until July 1 of the year during which the second winter terminates after acceptance by the Town, whichever is greater.
5.
Default. In the event of default by the applicant, under the terms of any subdivision improvement agreement, no building permit or certificate of occupancy shall be issued within the subdivision until the default is corrected.
f.
Landscape Guarantee. The landscape guarantee shall be in the form of a written agreement to ensure implementation of the landscape plan and maintenance of the landscaping. Such agreement shall include a pledge of security for performance of said agreement. The agreement shall obligate the applicant to purchase and install the landscaping improvements and irrigation according to the specific planting schedule, landscape and irrigation plan and to guarantee the continued maintenance and replacement of the landscaping for a period of two (2) years after installation. The amount and form of the security shall be as described in Subparagraph 16A-5-360(c)(2)e.3.a) and b). Such agreement shall provide that an appropriate amount shall be retained until the fully completed improvements have been maintained in a satisfactory condition for two (2) years.
g.
Development Agreement. In connection with any discretionary development approval, the Town Council may enter into a development agreement with the applicant. Development agreements are voluntary contracts between the applicant and the Town that may include provisions clarifying the phasing of construction, the timing, location and financing of public or private infrastructure, reimbursement for oversized infrastructure, vesting of property rights, assurances that adequate public facilities (including roads, water, sewer, fire protection and emergency medical services) will be available as they are needed to serve the development and mitigation impacts of the development on the general public. Development agreements may, without limitation, contain the following:
1.
Provisions for the reservation or dedication of land for public purposes;
2.
Provision for the timing, location and financing of public facilities (including roads, water, sewer, fire protection and emergency medical services);
3.
Provision for the timing, location and maintenance of private on-site improvements, including landscaping of common open space, trails and amenities for residents, users or the public;
4.
Provisions for the reimbursement of oversized infrastructure or other facilities;
5.
Proposed timing and phasing of public and/or private construction;
6.
Provisions to mitigate the impacts of the proposed development on the general public or nearby properties, including off-site improvements and the protection of environmentally sensitive lands;
7.
Provisions for public benefits or improvements in excess of what is required by current Municipal Code;
8.
Terms for subsequent discretionary actions, provided such terms shall not prevent the development of the property for the uses set forth in the agreement;
9.
Provisions that construction shall begin by a specified date or that certain phases shall be completed within a specified time;
10.
Provisions for the implementation of a reasonable contingency plan to mitigate visual, safety and public welfare impacts resulting from any possible extended interruption of construction as it would affect the community as a whole;
11.
Provisions for the vesting of property rights pursuant to Section 16A-5-90 of the this Code;
12.
A termination date for the development agreement; and/or
13.
Any other provisions appropriate to guide the completion of the development as approved.
(3)
Staff review. Staff review of the application shall be accomplished, as specified in Section 16A-5-50, Staff Review of Application. Staff shall then meet with the applicant to provide preliminary comments, discuss issues and concerns, request additional information necessary to adequately evaluate the proposal and make recommendations regarding the application. The applicant will then have the opportunity to amend their application or provide additional information in response to the staff comments. Upon receipt of the requested information, or within ten (10) days of the staff meeting, whichever occurs first, the Planning Commission and/or Town Council meeting(s) shall be scheduled by the Planning Director.
(4)
Planning Commission review. If, as a condition of its preliminary plan approval, the Town Council has required that the final plan be reviewed by the Planning Commission, then a complete copy of the application shall be forwarded to the Planning Commission, together with a copy of the staff review. The Planning Commission shall consider: all relevant materials and testimony; whether the application complies with Section 16A-5-300(c), General Restrictions, and Section 16A-5-310, Review Standards; and whether the final plan is consistent with the approved preliminary plan, and shall, by resolution, recommend that the Town Council approve, approve with conditions or deny the application.
(5)
Town Council public hearing and action.
a.
Public notice and public hearing. The Town Council shall hold a public hearing to consider a major amendment to an approved PUD, Section 16A-5-390(1)c, only. Public notice that the Town Council will consider the application shall be given by publication, posting and mailing of notice, pursuant to Section 16A-5-60(b), Manner and Timing of Notice. The Town Council shall hold a public hearing to consider the application. The public hearing shall be conducted pursuant to Section 16A-5-70(2), Conduct of Public Hearing.
b.
Town Council action. A complete copy of the application shall be forwarded to the Town Council, together with a copy of the staff review. The Town Council shall consider: all relevant materials and testimony; whether the application complies with Section 16A-5-300(c), General Restrictions, and Section 16A-5-310, Review Standards; whether the final plan is consistent with the approved preliminary plan; and, when applicable, the Planning Commission's recommendations, and shall, by ordinance, approve, approve with conditions or deny the application.
(6)
Effect of final PUD approval. Approval of the final PUD plan shall confer upon the owner of all or a portion of such property the right to apply for a building permit for development that is consistent with the limitations, restrictions, conditions and parameters set forth in the final PUD plan. Following recording of the final plat, the applicant shall be authorized to convey individual ownership interests. Final PUD plan approval shall remain in effect for a period of up to but not more than three (3) years, unless the time frame is extended by the Town Council.
(7)
Recording of final plan. Within ninety (90) days of the date of approval of the final PUD plan, the applicant shall submit three (3) copies of the final plan to the Planning Director, together with any other documents that are to be recorded, at minimum including the site plan together with the PUD Guide or land use summary chart or table. All documents shall be executed and suitable for recording. The final PUD plan, maps and plat shall also be submitted in a digital form acceptable to the Planning Director, for incorporation in the Town's geographic information system (GIS) and archival storage.
a.
Planning Director review. The Planning Director shall review the documents to ensure they comply with the terms and conditions of approval, and shall obtain Town signatures for all of the applicable certificates on the final plan and documents.
b.
Recording of final documents. The Planning Director shall thereafter cause the documents to be recorded in the records of the County Clerk and Recorder, at the applicant's expense.
(Ord. 4-1998 §1; Ord. 11-1999 §3; Ord. 15-2000 §1; Ord. 16-2010 §1)
(a)
Provisions run in favor of Town. To further the mutual interests of the residents, occupants and owners of a PUD, and of the public in the preservation of the integrity of the final PUD plan, the provisions of the plan relating to the use of land and the location of common open space shall run in favor of the Town and shall be enforceable at law or in equity by the Town without limitation on any power or regulation otherwise granted by law.
(b)
Provisions run in favor of residents. All provisions of the final PUD plan shall run in favor of the residents, occupants and owners of the planned unit development, but only to the extent expressly provided in the plan and in accordance with its terms and, to the extent, said provisions, whether recorded by plat, covenant, easement or owners acting individually, jointly or through an organization designated in the plan to act in their behalf. However, no provisions of the plan shall be implied to exist in favor of residents, occupants and owners except as to those portions which have been finally approved.
(c)
Rights to maintain and enforce remain in effect. No modification, removal or release of the provisions of the final plan by the Town, pursuant to the provisions of this Code, shall affect the rights of residents, occupants and owners of the PUD to maintain and enforce those provisions at law or in equity, subject to the limitations contained in the plan and Subsection (b), Provisions Run in Favor of Residents.
(Ord. 4-1998 §1; Ord. 15-2000 §1)
An applicant may amend an approved final PUD by complying with the following procedures and standards.
(1)
Overview of amendment procedures. There are three (3) types of amendments, with corresponding procedures, that an applicant may propose to a PUD. The Planning Director shall determine whether the amendment proposal should be classified as an administrative, major or minor amendment, taking into consideration the totality of the circumstances of the proposed amendment together with the procedures set forth in this Article. The determination of the Planning Director may be immediately appealed by the applicant to the Town Council pursuant to the provisions of Section 16A-5-80, Appeals. The applicable procedures for each type of amendment are as follows:
a.
Administrative amendment. An administrative amendment to an approved PUD may be considered pursuant to Section 16A-5-250, Administrative Modifications.
b.
Minor amendment. A minor amendment to an approved PUD shall comply with the procedures of Paragraph (2), Procedures for minor amendment of final PUD, and with the standards of Paragraph (3), Review standards.
c.
Major amendment. A major amendment that would substantially modify all or a part of an approved PUD, or any amendment to an approved PUD that does not comply with the provisions of Paragraph (3), Review standards, shall require a full PUD process. During the full PUD process, the Town shall determine whether the application complies with the standards of Subsection 16A-5-300(c), General Restrictions, and Section 16A-5-310, Review Standards, and shall also consider (but not be bound by) whether the application complies with the standards of Subsection (3), Review standards.
(2)
Procedures for minor amendment of final PUD.
a.
Pre-application conference. Attendance at a pre-application conference is mandatory prior to submission of an application for a minor amendment to a final PUD.
b.
Submission of application. The applicant shall submit an application to the Planning Director that contains the following materials:
1.
Minimum contents. The minimum contents for any application, as specified in Section 16A-5-40(b), Minimum Contents.
2.
Written statement. A written statement describing those elements of the original PUD that are proposed to be modified.
3.
Other information. The applicant shall submit such other written or graphic information as is necessary to describe and evaluate the proposed amendment, such as revised building elevations, or a marked-up copy of the final development plan.
4.
Amendment of PUD approved under prior code. An applicant proposing to amend a PUD approved prior to the effective date of this Development Code shall, as part of the application, propose any other amendments that are necessary to make the PUD conform with the provisions of this Division 3, Planned Unit Development.
c.
Staff review. Staff review of the application shall be accomplished, as specified in Section 16A-5-50, Staff Review of Application.
d.
Action by Planning Commission. A complete copy of the application shall be forwarded to the Planning Commission, together with a copy of the staff review. The Planning Commission shall review the application, considering the standards of Subsection (3), Review Standards, and shall make its recommendations to the Town Council.
e.
Public hearing. Public notice that the Town Council will consider the application shall be given by publication, posting and mailing of notice, pursuant to Section 16A-5-60(b), Manner and Timing of Notice. The Town Council shall hold a public hearing to consider the application. The public hearing shall be conducted pursuant to Section 16A-5-70(2), Conduct of Public Hearing. A complete copy of the application shall be forwarded to the Town Council, together with a copy of the staff review. The Town Council shall consider all relevant materials and testimony, shall consider the standards of Section 16A-5-390(3), Review Standards, and shall, by ordinance, approve, approve with conditions or deny the application.
f.
Recording of amended plan. Within ninety (90) days of the date of approval of the amendment, the applicant shall submit three (3) copies, suitable for recording, of the amended plan to the Planning Director, together with any other documents that are to be recorded at a minimum including the site plan together with the revised PUD Guide or land use summary chart or table. All documents shall be executed and suitable for recording. The Planning Director shall review the documents to ensure that they comply with the terms and conditions of approval, shall obtain Town signatures for all of the applicable documents and shall record the documents in the records of the County Clerk and Recorder, at the applicant's expense. The final amended plan maps and documents shall also be submitted in a digital form acceptable to the Planning Director, for incorporation in the Town's geographic information system (GIS) and archival storage.
(3)
Review standards. An application for a minor amendment to a final PUD shall comply with the following standards:
a.
Consistent with original PUD. The proposed amendment shall be consistent with, or an enhancement of, the original PUD approval.
b.
No substantially adverse impact. The proposed amendment shall not have a substantially adverse effect on the neighborhood surrounding the land where the amendment is proposed, or have a substantially adverse impact on the enjoyment of land abutting upon or across the street from the subject property.
c.
Not change character. The proposed amendment shall not change the basic character of the PUD or surrounding areas.
d.
Comply with other applicable standards. The proposed amendment shall comply with the other applicable standards of this Division 3, Planned Unit Development, including but not limited to Section 16A-5-300(c), General Restrictions, and Section 16A-5-310, Review Standards.
(Ord. 4-1998 §1; Ord. 13-1998 §1; Ord. 1-1999 §1; Ord. 6-1999 §1; Ord. 15-2000 §1; Ord. 16-2010 §1)
This Section shall apply to the subdivision of all land in the Town, unless exempted pursuant to Article V, Division 5, Subdivision Exemptions.
(Ord. 4-1998 §1; Ord. 15-2000 §1)
(a)
No land shall be transferred, conveyed, sold or subdivided. No lot or parcel of land, nor any interest therein, shall be transferred, conveyed, sold, subdivided or acquired either in whole or in part, so as to create a new nonconforming use or to avoid, circumvent or subvert any provision of this Section, or the provisions of any final PUD plan.
(b)
No lot line shall be altered. No structure shall be constructed, nor building permit issued for a structure, on any parcel of land within a subdivision approved pursuant to this Section except where such structure is to be constructed upon a lot separately designated on the plat of such approved subdivision. The lot lines established in such approved subdivision shall not be altered by conveyance of a part of any lot, nor shall any part of any lot be joined with a part of any other lot for conveyance or construction without approval of the Town Council as a subdivision or subdivision exemption.
(c)
No dwelling unit shall be occupied. No dwelling unit shall be occupied or used in violation of any of the provisions of this Section.
(d)
Action in event of violation.
(1)
Action to enjoin. The Town Council shall have the power to bring an action to enjoin any subdivider from selling or otherwise conveying, before full compliance with the provisions of this Section, any parcel of land or other interest, which activity would constitute a subdivision.
(2)
Permits shall not issue. The Building Official shall not issue permits of any kind for the construction of any building or other improvements upon any land for which an approved final plat is required, unless and until the requirements of this Section have been complied with.
(3)
Town Council may withdraw approval. The Town Council may withdraw any approval of a plat if and when it is determined that information provided by the subdivider in the application upon which such decision was based is false, materially inaccurate, or the subdivider has failed to comply with the terms of the approval, or with the provisions of Section 16A-5-420(7), Recording of Final Plat. The Town Council shall cause written notice to be served upon the subdivider or his or her agents, directing the subdivider to appear at a certain time and place for a hearing before the Town Council not less than thirty (30) nor more than sixty (60) days after the date of service of such notice. At the hearing, the allegations shall be examined by the Town Council, which shall have the power, upon good cause being shown, to withdraw any previous approval or to require such corrective or additional measures to be taken by the subdivider as are found to be proper.
(Ord. 4-1998 §1; Ord. 15-2000 §1)
The following procedures shall apply to a subdivision application. These procedures are illustrated in Figure 5-10, Subdivision Application Procedures.
(1)
Pre-application conference. Attendance at a pre-application conference is mandatory prior to submission of a subdivision application.
(2)
Submission of application. The applicant shall submit an application to the Planning Director that contains those materials specified in Section 16A-5-430, Application Contents.
(3)
Staff review. Staff review of the application shall be accomplished, as specified in Section 16A-5-50, Staff Review of Application. A complete copy of the application shall be forwarded to the Planning Commission, together with a copy of the staff review.
(4)
Planning Commission review. The Planning Commission shall consider the application. The Planning Commission shall consider all relevant materials and testimony, and whether the application complies with Section 16A-5-440, Review Standards, and shall recommend to the Town Council that the application either be approved, approved with conditions or denied.
(5)
Public notice. Public notice that the Town Council will hold a hearing to consider the application shall be given by publication, mailing and posting of notice, pursuant to Section 16A-5-60(b), Manner and Timing of Notice. A complete copy of the application shall be forwarded to the Town Council, together with the staff review and the Planning Commission recommendation.
(6)
Town Council public hearing. The Town Council shall hold a public hearing to consider the application. The public hearing shall be conducted pursuant to Section 16A-5-70(2), Conduct of Public Hearing. The Town Council shall consider all relevant materials and testimony, the Planning Commission's recommendation and whether the application complies with Section 16A-5-440, Review Standards. Following closure of the hearing, the Town Council shall, by resolution, either approve, approve with conditions or deny the application.
(7)
Recording of final plat. Within ninety (90) days of the date of approval of the subdivision, the applicant shall submit three (3) Mylar copies of a final plat to the Planning Director. The final plat shall also be submitted in a digital form acceptable to the Planning Department, for incorporation in the Town's geographic information system (GIS).
a.
Planning Director review. The Planning Director shall review the final plat to ensure it complies with the terms and conditions of approval, shall obtain signatures for all of the applicable certificates on the plat and shall return the exemption plat to the applicant.
b.
Recording by applicant. The applicant shall thereafter cause the final plat to be recorded in the records of the County Clerk and Recorder, at the applicant's expense.
(8)
Effect of final plat approval. Recording of the final plat shall confer upon the applicant the right to establish individual ownership interests, according to the final plat, within the area defined in said final approval, subject to any conditions imposed as part of the final approval and subject to the provisions of this Development Code, and any other applicable municipal ordinances and regulations.
(9)
Consolidation with PUD review. If the application requests both subdivision and planned unit development approval, then in lieu of the above procedures, the subdivision application shall be considered at the same time and following the same procedures as preliminary PUD plan review by the Planning Commission and final PUD plan review by the Town Council.
(Ord. 4-1998 §1; Ord. 15-2000 §1; Ord. 16-2010 §1)
An application for subdivision shall include the following information:
(1)
Minimum contents. The minimum contents for any application, as specified in Section 16A-5-40(b), Minimum Contents.
(2)
Improvements survey. An improvements survey, showing the location and dimensions of all existing structures, streets, alleys, easements, drainage areas, irrigation ditches, public and private utilities and other significant features within the proposed subdivision.
(3)
Plat. A proposed subdivision plat, which shall have accurate dimensions for all lines, angles and curves used to describe boundaries, streets, setbacks, alleys and easements. Areas to be reserved or dedicated for public or common use or other important features shall be shown with appropriate dimensions. All curves shall be circular arcs and shall be defined by the radius, central angle, tangent, arc and chord distances. All dimensions, both linear and angular, are to be determined by an accurate control survey on the field which must balance and close within a limit of one (1) in ten thousand (10,000). The plat shall depict the following information:
a.
Lots, blocks and streets. A systematic identification of all lots and blocks and names for all streets.
b.
Adjoining subdivisions. Names of all immediately adjoining subdivisions with dotted lines of abutting lots. If adjoining land is unplatted, it shall be shown as such.
c.
Public areas and facilities. An identification of the streets, alleys, parks and other public areas or facilities as shown on the plat, and a dedication thereof to the public use, when required. An identification of the easements as shown on the plat and a grant thereof to those persons identified on the plat. Areas reserved for future public acquisition shall also be shown on the plat.
d.
Survey description. A written survey description of the area, including the total acreage and a description of areas to be dedicated.
e.
Survey monuments. A description of all survey monuments, both found and set, which mark boundaries of the subdivision, and a description of all monuments used in conducting the survey. The Colorado Coordinate System may be used.
f.
Surveyor's certificates. A certificate of a registered land surveyor explaining how bearings, if used, were determined. A certificate by the registered land surveyor as to the accuracy of the survey and plat, stating that the survey was performed by him or her in accordance with Title 38, Article 51, C.R.S.
g.
Certificate by attorney or title insurer. A certificate by an attorney admitted to practice in the State, or corporate title insurer, that the person or persons dedicating the public rights-of-way, areas or facilities as shown thereon are the owners thereof in fee simple, free and clear of all liens and encumbrances that would adversely affect the intended use of the property to which dedications are made to the public.
h.
Town signature blocks. Certificates providing for "Approval as to Form" by the Town Attorney and "Approval as to Content" by the Planning Director and a certificate providing for approval of the plat and acceptance of dedications and easements by the Town Council, with signature by the Mayor and attestation by the Town Clerk.
i.
Clerk and Recorder's Certificate. A certificate of recording for the County Clerk and Recorder.
(4)
Additional material. The application shall also contain the following material:
a.
Engineering plans. Complete engineering plans and specifications for all public improvements on- and off-site, including roads, trails, bridges and storm drainage improvements. Plans and specifications for improvements to be designed and constructed by special districts or utility companies shall not be required.
b.
Landscape plan. A detailed landscape plan showing locations, size and type of landscape features and planting schedule.
c.
Monument records. Copies of any monument records required of the land surveyor in accordance with Title 38, Article 53, C.R.S.
d.
Agreements. Any agreements with utility or ditch companies, when applicable.
(Ord. 4-1998 §1; Ord. 15-2000 §1)
The proposed subdivision shall comply with the following review standards.
(1)
Consistency with Comprehensive Plan. The proposed subdivision shall be consistent with the intent of the Comprehensive Plan.
(2)
Compatibility with surrounding land uses. The proposed subdivision shall be compatible with the character of existing land uses in the area and shall not adversely affect the future development of the surrounding area.
(3)
Comply with other applicable provisions. The proposed subdivision shall comply with all other applicable provisions of this Development Code, including, but not limited to, the applicable standards of Article III, Zone Districts, and Article IV, Development Evaluation Standards.
(4)
Suitability for development. The property proposed to be subdivided shall be suitable for development, considering its topography, environmental features and any natural or man-made hazards that may affect its development potential.
(5)
Adequate public facilities. The proposed subdivision shall not be approved unless the Town Council determines that public facilities will be adequate to support and service the area of the proposed development or that needed public facilities and services will be made available concurrently to offset the potential impacts of such development. Public facilities and services to be examined will include, but not be limited to: storm drainage; roads and their maintenance; public transportation service and facilities; pedestrian circulation, sewerage and water service; solid waste disposal, fire and emergency medical services; and electrical service. The applicant shall show that:
a.
Adequate facilities and carrying capacity exist at the time of development or will be provided to the subdivision and affected areas prior to the issuance of a building permit for any lot or phase of the development necessitating the demand for said facilities or capacity.
b.
The subdivision has been located so as to be reasonably convenient in relation to police and fire protection, emergency medical services and schools.
c.
The subdivision will accommodate the efficient provision of local and regional transit facilities and services.
(6)
Spatial pattern shall be efficient. The proposed subdivision shall be located so as not to create spatial patterns that cause inefficiencies in the delivery of public services, or that require duplication or premature extension of public facilities.
a.
Roads. Any new road developed to serve the proposed subdivision shall be continuous and in alignment with existing platted streets to which the street is to be connected. Where appropriate, new streets shall be planned so that they can create an interconnected Town road network, with provision for adequate road and utility easements. Where cul-de-sacs are incorporated in a subdivision, the applicant is encouraged to provide a trail or similar pedestrian link between them.
b.
Water and sewer lines. Any water or sewer line extension necessary to serve the proposed subdivision shall be consistent with the Snowmass Water and Sanitation District's service plan and with the Town's Comprehensive Plan.
(7)
Phasing. If the proposed subdivision is to be developed in phases, then each phase shall contain the required streets, utilities, landscaping and other improvements that are necessary and desirable for residents of the project. If the subdivision incorporates any amenities for the benefit of the Town, such as trail connections, these shall be constructed within the first phase of the project, or, if this is not possible, then as early in the project as is reasonable.
(Ord. 4-1998 §1; Ord. 15-2000 §1; Ord. 16-2010 §1)
An applicant may amend an approved final subdivision plat by complying with the following procedures and standards.
(1)
Overview of amendment procedures. There are three (3) types of amendments that an applicant may propose to an approved subdivision. The applicable procedures for each type of amendment are as follows:
a.
Administrative amendment. An administrative amendment to an approved subdivision may be considered pursuant to Section 16A-5-250, Administrative Modifications.
b.
Minor amendment. A minor amendment to an approved subdivision shall comply with the procedures of Subsection (2), Procedures for Minor Amendment of Final Plat, and with the standards of Subsection (3), Review Standards.
c.
Major amendment. A major amendment that would substantially modify all or a part of an approved subdivision, or any amendment to an approved subdivision that does not comply with the provisions of Subsection (3), Review Standards, shall require a full subdivision process. During the full subdivision process, the Town shall determine whether the application complies with the standards of Section 16A-5-440, Review Standards, and shall also consider (but not be bound by) whether the application complies with the standards of Subsection (3), Review Standards.
(2)
Procedures for minor amendment of final plat.
a.
Pre-application conference. Attendance at a pre-application conference is mandatory prior to submission of an application for a minor amendment to a final plat.
b.
Submission of application. The applicant shall submit an application to the Planning Director that contains the following materials:
1.
Minimum contents. The minimum contents for any application, as specified in Section 16A-5-40(b), Minimum Contents.
2.
Written statement. A written statement describing those elements of the original subdivision approval that are proposed to be modified.
3.
Other information. The applicant shall submit such other written or graphic information as is necessary to describe and evaluate the proposed amendment, such as a marked-up copy of the final plat.
c.
Staff review. Staff review of the application shall be accomplished, as specified in Section 16A-5-50, Staff Review of Application.
d.
Public notice. A complete copy of the application shall be forwarded to the Town Council, together with a copy of the staff review. Public notice that the Town Council will consider the application shall be given by publication, posting and mailing of notice, pursuant to Section 16A-5-60(b), Manner and Timing of Notice.
e.
Town Council action. The Town Council shall hold a public hearing to consider the application. The public hearing shall be conducted pursuant to Section 16A-5-70(2), Conduct of Public Hearing. The Town Council shall consider all relevant materials and testimony and the standards in Subsection (3), Review Standards, and shall, by resolution, approve, approve with conditions or deny the application.
f.
Recording of amended plat. Within ninety (90) days of the date of approval of the amendment, the applicant shall submit three (3) Mylar copies, suitable for recording, of the amended plat to the Planning Director, together with any other documents that are to be recorded. The Planning Director shall review the documents to ensure that they comply with the terms and conditions of approval, shall obtain signatures for all of the applicable certificates on the final plan and shall return the documents to the applicant. The applicant shall thereafter cause the documents to be recorded in the records of the County Clerk and Recorder, at the applicant's expense.
(3)
Review standards. An application for a minor amendment to a final plat shall comply with the following standards:
a.
Consistent with original subdivision. The proposed amendment shall be consistent with or an enhancement of the original subdivision approval.
b.
No substantially adverse impact. The proposed amendment shall not have a substantially adverse effect on the neighborhood surrounding the land where the amendment is proposed, or have a substantially adverse impact on the enjoyment of land abutting upon or across the street from the subject property.
c.
Not change character. The proposed amendment shall not change the basic character of the subdivision or surrounding areas.
d.
Comply with other applicable standards. The proposed amendment shall comply with the applicable standards for review of a subdivision application, as specified in Subsection (3), Review Standards.
(Ord. 4-1998 §1; Ord. 1-1999 §1; Ord. 15-2000 §1)
Vacation of a recorded plat, or portion thereof, such as a public right-of-way or a dedicated easement, shall only be approved by the adoption of an ordinance by the Town Council. The following procedures shall apply to an application to vacate a recorded plat or portion thereof:
(1)
Pre-application conference. Attendance at a pre-application conference is optional, but recommended, prior to submission of an application to vacate a recorded plat or portion thereof.
(2)
Submission of application. The applicant shall submit an application to the Planning Director that contains the minimum contents for any application, as specified in Section 16A-5-40(b), Minimum Contents, together with a copy of the recorded plat, indicating the portions of the plat proposed to be vacated.
(3)
Staff review. Staff review of the application shall be accomplished, as specified in Section 16A-5-50, Staff Review of Application. A copy of the staff review shall be forwarded to the Town Council, together with a complete copy of the application.
(4)
Town Council action. Town Council action on the proposed vacation shall comply with the Town's procedures for adoption of an ordinance. The Town Council shall consider the following standards in determining whether to approve, approve with conditions or deny the application:
a.
Access to a public road. No roadway shall be vacated so as to leave any adjoining land without a means of access to another public road.
b.
Easements. When vacating a public road, the Town may reserve easements for the installation or maintenance of utilities, ditches and similar improvements.
c.
Transfers or sales of lots. A subdivision plat may be vacated if none of its lots have been sold or transferred, or if there have been sales or transfers, then if there has been no development on any lots in the subdivision and all of the owners agree to the vacation of the plat.
d.
Comprehensive Plan. The proposed vacation shall be consistent with the Comprehensive Plan.
(5)
Actions following approval.
a.
Documentation. The applicant shall record the documentation of the approved vacation in the office of the County Clerk and Recorder. The documentation shall also be submitted in a digital form acceptable to the Planning Department, for incorporation in the Town's geographic information system (GIS).
b.
Quit claim deeds. Whenever the Town shall approve an application vacating a public right-of-way, abutting land owners shall be provided with a quit claim deed for the vacated lands. Each abutting land owner shall be deeded that portion of the vacated right-of-way to which the owner's land is nearest in proximity.
(Ord. 4-1998 §1; Ord. 15-2000 §1; Ord. 16-2010 §1)
The Town Council shall be authorized to exempt the following activities from the terms of the subdivision regulations:
(1)
Lot line adjustments. Lot line adjustments between previously platted lots.
(2)
Lot combinations. Lot combinations of platted lots.
(3)
Conveying title. Conveying title and/or fulfilling legal obligations when no development will result thereafter, without subdivision or PUD approval.
(4)
Condominiumization and time share. Condominiumization of a development, or approval of time share estates.
(Ord. 4-1998 §1; Ord. 15-2000 §1)
The following procedures shall apply to a subdivision exemption application. These procedures are illustrated in Figure 5-9, Subdivision Exemption Application Procedures.
(1)
Pre-application conference. Attendance at a pre-application conference is optional, but recommended, prior to submission of an application for subdivision exemption.
(2)
Submission of application. The applicant shall submit an application to the Planning Director that contains those materials specified in Section 16A-5-520, Application Contents.
(3)
Staff review. Staff review of the application shall be accomplished, as specified in Section 16A-5-50, Staff Review of Application.
(4)
Town Council action. A complete copy of the application shall be forwarded to the Town Council, together with a copy of the staff review. The Town Council shall consider all relevant materials and testimony, shall consider whether the application complies with the standards in Section 16A-5-530, Review Standards, and shall, by resolution, approve, approve with conditions or deny the application.
(5)
Recording of exemption plat. Within ninety (90) days of the date of approval of the subdivision exemption, the applicant shall submit three (3) Mylar copies, suitable for recording, of an exemption plat to the Planning Director. The Planning Director shall review the exemption plat to ensure it complies with the terms and conditions of approval, shall obtain signatures for all of the applicable plat certificates and return the exemption plat to the applicant.
The
applicant shall thereafter cause the exemption plat to be recorded in the records of the County Clerk and Recorder, at the applicant's expense.
(Ord. 4-1998 §1; Ord. 15-2000 §1)
An application for a subdivision exemption shall contain the following materials:
(1)
Minimum contents. The minimum contents for any application, as specified in Section 16A-5-40(b), Minimum Contents.
(2)
Improvements survey. An improvements survey, showing the location and dimensions of all existing structures, streets, alleys, easements, drainage areas, irrigation ditches, public and private utilities and other significant features within the property.
(3)
Exemption plat. The applicant shall submit a proposed exemption plat, which shall contain the applicable information for a final plat, as specified in Section 16A-5-430(3), Application Contents.
(4)
Condominium documents. For an application for condominiumization, the applicant shall also submit proposed condominium documents, including condominium declaration, articles of condominium association, bylaws, maps and all other applicable information, including the Secretary of State disclosure statement, as required by the Colorado Common Interest Ownership Act, Section 38-33.3-101 et. seq., C.R.S. The application shall also include a proposal for restricting owner usage and how the units will remain in the short-term rental market, if applicable.
(Ord. 4-1998 §1; Ord. 15-2000 §1)
An application for a subdivision exemption shall comply with the following standards:
(1)
Exemption is necessary. The exemption shall be necessary for the preservation and enjoyment of substantial property rights of the applicant.
(2)
Consistent with subdivision. The exemption shall be consistent with the preservation of the goals, objectives and standards of the particular subdivision or land area involved.
(3)
No new lots created. Granting of the exemption shall not create any new lots in any single-family subdivision.
(4)
Comply with Development Code. The exemption shall comply with the standards of the zoning district in which the property is located and all other applicable standards of this Development Code. With respect to an application for a lot line adjustment, if any of the lots or structures thereon are nonconforming prior to the adjustment, then no adjustment shall be allowed that increases the nonconformity of the lot or structure.
(5)
No adverse impacts. Granting of the exemption shall not be detrimental to the public welfare and shall not affect in a substantially adverse manner the enjoyment of land abutting upon or within the area in which the subject property is situated.
(6)
Not increase total allowable floor area. Granting of the exemption shall not increase the total allowable floor area on a lot or lots affected by the proposed exemption beyond the total allowed without the exemption, and any change in allowable floor area permitted by the exemption within those totals shall be consistent with the surrounding area.
(7)
Special circumstances. In the instance where the Town Council is unable to find that an application is consistent with any of the above standards, the exemption may only be granted if the Town Council finds that there are special circumstances or conditions affecting the subject property such that the strict application of these standards would result in undue hardship and deprive the applicant of the reasonable use of the land.
(Ord. 4-1998 §1; Ord. 15-2000 §1)
(a)
Purpose. The purpose of this Section is to make available a development technique that under controlled conditions and in certain circumstances may be of economic benefit to the community through increased investment and greater utilization of facilities. This is accomplished by:
(1)
Avoid problems. Setting high standards for time share projects to avoid the undesirable aspects that have been associated with these programs in other resort communities. Based on research of past experience with time share, special attention is directed to problems related to: (a) long-term maintenance, repair and replacement; (b) market and sales practices; (c) management arrangements; and (d) full disclosure provisions.
(2)
Consumer protection. Protecting the consumer, the interest of the public and the present character and ambience of the community are principal objectives of these regulations.
(3)
Innovation. Providing certainty that all appropriate innovative planning and development measures may be utilized for the betterment of the Town with strong enforceable safeguards against abuse.
(b)
Applicability and authority. No time share estates shall be created with respect to any dwelling unit, hotel/lodge or suite unless the applicant therefor has complied with the requirements of this Section and the underlying zone district. The objectives, standards, application contents and other provisions of this Section shall be applied to the review of any application which proposes or contemplates the creation and sale of time share estates, to the extent specifically provided herein. It is acknowledged that, depending upon the type of time share estate created and the manner in which it is sold, the ownership right in and to such estate, as evidenced by contract, license, membership or otherwise, may be considered personal property under state law. Since the object of ownership and use is a dwelling unit or room which in and of itself is considered real property, the fact that the ownership right may be considered personalty (i.e., for the purpose of imposition of sales tax), does not exempt the sale, exchange, rental, transfer or use of time share estate from this Section. For the purpose of this Section, an interest in a time share estate shall be considered an interest in real property. This Section is intended to supplement the provisions of the Colorado Common Interest Ownership Act as applied in the Town by adding the right-to-use estate to the definition of a time share estate and by imposing the specific local review standards and requirements set forth herein.
(Ord. 4-1998 §1; Ord. 15-2000 §1)