- SUPPLEMENTAL REGULATIONS
Editor's note— Ord. No. 42-13, § 1, adopted February 13, 2014, amended division 2 in its entirety to read as herein set out. Former division 2, §§ 78-331—78-334, pertained to similar subject matter. See Code Comparative Table for complete derivation.
Editor's note— Ord. No. 39-13, § 1, adopted February 13, 2014, amended division 4 in its entirety to read as herein set out. Former division 4, §§ 78-391—78-416, pertained to similar subject matter. See Code Comparative Table for complete derivation.
The district regulations of this chapter shall be subject to the provisions and exemptions in this article.
(Code 1977, app. A, § X)
In all zoning districts, chimneys, water tanks, elevator lofts, church spires, and flagpoles may be erected no more than 40 percent above the height of the building on which it is located. In all zoning districts, parapet walls and turrets may be erected no more than 20 percent above the height of the building on which it is located. However, the highest vertical projection of a chimney may exceed the overall height of the building on which it is located by no more than four feet. All such structures located upon the roof area shall not cover in the aggregate a roof area greater than ten percent of the ground floor area of such building or structure.
(Code 1977, app. A, § X(A)(1)(a); Ord. No. 605, § 6, 5-18-2006; Ord. No. 14-12, § 1, 11-8-2012; Ord. No. 04-21 § 1, 3-11-2021)
(a)
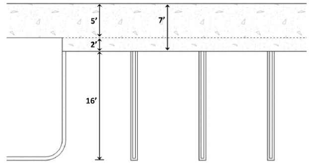
The minimum lowest floor elevation for all new construction and substantial improvements to existing structures not located in a special flood hazard area shall be 18 inches above the crown of the adjacent roadway.
(b)
The minimum lowest floor elevation for all new construction and substantial improvements to existing structures that are located in a special flood hazard area shall be pursuant to the provisions of chapter 78, article XII, flood damage prevention.
(c)
The floor elevation for any repair, reconstruction, rehabilitation, addition or other improvement to a structure which is not a substantial improvement shall match the floor elevation of the existing structure.
(d)
Nothing contained in this section is intended to abrogate any requirements of article XII, flood damage prevention. To the extent that there are conflicting applicable requirements contained therein, the more restrictive shall apply.
(Ord. No. 14-12, § 1, 11-8-2012)
Editor's note— Ord. No. 14-12, § 1, adopted November 8, 2012, repealed the § 78-283, and enacted a new § 78-283 as set out herein. The former § 78-283 pertained to broadcast receiving antennas and communication antennas and derived from app. A, § X(A)(1)(b) of the 1977 Code.
(a)
Walls and fences may be erected or maintained within or adjacent to a property line to a height not exceeding six feet. No wall or fence shall be permitted to extend forward of the adjacent or nearest portion of the building front, regardless of the actual, allowed building setback line, on any lot or parcel (see Fig. A), except for lots or parcels located along and fronting upon County Club Drive, where walls not exceeding five feet in height may be located forward of the front building line. Commercial property abutting a residential property shall comply with section 78-403 regarding walls and fences.
(b)
If a wall or fence is erected or located on a corner lot (in which case the building front shall be considered to be the side of the building facing the right-of-way associated with the property's street address), a vehicular and pedestrian visibility triangle (see section 78-303) shall be maintained for 25 feet in both directions from the point of intersecting lot lines. The maximum height of any wall or fence within the visibility triangle, including those on Country Club Drive, shall be two and one-half feet (see Fig. B).
(c)
Fences and walls for the screening of boats, trailers, recreational vehicles and the like on property in the R-1A, and R-1 zoning districts shall also comply with the requirements of chapter 46, article III, division 2.
(d)
Entry features consisting of masonry columns not exceeding six feet in height, with or without gates, are not deemed to be walls or fences and are specifically allowed in the R-1A and R-1 zoning districts and in the residential areas within a mixed use development located in the MU zoning district. Such entry features must be compatible with the architecture of the residence and the streetscape, must be set back a minimum of ten feet from the edge of the road pavement or the lot side of any sidewalk, must provide a minimum clear width of 12 feet for access by emergency vehicles, and shall not be located in the village right-of-way. Gates, if any, must swing inward or slide to the side to prevent obstructions to the roadway or sidewalk. A building permit and approval by the planning and zoning board in accordance with these regulations is required prior to the commencement of construction.
(Code 1977, app. A, § X(A)(1)(c); Ord. No. 4-08, § 1, 4-10-2008; Ord. No. 2-11, § 1, 3-10-2011; Ord. No. 14-12, § 1, 11-8-2012; Ord. No. 08-19, § 2, 5-9-2019)
All clotheslines, solar collectors or other types of energy saving devices based on renewable resources shall be installed in locations which shall not be conspicuous from the public streets or from adjoining properties. Patio or porch railings may not be used as clotheslines. Clotheslines extending from second or higher floors of buildings are prohibited unless such clotheslines are properly screened from the public streets and from adjoining property. Fences or walls for the enclosure of clothes drying areas or other energy saving devices may be erected to a maximum height of six feet; provided, however, such construction is approved in advance by the appropriate authorities as to location on the property, the size of the area to be enclosed, and the height of the fence or wall.
(Code 1977, app. A, § X(A)(1)(d); Ord. No. 14-12, § 1, 11-8-2012)
Individual stands or open counters for the serving of food or beverages or other commercial purposes may be erected or permitted in landscaped public park areas after approval by the village council. Such stands or open counters used in association with village sponsored events such as Green Market or Tequesta Fest shall be approved through the parks and recreation department.
(Code 1977, app. A, § X(A)(1)(e); Ord. No. 14-12, § 1, 11-8-2012)
Construction in coastal areas of the village must comply with all of the applicable provisions of the flood damage prevention code of the village set forth in article XII, of this chapter and any applicable coastal construction controls or regulations as established by the state, and the construction control line established by the state bureau of beaches and shores, which ordinance or its successor shall prevail in the absence of a conflicting village ordinance.
(Code 1977, app. A, § X(A)(2); Ord. No. 14-12, § 1, 11-8-2012)
Cross reference— General standards for coastal construction and sea turtle protection, § 10-69; coastal high hazard areas (V-zones), § 78-789.
In multiple residential developments where eight or more dwelling units are in one or more structures under single ownership, there shall be provided recreation space and/or facilities at the rate of 150 square feet per dwelling unit. Such required space may be either within the principal structure, in an accessory structure, outside, or in any combination thereof.
(Code 1977, app. A, § X(A)(3))
(a)
No accessory structure, except as otherwise provided by this chapter, shall be located in the area between the front setback line of the principal structure and the street line unless such lot fronts Beach Road.
(b)
Where the accessory structure is attached to the principal structure or connected thereto by a breezeway, the side yard shall be measured from the outer wall thereof.
(Code 1977, app. A, § X(A)(4); Ord. No. 14-12, § 1, 11-8-2012; Ord. No. 02-23, § 4, 2-9-2023)
No business or profession, professional or otherwise, shall be carried on in any noncommercial zoning district of the village. This restriction shall not be applicable to home occupations allowed pursuant to division 7 of this article.
(Code 1977, app. A, § X(A)(5); Ord. No. 14-12, § 1, 11-8-2012)
No timesharing uses of any nature as defined by this chapter shall be permitted anywhere within the village.
(Code 1977, app. A, § X(A)(6))
Manufactured housing must comply with the same aesthetic requirements as any other structure or building in any zoning district throughout the village.
(Code 1977, app. A, § XIV(A)(7); Ord. No. 14-12, § 1, 11-8-2012)
(a)
Health care facilities and medical or dental offices shall be subject to the following regulations: On-site dispensing of controlled substances that are identified in Schedule II, III, IV of F.S. § 893.03, or controlled substances that are identified in F.S. § 893.035 or 893.0356, is strictly prohibited, unless otherwise expressly permitted by statutory or general law. However, the following are exempt from this prohibition:
(1)
A health care practitioner when administering a controlled substance directly to a patient if the amount of the controlled substance is adequate to treat the patient during that particular treatment session.
(2)
A pharmacist or health care practitioner when administering a controlled substance to a patient or resident receiving care as a patient at a hospital, nursing home, ambulatory surgical center, hospice, or intermediate care facility for the developmentally disabled which is licensed by the state.
(3)
A health care practitioner when administering a controlled substance in the emergency room of a licensed hospital.
(4)
A health care practitioner when administering or dispensing a controlled substance to a person under the age of 16.
(5)
A health care practitioner when dispensing a one-time, 72-hour emergency resupply of a controlled substance to a patient.
(b)
Additionally, the health care practitioner responsible for the operation or supervision of any medical or dental office shall execute an affidavit acknowledging the regulations set forth hereinabove prior to payment of the required business tax, and annually thereafter upon renewal of same prior to the issuance of a business tax receipt. Failure or refusal to execute the required affidavit shall constitute prima facie evidence that the subject medical or dental office is operating in violation of the code of ordinances, which may result in code enforcement action, revocation of business tax receipt, and/or any other actions permitted by law.
(Ord. No. 3-10, § 2, 3-23-10)
No use shall be made of any property within any zoning district that shall in any way be offensive or noxious by reason of the emission of any discharge, odor, gas, dust, smoke, fumes, vibration or noise; nor shall any vehicle be parked or used in any way that would constitute a nuisance; nor shall anything be constructed or maintained that would in any way constitute a nuisance to adjacent property owners, residents or the community. Each use shall be operated so as to lessen the damage from fire and explosion.
In addition, all uses and activities in any zoning district shall conform to the standards described below:
(a)
Radiation. Any use or operation involving radiation, i.e., the use of gamma rays, X-rays, alpha and beta particles, high-speed electrons, neutrons, protons and other atomic or nuclear particles shall be permitted only in accordance with the codes, rules and regulations of the state department of health and state department of environmental protection.
(b)
Electromagnetic radiation and interference.
(1)
Radiation. No use shall be operated which produces any planned or unplanned source of electromagnetic radiation that does not comply with the current regulations of the Federal Communications Commission regarding such sources of electromagnetic radiation. However, any use or operation otherwise in compliance with current Federal Communications Commission regulations shall still constitute a violation of this section if such use or operation emits electromagnetic radiation that causes an abnormal degradation of performance of any electromagnetic receptor of quality and proper design. The determination of abnormal degradation in performance and of quality and proper design shall be made in accordance with good engineering principles and standards of the Institute of Electrical and Electronics Engineers and the Electronic Industries Alliance.
(2)
Interference. No use, activity or process shall be conducted which produces electromagnetic interference with normal radio or television reception in any zoning district.
(c)
Humidity, heat or glare.
(1)
In all zoning districts, any activity producing heat or glare shall be carried on in such a manner that such heat or glare is not perceptible at any lot line.
(2)
Exposed sources of light, including bare bulbs and tubes and immediately adjacent reflecting surfaces, shall be shielded so as not to create a nuisance across lot lines.
The light intensity from illumination of any kind shall not exceed 50 footlamberts at any point along the line of the lot containing the light source.
(d)
Hours of operation. Uses shall not impact adversely upon adjacent or nearby uses due to hours of operation. Complaints regarding the creation of a nuisance due to extended or unusual hours of operation shall be submitted to the village council for review. Upon substantial proof that a public nuisance exists, at a public hearing called for such purpose, village council shall set reasonable hours of operation for the complained of use in order to abate the public nuisance.
(e)
Outside sales. Outside sales are prohibited except where the outside sale function has been specifically approved as a part of a site plan or unless permitted under chapter 78, article IX, division 8, village code.
(Code 1977, app. A, § X(B); Ord. No. 14-12, § 1, 11-8-2012; Ord. No. 17-21, § 2, 2-10-2022)
The following are conditions of operation for all permitted uses, accessory uses, and special exceptions in C-1, C-2, C-3, and the commercial portions of mixed use zoning districts:
(1)
Enclosure of uses. All commercial uses shall be operated entirely within enclosed buildings except for the following uses:
a.
Off-street loading;
b.
Automobile parking, and the fuel sales and dispensing facilities of full-service fuel stations or gas stations;
c.
Sidewalk cafes;
d.
Drive-in, drive-through, or walk-up service window facilities, i.e., laundry, dry cleaning, and banking facilities;
e.
Pre-bagged ice;
f.
LP tank sales, in accordance with the restrictions and requirements of section 78-304.
(2)
Projections over sidewalk or required yard area. Cornices, solid canopies, or architectural features may extend 48 inches over the sidewalk or required yard area, provided it shall have nine feet of vertical clearance between any solid construction and the sidewalk or yard. Marquees or canvas-covered fireproof canopies, no wider than entranceways, may be constructed over main entrances to theaters and places of public assembly, provided that no part shall be nearer than 18 inches to the face of the curb, and such installation shall have a minimum of nine feet of vertical clearance between any solid construction and the sidewalk. No projections shall be allowed in the required rear yard except open type fire escapes, and these must be provided with a counterbalanced bottom section to provide for nine feet of clearance when up.
(3)
Awnings. Awnings may be suspended over sidewalks or ways provided that they shall not project nearer than 18 inches to the face of the street curbline or more than eight feet from the exterior wall of the building, and such installation shall have at least seven feet six inches of vertical clearance between any solid construction and the sidewalk. The cloth front and side drops shall measure not less than six feet six inches from their lowest point to the sidewalk.
(Code 1977, app. A, § X(C); Ord. No. 2-11, § 2, 3-10-2011)
No full-service fuel station or gas station shall be erected within the village unless the station is located fronting along U.S. Highway 1 in the MU and C-2 zoning districts or is located within the C-3 zoning district.
(Code 1977, app. A, § X(F); Ord. No. 02-21, § 2, 3-11-2021)
(a)
No automotive repair establishment shall be erected within the village unless the establishment is located within the C-3 zoning district.
(b)
The following regulations shall apply to all automotive repair establishments:
(1)
The use of full-service fuel stations or gas stations for the purpose of selling, renting or leasing of new or used motor vehicles, trailers or other recreational vehicles is prohibited.
(2)
All oil drainage pits, hydraulic lifts and mechanical repair work shall be located or conducted within an enclosed building or structure.
(3)
No body damaged vehicle or vehicle components of any kind or condition which are exposed to view from a public roadway shall be permitted.
(Code 1977, app. A, § X(G))
All places of business selling intoxicating liquors, wines and beverages for consumption on the premises shall not be located within a 1,000-foot radius of any church, school or youth center. The 1,000 feet shall be measured in a straight line from main entrance door to main entrance door.
(Code 1977, app. A, § X(I))
(a)
Intent. The purpose and intent of this section is to provide regulations for the location and screening of emergency generators, air conditioning equipment, pool equipment and similar mechanical equipment for the enhancement of community amenities of beauty and visual interest and to protect public health, safety and welfare by promoting noise control. This section does not apply to roof top mounted equipment.
(b)
Applicability. The regulations provided by this section shall apply within all residential zoning districts within the village, including the residential portions of the mixed use zoning district, on properties having or using emergency generators, air conditioners, pool equipment or similar mechanical equipment. Portable generators are not subject to the provisions of this section.
(c)
Regulations.
(1)
Emergency generators, air conditioning equipment, pool equipment and similar mechanical equipment shall not be located in any front yard area or any closer than five feet from any side or rear lot line.
(2)
All emergency generators, air conditioning equipment, pool equipment and similar mechanical equipment shall be screened from public view, from public streets, and from abutting properties.
(3)
Screening shall be opaque in nature and be constructed in conformity with material approved by the Florida Building Code, or shall be composed of vegetation that does not violate the village's landscaping code at division 4 of this article.
(4)
Buffering shall be of a material that blends in with the architecture of the building, and/or landscaping of the site, when possible. Screening may not exceed six feet in height. The height of the equipment may not protrude above the screening. Equipment that exceeds six feet in height must comply with the setback requirements for accessory structures set forth at section 78-143.
(5)
The regulations in this section cover all existing and future development within the village. In the case of new development, the location of the equipment shall be shown on the approved site plan.
(6)
All existing nonconforming equipment in the village on the date of the passage of Ordinance No. 14-12 shall be deemed to be in compliance with this section.
(7)
Appeals of the decisions of the village staff concerning these matters may be implemented by the appeal process to the planning and zoning board as described in this chapter.
(d)
Penalty. Any person violating the provisions of this section shall be subject to code enforcement, including the penalties provided at chapter 2, article IV.
(Code 1977, app. A, § X(O); Ord. No. 14-12, § 1, 11-8-2012; Ord. No. 9-15, § 3, 6-11-2015; Ord. No. 02-21, § 3, 3-11-2021)
(a)
Intent. The purpose and intent of this section is to provide regulations for the location and screening of dumpsters for the enhancement of community amenities of beauty and visual interest and to protect public health, safety and welfare by promoting refuse and litter control.
(b)
Applicability. The regulations provided by this section shall apply within all zoning districts within the village on properties having or using dumpsters for their sanitation service. Temporary dumpsters, such as those which are placed on job sites during construction activity, are not subject to the provisions of this section.
(c)
Regulations.
(1)
All dumpsters in the village shall be located on the property serviced so as to be reasonably accessible for trash collection by the sanitation vehicles, and shall not be located within the right-of-way of a public street or alley.
(2)
All dumpsters shall be screened from public view, from public streets, and from abutting properties.
(3)
Screening on three sides of the dumpster shall be erected with access to the dumpster on the fourth side being obtained by an approved opening. The sufficiency of the access of the dumpster shall meet the concurrence of the village and the franchised sanitation company.
(4)
Screening shall be opaque in nature and be constructed in conformity with material approved by the Florida Building Code. A permit must be obtained from the village building official prior to the commencement of construction.
(5)
The screening of the dumpsters shall be of a material that blends in with the architecture of the building, when possible. All screening must be a minimum of four feet high. The height of the dumpster may not protrude above the screening.
(6)
All dumpsters must be placed on a hard surface, the minimum dimensions of which shall be adequate for the size of the dumpster located there. Inadequate or nondurable pads shall be the responsibility of the property owner to repair or replace as needed.
(7)
If the property owner elects to place gates on the screened dumpster enclosure, the doors must be kept closed at all times except when the dumpster is being serviced. The doors must be kept in good repair at the expense of the owner.
(8)
The regulations in this section cover all existing and future development within the village. In the case of new development, the location of these dumpsters shall be shown on the approved site plan.
(9)
All existing nonconforming dumpsters in the village shall be in compliance with this section no later than 18 months from the date of the passage of Ordinance No. 361.
(10)
Appeals of the decisions of the village staff concerning these matters may be implemented by the appeal process to the planning and zoning board as described in this chapter.
(d)
Penalty. Any person violating the provisions of this section shall be subject to code enforcement, including the penalties provided at chapter 2, article IV.
(Code 1977, app. A, § X(P); Ord. No. 14-12, § 1, 11-8-2012; Ord. No. 9-15, § 3, 6-11-2015)
Recyclable material collection and storage areas shall be provided on-site at all multifamily developments with ten or more units, in accordance with the following requirements and/or standards:
(1)
General standards. Collection and storage facilities shall be in accordance with any specific requirements of the county solid waste authority, the village's franchise recycling service provider and these requirements and/or standards as set forth in this section.
(2)
Location. Recyclable material collection and storage areas shall be located within the building containing the multifamily dwelling units or within an accessory building such as a parking structure or within or adjacent to the disposable material dumpster area used by the residents.
(3)
Access. Access to recyclable material collection and storage areas shall be designed so as to not require unnecessary turning or backing movements by pickup and removal vehicles.
(4)
Setback. The minimum setback for recyclable material collection and storage structures shall be as required for accessory buildings or structures as set forth in the zoning district schedule of site regulations in section 78-143.
(5)
Screening. All recyclable material collection and storage areas shall be properly screened from view by a solid opaque enclosure constructed of brick, concrete, concrete block and stucco, or other decorative masonry or comparable wood, consistent with the architectural character or style of the development or principal buildings. If gates are used they shall meet the requirements of the village franchise service provider. All exterior sides of such enclosures, except the open end, shall be landscaped with minimum 24-inch high plant material spaced a maximum of 24 inches on center at time of planting. The type of plant material shall meet the requirements of the village's landscape code as set forth at article IX, division 4 of this chapter.
(6)
Storage area. The required collection and storage areas or structures shall be sized to properly handle the volume of recyclable materials anticipated to be generated by the multifamily development.
(7)
Alternative compliance. Applicants shall be entitled to demonstrate that recyclable material storage space needs can be effectively met through an alternative recyclable materials collection and storage plan. An alternative plan shall be reviewed by the solid waste authority, the village's franchise service provider and the village, and, if approved, shall be substituted for a recyclable materials storage and collection plan meeting the express collection and storage area requirements and standards of this section.
(8)
Review of plans. Recyclable material collection and storage area plans shall be reviewed by the village as part of the site plan review process as set forth at article IX, division 2 of this chapter.
(9)
Retrofitting of existing multifamily developments. The retrofitting of existing multifamily buildings and developments to comply with the requirements and standards of this section shall be encouraged. In order to encourage retrofitting, existing multifamily buildings or developments may convert existing off-street parking spaces to accommodate a recyclable material storage structure meeting the requirements of this section and, additionally, in accordance with the following standards:
a.
Number of parking spaces to be converted. The number of existing off-street parking spaces converted shall not exceed the minimum number of collection and storage areas necessary to properly meet the anticipated recycling needs of the multifamily development.
b.
Automatic waiver. The conversion of existing off-street parking spaces to accommodate recyclable material collection and storage areas pursuant to the requirements and standards of this section shall be permitted by right, without resort to the planning and zoning board.
(10)
Exemptions. Multifamily developments in existence at the date of the adoption of the ordinance from which this section is derived that receive curbside recyclable materials collection service on at least a weekly basis shall be exempt from the standards of this section.
(Code 1977, app. A, § X(R); Ord. No. 14-12, § 1, 11-8-2012; Ord. No. 9-15, § 3, 6-11-2015)
(a)
All utility service lines within any zoning district of the village shall be placed underground within any zoning district of the village upon development of the property in question. This provision shall apply to all new construction as well as to any renovation, restoration or construction activity to an existing structure wherein the renovation, restoration or construction activity value is greater than 50 percent of the assessed value of the existing structure.
(b)
Compliance with the intent of this section shall be a prerequisite to the issuance of a building permit by the building official.
(Code 1977, app. A, § X(Q))
Cross reference— Underground utility service in subdivisions, § 66-343; utilities, ch. 74.
Visibility triangles of 25 feet in both directions from the point of intersecting lot lines shall be maintained at all intersections. Plantings shall not exceed two and one-half feet in height in a visibility triangle.
(Ord. No. 605, § 7, 5-18-2006)
Businesses with addresses that front on U.S. #1, and all businesses within the C-3 zoning district shall be permitted to have outdoor LP tank sales under the following conditions:
(1)
Permit required. Outdoor LP tank sales must be permitted through the building department, in addition to the building official's approval, the community development director and the fire chief shall review and approve the application prior the issuance of any permit.
(2)
Permit renewal. All LP tank sale permits must be renewed on an annual basis in conjunction with payment of the business's annual business tax required by chapter 70, article II of the Tequesta Code of Ordinances.
(3)
Tax. All LP tank sales shall be subject to the public service gas tax as set forth at chapter 70, article IV, division 2 of the Tequesta Code of Ordinances.
(4)
All LP tank sale facilities shall comply with all applicable building and fire codes, as determined by the building official and the fire chief.
(Ord. No. 2-11, § 3, 3-10-2011)
Curbside mailboxes for home mail delivery may be installed in the village's rights-of-way subject to the following:
(1)
Curbside mailboxes shall not be considered to be prohibited structures located in a right-of-way.
(2)
Curbside mailboxes shall comply with current United States Postal Service regulations which govern the design of curbside mailboxes as contained in USPS STD 7B.
(3)
Prior to installing any curbside mailbox, the installer should contact the local post office to ensure its correct placement and height at the street. Generally, mailboxes are installed at a height of 41—45 inches from the road surface to the inside floor of the mailbox and are set back 6—8 inches from the front face of the curb or road edge to the mailbox door.
(4)
Mounting apparatus shall be subject to the following regulations:
a.
"Traditional" mailbox support structures, similar to the structures depicted in Figure 1 are permitted.
b.
Mailbox support structures made of masonry materials are prohibited.
c.
Color and texture of mailbox support structures should match or compliment the principal structure on the property.
d.
Mailbox support structures should be designed to "breakaway" in the event of a collision with a motor vehicle.
e.
Custom or non-traditional mailbox support structures shall not exceed the dimensions of two feet wide by two feet deep by five feet high.
(Ord. No. 37-13, § 1, 11-14-2013)
(a)
All components of storm panel systems or shutter systems which are permanently attached to a building, such as the components of accordion or roll up shutters or similar systems, shall match or compliment the color of the walls or trim of the building. Any such permanently installed system shall not be closed or activated while the building is occupied, unless a tropical storm or hurricane "warning" or "watch" has been issued, or a state of emergency declared. In such a case, the system may be closed or activated but must be opened or de-activated within two weeks of the end of the storm event or emergency.
(b)
Any storm panels or shutters which are temporarily or seasonally installed, hung or attached to a building, or are otherwise utilized for their intended purpose for any period of time in excess of 30 consecutive days must be manufactured, painted or treated so that they match or complement the color of the building to which they are attached, subject to the following:
(1)
Manufactured panels or shutters made of aluminum, steel, polycarbonate or other similar materials need not be painted, but must be properly maintained and uniform in appearance on the building to which they are attached.
(2)
The use of wood panels or shutters is permitted so long as the wood that is installed, hung, attached to a building is painted to match the color of the walls or trim of the building.
(3)
Under no circumstances shall temporarily or seasonally installed, hung or attached shutters be installed, hung or attached to a building while the building is being occupied, unless a tropical storm or hurricane "warning" or "watch" has been issued, or a state of emergency declared. In such a case, the panels or shutters may be installed but must be removed within two weeks of the end of the storm event or emergency.
(c)
Regardless of anything contained in this section to the contrary, the regulations set forth herein are not intended to prohibit the use of any shutter as a sunscreen or for the purpose of providing shade when such use is on a daily, as-needed basis. Such use contemplates that the shutters will be opened daily during such times that they are not needed to be used as a sunscreen for the provision of shade. Otherwise, the use of storm panel systems or shutter systems while the building to which they are attached is occupied by any person must be:
(1)
Pursuant to the issuance of a tropical storm or hurricane "warning" or "watch"; or
(2)
Pursuant to the declaration of a state of emergency; or
(3)
In compliance with all provisions of the Florida Fire Prevention Code and the Florida Life Safety Code as adopted by the Village at chapter 34. Said compliance specifically includes provisions relative to ingress, egress and escape requirements.
(Ord. No. 37-13, § 2, 11-14-2013)
Medical marijuana treatment center dispensing facilities, as defined in section 78-4 of the Code, are banned and therefore strictly prohibited from locating in any Zoning District within the village, as authorized by Senate Bill 8A signed into law on June 23, 2017 as Chapter 2017-232, Laws of Florida.
(Ord. No. 16-17, § 3, 11-9-2017)
(a)
Purpose. F.S. § 509.233, grants the village the authority to provide a local exemption procedure to certain provisions of the Food and Drug Administration Food Code, as currently adopted by the Florida Department of Business and Professional Regulation's Division of Hotels and Restaurants, in order to allow patrons' dogs within certain designated outdoor portions of public food service establishments. The purpose of this section is to allow patron's dogs within certain outdoor portions of public food service establishments under this local exemption authority.
(b)
Limitations on exemption.
(1)
This exemption shall only provide a variance to those portions of the currently adopted United States Food and Drug Administration Food Code in order to allow patrons' dogs within certain designated outdoor portions of public food service establishments.
(2)
Any dog that has been classified as an aggressive, dangerous, or vicious dog as contained in the Palm Beach County Animal Care and Control Ordinance shall not be permitted within any portion of a public food service establishment.
(c)
Definitions.
(1)
Division means the Division of Hotels and Restaurants of the State of Florida Department of Business and Professional Regulation.
(2)
Dog means an animal fully of the subspecies Canis lupus familiaris.
(3)
Employee(s) means any person(s) employed by, or acting on behalf of, the public food service establishment.
(4)
Outdoor dining area means an area adjacent to a public food service establishment that is predominantly free of physical barriers on at least three sides but may be covered from above.
(5)
Patron has the meaning given to "guest" by F.S. § 509.013.
(6)
Public food service establishment has the meaning given to it by F.S. § 509.013.
(d)
Permit required. No dog shall be allowed in a public food service establishment unless allowed by state law or unless the public food service establishment has received and maintains an unexpired permit issued by the village pursuant to this section. Dogs shall only be authorized in a designated outdoor dining area. It shall be unlawful to fail to comply with any of the requirements of this section.
(e)
Permit application requirements. Participating public food service establishments must apply for and receive a permit from the village before patrons' dogs are allowed on the premises. The village shall establish a reasonable fee to cover the cost of processing the initial application, which shall be set by resolution of the village council. The permit application shall require such information from the applicant as is deemed reasonably necessary to enforce the provisions of this section and shall require, at a minimum, all of the following information:
(1)
Name, location, and mailing address of the public food service establishment.
(2)
Name, mailing address, and telephone contact information of the permit applicant. Name, mailing address, and telephone contact information of the owner of the public food service establishment shall be provided if the owner is not the permit applicant.
(3)
A diagram and description of the outdoor area which is requested to be designated as available to patrons' dogs, including dimensions of the designated area; a depiction of the number and placement of tables, chairs, and restaurant equipment, if any; the entryways and exits to the designated outdoor area; the boundaries of the designated area and of the other outdoor dining areas not available for patrons' dogs; any fences or other barriers; surrounding property lines and public rights-of-way, including sidewalks and common pathways; and such other information as is deemed necessary by the village. The diagram or plan shall be accurate and to scale but need not be prepared by a licensed design professional. A copy of the approved diagram shall be attached to the permit.
(4)
A description of the days of the week and hours of operation that patrons' dogs will be permitted in the designated outdoor area.
(5)
A written certification of commercial general liability insurance and an instrument in which the applicant and the property owner (if not the applicant) agree to indemnify and hold harmless the village and its officers, and employees against liability, including court costs and reasonable attorneys' fees, through all appellate proceedings, for any and all claims for damage to property, or injury to, or death of, persons arising out of or resulting from the issuance of the permit.
(6)
The appropriate Division-issued license number for the subject public food service establishment.
(f)
Regulations. Public food service establishments that receive a permit for a designated outdoor area pursuant to this section are also subject to the following regulations:
(1)
All public food service establishment employees shall wash their hands promptly after touching, petting, or otherwise handling dogs. Employees shall be prohibited from touching, petting, or otherwise handling dogs while serving food or beverages or handling tableware or before entering other parts of the public food service establishment.
(2)
Patrons in a designated outdoor area shall be advised that they should wash their hands before eating. Waterless hand sanitizer shall be provided at all tables in the designated outdoor area.
(3)
Employees and patrons shall be instructed that they shall not allow dogs to come into contact with serving dishes, utensils, tableware, linens, paper products, or any other items involved in food service operations.
(4)
Patrons shall keep their dogs on a leash at all times and shall keep their dogs under reasonable control. Patrons shall not leave their dogs unattended for any period of time.
(5)
Dogs shall not be allowed on chairs, tables, or other furnishings. Dogs must remain on the floor or ground level and shall not be permitted in the lap of the patron.
(6)
All table and chair surfaces shall be cleaned and sanitized with a United States Food and Drug Administration Food Code-approved product between seating of patrons. Employees shall remove all dropped food and spilled drink from the floor or ground as soon as possible but in no event less frequently than between seating of patrons at the nearest table.
(7)
Accidents involving dog waste shall be cleaned immediately and the area sanitized with a United States Food and Drug Administration Food Code-approved product. Employees shall keep a kit with the appropriate materials for this purpose in the designated outdoor area.
(8)
A sign or signs informing employees of these regulations shall be posted on the premises in a conspicuous manner that places the employees on notice.
(9)
A sign or signs notifying patrons of that the designated outdoor area is available for the use of patrons' dogs and informing patrons of these requirements shall be posted in a conspicuous manner that places the public on notice.
(10)
Employees and patrons shall not permit dogs to be in, or to travel through indoor or nondesignated outdoor portions of the public food service establishment, and ingress and egress to the designated outdoor portions of the public food service establishment must not require entrance into or passage through any indoor area of the food establishment.
(11)
Employees and patrons shall not allow any dog to be in the designated outdoor areas of the public food service establishment if the public food service establishment is in violation of any of the requirements of this section, or if they do not possess a valid permit.
(12)
Permits required by this section shall be conspicuously displayed in the designated outdoor area.
(g)
Permit expiration and renewal.
(1)
A permit issued pursuant to this section shall expire automatically upon the sale of the public food service establishment and cannot be transferred to a subsequent owner. The subsequent owner may apply for a permit pursuant to this section if the subsequent owner wishes to continue to allow patrons' dogs in a designated outdoor area of the public food service establishment.
(h)
Complaints and reporting.
(1)
In accordance with F.S. § 509.233(5), the village shall accept, document, and respond to all outdoor dog-friendly dining related complaints within the Village of Tequesta, Florida, and shall timely report to the Division all such complaints and the village's enforcement response to such complaints.
(2)
The village shall also provide the Division with a copy of all approved applications and permits issued.
(i)
Enforcement.
(1)
The ultimate responsibility for enforcement of this section falls upon the permitted public food service establishment, however, an alleged violation of any of the provisions of this section shall be subject to code enforcement action pursuant to chapter 2, article IV, Village Code. The provisions of this section may also be enforced by a village police officer or other authorized law enforcement officer.
(2)
An alleged violation of any of the provisions in this section may also be enforced by other appropriate remedy, whether by injunctive, declaratory, or civil remedy, at the village's option.
(3)
A patron, permit-holder, or owner of a public food service establishment, or any combination thereof, may be subject to enforcement for a violation of any of the provisions of this section.
(j)
Revocation of permit.
(1)
A permit may be revoked by the village if, after notice and reasonable time in which the grounds for revocation may be corrected, the public food service establishment fails to comply with any condition of approval, fails to comply with the approved diagram, fails to maintain any required state or local license, or is found to be in violation of any provision of this section.
a.
If the grounds for revocation is a failure to maintain any required state or local license, the revocation may take effect immediately upon giving notice of revocation to the permit holder.
(2)
If a public food service establishment's permit is revoked, no new permit may be approved for the establishment until all issues identified within the revocation have been satisfied. This includes any outstanding fines.
(Ord. No. 09-21, § 1, 7-8-2021)
By the terms of this chapter, all permitted uses in all zoning districts except R-1A and R-1, all special exception uses as approved by the village council which also include additional exterior modifications, all requests to expand, enlarge or revise the site of an existing small scale exterior or large scale special exception use, all planned residential development (PRD), planned commercial development (PCD), and planned mixed-use development (PMUD), all miscellaneous development and redevelopment, all subdivisions, and all uses or construction lying partially or entirely in special flood hazard areas shall comply with the following:
(a)
Site plan review is required.
(b)
Conceptual review of the overall development, if phased, is required.
(c)
The development shall conform to all minimum requirements of this chapter and any other applicable laws and regulations.
(d)
The development shall be compatible with the intent of the zoning district wherein it is proposed to be located and compatible with adjacent land uses.
(e)
No building permit shall be issued for the purpose of erecting any structure or building, or for structural alterations in any existing structure or building, until after the planning and zoning advisory board has reviewed and made recommendations to the village council, and the village council shall have finally approved the site plan in accordance with this section. However, for the items specified in section 22-53(b), the planning and zoning advisory board has final approval authority, and those items do not require further approval by the village council.
(f)
No building permits or development orders shall be issued unless public facilities and services which meet or exceed the adopted level of service standards are available concurrent with the development impacts. Compliance with this requirement may be accomplished through one or more or a combination of the following processes:
(1)
Installation of all required public facilities/infrastructure/services prior to or concurrent with the development impacts.
(2)
Phasing of all required public facilities/infrastructure/services:
a.
By local government (capital improvements element).
b.
By the developer (development agreements).
(3)
Phasing of the development.
(g)
All proposed development and or redevelopment shall be coordinated with and/or obtain approvals and/or permits from the following agencies:
(1)
Palm Beach County Health Department.
(2)
Tequesta Fire-Rescue Department (Fire Marshal).
(3)
Loxahatchee River Environmental Control District (ENCON).
(4)
Department of Environmental Resources Management (DERM).
(5)
South Florida Water Management District (SFWMD).
(6)
Florida Department of Transportation (FDOT).
(7)
Reserved.
(8)
Metropolitan Planning Organization of Palm Beach County (MPO).
(9)
Palm Beach County Traffic Engineering Division.
(10)
Martin County Metropolitan Planning Organization.
(11)
Martin County Traffic Engineering Department.
(12)
Florida Power & Light Company.
(13)
Telephone service provider, as applicable.
(14)
Solid waste purveyor.
(15)
Tequesta Water Department.
(16)
Other municipal, county, state and/or federal agencies as may be applicable.
Evidence of final acceptance of the development or redevelopment project by agencies listed in this subsection must be submitted to the village prior to review by the village council pursuant to section 78-334(d).
(h)
All new development and/or redevelopment must provide the necessary infrastructure to meet the following level of service standards. Each application submitted pursuant to this section shall be required to provide a certification from a licensed engineer in the state that the proposed development and/or redevelopment meets or exceeds the level of service standards for the listed infrastructure as follows:
(1)
Traffic (roads and rights-of-way).
(2)
Sanitary sewer. A central wastewater level of service standard of 108 gallons per capita per day is hereby adopted, and shall be used as the basis of estimating the availability of capacity and demand generated by a proposed development project.
(3)
Drainage. A public drainage facilities level of service standard of a 25-year frequency, 3-day storm event, as defined by the South Florida Water Management District, is hereby adopted, and shall be used as the basis of estimating the availability of capacity and demand generated by a proposed development project. All development projects must be in compliance with the requirements of the "Village of Tequesta Stormwater Management Practices Manual", which has been adopted by resolution and may be amended from time to time by the village council.
(4)
Potable water. The following potable water level of service standards are hereby adopted and shall be used as the basis for estimating the availabil-ity of facility capacity and demand generated by a proposed development project:
a.
Average day water consumption rate:
b.
Maximum day water consumption (including irrigation):
(5)
Recreation level of service standards table.
;adv=.5p;(6)
Fire flow requirements. All development and/or major redevelopment must provide the necessary infrastructure improvements for fire suppression, including adequate fire hydrant placement, to meet the development's fire flow requirements in accordance with NFPA #1, Uniform Fire Code, Florida edition.
(7)
Pedestrian walkways.
a.
Sidewalks. All development and/or major redevelopment shall provide a minimum five-foot-wide continuous sidewalk for pedestrian travel except as otherwise provided by Village Code Chapter 66, Article VI, Section 66-336. Sidewalks shall be parallel to all roadway surfaces, and be at least four feet from the edge of the roadway pavement. All sidewalk improvements shall be installed and maintained by the adjacent property owner. For the purposes of this subparagraph, the terms sidewalk improvements and maintained shall only apply to those sidewalk pressure washing or cleaning activities that are initiated are initiated by the property owner on a nonrecurring or recurring basis, and shall not apply to any activities initiated by the village as a project for public improvements, as defined in Village Code, Section 78-4. Sidewalk location, set back, width and material shall be approved by the village.
b.
Interior Walkways. All development and/or major redevelopment shall provide a minimum five-foot-wide continuous interior walkway for pedestrian circulation within parcel boundaries except as otherwise provided by Village Code Chapter 66, Article VI, Section 66-336. All walkway improvements shall be installed and maintained by the property owner. For the purposes of this subparagraph, the terms sidewalk improvements and maintained shall only apply to those sidewalk pressure washing or cleaning activities that are initiated by the property owner on a nonrecurring or recurring basis, and shall not apply to any activities initiated by the village as a project for public improvements, as defined in Village Code, Section 78-4. Interior walkway location, set back, width and material shall be approved by the village.
c.
Overhang areas. Vehicle parking areas designed to permit vehicles to overhanging curbing may not be counted as part of a sidewalk or interior walkway. Such overhang shall be in addition to the required dimensions of sidewalks and interior walkways.
(i)
Reserved
(j)
The development shall project for the reservation and preservation of existing and future rights-of-way as may be determined by the village and in conformance with the county and village right-of-way protection plan.
(k)
Site plans shall be required which incorporate innovative urban, architectural, and/or engineering design of impervious areas (e.g., parking lots) to maximize the retention of rainfall to these areas which will increase the recharge of groundwater while reducing stormwater runoff.
(l)
All new developments shall be required to limit post-development surface water runoff rates and volumes to predevelopment conditions.
(m)
All proposed new development and major redevelopment within the coastal building zone of the village must provide for the dedication of public access easements meeting the adopted level of service standards.
(n)
All proposed new development and major redevelopment, as part of the site plan review and subdivision review process, shall submit a drainage/environmental statement describing how the proposed development will affect the estuarine water quality of the class III waters of the village, and also an environmental impact assessment study prepared by a qualified ecologist or other professional qualified to do such an assessment. The study shall meet the requirements of chapter 50, article II, pertaining to environmentally sensitive lands.
(o)
New development and redevelopment shall not be permitted within the coastal high-hazard area of the village as defined in section 78-832 except in accordance with the mandates of chapter 78 article XII.
(p)
Notification of neighboring jurisdictions of any external impacts that a proposed project might have within those jurisdictions and assessment and mitigation of those impacts shall be required.
(q)
Determination of needed public facility improvements shall be made during the site plan and/or subdivision review process and prior to the issuance of a development order and building permit.
(r)
Stormwater management facilities including curbs, gutters, piping, culverts, ditches, etc., shall be provided based on engineering calculations and design standards to ensure that all drainage improvements are in conformance with the requirements of the "Village of Tequesta Stormwater Management Practices Manual", which has been adopted by resolution and may be amended from time to time by the village council.
(Ord. No. 42-13, § 1, 2-13-2014; Ord. No. 7-19, § 2, 4-11-2019; Ord. No. 15-21, § 3, 10-14-2021; Ord. No. 02-22, § 1, 3-10-2022; Ord. No. 07-22, § 4, 4-14-2022)
(a)
A pre-application meeting called by the community development director between appropriate village officials, the landowner or representative, and other entity representatives deemed appropriate shall be required prior to application submittal for site plan review to ensure proper coordination, intention and understanding in the development of land and buildings and to consider compliance with applicable village regulations. See section 78-331(g) for a list of possible pre-application meeting attendees. The applicant is responsible for properly notifying the various affected agencies in the list of the time, place, and subject of the pre-application meeting.
(b)
Prior to submitting a site plan review application and committing the resources required to proceed through the site plan review application process as required by section 78-334, an applicant may choose to participate in the following conceptual plan review process in order to gauge interest in the proposed project.
(1)
Conceptual presentation. Based on the outcome of the pre-application meeting, the applicant may request to present a conceptual site plan to the village council in order to receive further input. Projects on Beach Road, US Highway 1, Tequesta Drive, Old Dixie Highway, Cypress Drive, and Bridge Road that contemplate any of the following shall submit a conceptual site plan to the village council for input:
a.
New development or major redevelopment.
b.
Site plan review requiring a code text amendment.
This conceptual presentation is not a quasi-judicial proceeding, and no action shall be taken by the village council beyond a discussion with the applicant. Neither the outcome of this conceptual presentation nor any comments made during this conceptual presentation by any village council member or village staff is a guarantee or assurance in any way of the final action that may be taken by the village council pursuant to a formal application for site plan review as provided in section 78-334.
(2)
Prior to being placed on a village council agenda for a conceptual presentation, the applicant shall submit the following:
a.
Processing fee in an amount as established by resolution of the village council and on file in the village clerk's office.
b.
Five copies of sketches and diagrams sufficient to convey the conceptual site plan to the village council. This shall include a site plan indicating the height, number of stories, density, number of units, open space, lot coverage calculations, floor plans and/or surveys.
c.
Five copies of a brief explanation that the proposed site plan complies with village code, including aesthetic considerations.
(Ord. No. 42-13, § 1, 2-13-2014; Ord. No. 06-23, § 2, 5-11-2023)
(a)
Applications for site plan review shall be filed with the community development director and shall include those of the following information items that are applicable:
(1)
Statements of unity of title, warranty deed, or purchase contract of the subject property.
(2)
Statement describing in detail the character and intended use of the property.
(3)
General location map, showing relation of the site for which site plan approval is sought to major streets, schools, existing utilities, shopping areas, important physical features in and adjoining the project, and the like.
(4)
A site plan containing the title of the project and names of the architect, engineer, project planner and/or developer, date, and north arrow, and based on an exact survey of the property drawn to a scale of sufficient size to show:
a.
Boundaries of the project, any existing streets, buildings, watercourses, easements, section lines, and water and sewer lines, well and septic tank locations, and other existing important physical features on the site and on property adjacent to the site.
b.
Exact location, use, height, and bulk of all buildings and structures.
c.
Finished floor elevation and color renderings for all structures.
d.
Off-street parking and off-street loading areas.
e.
Recreation facilities locations.
f.
All screens and buffers.
g.
Refuse collection and service areas.
h.
Access to utilities and points of utilities hookups and location of all fire hydrants close enough for fire protection.
i.
Tabulations of total gross acreage in the project and the percentages thereof proposed to be devoted to the various uses, ground coverage by structures, open space and impervious surface coverage.
j.
Tabulations showing the derivation of numbers of off-street parking and off-street loading spaces and total project density in dwelling units per acre, if applicable.
k.
Color and material examples and/or samples for all structures including roof, walls, trim, pavers, etc.
(5)
A comprehensive traffic study, which shall be provided by an engineering firm mutually agreed upon by both the village and the applicant. The study shall be paid for by the applicant and shall include but not be limited to the following:
a.
Future right-of-way dedications.
b.
Intersection improvements.
c.
Traffic control devices.
d.
Traffic generation analysis.
e.
Distribution and assignment of traffic access.
f.
Additional roadway needs.
g.
Traffic safety standards, including the separation of pedestrian and vehicular traffic.
(6)
If common facilities (such as recreation areas or structures, common open space, etc.) are to be provided for the development, statements as to how such common facilities are to be provided and permanently maintained. Such statements may take the form of proposed deed restrictions, deeds of trust, surety arrangements, or other legal instruments providing adequate guarantee to the village that such common facilities will not become a future liability for the village.
(7)
Preliminary storm drainage and sanitary sewage plans or statements. If the village determines that the drainage and/or sewage plans require independent review, the applicant shall pay for such review by an independent engineer.
(8)
Architectural elevations and color renderings for buildings in the development, and exact number of units, sizes and types, together with typical floor plans of each type.
(9)
Landscaping plan, including types, sizes and locations of vegetation and decorative shrubbery, and showing provisions for irrigation systems. Plans shall also provide delineation of existing trees and information as to which trees will be reused or removed. Landscaping plans shall comply with section 78-400. In addition, landscaping plans shall include irrigation plans in accordance with section 78-398, and shall demonstrate compliance with Florida Friendly Landscaping design standards as required by section 78-394, as applicable (See section 78-392 for applicability). Irrigation plans shall be submitted in conjunction with landscape plans during the site plan review process. Irrigation plans shall meet the criteria set forth in section 78-398.
(10)
Plans for signage including size, location and orientation.
(11)
Exterior lighting of all buildings, parking areas and the overall site, addressing glare, traffic safety, economic effect and compatibility and harmony with adjacent properties.
(12)
Plans for recreation facilities, if any, including buildings and structures for such use.
(13)
Plans for the extraction of fill and mineral resources and alterations or modifications to the slope, elevation, drainage pattern, natural vegetation and accessibility of the development.
(14)
Such additional data, maps, plans or statements as may be required by the village for the particular use or activity involved, including impacts on affected community facilities and services created by the development.
(15)
Such additional data as the applicant may believe is pertinent to the site plan.
(16)
If development is to occur in phases, those phases should be clearly delineated on the site plan and identified in the plans and requirements appurtenant to that site plan, and each development phase shall be subject to site plan review by the village.
(17)
The substance of covenants, grants of easements or other restrictions proposed to be imposed upon the use of the land, buildings and structures, including proposed easements or grants for public utilities, if applicable.
(18)
A statement from the applicant that the submitted site plan is consistent with the goals, objectives, and all other provisions of the village comprehensive development plan, and further that the projected use is specifically authorized by development ordinances and regulations. The statement shall include, but not be limited to, specific references to those sections of the comprehensive plan relating to the proposed development.
(19)
A statement from the applicant or landowner that all pertinent permits are concurrently being sought from the applicable county, state, and federal agencies. Such permits shall be secured prior to the issuance of a building permit for any development on property included within the site plan.
(b)
Items listed in subsection (a) of this section in the application content which require the preparation of architectural or engineering drawings shall be prepared and certified by an engineer or architect registered in the state. Land surveys, site plans and plans and requirements appurtenant to site plans shall be prepared and certified by a registered surveyor, engineer, architect or landscape architect, or a practicing land planner, as may be appropriate to the particular item.
(c)
Any item submitted as part of the application content which requires modification at any time during the site plan review process by the village may be so modified without resubmittal of an entirely new application; provided, however, that the modification is approved by the building official and village council and is determined to be consistent with the terms and intent of this section and the zoning district in which the site is located.
(Ord. No. 42-13, § 1, 2-13-2014; Ord. No. 16-22, § 1, 1-12-2023)
Applications for site plan review shall adhere to the following procedures and requirements:
(a)
Preapplication meeting. A preapplication submittal meeting shall be held with the applicant and his design team and the community development director and his development staff, pursuant to section 78-332.
(b)
Review by the development review committee. Upon receipt of all required plans, exhibits and support documents from the applicant, including but not limited to seven copies 11×17 sized, three copies full sized, and one copy in a digital format as specified by the village of the documents required by section 78-333, the development review committee, which is comprised of zoning, public works, police and fire department representatives, and engineering, traffic and landscaping consultants, as well as other department representatives or consultants as determined by the community development director or designee, and as listed at section 78-331(g) shall review the submitted site plan, and plans and requirements pertinent to the site plan, to ensure compliance with the applicable site regulations, use regulations, parking regulations and all other technical requirements. Development review committee meetings are public meetings and proper notice of all such meetings shall be posted at village hall in the same manner as other public meetings are posted. If the application is deemed by the development review committee to be at variance with such regulations and requirements, further action on the site plan review shall be stayed until such variance is resolved or appropriate application is made to the planning and zoning board or the village council, as appropriate, and the necessary variance is granted in accordance with article III of this zoning ordinance. If the application is deemed by the development review committee to be in compliance with such regulations and requirements, the application and all exhibits and any additional comments of the development review committee concerning such application shall be submitted by the community development director or designee to the planning and zoning advisory board for further review in accordance with this section. The community development director or designee shall submit such application for planning and zoning advisory board review within 45 days of receipt of a completed application. Within 45 days of review by the planning and zoning advisory board, the community development director or designee shall then submit such application, including the recommendations of the planning and zoning advisory board, for village council review. However, for the items specified in subsection 22-53(b), the planning and zoning advisory board has final approval authority, and those items do not require further approval by the village council.
(c)
Review by planning and zoning advisory board. Upon receipt of all required plans, exhibits and support documents from the community development director, including but not limited to nine copies 11×17 sized, three copies full sized, and one copy in a digital format as specified by the village of the documents required by section 78-333 and any other exhibits deemed appropriate by the development review committee the planning and zoning advisory board shall hold a public hearing to review, consider and make recommendations to the village council, or take final action pursuant to section 22-53(b), regarding the application. Notice of public hearing shall be advertised a minimum of ten days in advance of the public hearing in a newspaper of general circulation in the area. The owner of the property for which site plan review is sought or his agent or attorney designated by him on the submitted application shall be notified by mail of the date and time of the hearing.
(d)
Review by village council. Upon receipt of all required plans, exhibits and support documents from the community development director, including but not limited to seven copies 11×17 sized, three copies full sized, and one copy in a digital format as specified by the village of the documents required by section 78-333 and any other exhibits deemed appropriate by the development review committee the village council shall hold a public hearing to review, consider and act upon the application. Notice of public hearing shall be advertised a minimum of ten days in advance of the public hearing in a newspaper of general circulation in the area. The owner of the property for which site plan review is sought or his agent or attorney designated by him on the submitted application shall be notified by mail of the date and time of the hearing.
(e)
Action by village council. After review, the village council shall grant approval, with conditions, or deny the application and direct the building official to approve or withhold approval of the building permit.
(f)
Approval granted with conditions. When certain conditions are attached to the site plan review, the conditions shall be stated in writing on the order granting site plan review and shall become a part of the approved site plan. Conditions of approval shall be related to the proposed development and shall be roughly proportional to the anticipated impacts of the proposed development.
(g)
Developer's agreement. The village council may require an applicant to enter into a developer's agreement with the village if the village council deems such agreement appropriate. If a developer's agreement is required of an applicant, it shall be set forth in a recordable form, acceptable to the village attorney.
(h)
Time limit for application for building permit. A building permit must be issued within one year of the date of the site plan approval or the approval shall be nullified. In the case of a site plan which provides for development phases over a period of years, the village council shall set forth time within which application for building permit on each phase shall be filed. If applications for building permits are not issued within these times, the approval shall terminate and be deemed null and void unless such time period is extended for one more year only by the village council upon written request of the applicant, submitted to the village, prior to expiration of the site plan.
(i)
Application fee.
(1)
Administrative costs. To cover all administrative costs incurred by the village in the site plan review process, the applicant shall, upon submittal of the application for site plan review, pay a fee in an amount as established by resolution of the village council and on file in the village clerk's office.
(2)
Additional costs. To cover any additional costs including, but not limited to advertising costs, engineering fees, consulting fees, attorneys' fees and special studies, which are not captured by the application fee, the applicant shall reimburse the village for all such costs not later than 30 days after being invoiced by the village. Failure to make such payment may be grounds for not issuing a building or zoning permit, or certificate of occupancy or completion final.
(j)
Posting of public notice signage on the subject property. In addition to any other notice required by village code or state law, public notice of requests for approval of planned residential developments, planned commercial developments, future land use map amendments, rezonings, variances, site plans, and special exceptions to be considered by the planning and zoning board or the village council shall be posted by the applicant, agent or property owner, in a conspicuous place clearly visible from accessible public property on or around the property which is the subject of the application. Failure to post and maintain such notice may result in a postponement of the application at the advertised public hearing. The applicant shall provide proof of posting in the form of a signed affidavit, including photographs, attesting to the date of installation as well as the number of signs installed. Applicant's proof of posting and supporting photographs shall be provided to the community development director or designee no later than ten calendar days prior to the first public hearing at either the planning and zoning board or the village council. The applicant shall bear any costs that may be required to re-advertise the public hearing. The requirements listed below shall be followed in the posting of all public notices:
(1)
A minimum of one public notice sign shall be posted along each property frontage abutting each public right-of-way; however, the community development department may require the posting of additional signs depending upon the size and location of the property which is the subject of the application. The required signs shall be posted by the applicant in a conspicuous manner within 25 feet of the nearest public right-of-way.
(2)
The required signs shall be posted no later than 14 calendar days prior to the first public hearing which may be at either the planning and zoning board or the village council. The signs shall be maintained and, if necessary, shall be replaced by the applicant, and shall remain posted on the property until final action is taken on the application by the village, or until the application has been officially withdrawn. The signs shall be removed by the applicant within ten calendar days after final action is taken on the application by the village, or the application is officially withdrawn by the applicant.
(3)
All required public notice signs shall be provided to the applicant or the applicant's authorized agent by the community development department. Only signs provided by the community development department may be utilized. Such required signs shall be three feet in width by four feet in length, and the color of the signs shall be a white background with black block letters. The community development department shall provide the applicant or applicant's authorized agent with directions for posting the sign. In the event the village incurs any administrative, professional, legal or other costs, expenses, or fees due to the applicant's failure to either post or maintain posted signs, the applicant shall reimburse the village for all such fees or costs within 30 calendar days from the date of the issuance of any invoice to the applicant by the village for payment of the additional costs, fees, and expenses. The failure of an applicant to reimburse the village for such costs, fees, and expenses within the 30-day period shall result in the creation of a lien in favor of the village against the applicant and any real and personal property owned by the applicant in the state. Interest on the unpaid amount shall accrue at the maximum rate allowed by law per annum. The village may record a claim of lien for the unpaid amounts due, including interest, in the public records of the county and any other county in which the applicant owns real property.
(Ord. No. 42-13, § 1, 2-13-2014; Ord. No. 9-15, § 4, 6-11-2015;Ord. No. 10-22, § 2, 7-14-2022)
Development applications, unless otherwise provided by this chapter, shall be initially reviewed by the planning and zoning board at a public meeting. The planning and zoning board shall review and make a final determination on all applications over which it has final jurisdiction in accordance with the provision of section 22-53. The planning and zoning board shall make an advisory recommendation to the village council on applications over which the board does not have final jurisdiction. The village council shall review all applications over which it has final jurisdiction and decision-making authority in accordance with provisions of section 22-53.
(1)
Applications requiring review at a public hearing before the planning and zoning board, local planning agency, board of adjustment and/or the village council include:
(a)
Text amendments to land development regulations;
(b)
Zonings or rezonings;
(c)
Special exception uses;
(d)
Variances relating to single-family properties and structures located within the R-1A and R-1 single-family dwelling districts of the village;
(e)
Site plan reviews, site plan modifications, and extensions thereof;
(f)
Amendments to the comprehensive plan, an element or a portion thereof, including land use maps;
(g)
Abandonments of public property, including village-owned roadways and rights-of-way; and
(h)
Modifications to any approved development order.
(2)
Applications for variances, except those within the jurisdiction of the planning and zoning board pursuant to subpart (1)(d) above, shall be reviewed and final action taken thereon by the village council at a public hearing.
(3)
Applications requiring administrative review by the community development director only include:
(a)
All wall signs.
(b)
Proposed new free standing signs not part of a site plan review application.
(c)
Minor amendments to a site plan or special exception that were previously approved by the village council may be approved by the director of the community development department in consultation with other village staff, as appropriate. The following types of amendments are not considered to be minor, and therefore are subject to review by the village's planning and zoning board and/or the village council pursuant to section 22-53:
1.
Any proposed increase or reduction in:
a.
The square footage to any building;
b.
Density;
c.
The number of structures;
d.
The number of residential dwelling units in a residential or mixed use zoning district;
e.
The building height of any building as specified by the adopted site plan that results in increasing the number of stories;
f.
An existing building or buildings proposed to be removed and replaced with a new building or buildings; or
g.
New businesses requesting approval for outdoor seating.
2.
Significant changes to the approved site plan and/or special exception that create cumulative impacts, including but not limited to increases in traffic, parking, additions of square footage, changes in uses, recreation facilities and amenities, greenspace, and/or other similar modifications which have the potential for a negative, adverse, or undesirable impact as determined by village staff.
3.
Any increase in the project's traffic.
4.
Any amendments, which would significantly alter the character, and/or the appearance of the development, or result in a decrease in the amount or quality of the approved amenities. Such amenities shall include, but not be limited to, pools, clubhouses, common parking areas for large vehicles and boats, exercise trails, public access to waters or beaches, marinas, boat docks, tennis courts and racquetball courts.
5.
Significant changes in architectural styles, colors or building materials that are inconsistent with the approved site plans.
6.
Changes to such items as a phasing plan or developer control, that substantially impact the development.
(Ord. No. 7-19, § 3, 4-11-2019; Ord. No. 02-21, § 4, 3-11-2021)
The development and execution of a zoning ordinance is based upon the division of the village into districts, within which the use of land and structures and the bulk and location of structures in relation to the land are substantially uniform. It is recognized, however, that there are certain uses and features which, because of their unique characteristics, cannot be distinctly classified or regulated in a particular district without consideration in each case of the impact of such uses and features upon neighboring uses and the surrounding area, compared with the public need for them at particular locations. Such uses and features are therefore treated as special exceptions. A special exception is not the automatic right of any applicant.
(Code 1977, app. A, § X(J)(1))
All initial requests for special exception uses as listed in this chapter, along with their related accessory uses shall be subject to the requirements of this division. In addition, any modification to the use of a previously granted special exception, except for a modification that changes said use to a permitted use as listed in this chapter, shall be subject to the requirements of this division. Requests to expand, enlarge or revise the site of an existing special exception use shall be classified and processed pursuant to the following three categories;
(1)
Small scale, interior - interior expansion, enlargement or revision of less than ten percent (10%) of the originally approved special exception site square footage and having construction costs of less than $50,000.00, once within any eighteen month period (this category contemplates uses located in existing shopping centers or similar structures, where no change to the overall building footprint is required).
a.
Applicant shall submit the processing fee in an amount established by resolution of the village council and on file in the village clerk's office.
b.
Review and approval is provided by the community development director, following which, the applicant may apply for building permits.
(2)
Small scale, exterior - exterior expansion, enlargement or revision of less than ten percent (10%) of the originally approved special exception site square footage and having construction costs of less than $50,000.00 once within any eighteen month period (this category contemplates a change to the existing structure's footprint, and other site related revisions that flow therefrom).
a.
Applicant shall submit the processing fee in an amount established by resolution of the village council and on file in the village clerk's office.
b.
Review and approval regarding the continuing special exception use is provided by the community development director, following which, the applicant shall submit an application for site plan modification.
When reviewing small scale expansion, enlargement or revision, the community development director shall make a determination that such expansion, enlargement or revision does not result in a violation of the requirements of sections 78-363 or 78-364, or a violation of any previously imposed condition of approval.
(3)
Large scale - any expansion, enlargement or revision to the site of an existing special exception use that does not qualify as either small scale interior or small scale exterior. Such expansion, enlargement or revision is subject to the requirements of this division.
(Ord. No. 19-11, § 1, 11-10-2011; Ord. No. 7-19, § 4, 4-11-2019)
Special exception uses to which this division applies as set forth in section 78-362 shall be permitted only upon authorization of the village council provided that such uses shall be found by the village council to comply with the following requirements:
(1)
The proposed use is a permitted special exception use.
(2)
The use is so designed, located and proposed to be operated so that the public health, safety, welfare and morals will be protected.
(3)
The use will not cause substantial injury to the value of other property in the neighborhood where it is to be located.
(4)
The use will be compatible with adjoining development and the proposed character of the district where it is to be located.
(5)
Adequate landscaping and screening is provided as required in this chapter.
(6)
Adequate off-street parking and loading is provided and ingress and egress is so designed as to cause minimum interference with traffic on abutting streets.
(Code 1977, app. A, § X(J)(2); Ord. No. 19-11, § 1, 11-10-2011)
Before any special exception to which this division applies as set forth in section 78-362 is granted, the village council shall apply the standards set forth in this division and shall determine that satisfactory provision and arrangement of the following factors have been met by the petitioner, where applicable:
(1)
Compliance with all elements of the village comprehensive plan.
(2)
Ingress and egress to property and proposed structures thereon with particular reference to automotive and pedestrian safety and convenience, traffic flow and control, and access in case of fire or catastrophe.
(3)
Off-street parking and loading area, where required, with particular attention to the items in subsection (2) of this section.
(4)
Nuisance factors detrimental to adjacent and nearby properties and the village as a whole. Nuisance factors shall include but not necessarily be limited to noise, odor, smoke, glare, electrical interference and/or mechanical vibrations.
(5)
Utilities, with reference to location, availability and compatibility.
(6)
Screening and buffering, with reference to type, dimensions and character.
(7)
General compatibility with adjacent properties and other property in the district.
(8)
Whether the change suggested is out of scale with the needs of the neighborhood or the village.
(9)
Any special requirements set out in the schedule of site regulations in section 78-143 for the particular use involved.
(Code 1977, app. A, § X(J)(3); Ord. No. 19-11, § 1, 11-10-2011)
(a)
In addition to the criteria listed in section 78-363, the required approval findings listed in section 78-364 and specific conditions for the particular special exception use listed within the applicable zoning district regulations, the village council may impose other such conditions and safeguards as it deems appropriate in conformity with this chapter for the protection of the surrounding properties and the neighborhood or general welfare of the public. Conditions of approval shall be related to the proposed development and shall be roughly proportional to the anticipated impacts of the proposed development.
(b)
If the special exception use is granted by the village council, the use must conform to all the applicable regulations governing the district where it is located, except as may otherwise be determined for planned developments. Failure to comply with all the applicable regulations governing the district as required by the site plan approval process will void the granted special exception use.
(Code 1977, app. A, § X(J)(4); Ord. No. 19-11, § 1, 11-10-2011; Ord. No. 42-13, § 2, 2-13-2014)
Should the village council deny a special exception, it shall state fully for the record the reasons for doing so. Such reasons shall take into account the factors under section 78-363 and all other conditions and particular regulations relating to the specific special exception requested.
(Code 1977, app. A, § X(J)(5))
Formerly, § 78-365.
(a)
Whenever the village council has denied an application for a special exception, the village shall not thereafter consider any further application for special exception on any part of or all of the same property for a period of 12 months from the date of such action.
(b)
The time limits of subsection (a) of this section may be waived by three affirmative votes of the village council when such action is deemed necessary to prevent injustice or to facilitate the proper development of the village.
(Code 1977, app. A, § X(J)(6))
Formerly, § 78-366.
(a)
A special exception shall commence within 12 months from the date of grant of the special exception unless extended by action of the village council; otherwise it is automatically rendered null and void.
(b)
Commencement of a special exception occurs upon the issuance of a building permit, preliminary plat or site plan, or upon the initiation of significant action to satisfy requirements for improvements contained in a development order or other regulatory documents relating to the special exception.
(c)
Only one extension shall be permitted by the village council and the extension shall not exceed six months. A written request for such extension of time must be received by the village prior to the expiration of the grant of approval.
(d)
Special exceptions granted to any governmental unit shall be exempt from the provisions of this section unless a time limitation is made a specific condition of the special exception.
(Code 1977, app. A, § X(J)(7); Ord. No. 7-08, § 4, 4-10-2008)
Formerly, § 78-367.
Prior to submitting a special exception application and committing the resources required to proceed through the special exception application process as required by section 78-370, an applicant may choose to participate in the following pre-application process in order to gauge interest in his proposed project.
(1)
Pre-application meeting. A pre-application submittal meeting shall be held with the applicant and his design team and the development review committee. The applicant's proposed use shall be reviewed and discussed in order to identify any issues with the proposed use, the applicable use regulations and/or other applicable requirements.
(2)
Conceptual presentation. Based on the outcome of the pre-application meeting, the applicant may request to present his special exception use concept to the village council in order to receive further input. This conceptual presentation is not a quasi-judicial proceeding, and no action shall be taken by the village council beyond discussion with the applicant. Neither the outcome of this conceptual presentation, nor any comments made during this conceptual presentation by any village council member or village staff is a guarantee or assurance in any way of the final action that may be taken by the village council pursuant to a formal application for special exception use as provided in section 78-370.
(3)
Prior to being placed on a village council agenda for a conceptual presentation, the applicant shall submit the following:
a.
Processing fee in an amount as established by resolution of the village council and on file in the village clerk's office.
b.
Seven copies of sketches and diagrams sufficient to convey the conceptual use to the village council. This may include site plans, floor plans and/or surveys.
c.
Seven copies of a brief explanation that the proposed special exception use is compatible with the surrounding uses and the neighborhood in general.
(Ord. No. 19-11, § 1, 11-10-2011; Ord. No. 42-13, § 2, 2-13-2014)
(a)
A written petition for special exception shall be submitted indicating the section of this chapter under which the special exception is sought and stating the grounds on which it is requested, with particular reference to the criteria under section 78-363, the written findings under section 78-364, and other specific conditions, if applicable, which the village council shall address. The petition shall include all material necessary to meet the requirements of the development concept plan listed in subsection (b) of this section and any additional information that will demonstrate that the grant of special exception will be in harmony with general intent and purpose of this chapter.
(b)
A petitioner seeking special exception approval shall submit a development concept plan on one or more sheets of paper measuring not more than 24 by 36 inches and drawn to a scale not smaller than 100 feet to the inch. The following shall be provided on the development concept plan:
(1)
Scale, date, north arrow, vicinity sketch, title of the project and total gross acreage.
(2)
The boundaries and dimensions of the property and its relationship to the surrounding road system, including the width of the existing travelway (pavement).
(3)
The location and dimension of existing manmade features such as existing roads and structures, with indication as to which are to be removed, renovated or altered.
(4)
Identification of surrounding land use, zoning and existing buildings within 100 feet of the petitioned site, as well as the zoning of the petitioned site.
(5)
A layout of the proposed lots and/or building sites including the following site data:
a.
Finished floor elevation.
b.
Common open area.
c.
Generalized landscaping and buffer areas.
d.
Internal circulation patterns including off-street parking and loading facilities.
e.
Total project density.
f.
The shape, size, location and height of all structures.
(6)
The proposed phasing of construction for the project if applicable.
(7)
For commercial uses, office uses and uses other than residential, the estimated square footage of the structure, the number of employees, the estimated seating, and the estimated number of users of the facility, such as members, students and patients.
(8)
Proposed hours of operation for commercial uses.
(9)
Twelve aerial maps at a minimum scale of one-inch equals 300 feet, showing the site in question with paved boundaries superimposed.
(10)
A legal description of the land proposed for development.
(11)
Current survey of the subject property.
(c)
The application shall be reviewed by the land development staff within 30 days of the submission deadline. Upon land development staff review and analysis of all submitted materials, the building official shall forward a recommendation to the village council.
(d)
A public hearing shall be held by the village council. The property owner may appear personally or by agent or attorney.
(e)
Notice of public hearing shall be advertised a minimum of ten days in advance of the public hearing in a newspaper of general circulation in the area. The owner of the property for which special exception is sought or his agent or attorney designated by him on the submitted petition shall be notified by mail of the date and time of the hearing. Notice shall be given by mail to all owners of property within a 300-foot radius of the boundary lines of the property for which a special exception is requested. The list of property owners within the stated radius shall be provided by the applicant from the most recent tax roll information as provided by the county appraiser's office. The applicant must furnish an affidavit signed by the person responsible for providing the list. Notwithstanding any other provision contained in this section, failure to provide written notice to any adjacent property owners shall not constitute a jurisdictional defect provided that proper legal notice has been published.
(Code 1977, app. A, § X(J)(8); Ord. No. 7-08, § 4, 4-10-2008; Ord. No. 19-11, § 1, 11-10-2011)
Formerly, § 78-368.
Upon filing an application for special exception, the applicant shall pay a fee to the village at the time of filing of such application. The fee shall be in an amount as established by resolution of the village council and on file in the village clerk's office, shall not be reimbursable, and is intended to defray costs of administering, processing, and reviewing the application. Additionally, to cover all additional administrative costs, actual or anticipated, including, but not limited to, engineering fees, consulting fees, attorneys' fees and special studies, the applicant shall compensate the village for all such costs prior to the processing of the application, or not later than 30 days after final application approval, whichever is determined as appropriate by the community development director.
(Code 1977, app. A, § X(J)(9); Ord. No. 7-08, § 4, 4-10-2008)
Formerly, § 78-369.
(a)
The intent of this division is as follows:
(1)
To provide standards for the development, installation, and maintenance of landscaping that adheres to the principles of Florida-friendly landscaping and encourages creative landscape design, construction and management to minimize the potential adverse impacts associated with adjacent land uses of varying intensities.
(2)
To provide the physical benefits of using plant material as a function of sustainability.
(3)
To provide minimum standards for landscaping new developments or for redevelopment.
(4)
To promote water conservation, water quality improvement, and vegetation protection objectives by providing for:
a.
The re-establishment of native plant communities;
b.
The use of plant materials appropriate to the location, including hardiness zone, soil type, moisture conditions, light and mature plant size;
c.
The implementation of Florida-friendly landscaping principles as identified by the Florida Yards and Neighborhoods program operated by the University of Florida's Institute of Food and Agricultural Services Extension ("UF/IFAS Extension") and A Guide to Florida-friendly Landscaping: Florida Yards and Neighborhoods Handbook, Best Management Practices ("BMPs") identified in the Florida-friendly Best Management Practices for Protection of Water Resources by the Green Industries (2008), and as provided by law; and
d.
The use of specific management guidelines to minimize negative secondary and cumulative environmental effects associated with the misuse of fertilizers.
(5)
To provide regulations for use of artificial turf.
(b)
This division shall be a minimum standard. This division shall not be interpreted to restrict creative designs or the inclusion of landscape elements such as vegetable gardens, fruit trees, arbors, or water gardens. [Comment: F.S. §§ 166.048 and 373.185 provide that a deed restriction or covenant may not prohibit any property owner from implementing Xeriscape or Florida-friendly landscape practices on his or her land. Artificial turf is not to be considered a component of either xeriscape or Florida-friendly landscape.
(Ord. No. 39-13, § 1, 2-13-14; Ord. No. 11-23, § 1, 12-14-2023)
(a)
The provisions of this division shall apply to the development, redevelopment, rehabilitation, and maintenance of all property within the Village of Tequesta, as specified herein. Whenever regulations or restrictions imposed by this ordinance conflict with other ordinances or regulations, or are either more or less restrictive than regulations or restrictions imposed by any governmental authority though legislation, rule or regulations, the regulations, rules or restrictions which are more restrictive or which impose the highest standards or requirements shall govern.
(1)
No permit shall be issued for new construction for building or paving, or for new landscaping installation or landscaping renovation in excess of 50 percent of the estimated value of the existing landscaped areas unless the landscape plans and specifications comply with the provisions hereof; and no certificate of occupancy, certificate of completion or similar final approval shall be issued until the requirements herein are met.
(2)
All village facilities will be managed in accordance with Florida-Friendly landscaping practices by March 31, 2013. All new and renovated village facility landscapes will be designed in accordance with these principles and be constructed and installed using Florida-Friendly landscape materials. Parks, open spaces and trails will be designed with these principles in mind, as applicable. All village landscape service contractors will adhere to these practices. All new bid specifications and contracts will reflect this requirement beginning one year after the approval of this regulation.
(3)
Specific application of the Florida-Friendly landscape provisions of this division shall include, but not be limited to:
a.
All new landscapes for private development projects including, but not limited to, commercial, residential, mixed use and recreation projects, including new single-family and two-family homes;
b.
Developer-installed landscapes at entrances into and common areas of single-family and multi-family projects;
c.
Any development approved prior to April 12, 2012, if the site plan or other permit guiding landscaping is thereafter amended or modified to an extent greater than 50 percent of the value of the existing development.
(b)
Exempted from the provisions of the Florida-Friendly landscape requirements (note: not irrigation requirements) are the following, as applicable:
(1)
Bona fide agricultural activities as defined in the Florida Right to Farm Act, F.S. 823.14;
(2)
Other properties not subject to or covered under the Florida Right to Farm Act that have pastures used for grazing of livestock;
(3)
Athletic fields;
(4)
Golf course practice and play areas; however, all golf course landscaping shall comply with the provisions of the Florida Department of Environmental Protection document, "Best Management Practices for the Enhancement of Environmental Quality on Florida Golf Courses" when applying fertilizer to such practice and play areas;
(5)
Any development with an approved site plan or valid building permit issued prior to April 12, 2012, subject to the modifications listed above;
(6)
Turfgrass in a dedicated stormwater management area or canal maintenance area or similar and shall not be calculated in the percentages of turfgrass;
(7)
Public parks and other play areas indicated on an approved site plan;
(8)
Cemeteries;
(9)
Rights-of-way for public utilities, including electrical transmission and distribution lines, and natural gas pipelines;
(10)
Vegetable gardens; however, vegetable gardens shall only be exempt from fertilizer management requirements when located more than ten feet from any water body or wetland;
(11)
Any lands used for bona fide scientific research, including, but not limited to, research on the effects of fertilizer use on urban stormwater, water quality, agronomics, or horticulture.
(12)
Use of artificial turf in conformance with the regulations at Section 78-396.5 below.
(c)
Exemptions to the requirements of this division may be granted by variance for individual projects if the applicant can demonstrate that compliance will be impractical and will result in an undue hardship.
(Ord. No. 39-13, § 1, 2-13-2014; Ord. No. 01-21, § 1, 3-11-2021; Ord. No. 11-23, § 1, 12-14-2023)
The following terms, when used in this division, shall have the meanings ascribed to them in this section, except where context clearly indicates a different meaning:
ANSI A300 Standards means American National Standard for Tree Care operations published by the National Arborist Association and approved by the American National Standards Institute.
Artificial turf means a man-made surface of synthetic fibers manufactured to look like sod or lawn.
Automatic controller means a mechanical or electronic device, capable of automated operation of valve stations to set the time, duration and frequency of a water application.
Best management practices (BMPs) means a practice or combination of practices based on research, field-testing, and expert review, determined to be the most effective and practicable on-location means, including economic and technological considerations, for improving water quality, conserving water supplies and protecting natural resources.
Caliper means quantity in inches of tree trunk diameter measured at four and one-half feet above the ground.
Canopy tree means any single trunked, self-supporting plant, upright in growth, with a minimum size of 16 feet high, six-foot spread, four-inch caliper and five feet of clear trunk for commercial and multi-family properties, and 14 feet high, five-foot spread, three-inch caliper and four feet of clear trunk for single family and duplex lots. Multi-stem trees may be allowed on a case-by-case basis based on variety and natural growth characteristics.
Code enforcement officer, official, or inspector means any designated employee or agent of the village whose duty it is to enforce codes and ordinances enacted by the village.
Constant pressure/flow control means a device that maintains a constant flow, or pressure, or both.
Drought-tolerant means a plant that is capable of surviving a dry spell of more than two or three months without supplemental watering.
Emitter. This term primarily refers to devices used in microirrigation systems.
Filter means a device in irrigation distribution systems that separates sediment or other foreign matter.
Florida-friendly landscape means the principles of Florida-friendly landscaping include planting the right plant in the right place, efficient watering, appropriate fertilization, mulching, attraction of wildlife, responsible management of yard pests, recycling yard waste, reduction of stormwater runoff, and waterfront protections. Additional components of Florida-friendly landscape include planning and design, soil analysis, the uses of solid waste compost, practical use of turf, and proper maintenance.
Ground cover means low growing plants, other than turfgrass or artificial turf, used to cover the soil and form a continuous, low mass of foliage.
Hardscape means areas such as patios, decks, driveways, paths and sidewalks that do not require irrigation.
Hatracking means cutting back of tree limbs to a point between branch collars/buds (internodal cutting) larger than one inch in diameter within the tree's crown.
Hydrozone means a distinct grouping of plants with similar water needs and climatic requirements.
Impervious surface means those surfaces which do not absorb water. They consist of all buildings, parking areas, driveways, roads, sidewalks and any areas of concrete or asphalt.
Irrigated landscape area means all outdoor areas that require a permanent irrigation system.
Irrigation system means an artificial watering system designed to transport and distribute water to plants.
Irrigation zone means a grouping of sprinkler heads, soakers, bubblers, or microirrigation emitters operated simultaneously by the control of one valve.
Landscape means any combination of living plants (such as grass, ground cover, shrubs, vines, hedges, or trees) and non-living landscape material (such as rocks, pebbles, sand, mulch or decorative paving materials). Non-living landscape material shall not be used as major landscape ground cover. In no case shall these materials exceed ten percent of the landscaped area. Artificial turf is not included in the category of "non-living landscape material.
Landscape plan means plans and drawings showing the location of buildings, structures, pedestrian, transportation, or environmental systems, and the detail for placement of site amenities, accessibility components, plantings and other tangible objects. Plans shall include installation details for plant materials, soil amendments, mulches, edging and other similar materials. Plans shall be numbered, dated, north arrow indicated, scaled, and sealed by an appropriately licensed professional where required by F.S. ch. 481, pt. II.
Landscape plant means any native or exotic tree, shrub, or groundcover (excluding turf).
Landscaped area means the entire parcel; less the building footprint, driveways, hardscapes such as decks and patios, and non-porous areas. Water features are included in the calculation of the landscaped area. This landscaped area includes areas of artificial turf used in conformance with the regulations at section 78-396.5 below. This landscaped area includes Xeriscape as defined in F.S. § 373.185(1)(b).
Landscape strip means a strip of land along the perimeter of the site containing trees, barriers, ground cover and/or other plant material.
Low-flow point applicators means irrigation applicators with output less than 60 gallons per hour (gph).
Microirrigation (low volume) means the application of small quantities of water directly on or below the soil surface, usually as discrete drops, tiny streams, or miniature sprays through emitters placed along the water delivery pipes (laterals). Microirrigation encompasses a number of methods or concepts including drip, subsurface, bubbler, and spray irrigation, previously referred to as trickle irrigation, low volume, or low flow irrigation that deliver water directly to plant root zones with a high degree of efficiency, no runoff, and little to no evaporation.
Moisture sensing device or soil moisture sensor means a device to indicate soil moisture in the root zone for the purpose of controlling an irrigation system based on the actual needs of the plant.
Mulch means non-living, organic or synthetic materials customarily used in landscape design to retard erosion and retain moisture.
Native vegetation means any plant species with a geographic distribution indigenous to all, or part, of the State of Florida as identified in: Guide to Vascular Plants of Florida, R.P. Wunderlin, 1998, University Press of Florida, Gainesville or the Atlas of Florida Vascular Plants (http://www.florida.plantsatals.usf.edu/). Native vegetation shall consist of those plant species indigenous to the ecological communities of South Florida.
Person means any natural person, business, corporation, limited liability company, partnership, limited partnership, association, club, organization, and/or any group of people acting as an organized entity.
Pervious surface means any area of land that is landscaped or planted, allows natural passage of water, and is not covered by impervious materials or structures. Pervious surfaces include pervious paving materials.
Pervious paving materials means a porous asphaltic, concrete or other surface and a high-void aggregate base which allows for rapid infiltration and temporary storage of rain on, or runoff delivered to, paved surfaces.
Plant bed means a grouping of trees, shrubs, ground covers, perennials or annuals growing together in a defined area devoid of turfgrass, normally using mulch around the plants.
Plant communities means an association of native plants that are dominated by one or more prominent species, or a characteristic physical attribute.
Planting plan means specifications and installation details for plant materials, soil amendments, mulches, edging, gravel, and other similar materials.
Point of connection means the location where an irrigation system is connected to a water supply.
Pop-up sprays means spray heads that pop up with water pressure and provide a continuous spray pattern throughout a given arc of operation.
Pressure tank means a pressurized holding tank for irrigation water coming from wells to minimize cycling of the water pump.
Rain sensor device means a low voltage electrical or mechanical component placed in the circuitry of an automatic irrigation system that is designed to turn off a sprinkler controller when precipitation has reached a pre-set quantity.
Runoff means water that is not absorbed by the soil or landscape and flows from the area.
Sod or lawn means a piece of turf-covered soil held together by the roots of the turf.
Soil moisture sensor. See "moisture sensing device".
Synthetic grass. See "artificial turf."
Tree means any self-supporting woody plant, together with its root system, growing upon the earth, usually with one trunk of at least three inches in diameter at a height of four and one-half feet above the ground or a multistemmed trunk system with a definitely formed crown.
Turf and/or turfgrass means a mat layer of monocotyledonous plants such as Bahia, Bermuda, Centipede, Seaside, Paspalum, St. Augustine, and Zoysia.
Valve means a device used to control the flow of water in the irrigation system.
Village means the Village of Tequesta, Florida.
Water use zone. See "Hydrozone".
(Ord. No. 39-13, § 1, 2-13-2014; Ord. No. 01-21, § 1, 3-11-2021; Ord. No. 16-22, § 2, 1-12-2023; Ord. No. 11-23, § 1, 12-14-2023)
(a)
General provisions. Within the Village of Tequesta the principles of Florida-friendly landscaping shall be incorporated into all landscape designs. These include the following:
(1)
Preserving existing native trees and vegetation, if appropriate and feasible. Where established natural vegetation is incorporated into the landscape design, irrigation of those areas shall not be required.
(2)
The plant palette and irrigation system shall be appropriate for site conditions, taking into account that, in some cases, soil improvements can enhance water use efficiency. Drought resistant plants are emphasized.
(3)
Plants shall be grouped together by irrigation demand.
(4)
The percentage of landscaped area in irrigated high water use hydrozones shall be minimized. The maximum percentage of irrigated landscape area that may be included in high water use hydrozones, excluding turfgrass, shall not exceed 20 percent. These high water use limits shall not apply to landscaped areas requiring large amounts of turf for their primary functions, e.g., ball fields and playgrounds.
(5)
Soil improvements are encouraged to improve the soil with organic materials prior to the installation of any irrigation system.
(6)
An efficient irrigation system shall be required and designed according to the water needs of the planting groups.
(7)
Reclaimed or non-potable water should be used for irrigation if an acceptable source is determined to be available by the village utilities department.
(8)
Low impact design principles such as bio-swales, bio-retention areas and other creative stormwater management techniques.
(b)
Design standards.
(1)
Site designs and landscape construction documents shall be prepared in accordance with the requirements of all applicable Florida Statutes. All landscape and irrigation system design shall be consistent with the standards required under F.S. § 373.228.
(2)
Site plans for new development shall include riparian buffers adjoining all waters of the state. Such buffers should be native, or if previously disturbed, then constructed to be at least 25 feet, and preferably 50—150 feet wide, to protect water bodies from nonpoint source pollution generated by up gradient development. Riparian buffers shall be designed and managed in accordance with USDA-NRCS conservation practices for riparian buffers and filter strips (codes 390, 391, and 393). Such riparian areas may be included in the gross development area for purposes of determining zoning density.
(3)
Site plans shall consider natural drainage features to minimize run-off. The use of pervious surfaces and areas is preferred; therefore impervious surface and material within landscaped areas shall be limited to borders, sidewalks, step stones and other similar material and shall not exceed ten percent of the landscaped areas. Use of pervious paving material for driveways and sidewalks is strongly encouraged. A maintenance plan may be required for certain pervious products to ensure that they remain pervious in the long term. Non-living landscape material shall not be used as major landscape ground cover. In no case shall these materials exceed ten percent of the landscape area as they increase the need for herbicide use, have no habitat value, reflect rather than absorb heat and do not produce oxygen like plants.
(4)
Site plans shall detail, at a minimum, all vegetated areas to be preserved by species.
(Ord. No. 39-13, § 1, 2-13-14)
(a)
Grading and design of property adjacent to bodies of water shall conform to federal, state and local regulations which may include, but is not limited to, the use of berms and/or swales to intercept surface runoff of water and debris that may contain fertilizers or pesticides.
(b)
A mandatory ten-foot low maintenance zone is required, from any pond, stream, water course, lake, wetland or from the top of a seawall. A swale/berm system is recommended for installation at the landward edge of the low maintenance zone to capture and filter runoff. No mowed or cut vegetative material shall be deposited or left remaining in this zone or deposited in the water. Care should be taken to prevent the over-spray of aquatic weed products in this zone.
(c)
When mowing near the shoreline, direct the chute away from the water body. Riparian or littoral zone plants that do not require mowing or fertilization should be planted in these areas. See the Florida Waterfront Property Owners Guide or the Florida Fish and Wildlife Conservation Commission's Invasive Plant Management Section for more information.
(d)
Mangrove trimming shall be performed in accordance with F.S. §§ 403.9321—403.9334.
(Ord. No. 39-13, § 1, 2-13-2014; Ord. No. 01-21, § 1, 3-11-2021)
(a)
All turf areas shall be sodded using species suitable as permanent lawns in Tequesta. Where appropriate, turf species that require minimum irrigation are encouraged. The type and location of turf areas shall be selected in the same manner as with all other plantings. Irrigated turf areas shall be consolidated and limited to those areas on the site that receive pedestrian traffic, provide for recreational use, provide cover for septic tank drainfields, or provide soil erosion control such as on slopes or in swales; and where turf is used as a design unifier, or other similar practical use. As a matter of public safety, no turf that requires mowing shall be allowed on slopes greater than 4:1 or within six feet of the water's edge, except where adjacent to seawalls and bulkheads or needed to control erosion. Turf areas shall be identified on the landscape plan when a landscape plan is required.
(b)
Artificial turf may be used in conformance with the regulations at section 78-396.5 below.
(c)
Soils vary from site to site and even within a given site. Soil analysis information is needed for proper selection of plants and, if needed, soil amendments. A soil analysis based on random sampling is required and shall be performed by a reputable soil testing lab or University of Florida/IFAS Cooperative Extension facility. Any new soil required shall be similar to the existing soil in pH, texture, permeability and other characteristics, unless convincing evidence is provided that a different type of soil amendment approach is justified. The use of solid waste compost as a soil amendment is encouraged.
(Ord. No. 39-13, § 1, 2-13-14; Ord. No. 11-23, § 1, 12-14-2023)
(a)
Locations permitted.
(1)
Artificial turf/synthetic grass is a permitted use on lots improved with single family or two-family dwellings.
(2)
Artificial turf/synthetic grass may be used for purposes associated with the principal use of any commercial or mixed-use zoned property as a special exception. Special exception approval pursuant to sections 78-362 through 78-365 shall be required prior to obtaining the required building permit.
(3)
Artificial turf may be placed in side or rear yards when concealed from view from the adjacent right-of-way.
(4)
Artificial turf may be placed in front yards only as a decorative grid design in conjunction with approved pavement materials (pavers or the like) for a walkway and driveway. Artificial turf, turf synthetic grass may not be used as a barrier or border to a paved or asphalt walkway or driveway.
(5)
Artificial turf is prohibited in any public right-of-way.
(6)
Artificial turf, inclusive of putting greens, may comprise up to a maximum of ten percent of the required landscape area on any lot.
(7)
Putting greens comprised of artificial turf are permitted in the rear yard only, pursuant to regulations set forth at subsection (d) below.
(b)
Minimum standards for artificial turf.
(1)
Artificial turf shall consist of green life-like individual blades that emulate natural turf or turfgrass in color, texture and size. Artificial turf shall have a minimum pile height of one and one-half inches, and a minimum tufted weight of 56 ounces per square yard.
(2)
Artificial turf shall be installed to have a minimum permeability of 30 inches per hour per square yard.
(3)
Artificial turf shall have a minimum 15-year manufacturer's warranty that protects against color fading and decrease in pile height.
(4)
Artificial turf shall be lead-free.
(5)
Artificial turf shall come with "total content leach protocol" (TCLP) test documentation declaring that the yarn and backing material are disposable under normal conditions at any U.S. landfill station.
(6)
Infill materials for artificial turf must be organic or sand, with a non-toxic coating.
(7)
The use of "indoor/outdoor" carpeting as a replacement or substitute for artificial turf is strictly prohibited.
(8)
Any reasonable deviation form these minimum standards must be approved in writing and in advance by the building official for good cause shown.
(c)
Installation, repair, and maintenance of artificial turf.
(1)
Installation of artificial turf shall be pursuant to a building permit issued by the building department.
(2)
Installation shall be, at a minimum, in accordance with manufacturer's specifications.
(3)
Artificial turf shall be anchored in order to withstand the effects of wind.
(4)
Seams shall be nailed and glued (not sewn) and all edges shall be trimmed to fit against all regular and irregular edges in order to present a natural look.
(5)
When installed adjacent to a seawall, artificial turf shall be pinned or staked behind the seawall and shall not be attached directly to the seawall or seawall cap.
(6)
Sufficient drainage shall be provided in order to prevent excess runoff or pooling of water.
(7)
Artificial turf shall be installed so it is visually level and with the grain pointing in a uniform, single direction.
(8)
Barriers such as pavers, river rock or other non-living landscape material shall be utilized to separate artificial turf from live landscaping material, turf or turfgrass.
(9)
Artificial turf shall not be installed inside any tree drip line in order to protect tree root systems.
(10)
Artificial turf shall be maintained in a "like new" condition free of weathering and fading. Artificial turf areas shall be kept free of dirt, debris, stains, and weeds. Tears, holes, ruts, depressions and the like shall be repaired immediately with like for like materials, from the same manufacturer if possible. Edges shall be properly anchored and shall not present a "loose" appearance.
(11)
Artificial turf that is placed in any utility easement may be removed by the village or other utility provider at any time for any reason reasonably related to the easement's purpose. The property owner shall be responsible for the repair or replacement of any such removed artificial turf.
(d)
Putting greens may be comprised of artificial turf with a minimum pile height of one-quarter inch. Putting greens shall not exceed 500 square feet in size. A drainage plan for the putting green must be approved by the village engineer and a permit issued by the building official is required prior to installation.
(e)
Properties with existing artificial turf that was previously installed in violation of the location, landscape area percentage, or quality requirements of this section may remain until it is required to be replaced, at which time full compliance with this section shall be required.
(f)
Artificial turf installed in compliance with this section shall be considered as pervious area and shall count toward the required minimum landscape area.
(Ord. No. 11-23, § 1, 12-14-2023)
(a)
The following plant species shall not be planted in the village:
(1)
Melaleuca quinquenervia (commonly known as Punk Tree, Cajeput or Paper Bark).
(2)
Schinus terebinthifolia (commonly known as Brazilian Pepper or Florida Holly).
(3)
Casuarina species (commonly known as Australian Pine).
(4)
Acacia auriculiformis (commonly known as Earleaf Acacia).
(5)
Albizia lebbeck (commonly known as Woman's Tongue).
(6)
Ardisia solonacea (commonly known as Shoebutton Ardisia).
(7)
Colubrina asiatica (commonly known as Lather Leaf).
(8)
Dioscorea bulbifera (commonly known as Air Potato).
(9)
Fiscus altissima (commonly known as Lofty Fig).
(10)
Fiscus benghalensis (commonly known as Banyan).
(11)
Hibiscus tiliaceus (commonly known as Mahoe).
(12)
Jasminum dichotomum (commonly known as Gold Coast Jasmine).
(13)
Lygodium microphyllum (commonly known as Old World Climbing Fern).
(14)
Mimosa pigra (commonly known as Cat's Claw).
(15)
Rhodomyrtus tomentosa (commonly known as Downy Rose Myrtle).
(16)
Bischofia javanica (commonly known as Japanese Bishopwood).
(17)
Cupaniopsis anacardioides (commonly known as Carrotwood).
(18)
Schefflera actinophylla (commonly known as Schefflera).
(19)
Asparagus densiflorus (commonly known as Asparagus Fern).
(20)
Dalbergia sissio (commonly known as Indian Rosewood).
(21)
Eucalyptus spp. (commonly known as Eucalyptus Species).
(22)
Eugenia uniflora (commonly known as Surinam Cherry).
(23)
Grevillea robusta (commonly known as Silk Oak).
(24)
Sansevieria (commonly known as Snake Plant).
(25)
Scaevola sericea (commonly known as Beach Naupaka).
(26)
Wedelia trilobata (commonly known as Wedelia).
(b)
Any parcel of land upon which a structure has been heretofore erected and which received a certificate of occupancy prior to the date of adoption of the ordinance from which this section is derived and contains the prohibited landscaping provided in subsections (a)(1) through (3) of this section shall have the prohibited landscaping removed and replaced with living landscaping pursuant to the provisions of this division within five years of the date of enactment. Any parcel of land upon which a structure has been heretofore erected and received a certificate of occupancy prior to the date upon which the amendment to this section was adopted and contains the prohibited landscaping in subsections (a)(4) through (18) of this section shall have the prohibited landscaping removed and replaced with approved landscaping pursuant to the provisions of this division within four years of the date of enactment of such amendment. The removal of prohibited landscaping as provided in this section shall not apply to the prohibited landscaping existing on single-family lots or duplex lots lying within R-1, R-1A or R-2 districts, except as required by the specific requirements contained in section 78-402, or to any or to lots located within the R/OP district.
(Ord. No. 39-13, § 1, 2-13-14; Ord. No. 16-22, § 3, 1-12-2023)
(a)
In all districts, pervious areas shall be provided with an automatic underground sprinkler system, adequate to service the landscape areas, except when not required under the provisions of this division. All common open space or landscaped areas shall be provided with an underground irrigation system. All irrigation systems shall be designed to provide 100 percent coverage with 100 percent overlap.
(b)
Irrigation plans.
(1)
Irrigation plans shall be designed to recognize different irrigation requirements of the landscape described in this article.
(2)
The irrigation plan shall be drawn to a scale of not less than one inch to 20 feet, and shall show the following:
a.
Irrigation points of connection and design capacity;
b.
Water service pressure at irrigation point of connections (POC);
c.
Water meter size when revising existing irrigation plans or when utilizing reclaimed water;
d.
Reduced-pressure-principle backflow prevention devises for each irrigation POC on potable water systems;
e.
Major components of the irrigation system including all pumps, filters, valves, and pipe sizes and lengths;
f.
Precipitation rate expressed in inches per hours for each valve circuit. The preparer must attach to the project data sheet the calculations for deriving precipitation rates for each irrigation valve circuit;
g.
Total flow rate (flow velocity not to exceed five feet per second) in gallons per minute (gpm) and operating pressure (psi) for each individual overhead and bubbler circuit, and gallons per hour (gph) and operating pressure for low-flow point irrigation circuit;
h.
Irrigation legend shall have the following elements:
i.
Separate symbols for all irrigation requirements with different spray patterns and precipitation rates and pressure compensating devices; general description of equipment; manufactures name and model number for all specified equipment; recommended operating pressure per nozzle and bubbler and low-point pressure per nozzle and bubble and low flow emitter; manufactures recommended overhead and bubble irrigation nozzle rating in gallon per minute (gpm) or gallon for hour (gph) for low flow point applications; minimum (no less than 75 percent of maximum spray radius) and maximum spray radius per nozzle; and manufactures rated precipitation rate per nozzle at specified psi;
ii.
Location of rain shut-off devices or soil moisture sensors.
(c)
Efficient design. All irrigation installations after April 12, 2012 shall meet the irrigation standards identified at F.S. § 373.228. These include:
(1)
Irrigation systems, including the use of micro-irrigation as appropriate, shall be designed to meet the needs of the plants in the landscape.
(2)
When feasible, irrigation systems shall be designed to separately serve turf and non-turf areas.
(3)
The irrigation system plans and specifications shall identify the material to be used and the construction methods.
(4)
The design shall consider soil, slope and other site characteristics in order to minimize water waste, including overspray, the watering of all impervious surfaces and other non-vegetated areas, and off-site runoff.
(5)
The system shall be designed to minimize free flow conditions in case of damage or other mechanical failure.
(6)
The system shall be designed to use the lowest quality water feasible.
(7)
Rain shut-off switch equipment shall be required on automatic irrigation systems to avoid irrigation during periods of sufficient soil moisture, in accordance with F.S. § 373.62. Said equipment shall consist of an automatic mechanical or electronic sensing device or switch that will override the irrigation cycle of the sprinkler system when adequate rainfall has occurred. A recommended seasonal operating schedule and average precipitation rate for each irrigation zone for both establishment and maintenance conditions shall be provided.
(8)
Control systems shall provide the following minimum capabilities:
a.
Ability to be programmed in minutes, by day of week, season, time of day;
b.
Ability to accommodate multiple start times and programs;
c.
Automatic shut off after adequate rainfall;
d.
Ability to maintain time during power outages for a minimum of three days; and
e.
Operational flexibility to meet applicable year round water conservation requirements and temporary water shortage restrictions.
(9)
Recommended maintenance activities and schedules shall be included.
(10)
Precipitation rates for sprinklers and all other emitters in the same zone shall be matched, except that microirrigation emitters may be specified to meet the requirements of individual plants.
(11)
Irrigation systems shall be designed to maximize uniformity, considering factors such as:
a.
Emitter types;
b.
Head spacing;
c.
Sprinkler pattern; and
d.
Water pressure at the emitter.
(12)
Irrigation systems with main lines larger than two inches or designed to supply more than 70 gallons per minute shall incorporate a means to measure irrigation water use, at a minimum of 95 percent accuracy across the flow range.
(13)
Irrigation system plans and specifications shall require the system installer to conduct final testing and adjustments to achieve design specifications prior to completion of the system and acceptance by the owner or owner's representative.
(14)
The irrigation system shall be designed to correlate to the organization of plants into zones as described in this division. The water use zones shall be shown in the irrigation plan. Temporary facilities may be installed to facilitate plant establishment.
(15)
"Rust stains" on any structure from irrigation system over-spray shall be removed.
(16)
The installation of tracer wire along main lines and laterals shall be required to permit easy location and prevent inadvertent cutting of pipes.
(17)
If the water supply for the irrigation system is from a well, a constant pressure flow control device or pressure tank with adequate capacity shall be required to minimize pump "cycling".
(18)
Check valves must be installed at irrigation heads as needed to prevent low head drainage and puddling.
(19)
Nozzle precipitation rates for all heads within each valve circuit must be matched to within 20 percent of one another.
(20)
No water spray from irrigation systems shall be applied under roof overhangs.
(21)
Irrigated areas shall not be less than four feet wide, except when next to contiguous property or using micro or drip irrigation.
(22)
A pressure-regulating valve shall be installed and maintained if static service pressure exceeds 80 pounds per square inch. The pressure regulating valve shall be located between the meter and the first point of division in the pipe and set at a not more than 50 pounds per square inch when measured at the most elevated fixture in the structure served. This requirement may be waived if satisfactory evidence is provided that high pressure is necessary in the design and that no water will be wasted as a result of high-pressure operation.
(d)
To assist the end user to operate the system property, in addition to the minimum requirements of F.S. § 373.228, the following shall be provided to the owner at the time of installation. The map shall be attached inside each irrigation controller or be kept in another readily available location if it is not practical to insert into a small container.
(1)
Irrigation schedule information, with instructions for seasonal timer and sensor changes.
(2)
Irrigation system plans and specifications including as-constructed drawings, recommended maintenance activities and schedules.
(3)
Operations schedules, design precipitation rates, and instructions on adjusting the systems to apply less water after the landscape is established.
(4)
Maintenance schedule, water source, water shut-off method, and the manufacturing operational guide for their irrigation controller.
(5)
To the extent feasible, similar information should be made available for subsequent property transfers.
(e)
Reduced-pressure-principle backflow preventers shall be recertified yearly.
(Ord. No. 39-13, § 1, 2-13-14)
(a)
Generally.
(1)
The owner, occupant, and tenant and the respective agent of each, if any, shall be jointly and severally responsible for all landscaping and irrigation equipment, including that located in the unpaved portion of the public right-of-way between the paved portion of the public right-of-way and the boundary of the owner's property. Landscaping shall be maintained in a good condition, so as to present a healthy, neat and orderly appearance at least equal to the original installation, and shall be kept free from refuse and debris. Any dead vegetation and landscaping material shall be promptly replaced with healthy, living plantings. Vegetation proximally located to electric utility lines shall also be maintained pursuant to section 74-2.
(2)
Landscape maintenance for hire shall be performed in accordance with recommendation in the Florida-Friendly Best Management Practices for Protection of Water Resources by the Green Industries. Landscape maintenance by homeowners should be performed in accordance with recommendations of the University of Florida Cooperative Extension Service and Florida Yards and Neighborhoods publications.
(3)
A regular irrigation maintenance schedule shall be included, but not be limited to, checking, adjusting, and repairing irrigation equipment; and resetting the automatic controller according to the season yearly.
(4)
Pruning of trees shall be permitted to allow for healthy growth, and to promote safety considerations. Trees which cause a conflict with views, signage or lighting shall not be pruned more than the maximum allowed. The village manager, community development director or building official may suspend the provisions of this section in case of a natural disaster. The removal of any tree shall be pursuant to the applicable provisions of article VII of chapter 50.
a.
A maximum of one-fourth of tree canopy may be removed from a tree within a one-year period, provided that the removal conforms to the standards of crown reduction, crown cleaning, crown thinning, crown raising, vista pruning, and crown restoration pruning techniques. All pruning shall comply with the American National Standards Institute, ANSI 300 (Tree, Shrub and other Woody Plant Maintenance), as amended.
b.
If other than the mature height and spread is desired for any required tree, the size and shape shall be indicated on an approved landscape plan. Shaping of a tree shall be permitted if the tree is to be used as an accent, focal point or as part of an overall landscape design. A maintenance commitment shall be clearly outlined on the approved landscape plan to explain the care and upkeep of a shaped tree.
c.
Hatracking (tree topping), as defined in this division, is strictly prohibited.
d.
The following shall be exempt from the requirements of the above tree pruning regulations; however, removal of any such tree shall be pursuant to the applicable provisions of article VII of chapter 50:
i.
Trees affected by FAA and airport safety regulations.
ii.
Trees which interfere with safe site triangles, utility lines, or utility structures. Electric utilities shall prune trees in proximity to overhead power lines pursuant to section 74-2.
iii.
Trees having crown dieback or decay greater than one-third the tree canopy.
iv.
Trees having suffered damage due to natural or accidental causes.
v.
Trees having insect or disease damage greater than one-third of the tree crown.
vi.
Trees in botanical gardens, or botanical research centers.
vii.
Trees which the residential property owner obtains documentation from an arborist certified by the International Society of Arboriculture or a Florida licensed landscape architect confirming that the tree presents a danger to persons or property prior to the tree being pruned or removed.
(b)
Yard waste management; composting and use of mulches.
(1)
In no case shall grass clippings, vegetative material, and/or vegetative debris be washed, swept, or blown off into stormwater drains, ditches, conveyances, water bodies, wetlands, or sidewalks or roadways. Any material that is accidentally so deposited shall be immediately removed to the maximum extent practicable.
(2)
Grass clippings should be left on lawns. Grass clippings are a benefit to lawns, replacing nutrients drawn from the soil and as mulch that helps retain moisture, lessening the need to irrigate. Mulching mowers are recommended, because the grass clippings are chopped very finely by special blades. If a conventional mower equipped with a side discharge chute is used, when mowing near the shoreline, direct the chute away from the waterbody and when mowing upland areas, direct the chute back onto the yard, not onto the road or driveway.
(3)
Mulches applied and maintained at appropriate depths in planting beds assist soils in retaining moisture, reducing weed growth, and preventing erosion. A layer of organic mulch three inches deep is recommended in plant beds and around individual trees in turf areas. Use of byproduct or recycled mulch is recommended. Mulch beds shall be specified on the landscape plan.
(c)
Fertilizer management.
This
part shall be known as the Village of Tequesta fertilizer-friendly management code.
(1)
Applicability. This part shall be applicable to and shall regulate any and all applicators of fertilizer and areas of application of fertilizer to landscapes within the Village, unless such application or applicator are specifically exempted by section 78-392, or as follows:
a.
The application of yard waste compost, mulches or similar materials that are organic in nature and are applied to improve the physical condition of the soil;
b.
The use of reclaimed water for irrigation;
c.
Specialized turf grasses such as Zoysia or Bermuda as part of a periodic dethatching process during the growing period, provided that Best Management Practices for fertilizer application are followed;
d.
For all other specialized turf areas, the specialized turf managers which shall use their best professional judgement and apply the concepts and principles embodied in the Florida Green BMP's, to maintain the health and function of their specialized turf areas.
(2)
Definitions. For this part, the following terms shall have the meanings set forth herein-below unless the context clearly indicates otherwise:
a.
"Application" or "Apply" means the actual physical deposit of fertilizer to turf or landscape plants.
b.
"Applicator" means any Person who applies fertilizer on turf and/or landscape plants.
c.
"Best Management Practices" (BMP's) means turf and landscape practices, or combination of practices based on research, field-testing, and expert review, determined to be the most effective and practicable on-location means, including economic and technological considerations, for improving water quality, conserving water supplies and protecting natural resources.
d.
"Commercial Fertilizer Applicator", except as provided in F.S. § 482.1562(9), means any person who applies fertilizer for payment or other consideration to property not owned by the person or firm applying the fertilizer or the employer of the applicators.
e.
"Fertilize," "Fertilizing," or "Fertilization" means the act of applying fertilizer to turf, specialized turf, or landscape plants.
f.
"Fertilizer" means any substance or mixture of substances that contains one or more recognized plant nutrients and promotes plant growth, or controls soil acidity or alkalinity, or provides other soil enrichment, or provides other corrective measures to the soil.
g.
"Institutional Applicator" means any person, other than a private, non-commercial or a Commercial Applicator (unless such definitions also apply under the circumstances), that applies fertilizer for the purpose of maintaining turf and/or landscape plants. Institutional Applicators shall include, but shall not be limited to, owners, managers or employees of public lands, schools, parks, religious institutions, utilities, industrial or business sites and any residential properties maintained in condominium and/or common ownership.
h.
"Saturated soil" means a soil in which the voids are filled with water. Saturation does not require flow. For the purposes of this ordinance, soils shall be considered saturated if standing water is present or the pressure of a person standing on the soil causes the release of free water.
i.
"Slow Release," "Controlled Release," "Timed Release," "Slowly Available," or "Water Insoluble Nitrogen" means nitrogen in a form which delays its availability for plant uptake and use after application, or which extends its availability to the plant longer than a reference rapid or quick release product.
j.
"Specialized turf" means areas of grass used for athletic fields, activity fields, parks, cemeteries, and other similar areas.
k.
"Specialized turf manager" means a person responsible for fertilizer or directing the fertilization of "specialized turf"
l.
"Urban landscape" means pervious areas on residential, commercial, industrial, institutional, highway rights-of-way, or other nonagricultural lands that are planted with turf or horticultural plants. For the purposes of this section, agriculture has the same meaning as provided in F.S. 570.02.
(3)
Findings. As a result of the Florida Department of Environmental Protection's determination that certain water bodies within Palm Beach County, including portions of the Loxahatchee River, are impaired for excessive nutrient levels, the Village Council finds that the Best Management Practices contained in the most recent edition of the "Florida-Friendly Best Management Practices for Protection of Water Resources by the Green Industries" should be included in this part.
(4)
Purpose and Intent. This part regulates the proper use of fertilizers by any applicator; requires proper training of commercial and institutional fertilizer applicators; establishes training and licensing requirements; establishes the timing of fertilizer application; specifies allowable fertilizer application rates and methods, fertilizer-free zones and exemptions. This part requires the use of Best Management Practices to minimize negative environmental effects said fertilizers have in and on the Village's natural and constructed stormwater conveyances, rivers, creeks, canals, lakes, estuaries and other water bodies. Collectively, these water bodies are an asset important to the environmental, recreational, cultural, and economic well-being of the residents of the Village and the surrounding areas, and contribute to the general health and welfare of the public. Overgrowth of algae and vegetation hinders the effectiveness of flood attenuation provided by natural and constructed stormwater conveyances. Regulation of nutrients, including both phosphorus and nitrogen contained in fertilizer, is anticipated to help improve and maintain water and habitat quality.
(5)
Fertilizer content and application rates.
a.
Fertilizers containing nitrogen applied to Turf and/or Landscaping Plants within the Village shall contain no less than 50 percent slow-release nitrogen per guaranteed analysis label. Other limitations on nitrogen and phosphorous in fertilizers applied to turf within the Village shall be in accordance with requirements and directions provided by Rule 5E-1.003(2), Florida Administrative Code, Labeling Requirements for Urban Turf Fertilizers. Under Rule 5E-1.003(2), Florida Administrative Code, required application rate, and frequency maximums, which vary by plant and turf types, can be found on the labeled fertilizer bag or container.
b.
Nitrogen or phosphorus fertilizer shall not be applied to Turf or Landscape Plants except as provided in a. above for Turf, or in UF/IFAS recommendations for Landscape Plants, vegetable gardens, and fruit trees and shrubs, unless a soil or tissue deficiency has been verified by a UF/IFAS approved test methodology.
c.
Fertilizer used for sports turf at golf courses shall be applied in accordance with the recommendations in "Best Management Practices for the Enhancement of Environmental Quality on Florida Golf Courses" published by the FDEP, dated September 2012, as may be amended. Fertilizer used at parks or athletic fields shall be applied in accordance with Rule 5E-1.003(2), Florida Administrative Code.
(6)
Timing of fertilizer application.
a.
No applicator shall apply fertilizers containing nitrogen and/or phosphorus to Turf and/or Landscape Plants during the rainy season period from June 1 st through September 30 th or at any time to saturated soils or during the time which a tropical storm or hurricane watch or warning has been issued by the National Weather Service or when heavy rain (two inches or more within a 24-hour period) is forecast. Outside of this rainy season period and prohibited times, fertilizers containing nitrogen and/or phosphorus shall only be applied to Turf or Landscape Plants during growth periods, not during dormant periods.
b.
Fertilizer containing nitrogen and/or phosphorous shall not be applied before seeding or sodding a site, and shall not be applied for the first 30 days after seeding or sodding, except when hydro-seeding for temporary or permanent erosion control in an emergency situation (wildfire, etc.), or in accordance with the stormwater pollution prevention plan for the site.
c.
In no case shall fertilizers containing nitrogen and/or phosphorus to turf and/or landscape plants during times which a flood, tropical storm, or hurricane watch or warning issued by the National Weather Service is in effect for any portion of Palm Beach County.
(7)
Fertilizer application practices.
a.
Spreadable deflector shields are required when fertilizing via rotary (broadcast) spreaders. Deflectors must be positioned such that fertilizer granules are deflected away from all impervious surfaces, fertilizer-free zones and water bodies, including wetlands.
b.
Fertilizer shall not be applied, spilled or otherwise deposited on any impervious surface.
c.
Any fertilizer applied, spilled, or deposited, either intentional or accidentally, on any impervious surface shall be immediately and completely removed to the greatest extent practicable.
d.
Fertilizer releases on an impervious surface shall be immediately contained and either legally applied to turf or any other legal site, or returned to the original or other appropriate container.
e.
In no case shall fertilizer be washed, swept, or blown off impervious surfaces into stormwater drains, ditches, conveyance, or water bodies.
(8)
Fertilizer free zones. Fertilizer shall not be applied within ten feet of any pond, stream, watercourse, lake, canal, or wetland as defined by the Florida Department of Environmental Protection (Chapter 62-340, Florida Administrative Code) or from the top of a seawall or bulkhead, unless a deflector shield, drop spreader, or liquid applicator with a visible and sharply defined edge, is used, in which case a minimum of three feet shall be maintained. Newly planted Turf and/or Landscape Plants may be fertilized in this zone only for a 60 day period beginning 30 days after planting, if needed, to allow the plants to become well established. Caution shall be used to prevent direct deposition of fertilizer into the water.
(9)
Training.
a.
All commercial and institutional applicators of fertilizer within the Village, shall abide by and successfully complete the six-hour training program in the "Florida Friendly Best Management Practices for Protection of Water Resources by the Green Industries" offered by the Florida Department of Environmental Protection through the University of Florida/Palm Beach County Cooperative Extension Service Florida-Friendly Landscapes Program, or an approved equivalent program.
b.
Non-commercial and non-institutional applicators not otherwise required to be certified, such as private citizens on their own residential property, are encouraged to follow the recommendations of the University of Florida FAS "Florida-Friendly Landscape Program" and labels instructions when applying fertilizers.
(10)
Licensing of commercial applicators.
a.
All businesses applying fertilizer to Turf and/or Landscape Plants (including but not limited to residential lawns, golf courses, commercial properties, and multi-family and condominium properties) must ensure that the business owner or his/her designee holds the appropriate "Florida-Friendly Best Management Practices for Protection of Water Resources by the Green Industries" training certificate prior to the business owner obtaining a Local Business Tax Certificate. Owners for any category of occupation which may apply any fertilizer to Turf and/or Landscape Plants shall provide proof of completion of the program to the Village's Building Department. It is the responsibility of the business owner to maintain the "Florida-Friendly Best Management Practices for Protection of Water Resources by the Green Industries" certificate to receive his business tax receipt annually.
b.
After December 31, 2020, all commercial applicators of fertilizer within the Village shall have and carry in their possession at all times when applying fertilizer, evidence of certification by the Florida Department of Agriculture and Consumer Services as a Commercial Fertilizer Applicator per 5E-14.117(18) F.A.C.
(d)
Pesticide management.
(1)
The use of pesticides by commercial entities in Florida is regulated by The Structural Pest Control Act, F.S. Ch. 482. The Structural Pest Control Act, as amended from time to time, preempts all regulations and operations of pest control services, including the pesticides used pursuant to labeling and registration approved under F.S., Part I of Ch. 487, to the State of Florida. In accordance with F.S. § 482.032, the village acknowledges its statutorily imposed duty to assist authorized state inspectors and agents in the enforcement of applicable state law and associated rules adopted by the Department of Agriculture and Consumer Services.
(2)
All 'for-hire' landscape applications of pesticides, including "weed and feed" products and herbicides for weed control, must be performed in accordance with the training, licensure and/or certification requirements of the Structural Pest Control Act, F.S. Ch. 482.
(3)
Property owners and managers are encouraged to use an Integrated Pest Management Strategy as currently recommended by the UF/IFAS Extension publications.
(4)
When using pesticides, all label instructions of state and federal law should be adhered to.
(Ord. No. 39-13, § 1, 2-13-14; Ord. No. 30-19, § 2, 1-9-2020; Ord. No. 01-21, § 1, 3-11-2021; Ord. No. 08-21, § 1, 6-11-2021)
Landscape plans submitted to meet the provisions of this division shall conform to the following criteria:
(1)
The landscape plan shall be drawn to a scale of not less than one inch equals 20 feet.
(2)
The landscape plan shall clearly delineate all proposed trees, shrubs, ground covers, required landscape strips, planting islands and other landscape areas and treatments required by this division.
(3)
The landscape plan shall indicate graphically the quantities, types, sizes at time of planting and at five years' maturity, spacing and other qualitative data for all required plant materials under the provisions of this division, including botanical and common names.
(4)
The landscape plan shall bear the seal of a landscape architect licensed to practice in the state or be prepared by another licensed professional authorized to prepare landscape plans pursuant to F.S. ch. 481, pt. II(F.S. § 481.301 et seq.).
(5)
The plans shall conform to any and all other requirements required by the building and zoning department of the village.
(6)
Any and all landscaping provided shall be in accordance with the South Florida Water Management District Waterwise Guide, as amended, techniques, practices and landscape vegetation lists, which shall constitute the village approved landscape guide and list with the following exceptions. All vegetation species not designated as moderate drought tolerant or very drought tolerant, all invasive species and all species having a hardiness zone designation of tropical shall not be approved and do not constitute a part of the approved village landscape guide and list, a copy of which is hereby incorporated as a part of this division as if fully set forth in this section. Plants should be proposed for planting with regard for salt tolerance depending upon the proposed geographic location and proximity to the Atlantic Ocean. Plants should be grouped in accordance with their respective water and maintenance needs. Fifty percent of all required landscaping shall be landscaping indigenous to the South Florida area as indicated in the Waterwise Guide, as amended.
(7)
Plant materials used in conformance with provisions of this division shall conform to the standards for Florida No. 1 or better, as given in the most current edition of Grades and Standards for Nursery Plants Part I and Part II, State of Florida, Department of Agriculture, Division of Plants Industry, Tallahassee, Florida, or most current edition. Grass sod shall be clean and reasonably free of weeds and noxious pests or diseases. By the square foot, sod must be 90 percent species and variety as specified on the drawing.
(8)
Along with the submission of the landscape plan, a tree inventory survey shall be submitted which sets forth in detail the landscaping existing on the property prior to development. The survey shall be accomplished by a registered land surveyor and shall reference all trees of three inches in caliper or greater.
(Ord. No. 39-13, § 1, 2-13-14)
Landscaping plans of properties, including proposed subdivisions, abutting or adjacent to U.S. Highway 1 and Tequesta Drive, or any other street upon which the village council has adopted a streetscape plan, shall, to the extent possible, conform to the themes established by the village on the special roadway corridors in the manner and form of the streetscape plan adopted by the village council. The property owner shall pay all costs of planning and landscaping improvements for all off-street streetscape landscaping required by this division.
(Ord. No. 39-13, § 1, 2-13-14)
(a)
All single-family and duplex lots located within R-1, R-1A or R-2 zoning districts shall comply with the following landscape requirements:
(1)
All single-family and duplex lots proposed for new development, or redevelopment, renovation or modification in excess of 50 percent of the value of the existing development prior to the start of construction shall be required to submit landscape and irrigation plans to the department of community development for review and consideration of approval prior to issuance of certificate of occupancy. This provision shall also apply to any renovation, restoration or construction activity to an existing structure or existing landscaped area wherein the renovation, restoration or construction activity value is greater than 50 percent of the assessed value of the existing structure, or 50 percent of the estimated value of the existing landscaped areas determined by the department of community development.
(2)
All single-family and duplex lots within the village shall plant at least one canopy tree per 2,500 square feet of site area. If palm trees are planted in lieu of canopy trees, they may be clustered in groups of three, which group shall equate to one canopy tree as required in this section. Palm trees shall be planted with a minimum 16 feet height at the time of planting. Only 50 percent of all required trees provided in the landscaping plan may be palm trees. At least one canopy tree must be planted in the front yard. A minimum of 50 percent of all trees planted on the site shall be native species.
(3)
All single-family and duplex lots within the village shall plant at least one shrub per 500 square feet of site area. Such shrubs shall not be less than 18 inches high with a 14-inch spread at the time of planting. A minimum of 50 percent of all shrubs and hedges planted on the site shall be native species. Landscape plans shall comply with the Florida Friendly Landscaping general provisions as set forth in the South Florida Water Management District Water Wise Guide.
(4)
All landscaped areas on single-family and duplex lots within the village shall be provided with sufficient automatic irrigation facilities and moisture control devices, both of which shall be maintained in working order at all times in accordance with this division. If good cause is shown that there is not a need for automatic irrigation facilities, this requirement may be waived by action of the village council.
(5)
All single-family and duplex lots proposed for new development, or redevelopment, renovation or modification in excess of 50 percent of the value of the existing development prior to the start of construction within the village shall be required to remove any prohibited landscaping from the property as set forth in this division. This subsection shall be enforced by the village by requiring the removal of any prohibited landscaping prior to granting any landscaping, irrigation or well permit.
(Ord. No. 39-13, § 1, 2-13-14; Ord. No. 16-22, § 4, 1-12-2023)
(a)
In the planting strip of commercial properties abutting and/or immediately adjacent to residential areas there shall be planted a living hedge not more than six feet from the residential property line. The hedge must be planted prior to issuance of a certificate of occupancy and must be planted at least four feet in height and not more than two feet on center and must be maintained at a height of not less than six feet and not more than ten feet. Additionally, a solid opaque fence and/or wall of not less than five feet but not more than six feet shall be required. The hedge shall be planted on the outside of the wall.
(b)
For all multifamily, mixed-use, and commercial land uses, a landscape buffer shall be required to be a minimum of 15 feet from any public right-of-way line, and ten feet from all adjacent property lines. Waterfront properties shall provide a five-foot landscape buffer at a minimum of 40 percent of the property's total rear lot line. The five-foot landscape buffer shall be taken from the back side of the bulkhead/seawall/riprap of all waterway properties, and from the back (west) side of the dune. Commercial land uses adjacent to residential land uses shall provide a solid opaque fence and/or wall of not less than five feet but not more than six feet. The diagram following is for illustrative purposes. It represents minimum requirements and should be considered as a guideline only.
(Ord. No. 39-13, § 1, 2-13-14; Ord. No. 16-22, § 5, 1-12-2023)
The area of the required planting strip not occupied by a fence or hedge shall be provided with sod or other plant ground cover material in accordance with this division. In addition, one canopy tree shall be provided for each 30 linear feet of such landscaped area. If palm trees are planted in lieu of canopy trees, the palm trees may be clustered in groups of three and three palm trees shall be required for each canopy tree required under this section. Palm trees shall be planted with a minimum of 16 feet [of] height at time of planting. Large specimen palms with a minimum overall height of 18 feet, such as Medjool Date Palms, Wild Date Palms or Canary Island Date Palms, shall be considered to be the equivalent of one canopy tree for the purposes of this section. Only 50 percent of the required trees provided in the landscaping plan shall be palm trees. The diagram following is for illustrative purposes. It represents minimum requirements and should be considered as a guideline only.
(Ord. No. 39-13, § 1, 2-13-14; Ord. No. 16-22, § 6, 1-12-2023)
Necessary accessways from public rights-of-way through all required landscaped areas shall be permitted to service the open land use. The width of accessways shall be included in the lineal footage calculation to determine the number of trees required in a required planting strip area. Accessways shall in no event exceed 24 feet in width.
(Ord. No. 39-13, § 1, 2-13-14)
(a)
Rows of parking spaces shall be terminated on both ends by landscaped islands which measure not less than six feet in width (outside of curb to outside of curb) and 20 feet in length. At least one tree shall be planted in every six-foot by 20-foot island. The remainder of the terminal island shall be landscaped with turf, ground covers or shrubs or a combination of any of these.
(b)
Additional interior landscape islands shall be placed within rows of parking spaces so that there is at least one interior island for every ten parking spaces or fraction thereof. The island shall measure not less than six feet in width (outside of curb to outside of curb) and shall be equal in length to the length of the parking spaces plus the planting strip. At least one tree, as defined in this division, shall be required per island, with the remainder of the island landscaped with grass, ground covers, shrubs or a combination of any of these. The diagram following is for illustrative purposes. It represents minimum requirements and should be considered as a guideline only.
(c)
In addition to the requirements in subsections (a) and (b) of this section, a landscape divider median shall be placed between abutting rows of parking spaces and rows of parking spaces and driveways. The minimum width of the divider median shall be five feet and the divider median shall continue the entire length of the parking row to the terminal landscape island. There shall be one tree, as defined in this division, planted per 40 linear feet of required landscape area. The remainder of the divider median shall be landscaped with grass, ground covers, shrubs or a combination of any of these. The diagram following is for illustrative purposes. It represents minimum requirements and should be considered as a guideline only.
(d)
Trees of the species designated within South Florida Water Management District Waterwise Guide, as amended, which is adopted as part of this division and is on file in the village clerk's office, shall be planted in each planting area, provided that each species planted shall be designated as moderate drought tolerant or very drought tolerant, designated as a non-invasive species, have a hardiness zone designation other than tropical, be proposed for planting with regard for salt tolerance depending upon the proposed geographic location and its proximity to the Atlantic Ocean and have a medium or high wind tolerance. All designations referenced in this section shall be as indicated within the South Florida Water Management District Waterwise Guide, as amended. Tree plantings shall meet the landscaping requirements of the village.
(Ord. No. 39-13, § 1, 2-13-14)
In commercial parking areas where one off-street parking area adjoins or abuts another such parking area under different ownership or use, a landscaped planting strip not less than five feet wide maintained in good condition shall be required. It is the intent of this section that each adjacent strip shall require the five-foot planting strip with the intent being that a minimum combined ten-foot landscape separation be maintained between uses. The diagram following is for illustrative purposes. It represents minimum requirements and should be considered as a guideline only.
(Ord. No. 39-13, § 1, 2-13-14)
Fifteen percent minimum of the gross parking area is to be devoted to living landscaping, which includes turf, ground cover, plants, shrubs and trees in accordance with the Florida friendly landscaping requirements of this division. The gross parking area is to be measured from the edge of parking and/or driveway paving and sidewalks, extended five feet in all directions, but is not to include any areas enclosed by the building or covered by a building overhang.
(Ord. No. 39-13, § 1, 2-13-14)
Principal structures shall have a minimum landscape strip at least four feet in width except for ingress/egress walks, designated load areas and mechanical equipment. One canopy tree or three palms shall be required for each 30 linear feet of landscape strips. Trees and palms may be grouped, but the minimum number of trees required by this section must be met. Tree and palm groupings shall be given special consideration for breaking up the building massing. For buildings in excess of three stories, 20-foot height trees and/or palms with staggered heights shall be required. Mechanical equipment shall be screened per article IX, supplemental regulations.
(Ord. No. 39-13, § 1, 2-13-14; Ord. No. 16-22, § 7, 1-12-2023)
If the owner, tenant, or agent, jointly or severally, shall fail to meet the requirements of this division as to landscaping or irrigation system maintenance, or if the existing trees, shrubbery, grass or ground covering shall be permitted to die, either intentionally or unintentionally, and is not replaced by the owner, tenant or agent of the real property involved within 30 days of the event occurring unless exempt pursuant to Village Code section 50-236, then the building official, code enforcement officer, or their respective designees, shall notify in writing the person responsible for the maintenance or replacement of same to comply with the requirements of this division within 30 days from date of delivery of the notice. Failure to comply with the requirements of this section shall constitute a violation of this division.
(Ord. No. 39-13, § 1, 2-13-2014; Ord. No. 01-21, § 1, 3-11-2021)
If the owner, tenant or agent shall fail to comply as stated in this division, the village shall hold a public hearing allowing the parties an opportunity to show cause as to why the village shall not undertake to correct the violations and assess the costs thereof against the property owner. Upon the conclusion of the hearing and the continued failure of the owner, tenant or agent to comply, the village may have the work conducted at the expense of the village and bill the owner, tenant or agent for the actual costs to make the property come into compliance plus accrued interest at ten percent per annum from date of the completion of the work. Alternatively, failure to comply shall cause the violation to be considered by the special magistrate pursuant to the procedures prescribed by law, and a fine imposed accordingly. Nothing in this section shall preclude the village seeking relief by civil action through mandatory injunctive relief or other relief available through the courts.
(Ord. No. 39-13, § 1, 2-13-14)
The bill referenced in section 78-411 shall be assessed to the owner of the property and, if remaining unpaid for a period of 60 days after issuance, the village manager shall cause a lien to be filed against the property, to be recorded in the public records of the county, which lien shall be foreclosable in the manner of code enforcement liens, together with the cost of the action and all reasonable attorneys' fees incurred by the village.
(Ord. No. 39-13, § 1, 2-13-14)
(a)
If the landscaping and irrigation requirements of this division have not been met at the time that a certificate of occupancy or certificate of use is requested, the village may approve such request provided the village enters into an agreement with the owner or his agent that the provisions and requirements of this division will be complied with. The owner or his agent shall post a performance bond or other approved surety in an amount equal to 110 percent of the cost of materials and labor and other attendant costs incidental to the installation of the required landscaping and irrigation system. This surety shall run to the village and shall be in a form satisfactory and acceptable to the village, specifying the time for the completion of the landscape requirements.
(b)
The irrigation system shall be in working condition prior to a certificate of occupancy or completion being issued. The system must be able to be turned on at the time of the final landscape inspection to ensure proper overlap is provided. No individual pump shall exceed 25 horsepower.
(c)
An "as-built" landscape and irrigation document shall be submitted to the Town prior to the issuance of certificate of occupancy if changes were made between plans approval, installation and final sign off. A copy of the final plans, either "as-built" or approved plans, shall be delivered by the applicant to the homeowner, when applicable. The purpose of this provision is to help avoid damage to underground irrigation systems.
(Ord. No. 39-13, § 1, 2-13-14)
(a)
To assist in public information, the education of its citizens, and the effective implementation of this division, the village shall coordinate its efforts with those of the South Florida Water Management District and other agencies.
(b)
All persons providing landscape maintenance service for hire, including appropriate village maintenance operation staff, shall be trained in Florida-Friendly Best Management Practices for Protection of Water Resources of the Green Industries by December 31, 2012.
(c)
Any person that applies fertilizer for hire or in the course of their employment shall hold a current Certificate of Completion in the Florida-Friendly Best Management Practices for Protection of Water Resources of the Green Industries.
(d)
At least one person holding a current Certificate of Completion in the Florida-Friendly Best Management Practices for Protection of Water Resources of the Green Industries shall be present at all times on any job site while work is in progress.
(e)
New employees shall be trained within 180 days of starting a new position.
(Ord. No. 39-13, § 1, 2-13-14)
(a)
The village may develop an incentive program in order to promote voluntary compliance with the Florida Friendly Landscaping requirements of this division.
(b)
Village businesses that use the recommended practices may be recognized as a Green Business through the FDEP Green Business Program and may use this in their advertising and promotion.
(Ord. No. 39-13, § 1, 2-13-14)
The provisions of this division shall be enforced by the Village's code enforcement special magistrate pursuant to the authority granted by F.S. § 162.01 et seq., as amended, and Chapter 2 of this Code, as amended.
(Ord. No. 39-13, § 1, 2-13-2014; Ord. No. 01-21, § 1, 3-11-2021)
The purpose of this division is to establish general guidelines for the siting and construction of wireless communications towers, satellite dishes and antennas. The goals of this division are to:
(1)
Protect residential areas and land uses from potential adverse impacts of towers, satellite dishes and antennas;
(2)
Encourage the location of towers in nonresidential areas;
(3)
Minimize the total number of towers throughout the community;
(4)
Strongly encourage the joint use of new and existing tower sites as a primary option rather than construction of additional single-use towers;
(5)
Encourage users of towers and antennas to locate them, to the extent possible, in areas where the adverse impact on the community is minimal;
(6)
Encourage users of towers, satellite dishes and antennas to configure them in a way that minimizes the adverse visual impact of the towers and antennas through careful design, siting, landscape screening, and innovative camouflaging techniques;
(7)
Enhance the ability of the providers of telecommunications services to provide such services to the community quickly, effectively, and efficiently;
(8)
Consider the public health and safety of communication towers; and
(9)
Avoid potential damage to adjacent properties from tower failure through engineering and careful siting of tower structures.
In furtherance of these goals, the village shall give due consideration to the village's comprehensive plan, zoning map, existing land uses, and environmentally sensitive areas in approving sites for the location of towers and antennas.
(Code 1977, app. A, § X(A)(1)(f); Ord. No. 14-12, § 1, 11-8-2012)
The following words, terms and phrases, when used in this division, shall have the meanings ascribed to them in this section, except where the context clearly indicates a different meaning:
Alternative tower structure means manmade trees, clock towers, bell steeples, and similar alternative-design mounting structures that camouflage or conceal the presence of antennas or towers.
Antenna means any exterior stealth designed device used for transmitting and receiving, mounted in the ground, on a tower, alternative tower structure, building or structure and used in communications that radiate or capture electromag-netic waves, digital signals, analog signals, radio frequencies (excluding radar signals), wireless telecommunications signals or other communication signals. This definition does not include over-the-air reception devices which deliver television broadcast signals, direct broadcast signals, direct broadcast satellite services or multichannel multipoint distribution services, as defined and regulated by 47 CFR 1.4000, as amended. The definition also does not include satellite dishes as defined below.
Backhaul network means the lines that connect a provider's towers/cell sites to one or more cellular telephone switching offices, and/or long distance providers, or the public switched telephone network.
Engineer means a registered engineer licensed in the state to provide any information of an engineering nature, whether civil, electrical or mechanical.
FAA means the Federal Aviation Administration.
FCC means the Federal Communications Commission.
Height, when referring to a tower or other structure, means the distance measured from the zero datum of the lot to the highest point on the tower or other structure, including any antenna.
Preexisting tower and preexisting antenna mean any tower or antenna for which a building permit has been properly issued prior to the effective date of Ordinance No. 531, including permitted towers or antennas that have not yet been constructed so long as such approval is current and not expired.
Satellite dish means any parabolic or spherical antenna which receives television or other signals from orbiting satellites.
Stealth design means a method that would hide or conceal an antenna, supporting electrical or mechanical equipment, or any other support structure that is identical to, or closely compatible with, the color of the supporting structure so as to make the antenna and related equipment as visually unobtrusive as possible.
Tower means any ground mounted structure that is designed and constructed primarily for the purpose of supporting one or more antennas for telephone, radio and similar communication purposes, including self-supporting lattice towers, guyed towers, or monopole towers. The term includes radio and television transmission towers, microwave towers, common-carrier towers, cellular telephone towers, alternative tower structures, and the like. The term includes the structure and any support thereto.
(Code 1977, app. A, § X(A)(1)(f)(A); Ord. No. 14-12, § 1, 11-8-2012)
(a)
New towers and antennas. All new towers or antennas in the village shall be subject to the regulations in this division, except as provided in subsections (b) and (c) of this section, and section 78-452.
(b)
Preexisting towers or antennas. Preexisting towers and preexisting antennas shall not be required to meet the requirements of this division, other than the requirements of subsections 78-444(e) and (f).
(c)
Antennas operated and controlled by village. Antennas operated and controlled by the village or another governmental entity, and that are approved by the village council, shall not be required to meet the requirements of this division.
(Code 1977, app. A, § X(A)(1)(f)(B); Ord. No. 14-12, § 1, 11-8-2012)
(a)
Permitted locations.
(1)
Antennas and towers shall be either a permitted use on village owned property in the commercial zoning districts of the village or a special exception use on other properties located within the village's commercial zoning districts.
(2)
Antennas and towers are prohibited within the residentially zoned areas of the village, as well as the mixed-use zoning district. A different existing use of an existing structure on the same lot shall not preclude the installation of an antenna or tower on such lot.
(3)
Off-site locations of any antenna, regardless of type, size, placement or method of attachment, shall be prohibited, except for those antennas which are owned and operated by a governmental agency, approved by a governmental agency, or operated for a governmental use, subject to village council approval. Antennas located on a tower shall not be considered to be at an off-site location.
(b)
Inventory of existing sites. Each applicant for an antenna and/or tower shall provide to the building official an inventory of its existing towers, antennas, or sites approved for towers or antennas that are either within the jurisdiction of the village or within one mile of the border thereof, including specific information about the location, height, and design of each tower.
(c)
Aesthetics. Towers and antennas shall meet the following aesthetic requirements:
(1)
Towers shall either maintain a galvanized steel finish or, subject to any applicable standards of the FAA, be painted a color so as to reduce visual obtrusiveness.
(2)
At a tower or antenna site, the design of the buildings and related structures shall, to the maximum extent possible, use materials, colors, textures, screening, and landscaping that will blend them into the natural setting and surrounding buildings. The towers, antennas, buildings and related structures shall be required to be approved by the planning and zoning advisory board and/or the village council, as appropriate.
(3)
If an antenna is installed on a structure other than a tower, the antenna and supporting electrical and mechanical equipment must be, to the maximum extent possible, of stealth design.
(4)
Landscaping. The following requirements shall govern the landscaping surrounding towers and antennas:
a.
Tower and antenna facilities shall be landscaped with a buffer of plant materials that effectively screens the view of the compound from property used for residences. The standard buffer shall consist of a landscaped strip at least four feet wide outside the perimeter of the compound. The minimum landscaping within the buffer shall be a continuous four-foot-high hedge at the time of planting and having an ultimate height of six feet, and one tree, 12 feet in height at the time of planting, every 25 lineal feet.
b.
Existing mature tree growth and natural land forms on the site shall be preserved to the maximum extent possible. In some cases, such as towers sited on large, wooded lots, natural growth around the property perimeter may be a sufficient buffer.
(d)
Lighting. Towers and antennas shall not be artificially lighted, unless required by the FAA or other applicable authority. If lighting is required, the lighting alternatives and design chosen must cause the least disturbance to the surrounding views.
(e)
State or federal requirements. All towers and antennas must meet or exceed current standards and regulations of the FAA, the FCC, and any other agency of the state or federal government with the authority to regulate towers and antennas. If such standards and regulations are changed, then the owners of the towers and antennas governed by this division shall bring such towers and antennas into compliance with such revised standards and regulations within six months of the effective date of such standards and regulations, unless a different compliance schedule is mandated by the controlling state or federal agency. Failure to bring towers and antennas into compliance with such revised standards and regulations shall constitute grounds for the removal of the tower or antenna at the owner's expense.
(f)
Compliance with building codes and safety standards. Prior to the issuance of a building permit to construct an antenna or tower, the owner/applicant shall provide the village with all applicable approvals from federal, state and county agencies. To ensure the structural integrity of towers, the owner of a tower shall ensure that it is maintained in compliance with standards contained in applicable state or local building codes and the applicable standards for towers that are published by the Electronic Industries Association, as amended from time to time. If, upon inspection, the village building official or his designee concludes that a tower fails to comply with such codes and standards and constitutes a danger to persons or property, then, upon notice being provided to the owner of the tower, the owner shall have 30 days to bring such tower into compliance with such standards. Failure to bring such tower into compliance within 30 days shall constitute grounds for the removal of the tower or antenna.
(g)
Measurement and applicability of setbacks and separation distances. Measurement of tower setbacks and separation distances shall be calculated and applied in relation to all adjacent facilities, whether located inside or outside the boundaries of the village.
(h)
Towers and antennas not considered essential services. Towers and antennas shall be regulated and permitted pursuant to this division and shall not be regulated or permitted as essential services, public utilities or private utilities.
(i)
Franchises. Owners and/or operators of towers or antennas shall certify that all franchises required by law for the construction and/or operation of a wireless communication system in the village have been obtained and shall file a copy of all required franchises with the building official.
(j)
Signs. No signs shall be allowed on an antenna or tower.
(k)
Multiple antenna/tower plan. So as to lessen proliferation, the village encourages the users of towers and antennas to submit a single application for approval of multiple users on a single site. Applications for approval of multiple user sites shall be given priority in the review process.
(l)
Security enclosure. Towers shall be enclosed with a security enclosure not less than six feet in height, and towers shall also be equipped with an appropriate anti-climbing device. The use of barbed and/or razor wire shall be prohibited.
(m)
Antenna height. Antenna heights shall be as follows:
(1)
Ground-mounted antennas of any type shall not exceed 40 feet above grade within any zoning district. (Government facilities are exempt from this provision subject to village council approval.)
(2)
Roof-mounted antennas of any type shall not exceed 20 feet above the roofline of any on-site building which may be located upon the particular property or parcel of land. (Government facilities are exempt from this provision subject to village council approval.)
(3)
Tower mounted antennas shall not be subject to the height limitations set forth herein.
(n)
Tower setbacks. The following setback requirements shall apply to all towers:
(1)
Towers must be set back a distance equal to at least 110 percent of the height of the tower from any adjoining commercially zoned property lot line.
(2)
Towers must be set back a distance equal to at least 130 percent of the height of the tower from any adjoining residentially zoned property lot line.
(3)
Guys and accessory buildings must satisfy the minimum zoning district setback requirements.
(o)
Tower separation. The following separation requirements shall apply to all towers: Separation distances between towers shall be applicable for and measured between the proposed tower and preexisting towers. The separation distances shall be measured by drawing or following a straight line between the base of the existing tower and the proposed base, pursuant to a site plan of the proposed tower. The separation distances (listed in linear feet) shall be as shown in table 1.
TABLE 1
(Code 1977, app. A, § X(A)(1)(f)(C); Ord. No. 14-12, § 1, 11-8-2012)
Antennas or towers located on property owned or leased by the village within the commercial zoning district of the village are a permitted use provided that the following shall be applicable:
(1)
A license or lease authorizing an antenna or tower shall be approved by the village council.
(2)
The antenna or tower otherwise shall meet all regulations of the village relating to setbacks, height, lot coverage, landscaped open space, and other such regulations. In the event of conflicting requirements between this division and district specific code provisions, the more restrictive requirement shall govern.
(3)
Prior to the granting of a building permit for the construction of a tower, a duly noticed and advertised public hearing shall be required by the village council. Such due notice and advertisement of the public hearing shall be provided as in subsections 78-368(d) and (e), except that property owner notification shall be to all property owners within 1,000 feet from any part of the subject property upon which the tower is located. These notice and public hearing requirements shall not pertain to the placement of antennas or satellite dishes.
(4)
This section shall not be construed to permit the placement of towers or antennas by the lessee on property leased from the village.
(Code 1977, app. A, § X(A)(1)(f)(D); Ord. No. 14-12, § 1, 11-8-2012)
(a)
General standards. Antennas or towers located on property that is not owned or leased by the village within the commercial zoning district of the village are a special exception use. Special exception approval for towers and antennas shall be required for the construction of a tower or the placement of an antenna on privately owned property in the commercial zoning districts of the village. For purposes of this division, the mixed-use zoning district of the village shall be considered residential, wherein towers and antennas are prohibited. The following provisions shall govern the review and approval of special exception applications for towers or antennas by the village council:
(1)
Towers and antennas shall, in addition to the criteria set forth in this division, otherwise meet all regulations of the village relating to setbacks, height, lot coverage, landscaped open space, and other such regulations pertaining to the district in which the tower or antenna is located. In the event of conflicting requirements between this division and district specific code provisions, the more restrictive requirement shall govern.
(2)
Reserved.
(3)
Applications for special exception approval under this section shall be subject to the procedures and requirements of article IX, division 3 of this chapter, except as modified in this division.
(4)
In granting a special exception approval, the village council may impose conditions to the extent the village council concludes such conditions are necessary to minimize any adverse effect of the proposed tower or antenna on adjoining properties.
(5)
Any information of an engineering nature that the applicant submits, whether civil, mechanical, or electrical, shall be certified by a state licensed professional engineer.
(6)
An applicant for a special exception use shall submit the information described in this section and a nonrefundable fee as set by resolution of the village council and on file in the village clerk's office to reimburse the village for the costs of reviewing and providing legal notice for the application.
(b)
Required information; standards for approval; design standards.
(1)
Required information. In addition to any information required for applications for special exception use approval pursuant to article IX, division 3 of this chapter, applicants for a special exception for a tower or antenna shall submit the following information:
a.
A scaled site plan clearly indicating the location, type and height of the proposed tower or antenna, on-site existing land uses and zoning, adjacent land uses and zoning (including when adjacent to other municipalities or unincorporated areas), comprehensive plan future land use designation of the site and all properties within the applicable separation distances set forth in subsection 78-444(o), adjacent roadways, proposed means of access, setbacks from property lines, elevation drawings of the proposed tower or antenna and any other structures, topography, parking, and other information deemed by the building official to be necessary to assess compliance with this division.
b.
Legal description of the parent tract and leased parcel (if applicable).
c.
The setback distance between the proposed tower or antenna and the nearest residential unit, platted residentially zoned properties, and unplatted residentially zoned properties.
d.
The separation distance from other towers and antennas described in the inventory of existing sites submitted pursuant to subsection 78-444(b), which shall be shown on an updated site plan or map. The applicant shall also identify the type of construction of the existing tower or antenna and the owner/operator of the existing tower, if known.
e.
A landscape plan showing specific landscape materials.
f.
Method of providing security enclosure and finished color and, if applicable, the method of providing stealth design and illumination.
g.
A description of compliance with all applicable federal, state or local laws including all provisions within this chapter.
h.
A signed and sealed statement by the applicant's engineer as to whether construction of the tower will accommodate collocation of additional antennas for future users.
i.
Identification of the entities providing the backhaul network for the tower or antenna described in the application and other cellular sites owned or operated by the applicant in the village.
j.
A description of the suitability of the use of existing towers, other structures or alternative technology not requiring the use of towers or structures to provide the services to be provided through the use of the proposed new tower.
k.
A description of the feasible locations of future towers or antennas within the village based upon existing physical, engineering, technological or geographical limitations if the proposed tower or antenna is erected.
(2)
Standards for approval. In addition to any standards for consideration of special exception applications pursuant to article IX, division 3 of this chapter, the village council shall consider the following factors in determining whether to approve a special exception:
a.
Height of the proposed tower or antenna;
b.
Proximity of the tower or antenna to residential structures and residential district boundaries;
c.
Nature of uses on adjacent and nearby properties;
d.
Surrounding topography;
e.
Surrounding tree coverage and foliage;
f.
Design of the tower or antenna, with particular reference to design characteristics that have the effect of reducing or eliminating visual obtrusiveness;
g.
Proposed ingress and egress; and
h.
Availability of suitable existing towers, antennas, other structures, or alternative technologies not requiring the use of towers or structures, as discussed in subsection (b)(3) of this section.
(3)
Availability of existing towers, other structures, or alternative technology. No new tower shall be permitted unless the applicant demonstrates to the reasonable satisfaction of the village council that no reasonable alternative technology exists that can accommodate the applicant's proposed antenna. An applicant shall submit information requested by the village council related to the availability of suitable existing towers, other structures or alternative technology. Evidence submitted to demonstrate that no existing tower, structure or alternative technology can accommodate the applicant's proposed antenna may consist of any of the following:
a.
No existing towers or structures are located within the geographic area which meet applicant's engineering requirements.
b.
Existing towers or structures are not of sufficient height to meet the applicant's engineering requirements.
c.
Existing towers or structures do not have sufficient structural strength to support the applicant's proposed antenna and related equipment.
d.
The applicant's proposed antenna would cause electromagnetic interference with the antenna on the existing towers or structures, or the antenna on the existing towers or structures would cause interference with the applicant's proposed antenna.
e.
The fees, costs, or contractual provisions required by the owner in order to share an existing tower or structure or to adapt an existing tower or structure for sharing are unreasonable. Costs exceeding new tower development are presumed to be unreasonable.
f.
The applicant demonstrates that there are other limiting factors that render existing towers and structures unsuitable.
g.
The applicant demonstrates that an alternative technology that does not require the use of towers or structures, such as a cable microcell network using multiple low-powered transmitters/receivers attached to a wire line system, is unsuitable. Costs of alternative technology that exceed new tower or antenna development shall not be presumed to render the technology unsuitable.
(Code 1977, app. A, § X(A)(1)(f)(E); Ord. No. 14-12, § 1, 11-8-2012)
For antennas mounted on structures or rooftops, the equipment cabinet or structure used in association with the antenna shall comply with the following:
(1)
The cabinet or structure shall not contain more than 350 square feet of gross floor area or be more than ten feet in overall height, assuming at all times that a structural engineer has declared that the structural integrity of the structure or rooftop will not be compromised by the cabinet or structure.
(2)
If the equipment structure is located on the roof of a building, the area of the equipment structure and other equipment and structures shall not occupy more than ten percent of the roof area.
(3)
Equipment storage buildings or cabinets shall comply with all applicable building codes.
(Code 1977, app. A, § X(A)(1)(f)(F)(1))
The related unmanned equipment structure for antennas located on towers shall not contain more than 350 square feet of gross floor area or be more than 12 feet in overall height, and shall be located in accordance with the minimum yard requirements of the zoning district in which located.
(Code 1977, app. A, § X(A)(1)(f)(F)(3))
Antennas shall be prohibited on utility or light poles.
(Code 1977, app. A, § X(A)(1)(f)(F)(2))
Any antenna or tower that is not operated for a continuous period of two years shall be considered abandoned, and the owner of such antenna or tower shall remove the antenna or tower within 90 days of receipt of notice from the village notifying the owner of such abandonment. Failure to remove an abandoned antenna or tower within the 90 days shall be grounds to remove the tower or antenna at the owner's expense. If there are two or more users of a single tower, then this provision shall not become effective until all users cease using the tower.
(Code 1977, app. A, § X(A)(1)(f)(G))
(a)
Towers that are constructed and antennas that are installed in accordance with the provisions of this division shall not be deemed to constitute the expansion of a nonconforming use or structure.
(b)
Preexisting towers shall be allowed to continue their usage as they presently exist pursuant to article IV of this chapter. Routine maintenance (including replacement with a new tower of like construction and height) shall be permitted on such preexisting towers. New construction other than routine maintenance on a preexisting tower shall comply with the requirements of this division.
(c)
Nonconforming towers and antennas that are damaged or destroyed shall be required to meet the requirements as set forth in article IV of this chapter.
(Code 1977, app. A, § X(A)(1)(f)(H))
(a)
Satellite dish systems using antennas one meter or less in diameter are permitted in any zoning district. Neither site plan review nor building permits are required for installation of such systems.
(b)
Satellite dish systems using antennas no larger than two meters in diameter are permitted in any commercial zoning district Neither site plan review nor building permits are required for installation of such systems. Further, satellite dish systems using antennas between one and two meters in diameter are permitted in any residential zoning district; however, site plan review and approval, as well as a building permit, is required prior to any such installation. Roof mounting of any satellite dish pursuant to this subsection is prohibited unless specifically approved by the village council.
(c)
Satellite dish systems greater than two meters in diameter ("large satellite dishes") are permitted in any zoning district pursuant to the following:
(1)
Site plan review and approval, as well as a building permit, is required prior to any installation. The application for a permit for a large satellite dish shall be reviewed by the building official for a determination that the structure is designed and will be erected in a manner which meets the technical requirements of the Florida Building Code.
(2)
Large satellite dishes shall consist of noncombustible and corrosive resistant materials;
(3)
Large satellite dishes shall be adequately grounded for protection against direct strike of lighting and shall be subject to the applicable provisions of the Florida Building Code;
(4)
When installation is complete, a large satellite dish or antenna must be certified by an engineer of being capable of withstanding winds of 120 m.p.h.;
(5)
The maximum diameter of any satellite dish shall be 12 feet.
(6)
Portable satellite dishes are prohibited.
(7)
Maximum overall height of the satellite dish and base shall be ten feet.
(8)
Roof mounting of any satellite dish pursuant to this subsection is prohibited, unless specifically approved by the village council
(d)
Screening: An attempt shall be made to effectively screen any satellite dish that is greater than one meter in diameter from view and from visibility from public rights-of-way to the greatest extent practicable. All such satellite dishes shall be located in such area as to be screened or buffered from view from adjacent properties and/or rights-of-way and shall be placed in the rear yard.
(e)
There shall not be more than one satellite dish system on any platted lot or parcel. However, the joint use of such a system as a community antenna system by two or more adjacent or adjoining buildings, associations, lots, or parcels may be permitted by the village council on a noncommercial, not-for-profit basis.
Marina facilities shall include facilities for wet storage and the docking of pleasure crafts associated with the residential district in which the facility is located. Marina facilities may include a marina, boat dock and yacht club. The yacht club may provide a restaurant, lounge, ships chandler and other club facilities as an accessory use to the marina, boat dock or yacht club facility, which shall be restricted to social and recreational activities and facilities with eating and drinking establishments. Marina facilities are allowed only as special exceptions in R-2 and R-3 multiple-family dwelling districts, for properties within such zones which are contiguous to the Intracoastal Waterway, subject to the regulations and restrictions of the zoning districts and the requirements for special exceptions.
(Code 1977, app. A, § X(N)(1))
Docking of pleasure crafts at marina facilities is limited to not more than 40 boats. At no time may more than 25 percent of the slips in the facility be used for residential purposes. Any craft docked at the facility used for temporary residential purposes shall be allowed to serve as a residence for not more than a total of eight months during any one year. There must be at least four months of intervening nonresidency between each eight-month period of residency.
(Code 1977, app. A, § X(N)(2))
All docks at marina facilities shall be constructed in conformance with the requirements set forth in chapter 76, waterway control, of the Code of Ordinances of the Village of Tequesta.
(Code 1977, app. A, § X(N)(3); Ord. No. 13-10, § 1, 12-9-2010)
All marina facilities shall provide, at each boat slip, an individual sewer and water connection which shall be connected to either an approved on-shore sewage treatment plan and water source, or to an approved existing sewage system and water source. In lieu such individual connections, a central dumping station may be provided upon approval of all governmental agencies having appropriate jurisdiction. If neither of these are provided, the owner shall allow in the marina facility only vessels containing federally approved marine sanitation devices. The owner shall allow inspection of any and all vessels within the marina at any reasonable time upon request of the village. If a vessel is found within the marina without federally approved sanitation facilities, the owner of the marina shall be responsible, shall be in violation of the provisions of this division and shall immediately evict the vessel from the marina facility. In addition, all marina facilities shall be provided with equipment and facilities for the collection of refuse and litter from each vessel within the marina facility. The collection and regulation of the refuse collection shall be subject to the approval of the village council in the application for special exception for the marina facility.
(Code 1977, app. A, § X(N)(4))
No building or structure in a marina facility other than an approved dock or pier shall be permitted to be located waterward of the mean high-water line.
(Code 1977, app. A, § X(N)(5))
Congestion shall be avoided in the berthing area of a marina facility by locating an entrance and an exit remote from each other, plus enough space between main piers and sufficient width of roadstead to allow for convenient maneuvering at all times. If a separate entrance and exit are not feasible, the single opening shall be located so as to be accessible from all parts within the berthing and mooring area and large enough for two lines of boats to move rapidly during emergencies. The design shall specifically provide:
(1)
Access to all parts for the operation of firefighting apparatus; and
(2)
Access to each boat afloat for emergency removal without the necessity of moving any other boat.
(Code 1977, app. A, § X(N)(6))
In no event shall dry storage or repair facilities be provided at marina facilities; however, fueling facilities shall be allowed.
(Code 1977, app. A, § X(N)(7))
The village council shall attach conditions and safeguards to the special exception application for marina facilities to provide for necessary limitations on lighting, hours of operation, location of principal entrances, the storage or fuel or other requirements necessary to protect adjoining property owners, to provide for traffic safety and the elimination of fire hazards, and to achieve other appropriate community objectives inherent in the special exception application.
(Code 1977, app. A, § X(N)(8))
The village recognizes the need for some village residents to use their place of residence for limited nonresidential activities (home occupations). However, the village believes that the need to protect the integrity of its residential areas is of paramount importance. The allowance of regulated home occupations and the issuance of an annually renewed local business tax receipt, as applicable, is the proper method by which to allow and to regulate nonresidential activity within the village's residential districts.
(Code 1977, app. A, § X(S)(1); Ord. No. 17-21, § 2, 2-10-2022)
In essence, the objective of this division of village code is to allow limited commercial type activities to occur in a residential district only to an extent that no neighbors or passersby will be aware, by outward appearance, of the activity.
(Code 1977, app. A, § X(S)(2); Ord. No. 17-21, § 2, 2-10-2022)
The following words, terms and phrases, when used in this division, shall have the meanings ascribed to them in this section, except where the context clearly indicates a different meaning:
Code compliance division means the village division under the administration of the village police department that is responsible for the enforcement of the regulations and requirements set forth in this division.
Code compliance officer means the individual employed by the village and working within the code enforcement division who is charged with the daily monitoring, inspecting and compliance enforcement of the regulations and requirements set forth in this division.
Home occupation means any business or commercial activity that is conducted from property within the village that is zoned for residential use.
Special magistrate means the village-appointed special magistrate who has legal jurisdiction to hear complaints and/or violations regarding the failure of a village resident to operate a home occupation in conformance with the regulations and requirements set forth in this division.
(Code 1977, app. A, § X(S)(3); Ord. No. 33-13, § 4, 10-10-2013; Ord. No. 17-21, § 2, 2-10-2022)
Cross reference— Definitions generally, § 1-2.
Editor's note— Ord. No. 17-21, § 2, adopted February 10, 2022, repealed § 78-514, which pertained to permitted uses and derived from Code 1977, app. A, § X(S)(4).
Home occupations shall only be allowed that meet the following regulations, conditions and requirements:
(1)
No home occupation shall be permitted without payment of the required village business tax and the annual renewal of the accompanying business tax receipt.
(2)
The home occupation shall be incidental to the principal use of the premises as a residence.
(3)
The home occupation shall not detract from the residential character of the neighborhood.
(4)
The area set aside for home occupations shall not exceed 25 percent of the total conditioned floor area of the residence.
(5)
The home occupation shall be operated entirely within the applicant's residence or allowed accessory structure. Incidental activities may occur at the property.
(6)
Only members of the immediate family permanently residing on the premises shall be employed in the home occupation. In addition, a total of up to two employees or independent contractors not residing on the premises may also work on-site at the home occupation.
(7)
Merchandise shall not be displayed, stored or offered for sale outside of the residence.
(8)
Reserved.
(9)
No alteration of the exterior character or appearance of the premises shall occur without the requisite approval from the village planning and zoning board as provided in chapter 22, article II, division 2, Village Code.
(10)
No process shall be used which is hazardous to the public health, safety or welfare.
(11)
Reserved.
(12)
The home occupation shall not display any external evidence of an occupation outside the structure (residence).
(13)
The home occupation shall not provide for the use or storage of trucks over three-quarters ton, tractor-trailers, semitrucks, step vans, or heavy equipment such as construction equipment. See also, Village Code Sections 46-72, 73 and 74.
(14)
The home occupation shall produce no noise or obnoxious odors, dust, fumes, vibration, glare or electrical interference detectable to normal sensory perception outside the residence or accessory structure.
(15)
The home occupation shall not require any additional parking beyond that required to be provided within the residential district as set forth in the village's off-street and on-street parking regulations as provided in chapter 78, article X, Village Code.
(16)
There shall be no advertising, display, or other external evidence or indications of a home occupation on the residential premises, other than signs permitted on residentially zoned properties. See also, Village Code Chapter 78, Article XI.
(17)
No hazardous, highly explosive or combustible material shall be used or stored on the premises.
(18)
Deliveries from commercial suppliers shall not restrict traffic circulation or block neighboring properties.
(19)
Reserved.
(20)
No equipment or process shall be used which creates visual or audible electrical interference in any radio or television receiver off the premises or causes fluctuations in line voltage off the premises.
(Code 1977, app. A, § X(S)(5); Ord. No. 17-21, § 2, 2-10-2022)
Except as permitted in this division, a home occupation shall be conducted in a manner which does not give an outward appearance of or manifest characteristics of a business which would infringe upon the rights of neighboring residents to enjoy the peaceful occupancy of their residence or infringe upon or change the intent of the residential district.
(Code 1977, app. A, § X(S)(6)(a); Ord. No. 17-21, § 2, 2-10-2022)
Editor's note— Ord. No. 17-21, § 2, adopted February 10, 2022, repealed § 78-517, which pertained to termination of permit upon death or relocation of permittee and derived from Code 1977, app. A, § X(S)(6)(b). Said ordinance repealed § 78-518, which pertained to districts where permitted and derived from Code 1977, app. A, § X(S)(6)(c).
(a)
All home occupations are subject to periodic inspections in the same manner as traditionally located businesses.
(b)
The code compliance officer shall, by appointment, make at least one inspection visit each year to determine if compliance with applicable village codes is being met.
(c)
The village fire department shall make at least one inspection visit each year to determine compliance with village fire codes, standards and regulations.
(d)
In order to guarantee that a home occupation, once permitted, will not become a nuisance to neighbors or otherwise violate the regulations, conditions and requirements in this division, the department of community development and/or code compliance division and/or fire department may recommend to the village council to impose additional reasonable conditions as may be necessary to protect the public health, safety and welfare.
(Code 1977, app. A, § X(S)(6)(d)—(g); Ord. No. 33-13, § 4, 10-10-2013; Ord. No. 17-21, § 2, 2-10-2022)
Home occupations shall comply with all local, county, state or federal regulations pertinent to the activity pursued, and the requirements set forth in this division shall not be construed as an exemption from such regulations.
(Code 1977, app. A, § X(S)(6)(h))
Editor's note— Ord. No. 17-21, § 2, adopted February 10, 2022, repealed §§ 78-521—78-525, which pertained to the following, respectively, application for permit; denial of permit; permit fee; expiration and renewal of permit; revocation of permit, and derived from Code 1977, app. A, § X(S)(7)(a)—(e); Ord. No. 33-13, § 4, 10-10-2013.
No garage sale, carport sale, yard sale, outdoor sale, or other similar activities shall be permitted in any residential district, including the residential portion of the mixed use district, without the issuance of a permit from the community development department. There shall be no fee charged by the village for the issuance of such permit. Not more than two permits shall be issued to any one street address during any single calendar year.
(Code 1977, app. A, § X(D)(1); Ord. No. 27-13, § 1, 6-12-2014)
(a)
Applicants for a garage sale or other outdoor sale permit in a residential zone shall first submit to the community development department a statement showing:
(1)
The name and address of the person conducting the garage sale or other outdoor sale.
(2)
The day upon which the sale shall occur.
(b)
The community development director or designee shall issue the permit as a matter of right upon determination that the garage sale or other outdoor sale does not violate any of the terms of this Code. By applying for a permit, the applicant agrees to comply with all permit requirements, including sign code requirements allowing one temporary on site sign and a maximum of three temporary off premises directional signs, and on-street parking requirements.
(Code 1977, app. A, § X(D)(2); Ord. No. 27-13, § 1, 6-12-2014)
Garage sales or other outdoor sales in residential districts, or in the residential portion of a mixed use district, are permitted only on Saturdays between the hours of 8:00 a.m. and 5:00 p.m. Such sales at any other time of day are prohibited.
(Code 1977, app. A, § X(D)(3); Ord. No. 27-13, § 1, 6-12-2014)
All sites of garage sales or outdoor sales shall be left in a clean and orderly manner upon completion of the sales activities. All temporary signs shall be removed immediately upon the conclusion of the garage sale or outdoor sale.
(Code 1977, app. A, § X(D)(4); Ord. No. 27-13, § 1, 6-12-2014)
Violations of the regulations for conducting garage sales shall be grounds for denial of a subsequent garage sale permit. In addition, the village may, at its sole discretion, refer alleged violations to the code enforcement special magistrate.
(Ord. No. 27-13, § 1, 6-12-2014)
(a)
Permit required. Any village resident, or any village business holding a current village business tax receipt pursuant to chapter 70, article II, is eligible to apply for and obtain a special event permit pursuant to this section. Any such resident or business that desires to conduct any type of special event within the village must obtain a permit from the village in order that the village may adequately provide for the potential impacts created by the proposed event. A maximum of four such permits shall be allowed per address or per business in any single calendar year. A special event that includes multiple addresses, for example within a shopping center, shall count as one event for each address captured by the special event permit.
(b)
Written application. Written application must be submitted to the village building department ; which application shall contain the following information:
(1)
Type of event(s) proposed.
(2)
Sponsor or person(s) responsible for event.
(3)
Proposed location with property owner's written consent.
(4)
Proposed date, commencement time and duration of event.
(5)
Approximate number of participants.
(6)
Proof of insurance in amounts acceptable to the village for the type of event.
(7)
Expected traffic, fire-rescue, and utilities impact, if any, and proposed mitigation plans.
(8)
Copy of all required state and county permits if event will be held on or utilize state and/or county-controlled property.
(9)
A refundable deposit is required if the event is held on any village property. The amount of this deposit shall be set by resolution of the village council.
(c)
Deadlines to submit complete applications. In order to provide sufficient time for full administrative review and for final village council approval, complete applications for special events that contemplate attendance of 200 or more persons shall be submitted to the village building department a minimum of 45 days prior to the date for which the special event is proposed. Complete applications for special events that contemplate attendance of less than 200 persons, (which do not require final approval of the village council), should be submitted to the village building department a minimum of 20 days prior to the date for which the special event is proposed in order to provide sufficient time for full administrative review, and for final village manager approval.
(d)
Minimum impact. All special events shall be coordinated with the village in order to lessen adverse impacts and to allow for continuous protection of the health, safety and welfare of all. In order to provide such protection, all applications for special events shall be reviewed and signed off by the police chief and the fire chief. In addition, review and approval by other applicable departments may be required on a case by case basis.
(e)
Alcoholic beverage service. Notwithstanding anything contained in the Village of Tequesta Code of Ordinances to the contrary, alcoholic beverages are permitted at approved special events under the following conditions. The service of alcoholic beverages at any special event shall require, as a condition precedent, the issuance of the appropriate state alcoholic beverage permit, a copy of which must be provided to the village in conjunction with the special event permit application. All terms and conditions of any state issued permit shall be strictly adhered to by the applicant. In addition, the village may require, in its sole discretion, the use of physical barriers to define and contain the outdoor area within which alcoholic beverages may be consumed, and/or the use of security or off-duty law enforcement personnel at the special event. It is the applicant's responsibility to monitor for and prevent excessive as well as underage consumption of alcoholic beverages at all times. The applicant shall indemnify, defend and hold the village harmless from any and all damage to any real or personal property, and from any and all injury or death suffered by any person directly or indirectly related to the consumption of alcoholic beverages in conjunction with the special event.
(f)
Final action.
(1)
After review by, and with the recommendations of the building department director, the police chief, the fire chief, and other applicable departments on a case by case basis, the village manager shall approve the application, deny the application in whole or in part; or approve the application with conditions. Such action shall be taken within ten business days from the submittal of a complete special event application, or the application shall automatically be deemed approved.
(2)
If the application is denied, the applicant may request an appeal to the village council. Such request must be made in writing to the village manager within ten days of the denial, and shall be considered by the village council at its next scheduled meeting.
(3)
Any proposed special event whose attendance is contemplated to exceed 200 people in total shall also require final approval by the village council which, after considering the recommendations of the village manager, may approve the application, deny the application in whole or in part; or approve the application with conditions.
(4)
Denial of a special event permit application, or the imposition of certain conditions by either the village manager or the village council may be based, among other reasons and at the sole discretion of the village, upon violations of the terms and conditions of a previously approved special event permit for the same address.
(g)
Nonprofit enterprises.
(1)
The village may issue non-profit permits to any person or organization for the conduct or operation of occasional sales and/or fundraising projects held by nonprofit enterprises, either regularly or temporarily, when the applicant signs an affidavit that the applicant operates without private profit, for a civic, public, charitable, youth, service, educational, literary, fraternal, or religious purpose.
(2)
A person making application under this section must comply with all rules and procedures for the granting of special event permits as set forth in this section. All persons operating under a non-profit permit shall operate their nonprofit enterprise in compliance with this section and all other rules and regulations of the village.
(3)
Any person signing a false affidavit pursuant to this section shall be subject to a $250.00 fine for a first offense and a $500.00 fine for a repeat offense, or may be cited to the village code enforcement special magistrate.
(h)
Definition. For purposes of this section, a "special event" is any outdoor activity, gathering or group of persons, vehicles or both, organized and having a common purpose, upon public or private property, which is likely to inhibit the usual flow of vehicular or pedestrian traffic, which is likely to creates noise in excess of that typically associated with the areas upon which the event is to occur, or which is likely to preempt or restrict use of property typically accessible by the general public. Examples of special events include, but are not limited to block parties, parades, races or walks, grand opening events, charity fundraisers, and other similar events not specifically permitted by the village's zoning ordinance.
(i)
Village sponsored events. Special events that are sponsored by the village and held on village property shall be exempt from the provisions of this section.
(Ord. No. 27-13, § 1, 6-12-2014; Ord. No. 01-20, § 1, 4-9-2020)
No swimming pool shall be located, designed, operated or maintained so as to interfere unduly with the enjoyment of the property rights by owners of property adjoining the swimming pool.
(Code 1977, app. A, § X(E)(1))
Lights used to illuminate any swimming pool shall be so arranged and shaded as to reflect away from adjoining premises.
(Code 1977, app. A, § X(E)(2))
All applicable setbacks for open swimming pools may be reduced by up to three feet of the established setback required by the zoning district in which the pool is located, as set forth on the schedule of site regulations in section 78-143. All applicable setbacks for swimming pools which are covered or enclosed shall meet the required setbacks of the zoning district in which the pool is located, as set forth on the schedule of site regulations. For purposes of measuring setback requirements, all setback measurements for open swimming pools shall be taken from the closest point of the water's edge. For covered or enclosed swimming pools, all setback measurements shall be taken from the closest point of the cover, enclosure, and/or structural framing.
(Code 1977, app. A, § X(E)(3))
Swimming pools shall be located on the same lot or parcel of land as that of the main building. In the event of contiguous lots or parcels, a unity of title shall be recorded prior to issuance of a building permit for either a main building or an accessory structure which would cross lot lines.
(Code 1977, app. A, § X(E)(4))
All residential swimming pools shall be enclosed and protected by a child-resistant barrier meeting the requirements set forth in F.S. ch. 515.
(Code 1977, app. A, § X(E)(5); Ord. No. 33-13, § 5, 10-10-2013)
No aboveground pools of any nature shall be permitted in any zoning district. Any pool constructed or assembled of any material whose top edge exceeds two feet in height above the average finished grade of the lot or site shall be considered an aboveground pool.
(Code 1977, app. A, § X(E)(6))
(a)
On construction sites, trailers, temporary structures, or vehicles used for construction offices on a construction site or in a subdivision shall be permitted during the period of construction only after a building permit for the construction job has been issued.
(b)
Such trailers, temporary structures, or vehicles must be removed from the building site or subdivision in accordance with the provisions of the Florida Building Code.
(c)
Such permitted trailers, structures, or vehicles may be used for sales habitation or promotional purposes, only upon permission of the village council, and shall be permitted only after receiving a permit from the building official for each such trailer.
(d)
A trailer, temporary structure, or vehicle used for a construction office on a construction site located within a residentially zoned district of the village shall not have an interior dimension greater than 96 square feet. The interior dimension restriction shall not apply to trailers, temporary structures, or vehicles which may be permitted for subdivision infrastructure construction. Only one such trailer, temporary structure, or vehicle used for a construction office on a construction site shall be permitted for each owner-builder or prime contractor within any given subdivision for which the village has previously accepted the tangible improvements required prior to the granting of approval of the final plat.
(Code 1977, app. A, § X(K)(1))
(a)
The intermittent or continual placement, parking, standing or utilization of any trailer, travel trailer or temporary structure; or vehicle used for storage purposes shall be prohibited in all zoning districts, except where the placement, parking, standing or utilization of such trailer, travel trailer, temporary structure or vehicle used for storage purposes is specifically allowed by Code.
(b)
The placement, parking or utilization of any trailer, travel trailer or temporary structure that is also classified as a mobile food truck, as defined in section 78-641 of Village Code, shall be allowed in all zoning districts, so long as the following conditions are met:
(1)
Any such trailer, travel trailer, or temporary structure must comply with all applicable operation and location requirements for mobile food trucks found in chapter 78, article IX, division 11 of Village Code, including but not limited to: limitations on operating days, use of designated parking spaces, daily hours of operation, and storage requirements when not in active operation.
(2)
Overnight parking or storage of any such trailer, travel trailer or temporary structure that is also a mobile food truck is expressly prohibited, except when otherwise allowed by Village Code. Violators of this section shall be subject to the penalties listed in chapter 78, article IX, division 11 of Village Code as well as any other legal action available to the village.
(c)
Portable storage units (PSUs) shall be allowed in all residential zoning districts and in residential areas in mixed use zoning districts so long as the following conditions are met:
(1)
PSUs must be placed on driveways or approved parking areas; and
(2)
PSUs are allowed at a location for no more than 14 calendar days per placement with no more than two placements per year.
(d)
PSUs shall be allowed in nonresidential zoning districts so long as the following conditions are met:
(1)
PSUs are only allowed in conjunction with and during the duration of a valid build-ing permit; and must be removed prior to the issuance of a certificate of occupancy; and
(2)
PSUs shall be placed in an area approved by the building official but are not allowed to be located in a right-of-way, easement, landscape buffer or drainage area; and
(3)
PSUs shall be located in such a manner so as not to create a pedestrian or vehicular traffic hazard.
(e)
A permit must be secured prior to the placement of a PSU. The permit fee shall be in the amount of the minimum permit fee as set forth in appendix C of the Village Code of Ordinances, as may be amended from time to time.
(Code 1977, app. A, § X(K)(2); Ord. No. 11-08, § 1, 6-12-2008; Ord. No. 07-21, § 1, 6-10-2021)
As used in this article, the following terms shall be defined as follows:
Mobile food truck or mobile food dispensing vehicle means any vehicle that is a public food service establishment and that is self-propelled or otherwise movable from place to place, and includes self-contained utilities such as gas, water, electricity, or liquid waste disposal. Mobile food trucks or mobile food dispensing vehicles shall be classified as one of the following:
Class I - Mobile kitchens. In addition to the vending of products allowed for class II and class III mobile food trucks, these vehicles may cook, prepare and assemble food items on or in the unit, and serve a full menu. Customers may be notified of the vehicle's location by social media or other forms of advertising. These vehicles may be classified as "mobile food dispensing vehicles," as defined by F.S. § 509.102, if they include self-contained utilities, including, but not limited to, gas, water, electricity, or liquid waste disposal.
Class II - Canteen trucks. These vehicles vend fruits, vegetables, hot dogs, pre-cooked foods, pre-packaged foods and pre-packaged drinks. No preparation or assembly of foods or beverages may take place on or in the vehicle. However, the heating of pre-cooked foods is allowed. A cooking apparatus or grill top for the heating of pre-cooked foods is permitted so long as it complies with state regulations. These vehicles are limited to providing catering services to employees at a specific location. These vehicles may be classified as "mobile food dispensing vehicles," as defined by F.S. § 509.102, if they include self-contained utilities, including, but not limited to, gas, water, electricity, or liquid waste disposal.
Class III - Ice cream trucks. These vehicles vend only pre-packaged frozen dairy or frozen water-based food products, soft serve or hand-dipped frozen dairy or frozen water-based food products and pre-packaged beverages. These vehicles may be classified as "mobile food dispensing vehicles," as defined by F.S. § 509.102, if they include self-contained utilities, including, but not limited to, gas, water, electricity, or liquid waste disposal.
Mobile service base means a place for food storage, the cleaning of the equipment, the filling of water tanks and proper disposal of waste water and grease, and shall not include the use of a private home as a mobile service base.
Property owner means the owner of real property on which the mobile food truck operates.
Temporary commercial kitchen means any kitchen that is a public food service establishment, used for the preparation of takeout or delivery-only meals housed in portable structures that are movable from place to place by tow or are self-propelled or otherwise axle-mounted, that include self-contained utilities such as gas, water, electricity, or liquid waste disposal. The term does not include a tent.
Vehicle means a motorized vehicle, including a trailer or other portable unit attached to a motorized vehicle, that is intended for use in vending.
Vend means to sell or offer to sell products from a mobile food truck.
Village-issued special event permit means a permit issued by the village for special events per the requirements of chapter 78, article IX, division 8 of Village Code.
(Ord. No. 07-21, § 2, 6-10-2021; Ord. No. 16-23, § 1, 12-14-2023)
The following requirements shall apply to all mobile food truck and temporary commercial kitchen operations within the village:
(a)
Special event requirements. Gatherings of two or more class I, class II, and/or class III mobile food trucks, or temporary commercial kitchens on a property at any given time shall be classified as a food truck or temporary commercial kitchen special event. In order for such events to occur, the property owner shall be required to obtain a village-issued special event permit prior to the event taking place. Applications for special event permits shall be made by the property owner to the village in accordance with the requirements of chapter 78, article IX, division 8 of Village Code.
(b)
Health and safety regulations; display of state license. Mobile food trucks and temporary commercial kitchens shall comply with all federal, state, and local health and safety regulations and requirements, and shall obtain and maintain any and all licenses required by any other health organization or governmental organization having jurisdiction over the same. Proof of such licensure shall be firmly attached and visible on the mobile food truck or temporary commercial kitchen at all times, and shall be produced to a law enforcement officer, or village code enforcement officer upon demand. All mobile food trucks and temporary commercial kitchens shall be maintained in good repair and in a clean sanitary condition. Routine inspections may be conducted by code enforcement officers, building code inspectors, fire inspectors, or police officers on each mobile food truck to ensure compliance with these provisions.
(c)
Initial and annual fire safety inspections. Mobile food trucks and temporary commercial kitchens shall be made available for inspection by the Village of Tequesta Fire Department at a location determined by the fire department. The fire department shall ensure compliance with all applicable federal, state, and local fire safety statutes, regulations, ordinances, and codes. Subsequently, every class I mobile food truck shall undergo an annual inspection by the village fire department.
(d)
Written consent of property owner. Mobile food trucks and temporary commercial kitchens shall not operate on any private property without the written consent of the property owner. A copy of such written permission shall be maintained in the mobile food truck or temporary commercial kitchen at all times, and shall be produced to a law enforcement officer, or village code enforcement officer upon demand.
(e)
Stock-in-trade; storage. All materials, equipment, and stock-in-trade shall be stored entirely within the mobile food truck or temporary commercial kitchen unless the property owner has obtained a village-issued special event permit.
(f)
Outside patron seating. No tables, chairs, umbrellas, or other furniture for patron seating may be placed outside the mobile food truck or temporary commercial kitchen unless the property owner has obtained a village-issued special event permit.
(g)
Food vending. Food vending shall only be conducted from the mobile food truck or temporary commercial kitchen unless the property owner has obtained a village-issued special event permit.
(h)
Alcohol sales. A mobile food truck or temporary commercial kitchen shall not sell alcoholic beverages unless the property owner has obtained a village-issued special event permit.
(i)
Conducting business near existing retail food establishments. A mobile food truck or temporary commercial kitchen shall not be located within 200 feet of any existing retail food establishment during such establishment's hours of operation without the prior written permission from the retail food establishment. A copy of such written permission shall be maintained in the mobile food truck at all times, and shall be produced to a law enforcement officer, or village code enforcement officer upon demand. However, any mobile food truck or temporary commercial kitchen that is operated on the same premises as, and by, a separately licensed retail food establishment may operate during the same hours of operation as the separately licensed retail food establishment.
(j)
Conducting business near village-sponsored or village-sanctioned special event. A mobile food truck or temporary commercial kitchen shall not be located within 200 feet of any village-sponsored or village-sanctioned special event unless the mobile food truck or temporary commercial kitchen is permitted by the village to operate at such event.
(k)
Conducting business in public right-of-way. Neither a temporary commercial kitchen, nor a mobile food truck, except for class III ice cream trucks, shall conduct business or operate in the public rights-of-way, unless the adjacent property owner has obtained a village-issued special event permit. Where mobile food trucks or temporary commercial kitchens are authorized to so operate, they may stop, stand or park in designated parking areas on the property.
(l)
Conducting business near street intersections or pedestrian crosswalks. A mobile food truck or temporary commercial kitchen shall not be located within 15 feet of any street intersection or pedestrian crosswalk unless the adjacent property owner has obtained a village-issued special event permit.
(m)
Interference with vehicular and pedestrian traffic. A mobile food truck or temporary commercial kitchen shall not impede the flow of vehicular traffic, sidewalks, the ingress or egress of other businesses, building entrances, or emergency exits, unless the property owner has obtained a village-issued special event permit
(n)
Limitations on number of mobile food trucks per property. No more than one mobile food truck or temporary commercial kitchen shall operate on a given property at any one time unless the property owner has obtained a village-issued special event permit.
(o)
Limitations on number of operating days.
(1)
A mobile food truck shall not operate on a given property more than two consecutive days per calendar month, and further shall not operate on a given property more than ten days in total per calendar year, unless the property owner has obtained a village-issued special event permit.
(2)
A temporary commercial kitchen shall not operate on a given property for more than 30 consecutive days, except that a temporary commercial kitchen may be used in conjunction with a state licensed permanent food service establishment for the purpose of supplementing the operations of the state licensed permanent food service establishment kitchen as follows:
a.
For a total of 60 consecutive days if located on the same premises as the state licensed permanent food service establishment; however, the state may grant one extension of up to 60 additional consecutive days; or
b.
For a total of 120 consecutive days during a period of renovation, repair, or rebuilding, on the premises of the state licensed permanent food service establishment, or off said premises but within the line of sight and no further away than 1,320 feet from the state licensed permanent food service establishment; however, the state may grant extensions of time for good cause shown pursuant to F.S. § 509.102(3)(a)2.
(3)
If a permanent food service establishment licensed under this chapter, or the land upon which that establishment is sited, is rendered uninhabitable due to a natural disaster that is the subject of a declared state of emergency, a temporary commercial kitchen may operate on the premises of, or as near as reasonably practicable to, the location of the licensed permanent food service establishment. A temporary commercial kitchen may operate in this capacity only during the period of repair and rebuilding of the permanent establishment with which it is associated.
(p)
Use of designated parking spaces. On-site parking requirements shall be maintained for the principal use of the property. The subject site should also provide parking for the customers of the food truck or temporary commercial kitchen. The mobile food truck or temporary commercial kitchen shall not be parked:
(1)
In a required parking space;
(2)
In a fire lane or in an area blocking a fire hydrant;
(3)
In Americans with Disabilities (ADA) accessible parking spaces or accessible ramps;
(4)
On an unimproved surface (including but not limited to dirt, sand, grass, gravel, or vacant lot); or
(5)
In any driveway aisles, "no parking" zones, or loading-only areas.
(q)
Hours of operation. Except as permitted under section 78-642(i), a mobile food truck or temporary commercial kitchen shall operate only between the hours of 7:00 a.m. to 9:00 p.m., unless the property owner has obtained a village-issued special event permit.
(r)
Parking and storage of inactive mobile food trucks. The parking or storage of mobile food trucks or temporary commercial kitchens that are not in active operation is expressly prohibited, except when otherwise allowed by Village Code such as the parking of commercial vehicles, trucks, or trailers within residential zoning districts pursuant to chapter 46, article III, division 2 of Village Code. If otherwise allowed by Village Code, any parking or storage of an inactive mobile food truck or temporary commercial kitchen shall conform with all applicable location and screening requirements.
(s)
Noise limitations. Except for class III ice cream trucks, a mobile food truck or temporary commercial kitchen shall not make sounds, announcements, or amplify music to call attention to its vending or products either while traveling on public or private rights-of-way, or when stationary. All mobile food trucks and temporary commercial kitchens, including, but not limited to, class III ice cream trucks, shall comply with the village's noise ordinance contained in chapter 30, article X of Village Code. A property owner may apply for a special event permit with the village to deviate from these requirements.
(t)
Restroom facility. Mobile food trucks and temporary commercial kitchens operating on a property for a duration of more than three hours shall have a written agreement with the property owner that confirms the food truck employees have access to a flushable restroom within 400 feet of the vending location during the hours of operation. A copy of such written permission shall be maintained in the mobile food truck or temporary commercial kitchen at all times, and shall be produced to a law enforcement officer, or Village Code enforcement officer upon demand.
(u)
Waste disposal. Mobile food trucks and temporary commercial kitchens shall:
(1)
Provide for their own waste collection and removal such that no waste remains on the property;
(2)
Provide a waste receptable for public use;
(3)
Keep the surrounding area neat and orderly at all times;
(4)
Remove all garbage or trash prior to departure of the mobile food truck each day;
(5)
Properly discard any waste material in accordance with any applicable federal, state, county, and municipal laws, rules, regulations, orders, or permits;
(6)
Not, under any circumstances, release grease or any waste materials into the stormwater system, tree pits, sidewalks, streets, parking lots, or onto any private or public property;
(7)
Not, at any time, discharge any fluids or toxic pollutants.
(8)
Class I mobile food trucks and temporary commercial kitchens shall also have a current written agreement, with a state or local licensed facility, for the proper disposal of grease. A copy of such written agreement shall be maintained in the mobile food truck or temporary commercial kitchen at all times, and shall be produced to a law enforcement officer, or Village Code enforcement officer upon demand.
(v)
Signage. Menu signs shall be affixed to the mobile food truck or temporary commercial kitchen at all times. The display of products or samples off of the vehicle is prohibited. Mobile food trucks and temporary commercial kitchens shall not post or utilize any advertising, except that the prices, product descriptions and vehicle name may be posted on the vehicle. No freestanding signs or advertisements, sandwich board signs, flags, balloons, streamers, flashing lights, banners, or other similar attraction devices or person(s) shall be posted or utilized to advertise . When in operation, subsection 78-745(e) of the Village Code shall not apply to mobile food trucks or temporary commercial kitchens.
(Ord. No. 07-21, § 2, 6-10-2021; Ord. No. 16-23, § 1, 12-14-2023)
A mobile food truck or temporary commercial kitchen shall be permitted to operate only on the properties designated below, unless the property owner has obtained a village-issued special event permit allowing for a deviation from these requirements.
(a)
Class I - Mobile food trucks.
(1)
Residential zoning districts.
a.
Individual single-family lots only if there is a written contractual agreement between a mobile food truck and the property owner for catering services. A copy of such written agreement shall be maintained in the mobile food truck at all times during the event, and shall be produced to a law enforcement officer, or village code enforcement officer upon demand. The term "catering services" shall not include the vending of products from the mobile food truck itself during a catered event, and does not include events that are open to the public.
b.
Properties owned by homeowners associations or property owners associations.
c.
Rental apartment complexes.
(2)
Nonresidential zoning districts and mixed-use districts. Class I mobile food trucks or temporary commercial kitchens shall be permitted on any nonresidential or mixed-use property where retail sales and restaurants are a permitted use under the applicable zoning regulations.
(3)
Recreation/open space district. The vending of products from a Class I mobile food truck or temporary commercial kitchen on properties zoned as recreation/open space shall be allowed only on designated parking areas or pursuant to an approved special event permit from the village.
(b)
Class II - Canteen trucks. Class II canteen trucks are prohibited in all zoning districts except to provide catering to employees on-site at locations within clearly delineated boundaries of the site. Boundaries shall be delineated through the use of fencing or other materials enclosing a construction site, where there is a currently valid construction permit.
(c)
Class III - Ice cream trucks.
(1)
Residential zoning districts.
a.
Individual single-family lots only if there is a written contractual agreement between a mobile food truck and the property owner for catering services. A copy of such written agreement shall be maintained in the mobile food truck at all times during the event, and shall be produced to a law enforcement officer, or village code enforcement officer upon demand. The term "catering services" shall not include the vending of products from the mobile food truck itself during a catered event, and does not include events that are open to the public.
b.
Properties owned by homeowners associations or property owners associations.
c.
Rental apartment complexes.
(2)
Nonresidential zoning districts and mixed-use districts. Class III ice cream trucks shall be permitted on any nonresidential or mixed-use property where retail sales and restaurants are a permitted use under the applicable zoning regulations.
(3)
Recreation/open space district. The vending of products from a class III ice cream truck on properties zoned as recreation/open space shall be allowed only on designated parking areas or pursuant to an approved special event permit from the village.
(4)
Rights-of-way. A class III ice cream truck shall not stop, stand or park for more than ten minutes, unless there are customers waiting in line to buy products.
(Ord. No. 07-21, § 2, 6-10-2021; Ord. No. 16-23, § 1, 12-14-2023)
It shall be unlawful for any person to violate any of the provisions of this division. This division may be enforced by any means allowed by law, including, but not limited to, code enforcement citation under F.S. ch. 162, and chapter 2 of Village Code, or legal action. If the citation method is used to punish violators, the violation shall be treated as a civil infraction, and fines shall be set forth in the schedule of fees and charges adopted by resolution of the village council and such fines may then be revised from time to time by resolution of the village council; however, any fine amount set forth in such resolution of the village council shall not to exceed $500.00 per offense. Each day a violation occurs shall constitute a separate offense and shall be punishable hereunder as a separate offense.
(Ord. No. 07-21, § 2, 6-10-2021)
- SUPPLEMENTAL REGULATIONS
Editor's note— Ord. No. 42-13, § 1, adopted February 13, 2014, amended division 2 in its entirety to read as herein set out. Former division 2, §§ 78-331—78-334, pertained to similar subject matter. See Code Comparative Table for complete derivation.
Editor's note— Ord. No. 39-13, § 1, adopted February 13, 2014, amended division 4 in its entirety to read as herein set out. Former division 4, §§ 78-391—78-416, pertained to similar subject matter. See Code Comparative Table for complete derivation.
The district regulations of this chapter shall be subject to the provisions and exemptions in this article.
(Code 1977, app. A, § X)
In all zoning districts, chimneys, water tanks, elevator lofts, church spires, and flagpoles may be erected no more than 40 percent above the height of the building on which it is located. In all zoning districts, parapet walls and turrets may be erected no more than 20 percent above the height of the building on which it is located. However, the highest vertical projection of a chimney may exceed the overall height of the building on which it is located by no more than four feet. All such structures located upon the roof area shall not cover in the aggregate a roof area greater than ten percent of the ground floor area of such building or structure.
(Code 1977, app. A, § X(A)(1)(a); Ord. No. 605, § 6, 5-18-2006; Ord. No. 14-12, § 1, 11-8-2012; Ord. No. 04-21 § 1, 3-11-2021)
(a)
The minimum lowest floor elevation for all new construction and substantial improvements to existing structures not located in a special flood hazard area shall be 18 inches above the crown of the adjacent roadway.
(b)
The minimum lowest floor elevation for all new construction and substantial improvements to existing structures that are located in a special flood hazard area shall be pursuant to the provisions of chapter 78, article XII, flood damage prevention.
(c)
The floor elevation for any repair, reconstruction, rehabilitation, addition or other improvement to a structure which is not a substantial improvement shall match the floor elevation of the existing structure.
(d)
Nothing contained in this section is intended to abrogate any requirements of article XII, flood damage prevention. To the extent that there are conflicting applicable requirements contained therein, the more restrictive shall apply.
(Ord. No. 14-12, § 1, 11-8-2012)
Editor's note— Ord. No. 14-12, § 1, adopted November 8, 2012, repealed the § 78-283, and enacted a new § 78-283 as set out herein. The former § 78-283 pertained to broadcast receiving antennas and communication antennas and derived from app. A, § X(A)(1)(b) of the 1977 Code.
(a)
Walls and fences may be erected or maintained within or adjacent to a property line to a height not exceeding six feet. No wall or fence shall be permitted to extend forward of the adjacent or nearest portion of the building front, regardless of the actual, allowed building setback line, on any lot or parcel (see Fig. A), except for lots or parcels located along and fronting upon County Club Drive, where walls not exceeding five feet in height may be located forward of the front building line. Commercial property abutting a residential property shall comply with section 78-403 regarding walls and fences.
(b)
If a wall or fence is erected or located on a corner lot (in which case the building front shall be considered to be the side of the building facing the right-of-way associated with the property's street address), a vehicular and pedestrian visibility triangle (see section 78-303) shall be maintained for 25 feet in both directions from the point of intersecting lot lines. The maximum height of any wall or fence within the visibility triangle, including those on Country Club Drive, shall be two and one-half feet (see Fig. B).
(c)
Fences and walls for the screening of boats, trailers, recreational vehicles and the like on property in the R-1A, and R-1 zoning districts shall also comply with the requirements of chapter 46, article III, division 2.
(d)
Entry features consisting of masonry columns not exceeding six feet in height, with or without gates, are not deemed to be walls or fences and are specifically allowed in the R-1A and R-1 zoning districts and in the residential areas within a mixed use development located in the MU zoning district. Such entry features must be compatible with the architecture of the residence and the streetscape, must be set back a minimum of ten feet from the edge of the road pavement or the lot side of any sidewalk, must provide a minimum clear width of 12 feet for access by emergency vehicles, and shall not be located in the village right-of-way. Gates, if any, must swing inward or slide to the side to prevent obstructions to the roadway or sidewalk. A building permit and approval by the planning and zoning board in accordance with these regulations is required prior to the commencement of construction.
(Code 1977, app. A, § X(A)(1)(c); Ord. No. 4-08, § 1, 4-10-2008; Ord. No. 2-11, § 1, 3-10-2011; Ord. No. 14-12, § 1, 11-8-2012; Ord. No. 08-19, § 2, 5-9-2019)
All clotheslines, solar collectors or other types of energy saving devices based on renewable resources shall be installed in locations which shall not be conspicuous from the public streets or from adjoining properties. Patio or porch railings may not be used as clotheslines. Clotheslines extending from second or higher floors of buildings are prohibited unless such clotheslines are properly screened from the public streets and from adjoining property. Fences or walls for the enclosure of clothes drying areas or other energy saving devices may be erected to a maximum height of six feet; provided, however, such construction is approved in advance by the appropriate authorities as to location on the property, the size of the area to be enclosed, and the height of the fence or wall.
(Code 1977, app. A, § X(A)(1)(d); Ord. No. 14-12, § 1, 11-8-2012)
Individual stands or open counters for the serving of food or beverages or other commercial purposes may be erected or permitted in landscaped public park areas after approval by the village council. Such stands or open counters used in association with village sponsored events such as Green Market or Tequesta Fest shall be approved through the parks and recreation department.
(Code 1977, app. A, § X(A)(1)(e); Ord. No. 14-12, § 1, 11-8-2012)
Construction in coastal areas of the village must comply with all of the applicable provisions of the flood damage prevention code of the village set forth in article XII, of this chapter and any applicable coastal construction controls or regulations as established by the state, and the construction control line established by the state bureau of beaches and shores, which ordinance or its successor shall prevail in the absence of a conflicting village ordinance.
(Code 1977, app. A, § X(A)(2); Ord. No. 14-12, § 1, 11-8-2012)
Cross reference— General standards for coastal construction and sea turtle protection, § 10-69; coastal high hazard areas (V-zones), § 78-789.
In multiple residential developments where eight or more dwelling units are in one or more structures under single ownership, there shall be provided recreation space and/or facilities at the rate of 150 square feet per dwelling unit. Such required space may be either within the principal structure, in an accessory structure, outside, or in any combination thereof.
(Code 1977, app. A, § X(A)(3))
(a)
No accessory structure, except as otherwise provided by this chapter, shall be located in the area between the front setback line of the principal structure and the street line unless such lot fronts Beach Road.
(b)
Where the accessory structure is attached to the principal structure or connected thereto by a breezeway, the side yard shall be measured from the outer wall thereof.
(Code 1977, app. A, § X(A)(4); Ord. No. 14-12, § 1, 11-8-2012; Ord. No. 02-23, § 4, 2-9-2023)
No business or profession, professional or otherwise, shall be carried on in any noncommercial zoning district of the village. This restriction shall not be applicable to home occupations allowed pursuant to division 7 of this article.
(Code 1977, app. A, § X(A)(5); Ord. No. 14-12, § 1, 11-8-2012)
No timesharing uses of any nature as defined by this chapter shall be permitted anywhere within the village.
(Code 1977, app. A, § X(A)(6))
Manufactured housing must comply with the same aesthetic requirements as any other structure or building in any zoning district throughout the village.
(Code 1977, app. A, § XIV(A)(7); Ord. No. 14-12, § 1, 11-8-2012)
(a)
Health care facilities and medical or dental offices shall be subject to the following regulations: On-site dispensing of controlled substances that are identified in Schedule II, III, IV of F.S. § 893.03, or controlled substances that are identified in F.S. § 893.035 or 893.0356, is strictly prohibited, unless otherwise expressly permitted by statutory or general law. However, the following are exempt from this prohibition:
(1)
A health care practitioner when administering a controlled substance directly to a patient if the amount of the controlled substance is adequate to treat the patient during that particular treatment session.
(2)
A pharmacist or health care practitioner when administering a controlled substance to a patient or resident receiving care as a patient at a hospital, nursing home, ambulatory surgical center, hospice, or intermediate care facility for the developmentally disabled which is licensed by the state.
(3)
A health care practitioner when administering a controlled substance in the emergency room of a licensed hospital.
(4)
A health care practitioner when administering or dispensing a controlled substance to a person under the age of 16.
(5)
A health care practitioner when dispensing a one-time, 72-hour emergency resupply of a controlled substance to a patient.
(b)
Additionally, the health care practitioner responsible for the operation or supervision of any medical or dental office shall execute an affidavit acknowledging the regulations set forth hereinabove prior to payment of the required business tax, and annually thereafter upon renewal of same prior to the issuance of a business tax receipt. Failure or refusal to execute the required affidavit shall constitute prima facie evidence that the subject medical or dental office is operating in violation of the code of ordinances, which may result in code enforcement action, revocation of business tax receipt, and/or any other actions permitted by law.
(Ord. No. 3-10, § 2, 3-23-10)
No use shall be made of any property within any zoning district that shall in any way be offensive or noxious by reason of the emission of any discharge, odor, gas, dust, smoke, fumes, vibration or noise; nor shall any vehicle be parked or used in any way that would constitute a nuisance; nor shall anything be constructed or maintained that would in any way constitute a nuisance to adjacent property owners, residents or the community. Each use shall be operated so as to lessen the damage from fire and explosion.
In addition, all uses and activities in any zoning district shall conform to the standards described below:
(a)
Radiation. Any use or operation involving radiation, i.e., the use of gamma rays, X-rays, alpha and beta particles, high-speed electrons, neutrons, protons and other atomic or nuclear particles shall be permitted only in accordance with the codes, rules and regulations of the state department of health and state department of environmental protection.
(b)
Electromagnetic radiation and interference.
(1)
Radiation. No use shall be operated which produces any planned or unplanned source of electromagnetic radiation that does not comply with the current regulations of the Federal Communications Commission regarding such sources of electromagnetic radiation. However, any use or operation otherwise in compliance with current Federal Communications Commission regulations shall still constitute a violation of this section if such use or operation emits electromagnetic radiation that causes an abnormal degradation of performance of any electromagnetic receptor of quality and proper design. The determination of abnormal degradation in performance and of quality and proper design shall be made in accordance with good engineering principles and standards of the Institute of Electrical and Electronics Engineers and the Electronic Industries Alliance.
(2)
Interference. No use, activity or process shall be conducted which produces electromagnetic interference with normal radio or television reception in any zoning district.
(c)
Humidity, heat or glare.
(1)
In all zoning districts, any activity producing heat or glare shall be carried on in such a manner that such heat or glare is not perceptible at any lot line.
(2)
Exposed sources of light, including bare bulbs and tubes and immediately adjacent reflecting surfaces, shall be shielded so as not to create a nuisance across lot lines.
The light intensity from illumination of any kind shall not exceed 50 footlamberts at any point along the line of the lot containing the light source.
(d)
Hours of operation. Uses shall not impact adversely upon adjacent or nearby uses due to hours of operation. Complaints regarding the creation of a nuisance due to extended or unusual hours of operation shall be submitted to the village council for review. Upon substantial proof that a public nuisance exists, at a public hearing called for such purpose, village council shall set reasonable hours of operation for the complained of use in order to abate the public nuisance.
(e)
Outside sales. Outside sales are prohibited except where the outside sale function has been specifically approved as a part of a site plan or unless permitted under chapter 78, article IX, division 8, village code.
(Code 1977, app. A, § X(B); Ord. No. 14-12, § 1, 11-8-2012; Ord. No. 17-21, § 2, 2-10-2022)
The following are conditions of operation for all permitted uses, accessory uses, and special exceptions in C-1, C-2, C-3, and the commercial portions of mixed use zoning districts:
(1)
Enclosure of uses. All commercial uses shall be operated entirely within enclosed buildings except for the following uses:
a.
Off-street loading;
b.
Automobile parking, and the fuel sales and dispensing facilities of full-service fuel stations or gas stations;
c.
Sidewalk cafes;
d.
Drive-in, drive-through, or walk-up service window facilities, i.e., laundry, dry cleaning, and banking facilities;
e.
Pre-bagged ice;
f.
LP tank sales, in accordance with the restrictions and requirements of section 78-304.
(2)
Projections over sidewalk or required yard area. Cornices, solid canopies, or architectural features may extend 48 inches over the sidewalk or required yard area, provided it shall have nine feet of vertical clearance between any solid construction and the sidewalk or yard. Marquees or canvas-covered fireproof canopies, no wider than entranceways, may be constructed over main entrances to theaters and places of public assembly, provided that no part shall be nearer than 18 inches to the face of the curb, and such installation shall have a minimum of nine feet of vertical clearance between any solid construction and the sidewalk. No projections shall be allowed in the required rear yard except open type fire escapes, and these must be provided with a counterbalanced bottom section to provide for nine feet of clearance when up.
(3)
Awnings. Awnings may be suspended over sidewalks or ways provided that they shall not project nearer than 18 inches to the face of the street curbline or more than eight feet from the exterior wall of the building, and such installation shall have at least seven feet six inches of vertical clearance between any solid construction and the sidewalk. The cloth front and side drops shall measure not less than six feet six inches from their lowest point to the sidewalk.
(Code 1977, app. A, § X(C); Ord. No. 2-11, § 2, 3-10-2011)
No full-service fuel station or gas station shall be erected within the village unless the station is located fronting along U.S. Highway 1 in the MU and C-2 zoning districts or is located within the C-3 zoning district.
(Code 1977, app. A, § X(F); Ord. No. 02-21, § 2, 3-11-2021)
(a)
No automotive repair establishment shall be erected within the village unless the establishment is located within the C-3 zoning district.
(b)
The following regulations shall apply to all automotive repair establishments:
(1)
The use of full-service fuel stations or gas stations for the purpose of selling, renting or leasing of new or used motor vehicles, trailers or other recreational vehicles is prohibited.
(2)
All oil drainage pits, hydraulic lifts and mechanical repair work shall be located or conducted within an enclosed building or structure.
(3)
No body damaged vehicle or vehicle components of any kind or condition which are exposed to view from a public roadway shall be permitted.
(Code 1977, app. A, § X(G))
All places of business selling intoxicating liquors, wines and beverages for consumption on the premises shall not be located within a 1,000-foot radius of any church, school or youth center. The 1,000 feet shall be measured in a straight line from main entrance door to main entrance door.
(Code 1977, app. A, § X(I))
(a)
Intent. The purpose and intent of this section is to provide regulations for the location and screening of emergency generators, air conditioning equipment, pool equipment and similar mechanical equipment for the enhancement of community amenities of beauty and visual interest and to protect public health, safety and welfare by promoting noise control. This section does not apply to roof top mounted equipment.
(b)
Applicability. The regulations provided by this section shall apply within all residential zoning districts within the village, including the residential portions of the mixed use zoning district, on properties having or using emergency generators, air conditioners, pool equipment or similar mechanical equipment. Portable generators are not subject to the provisions of this section.
(c)
Regulations.
(1)
Emergency generators, air conditioning equipment, pool equipment and similar mechanical equipment shall not be located in any front yard area or any closer than five feet from any side or rear lot line.
(2)
All emergency generators, air conditioning equipment, pool equipment and similar mechanical equipment shall be screened from public view, from public streets, and from abutting properties.
(3)
Screening shall be opaque in nature and be constructed in conformity with material approved by the Florida Building Code, or shall be composed of vegetation that does not violate the village's landscaping code at division 4 of this article.
(4)
Buffering shall be of a material that blends in with the architecture of the building, and/or landscaping of the site, when possible. Screening may not exceed six feet in height. The height of the equipment may not protrude above the screening. Equipment that exceeds six feet in height must comply with the setback requirements for accessory structures set forth at section 78-143.
(5)
The regulations in this section cover all existing and future development within the village. In the case of new development, the location of the equipment shall be shown on the approved site plan.
(6)
All existing nonconforming equipment in the village on the date of the passage of Ordinance No. 14-12 shall be deemed to be in compliance with this section.
(7)
Appeals of the decisions of the village staff concerning these matters may be implemented by the appeal process to the planning and zoning board as described in this chapter.
(d)
Penalty. Any person violating the provisions of this section shall be subject to code enforcement, including the penalties provided at chapter 2, article IV.
(Code 1977, app. A, § X(O); Ord. No. 14-12, § 1, 11-8-2012; Ord. No. 9-15, § 3, 6-11-2015; Ord. No. 02-21, § 3, 3-11-2021)
(a)
Intent. The purpose and intent of this section is to provide regulations for the location and screening of dumpsters for the enhancement of community amenities of beauty and visual interest and to protect public health, safety and welfare by promoting refuse and litter control.
(b)
Applicability. The regulations provided by this section shall apply within all zoning districts within the village on properties having or using dumpsters for their sanitation service. Temporary dumpsters, such as those which are placed on job sites during construction activity, are not subject to the provisions of this section.
(c)
Regulations.
(1)
All dumpsters in the village shall be located on the property serviced so as to be reasonably accessible for trash collection by the sanitation vehicles, and shall not be located within the right-of-way of a public street or alley.
(2)
All dumpsters shall be screened from public view, from public streets, and from abutting properties.
(3)
Screening on three sides of the dumpster shall be erected with access to the dumpster on the fourth side being obtained by an approved opening. The sufficiency of the access of the dumpster shall meet the concurrence of the village and the franchised sanitation company.
(4)
Screening shall be opaque in nature and be constructed in conformity with material approved by the Florida Building Code. A permit must be obtained from the village building official prior to the commencement of construction.
(5)
The screening of the dumpsters shall be of a material that blends in with the architecture of the building, when possible. All screening must be a minimum of four feet high. The height of the dumpster may not protrude above the screening.
(6)
All dumpsters must be placed on a hard surface, the minimum dimensions of which shall be adequate for the size of the dumpster located there. Inadequate or nondurable pads shall be the responsibility of the property owner to repair or replace as needed.
(7)
If the property owner elects to place gates on the screened dumpster enclosure, the doors must be kept closed at all times except when the dumpster is being serviced. The doors must be kept in good repair at the expense of the owner.
(8)
The regulations in this section cover all existing and future development within the village. In the case of new development, the location of these dumpsters shall be shown on the approved site plan.
(9)
All existing nonconforming dumpsters in the village shall be in compliance with this section no later than 18 months from the date of the passage of Ordinance No. 361.
(10)
Appeals of the decisions of the village staff concerning these matters may be implemented by the appeal process to the planning and zoning board as described in this chapter.
(d)
Penalty. Any person violating the provisions of this section shall be subject to code enforcement, including the penalties provided at chapter 2, article IV.
(Code 1977, app. A, § X(P); Ord. No. 14-12, § 1, 11-8-2012; Ord. No. 9-15, § 3, 6-11-2015)
Recyclable material collection and storage areas shall be provided on-site at all multifamily developments with ten or more units, in accordance with the following requirements and/or standards:
(1)
General standards. Collection and storage facilities shall be in accordance with any specific requirements of the county solid waste authority, the village's franchise recycling service provider and these requirements and/or standards as set forth in this section.
(2)
Location. Recyclable material collection and storage areas shall be located within the building containing the multifamily dwelling units or within an accessory building such as a parking structure or within or adjacent to the disposable material dumpster area used by the residents.
(3)
Access. Access to recyclable material collection and storage areas shall be designed so as to not require unnecessary turning or backing movements by pickup and removal vehicles.
(4)
Setback. The minimum setback for recyclable material collection and storage structures shall be as required for accessory buildings or structures as set forth in the zoning district schedule of site regulations in section 78-143.
(5)
Screening. All recyclable material collection and storage areas shall be properly screened from view by a solid opaque enclosure constructed of brick, concrete, concrete block and stucco, or other decorative masonry or comparable wood, consistent with the architectural character or style of the development or principal buildings. If gates are used they shall meet the requirements of the village franchise service provider. All exterior sides of such enclosures, except the open end, shall be landscaped with minimum 24-inch high plant material spaced a maximum of 24 inches on center at time of planting. The type of plant material shall meet the requirements of the village's landscape code as set forth at article IX, division 4 of this chapter.
(6)
Storage area. The required collection and storage areas or structures shall be sized to properly handle the volume of recyclable materials anticipated to be generated by the multifamily development.
(7)
Alternative compliance. Applicants shall be entitled to demonstrate that recyclable material storage space needs can be effectively met through an alternative recyclable materials collection and storage plan. An alternative plan shall be reviewed by the solid waste authority, the village's franchise service provider and the village, and, if approved, shall be substituted for a recyclable materials storage and collection plan meeting the express collection and storage area requirements and standards of this section.
(8)
Review of plans. Recyclable material collection and storage area plans shall be reviewed by the village as part of the site plan review process as set forth at article IX, division 2 of this chapter.
(9)
Retrofitting of existing multifamily developments. The retrofitting of existing multifamily buildings and developments to comply with the requirements and standards of this section shall be encouraged. In order to encourage retrofitting, existing multifamily buildings or developments may convert existing off-street parking spaces to accommodate a recyclable material storage structure meeting the requirements of this section and, additionally, in accordance with the following standards:
a.
Number of parking spaces to be converted. The number of existing off-street parking spaces converted shall not exceed the minimum number of collection and storage areas necessary to properly meet the anticipated recycling needs of the multifamily development.
b.
Automatic waiver. The conversion of existing off-street parking spaces to accommodate recyclable material collection and storage areas pursuant to the requirements and standards of this section shall be permitted by right, without resort to the planning and zoning board.
(10)
Exemptions. Multifamily developments in existence at the date of the adoption of the ordinance from which this section is derived that receive curbside recyclable materials collection service on at least a weekly basis shall be exempt from the standards of this section.
(Code 1977, app. A, § X(R); Ord. No. 14-12, § 1, 11-8-2012; Ord. No. 9-15, § 3, 6-11-2015)
(a)
All utility service lines within any zoning district of the village shall be placed underground within any zoning district of the village upon development of the property in question. This provision shall apply to all new construction as well as to any renovation, restoration or construction activity to an existing structure wherein the renovation, restoration or construction activity value is greater than 50 percent of the assessed value of the existing structure.
(b)
Compliance with the intent of this section shall be a prerequisite to the issuance of a building permit by the building official.
(Code 1977, app. A, § X(Q))
Cross reference— Underground utility service in subdivisions, § 66-343; utilities, ch. 74.
Visibility triangles of 25 feet in both directions from the point of intersecting lot lines shall be maintained at all intersections. Plantings shall not exceed two and one-half feet in height in a visibility triangle.
(Ord. No. 605, § 7, 5-18-2006)
Businesses with addresses that front on U.S. #1, and all businesses within the C-3 zoning district shall be permitted to have outdoor LP tank sales under the following conditions:
(1)
Permit required. Outdoor LP tank sales must be permitted through the building department, in addition to the building official's approval, the community development director and the fire chief shall review and approve the application prior the issuance of any permit.
(2)
Permit renewal. All LP tank sale permits must be renewed on an annual basis in conjunction with payment of the business's annual business tax required by chapter 70, article II of the Tequesta Code of Ordinances.
(3)
Tax. All LP tank sales shall be subject to the public service gas tax as set forth at chapter 70, article IV, division 2 of the Tequesta Code of Ordinances.
(4)
All LP tank sale facilities shall comply with all applicable building and fire codes, as determined by the building official and the fire chief.
(Ord. No. 2-11, § 3, 3-10-2011)
Curbside mailboxes for home mail delivery may be installed in the village's rights-of-way subject to the following:
(1)
Curbside mailboxes shall not be considered to be prohibited structures located in a right-of-way.
(2)
Curbside mailboxes shall comply with current United States Postal Service regulations which govern the design of curbside mailboxes as contained in USPS STD 7B.
(3)
Prior to installing any curbside mailbox, the installer should contact the local post office to ensure its correct placement and height at the street. Generally, mailboxes are installed at a height of 41—45 inches from the road surface to the inside floor of the mailbox and are set back 6—8 inches from the front face of the curb or road edge to the mailbox door.
(4)
Mounting apparatus shall be subject to the following regulations:
a.
"Traditional" mailbox support structures, similar to the structures depicted in Figure 1 are permitted.
b.
Mailbox support structures made of masonry materials are prohibited.
c.
Color and texture of mailbox support structures should match or compliment the principal structure on the property.
d.
Mailbox support structures should be designed to "breakaway" in the event of a collision with a motor vehicle.
e.
Custom or non-traditional mailbox support structures shall not exceed the dimensions of two feet wide by two feet deep by five feet high.
(Ord. No. 37-13, § 1, 11-14-2013)
(a)
All components of storm panel systems or shutter systems which are permanently attached to a building, such as the components of accordion or roll up shutters or similar systems, shall match or compliment the color of the walls or trim of the building. Any such permanently installed system shall not be closed or activated while the building is occupied, unless a tropical storm or hurricane "warning" or "watch" has been issued, or a state of emergency declared. In such a case, the system may be closed or activated but must be opened or de-activated within two weeks of the end of the storm event or emergency.
(b)
Any storm panels or shutters which are temporarily or seasonally installed, hung or attached to a building, or are otherwise utilized for their intended purpose for any period of time in excess of 30 consecutive days must be manufactured, painted or treated so that they match or complement the color of the building to which they are attached, subject to the following:
(1)
Manufactured panels or shutters made of aluminum, steel, polycarbonate or other similar materials need not be painted, but must be properly maintained and uniform in appearance on the building to which they are attached.
(2)
The use of wood panels or shutters is permitted so long as the wood that is installed, hung, attached to a building is painted to match the color of the walls or trim of the building.
(3)
Under no circumstances shall temporarily or seasonally installed, hung or attached shutters be installed, hung or attached to a building while the building is being occupied, unless a tropical storm or hurricane "warning" or "watch" has been issued, or a state of emergency declared. In such a case, the panels or shutters may be installed but must be removed within two weeks of the end of the storm event or emergency.
(c)
Regardless of anything contained in this section to the contrary, the regulations set forth herein are not intended to prohibit the use of any shutter as a sunscreen or for the purpose of providing shade when such use is on a daily, as-needed basis. Such use contemplates that the shutters will be opened daily during such times that they are not needed to be used as a sunscreen for the provision of shade. Otherwise, the use of storm panel systems or shutter systems while the building to which they are attached is occupied by any person must be:
(1)
Pursuant to the issuance of a tropical storm or hurricane "warning" or "watch"; or
(2)
Pursuant to the declaration of a state of emergency; or
(3)
In compliance with all provisions of the Florida Fire Prevention Code and the Florida Life Safety Code as adopted by the Village at chapter 34. Said compliance specifically includes provisions relative to ingress, egress and escape requirements.
(Ord. No. 37-13, § 2, 11-14-2013)
Medical marijuana treatment center dispensing facilities, as defined in section 78-4 of the Code, are banned and therefore strictly prohibited from locating in any Zoning District within the village, as authorized by Senate Bill 8A signed into law on June 23, 2017 as Chapter 2017-232, Laws of Florida.
(Ord. No. 16-17, § 3, 11-9-2017)
(a)
Purpose. F.S. § 509.233, grants the village the authority to provide a local exemption procedure to certain provisions of the Food and Drug Administration Food Code, as currently adopted by the Florida Department of Business and Professional Regulation's Division of Hotels and Restaurants, in order to allow patrons' dogs within certain designated outdoor portions of public food service establishments. The purpose of this section is to allow patron's dogs within certain outdoor portions of public food service establishments under this local exemption authority.
(b)
Limitations on exemption.
(1)
This exemption shall only provide a variance to those portions of the currently adopted United States Food and Drug Administration Food Code in order to allow patrons' dogs within certain designated outdoor portions of public food service establishments.
(2)
Any dog that has been classified as an aggressive, dangerous, or vicious dog as contained in the Palm Beach County Animal Care and Control Ordinance shall not be permitted within any portion of a public food service establishment.
(c)
Definitions.
(1)
Division means the Division of Hotels and Restaurants of the State of Florida Department of Business and Professional Regulation.
(2)
Dog means an animal fully of the subspecies Canis lupus familiaris.
(3)
Employee(s) means any person(s) employed by, or acting on behalf of, the public food service establishment.
(4)
Outdoor dining area means an area adjacent to a public food service establishment that is predominantly free of physical barriers on at least three sides but may be covered from above.
(5)
Patron has the meaning given to "guest" by F.S. § 509.013.
(6)
Public food service establishment has the meaning given to it by F.S. § 509.013.
(d)
Permit required. No dog shall be allowed in a public food service establishment unless allowed by state law or unless the public food service establishment has received and maintains an unexpired permit issued by the village pursuant to this section. Dogs shall only be authorized in a designated outdoor dining area. It shall be unlawful to fail to comply with any of the requirements of this section.
(e)
Permit application requirements. Participating public food service establishments must apply for and receive a permit from the village before patrons' dogs are allowed on the premises. The village shall establish a reasonable fee to cover the cost of processing the initial application, which shall be set by resolution of the village council. The permit application shall require such information from the applicant as is deemed reasonably necessary to enforce the provisions of this section and shall require, at a minimum, all of the following information:
(1)
Name, location, and mailing address of the public food service establishment.
(2)
Name, mailing address, and telephone contact information of the permit applicant. Name, mailing address, and telephone contact information of the owner of the public food service establishment shall be provided if the owner is not the permit applicant.
(3)
A diagram and description of the outdoor area which is requested to be designated as available to patrons' dogs, including dimensions of the designated area; a depiction of the number and placement of tables, chairs, and restaurant equipment, if any; the entryways and exits to the designated outdoor area; the boundaries of the designated area and of the other outdoor dining areas not available for patrons' dogs; any fences or other barriers; surrounding property lines and public rights-of-way, including sidewalks and common pathways; and such other information as is deemed necessary by the village. The diagram or plan shall be accurate and to scale but need not be prepared by a licensed design professional. A copy of the approved diagram shall be attached to the permit.
(4)
A description of the days of the week and hours of operation that patrons' dogs will be permitted in the designated outdoor area.
(5)
A written certification of commercial general liability insurance and an instrument in which the applicant and the property owner (if not the applicant) agree to indemnify and hold harmless the village and its officers, and employees against liability, including court costs and reasonable attorneys' fees, through all appellate proceedings, for any and all claims for damage to property, or injury to, or death of, persons arising out of or resulting from the issuance of the permit.
(6)
The appropriate Division-issued license number for the subject public food service establishment.
(f)
Regulations. Public food service establishments that receive a permit for a designated outdoor area pursuant to this section are also subject to the following regulations:
(1)
All public food service establishment employees shall wash their hands promptly after touching, petting, or otherwise handling dogs. Employees shall be prohibited from touching, petting, or otherwise handling dogs while serving food or beverages or handling tableware or before entering other parts of the public food service establishment.
(2)
Patrons in a designated outdoor area shall be advised that they should wash their hands before eating. Waterless hand sanitizer shall be provided at all tables in the designated outdoor area.
(3)
Employees and patrons shall be instructed that they shall not allow dogs to come into contact with serving dishes, utensils, tableware, linens, paper products, or any other items involved in food service operations.
(4)
Patrons shall keep their dogs on a leash at all times and shall keep their dogs under reasonable control. Patrons shall not leave their dogs unattended for any period of time.
(5)
Dogs shall not be allowed on chairs, tables, or other furnishings. Dogs must remain on the floor or ground level and shall not be permitted in the lap of the patron.
(6)
All table and chair surfaces shall be cleaned and sanitized with a United States Food and Drug Administration Food Code-approved product between seating of patrons. Employees shall remove all dropped food and spilled drink from the floor or ground as soon as possible but in no event less frequently than between seating of patrons at the nearest table.
(7)
Accidents involving dog waste shall be cleaned immediately and the area sanitized with a United States Food and Drug Administration Food Code-approved product. Employees shall keep a kit with the appropriate materials for this purpose in the designated outdoor area.
(8)
A sign or signs informing employees of these regulations shall be posted on the premises in a conspicuous manner that places the employees on notice.
(9)
A sign or signs notifying patrons of that the designated outdoor area is available for the use of patrons' dogs and informing patrons of these requirements shall be posted in a conspicuous manner that places the public on notice.
(10)
Employees and patrons shall not permit dogs to be in, or to travel through indoor or nondesignated outdoor portions of the public food service establishment, and ingress and egress to the designated outdoor portions of the public food service establishment must not require entrance into or passage through any indoor area of the food establishment.
(11)
Employees and patrons shall not allow any dog to be in the designated outdoor areas of the public food service establishment if the public food service establishment is in violation of any of the requirements of this section, or if they do not possess a valid permit.
(12)
Permits required by this section shall be conspicuously displayed in the designated outdoor area.
(g)
Permit expiration and renewal.
(1)
A permit issued pursuant to this section shall expire automatically upon the sale of the public food service establishment and cannot be transferred to a subsequent owner. The subsequent owner may apply for a permit pursuant to this section if the subsequent owner wishes to continue to allow patrons' dogs in a designated outdoor area of the public food service establishment.
(h)
Complaints and reporting.
(1)
In accordance with F.S. § 509.233(5), the village shall accept, document, and respond to all outdoor dog-friendly dining related complaints within the Village of Tequesta, Florida, and shall timely report to the Division all such complaints and the village's enforcement response to such complaints.
(2)
The village shall also provide the Division with a copy of all approved applications and permits issued.
(i)
Enforcement.
(1)
The ultimate responsibility for enforcement of this section falls upon the permitted public food service establishment, however, an alleged violation of any of the provisions of this section shall be subject to code enforcement action pursuant to chapter 2, article IV, Village Code. The provisions of this section may also be enforced by a village police officer or other authorized law enforcement officer.
(2)
An alleged violation of any of the provisions in this section may also be enforced by other appropriate remedy, whether by injunctive, declaratory, or civil remedy, at the village's option.
(3)
A patron, permit-holder, or owner of a public food service establishment, or any combination thereof, may be subject to enforcement for a violation of any of the provisions of this section.
(j)
Revocation of permit.
(1)
A permit may be revoked by the village if, after notice and reasonable time in which the grounds for revocation may be corrected, the public food service establishment fails to comply with any condition of approval, fails to comply with the approved diagram, fails to maintain any required state or local license, or is found to be in violation of any provision of this section.
a.
If the grounds for revocation is a failure to maintain any required state or local license, the revocation may take effect immediately upon giving notice of revocation to the permit holder.
(2)
If a public food service establishment's permit is revoked, no new permit may be approved for the establishment until all issues identified within the revocation have been satisfied. This includes any outstanding fines.
(Ord. No. 09-21, § 1, 7-8-2021)
By the terms of this chapter, all permitted uses in all zoning districts except R-1A and R-1, all special exception uses as approved by the village council which also include additional exterior modifications, all requests to expand, enlarge or revise the site of an existing small scale exterior or large scale special exception use, all planned residential development (PRD), planned commercial development (PCD), and planned mixed-use development (PMUD), all miscellaneous development and redevelopment, all subdivisions, and all uses or construction lying partially or entirely in special flood hazard areas shall comply with the following:
(a)
Site plan review is required.
(b)
Conceptual review of the overall development, if phased, is required.
(c)
The development shall conform to all minimum requirements of this chapter and any other applicable laws and regulations.
(d)
The development shall be compatible with the intent of the zoning district wherein it is proposed to be located and compatible with adjacent land uses.
(e)
No building permit shall be issued for the purpose of erecting any structure or building, or for structural alterations in any existing structure or building, until after the planning and zoning advisory board has reviewed and made recommendations to the village council, and the village council shall have finally approved the site plan in accordance with this section. However, for the items specified in section 22-53(b), the planning and zoning advisory board has final approval authority, and those items do not require further approval by the village council.
(f)
No building permits or development orders shall be issued unless public facilities and services which meet or exceed the adopted level of service standards are available concurrent with the development impacts. Compliance with this requirement may be accomplished through one or more or a combination of the following processes:
(1)
Installation of all required public facilities/infrastructure/services prior to or concurrent with the development impacts.
(2)
Phasing of all required public facilities/infrastructure/services:
a.
By local government (capital improvements element).
b.
By the developer (development agreements).
(3)
Phasing of the development.
(g)
All proposed development and or redevelopment shall be coordinated with and/or obtain approvals and/or permits from the following agencies:
(1)
Palm Beach County Health Department.
(2)
Tequesta Fire-Rescue Department (Fire Marshal).
(3)
Loxahatchee River Environmental Control District (ENCON).
(4)
Department of Environmental Resources Management (DERM).
(5)
South Florida Water Management District (SFWMD).
(6)
Florida Department of Transportation (FDOT).
(7)
Reserved.
(8)
Metropolitan Planning Organization of Palm Beach County (MPO).
(9)
Palm Beach County Traffic Engineering Division.
(10)
Martin County Metropolitan Planning Organization.
(11)
Martin County Traffic Engineering Department.
(12)
Florida Power & Light Company.
(13)
Telephone service provider, as applicable.
(14)
Solid waste purveyor.
(15)
Tequesta Water Department.
(16)
Other municipal, county, state and/or federal agencies as may be applicable.
Evidence of final acceptance of the development or redevelopment project by agencies listed in this subsection must be submitted to the village prior to review by the village council pursuant to section 78-334(d).
(h)
All new development and/or redevelopment must provide the necessary infrastructure to meet the following level of service standards. Each application submitted pursuant to this section shall be required to provide a certification from a licensed engineer in the state that the proposed development and/or redevelopment meets or exceeds the level of service standards for the listed infrastructure as follows:
(1)
Traffic (roads and rights-of-way).
(2)
Sanitary sewer. A central wastewater level of service standard of 108 gallons per capita per day is hereby adopted, and shall be used as the basis of estimating the availability of capacity and demand generated by a proposed development project.
(3)
Drainage. A public drainage facilities level of service standard of a 25-year frequency, 3-day storm event, as defined by the South Florida Water Management District, is hereby adopted, and shall be used as the basis of estimating the availability of capacity and demand generated by a proposed development project. All development projects must be in compliance with the requirements of the "Village of Tequesta Stormwater Management Practices Manual", which has been adopted by resolution and may be amended from time to time by the village council.
(4)
Potable water. The following potable water level of service standards are hereby adopted and shall be used as the basis for estimating the availabil-ity of facility capacity and demand generated by a proposed development project:
a.
Average day water consumption rate:
b.
Maximum day water consumption (including irrigation):
(5)
Recreation level of service standards table.
;adv=.5p;(6)
Fire flow requirements. All development and/or major redevelopment must provide the necessary infrastructure improvements for fire suppression, including adequate fire hydrant placement, to meet the development's fire flow requirements in accordance with NFPA #1, Uniform Fire Code, Florida edition.
(7)
Pedestrian walkways.
a.
Sidewalks. All development and/or major redevelopment shall provide a minimum five-foot-wide continuous sidewalk for pedestrian travel except as otherwise provided by Village Code Chapter 66, Article VI, Section 66-336. Sidewalks shall be parallel to all roadway surfaces, and be at least four feet from the edge of the roadway pavement. All sidewalk improvements shall be installed and maintained by the adjacent property owner. For the purposes of this subparagraph, the terms sidewalk improvements and maintained shall only apply to those sidewalk pressure washing or cleaning activities that are initiated are initiated by the property owner on a nonrecurring or recurring basis, and shall not apply to any activities initiated by the village as a project for public improvements, as defined in Village Code, Section 78-4. Sidewalk location, set back, width and material shall be approved by the village.
b.
Interior Walkways. All development and/or major redevelopment shall provide a minimum five-foot-wide continuous interior walkway for pedestrian circulation within parcel boundaries except as otherwise provided by Village Code Chapter 66, Article VI, Section 66-336. All walkway improvements shall be installed and maintained by the property owner. For the purposes of this subparagraph, the terms sidewalk improvements and maintained shall only apply to those sidewalk pressure washing or cleaning activities that are initiated by the property owner on a nonrecurring or recurring basis, and shall not apply to any activities initiated by the village as a project for public improvements, as defined in Village Code, Section 78-4. Interior walkway location, set back, width and material shall be approved by the village.
c.
Overhang areas. Vehicle parking areas designed to permit vehicles to overhanging curbing may not be counted as part of a sidewalk or interior walkway. Such overhang shall be in addition to the required dimensions of sidewalks and interior walkways.
(i)
Reserved
(j)
The development shall project for the reservation and preservation of existing and future rights-of-way as may be determined by the village and in conformance with the county and village right-of-way protection plan.
(k)
Site plans shall be required which incorporate innovative urban, architectural, and/or engineering design of impervious areas (e.g., parking lots) to maximize the retention of rainfall to these areas which will increase the recharge of groundwater while reducing stormwater runoff.
(l)
All new developments shall be required to limit post-development surface water runoff rates and volumes to predevelopment conditions.
(m)
All proposed new development and major redevelopment within the coastal building zone of the village must provide for the dedication of public access easements meeting the adopted level of service standards.
(n)
All proposed new development and major redevelopment, as part of the site plan review and subdivision review process, shall submit a drainage/environmental statement describing how the proposed development will affect the estuarine water quality of the class III waters of the village, and also an environmental impact assessment study prepared by a qualified ecologist or other professional qualified to do such an assessment. The study shall meet the requirements of chapter 50, article II, pertaining to environmentally sensitive lands.
(o)
New development and redevelopment shall not be permitted within the coastal high-hazard area of the village as defined in section 78-832 except in accordance with the mandates of chapter 78 article XII.
(p)
Notification of neighboring jurisdictions of any external impacts that a proposed project might have within those jurisdictions and assessment and mitigation of those impacts shall be required.
(q)
Determination of needed public facility improvements shall be made during the site plan and/or subdivision review process and prior to the issuance of a development order and building permit.
(r)
Stormwater management facilities including curbs, gutters, piping, culverts, ditches, etc., shall be provided based on engineering calculations and design standards to ensure that all drainage improvements are in conformance with the requirements of the "Village of Tequesta Stormwater Management Practices Manual", which has been adopted by resolution and may be amended from time to time by the village council.
(Ord. No. 42-13, § 1, 2-13-2014; Ord. No. 7-19, § 2, 4-11-2019; Ord. No. 15-21, § 3, 10-14-2021; Ord. No. 02-22, § 1, 3-10-2022; Ord. No. 07-22, § 4, 4-14-2022)
(a)
A pre-application meeting called by the community development director between appropriate village officials, the landowner or representative, and other entity representatives deemed appropriate shall be required prior to application submittal for site plan review to ensure proper coordination, intention and understanding in the development of land and buildings and to consider compliance with applicable village regulations. See section 78-331(g) for a list of possible pre-application meeting attendees. The applicant is responsible for properly notifying the various affected agencies in the list of the time, place, and subject of the pre-application meeting.
(b)
Prior to submitting a site plan review application and committing the resources required to proceed through the site plan review application process as required by section 78-334, an applicant may choose to participate in the following conceptual plan review process in order to gauge interest in the proposed project.
(1)
Conceptual presentation. Based on the outcome of the pre-application meeting, the applicant may request to present a conceptual site plan to the village council in order to receive further input. Projects on Beach Road, US Highway 1, Tequesta Drive, Old Dixie Highway, Cypress Drive, and Bridge Road that contemplate any of the following shall submit a conceptual site plan to the village council for input:
a.
New development or major redevelopment.
b.
Site plan review requiring a code text amendment.
This conceptual presentation is not a quasi-judicial proceeding, and no action shall be taken by the village council beyond a discussion with the applicant. Neither the outcome of this conceptual presentation nor any comments made during this conceptual presentation by any village council member or village staff is a guarantee or assurance in any way of the final action that may be taken by the village council pursuant to a formal application for site plan review as provided in section 78-334.
(2)
Prior to being placed on a village council agenda for a conceptual presentation, the applicant shall submit the following:
a.
Processing fee in an amount as established by resolution of the village council and on file in the village clerk's office.
b.
Five copies of sketches and diagrams sufficient to convey the conceptual site plan to the village council. This shall include a site plan indicating the height, number of stories, density, number of units, open space, lot coverage calculations, floor plans and/or surveys.
c.
Five copies of a brief explanation that the proposed site plan complies with village code, including aesthetic considerations.
(Ord. No. 42-13, § 1, 2-13-2014; Ord. No. 06-23, § 2, 5-11-2023)
(a)
Applications for site plan review shall be filed with the community development director and shall include those of the following information items that are applicable:
(1)
Statements of unity of title, warranty deed, or purchase contract of the subject property.
(2)
Statement describing in detail the character and intended use of the property.
(3)
General location map, showing relation of the site for which site plan approval is sought to major streets, schools, existing utilities, shopping areas, important physical features in and adjoining the project, and the like.
(4)
A site plan containing the title of the project and names of the architect, engineer, project planner and/or developer, date, and north arrow, and based on an exact survey of the property drawn to a scale of sufficient size to show:
a.
Boundaries of the project, any existing streets, buildings, watercourses, easements, section lines, and water and sewer lines, well and septic tank locations, and other existing important physical features on the site and on property adjacent to the site.
b.
Exact location, use, height, and bulk of all buildings and structures.
c.
Finished floor elevation and color renderings for all structures.
d.
Off-street parking and off-street loading areas.
e.
Recreation facilities locations.
f.
All screens and buffers.
g.
Refuse collection and service areas.
h.
Access to utilities and points of utilities hookups and location of all fire hydrants close enough for fire protection.
i.
Tabulations of total gross acreage in the project and the percentages thereof proposed to be devoted to the various uses, ground coverage by structures, open space and impervious surface coverage.
j.
Tabulations showing the derivation of numbers of off-street parking and off-street loading spaces and total project density in dwelling units per acre, if applicable.
k.
Color and material examples and/or samples for all structures including roof, walls, trim, pavers, etc.
(5)
A comprehensive traffic study, which shall be provided by an engineering firm mutually agreed upon by both the village and the applicant. The study shall be paid for by the applicant and shall include but not be limited to the following:
a.
Future right-of-way dedications.
b.
Intersection improvements.
c.
Traffic control devices.
d.
Traffic generation analysis.
e.
Distribution and assignment of traffic access.
f.
Additional roadway needs.
g.
Traffic safety standards, including the separation of pedestrian and vehicular traffic.
(6)
If common facilities (such as recreation areas or structures, common open space, etc.) are to be provided for the development, statements as to how such common facilities are to be provided and permanently maintained. Such statements may take the form of proposed deed restrictions, deeds of trust, surety arrangements, or other legal instruments providing adequate guarantee to the village that such common facilities will not become a future liability for the village.
(7)
Preliminary storm drainage and sanitary sewage plans or statements. If the village determines that the drainage and/or sewage plans require independent review, the applicant shall pay for such review by an independent engineer.
(8)
Architectural elevations and color renderings for buildings in the development, and exact number of units, sizes and types, together with typical floor plans of each type.
(9)
Landscaping plan, including types, sizes and locations of vegetation and decorative shrubbery, and showing provisions for irrigation systems. Plans shall also provide delineation of existing trees and information as to which trees will be reused or removed. Landscaping plans shall comply with section 78-400. In addition, landscaping plans shall include irrigation plans in accordance with section 78-398, and shall demonstrate compliance with Florida Friendly Landscaping design standards as required by section 78-394, as applicable (See section 78-392 for applicability). Irrigation plans shall be submitted in conjunction with landscape plans during the site plan review process. Irrigation plans shall meet the criteria set forth in section 78-398.
(10)
Plans for signage including size, location and orientation.
(11)
Exterior lighting of all buildings, parking areas and the overall site, addressing glare, traffic safety, economic effect and compatibility and harmony with adjacent properties.
(12)
Plans for recreation facilities, if any, including buildings and structures for such use.
(13)
Plans for the extraction of fill and mineral resources and alterations or modifications to the slope, elevation, drainage pattern, natural vegetation and accessibility of the development.
(14)
Such additional data, maps, plans or statements as may be required by the village for the particular use or activity involved, including impacts on affected community facilities and services created by the development.
(15)
Such additional data as the applicant may believe is pertinent to the site plan.
(16)
If development is to occur in phases, those phases should be clearly delineated on the site plan and identified in the plans and requirements appurtenant to that site plan, and each development phase shall be subject to site plan review by the village.
(17)
The substance of covenants, grants of easements or other restrictions proposed to be imposed upon the use of the land, buildings and structures, including proposed easements or grants for public utilities, if applicable.
(18)
A statement from the applicant that the submitted site plan is consistent with the goals, objectives, and all other provisions of the village comprehensive development plan, and further that the projected use is specifically authorized by development ordinances and regulations. The statement shall include, but not be limited to, specific references to those sections of the comprehensive plan relating to the proposed development.
(19)
A statement from the applicant or landowner that all pertinent permits are concurrently being sought from the applicable county, state, and federal agencies. Such permits shall be secured prior to the issuance of a building permit for any development on property included within the site plan.
(b)
Items listed in subsection (a) of this section in the application content which require the preparation of architectural or engineering drawings shall be prepared and certified by an engineer or architect registered in the state. Land surveys, site plans and plans and requirements appurtenant to site plans shall be prepared and certified by a registered surveyor, engineer, architect or landscape architect, or a practicing land planner, as may be appropriate to the particular item.
(c)
Any item submitted as part of the application content which requires modification at any time during the site plan review process by the village may be so modified without resubmittal of an entirely new application; provided, however, that the modification is approved by the building official and village council and is determined to be consistent with the terms and intent of this section and the zoning district in which the site is located.
(Ord. No. 42-13, § 1, 2-13-2014; Ord. No. 16-22, § 1, 1-12-2023)
Applications for site plan review shall adhere to the following procedures and requirements:
(a)
Preapplication meeting. A preapplication submittal meeting shall be held with the applicant and his design team and the community development director and his development staff, pursuant to section 78-332.
(b)
Review by the development review committee. Upon receipt of all required plans, exhibits and support documents from the applicant, including but not limited to seven copies 11×17 sized, three copies full sized, and one copy in a digital format as specified by the village of the documents required by section 78-333, the development review committee, which is comprised of zoning, public works, police and fire department representatives, and engineering, traffic and landscaping consultants, as well as other department representatives or consultants as determined by the community development director or designee, and as listed at section 78-331(g) shall review the submitted site plan, and plans and requirements pertinent to the site plan, to ensure compliance with the applicable site regulations, use regulations, parking regulations and all other technical requirements. Development review committee meetings are public meetings and proper notice of all such meetings shall be posted at village hall in the same manner as other public meetings are posted. If the application is deemed by the development review committee to be at variance with such regulations and requirements, further action on the site plan review shall be stayed until such variance is resolved or appropriate application is made to the planning and zoning board or the village council, as appropriate, and the necessary variance is granted in accordance with article III of this zoning ordinance. If the application is deemed by the development review committee to be in compliance with such regulations and requirements, the application and all exhibits and any additional comments of the development review committee concerning such application shall be submitted by the community development director or designee to the planning and zoning advisory board for further review in accordance with this section. The community development director or designee shall submit such application for planning and zoning advisory board review within 45 days of receipt of a completed application. Within 45 days of review by the planning and zoning advisory board, the community development director or designee shall then submit such application, including the recommendations of the planning and zoning advisory board, for village council review. However, for the items specified in subsection 22-53(b), the planning and zoning advisory board has final approval authority, and those items do not require further approval by the village council.
(c)
Review by planning and zoning advisory board. Upon receipt of all required plans, exhibits and support documents from the community development director, including but not limited to nine copies 11×17 sized, three copies full sized, and one copy in a digital format as specified by the village of the documents required by section 78-333 and any other exhibits deemed appropriate by the development review committee the planning and zoning advisory board shall hold a public hearing to review, consider and make recommendations to the village council, or take final action pursuant to section 22-53(b), regarding the application. Notice of public hearing shall be advertised a minimum of ten days in advance of the public hearing in a newspaper of general circulation in the area. The owner of the property for which site plan review is sought or his agent or attorney designated by him on the submitted application shall be notified by mail of the date and time of the hearing.
(d)
Review by village council. Upon receipt of all required plans, exhibits and support documents from the community development director, including but not limited to seven copies 11×17 sized, three copies full sized, and one copy in a digital format as specified by the village of the documents required by section 78-333 and any other exhibits deemed appropriate by the development review committee the village council shall hold a public hearing to review, consider and act upon the application. Notice of public hearing shall be advertised a minimum of ten days in advance of the public hearing in a newspaper of general circulation in the area. The owner of the property for which site plan review is sought or his agent or attorney designated by him on the submitted application shall be notified by mail of the date and time of the hearing.
(e)
Action by village council. After review, the village council shall grant approval, with conditions, or deny the application and direct the building official to approve or withhold approval of the building permit.
(f)
Approval granted with conditions. When certain conditions are attached to the site plan review, the conditions shall be stated in writing on the order granting site plan review and shall become a part of the approved site plan. Conditions of approval shall be related to the proposed development and shall be roughly proportional to the anticipated impacts of the proposed development.
(g)
Developer's agreement. The village council may require an applicant to enter into a developer's agreement with the village if the village council deems such agreement appropriate. If a developer's agreement is required of an applicant, it shall be set forth in a recordable form, acceptable to the village attorney.
(h)
Time limit for application for building permit. A building permit must be issued within one year of the date of the site plan approval or the approval shall be nullified. In the case of a site plan which provides for development phases over a period of years, the village council shall set forth time within which application for building permit on each phase shall be filed. If applications for building permits are not issued within these times, the approval shall terminate and be deemed null and void unless such time period is extended for one more year only by the village council upon written request of the applicant, submitted to the village, prior to expiration of the site plan.
(i)
Application fee.
(1)
Administrative costs. To cover all administrative costs incurred by the village in the site plan review process, the applicant shall, upon submittal of the application for site plan review, pay a fee in an amount as established by resolution of the village council and on file in the village clerk's office.
(2)
Additional costs. To cover any additional costs including, but not limited to advertising costs, engineering fees, consulting fees, attorneys' fees and special studies, which are not captured by the application fee, the applicant shall reimburse the village for all such costs not later than 30 days after being invoiced by the village. Failure to make such payment may be grounds for not issuing a building or zoning permit, or certificate of occupancy or completion final.
(j)
Posting of public notice signage on the subject property. In addition to any other notice required by village code or state law, public notice of requests for approval of planned residential developments, planned commercial developments, future land use map amendments, rezonings, variances, site plans, and special exceptions to be considered by the planning and zoning board or the village council shall be posted by the applicant, agent or property owner, in a conspicuous place clearly visible from accessible public property on or around the property which is the subject of the application. Failure to post and maintain such notice may result in a postponement of the application at the advertised public hearing. The applicant shall provide proof of posting in the form of a signed affidavit, including photographs, attesting to the date of installation as well as the number of signs installed. Applicant's proof of posting and supporting photographs shall be provided to the community development director or designee no later than ten calendar days prior to the first public hearing at either the planning and zoning board or the village council. The applicant shall bear any costs that may be required to re-advertise the public hearing. The requirements listed below shall be followed in the posting of all public notices:
(1)
A minimum of one public notice sign shall be posted along each property frontage abutting each public right-of-way; however, the community development department may require the posting of additional signs depending upon the size and location of the property which is the subject of the application. The required signs shall be posted by the applicant in a conspicuous manner within 25 feet of the nearest public right-of-way.
(2)
The required signs shall be posted no later than 14 calendar days prior to the first public hearing which may be at either the planning and zoning board or the village council. The signs shall be maintained and, if necessary, shall be replaced by the applicant, and shall remain posted on the property until final action is taken on the application by the village, or until the application has been officially withdrawn. The signs shall be removed by the applicant within ten calendar days after final action is taken on the application by the village, or the application is officially withdrawn by the applicant.
(3)
All required public notice signs shall be provided to the applicant or the applicant's authorized agent by the community development department. Only signs provided by the community development department may be utilized. Such required signs shall be three feet in width by four feet in length, and the color of the signs shall be a white background with black block letters. The community development department shall provide the applicant or applicant's authorized agent with directions for posting the sign. In the event the village incurs any administrative, professional, legal or other costs, expenses, or fees due to the applicant's failure to either post or maintain posted signs, the applicant shall reimburse the village for all such fees or costs within 30 calendar days from the date of the issuance of any invoice to the applicant by the village for payment of the additional costs, fees, and expenses. The failure of an applicant to reimburse the village for such costs, fees, and expenses within the 30-day period shall result in the creation of a lien in favor of the village against the applicant and any real and personal property owned by the applicant in the state. Interest on the unpaid amount shall accrue at the maximum rate allowed by law per annum. The village may record a claim of lien for the unpaid amounts due, including interest, in the public records of the county and any other county in which the applicant owns real property.
(Ord. No. 42-13, § 1, 2-13-2014; Ord. No. 9-15, § 4, 6-11-2015;Ord. No. 10-22, § 2, 7-14-2022)
Development applications, unless otherwise provided by this chapter, shall be initially reviewed by the planning and zoning board at a public meeting. The planning and zoning board shall review and make a final determination on all applications over which it has final jurisdiction in accordance with the provision of section 22-53. The planning and zoning board shall make an advisory recommendation to the village council on applications over which the board does not have final jurisdiction. The village council shall review all applications over which it has final jurisdiction and decision-making authority in accordance with provisions of section 22-53.
(1)
Applications requiring review at a public hearing before the planning and zoning board, local planning agency, board of adjustment and/or the village council include:
(a)
Text amendments to land development regulations;
(b)
Zonings or rezonings;
(c)
Special exception uses;
(d)
Variances relating to single-family properties and structures located within the R-1A and R-1 single-family dwelling districts of the village;
(e)
Site plan reviews, site plan modifications, and extensions thereof;
(f)
Amendments to the comprehensive plan, an element or a portion thereof, including land use maps;
(g)
Abandonments of public property, including village-owned roadways and rights-of-way; and
(h)
Modifications to any approved development order.
(2)
Applications for variances, except those within the jurisdiction of the planning and zoning board pursuant to subpart (1)(d) above, shall be reviewed and final action taken thereon by the village council at a public hearing.
(3)
Applications requiring administrative review by the community development director only include:
(a)
All wall signs.
(b)
Proposed new free standing signs not part of a site plan review application.
(c)
Minor amendments to a site plan or special exception that were previously approved by the village council may be approved by the director of the community development department in consultation with other village staff, as appropriate. The following types of amendments are not considered to be minor, and therefore are subject to review by the village's planning and zoning board and/or the village council pursuant to section 22-53:
1.
Any proposed increase or reduction in:
a.
The square footage to any building;
b.
Density;
c.
The number of structures;
d.
The number of residential dwelling units in a residential or mixed use zoning district;
e.
The building height of any building as specified by the adopted site plan that results in increasing the number of stories;
f.
An existing building or buildings proposed to be removed and replaced with a new building or buildings; or
g.
New businesses requesting approval for outdoor seating.
2.
Significant changes to the approved site plan and/or special exception that create cumulative impacts, including but not limited to increases in traffic, parking, additions of square footage, changes in uses, recreation facilities and amenities, greenspace, and/or other similar modifications which have the potential for a negative, adverse, or undesirable impact as determined by village staff.
3.
Any increase in the project's traffic.
4.
Any amendments, which would significantly alter the character, and/or the appearance of the development, or result in a decrease in the amount or quality of the approved amenities. Such amenities shall include, but not be limited to, pools, clubhouses, common parking areas for large vehicles and boats, exercise trails, public access to waters or beaches, marinas, boat docks, tennis courts and racquetball courts.
5.
Significant changes in architectural styles, colors or building materials that are inconsistent with the approved site plans.
6.
Changes to such items as a phasing plan or developer control, that substantially impact the development.
(Ord. No. 7-19, § 3, 4-11-2019; Ord. No. 02-21, § 4, 3-11-2021)
The development and execution of a zoning ordinance is based upon the division of the village into districts, within which the use of land and structures and the bulk and location of structures in relation to the land are substantially uniform. It is recognized, however, that there are certain uses and features which, because of their unique characteristics, cannot be distinctly classified or regulated in a particular district without consideration in each case of the impact of such uses and features upon neighboring uses and the surrounding area, compared with the public need for them at particular locations. Such uses and features are therefore treated as special exceptions. A special exception is not the automatic right of any applicant.
(Code 1977, app. A, § X(J)(1))
All initial requests for special exception uses as listed in this chapter, along with their related accessory uses shall be subject to the requirements of this division. In addition, any modification to the use of a previously granted special exception, except for a modification that changes said use to a permitted use as listed in this chapter, shall be subject to the requirements of this division. Requests to expand, enlarge or revise the site of an existing special exception use shall be classified and processed pursuant to the following three categories;
(1)
Small scale, interior - interior expansion, enlargement or revision of less than ten percent (10%) of the originally approved special exception site square footage and having construction costs of less than $50,000.00, once within any eighteen month period (this category contemplates uses located in existing shopping centers or similar structures, where no change to the overall building footprint is required).
a.
Applicant shall submit the processing fee in an amount established by resolution of the village council and on file in the village clerk's office.
b.
Review and approval is provided by the community development director, following which, the applicant may apply for building permits.
(2)
Small scale, exterior - exterior expansion, enlargement or revision of less than ten percent (10%) of the originally approved special exception site square footage and having construction costs of less than $50,000.00 once within any eighteen month period (this category contemplates a change to the existing structure's footprint, and other site related revisions that flow therefrom).
a.
Applicant shall submit the processing fee in an amount established by resolution of the village council and on file in the village clerk's office.
b.
Review and approval regarding the continuing special exception use is provided by the community development director, following which, the applicant shall submit an application for site plan modification.
When reviewing small scale expansion, enlargement or revision, the community development director shall make a determination that such expansion, enlargement or revision does not result in a violation of the requirements of sections 78-363 or 78-364, or a violation of any previously imposed condition of approval.
(3)
Large scale - any expansion, enlargement or revision to the site of an existing special exception use that does not qualify as either small scale interior or small scale exterior. Such expansion, enlargement or revision is subject to the requirements of this division.
(Ord. No. 19-11, § 1, 11-10-2011; Ord. No. 7-19, § 4, 4-11-2019)
Special exception uses to which this division applies as set forth in section 78-362 shall be permitted only upon authorization of the village council provided that such uses shall be found by the village council to comply with the following requirements:
(1)
The proposed use is a permitted special exception use.
(2)
The use is so designed, located and proposed to be operated so that the public health, safety, welfare and morals will be protected.
(3)
The use will not cause substantial injury to the value of other property in the neighborhood where it is to be located.
(4)
The use will be compatible with adjoining development and the proposed character of the district where it is to be located.
(5)
Adequate landscaping and screening is provided as required in this chapter.
(6)
Adequate off-street parking and loading is provided and ingress and egress is so designed as to cause minimum interference with traffic on abutting streets.
(Code 1977, app. A, § X(J)(2); Ord. No. 19-11, § 1, 11-10-2011)
Before any special exception to which this division applies as set forth in section 78-362 is granted, the village council shall apply the standards set forth in this division and shall determine that satisfactory provision and arrangement of the following factors have been met by the petitioner, where applicable:
(1)
Compliance with all elements of the village comprehensive plan.
(2)
Ingress and egress to property and proposed structures thereon with particular reference to automotive and pedestrian safety and convenience, traffic flow and control, and access in case of fire or catastrophe.
(3)
Off-street parking and loading area, where required, with particular attention to the items in subsection (2) of this section.
(4)
Nuisance factors detrimental to adjacent and nearby properties and the village as a whole. Nuisance factors shall include but not necessarily be limited to noise, odor, smoke, glare, electrical interference and/or mechanical vibrations.
(5)
Utilities, with reference to location, availability and compatibility.
(6)
Screening and buffering, with reference to type, dimensions and character.
(7)
General compatibility with adjacent properties and other property in the district.
(8)
Whether the change suggested is out of scale with the needs of the neighborhood or the village.
(9)
Any special requirements set out in the schedule of site regulations in section 78-143 for the particular use involved.
(Code 1977, app. A, § X(J)(3); Ord. No. 19-11, § 1, 11-10-2011)
(a)
In addition to the criteria listed in section 78-363, the required approval findings listed in section 78-364 and specific conditions for the particular special exception use listed within the applicable zoning district regulations, the village council may impose other such conditions and safeguards as it deems appropriate in conformity with this chapter for the protection of the surrounding properties and the neighborhood or general welfare of the public. Conditions of approval shall be related to the proposed development and shall be roughly proportional to the anticipated impacts of the proposed development.
(b)
If the special exception use is granted by the village council, the use must conform to all the applicable regulations governing the district where it is located, except as may otherwise be determined for planned developments. Failure to comply with all the applicable regulations governing the district as required by the site plan approval process will void the granted special exception use.
(Code 1977, app. A, § X(J)(4); Ord. No. 19-11, § 1, 11-10-2011; Ord. No. 42-13, § 2, 2-13-2014)
Should the village council deny a special exception, it shall state fully for the record the reasons for doing so. Such reasons shall take into account the factors under section 78-363 and all other conditions and particular regulations relating to the specific special exception requested.
(Code 1977, app. A, § X(J)(5))
Formerly, § 78-365.
(a)
Whenever the village council has denied an application for a special exception, the village shall not thereafter consider any further application for special exception on any part of or all of the same property for a period of 12 months from the date of such action.
(b)
The time limits of subsection (a) of this section may be waived by three affirmative votes of the village council when such action is deemed necessary to prevent injustice or to facilitate the proper development of the village.
(Code 1977, app. A, § X(J)(6))
Formerly, § 78-366.
(a)
A special exception shall commence within 12 months from the date of grant of the special exception unless extended by action of the village council; otherwise it is automatically rendered null and void.
(b)
Commencement of a special exception occurs upon the issuance of a building permit, preliminary plat or site plan, or upon the initiation of significant action to satisfy requirements for improvements contained in a development order or other regulatory documents relating to the special exception.
(c)
Only one extension shall be permitted by the village council and the extension shall not exceed six months. A written request for such extension of time must be received by the village prior to the expiration of the grant of approval.
(d)
Special exceptions granted to any governmental unit shall be exempt from the provisions of this section unless a time limitation is made a specific condition of the special exception.
(Code 1977, app. A, § X(J)(7); Ord. No. 7-08, § 4, 4-10-2008)
Formerly, § 78-367.
Prior to submitting a special exception application and committing the resources required to proceed through the special exception application process as required by section 78-370, an applicant may choose to participate in the following pre-application process in order to gauge interest in his proposed project.
(1)
Pre-application meeting. A pre-application submittal meeting shall be held with the applicant and his design team and the development review committee. The applicant's proposed use shall be reviewed and discussed in order to identify any issues with the proposed use, the applicable use regulations and/or other applicable requirements.
(2)
Conceptual presentation. Based on the outcome of the pre-application meeting, the applicant may request to present his special exception use concept to the village council in order to receive further input. This conceptual presentation is not a quasi-judicial proceeding, and no action shall be taken by the village council beyond discussion with the applicant. Neither the outcome of this conceptual presentation, nor any comments made during this conceptual presentation by any village council member or village staff is a guarantee or assurance in any way of the final action that may be taken by the village council pursuant to a formal application for special exception use as provided in section 78-370.
(3)
Prior to being placed on a village council agenda for a conceptual presentation, the applicant shall submit the following:
a.
Processing fee in an amount as established by resolution of the village council and on file in the village clerk's office.
b.
Seven copies of sketches and diagrams sufficient to convey the conceptual use to the village council. This may include site plans, floor plans and/or surveys.
c.
Seven copies of a brief explanation that the proposed special exception use is compatible with the surrounding uses and the neighborhood in general.
(Ord. No. 19-11, § 1, 11-10-2011; Ord. No. 42-13, § 2, 2-13-2014)
(a)
A written petition for special exception shall be submitted indicating the section of this chapter under which the special exception is sought and stating the grounds on which it is requested, with particular reference to the criteria under section 78-363, the written findings under section 78-364, and other specific conditions, if applicable, which the village council shall address. The petition shall include all material necessary to meet the requirements of the development concept plan listed in subsection (b) of this section and any additional information that will demonstrate that the grant of special exception will be in harmony with general intent and purpose of this chapter.
(b)
A petitioner seeking special exception approval shall submit a development concept plan on one or more sheets of paper measuring not more than 24 by 36 inches and drawn to a scale not smaller than 100 feet to the inch. The following shall be provided on the development concept plan:
(1)
Scale, date, north arrow, vicinity sketch, title of the project and total gross acreage.
(2)
The boundaries and dimensions of the property and its relationship to the surrounding road system, including the width of the existing travelway (pavement).
(3)
The location and dimension of existing manmade features such as existing roads and structures, with indication as to which are to be removed, renovated or altered.
(4)
Identification of surrounding land use, zoning and existing buildings within 100 feet of the petitioned site, as well as the zoning of the petitioned site.
(5)
A layout of the proposed lots and/or building sites including the following site data:
a.
Finished floor elevation.
b.
Common open area.
c.
Generalized landscaping and buffer areas.
d.
Internal circulation patterns including off-street parking and loading facilities.
e.
Total project density.
f.
The shape, size, location and height of all structures.
(6)
The proposed phasing of construction for the project if applicable.
(7)
For commercial uses, office uses and uses other than residential, the estimated square footage of the structure, the number of employees, the estimated seating, and the estimated number of users of the facility, such as members, students and patients.
(8)
Proposed hours of operation for commercial uses.
(9)
Twelve aerial maps at a minimum scale of one-inch equals 300 feet, showing the site in question with paved boundaries superimposed.
(10)
A legal description of the land proposed for development.
(11)
Current survey of the subject property.
(c)
The application shall be reviewed by the land development staff within 30 days of the submission deadline. Upon land development staff review and analysis of all submitted materials, the building official shall forward a recommendation to the village council.
(d)
A public hearing shall be held by the village council. The property owner may appear personally or by agent or attorney.
(e)
Notice of public hearing shall be advertised a minimum of ten days in advance of the public hearing in a newspaper of general circulation in the area. The owner of the property for which special exception is sought or his agent or attorney designated by him on the submitted petition shall be notified by mail of the date and time of the hearing. Notice shall be given by mail to all owners of property within a 300-foot radius of the boundary lines of the property for which a special exception is requested. The list of property owners within the stated radius shall be provided by the applicant from the most recent tax roll information as provided by the county appraiser's office. The applicant must furnish an affidavit signed by the person responsible for providing the list. Notwithstanding any other provision contained in this section, failure to provide written notice to any adjacent property owners shall not constitute a jurisdictional defect provided that proper legal notice has been published.
(Code 1977, app. A, § X(J)(8); Ord. No. 7-08, § 4, 4-10-2008; Ord. No. 19-11, § 1, 11-10-2011)
Formerly, § 78-368.
Upon filing an application for special exception, the applicant shall pay a fee to the village at the time of filing of such application. The fee shall be in an amount as established by resolution of the village council and on file in the village clerk's office, shall not be reimbursable, and is intended to defray costs of administering, processing, and reviewing the application. Additionally, to cover all additional administrative costs, actual or anticipated, including, but not limited to, engineering fees, consulting fees, attorneys' fees and special studies, the applicant shall compensate the village for all such costs prior to the processing of the application, or not later than 30 days after final application approval, whichever is determined as appropriate by the community development director.
(Code 1977, app. A, § X(J)(9); Ord. No. 7-08, § 4, 4-10-2008)
Formerly, § 78-369.
(a)
The intent of this division is as follows:
(1)
To provide standards for the development, installation, and maintenance of landscaping that adheres to the principles of Florida-friendly landscaping and encourages creative landscape design, construction and management to minimize the potential adverse impacts associated with adjacent land uses of varying intensities.
(2)
To provide the physical benefits of using plant material as a function of sustainability.
(3)
To provide minimum standards for landscaping new developments or for redevelopment.
(4)
To promote water conservation, water quality improvement, and vegetation protection objectives by providing for:
a.
The re-establishment of native plant communities;
b.
The use of plant materials appropriate to the location, including hardiness zone, soil type, moisture conditions, light and mature plant size;
c.
The implementation of Florida-friendly landscaping principles as identified by the Florida Yards and Neighborhoods program operated by the University of Florida's Institute of Food and Agricultural Services Extension ("UF/IFAS Extension") and A Guide to Florida-friendly Landscaping: Florida Yards and Neighborhoods Handbook, Best Management Practices ("BMPs") identified in the Florida-friendly Best Management Practices for Protection of Water Resources by the Green Industries (2008), and as provided by law; and
d.
The use of specific management guidelines to minimize negative secondary and cumulative environmental effects associated with the misuse of fertilizers.
(5)
To provide regulations for use of artificial turf.
(b)
This division shall be a minimum standard. This division shall not be interpreted to restrict creative designs or the inclusion of landscape elements such as vegetable gardens, fruit trees, arbors, or water gardens. [Comment: F.S. §§ 166.048 and 373.185 provide that a deed restriction or covenant may not prohibit any property owner from implementing Xeriscape or Florida-friendly landscape practices on his or her land. Artificial turf is not to be considered a component of either xeriscape or Florida-friendly landscape.
(Ord. No. 39-13, § 1, 2-13-14; Ord. No. 11-23, § 1, 12-14-2023)
(a)
The provisions of this division shall apply to the development, redevelopment, rehabilitation, and maintenance of all property within the Village of Tequesta, as specified herein. Whenever regulations or restrictions imposed by this ordinance conflict with other ordinances or regulations, or are either more or less restrictive than regulations or restrictions imposed by any governmental authority though legislation, rule or regulations, the regulations, rules or restrictions which are more restrictive or which impose the highest standards or requirements shall govern.
(1)
No permit shall be issued for new construction for building or paving, or for new landscaping installation or landscaping renovation in excess of 50 percent of the estimated value of the existing landscaped areas unless the landscape plans and specifications comply with the provisions hereof; and no certificate of occupancy, certificate of completion or similar final approval shall be issued until the requirements herein are met.
(2)
All village facilities will be managed in accordance with Florida-Friendly landscaping practices by March 31, 2013. All new and renovated village facility landscapes will be designed in accordance with these principles and be constructed and installed using Florida-Friendly landscape materials. Parks, open spaces and trails will be designed with these principles in mind, as applicable. All village landscape service contractors will adhere to these practices. All new bid specifications and contracts will reflect this requirement beginning one year after the approval of this regulation.
(3)
Specific application of the Florida-Friendly landscape provisions of this division shall include, but not be limited to:
a.
All new landscapes for private development projects including, but not limited to, commercial, residential, mixed use and recreation projects, including new single-family and two-family homes;
b.
Developer-installed landscapes at entrances into and common areas of single-family and multi-family projects;
c.
Any development approved prior to April 12, 2012, if the site plan or other permit guiding landscaping is thereafter amended or modified to an extent greater than 50 percent of the value of the existing development.
(b)
Exempted from the provisions of the Florida-Friendly landscape requirements (note: not irrigation requirements) are the following, as applicable:
(1)
Bona fide agricultural activities as defined in the Florida Right to Farm Act, F.S. 823.14;
(2)
Other properties not subject to or covered under the Florida Right to Farm Act that have pastures used for grazing of livestock;
(3)
Athletic fields;
(4)
Golf course practice and play areas; however, all golf course landscaping shall comply with the provisions of the Florida Department of Environmental Protection document, "Best Management Practices for the Enhancement of Environmental Quality on Florida Golf Courses" when applying fertilizer to such practice and play areas;
(5)
Any development with an approved site plan or valid building permit issued prior to April 12, 2012, subject to the modifications listed above;
(6)
Turfgrass in a dedicated stormwater management area or canal maintenance area or similar and shall not be calculated in the percentages of turfgrass;
(7)
Public parks and other play areas indicated on an approved site plan;
(8)
Cemeteries;
(9)
Rights-of-way for public utilities, including electrical transmission and distribution lines, and natural gas pipelines;
(10)
Vegetable gardens; however, vegetable gardens shall only be exempt from fertilizer management requirements when located more than ten feet from any water body or wetland;
(11)
Any lands used for bona fide scientific research, including, but not limited to, research on the effects of fertilizer use on urban stormwater, water quality, agronomics, or horticulture.
(12)
Use of artificial turf in conformance with the regulations at Section 78-396.5 below.
(c)
Exemptions to the requirements of this division may be granted by variance for individual projects if the applicant can demonstrate that compliance will be impractical and will result in an undue hardship.
(Ord. No. 39-13, § 1, 2-13-2014; Ord. No. 01-21, § 1, 3-11-2021; Ord. No. 11-23, § 1, 12-14-2023)
The following terms, when used in this division, shall have the meanings ascribed to them in this section, except where context clearly indicates a different meaning:
ANSI A300 Standards means American National Standard for Tree Care operations published by the National Arborist Association and approved by the American National Standards Institute.
Artificial turf means a man-made surface of synthetic fibers manufactured to look like sod or lawn.
Automatic controller means a mechanical or electronic device, capable of automated operation of valve stations to set the time, duration and frequency of a water application.
Best management practices (BMPs) means a practice or combination of practices based on research, field-testing, and expert review, determined to be the most effective and practicable on-location means, including economic and technological considerations, for improving water quality, conserving water supplies and protecting natural resources.
Caliper means quantity in inches of tree trunk diameter measured at four and one-half feet above the ground.
Canopy tree means any single trunked, self-supporting plant, upright in growth, with a minimum size of 16 feet high, six-foot spread, four-inch caliper and five feet of clear trunk for commercial and multi-family properties, and 14 feet high, five-foot spread, three-inch caliper and four feet of clear trunk for single family and duplex lots. Multi-stem trees may be allowed on a case-by-case basis based on variety and natural growth characteristics.
Code enforcement officer, official, or inspector means any designated employee or agent of the village whose duty it is to enforce codes and ordinances enacted by the village.
Constant pressure/flow control means a device that maintains a constant flow, or pressure, or both.
Drought-tolerant means a plant that is capable of surviving a dry spell of more than two or three months without supplemental watering.
Emitter. This term primarily refers to devices used in microirrigation systems.
Filter means a device in irrigation distribution systems that separates sediment or other foreign matter.
Florida-friendly landscape means the principles of Florida-friendly landscaping include planting the right plant in the right place, efficient watering, appropriate fertilization, mulching, attraction of wildlife, responsible management of yard pests, recycling yard waste, reduction of stormwater runoff, and waterfront protections. Additional components of Florida-friendly landscape include planning and design, soil analysis, the uses of solid waste compost, practical use of turf, and proper maintenance.
Ground cover means low growing plants, other than turfgrass or artificial turf, used to cover the soil and form a continuous, low mass of foliage.
Hardscape means areas such as patios, decks, driveways, paths and sidewalks that do not require irrigation.
Hatracking means cutting back of tree limbs to a point between branch collars/buds (internodal cutting) larger than one inch in diameter within the tree's crown.
Hydrozone means a distinct grouping of plants with similar water needs and climatic requirements.
Impervious surface means those surfaces which do not absorb water. They consist of all buildings, parking areas, driveways, roads, sidewalks and any areas of concrete or asphalt.
Irrigated landscape area means all outdoor areas that require a permanent irrigation system.
Irrigation system means an artificial watering system designed to transport and distribute water to plants.
Irrigation zone means a grouping of sprinkler heads, soakers, bubblers, or microirrigation emitters operated simultaneously by the control of one valve.
Landscape means any combination of living plants (such as grass, ground cover, shrubs, vines, hedges, or trees) and non-living landscape material (such as rocks, pebbles, sand, mulch or decorative paving materials). Non-living landscape material shall not be used as major landscape ground cover. In no case shall these materials exceed ten percent of the landscaped area. Artificial turf is not included in the category of "non-living landscape material.
Landscape plan means plans and drawings showing the location of buildings, structures, pedestrian, transportation, or environmental systems, and the detail for placement of site amenities, accessibility components, plantings and other tangible objects. Plans shall include installation details for plant materials, soil amendments, mulches, edging and other similar materials. Plans shall be numbered, dated, north arrow indicated, scaled, and sealed by an appropriately licensed professional where required by F.S. ch. 481, pt. II.
Landscape plant means any native or exotic tree, shrub, or groundcover (excluding turf).
Landscaped area means the entire parcel; less the building footprint, driveways, hardscapes such as decks and patios, and non-porous areas. Water features are included in the calculation of the landscaped area. This landscaped area includes areas of artificial turf used in conformance with the regulations at section 78-396.5 below. This landscaped area includes Xeriscape as defined in F.S. § 373.185(1)(b).
Landscape strip means a strip of land along the perimeter of the site containing trees, barriers, ground cover and/or other plant material.
Low-flow point applicators means irrigation applicators with output less than 60 gallons per hour (gph).
Microirrigation (low volume) means the application of small quantities of water directly on or below the soil surface, usually as discrete drops, tiny streams, or miniature sprays through emitters placed along the water delivery pipes (laterals). Microirrigation encompasses a number of methods or concepts including drip, subsurface, bubbler, and spray irrigation, previously referred to as trickle irrigation, low volume, or low flow irrigation that deliver water directly to plant root zones with a high degree of efficiency, no runoff, and little to no evaporation.
Moisture sensing device or soil moisture sensor means a device to indicate soil moisture in the root zone for the purpose of controlling an irrigation system based on the actual needs of the plant.
Mulch means non-living, organic or synthetic materials customarily used in landscape design to retard erosion and retain moisture.
Native vegetation means any plant species with a geographic distribution indigenous to all, or part, of the State of Florida as identified in: Guide to Vascular Plants of Florida, R.P. Wunderlin, 1998, University Press of Florida, Gainesville or the Atlas of Florida Vascular Plants (http://www.florida.plantsatals.usf.edu/). Native vegetation shall consist of those plant species indigenous to the ecological communities of South Florida.
Person means any natural person, business, corporation, limited liability company, partnership, limited partnership, association, club, organization, and/or any group of people acting as an organized entity.
Pervious surface means any area of land that is landscaped or planted, allows natural passage of water, and is not covered by impervious materials or structures. Pervious surfaces include pervious paving materials.
Pervious paving materials means a porous asphaltic, concrete or other surface and a high-void aggregate base which allows for rapid infiltration and temporary storage of rain on, or runoff delivered to, paved surfaces.
Plant bed means a grouping of trees, shrubs, ground covers, perennials or annuals growing together in a defined area devoid of turfgrass, normally using mulch around the plants.
Plant communities means an association of native plants that are dominated by one or more prominent species, or a characteristic physical attribute.
Planting plan means specifications and installation details for plant materials, soil amendments, mulches, edging, gravel, and other similar materials.
Point of connection means the location where an irrigation system is connected to a water supply.
Pop-up sprays means spray heads that pop up with water pressure and provide a continuous spray pattern throughout a given arc of operation.
Pressure tank means a pressurized holding tank for irrigation water coming from wells to minimize cycling of the water pump.
Rain sensor device means a low voltage electrical or mechanical component placed in the circuitry of an automatic irrigation system that is designed to turn off a sprinkler controller when precipitation has reached a pre-set quantity.
Runoff means water that is not absorbed by the soil or landscape and flows from the area.
Sod or lawn means a piece of turf-covered soil held together by the roots of the turf.
Soil moisture sensor. See "moisture sensing device".
Synthetic grass. See "artificial turf."
Tree means any self-supporting woody plant, together with its root system, growing upon the earth, usually with one trunk of at least three inches in diameter at a height of four and one-half feet above the ground or a multistemmed trunk system with a definitely formed crown.
Turf and/or turfgrass means a mat layer of monocotyledonous plants such as Bahia, Bermuda, Centipede, Seaside, Paspalum, St. Augustine, and Zoysia.
Valve means a device used to control the flow of water in the irrigation system.
Village means the Village of Tequesta, Florida.
Water use zone. See "Hydrozone".
(Ord. No. 39-13, § 1, 2-13-2014; Ord. No. 01-21, § 1, 3-11-2021; Ord. No. 16-22, § 2, 1-12-2023; Ord. No. 11-23, § 1, 12-14-2023)
(a)
General provisions. Within the Village of Tequesta the principles of Florida-friendly landscaping shall be incorporated into all landscape designs. These include the following:
(1)
Preserving existing native trees and vegetation, if appropriate and feasible. Where established natural vegetation is incorporated into the landscape design, irrigation of those areas shall not be required.
(2)
The plant palette and irrigation system shall be appropriate for site conditions, taking into account that, in some cases, soil improvements can enhance water use efficiency. Drought resistant plants are emphasized.
(3)
Plants shall be grouped together by irrigation demand.
(4)
The percentage of landscaped area in irrigated high water use hydrozones shall be minimized. The maximum percentage of irrigated landscape area that may be included in high water use hydrozones, excluding turfgrass, shall not exceed 20 percent. These high water use limits shall not apply to landscaped areas requiring large amounts of turf for their primary functions, e.g., ball fields and playgrounds.
(5)
Soil improvements are encouraged to improve the soil with organic materials prior to the installation of any irrigation system.
(6)
An efficient irrigation system shall be required and designed according to the water needs of the planting groups.
(7)
Reclaimed or non-potable water should be used for irrigation if an acceptable source is determined to be available by the village utilities department.
(8)
Low impact design principles such as bio-swales, bio-retention areas and other creative stormwater management techniques.
(b)
Design standards.
(1)
Site designs and landscape construction documents shall be prepared in accordance with the requirements of all applicable Florida Statutes. All landscape and irrigation system design shall be consistent with the standards required under F.S. § 373.228.
(2)
Site plans for new development shall include riparian buffers adjoining all waters of the state. Such buffers should be native, or if previously disturbed, then constructed to be at least 25 feet, and preferably 50—150 feet wide, to protect water bodies from nonpoint source pollution generated by up gradient development. Riparian buffers shall be designed and managed in accordance with USDA-NRCS conservation practices for riparian buffers and filter strips (codes 390, 391, and 393). Such riparian areas may be included in the gross development area for purposes of determining zoning density.
(3)
Site plans shall consider natural drainage features to minimize run-off. The use of pervious surfaces and areas is preferred; therefore impervious surface and material within landscaped areas shall be limited to borders, sidewalks, step stones and other similar material and shall not exceed ten percent of the landscaped areas. Use of pervious paving material for driveways and sidewalks is strongly encouraged. A maintenance plan may be required for certain pervious products to ensure that they remain pervious in the long term. Non-living landscape material shall not be used as major landscape ground cover. In no case shall these materials exceed ten percent of the landscape area as they increase the need for herbicide use, have no habitat value, reflect rather than absorb heat and do not produce oxygen like plants.
(4)
Site plans shall detail, at a minimum, all vegetated areas to be preserved by species.
(Ord. No. 39-13, § 1, 2-13-14)
(a)
Grading and design of property adjacent to bodies of water shall conform to federal, state and local regulations which may include, but is not limited to, the use of berms and/or swales to intercept surface runoff of water and debris that may contain fertilizers or pesticides.
(b)
A mandatory ten-foot low maintenance zone is required, from any pond, stream, water course, lake, wetland or from the top of a seawall. A swale/berm system is recommended for installation at the landward edge of the low maintenance zone to capture and filter runoff. No mowed or cut vegetative material shall be deposited or left remaining in this zone or deposited in the water. Care should be taken to prevent the over-spray of aquatic weed products in this zone.
(c)
When mowing near the shoreline, direct the chute away from the water body. Riparian or littoral zone plants that do not require mowing or fertilization should be planted in these areas. See the Florida Waterfront Property Owners Guide or the Florida Fish and Wildlife Conservation Commission's Invasive Plant Management Section for more information.
(d)
Mangrove trimming shall be performed in accordance with F.S. §§ 403.9321—403.9334.
(Ord. No. 39-13, § 1, 2-13-2014; Ord. No. 01-21, § 1, 3-11-2021)
(a)
All turf areas shall be sodded using species suitable as permanent lawns in Tequesta. Where appropriate, turf species that require minimum irrigation are encouraged. The type and location of turf areas shall be selected in the same manner as with all other plantings. Irrigated turf areas shall be consolidated and limited to those areas on the site that receive pedestrian traffic, provide for recreational use, provide cover for septic tank drainfields, or provide soil erosion control such as on slopes or in swales; and where turf is used as a design unifier, or other similar practical use. As a matter of public safety, no turf that requires mowing shall be allowed on slopes greater than 4:1 or within six feet of the water's edge, except where adjacent to seawalls and bulkheads or needed to control erosion. Turf areas shall be identified on the landscape plan when a landscape plan is required.
(b)
Artificial turf may be used in conformance with the regulations at section 78-396.5 below.
(c)
Soils vary from site to site and even within a given site. Soil analysis information is needed for proper selection of plants and, if needed, soil amendments. A soil analysis based on random sampling is required and shall be performed by a reputable soil testing lab or University of Florida/IFAS Cooperative Extension facility. Any new soil required shall be similar to the existing soil in pH, texture, permeability and other characteristics, unless convincing evidence is provided that a different type of soil amendment approach is justified. The use of solid waste compost as a soil amendment is encouraged.
(Ord. No. 39-13, § 1, 2-13-14; Ord. No. 11-23, § 1, 12-14-2023)
(a)
Locations permitted.
(1)
Artificial turf/synthetic grass is a permitted use on lots improved with single family or two-family dwellings.
(2)
Artificial turf/synthetic grass may be used for purposes associated with the principal use of any commercial or mixed-use zoned property as a special exception. Special exception approval pursuant to sections 78-362 through 78-365 shall be required prior to obtaining the required building permit.
(3)
Artificial turf may be placed in side or rear yards when concealed from view from the adjacent right-of-way.
(4)
Artificial turf may be placed in front yards only as a decorative grid design in conjunction with approved pavement materials (pavers or the like) for a walkway and driveway. Artificial turf, turf synthetic grass may not be used as a barrier or border to a paved or asphalt walkway or driveway.
(5)
Artificial turf is prohibited in any public right-of-way.
(6)
Artificial turf, inclusive of putting greens, may comprise up to a maximum of ten percent of the required landscape area on any lot.
(7)
Putting greens comprised of artificial turf are permitted in the rear yard only, pursuant to regulations set forth at subsection (d) below.
(b)
Minimum standards for artificial turf.
(1)
Artificial turf shall consist of green life-like individual blades that emulate natural turf or turfgrass in color, texture and size. Artificial turf shall have a minimum pile height of one and one-half inches, and a minimum tufted weight of 56 ounces per square yard.
(2)
Artificial turf shall be installed to have a minimum permeability of 30 inches per hour per square yard.
(3)
Artificial turf shall have a minimum 15-year manufacturer's warranty that protects against color fading and decrease in pile height.
(4)
Artificial turf shall be lead-free.
(5)
Artificial turf shall come with "total content leach protocol" (TCLP) test documentation declaring that the yarn and backing material are disposable under normal conditions at any U.S. landfill station.
(6)
Infill materials for artificial turf must be organic or sand, with a non-toxic coating.
(7)
The use of "indoor/outdoor" carpeting as a replacement or substitute for artificial turf is strictly prohibited.
(8)
Any reasonable deviation form these minimum standards must be approved in writing and in advance by the building official for good cause shown.
(c)
Installation, repair, and maintenance of artificial turf.
(1)
Installation of artificial turf shall be pursuant to a building permit issued by the building department.
(2)
Installation shall be, at a minimum, in accordance with manufacturer's specifications.
(3)
Artificial turf shall be anchored in order to withstand the effects of wind.
(4)
Seams shall be nailed and glued (not sewn) and all edges shall be trimmed to fit against all regular and irregular edges in order to present a natural look.
(5)
When installed adjacent to a seawall, artificial turf shall be pinned or staked behind the seawall and shall not be attached directly to the seawall or seawall cap.
(6)
Sufficient drainage shall be provided in order to prevent excess runoff or pooling of water.
(7)
Artificial turf shall be installed so it is visually level and with the grain pointing in a uniform, single direction.
(8)
Barriers such as pavers, river rock or other non-living landscape material shall be utilized to separate artificial turf from live landscaping material, turf or turfgrass.
(9)
Artificial turf shall not be installed inside any tree drip line in order to protect tree root systems.
(10)
Artificial turf shall be maintained in a "like new" condition free of weathering and fading. Artificial turf areas shall be kept free of dirt, debris, stains, and weeds. Tears, holes, ruts, depressions and the like shall be repaired immediately with like for like materials, from the same manufacturer if possible. Edges shall be properly anchored and shall not present a "loose" appearance.
(11)
Artificial turf that is placed in any utility easement may be removed by the village or other utility provider at any time for any reason reasonably related to the easement's purpose. The property owner shall be responsible for the repair or replacement of any such removed artificial turf.
(d)
Putting greens may be comprised of artificial turf with a minimum pile height of one-quarter inch. Putting greens shall not exceed 500 square feet in size. A drainage plan for the putting green must be approved by the village engineer and a permit issued by the building official is required prior to installation.
(e)
Properties with existing artificial turf that was previously installed in violation of the location, landscape area percentage, or quality requirements of this section may remain until it is required to be replaced, at which time full compliance with this section shall be required.
(f)
Artificial turf installed in compliance with this section shall be considered as pervious area and shall count toward the required minimum landscape area.
(Ord. No. 11-23, § 1, 12-14-2023)
(a)
The following plant species shall not be planted in the village:
(1)
Melaleuca quinquenervia (commonly known as Punk Tree, Cajeput or Paper Bark).
(2)
Schinus terebinthifolia (commonly known as Brazilian Pepper or Florida Holly).
(3)
Casuarina species (commonly known as Australian Pine).
(4)
Acacia auriculiformis (commonly known as Earleaf Acacia).
(5)
Albizia lebbeck (commonly known as Woman's Tongue).
(6)
Ardisia solonacea (commonly known as Shoebutton Ardisia).
(7)
Colubrina asiatica (commonly known as Lather Leaf).
(8)
Dioscorea bulbifera (commonly known as Air Potato).
(9)
Fiscus altissima (commonly known as Lofty Fig).
(10)
Fiscus benghalensis (commonly known as Banyan).
(11)
Hibiscus tiliaceus (commonly known as Mahoe).
(12)
Jasminum dichotomum (commonly known as Gold Coast Jasmine).
(13)
Lygodium microphyllum (commonly known as Old World Climbing Fern).
(14)
Mimosa pigra (commonly known as Cat's Claw).
(15)
Rhodomyrtus tomentosa (commonly known as Downy Rose Myrtle).
(16)
Bischofia javanica (commonly known as Japanese Bishopwood).
(17)
Cupaniopsis anacardioides (commonly known as Carrotwood).
(18)
Schefflera actinophylla (commonly known as Schefflera).
(19)
Asparagus densiflorus (commonly known as Asparagus Fern).
(20)
Dalbergia sissio (commonly known as Indian Rosewood).
(21)
Eucalyptus spp. (commonly known as Eucalyptus Species).
(22)
Eugenia uniflora (commonly known as Surinam Cherry).
(23)
Grevillea robusta (commonly known as Silk Oak).
(24)
Sansevieria (commonly known as Snake Plant).
(25)
Scaevola sericea (commonly known as Beach Naupaka).
(26)
Wedelia trilobata (commonly known as Wedelia).
(b)
Any parcel of land upon which a structure has been heretofore erected and which received a certificate of occupancy prior to the date of adoption of the ordinance from which this section is derived and contains the prohibited landscaping provided in subsections (a)(1) through (3) of this section shall have the prohibited landscaping removed and replaced with living landscaping pursuant to the provisions of this division within five years of the date of enactment. Any parcel of land upon which a structure has been heretofore erected and received a certificate of occupancy prior to the date upon which the amendment to this section was adopted and contains the prohibited landscaping in subsections (a)(4) through (18) of this section shall have the prohibited landscaping removed and replaced with approved landscaping pursuant to the provisions of this division within four years of the date of enactment of such amendment. The removal of prohibited landscaping as provided in this section shall not apply to the prohibited landscaping existing on single-family lots or duplex lots lying within R-1, R-1A or R-2 districts, except as required by the specific requirements contained in section 78-402, or to any or to lots located within the R/OP district.
(Ord. No. 39-13, § 1, 2-13-14; Ord. No. 16-22, § 3, 1-12-2023)
(a)
In all districts, pervious areas shall be provided with an automatic underground sprinkler system, adequate to service the landscape areas, except when not required under the provisions of this division. All common open space or landscaped areas shall be provided with an underground irrigation system. All irrigation systems shall be designed to provide 100 percent coverage with 100 percent overlap.
(b)
Irrigation plans.
(1)
Irrigation plans shall be designed to recognize different irrigation requirements of the landscape described in this article.
(2)
The irrigation plan shall be drawn to a scale of not less than one inch to 20 feet, and shall show the following:
a.
Irrigation points of connection and design capacity;
b.
Water service pressure at irrigation point of connections (POC);
c.
Water meter size when revising existing irrigation plans or when utilizing reclaimed water;
d.
Reduced-pressure-principle backflow prevention devises for each irrigation POC on potable water systems;
e.
Major components of the irrigation system including all pumps, filters, valves, and pipe sizes and lengths;
f.
Precipitation rate expressed in inches per hours for each valve circuit. The preparer must attach to the project data sheet the calculations for deriving precipitation rates for each irrigation valve circuit;
g.
Total flow rate (flow velocity not to exceed five feet per second) in gallons per minute (gpm) and operating pressure (psi) for each individual overhead and bubbler circuit, and gallons per hour (gph) and operating pressure for low-flow point irrigation circuit;
h.
Irrigation legend shall have the following elements:
i.
Separate symbols for all irrigation requirements with different spray patterns and precipitation rates and pressure compensating devices; general description of equipment; manufactures name and model number for all specified equipment; recommended operating pressure per nozzle and bubbler and low-point pressure per nozzle and bubble and low flow emitter; manufactures recommended overhead and bubble irrigation nozzle rating in gallon per minute (gpm) or gallon for hour (gph) for low flow point applications; minimum (no less than 75 percent of maximum spray radius) and maximum spray radius per nozzle; and manufactures rated precipitation rate per nozzle at specified psi;
ii.
Location of rain shut-off devices or soil moisture sensors.
(c)
Efficient design. All irrigation installations after April 12, 2012 shall meet the irrigation standards identified at F.S. § 373.228. These include:
(1)
Irrigation systems, including the use of micro-irrigation as appropriate, shall be designed to meet the needs of the plants in the landscape.
(2)
When feasible, irrigation systems shall be designed to separately serve turf and non-turf areas.
(3)
The irrigation system plans and specifications shall identify the material to be used and the construction methods.
(4)
The design shall consider soil, slope and other site characteristics in order to minimize water waste, including overspray, the watering of all impervious surfaces and other non-vegetated areas, and off-site runoff.
(5)
The system shall be designed to minimize free flow conditions in case of damage or other mechanical failure.
(6)
The system shall be designed to use the lowest quality water feasible.
(7)
Rain shut-off switch equipment shall be required on automatic irrigation systems to avoid irrigation during periods of sufficient soil moisture, in accordance with F.S. § 373.62. Said equipment shall consist of an automatic mechanical or electronic sensing device or switch that will override the irrigation cycle of the sprinkler system when adequate rainfall has occurred. A recommended seasonal operating schedule and average precipitation rate for each irrigation zone for both establishment and maintenance conditions shall be provided.
(8)
Control systems shall provide the following minimum capabilities:
a.
Ability to be programmed in minutes, by day of week, season, time of day;
b.
Ability to accommodate multiple start times and programs;
c.
Automatic shut off after adequate rainfall;
d.
Ability to maintain time during power outages for a minimum of three days; and
e.
Operational flexibility to meet applicable year round water conservation requirements and temporary water shortage restrictions.
(9)
Recommended maintenance activities and schedules shall be included.
(10)
Precipitation rates for sprinklers and all other emitters in the same zone shall be matched, except that microirrigation emitters may be specified to meet the requirements of individual plants.
(11)
Irrigation systems shall be designed to maximize uniformity, considering factors such as:
a.
Emitter types;
b.
Head spacing;
c.
Sprinkler pattern; and
d.
Water pressure at the emitter.
(12)
Irrigation systems with main lines larger than two inches or designed to supply more than 70 gallons per minute shall incorporate a means to measure irrigation water use, at a minimum of 95 percent accuracy across the flow range.
(13)
Irrigation system plans and specifications shall require the system installer to conduct final testing and adjustments to achieve design specifications prior to completion of the system and acceptance by the owner or owner's representative.
(14)
The irrigation system shall be designed to correlate to the organization of plants into zones as described in this division. The water use zones shall be shown in the irrigation plan. Temporary facilities may be installed to facilitate plant establishment.
(15)
"Rust stains" on any structure from irrigation system over-spray shall be removed.
(16)
The installation of tracer wire along main lines and laterals shall be required to permit easy location and prevent inadvertent cutting of pipes.
(17)
If the water supply for the irrigation system is from a well, a constant pressure flow control device or pressure tank with adequate capacity shall be required to minimize pump "cycling".
(18)
Check valves must be installed at irrigation heads as needed to prevent low head drainage and puddling.
(19)
Nozzle precipitation rates for all heads within each valve circuit must be matched to within 20 percent of one another.
(20)
No water spray from irrigation systems shall be applied under roof overhangs.
(21)
Irrigated areas shall not be less than four feet wide, except when next to contiguous property or using micro or drip irrigation.
(22)
A pressure-regulating valve shall be installed and maintained if static service pressure exceeds 80 pounds per square inch. The pressure regulating valve shall be located between the meter and the first point of division in the pipe and set at a not more than 50 pounds per square inch when measured at the most elevated fixture in the structure served. This requirement may be waived if satisfactory evidence is provided that high pressure is necessary in the design and that no water will be wasted as a result of high-pressure operation.
(d)
To assist the end user to operate the system property, in addition to the minimum requirements of F.S. § 373.228, the following shall be provided to the owner at the time of installation. The map shall be attached inside each irrigation controller or be kept in another readily available location if it is not practical to insert into a small container.
(1)
Irrigation schedule information, with instructions for seasonal timer and sensor changes.
(2)
Irrigation system plans and specifications including as-constructed drawings, recommended maintenance activities and schedules.
(3)
Operations schedules, design precipitation rates, and instructions on adjusting the systems to apply less water after the landscape is established.
(4)
Maintenance schedule, water source, water shut-off method, and the manufacturing operational guide for their irrigation controller.
(5)
To the extent feasible, similar information should be made available for subsequent property transfers.
(e)
Reduced-pressure-principle backflow preventers shall be recertified yearly.
(Ord. No. 39-13, § 1, 2-13-14)
(a)
Generally.
(1)
The owner, occupant, and tenant and the respective agent of each, if any, shall be jointly and severally responsible for all landscaping and irrigation equipment, including that located in the unpaved portion of the public right-of-way between the paved portion of the public right-of-way and the boundary of the owner's property. Landscaping shall be maintained in a good condition, so as to present a healthy, neat and orderly appearance at least equal to the original installation, and shall be kept free from refuse and debris. Any dead vegetation and landscaping material shall be promptly replaced with healthy, living plantings. Vegetation proximally located to electric utility lines shall also be maintained pursuant to section 74-2.
(2)
Landscape maintenance for hire shall be performed in accordance with recommendation in the Florida-Friendly Best Management Practices for Protection of Water Resources by the Green Industries. Landscape maintenance by homeowners should be performed in accordance with recommendations of the University of Florida Cooperative Extension Service and Florida Yards and Neighborhoods publications.
(3)
A regular irrigation maintenance schedule shall be included, but not be limited to, checking, adjusting, and repairing irrigation equipment; and resetting the automatic controller according to the season yearly.
(4)
Pruning of trees shall be permitted to allow for healthy growth, and to promote safety considerations. Trees which cause a conflict with views, signage or lighting shall not be pruned more than the maximum allowed. The village manager, community development director or building official may suspend the provisions of this section in case of a natural disaster. The removal of any tree shall be pursuant to the applicable provisions of article VII of chapter 50.
a.
A maximum of one-fourth of tree canopy may be removed from a tree within a one-year period, provided that the removal conforms to the standards of crown reduction, crown cleaning, crown thinning, crown raising, vista pruning, and crown restoration pruning techniques. All pruning shall comply with the American National Standards Institute, ANSI 300 (Tree, Shrub and other Woody Plant Maintenance), as amended.
b.
If other than the mature height and spread is desired for any required tree, the size and shape shall be indicated on an approved landscape plan. Shaping of a tree shall be permitted if the tree is to be used as an accent, focal point or as part of an overall landscape design. A maintenance commitment shall be clearly outlined on the approved landscape plan to explain the care and upkeep of a shaped tree.
c.
Hatracking (tree topping), as defined in this division, is strictly prohibited.
d.
The following shall be exempt from the requirements of the above tree pruning regulations; however, removal of any such tree shall be pursuant to the applicable provisions of article VII of chapter 50:
i.
Trees affected by FAA and airport safety regulations.
ii.
Trees which interfere with safe site triangles, utility lines, or utility structures. Electric utilities shall prune trees in proximity to overhead power lines pursuant to section 74-2.
iii.
Trees having crown dieback or decay greater than one-third the tree canopy.
iv.
Trees having suffered damage due to natural or accidental causes.
v.
Trees having insect or disease damage greater than one-third of the tree crown.
vi.
Trees in botanical gardens, or botanical research centers.
vii.
Trees which the residential property owner obtains documentation from an arborist certified by the International Society of Arboriculture or a Florida licensed landscape architect confirming that the tree presents a danger to persons or property prior to the tree being pruned or removed.
(b)
Yard waste management; composting and use of mulches.
(1)
In no case shall grass clippings, vegetative material, and/or vegetative debris be washed, swept, or blown off into stormwater drains, ditches, conveyances, water bodies, wetlands, or sidewalks or roadways. Any material that is accidentally so deposited shall be immediately removed to the maximum extent practicable.
(2)
Grass clippings should be left on lawns. Grass clippings are a benefit to lawns, replacing nutrients drawn from the soil and as mulch that helps retain moisture, lessening the need to irrigate. Mulching mowers are recommended, because the grass clippings are chopped very finely by special blades. If a conventional mower equipped with a side discharge chute is used, when mowing near the shoreline, direct the chute away from the waterbody and when mowing upland areas, direct the chute back onto the yard, not onto the road or driveway.
(3)
Mulches applied and maintained at appropriate depths in planting beds assist soils in retaining moisture, reducing weed growth, and preventing erosion. A layer of organic mulch three inches deep is recommended in plant beds and around individual trees in turf areas. Use of byproduct or recycled mulch is recommended. Mulch beds shall be specified on the landscape plan.
(c)
Fertilizer management.
This
part shall be known as the Village of Tequesta fertilizer-friendly management code.
(1)
Applicability. This part shall be applicable to and shall regulate any and all applicators of fertilizer and areas of application of fertilizer to landscapes within the Village, unless such application or applicator are specifically exempted by section 78-392, or as follows:
a.
The application of yard waste compost, mulches or similar materials that are organic in nature and are applied to improve the physical condition of the soil;
b.
The use of reclaimed water for irrigation;
c.
Specialized turf grasses such as Zoysia or Bermuda as part of a periodic dethatching process during the growing period, provided that Best Management Practices for fertilizer application are followed;
d.
For all other specialized turf areas, the specialized turf managers which shall use their best professional judgement and apply the concepts and principles embodied in the Florida Green BMP's, to maintain the health and function of their specialized turf areas.
(2)
Definitions. For this part, the following terms shall have the meanings set forth herein-below unless the context clearly indicates otherwise:
a.
"Application" or "Apply" means the actual physical deposit of fertilizer to turf or landscape plants.
b.
"Applicator" means any Person who applies fertilizer on turf and/or landscape plants.
c.
"Best Management Practices" (BMP's) means turf and landscape practices, or combination of practices based on research, field-testing, and expert review, determined to be the most effective and practicable on-location means, including economic and technological considerations, for improving water quality, conserving water supplies and protecting natural resources.
d.
"Commercial Fertilizer Applicator", except as provided in F.S. § 482.1562(9), means any person who applies fertilizer for payment or other consideration to property not owned by the person or firm applying the fertilizer or the employer of the applicators.
e.
"Fertilize," "Fertilizing," or "Fertilization" means the act of applying fertilizer to turf, specialized turf, or landscape plants.
f.
"Fertilizer" means any substance or mixture of substances that contains one or more recognized plant nutrients and promotes plant growth, or controls soil acidity or alkalinity, or provides other soil enrichment, or provides other corrective measures to the soil.
g.
"Institutional Applicator" means any person, other than a private, non-commercial or a Commercial Applicator (unless such definitions also apply under the circumstances), that applies fertilizer for the purpose of maintaining turf and/or landscape plants. Institutional Applicators shall include, but shall not be limited to, owners, managers or employees of public lands, schools, parks, religious institutions, utilities, industrial or business sites and any residential properties maintained in condominium and/or common ownership.
h.
"Saturated soil" means a soil in which the voids are filled with water. Saturation does not require flow. For the purposes of this ordinance, soils shall be considered saturated if standing water is present or the pressure of a person standing on the soil causes the release of free water.
i.
"Slow Release," "Controlled Release," "Timed Release," "Slowly Available," or "Water Insoluble Nitrogen" means nitrogen in a form which delays its availability for plant uptake and use after application, or which extends its availability to the plant longer than a reference rapid or quick release product.
j.
"Specialized turf" means areas of grass used for athletic fields, activity fields, parks, cemeteries, and other similar areas.
k.
"Specialized turf manager" means a person responsible for fertilizer or directing the fertilization of "specialized turf"
l.
"Urban landscape" means pervious areas on residential, commercial, industrial, institutional, highway rights-of-way, or other nonagricultural lands that are planted with turf or horticultural plants. For the purposes of this section, agriculture has the same meaning as provided in F.S. 570.02.
(3)
Findings. As a result of the Florida Department of Environmental Protection's determination that certain water bodies within Palm Beach County, including portions of the Loxahatchee River, are impaired for excessive nutrient levels, the Village Council finds that the Best Management Practices contained in the most recent edition of the "Florida-Friendly Best Management Practices for Protection of Water Resources by the Green Industries" should be included in this part.
(4)
Purpose and Intent. This part regulates the proper use of fertilizers by any applicator; requires proper training of commercial and institutional fertilizer applicators; establishes training and licensing requirements; establishes the timing of fertilizer application; specifies allowable fertilizer application rates and methods, fertilizer-free zones and exemptions. This part requires the use of Best Management Practices to minimize negative environmental effects said fertilizers have in and on the Village's natural and constructed stormwater conveyances, rivers, creeks, canals, lakes, estuaries and other water bodies. Collectively, these water bodies are an asset important to the environmental, recreational, cultural, and economic well-being of the residents of the Village and the surrounding areas, and contribute to the general health and welfare of the public. Overgrowth of algae and vegetation hinders the effectiveness of flood attenuation provided by natural and constructed stormwater conveyances. Regulation of nutrients, including both phosphorus and nitrogen contained in fertilizer, is anticipated to help improve and maintain water and habitat quality.
(5)
Fertilizer content and application rates.
a.
Fertilizers containing nitrogen applied to Turf and/or Landscaping Plants within the Village shall contain no less than 50 percent slow-release nitrogen per guaranteed analysis label. Other limitations on nitrogen and phosphorous in fertilizers applied to turf within the Village shall be in accordance with requirements and directions provided by Rule 5E-1.003(2), Florida Administrative Code, Labeling Requirements for Urban Turf Fertilizers. Under Rule 5E-1.003(2), Florida Administrative Code, required application rate, and frequency maximums, which vary by plant and turf types, can be found on the labeled fertilizer bag or container.
b.
Nitrogen or phosphorus fertilizer shall not be applied to Turf or Landscape Plants except as provided in a. above for Turf, or in UF/IFAS recommendations for Landscape Plants, vegetable gardens, and fruit trees and shrubs, unless a soil or tissue deficiency has been verified by a UF/IFAS approved test methodology.
c.
Fertilizer used for sports turf at golf courses shall be applied in accordance with the recommendations in "Best Management Practices for the Enhancement of Environmental Quality on Florida Golf Courses" published by the FDEP, dated September 2012, as may be amended. Fertilizer used at parks or athletic fields shall be applied in accordance with Rule 5E-1.003(2), Florida Administrative Code.
(6)
Timing of fertilizer application.
a.
No applicator shall apply fertilizers containing nitrogen and/or phosphorus to Turf and/or Landscape Plants during the rainy season period from June 1 st through September 30 th or at any time to saturated soils or during the time which a tropical storm or hurricane watch or warning has been issued by the National Weather Service or when heavy rain (two inches or more within a 24-hour period) is forecast. Outside of this rainy season period and prohibited times, fertilizers containing nitrogen and/or phosphorus shall only be applied to Turf or Landscape Plants during growth periods, not during dormant periods.
b.
Fertilizer containing nitrogen and/or phosphorous shall not be applied before seeding or sodding a site, and shall not be applied for the first 30 days after seeding or sodding, except when hydro-seeding for temporary or permanent erosion control in an emergency situation (wildfire, etc.), or in accordance with the stormwater pollution prevention plan for the site.
c.
In no case shall fertilizers containing nitrogen and/or phosphorus to turf and/or landscape plants during times which a flood, tropical storm, or hurricane watch or warning issued by the National Weather Service is in effect for any portion of Palm Beach County.
(7)
Fertilizer application practices.
a.
Spreadable deflector shields are required when fertilizing via rotary (broadcast) spreaders. Deflectors must be positioned such that fertilizer granules are deflected away from all impervious surfaces, fertilizer-free zones and water bodies, including wetlands.
b.
Fertilizer shall not be applied, spilled or otherwise deposited on any impervious surface.
c.
Any fertilizer applied, spilled, or deposited, either intentional or accidentally, on any impervious surface shall be immediately and completely removed to the greatest extent practicable.
d.
Fertilizer releases on an impervious surface shall be immediately contained and either legally applied to turf or any other legal site, or returned to the original or other appropriate container.
e.
In no case shall fertilizer be washed, swept, or blown off impervious surfaces into stormwater drains, ditches, conveyance, or water bodies.
(8)
Fertilizer free zones. Fertilizer shall not be applied within ten feet of any pond, stream, watercourse, lake, canal, or wetland as defined by the Florida Department of Environmental Protection (Chapter 62-340, Florida Administrative Code) or from the top of a seawall or bulkhead, unless a deflector shield, drop spreader, or liquid applicator with a visible and sharply defined edge, is used, in which case a minimum of three feet shall be maintained. Newly planted Turf and/or Landscape Plants may be fertilized in this zone only for a 60 day period beginning 30 days after planting, if needed, to allow the plants to become well established. Caution shall be used to prevent direct deposition of fertilizer into the water.
(9)
Training.
a.
All commercial and institutional applicators of fertilizer within the Village, shall abide by and successfully complete the six-hour training program in the "Florida Friendly Best Management Practices for Protection of Water Resources by the Green Industries" offered by the Florida Department of Environmental Protection through the University of Florida/Palm Beach County Cooperative Extension Service Florida-Friendly Landscapes Program, or an approved equivalent program.
b.
Non-commercial and non-institutional applicators not otherwise required to be certified, such as private citizens on their own residential property, are encouraged to follow the recommendations of the University of Florida FAS "Florida-Friendly Landscape Program" and labels instructions when applying fertilizers.
(10)
Licensing of commercial applicators.
a.
All businesses applying fertilizer to Turf and/or Landscape Plants (including but not limited to residential lawns, golf courses, commercial properties, and multi-family and condominium properties) must ensure that the business owner or his/her designee holds the appropriate "Florida-Friendly Best Management Practices for Protection of Water Resources by the Green Industries" training certificate prior to the business owner obtaining a Local Business Tax Certificate. Owners for any category of occupation which may apply any fertilizer to Turf and/or Landscape Plants shall provide proof of completion of the program to the Village's Building Department. It is the responsibility of the business owner to maintain the "Florida-Friendly Best Management Practices for Protection of Water Resources by the Green Industries" certificate to receive his business tax receipt annually.
b.
After December 31, 2020, all commercial applicators of fertilizer within the Village shall have and carry in their possession at all times when applying fertilizer, evidence of certification by the Florida Department of Agriculture and Consumer Services as a Commercial Fertilizer Applicator per 5E-14.117(18) F.A.C.
(d)
Pesticide management.
(1)
The use of pesticides by commercial entities in Florida is regulated by The Structural Pest Control Act, F.S. Ch. 482. The Structural Pest Control Act, as amended from time to time, preempts all regulations and operations of pest control services, including the pesticides used pursuant to labeling and registration approved under F.S., Part I of Ch. 487, to the State of Florida. In accordance with F.S. § 482.032, the village acknowledges its statutorily imposed duty to assist authorized state inspectors and agents in the enforcement of applicable state law and associated rules adopted by the Department of Agriculture and Consumer Services.
(2)
All 'for-hire' landscape applications of pesticides, including "weed and feed" products and herbicides for weed control, must be performed in accordance with the training, licensure and/or certification requirements of the Structural Pest Control Act, F.S. Ch. 482.
(3)
Property owners and managers are encouraged to use an Integrated Pest Management Strategy as currently recommended by the UF/IFAS Extension publications.
(4)
When using pesticides, all label instructions of state and federal law should be adhered to.
(Ord. No. 39-13, § 1, 2-13-14; Ord. No. 30-19, § 2, 1-9-2020; Ord. No. 01-21, § 1, 3-11-2021; Ord. No. 08-21, § 1, 6-11-2021)
Landscape plans submitted to meet the provisions of this division shall conform to the following criteria:
(1)
The landscape plan shall be drawn to a scale of not less than one inch equals 20 feet.
(2)
The landscape plan shall clearly delineate all proposed trees, shrubs, ground covers, required landscape strips, planting islands and other landscape areas and treatments required by this division.
(3)
The landscape plan shall indicate graphically the quantities, types, sizes at time of planting and at five years' maturity, spacing and other qualitative data for all required plant materials under the provisions of this division, including botanical and common names.
(4)
The landscape plan shall bear the seal of a landscape architect licensed to practice in the state or be prepared by another licensed professional authorized to prepare landscape plans pursuant to F.S. ch. 481, pt. II(F.S. § 481.301 et seq.).
(5)
The plans shall conform to any and all other requirements required by the building and zoning department of the village.
(6)
Any and all landscaping provided shall be in accordance with the South Florida Water Management District Waterwise Guide, as amended, techniques, practices and landscape vegetation lists, which shall constitute the village approved landscape guide and list with the following exceptions. All vegetation species not designated as moderate drought tolerant or very drought tolerant, all invasive species and all species having a hardiness zone designation of tropical shall not be approved and do not constitute a part of the approved village landscape guide and list, a copy of which is hereby incorporated as a part of this division as if fully set forth in this section. Plants should be proposed for planting with regard for salt tolerance depending upon the proposed geographic location and proximity to the Atlantic Ocean. Plants should be grouped in accordance with their respective water and maintenance needs. Fifty percent of all required landscaping shall be landscaping indigenous to the South Florida area as indicated in the Waterwise Guide, as amended.
(7)
Plant materials used in conformance with provisions of this division shall conform to the standards for Florida No. 1 or better, as given in the most current edition of Grades and Standards for Nursery Plants Part I and Part II, State of Florida, Department of Agriculture, Division of Plants Industry, Tallahassee, Florida, or most current edition. Grass sod shall be clean and reasonably free of weeds and noxious pests or diseases. By the square foot, sod must be 90 percent species and variety as specified on the drawing.
(8)
Along with the submission of the landscape plan, a tree inventory survey shall be submitted which sets forth in detail the landscaping existing on the property prior to development. The survey shall be accomplished by a registered land surveyor and shall reference all trees of three inches in caliper or greater.
(Ord. No. 39-13, § 1, 2-13-14)
Landscaping plans of properties, including proposed subdivisions, abutting or adjacent to U.S. Highway 1 and Tequesta Drive, or any other street upon which the village council has adopted a streetscape plan, shall, to the extent possible, conform to the themes established by the village on the special roadway corridors in the manner and form of the streetscape plan adopted by the village council. The property owner shall pay all costs of planning and landscaping improvements for all off-street streetscape landscaping required by this division.
(Ord. No. 39-13, § 1, 2-13-14)
(a)
All single-family and duplex lots located within R-1, R-1A or R-2 zoning districts shall comply with the following landscape requirements:
(1)
All single-family and duplex lots proposed for new development, or redevelopment, renovation or modification in excess of 50 percent of the value of the existing development prior to the start of construction shall be required to submit landscape and irrigation plans to the department of community development for review and consideration of approval prior to issuance of certificate of occupancy. This provision shall also apply to any renovation, restoration or construction activity to an existing structure or existing landscaped area wherein the renovation, restoration or construction activity value is greater than 50 percent of the assessed value of the existing structure, or 50 percent of the estimated value of the existing landscaped areas determined by the department of community development.
(2)
All single-family and duplex lots within the village shall plant at least one canopy tree per 2,500 square feet of site area. If palm trees are planted in lieu of canopy trees, they may be clustered in groups of three, which group shall equate to one canopy tree as required in this section. Palm trees shall be planted with a minimum 16 feet height at the time of planting. Only 50 percent of all required trees provided in the landscaping plan may be palm trees. At least one canopy tree must be planted in the front yard. A minimum of 50 percent of all trees planted on the site shall be native species.
(3)
All single-family and duplex lots within the village shall plant at least one shrub per 500 square feet of site area. Such shrubs shall not be less than 18 inches high with a 14-inch spread at the time of planting. A minimum of 50 percent of all shrubs and hedges planted on the site shall be native species. Landscape plans shall comply with the Florida Friendly Landscaping general provisions as set forth in the South Florida Water Management District Water Wise Guide.
(4)
All landscaped areas on single-family and duplex lots within the village shall be provided with sufficient automatic irrigation facilities and moisture control devices, both of which shall be maintained in working order at all times in accordance with this division. If good cause is shown that there is not a need for automatic irrigation facilities, this requirement may be waived by action of the village council.
(5)
All single-family and duplex lots proposed for new development, or redevelopment, renovation or modification in excess of 50 percent of the value of the existing development prior to the start of construction within the village shall be required to remove any prohibited landscaping from the property as set forth in this division. This subsection shall be enforced by the village by requiring the removal of any prohibited landscaping prior to granting any landscaping, irrigation or well permit.
(Ord. No. 39-13, § 1, 2-13-14; Ord. No. 16-22, § 4, 1-12-2023)
(a)
In the planting strip of commercial properties abutting and/or immediately adjacent to residential areas there shall be planted a living hedge not more than six feet from the residential property line. The hedge must be planted prior to issuance of a certificate of occupancy and must be planted at least four feet in height and not more than two feet on center and must be maintained at a height of not less than six feet and not more than ten feet. Additionally, a solid opaque fence and/or wall of not less than five feet but not more than six feet shall be required. The hedge shall be planted on the outside of the wall.
(b)
For all multifamily, mixed-use, and commercial land uses, a landscape buffer shall be required to be a minimum of 15 feet from any public right-of-way line, and ten feet from all adjacent property lines. Waterfront properties shall provide a five-foot landscape buffer at a minimum of 40 percent of the property's total rear lot line. The five-foot landscape buffer shall be taken from the back side of the bulkhead/seawall/riprap of all waterway properties, and from the back (west) side of the dune. Commercial land uses adjacent to residential land uses shall provide a solid opaque fence and/or wall of not less than five feet but not more than six feet. The diagram following is for illustrative purposes. It represents minimum requirements and should be considered as a guideline only.
(Ord. No. 39-13, § 1, 2-13-14; Ord. No. 16-22, § 5, 1-12-2023)
The area of the required planting strip not occupied by a fence or hedge shall be provided with sod or other plant ground cover material in accordance with this division. In addition, one canopy tree shall be provided for each 30 linear feet of such landscaped area. If palm trees are planted in lieu of canopy trees, the palm trees may be clustered in groups of three and three palm trees shall be required for each canopy tree required under this section. Palm trees shall be planted with a minimum of 16 feet [of] height at time of planting. Large specimen palms with a minimum overall height of 18 feet, such as Medjool Date Palms, Wild Date Palms or Canary Island Date Palms, shall be considered to be the equivalent of one canopy tree for the purposes of this section. Only 50 percent of the required trees provided in the landscaping plan shall be palm trees. The diagram following is for illustrative purposes. It represents minimum requirements and should be considered as a guideline only.
(Ord. No. 39-13, § 1, 2-13-14; Ord. No. 16-22, § 6, 1-12-2023)
Necessary accessways from public rights-of-way through all required landscaped areas shall be permitted to service the open land use. The width of accessways shall be included in the lineal footage calculation to determine the number of trees required in a required planting strip area. Accessways shall in no event exceed 24 feet in width.
(Ord. No. 39-13, § 1, 2-13-14)
(a)
Rows of parking spaces shall be terminated on both ends by landscaped islands which measure not less than six feet in width (outside of curb to outside of curb) and 20 feet in length. At least one tree shall be planted in every six-foot by 20-foot island. The remainder of the terminal island shall be landscaped with turf, ground covers or shrubs or a combination of any of these.
(b)
Additional interior landscape islands shall be placed within rows of parking spaces so that there is at least one interior island for every ten parking spaces or fraction thereof. The island shall measure not less than six feet in width (outside of curb to outside of curb) and shall be equal in length to the length of the parking spaces plus the planting strip. At least one tree, as defined in this division, shall be required per island, with the remainder of the island landscaped with grass, ground covers, shrubs or a combination of any of these. The diagram following is for illustrative purposes. It represents minimum requirements and should be considered as a guideline only.
(c)
In addition to the requirements in subsections (a) and (b) of this section, a landscape divider median shall be placed between abutting rows of parking spaces and rows of parking spaces and driveways. The minimum width of the divider median shall be five feet and the divider median shall continue the entire length of the parking row to the terminal landscape island. There shall be one tree, as defined in this division, planted per 40 linear feet of required landscape area. The remainder of the divider median shall be landscaped with grass, ground covers, shrubs or a combination of any of these. The diagram following is for illustrative purposes. It represents minimum requirements and should be considered as a guideline only.
(d)
Trees of the species designated within South Florida Water Management District Waterwise Guide, as amended, which is adopted as part of this division and is on file in the village clerk's office, shall be planted in each planting area, provided that each species planted shall be designated as moderate drought tolerant or very drought tolerant, designated as a non-invasive species, have a hardiness zone designation other than tropical, be proposed for planting with regard for salt tolerance depending upon the proposed geographic location and its proximity to the Atlantic Ocean and have a medium or high wind tolerance. All designations referenced in this section shall be as indicated within the South Florida Water Management District Waterwise Guide, as amended. Tree plantings shall meet the landscaping requirements of the village.
(Ord. No. 39-13, § 1, 2-13-14)
In commercial parking areas where one off-street parking area adjoins or abuts another such parking area under different ownership or use, a landscaped planting strip not less than five feet wide maintained in good condition shall be required. It is the intent of this section that each adjacent strip shall require the five-foot planting strip with the intent being that a minimum combined ten-foot landscape separation be maintained between uses. The diagram following is for illustrative purposes. It represents minimum requirements and should be considered as a guideline only.
(Ord. No. 39-13, § 1, 2-13-14)
Fifteen percent minimum of the gross parking area is to be devoted to living landscaping, which includes turf, ground cover, plants, shrubs and trees in accordance with the Florida friendly landscaping requirements of this division. The gross parking area is to be measured from the edge of parking and/or driveway paving and sidewalks, extended five feet in all directions, but is not to include any areas enclosed by the building or covered by a building overhang.
(Ord. No. 39-13, § 1, 2-13-14)
Principal structures shall have a minimum landscape strip at least four feet in width except for ingress/egress walks, designated load areas and mechanical equipment. One canopy tree or three palms shall be required for each 30 linear feet of landscape strips. Trees and palms may be grouped, but the minimum number of trees required by this section must be met. Tree and palm groupings shall be given special consideration for breaking up the building massing. For buildings in excess of three stories, 20-foot height trees and/or palms with staggered heights shall be required. Mechanical equipment shall be screened per article IX, supplemental regulations.
(Ord. No. 39-13, § 1, 2-13-14; Ord. No. 16-22, § 7, 1-12-2023)
If the owner, tenant, or agent, jointly or severally, shall fail to meet the requirements of this division as to landscaping or irrigation system maintenance, or if the existing trees, shrubbery, grass or ground covering shall be permitted to die, either intentionally or unintentionally, and is not replaced by the owner, tenant or agent of the real property involved within 30 days of the event occurring unless exempt pursuant to Village Code section 50-236, then the building official, code enforcement officer, or their respective designees, shall notify in writing the person responsible for the maintenance or replacement of same to comply with the requirements of this division within 30 days from date of delivery of the notice. Failure to comply with the requirements of this section shall constitute a violation of this division.
(Ord. No. 39-13, § 1, 2-13-2014; Ord. No. 01-21, § 1, 3-11-2021)
If the owner, tenant or agent shall fail to comply as stated in this division, the village shall hold a public hearing allowing the parties an opportunity to show cause as to why the village shall not undertake to correct the violations and assess the costs thereof against the property owner. Upon the conclusion of the hearing and the continued failure of the owner, tenant or agent to comply, the village may have the work conducted at the expense of the village and bill the owner, tenant or agent for the actual costs to make the property come into compliance plus accrued interest at ten percent per annum from date of the completion of the work. Alternatively, failure to comply shall cause the violation to be considered by the special magistrate pursuant to the procedures prescribed by law, and a fine imposed accordingly. Nothing in this section shall preclude the village seeking relief by civil action through mandatory injunctive relief or other relief available through the courts.
(Ord. No. 39-13, § 1, 2-13-14)
The bill referenced in section 78-411 shall be assessed to the owner of the property and, if remaining unpaid for a period of 60 days after issuance, the village manager shall cause a lien to be filed against the property, to be recorded in the public records of the county, which lien shall be foreclosable in the manner of code enforcement liens, together with the cost of the action and all reasonable attorneys' fees incurred by the village.
(Ord. No. 39-13, § 1, 2-13-14)
(a)
If the landscaping and irrigation requirements of this division have not been met at the time that a certificate of occupancy or certificate of use is requested, the village may approve such request provided the village enters into an agreement with the owner or his agent that the provisions and requirements of this division will be complied with. The owner or his agent shall post a performance bond or other approved surety in an amount equal to 110 percent of the cost of materials and labor and other attendant costs incidental to the installation of the required landscaping and irrigation system. This surety shall run to the village and shall be in a form satisfactory and acceptable to the village, specifying the time for the completion of the landscape requirements.
(b)
The irrigation system shall be in working condition prior to a certificate of occupancy or completion being issued. The system must be able to be turned on at the time of the final landscape inspection to ensure proper overlap is provided. No individual pump shall exceed 25 horsepower.
(c)
An "as-built" landscape and irrigation document shall be submitted to the Town prior to the issuance of certificate of occupancy if changes were made between plans approval, installation and final sign off. A copy of the final plans, either "as-built" or approved plans, shall be delivered by the applicant to the homeowner, when applicable. The purpose of this provision is to help avoid damage to underground irrigation systems.
(Ord. No. 39-13, § 1, 2-13-14)
(a)
To assist in public information, the education of its citizens, and the effective implementation of this division, the village shall coordinate its efforts with those of the South Florida Water Management District and other agencies.
(b)
All persons providing landscape maintenance service for hire, including appropriate village maintenance operation staff, shall be trained in Florida-Friendly Best Management Practices for Protection of Water Resources of the Green Industries by December 31, 2012.
(c)
Any person that applies fertilizer for hire or in the course of their employment shall hold a current Certificate of Completion in the Florida-Friendly Best Management Practices for Protection of Water Resources of the Green Industries.
(d)
At least one person holding a current Certificate of Completion in the Florida-Friendly Best Management Practices for Protection of Water Resources of the Green Industries shall be present at all times on any job site while work is in progress.
(e)
New employees shall be trained within 180 days of starting a new position.
(Ord. No. 39-13, § 1, 2-13-14)
(a)
The village may develop an incentive program in order to promote voluntary compliance with the Florida Friendly Landscaping requirements of this division.
(b)
Village businesses that use the recommended practices may be recognized as a Green Business through the FDEP Green Business Program and may use this in their advertising and promotion.
(Ord. No. 39-13, § 1, 2-13-14)
The provisions of this division shall be enforced by the Village's code enforcement special magistrate pursuant to the authority granted by F.S. § 162.01 et seq., as amended, and Chapter 2 of this Code, as amended.
(Ord. No. 39-13, § 1, 2-13-2014; Ord. No. 01-21, § 1, 3-11-2021)
The purpose of this division is to establish general guidelines for the siting and construction of wireless communications towers, satellite dishes and antennas. The goals of this division are to:
(1)
Protect residential areas and land uses from potential adverse impacts of towers, satellite dishes and antennas;
(2)
Encourage the location of towers in nonresidential areas;
(3)
Minimize the total number of towers throughout the community;
(4)
Strongly encourage the joint use of new and existing tower sites as a primary option rather than construction of additional single-use towers;
(5)
Encourage users of towers and antennas to locate them, to the extent possible, in areas where the adverse impact on the community is minimal;
(6)
Encourage users of towers, satellite dishes and antennas to configure them in a way that minimizes the adverse visual impact of the towers and antennas through careful design, siting, landscape screening, and innovative camouflaging techniques;
(7)
Enhance the ability of the providers of telecommunications services to provide such services to the community quickly, effectively, and efficiently;
(8)
Consider the public health and safety of communication towers; and
(9)
Avoid potential damage to adjacent properties from tower failure through engineering and careful siting of tower structures.
In furtherance of these goals, the village shall give due consideration to the village's comprehensive plan, zoning map, existing land uses, and environmentally sensitive areas in approving sites for the location of towers and antennas.
(Code 1977, app. A, § X(A)(1)(f); Ord. No. 14-12, § 1, 11-8-2012)
The following words, terms and phrases, when used in this division, shall have the meanings ascribed to them in this section, except where the context clearly indicates a different meaning:
Alternative tower structure means manmade trees, clock towers, bell steeples, and similar alternative-design mounting structures that camouflage or conceal the presence of antennas or towers.
Antenna means any exterior stealth designed device used for transmitting and receiving, mounted in the ground, on a tower, alternative tower structure, building or structure and used in communications that radiate or capture electromag-netic waves, digital signals, analog signals, radio frequencies (excluding radar signals), wireless telecommunications signals or other communication signals. This definition does not include over-the-air reception devices which deliver television broadcast signals, direct broadcast signals, direct broadcast satellite services or multichannel multipoint distribution services, as defined and regulated by 47 CFR 1.4000, as amended. The definition also does not include satellite dishes as defined below.
Backhaul network means the lines that connect a provider's towers/cell sites to one or more cellular telephone switching offices, and/or long distance providers, or the public switched telephone network.
Engineer means a registered engineer licensed in the state to provide any information of an engineering nature, whether civil, electrical or mechanical.
FAA means the Federal Aviation Administration.
FCC means the Federal Communications Commission.
Height, when referring to a tower or other structure, means the distance measured from the zero datum of the lot to the highest point on the tower or other structure, including any antenna.
Preexisting tower and preexisting antenna mean any tower or antenna for which a building permit has been properly issued prior to the effective date of Ordinance No. 531, including permitted towers or antennas that have not yet been constructed so long as such approval is current and not expired.
Satellite dish means any parabolic or spherical antenna which receives television or other signals from orbiting satellites.
Stealth design means a method that would hide or conceal an antenna, supporting electrical or mechanical equipment, or any other support structure that is identical to, or closely compatible with, the color of the supporting structure so as to make the antenna and related equipment as visually unobtrusive as possible.
Tower means any ground mounted structure that is designed and constructed primarily for the purpose of supporting one or more antennas for telephone, radio and similar communication purposes, including self-supporting lattice towers, guyed towers, or monopole towers. The term includes radio and television transmission towers, microwave towers, common-carrier towers, cellular telephone towers, alternative tower structures, and the like. The term includes the structure and any support thereto.
(Code 1977, app. A, § X(A)(1)(f)(A); Ord. No. 14-12, § 1, 11-8-2012)
(a)
New towers and antennas. All new towers or antennas in the village shall be subject to the regulations in this division, except as provided in subsections (b) and (c) of this section, and section 78-452.
(b)
Preexisting towers or antennas. Preexisting towers and preexisting antennas shall not be required to meet the requirements of this division, other than the requirements of subsections 78-444(e) and (f).
(c)
Antennas operated and controlled by village. Antennas operated and controlled by the village or another governmental entity, and that are approved by the village council, shall not be required to meet the requirements of this division.
(Code 1977, app. A, § X(A)(1)(f)(B); Ord. No. 14-12, § 1, 11-8-2012)
(a)
Permitted locations.
(1)
Antennas and towers shall be either a permitted use on village owned property in the commercial zoning districts of the village or a special exception use on other properties located within the village's commercial zoning districts.
(2)
Antennas and towers are prohibited within the residentially zoned areas of the village, as well as the mixed-use zoning district. A different existing use of an existing structure on the same lot shall not preclude the installation of an antenna or tower on such lot.
(3)
Off-site locations of any antenna, regardless of type, size, placement or method of attachment, shall be prohibited, except for those antennas which are owned and operated by a governmental agency, approved by a governmental agency, or operated for a governmental use, subject to village council approval. Antennas located on a tower shall not be considered to be at an off-site location.
(b)
Inventory of existing sites. Each applicant for an antenna and/or tower shall provide to the building official an inventory of its existing towers, antennas, or sites approved for towers or antennas that are either within the jurisdiction of the village or within one mile of the border thereof, including specific information about the location, height, and design of each tower.
(c)
Aesthetics. Towers and antennas shall meet the following aesthetic requirements:
(1)
Towers shall either maintain a galvanized steel finish or, subject to any applicable standards of the FAA, be painted a color so as to reduce visual obtrusiveness.
(2)
At a tower or antenna site, the design of the buildings and related structures shall, to the maximum extent possible, use materials, colors, textures, screening, and landscaping that will blend them into the natural setting and surrounding buildings. The towers, antennas, buildings and related structures shall be required to be approved by the planning and zoning advisory board and/or the village council, as appropriate.
(3)
If an antenna is installed on a structure other than a tower, the antenna and supporting electrical and mechanical equipment must be, to the maximum extent possible, of stealth design.
(4)
Landscaping. The following requirements shall govern the landscaping surrounding towers and antennas:
a.
Tower and antenna facilities shall be landscaped with a buffer of plant materials that effectively screens the view of the compound from property used for residences. The standard buffer shall consist of a landscaped strip at least four feet wide outside the perimeter of the compound. The minimum landscaping within the buffer shall be a continuous four-foot-high hedge at the time of planting and having an ultimate height of six feet, and one tree, 12 feet in height at the time of planting, every 25 lineal feet.
b.
Existing mature tree growth and natural land forms on the site shall be preserved to the maximum extent possible. In some cases, such as towers sited on large, wooded lots, natural growth around the property perimeter may be a sufficient buffer.
(d)
Lighting. Towers and antennas shall not be artificially lighted, unless required by the FAA or other applicable authority. If lighting is required, the lighting alternatives and design chosen must cause the least disturbance to the surrounding views.
(e)
State or federal requirements. All towers and antennas must meet or exceed current standards and regulations of the FAA, the FCC, and any other agency of the state or federal government with the authority to regulate towers and antennas. If such standards and regulations are changed, then the owners of the towers and antennas governed by this division shall bring such towers and antennas into compliance with such revised standards and regulations within six months of the effective date of such standards and regulations, unless a different compliance schedule is mandated by the controlling state or federal agency. Failure to bring towers and antennas into compliance with such revised standards and regulations shall constitute grounds for the removal of the tower or antenna at the owner's expense.
(f)
Compliance with building codes and safety standards. Prior to the issuance of a building permit to construct an antenna or tower, the owner/applicant shall provide the village with all applicable approvals from federal, state and county agencies. To ensure the structural integrity of towers, the owner of a tower shall ensure that it is maintained in compliance with standards contained in applicable state or local building codes and the applicable standards for towers that are published by the Electronic Industries Association, as amended from time to time. If, upon inspection, the village building official or his designee concludes that a tower fails to comply with such codes and standards and constitutes a danger to persons or property, then, upon notice being provided to the owner of the tower, the owner shall have 30 days to bring such tower into compliance with such standards. Failure to bring such tower into compliance within 30 days shall constitute grounds for the removal of the tower or antenna.
(g)
Measurement and applicability of setbacks and separation distances. Measurement of tower setbacks and separation distances shall be calculated and applied in relation to all adjacent facilities, whether located inside or outside the boundaries of the village.
(h)
Towers and antennas not considered essential services. Towers and antennas shall be regulated and permitted pursuant to this division and shall not be regulated or permitted as essential services, public utilities or private utilities.
(i)
Franchises. Owners and/or operators of towers or antennas shall certify that all franchises required by law for the construction and/or operation of a wireless communication system in the village have been obtained and shall file a copy of all required franchises with the building official.
(j)
Signs. No signs shall be allowed on an antenna or tower.
(k)
Multiple antenna/tower plan. So as to lessen proliferation, the village encourages the users of towers and antennas to submit a single application for approval of multiple users on a single site. Applications for approval of multiple user sites shall be given priority in the review process.
(l)
Security enclosure. Towers shall be enclosed with a security enclosure not less than six feet in height, and towers shall also be equipped with an appropriate anti-climbing device. The use of barbed and/or razor wire shall be prohibited.
(m)
Antenna height. Antenna heights shall be as follows:
(1)
Ground-mounted antennas of any type shall not exceed 40 feet above grade within any zoning district. (Government facilities are exempt from this provision subject to village council approval.)
(2)
Roof-mounted antennas of any type shall not exceed 20 feet above the roofline of any on-site building which may be located upon the particular property or parcel of land. (Government facilities are exempt from this provision subject to village council approval.)
(3)
Tower mounted antennas shall not be subject to the height limitations set forth herein.
(n)
Tower setbacks. The following setback requirements shall apply to all towers:
(1)
Towers must be set back a distance equal to at least 110 percent of the height of the tower from any adjoining commercially zoned property lot line.
(2)
Towers must be set back a distance equal to at least 130 percent of the height of the tower from any adjoining residentially zoned property lot line.
(3)
Guys and accessory buildings must satisfy the minimum zoning district setback requirements.
(o)
Tower separation. The following separation requirements shall apply to all towers: Separation distances between towers shall be applicable for and measured between the proposed tower and preexisting towers. The separation distances shall be measured by drawing or following a straight line between the base of the existing tower and the proposed base, pursuant to a site plan of the proposed tower. The separation distances (listed in linear feet) shall be as shown in table 1.
TABLE 1
(Code 1977, app. A, § X(A)(1)(f)(C); Ord. No. 14-12, § 1, 11-8-2012)
Antennas or towers located on property owned or leased by the village within the commercial zoning district of the village are a permitted use provided that the following shall be applicable:
(1)
A license or lease authorizing an antenna or tower shall be approved by the village council.
(2)
The antenna or tower otherwise shall meet all regulations of the village relating to setbacks, height, lot coverage, landscaped open space, and other such regulations. In the event of conflicting requirements between this division and district specific code provisions, the more restrictive requirement shall govern.
(3)
Prior to the granting of a building permit for the construction of a tower, a duly noticed and advertised public hearing shall be required by the village council. Such due notice and advertisement of the public hearing shall be provided as in subsections 78-368(d) and (e), except that property owner notification shall be to all property owners within 1,000 feet from any part of the subject property upon which the tower is located. These notice and public hearing requirements shall not pertain to the placement of antennas or satellite dishes.
(4)
This section shall not be construed to permit the placement of towers or antennas by the lessee on property leased from the village.
(Code 1977, app. A, § X(A)(1)(f)(D); Ord. No. 14-12, § 1, 11-8-2012)
(a)
General standards. Antennas or towers located on property that is not owned or leased by the village within the commercial zoning district of the village are a special exception use. Special exception approval for towers and antennas shall be required for the construction of a tower or the placement of an antenna on privately owned property in the commercial zoning districts of the village. For purposes of this division, the mixed-use zoning district of the village shall be considered residential, wherein towers and antennas are prohibited. The following provisions shall govern the review and approval of special exception applications for towers or antennas by the village council:
(1)
Towers and antennas shall, in addition to the criteria set forth in this division, otherwise meet all regulations of the village relating to setbacks, height, lot coverage, landscaped open space, and other such regulations pertaining to the district in which the tower or antenna is located. In the event of conflicting requirements between this division and district specific code provisions, the more restrictive requirement shall govern.
(2)
Reserved.
(3)
Applications for special exception approval under this section shall be subject to the procedures and requirements of article IX, division 3 of this chapter, except as modified in this division.
(4)
In granting a special exception approval, the village council may impose conditions to the extent the village council concludes such conditions are necessary to minimize any adverse effect of the proposed tower or antenna on adjoining properties.
(5)
Any information of an engineering nature that the applicant submits, whether civil, mechanical, or electrical, shall be certified by a state licensed professional engineer.
(6)
An applicant for a special exception use shall submit the information described in this section and a nonrefundable fee as set by resolution of the village council and on file in the village clerk's office to reimburse the village for the costs of reviewing and providing legal notice for the application.
(b)
Required information; standards for approval; design standards.
(1)
Required information. In addition to any information required for applications for special exception use approval pursuant to article IX, division 3 of this chapter, applicants for a special exception for a tower or antenna shall submit the following information:
a.
A scaled site plan clearly indicating the location, type and height of the proposed tower or antenna, on-site existing land uses and zoning, adjacent land uses and zoning (including when adjacent to other municipalities or unincorporated areas), comprehensive plan future land use designation of the site and all properties within the applicable separation distances set forth in subsection 78-444(o), adjacent roadways, proposed means of access, setbacks from property lines, elevation drawings of the proposed tower or antenna and any other structures, topography, parking, and other information deemed by the building official to be necessary to assess compliance with this division.
b.
Legal description of the parent tract and leased parcel (if applicable).
c.
The setback distance between the proposed tower or antenna and the nearest residential unit, platted residentially zoned properties, and unplatted residentially zoned properties.
d.
The separation distance from other towers and antennas described in the inventory of existing sites submitted pursuant to subsection 78-444(b), which shall be shown on an updated site plan or map. The applicant shall also identify the type of construction of the existing tower or antenna and the owner/operator of the existing tower, if known.
e.
A landscape plan showing specific landscape materials.
f.
Method of providing security enclosure and finished color and, if applicable, the method of providing stealth design and illumination.
g.
A description of compliance with all applicable federal, state or local laws including all provisions within this chapter.
h.
A signed and sealed statement by the applicant's engineer as to whether construction of the tower will accommodate collocation of additional antennas for future users.
i.
Identification of the entities providing the backhaul network for the tower or antenna described in the application and other cellular sites owned or operated by the applicant in the village.
j.
A description of the suitability of the use of existing towers, other structures or alternative technology not requiring the use of towers or structures to provide the services to be provided through the use of the proposed new tower.
k.
A description of the feasible locations of future towers or antennas within the village based upon existing physical, engineering, technological or geographical limitations if the proposed tower or antenna is erected.
(2)
Standards for approval. In addition to any standards for consideration of special exception applications pursuant to article IX, division 3 of this chapter, the village council shall consider the following factors in determining whether to approve a special exception:
a.
Height of the proposed tower or antenna;
b.
Proximity of the tower or antenna to residential structures and residential district boundaries;
c.
Nature of uses on adjacent and nearby properties;
d.
Surrounding topography;
e.
Surrounding tree coverage and foliage;
f.
Design of the tower or antenna, with particular reference to design characteristics that have the effect of reducing or eliminating visual obtrusiveness;
g.
Proposed ingress and egress; and
h.
Availability of suitable existing towers, antennas, other structures, or alternative technologies not requiring the use of towers or structures, as discussed in subsection (b)(3) of this section.
(3)
Availability of existing towers, other structures, or alternative technology. No new tower shall be permitted unless the applicant demonstrates to the reasonable satisfaction of the village council that no reasonable alternative technology exists that can accommodate the applicant's proposed antenna. An applicant shall submit information requested by the village council related to the availability of suitable existing towers, other structures or alternative technology. Evidence submitted to demonstrate that no existing tower, structure or alternative technology can accommodate the applicant's proposed antenna may consist of any of the following:
a.
No existing towers or structures are located within the geographic area which meet applicant's engineering requirements.
b.
Existing towers or structures are not of sufficient height to meet the applicant's engineering requirements.
c.
Existing towers or structures do not have sufficient structural strength to support the applicant's proposed antenna and related equipment.
d.
The applicant's proposed antenna would cause electromagnetic interference with the antenna on the existing towers or structures, or the antenna on the existing towers or structures would cause interference with the applicant's proposed antenna.
e.
The fees, costs, or contractual provisions required by the owner in order to share an existing tower or structure or to adapt an existing tower or structure for sharing are unreasonable. Costs exceeding new tower development are presumed to be unreasonable.
f.
The applicant demonstrates that there are other limiting factors that render existing towers and structures unsuitable.
g.
The applicant demonstrates that an alternative technology that does not require the use of towers or structures, such as a cable microcell network using multiple low-powered transmitters/receivers attached to a wire line system, is unsuitable. Costs of alternative technology that exceed new tower or antenna development shall not be presumed to render the technology unsuitable.
(Code 1977, app. A, § X(A)(1)(f)(E); Ord. No. 14-12, § 1, 11-8-2012)
For antennas mounted on structures or rooftops, the equipment cabinet or structure used in association with the antenna shall comply with the following:
(1)
The cabinet or structure shall not contain more than 350 square feet of gross floor area or be more than ten feet in overall height, assuming at all times that a structural engineer has declared that the structural integrity of the structure or rooftop will not be compromised by the cabinet or structure.
(2)
If the equipment structure is located on the roof of a building, the area of the equipment structure and other equipment and structures shall not occupy more than ten percent of the roof area.
(3)
Equipment storage buildings or cabinets shall comply with all applicable building codes.
(Code 1977, app. A, § X(A)(1)(f)(F)(1))
The related unmanned equipment structure for antennas located on towers shall not contain more than 350 square feet of gross floor area or be more than 12 feet in overall height, and shall be located in accordance with the minimum yard requirements of the zoning district in which located.
(Code 1977, app. A, § X(A)(1)(f)(F)(3))
Antennas shall be prohibited on utility or light poles.
(Code 1977, app. A, § X(A)(1)(f)(F)(2))
Any antenna or tower that is not operated for a continuous period of two years shall be considered abandoned, and the owner of such antenna or tower shall remove the antenna or tower within 90 days of receipt of notice from the village notifying the owner of such abandonment. Failure to remove an abandoned antenna or tower within the 90 days shall be grounds to remove the tower or antenna at the owner's expense. If there are two or more users of a single tower, then this provision shall not become effective until all users cease using the tower.
(Code 1977, app. A, § X(A)(1)(f)(G))
(a)
Towers that are constructed and antennas that are installed in accordance with the provisions of this division shall not be deemed to constitute the expansion of a nonconforming use or structure.
(b)
Preexisting towers shall be allowed to continue their usage as they presently exist pursuant to article IV of this chapter. Routine maintenance (including replacement with a new tower of like construction and height) shall be permitted on such preexisting towers. New construction other than routine maintenance on a preexisting tower shall comply with the requirements of this division.
(c)
Nonconforming towers and antennas that are damaged or destroyed shall be required to meet the requirements as set forth in article IV of this chapter.
(Code 1977, app. A, § X(A)(1)(f)(H))
(a)
Satellite dish systems using antennas one meter or less in diameter are permitted in any zoning district. Neither site plan review nor building permits are required for installation of such systems.
(b)
Satellite dish systems using antennas no larger than two meters in diameter are permitted in any commercial zoning district Neither site plan review nor building permits are required for installation of such systems. Further, satellite dish systems using antennas between one and two meters in diameter are permitted in any residential zoning district; however, site plan review and approval, as well as a building permit, is required prior to any such installation. Roof mounting of any satellite dish pursuant to this subsection is prohibited unless specifically approved by the village council.
(c)
Satellite dish systems greater than two meters in diameter ("large satellite dishes") are permitted in any zoning district pursuant to the following:
(1)
Site plan review and approval, as well as a building permit, is required prior to any installation. The application for a permit for a large satellite dish shall be reviewed by the building official for a determination that the structure is designed and will be erected in a manner which meets the technical requirements of the Florida Building Code.
(2)
Large satellite dishes shall consist of noncombustible and corrosive resistant materials;
(3)
Large satellite dishes shall be adequately grounded for protection against direct strike of lighting and shall be subject to the applicable provisions of the Florida Building Code;
(4)
When installation is complete, a large satellite dish or antenna must be certified by an engineer of being capable of withstanding winds of 120 m.p.h.;
(5)
The maximum diameter of any satellite dish shall be 12 feet.
(6)
Portable satellite dishes are prohibited.
(7)
Maximum overall height of the satellite dish and base shall be ten feet.
(8)
Roof mounting of any satellite dish pursuant to this subsection is prohibited, unless specifically approved by the village council
(d)
Screening: An attempt shall be made to effectively screen any satellite dish that is greater than one meter in diameter from view and from visibility from public rights-of-way to the greatest extent practicable. All such satellite dishes shall be located in such area as to be screened or buffered from view from adjacent properties and/or rights-of-way and shall be placed in the rear yard.
(e)
There shall not be more than one satellite dish system on any platted lot or parcel. However, the joint use of such a system as a community antenna system by two or more adjacent or adjoining buildings, associations, lots, or parcels may be permitted by the village council on a noncommercial, not-for-profit basis.
Marina facilities shall include facilities for wet storage and the docking of pleasure crafts associated with the residential district in which the facility is located. Marina facilities may include a marina, boat dock and yacht club. The yacht club may provide a restaurant, lounge, ships chandler and other club facilities as an accessory use to the marina, boat dock or yacht club facility, which shall be restricted to social and recreational activities and facilities with eating and drinking establishments. Marina facilities are allowed only as special exceptions in R-2 and R-3 multiple-family dwelling districts, for properties within such zones which are contiguous to the Intracoastal Waterway, subject to the regulations and restrictions of the zoning districts and the requirements for special exceptions.
(Code 1977, app. A, § X(N)(1))
Docking of pleasure crafts at marina facilities is limited to not more than 40 boats. At no time may more than 25 percent of the slips in the facility be used for residential purposes. Any craft docked at the facility used for temporary residential purposes shall be allowed to serve as a residence for not more than a total of eight months during any one year. There must be at least four months of intervening nonresidency between each eight-month period of residency.
(Code 1977, app. A, § X(N)(2))
All docks at marina facilities shall be constructed in conformance with the requirements set forth in chapter 76, waterway control, of the Code of Ordinances of the Village of Tequesta.
(Code 1977, app. A, § X(N)(3); Ord. No. 13-10, § 1, 12-9-2010)
All marina facilities shall provide, at each boat slip, an individual sewer and water connection which shall be connected to either an approved on-shore sewage treatment plan and water source, or to an approved existing sewage system and water source. In lieu such individual connections, a central dumping station may be provided upon approval of all governmental agencies having appropriate jurisdiction. If neither of these are provided, the owner shall allow in the marina facility only vessels containing federally approved marine sanitation devices. The owner shall allow inspection of any and all vessels within the marina at any reasonable time upon request of the village. If a vessel is found within the marina without federally approved sanitation facilities, the owner of the marina shall be responsible, shall be in violation of the provisions of this division and shall immediately evict the vessel from the marina facility. In addition, all marina facilities shall be provided with equipment and facilities for the collection of refuse and litter from each vessel within the marina facility. The collection and regulation of the refuse collection shall be subject to the approval of the village council in the application for special exception for the marina facility.
(Code 1977, app. A, § X(N)(4))
No building or structure in a marina facility other than an approved dock or pier shall be permitted to be located waterward of the mean high-water line.
(Code 1977, app. A, § X(N)(5))
Congestion shall be avoided in the berthing area of a marina facility by locating an entrance and an exit remote from each other, plus enough space between main piers and sufficient width of roadstead to allow for convenient maneuvering at all times. If a separate entrance and exit are not feasible, the single opening shall be located so as to be accessible from all parts within the berthing and mooring area and large enough for two lines of boats to move rapidly during emergencies. The design shall specifically provide:
(1)
Access to all parts for the operation of firefighting apparatus; and
(2)
Access to each boat afloat for emergency removal without the necessity of moving any other boat.
(Code 1977, app. A, § X(N)(6))
In no event shall dry storage or repair facilities be provided at marina facilities; however, fueling facilities shall be allowed.
(Code 1977, app. A, § X(N)(7))
The village council shall attach conditions and safeguards to the special exception application for marina facilities to provide for necessary limitations on lighting, hours of operation, location of principal entrances, the storage or fuel or other requirements necessary to protect adjoining property owners, to provide for traffic safety and the elimination of fire hazards, and to achieve other appropriate community objectives inherent in the special exception application.
(Code 1977, app. A, § X(N)(8))
The village recognizes the need for some village residents to use their place of residence for limited nonresidential activities (home occupations). However, the village believes that the need to protect the integrity of its residential areas is of paramount importance. The allowance of regulated home occupations and the issuance of an annually renewed local business tax receipt, as applicable, is the proper method by which to allow and to regulate nonresidential activity within the village's residential districts.
(Code 1977, app. A, § X(S)(1); Ord. No. 17-21, § 2, 2-10-2022)
In essence, the objective of this division of village code is to allow limited commercial type activities to occur in a residential district only to an extent that no neighbors or passersby will be aware, by outward appearance, of the activity.
(Code 1977, app. A, § X(S)(2); Ord. No. 17-21, § 2, 2-10-2022)
The following words, terms and phrases, when used in this division, shall have the meanings ascribed to them in this section, except where the context clearly indicates a different meaning:
Code compliance division means the village division under the administration of the village police department that is responsible for the enforcement of the regulations and requirements set forth in this division.
Code compliance officer means the individual employed by the village and working within the code enforcement division who is charged with the daily monitoring, inspecting and compliance enforcement of the regulations and requirements set forth in this division.
Home occupation means any business or commercial activity that is conducted from property within the village that is zoned for residential use.
Special magistrate means the village-appointed special magistrate who has legal jurisdiction to hear complaints and/or violations regarding the failure of a village resident to operate a home occupation in conformance with the regulations and requirements set forth in this division.
(Code 1977, app. A, § X(S)(3); Ord. No. 33-13, § 4, 10-10-2013; Ord. No. 17-21, § 2, 2-10-2022)
Cross reference— Definitions generally, § 1-2.
Editor's note— Ord. No. 17-21, § 2, adopted February 10, 2022, repealed § 78-514, which pertained to permitted uses and derived from Code 1977, app. A, § X(S)(4).
Home occupations shall only be allowed that meet the following regulations, conditions and requirements:
(1)
No home occupation shall be permitted without payment of the required village business tax and the annual renewal of the accompanying business tax receipt.
(2)
The home occupation shall be incidental to the principal use of the premises as a residence.
(3)
The home occupation shall not detract from the residential character of the neighborhood.
(4)
The area set aside for home occupations shall not exceed 25 percent of the total conditioned floor area of the residence.
(5)
The home occupation shall be operated entirely within the applicant's residence or allowed accessory structure. Incidental activities may occur at the property.
(6)
Only members of the immediate family permanently residing on the premises shall be employed in the home occupation. In addition, a total of up to two employees or independent contractors not residing on the premises may also work on-site at the home occupation.
(7)
Merchandise shall not be displayed, stored or offered for sale outside of the residence.
(8)
Reserved.
(9)
No alteration of the exterior character or appearance of the premises shall occur without the requisite approval from the village planning and zoning board as provided in chapter 22, article II, division 2, Village Code.
(10)
No process shall be used which is hazardous to the public health, safety or welfare.
(11)
Reserved.
(12)
The home occupation shall not display any external evidence of an occupation outside the structure (residence).
(13)
The home occupation shall not provide for the use or storage of trucks over three-quarters ton, tractor-trailers, semitrucks, step vans, or heavy equipment such as construction equipment. See also, Village Code Sections 46-72, 73 and 74.
(14)
The home occupation shall produce no noise or obnoxious odors, dust, fumes, vibration, glare or electrical interference detectable to normal sensory perception outside the residence or accessory structure.
(15)
The home occupation shall not require any additional parking beyond that required to be provided within the residential district as set forth in the village's off-street and on-street parking regulations as provided in chapter 78, article X, Village Code.
(16)
There shall be no advertising, display, or other external evidence or indications of a home occupation on the residential premises, other than signs permitted on residentially zoned properties. See also, Village Code Chapter 78, Article XI.
(17)
No hazardous, highly explosive or combustible material shall be used or stored on the premises.
(18)
Deliveries from commercial suppliers shall not restrict traffic circulation or block neighboring properties.
(19)
Reserved.
(20)
No equipment or process shall be used which creates visual or audible electrical interference in any radio or television receiver off the premises or causes fluctuations in line voltage off the premises.
(Code 1977, app. A, § X(S)(5); Ord. No. 17-21, § 2, 2-10-2022)
Except as permitted in this division, a home occupation shall be conducted in a manner which does not give an outward appearance of or manifest characteristics of a business which would infringe upon the rights of neighboring residents to enjoy the peaceful occupancy of their residence or infringe upon or change the intent of the residential district.
(Code 1977, app. A, § X(S)(6)(a); Ord. No. 17-21, § 2, 2-10-2022)
Editor's note— Ord. No. 17-21, § 2, adopted February 10, 2022, repealed § 78-517, which pertained to termination of permit upon death or relocation of permittee and derived from Code 1977, app. A, § X(S)(6)(b). Said ordinance repealed § 78-518, which pertained to districts where permitted and derived from Code 1977, app. A, § X(S)(6)(c).
(a)
All home occupations are subject to periodic inspections in the same manner as traditionally located businesses.
(b)
The code compliance officer shall, by appointment, make at least one inspection visit each year to determine if compliance with applicable village codes is being met.
(c)
The village fire department shall make at least one inspection visit each year to determine compliance with village fire codes, standards and regulations.
(d)
In order to guarantee that a home occupation, once permitted, will not become a nuisance to neighbors or otherwise violate the regulations, conditions and requirements in this division, the department of community development and/or code compliance division and/or fire department may recommend to the village council to impose additional reasonable conditions as may be necessary to protect the public health, safety and welfare.
(Code 1977, app. A, § X(S)(6)(d)—(g); Ord. No. 33-13, § 4, 10-10-2013; Ord. No. 17-21, § 2, 2-10-2022)
Home occupations shall comply with all local, county, state or federal regulations pertinent to the activity pursued, and the requirements set forth in this division shall not be construed as an exemption from such regulations.
(Code 1977, app. A, § X(S)(6)(h))
Editor's note— Ord. No. 17-21, § 2, adopted February 10, 2022, repealed §§ 78-521—78-525, which pertained to the following, respectively, application for permit; denial of permit; permit fee; expiration and renewal of permit; revocation of permit, and derived from Code 1977, app. A, § X(S)(7)(a)—(e); Ord. No. 33-13, § 4, 10-10-2013.
No garage sale, carport sale, yard sale, outdoor sale, or other similar activities shall be permitted in any residential district, including the residential portion of the mixed use district, without the issuance of a permit from the community development department. There shall be no fee charged by the village for the issuance of such permit. Not more than two permits shall be issued to any one street address during any single calendar year.
(Code 1977, app. A, § X(D)(1); Ord. No. 27-13, § 1, 6-12-2014)
(a)
Applicants for a garage sale or other outdoor sale permit in a residential zone shall first submit to the community development department a statement showing:
(1)
The name and address of the person conducting the garage sale or other outdoor sale.
(2)
The day upon which the sale shall occur.
(b)
The community development director or designee shall issue the permit as a matter of right upon determination that the garage sale or other outdoor sale does not violate any of the terms of this Code. By applying for a permit, the applicant agrees to comply with all permit requirements, including sign code requirements allowing one temporary on site sign and a maximum of three temporary off premises directional signs, and on-street parking requirements.
(Code 1977, app. A, § X(D)(2); Ord. No. 27-13, § 1, 6-12-2014)
Garage sales or other outdoor sales in residential districts, or in the residential portion of a mixed use district, are permitted only on Saturdays between the hours of 8:00 a.m. and 5:00 p.m. Such sales at any other time of day are prohibited.
(Code 1977, app. A, § X(D)(3); Ord. No. 27-13, § 1, 6-12-2014)
All sites of garage sales or outdoor sales shall be left in a clean and orderly manner upon completion of the sales activities. All temporary signs shall be removed immediately upon the conclusion of the garage sale or outdoor sale.
(Code 1977, app. A, § X(D)(4); Ord. No. 27-13, § 1, 6-12-2014)
Violations of the regulations for conducting garage sales shall be grounds for denial of a subsequent garage sale permit. In addition, the village may, at its sole discretion, refer alleged violations to the code enforcement special magistrate.
(Ord. No. 27-13, § 1, 6-12-2014)
(a)
Permit required. Any village resident, or any village business holding a current village business tax receipt pursuant to chapter 70, article II, is eligible to apply for and obtain a special event permit pursuant to this section. Any such resident or business that desires to conduct any type of special event within the village must obtain a permit from the village in order that the village may adequately provide for the potential impacts created by the proposed event. A maximum of four such permits shall be allowed per address or per business in any single calendar year. A special event that includes multiple addresses, for example within a shopping center, shall count as one event for each address captured by the special event permit.
(b)
Written application. Written application must be submitted to the village building department ; which application shall contain the following information:
(1)
Type of event(s) proposed.
(2)
Sponsor or person(s) responsible for event.
(3)
Proposed location with property owner's written consent.
(4)
Proposed date, commencement time and duration of event.
(5)
Approximate number of participants.
(6)
Proof of insurance in amounts acceptable to the village for the type of event.
(7)
Expected traffic, fire-rescue, and utilities impact, if any, and proposed mitigation plans.
(8)
Copy of all required state and county permits if event will be held on or utilize state and/or county-controlled property.
(9)
A refundable deposit is required if the event is held on any village property. The amount of this deposit shall be set by resolution of the village council.
(c)
Deadlines to submit complete applications. In order to provide sufficient time for full administrative review and for final village council approval, complete applications for special events that contemplate attendance of 200 or more persons shall be submitted to the village building department a minimum of 45 days prior to the date for which the special event is proposed. Complete applications for special events that contemplate attendance of less than 200 persons, (which do not require final approval of the village council), should be submitted to the village building department a minimum of 20 days prior to the date for which the special event is proposed in order to provide sufficient time for full administrative review, and for final village manager approval.
(d)
Minimum impact. All special events shall be coordinated with the village in order to lessen adverse impacts and to allow for continuous protection of the health, safety and welfare of all. In order to provide such protection, all applications for special events shall be reviewed and signed off by the police chief and the fire chief. In addition, review and approval by other applicable departments may be required on a case by case basis.
(e)
Alcoholic beverage service. Notwithstanding anything contained in the Village of Tequesta Code of Ordinances to the contrary, alcoholic beverages are permitted at approved special events under the following conditions. The service of alcoholic beverages at any special event shall require, as a condition precedent, the issuance of the appropriate state alcoholic beverage permit, a copy of which must be provided to the village in conjunction with the special event permit application. All terms and conditions of any state issued permit shall be strictly adhered to by the applicant. In addition, the village may require, in its sole discretion, the use of physical barriers to define and contain the outdoor area within which alcoholic beverages may be consumed, and/or the use of security or off-duty law enforcement personnel at the special event. It is the applicant's responsibility to monitor for and prevent excessive as well as underage consumption of alcoholic beverages at all times. The applicant shall indemnify, defend and hold the village harmless from any and all damage to any real or personal property, and from any and all injury or death suffered by any person directly or indirectly related to the consumption of alcoholic beverages in conjunction with the special event.
(f)
Final action.
(1)
After review by, and with the recommendations of the building department director, the police chief, the fire chief, and other applicable departments on a case by case basis, the village manager shall approve the application, deny the application in whole or in part; or approve the application with conditions. Such action shall be taken within ten business days from the submittal of a complete special event application, or the application shall automatically be deemed approved.
(2)
If the application is denied, the applicant may request an appeal to the village council. Such request must be made in writing to the village manager within ten days of the denial, and shall be considered by the village council at its next scheduled meeting.
(3)
Any proposed special event whose attendance is contemplated to exceed 200 people in total shall also require final approval by the village council which, after considering the recommendations of the village manager, may approve the application, deny the application in whole or in part; or approve the application with conditions.
(4)
Denial of a special event permit application, or the imposition of certain conditions by either the village manager or the village council may be based, among other reasons and at the sole discretion of the village, upon violations of the terms and conditions of a previously approved special event permit for the same address.
(g)
Nonprofit enterprises.
(1)
The village may issue non-profit permits to any person or organization for the conduct or operation of occasional sales and/or fundraising projects held by nonprofit enterprises, either regularly or temporarily, when the applicant signs an affidavit that the applicant operates without private profit, for a civic, public, charitable, youth, service, educational, literary, fraternal, or religious purpose.
(2)
A person making application under this section must comply with all rules and procedures for the granting of special event permits as set forth in this section. All persons operating under a non-profit permit shall operate their nonprofit enterprise in compliance with this section and all other rules and regulations of the village.
(3)
Any person signing a false affidavit pursuant to this section shall be subject to a $250.00 fine for a first offense and a $500.00 fine for a repeat offense, or may be cited to the village code enforcement special magistrate.
(h)
Definition. For purposes of this section, a "special event" is any outdoor activity, gathering or group of persons, vehicles or both, organized and having a common purpose, upon public or private property, which is likely to inhibit the usual flow of vehicular or pedestrian traffic, which is likely to creates noise in excess of that typically associated with the areas upon which the event is to occur, or which is likely to preempt or restrict use of property typically accessible by the general public. Examples of special events include, but are not limited to block parties, parades, races or walks, grand opening events, charity fundraisers, and other similar events not specifically permitted by the village's zoning ordinance.
(i)
Village sponsored events. Special events that are sponsored by the village and held on village property shall be exempt from the provisions of this section.
(Ord. No. 27-13, § 1, 6-12-2014; Ord. No. 01-20, § 1, 4-9-2020)
No swimming pool shall be located, designed, operated or maintained so as to interfere unduly with the enjoyment of the property rights by owners of property adjoining the swimming pool.
(Code 1977, app. A, § X(E)(1))
Lights used to illuminate any swimming pool shall be so arranged and shaded as to reflect away from adjoining premises.
(Code 1977, app. A, § X(E)(2))
All applicable setbacks for open swimming pools may be reduced by up to three feet of the established setback required by the zoning district in which the pool is located, as set forth on the schedule of site regulations in section 78-143. All applicable setbacks for swimming pools which are covered or enclosed shall meet the required setbacks of the zoning district in which the pool is located, as set forth on the schedule of site regulations. For purposes of measuring setback requirements, all setback measurements for open swimming pools shall be taken from the closest point of the water's edge. For covered or enclosed swimming pools, all setback measurements shall be taken from the closest point of the cover, enclosure, and/or structural framing.
(Code 1977, app. A, § X(E)(3))
Swimming pools shall be located on the same lot or parcel of land as that of the main building. In the event of contiguous lots or parcels, a unity of title shall be recorded prior to issuance of a building permit for either a main building or an accessory structure which would cross lot lines.
(Code 1977, app. A, § X(E)(4))
All residential swimming pools shall be enclosed and protected by a child-resistant barrier meeting the requirements set forth in F.S. ch. 515.
(Code 1977, app. A, § X(E)(5); Ord. No. 33-13, § 5, 10-10-2013)
No aboveground pools of any nature shall be permitted in any zoning district. Any pool constructed or assembled of any material whose top edge exceeds two feet in height above the average finished grade of the lot or site shall be considered an aboveground pool.
(Code 1977, app. A, § X(E)(6))
(a)
On construction sites, trailers, temporary structures, or vehicles used for construction offices on a construction site or in a subdivision shall be permitted during the period of construction only after a building permit for the construction job has been issued.
(b)
Such trailers, temporary structures, or vehicles must be removed from the building site or subdivision in accordance with the provisions of the Florida Building Code.
(c)
Such permitted trailers, structures, or vehicles may be used for sales habitation or promotional purposes, only upon permission of the village council, and shall be permitted only after receiving a permit from the building official for each such trailer.
(d)
A trailer, temporary structure, or vehicle used for a construction office on a construction site located within a residentially zoned district of the village shall not have an interior dimension greater than 96 square feet. The interior dimension restriction shall not apply to trailers, temporary structures, or vehicles which may be permitted for subdivision infrastructure construction. Only one such trailer, temporary structure, or vehicle used for a construction office on a construction site shall be permitted for each owner-builder or prime contractor within any given subdivision for which the village has previously accepted the tangible improvements required prior to the granting of approval of the final plat.
(Code 1977, app. A, § X(K)(1))
(a)
The intermittent or continual placement, parking, standing or utilization of any trailer, travel trailer or temporary structure; or vehicle used for storage purposes shall be prohibited in all zoning districts, except where the placement, parking, standing or utilization of such trailer, travel trailer, temporary structure or vehicle used for storage purposes is specifically allowed by Code.
(b)
The placement, parking or utilization of any trailer, travel trailer or temporary structure that is also classified as a mobile food truck, as defined in section 78-641 of Village Code, shall be allowed in all zoning districts, so long as the following conditions are met:
(1)
Any such trailer, travel trailer, or temporary structure must comply with all applicable operation and location requirements for mobile food trucks found in chapter 78, article IX, division 11 of Village Code, including but not limited to: limitations on operating days, use of designated parking spaces, daily hours of operation, and storage requirements when not in active operation.
(2)
Overnight parking or storage of any such trailer, travel trailer or temporary structure that is also a mobile food truck is expressly prohibited, except when otherwise allowed by Village Code. Violators of this section shall be subject to the penalties listed in chapter 78, article IX, division 11 of Village Code as well as any other legal action available to the village.
(c)
Portable storage units (PSUs) shall be allowed in all residential zoning districts and in residential areas in mixed use zoning districts so long as the following conditions are met:
(1)
PSUs must be placed on driveways or approved parking areas; and
(2)
PSUs are allowed at a location for no more than 14 calendar days per placement with no more than two placements per year.
(d)
PSUs shall be allowed in nonresidential zoning districts so long as the following conditions are met:
(1)
PSUs are only allowed in conjunction with and during the duration of a valid build-ing permit; and must be removed prior to the issuance of a certificate of occupancy; and
(2)
PSUs shall be placed in an area approved by the building official but are not allowed to be located in a right-of-way, easement, landscape buffer or drainage area; and
(3)
PSUs shall be located in such a manner so as not to create a pedestrian or vehicular traffic hazard.
(e)
A permit must be secured prior to the placement of a PSU. The permit fee shall be in the amount of the minimum permit fee as set forth in appendix C of the Village Code of Ordinances, as may be amended from time to time.
(Code 1977, app. A, § X(K)(2); Ord. No. 11-08, § 1, 6-12-2008; Ord. No. 07-21, § 1, 6-10-2021)
As used in this article, the following terms shall be defined as follows:
Mobile food truck or mobile food dispensing vehicle means any vehicle that is a public food service establishment and that is self-propelled or otherwise movable from place to place, and includes self-contained utilities such as gas, water, electricity, or liquid waste disposal. Mobile food trucks or mobile food dispensing vehicles shall be classified as one of the following:
Class I - Mobile kitchens. In addition to the vending of products allowed for class II and class III mobile food trucks, these vehicles may cook, prepare and assemble food items on or in the unit, and serve a full menu. Customers may be notified of the vehicle's location by social media or other forms of advertising. These vehicles may be classified as "mobile food dispensing vehicles," as defined by F.S. § 509.102, if they include self-contained utilities, including, but not limited to, gas, water, electricity, or liquid waste disposal.
Class II - Canteen trucks. These vehicles vend fruits, vegetables, hot dogs, pre-cooked foods, pre-packaged foods and pre-packaged drinks. No preparation or assembly of foods or beverages may take place on or in the vehicle. However, the heating of pre-cooked foods is allowed. A cooking apparatus or grill top for the heating of pre-cooked foods is permitted so long as it complies with state regulations. These vehicles are limited to providing catering services to employees at a specific location. These vehicles may be classified as "mobile food dispensing vehicles," as defined by F.S. § 509.102, if they include self-contained utilities, including, but not limited to, gas, water, electricity, or liquid waste disposal.
Class III - Ice cream trucks. These vehicles vend only pre-packaged frozen dairy or frozen water-based food products, soft serve or hand-dipped frozen dairy or frozen water-based food products and pre-packaged beverages. These vehicles may be classified as "mobile food dispensing vehicles," as defined by F.S. § 509.102, if they include self-contained utilities, including, but not limited to, gas, water, electricity, or liquid waste disposal.
Mobile service base means a place for food storage, the cleaning of the equipment, the filling of water tanks and proper disposal of waste water and grease, and shall not include the use of a private home as a mobile service base.
Property owner means the owner of real property on which the mobile food truck operates.
Temporary commercial kitchen means any kitchen that is a public food service establishment, used for the preparation of takeout or delivery-only meals housed in portable structures that are movable from place to place by tow or are self-propelled or otherwise axle-mounted, that include self-contained utilities such as gas, water, electricity, or liquid waste disposal. The term does not include a tent.
Vehicle means a motorized vehicle, including a trailer or other portable unit attached to a motorized vehicle, that is intended for use in vending.
Vend means to sell or offer to sell products from a mobile food truck.
Village-issued special event permit means a permit issued by the village for special events per the requirements of chapter 78, article IX, division 8 of Village Code.
(Ord. No. 07-21, § 2, 6-10-2021; Ord. No. 16-23, § 1, 12-14-2023)
The following requirements shall apply to all mobile food truck and temporary commercial kitchen operations within the village:
(a)
Special event requirements. Gatherings of two or more class I, class II, and/or class III mobile food trucks, or temporary commercial kitchens on a property at any given time shall be classified as a food truck or temporary commercial kitchen special event. In order for such events to occur, the property owner shall be required to obtain a village-issued special event permit prior to the event taking place. Applications for special event permits shall be made by the property owner to the village in accordance with the requirements of chapter 78, article IX, division 8 of Village Code.
(b)
Health and safety regulations; display of state license. Mobile food trucks and temporary commercial kitchens shall comply with all federal, state, and local health and safety regulations and requirements, and shall obtain and maintain any and all licenses required by any other health organization or governmental organization having jurisdiction over the same. Proof of such licensure shall be firmly attached and visible on the mobile food truck or temporary commercial kitchen at all times, and shall be produced to a law enforcement officer, or village code enforcement officer upon demand. All mobile food trucks and temporary commercial kitchens shall be maintained in good repair and in a clean sanitary condition. Routine inspections may be conducted by code enforcement officers, building code inspectors, fire inspectors, or police officers on each mobile food truck to ensure compliance with these provisions.
(c)
Initial and annual fire safety inspections. Mobile food trucks and temporary commercial kitchens shall be made available for inspection by the Village of Tequesta Fire Department at a location determined by the fire department. The fire department shall ensure compliance with all applicable federal, state, and local fire safety statutes, regulations, ordinances, and codes. Subsequently, every class I mobile food truck shall undergo an annual inspection by the village fire department.
(d)
Written consent of property owner. Mobile food trucks and temporary commercial kitchens shall not operate on any private property without the written consent of the property owner. A copy of such written permission shall be maintained in the mobile food truck or temporary commercial kitchen at all times, and shall be produced to a law enforcement officer, or village code enforcement officer upon demand.
(e)
Stock-in-trade; storage. All materials, equipment, and stock-in-trade shall be stored entirely within the mobile food truck or temporary commercial kitchen unless the property owner has obtained a village-issued special event permit.
(f)
Outside patron seating. No tables, chairs, umbrellas, or other furniture for patron seating may be placed outside the mobile food truck or temporary commercial kitchen unless the property owner has obtained a village-issued special event permit.
(g)
Food vending. Food vending shall only be conducted from the mobile food truck or temporary commercial kitchen unless the property owner has obtained a village-issued special event permit.
(h)
Alcohol sales. A mobile food truck or temporary commercial kitchen shall not sell alcoholic beverages unless the property owner has obtained a village-issued special event permit.
(i)
Conducting business near existing retail food establishments. A mobile food truck or temporary commercial kitchen shall not be located within 200 feet of any existing retail food establishment during such establishment's hours of operation without the prior written permission from the retail food establishment. A copy of such written permission shall be maintained in the mobile food truck at all times, and shall be produced to a law enforcement officer, or village code enforcement officer upon demand. However, any mobile food truck or temporary commercial kitchen that is operated on the same premises as, and by, a separately licensed retail food establishment may operate during the same hours of operation as the separately licensed retail food establishment.
(j)
Conducting business near village-sponsored or village-sanctioned special event. A mobile food truck or temporary commercial kitchen shall not be located within 200 feet of any village-sponsored or village-sanctioned special event unless the mobile food truck or temporary commercial kitchen is permitted by the village to operate at such event.
(k)
Conducting business in public right-of-way. Neither a temporary commercial kitchen, nor a mobile food truck, except for class III ice cream trucks, shall conduct business or operate in the public rights-of-way, unless the adjacent property owner has obtained a village-issued special event permit. Where mobile food trucks or temporary commercial kitchens are authorized to so operate, they may stop, stand or park in designated parking areas on the property.
(l)
Conducting business near street intersections or pedestrian crosswalks. A mobile food truck or temporary commercial kitchen shall not be located within 15 feet of any street intersection or pedestrian crosswalk unless the adjacent property owner has obtained a village-issued special event permit.
(m)
Interference with vehicular and pedestrian traffic. A mobile food truck or temporary commercial kitchen shall not impede the flow of vehicular traffic, sidewalks, the ingress or egress of other businesses, building entrances, or emergency exits, unless the property owner has obtained a village-issued special event permit
(n)
Limitations on number of mobile food trucks per property. No more than one mobile food truck or temporary commercial kitchen shall operate on a given property at any one time unless the property owner has obtained a village-issued special event permit.
(o)
Limitations on number of operating days.
(1)
A mobile food truck shall not operate on a given property more than two consecutive days per calendar month, and further shall not operate on a given property more than ten days in total per calendar year, unless the property owner has obtained a village-issued special event permit.
(2)
A temporary commercial kitchen shall not operate on a given property for more than 30 consecutive days, except that a temporary commercial kitchen may be used in conjunction with a state licensed permanent food service establishment for the purpose of supplementing the operations of the state licensed permanent food service establishment kitchen as follows:
a.
For a total of 60 consecutive days if located on the same premises as the state licensed permanent food service establishment; however, the state may grant one extension of up to 60 additional consecutive days; or
b.
For a total of 120 consecutive days during a period of renovation, repair, or rebuilding, on the premises of the state licensed permanent food service establishment, or off said premises but within the line of sight and no further away than 1,320 feet from the state licensed permanent food service establishment; however, the state may grant extensions of time for good cause shown pursuant to F.S. § 509.102(3)(a)2.
(3)
If a permanent food service establishment licensed under this chapter, or the land upon which that establishment is sited, is rendered uninhabitable due to a natural disaster that is the subject of a declared state of emergency, a temporary commercial kitchen may operate on the premises of, or as near as reasonably practicable to, the location of the licensed permanent food service establishment. A temporary commercial kitchen may operate in this capacity only during the period of repair and rebuilding of the permanent establishment with which it is associated.
(p)
Use of designated parking spaces. On-site parking requirements shall be maintained for the principal use of the property. The subject site should also provide parking for the customers of the food truck or temporary commercial kitchen. The mobile food truck or temporary commercial kitchen shall not be parked:
(1)
In a required parking space;
(2)
In a fire lane or in an area blocking a fire hydrant;
(3)
In Americans with Disabilities (ADA) accessible parking spaces or accessible ramps;
(4)
On an unimproved surface (including but not limited to dirt, sand, grass, gravel, or vacant lot); or
(5)
In any driveway aisles, "no parking" zones, or loading-only areas.
(q)
Hours of operation. Except as permitted under section 78-642(i), a mobile food truck or temporary commercial kitchen shall operate only between the hours of 7:00 a.m. to 9:00 p.m., unless the property owner has obtained a village-issued special event permit.
(r)
Parking and storage of inactive mobile food trucks. The parking or storage of mobile food trucks or temporary commercial kitchens that are not in active operation is expressly prohibited, except when otherwise allowed by Village Code such as the parking of commercial vehicles, trucks, or trailers within residential zoning districts pursuant to chapter 46, article III, division 2 of Village Code. If otherwise allowed by Village Code, any parking or storage of an inactive mobile food truck or temporary commercial kitchen shall conform with all applicable location and screening requirements.
(s)
Noise limitations. Except for class III ice cream trucks, a mobile food truck or temporary commercial kitchen shall not make sounds, announcements, or amplify music to call attention to its vending or products either while traveling on public or private rights-of-way, or when stationary. All mobile food trucks and temporary commercial kitchens, including, but not limited to, class III ice cream trucks, shall comply with the village's noise ordinance contained in chapter 30, article X of Village Code. A property owner may apply for a special event permit with the village to deviate from these requirements.
(t)
Restroom facility. Mobile food trucks and temporary commercial kitchens operating on a property for a duration of more than three hours shall have a written agreement with the property owner that confirms the food truck employees have access to a flushable restroom within 400 feet of the vending location during the hours of operation. A copy of such written permission shall be maintained in the mobile food truck or temporary commercial kitchen at all times, and shall be produced to a law enforcement officer, or Village Code enforcement officer upon demand.
(u)
Waste disposal. Mobile food trucks and temporary commercial kitchens shall:
(1)
Provide for their own waste collection and removal such that no waste remains on the property;
(2)
Provide a waste receptable for public use;
(3)
Keep the surrounding area neat and orderly at all times;
(4)
Remove all garbage or trash prior to departure of the mobile food truck each day;
(5)
Properly discard any waste material in accordance with any applicable federal, state, county, and municipal laws, rules, regulations, orders, or permits;
(6)
Not, under any circumstances, release grease or any waste materials into the stormwater system, tree pits, sidewalks, streets, parking lots, or onto any private or public property;
(7)
Not, at any time, discharge any fluids or toxic pollutants.
(8)
Class I mobile food trucks and temporary commercial kitchens shall also have a current written agreement, with a state or local licensed facility, for the proper disposal of grease. A copy of such written agreement shall be maintained in the mobile food truck or temporary commercial kitchen at all times, and shall be produced to a law enforcement officer, or Village Code enforcement officer upon demand.
(v)
Signage. Menu signs shall be affixed to the mobile food truck or temporary commercial kitchen at all times. The display of products or samples off of the vehicle is prohibited. Mobile food trucks and temporary commercial kitchens shall not post or utilize any advertising, except that the prices, product descriptions and vehicle name may be posted on the vehicle. No freestanding signs or advertisements, sandwich board signs, flags, balloons, streamers, flashing lights, banners, or other similar attraction devices or person(s) shall be posted or utilized to advertise . When in operation, subsection 78-745(e) of the Village Code shall not apply to mobile food trucks or temporary commercial kitchens.
(Ord. No. 07-21, § 2, 6-10-2021; Ord. No. 16-23, § 1, 12-14-2023)
A mobile food truck or temporary commercial kitchen shall be permitted to operate only on the properties designated below, unless the property owner has obtained a village-issued special event permit allowing for a deviation from these requirements.
(a)
Class I - Mobile food trucks.
(1)
Residential zoning districts.
a.
Individual single-family lots only if there is a written contractual agreement between a mobile food truck and the property owner for catering services. A copy of such written agreement shall be maintained in the mobile food truck at all times during the event, and shall be produced to a law enforcement officer, or village code enforcement officer upon demand. The term "catering services" shall not include the vending of products from the mobile food truck itself during a catered event, and does not include events that are open to the public.
b.
Properties owned by homeowners associations or property owners associations.
c.
Rental apartment complexes.
(2)
Nonresidential zoning districts and mixed-use districts. Class I mobile food trucks or temporary commercial kitchens shall be permitted on any nonresidential or mixed-use property where retail sales and restaurants are a permitted use under the applicable zoning regulations.
(3)
Recreation/open space district. The vending of products from a Class I mobile food truck or temporary commercial kitchen on properties zoned as recreation/open space shall be allowed only on designated parking areas or pursuant to an approved special event permit from the village.
(b)
Class II - Canteen trucks. Class II canteen trucks are prohibited in all zoning districts except to provide catering to employees on-site at locations within clearly delineated boundaries of the site. Boundaries shall be delineated through the use of fencing or other materials enclosing a construction site, where there is a currently valid construction permit.
(c)
Class III - Ice cream trucks.
(1)
Residential zoning districts.
a.
Individual single-family lots only if there is a written contractual agreement between a mobile food truck and the property owner for catering services. A copy of such written agreement shall be maintained in the mobile food truck at all times during the event, and shall be produced to a law enforcement officer, or village code enforcement officer upon demand. The term "catering services" shall not include the vending of products from the mobile food truck itself during a catered event, and does not include events that are open to the public.
b.
Properties owned by homeowners associations or property owners associations.
c.
Rental apartment complexes.
(2)
Nonresidential zoning districts and mixed-use districts. Class III ice cream trucks shall be permitted on any nonresidential or mixed-use property where retail sales and restaurants are a permitted use under the applicable zoning regulations.
(3)
Recreation/open space district. The vending of products from a class III ice cream truck on properties zoned as recreation/open space shall be allowed only on designated parking areas or pursuant to an approved special event permit from the village.
(4)
Rights-of-way. A class III ice cream truck shall not stop, stand or park for more than ten minutes, unless there are customers waiting in line to buy products.
(Ord. No. 07-21, § 2, 6-10-2021; Ord. No. 16-23, § 1, 12-14-2023)
It shall be unlawful for any person to violate any of the provisions of this division. This division may be enforced by any means allowed by law, including, but not limited to, code enforcement citation under F.S. ch. 162, and chapter 2 of Village Code, or legal action. If the citation method is used to punish violators, the violation shall be treated as a civil infraction, and fines shall be set forth in the schedule of fees and charges adopted by resolution of the village council and such fines may then be revised from time to time by resolution of the village council; however, any fine amount set forth in such resolution of the village council shall not to exceed $500.00 per offense. Each day a violation occurs shall constitute a separate offense and shall be punishable hereunder as a separate offense.
(Ord. No. 07-21, § 2, 6-10-2021)