SPECIAL SITE STANDARDS
The purpose of this chapter is to establish standards for the design and development of sites in order to protect the public health, safety and welfare.
(Ord. No. 3266 (Series 2023), § 5.1.001, 8-2-2023)
The standards established in this chapter shall apply to all development within the city's urban growth boundary.
(Ord. No. 3266 (Series 2023), § 5.1.002, 8-2-2023)
The lot size, shape and orientation within all subdivisions or partitions shall be appropriate for the location of the subdivision or partition and for the type of development and use contemplated.
(1)
Lot width. Each lot shall have a minimum width of 30 feet, with 40 feet required for corner lots, unless otherwise required by this subpart.
(2)
Lot depth. Each lot shall have a minimum depth of 85 feet.
(3)
Lot area. Each lot shall have a minimum area as required by zone except where public utility facilities are to be placed, then no lot size is required.
(4)
Lot depth to width ratio. No lot or parcel depth shall be more than 2½ times the average width. This requirement may be waived by the reviewing authority.
(5)
Orientation of side property line. As far as practical, the side property line of a lot shall run at right angles to the street upon which it faces, except that on a curved street the side property lines shall be radial to the curve.
(6)
Street frontage. All lots shall have a minimum street frontage of 25 feet, except for flag lots as provided in section 107-24 and in cases where easement access is approved pursuant to section 111-24(a)(11).
(7)
Minimum standards. These minimum standards apply except where property is zoned or deeded for business or industrial use, other widths and area may be permitted. Depth and width of properties reserved or platted for commercial and industrial purposes shall be adequate to provide for the off-street parking and service facilities required for the type of use and development contemplated, as prescribed in section 107-170.
(Ord. No. 3266 (Series 2023), § 5.2.001, 8-2-2023)
The use of panhandle or flag lots as a means of access for a partition or subdivision shall be permitted only where:
(1)
The flagpole shall maintain a constant minimum width of 20 feet for one or two residential units and 25 feet in all other cases.
(2)
The natural grade of the flagpole shall not be so steep as to prevent the construction of a driveway with a grade not exceeding 18 percent.
(3)
The flagpole shall be adjacent to the closest existing lot line.
(4)
The flagpole strip shall be conveyed with the ownership of the rear lot or parcel and shall be considered a permanent part of that lot or parcel. No re-division or property line adjustment shall be allowed to alter the status of the flagpole strip unless other access, meeting all the requirements of this subpart, is first provided.
(5)
Access to the rear lot or parcel shall be by way of the panhandle portion of that lot or parcel, as recorded.
(6)
The requirements of the land development code relative to access and other requirements shall be observed.
(7)
Flag lots having frontage and abutting on an approved street are not required to meet lot frontage requirements if they were recorded in the county clerk's office at the time of the passage of the 1979 ordinance.
(8)
A maximum of four residences may use a single flagpole for access through the use of access easements and maintenance agreements that are approved by the city attorney and recorded with the county. Driveway standards are set forth in section 107-173.
(9)
Flag lots shall not be permitted when the result would be to increase the number of properties requiring direct and individual access connections to the state highway system or other arterials.
(10)
Flag lots may be permitted for residential development when necessary to achieve planning objectives, such as reducing direct access to roadways, providing internal platted lots with access to a residential street, or preserving natural or historic resources. However, flag lots shall not constitute more than ten percent of the total number of lots in a subdivision.
(11)
The front wall of a dwelling unit constructed on a flag lot shall be oriented (to the street providing access) in the same manner as the front wall of a majority of the dwelling units on the same side of the street on lots within 100 feet of the flag lot. If the orientation of existing units is equally split, the property owner may choose the orientation of the new unit.
(Ord. No. 3266 (Series 2023), § 5.2.002, 8-2-2023)
The purpose of requiring yards is to provide for yard area around structures to ensure adequate privacy, desirable and safe visibility, and outlook from nearby roads and buildings; natural light, ventilation, and sunlight; access to and around buildings; buffering between uses; and space for landscaping, gardening, and recreation.
(Ord. No. 3266 (Series 2023), § 5.3.001, 8-2-2023)
(a)
Property line location responsibilities. It shall be the property owner's responsibility to establish and clearly mark all necessary property boundaries prior to obtaining a building permit as determined by the city. The established property lines shall be used as a reference to ensure that the development satisfies all applicable requirements of this subpart. If property boundaries cannot be accurately established by the property owner, the city may require a certified survey. If a survey is required, proof of survey shall be provided to the planning division prior to issuing land use authorization for a building permit.
(b)
The minimum yard requirement of this subpart applies to all uses except the following:
(1)
Fences, hedges or walls six feet or less in height above the finish grade of the site, when located in a required side or rear yard.
(2)
Fences, hedges or walls four feet or less in height, when located in a required front yard.
(3)
All common wall constructions.
(4)
Where lots comprising more than 50 percent of the block frontage are developed with front yards less than the depth required herein, the setback may be the average of such existing front yards but shall not be less than ten feet.
(5)
The following architectural features shall meet the setbacks shown:
a.
Cornices, eave overhangs, bay windows, chimneys, solar collectors, planting boxes, cantilevered decks and similar architectural features may extend into any required front or rear yards not exceeding five feet, and into any required side yard not exceeding two feet.
b.
Unenclosed porches, landings, stairways, or fire escapes, not covered by a roof may extend into any required front or rear yard not exceeding five feet, and into any required side yard to within three feet of property line. Street corner side yard setbacks shall be the same as subsection (b)(1) of this section.
c.
Decks, patios, sidewalks, driveways, and similar architectural features less than 15 inches above grade shall not be regulated as to setbacks.
(Ord. No. 3266 (Series 2023), § 5.3.002, 8-2-2023)
The front yard is measured at right angles from the nearest point on the front property line to the building line.
(1)
Residential zones.
a.
Development in subdivisions recorded prior to the 2003 Code shall have a minimum front yard of 20 feet.
b.
Development in residential zones, including the R-P zone, within newly created subdivisions recorded subsequent to the 2003 Code, shall have a minimum front yard of 15 feet, and 20 feet for the garage, measured from the garage door along the center of the driveway to the established property line.
(2)
Commercial and industrial zones.
a.
Development in commercial or industrial zones shall not require a minimum front yard setback.
b.
Front yards in commercial and industrial zones may be used for landscaping and parking, if a front yard is provided.
(3)
Double frontage lots. Where double frontage yard locations are not specified by subdivision map requirements or other applicable regulations, the applicant may select the street for the front yard; unless 50 percent of the lots on a double frontage block are developed with the same front yard orientation, all remaining lots are to orient their front yards the same as the majority.
(4)
Public facilities zone. No front yard setback is required, unless the property abuts a residential zone, in which case a front yard setback shall be provided as required in said residential zone.
(Ord. No. 3266 (Series 2023), § 5.3.003, 8-2-2023)
The side yard is measured at right angles to the side property line to form a line parallel to the side property line, which extends between the front and rear yard areas. The minimum side yard is to be as follows:
(1)
Residential side yard requirements.
a.
These requirements apply to development in residential zones, including the R-P zone, within subdivisions recorded prior to the 2003 Code except where otherwise provided by this section:
1.
Five feet.
b.
These requirements apply to development in residential zones, including the R-P zone, within newly created subdivisions recorded subsequent to the 2003 Code, except where otherwise provided by this section:
1.
Five feet.
2.
Zero feet for common wall residences.
3.
Zero feet for detached residences approved as part of a planned unit development (chapter 109, article VII) or specific plan areas (chapter 109, article XVII).
(2)
Corner lots. The side yard on the street side of a platted corner lot recorded subsequent to the 2003 Code is to be a minimum of 15 feet, and 20 feet for the garage. This may be reduced to ten feet for an existing platted lot recorded prior to the 2003 Code, and 20 feet for the garage. If a side yard abuts an alley, the minimum side yard width shall be ten feet for a residential unit and five feet for a detached accessory building.
(3)
Accessory buildings. Accessory buildings as herein permitted, shall meet required side yard setbacks of the applicable zone.
(4)
Commercial and industrial zones. No side yard shall be required in the commercial or industrial zones except:
a.
When the commercial or industrial site abuts a residential zone, the side yard abutting the residential zone is to be a minimum of 20 feet and is to be increased one foot for each two feet of commercial or industrial building height above 35 feet.
b.
Commercial uses in the R-P zone shall have minimum side yard setbacks of five feet.
(5)
Public facilities zone. No side yard shall be required in the public facilities zone, unless the property abuts a residential zone, in which case a side yard setback shall be provided as required in said residential zone.
(Ord. No. 3266 (Series 2023), § 5.3.004, 8-2-2023)
The rear yard is measured at right angles to the rear property to form a line parallel to the rear property line.
(1)
Residential zones. There shall be a minimum rear yard of 20 feet in all residential zones, except where otherwise provided within this subsection.
a.
This requirement applies to development in residential zones, including the R-P zone, within subdivisions recorded prior to the 2003 Code except where otherwise provided by this section:
1.
20 feet.
b.
These requirements apply to development in residential zones, including the R-P zone, within newly created subdivisions recorded subsequent to the 2003 Code, except where otherwise provided by this section:
1.
20 feet in the HD, RR-1 and R-3 residential zones.
2.
15 feet in the R-1, R-2 and R-P residential zones.
c.
Detached accessory building. As herein permitted, accessory buildings may be located in a rear yard of a residential zone no closer than five feet from the rear property line, except for a through lot where they must be set back a minimum of 20 feet. A rear yard on an alley may permit building to the property line or ten feet from the centerline of the alley if ownership is to centerline of said alley, provided the eave does not overhang into the right-of-way in which case it must be set back the depth of the eave.
(2)
Commercial zones. There shall be no minimum rear yard in commercial zones except as follows:
a.
Where the rear property line abuts an alley, the rear yard is to be at least five feet.
b.
Where the rear property line abuts a residential zone, the rear yard is to be a minimum of 20 feet. The minimum rear yard is to be increased one foot for each two feet of commercial or industrial building height above 35 feet. The required rear yard may be used for parking, storage, or landscaping.
(3)
Industrial zones. There shall be no minimum rear yard requirements in industrial zones, except:
a.
Where the rear property line abuts an alley right-of-way, in which case the rear yard is to be a minimum of five feet.
b.
Where the rear property line abuts a residential zone, in which case the rear yard is to be as specified in subsection (2)b of this section.
(4)
Public facilities zone. No rear yard shall be required in the public facilities zone, unless the property abuts a residential zone, in which case a rear yard setback shall be provided as required in said residential zone.
(Ord. No. 3266 (Series 2023), § 5.3.005, 8-2-2023)
Detached buildings located on the same site are to be separated as follows:
(1)
Accessory buildings. An accessory building is to be located no closer than six feet from any principal building, unless fire protection is provided per building code. Any building located less than three feet from the primary building shall be attached to the primary building.
(2)
Residential buildings. A principal building (including a multifamily dwelling) is to be located no closer to another principal building than ten feet. Common wall construction is exempt from this setback requirement.
(3)
Nonresidential buildings. As provided by the building code as adopted and amended by the state.
(Ord. No. 3266 (Series 2023), § 5.3.006, 8-2-2023)
The purpose of the following sections is to limit the height of structures as needed to support public safety; protect access to natural light, ventilation, and direct sunlight; support the preservation of neighborhood character; and to preserve view sheds and scenic vistas.
(Ord. No. 3266 (Series 2023), § 5.4.001, 8-2-2023)
The height of a building or structure is to be measured as the vertical distance from the highest point of the structure to the average of the highest and lowest points where the exterior walls touch the finish grade.
(Ord. No. 3266 (Series 2023), § 5.4.002, 8-2-2023)
The maximum height for new structures is to be as follows:
(Ord. No. 3266 (Series 2023), § 5.4.003, 8-2-2023)
See section 107-270.
(Ord. No. 3266 (Series 2023), § 5.4.004, 8-2-2023)
The height limitations contained in the zoning regulations do not apply to spires, belfries, cupolas, antennas, water tanks, ventilators, chimneys, or other appurtenances usually required to be placed above the roof level and not intended for human occupancy.
(Ord. No. 3266 (Series 2023), § 5.4.005, 8-2-2023)
The purpose of establishing standards for fences, hedges, and walls are to protect certain uses from intrusion, to protect the public from uses which may be hazardous, and to increase compatibility between different land uses by visual screening.
(Ord. No. 3266 (Series 2023), § 5.5.001, 8-2-2023)
(a)
Visual obstruction prohibited. No fence, hedge or wall shall be placed to create a visual obstruction to vehicular traffic, and the provisions of article VI of this chapter shall apply.
(b)
Front yards of residential uses and all uses in residential zones. Fences and walls not greater than four feet in height, shall be permitted on or within front yards, provided they do not obscure vision as provided in section 107-147. An exemption may be granted by the community development director/planner pursuant to section 107-115.
(c)
Side and rear yards of residential uses and all uses in residential zones. Fences and walls not greater than six feet in height shall be permitted within all rear and side yards of interior and corner lots, except that they shall not be located closer than 20 feet to the street property line of a reverse corner lot, unless it meets the provisions of section 107-55(2) and subsection (b) of this section.
(d)
Front, side and rear yards of nonresidential uses. In the case of nonresidential uses in nonresidential zones, fences and walls not to exceed six feet in height may be located or maintained in any required yard, except where the requirements of the sight triangle apply. Additional fence, hedge or wall height may be required as set forth below. The side and rear yards of all nonresidential uses shall be screened as follows: When abutting a residential use, a solid wall or fencing not exceeding six feet in height shall be located along side and rear yards of any nonresidential use or land use zone. Additional height of up to ten feet, or 12 feet for outdoor storage areas, may be required by the review authority to address privacy, noise, screening, or other compatibility issues. Fences exceeding six feet in height shall obtain a building permit and be permitted to a height no greater than 12 feet.
(e)
Swimming pools. Yard areas containing private swimming pools shall be fenced to discourage unsupervised access and use by small children. Such fencing shall be a minimum of six feet high and equipped with a self-closing and self-latching gate. Latching devices are to be located at a minimum height of four feet. Such fencing may be omitted where building walls without doorways abut the pool area, provided that the entire perimeter of the pool area is secured.
(f)
Mechanical equipment. When located outside of a building, support equipment including air conditioning and heating devices, but not including plumbing or exhaust vents, or chimneys, shall be screened to the height of the particular piece of equipment, as follows:
(1)
Roof-mounted equipment shall be screened by architectural features from the view of abutting streets.
(2)
Equipment at grade when located on the ground adjacent to a building, mechanical equipment shall be screened by landscaping, by a wall or fencing from the view of the street or surrounding properties.
(g)
Outdoor storage. Outdoor storage in commercial or industrial zones shall be screened on all sides by a wall or sight-obscuring fencing to the height of the stored items, but in no event to exceed 12 feet.
(h)
Utility substations. Utility substations not within an enclosed building or structure, in or abutting residential zones, shall be secured and screened.
(i)
Right-of-way encroachment. Fences may encroach on a public right-of-way only by agreement with the city in accordance with applicable city ordinances.
(Ord. No. 3266 (Series 2023), § 5.5.002, 8-2-2023)
(a)
Front yard fence and wall waivers. Waiver of the front yard fence height limits may be sought by letter to the community development director/planner by any person who proves that equal aesthetic qualities may be attained by other designs. The community development director/planner shall consider such requests on the basis of the substitute plan using the procedures in chapter 101, article IV, division 2. The substitute plan must:
(1)
Provide adequate vision clearance for automobiles, both those passing on the abutting streets and those leaving the development site;
(2)
Include landscaping of the area between the curbline and the fence line;
(3)
Not be detrimental to the public health, safety or welfare, or be materially injurious to properties or improvements in the vicinity.
(b)
Backstops. Backstops are exempt from the building permit requirement and 12-foot height limitation.
(Ord. No. 3266 (Series 2023), § 5.5.003, 8-2-2023)
Where screening is required to be a wall or fence, the following materials may be substituted, except where screening is required adjacent to a residential use or zone.
(1)
Landscape screen. Screening plant materials may be substituted for a wall or fence, unless a wall or fence is required by article VI of this chapter or by the review authority.
(2)
Berms. A landscaped berm may be substituted for a wall or fence provided that the combination of berm and landscaping is no less than the required height of the fence or wall, and that the berm is constructed with a maximum slope of 2:1, with side slopes designed and planted so as to prevent erosion, and with a rounded surface a minimum of two feet in width at the highest point of the berm, extending the length of the berm. The berm is to be planted with shrubs or lawn.
(Ord. No. 3266 (Series 2023), § 5.5.004, 8-2-2023)
The purposes of landscaping are to enhance the diversity and resilience of the built environment, to increase the tree canopy cover and the benefits that trees provide, to provide areas on sites which can absorb rainfall and reduce stormwater runoff, to enhance the appearance of structures and properties, to provide visual privacy, and to improve the visual environment.
(Ord. No. 3266 (Series 2023), § 5.6.001, 8-2-2023)
(a)
Landscaping shall be provided for sites where the following uses occur:
(1)
Industrial uses.
(2)
Commercial uses.
(3)
Manufactured dwelling parks.
(4)
Civic uses.
(5)
Multifamily uses.
(6)
Planned unit developments.
(7)
No on-site landscaping is required for new development within the CB Central Business Zone, excluding parking lots. Enhancements of the right-of-way will be required, where feasible, with improvements including landscape planters and/or street trees planted, to city standards, along abutting sidewalks; pedestrian scale street lighting; benches and bike racks may be required as a condition of site plan approval.
(b)
Landscaping shall not be located within public rights-of-way except in cases where there is a designated planting area in the right-of-way or when approval has been granted by the public works director or designee, or other responsible agency (e.g., state highway department).
(c)
Clear vision area or sight triangle. Within the area formed by drawing a line down the right-of-way centerline, or street centerline if the street is off-set, a distance of 90 feet from the point at which the centerlines intersect, and another line drawn across the corner lot to connect the ends of the first two lines, there shall be no structure, sight-obscuring fence, wall, hedge, or other plantings or any other obstruction to vision (other than a bare tree trunk or sapling, that will not obstruct sight triangle visibility over time; or a post or column not exceeding 18 inches in greatest cross-sectional dimension) between a height of 2½ feet and a height of eight feet above the established grade of either street or, if no grade has been officially established, above the average elevation of the existing surface of each street at the centerline thereof. The sight triangle standards do not apply to structures, which meet the required setbacks described in article III of this chapter, provided that the intersection is controlled with a four-way stop or traffic signal. Additionally, the property line measurements for a 40-foot-wide right-of-way sight triangle shall be equal to a 60-foot right-of-way sight triangle. The sight triangle length at the intersection of an alley or driveway and a public street shall be ten feet except in the central business zone, where no sight triangle is required for alley intersections.
(d)
Landscape screens, where required, shall comply with the applicable provisions of section 107-116.
(Ord. No. 3266 (Series 2023), § 5.6.002, 8-2-2023)
(a)
Purpose. The purpose of a landscaping plan is to identify the placement and type of plant materials as features of project design. By detailing the plantings and method of irrigation proposed, landscaping plans provide an effective means for evaluating whether chosen plant materials will survive in the climate and soils of a given site; satisfy the functional objectives of landscaping (such as erosion control, screening and shade) within a reasonable time; provide a reasonable efficiency of water use; and whether plantings will ensure safe pedestrian and auto traffic circulation.
(b)
Where required. Landscaping plans are required to accompany all applications for site plan, concept plan, and development plan approval for the uses listed in section 107-147.
(c)
Landscaping plan review. Landscaping plans shall be processed and reviewed as specified in chapter 101, article III, division 2.
(d)
Landscaping plan content. Landscaping plans are to be neatly and accurately drawn, at an appropriate scale which will enable ready identification and recognition of information submitted. Where a project covers only a portion of a site, the landscaping plan need show only the areas where existing soil contours and vegetation will be disturbed by construction or use, or other areas where landscaping is required. Landscaping plans are to show:
(1)
Property and lot boundaries, and rights-of-way.
(2)
The location of all trees existing in or within 50 feet of areas proposed for grading or other construction. Trees to be removed are to be identified. The method of protecting trees to be retained shall be indicated.
(3)
Any shrubs or plants identified as endangered or to otherwise be protected, including the method of protection.
(4)
Structures and impervious surfaces.
(5)
Plant material and locations whether existing or to be planted. A schedule listing the common and botanical names of plants will be required. Substitution of plants with similar form and function will be allowed as approved by the community development director/planner.
(6)
Details and location of proposed fencing, entries, parking and circulation provisions, trash collection areas, and freestanding signs.
(7)
Walkways, plazas and sitting areas, play areas, including related street furniture and permanent outdoor equipment.
(8)
Location and style of outdoor light fixtures. Any exterior lighting installed on a property shall be either shielded or down directed so as to not cast a direct light onto adjacent residential properties or residences.
(9)
Irrigation system.
(Ord. No. 3266 (Series 2023), § 5.6.003, 8-2-2023)
Where landscaping is required by section 107-147, the materials used are subject to the following provisions:
(1)
Allowable materials.
a.
Landscaping shall include some combination of the following materials to achieve the intended or required purpose of the landscaping (e.g., tree canopy, screening, etc.): trees, shrubs, ground cover, vines, flowers or lawns. Landscaping may also include art work, walls, structural features and fences. Trees adapted to the site shall be incorporated into the landscape when there is adequate space as determined in the standards for tree planting in the community forestry program guide. Shade trees shall be a minimum of 15 gallons and/or 1¼-inch caliper. Evergreen conifer trees shall be a minimum of five feet in height. Landscaping areas shall include live plant coverage, at occupancy, equal to or greater than 50 percent of each landscape area.
b.
Trees within designated planting areas located in public rights-of-way shall conform the standards for tree planting in the city community forestry program guide.
(3)
Excluded materials. Landscaping proposed to satisfy the requirements of this subpart shall not include:
a.
Plant materials which have root structures or branching habits which in their mature state may damage or interfere with the normal use of existing public or private underground or aboveground electrical lines, cables, or conduits, pipes or other utilities; or public or private sidewalks, curbs, gutters or paved parking and turnaround areas, drainage improvements, or adjacent structures, foundations, or landscape materials.
b.
Prohibited tree species as referenced in the standards of the community forestry program guide.
(Ord. No. 3266 (Series 2023), § 5.6.004, 8-2-2023)
(a)
Developed site area.
(1)
For purposes of this section, the term "developed site area" means the square footage of the area indicated on the plot plan. At a minimum, the area indicated on the plot plan shall include the area required for parking, ingress and egress, setback areas, and other areas which may be required as a condition of site plan approval, which are part of the ownership.
(2)
Landscaping proposed to satisfy the minimum area percentage standards listed in this section shall not include landscaping required as a screen or buffer pursuant to section 107-116, or as a condition of land use approval.
(b)
Minimum area requirements—New construction. Landscaping shall be provided as follows:
(1)
Industrial use types: five percent of the developed site area.
(2)
Commercial use types: ten percent of the developed site area.
(3)
Civic use types: ten percent of the developed site area.
(4)
Residential, manufactured dwelling parks, and multifamily use types: 20 percent of the developed site area.
(5)
Planned unit development. The review procedure and development standards for landscaping shall be as specified in the approval of the planned unit development plan and in no instance shall be less than that required for equivalent use types listed in this section.
(c)
Minimum area requirements—Additions. Additions to use types defined in chapter 103 representing greater than 50 percent of the primary structure shall provide landscaping as follows:
(1)
Industrial use types: five percent of the addition's total square footage.
(2)
Commercial use types: ten percent of the addition's total square footage.
(3)
Civic use types, manufactured dwelling parks, residential use types: ten percent of the addition's total square footage.
(4)
Planned unit development. Landscaping shall be provided as required for equivalent use types listed in this section.
(d)
Installation. Required landscaping shall be installed prior to occupancy. Extensions of time may be granted by the community development department/planning division if good faith efforts are being made to complete the required work.
(e)
Maintenance. All required planting shall be maintained by the owner in good condition, and in any case where a required planting has not survived, shall be replaced as soon as is practical with new plant materials similar to those which died.
(f)
Perimeter landscaping. For industrial, commercial and civic use types, an average six-foot-wide landscaped area must be located along building perimeters, which are viewable by the general public from parking lots or the public right-of-way. Loading areas, bicycle parking areas, and pedestrian entries or exits are excluded from this requirement. At a minimum, this landscaping must function to meet the purposes of landscaping described in section 107-146.
(g)
Parking lot landscaping. Parking lot landscaping shall be provided as set forth in section 107-174(7).
(h)
Irrigation. An automated irrigation system shall be installed, unless an alternative irrigation plan is approved by the city.
(Ord. No. 3266 (Series 2023), § 5.6.005, 8-2-2023)
No parking or loading area, or vehicle parking or bicycle parking spaces provided for the purpose of complying with the provisions of this subpart shall hereafter be eliminated, reduced, or converted in any manner below the requirements established in this subpart, unless equivalent facilities are provided elsewhere in conformity with the provisions of this article or unless the planning commission and city council determine the intent is to reduce reliance on the automobile and increase the viability of other alternative modes of transportation, such as walking and bicycling.
(1)
Eligibility of street parking spaces. Vehicle and bicycle parking spaces in a public street including an alley, shall not be eligible as fulfilling any part of the off-street parking requirements. However, the planning commission may grant exceptions to this requirement by conditional use, pursuant to chapter 101, article III, division 6, and subject to the following criteria:
a.
An exception may only be granted for the required vehicular parking for the assembly use types, or for bus parking for pre-elementary, elementary, junior high, high school and university campuses.
b.
Eligible street parking shall only include those spaces that are immediately adjacent to the subject property, provided:
1.
There are no existing or proposed parking restrictions for such street parking spaces that will be in conflict with the proposed use of such street parking spaces; and
2.
The furthest eligible parking space shall be no greater than 500 feet from the use served, except for university campuses the furthest eligible parking space shall be no greater than 1,300 feet from the use served.
c.
A request for an exception shall require a favorable recommendation from the parking, traffic safety and street maintenance advisory commission (PTSSMAC) and be accompanied by a review and recommendation from the city manager on behalf of city staff.
(2)
Computation rule for more than one use in a structure. In the event that several uses occupy a single structure or parcel of land, the total requirements of off-street vehicle and bicycle parking shall be the sum of the requirements for the several uses computed separately.
(3)
Shared parking facilities. Required vehicle and bicycle parking facilities of two or more uses, structures, or parcels of land may be satisfied by the same parking facilities used jointly, to the extent that it can be shown by the owners or operators that the need for the facilities does not materially overlap (e.g., uses primarily of a daytime vs. nighttime nature), and provided that such right of joint use is evidenced by a deed, lease, contract, or similar written instrument establishing such joint use.
(4)
Computation rule for fractions. If after calculating the number of required off-street vehicle and bicycle parking spaces a quotient is obtained containing a fraction of one-half or more, an additional space shall be required; if such fraction is less than one-half, it may be disregarded.
(5)
Computation rule based on number of employees. When the vehicle and bicycle parking requirement is based on the number of employees, the number of spaces shall be based on the number of working persons typically engaged in the specified activity on the lot during the largest shift of the peak season.
(6)
Computation rule based on number of seats. When the vehicle and bicycle parking requirement is based on the number of seats, each 18 inches of benches, and 24 inches of booths, pews or similar facilities shall be counted as one seat.
(7)
Computation rule based on number of students. When the vehicle and bicycle parking requirement is based on the number of students, the number of spaces shall be based on the entire occupant load of the structure regardless of the number of students in attendance.
(8)
Non-specified number of parking spaces. When a required number of parking spaces is not specified for a particular use or facility, the community development department/planning division shall prescribe a number of vehicle and bicycle parking spaces or loading berths based on a determination of the traffic generation of the activity, the amount of frequency of loading operations thereof, the time of operation of the activity, their location, and such other factors as affect the need for off-street parking or loading. Any such determination shall be subject to appeal pursuant to the appeal procedures as defined in chapter 101, article IV, division 7.
(9)
Computation rule based on net floor area. A reasonable conversion of gross floor area to net available floor area within existing and proposed development that accounts for such factors as wall thickness, corridors, equipment areas, storage areas, conference rooms, break rooms and other portions of the development that do not generate parking demand shall be allowed as determined by the community development director/planner.
(Ord. No. 3266 (Series 2023), § 5.7.001, 8-2-2023)
(a)
Off-street vehicle parking with adequate provision for safe ingress and egress shall be provided for the various uses defined in this subpart. Whenever any structure is enlarged or expanded or the use is changed, off-street parking and loading shall be provided for the expansion, enlargement, or change of use prior to occupancy in accordance with the requirements of this chapter. Required parking and loading spaces shall be improved and made available for use before the final inspection under the building permit is made by the building official, or before a change of use and resulting occupancy are commenced. In the event the improvements are not completed within a one-year time from the date of building permit issuance, the site plan bond shall be forfeited and the improvements thenceforth constructed under the direction of the city.
(b)
Standards for number of required vehicle parking spaces are presented in the table of off-street parking requirements located at the end of this article. Properties located within the exempt off-street parking area, as depicted on the map included in this subpart, are not required to provide off-street parking. However, when provided, such off-street parking shall meet the design standards of this article.
(Ord. No. 3266 (Series 2023), § 5.7.002, 8-2-2023)
Public accommodations or facilities, including, but not limited to, auditoriums, theaters, restaurants, hotels, motels, stadiums, shopping centers, and office buildings, shall provide no less than one parking space for persons with disabilities for each 25 spaces in parking lots, or in accordance with the Oregon Structural Specialty Code and Americans with Disabilities Act.
(Ord. No. 3266 (Series 2023), § 5.7.003, 8-2-2023)
At the time a use is erected or enlarged, or an existing building use changed, off-street loading areas may be required. The following provisions shall apply to all loading facilities:
(1)
Merchandise. Any use receiving a majority of its goods by truck shall provide an off-street loading/unloading area which will not impede traffic flow or parking availability. This standard shall not apply to lands located within the exempt off street parking area.
(2)
The minimum area required for loading spaces shall be not less than 250 square feet each, where the gross floor area of all buildings on a lot or parcel of land is not more than 20,000 square feet.
(3)
The minimum area required for loading spaces shall not be less than 500 square feet each, where the gross floor area of all buildings on a lot or parcel of land is more than 20,000 square feet, however, less than 50,000 square feet.
(4)
The minimum area required for loading spaces shall be not less than 750 square feet each, where the gross floor area of all buildings on a lot or parcel of land exceeds 50,000 square feet.
(5)
The minimum required loading area shall not be less than ten feet in width and 25 feet in length and shall have an unobstructed height of not less than 14 feet.
(6)
The required loading area shall be easily accessible from a street, highway or area.
(Ord. No. 3266 (Series 2023), § 5.7.004, 8-2-2023)
(a)
Aisle dimensions. The aisle dimensions for angle parking are to be based upon the angle and width of the parking space, as set forth in the following chart. The use of a wider parking space enables a reduction of the aisle width, as shown.
(1)
Aisle widths for 45-degree and 60-degree spaces are one-way only.
(2)
Tier means two rows of parking spaces plus an aisle. Tier width may not add to aisle width plus two times the space to curb distance in the chart above, because additional tier width may be required for safety precautions.
(3)
Space dimensions for parallel parking are to be nine feet by 22 feet. Aisle dimensions for parallel parking are to be 12 feet for two-way aisles.
(4)
Compact parking may only be allowed subject to a variance approved by the planning commission pursuant to chapter 101, article III, division 4, and subject to the provisions of this section. When considered, a parking enforcement plan shall be provided to guarantee the management and enforcement of compact parking as designed. Space to Curb dimensions may be reduced by up to four feet for each parking spaces signed and painted as "Compact Car Only." Up to 30 percent of the required off-street parking spaces may be designated for compact cars only.
(b)
Driveway standards.
(1)
Driveways serving residential uses shall have a minimum improved surface width of not less than ten feet when serving one dwelling unit; 20 feet when serving two dwelling units. Driveways serving three or more dwelling units shall have 20 feet of paved surface. Driveway widths within the public right-of-way are regulated by chapter 32, article III.
(2)
Driveways serving other than residential uses shall have a minimum width of ten feet to accommodate one-way traffic, and a minimum width of 20 feet to accommodate two-way traffic. Driveway widths within the public right-of-way are regulated by chapter 32, article III.
(3)
Vehicle parking areas for four or more vehicles are to be designed to prevent cars from backing out into a public street, public or private pedestrian walk, or public alley, in order to leave the area or to maneuver out of the parking space. Parking lots are to be designed and improved so as to prevent ingress and egress at any point other than designated entrance or exit drives.
(4)
Access driveways to parking areas containing four or more spaces are to be located and designed as follows:
a.
Parking area entrance and exit driveways are to be located a minimum of 50 feet from the nearest street intersection, as measured from the centerline of the driveway to the nearest travel lane of the intersecting street.
b.
Entrance and exit driveways crossing the street property line of a single site are to be limited to two along the frontage of any single street. The centerline of driveways on the same property is to be separated by a minimum of 30 feet.
(5)
Driveways serving more than one occupied structure shall have a paved surface capable of supporting fire apparatus. A turnaround area, approved by the fire chief, shall also be provided. The vertical clearance of such driveways shall be maintained at a minimum of 13 feet six inches.
(6)
Driveways serving more than one occupied structure may be no more than 300 feet in length.
(7)
Driveways serving more than one occupied structure shall be subject to a maintenance agreement approved by the city and recorded in the county deed records if more than one ownership is involved.
(8)
Approved fire apparatus access roads shall be provided for every facility, building or portion of a building hereafter constructed or moved into or within the city. A fire access road shall extend to within 150 feet of all portions of the exterior walls of the first story of the building as measured by an approved route around the exterior of the building.
a.
The unobstructed width shall be at least 20 feet.
b.
The unobstructed vertical clearance shall be at least 13 feet, six inches.
c.
The driveway or private road surface shall provide for all-weather driving capability and shall support the imposed loads of the largest fire apparatus serving the city.
d.
Bridges, culverts and/or elevated surfaces shall be designed for a live load sufficient to carry the imposed loads of the largest fire apparatus serving the city.
e.
If the driveway or private road is a dead end, longer than 150 feet in length, a turnaround shall be provided in accordance with the state fire code.
f.
For residential development that includes ten or more dwelling units, a secondary ingress/egress serving the development shall be provided that meets the requirements of this section. The fire chief may impose a greater restriction or requirement in accordance with the state fire code.
g.
Address numbers (minimum size four-inch numbers) shall be posted at or near the driveway entrance so they are readily visible from the street in either direction.
h.
The grade of any portion of such driveway shall not exceed ten percent. The fire chief may allow a grade up to 15 percent after consideration of on-site fire protection systems as specified in the state fire code.
(c)
Vehicle parking and loading area location. The location of off-street parking and loading facilities shall be in accordance with the following provisions:
(1)
Required parking and loading facilities for residential uses as provided herein shall be located on the same lot or parcel of land as the use the parking facilities are intended to serve. Such facilities shall be conveniently and fully accessible and located at a place where the erection of garages or carports is permitted. Stacked or blocked in parking spaces do not qualify as eligible or valid parking spaces to satisfy the requirement of this subpart.
(2)
Required parking and loading facilities for uses other than residential shall be located as follows:
a.
On the same lot or parcel of land as the use that such parking or loading facilities are intended to serve; except that for industrial uses, required parking or loading facilities shall not be located in a required front or side yard abutting a public street, unless the structure is provided with adequate setbacks and landscaping. See section 107-54(2)b. Stacked or blocked in parking spaces do not qualify as eligible or valid parking spaces to satisfy the requirement of this subpart.
b.
On a lot or parcel of land held under the same or joint ownership, provided such parking or loading facilities are located adjoining the use served.
c.
On a lot or parcel of land within 500 feet of the use or uses served, except for University campuses within 1,300 feet from the use or uses served.
d.
Binding agreements between land uses for mutual use of parking facilities during non-conflicting hours may be recognized by the city in lieu of the standards in this article.
(d)
Drop-off points required. When located outside the central business zone, parking areas for public assembly facilities are to include a designated on-site location for dropping off and picking up passengers at an entrance to the facility in advance of parking the vehicle. Drop-off areas are to consist of one directional vehicle turnout lanes with parallel parking. Drop-off points are to be provided for:
(1)
Hotels and motels;
(2)
Schools with 50 or more students;
(3)
Churches with a capacity of 100 or more;
(4)
Restaurants with a capacity of 50 or more customers;
(5)
Public transportation terminals;
(6)
Places of public assembly;
(7)
Public buildings; and
(8)
Offices larger than 5,000 feet.
(e)
Bicycle parking.
(1)
Bicycle parking facility design.
a.
Bicycle parking facilities shall either be lockable enclosures in which the bicycle is stored, or secure stationary rack which support the frame so the bicycle cannot easily be pushed or fall to one side. Racks that require a user-supplied lock shall accommodate locking the frame and both wheels using either a cable or U-shaped lock.
b.
Bicycle parking spaces shall be at least six feet long and 2½ feet wide, and overhead clearance in covered spaces shall be a minimum of seven feet.
c.
A five-foot aisle for bicycle maneuvering shall be provided and maintained beside or between each row of bicycle parking.
d.
Bicycle racks or lockers shall be securely anchored.
e.
Required bicycle parking shall be located in a well-lighted, secure and generally visible location.
f.
Bicycle parking shall not obstruct walkways. A minimum five-foot-wide aisle shall remain clear.
g.
If ten or more bicycle spaces are required for commercial development, then at least 20 percent of the bicycle spaces must be covered. A lockable enclosure shall be considered as a covered parking space.
h.
All of the required bicycle parking for residential uses shall be covered. This may include space provided in a carport or garage.
i.
Bicycle parking areas shall be located and designed to prevent damage from maneuvering vehicles.
(2)
Location standards for bicycle parking.
a.
All required bicycle parking shall be located on the site within 50 feet of main building entrances and not farther from the entrance than the closest standard motor vehicle parking space. Bicycle parking shall have direct access to both the public right-of-way and to the main entrance of the principal use.
b.
For buildings or development with multiple entrances, required bicycle parking shall be distributed proportionally at the various public entrances. Long-term public parking shall also be distributed at the various public entrances, while employee parking shall be located at the employee entrance, if appropriate.
c.
Bicycle parking may be located in the public right-of-way with the approval of the public works director.
d.
Bicycle parking may be provided within a building, but the location must be easily accessible for bicyclists.
(Ord. No. 3266 (Series 2023), § 5.7.005, 8-2-2023)
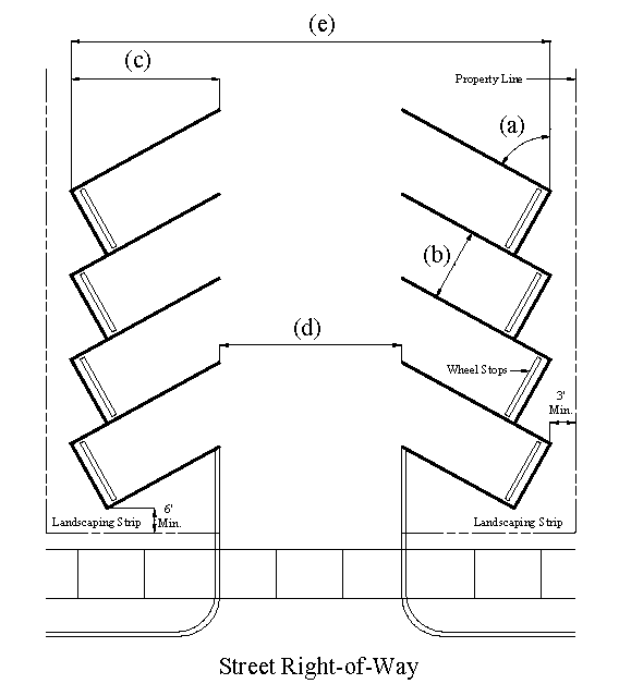
All parking areas with off-street parking spaces are to be improved as follows, except as otherwise provided by this section and by section 107-173(b)(3) and (4):
(1)
Surfacing. All parking areas are to be surfaced with an asphalt, concrete, or oil mat surface in conformance with city standards. Where concrete or asphalt is required, brick or other masonry paving units may be substituted including vertically-oriented concrete block.
(2)
Lining and marking. Parking spaces in paved parking areas are to be marked with paint striping, a minimum of two inches in width. Parking spaces in other types of lots may be identified by wheel stop barriers.
(3)
Wheel stops. Wheel stops, or continuous concrete or asphalt curbing is required in all parking lots to define the perimeter of the parking area, and to protect landscaping from vehicle encroachment. Wheel stops are to be constructed as follows:
a.
Wheel stops are to be constructed of durable material not less than six inches in height. Wheel stops are to be securely installed and maintained as a safeguard against damage to adjoining vehicles, machinery or abutting property.
b.
Wheel stops or other vehicle barriers are to be located no closer than three feet to any property lines. The area between the wheel stops or barriers and the property line shall be landscaped.
(4)
Vertical clearance. Covered parking spaces are to have a vertical clearance of at least seven feet six inches above the parking lot surface for all uses except residential.
(5)
Slope. The finished grade of a parking lot is not to exceed a five percent slope.
(6)
Landscaping. A minimum of five percent of the interior of all parking lots with four or more spaces is to be landscaped, in addition to any perimeter landscaping required by subsection (7)b of this section. The total aggregate area of landscaping need not exceed the minimum requirements in section 107-150(b). One appropriate shade tree, as determined by the standards for tree planting in the city community forestry program guide, per each six parking spaces is required in any parking lot to provide shade and visual relief to parking lots.
(7)
Screening.
a.
Parking lots which abut a residential zone shall be visually screened by a landscaping strip with a minimum height of five feet or a six-foot-high solid fence or wall located on the parking lot side of the property.
b.
Parking lots abutting a public street are to be separated from the street right-of-way by a landscaping strip with a minimum width of six feet.
(8)
Drainage. All drainage resulting from the improvements shall be collected on-site in such a manner that it can be discharged to an approved stormwater collection system without flowing across any public sidewalk or street.
(9)
Signs. All traffic control signs required for ingress and egress to and from the parking lot shall be installed on private property and not in the public right-of-way.
(Ord. No. 3266 (Series 2023), § 5.7.006, 8-2-2023)
For any use not listed herein, the required off-street parking shall be determined by the planning commission. in determining the off-street parking requirements of any unlisted use, the planning commission shall first make a finding that all of the following conditions exist:
(1)
That field investigations disclose that the subject use and its operations are compatible with one or more uses under which parking area is designated.
(2)
That the proposed parking area requirements will adequately serve the intended use and be located in such a manner to protect the public health, peace, safety, and general welfare.
(Ord. No. 3266 (Series 2023), § 5.7.007, 8-2-2023)
(a)
Each paved space must be marked by striping.
(b)
Traffic flow arrows and signs may be required.
(c)
No parking space shall back onto a street without site plan approval.
(d)
Adequate drainage shall be specified at the time of site plan review.
(e)
Bumper guards or wheel stops may be required near buildings, fences, or sidewalks during site plan review.
(f)
Driveway locations shall be approved by the city or the state highway division.
(g)
Artificial lighting may be required, but where installed shall be shielded so as to not cast a direct light onto adjacent properties and/or residences.
(Ord. No. 3266 (Series 2023), § 5.7.008, 8-2-2023)
(Ord. No. 3266 (Series 2023), § 5.7.009, 8-2-2023)
The purpose of establishing standards for signs are to provide reasonable and necessary regulations for the construction, illumination, type, size, number and location of signs in order to:
(1)
Promote free and meaningful exchange of ideas and information.
(2)
Protect the health, safety, property and welfare of the public.
(3)
Promote a neat, clean, orderly and attractive appearance within the city.
(4)
Improve the effectiveness of signs in identifying and advertising businesses and facilities.
(5)
Eliminate signs that demand, rather than invite, public attention.
(6)
Provide for the reasonable, orderly and effective display of outdoor advertising compatible with the surroundings.
(7)
Preserve, protect and enhance the economic, scenic, historic and aesthetic values and objectives of the city and its citizens.
(8)
Provide effective signing to meet the anticipated differing needs of various areas in the city.
(9)
Provide for the safe erection and maintenance of signs.
(Ord. No. 3266 (Series 2023), § 5.8.001, 8-2-2023)
The following words, terms and phrases, when used in this subpart, shall have the meanings ascribed to them in this section, except where the context clearly indicates a different meaning:
Abandoned sign means a sign which no longer identifies or advertises a bona fide business, lessor, service, owner, product or activity and/or for which no legal owner can be found.
Administrator means the building official and/or community development director/planner, under the supervision and control of the city manager, is hereby authorized to administer and directed to enforce all of the provisions of this subpart.
Animated sign means a sign or display manifesting either kinetic or illusionary motion occasioned by natural, manual, mechanical, electrical or other means. The term "animated sign" includes the following:
Electrically energized means illuminated signs whose motion or visual impression of motion is activated primarily by electrical means. Electrically energized animated signs are two types:
Flashing signs means illuminated signs exhibiting a pre-programmed repetitious cyclical interruption of illumination from one or more sources in which the duration of the period of illumination (on phase) is either the same as, or less than, the duration of the period of darkness (off phase) and in which the intensity of illumination varies from zero (off) to 100 percent (on) during the programmed cycle.
Illusionary movement signs means illuminated signs exhibiting the illusion of movement by means of a pre-programmed repetitious sequential switching action in which illuminated elements of the sign are turned on or off to visually simulate the impression of motion characteristic of chasing, running, blinking, oscillating, twinkling, scintillating or expanding and contracting light patterns.
Mechanically energized means signs manifesting a repetitious pre-programmed physical movement or rotation in either one or a series of planes activated by means of mechanically based drives.
Naturally energized means signs whose motion is activated by wind or other atmospheric impingement. Wind driven signs include flags, banners, pennants, streamers, spinners, metallic disks or other similar devices designed to move in the wind.
Area identification sign means a sign identifying the name of a manufactured home park, planned unit development, subdivision, apartment or condominium, commercial center of two or more separate businesses, industrial area, office complex of two or more separate businesses or structures or any combination of the above.
Awning means a structure made of cloth, metal or other material affixed to a building in such a manner that the structure may be in a fixed position, raised or retracted to a position against the building.
Awning sign means a sign painted on, printed on or attached flat against the surface of an awning.
Banner sign means a sign made of fabric or any non-rigid material with no enclosing framework.
Barber pole means a device, usually cylindrical in shape, attached to a building or a freestanding pole, colored diagonally red, white and blue, which may revolve to identify the business of men's hair cutting.
Billboard means any structure used or intended for supporting or sheltering any use or occupancy.
Building means any structure used or intended for supporting or sheltering any use or occupancy.
Building code means any building code as adopted by the city, a copy of which is on file in the building department.
Building line means a line established by ordinance beyond which no building may extend, including, but not limited to, a property line.
Bulletin board. See Civic use sign.
Business complex means one property ownership with the property owner and one or more business tenants as occupants, or two or more business tenants as occupants of the property. In a business complex, business tenants including retail shops, executive or administrative services, including medicinal clinics and accessory pharmacies, professional offices and personal service establishments which perform personal services on the premises and similar uses.
Canopy means a permanent-roofed structure which may be freestanding or partially attached to a building for the purpose of providing shelter to patrons in automobiles but shall not mean a completely closed structure.
Canopy sign means a sign affixed or applied to the exterior facing surface or surfaces of a building or freestanding canopy.
Changeable sign means a sign whose informational content can be changed or altered by manual or electric, electro mechanical or electronic means. Changeable signs include the following types:
Electrically activated means signs whose alphabetic, pictographic or symbolic informational content can be changed or altered on a fixed display surface composed of electrically illuminated or mechanically driven changeable segments; includes the following two types:
Computer controlled variable message signs means electronic signs whose informational content can be changed or altered by means of computer-driven electronic impulses.
Fixed message electronic signs means signs whose basic informational content has been pre-programmed to include only certain types of information projection, such as time, temperature, predictable traffic conditions, or other events subject to prior programming.
Manually activated means signs whose alphabetic, pictographic or symbolic informational content can be changed or altered by manual means.
City means the City of La Grande, Oregon, or any of its authorized representatives.
Civic use sign means a sign which identifies churches, schools and other public facilities and/or announces events which are held on the premises.
Clearance (of a sign) means the smallest vertical distance between the grade of the adjacent street, highway or street curb and the lowest point of any sign, including framework and embellishments, extending over that grade.
Clear view zone means the area of a corner lot closest to the intersection which is kept free of visual impairment to allow full view of both pedestrian and vehicular traffic. Typically, such an area is established by marking a point at which the two property lines intersect, measuring back 30 feet on each street from and drawing a line across the two back points to form a triangulated area. No sign in excess of 30 inches above curb or street grade nor support pole larger than 12 inches in diameter may be installed in this area. Freestanding signs must have at least ten feet clearance to grade.
Commission means the planning commission of the city.
Conditional sign means a sign which is subject to approval and to conditions which may be imposed by the commission after a public hearing.
Construction sign means a sign placed at a construction site identifying the project or the name of the architect, engineer, contractor, financier or other involved parties.
Copy means the wording and/or symbols on a sign face.
Copy change means the replacing of an existing sign copy and/or sign face to reflect an image change or new business or use without altering the existing sign structure.
Corner-mounted projecting sign means a projecting sign mounted on the outside street corner of a building frontage at a 35- to 55-degree angle to the extended building lines.
Council means the city council of the city.
Cutout means a display in the form of letters, figures, characters, representations or others in cutout or irregular form attached to or superimposed upon an advertising sign.
Cutout display sign means a display message in the form of letters, figures, representations or others in cutout or irregular form attached to the building face, roof, sloping roof or parapet.
Directional sign means a sign, providing no advertising of any kind, which provides direction or instruction to guide persons to facilities intended to serve the public, including but not specifically limited to those signs identifying restrooms, public telephones, public walkways, parking areas and other similar facilities.
Directory sign means a sign which indicates the name and/or address of the occupant, the address of the premises and/or identification of any legal business or occupations which may exist at the premises.
Double-faced sign means a sign with two faces, essentially back-to-back.
Electric sign means any sign containing electrical wiring which is attached or intended to be attached to an electrical energy source and provides artificial light either through exposed lighting on the sign face or through transparent or translucent material from a light source within the sign.
Electronic message center. See Changeable signs, electrically activated.
Erect means attach, place, alter, construct, reconstruct, enlarge or move and includes the painting of wall signs, but does not include copy changes on any sign.
Face of sign means the area of a sign on which the copy is placed.
Flashing sign. See Animated sign, electrically energized.
Freestanding sign means a sign supported by one or more uprights in the ground and detached from any building or structure.
Frontage means the length of the property line of any one premises, lot parcel or structure along a public right-of-way.
Frontage, building, means the length of an outside building wall on a public right-of-way.
Ground sign means a sign which is mounted on or anchored to the ground, has a monolithic or columnar line and which maintains essentially the same contour from grade to the top of the sign. The bottom of the sign should not be more than four feet from the ground.
Height (of a sign) means the vertical distance measured from the highest point of the sign, excluding decorative embellishments, to the grade of the adjacent street or the surface grade beneath the sign, whichever is less.
Illegal sign means a sign which does not meet the requirements of this subpart and which has not received legal nonconforming status.
Illuminated sign means any sign which reflects light from a source intentionally directed upon it, such as by means of floodlights, gooseneck reflectors or externally mounted fluorescent light fixtures.
Incidental sign means a small sign, emblem or decal informing the public of goods, facilities or services available on the premises; e.g., a credit card sign or a sign indicating hours of business.
Institutional sign. See Civic use sign.
Maintenance means the cleaning, painting, repair or replacement of defective parts of a sign in a manner that does not alter the basic copy, design or structure of the sign.
Mansard means a sloped roof or roof-like façade architecturally comparable to a building wall.
Marquee means a permanent roofed structure attached to or supported by a building but does not mean a canopy, as defined herein.
Marquee sign means any sign attached to or supported by a marquee structure.
Nameplate means small signs attached flat against a building, non-illuminated and announcing only the names, addresses and/or occupations of the building tenants.
Neighborhood commercial sign means any on-premises sign associated with a commercial use allowed in a residential zone under a conditional use permit by the planning commission.
Nonconforming sign means any advertising structure or sign which was lawfully erected and maintained prior to the adoption of the ordinance from which this subpart is derived and which fails to conform to all applicable regulations and restrictions of this subpart.
Non-structural trim means moldings, battens, caps, nailing strips and latticing, ladders and walkways which are attached to a sign structure.
Occupancy means the portion of a building or premises owned, leased, rented or otherwise occupied for a given use.
Off-premises sign means a sign structure subject to the provisions of the Oregon Motorist Information Act of 1971 and erected for the purpose of leasing advertising space to promote an interest other than that of individual, business, product or service available on the premises the billboard is located on.
On-premises sign means a sign which pertains to the use of the premises and/or property on which it is located.
Owner means a person recorded as such on official records. For the purposes of this article, the owner of property on which a sign is located is presumed to be the owner of the sign unless facts to the contrary are officially recorded or otherwise brought to the attention of the community development director/planner; e.g., a sign leased from a sign company.
Painted wall sign means any sign which is applied with paint or similar substance on the surface of a wall.
Parapet means the extension of a false front or wall above a roofline.
Permit means the document issued by the city authorizing the erection of a sign.
Person means any individual, corporation, association, firm, partnership or similarly defined interest.
Political sign means a temporary sign used in connection with a local, state or national election or referendum.
Portable sign means any sign designed to be moved easily and not permanently affixed to the ground or to a structure or building.
Projecting sign means a sign other than a wall sign, which projects from and is supported by a wall of a building or structure.
Reader board sign. See Changeable sign.
Real estate sign means a temporary sign advertising the real estate upon which the sign is located as being for rent, lease or sale.
Roofline means the top edge of a roof or building parapet, whichever is higher, excluding any mansards, cupolas, pylons, chimneys or minor projections.
Roof sign means any sign erected over or upon the roof of a building and which is supported by said building.
Rotating sign. See Animated sign, mechanically energized.
Shopping center means a premises planned and developed as a unit with an undivided, non-segregated parking area and is advertised as a center or mall having multiple occupancies by businesses.
Sign means any identification, description, illustration or device illuminated or non-illuminated which is visible from any public place or is located on private property and exposed to the public which directs attention to a product, service, place, activity, person, institution, business or solicitation, including any permanently installed or situated merchandise; or any emblem, painting, banner, pennant, placard or temporary sign designed to advertise, identify or convey information, with the exception of national flags. For the purpose of removal, the term "sign" also includes all sign structural members.
Sign, area of.
(1)
Projecting and freestanding sign. The area of a freestanding or projecting sign shall have only one side of any double- or multiple-faced sign counted in calculating its area. The area of the sign shall be measured as follows if the sign is composed of one or more individual cabinets: A rectilinear line of not more than eight sides shall be drawn around and enclosing the perimeter of each cabinet or module. The area shall then be summed and totaled to determine total area. The perimeter of measurable area shall not include embellishments such as pole covers, framing, decorative roofing, support structures, etc., provided that there is no written advertising copy on such embellishments.
(2)
Wall sign. The area shall be with a single, continuous perimeter composed of any rectilinear line geometric figure which encloses the extreme limits of the advertising message. If the sign is composed of individual letters or symbols using the wall as the background with no added decoration, the total sign area shall be calculated by measuring the area within the perimeter of each symbol or letter. The combined areas of the individual figures shall be considered the total sign area.
Snipe sign means a temporary sign or poster affixed to a tree, fence, etc.
Temporary sign means a sign, banner, balloon, pennant, valance or advertising display constructed principally of cloth, paper, cardboard, plywood, wood, wallboard, plastic, sheet metal or similar lightweight materials, with or without a frame and which is not permanently affixed to any sign structure, sign tower, pole or building. Except for a balloon, banner, pennant or valance constructed of cloth, flexible lightweight plastic, vinyl, paper or cardboard, temporary signs shall be limited to signs displayed five feet or less above ground level.
Travelway canopy sign means a sign suspended beneath a canopy, ceiling, roof or marquee.
V sign means a V-type sign means two signs erected independently of each other with multiple display surfaces having single or multiple messages visible to traffic from opposite directions, with an interior angle between the two signs of not more than 120 degrees and the signs separated by not more than ten feet at the nearest point.
Wall sign means a sign attached essentially parallel to and extending not more than 12 inches from the wall of a building, with no copy on the sides or edges. This definition includes painted, individual letters, cabinet signs and signs on a mansard.
Window sign means a sign painted on, attached to or placed upon glass surfaces of windows or doors of a building intended for viewing from the exterior of the building.
Zone means an area which has been identified to accommodate a specific type of use as determined in the city land development code.
(Ord. No. 3266 (Series 2023), § 5.8.002, 8-2-2023)
It shall hereafter be unlawful for any person to erect, place or maintain a sign in the city, except in accordance with provisions of this article.
(Ord. No. 3266 (Series 2023), § 5.8.003, 8-2-2023)
(a)
Snipe signs or signs attached to trees, telephone poles, public benches, street lights or placed on any public property or public right-of-way.
(b)
Signs imitating or resembling official traffic or government signs or signals.
(c)
Signs placed on vehicles or trailers which are parked or located for the primary purpose of displaying said sign. This does not apply to allowed portable signs, or to signs or lettering on buses, taxis or vehicles operating during the normal course of business.
(d)
Portable and wheeled signs, except as a temporary sign.
(e)
Abandoned signs.
(f)
Any sign suspended by non-rigid attachments that will allow the sign to swing in a wind.
(Ord. No. 3266 (Series 2023), § 5.8.004, 8-2-2023)
Unless otherwise provided by this article, all signs shall require sign permits and payment of fees as set by resolution. No permit is required for the maintenance of a sign or for a change of copy on painted, printed or changeable signs.
(Ord. No. 3266 (Series 2023), § 5.8.005, 8-2-2023)
The following types of signs are exempt from permit requirements but must be in conformance with all other requirements of this chapter:
(1)
Civic type uses (churches, schools and other public facilities): Limited to one on-site wall or ground sign for each building or activity facility not to exceed 16 square feet, unless otherwise approved by the planning commission by conditional use. Any civic use type sign approved by the commission to exceed 16 square feet shall be subject to the permit requirements, as set forth in this subpart. No sign shall be located within any clear view zone, unless the sign is 30 inches or less in height.
(2)
Construction signs: Signs of 16 square feet or less.
(3)
Directional/information signs: Signs identifying rest rooms, public telephones, walkways or signs providing direction, such as parking lot entrance and exit signs and those of similar nature, located entirely on the property, which do not exceed six square feet in area and four feet in height.
(4)
Holiday or special events decorations: Signs which are clearly incidental, customarily and commonly associated with any national, local or religious holiday.
(5)
Non-illuminated nameplates: Signs of two square feet or less per building tenant.
(6)
House or building numbers: Numbers limited to six inches in height for dwellings of four or less families and 12 inches in height for other buildings.
(7)
Temporary political campaign signs: Signs shall be erected only on private property with the consent of the legal possessor of the premises; not located on utility poles, trees or rocks; limited to a sign area of 16 square feet and a maximum horizontal dimension of eight feet; not located within any clear view zone; and are maintained in a neat, clean and attractive condition. Signs may be erected during the campaign for a period of 60 days prior to the election in which candidates or issues are to be voted upon. Such temporary signs shall be removed not later than the fifth day following the election. Political or ideological signs displayed for a longer period must conform to the requirements for permanent signs of a similar structure.
(8)
Temporary nonprofit signs: Signs identifying or advertising a nonprofit civic, charitable or benevolent event complying with the same requirements as temporary signs to be used for promotional purposes.
(9)
Street banners or decorations: Banners or decorations approved by the city manager advertising a public entertainment or event and conditional upon safe erection and maintenance and such conditions as the city manager may attach, including, but not limited to, insurance and bonding.
(10)
Signs located inside a building: Signs that are not visible to the public outside the building.
(11)
Window signs: Signs which are painted on, attached to, or placed upon glass surfaces of windows or doors of a building intended for viewing from the exterior of the building. The permitted area for such signs shall be subject to the area requirements for wall signs and conform to the illumination requirements of this article.
(12)
Official sign, traffic sign or signal: Signs including but not limited to a sign identifying a public building or use, or erected by a public office performing an official duty under law, court or administrative officer.
(13)
Non-illuminated directional and motor vehicle directional signs: Signs painted on paving for control and direction of both vehicular and pedestrian traffic.
(14)
Real estate signs: Only one sign per realtor is allowed on any lot or parcel, provided such sign is located entirely within the property to which the sign applies, is not-illuminated, does not exceed six square feet in residential zones, or 32 square feet in commercial and industrial zones and is removed within seven days after the sale, rental or lease of the facility and/or lot (has been accomplished).
(15)
Memorial signs, tablets or plaques: Memorial signs, tablets or plaques shall not exceed four square feet in area.
(16)
Area identification sign: A ground or wall sign identifying a recognized subdivision, apartment, condominium, manufactured home park or planned unit development. A sign, masonry wall, landscaping and other similar materials or features may be combined to form a display for the development identification, provided the legend of such sign or display shall consist only of the development name and shall not exceed 16 square feet. Such signs shall not be located within any clear view zone unless the sign is 30 inches or less in height.
(17)
Temporary subdivision sign: Signs may be erected upon a tract of land designated as a subdivision, advertising sale of the tract or lots in the tract. Such sign shall not exceed 32 square feet in area. The sign shall be reduced in size by four square feet for each lot less than seven lots in the subdivision.
(18)
Temporary signs to be used for promotional purposes: Signs are allowed only on private property, except as provided below, and are subject to the following:
a.
Temporary signs for promotional purposes may be erected for a period not to exceed two weeks before the event advertised.
b.
No more than one sandwich board or A-frame signs, windsurf sign, or other similar temporary mobile signage shall be allowed for each premises. Such sign shall be located directly in front of the business and may be located within the public right-of-way, provided it does not obstruct vehicle parking areas or pedestrian use on the sidewalk.
c.
A balloon, banner, pennant, streamer, festoon or valance constructed of cloth, flexible lightweight plastic, vinyl, paper or cardboard may be used as a temporary sign for promotional purposes only and shall not be considered or treated as permanent signage. The sign will be permitted for a period of 30 cumulative days in any six-month period.
(19)
Flags: Flags of the United States, State of Oregon, United States or State of Oregon Military Service, foreign countries, United Nations or civic, fraternal, veterans or charitable organizations.
(20)
Garage sale signs: Signs are limited to one per premises, with a maximum of three square feet in area, for the duration of the sale only.
(21)
Barber pole: One pole per business, not to exceed four feet in length nor more than one foot in diameter.
(22)
Incidental sign: Four square feet of incidental signage allowed per occupancy or one square foot per 500 square feet of the occupants' ground floor area. The aggregate area of the incidental signs shall not exceed that allowable. The aggregate area of an incidental sign shall be included in the total allowable area for wall signs. Incidental signs shall not be of a projecting type.
(23)
Drive-up menu board sign: Drive-up menu board signs shall only be allowed for drive-up service-oriented businesses only. No more than two signs may be displayed per business with a maximum sign area of 20 square feet per sign and not to exceed eight feet in height, if freestanding.
(24)
Kiosks: Kiosks may be in sections, with each section not exceeding 32 square feet in area. The kiosk may include a maximum of four sections. Kiosks are only allowed on private property, unless a right-of-way encroachment permit is approved by the city. For kiosks located within the public right-of-way, each section shall not exceed a maximum dimension of seven feet high and three feet wide, measured from the inside of the supporting posts on either side of the section. Kiosks shall not be located within any clear view zone or obstruct any pedestrian pathways.
(Ord. No. 3266 (Series 2023), § 5.8.006, 8-2-2023)
(a)
All signs, together with all of their supports, braces, guys and anchors, shall be kept in good repair and be maintained in a safe condition. All signs and the site on which they are located shall be maintained in a neat, clean and attractive condition. Signs shall be kept from excessive rust, corrosion, peeling paint or other surface deterioration. The display surfaces, trims, frames and supports of all signs shall be kept neatly painted or otherwise neatly maintained as applicable.
(b)
No person shall scatter, daub or leave any paint, paste, glue or other substances used for painting or affixing a message to the display surface of any sign, throw or cloth, or materials of whatsoever kind removed from a sign on any public street, sidewalk or private property.
(c)
The community development director/planner may order the removal of any sign that is not maintained in accordance with provisions set forth herein. All signs may be re-inspected at the discretion of the community development director/planner. Maintenance of signs and their associated structures shall be the responsibility of the sign owner.
(Ord. No. 3266 (Series 2023), § 5.8.007, 8-2-2023)
No sign shall be erected or maintained which, by use of lights or illumination, creates an unduly distracting or hazardous condition to a motorist or pedestrian. With the exception of message type signs where the bulbs are located behind sunscreens, no exposed reflective-type bulb, spot or incandescent lamp shall exceed 30-watt capacity unless a screen is attached or the sign is placed over ten feet above grade. It shall be unlawful to use any revolving beacon, strobe or search lights.
(Ord. No. 3266 (Series 2023), § 5.8.008, 8-2-2023)
Animated signs are only permitted by conditional use and are limited to the general commercial, interchange commercial and all industrial zones, with the following exceptions:
(1)
Temporary signs to be used for promotional purposes as defined in section 107-213(18) are permitted outright in the central business, general commercial, interchange commercial and all industrial zones.
(2)
Flags, as defined in section 107-213(19), are permitted outright in all zones.
(Ord. No. 3266 (Series 2023), § 5.8.009, 8-2-2023)
No person may engage in the business of erecting, altering, relocating, constructing or maintaining signs without a valid contractor's license from the state contractors board, and all other applicable state and federal licenses.
(Ord. No. 3266 (Series 2023), § 5.8.010, 8-2-2023)
(a)
All persons involved in the maintenance, installation, alteration or relocation of signs near or upon any public right-of-way or property shall sign an agreement to hold harmless and indemnify the city, its officers, agents and employees against any and all claims of negligence resulting from such work insofar as this article has not specifically directed the placement of a sign.
(b)
All persons involved in the maintenance, installation, alteration or relocation of signs shall maintain satisfactory certificate of insurance naming the state, county or city as additional insured on the property owner's sign.
(Ord. No. 3266 (Series 2023), § 5.8.011, 8-2-2023)
Signs are allowed as follows in residential zones RR-1, R-1, R-2, R-3 and residential-professional zone R-P:
(1)
Exceptions: All signs as permitted in section 107-213 except subsections (11), (19), (22) and (23) of that section.
(2)
Construction project sign: One ground sign, 32 square feet in area, may be erected five days prior to the beginning of construction and shall be removed within five days after completion of construction.
(3)
Home occupancy sign: One flush-mounted wall sign not to exceed three square feet in sign area.
(4)
Area identification sign:
a.
Apartments and condominiums: One ground or wall sign not to exceed 32 square feet in sign area, may be erected five days prior to the beginning of construction and shall be removed within five days after completion of construction.
b.
Subdivision signs: One ground sign not to exceed 32 square feet in sign area shall be permitted per primary street entrance into the subdivision.
(5)
Ground signs: As permitted in subsections (2), (4), and (8) of this section. Shall have a maximum height of eight feet and shall not be located within any clear view zone unless the sign is 30 inches or less in height.
(6)
Wall signs: As permitted in section 107-220(4) and (8). Shall comply with the general requirements of section 107-220(4)c.
(7)
Illumination: No sign in a residential or residential-professional zone shall be internally illuminated unless approved as a conditional use by the commission.
(8)
Special sign regulations for residential zones and the residential-professional zone for uses permitted as a conditional use by the commission:
a.
Area identification signs for manufactured home parks and planned unit developments. One ground sign not to exceed 32 square feet in sign area shall be permitted per primary street entrance into the complex.
b.
Bed and breakfast inns. One freestanding, on-premises sign not to exceed four square feet area or six feet in height.
c.
Neighborhood convenience center. One flush-mounted wall sign and/or one ground sign on each street frontage not to exceed 32 square feet in sign area for each sign.
d.
Civic and commercial administrative, professional offices, clinic and medical services. One wall or ground-mounted sign not to exceed 32 square feet in sign area and may have a building directory sign provided that the area of such sign does not exceed two square feet per tenant of the building.
e.
Churches, schools and other civic use types. May have one wall or ground sign for each building or activity facility not to exceed 32 square feet in sign area.
(Ord. No. 3266 (Series 2023), § 5.8.012, 8-2-2023)
Signs are allowed as follows in the Central Business (CB) Zone:
(1)
All signs permitted in certain sections. All signs as permitted in sections 107-213 and 107-219.
(2)
Construction project sign. One non-illuminated ground sign, 64 square feet in area, may be erected 60 days prior to the beginning of construction and shall be removed within 14 days after completion of construction.
(3)
Freestanding sign. One freestanding sign per premises not to exceed one square foot in sign area for each linear foot of main street frontage up to a maximum of 100 square feet. Such signs may not exceed a height of 20 feet above the sidewalk or street grade to the top of the sign. The maximum projection shall not exceed five feet over a public right-of-way nor any closer than two feet from the outer curb face or six feet from the traveled surface where no curb is present. A minimum clearance of 17 feet shall be maintained over any vehicular use area and eight feet over any pedestrian use area.
(4)
Wall sign.
a.
Total aggregate area of signs shall not exceed three square feet of sign area for each linear foot of that occupancy's main building frontage.
b.
An individual business within a business complex which is located on the ground floor, or has an entrance on the ground floor and has direct pedestrian access to a street, shall be permitted one wall sign with a maximum sign area not to exceed one square foot of sign area for each linear foot of the individual business building frontage. If a business has no identifiable building frontage, a wall sign with a maximum area of 24 square feet shall be allowed adjacent to, or above the entrance giving access to the business.
c.
No wall sign shall be permitted to extend more than 12 inches beyond the building line, except that the upper edge of a wall sign mounted on a mansard roof may project more than 12 inches so long as the sign is perpendicular to the ground. No wall sign shall exceed the ends of the building front face on the top (roofline, parapet or mansard) of the face upon which it is erected or more than 20 feet above the sidewalk or adjacent grade, whichever is less, measured to the top of the sign. A minimum clearance of eight feet shall be maintained from the bottom of the sign to the sidewalk or grade immediately below. Wall signs projecting two inches or less beyond the building line may have a clearance of less than eight feet from the bottom of the sign to the sidewalk or grade immediately below.
(5)
Projecting sign.
a.
One projecting sign per occupancy, with a minimum sign area of 24 square feet, or less at the occupant's discretion; and if greater than 24 square feet, sign shall not exceed one square foot in sign area for each linear foot of an occupancy's main building frontage up to a maximum of 50 square feet of sign area. No projecting sign shall project more than eight feet from the wall of the building upon which it is erected, nor shall any sign extend closer to the street than four feet from the outer curb face, or six feet from the traveled surface where no curb is present. Projecting signs shall have a minimum clearance of 17 feet over any vehicular use area and eight feet over any pedestrian use area and shall not be more than 20 feet or to the roofline, parapet, or mansard whichever is less, measured to the top of the sign.
b.
Projecting signs are not allowed on an alley side of a building or on other building sides not fronting a street.
(6)
Corner-mounted projecting sign. One corner-mounted projecting sign is allowed when an occupancy is on a street corner in lieu of two projecting signs, as allowed in subsection (11)c of this section. The allowed sign projection is the same that would have been allowed had the sign been located on the occupant's longest street frontage and shall not exceed 50 square feet of sign area.
(7)
Travelway canopy/marquee signs. One travelway canopy/marquee sign for each separate occupancy or separate entrance, not to exceed six square feet in sign area. Travelway canopy/marquee signs must have a minimum clearance of 1½ above the sidewalk or pedestrian use area and shall be entirely within the border line of the canopy/marquee outer edge.
(8)
Awning, canopy, marquee signs. The height of the sign shall not exceed the thickness of the awning, canopy or marquee on which the sign is placed. The total area of such sign shall be included in the total allowable aggregate area of wall signs, as per subsection (4) of this section.
(9)
V signs. A V sign shall not exceed the projection and/or location limitations, as permitted for a projecting sign. The maximum sign face area shall be that as allowed for wall signs. Each sign face shall be included in calculating the sign face area of a V sign.
(10)
Electrically activated changeable signs. Electronically activated changeable signs are limited to date, time and temperature.
(11)
Special regulations and allowances for the central business zone.
a.
Additional wall signs. Additional wall signs are allowed when an occupancy is on a street corner or has more than one main street frontage or fronts a parking lot on that occupant's property. The total aggregate sign area on each building frontage shall not exceed that allowed for wall signs per subsection (4) of this section.
b.
Alley signs. An alley sign is limited to a wall sign with a maximum area of 24 square feet to identify a business. Such sign shall be located at the entrances. No alley wall sign shall be permitted to extend more than one inch into an alley unless said sign has a minimum clearance of 17 feet above any vehicular use area. No wall sign shall be permitted to extend more than 12 inches beyond the building line.
c.
Additional projecting signs. When an occupancy is on a street corner or has more than one main street frontage (excluding alleys), one additional projecting sign will be allowed on the additional frontage, with a limit of two projecting signs per occupancy.
(Ord. No. 3266 (Series 2023), § 5.8.013, 8-2-2023)
(a)
Generally. Signs are allowed as follows in the General Commercial (GC), Industrial (I-1, I-2), Business Park (BP), Medical Services (MS), and Public Facilities (PF) Zones:
(1)
All signs permitted in certain sections. All signs, as permitted in sections 107-213, 107-219, and 107-220.
(2)
Freestanding or ground signs.
a.
One freestanding sign per premises not to exceed one square foot in a sign area for each linear foot of main street frontage up to a maximum of 150 square feet. Such signs may not exceed a height of 35 feet above the sidewalk or street grade to the top of the sign. The maximum projection shall not exceed five feet over a public right-of-way nor any closer than two feet from the outer curb face or six feet from the traveled surface where no curb is present. A minimum clearance of 17 feet shall be maintained over any vehicular use area and eight feet over any pedestrian use area.
b.
A ground sign shall be erected only on private property and shall be so located as to not obstruct the view of a sign on adjoining properties and/or the same property when viewed from a vehicular distance of 200 feet or erected within any clear view zone.
(3)
Wall signs. An individual business within a shopping center which is located on the ground floor and has direct pedestrian access to a street or parking area shall be permitted wall signs, in total aggregate area, not exceeding three square feet of sign area for each linear foot of that individual business building frontage.
(4)
Service station. Island signs that designate type of fuel, fuel price and promotional signs are allowed at the rate of 36 square feet maximum per pump island. One sign designating fuel prices may be attached to the allowed freestanding sign or to the sign structure but must be included in the allowable area of the freestanding sign. Signs on canopy fascias are limited to 50 percent of the area of the fascia. Signs are to be maintained within the boundaries of the fascias.
(5)
Roof signs. A roof sign may be allowed where no other sign types can provide effective identification on a single story, low profile building. The top of roof signs shall not extend more than 20 feet from the sidewalk or grade immediately below. The maximum allowable height of roof signs shall not exceed four feet with an allowable area as per wall signs in section 107-220(4). Roof signs shall be constructed so as to conceal all structure and fastenings.
(6)
Changeable copy. Any sign herein allowed may use manual, automatic, electrically or mechanically activated changeable copy.
(7)
Special regulations and allowances for general commercial and industrial zones.
a.
Additional sign area. For each five square feet of landscaping installed at the base of freestanding signs and ground signs (entirely within private property), two square feet of additional face area shall be permitted, up to a maximum of an additional 50 percent of the sign face area.
b.
Off-premises advertising signs. Signs (billboards) shall be located in industrial zones (I-1 and I-2) as designated by the city land development code. Billboards may be located in the General Commercial Zone (GC) by conditional use as approved by the commission. The maximum number of advertising signs shall not exceed eight per mile with no more than five on one side of the street and no closer than 500 feet apart for signs exceeding 288 square feet and 300 feet apart for signs 288 square feet or less when measured along the street centerline and measured at right angles thereto. A back-to-back, double-faced or V-types sign shall be considered one sign. No sign face shall be more than 14 feet high, nor more than 48 feet long measured on the longest side of the sign. Sign area shall not be greater than 672 square feet, with a maximum height above street grade of 35 feet. These limitations apply to each side of a back-to-back sign and to each sign forming a V-type sign.
(b)
Border and trim measurement/design requirements. For measuring to determine sizes within the requirements of this section, border and trim shall be included, but foundations, supports and stingers shall not be included. No billboard shall be allowed to have more than four steel exposed supports and all illumination devices shall be of a modern design with minimal protrusion from the sign or be concealed within the non-structural trim.
(Ord. No. 3266 (Series 2023), § 5.8.014, 8-2-2023)
Signs are allowed as follows in the Interchange Commercial Zone (IC):
(1)
All signs as permitted in section 107-221.
(2)
Freestanding sign. One additional freestanding sign is allowed having a maximum sign area of 400 square feet and may be installed to a height of 80 feet above the adjacent grade. The principal purpose of such sign must be to address freeway traffic.
(3)
Off-premises advertising sign. A permitted, off-premises advertising sign shall have a maximum sign area of 400 square feet with a maximum height of 60 feet above the adjacent grade. The principal purpose of such sign must be to address freeway traffic.
(Ord. No. 3266 (Series 2023), § 5.8.015, 8-2-2023)
Any sign lawfully existing or under construction on the effective date of the ordinance from which this subpart is derived which does not conform to one or more of the provisions of this article may be continued in operation and maintained indefinitely as a legal nonconforming sign subject to compliance with the requirements of section 107-224.
(Ord. No. 3266 (Series 2023), § 5.8.016, 8-2-2023)
Normal maintenance of legal nonconforming signs, including changing of copy, necessary non-structural repairs and incidental alterations which do not extend or intensify the nonconforming features of the sign, shall be permitted. However, no structural alteration, enlargement or extension shall be made to a legal nonconforming sign unless the alterations, enlargement or extension will result in the elimination of the nonconforming features of the sign. If a legal nonconforming sign is damaged or destroyed by any means to the extent of 50 percent or more of its replacement value at the time, the sign may not be rebuilt or used thereafter unless it conforms to all of the provisions of this article. In the event the damage or destruction of the nonconforming sign is less than 50 percent of its replacement value at the time, the sign may be rebuilt to its original condition and may continue to be displayed.
(Ord. No. 3266 (Series 2023), § 5.8.017, 8-2-2023)
(a)
Nonconforming signs. If the community development director/planner shall find that any nonconforming sign, except for those legal nonconforming signs as specified in section 107-223, is displayed, the director shall give written notice to the owners, agent or person having the beneficial interest in the building or the premises on which such sign is located. Removal of the sign shall be effected within ten days after receipt of the notice from the community development director/planner. If such sign is not removed after the conclusion of such ten-day period, the community development director/planner is hereby authorized to cause the sign to be removed forthwith at the expense of the owner, agent or person having the beneficial interest in the building or premises on which such sign is located.
(b)
Obsolete signs.
(1)
Any sign, whether existing on or erected after the effective date of the ordinance from which this subpart is derived which advertises a business no longer being conducted, or a product no longer being offered for sale in or from the premises on which the sign is located, shall be removed within 90 days upon the cessation of such business or sale of such product by the owner, agent or person having the beneficial interest in the building or premises on which such sign is located.
(2)
If the community development director/planner shall find that any such sign advertising a business no longer being conducted, or a product no longer being offered for sale in or from the premises on which the sign is located, has not been removed within 90 days upon the cessation of such business or sale of such product, said official shall give written notice to the owner, agent or person having the beneficial interest in the building or the premises on which such sign is located. Removal of the sign shall be effected within ten days after receipt of the notice from the community development director/city planner. If such sign is not removed after the conclusion of such ten-day period, the community development director/planner is hereby authorized to cause the sign to be removed forthwith at the expense of the owner, agent or person having the beneficial interest in the building or premises on which such sign is located.
(c)
Unsafe signs.
(1)
If the community development director/planner shall find that any sign is unsafe or insecure or is a menace to the public, said official shall give written notice to the owner, agent or person having the beneficial interest in the building or the premises on which such sign is located. Correction of the condition which caused the community development director/planner to give such notice shall be effected within ten days after receipt of the notice. If such condition is not corrected after the conclusion of such ten-day period, the community development director/planner is hereby authorized to cause the sign to be removed forthwith at the expense of the owner, agent or person having the beneficial interest in the building or premises on which such sign is located.
(2)
Notwithstanding the foregoing provision, the community development director/planner is authorized to cause any sign to be removed summarily and without notice, at the expense of the owner, agent or person having the beneficial interest in the building or premises on which such sign is located, whenever said official determines that such sign is an immediate peril to persons or property.
(Ord. No. 3266 (Series 2023), § 5.8.018, 8-2-2023)
(a)
Generally.
(1)
Sign and sign structures shall be designed and constructed to resist wind and seismic forces, as specified in this section. All bracing systems shall be designed and constructed to transfer lateral forces to the foundations. For signs on buildings, the dead and lateral loads shall be transmitted through the structural frame of the building to the ground in such a manner as not to over stress any of the elements thereof.
(2)
The overturning moment produced from lateral forces shall in no case exceed two-thirds of the deadload resisting moment. Uplift due to overturning shall be adequately resisted by proper anchorage to the ground or to the structural frame of the building. The weight of earth superimposed over footing may be used in determining the deadload resisting moment. Such earth shall be carefully placed and thoroughly compacted.
(b)
Wind loads. Signs and sign structures shall be designed and constructed to resist wind force, as specified in the building code.
(c)
Seismic loads. Signs and sign structures shall be designed and constructed to resist seismic forces, as specified in the building code.
(d)
Combined loads.
(1)
Wind and seismic loads need not be combined in the design of signs or sign structures; only that loading producing the larger stresses need to be used.
(2)
Vertical design loads, except roof live loads, shall be assumed to be acting simultaneously with the wind or seismic loads.
(e)
Allowable stresses.
(1)
The design of wood, concrete, steel or aluminum members shall conform to the requirements of the building code. Loads, both vertical and horizontal, exerted on the soil shall not produce stresses exceeding those specified in the building code.
(2)
The working stresses of wire rope and its fastenings shall not exceed 25 percent of the ultimate strength of the rope or fasteners.
(3)
Working stresses for wind or seismic loads combined with dead loads may be increased, as specified in the building code.
(f)
Sign marker ID. Upon each sign for which a sign permit is required, there shall be specified the name of the sign erector, date of erection, electrical power consumption in amperes and Underwriters Laboratory label if an electrical sign. Such information shall be of sufficient size and contrast to be readable upon inspection.
(Ord. No. 3266 (Series 2023), § 5.8.019, 8-2-2023)
(a)
Generally. The supports for all signs or sign structures shall be placed upon private property and shall be securely built, constructed and erected in conformance with the requirements of this subpart.
(b)
Materials.
(1)
Materials of construction for signs and sign structures shall be of the quality and grade, as specified for buildings in the sign code or other applicable code as required by the building official.
(2)
In all signs and sign structures, the materials and details of construction shall, in the absence of specified requirements, conform to the following:
a.
Structural steel shall be of such quality as to conform to the sign code or other applicable code as required by the building official. Secondary members in contact with, or directly supporting the display surface, may be formed of light gauge steel, provided such members are designed in accordance with the specifications of the design of the light gauge steel as specified in the sign code or other applicable code as required by the building official and, in addition, shall be galvanized. Secondary members, when formed integrally with the display surface, shall be not less than 0.024 inch in thickness. When not formed integrally with the display surface, the minimum thickness of the secondary members shall be 0.10 inch.
b.
The minimum thickness of hot-rolled steel members furnishing structural support for signs shall be one-quarter inch, except that, if galvanized, such members shall be not less than one-eighth inch. Steel pipes shall be of such quality as to conform to building code standards. Steel members may be connected with one galvanized bolt, provided the connection is adequate to transfer the stresses in the members.
c.
Anchors and supports, when of wood and embedded in the soil or within six inches of the soil, shall be of all heartwood of a durable species, or shall be pressure treated with an approved preservative. Such members shall be marked or branded by an approved agency.
(c)
Restrictions on combustible materials.
(1)
Ground signs and billboards less than 120 square feet, may be constructed of any material meeting the requirements of this subpart. Ground signs and billboards greater than 120 square feet shall have primary structural support of steel.
(2)
Roof signs, wall signs, projecting signs and signs on marquees shall be constructed of non-combustible materials, except as provided in subsection (d) of this section. No combustible materials other than approved plastics shall be used in the construction of electric signs. Exceptions are:
a.
Roof signs may be constructed of unprotected combustible material on roofs of combustible construction.
b.
Roof signs with a maximum surface area of 50 square feet and a maximum height of four feet may be constructed of combustible materials on roofs of any type of construction.
c.
Non-electric wall signs may be constructed of unprotected combustible materials on walls permitted to be of unprotected combustible construction. On walls of protected combustible construction, or on walls of non-combustible construction, non-electric wall signs may be constructed of unprotected combustible materials up to a height of feet above the sidewalk or grade measured to the top of the sign, provided such signs shall be placed either directly against non-combustible surfaces, or furred out from such surfaces, not to exceed 1⅝ inches with all concealed space fire-stopped at ten-foot intervals along the length of the sign. Where sign panels and furring are of fire-retardant treated wood suitable for exterior exposure, the height above the sidewalk or grade may be increased to 20 feet.
d.
Ground signs shall be directly supported by poles or supports in the ground. No external cross-braces, guy wires, T-frames, A-frames, trusses, or similar bracing systems, shall be used in constructing a ground sign. All freestanding signs shall have self-support structures erected on or permanently attached to concrete foundations. Unless approved by the community development director/planner for a minimum number of braces on a building face not able to support a projecting sign, no projecting signs shall be supported by a frame commonly known as an A-frame or other visible frame located on a building roof.
(d)
Display surfaces. Display surfaces in all types of signs may be made of metal, glass, approved plastics or of wood, as allowed in subsection (c) of this section. Glass thickness and area limitations shall be as set forth in the following table:
Size, Thickness and Type of Glass Panels in Signs
(1)
Sections of approved plastics on wall signs shall not exceed 225 square feet in area. Exception: Sections of approved plastics on signs other than well signs may be of unlimited area if approved by the community development director/planner.
(2)
Sections of approved plastics on wall signs shall be separated three feet laterally and six feet vertically, by the required exterior wall construction. Exception: Sections of approved plastics on signs other than wall signs may not be required to be separated if approved by the community development director/planner.
(e)
Approved plastics. The community development director/planner shall require that sufficient technical data be submitted to substantiate the proposed use of any plastic material and if it is determined that the evidence submitted is satisfactory for the use intended.
(f)
Barriers during erection. During the erection of any permitted sign, the erector shall provide temporary barriers to cordon off ground area equal to twice the sign face height in which the sign is located to protect the public.
(Ord. No. 3266 (Series 2023), § 5.8.020, 8-2-2023)
(a)
Clearance from high voltage power lines. Signs shall be located not less than six feet horizontally or 12 feet vertically from overhead electrical conductors which are energized in excess of 600 volts and not less than three feet in any direction from conductors of less than 600 volts. The term "overhead conductors," as used in this subsection, means any electrical conductor, either bare or insulated, installed above the ground, except such conductors as are enclosed in iron pipe or other material covering of equal strength.
(b)
Clearance from fire escapes, exits or standpipes. No sign or sign structure shall be erected in such a manner that any portion of its surface or supports will interfere in any way with the free use of any fire escape, required exit, window, door opening or wall opening intended as a means of ingress or egress, or standpipe.
(c)
Obstruction to ventilation.
(1)
No sign shall be erected, constructed or maintained so as to interfere with any opening required for ventilation.
(2)
Signs erected within five feet of an exterior wall in which there are openings within the area of the sign, shall be constructed of noncombustible material or approved plastics.
(d)
Clearances from surface and underground facilities. All signs and their supporting structures shall maintain clearance and non-interference with all surface and underground facilities and conduits for water, sewage, gas electricity or communications equipment or lines. In addition, the placement of all signs and their supporting structures shall not interfere with natural or artificial drainage or surface or undergroundwater.
(e)
No obstruction to any existing warning or instructional sign. No sign shall be erected, constructed or maintained so as to interfere with any existing warning or instructional sign.
(Ord. No. 3266 (Series 2023), § 5.8.021, 8-2-2023)
No sign shall hereafter be erected, re-erected, constructed, altered or maintained, except as provided by this article and for which a sign permit from the community and economic development department/planning division has been issued. A separate permit shall be required for a sign or signs for each business entity and a separate permit shall be required for each group of signs on a single supporting structure. In addition, electrical permits shall be obtained for electric signs.
(Ord. No. 3266 (Series 2023), § 5.8.022, 8-2-2023)
Application for sign permits shall be made in writing upon forms furnished by the community and economic development department/planning division and process in accordance with section 101-129.
(Ord. No. 3266 (Series 2023), § 5.8.023, 8-2-2023)
The commission may authorize variances from the requirements of this article where it can be shown that, owing to special and unusual circumstances related to a specific piece of property, literal application of the article would cause an undue or unnecessary hardship. No variance shall be granted to allow the location of a sign in an unauthorized area or to alleviate a self-inflicted hardship. In granting a variance, the commission may attach conditions which it finds necessary to protect the best interest of the surrounding property or neighborhood, or to otherwise achieve the purposes of this article.
(Ord. No. 3266 (Series 2023), § 5.8.024, 8-2-2023)
A variance may be granted only in the event that all of the following circumstances found to exist. These criteria shall be addressed in writing and accompany the variance application.
(1)
Exceptional or extraordinary circumstances apply to the property, which do not apply generally to other properties in the same zone or vicinity and result from lot size or shape, topography or other circumstances over which the applicant has no control.
(2)
The variance is necessary for the preservation of a property right of the applicant substantially the same as owners of other property in the same zone or vicinity.
(3)
The variance would not be materially detrimental to the purposes of this article or to property in the same zone or vicinity in which the property is located or otherwise conflict with the objectives of any city plan or policy.
(4)
The hardship necessitating the variance does not arise as a result of a violation of this article since its effective date.
(5)
The variance requested is the minimum variance which would alleviate the hardship.
(Ord. No. 3266 (Series 2023), § 5.8.025, 8-2-2023)
A property owner or the owner's authorized agent may initiate a request for a variance by filing an application with the city in accordance with chapter 101, article III, division 4. Variances shall be processed in accordance with chapter 101, article III, division 4, with the exception that the review criteria in section 107-232 shall apply.
(Ord. No. 3266 (Series 2023), § 5.8.026, 8-2-2023)
Conditional signs listed in this article may be permitted, enlarged, or otherwise altered upon authorization by the commission in accordance with the standards and procedures set forth in this article. In permitting a new conditional sign or the alteration of an existing conditional sign, the commission may impose, in addition to those standards and requirements expressed by this article, any additional conditions which the commission considers necessary to protect the best interests of the surround property or the city as a whole.
(Ord. No. 3266 (Series 2023), § 5.8.027, 8-2-2023)
A property owner or the owner's authorized agent may initiate a request for a conditional sign or the modification of a conditional sign by filing an application with the city in accordance with chapter 101, article III, division 5.
(Ord. No. 3266 (Series 2023), § 5.8.028(1), 8-2-2023)
Any type of sign not defined herein shall be presented to the community development director/planner, who shall present the matter to the commission, which shall conduct a public hearing and determine the permissibility, size, location or any other restrictions it deems necessary to ensure its compatibility with the purposes set forth herein.
(Ord. No. 3266 (Series 2023), § 5.8.028(2), 8-2-2023)
(a)
The community development director/planner shall order the removal of any sign and its structural members erected or maintained in violation of this article. Three days' notice in writing will be given to the owner, agent or person of the building, structure or premises on which any prohibited sign has been erected, to have it removed. Ten days' notice in writing will be given to the owner, agent or person of any other illegal sign or of the building, structure or premises on which such sign is located, to either bring the sign into compliance with the article or effect its removal.
(b)
Upon failure to remove the sign or to comply with this notice, the community development director/planner shall remove the sign. The community development director/planner shall remove the sign immediately and without notice if it reasonably appears that the condition of the sign is such as to present an immediate threat to the safety of the public.
(c)
Any costs of removal incurred by the city shall be assessed to the owner of the property on which such sign and/or structural members is located and may be collected in the manner of ordinary debt or in the manner of liens, with all costs of removal or demolition plus administrative costs assessed against the property.
(Ord. No. 3266 (Series 2023), § 5.8.029, 8-2-2023)
The location, erection, construction, maintenance, repair, alteration of a sign and structure, except as provided herein, in violation of the terms of this article is hereby declared to be a nuisance under the provisions of the city's nuisance ordinance.
(Ord. No. 3266 (Series 2023), § 5.8.030, 8-2-2023)
Accessory buildings shall be located on the same site as an existing main or primary building and shall be clearly incidental in use to the main or primary building. All accessory buildings shall meet the following requirements:
(1)
Accessory buildings meeting all setback requirements for the main building shall:
a.
Have a building footprint and height equal to or less than the main building or in accordance with subsections (2)b and c of this section, whichever is greater.
b.
Only be used as an accessory structure in accordance with the permitted uses in the respective zone.
c.
Have the same style of siding and roofing materials and colors as the main building unless the owner can demonstrate support for an alternate treatment from a majority of the property owners within 100 feet.
(2)
Accessory buildings that do not meet the setback requirements for the main building shall meet the requirements of subsection (1)b and c of this section and shall:
a.
Have a front yard setback equal to or greater than that of the main building.
b.
Be no larger than ten percent of the actual lot area of said property.
c.
Have a maximum wall height of ten feet from the finished grade. The building height may be increased one foot vertically for each additional one foot of setback, beyond the minimum required, to a maximum wall height of 16 feet and a maximum ridge height of 21 feet.
(Ord. No. 3266 (Series 2023), § 5.9.001, 8-2-2023)
Detached accessory dwelling units, also called cottage homes or tiny homes, shall be permitted in all residential zones in accordance with the following standards:
(1)
Quantity. A maximum of one detached accessory dwelling unit shall be allowed per property, and limited to only properties that contain one primary single-family dwelling.
(2)
Parking. No additional parking space is required for an accessory dwelling unit.
(3)
Design standards.
a.
Setbacks. A detached accessory dwelling unit shall provide side and rear setbacks which comply with the applicable zone and a front yard setback which is at least equal to that of the existing primary single-family dwelling.
b.
Unit size. The size of a detached accessory dwelling unit may be no greater than 800 square feet, and shall be less than the residential living area of the primary single-family dwelling on the property.
c.
Height. The standards height limit for a detached accessory dwelling unit is 21 feet. Except when located on a second floor of a detached accessory structure that is shared with the primary single-family residential dwelling, such as a detached garage. In such case, the accessory building height may be increased to 25 feet.
d.
Building design. A detached accessory dwelling shall have a covered porch entry measuring a minimum of 18 inches and shall have the same style of siding and roofing materials and colors as the primary single-family dwelling.
(Ord. No. 3266 (Series 2023), § 5.9.002, 8-2-2023)
SPECIAL SITE STANDARDS
The purpose of this chapter is to establish standards for the design and development of sites in order to protect the public health, safety and welfare.
(Ord. No. 3266 (Series 2023), § 5.1.001, 8-2-2023)
The standards established in this chapter shall apply to all development within the city's urban growth boundary.
(Ord. No. 3266 (Series 2023), § 5.1.002, 8-2-2023)
The lot size, shape and orientation within all subdivisions or partitions shall be appropriate for the location of the subdivision or partition and for the type of development and use contemplated.
(1)
Lot width. Each lot shall have a minimum width of 30 feet, with 40 feet required for corner lots, unless otherwise required by this subpart.
(2)
Lot depth. Each lot shall have a minimum depth of 85 feet.
(3)
Lot area. Each lot shall have a minimum area as required by zone except where public utility facilities are to be placed, then no lot size is required.
(4)
Lot depth to width ratio. No lot or parcel depth shall be more than 2½ times the average width. This requirement may be waived by the reviewing authority.
(5)
Orientation of side property line. As far as practical, the side property line of a lot shall run at right angles to the street upon which it faces, except that on a curved street the side property lines shall be radial to the curve.
(6)
Street frontage. All lots shall have a minimum street frontage of 25 feet, except for flag lots as provided in section 107-24 and in cases where easement access is approved pursuant to section 111-24(a)(11).
(7)
Minimum standards. These minimum standards apply except where property is zoned or deeded for business or industrial use, other widths and area may be permitted. Depth and width of properties reserved or platted for commercial and industrial purposes shall be adequate to provide for the off-street parking and service facilities required for the type of use and development contemplated, as prescribed in section 107-170.
(Ord. No. 3266 (Series 2023), § 5.2.001, 8-2-2023)
The use of panhandle or flag lots as a means of access for a partition or subdivision shall be permitted only where:
(1)
The flagpole shall maintain a constant minimum width of 20 feet for one or two residential units and 25 feet in all other cases.
(2)
The natural grade of the flagpole shall not be so steep as to prevent the construction of a driveway with a grade not exceeding 18 percent.
(3)
The flagpole shall be adjacent to the closest existing lot line.
(4)
The flagpole strip shall be conveyed with the ownership of the rear lot or parcel and shall be considered a permanent part of that lot or parcel. No re-division or property line adjustment shall be allowed to alter the status of the flagpole strip unless other access, meeting all the requirements of this subpart, is first provided.
(5)
Access to the rear lot or parcel shall be by way of the panhandle portion of that lot or parcel, as recorded.
(6)
The requirements of the land development code relative to access and other requirements shall be observed.
(7)
Flag lots having frontage and abutting on an approved street are not required to meet lot frontage requirements if they were recorded in the county clerk's office at the time of the passage of the 1979 ordinance.
(8)
A maximum of four residences may use a single flagpole for access through the use of access easements and maintenance agreements that are approved by the city attorney and recorded with the county. Driveway standards are set forth in section 107-173.
(9)
Flag lots shall not be permitted when the result would be to increase the number of properties requiring direct and individual access connections to the state highway system or other arterials.
(10)
Flag lots may be permitted for residential development when necessary to achieve planning objectives, such as reducing direct access to roadways, providing internal platted lots with access to a residential street, or preserving natural or historic resources. However, flag lots shall not constitute more than ten percent of the total number of lots in a subdivision.
(11)
The front wall of a dwelling unit constructed on a flag lot shall be oriented (to the street providing access) in the same manner as the front wall of a majority of the dwelling units on the same side of the street on lots within 100 feet of the flag lot. If the orientation of existing units is equally split, the property owner may choose the orientation of the new unit.
(Ord. No. 3266 (Series 2023), § 5.2.002, 8-2-2023)
The purpose of requiring yards is to provide for yard area around structures to ensure adequate privacy, desirable and safe visibility, and outlook from nearby roads and buildings; natural light, ventilation, and sunlight; access to and around buildings; buffering between uses; and space for landscaping, gardening, and recreation.
(Ord. No. 3266 (Series 2023), § 5.3.001, 8-2-2023)
(a)
Property line location responsibilities. It shall be the property owner's responsibility to establish and clearly mark all necessary property boundaries prior to obtaining a building permit as determined by the city. The established property lines shall be used as a reference to ensure that the development satisfies all applicable requirements of this subpart. If property boundaries cannot be accurately established by the property owner, the city may require a certified survey. If a survey is required, proof of survey shall be provided to the planning division prior to issuing land use authorization for a building permit.
(b)
The minimum yard requirement of this subpart applies to all uses except the following:
(1)
Fences, hedges or walls six feet or less in height above the finish grade of the site, when located in a required side or rear yard.
(2)
Fences, hedges or walls four feet or less in height, when located in a required front yard.
(3)
All common wall constructions.
(4)
Where lots comprising more than 50 percent of the block frontage are developed with front yards less than the depth required herein, the setback may be the average of such existing front yards but shall not be less than ten feet.
(5)
The following architectural features shall meet the setbacks shown:
a.
Cornices, eave overhangs, bay windows, chimneys, solar collectors, planting boxes, cantilevered decks and similar architectural features may extend into any required front or rear yards not exceeding five feet, and into any required side yard not exceeding two feet.
b.
Unenclosed porches, landings, stairways, or fire escapes, not covered by a roof may extend into any required front or rear yard not exceeding five feet, and into any required side yard to within three feet of property line. Street corner side yard setbacks shall be the same as subsection (b)(1) of this section.
c.
Decks, patios, sidewalks, driveways, and similar architectural features less than 15 inches above grade shall not be regulated as to setbacks.
(Ord. No. 3266 (Series 2023), § 5.3.002, 8-2-2023)
The front yard is measured at right angles from the nearest point on the front property line to the building line.
(1)
Residential zones.
a.
Development in subdivisions recorded prior to the 2003 Code shall have a minimum front yard of 20 feet.
b.
Development in residential zones, including the R-P zone, within newly created subdivisions recorded subsequent to the 2003 Code, shall have a minimum front yard of 15 feet, and 20 feet for the garage, measured from the garage door along the center of the driveway to the established property line.
(2)
Commercial and industrial zones.
a.
Development in commercial or industrial zones shall not require a minimum front yard setback.
b.
Front yards in commercial and industrial zones may be used for landscaping and parking, if a front yard is provided.
(3)
Double frontage lots. Where double frontage yard locations are not specified by subdivision map requirements or other applicable regulations, the applicant may select the street for the front yard; unless 50 percent of the lots on a double frontage block are developed with the same front yard orientation, all remaining lots are to orient their front yards the same as the majority.
(4)
Public facilities zone. No front yard setback is required, unless the property abuts a residential zone, in which case a front yard setback shall be provided as required in said residential zone.
(Ord. No. 3266 (Series 2023), § 5.3.003, 8-2-2023)
The side yard is measured at right angles to the side property line to form a line parallel to the side property line, which extends between the front and rear yard areas. The minimum side yard is to be as follows:
(1)
Residential side yard requirements.
a.
These requirements apply to development in residential zones, including the R-P zone, within subdivisions recorded prior to the 2003 Code except where otherwise provided by this section:
1.
Five feet.
b.
These requirements apply to development in residential zones, including the R-P zone, within newly created subdivisions recorded subsequent to the 2003 Code, except where otherwise provided by this section:
1.
Five feet.
2.
Zero feet for common wall residences.
3.
Zero feet for detached residences approved as part of a planned unit development (chapter 109, article VII) or specific plan areas (chapter 109, article XVII).
(2)
Corner lots. The side yard on the street side of a platted corner lot recorded subsequent to the 2003 Code is to be a minimum of 15 feet, and 20 feet for the garage. This may be reduced to ten feet for an existing platted lot recorded prior to the 2003 Code, and 20 feet for the garage. If a side yard abuts an alley, the minimum side yard width shall be ten feet for a residential unit and five feet for a detached accessory building.
(3)
Accessory buildings. Accessory buildings as herein permitted, shall meet required side yard setbacks of the applicable zone.
(4)
Commercial and industrial zones. No side yard shall be required in the commercial or industrial zones except:
a.
When the commercial or industrial site abuts a residential zone, the side yard abutting the residential zone is to be a minimum of 20 feet and is to be increased one foot for each two feet of commercial or industrial building height above 35 feet.
b.
Commercial uses in the R-P zone shall have minimum side yard setbacks of five feet.
(5)
Public facilities zone. No side yard shall be required in the public facilities zone, unless the property abuts a residential zone, in which case a side yard setback shall be provided as required in said residential zone.
(Ord. No. 3266 (Series 2023), § 5.3.004, 8-2-2023)
The rear yard is measured at right angles to the rear property to form a line parallel to the rear property line.
(1)
Residential zones. There shall be a minimum rear yard of 20 feet in all residential zones, except where otherwise provided within this subsection.
a.
This requirement applies to development in residential zones, including the R-P zone, within subdivisions recorded prior to the 2003 Code except where otherwise provided by this section:
1.
20 feet.
b.
These requirements apply to development in residential zones, including the R-P zone, within newly created subdivisions recorded subsequent to the 2003 Code, except where otherwise provided by this section:
1.
20 feet in the HD, RR-1 and R-3 residential zones.
2.
15 feet in the R-1, R-2 and R-P residential zones.
c.
Detached accessory building. As herein permitted, accessory buildings may be located in a rear yard of a residential zone no closer than five feet from the rear property line, except for a through lot where they must be set back a minimum of 20 feet. A rear yard on an alley may permit building to the property line or ten feet from the centerline of the alley if ownership is to centerline of said alley, provided the eave does not overhang into the right-of-way in which case it must be set back the depth of the eave.
(2)
Commercial zones. There shall be no minimum rear yard in commercial zones except as follows:
a.
Where the rear property line abuts an alley, the rear yard is to be at least five feet.
b.
Where the rear property line abuts a residential zone, the rear yard is to be a minimum of 20 feet. The minimum rear yard is to be increased one foot for each two feet of commercial or industrial building height above 35 feet. The required rear yard may be used for parking, storage, or landscaping.
(3)
Industrial zones. There shall be no minimum rear yard requirements in industrial zones, except:
a.
Where the rear property line abuts an alley right-of-way, in which case the rear yard is to be a minimum of five feet.
b.
Where the rear property line abuts a residential zone, in which case the rear yard is to be as specified in subsection (2)b of this section.
(4)
Public facilities zone. No rear yard shall be required in the public facilities zone, unless the property abuts a residential zone, in which case a rear yard setback shall be provided as required in said residential zone.
(Ord. No. 3266 (Series 2023), § 5.3.005, 8-2-2023)
Detached buildings located on the same site are to be separated as follows:
(1)
Accessory buildings. An accessory building is to be located no closer than six feet from any principal building, unless fire protection is provided per building code. Any building located less than three feet from the primary building shall be attached to the primary building.
(2)
Residential buildings. A principal building (including a multifamily dwelling) is to be located no closer to another principal building than ten feet. Common wall construction is exempt from this setback requirement.
(3)
Nonresidential buildings. As provided by the building code as adopted and amended by the state.
(Ord. No. 3266 (Series 2023), § 5.3.006, 8-2-2023)
The purpose of the following sections is to limit the height of structures as needed to support public safety; protect access to natural light, ventilation, and direct sunlight; support the preservation of neighborhood character; and to preserve view sheds and scenic vistas.
(Ord. No. 3266 (Series 2023), § 5.4.001, 8-2-2023)
The height of a building or structure is to be measured as the vertical distance from the highest point of the structure to the average of the highest and lowest points where the exterior walls touch the finish grade.
(Ord. No. 3266 (Series 2023), § 5.4.002, 8-2-2023)
The maximum height for new structures is to be as follows:
(Ord. No. 3266 (Series 2023), § 5.4.003, 8-2-2023)
See section 107-270.
(Ord. No. 3266 (Series 2023), § 5.4.004, 8-2-2023)
The height limitations contained in the zoning regulations do not apply to spires, belfries, cupolas, antennas, water tanks, ventilators, chimneys, or other appurtenances usually required to be placed above the roof level and not intended for human occupancy.
(Ord. No. 3266 (Series 2023), § 5.4.005, 8-2-2023)
The purpose of establishing standards for fences, hedges, and walls are to protect certain uses from intrusion, to protect the public from uses which may be hazardous, and to increase compatibility between different land uses by visual screening.
(Ord. No. 3266 (Series 2023), § 5.5.001, 8-2-2023)
(a)
Visual obstruction prohibited. No fence, hedge or wall shall be placed to create a visual obstruction to vehicular traffic, and the provisions of article VI of this chapter shall apply.
(b)
Front yards of residential uses and all uses in residential zones. Fences and walls not greater than four feet in height, shall be permitted on or within front yards, provided they do not obscure vision as provided in section 107-147. An exemption may be granted by the community development director/planner pursuant to section 107-115.
(c)
Side and rear yards of residential uses and all uses in residential zones. Fences and walls not greater than six feet in height shall be permitted within all rear and side yards of interior and corner lots, except that they shall not be located closer than 20 feet to the street property line of a reverse corner lot, unless it meets the provisions of section 107-55(2) and subsection (b) of this section.
(d)
Front, side and rear yards of nonresidential uses. In the case of nonresidential uses in nonresidential zones, fences and walls not to exceed six feet in height may be located or maintained in any required yard, except where the requirements of the sight triangle apply. Additional fence, hedge or wall height may be required as set forth below. The side and rear yards of all nonresidential uses shall be screened as follows: When abutting a residential use, a solid wall or fencing not exceeding six feet in height shall be located along side and rear yards of any nonresidential use or land use zone. Additional height of up to ten feet, or 12 feet for outdoor storage areas, may be required by the review authority to address privacy, noise, screening, or other compatibility issues. Fences exceeding six feet in height shall obtain a building permit and be permitted to a height no greater than 12 feet.
(e)
Swimming pools. Yard areas containing private swimming pools shall be fenced to discourage unsupervised access and use by small children. Such fencing shall be a minimum of six feet high and equipped with a self-closing and self-latching gate. Latching devices are to be located at a minimum height of four feet. Such fencing may be omitted where building walls without doorways abut the pool area, provided that the entire perimeter of the pool area is secured.
(f)
Mechanical equipment. When located outside of a building, support equipment including air conditioning and heating devices, but not including plumbing or exhaust vents, or chimneys, shall be screened to the height of the particular piece of equipment, as follows:
(1)
Roof-mounted equipment shall be screened by architectural features from the view of abutting streets.
(2)
Equipment at grade when located on the ground adjacent to a building, mechanical equipment shall be screened by landscaping, by a wall or fencing from the view of the street or surrounding properties.
(g)
Outdoor storage. Outdoor storage in commercial or industrial zones shall be screened on all sides by a wall or sight-obscuring fencing to the height of the stored items, but in no event to exceed 12 feet.
(h)
Utility substations. Utility substations not within an enclosed building or structure, in or abutting residential zones, shall be secured and screened.
(i)
Right-of-way encroachment. Fences may encroach on a public right-of-way only by agreement with the city in accordance with applicable city ordinances.
(Ord. No. 3266 (Series 2023), § 5.5.002, 8-2-2023)
(a)
Front yard fence and wall waivers. Waiver of the front yard fence height limits may be sought by letter to the community development director/planner by any person who proves that equal aesthetic qualities may be attained by other designs. The community development director/planner shall consider such requests on the basis of the substitute plan using the procedures in chapter 101, article IV, division 2. The substitute plan must:
(1)
Provide adequate vision clearance for automobiles, both those passing on the abutting streets and those leaving the development site;
(2)
Include landscaping of the area between the curbline and the fence line;
(3)
Not be detrimental to the public health, safety or welfare, or be materially injurious to properties or improvements in the vicinity.
(b)
Backstops. Backstops are exempt from the building permit requirement and 12-foot height limitation.
(Ord. No. 3266 (Series 2023), § 5.5.003, 8-2-2023)
Where screening is required to be a wall or fence, the following materials may be substituted, except where screening is required adjacent to a residential use or zone.
(1)
Landscape screen. Screening plant materials may be substituted for a wall or fence, unless a wall or fence is required by article VI of this chapter or by the review authority.
(2)
Berms. A landscaped berm may be substituted for a wall or fence provided that the combination of berm and landscaping is no less than the required height of the fence or wall, and that the berm is constructed with a maximum slope of 2:1, with side slopes designed and planted so as to prevent erosion, and with a rounded surface a minimum of two feet in width at the highest point of the berm, extending the length of the berm. The berm is to be planted with shrubs or lawn.
(Ord. No. 3266 (Series 2023), § 5.5.004, 8-2-2023)
The purposes of landscaping are to enhance the diversity and resilience of the built environment, to increase the tree canopy cover and the benefits that trees provide, to provide areas on sites which can absorb rainfall and reduce stormwater runoff, to enhance the appearance of structures and properties, to provide visual privacy, and to improve the visual environment.
(Ord. No. 3266 (Series 2023), § 5.6.001, 8-2-2023)
(a)
Landscaping shall be provided for sites where the following uses occur:
(1)
Industrial uses.
(2)
Commercial uses.
(3)
Manufactured dwelling parks.
(4)
Civic uses.
(5)
Multifamily uses.
(6)
Planned unit developments.
(7)
No on-site landscaping is required for new development within the CB Central Business Zone, excluding parking lots. Enhancements of the right-of-way will be required, where feasible, with improvements including landscape planters and/or street trees planted, to city standards, along abutting sidewalks; pedestrian scale street lighting; benches and bike racks may be required as a condition of site plan approval.
(b)
Landscaping shall not be located within public rights-of-way except in cases where there is a designated planting area in the right-of-way or when approval has been granted by the public works director or designee, or other responsible agency (e.g., state highway department).
(c)
Clear vision area or sight triangle. Within the area formed by drawing a line down the right-of-way centerline, or street centerline if the street is off-set, a distance of 90 feet from the point at which the centerlines intersect, and another line drawn across the corner lot to connect the ends of the first two lines, there shall be no structure, sight-obscuring fence, wall, hedge, or other plantings or any other obstruction to vision (other than a bare tree trunk or sapling, that will not obstruct sight triangle visibility over time; or a post or column not exceeding 18 inches in greatest cross-sectional dimension) between a height of 2½ feet and a height of eight feet above the established grade of either street or, if no grade has been officially established, above the average elevation of the existing surface of each street at the centerline thereof. The sight triangle standards do not apply to structures, which meet the required setbacks described in article III of this chapter, provided that the intersection is controlled with a four-way stop or traffic signal. Additionally, the property line measurements for a 40-foot-wide right-of-way sight triangle shall be equal to a 60-foot right-of-way sight triangle. The sight triangle length at the intersection of an alley or driveway and a public street shall be ten feet except in the central business zone, where no sight triangle is required for alley intersections.
(d)
Landscape screens, where required, shall comply with the applicable provisions of section 107-116.
(Ord. No. 3266 (Series 2023), § 5.6.002, 8-2-2023)
(a)
Purpose. The purpose of a landscaping plan is to identify the placement and type of plant materials as features of project design. By detailing the plantings and method of irrigation proposed, landscaping plans provide an effective means for evaluating whether chosen plant materials will survive in the climate and soils of a given site; satisfy the functional objectives of landscaping (such as erosion control, screening and shade) within a reasonable time; provide a reasonable efficiency of water use; and whether plantings will ensure safe pedestrian and auto traffic circulation.
(b)
Where required. Landscaping plans are required to accompany all applications for site plan, concept plan, and development plan approval for the uses listed in section 107-147.
(c)
Landscaping plan review. Landscaping plans shall be processed and reviewed as specified in chapter 101, article III, division 2.
(d)
Landscaping plan content. Landscaping plans are to be neatly and accurately drawn, at an appropriate scale which will enable ready identification and recognition of information submitted. Where a project covers only a portion of a site, the landscaping plan need show only the areas where existing soil contours and vegetation will be disturbed by construction or use, or other areas where landscaping is required. Landscaping plans are to show:
(1)
Property and lot boundaries, and rights-of-way.
(2)
The location of all trees existing in or within 50 feet of areas proposed for grading or other construction. Trees to be removed are to be identified. The method of protecting trees to be retained shall be indicated.
(3)
Any shrubs or plants identified as endangered or to otherwise be protected, including the method of protection.
(4)
Structures and impervious surfaces.
(5)
Plant material and locations whether existing or to be planted. A schedule listing the common and botanical names of plants will be required. Substitution of plants with similar form and function will be allowed as approved by the community development director/planner.
(6)
Details and location of proposed fencing, entries, parking and circulation provisions, trash collection areas, and freestanding signs.
(7)
Walkways, plazas and sitting areas, play areas, including related street furniture and permanent outdoor equipment.
(8)
Location and style of outdoor light fixtures. Any exterior lighting installed on a property shall be either shielded or down directed so as to not cast a direct light onto adjacent residential properties or residences.
(9)
Irrigation system.
(Ord. No. 3266 (Series 2023), § 5.6.003, 8-2-2023)
Where landscaping is required by section 107-147, the materials used are subject to the following provisions:
(1)
Allowable materials.
a.
Landscaping shall include some combination of the following materials to achieve the intended or required purpose of the landscaping (e.g., tree canopy, screening, etc.): trees, shrubs, ground cover, vines, flowers or lawns. Landscaping may also include art work, walls, structural features and fences. Trees adapted to the site shall be incorporated into the landscape when there is adequate space as determined in the standards for tree planting in the community forestry program guide. Shade trees shall be a minimum of 15 gallons and/or 1¼-inch caliper. Evergreen conifer trees shall be a minimum of five feet in height. Landscaping areas shall include live plant coverage, at occupancy, equal to or greater than 50 percent of each landscape area.
b.
Trees within designated planting areas located in public rights-of-way shall conform the standards for tree planting in the city community forestry program guide.
(3)
Excluded materials. Landscaping proposed to satisfy the requirements of this subpart shall not include:
a.
Plant materials which have root structures or branching habits which in their mature state may damage or interfere with the normal use of existing public or private underground or aboveground electrical lines, cables, or conduits, pipes or other utilities; or public or private sidewalks, curbs, gutters or paved parking and turnaround areas, drainage improvements, or adjacent structures, foundations, or landscape materials.
b.
Prohibited tree species as referenced in the standards of the community forestry program guide.
(Ord. No. 3266 (Series 2023), § 5.6.004, 8-2-2023)
(a)
Developed site area.
(1)
For purposes of this section, the term "developed site area" means the square footage of the area indicated on the plot plan. At a minimum, the area indicated on the plot plan shall include the area required for parking, ingress and egress, setback areas, and other areas which may be required as a condition of site plan approval, which are part of the ownership.
(2)
Landscaping proposed to satisfy the minimum area percentage standards listed in this section shall not include landscaping required as a screen or buffer pursuant to section 107-116, or as a condition of land use approval.
(b)
Minimum area requirements—New construction. Landscaping shall be provided as follows:
(1)
Industrial use types: five percent of the developed site area.
(2)
Commercial use types: ten percent of the developed site area.
(3)
Civic use types: ten percent of the developed site area.
(4)
Residential, manufactured dwelling parks, and multifamily use types: 20 percent of the developed site area.
(5)
Planned unit development. The review procedure and development standards for landscaping shall be as specified in the approval of the planned unit development plan and in no instance shall be less than that required for equivalent use types listed in this section.
(c)
Minimum area requirements—Additions. Additions to use types defined in chapter 103 representing greater than 50 percent of the primary structure shall provide landscaping as follows:
(1)
Industrial use types: five percent of the addition's total square footage.
(2)
Commercial use types: ten percent of the addition's total square footage.
(3)
Civic use types, manufactured dwelling parks, residential use types: ten percent of the addition's total square footage.
(4)
Planned unit development. Landscaping shall be provided as required for equivalent use types listed in this section.
(d)
Installation. Required landscaping shall be installed prior to occupancy. Extensions of time may be granted by the community development department/planning division if good faith efforts are being made to complete the required work.
(e)
Maintenance. All required planting shall be maintained by the owner in good condition, and in any case where a required planting has not survived, shall be replaced as soon as is practical with new plant materials similar to those which died.
(f)
Perimeter landscaping. For industrial, commercial and civic use types, an average six-foot-wide landscaped area must be located along building perimeters, which are viewable by the general public from parking lots or the public right-of-way. Loading areas, bicycle parking areas, and pedestrian entries or exits are excluded from this requirement. At a minimum, this landscaping must function to meet the purposes of landscaping described in section 107-146.
(g)
Parking lot landscaping. Parking lot landscaping shall be provided as set forth in section 107-174(7).
(h)
Irrigation. An automated irrigation system shall be installed, unless an alternative irrigation plan is approved by the city.
(Ord. No. 3266 (Series 2023), § 5.6.005, 8-2-2023)
No parking or loading area, or vehicle parking or bicycle parking spaces provided for the purpose of complying with the provisions of this subpart shall hereafter be eliminated, reduced, or converted in any manner below the requirements established in this subpart, unless equivalent facilities are provided elsewhere in conformity with the provisions of this article or unless the planning commission and city council determine the intent is to reduce reliance on the automobile and increase the viability of other alternative modes of transportation, such as walking and bicycling.
(1)
Eligibility of street parking spaces. Vehicle and bicycle parking spaces in a public street including an alley, shall not be eligible as fulfilling any part of the off-street parking requirements. However, the planning commission may grant exceptions to this requirement by conditional use, pursuant to chapter 101, article III, division 6, and subject to the following criteria:
a.
An exception may only be granted for the required vehicular parking for the assembly use types, or for bus parking for pre-elementary, elementary, junior high, high school and university campuses.
b.
Eligible street parking shall only include those spaces that are immediately adjacent to the subject property, provided:
1.
There are no existing or proposed parking restrictions for such street parking spaces that will be in conflict with the proposed use of such street parking spaces; and
2.
The furthest eligible parking space shall be no greater than 500 feet from the use served, except for university campuses the furthest eligible parking space shall be no greater than 1,300 feet from the use served.
c.
A request for an exception shall require a favorable recommendation from the parking, traffic safety and street maintenance advisory commission (PTSSMAC) and be accompanied by a review and recommendation from the city manager on behalf of city staff.
(2)
Computation rule for more than one use in a structure. In the event that several uses occupy a single structure or parcel of land, the total requirements of off-street vehicle and bicycle parking shall be the sum of the requirements for the several uses computed separately.
(3)
Shared parking facilities. Required vehicle and bicycle parking facilities of two or more uses, structures, or parcels of land may be satisfied by the same parking facilities used jointly, to the extent that it can be shown by the owners or operators that the need for the facilities does not materially overlap (e.g., uses primarily of a daytime vs. nighttime nature), and provided that such right of joint use is evidenced by a deed, lease, contract, or similar written instrument establishing such joint use.
(4)
Computation rule for fractions. If after calculating the number of required off-street vehicle and bicycle parking spaces a quotient is obtained containing a fraction of one-half or more, an additional space shall be required; if such fraction is less than one-half, it may be disregarded.
(5)
Computation rule based on number of employees. When the vehicle and bicycle parking requirement is based on the number of employees, the number of spaces shall be based on the number of working persons typically engaged in the specified activity on the lot during the largest shift of the peak season.
(6)
Computation rule based on number of seats. When the vehicle and bicycle parking requirement is based on the number of seats, each 18 inches of benches, and 24 inches of booths, pews or similar facilities shall be counted as one seat.
(7)
Computation rule based on number of students. When the vehicle and bicycle parking requirement is based on the number of students, the number of spaces shall be based on the entire occupant load of the structure regardless of the number of students in attendance.
(8)
Non-specified number of parking spaces. When a required number of parking spaces is not specified for a particular use or facility, the community development department/planning division shall prescribe a number of vehicle and bicycle parking spaces or loading berths based on a determination of the traffic generation of the activity, the amount of frequency of loading operations thereof, the time of operation of the activity, their location, and such other factors as affect the need for off-street parking or loading. Any such determination shall be subject to appeal pursuant to the appeal procedures as defined in chapter 101, article IV, division 7.
(9)
Computation rule based on net floor area. A reasonable conversion of gross floor area to net available floor area within existing and proposed development that accounts for such factors as wall thickness, corridors, equipment areas, storage areas, conference rooms, break rooms and other portions of the development that do not generate parking demand shall be allowed as determined by the community development director/planner.
(Ord. No. 3266 (Series 2023), § 5.7.001, 8-2-2023)
(a)
Off-street vehicle parking with adequate provision for safe ingress and egress shall be provided for the various uses defined in this subpart. Whenever any structure is enlarged or expanded or the use is changed, off-street parking and loading shall be provided for the expansion, enlargement, or change of use prior to occupancy in accordance with the requirements of this chapter. Required parking and loading spaces shall be improved and made available for use before the final inspection under the building permit is made by the building official, or before a change of use and resulting occupancy are commenced. In the event the improvements are not completed within a one-year time from the date of building permit issuance, the site plan bond shall be forfeited and the improvements thenceforth constructed under the direction of the city.
(b)
Standards for number of required vehicle parking spaces are presented in the table of off-street parking requirements located at the end of this article. Properties located within the exempt off-street parking area, as depicted on the map included in this subpart, are not required to provide off-street parking. However, when provided, such off-street parking shall meet the design standards of this article.
(Ord. No. 3266 (Series 2023), § 5.7.002, 8-2-2023)
Public accommodations or facilities, including, but not limited to, auditoriums, theaters, restaurants, hotels, motels, stadiums, shopping centers, and office buildings, shall provide no less than one parking space for persons with disabilities for each 25 spaces in parking lots, or in accordance with the Oregon Structural Specialty Code and Americans with Disabilities Act.
(Ord. No. 3266 (Series 2023), § 5.7.003, 8-2-2023)
At the time a use is erected or enlarged, or an existing building use changed, off-street loading areas may be required. The following provisions shall apply to all loading facilities:
(1)
Merchandise. Any use receiving a majority of its goods by truck shall provide an off-street loading/unloading area which will not impede traffic flow or parking availability. This standard shall not apply to lands located within the exempt off street parking area.
(2)
The minimum area required for loading spaces shall be not less than 250 square feet each, where the gross floor area of all buildings on a lot or parcel of land is not more than 20,000 square feet.
(3)
The minimum area required for loading spaces shall not be less than 500 square feet each, where the gross floor area of all buildings on a lot or parcel of land is more than 20,000 square feet, however, less than 50,000 square feet.
(4)
The minimum area required for loading spaces shall be not less than 750 square feet each, where the gross floor area of all buildings on a lot or parcel of land exceeds 50,000 square feet.
(5)
The minimum required loading area shall not be less than ten feet in width and 25 feet in length and shall have an unobstructed height of not less than 14 feet.
(6)
The required loading area shall be easily accessible from a street, highway or area.
(Ord. No. 3266 (Series 2023), § 5.7.004, 8-2-2023)
(a)
Aisle dimensions. The aisle dimensions for angle parking are to be based upon the angle and width of the parking space, as set forth in the following chart. The use of a wider parking space enables a reduction of the aisle width, as shown.
(1)
Aisle widths for 45-degree and 60-degree spaces are one-way only.
(2)
Tier means two rows of parking spaces plus an aisle. Tier width may not add to aisle width plus two times the space to curb distance in the chart above, because additional tier width may be required for safety precautions.
(3)
Space dimensions for parallel parking are to be nine feet by 22 feet. Aisle dimensions for parallel parking are to be 12 feet for two-way aisles.
(4)
Compact parking may only be allowed subject to a variance approved by the planning commission pursuant to chapter 101, article III, division 4, and subject to the provisions of this section. When considered, a parking enforcement plan shall be provided to guarantee the management and enforcement of compact parking as designed. Space to Curb dimensions may be reduced by up to four feet for each parking spaces signed and painted as "Compact Car Only." Up to 30 percent of the required off-street parking spaces may be designated for compact cars only.
(b)
Driveway standards.
(1)
Driveways serving residential uses shall have a minimum improved surface width of not less than ten feet when serving one dwelling unit; 20 feet when serving two dwelling units. Driveways serving three or more dwelling units shall have 20 feet of paved surface. Driveway widths within the public right-of-way are regulated by chapter 32, article III.
(2)
Driveways serving other than residential uses shall have a minimum width of ten feet to accommodate one-way traffic, and a minimum width of 20 feet to accommodate two-way traffic. Driveway widths within the public right-of-way are regulated by chapter 32, article III.
(3)
Vehicle parking areas for four or more vehicles are to be designed to prevent cars from backing out into a public street, public or private pedestrian walk, or public alley, in order to leave the area or to maneuver out of the parking space. Parking lots are to be designed and improved so as to prevent ingress and egress at any point other than designated entrance or exit drives.
(4)
Access driveways to parking areas containing four or more spaces are to be located and designed as follows:
a.
Parking area entrance and exit driveways are to be located a minimum of 50 feet from the nearest street intersection, as measured from the centerline of the driveway to the nearest travel lane of the intersecting street.
b.
Entrance and exit driveways crossing the street property line of a single site are to be limited to two along the frontage of any single street. The centerline of driveways on the same property is to be separated by a minimum of 30 feet.
(5)
Driveways serving more than one occupied structure shall have a paved surface capable of supporting fire apparatus. A turnaround area, approved by the fire chief, shall also be provided. The vertical clearance of such driveways shall be maintained at a minimum of 13 feet six inches.
(6)
Driveways serving more than one occupied structure may be no more than 300 feet in length.
(7)
Driveways serving more than one occupied structure shall be subject to a maintenance agreement approved by the city and recorded in the county deed records if more than one ownership is involved.
(8)
Approved fire apparatus access roads shall be provided for every facility, building or portion of a building hereafter constructed or moved into or within the city. A fire access road shall extend to within 150 feet of all portions of the exterior walls of the first story of the building as measured by an approved route around the exterior of the building.
a.
The unobstructed width shall be at least 20 feet.
b.
The unobstructed vertical clearance shall be at least 13 feet, six inches.
c.
The driveway or private road surface shall provide for all-weather driving capability and shall support the imposed loads of the largest fire apparatus serving the city.
d.
Bridges, culverts and/or elevated surfaces shall be designed for a live load sufficient to carry the imposed loads of the largest fire apparatus serving the city.
e.
If the driveway or private road is a dead end, longer than 150 feet in length, a turnaround shall be provided in accordance with the state fire code.
f.
For residential development that includes ten or more dwelling units, a secondary ingress/egress serving the development shall be provided that meets the requirements of this section. The fire chief may impose a greater restriction or requirement in accordance with the state fire code.
g.
Address numbers (minimum size four-inch numbers) shall be posted at or near the driveway entrance so they are readily visible from the street in either direction.
h.
The grade of any portion of such driveway shall not exceed ten percent. The fire chief may allow a grade up to 15 percent after consideration of on-site fire protection systems as specified in the state fire code.
(c)
Vehicle parking and loading area location. The location of off-street parking and loading facilities shall be in accordance with the following provisions:
(1)
Required parking and loading facilities for residential uses as provided herein shall be located on the same lot or parcel of land as the use the parking facilities are intended to serve. Such facilities shall be conveniently and fully accessible and located at a place where the erection of garages or carports is permitted. Stacked or blocked in parking spaces do not qualify as eligible or valid parking spaces to satisfy the requirement of this subpart.
(2)
Required parking and loading facilities for uses other than residential shall be located as follows:
a.
On the same lot or parcel of land as the use that such parking or loading facilities are intended to serve; except that for industrial uses, required parking or loading facilities shall not be located in a required front or side yard abutting a public street, unless the structure is provided with adequate setbacks and landscaping. See section 107-54(2)b. Stacked or blocked in parking spaces do not qualify as eligible or valid parking spaces to satisfy the requirement of this subpart.
b.
On a lot or parcel of land held under the same or joint ownership, provided such parking or loading facilities are located adjoining the use served.
c.
On a lot or parcel of land within 500 feet of the use or uses served, except for University campuses within 1,300 feet from the use or uses served.
d.
Binding agreements between land uses for mutual use of parking facilities during non-conflicting hours may be recognized by the city in lieu of the standards in this article.
(d)
Drop-off points required. When located outside the central business zone, parking areas for public assembly facilities are to include a designated on-site location for dropping off and picking up passengers at an entrance to the facility in advance of parking the vehicle. Drop-off areas are to consist of one directional vehicle turnout lanes with parallel parking. Drop-off points are to be provided for:
(1)
Hotels and motels;
(2)
Schools with 50 or more students;
(3)
Churches with a capacity of 100 or more;
(4)
Restaurants with a capacity of 50 or more customers;
(5)
Public transportation terminals;
(6)
Places of public assembly;
(7)
Public buildings; and
(8)
Offices larger than 5,000 feet.
(e)
Bicycle parking.
(1)
Bicycle parking facility design.
a.
Bicycle parking facilities shall either be lockable enclosures in which the bicycle is stored, or secure stationary rack which support the frame so the bicycle cannot easily be pushed or fall to one side. Racks that require a user-supplied lock shall accommodate locking the frame and both wheels using either a cable or U-shaped lock.
b.
Bicycle parking spaces shall be at least six feet long and 2½ feet wide, and overhead clearance in covered spaces shall be a minimum of seven feet.
c.
A five-foot aisle for bicycle maneuvering shall be provided and maintained beside or between each row of bicycle parking.
d.
Bicycle racks or lockers shall be securely anchored.
e.
Required bicycle parking shall be located in a well-lighted, secure and generally visible location.
f.
Bicycle parking shall not obstruct walkways. A minimum five-foot-wide aisle shall remain clear.
g.
If ten or more bicycle spaces are required for commercial development, then at least 20 percent of the bicycle spaces must be covered. A lockable enclosure shall be considered as a covered parking space.
h.
All of the required bicycle parking for residential uses shall be covered. This may include space provided in a carport or garage.
i.
Bicycle parking areas shall be located and designed to prevent damage from maneuvering vehicles.
(2)
Location standards for bicycle parking.
a.
All required bicycle parking shall be located on the site within 50 feet of main building entrances and not farther from the entrance than the closest standard motor vehicle parking space. Bicycle parking shall have direct access to both the public right-of-way and to the main entrance of the principal use.
b.
For buildings or development with multiple entrances, required bicycle parking shall be distributed proportionally at the various public entrances. Long-term public parking shall also be distributed at the various public entrances, while employee parking shall be located at the employee entrance, if appropriate.
c.
Bicycle parking may be located in the public right-of-way with the approval of the public works director.
d.
Bicycle parking may be provided within a building, but the location must be easily accessible for bicyclists.
(Ord. No. 3266 (Series 2023), § 5.7.005, 8-2-2023)
All parking areas with off-street parking spaces are to be improved as follows, except as otherwise provided by this section and by section 107-173(b)(3) and (4):
(1)
Surfacing. All parking areas are to be surfaced with an asphalt, concrete, or oil mat surface in conformance with city standards. Where concrete or asphalt is required, brick or other masonry paving units may be substituted including vertically-oriented concrete block.
(2)
Lining and marking. Parking spaces in paved parking areas are to be marked with paint striping, a minimum of two inches in width. Parking spaces in other types of lots may be identified by wheel stop barriers.
(3)
Wheel stops. Wheel stops, or continuous concrete or asphalt curbing is required in all parking lots to define the perimeter of the parking area, and to protect landscaping from vehicle encroachment. Wheel stops are to be constructed as follows:
a.
Wheel stops are to be constructed of durable material not less than six inches in height. Wheel stops are to be securely installed and maintained as a safeguard against damage to adjoining vehicles, machinery or abutting property.
b.
Wheel stops or other vehicle barriers are to be located no closer than three feet to any property lines. The area between the wheel stops or barriers and the property line shall be landscaped.
(4)
Vertical clearance. Covered parking spaces are to have a vertical clearance of at least seven feet six inches above the parking lot surface for all uses except residential.
(5)
Slope. The finished grade of a parking lot is not to exceed a five percent slope.
(6)
Landscaping. A minimum of five percent of the interior of all parking lots with four or more spaces is to be landscaped, in addition to any perimeter landscaping required by subsection (7)b of this section. The total aggregate area of landscaping need not exceed the minimum requirements in section 107-150(b). One appropriate shade tree, as determined by the standards for tree planting in the city community forestry program guide, per each six parking spaces is required in any parking lot to provide shade and visual relief to parking lots.
(7)
Screening.
a.
Parking lots which abut a residential zone shall be visually screened by a landscaping strip with a minimum height of five feet or a six-foot-high solid fence or wall located on the parking lot side of the property.
b.
Parking lots abutting a public street are to be separated from the street right-of-way by a landscaping strip with a minimum width of six feet.
(8)
Drainage. All drainage resulting from the improvements shall be collected on-site in such a manner that it can be discharged to an approved stormwater collection system without flowing across any public sidewalk or street.
(9)
Signs. All traffic control signs required for ingress and egress to and from the parking lot shall be installed on private property and not in the public right-of-way.
(Ord. No. 3266 (Series 2023), § 5.7.006, 8-2-2023)
For any use not listed herein, the required off-street parking shall be determined by the planning commission. in determining the off-street parking requirements of any unlisted use, the planning commission shall first make a finding that all of the following conditions exist:
(1)
That field investigations disclose that the subject use and its operations are compatible with one or more uses under which parking area is designated.
(2)
That the proposed parking area requirements will adequately serve the intended use and be located in such a manner to protect the public health, peace, safety, and general welfare.
(Ord. No. 3266 (Series 2023), § 5.7.007, 8-2-2023)
(a)
Each paved space must be marked by striping.
(b)
Traffic flow arrows and signs may be required.
(c)
No parking space shall back onto a street without site plan approval.
(d)
Adequate drainage shall be specified at the time of site plan review.
(e)
Bumper guards or wheel stops may be required near buildings, fences, or sidewalks during site plan review.
(f)
Driveway locations shall be approved by the city or the state highway division.
(g)
Artificial lighting may be required, but where installed shall be shielded so as to not cast a direct light onto adjacent properties and/or residences.
(Ord. No. 3266 (Series 2023), § 5.7.008, 8-2-2023)
(Ord. No. 3266 (Series 2023), § 5.7.009, 8-2-2023)
The purpose of establishing standards for signs are to provide reasonable and necessary regulations for the construction, illumination, type, size, number and location of signs in order to:
(1)
Promote free and meaningful exchange of ideas and information.
(2)
Protect the health, safety, property and welfare of the public.
(3)
Promote a neat, clean, orderly and attractive appearance within the city.
(4)
Improve the effectiveness of signs in identifying and advertising businesses and facilities.
(5)
Eliminate signs that demand, rather than invite, public attention.
(6)
Provide for the reasonable, orderly and effective display of outdoor advertising compatible with the surroundings.
(7)
Preserve, protect and enhance the economic, scenic, historic and aesthetic values and objectives of the city and its citizens.
(8)
Provide effective signing to meet the anticipated differing needs of various areas in the city.
(9)
Provide for the safe erection and maintenance of signs.
(Ord. No. 3266 (Series 2023), § 5.8.001, 8-2-2023)
The following words, terms and phrases, when used in this subpart, shall have the meanings ascribed to them in this section, except where the context clearly indicates a different meaning:
Abandoned sign means a sign which no longer identifies or advertises a bona fide business, lessor, service, owner, product or activity and/or for which no legal owner can be found.
Administrator means the building official and/or community development director/planner, under the supervision and control of the city manager, is hereby authorized to administer and directed to enforce all of the provisions of this subpart.
Animated sign means a sign or display manifesting either kinetic or illusionary motion occasioned by natural, manual, mechanical, electrical or other means. The term "animated sign" includes the following:
Electrically energized means illuminated signs whose motion or visual impression of motion is activated primarily by electrical means. Electrically energized animated signs are two types:
Flashing signs means illuminated signs exhibiting a pre-programmed repetitious cyclical interruption of illumination from one or more sources in which the duration of the period of illumination (on phase) is either the same as, or less than, the duration of the period of darkness (off phase) and in which the intensity of illumination varies from zero (off) to 100 percent (on) during the programmed cycle.
Illusionary movement signs means illuminated signs exhibiting the illusion of movement by means of a pre-programmed repetitious sequential switching action in which illuminated elements of the sign are turned on or off to visually simulate the impression of motion characteristic of chasing, running, blinking, oscillating, twinkling, scintillating or expanding and contracting light patterns.
Mechanically energized means signs manifesting a repetitious pre-programmed physical movement or rotation in either one or a series of planes activated by means of mechanically based drives.
Naturally energized means signs whose motion is activated by wind or other atmospheric impingement. Wind driven signs include flags, banners, pennants, streamers, spinners, metallic disks or other similar devices designed to move in the wind.
Area identification sign means a sign identifying the name of a manufactured home park, planned unit development, subdivision, apartment or condominium, commercial center of two or more separate businesses, industrial area, office complex of two or more separate businesses or structures or any combination of the above.
Awning means a structure made of cloth, metal or other material affixed to a building in such a manner that the structure may be in a fixed position, raised or retracted to a position against the building.
Awning sign means a sign painted on, printed on or attached flat against the surface of an awning.
Banner sign means a sign made of fabric or any non-rigid material with no enclosing framework.
Barber pole means a device, usually cylindrical in shape, attached to a building or a freestanding pole, colored diagonally red, white and blue, which may revolve to identify the business of men's hair cutting.
Billboard means any structure used or intended for supporting or sheltering any use or occupancy.
Building means any structure used or intended for supporting or sheltering any use or occupancy.
Building code means any building code as adopted by the city, a copy of which is on file in the building department.
Building line means a line established by ordinance beyond which no building may extend, including, but not limited to, a property line.
Bulletin board. See Civic use sign.
Business complex means one property ownership with the property owner and one or more business tenants as occupants, or two or more business tenants as occupants of the property. In a business complex, business tenants including retail shops, executive or administrative services, including medicinal clinics and accessory pharmacies, professional offices and personal service establishments which perform personal services on the premises and similar uses.
Canopy means a permanent-roofed structure which may be freestanding or partially attached to a building for the purpose of providing shelter to patrons in automobiles but shall not mean a completely closed structure.
Canopy sign means a sign affixed or applied to the exterior facing surface or surfaces of a building or freestanding canopy.
Changeable sign means a sign whose informational content can be changed or altered by manual or electric, electro mechanical or electronic means. Changeable signs include the following types:
Electrically activated means signs whose alphabetic, pictographic or symbolic informational content can be changed or altered on a fixed display surface composed of electrically illuminated or mechanically driven changeable segments; includes the following two types:
Computer controlled variable message signs means electronic signs whose informational content can be changed or altered by means of computer-driven electronic impulses.
Fixed message electronic signs means signs whose basic informational content has been pre-programmed to include only certain types of information projection, such as time, temperature, predictable traffic conditions, or other events subject to prior programming.
Manually activated means signs whose alphabetic, pictographic or symbolic informational content can be changed or altered by manual means.
City means the City of La Grande, Oregon, or any of its authorized representatives.
Civic use sign means a sign which identifies churches, schools and other public facilities and/or announces events which are held on the premises.
Clearance (of a sign) means the smallest vertical distance between the grade of the adjacent street, highway or street curb and the lowest point of any sign, including framework and embellishments, extending over that grade.
Clear view zone means the area of a corner lot closest to the intersection which is kept free of visual impairment to allow full view of both pedestrian and vehicular traffic. Typically, such an area is established by marking a point at which the two property lines intersect, measuring back 30 feet on each street from and drawing a line across the two back points to form a triangulated area. No sign in excess of 30 inches above curb or street grade nor support pole larger than 12 inches in diameter may be installed in this area. Freestanding signs must have at least ten feet clearance to grade.
Commission means the planning commission of the city.
Conditional sign means a sign which is subject to approval and to conditions which may be imposed by the commission after a public hearing.
Construction sign means a sign placed at a construction site identifying the project or the name of the architect, engineer, contractor, financier or other involved parties.
Copy means the wording and/or symbols on a sign face.
Copy change means the replacing of an existing sign copy and/or sign face to reflect an image change or new business or use without altering the existing sign structure.
Corner-mounted projecting sign means a projecting sign mounted on the outside street corner of a building frontage at a 35- to 55-degree angle to the extended building lines.
Council means the city council of the city.
Cutout means a display in the form of letters, figures, characters, representations or others in cutout or irregular form attached to or superimposed upon an advertising sign.
Cutout display sign means a display message in the form of letters, figures, representations or others in cutout or irregular form attached to the building face, roof, sloping roof or parapet.
Directional sign means a sign, providing no advertising of any kind, which provides direction or instruction to guide persons to facilities intended to serve the public, including but not specifically limited to those signs identifying restrooms, public telephones, public walkways, parking areas and other similar facilities.
Directory sign means a sign which indicates the name and/or address of the occupant, the address of the premises and/or identification of any legal business or occupations which may exist at the premises.
Double-faced sign means a sign with two faces, essentially back-to-back.
Electric sign means any sign containing electrical wiring which is attached or intended to be attached to an electrical energy source and provides artificial light either through exposed lighting on the sign face or through transparent or translucent material from a light source within the sign.
Electronic message center. See Changeable signs, electrically activated.
Erect means attach, place, alter, construct, reconstruct, enlarge or move and includes the painting of wall signs, but does not include copy changes on any sign.
Face of sign means the area of a sign on which the copy is placed.
Flashing sign. See Animated sign, electrically energized.
Freestanding sign means a sign supported by one or more uprights in the ground and detached from any building or structure.
Frontage means the length of the property line of any one premises, lot parcel or structure along a public right-of-way.
Frontage, building, means the length of an outside building wall on a public right-of-way.
Ground sign means a sign which is mounted on or anchored to the ground, has a monolithic or columnar line and which maintains essentially the same contour from grade to the top of the sign. The bottom of the sign should not be more than four feet from the ground.
Height (of a sign) means the vertical distance measured from the highest point of the sign, excluding decorative embellishments, to the grade of the adjacent street or the surface grade beneath the sign, whichever is less.
Illegal sign means a sign which does not meet the requirements of this subpart and which has not received legal nonconforming status.
Illuminated sign means any sign which reflects light from a source intentionally directed upon it, such as by means of floodlights, gooseneck reflectors or externally mounted fluorescent light fixtures.
Incidental sign means a small sign, emblem or decal informing the public of goods, facilities or services available on the premises; e.g., a credit card sign or a sign indicating hours of business.
Institutional sign. See Civic use sign.
Maintenance means the cleaning, painting, repair or replacement of defective parts of a sign in a manner that does not alter the basic copy, design or structure of the sign.
Mansard means a sloped roof or roof-like façade architecturally comparable to a building wall.
Marquee means a permanent roofed structure attached to or supported by a building but does not mean a canopy, as defined herein.
Marquee sign means any sign attached to or supported by a marquee structure.
Nameplate means small signs attached flat against a building, non-illuminated and announcing only the names, addresses and/or occupations of the building tenants.
Neighborhood commercial sign means any on-premises sign associated with a commercial use allowed in a residential zone under a conditional use permit by the planning commission.
Nonconforming sign means any advertising structure or sign which was lawfully erected and maintained prior to the adoption of the ordinance from which this subpart is derived and which fails to conform to all applicable regulations and restrictions of this subpart.
Non-structural trim means moldings, battens, caps, nailing strips and latticing, ladders and walkways which are attached to a sign structure.
Occupancy means the portion of a building or premises owned, leased, rented or otherwise occupied for a given use.
Off-premises sign means a sign structure subject to the provisions of the Oregon Motorist Information Act of 1971 and erected for the purpose of leasing advertising space to promote an interest other than that of individual, business, product or service available on the premises the billboard is located on.
On-premises sign means a sign which pertains to the use of the premises and/or property on which it is located.
Owner means a person recorded as such on official records. For the purposes of this article, the owner of property on which a sign is located is presumed to be the owner of the sign unless facts to the contrary are officially recorded or otherwise brought to the attention of the community development director/planner; e.g., a sign leased from a sign company.
Painted wall sign means any sign which is applied with paint or similar substance on the surface of a wall.
Parapet means the extension of a false front or wall above a roofline.
Permit means the document issued by the city authorizing the erection of a sign.
Person means any individual, corporation, association, firm, partnership or similarly defined interest.
Political sign means a temporary sign used in connection with a local, state or national election or referendum.
Portable sign means any sign designed to be moved easily and not permanently affixed to the ground or to a structure or building.
Projecting sign means a sign other than a wall sign, which projects from and is supported by a wall of a building or structure.
Reader board sign. See Changeable sign.
Real estate sign means a temporary sign advertising the real estate upon which the sign is located as being for rent, lease or sale.
Roofline means the top edge of a roof or building parapet, whichever is higher, excluding any mansards, cupolas, pylons, chimneys or minor projections.
Roof sign means any sign erected over or upon the roof of a building and which is supported by said building.
Rotating sign. See Animated sign, mechanically energized.
Shopping center means a premises planned and developed as a unit with an undivided, non-segregated parking area and is advertised as a center or mall having multiple occupancies by businesses.
Sign means any identification, description, illustration or device illuminated or non-illuminated which is visible from any public place or is located on private property and exposed to the public which directs attention to a product, service, place, activity, person, institution, business or solicitation, including any permanently installed or situated merchandise; or any emblem, painting, banner, pennant, placard or temporary sign designed to advertise, identify or convey information, with the exception of national flags. For the purpose of removal, the term "sign" also includes all sign structural members.
Sign, area of.
(1)
Projecting and freestanding sign. The area of a freestanding or projecting sign shall have only one side of any double- or multiple-faced sign counted in calculating its area. The area of the sign shall be measured as follows if the sign is composed of one or more individual cabinets: A rectilinear line of not more than eight sides shall be drawn around and enclosing the perimeter of each cabinet or module. The area shall then be summed and totaled to determine total area. The perimeter of measurable area shall not include embellishments such as pole covers, framing, decorative roofing, support structures, etc., provided that there is no written advertising copy on such embellishments.
(2)
Wall sign. The area shall be with a single, continuous perimeter composed of any rectilinear line geometric figure which encloses the extreme limits of the advertising message. If the sign is composed of individual letters or symbols using the wall as the background with no added decoration, the total sign area shall be calculated by measuring the area within the perimeter of each symbol or letter. The combined areas of the individual figures shall be considered the total sign area.
Snipe sign means a temporary sign or poster affixed to a tree, fence, etc.
Temporary sign means a sign, banner, balloon, pennant, valance or advertising display constructed principally of cloth, paper, cardboard, plywood, wood, wallboard, plastic, sheet metal or similar lightweight materials, with or without a frame and which is not permanently affixed to any sign structure, sign tower, pole or building. Except for a balloon, banner, pennant or valance constructed of cloth, flexible lightweight plastic, vinyl, paper or cardboard, temporary signs shall be limited to signs displayed five feet or less above ground level.
Travelway canopy sign means a sign suspended beneath a canopy, ceiling, roof or marquee.
V sign means a V-type sign means two signs erected independently of each other with multiple display surfaces having single or multiple messages visible to traffic from opposite directions, with an interior angle between the two signs of not more than 120 degrees and the signs separated by not more than ten feet at the nearest point.
Wall sign means a sign attached essentially parallel to and extending not more than 12 inches from the wall of a building, with no copy on the sides or edges. This definition includes painted, individual letters, cabinet signs and signs on a mansard.
Window sign means a sign painted on, attached to or placed upon glass surfaces of windows or doors of a building intended for viewing from the exterior of the building.
Zone means an area which has been identified to accommodate a specific type of use as determined in the city land development code.
(Ord. No. 3266 (Series 2023), § 5.8.002, 8-2-2023)
It shall hereafter be unlawful for any person to erect, place or maintain a sign in the city, except in accordance with provisions of this article.
(Ord. No. 3266 (Series 2023), § 5.8.003, 8-2-2023)
(a)
Snipe signs or signs attached to trees, telephone poles, public benches, street lights or placed on any public property or public right-of-way.
(b)
Signs imitating or resembling official traffic or government signs or signals.
(c)
Signs placed on vehicles or trailers which are parked or located for the primary purpose of displaying said sign. This does not apply to allowed portable signs, or to signs or lettering on buses, taxis or vehicles operating during the normal course of business.
(d)
Portable and wheeled signs, except as a temporary sign.
(e)
Abandoned signs.
(f)
Any sign suspended by non-rigid attachments that will allow the sign to swing in a wind.
(Ord. No. 3266 (Series 2023), § 5.8.004, 8-2-2023)
Unless otherwise provided by this article, all signs shall require sign permits and payment of fees as set by resolution. No permit is required for the maintenance of a sign or for a change of copy on painted, printed or changeable signs.
(Ord. No. 3266 (Series 2023), § 5.8.005, 8-2-2023)
The following types of signs are exempt from permit requirements but must be in conformance with all other requirements of this chapter:
(1)
Civic type uses (churches, schools and other public facilities): Limited to one on-site wall or ground sign for each building or activity facility not to exceed 16 square feet, unless otherwise approved by the planning commission by conditional use. Any civic use type sign approved by the commission to exceed 16 square feet shall be subject to the permit requirements, as set forth in this subpart. No sign shall be located within any clear view zone, unless the sign is 30 inches or less in height.
(2)
Construction signs: Signs of 16 square feet or less.
(3)
Directional/information signs: Signs identifying rest rooms, public telephones, walkways or signs providing direction, such as parking lot entrance and exit signs and those of similar nature, located entirely on the property, which do not exceed six square feet in area and four feet in height.
(4)
Holiday or special events decorations: Signs which are clearly incidental, customarily and commonly associated with any national, local or religious holiday.
(5)
Non-illuminated nameplates: Signs of two square feet or less per building tenant.
(6)
House or building numbers: Numbers limited to six inches in height for dwellings of four or less families and 12 inches in height for other buildings.
(7)
Temporary political campaign signs: Signs shall be erected only on private property with the consent of the legal possessor of the premises; not located on utility poles, trees or rocks; limited to a sign area of 16 square feet and a maximum horizontal dimension of eight feet; not located within any clear view zone; and are maintained in a neat, clean and attractive condition. Signs may be erected during the campaign for a period of 60 days prior to the election in which candidates or issues are to be voted upon. Such temporary signs shall be removed not later than the fifth day following the election. Political or ideological signs displayed for a longer period must conform to the requirements for permanent signs of a similar structure.
(8)
Temporary nonprofit signs: Signs identifying or advertising a nonprofit civic, charitable or benevolent event complying with the same requirements as temporary signs to be used for promotional purposes.
(9)
Street banners or decorations: Banners or decorations approved by the city manager advertising a public entertainment or event and conditional upon safe erection and maintenance and such conditions as the city manager may attach, including, but not limited to, insurance and bonding.
(10)
Signs located inside a building: Signs that are not visible to the public outside the building.
(11)
Window signs: Signs which are painted on, attached to, or placed upon glass surfaces of windows or doors of a building intended for viewing from the exterior of the building. The permitted area for such signs shall be subject to the area requirements for wall signs and conform to the illumination requirements of this article.
(12)
Official sign, traffic sign or signal: Signs including but not limited to a sign identifying a public building or use, or erected by a public office performing an official duty under law, court or administrative officer.
(13)
Non-illuminated directional and motor vehicle directional signs: Signs painted on paving for control and direction of both vehicular and pedestrian traffic.
(14)
Real estate signs: Only one sign per realtor is allowed on any lot or parcel, provided such sign is located entirely within the property to which the sign applies, is not-illuminated, does not exceed six square feet in residential zones, or 32 square feet in commercial and industrial zones and is removed within seven days after the sale, rental or lease of the facility and/or lot (has been accomplished).
(15)
Memorial signs, tablets or plaques: Memorial signs, tablets or plaques shall not exceed four square feet in area.
(16)
Area identification sign: A ground or wall sign identifying a recognized subdivision, apartment, condominium, manufactured home park or planned unit development. A sign, masonry wall, landscaping and other similar materials or features may be combined to form a display for the development identification, provided the legend of such sign or display shall consist only of the development name and shall not exceed 16 square feet. Such signs shall not be located within any clear view zone unless the sign is 30 inches or less in height.
(17)
Temporary subdivision sign: Signs may be erected upon a tract of land designated as a subdivision, advertising sale of the tract or lots in the tract. Such sign shall not exceed 32 square feet in area. The sign shall be reduced in size by four square feet for each lot less than seven lots in the subdivision.
(18)
Temporary signs to be used for promotional purposes: Signs are allowed only on private property, except as provided below, and are subject to the following:
a.
Temporary signs for promotional purposes may be erected for a period not to exceed two weeks before the event advertised.
b.
No more than one sandwich board or A-frame signs, windsurf sign, or other similar temporary mobile signage shall be allowed for each premises. Such sign shall be located directly in front of the business and may be located within the public right-of-way, provided it does not obstruct vehicle parking areas or pedestrian use on the sidewalk.
c.
A balloon, banner, pennant, streamer, festoon or valance constructed of cloth, flexible lightweight plastic, vinyl, paper or cardboard may be used as a temporary sign for promotional purposes only and shall not be considered or treated as permanent signage. The sign will be permitted for a period of 30 cumulative days in any six-month period.
(19)
Flags: Flags of the United States, State of Oregon, United States or State of Oregon Military Service, foreign countries, United Nations or civic, fraternal, veterans or charitable organizations.
(20)
Garage sale signs: Signs are limited to one per premises, with a maximum of three square feet in area, for the duration of the sale only.
(21)
Barber pole: One pole per business, not to exceed four feet in length nor more than one foot in diameter.
(22)
Incidental sign: Four square feet of incidental signage allowed per occupancy or one square foot per 500 square feet of the occupants' ground floor area. The aggregate area of the incidental signs shall not exceed that allowable. The aggregate area of an incidental sign shall be included in the total allowable area for wall signs. Incidental signs shall not be of a projecting type.
(23)
Drive-up menu board sign: Drive-up menu board signs shall only be allowed for drive-up service-oriented businesses only. No more than two signs may be displayed per business with a maximum sign area of 20 square feet per sign and not to exceed eight feet in height, if freestanding.
(24)
Kiosks: Kiosks may be in sections, with each section not exceeding 32 square feet in area. The kiosk may include a maximum of four sections. Kiosks are only allowed on private property, unless a right-of-way encroachment permit is approved by the city. For kiosks located within the public right-of-way, each section shall not exceed a maximum dimension of seven feet high and three feet wide, measured from the inside of the supporting posts on either side of the section. Kiosks shall not be located within any clear view zone or obstruct any pedestrian pathways.
(Ord. No. 3266 (Series 2023), § 5.8.006, 8-2-2023)
(a)
All signs, together with all of their supports, braces, guys and anchors, shall be kept in good repair and be maintained in a safe condition. All signs and the site on which they are located shall be maintained in a neat, clean and attractive condition. Signs shall be kept from excessive rust, corrosion, peeling paint or other surface deterioration. The display surfaces, trims, frames and supports of all signs shall be kept neatly painted or otherwise neatly maintained as applicable.
(b)
No person shall scatter, daub or leave any paint, paste, glue or other substances used for painting or affixing a message to the display surface of any sign, throw or cloth, or materials of whatsoever kind removed from a sign on any public street, sidewalk or private property.
(c)
The community development director/planner may order the removal of any sign that is not maintained in accordance with provisions set forth herein. All signs may be re-inspected at the discretion of the community development director/planner. Maintenance of signs and their associated structures shall be the responsibility of the sign owner.
(Ord. No. 3266 (Series 2023), § 5.8.007, 8-2-2023)
No sign shall be erected or maintained which, by use of lights or illumination, creates an unduly distracting or hazardous condition to a motorist or pedestrian. With the exception of message type signs where the bulbs are located behind sunscreens, no exposed reflective-type bulb, spot or incandescent lamp shall exceed 30-watt capacity unless a screen is attached or the sign is placed over ten feet above grade. It shall be unlawful to use any revolving beacon, strobe or search lights.
(Ord. No. 3266 (Series 2023), § 5.8.008, 8-2-2023)
Animated signs are only permitted by conditional use and are limited to the general commercial, interchange commercial and all industrial zones, with the following exceptions:
(1)
Temporary signs to be used for promotional purposes as defined in section 107-213(18) are permitted outright in the central business, general commercial, interchange commercial and all industrial zones.
(2)
Flags, as defined in section 107-213(19), are permitted outright in all zones.
(Ord. No. 3266 (Series 2023), § 5.8.009, 8-2-2023)
No person may engage in the business of erecting, altering, relocating, constructing or maintaining signs without a valid contractor's license from the state contractors board, and all other applicable state and federal licenses.
(Ord. No. 3266 (Series 2023), § 5.8.010, 8-2-2023)
(a)
All persons involved in the maintenance, installation, alteration or relocation of signs near or upon any public right-of-way or property shall sign an agreement to hold harmless and indemnify the city, its officers, agents and employees against any and all claims of negligence resulting from such work insofar as this article has not specifically directed the placement of a sign.
(b)
All persons involved in the maintenance, installation, alteration or relocation of signs shall maintain satisfactory certificate of insurance naming the state, county or city as additional insured on the property owner's sign.
(Ord. No. 3266 (Series 2023), § 5.8.011, 8-2-2023)
Signs are allowed as follows in residential zones RR-1, R-1, R-2, R-3 and residential-professional zone R-P:
(1)
Exceptions: All signs as permitted in section 107-213 except subsections (11), (19), (22) and (23) of that section.
(2)
Construction project sign: One ground sign, 32 square feet in area, may be erected five days prior to the beginning of construction and shall be removed within five days after completion of construction.
(3)
Home occupancy sign: One flush-mounted wall sign not to exceed three square feet in sign area.
(4)
Area identification sign:
a.
Apartments and condominiums: One ground or wall sign not to exceed 32 square feet in sign area, may be erected five days prior to the beginning of construction and shall be removed within five days after completion of construction.
b.
Subdivision signs: One ground sign not to exceed 32 square feet in sign area shall be permitted per primary street entrance into the subdivision.
(5)
Ground signs: As permitted in subsections (2), (4), and (8) of this section. Shall have a maximum height of eight feet and shall not be located within any clear view zone unless the sign is 30 inches or less in height.
(6)
Wall signs: As permitted in section 107-220(4) and (8). Shall comply with the general requirements of section 107-220(4)c.
(7)
Illumination: No sign in a residential or residential-professional zone shall be internally illuminated unless approved as a conditional use by the commission.
(8)
Special sign regulations for residential zones and the residential-professional zone for uses permitted as a conditional use by the commission:
a.
Area identification signs for manufactured home parks and planned unit developments. One ground sign not to exceed 32 square feet in sign area shall be permitted per primary street entrance into the complex.
b.
Bed and breakfast inns. One freestanding, on-premises sign not to exceed four square feet area or six feet in height.
c.
Neighborhood convenience center. One flush-mounted wall sign and/or one ground sign on each street frontage not to exceed 32 square feet in sign area for each sign.
d.
Civic and commercial administrative, professional offices, clinic and medical services. One wall or ground-mounted sign not to exceed 32 square feet in sign area and may have a building directory sign provided that the area of such sign does not exceed two square feet per tenant of the building.
e.
Churches, schools and other civic use types. May have one wall or ground sign for each building or activity facility not to exceed 32 square feet in sign area.
(Ord. No. 3266 (Series 2023), § 5.8.012, 8-2-2023)
Signs are allowed as follows in the Central Business (CB) Zone:
(1)
All signs permitted in certain sections. All signs as permitted in sections 107-213 and 107-219.
(2)
Construction project sign. One non-illuminated ground sign, 64 square feet in area, may be erected 60 days prior to the beginning of construction and shall be removed within 14 days after completion of construction.
(3)
Freestanding sign. One freestanding sign per premises not to exceed one square foot in sign area for each linear foot of main street frontage up to a maximum of 100 square feet. Such signs may not exceed a height of 20 feet above the sidewalk or street grade to the top of the sign. The maximum projection shall not exceed five feet over a public right-of-way nor any closer than two feet from the outer curb face or six feet from the traveled surface where no curb is present. A minimum clearance of 17 feet shall be maintained over any vehicular use area and eight feet over any pedestrian use area.
(4)
Wall sign.
a.
Total aggregate area of signs shall not exceed three square feet of sign area for each linear foot of that occupancy's main building frontage.
b.
An individual business within a business complex which is located on the ground floor, or has an entrance on the ground floor and has direct pedestrian access to a street, shall be permitted one wall sign with a maximum sign area not to exceed one square foot of sign area for each linear foot of the individual business building frontage. If a business has no identifiable building frontage, a wall sign with a maximum area of 24 square feet shall be allowed adjacent to, or above the entrance giving access to the business.
c.
No wall sign shall be permitted to extend more than 12 inches beyond the building line, except that the upper edge of a wall sign mounted on a mansard roof may project more than 12 inches so long as the sign is perpendicular to the ground. No wall sign shall exceed the ends of the building front face on the top (roofline, parapet or mansard) of the face upon which it is erected or more than 20 feet above the sidewalk or adjacent grade, whichever is less, measured to the top of the sign. A minimum clearance of eight feet shall be maintained from the bottom of the sign to the sidewalk or grade immediately below. Wall signs projecting two inches or less beyond the building line may have a clearance of less than eight feet from the bottom of the sign to the sidewalk or grade immediately below.
(5)
Projecting sign.
a.
One projecting sign per occupancy, with a minimum sign area of 24 square feet, or less at the occupant's discretion; and if greater than 24 square feet, sign shall not exceed one square foot in sign area for each linear foot of an occupancy's main building frontage up to a maximum of 50 square feet of sign area. No projecting sign shall project more than eight feet from the wall of the building upon which it is erected, nor shall any sign extend closer to the street than four feet from the outer curb face, or six feet from the traveled surface where no curb is present. Projecting signs shall have a minimum clearance of 17 feet over any vehicular use area and eight feet over any pedestrian use area and shall not be more than 20 feet or to the roofline, parapet, or mansard whichever is less, measured to the top of the sign.
b.
Projecting signs are not allowed on an alley side of a building or on other building sides not fronting a street.
(6)
Corner-mounted projecting sign. One corner-mounted projecting sign is allowed when an occupancy is on a street corner in lieu of two projecting signs, as allowed in subsection (11)c of this section. The allowed sign projection is the same that would have been allowed had the sign been located on the occupant's longest street frontage and shall not exceed 50 square feet of sign area.
(7)
Travelway canopy/marquee signs. One travelway canopy/marquee sign for each separate occupancy or separate entrance, not to exceed six square feet in sign area. Travelway canopy/marquee signs must have a minimum clearance of 1½ above the sidewalk or pedestrian use area and shall be entirely within the border line of the canopy/marquee outer edge.
(8)
Awning, canopy, marquee signs. The height of the sign shall not exceed the thickness of the awning, canopy or marquee on which the sign is placed. The total area of such sign shall be included in the total allowable aggregate area of wall signs, as per subsection (4) of this section.
(9)
V signs. A V sign shall not exceed the projection and/or location limitations, as permitted for a projecting sign. The maximum sign face area shall be that as allowed for wall signs. Each sign face shall be included in calculating the sign face area of a V sign.
(10)
Electrically activated changeable signs. Electronically activated changeable signs are limited to date, time and temperature.
(11)
Special regulations and allowances for the central business zone.
a.
Additional wall signs. Additional wall signs are allowed when an occupancy is on a street corner or has more than one main street frontage or fronts a parking lot on that occupant's property. The total aggregate sign area on each building frontage shall not exceed that allowed for wall signs per subsection (4) of this section.
b.
Alley signs. An alley sign is limited to a wall sign with a maximum area of 24 square feet to identify a business. Such sign shall be located at the entrances. No alley wall sign shall be permitted to extend more than one inch into an alley unless said sign has a minimum clearance of 17 feet above any vehicular use area. No wall sign shall be permitted to extend more than 12 inches beyond the building line.
c.
Additional projecting signs. When an occupancy is on a street corner or has more than one main street frontage (excluding alleys), one additional projecting sign will be allowed on the additional frontage, with a limit of two projecting signs per occupancy.
(Ord. No. 3266 (Series 2023), § 5.8.013, 8-2-2023)
(a)
Generally. Signs are allowed as follows in the General Commercial (GC), Industrial (I-1, I-2), Business Park (BP), Medical Services (MS), and Public Facilities (PF) Zones:
(1)
All signs permitted in certain sections. All signs, as permitted in sections 107-213, 107-219, and 107-220.
(2)
Freestanding or ground signs.
a.
One freestanding sign per premises not to exceed one square foot in a sign area for each linear foot of main street frontage up to a maximum of 150 square feet. Such signs may not exceed a height of 35 feet above the sidewalk or street grade to the top of the sign. The maximum projection shall not exceed five feet over a public right-of-way nor any closer than two feet from the outer curb face or six feet from the traveled surface where no curb is present. A minimum clearance of 17 feet shall be maintained over any vehicular use area and eight feet over any pedestrian use area.
b.
A ground sign shall be erected only on private property and shall be so located as to not obstruct the view of a sign on adjoining properties and/or the same property when viewed from a vehicular distance of 200 feet or erected within any clear view zone.
(3)
Wall signs. An individual business within a shopping center which is located on the ground floor and has direct pedestrian access to a street or parking area shall be permitted wall signs, in total aggregate area, not exceeding three square feet of sign area for each linear foot of that individual business building frontage.
(4)
Service station. Island signs that designate type of fuel, fuel price and promotional signs are allowed at the rate of 36 square feet maximum per pump island. One sign designating fuel prices may be attached to the allowed freestanding sign or to the sign structure but must be included in the allowable area of the freestanding sign. Signs on canopy fascias are limited to 50 percent of the area of the fascia. Signs are to be maintained within the boundaries of the fascias.
(5)
Roof signs. A roof sign may be allowed where no other sign types can provide effective identification on a single story, low profile building. The top of roof signs shall not extend more than 20 feet from the sidewalk or grade immediately below. The maximum allowable height of roof signs shall not exceed four feet with an allowable area as per wall signs in section 107-220(4). Roof signs shall be constructed so as to conceal all structure and fastenings.
(6)
Changeable copy. Any sign herein allowed may use manual, automatic, electrically or mechanically activated changeable copy.
(7)
Special regulations and allowances for general commercial and industrial zones.
a.
Additional sign area. For each five square feet of landscaping installed at the base of freestanding signs and ground signs (entirely within private property), two square feet of additional face area shall be permitted, up to a maximum of an additional 50 percent of the sign face area.
b.
Off-premises advertising signs. Signs (billboards) shall be located in industrial zones (I-1 and I-2) as designated by the city land development code. Billboards may be located in the General Commercial Zone (GC) by conditional use as approved by the commission. The maximum number of advertising signs shall not exceed eight per mile with no more than five on one side of the street and no closer than 500 feet apart for signs exceeding 288 square feet and 300 feet apart for signs 288 square feet or less when measured along the street centerline and measured at right angles thereto. A back-to-back, double-faced or V-types sign shall be considered one sign. No sign face shall be more than 14 feet high, nor more than 48 feet long measured on the longest side of the sign. Sign area shall not be greater than 672 square feet, with a maximum height above street grade of 35 feet. These limitations apply to each side of a back-to-back sign and to each sign forming a V-type sign.
(b)
Border and trim measurement/design requirements. For measuring to determine sizes within the requirements of this section, border and trim shall be included, but foundations, supports and stingers shall not be included. No billboard shall be allowed to have more than four steel exposed supports and all illumination devices shall be of a modern design with minimal protrusion from the sign or be concealed within the non-structural trim.
(Ord. No. 3266 (Series 2023), § 5.8.014, 8-2-2023)
Signs are allowed as follows in the Interchange Commercial Zone (IC):
(1)
All signs as permitted in section 107-221.
(2)
Freestanding sign. One additional freestanding sign is allowed having a maximum sign area of 400 square feet and may be installed to a height of 80 feet above the adjacent grade. The principal purpose of such sign must be to address freeway traffic.
(3)
Off-premises advertising sign. A permitted, off-premises advertising sign shall have a maximum sign area of 400 square feet with a maximum height of 60 feet above the adjacent grade. The principal purpose of such sign must be to address freeway traffic.
(Ord. No. 3266 (Series 2023), § 5.8.015, 8-2-2023)
Any sign lawfully existing or under construction on the effective date of the ordinance from which this subpart is derived which does not conform to one or more of the provisions of this article may be continued in operation and maintained indefinitely as a legal nonconforming sign subject to compliance with the requirements of section 107-224.
(Ord. No. 3266 (Series 2023), § 5.8.016, 8-2-2023)
Normal maintenance of legal nonconforming signs, including changing of copy, necessary non-structural repairs and incidental alterations which do not extend or intensify the nonconforming features of the sign, shall be permitted. However, no structural alteration, enlargement or extension shall be made to a legal nonconforming sign unless the alterations, enlargement or extension will result in the elimination of the nonconforming features of the sign. If a legal nonconforming sign is damaged or destroyed by any means to the extent of 50 percent or more of its replacement value at the time, the sign may not be rebuilt or used thereafter unless it conforms to all of the provisions of this article. In the event the damage or destruction of the nonconforming sign is less than 50 percent of its replacement value at the time, the sign may be rebuilt to its original condition and may continue to be displayed.
(Ord. No. 3266 (Series 2023), § 5.8.017, 8-2-2023)
(a)
Nonconforming signs. If the community development director/planner shall find that any nonconforming sign, except for those legal nonconforming signs as specified in section 107-223, is displayed, the director shall give written notice to the owners, agent or person having the beneficial interest in the building or the premises on which such sign is located. Removal of the sign shall be effected within ten days after receipt of the notice from the community development director/planner. If such sign is not removed after the conclusion of such ten-day period, the community development director/planner is hereby authorized to cause the sign to be removed forthwith at the expense of the owner, agent or person having the beneficial interest in the building or premises on which such sign is located.
(b)
Obsolete signs.
(1)
Any sign, whether existing on or erected after the effective date of the ordinance from which this subpart is derived which advertises a business no longer being conducted, or a product no longer being offered for sale in or from the premises on which the sign is located, shall be removed within 90 days upon the cessation of such business or sale of such product by the owner, agent or person having the beneficial interest in the building or premises on which such sign is located.
(2)
If the community development director/planner shall find that any such sign advertising a business no longer being conducted, or a product no longer being offered for sale in or from the premises on which the sign is located, has not been removed within 90 days upon the cessation of such business or sale of such product, said official shall give written notice to the owner, agent or person having the beneficial interest in the building or the premises on which such sign is located. Removal of the sign shall be effected within ten days after receipt of the notice from the community development director/city planner. If such sign is not removed after the conclusion of such ten-day period, the community development director/planner is hereby authorized to cause the sign to be removed forthwith at the expense of the owner, agent or person having the beneficial interest in the building or premises on which such sign is located.
(c)
Unsafe signs.
(1)
If the community development director/planner shall find that any sign is unsafe or insecure or is a menace to the public, said official shall give written notice to the owner, agent or person having the beneficial interest in the building or the premises on which such sign is located. Correction of the condition which caused the community development director/planner to give such notice shall be effected within ten days after receipt of the notice. If such condition is not corrected after the conclusion of such ten-day period, the community development director/planner is hereby authorized to cause the sign to be removed forthwith at the expense of the owner, agent or person having the beneficial interest in the building or premises on which such sign is located.
(2)
Notwithstanding the foregoing provision, the community development director/planner is authorized to cause any sign to be removed summarily and without notice, at the expense of the owner, agent or person having the beneficial interest in the building or premises on which such sign is located, whenever said official determines that such sign is an immediate peril to persons or property.
(Ord. No. 3266 (Series 2023), § 5.8.018, 8-2-2023)
(a)
Generally.
(1)
Sign and sign structures shall be designed and constructed to resist wind and seismic forces, as specified in this section. All bracing systems shall be designed and constructed to transfer lateral forces to the foundations. For signs on buildings, the dead and lateral loads shall be transmitted through the structural frame of the building to the ground in such a manner as not to over stress any of the elements thereof.
(2)
The overturning moment produced from lateral forces shall in no case exceed two-thirds of the deadload resisting moment. Uplift due to overturning shall be adequately resisted by proper anchorage to the ground or to the structural frame of the building. The weight of earth superimposed over footing may be used in determining the deadload resisting moment. Such earth shall be carefully placed and thoroughly compacted.
(b)
Wind loads. Signs and sign structures shall be designed and constructed to resist wind force, as specified in the building code.
(c)
Seismic loads. Signs and sign structures shall be designed and constructed to resist seismic forces, as specified in the building code.
(d)
Combined loads.
(1)
Wind and seismic loads need not be combined in the design of signs or sign structures; only that loading producing the larger stresses need to be used.
(2)
Vertical design loads, except roof live loads, shall be assumed to be acting simultaneously with the wind or seismic loads.
(e)
Allowable stresses.
(1)
The design of wood, concrete, steel or aluminum members shall conform to the requirements of the building code. Loads, both vertical and horizontal, exerted on the soil shall not produce stresses exceeding those specified in the building code.
(2)
The working stresses of wire rope and its fastenings shall not exceed 25 percent of the ultimate strength of the rope or fasteners.
(3)
Working stresses for wind or seismic loads combined with dead loads may be increased, as specified in the building code.
(f)
Sign marker ID. Upon each sign for which a sign permit is required, there shall be specified the name of the sign erector, date of erection, electrical power consumption in amperes and Underwriters Laboratory label if an electrical sign. Such information shall be of sufficient size and contrast to be readable upon inspection.
(Ord. No. 3266 (Series 2023), § 5.8.019, 8-2-2023)
(a)
Generally. The supports for all signs or sign structures shall be placed upon private property and shall be securely built, constructed and erected in conformance with the requirements of this subpart.
(b)
Materials.
(1)
Materials of construction for signs and sign structures shall be of the quality and grade, as specified for buildings in the sign code or other applicable code as required by the building official.
(2)
In all signs and sign structures, the materials and details of construction shall, in the absence of specified requirements, conform to the following:
a.
Structural steel shall be of such quality as to conform to the sign code or other applicable code as required by the building official. Secondary members in contact with, or directly supporting the display surface, may be formed of light gauge steel, provided such members are designed in accordance with the specifications of the design of the light gauge steel as specified in the sign code or other applicable code as required by the building official and, in addition, shall be galvanized. Secondary members, when formed integrally with the display surface, shall be not less than 0.024 inch in thickness. When not formed integrally with the display surface, the minimum thickness of the secondary members shall be 0.10 inch.
b.
The minimum thickness of hot-rolled steel members furnishing structural support for signs shall be one-quarter inch, except that, if galvanized, such members shall be not less than one-eighth inch. Steel pipes shall be of such quality as to conform to building code standards. Steel members may be connected with one galvanized bolt, provided the connection is adequate to transfer the stresses in the members.
c.
Anchors and supports, when of wood and embedded in the soil or within six inches of the soil, shall be of all heartwood of a durable species, or shall be pressure treated with an approved preservative. Such members shall be marked or branded by an approved agency.
(c)
Restrictions on combustible materials.
(1)
Ground signs and billboards less than 120 square feet, may be constructed of any material meeting the requirements of this subpart. Ground signs and billboards greater than 120 square feet shall have primary structural support of steel.
(2)
Roof signs, wall signs, projecting signs and signs on marquees shall be constructed of non-combustible materials, except as provided in subsection (d) of this section. No combustible materials other than approved plastics shall be used in the construction of electric signs. Exceptions are:
a.
Roof signs may be constructed of unprotected combustible material on roofs of combustible construction.
b.
Roof signs with a maximum surface area of 50 square feet and a maximum height of four feet may be constructed of combustible materials on roofs of any type of construction.
c.
Non-electric wall signs may be constructed of unprotected combustible materials on walls permitted to be of unprotected combustible construction. On walls of protected combustible construction, or on walls of non-combustible construction, non-electric wall signs may be constructed of unprotected combustible materials up to a height of feet above the sidewalk or grade measured to the top of the sign, provided such signs shall be placed either directly against non-combustible surfaces, or furred out from such surfaces, not to exceed 1⅝ inches with all concealed space fire-stopped at ten-foot intervals along the length of the sign. Where sign panels and furring are of fire-retardant treated wood suitable for exterior exposure, the height above the sidewalk or grade may be increased to 20 feet.
d.
Ground signs shall be directly supported by poles or supports in the ground. No external cross-braces, guy wires, T-frames, A-frames, trusses, or similar bracing systems, shall be used in constructing a ground sign. All freestanding signs shall have self-support structures erected on or permanently attached to concrete foundations. Unless approved by the community development director/planner for a minimum number of braces on a building face not able to support a projecting sign, no projecting signs shall be supported by a frame commonly known as an A-frame or other visible frame located on a building roof.
(d)
Display surfaces. Display surfaces in all types of signs may be made of metal, glass, approved plastics or of wood, as allowed in subsection (c) of this section. Glass thickness and area limitations shall be as set forth in the following table:
Size, Thickness and Type of Glass Panels in Signs
(1)
Sections of approved plastics on wall signs shall not exceed 225 square feet in area. Exception: Sections of approved plastics on signs other than well signs may be of unlimited area if approved by the community development director/planner.
(2)
Sections of approved plastics on wall signs shall be separated three feet laterally and six feet vertically, by the required exterior wall construction. Exception: Sections of approved plastics on signs other than wall signs may not be required to be separated if approved by the community development director/planner.
(e)
Approved plastics. The community development director/planner shall require that sufficient technical data be submitted to substantiate the proposed use of any plastic material and if it is determined that the evidence submitted is satisfactory for the use intended.
(f)
Barriers during erection. During the erection of any permitted sign, the erector shall provide temporary barriers to cordon off ground area equal to twice the sign face height in which the sign is located to protect the public.
(Ord. No. 3266 (Series 2023), § 5.8.020, 8-2-2023)
(a)
Clearance from high voltage power lines. Signs shall be located not less than six feet horizontally or 12 feet vertically from overhead electrical conductors which are energized in excess of 600 volts and not less than three feet in any direction from conductors of less than 600 volts. The term "overhead conductors," as used in this subsection, means any electrical conductor, either bare or insulated, installed above the ground, except such conductors as are enclosed in iron pipe or other material covering of equal strength.
(b)
Clearance from fire escapes, exits or standpipes. No sign or sign structure shall be erected in such a manner that any portion of its surface or supports will interfere in any way with the free use of any fire escape, required exit, window, door opening or wall opening intended as a means of ingress or egress, or standpipe.
(c)
Obstruction to ventilation.
(1)
No sign shall be erected, constructed or maintained so as to interfere with any opening required for ventilation.
(2)
Signs erected within five feet of an exterior wall in which there are openings within the area of the sign, shall be constructed of noncombustible material or approved plastics.
(d)
Clearances from surface and underground facilities. All signs and their supporting structures shall maintain clearance and non-interference with all surface and underground facilities and conduits for water, sewage, gas electricity or communications equipment or lines. In addition, the placement of all signs and their supporting structures shall not interfere with natural or artificial drainage or surface or undergroundwater.
(e)
No obstruction to any existing warning or instructional sign. No sign shall be erected, constructed or maintained so as to interfere with any existing warning or instructional sign.
(Ord. No. 3266 (Series 2023), § 5.8.021, 8-2-2023)
No sign shall hereafter be erected, re-erected, constructed, altered or maintained, except as provided by this article and for which a sign permit from the community and economic development department/planning division has been issued. A separate permit shall be required for a sign or signs for each business entity and a separate permit shall be required for each group of signs on a single supporting structure. In addition, electrical permits shall be obtained for electric signs.
(Ord. No. 3266 (Series 2023), § 5.8.022, 8-2-2023)
Application for sign permits shall be made in writing upon forms furnished by the community and economic development department/planning division and process in accordance with section 101-129.
(Ord. No. 3266 (Series 2023), § 5.8.023, 8-2-2023)
The commission may authorize variances from the requirements of this article where it can be shown that, owing to special and unusual circumstances related to a specific piece of property, literal application of the article would cause an undue or unnecessary hardship. No variance shall be granted to allow the location of a sign in an unauthorized area or to alleviate a self-inflicted hardship. In granting a variance, the commission may attach conditions which it finds necessary to protect the best interest of the surrounding property or neighborhood, or to otherwise achieve the purposes of this article.
(Ord. No. 3266 (Series 2023), § 5.8.024, 8-2-2023)
A variance may be granted only in the event that all of the following circumstances found to exist. These criteria shall be addressed in writing and accompany the variance application.
(1)
Exceptional or extraordinary circumstances apply to the property, which do not apply generally to other properties in the same zone or vicinity and result from lot size or shape, topography or other circumstances over which the applicant has no control.
(2)
The variance is necessary for the preservation of a property right of the applicant substantially the same as owners of other property in the same zone or vicinity.
(3)
The variance would not be materially detrimental to the purposes of this article or to property in the same zone or vicinity in which the property is located or otherwise conflict with the objectives of any city plan or policy.
(4)
The hardship necessitating the variance does not arise as a result of a violation of this article since its effective date.
(5)
The variance requested is the minimum variance which would alleviate the hardship.
(Ord. No. 3266 (Series 2023), § 5.8.025, 8-2-2023)
A property owner or the owner's authorized agent may initiate a request for a variance by filing an application with the city in accordance with chapter 101, article III, division 4. Variances shall be processed in accordance with chapter 101, article III, division 4, with the exception that the review criteria in section 107-232 shall apply.
(Ord. No. 3266 (Series 2023), § 5.8.026, 8-2-2023)
Conditional signs listed in this article may be permitted, enlarged, or otherwise altered upon authorization by the commission in accordance with the standards and procedures set forth in this article. In permitting a new conditional sign or the alteration of an existing conditional sign, the commission may impose, in addition to those standards and requirements expressed by this article, any additional conditions which the commission considers necessary to protect the best interests of the surround property or the city as a whole.
(Ord. No. 3266 (Series 2023), § 5.8.027, 8-2-2023)
A property owner or the owner's authorized agent may initiate a request for a conditional sign or the modification of a conditional sign by filing an application with the city in accordance with chapter 101, article III, division 5.
(Ord. No. 3266 (Series 2023), § 5.8.028(1), 8-2-2023)
Any type of sign not defined herein shall be presented to the community development director/planner, who shall present the matter to the commission, which shall conduct a public hearing and determine the permissibility, size, location or any other restrictions it deems necessary to ensure its compatibility with the purposes set forth herein.
(Ord. No. 3266 (Series 2023), § 5.8.028(2), 8-2-2023)
(a)
The community development director/planner shall order the removal of any sign and its structural members erected or maintained in violation of this article. Three days' notice in writing will be given to the owner, agent or person of the building, structure or premises on which any prohibited sign has been erected, to have it removed. Ten days' notice in writing will be given to the owner, agent or person of any other illegal sign or of the building, structure or premises on which such sign is located, to either bring the sign into compliance with the article or effect its removal.
(b)
Upon failure to remove the sign or to comply with this notice, the community development director/planner shall remove the sign. The community development director/planner shall remove the sign immediately and without notice if it reasonably appears that the condition of the sign is such as to present an immediate threat to the safety of the public.
(c)
Any costs of removal incurred by the city shall be assessed to the owner of the property on which such sign and/or structural members is located and may be collected in the manner of ordinary debt or in the manner of liens, with all costs of removal or demolition plus administrative costs assessed against the property.
(Ord. No. 3266 (Series 2023), § 5.8.029, 8-2-2023)
The location, erection, construction, maintenance, repair, alteration of a sign and structure, except as provided herein, in violation of the terms of this article is hereby declared to be a nuisance under the provisions of the city's nuisance ordinance.
(Ord. No. 3266 (Series 2023), § 5.8.030, 8-2-2023)
Accessory buildings shall be located on the same site as an existing main or primary building and shall be clearly incidental in use to the main or primary building. All accessory buildings shall meet the following requirements:
(1)
Accessory buildings meeting all setback requirements for the main building shall:
a.
Have a building footprint and height equal to or less than the main building or in accordance with subsections (2)b and c of this section, whichever is greater.
b.
Only be used as an accessory structure in accordance with the permitted uses in the respective zone.
c.
Have the same style of siding and roofing materials and colors as the main building unless the owner can demonstrate support for an alternate treatment from a majority of the property owners within 100 feet.
(2)
Accessory buildings that do not meet the setback requirements for the main building shall meet the requirements of subsection (1)b and c of this section and shall:
a.
Have a front yard setback equal to or greater than that of the main building.
b.
Be no larger than ten percent of the actual lot area of said property.
c.
Have a maximum wall height of ten feet from the finished grade. The building height may be increased one foot vertically for each additional one foot of setback, beyond the minimum required, to a maximum wall height of 16 feet and a maximum ridge height of 21 feet.
(Ord. No. 3266 (Series 2023), § 5.9.001, 8-2-2023)
Detached accessory dwelling units, also called cottage homes or tiny homes, shall be permitted in all residential zones in accordance with the following standards:
(1)
Quantity. A maximum of one detached accessory dwelling unit shall be allowed per property, and limited to only properties that contain one primary single-family dwelling.
(2)
Parking. No additional parking space is required for an accessory dwelling unit.
(3)
Design standards.
a.
Setbacks. A detached accessory dwelling unit shall provide side and rear setbacks which comply with the applicable zone and a front yard setback which is at least equal to that of the existing primary single-family dwelling.
b.
Unit size. The size of a detached accessory dwelling unit may be no greater than 800 square feet, and shall be less than the residential living area of the primary single-family dwelling on the property.
c.
Height. The standards height limit for a detached accessory dwelling unit is 21 feet. Except when located on a second floor of a detached accessory structure that is shared with the primary single-family residential dwelling, such as a detached garage. In such case, the accessory building height may be increased to 25 feet.
d.
Building design. A detached accessory dwelling shall have a covered porch entry measuring a minimum of 18 inches and shall have the same style of siding and roofing materials and colors as the primary single-family dwelling.
(Ord. No. 3266 (Series 2023), § 5.9.002, 8-2-2023)