PARKING, LOADING, AND ACCESS MANAGEMENT
The purpose of this article is to protect water quality and the capacity of drainage and stormwater management systems; to limit the number of off-street parking spaces and amount of impervious surfaces that may be permitted on a parcel of land or accessory to a use or building; to establish flexible minimum and maximum standards for off-street parking and loading; and to promote the use and development of shared parking facilities and cross-access between sites.
(Ord. No. H-07-01, § 9.01, 7-24-07)
The regulations of this article shall be met in all districts whenever any uses are established; any structure is erected, enlarged, or increased in capacity; a new land use is established; an existing use is replaced by a new use (change of use); or an existing use is expanded or increased in intensity. Such spaces shall be provided in accordance with the provisions of this article, subject to approval per article XIV, division 2, Site plan review.
(Ord. No. H-07-01, § 9.02, 7-24-07)
(a)
Location of spaces. Off-street parking shall be provided on the same lot of the building it is intended to serve, except as otherwise provided for by this article. Off-street parking spaces shall be located within five hundred (500) feet of a primary building entrance for the use to which such spaces are accessory. Off-street parking facilities may be located within required yard setbacks, subject to provision of adequate screening per subsection 36-392(f), Parking lot landscaping.
(b)
Alteration of existing off-street parking facilities. Existing off-street parking facilities accessory to an existing building or use shall not be reduced to an amount less than the minimum required by this article for a similar new building or new use. The minimum required off-street parking spaces shall not be replaced by any other use unless adequate parking facilities meeting the standards of this article conforming have first been provided at another location acceptable to the planning commission.
(c)
Use. Off-street parking, stacking, and loading facilities shall be further subject to the following:
(1)
No commercial activity or selling of any kind shall be conducted within required parking areas, except as part of a permitted temporary use.
(2)
The storage of merchandise, motor vehicles for sale, semi-trucks or trailers, or the repair of vehicles shall be prohibited in off-street parking areas.
(3)
No person shall park any motor vehicle on any private property without the authorization of the owner, holder, occupant, lessee, agent or trustee of such property. Ownership shall be shown of all lots intended for use as parking by the applicant.
(d)
Shared facilities. The development and use of a parking or loading facility shared between two (2) or more contiguous uses shall be permitted where peak activity for each use will occur at different periods of the day or week.
(1)
Signed agreement. Shared facilities shall be subject to acceptance by the planning commission of a signed shared facility agreement between the property owners.
(2)
Minimum and maximum number of spaces. Where shared parking facilities are provided, the number of parking spaces shall not be less than eighty (80) percent nor more than one hundred twenty (120) percent of the sum of the minimum requirements for the various individual uses specified in section 36-395, Schedule of required parking by use.
(Ord. No. H-07-01, § 9.03, 7-24-07)
(a)
Required off-street parking for single-family and two-family dwellings shall consist of a parking strip, parking bay, driveway, garage, or combination thereof located on the premises they are intended to serve. All residential parking shall be subject to the following standards:
(1)
Motor vehicles. No motor vehicle shall be kept, parked or stored in any district zoned for residential use, unless the vehicle is in operating condition and properly licensed or is kept inside a building.
a.
This section shall not apply to any motor vehicle ordinarily used but temporarily out of running condition.
b.
If a motor vehicle is being kept for actual use, but is temporarily unlicensed, the building official may grant the owner a period of up to ninety (90) calendar days to secure a license.
c.
Recreational vehicles. The open parking or storage of recreational vehicles, boats, or similar vehicles or equipment shall be in accordance with section 32-806 of the Code of Ordinances, as amended.
(Ord. No. H-07-01, § 9.04, 7-24-07)
(a)
Parking calculations. Where a use is not specifically mentioned in this article, the planning commission shall apply the standards for a similar listed use. Where calculations determining the number of required parking spaces result in a fractional space, any fraction up to and including one-half (½) shall be disregarded, and any fraction over one-half (½) shall be rounded-up to the next highest whole number.
(1)
Employee parking. Where parking is calculated on a per-employee basis, the total number of employees on the largest shift shall be used to determine the required number of spaces.
(b)
Minimum and maximum parking requirements.
(1)
Minimum required spaces. Off-street parking, stacking, and loading spaces shall be provided in accordance with the minimum requirements of subsection (c), Schedule of required parking by use. The planning commission may require any use to provide parking spaces above the required minimum, up to the maximum permitted by this section.
(2)
Maximum permitted parking spaces. The maximum amount of off-street parking permitted for any use shall not exceed one hundred twenty (120) percent of the minimum parking requirements of this section, unless otherwise provided in subsection (c), Schedule of required parking by use. This requirement shall not apply to single-family or two-family dwellings, or to spaces reserved for off-site uses per subsection 36-369(b), Off-site parking facilities.
(c)
Schedule of required parking by use.
(Ord. No. H-07-01, § 9.05, 7-24-07)
(a)
Scope. Off-street parking facilities, other than parking for single-family and two-family dwellings subject to section 36-364, Residential parking standards, shall be designed, constructed, and maintained in accordance with the provisions of this section.
(b)
Barrier-free parking requirements. Barrier-free parking spaces shall be provided per federal ADA requirements from the U.S. Department of Justice's ADA Business Brief: Restriping Parking Lots. These requirements are summarized in the following table.
(1)
Location. Barrier-free spaces shall be accessible from and conveniently located near each primary building entrance.
(2)
Identification. Barrier-free spaces shall be identified by above-grade signs and pavement striping.
(3)
Dimensions. Barrier-free spaces shall be eight (8) feet in width, with an adjacent access aisle of five (5) feet in width (eight (8) feet for van-accessible spaces). Such access aisle shall be striped to prevent its use as a parking space. An access aisle may be shared between two (2) adjacent barrier-free parking spaces.
(c)
Setbacks and screening. Screening and landscaping shall be provided for all parking and loading facilities in accordance with the provisions of subsection 36-392(f), Parking lot landscaping. Off-street parking spaces and all driveways shall be set back a minimum of ten (10) feet from all street rights-of-way and abutting residential uses.
(d)
Exterior lighting. Parking lot lighting shall comply with the standards of article XII, Exterior Lighting.
(e)
Ingress/egress. Adequate means of ingress and egress shall be provided for all parking and loading facilities by means of clearly limited and defined drives, curb cuts, and maneuvering lanes. Backing directly onto a street or using a street for maneuvering between parking rows shall be prohibited.
(1)
Parking lot driveway dimensions. Each driveway shall be a minimum of eleven (11) feet and a maximum of fifteen (15) feet in width per direction. Lanes for entering and exiting traffic shall be clearly marked on the pavement. The driveway shall include an on-site stacking area. The driveway shall intersect the abutting street at a ninety-degree angle.
(2)
Ingress and egress to an off-street parking serving a multiple-family or nonresidential use shall not cross land in an R1 district.
(3)
Ingress and egress to any off-street parking lot serving a multiple-family or nonresidential use shall be set back a minimum of twenty-five (25) feet from any R1 district or a lot occupied by an existing dwelling.
(f)
Pavement and striping. Off-street parking facilities shall be paved with concrete, plant-mixed bituminous asphalt, or similar materials. All parking spaces in paved lots shall be marked with pavement striping.
(g)
Stacking spaces. Where required by this article, stacking spaces for drive-through facilities shall be ten (10) feet wide by twenty (20) feet long. Stacking spaces shall not intrude into any street right-of-way or maneuvering lane for an off-street parking lot.
(h)
Grading and drainage. Driveways and parking areas shall be graded and provided with adequate drainage to dispose of surface waters in accordance with applicable construction and design standards established by the city and applicable Wayne County departments. Surface water shall not drain onto adjoining lots, towards buildings, or across a public street, except in accordance with an approved drainage plan.
(i)
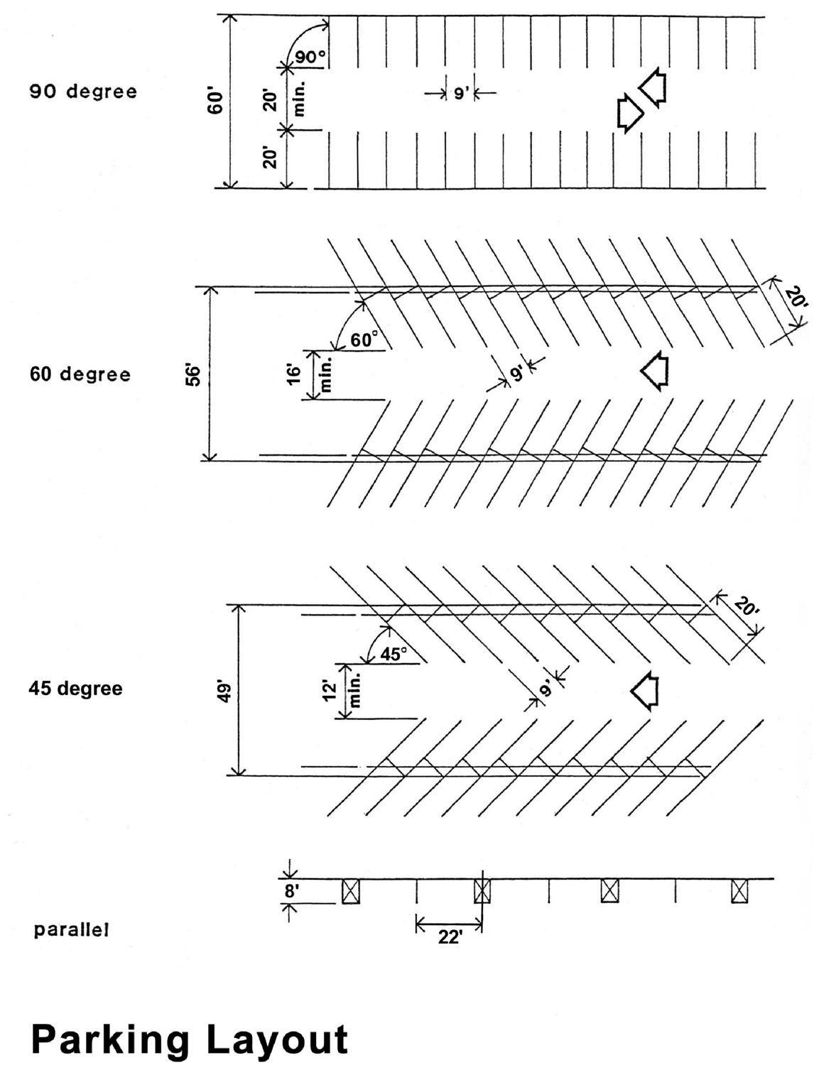
Parking layout. The layout of off-street parking facilities shall be in accordance with the following minimum requirements and the graphic on the following page:
(1)
Drive aisles in off-street parking lots shall not exceed two hundred (200) feet without a break in circulation.
(2)
All parking lots shall be provided with wheel stops or bumper guards so located that no part of parked vehicles will extend beyond the lot boundaries, into required screening or landscaping, or across sidewalks or pedestrian pathways.
(3)
No parking lot shall have more than one (1) attendant shelter building. All shelter buildings shall conform to the height and setback requirements for structures in the district where the parking lot is located.
(Ord. No. H-07-01, § 9.06, 7-24-07)
(a)
Site plan required. Construction or alteration of off-street parking lots shall be in accordance with an approved site plan. Plans for parking lots shall indicate existing and proposed grades, drainage, surfacing and base materials, and the proposed parking layout.
(b)
Permits required. Proof of any necessary permits or approvals from Wayne County or any other agency with jurisdiction shall be provided to the city.
(c)
Performance guarantee. In the event that required paving cannot be completed because of cold or inclement weather, the city may require submittal of a performance guarantee to ensure completion per section 36-7, Fees and performance guarantees.
(Ord. No. H-07-01, § 9.07, 7-24-07)
(a)
Accessory off-street parking areas may be permitted in all residential districts following site plan approval in accordance with article XIV, division 2, Site plan review. However, accessory off-street parking areas may be approved only when it is reasonably indicated that business property in adjoining or adjacent areas is unavailable or impractical for the development of an off-street parking facility.
(b)
A notice of a request for site plan approval of an off-street parking area, prepared in accordance with subsection 36-481(1)a., shall be mailed to owners and occupants of all properties and structures within three hundred (300) feet of the subject site, including those outside of the city (in adjacent cities, villages or [city's]), if applicable. Notices must be postmarked not less than fifteen (15) days prior to the date of the hearing.
(c)
Accessory off-street parking areas shall be considered a conditional accessory use to adjoining business property, and as such the same shall be used for customer vehicle parking of such adjoining business only. Further, penetration of residence property for the establishment of accessory off-street parking areas shall not exceed one hundred thirty (130) feet measured at right angles from the residential property line adjoining the business or industrial district, except as may be provided in an officially adopted master plan or project, and shall be subject to the following requirements:
(1)
No repairs or service to vehicles and no display of vehicles for purposes of sale shall be carried on or permitted upon such premises.
(2)
No advertising signs shall be erected on the premises.
(3)
All land between the boundaries of the parking facility and the barriers referred to in subsection (c)(8) hereof, as well as the surface of the parking area, shall be kept free from tall grass, weeds, rubbish, refuse and debris and shall be landscaped to conform with the requirements of this zoning code.
(4)
The parking surface, and all required access drives and maneuvering aisles, shall be covered with a pavement of concrete or plant-mixed bituminous material and shall be graded and drained to the storm sewer so as to dispose of surface water which might accumulate within or upon such area. No surface water from such parking area shall be permitted to drain onto adjoining property.
(5)
Accessory off-street parking areas shall be curbed with concrete curbs and gutters. Necessary curbs or other protection for the public and for the protection of adjoining properties, streets and sidewalks shall be provided and maintained.
(6)
All parking lot lighting shall be designed, located, and shielded to prevent glare onto adjacent properties, in accordance with article XII, Exterior Lighting, and shall be arranged to prevent adverse affects on motorist visibility on adjacent rights-of-way. The source of illumination shall not be more than fifteen (15) feet above the average grade level of the parking area.
(7)
Side yards shall be maintained for a space of not less than ten (10) feet between the side lot lines of adjoining lots and the parking area. The depth of the front yard or setback line shall be five (5) feet from the sidewalk. No person shall use the space between such setback line and the sidewalk for the parking of motor vehicles. However, the barrier described in paragraph (c)(8) hereof, shall be located on the setback line as required in this paragraph.
(8)
Whenever such parking area adjoins residential property and/or a residential street or alley, a solid masonry wall or fence constructed of other acceptable materials and not less than four (4) feet or more than six (6), shall be erected and maintained between the required yard space and the area to be used for parking. Such walls shall be constructed of the same materials as that of the main or principal buildings, and be faced with either brick, decorative block, or pre-cast concrete formed into a decorative pattern and painted in the same color scheme as that of the principal building. The planning commission may allow a greenbelt used for screening as defined in subsection 36-392(e), Screening. Bumper guards of a type described in subsection 36-366(i)(2), Parking lot layout shall be provided to prevent vehicles from striking such wall or shrubbery. All required walls, fences or other barriers shall be properly maintained and kept free of debris, signs or advertising.
(9)
Entrance to such area shall be only from an adjoining principal use or an adjoining alley. Parking lots shall be designed to prevent vehicles from backing into the street, backing into an access drive, or requiring the use of the street for maneuvering between parking rows.
(10)
Plans for the development of any parking facility must be submitted to the building department in accordance with article XIV, division 2, Site plan review.
(11)
No person shall leave, park or store, or permit to be left, parked or stored, any motor vehicle in an accessory off-street parking area for a period longer than eighteen (18) hours. It is the purpose and intent of this paragraph that the requirement is to provide for keeping parked motor vehicles off the streets, but such requirement is not designed to permit the storage of unregistered or unlicenced, wrecked or junked cars or vehicles. No person shall park or permit to be parked any motor vehicle in such parking area between 12:00 midnight and 6:00 a.m., unless the adjacent business maintaining such parking area remains open after 12:00 midnight, in which case the lot shall be closed and all parked cars removed within thirty (30) minutes after the business has closed.
(12)
No charge for parking shall be made in an accessory off-street parking area.
(13)
The use of any loud noise producing device or public address system shall be prohibited.
(14)
No advertising signs shall be erected on the premises, but directional signage may be permitted at each of the points of ingress or egress, and such sign may bear the name of the operator of the lot and the enterprise it is intended to serve. Such sign shall not exceed fifteen (15) square feet in area and an overall height of ten (10) feet.
(Ord. No. H-07-01, § 9.08, 7-24-07; Ord. No. H-13-04, § 1D, 10-8-13)
(a)
Applicability. On the same premises with every structure, use or part thereof involving the receipt or distribution of vehicles, equipment, materials or merchandise, there shall be provided and maintained on the lot adequate space for standing, loading, and unloading to avoid undue interference with public use of dedicated rights-of-way. Such space shall be provided according to the provisions of this section.
(b)
General standards. The following shall apply to loading and unloading areas in all zoning districts:
(1)
Setbacks. Loading spaces shall be set back a minimum of fifty (50) feet from any residential district or use, except where enclosed within a building or screened to the satisfaction of the planning commission, per subsection 36-392(e), Screening.
(2)
Hard surface required. The planning commission may require that loading spaces be paved with a surface providing the equivalent load strength of up to nine (9) inches of concrete.
(3)
Dimensions of loading spaces. Each loading space shall be at least ten (10) feet wide and twenty-five (25) feet long. If roofed, a loading space must have at least fifteen (15) feet of vertical clearance. Where a use involves semi-trucks making deliveries on a daily basis, or requires that semi-trailers will be parked in the space for more than one hour at any time, the loading space shall be at least sixty (60) feet long.
(4)
Location of loading spaces. The location and arrangement of loading spaces shall be subject to the following:
a.
Off-street loading space may be completely enclosed within a building, or may occupy a portion of the site outside of the building. Where any portion of a loading space is open to public view, screening shall be provided in accordance with subsection 36-392(e), Screening.
b.
All loading and unloading in an industrial district shall be provided off-street in the rear yard or interior side yard. Loading and unloading facilities shall be prohibited in the front yard.
c.
Off-street loading facilities that make it necessary or possible to back directly into a public street shall be prohibited. All maneuvering of trucks and other vehicles shall take place on the site and not within a public right-of-way.
(c)
Number of loading spaces required. The minimum size or number of required loading spaces shall be based on the gross floor area of a building or addition. Commercial, industrial, research, and laboratory uses shall be required to provide a minimum number of loading spaces as follows:
(Ord. No. H-07-01, § 9.08, 7-24-07)
Limited modifications to the standards of this article shall be permitted, subject to the following:
(1)
Special parking districts. The purpose of a special parking district is to define one or more areas of the city within which a reduction of off-street parking requirements for individual uses shall be permitted due to the availability of public parking lots owned or operated by the city, on-street parking, and similar public parking facilities.
a.
Special parking districts may be established by the city council, upon a recommendation from the planning commission.
b.
The boundaries of areas classified as special parking districts shall be delineated on an official map maintained by the city.
c.
Individual uses within the boundaries of a special parking district shall not be required to construct or maintain private off-street parking facilities, provided that the use is located within seven hundred fifty (750) feet of an existing or planned off-street public parking lot.
d.
Special parking districts may be associated with a special assessment district or other financing device intended to provide for the establishment or improvement of public parking facilities.
(2)
Off-site parking facilities. Required parking facilities accessory to nonresidential uses in any zoning district may be located off-site (on other than the same zoning lot as the use served), subject to the following:
a.
Required parking shall be located within five hundred (500) feet of the primary building entrance.
b.
A written agreement shall be drawn to the satisfaction of the city attorney and executed by all parties concerned assuring the continued availability of the off-site parking facilities for the use they are intended to serve.
(3)
Exceeding maximum number of required spaces. The planning commission may require any use to provide parking spaces above the required minimum, up to the maximum permitted by this section. Exceeding the maximum parking space requirements shall be prohibited, except where the planning commission determines that additional parking is necessary to accommodate the use on a typical day of operation, based upon evidence supplied by the applicant.
(4)
Deferment of parking spaces. Where an applicant demonstrates to the satisfaction of the planning commission that the minimum required number of parking spaces is excessive, the planning commission may approve the construction of a lesser number of parking spaces, provided that the deferred parking is shown on the site plan and set aside as open space.
a.
Timing for construction of deferred parking. Deferred parking spaces shall be constructed in accordance with the approved site plan upon written request by the city after the zoning administrator or code enforcement officer has documented three (3) incidents of problem parking on the site.
(5)
Modification of loading space requirements. The planning commission may modify or waive the requirement for off-street loading areas, upon determining that adequate loading space is available to serve the building or use, or that provision of such loading space is unnecessary or impractical to provide.
(6)
Other circumstances. The planning commission may modify or waive an off-street parking standard under this article under any of the following circumstances:
a.
A determination that existing off-street parking spaces on or adjacent to the lot can effectively accommodate the parking needs of the proposed use without negatively impacting traffic safety or adjacent uses.
b.
Sufficient evidence has been provided by the applicant to demonstrate that an alternative parking standard would be more appropriate for the type, scale, or intensity of the proposed use.
(Ord. No. H-07-01, § 9.10, 7-24-07)
All parking and loading areas shall be maintained in accordance with the provisions of this article, an approved site plan, and the following:
(1)
Alterations to an approved parking or loading facility that are not in accordance with an approved site plan shall be considered a violation of this chapter.
(2)
All parking areas, perimeter landscaped areas, and required screening shall be kept free from tall grass, weeds, trash, and debris. Surfacing, curbing, lighting fixtures, signage, and related improvements shall be kept in good repair.
(Ord. No. H-07-01, § 9.11, 7-24-07)
The purpose of this section is to protect the substantial public investment in the city's street system by preserving the traffic capacity of existing streets. It is the further intent of this section to promote safe and efficient travel within the city; minimize disruptive and potentially hazardous traffic conflicts; establish efficient standards for driveway spacing and the number of driveways; and ensure reasonable vehicular access to properties, though not always the most direct access.
(1)
Zoning districts. The standards of this section shall apply to land in the city's nonresidential zoning districts only.
(2)
County or state access management standards. Where Wayne County or the Michigan Department of Transportation (MDOT) have adopted access management standards which are more restrictive than the standards of this section, the adopted county or MDOT standards shall supersede the standards of this section.
(3)
Driveway spacing standards. Each parcel or part thereof subject to the standards of this section shall have no more than one (1) driveway entrance and exit opening to a public street for each seventy-five (75) feet of frontage or fraction thereof.
a.
Where more than one (1) driveway is allowed, the driveways shall be located at least thirty (30) feet apart.
b.
No driveway shall be located within twenty-five (25) feet of a side lot boundary, or within twenty-five (25) feet of an intersection of two (2) or more street rights-of-way.
(4)
Shared access standards. Vehicle access to parcels or parts thereof subject to the standards of this section may be provided by the development and use of shared driveways, cross-access drives, service drives, and similar means of shared access, subject to the following:
a.
Location. New shared driveways, cross-access drives, and service drives shall be aligned with existing drives on adjacent lots where feasible, and shall be located parallel or perpendicular to the street right-of-way, as appropriate.
b.
Cross-access easement. Shared driveways, cross-access drives, and service drives shall be located within a dedicated access easement that permits traffic circulation between lots. Such access easement shall be recorded with the county register of deeds.
c.
Maintenance. The easement area shall remain clear of obstructions and shall not be used for parking unless otherwise approved by the planning commission. Each property owner shall be responsible for maintenance of the shared access easement area.
(Ord. No. H-07-01, § 9.12, 7-24-07)
(a)
Applicability. Where authorized by this chapter or determined necessary by the planning commission, a traffic impact study (TIS) shall be prepared by an applicant to determine the potential future traffic conditions on the adjacent roadways once a proposed use is established or development is completed. The city may utilize its own traffic consultant to review the TIS, with the cost of the review being borne by the applicant per section 36-7, Fees and performance guarantees.
(b)
The results of the TIS shall be used in the final design of access points and internal circulation and may identify necessary off-site street improvements. At a minimum, the TIS shall meet standards of the Michigan Department of Transportation (MDOT) handbook entitled Evaluating Traffic Impact Studies. The planning commission may modify the TIS requirements or scope based upon site and use location and conditions.
(c)
Required contents. Information required in a TIS shall be provided in accordance with subsection 39-495(11)c.
(Ord. No. H-07-01, § 9.13, 7-24-07)
PARKING, LOADING, AND ACCESS MANAGEMENT
The purpose of this article is to protect water quality and the capacity of drainage and stormwater management systems; to limit the number of off-street parking spaces and amount of impervious surfaces that may be permitted on a parcel of land or accessory to a use or building; to establish flexible minimum and maximum standards for off-street parking and loading; and to promote the use and development of shared parking facilities and cross-access between sites.
(Ord. No. H-07-01, § 9.01, 7-24-07)
The regulations of this article shall be met in all districts whenever any uses are established; any structure is erected, enlarged, or increased in capacity; a new land use is established; an existing use is replaced by a new use (change of use); or an existing use is expanded or increased in intensity. Such spaces shall be provided in accordance with the provisions of this article, subject to approval per article XIV, division 2, Site plan review.
(Ord. No. H-07-01, § 9.02, 7-24-07)
(a)
Location of spaces. Off-street parking shall be provided on the same lot of the building it is intended to serve, except as otherwise provided for by this article. Off-street parking spaces shall be located within five hundred (500) feet of a primary building entrance for the use to which such spaces are accessory. Off-street parking facilities may be located within required yard setbacks, subject to provision of adequate screening per subsection 36-392(f), Parking lot landscaping.
(b)
Alteration of existing off-street parking facilities. Existing off-street parking facilities accessory to an existing building or use shall not be reduced to an amount less than the minimum required by this article for a similar new building or new use. The minimum required off-street parking spaces shall not be replaced by any other use unless adequate parking facilities meeting the standards of this article conforming have first been provided at another location acceptable to the planning commission.
(c)
Use. Off-street parking, stacking, and loading facilities shall be further subject to the following:
(1)
No commercial activity or selling of any kind shall be conducted within required parking areas, except as part of a permitted temporary use.
(2)
The storage of merchandise, motor vehicles for sale, semi-trucks or trailers, or the repair of vehicles shall be prohibited in off-street parking areas.
(3)
No person shall park any motor vehicle on any private property without the authorization of the owner, holder, occupant, lessee, agent or trustee of such property. Ownership shall be shown of all lots intended for use as parking by the applicant.
(d)
Shared facilities. The development and use of a parking or loading facility shared between two (2) or more contiguous uses shall be permitted where peak activity for each use will occur at different periods of the day or week.
(1)
Signed agreement. Shared facilities shall be subject to acceptance by the planning commission of a signed shared facility agreement between the property owners.
(2)
Minimum and maximum number of spaces. Where shared parking facilities are provided, the number of parking spaces shall not be less than eighty (80) percent nor more than one hundred twenty (120) percent of the sum of the minimum requirements for the various individual uses specified in section 36-395, Schedule of required parking by use.
(Ord. No. H-07-01, § 9.03, 7-24-07)
(a)
Required off-street parking for single-family and two-family dwellings shall consist of a parking strip, parking bay, driveway, garage, or combination thereof located on the premises they are intended to serve. All residential parking shall be subject to the following standards:
(1)
Motor vehicles. No motor vehicle shall be kept, parked or stored in any district zoned for residential use, unless the vehicle is in operating condition and properly licensed or is kept inside a building.
a.
This section shall not apply to any motor vehicle ordinarily used but temporarily out of running condition.
b.
If a motor vehicle is being kept for actual use, but is temporarily unlicensed, the building official may grant the owner a period of up to ninety (90) calendar days to secure a license.
c.
Recreational vehicles. The open parking or storage of recreational vehicles, boats, or similar vehicles or equipment shall be in accordance with section 32-806 of the Code of Ordinances, as amended.
(Ord. No. H-07-01, § 9.04, 7-24-07)
(a)
Parking calculations. Where a use is not specifically mentioned in this article, the planning commission shall apply the standards for a similar listed use. Where calculations determining the number of required parking spaces result in a fractional space, any fraction up to and including one-half (½) shall be disregarded, and any fraction over one-half (½) shall be rounded-up to the next highest whole number.
(1)
Employee parking. Where parking is calculated on a per-employee basis, the total number of employees on the largest shift shall be used to determine the required number of spaces.
(b)
Minimum and maximum parking requirements.
(1)
Minimum required spaces. Off-street parking, stacking, and loading spaces shall be provided in accordance with the minimum requirements of subsection (c), Schedule of required parking by use. The planning commission may require any use to provide parking spaces above the required minimum, up to the maximum permitted by this section.
(2)
Maximum permitted parking spaces. The maximum amount of off-street parking permitted for any use shall not exceed one hundred twenty (120) percent of the minimum parking requirements of this section, unless otherwise provided in subsection (c), Schedule of required parking by use. This requirement shall not apply to single-family or two-family dwellings, or to spaces reserved for off-site uses per subsection 36-369(b), Off-site parking facilities.
(c)
Schedule of required parking by use.
(Ord. No. H-07-01, § 9.05, 7-24-07)
(a)
Scope. Off-street parking facilities, other than parking for single-family and two-family dwellings subject to section 36-364, Residential parking standards, shall be designed, constructed, and maintained in accordance with the provisions of this section.
(b)
Barrier-free parking requirements. Barrier-free parking spaces shall be provided per federal ADA requirements from the U.S. Department of Justice's ADA Business Brief: Restriping Parking Lots. These requirements are summarized in the following table.
(1)
Location. Barrier-free spaces shall be accessible from and conveniently located near each primary building entrance.
(2)
Identification. Barrier-free spaces shall be identified by above-grade signs and pavement striping.
(3)
Dimensions. Barrier-free spaces shall be eight (8) feet in width, with an adjacent access aisle of five (5) feet in width (eight (8) feet for van-accessible spaces). Such access aisle shall be striped to prevent its use as a parking space. An access aisle may be shared between two (2) adjacent barrier-free parking spaces.
(c)
Setbacks and screening. Screening and landscaping shall be provided for all parking and loading facilities in accordance with the provisions of subsection 36-392(f), Parking lot landscaping. Off-street parking spaces and all driveways shall be set back a minimum of ten (10) feet from all street rights-of-way and abutting residential uses.
(d)
Exterior lighting. Parking lot lighting shall comply with the standards of article XII, Exterior Lighting.
(e)
Ingress/egress. Adequate means of ingress and egress shall be provided for all parking and loading facilities by means of clearly limited and defined drives, curb cuts, and maneuvering lanes. Backing directly onto a street or using a street for maneuvering between parking rows shall be prohibited.
(1)
Parking lot driveway dimensions. Each driveway shall be a minimum of eleven (11) feet and a maximum of fifteen (15) feet in width per direction. Lanes for entering and exiting traffic shall be clearly marked on the pavement. The driveway shall include an on-site stacking area. The driveway shall intersect the abutting street at a ninety-degree angle.
(2)
Ingress and egress to an off-street parking serving a multiple-family or nonresidential use shall not cross land in an R1 district.
(3)
Ingress and egress to any off-street parking lot serving a multiple-family or nonresidential use shall be set back a minimum of twenty-five (25) feet from any R1 district or a lot occupied by an existing dwelling.
(f)
Pavement and striping. Off-street parking facilities shall be paved with concrete, plant-mixed bituminous asphalt, or similar materials. All parking spaces in paved lots shall be marked with pavement striping.
(g)
Stacking spaces. Where required by this article, stacking spaces for drive-through facilities shall be ten (10) feet wide by twenty (20) feet long. Stacking spaces shall not intrude into any street right-of-way or maneuvering lane for an off-street parking lot.
(h)
Grading and drainage. Driveways and parking areas shall be graded and provided with adequate drainage to dispose of surface waters in accordance with applicable construction and design standards established by the city and applicable Wayne County departments. Surface water shall not drain onto adjoining lots, towards buildings, or across a public street, except in accordance with an approved drainage plan.
(i)
Parking layout. The layout of off-street parking facilities shall be in accordance with the following minimum requirements and the graphic on the following page:
(1)
Drive aisles in off-street parking lots shall not exceed two hundred (200) feet without a break in circulation.
(2)
All parking lots shall be provided with wheel stops or bumper guards so located that no part of parked vehicles will extend beyond the lot boundaries, into required screening or landscaping, or across sidewalks or pedestrian pathways.
(3)
No parking lot shall have more than one (1) attendant shelter building. All shelter buildings shall conform to the height and setback requirements for structures in the district where the parking lot is located.
(Ord. No. H-07-01, § 9.06, 7-24-07)
(a)
Site plan required. Construction or alteration of off-street parking lots shall be in accordance with an approved site plan. Plans for parking lots shall indicate existing and proposed grades, drainage, surfacing and base materials, and the proposed parking layout.
(b)
Permits required. Proof of any necessary permits or approvals from Wayne County or any other agency with jurisdiction shall be provided to the city.
(c)
Performance guarantee. In the event that required paving cannot be completed because of cold or inclement weather, the city may require submittal of a performance guarantee to ensure completion per section 36-7, Fees and performance guarantees.
(Ord. No. H-07-01, § 9.07, 7-24-07)
(a)
Accessory off-street parking areas may be permitted in all residential districts following site plan approval in accordance with article XIV, division 2, Site plan review. However, accessory off-street parking areas may be approved only when it is reasonably indicated that business property in adjoining or adjacent areas is unavailable or impractical for the development of an off-street parking facility.
(b)
A notice of a request for site plan approval of an off-street parking area, prepared in accordance with subsection 36-481(1)a., shall be mailed to owners and occupants of all properties and structures within three hundred (300) feet of the subject site, including those outside of the city (in adjacent cities, villages or [city's]), if applicable. Notices must be postmarked not less than fifteen (15) days prior to the date of the hearing.
(c)
Accessory off-street parking areas shall be considered a conditional accessory use to adjoining business property, and as such the same shall be used for customer vehicle parking of such adjoining business only. Further, penetration of residence property for the establishment of accessory off-street parking areas shall not exceed one hundred thirty (130) feet measured at right angles from the residential property line adjoining the business or industrial district, except as may be provided in an officially adopted master plan or project, and shall be subject to the following requirements:
(1)
No repairs or service to vehicles and no display of vehicles for purposes of sale shall be carried on or permitted upon such premises.
(2)
No advertising signs shall be erected on the premises.
(3)
All land between the boundaries of the parking facility and the barriers referred to in subsection (c)(8) hereof, as well as the surface of the parking area, shall be kept free from tall grass, weeds, rubbish, refuse and debris and shall be landscaped to conform with the requirements of this zoning code.
(4)
The parking surface, and all required access drives and maneuvering aisles, shall be covered with a pavement of concrete or plant-mixed bituminous material and shall be graded and drained to the storm sewer so as to dispose of surface water which might accumulate within or upon such area. No surface water from such parking area shall be permitted to drain onto adjoining property.
(5)
Accessory off-street parking areas shall be curbed with concrete curbs and gutters. Necessary curbs or other protection for the public and for the protection of adjoining properties, streets and sidewalks shall be provided and maintained.
(6)
All parking lot lighting shall be designed, located, and shielded to prevent glare onto adjacent properties, in accordance with article XII, Exterior Lighting, and shall be arranged to prevent adverse affects on motorist visibility on adjacent rights-of-way. The source of illumination shall not be more than fifteen (15) feet above the average grade level of the parking area.
(7)
Side yards shall be maintained for a space of not less than ten (10) feet between the side lot lines of adjoining lots and the parking area. The depth of the front yard or setback line shall be five (5) feet from the sidewalk. No person shall use the space between such setback line and the sidewalk for the parking of motor vehicles. However, the barrier described in paragraph (c)(8) hereof, shall be located on the setback line as required in this paragraph.
(8)
Whenever such parking area adjoins residential property and/or a residential street or alley, a solid masonry wall or fence constructed of other acceptable materials and not less than four (4) feet or more than six (6), shall be erected and maintained between the required yard space and the area to be used for parking. Such walls shall be constructed of the same materials as that of the main or principal buildings, and be faced with either brick, decorative block, or pre-cast concrete formed into a decorative pattern and painted in the same color scheme as that of the principal building. The planning commission may allow a greenbelt used for screening as defined in subsection 36-392(e), Screening. Bumper guards of a type described in subsection 36-366(i)(2), Parking lot layout shall be provided to prevent vehicles from striking such wall or shrubbery. All required walls, fences or other barriers shall be properly maintained and kept free of debris, signs or advertising.
(9)
Entrance to such area shall be only from an adjoining principal use or an adjoining alley. Parking lots shall be designed to prevent vehicles from backing into the street, backing into an access drive, or requiring the use of the street for maneuvering between parking rows.
(10)
Plans for the development of any parking facility must be submitted to the building department in accordance with article XIV, division 2, Site plan review.
(11)
No person shall leave, park or store, or permit to be left, parked or stored, any motor vehicle in an accessory off-street parking area for a period longer than eighteen (18) hours. It is the purpose and intent of this paragraph that the requirement is to provide for keeping parked motor vehicles off the streets, but such requirement is not designed to permit the storage of unregistered or unlicenced, wrecked or junked cars or vehicles. No person shall park or permit to be parked any motor vehicle in such parking area between 12:00 midnight and 6:00 a.m., unless the adjacent business maintaining such parking area remains open after 12:00 midnight, in which case the lot shall be closed and all parked cars removed within thirty (30) minutes after the business has closed.
(12)
No charge for parking shall be made in an accessory off-street parking area.
(13)
The use of any loud noise producing device or public address system shall be prohibited.
(14)
No advertising signs shall be erected on the premises, but directional signage may be permitted at each of the points of ingress or egress, and such sign may bear the name of the operator of the lot and the enterprise it is intended to serve. Such sign shall not exceed fifteen (15) square feet in area and an overall height of ten (10) feet.
(Ord. No. H-07-01, § 9.08, 7-24-07; Ord. No. H-13-04, § 1D, 10-8-13)
(a)
Applicability. On the same premises with every structure, use or part thereof involving the receipt or distribution of vehicles, equipment, materials or merchandise, there shall be provided and maintained on the lot adequate space for standing, loading, and unloading to avoid undue interference with public use of dedicated rights-of-way. Such space shall be provided according to the provisions of this section.
(b)
General standards. The following shall apply to loading and unloading areas in all zoning districts:
(1)
Setbacks. Loading spaces shall be set back a minimum of fifty (50) feet from any residential district or use, except where enclosed within a building or screened to the satisfaction of the planning commission, per subsection 36-392(e), Screening.
(2)
Hard surface required. The planning commission may require that loading spaces be paved with a surface providing the equivalent load strength of up to nine (9) inches of concrete.
(3)
Dimensions of loading spaces. Each loading space shall be at least ten (10) feet wide and twenty-five (25) feet long. If roofed, a loading space must have at least fifteen (15) feet of vertical clearance. Where a use involves semi-trucks making deliveries on a daily basis, or requires that semi-trailers will be parked in the space for more than one hour at any time, the loading space shall be at least sixty (60) feet long.
(4)
Location of loading spaces. The location and arrangement of loading spaces shall be subject to the following:
a.
Off-street loading space may be completely enclosed within a building, or may occupy a portion of the site outside of the building. Where any portion of a loading space is open to public view, screening shall be provided in accordance with subsection 36-392(e), Screening.
b.
All loading and unloading in an industrial district shall be provided off-street in the rear yard or interior side yard. Loading and unloading facilities shall be prohibited in the front yard.
c.
Off-street loading facilities that make it necessary or possible to back directly into a public street shall be prohibited. All maneuvering of trucks and other vehicles shall take place on the site and not within a public right-of-way.
(c)
Number of loading spaces required. The minimum size or number of required loading spaces shall be based on the gross floor area of a building or addition. Commercial, industrial, research, and laboratory uses shall be required to provide a minimum number of loading spaces as follows:
(Ord. No. H-07-01, § 9.08, 7-24-07)
Limited modifications to the standards of this article shall be permitted, subject to the following:
(1)
Special parking districts. The purpose of a special parking district is to define one or more areas of the city within which a reduction of off-street parking requirements for individual uses shall be permitted due to the availability of public parking lots owned or operated by the city, on-street parking, and similar public parking facilities.
a.
Special parking districts may be established by the city council, upon a recommendation from the planning commission.
b.
The boundaries of areas classified as special parking districts shall be delineated on an official map maintained by the city.
c.
Individual uses within the boundaries of a special parking district shall not be required to construct or maintain private off-street parking facilities, provided that the use is located within seven hundred fifty (750) feet of an existing or planned off-street public parking lot.
d.
Special parking districts may be associated with a special assessment district or other financing device intended to provide for the establishment or improvement of public parking facilities.
(2)
Off-site parking facilities. Required parking facilities accessory to nonresidential uses in any zoning district may be located off-site (on other than the same zoning lot as the use served), subject to the following:
a.
Required parking shall be located within five hundred (500) feet of the primary building entrance.
b.
A written agreement shall be drawn to the satisfaction of the city attorney and executed by all parties concerned assuring the continued availability of the off-site parking facilities for the use they are intended to serve.
(3)
Exceeding maximum number of required spaces. The planning commission may require any use to provide parking spaces above the required minimum, up to the maximum permitted by this section. Exceeding the maximum parking space requirements shall be prohibited, except where the planning commission determines that additional parking is necessary to accommodate the use on a typical day of operation, based upon evidence supplied by the applicant.
(4)
Deferment of parking spaces. Where an applicant demonstrates to the satisfaction of the planning commission that the minimum required number of parking spaces is excessive, the planning commission may approve the construction of a lesser number of parking spaces, provided that the deferred parking is shown on the site plan and set aside as open space.
a.
Timing for construction of deferred parking. Deferred parking spaces shall be constructed in accordance with the approved site plan upon written request by the city after the zoning administrator or code enforcement officer has documented three (3) incidents of problem parking on the site.
(5)
Modification of loading space requirements. The planning commission may modify or waive the requirement for off-street loading areas, upon determining that adequate loading space is available to serve the building or use, or that provision of such loading space is unnecessary or impractical to provide.
(6)
Other circumstances. The planning commission may modify or waive an off-street parking standard under this article under any of the following circumstances:
a.
A determination that existing off-street parking spaces on or adjacent to the lot can effectively accommodate the parking needs of the proposed use without negatively impacting traffic safety or adjacent uses.
b.
Sufficient evidence has been provided by the applicant to demonstrate that an alternative parking standard would be more appropriate for the type, scale, or intensity of the proposed use.
(Ord. No. H-07-01, § 9.10, 7-24-07)
All parking and loading areas shall be maintained in accordance with the provisions of this article, an approved site plan, and the following:
(1)
Alterations to an approved parking or loading facility that are not in accordance with an approved site plan shall be considered a violation of this chapter.
(2)
All parking areas, perimeter landscaped areas, and required screening shall be kept free from tall grass, weeds, trash, and debris. Surfacing, curbing, lighting fixtures, signage, and related improvements shall be kept in good repair.
(Ord. No. H-07-01, § 9.11, 7-24-07)
The purpose of this section is to protect the substantial public investment in the city's street system by preserving the traffic capacity of existing streets. It is the further intent of this section to promote safe and efficient travel within the city; minimize disruptive and potentially hazardous traffic conflicts; establish efficient standards for driveway spacing and the number of driveways; and ensure reasonable vehicular access to properties, though not always the most direct access.
(1)
Zoning districts. The standards of this section shall apply to land in the city's nonresidential zoning districts only.
(2)
County or state access management standards. Where Wayne County or the Michigan Department of Transportation (MDOT) have adopted access management standards which are more restrictive than the standards of this section, the adopted county or MDOT standards shall supersede the standards of this section.
(3)
Driveway spacing standards. Each parcel or part thereof subject to the standards of this section shall have no more than one (1) driveway entrance and exit opening to a public street for each seventy-five (75) feet of frontage or fraction thereof.
a.
Where more than one (1) driveway is allowed, the driveways shall be located at least thirty (30) feet apart.
b.
No driveway shall be located within twenty-five (25) feet of a side lot boundary, or within twenty-five (25) feet of an intersection of two (2) or more street rights-of-way.
(4)
Shared access standards. Vehicle access to parcels or parts thereof subject to the standards of this section may be provided by the development and use of shared driveways, cross-access drives, service drives, and similar means of shared access, subject to the following:
a.
Location. New shared driveways, cross-access drives, and service drives shall be aligned with existing drives on adjacent lots where feasible, and shall be located parallel or perpendicular to the street right-of-way, as appropriate.
b.
Cross-access easement. Shared driveways, cross-access drives, and service drives shall be located within a dedicated access easement that permits traffic circulation between lots. Such access easement shall be recorded with the county register of deeds.
c.
Maintenance. The easement area shall remain clear of obstructions and shall not be used for parking unless otherwise approved by the planning commission. Each property owner shall be responsible for maintenance of the shared access easement area.
(Ord. No. H-07-01, § 9.12, 7-24-07)
(a)
Applicability. Where authorized by this chapter or determined necessary by the planning commission, a traffic impact study (TIS) shall be prepared by an applicant to determine the potential future traffic conditions on the adjacent roadways once a proposed use is established or development is completed. The city may utilize its own traffic consultant to review the TIS, with the cost of the review being borne by the applicant per section 36-7, Fees and performance guarantees.
(b)
The results of the TIS shall be used in the final design of access points and internal circulation and may identify necessary off-site street improvements. At a minimum, the TIS shall meet standards of the Michigan Department of Transportation (MDOT) handbook entitled Evaluating Traffic Impact Studies. The planning commission may modify the TIS requirements or scope based upon site and use location and conditions.
(c)
Required contents. Information required in a TIS shall be provided in accordance with subsection 39-495(11)c.
(Ord. No. H-07-01, § 9.13, 7-24-07)