- DEVELOPMENT STANDARDS
The provisions of this section shall be known and may be cited as the "Frisco Development Standards."
(Ord. No. 17-04, 6-27-17)
The purposes of this section are to:
180-6.2.1.
Guide future growth and development in accordance with the Master Plan and related municipal ordinances.
180-6.2.2.
Provide for an efficient process to review development proposals.
180-6.2.3.
Provide a framework by which development proposals are reviewed to ensure safe and functional development, which are compatible with the natural and man-made environment.
180-6.2.4.
Assist orderly, efficient, and integrated development.
180-6.2.5.
Promote the health, safety, and general welfare of the present and future residents and guests of the Town.
180-6.2.6.
Ensure conformance of development applications with the public improvements plans of the Town, Summit County and the State of Colorado and other public agencies.
180-6.2.7.
Protect natural flora and fauna, wetlands and scenic areas.
180-6.2.8.
Prevent and control erosion, sedimentation and other pollution of surface and subsurface water.
180-6.2.9.
Prevent flood damage to persons and properties and minimize expenditures for flood control.
180-6.2.10.
Restrict building on flood lands, steep slopes, areas covered by poor soils or in areas otherwise poorly suited for construction.
180-6.2.11.
Prevent loss or injury from landslides, expansive soils and other geological hazards.
180-6.2.12.
Provide for adequate access, circulation and other functional considerations of site design.
(Ord. No. 17-04, 6-27-17)
The development standards established in this section are applicable to all development within the Town of Frisco. The development standards established in this section also shall be applied such that any change, extension, or alteration to an existing structure or developed property will require the property to come substantially more into compliance with said standards. This section is intended to complement Section 180-2.5, by detailing standards required for development.
180-6.3.1.
Joint Use Restriction.
A.
No part of a yard or other open space required about or in connection with any building for the purpose of complying with this Chapter shall be included as part of a yard or other open space similarly required for any other building, except as approved by the Town under the planned unit development regulations.
B.
No part of a lot designated for any use(s) or structure(s) for the purpose of complying with the provisions of this Chapter shall be designated as a part of a lot similarly required for another use(s) or structure(s), except as approved by the Town under the planned unit development regulations.
180-6.3.2.
Buildings Occupying More Than One Lot. Where a residential or non-residential project has been resubdivided into more than one lot, it shall be considered to be occupying one lot for purposes of complying with district regulations such as density, floor area ratio (FAR) lot coverage, open space, lot size, lot frontage, and setbacks. For purposes of this section, the boundaries of the one lot shall be the outermost lot lines of all lots occupied by the project. Except in the case of a condominium building or a property line between duplex or townhouse units, for any proposed development, no building shall be constructed over a property line and any proposal to construct a building over an existing property line shall be accompanied by a plat application to cause the property line to be vacated.
(Ord. No. 17-04, 6-27-17; Ord. No. 19-04, 4-9-19)
180-6.4.1.
Purpose. The purpose of an improvements agreement is to provide a mechanism where an applicant may obtain a certificate of occupancy for a building prior to completing all of the required public and private improvements, including, but not limited to, landscaping and revegetation, final grading, drainage, driveways, parking lot paving and striping, sidewalks, dumpster enclosure, and lighting. No certificate of occupancy or final plat, whichever occurs first, shall be issued for any development within the Town until all required improvements are determined by the Town to be completed or until an improvements agreement, including provisions for financial security to ensure the completion of all required improvements, between the Town and the applicant is fully executed. An Improvements Agreement may also be used to provide security for permits not associated with a building permit, including, but not limited to, Grading Permits and Wetland Disturbance Permits.
180-6.4.2.
Financial Security. All required improvements shall be completed prior to the issuance of a certificate of occupancy unless an improvements agreement and financial security guaranteeing performance have been approved by the Community Development Department. The financial security to be provided shall be in the amount of 150 percent of the estimated cost of the required improvements. The applicant is responsible for obtaining bids to determine costs of said improvements. All improvements are to be completed within one year, with the possibility of one, nine-month extension. The financial security shall be released upon certification by the Community Development Department Director or her designee that all requirements have been met.
(Ord. No. 17-04, 6-27-17; Ord. No. 20-23, 1-26-21)
180-6.5.1.
Development On Steep Slopes.
A.
Purpose. Certain areas in Frisco are characterized by slope and other topographical factors and geologic conditions which, if disturbed for purposes of development, can cause physical damage to public or private property and decrease the aesthetics of Frisco's topography. The purpose of this section is to specify conditions for any type of development where, due to the topography, disturbance of the natural environment may create situations which are detrimental to the public health, safety, and welfare. It is the intent of this regulation to prevent physical damage to public and private property and to retain the natural terrain features and aesthetic quality of Frisco. It is also the intent of this regulation to permit a certain degree of development flexibility to protect the environment of these areas as well as encourage innovative design solutions.
B.
Applicability. These standards apply to all development, as defined in Chapter 180, Article IX, which may occur on any land within the Town of Frisco.
C.
Site Disturbance Standards.
1.
All development in areas with steep slopes greater than 15 percent shall comply with the following standards. Any portion of a site with a slope of 15 percent or greater for a distance of 25 continuous feet shall qualify as a steep slope. For purposes of calculating the vertical rise of a continuous slope when determining whether this criterion is met, it is assumed that the slope may cross property lines.
Figure 6-A: Development on Steep Slopes
2.
Development may occur on lands that contain only limited areas of steep slopes in excess of 15 percent. For a development to be considered to be occurring on lands that contain limited areas in excess of 15 percent slope, it shall comply with the following:
a.
On slopes from 15 percent to less than 30 percent, net site disturbance shall not exceed 50 percent of the total area within this range of slopes.
b.
On slopes greater than 30 percent, net site disturbance shall not exceed 15 percent of the total area over this range of slope.
c.
Any development application which proposes to disturb any slope greater than 15 percent shall be based on a detailed site survey including a geologic and engineering analysis prepared by an appropriately licensed professional and must demonstrate that:
i.
The slope area's ground surface and subsurface are not prone to instability and failure;
ii.
The proposed development will not cause greater instability or increase the potential for slope failure;
iii.
The proposed development will not increase erosion that removes underlying support or surface material; and
iv.
The proposed development will not increase the hazard to adjoining property or structures.
D.
Development Standards. When, pursuant to Section 180-6.5.1.C.2.a, development is permitted on lands having steep slopes in excess of 15 percent, the development shall comply with the following standards:
1.
Limitations on Site Disturbance.
a.
Mass grading of a property which removes or disturbs existing vegetation and leaves large areas of soil exposed for periods in excess of six months shall not be permitted. Site disturbance must be kept to a minimum and must comply with the following limitations:
i.
Cuts, fills, grading, excavation, vegetation disturbance, utility installation, and building construction shall be substantially confined to the designated building envelope, utility easements and road and driveway footprint.
ii.
Disturbed areas shall be restored as undulating, natural appearing landforms, with curves that blend in with the adjacent undisturbed slopes. Abrupt, angular transitions and linear slopes shall be avoided. As necessary, cuts and fills shall be supported by retaining walls, made of stone, wood, or other materials that blend with the natural landscape. All retaining walls over four feet in height must be certified by an engineer licensed in the State of Colorado.
iii.
Disturbed areas shall be contoured so that they can be re-vegetated using native species. No exposed area shall be left open or unstabilized.
iv.
Development shall preserve existing vegetation that aids the screening of the development, softens its appearance, or reduces the potential for erosion and sedimentation from the development.
v.
Grading shall not significantly alter natural drainage patterns.
vi.
All roads and driveways shall comply with the Town of Frisco Minimum Street Design and Access Criteria, as referenced in Chapter 155.
2.
Raising or lowering of natural grade by more than ten feet to create a bench or terrace to accommodate a flat building platform is prohibited. A preferred design technique is to follow the natural grade by stepping the structure up or down the hillside.
3.
Development activities which decrease the stability of any slope in excess of 30 percent are prohibited. These activities include, but are not limited to, activities that add water to a slope such as drainage or landscape irrigation, activities that add weight to the top of a slope, activities which steepen the existing grade of a slope and activities which remove the supporting base of an existing slope.
4.
Visual Impacts to Off-Site Areas.
a.
The development application must demonstrate that appropriate measures have been taken to mitigate off-site visual impacts. The measures may include, but are not limited to, the following:
i.
Alternative siting of structures so that there is a mountain or hillside backdrop to the structure from areas where the structure is visible.
ii.
Use of existing vegetation to soften structural mass when building sites are located in highly visible areas.
iii.
Use of supplementary native landscaping to soften structural mass when building sites are located in highly visible areas.
iv.
Use of visually compatible stabilization measures for cuts and fills.
Figure 6-B: Visual Impact to Off-Site Areas
E.
Areas of Avoidance. Development shall be prohibited in avalanche, rockfall, debris flow, or landslide areas. Development should avoid debris fans, talus slopes, areas containing expansive soils, areas susceptible to ground subsidence, and slopes of 1:1 or greater.
F.
Exceptions for Minor Changes in Slopes. Development may disturb steep sloped area on lands which have a slope in excess of 15 percent when the slope is due to a minor natural or manmade change in the gradient of a slope and is an irregular or isolated terrain feature which is not continuous with or integral to any other slope or other features.
G.
Revegetation. Development must meet the General Landscape Requirements, Section 180-6.14.5.
180-6.5.2.
Grading Permit Required. Site plan approval is required for all developments including any grading or soil disturbance over 500 square feet in area. For development not associated with a building permit, a grading permit must be obtained through the Site Plan Review process as designated in Section 180-2.5.2. Financial security may also be required in accordance with Section 180-6.4. A grading permit will be issued only after satisfactory demonstration that the performance standards set forth in Section 180-6.6, Drainage Plans, Section 180-6.7, Water Quality Protection, and Section 180-6.14.5, General Landscape Requirements are met and final approval for a pending project has been given by the Town. Plans must include erosion and sediment control measures, revegetation methods, water quality setbacks, the location of all coniferous trees of six inches in diameter or more and all deciduous trees of three inches in diameter or more, and the location of the top of bank of any water bodies or wetlands. Prior to the issuance of a grading permit, the Limit of Work area as described in Section 180-6.14.5.D must be defined on the site and inspected by the Town. Disturbance of less than 500 square feet for the purposes of landscaping for single household dwellings and duplexes, or profile holes and soil tests are exempt from the requirement to obtain a grading permit.
Standards for Small Lots Platted Prior to June 1, 1985: These regulations are not intended to prohibit the use of previously platted lots which, because of their small size, cannot be built upon in full compliance with these regulations. In such situations, the following standards may be applied at the discretion of the Planning Commission.
A.
Steep Slopes. On lots where compliance with the development prohibition on slopes that exceed 30 percent slope would prevent reasonable use of the lot for construction, disturbance may be allowed on steeper slopes if the standards of Section 180-6.5.1 are met.
B.
Maximum Area of Disturbance. On lots where compliance with the disturbance limitation of 50 percent in Section 180-6.5.1 or 15 percent in Section 180-6.5.1 would prevent reasonable use of the lot for construction, a larger area of disturbance may be allowed if the remaining standards in Section 180-6.5.1 are met.
(Ord. No. 17-04, 6-27-17; Ord. No. 20-23, 1-26-21)
A drainage plan must be submitted prior to the approval of a proposed subdivision or development. Said plan shall be prepared by a licensed engineer licensed in the State of Colorado. An application that meets the following requirements shall be submitted to and approved by the Town Engineer.
180-6.6.1.
Submittal Requirements. An engineer's report describing and providing evidence of the following:
A.
Show the type, size, and location of existing and proposed drainage structures such as infiltration galleries, dry wells, retention ponds and grassed channels.
B.
Show the manner in which drainage and runoff will be controlled and confined on-site, including all calculations.
C.
Contours must be shown at two-foot intervals on the drainage plan. If the slope across the site is four percent or less, the contour interval shall be shown at one foot.
D.
Show cross sections of specific structures and drainage ways to be constructed.
E.
Provide for the diversion of runoff from snow storage areas, dumpsters and other trash storage areas into detention facilities.
F.
Provide adequately sized detention facilities where dewatering of excavations may be needed (such facilities may be temporary in nature).
G.
Alternate methods shall be accepted only with prior approval by the Town Engineer.
180-6.6.2.
Design Standards.
A.
All development shall limit the rate of off-site surface water discharge to the rate that existed on the site in its predevelopment condition and utilize the most environmentally sustainable practices, as appropriate, in system design.
B.
No direct discharge of stormwater to a lake, stream, or intermittent stream shall be allowed.
C.
All development shall prevent soil loss from the site as a result of erosion produced by the 25-year, 24-hour design storm two and two-tenths inches and utilize the most environmentally sustainable practices, as appropriate, in system design. This standard shall be met both during and after construction.
D.
All development shall prevent any increase in the historic rate of runoff from the development site produced by the 25-year, 24-hour design storm [two and two-tenths inches] and utilize the most environmentally sustainable practices, as appropriate in system design. This standard shall be used before, during, and after construction.
E.
All development applications shall minimize the volume of cut or fill and minimize the erosion of topsoil on the lot.
F.
All development shall provide landscaping and revegetation which provides vegetative coverage equal to or better than pre-development conditions of all disturbed areas.
G.
Run-off from snow storage areas shall be directed to detention facilities for infiltration.
180-6.6.3.
Municipal Stormwater Drainage Plan. Upon the adoption of a stormwater drainage plan by the Town, all lot owners within the affected area shall be subject to the requirements and specifications of such plan at the time of development.
180-6.6.4.
Erosion And Sediment Control Measures.
A.
Appropriate sediment control measures shall be taken to ensure that no soil shall be allowed to leave the construction site through surface erosion and dewatering operations.
B.
Avoid the use of erosion and sediment control devices that are non-degradable (e.g., non-degradable turf reinforcement mats), or that require earth disturbance prior to installation (e.g., silt fences). Any nondegradable erosion and sediment control devices shall be completely removed from the site following permanent stabilization of disturbed areas (e.g., at least 70 percent vegetative cover, paving, etc.). Every effort should be made to use biodegradable erosion and sediment control practices.
C.
All sediment control measures to be taken must be installed prior to any earth disturbing activity. The Colorado Department of Transportation's (CDOT) Standard Specifications Book Section 208, CDOT Erosion Control and Stormwater Quality Guide and applicable CDOT M Standard Plans shall be used as a guideline for all temporary and permanent erosion and sediment control measures installed during construction.
(Ord. No. 17-04, 6-27-17; Ord. No. 20-23, 1-26-21)
The Water Quality Protection Standards are established to protect the beneficial functions and values of waterbodies and wetland areas by prohibiting soil disturbance in waterbodies, wetlands, and within 25 feet of a body of water or wetland, referred to as the wetland setback. These areas protect water quality by maintaining a natural buffer through which pollutants pass and serve to protect the riparian habitat and visual appearance of the Town's waterways, lakeshores, and wetlands. The regulations set forth in this section are intended to complement and operate in conjunction with the distinct jurisdictional wetland disturbance process set forth in Section 404 of the Federal Clean Water Act and administered by the U.S. Army Corps of Engineers. Accordingly, the disturbance standards of this Code may apply independently of the determination of the jurisdictional nature of the wetlands by the U.S. Army Corps, and result in disturbance limitations and mitigation requirements in addition to Section 404 requirements.
180-6.7.1.
Disturbance of Waterbodies Wetlands, or Wetland Setbacks.
Development prohibited. Development and soil disturbance are generally prohibited in or within 25 feet of all waterbodies and wetlands. Development in these areas shall only be permitted in accordance with the standards in Section 180-6.7.1.
Independent survey required. If there is any evidence that a proposed development may contain wetlands or waterbodies, the applicant shall provide a wetlands and waterbody survey prepared by a qualified wetlands consultant. The boundary of a waterbody will be determined by the ordinary high water line of the waterbody, and the boundary of the wetland will be determined utilizing the methods outlined in the Regional Supplement to the Corps of Engineers Wetland Delineation Manual: Western Mountains, Valleys, and Coast Region (U.S. Army Corps of Engineers 2010). All wetlands identified using this methodology are regulated by the Town, regardless of whether they are regulated by the U.S. Army Corps of Engineers under Section 404 of the Clean Water Act.
Disturbance Permit Required. The Town may allow disturbance of waterbodies, wetland areas, or wetland setbacks in conjunction with an approved Disturbance Permit. The area of disturbance shall be limited to the minimum amount necessary to achieve the intended purpose. Disturbance Permits for development in waterbodies, wetlands, and wetland setbacks shall be reviewed by the Town in accordance with the Site Plan Review process for the application as designated in Section 180-2.5.2. The permit review may be consolidated with other development applications as appropriate. Public notice, public hearing, and appeals requirements shall follow the requirements for the Site Plan Review process.
A.
Permitted Disturbances.
1.
The proposed activity is water-dependent; such as docks or piers;
2.
The proposed activity is the minimum necessary to achieve access to property or provide utility service to property, and no other access route avoiding wetland, wetland setbacks, and waterbodies is practical, or the proposed access route results in better overall design of the site development;
3.
Denial of the Disturbance Permit would result in unconstitutional taking of property pursuant to the Colorado and United States Constitutions.
4.
The proposed activity is:
a.
Primarily for the promotion of the safety, health and general welfare of the Frisco community, and
b.
The public benefit is greater than the impact to wetlands.
5.
Projects which are intended for the benefit of the community and installed by or under supervision of the Town. These projects may include, but are not limited to, stream bank stabilization and erosion control activities; road and utility crossings; bike and pedestrian paths; flood control and other safety related projects; public recreational improvements, including whitewater boating and marina facilities such as docks, piers and launch sites, and dredging operations; and aquatic and terrestrial wildlife habitat improvements.
6.
The primary purpose of the proposed disturbance activity is to restore a wildlife habitat, and/or to create, improve, or restore wetlands, waterbodies, and/or wetland setbacks.
7.
The proposed disturbance in a wetland setback would enhance the benefits of the wetland setback or involves residential landscaping that would not degrade the benefits of the wetland setback, or the proposed disturbance in a wetland setback is for construction of a storm water treatment area or equipment.
B.
Disturbance Criteria. The Town may allow disturbance of waterbody, wetland, or wetland setbacks if the disturbance activity meets all of the following criteria:
1.
There is no practical alternative that would avoid impacts to waterbodies, wetlands, or wetland setbacks, and the development is to either meet a policy of this Code or allow reasonable use of the property.
2.
The development will limit the degree of impact on the waterbody, wetland, or wetland setbacks to the greatest extent possible using the mitigation procedures outlined in Section 180-6.7.1.D.
3.
The project's stormwater discharges will not violate other applicable regulations and laws, or significantly degrade the waters of the United States or any other wetland as defined in Section 180-9.3.
C.
Submittal Requirements.
1.
A narrative explaining how development in the wetland, waterbody, or wetland setback is consistent with one or more of the Permitted Disturbances and all of the Disturbance Criteria contained in Section 180-6.7.1.A.
2.
A map or diagram depicting the surveyed boundary of all wetlands, waterbodies, and wetland setback areas and illustrating the amount, location and acreage of proposed disturbance to wetland, waterbody, and wetland setbacks, including fill, excavation, potential hydrologic modifications (intended and unintended), or other alterations.
3.
A grading and erosion control plan, utilizing soil stabilization measures and practices to minimize the impacts of the proposed disturbance, including a timeframe for installation and construction.
4.
Mitigation Plan. A plan to mitigate the impacts of proposed alterations of wetland, wetland setbacks, and waterbody areas showing the proposed on-site restoration improvements, including those wetland areas to be restored or created in accordance with Section 180-6.7.1.D.
5.
Alternative analysis. A statement and analysis of any practical on-site development configuration alternatives to the proposed development activity causing disturbance which reduce or avoid such disturbances, including reduction in the scale of the proposed development.
6.
Evidence of compliance with Section 404 of the Federal Clean Waters Act. If the site contains areas deemed jurisdictional wetlands by the U.S. Army Corps of Engineers, the applicant must present evidence of compliance with Section 404 of the Federal Clean Water Act. Documentation and compliance with all potential Section 404 matters shall remain the sole and ongoing responsibility of the applicant, and any failure to maintain such compliance may lead to suspension or revocation of any approvals provided under this Code.
D.
Mitigation Requirement. The Town of Frisco acknowledges that much of the Town was developed prior to awareness of the value of protecting streams, wetlands, and water bodies. The Town seeks to find a reasonable balance between the property owners' desire to make reasonable use of their properties and the public's interest in preserving and protecting these important water resources. When the destruction or diminution in function of these resources cannot be avoided, the Town finds that impacts on streams, wetlands, and water bodies should be minimized and mitigation provided for unavoidable losses. The loss shall be compensated for by replacing or substituting the lost areas in terms of both quality and quantity. Restored or created wetlands should be considered on-site first, then in close proximity to the impacted wetland area, in an area of similar type and function of the impacted wetlands. The required ratio of new wetlands to permanently impacted wetlands shall be 1:1. A fee in-lieu for wetlands replacement may be considered if no feasible alternative is available. The fee shall be based on the estimated cost of construction for the creation of improvements that are similar in size and type, in a location selected by the Town. The cost estimate shall be prepared by a qualified wetlands consultant with experience in compensatory wetland mitigation in Summit County, Colorado or immediately adjacent counties.
1.
Mitigation Plan Submittal Requirements and Performance Measures. In order to facilitate a streamlined review process for applicants, the Town will follow the Mitigation Plan submittal requirements and performance measures established by the U.S. Army Corps of Engineers in the FR 2008 Compensatory Mitigation for Losses of Aquatic Resources; 404(b)(1) Guidelines (40 CFR 230) and the Compensatory Mitigation for Losses of Aquatic Resources (33 CFR 332 and 40 CFR 230), also known as the 2008 Final Rule.
E.
Financial Security. A financial guarantee in the amount of 150 percent of the written estimated cost of the disturbance plan measures shall be provided for a minimum of two years, and up to five years until the performance standards for the mitigation site(s) have been achieved.
(Ord. No. 17-04, 6-27-17; Ord. No. 20-23, 1-26-21)
180-6.8.1.
Allowance of Non-Solid Fuel-Burning Devices.
A.
Nothing in the regulation shall be construed to limit the number of non-solid-fuel-burning devices (gas, liquid, electricity) which may be installed in new construction, provided that all such installations are in compliance with Chapter 65, Town of Frisco Building Construction and Housing Standards. For the purpose of this section, "new construction" is construction of a residential, commercial, industrial, or agricultural building. This shall include any modification, replacement, or relocation of existing solid-fuel-burning devices. However, modification to solid-fuel-burning devices shall not include repair, replacement, or relocation of flue pipe.
B.
A non-solid-fuel-burning device may be installed only if the applicant(s) can demonstrate that such a device is actually being installed and will be used for burning non-solid-fuel and only if the applicant states, within his application, that said device will not be used for burning solid-fuel. The burden is upon the applicant(s) to present evidence to the Community Development Department for review. An example of evidence includes, but is not limited to, a site plan that depicts the location and installation of the non-solid-fuel-burning device, and the gas, liquid, or electricity lines and venting system which are necessary for proper functioning of this device only.
180-6.8.2.
Solid Fuel-Burning Devices. No uncertified solid-fuel-burning device(s) shall be installed in any new construction. In addition, no uncertified solid-fuel-burning device(s) shall be installed in the process of modifying, replacing, or relocating any existing solid-fuel-burning device. Modifications to solid-fuel-burning devices shall not include repair, replacement, or relocation of flue pipe.
180-6.8.3.
Limitations on Certified Solid Fuel-Burning Devices. The number of certified solid fuel burning devices that may be installed in any structure within the Town of Frisco is hereby limited to the following:
A.
The maximum allowable number of certified solid-fuel-burning devices shall not exceed eight certified devices per acre within the proposed project area.
B.
Additional certified solid-fuel-burning devices shall be permitted in businesses that deal exclusively in the sale of certified solid-fuel-burning devices. However, limitations within this section shall not apply to the replacement of a noncertified solid-fuel-burning device with a certified solid-fuel-burning device.
(Ord. No. 17-04, 6-27-17; Ord. No. 19-04, 4-9-19)
Any private or public road design, construction or maintenance (other than routine maintenance) in the Town shall meet the standards set forth in Section 180-6.6, Drainage Plans, Section 180-6.7, Water Quality Protection, Section 180-6.10, Stream Crossings by Roads and Utilities, Section 180-6.7.2.D, and Chapter 155, Minimum Street Design and Access Criteria.
(Ord. No. 17-04, 6-27-17)
180-6.10.1.
The number of stream crossings by roads and utilities shall be minimized.
180-6.10.2.
The standards set forth in Section 180-6.6, Drainage Plans and Section 180-6.7, Water Quality Protection shall be met for each stream crossing by a road or utility.
180-6.11.1.
Vehicular Access Requirements. All vehicular access must comply with the standards set forth in Chapter 155, Minimum Street Design and Access Criteria.
A.
In addition, all vehicular access shall meet the following standards:
1.
Applicant shall provide safe and adequate access to each structure for all public services, including, but not limited to, fire and emergency equipment.
2.
Applicant's project shall not impose excessive vehicular traffic thereby creating an unacceptable level of service (roadway levels of service D-F) on any of the surrounding roadways.
3.
Access in and out of a project shall be designed so as to create a safe condition and reduce potentially hazardous or inadequate situations, including, but not limited to, inadequate access, parking or loading of the project site, for residents or employees of the project as well as the general public.
B.
Where development abuts a state highway, location of access points to the highway must be approved by the Colorado Department of Transportation.
C.
Where development abuts a Town road, location of access points to the road must be approved by the Frisco Public Works Director.
180-6.11.2.
Non-Vehicular Access Requirements. It is the purpose of this section to promote the use of non-vehicular modes of transportation through a Town-wide network of connecting non-vehicular pathways and provide safe access year-round. All site plans shall provide for and show non-vehicular access in accordance with the standards set forth in the Frisco Trails Master Plan and Chapter 155, Minimum Street Design and Access Criteria. In addition, all non-vehicular access shall meet the following standards:
A.
All multifamily, mixed-use, nonresidential developments, and residential subdivisions shall provide safe and convenient non-vehicular access to a public street or road year-round. Developments shall install paved, year-round access from and through the development to adjacent public sidewalks, bicycle and pedestrian facilities, or right-of-way both existing and proposed pursuant to the Frisco Trails Master Plan and in accordance with the Standards of Chapter 155, Minimum Street Design and Access Criteria.
B.
Every principal structure shall provide access to adjacent trail systems or public open space usable for recreation activities.
C.
Developments shall integrate pedestrian ways, trails, and/or bicycle paths with similar existing and planned facilities on adjacent properties. The Frisco Trails Master Plan should be used as a reference when planning for the integration of these facilities.
(Ord. No. 17-04, 6-27-17; Ord. No. 20-23, 1-26-21)
180-6.12.1.
Traffic Studies. Traffic studies, prepared by a professional engineer licensed in the State of Colorado, shall be provided for any large project that:
A.
Requires a conditional use or rezoning approval;
B.
Is located adjacent to either Main Street or Summit Boulevard;
C.
Contains only one point of access;
D.
Contains an access point off an unimproved roadway or unincorporated area;
E.
Contains an access point off a road with a service level of D or F; or
F.
Is expected to generate 400 or more daily trips per day.
180-6.12.2.
Traffic Studies. The extent of the area to be included in a traffic study shall be determined by Town staff based on the type, scale, and location of the development proposed. Elements of a traffic study shall include, but not be limited to, the following:
A.
Existing traffic flow conditions within the defined study area, considering the peak hours and average daily traffic.
B.
Future conditions due to the traffic impact from the proposed development within the defined study area.
C.
Pedestrian circulation within the study area accessing the proposed development.
D.
Recommendations to relieve impacts to traffic due to the proposed development, including, but not limited to, pedestrian access, intersections, current roadway sections, noise, signage and safety.
(Ord. No. 17-04, 6-27-17)
180-6.13.1.
Applicability. These regulations are applicable to all new development and the expansion of existing development, and all commercial vehicles parked in residential areas within the Town of Frisco that create parking and loading demand. All such structures shall provide parking on the premises according to the following requirements. Parking, loading and driveway facilities shall comply with the Town of Frisco Minimum Street Design and Access Criteria, as referenced in Chapter 155. All new developments shall comply with the Building Construction and Housing Standards' requirements for the provision of electric vehicle supply equipment installed, electric vehicle ready, and electric vehicle capable parking spaces, as required, in Chapter 65.
180-6.13.2.
Purpose. The intent of these regulations is to require that parking and loading spaces be provided relative to the impacts created by proposed new developments, while promoting a pedestrian oriented commercial and downtown area.
180-6.13.3.
On-Premises Parking Requirements.
A.
Parking Requirements. The following minimums for permitted uses. Minimum must be complied with in all zoning districts except the Central Core District (CC) and those properties within the Mixed-Use District (MU) that front on West Main Street. On premise parking requirements for the Central Core District and those properties in the Mixed-Use District that front on West Main Street are found under paragraph D of this Subsection 180-6.13.3. Conditional uses may require additional parking. Multiple uses will be assessed parking requirements per use and an aggregate number will be generated. Unless specifically prohibited elsewhere in this section, accessible parking spaces and electric vehicle charging stations shall be included in the calculation for required parking spaces.
B.
Other Unlisted Parking Requirements. As determined by the Director or Planning Commission, as applicable to the application decision maker. The Director and Planning Commission shall be guided by the comparison with the parking requirements for similar uses which are listed.
C.
Nonresidential Change in Use. A parking reduction may be allowed such that the "new" use is not assessed by the parking use requirements. In order to qualify for such reduction, the change in use must meet one of the following criteria:
1.
Based on the Town's Parking Study for the Central Core area, that the change in use will not substantially limit the amount of parking space availability on-street in that location and at that time of day.
2.
That enough on-premises parking is provided for the commercial project area in that it is designed to serve two or more distinctly different land uses at a reduced ratio, as indicated by a study to substantiate different peak uses, which must be provided by a traffic engineer or other qualified professional, and approved by the Town.
3.
In all cases, the existing parking space requirements must be maintained.
D.
Minimum Parking Requirements for the Central Core District (CC) and Properties within the Mixed-Use District (MU) that Front on West Main Street.
1.
The following minimums for permitted uses are required. Conditional uses may require additional parking. Multiple uses will be assessed parking requirements per use and an aggregate number will be generated. Unless specifically prohibited elsewhere in this section, accessible parking spaces and electric vehicle charging stations shall be included in the calculation for required parking spaces.
2.
For purposes of calculating the minimum parking requirements for any property located within the Central Core District or the Mixed-Use District when a property fronts on West Main Street, if any proposed use is not noted under this paragraph D, the parking requirements as provided in paragraph A of this section shall apply.
E.
On-Street Parking Credits.
1.
In recognition of adjacent on-street and alley parking, the parking requirements for non-overnight uses may be reduced within:
a.
The Central Core District (CC);
b.
The Mixed-Use District for properties that front on West Main Street; and
c.
Any other property fronting Main Street, including West Main Street and East Main Street.
2.
In addition, the parking requirements for non-overnight uses may be reduced for properties within the Mixed-Use District that front on Granite Street. The reduction in parking requirements for such properties that front on Granite Street shall not apply to any property that fronts along the alley way or other streets in the vicinity of Granite Street.
3.
Credits for nearby parking within rights-of-way shall be granted based on the following:
a.
One parking space reduction for every 25 feet of linear frontage abutting a public right-of-way on which legal on-street parking exists within 300 feet of the property.
Figure 6-C: On-Street Parking Credits
F.
Multi-Use Shared Parking Provisions. Within the GW, CO, CC, MU, LI, and RH zoning districts, parking reductions for multi-use developments may be allowed of up to 20 percent of the required parking upon approval (with or without conditions) by the Planning Commission according to the following criteria:
1.
The proposed parking for both uses shall be on-site; and
2.
The parking is provided in areas designed to serve two or more distinctly different land uses; and
3.
The reduction in parking is justified using industry standards such as those established by the Urban Land Institute, the Institute of Transportation Engineers or other acceptable standards.
G.
Understructure Parking Facility Provisions. For purposes of this provision, understructure parking shall mean that the parking will be located in a parking facility which is substantially underground or substantially below the average existing grade or located at grade under a structure. All understructure parking must meet the following criteria:
1.
That above grade parking for the project be significantly screened from adjacent public rights-of-way; and,
2.
That the understructure Parking Facility is significantly screened from any public rights-of-way; and,
3.
That vehicular access to and from the understructure Parking Facility is not provided from Main Street or Summit Boulevard, unless no other access point exists.
Technical specifications for underground parking structures are found in the Town of Frisco Minimum Street Design and Access Criteria, as referenced in Chapter 155.
H.
Accessible Parking Space Requirements.
1.
All facilities, commercial, mixed-use, and multifamily (with seven attached units or more) projects shall provide accessible parking according to the following requirements or Federal ADA requirements, whichever is greater. In addition, a minimum of one required accessible space must be designated for accessible vans. One van accessible space is required for every six required accessible spaces:
2.
All required accessible parking spaces shall not count towards any required visitor parking space requirements.
I.
[Correction of nonconformance.] A nonconforming use or structure that is nonconforming due to inadequacies in its provision of onsite parking may be expanded, changed, or altered in accordance with the provisions of this section, provided that parking is provided for the expansion in accordance with the current parking standards.
J.
Parking Incentive for Installation of Electric Vehicle Spaces. In order to promote the provision of parking spaces with charging capabilities for electric vehicles, the Town may reduce the parking space requirements for developments that provide additional electric vehicle supply equipment (EVSE) installed spaces in accordance with the following standards:
1.
The parking reduction is available to nonresidential developments with parking lots of ten or more spaces.
2.
The reduction may be applied on a one-to-one basis, for every EVSE installed space that exceeds the requirements of Chapter 65, up to ten percent of the total required spaces.
3.
At the discretion of the Town, EVSE installed spaces provided per this incentive may not be signed or reserved for the exclusive use of charging vehicles.
180-6.13.4.
Bicycle Parking.
A.
All mixed-use and non-residential development shall provide bicycle parking facilities, in an appropriate location, with bicycle spaces in the amount of not less than 20 percent of the total number of parking spaces required for the project, with a minimum of five bicycle spaces.
B.
All multifamily residential developments must provide both enclosed, secure bicycle parking, and outdoor bicycle parking facilities. One bicycle parking space is required for every bedroom. Fifty percent of the total spaces must be enclosed, secure bicycle parking. Dwelling units with a private garage are not required to provide enclosed, secure bicycle parking.
C.
Standards for enclosed, secure bicycle parking:
1.
Shall be covered and include use of a locked room, or an area enclosed by a fence with a locked gate.
2.
Enclosed bicycle parking spaces may not be located on porches or balconies.
3.
The bicycle parking area shall be located on site or in an area within 300 feet of the building it serves.
4.
Adequate lighting shall be provided for the bicycle parking area and the route to the building entrance.
5.
The bicycle parking area shall include adequate clearance around racks or lockers to give cyclists room to maneuver, and to prevent conflicts with pedestrians or parked cars.
6.
If the bicycle parking is provided in an auto garage, the bicycle parking spaces shall be clearly marked as such and shall be separated from auto parking.
D.
Standards for outdoor bicycle parking:
1.
Be designed so as not to cause damage to the bicycle.
2.
Facilitate easy locking without interference from or to adjacent bicycles.
3.
Consist of racks or lockers anchored so that they cannot be easily removed and of solid construction, resistant to rust, corrosion, hammers, and saws.
4.
Be consistent with their environment in color and design and be incorporated whenever possible into building or street furniture design.
5.
Be located in convenient, highly visible, active, well-lighted areas but not interfere with pedestrian movements.
180-6.13.5.
Off-Site Parking Allowances.
A.
Off-Site Parking. Up to 100 percent of required non-overnight parking, excluding required accessible spaces, in the Central Core (CC) and Mixed Use (MU) Districts may be met off-site if approved by the Planning Commission pursuant to the following criteria:
1.
The property is located within 300 feet (using the shortest distance between two points) of off-site private parking developed per Subsection B.
2.
The public health, safety, or welfare would not be adversely affected or more than normal impacts on the neighborhood created by locating the required parking off the property.
3.
The off-site parking is easily accessible from the property.
B.
Private Parking Facilities.
1.
Required non-overnight parking may be provided in off-site private parking facilities or lots if the title to the land for off-site parking is deed restricted, in whole or in part, and made subject to an exclusive perpetual easement for parking purposes in favor of the owner(s) of the developing/remodeled property for use of the required number of parking spaces. Proof of ownership of the off-site parking spaces must be provided at the time of development application, subdivision or resubdivision application, business license application or renewal, and/or building permit, whichever is sooner.
2.
The off-site parking must be existing and complete prior to a final Certificate of Occupancy being issued for the developing/remodeled property and the off-site parking must be noted on a recorded plat as dedicated to the developing/remodeled property for required parking.
180-6.13.6.
Parking Standards nd Criteria.
A.
Dimensions. Except as noted in Subsection (3), parking stall dimensions shall be designed to conform to the following minimums:
1.
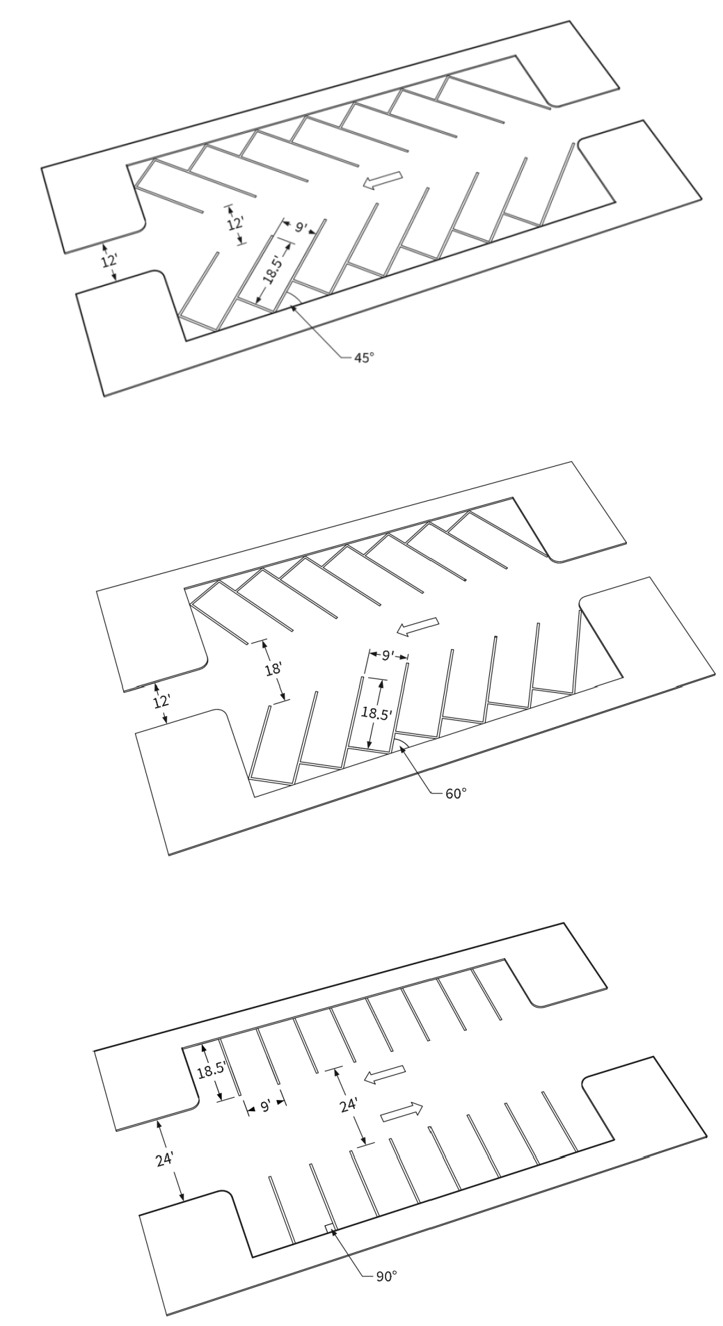
Parking Facilities. Nine by 18.5 feet (including stacked spaces) with the exception of parallel parking spaces which shall be eight by 25 feet. Covered parking spaces and parking structures shall have a minimum vertical clearance of at least eight feet in height.
2.
Accessible Spaces. Eight by 18.5 feet plus a minimum accessibility aisle area of five feet for each space. All accessible spaces designated for accessible van must have a minimum aisle width of eight feet. Two adjacent accessible spaces may share the same accessibility aisle. All accessible spaces must be designated by a sign showing the symbol of accessibility (a wheelchair). Accessible spaces designated for accessible vans shall have an additional sign with the words "Van Accessible" mounted below the symbol of accessibility. All accessible signs shall not be obscured by a parked vehicle. Each sign shall be no smaller than one foot by one foot and shall be located at the end of the space. Accessible spaces shall be located on the shortest accessible route of travel from adjacent parking to an accessible building entrance or to an accessible pedestrian entrance of a parking facility.
Figure 6-D: Accessible Parking Space Design
3.
Parking Space Encroachments. Encroachment into parking area stalls with vertical elements (e.g., structural columns, light fixtures) is allowed in accordance with the following provisions:
a.
The centerline of the vertical element shall be placed on the adjacent parking space line along the 18.5-foot dimension.
b.
Encroachment at the front end of the parking space is allowed, but shall be limited to one foot of encroachment from the head of the space and 1 foot of encroachment into the head of the adjacent parking space. No stall shall have more than one of this type of encroachment.
c.
Encroachments along the 18.5-foot dimension also is allowed between three feet and eight feet from the opening of the parking space and shall not encroach more than six inches into any one stall. Only one vertical element shall be allowed for this type of encroachment. No stall shall have more than one of this type of encroachment.
d.
Nothing in this Subsection (3) shall be construed to allow for an encroachment into or adjacent to any accessibility aisle for accessible parking spaces.
Figure 6-E: Parking Space Encroachments
B.
Aisle Widths. Parking lot aisles shall meet the following minimum requirements, upon approval of the Public Works Director.
C.
Design.
1.
Parking areas shall be designed to be in conformance with the following diagrams and in conformance with the Town of Frisco's Minimum Street Design and Access Criteria, as referenced in Chapter 155:
Figure 6-F: Measuring Parking Spaces
Figure 6-G: Parking Lot Configurations
2.
A backup space shall be provided for the end space in dead end lots. Said backup space shall be sized to allow for a safe backing movement, and provide a minimum depth of five feet for the width of the aisle. Backup space shall be considered part of the parking lot.
3.
All parking areas shall provide landscaping or other appropriate screening to reduce the visual impact of the parking from any public street as provided in the landscape requirements for the Town of Frisco in Section 180-6.14, Landscaping and Revegetation Requirements.
4.
Parking areas shall be graded for proper drainage with surface water diverted in such a way as to keep the parking area free from accumulated water or ice. Drainage improvements shall be designed in compliance with Section 180-6.6, Drainage Plans, of the Frisco Town Code.
5.
All required parking spaces shall have adequate access to a street or alley.
Figure 6-H: Inadequate Alley Access
6.
Residential driveways must be a minimum of nine feet wide by 18.5 feet long.
7.
All parking areas and driveways required for commercial uses or for multifamily projects containing three or more residential units shall be surfaced concrete or asphalt material and shall be built in accordance with the Town of Frisco Minimum Street Design and Access Criteria, as referenced in Chapter 155. Responsibility for maintenance of the lot shall rest with the property owner.
D.
Tandem Parking.
1.
For nonresidential uses, stacked (tandem) parking spaces shall not qualify as required parking spaces.
2.
Single-household residential units and duplex units are exempt from the tandem parking space restrictions of Section 180-6.13.6(A)(1) above.
3.
For multi-family residential projects, two spaces stacked (tandem) spaces may be permitted if Planning Commission finds that the layout of the parking is functional and, at a minimum, finds two out of the following four criteria are met:
a.
That some of the spaces could be used as potential visitor parking space; and/or,
b.
That, given the layout and design of the building, adequate storage space is provided for the residents so that it is not anticipated the parking space(s) will be needed predominately for storage; and/or,
c.
That the architecture of the building façade which faces or accesses the parking spaces avoids a canyon effect, such that movement is provided in the building design; and/or,
d.
That an adequate turning radius area is provided with the parking layout to allow for turning and backing into or out of the tandem parking spaces.
E.
Residential Parking Restriction. Operable licensed commercial vehicles may be parked on-site in residential areas as long as they are parked in designated and approved parking spaces, and provided that the spaces are wide and long enough to accommodate the commercial vehicles and not impede the access of other vehicles to any other designated and approved parking space on the property.
180-6.13.7.
Snow Storage Areas. Snow storage for all uncovered parking areas and drives shall be provided for all developments in the following manner:
A.
Amount Required. Snow storage shall be provided on premises in the amount of 25 percent of paved surface area and any unpaved parking and driveway areas, including uncovered decks. The applicant must demonstrate that snow removal operations for upper floor decks will not impact adjacent property.
B.
[Reserved.]
C.
Location. All snow storage areas shall be located lengthwise adjacent to the applicable paved area in order to facilitate snow removal. Required snow storage areas may not be placed on any public right-of-way or on adjacent private property. Snow Storage is not permitted within the 25-foot waterbody and wetland setback.
D.
Minimum Width. The dimension of snow storage areas must be adequate to serve the snow storage purpose and any snow storage area provided shall be a minimum of eight feet in width.
Figure 6-I: Snow Storage Areas
E.
Drainage Areas. Snow storage areas may be located within drainage facilities if approved by the Town Engineer using the drainage requirements found in Section 180-6.6.
F.
Shared Uses. Snow storage areas may not be combined with other uses, such as but not limited to trails and trail/pedestrian easements, and parking areas (except as noted in drainage areas above). Snow storage areas may be combined with required landscaping if the landscaping is designed to be compatible with large amounts of snow.
180-6.13.8.
On-premises loading requirements. On premises service and loading facilities shall be provided according to the following schedule for commercial uses. All such service and loading facilities shall be located so that no vehicle loading or unloading merchandise shall be parked in front of any property or block traffic in any street or public right-of-way including alleys, and must meet the following:
A.
On premises loading areas must have a minimum dimension of 15 feet by 30 feet. Where loading areas are covered; a minimum height of 15 feet is required. Where semi-trailer trucks typically unload, the minimum loading area size shall be 15 feet by 60 feet by 15 feet high. No portion of a loading vehicle may protrude into a public right-of-way; and
B.
On premises loading areas shall be required for each structure according to the following schedule, unless it can be demonstrated to the satisfaction of the Town that sufficient loading is available from an adjacent alley or other suitable area, which alley or area is shown not to impede vehicular traffic or pedestrian use when used for loading purposes:
1.
Commercial Uses:
a.
0—12,000 square feet GFA .....0
b.
12,000—40,000 square feet GFA .....1
c.
For each additional 40,000 square foot GFA, or increment thereof .....2
180-6.13.9.
Maintenance Standards.
A.
All required parking improvements, including, but not limited to, parking spaces, aisles, driveways, and curb and gutter shall be maintained in good repair.
B.
The minimum required number of parking spaces shall be maintained and not reduced in number, unless there is a change of use or amendment to these regulations which allows for such reduction.
C.
Required parking spaces shall not be used as snow storage areas, except on a temporary basis, not to exceed 48 hours for any one snow fall event.
(Ord. No. 17-04, 6-27-17; Ord. No. 19-04, 4-9-19; Ord. No. 20-23, 1-26-21; Ord. No. 23-09, § 8, 3-28-23)
180-6.14.1.
Purpose. The purpose of this section is to provide landscaping standards for sites undergoing development in the Town of Frisco. It is the Town's goal that landscape design protects the area's unique natural beauty and environment and enhances its aesthetic appeal. Since mountain climactic conditions affect the probability of plant establishment, landscape improvements must respect the unique mountain environment of Frisco. Key elements of good landscape design practices and appropriate use of plant materials that consider Frisco's semiarid climate must be considered during the design and construction process. Reduction of environmental and visual impacts within and between developments, consideration of on-site characteristics, encouragement of plantings that require less water and long-term maintenance, and control and reduction of noxious weeds, are all integral aspects of Town design objectives for landscaping.
180-6.14.2.
Applicability. All projects requiring a development application or building permit and any landscape improvements within the Town of Frisco shall meet the landscaping requirements of this Section and Firewise Landscaping practices in accordance with Section 65-4, Amendments to the International Fire Code.
180-6.14.3.
Landscaping Requirements By Project Type. Plant materials shall be required in amounts determined by the type of development and lot size as follows:
A.
Residential Development.
1.
For every 875 square feet of project lot area or fraction thereof, a minimum of one tree must be planted on the site. One shrub shall be required for every 1,500 square feet.
2.
A minimum of one tree shall be planted within the yard setback adjacent to any public street for every 30 feet of total street frontage or fraction thereof. Street trees shall be placed at least eight feet away from the edges of driveways and alleys and to the extent reasonably feasible, be positioned at evenly spaced intervals.
B.
Mixed-Use Development. Except as provided in subpart D:
1.
For every 1,000 square feet of project lot area or fraction thereof, a minimum of one tree must be planted on the site. One shrub shall be required for every 1,500 square feet of project lot area or fraction thereof.
2.
Mixed-use projects are eligible for substitution of hardscape and planter boxes for a portion of the landscaping required as outlined in Section 180-6.14.4, Required Vegetation.
C.
Commercial Development. Except as provided in subpart D:
1.
For every 1,125 square feet of project lot area or fraction thereof, a minimum of one tree must be planted on the site. One shrub shall be required for every 1,750 square feet of project lot area or fraction thereof.
2.
Commercial projects are eligible for substitution of hardscape and planter boxes for a portion of the landscaping required as outlined in Section 180-6.14.4, Required Vegetation.
D.
Commercial and Mixed-Use Large Project Development.
1.
For commercial and mixed-use large projects as defined in this Chapter, for every 1,500 square feet of project lot area or fraction thereof, a minimum of one tree shall be planted on the site. One shrub shall be required for every 2,500 square feet of project lot area or fraction thereof.
2.
Large projects are eligible for substitution of hardscape and planter boxes for a portion of the landscaping required as outlined in Section 180-6.14.4, Required Vegetation.
E.
Public Projects. For projects undertaken by the Town or projects which will serve a public purpose and benefit such as, but not limited to: public parks, recreation areas and rights-of-way, the amount of trees and shrubs required shall be determined by the Town. The Town shall be guided by the comparison with similar uses within Town or within the region to determine appropriate landscaping requirements.
F.
Parking Area Landscaping. In addition to the landscaping required in Sections 180-6.14.3.B, C, and D, landscaping is required under this section to reduce the visual impacts created by parking areas in multi-family residential, mixed-use, and commercial projects.
1.
Any parking lot providing 20 or more parking spaces shall have an area equal to at least six percent of the total paved area landscaped. In parking areas providing 20 or more parking spaces, at least 50 percent of the landscaping required by this section must be internal to the parking area. The remainder of the landscaped area may be external to the parking area so long as it is within ten feet of the perimeter of the paved area.
2.
All landscaping required by this section shall include at a minimum, one tree and two shrubs for every 150 square feet of landscape area required, or fraction thereof. All required trees and shrubs must meet the minimum plant size requirements set forth in Section 180-6.14.4.A.
3.
Internal parking lot landscaping provided shall be proportionately dispersed so as to define aisles and limit unbroken rows of parking.
4.
Parking lot islands shall be a minimum of eight feet in width and length and contain at least one tree.
5.
Parking lot islands may not be used in the calculation of required snow storage.
Figure 6-J: Parking Lot Design
G.
Additions to Existing Developments. In determining landscape requirements for additions to existing developments or structures, the required amount of landscaping in this Article shall be determined by the amount of soil disturbance and project type per Section 180-6.14.3. A nonconforming use or structure that is nonconforming due to inadequacies in its provision of landscaping may be expanded, changed, or altered provided that landscaping is provided for the expansion in accordance with this section.
180-6.14.4.
Required Vegetation. Required trees should be planted predominantly in the front setback and the side yards to increase the visual buffer of the building and paving from the street, enhance the site, and provide a landscape buffer to adjacent properties. Spacing of plant material shall be appropriate for each species planted. In proposing landscaping to meet the requirements of this Article applicants shall use materials from the Plant Materials List in Section 180-6.14.8. Alternative plant materials may be considered if it is determined by the Community Development Department or Planning Commission on competent evidence that the proposed plant material is suitable to the climate and placement on the site.
A.
Plant Sizes. Plant materials used to satisfy the requirements of this Article must comply with the following minimum size requirements at the time of installation:
1.
Deciduous Trees.
a.
Fifty percent three-inch minimum diameter measured 12 inches above the ground. If only one tree is required, then it must be at least three inches in diameter.
b.
Fifty percent two-inch minimum diameter measured 12 inches above the ground.
c.
When there are an odd number of trees required, then the larger specimen is required.
d.
Deciduous trees should be planted in groups of three or more to achieve a clustered effect, or as a single specimen tree.
2.
Coniferous (Evergreen) trees.
a.
Twenty-five percent ten-foot minimum height. When only one tree is required, then it must be a minimum of ten feet in height.
b.
Twenty-five percent eight-foot minimum height.
c.
Fifty percent six-foot minimum height.
d.
When there are an odd number of trees required, then the largest specimen required by this section is required.
3.
Shrubs (Deciduous and Evergreen).
a.
Five-gallon container, with minimum height or spread of two feet.
B.
Landscape Alternatives for Mixed-Use, Commercial and Large Projects. The following alternative forms of landscaping may be used to meet the vegetation requirements:
1.
For properties fronting Main Street or along Summit Boulevard: Up to 50 percent of the landscaping required by Sections 180-6.14.3.B, 180-6.14.3.C, or 180-6.14.3.D may be provided in the form of street furniture, planter boxes, or other forms of landscaping. To be substituted for landscaping that is otherwise required; planter boxes shall have a minimum plantable area of 16 square feet. Each bench or each 16 square feet of plantable planter box area or other non-vegetative landscaping may be substituted for one required tree.
2.
For properties fronting Main Street, East and West Main Street or along Summit Boulevard: Up to 25 percent of the landscaping required by Sections 180-6.14.3.B, 180-6.14.3.C, or 180-6.14.3.D may be provided in the form of public art or public space such as a patio, plaza, or outdoor seating area. To be substituted for landscaping required by Sections 180-6.14.3.B, 180-6.14.3.C, or 180-6.14.3.D public spaces shall have a minimum area of 100 square feet. Each 100 square feet of public space may be substituted for one required tree.
C.
Species Diversity. To prevent uniformity and insect or disease susceptibility, species diversity is required and extensive monocultures of trees are prohibited. Species diversity does not apply to existing trees or trees planted in excess of the minimum number required by this article. The following minimum requirements shall apply to any development plan:
180-6.14.5.
General Landscape Requirements.
A.
Yard Landscaping Required. Except for the placement of landscaping required in this Article and except for such lawn area as permitted by Section 180-6.14.5.C.1, all front, side and rear yards, exclusive of permitted access drives, walkways, parking lots and accessory structures, shall be left in natural vegetation.
B.
Additional Screening Requirements.
1.
Additional landscape screening may be required when it is determined by Community Development Department staff or Planning Commission to be in the best interest of the affected properties. Additional landscaping may be deemed to be in the best interest of the affected properties only if it is determined by the Community Development Department that:
a.
The proposed development will have a substantial adverse impact on an adjacent property; and
b.
The substantial adverse impact is due to an impact of the proposed development that is unique and peculiar to the proposed development and not of the type normally associated with the type of development proposed.
2.
Additional landscaping, not to exceed 20 percent of the landscaping otherwise required may be required in areas including, but not limited to:
a.
At the edges (perimeter) of a parking lot and between parking lots.
b.
Between building development and recreational trails or open space.
c.
Between multifamily or commercial development and a road or other public spaces.
d.
Between commercial and residential areas.
e.
On slopes of over 15 percent. Developers shall be required to place additional trees in sufficient numbers to screen such properties from major thoroughfares, such as Highway 9 and Main Street.
C.
Water Conservation. All landscape plans should be designed to incorporate water conservation materials and techniques through application of xeriscape landscaping principles. Xeriscape is a method of landscaping that promotes water conservation by minimizing the amount of native vegetation removed, limiting new vegetation to native or drought tolerant vegetation, limiting the amount and type of irrigation and other related measures to conserve water and create a native landscape.
1.
Maximum Amount of Lawn Area. The maximum amount of lawn/sod area shall not exceed ten percent of the undeveloped area of the site.
2.
Plant Materials. The selection of plant materials shall be based on the Town of Frisco's climate and site-specific conditions. All new plant materials shall use species found in the "Plant Materials List - Frisco Colorado" of this Chapter. These species have been selected either because they are a native species to this climate or have a demonstrated ability to survive in this harsh alpine climate with minimal water and no threat of competition. Alternative plant materials may be considered if it is determined by the Community Development Department or Planning Commission on competent evidence that the proposed plant material is suitable to the climate and placement on the site.
D.
Limit of Work Area. Prior to approval of any grading or building permit, existing trees, shrubs, and/or sensitive native landscape areas that are to be preserved shall be defined in the field. These plants and areas shall be defined by a minimum of a four-foot-high visibility fence (polyethylene, painted, wooden slat, snow fence, etc.) which is to be located no closer than the drip line of the vegetation to be preserved and which is to remain and be maintained throughout the construction period until ready for revegetation.
E.
Revegetation of Disturbed Land. Development activities should only disturb, clear, or grade the area necessary for construction.
1.
All areas disturbed by grading or construction, not being formally landscaped, shall be mulched and revegetated with seeding and/or other plant materials. All seeded areas shall receive seeding mulch (e.g., straw-crimped in place or hydromulch, etc.). In order to promote growth and increase soil contact all rocks larger than three inches in diameter shall be removed, and a minimum of three inches of topsoil shall be installed utilizing existing stockpiled topsoil from the site, when possible. Seeded areas in excess of 3:1 (horizontal:vertical) slope (33 percent) shall receive biodegradable erosion control blankets, to reduce potential for damage from heavy, concentrated storm-water runoff. Seed mixes and other plant material shall be selected from the "Plant Materials List - Frisco Colorado". Alternative plant materials may be considered if it is determined by the Community Development Department or Planning Commission based on competent evidence that the proposed plant material is suitable to the climate and placement on the site.
2.
Keep vehicles and construction equipment out of undisturbed areas to preserve the natural ground cover and vegetation.
3.
Following construction, stockpiled topsoil should be uniformly redistributed to a depth of three inches.
4.
Topsoil shall consist of adequate and fully composted organic material.
F.
Noxious Weeds. It is the duty of any property owner or occupant to control noxious weeds which aggressively invade native plant communities or are carriers of detrimental insects, diseases, or parasites and it is unlawful to permit such noxious weeds to grow as noted in Chapter 61, Brush, Grass and Weeds.
G.
Credit for Preservation of Existing Trees. The use of existing healthy, undamaged vegetation is encouraged because it is already established on the site and is natural to the area. Existing healthy trees (including Lodge Pole pine) may be substituted for up to 50 percent of the tree landscaping required by this Article, on a tree-for-tree basis, in cases where the existing trees meet or exceed the standards for required vegetation and minimum plant sizes.
H.
Protection of Existing Vegetation.
1.
Existing vegetation including trees, shrubs, and/or sensitive native landscape areas that are to be preserved on the site shall be identified on the required landscape plan and shall be protected during construction.
a.
This vegetation shall be identified on the site by a minimum of a four-foot-high visibility fence (polyethylene, painted wooden slat, snow fence, etc.). This fence is to be located no closer than the drip line of the vegetation to be preserved and shall remain and be maintained throughout the construction period until ready for revegetation.
b.
Construction debris storage/staging areas shall be located away from vegetation to be preserved.
c.
Snow storage and snow shedding areas may not overlap sensitive landscape areas, such as those which include non-flexible deciduous trees, shrubs, and formal planting beds.
2.
All coniferous trees with a diameter of six inches or more and all deciduous trees with a diameter of three inches or more, measured one foot above the ground shall be defined as a qualifying tree and may be removed without replacement, only as follows:
a.
Trees on land to be occupied by buildings, parking, and paving plus a maximum eight-foot clearance strip adjacent to the perimeter thereof.
b.
Diseased trees, trees damaged by natural causes, and other trees that interfere with utility lines may be removed only upon authorization of the State Forester or other qualified person and authorization of the Town.
c.
Trees whose removal is necessary for fire safety or wildland fire defense may be removed upon authorization of a qualified specialist and authorization of the Town.
3.
Any removed qualifying trees that are not subject to the exceptions set forth in Section 180-6.14.5.H shall be replaced with a one for one and a half (1:1.5) replacement ratio. [1]
All replacement plant material shall conform to the requirements by plant type set forth in Section 180-6.14.4.A, Plant Sizes.
I.
Irrigation System Requirements. Landscape improvements shall be properly irrigated during that period of time necessary for the plant to be established on the site and on an ongoing basis so as to maintain the landscape in good health and condition. The applicant must indicate what method of irrigation is proposed for any required landscape improvements. As indicated on the "Plant Materials List - Frisco Colorado", some species may not require formal irrigation after their establishment period. It is encouraged that temporary, above ground piping and heads or hand watering be used for these plants during their establishment period to promote water conservation once the plant has become established.
180-6.14.6.
Landscape Maintenance. Landscaping shall be maintained in good health and condition for perpetuity. If any vegetative landscaping required by this Article shall die the owner of the property on which it is located shall replace it with the vegetation required by the approved landscape plan within one year of the death of the vegetation.
180-6.14.7.
Landscape Plan Submittal Requirements. The applicant shall provide landscape, irrigation, and grading plans that cover the entire property. There may be a separate landscape plan, however, in most cases it can be configured with a site plan. All landscape plans must contain the following information:
A.
Property lines and dimensions.
B.
Existing and finished grade.
C.
North arrow and both graphic and written scales.
D.
Name of Applicant and landscape consultants, if any.
E.
A legend indicating all proposed plant materials with common and botanical names, indication of drought tolerant plants, sizes, maximum spacing, caliper size, and quantities.
F.
Method of irrigation.
G.
Location of all plant material, other landscape features (including, but not limited to, wetlands, water bodies, rock outcroppings, detention areas, retaining walls) and buildings and paved areas (both existing and proposed).
H.
Ground surfaces and materials by type, such as paving, sod, mulch, edger, seed mixes, shrub and flower beds, etc., shall be clearly indicated with a note as to the percentage of plant coverage.
I.
Clearly labeled locations and calculations for amounts for all of the required landscape vegetation, including the percentage of drought tolerant plantings and any required parking area landscaping.
J.
A tree survey with the size and location of all existing coniferous trees with a diameter of six inches or more and all deciduous trees with a diameter of three inches or more measured one foot above the ground. The tree survey shall be prepared by and Colorado licensed surveyor.
K.
Identify which existing trees will remain on the property and how they will be protected from damage during construction.
L.
If snow storage is required, the location of all snow storage areas in relation to proposed landscaped areas must be shown.
M.
Identify construction debris storage and staging areas.
N.
Additional information may be required by the Town on a case-by-case basis if such information is deemed necessary to determine compliance with provisions of this Chapter.
180-6.14.8.
Plant Materials List - Frisco Colorado.
A.
Plant materials listed are those determined to be suitable for Frisco's arid alpine environment. Landscaping materials required by this Article shall be chosen from this section. Alternative plant materials may be considered if it is determined by the Community Development Department or Planning Commission on competent evidence, that the proposed plant is suitable to the climate and placement on the site.
B.
Information has been included to help the applicant select a mixture of drought tolerant materials, likely to survive in this climate with little water.
* - Native
X - Thrives in slightly dry conditions. Once established, these plants generally require about 1" of water per week.
XX - Thrives in dry conditions. Once established, these plants generally require about ½" of water per week.
XXX - Thrives in very dry conditions. Once established, these plants generally require about ½" of water every 2 weeks.
1.
Grass Mixes:
2.
Trees:
3.
Shrubs:
4.
Perennials/Groundcover:
(Ord. No. 17-04, 6-27-17; Ord. No. 20-23, 1-26-21)
The total diameter (in inches) of the replacement trees, must be one and a half times greater than the total diameter (in inches) of those trees removed, (e.g.-one removed 12-inch diameter coniferous tree may be replaced with two nine-inch-diameter coniferous trees, or three six-inch diameter coniferous trees, etc.) with a minimum diameter replacement for coniferous trees of four inches and for deciduous trees of two inches. The tree replacement requirements of this paragraph may be partially waived on a case-by-case basis as determined by Planning Commission for project sites that have at least 50 percent more again, the number of trees that would be required. In the case of these significantly forested sites, whenever possible, building and paving placement should occur in the least densely forested area of the lot to take advantage of any naturally occurring openings that would result in the removal of fewer trees.
180-6.15.1.
Provide for the adequate location and drainage of snow storage areas on the lot as specified in Section 180-6.13, Parking and Loading Regulations and Section 180-6.6, Drainage Plans.
180-6.15.2.
Eliminate the danger of snow from building roofs or decks shedding onto windows or doors that swing out or on public or private property in accordance with building code requirements
(Ord. No. 17-04, 6-27-17; Ord. No. 23-09, § 9, 3-28-23)
180-6.16.1.
Purpose. The purpose of this section is to establish regulations to allow for outdoor illumination levels which are appropriate for the visual task, safety, and security while minimizing the undesirable side effects of excessive illumination such as glare, sky glow, and light pollution. Over time, it is the intent that this section will allow for reasonably uniform illumination levels in our community. It is also the purpose of this section to establish recommendations for the design of outdoor lighting fixtures that will enhance the small mountain town atmosphere of Frisco.
180-6.16.2.
Applicability. Outdoor lighting fixtures installed for new structures, the expansion or remodeling of existing structures, as well as new or replaced lighting fixtures shall meet the requirements of this section.
180-6.16.3.
General Requirements.
A.
Exterior light fixtures shall conform to the Illuminating Engineer Society of North America (IESNA) criteria for full cut-off fixtures. Any structural part of the fixture providing this cutoff angle must be permanently affixed.
Figure 6-K: Full Cut-Off Fixtures
B.
Outdoor light fixtures shall be positioned so that there is no direct light emission onto adjacent properties.
C.
To minimize the indiscriminate use of illumination, it is recommended that outdoor lighting, except as required for security, be extinguished during non-operating hours.
D.
Emergency exterior exit lighting, as required by the Chapter 65, Town of Frisco Building Construction and Housing Standards, is exempt from the full cut-off requirement for fixtures installed as lighting to be used only in emergencies.
E.
Wherever practicable, it is encouraged that lighting installations include timers, dimmers, and/or sensors to reduce overall energy consumption and unnecessary lighting.
F.
The use of energy efficiency technologies is encouraged.
180-6.16.4.
Height. The mounting height of light fixtures shall be as follows:
A.
The height of wall-mounted light fixtures shall not exceed the height of the building wall to which it is mounted.
B.
Freestanding light fixtures installed along Highway 9 shall be mounted no more than 40 feet high.
C.
Freestanding light fixtures installed within public roadway rights-of-way other than along Highway 9 shall be mounted no more than 30 feet high.
180-6.16.5.
Parking Lot Lighting Standards. Parking lot lighting shall not exceed light levels necessary for safety and locating vehicles at night and minimize light spillage onto adjacent properties. The lighting plan shall be designed so that the parking lot is lit from the outside perimeter inward and/or incorporate design features that eliminate off-sight light pollution. The maximum light spillage onto adjacent properties and rights-of-way shall not exceed 0.9 footcandles. The average level of illumination on the surface of the parking lot shall not exceed 2.0 footcandles, based on the IESNA's recommendation for parking lot lighting.
180-6.16.6.
Canopy Lighting Standards. Lighting levels for canopies and aprons of commercial facilities shall be adequate only to facilitate the activities taking place in such locations and shall not be used to attract attention to the businesses. The following standards shall be met:
A.
The maximum level of illumination shall not exceed 20.0 footcandles.
B.
Light fixtures mounted on canopies shall be recessed so that the lens cover is recessed or flush with the bottom surface (ceiling) of the canopy and/or shielded by the fixture or the edge of the canopy so that light is restrained to no more than 85 degrees from vertical, as shown in Figure 6-M below.
C.
Lights shall not be mounted on the top or sides (fascias) of the canopy or apron, and the sides (fascias) of the canopy or apron shall not be illuminated.
D.
Canopies shall be constructed of opaque materials that do not emit light.
180-6.16.7.
Design.
A.
Outdoor light fixture and light pole designs must be compatible with Frisco's small mountain town character and be aesthetically compatible with the site and structures on which they are mounted. Shoebox style light fixtures are not permitted. Light poles should have decorative bases.
B.
Consideration of the overall appearance of the light fixture and pole, the placement of the light, surrounding landscaping for screening, and design features to eliminate off-sight light spillage will be used when determining whether the proposed lighting accomplishes the purpose and intent of this Section 180-6.16.7.
180-6.16.8.
Lighting Plan. Applications for large projects (as defined in Chapter 180, Article IX) shall submit for approval by Planning Commission a preliminary lighting plan which includes the following:
A.
Site plan with location of all light fixtures and a numerical grid of lighting levels (in footcandles) that the fixtures will produce on the ground (photometric report).
B.
Area of illumination.
C.
Lamp type and wattage.
D.
Mounting height of all fixtures.
E.
Cut sheet showing the design and finishes of all fixtures and designation as IESNA "cut-off" fixtures.
F.
Drawings of all relevant building elevations showing the location and aiming points of the fixtures.
Figure 6-M: Light Level Grids and Iso-Luminance Circles
180-6.16.9.
Special Zones. In order to preserve the natural amenities and atmosphere of certain areas of Town, the following special lighting zones and standards are established:
A.
Dillon Reservoir. For all shorelines and marina properties adjacent to Dillon Reservoir, the following lighting standards shall apply:
1.
Within 200 yards of the shoreline, all exterior light sources shall be fully shielded (totally concealed) from shoreline viewing, except as required for safety.
B.
Parks. Light fixtures in municipal parks, pocket parks, and recreational fields shall employ full cut-off fixtures or fixtures designed to direct light downward. Where it is established that there is a need for some up light, such as a baseball park, "sharp cut off" fixtures, ones in which there is very good beam control of the light output, shall be used.
C.
Open Space. Lighting is discouraged on undeveloped open space lands.
180-6.16.10.
Prohibited. The following lighting is prohibited as follows:
A.
Blinking and flashing lights.
B.
Exposed strip lighting used to illuminate building facades or outline buildings.
C.
Neon tubing and simulated neon tubing except as otherwise permitted under Section 180-6.19, Signs.
D.
Laser lights.
E.
Any light that may be confused with or construed as a traffic control device except as authorized by the Federal Government, the State of Colorado, or the Town of Frisco.
F.
Beacons and search lights, except as used for rescue operations by the Lake Dillon Fire District or other rescue organizations.
180-6.16.11.
Exemptions. Provided that no dangerous glare is created on adjacent streets or properties, the following lighting is exempt from the regulations of this section:
A.
Lighting of national, state, or local municipal flags that is shielded from the sides;
B.
Holiday-style lights;
C.
Architectural accent lighting that is aimed and shielded, including shielding by architectural elements of a building, to prevent the light from emitting upward to the sky and horizontally toward adjacent properties and rights-of-way; and
D.
Street lighting installed by the Town of Frisco or other authorized government entity for the benefit of safety.
180-6.16.12.
Nonconforming. As of the effective date of this section, all outdoor lighting that does not conform to this Section 180-6.16 shall be legal nonconforming outdoor lighting. A legal nonconforming outdoor light fixture shall not be changed or altered without being brought into compliance with the provisions of this section. A nonconforming structure that is nonconforming in terms of its outdoor light fixtures may be expanded, changed, or altered provided that all outdoor light fixtures on the structure are brought into compliance with the provisions of this section.
(Ord. No. 17-04, 6-27-17; Ord. No. 19-04, 4-9-19)
180-6.17.1.
General Standards. All nonresidential, mixed-use, and multi-family residential development projects containing five or more units shall utilize dumpster enclosures for the storage of all refuse, recycling, grease traps, and compost collection.
Dumpster enclosures shall provide space for the collection and storage of recyclable materials, including compost, in an amount equal to the space provided for the collection and storage of trash materials, and shall meet the following standards:
A.
Equal space for refuse, recycling, and compost collection must be accommodated within the dumpster enclosure in an amount determined to be acceptable by the waste collection provider, based upon the size and use of the development.
B.
Storage and collection containers shall be clearly labeled or identified to indicate the type of materials accepted.
180-6.17.2.
Design Standards for Enclosures.
A.
All refuse and recycling dumpsters and facilities shall be located within a dumpster enclosure. Enclosures shall be four-sided structures with a roof and gated access adequate to allow for the collection of materials stored within the dumpster enclosure. The use of chain link fence as a screening material is prohibited.
B.
Dumpster enclosures shall utilize solid, opaque materials to a height of six feet. The exterior materials shall be similar to or complementary to those used on the exterior of the primary structure or structures on the site.
C.
Dumpster enclosures shall be designed to provide a separate pedestrian access into the enclosure.
D.
Enclosures must be wildlife proof. The dumpster enclosure shall be of sufficient design and construction to prevent access by wildlife. The enclosure doors must have a latching mechanism sufficient to prevent entry by wildlife. The side of the structure must extend to within two inches of the ground, and ventilation openings must be covered with a heavy gauge steel mesh or other material of sufficient strength to prevent access by wildlife. Mesh openings shall not exceed one-quarter inch in width.
180-6.17.3.
Location.
A.
Dumpster locations shall not impair vehicular access or snow removal operations.
B.
Dumpster locations shall have adequate space in front to facilitate access for collection equipment.
C.
Dumpster locations shall not be located within any utility easement or front yard setback. Dumpster enclosures are exempt from the setback requirement for "structures" (as defined in Chapter 180, Article IX) in that they may be located within a side and rear yard setback.
D.
Dumpsters shall be located in such a way that encourages the sharing of such facilities by multiple uses.
E.
Dumpster enclosures shall be located on-site in a manner that allows for easy vehicular access to the dumpster by the collection services, and where possible, in a manner that does not require backing movements into public rights-of-way, with the exception of alleys.
180-6.17.4.
Exceptions In the Central Core District. An applicant may propose recycling and compost collection facilities in a separate location within the project site, not adjacent to refuse collection, with approval of the Planning Commission, if the following criteria are met:
A.
Adequate space is provided on site for the collection and storage of recyclables and clearly shown on the plans.
B.
A dumpster enclosure sized for refuse, recycling, and compost collection would create an undue hardship for the property owner, and not allow the desired use of the property.
180-6.17.5.
Retrofitting Incentive for Existing Developments.
A.
Multifamily residential, mixed-use, and non-residential developments may convert up to three existing parking spaces in order to retrofit on-site (internal or external) parking spaces to accommodate the installation of a refuse, recycling and compost collection area to serve the needs of the development. Such conversions may be allowed through administrative approval when the Director finds that the following criteria have been met:
1.
The required or approved parking on site is not reduced by more than ten percent.
2.
The refuse, recycling, and compost collection area is centrally located such that is easily accessible to all residents.
3.
Adequate space exists for the refuse, recycling, and compost collection facility to be accessed by service vehicles.
4.
That the property owner or homeowner's association has signed an agreement with the Director stipulating that the building will maintain a contract for on-going recycling and compost service to the development.
B.
Multifamily residential, mixed-use, and non-residential developments which have been constructed and received certificate of occupancies on or before March 22, 2022 may construct or establish screening that varies from the screening requirements for recycling facilities set forth in sections 180-6.17.2 and 180-6.17.3 above, if necessary to accommodate the installation of a recycling collection area to serve the needs of the development. Screening variances may be allowed through administrative approval when the Director finds that the following criteria have been met:
1.
Recycling facilities are provided as wildlife resistant; and
2.
Adequate space exists for the recycling collection facility to be accessed by service vehicles; and
3.
If partial screening is proposed (ex: four walls but no roof), the proposed structure shall meet all building and safety codes.
4.
Screening is provided from public areas including ROWs, public lands, etc.
5.
Screening is provided from adjacent properties to the greatest extent possible.
6.
Screening may be provided in various forms including but not limited to walls, fences, mature landscaping, or other methods proposed by the applicant and determined by the Director to provide substantial screening of the facility.
(Ord. No. 17-04, 6-27-17; Ord. No. 20-23, 1-26-21; Ord. No. 24-13, § 1, 11-12-24)
A fence, wall, or any similar type of screen or any combination of such items not defined as a structure may be erected on any lot including within a setback, subject to the following conditions and requirements. It is the intent of these conditions and requirements to provide privacy and protection, and screening and accenting of shrubs and landscaping without unduly interfering with the scenic view from neighboring properties or jeopardizing the safety of pedestrians and vehicles.
180-6.18.1.
Building Codes Applicable. All fences and walls are subject to the requirements of Chapter 65, Town of Frisco Building Construction and Housing Standards.
180-6.18.2.
Location of Property Lines. It shall be the responsibility of the property owner to locate all property lines.
180-6.18.3.
Encroachment. No fence or wall may extend beyond or across a property line unless in joint agreement with the abutting property owner granting each a cross-easement.
180-6.18.4.
Obstruction of Visibility. No fence or wall shall be located within 15 feet of any street intersection or be so located as to block, obscure, or minimize visibility at any street intersections.
180-6.18.5.
Materials. Fences and walls shall be constructed of natural materials such as wood, river rock, or stone whenever practical.
180-6.18.6.
Height.
A.
Fences and walls shall not exceed four feet in height measured from the existing natural grade at the base to the highest point of the fence or wall within any front yard. Fences and walls shall not exceed six feet in height measured from the existing natural grade at the base to the highest point of the fence or wall within any rear or side yard. No fence or wall may be artificially elevated by means of a berm or other method for purposes of height calculation.
Figure 6-N: Measuring Fence Height
B.
Fences and walls exceeding six feet in height but no more than eight feet in height measured from the existing natural grade at the base to the highest point of the fence or wall may be allowed if:
1.
They are temporary fences on construction sites erected for protection purposes during the period of construction only; or
2.
They enclose outdoor storage areas in nonresidential districts.
C.
Fences and walls exceeding six feet in height, as permitted in Subsection (A) above, or exceeding eight feet in height as permitted in Subsection B above, shall require conditional use approval.
180-6.18.7.
Construction Fencing. Construction fencing for residential construction must be at least four feet high. Commercial and industrial construction must have fencing at least six feet tall and made from a sturdy material such as chain link with a wind screen. Construction fencing must be installed in accordance with the approved construction management plan, prior to construction, demolition, or excavation. Construction equipment, trailers and dumpsters may only be stored within the fenced area. The fence must be located on private property and be maintained throughout the construction period.
(Ord. No. 17-04, 6-27-17; Ord. No. 19-04, 4-9-19; Ord. No. 23-09, § 10, 3-28-23)
180-6.19.1.
Title. The provisions of this section shall be known and may be cited as the "Frisco Sign Code."
180-6.19.2.
Purpose and Intent. The purpose of this section is to regulate signs in a legal and reasonable manner that promotes economic vitality, fosters public safety, advances the desired aesthetic goals of the community, and ensures compliance with constitutionally protected First Amendment rights. Accordingly, it is the purpose and intent of this section to:
A.
Promote the creation of an attractive visual environment that promotes a healthy economy by:
1.
Recognizing that signs are a necessary means of communication for the public that identify establishments providing goods and services.
2.
Promoting an overall visual effect which has a minimum of clutter and avoids the creation of a "tourist trap" atmosphere.
3.
Encouraging the construction of signs from materials that are compatible with the historic, cultural, and natural surroundings of Frisco.
B.
Protect and enhance the physical appearance of the community in a lawful manner that recognizes the rights of property owners by:
1.
Assuring that the information displayed on a sign is clearly visible and legible.
2.
Ensuring that commercial signage does not obscure the architectural and natural features of the Town.
C.
Foster public safety by:
1.
Assuring that all signs are in safe and appropriate locations along public and private streets within the community.
2.
Protecting the public from hazardous conditions which result from structurally unsafe signage.
3.
Eliminating distracting lighting and excessive glare by reasonably limiting the illumination of signs.
D.
Retain administrative review procedures that are the minimum necessary to:
1.
Allow for consistent enforcement of the Sign Code.
2.
Minimize the time required to process a sign application.
3.
Distinguish between exempt, prohibited, and permitted signage to minimize the administrative burden associated with processing sign permits.
180-6.19.3.
Applicability. This section shall govern and control the design, location, alteration, installation, lighting, and maintenance of all signs permitted within all districts established by this Sign Code and any amendments thereto except where explicitly superseded by an approved official development plan or as identified in this section.
180-6.19.4.
Severability. If any subsection of this Sign Code is found to be invalid by a court of competent jurisdiction, all remaining provisions shall be deemed valid.
180-6.19.5.
Measurement Standards.
A.
Determining Sign Area. In determining the square footage of allowable signage for any business, use, or tenant space, the area of each sign face will be added together.
B.
Measuring Sign Area. Sign area is the entire surface area of a sign, including nonstructural trim. The supports, uprights, or structures on which any sign is mounted shall not be included in determining sign area.
1.
Standard Geometric Shapes. When the surface area of a sign consists of a conventional geometric shape, such as a circle, an oval, a rhombus, a trapezoid, or a triangle, the accepted mathematical formulas for calculating area will be used to determine the surface area of a sign.
2.
Cutout Letters. Sign area for cutout letters or display applied directly to the building surface and lacking a defined border or trim shall be determined by including the total area within the periphery of the cutout letters on display, which can be enclosed within a rectangle or the closest geometric shape with a maximum of two enclosing shapes.
3.
Irregular Geometric Shapes. If a sign consists of a symbol, or an irregular geometric shape without an accepted mathematical formula for calculating area, the entire surface area of the symbol, which can be enclosed within a rectangle or the closest geometric shape with a maximum of two enclosing shapes, shall be determined as the sign area, as shown in Figure 6-P.
4.
Multiple Elements. If a sign consists of a symbol, graphic or text with multiple elements that are an irregular geometric shape without an accepted multiple formula for calculating area, the entire surface area of the symbol, graphic or text, which can be enclosed within a rectangle or the closest geometric shape with a maximum of two enclosing shapes, shall be determined as the sign area.
5.
Double-Faced Sign. Only one side of a double-faced freestanding or projecting sign shall count toward the aggregate size measurement provided both sides are identical.
Figure 6=O: Measuring Sign Area
C.
Determining Sign Height.
1.
Freestanding Signs. The height of a sign or sign structure shall be measured from finished grade to the highest point of the sign or sign structure. When a sign is located on a graded earth mound or in an area lower than the adjacent public street, the sign shall be measured from a surveyed point located at the horizontal line of sight from the paved surface of the nearest section of street, as shown in Figure 6-Q.
Figure 6-P: Determining Sign Height
2.
Projecting, Hanging, and Awnings Signs. Clearance for signs shall be measured at the smallest vertical distance between finished grade and the lowest point of the sign, including any framework or other embellishments, as shown in Figure 6-R.
3.
Wall Signs. Heights shall not exceed the height of the building wall to which the sign is affixed.
180-6.19.6.
Placement.
A.
On-Premises. All signs shall be located on the premise of the business, use, or tenant space displaying the sign except as specifically permitted elsewhere in this section.
B.
Ground Placement.
1.
Setbacks. Signs are not subject to the setback requirements of the zoning district where they are located.
2.
Rights-of-Way. Signs are not permitted to be placed on or project into public rights-of-way without specific written authorization from the Town, except as specifically permitted elsewhere in this section.
3.
Water Quality Setbacks. Signs are not permitted to be placed on or project into water quality setbacks without specific written authorization from the Town, except as specifically permitted elsewhere in this section.
4.
Traffic Movement, Drainage, and Snow Storage. Signs shall not impair visibility for traffic movement and shall not impede drainage or snow storage.
C.
Building Placement.
1.
Wall Signs. Wall signs shall be contained within any single wall panel or other architectural component upon which they are placed, and shall not exceed the height of the building wall to which the sign is affixed.
2.
Projecting, Hanging, and Awning Signs. Signs shall be located to complement architectural elements of the building. No part of a projecting, hanging or awning sign shall be located above the ceiling of the second story of any building. Projecting, hanging, and awning signs shall not exceed the height of the building wall to which the sign is affixed, and shall have a minimum of eight and one-half feet clearance above the ground.
3.
Multi-Tenant Buildings. Signs for businesses in multi-tenant buildings shall be located on the tenant space being identified by the sign or as depicted by the Master Sign Plan.
180-6.19.7.
Design Standards. The purpose of the sign design standards is to promote a high level of quality and creativity, in keeping with the architectural goals and authentic mountain character of Frisco. The goal of the guidelines is also to encourage sign design that is eclectic, artistic, and original.
A.
Construction. All signs and sign structures shall be made by a commercial sign manufacturer or be of similar professional quality. All signs shall be completed and erected in a professional manner.
B.
Maintenance. It shall be unlawful to fail to maintain any sign, including signs exempted from these regulations with respect to permits and fees, in good repair and appearance, including, but not limited to, the keeping in good condition of all painted and printed surfaces, trims, poles, and text integrity.
C.
Building and Electrical Permits. All signs for which a sign permit is required shall be subject to the provisions of the most currently adopted version of the building, electrical and mechanical codes. The following signs require a building permit: freestanding signs over ten feet in height, freestanding signs greater than 42 square feet in area, and awnings supported by an exterior wall which project more than 54 inches from the exterior wall.
D.
Snow and Wind Load. All freestanding signs over ten feet in height or greater than 42 square feet in area shall be designed to withstand minimum wind and snow loads according to the provisions of Chapter 65, Town of Frisco Building Construction and Housing Standards. The Building Official may require freestanding signs to be designed by a Colorado licensed engineer with professional stamped plans.
E.
Design Compatibility.
1.
Compatibility with the Building. Signs including its supporting structure and components should be integrated with the design of the building or structure on which they are placed. The scale, size, and shape of any sign should be proportionate to the building and the area in which it is located. Signs should not obscure architectural features, and should be designed in a manner that provides an artistic accent or visual point of interest for the building, as shown in Figure 6-T.
2.
Compatibility with Other Signs. Signs including its supporting structure and components should be integrated with the design of other signs located on or near the same building to complement or enhance the other signs. The design and alignment of signs on multi-use buildings should be complementary, but not uniform or duplicative.
Figure 6-S: Sign Design Compatibility
F.
Materials. Sign materials should be compatible with the architectural design of the building's façade, and should contribute to the legibility of the sign. Carved or sandblasted wood; formed, etched, cast metal; and high density pre-formed foam or similar materials are encouraged. Raised borders and raised letters are encouraged. Mirrors or other reflective materials are prohibited. The supporting structure of a freestanding sign shall not include a singular, exposed metal pole or column, but it should be entirely surrounded by a decorative pole or column cover that is architecturally compatible with the sign and building, as shown in Figure 6-U.
Figure 6-T: Free-Standing Sign Structures
G.
Color. Sign colors should contribute to legibility and design integrity, and to the overall communicative effect of the sign. All signs, whether lighted or unlighted, should utilize a contrasting background for legibility, as shown in Figure 6-V. Color palettes should be utilized in a creative fashion to reflect the business or use for which the sign is intended, and to provide a memorable point of reference for sign viewers. Color combinations should achieve a harmonious appearance, while maintaining sign creativity and originality. Luminescent colors are prohibited.
H.
Copy and Lettering Style. Sign fonts should be selected to provide both clarity and artistic integrity. The number of lettering styles should be limited to increase legibility, and letters and words should not be spaced too closely. The graphic symbol which relies on images and reduces the use of words is encouraged, as shown in Figure 6-W.
Figure 6-V: Copy and Lettering Style
I.
Medical Marijuana Businesses. All signage associated with a medical marijuana business shall meet the standards established in the Frisco Sign Code and Section 180-5.2.6, Medical Marijuana Dispensaries.
J.
Sexually Oriented Businesses. All signage associated with a sexually oriented business shall meet the standards established in the Frisco Sign Code and Section 180-5.2.10.O, Signs for Sexually oriented Businesses.
K.
Three-Dimensional Surface. Signs with a three-dimensional, textured surface that provide architectural relief such as carved, routed, or sandblasted designs are encouraged, as shown in Figure 6-X. The depth of three-dimensional elements shall not exceed three feet.
Figure 6-W: Three-Dimensional Surface
L.
Illumination. The illumination of signs is intended to minimize the undesirable side effects of excessive illumination such as glare, sky glow, and light pollution. The following standards shall apply to sign illumination:
1.
Light Source. All exterior sign lighting shall be fully shielded and down-directed. All upward-directed sign lighting is prohibited. The intensity of sign lighting shall not exceed that necessary to illuminate and make legible a sign from the adjacent travel way. It is recommended that exterior sign lighting be extinguished during non-operating hours. Wherever practicable, it is encouraged that lighting installations include timers, dimmers, and/or sensors to reduce overall energy consumption and unnecessary lighting. Energy efficient light sources are encouraged.
2.
Component Painting. All light fixtures, conduit, and shielding must be concealed and shall be painted to match either the building or the supporting structure that serves as the background of the sign.
3.
Externally Illuminated Signs. Externally lit signs shall be illuminated only with steady, stationary, shielded light sources directed solely onto the sign without causing glare. Light bulbs or lighting tubes used for illuminating a sign shall be simple in form and should not clutter the building or structure. Light bulbs or lighting tubes should be shielded so as to not be physically visible from adjacent properties and public rights-of-way.
4.
Internally Illuminated Signs. Internally illuminated signs with light colored backgrounds, including, but not limited to, white, off-white, light gray, cream and yellow are discouraged.
5.
Digital or Electronic Signs. Digital or electronic signage must include automatic dimming in direct correlation with ambient light conditions and its brightness cannot exceed 0.3 footcandles above ambient light. The brightness shall be measured with an illuminance meter set to measure footcandles accurate to at least two decimals. All brightness measurements shall be taken perpendicular to the face of the sign at a distance measured by the following formula:
Measurement Distance = √Area of Sign Sq. Ft. × 100
6.
Fixtures. Lighting fixtures shall be simple in form and should not clutter the building. The fixtures must be directed only at the sign. Lighting for front lit signs shall be housed in fixtures and installed in a manner that will serve to substantially shield exposed bulbs and lighting tubes from public view. Gooseneck or other building mounted fixtures are encouraged.
180-6.19.8.
Specific Regulations for Sign Types.
A.
Permanent Signs. The following types of signs are permitted in the sign districts as indicated in Table 6-5 thru Table 6-10.
1.
Awnings. Any portion of an awning containing the name of the business, or which is otherwise a sign, shall be treated as a sign, as shown in Figure 6-Y. No awning sign shall be placed in a manner where it would allow snow to shed onto any public walkway. An awning may be made of any material compatible with the design of the building, but for the purposes of this section, no awning shall be backlit or contain backlighting.
2.
Building Identification Signs. The building identification sign area shall not count toward the aggregate sign area for the building.
3.
Directional Signs. Directional signs shall not count toward the aggregate sign area for the business, use, or tenant space displaying the directional signs. Further:
a.
Directional signs shall not be used for additional advertising, but may include the business name or logo.
b.
Directional signs should be clearly linked and utilize common design cues including color, shape, logo, material, or nomenclature.
c.
Businesses in the Summit Boulevard Corridor Sign District that have a secondary street access into a project shall be allowed to have a secondary street access freestanding directional sign. Directional signs must be displayed on the secondary street frontage. The directional sign must be used solely to provide direction to the project, provide way finding within the project or to provide direction to an amenity within the project.
d.
Directional signs that do not meet the standards listed above shall be considered freestanding, projecting, hanging or wall signs and regulated according to this section.
4.
Drive-Through Signs. Drive-Through Menu Board and Drive-Through Pre-Sell Menu Board signs may include changeable copy.
Figure 6-Y: Drive-Through Menu Boards
Figure 6-Z: Changeable Copy Sign
5.
Freestanding Signs.
a.
A landscaped area equal to two square feet for each one square foot of total sign area of a freestanding sign is encouraged, as shown in Figure 6-BB.
b.
Singular, metal pole or column sign supports without a decorative cover shall be prohibited.
c.
Adjacent lot owners may erect a joint freestanding sign on their common lot line if both property owners have provided written permission.
d.
There shall be no more than one freestanding sign per project, and no more than two freestanding signs per premise, provided that one of the two freestanding signs is an off-premises sign for another property or premise as provided herein.
Figure 6-AA: Free-Standing Sign
6.
Gasoline Price Signs. The sign area of a gasoline price sign shall not count toward the aggregate sign area for the service station if the sign is 12 square feet or less in area. If the sign exceeds 12 square feet in area, the additional sign area shall count against the aggregate sign area for the service station. Further:
a.
Gasoline price signs are permitted to use changeable copy and must be incorporated into a freestanding, projecting, or wall sign associated with a service station.
b.
Electronic or digital gasoline price signs shall conform to the illumination standards described in this section.
c.
Any sign incorporated into a service station canopy shall be considered a roof sign and is prohibited.
7.
Home Occupation Signs. An approved home occupation shall be allowed a projecting or wall sign. Home occupation signs may state the name or nature of the home occupation, but shall not advertise specific products or be lit from any angle.
8.
Projecting Signs. No projecting sign shall extend more than three feet from a building wall, as shown in Figure 6-CC.
9.
Miscellaneous Signs. Any sign types not listed in this section shall be classified as miscellaneous signs and may not be erected unless approval is granted by the Community Development Department as to size, height, configuration, illumination, and application for usage. Strict interpretation of the intent and purpose of this section shall be applied to all requests for approval of miscellaneous signs. Signs listed as prohibited shall not be considered or approved as a miscellaneous sign.
10.
Residential Subdivision Entrance Signs. A sign with copy limited to a logo and the subdivision name. Only one sign per subdivision entry is allowed.
11.
Time and Temperature Signs.
a.
Time and temperature signs must be incorporated into a freestanding or wall sign associated with a business, shall not constitute more than 25 percent of the sign area, and can be no larger than 25 square feet in area, as shown in Figure 6-DD.
b.
The text display of the time and temperature is permitted to use changeable copy, cannot change more than once per eight seconds, and the transition shall be instantaneous.
c.
There shall not be any advertising copy on a time and temperature sign.
Figure 6-CC: Time and Temperature Sign
12.
Temporary Signs. The following types of signs are permitted in the sign districts as indicated in Table 6-5 thru Table 6-10.
13.
Banners.
a.
Banner verbiage must match the products or services offered by the business, sale events, or promotions, or announce the opening or closing of the business, as shown in Figure 6-EE.
b.
Banners may be permitted for up to 26 weeks per calendar year, for one-week intervals.
c.
A business may hang no more than one banner at a time. If a tenant space has multiple business licenses for the same tenant space, then the tenant space shall only be allowed to hang one banner at a time.
d.
Banners shall be located on the premises only, allowable only on the exterior of the building or any projection of the building such as a deck, fence, or railing.
e.
Banners shall be in good condition, without rips, tears, or fading, and all corners must be secured to the building or building projection.
14.
Construction Signs. Signs may not be erected prior to issuance of a Town building permit and must be removed prior to the issuance of a Town certificate of occupancy or when the building permit expires, whichever occurs first. Only one construction sign is allowed per project.
15.
Real Estate Development Signs. A freestanding or wall sign may be permitted on the site of a new project following Town approval of a Development Application. Real estate development signs must be removed ten days after all certificates of occupancy have been issued or when the building permit expires, whichever occurs first. Only one real estate development sign is allowed per project.
180-6.19.9.
Master Sign Plan. The Master Sign Plan shall be designed to establish a common theme or design to create visual harmony between the sign(s), building(s), and other components of the subject property, using similar construction methods, compatible colors, scale, and backgrounds. The sign plan shall indicate the size and location of all signs proposed. It shall also coordinate a minimum of three of the following elements: color(s), shape, mounting, lighting, lettering style, graphics, and materials. The aggregate sign area within the Master Sign Plan is subject to the size limitations of this section. The Master Sign Plan shall not allocate or transfer any sign area from one business to another.
180-6.19.10.
Sign Districts.
A.
Main Street Corridor Sign District.
1.
Purpose. The downtown area of Frisco represents the focal point of the community with a compatible mix of commercial and residential uses and a pedestrian-oriented Main Street. The intent of this district is to enhance the authentic mountain town character of Frisco and promote the Main Street area as the heart of the community.
2.
Standards. All signs in the Main Street Corridor Sign District shall comply with the standards in Table 6-5 and Table 6-6. See Map 1. Main Street Corridor Sign District for district boundaries. Further:
a.
Text Height. No letter, symbol, or numeral shall exceed two feet in height.
b.
Illumination. Only signs that are externally illuminated are permitted. Lighting shall be front lit and down-directed. Signs that are backlighted (halo-lighted), electronic, or internally illuminated are prohibited.
c.
Materials. Signs made of natural materials such as wood, metal, or stone or other materials that mimic natural materials, such as high-density urethane, which are substantially similar to the natural materials they are simulating are encouraged.
d.
Design. The use of symbols, three-dimensional or textured surfaces, carved or routed letters, or other artistic features are encouraged, as shown in Figure 6-FF.
Figure 6-EE: Main Street Corridor Sign Design Guidelines
e.
Orientation. Signs should be located and sized to be viewed by pedestrians. Projecting, hanging, or awning signs are permitted to project over the three-foot sidewalk easement on East Main Street if there is a minimum of eight and one-half feet clearance above the ground.
f.
Aggregate Sign Area.
i.
The maximum aggregate sign area for each business or entity is 32 square feet.
ii.
No one sign may exceed 32 square feet of sign area.
iii.
Businesses with Main Street business frontage that are located on a corner lot or that have more than one street frontage (not including alleys, driveways, or parking lots) shall be allowed to have a maximum of 42 square feet of aggregate sign area.
iv.
If a tenant space has multiple business licenses for the same tenant space, then the tenant space shall be allowed to have a maximum of 42 square feet of aggregate sign area.
g.
Freestanding Signs.
i.
Minimum Separation. All freestanding signs, except directional signs, shall be separated by a distance of no less than 50 feet unless the freestanding signs are separated by a street right-of-way.
ii.
Off-Premises Freestanding Signs. Freestanding signs located off-premises must comply with the following regulations:
a)
Off-premises signs may only reference businesses that do not have business frontage along Main Street. See Map 1, Main Street Corridor Sign District for the commercial properties that are allowed to have off-premises signs.
b)
An off-premises sign is only permitted on a property where the property owner has provided written permission.
c)
Only one off-premises sign is allowed per project.
d)
The off-premises sign must be located on Main Street at the nearest street intersection en route to the project.
e)
Refer to Table 6-5 and Table 6-6 for additional standards related to freestanding signs.
iii.
Sign Area. The sign area of any freestanding sign is deducted from the total aggregate sign area allowed for the business displaying said sign.
B.
Summit Boulevard Corridor Sign District.
1.
Purpose. The Summit Boulevard Corridor, including Summit Boulevard, Interstate 70, the Dam Road and Ten Mile Drive, serves as a primary gateway to Frisco and provides a broad range of commercial services conveniently accessible by automobile. The intent of this district is to encourage signs of a high-quality design that are eclectic and compatible with the authentic mountain town character of Frisco.
2.
Standards. All signs in the Summit Boulevard Corridor Sign District shall comply with the standards in Table 6-7 and Table 6-8. See Map 2, Summit Boulevard Corridor Sign District for district boundaries. Further:
a.
Text Height. No letter, symbol, or numeral shall exceed four feet in height.
b.
Lighting. Signs that are backlighted (halo-lighted) are encouraged.
c.
Design. Routed faces, three-dimensional or textured faces, push-through letters or graphics, and pin/stud mounted architectural letters are encouraged, as shown in Figure 6-GG.
Figure 6-FF: Summit Boulevard Corridor Sign Design Guidelines
d.
Orientation. Signs should be located and sized to be viewed by motorists.
e.
Aggregate Sign Area. Aggregate sign area allowed for a business, use or tenant space shall be calculated using its business frontage, as shown in Figure 6-HH and Figure 6-II. Further:
i.
The maximum aggregate sign area for a business, use, or tenant space shall be a square footage equal to 66 percent of the linear length of the business frontage with a maximum of two frontages displaying signs. The minimum aggregate sign area for each business frontage is 32 square feet and the maximum allowed is 150 square feet. For example, a business with a 75-foot-long business frontage may be allowed up to 49.5 square feet of aggregate sign area on that frontage (75 x 0.66 = 49.5).
ii.
Businesses, uses, or tenant spaces that are on the interior of a building without business frontage shall be allowed a maximum of 32 square feet of aggregate sign area.
iii.
No part of the sign area of on-premises signs allowed for one business frontage shall be transferred to another business frontage, whether that other business frontage is that of the same or any other business.
Figure 6-GG: Single-Tenant Building Signage
Fiture 6-HH: Multi-Tenant Building Signage
f.
Freestanding Signs.
i.
Minimum Separation. All freestanding signs, except directional signs, shall be separated by a distance of no less than 100 feet unless the freestanding signs are separated by a street right-of-way.
ii.
Off-Premises Signs. Freestanding signs located off-premises must comply with the following regulations:
a)
Off-premises signs may only reference businesses that do not have business frontage along Summit Boulevard. See Map 2. Summit Boulevard Corridor Sign District for the commercial properties that are allowed to have off-premises signs.
b)
An off-premises sign is only permitted on a property where the property owner has provided written permission.
c)
Only one off-premises sign is allowed per premise.
d)
The off-premises sign must be located on Summit Boulevard at the nearest street intersection en route to the project.
e)
The sign area of an off-premises sign is deducted from the closest business frontage displaying the sign.
f)
Refer to Table 6-7, Table 6-8, and Table 6-9 for additional standards related to freestanding signs.
iii.
Sign Area. The sign area of any freestanding sign is deducted from the total aggregate sign area allowed for the business displaying said sign.
C.
Lusher Court Overlay. Notwithstanding the provisions of Subsection 180-6.19.10.B.2.e.i above, businesses, uses, or tenants located in the Lusher Court Overlay shall be allowed an aggregate sign area square footage that is equal to 70 percent of the linear length of the business frontage that faces the interstate as indicated in Map 2. Summit Boulevard Corridor Sign District. For projects with multiple buildings, only those businesses with business frontage located along the northern property boundary that face the interstate shall be allowed the 70 percent aggregate sign area. All other business frontages shall be allowed an aggregate sign area of 66 percent for the frontage.
D.
Dillon Dam Road Overlay. Notwithstanding the provisions of Subsection 180-6.19.10.B.2.e.i above, businesses, uses or tenants located in the Dillon Dam Road Overlay shall be allowed an aggregate sign area square footage that is equal to 70 percent of the linear length of the business frontage that faces the interstate as indicated in Map 2. Summit Boulevard Corridor Sign District. All other business frontages shall be allowed an aggregate sign area of 66 percent for the frontage. Refer to Table 6-9 for additional standards. Further:
1.
Freestanding signs that are located on the business frontage facing the interstate shall be allowed a maximum of 100 square feet in sign area. If a freestanding sign is located on any other business frontage, the sign area shall conform to the standards listed in Table 6-7 and Table 6-8.
2.
Freestanding sign height shall be measured from a surveyed point located at the horizontal line of sight from the paved surface of the nearest section of street or interstate highway.
E.
Residential Sign District. All signs in the Residential Sign District shall comply with the standards in Table 6-10. Any property not identified in the sign district maps shall be considered to be located in the Residential Sign District. Nonconforming commercial uses in residential zoned areas shall comply with the Main Street Corridor Sign District and are not eligible to display off-premises signs. Sign illumination in residential districts shall be restricted to front lit lighting only.
F.
Parks and Open Space Sign District. Any sign placed in an area designated as Parks and Recreation District or Open Space District by the Unified Development Code must obtain approval from the Community Development Department prior to erecting the sign. Sign designs shall conform to the Town of Frisco's Parks and Opens Space Sign Design Criteria. See Map 3, Parks and Open Space Sign District and Public Facilities Sign District for the district boundaries.
G.
Public Facilities Sign District. Any sign placed in an area designated as Public Facilities District by the Unified Development Code and other government or public entities must obtain approval from the Community Development Department prior to erecting the sign. Sign designs shall conform to the Town of Frisco's Public Facilities Sign Design Criteria. See Map 3, Parks and Open Space Sign District and Public Facilities Sign District for the district boundaries.
180-6.19.11.
Administration.
A.
Approvals. Applicants intending to erect a new permanent or temporary sign or those seeking to modify existing signs must obtain a sign permit from the Community Development Department prior to installation or modification of the sign. Painting, repainting, repair or cleaning of a sign shall not require a sign permit; however, this exemption shall not apply if the color scheme or design of an existing sign is altered or if such painting or repainting results in a different business, product, or service being advertised by the sign. A business which only operates on a seasonal basis or sells seasonal items or services may use interchangeable signs provided a permit is obtained for each sign displayed at that business. If an application is filed under the sign regulations and each sign in the application meets the requirements of these regulations, the sign shall be approved and permits issued by the department staff. If an application requires approval by the Planning Commission, or raises questions of interpretation which the staff believes should be decided by the Commission, the application shall be forwarded to the Planning Commission for review and action. No sign shall be erected, or displayed without prior approval of a sign permit.
B.
Master Sign Plan Application Requirements. A Master Sign Plan (MSP) is required for any development having three or more tenants, businesses, or uses. The MSP must be approved by the Community Development Department before an individual sign permit can be issued. Prior to the submittal of a Master Sign Plan application, a pre-application conference with the Planning Division is required to acquaint the applicant with Sign Code procedures, design standards, and to review the MSP proposal. In order to apply for a MSP, the applicant must provide the following information in writing:
1.
A completed and signed Town of Frisco Master Sign Plan application and non-refundable fee.
2.
Site plan [no less than one inch equals ten feet] depicting the locations of all existing and proposed signage, public rights-of-way, property lines, easements, grades, buildings, utilities, and landscaping.
3.
Scale drawings, elevations, or photographs of the proposed signage depicting the dimensions and size, location, design, mounting methods, colors, materials, source of illumination and building façade or other location where the proposed signage will be located.
4.
Any other maps, drawings, or other materials needed to adequately describe the master sign plan proposal as required herein.
5.
Upon submission of a complete application, the Community Development Department shall have ten business days to review the application.
C.
Individual Sign Permit Application Requirements. In order to apply for a sign permit, the applicant must provide the following information in writing:
1.
A completed and signed Town of Frisco sign permit application and non-refundable fee.
2.
A copy of the approved Master Sign Plan for the project, if applicable.
3.
Site plan [no less than one inch equals ten feet] depicting the locations of all existing and proposed signage, public rights-of-way, property lines, easements, grades, buildings, utilities, and landscaping.
4.
Scale drawings, elevations, or photographs of the proposed signage depicting the dimensions, design, mounting methods, colors, materials, source of illumination and building façade or other location where the proposed signage will be located.
5.
The proposed signage shall use a consistent design theme to create visual harmony between the sign(s), building(s), and other components of the subject property.
6.
Written evidence of a current business license.
7.
Any other material or information to show compliance with the Frisco Sign Code as required herein.
8.
Upon submission of a complete application, the Community Development Department shall have ten business days to review the application.
D.
Inspections. The Community Development Department shall have the authority to make periodic inspections of all existing signs for compliance with this section. Final approval of any sign as erected is contingent upon inspection of said sign for compliance with the approved sign application within 14 days of erecting the sign. The applicant is responsible for requesting a final sign inspection from the Community Development Department once the sign has been erected.
E.
Appeals. Upon denial of an application for a sign permit, the applicant has ten calendar days from the date of the decision to file an appeal with the Community Development Department in accordance with Section 180-2.7.1.
180-6.19.12.
Signs Exempt from Sign Permit Process. The following signs are exempt from the requirement that a sign permit be obtained because they either do not create safety hazards or aesthetic disruption, they promote public safety or the dissemination of public information, or are accessory to the exercise of an individual's First Amendment rights:
A.
Art. Works of art, including, but not limited to, murals, sculptures, and paintings, when not used as a sign or an attention getting device.
B.
Community Events. Banners, flags, signs, and other similar devices erected on Town-controlled property to promote a temporary or seasonal community event, or to identify a point of interest or landmark.
C.
Flags. The flag, pennant or insignia of any nation, organization or nations, state, province, county, town, any religious, civic or fraternal organization, or educational institution; and providing further that such are subject to the following limitations:
1.
Flags and pennants shall not exceed the proportions which have been established by presidential declaration: Three feet by five feet when hung from a building, or five feet by seven feet when hung from a large flagpole. Flags or pennants larger than the specified sizes require a sign permit.
2.
Flags shall have a minimum clearance of eight and one-half feet when they project over public sidewalks and 15 feet when projecting over streets or roads.
3.
Except in residential areas, there shall be a minimum of 20 feet from the top of a flagpole to average grade.
4.
Flags and flagpoles shall not exceed the tallest building height limit of the applicable zoning district.
5.
Flags, pennants, and insignia shall be maintained in a clean and undamaged condition at all times.
6.
The display of national flags, pennants, and insignia shall be governed by the standard rules of international protocol.
D.
Historic Plaques, Landmark and Memorial Signs.
1.
Historic Plaques.
2.
Landmark signs not to exceed six square feet.
3.
Memorial Signs not exceeding four square feet and gravestones of any size.
E.
Information Signs. Information signs are permitted on the exterior of the building or building projection, or can be incorporated into a freestanding, projecting, hanging, wall, or window sign.
1.
One "office" sign per motel/hotel business or multifamily project, not to exceed two square feet in area.
2.
For any business, one "open/closed" sign per street frontage, up to two square feet in area per sign.
3.
A maximum of two "vacancy" signs per motel/hotel business, provided that each sign does not exceed two square feet in area.
4.
One "hours-of-operation" sign per entryway, not exceeding two square feet in area.
5.
One square foot per entry is allowed for accepted methods of payment such as credit cards, membership stickers, and similar signs.
6.
Private warning or instructional signs, such as "no soliciting", "no trespassing", "no parking", or "beware of dog," not exceeding two square feet in area.
F.
Merchandise. Merchandise or models of products or services which are incorporated as an integral part of an indoor window display.
G.
Political Signs. Such signs, posters, or banners shall not be erected or placed prior to 45 days before an election, and shall be removed within five days following the election. No such signs, posters, or banners shall be placed upon or shall extend into any public property or right-of-way. Political or ideological signs not to exceed six square feet in area per sign when located on private property and not otherwise in a public right-of-way, or on public property or structures.
H.
Real Estate Signs.
1.
Temporary Real Estate Open House Signs. One on-site open house sign, non-illuminated, not exceeding six square feet in area may be permitted on the premise that is for sale or lease. One or more off-site open house signs may also be permitted as necessary to indicate changes of direction from Summit Boulevard or Main Street to the subject property location. Such signs shall be displayed only when the unit is actually open, for a time period not to exceed ten hours, and in all cases shall be removed at night. Such signs shall be limited to private property for which written permission has been obtained and to public rights-of-way that meet the following criteria:
a.
May not be placed on any sidewalk.
b.
May not be placed within any street travel lane or parking lane.
c.
May not be placed any closer than ten feet from the edge of pavement of an intersection.
d.
May not be placed any closer than four feet from any edge of pavement or curb.
e.
All open house signs shall be limited to a maximum of three feet above the surface grade at the base of the sign measured from the ground or snow pack, whichever is higher. For new construction, open house signs shall not be permitted until the Building Official has issued a certificate of occupancy.
2.
Temporary Real Estate Sale or Lease Signs. One real estate sign, non-illuminated, not exceeding six square feet in area may be permitted on the premise that is for sale or lease. Such signs shall be removed within seven days after closing or expiration of the listing, whichever occurs first. When more than one contiguous lot or parcel under one ownership is offered for sale or lease, only one real estate sign is permitted, provided that if such property is separated by a public street or alley, a sign may be permitted on each portion so divided. On property exceeding two acres in size fronting on streets with a speed limit of 35 miles per hour or greater, one or two real estate signs containing up to a total of 20 square feet in area are permitted. In buildings where several units are for sale or lease by different real estate firms, only one real estate sign is permitted for each firm involved.
I.
Residential Signs.
1.
Garage sale signs which announce the sale of used items from a residence. Signs shall be removed on the last day of the sale and shall not create a nuisance as defined in Chapter 124, Nuisances, of the Town Code.
2.
Signs which identify the name of the occupant of a dwelling unit, provided that the letters do not exceed six inches in height and the sign does not exceed two square feet in area.
J.
Restaurant Signs (Menu Signs). One menu sign per restaurant or food establishment not to exceed two square feet in area.
K.
Portable and Sandwich Board Signs. Portable and sandwich board signs shall be permitted all sign districts except the Residential Sign District and must meet the following requirements:
1.
Portable and sandwich board signs shall not exceed 30 inches in width and 36 inches in height.
2.
Businesses are limited to one sandwich board or portable sign per business may display such signs only when the business is open for business, and shall remove sandwich board signs during non-business hours.
3.
Portable and sandwich board signs must have a well-maintained appearance.
4.
Chalkboard insets and dry-erase boards are permitted.
5.
Sandwich board and portable signs are subject to the following location requirements:
a.
Sandwich board and portable signs are not permitted on public rights-of-way or pedestrian sidewalks and must be located on the business property except when located along the three-foot sidewalk easement on Main Street.
b.
Businesses located along West Main Street shall be allowed to place sandwich boards or portable signs in the public right-of-way between the building and the nearest edge of public sidewalk upon issuance of a revocable license by the Town.
Figure 6-II: Sandwich Board and Portable Signs
6.
Such signs shall not be electrical in any form and shall not display lights or contain moving parts.
Figure 6-JJ: Sandwich Board "A-Frame" Sign
L.
Safety Signs. Any public purpose/safety sign and any other notice or warning required by a valid and applicable federal, state, or local law, regulation, or resolution.
M.
Scoreboards. Scoreboards on athletic fields.
N.
Seasonal Decorations. Temporary, noncommercial decorations or displays, signs or other materials displayed on traditionally accepted civic, patriotic, and/or religious holidays, provided that such decorations are maintained in a safe and attractive condition.
O.
Signs on Vehicles.
1.
Bumper Stickers.
2.
Vehicle Signs which are being operated or stored in the normal course of business such as signs indicating the name of the owner or business which are located on delivery trucks, trailers, and the like; provided, however, that the primary purpose of such vehicles is not for the display of signs, and provided that such vehicles are parked or stored in areas appropriate to their use as vehicles. Signs painted on trailers used on construction sites also are exempt provided that a building permit has been issued for that site and the trailer is not stored in such a way as to act as a sign.
P.
Window Signs. Window signs shall not exceed a total coverage of more than one-third of the total surface area of the window. Window signage should not be an exact replica of a business's permanent signage. Window signage is not allowed in windows above the ground floor of the building. Illumination directed at window signs shall not be allowed.
180-6.19.13.
Prohibited Signs. This subsection identifies signage and devices that are determined to be a nuisance by the Town and are prohibited in all districts. The Town shall require the removal of any sign which is determined to be prohibited and not in accordance with the provisions of these regulations.
A.
Any sign not in accordance with the provisions of these regulations.
B.
Attention getting-devices including, but not limited to, feathers, snipe signs, sign spinners, and pennants, as shown in Figure 6-LL.
Figure 6-KK: Attention-Getting Device
C.
Bus bench or bus shelter signs.
D.
Changeable copy signs except as specifically permitted elsewhere in this section.
E.
Electronic signs except as specifically permitted elsewhere in this section.
F.
Home office signs.
G.
Mirrors or other reflective materials and luminescent colors.
H.
Neon, other gas-filled and LED light tubes except when used as a window sign, as shown in Figure 6-MM.
I.
Off-premises signs and signage, except as specifically permitted elsewhere in this section.
J.
Photographic images except when used as an interior window display or merchandise display.
K.
Roof signs.
L.
Signs painted on, or attached to, a licensed or unlicensed motor vehicle or trailer and parked adjacent to a public right-of-way and not driven off-site during any two-day period.
M.
Signs, including, but not limited to, window signs that have intermittent, flashing, rotating, scintillating, blinking or strobe illumination or any change in color or intensity.
N.
Signs including banners which do not advertise an operative business. Signs must be removed within 30 days after the closing of a business. New businesses shall be allowed to hang approved signs no earlier than 30 days prior to the business opening.
O.
Unsafe signs. Signs that are structurally unsafe, not kept in good repair, or that constitute a hazard to safety or health by reason of inadequate maintenance, dilapidation, damage, abandonment or inability to meet lateral and/or vertical loads as determined by the Town of Frisco Building Official.
P.
Window signs, except as specifically permitted elsewhere in this section.
180-6.19.14.
Nonconforming Signs. Signs legally erected prior to the effective date of the ordinance codified in this section shall be deemed to be legal nonconforming signs and shall be governed by the provisions of Chapter 180, Article VIII, Nonconformities.
180-6.19.15.
Sign Definitions. The following words and phrases, when used in this section, shall have the meanings ascribed to them below:
Aggregate Sign Area. The total available sign area of all sides or portions of a sign.
Art. Things that have form and beauty, including paintings, sculptures, or drawings, and for which the principal purpose or effect is not the advertising of goods or services or the location of a business.
Attention Getting Device. Any flag, streamer, spinner, pennant, feathers, costumed character, light, balloon, continuous string of pennants, flags or fringe, audible components or similar device or ornamentation used primarily for the purpose of attracting attention for promotion or advertising a business or commercial activity which is visible by the general public from any public right-of-way or public area.
Banner. A temporary sign composed of lightweight material, including cloth or canvas or a like material of sturdy construction which is not easily torn and which is intended for the purpose of advertising a business, special event, sale, opening, new product line or service, special hours of operation or other similar temporary message.
Building Frontage. The width of a building facing a street, alley, parking lot, interstate or public right-of-way, as shown in Figure 6-NN.
Figure 6-MM: Building Frontage
Business Frontage. That portion of a building frontage occupied by a single tenant space or lease area in a single or multi-tenant building facing a street, alley, parking area, interstate, or other public right-of-way. For businesses located on the interior of a building without business frontage, the building elevation providing customer access shall be considered the business frontage for the purposes of determining signage.
Copy. Any graphic, letter, numeral, symbol, insignia, sample, model, device or combination thereof which is primarily intended to advertise, identify or notify.
Corner Lot. A lot bounded on two sides by streets (not including alleys, driveways, interstates, or parking lots) which intersect with each other.
Footcandle. A unit of illuminance equivalent to one lumen per square foot.
Fully Shielded Light Fixture. A light fixture that directs light downward, and covers the bulb to prevent light being emitted by the fixture from causing glare.
Historic Plaque. A plaque erected by the Town or historic agencies designating any areas of historical significance.
Light Source. Any fixture or mechanism used to shine light onto a sign or to make a sign luminous.
Main Street Corridor Sign District. The sign district outlined on Map 1 primarily located along Main Street and in the Central Core and Mixed-Use zoning districts.
Master Sign Plan (MSP). A sign plan which identifies the number, description, size, and location of all signs for businesses on the same property or within the same project which constitute a visual entity as a whole.
Merchandise. Merchandise or models of products or services which are incorporated as an integral part of an indoor window display. Merchandise includes photographic window displays of real estate available for sale, lease, or rental from a licensed real estate broker. Logos, signs, emblems and trademarks are not considered merchandise and shall be treated as signs.
Parks and Open Space Sign District. The sign district outlined on Map 3, designated as Parks and Recreation District or Open Space District by the Unified Development Code.
Pennant. Pieces of fabric or flexible material, often multicolored, hung either alone or in a series in order to attract attention to a particular business or event.
Pole Cover. A cover that encloses or decorates a pole, column, or other structural sign support.
Project. Development of attached or detached structures, for which development approval is sought under a single or phased development application.
Public Facilities Sign District. The sign district outlined on Map 3, designated as Public Facilities District by the Unified Development Code and other government or public entities.
Residential Sign District. Any property not identified in the sign district maps shall be considered to be located in the Residential Sign District.
Summit Boulevard Corridor Sign District. The sign district outlined in Map 2 primarily located along Summit Boulevard.
Three-Dimensional Surface. A sign element which has a depth or relief on its sign face greater than six inches exclusive of the supporting sign structure.
Sign. Any device, structure, fixture, painting or visual image with or without words, graphics, symbols, numbers, or letters that is designed and used for the purpose of communicating a message or attracting attention. A sign shall not include any architectural or landscape features that may also attract attention.
Sign, Awning. A sign painted on, printed on or attached to or supported by an awning.
Sign, Backlighted. A sign with elements which are illuminated by a concealed light source located behind the surface of the sign to highlight specific elements of the sign producing a halo- lighting or silhouette lighting effect.
Sign, Building Identification. A sign containing the name or address of a building or building complex.
Sign, Cabinet. A sign that contains all the text and/or logo symbols within a single enclosed cabinet and may or may not be internally illuminated.
Sign, Changeable Copy (Readerboard). A sign on which the copy is changed either manually with changeable letters, or automatically by means of scrolling or alternating electric or electronic messages.
Sign, Construction. A temporary sign identifying the architect, financier, contractor, subcontractor, and/or material supplier participating in construction of a development on the property on which the sign is located.
Sign, Directional. Signs directing vehicular traffic or pedestrian movement into premises or within premises and which may contain the name or logo of a business but no other advertising copy.
Sign, Directory. A sign that serves as a common or collective identification of multiple businesses on the same property.
Sign, Drive-Through Menu Board. A sign with a menu and/or a speaker system used by drive-through businesses, as shown in Figure U.
Sign, Drive-Through Pre-Sell Menu Board. A sign used by drive-through businesses to promote daily specials, limited time offers, and other menu advertisements.
Sign, Electronic. Any sign that uses solid, electronic technology such as incandescent lamps, LEDs, LCDs, or some other electronic means of changing copy to produce bright displays that typically involve moving copy, animation, or other graphics.
Sign, Freestanding. A permanent sign that is supported by one or more columns, upright poles or braces extended from the ground or from an object on the ground, or that is erected on the ground where no part of the sign is attached to any part of building, structure or other sign; the term includes a "pole sign" and a "monument sign."
Sign, Front Lit. A sign which is illuminated from fixtures mounted exterior to the sign face.
Sign, Gasoline Price. A sign that identifies the type and price of gasoline for sale on the premises of a legally established gasoline service station.
Sign, Hanging. A sign which hangs down from, and is supported by, or attached to the underside of a canopy, awning, or extension of a building.
Sign, Home Occupation. A sign associated with a home occupation as defined by Chapter 180, Article IX, Definitions.
Sign, Home Office. A prohibited sign associated with a home office as defined by Chapter 180, Article IX, Definitions.
Sign, Ideological. A sign whose purpose is to convey an idea or message that reflects the social needs, beliefs, and/or aspirations of an individual, group, class, or culture. Ideological signs are not intended to propose a commercial transaction.
Sign, Information. A sign used to indicate or provide information and direction with respect to permitted uses on the property, including, but not limited to, signs indicating the hours of operation, and such signs as "no smoking", "vacancy", "office", "private warning", "open", "closed", "restrooms", "no solicitation", or "no parking".
Sign, Internally Illuminated. A sign face which is lit or outlined by a light source located within the sign.
Sign, Landmark. A sign which identifies a site or building determined by the Community Development Director to have substantial historic, artistic, or architectural significance to the community.
Sign Maintenance. The replacing, repairing, or repainting of a portion of a sign structure or renewing of copy that has been made unusable by ordinary wear and tear, weather, or accident.
Sign, Memorial. A memorial or commemorative plaque or tablet.
Sign, Menu. A sign used by restaurants or food establishments to display or reproduce the bill, fare, or menu offered by the establishment.
Sign, Monument. A freestanding sign erected on the ground with an architecturally designed base constructed of stone, brick, timbers, or other similar natural material.
Sign, Nonconforming. A sign which was erected legally but which does not comply with subsequently enacted sign regulations and restrictions.
Sign, On-Premises. A sign used for promoting a business, individual, product, or service available on the premises where the sign is located.
Sign, Off-Premises. A sign designed, intended, or used to advertise, inform, or attract the attention of the public as to:
1.
Goods, products or services which are not sold, manufactured or distributed on or from the premises on which the sign is located;
2.
Facilities not located on the premises on which the sign is located; or
3.
Activities not conducted on the premises on which the sign is located.
Sign, Permanent. A sign attached to a building or structure, or to the ground in a manner that enables the sign to resist environmental loads, such as wind, and that precludes ready removal or movement of the sign and whose intended use appears to be indefinite.
Sign, Political. A noncommercial sign concerning candidates for public office or ballot issues in a primary, general, municipal, or special election.
Sign, Pole. A freestanding sign that is mounted on a pole(s) or other support(s) that is placed on and anchored in the ground or on a base and that is independent from any building or other structure.
Sign, Portable (See Sandwich Board Sign). A sign designed to be moved easily and not permanently affixed to the ground, to a structure or building.
Sign, Prohibited. Any sign placed without proper approval or permits as required by this section at the time of sign placement. Prohibited sign shall also mean any sign placed contrary to the terms or time limits of any permit.
Sign, Projecting. A sign that is wholly or partly dependent upon a building for support and which projects more than 12 inches from the building. Awnings and canopies are not considered projecting signs.
Sign, Real Estate Development. A temporary sign used to identify a development and/or the owners, architects, contractors, real estate agents and lenders involved in a project for which a valid development permit has been issued. Sales and lease information may also be included on the sign.
Sign, Real Estate Open House. A temporary sign erected to indicate the location of an open house.
Sign, Real Estate. A temporary sign advertising the sale, lease, or buyer's representative of the premises on which the sign is located.
Sign, Residential Subdivision Entrance. A freestanding or wall sign located at the subdivision entrance identifying a recognized subdivision, condominium complex, apartment complex, or residential development.
Sign, Roof. A building-mounted sign erected upon, against, or over the roof of a building or structure and which projects above the parapet of a flat roof, the ridgeline of a gambrel, gable, or hip roof, or the deck line of a mansard roof.
Sign, Sandwich Board (See Portable Sign). A sign that is constructed with two pieces of material, connected at the top, which pieces form a triangular shape and are self-supporting; also known as an "A-frame sign".
Sign Structure. Any supports, uprights, braces or framework of a sign.
Sign, Snipe. A temporary or permanent sign tacked, nailed, posted, pasted, glued, or otherwise attached to trees, poles, stakes, fences, or other objects.
Sign, Temporary. A sign intended to remain in use for a short period of time which is not permanently installed.
Sign, Vehicle. Signs displayed on motor vehicles or trailers.
Sign, Wall. A building-mounted sign which is either attached to, displayed, or painted on an exterior wall in a manner parallel with the wall surface, and not projecting more than 12 inches from the wall.
Sign, Window. A sign that is applied or attached to the exterior or interior glazing of a window or door located within one foot of the interior of a window or door, visible primarily from the outside of the building but excludes merchandise in a window display.
180-6.19.16.
Sign District Maps.
A.
Map 1. Main Street Corridor Sign District.
B.
Map 2. Summit Boulevard Corridor Sign District.
C.
Map 3. Parks and Open Space Sign District and Public Facilities Sign District.
(Ord. No. 17-04, 6-27-17; Ord. No. 19-04, 4-9-19; Ord. No. 25-09, § 1, 6-10-25; Ord. No. 25-09, § 2, 6-10-25)
180-6.20.1.
No building or premises shall be erected, altered, or used in any district for any purpose injurious, noxious, or offensive to a neighborhood by reason of the emission of odor, fumes, dust, smoke, vibration, noise or other cause.
180-6.20.2.
Evidence shall be provided that any use of flammable or explosive materials will be in conformance with standards set by the Frisco Fire Protection District and Chapter 94 of the Town of Frisco Code; discharges into the air will be in conformance with applicable regulations of the State Air Pollution Control Act; any electromagnetic radiation will be in conformance with the regulations of the Federal Communications Commission. Discharges into the water will not violate standards or regulations established under the State Water Quality Control Act, Article 8, Title 25, of the Colorado Revised Statutes.
(Ord. No. 17-04, 6-27-17; Ord. No. 18-09, 10-09-18)
180-6.21.1.
Purpose. The purpose of the nonresidential development standards is to ensure high-quality site and building design in Frisco; to establish minimum standards related to the scale, mass, architecture, materials, and overall design character of development; and to protect and enhance existing neighborhood character.
180-6.21.2.
Applicability.
A.
This section shall apply to the development of any non-residential use that requires site plan review. Findings shall be made that a nonresidential development is in compliance with the standards of this section prior to approval of a site plan review. Failure to meet the mandatory standards shall constitute grounds for the decision-making body to request amendments to the proposed design or to deny a final plan or site plan.
B.
Mixed-use development shall comply with these non-residential development standards.
180-6.21.3.
Standards. The following mandatory standards shall be met by all non-residential development subject to site plan review:
A.
Compatibility with Neighborhood Character.
1.
Intent. To ensure that structures are compatible with, but not identical to, existing nearby structures and their neighborhood surroundings, as well as Frisco's "small mountain town" character.
2.
Compatibility.
a.
Compatibility shall be achieved through proper consideration of scale, design, proportions, site planning, landscaping, materials and colors, and compliance with the standards in this section.
i.
Compatibility of development on Main Street shall be determined based on proper consideration of the above features of nearby properties on Main Street rather than properties on other streets, as well as compliance with the standards in this section.
b.
The existing landforms and historic structures, as noted in the town's Historic Resource Inventory, on a site shall be preserved onsite whenever possible and reinforced by development rather than destroyed or replaced by it.
B.
Façade Standards.
1.
Intent. To ensure that the façade design of development is compatible with Frisco's "small mountain town character" and existing buildings.
2.
Building Elements. All building elevations shall employ varied articulation of wall surfaces, as shown in Figure 6-OO.
a.
Each street-facing façade shall include one or more deep eaves or overhangs, at least 24 inches in depth.
b.
Each façade or each 75-foot portion of a façade visible from public streets or parking lots shall be articulated through the use of at least four of the following building elements that provide shelter from natural elements and provide visual relief.
i.
Balconies, porches, or patios;
ii.
Building elements that provide shelter from natural elements;
iii.
Offsets, insets, bays, or other similar architectural features to add a variety of depths to the wall plane;
iv.
A change in texture or material, provided all exterior wall textures and materials are consistent with the overall architectural style of the building;
v.
Variation in roof planes or roof forms, including dormers or gables;
vi.
Variation in window sizes and shapes; or
vii.
Prominent building entrance features.
Figure 6-NN: Building Element Variation Examples
3.
Building Articulation. Building walls and corresponding eaves shall not exceed 27 feet in the same geometric plane.
a.
Building walls over 27 feet in length shall change geometric planes by at least two feet in depth for a minimum length of six feet.
b.
Building walls that exceed 54 feet in total building façade length shall change geometric planes every 27 feet by at least four feet in depth for a minimum length of six feet.
c.
Building walls or roof ridgelines over 33 feet in length and facing a front yard or street side yard shall not have more than 66 percent of the length of the wall or roof ridgeline along the same geometric plane.
Figure 6-OO: Building Articulation Requirements
4.
Entrances.
a.
For development with over 25,000 square feet of gross floor area, at least two separate and distinct public entrances into the building shall be provided.
C.
Bulk Plane Standards.
1.
Buildings shall be designed in a manner that provides elements that relieve the feeling of mass and provides for the graduation of mass as one moves back from the front of a lot, with the smaller elements located near the street, and the larger elements located further away from the street.
2.
See Section 180-6.23 for bulk plane requirements.
D.
Roof Standards.
1.
Intent. To ensure that roof elements are compatible with or complementary to existing historic or contributing buildings in the area and to encourage visibly pitched roofs or roof elements.
2.
Roof Pitch.
a.
Steep pitched roofs are encouraged.
b.
Flat roof construction shall be augmented with pitched roof elements, including, but not limited to, peaked or sloped facade elements or parapets facing all street sides.
c.
Pitched roof elements shall vary by a minimum of two feet in elevation.
d.
Mansard roofs are not appropriate and are not allowed.
Figure 6-PP: Pitched Roof Elements
3.
Roof Design.
a.
Where pitched roofs are utilized:
i.
A minimum pitch of 4/12 is required.
ii.
Dormers shall be incorporated to break up the roof, to enhance the usability of attic spaces, and to add architectural interest.
iii.
Ridgelines shall change elevation by no less than two feet for each 27 feet of building length. Architectural elements which intersect with the ridgeline may qualify as ridgeline changes upon a finding that the design furthers the purpose of this section.
b.
Shed roofs with a minimum pitch of 3/12 may be utilized only if the shed roof element is below the primary roof level and terminates into the roof or wall of the structure.
c.
No more than 66 percent of a ridgeline or roof line shall be on the same elevation.
d.
Roof lines shall be designed in a manner where they do not substantially deposit snow onto required parking areas, sidewalks, trash storage areas, stairways, decks, balconies, or entryways.
Figure 6-QQ: Roof Line Variation
4.
Roof Materials.
a.
If metal roofs are used, they shall be surfaced with a low-gloss finish or be capable of weathering to a dull finish in order to not be reflective.
b.
Metal roofs shall have a standing seam or shall be of a design that provides relief to the roof surface.
c.
Asphalt and fiberglass shingles are permitted provided that they are a heavy material that provides substantial relief and shadow, and the design and color are compatible with the building.
d.
Spanish or Mission style roofs and other similar roof materials are prohibited.
e.
Historic buildings, as noted in the Town's Historic Resource Inventory, may use rolled asphalt roofing materials.
f.
Bright colored roofs that exceed a chroma of four on the Munsell Color chart shall not be allowed.
g.
All rooftop mechanical, electrical, and electronic equipment shall be screened in a manner that is compatible with and substantially similar to the colors and materials of the building or the roof.
E.
Building Material Standards.
1.
Intent. To ensure that building materials are compatible and complementary to existing historic or contributing buildings in the area, using a combination of mainly natural materials.
2.
Primary Materials.
a.
Building materials shall be predominantly natural, including, but not limited to, wood siding, wood shakes, logs, stone, brick, or other similar materials.
b.
Other materials that imitate natural materials are also acceptable, provided their texture, shape, and size are similar to the natural materials they are imitating, and are not obviously artificial materials.
c.
Stucco, steel, or concrete block shall not be primary exterior materials for the majority of a building.
Figure 6-RR: Use of Building Materials
3.
Specific Material Standards.
a.
Concrete Block. Concrete block used as an accent material shall be a split, textured, or scored block.
b.
Concrete Panel. Concrete or concrete panels shall be textured or scored and used in combination with other materials, or shall be faced with another material such as stone, stucco, or other similar materials.
c.
Glass. Clear glass shall be used for windows. Tinted, colored, or opaque glass may be approved when demonstrated by the applicant to be compatible with the purpose of this section.
d.
Metal. Metal shall have a matte finish or a finish proven to fade and not be reflective.
e.
Steel. Steel may only be used as an accent material or used in combination with other materials.
f.
Stucco. Stucco may only be used as an accent material or used in combination with other materials.
4.
Prohibited Materials. The following materials are prohibited:
a.
Aluminum, steel, or plastic exterior siding that does not imitate natural materials;
b.
Mirrored or reflective glass; and
c.
Untreated or unpainted galvanized sheet metal.
5.
Accessory Structures. The same or similar building materials shall be used on main structures and any accessory structures located on the same site, unless an alternative design can be provided that will complement the project and meet the purpose of this section.
F.
Building Colors.
1.
Intent. To promote building colors compatible with the site and surrounding buildings.
2.
Maximum Color Chroma. No color may be used as the primary color of the building that exceeds a chroma of four on the Munsell Color chart.
3.
Exception for Building Accents. Colors that exceed a chroma of four, but do not exceed a chroma of eight on the Munsell Color chart may be used only sparingly as accents, such as on trim or railings. Luminescent, fluorescent, or reflective colors shall not be utilized on any exterior portion of the building.
4.
Accessory Structures. The same or similar colors shall be used on main structures and on any accessory structures on the site, unless an alternative scheme can be provided that will complement the project and meet the purpose of this section.
G.
Design Variety.
1.
Intent. To promote design variety that is also compatible with the character of Frisco.
2.
Duplicate Building Design Prohibited.
a.
Building designs that duplicate, or are substantially similar in terms of roof pitch, building articulation, materials, colors, and building elements to existing or proposed structures within a 300-foot radius of the property are not allowed, with the exception of accessory structures, which may be designed similarly to the primary structure.
b.
Where a proposed building contains multiple identical units, the building design shall provide architectural differentiation from the duplication of units by providing a variety in windows, decks, balconies, or exterior facade compositions.
H.
Additions. Additions that are substantially smaller than the square footage of the existing building may be designed to complement the existing structure, even if the existing building does not currently meet the façade, roof, material, or color standards of this section.
I.
Parking and Loading.
1.
Intent. To mitigate the visual impact of parking and loading facilities.
2.
Parking.
a.
No more than 60 percent of required parking spaces may be located in front of a building along the principal street façade. If another building or other structure blocks the view of parking from the street, the blocked parking spaces may be excluded from this percentage.
3.
Landscaping of Parking Lots.
a.
Except in the Central Core District, parking lots abutting a property line shall incorporate a landscaped buffer between the property line and the paved surface of the parking lot. Non-raised planters in parking lots are encouraged so that, where possible, stormwater may be accommodated through such landscaped areas and maintenance is reduced.
i.
Required landscaped buffers shall meet the following standards:
a)
Buffers shall be a minimum of ten feet wide and contain twice the required number of trees required by Section 180-6.14.
b)
The location and type of all plantings shall meet sight distance requirements.
ii.
The following incentive is available:
a)
If a landscaped buffer incorporates double the plant quantities and area required above, or double the requirement in Section 180-6.14.3.F, Parking Area Landscaping, whichever is greater, then the applicant may locate up to 75 percent of the required parking in the front of the building along the principal street façade, with approval by the Planning Commission.
b.
Except in the Central Core District, where a building abuts parking or paved areas, a landscaped area shall be provided that varies from five to ten feet in width.
i.
Required landscaped areas shall meet the following standards:
a)
At least half of the landscaped areas shall be ten feet in width.
b)
This landscaped area shall be at least 50 percent of the length of the building.
c)
Landscaping shall also comply with Section 180-6.14.
ii.
The following incentive is available:
a)
If less than 50 percent of the required parking spaces are located in front of the building along the principal street façade, the landscaped buffer may be reduced to a minimum of 35 percent of the length of the building, with approval by the Planning Commission.
4.
Loading.
a.
Service, loading, and trash areas shall be screened from all public rights-of-way and parking areas.
Figure 6-SS: Parking and Loading
J.
Amenities.
1.
Intent. To enhance development with amenities that promote alternative modes of transportation and provide community gathering spaces.
2.
Bicycle Parking. Bicycle parking spaces shall be provided in an amount equal to at least 20 percent of the required vehicular parking spaces for the development. A lesser number may be approved by the Town if reasonably justified by the applicant.
3.
Community Spaces.
a.
Development with over 10,000 square feet of gross floor area shall provide community spaces, including, but not limited to, public benches, water features, public kiosk/gazebo, public patio/seating areas, public plazas, or public art.
i.
A minimum of one community space shall be provided for any development with between 10,000 and 25,000 square feet of gross floor area.
ii.
A minimum of three community spaces shall be provided for any development with over 25,000 square feet of gross floor area.
(Ord. No. 17-04, 6-27-17; Ord. No. 23-09, § 11, 3-28-23)
180-6.22.1.
Purpose. The purpose of the residential development standards is to promote high quality development while still providing for creative and unique building designs; to establish minimum standards related to scale, mass, architecture, materials, and overall design character of development and provide incentives to help achieve desired attributes; and to preserve established neighborhood scale and character, ensuring that residential areas contribute to the streetscape and are conducive to walking.
180-6.22.2.
Applicability.
A.
This section shall apply to the development of any residential use that requires site plan review. Findings shall be made that the residential development is in compliance with the standards of this section prior to approval of a site plan review. Failure to meet the mandatory standards shall constitute grounds for the decision-making body to request amendments to the proposed design or to deny a final plan or site plan.
B.
These regulations shall only be applicable to the building or portion of the building being constructed, altered, or added in the development application submitted by an applicant.
180-6.22.3.
Standards. The following mandatory standards shall be met by all residential development subject to site plan review.
A.
Façade Standards.
1.
Intent. To ensure that the façade design of development is compatible with Frisco's small mountain town character and provides a human scale to enhance the walking experience in the neighborhood.
2.
Building Elements. All building elevations shall employ varied articulation of wall surfaces, as shown in Figure 6-UU. Each façade shall be articulated through the use of at least four of the following techniques:
a.
Deep eaves or overhangs, at least 24 inches in depth;
b.
Balconies, porches, or patios;
c.
Building elements that provide shelter from natural elements;
d.
Offsets, insets, bays, or other similar architectural features to add a variety of depths to the wall plane;
e.
A change in texture or material, provided all exterior wall textures and materials are consistent with the overall architectural style of the building;
f.
Variation in roof planes or roof forms, including dormers or gables; or
g.
Variation in window sizes and shapes.
Figure 6-TT: Residential Building Design
3.
Duplicate Building Design Prohibited.
a.
Building designs that duplicate, or are substantially similar in terms of roof pitch, building articulation, materials, colors, and building elements to existing or proposed structures within a 300-foot radius of the property shall not be allowed, with the exception that accessory structures on the same lot or parcel as the primary structure may be similar in design as the primary structure.
b.
Where a project contains two or more buildings or units, not identical units, the building design shall provide architectural relief from the duplication of buildings and units by utilizing a variety of windows, decks, balconies, or exterior facade composition.
4.
Duplex Design. Duplex structures shall be designed to look like a single-household structure to the extent architecturally feasible. The design shall not result in each half of the structure appearing substantially similar or a mirror image in design.
B.
Bulk Plane Standards. See Section 180-6.23 for bulk plane requirements.
C.
Roof Standards.
1.
Intent. To ensure that roof elements are compatible with or complementary to existing historic or contributing buildings in the area and to encourage visibly pitched roofs or roof elements and the use of dormers and breaks in ridgelines.
Figure 6-VV: Appropriate Roof Pitch
2.
Roof Pitch.
a.
Pitched roofs, or flat roofs augmented with pitched roof elements, are required.
b.
A minimum roof pitch of 6/12 is encouraged.
c.
Mansard roofs are prohibited.
3.
Roof Design. Roof lines shall be designed in a manner where they do not substantially deposit snow onto required parking areas, sidewalks, trash storage areas, stairways, decks, balconies or entryways.
4.
Roof Materials.
a.
If metal roofs are used they shall be surfaced with a low-gloss finish, matte finish, or other finish proven to fade and not be reflective.
b.
Metal roofs, asphalt and fiberglass shingles are permitted provided that they heavy material that provides substantial relief and shadow, and the design and color are compatible with the building.
c.
Historic buildings, as noted in the Town's Historic Resource Inventory, may use rolled asphalt roofing materials.
d.
Bright colored roofs that exceed a chroma of four on the Munsell Color chart are prohibited.
D.
Building Material Standards.
1.
Intent. To ensure that building materials are compatible and complementary to existing historic and contributing buildings in the area, using a combination of mainly natural materials.
2.
Primary Materials.
a.
Building materials shall be predominantly natural, including, but not limited to, wood siding, wood shakes, logs, stone, brick, or other similar materials.
b.
Other materials that imitate natural materials are also acceptable provided their texture, shape, and size are substantially similar to the natural materials they are imitating, and are not obviously artificial materials.
c.
Stucco or steel are acceptable materials when used in combination with other acceptable materials.
3.
Specific Material Standards.
a.
Concrete Block. Concrete block shall not be allowed as the primary or extensive exterior finish. When used as an accent, concrete block shall be a split block, or other similarly shaped, textured, and colored materials that are found to be compatible with the building and the purpose of this section.
b.
Metal. Metal shall have a matte finish or a finish proven to fade and not be reflective.
c.
Glass. The use of mirrored or reflective glass is prohibited unless required for compliance with the voluntary green building program as administered by the Town's Building Official.
4.
Variety of Materials on All Building Elevations.
a.
There shall be a variety of quality and type of exterior materials, and their application shall be generally in balance and proportional on all elevations of the building.
b.
Materials that wrap around the building, such as a durable material at the base of the structure, shall continue around projecting outside exterior corners and end at recessed inside exterior corners.
Figure 6-WW: Exterior Materials Wrap Around Building
5.
Accessory Structures. The same or similar building materials shall be used on main structures and any accessory structures located on the same site, unless an alternative material can be provided that will complement the project and which meets the other standards of this section.
6.
Building Additions. Additions that are 50 percent or less of the existing building floor area, or exterior remodels or renovations, may be allowed to complement the existing structure, even if the building does not currently meet the material standards of this section.
E.
Building Colors.
1.
Intent. To promote building colors compatible with the site and surrounding buildings.
2.
Maximum Color Chroma. No color may be used as the primary color of the building that exceeds a chroma of four on the Munsell Color chart. Pure white or black may not be utilized as the primary building color.
3.
Exception for Building Accents. Colors that exceed a chroma of four, but that do not exceed a chroma of eight on the Munsell Color chart may be used only sparingly as accents, such as on trim or railings. Luminescent, fluorescent, or reflective colors shall not be utilized on any exterior portion of the building.
F.
Garage Standards.
1.
Intent. To promote an active and visually interesting streetscape that is not dominated by garage doors.
2.
Garage Door Location. Garages are encouraged to be located and oriented away from the street where they will not act as the primary design element of the building. Street-facing garage doors shall be recessed behind the front façade of the dwelling and shall not comprise the majority of the street-facing building frontage, unless of a custom style broken up with windows or other features.
Figure 6-XX: Residential Visually Interesting Features
(Ord. No. 17-04, 6-27-17; Ord. No. 19-04, 4-9-19)
180-6.23.1.
Purpose. To establish bulk plane requirements to ensure that massing relief is provided and building bulk is concentrated further from the street façades.
180-6.23.2.
Bulk Plane Envelope. Within certain areas of the Town and for certain development types, as shown in Table 6-K, the bulk of a building shall be restricted through the use of a bulk plane envelope. The measurement of a required bulk plane envelope shall be determined along each property line, using the corresponding dimension noted in Table 6-K and illustrated in Figure 6-ZZ:
A.
The bulk plane begins (A) feet inside the property line at a height of (B) feet above existing grade;
B.
The bulk plane then slopes inward towards the center of the lot at a (C) degree angle; and
C.
The bulk plane extends to the point where it intersects with the maximum allowed height (D).
Figure 6-YY: Bulk Plane Measurement
180-6.23.3.
Exceptions.
A.
Where a conflict exists between the allowed height along a rear yard, and a street side yard, the more restrictive measurement shall govern.
B.
Where a conflict exists between the required setback of the underlying zoning district and a town-approved less restrictive property setback, the less restrictive shall govern and shall be used as the distance from the property line for purposes of determining the bulk plane measurements.
C.
Building forms may deviate from this standard and project beyond the bulk plane if they do not exceed maximum building height and provide substantial architectural relief, with Planning Commission approval. Staff may approve the deviation if the projection beyond the bulk plane does not exceed 350 cubic feet.
(Ord. No. 17-04, 6-27-17; Ord. No. 18-03, 3-13-18)
- DEVELOPMENT STANDARDS
The provisions of this section shall be known and may be cited as the "Frisco Development Standards."
(Ord. No. 17-04, 6-27-17)
The purposes of this section are to:
180-6.2.1.
Guide future growth and development in accordance with the Master Plan and related municipal ordinances.
180-6.2.2.
Provide for an efficient process to review development proposals.
180-6.2.3.
Provide a framework by which development proposals are reviewed to ensure safe and functional development, which are compatible with the natural and man-made environment.
180-6.2.4.
Assist orderly, efficient, and integrated development.
180-6.2.5.
Promote the health, safety, and general welfare of the present and future residents and guests of the Town.
180-6.2.6.
Ensure conformance of development applications with the public improvements plans of the Town, Summit County and the State of Colorado and other public agencies.
180-6.2.7.
Protect natural flora and fauna, wetlands and scenic areas.
180-6.2.8.
Prevent and control erosion, sedimentation and other pollution of surface and subsurface water.
180-6.2.9.
Prevent flood damage to persons and properties and minimize expenditures for flood control.
180-6.2.10.
Restrict building on flood lands, steep slopes, areas covered by poor soils or in areas otherwise poorly suited for construction.
180-6.2.11.
Prevent loss or injury from landslides, expansive soils and other geological hazards.
180-6.2.12.
Provide for adequate access, circulation and other functional considerations of site design.
(Ord. No. 17-04, 6-27-17)
The development standards established in this section are applicable to all development within the Town of Frisco. The development standards established in this section also shall be applied such that any change, extension, or alteration to an existing structure or developed property will require the property to come substantially more into compliance with said standards. This section is intended to complement Section 180-2.5, by detailing standards required for development.
180-6.3.1.
Joint Use Restriction.
A.
No part of a yard or other open space required about or in connection with any building for the purpose of complying with this Chapter shall be included as part of a yard or other open space similarly required for any other building, except as approved by the Town under the planned unit development regulations.
B.
No part of a lot designated for any use(s) or structure(s) for the purpose of complying with the provisions of this Chapter shall be designated as a part of a lot similarly required for another use(s) or structure(s), except as approved by the Town under the planned unit development regulations.
180-6.3.2.
Buildings Occupying More Than One Lot. Where a residential or non-residential project has been resubdivided into more than one lot, it shall be considered to be occupying one lot for purposes of complying with district regulations such as density, floor area ratio (FAR) lot coverage, open space, lot size, lot frontage, and setbacks. For purposes of this section, the boundaries of the one lot shall be the outermost lot lines of all lots occupied by the project. Except in the case of a condominium building or a property line between duplex or townhouse units, for any proposed development, no building shall be constructed over a property line and any proposal to construct a building over an existing property line shall be accompanied by a plat application to cause the property line to be vacated.
(Ord. No. 17-04, 6-27-17; Ord. No. 19-04, 4-9-19)
180-6.4.1.
Purpose. The purpose of an improvements agreement is to provide a mechanism where an applicant may obtain a certificate of occupancy for a building prior to completing all of the required public and private improvements, including, but not limited to, landscaping and revegetation, final grading, drainage, driveways, parking lot paving and striping, sidewalks, dumpster enclosure, and lighting. No certificate of occupancy or final plat, whichever occurs first, shall be issued for any development within the Town until all required improvements are determined by the Town to be completed or until an improvements agreement, including provisions for financial security to ensure the completion of all required improvements, between the Town and the applicant is fully executed. An Improvements Agreement may also be used to provide security for permits not associated with a building permit, including, but not limited to, Grading Permits and Wetland Disturbance Permits.
180-6.4.2.
Financial Security. All required improvements shall be completed prior to the issuance of a certificate of occupancy unless an improvements agreement and financial security guaranteeing performance have been approved by the Community Development Department. The financial security to be provided shall be in the amount of 150 percent of the estimated cost of the required improvements. The applicant is responsible for obtaining bids to determine costs of said improvements. All improvements are to be completed within one year, with the possibility of one, nine-month extension. The financial security shall be released upon certification by the Community Development Department Director or her designee that all requirements have been met.
(Ord. No. 17-04, 6-27-17; Ord. No. 20-23, 1-26-21)
180-6.5.1.
Development On Steep Slopes.
A.
Purpose. Certain areas in Frisco are characterized by slope and other topographical factors and geologic conditions which, if disturbed for purposes of development, can cause physical damage to public or private property and decrease the aesthetics of Frisco's topography. The purpose of this section is to specify conditions for any type of development where, due to the topography, disturbance of the natural environment may create situations which are detrimental to the public health, safety, and welfare. It is the intent of this regulation to prevent physical damage to public and private property and to retain the natural terrain features and aesthetic quality of Frisco. It is also the intent of this regulation to permit a certain degree of development flexibility to protect the environment of these areas as well as encourage innovative design solutions.
B.
Applicability. These standards apply to all development, as defined in Chapter 180, Article IX, which may occur on any land within the Town of Frisco.
C.
Site Disturbance Standards.
1.
All development in areas with steep slopes greater than 15 percent shall comply with the following standards. Any portion of a site with a slope of 15 percent or greater for a distance of 25 continuous feet shall qualify as a steep slope. For purposes of calculating the vertical rise of a continuous slope when determining whether this criterion is met, it is assumed that the slope may cross property lines.
Figure 6-A: Development on Steep Slopes
2.
Development may occur on lands that contain only limited areas of steep slopes in excess of 15 percent. For a development to be considered to be occurring on lands that contain limited areas in excess of 15 percent slope, it shall comply with the following:
a.
On slopes from 15 percent to less than 30 percent, net site disturbance shall not exceed 50 percent of the total area within this range of slopes.
b.
On slopes greater than 30 percent, net site disturbance shall not exceed 15 percent of the total area over this range of slope.
c.
Any development application which proposes to disturb any slope greater than 15 percent shall be based on a detailed site survey including a geologic and engineering analysis prepared by an appropriately licensed professional and must demonstrate that:
i.
The slope area's ground surface and subsurface are not prone to instability and failure;
ii.
The proposed development will not cause greater instability or increase the potential for slope failure;
iii.
The proposed development will not increase erosion that removes underlying support or surface material; and
iv.
The proposed development will not increase the hazard to adjoining property or structures.
D.
Development Standards. When, pursuant to Section 180-6.5.1.C.2.a, development is permitted on lands having steep slopes in excess of 15 percent, the development shall comply with the following standards:
1.
Limitations on Site Disturbance.
a.
Mass grading of a property which removes or disturbs existing vegetation and leaves large areas of soil exposed for periods in excess of six months shall not be permitted. Site disturbance must be kept to a minimum and must comply with the following limitations:
i.
Cuts, fills, grading, excavation, vegetation disturbance, utility installation, and building construction shall be substantially confined to the designated building envelope, utility easements and road and driveway footprint.
ii.
Disturbed areas shall be restored as undulating, natural appearing landforms, with curves that blend in with the adjacent undisturbed slopes. Abrupt, angular transitions and linear slopes shall be avoided. As necessary, cuts and fills shall be supported by retaining walls, made of stone, wood, or other materials that blend with the natural landscape. All retaining walls over four feet in height must be certified by an engineer licensed in the State of Colorado.
iii.
Disturbed areas shall be contoured so that they can be re-vegetated using native species. No exposed area shall be left open or unstabilized.
iv.
Development shall preserve existing vegetation that aids the screening of the development, softens its appearance, or reduces the potential for erosion and sedimentation from the development.
v.
Grading shall not significantly alter natural drainage patterns.
vi.
All roads and driveways shall comply with the Town of Frisco Minimum Street Design and Access Criteria, as referenced in Chapter 155.
2.
Raising or lowering of natural grade by more than ten feet to create a bench or terrace to accommodate a flat building platform is prohibited. A preferred design technique is to follow the natural grade by stepping the structure up or down the hillside.
3.
Development activities which decrease the stability of any slope in excess of 30 percent are prohibited. These activities include, but are not limited to, activities that add water to a slope such as drainage or landscape irrigation, activities that add weight to the top of a slope, activities which steepen the existing grade of a slope and activities which remove the supporting base of an existing slope.
4.
Visual Impacts to Off-Site Areas.
a.
The development application must demonstrate that appropriate measures have been taken to mitigate off-site visual impacts. The measures may include, but are not limited to, the following:
i.
Alternative siting of structures so that there is a mountain or hillside backdrop to the structure from areas where the structure is visible.
ii.
Use of existing vegetation to soften structural mass when building sites are located in highly visible areas.
iii.
Use of supplementary native landscaping to soften structural mass when building sites are located in highly visible areas.
iv.
Use of visually compatible stabilization measures for cuts and fills.
Figure 6-B: Visual Impact to Off-Site Areas
E.
Areas of Avoidance. Development shall be prohibited in avalanche, rockfall, debris flow, or landslide areas. Development should avoid debris fans, talus slopes, areas containing expansive soils, areas susceptible to ground subsidence, and slopes of 1:1 or greater.
F.
Exceptions for Minor Changes in Slopes. Development may disturb steep sloped area on lands which have a slope in excess of 15 percent when the slope is due to a minor natural or manmade change in the gradient of a slope and is an irregular or isolated terrain feature which is not continuous with or integral to any other slope or other features.
G.
Revegetation. Development must meet the General Landscape Requirements, Section 180-6.14.5.
180-6.5.2.
Grading Permit Required. Site plan approval is required for all developments including any grading or soil disturbance over 500 square feet in area. For development not associated with a building permit, a grading permit must be obtained through the Site Plan Review process as designated in Section 180-2.5.2. Financial security may also be required in accordance with Section 180-6.4. A grading permit will be issued only after satisfactory demonstration that the performance standards set forth in Section 180-6.6, Drainage Plans, Section 180-6.7, Water Quality Protection, and Section 180-6.14.5, General Landscape Requirements are met and final approval for a pending project has been given by the Town. Plans must include erosion and sediment control measures, revegetation methods, water quality setbacks, the location of all coniferous trees of six inches in diameter or more and all deciduous trees of three inches in diameter or more, and the location of the top of bank of any water bodies or wetlands. Prior to the issuance of a grading permit, the Limit of Work area as described in Section 180-6.14.5.D must be defined on the site and inspected by the Town. Disturbance of less than 500 square feet for the purposes of landscaping for single household dwellings and duplexes, or profile holes and soil tests are exempt from the requirement to obtain a grading permit.
Standards for Small Lots Platted Prior to June 1, 1985: These regulations are not intended to prohibit the use of previously platted lots which, because of their small size, cannot be built upon in full compliance with these regulations. In such situations, the following standards may be applied at the discretion of the Planning Commission.
A.
Steep Slopes. On lots where compliance with the development prohibition on slopes that exceed 30 percent slope would prevent reasonable use of the lot for construction, disturbance may be allowed on steeper slopes if the standards of Section 180-6.5.1 are met.
B.
Maximum Area of Disturbance. On lots where compliance with the disturbance limitation of 50 percent in Section 180-6.5.1 or 15 percent in Section 180-6.5.1 would prevent reasonable use of the lot for construction, a larger area of disturbance may be allowed if the remaining standards in Section 180-6.5.1 are met.
(Ord. No. 17-04, 6-27-17; Ord. No. 20-23, 1-26-21)
A drainage plan must be submitted prior to the approval of a proposed subdivision or development. Said plan shall be prepared by a licensed engineer licensed in the State of Colorado. An application that meets the following requirements shall be submitted to and approved by the Town Engineer.
180-6.6.1.
Submittal Requirements. An engineer's report describing and providing evidence of the following:
A.
Show the type, size, and location of existing and proposed drainage structures such as infiltration galleries, dry wells, retention ponds and grassed channels.
B.
Show the manner in which drainage and runoff will be controlled and confined on-site, including all calculations.
C.
Contours must be shown at two-foot intervals on the drainage plan. If the slope across the site is four percent or less, the contour interval shall be shown at one foot.
D.
Show cross sections of specific structures and drainage ways to be constructed.
E.
Provide for the diversion of runoff from snow storage areas, dumpsters and other trash storage areas into detention facilities.
F.
Provide adequately sized detention facilities where dewatering of excavations may be needed (such facilities may be temporary in nature).
G.
Alternate methods shall be accepted only with prior approval by the Town Engineer.
180-6.6.2.
Design Standards.
A.
All development shall limit the rate of off-site surface water discharge to the rate that existed on the site in its predevelopment condition and utilize the most environmentally sustainable practices, as appropriate, in system design.
B.
No direct discharge of stormwater to a lake, stream, or intermittent stream shall be allowed.
C.
All development shall prevent soil loss from the site as a result of erosion produced by the 25-year, 24-hour design storm two and two-tenths inches and utilize the most environmentally sustainable practices, as appropriate, in system design. This standard shall be met both during and after construction.
D.
All development shall prevent any increase in the historic rate of runoff from the development site produced by the 25-year, 24-hour design storm [two and two-tenths inches] and utilize the most environmentally sustainable practices, as appropriate in system design. This standard shall be used before, during, and after construction.
E.
All development applications shall minimize the volume of cut or fill and minimize the erosion of topsoil on the lot.
F.
All development shall provide landscaping and revegetation which provides vegetative coverage equal to or better than pre-development conditions of all disturbed areas.
G.
Run-off from snow storage areas shall be directed to detention facilities for infiltration.
180-6.6.3.
Municipal Stormwater Drainage Plan. Upon the adoption of a stormwater drainage plan by the Town, all lot owners within the affected area shall be subject to the requirements and specifications of such plan at the time of development.
180-6.6.4.
Erosion And Sediment Control Measures.
A.
Appropriate sediment control measures shall be taken to ensure that no soil shall be allowed to leave the construction site through surface erosion and dewatering operations.
B.
Avoid the use of erosion and sediment control devices that are non-degradable (e.g., non-degradable turf reinforcement mats), or that require earth disturbance prior to installation (e.g., silt fences). Any nondegradable erosion and sediment control devices shall be completely removed from the site following permanent stabilization of disturbed areas (e.g., at least 70 percent vegetative cover, paving, etc.). Every effort should be made to use biodegradable erosion and sediment control practices.
C.
All sediment control measures to be taken must be installed prior to any earth disturbing activity. The Colorado Department of Transportation's (CDOT) Standard Specifications Book Section 208, CDOT Erosion Control and Stormwater Quality Guide and applicable CDOT M Standard Plans shall be used as a guideline for all temporary and permanent erosion and sediment control measures installed during construction.
(Ord. No. 17-04, 6-27-17; Ord. No. 20-23, 1-26-21)
The Water Quality Protection Standards are established to protect the beneficial functions and values of waterbodies and wetland areas by prohibiting soil disturbance in waterbodies, wetlands, and within 25 feet of a body of water or wetland, referred to as the wetland setback. These areas protect water quality by maintaining a natural buffer through which pollutants pass and serve to protect the riparian habitat and visual appearance of the Town's waterways, lakeshores, and wetlands. The regulations set forth in this section are intended to complement and operate in conjunction with the distinct jurisdictional wetland disturbance process set forth in Section 404 of the Federal Clean Water Act and administered by the U.S. Army Corps of Engineers. Accordingly, the disturbance standards of this Code may apply independently of the determination of the jurisdictional nature of the wetlands by the U.S. Army Corps, and result in disturbance limitations and mitigation requirements in addition to Section 404 requirements.
180-6.7.1.
Disturbance of Waterbodies Wetlands, or Wetland Setbacks.
Development prohibited. Development and soil disturbance are generally prohibited in or within 25 feet of all waterbodies and wetlands. Development in these areas shall only be permitted in accordance with the standards in Section 180-6.7.1.
Independent survey required. If there is any evidence that a proposed development may contain wetlands or waterbodies, the applicant shall provide a wetlands and waterbody survey prepared by a qualified wetlands consultant. The boundary of a waterbody will be determined by the ordinary high water line of the waterbody, and the boundary of the wetland will be determined utilizing the methods outlined in the Regional Supplement to the Corps of Engineers Wetland Delineation Manual: Western Mountains, Valleys, and Coast Region (U.S. Army Corps of Engineers 2010). All wetlands identified using this methodology are regulated by the Town, regardless of whether they are regulated by the U.S. Army Corps of Engineers under Section 404 of the Clean Water Act.
Disturbance Permit Required. The Town may allow disturbance of waterbodies, wetland areas, or wetland setbacks in conjunction with an approved Disturbance Permit. The area of disturbance shall be limited to the minimum amount necessary to achieve the intended purpose. Disturbance Permits for development in waterbodies, wetlands, and wetland setbacks shall be reviewed by the Town in accordance with the Site Plan Review process for the application as designated in Section 180-2.5.2. The permit review may be consolidated with other development applications as appropriate. Public notice, public hearing, and appeals requirements shall follow the requirements for the Site Plan Review process.
A.
Permitted Disturbances.
1.
The proposed activity is water-dependent; such as docks or piers;
2.
The proposed activity is the minimum necessary to achieve access to property or provide utility service to property, and no other access route avoiding wetland, wetland setbacks, and waterbodies is practical, or the proposed access route results in better overall design of the site development;
3.
Denial of the Disturbance Permit would result in unconstitutional taking of property pursuant to the Colorado and United States Constitutions.
4.
The proposed activity is:
a.
Primarily for the promotion of the safety, health and general welfare of the Frisco community, and
b.
The public benefit is greater than the impact to wetlands.
5.
Projects which are intended for the benefit of the community and installed by or under supervision of the Town. These projects may include, but are not limited to, stream bank stabilization and erosion control activities; road and utility crossings; bike and pedestrian paths; flood control and other safety related projects; public recreational improvements, including whitewater boating and marina facilities such as docks, piers and launch sites, and dredging operations; and aquatic and terrestrial wildlife habitat improvements.
6.
The primary purpose of the proposed disturbance activity is to restore a wildlife habitat, and/or to create, improve, or restore wetlands, waterbodies, and/or wetland setbacks.
7.
The proposed disturbance in a wetland setback would enhance the benefits of the wetland setback or involves residential landscaping that would not degrade the benefits of the wetland setback, or the proposed disturbance in a wetland setback is for construction of a storm water treatment area or equipment.
B.
Disturbance Criteria. The Town may allow disturbance of waterbody, wetland, or wetland setbacks if the disturbance activity meets all of the following criteria:
1.
There is no practical alternative that would avoid impacts to waterbodies, wetlands, or wetland setbacks, and the development is to either meet a policy of this Code or allow reasonable use of the property.
2.
The development will limit the degree of impact on the waterbody, wetland, or wetland setbacks to the greatest extent possible using the mitigation procedures outlined in Section 180-6.7.1.D.
3.
The project's stormwater discharges will not violate other applicable regulations and laws, or significantly degrade the waters of the United States or any other wetland as defined in Section 180-9.3.
C.
Submittal Requirements.
1.
A narrative explaining how development in the wetland, waterbody, or wetland setback is consistent with one or more of the Permitted Disturbances and all of the Disturbance Criteria contained in Section 180-6.7.1.A.
2.
A map or diagram depicting the surveyed boundary of all wetlands, waterbodies, and wetland setback areas and illustrating the amount, location and acreage of proposed disturbance to wetland, waterbody, and wetland setbacks, including fill, excavation, potential hydrologic modifications (intended and unintended), or other alterations.
3.
A grading and erosion control plan, utilizing soil stabilization measures and practices to minimize the impacts of the proposed disturbance, including a timeframe for installation and construction.
4.
Mitigation Plan. A plan to mitigate the impacts of proposed alterations of wetland, wetland setbacks, and waterbody areas showing the proposed on-site restoration improvements, including those wetland areas to be restored or created in accordance with Section 180-6.7.1.D.
5.
Alternative analysis. A statement and analysis of any practical on-site development configuration alternatives to the proposed development activity causing disturbance which reduce or avoid such disturbances, including reduction in the scale of the proposed development.
6.
Evidence of compliance with Section 404 of the Federal Clean Waters Act. If the site contains areas deemed jurisdictional wetlands by the U.S. Army Corps of Engineers, the applicant must present evidence of compliance with Section 404 of the Federal Clean Water Act. Documentation and compliance with all potential Section 404 matters shall remain the sole and ongoing responsibility of the applicant, and any failure to maintain such compliance may lead to suspension or revocation of any approvals provided under this Code.
D.
Mitigation Requirement. The Town of Frisco acknowledges that much of the Town was developed prior to awareness of the value of protecting streams, wetlands, and water bodies. The Town seeks to find a reasonable balance between the property owners' desire to make reasonable use of their properties and the public's interest in preserving and protecting these important water resources. When the destruction or diminution in function of these resources cannot be avoided, the Town finds that impacts on streams, wetlands, and water bodies should be minimized and mitigation provided for unavoidable losses. The loss shall be compensated for by replacing or substituting the lost areas in terms of both quality and quantity. Restored or created wetlands should be considered on-site first, then in close proximity to the impacted wetland area, in an area of similar type and function of the impacted wetlands. The required ratio of new wetlands to permanently impacted wetlands shall be 1:1. A fee in-lieu for wetlands replacement may be considered if no feasible alternative is available. The fee shall be based on the estimated cost of construction for the creation of improvements that are similar in size and type, in a location selected by the Town. The cost estimate shall be prepared by a qualified wetlands consultant with experience in compensatory wetland mitigation in Summit County, Colorado or immediately adjacent counties.
1.
Mitigation Plan Submittal Requirements and Performance Measures. In order to facilitate a streamlined review process for applicants, the Town will follow the Mitigation Plan submittal requirements and performance measures established by the U.S. Army Corps of Engineers in the FR 2008 Compensatory Mitigation for Losses of Aquatic Resources; 404(b)(1) Guidelines (40 CFR 230) and the Compensatory Mitigation for Losses of Aquatic Resources (33 CFR 332 and 40 CFR 230), also known as the 2008 Final Rule.
E.
Financial Security. A financial guarantee in the amount of 150 percent of the written estimated cost of the disturbance plan measures shall be provided for a minimum of two years, and up to five years until the performance standards for the mitigation site(s) have been achieved.
(Ord. No. 17-04, 6-27-17; Ord. No. 20-23, 1-26-21)
180-6.8.1.
Allowance of Non-Solid Fuel-Burning Devices.
A.
Nothing in the regulation shall be construed to limit the number of non-solid-fuel-burning devices (gas, liquid, electricity) which may be installed in new construction, provided that all such installations are in compliance with Chapter 65, Town of Frisco Building Construction and Housing Standards. For the purpose of this section, "new construction" is construction of a residential, commercial, industrial, or agricultural building. This shall include any modification, replacement, or relocation of existing solid-fuel-burning devices. However, modification to solid-fuel-burning devices shall not include repair, replacement, or relocation of flue pipe.
B.
A non-solid-fuel-burning device may be installed only if the applicant(s) can demonstrate that such a device is actually being installed and will be used for burning non-solid-fuel and only if the applicant states, within his application, that said device will not be used for burning solid-fuel. The burden is upon the applicant(s) to present evidence to the Community Development Department for review. An example of evidence includes, but is not limited to, a site plan that depicts the location and installation of the non-solid-fuel-burning device, and the gas, liquid, or electricity lines and venting system which are necessary for proper functioning of this device only.
180-6.8.2.
Solid Fuel-Burning Devices. No uncertified solid-fuel-burning device(s) shall be installed in any new construction. In addition, no uncertified solid-fuel-burning device(s) shall be installed in the process of modifying, replacing, or relocating any existing solid-fuel-burning device. Modifications to solid-fuel-burning devices shall not include repair, replacement, or relocation of flue pipe.
180-6.8.3.
Limitations on Certified Solid Fuel-Burning Devices. The number of certified solid fuel burning devices that may be installed in any structure within the Town of Frisco is hereby limited to the following:
A.
The maximum allowable number of certified solid-fuel-burning devices shall not exceed eight certified devices per acre within the proposed project area.
B.
Additional certified solid-fuel-burning devices shall be permitted in businesses that deal exclusively in the sale of certified solid-fuel-burning devices. However, limitations within this section shall not apply to the replacement of a noncertified solid-fuel-burning device with a certified solid-fuel-burning device.
(Ord. No. 17-04, 6-27-17; Ord. No. 19-04, 4-9-19)
Any private or public road design, construction or maintenance (other than routine maintenance) in the Town shall meet the standards set forth in Section 180-6.6, Drainage Plans, Section 180-6.7, Water Quality Protection, Section 180-6.10, Stream Crossings by Roads and Utilities, Section 180-6.7.2.D, and Chapter 155, Minimum Street Design and Access Criteria.
(Ord. No. 17-04, 6-27-17)
180-6.10.1.
The number of stream crossings by roads and utilities shall be minimized.
180-6.10.2.
The standards set forth in Section 180-6.6, Drainage Plans and Section 180-6.7, Water Quality Protection shall be met for each stream crossing by a road or utility.
180-6.11.1.
Vehicular Access Requirements. All vehicular access must comply with the standards set forth in Chapter 155, Minimum Street Design and Access Criteria.
A.
In addition, all vehicular access shall meet the following standards:
1.
Applicant shall provide safe and adequate access to each structure for all public services, including, but not limited to, fire and emergency equipment.
2.
Applicant's project shall not impose excessive vehicular traffic thereby creating an unacceptable level of service (roadway levels of service D-F) on any of the surrounding roadways.
3.
Access in and out of a project shall be designed so as to create a safe condition and reduce potentially hazardous or inadequate situations, including, but not limited to, inadequate access, parking or loading of the project site, for residents or employees of the project as well as the general public.
B.
Where development abuts a state highway, location of access points to the highway must be approved by the Colorado Department of Transportation.
C.
Where development abuts a Town road, location of access points to the road must be approved by the Frisco Public Works Director.
180-6.11.2.
Non-Vehicular Access Requirements. It is the purpose of this section to promote the use of non-vehicular modes of transportation through a Town-wide network of connecting non-vehicular pathways and provide safe access year-round. All site plans shall provide for and show non-vehicular access in accordance with the standards set forth in the Frisco Trails Master Plan and Chapter 155, Minimum Street Design and Access Criteria. In addition, all non-vehicular access shall meet the following standards:
A.
All multifamily, mixed-use, nonresidential developments, and residential subdivisions shall provide safe and convenient non-vehicular access to a public street or road year-round. Developments shall install paved, year-round access from and through the development to adjacent public sidewalks, bicycle and pedestrian facilities, or right-of-way both existing and proposed pursuant to the Frisco Trails Master Plan and in accordance with the Standards of Chapter 155, Minimum Street Design and Access Criteria.
B.
Every principal structure shall provide access to adjacent trail systems or public open space usable for recreation activities.
C.
Developments shall integrate pedestrian ways, trails, and/or bicycle paths with similar existing and planned facilities on adjacent properties. The Frisco Trails Master Plan should be used as a reference when planning for the integration of these facilities.
(Ord. No. 17-04, 6-27-17; Ord. No. 20-23, 1-26-21)
180-6.12.1.
Traffic Studies. Traffic studies, prepared by a professional engineer licensed in the State of Colorado, shall be provided for any large project that:
A.
Requires a conditional use or rezoning approval;
B.
Is located adjacent to either Main Street or Summit Boulevard;
C.
Contains only one point of access;
D.
Contains an access point off an unimproved roadway or unincorporated area;
E.
Contains an access point off a road with a service level of D or F; or
F.
Is expected to generate 400 or more daily trips per day.
180-6.12.2.
Traffic Studies. The extent of the area to be included in a traffic study shall be determined by Town staff based on the type, scale, and location of the development proposed. Elements of a traffic study shall include, but not be limited to, the following:
A.
Existing traffic flow conditions within the defined study area, considering the peak hours and average daily traffic.
B.
Future conditions due to the traffic impact from the proposed development within the defined study area.
C.
Pedestrian circulation within the study area accessing the proposed development.
D.
Recommendations to relieve impacts to traffic due to the proposed development, including, but not limited to, pedestrian access, intersections, current roadway sections, noise, signage and safety.
(Ord. No. 17-04, 6-27-17)
180-6.13.1.
Applicability. These regulations are applicable to all new development and the expansion of existing development, and all commercial vehicles parked in residential areas within the Town of Frisco that create parking and loading demand. All such structures shall provide parking on the premises according to the following requirements. Parking, loading and driveway facilities shall comply with the Town of Frisco Minimum Street Design and Access Criteria, as referenced in Chapter 155. All new developments shall comply with the Building Construction and Housing Standards' requirements for the provision of electric vehicle supply equipment installed, electric vehicle ready, and electric vehicle capable parking spaces, as required, in Chapter 65.
180-6.13.2.
Purpose. The intent of these regulations is to require that parking and loading spaces be provided relative to the impacts created by proposed new developments, while promoting a pedestrian oriented commercial and downtown area.
180-6.13.3.
On-Premises Parking Requirements.
A.
Parking Requirements. The following minimums for permitted uses. Minimum must be complied with in all zoning districts except the Central Core District (CC) and those properties within the Mixed-Use District (MU) that front on West Main Street. On premise parking requirements for the Central Core District and those properties in the Mixed-Use District that front on West Main Street are found under paragraph D of this Subsection 180-6.13.3. Conditional uses may require additional parking. Multiple uses will be assessed parking requirements per use and an aggregate number will be generated. Unless specifically prohibited elsewhere in this section, accessible parking spaces and electric vehicle charging stations shall be included in the calculation for required parking spaces.
B.
Other Unlisted Parking Requirements. As determined by the Director or Planning Commission, as applicable to the application decision maker. The Director and Planning Commission shall be guided by the comparison with the parking requirements for similar uses which are listed.
C.
Nonresidential Change in Use. A parking reduction may be allowed such that the "new" use is not assessed by the parking use requirements. In order to qualify for such reduction, the change in use must meet one of the following criteria:
1.
Based on the Town's Parking Study for the Central Core area, that the change in use will not substantially limit the amount of parking space availability on-street in that location and at that time of day.
2.
That enough on-premises parking is provided for the commercial project area in that it is designed to serve two or more distinctly different land uses at a reduced ratio, as indicated by a study to substantiate different peak uses, which must be provided by a traffic engineer or other qualified professional, and approved by the Town.
3.
In all cases, the existing parking space requirements must be maintained.
D.
Minimum Parking Requirements for the Central Core District (CC) and Properties within the Mixed-Use District (MU) that Front on West Main Street.
1.
The following minimums for permitted uses are required. Conditional uses may require additional parking. Multiple uses will be assessed parking requirements per use and an aggregate number will be generated. Unless specifically prohibited elsewhere in this section, accessible parking spaces and electric vehicle charging stations shall be included in the calculation for required parking spaces.
2.
For purposes of calculating the minimum parking requirements for any property located within the Central Core District or the Mixed-Use District when a property fronts on West Main Street, if any proposed use is not noted under this paragraph D, the parking requirements as provided in paragraph A of this section shall apply.
E.
On-Street Parking Credits.
1.
In recognition of adjacent on-street and alley parking, the parking requirements for non-overnight uses may be reduced within:
a.
The Central Core District (CC);
b.
The Mixed-Use District for properties that front on West Main Street; and
c.
Any other property fronting Main Street, including West Main Street and East Main Street.
2.
In addition, the parking requirements for non-overnight uses may be reduced for properties within the Mixed-Use District that front on Granite Street. The reduction in parking requirements for such properties that front on Granite Street shall not apply to any property that fronts along the alley way or other streets in the vicinity of Granite Street.
3.
Credits for nearby parking within rights-of-way shall be granted based on the following:
a.
One parking space reduction for every 25 feet of linear frontage abutting a public right-of-way on which legal on-street parking exists within 300 feet of the property.
Figure 6-C: On-Street Parking Credits
F.
Multi-Use Shared Parking Provisions. Within the GW, CO, CC, MU, LI, and RH zoning districts, parking reductions for multi-use developments may be allowed of up to 20 percent of the required parking upon approval (with or without conditions) by the Planning Commission according to the following criteria:
1.
The proposed parking for both uses shall be on-site; and
2.
The parking is provided in areas designed to serve two or more distinctly different land uses; and
3.
The reduction in parking is justified using industry standards such as those established by the Urban Land Institute, the Institute of Transportation Engineers or other acceptable standards.
G.
Understructure Parking Facility Provisions. For purposes of this provision, understructure parking shall mean that the parking will be located in a parking facility which is substantially underground or substantially below the average existing grade or located at grade under a structure. All understructure parking must meet the following criteria:
1.
That above grade parking for the project be significantly screened from adjacent public rights-of-way; and,
2.
That the understructure Parking Facility is significantly screened from any public rights-of-way; and,
3.
That vehicular access to and from the understructure Parking Facility is not provided from Main Street or Summit Boulevard, unless no other access point exists.
Technical specifications for underground parking structures are found in the Town of Frisco Minimum Street Design and Access Criteria, as referenced in Chapter 155.
H.
Accessible Parking Space Requirements.
1.
All facilities, commercial, mixed-use, and multifamily (with seven attached units or more) projects shall provide accessible parking according to the following requirements or Federal ADA requirements, whichever is greater. In addition, a minimum of one required accessible space must be designated for accessible vans. One van accessible space is required for every six required accessible spaces:
2.
All required accessible parking spaces shall not count towards any required visitor parking space requirements.
I.
[Correction of nonconformance.] A nonconforming use or structure that is nonconforming due to inadequacies in its provision of onsite parking may be expanded, changed, or altered in accordance with the provisions of this section, provided that parking is provided for the expansion in accordance with the current parking standards.
J.
Parking Incentive for Installation of Electric Vehicle Spaces. In order to promote the provision of parking spaces with charging capabilities for electric vehicles, the Town may reduce the parking space requirements for developments that provide additional electric vehicle supply equipment (EVSE) installed spaces in accordance with the following standards:
1.
The parking reduction is available to nonresidential developments with parking lots of ten or more spaces.
2.
The reduction may be applied on a one-to-one basis, for every EVSE installed space that exceeds the requirements of Chapter 65, up to ten percent of the total required spaces.
3.
At the discretion of the Town, EVSE installed spaces provided per this incentive may not be signed or reserved for the exclusive use of charging vehicles.
180-6.13.4.
Bicycle Parking.
A.
All mixed-use and non-residential development shall provide bicycle parking facilities, in an appropriate location, with bicycle spaces in the amount of not less than 20 percent of the total number of parking spaces required for the project, with a minimum of five bicycle spaces.
B.
All multifamily residential developments must provide both enclosed, secure bicycle parking, and outdoor bicycle parking facilities. One bicycle parking space is required for every bedroom. Fifty percent of the total spaces must be enclosed, secure bicycle parking. Dwelling units with a private garage are not required to provide enclosed, secure bicycle parking.
C.
Standards for enclosed, secure bicycle parking:
1.
Shall be covered and include use of a locked room, or an area enclosed by a fence with a locked gate.
2.
Enclosed bicycle parking spaces may not be located on porches or balconies.
3.
The bicycle parking area shall be located on site or in an area within 300 feet of the building it serves.
4.
Adequate lighting shall be provided for the bicycle parking area and the route to the building entrance.
5.
The bicycle parking area shall include adequate clearance around racks or lockers to give cyclists room to maneuver, and to prevent conflicts with pedestrians or parked cars.
6.
If the bicycle parking is provided in an auto garage, the bicycle parking spaces shall be clearly marked as such and shall be separated from auto parking.
D.
Standards for outdoor bicycle parking:
1.
Be designed so as not to cause damage to the bicycle.
2.
Facilitate easy locking without interference from or to adjacent bicycles.
3.
Consist of racks or lockers anchored so that they cannot be easily removed and of solid construction, resistant to rust, corrosion, hammers, and saws.
4.
Be consistent with their environment in color and design and be incorporated whenever possible into building or street furniture design.
5.
Be located in convenient, highly visible, active, well-lighted areas but not interfere with pedestrian movements.
180-6.13.5.
Off-Site Parking Allowances.
A.
Off-Site Parking. Up to 100 percent of required non-overnight parking, excluding required accessible spaces, in the Central Core (CC) and Mixed Use (MU) Districts may be met off-site if approved by the Planning Commission pursuant to the following criteria:
1.
The property is located within 300 feet (using the shortest distance between two points) of off-site private parking developed per Subsection B.
2.
The public health, safety, or welfare would not be adversely affected or more than normal impacts on the neighborhood created by locating the required parking off the property.
3.
The off-site parking is easily accessible from the property.
B.
Private Parking Facilities.
1.
Required non-overnight parking may be provided in off-site private parking facilities or lots if the title to the land for off-site parking is deed restricted, in whole or in part, and made subject to an exclusive perpetual easement for parking purposes in favor of the owner(s) of the developing/remodeled property for use of the required number of parking spaces. Proof of ownership of the off-site parking spaces must be provided at the time of development application, subdivision or resubdivision application, business license application or renewal, and/or building permit, whichever is sooner.
2.
The off-site parking must be existing and complete prior to a final Certificate of Occupancy being issued for the developing/remodeled property and the off-site parking must be noted on a recorded plat as dedicated to the developing/remodeled property for required parking.
180-6.13.6.
Parking Standards nd Criteria.
A.
Dimensions. Except as noted in Subsection (3), parking stall dimensions shall be designed to conform to the following minimums:
1.
Parking Facilities. Nine by 18.5 feet (including stacked spaces) with the exception of parallel parking spaces which shall be eight by 25 feet. Covered parking spaces and parking structures shall have a minimum vertical clearance of at least eight feet in height.
2.
Accessible Spaces. Eight by 18.5 feet plus a minimum accessibility aisle area of five feet for each space. All accessible spaces designated for accessible van must have a minimum aisle width of eight feet. Two adjacent accessible spaces may share the same accessibility aisle. All accessible spaces must be designated by a sign showing the symbol of accessibility (a wheelchair). Accessible spaces designated for accessible vans shall have an additional sign with the words "Van Accessible" mounted below the symbol of accessibility. All accessible signs shall not be obscured by a parked vehicle. Each sign shall be no smaller than one foot by one foot and shall be located at the end of the space. Accessible spaces shall be located on the shortest accessible route of travel from adjacent parking to an accessible building entrance or to an accessible pedestrian entrance of a parking facility.
Figure 6-D: Accessible Parking Space Design
3.
Parking Space Encroachments. Encroachment into parking area stalls with vertical elements (e.g., structural columns, light fixtures) is allowed in accordance with the following provisions:
a.
The centerline of the vertical element shall be placed on the adjacent parking space line along the 18.5-foot dimension.
b.
Encroachment at the front end of the parking space is allowed, but shall be limited to one foot of encroachment from the head of the space and 1 foot of encroachment into the head of the adjacent parking space. No stall shall have more than one of this type of encroachment.
c.
Encroachments along the 18.5-foot dimension also is allowed between three feet and eight feet from the opening of the parking space and shall not encroach more than six inches into any one stall. Only one vertical element shall be allowed for this type of encroachment. No stall shall have more than one of this type of encroachment.
d.
Nothing in this Subsection (3) shall be construed to allow for an encroachment into or adjacent to any accessibility aisle for accessible parking spaces.
Figure 6-E: Parking Space Encroachments
B.
Aisle Widths. Parking lot aisles shall meet the following minimum requirements, upon approval of the Public Works Director.
C.
Design.
1.
Parking areas shall be designed to be in conformance with the following diagrams and in conformance with the Town of Frisco's Minimum Street Design and Access Criteria, as referenced in Chapter 155:
Figure 6-F: Measuring Parking Spaces
Figure 6-G: Parking Lot Configurations
2.
A backup space shall be provided for the end space in dead end lots. Said backup space shall be sized to allow for a safe backing movement, and provide a minimum depth of five feet for the width of the aisle. Backup space shall be considered part of the parking lot.
3.
All parking areas shall provide landscaping or other appropriate screening to reduce the visual impact of the parking from any public street as provided in the landscape requirements for the Town of Frisco in Section 180-6.14, Landscaping and Revegetation Requirements.
4.
Parking areas shall be graded for proper drainage with surface water diverted in such a way as to keep the parking area free from accumulated water or ice. Drainage improvements shall be designed in compliance with Section 180-6.6, Drainage Plans, of the Frisco Town Code.
5.
All required parking spaces shall have adequate access to a street or alley.
Figure 6-H: Inadequate Alley Access
6.
Residential driveways must be a minimum of nine feet wide by 18.5 feet long.
7.
All parking areas and driveways required for commercial uses or for multifamily projects containing three or more residential units shall be surfaced concrete or asphalt material and shall be built in accordance with the Town of Frisco Minimum Street Design and Access Criteria, as referenced in Chapter 155. Responsibility for maintenance of the lot shall rest with the property owner.
D.
Tandem Parking.
1.
For nonresidential uses, stacked (tandem) parking spaces shall not qualify as required parking spaces.
2.
Single-household residential units and duplex units are exempt from the tandem parking space restrictions of Section 180-6.13.6(A)(1) above.
3.
For multi-family residential projects, two spaces stacked (tandem) spaces may be permitted if Planning Commission finds that the layout of the parking is functional and, at a minimum, finds two out of the following four criteria are met:
a.
That some of the spaces could be used as potential visitor parking space; and/or,
b.
That, given the layout and design of the building, adequate storage space is provided for the residents so that it is not anticipated the parking space(s) will be needed predominately for storage; and/or,
c.
That the architecture of the building façade which faces or accesses the parking spaces avoids a canyon effect, such that movement is provided in the building design; and/or,
d.
That an adequate turning radius area is provided with the parking layout to allow for turning and backing into or out of the tandem parking spaces.
E.
Residential Parking Restriction. Operable licensed commercial vehicles may be parked on-site in residential areas as long as they are parked in designated and approved parking spaces, and provided that the spaces are wide and long enough to accommodate the commercial vehicles and not impede the access of other vehicles to any other designated and approved parking space on the property.
180-6.13.7.
Snow Storage Areas. Snow storage for all uncovered parking areas and drives shall be provided for all developments in the following manner:
A.
Amount Required. Snow storage shall be provided on premises in the amount of 25 percent of paved surface area and any unpaved parking and driveway areas, including uncovered decks. The applicant must demonstrate that snow removal operations for upper floor decks will not impact adjacent property.
B.
[Reserved.]
C.
Location. All snow storage areas shall be located lengthwise adjacent to the applicable paved area in order to facilitate snow removal. Required snow storage areas may not be placed on any public right-of-way or on adjacent private property. Snow Storage is not permitted within the 25-foot waterbody and wetland setback.
D.
Minimum Width. The dimension of snow storage areas must be adequate to serve the snow storage purpose and any snow storage area provided shall be a minimum of eight feet in width.
Figure 6-I: Snow Storage Areas
E.
Drainage Areas. Snow storage areas may be located within drainage facilities if approved by the Town Engineer using the drainage requirements found in Section 180-6.6.
F.
Shared Uses. Snow storage areas may not be combined with other uses, such as but not limited to trails and trail/pedestrian easements, and parking areas (except as noted in drainage areas above). Snow storage areas may be combined with required landscaping if the landscaping is designed to be compatible with large amounts of snow.
180-6.13.8.
On-premises loading requirements. On premises service and loading facilities shall be provided according to the following schedule for commercial uses. All such service and loading facilities shall be located so that no vehicle loading or unloading merchandise shall be parked in front of any property or block traffic in any street or public right-of-way including alleys, and must meet the following:
A.
On premises loading areas must have a minimum dimension of 15 feet by 30 feet. Where loading areas are covered; a minimum height of 15 feet is required. Where semi-trailer trucks typically unload, the minimum loading area size shall be 15 feet by 60 feet by 15 feet high. No portion of a loading vehicle may protrude into a public right-of-way; and
B.
On premises loading areas shall be required for each structure according to the following schedule, unless it can be demonstrated to the satisfaction of the Town that sufficient loading is available from an adjacent alley or other suitable area, which alley or area is shown not to impede vehicular traffic or pedestrian use when used for loading purposes:
1.
Commercial Uses:
a.
0—12,000 square feet GFA .....0
b.
12,000—40,000 square feet GFA .....1
c.
For each additional 40,000 square foot GFA, or increment thereof .....2
180-6.13.9.
Maintenance Standards.
A.
All required parking improvements, including, but not limited to, parking spaces, aisles, driveways, and curb and gutter shall be maintained in good repair.
B.
The minimum required number of parking spaces shall be maintained and not reduced in number, unless there is a change of use or amendment to these regulations which allows for such reduction.
C.
Required parking spaces shall not be used as snow storage areas, except on a temporary basis, not to exceed 48 hours for any one snow fall event.
(Ord. No. 17-04, 6-27-17; Ord. No. 19-04, 4-9-19; Ord. No. 20-23, 1-26-21; Ord. No. 23-09, § 8, 3-28-23)
180-6.14.1.
Purpose. The purpose of this section is to provide landscaping standards for sites undergoing development in the Town of Frisco. It is the Town's goal that landscape design protects the area's unique natural beauty and environment and enhances its aesthetic appeal. Since mountain climactic conditions affect the probability of plant establishment, landscape improvements must respect the unique mountain environment of Frisco. Key elements of good landscape design practices and appropriate use of plant materials that consider Frisco's semiarid climate must be considered during the design and construction process. Reduction of environmental and visual impacts within and between developments, consideration of on-site characteristics, encouragement of plantings that require less water and long-term maintenance, and control and reduction of noxious weeds, are all integral aspects of Town design objectives for landscaping.
180-6.14.2.
Applicability. All projects requiring a development application or building permit and any landscape improvements within the Town of Frisco shall meet the landscaping requirements of this Section and Firewise Landscaping practices in accordance with Section 65-4, Amendments to the International Fire Code.
180-6.14.3.
Landscaping Requirements By Project Type. Plant materials shall be required in amounts determined by the type of development and lot size as follows:
A.
Residential Development.
1.
For every 875 square feet of project lot area or fraction thereof, a minimum of one tree must be planted on the site. One shrub shall be required for every 1,500 square feet.
2.
A minimum of one tree shall be planted within the yard setback adjacent to any public street for every 30 feet of total street frontage or fraction thereof. Street trees shall be placed at least eight feet away from the edges of driveways and alleys and to the extent reasonably feasible, be positioned at evenly spaced intervals.
B.
Mixed-Use Development. Except as provided in subpart D:
1.
For every 1,000 square feet of project lot area or fraction thereof, a minimum of one tree must be planted on the site. One shrub shall be required for every 1,500 square feet of project lot area or fraction thereof.
2.
Mixed-use projects are eligible for substitution of hardscape and planter boxes for a portion of the landscaping required as outlined in Section 180-6.14.4, Required Vegetation.
C.
Commercial Development. Except as provided in subpart D:
1.
For every 1,125 square feet of project lot area or fraction thereof, a minimum of one tree must be planted on the site. One shrub shall be required for every 1,750 square feet of project lot area or fraction thereof.
2.
Commercial projects are eligible for substitution of hardscape and planter boxes for a portion of the landscaping required as outlined in Section 180-6.14.4, Required Vegetation.
D.
Commercial and Mixed-Use Large Project Development.
1.
For commercial and mixed-use large projects as defined in this Chapter, for every 1,500 square feet of project lot area or fraction thereof, a minimum of one tree shall be planted on the site. One shrub shall be required for every 2,500 square feet of project lot area or fraction thereof.
2.
Large projects are eligible for substitution of hardscape and planter boxes for a portion of the landscaping required as outlined in Section 180-6.14.4, Required Vegetation.
E.
Public Projects. For projects undertaken by the Town or projects which will serve a public purpose and benefit such as, but not limited to: public parks, recreation areas and rights-of-way, the amount of trees and shrubs required shall be determined by the Town. The Town shall be guided by the comparison with similar uses within Town or within the region to determine appropriate landscaping requirements.
F.
Parking Area Landscaping. In addition to the landscaping required in Sections 180-6.14.3.B, C, and D, landscaping is required under this section to reduce the visual impacts created by parking areas in multi-family residential, mixed-use, and commercial projects.
1.
Any parking lot providing 20 or more parking spaces shall have an area equal to at least six percent of the total paved area landscaped. In parking areas providing 20 or more parking spaces, at least 50 percent of the landscaping required by this section must be internal to the parking area. The remainder of the landscaped area may be external to the parking area so long as it is within ten feet of the perimeter of the paved area.
2.
All landscaping required by this section shall include at a minimum, one tree and two shrubs for every 150 square feet of landscape area required, or fraction thereof. All required trees and shrubs must meet the minimum plant size requirements set forth in Section 180-6.14.4.A.
3.
Internal parking lot landscaping provided shall be proportionately dispersed so as to define aisles and limit unbroken rows of parking.
4.
Parking lot islands shall be a minimum of eight feet in width and length and contain at least one tree.
5.
Parking lot islands may not be used in the calculation of required snow storage.
Figure 6-J: Parking Lot Design
G.
Additions to Existing Developments. In determining landscape requirements for additions to existing developments or structures, the required amount of landscaping in this Article shall be determined by the amount of soil disturbance and project type per Section 180-6.14.3. A nonconforming use or structure that is nonconforming due to inadequacies in its provision of landscaping may be expanded, changed, or altered provided that landscaping is provided for the expansion in accordance with this section.
180-6.14.4.
Required Vegetation. Required trees should be planted predominantly in the front setback and the side yards to increase the visual buffer of the building and paving from the street, enhance the site, and provide a landscape buffer to adjacent properties. Spacing of plant material shall be appropriate for each species planted. In proposing landscaping to meet the requirements of this Article applicants shall use materials from the Plant Materials List in Section 180-6.14.8. Alternative plant materials may be considered if it is determined by the Community Development Department or Planning Commission on competent evidence that the proposed plant material is suitable to the climate and placement on the site.
A.
Plant Sizes. Plant materials used to satisfy the requirements of this Article must comply with the following minimum size requirements at the time of installation:
1.
Deciduous Trees.
a.
Fifty percent three-inch minimum diameter measured 12 inches above the ground. If only one tree is required, then it must be at least three inches in diameter.
b.
Fifty percent two-inch minimum diameter measured 12 inches above the ground.
c.
When there are an odd number of trees required, then the larger specimen is required.
d.
Deciduous trees should be planted in groups of three or more to achieve a clustered effect, or as a single specimen tree.
2.
Coniferous (Evergreen) trees.
a.
Twenty-five percent ten-foot minimum height. When only one tree is required, then it must be a minimum of ten feet in height.
b.
Twenty-five percent eight-foot minimum height.
c.
Fifty percent six-foot minimum height.
d.
When there are an odd number of trees required, then the largest specimen required by this section is required.
3.
Shrubs (Deciduous and Evergreen).
a.
Five-gallon container, with minimum height or spread of two feet.
B.
Landscape Alternatives for Mixed-Use, Commercial and Large Projects. The following alternative forms of landscaping may be used to meet the vegetation requirements:
1.
For properties fronting Main Street or along Summit Boulevard: Up to 50 percent of the landscaping required by Sections 180-6.14.3.B, 180-6.14.3.C, or 180-6.14.3.D may be provided in the form of street furniture, planter boxes, or other forms of landscaping. To be substituted for landscaping that is otherwise required; planter boxes shall have a minimum plantable area of 16 square feet. Each bench or each 16 square feet of plantable planter box area or other non-vegetative landscaping may be substituted for one required tree.
2.
For properties fronting Main Street, East and West Main Street or along Summit Boulevard: Up to 25 percent of the landscaping required by Sections 180-6.14.3.B, 180-6.14.3.C, or 180-6.14.3.D may be provided in the form of public art or public space such as a patio, plaza, or outdoor seating area. To be substituted for landscaping required by Sections 180-6.14.3.B, 180-6.14.3.C, or 180-6.14.3.D public spaces shall have a minimum area of 100 square feet. Each 100 square feet of public space may be substituted for one required tree.
C.
Species Diversity. To prevent uniformity and insect or disease susceptibility, species diversity is required and extensive monocultures of trees are prohibited. Species diversity does not apply to existing trees or trees planted in excess of the minimum number required by this article. The following minimum requirements shall apply to any development plan:
180-6.14.5.
General Landscape Requirements.
A.
Yard Landscaping Required. Except for the placement of landscaping required in this Article and except for such lawn area as permitted by Section 180-6.14.5.C.1, all front, side and rear yards, exclusive of permitted access drives, walkways, parking lots and accessory structures, shall be left in natural vegetation.
B.
Additional Screening Requirements.
1.
Additional landscape screening may be required when it is determined by Community Development Department staff or Planning Commission to be in the best interest of the affected properties. Additional landscaping may be deemed to be in the best interest of the affected properties only if it is determined by the Community Development Department that:
a.
The proposed development will have a substantial adverse impact on an adjacent property; and
b.
The substantial adverse impact is due to an impact of the proposed development that is unique and peculiar to the proposed development and not of the type normally associated with the type of development proposed.
2.
Additional landscaping, not to exceed 20 percent of the landscaping otherwise required may be required in areas including, but not limited to:
a.
At the edges (perimeter) of a parking lot and between parking lots.
b.
Between building development and recreational trails or open space.
c.
Between multifamily or commercial development and a road or other public spaces.
d.
Between commercial and residential areas.
e.
On slopes of over 15 percent. Developers shall be required to place additional trees in sufficient numbers to screen such properties from major thoroughfares, such as Highway 9 and Main Street.
C.
Water Conservation. All landscape plans should be designed to incorporate water conservation materials and techniques through application of xeriscape landscaping principles. Xeriscape is a method of landscaping that promotes water conservation by minimizing the amount of native vegetation removed, limiting new vegetation to native or drought tolerant vegetation, limiting the amount and type of irrigation and other related measures to conserve water and create a native landscape.
1.
Maximum Amount of Lawn Area. The maximum amount of lawn/sod area shall not exceed ten percent of the undeveloped area of the site.
2.
Plant Materials. The selection of plant materials shall be based on the Town of Frisco's climate and site-specific conditions. All new plant materials shall use species found in the "Plant Materials List - Frisco Colorado" of this Chapter. These species have been selected either because they are a native species to this climate or have a demonstrated ability to survive in this harsh alpine climate with minimal water and no threat of competition. Alternative plant materials may be considered if it is determined by the Community Development Department or Planning Commission on competent evidence that the proposed plant material is suitable to the climate and placement on the site.
D.
Limit of Work Area. Prior to approval of any grading or building permit, existing trees, shrubs, and/or sensitive native landscape areas that are to be preserved shall be defined in the field. These plants and areas shall be defined by a minimum of a four-foot-high visibility fence (polyethylene, painted, wooden slat, snow fence, etc.) which is to be located no closer than the drip line of the vegetation to be preserved and which is to remain and be maintained throughout the construction period until ready for revegetation.
E.
Revegetation of Disturbed Land. Development activities should only disturb, clear, or grade the area necessary for construction.
1.
All areas disturbed by grading or construction, not being formally landscaped, shall be mulched and revegetated with seeding and/or other plant materials. All seeded areas shall receive seeding mulch (e.g., straw-crimped in place or hydromulch, etc.). In order to promote growth and increase soil contact all rocks larger than three inches in diameter shall be removed, and a minimum of three inches of topsoil shall be installed utilizing existing stockpiled topsoil from the site, when possible. Seeded areas in excess of 3:1 (horizontal:vertical) slope (33 percent) shall receive biodegradable erosion control blankets, to reduce potential for damage from heavy, concentrated storm-water runoff. Seed mixes and other plant material shall be selected from the "Plant Materials List - Frisco Colorado". Alternative plant materials may be considered if it is determined by the Community Development Department or Planning Commission based on competent evidence that the proposed plant material is suitable to the climate and placement on the site.
2.
Keep vehicles and construction equipment out of undisturbed areas to preserve the natural ground cover and vegetation.
3.
Following construction, stockpiled topsoil should be uniformly redistributed to a depth of three inches.
4.
Topsoil shall consist of adequate and fully composted organic material.
F.
Noxious Weeds. It is the duty of any property owner or occupant to control noxious weeds which aggressively invade native plant communities or are carriers of detrimental insects, diseases, or parasites and it is unlawful to permit such noxious weeds to grow as noted in Chapter 61, Brush, Grass and Weeds.
G.
Credit for Preservation of Existing Trees. The use of existing healthy, undamaged vegetation is encouraged because it is already established on the site and is natural to the area. Existing healthy trees (including Lodge Pole pine) may be substituted for up to 50 percent of the tree landscaping required by this Article, on a tree-for-tree basis, in cases where the existing trees meet or exceed the standards for required vegetation and minimum plant sizes.
H.
Protection of Existing Vegetation.
1.
Existing vegetation including trees, shrubs, and/or sensitive native landscape areas that are to be preserved on the site shall be identified on the required landscape plan and shall be protected during construction.
a.
This vegetation shall be identified on the site by a minimum of a four-foot-high visibility fence (polyethylene, painted wooden slat, snow fence, etc.). This fence is to be located no closer than the drip line of the vegetation to be preserved and shall remain and be maintained throughout the construction period until ready for revegetation.
b.
Construction debris storage/staging areas shall be located away from vegetation to be preserved.
c.
Snow storage and snow shedding areas may not overlap sensitive landscape areas, such as those which include non-flexible deciduous trees, shrubs, and formal planting beds.
2.
All coniferous trees with a diameter of six inches or more and all deciduous trees with a diameter of three inches or more, measured one foot above the ground shall be defined as a qualifying tree and may be removed without replacement, only as follows:
a.
Trees on land to be occupied by buildings, parking, and paving plus a maximum eight-foot clearance strip adjacent to the perimeter thereof.
b.
Diseased trees, trees damaged by natural causes, and other trees that interfere with utility lines may be removed only upon authorization of the State Forester or other qualified person and authorization of the Town.
c.
Trees whose removal is necessary for fire safety or wildland fire defense may be removed upon authorization of a qualified specialist and authorization of the Town.
3.
Any removed qualifying trees that are not subject to the exceptions set forth in Section 180-6.14.5.H shall be replaced with a one for one and a half (1:1.5) replacement ratio. [1]
All replacement plant material shall conform to the requirements by plant type set forth in Section 180-6.14.4.A, Plant Sizes.
I.
Irrigation System Requirements. Landscape improvements shall be properly irrigated during that period of time necessary for the plant to be established on the site and on an ongoing basis so as to maintain the landscape in good health and condition. The applicant must indicate what method of irrigation is proposed for any required landscape improvements. As indicated on the "Plant Materials List - Frisco Colorado", some species may not require formal irrigation after their establishment period. It is encouraged that temporary, above ground piping and heads or hand watering be used for these plants during their establishment period to promote water conservation once the plant has become established.
180-6.14.6.
Landscape Maintenance. Landscaping shall be maintained in good health and condition for perpetuity. If any vegetative landscaping required by this Article shall die the owner of the property on which it is located shall replace it with the vegetation required by the approved landscape plan within one year of the death of the vegetation.
180-6.14.7.
Landscape Plan Submittal Requirements. The applicant shall provide landscape, irrigation, and grading plans that cover the entire property. There may be a separate landscape plan, however, in most cases it can be configured with a site plan. All landscape plans must contain the following information:
A.
Property lines and dimensions.
B.
Existing and finished grade.
C.
North arrow and both graphic and written scales.
D.
Name of Applicant and landscape consultants, if any.
E.
A legend indicating all proposed plant materials with common and botanical names, indication of drought tolerant plants, sizes, maximum spacing, caliper size, and quantities.
F.
Method of irrigation.
G.
Location of all plant material, other landscape features (including, but not limited to, wetlands, water bodies, rock outcroppings, detention areas, retaining walls) and buildings and paved areas (both existing and proposed).
H.
Ground surfaces and materials by type, such as paving, sod, mulch, edger, seed mixes, shrub and flower beds, etc., shall be clearly indicated with a note as to the percentage of plant coverage.
I.
Clearly labeled locations and calculations for amounts for all of the required landscape vegetation, including the percentage of drought tolerant plantings and any required parking area landscaping.
J.
A tree survey with the size and location of all existing coniferous trees with a diameter of six inches or more and all deciduous trees with a diameter of three inches or more measured one foot above the ground. The tree survey shall be prepared by and Colorado licensed surveyor.
K.
Identify which existing trees will remain on the property and how they will be protected from damage during construction.
L.
If snow storage is required, the location of all snow storage areas in relation to proposed landscaped areas must be shown.
M.
Identify construction debris storage and staging areas.
N.
Additional information may be required by the Town on a case-by-case basis if such information is deemed necessary to determine compliance with provisions of this Chapter.
180-6.14.8.
Plant Materials List - Frisco Colorado.
A.
Plant materials listed are those determined to be suitable for Frisco's arid alpine environment. Landscaping materials required by this Article shall be chosen from this section. Alternative plant materials may be considered if it is determined by the Community Development Department or Planning Commission on competent evidence, that the proposed plant is suitable to the climate and placement on the site.
B.
Information has been included to help the applicant select a mixture of drought tolerant materials, likely to survive in this climate with little water.
* - Native
X - Thrives in slightly dry conditions. Once established, these plants generally require about 1" of water per week.
XX - Thrives in dry conditions. Once established, these plants generally require about ½" of water per week.
XXX - Thrives in very dry conditions. Once established, these plants generally require about ½" of water every 2 weeks.
1.
Grass Mixes:
2.
Trees:
3.
Shrubs:
4.
Perennials/Groundcover:
(Ord. No. 17-04, 6-27-17; Ord. No. 20-23, 1-26-21)
The total diameter (in inches) of the replacement trees, must be one and a half times greater than the total diameter (in inches) of those trees removed, (e.g.-one removed 12-inch diameter coniferous tree may be replaced with two nine-inch-diameter coniferous trees, or three six-inch diameter coniferous trees, etc.) with a minimum diameter replacement for coniferous trees of four inches and for deciduous trees of two inches. The tree replacement requirements of this paragraph may be partially waived on a case-by-case basis as determined by Planning Commission for project sites that have at least 50 percent more again, the number of trees that would be required. In the case of these significantly forested sites, whenever possible, building and paving placement should occur in the least densely forested area of the lot to take advantage of any naturally occurring openings that would result in the removal of fewer trees.
180-6.15.1.
Provide for the adequate location and drainage of snow storage areas on the lot as specified in Section 180-6.13, Parking and Loading Regulations and Section 180-6.6, Drainage Plans.
180-6.15.2.
Eliminate the danger of snow from building roofs or decks shedding onto windows or doors that swing out or on public or private property in accordance with building code requirements
(Ord. No. 17-04, 6-27-17; Ord. No. 23-09, § 9, 3-28-23)
180-6.16.1.
Purpose. The purpose of this section is to establish regulations to allow for outdoor illumination levels which are appropriate for the visual task, safety, and security while minimizing the undesirable side effects of excessive illumination such as glare, sky glow, and light pollution. Over time, it is the intent that this section will allow for reasonably uniform illumination levels in our community. It is also the purpose of this section to establish recommendations for the design of outdoor lighting fixtures that will enhance the small mountain town atmosphere of Frisco.
180-6.16.2.
Applicability. Outdoor lighting fixtures installed for new structures, the expansion or remodeling of existing structures, as well as new or replaced lighting fixtures shall meet the requirements of this section.
180-6.16.3.
General Requirements.
A.
Exterior light fixtures shall conform to the Illuminating Engineer Society of North America (IESNA) criteria for full cut-off fixtures. Any structural part of the fixture providing this cutoff angle must be permanently affixed.
Figure 6-K: Full Cut-Off Fixtures
B.
Outdoor light fixtures shall be positioned so that there is no direct light emission onto adjacent properties.
C.
To minimize the indiscriminate use of illumination, it is recommended that outdoor lighting, except as required for security, be extinguished during non-operating hours.
D.
Emergency exterior exit lighting, as required by the Chapter 65, Town of Frisco Building Construction and Housing Standards, is exempt from the full cut-off requirement for fixtures installed as lighting to be used only in emergencies.
E.
Wherever practicable, it is encouraged that lighting installations include timers, dimmers, and/or sensors to reduce overall energy consumption and unnecessary lighting.
F.
The use of energy efficiency technologies is encouraged.
180-6.16.4.
Height. The mounting height of light fixtures shall be as follows:
A.
The height of wall-mounted light fixtures shall not exceed the height of the building wall to which it is mounted.
B.
Freestanding light fixtures installed along Highway 9 shall be mounted no more than 40 feet high.
C.
Freestanding light fixtures installed within public roadway rights-of-way other than along Highway 9 shall be mounted no more than 30 feet high.
180-6.16.5.
Parking Lot Lighting Standards. Parking lot lighting shall not exceed light levels necessary for safety and locating vehicles at night and minimize light spillage onto adjacent properties. The lighting plan shall be designed so that the parking lot is lit from the outside perimeter inward and/or incorporate design features that eliminate off-sight light pollution. The maximum light spillage onto adjacent properties and rights-of-way shall not exceed 0.9 footcandles. The average level of illumination on the surface of the parking lot shall not exceed 2.0 footcandles, based on the IESNA's recommendation for parking lot lighting.
180-6.16.6.
Canopy Lighting Standards. Lighting levels for canopies and aprons of commercial facilities shall be adequate only to facilitate the activities taking place in such locations and shall not be used to attract attention to the businesses. The following standards shall be met:
A.
The maximum level of illumination shall not exceed 20.0 footcandles.
B.
Light fixtures mounted on canopies shall be recessed so that the lens cover is recessed or flush with the bottom surface (ceiling) of the canopy and/or shielded by the fixture or the edge of the canopy so that light is restrained to no more than 85 degrees from vertical, as shown in Figure 6-M below.
C.
Lights shall not be mounted on the top or sides (fascias) of the canopy or apron, and the sides (fascias) of the canopy or apron shall not be illuminated.
D.
Canopies shall be constructed of opaque materials that do not emit light.
180-6.16.7.
Design.
A.
Outdoor light fixture and light pole designs must be compatible with Frisco's small mountain town character and be aesthetically compatible with the site and structures on which they are mounted. Shoebox style light fixtures are not permitted. Light poles should have decorative bases.
B.
Consideration of the overall appearance of the light fixture and pole, the placement of the light, surrounding landscaping for screening, and design features to eliminate off-sight light spillage will be used when determining whether the proposed lighting accomplishes the purpose and intent of this Section 180-6.16.7.
180-6.16.8.
Lighting Plan. Applications for large projects (as defined in Chapter 180, Article IX) shall submit for approval by Planning Commission a preliminary lighting plan which includes the following:
A.
Site plan with location of all light fixtures and a numerical grid of lighting levels (in footcandles) that the fixtures will produce on the ground (photometric report).
B.
Area of illumination.
C.
Lamp type and wattage.
D.
Mounting height of all fixtures.
E.
Cut sheet showing the design and finishes of all fixtures and designation as IESNA "cut-off" fixtures.
F.
Drawings of all relevant building elevations showing the location and aiming points of the fixtures.
Figure 6-M: Light Level Grids and Iso-Luminance Circles
180-6.16.9.
Special Zones. In order to preserve the natural amenities and atmosphere of certain areas of Town, the following special lighting zones and standards are established:
A.
Dillon Reservoir. For all shorelines and marina properties adjacent to Dillon Reservoir, the following lighting standards shall apply:
1.
Within 200 yards of the shoreline, all exterior light sources shall be fully shielded (totally concealed) from shoreline viewing, except as required for safety.
B.
Parks. Light fixtures in municipal parks, pocket parks, and recreational fields shall employ full cut-off fixtures or fixtures designed to direct light downward. Where it is established that there is a need for some up light, such as a baseball park, "sharp cut off" fixtures, ones in which there is very good beam control of the light output, shall be used.
C.
Open Space. Lighting is discouraged on undeveloped open space lands.
180-6.16.10.
Prohibited. The following lighting is prohibited as follows:
A.
Blinking and flashing lights.
B.
Exposed strip lighting used to illuminate building facades or outline buildings.
C.
Neon tubing and simulated neon tubing except as otherwise permitted under Section 180-6.19, Signs.
D.
Laser lights.
E.
Any light that may be confused with or construed as a traffic control device except as authorized by the Federal Government, the State of Colorado, or the Town of Frisco.
F.
Beacons and search lights, except as used for rescue operations by the Lake Dillon Fire District or other rescue organizations.
180-6.16.11.
Exemptions. Provided that no dangerous glare is created on adjacent streets or properties, the following lighting is exempt from the regulations of this section:
A.
Lighting of national, state, or local municipal flags that is shielded from the sides;
B.
Holiday-style lights;
C.
Architectural accent lighting that is aimed and shielded, including shielding by architectural elements of a building, to prevent the light from emitting upward to the sky and horizontally toward adjacent properties and rights-of-way; and
D.
Street lighting installed by the Town of Frisco or other authorized government entity for the benefit of safety.
180-6.16.12.
Nonconforming. As of the effective date of this section, all outdoor lighting that does not conform to this Section 180-6.16 shall be legal nonconforming outdoor lighting. A legal nonconforming outdoor light fixture shall not be changed or altered without being brought into compliance with the provisions of this section. A nonconforming structure that is nonconforming in terms of its outdoor light fixtures may be expanded, changed, or altered provided that all outdoor light fixtures on the structure are brought into compliance with the provisions of this section.
(Ord. No. 17-04, 6-27-17; Ord. No. 19-04, 4-9-19)
180-6.17.1.
General Standards. All nonresidential, mixed-use, and multi-family residential development projects containing five or more units shall utilize dumpster enclosures for the storage of all refuse, recycling, grease traps, and compost collection.
Dumpster enclosures shall provide space for the collection and storage of recyclable materials, including compost, in an amount equal to the space provided for the collection and storage of trash materials, and shall meet the following standards:
A.
Equal space for refuse, recycling, and compost collection must be accommodated within the dumpster enclosure in an amount determined to be acceptable by the waste collection provider, based upon the size and use of the development.
B.
Storage and collection containers shall be clearly labeled or identified to indicate the type of materials accepted.
180-6.17.2.
Design Standards for Enclosures.
A.
All refuse and recycling dumpsters and facilities shall be located within a dumpster enclosure. Enclosures shall be four-sided structures with a roof and gated access adequate to allow for the collection of materials stored within the dumpster enclosure. The use of chain link fence as a screening material is prohibited.
B.
Dumpster enclosures shall utilize solid, opaque materials to a height of six feet. The exterior materials shall be similar to or complementary to those used on the exterior of the primary structure or structures on the site.
C.
Dumpster enclosures shall be designed to provide a separate pedestrian access into the enclosure.
D.
Enclosures must be wildlife proof. The dumpster enclosure shall be of sufficient design and construction to prevent access by wildlife. The enclosure doors must have a latching mechanism sufficient to prevent entry by wildlife. The side of the structure must extend to within two inches of the ground, and ventilation openings must be covered with a heavy gauge steel mesh or other material of sufficient strength to prevent access by wildlife. Mesh openings shall not exceed one-quarter inch in width.
180-6.17.3.
Location.
A.
Dumpster locations shall not impair vehicular access or snow removal operations.
B.
Dumpster locations shall have adequate space in front to facilitate access for collection equipment.
C.
Dumpster locations shall not be located within any utility easement or front yard setback. Dumpster enclosures are exempt from the setback requirement for "structures" (as defined in Chapter 180, Article IX) in that they may be located within a side and rear yard setback.
D.
Dumpsters shall be located in such a way that encourages the sharing of such facilities by multiple uses.
E.
Dumpster enclosures shall be located on-site in a manner that allows for easy vehicular access to the dumpster by the collection services, and where possible, in a manner that does not require backing movements into public rights-of-way, with the exception of alleys.
180-6.17.4.
Exceptions In the Central Core District. An applicant may propose recycling and compost collection facilities in a separate location within the project site, not adjacent to refuse collection, with approval of the Planning Commission, if the following criteria are met:
A.
Adequate space is provided on site for the collection and storage of recyclables and clearly shown on the plans.
B.
A dumpster enclosure sized for refuse, recycling, and compost collection would create an undue hardship for the property owner, and not allow the desired use of the property.
180-6.17.5.
Retrofitting Incentive for Existing Developments.
A.
Multifamily residential, mixed-use, and non-residential developments may convert up to three existing parking spaces in order to retrofit on-site (internal or external) parking spaces to accommodate the installation of a refuse, recycling and compost collection area to serve the needs of the development. Such conversions may be allowed through administrative approval when the Director finds that the following criteria have been met:
1.
The required or approved parking on site is not reduced by more than ten percent.
2.
The refuse, recycling, and compost collection area is centrally located such that is easily accessible to all residents.
3.
Adequate space exists for the refuse, recycling, and compost collection facility to be accessed by service vehicles.
4.
That the property owner or homeowner's association has signed an agreement with the Director stipulating that the building will maintain a contract for on-going recycling and compost service to the development.
B.
Multifamily residential, mixed-use, and non-residential developments which have been constructed and received certificate of occupancies on or before March 22, 2022 may construct or establish screening that varies from the screening requirements for recycling facilities set forth in sections 180-6.17.2 and 180-6.17.3 above, if necessary to accommodate the installation of a recycling collection area to serve the needs of the development. Screening variances may be allowed through administrative approval when the Director finds that the following criteria have been met:
1.
Recycling facilities are provided as wildlife resistant; and
2.
Adequate space exists for the recycling collection facility to be accessed by service vehicles; and
3.
If partial screening is proposed (ex: four walls but no roof), the proposed structure shall meet all building and safety codes.
4.
Screening is provided from public areas including ROWs, public lands, etc.
5.
Screening is provided from adjacent properties to the greatest extent possible.
6.
Screening may be provided in various forms including but not limited to walls, fences, mature landscaping, or other methods proposed by the applicant and determined by the Director to provide substantial screening of the facility.
(Ord. No. 17-04, 6-27-17; Ord. No. 20-23, 1-26-21; Ord. No. 24-13, § 1, 11-12-24)
A fence, wall, or any similar type of screen or any combination of such items not defined as a structure may be erected on any lot including within a setback, subject to the following conditions and requirements. It is the intent of these conditions and requirements to provide privacy and protection, and screening and accenting of shrubs and landscaping without unduly interfering with the scenic view from neighboring properties or jeopardizing the safety of pedestrians and vehicles.
180-6.18.1.
Building Codes Applicable. All fences and walls are subject to the requirements of Chapter 65, Town of Frisco Building Construction and Housing Standards.
180-6.18.2.
Location of Property Lines. It shall be the responsibility of the property owner to locate all property lines.
180-6.18.3.
Encroachment. No fence or wall may extend beyond or across a property line unless in joint agreement with the abutting property owner granting each a cross-easement.
180-6.18.4.
Obstruction of Visibility. No fence or wall shall be located within 15 feet of any street intersection or be so located as to block, obscure, or minimize visibility at any street intersections.
180-6.18.5.
Materials. Fences and walls shall be constructed of natural materials such as wood, river rock, or stone whenever practical.
180-6.18.6.
Height.
A.
Fences and walls shall not exceed four feet in height measured from the existing natural grade at the base to the highest point of the fence or wall within any front yard. Fences and walls shall not exceed six feet in height measured from the existing natural grade at the base to the highest point of the fence or wall within any rear or side yard. No fence or wall may be artificially elevated by means of a berm or other method for purposes of height calculation.
Figure 6-N: Measuring Fence Height
B.
Fences and walls exceeding six feet in height but no more than eight feet in height measured from the existing natural grade at the base to the highest point of the fence or wall may be allowed if:
1.
They are temporary fences on construction sites erected for protection purposes during the period of construction only; or
2.
They enclose outdoor storage areas in nonresidential districts.
C.
Fences and walls exceeding six feet in height, as permitted in Subsection (A) above, or exceeding eight feet in height as permitted in Subsection B above, shall require conditional use approval.
180-6.18.7.
Construction Fencing. Construction fencing for residential construction must be at least four feet high. Commercial and industrial construction must have fencing at least six feet tall and made from a sturdy material such as chain link with a wind screen. Construction fencing must be installed in accordance with the approved construction management plan, prior to construction, demolition, or excavation. Construction equipment, trailers and dumpsters may only be stored within the fenced area. The fence must be located on private property and be maintained throughout the construction period.
(Ord. No. 17-04, 6-27-17; Ord. No. 19-04, 4-9-19; Ord. No. 23-09, § 10, 3-28-23)
180-6.19.1.
Title. The provisions of this section shall be known and may be cited as the "Frisco Sign Code."
180-6.19.2.
Purpose and Intent. The purpose of this section is to regulate signs in a legal and reasonable manner that promotes economic vitality, fosters public safety, advances the desired aesthetic goals of the community, and ensures compliance with constitutionally protected First Amendment rights. Accordingly, it is the purpose and intent of this section to:
A.
Promote the creation of an attractive visual environment that promotes a healthy economy by:
1.
Recognizing that signs are a necessary means of communication for the public that identify establishments providing goods and services.
2.
Promoting an overall visual effect which has a minimum of clutter and avoids the creation of a "tourist trap" atmosphere.
3.
Encouraging the construction of signs from materials that are compatible with the historic, cultural, and natural surroundings of Frisco.
B.
Protect and enhance the physical appearance of the community in a lawful manner that recognizes the rights of property owners by:
1.
Assuring that the information displayed on a sign is clearly visible and legible.
2.
Ensuring that commercial signage does not obscure the architectural and natural features of the Town.
C.
Foster public safety by:
1.
Assuring that all signs are in safe and appropriate locations along public and private streets within the community.
2.
Protecting the public from hazardous conditions which result from structurally unsafe signage.
3.
Eliminating distracting lighting and excessive glare by reasonably limiting the illumination of signs.
D.
Retain administrative review procedures that are the minimum necessary to:
1.
Allow for consistent enforcement of the Sign Code.
2.
Minimize the time required to process a sign application.
3.
Distinguish between exempt, prohibited, and permitted signage to minimize the administrative burden associated with processing sign permits.
180-6.19.3.
Applicability. This section shall govern and control the design, location, alteration, installation, lighting, and maintenance of all signs permitted within all districts established by this Sign Code and any amendments thereto except where explicitly superseded by an approved official development plan or as identified in this section.
180-6.19.4.
Severability. If any subsection of this Sign Code is found to be invalid by a court of competent jurisdiction, all remaining provisions shall be deemed valid.
180-6.19.5.
Measurement Standards.
A.
Determining Sign Area. In determining the square footage of allowable signage for any business, use, or tenant space, the area of each sign face will be added together.
B.
Measuring Sign Area. Sign area is the entire surface area of a sign, including nonstructural trim. The supports, uprights, or structures on which any sign is mounted shall not be included in determining sign area.
1.
Standard Geometric Shapes. When the surface area of a sign consists of a conventional geometric shape, such as a circle, an oval, a rhombus, a trapezoid, or a triangle, the accepted mathematical formulas for calculating area will be used to determine the surface area of a sign.
2.
Cutout Letters. Sign area for cutout letters or display applied directly to the building surface and lacking a defined border or trim shall be determined by including the total area within the periphery of the cutout letters on display, which can be enclosed within a rectangle or the closest geometric shape with a maximum of two enclosing shapes.
3.
Irregular Geometric Shapes. If a sign consists of a symbol, or an irregular geometric shape without an accepted mathematical formula for calculating area, the entire surface area of the symbol, which can be enclosed within a rectangle or the closest geometric shape with a maximum of two enclosing shapes, shall be determined as the sign area, as shown in Figure 6-P.
4.
Multiple Elements. If a sign consists of a symbol, graphic or text with multiple elements that are an irregular geometric shape without an accepted multiple formula for calculating area, the entire surface area of the symbol, graphic or text, which can be enclosed within a rectangle or the closest geometric shape with a maximum of two enclosing shapes, shall be determined as the sign area.
5.
Double-Faced Sign. Only one side of a double-faced freestanding or projecting sign shall count toward the aggregate size measurement provided both sides are identical.
Figure 6=O: Measuring Sign Area
C.
Determining Sign Height.
1.
Freestanding Signs. The height of a sign or sign structure shall be measured from finished grade to the highest point of the sign or sign structure. When a sign is located on a graded earth mound or in an area lower than the adjacent public street, the sign shall be measured from a surveyed point located at the horizontal line of sight from the paved surface of the nearest section of street, as shown in Figure 6-Q.
Figure 6-P: Determining Sign Height
2.
Projecting, Hanging, and Awnings Signs. Clearance for signs shall be measured at the smallest vertical distance between finished grade and the lowest point of the sign, including any framework or other embellishments, as shown in Figure 6-R.
3.
Wall Signs. Heights shall not exceed the height of the building wall to which the sign is affixed.
180-6.19.6.
Placement.
A.
On-Premises. All signs shall be located on the premise of the business, use, or tenant space displaying the sign except as specifically permitted elsewhere in this section.
B.
Ground Placement.
1.
Setbacks. Signs are not subject to the setback requirements of the zoning district where they are located.
2.
Rights-of-Way. Signs are not permitted to be placed on or project into public rights-of-way without specific written authorization from the Town, except as specifically permitted elsewhere in this section.
3.
Water Quality Setbacks. Signs are not permitted to be placed on or project into water quality setbacks without specific written authorization from the Town, except as specifically permitted elsewhere in this section.
4.
Traffic Movement, Drainage, and Snow Storage. Signs shall not impair visibility for traffic movement and shall not impede drainage or snow storage.
C.
Building Placement.
1.
Wall Signs. Wall signs shall be contained within any single wall panel or other architectural component upon which they are placed, and shall not exceed the height of the building wall to which the sign is affixed.
2.
Projecting, Hanging, and Awning Signs. Signs shall be located to complement architectural elements of the building. No part of a projecting, hanging or awning sign shall be located above the ceiling of the second story of any building. Projecting, hanging, and awning signs shall not exceed the height of the building wall to which the sign is affixed, and shall have a minimum of eight and one-half feet clearance above the ground.
3.
Multi-Tenant Buildings. Signs for businesses in multi-tenant buildings shall be located on the tenant space being identified by the sign or as depicted by the Master Sign Plan.
180-6.19.7.
Design Standards. The purpose of the sign design standards is to promote a high level of quality and creativity, in keeping with the architectural goals and authentic mountain character of Frisco. The goal of the guidelines is also to encourage sign design that is eclectic, artistic, and original.
A.
Construction. All signs and sign structures shall be made by a commercial sign manufacturer or be of similar professional quality. All signs shall be completed and erected in a professional manner.
B.
Maintenance. It shall be unlawful to fail to maintain any sign, including signs exempted from these regulations with respect to permits and fees, in good repair and appearance, including, but not limited to, the keeping in good condition of all painted and printed surfaces, trims, poles, and text integrity.
C.
Building and Electrical Permits. All signs for which a sign permit is required shall be subject to the provisions of the most currently adopted version of the building, electrical and mechanical codes. The following signs require a building permit: freestanding signs over ten feet in height, freestanding signs greater than 42 square feet in area, and awnings supported by an exterior wall which project more than 54 inches from the exterior wall.
D.
Snow and Wind Load. All freestanding signs over ten feet in height or greater than 42 square feet in area shall be designed to withstand minimum wind and snow loads according to the provisions of Chapter 65, Town of Frisco Building Construction and Housing Standards. The Building Official may require freestanding signs to be designed by a Colorado licensed engineer with professional stamped plans.
E.
Design Compatibility.
1.
Compatibility with the Building. Signs including its supporting structure and components should be integrated with the design of the building or structure on which they are placed. The scale, size, and shape of any sign should be proportionate to the building and the area in which it is located. Signs should not obscure architectural features, and should be designed in a manner that provides an artistic accent or visual point of interest for the building, as shown in Figure 6-T.
2.
Compatibility with Other Signs. Signs including its supporting structure and components should be integrated with the design of other signs located on or near the same building to complement or enhance the other signs. The design and alignment of signs on multi-use buildings should be complementary, but not uniform or duplicative.
Figure 6-S: Sign Design Compatibility
F.
Materials. Sign materials should be compatible with the architectural design of the building's façade, and should contribute to the legibility of the sign. Carved or sandblasted wood; formed, etched, cast metal; and high density pre-formed foam or similar materials are encouraged. Raised borders and raised letters are encouraged. Mirrors or other reflective materials are prohibited. The supporting structure of a freestanding sign shall not include a singular, exposed metal pole or column, but it should be entirely surrounded by a decorative pole or column cover that is architecturally compatible with the sign and building, as shown in Figure 6-U.
Figure 6-T: Free-Standing Sign Structures
G.
Color. Sign colors should contribute to legibility and design integrity, and to the overall communicative effect of the sign. All signs, whether lighted or unlighted, should utilize a contrasting background for legibility, as shown in Figure 6-V. Color palettes should be utilized in a creative fashion to reflect the business or use for which the sign is intended, and to provide a memorable point of reference for sign viewers. Color combinations should achieve a harmonious appearance, while maintaining sign creativity and originality. Luminescent colors are prohibited.
H.
Copy and Lettering Style. Sign fonts should be selected to provide both clarity and artistic integrity. The number of lettering styles should be limited to increase legibility, and letters and words should not be spaced too closely. The graphic symbol which relies on images and reduces the use of words is encouraged, as shown in Figure 6-W.
Figure 6-V: Copy and Lettering Style
I.
Medical Marijuana Businesses. All signage associated with a medical marijuana business shall meet the standards established in the Frisco Sign Code and Section 180-5.2.6, Medical Marijuana Dispensaries.
J.
Sexually Oriented Businesses. All signage associated with a sexually oriented business shall meet the standards established in the Frisco Sign Code and Section 180-5.2.10.O, Signs for Sexually oriented Businesses.
K.
Three-Dimensional Surface. Signs with a three-dimensional, textured surface that provide architectural relief such as carved, routed, or sandblasted designs are encouraged, as shown in Figure 6-X. The depth of three-dimensional elements shall not exceed three feet.
Figure 6-W: Three-Dimensional Surface
L.
Illumination. The illumination of signs is intended to minimize the undesirable side effects of excessive illumination such as glare, sky glow, and light pollution. The following standards shall apply to sign illumination:
1.
Light Source. All exterior sign lighting shall be fully shielded and down-directed. All upward-directed sign lighting is prohibited. The intensity of sign lighting shall not exceed that necessary to illuminate and make legible a sign from the adjacent travel way. It is recommended that exterior sign lighting be extinguished during non-operating hours. Wherever practicable, it is encouraged that lighting installations include timers, dimmers, and/or sensors to reduce overall energy consumption and unnecessary lighting. Energy efficient light sources are encouraged.
2.
Component Painting. All light fixtures, conduit, and shielding must be concealed and shall be painted to match either the building or the supporting structure that serves as the background of the sign.
3.
Externally Illuminated Signs. Externally lit signs shall be illuminated only with steady, stationary, shielded light sources directed solely onto the sign without causing glare. Light bulbs or lighting tubes used for illuminating a sign shall be simple in form and should not clutter the building or structure. Light bulbs or lighting tubes should be shielded so as to not be physically visible from adjacent properties and public rights-of-way.
4.
Internally Illuminated Signs. Internally illuminated signs with light colored backgrounds, including, but not limited to, white, off-white, light gray, cream and yellow are discouraged.
5.
Digital or Electronic Signs. Digital or electronic signage must include automatic dimming in direct correlation with ambient light conditions and its brightness cannot exceed 0.3 footcandles above ambient light. The brightness shall be measured with an illuminance meter set to measure footcandles accurate to at least two decimals. All brightness measurements shall be taken perpendicular to the face of the sign at a distance measured by the following formula:
Measurement Distance = √Area of Sign Sq. Ft. × 100
6.
Fixtures. Lighting fixtures shall be simple in form and should not clutter the building. The fixtures must be directed only at the sign. Lighting for front lit signs shall be housed in fixtures and installed in a manner that will serve to substantially shield exposed bulbs and lighting tubes from public view. Gooseneck or other building mounted fixtures are encouraged.
180-6.19.8.
Specific Regulations for Sign Types.
A.
Permanent Signs. The following types of signs are permitted in the sign districts as indicated in Table 6-5 thru Table 6-10.
1.
Awnings. Any portion of an awning containing the name of the business, or which is otherwise a sign, shall be treated as a sign, as shown in Figure 6-Y. No awning sign shall be placed in a manner where it would allow snow to shed onto any public walkway. An awning may be made of any material compatible with the design of the building, but for the purposes of this section, no awning shall be backlit or contain backlighting.
2.
Building Identification Signs. The building identification sign area shall not count toward the aggregate sign area for the building.
3.
Directional Signs. Directional signs shall not count toward the aggregate sign area for the business, use, or tenant space displaying the directional signs. Further:
a.
Directional signs shall not be used for additional advertising, but may include the business name or logo.
b.
Directional signs should be clearly linked and utilize common design cues including color, shape, logo, material, or nomenclature.
c.
Businesses in the Summit Boulevard Corridor Sign District that have a secondary street access into a project shall be allowed to have a secondary street access freestanding directional sign. Directional signs must be displayed on the secondary street frontage. The directional sign must be used solely to provide direction to the project, provide way finding within the project or to provide direction to an amenity within the project.
d.
Directional signs that do not meet the standards listed above shall be considered freestanding, projecting, hanging or wall signs and regulated according to this section.
4.
Drive-Through Signs. Drive-Through Menu Board and Drive-Through Pre-Sell Menu Board signs may include changeable copy.
Figure 6-Y: Drive-Through Menu Boards
Figure 6-Z: Changeable Copy Sign
5.
Freestanding Signs.
a.
A landscaped area equal to two square feet for each one square foot of total sign area of a freestanding sign is encouraged, as shown in Figure 6-BB.
b.
Singular, metal pole or column sign supports without a decorative cover shall be prohibited.
c.
Adjacent lot owners may erect a joint freestanding sign on their common lot line if both property owners have provided written permission.
d.
There shall be no more than one freestanding sign per project, and no more than two freestanding signs per premise, provided that one of the two freestanding signs is an off-premises sign for another property or premise as provided herein.
Figure 6-AA: Free-Standing Sign
6.
Gasoline Price Signs. The sign area of a gasoline price sign shall not count toward the aggregate sign area for the service station if the sign is 12 square feet or less in area. If the sign exceeds 12 square feet in area, the additional sign area shall count against the aggregate sign area for the service station. Further:
a.
Gasoline price signs are permitted to use changeable copy and must be incorporated into a freestanding, projecting, or wall sign associated with a service station.
b.
Electronic or digital gasoline price signs shall conform to the illumination standards described in this section.
c.
Any sign incorporated into a service station canopy shall be considered a roof sign and is prohibited.
7.
Home Occupation Signs. An approved home occupation shall be allowed a projecting or wall sign. Home occupation signs may state the name or nature of the home occupation, but shall not advertise specific products or be lit from any angle.
8.
Projecting Signs. No projecting sign shall extend more than three feet from a building wall, as shown in Figure 6-CC.
9.
Miscellaneous Signs. Any sign types not listed in this section shall be classified as miscellaneous signs and may not be erected unless approval is granted by the Community Development Department as to size, height, configuration, illumination, and application for usage. Strict interpretation of the intent and purpose of this section shall be applied to all requests for approval of miscellaneous signs. Signs listed as prohibited shall not be considered or approved as a miscellaneous sign.
10.
Residential Subdivision Entrance Signs. A sign with copy limited to a logo and the subdivision name. Only one sign per subdivision entry is allowed.
11.
Time and Temperature Signs.
a.
Time and temperature signs must be incorporated into a freestanding or wall sign associated with a business, shall not constitute more than 25 percent of the sign area, and can be no larger than 25 square feet in area, as shown in Figure 6-DD.
b.
The text display of the time and temperature is permitted to use changeable copy, cannot change more than once per eight seconds, and the transition shall be instantaneous.
c.
There shall not be any advertising copy on a time and temperature sign.
Figure 6-CC: Time and Temperature Sign
12.
Temporary Signs. The following types of signs are permitted in the sign districts as indicated in Table 6-5 thru Table 6-10.
13.
Banners.
a.
Banner verbiage must match the products or services offered by the business, sale events, or promotions, or announce the opening or closing of the business, as shown in Figure 6-EE.
b.
Banners may be permitted for up to 26 weeks per calendar year, for one-week intervals.
c.
A business may hang no more than one banner at a time. If a tenant space has multiple business licenses for the same tenant space, then the tenant space shall only be allowed to hang one banner at a time.
d.
Banners shall be located on the premises only, allowable only on the exterior of the building or any projection of the building such as a deck, fence, or railing.
e.
Banners shall be in good condition, without rips, tears, or fading, and all corners must be secured to the building or building projection.
14.
Construction Signs. Signs may not be erected prior to issuance of a Town building permit and must be removed prior to the issuance of a Town certificate of occupancy or when the building permit expires, whichever occurs first. Only one construction sign is allowed per project.
15.
Real Estate Development Signs. A freestanding or wall sign may be permitted on the site of a new project following Town approval of a Development Application. Real estate development signs must be removed ten days after all certificates of occupancy have been issued or when the building permit expires, whichever occurs first. Only one real estate development sign is allowed per project.
180-6.19.9.
Master Sign Plan. The Master Sign Plan shall be designed to establish a common theme or design to create visual harmony between the sign(s), building(s), and other components of the subject property, using similar construction methods, compatible colors, scale, and backgrounds. The sign plan shall indicate the size and location of all signs proposed. It shall also coordinate a minimum of three of the following elements: color(s), shape, mounting, lighting, lettering style, graphics, and materials. The aggregate sign area within the Master Sign Plan is subject to the size limitations of this section. The Master Sign Plan shall not allocate or transfer any sign area from one business to another.
180-6.19.10.
Sign Districts.
A.
Main Street Corridor Sign District.
1.
Purpose. The downtown area of Frisco represents the focal point of the community with a compatible mix of commercial and residential uses and a pedestrian-oriented Main Street. The intent of this district is to enhance the authentic mountain town character of Frisco and promote the Main Street area as the heart of the community.
2.
Standards. All signs in the Main Street Corridor Sign District shall comply with the standards in Table 6-5 and Table 6-6. See Map 1. Main Street Corridor Sign District for district boundaries. Further:
a.
Text Height. No letter, symbol, or numeral shall exceed two feet in height.
b.
Illumination. Only signs that are externally illuminated are permitted. Lighting shall be front lit and down-directed. Signs that are backlighted (halo-lighted), electronic, or internally illuminated are prohibited.
c.
Materials. Signs made of natural materials such as wood, metal, or stone or other materials that mimic natural materials, such as high-density urethane, which are substantially similar to the natural materials they are simulating are encouraged.
d.
Design. The use of symbols, three-dimensional or textured surfaces, carved or routed letters, or other artistic features are encouraged, as shown in Figure 6-FF.
Figure 6-EE: Main Street Corridor Sign Design Guidelines
e.
Orientation. Signs should be located and sized to be viewed by pedestrians. Projecting, hanging, or awning signs are permitted to project over the three-foot sidewalk easement on East Main Street if there is a minimum of eight and one-half feet clearance above the ground.
f.
Aggregate Sign Area.
i.
The maximum aggregate sign area for each business or entity is 32 square feet.
ii.
No one sign may exceed 32 square feet of sign area.
iii.
Businesses with Main Street business frontage that are located on a corner lot or that have more than one street frontage (not including alleys, driveways, or parking lots) shall be allowed to have a maximum of 42 square feet of aggregate sign area.
iv.
If a tenant space has multiple business licenses for the same tenant space, then the tenant space shall be allowed to have a maximum of 42 square feet of aggregate sign area.
g.
Freestanding Signs.
i.
Minimum Separation. All freestanding signs, except directional signs, shall be separated by a distance of no less than 50 feet unless the freestanding signs are separated by a street right-of-way.
ii.
Off-Premises Freestanding Signs. Freestanding signs located off-premises must comply with the following regulations:
a)
Off-premises signs may only reference businesses that do not have business frontage along Main Street. See Map 1, Main Street Corridor Sign District for the commercial properties that are allowed to have off-premises signs.
b)
An off-premises sign is only permitted on a property where the property owner has provided written permission.
c)
Only one off-premises sign is allowed per project.
d)
The off-premises sign must be located on Main Street at the nearest street intersection en route to the project.
e)
Refer to Table 6-5 and Table 6-6 for additional standards related to freestanding signs.
iii.
Sign Area. The sign area of any freestanding sign is deducted from the total aggregate sign area allowed for the business displaying said sign.
B.
Summit Boulevard Corridor Sign District.
1.
Purpose. The Summit Boulevard Corridor, including Summit Boulevard, Interstate 70, the Dam Road and Ten Mile Drive, serves as a primary gateway to Frisco and provides a broad range of commercial services conveniently accessible by automobile. The intent of this district is to encourage signs of a high-quality design that are eclectic and compatible with the authentic mountain town character of Frisco.
2.
Standards. All signs in the Summit Boulevard Corridor Sign District shall comply with the standards in Table 6-7 and Table 6-8. See Map 2, Summit Boulevard Corridor Sign District for district boundaries. Further:
a.
Text Height. No letter, symbol, or numeral shall exceed four feet in height.
b.
Lighting. Signs that are backlighted (halo-lighted) are encouraged.
c.
Design. Routed faces, three-dimensional or textured faces, push-through letters or graphics, and pin/stud mounted architectural letters are encouraged, as shown in Figure 6-GG.
Figure 6-FF: Summit Boulevard Corridor Sign Design Guidelines
d.
Orientation. Signs should be located and sized to be viewed by motorists.
e.
Aggregate Sign Area. Aggregate sign area allowed for a business, use or tenant space shall be calculated using its business frontage, as shown in Figure 6-HH and Figure 6-II. Further:
i.
The maximum aggregate sign area for a business, use, or tenant space shall be a square footage equal to 66 percent of the linear length of the business frontage with a maximum of two frontages displaying signs. The minimum aggregate sign area for each business frontage is 32 square feet and the maximum allowed is 150 square feet. For example, a business with a 75-foot-long business frontage may be allowed up to 49.5 square feet of aggregate sign area on that frontage (75 x 0.66 = 49.5).
ii.
Businesses, uses, or tenant spaces that are on the interior of a building without business frontage shall be allowed a maximum of 32 square feet of aggregate sign area.
iii.
No part of the sign area of on-premises signs allowed for one business frontage shall be transferred to another business frontage, whether that other business frontage is that of the same or any other business.
Figure 6-GG: Single-Tenant Building Signage
Fiture 6-HH: Multi-Tenant Building Signage
f.
Freestanding Signs.
i.
Minimum Separation. All freestanding signs, except directional signs, shall be separated by a distance of no less than 100 feet unless the freestanding signs are separated by a street right-of-way.
ii.
Off-Premises Signs. Freestanding signs located off-premises must comply with the following regulations:
a)
Off-premises signs may only reference businesses that do not have business frontage along Summit Boulevard. See Map 2. Summit Boulevard Corridor Sign District for the commercial properties that are allowed to have off-premises signs.
b)
An off-premises sign is only permitted on a property where the property owner has provided written permission.
c)
Only one off-premises sign is allowed per premise.
d)
The off-premises sign must be located on Summit Boulevard at the nearest street intersection en route to the project.
e)
The sign area of an off-premises sign is deducted from the closest business frontage displaying the sign.
f)
Refer to Table 6-7, Table 6-8, and Table 6-9 for additional standards related to freestanding signs.
iii.
Sign Area. The sign area of any freestanding sign is deducted from the total aggregate sign area allowed for the business displaying said sign.
C.
Lusher Court Overlay. Notwithstanding the provisions of Subsection 180-6.19.10.B.2.e.i above, businesses, uses, or tenants located in the Lusher Court Overlay shall be allowed an aggregate sign area square footage that is equal to 70 percent of the linear length of the business frontage that faces the interstate as indicated in Map 2. Summit Boulevard Corridor Sign District. For projects with multiple buildings, only those businesses with business frontage located along the northern property boundary that face the interstate shall be allowed the 70 percent aggregate sign area. All other business frontages shall be allowed an aggregate sign area of 66 percent for the frontage.
D.
Dillon Dam Road Overlay. Notwithstanding the provisions of Subsection 180-6.19.10.B.2.e.i above, businesses, uses or tenants located in the Dillon Dam Road Overlay shall be allowed an aggregate sign area square footage that is equal to 70 percent of the linear length of the business frontage that faces the interstate as indicated in Map 2. Summit Boulevard Corridor Sign District. All other business frontages shall be allowed an aggregate sign area of 66 percent for the frontage. Refer to Table 6-9 for additional standards. Further:
1.
Freestanding signs that are located on the business frontage facing the interstate shall be allowed a maximum of 100 square feet in sign area. If a freestanding sign is located on any other business frontage, the sign area shall conform to the standards listed in Table 6-7 and Table 6-8.
2.
Freestanding sign height shall be measured from a surveyed point located at the horizontal line of sight from the paved surface of the nearest section of street or interstate highway.
E.
Residential Sign District. All signs in the Residential Sign District shall comply with the standards in Table 6-10. Any property not identified in the sign district maps shall be considered to be located in the Residential Sign District. Nonconforming commercial uses in residential zoned areas shall comply with the Main Street Corridor Sign District and are not eligible to display off-premises signs. Sign illumination in residential districts shall be restricted to front lit lighting only.
F.
Parks and Open Space Sign District. Any sign placed in an area designated as Parks and Recreation District or Open Space District by the Unified Development Code must obtain approval from the Community Development Department prior to erecting the sign. Sign designs shall conform to the Town of Frisco's Parks and Opens Space Sign Design Criteria. See Map 3, Parks and Open Space Sign District and Public Facilities Sign District for the district boundaries.
G.
Public Facilities Sign District. Any sign placed in an area designated as Public Facilities District by the Unified Development Code and other government or public entities must obtain approval from the Community Development Department prior to erecting the sign. Sign designs shall conform to the Town of Frisco's Public Facilities Sign Design Criteria. See Map 3, Parks and Open Space Sign District and Public Facilities Sign District for the district boundaries.
180-6.19.11.
Administration.
A.
Approvals. Applicants intending to erect a new permanent or temporary sign or those seeking to modify existing signs must obtain a sign permit from the Community Development Department prior to installation or modification of the sign. Painting, repainting, repair or cleaning of a sign shall not require a sign permit; however, this exemption shall not apply if the color scheme or design of an existing sign is altered or if such painting or repainting results in a different business, product, or service being advertised by the sign. A business which only operates on a seasonal basis or sells seasonal items or services may use interchangeable signs provided a permit is obtained for each sign displayed at that business. If an application is filed under the sign regulations and each sign in the application meets the requirements of these regulations, the sign shall be approved and permits issued by the department staff. If an application requires approval by the Planning Commission, or raises questions of interpretation which the staff believes should be decided by the Commission, the application shall be forwarded to the Planning Commission for review and action. No sign shall be erected, or displayed without prior approval of a sign permit.
B.
Master Sign Plan Application Requirements. A Master Sign Plan (MSP) is required for any development having three or more tenants, businesses, or uses. The MSP must be approved by the Community Development Department before an individual sign permit can be issued. Prior to the submittal of a Master Sign Plan application, a pre-application conference with the Planning Division is required to acquaint the applicant with Sign Code procedures, design standards, and to review the MSP proposal. In order to apply for a MSP, the applicant must provide the following information in writing:
1.
A completed and signed Town of Frisco Master Sign Plan application and non-refundable fee.
2.
Site plan [no less than one inch equals ten feet] depicting the locations of all existing and proposed signage, public rights-of-way, property lines, easements, grades, buildings, utilities, and landscaping.
3.
Scale drawings, elevations, or photographs of the proposed signage depicting the dimensions and size, location, design, mounting methods, colors, materials, source of illumination and building façade or other location where the proposed signage will be located.
4.
Any other maps, drawings, or other materials needed to adequately describe the master sign plan proposal as required herein.
5.
Upon submission of a complete application, the Community Development Department shall have ten business days to review the application.
C.
Individual Sign Permit Application Requirements. In order to apply for a sign permit, the applicant must provide the following information in writing:
1.
A completed and signed Town of Frisco sign permit application and non-refundable fee.
2.
A copy of the approved Master Sign Plan for the project, if applicable.
3.
Site plan [no less than one inch equals ten feet] depicting the locations of all existing and proposed signage, public rights-of-way, property lines, easements, grades, buildings, utilities, and landscaping.
4.
Scale drawings, elevations, or photographs of the proposed signage depicting the dimensions, design, mounting methods, colors, materials, source of illumination and building façade or other location where the proposed signage will be located.
5.
The proposed signage shall use a consistent design theme to create visual harmony between the sign(s), building(s), and other components of the subject property.
6.
Written evidence of a current business license.
7.
Any other material or information to show compliance with the Frisco Sign Code as required herein.
8.
Upon submission of a complete application, the Community Development Department shall have ten business days to review the application.
D.
Inspections. The Community Development Department shall have the authority to make periodic inspections of all existing signs for compliance with this section. Final approval of any sign as erected is contingent upon inspection of said sign for compliance with the approved sign application within 14 days of erecting the sign. The applicant is responsible for requesting a final sign inspection from the Community Development Department once the sign has been erected.
E.
Appeals. Upon denial of an application for a sign permit, the applicant has ten calendar days from the date of the decision to file an appeal with the Community Development Department in accordance with Section 180-2.7.1.
180-6.19.12.
Signs Exempt from Sign Permit Process. The following signs are exempt from the requirement that a sign permit be obtained because they either do not create safety hazards or aesthetic disruption, they promote public safety or the dissemination of public information, or are accessory to the exercise of an individual's First Amendment rights:
A.
Art. Works of art, including, but not limited to, murals, sculptures, and paintings, when not used as a sign or an attention getting device.
B.
Community Events. Banners, flags, signs, and other similar devices erected on Town-controlled property to promote a temporary or seasonal community event, or to identify a point of interest or landmark.
C.
Flags. The flag, pennant or insignia of any nation, organization or nations, state, province, county, town, any religious, civic or fraternal organization, or educational institution; and providing further that such are subject to the following limitations:
1.
Flags and pennants shall not exceed the proportions which have been established by presidential declaration: Three feet by five feet when hung from a building, or five feet by seven feet when hung from a large flagpole. Flags or pennants larger than the specified sizes require a sign permit.
2.
Flags shall have a minimum clearance of eight and one-half feet when they project over public sidewalks and 15 feet when projecting over streets or roads.
3.
Except in residential areas, there shall be a minimum of 20 feet from the top of a flagpole to average grade.
4.
Flags and flagpoles shall not exceed the tallest building height limit of the applicable zoning district.
5.
Flags, pennants, and insignia shall be maintained in a clean and undamaged condition at all times.
6.
The display of national flags, pennants, and insignia shall be governed by the standard rules of international protocol.
D.
Historic Plaques, Landmark and Memorial Signs.
1.
Historic Plaques.
2.
Landmark signs not to exceed six square feet.
3.
Memorial Signs not exceeding four square feet and gravestones of any size.
E.
Information Signs. Information signs are permitted on the exterior of the building or building projection, or can be incorporated into a freestanding, projecting, hanging, wall, or window sign.
1.
One "office" sign per motel/hotel business or multifamily project, not to exceed two square feet in area.
2.
For any business, one "open/closed" sign per street frontage, up to two square feet in area per sign.
3.
A maximum of two "vacancy" signs per motel/hotel business, provided that each sign does not exceed two square feet in area.
4.
One "hours-of-operation" sign per entryway, not exceeding two square feet in area.
5.
One square foot per entry is allowed for accepted methods of payment such as credit cards, membership stickers, and similar signs.
6.
Private warning or instructional signs, such as "no soliciting", "no trespassing", "no parking", or "beware of dog," not exceeding two square feet in area.
F.
Merchandise. Merchandise or models of products or services which are incorporated as an integral part of an indoor window display.
G.
Political Signs. Such signs, posters, or banners shall not be erected or placed prior to 45 days before an election, and shall be removed within five days following the election. No such signs, posters, or banners shall be placed upon or shall extend into any public property or right-of-way. Political or ideological signs not to exceed six square feet in area per sign when located on private property and not otherwise in a public right-of-way, or on public property or structures.
H.
Real Estate Signs.
1.
Temporary Real Estate Open House Signs. One on-site open house sign, non-illuminated, not exceeding six square feet in area may be permitted on the premise that is for sale or lease. One or more off-site open house signs may also be permitted as necessary to indicate changes of direction from Summit Boulevard or Main Street to the subject property location. Such signs shall be displayed only when the unit is actually open, for a time period not to exceed ten hours, and in all cases shall be removed at night. Such signs shall be limited to private property for which written permission has been obtained and to public rights-of-way that meet the following criteria:
a.
May not be placed on any sidewalk.
b.
May not be placed within any street travel lane or parking lane.
c.
May not be placed any closer than ten feet from the edge of pavement of an intersection.
d.
May not be placed any closer than four feet from any edge of pavement or curb.
e.
All open house signs shall be limited to a maximum of three feet above the surface grade at the base of the sign measured from the ground or snow pack, whichever is higher. For new construction, open house signs shall not be permitted until the Building Official has issued a certificate of occupancy.
2.
Temporary Real Estate Sale or Lease Signs. One real estate sign, non-illuminated, not exceeding six square feet in area may be permitted on the premise that is for sale or lease. Such signs shall be removed within seven days after closing or expiration of the listing, whichever occurs first. When more than one contiguous lot or parcel under one ownership is offered for sale or lease, only one real estate sign is permitted, provided that if such property is separated by a public street or alley, a sign may be permitted on each portion so divided. On property exceeding two acres in size fronting on streets with a speed limit of 35 miles per hour or greater, one or two real estate signs containing up to a total of 20 square feet in area are permitted. In buildings where several units are for sale or lease by different real estate firms, only one real estate sign is permitted for each firm involved.
I.
Residential Signs.
1.
Garage sale signs which announce the sale of used items from a residence. Signs shall be removed on the last day of the sale and shall not create a nuisance as defined in Chapter 124, Nuisances, of the Town Code.
2.
Signs which identify the name of the occupant of a dwelling unit, provided that the letters do not exceed six inches in height and the sign does not exceed two square feet in area.
J.
Restaurant Signs (Menu Signs). One menu sign per restaurant or food establishment not to exceed two square feet in area.
K.
Portable and Sandwich Board Signs. Portable and sandwich board signs shall be permitted all sign districts except the Residential Sign District and must meet the following requirements:
1.
Portable and sandwich board signs shall not exceed 30 inches in width and 36 inches in height.
2.
Businesses are limited to one sandwich board or portable sign per business may display such signs only when the business is open for business, and shall remove sandwich board signs during non-business hours.
3.
Portable and sandwich board signs must have a well-maintained appearance.
4.
Chalkboard insets and dry-erase boards are permitted.
5.
Sandwich board and portable signs are subject to the following location requirements:
a.
Sandwich board and portable signs are not permitted on public rights-of-way or pedestrian sidewalks and must be located on the business property except when located along the three-foot sidewalk easement on Main Street.
b.
Businesses located along West Main Street shall be allowed to place sandwich boards or portable signs in the public right-of-way between the building and the nearest edge of public sidewalk upon issuance of a revocable license by the Town.
Figure 6-II: Sandwich Board and Portable Signs
6.
Such signs shall not be electrical in any form and shall not display lights or contain moving parts.
Figure 6-JJ: Sandwich Board "A-Frame" Sign
L.
Safety Signs. Any public purpose/safety sign and any other notice or warning required by a valid and applicable federal, state, or local law, regulation, or resolution.
M.
Scoreboards. Scoreboards on athletic fields.
N.
Seasonal Decorations. Temporary, noncommercial decorations or displays, signs or other materials displayed on traditionally accepted civic, patriotic, and/or religious holidays, provided that such decorations are maintained in a safe and attractive condition.
O.
Signs on Vehicles.
1.
Bumper Stickers.
2.
Vehicle Signs which are being operated or stored in the normal course of business such as signs indicating the name of the owner or business which are located on delivery trucks, trailers, and the like; provided, however, that the primary purpose of such vehicles is not for the display of signs, and provided that such vehicles are parked or stored in areas appropriate to their use as vehicles. Signs painted on trailers used on construction sites also are exempt provided that a building permit has been issued for that site and the trailer is not stored in such a way as to act as a sign.
P.
Window Signs. Window signs shall not exceed a total coverage of more than one-third of the total surface area of the window. Window signage should not be an exact replica of a business's permanent signage. Window signage is not allowed in windows above the ground floor of the building. Illumination directed at window signs shall not be allowed.
180-6.19.13.
Prohibited Signs. This subsection identifies signage and devices that are determined to be a nuisance by the Town and are prohibited in all districts. The Town shall require the removal of any sign which is determined to be prohibited and not in accordance with the provisions of these regulations.
A.
Any sign not in accordance with the provisions of these regulations.
B.
Attention getting-devices including, but not limited to, feathers, snipe signs, sign spinners, and pennants, as shown in Figure 6-LL.
Figure 6-KK: Attention-Getting Device
C.
Bus bench or bus shelter signs.
D.
Changeable copy signs except as specifically permitted elsewhere in this section.
E.
Electronic signs except as specifically permitted elsewhere in this section.
F.
Home office signs.
G.
Mirrors or other reflective materials and luminescent colors.
H.
Neon, other gas-filled and LED light tubes except when used as a window sign, as shown in Figure 6-MM.
I.
Off-premises signs and signage, except as specifically permitted elsewhere in this section.
J.
Photographic images except when used as an interior window display or merchandise display.
K.
Roof signs.
L.
Signs painted on, or attached to, a licensed or unlicensed motor vehicle or trailer and parked adjacent to a public right-of-way and not driven off-site during any two-day period.
M.
Signs, including, but not limited to, window signs that have intermittent, flashing, rotating, scintillating, blinking or strobe illumination or any change in color or intensity.
N.
Signs including banners which do not advertise an operative business. Signs must be removed within 30 days after the closing of a business. New businesses shall be allowed to hang approved signs no earlier than 30 days prior to the business opening.
O.
Unsafe signs. Signs that are structurally unsafe, not kept in good repair, or that constitute a hazard to safety or health by reason of inadequate maintenance, dilapidation, damage, abandonment or inability to meet lateral and/or vertical loads as determined by the Town of Frisco Building Official.
P.
Window signs, except as specifically permitted elsewhere in this section.
180-6.19.14.
Nonconforming Signs. Signs legally erected prior to the effective date of the ordinance codified in this section shall be deemed to be legal nonconforming signs and shall be governed by the provisions of Chapter 180, Article VIII, Nonconformities.
180-6.19.15.
Sign Definitions. The following words and phrases, when used in this section, shall have the meanings ascribed to them below:
Aggregate Sign Area. The total available sign area of all sides or portions of a sign.
Art. Things that have form and beauty, including paintings, sculptures, or drawings, and for which the principal purpose or effect is not the advertising of goods or services or the location of a business.
Attention Getting Device. Any flag, streamer, spinner, pennant, feathers, costumed character, light, balloon, continuous string of pennants, flags or fringe, audible components or similar device or ornamentation used primarily for the purpose of attracting attention for promotion or advertising a business or commercial activity which is visible by the general public from any public right-of-way or public area.
Banner. A temporary sign composed of lightweight material, including cloth or canvas or a like material of sturdy construction which is not easily torn and which is intended for the purpose of advertising a business, special event, sale, opening, new product line or service, special hours of operation or other similar temporary message.
Building Frontage. The width of a building facing a street, alley, parking lot, interstate or public right-of-way, as shown in Figure 6-NN.
Figure 6-MM: Building Frontage
Business Frontage. That portion of a building frontage occupied by a single tenant space or lease area in a single or multi-tenant building facing a street, alley, parking area, interstate, or other public right-of-way. For businesses located on the interior of a building without business frontage, the building elevation providing customer access shall be considered the business frontage for the purposes of determining signage.
Copy. Any graphic, letter, numeral, symbol, insignia, sample, model, device or combination thereof which is primarily intended to advertise, identify or notify.
Corner Lot. A lot bounded on two sides by streets (not including alleys, driveways, interstates, or parking lots) which intersect with each other.
Footcandle. A unit of illuminance equivalent to one lumen per square foot.
Fully Shielded Light Fixture. A light fixture that directs light downward, and covers the bulb to prevent light being emitted by the fixture from causing glare.
Historic Plaque. A plaque erected by the Town or historic agencies designating any areas of historical significance.
Light Source. Any fixture or mechanism used to shine light onto a sign or to make a sign luminous.
Main Street Corridor Sign District. The sign district outlined on Map 1 primarily located along Main Street and in the Central Core and Mixed-Use zoning districts.
Master Sign Plan (MSP). A sign plan which identifies the number, description, size, and location of all signs for businesses on the same property or within the same project which constitute a visual entity as a whole.
Merchandise. Merchandise or models of products or services which are incorporated as an integral part of an indoor window display. Merchandise includes photographic window displays of real estate available for sale, lease, or rental from a licensed real estate broker. Logos, signs, emblems and trademarks are not considered merchandise and shall be treated as signs.
Parks and Open Space Sign District. The sign district outlined on Map 3, designated as Parks and Recreation District or Open Space District by the Unified Development Code.
Pennant. Pieces of fabric or flexible material, often multicolored, hung either alone or in a series in order to attract attention to a particular business or event.
Pole Cover. A cover that encloses or decorates a pole, column, or other structural sign support.
Project. Development of attached or detached structures, for which development approval is sought under a single or phased development application.
Public Facilities Sign District. The sign district outlined on Map 3, designated as Public Facilities District by the Unified Development Code and other government or public entities.
Residential Sign District. Any property not identified in the sign district maps shall be considered to be located in the Residential Sign District.
Summit Boulevard Corridor Sign District. The sign district outlined in Map 2 primarily located along Summit Boulevard.
Three-Dimensional Surface. A sign element which has a depth or relief on its sign face greater than six inches exclusive of the supporting sign structure.
Sign. Any device, structure, fixture, painting or visual image with or without words, graphics, symbols, numbers, or letters that is designed and used for the purpose of communicating a message or attracting attention. A sign shall not include any architectural or landscape features that may also attract attention.
Sign, Awning. A sign painted on, printed on or attached to or supported by an awning.
Sign, Backlighted. A sign with elements which are illuminated by a concealed light source located behind the surface of the sign to highlight specific elements of the sign producing a halo- lighting or silhouette lighting effect.
Sign, Building Identification. A sign containing the name or address of a building or building complex.
Sign, Cabinet. A sign that contains all the text and/or logo symbols within a single enclosed cabinet and may or may not be internally illuminated.
Sign, Changeable Copy (Readerboard). A sign on which the copy is changed either manually with changeable letters, or automatically by means of scrolling or alternating electric or electronic messages.
Sign, Construction. A temporary sign identifying the architect, financier, contractor, subcontractor, and/or material supplier participating in construction of a development on the property on which the sign is located.
Sign, Directional. Signs directing vehicular traffic or pedestrian movement into premises or within premises and which may contain the name or logo of a business but no other advertising copy.
Sign, Directory. A sign that serves as a common or collective identification of multiple businesses on the same property.
Sign, Drive-Through Menu Board. A sign with a menu and/or a speaker system used by drive-through businesses, as shown in Figure U.
Sign, Drive-Through Pre-Sell Menu Board. A sign used by drive-through businesses to promote daily specials, limited time offers, and other menu advertisements.
Sign, Electronic. Any sign that uses solid, electronic technology such as incandescent lamps, LEDs, LCDs, or some other electronic means of changing copy to produce bright displays that typically involve moving copy, animation, or other graphics.
Sign, Freestanding. A permanent sign that is supported by one or more columns, upright poles or braces extended from the ground or from an object on the ground, or that is erected on the ground where no part of the sign is attached to any part of building, structure or other sign; the term includes a "pole sign" and a "monument sign."
Sign, Front Lit. A sign which is illuminated from fixtures mounted exterior to the sign face.
Sign, Gasoline Price. A sign that identifies the type and price of gasoline for sale on the premises of a legally established gasoline service station.
Sign, Hanging. A sign which hangs down from, and is supported by, or attached to the underside of a canopy, awning, or extension of a building.
Sign, Home Occupation. A sign associated with a home occupation as defined by Chapter 180, Article IX, Definitions.
Sign, Home Office. A prohibited sign associated with a home office as defined by Chapter 180, Article IX, Definitions.
Sign, Ideological. A sign whose purpose is to convey an idea or message that reflects the social needs, beliefs, and/or aspirations of an individual, group, class, or culture. Ideological signs are not intended to propose a commercial transaction.
Sign, Information. A sign used to indicate or provide information and direction with respect to permitted uses on the property, including, but not limited to, signs indicating the hours of operation, and such signs as "no smoking", "vacancy", "office", "private warning", "open", "closed", "restrooms", "no solicitation", or "no parking".
Sign, Internally Illuminated. A sign face which is lit or outlined by a light source located within the sign.
Sign, Landmark. A sign which identifies a site or building determined by the Community Development Director to have substantial historic, artistic, or architectural significance to the community.
Sign Maintenance. The replacing, repairing, or repainting of a portion of a sign structure or renewing of copy that has been made unusable by ordinary wear and tear, weather, or accident.
Sign, Memorial. A memorial or commemorative plaque or tablet.
Sign, Menu. A sign used by restaurants or food establishments to display or reproduce the bill, fare, or menu offered by the establishment.
Sign, Monument. A freestanding sign erected on the ground with an architecturally designed base constructed of stone, brick, timbers, or other similar natural material.
Sign, Nonconforming. A sign which was erected legally but which does not comply with subsequently enacted sign regulations and restrictions.
Sign, On-Premises. A sign used for promoting a business, individual, product, or service available on the premises where the sign is located.
Sign, Off-Premises. A sign designed, intended, or used to advertise, inform, or attract the attention of the public as to:
1.
Goods, products or services which are not sold, manufactured or distributed on or from the premises on which the sign is located;
2.
Facilities not located on the premises on which the sign is located; or
3.
Activities not conducted on the premises on which the sign is located.
Sign, Permanent. A sign attached to a building or structure, or to the ground in a manner that enables the sign to resist environmental loads, such as wind, and that precludes ready removal or movement of the sign and whose intended use appears to be indefinite.
Sign, Political. A noncommercial sign concerning candidates for public office or ballot issues in a primary, general, municipal, or special election.
Sign, Pole. A freestanding sign that is mounted on a pole(s) or other support(s) that is placed on and anchored in the ground or on a base and that is independent from any building or other structure.
Sign, Portable (See Sandwich Board Sign). A sign designed to be moved easily and not permanently affixed to the ground, to a structure or building.
Sign, Prohibited. Any sign placed without proper approval or permits as required by this section at the time of sign placement. Prohibited sign shall also mean any sign placed contrary to the terms or time limits of any permit.
Sign, Projecting. A sign that is wholly or partly dependent upon a building for support and which projects more than 12 inches from the building. Awnings and canopies are not considered projecting signs.
Sign, Real Estate Development. A temporary sign used to identify a development and/or the owners, architects, contractors, real estate agents and lenders involved in a project for which a valid development permit has been issued. Sales and lease information may also be included on the sign.
Sign, Real Estate Open House. A temporary sign erected to indicate the location of an open house.
Sign, Real Estate. A temporary sign advertising the sale, lease, or buyer's representative of the premises on which the sign is located.
Sign, Residential Subdivision Entrance. A freestanding or wall sign located at the subdivision entrance identifying a recognized subdivision, condominium complex, apartment complex, or residential development.
Sign, Roof. A building-mounted sign erected upon, against, or over the roof of a building or structure and which projects above the parapet of a flat roof, the ridgeline of a gambrel, gable, or hip roof, or the deck line of a mansard roof.
Sign, Sandwich Board (See Portable Sign). A sign that is constructed with two pieces of material, connected at the top, which pieces form a triangular shape and are self-supporting; also known as an "A-frame sign".
Sign Structure. Any supports, uprights, braces or framework of a sign.
Sign, Snipe. A temporary or permanent sign tacked, nailed, posted, pasted, glued, or otherwise attached to trees, poles, stakes, fences, or other objects.
Sign, Temporary. A sign intended to remain in use for a short period of time which is not permanently installed.
Sign, Vehicle. Signs displayed on motor vehicles or trailers.
Sign, Wall. A building-mounted sign which is either attached to, displayed, or painted on an exterior wall in a manner parallel with the wall surface, and not projecting more than 12 inches from the wall.
Sign, Window. A sign that is applied or attached to the exterior or interior glazing of a window or door located within one foot of the interior of a window or door, visible primarily from the outside of the building but excludes merchandise in a window display.
180-6.19.16.
Sign District Maps.
A.
Map 1. Main Street Corridor Sign District.
B.
Map 2. Summit Boulevard Corridor Sign District.
C.
Map 3. Parks and Open Space Sign District and Public Facilities Sign District.
(Ord. No. 17-04, 6-27-17; Ord. No. 19-04, 4-9-19; Ord. No. 25-09, § 1, 6-10-25; Ord. No. 25-09, § 2, 6-10-25)
180-6.20.1.
No building or premises shall be erected, altered, or used in any district for any purpose injurious, noxious, or offensive to a neighborhood by reason of the emission of odor, fumes, dust, smoke, vibration, noise or other cause.
180-6.20.2.
Evidence shall be provided that any use of flammable or explosive materials will be in conformance with standards set by the Frisco Fire Protection District and Chapter 94 of the Town of Frisco Code; discharges into the air will be in conformance with applicable regulations of the State Air Pollution Control Act; any electromagnetic radiation will be in conformance with the regulations of the Federal Communications Commission. Discharges into the water will not violate standards or regulations established under the State Water Quality Control Act, Article 8, Title 25, of the Colorado Revised Statutes.
(Ord. No. 17-04, 6-27-17; Ord. No. 18-09, 10-09-18)
180-6.21.1.
Purpose. The purpose of the nonresidential development standards is to ensure high-quality site and building design in Frisco; to establish minimum standards related to the scale, mass, architecture, materials, and overall design character of development; and to protect and enhance existing neighborhood character.
180-6.21.2.
Applicability.
A.
This section shall apply to the development of any non-residential use that requires site plan review. Findings shall be made that a nonresidential development is in compliance with the standards of this section prior to approval of a site plan review. Failure to meet the mandatory standards shall constitute grounds for the decision-making body to request amendments to the proposed design or to deny a final plan or site plan.
B.
Mixed-use development shall comply with these non-residential development standards.
180-6.21.3.
Standards. The following mandatory standards shall be met by all non-residential development subject to site plan review:
A.
Compatibility with Neighborhood Character.
1.
Intent. To ensure that structures are compatible with, but not identical to, existing nearby structures and their neighborhood surroundings, as well as Frisco's "small mountain town" character.
2.
Compatibility.
a.
Compatibility shall be achieved through proper consideration of scale, design, proportions, site planning, landscaping, materials and colors, and compliance with the standards in this section.
i.
Compatibility of development on Main Street shall be determined based on proper consideration of the above features of nearby properties on Main Street rather than properties on other streets, as well as compliance with the standards in this section.
b.
The existing landforms and historic structures, as noted in the town's Historic Resource Inventory, on a site shall be preserved onsite whenever possible and reinforced by development rather than destroyed or replaced by it.
B.
Façade Standards.
1.
Intent. To ensure that the façade design of development is compatible with Frisco's "small mountain town character" and existing buildings.
2.
Building Elements. All building elevations shall employ varied articulation of wall surfaces, as shown in Figure 6-OO.
a.
Each street-facing façade shall include one or more deep eaves or overhangs, at least 24 inches in depth.
b.
Each façade or each 75-foot portion of a façade visible from public streets or parking lots shall be articulated through the use of at least four of the following building elements that provide shelter from natural elements and provide visual relief.
i.
Balconies, porches, or patios;
ii.
Building elements that provide shelter from natural elements;
iii.
Offsets, insets, bays, or other similar architectural features to add a variety of depths to the wall plane;
iv.
A change in texture or material, provided all exterior wall textures and materials are consistent with the overall architectural style of the building;
v.
Variation in roof planes or roof forms, including dormers or gables;
vi.
Variation in window sizes and shapes; or
vii.
Prominent building entrance features.
Figure 6-NN: Building Element Variation Examples
3.
Building Articulation. Building walls and corresponding eaves shall not exceed 27 feet in the same geometric plane.
a.
Building walls over 27 feet in length shall change geometric planes by at least two feet in depth for a minimum length of six feet.
b.
Building walls that exceed 54 feet in total building façade length shall change geometric planes every 27 feet by at least four feet in depth for a minimum length of six feet.
c.
Building walls or roof ridgelines over 33 feet in length and facing a front yard or street side yard shall not have more than 66 percent of the length of the wall or roof ridgeline along the same geometric plane.
Figure 6-OO: Building Articulation Requirements
4.
Entrances.
a.
For development with over 25,000 square feet of gross floor area, at least two separate and distinct public entrances into the building shall be provided.
C.
Bulk Plane Standards.
1.
Buildings shall be designed in a manner that provides elements that relieve the feeling of mass and provides for the graduation of mass as one moves back from the front of a lot, with the smaller elements located near the street, and the larger elements located further away from the street.
2.
See Section 180-6.23 for bulk plane requirements.
D.
Roof Standards.
1.
Intent. To ensure that roof elements are compatible with or complementary to existing historic or contributing buildings in the area and to encourage visibly pitched roofs or roof elements.
2.
Roof Pitch.
a.
Steep pitched roofs are encouraged.
b.
Flat roof construction shall be augmented with pitched roof elements, including, but not limited to, peaked or sloped facade elements or parapets facing all street sides.
c.
Pitched roof elements shall vary by a minimum of two feet in elevation.
d.
Mansard roofs are not appropriate and are not allowed.
Figure 6-PP: Pitched Roof Elements
3.
Roof Design.
a.
Where pitched roofs are utilized:
i.
A minimum pitch of 4/12 is required.
ii.
Dormers shall be incorporated to break up the roof, to enhance the usability of attic spaces, and to add architectural interest.
iii.
Ridgelines shall change elevation by no less than two feet for each 27 feet of building length. Architectural elements which intersect with the ridgeline may qualify as ridgeline changes upon a finding that the design furthers the purpose of this section.
b.
Shed roofs with a minimum pitch of 3/12 may be utilized only if the shed roof element is below the primary roof level and terminates into the roof or wall of the structure.
c.
No more than 66 percent of a ridgeline or roof line shall be on the same elevation.
d.
Roof lines shall be designed in a manner where they do not substantially deposit snow onto required parking areas, sidewalks, trash storage areas, stairways, decks, balconies, or entryways.
Figure 6-QQ: Roof Line Variation
4.
Roof Materials.
a.
If metal roofs are used, they shall be surfaced with a low-gloss finish or be capable of weathering to a dull finish in order to not be reflective.
b.
Metal roofs shall have a standing seam or shall be of a design that provides relief to the roof surface.
c.
Asphalt and fiberglass shingles are permitted provided that they are a heavy material that provides substantial relief and shadow, and the design and color are compatible with the building.
d.
Spanish or Mission style roofs and other similar roof materials are prohibited.
e.
Historic buildings, as noted in the Town's Historic Resource Inventory, may use rolled asphalt roofing materials.
f.
Bright colored roofs that exceed a chroma of four on the Munsell Color chart shall not be allowed.
g.
All rooftop mechanical, electrical, and electronic equipment shall be screened in a manner that is compatible with and substantially similar to the colors and materials of the building or the roof.
E.
Building Material Standards.
1.
Intent. To ensure that building materials are compatible and complementary to existing historic or contributing buildings in the area, using a combination of mainly natural materials.
2.
Primary Materials.
a.
Building materials shall be predominantly natural, including, but not limited to, wood siding, wood shakes, logs, stone, brick, or other similar materials.
b.
Other materials that imitate natural materials are also acceptable, provided their texture, shape, and size are similar to the natural materials they are imitating, and are not obviously artificial materials.
c.
Stucco, steel, or concrete block shall not be primary exterior materials for the majority of a building.
Figure 6-RR: Use of Building Materials
3.
Specific Material Standards.
a.
Concrete Block. Concrete block used as an accent material shall be a split, textured, or scored block.
b.
Concrete Panel. Concrete or concrete panels shall be textured or scored and used in combination with other materials, or shall be faced with another material such as stone, stucco, or other similar materials.
c.
Glass. Clear glass shall be used for windows. Tinted, colored, or opaque glass may be approved when demonstrated by the applicant to be compatible with the purpose of this section.
d.
Metal. Metal shall have a matte finish or a finish proven to fade and not be reflective.
e.
Steel. Steel may only be used as an accent material or used in combination with other materials.
f.
Stucco. Stucco may only be used as an accent material or used in combination with other materials.
4.
Prohibited Materials. The following materials are prohibited:
a.
Aluminum, steel, or plastic exterior siding that does not imitate natural materials;
b.
Mirrored or reflective glass; and
c.
Untreated or unpainted galvanized sheet metal.
5.
Accessory Structures. The same or similar building materials shall be used on main structures and any accessory structures located on the same site, unless an alternative design can be provided that will complement the project and meet the purpose of this section.
F.
Building Colors.
1.
Intent. To promote building colors compatible with the site and surrounding buildings.
2.
Maximum Color Chroma. No color may be used as the primary color of the building that exceeds a chroma of four on the Munsell Color chart.
3.
Exception for Building Accents. Colors that exceed a chroma of four, but do not exceed a chroma of eight on the Munsell Color chart may be used only sparingly as accents, such as on trim or railings. Luminescent, fluorescent, or reflective colors shall not be utilized on any exterior portion of the building.
4.
Accessory Structures. The same or similar colors shall be used on main structures and on any accessory structures on the site, unless an alternative scheme can be provided that will complement the project and meet the purpose of this section.
G.
Design Variety.
1.
Intent. To promote design variety that is also compatible with the character of Frisco.
2.
Duplicate Building Design Prohibited.
a.
Building designs that duplicate, or are substantially similar in terms of roof pitch, building articulation, materials, colors, and building elements to existing or proposed structures within a 300-foot radius of the property are not allowed, with the exception of accessory structures, which may be designed similarly to the primary structure.
b.
Where a proposed building contains multiple identical units, the building design shall provide architectural differentiation from the duplication of units by providing a variety in windows, decks, balconies, or exterior facade compositions.
H.
Additions. Additions that are substantially smaller than the square footage of the existing building may be designed to complement the existing structure, even if the existing building does not currently meet the façade, roof, material, or color standards of this section.
I.
Parking and Loading.
1.
Intent. To mitigate the visual impact of parking and loading facilities.
2.
Parking.
a.
No more than 60 percent of required parking spaces may be located in front of a building along the principal street façade. If another building or other structure blocks the view of parking from the street, the blocked parking spaces may be excluded from this percentage.
3.
Landscaping of Parking Lots.
a.
Except in the Central Core District, parking lots abutting a property line shall incorporate a landscaped buffer between the property line and the paved surface of the parking lot. Non-raised planters in parking lots are encouraged so that, where possible, stormwater may be accommodated through such landscaped areas and maintenance is reduced.
i.
Required landscaped buffers shall meet the following standards:
a)
Buffers shall be a minimum of ten feet wide and contain twice the required number of trees required by Section 180-6.14.
b)
The location and type of all plantings shall meet sight distance requirements.
ii.
The following incentive is available:
a)
If a landscaped buffer incorporates double the plant quantities and area required above, or double the requirement in Section 180-6.14.3.F, Parking Area Landscaping, whichever is greater, then the applicant may locate up to 75 percent of the required parking in the front of the building along the principal street façade, with approval by the Planning Commission.
b.
Except in the Central Core District, where a building abuts parking or paved areas, a landscaped area shall be provided that varies from five to ten feet in width.
i.
Required landscaped areas shall meet the following standards:
a)
At least half of the landscaped areas shall be ten feet in width.
b)
This landscaped area shall be at least 50 percent of the length of the building.
c)
Landscaping shall also comply with Section 180-6.14.
ii.
The following incentive is available:
a)
If less than 50 percent of the required parking spaces are located in front of the building along the principal street façade, the landscaped buffer may be reduced to a minimum of 35 percent of the length of the building, with approval by the Planning Commission.
4.
Loading.
a.
Service, loading, and trash areas shall be screened from all public rights-of-way and parking areas.
Figure 6-SS: Parking and Loading
J.
Amenities.
1.
Intent. To enhance development with amenities that promote alternative modes of transportation and provide community gathering spaces.
2.
Bicycle Parking. Bicycle parking spaces shall be provided in an amount equal to at least 20 percent of the required vehicular parking spaces for the development. A lesser number may be approved by the Town if reasonably justified by the applicant.
3.
Community Spaces.
a.
Development with over 10,000 square feet of gross floor area shall provide community spaces, including, but not limited to, public benches, water features, public kiosk/gazebo, public patio/seating areas, public plazas, or public art.
i.
A minimum of one community space shall be provided for any development with between 10,000 and 25,000 square feet of gross floor area.
ii.
A minimum of three community spaces shall be provided for any development with over 25,000 square feet of gross floor area.
(Ord. No. 17-04, 6-27-17; Ord. No. 23-09, § 11, 3-28-23)
180-6.22.1.
Purpose. The purpose of the residential development standards is to promote high quality development while still providing for creative and unique building designs; to establish minimum standards related to scale, mass, architecture, materials, and overall design character of development and provide incentives to help achieve desired attributes; and to preserve established neighborhood scale and character, ensuring that residential areas contribute to the streetscape and are conducive to walking.
180-6.22.2.
Applicability.
A.
This section shall apply to the development of any residential use that requires site plan review. Findings shall be made that the residential development is in compliance with the standards of this section prior to approval of a site plan review. Failure to meet the mandatory standards shall constitute grounds for the decision-making body to request amendments to the proposed design or to deny a final plan or site plan.
B.
These regulations shall only be applicable to the building or portion of the building being constructed, altered, or added in the development application submitted by an applicant.
180-6.22.3.
Standards. The following mandatory standards shall be met by all residential development subject to site plan review.
A.
Façade Standards.
1.
Intent. To ensure that the façade design of development is compatible with Frisco's small mountain town character and provides a human scale to enhance the walking experience in the neighborhood.
2.
Building Elements. All building elevations shall employ varied articulation of wall surfaces, as shown in Figure 6-UU. Each façade shall be articulated through the use of at least four of the following techniques:
a.
Deep eaves or overhangs, at least 24 inches in depth;
b.
Balconies, porches, or patios;
c.
Building elements that provide shelter from natural elements;
d.
Offsets, insets, bays, or other similar architectural features to add a variety of depths to the wall plane;
e.
A change in texture or material, provided all exterior wall textures and materials are consistent with the overall architectural style of the building;
f.
Variation in roof planes or roof forms, including dormers or gables; or
g.
Variation in window sizes and shapes.
Figure 6-TT: Residential Building Design
3.
Duplicate Building Design Prohibited.
a.
Building designs that duplicate, or are substantially similar in terms of roof pitch, building articulation, materials, colors, and building elements to existing or proposed structures within a 300-foot radius of the property shall not be allowed, with the exception that accessory structures on the same lot or parcel as the primary structure may be similar in design as the primary structure.
b.
Where a project contains two or more buildings or units, not identical units, the building design shall provide architectural relief from the duplication of buildings and units by utilizing a variety of windows, decks, balconies, or exterior facade composition.
4.
Duplex Design. Duplex structures shall be designed to look like a single-household structure to the extent architecturally feasible. The design shall not result in each half of the structure appearing substantially similar or a mirror image in design.
B.
Bulk Plane Standards. See Section 180-6.23 for bulk plane requirements.
C.
Roof Standards.
1.
Intent. To ensure that roof elements are compatible with or complementary to existing historic or contributing buildings in the area and to encourage visibly pitched roofs or roof elements and the use of dormers and breaks in ridgelines.
Figure 6-VV: Appropriate Roof Pitch
2.
Roof Pitch.
a.
Pitched roofs, or flat roofs augmented with pitched roof elements, are required.
b.
A minimum roof pitch of 6/12 is encouraged.
c.
Mansard roofs are prohibited.
3.
Roof Design. Roof lines shall be designed in a manner where they do not substantially deposit snow onto required parking areas, sidewalks, trash storage areas, stairways, decks, balconies or entryways.
4.
Roof Materials.
a.
If metal roofs are used they shall be surfaced with a low-gloss finish, matte finish, or other finish proven to fade and not be reflective.
b.
Metal roofs, asphalt and fiberglass shingles are permitted provided that they heavy material that provides substantial relief and shadow, and the design and color are compatible with the building.
c.
Historic buildings, as noted in the Town's Historic Resource Inventory, may use rolled asphalt roofing materials.
d.
Bright colored roofs that exceed a chroma of four on the Munsell Color chart are prohibited.
D.
Building Material Standards.
1.
Intent. To ensure that building materials are compatible and complementary to existing historic and contributing buildings in the area, using a combination of mainly natural materials.
2.
Primary Materials.
a.
Building materials shall be predominantly natural, including, but not limited to, wood siding, wood shakes, logs, stone, brick, or other similar materials.
b.
Other materials that imitate natural materials are also acceptable provided their texture, shape, and size are substantially similar to the natural materials they are imitating, and are not obviously artificial materials.
c.
Stucco or steel are acceptable materials when used in combination with other acceptable materials.
3.
Specific Material Standards.
a.
Concrete Block. Concrete block shall not be allowed as the primary or extensive exterior finish. When used as an accent, concrete block shall be a split block, or other similarly shaped, textured, and colored materials that are found to be compatible with the building and the purpose of this section.
b.
Metal. Metal shall have a matte finish or a finish proven to fade and not be reflective.
c.
Glass. The use of mirrored or reflective glass is prohibited unless required for compliance with the voluntary green building program as administered by the Town's Building Official.
4.
Variety of Materials on All Building Elevations.
a.
There shall be a variety of quality and type of exterior materials, and their application shall be generally in balance and proportional on all elevations of the building.
b.
Materials that wrap around the building, such as a durable material at the base of the structure, shall continue around projecting outside exterior corners and end at recessed inside exterior corners.
Figure 6-WW: Exterior Materials Wrap Around Building
5.
Accessory Structures. The same or similar building materials shall be used on main structures and any accessory structures located on the same site, unless an alternative material can be provided that will complement the project and which meets the other standards of this section.
6.
Building Additions. Additions that are 50 percent or less of the existing building floor area, or exterior remodels or renovations, may be allowed to complement the existing structure, even if the building does not currently meet the material standards of this section.
E.
Building Colors.
1.
Intent. To promote building colors compatible with the site and surrounding buildings.
2.
Maximum Color Chroma. No color may be used as the primary color of the building that exceeds a chroma of four on the Munsell Color chart. Pure white or black may not be utilized as the primary building color.
3.
Exception for Building Accents. Colors that exceed a chroma of four, but that do not exceed a chroma of eight on the Munsell Color chart may be used only sparingly as accents, such as on trim or railings. Luminescent, fluorescent, or reflective colors shall not be utilized on any exterior portion of the building.
F.
Garage Standards.
1.
Intent. To promote an active and visually interesting streetscape that is not dominated by garage doors.
2.
Garage Door Location. Garages are encouraged to be located and oriented away from the street where they will not act as the primary design element of the building. Street-facing garage doors shall be recessed behind the front façade of the dwelling and shall not comprise the majority of the street-facing building frontage, unless of a custom style broken up with windows or other features.
Figure 6-XX: Residential Visually Interesting Features
(Ord. No. 17-04, 6-27-17; Ord. No. 19-04, 4-9-19)
180-6.23.1.
Purpose. To establish bulk plane requirements to ensure that massing relief is provided and building bulk is concentrated further from the street façades.
180-6.23.2.
Bulk Plane Envelope. Within certain areas of the Town and for certain development types, as shown in Table 6-K, the bulk of a building shall be restricted through the use of a bulk plane envelope. The measurement of a required bulk plane envelope shall be determined along each property line, using the corresponding dimension noted in Table 6-K and illustrated in Figure 6-ZZ:
A.
The bulk plane begins (A) feet inside the property line at a height of (B) feet above existing grade;
B.
The bulk plane then slopes inward towards the center of the lot at a (C) degree angle; and
C.
The bulk plane extends to the point where it intersects with the maximum allowed height (D).
Figure 6-YY: Bulk Plane Measurement
180-6.23.3.
Exceptions.
A.
Where a conflict exists between the allowed height along a rear yard, and a street side yard, the more restrictive measurement shall govern.
B.
Where a conflict exists between the required setback of the underlying zoning district and a town-approved less restrictive property setback, the less restrictive shall govern and shall be used as the distance from the property line for purposes of determining the bulk plane measurements.
C.
Building forms may deviate from this standard and project beyond the bulk plane if they do not exceed maximum building height and provide substantial architectural relief, with Planning Commission approval. Staff may approve the deviation if the projection beyond the bulk plane does not exceed 350 cubic feet.
(Ord. No. 17-04, 6-27-17; Ord. No. 18-03, 3-13-18)