DEFINITION OF TERMS USED IN THE CODE
Except as specifically defined herein, all words used in the Code have their customary dictionary definition to give this Ordinance it's most reasonable application given its stated purpose and objectives. For the purpose of this Code, certain words or terms used herein shall be defined as follows: words used in the present tense include the future tense; words used in the singular number include the plural, and words used in the plural include the singular; the word "person" includes a firm, co-partnership, company, organization, trust, association, corporation, as well as an individual; the word "lot" includes the word "plot" or "parcel", and the word "building" includes the word "structure".
The word "shall" is always mandatory; the word "may" is permissive. The word "used" or "occupied" as applied to any land or building shall be construed to include the word "intended", arranged, or designed to be used or occupied.
Accessory building, height of means the vertical distance measured from the average ground elevation to the highest point of the roof.
Accessory structure. (This definition is for the exclusive purpose of Article VIII, Floodplain Regulations). Any structure shall represent a subordinate structure to the principal structure and, for the purpose of this section, shall conform to the following: accessory structures shall not be used for human habitation; accessory structures shall be designed to have low flood damage potential; accessory structures shall be constructed and placed on the building site so as to offer the minimum resistance to the flow of flood waters; accessory structures shall be firmly anchored to prevent flotation which may result in damage to other structures; and service facilities such as electrical and heating equipment shall be elevated or flood-proofed.
Accessory structure or use means a detached structure or use customarily incidental and subordinate to the principal use or building and located on the same lot with such principal use or building.
Act means the statutes authorizing the National Flood Insurance Program that are incorporated in 42 U.S.C. 4001-4128.
Addition (to an existing building) means any walled and roofed expansion to the perimeter of a building in which the addition is connected by a common load-bearing wall other than a firewall. Any walled and roofed addition, which is by a firewall or is separated by an independent perimeter load-bearing wall, shall be considered "New Construction".
Adult day-care center means a place operated by a person, society, agency, corporation, institution, or other group that receives payment for the care of persons over 18 years of age for less than 24 hours per day in an approved community-based facility. The adult day-care center shall provide a structured program of personalized care for adults who are not capable of full independent living as a result of physical disability, developmental disabilities, emotional impairment, or frailty resulting from advanced age.
Adult-oriented businesses shall include:
A.
Adult arcade means an establishment where, for any form of consideration, one or more motion picture projectors, slide projectors or similar machines, for viewing by five or fewer persons each are used to show films, motion pictures, video cassettes, slide or other photographic reproductions which are characterized by an emphasis upon the depiction or description of "specified sexual activities" or "specified anatomical areas."
B.
Adult bookstore means an establishment that restricts or purports to restrict admission to adults or to any class of adults and which has as a substantial portion of its stock-in- trade and offers for sale for any form of consideration any one or more of the following:
1.
Books, magazines, periodicals or other printed matter, or photographs, films, motion pictures, video cassettes, slides or other visual representations which are characterized by an emphasis upon the depiction or description of "specified sexual activities" or "specified anatomical areas", or
2.
Instruments, devices or paraphernalia which are designed for use in connection with "specified sexual activities."
C.
Adult cabaret means a nightclub, bar, restaurant or similar establishment which regularly features live performances which are characterized by the exposure of "specified anatomical areas" or by "specified sexual activities," or films, motion pictures, video cassettes, slides or other photographic reproductions which are characterized by an emphasis upon the depiction or description of "specified sexual activities" or "specified anatomical areas."
D.
Adult motel means a motel or similar establishment offering public accommodations for any form of consideration which provides patrons with closed-circuit television transmissions, films, motion pictures, video cassettes, slides or other photographic reproductions which are characterized by an emphasis upon the depiction or description of "specified sexual activities" or "specified anatomical areas."
E.
Adult motion picture theater means an establishment where, for any form of consideration, films, motion pictures, video cassettes, slides or similar photographic reproductions are shown, and in which a substantial portion of the total presentation time is devoted to the showing of material which is characterized by an emphasis upon the depiction or description of "specified sexual activities" or "specified anatomical areas."
F.
Adult theater means a theater, concert hall, auditorium or similar establishment which, for any form of consideration, regularly features live performances which are characterized by an emphasis upon the exposure of "specified anatomical areas" or by "specified sexual activities."
G.
Characterized by an emphasis upon means the dominant or principal theme of the object referenced. For instance, when the phrase refers to films "which are characterized by emphasis upon the depiction or description of 'specified sexual activities' or 'specified anatomical areas," the films so described are those whose dominant or principal character and theme are the exhibition or display of "specified anatomical areas" or "specified sexual activities."
H.
Massage parlor means an establishment where, for any form of consideration, massage, alcohol rub fomentation, electric or magnetic treatment, or similar treatment or manipulation of the human body is administered, unless such treatment or manipulation is administered by a medical practitioner, chiropractor, acupuncturist, physical therapist or similar professional person licensed by the state. This definition does not include an athletic club, health club, school, gymnasium, reducing salon, spa or similar establishment where massage or similar manipulation of the human body is offered as in incidental or accessory service.
I.
Semi-nude means the female breast below a horizontal line across the top of the areola at its highest point or the showing of the male or female buttocks. This definition shall include the entire lower portion of the human female breast, but shall not include any portion of the cleavage of the human female breast, exhibited by a dress, blouse, skirt, leotard, bathing suit, or other wearing apparel, provided the areola is not exposed in whole or in part.
J.
Semi-nude model studio means an establishment which regularly features a person (or persons) who appears semi-nude and is provided to be observed, sketched, drawn, painted, sculptured, or photographed by other persons who pay money or any form of consideration, but shall not include a proprietary school licensed by the State of Tennessee or a college, junior college, community college, or university supported entirely or partly by public taxation; a private college or university which maintains and operates educational programs in which credits are transferable to a college, junior college, or university supported entirely or partly by taxation.
K.
Sexual encounter establishment means an establishment, other than a hotel, motel or similar establishment offering public accommodations, which, for any form of consideration, provides a place where two or more persons may congregate, associate or consort in connection with "specified sexual activities" or the exposure of "specified anatomical areas." This definition does not include an establishment where a medical practitioner, psychologist, psychiatrist or similar professional person licensed by the state engages in sexual therapy.
L.
Specified anatomical areas means any of the following:
1.
Less than completely and opaquely covered human genitals, pubic region, buttocks, anus or female breasts below a point immediately above the top of the areolae; or
2.
Human male genitals in a discernibly turgid state, even if completely and opaquely covered.
M.
Specified sexual activity means any of the following:
1.
Human genitals in a state of sexual stimulation or arousal;
2.
Acts of human masturbation, sexual intercourse, or sodomy;
3.
Fondling or other erotic touching of human genitals, pubic regions, buttocks, or female breasts;
4.
Flagellation or torture in the context of a sexual relationship;
5.
Masochism, erotic, or sexually-oriented torture, beating or the infliction of pain;
6.
Erotic touching, fondling, or other such contact with an animal by a human being; or
7.
Human excretion, urination, menstruation, vaginal or anal irrigation as part of or in connection with any of the activities set forth in 1. through 6. above.
N.
Substantial portion means over 20 percent of floor area, or over 20 percent of inventory by units or value, or over 20 percent of revenues, or an inventory of 200 or more units of the items set forth and enumerated in the definition of "adult book store" above, specifically being the books, magazines, periodicals, or other printed matter, or photographs, films, motion pictures, video cassettes, slides, or other visual representations which are characterized by an emphasis upon the depiction or description of "specified sexual activities" or "specified anatomical areas" or the instruments, devices or paraphernalia which are designed for use in connection with "specified sexual activities".
Alley means a minor right-of-way, dedicated to public use, which affords a secondary means of vehicular access to the back or side of properties otherwise abutting a street, and which may be used for public utility purposes.
Alternative tower structure means a type of monopole tower structure camouflaged to appear as a tree, clock tower, light pole, flag pole, farm silo, or similar man-made structure to conceal the presence of antennas or towers.
Animal hospital or veterinary clinic means a place where animals or pets are given medical or surgical treatment and are cared for during the time of such treatment. Use as an indoor kennel shall be limited to short-term boarding and medical care and shall be incidental to the hospital use.
Angle of incidence means the angle at which a light ray strikes the surface, measured between the ray and a line perpendicular to the surface.
Antenna array means devices such as poles, rods, panels, reflecting dishes, and whip antennas used for the transmission or reception of radio frequency signals.
Appeal means a request for a review of the Chief Building Official's interpretation of any provision of this Ordinance or a request for a variance.
Area of shallow flooding means a designated AO or AH Zone on the Flood Insurance Rate Map (FIRM) with one percent or greater annual chance of flooding to an average depth of one to three feet where a clearly defined channel does not exist, where the path of flooding is unpredictable and indeterminate; and where flood water velocity may or may not be evident. Such flooding is characterized by ponding or sheet flow.
Area of special flood-related erosion hazard means the land within a community which is most likely to be subject to severe flood-related erosion losses. The area may be designated as Zone E on the Flood Hazard Boundary Map (FHBM). After the detailed evaluation of the special flood-related erosion hazard area in preparation for publication of the FIRM, Zone E may be further refined.
Area of special flood hazard (also referred to as a special flood hazard area—SFHA) means the land in the floodplain within a community subject to a one percent or greater chance of flooding in any given year. The area may be designated as Zone A on the FHBM. After detailed rate making has been completed in preparation for publication of the FIRM, Zone A is usually refined into:
Zone A means the special flood hazard area that is subject to being inundated by the water of the base flood. No detailed hydraulic analyses have been performed, so base flood elevations or depths are not shown on the FHBM or the FIRM.
Zones AE and A1-30 means the special flood hazard area that is subject to inundation by the base flood. Detailed hydraulic analyses have been performed, and base flood elevations are shown on the FIRM. Zone AE is used on new and revised maps in place of Zone A1-30.
Zone AH means the special flood hazard area that is subject to inundation by the base flood, but with shallow flooding (usually areas of ponding). Average flood water depths are between one and three feet. Base flood elevations derived from detailed hydraulic analysis are shown in this zone.
Zone AO: The special flood hazard area that is subject to inundation by the base flood, but with shallow flooding (usually sheet flow on sloping terrain). Average flood water depths are between one and three feet. Average flood depths derived from detailed hydraulic analysis are shown in this zone. For areas of alluvial fan flooding, velocities are also determined.
Zone A99 means the special flood hazard area that is subject to inundation by the base flood, and which will be protected by a federal flood protection system when construction has reached specified statutory progress toward completion. No detailed hydraulic analyses have been performed, so no base flood elevations are shown.
Zones B, C, and X mean the special flood hazard areas which have been identified as areas of moderate or minimal hazard from the principal source of flood in the area. Specifically, the area inundated by a flood with a 0.2 percent or greater chance of being equaled or exceeded in any given year (500 year flood); the area inundated by the base flood with average depths of less than one foot or with drainage basin areas of less than one square mile; and areas protected by levees from the waters of the base flood. Zone X is used on new and revised maps in place of Zones B and C.
Zone D means the unstudied areas where flood hazards are possible but undetermined.
Arterial street means a roadway that provides for traffic movement between areas and across portions of the city and secondarily for direct access for abutting land, as indicated on the Zoning Map of the City of Johnson City.
Auction house means a facility principally devoted to the temporary storage and sale of new and used goods which are sold to the highest bidder.
Baffle means an opaque or translucent element used to shield a light source from direct view at certain angles, to absorb or block obtrusive light, or to reflect and redirect light.
Bare lamp means a light source with no shielding. The bare lamp of a luminaire is assumed to be the arc tube or filament in a clear lamp or the first sight of a lamp in the case of frosted lamps.
Base flood means the flood having a one percent chance of being equaled or exceeded in any given year.
Basement means that portion of a building having its floor below ground level on all sides.
Beam angle means the angle between the two directions for which the intensity is 50 percent of the maximum intensity as measured in a plane through the nominal beam centerline. For beams that do not have rotational symmetry, the beam angle is generally given for two planes at 90 degrees, typically the maximum and minimum angles.
Bed-and-breakfast home means a residential unit in which between one and three guest rooms are available for overnight accommodations and breakfast for the registered guests is provided. The owner shall have primary residence on the premises and the use shall be subordinate and incidental to the main residential use of the building.
Bed-and-breakfast inn means a residential unit in which between one and six guest rooms are available for overnight accommodations and breakfast for the registered guests is provided.
Beer serving/sales establishments means any business authorized to sell beer with an alcoholic content of not more than five percent by weight, and any beverage of like alcohol content.
Bicycle locker means a totally enclosed lockable storage area for bicycles located within 100 feet of the entrance to a building.
Bicycle rack means a ribbon rack able to contain a minimum of four bicycles located within 100 feet of the entrance to a building.
Breakaway wall means a wall not part of the structural support of the building and which is intended through its design and construction to collapse under specific lateral loading forces, without causing damage to the elevated portion of the building or supporting foundation system.
Buffer tree means any tree which will achieve adequate height, width, and density to provide screening between incompatible land uses. A list of acceptable buffer trees is maintained by the Johnson City Planning Department.
Buffer yard means a landscaped area composed of planted vegetation, including walls, fencing, bikeways, or walkways affording visual privacy and noise relief between uses of differing impact.
Building means any structure built for support having a roof supported by columns or by walls and intended for the shelter, housing, storage, or enclosure of persons, animals, or chattel (see structure).
Business services means an establishment providing services to places of business including, but not limited to: repair and maintenance of equipment, temporary personnel services, printing and copying, cleaning, rental and leasing, credit reporting and collection, mailing and advertising and other similar services not specifically allowed as a permitted use or special exception and where the primary purpose does not involve retail trade.
Center line of the street means that line surveyed and monumented by the governing body shall be the center line of the street; or if such center line has not been surveyed, it shall be that line running midway between the outside curbs or ditches of such street.
Chief building official means the administrator appointed to implement the provisions of this Code, see Article XVI, Subsection 16.1.
Child care agency or agency means a place or facility, regardless of whether it is currently licensed, that is operated as a "family child care home," a "group child care home," a "child care center," or a "drop-in child care center," that provides child care for less than 24 hours per day and for three or more hours per work day to five or more children under 17 years of age who are not related to the primary educator, without transfer of custody.
Child care center means any place or facility operated by any person or entity that provides child care for three or more hours per day for at least 13 children who are not related to the primary educator.
City-owned utility tower means a tower structure which is accessory to the public utility use. The purpose is to provide communications to remote public utilities such as electric power substations or water/sewer pump stations. It is not for the purpose of providing cellular telephone service.
Clinic means a non-institutional facility in an office environment of solo or group practice providing outpatient surgical, medical, dental, chiropractic, optical, osteopathic diagnostic, and similar services, for humans, by physicians, dentists, and other health care practitioners. Urgent care facilities are considered clinics. Clinics may include "nonresidential office-based opiate treatment facilities" (OBOT) or "nonresidential office-based opiate treatment facilities with dispensing authorization" (OBOT Plus), as defined by the Tennessee Rules of Department of Mental Health and Substance Abuse Services, Division of Administrative and Regulatory Services, Chapters 0940-05-35 and 0940-05-36, but do not include a "nonresidential opioid treatment program" as licensed under Tennessee Rule 0940-05-42.
Collector street means a street providing for traffic movement within such areas of the city and between major streets and local streets for direct access to abutting property, as indicated on the Zoning Map of the City of Johnson City.
Community recreational facility means a recreational area (swimming pool, tennis courts, playground, or golf course) designed to serve several neighborhoods or subdivisions. No set service area is defined.
Construction means the erection of construction materials in a permanent position and fasten in a permanent manner. Where excavation, demolition, or removal of an existing building has been substantially begun prior to rebuilding, such excavation, demolition, or removal shall be deemed to be construction: provided, that work shall be carried on diligently and complies will applicable requirements.
Construction field office/real estate office means a mobile home, travel trailer, truck trailer, and/or other movable structure used as a temporary office in conjunction with a construction project or in conjunction with the sale or rental of units within the project and only that project. At the time the use is discontinued, it shall be removed from site.
Cosine law means the law that the illuminance on any surface varies as the cosine of the angle of incidence (see horizontal illuminance).
Cut-off angle means the angle, measured up from nadir, between the vertical axis and the first line of sight at which the bare source is not visible.
DBH means diameter breast height. The diameter of a tree measured four and one-half feet above ground level.
Deck means an uncovered structure which exceeds 30 inches in height.
Density means the number of dwelling units per acre including those areas set aside for required open space, stormwater management, and public or private streets. For detached single-family units, the maximum density shall be dictated by the minimum lot size of the district.
Design deviation means any adjustment, change, or modification to the standards for sidewalk construction contained in General Requirements & Standards of Design resulting from unusual or exceptional topographic, physical, or natural conditions of the site.
Developer means a landowner or any party, representative, agent, successor, or heirs of the landowner of developer.
Development means any man-made change to improved or unimproved real estate, including, but not limited to, buildings or other structures, mining, dredging, drilling operations, excavation, filling, grading, paving, the removal of healthy trees over six inches dbh, or storage of equipment or materials.
Direct lighting means lighting by luminaires distributing 90 percent to 100 percent of the emitted light in the general direction of the surface to be illuminated.
Drip line means a vertical line extending from the outer edge of the canopy of a tree to the ground.
Drop-in child care center means a place or facility operated by any person or entity providing child care, at the same time, for 15 or more children, who are not related to the primary educator, for short periods of time, not to exceed 14 hours per week and for not more than seven hours per day for any individual child during regular working hours (Monday—Friday, 6:00 a.m. to 6:00 p.m.).
Dwelling, multi-family means a building designed, constructed, or reconstructed and used for more than two dwelling units, with each dwelling unit having a common structural or load-bearing wall of at least ten lineal feet with any other dwelling unit on the same floor or building level.
Dwelling, single-family means a building designed, constructed, and used for one dwelling unit.
A.
Detached means a one-family dwelling which is completely surrounded by open spaces.
B.
Semi-detached means a one-family dwelling that is connected on one side by means of a common dividing structural or load-bearing wall of at least ten lineal feet to another one-family dwelling, each dwelling on its own individual lot.
C.
Attached means a one-family dwelling that is connected on two sides by means of a common dividing structural or load bearing wall of at least ten lineal feet of two or more other one-family dwellings, or the end dwelling of a series of such dwellings, each dwelling unit on its own individual lot.
D.
Dwelling group, one-family attached means a line of one-family attached dwellings, joined at the sides by means of common structural or load bearing walls, comprising an architectural whole.
Dwelling, two-family or duplex means a building designed, constructed, or reconstructed and used for two dwelling units on a single lot.
Dwelling unit means one room, or rooms, connected together, constituting a separate, independent housekeeping establishment for owner occupancy, or rental, or lease on a weekly, monthly, or longer basis, and physically separated from any other rooms or dwelling units which may be in the same structure, and containing independent cooking and sleeping facilities for permanent residential occupancy by one family.
Elderly housing including: assisted living; congregate care; and retirement housing means a building, establishment, complex or distinct part thereof providing elderly congregate group housing, containing individual dwelling units which may consist of one or more bedrooms, dining area, bathing and cooking facilities, or a combination thereof, provided that 24-hour medical care and medical staffing is not required, and provided that limited medical care, meals and other services may be offered as a matter of convenience and not necessity. A residential home for the aged is not a nursing home.
Elevated building means a non-basement building:
1.
Built to have the bottom of the lowest horizontal structure member of the elevated floor elevated above the ground level by means of pilings, columns (posts and piers), or shear walls, and
2.
Adequately anchored so as not to impair the structural integrity of the building during a flood of up to the magnitude of the base flood.
In the case of Flood Zones A1-30, AE, A, A99, AO, AH, B, C, X, or D, elevated building also includes a building elevated by means of fill or solid foundation perimeter walls with openings sufficient to facilitate the unimpeded movement of flood waters.
Eligible support structure means any tower or support building and equipment as defined in this section, provided that it is existing at the time the relevant application is filed with the city.
Emergency flood insurance program or emergency program means the program as implemented on an emergency basis in accordance with Section 1336 of the National Flood Insurance Program. It is intended as a program to provide a first layer amount of insurance on all insurable structures before the effective date of the initial FIRM.
Emergency or temporary shelter means a residential facility which offers emergency shelter to persons on a temporary basis.
Erosion means the process of the gradual wearing away of landmasses. This peril is not per se covered under the program.
Exception means a waiver from the provisions of this Code which relieves the applicant from the requirements of a rule, regulation, order or other determination made or issued pursuant to this Code.
Existing construction means any structure for which the start of construction commenced before the effective date of the first floodplain management code or ordinance adopted by the community as a basis for that community's participation in the National Flood Insurance Program (NFIP).
Existing manufactured home park or subdivision means a manufactured home park or subdivision for which the construction of facilities for servicing the lots on which the manufactured homes are to be affixed (including, at a minimum, the installation of utilities, the construction of streets, and either final site grading or the pouring of concrete pads) is completed before the effective date of the first floodplain management code or ordinance adopted by the community as a basis for that community's participation in the National Flood Insurance Program (NFIP).
Existing structures. See existing construction.
Expansion to an existing manufactured home park or subdivision means the preparation of additional sites by the construction of facilities for servicing the lots on which the manufactured homes are to be affixed (including the installation of utilities, the construction of streets, and either final site grading or the pouring of concrete pads).
Exterior lighting fixture means an electrically-powered illuminating device containing a light source in excess of 50 watts per fixture (except for incandescent light sources in excess of 160 watts per fixture), which is temporarily or permanently installed outdoors, including, but not limited to, search, spot, flood, and area lighting.
Family means one or more related persons or a group of not more than three persons who are mutually unrelated by blood, marriage, legal adoption, or legal guardianship. In multi-family dwellings in the R-6 district, the number of unrelated persons may increase to four persons provided that the allowable density is reduced to 18.75 units per acre. Domestic workers employed on the premises are not counted as part of the family.
Family child care home means any place or facility which is operated by any person or entity that provides child care for three or more hours per day for at least five children, but not more than seven children who are not related to the primary educator.
Farm animal means animals other than household pets that shall be permitted to, where permitted, be kept and maintained for commercial production and sale and/or family food production, education, or recreation such as but is not limited to: horses, cattle, sheep, goats, hogs, rabbits, chinchillas, chickens, turkeys, pheasants, geese, ducks, pigeons, other birds, and bees.
Field angle means the angle between the two directions for which the intensity is ten percent of the maximum intensity measured in a plane through the nominal beam centerline. For beams without rotational symmetry, the field angle is generally given for two planes at 90 degrees, typically the maximum and minimum angles.
500-year flood does not refer to a flood that occurs once every 500 years, but refers to a flood level with a 0.20 percent or greater chance of being equaled or exceeded in any given year.
Flood or flooding means a general and temporary condition of partial or complete inundation of normally dry land areas from the overflow of inland or tidal waters and/or the unusual and rapid accumulation or runoff of surface waters from any source.
Flood elevation determination means a determination by the FEMA Administrator or consultant work approved by the Administrator of the water surface elevations of the base flood, that is, the flood level that has a one percent or greater chance of occurrence in any given year.
Flood elevation study means an examination, evaluation, and determination of flood hazards and, if appropriate, corresponding water surface elevations, or an examination, evaluation, and determination of mudslide (i.e., mudflow) and/or flood-related erosion hazards.
Flood hazard boundary map (FHBM) means an official map of a community, issued by the FEMA, where the boundaries of areas of special flood hazard have been designated as Zone A.
Flood insurance rate map (FIRM) means an official map of a community, on which the FEMA has delineated both the areas of special flood hazard and the risk premium flood zones applicable to the community.
Flood insurance study means the official report provided by the FEMA, evaluating flood hazards and containing flood profiles the water surface elevation of the base flood.
Floodplain or flood-prone area means any land area susceptible to being inundated by water from any source.
Flood protection system means physical structural works which funds have been authorized, appropriated, and expended and which have been constructed specifically to modify flooding in order to reduce the extent of the area within a community subject to a special flood hazard and the extent of the depths of associated flooding. Such a system typically includes hurricane tidal barriers, dams, reservoirs, levees, or dikes. These specialized flood modifying works are those constructed in conformance with sound engineering standards.
Flood-proofing means any combination of structural and nonstructural additions, changes, or adjustments to structures which reduce or eliminate flood damage to real estate or improved real property, water and sanitary facilities, structures, and their contents.
Flood-related erosion means the collapse or subsidence of land along the shore of a lake or other body of water as a result of undermining caused by waves or currents of water exceeding anticipated cyclical levels or suddenly caused by an unusually high water level in a natural body of water, accompanied by a severe storm, or by an unanticipated force of nature, such as a flash flood or an abnormal tidal surge, or by some similarly unusual and unforeseeable event which results in flooding.
Flood-related erosion area or flood-related erosion prone area means a land area adjoining the shore of a lake or other body of water, which due to the composition of the shoreline or bank and high water levels or wind-driven currents, is likely to suffer flood-related erosion damage.
Flood-related erosion area management means the operation of an overall program of corrective and preventive measures for reducing flood-related erosion damage, including but not limited to emergency preparedness plans, flood-related erosion control works, and flood plain management regulations.
Floodplain management means the operation of an overall program of corrective and preventive measures for reducing flood damage, including but not limited to emergency preparedness plans, flood control works, and floodplain management regulations.
Floodway means the channel of a river or other watercourse and the adjacent land areas that must be reserved in order to discharge the base flood without cumulatively increasing the water surface elevation more than one foot above the base flood elevation.
Floor means the top of the lowest interior surface of an enclosed area in a building (including basement), i.e., top of slab in concrete slab construction or top of wood flooring in wood frame construction. Except for the purposes of the flood regulations, the term does not include the floor of a garage used solely for parking vehicles.
Flush-mounted or recessed luminaire means a luminaire, which is mounted above the ceiling (or behind a wall or other surface) with the opening of the luminaire level with the surface.
Footcandle means a unit of illuminance, equal to one lumen/ft 2 , abbreviated as fc.
Fraternal organization means a group of people formally organized for a common interest, usually cultural, religious, or entertainment, with regular meetings and formal written membership requirements excluding college related fraternities or sororities.
Fraternity or sorority house means a building rented, occupied, or owned by a general or social chapter of some regularly organized college fraternity or sorority, or by or on its behalf by a building corporation or association composed of members of alumni thereof, and occupied by members of the local chapter of such fraternity or sorority, as a place of residence.
Freeboard means a factor of safety usually expressed in feet above a flood level for purposes of floodplain management. Freeboard tends to compensate for the many unknown factors that could contribute to flood heights greater than the height calculated for a selected size flood and floodway conditions, such as wave action, bridge openings, and the hydrological effect of urbanization of the watershed.
Full cut-off fixture means a luminaire that allows no direct light from the luminaire above a horizontal plane through the luminaire's lowest light-emitting part in its mounted form. Also known as a fully-shielded fixture.
Functionally dependent use means a use which cannot perform its intended purpose unless it is located or carried out in close proximity to water. The term includes only docking facilities, and port facilities that are necessary for the loading and unloading of cargo or passengers and ship building and ship repair facilities, but does not include long-term storage or related manufacturing facilities.
Gasoline service station means buildings and premises where gasoline, oil, grease, batteries, tires, and automobile accessories may be supplied and dispensed at retail. However, uses permissible at a gasoline service station do not include major mechanical and body work, straightening of body parts, painting, welding, storage of automobiles not in operating condition, or other work involving noise, glare, fumes, smoke, or other characteristics to an extent greater than normally found in service stations. A gasoline service station is not a repair garage nor a body shop.
Glare means the sensation produced by luminance within the visual field that is sufficiently greater than the luminance to which the eyes are adapted to, causing annoyance, discomfort, or loss in visual performance and visibility.
Grandfathered describes the status accorded certain properties, uses, and activities that legally exist prior to the date of adoption of the Zoning Ordinance or amendments to the Zoning Ordinance.
Group child care home means any place or facility operated by any person or entity that provides child care for three or more hours per day for at least eight children who are not related to the primary educator, but not more than 12 children or 15 children if approved for three additional school-agers.
Group home means a residential facility which offers a home-like environment for mentally retarded, mentally handicapped, or physically handicapped residents, on either a permanent or temporary basis and that is licensed by the appropriate state agency.
Height, building. See "Accessory building, height of" and/or "Principal building, height of."
Highest adjacent grade means the highest natural elevation of the ground surface, prior to construction, next to the proposed walls of a structure.
Historic structure means any structure that is:
1.
Listed individually in the National Register of Historic Places or preliminarily determined by the Secretary of the Interior as meeting the requirements for individual listing on the National Register;
2.
Certified or preliminarily determined by the Secretary of the Interior as contributing to the historical significance of a registered historic district or a district preliminarily determined by the Secretary to qualify as a registered historic district;
3.
Individually listed on a state inventory of historic places; or
4.
Individually listed on a local inventory of historic places and determined as eligible by communities with historic preservation programs that have been certified either: A) by an approved state program as determined by the Secretary of the Interior; or B) directly by the Secretary of the Interior.
Home occupation means any business, occupation, or activity undertaken for profit within a residential structure or one accessory building that is incidental and secondary to the use of that structure as a dwelling unit. Home occupation as defined does not include telecommuting.
Horizontal illuminance means the measurement of brightness from a light source, measured in footcandles, which is taken through a light meter's sensor at a horizontal position at the surface being lighted. Horizontal illuminance measurements incorporate the inverse square law and cosine law into their readings, and can be calculated as E=(I)(cos angle of incidence)/d 2 . See inverse square law definition.
Hospital means an institution licensed by the state health department providing primary health services and medical or surgical services to persons, primarily in-patients suffering from illness, disease, injury, and other abnormal physical or mental conditions, and including as an integral part of the institution related facilities and services such as laboratories, surgical care, testing, and outpatient and emergency services.
Illuminance means the quantity of light, or luminous flux, arriving at a surface divided by the area of the illuminated surface, measured in footcandles.
Impervious surface means an area covered by any material or compacted in a way so that it is highly resistant to infiltration by water.
Initial footcandles means the calculated or measured illumination level when a luminaire is new and is void of light-reducing elements. The difference between initial footcandle and measured footcandle levels constitutes the light loss factor.
Inverse square law means the law stating that the illuminance (E) at a point on a surface varies directly with the intensity (I) of a point source, and inversely as the square of the distance (d) between the source and the point, expressed as E=I/d 2 if the surface at the point is perpendicular to the direction of the incident light.
Isofootcandle line or diagram means a line plotted on any appropriate set of coordinates to show all points on a surface where the illuminance is the same. A series of such lines is called an isofootcandle diagram. For the purposes of the site plan requirements of this Code, point calculations (or measurements) of footcandle levels at intervals of 30 feet or less are considered comparable.
Junk yards mean any open or uncovered land on which dilapidated automobiles, machines or machine parts, scrap metal, rags, plastics, boxes, barrels, old papers, or tires, and the like are assembled for purposes of trade.
Karst system means irregular terrain characterized by a subsurface drainage system and consisting of solution channels, closed depressions, subterranean drainage through sinkholes, and caves.
Kennel means the boarding, breeding, raising, or training of two or more dogs, cats, or other household pets of any age not owned by the owner or occupant of the premises, and/or for commercial gain.
Landscape yard means a landscaped area located at the perimeter of the lot along all abutting streets.
Landscaped area means an area of landscaping planted with growing plant materials (trees, vines, shrubs, grass, flowers, and/or growing ground cover) with up to 25 percent mulch.
Levee means a manmade structure, usually an earthen embankment, designed and constructed in accordance with sound engineering practices to contain, control, or divert the flow of water to provide protection from temporary flooding.
Levee system means a flood protection system which consists of a levee, or levees, and associated structures, such as closure and drainage devices, which are constructed and operated in accordance with sound engineering practices.
Light loss factors means the ratio of measured illuminance to the value that would occur if lamps operated at their (initial) rated lumen output and if no system variation or depreciation had occurred.
Light trespass means light emitted by a lighting installation that falls outside the boundaries of the property on which the installation is sited.
Liquor store means the building or part of a building where a licensee conducts any of the business authorized by the license from the State of Tennessee to sell for off-premises consumption alcohol, spirits, liquor, wine and every other liquid containing alcohol, spirits and wine, and capable of being consumed by a human being, other than patented medicine or beer, where the latter contains an alcoholic content of five percent weight or less.
Live-work unit means a single unit (e.g. Studio, loft, or one-bedroom) consisting of both a non-residential and residential component that is occupied by the same resident. The live-work unit shall be the primary dwelling of the occupant.
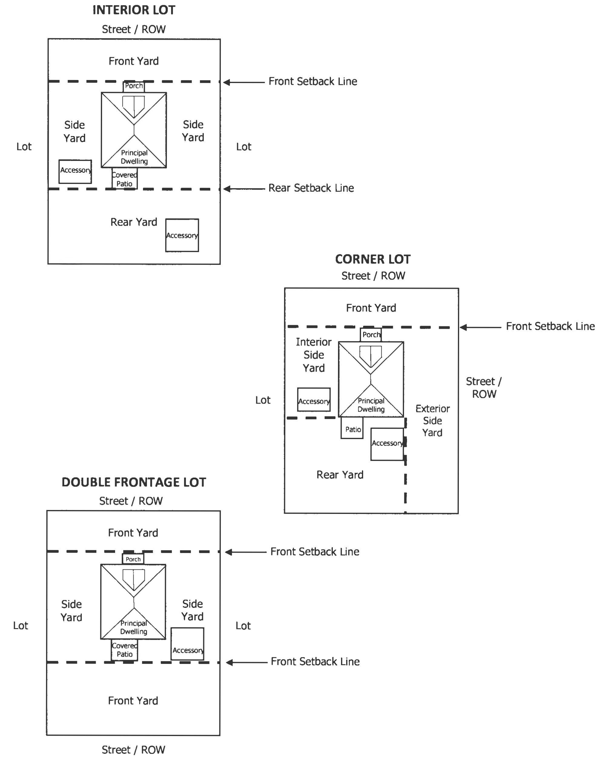
Lot means a parcel of land which fronts on and has ingress and egress by means of a public or private right-of-way and which is occupied or intended to be occupied by a building or groups of buildings as provided herein with the customary accessories and open spaces.
Lot area means the total horizontal area included within lot lines.
Lot area averaging (LAA) is a provision that allows land subdivisions to create new parcels that are smaller than the minimum lot size for the applicable district, and requires that the average (mean) of all newly created parcels is at least the minimum lot size for that district. LAA is permitted in specified districts, where the stated minimum lot size would necessitate more grading/earthwork or vegetation removal than is desired, or where the land is constrained with features such as flood plains, sink holes, steep slopes with 25 percent or greater gradient, or where variations in lot sizes is desired so that a development may fit more naturally into the surrounding landscape.
Lot, corner means a lot of which at least two adjoining sides abut for their full lengths on a street, provided that the interior angle at the intersection of two such sides is less than 135 degrees.
Lot coverage means the total percent of a parcel covered by principal and accessory buildings or structures.
Lot depth means the average distance from the street line of the lot to its rear line, measured in the general direction of the side lines of the lot.
Lot, double frontage means a lot which runs through a block from street to street or which has two non-intersecting sides abutting on two or more streets.
Lot frontage means that dimension of a lot or portion of a lot abutting on a street, excluding the side dimension of a corner lot.
Lot, interior means a lot other than a corner lot.
Lot lines means the lines bounding a lot as defined herein.
A.
Lot line, front means, in the case of an interior lot, the line separating said lot from the street. For corner lots, the shortest lot line fronting upon a street shall be considered the front of the lot. However, where there is an existing building on the lot, the frontage may be established by the orientation of the principal building(s). If the building(s) orientation does not clearly indicate lot frontage, the frontage may be established by the architectural front of the principal building or the principal entrance. Where no other method determines conclusively the front of a lot, the Director of Development Services or their designee shall select one frontage on the basis of traffic flow on adjacent streets or the street higher in the hierarchy of street classification, so that the lot is considered to front on the street with the greatest traffic flow or higher in the said hierarchy. The other side fronting a street, which is not designated as the front, shall be considered the exterior side yard.
B.
Lot line, rear means the lot boundary opposite and most distant from the front lot line. In the case of a triangular, pointed or irregular lot, the rear lot line, for the purposes of measuring the rear setback, shall be an imaginary line ten feet in length completely within the lot, parallel to and at the maximum point farthest from the front lot line.
C.
Lot line, side means a side lot line is any lot boundary line not a front lot line or rear lot line.
Lot of record means a lot which is part of a subdivision recorded in the office of the appropriate county registrar, or a lot legally created prior to the adoption of this Code, the description of which has been recorded.
Lot width means the width of a lot at the required building setback line measured at right angles to its depth.
Lowest floor means the lowest floor of the lowest enclosed area, including basement and crawl space. An unfinished or flood resistant enclosure, including a crawl space and areas usable solely for parking of vehicles, building access, or storage is also considered a building's lowest floor; provided, that such enclosure is not built so as to render the structure in violation of the applicable non-elevation design requirements of the Floodplain Regulations.
Lumen means a unit of light energy used to specify the light output of sources, calculated as the rate at which light falls on one square foot of surface area one foot from a source of one candela.
Luminaire means a complete lighting fixture including one or more lamps and ballasting (when applicable) together with the parts designed to distribute the light, to position and protect the lamps and to connect the lamps to the power supply.
Manufactured home means a detached residential dwelling unit designed for transportation, after fabrication, on streets or highways on its own wheels or on a flatbed or other trailer, and arriving at the site where it is to be occupied as a dwelling complete and ready for occupancy except for minor and incidental unpacking and assembly operations, location on jacks or other temporary or permanent foundations, connections to utilities, and the like. The following shall not be included in this definition:
A.
Travel trailers, pickup campers, motor homes, camping trailers, or other recreational vehicles.
B.
Manufactured modular housing which is designed to be set on a permanent foundation, and which meets the Standard Building Code Congress International.
Manufactured home park means a parcel or tract of land under single ownership which has been planned and improved for the placement of manufactured homes for dwelling purposes; provided that all manufactured home parks existing at the time of passage of this Code not meeting the minimum requirements established in Article VI, Section 6.11, shall be considered a nonconforming use, and further provided that one manufactured home on a separate lot, shall not be considered a nonconforming manufactured home park.
Map means the Flood Hazard Boundary Map (FHBM) or the Flood Insurance Rate Map (FIRM) for a community issued by the Agency.
Mean sea level means the average height of the sea for all stages of the tide. It is used as a reference for establishing various elevations within the floodplain. For purposes of the Floodplain Regulations, the term is synonymous with National Geodetic Vertical Datum (NGVD) or other datum, to which base flood elevations shown on the Flood Insurance Rate Map are referenced.
Mounting height means the vertical distance between the surface to be lighted and the center of the apparent light source of a luminaire.
National Geodetic Vertical Datum (NGVD), as corrected in 1929, means a vertical control used as a reference for establishing varying elevations within the floodplain.
Neighborhood convenience center means a retail store selling a limited variety of food, beverages, and sundry items; with or without motor fuel facilities; and catering primarily to motorists making quick stops, and/or neighborhood customers.
Neighborhood recreational facility means a recreational facility (such as a swimming pool, tennis courts, or playgrounds) designed to serve a designated neighborhood or subdivision. Membership shall be limited to 200 families.
New construction means any structure for which the start of construction commenced on or after the effective date of the Floodplain Regulations. The term also includes any subsequent improvements to such structure.
New manufactured home park or subdivision means a manufactured home park or subdivision for which the construction of facilities for servicing the lots on which the manufactured homes are to be affixed (including at a minimum, the installation of utilities, the construction of streets, and either final site grading or the pouring of concrete pads) is completed on or after the adopted date of the Floodplain Regulations and includes any subsequent improvements to such structure.
No-build line means a flood elevation line that delineates an area within which no development shall be allowed to occur.
Nonconforming lot means a lot which had legal dimensions and square footage prior to the adoption, amendment or comprehensive revision of this zoning ordinance, but which now fails to conform to the requirements of its zoning district.
Nonconforming structure means a structure which was legal prior to the adoption, amendment or comprehensive revision of this zoning ordinance, but which now violates the size, location and/or dimensional limits of its zoning district.
Nonconforming use means a use which existed lawfully prior to the adoption, amendment or comprehensive revision of this zoning ordinance, but which does not comply with present zoning provisions.
Normal flow elevation means the elevation of the surface of water flowing in a stream, measured when the surface of the water flowing in a stream is not elevated due to a recent rainfall or lowered by drought conditions.
North American Vertical Datum (NAVD), as corrected in 1988, means a vertical control used as a reference for establishing varying elevations within the floodplain.
Nursing homes, rest homes, and convalescent homes mean a building, establishment, complex or distinct part thereof providing elderly care and housing, containing single rooms or other dwelling units which may consist of no more than bedroom and bathroom facilities, provided that 24-hour medical care and medical staffing and other services are required or provided, regardless of the ambulatory status of the residents; and, provided further that one or more regular meals is required by state law, and/or as a condition of residency. For the purpose of this Code, these type facilities shall include short term care facilities, nursing, convalescent and rest homes, and rehabilitation centers.
Obtrusive light means light trespass which, because of quantitative, directional, or spectral context, gives rise to annoyance, discomfort, distraction, or a reduction in the ability to see essential information.
Open space means an open space (active or passive) within a residential development reserved for, but not limited to, the use of the residents of the development and their guests.
Open space (active) means open space that may be improved and set aside, dedicated, or reserved for public or private use of recreational facilities such as swimming pools, play equipment, ball fields, court games, picnic tables, etc.
Open space (passive) means open space that is unimproved and set aside, dedicated, or reserved for public or private use and enjoyment of the owners or occupants.
100 year flood. See base flood. The term 100 year flood does not refer to a flood that occurs once every 100 years, but refers to a flood level with a one percent or greater chance of being equaled or exceeded in any given year.
Personal services means an establishment providing services to individuals such as barber and beauty shops, shoe repair, dressmaking, tailoring, and laundry and other similar services not specifically allowed as a permitted use or special exception and where the primary purpose of the business does not involve retail trade.
Pervious (permeable) surface means surface which allows for the infiltration of stormwater through the surface into the ground. Such surfaces may include, but are not limited to, porous concrete, porous asphalt, and concrete pavers.
Pet grooming means any place or establishment, public or private, where animals are bathed, clipped, or combed for the purpose of enhancing their aesthetic value or health and for which a fee is charged.
Photometer means an instrument for measuring photometric quantities such as illuminance or luminance.
Point method means a lighting design procedure for predetermining the illuminance at various locations in lighting installations, by the use of luminaire photometric data. The point method utilizes the angle of incidence and inverse square law in its calculations.
Principal building, height of means the vertical distance measured from the average ground elevation to the highest point of the roof for flat roofs, to the deck line of mansard roofs, and to the mean height between eaves and ridge for gable, hip, and gambrel roofs.
Principal use means the primary purpose or function that a lot serves or is intended to serve.
Professional services means an establishment providing a service by established professions such as legal services, engineering and architectural services, accounting services, and other similar services not specifically allowed as a permitted use or special exception and where the primary purpose does not involve retail trade.
Protective screening means a continuous screen composed of planted vegetation, fencing, or walls affording visual relief from areas producing adverse visual effects.
Public utility facilities include any public or private building or structure used for the production, storage, transmission, distribution, and recovery of communications, water, sewage, gas, energy, and other similar utilities.
Recreational vehicle means a vehicle which is: built on a single chassis; 400 square feet or less when measured at the largest horizontal projections; designed to be self-propelled or permanently towable by a light duty truck; and designed primarily not for use as a permanent dwelling but as temporary living quarters for recreation, camping, travel, or seasonal use.
Regulatory floodway means the channel of a river or other watercourse and the adjacent land areas that must be reserved in order to discharge the base flood without cumulatively increasing the water surface elevation more than one foot above the base flood elevation.
Religious institution means a building, together with its accessory buildings and use, where persons regularly assemble for religious purposes and related social events and which building, together with its accessory buildings and uses, is maintained and controlled by a religious body organized to sustain religious ceremonies and purposes.
Residential homes for the aged means a home represented and held out to the general public as a home which accepts aged persons for relatively permanent, domiciliary care. A home for the aged provides room, board, and personal services to one or more unrelated persons. A residential home for the aged is not a nursing home.
Retail sales—general means an establishment having its primary function (a minimum of 80 percent), the retail sales of any article, substance, merchandise, or commodity to the end consumer.
Retail sales—specialty means retail operations under 10,000 square feet that specialize in one type or line of merchandize including but not limited to: jewelry; bookstore; shoe store; antique store; card and gift; and similar establishment.
Retail sales—bulk means an establishment engaged in the selling of goods or merchandise to the general public, other retailers, contractors, or businesses. Bulk retail involves providing services incidental to the sale of such goods generally in a warehouse setting. Bulk retail is differentiated from general retail by the following characteristic items for sale including large categorized products (e.g., lumber, appliances, household furnishing, electrical and heating fixtures and supplies, wholesale and retail nursery stock, etc.).
Riverine means relating to, formed by, or resembling a river (including tributaries), stream, brook, etc.
Rooming or boarding house means a building containing a single dwelling unit and not more than five guest rooms where lodging is provided for not more than five guests with or without meals for compensation.
Self-service storage means a building or group of buildings divided into separate compartments each with a separate exterior entrance used to meet the temporary storage needs of business and residential uses.
Shade tree means any tree whose mature height is expected to exceed 30 feet with an expected crown spread of 30 feet or more, with a trunk that can be maintained in a clear condition (no branches) at least five feet above ground level, and is considered a shade tree in accordance with the American Standards of Nursery Stock, set forth by the American Association of Nurserymen. A list of acceptable shade trees is maintained by the Johnson City Planning Department.
Shielded light fixture means outdoor lighting fixtures constructed so that no light rays are emitted at an angle above the horizontal plane, excluding architectural or sign floodlighting where the bare lamp is fully hidden from public view.
Single-family residential district means a zoning district, which for residential purposes permits only single family detached dwellings on individual lots.
Sinkholes means shallow, bowl-like depressions found in karst terrain systems, that occur with the development of effective, underground conduit drainage.
Site preparation means excavation, grading, demolition, removing excess debris to allow for proper grading, or providing a surface for a proper foundation, drainage, and settling for a development project, and physical improvements including, but not limited to, water and sewer lines, footings, or foundation installed on the site for which construction permits are required.
Sorority houses. See fraternity houses.
Special exception means a use that would not be appropriate generally or without restriction throughout the zoning division or district but which, if controlled as to number, area, location, or relation to the neighborhood, would promote the public health, safety, welfare, morals, order, comfort, convenience, appearance, prosperity, or general welfare. Such uses may be permitted in such zoning division or district as special exceptions, if specific provision for such special exceptions is made in this Zoning Code and only after approval has been granted by the Board of Zoning Appeals.
Special hazard area means an area having special flood, mudslide (i.e., mudflow) and/or flood-related erosion hazards, and shown on an FHBM or FIRM as Flood Zone A, AO, A1-30, AE, A99, or AH.
Specimen tree means any healthy tree with a diameter of 18 inches dbh or greater.
Start of construction includes substantial improvement, and means the date the building permit was issued, provided the actual start of construction, repair, reconstruction, rehabilitation, addition, placement, or other improvement was within 180 days of the permit date. The actual start means either the first placement of permanent construction of a structure (including a manufactured home) on a site, such as the pouring of slabs or footings, the installation of piles, the construction of columns, or any work beyond the stage of excavation; or the placement of a manufactured home on a foundation. Permanent construction does not include land preparation, such as clearing, grading and filling; nor does it include the installation of streets and/or walkways; nor does it include excavation for a basement, footings, piers, or foundations or the erection of temporary forms; nor does it include the installation on the property of accessory buildings, such as garages or sheds not occupied as dwelling units or not part of the main structure. For a substantial improvement, the actual start of construction means the first alteration of any wall, ceiling, floor, or other structural part of a building, whether or not that alteration affects the external dimensions of the building.
State coordinating agency means the Tennessee Department of Economic and Community Development is designated by the Governor of the State of Tennessee at the request of the Administrator to assist in the implementation of the National Flood Insurance Program for the state.
Story means that part of a building or structure above ground level between a floor and the floor or roof next above. A mezzanine shall be considered a story if it exceeds one-third of the area of the floor immediately below. A penthouse shall be considered a story if it exceeds one-third of the area of the roof. A basement shall be considered a story when more than one-half of its height is above the average ground elevation.
Street means a public right-of-way set aside for public travel not less than 30 feet in width which:
1.
Has been accepted for maintenance by the city of Johnson City;
2.
Has been established as a public street prior to the date of adoption of this Code; or
3.
Has been dedicated to the city of Johnson City for public travel by the recording of a plat of a subdivision which has been approved by the Johnson City Regional Planning Commission.
Structure means anything constructed or erected, the use of which requires location on the ground, or attachment to something having location on the ground, which includes a manufactured home, a gas or liquid storage tank, or other manmade facilities or infrastructures.
Student oriented housing means apartments designed for students, oriented so that each bedroom can be rented out individually with one shared living area.
Subdivision site plan means a site plan required for commercial subdivisions within the B-4, B-5, and PB districts.
Substantial change means a modification substantially changes the physical dimensions of a eligible support structures if it meets any of the following criteria:
A.
Increase in height. For towers structures other than towers in the public rights-of-way, it increases the height of the tower by more than ten percent or by the height of one additional antenna array with separation from the nearest existing antenna not to exceed 20 feet, whichever is greater; for other eligible support structures, it increases the height of the structure by more than ten percent or more than ten feet, whichever is greater. Changes in height should be measured from the original support structure in cases where deployments are or will be separated horizontally, such as on buildings' rooftops; in other circumstances, changes in height should be measured from the dimensions of the tower or base station, inclusive of originally approved appurtenances and any modifications that were approved prior to the passage of the Spectrum Act.
B.
Increase in width. For towers other than towers in the public rights-of-way, it involves adding an appurtenance to the body of the tower that would protrude from the edge of the tower more than 20 feet, or more than the width of the tower structure at the level of the appurtenance, whichever is greater; for other eligible support.
C.
Excessive equipment cabinets. For any eligible support structure, it involves installation of more than the standard number of new equipment cabinets for the technology involved, but not to exceed four cabinets; or, for towers in the public rights-of-way and base stations, it involves installation of any new equipment cabinets on the ground if there are no pre-existing ground cabinets associated with the structure, or else involves installation of ground cabinets that are more than ten percent larger in height or overall volume than any other ground cabinets associated with the structure;
D.
Expands tower site. It involved any excavation or deployment outside the current site;
E.
Buffers. It would not violate any buffer requirements; or
F.
It does not comply with conditions associated with the siting approval of the construction or modification of the eligible support structure or base station equipment, provided however that this limitation does not apply to any modification that is non-compliant only in a manner that would not exceed the thresholds identified above.
Substantial damage means damage of any origin sustained by a structure whereby the cost of restoring the structure to its before damaged condition would equal or exceed 50 percent of the market value of the structure before the damage occurred.
Substantial improvement means any repairs, reconstructions, rehabilitations, additions, alterations or other improvements to a structure taking place during a five-year period in which the cumulative costs equals or exceeds 50 percent of the market value of the structure before the start of construction of the improvement. The market value of the structure should be: (1) the appraised value of the structure prior to the start of the initial repair or improvement; or (2) in the case of damage, the value of the structure prior to the damage occurring. This term includes structures which have incurred substantial damage, regardless of the actual repair work performed.
For the purpose of this definition, "substantial improvement" is considered to occur when the first alteration of any wall, ceiling, floor or other structural part of the building commences, whether or not that alteration affects the external dimensions of the building. The term does not, however, include either: (1) any project for improvement of a structure to correct existing violations of state or local health, sanitary, or safety code specifications which have been pre-identified by the local code enforcement official and which are the minimum necessary to assure safe living conditions and not solely triggered by an improvement or repair project or; (2) any alteration of a historic structure, provided that the alteration will not preclude the structure's continued designation as a historic structure.
Substantially improved existing manufactured home parks or subdivisions means the repair, reconstruction, rehabilitation, or improvement of the streets, utilities, and pads equals or exceeds 50 percent of the value of the streets, utilities, and pads before the repair, reconstruction, or improvement commenced.
Tearoom means a small limited service restaurant with no more than 500 square feet of dining area in a residential structure. An area for outside dining may be added with seating limited to 16 patrons. Carry-out service is permitted, but not including drive-thru facilities.
Teleworking means a work flexibility arrangement under which an employee performs the duties and responsibilities of such employee's position, and other authorized activities, from an approved worksite other than the location from which the employee would otherwise work.
Temporary recreational vehicle means a trailer, tent, modular unit, or other moveable prefabricated structure. No temporary recreational vehicle shall be occupied for residential purposes anywhere in the city of Johnson City and location in an RV campground site shall not exceed 90 cumulative days within a calendar year.
Temporary use means a land use or structure that is in place for only short periods of time not to exceed 90 consecutive days unless an extension is granted.
Tower structure means a wireless transmission facility constructed as a lattice tower with or without guy wires, as an alternative tower structure, or as a monopole tower; primarily for the purpose of supporting an antenna array; and support buildings and equipment; excluding equipment under 30 feet in height used for amateur radio communication.
Uniformity ratio describes the maximum level of illumination in relation to the minimum level for a given area, expressed as a ratio.
Value-oriented housing means the maximum value of a single-family house shall be derived by using the Department of Housing and Urban Development's latest Low and Moderate Income Table for a family of four and multiplying it by two and one-half.
Variance means a variance is a relaxation of the terms of the Zoning Code, but only where by reason of exceptional narrowness, shallowness or shape of a specific piece of property or other extraordinary or exceptional situation or condition of a piece of property, the strict application of the provisions of this Code would result in practical difficulties to or undue hardship upon the owner of such property.
Vertical illuminance means the measurement of brightness from a light source, measured in foot candles, which is taken through a light meter's sensor at a vertical position at a five foot height for the area being lighted, used in this Code primarily for measurements of light trespass at the property line. The use of vertical illuminance measurements tend to ignore the influence of off-site sources such as street lighting.
Violation means the failure of a structure or other development to be fully compliant with the community's floodplain management regulations. A structure or other development without the elevation certificate, other certification, or other evidence of compliance required in this Ordinance is presumed to be in violation until such time as that documentation is provided.
Warehouse means a use involving a structure engaged in storage of products, supplies, and equipment, excluding self-service storage facilities.
Water surface elevation means the height, in relation to the National Geodetic Vertical Datum (NGVD) of 1929 (or other datum, where specified) of floods of various magnitudes and frequencies in the floodplains of coastal or riverine areas.
Waterway means any portion of land of a natural stream carrying surface water having a bed and defined banks or side elevations which contain said surface water.
Wet weather conveyances are defined in the Tennessee Water Quality Control Act of 1977 (Act) (T.C.A. 69-3-103(43)) as "man-made or natural watercourses, including natural watercourses that have been modified by channelization, that flow only in direct response to precipitation runoff in their immediate locality, whose channels are above the groundwater table, and in which hydrological and biological analyses indicate that, under normal weather conditions, due to naturally occurring ephemeral or low flow there is not sufficient water to support fish, or multiple populations of lotic aquatic organisms whose life cycle includes adequate phase of at least two months."
Yard means a required open space that lies between the principal or accessory structure or use and the nearest lot line which is unoccupied and unobstructed from 30 inches above ground level upward except as herein permitted:
A.
Yard, front means the space extending the full width of the lot between the architectural front of the principal building façade (the front setback) and the front lot line, or street right-of-way, measured perpendicular to the building at the closest point to the front lot line. Corner lots comprise of a front yard, interior side yard, and exterior side yard.
B.
Yard, rear means the space extending across the full width of the lot between the architectural rear of the principal building and the rear lot line and measured perpendicular to the building to the closest point of the rear lot line. Excluding double frontage lots which have no rear yard, rear yards extend from the back of a building to a property line.
C.
Yard, side means the space extending from the front yard to the rear yard between the principal building facade and the side lot line and measured perpendicular from the side lot line to the closest point of the principal building facade. Interior side yards extend from the sides of a building to an interior property line. Exterior side yards extend from the sides of a building to a street right-of-way.
(Ord. No. 4738-20, §§ 1(Exh. A), 2(Exh. B), 7-2-2020; Ord. No. 4753-20, § 1(Exh. A), 10-1-2020; Ord. No. 4757-20, § 1(Exh. A), 3-4-2021; Ord. No. 4761-20, § 1(Exh. A, 3-4-2021; Ord. No. 4780-21, § 1 (Exh. A), 7-29-2021; Ord. No. 4840-23, § 1(Exh. A, 4-20-2023; Ord. No. 4839-23, § 2(Exh. B), 5-4-2023)
DEFINITION OF TERMS USED IN THE CODE
Except as specifically defined herein, all words used in the Code have their customary dictionary definition to give this Ordinance it's most reasonable application given its stated purpose and objectives. For the purpose of this Code, certain words or terms used herein shall be defined as follows: words used in the present tense include the future tense; words used in the singular number include the plural, and words used in the plural include the singular; the word "person" includes a firm, co-partnership, company, organization, trust, association, corporation, as well as an individual; the word "lot" includes the word "plot" or "parcel", and the word "building" includes the word "structure".
The word "shall" is always mandatory; the word "may" is permissive. The word "used" or "occupied" as applied to any land or building shall be construed to include the word "intended", arranged, or designed to be used or occupied.
Accessory building, height of means the vertical distance measured from the average ground elevation to the highest point of the roof.
Accessory structure. (This definition is for the exclusive purpose of Article VIII, Floodplain Regulations). Any structure shall represent a subordinate structure to the principal structure and, for the purpose of this section, shall conform to the following: accessory structures shall not be used for human habitation; accessory structures shall be designed to have low flood damage potential; accessory structures shall be constructed and placed on the building site so as to offer the minimum resistance to the flow of flood waters; accessory structures shall be firmly anchored to prevent flotation which may result in damage to other structures; and service facilities such as electrical and heating equipment shall be elevated or flood-proofed.
Accessory structure or use means a detached structure or use customarily incidental and subordinate to the principal use or building and located on the same lot with such principal use or building.
Act means the statutes authorizing the National Flood Insurance Program that are incorporated in 42 U.S.C. 4001-4128.
Addition (to an existing building) means any walled and roofed expansion to the perimeter of a building in which the addition is connected by a common load-bearing wall other than a firewall. Any walled and roofed addition, which is by a firewall or is separated by an independent perimeter load-bearing wall, shall be considered "New Construction".
Adult day-care center means a place operated by a person, society, agency, corporation, institution, or other group that receives payment for the care of persons over 18 years of age for less than 24 hours per day in an approved community-based facility. The adult day-care center shall provide a structured program of personalized care for adults who are not capable of full independent living as a result of physical disability, developmental disabilities, emotional impairment, or frailty resulting from advanced age.
Adult-oriented businesses shall include:
A.
Adult arcade means an establishment where, for any form of consideration, one or more motion picture projectors, slide projectors or similar machines, for viewing by five or fewer persons each are used to show films, motion pictures, video cassettes, slide or other photographic reproductions which are characterized by an emphasis upon the depiction or description of "specified sexual activities" or "specified anatomical areas."
B.
Adult bookstore means an establishment that restricts or purports to restrict admission to adults or to any class of adults and which has as a substantial portion of its stock-in- trade and offers for sale for any form of consideration any one or more of the following:
1.
Books, magazines, periodicals or other printed matter, or photographs, films, motion pictures, video cassettes, slides or other visual representations which are characterized by an emphasis upon the depiction or description of "specified sexual activities" or "specified anatomical areas", or
2.
Instruments, devices or paraphernalia which are designed for use in connection with "specified sexual activities."
C.
Adult cabaret means a nightclub, bar, restaurant or similar establishment which regularly features live performances which are characterized by the exposure of "specified anatomical areas" or by "specified sexual activities," or films, motion pictures, video cassettes, slides or other photographic reproductions which are characterized by an emphasis upon the depiction or description of "specified sexual activities" or "specified anatomical areas."
D.
Adult motel means a motel or similar establishment offering public accommodations for any form of consideration which provides patrons with closed-circuit television transmissions, films, motion pictures, video cassettes, slides or other photographic reproductions which are characterized by an emphasis upon the depiction or description of "specified sexual activities" or "specified anatomical areas."
E.
Adult motion picture theater means an establishment where, for any form of consideration, films, motion pictures, video cassettes, slides or similar photographic reproductions are shown, and in which a substantial portion of the total presentation time is devoted to the showing of material which is characterized by an emphasis upon the depiction or description of "specified sexual activities" or "specified anatomical areas."
F.
Adult theater means a theater, concert hall, auditorium or similar establishment which, for any form of consideration, regularly features live performances which are characterized by an emphasis upon the exposure of "specified anatomical areas" or by "specified sexual activities."
G.
Characterized by an emphasis upon means the dominant or principal theme of the object referenced. For instance, when the phrase refers to films "which are characterized by emphasis upon the depiction or description of 'specified sexual activities' or 'specified anatomical areas," the films so described are those whose dominant or principal character and theme are the exhibition or display of "specified anatomical areas" or "specified sexual activities."
H.
Massage parlor means an establishment where, for any form of consideration, massage, alcohol rub fomentation, electric or magnetic treatment, or similar treatment or manipulation of the human body is administered, unless such treatment or manipulation is administered by a medical practitioner, chiropractor, acupuncturist, physical therapist or similar professional person licensed by the state. This definition does not include an athletic club, health club, school, gymnasium, reducing salon, spa or similar establishment where massage or similar manipulation of the human body is offered as in incidental or accessory service.
I.
Semi-nude means the female breast below a horizontal line across the top of the areola at its highest point or the showing of the male or female buttocks. This definition shall include the entire lower portion of the human female breast, but shall not include any portion of the cleavage of the human female breast, exhibited by a dress, blouse, skirt, leotard, bathing suit, or other wearing apparel, provided the areola is not exposed in whole or in part.
J.
Semi-nude model studio means an establishment which regularly features a person (or persons) who appears semi-nude and is provided to be observed, sketched, drawn, painted, sculptured, or photographed by other persons who pay money or any form of consideration, but shall not include a proprietary school licensed by the State of Tennessee or a college, junior college, community college, or university supported entirely or partly by public taxation; a private college or university which maintains and operates educational programs in which credits are transferable to a college, junior college, or university supported entirely or partly by taxation.
K.
Sexual encounter establishment means an establishment, other than a hotel, motel or similar establishment offering public accommodations, which, for any form of consideration, provides a place where two or more persons may congregate, associate or consort in connection with "specified sexual activities" or the exposure of "specified anatomical areas." This definition does not include an establishment where a medical practitioner, psychologist, psychiatrist or similar professional person licensed by the state engages in sexual therapy.
L.
Specified anatomical areas means any of the following:
1.
Less than completely and opaquely covered human genitals, pubic region, buttocks, anus or female breasts below a point immediately above the top of the areolae; or
2.
Human male genitals in a discernibly turgid state, even if completely and opaquely covered.
M.
Specified sexual activity means any of the following:
1.
Human genitals in a state of sexual stimulation or arousal;
2.
Acts of human masturbation, sexual intercourse, or sodomy;
3.
Fondling or other erotic touching of human genitals, pubic regions, buttocks, or female breasts;
4.
Flagellation or torture in the context of a sexual relationship;
5.
Masochism, erotic, or sexually-oriented torture, beating or the infliction of pain;
6.
Erotic touching, fondling, or other such contact with an animal by a human being; or
7.
Human excretion, urination, menstruation, vaginal or anal irrigation as part of or in connection with any of the activities set forth in 1. through 6. above.
N.
Substantial portion means over 20 percent of floor area, or over 20 percent of inventory by units or value, or over 20 percent of revenues, or an inventory of 200 or more units of the items set forth and enumerated in the definition of "adult book store" above, specifically being the books, magazines, periodicals, or other printed matter, or photographs, films, motion pictures, video cassettes, slides, or other visual representations which are characterized by an emphasis upon the depiction or description of "specified sexual activities" or "specified anatomical areas" or the instruments, devices or paraphernalia which are designed for use in connection with "specified sexual activities".
Alley means a minor right-of-way, dedicated to public use, which affords a secondary means of vehicular access to the back or side of properties otherwise abutting a street, and which may be used for public utility purposes.
Alternative tower structure means a type of monopole tower structure camouflaged to appear as a tree, clock tower, light pole, flag pole, farm silo, or similar man-made structure to conceal the presence of antennas or towers.
Animal hospital or veterinary clinic means a place where animals or pets are given medical or surgical treatment and are cared for during the time of such treatment. Use as an indoor kennel shall be limited to short-term boarding and medical care and shall be incidental to the hospital use.
Angle of incidence means the angle at which a light ray strikes the surface, measured between the ray and a line perpendicular to the surface.
Antenna array means devices such as poles, rods, panels, reflecting dishes, and whip antennas used for the transmission or reception of radio frequency signals.
Appeal means a request for a review of the Chief Building Official's interpretation of any provision of this Ordinance or a request for a variance.
Area of shallow flooding means a designated AO or AH Zone on the Flood Insurance Rate Map (FIRM) with one percent or greater annual chance of flooding to an average depth of one to three feet where a clearly defined channel does not exist, where the path of flooding is unpredictable and indeterminate; and where flood water velocity may or may not be evident. Such flooding is characterized by ponding or sheet flow.
Area of special flood-related erosion hazard means the land within a community which is most likely to be subject to severe flood-related erosion losses. The area may be designated as Zone E on the Flood Hazard Boundary Map (FHBM). After the detailed evaluation of the special flood-related erosion hazard area in preparation for publication of the FIRM, Zone E may be further refined.
Area of special flood hazard (also referred to as a special flood hazard area—SFHA) means the land in the floodplain within a community subject to a one percent or greater chance of flooding in any given year. The area may be designated as Zone A on the FHBM. After detailed rate making has been completed in preparation for publication of the FIRM, Zone A is usually refined into:
Zone A means the special flood hazard area that is subject to being inundated by the water of the base flood. No detailed hydraulic analyses have been performed, so base flood elevations or depths are not shown on the FHBM or the FIRM.
Zones AE and A1-30 means the special flood hazard area that is subject to inundation by the base flood. Detailed hydraulic analyses have been performed, and base flood elevations are shown on the FIRM. Zone AE is used on new and revised maps in place of Zone A1-30.
Zone AH means the special flood hazard area that is subject to inundation by the base flood, but with shallow flooding (usually areas of ponding). Average flood water depths are between one and three feet. Base flood elevations derived from detailed hydraulic analysis are shown in this zone.
Zone AO: The special flood hazard area that is subject to inundation by the base flood, but with shallow flooding (usually sheet flow on sloping terrain). Average flood water depths are between one and three feet. Average flood depths derived from detailed hydraulic analysis are shown in this zone. For areas of alluvial fan flooding, velocities are also determined.
Zone A99 means the special flood hazard area that is subject to inundation by the base flood, and which will be protected by a federal flood protection system when construction has reached specified statutory progress toward completion. No detailed hydraulic analyses have been performed, so no base flood elevations are shown.
Zones B, C, and X mean the special flood hazard areas which have been identified as areas of moderate or minimal hazard from the principal source of flood in the area. Specifically, the area inundated by a flood with a 0.2 percent or greater chance of being equaled or exceeded in any given year (500 year flood); the area inundated by the base flood with average depths of less than one foot or with drainage basin areas of less than one square mile; and areas protected by levees from the waters of the base flood. Zone X is used on new and revised maps in place of Zones B and C.
Zone D means the unstudied areas where flood hazards are possible but undetermined.
Arterial street means a roadway that provides for traffic movement between areas and across portions of the city and secondarily for direct access for abutting land, as indicated on the Zoning Map of the City of Johnson City.
Auction house means a facility principally devoted to the temporary storage and sale of new and used goods which are sold to the highest bidder.
Baffle means an opaque or translucent element used to shield a light source from direct view at certain angles, to absorb or block obtrusive light, or to reflect and redirect light.
Bare lamp means a light source with no shielding. The bare lamp of a luminaire is assumed to be the arc tube or filament in a clear lamp or the first sight of a lamp in the case of frosted lamps.
Base flood means the flood having a one percent chance of being equaled or exceeded in any given year.
Basement means that portion of a building having its floor below ground level on all sides.
Beam angle means the angle between the two directions for which the intensity is 50 percent of the maximum intensity as measured in a plane through the nominal beam centerline. For beams that do not have rotational symmetry, the beam angle is generally given for two planes at 90 degrees, typically the maximum and minimum angles.
Bed-and-breakfast home means a residential unit in which between one and three guest rooms are available for overnight accommodations and breakfast for the registered guests is provided. The owner shall have primary residence on the premises and the use shall be subordinate and incidental to the main residential use of the building.
Bed-and-breakfast inn means a residential unit in which between one and six guest rooms are available for overnight accommodations and breakfast for the registered guests is provided.
Beer serving/sales establishments means any business authorized to sell beer with an alcoholic content of not more than five percent by weight, and any beverage of like alcohol content.
Bicycle locker means a totally enclosed lockable storage area for bicycles located within 100 feet of the entrance to a building.
Bicycle rack means a ribbon rack able to contain a minimum of four bicycles located within 100 feet of the entrance to a building.
Breakaway wall means a wall not part of the structural support of the building and which is intended through its design and construction to collapse under specific lateral loading forces, without causing damage to the elevated portion of the building or supporting foundation system.
Buffer tree means any tree which will achieve adequate height, width, and density to provide screening between incompatible land uses. A list of acceptable buffer trees is maintained by the Johnson City Planning Department.
Buffer yard means a landscaped area composed of planted vegetation, including walls, fencing, bikeways, or walkways affording visual privacy and noise relief between uses of differing impact.
Building means any structure built for support having a roof supported by columns or by walls and intended for the shelter, housing, storage, or enclosure of persons, animals, or chattel (see structure).
Business services means an establishment providing services to places of business including, but not limited to: repair and maintenance of equipment, temporary personnel services, printing and copying, cleaning, rental and leasing, credit reporting and collection, mailing and advertising and other similar services not specifically allowed as a permitted use or special exception and where the primary purpose does not involve retail trade.
Center line of the street means that line surveyed and monumented by the governing body shall be the center line of the street; or if such center line has not been surveyed, it shall be that line running midway between the outside curbs or ditches of such street.
Chief building official means the administrator appointed to implement the provisions of this Code, see Article XVI, Subsection 16.1.
Child care agency or agency means a place or facility, regardless of whether it is currently licensed, that is operated as a "family child care home," a "group child care home," a "child care center," or a "drop-in child care center," that provides child care for less than 24 hours per day and for three or more hours per work day to five or more children under 17 years of age who are not related to the primary educator, without transfer of custody.
Child care center means any place or facility operated by any person or entity that provides child care for three or more hours per day for at least 13 children who are not related to the primary educator.
City-owned utility tower means a tower structure which is accessory to the public utility use. The purpose is to provide communications to remote public utilities such as electric power substations or water/sewer pump stations. It is not for the purpose of providing cellular telephone service.
Clinic means a non-institutional facility in an office environment of solo or group practice providing outpatient surgical, medical, dental, chiropractic, optical, osteopathic diagnostic, and similar services, for humans, by physicians, dentists, and other health care practitioners. Urgent care facilities are considered clinics. Clinics may include "nonresidential office-based opiate treatment facilities" (OBOT) or "nonresidential office-based opiate treatment facilities with dispensing authorization" (OBOT Plus), as defined by the Tennessee Rules of Department of Mental Health and Substance Abuse Services, Division of Administrative and Regulatory Services, Chapters 0940-05-35 and 0940-05-36, but do not include a "nonresidential opioid treatment program" as licensed under Tennessee Rule 0940-05-42.
Collector street means a street providing for traffic movement within such areas of the city and between major streets and local streets for direct access to abutting property, as indicated on the Zoning Map of the City of Johnson City.
Community recreational facility means a recreational area (swimming pool, tennis courts, playground, or golf course) designed to serve several neighborhoods or subdivisions. No set service area is defined.
Construction means the erection of construction materials in a permanent position and fasten in a permanent manner. Where excavation, demolition, or removal of an existing building has been substantially begun prior to rebuilding, such excavation, demolition, or removal shall be deemed to be construction: provided, that work shall be carried on diligently and complies will applicable requirements.
Construction field office/real estate office means a mobile home, travel trailer, truck trailer, and/or other movable structure used as a temporary office in conjunction with a construction project or in conjunction with the sale or rental of units within the project and only that project. At the time the use is discontinued, it shall be removed from site.
Cosine law means the law that the illuminance on any surface varies as the cosine of the angle of incidence (see horizontal illuminance).
Cut-off angle means the angle, measured up from nadir, between the vertical axis and the first line of sight at which the bare source is not visible.
DBH means diameter breast height. The diameter of a tree measured four and one-half feet above ground level.
Deck means an uncovered structure which exceeds 30 inches in height.
Density means the number of dwelling units per acre including those areas set aside for required open space, stormwater management, and public or private streets. For detached single-family units, the maximum density shall be dictated by the minimum lot size of the district.
Design deviation means any adjustment, change, or modification to the standards for sidewalk construction contained in General Requirements & Standards of Design resulting from unusual or exceptional topographic, physical, or natural conditions of the site.
Developer means a landowner or any party, representative, agent, successor, or heirs of the landowner of developer.
Development means any man-made change to improved or unimproved real estate, including, but not limited to, buildings or other structures, mining, dredging, drilling operations, excavation, filling, grading, paving, the removal of healthy trees over six inches dbh, or storage of equipment or materials.
Direct lighting means lighting by luminaires distributing 90 percent to 100 percent of the emitted light in the general direction of the surface to be illuminated.
Drip line means a vertical line extending from the outer edge of the canopy of a tree to the ground.
Drop-in child care center means a place or facility operated by any person or entity providing child care, at the same time, for 15 or more children, who are not related to the primary educator, for short periods of time, not to exceed 14 hours per week and for not more than seven hours per day for any individual child during regular working hours (Monday—Friday, 6:00 a.m. to 6:00 p.m.).
Dwelling, multi-family means a building designed, constructed, or reconstructed and used for more than two dwelling units, with each dwelling unit having a common structural or load-bearing wall of at least ten lineal feet with any other dwelling unit on the same floor or building level.
Dwelling, single-family means a building designed, constructed, and used for one dwelling unit.
A.
Detached means a one-family dwelling which is completely surrounded by open spaces.
B.
Semi-detached means a one-family dwelling that is connected on one side by means of a common dividing structural or load-bearing wall of at least ten lineal feet to another one-family dwelling, each dwelling on its own individual lot.
C.
Attached means a one-family dwelling that is connected on two sides by means of a common dividing structural or load bearing wall of at least ten lineal feet of two or more other one-family dwellings, or the end dwelling of a series of such dwellings, each dwelling unit on its own individual lot.
D.
Dwelling group, one-family attached means a line of one-family attached dwellings, joined at the sides by means of common structural or load bearing walls, comprising an architectural whole.
Dwelling, two-family or duplex means a building designed, constructed, or reconstructed and used for two dwelling units on a single lot.
Dwelling unit means one room, or rooms, connected together, constituting a separate, independent housekeeping establishment for owner occupancy, or rental, or lease on a weekly, monthly, or longer basis, and physically separated from any other rooms or dwelling units which may be in the same structure, and containing independent cooking and sleeping facilities for permanent residential occupancy by one family.
Elderly housing including: assisted living; congregate care; and retirement housing means a building, establishment, complex or distinct part thereof providing elderly congregate group housing, containing individual dwelling units which may consist of one or more bedrooms, dining area, bathing and cooking facilities, or a combination thereof, provided that 24-hour medical care and medical staffing is not required, and provided that limited medical care, meals and other services may be offered as a matter of convenience and not necessity. A residential home for the aged is not a nursing home.
Elevated building means a non-basement building:
1.
Built to have the bottom of the lowest horizontal structure member of the elevated floor elevated above the ground level by means of pilings, columns (posts and piers), or shear walls, and
2.
Adequately anchored so as not to impair the structural integrity of the building during a flood of up to the magnitude of the base flood.
In the case of Flood Zones A1-30, AE, A, A99, AO, AH, B, C, X, or D, elevated building also includes a building elevated by means of fill or solid foundation perimeter walls with openings sufficient to facilitate the unimpeded movement of flood waters.
Eligible support structure means any tower or support building and equipment as defined in this section, provided that it is existing at the time the relevant application is filed with the city.
Emergency flood insurance program or emergency program means the program as implemented on an emergency basis in accordance with Section 1336 of the National Flood Insurance Program. It is intended as a program to provide a first layer amount of insurance on all insurable structures before the effective date of the initial FIRM.
Emergency or temporary shelter means a residential facility which offers emergency shelter to persons on a temporary basis.
Erosion means the process of the gradual wearing away of landmasses. This peril is not per se covered under the program.
Exception means a waiver from the provisions of this Code which relieves the applicant from the requirements of a rule, regulation, order or other determination made or issued pursuant to this Code.
Existing construction means any structure for which the start of construction commenced before the effective date of the first floodplain management code or ordinance adopted by the community as a basis for that community's participation in the National Flood Insurance Program (NFIP).
Existing manufactured home park or subdivision means a manufactured home park or subdivision for which the construction of facilities for servicing the lots on which the manufactured homes are to be affixed (including, at a minimum, the installation of utilities, the construction of streets, and either final site grading or the pouring of concrete pads) is completed before the effective date of the first floodplain management code or ordinance adopted by the community as a basis for that community's participation in the National Flood Insurance Program (NFIP).
Existing structures. See existing construction.
Expansion to an existing manufactured home park or subdivision means the preparation of additional sites by the construction of facilities for servicing the lots on which the manufactured homes are to be affixed (including the installation of utilities, the construction of streets, and either final site grading or the pouring of concrete pads).
Exterior lighting fixture means an electrically-powered illuminating device containing a light source in excess of 50 watts per fixture (except for incandescent light sources in excess of 160 watts per fixture), which is temporarily or permanently installed outdoors, including, but not limited to, search, spot, flood, and area lighting.
Family means one or more related persons or a group of not more than three persons who are mutually unrelated by blood, marriage, legal adoption, or legal guardianship. In multi-family dwellings in the R-6 district, the number of unrelated persons may increase to four persons provided that the allowable density is reduced to 18.75 units per acre. Domestic workers employed on the premises are not counted as part of the family.
Family child care home means any place or facility which is operated by any person or entity that provides child care for three or more hours per day for at least five children, but not more than seven children who are not related to the primary educator.
Farm animal means animals other than household pets that shall be permitted to, where permitted, be kept and maintained for commercial production and sale and/or family food production, education, or recreation such as but is not limited to: horses, cattle, sheep, goats, hogs, rabbits, chinchillas, chickens, turkeys, pheasants, geese, ducks, pigeons, other birds, and bees.
Field angle means the angle between the two directions for which the intensity is ten percent of the maximum intensity measured in a plane through the nominal beam centerline. For beams without rotational symmetry, the field angle is generally given for two planes at 90 degrees, typically the maximum and minimum angles.
500-year flood does not refer to a flood that occurs once every 500 years, but refers to a flood level with a 0.20 percent or greater chance of being equaled or exceeded in any given year.
Flood or flooding means a general and temporary condition of partial or complete inundation of normally dry land areas from the overflow of inland or tidal waters and/or the unusual and rapid accumulation or runoff of surface waters from any source.
Flood elevation determination means a determination by the FEMA Administrator or consultant work approved by the Administrator of the water surface elevations of the base flood, that is, the flood level that has a one percent or greater chance of occurrence in any given year.
Flood elevation study means an examination, evaluation, and determination of flood hazards and, if appropriate, corresponding water surface elevations, or an examination, evaluation, and determination of mudslide (i.e., mudflow) and/or flood-related erosion hazards.
Flood hazard boundary map (FHBM) means an official map of a community, issued by the FEMA, where the boundaries of areas of special flood hazard have been designated as Zone A.
Flood insurance rate map (FIRM) means an official map of a community, on which the FEMA has delineated both the areas of special flood hazard and the risk premium flood zones applicable to the community.
Flood insurance study means the official report provided by the FEMA, evaluating flood hazards and containing flood profiles the water surface elevation of the base flood.
Floodplain or flood-prone area means any land area susceptible to being inundated by water from any source.
Flood protection system means physical structural works which funds have been authorized, appropriated, and expended and which have been constructed specifically to modify flooding in order to reduce the extent of the area within a community subject to a special flood hazard and the extent of the depths of associated flooding. Such a system typically includes hurricane tidal barriers, dams, reservoirs, levees, or dikes. These specialized flood modifying works are those constructed in conformance with sound engineering standards.
Flood-proofing means any combination of structural and nonstructural additions, changes, or adjustments to structures which reduce or eliminate flood damage to real estate or improved real property, water and sanitary facilities, structures, and their contents.
Flood-related erosion means the collapse or subsidence of land along the shore of a lake or other body of water as a result of undermining caused by waves or currents of water exceeding anticipated cyclical levels or suddenly caused by an unusually high water level in a natural body of water, accompanied by a severe storm, or by an unanticipated force of nature, such as a flash flood or an abnormal tidal surge, or by some similarly unusual and unforeseeable event which results in flooding.
Flood-related erosion area or flood-related erosion prone area means a land area adjoining the shore of a lake or other body of water, which due to the composition of the shoreline or bank and high water levels or wind-driven currents, is likely to suffer flood-related erosion damage.
Flood-related erosion area management means the operation of an overall program of corrective and preventive measures for reducing flood-related erosion damage, including but not limited to emergency preparedness plans, flood-related erosion control works, and flood plain management regulations.
Floodplain management means the operation of an overall program of corrective and preventive measures for reducing flood damage, including but not limited to emergency preparedness plans, flood control works, and floodplain management regulations.
Floodway means the channel of a river or other watercourse and the adjacent land areas that must be reserved in order to discharge the base flood without cumulatively increasing the water surface elevation more than one foot above the base flood elevation.
Floor means the top of the lowest interior surface of an enclosed area in a building (including basement), i.e., top of slab in concrete slab construction or top of wood flooring in wood frame construction. Except for the purposes of the flood regulations, the term does not include the floor of a garage used solely for parking vehicles.
Flush-mounted or recessed luminaire means a luminaire, which is mounted above the ceiling (or behind a wall or other surface) with the opening of the luminaire level with the surface.
Footcandle means a unit of illuminance, equal to one lumen/ft 2 , abbreviated as fc.
Fraternal organization means a group of people formally organized for a common interest, usually cultural, religious, or entertainment, with regular meetings and formal written membership requirements excluding college related fraternities or sororities.
Fraternity or sorority house means a building rented, occupied, or owned by a general or social chapter of some regularly organized college fraternity or sorority, or by or on its behalf by a building corporation or association composed of members of alumni thereof, and occupied by members of the local chapter of such fraternity or sorority, as a place of residence.
Freeboard means a factor of safety usually expressed in feet above a flood level for purposes of floodplain management. Freeboard tends to compensate for the many unknown factors that could contribute to flood heights greater than the height calculated for a selected size flood and floodway conditions, such as wave action, bridge openings, and the hydrological effect of urbanization of the watershed.
Full cut-off fixture means a luminaire that allows no direct light from the luminaire above a horizontal plane through the luminaire's lowest light-emitting part in its mounted form. Also known as a fully-shielded fixture.
Functionally dependent use means a use which cannot perform its intended purpose unless it is located or carried out in close proximity to water. The term includes only docking facilities, and port facilities that are necessary for the loading and unloading of cargo or passengers and ship building and ship repair facilities, but does not include long-term storage or related manufacturing facilities.
Gasoline service station means buildings and premises where gasoline, oil, grease, batteries, tires, and automobile accessories may be supplied and dispensed at retail. However, uses permissible at a gasoline service station do not include major mechanical and body work, straightening of body parts, painting, welding, storage of automobiles not in operating condition, or other work involving noise, glare, fumes, smoke, or other characteristics to an extent greater than normally found in service stations. A gasoline service station is not a repair garage nor a body shop.
Glare means the sensation produced by luminance within the visual field that is sufficiently greater than the luminance to which the eyes are adapted to, causing annoyance, discomfort, or loss in visual performance and visibility.
Grandfathered describes the status accorded certain properties, uses, and activities that legally exist prior to the date of adoption of the Zoning Ordinance or amendments to the Zoning Ordinance.
Group child care home means any place or facility operated by any person or entity that provides child care for three or more hours per day for at least eight children who are not related to the primary educator, but not more than 12 children or 15 children if approved for three additional school-agers.
Group home means a residential facility which offers a home-like environment for mentally retarded, mentally handicapped, or physically handicapped residents, on either a permanent or temporary basis and that is licensed by the appropriate state agency.
Height, building. See "Accessory building, height of" and/or "Principal building, height of."
Highest adjacent grade means the highest natural elevation of the ground surface, prior to construction, next to the proposed walls of a structure.
Historic structure means any structure that is:
1.
Listed individually in the National Register of Historic Places or preliminarily determined by the Secretary of the Interior as meeting the requirements for individual listing on the National Register;
2.
Certified or preliminarily determined by the Secretary of the Interior as contributing to the historical significance of a registered historic district or a district preliminarily determined by the Secretary to qualify as a registered historic district;
3.
Individually listed on a state inventory of historic places; or
4.
Individually listed on a local inventory of historic places and determined as eligible by communities with historic preservation programs that have been certified either: A) by an approved state program as determined by the Secretary of the Interior; or B) directly by the Secretary of the Interior.
Home occupation means any business, occupation, or activity undertaken for profit within a residential structure or one accessory building that is incidental and secondary to the use of that structure as a dwelling unit. Home occupation as defined does not include telecommuting.
Horizontal illuminance means the measurement of brightness from a light source, measured in footcandles, which is taken through a light meter's sensor at a horizontal position at the surface being lighted. Horizontal illuminance measurements incorporate the inverse square law and cosine law into their readings, and can be calculated as E=(I)(cos angle of incidence)/d 2 . See inverse square law definition.
Hospital means an institution licensed by the state health department providing primary health services and medical or surgical services to persons, primarily in-patients suffering from illness, disease, injury, and other abnormal physical or mental conditions, and including as an integral part of the institution related facilities and services such as laboratories, surgical care, testing, and outpatient and emergency services.
Illuminance means the quantity of light, or luminous flux, arriving at a surface divided by the area of the illuminated surface, measured in footcandles.
Impervious surface means an area covered by any material or compacted in a way so that it is highly resistant to infiltration by water.
Initial footcandles means the calculated or measured illumination level when a luminaire is new and is void of light-reducing elements. The difference between initial footcandle and measured footcandle levels constitutes the light loss factor.
Inverse square law means the law stating that the illuminance (E) at a point on a surface varies directly with the intensity (I) of a point source, and inversely as the square of the distance (d) between the source and the point, expressed as E=I/d 2 if the surface at the point is perpendicular to the direction of the incident light.
Isofootcandle line or diagram means a line plotted on any appropriate set of coordinates to show all points on a surface where the illuminance is the same. A series of such lines is called an isofootcandle diagram. For the purposes of the site plan requirements of this Code, point calculations (or measurements) of footcandle levels at intervals of 30 feet or less are considered comparable.
Junk yards mean any open or uncovered land on which dilapidated automobiles, machines or machine parts, scrap metal, rags, plastics, boxes, barrels, old papers, or tires, and the like are assembled for purposes of trade.
Karst system means irregular terrain characterized by a subsurface drainage system and consisting of solution channels, closed depressions, subterranean drainage through sinkholes, and caves.
Kennel means the boarding, breeding, raising, or training of two or more dogs, cats, or other household pets of any age not owned by the owner or occupant of the premises, and/or for commercial gain.
Landscape yard means a landscaped area located at the perimeter of the lot along all abutting streets.
Landscaped area means an area of landscaping planted with growing plant materials (trees, vines, shrubs, grass, flowers, and/or growing ground cover) with up to 25 percent mulch.
Levee means a manmade structure, usually an earthen embankment, designed and constructed in accordance with sound engineering practices to contain, control, or divert the flow of water to provide protection from temporary flooding.
Levee system means a flood protection system which consists of a levee, or levees, and associated structures, such as closure and drainage devices, which are constructed and operated in accordance with sound engineering practices.
Light loss factors means the ratio of measured illuminance to the value that would occur if lamps operated at their (initial) rated lumen output and if no system variation or depreciation had occurred.
Light trespass means light emitted by a lighting installation that falls outside the boundaries of the property on which the installation is sited.
Liquor store means the building or part of a building where a licensee conducts any of the business authorized by the license from the State of Tennessee to sell for off-premises consumption alcohol, spirits, liquor, wine and every other liquid containing alcohol, spirits and wine, and capable of being consumed by a human being, other than patented medicine or beer, where the latter contains an alcoholic content of five percent weight or less.
Live-work unit means a single unit (e.g. Studio, loft, or one-bedroom) consisting of both a non-residential and residential component that is occupied by the same resident. The live-work unit shall be the primary dwelling of the occupant.
Lot means a parcel of land which fronts on and has ingress and egress by means of a public or private right-of-way and which is occupied or intended to be occupied by a building or groups of buildings as provided herein with the customary accessories and open spaces.
Lot area means the total horizontal area included within lot lines.
Lot area averaging (LAA) is a provision that allows land subdivisions to create new parcels that are smaller than the minimum lot size for the applicable district, and requires that the average (mean) of all newly created parcels is at least the minimum lot size for that district. LAA is permitted in specified districts, where the stated minimum lot size would necessitate more grading/earthwork or vegetation removal than is desired, or where the land is constrained with features such as flood plains, sink holes, steep slopes with 25 percent or greater gradient, or where variations in lot sizes is desired so that a development may fit more naturally into the surrounding landscape.
Lot, corner means a lot of which at least two adjoining sides abut for their full lengths on a street, provided that the interior angle at the intersection of two such sides is less than 135 degrees.
Lot coverage means the total percent of a parcel covered by principal and accessory buildings or structures.
Lot depth means the average distance from the street line of the lot to its rear line, measured in the general direction of the side lines of the lot.
Lot, double frontage means a lot which runs through a block from street to street or which has two non-intersecting sides abutting on two or more streets.
Lot frontage means that dimension of a lot or portion of a lot abutting on a street, excluding the side dimension of a corner lot.
Lot, interior means a lot other than a corner lot.
Lot lines means the lines bounding a lot as defined herein.
A.
Lot line, front means, in the case of an interior lot, the line separating said lot from the street. For corner lots, the shortest lot line fronting upon a street shall be considered the front of the lot. However, where there is an existing building on the lot, the frontage may be established by the orientation of the principal building(s). If the building(s) orientation does not clearly indicate lot frontage, the frontage may be established by the architectural front of the principal building or the principal entrance. Where no other method determines conclusively the front of a lot, the Director of Development Services or their designee shall select one frontage on the basis of traffic flow on adjacent streets or the street higher in the hierarchy of street classification, so that the lot is considered to front on the street with the greatest traffic flow or higher in the said hierarchy. The other side fronting a street, which is not designated as the front, shall be considered the exterior side yard.
B.
Lot line, rear means the lot boundary opposite and most distant from the front lot line. In the case of a triangular, pointed or irregular lot, the rear lot line, for the purposes of measuring the rear setback, shall be an imaginary line ten feet in length completely within the lot, parallel to and at the maximum point farthest from the front lot line.
C.
Lot line, side means a side lot line is any lot boundary line not a front lot line or rear lot line.
Lot of record means a lot which is part of a subdivision recorded in the office of the appropriate county registrar, or a lot legally created prior to the adoption of this Code, the description of which has been recorded.
Lot width means the width of a lot at the required building setback line measured at right angles to its depth.
Lowest floor means the lowest floor of the lowest enclosed area, including basement and crawl space. An unfinished or flood resistant enclosure, including a crawl space and areas usable solely for parking of vehicles, building access, or storage is also considered a building's lowest floor; provided, that such enclosure is not built so as to render the structure in violation of the applicable non-elevation design requirements of the Floodplain Regulations.
Lumen means a unit of light energy used to specify the light output of sources, calculated as the rate at which light falls on one square foot of surface area one foot from a source of one candela.
Luminaire means a complete lighting fixture including one or more lamps and ballasting (when applicable) together with the parts designed to distribute the light, to position and protect the lamps and to connect the lamps to the power supply.
Manufactured home means a detached residential dwelling unit designed for transportation, after fabrication, on streets or highways on its own wheels or on a flatbed or other trailer, and arriving at the site where it is to be occupied as a dwelling complete and ready for occupancy except for minor and incidental unpacking and assembly operations, location on jacks or other temporary or permanent foundations, connections to utilities, and the like. The following shall not be included in this definition:
A.
Travel trailers, pickup campers, motor homes, camping trailers, or other recreational vehicles.
B.
Manufactured modular housing which is designed to be set on a permanent foundation, and which meets the Standard Building Code Congress International.
Manufactured home park means a parcel or tract of land under single ownership which has been planned and improved for the placement of manufactured homes for dwelling purposes; provided that all manufactured home parks existing at the time of passage of this Code not meeting the minimum requirements established in Article VI, Section 6.11, shall be considered a nonconforming use, and further provided that one manufactured home on a separate lot, shall not be considered a nonconforming manufactured home park.
Map means the Flood Hazard Boundary Map (FHBM) or the Flood Insurance Rate Map (FIRM) for a community issued by the Agency.
Mean sea level means the average height of the sea for all stages of the tide. It is used as a reference for establishing various elevations within the floodplain. For purposes of the Floodplain Regulations, the term is synonymous with National Geodetic Vertical Datum (NGVD) or other datum, to which base flood elevations shown on the Flood Insurance Rate Map are referenced.
Mounting height means the vertical distance between the surface to be lighted and the center of the apparent light source of a luminaire.
National Geodetic Vertical Datum (NGVD), as corrected in 1929, means a vertical control used as a reference for establishing varying elevations within the floodplain.
Neighborhood convenience center means a retail store selling a limited variety of food, beverages, and sundry items; with or without motor fuel facilities; and catering primarily to motorists making quick stops, and/or neighborhood customers.
Neighborhood recreational facility means a recreational facility (such as a swimming pool, tennis courts, or playgrounds) designed to serve a designated neighborhood or subdivision. Membership shall be limited to 200 families.
New construction means any structure for which the start of construction commenced on or after the effective date of the Floodplain Regulations. The term also includes any subsequent improvements to such structure.
New manufactured home park or subdivision means a manufactured home park or subdivision for which the construction of facilities for servicing the lots on which the manufactured homes are to be affixed (including at a minimum, the installation of utilities, the construction of streets, and either final site grading or the pouring of concrete pads) is completed on or after the adopted date of the Floodplain Regulations and includes any subsequent improvements to such structure.
No-build line means a flood elevation line that delineates an area within which no development shall be allowed to occur.
Nonconforming lot means a lot which had legal dimensions and square footage prior to the adoption, amendment or comprehensive revision of this zoning ordinance, but which now fails to conform to the requirements of its zoning district.
Nonconforming structure means a structure which was legal prior to the adoption, amendment or comprehensive revision of this zoning ordinance, but which now violates the size, location and/or dimensional limits of its zoning district.
Nonconforming use means a use which existed lawfully prior to the adoption, amendment or comprehensive revision of this zoning ordinance, but which does not comply with present zoning provisions.
Normal flow elevation means the elevation of the surface of water flowing in a stream, measured when the surface of the water flowing in a stream is not elevated due to a recent rainfall or lowered by drought conditions.
North American Vertical Datum (NAVD), as corrected in 1988, means a vertical control used as a reference for establishing varying elevations within the floodplain.
Nursing homes, rest homes, and convalescent homes mean a building, establishment, complex or distinct part thereof providing elderly care and housing, containing single rooms or other dwelling units which may consist of no more than bedroom and bathroom facilities, provided that 24-hour medical care and medical staffing and other services are required or provided, regardless of the ambulatory status of the residents; and, provided further that one or more regular meals is required by state law, and/or as a condition of residency. For the purpose of this Code, these type facilities shall include short term care facilities, nursing, convalescent and rest homes, and rehabilitation centers.
Obtrusive light means light trespass which, because of quantitative, directional, or spectral context, gives rise to annoyance, discomfort, distraction, or a reduction in the ability to see essential information.
Open space means an open space (active or passive) within a residential development reserved for, but not limited to, the use of the residents of the development and their guests.
Open space (active) means open space that may be improved and set aside, dedicated, or reserved for public or private use of recreational facilities such as swimming pools, play equipment, ball fields, court games, picnic tables, etc.
Open space (passive) means open space that is unimproved and set aside, dedicated, or reserved for public or private use and enjoyment of the owners or occupants.
100 year flood. See base flood. The term 100 year flood does not refer to a flood that occurs once every 100 years, but refers to a flood level with a one percent or greater chance of being equaled or exceeded in any given year.
Personal services means an establishment providing services to individuals such as barber and beauty shops, shoe repair, dressmaking, tailoring, and laundry and other similar services not specifically allowed as a permitted use or special exception and where the primary purpose of the business does not involve retail trade.
Pervious (permeable) surface means surface which allows for the infiltration of stormwater through the surface into the ground. Such surfaces may include, but are not limited to, porous concrete, porous asphalt, and concrete pavers.
Pet grooming means any place or establishment, public or private, where animals are bathed, clipped, or combed for the purpose of enhancing their aesthetic value or health and for which a fee is charged.
Photometer means an instrument for measuring photometric quantities such as illuminance or luminance.
Point method means a lighting design procedure for predetermining the illuminance at various locations in lighting installations, by the use of luminaire photometric data. The point method utilizes the angle of incidence and inverse square law in its calculations.
Principal building, height of means the vertical distance measured from the average ground elevation to the highest point of the roof for flat roofs, to the deck line of mansard roofs, and to the mean height between eaves and ridge for gable, hip, and gambrel roofs.
Principal use means the primary purpose or function that a lot serves or is intended to serve.
Professional services means an establishment providing a service by established professions such as legal services, engineering and architectural services, accounting services, and other similar services not specifically allowed as a permitted use or special exception and where the primary purpose does not involve retail trade.
Protective screening means a continuous screen composed of planted vegetation, fencing, or walls affording visual relief from areas producing adverse visual effects.
Public utility facilities include any public or private building or structure used for the production, storage, transmission, distribution, and recovery of communications, water, sewage, gas, energy, and other similar utilities.
Recreational vehicle means a vehicle which is: built on a single chassis; 400 square feet or less when measured at the largest horizontal projections; designed to be self-propelled or permanently towable by a light duty truck; and designed primarily not for use as a permanent dwelling but as temporary living quarters for recreation, camping, travel, or seasonal use.
Regulatory floodway means the channel of a river or other watercourse and the adjacent land areas that must be reserved in order to discharge the base flood without cumulatively increasing the water surface elevation more than one foot above the base flood elevation.
Religious institution means a building, together with its accessory buildings and use, where persons regularly assemble for religious purposes and related social events and which building, together with its accessory buildings and uses, is maintained and controlled by a religious body organized to sustain religious ceremonies and purposes.
Residential homes for the aged means a home represented and held out to the general public as a home which accepts aged persons for relatively permanent, domiciliary care. A home for the aged provides room, board, and personal services to one or more unrelated persons. A residential home for the aged is not a nursing home.
Retail sales—general means an establishment having its primary function (a minimum of 80 percent), the retail sales of any article, substance, merchandise, or commodity to the end consumer.
Retail sales—specialty means retail operations under 10,000 square feet that specialize in one type or line of merchandize including but not limited to: jewelry; bookstore; shoe store; antique store; card and gift; and similar establishment.
Retail sales—bulk means an establishment engaged in the selling of goods or merchandise to the general public, other retailers, contractors, or businesses. Bulk retail involves providing services incidental to the sale of such goods generally in a warehouse setting. Bulk retail is differentiated from general retail by the following characteristic items for sale including large categorized products (e.g., lumber, appliances, household furnishing, electrical and heating fixtures and supplies, wholesale and retail nursery stock, etc.).
Riverine means relating to, formed by, or resembling a river (including tributaries), stream, brook, etc.
Rooming or boarding house means a building containing a single dwelling unit and not more than five guest rooms where lodging is provided for not more than five guests with or without meals for compensation.
Self-service storage means a building or group of buildings divided into separate compartments each with a separate exterior entrance used to meet the temporary storage needs of business and residential uses.
Shade tree means any tree whose mature height is expected to exceed 30 feet with an expected crown spread of 30 feet or more, with a trunk that can be maintained in a clear condition (no branches) at least five feet above ground level, and is considered a shade tree in accordance with the American Standards of Nursery Stock, set forth by the American Association of Nurserymen. A list of acceptable shade trees is maintained by the Johnson City Planning Department.
Shielded light fixture means outdoor lighting fixtures constructed so that no light rays are emitted at an angle above the horizontal plane, excluding architectural or sign floodlighting where the bare lamp is fully hidden from public view.
Single-family residential district means a zoning district, which for residential purposes permits only single family detached dwellings on individual lots.
Sinkholes means shallow, bowl-like depressions found in karst terrain systems, that occur with the development of effective, underground conduit drainage.
Site preparation means excavation, grading, demolition, removing excess debris to allow for proper grading, or providing a surface for a proper foundation, drainage, and settling for a development project, and physical improvements including, but not limited to, water and sewer lines, footings, or foundation installed on the site for which construction permits are required.
Sorority houses. See fraternity houses.
Special exception means a use that would not be appropriate generally or without restriction throughout the zoning division or district but which, if controlled as to number, area, location, or relation to the neighborhood, would promote the public health, safety, welfare, morals, order, comfort, convenience, appearance, prosperity, or general welfare. Such uses may be permitted in such zoning division or district as special exceptions, if specific provision for such special exceptions is made in this Zoning Code and only after approval has been granted by the Board of Zoning Appeals.
Special hazard area means an area having special flood, mudslide (i.e., mudflow) and/or flood-related erosion hazards, and shown on an FHBM or FIRM as Flood Zone A, AO, A1-30, AE, A99, or AH.
Specimen tree means any healthy tree with a diameter of 18 inches dbh or greater.
Start of construction includes substantial improvement, and means the date the building permit was issued, provided the actual start of construction, repair, reconstruction, rehabilitation, addition, placement, or other improvement was within 180 days of the permit date. The actual start means either the first placement of permanent construction of a structure (including a manufactured home) on a site, such as the pouring of slabs or footings, the installation of piles, the construction of columns, or any work beyond the stage of excavation; or the placement of a manufactured home on a foundation. Permanent construction does not include land preparation, such as clearing, grading and filling; nor does it include the installation of streets and/or walkways; nor does it include excavation for a basement, footings, piers, or foundations or the erection of temporary forms; nor does it include the installation on the property of accessory buildings, such as garages or sheds not occupied as dwelling units or not part of the main structure. For a substantial improvement, the actual start of construction means the first alteration of any wall, ceiling, floor, or other structural part of a building, whether or not that alteration affects the external dimensions of the building.
State coordinating agency means the Tennessee Department of Economic and Community Development is designated by the Governor of the State of Tennessee at the request of the Administrator to assist in the implementation of the National Flood Insurance Program for the state.
Story means that part of a building or structure above ground level between a floor and the floor or roof next above. A mezzanine shall be considered a story if it exceeds one-third of the area of the floor immediately below. A penthouse shall be considered a story if it exceeds one-third of the area of the roof. A basement shall be considered a story when more than one-half of its height is above the average ground elevation.
Street means a public right-of-way set aside for public travel not less than 30 feet in width which:
1.
Has been accepted for maintenance by the city of Johnson City;
2.
Has been established as a public street prior to the date of adoption of this Code; or
3.
Has been dedicated to the city of Johnson City for public travel by the recording of a plat of a subdivision which has been approved by the Johnson City Regional Planning Commission.
Structure means anything constructed or erected, the use of which requires location on the ground, or attachment to something having location on the ground, which includes a manufactured home, a gas or liquid storage tank, or other manmade facilities or infrastructures.
Student oriented housing means apartments designed for students, oriented so that each bedroom can be rented out individually with one shared living area.
Subdivision site plan means a site plan required for commercial subdivisions within the B-4, B-5, and PB districts.
Substantial change means a modification substantially changes the physical dimensions of a eligible support structures if it meets any of the following criteria:
A.
Increase in height. For towers structures other than towers in the public rights-of-way, it increases the height of the tower by more than ten percent or by the height of one additional antenna array with separation from the nearest existing antenna not to exceed 20 feet, whichever is greater; for other eligible support structures, it increases the height of the structure by more than ten percent or more than ten feet, whichever is greater. Changes in height should be measured from the original support structure in cases where deployments are or will be separated horizontally, such as on buildings' rooftops; in other circumstances, changes in height should be measured from the dimensions of the tower or base station, inclusive of originally approved appurtenances and any modifications that were approved prior to the passage of the Spectrum Act.
B.
Increase in width. For towers other than towers in the public rights-of-way, it involves adding an appurtenance to the body of the tower that would protrude from the edge of the tower more than 20 feet, or more than the width of the tower structure at the level of the appurtenance, whichever is greater; for other eligible support.
C.
Excessive equipment cabinets. For any eligible support structure, it involves installation of more than the standard number of new equipment cabinets for the technology involved, but not to exceed four cabinets; or, for towers in the public rights-of-way and base stations, it involves installation of any new equipment cabinets on the ground if there are no pre-existing ground cabinets associated with the structure, or else involves installation of ground cabinets that are more than ten percent larger in height or overall volume than any other ground cabinets associated with the structure;
D.
Expands tower site. It involved any excavation or deployment outside the current site;
E.
Buffers. It would not violate any buffer requirements; or
F.
It does not comply with conditions associated with the siting approval of the construction or modification of the eligible support structure or base station equipment, provided however that this limitation does not apply to any modification that is non-compliant only in a manner that would not exceed the thresholds identified above.
Substantial damage means damage of any origin sustained by a structure whereby the cost of restoring the structure to its before damaged condition would equal or exceed 50 percent of the market value of the structure before the damage occurred.
Substantial improvement means any repairs, reconstructions, rehabilitations, additions, alterations or other improvements to a structure taking place during a five-year period in which the cumulative costs equals or exceeds 50 percent of the market value of the structure before the start of construction of the improvement. The market value of the structure should be: (1) the appraised value of the structure prior to the start of the initial repair or improvement; or (2) in the case of damage, the value of the structure prior to the damage occurring. This term includes structures which have incurred substantial damage, regardless of the actual repair work performed.
For the purpose of this definition, "substantial improvement" is considered to occur when the first alteration of any wall, ceiling, floor or other structural part of the building commences, whether or not that alteration affects the external dimensions of the building. The term does not, however, include either: (1) any project for improvement of a structure to correct existing violations of state or local health, sanitary, or safety code specifications which have been pre-identified by the local code enforcement official and which are the minimum necessary to assure safe living conditions and not solely triggered by an improvement or repair project or; (2) any alteration of a historic structure, provided that the alteration will not preclude the structure's continued designation as a historic structure.
Substantially improved existing manufactured home parks or subdivisions means the repair, reconstruction, rehabilitation, or improvement of the streets, utilities, and pads equals or exceeds 50 percent of the value of the streets, utilities, and pads before the repair, reconstruction, or improvement commenced.
Tearoom means a small limited service restaurant with no more than 500 square feet of dining area in a residential structure. An area for outside dining may be added with seating limited to 16 patrons. Carry-out service is permitted, but not including drive-thru facilities.
Teleworking means a work flexibility arrangement under which an employee performs the duties and responsibilities of such employee's position, and other authorized activities, from an approved worksite other than the location from which the employee would otherwise work.
Temporary recreational vehicle means a trailer, tent, modular unit, or other moveable prefabricated structure. No temporary recreational vehicle shall be occupied for residential purposes anywhere in the city of Johnson City and location in an RV campground site shall not exceed 90 cumulative days within a calendar year.
Temporary use means a land use or structure that is in place for only short periods of time not to exceed 90 consecutive days unless an extension is granted.
Tower structure means a wireless transmission facility constructed as a lattice tower with or without guy wires, as an alternative tower structure, or as a monopole tower; primarily for the purpose of supporting an antenna array; and support buildings and equipment; excluding equipment under 30 feet in height used for amateur radio communication.
Uniformity ratio describes the maximum level of illumination in relation to the minimum level for a given area, expressed as a ratio.
Value-oriented housing means the maximum value of a single-family house shall be derived by using the Department of Housing and Urban Development's latest Low and Moderate Income Table for a family of four and multiplying it by two and one-half.
Variance means a variance is a relaxation of the terms of the Zoning Code, but only where by reason of exceptional narrowness, shallowness or shape of a specific piece of property or other extraordinary or exceptional situation or condition of a piece of property, the strict application of the provisions of this Code would result in practical difficulties to or undue hardship upon the owner of such property.
Vertical illuminance means the measurement of brightness from a light source, measured in foot candles, which is taken through a light meter's sensor at a vertical position at a five foot height for the area being lighted, used in this Code primarily for measurements of light trespass at the property line. The use of vertical illuminance measurements tend to ignore the influence of off-site sources such as street lighting.
Violation means the failure of a structure or other development to be fully compliant with the community's floodplain management regulations. A structure or other development without the elevation certificate, other certification, or other evidence of compliance required in this Ordinance is presumed to be in violation until such time as that documentation is provided.
Warehouse means a use involving a structure engaged in storage of products, supplies, and equipment, excluding self-service storage facilities.
Water surface elevation means the height, in relation to the National Geodetic Vertical Datum (NGVD) of 1929 (or other datum, where specified) of floods of various magnitudes and frequencies in the floodplains of coastal or riverine areas.
Waterway means any portion of land of a natural stream carrying surface water having a bed and defined banks or side elevations which contain said surface water.
Wet weather conveyances are defined in the Tennessee Water Quality Control Act of 1977 (Act) (T.C.A. 69-3-103(43)) as "man-made or natural watercourses, including natural watercourses that have been modified by channelization, that flow only in direct response to precipitation runoff in their immediate locality, whose channels are above the groundwater table, and in which hydrological and biological analyses indicate that, under normal weather conditions, due to naturally occurring ephemeral or low flow there is not sufficient water to support fish, or multiple populations of lotic aquatic organisms whose life cycle includes adequate phase of at least two months."
Yard means a required open space that lies between the principal or accessory structure or use and the nearest lot line which is unoccupied and unobstructed from 30 inches above ground level upward except as herein permitted:
A.
Yard, front means the space extending the full width of the lot between the architectural front of the principal building façade (the front setback) and the front lot line, or street right-of-way, measured perpendicular to the building at the closest point to the front lot line. Corner lots comprise of a front yard, interior side yard, and exterior side yard.
B.
Yard, rear means the space extending across the full width of the lot between the architectural rear of the principal building and the rear lot line and measured perpendicular to the building to the closest point of the rear lot line. Excluding double frontage lots which have no rear yard, rear yards extend from the back of a building to a property line.
C.
Yard, side means the space extending from the front yard to the rear yard between the principal building facade and the side lot line and measured perpendicular from the side lot line to the closest point of the principal building facade. Interior side yards extend from the sides of a building to an interior property line. Exterior side yards extend from the sides of a building to a street right-of-way.
(Ord. No. 4738-20, §§ 1(Exh. A), 2(Exh. B), 7-2-2020; Ord. No. 4753-20, § 1(Exh. A), 10-1-2020; Ord. No. 4757-20, § 1(Exh. A), 3-4-2021; Ord. No. 4761-20, § 1(Exh. A, 3-4-2021; Ord. No. 4780-21, § 1 (Exh. A), 7-29-2021; Ord. No. 4840-23, § 1(Exh. A, 4-20-2023; Ord. No. 4839-23, § 2(Exh. B), 5-4-2023)