44.- PARKING AND SIDEWALK REQUIREMENTS14
Editor's note—Ordinance No. 1494, § 1(exh. A), adopted January 19, 2023, amended chapter 17.44 in its entirety to read as herein set out. Former chapter 17.44, §§ 17.44.010—17.44.040, pertained to similar subject matter, and derived from Ordinance No. 1073, § 3, 2001; Ordinance No. 1094 §§ 4, 5, 2002; Ordinance No. 1252, § 1, adopted March 4, 2010; and Ordinance No. 1313, § 1, adopted June 5, 2013.
The intent of the parking requirements is to encourage commerce by ensuring adequate parking for the occupants, employees, visitors, customers, and patrons.
(Code 2020, § 17.44.010; Ord. No. 1494, § 1(exh. A), 1-19-2023)
A.
Applicability.
1.
In all use districts, space for the off-street storage and parking and loading and unloading of motor vehicles shall be reserved and improved for use when any building or structure is erected.
2.
Design standards. All off-street automobile parking and truck loading/unloading spaces shall be made permanently available for such purposes.
3.
Design standards for on-street parking. All on street parking shall comply with the adopted standards in the development guidelines and public works standards unless otherwise approved by the public works director.
B.
Surface requirements.
1.
Commercial driveways and parking must be paved with asphalt or concrete per the public works standards.
2.
Industrial driveways and designated parking areas must be paved with asphalt or concrete per the public works standards. Maneuvering areas and trailer and bulk material storage areas may be provided with an alternative hard surface, such as compacted crushed rock.
3.
Residential driveways may be paved with an approved impervious surface, or public work's approved pervious pavement.
C.
Minimum parking requirements.
1.
Minimum parking requirements are shown in Table 17.44.020(B). Categories of uses in Table 17.44.020(B) are consistent with chapter 17.60.
2.
The city recognizes that, due to the particularities in any given development, the inflexible application of the parking standards set forth in Table 17.44.020(B) may result in a development either with inadequate parking space or parking space far in excess of its needs. Inadequate parking may lead to traffic congestion or parking violations in adjacent streets as well as unauthorized parking in nearby private lots, while excessive parking requirements utilize land that could otherwise satisfy needs for economic development or housing. The city may permit deviations from the requirements in Table 17.44.020(B) and may require more parking or less parking whenever it finds that such deviations are adequate to satisfy the specific parking needs of the development. Adjustments to parking requirements shall be considered through subsection D of this section.
3.
Table 17.44.020(B).
Table 17.44.020(B)
D.
Alternative compliance to parking standards in all zones. Upon written request by the applicant, the city planner may approve an alternative-parking ratio through either of the following options:
1.
Review criteria. To approve an alternative plan, the city planner must find that the proposed alternative plan accomplishes the purpose of this section equally well or better than the standards of this section. The city planner shall consider:
a.
The number of employees occupying the building or land use and the number of expected customers or clients;
b.
The availability of nearby parking (if any);
c.
Purchased or leased parking spaces in a municipal or private parking lot meeting the requirements of the city; trip reduction programs (if any);
d.
Any other factors that may be unique to the applicant's development request;
e.
Continuity and convenient proximity for pedestrians between or among existing or future uses in the vicinity;
f.
Visual and aesthetic impact along the public street by placing parking lots to the rear or alongside of buildings, to the maximum extent feasible. Visual and aesthetic impact of the surrounding neighborhood;
g.
Impact on natural areas or features;
h.
Maintenance of mobility-impaired parking ratios;
i.
Hours of operation.
j.
A parking demand analysis prepared by a licensed transportation engineer may be required as supportive information for any adjustments to parking.
2.
Where several users share common parking, either through common ownership or when a shared parking agreement is provided, minimum parking requirements may be reduced in developments where it can be demonstrated by an approved parking demand analysis prepared by a licensed transportation engineer that parking demand for the development is lower than assumed by the development code. Potential cases include, but are not limited to:
a.
Workplace uses with a limited number of employees and/or customers per square foot of floor area.
b.
Reduced automobile use due to factors such as patrons visiting multiple destinations in the same center.
c.
Double use of spaces due to varying shifts or uses with different hours of peak parking demand.
E.
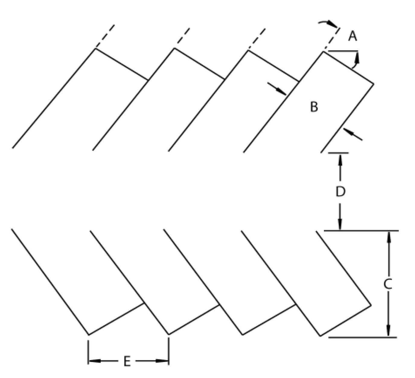
Size of parking space. Each off-street parking space shall meet the minimum size requirements provided in Table 17.44.020(E)(1). Each space shall be provided with adequate ingress and egress. Compact parking stalls shall be allowed for up to ten percent of required parking area.
Table 17.44.020(E)(1). Minimum Parking Space and Aisle Dimensions
Figure 17.44.020(E)-A. Required Parking Angle
Note— Angle of 'A' is measured by the angle of parking stall to the centerline of the travel lane.
1.
Curbing at the head of the parking space is preferred to the use of wheel stops. Where curbing at the head of the space is included in the parking lot design, the front three feet of the space may be landscaped or may overhang a pedestrian walkway, provided the width of the pedestrian walkway is increased by three feet to allow the required sidewalk width outside of the parking overhang, and further provided that the overhang from the parking space does not encroach into required setbacks.
2.
Exception:
a.
Compact parking stalls will be as allowed in Table 17.44.020(E)(1). Where curbing at the head of the space is included in the parking lot design, the front two feet of the compact stall may be landscaped or may overhang a pedestrian walkway, provided the width of the pedestrian walkway is increased by two feet to allow the required sidewalk width outside of the parking overhang and further provided that the overhang from the parking space does not encroach into required setbacks.
F.
Location. Off-street parking facilities shall be located on-site to the extent feasible. Any pre-marked, on-street parking space may be counted toward fulfilling that use's parking requirement. All required off-street parking spaces shall be located to not encroach in any required yard setback area, except that parking shall be permitted in the rear yard setback area excluding the side yard setback requirements.
1.
In the central business district any pre-marked on-street parking space entirely or partially within 200 feet of the street flanking property line may be counted towards fulfilling that use's parking requirement. If one or more bulb-outs lie within the 200-foot radius, the radius shall be extended the linear distance of the bulb-out. Figure 17.44.020(E)(1-1) displays examples of the 200 feet buffer as it applies to corner lots, through lots, and traditional lots in the central business district.
2.
In the central business district, new parking spaces will not be required for additions to existing buildings that are less than 25 percent of the existing floor area and less than 1,000 square feet. This exception to the parking requirement may be utilized only once per property and does not apply to additions or remodeling for the purpose of adding residential units.
G.
Parking lot landscape requirements in all zoning districts except the central business district.
1.
Parking lot perimeter landscaping abutting public streets shall include either a three-foot-high shrub row or three-foot-tall berm along city street frontages, except where access to the street from the parking areas is used. The shrub row shall meet height requirements within three years of installation. Shrubs may be evergreen or deciduous. Groundcover plants shall be provided for the remainder of the planting area to provide full coverage within three years.
2.
Landscaping shall be separated from the parking area by curbing.
3.
Ten percent of the total paved surface area for parking and drive aisles shall be landscaped. This shall include perimeter landscaping required and the required landscape islands between parking spaces.
4.
Landscape islands at a ratio of one landscape island for every 15 spaces proposed in a parking area, evenly distributed throughout the parking area.
a.
Landscape islands are required to be a minimum of six feet in width, inside the curbed area.
b.
Landscape islands shall be evenly distributed throughout the parking area.
5.
If the proposal utilizes landscaping in the front of spaces as allowed in subsections E.1 through 2 of this section, this area will count towards the required landscaping in subsection G.2 of this section.
6.
Landscaping provided shall include a minimum of one tree from the list of approved trees in subsection F of this section below for every ten parking spaces and one shrub for every two parking spaces. The remainder of the planting area shall be planted in groundcover plantings that cover the ground completely within three years. Turf type grass plantings are not acceptable for ground cover in the landscape islands. Trees shall be no closer than four feet from curb in perimeter landscaping and at least two feet from curbs in islands.
7.
Required plantings shall be protected from vehicular damage using wheel stops or placement a minimum of three feet from the head of parking stalls for shrubs and a minimum of four feet for trees.
8.
Sizes for required plantings:
a.
Trees. Minimum two-inch caliper in size at planting, fully branched maximum mature height of 30 feet and with single leaders, except as required for critical areas mitigation. The critical areas mitigation plan would include the minimum size for plantings for mitigation in the parking areas.
b.
Shrubs. Minimum one gallon container size at planting. All required shrubs noted in this section shall have a maximum mature height of four feet.
c.
Groundcover plants. Minimum four-inch pot size at planting for non-turf type plants. Groundcover plantings shall be of sufficient size and number to meet the required standards within three years of planting.
9.
Plant materials shall be identified on plans submitted for review and shall not include any materials on either the state noxious weed list or county noxious weed list.
H.
Loading and unloading.
1.
In all commercial districts, every use which will require the receipt or distribution of materials or merchandise by truck or similar vehicle shall provide a space for the loading and unloading of goods and materials with the best method possible.
2.
In the highway commercial district, loading and unloading spaces shall not be less than ten feet in width nor 25 feet in length, with adequate access to a public right-of-way. On every lot which business is conducted, there shall be provided space for the loading and unloading of goods and materials.
3.
Dedicated loading spaces shall be provided for retail and industrial uses at a minimum ratio of one loading space per 40,000 square feet of gross floor area for buildings larger than 40,000 square feet. For these retail and industrial uses, loading spaces shall be at least 12 feet by 45 feet with a 16-foot minimum clear height. The exterior boundary of loading spaces shall either be screened with a six-foot solid fence similar in design and composition to the building architecture, or provide a six-foot-tall sight obscuring vegetated screen. When truck loading is provided in a shared truck court with other similar uses, there shall be no screening requirement between jointly used loading and maneuvering areas.
4.
For office uses greater than 40,000 square feet, dedicated loading spaces ten feet by 25 feet with a 16-foot clear height are required. These spaces should be outside of required parking and maneuvering areas.
I.
Joint use of parking and loading facilities. Joint parking and/or loading facilities serving two or more uses, structures, or parcels of land may be approved to the extent that the owners or operators of the uses, structures, or parcels are under separate ownership, the right to joint use of the parking space must be evidenced by a deed, lease, contract, or other appropriate written document to establish the joint use.
J.
Sidewalks. Sidewalks must be installed, repaired and maintained in all commercial and mixed use zones in accordance with chapter 11.04.
(Code 2020, § 17.44.020; Ord. No. 1494, § 1(exh. A), 1-19-2023; Ord. No. 1495, § 3, 3-16-2023)
A.
All uses providing drive-through services shall provide a stacking lane on the same site for inbound vehicles as noted in Table 17.44.030-1.
Table 17.44.030-1. Minimum Stacking Lane Requirements for Uses
1.
Minimum length of one space = 18 feet.
2.
Stacking lanes must be designed so that they do not interfere with parking and vehicle, pedestrian, and bicycle circulation. Stacking lanes for the purpose of selling food must provide at least one clearly marked parking space per service window for the use of vehicles waiting for an order to be filled.
3.
No portion of a stacking lane shall be in a setback except at the points of connection between the site and public or private streets.
B.
Alternative compliance to vehicle stacking standards in all zones. If the proposed use has a historical demand that is significantly different in other locations, the city planner may require a study to establish the appropriate number of stacking spaces. An alternative-vehicle stacking number of spaces may consider the following review criteria to be considered in the study:
1.
Review criteria. To approve an alternative plan, the city planner must find that the proposed alternative plan accomplishes the purpose of this section equally well or better than the standards of this section. The city planner shall consider:
a.
The number of expected customers or clients using the stacking lanes. This may be brand dependent if similar uses in other areas have a lessor or greater demand in other areas;
b.
Any other factors that may be unique to the applicant's development request;
c.
Continuity and convenient proximity for pedestrians between or among existing or future uses in the vicinity;
d.
Visual and aesthetic impact along the public street by placing parking lots to the rear or alongside of buildings, to the maximum extent feasible. Visual and aesthetic impact of the surrounding neighborhood;
e.
Impact on natural areas or features;
f.
An analysis prepared by a licensed transportation engineer may be required as supportive information for any adjustments to parking.
(Code 2020, § 17.44.030; Ord. No. 1494, § 1(exh. A), 1-19-2023)
Prior to the issuance of a building permit for any building or use requiring more than three off-street parking spaces, a plan showing proposed and existing buildings and the layout, dimension, and number of off-street parking spaces shall be submitted to and approved by the city's building and planning department.
A.
Circulation routes. Parking lots shall provide well-defined circulation routes for vehicles, bicycles, and pedestrians. Layout and design shall anticipate the needs of users and provide continuity between vehicular circulation, parking, pedestrian, and bicycle circulation.
B.
Traffic control devices. Standard traffic control signs and devices shall be used to direct traffic, where necessary within a parking lot and must incorporate traffic calming methods in the design.
C.
Orientation. All parking lots shall include walkways that are in places that are logical, safe, and convenient for pedestrians.
D.
Landscaped islands with curbs shall be used to define parking lot entrances, the ends of all parking aisles and the location and pattern of primary internal access drives, and to provide pedestrian refuge areas and walkways.
E.
Landscaping in parking areas. The plan should demonstrate compliance with 17.44.020G.
F.
Allowed trees in parking areas.
G.
Shopping cart bays. Parking areas where shopping carts are an integral part of the commercial business shall be designed to accommodate shopping cart storage. Cart storage spaces shall be integrated into the landscape areas and parking areas to avoid conflicts and shall be placed appropriately to accommodate the maximum number of parking spaces.
(Code 2020, § 17.44.040; Ord. No. 1494, § 1(exh. A), 1-19-2023)
Lighting shall be provided in all zones per the lighting standards in KMC Table 17.25.070-1. Lighting should also be coordinated with the landscape plan to avoid shading of parking lot lighting to below required levels.
Lighting photometric plans shall include mature tree canopies for landscaping in parking areas to demonstrate compliance with these standards.
(Code 2020, § 17.44.050; Ord. No. 1494, § 1(exh. A), 1-19-2023)
44.- PARKING AND SIDEWALK REQUIREMENTS14
Editor's note—Ordinance No. 1494, § 1(exh. A), adopted January 19, 2023, amended chapter 17.44 in its entirety to read as herein set out. Former chapter 17.44, §§ 17.44.010—17.44.040, pertained to similar subject matter, and derived from Ordinance No. 1073, § 3, 2001; Ordinance No. 1094 §§ 4, 5, 2002; Ordinance No. 1252, § 1, adopted March 4, 2010; and Ordinance No. 1313, § 1, adopted June 5, 2013.
The intent of the parking requirements is to encourage commerce by ensuring adequate parking for the occupants, employees, visitors, customers, and patrons.
(Code 2020, § 17.44.010; Ord. No. 1494, § 1(exh. A), 1-19-2023)
A.
Applicability.
1.
In all use districts, space for the off-street storage and parking and loading and unloading of motor vehicles shall be reserved and improved for use when any building or structure is erected.
2.
Design standards. All off-street automobile parking and truck loading/unloading spaces shall be made permanently available for such purposes.
3.
Design standards for on-street parking. All on street parking shall comply with the adopted standards in the development guidelines and public works standards unless otherwise approved by the public works director.
B.
Surface requirements.
1.
Commercial driveways and parking must be paved with asphalt or concrete per the public works standards.
2.
Industrial driveways and designated parking areas must be paved with asphalt or concrete per the public works standards. Maneuvering areas and trailer and bulk material storage areas may be provided with an alternative hard surface, such as compacted crushed rock.
3.
Residential driveways may be paved with an approved impervious surface, or public work's approved pervious pavement.
C.
Minimum parking requirements.
1.
Minimum parking requirements are shown in Table 17.44.020(B). Categories of uses in Table 17.44.020(B) are consistent with chapter 17.60.
2.
The city recognizes that, due to the particularities in any given development, the inflexible application of the parking standards set forth in Table 17.44.020(B) may result in a development either with inadequate parking space or parking space far in excess of its needs. Inadequate parking may lead to traffic congestion or parking violations in adjacent streets as well as unauthorized parking in nearby private lots, while excessive parking requirements utilize land that could otherwise satisfy needs for economic development or housing. The city may permit deviations from the requirements in Table 17.44.020(B) and may require more parking or less parking whenever it finds that such deviations are adequate to satisfy the specific parking needs of the development. Adjustments to parking requirements shall be considered through subsection D of this section.
3.
Table 17.44.020(B).
Table 17.44.020(B)
D.
Alternative compliance to parking standards in all zones. Upon written request by the applicant, the city planner may approve an alternative-parking ratio through either of the following options:
1.
Review criteria. To approve an alternative plan, the city planner must find that the proposed alternative plan accomplishes the purpose of this section equally well or better than the standards of this section. The city planner shall consider:
a.
The number of employees occupying the building or land use and the number of expected customers or clients;
b.
The availability of nearby parking (if any);
c.
Purchased or leased parking spaces in a municipal or private parking lot meeting the requirements of the city; trip reduction programs (if any);
d.
Any other factors that may be unique to the applicant's development request;
e.
Continuity and convenient proximity for pedestrians between or among existing or future uses in the vicinity;
f.
Visual and aesthetic impact along the public street by placing parking lots to the rear or alongside of buildings, to the maximum extent feasible. Visual and aesthetic impact of the surrounding neighborhood;
g.
Impact on natural areas or features;
h.
Maintenance of mobility-impaired parking ratios;
i.
Hours of operation.
j.
A parking demand analysis prepared by a licensed transportation engineer may be required as supportive information for any adjustments to parking.
2.
Where several users share common parking, either through common ownership or when a shared parking agreement is provided, minimum parking requirements may be reduced in developments where it can be demonstrated by an approved parking demand analysis prepared by a licensed transportation engineer that parking demand for the development is lower than assumed by the development code. Potential cases include, but are not limited to:
a.
Workplace uses with a limited number of employees and/or customers per square foot of floor area.
b.
Reduced automobile use due to factors such as patrons visiting multiple destinations in the same center.
c.
Double use of spaces due to varying shifts or uses with different hours of peak parking demand.
E.
Size of parking space. Each off-street parking space shall meet the minimum size requirements provided in Table 17.44.020(E)(1). Each space shall be provided with adequate ingress and egress. Compact parking stalls shall be allowed for up to ten percent of required parking area.
Table 17.44.020(E)(1). Minimum Parking Space and Aisle Dimensions
Figure 17.44.020(E)-A. Required Parking Angle
Note— Angle of 'A' is measured by the angle of parking stall to the centerline of the travel lane.
1.
Curbing at the head of the parking space is preferred to the use of wheel stops. Where curbing at the head of the space is included in the parking lot design, the front three feet of the space may be landscaped or may overhang a pedestrian walkway, provided the width of the pedestrian walkway is increased by three feet to allow the required sidewalk width outside of the parking overhang, and further provided that the overhang from the parking space does not encroach into required setbacks.
2.
Exception:
a.
Compact parking stalls will be as allowed in Table 17.44.020(E)(1). Where curbing at the head of the space is included in the parking lot design, the front two feet of the compact stall may be landscaped or may overhang a pedestrian walkway, provided the width of the pedestrian walkway is increased by two feet to allow the required sidewalk width outside of the parking overhang and further provided that the overhang from the parking space does not encroach into required setbacks.
F.
Location. Off-street parking facilities shall be located on-site to the extent feasible. Any pre-marked, on-street parking space may be counted toward fulfilling that use's parking requirement. All required off-street parking spaces shall be located to not encroach in any required yard setback area, except that parking shall be permitted in the rear yard setback area excluding the side yard setback requirements.
1.
In the central business district any pre-marked on-street parking space entirely or partially within 200 feet of the street flanking property line may be counted towards fulfilling that use's parking requirement. If one or more bulb-outs lie within the 200-foot radius, the radius shall be extended the linear distance of the bulb-out. Figure 17.44.020(E)(1-1) displays examples of the 200 feet buffer as it applies to corner lots, through lots, and traditional lots in the central business district.
2.
In the central business district, new parking spaces will not be required for additions to existing buildings that are less than 25 percent of the existing floor area and less than 1,000 square feet. This exception to the parking requirement may be utilized only once per property and does not apply to additions or remodeling for the purpose of adding residential units.
G.
Parking lot landscape requirements in all zoning districts except the central business district.
1.
Parking lot perimeter landscaping abutting public streets shall include either a three-foot-high shrub row or three-foot-tall berm along city street frontages, except where access to the street from the parking areas is used. The shrub row shall meet height requirements within three years of installation. Shrubs may be evergreen or deciduous. Groundcover plants shall be provided for the remainder of the planting area to provide full coverage within three years.
2.
Landscaping shall be separated from the parking area by curbing.
3.
Ten percent of the total paved surface area for parking and drive aisles shall be landscaped. This shall include perimeter landscaping required and the required landscape islands between parking spaces.
4.
Landscape islands at a ratio of one landscape island for every 15 spaces proposed in a parking area, evenly distributed throughout the parking area.
a.
Landscape islands are required to be a minimum of six feet in width, inside the curbed area.
b.
Landscape islands shall be evenly distributed throughout the parking area.
5.
If the proposal utilizes landscaping in the front of spaces as allowed in subsections E.1 through 2 of this section, this area will count towards the required landscaping in subsection G.2 of this section.
6.
Landscaping provided shall include a minimum of one tree from the list of approved trees in subsection F of this section below for every ten parking spaces and one shrub for every two parking spaces. The remainder of the planting area shall be planted in groundcover plantings that cover the ground completely within three years. Turf type grass plantings are not acceptable for ground cover in the landscape islands. Trees shall be no closer than four feet from curb in perimeter landscaping and at least two feet from curbs in islands.
7.
Required plantings shall be protected from vehicular damage using wheel stops or placement a minimum of three feet from the head of parking stalls for shrubs and a minimum of four feet for trees.
8.
Sizes for required plantings:
a.
Trees. Minimum two-inch caliper in size at planting, fully branched maximum mature height of 30 feet and with single leaders, except as required for critical areas mitigation. The critical areas mitigation plan would include the minimum size for plantings for mitigation in the parking areas.
b.
Shrubs. Minimum one gallon container size at planting. All required shrubs noted in this section shall have a maximum mature height of four feet.
c.
Groundcover plants. Minimum four-inch pot size at planting for non-turf type plants. Groundcover plantings shall be of sufficient size and number to meet the required standards within three years of planting.
9.
Plant materials shall be identified on plans submitted for review and shall not include any materials on either the state noxious weed list or county noxious weed list.
H.
Loading and unloading.
1.
In all commercial districts, every use which will require the receipt or distribution of materials or merchandise by truck or similar vehicle shall provide a space for the loading and unloading of goods and materials with the best method possible.
2.
In the highway commercial district, loading and unloading spaces shall not be less than ten feet in width nor 25 feet in length, with adequate access to a public right-of-way. On every lot which business is conducted, there shall be provided space for the loading and unloading of goods and materials.
3.
Dedicated loading spaces shall be provided for retail and industrial uses at a minimum ratio of one loading space per 40,000 square feet of gross floor area for buildings larger than 40,000 square feet. For these retail and industrial uses, loading spaces shall be at least 12 feet by 45 feet with a 16-foot minimum clear height. The exterior boundary of loading spaces shall either be screened with a six-foot solid fence similar in design and composition to the building architecture, or provide a six-foot-tall sight obscuring vegetated screen. When truck loading is provided in a shared truck court with other similar uses, there shall be no screening requirement between jointly used loading and maneuvering areas.
4.
For office uses greater than 40,000 square feet, dedicated loading spaces ten feet by 25 feet with a 16-foot clear height are required. These spaces should be outside of required parking and maneuvering areas.
I.
Joint use of parking and loading facilities. Joint parking and/or loading facilities serving two or more uses, structures, or parcels of land may be approved to the extent that the owners or operators of the uses, structures, or parcels are under separate ownership, the right to joint use of the parking space must be evidenced by a deed, lease, contract, or other appropriate written document to establish the joint use.
J.
Sidewalks. Sidewalks must be installed, repaired and maintained in all commercial and mixed use zones in accordance with chapter 11.04.
(Code 2020, § 17.44.020; Ord. No. 1494, § 1(exh. A), 1-19-2023; Ord. No. 1495, § 3, 3-16-2023)
A.
All uses providing drive-through services shall provide a stacking lane on the same site for inbound vehicles as noted in Table 17.44.030-1.
Table 17.44.030-1. Minimum Stacking Lane Requirements for Uses
1.
Minimum length of one space = 18 feet.
2.
Stacking lanes must be designed so that they do not interfere with parking and vehicle, pedestrian, and bicycle circulation. Stacking lanes for the purpose of selling food must provide at least one clearly marked parking space per service window for the use of vehicles waiting for an order to be filled.
3.
No portion of a stacking lane shall be in a setback except at the points of connection between the site and public or private streets.
B.
Alternative compliance to vehicle stacking standards in all zones. If the proposed use has a historical demand that is significantly different in other locations, the city planner may require a study to establish the appropriate number of stacking spaces. An alternative-vehicle stacking number of spaces may consider the following review criteria to be considered in the study:
1.
Review criteria. To approve an alternative plan, the city planner must find that the proposed alternative plan accomplishes the purpose of this section equally well or better than the standards of this section. The city planner shall consider:
a.
The number of expected customers or clients using the stacking lanes. This may be brand dependent if similar uses in other areas have a lessor or greater demand in other areas;
b.
Any other factors that may be unique to the applicant's development request;
c.
Continuity and convenient proximity for pedestrians between or among existing or future uses in the vicinity;
d.
Visual and aesthetic impact along the public street by placing parking lots to the rear or alongside of buildings, to the maximum extent feasible. Visual and aesthetic impact of the surrounding neighborhood;
e.
Impact on natural areas or features;
f.
An analysis prepared by a licensed transportation engineer may be required as supportive information for any adjustments to parking.
(Code 2020, § 17.44.030; Ord. No. 1494, § 1(exh. A), 1-19-2023)
Prior to the issuance of a building permit for any building or use requiring more than three off-street parking spaces, a plan showing proposed and existing buildings and the layout, dimension, and number of off-street parking spaces shall be submitted to and approved by the city's building and planning department.
A.
Circulation routes. Parking lots shall provide well-defined circulation routes for vehicles, bicycles, and pedestrians. Layout and design shall anticipate the needs of users and provide continuity between vehicular circulation, parking, pedestrian, and bicycle circulation.
B.
Traffic control devices. Standard traffic control signs and devices shall be used to direct traffic, where necessary within a parking lot and must incorporate traffic calming methods in the design.
C.
Orientation. All parking lots shall include walkways that are in places that are logical, safe, and convenient for pedestrians.
D.
Landscaped islands with curbs shall be used to define parking lot entrances, the ends of all parking aisles and the location and pattern of primary internal access drives, and to provide pedestrian refuge areas and walkways.
E.
Landscaping in parking areas. The plan should demonstrate compliance with 17.44.020G.
F.
Allowed trees in parking areas.
G.
Shopping cart bays. Parking areas where shopping carts are an integral part of the commercial business shall be designed to accommodate shopping cart storage. Cart storage spaces shall be integrated into the landscape areas and parking areas to avoid conflicts and shall be placed appropriately to accommodate the maximum number of parking spaces.
(Code 2020, § 17.44.040; Ord. No. 1494, § 1(exh. A), 1-19-2023)
Lighting shall be provided in all zones per the lighting standards in KMC Table 17.25.070-1. Lighting should also be coordinated with the landscape plan to avoid shading of parking lot lighting to below required levels.
Lighting photometric plans shall include mature tree canopies for landscaping in parking areas to demonstrate compliance with these standards.
(Code 2020, § 17.44.050; Ord. No. 1494, § 1(exh. A), 1-19-2023)