DEVELOPMENT STANDARDS
These standards are established to:
| TABLE 10-1: PLANT UNIT VALUES | ||
| Plant Type | Minimum Size | Planting Unit Value |
| TREES | ||
| Deciduous Overstory Trees | 1 3/4 inch caliper | 10 |
| Deciduous Understory Trees | 1 inch caliper | 5 |
| Evergreen Overstory Trees | 5 feet high | 10 |
| UNDERSTORY TREES/SHRUBS (UTS) | ||
| Evergreen and Large Shrubs | 36 inches high | 2 |
| Spreading Evergreens | 18 inches | 1 |
| Small Shrubs | 18 inches high | .5 |
| Perennials and Ornamental Grasses | -- | .25 |
| TABLE 10-2: PROHIBITED TREES | |
| Botanical Name | Common Name |
| Acer grinnala | Amur Maple |
| Fraxinus species | Ash (white, green and black ash prohibited) |
| Robinia pseudoacacia | Black Locust |
| Acer negundo | Box Elder |
| Crataegus crus-galli | Cockspur Hawthorn (thornless permitted) |
| Rhamnus cathartica | Common Buckthorn |
| Frangula alnus | Glossy Buckthorn |
| Pumila | Siberian Elm |
| Ginkgo biloba | Ginkgo (female prohibited, male permitted) |
| Gleditsia triacanthos | Honey Locust (thornless and seedless permitted) |
| Morus alba | Mulberry |
| Populus species | Poplars, Cottonwoods |
| Elaeagnus angustifolia | Russian Olive |
| Acer saccharinum | Silver Maple (River Maple) |
| 0 – 5,000 total square feet | 10% discount |
| 5,001 – 10,000 total square feet | 20% discount |
| 10,001+ total square feet | 30% discount |

| TABLE 10-3: MAXIMUM ILLUMINATION LEVELS | |
| Type of Use [1] | Maximum Illumination (Footcandles) |
| All Uses | 0.5 at all ROW center lines |
| Residential or Civic & Institutional Use | 0.5 at Property Line |
| Commercial or Industrial Use [2] | 1.0 at Property Line |
| Parking Lots | 1.0 at Property Line |
| [1]: See Table 9-1: Comprehensive Use Table [2]: The minimum illumination level at the property line shall be 0.2 footcandle. | |


| TABLE 10-4: SIGN SETBACKS BY ZONING DISTRICT | |||
| Setback Regulations | |||
| Residential | Commercial / Special Purpose | Industrial | Setbacks |
| AOS | B-3 | I-3 | No sign shall be
located within one (1)
foot of a property line |
| R-1 | B-4 | ||
| R-1A | INS | ||
| R-2 | CM | ||
| RT-1 | MU-E/MU-T | ||
| RT-2 | INS-E | ||
| R-3 | INS-M | ||
| R-4 | INS-O | ||
| MH | |||
| Setback Regulations | |||
| District | Front | Side | Rear |
| B-1 | 20 | 20 | 20 |
| B-2 [1] | 15 | 15 | 15 |
| I-1 [2] | 15 | 15 | 15 |
| I-2 [1] | 15 | 15 | 15 |
| [1]: The listed specialized setbacks only apply if the property is adjoining a residential zoning district. [2]: Signs in the I-1 district are prohibited in any yard adjacent to a residential zoning district. | |||
| TABLE 10-5: SIGN ALLOWANCES BY DISTRICT | ||
| Residential Districts | ||
| District(s) | Maximum Area of a Single Sign | Maximum Area of All Signs |
| R-1 | 6 square feet | 6 square feet |
| R-1S | ||
| R-2 | ||
| RT-1 | ||
| RT-2 | ||
| R-3 | 30 square feet | 60 square feet |
| R-4 | ||
| Business Districts [1] | ||
| District(s) | Maximum Area of a Single Sign | Maximum Area of All Signs |
| B-1, MUE, MUT, A-OS, & MH
[1] [2] | 30 square feet per surface | 60 square feet |
| B-2, B-3, & B-4
[3] | 75 square feet | Whichever is greater of the following: |
| [1]: All signs in business districts may be illuminated. [2]: No sign in the B-1 district shall project higher than the height of the building or 24 feet above average grade at the building line, whichever is less. [3]: If feasible, all pylon signs in the B-2, B-3, and B-4 districts shall be located a minimum of 100 feet from any abutting residential zoning district. | ||
| Industrial Districts | ||
| District(s) | Maximum Area of a Single Sign | Maximum Area of All Signs |
| I-1, I-2, I-3, CM | 250 square feet | Whichever is greater of the following:
-Two (2) square feet per lineal feet of lot frontage;
- 10% of the building facing area; or
- 250 square feet in area. |
| Special Purpose Districts | ||
| District(s) | Maximum Area of a Single Sign | Maximum Area of All Signs |
| INS (Institutional Districts) | 60 square feet | 120 square feet |




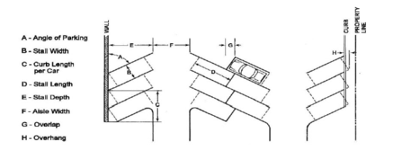
| TABLE 10-6: OFF-STREET PARKING DESIGN STANDARDS | |||||||
| Angle of Parking | Stall Width | Curb Length Per Car | Stall Length | Stall Depth Wall to Aisle | Stall Depth Interlock to Aisle | Aisle One Way | Aisle Width Two Way |
| 90° | 9’ 0” | 9’ 0” | 18’ 0” | 18’ 0” | 18’ 0” | 24’ 0” | 24’ 0” |
| 75° | 9’ 0” | 9’ 6” | 18’ 0” | 20’ 8” | 19’ 10” | 21’ 6” | 23’ 0” |
| 60° | 9’ 0” | 10’ 5” | 18’ 0” | 21’ 0” | 19’ 10” | 18’ 0” | 22’ 0” |
| 45° | 9’ 0” | 12’ 9” | 18’ 0” | 19’ 10” | 17’ 10” | 15’ 0” | 22’ 0” |
| 0° | 9’ 0” | 22’ 0” | 22’ 0” | 9’ 0” | 9’ 0” | 12’ 0” | 24’ 0” |
| Use | Residential | Commercial | Industrial | Other Uses |
| Curb Cuts | ||||
| Maximum width | 24 feet | 32 feet | 32 feet | 32 feet |
| Minimum distance between curb openings | 25 feet | 25 feet | 50 feet | 25 feet |
| Minimum distance from intersection | 30 feet or 2/3 lot width | 50 feet | 100 feet | 50 feet |
| Minimum distance from alley intersection | 5 feet | 10 feet | 10 feet | 10 feet |


| YARD AREA | ZONING DISTRICT | ||||||
| R-1 | R-1S | R-2 | RT-1 | RT-2 | R-3 | R-4 | |
| R-1, R-1S, R-2, RT-1, RT-2 USES | |||||||
| Front | 30’ | 30’ | 30’ | 30’ | 30’ | 30’ | 30’ |
| Interior side | 5’ | 5’ | 5’ | 5’ | 5’ | 5’ | 5’ |
| Street side | 30’ | 30’ | 30’ | 10’ | 10’ | 30’ | 30’ |
| Rear – with alley | 0’ | 0’ | 0’ | 0’ | 0’ | 0’ | 0’ |
| Rear – no alley | 10’ | 10’ | 10’ | 5’ | 5’ | 10’ | 10’ |
| R-3, R-4 USES | |||||||
| Front | -- | -- | -- | -- | -- | 30’ | 30’ |
| Interior side | -- | -- | -- | -- | -- | 5’ | 5’ |
| Street side | -- | -- | -- | -- | -- | 30’ | 30’ |
| Rear – with alley | -- | -- | -- | -- | -- | 5’ | 5’ |
| Rear – no alley | -- | -- | -- | -- | -- | 10’ | 10’ |
| OTHER USES | |||||||
| Front | 30’ | 30’ | 30’ | 30’ | 30’ | 30’ | 30’ |
| Interior side | 10’ | 10’ | 10’ | 10’ | 10’ | 10’ | 10’ |
| Street side | 30’ | 30’ | 30’ | 30’ | 30’ | 30’ | 30’ |
| Rear – with alley | 0’ | 0’ | 0’ | 0’ | 0’ | 0’ | 0’ |
| Rear – no alley | 10’ | 10’ | 10’ | 10’ | 10’ | 10’ | 10’ |
| Table Key: R-1 (Single Family Residence District) R-1S (Single Family Residence District, Small Lot) R-2 (Single and Two Family Residence District) RT-1 (Traditional Neighborhood – Single Family Residence District) RT-2 (Traditional Neighborhood – Single and Two Family Residence District) R-3 (Medium Density Residence District) R-4 (High Density Residence District) MH (Manufactured Home District) | |||||||
| YARD AREA | ZONING DISTRICT | |||
| B-1 | B-2 | B-3 | B-4 | |
| Front | 5’ | 5’ | 5’ | 5’ |
| Front across the street from residential district | 5’ | 5’ | 5’ | 5’ |
| Interior side | 5’ | 5’ | 5’ | 5’ |
| Interior side adjacent to a residential district | 10’ | 5’ | 5’ | 5’ |
| Street side | 10’ | 5’ | 5’ | 3’ |
| Rear – with alley | 0’ | 0’ | 0’ | 0’ |
| Rear – no alley | 5’ | 5’ | 5’ | 5’ |
| Rear adjacent to a residential district | 10’ | 10’ | 10’ | 5’ |
| Table Key: B-1 (Limited Business District) B-2 (General Business District) B-3 (Community Business District) B-4 (Central Business District) | ||||
| YARD AREA | ZONING DISTRICT | ||
| I-1 | I-2 | I-3 | |
| Front | 5’ | 5’ | 5’ |
| Front across the street from residential district | 5’ | 5’ | 5’ |
| Interior side | 5’ | 5’ | 5’ |
| Interior side adjacent to a residential district | 5’ | 5’ | 5’ |
| Street side | 5’ | 5’ | 5’ |
| Rear – with alley | 0' | 0' | 0' |
| Rear – no alley | 5’ | 5’ | 5’ |
| Rear adjacent to a residential district | 10’ | 10’ | 10’ |
| Table Key: I-1 (Planned Industrial District) I-2 (General Industrial District) I-3 (Limited Industrial District) | |||
| YARD AREA | ZONING DISTRICT | ||||||
| A-OS | INS-E | INS-M | INS-O | CM | MU-E | MU-T | |
| Front | 15’ | 15’ | 15’ | 15’ | 10’ | 3’ | 5’ |
| Front across the street from residential district | 15’ | 15’ | 15’ | 15’ | 15’ | 3’ | 5’ |
| Interior side | 15’ | 15’ | 15’ | 10’ | 10’ | 3’ | 5’ |
| Interior side adjacent to a residential district | 20’ | 15’ | 15’ | 15’ | 10’ | 3’ | 5’ |
| Street side | 15’ | 15’ | 15’ | 15’ | 10’ | 3’ | 5’ |
| Street side across from a residential district | 15’ | 15’ | 15’ | 15’ | 10’ | 3’ | 5’ |
| Rear – with alley | 5’ | 0’ | 0’ | 0’ | 0’ | -- | -- |
| Rear – no alley | 5’ | 5’ | 5’ | 5’ | 5’ | -- | -- |
| Rear adjacent to a residential district | 10’ | 10’ | 10’ | 10’ | 10’ | -- | -- |
| Table Key: A-OS (Agricultural - Open Space District) INS-E (Institutional – Educational District) INS-M (Institutional – Medical District) INS-O (Institutional – Other District) CM (Commercial Manufacturing District) MU-E (Mixed Use - Emerson Union District) MU-T (Mixed Use – Turner District) | |||||||
| TABLE 10-9: REQUIRED STACKING SPACES FOR DRIVE THROUGHS | ||
| Use or Activity [1] | Minimum # of Stacking Spaces (per lane) | Measured From [2] |
| Automated Teller Machines (ATMs) | 3 | Teller machine |
| Financial Institution | 4 | Teller machine |
| Car wash – self service | 4 | Entrance |
| 1 | Exit | |
| Car wash – automatic | 3 | Entrance |
| 1 | Exit | |
| Drive-through restaurant | 4 | Menu board |
| 4 | Pick-up window | |
| Personal Services (e.g. dry cleaners) | 3 | Window |
| Retail Commercial Uses (e.g. pharmacy) | 3 | Window |
| Gas Pump Island | 2 | Pump |
| Other | Uses not specifically listed shall have their stacking space minimums determined by the Community Development Department based on standards for comparable uses listed above. | |
| [1] See Table 9-1: Comprehensive Use Table, and/or Table 9-5: Accessory Uses by Zoning District [2] Distance shall be measured from window where products are delivered when more than one window is used for the drive through service. | ||
TABLE 10-10: MINIMUM OFF-STREET PARKING STANDARDS | ||
Use Type | Minimum # of Spaces | Additional Requirements |
Agricultural Uses | ||
Agriculture | No Minimum | |
Agriculture Sales | ||
Community Garden | ||
Wildlife and Game Refuge | ||
Residential Uses | ||
Single-Family, Detached (one unit) | 2 per unit | |
Single-Family, Attached (two units) | 2 per unit | |
Duplex | 2 per unit | |
Single-Family, Attached (three to eight units per acre) | 2 per unit | |
Multi-Family Dwelling (three to eight units per acre) | 2 per unit | |
Multi-Family (nine or more units per acre) | 2 per unit | |
Residential Care Facility (six or fewer persons) | 1 per 6 residents and 1 per employee on major shift | |
Residential Care Facility (16 or fewer persons) | 1 per 6 residents and 1 per employee on major shift | |
Residential, Upper Floor | 2 per unit | |
Residential, Street Level | 2 per unit | |
Senior Housing | 1/2 per unit plus reservation of area equal to | |
Manufactured Home Park | 2 per unit | |
B-4 Zoning District | 1 per residential unit | |
Public & Institutional Uses | ||
Active Park Facilities (public & private) | Determined by CDD based on A Parking Study | |
Armory | Determined by CDD based on A Parking Study | |
Assisted Living Facility | 1/2 per unit | |
Cemetery | No Minimum | |
Club | 1 per 4 seats | Seating shall be based on the design capacity of the building. |
Clinics/Medical Services | 1 per 250 square feet | |
Communications Facility | Determined by CDD based on A Parking Study | |
Convent/Monastery | 1 per 4 beds | Beds shall be based on the design capacity of the facility. |
Event Center | 1 per 4 seats | Seating shall be based on the design capacity of the building |
Essential Services | Determined by CDD based on A Parking Study | |
Hospital | 1 space for each 2 hospital beds, and 1 space for each employee on the major shift | |
Nursing/Convalescent Home | 1 per 4 beds | Beds shall be based on the design capacity of the facility |
Passive Parks/Open Space | Determined by CDD based on A Parking Study | |
Place of Public Assembly | 1 per 4 seats | Seating shall be based on the design capacity of the facility |
Public Building/Uses | Determined by CDD based on A Parking Study | |
Public Utility Building/Structure | Determined by CDD based on A Parking Study | |
Schools - PreK to Junior High | 1 per employee and 1 per three classrooms | Auditorium/event space shall be subject to separate, additional calculations. |
Schools - Senior High School | 1 per employee and 1 per five students based on building design capacity | Auditorium/event space shall be subject to separate, additional calculations. |
Schools - Higher Education | Determined by CDD based on A Parking Study | |
Utilities, Major | Determined by CDD based on A Parking Study | |
Commercial Uses | ||
Ambulance Services | 1 per 300 square feet net floor area | |
Auto Repair - Minor | 3 per service bay and 1 per employee | Service parking spaces shall be in addition to temporary parking space required for gas pumping areas |
Automotive Wash Facilities | Drive Through: 1 per employee on major shift Self Service: 2 per facility | |
Bar, Liquor Establishment | 1 per 100 square feet of GFA | |
Bed & Breakfast | 1 per guest room in addition to required residential off-street parking | |
Building Material Sales/Storage | 1 per employee plus 1 per 500 square feet of GFA | |
Bus Garage/Maintenance Facility | 1 per employee and 3 per service bay | |
Business Support Services | 1 per 300 square feet of GFA | |
Child Care Center | 1 per employee on major shift and 1 per 10 enrollees based on maximum capacity | |
Communications/Broadcasting | Determined by CDD based on A Parking Study | |
Commercial Lodging | 1 per room plus 1 per employee on major shift plus 50% of additional space for accessory uses | |
Convenience Store | 1 per 200 square feet of GFA | |
Country Club | 4 per hole plus 50% of the requirements for any other use | |
Distillery, Micro | 1 per 200 square feet of GFA | |
Educational Services | 1 per 300 square feet of GFA | |
Entertainment/Recreation Indoor Commercial | 1 per 400 square feet of GFA | Seating shall be based on the design capacity of the main assembly hall; facilities as may be provided in conjunction with such buildings or uses shall be subject to additional requirements imposed by this Ordinance |
- Bowling Center | 5 per bowling lane | Square footage of additional uses (restaurant, bar, etc.) shall be in addition |
- Theater | 1 per 4 seats | |
Entertainment/Recreation Outdoor Commercial | 10 spaces plus 1 space for each 200 square feet of activity area over the first 1,000 square feet | |
Financial Institution | 1 per 250 square feet of GFA | |
Firearm Range, Indoor | 1 per 200 square feet of GFA plus 2 per classroom | |
Funeral Home/Service | 1 per 5 seats and 1 per 250 square feet of GFA of non-seating area | Seating shall be based on the design capacity of the building. |
General Retail Sales/Services | 1 per 300 square feet of GFA plus 1 per 1000 square feet of outside sales/display area | When 50% or more of the gross floor area is devoted to storage, warehouse, and/or industry purposes - the number of spaces shall be determined as follows: 1 per 200 square feet devoted to public sales or service plus 1 per 500 feet of storage area |
Kennel, Commercial | 4 plus 1 per 500 square feet over 1000 square feet | |
Landscaping / Nursery Business | 1 per 300 square feet of GFA and 1 per 1,000 square feet of GFA of outside sales/display area | |
Office | 1 per 300 square feet of GFA | |
Performing, Visual, Exercise, Vocational or Martial Arts School | 1 per 3 students plus 1 per classroom | Number of students shall be based on the design capacity of the school |
Personal Services | 1 per 300 square feet of GFA | |
Repair Establishment | 1 per 400 square feet of GFA | |
Restaurant | 1 space per 40 square feet of GFA of dining/bar area, plus 1 space for each 80 square feet of kitchen area | |
Sexually Oriented Uses | 1 per 300 square feet of GFA | |
Shopping Center | 1 per 250 square feet of gross leasable floor area (exclusive of common areas) | |
Sign Sales/Service | 1 per 400 square feet of GFA | |
Sports/Health Facility | 1 per 250 square feet of GFA | |
Transportation Services | Determined by CDD based on A Parking Study | |
Vehicle Sales/Rental | 6 plus 1 per 500 square feet over 1000 square feet of GFA | |
Vehicle Service Station | 4 plus 2 per service bay stall | |
Veterinary Services | 1 per 250 square feet of GFA | |
Wholesale Sales | 1 per 300 square feet office or sales plus 1 per 2000 square feet storage of GFA | |
Industrial Uses | ||
Airport | Determined by CDD based on A Parking Study | |
Auto Repair - Major | 1 per employee plus 2 per service bay | Service parking spaces shall be in addition to temporary parking space required for gas pumping areas |
Brewery | Determined by CDD based on A Parking Study | |
Bulk Fuel Sales/Storage | Determined by CDD based on A Parking Study | |
Cleaning Services & Laundry | 1 per 300 square feet of GFA | |
Cold Storage | 1 per employee on major shift | |
Concrete, Asphalt & Rock Crushing Facility | 2 per 3 employees | |
Contractor Office & Yard | 1 per 1,000 square feet of GFA of shop area or warehousing, plus 1 per 300 square feet of GFA of office space | |
Distillery | Determined by CDD based on A Parking Study | |
Extraction of Materials | 1 per employee on major shift | |
Food Processing | 1 per employee on major shift | |
Grain Elevator & Storage | 1 per employee on major shift | |
Grain Milling & Distribution | 1 per employee on major shift | |
Greenhouse, Wholesale | 1 per employee on major shift | |
Industrial Services | 1 per employee on major shift | |
Land Reclamation | 2 per 3 employees | |
Machine Shop | 1 per 300 square feet of GFA of office and 1 per 1,000 square feet of GFA of service area | |
Machinery/Truck Repair & Sales | 1 per employee, 3 per service bay, and 1 per 300 square feet of GFA of office | |
Manufacturing, Major | 1 per employee on major shift | |
Manufacturing, Minor | 1 per employee on major shift | |
Print Shop | 1 per 500 square feet of use area | |
Recycling Facility | 2 per 3 employees | |
Research, Development/Testing Laboratory | 2 per 3 employees | |
Scrap/Salvage Yard, Metal Milling Facility | 2 per 3 employees | |
Self-Storage Facility (External Access) | 1 parking stall for each 2 storage units | |
Self-Storage Facility (Internal Access) | 1 per 200 square feet of office area and 1 per 50 storage units or 1 per 10,000 square feet of storage area whichever is greater or a minimum of 3 spaces | |
Transportation Facility | 1 per 1,000 square feet of shop area or warehousing, plus 1 per 300 square feet of office space | |
Waste Hauler | 2 per 3 employees | |
Wholesaling, Warehousing & Distribution | 1 per 1,000 square feet of shop area or warehousing, plus 1 per 300 square feet of office space | |
"GFA" = Gross Floor Area "CDD" = Community Development Department | ||
| TABLE 10-11 STANDARDS FOR BUILDING-MOUNTED WECS | |||
| MAXIMUM WECS HEIGHT
(STRUCTURE AND ROTORS) | MINIMUM SETBACKS | MAXIMUM NUMBER OF SYSTEMS
PER BUILDING | |
| Residential Structures | |||
| Less than four (4) stories and forty-five (45) feet in height. | Prohibited | Prohibited | Prohibited |
| Four (4) or more stories and at least forty-five (45) feet in height. | 12’ | 10’ from front, side, rear walls
of structure upon which it
would be mounted. | 1 per 2,000 sf of roof area |
| Non-Residential Structures | |||
| Less than four (4) stories and forty-five (45) feet in height. | 12’ | 10’ from front, side, rear walls
of structure upon which it
would be mounted. | 1 per 4,000 sf of roof area |
| Four (4) or more stories and at least
forty-five (45) feet in height. | 12’ | 1.5 x the height of the WECS | 1 per 2,000 sf of roof area |
| TABLE 10-12 SPECIFIC STANDARDS FOR FREESTANDING WECS | ||||
| ZONING DISTRICT | TOWER TYPE | MAXIMUM HEIGHT | MINIMUM SETBACK (x tower height) | MINIMUM LOT AREA
PER TOWER |
| A-OS | Monopole, Self-Support / Lattice Guyed Tower | 100’ | 1.5 | Five (5) acres |
| B-2 | Monopole | 45’ | 1.0 | One (1) acre |
| B-3 | Monopole | 45’ | 1.0 | One (1) acre |
| I-1 | Monopole, Self-Support / Lattice Guyed Tower | 150’ | 1.0 | Five (5) acres |
| I-2 | Monopole, Self-Support / Lattice Guyed Tower | 150’ | 1.0 | Five (5) acres |

| Minnesota Routine Assessment Method Wetland Classification | High Quality | Med Quality | Low Quality |
| Buffer strip width | 40’ | 25’ | 15’ |
| Structure setback from outer edge of wetland buffer | 15’ | 15’ | 15’ |

DEVELOPMENT STANDARDS
These standards are established to:
| TABLE 10-1: PLANT UNIT VALUES | ||
| Plant Type | Minimum Size | Planting Unit Value |
| TREES | ||
| Deciduous Overstory Trees | 1 3/4 inch caliper | 10 |
| Deciduous Understory Trees | 1 inch caliper | 5 |
| Evergreen Overstory Trees | 5 feet high | 10 |
| UNDERSTORY TREES/SHRUBS (UTS) | ||
| Evergreen and Large Shrubs | 36 inches high | 2 |
| Spreading Evergreens | 18 inches | 1 |
| Small Shrubs | 18 inches high | .5 |
| Perennials and Ornamental Grasses | -- | .25 |
| TABLE 10-2: PROHIBITED TREES | |
| Botanical Name | Common Name |
| Acer grinnala | Amur Maple |
| Fraxinus species | Ash (white, green and black ash prohibited) |
| Robinia pseudoacacia | Black Locust |
| Acer negundo | Box Elder |
| Crataegus crus-galli | Cockspur Hawthorn (thornless permitted) |
| Rhamnus cathartica | Common Buckthorn |
| Frangula alnus | Glossy Buckthorn |
| Pumila | Siberian Elm |
| Ginkgo biloba | Ginkgo (female prohibited, male permitted) |
| Gleditsia triacanthos | Honey Locust (thornless and seedless permitted) |
| Morus alba | Mulberry |
| Populus species | Poplars, Cottonwoods |
| Elaeagnus angustifolia | Russian Olive |
| Acer saccharinum | Silver Maple (River Maple) |
| 0 – 5,000 total square feet | 10% discount |
| 5,001 – 10,000 total square feet | 20% discount |
| 10,001+ total square feet | 30% discount |

| TABLE 10-3: MAXIMUM ILLUMINATION LEVELS | |
| Type of Use [1] | Maximum Illumination (Footcandles) |
| All Uses | 0.5 at all ROW center lines |
| Residential or Civic & Institutional Use | 0.5 at Property Line |
| Commercial or Industrial Use [2] | 1.0 at Property Line |
| Parking Lots | 1.0 at Property Line |
| [1]: See Table 9-1: Comprehensive Use Table [2]: The minimum illumination level at the property line shall be 0.2 footcandle. | |


| TABLE 10-4: SIGN SETBACKS BY ZONING DISTRICT | |||
| Setback Regulations | |||
| Residential | Commercial / Special Purpose | Industrial | Setbacks |
| AOS | B-3 | I-3 | No sign shall be
located within one (1)
foot of a property line |
| R-1 | B-4 | ||
| R-1A | INS | ||
| R-2 | CM | ||
| RT-1 | MU-E/MU-T | ||
| RT-2 | INS-E | ||
| R-3 | INS-M | ||
| R-4 | INS-O | ||
| MH | |||
| Setback Regulations | |||
| District | Front | Side | Rear |
| B-1 | 20 | 20 | 20 |
| B-2 [1] | 15 | 15 | 15 |
| I-1 [2] | 15 | 15 | 15 |
| I-2 [1] | 15 | 15 | 15 |
| [1]: The listed specialized setbacks only apply if the property is adjoining a residential zoning district. [2]: Signs in the I-1 district are prohibited in any yard adjacent to a residential zoning district. | |||
| TABLE 10-5: SIGN ALLOWANCES BY DISTRICT | ||
| Residential Districts | ||
| District(s) | Maximum Area of a Single Sign | Maximum Area of All Signs |
| R-1 | 6 square feet | 6 square feet |
| R-1S | ||
| R-2 | ||
| RT-1 | ||
| RT-2 | ||
| R-3 | 30 square feet | 60 square feet |
| R-4 | ||
| Business Districts [1] | ||
| District(s) | Maximum Area of a Single Sign | Maximum Area of All Signs |
| B-1, MUE, MUT, A-OS, & MH
[1] [2] | 30 square feet per surface | 60 square feet |
| B-2, B-3, & B-4
[3] | 75 square feet | Whichever is greater of the following: |
| [1]: All signs in business districts may be illuminated. [2]: No sign in the B-1 district shall project higher than the height of the building or 24 feet above average grade at the building line, whichever is less. [3]: If feasible, all pylon signs in the B-2, B-3, and B-4 districts shall be located a minimum of 100 feet from any abutting residential zoning district. | ||
| Industrial Districts | ||
| District(s) | Maximum Area of a Single Sign | Maximum Area of All Signs |
| I-1, I-2, I-3, CM | 250 square feet | Whichever is greater of the following:
-Two (2) square feet per lineal feet of lot frontage;
- 10% of the building facing area; or
- 250 square feet in area. |
| Special Purpose Districts | ||
| District(s) | Maximum Area of a Single Sign | Maximum Area of All Signs |
| INS (Institutional Districts) | 60 square feet | 120 square feet |




| TABLE 10-6: OFF-STREET PARKING DESIGN STANDARDS | |||||||
| Angle of Parking | Stall Width | Curb Length Per Car | Stall Length | Stall Depth Wall to Aisle | Stall Depth Interlock to Aisle | Aisle One Way | Aisle Width Two Way |
| 90° | 9’ 0” | 9’ 0” | 18’ 0” | 18’ 0” | 18’ 0” | 24’ 0” | 24’ 0” |
| 75° | 9’ 0” | 9’ 6” | 18’ 0” | 20’ 8” | 19’ 10” | 21’ 6” | 23’ 0” |
| 60° | 9’ 0” | 10’ 5” | 18’ 0” | 21’ 0” | 19’ 10” | 18’ 0” | 22’ 0” |
| 45° | 9’ 0” | 12’ 9” | 18’ 0” | 19’ 10” | 17’ 10” | 15’ 0” | 22’ 0” |
| 0° | 9’ 0” | 22’ 0” | 22’ 0” | 9’ 0” | 9’ 0” | 12’ 0” | 24’ 0” |
| Use | Residential | Commercial | Industrial | Other Uses |
| Curb Cuts | ||||
| Maximum width | 24 feet | 32 feet | 32 feet | 32 feet |
| Minimum distance between curb openings | 25 feet | 25 feet | 50 feet | 25 feet |
| Minimum distance from intersection | 30 feet or 2/3 lot width | 50 feet | 100 feet | 50 feet |
| Minimum distance from alley intersection | 5 feet | 10 feet | 10 feet | 10 feet |


| YARD AREA | ZONING DISTRICT | ||||||
| R-1 | R-1S | R-2 | RT-1 | RT-2 | R-3 | R-4 | |
| R-1, R-1S, R-2, RT-1, RT-2 USES | |||||||
| Front | 30’ | 30’ | 30’ | 30’ | 30’ | 30’ | 30’ |
| Interior side | 5’ | 5’ | 5’ | 5’ | 5’ | 5’ | 5’ |
| Street side | 30’ | 30’ | 30’ | 10’ | 10’ | 30’ | 30’ |
| Rear – with alley | 0’ | 0’ | 0’ | 0’ | 0’ | 0’ | 0’ |
| Rear – no alley | 10’ | 10’ | 10’ | 5’ | 5’ | 10’ | 10’ |
| R-3, R-4 USES | |||||||
| Front | -- | -- | -- | -- | -- | 30’ | 30’ |
| Interior side | -- | -- | -- | -- | -- | 5’ | 5’ |
| Street side | -- | -- | -- | -- | -- | 30’ | 30’ |
| Rear – with alley | -- | -- | -- | -- | -- | 5’ | 5’ |
| Rear – no alley | -- | -- | -- | -- | -- | 10’ | 10’ |
| OTHER USES | |||||||
| Front | 30’ | 30’ | 30’ | 30’ | 30’ | 30’ | 30’ |
| Interior side | 10’ | 10’ | 10’ | 10’ | 10’ | 10’ | 10’ |
| Street side | 30’ | 30’ | 30’ | 30’ | 30’ | 30’ | 30’ |
| Rear – with alley | 0’ | 0’ | 0’ | 0’ | 0’ | 0’ | 0’ |
| Rear – no alley | 10’ | 10’ | 10’ | 10’ | 10’ | 10’ | 10’ |
| Table Key: R-1 (Single Family Residence District) R-1S (Single Family Residence District, Small Lot) R-2 (Single and Two Family Residence District) RT-1 (Traditional Neighborhood – Single Family Residence District) RT-2 (Traditional Neighborhood – Single and Two Family Residence District) R-3 (Medium Density Residence District) R-4 (High Density Residence District) MH (Manufactured Home District) | |||||||
| YARD AREA | ZONING DISTRICT | |||
| B-1 | B-2 | B-3 | B-4 | |
| Front | 5’ | 5’ | 5’ | 5’ |
| Front across the street from residential district | 5’ | 5’ | 5’ | 5’ |
| Interior side | 5’ | 5’ | 5’ | 5’ |
| Interior side adjacent to a residential district | 10’ | 5’ | 5’ | 5’ |
| Street side | 10’ | 5’ | 5’ | 3’ |
| Rear – with alley | 0’ | 0’ | 0’ | 0’ |
| Rear – no alley | 5’ | 5’ | 5’ | 5’ |
| Rear adjacent to a residential district | 10’ | 10’ | 10’ | 5’ |
| Table Key: B-1 (Limited Business District) B-2 (General Business District) B-3 (Community Business District) B-4 (Central Business District) | ||||
| YARD AREA | ZONING DISTRICT | ||
| I-1 | I-2 | I-3 | |
| Front | 5’ | 5’ | 5’ |
| Front across the street from residential district | 5’ | 5’ | 5’ |
| Interior side | 5’ | 5’ | 5’ |
| Interior side adjacent to a residential district | 5’ | 5’ | 5’ |
| Street side | 5’ | 5’ | 5’ |
| Rear – with alley | 0' | 0' | 0' |
| Rear – no alley | 5’ | 5’ | 5’ |
| Rear adjacent to a residential district | 10’ | 10’ | 10’ |
| Table Key: I-1 (Planned Industrial District) I-2 (General Industrial District) I-3 (Limited Industrial District) | |||
| YARD AREA | ZONING DISTRICT | ||||||
| A-OS | INS-E | INS-M | INS-O | CM | MU-E | MU-T | |
| Front | 15’ | 15’ | 15’ | 15’ | 10’ | 3’ | 5’ |
| Front across the street from residential district | 15’ | 15’ | 15’ | 15’ | 15’ | 3’ | 5’ |
| Interior side | 15’ | 15’ | 15’ | 10’ | 10’ | 3’ | 5’ |
| Interior side adjacent to a residential district | 20’ | 15’ | 15’ | 15’ | 10’ | 3’ | 5’ |
| Street side | 15’ | 15’ | 15’ | 15’ | 10’ | 3’ | 5’ |
| Street side across from a residential district | 15’ | 15’ | 15’ | 15’ | 10’ | 3’ | 5’ |
| Rear – with alley | 5’ | 0’ | 0’ | 0’ | 0’ | -- | -- |
| Rear – no alley | 5’ | 5’ | 5’ | 5’ | 5’ | -- | -- |
| Rear adjacent to a residential district | 10’ | 10’ | 10’ | 10’ | 10’ | -- | -- |
| Table Key: A-OS (Agricultural - Open Space District) INS-E (Institutional – Educational District) INS-M (Institutional – Medical District) INS-O (Institutional – Other District) CM (Commercial Manufacturing District) MU-E (Mixed Use - Emerson Union District) MU-T (Mixed Use – Turner District) | |||||||
| TABLE 10-9: REQUIRED STACKING SPACES FOR DRIVE THROUGHS | ||
| Use or Activity [1] | Minimum # of Stacking Spaces (per lane) | Measured From [2] |
| Automated Teller Machines (ATMs) | 3 | Teller machine |
| Financial Institution | 4 | Teller machine |
| Car wash – self service | 4 | Entrance |
| 1 | Exit | |
| Car wash – automatic | 3 | Entrance |
| 1 | Exit | |
| Drive-through restaurant | 4 | Menu board |
| 4 | Pick-up window | |
| Personal Services (e.g. dry cleaners) | 3 | Window |
| Retail Commercial Uses (e.g. pharmacy) | 3 | Window |
| Gas Pump Island | 2 | Pump |
| Other | Uses not specifically listed shall have their stacking space minimums determined by the Community Development Department based on standards for comparable uses listed above. | |
| [1] See Table 9-1: Comprehensive Use Table, and/or Table 9-5: Accessory Uses by Zoning District [2] Distance shall be measured from window where products are delivered when more than one window is used for the drive through service. | ||
TABLE 10-10: MINIMUM OFF-STREET PARKING STANDARDS | ||
Use Type | Minimum # of Spaces | Additional Requirements |
Agricultural Uses | ||
Agriculture | No Minimum | |
Agriculture Sales | ||
Community Garden | ||
Wildlife and Game Refuge | ||
Residential Uses | ||
Single-Family, Detached (one unit) | 2 per unit | |
Single-Family, Attached (two units) | 2 per unit | |
Duplex | 2 per unit | |
Single-Family, Attached (three to eight units per acre) | 2 per unit | |
Multi-Family Dwelling (three to eight units per acre) | 2 per unit | |
Multi-Family (nine or more units per acre) | 2 per unit | |
Residential Care Facility (six or fewer persons) | 1 per 6 residents and 1 per employee on major shift | |
Residential Care Facility (16 or fewer persons) | 1 per 6 residents and 1 per employee on major shift | |
Residential, Upper Floor | 2 per unit | |
Residential, Street Level | 2 per unit | |
Senior Housing | 1/2 per unit plus reservation of area equal to | |
Manufactured Home Park | 2 per unit | |
B-4 Zoning District | 1 per residential unit | |
Public & Institutional Uses | ||
Active Park Facilities (public & private) | Determined by CDD based on A Parking Study | |
Armory | Determined by CDD based on A Parking Study | |
Assisted Living Facility | 1/2 per unit | |
Cemetery | No Minimum | |
Club | 1 per 4 seats | Seating shall be based on the design capacity of the building. |
Clinics/Medical Services | 1 per 250 square feet | |
Communications Facility | Determined by CDD based on A Parking Study | |
Convent/Monastery | 1 per 4 beds | Beds shall be based on the design capacity of the facility. |
Event Center | 1 per 4 seats | Seating shall be based on the design capacity of the building |
Essential Services | Determined by CDD based on A Parking Study | |
Hospital | 1 space for each 2 hospital beds, and 1 space for each employee on the major shift | |
Nursing/Convalescent Home | 1 per 4 beds | Beds shall be based on the design capacity of the facility |
Passive Parks/Open Space | Determined by CDD based on A Parking Study | |
Place of Public Assembly | 1 per 4 seats | Seating shall be based on the design capacity of the facility |
Public Building/Uses | Determined by CDD based on A Parking Study | |
Public Utility Building/Structure | Determined by CDD based on A Parking Study | |
Schools - PreK to Junior High | 1 per employee and 1 per three classrooms | Auditorium/event space shall be subject to separate, additional calculations. |
Schools - Senior High School | 1 per employee and 1 per five students based on building design capacity | Auditorium/event space shall be subject to separate, additional calculations. |
Schools - Higher Education | Determined by CDD based on A Parking Study | |
Utilities, Major | Determined by CDD based on A Parking Study | |
Commercial Uses | ||
Ambulance Services | 1 per 300 square feet net floor area | |
Auto Repair - Minor | 3 per service bay and 1 per employee | Service parking spaces shall be in addition to temporary parking space required for gas pumping areas |
Automotive Wash Facilities | Drive Through: 1 per employee on major shift Self Service: 2 per facility | |
Bar, Liquor Establishment | 1 per 100 square feet of GFA | |
Bed & Breakfast | 1 per guest room in addition to required residential off-street parking | |
Building Material Sales/Storage | 1 per employee plus 1 per 500 square feet of GFA | |
Bus Garage/Maintenance Facility | 1 per employee and 3 per service bay | |
Business Support Services | 1 per 300 square feet of GFA | |
Child Care Center | 1 per employee on major shift and 1 per 10 enrollees based on maximum capacity | |
Communications/Broadcasting | Determined by CDD based on A Parking Study | |
Commercial Lodging | 1 per room plus 1 per employee on major shift plus 50% of additional space for accessory uses | |
Convenience Store | 1 per 200 square feet of GFA | |
Country Club | 4 per hole plus 50% of the requirements for any other use | |
Distillery, Micro | 1 per 200 square feet of GFA | |
Educational Services | 1 per 300 square feet of GFA | |
Entertainment/Recreation Indoor Commercial | 1 per 400 square feet of GFA | Seating shall be based on the design capacity of the main assembly hall; facilities as may be provided in conjunction with such buildings or uses shall be subject to additional requirements imposed by this Ordinance |
- Bowling Center | 5 per bowling lane | Square footage of additional uses (restaurant, bar, etc.) shall be in addition |
- Theater | 1 per 4 seats | |
Entertainment/Recreation Outdoor Commercial | 10 spaces plus 1 space for each 200 square feet of activity area over the first 1,000 square feet | |
Financial Institution | 1 per 250 square feet of GFA | |
Firearm Range, Indoor | 1 per 200 square feet of GFA plus 2 per classroom | |
Funeral Home/Service | 1 per 5 seats and 1 per 250 square feet of GFA of non-seating area | Seating shall be based on the design capacity of the building. |
General Retail Sales/Services | 1 per 300 square feet of GFA plus 1 per 1000 square feet of outside sales/display area | When 50% or more of the gross floor area is devoted to storage, warehouse, and/or industry purposes - the number of spaces shall be determined as follows: 1 per 200 square feet devoted to public sales or service plus 1 per 500 feet of storage area |
Kennel, Commercial | 4 plus 1 per 500 square feet over 1000 square feet | |
Landscaping / Nursery Business | 1 per 300 square feet of GFA and 1 per 1,000 square feet of GFA of outside sales/display area | |
Office | 1 per 300 square feet of GFA | |
Performing, Visual, Exercise, Vocational or Martial Arts School | 1 per 3 students plus 1 per classroom | Number of students shall be based on the design capacity of the school |
Personal Services | 1 per 300 square feet of GFA | |
Repair Establishment | 1 per 400 square feet of GFA | |
Restaurant | 1 space per 40 square feet of GFA of dining/bar area, plus 1 space for each 80 square feet of kitchen area | |
Sexually Oriented Uses | 1 per 300 square feet of GFA | |
Shopping Center | 1 per 250 square feet of gross leasable floor area (exclusive of common areas) | |
Sign Sales/Service | 1 per 400 square feet of GFA | |
Sports/Health Facility | 1 per 250 square feet of GFA | |
Transportation Services | Determined by CDD based on A Parking Study | |
Vehicle Sales/Rental | 6 plus 1 per 500 square feet over 1000 square feet of GFA | |
Vehicle Service Station | 4 plus 2 per service bay stall | |
Veterinary Services | 1 per 250 square feet of GFA | |
Wholesale Sales | 1 per 300 square feet office or sales plus 1 per 2000 square feet storage of GFA | |
Industrial Uses | ||
Airport | Determined by CDD based on A Parking Study | |
Auto Repair - Major | 1 per employee plus 2 per service bay | Service parking spaces shall be in addition to temporary parking space required for gas pumping areas |
Brewery | Determined by CDD based on A Parking Study | |
Bulk Fuel Sales/Storage | Determined by CDD based on A Parking Study | |
Cleaning Services & Laundry | 1 per 300 square feet of GFA | |
Cold Storage | 1 per employee on major shift | |
Concrete, Asphalt & Rock Crushing Facility | 2 per 3 employees | |
Contractor Office & Yard | 1 per 1,000 square feet of GFA of shop area or warehousing, plus 1 per 300 square feet of GFA of office space | |
Distillery | Determined by CDD based on A Parking Study | |
Extraction of Materials | 1 per employee on major shift | |
Food Processing | 1 per employee on major shift | |
Grain Elevator & Storage | 1 per employee on major shift | |
Grain Milling & Distribution | 1 per employee on major shift | |
Greenhouse, Wholesale | 1 per employee on major shift | |
Industrial Services | 1 per employee on major shift | |
Land Reclamation | 2 per 3 employees | |
Machine Shop | 1 per 300 square feet of GFA of office and 1 per 1,000 square feet of GFA of service area | |
Machinery/Truck Repair & Sales | 1 per employee, 3 per service bay, and 1 per 300 square feet of GFA of office | |
Manufacturing, Major | 1 per employee on major shift | |
Manufacturing, Minor | 1 per employee on major shift | |
Print Shop | 1 per 500 square feet of use area | |
Recycling Facility | 2 per 3 employees | |
Research, Development/Testing Laboratory | 2 per 3 employees | |
Scrap/Salvage Yard, Metal Milling Facility | 2 per 3 employees | |
Self-Storage Facility (External Access) | 1 parking stall for each 2 storage units | |
Self-Storage Facility (Internal Access) | 1 per 200 square feet of office area and 1 per 50 storage units or 1 per 10,000 square feet of storage area whichever is greater or a minimum of 3 spaces | |
Transportation Facility | 1 per 1,000 square feet of shop area or warehousing, plus 1 per 300 square feet of office space | |
Waste Hauler | 2 per 3 employees | |
Wholesaling, Warehousing & Distribution | 1 per 1,000 square feet of shop area or warehousing, plus 1 per 300 square feet of office space | |
"GFA" = Gross Floor Area "CDD" = Community Development Department | ||
| TABLE 10-11 STANDARDS FOR BUILDING-MOUNTED WECS | |||
| MAXIMUM WECS HEIGHT
(STRUCTURE AND ROTORS) | MINIMUM SETBACKS | MAXIMUM NUMBER OF SYSTEMS
PER BUILDING | |
| Residential Structures | |||
| Less than four (4) stories and forty-five (45) feet in height. | Prohibited | Prohibited | Prohibited |
| Four (4) or more stories and at least forty-five (45) feet in height. | 12’ | 10’ from front, side, rear walls
of structure upon which it
would be mounted. | 1 per 2,000 sf of roof area |
| Non-Residential Structures | |||
| Less than four (4) stories and forty-five (45) feet in height. | 12’ | 10’ from front, side, rear walls
of structure upon which it
would be mounted. | 1 per 4,000 sf of roof area |
| Four (4) or more stories and at least
forty-five (45) feet in height. | 12’ | 1.5 x the height of the WECS | 1 per 2,000 sf of roof area |
| TABLE 10-12 SPECIFIC STANDARDS FOR FREESTANDING WECS | ||||
| ZONING DISTRICT | TOWER TYPE | MAXIMUM HEIGHT | MINIMUM SETBACK (x tower height) | MINIMUM LOT AREA
PER TOWER |
| A-OS | Monopole, Self-Support / Lattice Guyed Tower | 100’ | 1.5 | Five (5) acres |
| B-2 | Monopole | 45’ | 1.0 | One (1) acre |
| B-3 | Monopole | 45’ | 1.0 | One (1) acre |
| I-1 | Monopole, Self-Support / Lattice Guyed Tower | 150’ | 1.0 | Five (5) acres |
| I-2 | Monopole, Self-Support / Lattice Guyed Tower | 150’ | 1.0 | Five (5) acres |

| Minnesota Routine Assessment Method Wetland Classification | High Quality | Med Quality | Low Quality |
| Buffer strip width | 40’ | 25’ | 15’ |
| Structure setback from outer edge of wetland buffer | 15’ | 15’ | 15’ |
