OFF-STREET PARKING AND LOADING
(a)
Every building, use or structure shall be provided with off-street parking facilities in accordance with the provisions of this article for the use of occupation, employees, visitors or patrons.
(b)
The required off-street parking facilities shall be maintained and continued as an accessory use as long as the main use is continued.
(c)
Where a building existed at the effective date of this chapter or amendments thereto, such building may be modernized, altered, or repaired, (without providing additional off-street parking facilities), provided there is no increase in floor area or capacity.
(d)
Where a building or use, which existed at the effective date of this chapter or amendments thereto, is enlarged in floor area, volume, capacity or space occupied, the off-street parking facilities as specified herein shall be provided for the additional floor area, volume, capacity or space so created or occupied.
(e)
Where a building or use is changed in use or occupancy, additional off-street parking facilities shall be provided to the extent the new use or occupancy exceeds the off-street parking which would have been required for the previous use or occupancy had the regulations of this article been applicable thereto. For the purpose of this section, a change of use or occupancy shall mean a change from one (1) category of use or occupancy to another such category under this article.
(f)
It shall be unlawful for an owner or operator of any building, structure or use affected by this article to discontinue, change or dispense with, or to cause the discontinuance or reduction of the required parking facilities apart from the discontinuance, sale or transfer of such structure or use, without establishing alternative vehicle parking facilities which meet the requirements of this article. It shall be unlawful for any person, firm or corporation to utilize such building, structure or use without providing the off-street parking facilities to meet the requirements of and be in compliance with this article.
(Ord. No. 402-97-E, § 1, 8-26-97)
(a)
Off-site parking provision. The off-street parking facilities required by this article shall be located within the same plot they are intended to serve; provided, however, when practical difficulties relative to the size, shape or location of the plot or parcel prohibit the establishment of the required parking facilities, the city commission may approve the location of the required parking facilities within five hundred (500) feet of the premises they are to serve, provided that safe pedestrian access shall be provided. In the event such an approval is granted and used, the owner of said parking area shall enter into written agreement whereby the land providing the parking area shall never be sold or disposed of except in conjunction with the sale of the building or structure the parking area serves so long as these parking facilities are required, or as long as permitted by law, whichever first occurs, and said agreement shall be recorded, at the expense of the owner of the parking area, and shall run with the land to bind the heirs, successors and assigns of said owner. The agreement shall be a condition of site plan approval.
(b)
Parking space requirements.
(1)
Space size: Parking spaces shall be the following dimensions:
a.
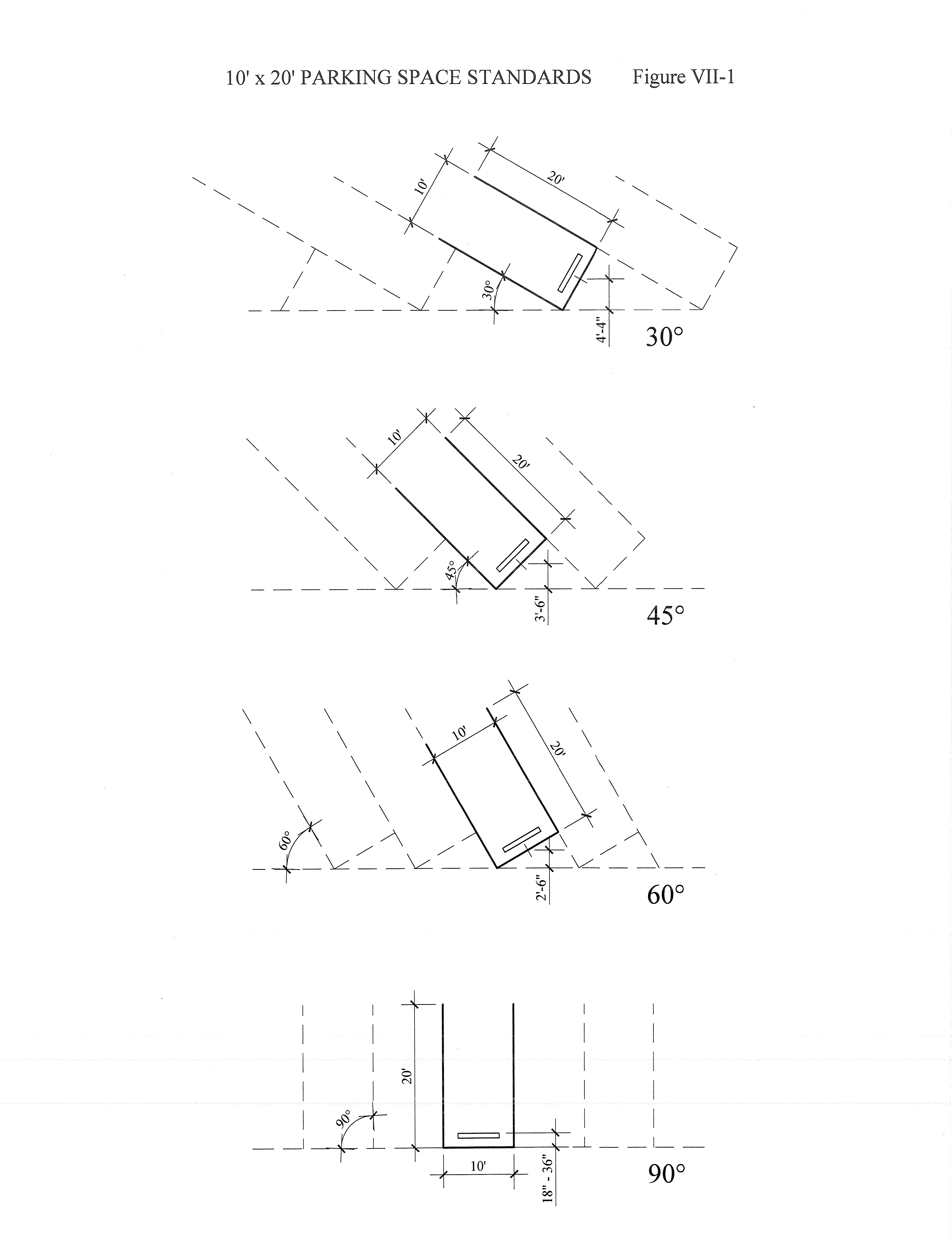
Ten (10) feet in width and twenty (20) feet in length for all uses, except as provided in subsection b. below. See Figure VII-1 for parking space standards.
b.
Nine (9) feet in width and eighteen (18) feet in length, angled at ninety (90) degrees only, as defined in Figure VII-1, are permitted for:
(i)
Office buildings with a gross square footage of thirty thousand (30,000) square feet or greater, where the general public will not normally frequent,
(ii)
Industrial buildings with a minimum gross square feet of one hundred thousand (100,000) square feet or greater, and
(iii)
Up to eighty (80) percent of required parking spaces in multilevel parking garages in any district, provided that spaces shall be grouped such that each aisle has spaces of uniform length, and that where a column or other obstruction hinders the ability of a vehicle to access a space a minimum ten-foot wide space shall be required.
c.
In locations where nine (9) feet by eighteen (18) feet spaces are permitted, pursuant to section b above, accessible parking spaces may also be eighteen (18) feet in length.
d.
Specialty parking spaces, including parallel, compact and motorcycle spaces, must be identified and dimensioned on the site plan and shall not count toward the minimum number of parking spaces required by section 16-144.
(2)
Access: Each parking space shall be accessible from a street or alley or from an adequate aisle or driveway leading to a street or alley. The width and design of the drive aisle shall conform to Figure VII-2. In no instance shall vehicles be allowed to back into a public right-of-way or otherwise enter or leave the parking area, except at approved entrance and exit points, except that a single-family home may provide a driveway that directly exits onto a platted public right-of-way of sixty (60) feet or less.
(3)
Directional signs: The required off-street parking facilities shall be identified as to location when not clearly evident from a street or alley; signs in conformance with Article XIV shall be used.
(4)
Paving: Off-street parking facilities, including drive aisles and driveways, shall be surfaced with asphalt. Additional surfaces, such as pavers and concrete, may be approved by the director of community development or his/her designee. At all times, surfaces shall be maintained in a smooth, clean, well-graded condition and site signage and striping shall be clearly visible. Single-family driveways may be paved using concrete. Grass parking as provided in subsection (6) below, shall be exempted from this requirement.
(5)
Striping: Striping and internal signage as required by the department shall be provided. The department may, from time to time, require refinements of the striping and signage to enhance vehicular or pedestrian safety with said refinements to be installed by the property owner.
(6)
Grass parking surfaces: The use of grass parking surfaces shall be permitted where parking is on an irregular, intermittent or part-time basis only, subject to the following restrictions:
a.
Grass parking shall be limited to parking associated with places of public assembly located in freestanding buildings of not less than fifty thousand (50,000) square feet;
b.
Grass parking spaces shall not exceed ten (10) percent of the total number of parking spaces required by this section;
c.
Grass parking surfaces shall conform to city specifications, including requirements for base materials, drainage, and species of grass;
d.
In the event that the director of community development, or his/her designee, determines that an approved grass parking surface is in regular, continuous or weekly or daily use, the city may require that the grass lot be paved using hard-surface materials that meet minimum city standards.
(7)
Maintenance: The owner, tenant and their agent, if any, shall be jointly and severally responsible for the maintenance of all vehicle use areas, whether standard hard surface or grass. Grass parking areas shall be maintained so as to present a neat appearance to ensure a viable and healthy grass surface. In the event of deterioration of a grass or hard-surface parking surface, the department or his/ or her designee may require full restoration of the parking facility including ingress and egress points to city standards.
(8)
Drainage: All off-street parking facilities required by this article shall be drained so as not to cause any runoff onto adjacent or public property. Such facilities shall be arranged for convenient access and safety of pedestrians and vehicles.
(9)
Site plan: The required site plan shall clearly and accurately designate the required parking spaces, drive aisles and driveways, lighting and relation to the uses or structures these off-street parking facilities are intended to serve site plan.
(10)
Separation from buildings: No parking spaces shall be located within five (5) feet of any building. See also subsection 16-169(d).
(11)
Swales: Parking is prohibited in the swale area of all road rights-of-way, except a single-family detached dwelling where parallel parking is permitted on residential streets. See also section 14-16.
(12)
Wheelstops: Wheelstops shall be required for all parking spaces except:
a.
Parallel parking spaces.
b.
Standard spaces, twenty (20) feet in length, that abut an eight-foot or wider curbed landscape island, which is dimensioned consistent with subsection 16-169(c).
c.
Spaces that are approved under section 16-151.
Wheelstops shall be required for all spaces that are adjacent to pedestrian walkways and sidewalks. Standard concrete wheelstops shall be a minimum of eighteen (18) inches and a maximum of thirty-six (36) inches, measured from the end of the parking space to the face of the wheelstop. The entire required parking space shall be paved.
(13)
Head to head parking: When two (2) rows of parking face one (1) another, an eight-foot curbed grass strip, measured from back of curb to back of curb, shall separate the parking spaces. For office buildings with one hundred thousand (100,000) square feet, or more, of floor area the curbed grass strip may be reduced to six (6) feet in width. This grass area may be counted as part of the landscaped area and shall have one (1) tree every twenty-five (25) feet. See also subsection 16-169(c).
(c)
Parking lot design standards.
All locations of curbing shall be shown on the site plan. Curb and gutter/valley gutter shall be two (2) feet in width and shall be constructed using three thousand (3,000) psi concrete (twenty-eight (28) days). Curbing types may vary depending upon the specific application. However, only standard curbing types commonly in use in the State of Florida will be permitted. The department shall have the discretion to apply generally accepted standards in determining curbing type. In no case shall extruded curbing be permitted anywhere on a site. Parking islands, medians between double parking bays, and all landscaped areas shall be curbed pursuant to the requirements of this section.
Curbing shall also be required along both sides of all drive aisles, unless it is demonstrated by the applicant to the satisfaction of the department that this provision cannot be met due to drainage considerations.
(Ord. No. 402-97-E, § 1, 8-26-97; Ord. No. 402-98-D, § 1, 8-11-98; Ord. No. 402-99-H, § 2, 8-10-99; Ord. No. 402-00-A, § 5, 3-28-00; Ord. No. 402-00-C, § 8, 8-22-00; Ord. No. 402-00-D, § 1, 8-22-00; Ord. No. 402-00-E, § 2, 9-11-00; Ord. No. 402-00-H, § 1, 11-28-00; Ord. No. 402-09-B, § 2, 2-10-09; Ord. No. 402-09-G, § 11, 11-24-09; Ord. No. 402-10-C, § 17, 6-22-10; Ord. No. 402-12-B, § 2, 2-28-12)
(a)
Accessible parking space requirement. The applicant must follow the applicable federal and/or state codes including, but not limited to, the Americans with Disabilities Act, the Fair Housing Act, and the Florida Building Code as amended from time to time.
(b)
Accessible parking space design standards. All parking spaces provided for in this section shall be designed in accordance with applicable federal and/or state codes including, but not limited to, the Americans with Disabilities Act, the Fair Housing Act, and the Florida Building Code as amended from time to time. The length of accessible parking spaces shall match the required length of regular spaces pursuant to subsection 16-142(b).
(Ord. No. 402-97-E, § 1, 8-26-97; Ord. No. 402-00-A, § 6, 3-28-00; Ord. No. 20-00-A, § 9, 8-22-00; Ord. No. 402-10-C, § 18, 6-22-10)
(a)
The off-street parking required by this article shall be provided and maintained on the basis of the following minimum requirements:
(1)
Dwelling, single-family and mobile homes: Two (2) parking spaces required; the spaces may be tandem but must not intrude on sidewalk.
(2)
Dwelling, two-family, multiple-family and townhouses or villas:
Efficiency, spaces per dwelling unit .....1.50
One (1) bedroom, spaces per dwelling unit .....1.75
Two (2) bedrooms, spaces per dwelling unit .....2.00
Three (3) or more bedrooms, spaces per dwelling unit .....2.50
In addition, guest parking must be provided at a minimum rate of ten (10) percent of the total number of parking spaces required for the development.
(3)
Hotel: Three (3) parking spaces for each four (4) sleeping rooms or suites. If, in addition to sleeping rooms, there are other uses operated in connection with or as part of the hotel, additional off-street parking spaces shall be provided for such uses as would be required by this article if such uses were separate from the hotel to the extent of fifty (50) percent of the off-street parking specified in this article for retail stores, offices, service establishments, bars, restaurants, dining rooms, night clubs, ballrooms, banquet halls, meeting rooms and auditoriums. The above parking requirement is ten (10) percent less where the number of sleeping rooms or suites is between two hundred fifty (250) and three hundred (300).
(4)
Motels: One (1) parking space for each guest room, plus two (2) parking spaces for the owner or manager.
(5)
Trailer courts, camps or parks: One (1) parking space for each trailer.
(6)
Hospitals: Two (2) parking spaces for each bed.
(7)
Community care facilities: One (1) parking space for each three (3) beds for patients, plus one (1) parking space for each two hundred (200) square feet of office and administration space.
(8)
Places of public assembly having fixed seats: One (1) parking space for each three (3) seats, except that where a place of public assembly is part of a multi-tenant complex with greater than fifty thousand (50,000) square feet of gross floor area, one (1) parking space for each five (5) seats shall be required.
(9)
Places of public assembly (without fixed seats): One (1) parking space for each five (5) seats or one (1) parking space for each thirty-five (35) square feet of net floor area occupied by patrons or other occupants, whichever is greater.
(10)
Affordable housing located within one-quarter (¼) mile of an existing public transit route: In order to facilitate the production of affordable housing for very low income households, low income households and/or moderate income households, the department may waive up to fifteen (15) percent of the parking spaces required by this section subject to the following requirements:
a.
The applicant must submit a parking study to the department demonstrating that fewer parking spaces are needed. Before preparing such a study, the applicant shall meet with the department to develop an acceptable methodology for the study. The code standard shall be presumed to be the correct standard, but the department may choose to approve the reduced parking standard if the study provides clear and convincing evidence that the reduced parking standard is appropriate.
b.
The location, character and size of parking spaces shall comply with section 16-142, except that the department may waive the requirements for wheelstops and may allow parking spaces of a minimum eighteen (18) feet in length. The applicant must demonstrate that such waivers will improve the overall design of the affordable housing project and will not reduce public safety.
c.
Such waivers shall be given only for projects which include rental or sales restrictions and monitoring provisions that ensure that all or substantially all of the units will be reserved for very low income households, low income households and/or moderate income households for at least fifteen (15) years. For the purpose of this subsection, the terms "very low income," "low income" and "moderate income" shall have the meaning given these terms in City of Sunrise Ordinance No. 804-X.
(11)
Convenience stores, stand-alone medical marijuana dispensaries and stand-alone drug stores where the medical marijuana dispensary or drug store is the sole use within the bay or structure: One (1) parking space for each one hundred fifty (150) square feet of gross floor area.
(12)
Bowling alleys: Five (5) parking spaces for each alley.
(13)
Mortuaries: One (1) parking space for each three (3) seats in public rooms, plus one (1) for each two hundred (200) feet of office area.
(14)
Medical offices or clinics, urgent care centers, dental clinics, beauty salons, nail salons, hairdressers, tanning salons, and health spas: One (1) parking space for each one hundred fifty (150) square feet of gross floor area.
(15)
Business, professional, governmental offices, veterinary clinics, eye and hearing doctors, and outpatient medical clinics not open to the general public: One (1) parking space for each two hundred fifty (250) square feet of gross floor area.
(16)
Restaurants, bars, and banquet halls: One (1) parking space for each fifty (50) square feet of floor area in rooms for customer service, except where a restaurant, bar, or banquet hall is part of a shopping center with greater than fifty thousand (50,000) square feet of gross floor area, one (1) parking space for each seventy-five (75) square feet of floor area in rooms for customer service shall be required. Outdoor restaurant seating areas greater than two hundred (200) square feet shall be included in the customer service area calculation. Fast food restaurants that are part of a shopping center with greater than fifty thousand (50,000) square feet of gross floor area, shall provide one (1) space for every seventy-five (75) square feet of floor area in rooms for customer service. Stand alone fast food restaurants and fast food restaurants that are part of a shopping center with less than or equal to fifty thousand (50,000) square feet of gross floor area, shall provide one (1) space for every fifty (50) square feet of floor area in rooms for customer service with a minimum of twenty (20) spaces. All restaurant drive-throughs shall provide sufficient area for eight (8) stacking spaces measured from the first take-out window and a minimum of four (4) stacking spaces measured from the menu board order station. Take-out food stores shall be considered retail stores; see (20) below.
(17)
Elementary and middle schools: One (1) parking space for each classroom, plus one (1) parking space for each two hundred fifty (250) square feet of office area. If an auditorium is provided, provide an additional one (1) parking space for each three (3) seats in the auditorium, of which one (1) parking space for each ten (10) parking spaces provided for the auditorium shall be designated as visitor parking. If an auditorium is not provided, provide an additional one (1) parking space for every five (5) classrooms that shall be designated as visitor parking.
(18)
High schools: One (1) parking space for each classroom, plus one (1) parking space for each two hundred fifty (250) square feet of office area, plus one (1) parking space for each four (4) students. Of the provided parking, one (1) parking space for every five (5) classrooms shall be designated as visitor parking.
(19)
Vocational schools or colleges and adult education facilities: One (1) per student plus one (1) parking space for each two hundred fifty (250) square feet of office area.
(20)
Retail stores, banks, household repairs or equipment shops, interior decoration shops, coin laundry, retail laundry, instructional schools: One (1) parking space for each two hundred fifty (250) square feet of gross floor area, except shopping centers with over four hundred thousand (400,000) square feet and drive-in banks which shall have one (1) space per three hundred (300) square feet.
(21)
Manufacturing and industrial uses, research and testing laboratories, bottling establishments, printing and engraving shops, wholesale warehouses, laundry and dry cleaning plants, and storage buildings: One (1) parking space for each six hundred (600) square feet of gross floor area of the buildings, except as provided below:
a.
A warehouse which will be utilized for storage only and in which no business of any type will be conducted, shall provide one (1) parking space for each one thousand two hundred (1,200) square feet of gross floor area of the building.
b.
Where the uses listed in this subsection are developed as part of a site plan for property in single ownership containing at least three hundred fifty thousand (350,000) square feet of such uses, the owner of the property contained in the site plan may submit a parking study to the department demonstrating that fewer parking spaces are needed. Before preparing such a study, the applicant shall meet with the department to develop an acceptable methodology for the study. The code standard shall be presumed to be the correct standard, but the department may choose to approve the reduced parking standard if the study provides clear and convincing evidence that the reduced parking standard is appropriate.
c.
If a parking reduction is approved pursuant to subsection (21)b. above, a recordable covenant reflecting the reduced parking approval, with correct legal description, shall be submitted by the owner(s) of the property in a form acceptable to the city attorney. The covenant shall be recorded by the city at the applicant's expense, and shall run with the land. The covenant shall provide that the uses that justified the reduced parking requirement shall not be changed in any way without the city's approval of an updated study justifying the continued reduced parking requirement, unless the parking provided for the changed uses no longer require a reduction. The covenant shall also provide that the city may collect costs and attorney's fees, if litigation is necessary to enforce it.
d.
All retail use permitted by the zoning and associated with any of the uses addressed in this subsection shall provide parking at a rate of one (1) parking space for each two hundred fifty (250) square feet of gross floor area.
(22)
Automotive service uses:
(23)
Tennis courts, racquetball, and handball courts and clubs, or other sport courts (except for any athletic courts which are accessory to any permitted multiple-family development and memberships consist only of residents of the multiple-family development): Three (3) parking spaces per each court. Additional parking spaces may be required for other uses accessory to this use.
(24)
Golf course: Four (4) parking spaces per each golf green plus one (1) space for each two hundred fifty (250) feet of gross floor area of clubhouse, plus additional spaces as required for other accessory uses.
(25)
Golf, miniature: Three (3) spaces per hole; driving-range: one (1) space per tee.
(26)
New or used automobile sales, boat sales or other outdoor sales: One (1) parking space for each two hundred fifty (250) square feet of office space, plus one (1) parking space for each three hundred fifty (350) square feet of showroom area, plus one (1) space per service bay for automobile service employees. The required automobile service area employee parking shall be located behind the rear building line of the showroom building. The required showroom (customer) and office parking, and any surplus parking, may be located in the side and front yard areas. The number of surplus (not required) parking spaces shall not exceed twenty (20) percent of the total number of required spaces.
(27)
Day care center, adult day care center: One (1) space for each five (5) enrollees based on license capacity, plus one (1) space for every three hundred (300) square feet of office area. In addition, a minimum of three (3) stacking spaces shall be provided in close proximity to the entrance of the building to provide easy ingress and egress from the building.
(28)
Amusement/recreation enterprises (indoor or outdoor) and automatic amusement centers: One (1) parking space per every two hundred (200) square feet of gross floor area.
(29)
Health and body membership clubs: One (1) parking space per each two hundred (200) square feet of gross floor area, except as provided below:
a.
Where a club operates exclusively by scheduled appointments with a personal trainer, the owner of the property may submit a parking study to the department demonstrating that fewer parking spaces are needed. The department may choose to approve the reduced parking standard if the study provides clear and convincing evidence that the reduced parking standard is appropriate.
b.
If a parking reduction is approved pursuant to subsection (29)a. above, the required number of parking spaces shall not be reduced by more than fifty (50) percent.
(30)
Vehicle leasing agencies: One (1) parking space per each two hundred fifty (250) square feet of gross floor area of office area with a minimum of ten (10) additional spaces for rental vehicles.
(31)
Building supplies and home improvement centers: Three and one-half (3½) parking spaces per one thousand (1,000) square feet of gross floor area.
(32)
Extended stay hotel: One (1) outdoor surface parking space for each unit.
(33)
Affordable multifamily senior housing projects:
One (1) bedroom, spaces per dwelling unit .....1.00
Two (2) bedroom or more, spaces per dwelling unit .....1.50
In addition, the ten (10) percent guest parking requirements for multifamily residential projects must be met.
(34)
Museums and art galleries: One (1) parking space for each five hundred (500) square feet of gross floor area.
(35)
Nightclubs: One (1) parking space per 40 feet of gross floor area.
(b)
Uses not specifically mentioned. The requirements for off-street parking for any uses not specifically mentioned in this section shall be the same as provided in this section for the most similar to the one sought, it being the intent to require all uses to provide off-street parking. The department shall interpret and decide such issues.
(c)
Fractional measurements. When units or measurements determining number of required off-street parking spaces result in the requirement of a fractional space, any such fraction shall require one (1) full off-street parking space.
(d)
Multitenant or combined parking. In the case of mixed uses or multitenant developments, the total requirements for off-street parking shall be the sum of the requirements of the various uses computed separately, and off-street parking space for one (1) use shall not be considered as providing the required off-street parking for any other use unless specifically authorized under section 16-145.
(e)
Measurement. For the purpose of this article, floor area shall mean the gross floor area inside of the exterior wall; in hospitals, bassinets shall not count as beds; in stadiums, sports arenas, churches and other places of assembly in which occupants utilize benches, pews or other similar seating facilities, each twenty (20) linear inches of such seating facilities shall be counted as one (1) seat for the purpose of computing off-street parking requirements.
(Ord. No. 402-97-E, § 1, 8-26-97; Ord. No. 402-98-H, § 1, 10-27-98; Ord. No. 402-99-H, § 3, 8-10-99; Ord. No. 402-00-C, § 9, 8-22-00; Ord. No. 402-01-A, § 2, 4-10-01; Ord. No. 402-01-F, § 3, 8-14-01; Ord. No. 402-04-D, § 1, 4-27-04; Ord. No. 76-04-B, § 9, 6-22-04; Ord. No. 402-05-B, § 3, 6-28-05; Ord. No. 402-07-C, § 6, 6-27-07; Ord. No. 402-07-D, § 10, 12-11-07; Ord. No. 402-09-H, § 5, 11-24-09; Ord. No. 402-10-C, § 19, 6-22-10; Ord. No. 402-10-F, § 6, 10-12-10; Ord. No. 402-10-G, § 4, 10-12-10; Ord. No. 402-13-C, § 4, 5-14-13; Ord. No. 402-13-H, § 3, 12-10-13; Ord. No. 402-16-A, § 13, 1-12-16; Ord. No. 402-17-A, § 6, 2-28-17; Ord. No. 402-17-B, § 3, 2-28-17; Ord. No. 402-18-C, § 5, 7-10-18)
Upon application to the department, and after a public meeting before the city commission, required parking spaces may be permitted to meet the parking requirements of two (2) or more separate permitted uses when it is clearly established by the applicant that such uses will primarily utilize such spaces at different times of the day, week, month or year. In its determination of the request, the city commission shall consider the full disclosure of the nature of the permitted uses. Recordable covenants, with correct legal descriptions, shall be submitted by the owners of the property in a form acceptable to the city attorney, and these covenants shall be recorded by the city at the applicant's expense, and shall run with the land. These covenants shall provide that the use, or portion of a use, that requires the shared parking in order to obtain the necessary permits or licenses, shall conform with the shared parking approval granted by the city commission. The covenant shall also provide that the city may collect costs and attorney's fees, if litigation is necessary to enforce them. Violation of the terms of a shared parking agreement may result in revocation of the agreement.
(Ord. No. 402-97-E, § 1, 8-26-97; Ord. No. 402-07-C, § 7, 6-27-07; Ord. No. 402-10-C, § 20, 6-22-10; Ord. No. 402-13-C, § 5, 5-14-13)
See Section 16-237.
(Ord. No. 402-97-E, § 1, 8-26-97; Ord. No. 402-10-C, § 21, 6-22-10)
Off-street parking facilities supplied by the owner or operator to meet the requirements of this article shall not be used by commercial vehicles owned, operated or used in the business of such owner or operator, provided however, that no commercial vehicle shall be permitted to be parked within forty (40) feet of any street right-of-way. Where more commercial parking is regulated by Article V of this Code, the more restrictive requirement shall prevail.
(Ord. No. 402-97-E, § 1, 8-26-97; Ord. No. 402-10-C, § 22, 6-22-10)
(a)
On the same plot with every structure or use hereafter erected or created, there shall be provided and maintained adequate space for loading and unloading of materials so that vehicles for these services may use this space without encroaching on or interfering with the public use of streets by pedestrians and vehicles.
(b)
Where any structure is enlarged resulting in a square footage which comes within the scope of this section, the full amount of off-street loading space shall be supplied and maintained for the structure or use in its enlarged size. Where the use of a structure is changed to a use requiring off-street loading space under this section, the full amount of off-street loading space shall be supplied to comply with this article. Loading spaces shall be designated by painted stripes.
(c)
For the purposes of this article, an off-street loading space shall be at least ten (10) feet wide by forty (40) feet long with fourteen-foot vertical clearance. Each off-street loading space shall be directly accessible from a street or alley without crossing or entering any other required off-street loading space, and arranged for convenient and safe ingress and egress by truck and/or trailer combination. Such loading space shall also be accessible from the interior of any building it is intended to serve. The director of community development may authorize a smaller striped loading space for uses such as small retail stores and banks that clearly demonstrate, in writing, that a ten-foot by forty-foot loading space is not necessary to accommodate the size and type of shipping/delivery vehicles that they use. However, the smaller loading space shall be sufficient to accommodate shipping/delivery vehicles without encroaching into, or interfering with traffic circulation within, drive aisles or other parking spaces.
(d)
Off-street loading spaces shall be provided and maintained in accordance with the following schedule:
(1)
For each retail store, storage warehouse, wholesale establishment, industrial plant, factory, freight terminal, market, restaurant, funeral home, laundry, dry cleaning establishment or similar use:
(2)
Motor vehicle sales establishments shall include an area to unload motor vehicles from motor vehicle carriers. This area shall:
a.
Be a minimum of fifteen (15) feet wide and sixty (60) feet long;
b.
Be served by circulation isles able to easily accommodate motor vehicle carriers without presenting conflicts with customer circulation; and
c.
Be a minimum of one hundred (100) feet from any property in a residential district.
(3)
For each auditorium, convention hall, exhibition hall, museum, sports arena, stadium, hospital, community care facilities or similar use which has an aggregate gross floor area of:
Over twenty thousand (20,000) square feet but not over forty thousand (40,000) square feet—One (1) space.
For each additional forty thousand (40,000) square feet or fraction thereof—One (1) space.
(4)
For each office building, office complex, or hotel having an aggregate gross floor area of forty thousand (40,000) square feet or less — One (1) space. For each additional forty thousand (40,000) square feet or fraction thereof — One (1) space, for a maximum of two (2) spaces.
(5)
For any use not specifically mentioned in this section, the requirements for off-street loading for a use which is so mentioned and to which the unmentioned use is similar, shall apply.
(e)
Off-street loading facilities supplied to meet the needs of one (1) use shall not be considered as meeting off-street loading needs of any other use.
(f)
No area or facilities supplied to meet the required off-street parking facilities for a use shall be utilized for or be deemed to meet the requirements of this article for off-street loading facilities.
(g)
Nothing in this section shall prevent the collective, joint or combined provision of off-street loading facilities for two (2) or more buildings or uses, provided that such off-street loading facilities are equal in size and capacity to the combined requirements of the several buildings or uses and are located and arranged so as to be usable thereby.
(Ord. No. 402-97-E, § 1, 8-26-97; Ord. No. 402-98-G, § 3, 10-13-98; Ord. No. 402-03-D, § 4, 8-26-03; Ord. No. 402-10-C, § 23, 6-22-10; Ord. No. 402-13-C, § 6, 5-14-13; Ord. No. 402-17-A, § 7, 2-28-17)
In B-1, B-2, B-3, B3-A, B-4, B-5, B-6, B-7, I-1 and CR districts four-foot striped fire lanes and signage shall be provided as required by the fire department. A fire lane is considered part of the required minimum drive aisle width. There shall be no parking within a designated fire lane.
(Ord. No. 402-97-E, § 1, 8-26-97; Ord. No. 402-10-C, § 24, 6-22-10)
All off-street parking facilities shall be illuminated according to the standards contained herein. Open off-street parking facilities shall include the surface of open-to-the-sky parking spaces, drive aisles, driveways and accessways. Enclosed off-street parking facilities shall include multilevel parking garages and covered grade-level parking facilities.
(1)
Design requirements.
a.
Open parking lots and the principal walkways providing access thereto shall be provided with a maintained minimum of one and one-half (1.5) footcandles of light measured at grade level. The maximum to minimum footcandle level shall not exceed a twelve to one (12:1) ratio.
b.
Parking structures shall be provided with a maintained minimum of one and one-half (1.5) footcandles of light measured at floor level. The maximum to minimum footcandle level shall not exceed a twelve to one (12:1) ratio.
c.
Automatic teller machines (ATMs) shall be in accordance with the following provisions:
1.
There shall be a minimum of ten (10) footcandles of lighting intensity at the face of the automated teller machine and extending in an unobstructed direction outward five (5) feet.
2.
There shall be a minimum of two (2) footcandles of lighting intensity within fifty (50) feet in all unobstructed directions from the face of the automated teller machine. If the automated teller machine is located within ten (10) feet of the corner of the building and the automated teller machine is generally accessible from the adjacent side, there shall be a minimum of two (2) footcandles of lighting intensity along the first forty (40) unobstructed feet of the adjacent side of the building.
3.
There shall be a minimum of two (2) footcandles of lighting intensity in that portion of the defined parking area within sixty (60) feet of the automated teller machine.
d.
Higher maintained minimum footcandle levels are permitted as long as the maximum to minimum footcandle level does not exceed a twelve to one (12:1) ratio.
e.
Overspill of lighting onto adjacent properties shall not exceed five tenths (0.5) footcandles measured on a vertical plane beginning three (3) feet above grade at the property line, except for right-of-way and locations where two nonresidential uses abut (unless divided by a waterway). Overspill in multifamily residential developments, shall not exceed five tenths (0.5) footcandles as stated above, including at the edge of buildings, such that no lights shall overspill into bedrooms.
f.
The maximum height of an outdoor light fixture, including the luminare, shall not exceed twenty-five (25) feet above grade. Light fixtures within a regional shopping center shall not exceed forty (40) feet above grade.
(2)
Operational requirements.
a.
Office buildings and retail centers shall operate open parking area lighting from dusk to dawn. One-half (½) light levels are permitted from midnight to dawn, if all businesses are closed during these hours.
b.
Multi-unit residential projects shall operate open parking area lighting from dusk to dawn.
c.
Industrial sites and places of public assembly shall operate open parking area lighting from dusk to thirty (30) minutes after termination of scheduled night activities.
d.
Parking structures shall operate lighting twenty-four (24) hours a day or dusk to dawn to maintain the lighting level as specified in paragraph (1)b. above.
e.
Site lighting must be operational per the following criteria:
1.
Retail, commercial and industrial uses—At issuance of first certificate of occupancy.
2.
Residential uses—At twenty-five (25) percent of occupancy.
(3)
Compliance requirements.
a.
All site plans shall include a photometric plan and subsequent construction must comply with the approved lighting plan.
b.
The lighting installation shall not be placed into permanent use until a letter of compliance from a registered professional engineer has been provided stating that the installation has been field checked and meets the requirements as stated above.
c.
Along private rights-of-way adjacent to new development where inadequate or no lighting exists, developers shall be required to install street lights with a maintained minimum of six-tenths (0.6) footcandles of light measured at grade level at the property line. Along public rights-of-way adjacent to new development where inadequate or no lighting exists, developers shall be required to install street lights per FPL Street and Area Lighting Design Standards and Florida Department of Transportation Design Standards.
(4)
Ordinance enforcement.
The city has the jurisdiction at various times to check existing parking lighting installations. The owner of the property shall maintain lighting fixtures in operating condition at all times. If a notice to the property owner is issued, the owner shall have thirty (30) days to repair or replace defective parts and render the lighting fully operational.
(Ord. No. 402-97-E, § 1, 8-26-97; Ord. No. 402-03-C, § 1, 6-10-03; Ord. No. 402-10-C, § 25, 6-22-10; Ord. No. 402-13-C, § 7, 5-14-13; Ord. No. 402-13-H, § 4, 12-10-13)
The off-street parking, lighting, and landscaping requirements for regional shopping centers, as defined in section 16-277, shall be as follows:
(a)
Amount of off-street parking required. See section 16-144.
(b)
Parking lot location, character, and size. Parking lot location, character and size shall be as required in section 16-142, except that:
(1)
Parking space size shall be a minimum nine (9) feet in width and a minimum of eighteen (18) feet in length;
(2)
Wheelstops shall not be required between head-to-head rows of parking; and
(3)
Landscape islands shall not be required between head-to-head rows of parking.
(4)
For any regional shopping center that restripes an existing paved parking area in accordance with the requirements of subsection 16-151(b), such restriping shall not require the creation or modification of landscaped islands and/or parking area light poles.
(c)
Lighting required. See section 16-150.
(d)
Minimum landscape requirements. Minimum landscape requirements shall be as follows:
(1)
Parking area interior landscaping: All off-street parking areas shall provide a minimum of forty (40) square feet of interior landscape area for each required parking space. The parking lot design shall allocate the required landscaping square footage to landscape medians between parking aisles, interior landscape islands between parking spaces and landscape islands at the end of rows of parking. Interior landscape islands between parking spaces shall be spaced not more than twelve (12) cars apart, shall have the minimum dimensions of eight (8) feet in width and eighteen (18) feet in length (less the terminal curb), measured from the back of curb to back of curb, and shall contain one (1) tree (or equivalent grouping of trees, palms or a combination of trees and palms per the requirements of section 16-165) for each such interior landscape island. Each terminal landscape island shall be a minimum of eighteen (18) feet in length and three hundred twenty-four (324) square feet in size and shall contain a minimum of two (2) trees (or equivalent grouping of trees, palms or a combination of trees and palms per the requirements of section 16-165). Landscape medians between head-to-head parking, where used, shall contain a minimum of one (1) tree (or equivalent grouping of trees, palms or a combination of trees and palms per the requirements of section 16-165) for each five hundred (500) square feet of landscape median. Not less than fifty (50) percent of the trees required by this provision shall be specimen trees. Specimen trees shall be one-third (⅓) greater in height and spread than the minimum required size at planting, and shall be used to define entries and traffic and pedestrian circulation, reduce the view of buildings and parking lots, and provide screening. The quality of plant materials to be installed shall be as required by section 16-165. All landscape medians, interior landscape islands, and all end landscape islands shall be curbed pursuant to the requirements of subsection 16-142(c)(1).
(2)
Pedestrian zone requirements: A pedestrian zone shall be required adjacent to building facades which front on public parking areas or drive aisles. The pedestrian zone shall be a minimum of twenty (20) feet in width, up to fifty (50) percent of which may be paved or used for pedestrian circulation. The unpaved portion of the pedestrian zone shall contain a minimum of one (1) tree (or equivalent grouping of trees, palms or a combination of trees and palms per the requirements of section 16-165) for every twenty-five (25) linear feet of pedestrian zone. Pedestrian zone tree height requirements shall be as specified in subsection 16-169(d)(3). In addition, proposed pedestrian zone design shall include the use of concrete pavers (or other alternative paving materials of comparable quality) for use in the paved portion of the pedestrian zone, as well as the use of decorative lighting, benches, and planters within the pedestrian zone to enhance its appearance.
(3)
Non-pedestrian zone: Sides of structures not oriented to pedestrian or vehicle use are exempt from the requirements of subsection (2) above, but must provide a foundation planting area of at least ten (10) feet in width. Foundation plantings in these non-pedestrian areas shall include low, mid and upper level landscaping.
(e)
In the event of conflict between the provisions of this section and other code provisions, this section shall control. All other requirements of the Land Development Code not specifically modified by this section shall remain applicable to regional shopping centers.
(Ord. No. 402-99-F, § 1, 4-27-99; Ord. No. 402-10-C, § 26, 6-22-10; Ord. No. 402-13-H, § 5, 12-10-13; Ord. No. 402-16-E, § 2, 9-13-16)
See section 14-15 of City Code.
(Ord. No. 20-00-A, § 10, 8-22-00; Ord. No. 402-10-C, § 27, 6-22-10)
(a)
The department may issue a permit for valet parking subject to the requirements set forth below.
(1)
Permit application. The permit applicant shall provide the names, addresses and phone number of the owner of the establishment proposing to provide valet parking and the proposed operator of the valet parking service if other than applicant. The applicant shall submit with its application a plan containing the information described below. Once a permit has been issued, the plan approved as part of the application may not be materially altered without the approval of the department. Any material alteration of the plan shall be grounds for revoking a valet parking permit.
(2)
Drop-off areas. The applicant shall submit a traffic circulation plan for the valet drop-off area. The plan shall show the location of the drop-off area, valet podium and signage. The valet parking service shall be entitled to one (1) sandwich sign unless the valet parking signage has been approved as part of a uniform signage plan. The sign shall also conform with the requirements of article XIV (Signs). No signs shall interfere with an accessible path or be in a roadway.
a.
The loading and unloading of vehicles shall only occur in designed drop-off areas.
b.
Vehicles shall not stop, stand or park in the drop-off area for more than five (5) minutes.
c.
Vehicles in the drop-off area may not impede the travel of any emergency vehicles at any time.
d.
Vehicles in drop-off areas may not block pedestrian crosswalks or accessibility ramps at any time.
(3)
Parking areas. The plan shall show all parking areas, including specifically designated parking spaces, intended to be used for valet parking. The plan shall indicate how the valet parking area shall be isolated from use by the general public. The placement of any signage barriers shall be shown on the plan. The operator shall submit documentation of the operator's right to use the valet parking areas, including an approved shared parking agreement, if applicable. The following limitation shall apply to all valet parking areas:
a.
For regional shopping centers no more than two (2) percent of the total parking spaces required for the establishment may be designated for valet parking. During times of construction, the community development director may temporarily allow the shopping center to exceed the maximum allowable valet parking spaces. The location and limits of temporary approval shall be approved by the community development director in his or her sole discretion.
b.
For shopping centers with gross leasable square footage less than five hundred thousand (500,000) square feet, no more than one (1) percent of the total parking spaces required for the establishment may be designated for valet parking.
c.
For restaurants, no more than twenty (20) percent of the total parking spaces required for the establishment may be designated for valet parking.
d.
For hotels, no more than twenty-five (25) percent of the total parking spaces required for the establishment may be designated for valet parking.
e.
For arenas, stadiums, and other places of public assembly where a fee is customarily paid for parking, the restrictions contained herein are not applicable.
f.
Handicapped parking spaces may not be used for valet parking.
g.
Vehicles may not be parked overnight, except at hotels and multifamily residential properties.
(4)
Other requirements. The operator must possess a valid city local business tax receipt for a valet service. Each valet must be an employee of the operator and each must possess a valid State of Florida driver license. The operator shall have sufficient valets working at all times to avoid excessive stacking in the valet drop-off area. Excessive stacking shall exist when vehicles stacked for valet drop-off or pick-up extend into any drive aisle and impede the flow of routine traffic.
(5)
Zoning. The requirement that uses shall be conducted in an enclosed building contained in subsection 16-78(c)(1) shall not apply to valet parking. A valet parking service shall be considered an ancillary use to uses permitted in all zoning districts, subject to the permitting requirements of this section.
(6)
Revocation of permit. The department may revoke a valet parking permit if the operator violates any of the requirements of this section.
(7)
Valet parking service permit required. It shall be unlawful for any person to offer valet parking service or to designate any off-street parking spaces for valet parking unless a permit has been issued pursuant to this section.
(b)
The department may issue a permit for preferred parking subject to the requirements set forth below. Preferred parking shall mean required off-street parking available for self-parking for a fee or charge.
(1)
Permit application. The permit applicant shall provide name, address and phone number of the owner of the establishment proposing to provide preferred parking and the proposed operator of the preferred parking service, if other than applicant. The applicant shall submit with its application a plan containing the information described below. Once a permit has been issued, the plan approved as part of the application may not be materially altered without the approval of the department. Any material alteration of the plan shall be grounds for revoking a preferred parking permit.
(2)
Preferred parking areas. The plan shall show all parking areas, including specifically designated parking spaces, intended to be used for preferred parking. The plan shall indicate how the preferred parking area shall be isolated from use by the general public. The location and detail of any directional signage or barriers shall be shown on the plan. The operator shall submit documentation from the property owner that shows the operator's right to use the preferred parking areas, including a recorded shared parking agreement, if applicable.
a.
For regional shopping centers no more than two (2) percent of the total parking spaces required for the establishment may be designated for preferred parking.
b.
Reserved.
c.
For shopping centers with gross leasable square footage less than five hundred thousand (500,000) square feet, no more than one (1) percent of the total parking spaces required for the establishment may be designated for preferred parking.
d.
For arenas, stadiums, and other places of public assembly where a fee is customarily paid for parking, the restrictions contained herein are not applicable.
e.
Handicapped parking spaces may not be used for preferred parking.
f.
Vehicles may not be parked overnight.
(3)
Zoning. The requirement that a use be conducted in an enclosed building contained in subsection 16-78(c)(1) shall not apply to preferred parking. Preferred parking shall be considered an ancillary use to uses permitted in any business district, subject to the permitting requirements of this section.
(4)
Revocation of permit. The department may revoke a preferred parking permit if the permit holder violates any of the requirements of this section.
(5)
[Preferred parking permit required.] It shall be unlawful for any person to offer preferred parking service or to designate any off-street parking spaces for preferred parking unless a permit has been issued pursuant to this section.
(Ord. No. 402-01-D, § 1, 5-22-01; Ord. No. 76-07-A, § 54, 9-11-07; Ord. No. 402-11-B, § 4, 3-8-11; Ord. No. 402-11-C, § 2, 4-12-11; Ord. No. 402-12-G, § 2, 6-26-12; Ord. No. 402-13-C, § 8, 5-14-13)
OFF-STREET PARKING AND LOADING
(a)
Every building, use or structure shall be provided with off-street parking facilities in accordance with the provisions of this article for the use of occupation, employees, visitors or patrons.
(b)
The required off-street parking facilities shall be maintained and continued as an accessory use as long as the main use is continued.
(c)
Where a building existed at the effective date of this chapter or amendments thereto, such building may be modernized, altered, or repaired, (without providing additional off-street parking facilities), provided there is no increase in floor area or capacity.
(d)
Where a building or use, which existed at the effective date of this chapter or amendments thereto, is enlarged in floor area, volume, capacity or space occupied, the off-street parking facilities as specified herein shall be provided for the additional floor area, volume, capacity or space so created or occupied.
(e)
Where a building or use is changed in use or occupancy, additional off-street parking facilities shall be provided to the extent the new use or occupancy exceeds the off-street parking which would have been required for the previous use or occupancy had the regulations of this article been applicable thereto. For the purpose of this section, a change of use or occupancy shall mean a change from one (1) category of use or occupancy to another such category under this article.
(f)
It shall be unlawful for an owner or operator of any building, structure or use affected by this article to discontinue, change or dispense with, or to cause the discontinuance or reduction of the required parking facilities apart from the discontinuance, sale or transfer of such structure or use, without establishing alternative vehicle parking facilities which meet the requirements of this article. It shall be unlawful for any person, firm or corporation to utilize such building, structure or use without providing the off-street parking facilities to meet the requirements of and be in compliance with this article.
(Ord. No. 402-97-E, § 1, 8-26-97)
(a)
Off-site parking provision. The off-street parking facilities required by this article shall be located within the same plot they are intended to serve; provided, however, when practical difficulties relative to the size, shape or location of the plot or parcel prohibit the establishment of the required parking facilities, the city commission may approve the location of the required parking facilities within five hundred (500) feet of the premises they are to serve, provided that safe pedestrian access shall be provided. In the event such an approval is granted and used, the owner of said parking area shall enter into written agreement whereby the land providing the parking area shall never be sold or disposed of except in conjunction with the sale of the building or structure the parking area serves so long as these parking facilities are required, or as long as permitted by law, whichever first occurs, and said agreement shall be recorded, at the expense of the owner of the parking area, and shall run with the land to bind the heirs, successors and assigns of said owner. The agreement shall be a condition of site plan approval.
(b)
Parking space requirements.
(1)
Space size: Parking spaces shall be the following dimensions:
a.
Ten (10) feet in width and twenty (20) feet in length for all uses, except as provided in subsection b. below. See Figure VII-1 for parking space standards.
b.
Nine (9) feet in width and eighteen (18) feet in length, angled at ninety (90) degrees only, as defined in Figure VII-1, are permitted for:
(i)
Office buildings with a gross square footage of thirty thousand (30,000) square feet or greater, where the general public will not normally frequent,
(ii)
Industrial buildings with a minimum gross square feet of one hundred thousand (100,000) square feet or greater, and
(iii)
Up to eighty (80) percent of required parking spaces in multilevel parking garages in any district, provided that spaces shall be grouped such that each aisle has spaces of uniform length, and that where a column or other obstruction hinders the ability of a vehicle to access a space a minimum ten-foot wide space shall be required.
c.
In locations where nine (9) feet by eighteen (18) feet spaces are permitted, pursuant to section b above, accessible parking spaces may also be eighteen (18) feet in length.
d.
Specialty parking spaces, including parallel, compact and motorcycle spaces, must be identified and dimensioned on the site plan and shall not count toward the minimum number of parking spaces required by section 16-144.
(2)
Access: Each parking space shall be accessible from a street or alley or from an adequate aisle or driveway leading to a street or alley. The width and design of the drive aisle shall conform to Figure VII-2. In no instance shall vehicles be allowed to back into a public right-of-way or otherwise enter or leave the parking area, except at approved entrance and exit points, except that a single-family home may provide a driveway that directly exits onto a platted public right-of-way of sixty (60) feet or less.
(3)
Directional signs: The required off-street parking facilities shall be identified as to location when not clearly evident from a street or alley; signs in conformance with Article XIV shall be used.
(4)
Paving: Off-street parking facilities, including drive aisles and driveways, shall be surfaced with asphalt. Additional surfaces, such as pavers and concrete, may be approved by the director of community development or his/her designee. At all times, surfaces shall be maintained in a smooth, clean, well-graded condition and site signage and striping shall be clearly visible. Single-family driveways may be paved using concrete. Grass parking as provided in subsection (6) below, shall be exempted from this requirement.
(5)
Striping: Striping and internal signage as required by the department shall be provided. The department may, from time to time, require refinements of the striping and signage to enhance vehicular or pedestrian safety with said refinements to be installed by the property owner.
(6)
Grass parking surfaces: The use of grass parking surfaces shall be permitted where parking is on an irregular, intermittent or part-time basis only, subject to the following restrictions:
a.
Grass parking shall be limited to parking associated with places of public assembly located in freestanding buildings of not less than fifty thousand (50,000) square feet;
b.
Grass parking spaces shall not exceed ten (10) percent of the total number of parking spaces required by this section;
c.
Grass parking surfaces shall conform to city specifications, including requirements for base materials, drainage, and species of grass;
d.
In the event that the director of community development, or his/her designee, determines that an approved grass parking surface is in regular, continuous or weekly or daily use, the city may require that the grass lot be paved using hard-surface materials that meet minimum city standards.
(7)
Maintenance: The owner, tenant and their agent, if any, shall be jointly and severally responsible for the maintenance of all vehicle use areas, whether standard hard surface or grass. Grass parking areas shall be maintained so as to present a neat appearance to ensure a viable and healthy grass surface. In the event of deterioration of a grass or hard-surface parking surface, the department or his/ or her designee may require full restoration of the parking facility including ingress and egress points to city standards.
(8)
Drainage: All off-street parking facilities required by this article shall be drained so as not to cause any runoff onto adjacent or public property. Such facilities shall be arranged for convenient access and safety of pedestrians and vehicles.
(9)
Site plan: The required site plan shall clearly and accurately designate the required parking spaces, drive aisles and driveways, lighting and relation to the uses or structures these off-street parking facilities are intended to serve site plan.
(10)
Separation from buildings: No parking spaces shall be located within five (5) feet of any building. See also subsection 16-169(d).
(11)
Swales: Parking is prohibited in the swale area of all road rights-of-way, except a single-family detached dwelling where parallel parking is permitted on residential streets. See also section 14-16.
(12)
Wheelstops: Wheelstops shall be required for all parking spaces except:
a.
Parallel parking spaces.
b.
Standard spaces, twenty (20) feet in length, that abut an eight-foot or wider curbed landscape island, which is dimensioned consistent with subsection 16-169(c).
c.
Spaces that are approved under section 16-151.
Wheelstops shall be required for all spaces that are adjacent to pedestrian walkways and sidewalks. Standard concrete wheelstops shall be a minimum of eighteen (18) inches and a maximum of thirty-six (36) inches, measured from the end of the parking space to the face of the wheelstop. The entire required parking space shall be paved.
(13)
Head to head parking: When two (2) rows of parking face one (1) another, an eight-foot curbed grass strip, measured from back of curb to back of curb, shall separate the parking spaces. For office buildings with one hundred thousand (100,000) square feet, or more, of floor area the curbed grass strip may be reduced to six (6) feet in width. This grass area may be counted as part of the landscaped area and shall have one (1) tree every twenty-five (25) feet. See also subsection 16-169(c).
(c)
Parking lot design standards.
All locations of curbing shall be shown on the site plan. Curb and gutter/valley gutter shall be two (2) feet in width and shall be constructed using three thousand (3,000) psi concrete (twenty-eight (28) days). Curbing types may vary depending upon the specific application. However, only standard curbing types commonly in use in the State of Florida will be permitted. The department shall have the discretion to apply generally accepted standards in determining curbing type. In no case shall extruded curbing be permitted anywhere on a site. Parking islands, medians between double parking bays, and all landscaped areas shall be curbed pursuant to the requirements of this section.
Curbing shall also be required along both sides of all drive aisles, unless it is demonstrated by the applicant to the satisfaction of the department that this provision cannot be met due to drainage considerations.
(Ord. No. 402-97-E, § 1, 8-26-97; Ord. No. 402-98-D, § 1, 8-11-98; Ord. No. 402-99-H, § 2, 8-10-99; Ord. No. 402-00-A, § 5, 3-28-00; Ord. No. 402-00-C, § 8, 8-22-00; Ord. No. 402-00-D, § 1, 8-22-00; Ord. No. 402-00-E, § 2, 9-11-00; Ord. No. 402-00-H, § 1, 11-28-00; Ord. No. 402-09-B, § 2, 2-10-09; Ord. No. 402-09-G, § 11, 11-24-09; Ord. No. 402-10-C, § 17, 6-22-10; Ord. No. 402-12-B, § 2, 2-28-12)
(a)
Accessible parking space requirement. The applicant must follow the applicable federal and/or state codes including, but not limited to, the Americans with Disabilities Act, the Fair Housing Act, and the Florida Building Code as amended from time to time.
(b)
Accessible parking space design standards. All parking spaces provided for in this section shall be designed in accordance with applicable federal and/or state codes including, but not limited to, the Americans with Disabilities Act, the Fair Housing Act, and the Florida Building Code as amended from time to time. The length of accessible parking spaces shall match the required length of regular spaces pursuant to subsection 16-142(b).
(Ord. No. 402-97-E, § 1, 8-26-97; Ord. No. 402-00-A, § 6, 3-28-00; Ord. No. 20-00-A, § 9, 8-22-00; Ord. No. 402-10-C, § 18, 6-22-10)
(a)
The off-street parking required by this article shall be provided and maintained on the basis of the following minimum requirements:
(1)
Dwelling, single-family and mobile homes: Two (2) parking spaces required; the spaces may be tandem but must not intrude on sidewalk.
(2)
Dwelling, two-family, multiple-family and townhouses or villas:
Efficiency, spaces per dwelling unit .....1.50
One (1) bedroom, spaces per dwelling unit .....1.75
Two (2) bedrooms, spaces per dwelling unit .....2.00
Three (3) or more bedrooms, spaces per dwelling unit .....2.50
In addition, guest parking must be provided at a minimum rate of ten (10) percent of the total number of parking spaces required for the development.
(3)
Hotel: Three (3) parking spaces for each four (4) sleeping rooms or suites. If, in addition to sleeping rooms, there are other uses operated in connection with or as part of the hotel, additional off-street parking spaces shall be provided for such uses as would be required by this article if such uses were separate from the hotel to the extent of fifty (50) percent of the off-street parking specified in this article for retail stores, offices, service establishments, bars, restaurants, dining rooms, night clubs, ballrooms, banquet halls, meeting rooms and auditoriums. The above parking requirement is ten (10) percent less where the number of sleeping rooms or suites is between two hundred fifty (250) and three hundred (300).
(4)
Motels: One (1) parking space for each guest room, plus two (2) parking spaces for the owner or manager.
(5)
Trailer courts, camps or parks: One (1) parking space for each trailer.
(6)
Hospitals: Two (2) parking spaces for each bed.
(7)
Community care facilities: One (1) parking space for each three (3) beds for patients, plus one (1) parking space for each two hundred (200) square feet of office and administration space.
(8)
Places of public assembly having fixed seats: One (1) parking space for each three (3) seats, except that where a place of public assembly is part of a multi-tenant complex with greater than fifty thousand (50,000) square feet of gross floor area, one (1) parking space for each five (5) seats shall be required.
(9)
Places of public assembly (without fixed seats): One (1) parking space for each five (5) seats or one (1) parking space for each thirty-five (35) square feet of net floor area occupied by patrons or other occupants, whichever is greater.
(10)
Affordable housing located within one-quarter (¼) mile of an existing public transit route: In order to facilitate the production of affordable housing for very low income households, low income households and/or moderate income households, the department may waive up to fifteen (15) percent of the parking spaces required by this section subject to the following requirements:
a.
The applicant must submit a parking study to the department demonstrating that fewer parking spaces are needed. Before preparing such a study, the applicant shall meet with the department to develop an acceptable methodology for the study. The code standard shall be presumed to be the correct standard, but the department may choose to approve the reduced parking standard if the study provides clear and convincing evidence that the reduced parking standard is appropriate.
b.
The location, character and size of parking spaces shall comply with section 16-142, except that the department may waive the requirements for wheelstops and may allow parking spaces of a minimum eighteen (18) feet in length. The applicant must demonstrate that such waivers will improve the overall design of the affordable housing project and will not reduce public safety.
c.
Such waivers shall be given only for projects which include rental or sales restrictions and monitoring provisions that ensure that all or substantially all of the units will be reserved for very low income households, low income households and/or moderate income households for at least fifteen (15) years. For the purpose of this subsection, the terms "very low income," "low income" and "moderate income" shall have the meaning given these terms in City of Sunrise Ordinance No. 804-X.
(11)
Convenience stores, stand-alone medical marijuana dispensaries and stand-alone drug stores where the medical marijuana dispensary or drug store is the sole use within the bay or structure: One (1) parking space for each one hundred fifty (150) square feet of gross floor area.
(12)
Bowling alleys: Five (5) parking spaces for each alley.
(13)
Mortuaries: One (1) parking space for each three (3) seats in public rooms, plus one (1) for each two hundred (200) feet of office area.
(14)
Medical offices or clinics, urgent care centers, dental clinics, beauty salons, nail salons, hairdressers, tanning salons, and health spas: One (1) parking space for each one hundred fifty (150) square feet of gross floor area.
(15)
Business, professional, governmental offices, veterinary clinics, eye and hearing doctors, and outpatient medical clinics not open to the general public: One (1) parking space for each two hundred fifty (250) square feet of gross floor area.
(16)
Restaurants, bars, and banquet halls: One (1) parking space for each fifty (50) square feet of floor area in rooms for customer service, except where a restaurant, bar, or banquet hall is part of a shopping center with greater than fifty thousand (50,000) square feet of gross floor area, one (1) parking space for each seventy-five (75) square feet of floor area in rooms for customer service shall be required. Outdoor restaurant seating areas greater than two hundred (200) square feet shall be included in the customer service area calculation. Fast food restaurants that are part of a shopping center with greater than fifty thousand (50,000) square feet of gross floor area, shall provide one (1) space for every seventy-five (75) square feet of floor area in rooms for customer service. Stand alone fast food restaurants and fast food restaurants that are part of a shopping center with less than or equal to fifty thousand (50,000) square feet of gross floor area, shall provide one (1) space for every fifty (50) square feet of floor area in rooms for customer service with a minimum of twenty (20) spaces. All restaurant drive-throughs shall provide sufficient area for eight (8) stacking spaces measured from the first take-out window and a minimum of four (4) stacking spaces measured from the menu board order station. Take-out food stores shall be considered retail stores; see (20) below.
(17)
Elementary and middle schools: One (1) parking space for each classroom, plus one (1) parking space for each two hundred fifty (250) square feet of office area. If an auditorium is provided, provide an additional one (1) parking space for each three (3) seats in the auditorium, of which one (1) parking space for each ten (10) parking spaces provided for the auditorium shall be designated as visitor parking. If an auditorium is not provided, provide an additional one (1) parking space for every five (5) classrooms that shall be designated as visitor parking.
(18)
High schools: One (1) parking space for each classroom, plus one (1) parking space for each two hundred fifty (250) square feet of office area, plus one (1) parking space for each four (4) students. Of the provided parking, one (1) parking space for every five (5) classrooms shall be designated as visitor parking.
(19)
Vocational schools or colleges and adult education facilities: One (1) per student plus one (1) parking space for each two hundred fifty (250) square feet of office area.
(20)
Retail stores, banks, household repairs or equipment shops, interior decoration shops, coin laundry, retail laundry, instructional schools: One (1) parking space for each two hundred fifty (250) square feet of gross floor area, except shopping centers with over four hundred thousand (400,000) square feet and drive-in banks which shall have one (1) space per three hundred (300) square feet.
(21)
Manufacturing and industrial uses, research and testing laboratories, bottling establishments, printing and engraving shops, wholesale warehouses, laundry and dry cleaning plants, and storage buildings: One (1) parking space for each six hundred (600) square feet of gross floor area of the buildings, except as provided below:
a.
A warehouse which will be utilized for storage only and in which no business of any type will be conducted, shall provide one (1) parking space for each one thousand two hundred (1,200) square feet of gross floor area of the building.
b.
Where the uses listed in this subsection are developed as part of a site plan for property in single ownership containing at least three hundred fifty thousand (350,000) square feet of such uses, the owner of the property contained in the site plan may submit a parking study to the department demonstrating that fewer parking spaces are needed. Before preparing such a study, the applicant shall meet with the department to develop an acceptable methodology for the study. The code standard shall be presumed to be the correct standard, but the department may choose to approve the reduced parking standard if the study provides clear and convincing evidence that the reduced parking standard is appropriate.
c.
If a parking reduction is approved pursuant to subsection (21)b. above, a recordable covenant reflecting the reduced parking approval, with correct legal description, shall be submitted by the owner(s) of the property in a form acceptable to the city attorney. The covenant shall be recorded by the city at the applicant's expense, and shall run with the land. The covenant shall provide that the uses that justified the reduced parking requirement shall not be changed in any way without the city's approval of an updated study justifying the continued reduced parking requirement, unless the parking provided for the changed uses no longer require a reduction. The covenant shall also provide that the city may collect costs and attorney's fees, if litigation is necessary to enforce it.
d.
All retail use permitted by the zoning and associated with any of the uses addressed in this subsection shall provide parking at a rate of one (1) parking space for each two hundred fifty (250) square feet of gross floor area.
(22)
Automotive service uses:
(23)
Tennis courts, racquetball, and handball courts and clubs, or other sport courts (except for any athletic courts which are accessory to any permitted multiple-family development and memberships consist only of residents of the multiple-family development): Three (3) parking spaces per each court. Additional parking spaces may be required for other uses accessory to this use.
(24)
Golf course: Four (4) parking spaces per each golf green plus one (1) space for each two hundred fifty (250) feet of gross floor area of clubhouse, plus additional spaces as required for other accessory uses.
(25)
Golf, miniature: Three (3) spaces per hole; driving-range: one (1) space per tee.
(26)
New or used automobile sales, boat sales or other outdoor sales: One (1) parking space for each two hundred fifty (250) square feet of office space, plus one (1) parking space for each three hundred fifty (350) square feet of showroom area, plus one (1) space per service bay for automobile service employees. The required automobile service area employee parking shall be located behind the rear building line of the showroom building. The required showroom (customer) and office parking, and any surplus parking, may be located in the side and front yard areas. The number of surplus (not required) parking spaces shall not exceed twenty (20) percent of the total number of required spaces.
(27)
Day care center, adult day care center: One (1) space for each five (5) enrollees based on license capacity, plus one (1) space for every three hundred (300) square feet of office area. In addition, a minimum of three (3) stacking spaces shall be provided in close proximity to the entrance of the building to provide easy ingress and egress from the building.
(28)
Amusement/recreation enterprises (indoor or outdoor) and automatic amusement centers: One (1) parking space per every two hundred (200) square feet of gross floor area.
(29)
Health and body membership clubs: One (1) parking space per each two hundred (200) square feet of gross floor area, except as provided below:
a.
Where a club operates exclusively by scheduled appointments with a personal trainer, the owner of the property may submit a parking study to the department demonstrating that fewer parking spaces are needed. The department may choose to approve the reduced parking standard if the study provides clear and convincing evidence that the reduced parking standard is appropriate.
b.
If a parking reduction is approved pursuant to subsection (29)a. above, the required number of parking spaces shall not be reduced by more than fifty (50) percent.
(30)
Vehicle leasing agencies: One (1) parking space per each two hundred fifty (250) square feet of gross floor area of office area with a minimum of ten (10) additional spaces for rental vehicles.
(31)
Building supplies and home improvement centers: Three and one-half (3½) parking spaces per one thousand (1,000) square feet of gross floor area.
(32)
Extended stay hotel: One (1) outdoor surface parking space for each unit.
(33)
Affordable multifamily senior housing projects:
One (1) bedroom, spaces per dwelling unit .....1.00
Two (2) bedroom or more, spaces per dwelling unit .....1.50
In addition, the ten (10) percent guest parking requirements for multifamily residential projects must be met.
(34)
Museums and art galleries: One (1) parking space for each five hundred (500) square feet of gross floor area.
(35)
Nightclubs: One (1) parking space per 40 feet of gross floor area.
(b)
Uses not specifically mentioned. The requirements for off-street parking for any uses not specifically mentioned in this section shall be the same as provided in this section for the most similar to the one sought, it being the intent to require all uses to provide off-street parking. The department shall interpret and decide such issues.
(c)
Fractional measurements. When units or measurements determining number of required off-street parking spaces result in the requirement of a fractional space, any such fraction shall require one (1) full off-street parking space.
(d)
Multitenant or combined parking. In the case of mixed uses or multitenant developments, the total requirements for off-street parking shall be the sum of the requirements of the various uses computed separately, and off-street parking space for one (1) use shall not be considered as providing the required off-street parking for any other use unless specifically authorized under section 16-145.
(e)
Measurement. For the purpose of this article, floor area shall mean the gross floor area inside of the exterior wall; in hospitals, bassinets shall not count as beds; in stadiums, sports arenas, churches and other places of assembly in which occupants utilize benches, pews or other similar seating facilities, each twenty (20) linear inches of such seating facilities shall be counted as one (1) seat for the purpose of computing off-street parking requirements.
(Ord. No. 402-97-E, § 1, 8-26-97; Ord. No. 402-98-H, § 1, 10-27-98; Ord. No. 402-99-H, § 3, 8-10-99; Ord. No. 402-00-C, § 9, 8-22-00; Ord. No. 402-01-A, § 2, 4-10-01; Ord. No. 402-01-F, § 3, 8-14-01; Ord. No. 402-04-D, § 1, 4-27-04; Ord. No. 76-04-B, § 9, 6-22-04; Ord. No. 402-05-B, § 3, 6-28-05; Ord. No. 402-07-C, § 6, 6-27-07; Ord. No. 402-07-D, § 10, 12-11-07; Ord. No. 402-09-H, § 5, 11-24-09; Ord. No. 402-10-C, § 19, 6-22-10; Ord. No. 402-10-F, § 6, 10-12-10; Ord. No. 402-10-G, § 4, 10-12-10; Ord. No. 402-13-C, § 4, 5-14-13; Ord. No. 402-13-H, § 3, 12-10-13; Ord. No. 402-16-A, § 13, 1-12-16; Ord. No. 402-17-A, § 6, 2-28-17; Ord. No. 402-17-B, § 3, 2-28-17; Ord. No. 402-18-C, § 5, 7-10-18)
Upon application to the department, and after a public meeting before the city commission, required parking spaces may be permitted to meet the parking requirements of two (2) or more separate permitted uses when it is clearly established by the applicant that such uses will primarily utilize such spaces at different times of the day, week, month or year. In its determination of the request, the city commission shall consider the full disclosure of the nature of the permitted uses. Recordable covenants, with correct legal descriptions, shall be submitted by the owners of the property in a form acceptable to the city attorney, and these covenants shall be recorded by the city at the applicant's expense, and shall run with the land. These covenants shall provide that the use, or portion of a use, that requires the shared parking in order to obtain the necessary permits or licenses, shall conform with the shared parking approval granted by the city commission. The covenant shall also provide that the city may collect costs and attorney's fees, if litigation is necessary to enforce them. Violation of the terms of a shared parking agreement may result in revocation of the agreement.
(Ord. No. 402-97-E, § 1, 8-26-97; Ord. No. 402-07-C, § 7, 6-27-07; Ord. No. 402-10-C, § 20, 6-22-10; Ord. No. 402-13-C, § 5, 5-14-13)
See Section 16-237.
(Ord. No. 402-97-E, § 1, 8-26-97; Ord. No. 402-10-C, § 21, 6-22-10)
Off-street parking facilities supplied by the owner or operator to meet the requirements of this article shall not be used by commercial vehicles owned, operated or used in the business of such owner or operator, provided however, that no commercial vehicle shall be permitted to be parked within forty (40) feet of any street right-of-way. Where more commercial parking is regulated by Article V of this Code, the more restrictive requirement shall prevail.
(Ord. No. 402-97-E, § 1, 8-26-97; Ord. No. 402-10-C, § 22, 6-22-10)
(a)
On the same plot with every structure or use hereafter erected or created, there shall be provided and maintained adequate space for loading and unloading of materials so that vehicles for these services may use this space without encroaching on or interfering with the public use of streets by pedestrians and vehicles.
(b)
Where any structure is enlarged resulting in a square footage which comes within the scope of this section, the full amount of off-street loading space shall be supplied and maintained for the structure or use in its enlarged size. Where the use of a structure is changed to a use requiring off-street loading space under this section, the full amount of off-street loading space shall be supplied to comply with this article. Loading spaces shall be designated by painted stripes.
(c)
For the purposes of this article, an off-street loading space shall be at least ten (10) feet wide by forty (40) feet long with fourteen-foot vertical clearance. Each off-street loading space shall be directly accessible from a street or alley without crossing or entering any other required off-street loading space, and arranged for convenient and safe ingress and egress by truck and/or trailer combination. Such loading space shall also be accessible from the interior of any building it is intended to serve. The director of community development may authorize a smaller striped loading space for uses such as small retail stores and banks that clearly demonstrate, in writing, that a ten-foot by forty-foot loading space is not necessary to accommodate the size and type of shipping/delivery vehicles that they use. However, the smaller loading space shall be sufficient to accommodate shipping/delivery vehicles without encroaching into, or interfering with traffic circulation within, drive aisles or other parking spaces.
(d)
Off-street loading spaces shall be provided and maintained in accordance with the following schedule:
(1)
For each retail store, storage warehouse, wholesale establishment, industrial plant, factory, freight terminal, market, restaurant, funeral home, laundry, dry cleaning establishment or similar use:
(2)
Motor vehicle sales establishments shall include an area to unload motor vehicles from motor vehicle carriers. This area shall:
a.
Be a minimum of fifteen (15) feet wide and sixty (60) feet long;
b.
Be served by circulation isles able to easily accommodate motor vehicle carriers without presenting conflicts with customer circulation; and
c.
Be a minimum of one hundred (100) feet from any property in a residential district.
(3)
For each auditorium, convention hall, exhibition hall, museum, sports arena, stadium, hospital, community care facilities or similar use which has an aggregate gross floor area of:
Over twenty thousand (20,000) square feet but not over forty thousand (40,000) square feet—One (1) space.
For each additional forty thousand (40,000) square feet or fraction thereof—One (1) space.
(4)
For each office building, office complex, or hotel having an aggregate gross floor area of forty thousand (40,000) square feet or less — One (1) space. For each additional forty thousand (40,000) square feet or fraction thereof — One (1) space, for a maximum of two (2) spaces.
(5)
For any use not specifically mentioned in this section, the requirements for off-street loading for a use which is so mentioned and to which the unmentioned use is similar, shall apply.
(e)
Off-street loading facilities supplied to meet the needs of one (1) use shall not be considered as meeting off-street loading needs of any other use.
(f)
No area or facilities supplied to meet the required off-street parking facilities for a use shall be utilized for or be deemed to meet the requirements of this article for off-street loading facilities.
(g)
Nothing in this section shall prevent the collective, joint or combined provision of off-street loading facilities for two (2) or more buildings or uses, provided that such off-street loading facilities are equal in size and capacity to the combined requirements of the several buildings or uses and are located and arranged so as to be usable thereby.
(Ord. No. 402-97-E, § 1, 8-26-97; Ord. No. 402-98-G, § 3, 10-13-98; Ord. No. 402-03-D, § 4, 8-26-03; Ord. No. 402-10-C, § 23, 6-22-10; Ord. No. 402-13-C, § 6, 5-14-13; Ord. No. 402-17-A, § 7, 2-28-17)
In B-1, B-2, B-3, B3-A, B-4, B-5, B-6, B-7, I-1 and CR districts four-foot striped fire lanes and signage shall be provided as required by the fire department. A fire lane is considered part of the required minimum drive aisle width. There shall be no parking within a designated fire lane.
(Ord. No. 402-97-E, § 1, 8-26-97; Ord. No. 402-10-C, § 24, 6-22-10)
All off-street parking facilities shall be illuminated according to the standards contained herein. Open off-street parking facilities shall include the surface of open-to-the-sky parking spaces, drive aisles, driveways and accessways. Enclosed off-street parking facilities shall include multilevel parking garages and covered grade-level parking facilities.
(1)
Design requirements.
a.
Open parking lots and the principal walkways providing access thereto shall be provided with a maintained minimum of one and one-half (1.5) footcandles of light measured at grade level. The maximum to minimum footcandle level shall not exceed a twelve to one (12:1) ratio.
b.
Parking structures shall be provided with a maintained minimum of one and one-half (1.5) footcandles of light measured at floor level. The maximum to minimum footcandle level shall not exceed a twelve to one (12:1) ratio.
c.
Automatic teller machines (ATMs) shall be in accordance with the following provisions:
1.
There shall be a minimum of ten (10) footcandles of lighting intensity at the face of the automated teller machine and extending in an unobstructed direction outward five (5) feet.
2.
There shall be a minimum of two (2) footcandles of lighting intensity within fifty (50) feet in all unobstructed directions from the face of the automated teller machine. If the automated teller machine is located within ten (10) feet of the corner of the building and the automated teller machine is generally accessible from the adjacent side, there shall be a minimum of two (2) footcandles of lighting intensity along the first forty (40) unobstructed feet of the adjacent side of the building.
3.
There shall be a minimum of two (2) footcandles of lighting intensity in that portion of the defined parking area within sixty (60) feet of the automated teller machine.
d.
Higher maintained minimum footcandle levels are permitted as long as the maximum to minimum footcandle level does not exceed a twelve to one (12:1) ratio.
e.
Overspill of lighting onto adjacent properties shall not exceed five tenths (0.5) footcandles measured on a vertical plane beginning three (3) feet above grade at the property line, except for right-of-way and locations where two nonresidential uses abut (unless divided by a waterway). Overspill in multifamily residential developments, shall not exceed five tenths (0.5) footcandles as stated above, including at the edge of buildings, such that no lights shall overspill into bedrooms.
f.
The maximum height of an outdoor light fixture, including the luminare, shall not exceed twenty-five (25) feet above grade. Light fixtures within a regional shopping center shall not exceed forty (40) feet above grade.
(2)
Operational requirements.
a.
Office buildings and retail centers shall operate open parking area lighting from dusk to dawn. One-half (½) light levels are permitted from midnight to dawn, if all businesses are closed during these hours.
b.
Multi-unit residential projects shall operate open parking area lighting from dusk to dawn.
c.
Industrial sites and places of public assembly shall operate open parking area lighting from dusk to thirty (30) minutes after termination of scheduled night activities.
d.
Parking structures shall operate lighting twenty-four (24) hours a day or dusk to dawn to maintain the lighting level as specified in paragraph (1)b. above.
e.
Site lighting must be operational per the following criteria:
1.
Retail, commercial and industrial uses—At issuance of first certificate of occupancy.
2.
Residential uses—At twenty-five (25) percent of occupancy.
(3)
Compliance requirements.
a.
All site plans shall include a photometric plan and subsequent construction must comply with the approved lighting plan.
b.
The lighting installation shall not be placed into permanent use until a letter of compliance from a registered professional engineer has been provided stating that the installation has been field checked and meets the requirements as stated above.
c.
Along private rights-of-way adjacent to new development where inadequate or no lighting exists, developers shall be required to install street lights with a maintained minimum of six-tenths (0.6) footcandles of light measured at grade level at the property line. Along public rights-of-way adjacent to new development where inadequate or no lighting exists, developers shall be required to install street lights per FPL Street and Area Lighting Design Standards and Florida Department of Transportation Design Standards.
(4)
Ordinance enforcement.
The city has the jurisdiction at various times to check existing parking lighting installations. The owner of the property shall maintain lighting fixtures in operating condition at all times. If a notice to the property owner is issued, the owner shall have thirty (30) days to repair or replace defective parts and render the lighting fully operational.
(Ord. No. 402-97-E, § 1, 8-26-97; Ord. No. 402-03-C, § 1, 6-10-03; Ord. No. 402-10-C, § 25, 6-22-10; Ord. No. 402-13-C, § 7, 5-14-13; Ord. No. 402-13-H, § 4, 12-10-13)
The off-street parking, lighting, and landscaping requirements for regional shopping centers, as defined in section 16-277, shall be as follows:
(a)
Amount of off-street parking required. See section 16-144.
(b)
Parking lot location, character, and size. Parking lot location, character and size shall be as required in section 16-142, except that:
(1)
Parking space size shall be a minimum nine (9) feet in width and a minimum of eighteen (18) feet in length;
(2)
Wheelstops shall not be required between head-to-head rows of parking; and
(3)
Landscape islands shall not be required between head-to-head rows of parking.
(4)
For any regional shopping center that restripes an existing paved parking area in accordance with the requirements of subsection 16-151(b), such restriping shall not require the creation or modification of landscaped islands and/or parking area light poles.
(c)
Lighting required. See section 16-150.
(d)
Minimum landscape requirements. Minimum landscape requirements shall be as follows:
(1)
Parking area interior landscaping: All off-street parking areas shall provide a minimum of forty (40) square feet of interior landscape area for each required parking space. The parking lot design shall allocate the required landscaping square footage to landscape medians between parking aisles, interior landscape islands between parking spaces and landscape islands at the end of rows of parking. Interior landscape islands between parking spaces shall be spaced not more than twelve (12) cars apart, shall have the minimum dimensions of eight (8) feet in width and eighteen (18) feet in length (less the terminal curb), measured from the back of curb to back of curb, and shall contain one (1) tree (or equivalent grouping of trees, palms or a combination of trees and palms per the requirements of section 16-165) for each such interior landscape island. Each terminal landscape island shall be a minimum of eighteen (18) feet in length and three hundred twenty-four (324) square feet in size and shall contain a minimum of two (2) trees (or equivalent grouping of trees, palms or a combination of trees and palms per the requirements of section 16-165). Landscape medians between head-to-head parking, where used, shall contain a minimum of one (1) tree (or equivalent grouping of trees, palms or a combination of trees and palms per the requirements of section 16-165) for each five hundred (500) square feet of landscape median. Not less than fifty (50) percent of the trees required by this provision shall be specimen trees. Specimen trees shall be one-third (⅓) greater in height and spread than the minimum required size at planting, and shall be used to define entries and traffic and pedestrian circulation, reduce the view of buildings and parking lots, and provide screening. The quality of plant materials to be installed shall be as required by section 16-165. All landscape medians, interior landscape islands, and all end landscape islands shall be curbed pursuant to the requirements of subsection 16-142(c)(1).
(2)
Pedestrian zone requirements: A pedestrian zone shall be required adjacent to building facades which front on public parking areas or drive aisles. The pedestrian zone shall be a minimum of twenty (20) feet in width, up to fifty (50) percent of which may be paved or used for pedestrian circulation. The unpaved portion of the pedestrian zone shall contain a minimum of one (1) tree (or equivalent grouping of trees, palms or a combination of trees and palms per the requirements of section 16-165) for every twenty-five (25) linear feet of pedestrian zone. Pedestrian zone tree height requirements shall be as specified in subsection 16-169(d)(3). In addition, proposed pedestrian zone design shall include the use of concrete pavers (or other alternative paving materials of comparable quality) for use in the paved portion of the pedestrian zone, as well as the use of decorative lighting, benches, and planters within the pedestrian zone to enhance its appearance.
(3)
Non-pedestrian zone: Sides of structures not oriented to pedestrian or vehicle use are exempt from the requirements of subsection (2) above, but must provide a foundation planting area of at least ten (10) feet in width. Foundation plantings in these non-pedestrian areas shall include low, mid and upper level landscaping.
(e)
In the event of conflict between the provisions of this section and other code provisions, this section shall control. All other requirements of the Land Development Code not specifically modified by this section shall remain applicable to regional shopping centers.
(Ord. No. 402-99-F, § 1, 4-27-99; Ord. No. 402-10-C, § 26, 6-22-10; Ord. No. 402-13-H, § 5, 12-10-13; Ord. No. 402-16-E, § 2, 9-13-16)
See section 14-15 of City Code.
(Ord. No. 20-00-A, § 10, 8-22-00; Ord. No. 402-10-C, § 27, 6-22-10)
(a)
The department may issue a permit for valet parking subject to the requirements set forth below.
(1)
Permit application. The permit applicant shall provide the names, addresses and phone number of the owner of the establishment proposing to provide valet parking and the proposed operator of the valet parking service if other than applicant. The applicant shall submit with its application a plan containing the information described below. Once a permit has been issued, the plan approved as part of the application may not be materially altered without the approval of the department. Any material alteration of the plan shall be grounds for revoking a valet parking permit.
(2)
Drop-off areas. The applicant shall submit a traffic circulation plan for the valet drop-off area. The plan shall show the location of the drop-off area, valet podium and signage. The valet parking service shall be entitled to one (1) sandwich sign unless the valet parking signage has been approved as part of a uniform signage plan. The sign shall also conform with the requirements of article XIV (Signs). No signs shall interfere with an accessible path or be in a roadway.
a.
The loading and unloading of vehicles shall only occur in designed drop-off areas.
b.
Vehicles shall not stop, stand or park in the drop-off area for more than five (5) minutes.
c.
Vehicles in the drop-off area may not impede the travel of any emergency vehicles at any time.
d.
Vehicles in drop-off areas may not block pedestrian crosswalks or accessibility ramps at any time.
(3)
Parking areas. The plan shall show all parking areas, including specifically designated parking spaces, intended to be used for valet parking. The plan shall indicate how the valet parking area shall be isolated from use by the general public. The placement of any signage barriers shall be shown on the plan. The operator shall submit documentation of the operator's right to use the valet parking areas, including an approved shared parking agreement, if applicable. The following limitation shall apply to all valet parking areas:
a.
For regional shopping centers no more than two (2) percent of the total parking spaces required for the establishment may be designated for valet parking. During times of construction, the community development director may temporarily allow the shopping center to exceed the maximum allowable valet parking spaces. The location and limits of temporary approval shall be approved by the community development director in his or her sole discretion.
b.
For shopping centers with gross leasable square footage less than five hundred thousand (500,000) square feet, no more than one (1) percent of the total parking spaces required for the establishment may be designated for valet parking.
c.
For restaurants, no more than twenty (20) percent of the total parking spaces required for the establishment may be designated for valet parking.
d.
For hotels, no more than twenty-five (25) percent of the total parking spaces required for the establishment may be designated for valet parking.
e.
For arenas, stadiums, and other places of public assembly where a fee is customarily paid for parking, the restrictions contained herein are not applicable.
f.
Handicapped parking spaces may not be used for valet parking.
g.
Vehicles may not be parked overnight, except at hotels and multifamily residential properties.
(4)
Other requirements. The operator must possess a valid city local business tax receipt for a valet service. Each valet must be an employee of the operator and each must possess a valid State of Florida driver license. The operator shall have sufficient valets working at all times to avoid excessive stacking in the valet drop-off area. Excessive stacking shall exist when vehicles stacked for valet drop-off or pick-up extend into any drive aisle and impede the flow of routine traffic.
(5)
Zoning. The requirement that uses shall be conducted in an enclosed building contained in subsection 16-78(c)(1) shall not apply to valet parking. A valet parking service shall be considered an ancillary use to uses permitted in all zoning districts, subject to the permitting requirements of this section.
(6)
Revocation of permit. The department may revoke a valet parking permit if the operator violates any of the requirements of this section.
(7)
Valet parking service permit required. It shall be unlawful for any person to offer valet parking service or to designate any off-street parking spaces for valet parking unless a permit has been issued pursuant to this section.
(b)
The department may issue a permit for preferred parking subject to the requirements set forth below. Preferred parking shall mean required off-street parking available for self-parking for a fee or charge.
(1)
Permit application. The permit applicant shall provide name, address and phone number of the owner of the establishment proposing to provide preferred parking and the proposed operator of the preferred parking service, if other than applicant. The applicant shall submit with its application a plan containing the information described below. Once a permit has been issued, the plan approved as part of the application may not be materially altered without the approval of the department. Any material alteration of the plan shall be grounds for revoking a preferred parking permit.
(2)
Preferred parking areas. The plan shall show all parking areas, including specifically designated parking spaces, intended to be used for preferred parking. The plan shall indicate how the preferred parking area shall be isolated from use by the general public. The location and detail of any directional signage or barriers shall be shown on the plan. The operator shall submit documentation from the property owner that shows the operator's right to use the preferred parking areas, including a recorded shared parking agreement, if applicable.
a.
For regional shopping centers no more than two (2) percent of the total parking spaces required for the establishment may be designated for preferred parking.
b.
Reserved.
c.
For shopping centers with gross leasable square footage less than five hundred thousand (500,000) square feet, no more than one (1) percent of the total parking spaces required for the establishment may be designated for preferred parking.
d.
For arenas, stadiums, and other places of public assembly where a fee is customarily paid for parking, the restrictions contained herein are not applicable.
e.
Handicapped parking spaces may not be used for preferred parking.
f.
Vehicles may not be parked overnight.
(3)
Zoning. The requirement that a use be conducted in an enclosed building contained in subsection 16-78(c)(1) shall not apply to preferred parking. Preferred parking shall be considered an ancillary use to uses permitted in any business district, subject to the permitting requirements of this section.
(4)
Revocation of permit. The department may revoke a preferred parking permit if the permit holder violates any of the requirements of this section.
(5)
[Preferred parking permit required.] It shall be unlawful for any person to offer preferred parking service or to designate any off-street parking spaces for preferred parking unless a permit has been issued pursuant to this section.
(Ord. No. 402-01-D, § 1, 5-22-01; Ord. No. 76-07-A, § 54, 9-11-07; Ord. No. 402-11-B, § 4, 3-8-11; Ord. No. 402-11-C, § 2, 4-12-11; Ord. No. 402-12-G, § 2, 6-26-12; Ord. No. 402-13-C, § 8, 5-14-13)