OFF-STREET PARKING AND LOADING; TRAFFIC AND ACCESS REGULATIONS
SECTION:
SECTION:
SECTION:
A.
Existing Parking And Loading Facilities: Off-street parking and loading facilities in existence on the effective date of this title shall not hereafter be reduced below, or if already less than, shall not be further reduced below, the requirements for a similar new building or use under the provisions of this article.
B.
Parking And Loading Facilities: Nothing in this title shall be deemed to prevent the voluntary establishment of off-street parking or loading facilities to serve any existing use of land or buildings, provided that all regulations herein governing the location, design and operation of such facilities are adhered to.
C.
Submission Of Parking And Loading Plan: Any application for a building permit, zoning certificate or occupancy certificate, or where site plan approval, special use or planned unit development approval are required, shall include a site plan meeting the requirements of chapter 14, article A of this title, including the parking and loading plan conforming to the requirements of this article. (Ord. 95-28, 5-1-1995)
A.
Location: All parking spaces required to serve buildings or uses erected or established after the effective date of this article shall be located on the same zoning lot as the building or use served, except that parking spaces to serve business or industrial buildings may be located within three hundred fifty feet (350') of such use if said spaces and uses they are intended to serve are located in a business, office, office research or industrial district.
Buildings or uses existing on the effective date of this article which are subsequently altered or enlarged so as to require the provision of parking spaces under this article, may be served by parking facilities located on land other than the zoning lot on which the building or use served is located, provided such facilities are within three hundred fifty feet (350') walking distance of a main entrance to the use served. Owners of property, nonconforming as to parking, who elect to provide parking and become conforming may locate such parking on land other than the zoning lot on which the building or use is located, as allowed in this section.
B.
Control Of Off-Site Parking Facilities: In cases where parking facilities are permitted on land other than the zoning lot on which the building or use served is located, such facilities shall be in the same possession as the zoning lot occupied by the building or use to which the parking facilities are accessory. Such possession may be either by deed or long term lease, the term of such lease to be determined by the planning and zoning commission; and such deed or lease shall be filed for approval by the city attorney. The deed or lease shall require such owner, heirs and assigns to maintain the required number of parking facilities for the duration of the use served. The deed or lease shall be recorded in the Kane County office of the recorder of deeds.
C.
Size: Except for parallel parking spaces, and handicapped parking spaces each required off-street parking space shall be at least nine feet (9') in width and at least eighteen and one-half feet (18½') in length, exclusive of access drives or aisles, ramps, or columns. Such space shall have a vertical clearance of at least seven feet (7'), and shall be measured at right angles to the axis of the vehicle. For parallel parking, the length of the parking space shall be increased to twenty four feet (24'). All other requirements as to size shall be as hereinafter set forth in section 11-11A-7 of this article.
D.
Access: Each off-street parking space shall open directly upon an aisle or driveway at least twelve feet (12') wide, or twenty-four feet (24') for a two-way aisle, or such additional width and design as to provide safe and efficient means of vehicular access to such parking space. All off-street parking facilities shall be designed with appropriate means of vehicular access to a street or alley in a manner which will least interfere with traffic movement. All driveways shall conform to all applicable driveway specifications contained in article C of this chapter.
E.
Collective Provision: Off-street parking facilities for separate uses may be provided collectively if the total number of spaces so provided is not less than the sum of the separate requirements of each such use and all regulations governing location of accessory parking spaces in relation to the use served are adhered to. Further, no parking space or portion thereof shall serve as a required space for more than one use unless otherwise authorized by the city council, and except as provided in subsection F of this section.
F.
Shared Parking Facilities:
1.
As much as fifty percent (50%) of the off-street parking facilities required under this article for a theater, bowling alley, dance hall or an establishment for the sale and consumption on the premises of food, alcoholic beverages or refreshments, and up to one hundred percent (100%) of such facilities required for a church or an auditorium incidental to a public or parochial school, may be supplied by off-street parking facilities provided for certain other kinds of buildings or uses specified in subsection F2 of this section, which are not normally open, used or operated during the principal operating hours of the aforesaid establishments, provided that a properly drawn legal instrument is executed by all the parties concerned for the joint use of the off-street parking facilities, which instrument, duly approved as to form and manner of execution by the city attorney, shall be filed with the application for a permit.
2.
Buildings or uses not normally open, used or operated during the principal operating hours of theaters, churches or other of the aforesaid establishments are defined as banks, business offices, retail stores, personal service shops, manufacturing buildings and similar uses.
3.
Shared off-street parking may be approved by the director of community development where an application does not otherwise require any form of plan approval by the planning and zoning commission and city council. The director of community development, planning and zoning commission or city council may require any necessary studies on behalf of the applicant to determine the operational characteristics of the shared parking arrangement proposal.
G.
Landbanking Of Required Parking: Notwithstanding any other provisions of this article, the city council, upon recommendation of the planning and zoning commission, may by special use permit granted pursuant to section 11-14-4 of this title, reduce the total number of required off-street parking spaces to be improved pursuant to section 11-11A-6 of this article, subject to the acceptance by the property owner(s) of the conditions set forth below, as well as any other conditions deemed appropriate by the city council:
1.
The city council shall have the right, in its sole discretion, to require the property owner and successors, at any time, to increase the number of parking spaces provided to serve said development up to the maximum required by section 11-11A-6 of this article for the property in question, as if no special use had been granted for landbanking.
2.
Every application for a special use permit to allow landbanking of required parking spaces shall be accompanied by a site plan which designates the location and design of all off-street parking improvements required under this article. The plan shall indicate (in an alternative plan) those off-street parking areas, access drives, landscaping, lighting and other improvements requested to be landbanked. The plans shall include the same level of detail required for site plans.
3.
As a condition of granting a special use permit, the applicant shall file with the director of community development an unconditional agreement and covenant in form and substance satisfactory to the city attorney that areas reserved for future parking shall be maintained as landscaped open space until and unless required to be used for off-street parking pursuant to the special use permit. The ordinance granting such permit, together with the agreement and covenant shall be recorded with the Kane County recorder of deeds.
H.
Computation: When determination of the number of off-street parking spaces, required by this title, results in a requirement of a fractional space, any fraction shall be counted as one (1) parking space. Parking spaces required on an employee basis shall be based on the maximum number of employees on duty or residing or both, on the premises at any one (1) time. Parking spaces provided for an electric vehicle charging station shall be counted toward the minimum number of required off-street parking spaces. No minimum number of electric vehicle charging stations is required.
I.
Utilization: Except as may otherwise be provided for the parking of trucks in the granting of special uses, site plans, planned unit developments, required accessory off-street parking facilities provided for uses shall be solely for the parking of passenger automobiles of patrons, occupants or employees of such uses.
J.
Handicapped Parking: Within all parking lots or garages, parking spaces shall be reserved for the handicapped. Such parking spaces shall conform to the requirements of current state and federal regulations with regard to the number of required spaces, parking space dimensions and signage. (Ord. 95-28, 5-1-1995; Ord. No. 2019-17, §§ 50—52, 8-5-2019; Ord. No. 2023-22, § 1, 10-16-2023)
A.
General:
1.
Plan: The design of parking lots or areas shall be subject to the approval of the director of community development or in the case of site plans, special uses and planned unit developments, the planning and zoning commission and city council.
2.
Character: Accessory parking spaces may be open to the sky or enclosed in a building.
3.
Surfacing: All open off-street parking areas shall be surfaced with a dustless all-weather material (such as bituminous asphalt or concrete) capable of carrying a wheel load of four thousand (4,000) pounds.
4.
Drainage: Proper drainage shall be provided as approved by the city engineer. Stormwater detention facilities shall be permitted in off-street parking areas, and have a maximum storage depth of six inches (6") for a 100-year flood design.
5.
Screening And Landscaping: Parking lot screening and landscaping shall be in accordance with chapter 10 of this title.
6.
Lighting:
a.
Fixtures: Luminaries shall be amber (high pressure sodium or light emitting diodes (LED) with a temperature range of 3,000k or less), downcast, cutoff type only and the exterior pole mounting of said fixtures shall not exceed thirty feet (30') in height, as measured from grade.
b.
Maintained Horizontal Illuminance Levels (established for open parking facilities only, as measured from pavement):
Illumination levels shall not exceed one-half (0.5) foot-candles at perimeter lot lines. Property owners may place ground level accent lighting at lot entrances and along main roads subject to community development department approval. (Ord. 95-28, 5-1-1995)
c.
Sight Lighting Plans: Photometric design shall be submitted for review by the community development department and must comply with the "Illuminating Engineering Society of North America RP-20 Lighting for Parking Facilities", most current edition. (Ord. 97-24A, 4-21-1997; amd. 2003 Code)
7.
Cleaning And Maintenance:
a.
The owner of record of any parking lot in a commercial or industrial district is required to maintain the lot in a safe and clean state. The maintenance of such parking lots shall include, but is not limited to, the prevention of the accumulation of any debris, trash or rubbish on said lot by performing or causing the performance of manual or mechanical sweeping as needed.
b.
Except in the commercial and industrial districts, no cleaning or maintenance of parking lots utilizing motorized equipment may be performed between eleven thirty o'clock (11:30) p.m. and seven o'clock (7:00) a.m. each day, except for the removal of snow. (Ord. 2000-36, 5-1-2000)
8.
Barrier Curbs And Striping: The perimeter of all parking lots, planting islands, access aisles and other locations where deemed appropriate, shall be improved with barrier curbs. Subject to review and approval by the city engineer, depressed curbs may be allowed to achieve stormwater best management practices. All interior portions of the lot shall be appropriately striped for circulation and designation of off-street parking spaces, in accordance with the approved site or development plan. (Ord. No. 2011-17, § 1, 3-7-2011)
9.
Shelter Building: No parking lot for accessory off-street parking shall have more than one (1) attendant shelter building which shall conform to all setback requirements for structures in the district.
10.
Signs: Accessory signs shall be permitted and are encouraged in parking areas in accordance with the provisions specified in the title 10, chapter 5 of this code. Parking facilities are encouraged to provide adequate directional signage to assist patrons in circulating through the sites and facilities to final destinations.
11.
Repair And Service:
a.
Residential And Business Districts: No motor vehicle repair work or service of any kind shall be permitted in association with parking facilities, with the exception of emergency services.
b.
Office, Office Research And Industrial Districts: No motor vehicle repair work or service of any kind including vehicle washing shall be permitted in conjunction with any open accessory parking facilities in any nonresidential district, if such parking facilities are within two hundred feet (200') of a residential district. However, emergency services are permitted.
12.
Drive-Through Facilities: See parking class 31 in section 11-11A-6 of this article.
B.
Residential Off-Street Parking Design Standards: In addition to the requirements of this article:
1.
Location Of Required Off-Street Parking:
a.
Not more than two (2) off-street parking spaces may be located in the street yard of any residential district.
b.
Off-street parking spaces and access aisles and drives shall not be located closer than five feet (5') from any property line.
2.
Design Of Off-Street Parking Areas:
a.
All driveways and access aisles shall be improved with a bituminous asphalt or concrete surface.
b.
No driveway serving any single-family detached dwelling shall be wider than twenty four feet (24') at the lot line.
C.
Electric Vehicle Charging Stations:
1.
Maintenance: Charging equipment, bollards and parking spaces shall be maintained in all respects. The owner of the equipment shall be responsible for the maintenance of the charging station and shall provide warranty and service for the charging stations and infrastructure for the duration of their useful life. A phone number or other contact information shall be provided on the charging station equipment for reporting purposes when the equipment is not functioning or other equipment problems are encountered. Failure by the equipment owner shall not absolve the property owner of their obligation to comply with the maintenance requirements stated herein.
2.
Protection: Adequate charging station equipment protection, such as barrier curbing, concrete filled steel bollards, or similar shall be used.
3.
Usage Fees: An owner of a charging station is not prohibited from collecting a fee for the use of a charging station, in accordance with applicable state and federal regulations. Fees shall be prominently displayed on the charging station.
4.
Notification: Information on the charging station, identifying voltage and amperage levels, time of use, and safety information shall be provided.
5.
Signage: On-site advertising is allowed on an electric vehicle charging station only when it is an integral part of the charging station. All advertising is limited to the promotion of goods, services and products of the owner and tenants on-site where the electric vehicle charging station is located. The on-site advertising may consist of static images that change no faster than once every ten (10) seconds or a continuous video on a LED screen. No advertisement shall play or emit any sound. Such signs shall not be visible from the public right-of-way. (Ord. 95-28, 5-1-1995; Ord. 2017-19, § 5, 7-17-2017; Ord. No. 2019-17, § 53, 8-5-2019; Ord. No. 2023-22, § 1, 10-16-2023)
A.
Within the D-CM and D-RSCM Districts, off-street parking space quantity requirements are as follows: These off-street parking requirements apply only within the area depicted in Section 11-11A-4B. For all other areas of the city, the requirements of section 11-11A-6 of this article shall apply:
1.
For all permitted and special uses, except residential uses, the required amount of off-street parking spaces shall be the number of spaces that existed on the zoning lot as of July 16, 2001. All permitted and special uses, except for residential uses, established as of July 16, 2001, may be expanded (enlarged) in compliance with the bulk regulations of the D-CM and D-RSCM Districts and the other applicable provisions of this title without providing additional off-street parking spaces.
2.
For residential uses, the required amount of off-street parking spaces shall be as set forth in section 11-11A-6 of this article.
3.
For zoning lots exclusively devoted to residential use as of July 16, 2001, a use change (total or partial) to nonresidential use shall require a quantity of off-street parking spaces at the rate of three and one-half (3.5) spaces for each one thousand (1,000) square feet of nonresidential use building floor area involved in the change.
4.
If a use change, building expansion or development results in parking requirements not being met, or in a reduction in the existing amount of private off-street parking spaces or public parking spaces, the development entity (owners, lessees or successors and assigns in possession of property) shall be required to locate an equivalent amount of parking spaces within three hundred fifty (350) feet of the subject property. If the development entity is unable to provide the required off-street parking within three hundred fifty (350) feet, the entity may petition the city council to pay an in-lieu fee in the amount of ten thousand dollars ($10,000.00) for each required space. The petition to waive required parking spaces and pay an in-lieu fee shall be submitted to the community development department, subject to review and approval by the city council. If approved, the fee shall be paid prior to the issuance of a building permit or certificate of occupancy.
B.
Area subject to provisions of Section 11-11A-4A.
(Ord. 95-28, 5-1-1995; Ord. 2001-51A, 7-16-2001; Ord. No. 2008-28, § 1, 6-16-2008; Ord. No. 2011-18, § 1, 3-7-2011; Ord. No. 2019-17, § 54, 8-5-2019)
Editor's note— Ord. No. 2019-17, § 54, adopted August 5, 2019, amended section 11-11A-4 and changed the title from "B2, B2-J, B2-HN, B2-HS and B3 district special provisions" to "D-CM and D-RSCM district special provisions." The historical notation has been preserved for reference purposes.
A.
Only one recreational vehicle may be parked or stored behind the established setback line on a residential lot. A recreational vehicle may be parked or stored in a side or rear yard only. Only one recreational vehicle may be parked in the street yard for a period not to exceed twenty four (24) hours for loading and unloading. No recreational vehicle shall be used for living, sleeping or housekeeping purposes on any zoning lot within the city.
B.
On corner lots, the required street setback shall not be used for the parking or storing of passenger vehicles and/or recreational vehicles.
C.
All parking and storage of vehicles (passenger vehicles and recreational vehicles) shall be on an improved surface (concrete paved, blacktop or brick pavers).
D.
Commercial vehicles exceeding eight thousand one (8,001) pounds in gross vehicle weight may not be parked in any residential district, other than in completely enclosed buildings or garages, except when the vehicle is present for the purpose of providing a required service to the residence where parked, but only for that period of time which is required to provide the service.
E.
The storage of semitrailers is prohibited in all residential and business districts. No semitrailer may be used as an accessory structure in any zoning district.
(Ord. 95-28, 5-1-1995; Ord. 95-79, 12-18-1995; Ord. 96-54, 9-16-1996)
Off street parking spaces shall be provided in accordance with the specific parking classes set out in this section. Parking spaces for accessory uses not specifically enumerated within a parking class shall be assumed to be included in the principal (permitted or special) use requirement. If the classification of any use, for the purpose of determining the amount of off street parking, or the number of spaces to be provided by such use is not readily determinable hereunder, the parking class of such use shall be established by the director of community development:
TABLE 1 - OFF STREET PARKING CLASSES OFF STREET PARKING REQUIREMENTS
(Ord. 95-28, 5-1-1995; amd. Ord. 99-35, 9-7-1999; Ord. 2000-75A, 12-4-2000; Ord. 2007-21, 5-7-2007; Ord. 2008-36, 8-4-2008; Ord. No. 2009-16, § 1, 4-13-2009; Ord. No. 2010-63, § 1, 1-3-2011; Ord. No. 2012-30, § 1, 9-4-2012; Ord. No. 2019-17, § 55, 8-5-2019; Ord. No. 2019-29, §§ 9—11, 12-9-2019; Ord. No. 2020-25, § 1, 8-17-2020)
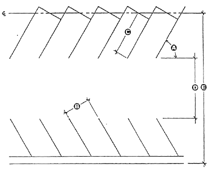
All off street parking spaces required by this article, except those required for one- and two-family dwellings, shall be designed in accordance with one of the descriptions set forth in this section:
TABLE 2
OFF-STREET PARKING MODULE DIMENSIONS
Note:
Aisle widths are for one-way aisles except for 90 degree parking which must provide
a two-way aisle.
(Ord. 95-28, 5-1-1995)
A written application for administrative relief to the off street parking module dimensions set forth in this section may be filed with the director of community development. Such application shall demonstrate that unique physical conditions of the property make strict application of the regulations to the property extremely difficult or unreasonable to comply with. The application shall further demonstrate that the unique conditions do not generally exist for other properties in the same zoning district and the public interest is not well served by strict application of the regulations and lesser or different standards best meet the public interest and the intent of this section. Dependent upon the approval process under which the application for relief is sought, the approving authority shall make the final decision upon whether any relief from the requirements is approved.
(Ord. 2002-54, 9-3-2002)
CHAPTER 11
OFF-STREET PARKING AND LOADING; TRAFFIC AND ACCESS REGULATIONS
A.
Location, Enclosure And Screening: All required loading berths shall be located on the same zoning lot as the use served. All motor vehicle loading berths which abut a residential district or an intervening alley separating a residential district form a business, commercial or industrial district shall be constructed of completely enclosed docks and landscaped with densely planted mature shrubbery or any combination thereof as part of an approved landscape plan in accordance with chapter 10 of this title. No permitted or required loading berth shall be located within thirty feet (30') of a pavement line or any property line. No loading berth shall be located in a street setback nor within seventy five feet (75') of the nearest point of intersection of any two (2) streets, nor within seventy five feet (75') of any residentially zoned property.
In the OR district, all off-street loading facilities shall be completely enclosed and integrated as part of the building design. In all other districts, off-street loading facilities shall be screened from view from a public street.
B.
Size: Unless otherwise specified, a required off-street loading berth shall be at least twelve feet (12') in width by at least thirty feet (30') in length, exclusive of aisle and maneuvering space, and shall have a vertical clearance of at least fifteen feet (15').
C.
Access: Each required off-street loading berth shall be designed with appropriate means of vehicular access to a street or alley in a manner which will least interfere with traffic movement, and shall be subject to approval by the director of community development.
D.
Surfacing: All open off-street loading berths shall be surfaced with a dustless all-weather material capable of bearing a live load of two hundred (200) pounds per square foot.
E.
Repair And Service:
1.
Residential Districts: No motor vehicle repair work or service of any kind shall be permitted in conjunction with loading facilities provided in any residential district.
2.
Office, Office Research And Business Districts: No motor vehicle repair work or service of any kind shall be permitted in conjunction with loading facilities provided in office or business districts except emergency repair service necessary to start vehicles.
3.
Industrial Districts: No motor vehicle repair work or service of any kind shall be permitted in conjunction with loading facilities provided in an industrial district if such loading facilities are within five hundred feet (500') of a residential district. Washing of accessory vehicles and emergency service required to start vehicles shall be permitted.
F.
Utilization: Space allocated to any off-street loading use shall not, while so allocated, be used to satisfy the space requirements for any access aisle or off-street parking facilities.
G.
Central Loading: Central loading facilities may be substituted for loading berths on the individual zoning lots provided the following conditions are fulfilled:
1.
Each zoning lot served shall have direct access to the central loading area without crossing streets or alleys at grade.
2.
Total off-street loading berths provided shall meet the minimum requirements herein specified, based on the sum of the several types of uses served. (Area of types of uses may be totaled before computing number of loading berths.)
3.
No zoning lot served shall be more than five hundred feet (500') removed from the central loading area.
4.
The tunnel or ramp connecting the central loading area with the zoning lot served shall be not less than seven feet (7') in width and have a clearance of not less than seven feet (7').
H.
Minimum Facilities: Uses for which off-street loading facilities are required herein, but which are located in buildings of less floor area than the minimum prescribed for such required facilities, shall be provided with adequate receiving facilities, accessible by motor vehicle off any adjacent alley or service drive on the same zoning lot. (Ord. 95-28, 5-1-1995)
A.
Residential Districts: Off-street loading facilities accessory to uses allowed in the several residential districts shall be provided in accordance with the following minimum requirements:
1.
Hospitals: One loading berth shall be provided for buildings containing ten thousand (10,000) to one hundred thousand (100,000) square feet of gross floor area or fraction thereof. Each such loading berth for buildings in excess of two hundred thousand (200,000) square feet in gross floor area shall be not less than twelve feet (12') in width by fifty five feet (55') in length.
2.
Institutions: For the uses listed hereunder, one loading berth shall be provided for buildings containing ten thousand (10,000) to one hundred thousand (100,000) square feet of gross floor area, plus one additional loading berth for each additional one hundred thousand (100,000) square feet of gross floor area or fraction thereof:
Educational and cultural institutions
Philanthropic and charitable institutions.
Religious institutions.
3.
Recreational And Social Facilities: For buildings containing ten thousand (10,000) to one hundred thousand (100,000) square feet of gross floor area, one loading berth shall be provided, and for each additional one hundred thousand (100,000) square feet of gross floor area up to five hundred thousand (500,000) square feet, one additional loading berth shall be provided, plus one additional loading berth for each additional five hundred thousand (500,000) square feet of gross floor area or fraction thereof in excess of five hundred thousand (500,000) square feet.
4.
All Other Nonresidential Uses: For all other nonresidential uses, loading facilities shall be provided in accordance with the following requirements:
a.
For buildings containing less than ten thousand (10,000) square feet of gross floor area, there shall be provided on the same zoning lot adequate receiving facilities, accessible by motor vehicle, off any adjacent alley, service drive or open space.
b.
For buildings containing ten thousand (10,000) to one hundred thousand (100,000) square feet of gross floor area, one off-street loading berth shall be provided.
c.
For buildings containing over one hundred thousand (100,000) square feet of gross floor area, there shall be provided one loading berth for each one hundred thousand (100,000) square feet of gross floor area or fraction thereof.
B.
Office And Business Districts: Off-street loading spaces accessory to uses permitted in the several businesses, commercial or office districts shall be provided in accordance with the following minimum requirements:
1.
Any use listed in a residential district that is also permitted in any of the several business districts shall provide loading spaces as established for that use in the preceding section for residential districts.
2.
Establishments containing less than seven thousand (7,000) square feet of gross floor area shall be provided with adequate facilities, accessible by motor vehicles off any adjacent alley, service drive or open space on the same zoning lot.
3.
For the uses listed hereunder, one loading berth shall be provided for buildings containing seven thousand (7,000) to forty thousand (40,000) square feet of gross floor area. For buildings containing forty thousand (40,000) to one hundred thousand (100,000) square feet of gross floor area, two (2) loading berths shall be provided, plus one additional loading berth for each additional one hundred thousand (100,000) square feet of gross floor area or fraction thereof. Each such loading berth for buildings in excess of one hundred thousand (100,000) square feet of gross floor area shall be not less than twelve feet (12') in width by fifty five feet (55') in length.
Cartage and express facilities.
Mail order house
Printing and publishing
Restricted production and repair.
Warehousing, storage, and wholesale establishments.
4.
For the uses listed hereunder, one loading berth shall be provided for buildings containing ten thousand (10,000) to one hundred thousand (100,000) square feet of gross floor area; for each additional one hundred thousand (100,000) square feet of gross floor area up to five hundred thousand (500,000) square feet, one additional loading berth shall be provided, plus one additional loading berth for each additional five hundred thousand (500,000) square feet of gross floor area or fraction thereof in excess of five hundred thousand (500,000) square feet.
Banks and financial institutions.
Medical and dental clinics.
Offices, business, professional, and governmental.
Recreation buildings and community centers, noncommercial.
5.
For the uses listed hereunder, one loading berth shall be provided for buildings containing ten thousand (10,000) to one hundred thousand (100,000) square feet of gross floor area, plus one additional loading berth for each additional one hundred fifty thousand (150,000) square feet of gross floor area or fraction thereof. Each such loading berth for buildings in excess of twenty thousand (20,000) square feet of gross floor area shall be not less than twelve feet (12') in width by fifty five feet (55') in length.
Clubs and lodges (not for profit) containing retail shops, convention halls, auditoriums,
exhibition halls, or business or professional office (other than accessory).
Convention halls.
Exhibition halls.
Hotels and motels containing retail shops, convention halls, auditoriums, exhibition
halls, or business or professional offices.
Radio and television stations and studios.
Recording studios.
Stadiums, auditoriums, and arenas.
6.
For the uses listed hereunder, one loading berth shall be provided for buildings containing ten thousand (10,000) to one hundred fifty thousand (150,000) square feet of gross floor area, plus one additional loading berth for each additional two hundred thousand (200,000) square feet of gross floor area or fraction thereof.
Clubs and lodges (not for profit) containing no retail shops, convention halls, auditoriums,
exhibition halls, or business or professional offices (other than accessory).
Hotels and motels containing retail shops, convention halls, auditoriums, exhibition
halls, or business or professional offices.
Meeting halls.
Schools music, dance, business, and trade.
Theaters, indoor.
7.
For the uses listed hereunder, buildings containing ten thousand (10,000) to one hundred thousand (100,000) square feet of gross floor area, one loading berth shall be provided, plus one additional loading berth for each additional one hundred thousand (100,000) square feet of gross floor area or fraction thereof:
Amusement establishments
Bowling alleys
Skating rinks
Swimming pools
8.
For the uses listed hereunder, there shall be no requirements for off-street loading.
Parking garages
Parking lots
9.
For the uses listed hereunder, for buildings containing seven thousand (7,000) to one hundred thousand (100,000) square feet of gross floor area, one loading berth shall be provided, plus one additional loading berth for each additional one hundred thousand (100,000) square feet of gross floor area or fraction thereof.
Funeral parlors
Undertaking establishments
10.
For all other uses, loading facilities shall be provided in accordance with the following schedule:
For each additional two hundred thousand (200,000) square feet in gross floor area or fraction thereof, over one hundred thousand (100,000) square feet of gross floor area, one additional loading berth shall be provided, such additional berth to be at least twelve feet (12') in width by fifty five feet (55') in length.
C.
Office Research And Industrial Districts: Off-street loading facilities accessory to uses allowed in the office research and industrial districts shall be provided in accordance with the following minimum requirements:
1.
Any use listed in an office or business district that is also permitted in any of the several office research and industrial districts shall provide loading spaces as established for that use in the preceding section for residential districts.
2.
Any production, processing, cleaning, servicing, testing, repair, or storage of materials, goods, or products: For buildings containing seven thousand (7,000) to forty thousand (40,000) square feet of gross floor area, one loading berth shall be provided. For buildings, containing forty thousand (40,000) to one hundred thousand (100,000) square feet of gross floor area, two (2) loading berths shall be provided, plus one additional loading berth for each additional one hundred thousand (100,000) square feet of gross floor area or fraction thereof. Each such loading berth for buildings in excess of ten thousand (10,000) square feet of gross floor area shall be not less than twelve feet (12') in width by fifty five feet (55') in length.
3.
For uses listed hereunder, one loading berth shall be provided for buildings containing ten thousand (10,000) to one hundred thousand (100,000) square feet of gross floor area. For each additional one hundred thousand (100,000) square feet of gross floor area up to five hundred thousand (500,000) square feet, one additional loading berth shall be provided, plus one additional loading berth for each additional five hundred thousand (500,000) square feet of gross floor area or fraction thereof in excess of five hundred thousand (500,000) square feet.
Medical and dental clinics.
Recreation buildings or community centers.
4.
For the uses listed hereunder, one loading berth shall be provided for buildings containing ten thousand (10,000) to one hundred thousand (100,000) square feet of gross floor area, plus one additional loading berth for each additional one hundred thousand (100,000) square feet of gross floor area or fraction thereof. Each such loading berth for buildings in excess of twenty thousand (20,000) square feet of gross floor area shall not be less than twelve feet (12') in width by fifty five feet (55') in length.
Air and railroad freight terminals, railroad switching and classification yards, repair
shops and roundhouses.
Airports and commercial heliports.
Radio and television stations and studios.
Sewage treatment plants, municipal.
Stadiums, auditoriums, and arenas.
5.
For the uses listed hereunder, one loading berth shall be provided for buildings containing ten thousand (10,000) to two hundred thousand (200,000) square feet of gross floor area, plus one additional loading berth for each additional two hundred thousand (200,000) square feet of gross floor area or fraction thereof.
Trade schools.
6.
For the uses listed hereunder, there shall be no requirements for off-street loading.
Parking lots.
Weighing stations.
7.
For the uses listed hereunder, for buildings containing five thousand (5,000) to forty thousand (40,000) square feet of gross floor area, one loading berth shall be provided. For buildings containing forty thousand (40,000) to one hundred thousand (100,000) square feet of gross floor area, two (2) loading berths shall be provided, plus one additional loading berth for each additional one hundred thousand (100,000) square feet of gross floor area or fraction thereof. Each such loading berth for buildings in excess of ten thousand (10,000) square feet of gross floor area shall not be less than twelve feet (12') in width by fifty five feet (55') in length.
Motor freight terminals.
8.
For all other uses, loading facilities shall be provided in accordance with the following schedule:
For each additional two hundred thousand (200,000) square feet of gross floor area or fraction thereof, over one hundred thousand (100,000) square feet of gross floor area, one additional loading berth shall be provided, such additional berth to be at least twelve feet (12') in width by fifty five feet (55') in length. (Ord. 95-28, 5-1-1995)
CHAPTER 11
OFF-STREET PARKING AND LOADING; TRAFFIC AND ACCESS REGULATIONS
This article is intended to establish specific criteria and standards for traffic and access applicable to almost all types of development within the city. These provisions are intended to provide a uniform set of standards upon which all development proposals may be reviewed. (Ord. 95-28, 5-1-1995)
A.
When Required: A traffic impact analysis may be required under situations as described as follows:
1.
An application for development approval for:
Low density residential developments fifteen (15) acres in size or greater;
Multiple family developments (including two- and three-family) ten (10) acres in size or greater;
Nonresidential developments five (5) acres in size or greater.
2.
Where the city engineer or the director of community development deems that the proposed development will have significant traffic impact to safe and efficient movement, and to the general public welfare.
B.
Content Of Traffic Impact Analysis:
1.
Each traffic impact analysis shall provide, at a minimum, the following information:
a.
Identify the site vicinity with respect to the surrounding thoroughfare street system and adjacent land use; and
b.
Identify the locations of all intersections and/or private access opposite the site and nearest to the site on any public streets bordering the site. Distances to the nearest intersections and/or private access from the site boundaries along the bordering public streets shall be reported.
2.
The city engineer may request additional information to be provided in the traffic impact analysis as follows:
a.
An assessment of level of service for future year projected conditions. Along with this requirement, the city engineer shall supply the applicant with any existing published data on future year traffic;
b.
Additional intersections where level of service computations are to be performed. Additional intersections so identified shall not be greater than one mile from the site boundary;
c.
Other issues as identified by the city engineer including, but not limited to, access location, traffic circulation, parking and median break impacts. When such additional information is requested, the city engineer may upon request by the applicant, provide reasons for such additional requirements;
d.
Boundaries along the bordering public streets shall be reported. Identify existing traffic volumes on any ordering public streets and on any public street passing through the site;
e.
Provide an estimate for distribution of site generated trips onto the street system surrounding the site. The basis for the estimated trip distribution should be clearly identified; and
f.
Compute the level of service for each access to an intersection with the arterial and collector street system from the site. Compute the level of service for the arterial and collector street system intersections nearest to each site access to the arterial and collector street systems. Level of service computations should be performed for existing conditions, if applicable, for development in accordance with the existing zoning and comprehensive plan land use intensities and for the proposed site development. Level of service computations should be performed for the morning and evening commuter peak hour, unless otherwise permitted or directed by the city engineer.
g.
A ten (10) year traffic projection on select roadways, as determined by the city engineer, which include the impact of known planned developments within one thousand three hundred twenty feet (1,320') of the site.
C.
Procedure For Preparation Of Traffic Impact Analysis: Through a preapplication conference or an informal meeting with the director of community development, a determination can be sought whether a traffic impact analysis will be required. (Ord. 95-28, 5-1-1995)
A.
Purpose: The access control standards are intended to regulate vehicular access to or from any public street under city jurisdiction to or from property adjoining a public street. It is the purpose of this section to provide the procedures and standards necessary to protect the public health, safety and welfare to maintain smooth traffic flow and to protect the functional design of public streets while meeting transportation needs and interests.
B.
Specific Access Control Standards For Driveway Access:
1.
Driveway Permits:
a.
A driveway permit review shall be required when:
(1)
A new development occurs.
(2)
Where the intensity of any building, structure or premises is increased through the addition of dwelling units, gross floor area, seating capacity or other units of measurements related to trip generation.
(3)
An existing use is changed to a new use. Based on this review, new driveway permit(s) may be required. All costs associated with a change in access, as per the new permits, shall be the responsibility of the property owner.
b.
A temporary permit for additional driveways may be allowed by the city engineer subject to replacement of that temporary access at a future date with one of the following:
(1)
An adjacent public street or access (frontage) road; or
(2)
A shared driveway, as shown on the approved development plans for the site.
The drive for which the temporary permit was issued, at the discretion of the city engineer may remain as a limited turn driveway.
2.
Property Line Clearance: Wherever feasible, driveways shall be located so that the required curb return lies entirely within the subject property lines (extended) unless the driveway is being shared by adjacent property owners.
3.
One Driveway:
a.
Unless a traffic engineering study or other documentation indicates, to the satisfaction of city, the need for additional driveways, only one shall be permitted.
b.
Where additional driveways are necessary, first consideration shall be given to supplemental driveways, which limit left turns.
c.
Shared driveways or provision for access from adjacent public streets is encouraged.
d.
On minor streets, single-family detached uses may be permitted two (2) driveway entrances subject to the approval of the city engineer.
4.
Curb Return:
a.
One-Way Drives (Individual single-family detached and duplex uses exempt):
(1)
Fifteen foot (15') minimum outside radius.
(2)
Five foot (5') minimum inside radius.
b.
Two-Way Drives:
(1)
Twenty five feet (25'). At the discretion of the city engineer, a minimum of fifteen feet (15') will be allowed for low volume driveways, or where a shoulder or right turn lane provides for deceleration off an arterial lane.
(2)
Thirty feet (30') to fifty feet (50'). For high volume generators such as shopping center, office or industrial parks, etc. Basis for design shall include the truck design vehicle for that drive.
5.
Driveway Width (Measured at right angles to the driveway curb or edge of pavement at the property line):
a.
Twenty four feet (24') maximum for single-family residential detached and duplex land use.
b.
Thirty feet (30') (2 lanes). At the discretion of the city engineer, lesser widths may be allowed for low volume driveways.
c.
Thirty six feet (36') (undivided 3 lanes).
d.
Forty eight feet (48') maximum (divided 24 foot drives excluding median).
6.
Curbs And Gutters: All driveways shall be provided with concrete curb and gutter for full length of curb return to at least the property line.
7.
Limited Turn Driveways:
a.
Driveways which are designed to prohibit left turns in and out shall have a channelizing island and the following minimum dimensions:
b.
Minimum signage shall include stop sign and no left turn sign at the exit lane, and a no left turn sign on the road right-of-way opposite the driveway, visible to oncoming arterial traffic.
c.
Where driveways are to have left turn prohibitions only at selected times of the day, the requirement for a channelizing island may be waived and replaced with signing only, at the discretion of the permit engineer with the city engineer.
d.
At the discretion of the city engineer and where sufficient land is not available on site, the minimum dimensions for width, length and curb return may be reduced to twenty feet (20'), fifteen feet (15') and thirty feet (30'), respectively.
8.
Angle Of Intersection:
a.
Two-Way Drive: Ninety degrees (90;deg;) minimum. The city engineer may allow a minimum angle of seventy degrees (70;deg;) if necessitated by site conditions.
b.
One-Way Drive: Sixty degrees (60;deg;) minimum. The city engineer may reduce the minimum to forty-five degrees (45;deg;) where sufficient deceleration length on the driveway is provided.
9.
Driveway Storage Length: Sufficient driveway storage space shall be provided for all entrances/exits, subject to the approval of the city engineer. The amount of storage shall consider the conditions and configuration of adjoining roadway improvements, the design of on-site parking improvements and the volume of traffic anticipated by the development.
10.
Driveway Median:
a.
Minimum of:
b.
Use of medians on two (2) or three (3) lane driveways shall be permitted only after the city engineer determines that the median will not interfere with vehicle turning paths.
C.
Waiver Provision: The city engineer is authorized to waive or reduce the requirements set forth in this section where it is determined, under the specific circumstances, the property cannot comply or the public interest is not best served and a lessor or different standard best meets the public interest and the intent of this section.
Any person who is aggrieved by a determination of the city engineer may seek a variation before the planning and zoning commission, which is authorized to grant relief from the provisions of this section. All decisions on requested waivers by the city engineer shall be based upon whether the requested waiver will have a serious detriment to the safety and/or operation of the public roadway, as well as adopted standards for granting variations form the requirements of this title. (Ord. 95-28, 5-1-1995; Ord. No. 2019-17, § 56, 8-5-2019)
OFF-STREET PARKING AND LOADING; TRAFFIC AND ACCESS REGULATIONS
SECTION:
SECTION:
SECTION:
A.
Existing Parking And Loading Facilities: Off-street parking and loading facilities in existence on the effective date of this title shall not hereafter be reduced below, or if already less than, shall not be further reduced below, the requirements for a similar new building or use under the provisions of this article.
B.
Parking And Loading Facilities: Nothing in this title shall be deemed to prevent the voluntary establishment of off-street parking or loading facilities to serve any existing use of land or buildings, provided that all regulations herein governing the location, design and operation of such facilities are adhered to.
C.
Submission Of Parking And Loading Plan: Any application for a building permit, zoning certificate or occupancy certificate, or where site plan approval, special use or planned unit development approval are required, shall include a site plan meeting the requirements of chapter 14, article A of this title, including the parking and loading plan conforming to the requirements of this article. (Ord. 95-28, 5-1-1995)
A.
Location: All parking spaces required to serve buildings or uses erected or established after the effective date of this article shall be located on the same zoning lot as the building or use served, except that parking spaces to serve business or industrial buildings may be located within three hundred fifty feet (350') of such use if said spaces and uses they are intended to serve are located in a business, office, office research or industrial district.
Buildings or uses existing on the effective date of this article which are subsequently altered or enlarged so as to require the provision of parking spaces under this article, may be served by parking facilities located on land other than the zoning lot on which the building or use served is located, provided such facilities are within three hundred fifty feet (350') walking distance of a main entrance to the use served. Owners of property, nonconforming as to parking, who elect to provide parking and become conforming may locate such parking on land other than the zoning lot on which the building or use is located, as allowed in this section.
B.
Control Of Off-Site Parking Facilities: In cases where parking facilities are permitted on land other than the zoning lot on which the building or use served is located, such facilities shall be in the same possession as the zoning lot occupied by the building or use to which the parking facilities are accessory. Such possession may be either by deed or long term lease, the term of such lease to be determined by the planning and zoning commission; and such deed or lease shall be filed for approval by the city attorney. The deed or lease shall require such owner, heirs and assigns to maintain the required number of parking facilities for the duration of the use served. The deed or lease shall be recorded in the Kane County office of the recorder of deeds.
C.
Size: Except for parallel parking spaces, and handicapped parking spaces each required off-street parking space shall be at least nine feet (9') in width and at least eighteen and one-half feet (18½') in length, exclusive of access drives or aisles, ramps, or columns. Such space shall have a vertical clearance of at least seven feet (7'), and shall be measured at right angles to the axis of the vehicle. For parallel parking, the length of the parking space shall be increased to twenty four feet (24'). All other requirements as to size shall be as hereinafter set forth in section 11-11A-7 of this article.
D.
Access: Each off-street parking space shall open directly upon an aisle or driveway at least twelve feet (12') wide, or twenty-four feet (24') for a two-way aisle, or such additional width and design as to provide safe and efficient means of vehicular access to such parking space. All off-street parking facilities shall be designed with appropriate means of vehicular access to a street or alley in a manner which will least interfere with traffic movement. All driveways shall conform to all applicable driveway specifications contained in article C of this chapter.
E.
Collective Provision: Off-street parking facilities for separate uses may be provided collectively if the total number of spaces so provided is not less than the sum of the separate requirements of each such use and all regulations governing location of accessory parking spaces in relation to the use served are adhered to. Further, no parking space or portion thereof shall serve as a required space for more than one use unless otherwise authorized by the city council, and except as provided in subsection F of this section.
F.
Shared Parking Facilities:
1.
As much as fifty percent (50%) of the off-street parking facilities required under this article for a theater, bowling alley, dance hall or an establishment for the sale and consumption on the premises of food, alcoholic beverages or refreshments, and up to one hundred percent (100%) of such facilities required for a church or an auditorium incidental to a public or parochial school, may be supplied by off-street parking facilities provided for certain other kinds of buildings or uses specified in subsection F2 of this section, which are not normally open, used or operated during the principal operating hours of the aforesaid establishments, provided that a properly drawn legal instrument is executed by all the parties concerned for the joint use of the off-street parking facilities, which instrument, duly approved as to form and manner of execution by the city attorney, shall be filed with the application for a permit.
2.
Buildings or uses not normally open, used or operated during the principal operating hours of theaters, churches or other of the aforesaid establishments are defined as banks, business offices, retail stores, personal service shops, manufacturing buildings and similar uses.
3.
Shared off-street parking may be approved by the director of community development where an application does not otherwise require any form of plan approval by the planning and zoning commission and city council. The director of community development, planning and zoning commission or city council may require any necessary studies on behalf of the applicant to determine the operational characteristics of the shared parking arrangement proposal.
G.
Landbanking Of Required Parking: Notwithstanding any other provisions of this article, the city council, upon recommendation of the planning and zoning commission, may by special use permit granted pursuant to section 11-14-4 of this title, reduce the total number of required off-street parking spaces to be improved pursuant to section 11-11A-6 of this article, subject to the acceptance by the property owner(s) of the conditions set forth below, as well as any other conditions deemed appropriate by the city council:
1.
The city council shall have the right, in its sole discretion, to require the property owner and successors, at any time, to increase the number of parking spaces provided to serve said development up to the maximum required by section 11-11A-6 of this article for the property in question, as if no special use had been granted for landbanking.
2.
Every application for a special use permit to allow landbanking of required parking spaces shall be accompanied by a site plan which designates the location and design of all off-street parking improvements required under this article. The plan shall indicate (in an alternative plan) those off-street parking areas, access drives, landscaping, lighting and other improvements requested to be landbanked. The plans shall include the same level of detail required for site plans.
3.
As a condition of granting a special use permit, the applicant shall file with the director of community development an unconditional agreement and covenant in form and substance satisfactory to the city attorney that areas reserved for future parking shall be maintained as landscaped open space until and unless required to be used for off-street parking pursuant to the special use permit. The ordinance granting such permit, together with the agreement and covenant shall be recorded with the Kane County recorder of deeds.
H.
Computation: When determination of the number of off-street parking spaces, required by this title, results in a requirement of a fractional space, any fraction shall be counted as one (1) parking space. Parking spaces required on an employee basis shall be based on the maximum number of employees on duty or residing or both, on the premises at any one (1) time. Parking spaces provided for an electric vehicle charging station shall be counted toward the minimum number of required off-street parking spaces. No minimum number of electric vehicle charging stations is required.
I.
Utilization: Except as may otherwise be provided for the parking of trucks in the granting of special uses, site plans, planned unit developments, required accessory off-street parking facilities provided for uses shall be solely for the parking of passenger automobiles of patrons, occupants or employees of such uses.
J.
Handicapped Parking: Within all parking lots or garages, parking spaces shall be reserved for the handicapped. Such parking spaces shall conform to the requirements of current state and federal regulations with regard to the number of required spaces, parking space dimensions and signage. (Ord. 95-28, 5-1-1995; Ord. No. 2019-17, §§ 50—52, 8-5-2019; Ord. No. 2023-22, § 1, 10-16-2023)
A.
General:
1.
Plan: The design of parking lots or areas shall be subject to the approval of the director of community development or in the case of site plans, special uses and planned unit developments, the planning and zoning commission and city council.
2.
Character: Accessory parking spaces may be open to the sky or enclosed in a building.
3.
Surfacing: All open off-street parking areas shall be surfaced with a dustless all-weather material (such as bituminous asphalt or concrete) capable of carrying a wheel load of four thousand (4,000) pounds.
4.
Drainage: Proper drainage shall be provided as approved by the city engineer. Stormwater detention facilities shall be permitted in off-street parking areas, and have a maximum storage depth of six inches (6") for a 100-year flood design.
5.
Screening And Landscaping: Parking lot screening and landscaping shall be in accordance with chapter 10 of this title.
6.
Lighting:
a.
Fixtures: Luminaries shall be amber (high pressure sodium or light emitting diodes (LED) with a temperature range of 3,000k or less), downcast, cutoff type only and the exterior pole mounting of said fixtures shall not exceed thirty feet (30') in height, as measured from grade.
b.
Maintained Horizontal Illuminance Levels (established for open parking facilities only, as measured from pavement):
Illumination levels shall not exceed one-half (0.5) foot-candles at perimeter lot lines. Property owners may place ground level accent lighting at lot entrances and along main roads subject to community development department approval. (Ord. 95-28, 5-1-1995)
c.
Sight Lighting Plans: Photometric design shall be submitted for review by the community development department and must comply with the "Illuminating Engineering Society of North America RP-20 Lighting for Parking Facilities", most current edition. (Ord. 97-24A, 4-21-1997; amd. 2003 Code)
7.
Cleaning And Maintenance:
a.
The owner of record of any parking lot in a commercial or industrial district is required to maintain the lot in a safe and clean state. The maintenance of such parking lots shall include, but is not limited to, the prevention of the accumulation of any debris, trash or rubbish on said lot by performing or causing the performance of manual or mechanical sweeping as needed.
b.
Except in the commercial and industrial districts, no cleaning or maintenance of parking lots utilizing motorized equipment may be performed between eleven thirty o'clock (11:30) p.m. and seven o'clock (7:00) a.m. each day, except for the removal of snow. (Ord. 2000-36, 5-1-2000)
8.
Barrier Curbs And Striping: The perimeter of all parking lots, planting islands, access aisles and other locations where deemed appropriate, shall be improved with barrier curbs. Subject to review and approval by the city engineer, depressed curbs may be allowed to achieve stormwater best management practices. All interior portions of the lot shall be appropriately striped for circulation and designation of off-street parking spaces, in accordance with the approved site or development plan. (Ord. No. 2011-17, § 1, 3-7-2011)
9.
Shelter Building: No parking lot for accessory off-street parking shall have more than one (1) attendant shelter building which shall conform to all setback requirements for structures in the district.
10.
Signs: Accessory signs shall be permitted and are encouraged in parking areas in accordance with the provisions specified in the title 10, chapter 5 of this code. Parking facilities are encouraged to provide adequate directional signage to assist patrons in circulating through the sites and facilities to final destinations.
11.
Repair And Service:
a.
Residential And Business Districts: No motor vehicle repair work or service of any kind shall be permitted in association with parking facilities, with the exception of emergency services.
b.
Office, Office Research And Industrial Districts: No motor vehicle repair work or service of any kind including vehicle washing shall be permitted in conjunction with any open accessory parking facilities in any nonresidential district, if such parking facilities are within two hundred feet (200') of a residential district. However, emergency services are permitted.
12.
Drive-Through Facilities: See parking class 31 in section 11-11A-6 of this article.
B.
Residential Off-Street Parking Design Standards: In addition to the requirements of this article:
1.
Location Of Required Off-Street Parking:
a.
Not more than two (2) off-street parking spaces may be located in the street yard of any residential district.
b.
Off-street parking spaces and access aisles and drives shall not be located closer than five feet (5') from any property line.
2.
Design Of Off-Street Parking Areas:
a.
All driveways and access aisles shall be improved with a bituminous asphalt or concrete surface.
b.
No driveway serving any single-family detached dwelling shall be wider than twenty four feet (24') at the lot line.
C.
Electric Vehicle Charging Stations:
1.
Maintenance: Charging equipment, bollards and parking spaces shall be maintained in all respects. The owner of the equipment shall be responsible for the maintenance of the charging station and shall provide warranty and service for the charging stations and infrastructure for the duration of their useful life. A phone number or other contact information shall be provided on the charging station equipment for reporting purposes when the equipment is not functioning or other equipment problems are encountered. Failure by the equipment owner shall not absolve the property owner of their obligation to comply with the maintenance requirements stated herein.
2.
Protection: Adequate charging station equipment protection, such as barrier curbing, concrete filled steel bollards, or similar shall be used.
3.
Usage Fees: An owner of a charging station is not prohibited from collecting a fee for the use of a charging station, in accordance with applicable state and federal regulations. Fees shall be prominently displayed on the charging station.
4.
Notification: Information on the charging station, identifying voltage and amperage levels, time of use, and safety information shall be provided.
5.
Signage: On-site advertising is allowed on an electric vehicle charging station only when it is an integral part of the charging station. All advertising is limited to the promotion of goods, services and products of the owner and tenants on-site where the electric vehicle charging station is located. The on-site advertising may consist of static images that change no faster than once every ten (10) seconds or a continuous video on a LED screen. No advertisement shall play or emit any sound. Such signs shall not be visible from the public right-of-way. (Ord. 95-28, 5-1-1995; Ord. 2017-19, § 5, 7-17-2017; Ord. No. 2019-17, § 53, 8-5-2019; Ord. No. 2023-22, § 1, 10-16-2023)
A.
Within the D-CM and D-RSCM Districts, off-street parking space quantity requirements are as follows: These off-street parking requirements apply only within the area depicted in Section 11-11A-4B. For all other areas of the city, the requirements of section 11-11A-6 of this article shall apply:
1.
For all permitted and special uses, except residential uses, the required amount of off-street parking spaces shall be the number of spaces that existed on the zoning lot as of July 16, 2001. All permitted and special uses, except for residential uses, established as of July 16, 2001, may be expanded (enlarged) in compliance with the bulk regulations of the D-CM and D-RSCM Districts and the other applicable provisions of this title without providing additional off-street parking spaces.
2.
For residential uses, the required amount of off-street parking spaces shall be as set forth in section 11-11A-6 of this article.
3.
For zoning lots exclusively devoted to residential use as of July 16, 2001, a use change (total or partial) to nonresidential use shall require a quantity of off-street parking spaces at the rate of three and one-half (3.5) spaces for each one thousand (1,000) square feet of nonresidential use building floor area involved in the change.
4.
If a use change, building expansion or development results in parking requirements not being met, or in a reduction in the existing amount of private off-street parking spaces or public parking spaces, the development entity (owners, lessees or successors and assigns in possession of property) shall be required to locate an equivalent amount of parking spaces within three hundred fifty (350) feet of the subject property. If the development entity is unable to provide the required off-street parking within three hundred fifty (350) feet, the entity may petition the city council to pay an in-lieu fee in the amount of ten thousand dollars ($10,000.00) for each required space. The petition to waive required parking spaces and pay an in-lieu fee shall be submitted to the community development department, subject to review and approval by the city council. If approved, the fee shall be paid prior to the issuance of a building permit or certificate of occupancy.
B.
Area subject to provisions of Section 11-11A-4A.
(Ord. 95-28, 5-1-1995; Ord. 2001-51A, 7-16-2001; Ord. No. 2008-28, § 1, 6-16-2008; Ord. No. 2011-18, § 1, 3-7-2011; Ord. No. 2019-17, § 54, 8-5-2019)
Editor's note— Ord. No. 2019-17, § 54, adopted August 5, 2019, amended section 11-11A-4 and changed the title from "B2, B2-J, B2-HN, B2-HS and B3 district special provisions" to "D-CM and D-RSCM district special provisions." The historical notation has been preserved for reference purposes.
A.
Only one recreational vehicle may be parked or stored behind the established setback line on a residential lot. A recreational vehicle may be parked or stored in a side or rear yard only. Only one recreational vehicle may be parked in the street yard for a period not to exceed twenty four (24) hours for loading and unloading. No recreational vehicle shall be used for living, sleeping or housekeeping purposes on any zoning lot within the city.
B.
On corner lots, the required street setback shall not be used for the parking or storing of passenger vehicles and/or recreational vehicles.
C.
All parking and storage of vehicles (passenger vehicles and recreational vehicles) shall be on an improved surface (concrete paved, blacktop or brick pavers).
D.
Commercial vehicles exceeding eight thousand one (8,001) pounds in gross vehicle weight may not be parked in any residential district, other than in completely enclosed buildings or garages, except when the vehicle is present for the purpose of providing a required service to the residence where parked, but only for that period of time which is required to provide the service.
E.
The storage of semitrailers is prohibited in all residential and business districts. No semitrailer may be used as an accessory structure in any zoning district.
(Ord. 95-28, 5-1-1995; Ord. 95-79, 12-18-1995; Ord. 96-54, 9-16-1996)
Off street parking spaces shall be provided in accordance with the specific parking classes set out in this section. Parking spaces for accessory uses not specifically enumerated within a parking class shall be assumed to be included in the principal (permitted or special) use requirement. If the classification of any use, for the purpose of determining the amount of off street parking, or the number of spaces to be provided by such use is not readily determinable hereunder, the parking class of such use shall be established by the director of community development:
TABLE 1 - OFF STREET PARKING CLASSES OFF STREET PARKING REQUIREMENTS
(Ord. 95-28, 5-1-1995; amd. Ord. 99-35, 9-7-1999; Ord. 2000-75A, 12-4-2000; Ord. 2007-21, 5-7-2007; Ord. 2008-36, 8-4-2008; Ord. No. 2009-16, § 1, 4-13-2009; Ord. No. 2010-63, § 1, 1-3-2011; Ord. No. 2012-30, § 1, 9-4-2012; Ord. No. 2019-17, § 55, 8-5-2019; Ord. No. 2019-29, §§ 9—11, 12-9-2019; Ord. No. 2020-25, § 1, 8-17-2020)
All off street parking spaces required by this article, except those required for one- and two-family dwellings, shall be designed in accordance with one of the descriptions set forth in this section:
TABLE 2
OFF-STREET PARKING MODULE DIMENSIONS
Note:
Aisle widths are for one-way aisles except for 90 degree parking which must provide
a two-way aisle.
(Ord. 95-28, 5-1-1995)
A written application for administrative relief to the off street parking module dimensions set forth in this section may be filed with the director of community development. Such application shall demonstrate that unique physical conditions of the property make strict application of the regulations to the property extremely difficult or unreasonable to comply with. The application shall further demonstrate that the unique conditions do not generally exist for other properties in the same zoning district and the public interest is not well served by strict application of the regulations and lesser or different standards best meet the public interest and the intent of this section. Dependent upon the approval process under which the application for relief is sought, the approving authority shall make the final decision upon whether any relief from the requirements is approved.
(Ord. 2002-54, 9-3-2002)
CHAPTER 11
OFF-STREET PARKING AND LOADING; TRAFFIC AND ACCESS REGULATIONS
A.
Location, Enclosure And Screening: All required loading berths shall be located on the same zoning lot as the use served. All motor vehicle loading berths which abut a residential district or an intervening alley separating a residential district form a business, commercial or industrial district shall be constructed of completely enclosed docks and landscaped with densely planted mature shrubbery or any combination thereof as part of an approved landscape plan in accordance with chapter 10 of this title. No permitted or required loading berth shall be located within thirty feet (30') of a pavement line or any property line. No loading berth shall be located in a street setback nor within seventy five feet (75') of the nearest point of intersection of any two (2) streets, nor within seventy five feet (75') of any residentially zoned property.
In the OR district, all off-street loading facilities shall be completely enclosed and integrated as part of the building design. In all other districts, off-street loading facilities shall be screened from view from a public street.
B.
Size: Unless otherwise specified, a required off-street loading berth shall be at least twelve feet (12') in width by at least thirty feet (30') in length, exclusive of aisle and maneuvering space, and shall have a vertical clearance of at least fifteen feet (15').
C.
Access: Each required off-street loading berth shall be designed with appropriate means of vehicular access to a street or alley in a manner which will least interfere with traffic movement, and shall be subject to approval by the director of community development.
D.
Surfacing: All open off-street loading berths shall be surfaced with a dustless all-weather material capable of bearing a live load of two hundred (200) pounds per square foot.
E.
Repair And Service:
1.
Residential Districts: No motor vehicle repair work or service of any kind shall be permitted in conjunction with loading facilities provided in any residential district.
2.
Office, Office Research And Business Districts: No motor vehicle repair work or service of any kind shall be permitted in conjunction with loading facilities provided in office or business districts except emergency repair service necessary to start vehicles.
3.
Industrial Districts: No motor vehicle repair work or service of any kind shall be permitted in conjunction with loading facilities provided in an industrial district if such loading facilities are within five hundred feet (500') of a residential district. Washing of accessory vehicles and emergency service required to start vehicles shall be permitted.
F.
Utilization: Space allocated to any off-street loading use shall not, while so allocated, be used to satisfy the space requirements for any access aisle or off-street parking facilities.
G.
Central Loading: Central loading facilities may be substituted for loading berths on the individual zoning lots provided the following conditions are fulfilled:
1.
Each zoning lot served shall have direct access to the central loading area without crossing streets or alleys at grade.
2.
Total off-street loading berths provided shall meet the minimum requirements herein specified, based on the sum of the several types of uses served. (Area of types of uses may be totaled before computing number of loading berths.)
3.
No zoning lot served shall be more than five hundred feet (500') removed from the central loading area.
4.
The tunnel or ramp connecting the central loading area with the zoning lot served shall be not less than seven feet (7') in width and have a clearance of not less than seven feet (7').
H.
Minimum Facilities: Uses for which off-street loading facilities are required herein, but which are located in buildings of less floor area than the minimum prescribed for such required facilities, shall be provided with adequate receiving facilities, accessible by motor vehicle off any adjacent alley or service drive on the same zoning lot. (Ord. 95-28, 5-1-1995)
A.
Residential Districts: Off-street loading facilities accessory to uses allowed in the several residential districts shall be provided in accordance with the following minimum requirements:
1.
Hospitals: One loading berth shall be provided for buildings containing ten thousand (10,000) to one hundred thousand (100,000) square feet of gross floor area or fraction thereof. Each such loading berth for buildings in excess of two hundred thousand (200,000) square feet in gross floor area shall be not less than twelve feet (12') in width by fifty five feet (55') in length.
2.
Institutions: For the uses listed hereunder, one loading berth shall be provided for buildings containing ten thousand (10,000) to one hundred thousand (100,000) square feet of gross floor area, plus one additional loading berth for each additional one hundred thousand (100,000) square feet of gross floor area or fraction thereof:
Educational and cultural institutions
Philanthropic and charitable institutions.
Religious institutions.
3.
Recreational And Social Facilities: For buildings containing ten thousand (10,000) to one hundred thousand (100,000) square feet of gross floor area, one loading berth shall be provided, and for each additional one hundred thousand (100,000) square feet of gross floor area up to five hundred thousand (500,000) square feet, one additional loading berth shall be provided, plus one additional loading berth for each additional five hundred thousand (500,000) square feet of gross floor area or fraction thereof in excess of five hundred thousand (500,000) square feet.
4.
All Other Nonresidential Uses: For all other nonresidential uses, loading facilities shall be provided in accordance with the following requirements:
a.
For buildings containing less than ten thousand (10,000) square feet of gross floor area, there shall be provided on the same zoning lot adequate receiving facilities, accessible by motor vehicle, off any adjacent alley, service drive or open space.
b.
For buildings containing ten thousand (10,000) to one hundred thousand (100,000) square feet of gross floor area, one off-street loading berth shall be provided.
c.
For buildings containing over one hundred thousand (100,000) square feet of gross floor area, there shall be provided one loading berth for each one hundred thousand (100,000) square feet of gross floor area or fraction thereof.
B.
Office And Business Districts: Off-street loading spaces accessory to uses permitted in the several businesses, commercial or office districts shall be provided in accordance with the following minimum requirements:
1.
Any use listed in a residential district that is also permitted in any of the several business districts shall provide loading spaces as established for that use in the preceding section for residential districts.
2.
Establishments containing less than seven thousand (7,000) square feet of gross floor area shall be provided with adequate facilities, accessible by motor vehicles off any adjacent alley, service drive or open space on the same zoning lot.
3.
For the uses listed hereunder, one loading berth shall be provided for buildings containing seven thousand (7,000) to forty thousand (40,000) square feet of gross floor area. For buildings containing forty thousand (40,000) to one hundred thousand (100,000) square feet of gross floor area, two (2) loading berths shall be provided, plus one additional loading berth for each additional one hundred thousand (100,000) square feet of gross floor area or fraction thereof. Each such loading berth for buildings in excess of one hundred thousand (100,000) square feet of gross floor area shall be not less than twelve feet (12') in width by fifty five feet (55') in length.
Cartage and express facilities.
Mail order house
Printing and publishing
Restricted production and repair.
Warehousing, storage, and wholesale establishments.
4.
For the uses listed hereunder, one loading berth shall be provided for buildings containing ten thousand (10,000) to one hundred thousand (100,000) square feet of gross floor area; for each additional one hundred thousand (100,000) square feet of gross floor area up to five hundred thousand (500,000) square feet, one additional loading berth shall be provided, plus one additional loading berth for each additional five hundred thousand (500,000) square feet of gross floor area or fraction thereof in excess of five hundred thousand (500,000) square feet.
Banks and financial institutions.
Medical and dental clinics.
Offices, business, professional, and governmental.
Recreation buildings and community centers, noncommercial.
5.
For the uses listed hereunder, one loading berth shall be provided for buildings containing ten thousand (10,000) to one hundred thousand (100,000) square feet of gross floor area, plus one additional loading berth for each additional one hundred fifty thousand (150,000) square feet of gross floor area or fraction thereof. Each such loading berth for buildings in excess of twenty thousand (20,000) square feet of gross floor area shall be not less than twelve feet (12') in width by fifty five feet (55') in length.
Clubs and lodges (not for profit) containing retail shops, convention halls, auditoriums,
exhibition halls, or business or professional office (other than accessory).
Convention halls.
Exhibition halls.
Hotels and motels containing retail shops, convention halls, auditoriums, exhibition
halls, or business or professional offices.
Radio and television stations and studios.
Recording studios.
Stadiums, auditoriums, and arenas.
6.
For the uses listed hereunder, one loading berth shall be provided for buildings containing ten thousand (10,000) to one hundred fifty thousand (150,000) square feet of gross floor area, plus one additional loading berth for each additional two hundred thousand (200,000) square feet of gross floor area or fraction thereof.
Clubs and lodges (not for profit) containing no retail shops, convention halls, auditoriums,
exhibition halls, or business or professional offices (other than accessory).
Hotels and motels containing retail shops, convention halls, auditoriums, exhibition
halls, or business or professional offices.
Meeting halls.
Schools music, dance, business, and trade.
Theaters, indoor.
7.
For the uses listed hereunder, buildings containing ten thousand (10,000) to one hundred thousand (100,000) square feet of gross floor area, one loading berth shall be provided, plus one additional loading berth for each additional one hundred thousand (100,000) square feet of gross floor area or fraction thereof:
Amusement establishments
Bowling alleys
Skating rinks
Swimming pools
8.
For the uses listed hereunder, there shall be no requirements for off-street loading.
Parking garages
Parking lots
9.
For the uses listed hereunder, for buildings containing seven thousand (7,000) to one hundred thousand (100,000) square feet of gross floor area, one loading berth shall be provided, plus one additional loading berth for each additional one hundred thousand (100,000) square feet of gross floor area or fraction thereof.
Funeral parlors
Undertaking establishments
10.
For all other uses, loading facilities shall be provided in accordance with the following schedule:
For each additional two hundred thousand (200,000) square feet in gross floor area or fraction thereof, over one hundred thousand (100,000) square feet of gross floor area, one additional loading berth shall be provided, such additional berth to be at least twelve feet (12') in width by fifty five feet (55') in length.
C.
Office Research And Industrial Districts: Off-street loading facilities accessory to uses allowed in the office research and industrial districts shall be provided in accordance with the following minimum requirements:
1.
Any use listed in an office or business district that is also permitted in any of the several office research and industrial districts shall provide loading spaces as established for that use in the preceding section for residential districts.
2.
Any production, processing, cleaning, servicing, testing, repair, or storage of materials, goods, or products: For buildings containing seven thousand (7,000) to forty thousand (40,000) square feet of gross floor area, one loading berth shall be provided. For buildings, containing forty thousand (40,000) to one hundred thousand (100,000) square feet of gross floor area, two (2) loading berths shall be provided, plus one additional loading berth for each additional one hundred thousand (100,000) square feet of gross floor area or fraction thereof. Each such loading berth for buildings in excess of ten thousand (10,000) square feet of gross floor area shall be not less than twelve feet (12') in width by fifty five feet (55') in length.
3.
For uses listed hereunder, one loading berth shall be provided for buildings containing ten thousand (10,000) to one hundred thousand (100,000) square feet of gross floor area. For each additional one hundred thousand (100,000) square feet of gross floor area up to five hundred thousand (500,000) square feet, one additional loading berth shall be provided, plus one additional loading berth for each additional five hundred thousand (500,000) square feet of gross floor area or fraction thereof in excess of five hundred thousand (500,000) square feet.
Medical and dental clinics.
Recreation buildings or community centers.
4.
For the uses listed hereunder, one loading berth shall be provided for buildings containing ten thousand (10,000) to one hundred thousand (100,000) square feet of gross floor area, plus one additional loading berth for each additional one hundred thousand (100,000) square feet of gross floor area or fraction thereof. Each such loading berth for buildings in excess of twenty thousand (20,000) square feet of gross floor area shall not be less than twelve feet (12') in width by fifty five feet (55') in length.
Air and railroad freight terminals, railroad switching and classification yards, repair
shops and roundhouses.
Airports and commercial heliports.
Radio and television stations and studios.
Sewage treatment plants, municipal.
Stadiums, auditoriums, and arenas.
5.
For the uses listed hereunder, one loading berth shall be provided for buildings containing ten thousand (10,000) to two hundred thousand (200,000) square feet of gross floor area, plus one additional loading berth for each additional two hundred thousand (200,000) square feet of gross floor area or fraction thereof.
Trade schools.
6.
For the uses listed hereunder, there shall be no requirements for off-street loading.
Parking lots.
Weighing stations.
7.
For the uses listed hereunder, for buildings containing five thousand (5,000) to forty thousand (40,000) square feet of gross floor area, one loading berth shall be provided. For buildings containing forty thousand (40,000) to one hundred thousand (100,000) square feet of gross floor area, two (2) loading berths shall be provided, plus one additional loading berth for each additional one hundred thousand (100,000) square feet of gross floor area or fraction thereof. Each such loading berth for buildings in excess of ten thousand (10,000) square feet of gross floor area shall not be less than twelve feet (12') in width by fifty five feet (55') in length.
Motor freight terminals.
8.
For all other uses, loading facilities shall be provided in accordance with the following schedule:
For each additional two hundred thousand (200,000) square feet of gross floor area or fraction thereof, over one hundred thousand (100,000) square feet of gross floor area, one additional loading berth shall be provided, such additional berth to be at least twelve feet (12') in width by fifty five feet (55') in length. (Ord. 95-28, 5-1-1995)
CHAPTER 11
OFF-STREET PARKING AND LOADING; TRAFFIC AND ACCESS REGULATIONS
This article is intended to establish specific criteria and standards for traffic and access applicable to almost all types of development within the city. These provisions are intended to provide a uniform set of standards upon which all development proposals may be reviewed. (Ord. 95-28, 5-1-1995)
A.
When Required: A traffic impact analysis may be required under situations as described as follows:
1.
An application for development approval for:
Low density residential developments fifteen (15) acres in size or greater;
Multiple family developments (including two- and three-family) ten (10) acres in size or greater;
Nonresidential developments five (5) acres in size or greater.
2.
Where the city engineer or the director of community development deems that the proposed development will have significant traffic impact to safe and efficient movement, and to the general public welfare.
B.
Content Of Traffic Impact Analysis:
1.
Each traffic impact analysis shall provide, at a minimum, the following information:
a.
Identify the site vicinity with respect to the surrounding thoroughfare street system and adjacent land use; and
b.
Identify the locations of all intersections and/or private access opposite the site and nearest to the site on any public streets bordering the site. Distances to the nearest intersections and/or private access from the site boundaries along the bordering public streets shall be reported.
2.
The city engineer may request additional information to be provided in the traffic impact analysis as follows:
a.
An assessment of level of service for future year projected conditions. Along with this requirement, the city engineer shall supply the applicant with any existing published data on future year traffic;
b.
Additional intersections where level of service computations are to be performed. Additional intersections so identified shall not be greater than one mile from the site boundary;
c.
Other issues as identified by the city engineer including, but not limited to, access location, traffic circulation, parking and median break impacts. When such additional information is requested, the city engineer may upon request by the applicant, provide reasons for such additional requirements;
d.
Boundaries along the bordering public streets shall be reported. Identify existing traffic volumes on any ordering public streets and on any public street passing through the site;
e.
Provide an estimate for distribution of site generated trips onto the street system surrounding the site. The basis for the estimated trip distribution should be clearly identified; and
f.
Compute the level of service for each access to an intersection with the arterial and collector street system from the site. Compute the level of service for the arterial and collector street system intersections nearest to each site access to the arterial and collector street systems. Level of service computations should be performed for existing conditions, if applicable, for development in accordance with the existing zoning and comprehensive plan land use intensities and for the proposed site development. Level of service computations should be performed for the morning and evening commuter peak hour, unless otherwise permitted or directed by the city engineer.
g.
A ten (10) year traffic projection on select roadways, as determined by the city engineer, which include the impact of known planned developments within one thousand three hundred twenty feet (1,320') of the site.
C.
Procedure For Preparation Of Traffic Impact Analysis: Through a preapplication conference or an informal meeting with the director of community development, a determination can be sought whether a traffic impact analysis will be required. (Ord. 95-28, 5-1-1995)
A.
Purpose: The access control standards are intended to regulate vehicular access to or from any public street under city jurisdiction to or from property adjoining a public street. It is the purpose of this section to provide the procedures and standards necessary to protect the public health, safety and welfare to maintain smooth traffic flow and to protect the functional design of public streets while meeting transportation needs and interests.
B.
Specific Access Control Standards For Driveway Access:
1.
Driveway Permits:
a.
A driveway permit review shall be required when:
(1)
A new development occurs.
(2)
Where the intensity of any building, structure or premises is increased through the addition of dwelling units, gross floor area, seating capacity or other units of measurements related to trip generation.
(3)
An existing use is changed to a new use. Based on this review, new driveway permit(s) may be required. All costs associated with a change in access, as per the new permits, shall be the responsibility of the property owner.
b.
A temporary permit for additional driveways may be allowed by the city engineer subject to replacement of that temporary access at a future date with one of the following:
(1)
An adjacent public street or access (frontage) road; or
(2)
A shared driveway, as shown on the approved development plans for the site.
The drive for which the temporary permit was issued, at the discretion of the city engineer may remain as a limited turn driveway.
2.
Property Line Clearance: Wherever feasible, driveways shall be located so that the required curb return lies entirely within the subject property lines (extended) unless the driveway is being shared by adjacent property owners.
3.
One Driveway:
a.
Unless a traffic engineering study or other documentation indicates, to the satisfaction of city, the need for additional driveways, only one shall be permitted.
b.
Where additional driveways are necessary, first consideration shall be given to supplemental driveways, which limit left turns.
c.
Shared driveways or provision for access from adjacent public streets is encouraged.
d.
On minor streets, single-family detached uses may be permitted two (2) driveway entrances subject to the approval of the city engineer.
4.
Curb Return:
a.
One-Way Drives (Individual single-family detached and duplex uses exempt):
(1)
Fifteen foot (15') minimum outside radius.
(2)
Five foot (5') minimum inside radius.
b.
Two-Way Drives:
(1)
Twenty five feet (25'). At the discretion of the city engineer, a minimum of fifteen feet (15') will be allowed for low volume driveways, or where a shoulder or right turn lane provides for deceleration off an arterial lane.
(2)
Thirty feet (30') to fifty feet (50'). For high volume generators such as shopping center, office or industrial parks, etc. Basis for design shall include the truck design vehicle for that drive.
5.
Driveway Width (Measured at right angles to the driveway curb or edge of pavement at the property line):
a.
Twenty four feet (24') maximum for single-family residential detached and duplex land use.
b.
Thirty feet (30') (2 lanes). At the discretion of the city engineer, lesser widths may be allowed for low volume driveways.
c.
Thirty six feet (36') (undivided 3 lanes).
d.
Forty eight feet (48') maximum (divided 24 foot drives excluding median).
6.
Curbs And Gutters: All driveways shall be provided with concrete curb and gutter for full length of curb return to at least the property line.
7.
Limited Turn Driveways:
a.
Driveways which are designed to prohibit left turns in and out shall have a channelizing island and the following minimum dimensions:
b.
Minimum signage shall include stop sign and no left turn sign at the exit lane, and a no left turn sign on the road right-of-way opposite the driveway, visible to oncoming arterial traffic.
c.
Where driveways are to have left turn prohibitions only at selected times of the day, the requirement for a channelizing island may be waived and replaced with signing only, at the discretion of the permit engineer with the city engineer.
d.
At the discretion of the city engineer and where sufficient land is not available on site, the minimum dimensions for width, length and curb return may be reduced to twenty feet (20'), fifteen feet (15') and thirty feet (30'), respectively.
8.
Angle Of Intersection:
a.
Two-Way Drive: Ninety degrees (90;deg;) minimum. The city engineer may allow a minimum angle of seventy degrees (70;deg;) if necessitated by site conditions.
b.
One-Way Drive: Sixty degrees (60;deg;) minimum. The city engineer may reduce the minimum to forty-five degrees (45;deg;) where sufficient deceleration length on the driveway is provided.
9.
Driveway Storage Length: Sufficient driveway storage space shall be provided for all entrances/exits, subject to the approval of the city engineer. The amount of storage shall consider the conditions and configuration of adjoining roadway improvements, the design of on-site parking improvements and the volume of traffic anticipated by the development.
10.
Driveway Median:
a.
Minimum of:
b.
Use of medians on two (2) or three (3) lane driveways shall be permitted only after the city engineer determines that the median will not interfere with vehicle turning paths.
C.
Waiver Provision: The city engineer is authorized to waive or reduce the requirements set forth in this section where it is determined, under the specific circumstances, the property cannot comply or the public interest is not best served and a lessor or different standard best meets the public interest and the intent of this section.
Any person who is aggrieved by a determination of the city engineer may seek a variation before the planning and zoning commission, which is authorized to grant relief from the provisions of this section. All decisions on requested waivers by the city engineer shall be based upon whether the requested waiver will have a serious detriment to the safety and/or operation of the public roadway, as well as adopted standards for granting variations form the requirements of this title. (Ord. 95-28, 5-1-1995; Ord. No. 2019-17, § 56, 8-5-2019)