OFF-STREET PARKING AND LOADING
The off-street parking regulations require that developments provide parking in proportion to the need created by each use. The regulations further establish standards for the functional design of parking facilities. These regulations are intended to accommodate vehicles in a functionally satisfactory manner and to minimize external effects on neighboring properties.
(Code 1970, § 38-169; Ord. No. 3088, § 2(exh. A), 12-1-2015)
(a)
Applicability. Off-street parking shall be provided for any new building constructed; for new uses in, or conversions of, existing buildings; or for enlargements of existing structures.
(b)
Exemptions. Any use within the C-4 downtown mixed-use district is exempt from the off-street parking requirements. Any off-street parking facility constructed in the C-4 district after the effective date of the ordinance from which this section derives must comply with the design standards set forth in this section.
(c)
Status of previous approvals. Projects with unexpired building permits, conditional use permits, PUD overlays, or variances approved prior to the date of this chapter must only meet the parking requirements in effect on the date those permits were approved. Renewal applications submitted after the expiration of the original permit, and subsequent to the adoption of this chapter shall be subject to the provisions required herein. Building permits for which complete applications have been filed prior to the effective date of this chapter shall be subject to the parking standards and design requirements in effect as of the date of their application.
(Code 1970, § 38-170; Ord. No. 3088, § 2(exh. A), 12-1-2015)
(a)
Parking facilities for each use shall be provided in accord with the minimum requirements set forth in Table 38-940.
(b)
Computation.
(1)
When a computation of required parking results in a fraction of 0.5 or greater, the requirement shall be rounded up to the next whole number.
(2)
Unless otherwise indicated, parking requirements are based on gross floor area.
(3)
When parking requirements are computed on the basis of capacity, capacity shall be determined by the building code or other official determinations of occupancy in effect for the city at the time the use is established.
(4)
Tandem parking spaces. Tandem parking spaces (one car parked directly behind another) shall not be permitted except for single-family residences, mobile homes, or parking facilities when an attendant is on duty during the hours when the facility is being used.
(5)
For mixed-use buildings or mixed-use developments up to 50 percent of required parking may be shared for uses with different operating times.
(6)
Auto service and body repair subject to other restrictions applicable under this chapter.
Table 38-940. Minimum Off-Street Parking Requirements
(c)
Schedule A. This schedule sets forth minimum off-street parking requirements for uses with elements that have different functions and operating characteristics.
(Code 1970, § 38-171; Ord. No. 3088, § 2(exh. A), 12-1-2015; Ord. No. 3167, § 5, 12-3-2019; Ord. No. 3192, § 17, 4-19-2022)
(a)
Residential parking.
(1)
With the exception of downtown residential uses, off-street parking for residential uses shall be located on the same lot or site as the use.
(2)
Off-street parking areas for any multifamily or group residential uses shall be at least six feet from any main building; and shall not be located within a required front yard or street side yard.
(3)
For multifamily residential uses, separately leased detached garages may not be used to satisfy parking requirements for such use. Parking incorporated into the design of multifamily buildings, or within parking structures, shall be counted toward fulfillment of parking requirements.
(4)
Front yard parking. Parking in front yards shall be subject to the following:
a.
All required parking in any R district must be outside the front yard.
b.
No parking for any permitted use in any R district, other than single-family or two-family units, may be located in the front yard.
c.
In any R district, no single-family or two-family lot shall have more than 25 percent of the street yard used for driveway and off-street parking purposes. However, this restriction shall not prohibit the construction of a 20-foot-wide driveway or a driveway expansion beside the house or in the rear yard and shall connect to a street or alley and with a minimum width reasonably necessary to provide access to a two-car garage, or a 30-foot-wide driveway for a three-car garage.
d.
In any R district, expansions of off-street parking areas in street yards shall be of a hard surface, i.e., paved concrete, asphalt, or brick pavers. For single-family and duplex properties only, expansion areas may be a minimum of four inches depth of rock and comply with the 2015 SUDAS standards. Driveways are to be located beside the house or in the rear yard and shall connect to a street or alley.
e.
Overflow temporary parking for school athletic events shall be allowed in the required front yard provided such parking is restricted to the school grounds.
(b)
Non-residential parking. Off-street parking for non-residential uses shall be located on the same lot or site as the use, or within 600 feet of that use if the parking site is within a zoning district that permits the off-street parking use type.
(Code 1970, § 38-172; Ord. No. 3088, § 2(exh. A), 12-1-2015)
(a)
Property used for required parking shall be under the same ownership as the generating use, except when the parking is provided under a deed restriction, provided by participation in a joint parking project, by a parking improvement district, or by a public parking lot. A lot or parcel that is used for parking or vehicular access to an adjoining lot must have the same zoning classification or less restricted zoning classification as the adjoining lot.
(b)
Parking requirements may be administratively waived in a C-2 commercial district when off-street public parking is within 600 feet of the use. If parking is not administratively waived the request may be appealed to the zoning board of adjustment.
(c)
When property zoned commercial or industrial is used for parking only, and is under the same ownership as the generating use but is not contiguous to the generating use; the following shall apply:
(1)
If only separated from the generating use by a public alley, and if within 300 feet of the generating use, the parking area shall be deemed to be acceptable as far as its proximity to the site.
(2)
If proposed parking area is separated in any way other than described above, such parking area must be granted a variance by the zoning board of adjustment.
(3)
The owner of the generating use shall record a restrictive covenant running with the land on the generating use and parking properties giving notice that the generating use cannot continue if the parking use is discontinued.
(d)
In all other instances, required parking shall be under the same ownership as, and either on the same parcel or contiguous to, the generating use.
(Code 1970, § 38-173; Ord. No. 3088, § 2(exh. A), 12-1-2015)
(a)
Dimensions.
(1)
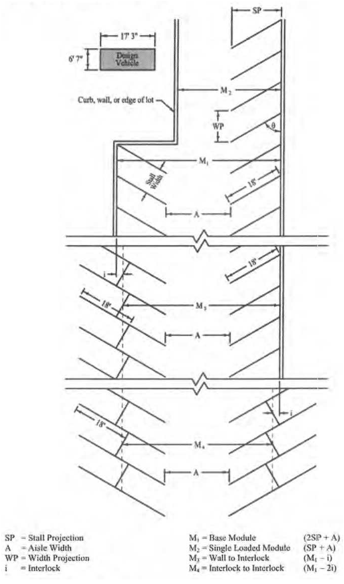
Standard parking stalls shall be nine feet wide and 18 feet long.
(2)
Where parking stalls are located adjacent to landscaped areas, the paved depth of such stalls may be decreased by two feet to provide for a vehicle overhang area. The vehicle overhang area may not encroach into a required landscaped area or public sidewalk or right-of-way.
(3)
Parking module design (from SUDAS Design Manual). The drive aisle is the space between two parking stalls directly across from one another. The term "module" refers to the width of the drive aisle combined with the length of the parking stalls on one or both sides of the drive aisle. Table 38-943 lists required minimum dimensions for parking facilities. Figure 38-943 provides further definition of the terms used in Table 38-943.
(b)
Surface. All multifamily, commercial and industrial parking lots must be paved with either concrete or asphalt, to city's specifications. Gravel parking lots for these uses are not permitted.
Table 38-943. Minimum Parking Dimensions
Note 1: Aisle width may be increased up to three feet to provide a higher level of comfort.
Note 2: In lots where at least 30 percent of stalls have curbs, aisle width may be reduced by 1'-0."
Note 3: Light poles and columns may protrude a maximum of two feet into parking module so long as they do not encroach on more than 30 percent of the stalls. When more than 30 percent of stalls are encroached, interlock reduction cannot be taken.
Note 4: For additional parking angles, refer to The Dimensions of Parking, ULI, NPA.
Figure 38-943: Parking Dimensions
(Code 1970, § 38-174; Ord. No. 3088, § 2(exh. A), 12-1-2015)
(a)
Loading requirement. In any district with every building or part thereof hereafter erected, having a gross floor area of 10,000 square feet or more, which is to be occupied by manufacturing, storage, warehouse, goods display, retail store, wholesale store, market, hotel, hospital, mortuary, laundry, dry cleaning, or other uses similarly requiring the receipt or distribution by vehicles of material or merchandise, there shall be provided and maintained on the same lot with such building, at least one off-street loading space plus one additional such loading space for each 20,000 square feet or major fraction thereof of gross floor area, so used, in excess of 10,000 square feet.
(b)
Design standards.
(1)
Each loading space shall be at least 12 feet wide by 40 feet long, with a vertical clearance of at least 14 feet.
(2)
Paving of loading spaces and access areas shall be permanent, durable, and free of dust.
(3)
Off-street loading areas are subject to the landscaping and buffering requirements for parking facilities set forth in article XXIX of this chapter.
(Code 1970, § 38-175; Ord. No. 3088, § 2(exh. A), 12-1-2015)
OFF-STREET PARKING AND LOADING
The off-street parking regulations require that developments provide parking in proportion to the need created by each use. The regulations further establish standards for the functional design of parking facilities. These regulations are intended to accommodate vehicles in a functionally satisfactory manner and to minimize external effects on neighboring properties.
(Code 1970, § 38-169; Ord. No. 3088, § 2(exh. A), 12-1-2015)
(a)
Applicability. Off-street parking shall be provided for any new building constructed; for new uses in, or conversions of, existing buildings; or for enlargements of existing structures.
(b)
Exemptions. Any use within the C-4 downtown mixed-use district is exempt from the off-street parking requirements. Any off-street parking facility constructed in the C-4 district after the effective date of the ordinance from which this section derives must comply with the design standards set forth in this section.
(c)
Status of previous approvals. Projects with unexpired building permits, conditional use permits, PUD overlays, or variances approved prior to the date of this chapter must only meet the parking requirements in effect on the date those permits were approved. Renewal applications submitted after the expiration of the original permit, and subsequent to the adoption of this chapter shall be subject to the provisions required herein. Building permits for which complete applications have been filed prior to the effective date of this chapter shall be subject to the parking standards and design requirements in effect as of the date of their application.
(Code 1970, § 38-170; Ord. No. 3088, § 2(exh. A), 12-1-2015)
(a)
Parking facilities for each use shall be provided in accord with the minimum requirements set forth in Table 38-940.
(b)
Computation.
(1)
When a computation of required parking results in a fraction of 0.5 or greater, the requirement shall be rounded up to the next whole number.
(2)
Unless otherwise indicated, parking requirements are based on gross floor area.
(3)
When parking requirements are computed on the basis of capacity, capacity shall be determined by the building code or other official determinations of occupancy in effect for the city at the time the use is established.
(4)
Tandem parking spaces. Tandem parking spaces (one car parked directly behind another) shall not be permitted except for single-family residences, mobile homes, or parking facilities when an attendant is on duty during the hours when the facility is being used.
(5)
For mixed-use buildings or mixed-use developments up to 50 percent of required parking may be shared for uses with different operating times.
(6)
Auto service and body repair subject to other restrictions applicable under this chapter.
Table 38-940. Minimum Off-Street Parking Requirements
(c)
Schedule A. This schedule sets forth minimum off-street parking requirements for uses with elements that have different functions and operating characteristics.
(Code 1970, § 38-171; Ord. No. 3088, § 2(exh. A), 12-1-2015; Ord. No. 3167, § 5, 12-3-2019; Ord. No. 3192, § 17, 4-19-2022)
(a)
Residential parking.
(1)
With the exception of downtown residential uses, off-street parking for residential uses shall be located on the same lot or site as the use.
(2)
Off-street parking areas for any multifamily or group residential uses shall be at least six feet from any main building; and shall not be located within a required front yard or street side yard.
(3)
For multifamily residential uses, separately leased detached garages may not be used to satisfy parking requirements for such use. Parking incorporated into the design of multifamily buildings, or within parking structures, shall be counted toward fulfillment of parking requirements.
(4)
Front yard parking. Parking in front yards shall be subject to the following:
a.
All required parking in any R district must be outside the front yard.
b.
No parking for any permitted use in any R district, other than single-family or two-family units, may be located in the front yard.
c.
In any R district, no single-family or two-family lot shall have more than 25 percent of the street yard used for driveway and off-street parking purposes. However, this restriction shall not prohibit the construction of a 20-foot-wide driveway or a driveway expansion beside the house or in the rear yard and shall connect to a street or alley and with a minimum width reasonably necessary to provide access to a two-car garage, or a 30-foot-wide driveway for a three-car garage.
d.
In any R district, expansions of off-street parking areas in street yards shall be of a hard surface, i.e., paved concrete, asphalt, or brick pavers. For single-family and duplex properties only, expansion areas may be a minimum of four inches depth of rock and comply with the 2015 SUDAS standards. Driveways are to be located beside the house or in the rear yard and shall connect to a street or alley.
e.
Overflow temporary parking for school athletic events shall be allowed in the required front yard provided such parking is restricted to the school grounds.
(b)
Non-residential parking. Off-street parking for non-residential uses shall be located on the same lot or site as the use, or within 600 feet of that use if the parking site is within a zoning district that permits the off-street parking use type.
(Code 1970, § 38-172; Ord. No. 3088, § 2(exh. A), 12-1-2015)
(a)
Property used for required parking shall be under the same ownership as the generating use, except when the parking is provided under a deed restriction, provided by participation in a joint parking project, by a parking improvement district, or by a public parking lot. A lot or parcel that is used for parking or vehicular access to an adjoining lot must have the same zoning classification or less restricted zoning classification as the adjoining lot.
(b)
Parking requirements may be administratively waived in a C-2 commercial district when off-street public parking is within 600 feet of the use. If parking is not administratively waived the request may be appealed to the zoning board of adjustment.
(c)
When property zoned commercial or industrial is used for parking only, and is under the same ownership as the generating use but is not contiguous to the generating use; the following shall apply:
(1)
If only separated from the generating use by a public alley, and if within 300 feet of the generating use, the parking area shall be deemed to be acceptable as far as its proximity to the site.
(2)
If proposed parking area is separated in any way other than described above, such parking area must be granted a variance by the zoning board of adjustment.
(3)
The owner of the generating use shall record a restrictive covenant running with the land on the generating use and parking properties giving notice that the generating use cannot continue if the parking use is discontinued.
(d)
In all other instances, required parking shall be under the same ownership as, and either on the same parcel or contiguous to, the generating use.
(Code 1970, § 38-173; Ord. No. 3088, § 2(exh. A), 12-1-2015)
(a)
Dimensions.
(1)
Standard parking stalls shall be nine feet wide and 18 feet long.
(2)
Where parking stalls are located adjacent to landscaped areas, the paved depth of such stalls may be decreased by two feet to provide for a vehicle overhang area. The vehicle overhang area may not encroach into a required landscaped area or public sidewalk or right-of-way.
(3)
Parking module design (from SUDAS Design Manual). The drive aisle is the space between two parking stalls directly across from one another. The term "module" refers to the width of the drive aisle combined with the length of the parking stalls on one or both sides of the drive aisle. Table 38-943 lists required minimum dimensions for parking facilities. Figure 38-943 provides further definition of the terms used in Table 38-943.
(b)
Surface. All multifamily, commercial and industrial parking lots must be paved with either concrete or asphalt, to city's specifications. Gravel parking lots for these uses are not permitted.
Table 38-943. Minimum Parking Dimensions
Note 1: Aisle width may be increased up to three feet to provide a higher level of comfort.
Note 2: In lots where at least 30 percent of stalls have curbs, aisle width may be reduced by 1'-0."
Note 3: Light poles and columns may protrude a maximum of two feet into parking module so long as they do not encroach on more than 30 percent of the stalls. When more than 30 percent of stalls are encroached, interlock reduction cannot be taken.
Note 4: For additional parking angles, refer to The Dimensions of Parking, ULI, NPA.
Figure 38-943: Parking Dimensions
(Code 1970, § 38-174; Ord. No. 3088, § 2(exh. A), 12-1-2015)
(a)
Loading requirement. In any district with every building or part thereof hereafter erected, having a gross floor area of 10,000 square feet or more, which is to be occupied by manufacturing, storage, warehouse, goods display, retail store, wholesale store, market, hotel, hospital, mortuary, laundry, dry cleaning, or other uses similarly requiring the receipt or distribution by vehicles of material or merchandise, there shall be provided and maintained on the same lot with such building, at least one off-street loading space plus one additional such loading space for each 20,000 square feet or major fraction thereof of gross floor area, so used, in excess of 10,000 square feet.
(b)
Design standards.
(1)
Each loading space shall be at least 12 feet wide by 40 feet long, with a vertical clearance of at least 14 feet.
(2)
Paving of loading spaces and access areas shall be permanent, durable, and free of dust.
(3)
Off-street loading areas are subject to the landscaping and buffering requirements for parking facilities set forth in article XXIX of this chapter.
(Code 1970, § 38-175; Ord. No. 3088, § 2(exh. A), 12-1-2015)