28 - SPECIAL USES
A.
The development and execution of this Title is based upon the division of the Village into districts, within which districts the use of land and buildings, and the bulk and location of buildings and structures in relation to land, are substantially uniform.
1.
It is recognized, however, that there are special uses which, because of their unique characteristics, cannot be properly classified in any particular district or districts without consideration in each individual case of the impact of those special uses upon neighboring land and of the public need for that particular special use at that particular location.
2.
While specific regulations for specific zoning districts in this Title may recognize particular uses that may be allowable in such zoning district as a special use, all such special uses fall, nevertheless, into two broad categories:
a.
Uses publicly operated or traditionally affected with the public interest; and
b.
Uses entirely private in character, but of such an unusual nature that their operation may give rise to unique problems with respect to their impact upon neighboring property or public facilities; such uses may include planned unit developments meeting the standards and requirements of Section 17.28.050.
B.
The location, construction, extension or structural alteration of any use for which a special use is required, pursuant to the provisions of this Title, may be authorized by an ordinance passed and approved by the Corporate Authorities, subject to the standards and conditions as may be imposed pursuant to Section 17.28.040. Prior to such authorization, a public hearing shall be held and notice given in the manner prescribed in Chapter 17.64.
Any special use shall be heard before the Planning and Zoning Commission.
(Ord. No. 2014-43, § 21, 6-16-2014)
The procedure to be followed in considering applications for "special uses" shall be as follows:
A.
Application. An application by the owner of the property involved shall be filed with the Village for the attention of the Planning and Zoning Commission upon a form prescribed therefor.
B.
Public Hearing. Upon receipt of such application, the Chairman of the Planning and Zoning Commission shall give notice of public hearing pursuant to Chapter 17.64.
C.
Determination. The Planning and Zoning Commission shall then make its recommendations to the Corporate Authorities within thirty days following the date of public hearing. After receiving the report of the Planning and Zoning Commission, the Corporate Authorities shall accept the recommendations in whole or in part, or may reject them in whole or in part, or may refer the matter back to the Planning and Zoning Commission for further consideration. The Corporate Authorities may then authorize by ordinance a special use provided the evidence presented meets the criteria established in Section 17.28.040.
D.
After any special use is discontinued for a period of more than one-year, the special use shall be automatically revoked.
(Ord. No. 2014-43, § 21, 6-16-2014)
A.
All special uses shall meet the following criteria:
1.
The special use will serve the public convenience at the location of the subject property; or the establishment, maintenance or operation of the special use will not be detrimental to or endanger the public health, safety, morals, comfort, or general welfare;
2.
The location and size of the special use, the nature and intensity of the operation involved in or conducted in connection with said special use, the size of the subject property in relation to such special use, and the location of the site with respect to streets giving access to it shall be such that it will be in harmony with the appropriate, orderly development of the district in which it is located;
3.
The special use will not be injurious to the use and enjoyment of other property in the immediate vicinity of the subject property for the purposes already permitted in such zoning district, nor substantially diminish and impair other property valuations with the neighborhood;
4.
The nature, location and size of the buildings or structures involved with the establishment of the special use will not impede, substantially hinder or discourage the development and use of adjacent land and buildings in accord with the zoning district within which they lie;
5.
Adequate utilities, access roads, drainage, and/or other necessary facilities have been or will be provided;
6.
Parking areas shall be of adequate size for the particular special use, which areas shall be properly located and suitably screened from adjoining residential uses, and the entrance and exit driveways to and from these parking areas shall be designed so as to prevent traffic hazards, eliminate nuisance and minimize traffic congestion in the public streets.
B.
The special use shall in all other respects conform to the applicable regulations of the zoning district in which it is located, except as such regulations may be varied. Notwithstanding the foregoing, business planned unit developments shall conform with Section 17.44.040(D) unless varied.
C.
The Planning and Zoning Commission may recommend and the Corporate Authorities may impose such conditions and restrictions upon the subject property, the location, the construction and design of buildings and use of the property benefited by such special use as may be necessary or appropriate to comply with the foregoing criteria.
D.
Notwithstanding Chapter 17.52, the Planning and Zoning Commission may recommend and the Corporate Authorities may vary the regulations of the zoning district in which the special use is located subject to meeting the criteria of Section 17.52.070(A)(1)—(3), except for planned unit developments which shall meet the general objectives of Section 17.28.050(A)(1)—(7).
(Ord. 2004-100 § 2, 2004)
(Ord. No. 2014-43, § 21, 6-16-2014)
A.
General Purpose and Intent. The primary purpose of a planned unit development is to provide for development of balanced neighborhoods containing physical, economic and social assets difficult to achieve through the traditional separation of use and density zones. This is accomplished by allowing the developer the freedom necessary to protect natural resources and to protect the investment of both the Village and the project. Based upon the submission of an acceptable site plan and other required documents, permission may be granted for the construction of a planned unit development which may be constructed such that more than one principal building may be constructed on a single subdivided lot or unsubdivided parcel of land. The granting of such flexibility as provided for in the special use ordinance for a planned unit development shall be dependent upon the ability of the land as utilized by the developer to meet such general objectives set forth below as shall apply:
1.
The protection of both the aesthetics and functions of the natural environment;
2.
The arrangement of buildings and other improvements advantageous to the orderly function and aesthetics of both the natural and man-made environment;
3.
The preservation of adequate, permanent open space for the use of the residents in the development;
4.
The provision of land area necessary to accommodate any cultural, educational, recreational or other public and quasi-public activities necessary to serve the needs of the neighborhood;
5.
The orderly and creative arrangement of all land uses with respect to each other and to the entire Village;
6.
The provision of developed recreational activity areas necessary to serve the needs of the residential portion of the development;
7.
The provision of a pedestrian environment separate from the vehicular environment;
B.
Procedure for Securing Approval of a Planned Unit Development. The procedure for securing approval of a planned unit development shall be the same as that described in Chapter 16.20 with the following additions:
1.
The Preliminary Plan shall contain the following materials in addition to those required in Section 16.20.030:
a.
The location, quantity, size and species (both scientific and generic) of all existing trees on the site having diameters of four inches or greater as measured six inches above the ground,
b.
A statement showing the relationship of the planned unit development to the Official Plan of the Village,
c.
A statement of the anticipated residential density, the proposed total gross floor area, bedroom ratios for residential units, and the percentage of the development which is to be occupied by structures,
d.
When a planned unit development is to be constructed in phases or units, a schedule for the development of such phases or units shall be submitted. At no time shall the developed phases or units have a residential density that exceeds, by more than twenty percent, the proposed residential density of the entire planned unit development. The total area of common open space provided at any phase of development shall, at a minimum, bear the same relationship to the total open space to be provided in the entire planned unit development as the stages or units completed or under development bear to the entire planned unit development,
e.
In the case of nonresidential planned unit developments, a statement identifying the principal types of business and/or industrial uses that are to be included in the proposed development,
f.
Preliminary sketches of the proposed structures and a preliminary concept landscape plan shall be prepared by a qualified architect and/or landscape planner,
g.
Parcels of land intended to be dedicated or temporarily reserved for public use or set aside for use of property owners in the development area,
h.
A statement describing the provision that is to be made for the care and maintenance of open space or recreational facilities,
i.
Statement of the manner, if any, in which the planned unit development varies from the regulations of the zoning district in which it is located and an explanation of the reasons for such variations;
2.
A positive recommendation of the Planning and Zoning Commission in and of itself indicates that the Commission, based upon evidence presented at the hearing, has found that the planned unit development meets the general standards set forth in Section 17.28.050(D). No written findings of fact are required;
C.
Form of Ordinance.
1.
An ordinance approving and establishing a planned unit development shall specify the zoning regulations and restrictions that will, pursuant to the development plan, apply to the planned unit development and shall describe the boundaries of such development or set such boundaries out on a map that is incorporated and published as a part of such ordinance, Such ordinance shall also specify the conditions and restrictions that have been imposed by the Corporate Authorities on the planned unit development and the extent to which the otherwise applicable district regulations have been varied or modified.
2.
From time to time the applicant may make minor changes in the preliminary development plans submitted herein, but any such changes shall be made only with the approval of the Zoning Administrator or, upon his denial thereof, with the approval of the Corporate Authorities.
D.
General Standards.
1.
All planned unit developments shall meet the following general standards:
a.
Have the minimum areas as set forth in Section 17.16.060.
b.
The uses permitted in such development are not of such a nature or so located as to exercise an undue detrimental influence or effect upon the surrounding neighborhood;
c.
The plan effectively treats the developmental possibilities of the subject property, making appropriate provisions for the preservation of streams, wooded areas, scenic views, floodplain areas, and similar physical features;
d.
All requirements pertaining to commercial, residential, institutional or other uses established in the planned unit development conform to the requirements for each individual classification as established elsewhere in this Title, except as may be specifically varied for the proper planning of the planned unit development;
e.
The Planning and Zoning Commission shall determine that the area and width of the lot shall be sufficient for the proposed use, and that the development of the property in the proposed manner creates no outlots which will be difficult to develop in an appropriate manner.
E.
Residential Planned Unit Development.
1.
Residential Density. Densities within the planned unit development shall remain substantially the same as provided for in the Comprehensive Plan of the Village. Density ranges shall be provided as follows:
a.
One-family with a density not to exceed four dwelling units per acre of one-family dwellings.
b.
Planned Development—Six dwelling units per acre with a base density of four dwelling units per acre and with using the incentives listed in Section 17.28.050(E)(2) and (E)(3) shall not exceed seven dwelling units per acre.
c.
Planned Development—Ten dwelling units per acre with a base density of seven dwelling units per acre and with using the incentives listed in Section 17.28.050(E)(2) and (E)(3) shall not exceed twelve dwelling units per acre.
d.
Multiple family with a base density of twelve dwelling units per acre and with using the incentives listed in Section 17.28.050(E)(2) and (E)(3) shall not exceed fifteen dwelling units per acre.
The dwelling units per acre shall be calculated on the net acreage of the site. The percentages shall be applied to the base density.
2.
Incentives. The amounts stated for the following incentives are to be considered as maximum amounts to be recommended by the Planning and Zoning Commission:
a.
One percent for landscaped buffer strip, one percent for each ten feet in width (including setback requirements as hereinafter set forth), not to exceed three percent on all peripheral lot lines with a less restrictive use;
b.
Five percent for recreational facilities, which may or may not include a golf course, occupying one square foot for every five square feet of residential floor area;
c.
One percent for playground and recreational equipment (other than tennis courts and swimming pools); one percent for each eight thousand square foot lot not to exceed three percent;
d.
One percent for land for public building site such as a fire station, well, and/or water storage, etc. One percent per acre not to exceed five percent;
e.
Ten percent for provision of fifty percent of all required parking to be underground;
f.
Five percent for provision of fifty percent of all required parking to be enclosed;
g.
One percent for every one percent of the gross area of the site built as one-family detached dwellings at a density not to exceed four units to the acre; a one percent incentive will be allowed not to exceed a forty percent increase in density;
3.
The amounts stated for the following incentives are to be considered as maximum amounts to be granted as permitted by the Planning and Zoning Commission:
a.
Three percent for excellence in quality and amount of standard tree and shrub planting, including peripheral and interior screen planting and fencing.
b.
Five percent for swimming pool; five percent for each pool not to exceed ten percent.
c.
One percent for tennis courts; one percent for each court not to exceed five percent.
d.
Five percent for community center and/or club building.
e.
Three percent for lakes and water features.
f.
Three percent for provisions for pedestrian facilities such as plazas, trails, bicycle trails, interior sidewalks, benches, etc.
g.
One percent for use of sculptures, fountains, reflecting pools and similar features in design.
h.
Two percent for parking lot design which includes tree and shrub plantings.
i.
Solar energy incentives.
(i)
Three percent for provision of solar housing design elements such as solar energy collectors, roof overhangs intended to shield from sunlight and other elements specifically designed for solar energy.
(ii)
Three percent if one hundred percent of the homes have substantial south/southeasterly facing windows.
(iii)
Two percent for use of landscaping as a means of protecting the structure from extreme weather conditions such as deciduous trees to the southwest, evergreen trees on the northwest, and other elements specifically designed for solar energy.
4.
Bulk regulations.
a.
Building coverage. In no case shall building coverage exceed thirty-five percent of the gross acreage of the planned unit development.
b.
In the case of other than one-family dwellings abutting one-family dwellings or property approved for one-family dwellings, the distance at the closest point between the building and the boundary of the planned unit development shall be no less than thirty-five feet or twice the height of the building, whichever is greater.
In the case of other than one-family dwellings abutting other than one-family dwellings or property approved for other than one-family dwellings, the distance at the closest point between the building and the boundary of the planned unit development shall be no less than thirty-five feet or the height of the building, whichever is greater.
c.
No modifications of any kind may be made to the approved building architecture in a planned unit development where there is more than one building on a zoning lot unless approved by the Building Commissioner. No accessory buildings or structures are permitted unless approved on the preliminary plan.
d.
Zero lot line. In the case of one-family detached dwellings on lots of six thousand six hundred square feet or larger, a building wall may be placed on one side lot line provided that the wall has no windows, the remaining side yard is not less than fifteen feet and building separation (yard requirements) remain in keeping with the standards provided for in the R-E through R-6A zoning districts.
e.
Spacing between buildings. When there are two or more buildings which contain one-family attached and semi-detached dwellings or two or more multiple-family dwelling buildings, or a combination thereof, on a lot initially under single ownership or control, the distance between the building walls shall be as follows:
(i)
When the front wall of a building faces the front wall or rear wall of the nearest building, the distance between the two building walls shall be not less than fifty feet. (See Figure 17.28-1)
(ii)
When the rear wall of a building faces the rear wall of the other building, the distance between the two building walls shall be not less than forty feet. (See Figure 17.28-1)
(iii)
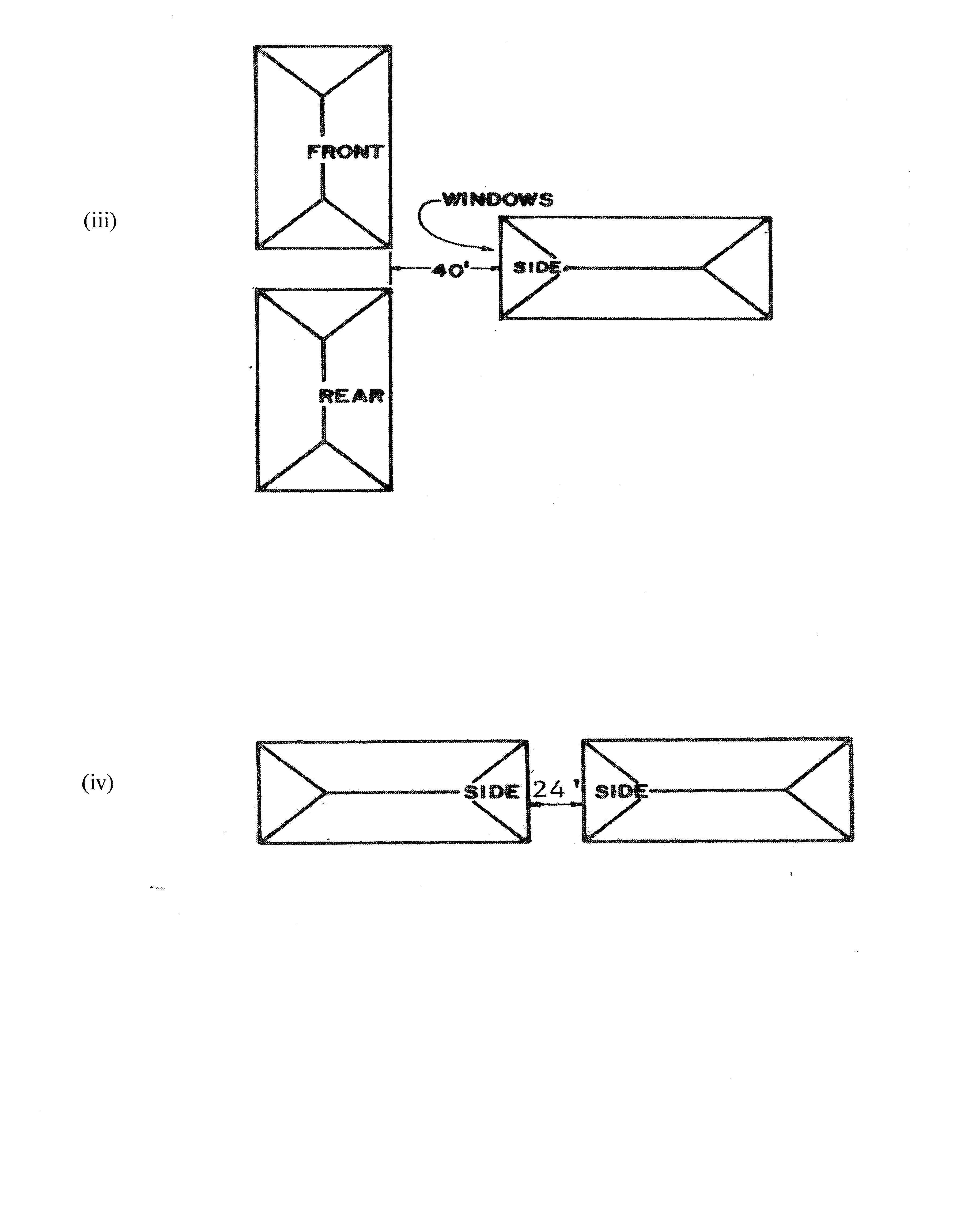
When the side wall of a building faces the front or rear wall of the nearest building, the distance between the two building walls shall be not less than forty feet. (See Figure 17.28-2)
(iv)
When a side wall faces a side wall of the nearer building, the distance between the two building walls shall not be less than twenty-four feet, except when there are no windows in either side wall. In that case, Section 17.28.050.E.4.e.(vi) shall apply. (See Figure 17.28-2)
DISTANCE BETWEEN BUILDINGS
DISTANCE BETWEEN BUILDINGS
DISTANCE BETWEEN BUILDINGS
(v)
A building forming the end of a court may be attached to one or both of the buildings forming the sides of the court, provided the distance between facing walls of the building forming the sides of the court is not less than the applicable requirements as set forth in this section. (See Figure 17.28-3)
(vi)
When a wall containing no window except those for bathrooms, storage rooms or stairwells faces such a wall or end of wall of the nearest building, the distance between two such building walls may be not less than fifteen feet. (See Figure 17.28-3)
f.
Building height. The maximum building height within a residential planned unit development shall be four stories or forty-five feet, whichever is less.
5.
Greenbelt circulation. The Planning and Zoning Commission shall encourage pedestrianways designed to provide for safe and convenient circulation within and beyond the development with special attention being given to the connections between parking areas, dwelling units and all project facilities.
6.
Public and private open space requirements. The Planning and Zoning Commission shall encourage open areas on the lot consolidated generally into large useable open areas, but which also provide corridors of space around a building or buildings. The Planning and Zoning Commission shall encourage open areas to be so located to take advantage of, hold and preserve existing natural amenities such as trees, topographic features, flood plain area, waterways and scenic views.
F.
Business Planned Unit Developments. All business planned unit developments shall conform with the requirements of Section 17.44.040.D and not as set forth in the underlying District.
G.
Office and Research Planned Unit Development and Industrial Planned Unit Development.
1.
The purpose of this section is:
a.
To provide flexibility in the large scale development of office and research and industrial property.
b.
To provide regulations to encourage a variety of building types, assure adequate open space and parking, and protect residential areas from the noise, traffic and activities of industrial operations.
c.
To allow for the placement of more than one principal building on a single zoning lot.
2.
Standards:
a.
Parking. Off-street parking and loading facilities shall be in accordance with Chapter 17.36.
b.
Other Requirements. The requirements as set forth in Section 17.48.010 in the case of office and research planned unit developments and Section 17.48.020 in the case of industrial planned unit developments shall be complied with. Building separation shall not be less than the distance normally required by conventional yard requirements in the absence of typical one building/one lot arrangement.
(Ord. No. 2014-43, §§ 22—24, 6-16-2014)
A.
Procedure. A special use may be authorized by passage of an ordinance by the Corporate Authorities after a public hearing and recommendation by the Planning and Zoning Commission in accordance with Section 17.28.030.
B.
Conditions for Approval. The Planning and Zoning Commission shall review a special use application for compliance with the following criteria and standards:
1.
A special use for a child day care home shall meet the requirements of Section 17.28.040.
2.
Verification that the day care provider is a full-time resident of the home.
3.
Verification that the home is licensed by the Illinois Department of Children and Family Services, and that applicable requirements of the Illinois Department of Public Health will be met.
4.
Inspection by the Village Department of Building and Zoning, Health Officer and Fire Department to determine that all life-safety, health and other applicable codes will be met.
5.
That the establishment, maintenance or operation of the special use will not be detrimental to or endanger the public health, safety, morals, comfort or general welfare.
6.
The following standards shall be met:
a.
Provision of child care shall be limited each day to the hours of 6:00 a.m. to 8:00 p.m. Outdoor play shall not be allowed before 8:00 a.m.
b.
Adequate space shall be provided on the driveway of the property for parking while children are being dropped off or picked up at the home.
c.
Traffic congestion or safety hazards shall not be created in the adjacent neighborhood.
d.
A play area shall be provided in the rear yard of the property. Said area shall be enclosed by a fence at least four feet in height to ensure the safety of the children. The fenced play area shall be secured with self-closing and self-latching gate(s) as approved by the Village. Said play area shall be screened from adjacent properties with fencing or landscaping.
e.
The day care activities shall not create undue noise or other nuisances for adjacent properties. There shall be no outdoor sound amplification devices which produce distinctly and loudly audible sounds beyond the boundary of the property from which the sound originates.
f.
Employees who are not residents of the day care home may be employed by the day care provider, if it is determined by the Planning and Zoning Commission that this would not be detrimental to the neighborhood. Parking shall be provided on the property for any employee driving to the home.
g.
An approved day care home shall be subject to periodic inspection by the Village in accordance with Village procedures for inspections concerning health, life-safety and other applicable regulations.
h.
The Planning and Zoning Commission and Corporate Authorities may impose conditions and restrictions as may be necessary or appropriate to comply with the foregoing criteria and standards. The foregoing standards may be modified as deemed reasonable in specific cases.
i.
The Planning and Zoning Commission shall consider the number and location of other child day care homes so as to avoid congestion and other negative impacts.
C.
The special use is valid for a period of two years. A day care provider must re-apply for special use authorization pursuant to the requirements of this section. The Village shall review the performance of the day care provider in determining if the special use shall be re-authorized for another two-year period. The Village may require a public hearing and recommendation by the Village Planning and Zoning Commission prior to determining if the re-authorization shall be granted.
D.
Any special use granted pursuant to this section shall be automatically revoked if the license issued by the Illinois Department of Children and Family Services (DCFS) is revoked. Any special use granted pursuant to this section shall be automatically suspended if the license issued by the Illinois DCFS is suspended.
E.
A day care provider granted a special use shall obtain a Village business license.
F.
The Planning and Zoning Commission may recommend reduction of the maximum number of children allowed in a child day care home upon its review of all conditions and standards set forth herein.
(Ord. 2007-18 § 1, 2007)
(Ord. No. 2010-16, § 2, 3-8-2010; Ord. No. 2014-43, § 25, 6-16-2014)
A.
A special use for inter-track wagering on a property zoned in the B-3 Planned Business Center District may be authorized by the passage of an ordinance by the Corporate Authorities after a public hearing and recommendation by the Planning and Zoning Commission in accordance with Section 17.28.030.
B.
The Planning and Zoning Commission shall review the special use application for compliance with the following criteria and standards:
1.
The special use shall meet the requirements of Section 17.28.040.
2.
An inter-track wagering location (off-track betting facility) shall meet the following conditions and requirements:
a.
The operator of the inter-track wagering location shall obtain a license from the Illinois Racing Board for the property to be used for the wagering location.
b.
The licensee of the inter-track wagering location shall maintain good standing with the State of Illinois concerning said license.
c.
The inter-track wagering location must be operated in conjunction with a restaurant engaged in the preparation, sale and dispensation of food for consumption on the premises.
d.
The licensee of the inter-track wagering facility shall provide a report from the Illinois Racing Board or approved organization as determined by the Village to the Village Chief of Police pertaining to the background check for each person involved in the management of the inter-track wagering location.
e.
Access to the camera surveillance system for the inter-track wagering location and the related restaurant operation shall be provided to the Village, including access by an Internet connection.
f.
The alarm system for the inter-track wagering location and the related restaurant operation shall be connected the Northwest Central Dispatch System or other emergency response system as determined by the Village.
g.
Provisions for off-site parking shall be made at the direction of the Village.
h.
Any special events relating to inter-track wagering on the property shall be identified by the licensee in the petition to the Village for a special use.
i.
The Village may require specific plans and related information from the licensee and property owner concerning management of special events, management of parking (both on the property and off-site), and management of security for the inter-track wagering location and related restaurant operation.
(Ord. 2009-25, § 2, 5-4-2009; Ord. No. 2014-43, § 25, 6-16-2014)
A.
Adult-Use Cannabis Business Organizations: An adult-use cannabis dispensary as defined in Section 17.28.80.B., Adult-Use Cannabis Business Organization shall not include a cultivation center, craft grower, processing organization, infuser organization or transporting organization as defined by the Illinois Cannabis Regulation and Tax Act.
B.
Adult-use cannabis dispensary: An adult-use cannabis dispensary shall be defined as a facility operated by an organization or business that is licensed by the Illinois Department of Financial and Professional Regulation to acquire cannabis from licensed cannabis business organizations for the purpose of selling or dispensing cannabis, cannabis-infused products, cannabis seeds, paraphernalia or related supplies to purchasers or to qualified registered medical cannabis patients and caregivers, per the Cannabis Regulation and Tax Act (P.A. 101-0027) as it may be amended from time to time, and regulations promulgated thereunder.
C.
Purpose and Applicability. It is the intent and purpose of this Section to provide regulations regarding the dispensing of adult-use cannabis occurring within the corporate limits of the Village. Such facilities shall comply with all regulations provided in the Cannabis Regulation and Tax Act (P.A. 101-0027) (Act), as it may be amended from time to time, in the regulations promulgated thereunder, and the regulations provided below. In the event that the Act is amended, the more restrictive of the state or local regulations shall apply.
D.
Special Use. An adult-use cannabis dispensary, as defined herein, shall require an approval of a Special Use, which use may include a medical cannabis dispensary as defined in Section 17.12.399 (Definition) and shall be processed in accordance with Chapter 17.28 (Special Uses) of this Title as provided herein, and shall be subject to the following conditions:
1.
The adult-use cannabis dispensary must be operated by an organization or business that is currently licensed by the Illinois Department of Financial and Professional Regulation to operate a medical cannabis dispensary under the Compassionate Use of Medical Cannabis Pilot Program Act (410 ILCS 130 et seq.)
2.
The adult-use cannabis dispensary must keep a copy of the dispensing organization agent identification card issued pursuant to the Compassionate Use of Medical Cannabis Pilot Program Act visible at all times.
3.
There shall be no more than two adult-use cannabis dispensaries permitted at any one time.
4.
The adult-use cannabis dispensary may not be located within one thousand feet of the property line of a pre-existing public or private nursery school, pre-school, primary or secondary school, day care center, or day care home, museum, library and substance abuse treatment or counseling center within the Village of Buffalo Grove corporate limits. Notwithstanding the foregoing, an adult-use cannabis dispensary will not be deemed to violate this provision if one of the school related facilities locates within the one thousand-foot spacing after the adult-use cannabis dispensary has been granted special use approval by the Village. Learning centers and vocational/trade centers shall not be classified as a public or private school for purposes of this Section.
5.
At least eighty-five percent of the floor area of any tenant space occupied by an adult-use cannabis dispensary shall be devoted to the activities of the dispensary as authorized by the Act. Any request for reduction in floor area percentage shall be evaluated as part of the Special Use request.
6.
For purpose of determining required parking, the adult-use cannabis dispensary shall be classified as a retail and wholesale trade pursuant to Section 17.36.040 of the Zoning Ordinance; provided however that the Village may require that additional parking be provided as a result of the analysis completed through the Special Use process.
7.
Other than cannabis-infused food products, no adult-use cannabis dispensary shall also sell food for consumption on the premises in the same tenant space.
8.
On-site consumption of cannabis shall be prohibited within an adult-use cannabis dispensary and on the premises. The dispensary shall be responsible for enforcing the prohibition of on-site consumption of cannabis under all circumstances inside and outside the dispensary and on the premises.
9.
The adult-use cannabis dispensary may not conduct any sales or distribution of cannabis other than as authorized by the Act.
10.
No adult-use dispensary shall be maintained or operated in a manner that causes, creates, or allows the public viewing of adult-use cannabis, cannabis-infused products or cannabis paraphernalia or similar products from any sidewalk, public or private right-of-way or any property other than the lot on which the dispensary is located. No portion of the exterior of the dispensary shall utilize or contain any flashing lights, search lights or spotlights or any similar lighting system.
11.
No adult-use cannabis dispensary nor any other person or entity shall place or maintain, or cause to be placed or maintained, an advertisement of cannabis or cannabis-infused product in any form or through any medium:
i.
Within one thousand feet of the perimeter of a pre-existing public or private nursery school, pre-school, primary or secondary school, day care center, or day care home within the Village of Buffalo Grove corporate limits; or
ii.
On or in a public transit vehicle or public transit shelter; or
iii.
On or in publicly owned or publicly operated property.
All advertising shall comply with the rules and regulations set forth in the Cannabis Regulation and Tax Act (P.A. 101-0027).
12.
Each adult-use dispensary shall prohibit any person who is not at least twenty-one years of age from entering the dispensary, except for cardholders granted medical access under the Compassionate Use of Medical Cannabis Act over eighteen years of age, whose access shall be limited to the medical cannabis dispensing area only. Dispensaries shall not employ anyone under the age of twenty-one. Access to the dispensary shall be limited exclusively to dispensary staff and those specifically authorized under the Cannabis Regulation and Tax Act (P.A. 101-0027).
E.
Additional Requirements. As part of the Special Use application requirements, Petitioner shall submit plans regarding installation of building enhancements, such as security cameras, security systems, lighting or other improvements to ensure the safety of employees and customers of the adult-use cannabis dispensary, as well as its environs. Said improvements shall be determined based on the specific characteristics of the dispensary and of the floor plan for an adult-use cannabis dispensary and the site on which it is located, consistent with the requirements of the Act.
1.
The Special Use Applicant shall submit a complete copy of their license application and all plans submitted to the State of Illinois, or any agency thereof, as part of their special use application. Before issuance of a certificate of occupancy or otherwise opening to the public, Adult-Use Cannabis Business Organizations must provide a copy of their state license to operate as an adult-use cannabis dispensary issued by the Illinois Department of Financial and Professional Regulation.
2.
Petitioner shall file an affidavit with the Village affirming compliance with Section 17.28.80.C as provided herein and all other requirements of the Act.
3.
The Special Use Applicant shall submit additional information as required by the Village during the Special Use process.
F.
Violation/Penalties. Any violation of this Section 17.28.080 shall be punishable as provided in Section 1.08 and/or Section 1.12 of this Code.
(Ord. No. 2019-054, § 2, 10-21-2019)
28 - SPECIAL USES
A.
The development and execution of this Title is based upon the division of the Village into districts, within which districts the use of land and buildings, and the bulk and location of buildings and structures in relation to land, are substantially uniform.
1.
It is recognized, however, that there are special uses which, because of their unique characteristics, cannot be properly classified in any particular district or districts without consideration in each individual case of the impact of those special uses upon neighboring land and of the public need for that particular special use at that particular location.
2.
While specific regulations for specific zoning districts in this Title may recognize particular uses that may be allowable in such zoning district as a special use, all such special uses fall, nevertheless, into two broad categories:
a.
Uses publicly operated or traditionally affected with the public interest; and
b.
Uses entirely private in character, but of such an unusual nature that their operation may give rise to unique problems with respect to their impact upon neighboring property or public facilities; such uses may include planned unit developments meeting the standards and requirements of Section 17.28.050.
B.
The location, construction, extension or structural alteration of any use for which a special use is required, pursuant to the provisions of this Title, may be authorized by an ordinance passed and approved by the Corporate Authorities, subject to the standards and conditions as may be imposed pursuant to Section 17.28.040. Prior to such authorization, a public hearing shall be held and notice given in the manner prescribed in Chapter 17.64.
Any special use shall be heard before the Planning and Zoning Commission.
(Ord. No. 2014-43, § 21, 6-16-2014)
The procedure to be followed in considering applications for "special uses" shall be as follows:
A.
Application. An application by the owner of the property involved shall be filed with the Village for the attention of the Planning and Zoning Commission upon a form prescribed therefor.
B.
Public Hearing. Upon receipt of such application, the Chairman of the Planning and Zoning Commission shall give notice of public hearing pursuant to Chapter 17.64.
C.
Determination. The Planning and Zoning Commission shall then make its recommendations to the Corporate Authorities within thirty days following the date of public hearing. After receiving the report of the Planning and Zoning Commission, the Corporate Authorities shall accept the recommendations in whole or in part, or may reject them in whole or in part, or may refer the matter back to the Planning and Zoning Commission for further consideration. The Corporate Authorities may then authorize by ordinance a special use provided the evidence presented meets the criteria established in Section 17.28.040.
D.
After any special use is discontinued for a period of more than one-year, the special use shall be automatically revoked.
(Ord. No. 2014-43, § 21, 6-16-2014)
A.
All special uses shall meet the following criteria:
1.
The special use will serve the public convenience at the location of the subject property; or the establishment, maintenance or operation of the special use will not be detrimental to or endanger the public health, safety, morals, comfort, or general welfare;
2.
The location and size of the special use, the nature and intensity of the operation involved in or conducted in connection with said special use, the size of the subject property in relation to such special use, and the location of the site with respect to streets giving access to it shall be such that it will be in harmony with the appropriate, orderly development of the district in which it is located;
3.
The special use will not be injurious to the use and enjoyment of other property in the immediate vicinity of the subject property for the purposes already permitted in such zoning district, nor substantially diminish and impair other property valuations with the neighborhood;
4.
The nature, location and size of the buildings or structures involved with the establishment of the special use will not impede, substantially hinder or discourage the development and use of adjacent land and buildings in accord with the zoning district within which they lie;
5.
Adequate utilities, access roads, drainage, and/or other necessary facilities have been or will be provided;
6.
Parking areas shall be of adequate size for the particular special use, which areas shall be properly located and suitably screened from adjoining residential uses, and the entrance and exit driveways to and from these parking areas shall be designed so as to prevent traffic hazards, eliminate nuisance and minimize traffic congestion in the public streets.
B.
The special use shall in all other respects conform to the applicable regulations of the zoning district in which it is located, except as such regulations may be varied. Notwithstanding the foregoing, business planned unit developments shall conform with Section 17.44.040(D) unless varied.
C.
The Planning and Zoning Commission may recommend and the Corporate Authorities may impose such conditions and restrictions upon the subject property, the location, the construction and design of buildings and use of the property benefited by such special use as may be necessary or appropriate to comply with the foregoing criteria.
D.
Notwithstanding Chapter 17.52, the Planning and Zoning Commission may recommend and the Corporate Authorities may vary the regulations of the zoning district in which the special use is located subject to meeting the criteria of Section 17.52.070(A)(1)—(3), except for planned unit developments which shall meet the general objectives of Section 17.28.050(A)(1)—(7).
(Ord. 2004-100 § 2, 2004)
(Ord. No. 2014-43, § 21, 6-16-2014)
A.
General Purpose and Intent. The primary purpose of a planned unit development is to provide for development of balanced neighborhoods containing physical, economic and social assets difficult to achieve through the traditional separation of use and density zones. This is accomplished by allowing the developer the freedom necessary to protect natural resources and to protect the investment of both the Village and the project. Based upon the submission of an acceptable site plan and other required documents, permission may be granted for the construction of a planned unit development which may be constructed such that more than one principal building may be constructed on a single subdivided lot or unsubdivided parcel of land. The granting of such flexibility as provided for in the special use ordinance for a planned unit development shall be dependent upon the ability of the land as utilized by the developer to meet such general objectives set forth below as shall apply:
1.
The protection of both the aesthetics and functions of the natural environment;
2.
The arrangement of buildings and other improvements advantageous to the orderly function and aesthetics of both the natural and man-made environment;
3.
The preservation of adequate, permanent open space for the use of the residents in the development;
4.
The provision of land area necessary to accommodate any cultural, educational, recreational or other public and quasi-public activities necessary to serve the needs of the neighborhood;
5.
The orderly and creative arrangement of all land uses with respect to each other and to the entire Village;
6.
The provision of developed recreational activity areas necessary to serve the needs of the residential portion of the development;
7.
The provision of a pedestrian environment separate from the vehicular environment;
B.
Procedure for Securing Approval of a Planned Unit Development. The procedure for securing approval of a planned unit development shall be the same as that described in Chapter 16.20 with the following additions:
1.
The Preliminary Plan shall contain the following materials in addition to those required in Section 16.20.030:
a.
The location, quantity, size and species (both scientific and generic) of all existing trees on the site having diameters of four inches or greater as measured six inches above the ground,
b.
A statement showing the relationship of the planned unit development to the Official Plan of the Village,
c.
A statement of the anticipated residential density, the proposed total gross floor area, bedroom ratios for residential units, and the percentage of the development which is to be occupied by structures,
d.
When a planned unit development is to be constructed in phases or units, a schedule for the development of such phases or units shall be submitted. At no time shall the developed phases or units have a residential density that exceeds, by more than twenty percent, the proposed residential density of the entire planned unit development. The total area of common open space provided at any phase of development shall, at a minimum, bear the same relationship to the total open space to be provided in the entire planned unit development as the stages or units completed or under development bear to the entire planned unit development,
e.
In the case of nonresidential planned unit developments, a statement identifying the principal types of business and/or industrial uses that are to be included in the proposed development,
f.
Preliminary sketches of the proposed structures and a preliminary concept landscape plan shall be prepared by a qualified architect and/or landscape planner,
g.
Parcels of land intended to be dedicated or temporarily reserved for public use or set aside for use of property owners in the development area,
h.
A statement describing the provision that is to be made for the care and maintenance of open space or recreational facilities,
i.
Statement of the manner, if any, in which the planned unit development varies from the regulations of the zoning district in which it is located and an explanation of the reasons for such variations;
2.
A positive recommendation of the Planning and Zoning Commission in and of itself indicates that the Commission, based upon evidence presented at the hearing, has found that the planned unit development meets the general standards set forth in Section 17.28.050(D). No written findings of fact are required;
C.
Form of Ordinance.
1.
An ordinance approving and establishing a planned unit development shall specify the zoning regulations and restrictions that will, pursuant to the development plan, apply to the planned unit development and shall describe the boundaries of such development or set such boundaries out on a map that is incorporated and published as a part of such ordinance, Such ordinance shall also specify the conditions and restrictions that have been imposed by the Corporate Authorities on the planned unit development and the extent to which the otherwise applicable district regulations have been varied or modified.
2.
From time to time the applicant may make minor changes in the preliminary development plans submitted herein, but any such changes shall be made only with the approval of the Zoning Administrator or, upon his denial thereof, with the approval of the Corporate Authorities.
D.
General Standards.
1.
All planned unit developments shall meet the following general standards:
a.
Have the minimum areas as set forth in Section 17.16.060.
b.
The uses permitted in such development are not of such a nature or so located as to exercise an undue detrimental influence or effect upon the surrounding neighborhood;
c.
The plan effectively treats the developmental possibilities of the subject property, making appropriate provisions for the preservation of streams, wooded areas, scenic views, floodplain areas, and similar physical features;
d.
All requirements pertaining to commercial, residential, institutional or other uses established in the planned unit development conform to the requirements for each individual classification as established elsewhere in this Title, except as may be specifically varied for the proper planning of the planned unit development;
e.
The Planning and Zoning Commission shall determine that the area and width of the lot shall be sufficient for the proposed use, and that the development of the property in the proposed manner creates no outlots which will be difficult to develop in an appropriate manner.
E.
Residential Planned Unit Development.
1.
Residential Density. Densities within the planned unit development shall remain substantially the same as provided for in the Comprehensive Plan of the Village. Density ranges shall be provided as follows:
a.
One-family with a density not to exceed four dwelling units per acre of one-family dwellings.
b.
Planned Development—Six dwelling units per acre with a base density of four dwelling units per acre and with using the incentives listed in Section 17.28.050(E)(2) and (E)(3) shall not exceed seven dwelling units per acre.
c.
Planned Development—Ten dwelling units per acre with a base density of seven dwelling units per acre and with using the incentives listed in Section 17.28.050(E)(2) and (E)(3) shall not exceed twelve dwelling units per acre.
d.
Multiple family with a base density of twelve dwelling units per acre and with using the incentives listed in Section 17.28.050(E)(2) and (E)(3) shall not exceed fifteen dwelling units per acre.
The dwelling units per acre shall be calculated on the net acreage of the site. The percentages shall be applied to the base density.
2.
Incentives. The amounts stated for the following incentives are to be considered as maximum amounts to be recommended by the Planning and Zoning Commission:
a.
One percent for landscaped buffer strip, one percent for each ten feet in width (including setback requirements as hereinafter set forth), not to exceed three percent on all peripheral lot lines with a less restrictive use;
b.
Five percent for recreational facilities, which may or may not include a golf course, occupying one square foot for every five square feet of residential floor area;
c.
One percent for playground and recreational equipment (other than tennis courts and swimming pools); one percent for each eight thousand square foot lot not to exceed three percent;
d.
One percent for land for public building site such as a fire station, well, and/or water storage, etc. One percent per acre not to exceed five percent;
e.
Ten percent for provision of fifty percent of all required parking to be underground;
f.
Five percent for provision of fifty percent of all required parking to be enclosed;
g.
One percent for every one percent of the gross area of the site built as one-family detached dwellings at a density not to exceed four units to the acre; a one percent incentive will be allowed not to exceed a forty percent increase in density;
3.
The amounts stated for the following incentives are to be considered as maximum amounts to be granted as permitted by the Planning and Zoning Commission:
a.
Three percent for excellence in quality and amount of standard tree and shrub planting, including peripheral and interior screen planting and fencing.
b.
Five percent for swimming pool; five percent for each pool not to exceed ten percent.
c.
One percent for tennis courts; one percent for each court not to exceed five percent.
d.
Five percent for community center and/or club building.
e.
Three percent for lakes and water features.
f.
Three percent for provisions for pedestrian facilities such as plazas, trails, bicycle trails, interior sidewalks, benches, etc.
g.
One percent for use of sculptures, fountains, reflecting pools and similar features in design.
h.
Two percent for parking lot design which includes tree and shrub plantings.
i.
Solar energy incentives.
(i)
Three percent for provision of solar housing design elements such as solar energy collectors, roof overhangs intended to shield from sunlight and other elements specifically designed for solar energy.
(ii)
Three percent if one hundred percent of the homes have substantial south/southeasterly facing windows.
(iii)
Two percent for use of landscaping as a means of protecting the structure from extreme weather conditions such as deciduous trees to the southwest, evergreen trees on the northwest, and other elements specifically designed for solar energy.
4.
Bulk regulations.
a.
Building coverage. In no case shall building coverage exceed thirty-five percent of the gross acreage of the planned unit development.
b.
In the case of other than one-family dwellings abutting one-family dwellings or property approved for one-family dwellings, the distance at the closest point between the building and the boundary of the planned unit development shall be no less than thirty-five feet or twice the height of the building, whichever is greater.
In the case of other than one-family dwellings abutting other than one-family dwellings or property approved for other than one-family dwellings, the distance at the closest point between the building and the boundary of the planned unit development shall be no less than thirty-five feet or the height of the building, whichever is greater.
c.
No modifications of any kind may be made to the approved building architecture in a planned unit development where there is more than one building on a zoning lot unless approved by the Building Commissioner. No accessory buildings or structures are permitted unless approved on the preliminary plan.
d.
Zero lot line. In the case of one-family detached dwellings on lots of six thousand six hundred square feet or larger, a building wall may be placed on one side lot line provided that the wall has no windows, the remaining side yard is not less than fifteen feet and building separation (yard requirements) remain in keeping with the standards provided for in the R-E through R-6A zoning districts.
e.
Spacing between buildings. When there are two or more buildings which contain one-family attached and semi-detached dwellings or two or more multiple-family dwelling buildings, or a combination thereof, on a lot initially under single ownership or control, the distance between the building walls shall be as follows:
(i)
When the front wall of a building faces the front wall or rear wall of the nearest building, the distance between the two building walls shall be not less than fifty feet. (See Figure 17.28-1)
(ii)
When the rear wall of a building faces the rear wall of the other building, the distance between the two building walls shall be not less than forty feet. (See Figure 17.28-1)
(iii)
When the side wall of a building faces the front or rear wall of the nearest building, the distance between the two building walls shall be not less than forty feet. (See Figure 17.28-2)
(iv)
When a side wall faces a side wall of the nearer building, the distance between the two building walls shall not be less than twenty-four feet, except when there are no windows in either side wall. In that case, Section 17.28.050.E.4.e.(vi) shall apply. (See Figure 17.28-2)
DISTANCE BETWEEN BUILDINGS
DISTANCE BETWEEN BUILDINGS
DISTANCE BETWEEN BUILDINGS
(v)
A building forming the end of a court may be attached to one or both of the buildings forming the sides of the court, provided the distance between facing walls of the building forming the sides of the court is not less than the applicable requirements as set forth in this section. (See Figure 17.28-3)
(vi)
When a wall containing no window except those for bathrooms, storage rooms or stairwells faces such a wall or end of wall of the nearest building, the distance between two such building walls may be not less than fifteen feet. (See Figure 17.28-3)
f.
Building height. The maximum building height within a residential planned unit development shall be four stories or forty-five feet, whichever is less.
5.
Greenbelt circulation. The Planning and Zoning Commission shall encourage pedestrianways designed to provide for safe and convenient circulation within and beyond the development with special attention being given to the connections between parking areas, dwelling units and all project facilities.
6.
Public and private open space requirements. The Planning and Zoning Commission shall encourage open areas on the lot consolidated generally into large useable open areas, but which also provide corridors of space around a building or buildings. The Planning and Zoning Commission shall encourage open areas to be so located to take advantage of, hold and preserve existing natural amenities such as trees, topographic features, flood plain area, waterways and scenic views.
F.
Business Planned Unit Developments. All business planned unit developments shall conform with the requirements of Section 17.44.040.D and not as set forth in the underlying District.
G.
Office and Research Planned Unit Development and Industrial Planned Unit Development.
1.
The purpose of this section is:
a.
To provide flexibility in the large scale development of office and research and industrial property.
b.
To provide regulations to encourage a variety of building types, assure adequate open space and parking, and protect residential areas from the noise, traffic and activities of industrial operations.
c.
To allow for the placement of more than one principal building on a single zoning lot.
2.
Standards:
a.
Parking. Off-street parking and loading facilities shall be in accordance with Chapter 17.36.
b.
Other Requirements. The requirements as set forth in Section 17.48.010 in the case of office and research planned unit developments and Section 17.48.020 in the case of industrial planned unit developments shall be complied with. Building separation shall not be less than the distance normally required by conventional yard requirements in the absence of typical one building/one lot arrangement.
(Ord. No. 2014-43, §§ 22—24, 6-16-2014)
A.
Procedure. A special use may be authorized by passage of an ordinance by the Corporate Authorities after a public hearing and recommendation by the Planning and Zoning Commission in accordance with Section 17.28.030.
B.
Conditions for Approval. The Planning and Zoning Commission shall review a special use application for compliance with the following criteria and standards:
1.
A special use for a child day care home shall meet the requirements of Section 17.28.040.
2.
Verification that the day care provider is a full-time resident of the home.
3.
Verification that the home is licensed by the Illinois Department of Children and Family Services, and that applicable requirements of the Illinois Department of Public Health will be met.
4.
Inspection by the Village Department of Building and Zoning, Health Officer and Fire Department to determine that all life-safety, health and other applicable codes will be met.
5.
That the establishment, maintenance or operation of the special use will not be detrimental to or endanger the public health, safety, morals, comfort or general welfare.
6.
The following standards shall be met:
a.
Provision of child care shall be limited each day to the hours of 6:00 a.m. to 8:00 p.m. Outdoor play shall not be allowed before 8:00 a.m.
b.
Adequate space shall be provided on the driveway of the property for parking while children are being dropped off or picked up at the home.
c.
Traffic congestion or safety hazards shall not be created in the adjacent neighborhood.
d.
A play area shall be provided in the rear yard of the property. Said area shall be enclosed by a fence at least four feet in height to ensure the safety of the children. The fenced play area shall be secured with self-closing and self-latching gate(s) as approved by the Village. Said play area shall be screened from adjacent properties with fencing or landscaping.
e.
The day care activities shall not create undue noise or other nuisances for adjacent properties. There shall be no outdoor sound amplification devices which produce distinctly and loudly audible sounds beyond the boundary of the property from which the sound originates.
f.
Employees who are not residents of the day care home may be employed by the day care provider, if it is determined by the Planning and Zoning Commission that this would not be detrimental to the neighborhood. Parking shall be provided on the property for any employee driving to the home.
g.
An approved day care home shall be subject to periodic inspection by the Village in accordance with Village procedures for inspections concerning health, life-safety and other applicable regulations.
h.
The Planning and Zoning Commission and Corporate Authorities may impose conditions and restrictions as may be necessary or appropriate to comply with the foregoing criteria and standards. The foregoing standards may be modified as deemed reasonable in specific cases.
i.
The Planning and Zoning Commission shall consider the number and location of other child day care homes so as to avoid congestion and other negative impacts.
C.
The special use is valid for a period of two years. A day care provider must re-apply for special use authorization pursuant to the requirements of this section. The Village shall review the performance of the day care provider in determining if the special use shall be re-authorized for another two-year period. The Village may require a public hearing and recommendation by the Village Planning and Zoning Commission prior to determining if the re-authorization shall be granted.
D.
Any special use granted pursuant to this section shall be automatically revoked if the license issued by the Illinois Department of Children and Family Services (DCFS) is revoked. Any special use granted pursuant to this section shall be automatically suspended if the license issued by the Illinois DCFS is suspended.
E.
A day care provider granted a special use shall obtain a Village business license.
F.
The Planning and Zoning Commission may recommend reduction of the maximum number of children allowed in a child day care home upon its review of all conditions and standards set forth herein.
(Ord. 2007-18 § 1, 2007)
(Ord. No. 2010-16, § 2, 3-8-2010; Ord. No. 2014-43, § 25, 6-16-2014)
A.
A special use for inter-track wagering on a property zoned in the B-3 Planned Business Center District may be authorized by the passage of an ordinance by the Corporate Authorities after a public hearing and recommendation by the Planning and Zoning Commission in accordance with Section 17.28.030.
B.
The Planning and Zoning Commission shall review the special use application for compliance with the following criteria and standards:
1.
The special use shall meet the requirements of Section 17.28.040.
2.
An inter-track wagering location (off-track betting facility) shall meet the following conditions and requirements:
a.
The operator of the inter-track wagering location shall obtain a license from the Illinois Racing Board for the property to be used for the wagering location.
b.
The licensee of the inter-track wagering location shall maintain good standing with the State of Illinois concerning said license.
c.
The inter-track wagering location must be operated in conjunction with a restaurant engaged in the preparation, sale and dispensation of food for consumption on the premises.
d.
The licensee of the inter-track wagering facility shall provide a report from the Illinois Racing Board or approved organization as determined by the Village to the Village Chief of Police pertaining to the background check for each person involved in the management of the inter-track wagering location.
e.
Access to the camera surveillance system for the inter-track wagering location and the related restaurant operation shall be provided to the Village, including access by an Internet connection.
f.
The alarm system for the inter-track wagering location and the related restaurant operation shall be connected the Northwest Central Dispatch System or other emergency response system as determined by the Village.
g.
Provisions for off-site parking shall be made at the direction of the Village.
h.
Any special events relating to inter-track wagering on the property shall be identified by the licensee in the petition to the Village for a special use.
i.
The Village may require specific plans and related information from the licensee and property owner concerning management of special events, management of parking (both on the property and off-site), and management of security for the inter-track wagering location and related restaurant operation.
(Ord. 2009-25, § 2, 5-4-2009; Ord. No. 2014-43, § 25, 6-16-2014)
A.
Adult-Use Cannabis Business Organizations: An adult-use cannabis dispensary as defined in Section 17.28.80.B., Adult-Use Cannabis Business Organization shall not include a cultivation center, craft grower, processing organization, infuser organization or transporting organization as defined by the Illinois Cannabis Regulation and Tax Act.
B.
Adult-use cannabis dispensary: An adult-use cannabis dispensary shall be defined as a facility operated by an organization or business that is licensed by the Illinois Department of Financial and Professional Regulation to acquire cannabis from licensed cannabis business organizations for the purpose of selling or dispensing cannabis, cannabis-infused products, cannabis seeds, paraphernalia or related supplies to purchasers or to qualified registered medical cannabis patients and caregivers, per the Cannabis Regulation and Tax Act (P.A. 101-0027) as it may be amended from time to time, and regulations promulgated thereunder.
C.
Purpose and Applicability. It is the intent and purpose of this Section to provide regulations regarding the dispensing of adult-use cannabis occurring within the corporate limits of the Village. Such facilities shall comply with all regulations provided in the Cannabis Regulation and Tax Act (P.A. 101-0027) (Act), as it may be amended from time to time, in the regulations promulgated thereunder, and the regulations provided below. In the event that the Act is amended, the more restrictive of the state or local regulations shall apply.
D.
Special Use. An adult-use cannabis dispensary, as defined herein, shall require an approval of a Special Use, which use may include a medical cannabis dispensary as defined in Section 17.12.399 (Definition) and shall be processed in accordance with Chapter 17.28 (Special Uses) of this Title as provided herein, and shall be subject to the following conditions:
1.
The adult-use cannabis dispensary must be operated by an organization or business that is currently licensed by the Illinois Department of Financial and Professional Regulation to operate a medical cannabis dispensary under the Compassionate Use of Medical Cannabis Pilot Program Act (410 ILCS 130 et seq.)
2.
The adult-use cannabis dispensary must keep a copy of the dispensing organization agent identification card issued pursuant to the Compassionate Use of Medical Cannabis Pilot Program Act visible at all times.
3.
There shall be no more than two adult-use cannabis dispensaries permitted at any one time.
4.
The adult-use cannabis dispensary may not be located within one thousand feet of the property line of a pre-existing public or private nursery school, pre-school, primary or secondary school, day care center, or day care home, museum, library and substance abuse treatment or counseling center within the Village of Buffalo Grove corporate limits. Notwithstanding the foregoing, an adult-use cannabis dispensary will not be deemed to violate this provision if one of the school related facilities locates within the one thousand-foot spacing after the adult-use cannabis dispensary has been granted special use approval by the Village. Learning centers and vocational/trade centers shall not be classified as a public or private school for purposes of this Section.
5.
At least eighty-five percent of the floor area of any tenant space occupied by an adult-use cannabis dispensary shall be devoted to the activities of the dispensary as authorized by the Act. Any request for reduction in floor area percentage shall be evaluated as part of the Special Use request.
6.
For purpose of determining required parking, the adult-use cannabis dispensary shall be classified as a retail and wholesale trade pursuant to Section 17.36.040 of the Zoning Ordinance; provided however that the Village may require that additional parking be provided as a result of the analysis completed through the Special Use process.
7.
Other than cannabis-infused food products, no adult-use cannabis dispensary shall also sell food for consumption on the premises in the same tenant space.
8.
On-site consumption of cannabis shall be prohibited within an adult-use cannabis dispensary and on the premises. The dispensary shall be responsible for enforcing the prohibition of on-site consumption of cannabis under all circumstances inside and outside the dispensary and on the premises.
9.
The adult-use cannabis dispensary may not conduct any sales or distribution of cannabis other than as authorized by the Act.
10.
No adult-use dispensary shall be maintained or operated in a manner that causes, creates, or allows the public viewing of adult-use cannabis, cannabis-infused products or cannabis paraphernalia or similar products from any sidewalk, public or private right-of-way or any property other than the lot on which the dispensary is located. No portion of the exterior of the dispensary shall utilize or contain any flashing lights, search lights or spotlights or any similar lighting system.
11.
No adult-use cannabis dispensary nor any other person or entity shall place or maintain, or cause to be placed or maintained, an advertisement of cannabis or cannabis-infused product in any form or through any medium:
i.
Within one thousand feet of the perimeter of a pre-existing public or private nursery school, pre-school, primary or secondary school, day care center, or day care home within the Village of Buffalo Grove corporate limits; or
ii.
On or in a public transit vehicle or public transit shelter; or
iii.
On or in publicly owned or publicly operated property.
All advertising shall comply with the rules and regulations set forth in the Cannabis Regulation and Tax Act (P.A. 101-0027).
12.
Each adult-use dispensary shall prohibit any person who is not at least twenty-one years of age from entering the dispensary, except for cardholders granted medical access under the Compassionate Use of Medical Cannabis Act over eighteen years of age, whose access shall be limited to the medical cannabis dispensing area only. Dispensaries shall not employ anyone under the age of twenty-one. Access to the dispensary shall be limited exclusively to dispensary staff and those specifically authorized under the Cannabis Regulation and Tax Act (P.A. 101-0027).
E.
Additional Requirements. As part of the Special Use application requirements, Petitioner shall submit plans regarding installation of building enhancements, such as security cameras, security systems, lighting or other improvements to ensure the safety of employees and customers of the adult-use cannabis dispensary, as well as its environs. Said improvements shall be determined based on the specific characteristics of the dispensary and of the floor plan for an adult-use cannabis dispensary and the site on which it is located, consistent with the requirements of the Act.
1.
The Special Use Applicant shall submit a complete copy of their license application and all plans submitted to the State of Illinois, or any agency thereof, as part of their special use application. Before issuance of a certificate of occupancy or otherwise opening to the public, Adult-Use Cannabis Business Organizations must provide a copy of their state license to operate as an adult-use cannabis dispensary issued by the Illinois Department of Financial and Professional Regulation.
2.
Petitioner shall file an affidavit with the Village affirming compliance with Section 17.28.80.C as provided herein and all other requirements of the Act.
3.
The Special Use Applicant shall submit additional information as required by the Village during the Special Use process.
F.
Violation/Penalties. Any violation of this Section 17.28.080 shall be punishable as provided in Section 1.08 and/or Section 1.12 of this Code.
(Ord. No. 2019-054, § 2, 10-21-2019)