PARKING[8]
Editor's note— Ord. No. 2014-23, § 2(Exh. A), adopted Dec. 2, 2014, changed the title of Art. VII from "Off-street Parking Requirements" to read as set out herein.
The purpose of this article is to provide standards for the design of parking lots, the required amount of off-street parking and off-street loading requirements.
(Ord. No. 90-4, § 7, 2-21-90)
(A)
Every building, use or structure instituted or erected after the effective date of this chapter shall be provided with off-street parking facilities in accordance with the provisions of this article for the use of occupants, employees, visitors or patrons.
(B)
Such off-street parking facilities shall be maintained and continued as an accessory use as long as the main use is continued.
(C)
Where a building existed at the effective date of the ordinance from which this chapter was derived, such building may be modernized, altered or repaired, provided there is no increase in floor area or capacity and there is no change of occupancy without providing additional off-street parking facilities.
(D)
Where a building or use, which existed at the effective date of the ordinance from which this chapter was derived, is enlarged in floor area, volume, capacity or space occupied, off-street parking facilities as specified herein shall be provided for the additional floor area, volume, capacity or space so created or occupied.
(E)
Where a building or use which existed at the effective date of this chapter is changed in use or occupancy, additional off-street parking facilities shall be provided to the extent that the off-street parking required by this chapter for the new use or occupancy exceeds the off-street parking which would have been required for the previous use or occupancy had the regulations of this article been applicable thereto. For the purposes of this section, a "change of use or occupancy" shall mean a change from one category of off-street parking requirements to another such category under section 12-208.
(F)
It shall be unlawful for an owner or operator of any building, structure or use affected by this article to discontinue, change or dispense with or to cause the discontinuance or reduction of the required parking facilities apart from the discontinuance, sale or transfer of such structure or use without establishing alternative vehicle parking facilities which meet the requirements of this article. It shall be unlawful for any person, firm or corporation to utilize such building, structure or use without providing the off-street parking facilities to meet the requirements of and be in compliance with this article.
(Ord. No. 90-4, § 7, 2-21-90)
(A)
The off-street parking facilities required by this article shall be located on the same plot or parcel of land they are intended to serve; provided, however, when practical difficulties, as determined by the town council, prevent the establishment of such facilities upon the same plot, the off-street parking facilities shall be provided on land within seven hundred (700) feet of the premises they are to serve, and the owner of said parking area shall enter into written arrangement with the town whereby the land providing the parking area shall never be sold or disposed of except in conjunction with the sale of the building the parking area serves so long as these parking facilities are required, and said agreement shall be recorded at the expense of the owner and shall run with the land to bind the heirs, successors and assigns of said owner. Said written agreement may be voided by the Town Council if other provisions are made for off-street parking facilities pursuant to this article. In the case of a proposed family community residence, transitional community residence or recovery community where there is no special permit involved, all town determinations concerning the location of parking shall be made by the Town Administrator or designee rather than the town council.
(B)
The required off-street parking facilities shall be identified as to purpose and as to location when not clearly evident from a street or alley. Off-street parking facilities including access aisles and driveways shall be surfaced with a hard, dustless material and maintained in a smooth, well-graded condition; provided, that driveways, access aisles and parking spaces for certain uses may be surfaced with grass or lawn as provided by section 12-208(E).
(C)
All off-street parking facilities required by this article shall be drained so as not to cause any nuisance on adjacent or public property, and any lighting thereon shall be so arranged and designed as to prevent any glare spacing or excessive light on adjacent property. Such facilities shall be arranged for convenient access and safety of pedestrians and vehicles.
(Ord. No. 90-4, § 7, 2-21-90; Ord. No. O2021-030, § 2(Exh. A), 11-3-21; Ord. No. O2023-016, § 2(Exh. A), 9-20-23)
(A)
Driveways shall be considered as constituting off-street parking spaces for single-family and two-family duplex dwellings in residential districts; provided that, sufficient spaces are available on such driveways to meet the requirements of this article.
(B)
If an addition to the residence reduces paved parking area, including the enclosure of a carport, additional paved parking area required to satisfy the requirements of this article shall be provided prior to final building inspection and issuance of certificate of occupancy.
(C)
The closest point of any residential driveway shall be located a minimum of five (5) feet from any side and/or rear property line.
(D)
It shall be the responsibility of the owner of the property whose driveway or other entrance to his/her property intersects the public right-of-way to maintain said driveway or other entrance, including, without limitation, that portion which is in the public right-of-way.
(Ord. No. 90-4, § 7, 2-21-90; Ord. No. 91-33, 9-4-91)
Internal site circulation shall follow a functional classification and hierarchical design criteria to assure that the movements between the public right-of-way, which is the high-speed movement facility, and the parking stall, which is the terminal facility, are conducted in an efficient and orderly form. All streams of department [sic] traffic from the parking stalls in a parking lot shall be assembled and delivered to an internal collector facility that combines them into a few concentrated streams that will then be connected to the public right-of-way at a few properly spaced access locations.
(Ord. No. 90-4, § 7, 2-21-90)
(A)
Car parking stalls, parking aisles, driveways, reservoir areas and entrances are the basic functional elements of the on-site circulation system. Additional elements including, but not being limited to, perimeter roads, rear collector roads, service roads within the proposed development, left-turning lanes, acceleration lanes, traffic lights and frontage roads in the public right-of-way immediately adjacent to the proposed development may also be required. The following regulations shall apply:
(1)
Parking stalls and aisles:
(a)
The minimum size (in feet) of a parking stall space shall be as follows:
1.
Standard space. Ten (10) feet by eighteen (18) feet.
2.
Parallel space. Nine (9) feet by twenty-three (23) feet.
3.
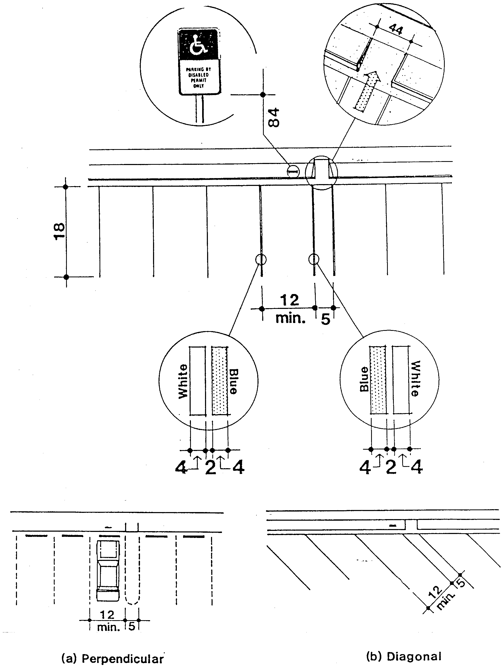
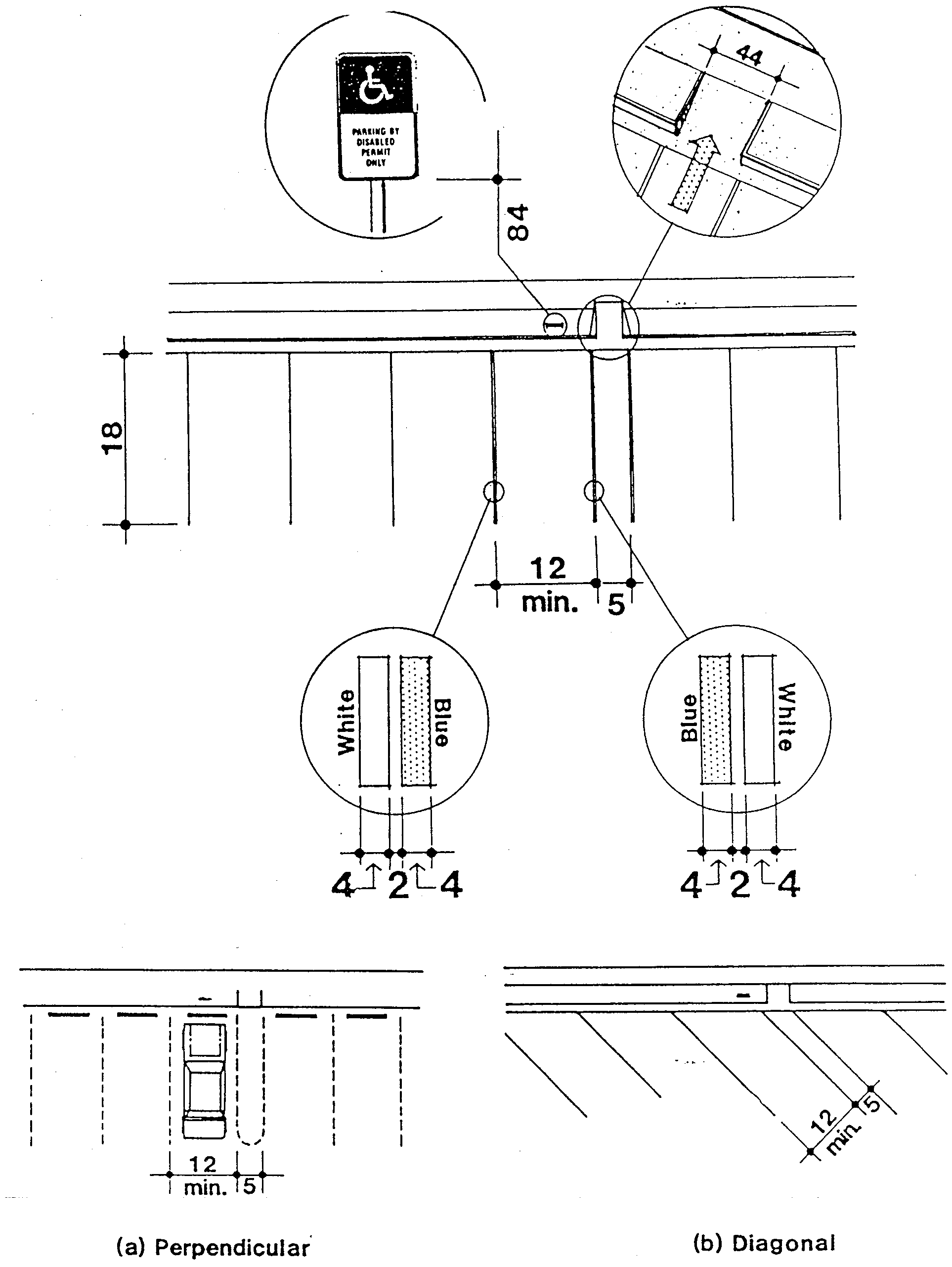
Handicap space. Twelve (12) feet by eighteen (18) feet with a five-foot accessway, except that where two (2) handicapped spaces abut each other, they may jointly use the paved accessway (See Figure 12-205B).
4.
Parallel handicap space. Twelve (12) feet by twenty-three (23) feet.
5.
Compact space. Nine (9) feet by fifteen (15) feet.
(b)
If specifically designated and identified with pavement or curb markings for compact cars only, twenty-five (25) percent of the number of parking stalls required may be compact spaces.
(c)
All required parking stalls shall have direct and unobstructed access from a parking aisle. Each required parking stall shall be accessible without driving over or through any other parking stall or loading area. No parking stall shall directly abut a driveway.
(d)
No parking stall shall be designed to permit backout parking on public rights-of-way, nor shall parking stalls be located so as to required backing onto a sidewalk, pedestrian crosswalk or other area of high pedestrian concentration.
(e)
Parking stalls which abut a landscaped area shall be designed with bumpers, guards, wheel stops or continuous curbing. When surfaced with grass or lawn, the area between the bumpers, guards, wheel stops or continuous curbing shall not apply towards the amount of required landscaping.
(f)
When a row of parking stalls is immediately adjacent to a driveway, a minimum backup distance of twenty-five (25) feet is required between the property line and the first stall as shown in Figure 12-205A.
(g)
No point of parking stall or aisle shall be closer than five (5) feet to any building or property line.
(h)
Parking stalls shall be connected to a parking aisle. No parking stall shall directly abut a driveway.
(i)
No parking aisle or system of parking aisles in a parking lot shall connect more than sixty (60) parking stalls.
(j)
If an internal circulation plan requires emergency vehicles, garbage trucks or trucks moving to or from a loading area, the drives shall be a minimum of fifteen (15) [feet] in width.
(k)
Access for emergency fire vehicles shall meet the requirements of the development review committee.
(l)
All off-street parking areas shall be so arranged and marked as to provide for orderly, safe loading, unloading, parking and storage of vehicles with individual parking stalls clearly defined with directional arrows and traffic signs provided as necessary for traffic control.
(m)
Acceptable plans, must illustrate that proper consideration had been given to the surrounding street plan, traffic volumes, proposed street improvements, vehicular street capacities, pedestrian movements and safety.
(n)
Development plans incorporating drive-through facilities shall demonstrate adequate stacking capacity within the drive-through lane so as not to interfere with on-site circulation.
(o)
No parking stall which is situated in front of an overhead doorway shall be counted toward fulfilling the parking requirements set forth in this code.
(p)
Handicap parking spaces required by this chapter, the South Florida Building Code, as amended, or Florida Statutes, as amended, shall be identified in accordance with Figure 12-205B.
(2)
Geometric dimensions. Parking stalls and aisles in self-parking facilities shall be designed according to the dimensions in Table 12-205 and as depicted in Figure 12-205A.
(3)
Driveways:
(a)
All parking aisles shall connect to a driveway.
(b)
A parking lot which exceeds sixty (60) parking stalls shall be designed with at least one (1) two-way directional driveway loop system connecting the entrance to the parking stalls and the principal building.
(c)
The minimum distance from a driveway to a structure or property line shall be five (5) feet.
(d)
Access dimension guidelines:
1.
Dimension at street; width:
a.
Minimum (one-way): Fifteen (15) feet.
b.
Minimum (two-way): Twenty-five (25) feet.
c.
Maximum: Thirty-five (35) feet.
2.
Turn radius:
a.
Minimum: Ten (10) feet.
b.
Maximum: Thirty (30) feet.
(e)
Any off-street parking facility shall have either driveway approaches of sufficient width to allow for two-way traffic or one-way driveways connected to aisles, parking areas or maneuvering areas in such a manner as to permit traffic to both enter and leave the property, facing forward, at the same time. A driveway that is only wide enough for one-way traffic shall not be used for two-way access.
(4)
Circulation design. A parking lot abutting a trafficway shall be designed for full circulation. A parking lot abutting a street other than a trafficway may be designed for partial circulation.
(5)
Parking and loading areas to be curbed. Except for one- and two-family dwellings, all parking and loading areas shall be constructed with a six-inch raised curb or bumper blocks along sidewalks, safety islands, driveways, sight distance triangles and other places as needed, unless determined to be unnecessary by a finding of the site plan review committee and approval by the council that given the particular circumstances of the site such curb can be eliminated in certain areas without creating safety hazards. The raised curb shall be constructed in such a manner as to facilitate proper drainage and prevent vehicles from crossing sidewalks or other pedestrian walkways other than by means of approved driveway approach.
(6)
Sight triangles. Sight triangles shall be maintained for all driveways and intersections of public or private street as set forth in Section 12-113.
TABLE 12-205. MINIMUM AISLE DIMENSIONS AT VARIOUS PARKING ANGLES
Note: Dimensions are for one-lane, one-way direction movement. Two-way direction or two-lane, one-way direction movement requires a minimum aisle of twenty-four (24) feet regardless of parking angle.
Figure 12-205A
FIGURE 12-205B
(7)
Electric vehicle charging stations. Electric vehicle charging stations shall be installed in conformance with the provisions of this section.
(a)
Definitions.
Charging level means the standardized indicators of electrical force, or voltage at which an electric vehicle's battery is recharged. Typical electric vehicle charging levels and specifications are:
1.
Level 1: Alternating current slow charging (voltage is at least one hundred twenty (120) volts)
2.
Level 2: Alternating current medium charging (voltage is between one hundred twenty (120) volts and two hundred forty (240) volts)
3.
Level 3: Direct current fast charging (voltage is greater than two hundred forty (240) volts)
Electric vehicle means any vehicle that operates, either partially or exclusively on electrical energy from an off-board source, which is stored on-board the vehicle for motive purpose.
Electric vehicle charging station means a public parking space that is continually served by stationary battery charging equipment that has as its primary purpose the transfer of electric energy to an electric vehicle.
(b)
Applicability.
1.
New developments. Electric vehicle charging stations, with a minimum Level 2 charging capability, shall be required as set forth in paragraph (c) for all new developments involving multi-family residential and commercial uses.
2.
Site plan modifications. Developments approved prior to the adoption of the requirements of this section shall be required to comply with the standards set forth in paragraph (c) where an expansion of twenty-five (25) percent or more of the gross floor area of commercial development is proposed.
3.
Waiver. The Town Council shall have the authority to waive or modify the requirements of paragraph (c) upon a showing that the provision of electric vehicle charging stations is not practicable for the proposed new development or site plan modification due, for example, to the availability of electric vehicle charging stations nearby, the nature of the proposed use or to the particular circumstances of pre-existing site conditions.
(c)
Required number of electric vehicle charging stations.
(d)
Electric vehicle charging station design. Each required electric vehicle charging station shall include a sign identifying the parking space as an "Electric Vehicle Charging Station." To encourage the use of electrical vehicles, in commercial and multi-family residential developments, at least fifty (50) percent of the required electric vehicle charging stations should be located near handicapped accessible spaces or otherwise located near a primary public building entrance.
(e)
Planning for future demand. In order to accommodate the anticipated growth in market demand for electric vehicles, the following are encouraged but not required.
1.
New single-family residential homes are encouraged to plan for or provide a two hundred twenty (220)—two hundred forty (240) volt/forty (40) amp outlet on a dedicated circuit in close proximity to the garage or other designated vehicle parking to accommodate the future installation of a Level 2 or higher charging station for each required parking space.
2.
New or substantially modified multi-family, commercial and other developments utilizing common parking areas are encouraged to plan for and install such conduits and other infrastructure, including electrical equipment rooms or space, as may be necessary to for the future installation of Level 2 or higher charging stations to serve at least two (2) percent of the total number of parking spaces provided.
(Ord. No. 2016-014, § 2(Exh. A), 7-27-16; Ord. No. O2018-009, § 2(Exh. A), 4-4-18; Ord. No. O2019-012, § 2(Exh. A), 6-5-19; Ord. No. O2020-002, § 2(Exh. A), 2-5-20)
(A)
Truck loading and unloading areas are required for all buildings and establishments which receive and/or ship materials or merchandise by truck. The number of loading spaces required shall be in conformance with section 12-212.
(B)
Off-street truck loading shall be required except as provided in paragraph (C) below. The off-street loading facility shall be designed to accommodate both the parking of and maneuvering of the design vehicle exclusive of the public right-of-way.
(C)
On-street loading shall be permitted on a local cul-de-sac street abutting commercial and industrial development. Where permitted, such on-street loading areas shall berth the design vehicle exclusive of the public right-of-way.
(Ord. No. 90-4, § 7, 2-21-90)
Adequate reservoir capacity shall be required for both inbound and outbound vehicles to facilitate the safe and efficient movement between the trafficway and the development. An inbound reservoir shall be of sufficient size to ensure that vehicles will not obstruct the adjacent roadway, sidewalk and circulation within the facility. An outbound reservoir shall be required to eliminate backup and delay of vehicles within the development. The following shall apply to vehicular reservoir areas:
(1)
Design: A reservoir area shall be designed to include a space of twelve (12) feet wide by twenty-two (22) feet long for each vehicle to be accommodated within the reservoir area and so that vehicles within the reservoir area do not block parking stalls, parking aisles or driveways of off-street parking facilities.
(2)
Adjacent to trafficway: Adequate reservoir capacity shall be required for both inbound and outbound vehicles to facilitate the safe and efficient movement between the trafficway and the development. An inbound reservoir shall be of sufficient size to ensure that vehicles will not obstruct the adjacent trafficway, the sidewalk or the circulation within the facility. An outbound reservoir shall be required to eliminate backup and delay of vehicles within the development.
(Ord. No. 90-4, § 7, 2-21-90)
(A)
Minimum requirements. The off-street parking required by this article shall be provided and maintained on the basis of the following minimum requirements:
(1)
Auction houses. One (1) space for each four (4) fixed seats, plus one (1) space for each forty (40) square feet of non-fixed seating area, plus one (1) space for each two hundred (200) square feet of gross floor area not accounted for in fixed or non-fixed seating area.
(2)
Bars, lounges, taverns, dance halls, night clubs. One (1) space for each forty (40) square feet of customer service area and one (1) space for each two hundred (200) square feet of employee service area.
(3)
Child care center, day nursery, kindergarten, preschool. One (1) space for each five (5) children based on licensed child care capacity plus one (1) space per three hundred (300) square feet of office area. In addition, a minimum of three (3) stacking spaces shall be provided adjacent to the front entrance.
(4)
Bowling alley. Five (5) spaces for each alley plus one-half (½) the requirement for any restaurant, bar or lounge area.
(5)
Churches. One (1) space for each thirty (30) square feet of auditorium or chapel area, plus one (1) space for each Sunday School classroom.
(5a)
Flexible space office/warehouse developments. One (1) space for each four hundred fifty (450) square feet of gross floor area. For developments over four hundred thousand (400,000) square feet in floor area and constructed prior to November, 2000, one (1) space for each five hundred and forty (540) square feet of gross floor area. Developments qualifying for this use shall contain a multiple-tenant mix of offices and active or passive warehouses within any given building, and may contain research and development uses, with office comprising not more than fifty (50) percent of the gross floor area of the development. Principal retail and food service uses comprising more than five (5) percent of the gross floor area of the development shall be calculated separately.
(6)
Dormitories for student housing. On-campus housing: 0.85 spaces per bed. Off-campus housing: 0.85 spaces per bed or separately leasable bedroom (whichever is greater) plus ten (10) percent for guest parking.
(7)
Dwelling, single-family. Two (2) spaces for each dwelling unit, except as otherwise provided in section 12-82.
(8)
Dwelling, two-family (duplex) and multiple-family. One and one-half (1½) spaces for one (1) bedroom unit; two (2) spaces for two (2) bedroom units; and two and one-half (2½) spaces for three (3) bedrooms or more; plus one (1) guest space for each ten (10) units or part thereof; except as otherwise provided in section 12-82.
(9)
Game room, amusement arcade, pool hall. One (1) space for each two hundred (200) square feet of gross floor area.
(10)
Golf course. Four (4) spaces per green plus one (1) space for each two hundred (200) square feet of gross floor area of clubhouse plus additional spaces as required for other accessory uses.
(11)
Golf driving range, archery and other type target ranges. One and one-half (1½) spaces for each target position plus one (1) space for each one hundred (100) square feet of building area.
(12)
Golf miniature. Four (4) spaces for each green plus additional spaces as required for accessory uses.
(13)
Hospitals. One (1) space for each patient bed plus one (1) space for each one thousand (1,000) square feet of gross floor area.
(14)
Manufacturing, wholesale warehousing, and industrial uses, including recycling, scrap metal processing and automobile wrecking yards. One (1) space for each six hundred (600) square feet of floor area of the building plus one (1) space for each three hundred (300) square feet of office use.
(15)
Medical, dental, chiropractic, etc. clinics. One space for each two hundred (200) square feet of gross floor area.
(16)
Mobile home parks. Two (2) spaces for each site plus one (1) space for each two hundred (200) square feet of office area.
(17)
Motels, tourist homes. One (1) space for each guest room plus one (1) space for each two hundred (200) square feet of office area plus parking as required for accessory uses.
(18)
Hotels. One (1) space for each two (2) guest rooms, plus one (1) space for each three (3) persons to the maximum designed capacity of each public meeting room, plus, one-half (½) the requirements for accessory uses, such as restaurants and bars available to the general public.
(18.1)
Hotels, extended stay (hotels providing in-room kitchen or kitchenette with food preparation area and full size refrigerator) one (1) space for each guest room, plus one (1) space for each three (3) persons to the maximum designed capacity of each public meeting room, plus, one-half (½) the requirements for accessory uses, such as restaurants and bars available to the general public.
(19)
Motor vehicle, boat, recreational vehicle, farm machinery and construction equipment sales and service. One (1) space for each one hundred fifty (150) square feet of repair, office and showroom plus one (1) space for each five hundred (500) square feet of outdoor display area.
(20)
Mortuaries; funeral homes. One (1) space for each four (4) seats in chapel and viewing areas plus one (1) space for each four hundred (400) square feet of gross floor area. In no case shall there be less than twenty-five (25) parking spaces provided.
(21)
Special residential facilities. For Category 1 special residential facilities, treat as single-family dwelling. For Category 2 special residential facilities, one (1) space for each three (3) beds. For Category 3 special residential facilities, one (1) space for each three (3) beds plus one (1) per employee per shift.
(22)
Offices, business, professional, governmental, financial institutions and commercial banks, telemarketing centers. One (1) space for each three hundred (300) square feet of gross floor area. Telemarketing centers shall be one (1) space for each one hundred (100) square feet of gross floor area.
(23)
Places of public assembly, such as auditoriums, exhibition halls, bingo parlors, dance halls, skating rinks, sport arenas, community centers, libraries, gymnasiums, museums. One (1) space for each four (4) fixed seats, plus one (1) space for each forty (40) square feet of non-fixed seating area, plus one (1) space for each two hundred (200) square feet of gross floor area not accounted for in fixed or non-fixed seating area.
(24)
Private clubs, lodges, fraternal buildings, union halls. One (1) space for each fifty (50) square feet of gross floor area.
(25)
Recreational vehicle park. One (1) space for each recreational vehicle and/or tent site plus one (1) space for each two hundred (200) square feet of permanent building area.
(26)
Repair shops, excluding major vehicle and boat repair. One (1) space for each two hundred (200) square feet of gross floor area.
(27)
Restaurant, drive-in, fast food and takeout. Twelve (12) spaces for each one thousand (1,000) square feet of gross floor area.
(28.1)
Restaurant, without bar service for alcoholic beverages. Thirteen (13) spaces for each one thousand (1,000) square feet of gross floor area.
(28.2)
Restaurant, with bar service for alcoholic beverages. Eighteen (18) spaces for each one thousand (1,000) square feet of gross floor area.
(29)
Retail centers (including any combination of retail stores, personal service shops, gyms, household repair or equipment shops, interior decoration shops, gift and card shops, grocery stores).
(a)
Up to fifty thousand (50,000) square feet: One (1) space for each two hundred fifty (250) square feet of gross floor area, which may include up to twenty (20) percent restaurants/bars.
(b)
Fifty thousand one (50,001) to one hundred fifty thousand (150,000) square feet: One (1) space for each two hundred twenty-five (225) square feet of gross floor area of retail center, which may include up to twenty (20) percent restaurants/bars.
(c)
One hundred fifty thousand one (150,001) to six hundred thousand (600,000) square feet: One (1) space for each two hundred twenty-five (225) square feet of gross floor area of retail center, which may include up to twenty-five (25) percent restaurants/bars.
(d)
Over six hundred thousand (600,000) square feet: One (1) space for each two hundred twenty-five (225) square feet of gross floor area of retail center, which may include up to twenty-five (25) percent restaurants/bars.
(30)
Roominghouses, boardinghouses, dormitories or fraternities. One and one-half (1½) spaces for each rental sleeping room plus two (2) parking spaces for the owner/operator.
(31)
Schools, elementary or middle, public, private or parochial. Two (2) parking spaces for each classroom plus one (1) space for each two hundred (200) square feet of gross floor area not accounted for in classroom or hallway areas.
(32)
Schools, senior high, public, private or parochial. Two (2) parking spaces for each classroom plus one (1) parking space for each five (5) students of design capacity, plus one (1) space for each two hundred (200) square feet of gross floor area not accounted for in classroom or hallway areas.
(33)
Schools, colleges public, private or parochial. Two (2) spaces for each classroom plus one (1) space for each three (3) students of design capacity, plus one (1) space for each two hundred (200) square feet of gross floor area not accounted for in classroom or hallway areas.
(34)
Schools, dance, art, martial arts, music, trade, etc. One (1) space for every fifty (50) square feet of classroom or training area.
(35)
Stadiums, race tracks, fairgrounds, circus grounds. One (1) parking space for each five (5) seats plus one (1) space for each two hundred (200) square feet of permanent building area.
(36)
Theaters and other places of assembly having fixed seats except churches and other houses of worship. One (1) parking space for each three (3) seats.
(37)
Warehouses (long-term), self-storage facilities and storage buildings having no other use, and in which no business of any type is conducted. One (1) space for every one thousand (1,000) square feet for warehouses and storage buildings and one (1) space for every two thousand (2,000) square feet of self-storage facilities area. Long-term storage, as indicated, on a site plan, may be considered an accessory to an industrial use at the discretion of the development services director.
(37.1)
Warehouse distribution centers having no public wholesale or retail areas. Thirty-five-one-hundredths (0.35) spaces per one thousand (1,000) square feet of warehouse area or seventy-eight-one-hundredths (0.78) spaces per warehouse employee for the maximum number of such employees per shift, whichever is greater. Administrative offices associated with a warehouse distribution use shall be calculated using the office parking generation rate.
(38)
Wholesale stores, home improvement, wholesale clubs. One (1) space for each two hundred fifty (250) square feet of gross floor area.
(39)
Yacht manufacturing and repair, and marinas. One (1) space for one thousand three hundred (1,300) square feet of solid roofed area.
(40)
Research and development. One (1) space for each three hundred (300) square feet of gross floor area devoted to research and one (1) space for each six hundred (600) square feet devoted to development, as indicated on an approved site plan.
(41)
Beauty salons, day spas. Beauty salons and/or similar types of uses. Five (5) spaces for each licensed stylist or similar. Day spas shall be one (1) space for each one hundred twenty-five (125) square feet of gross floor area devoted to such use.
(42)
Family and transitional community residences. Two (2) spaces plus one (1) space for each resident who maintains a motor vehicle on the premises.
(43)
Recovery communities. One (1) space for each efficiency dwelling unit. For dwelling units with one (1) or two (2) bedrooms, one and a half (1½) spaces for each dwelling unit. For dwelling units with three (3) or more bedrooms, one and a half (1½) spaces for every two (2) bedrooms.
(B)
(Reserved.)
(C)
Fractional measurements. When units or measurements determining number of required off-street parking spaces result in requirement of a fractional space, any such fraction equal to or greater than one-half (½) shall require a full off-street parking space.
(D)
Mixed uses. In the case of mixed uses, the total requirements for off-street parking shall be the sum of the requirements of the various uses computed separately, and off-street parking space for one (1) use shall not be considered as providing the required off-street parking for any other uses.
(E)
Overflow areas. A maximum of twenty (20) percent of required parking, as specified in subparagraphs (A)(5), (20) and (23) above, may be provided in grassed overflow area on the submitted site plan. A maximum of seventy-five (75) percent of required parking as specified in subparagraph (A)(33) may be provided in grassed overflow area. Such overflow areas shall be designated as such on an approved site plan and shall be designed to the criteria set forth in this section. Areas so designated as overflow areas shall not count towards any required landscaping and shall be exclusive of required drainage and/or septic tank and septic drainage areas.
(F)
Measurement.
(1)
Floor area. For the purpose of this article, the term "floor area" shall mean the gross floor area inside of the exterior walls.
(2)
Hospitals. In hospitals, bassinets shall not count as beds.
(3)
Places of assembly. In stadiums, sport arenas, places of worship and other places of public assembly in which occupants utilize benches, pews or other similar seating facilities, each twenty (20) lineal inches of such seating facilities shall be counted as one (1) seat for the purpose of computing off-street parking requirements.
(4)
Outdoor restaurant seating. Outdoor restaurant seating areas exceeding eight (8) seats shall be considered part of the "gross floor area" of a restaurant.
(G)
Off-premises parking. See section 12-202.
(H)
Uses not specifically listed. Where an existing or proposed use is not listed in paragraph (A), above, the Town Administrator or designee shall have the authority to determine the minimum off-street parking requirement based on the most similar category listed it being the intent to require all uses except agricultural uses to provide off-street parking.
(I)
Individual parking study. The Town Administrator or designee, shall have the authority to determine the amount of off-street parking for a proposed development based on an individual parking study submitted by a developer but prepared by a qualified professional. The individual parking study may be used to establish the parking ratio for a single use or the total amount of parking for multiple uses based on peak-demand principles. All costs associated with the review and approval of the individual parking study shall be borne by the developer.
(J)
Affordable housing units. For multi-family dwelling units restricted to affordable housing as defined in Article XVII, where the parcel is within one thousand three hundred twenty (1,320) feet a transit stop providing access to a fixed route transit service: one (1) spaces for one (1) bedroom unit; one and one-half (1½) spaces for two (2) bedroom units; and two (2) spaces for three (3) bedrooms or more; plus one (1) guest space for each ten (10) units or part thereof; except as otherwise provided in section 12-82.
(Ord. No. 90-4, § 7, 2-21-90; Ord. No. 91-33, 9-4-91; Ord. No. 97-38, § 1, 7-2-97; Ord. No. 2000-15, § 5, 5-17-00; Ord. No. 2000-41, § 1, 12-5-00; Ord. No. ZB(TXT)3-1-01, § 1, 4-4-01; Ord. No. 2007-013, § 8, 6-20-07; Ord. No. 2010-35, § 2, 11-17-10; Ord. No. 2012-15, § 2(Exh. A), 8-1-12; Ord. No. 2012-28, § 2(Exh. A), 12-5-12; Ord. No. 2014-23, § 2(Exh. A), 12-2-14; Ord. No. 2016-014, § 2(Exh. A), 7-27-16; Ord. No. O2019-004, § 2(Exh. A), 1-23-19; Ord. No. O2021-030, § 2(Exh. A), 11-3-21; Ord. No. O2023-001, § 2(Exh. A), 1-4-23; Ord. No. O2023-011, § 2(Exh. C), 7-26-23; Ord. No. O2023-016, § 2(Exh. A), 9-20-23; Ord. No. O2024-015, § 2(Exh. A), 5-15-24)
Editor's note— Ord. No. 2014-23, § 2(Exh. A), adopted Dec. 2, 2014, deleted § 12-209, which pertained to combined off-street parking and derived from Ord. No. 90-4, § 7, adopted Feb. 21, 1990.
Editor's note— Ord. No. 2014-23, § 2(Exh. A), adopted Dec. 2, 2014, deleted § 12-210, which pertained to shared parking and derived from Ord. No. 90-4, § 7, adopted Feb. 21, 1990; Ord. No. 91-33, adopted Sept. 4, 1991; and Ord. No. 2000-41, § 1, adopted Dec. 5, 2000.
Off-street parking facilities supplied by the owner or operator to meet the requirements of this article shall not be used by commercial vehicles owned, operated or used in the business of such owner or operator during regular hours of business.
(Ord. No. 90-4, § 7, 2-21-90)
(A)
On the same plot with every structure or use hereafter erected or created, there shall be provided and maintained adequate space for loading and unloading of materials, goods or things and for delivery and shipping, so that vehicles for these services may use this space without encroaching on or interfering with the public use of streets and alleys by pedestrians and vehicles.
(B)
Where any structure is enlarged or any use is extended so that the size of the resulting occupancy comes within the scope of this section, the full amount of off-street loading space shall be supplied and maintained for the structure or use in its enlarged or extended size. Where the use of a structure or land or any part thereof is changed to a use requiring off-street loading space under this section, the full amount of off-street loading space shall be supplied and maintained to comply with this section.
(C)
For the purpose of this section, an off-street loading space shall be an area at the grade level at least ten (10) feet wide by thirty-five (35) feet long with fourteen-foot vertical clearance. Each off-street loading space shall be directly accessible from a street or alley without crossing or entering any other required off-street loading space, and arranged for convenient and safe ingress and egress by motor truck and/or trailer combination. Such loading space shall also be accessible from the interior of any building it is intended to service.
(D)
Off-street loading spaces shall be provided and maintained in accordance with the following schedule:
(1)
For each retail store, storage warehouse, wholesale establishment, industrial plant, factory, freight terminal, market, restaurant, mortuary, laundry, dry cleaning establishment or similar use which has an aggregate gross floor area of:
(a)
Over 5,000 square feet but not over 25,000 square feet .....1 space
(b)
Over 25,000 square feet but not over 60,000 square feet .....2 spaces
(c)
Over 60,000 square feet but not over 120,000 square feet .....3 spaces
(d)
Over 120,000 square feet but not over 200,000 square feet .....4 spaces
(e)
Over 200,000 square feet but not over 290,000 square feet .....5 spaces
(f)
Plus for each additional 90,000 square feet over 290,000 square feet or major fraction thereof .....1 space
(2)
For each multiple dwelling or apartment hotel having at least fifty (50) dwelling units but not over one hundred (100) dwelling units—One (1) space. For each multiple dwelling having over one hundred (100) dwelling units—One (1) space for each additional one hundred (100) dwelling units or major fraction thereof.
(3)
For each auditorium, convention hall, exhibition hall, museum, hotel, office building, sports arena, stadium, hospital, sanitarium, welfare institution or similar use which has an aggregate gross floor area of:
(a)
Over 20,000 square feet, but not over 40,000 square feet .....1 space
(b)
Plus for each additional 60,000 square feet over 40,000 square feet or major fraction thereof .....1 space
(4)
For any use not specifically mentioned in this section, the requirements for off-street parking for a use which is so mentioned and to which the unmentioned use is similar shall apply.
(E)
Off-street loading facilities supplied to meet the needs of one use shall not be considered as meeting off-street loading needs of any other use.
(F)
No area or facilities supplied to meet the required off-street parking facilities for a use shall be utilized for or be deemed to meet the requirements of this article for off-street loading facilities.
(G)
Nothing in this section shall prevent the collective, joint or combined provision of off-street loading facilities for two (2) or more buildings or uses; provided, that such off-street loading facilities are equal in size and capacity to the combined requirements of the several buildings or uses and are so located and arranged as to be usable thereby.
(H)
Plans for buildings or uses requiring off-street loading facilities under the provisions of this section shall clearly indicate the location, dimensions, clearances and access of all such required off-street loading facilities.
(Ord. No. 90-4, § 7, 2-21-90)
PARKING[8]
Editor's note— Ord. No. 2014-23, § 2(Exh. A), adopted Dec. 2, 2014, changed the title of Art. VII from "Off-street Parking Requirements" to read as set out herein.
The purpose of this article is to provide standards for the design of parking lots, the required amount of off-street parking and off-street loading requirements.
(Ord. No. 90-4, § 7, 2-21-90)
(A)
Every building, use or structure instituted or erected after the effective date of this chapter shall be provided with off-street parking facilities in accordance with the provisions of this article for the use of occupants, employees, visitors or patrons.
(B)
Such off-street parking facilities shall be maintained and continued as an accessory use as long as the main use is continued.
(C)
Where a building existed at the effective date of the ordinance from which this chapter was derived, such building may be modernized, altered or repaired, provided there is no increase in floor area or capacity and there is no change of occupancy without providing additional off-street parking facilities.
(D)
Where a building or use, which existed at the effective date of the ordinance from which this chapter was derived, is enlarged in floor area, volume, capacity or space occupied, off-street parking facilities as specified herein shall be provided for the additional floor area, volume, capacity or space so created or occupied.
(E)
Where a building or use which existed at the effective date of this chapter is changed in use or occupancy, additional off-street parking facilities shall be provided to the extent that the off-street parking required by this chapter for the new use or occupancy exceeds the off-street parking which would have been required for the previous use or occupancy had the regulations of this article been applicable thereto. For the purposes of this section, a "change of use or occupancy" shall mean a change from one category of off-street parking requirements to another such category under section 12-208.
(F)
It shall be unlawful for an owner or operator of any building, structure or use affected by this article to discontinue, change or dispense with or to cause the discontinuance or reduction of the required parking facilities apart from the discontinuance, sale or transfer of such structure or use without establishing alternative vehicle parking facilities which meet the requirements of this article. It shall be unlawful for any person, firm or corporation to utilize such building, structure or use without providing the off-street parking facilities to meet the requirements of and be in compliance with this article.
(Ord. No. 90-4, § 7, 2-21-90)
(A)
The off-street parking facilities required by this article shall be located on the same plot or parcel of land they are intended to serve; provided, however, when practical difficulties, as determined by the town council, prevent the establishment of such facilities upon the same plot, the off-street parking facilities shall be provided on land within seven hundred (700) feet of the premises they are to serve, and the owner of said parking area shall enter into written arrangement with the town whereby the land providing the parking area shall never be sold or disposed of except in conjunction with the sale of the building the parking area serves so long as these parking facilities are required, and said agreement shall be recorded at the expense of the owner and shall run with the land to bind the heirs, successors and assigns of said owner. Said written agreement may be voided by the Town Council if other provisions are made for off-street parking facilities pursuant to this article. In the case of a proposed family community residence, transitional community residence or recovery community where there is no special permit involved, all town determinations concerning the location of parking shall be made by the Town Administrator or designee rather than the town council.
(B)
The required off-street parking facilities shall be identified as to purpose and as to location when not clearly evident from a street or alley. Off-street parking facilities including access aisles and driveways shall be surfaced with a hard, dustless material and maintained in a smooth, well-graded condition; provided, that driveways, access aisles and parking spaces for certain uses may be surfaced with grass or lawn as provided by section 12-208(E).
(C)
All off-street parking facilities required by this article shall be drained so as not to cause any nuisance on adjacent or public property, and any lighting thereon shall be so arranged and designed as to prevent any glare spacing or excessive light on adjacent property. Such facilities shall be arranged for convenient access and safety of pedestrians and vehicles.
(Ord. No. 90-4, § 7, 2-21-90; Ord. No. O2021-030, § 2(Exh. A), 11-3-21; Ord. No. O2023-016, § 2(Exh. A), 9-20-23)
(A)
Driveways shall be considered as constituting off-street parking spaces for single-family and two-family duplex dwellings in residential districts; provided that, sufficient spaces are available on such driveways to meet the requirements of this article.
(B)
If an addition to the residence reduces paved parking area, including the enclosure of a carport, additional paved parking area required to satisfy the requirements of this article shall be provided prior to final building inspection and issuance of certificate of occupancy.
(C)
The closest point of any residential driveway shall be located a minimum of five (5) feet from any side and/or rear property line.
(D)
It shall be the responsibility of the owner of the property whose driveway or other entrance to his/her property intersects the public right-of-way to maintain said driveway or other entrance, including, without limitation, that portion which is in the public right-of-way.
(Ord. No. 90-4, § 7, 2-21-90; Ord. No. 91-33, 9-4-91)
Internal site circulation shall follow a functional classification and hierarchical design criteria to assure that the movements between the public right-of-way, which is the high-speed movement facility, and the parking stall, which is the terminal facility, are conducted in an efficient and orderly form. All streams of department [sic] traffic from the parking stalls in a parking lot shall be assembled and delivered to an internal collector facility that combines them into a few concentrated streams that will then be connected to the public right-of-way at a few properly spaced access locations.
(Ord. No. 90-4, § 7, 2-21-90)
(A)
Car parking stalls, parking aisles, driveways, reservoir areas and entrances are the basic functional elements of the on-site circulation system. Additional elements including, but not being limited to, perimeter roads, rear collector roads, service roads within the proposed development, left-turning lanes, acceleration lanes, traffic lights and frontage roads in the public right-of-way immediately adjacent to the proposed development may also be required. The following regulations shall apply:
(1)
Parking stalls and aisles:
(a)
The minimum size (in feet) of a parking stall space shall be as follows:
1.
Standard space. Ten (10) feet by eighteen (18) feet.
2.
Parallel space. Nine (9) feet by twenty-three (23) feet.
3.
Handicap space. Twelve (12) feet by eighteen (18) feet with a five-foot accessway, except that where two (2) handicapped spaces abut each other, they may jointly use the paved accessway (See Figure 12-205B).
4.
Parallel handicap space. Twelve (12) feet by twenty-three (23) feet.
5.
Compact space. Nine (9) feet by fifteen (15) feet.
(b)
If specifically designated and identified with pavement or curb markings for compact cars only, twenty-five (25) percent of the number of parking stalls required may be compact spaces.
(c)
All required parking stalls shall have direct and unobstructed access from a parking aisle. Each required parking stall shall be accessible without driving over or through any other parking stall or loading area. No parking stall shall directly abut a driveway.
(d)
No parking stall shall be designed to permit backout parking on public rights-of-way, nor shall parking stalls be located so as to required backing onto a sidewalk, pedestrian crosswalk or other area of high pedestrian concentration.
(e)
Parking stalls which abut a landscaped area shall be designed with bumpers, guards, wheel stops or continuous curbing. When surfaced with grass or lawn, the area between the bumpers, guards, wheel stops or continuous curbing shall not apply towards the amount of required landscaping.
(f)
When a row of parking stalls is immediately adjacent to a driveway, a minimum backup distance of twenty-five (25) feet is required between the property line and the first stall as shown in Figure 12-205A.
(g)
No point of parking stall or aisle shall be closer than five (5) feet to any building or property line.
(h)
Parking stalls shall be connected to a parking aisle. No parking stall shall directly abut a driveway.
(i)
No parking aisle or system of parking aisles in a parking lot shall connect more than sixty (60) parking stalls.
(j)
If an internal circulation plan requires emergency vehicles, garbage trucks or trucks moving to or from a loading area, the drives shall be a minimum of fifteen (15) [feet] in width.
(k)
Access for emergency fire vehicles shall meet the requirements of the development review committee.
(l)
All off-street parking areas shall be so arranged and marked as to provide for orderly, safe loading, unloading, parking and storage of vehicles with individual parking stalls clearly defined with directional arrows and traffic signs provided as necessary for traffic control.
(m)
Acceptable plans, must illustrate that proper consideration had been given to the surrounding street plan, traffic volumes, proposed street improvements, vehicular street capacities, pedestrian movements and safety.
(n)
Development plans incorporating drive-through facilities shall demonstrate adequate stacking capacity within the drive-through lane so as not to interfere with on-site circulation.
(o)
No parking stall which is situated in front of an overhead doorway shall be counted toward fulfilling the parking requirements set forth in this code.
(p)
Handicap parking spaces required by this chapter, the South Florida Building Code, as amended, or Florida Statutes, as amended, shall be identified in accordance with Figure 12-205B.
(2)
Geometric dimensions. Parking stalls and aisles in self-parking facilities shall be designed according to the dimensions in Table 12-205 and as depicted in Figure 12-205A.
(3)
Driveways:
(a)
All parking aisles shall connect to a driveway.
(b)
A parking lot which exceeds sixty (60) parking stalls shall be designed with at least one (1) two-way directional driveway loop system connecting the entrance to the parking stalls and the principal building.
(c)
The minimum distance from a driveway to a structure or property line shall be five (5) feet.
(d)
Access dimension guidelines:
1.
Dimension at street; width:
a.
Minimum (one-way): Fifteen (15) feet.
b.
Minimum (two-way): Twenty-five (25) feet.
c.
Maximum: Thirty-five (35) feet.
2.
Turn radius:
a.
Minimum: Ten (10) feet.
b.
Maximum: Thirty (30) feet.
(e)
Any off-street parking facility shall have either driveway approaches of sufficient width to allow for two-way traffic or one-way driveways connected to aisles, parking areas or maneuvering areas in such a manner as to permit traffic to both enter and leave the property, facing forward, at the same time. A driveway that is only wide enough for one-way traffic shall not be used for two-way access.
(4)
Circulation design. A parking lot abutting a trafficway shall be designed for full circulation. A parking lot abutting a street other than a trafficway may be designed for partial circulation.
(5)
Parking and loading areas to be curbed. Except for one- and two-family dwellings, all parking and loading areas shall be constructed with a six-inch raised curb or bumper blocks along sidewalks, safety islands, driveways, sight distance triangles and other places as needed, unless determined to be unnecessary by a finding of the site plan review committee and approval by the council that given the particular circumstances of the site such curb can be eliminated in certain areas without creating safety hazards. The raised curb shall be constructed in such a manner as to facilitate proper drainage and prevent vehicles from crossing sidewalks or other pedestrian walkways other than by means of approved driveway approach.
(6)
Sight triangles. Sight triangles shall be maintained for all driveways and intersections of public or private street as set forth in Section 12-113.
TABLE 12-205. MINIMUM AISLE DIMENSIONS AT VARIOUS PARKING ANGLES
Note: Dimensions are for one-lane, one-way direction movement. Two-way direction or two-lane, one-way direction movement requires a minimum aisle of twenty-four (24) feet regardless of parking angle.
Figure 12-205A
FIGURE 12-205B
(7)
Electric vehicle charging stations. Electric vehicle charging stations shall be installed in conformance with the provisions of this section.
(a)
Definitions.
Charging level means the standardized indicators of electrical force, or voltage at which an electric vehicle's battery is recharged. Typical electric vehicle charging levels and specifications are:
1.
Level 1: Alternating current slow charging (voltage is at least one hundred twenty (120) volts)
2.
Level 2: Alternating current medium charging (voltage is between one hundred twenty (120) volts and two hundred forty (240) volts)
3.
Level 3: Direct current fast charging (voltage is greater than two hundred forty (240) volts)
Electric vehicle means any vehicle that operates, either partially or exclusively on electrical energy from an off-board source, which is stored on-board the vehicle for motive purpose.
Electric vehicle charging station means a public parking space that is continually served by stationary battery charging equipment that has as its primary purpose the transfer of electric energy to an electric vehicle.
(b)
Applicability.
1.
New developments. Electric vehicle charging stations, with a minimum Level 2 charging capability, shall be required as set forth in paragraph (c) for all new developments involving multi-family residential and commercial uses.
2.
Site plan modifications. Developments approved prior to the adoption of the requirements of this section shall be required to comply with the standards set forth in paragraph (c) where an expansion of twenty-five (25) percent or more of the gross floor area of commercial development is proposed.
3.
Waiver. The Town Council shall have the authority to waive or modify the requirements of paragraph (c) upon a showing that the provision of electric vehicle charging stations is not practicable for the proposed new development or site plan modification due, for example, to the availability of electric vehicle charging stations nearby, the nature of the proposed use or to the particular circumstances of pre-existing site conditions.
(c)
Required number of electric vehicle charging stations.
(d)
Electric vehicle charging station design. Each required electric vehicle charging station shall include a sign identifying the parking space as an "Electric Vehicle Charging Station." To encourage the use of electrical vehicles, in commercial and multi-family residential developments, at least fifty (50) percent of the required electric vehicle charging stations should be located near handicapped accessible spaces or otherwise located near a primary public building entrance.
(e)
Planning for future demand. In order to accommodate the anticipated growth in market demand for electric vehicles, the following are encouraged but not required.
1.
New single-family residential homes are encouraged to plan for or provide a two hundred twenty (220)—two hundred forty (240) volt/forty (40) amp outlet on a dedicated circuit in close proximity to the garage or other designated vehicle parking to accommodate the future installation of a Level 2 or higher charging station for each required parking space.
2.
New or substantially modified multi-family, commercial and other developments utilizing common parking areas are encouraged to plan for and install such conduits and other infrastructure, including electrical equipment rooms or space, as may be necessary to for the future installation of Level 2 or higher charging stations to serve at least two (2) percent of the total number of parking spaces provided.
(Ord. No. 2016-014, § 2(Exh. A), 7-27-16; Ord. No. O2018-009, § 2(Exh. A), 4-4-18; Ord. No. O2019-012, § 2(Exh. A), 6-5-19; Ord. No. O2020-002, § 2(Exh. A), 2-5-20)
(A)
Truck loading and unloading areas are required for all buildings and establishments which receive and/or ship materials or merchandise by truck. The number of loading spaces required shall be in conformance with section 12-212.
(B)
Off-street truck loading shall be required except as provided in paragraph (C) below. The off-street loading facility shall be designed to accommodate both the parking of and maneuvering of the design vehicle exclusive of the public right-of-way.
(C)
On-street loading shall be permitted on a local cul-de-sac street abutting commercial and industrial development. Where permitted, such on-street loading areas shall berth the design vehicle exclusive of the public right-of-way.
(Ord. No. 90-4, § 7, 2-21-90)
Adequate reservoir capacity shall be required for both inbound and outbound vehicles to facilitate the safe and efficient movement between the trafficway and the development. An inbound reservoir shall be of sufficient size to ensure that vehicles will not obstruct the adjacent roadway, sidewalk and circulation within the facility. An outbound reservoir shall be required to eliminate backup and delay of vehicles within the development. The following shall apply to vehicular reservoir areas:
(1)
Design: A reservoir area shall be designed to include a space of twelve (12) feet wide by twenty-two (22) feet long for each vehicle to be accommodated within the reservoir area and so that vehicles within the reservoir area do not block parking stalls, parking aisles or driveways of off-street parking facilities.
(2)
Adjacent to trafficway: Adequate reservoir capacity shall be required for both inbound and outbound vehicles to facilitate the safe and efficient movement between the trafficway and the development. An inbound reservoir shall be of sufficient size to ensure that vehicles will not obstruct the adjacent trafficway, the sidewalk or the circulation within the facility. An outbound reservoir shall be required to eliminate backup and delay of vehicles within the development.
(Ord. No. 90-4, § 7, 2-21-90)
(A)
Minimum requirements. The off-street parking required by this article shall be provided and maintained on the basis of the following minimum requirements:
(1)
Auction houses. One (1) space for each four (4) fixed seats, plus one (1) space for each forty (40) square feet of non-fixed seating area, plus one (1) space for each two hundred (200) square feet of gross floor area not accounted for in fixed or non-fixed seating area.
(2)
Bars, lounges, taverns, dance halls, night clubs. One (1) space for each forty (40) square feet of customer service area and one (1) space for each two hundred (200) square feet of employee service area.
(3)
Child care center, day nursery, kindergarten, preschool. One (1) space for each five (5) children based on licensed child care capacity plus one (1) space per three hundred (300) square feet of office area. In addition, a minimum of three (3) stacking spaces shall be provided adjacent to the front entrance.
(4)
Bowling alley. Five (5) spaces for each alley plus one-half (½) the requirement for any restaurant, bar or lounge area.
(5)
Churches. One (1) space for each thirty (30) square feet of auditorium or chapel area, plus one (1) space for each Sunday School classroom.
(5a)
Flexible space office/warehouse developments. One (1) space for each four hundred fifty (450) square feet of gross floor area. For developments over four hundred thousand (400,000) square feet in floor area and constructed prior to November, 2000, one (1) space for each five hundred and forty (540) square feet of gross floor area. Developments qualifying for this use shall contain a multiple-tenant mix of offices and active or passive warehouses within any given building, and may contain research and development uses, with office comprising not more than fifty (50) percent of the gross floor area of the development. Principal retail and food service uses comprising more than five (5) percent of the gross floor area of the development shall be calculated separately.
(6)
Dormitories for student housing. On-campus housing: 0.85 spaces per bed. Off-campus housing: 0.85 spaces per bed or separately leasable bedroom (whichever is greater) plus ten (10) percent for guest parking.
(7)
Dwelling, single-family. Two (2) spaces for each dwelling unit, except as otherwise provided in section 12-82.
(8)
Dwelling, two-family (duplex) and multiple-family. One and one-half (1½) spaces for one (1) bedroom unit; two (2) spaces for two (2) bedroom units; and two and one-half (2½) spaces for three (3) bedrooms or more; plus one (1) guest space for each ten (10) units or part thereof; except as otherwise provided in section 12-82.
(9)
Game room, amusement arcade, pool hall. One (1) space for each two hundred (200) square feet of gross floor area.
(10)
Golf course. Four (4) spaces per green plus one (1) space for each two hundred (200) square feet of gross floor area of clubhouse plus additional spaces as required for other accessory uses.
(11)
Golf driving range, archery and other type target ranges. One and one-half (1½) spaces for each target position plus one (1) space for each one hundred (100) square feet of building area.
(12)
Golf miniature. Four (4) spaces for each green plus additional spaces as required for accessory uses.
(13)
Hospitals. One (1) space for each patient bed plus one (1) space for each one thousand (1,000) square feet of gross floor area.
(14)
Manufacturing, wholesale warehousing, and industrial uses, including recycling, scrap metal processing and automobile wrecking yards. One (1) space for each six hundred (600) square feet of floor area of the building plus one (1) space for each three hundred (300) square feet of office use.
(15)
Medical, dental, chiropractic, etc. clinics. One space for each two hundred (200) square feet of gross floor area.
(16)
Mobile home parks. Two (2) spaces for each site plus one (1) space for each two hundred (200) square feet of office area.
(17)
Motels, tourist homes. One (1) space for each guest room plus one (1) space for each two hundred (200) square feet of office area plus parking as required for accessory uses.
(18)
Hotels. One (1) space for each two (2) guest rooms, plus one (1) space for each three (3) persons to the maximum designed capacity of each public meeting room, plus, one-half (½) the requirements for accessory uses, such as restaurants and bars available to the general public.
(18.1)
Hotels, extended stay (hotels providing in-room kitchen or kitchenette with food preparation area and full size refrigerator) one (1) space for each guest room, plus one (1) space for each three (3) persons to the maximum designed capacity of each public meeting room, plus, one-half (½) the requirements for accessory uses, such as restaurants and bars available to the general public.
(19)
Motor vehicle, boat, recreational vehicle, farm machinery and construction equipment sales and service. One (1) space for each one hundred fifty (150) square feet of repair, office and showroom plus one (1) space for each five hundred (500) square feet of outdoor display area.
(20)
Mortuaries; funeral homes. One (1) space for each four (4) seats in chapel and viewing areas plus one (1) space for each four hundred (400) square feet of gross floor area. In no case shall there be less than twenty-five (25) parking spaces provided.
(21)
Special residential facilities. For Category 1 special residential facilities, treat as single-family dwelling. For Category 2 special residential facilities, one (1) space for each three (3) beds. For Category 3 special residential facilities, one (1) space for each three (3) beds plus one (1) per employee per shift.
(22)
Offices, business, professional, governmental, financial institutions and commercial banks, telemarketing centers. One (1) space for each three hundred (300) square feet of gross floor area. Telemarketing centers shall be one (1) space for each one hundred (100) square feet of gross floor area.
(23)
Places of public assembly, such as auditoriums, exhibition halls, bingo parlors, dance halls, skating rinks, sport arenas, community centers, libraries, gymnasiums, museums. One (1) space for each four (4) fixed seats, plus one (1) space for each forty (40) square feet of non-fixed seating area, plus one (1) space for each two hundred (200) square feet of gross floor area not accounted for in fixed or non-fixed seating area.
(24)
Private clubs, lodges, fraternal buildings, union halls. One (1) space for each fifty (50) square feet of gross floor area.
(25)
Recreational vehicle park. One (1) space for each recreational vehicle and/or tent site plus one (1) space for each two hundred (200) square feet of permanent building area.
(26)
Repair shops, excluding major vehicle and boat repair. One (1) space for each two hundred (200) square feet of gross floor area.
(27)
Restaurant, drive-in, fast food and takeout. Twelve (12) spaces for each one thousand (1,000) square feet of gross floor area.
(28.1)
Restaurant, without bar service for alcoholic beverages. Thirteen (13) spaces for each one thousand (1,000) square feet of gross floor area.
(28.2)
Restaurant, with bar service for alcoholic beverages. Eighteen (18) spaces for each one thousand (1,000) square feet of gross floor area.
(29)
Retail centers (including any combination of retail stores, personal service shops, gyms, household repair or equipment shops, interior decoration shops, gift and card shops, grocery stores).
(a)
Up to fifty thousand (50,000) square feet: One (1) space for each two hundred fifty (250) square feet of gross floor area, which may include up to twenty (20) percent restaurants/bars.
(b)
Fifty thousand one (50,001) to one hundred fifty thousand (150,000) square feet: One (1) space for each two hundred twenty-five (225) square feet of gross floor area of retail center, which may include up to twenty (20) percent restaurants/bars.
(c)
One hundred fifty thousand one (150,001) to six hundred thousand (600,000) square feet: One (1) space for each two hundred twenty-five (225) square feet of gross floor area of retail center, which may include up to twenty-five (25) percent restaurants/bars.
(d)
Over six hundred thousand (600,000) square feet: One (1) space for each two hundred twenty-five (225) square feet of gross floor area of retail center, which may include up to twenty-five (25) percent restaurants/bars.
(30)
Roominghouses, boardinghouses, dormitories or fraternities. One and one-half (1½) spaces for each rental sleeping room plus two (2) parking spaces for the owner/operator.
(31)
Schools, elementary or middle, public, private or parochial. Two (2) parking spaces for each classroom plus one (1) space for each two hundred (200) square feet of gross floor area not accounted for in classroom or hallway areas.
(32)
Schools, senior high, public, private or parochial. Two (2) parking spaces for each classroom plus one (1) parking space for each five (5) students of design capacity, plus one (1) space for each two hundred (200) square feet of gross floor area not accounted for in classroom or hallway areas.
(33)
Schools, colleges public, private or parochial. Two (2) spaces for each classroom plus one (1) space for each three (3) students of design capacity, plus one (1) space for each two hundred (200) square feet of gross floor area not accounted for in classroom or hallway areas.
(34)
Schools, dance, art, martial arts, music, trade, etc. One (1) space for every fifty (50) square feet of classroom or training area.
(35)
Stadiums, race tracks, fairgrounds, circus grounds. One (1) parking space for each five (5) seats plus one (1) space for each two hundred (200) square feet of permanent building area.
(36)
Theaters and other places of assembly having fixed seats except churches and other houses of worship. One (1) parking space for each three (3) seats.
(37)
Warehouses (long-term), self-storage facilities and storage buildings having no other use, and in which no business of any type is conducted. One (1) space for every one thousand (1,000) square feet for warehouses and storage buildings and one (1) space for every two thousand (2,000) square feet of self-storage facilities area. Long-term storage, as indicated, on a site plan, may be considered an accessory to an industrial use at the discretion of the development services director.
(37.1)
Warehouse distribution centers having no public wholesale or retail areas. Thirty-five-one-hundredths (0.35) spaces per one thousand (1,000) square feet of warehouse area or seventy-eight-one-hundredths (0.78) spaces per warehouse employee for the maximum number of such employees per shift, whichever is greater. Administrative offices associated with a warehouse distribution use shall be calculated using the office parking generation rate.
(38)
Wholesale stores, home improvement, wholesale clubs. One (1) space for each two hundred fifty (250) square feet of gross floor area.
(39)
Yacht manufacturing and repair, and marinas. One (1) space for one thousand three hundred (1,300) square feet of solid roofed area.
(40)
Research and development. One (1) space for each three hundred (300) square feet of gross floor area devoted to research and one (1) space for each six hundred (600) square feet devoted to development, as indicated on an approved site plan.
(41)
Beauty salons, day spas. Beauty salons and/or similar types of uses. Five (5) spaces for each licensed stylist or similar. Day spas shall be one (1) space for each one hundred twenty-five (125) square feet of gross floor area devoted to such use.
(42)
Family and transitional community residences. Two (2) spaces plus one (1) space for each resident who maintains a motor vehicle on the premises.
(43)
Recovery communities. One (1) space for each efficiency dwelling unit. For dwelling units with one (1) or two (2) bedrooms, one and a half (1½) spaces for each dwelling unit. For dwelling units with three (3) or more bedrooms, one and a half (1½) spaces for every two (2) bedrooms.
(B)
(Reserved.)
(C)
Fractional measurements. When units or measurements determining number of required off-street parking spaces result in requirement of a fractional space, any such fraction equal to or greater than one-half (½) shall require a full off-street parking space.
(D)
Mixed uses. In the case of mixed uses, the total requirements for off-street parking shall be the sum of the requirements of the various uses computed separately, and off-street parking space for one (1) use shall not be considered as providing the required off-street parking for any other uses.
(E)
Overflow areas. A maximum of twenty (20) percent of required parking, as specified in subparagraphs (A)(5), (20) and (23) above, may be provided in grassed overflow area on the submitted site plan. A maximum of seventy-five (75) percent of required parking as specified in subparagraph (A)(33) may be provided in grassed overflow area. Such overflow areas shall be designated as such on an approved site plan and shall be designed to the criteria set forth in this section. Areas so designated as overflow areas shall not count towards any required landscaping and shall be exclusive of required drainage and/or septic tank and septic drainage areas.
(F)
Measurement.
(1)
Floor area. For the purpose of this article, the term "floor area" shall mean the gross floor area inside of the exterior walls.
(2)
Hospitals. In hospitals, bassinets shall not count as beds.
(3)
Places of assembly. In stadiums, sport arenas, places of worship and other places of public assembly in which occupants utilize benches, pews or other similar seating facilities, each twenty (20) lineal inches of such seating facilities shall be counted as one (1) seat for the purpose of computing off-street parking requirements.
(4)
Outdoor restaurant seating. Outdoor restaurant seating areas exceeding eight (8) seats shall be considered part of the "gross floor area" of a restaurant.
(G)
Off-premises parking. See section 12-202.
(H)
Uses not specifically listed. Where an existing or proposed use is not listed in paragraph (A), above, the Town Administrator or designee shall have the authority to determine the minimum off-street parking requirement based on the most similar category listed it being the intent to require all uses except agricultural uses to provide off-street parking.
(I)
Individual parking study. The Town Administrator or designee, shall have the authority to determine the amount of off-street parking for a proposed development based on an individual parking study submitted by a developer but prepared by a qualified professional. The individual parking study may be used to establish the parking ratio for a single use or the total amount of parking for multiple uses based on peak-demand principles. All costs associated with the review and approval of the individual parking study shall be borne by the developer.
(J)
Affordable housing units. For multi-family dwelling units restricted to affordable housing as defined in Article XVII, where the parcel is within one thousand three hundred twenty (1,320) feet a transit stop providing access to a fixed route transit service: one (1) spaces for one (1) bedroom unit; one and one-half (1½) spaces for two (2) bedroom units; and two (2) spaces for three (3) bedrooms or more; plus one (1) guest space for each ten (10) units or part thereof; except as otherwise provided in section 12-82.
(Ord. No. 90-4, § 7, 2-21-90; Ord. No. 91-33, 9-4-91; Ord. No. 97-38, § 1, 7-2-97; Ord. No. 2000-15, § 5, 5-17-00; Ord. No. 2000-41, § 1, 12-5-00; Ord. No. ZB(TXT)3-1-01, § 1, 4-4-01; Ord. No. 2007-013, § 8, 6-20-07; Ord. No. 2010-35, § 2, 11-17-10; Ord. No. 2012-15, § 2(Exh. A), 8-1-12; Ord. No. 2012-28, § 2(Exh. A), 12-5-12; Ord. No. 2014-23, § 2(Exh. A), 12-2-14; Ord. No. 2016-014, § 2(Exh. A), 7-27-16; Ord. No. O2019-004, § 2(Exh. A), 1-23-19; Ord. No. O2021-030, § 2(Exh. A), 11-3-21; Ord. No. O2023-001, § 2(Exh. A), 1-4-23; Ord. No. O2023-011, § 2(Exh. C), 7-26-23; Ord. No. O2023-016, § 2(Exh. A), 9-20-23; Ord. No. O2024-015, § 2(Exh. A), 5-15-24)
Editor's note— Ord. No. 2014-23, § 2(Exh. A), adopted Dec. 2, 2014, deleted § 12-209, which pertained to combined off-street parking and derived from Ord. No. 90-4, § 7, adopted Feb. 21, 1990.
Editor's note— Ord. No. 2014-23, § 2(Exh. A), adopted Dec. 2, 2014, deleted § 12-210, which pertained to shared parking and derived from Ord. No. 90-4, § 7, adopted Feb. 21, 1990; Ord. No. 91-33, adopted Sept. 4, 1991; and Ord. No. 2000-41, § 1, adopted Dec. 5, 2000.
Off-street parking facilities supplied by the owner or operator to meet the requirements of this article shall not be used by commercial vehicles owned, operated or used in the business of such owner or operator during regular hours of business.
(Ord. No. 90-4, § 7, 2-21-90)
(A)
On the same plot with every structure or use hereafter erected or created, there shall be provided and maintained adequate space for loading and unloading of materials, goods or things and for delivery and shipping, so that vehicles for these services may use this space without encroaching on or interfering with the public use of streets and alleys by pedestrians and vehicles.
(B)
Where any structure is enlarged or any use is extended so that the size of the resulting occupancy comes within the scope of this section, the full amount of off-street loading space shall be supplied and maintained for the structure or use in its enlarged or extended size. Where the use of a structure or land or any part thereof is changed to a use requiring off-street loading space under this section, the full amount of off-street loading space shall be supplied and maintained to comply with this section.
(C)
For the purpose of this section, an off-street loading space shall be an area at the grade level at least ten (10) feet wide by thirty-five (35) feet long with fourteen-foot vertical clearance. Each off-street loading space shall be directly accessible from a street or alley without crossing or entering any other required off-street loading space, and arranged for convenient and safe ingress and egress by motor truck and/or trailer combination. Such loading space shall also be accessible from the interior of any building it is intended to service.
(D)
Off-street loading spaces shall be provided and maintained in accordance with the following schedule:
(1)
For each retail store, storage warehouse, wholesale establishment, industrial plant, factory, freight terminal, market, restaurant, mortuary, laundry, dry cleaning establishment or similar use which has an aggregate gross floor area of:
(a)
Over 5,000 square feet but not over 25,000 square feet .....1 space
(b)
Over 25,000 square feet but not over 60,000 square feet .....2 spaces
(c)
Over 60,000 square feet but not over 120,000 square feet .....3 spaces
(d)
Over 120,000 square feet but not over 200,000 square feet .....4 spaces
(e)
Over 200,000 square feet but not over 290,000 square feet .....5 spaces
(f)
Plus for each additional 90,000 square feet over 290,000 square feet or major fraction thereof .....1 space
(2)
For each multiple dwelling or apartment hotel having at least fifty (50) dwelling units but not over one hundred (100) dwelling units—One (1) space. For each multiple dwelling having over one hundred (100) dwelling units—One (1) space for each additional one hundred (100) dwelling units or major fraction thereof.
(3)
For each auditorium, convention hall, exhibition hall, museum, hotel, office building, sports arena, stadium, hospital, sanitarium, welfare institution or similar use which has an aggregate gross floor area of:
(a)
Over 20,000 square feet, but not over 40,000 square feet .....1 space
(b)
Plus for each additional 60,000 square feet over 40,000 square feet or major fraction thereof .....1 space
(4)
For any use not specifically mentioned in this section, the requirements for off-street parking for a use which is so mentioned and to which the unmentioned use is similar shall apply.
(E)
Off-street loading facilities supplied to meet the needs of one use shall not be considered as meeting off-street loading needs of any other use.
(F)
No area or facilities supplied to meet the required off-street parking facilities for a use shall be utilized for or be deemed to meet the requirements of this article for off-street loading facilities.
(G)
Nothing in this section shall prevent the collective, joint or combined provision of off-street loading facilities for two (2) or more buildings or uses; provided, that such off-street loading facilities are equal in size and capacity to the combined requirements of the several buildings or uses and are so located and arranged as to be usable thereby.
(H)
Plans for buildings or uses requiring off-street loading facilities under the provisions of this section shall clearly indicate the location, dimensions, clearances and access of all such required off-street loading facilities.
(Ord. No. 90-4, § 7, 2-21-90)