FORM-BASED CODE
Editor's note— Ord. No. 1923, § 5(Exh. A), adopted Sept. 12, 2023, amended Div. 4 in its entirety, in effect repealing and reenacting said Div. 4 to read as set out herein. The former Div. 4, §§ 30-361—30-371, pertained to similar subject matter and derived from Prior Code; Ord. No. 1846, § 2, Nov. 10, 2020.
This section provides regulations and standards for well-designed facades on new or renovated buildings. These regulations encourage buildings that strengthen the quality and character of Fontana's corridors and surrounding areas while providing opportunities for creativity and discretion.
Editor's note— Ord. No. 1906, § 73, adopted Oct. 25, 2022, amended the title of Div. 10 to read as herein set out. The former Div. 10 title pertained to Public Open Space Standards.
Property, including structures, land uses and physical improvements (such as landscaping and lighting) within the boundaries of the Form-Based Code area shall comply with all applicable requirements of the Form-Based Code article as follows:
(1)
Zoning district(s) requirements. All property subject to Form-Based Code article shall comply with the relevant requirements of the applicable district.
(2)
Conflicting requirements. Where a requirement exists for the same topic, in both the Form-Based Code article and other sections of the City of Fontana Municipal article, the requirements of the Form-Based Code article shall prevail unless otherwise specified.
(3)
Permit approval requirements. Each structure and land use shall be constructed, reconstructed, enlarged, altered, moved or replaced in compliance with the following requirements:
a.
Allowable use: The land use must be allowed in the zoning district where the site is located (see Table 30-359.A).
b.
Permit and approval requirements: Any and all permits or other approvals required by the Form-Based Code article shall be obtained before the issuance of any required grading, building, or other construction permit, and before the proposed structure(s) is constructed and land use established or otherwise put into operation.
c.
Development standards, conditions of approval: Each land use and structure shall comply with the applicable development standards of the Form-Based Code article for the zoning district in which the site is located.
d.
Nothing in this Form-Based Code article eliminates the need for obtaining other permits required by the City of Fontana, or any permit, approval, or entitlement required by any other applicable district or agency, and/or the regulations of any state or federal agency.
(4)
Improvements, modifications or expansions to sites or structures.
a.
Improvements to a conforming site, an existing conforming structure(s), or a modification/expansion of an existing conforming structure(s) are subject to the applicable requirements of the Form-Based Code article.
b.
Improvements to a nonconforming site, an existing nonconforming structure(s) or a modification/expansion of an existing nonconforming structure(s) shall comply with the applicable requirements in Section 30-631 nonconforming regulations.
(5)
Approved entitlements or time extensions. Entitlements or time extensions approved prior to the adoption of the Form-Based Code article that have yet to be constructed are not subject to the Form-Based Code article. However, the entitlement(s) may not be extended beyond the approval period and any time extensions afforded to the entitlement(s).
The purpose of this section is to define the procedures for design review and administrative site plan reviews for the Form-Based Code districts and the types of projects that are subject to those procedures. Design and administrative site plan review is a process that enables the City of Fontana to ensure the quality and compatibility of proposed development. The procedures established herein will:
• Facilitate review of development proposals in a timely manner;
• Ensure conformance with all applicable local design guidelines, standards, and ordinances;
• Minimize adverse effects on surrounding properties; and
• Promote the goals of the general plan.
(1)
Pre-application meeting. Prior to the filing of an application for a design review or administrative site plan, the applicant shall hold a pre-application meeting with the Director of Community Development and other designated staff from departments and divisions.
(2)
Administrative site plan (minor). An application for minor administrative site plan review is required for any of the following activities requiring the issuance of a building permit for construction of buildings or structures which meets the following criteria:
a.
New construction of parking lots less than 5,000 square feet, expansion, or significant reconstruction of parking lots.
b.
Structural additions less than 1,000 square feet that meet all the requirements of the Municipal Code, including parking. All modifications shall be architecturally compatible with the existing building.
c.
Accessory structures totaling less than 1,000 square feet (i.e. shade structures, trash enclosures, generators, and additional mechanical equipment). All structures shall be screened from the public-right-of-way and adjacent properties. Accessory structures attached to the building shall match the existing building.
d.
Façade changes to an existing and previously approved entitlement, including paint hue changes.
e.
Projects involving a change or intensification of land use.
(3)
Administrative site plan (major). An application for administrative site plan review is required for any of the following activities requiring the issuance of a building permit for construction/reconstruction of buildings or structures which meets the following criteria:
a.
New construction 24,999 square feet or less for commercial or institutional projects designed to fully execute one of the architectural styles in Section 30-394. Commercial or institutional projects that do not utilize an architectural style included in Section 30-394 may be referred to the Planning Commission by the Director of Community Development.
b.
Structural additions for commercial projects which result in total building area of 24,999 square feet or less. The façade of the existing commercial building(s) shall be modified concurrently with the structural addition and shall utilize an architectural style included in Section 30-394. Commercial or institutional projects that do not utilize an architectural style included in Section 30-394 may be referred to the Planning Commission by the Director of Community Development.
c.
New construction, expansion, or significant reconstruction of parking lots 5,000 square feet or more.
d.
Commercial projects with existing buildings proposing to add additional buildings of 24,999 square feet or less.
(4)
Design review. An application for design review is required for any of the following activities requiring the issuance of a building permit for construction/reconstruction of buildings or structures which meets the following criteria:
a.
Residential projects of five units or more, excluding accessory dwelling units.
b.
New construction of 25,000 square feet or more for commercial and institutional projects.
c.
Structural additions which will result in a total building area of 25,000 square feet or more for commercial projects.
This section regulates nonconforming parcels, nonconforming structures, and nonconforming uses, including uses that are nonconforming as to required off-street parking. This section is intended to allow nonconforming lots, structures, uses, and off-street parking arrangements to continue to the extent consistent with the health, safety and public welfare purposes of the Form-Based Code districts, with the goal being to bring such nonconforming lots, structures, and uses into compliance with the overall vision.
(1)
Nonconforming buildings, outdoor operations or structures.
a.
Buildings, outdoor operations or other structures that are nonconforming as to setback, height, or other Form-Based Code provisions may be repaired, replaced, or added to, only to the extent permitted by this section:
1.
Subdivision. Lots which are nonconforming as to width may be adjusted or subdivided provided the resulting re-configuration brings the nonconforming lot into, or closer to, conformity with the requirements of this plan.
2.
Additions. A legal-nonconforming building, outdoor operation area or other structure may be added to, provided that an addition of 50 percent or more of the existing floor area shall trigger compliance with all Form-Based Code district provisions for the portion of the building or structure comprising the addition.
The following requirements must be met:
i.
Parking space requirements for the use or equivalent use (as determined by the Director) must be met, inclusive of both the existing floor space area and addition areas.
ii.
The design and architecture of the structure must be high quality and utilize compatible architecture with that of the existing building and neighborhood.
iv.
Expansions of outdoor nonconforming operations is not permitted including parcel mergers and site expansions, with the exception of display areas which may expanded.
v.
New loading and repair bay areas must be screened from the right-of-way by facing away from the right-of-way or with low walls and/or landscaping.
3.
Restoration of building or other structure. If a legal-nonconforming building or structure is damaged or partially destroyed (75 percent or less) by fire, flood, wind, earthquake, or other calamity or act of God, structural alterations, or other repairs for purposes of reconstruction may be carried out so long as they are repaired or replaced to no more than their original size (i.e., no additional floor area shall be added).
4.
Other repair. Repair of legal-nonconforming buildings or other structures, other than structural alterations and other repairs required for restoration of damaged or partially destroyed buildings, may be carried out provided that:
i.
No structural alterations may be carried out unless those structural alterations are determined by the Building Official to be required for protection of the public health or safety; and
ii.
No like-for-like reconstruction of nonconforming buildings or other structure may be carried out unless such reconstruction is determined by the Building Official to be required for protection of the public health or safety.
(2)
Remodels, and other additions or alterations. Notwithstanding any provisions of the above-listed standards, in any instance where a person proposes to, or commences to, alter, expand, or add to an existing nonconforming building or structure and nonconforming portions of the nonconforming building or structure are demolished in the course of such alterations, expansions, or additions, all nonconforming portions of the building or structure so demolished shall be reconstructed in compliance with all requirements of the Form-Based Code districts. This requirement shall apply regardless of whether such demolition is determined by the Building Official to be necessary to comply with the applicable building article or required for the protection of the public health and safety.
(3)
Nonconforming uses. A nonconforming use, including any uses incidental thereto, may not continue, if ceased for a period longer than six months. This shall not include time periods required for repairs, remodels, or expansions permitted in this section, but may not exceed 24 months.
(4)
Nonconforming as to parking. All uses that are nonconforming as to the off-street parking requirements of this plan shall comply with the following:
a.
Repair of buildings. Where the off-street parking provided for a use does not meet the requirements of this plan, repair of any building on the site occupied by that use may be carried out, provided that, no structural alterations may be carried out unless the Building Official determines those structural alterations to be necessary for the protection of the public health and safety, all off-street parking requirements of this plan must be met by any and all uses occupying, or otherwise using, any buildings on the subject site.
b.
Additions to building. Where the off-street parking provided for a use does not meet the requirements of the Form-Based Code districts, additions to buildings on the site occupied by that use may be carried out only if all requirements of the Form-Based Code districts are met by any and all uses occupying, or otherwise using, any buildings on the subject site.
c.
Vacancy. In addition to the above provisions regarding discontinuance of nonconforming uses and change of a nonconforming use to a conforming use, where any nonresidential use does not meet the off-street parking requirements of this plan, and the building which the nonresidential use occupied becomes and remains vacant for an uninterrupted period of six months, the building may not be reoccupied, nor may any new land use be initiated anywhere on the site, unless all requirements of the Form-Based Code districts are met.
(5)
Abatement of nonconforming uses. Where no buildings are occupied or otherwise used in connection with a nonconforming use, that use shall be terminated within six months from the date it became nonconforming, provided that for any use that becomes nonconforming as a result of a zone change, the specified two-year period of time for the termination of the nonconforming use shall be computed from the effect date of the zone change.
(Ord. No. 1969, § 4(Exh. A), 5-27-25)
The following definitions shall apply to Article III of Chapter 30 of the Fontana Municipal Code (Development Code).
Accessory building means building(s) which are in support of the main building on the lot and subject to the building placement standards for accessory buildings.
Accessory dwelling unit means a residential dwelling unit that provides independent living facilities, including permanent provisions for living, sleeping, eating, cooking, and sanitation, for one or more persons. See Zoning and Development Code for standards.
Adult day care facility—Health care means a non-residential facility that provides care and companionship for older adults who need assistance or supervision during day. Adult day health care offers intensive health, therapeutic, and social services for individuals with serious medical conditions and those at risk of requiring nursing home care.
Adult-oriented uses means any adult bookstore, adult mini-motion picture theater, adult motion picture theater, adult cabaret, massage establishment, or sexual novelty store as defined below:
(1)
Adult bookstore means an establishment having as a substantial or significant portion of its stock in trade, books, magazines, and other periodicals, which are distinguished or characterized by their emphasis on matters depicting, describing, or related to "specific sexual activities" or "specified anatomical areas" or an establishment with a segment or section devoted to the sale or display or such material.
(2)
Adult mini-motion picture theater means an enclosed building with a capacity for less than 20 persons used for presenting material distinguished or characterized by an emphasis on matters depicting, describing, or relating to "specific sexual activities" or "specified anatomical areas" for observation by patrons therein.
(3)
Adult motion picture theater means an enclosed building with a capacity of 20 or more persons used for presenting material distinguished or characterized by an emphasis on matters depicting, describing, or relating to "specified sexual activities" or "specified anatomical areas" for observation of patrons therein.
(4)
Sexual novelty store means an establishment having as a portion of its stock in trade in goods which are replicas of or which simulate "specified anatomical areas" or goods which are designed to be placed on "specific anatomical areas" to cause sexual excitement thereof.
Alcohol beverage sales, off-site consumption means the retail sale of beer, wine, and/or other alcohol beverages for off-premises consumption.
Alcohol beverage sales, on-site consumption means the retail sale of beer, wine, and/or other alcoholic beverages for on-premises consumption.
Alley means a low capacity thoroughfare with one, shared lane and no parking lanes, designed and intended for service and/or secondary access purposes.
Antique means work of art, furniture, decorative objects made at an earlier period at least 30 years old.
Antique store means a retail establishment with more than 50 percent of its merchandise being sold as antiques.
Apartment means a room or group of rooms that is designed, used or intended to be used as a single-family unit and is located in a multiple-family dwelling.
Arcade, game and video means establishments that provide more than five video or electronic games that require coins, tokens, or other form of payment to play. Arcade games may be permitted when ancillary to a main use.
Architectural feature means an architectural element, which alone or as part of a pattern, embodies the style, design, or general arrangement of the exterior of a building or structure, including, but not limited to, the kind, color, and texture of building materials, and style and type of windows, doors, lights, porches, and signs.
Art studio. See "Studio—Art, dance, martial arts, music (school)."
Assisted living facility means a special combination of housing, personalized supportive services, and health-related care designed to respond to the individual needs of those who require help with activities of daily living.
Automatic teller machine (ATM) means a type of banking and financial services with automated or self-service banking features with no staff or personnel provided.
Automobile body and painting means collision service including body or frame, straightening or repair, overall painting, or paint shop where all activities are conducted within an enclosed building.
Automobile/motorcycle repair means general repair, rebuilding or reconditioning of engines, motor vehicles, or motorcycle.
Awning means a roof or cover that projects from the wall of a building over a door or window, and made of canvas, aluminum or a similar material, which may be fixed in place or retractable for the purpose of shielding a doorway or window from the elements.
Balcony means a platform that projects from the wall of a building and is enclosed by a parapet or railing.
Bank/financial services means financial institutions, including, but not limited to: banks and trust companies, credit agencies, holding (but not primarily operating) companies, lending and thrift institutions, other investment companies, securities/commodity contract brokers and dealers, security and commodity exchanges, and vehicle finance (equity) leasing agencies. Does not include check-cashing stores. (See also "automatic teller machine (ATM).")
Banquet hall means a room or building for the purpose of hosting a party, banquet, wedding or other reception, or another social event.
Bars, lounges, nightclubs, means an establishment where people gather to drink (alcohol). The establishment shall operate in compliance with any on-site consumption of alcoholic beverages, as licensed by the Alcoholic Beverage Control, and may offer facilities for dancing or performing floor shows.
Bed and breakfast establishment means one or more buildings containing a dwelling unit and not more than six guest rooms, where only breakfast or similar early morning meal is provided to registered guests and the price of the meal is included in the price of the accommodations. The relationship between the operator of the establishment and the occupants of the guest rooms must be that of innkeeper and gusts. Guest rooms are not to be rented for a period of less than 18 hours at a time.
Block means all property fronting on one side of a street between intersecting and intercepting streets, or between a street and a right-of-way, drainage channel, end of an existing cul-de-sac, or city boundary.
Block face means the aggregate of all the building facades on one side of a block. The block face provides the context for establishing architectural compatibility.
Boarding house means a residence or dwelling, other than a hotel, wherein three or more rooms, with or without individual or group cooking facilities, are rented to individuals under separate rental agreements or leases, either written or oral, whether an owner, agent or rental manager is in residence.
Brew pub means an eating and drinking establishment having a small brewery on the premises which produces beer, ale, or other malt beverage, or wine, and where the majority of the beer/wine produced is consumed on the premises. This classification allows a brewpub to sell beer/wine at retail and/or act as wholesaler for beer of its own production for off-site consumption, with appropriate state licenses.
Building access means buildings are accessed in either of two ways: a) walk-up or b) point access.
(1)
Walk-up access means when an individual suite or dwelling is accessed by the pedestrian directly from a public sidewalk or private open space directly accessed by the public sidewalk. House-scale buildings are accessed only by walk-up access.
(2)
Point access means when individual suites or dwellings are accessed by the pedestrian through a common lobby. Block-scale buildings are accessed by either walk-up or point-access or, through a combination of the two.
Building height means the vertical extent of a building measured in stories to the eave of the highest story, not including a raised basement or a habitable attic. Height limits do not apply to masts, belfries, clock towers, chimney flues, and similar structures. Building height shall be measured from the average natural grade of the fronting thoroughfare.
Building type means a structure defined by the combination of configuration, placement and function. The building types used in the downtown Code are listed and described in Section 5.0 building standards.
Child day care facility means a facility that provided nonmedical care to children under 18 years of age in need of personal services, supervision, or assistance essential for sustaining the activities of daily living or for the protection of the individual on less than a 24-hour basis. Includes day care centers, employer-sponsored child care centers, and family day care homes.
Child tutorial classes. See "Studio—Art, dance, martial arts, music (school)."
Civic means the term defining not-for-profit organizations dedicated to the arts, culture, education, government, transit and municipal parking facilities.
Civic building means a structure operated by governmental or not-for-profit organizations and limited to civic and related uses.
Clinic. See "medical services."
Commercial parking facility/garage means parking lots or structures operated by the City, or a private entity providing parking that is not accessory to a specific use. A fee may or may not be charged. Does not include towing impound and storage facilities.
Condominium means the ownership of single units in a multi-unit project with common elements.
Consignment store means a retail establishment with more than 50 percent of the goods are placed on consignment. Consignment is the art of placing goods in the hands of another, while still retaining ownership, until the goods are sold.
Convenience store means a retail establishment with extended opening hours and in a convenience location, stocking a limited range of household goods and groceries.
Courtyard means an unroofed area that is completely or partially enclosed by walls or buildings.
Cultural institution means a nonprofit institution engaged primarily in the performing arts or in the display or preservation of objects of interest in the arts or sciences that are open to the public on a regular basis. This classification includes performing arts centers for theater, dance and events, museums, art galleries, and libraries.
Cyber café means an establishment that provides more than six computers and/or other electronic devices for access to the internet, email, video games or computer software programs which are networked or which function as a client/server program, and which seeks compensation in any form from users. Cyber café is synonymous with PC café, internet café or cyber center.
Director of Community Development means the department head authorized to perform the duties of the Director of Community Development, including acting director of Community Development or other City employee designed to perform the duties of the Director of Community Development.
Drive-thru restaurant means a facility where food is prepared and served on the premises and which also allow motorists to order and purchase food without leaving their vehicles.
Drive-thru services means facilities where food or other products may be purchased, or services may be obtained by motorists without leaving their vehicles. Examples of drive-through sales facilities include fast-food restaurants, drive-through coffee, photo stores, pharmacies, bank teller windows and ATMs, dry cleaners, etc., but do not include gas station or other vehicle services.
Driveway means a vehicular lane within a lot, or shared between two lots, usually leading to a garage, other parking or loading area.
Dwelling unit means a room or group of internally connected rooms that have sleeping, cooking, eating, and sanitation facilities, but not more than one kitchen, which constitute an independent housekeeping unit, occupied by or intended for one household on a long-term basis.
Eating establishment means a place of business primarily engaged in the sale of prepared foods. Typical uses include fine sit-down restaurants, coffee shops, bakeries, delicatessens and specialty food-to-go.
Emergency shelter means temporary housing available to individuals and families experiencing homelessness. Shelters generally provide meals, sleeping facilities, and minimum case management services.
Encroachment means any architectural feature, structure or structural element, such as a gallery, fence, garden wall, porch, stoop, balcony, bay window, terrace or deck, that breaks the plane of a vertical or horizontal regulatory limit extending into a setback, beyond the build-to-line, into the public frontage, or above a height limit.
Escape room means a mental and physical adventure-based game in which players solve a series of puzzles and riddles using clues, hints, and strategy. Escape rooms may consist of a large, single room or span multiple rooms.
Façade means the vertical surface of a building.
Farmer's market certified means temporary markets, approved by the County Agricultural Commissioner and County Health Department, in which farmers sell their crops directly to the public. Certified Farmer's Markets are generally conducted once or more weekly. To participate in these markets, farmers must obtain a certificate from the County Agricultural Commissioner verifying that they grow the items being sold.
Frontage means a strip or extent of land abutting a thoroughfare, civic space or other public right-of-way.
(1)
Frontage, private. The area between the building facade and the shared lot line between the public right-of-way and the lot.
(2)
Frontage, public. The area between the curb of the vehicular lanes and the edge of the right-of-way.
Frontage coverage means the minimum percentage of the length of the frontage coverage zone that shall be occupied by a primary building façade(s).
Frontage coverage zone means the space between the minimum and maximum front yard setback lines and the minimum size yard or front yard setback line.
Gas/service station means a building and/or lot or use having pumps and storage tanks where motor vehicle fuels or lubricating oil or grease or accessories for motor vehicles are dispensed, sold, or offered for sale at retail only; where deliveries are made directly into motor vehicles, including greasing and oiling on the premises and car washing.
Golf course, country club means golf courses, and accessory facilities and uses including: clubhouses with bar and restaurant, locker and shower facilities, driving ranges, "pro shops" for on-site sales of golfing equipment, and golf cart storage and sales facilities.
Grade, average natural means the average elevation of the ground level of the parcel surface as measured at the intersection of the minimum required rear and front building setback lines (or parcel lines if no setbacks are required) with the minimum required side building setback lines (or parcel lines if no setbacks are required) of the parcel.
Gross floor area (GFA) means the sum of the floor areas of the spaces within a building, including basements, mezzanine and intermediated-floored tiers and penthouses. Excludes non-enclosed (or non-enclosable) roofed-over areas, such as exterior covered walkways, porches, terraces or steps, roof overhangs, and similar features.
Guest room means a room or rooms, within a commercial establishment, such as a hotel/motel or bed and breakfast establishment, that are designed, used, or intended to be used as temporary or overnight accommodations by patrons.
Habitable space means space within a dwelling unit for living, sleeping, eating, or cooking.
Health and fitness club means a fitness center, gymnasium, health and athletic club, which may include any of the following: exercise machines, weight facilities, group exercise rooms, sauna, indoor tennis, handball, racquetball, and other indoor sports activities, indoor and outdoor pools.
Home occupation means residential premises used for the transaction of business or the supply of professional services. Home occupation shall be limited to the following: agent, architect, artist, broker, consultant, draftsman, dressmaker, engineer, interior decorator, lawyer, notary public, teacher, and other similar occupations, as determined by the Director. No external employees are allowed.
Hotel means an establishment that provides guest rooms or suites for a fee to guests for sleeping purposes. Access to units shall be through interior lobbies, courts, or halls. Related accessory uses may include conference and meeting rooms, restaurants, bars, and recreational facilities. Guest rooms may or may not contain kitchen facilities for food preparation (i.e., refrigerators, sinks, stoves, and ovens).
Intensification of use means a change in the use of a structure or site, where the new use is required to have more off-street parking spaces than the former use, or a change in the operating characteristics of a use (for example, hours of operation), which generates more activity on the site.
Kennel means any lot, building, structure, enclosure or premises wherein four or more dogs or four or more cats are kept, whether for commercial, non-commercial, or veterinary purposes, including places where dogs or cats are boarded, kept for sale or kept for hire.
Landscaping means flowers, shrubs, trees or other decorative material of natural origin.
Land use means the purpose for which land or a structure is designed, arranged, intended, occupied or maintained.
Live entertainment includes any act, play, revue, pantomime, scene, dance, or song, or any combination thereof performed in person either indoors or outdoors by one or more persons, with or without compensations, and with or without amplification. Does not include adult entertainment.
Live/work unit means a single unit (e.g. studio, loft, or one bedroom) consisting of both a commercial/office and a residential component that is occupied by the same resident. The live/work unit is the primary dwelling of the occupant.
Loading space means an off-street space or berth on the same lot with a main building, or contiguous to a group of buildings, for the temporary parking of commercial vehicles while loading or unloading, and which abuts a street, alley, or other appropriate means of ingress and egress.
Long-term bike parking means sheltered bike parking with added protection and enclosure, and bikes may be stored for over two hours. Long-term bike parking comes in the form of bike lockers and lockups, which includes bike shelters, bike rooms, and bike parking stations.
Massing means the overall shape or arrangement of the bulk or volume of buildings and structures.
Medical services means a facility other than a hospital where medical, mental health, surgical and other personal health services are provided on an outpatient basis. Examples of these uses include: medical offices with five or more licensed practitioners and/or medical specialties, outpatient care facilities, urgent care facilities, other allied health services. These facilities may also include incidental medical laboratories. Counseling services by other than medical doctors or psychiatrists are included under "offices—professional."
Medical services, doctor's office means a facility other than a hospital where medical, dental, mental health, surgical, and/or other personal health care services are provided on an outpatient basis, and that accommodates no more than four licensed primary practitioners (for example, chiropractors, medical doctors, psychiatrists, etc., other than nursing staff) within an individual office suite. A facility with five or more licensed practitioners is instead classified under "medical services—clinic, urgent care." Counseling services by other than medical doctors or psychiatrists are included under "office—professional."
Micro-brewery means an establishment primarily engaged in the production and distribution of beer, ale, or other malt beverages, and which may include accessory uses such as tours of the microbrewery, retail sales, and/or on-site consumption, e.g. "taproom/tasting room." This classification allows a microbrewery to sell beer at retail and/or act as wholesaler for beer/wine of its own production for off-site consumption with appropriate state licenses.
Mixed-use means a single building containing more than one type of land use or a single development of more than one building and use including, but not limited to, residential, office, retail, recreation, public, or entertainment uses, where the different land use types are in close proximity, planned as a unified complementary whole, and shared pedestrian and vehicular access and parking areas are functionally integrated. Mixed-uses may be integrated vertically (i.e. two or more different uses occupy the same building usually on different floors) or horizontally (i.e. two or more different types of uses are placed next to each other on the same parcel, planned as a unit, and connected with pedestrian and vehicular access).
Mortuary means funeral homes and parlors, where deceased are prepared for burial or cremation, funeral services may be conducted, and cremation may occur.
Motel means one or more buildings containing one or more guest rooms, without kitchen facilities, with at least 50 percent of all rooms having direct access to the outside without the necessity of passing through the main lobby of the building. Such facilities shall be designed, used or intended to be used as short-term overnight accommodations for transients. Guest rooms shall not be rented for a period less than 18 hours at a time.
Nonconforming building means a building or portion thereof which was lawful when established but which does not conform to subsequently established zoning or zoning regulations.
Nonconforming use means a land use lawful when established but which does not conform to subsequently established zoning regulations.
Outdoor dining means the use of a public sidewalk and public right-of-way for the placement of tables, chairs, benches, planters, umbrellas, and related items for the purpose of serving food and/or beverages in conjunction with and adjacent to an eating establishment.
Outdoor dining area means a place on the public sidewalk or within the public right-of-way where patrons of an adjacent eating establishment or food court may consume food and/or beverage. The area may be used for either table service or for seating and consumption of take-out items.
Outdoor display and sales means the outdoor display of merchandise incidental to an adjacent indoor retail use, and certain independent outdoor retail sales facilities. Includes news and flower stands and outdoor dining areas. Does not include the sale of automobiles and recreational vehicles, mobile homes, or building or landscape materials.
Parapet means a low wall along the edge of a roof or the portion of a wall that extends above the roof line.
Parkway means the landscaped area between the sidewalk and the curb which is reserved for trees which are intended to shade the sidewalk and provide spatial definition to the streetscape.
Parolee, federal means an individual convicted of a federal crime, sentenced to a United States Federal Prison, and received conditional and revocable release in the community under the supervision of a federal parole officer.
Parolee home means any residential structure or unit, whether owned and/or operated by an individual or for-profit or non-profit entity, which houses between two to six parolees, unrelated by blood, marriage, or legal adoption, in exchange for monetary or non-monetary consideration given and/or paid by the parolee and/or any individual or public/private entity on behalf of the parolee.
Parolee, state adult means an individual who is serving a period of supervised community custody, as defined in Penal Code § 3000, following a term of imprisonment in a state prison, and is under the jurisdiction of the California Department of Correction, Parole and Community Services Division.
Parolee, youth authority means an adult or juvenile individual sentenced to a term in the California Youth Authority and received conditional revocable release in the community under the supervision of a youth authority parole officer.
Paseo means a public place or path designed for walking that is often within a block, between buildings or along the edge of a public open space.
Pawn Shop:
Pet boarding and kennel means facilities for keeping, boarding, training, breeding or maintaining for commercial purpose, four or more dogs, cats, or other household pets not owned by the kennel owner or operator. This classification excludes pet shops and animal hospitals that provide 24-hour accommodation of animals receiving medical or grooming services.
Pharmacy means a retail store that primarily sells prescription drugs, that may also sell non-prescription drugs and medical supplies, other health care products, and a limited variety of convenience items. A pharmacy shall not include the sale or distribution of medical marijuana/cannabis.
Podium means a continuous projecting base or pedestal under a building.
Pool hall means an indoor commercial recreational facility to accommodate the game of pool and billiards.
Primary structure means a structure that accommodates the primary use of the site.
Property line, front means the boundary line of a lot, which abuts a public street. On a lot abutting two streets, the front property line is the narrower lot line abutting a public street.
Property line, interior side means the boundary line of a lot which intersects the front lot line, the rear lot line, and any other side lot line.
Property line, rear means the boundary line of a lot which is opposite, and does not intersect, the front property line.
Property line, street side means on a lot abutting two streets, the street side property line is the wider lot line abutting a public street.
Public open space means public or semi-public outdoor spaces designed to facilitate community formation, interaction, relaxation, and contemplation through public gathering, activity, recreation, and/or leisure. Public open spaces may or may not have areas which are sheltered from the elements. Public open spaces can be publicly or privately owned and maintained.
Residential care facility means any licensed family home, group care facility or similar facility as determined by the Director of the State Department of Social Services which provides 24-hour non-medical services, supervision or assistance essential for sustaining the activities of daily living or for the protection of the individual, excluding senior citizens.
Retail sales means the selling of goods, wares, or merchandise directly to the ultimate consumer.
School, elementary, middle, secondary, high means a public or private academic educational institution, including elementary, middle and junior high schools, secondary and high schools, and facilities that provide any combination of those levels.
Second hand store means a retail establishment that sells previously-used merchandise, more than 30 percent of which is not donated, such as clothing, furniture, appliances, household goods, sporting goods, books, recreational equipment, toys or other merchandise not considered to be antique, that is in good repair or has been restored or reconditioned to a clean and useable condition. This definition excludes antique stores, pawnshops, thrift stores, consignment stores and precious metal dealerships.
Senior housing means housing for persons 55 years of age or older. For married residents, either spouse must be 55 years of age or 100 percent disabled. For individuals who are not married, each individual must be 55 years of age of 100 percent disabled.
Setback, building means the area of a lot measured from a lot line to a building facade or elevation that must be maintained clear of permanent structures excepting galleries, fences, garden walls, arcades, porches, stoops, balconies, bay windows, terraces and decks (that align with the first-floor level) which are permitted to encroach into the setback.
Setback line, front yard means the line which defines the depth of the required front yard for the lot in order to generate and support the intended public realm of the zoning district. Said setback line shall be parallel with the right-of-way line when one has been established.
Setback line, rear yard or side yard means the line which defines the width or depth of the required rear or side yard. Said setback line shall be parallel with the property line, removed therefrom by the perpendicular distance prescribed for the yard in the zoning district.
Short-term bike parking means out in the open, unsheltered and unenclosed parking for bikes. It generally provides parking for less than two hours and is typically in the form of a bike rack. The primary advantage of short-term bicycle parking is high convenience as it is often located in the most central, high-traffic areas.
Sidewalk dining/sidewalk dining area. See "outdoor dining and outdoor dining area."
Significant center of employment means non-retail service uses such as hospitals, schools, administrative and professional offices, civic and manufacturing uses that provide employment (at one specific location) for more than 300 people.
Smoke/tobacco shop means a retailer where more than 40 percent of the floor area is dedicated for the sale of pipes, tobacco, flavored tobacco, pipe tobacco, vapor cigarettes, e-cigarettes, nicotine oils/liquids, cigars and cigarettes or similar merchandise and smoking equipment that is directly sold to the consumer.
Story means a habitable level within a building from finished floor to finished ceiling.
Structure means an improvement permanently attached to real property.
Studio—Art, dance, martial arts, music (school) means small scale facilities, typically accommodating no more than two groups of users at a time, in no more than two instructional spaces. Examples of these facilities are individual and group instruction and training in the arts; production rehearsal; photography, and the processing of photographs produced only by users of the studio facilities; martial arts training studios; gymnastics instruction, and aerobics and gymnastics studios with no other fitness facilities or equipment. Larger facilities are included under the definition of "schools. business, trade schools, colleges."
Telecommunication facilities means public, commercial and private electromagnetic and photo-electrical transmission, broadcast, repeater and receiving stations for radio, television, telegraph, telephone, data network, and wireless communications, including commercial earth stations for satellite-based communications. Includes antennas, commercial satellite dish antennas, and equipment buildings. Does not include telephone, telegraph and cable television transmission facilities utilizing hard-wired or direct cable connections.
Thrift store means a retail establishment that derives more than 30 percent of its sales from donated, previously-used merchandise such as clothing, furniture, appliances, household goods, sporting goods, books, recreational equipment, toys or other merchandise not considered to be antique.
Utility means installations or facilities for furnishing to the public, electricity, gas, steam, communications, water, drainage, sewage disposal, or flood control, irrespective of whether such facilities or means are underground or above ground; utilities may be owned and operated by any person, firm, corporation, City department or board, duly appointed by state or municipal regulations.
Veterinarian clinic and/or hospital means an establishment used by a veterinarian for the care, grooming, and treatment of small animals and household pets, with all facilities within a completely enclosure building, except for vehicle parking.
Wall means a fence made of concrete, concrete block, brick, stone or similar masonry materials.
Wholesaling means selling and/or distributing merchandise to retailers; to industrial, commercial, institutional, or professional business users, or to other wholesalers: or, acting as agents or brokers and buying merchandise for, or selling merchandise to, such individuals or companies. This is not considered a retail commercial use and it specially excludes the selling of goods directly to the ultimate consumer.
(Ord. No. 1828, § 8(Exh. A), 5-12-20; Ord. No. 1961, § 4(Exh. A), 1-28-25)
This section of the Form-Based Code establishes the permitted land uses in each district and the corresponding permit requirements. A parcel or building subject to the Form-Based Code shall be occupied with only the land uses allowed by Table 30-300.A—Land Uses. Definitions of allowed land uses are provided in Section 30-632 list of definitions.
(1)
Section 30-405—Overall Form-Based Code district map illustrates the overall land use plan for the Form-Based Code areas.
(2)
If a land use is not defined in this section, the Director of Planning may determine that the use is not permitted, or determine the appropriate definition and determine the proposed use to be permitted provided the Director of Planning approves a Director's determination and makes the following findings in writing:
a.
The land use will not impair the orderly implementation of the City of Fontana General Plan.
b.
The land use is consistent with the purpose of the applicable zoning district.
c.
The characteristics and activities associated with the proposed land use are similar to one or more of the listed land uses in Table 30-359.A—Land Uses and will not produce greater impacts than the land uses listed for the zoning district.
d.
The land use will be compatible with the other land uses allowed in the zoning district.
e.
The land use is not listed as allowed in another zoning district.
(3)
A "P" indicates a use is permitted by right subject to design review by the Planning Commission or administrative site plan review by the Director of Planning.
(4)
An "M" indicates the use requires the granting of a minor use permit (MUP).
(5)
A "C" indicates the use requires the granting of a conditional use permit (CUP).
(6)
A "—" means the use is not permitted in that zoning district. Any use that is not listed is not permitted.
(7)
Uses marked with an asterisk "*" indicate that the use is not permitted on the ground floor except on Sierra Avenue.
(8)
Uses marked with an S superscript " S " indicate that the use is subject to special use regulations in (reference specific use regulations) Section 30-360.
(9)
Uses marked with a DT superscript " DT " indicate that the requirement pertains to parcels within the downtown boundary.
Table 30-359.A.—Land Uses
Table 30-359.B.—Land Uses
(Ord. No. 1828, § 8(Exh. A), 5-12-20; Ord. No. 1830, § 8(Exh. A), 6-9-20; Ord. No. 1846, § 2, 11-10-20; Ord. No. 1865, § 8(Att. 2), 3-23-21; Ord. No. 1923, § 5(Exh. A), 9-12-23; Ord. No. 1961, § 4(Exh. A), 1-28-25; Ord. No. 1969, § 4(Exh. A), 5-27-25)
(a)
Bed and breakfast.
(1)
Operator. Bed and breakfast inns shall be operated by the property owner/manager living on the site.
(2)
Number of rooms. Bed and breakfast inns shall be limited to a maximum of six guest rooms for lodging, plus accommodations for the property manager/owner.
(3)
Food service. Food may only be served to registered overnight guests. Guest room cooking facilities are prohibited.
(4)
Rental period. Guest rooms shall not be rented for a period of less than 18 hours nor for a period not to exceed 72 hours.
(b)
Live/work.
(1)
The commercial component of live/work units are intended for use by the following occupations:
Accountants
Architects
Artists and artisans
Attorneys
Computer software professionals
Consultants
Engineers
Fashion, graphic, interior designers
Hair stylists
Home-based office workers
Insurance and real estate agents
One-on-one instructors photographers
The Director of Planning may authorize other similar uses/occupations.
(2)
A live/work unit shall not be established or used in conjunction with any of the following activities:
a.
Adult-oriented business, head shops, massage, or similar uses
b.
Entertainment, drinking, and public eating establishments
c.
Veterinary services, including grooming and boarding, and the breeding or care of animals for hire or for sale
d.
Businesses that involves the use of prescription drugs or recreational drugs
e.
Trade or private schools (this excludes private instruction of up to two students at any one time, such as music lessons and tutoring)
f.
Vehicle maintenance or repair (e.g. body or mechanical work, including boats and recreational vehicles), vehicle detailing and painting, upholstery, etc.)
g.
Storage of flammable liquids or hazardous material beyond that normally associated with a residential use
h.
Welding, machining, or any open flame work
i.
Any other activity or use, as determined by the Director of Planning to not be compatible with residential activities and/or to have the possibility of affecting the health or safety of live/work unit residents, because of the potential for the use to create dust, glare, heat, noise, noxious gasses, odor, smoke, traffic, vibration, or other impacts, or would be hazardous because of materials, processes, products, or wastes.
(3)
Occupancy requirement. The residential space within a live/work unit shall be occupied by at least one individual employee in the business conducted within the live/work unit. No portion of the unit shall be sold or rented separately.
(4)
Design standards.
a.
Residential areas are permitted above the commercial component, to the side or behind the business component, provided that there is internal access between the residential and commercial space.
b.
The commercial component shall be restricted to the unit and shall not be conducted in the open space, garage, or any accessory structure.
c.
Floor area requirements. The floor area of the work space shall be between 25 and 50 percent of the total floor area. All floor area other than that reserved for living space shall be reserved and regularly used for working space.
d.
Separation and access. Each live/work unit shall be separated from other live/work units or other uses in the structure. Access to each live/work unit shall be provided from a public street, or common access areas, corridors, or halls. The access to each unit shall be clearly separate from other live/work units or other uses within the structure.
e.
Parking. Each live/work unit shall be provided with at least two off-street parking spaces. For areas outside of the downtown area plan, at least one of the two off-street parking spaces shall be accessible to the public. The Director of Planning may modify this requirement for the use of existing structures with limited parking.
(5)
Operating requirements.
a.
Sale or rental of portions of unit. No portion of a live/work unit may be separately rented or sold as a commercial or industrial space for any person not living in the premises or as a residential space for any person not working in the same unit.
b.
On-premises sales. On-premises sales of goods is limited to those produced within the live/work unit; provided, the retail sales activity shall be incidental to the primary production work within the unit. These provisions shall allow occasional open studio programs and gallery shows.
c.
Nonresident employees. Up to one person who does not reside in the live/work unit may work in the unit at any time.
d.
Client and customer visits. Client and customer visits to live/work units are allowed.
(6)
Changes in use. After approval and construction, a live/work unit shall not be converted to either entirely residential use or entirely business use unless authorized through a separate minor use permit.
(c)
Outdoor dining in the public right-of-way. The purpose of the regulations and standards in this section are to allow increased business and pedestrian traffic, encourage appropriate outdoor dining opportunities within public rights-of-way and to ensure that the space used for outdoor dining within the public right-of-way will service a public purpose. This section does not apply to outdoor dining on private property.
(1)
Location permitted. Outdoor dining areas within the public right-of-way are permitted on all commercially utilized properties, provided all development standards are met.
(2)
Permits required. It shall be unlawful for any business to use the public sidewalk and/or public right-of-way for outdoor dining without first obtaining a valid minor use permit and encroachment permit.
(3)
Establishment of an outdoor dining area shall require site plan review and permit issuance. Any person or business wishing to operate an outdoor dining area shall apply for a permit by submitting the following to the City:
a.
The site plan for the proposed outdoor dining are shall include the following:
1.
Chairs, tables, umbrellas, planters, signs and any other fixtures and furnishings to be included in the outdoor dining operation.
2.
The applicants primary eating establishment or food court and the proposed circulation to and from the outdoor dining area, as well as pedestrian circulation at the perimeter of the outdoor dining area.
3.
The public sidewalk or public right-of-way to be occupied with dimensions of the entire sidewalk or right-of-way and the clearance proposed for pedestrian access.
4.
Names of and main entrances to the businesses immediately adjacent to the applicant's eating establishment.
b.
Specifications and photographs of all proposed chairs, tables, umbrellas, signs, railings railing connections to the public sidewalk or right-of-way and the adjacent building, or other furnishing.
(4)
Design standards for outdoor dining area.
a.
The outdoor dining area shall be designed to facilitate sit-down dining activity through the utilization of chairs and tables. It shall also be compact and shall be clearly delineated to promote a visual relationship between the dining area and the surrounding pedestrian areas.
b.
Outdoor dining is permitted only where the sidewalk is wide enough to adequately accommodate both the usually pedestrian traffic in the area and the operation of the proposed activity. A clear, continuous pedestrian path not less than four feet in width shall be required for unimpeded pedestrian circulation outside of the outdoor dining area. The minimum width of said pedestrian path may be increased by the City Engineer in areas requiring public utility access. Pedestrian path means a continuous, obstruction-free sidewalk area between the outside boundary of the dining area and any obstruction including, but not limited to, parking meters, street trees, landscaping, streetlights, bus benches, public art, and curb lines.
c.
No outdoor dining area shall be located to block access either to or from a building. A minimum unobstructed clearance which extends two feet to either side of both door jambs shall be maintained.
d.
Where an outdoor dining area is located on a corner, the outdoor dining area shall not be permitted within three feet of the corner of the building, along both frontages. Where an outdoor dining area is located adjacent to a driveway or an alley, the outdoor dining area shall not be permitted within five feet of the driveway or alley. These requirements may be modified at the discretion of the City Engineer or Director of Planning in locations where the sidewalk adjacent to the proposed outdoor dining area is wider than usual, where the perimeter of the building has an unusual configuration, or where public safety is at risk.
e.
The floor of the outdoor dining area shall be at the same level as the sidewalk, and no alterations to the sidewalk or coverings on the sidewalk shall be permitted, unless expressly approved by the City Engineer.
f.
The permittee shall not expand its outdoor dining area onto the sidewalk frontage of an adjacent business.
g.
An outdoor dining area may be located directly adjacent to another outdoor dining area. No separation between outdoor dining areas shall apply.
h.
In no case shall an outdoor dining area be located directly to parking, unless separated by a landscape barrier at least four feet deep and three feet high.
i.
The design and appearance of all proposed improvements or furniture, including, but not limited to, tables, chairs, benches, umbrellas, and planters, to be placed in the sidewalk dining area shall present a coordinated and concerted theme and shall be compatible with the appearance and design of the principal building.
j.
A perimeter barrier shall be provided for the outdoor dining area. However, no barrier shall be required if the applicant proposes to limit the outdoor dining area to one row of tables and chairs abutting the wall of the establishment and if no alcohol will be served outside.
k.
All barriers shall complement the building façade as well as any street furniture and shall be between 24 inches and 36 inches in height.
l.
Barriers shall be removable. Barriers need not be removed each evening or night, but shall be capable of being removed, if needed, using recessed sleeves and posts, or by wheels that can be locked into place.
m.
Barriers shall be able to withstand inclement weather and 100 pounds of horizontal force at the top of the barriers when in their fixed positions.
n.
Objects placed on the sidewalk shall not interfere with or obstruct line-of-sight and shall maintain a clear sight triangle.
o.
Any umbrellas, heater, or similar feature used in an outdoor dining area shall be safely secured. All heaters shall be in compliance with applicable fire code.
p.
Outdoor lighting fixtures shall complement the style of the site. Lighting fixtures shall not create glare to pedestrians on the adjacent right-of-way and shall illuminate only the outdoor dining area. Outdoor lighting may be installed on the façade of the building or in the dining area in front of the façade.
q.
Signage advertising alcohol products on umbrellas shall be prohibited.
(5)
Parking. Space used for outdoor dining in the public right-of-way shall not be added to the gross square footage of the food service establishment when calculating parking requirements.
(6)
Standards of operation.
a.
The management of the eating establishment shall be responsible for operating the outdoor dining area and shall not delegate or assign the responsibility.
b.
Hours of operation for the outdoor dining areas are to coincide with those of the associated indoor restaurant. When the establishment ceases serving food for the day, further seating in the outdoor dining area shall be prohibited and the outdoor dining area shall close when the patrons already seated in it leave.
c.
The operator shall not permit the following outside of the building: food preparation, utensils, glasses, napkins, and condiments on unoccupied tables, busing service stations, or trash and garbage storage. All exterior surfaces within the outdoor dining area shall be easily cleaned and shall be kept clean at all times by the permittee.
d.
The permittee shall maintain the outdoor dining area and the adjoining street, curb, gutter, and sidewalk in a neat, clean, and orderly condition at all times. This shall include all tables, chairs, benches, displays, or other appurtenances placed in the public right-of-way. Provisions shall be made for trash receptacles to service the sidewalk dining area. The operator shall remove the debris to a closed receptacle. No debris shall be swept, washed, or blown into the sidewalk, gutter or street.
e.
Awnings and umbrellas shall be kept clean and in good condition at all times. Umbrellas shall not advertise alcohol products.
f.
Musical instruments or sound reproduction systems are permitted in outdoor dining areas but shall be maintained at sufficiently low volumes so as not to adversely affect the neighboring businesses, residents, or users of the public right-of-way beyond the outdoor dining area, or in violation of the City of Fontana Noise Ordinance.
g.
Fixtures and equipment approved by the City pursuant to an outdoor dining area permit may remain in and on the sidewalk during such time that an outdoor dining permit is in effect.
h.
Upon revocation or termination of an outdoor dining permit, all fixtures and equipment shall immediately be removed from the sidewalk, and the sidewalk returned to its original condition.
i.
No bar serving alcohol shall be allowed in the outside dining area.
(7)
Special closures. The City of Fontana shall have the right and power, acting through the City Manager or his/her designee, to prohibit the operation of an outdoor dining area at any time because of anticipated or actual problems or conflicts in the use of the sidewalk or right-of-way area. Such problems or conflicts may arise from, but are not limited, festivals, parades, marches and similar events, repairs and widening of the streets or sidewalks, or emergencies occurring in the area. To the extent possible, the permittee shall be given prior notice of any time period during which the operation of the outdoor dining area or the outdoor dining area shall be prohibited by the City.
(d)
Public assembly/auditoriums/meeting halls/religious facilities.
(1)
When this use is proposed within an existing developed property such as a retail shopping center and the parking standards cannot be met, a parking impact study shall be performed. It shall include the following information:
a.
Existing and proposed site plan.
b.
Transit, cycling and walking environment.
c.
Current parking inventory.
d.
Current land uses.
e.
Existing traffic conditions.
f.
Description of proposed land use including square footage.
g.
Calculation of required parking for proposed project based on current standards.
h.
Document availability of on street and shared parking opportunities.
i.
Calculation of peak parking demand based on proposed project land use.
j.
Document recommended parking to be provided (based on analysis with and without shared parking and other demand reduction factors).
k.
Provide maps to summarize and illustrate.
(2)
The completed parking impact study shall be submitted to the planning division for review. City staff will assess the study recommendations based on a standard alternative compliance application review process. This process includes the following criteria:
a.
Review criteria. To approve an exception to the standard, the Director of Planning must first find that the proposed project accomplishes the general purposes of the applicable section(s) of the land use code. In reviewing the request for an exception to the standard parking ratio and in order to determine whether such request is consistent with the purposes of this subsection, as required above, the decision maker shall consider the following:
1.
The anticipated number of employees or residents occupying the building.
2.
The number and frequency of expected customers or clients.
3.
The availability of nearby on-street parking (if any).
4.
The availability of shared parking with abutting, adjacent or surrounding land uses (if any).
5.
The provision of purchased or leased parking spaces in a municipal or private parking lot meeting the requirements of the city.
6.
Travel demand management programs (if any).
7.
Any other factors that may be unique to the applicant's development request.
(3)
The Director of Planning shall not approve an exception to the parking standard unless it:
a.
Does not detract from continuity, connectivity and convenient proximity for pedestrians between or among existing or future uses in the vicinity.
b.
Minimizes the visual and aesthetic impact along the public street of the proposed increased parking by placing parking lots to the rear or along the side of buildings, to the maximum extent feasible.
c.
Minimizes the visual and aesthetic impact of such additional parking on the surrounding neighborhood.
d.
Creates no physical impact on any facilities serving alternative modes of transportation.
e.
Creates no detrimental impact on natural areas or features.
f.
Maintains handicap parking ratios in compliance with current ADA requirements.
(e)
Vehicle sales and service.
(1)
Outdoor display. No vehicles shall be displayed with their hoods open, except in the display building, which shall be an enclosed structure. Balloons, spinners, pennants, banners, and other wind-blown devices are prohibited.
(2)
Orientation and screening, service bays. Service bay doors shall be located perpendicular to the street fronting the site and shall be screened from all other streets and adjacent residential development.
(3)
Outdoor intercoms. Outdoor amplification of sound shall not be audible beyond the property lines.
(4)
Orientation, main building. The structure shall be street-oriented, with pedestrian entrances from the street.
(f)
Schools.
(1)
Drop off/pick up area. The project shall include designated area(s) for drop off and pick up of students to prevent off site cueing and traffic congestion.
(2)
A proposed school shall not operate in a commercial complex.
(g)
Restaurant/coffee shop with drive thru.
(1)
The maximum front building setback of ten feet shall not apply when a drive-thru lane is placed adjacent to a street. The maximum ten-foot setback shall apply to the drive-thru lane instead of the building.
(2)
All buildings that include a drive-thru use shall be required to provide an outdoor patio area with permanent shade, tables and seating. The minimum size of the patio area shall be 20 percent of the total building square footage.
(Ord. No. 1828, § 8(Exh. A), 5-12-20; Ord. No. 1846, § 2, 11-10-20; Ord. No. 1865, § 8(Att. 2), 3-23-21; Ord. No. 1899, § 6, 7-26-22; Ord. No. 1969, § 4(Exh. A), 5-27-25)
The civic district consists primarily of civic and institutional uses and active and passive recreation areas.
* Required setbacks for civic buildings may be modified with Planning Commission approval.
W = Building lot width along primary frontage; D = Building lot depth perpendicular to primary frontage.
Frontage Types
• Forecourt
• Arcade
• Gallery
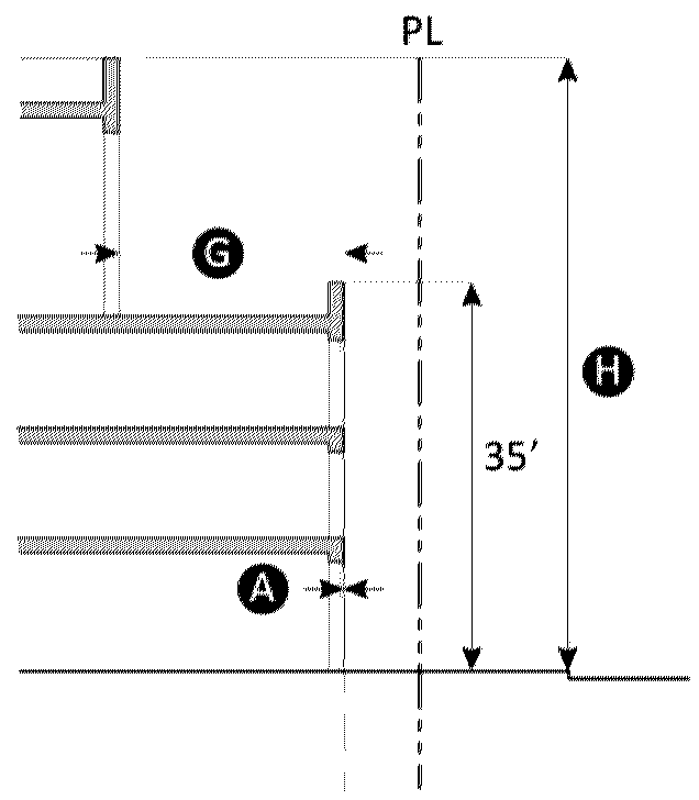
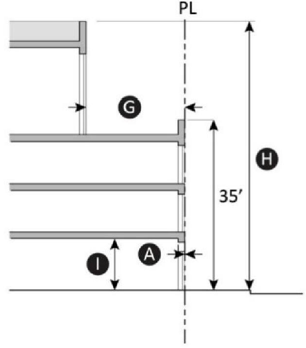
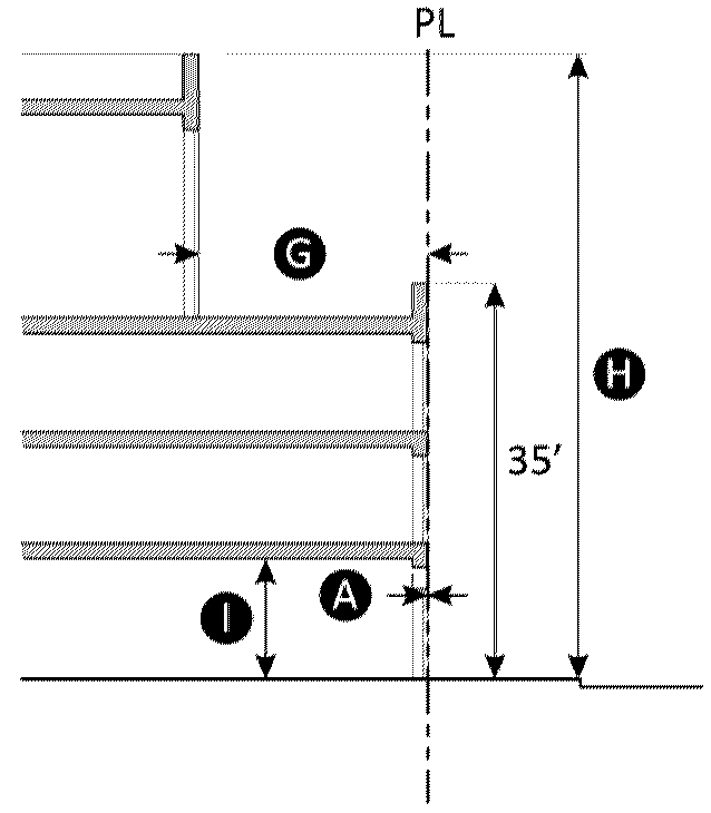
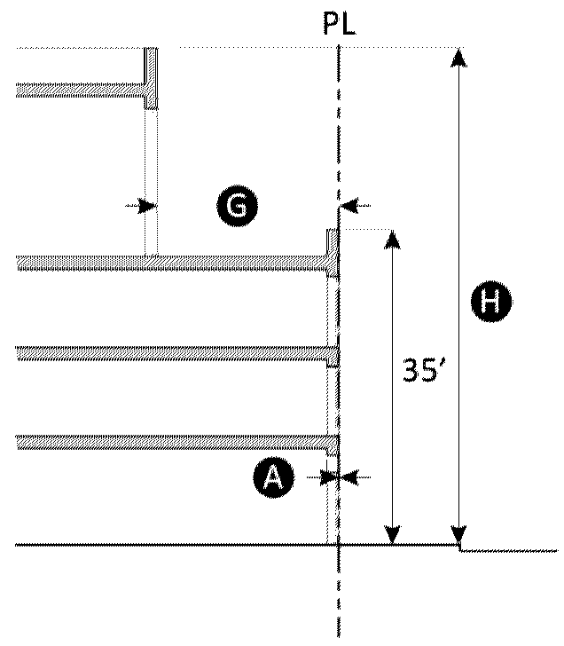
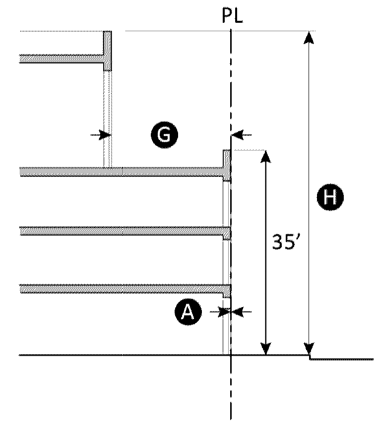
Encroachments: Buildings, architectural features, and signs may encroach into the required setbacks and right-of-way subject to the following requirements:
(Ord. No. 1923, § 5(Exh. A), 9-12-23; Ord. No. 1954, § 4(Exh. A), 7-23-24)
The station area district includes the Metrolink station and Omnitrans bus terminal as the primary anchors. This area provides a transition between the retail district, the south Sierra gateway district and Chaffey College.
* Required setbacks for civic buildings may be modified with Planning Commission approval.
W = Building lot width along primary frontage; D = Building lot depth perpendicular to primary frontage.
Frontage Types
• Forecourt
• Shopfront
• Arcade
• Gallery
• Stoop
Encroachments: Buildings, architectural features, and signs may encroach into the required setbacks and right-of-way subject to the following requirements:
(Ord. No. 1923, § 5(Exh. A), 9-12-23; Ord. No. 1951, § 4(Exh. A), 5-28-24; Ord. No. 1954, § 4(Exh. A), 7-23-24)
The downtown gateway district is primarily intended for commercial retail and personal service uses. New development should incorporate pedestrian elements to help serve as a transition to surrounding land uses.
* Required setbacks for civic buildings may be modified with Planning Commission approval.
W = Building lot width along primary frontage; D = Building lot depth perpendicular to primary frontage.
Frontage Types
• Forecourt
• Lightcourt
• Shopfront
• Arcade
• Gallery
• Stoop
Encroachments: Buildings, architectural features, and signs may encroach into the required setbacks and right-of-way subject to the following requirements:
(Ord. No. 1923, § 5(Exh. A), 9-12-23; Ord. No. 1951, § 4(Exh. A), 5-28-24; Ord. No. 1954, § 4(Exh. A), 7-23-24)
The neighborhood district is an area primarily developed with single-family detached homes. New development should preserve and exemplify the character of existing neighborhoods.
* See Article III (Form Based Code), Division 10 of the Zoning and Development Code.
W = Building lot width along primary frontage; D = Building lot depth perpendicular to primary frontage.
Living area or a front porch shall be forward of the garage if provided.
Frontage Types
• Porch
• Stoop
• Dooryard
Encroachments: Buildings, architectural features, and signs may encroach into the required setbacks and right-of-way subject to the following requirements:
(Ord. No. 1923, § 5(Exh. A), 9-12-23; Ord. No. 1951, § 4(Exh. A), 5-28-24)
The multi-family district provides higher densities focused along the fringe of the more urban development. New development should incorporate increased density with architectural design and materials that exemplify one of the designated architectural styles.
* See Article III (Form Based Code), Division 10 of the Zoning and Development Code.
W = Building lot width along primary frontage; D = Building lot depth perpendicular to primary frontage.
Frontage Types
• Dooryard
• Stoop
• Forecourt
• Lightcourt
Encroachments: Buildings, architectural features, and signs may encroach into the required setbacks and right-of-way subject to the following requirements:
(Ord. No. 1923, § 5(Exh. A), 9-12-23; Ord. No. 1951, § 4(Exh. A), 5-28-24)
The transitional district is adjacent to more intense commercial uses providing a transition to more sensitive uses, such as residential. This district includes a mixture of commercial office, retail, personal services, and residential.
* Required setbacks for civic buildings may be modified with Planning Commission approval.
W = Building lot width along primary frontage; D = Building lot depth perpendicular to primary frontage.
Frontage Types
• Forecourt
• Stoop
• Porch
• Shopfront
• Dooryard
Encroachments: Buildings, architectural features, and signs may encroach into the required setbacks and right-of-way subject to the following requirements:
(Ord. No. 1923, § 5(Exh. A), 9-12-23; Ord. No. 1951, § 4(Exh. A), 5-28-24; Ord. No. 1954, § 4(Exh. A), 7-23-24)
The Sierra gateway district is intended to encourage pedestrian-oriented development and land uses. Uses are to include a mix of medium- to high-density residential, retail and services, office, entertainment, education, and open space.
* Required setbacks for civic buildings may be modified with Planning Commission approval.
W = Building lot width along primary frontage; D = Building lot depth perpendicular to primary frontage.
Frontage Types
• Forecourt
• Storefront
• Arcade
• Gallery
• Stoop
Encroachments: Buildings, architectural features, and signs may encroach into the required setbacks and right-of-way subject to the following requirements:
(Ord. No. 1923, § 5(Exh. A), 9-12-23; Ord. No. 1951, § 4(Exh. A), 5-28-24; Ord. No. 1954, § 4(Exh. A), 7-23-24)
The Route 66 gateway district is primarily intended for commercial retail and personal service uses with incorporated automobile uses that have traditionally been located along the corridor.
* Required setbacks for civic buildings may be modified with Planning Commission approval.
W = Building lot width along primary frontage; D = Building lot depth perpendicular to primary frontage.
Hotels may be allowed to a maximum of seven stories and 90 feet in height.
Frontage Types
• Forecourt
• Lightcourt
• Storefront
• Arcade
• Gallery
• Stoop
Encroachments: Buildings, architectural features, and signs may encroach into the required setbacks and right-of-way subject to the following requirements:
(Ord. No. 1923, § 5(Exh. A), 9-12-23; Ord. No. 1951, § 4(Exh. A), 5-28-24; Ord. No. 1954, § 4(Exh. A), 7-23-24)
The Valley gateway district is intended to encourage pedestrian and transit-oriented development. Land uses should include a mixture of housing types, retail and services, general and medical office, entertainment and education.
* Required setbacks for civic buildings may be modified with Planning Commission approval.
W = Building lot width along primary frontage; D = Building lot depth perpendicular to primary frontage.
Hotels may be allowed to a maximum number of seven stories and 90 feet in height.
Frontage Types
• Forecourt
• Storefront
• Arcade
• Gallery
Encroachments: Buildings, architectural features, and signs may encroach into the required setbacks and right-of-way subject to the following requirements:
(Ord. No. 1923, § 5(Exh. A), 9-12-23; Ord. No. 1951, § 4(Exh. A), 5-28-24; Ord. No. 1954, § 4(Exh. A), 7-23-24)
The Village district is intended to provide an alternative to conventional subdivision development with a mixture of housing types, neighborhood-service retail, and open space.
* Required setbacks for civic buildings may be modified with Planning Commission approval.
W = Building lot width along primary frontage; D = Building lot depth perpendicular to primary frontage.
Frontage Types
• Forecourt
• Storefront
• Arcade
• Gallery
• Stoop
• Porch
• Dooryard
Encroachments: Buildings, architectural features, and signs may encroach into the required setbacks and right-of-way subject to the following requirements:
(Ord. No. 1923, § 5(Exh. A), 9-12-23; Ord. No. 1951, § 4(Exh. A), 5-28-24; Ord. No. 1954, § 4(Exh. A), 7-23-24; Ord. No. 1961, § 4(Exh. A), 1-28-25)
The downtown core is required to meet the standards of the Form-Based Code, including the following:
(a)
District core development requirements (Section 30-371)
(b)
Fences, hedges and walls (Section 30-389)
(c)
Parking
1.
Off-street parking and loading standards (Section 30-390)
2.
Off-street parking reductions (Section 30-391)
3.
Loading (Section 30-392)
4.
Bicycle parking (Section 30-393)
(d)
Architectural style (Section 30-394)
(e)
Downtown core design regulations (commercial, apartment, and mixed-use buildings) (Section 30-396.1)
(f)
Downtown core design regulations (residential buildings) (Section 30-396.2)
(g)
Private open space types (Section 30-398)
(h)
Downtown core private open space requirements (Section 30-404.1)
Downtown Core Frontages
Frontages shall be provided at all locations where a building meets the street right-of-way and common open space. A frontage type must be selected from Division 6.
Building facades that are visible from the public right-of-way but do not require a building frontage shall be screened with planting, or enhanced in a manner that reflects the architectural style or is in accordance with Article XII—Sign Regulations.
(Ord. No. 1923, § 5(Exh. A), 9-12-23)
The civic core consists primarily of civic and institutional uses as well as active and passive recreation areas.
Minimum lot size:
5,000 square feet
Required frontage:
Porch, dooryard, stoop, forecourt, lightcourt, shopfront, gallery and arcade
Capacity
Setbacks
Building Form
Encroachments
Buildings, architectural features, and signs may encroach into the required setbacks and right-of-way subject to the following requirements and City Engineer approval:
Parking
(Ord. No. 1923, § 5(Exh. A), 9-12-23)
The Sierra core is the commercial core of Fontana and functions as the city center. Uses include a mixture of commercial, retail, entertainment, office, and residential.
Building placement shall be close to the streets and integrated within the pedestrian realm. Architectural features should provide shade and variation in building design.
Capacity
Setbacks
Building Height
* The maximum height along Sierra Ave may be increased to 45 feet and to 70 feet along the side street stepbacks for projects that provide a rooftop amenity. The rooftop amenity must be located along a street frontage with a maximum height of 45 feet and minimum width of 15 feet.
Public and private spaces should be integrated to act as one. Awnings or canopies extending over sidewalks and significant glazing should be included in all new construction or renovation.
Encroachments
Buildings, architectural features, and signs may encroach into the required setbacks and right-of-way subject to the following requirements and City Engineer approval:
Parking
On-site above-ground parking and access shall be located in compliance with the following setback requirements:
Minimum lot size:
5,000 square feet
Required frontage:
Forecourt, shopfront, gallery and arcade
(Ord. No. 1923, § 5(Exh. A), 9-12-23; Ord. No. 1954, § 4(Exh. A), 7-23-24; Ord. No. 1970, § 4(Exh. A), 6-10-25)
The gateway core is primarily intended for commercial retail and personal service uses as well as residential development. New development should incorporate pedestrian elements to help serve as a transition to surrounding land uses.
Capacity
Setbacks
Building Form
Encroachments
Buildings, architectural features, and signs may encroach into the required setbacks and right-of-way subject to the following requirements and City Engineer approval:
Parking
On-site above-ground parking and access shall be located in compliance with the following setback requirements:
Minimum lot size:
5,000 square feet
Required frontage:
Stoop, forecourt, lightcourt, shopfront, gallery and arcade
(Ord. No. 1923, § 5(Exh. A), 9-12-23)
The mixed-use core provides a transition between more intense commercial uses and residential uses. This district includes a mixture of commercial, office, retail, personal services, and residential.
Capacity
Setbacks
Building Form
Encroachments
Buildings, architectural features, and signs may encroach into the required setbacks and right-of-way subject to the following requirements and City Engineer approval:
Parking
On-site above-ground parking and access shall be located in compliance with the following setback requirements:
Minimum lot size:
5,000 square feet
Required frontage:
Porch, dooryard, stoop, forecourt, shopfront, gallery and arcade
(Ord. No. 1923, § 5(Exh. A), 9-12-23)
The multi-family core provides higher residential intensities adjacent to commercial areas. New development should incorporate increased density with architectural design and materials that exemplify one of the designated architectural styles.
Capacity
Setbacks
Building Form
Encroachments
Buildings, architectural features, and signs may encroach into the required setbacks and right-of-way subject to the following requirements and City Engineer approval:
Parking
On-site above-ground parking and access shall be located in compliance with the following setback requirements:
Minimum lot size:
5,000 square feet
Required frontage:
Dooryard, stoop, forecourt and lightcourt
(Ord. No. 1923, § 5(Exh. A), 9-12-23)
The neighborhood core is an area primarily developed with single-family homes. New development should respect and exemplify the character of existing neighborhoods.
Capacity
Setbacks
Building Form
Encroachments
Buildings, architectural features, and signs may encroach into the required setbacks and right-of-way subject to the following requirements and City Engineer approval:
Parking
On-site above-ground parking and access shall be located in compliance with the following setback requirements:
Minimum lot size:
5,000 square feet
Required frontage:
Porch, dooryard, stoop, forecourt and lightcourt
(Ord. No. 1923, § 5(Exh. A), 9-12-23)
Description: The duplex building type is a small- to medium-sized structure that consists of two side-by-side or stacked dwelling units, both facing the street, and within a single building massing. This type has the appearance of a medium to large single-family home and is appropriately scaled to fit within primarily single-family neighborhoods or medium-density neighborhoods. It enables appropriately-scaled, well-designed higher densities and is important for providing a broad choice of housing types and promoting walkability.
The multiplex is a medium structure that consists of three—six side-by-side and/or stacked dwelling units, typically with one shared entry or individual entries along the front. This type has the appearance of a medium-sized family home and is appropriately scaled to fit sparingly within primarily single-family neighborhoods or into medium-density neighborhoods. This type enables appropriately-scaled, well-designed higher densities and is important for providing a broad choice of housing types and promoting walkability.
(Ord. No. 1954, § 4(Exh. A), 7-23-24; Ord. No. 1970, § 4(Exh. A), 6-10-25)
Description: Rosewalk—Six or more single dwellings arranged in a linear manner along either side of a common green. Having the same right-of-way width as a narrow neighborhood street, the Rosewalk (in contrast to the Bungalow Court) must connect two parallel streets. Pedestrian access to the building entrances are accessed from the common green and/or primary street.
Bungalow Court—Four or more single dwellings arranged around a shared courtyard, with pedestrian access to the building entrances from the courtyard and/or fronting street. The courtyard is wholly open to the street and parking is placed in the rear of the lot or behind each unit.
(Ord. No. 1970, § 4(Exh. A), 6-10-25)
Description: A small- to medium-sized building comprised of attached dwelling units arrayed side by side. The ground floor can be raised above grade in order to provide privacy for ground floor rooms. The primary building should sit at the front of the property, with the garage at the rear. Each dwelling unit is directly accessed from the front yard/street or walking path leading to the street. The Rowhouse type is typically located within medium-density neighborhoods or in a location that transitions from a primarily single-family neighborhood into a neighborhood main street. This type enables appropriately-scaled, well-designed higher densities and is important for providing a broad choice of housing types and promoting walkability.
(Ord. No. 1954, § 4(Exh. A), 7-23-24; Ord. No. 1970, § 4(Exh. A), 6-10-25)
Description: Single-family homes are freestanding structure intended to be occupied as a home or residence by a single household. An accessory dwelling unit may also be attached or detached to the main dwelling unit for occupancy by an additional household. Private open space is provided in the rear yard that is secured by walls or fences.
(Ord. No. 1970, § 4(Exh. A), 6-10-25)
Description: The live/work building type is a small to medium-sized attached or detached structure that consists of single dwelling unit above and/or behind a flexible ground floor space that can be used for home-business uses such as residential, personal and general service, or retail uses. Both the ground-floor flex space and the unit above are owned by one entity. This type is typically located within medium-density neighborhoods or in a location that transitions from a neighborhood into an urban neighborhood street. It is especially appropriate for incubating neighborhood-serving retail and service uses and allowing neighborhood main streets to expand as the market demands. The work space is accessed directly from the primary street, and the living space at the rear or above is accessed directly or indirectly from the working space.
(Ord. No. 1970, § 4(Exh. A), 6-10-25)
Description: A group of dwelling units arranged to share one or more common courtyards. The courtyard is intended to be a semi-public outdoor room that is an extension of the public realm. Court buildings may accommodate ground floor commercial/flex uses in either a live/work configuration or as solely commercial/retail space in qualifying zones facing the primary street. This building type enables the incorporation of high-quality, well-designed density within a walkable neighborhood.
(Ord. No. 1970, § 4(Exh. A), 6-10-25)
Description: A building that combines a point-access portion of the building with a walk-up portion. The building may be designed for occupancy by retail, service, and/or office uses on the ground floor, with upper floors also configured for those uses or for residences.
(Ord. No. 1951, § 4(Exh. A), 5-28-24; Ord. No. 1970, § 4(Exh. A), 6-10-25)
Description: A building type designed for occupancy by retail, service, and/or office uses on the ground floor, with upper floors configured for retail, service, office, and/or residential uses. Second floor units may be directly accessed from the street through a stair; upper floors are accessed through a street level lobby.
(Ord. No. 1951, § 4(Exh. A), 5-28-24; Ord. No. 1970, § 4(Exh. A), 6-10-25)
Description: A building that conceals a garage, or other large-scale faceless building (such as a movie theater), "big box" store or surface parking facility, designed for occupancy by retail, service, and/or office uses on the ground floor, with upper floors configured for retail, service, office, and/or residential uses. The access corridor, if applicable, is included in the minimum depth.
(Ord. No. 1951, § 4(Exh. A), 5-28-24; Ord. No. 1970, § 4(Exh. A), 6-10-25)
In the porch frontage type, the main facade of the building is set back from the frontage line. The resulting front yard is defined by a low wall or fence, and is covered by a patio. A projecting porch uses part of the front yard space for a porch that is open on three sides above the low wall or fence.
Size
Design Standard
Porches must be open on at least two sides and have a roof.
(Ord. No. 1923, § 5(Exh. A), 9-12-23; Ord. No. 1954, § 4(Exh. A), 7-23-24)
In the dooryard frontage type, the main facade of the building is set back and the frontage line is defined by a low wall, fence, or hedge, creating a small dooryard. The dooryard shall not provide public circulation along a right-of-way (ROW). The dooryard may be raised, sunken, or at grade and is intended for ground-floor residential uses.
Size
Design Standard
For live/work, retail and service uses, these standards are to be used in conjunction with those for the shopfront frontage type. In case of conflict between them, the dooryard frontage type standards shall prevail. The dooryard frontage type shall not be used for circulation for more than one ground floor entry.
(Ord. No. 1923, § 5(Exh. A), 9-12-23)
In the stoop frontage type, the main facade of the building is set back and an elevated stoop engages the sidewalk. The stoop shall be elevated above the sidewalk to ensure privacy within the building. Stairs or ramps from the stoop may lead directly to the sidewalk or may be side-loaded.
Size
Design Standard
Stairs may be perpendicular or parallel to the building facade. Ramps shall be parallel to facade or along the side of the building. Entry doors are encouraged to be covered or recessed to provide shelter from the elements.
(Ord. No. 1923, § 5(Exh. A), 9-12-23)
In the forecourt frontage type, the main facade of the building is at or near the frontage line and a small percentage is set back, creating a small court space. The space could be used as an entry court or shared garden space for apartment buildings, or as an additional shopping or restaurant seating area within retail and service areas.
Size
Design Standard
The proportions and orientation of these spaces should be carefully considered for solar orientation and user comfort.
(Ord. No. 1923, § 5(Exh. A), 9-12-23)
In the lightcourt frontage type, the main facade of the building is set back from the frontage line by an elevated terrace or a sunken lightcourt. This type buffers residential, retail or service uses from urban sidewalks and removes the private yard from public encroachment.
Size
Design Standard
A short fence may be placed along the setback where it is not defined by a building.
(Ord. No. 1923, § 5(Exh. A), 9-12-23)
In the shopfront frontage type, the main facade of the building has an at-grade entrance along the public way. This type is intended for retail and other commercial uses. It has substantial glazing at the sidewalk level and may include an awning that may encroach into the ROW. It may be used in conjunction with other frontage types.
Size
Awning
Design Standard
Shopfront glass shall be clear without reflective glass frosting or dark tinting. Shopfront windows may be clerestory windows (horizontal panels) between the shopfront and second floor/top of single-story parapet. Glass clerestory may be of a character to allow light, while moderating it such as stained glass, glass block, painted glass, or frosted glass. Shopfronts with accordion-style doors/windows or other operable windows that allow the space to open to the street are encouraged. Operable awnings are encouraged.
(Ord. No. 1923, § 5(Exh. A), 9-12-23; Ord. No. 1961, § 4(Exh. A), 1-28-25)
A gallery is a roof or deck projecting from the facade of a building, supported by columns located just behind the street curb. Galleries shelter the sidewalk with a roof or unenclosed, accessible, out-door space making them ideal for retail use. Galleries may be one- or two-stories in height, functioning as covered or uncovered porches at the second floor. Railings on top of the gallery are only required if the gallery roof is accessible as a deck.
Size
Design Standard
Galleries shall be combined with the shopfront frontage type. Galleries must have consistent depth along a frontage. Ceiling lights are encouraged. Galleries may be entirely on private property or may encroach over the sidewalk in the public right-of-way, subject to an encroachment permit prior to issuance of a building permit. Column spacing and colonnade detailing, including lighting, shall be consistent with the style of the building to which it is attached. Columns shall be placed in relation to curbs to allow passage around and to allow for passengers of cars to disembark.
(Ord. No. 1923, § 5(Exh. A), 9-12-23)
Arcade frontages are composed of a building with ground floor facades which align with the property line, and upper floors which project over the property line to cover the sidewalk. A colonnade structurally and visually supports the building mass which encroaches into the public right-of-way. Arcades contain ground-floor storefronts, making them ideal for retail use as the arcade shelters the pedestrian and shades the storefront glass, preventing glare that might obscure views of merchandise. As allowed, the arcade also provides habitable space over the sidewalk creating a very urban street character.
Size
Design Standard
Arcades shall be combined with the shopfront frontage type. Arcades may be entirely on private property or may encroach over the sidewalk in the public right-of-way, subject to an encroachment permit prior to issuance of a building permit. Column spacing and colonnade detailing, including lighting, shall be consistent with the style of the building to which it is attached. Columns shall be placed in relation to curbs so as to allow passage around and to allow for passengers of cars to disembark. When utilizing an arcade, front building setbacks may not apply. Front setbacks are still measured from the ROW.
(Ord. No. 1923, § 5(Exh. A), 9-12-23)
(a)
Single-family and multi-family site walls and fencing.
(1)
Low walls or hedges may be used to divide space, create a variety in landscaping and to define site edges.
(2)
Locate fences or walls on the property line (excluding the front property line) to define private open space and common open space areas, protect privacy, and buffer residents from noise sources.
a.
Use masonry materials for sound reduction purposes.
b.
Masonry walls shall include a top or cap.
c.
Wood and chain link fencing is prohibited. However, wood picket fencing shall be allowed in the front yard setback area of the neighborhood district.
(3)
Design fences and walls to be an attractive part of the project, with materials and designs that are compatible with the exterior building materials and demonstrate design integrity with the project as a whole.
(4)
Front yard fencing and walls shall comply with the following requirements as applicable:
a.
Single family. Open fencing and solid walls shall be setback from the sidewalk by at least two feet to allow for landscaping; not grass that must be mowed or trimmed;
b.
Multi-family. Open fencing and solid walls shall meet the standards in Table 30-389.A.
(5)
The overall height of fencing, when present, shall not exceed the standards in Table 30-389.A. below:
Table 30-389.A.—Maximum Height of Fences or Walls
(b)
Mixed-use or commercial site walls and fencing.
(1)
Walls and fences shall meet the requirements of Section 30-494(g) and Section 30-500 of the Zoning and Development Code.
(2)
Fence design. Fences shall be constructed, designed and maintained as follows:
a.
Permitted materials. Fencing visible from public view should be open work such as wrought iron and metal (tube) fences with design features. Masonry, stucco and plaster are permitted when deemed more appropriate to the design of the building on the project site.
b.
Fence maintenance. Every fence shall be kept in good repair, consistent with the design thereof. The property owner shall be responsible for landscaping and maintaining the area, if any, between the property line and the owner's fence.
c.
Hazardous and prohibited materials. Fences shall not incorporate barbed wire and razor wire, spiked tips, chain link of any kind, woven wire mesh ("chicken wire"), welded wire mesh, woven wire ("hog wire") rope, cable, railroad ties or any other similar materials or materials not specifically manufactured for permanent fencing.
(Ord. No. 1923, § 5(Exh. A), 9-12-23)
(a)
Off-street parking standards.
(1)
Off-street parking requirements shall be set forth in Division 5 which outlines the development standards by zoning district.
(2)
Off-street parking dimensions shall be as set forth in Table 30-390.A.—Off-Street Parking Dimensions below. Any type of stall not listed shall refer to Section 30-606 of the Zoning and Development Code.
Table 30-390.A.—Off-Street Parking Dimensions
(b)
General performance standards for off-street parking facilities:
(1)
Parking shall be implemented to provide safe and convenient access to and from public thoroughfares which include movement lanes and public frontages.
(2)
Vehicular access through residential properties for nonresidential uses shall be prohibited. This provision shall not apply to mixed-use developments.
(3)
Off-street parking spaces shall be located with sufficient room for safe and convenient parking without infringing on any public thoroughfare or sidewalk.
(4)
Off-street parking or loading area shall not be used for the sale, repair, or dismantling of any vehicle or equipment, or for storage of materials or supplies.
(5)
Parking or storage of commercial trucks, buses, vans, sign trailers; trailers or semi-trailers; or the like shall not be permitted in any form-based code zoning district.
(6)
Parking facilities on adjoining lots may share access points, driveways and parking subject to a recorded covenant running with the property on which the facilities are located, by process of waiver.
(7)
Parking shall be located behind habitable or occupied space, underground, or on the interior or rear of the building. All off-street parking areas shall be separated at least five feet from buildings in order to make room for sidewalks, landscaping and other plantings between the building and the parking area.
a.
This separation may be eliminated to the rear of buildings in areas designed for unloading and loading of materials and in underground parking areas.
(c)
Parking for senior housing.
(1)
Senior housing, in relation to this regulation, is not to be construed as homes or institutions for the aged which are primarily convalescent or nursing homes.
a.
At least one-half of the parking required shall be within carports or garages.
b.
No compact parking spaces shall be permitted for senior housing.
Table 30-390.B.—Parking For Senior Housing
(d)
Off-premise parking.
(1)
Required parking may be provided in off-premises parking facilities (structured or private lot) within 660 feet (1/8 mile) of the site proposed for development, as measured along thoroughfare rights-of-way;
(2)
Pedestrian access between the use or the site and the off-premises parking area shall be via concrete or paved sidewalk or walkway; and
(3)
The owner shall provide an irrevocable parking agreement reflecting the arrangement with the off-premises location.
(e)
Compact parking.
(1)
The proposed land use must require a minimum of 20 spaces for compact spaces to be allowed and shall not exceed 15 percent of the total number of required spaces. Each compact space shall be identified with pavement stenciling and/or signage. Compact spaces shall be located furthest from the building entrances to discourage use by non-compact vehicles.
(f)
Tandem parking.
(1)
Residential development. Tandem parking is allowed in a residential development, but may not be used to provide guest parking for a residential development and both parking spaces shall be assigned to the same residential unit
(2)
Nonresidential development. Tandem parking is only allowed in a nonresidential development where attendant parking is provided on the zone lot and where parking on the zone lot is subject to a tandem parking management program, as approved by the Community Development Director.
a.
For purposes of this provision, a "tandem parking management program" means a formal program undertaken by a property owner or property manager to mitigate the potential adverse effects of tandem parking on vehicle owners and other off-street parking area users.
b.
Elements of a tandem parking management program include, but are not limited to:
1.
A secured vehicle key storage system located near the tandem parking area;
2.
A vehicle key management system administered by on-site personnel;
3.
Reserved tandem program where specific individuals share specific tandem spaces; or
4.
A fleet/motor pool vehicle management program.
5.
On duty parking attendant during business hours or as long as the principal building is occupied
(3)
Tandem parking design standards.
a.
A maximum of two parking spaces may be provided in tandem.
b.
Two parking spaces in tandem shall have a combined minimum dimension of nine feet in width and 35 feet in length.
c.
It must be possible to get any vehicle in or out of a tandem space by moving only one vehicle.
(g)
Shared parking.
(1)
Where two or more uses on the same site or adjacent parcels have distinct and differing peak parking usage periods (e.g., a theater and a bank), a reduction in the required number of parking spaces as determined by the Community Development Director may be allowed in the following manner:
a.
The reduction in number of required parking spaces shall be based on a parking demand study.
b.
The parking demand study shall be in accordance with established professional practices.
c.
Approval shall also require a recorded covenant running with the land, recorded by the owner of the parking lot, guaranteeing that the required parking will be maintained for the uses served and remain for the duration of the use.
d.
Share parking, whether it is publicly shared or shared between two or more specific businesses, shall be clearly designated with signs and markings.
(Ord. No. 1923, § 5(Exh. A), 9-12-23)
(a)
Reductions can be combined to a maximum of 20 percent of the total vehicular parking required.
(1)
Bicycle parking—Required vehicular parking spaces may be reduced at a rate of one vehicular parking space for every five long-term bicycle parking spaces provided above the minimum required, up to a maximum reduction of five percent of the total vehicular parking required.
(2)
Bus Stop—A parking reduction of up to ten percent may be approved by the Community Development Director for any use within one-fourth mile of a designated bus stop (as measured along a public walkway).
(3)
Metrolink—A parking reduction of up to 15 percent may be approved by the Community Development Director for all uses within walking distance of the commuter rail station. Refer to Exhibit 30-665.A. for the precise boundary. Projects within the specified boundary are not eligible for the ten percent bus stop parking reduction.
(4)
Significant centers of employment—A parking reduction of up to ten percent may be approved by the Community Development Director for uses listed under "food/restaurant/eating establishments" and "general merchandise/retail trade," when the use is located within one-quarter mile (as measured along a public walkway) of a significant center of employment. When the use is located within one-half mile, a parking reduction of up to five percent may be approved.
Exhibit 30-391.A.—Area of Downtown Eligible for 15 Percent Metrolink Parking Reduction
(a)
Loading requirements. The following regulations apply to the use of loading zones:
(1)
Permission herein granted to stop or stand a vehicle for purpose of loading or unloading of materials shall apply only to commercial vehicles and shall not extend beyond the time necessary therefore, and in no event for more than 20 minutes.
(2)
The loading or unloading of materials shall apply only to commercial deliveries, also the delivery or pickup of express and parcel post packages and United States mail.
(3)
Loading docks, overhead doors, and other service entries may not be located on street-facing facades.
(4)
Loading areas shall include painted lines, curbs, or other methods of identifying individual loading areas and distinguishing such spaces from drive aisles and other circulation features.
(5)
On-site loading space(s) is not required where the site is adjacent to an alley or side street that provides temporary parking for loading/unloading activities. Temporary is defined as lasting less than 20 minutes.
(6)
Traffic-lanes shall not be used as loading/unloading zones.
(7)
Vehicles that exceed an overall length of 25 feet (bumper to bumper) shall be prohibited from loading and unloading between the hours of seven a.m. and ten a.m., and between 12 p.m. and six p.m. This time restriction shall not apply to vehicles that fit within a designated loading and unloading zone or bay.
(a)
General bicycle parking design guidelines and requirements.
(1)
Bicycle parking may be located in front, to the side, back, or inside of buildings.
(2)
Each space must be accessible without moving another bicycle.
(3)
Allow for two feet by six feet for each bicycle parking space.
(4)
Provide an aisle at least five feet wide behind all parking for maneuvering.
(5)
Bike racks shall enable the bike frame and one or both wheels to be secured.
(6)
When a project requires 25 or more bicycle parking spaces, a bicycle repair station shall be provided.
(7)
In calculating bicycle parking requirements for any use, any resulting fraction shall be rounded up to the next whole number.
(8)
The location of the bicycle rack or locker shall not encroach into the sidewalk which would reduce the unencumbered width of the sidewalk to less than four feet and shall provide adequate clearance surrounding the rack or locker such that bicycles shall not encroach into any walkway, parking space, landscape area or similar.
Table 30-393.A.—Bicycle Spaces Required
(b)
Short-term (fixed bicycle rack facility).
(1)
Cyclists should be able to quickly identify bike racks when arriving from the street. A highly visible location not only makes it easier for the cyclist, but also curbs theft and vandalism. Areas shall be well lit, and, when possible, within view of passerby, retail activity, or windows.
a.
They shall be implemented in areas of high traffic such as building entrances—no further than 50 feet from these entranceways.
b.
Bike racks must be visible from adjacent bikeways and allow for fast street access while avoiding locations that have stairs.
c.
Bicycle parking facilities shared by more than one use are encouraged.
(c)
Long-term (sheltered or enclosed facility).
(1)
Bicycle parking for employees, students, residents, commuters and others who stay at a site for several hours; a secure and weather-protected place to store their bicycles.
a.
Locate on site or within 660 feet of the site. No part of the rack shall be located closer than 24 inches to a wall or other obstruction.
There is no preferred architectural style for buildings in the Form-Based Code areas. However, all buildings shall demonstrate an architectural concept/idea to provide coherence and integrity to the design. Any architectural style that is proposed shall be in keeping with that style, particularly regarding: overall massing, overhangs, expressions of structure, wall thickness, materials and other details.
Architectural Style: Spanish
Design Characteristics
• Red tile roof coverings
• ;hg;Single or crossed-gable roof
• ;hg;Eaves with little or no over-hang
• ;hg;Prominent arches placed above doors and windows, or beneath porched roofs
• ;hg;Stucco wall surface at all exterior walls
• ;hg;Façade is typically asymmetrical
• ;hg;Wall surface extends into gable without break
• ;hg;Balconies, open or roofed, with wood or iron railings
• ;hg;Elaborate chimney top, often with small tiled roof
• ;hg;Towers (round, square or polygon)
• ;hg;Walled entry courtyards
• ;hg;Stucco or tile decorative vents
Architectural Style: Craftsman
Design Characteristics
• Low-pitched, gabled roof
• ;hg;Wide overhanging eaves
• ;hg;Decorative brackets
• ;hg;Multi-paned windows, cased in wide trim
• ;hg;Partially paned doors, typically the upper third of the door
• ;hg;Shingle, lapped and stucco siding is common
• ;hg;Often mixed materials throughout the structure
• ;hg;Simplified windows on side and rear elevations
Architectural Style: Tuscan
Design Characteristics
• Heavy use of stone and plaster
• ;hg;Shaped timber tails at eaves
• ;hg;Simple balconies with wrought iron railings or solid half walls
• ;hg;Asymmetrical fenestration pattern
• ;hg;Vertical forms mixed with horizontal
• ;hg;Occasional use of arched openings
Architectural Style: Art Deco/Moderne
Design Characteristics
• Smooth wall surfaces, including stucco, concrete, smooth-faced stone and terra cotta
• ;hg;Sharp edged, linear appearance
• ;hg;Stylized decorative elements using geometrical forms, zigzags, chevrons, etc.
• ;hg;Low relief decorative panels
• ;hg;Stepped or setback front façade
• ;hg;Stripes of windows with decorative spandrels
• ;hg;Reeding and fluting around doors and windows
Architectural Style: Modern/Contemporary
Design Characteristics
• Interaction between interior and exterior spaces
• ;hg;Functional design
• ;hg;Minimal or no ornamentation
• ;hg;Simple, plain, geometric forms, rectangular shapes, and linear elements
• ;hg;Oversized windows—often floor-to-ceiling length, sliding glass doors, and high-set
windows
Architectural Style: Mediterranean
Design Characteristics
• Ornamental detailing
• ;hg;Doors, gateways, and window frames may feature iron detailing
• ;hg;Courtyards used for outdoor space and/or building entry
• ;hg;Columns, arches, curved windows and keystones
• ;hg;Terraces and balconies are common features
(a)
Crime prevention through environmental design (CPTED). Crime prevention through environmental design (CPTED) concepts shall be incorporated into the project design in order to create a safe built environment.
(b)
General façade composition. Buildings shall be "four-sided," meaning that all facades (including sides and rear) shall be considered visible and treated with articulation and materials.
(c)
Size, mass and scale. The scale of buildings and accessory structures (including canopies) shall be appropriate to the scale of structures built, or anticipated, in that district. Height of buildings shall be proportionate to the number of stories proposed.
(d)
Building materials.
(1)
Building wall materials shall be combined on each façade only horizontally, unless the building is broken vertically by a change of plane, or a vertical architectural element.
(2)
Building walls shall be finished in one or more (but not more than three) of the following materials:
a.
Wood
b.
Fiber cement board siding, smooth finish
c.
Reinforced concrete with stucco
d.
Brick
e.
Corrugated metal, which may be approved by the Director of Community Development based on the surrounding context and location on the site
f.
Other materials as approved by the Director of Community Development, based on visual compatibility with listed approved materials
(3)
Doors shall be made of wood, metal, glass, or fiberglass
(e)
Roof materials.
(1)
Roof materials shall match or complement the proposed architectural style.
(2)
Roof materials that shall not be used include:
a.
Stamped sheet metal used to simulate Mediterranean or Spanish roof tiles.
b.
Corrugated sheet metal.
c.
Lightweight asphalt shingles.
d.
Wood shakes or shingles.
(f)
Roof forms. Where pitched roofs exist, primary roofs shall have a minimum slope of 4:12, while ancillary roof slopes may be no less than 2:12.
(g)
Windows and doors.
(1)
Proportion and details.
a.
Windows shall not be flush with exterior wall treatments. Windows shall be provided with an architectural surround at the jambs and header, and a projecting sill.
b.
Window openings may be grouped horizontally, but trim between windows shall be at least 3.5 inches wide. This does not apply to storefront windows.
(2)
Façade transparency. Building elevations that face the street shall have at least 40 percent of the first-floor wall area consist of windows and/or doors and 15 percent of upper floors.
(h)
Architectural details.
(1)
Shutters. Shutters shall be sized and placed so as to equal the width that would be required to cover the window opening.
(2)
Cornices. Cornices are required to delineate the tops of facades. Expression lines are required to delineate the divisions between the first floor and upper floors. Cornices and expression lines shall either be a molding or a jog in the surface plane of the building.
(i)
Exterior building color.
(1)
Fluorescent colors shall not be used as a primary wall colors or accent colors.
(2)
Colors that relate to the building's existing district character shall be used. Light colors such as different shades of whites and pastels are appropriate. Extremely bright colors shall not be used as primary wall colors.
(3)
Secondary colors shall complement the primary building color. They shall be lighter or darker values than the body color or use more saturated hues of the body color. Secondary colors can be used to give additional emphasis to architectural features such as building bases or wainscots, columns, brackets, cornices, capitals, and bands; or used as trim on doorframes, storefront elements, windows and window frames, railing shutters, ornament, fences, etc.
(j)
Mechanical equipment and screening.
(1)
Rooftop equipment such as mechanical equipment shall be set back a minimum of ten feet from the building façade walls, screened on all sides, and the screening shall be integrated into the overall building design.
(2)
Mechanical equipment, such as ventilation systems, commercial exhaust fans, rooftop terminations, commercial cooling equipment, heating and air conditioning units, TV antennas, and satellite dishes, shall be hidden or screened from view. Architectural features or vegetation can be used to conceal mechanical equipment. Screen material shall be properly maintained. If vegetation is used for screening, the mature size of the vegetation shall be considered so that equipment air flow will not be compromised.
(k)
Proportions of bays and openings. All building bays, including porches, colonnades and porticos as appropriate, shall be square or vertical in proportion, unless the design merits a horizontally-proportioned opening. Wall opening, except for transoms and storefronts, shall be square or vertical in proportion. The façade of a proposed building shall draw upon the proportion and number of bays in surrounding buildings, as defined by windows, doors, and column spacing, to establish a compatible scale.
(l)
Garages and accessory structures. Attached garages, detached garages, and other accessory structures shall be subordinate in height, footprint, and proportion to the primary structure on the site, and shall be compatible with the principal structure in terms of roof form, materials, and color. Where a garage contains an accessory dwelling unit above, it may exceed the height of the primary structure.
(m)
Utility and service equipment areas.
(1)
Locate ancillary facilities within buildings, not along the street facing facade, to the maximum extent feasible. Where ancillary facilities such as trash receptacles and utility meters absolutely cannot be incorporated into a building, locate them at the rear of the site in freestanding, completely enclosed structures designed to be compatible with the architecture of the rest of the development.
(2)
Loading docks, service areas, and trash disposal facilities shall be hidden or screened from view of streets, parks, squares, or significant pedestrian spaces. Service, utility and mechanical functions, including retail loading shall be located in alleys whenever present. When alleys are not present, service functions shall be placed behind buildings. Building design shall accommodate equipment with niches or insets.
(3)
Trash and storage enclosures shall be architecturally integrated into the project design. Landscaping shall be provided adjacent to enclosures for screening and deterring graffiti.
(4)
Build covered trash enclosures with durable materials such as stone, concrete block, steel, and heavy timber.
(5)
The location of trash enclosures shall be easily accessible for trash collection and shall not impede general site circulation patterns during loading operations.
(6)
Trash enclosures shall be required for multi-family developments that have five or more units.
(7)
Locate electrical panels to minimize their visibility from the street, in locations such as side yard walls, and/or behind landscaped areas. Integrate them into the design of residential buildings to the maximum extent feasible.
(8)
Minimize the visibility of utilities connections from the public street.
(n)
Outdoor display of merchandise.
(1)
Definition of "merchandise." For purposes of this section, merchandise is defined as any item that is for sale on the premises or is representative of an item that is for sale on the premises, regardless of whether that particular item is available for purchase.
(2)
Arrangement. Merchandise shall be arranged and spaced so as not to clutter the front of the property, as determined by the Director of Community Development or designee.
(3)
Location:
a.
Merchandise shall not be place on the public sidewalk or within the right-of-way without the approval of the Director of Community Development or designee. If merchandise is displayed on any privately-owned sidewalk, a minimum of four feet of the sidewalk as measured from the curb must remain open and unobstructed to facilitate safe pedestrian circulation.
b.
Areas designated for vehicular parking may not be used as outdoor display areas.
c.
Merchandise shall not be displayed on public street furniture or landscaping.
(4)
Designation in plans. Plans for new developments or reuse of an existing space shall clearly designate any areas for outdoor display of outdoor merchandise. Outdoor display of merchandise shall only occur in areas designated for such display on the approved plan.
(o)
Trellises, marquees, and architectural canopies. Materials, colors, and form shall be derived from the building architecture.
(p)
Balconies. Balconies are encouraged at upper stories to create visual interest, support an architectural style or context, and to provide outdoor spaces for upper story tenants. In addition to upper story balconies, recessed alcoves are recommended to increase the depth and usability of the balcony space and add visual interest to the façade composition.
(q)
Awnings and shade devices.
(1)
Durable materials that complement other building materials shall be used, including canvas, high quality fabric, and metal.
(2)
Vinyl and plastic shall not be used.
(3)
Colors shall complement the building style, materials, and colors.
(4)
Awning mounting heights shall be consistent along the façade, unless varying mounting heights supports the architectural style.
(r)
Security doors.
(1)
To the degree possible, a roll-up security door shall be recessed behind the building façade wall surface.
(2)
Horizontal sliding security grills shall be architecturally concealed when in fully opened position.
(s)
Site landscaping.
(1)
Landscaping shall be incorporated in order to create an active visual outlook for residential units, create usable open space, and provide privacy for adjacent residential units.
(2)
Site landscaping treatments shall be designed to be attractive, with consistent design integrity throughout the project.
(3)
Parking lots, driveways, and other automobile circulation areas shall be landscaped in order to improve the visual appearance of circulation and parking areas.
(4)
Trees, landscape islands, shrubs, and groundcover shall be incorporated throughout parking areas.
This section provides regulations and standards for new or renovated residential building types. These regulations encourage buildings that strengthen the quality and character of Fontana's neighborhoods and surrounding areas while providing opportunities for individuality and creativity.
(1)
Building materials and colors.
a.
Generally acceptable materials shall include stucco, wood siding, native rock and stone, split face, concrete and brick.
b.
Generally prohibited materials shall include aluminum or plastic siding, corrugated fiberglass, and metal.
c.
Generally acceptable colors shall include muted natural colors, earth tones, pastel colors, natural stains and accent colors to contrast eaves, trims, moldings and doors.
d.
Generally prohibited colors shall include bright, fluorescent, or assertive colors as primary or accent wall colors.
(2)
Crime prevention through environmental design (CPTED). Incorporate crime prevention through environmental design (CPTED) concepts into the project design in order to create a safe built environment.
(3)
Garages and accessory structures. Attached garages, detached garages, and other accessory structures shall be subordinate in height, footprint, and proportion to the primary structure on the site, and shall be compatible with the principal structure in terms of roof form, materials, and color. Where a garage contains an accessory dwelling unit above, it may exceed the height of the primary structure.
(4)
Design criteria.
a.
A variety of enhanced architectural features and materials shall be provided on every front elevation. This can include, but is not limited to, porches, bay windows, pop-outs, veneers, rock, brick, wood siding, etc., or similar features.
b.
All garage doors shall be metal, sectional and roll-up.
c.
Trim with a stucco covering may be painted in a contrasting color. The contrasting color shall be color-compatible with the color of the body of the structure.
d.
Decorative trim consistent with the architectural design shall surround vents and windows to enhance the architecture of the structure.
e.
Architectural treatment shall be provided on each chimneystack.
f.
Wall-mounted, decorative lighting fixtures shall be provided at the front porch areas as well as on each side of the garage door. The style of the decorative lighting fixtures shall complement the architectural style.
g.
All front doors shall provide a window or other decorative treatment, including, but not limited to, raised panels, metal work, etc.
h.
Upgraded hardscape shall be used within the concrete walkway(s) leading to the front door of the house in order to complement the home's exterior architectural elements. Examples of upgraded hardscape includes, but is not limited to, decorative patterned scoring, exposed aggregate finishes, stamped concrete, etc.
(5)
Screening of exterior equipment.
a.
All mechanical equipment, ground-mounted equipment, utilities, storage, shall be screened from adjoining properties and public streets by a visual barrier such as a wall, fence, or landscape material. Where landscaping only is used for screening, it shall be planted with five-gallon (minimum size) shrubs spaced to provide a dense screen.
b.
Roof-mounted mechanical equipment shall be hidden from view by building parapets of equal height. If building parapets do not provide adequate screening when observed from adjacent buildings, mechanical equipment shall be screened by designing the parapet so that it appears as an integrated part of the roof and overall architectural design.
c.
Roof-mounted equipment shall not be permitted on the single-family home building type.
d.
No exterior components of plumbing, processing, heating, cooling, and ventilating systems shall be mounted on any building wall unless they are an integrated architectural design feature.
(6)
Central air conditioning or cooling system.
a.
All new residential structures shall be equipped with a central air conditioning or cooling system.
b.
For the purposes of this section, a "central air conditioning or cooling system" shall be defined as all that equipment, including associated refrigeration, intended or installed for the purpose of cooling air by mechanical means and discharging such air into a residential structure used for living purposes. A central air conditioning or cooling system shall not include portable cooling units, absorption units or evaporative coolers.
(7)
Water heaters. Each dwelling unit shall have a separate hot water heater or may be provided with a centralized circulation water heating system sufficient to serve all dwelling units on the property.
(8)
Laundry facilities. All multiple-residential units shall be provided washer and dryer hookups and laundry space within the unit or garage. The laundry area shall not infringe upon garage parking area. In the case of apartments, common laundry facilities may be included in addition to the individual unit hookups.
(9)
Storage facilities. A separate area having a minimum of 125 cubic feet of private and secure storage space shall be provided for each unit.
a.
Said storage area may be located within the garage, provided it does not interfere with garage use for automobile parking.
b.
Normal closet and cupboard space within the dwelling unit shall not count toward meeting this requirement.
c.
No storage shall be in a carport area.
This Section provides regulations and standards for new or renovated commercial, apartment, and mixed-use building types.
(1)
Crime prevention through environmental design (CPTED): Crime prevention through environmental design (CPTED) concepts shall be incorporated into the project design in order to create a safe built environment.
(2)
General facade composition: Buildings should generally be "four-sided," meaning that all facades (including sides and rear) shall be considered visible and treated with articulation and materials.
(3)
Size, mass, and scale: The scale of buildings and accessory structures (including canopies) shall be appropriate to the scale of structures built, or anticipated, in that district. Height of buildings shall be proportionate to the number of stories proposed.
(4)
Building materials:
a.
Building wall materials shall be combined on each facade only horizontally, unless the building is broken vertically by a change of plane, or a vertical architectural element.
b.
Building walls shall be finished in one or more of the following materials:
i.
Wood
ii.
Fiber cement board siding, smooth finish
iii.
Reinforced concrete with stucco
iv.
Brick
v.
Corrugated metal, which may be approved by the Director of Planning based on the surrounding context and location on the site
vi.
Other materials as approved by the Director of Planning, based on visual compatibility with listed approved materials
c.
Doors shall be made of wood, metal, glass, or fiberglass.
(5)
Roof materials:
a.
Roof materials shall match or complement the proposed architectural style.
b.
Roof materials that shall not be used include:
i.
Stamped sheet metal used to simulate Mediterranean or Spanish roof tiles.
ii.
Corrugated sheet metal.
iii.
Lightweight asphalt shingles.
iv.
Wood shakes or shingles.
(6)
Roof forms: Where pitched roofs exist, primary roofs shall have a minimum slope of 4:12, while ancillary roof slopes may be no less than 2:12.
(7)
Windows and doors:
a.
Proportion and details.
i.
Windows shall not be flush with exterior wall treatments. Windows shall be provided with an architectural surround at the jambs and header, and a projecting sill.
ii.
Window openings may be grouped horizontally, but trim between windows shall be at least 3.5 inches wide. This does not apply to storefront windows.
b.
Facade transparency: Building elevations that face the street shall have at least 40% of the first-floor wall area consist of windows and/or doors and 15% of upper floors.
(8)
Architectural Details:
a.
Shutters: Shutters shall be sized and placed so as to equal the width that would be required to cover the window opening.
b.
Cornices: If cornices are used, then the cornices are required to delineate the tops of facades. Expression lines are required to delineate the divisions between the first floor and upper floors. Cornices and expression lines shall either be a molding or a jog in the surface plane of the building.
(9)
Exterior building color:
a.
Fluorescent colors shall not be used as primary wall colors or accent colors except when approved by the Director of Planning when the colors are appropriate for the surrounding area and enhance the visual interest of an area.
b.
Colors that relate to or enhance the building's existing district character shall be used. Light colors such as different shades of whites and pastels are appropriate. Extremely bright colors shall not be used as primary wall colors.
c.
Secondary colors shall complement the primary building color. They shall be lighter or darker values than the body color or use more saturated hues of the body color. Secondary colors can be used to give additional emphasis to architectural features such as building bases or wainscots, columns, brackets, cornices, capitals, and bands; or used as trim on doorframes, storefront elements, windows and window frames, railing shutters, ornament, fences, etc.
(10)
Mechanical equipment and screening:
a.
Rooftop equipment such as mechanical equipment shall be screened on all sides, and the screening shall be integrated into the overall building design.
b.
Mechanical equipment, such as ventilation systems, commercial exhaust fans, rooftop terminations, commercial cooling equipment, heating and air conditioning units, TV antennas, and satellite dishes, shall be hidden or screened from view. Architectural features or vegetation can be used to conceal mechanical equipment. Screen material shall be properly maintained. If vegetation is used for screening, the mature size of the vegetation shall be considered so that equipment air flow will not be compromised.
(11)
Proportions of bays and openings: All building bays, including porches, colonnades and porticos as appropriate, shall be square or vertical in proportion, unless the design merits a horizontally-proportioned opening. Wall opening, except for transoms and storefronts, shall be square or vertical in proportion. The facade of a proposed building shall draw upon the proportion and number of bays in surrounding buildings, as defined by windows, doors, and column spacing, to establish a compatible scale.
(12)
Garages and accessory structures: Attached garages, detached garages, and other accessory structures shall be subordinate in height, footprint, and proportion to the primary structure on the site, and shall be compatible with the principal structure in terms of roof form, materials, and color. Where a garage contains an accessory dwelling unit above, it may exceed the height of the primary structure.
(13)
Utility and service equipment areas:
a.
Locate ancillary facilities within buildings, not along the street facing facade, to the maximum extent feasible. Where ancillary facilities such as trash receptacles and utility meters absolutely cannot be incorporated into a building, locate them at the rear of the site in freestanding, completely enclosed structures designed to be compatible with the architecture of the rest of the development.
b.
Loading docks, service areas, and trash disposal facilities shall be hidden or screened from view of streets, parks, squares, or significant pedestrian spaces. Service, utility and mechanical functions, including retail loading shall be located in alleys whenever present. When alleys are not present, service functions shall be placed behind buildings. Building design shall accommodate equipment with niches or insets.
c.
Trash and storage enclosures shall be architecturally integrated into the project design. Landscaping shall be provided adjacent to enclosures for screening and deterring graffiti.
d.
Build covered trash enclosures with durable materials such as stone, concrete block, steel, and heavy timber.
e.
The location of trash enclosures shall be easily accessible for trash collection and shall not impede general site circulation patterns during loading operations.
f.
Trash service plan shall be provided, which shall be subject to the approval of the Director of Planning.
g.
Locate electrical panels to minimize their visibility from the street, in locations such as side yard walls, and/or behind landscaped areas. Integrate them into the design of residential buildings to the maximum extent feasible.
h.
Utility service connections shall be underground or screened, which shall be subject to the approval of the Director of Planning.
(14)
Outdoor display of merchandise:
a.
Definition of "merchandise": For purposes of this section, merchandise is defined as any item that is for sale on the premises or is representative of an item that is for sale on the premises, regardless of whether that particular item is available for purchase.
b.
Arrangement: Merchandise shall be arranged and spaced so as not to clutter the front of the property, as determined by the Director of Planning or designee.
c.
Location:
i.
Merchandise shall not be placed on the public sidewalk or within the right-of-way without the approval of the Director of Planning or designee. If merchandise is displayed on any privately owned sidewalk, a minimum of four feet of the sidewalk as measured from the curb must remain open and unobstructed to facilitate safe pedestrian circulation.
ii.
Areas designated for vehicular parking may not be used as outdoor display areas except as authorized in the Zoning and Development Code such as temporary use permits.
iii.
Merchandise shall not be displayed on public street furniture or landscaping.
d.
Designation in plans: Plans for new developments or reuse of an existing space shall clearly designate any areas for outdoor display of outdoor merchandise. Outdoor display of merchandise shall only occur in areas designated for such display on the approved plan.
(15)
Trellises, marquees, and architectural canopies: Materials, colors, and form shall be derived from the building architecture
(16)
Balconies: Balconies are encouraged at upper stories to create visual interest, support an architectural style or context, and to provide outdoor spaces for upper story tenants. In addition to upper story balconies, recessed alcoves are recommended to increase the depth and usability of the balcony space and add visual interest to the facade composition.
(17)
Awnings and shade devices:
a.
Durable materials that complement other building materials shall be used, including canvas, high quality fabric, and metal.
b.
Vinyl and plastic shall not be used.
c.
Colors shall complement the building style, materials, and colors.
d.
Awning mounting heights shall be consistent along the facade, unless varying mounting heights supports the architectural style.
(18)
Security doors:
a.
Roll-up security doors shall be decorative, which shall be approved by the Director of Planning and recessed behind the building facade wall surface.
b.
Horizontal sliding security grills shall be decorative, which shall be approved by the Director of Planning and shall be architecturally concealed when in fully opened position.
(19)
Site landscaping:
a.
Landscaping shall be incorporated in order to create an active visual outlook for residential units, create usable open space, and provide privacy for adjacent residential units.
b.
Site landscaping treatments shall be designed to be attractive, with consistent design integrity throughout the project.
c.
Parking lots, driveways, and other automobile circulation areas shall be landscaped in order to improve the visual appearance of circulation and parking areas.
d.
Trees, landscape islands, shrubs, and groundcover shall be incorporated throughout parking areas.
(Ord. No. 1923, § 5(Exh. A), 9-12-23)
This section provides regulations and standards for new or renovated residential buildings that have individual entries from the public ROW or common open space. These regulations encourage buildings that strengthen the quality and character of Fontana's neighborhoods and surrounding areas while providing opportunities for individuality and creativity.
(1)
Building materials and colors:
a.
Generally acceptable materials shall include stucco, wood siding, native rock and stone, split face, concrete and brick.
b.
Generally prohibited materials shall include aluminum or plastic siding, corrugated fiberglass, and metal.
c.
Generally acceptable colors shall include muted natural colors, earth tones, pastel colors, natural stains and accent colors to contrast eaves, trims, moldings and doors.
d.
Generally prohibited colors shall include bright, fluorescent, or assertive colors as primary or accent wall colors.
(2)
Crime prevention through environmental design (CPTED): Incorporate crime prevention through environmental design (CPTED) concepts into the project design in order to create a safe built environment.
(3)
Garages and accessory structures: Attached garages, detached garages, and other accessory structures shall be subordinate in height, footprint, and proportion to the primary structure on the site, and shall be compatible with the principal structure in terms of roof form, materials, and color. Where a garage contains an accessory dwelling unit above, it may exceed the height of the primary structure.
(4)
Design criteria:
a.
A variety of enhanced architectural features and materials shall be provided on every front elevation. This can include, but is not limited to, porches, bay windows, pop-outs, veneers, rock, brick, wood siding, etc., or similar features.
b.
All garage doors shall be decorative, sectional, and roll-up.
c.
Trim with a stucco covering may be painted in a contrasting color. The contrasting color shall be color-compatible with the color of the body of the structure.
d.
Decorative trim consistent with the architectural design shall surround vents and windows to enhance the architecture of the structure.
e.
Architectural treatment shall be provided on each chimneystack.
f.
Wall-mounted, decorative lighting fixtures shall be provided at the front porch areas as well as on each side of the garage door. The style of the decorative lighting fixtures shall complement the architectural style.
g.
All front doors shall provide a window or other decorative treatment, including, but not limited to, raised panels, metal work, etc.
h.
Upgraded hardscape shall be used within the concrete walkway(s) leading to the front door of the house in order to complement the home's exterior architectural elements. Examples of upgraded hardscape includes, but is not limited to, decorative patterned scoring, exposed aggregate finishes, stamped concrete, etc.
(5)
Screening of exterior equipment:
a.
All mechanical equipment, ground-mounted equipment, utilities, storage, shall be screened from adjoining properties and public streets by a visual barrier such as a wall, fence, or landscape material. Where landscaping only is used for screening, it shall be planted with five-gallon (minimum size) shrubs spaced to provide a dense screen.
b.
Roof-mounted mechanical equipment shall be hidden from view by building parapets of equal height. If building parapets do not provide adequate screening when observed from adjacent buildings, mechanical equipment shall be screened by designing the parapet so that it appears as an integrated part of the roof and overall architectural design.
c.
No exterior components of plumbing, processing, heating, cooling, and ventilating systems shall be mounted on any building wall unless they are an integrated architectural design feature.
(6)
Central air conditioning or cooling system:
a.
All new residential structures shall be equipped with a central air conditioning or cooling system.
b.
For the purposes of this section, a "central air conditioning or cooling system" shall be defined as all that equipment, including associated refrigeration, intended or installed for the purpose of cooling air by mechanical means and discharging such air into a residential structure used for living purposes. A central air conditioning or cooling system shall not include portable cooling units, absorption units or evaporative coolers.
(7)
Water heaters: Each dwelling unit shall have a separate hot water heater or may be provided with a centralized circulation water heating system sufficient to serve all dwelling units on the property.
(8)
Laundry facilities: All multiple-residential units shall be provided washer and dryer hookups and laundry space within the unit or garage. The laundry area shall not infringe upon garage parking area. In the case of apartments, common laundry facilities may be included in addition to the individual unit hookups.
(9)
Storage facilities: A separate area having a minimum of 125 cubic feet of private and secure storage space shall be provided for each unit.
a.
Said storage area may be located within the garage, provided it does not interfere with garage use for automobile parking.
b.
Normal closet and cupboard space within the dwelling unit shall not count toward meeting this requirement.
c.
No storage shall be in a carport.
(Ord. No. 1923, § 5(Exh. A), 9-12-23)
This section contains an overview of the predominant architectural style in Fontana that have defined and will continue to define the character and identity of the city. The following architectural descriptions are provided to establish a basis for extending the City's heritage with the rehabilitation of existing buildings and the construction of new buildings. This information is intended to provide guidance for property owners, investors, developers and designers to make sensitive reference to, incorporate, and/or harmonize with characteristics of predominant architectural styles such as (but not limited to) massing, horizontal and vertical scale increments, façade composition, roof form, architectural elements, materials, and colors.
(1)
Early 20thCentury Commercial Style (1900-1930). The Early 20th Century Commercial Style was a simple, economical and adaptable style that arose in reaction to the perception of overly ornate Victorian and Neoclassical styles. It incorporated classical principles of base, shaft and capital organization of massing and façade composition but without the classical orders, using simplified elements instead. The style was applied to all types of commercial and mixed-use buildings.
a.
Roofs are flat, hipped, or gabled. A shaped parapet ("false front") commonly hides the roof profile at the storefront façade.
b.
Front facades are flat, commonly with a shaped parapet at the roofline, occasionally with a projecting cornice instead or as well. The parapet is well-detailed with a continuous parapet cap or a built-up cornice.
c.
Wall materials of the primary building are generally patterned masonry wall surfaces (brick, tile, etc.). Stucco (above the ground floor) and painted horizontal wood siding are also used with strong trim elements.
d.
Ground floor storefront are contained within a large opening in the primary wall material. They may continue to use that material, or in many cases, the storefront has its own architecture and materials distinct from the building yet complementary to it.
e.
Storefront glaze is composed of large panes of shop windows, with a continuous horizontal band of commercial clerestory windows above shop windows and the entrance door.
f.
Fabric awnings are often used at or above commercial clerestory windows divided into segments to match window divisions rather than a single continuous awning.
g.
The front entrance to upper story uses is distinct from the storefronts and is attractively details to be recognizable as not a storefront component.
h.
Window and door shapes are simple and rectangular.
i.
High quality materials such as glazed ceramic tile, painted carved wood, bronze door hardware, etc. are located at the ground level where customers and tenants encounter the building.
(2)
Spanish Mission Revival/Mediterranean Style (1915-1935). Spanish Mission Revival and Mediterranean styles (and their sub-styles such as Spanish Colonial Revival) were period revivals that became popular in California beginning in the 1920s. The historic heritage of the California Missions and previous Spanish presence, the exotic imagery of Spain and Mexico in movies, and California's climate being likened to that of the Mediterranean were sources of inspiration. These styles were applied widely to commercial, civic, mixed-use, and residential buildings.
a.
Roofs were typically finished in fired clay red "barrel" tile, sometimes mixed in with flat roofs with parapet walls with a shaped top profile. Roof domes with colorful ceramic tile are used at towers and important features of civic and religious buildings.
b.
Both formal and informal arrangements of window and door openings are used. Arched openings are used individually and in sequence as arcades.
c.
Storefront designs like those used within the Early 20th Century Commercial Style can occur within storefront openings on facades. Storefront materials and colors such as ceramic tile, dark painted woods, and dark metals are selected in coordination with overall building colors.
d.
Wall colors are often white or light earth tones.
e.
Dark painted or stained wood and dark metal (wrought iron) are used as trim and ornamental elements in Mission and Spanish styles, while light or colored trim may also be used in Mediterranean styles.
(3)
Art Deco (1925-1950). Art Deco and its related styles (Streamline Moderne, Moderne, etc.) emerged as shifts in architectural and commercial fashion between the First and Second World Wars. They were inspired by changes in machine technology and popular taste. These styles were applied widely to commercial, civic, mixed-use, and residential buildings.
a.
Building masses are composed of simple rectangular volumes or combinations of simple volumes, with flat roofs.
b.
Wall planes are smooth with banded windows and "extruded" cornices and overhangs.
c.
Other ornamental motifs of Art Deco include fan-like shapes, zigzag elements, chevrons, and stylized foliage; these are often applied to decorative panels.
d.
Storefront designs similar to those used with the Early 20th Century Commercial Style typically occur within storefront openings.
e.
Polished metal, glass block, and other industrial elements are used as trim and ornamental elements in Art Deco and related styles.
(4)
Contemporary Styles (1950-Present). For the purposes of this plan, Contemporary Styles comprise those architectural styles that draw on Modernism, Post-Modernism, and other current styles in practice today. Most Contemporary Styles have drawn upon contemporary building materials and modern construction methods to create a visual identity that is distinct from historic architectural styles.
a.
Building elements such as walls, windows, and roofs are often expressed as individual plans or forms. Windows can often be expressed as "voids" between walls, or act as entire wall plans. Where they are expressed as opening in walls, they are typically composed as a series of rhythmically or strategically placed "punched openings" for compositional purposes.
b.
Flat roofs are frequently used, but roofs or portions of roofs are often treated as geometric forms that may stand out. Examples include barrel vaults, angled or curved plans, and extended overhangs. They may be accented with special materials, such as metal.
c.
Contemporary Styles employ a wide palette of building materials. Metal cladding, concrete, glass, and tile as well as natural materials may be used. Materials as well as colors are often to define building volumes, planes, or functions.
d.
Building colors may be composed of contrasting hues and tones, with individual building elements or forms emphasized through use of an accent color. Strong, saturated hues are often used to play off neutral hues.
Private open spaces shall be designed as one of the private open space types defined in this section.
(1)
Private yard.
a.
Definition: A side yard or rear yard (excluding required setback areas) which is accessed by secondary unit entrance(s).
b.
The primary access to a private yard shall be from the dwelling(s) served.
c.
The minimum area for a private yard shall be 60 square feet.
d.
The minimum dimensions for a private yard in any single direction shall be four feet.
e.
Landscaping shall consist primarily of planted areas including water-efficient plantings of lawns, trees, plants in pots, etc. and may be combined with a porch.
f.
Private yard spaces may include edge walls or fences, provided that their inclusion does not violate building orientation.
(2)
Porch.
a.
Definition: A patio, terrace, or other platform extending from or adjacent to a building at the ground floor which is accessed by secondary unit entrances(s).
b.
The primary access to a porch shall be from the dwelling(s) served.
c.
The minimum area for a porch shall be 48 square feet.
d.
The minimum dimensions of a porch in any single direction shall be four feet.
(3)
Rooftop deck or garden.
a.
Definition: A private or privately shared deck or yard on the roof of a building.
b.
The minimum dimensions for a rooftop deck or garden in any single direction shall be four feet.
c.
Gardens and green roofs are encouraged to help minimize heat sinks and to pretreat water from storms prior to it entering the storm drain system.
d.
The minimum area for a rooftop deck or garden shall be 60 square feet.
(4)
Balcony.
a.
Definition: An outdoor space extending from a private upper floor of a building, which is accessed directly from a secondary unit entrance.
b.
Access to a balcony shall be limited to the dwelling served.
c.
The minimum area for a rooftop deck or garden shall be 48 square feet.
d.
The minimum dimensions for a balcony in any single direction shall be four feet.
(Ord. No. 1923, § 5(Exh. A), 9-12-23; Ord. No. 1970, § 4(Exh. A), 6-10-25)
(a)
This section describes the guidelines for the development of common and public open spaces throughout the Form-Based Code areas.
(b)
The standards in this section shall apply to all proposed development within the Form-Based Code districts and shall be considered in combination with the standards for the applicable district.
(c)
Additional public open spaces can be integrated into this section as they are approved by the City of Fontana.
(d)
The downtown core shall be required to comply with 30-404.1.
(Ord. No. 1906, § 73, 10-25-22; Ord. No. 1923, § 5(Exh. A), 9-12-23)
Common open spaces and public open spaces play an important role in place-making. Their standards must be considered alongside building form, building types, frontage types, and thoroughfares in creating urban environments. The diverse palette of common open spaces, parks and other publicly accessible open spaces are assigned to one or more downtown zones.
(Ord. No. 1906, § 73, 10-25-22)
Each application that involves at least two acres shall be required to provide a minimum of five percent of the project area as either common open space or public open space. The required open space shall be designed in compliance with the applicable requirements from Exhibit 404.A.—Public Open Space Types.
For development projects that are two acres or more in size that propose only commercial development (no residential uses)or civic development, the Planning Commission shall have the authority to reduce or eliminate the requirements for open space size, type, and location if the following findings are made:
(1)
The proposed commercial use(s) is incompatible with a large open space area.
(2)
The Police Department recommends the elimination or reduction of the open space requirement.
(3)
Eliminating or reducing the open space requirement promotes public health and safety.
Subdividing or phasing the project to separate commercial and residential uses or to reduce lot size to less than two acres shall not eliminate the open space requirement.
(Ord. No. 1846, § 2, 11-10-20; Ord. No. 1906, § 73, 10-25-22)
(a)
Common open spaces shall be designed within private development projects for patrons of commercial development and residential communities with amenities as required in [Section] 30-404 below.
(b)
Public open spaces shall be designed as one of the public open space types defined in Exhibit 30-404.A.
(c)
Public open spaces shall include amenities such as seating, lighting, and landscaping.
(d)
Public open spaces shall be built within the development area by developers as development occurs.
(e)
At the discretion of the Planning Director, required open space may be constructed off-site and/or as part of a larger public open space that will be provided by the City or other private developments.
(f)
Common open spaces shall include an amenity such as a tot lot, outdoor sports recreation area, bar-b-que with picnic tables, or equivalent. This requirement can include paseos connecting the amenity to the rest of the site.
(g)
All public open spaces shall abut public right-of-way or be otherwise connected to public sidewalks and shall be open to the public 24 hours per day. At the discretion of the Community Development Planning Director, public access to a public open space may be restricted after dark.
(h)
All public open spaces shall be visible from surrounding streets and masses of shrubs around edges shall be avoided.
(Ord. No. 1906, § 73, 10-25-22)
(a)
All public open spaces shall abut public right-of-way or be otherwise connected to public sidewalks and shall be open to the public 24 hours per day. At the discretion of the Community Development Director, public access to a public open space may be restricted after dark.
(b)
All public open spaces shall be visible from surrounding streets and masses of shrubs around edges shall be avoided.
(c)
Common open spaces shall include an amenity such as a tot lot. outdoor sports recreation area, bar-b-que with picnic tables, paseos, or equivalent.
Exhibit 404.A.—Public Open Space Types
(Ord. No. 1906, § 73, 10-25-22; Ord. No. 1951, § 4(Exh. A), 5-28-24)
Common Open Space Required
Amenities Required
Developers shall provide on-site recreational facilities as a minimum requirement for all multi-family projects.
(1)
Development with less than 35 units shall provide a minimum of ten percent of the project lot area as common open space (private open space that exceeds the minimum may be counted towards the common open space requirement) and shall provide one of the following recreational facilities, or equivalent, as approved by the Director of Planning:
a.
Indoor gym/fitness facility (minimum 500 square feet).
b.
Tot-lot with multiple play equipment.
c.
Spa and pool (minimum 25 yard by 15 yards).
d.
Barbecue facility equipped with built-in grill, picnic benches, etc.
(2)
Development consisting of 35 units to 79 units shall provide three of the recreational facilities listed below, or equivalent, as approved by the Director of Planning:
a.
Indoor gym/fitness facility (minimum 500 square feet).
b.
Tot-lot with multiple play equipment.
c.
Spa and pool (minimum 25 yard by 15 yards).
d.
Barbecue facility equipped with built-in grill, picnic benches, etc. (minimum of three areas).
e.
A minimum of ten percent of the project lot area as common open space. Private open space that exceeds the minimum may be counted towards the common open space requirement.
(3)
Development consisting of 80 units to 200 units shall provide all amenities listed above, or equivalent, as approved by the Director of Planning.
(4)
Development consisting of 201 units to 400 units shall provide all amenities listed above and a minimum of one of the following additional recreational facilities, or equivalent, as approved by the Planning Commission:
a.
Large open lawn area, minimum dimensions shall be 100 feet by 50 feet (e.g. rooftop garden).
b.
Multiple tot-lots with multiple play equipment. The tot-lots shall be conveniently located throughout the site. The number of tot-lots and their location shall be subject to Planning Commission review and approval.
c.
Lap pool and spa (e.g. rooftop, minimum 25 yard by 25 yards).
d.
Community multi-purpose room equipped with kitchen, defined areas for games, exercises, etc.
e.
Barbecue facilities equipped with multiple grills, picnic benches and shade structures. The barbecue facilities shall be conveniently located throughout the site. The number of barbecue facilities and their location shall be subject to Planning Commission review and approval.
f.
Court facilities (e.g. tennis, volleyball, basketball, etc.).
g.
Other recreational facilities not listed above may be considered subject to the Planning Commission review and approval.
h.
Related recreational activities may be grouped together and located at any one area of the common open space. All recreational areas or facilities required by this section shall be maintained by private homeowner's associations, property owners, or private assessment districts.
(5)
Circulation, pedestrian, and vehicular parking. Pedestrian circulation. Each multiple-family residential development shall be designed with adequate walkways to provide convenience to the needs of the residents, guests, and the service providers of public agencies. Pedestrian access to the unifying elements of any development shall be separate from, and free of, conflict with vehicular access ways. All developments consisting of six units or more shall provide directories placed in a convenient location at the development entry.
General Requirements
(1)
Common open spaces shall include amenities such as seating, lighting, and landscaping.
(2)
Public open spaces shall be built within the development area by developers as development occurs.
(3)
At the discretion of the Director of Planning, required open space may be constructed off-site and/or as part of a larger public open space that will be provided by the City or other private developments.
(Ord. No. 1923, § 5(Exh. A), 9-12-23; Ord. No. 1954, § 4(Exh. A), 7-23-24)
(Ord. No. 1923, § 5(Exh. A), 9-12-23)
Editor's note— Ord. No. 1923, § 5(Exh. A), adopted Sept. 12, 2023, amended § 30-405 in its entirety, in effect repealing and reenacting said § 30-405 to read as set out herein. The former § 30-405, pertained to Downtown Form-Based Code sub-district map and derived from Prior Code.
(Ord. No. 1923, § 5(Exh. A), 9-12-23)
FORM-BASED CODE
Editor's note— Ord. No. 1923, § 5(Exh. A), adopted Sept. 12, 2023, amended Div. 4 in its entirety, in effect repealing and reenacting said Div. 4 to read as set out herein. The former Div. 4, §§ 30-361—30-371, pertained to similar subject matter and derived from Prior Code; Ord. No. 1846, § 2, Nov. 10, 2020.
This section provides regulations and standards for well-designed facades on new or renovated buildings. These regulations encourage buildings that strengthen the quality and character of Fontana's corridors and surrounding areas while providing opportunities for creativity and discretion.
Editor's note— Ord. No. 1906, § 73, adopted Oct. 25, 2022, amended the title of Div. 10 to read as herein set out. The former Div. 10 title pertained to Public Open Space Standards.
Property, including structures, land uses and physical improvements (such as landscaping and lighting) within the boundaries of the Form-Based Code area shall comply with all applicable requirements of the Form-Based Code article as follows:
(1)
Zoning district(s) requirements. All property subject to Form-Based Code article shall comply with the relevant requirements of the applicable district.
(2)
Conflicting requirements. Where a requirement exists for the same topic, in both the Form-Based Code article and other sections of the City of Fontana Municipal article, the requirements of the Form-Based Code article shall prevail unless otherwise specified.
(3)
Permit approval requirements. Each structure and land use shall be constructed, reconstructed, enlarged, altered, moved or replaced in compliance with the following requirements:
a.
Allowable use: The land use must be allowed in the zoning district where the site is located (see Table 30-359.A).
b.
Permit and approval requirements: Any and all permits or other approvals required by the Form-Based Code article shall be obtained before the issuance of any required grading, building, or other construction permit, and before the proposed structure(s) is constructed and land use established or otherwise put into operation.
c.
Development standards, conditions of approval: Each land use and structure shall comply with the applicable development standards of the Form-Based Code article for the zoning district in which the site is located.
d.
Nothing in this Form-Based Code article eliminates the need for obtaining other permits required by the City of Fontana, or any permit, approval, or entitlement required by any other applicable district or agency, and/or the regulations of any state or federal agency.
(4)
Improvements, modifications or expansions to sites or structures.
a.
Improvements to a conforming site, an existing conforming structure(s), or a modification/expansion of an existing conforming structure(s) are subject to the applicable requirements of the Form-Based Code article.
b.
Improvements to a nonconforming site, an existing nonconforming structure(s) or a modification/expansion of an existing nonconforming structure(s) shall comply with the applicable requirements in Section 30-631 nonconforming regulations.
(5)
Approved entitlements or time extensions. Entitlements or time extensions approved prior to the adoption of the Form-Based Code article that have yet to be constructed are not subject to the Form-Based Code article. However, the entitlement(s) may not be extended beyond the approval period and any time extensions afforded to the entitlement(s).
The purpose of this section is to define the procedures for design review and administrative site plan reviews for the Form-Based Code districts and the types of projects that are subject to those procedures. Design and administrative site plan review is a process that enables the City of Fontana to ensure the quality and compatibility of proposed development. The procedures established herein will:
• Facilitate review of development proposals in a timely manner;
• Ensure conformance with all applicable local design guidelines, standards, and ordinances;
• Minimize adverse effects on surrounding properties; and
• Promote the goals of the general plan.
(1)
Pre-application meeting. Prior to the filing of an application for a design review or administrative site plan, the applicant shall hold a pre-application meeting with the Director of Community Development and other designated staff from departments and divisions.
(2)
Administrative site plan (minor). An application for minor administrative site plan review is required for any of the following activities requiring the issuance of a building permit for construction of buildings or structures which meets the following criteria:
a.
New construction of parking lots less than 5,000 square feet, expansion, or significant reconstruction of parking lots.
b.
Structural additions less than 1,000 square feet that meet all the requirements of the Municipal Code, including parking. All modifications shall be architecturally compatible with the existing building.
c.
Accessory structures totaling less than 1,000 square feet (i.e. shade structures, trash enclosures, generators, and additional mechanical equipment). All structures shall be screened from the public-right-of-way and adjacent properties. Accessory structures attached to the building shall match the existing building.
d.
Façade changes to an existing and previously approved entitlement, including paint hue changes.
e.
Projects involving a change or intensification of land use.
(3)
Administrative site plan (major). An application for administrative site plan review is required for any of the following activities requiring the issuance of a building permit for construction/reconstruction of buildings or structures which meets the following criteria:
a.
New construction 24,999 square feet or less for commercial or institutional projects designed to fully execute one of the architectural styles in Section 30-394. Commercial or institutional projects that do not utilize an architectural style included in Section 30-394 may be referred to the Planning Commission by the Director of Community Development.
b.
Structural additions for commercial projects which result in total building area of 24,999 square feet or less. The façade of the existing commercial building(s) shall be modified concurrently with the structural addition and shall utilize an architectural style included in Section 30-394. Commercial or institutional projects that do not utilize an architectural style included in Section 30-394 may be referred to the Planning Commission by the Director of Community Development.
c.
New construction, expansion, or significant reconstruction of parking lots 5,000 square feet or more.
d.
Commercial projects with existing buildings proposing to add additional buildings of 24,999 square feet or less.
(4)
Design review. An application for design review is required for any of the following activities requiring the issuance of a building permit for construction/reconstruction of buildings or structures which meets the following criteria:
a.
Residential projects of five units or more, excluding accessory dwelling units.
b.
New construction of 25,000 square feet or more for commercial and institutional projects.
c.
Structural additions which will result in a total building area of 25,000 square feet or more for commercial projects.
This section regulates nonconforming parcels, nonconforming structures, and nonconforming uses, including uses that are nonconforming as to required off-street parking. This section is intended to allow nonconforming lots, structures, uses, and off-street parking arrangements to continue to the extent consistent with the health, safety and public welfare purposes of the Form-Based Code districts, with the goal being to bring such nonconforming lots, structures, and uses into compliance with the overall vision.
(1)
Nonconforming buildings, outdoor operations or structures.
a.
Buildings, outdoor operations or other structures that are nonconforming as to setback, height, or other Form-Based Code provisions may be repaired, replaced, or added to, only to the extent permitted by this section:
1.
Subdivision. Lots which are nonconforming as to width may be adjusted or subdivided provided the resulting re-configuration brings the nonconforming lot into, or closer to, conformity with the requirements of this plan.
2.
Additions. A legal-nonconforming building, outdoor operation area or other structure may be added to, provided that an addition of 50 percent or more of the existing floor area shall trigger compliance with all Form-Based Code district provisions for the portion of the building or structure comprising the addition.
The following requirements must be met:
i.
Parking space requirements for the use or equivalent use (as determined by the Director) must be met, inclusive of both the existing floor space area and addition areas.
ii.
The design and architecture of the structure must be high quality and utilize compatible architecture with that of the existing building and neighborhood.
iv.
Expansions of outdoor nonconforming operations is not permitted including parcel mergers and site expansions, with the exception of display areas which may expanded.
v.
New loading and repair bay areas must be screened from the right-of-way by facing away from the right-of-way or with low walls and/or landscaping.
3.
Restoration of building or other structure. If a legal-nonconforming building or structure is damaged or partially destroyed (75 percent or less) by fire, flood, wind, earthquake, or other calamity or act of God, structural alterations, or other repairs for purposes of reconstruction may be carried out so long as they are repaired or replaced to no more than their original size (i.e., no additional floor area shall be added).
4.
Other repair. Repair of legal-nonconforming buildings or other structures, other than structural alterations and other repairs required for restoration of damaged or partially destroyed buildings, may be carried out provided that:
i.
No structural alterations may be carried out unless those structural alterations are determined by the Building Official to be required for protection of the public health or safety; and
ii.
No like-for-like reconstruction of nonconforming buildings or other structure may be carried out unless such reconstruction is determined by the Building Official to be required for protection of the public health or safety.
(2)
Remodels, and other additions or alterations. Notwithstanding any provisions of the above-listed standards, in any instance where a person proposes to, or commences to, alter, expand, or add to an existing nonconforming building or structure and nonconforming portions of the nonconforming building or structure are demolished in the course of such alterations, expansions, or additions, all nonconforming portions of the building or structure so demolished shall be reconstructed in compliance with all requirements of the Form-Based Code districts. This requirement shall apply regardless of whether such demolition is determined by the Building Official to be necessary to comply with the applicable building article or required for the protection of the public health and safety.
(3)
Nonconforming uses. A nonconforming use, including any uses incidental thereto, may not continue, if ceased for a period longer than six months. This shall not include time periods required for repairs, remodels, or expansions permitted in this section, but may not exceed 24 months.
(4)
Nonconforming as to parking. All uses that are nonconforming as to the off-street parking requirements of this plan shall comply with the following:
a.
Repair of buildings. Where the off-street parking provided for a use does not meet the requirements of this plan, repair of any building on the site occupied by that use may be carried out, provided that, no structural alterations may be carried out unless the Building Official determines those structural alterations to be necessary for the protection of the public health and safety, all off-street parking requirements of this plan must be met by any and all uses occupying, or otherwise using, any buildings on the subject site.
b.
Additions to building. Where the off-street parking provided for a use does not meet the requirements of the Form-Based Code districts, additions to buildings on the site occupied by that use may be carried out only if all requirements of the Form-Based Code districts are met by any and all uses occupying, or otherwise using, any buildings on the subject site.
c.
Vacancy. In addition to the above provisions regarding discontinuance of nonconforming uses and change of a nonconforming use to a conforming use, where any nonresidential use does not meet the off-street parking requirements of this plan, and the building which the nonresidential use occupied becomes and remains vacant for an uninterrupted period of six months, the building may not be reoccupied, nor may any new land use be initiated anywhere on the site, unless all requirements of the Form-Based Code districts are met.
(5)
Abatement of nonconforming uses. Where no buildings are occupied or otherwise used in connection with a nonconforming use, that use shall be terminated within six months from the date it became nonconforming, provided that for any use that becomes nonconforming as a result of a zone change, the specified two-year period of time for the termination of the nonconforming use shall be computed from the effect date of the zone change.
(Ord. No. 1969, § 4(Exh. A), 5-27-25)
The following definitions shall apply to Article III of Chapter 30 of the Fontana Municipal Code (Development Code).
Accessory building means building(s) which are in support of the main building on the lot and subject to the building placement standards for accessory buildings.
Accessory dwelling unit means a residential dwelling unit that provides independent living facilities, including permanent provisions for living, sleeping, eating, cooking, and sanitation, for one or more persons. See Zoning and Development Code for standards.
Adult day care facility—Health care means a non-residential facility that provides care and companionship for older adults who need assistance or supervision during day. Adult day health care offers intensive health, therapeutic, and social services for individuals with serious medical conditions and those at risk of requiring nursing home care.
Adult-oriented uses means any adult bookstore, adult mini-motion picture theater, adult motion picture theater, adult cabaret, massage establishment, or sexual novelty store as defined below:
(1)
Adult bookstore means an establishment having as a substantial or significant portion of its stock in trade, books, magazines, and other periodicals, which are distinguished or characterized by their emphasis on matters depicting, describing, or related to "specific sexual activities" or "specified anatomical areas" or an establishment with a segment or section devoted to the sale or display or such material.
(2)
Adult mini-motion picture theater means an enclosed building with a capacity for less than 20 persons used for presenting material distinguished or characterized by an emphasis on matters depicting, describing, or relating to "specific sexual activities" or "specified anatomical areas" for observation by patrons therein.
(3)
Adult motion picture theater means an enclosed building with a capacity of 20 or more persons used for presenting material distinguished or characterized by an emphasis on matters depicting, describing, or relating to "specified sexual activities" or "specified anatomical areas" for observation of patrons therein.
(4)
Sexual novelty store means an establishment having as a portion of its stock in trade in goods which are replicas of or which simulate "specified anatomical areas" or goods which are designed to be placed on "specific anatomical areas" to cause sexual excitement thereof.
Alcohol beverage sales, off-site consumption means the retail sale of beer, wine, and/or other alcohol beverages for off-premises consumption.
Alcohol beverage sales, on-site consumption means the retail sale of beer, wine, and/or other alcoholic beverages for on-premises consumption.
Alley means a low capacity thoroughfare with one, shared lane and no parking lanes, designed and intended for service and/or secondary access purposes.
Antique means work of art, furniture, decorative objects made at an earlier period at least 30 years old.
Antique store means a retail establishment with more than 50 percent of its merchandise being sold as antiques.
Apartment means a room or group of rooms that is designed, used or intended to be used as a single-family unit and is located in a multiple-family dwelling.
Arcade, game and video means establishments that provide more than five video or electronic games that require coins, tokens, or other form of payment to play. Arcade games may be permitted when ancillary to a main use.
Architectural feature means an architectural element, which alone or as part of a pattern, embodies the style, design, or general arrangement of the exterior of a building or structure, including, but not limited to, the kind, color, and texture of building materials, and style and type of windows, doors, lights, porches, and signs.
Art studio. See "Studio—Art, dance, martial arts, music (school)."
Assisted living facility means a special combination of housing, personalized supportive services, and health-related care designed to respond to the individual needs of those who require help with activities of daily living.
Automatic teller machine (ATM) means a type of banking and financial services with automated or self-service banking features with no staff or personnel provided.
Automobile body and painting means collision service including body or frame, straightening or repair, overall painting, or paint shop where all activities are conducted within an enclosed building.
Automobile/motorcycle repair means general repair, rebuilding or reconditioning of engines, motor vehicles, or motorcycle.
Awning means a roof or cover that projects from the wall of a building over a door or window, and made of canvas, aluminum or a similar material, which may be fixed in place or retractable for the purpose of shielding a doorway or window from the elements.
Balcony means a platform that projects from the wall of a building and is enclosed by a parapet or railing.
Bank/financial services means financial institutions, including, but not limited to: banks and trust companies, credit agencies, holding (but not primarily operating) companies, lending and thrift institutions, other investment companies, securities/commodity contract brokers and dealers, security and commodity exchanges, and vehicle finance (equity) leasing agencies. Does not include check-cashing stores. (See also "automatic teller machine (ATM).")
Banquet hall means a room or building for the purpose of hosting a party, banquet, wedding or other reception, or another social event.
Bars, lounges, nightclubs, means an establishment where people gather to drink (alcohol). The establishment shall operate in compliance with any on-site consumption of alcoholic beverages, as licensed by the Alcoholic Beverage Control, and may offer facilities for dancing or performing floor shows.
Bed and breakfast establishment means one or more buildings containing a dwelling unit and not more than six guest rooms, where only breakfast or similar early morning meal is provided to registered guests and the price of the meal is included in the price of the accommodations. The relationship between the operator of the establishment and the occupants of the guest rooms must be that of innkeeper and gusts. Guest rooms are not to be rented for a period of less than 18 hours at a time.
Block means all property fronting on one side of a street between intersecting and intercepting streets, or between a street and a right-of-way, drainage channel, end of an existing cul-de-sac, or city boundary.
Block face means the aggregate of all the building facades on one side of a block. The block face provides the context for establishing architectural compatibility.
Boarding house means a residence or dwelling, other than a hotel, wherein three or more rooms, with or without individual or group cooking facilities, are rented to individuals under separate rental agreements or leases, either written or oral, whether an owner, agent or rental manager is in residence.
Brew pub means an eating and drinking establishment having a small brewery on the premises which produces beer, ale, or other malt beverage, or wine, and where the majority of the beer/wine produced is consumed on the premises. This classification allows a brewpub to sell beer/wine at retail and/or act as wholesaler for beer of its own production for off-site consumption, with appropriate state licenses.
Building access means buildings are accessed in either of two ways: a) walk-up or b) point access.
(1)
Walk-up access means when an individual suite or dwelling is accessed by the pedestrian directly from a public sidewalk or private open space directly accessed by the public sidewalk. House-scale buildings are accessed only by walk-up access.
(2)
Point access means when individual suites or dwellings are accessed by the pedestrian through a common lobby. Block-scale buildings are accessed by either walk-up or point-access or, through a combination of the two.
Building height means the vertical extent of a building measured in stories to the eave of the highest story, not including a raised basement or a habitable attic. Height limits do not apply to masts, belfries, clock towers, chimney flues, and similar structures. Building height shall be measured from the average natural grade of the fronting thoroughfare.
Building type means a structure defined by the combination of configuration, placement and function. The building types used in the downtown Code are listed and described in Section 5.0 building standards.
Child day care facility means a facility that provided nonmedical care to children under 18 years of age in need of personal services, supervision, or assistance essential for sustaining the activities of daily living or for the protection of the individual on less than a 24-hour basis. Includes day care centers, employer-sponsored child care centers, and family day care homes.
Child tutorial classes. See "Studio—Art, dance, martial arts, music (school)."
Civic means the term defining not-for-profit organizations dedicated to the arts, culture, education, government, transit and municipal parking facilities.
Civic building means a structure operated by governmental or not-for-profit organizations and limited to civic and related uses.
Clinic. See "medical services."
Commercial parking facility/garage means parking lots or structures operated by the City, or a private entity providing parking that is not accessory to a specific use. A fee may or may not be charged. Does not include towing impound and storage facilities.
Condominium means the ownership of single units in a multi-unit project with common elements.
Consignment store means a retail establishment with more than 50 percent of the goods are placed on consignment. Consignment is the art of placing goods in the hands of another, while still retaining ownership, until the goods are sold.
Convenience store means a retail establishment with extended opening hours and in a convenience location, stocking a limited range of household goods and groceries.
Courtyard means an unroofed area that is completely or partially enclosed by walls or buildings.
Cultural institution means a nonprofit institution engaged primarily in the performing arts or in the display or preservation of objects of interest in the arts or sciences that are open to the public on a regular basis. This classification includes performing arts centers for theater, dance and events, museums, art galleries, and libraries.
Cyber café means an establishment that provides more than six computers and/or other electronic devices for access to the internet, email, video games or computer software programs which are networked or which function as a client/server program, and which seeks compensation in any form from users. Cyber café is synonymous with PC café, internet café or cyber center.
Director of Community Development means the department head authorized to perform the duties of the Director of Community Development, including acting director of Community Development or other City employee designed to perform the duties of the Director of Community Development.
Drive-thru restaurant means a facility where food is prepared and served on the premises and which also allow motorists to order and purchase food without leaving their vehicles.
Drive-thru services means facilities where food or other products may be purchased, or services may be obtained by motorists without leaving their vehicles. Examples of drive-through sales facilities include fast-food restaurants, drive-through coffee, photo stores, pharmacies, bank teller windows and ATMs, dry cleaners, etc., but do not include gas station or other vehicle services.
Driveway means a vehicular lane within a lot, or shared between two lots, usually leading to a garage, other parking or loading area.
Dwelling unit means a room or group of internally connected rooms that have sleeping, cooking, eating, and sanitation facilities, but not more than one kitchen, which constitute an independent housekeeping unit, occupied by or intended for one household on a long-term basis.
Eating establishment means a place of business primarily engaged in the sale of prepared foods. Typical uses include fine sit-down restaurants, coffee shops, bakeries, delicatessens and specialty food-to-go.
Emergency shelter means temporary housing available to individuals and families experiencing homelessness. Shelters generally provide meals, sleeping facilities, and minimum case management services.
Encroachment means any architectural feature, structure or structural element, such as a gallery, fence, garden wall, porch, stoop, balcony, bay window, terrace or deck, that breaks the plane of a vertical or horizontal regulatory limit extending into a setback, beyond the build-to-line, into the public frontage, or above a height limit.
Escape room means a mental and physical adventure-based game in which players solve a series of puzzles and riddles using clues, hints, and strategy. Escape rooms may consist of a large, single room or span multiple rooms.
Façade means the vertical surface of a building.
Farmer's market certified means temporary markets, approved by the County Agricultural Commissioner and County Health Department, in which farmers sell their crops directly to the public. Certified Farmer's Markets are generally conducted once or more weekly. To participate in these markets, farmers must obtain a certificate from the County Agricultural Commissioner verifying that they grow the items being sold.
Frontage means a strip or extent of land abutting a thoroughfare, civic space or other public right-of-way.
(1)
Frontage, private. The area between the building facade and the shared lot line between the public right-of-way and the lot.
(2)
Frontage, public. The area between the curb of the vehicular lanes and the edge of the right-of-way.
Frontage coverage means the minimum percentage of the length of the frontage coverage zone that shall be occupied by a primary building façade(s).
Frontage coverage zone means the space between the minimum and maximum front yard setback lines and the minimum size yard or front yard setback line.
Gas/service station means a building and/or lot or use having pumps and storage tanks where motor vehicle fuels or lubricating oil or grease or accessories for motor vehicles are dispensed, sold, or offered for sale at retail only; where deliveries are made directly into motor vehicles, including greasing and oiling on the premises and car washing.
Golf course, country club means golf courses, and accessory facilities and uses including: clubhouses with bar and restaurant, locker and shower facilities, driving ranges, "pro shops" for on-site sales of golfing equipment, and golf cart storage and sales facilities.
Grade, average natural means the average elevation of the ground level of the parcel surface as measured at the intersection of the minimum required rear and front building setback lines (or parcel lines if no setbacks are required) with the minimum required side building setback lines (or parcel lines if no setbacks are required) of the parcel.
Gross floor area (GFA) means the sum of the floor areas of the spaces within a building, including basements, mezzanine and intermediated-floored tiers and penthouses. Excludes non-enclosed (or non-enclosable) roofed-over areas, such as exterior covered walkways, porches, terraces or steps, roof overhangs, and similar features.
Guest room means a room or rooms, within a commercial establishment, such as a hotel/motel or bed and breakfast establishment, that are designed, used, or intended to be used as temporary or overnight accommodations by patrons.
Habitable space means space within a dwelling unit for living, sleeping, eating, or cooking.
Health and fitness club means a fitness center, gymnasium, health and athletic club, which may include any of the following: exercise machines, weight facilities, group exercise rooms, sauna, indoor tennis, handball, racquetball, and other indoor sports activities, indoor and outdoor pools.
Home occupation means residential premises used for the transaction of business or the supply of professional services. Home occupation shall be limited to the following: agent, architect, artist, broker, consultant, draftsman, dressmaker, engineer, interior decorator, lawyer, notary public, teacher, and other similar occupations, as determined by the Director. No external employees are allowed.
Hotel means an establishment that provides guest rooms or suites for a fee to guests for sleeping purposes. Access to units shall be through interior lobbies, courts, or halls. Related accessory uses may include conference and meeting rooms, restaurants, bars, and recreational facilities. Guest rooms may or may not contain kitchen facilities for food preparation (i.e., refrigerators, sinks, stoves, and ovens).
Intensification of use means a change in the use of a structure or site, where the new use is required to have more off-street parking spaces than the former use, or a change in the operating characteristics of a use (for example, hours of operation), which generates more activity on the site.
Kennel means any lot, building, structure, enclosure or premises wherein four or more dogs or four or more cats are kept, whether for commercial, non-commercial, or veterinary purposes, including places where dogs or cats are boarded, kept for sale or kept for hire.
Landscaping means flowers, shrubs, trees or other decorative material of natural origin.
Land use means the purpose for which land or a structure is designed, arranged, intended, occupied or maintained.
Live entertainment includes any act, play, revue, pantomime, scene, dance, or song, or any combination thereof performed in person either indoors or outdoors by one or more persons, with or without compensations, and with or without amplification. Does not include adult entertainment.
Live/work unit means a single unit (e.g. studio, loft, or one bedroom) consisting of both a commercial/office and a residential component that is occupied by the same resident. The live/work unit is the primary dwelling of the occupant.
Loading space means an off-street space or berth on the same lot with a main building, or contiguous to a group of buildings, for the temporary parking of commercial vehicles while loading or unloading, and which abuts a street, alley, or other appropriate means of ingress and egress.
Long-term bike parking means sheltered bike parking with added protection and enclosure, and bikes may be stored for over two hours. Long-term bike parking comes in the form of bike lockers and lockups, which includes bike shelters, bike rooms, and bike parking stations.
Massing means the overall shape or arrangement of the bulk or volume of buildings and structures.
Medical services means a facility other than a hospital where medical, mental health, surgical and other personal health services are provided on an outpatient basis. Examples of these uses include: medical offices with five or more licensed practitioners and/or medical specialties, outpatient care facilities, urgent care facilities, other allied health services. These facilities may also include incidental medical laboratories. Counseling services by other than medical doctors or psychiatrists are included under "offices—professional."
Medical services, doctor's office means a facility other than a hospital where medical, dental, mental health, surgical, and/or other personal health care services are provided on an outpatient basis, and that accommodates no more than four licensed primary practitioners (for example, chiropractors, medical doctors, psychiatrists, etc., other than nursing staff) within an individual office suite. A facility with five or more licensed practitioners is instead classified under "medical services—clinic, urgent care." Counseling services by other than medical doctors or psychiatrists are included under "office—professional."
Micro-brewery means an establishment primarily engaged in the production and distribution of beer, ale, or other malt beverages, and which may include accessory uses such as tours of the microbrewery, retail sales, and/or on-site consumption, e.g. "taproom/tasting room." This classification allows a microbrewery to sell beer at retail and/or act as wholesaler for beer/wine of its own production for off-site consumption with appropriate state licenses.
Mixed-use means a single building containing more than one type of land use or a single development of more than one building and use including, but not limited to, residential, office, retail, recreation, public, or entertainment uses, where the different land use types are in close proximity, planned as a unified complementary whole, and shared pedestrian and vehicular access and parking areas are functionally integrated. Mixed-uses may be integrated vertically (i.e. two or more different uses occupy the same building usually on different floors) or horizontally (i.e. two or more different types of uses are placed next to each other on the same parcel, planned as a unit, and connected with pedestrian and vehicular access).
Mortuary means funeral homes and parlors, where deceased are prepared for burial or cremation, funeral services may be conducted, and cremation may occur.
Motel means one or more buildings containing one or more guest rooms, without kitchen facilities, with at least 50 percent of all rooms having direct access to the outside without the necessity of passing through the main lobby of the building. Such facilities shall be designed, used or intended to be used as short-term overnight accommodations for transients. Guest rooms shall not be rented for a period less than 18 hours at a time.
Nonconforming building means a building or portion thereof which was lawful when established but which does not conform to subsequently established zoning or zoning regulations.
Nonconforming use means a land use lawful when established but which does not conform to subsequently established zoning regulations.
Outdoor dining means the use of a public sidewalk and public right-of-way for the placement of tables, chairs, benches, planters, umbrellas, and related items for the purpose of serving food and/or beverages in conjunction with and adjacent to an eating establishment.
Outdoor dining area means a place on the public sidewalk or within the public right-of-way where patrons of an adjacent eating establishment or food court may consume food and/or beverage. The area may be used for either table service or for seating and consumption of take-out items.
Outdoor display and sales means the outdoor display of merchandise incidental to an adjacent indoor retail use, and certain independent outdoor retail sales facilities. Includes news and flower stands and outdoor dining areas. Does not include the sale of automobiles and recreational vehicles, mobile homes, or building or landscape materials.
Parapet means a low wall along the edge of a roof or the portion of a wall that extends above the roof line.
Parkway means the landscaped area between the sidewalk and the curb which is reserved for trees which are intended to shade the sidewalk and provide spatial definition to the streetscape.
Parolee, federal means an individual convicted of a federal crime, sentenced to a United States Federal Prison, and received conditional and revocable release in the community under the supervision of a federal parole officer.
Parolee home means any residential structure or unit, whether owned and/or operated by an individual or for-profit or non-profit entity, which houses between two to six parolees, unrelated by blood, marriage, or legal adoption, in exchange for monetary or non-monetary consideration given and/or paid by the parolee and/or any individual or public/private entity on behalf of the parolee.
Parolee, state adult means an individual who is serving a period of supervised community custody, as defined in Penal Code § 3000, following a term of imprisonment in a state prison, and is under the jurisdiction of the California Department of Correction, Parole and Community Services Division.
Parolee, youth authority means an adult or juvenile individual sentenced to a term in the California Youth Authority and received conditional revocable release in the community under the supervision of a youth authority parole officer.
Paseo means a public place or path designed for walking that is often within a block, between buildings or along the edge of a public open space.
Pawn Shop:
Pet boarding and kennel means facilities for keeping, boarding, training, breeding or maintaining for commercial purpose, four or more dogs, cats, or other household pets not owned by the kennel owner or operator. This classification excludes pet shops and animal hospitals that provide 24-hour accommodation of animals receiving medical or grooming services.
Pharmacy means a retail store that primarily sells prescription drugs, that may also sell non-prescription drugs and medical supplies, other health care products, and a limited variety of convenience items. A pharmacy shall not include the sale or distribution of medical marijuana/cannabis.
Podium means a continuous projecting base or pedestal under a building.
Pool hall means an indoor commercial recreational facility to accommodate the game of pool and billiards.
Primary structure means a structure that accommodates the primary use of the site.
Property line, front means the boundary line of a lot, which abuts a public street. On a lot abutting two streets, the front property line is the narrower lot line abutting a public street.
Property line, interior side means the boundary line of a lot which intersects the front lot line, the rear lot line, and any other side lot line.
Property line, rear means the boundary line of a lot which is opposite, and does not intersect, the front property line.
Property line, street side means on a lot abutting two streets, the street side property line is the wider lot line abutting a public street.
Public open space means public or semi-public outdoor spaces designed to facilitate community formation, interaction, relaxation, and contemplation through public gathering, activity, recreation, and/or leisure. Public open spaces may or may not have areas which are sheltered from the elements. Public open spaces can be publicly or privately owned and maintained.
Residential care facility means any licensed family home, group care facility or similar facility as determined by the Director of the State Department of Social Services which provides 24-hour non-medical services, supervision or assistance essential for sustaining the activities of daily living or for the protection of the individual, excluding senior citizens.
Retail sales means the selling of goods, wares, or merchandise directly to the ultimate consumer.
School, elementary, middle, secondary, high means a public or private academic educational institution, including elementary, middle and junior high schools, secondary and high schools, and facilities that provide any combination of those levels.
Second hand store means a retail establishment that sells previously-used merchandise, more than 30 percent of which is not donated, such as clothing, furniture, appliances, household goods, sporting goods, books, recreational equipment, toys or other merchandise not considered to be antique, that is in good repair or has been restored or reconditioned to a clean and useable condition. This definition excludes antique stores, pawnshops, thrift stores, consignment stores and precious metal dealerships.
Senior housing means housing for persons 55 years of age or older. For married residents, either spouse must be 55 years of age or 100 percent disabled. For individuals who are not married, each individual must be 55 years of age of 100 percent disabled.
Setback, building means the area of a lot measured from a lot line to a building facade or elevation that must be maintained clear of permanent structures excepting galleries, fences, garden walls, arcades, porches, stoops, balconies, bay windows, terraces and decks (that align with the first-floor level) which are permitted to encroach into the setback.
Setback line, front yard means the line which defines the depth of the required front yard for the lot in order to generate and support the intended public realm of the zoning district. Said setback line shall be parallel with the right-of-way line when one has been established.
Setback line, rear yard or side yard means the line which defines the width or depth of the required rear or side yard. Said setback line shall be parallel with the property line, removed therefrom by the perpendicular distance prescribed for the yard in the zoning district.
Short-term bike parking means out in the open, unsheltered and unenclosed parking for bikes. It generally provides parking for less than two hours and is typically in the form of a bike rack. The primary advantage of short-term bicycle parking is high convenience as it is often located in the most central, high-traffic areas.
Sidewalk dining/sidewalk dining area. See "outdoor dining and outdoor dining area."
Significant center of employment means non-retail service uses such as hospitals, schools, administrative and professional offices, civic and manufacturing uses that provide employment (at one specific location) for more than 300 people.
Smoke/tobacco shop means a retailer where more than 40 percent of the floor area is dedicated for the sale of pipes, tobacco, flavored tobacco, pipe tobacco, vapor cigarettes, e-cigarettes, nicotine oils/liquids, cigars and cigarettes or similar merchandise and smoking equipment that is directly sold to the consumer.
Story means a habitable level within a building from finished floor to finished ceiling.
Structure means an improvement permanently attached to real property.
Studio—Art, dance, martial arts, music (school) means small scale facilities, typically accommodating no more than two groups of users at a time, in no more than two instructional spaces. Examples of these facilities are individual and group instruction and training in the arts; production rehearsal; photography, and the processing of photographs produced only by users of the studio facilities; martial arts training studios; gymnastics instruction, and aerobics and gymnastics studios with no other fitness facilities or equipment. Larger facilities are included under the definition of "schools. business, trade schools, colleges."
Telecommunication facilities means public, commercial and private electromagnetic and photo-electrical transmission, broadcast, repeater and receiving stations for radio, television, telegraph, telephone, data network, and wireless communications, including commercial earth stations for satellite-based communications. Includes antennas, commercial satellite dish antennas, and equipment buildings. Does not include telephone, telegraph and cable television transmission facilities utilizing hard-wired or direct cable connections.
Thrift store means a retail establishment that derives more than 30 percent of its sales from donated, previously-used merchandise such as clothing, furniture, appliances, household goods, sporting goods, books, recreational equipment, toys or other merchandise not considered to be antique.
Utility means installations or facilities for furnishing to the public, electricity, gas, steam, communications, water, drainage, sewage disposal, or flood control, irrespective of whether such facilities or means are underground or above ground; utilities may be owned and operated by any person, firm, corporation, City department or board, duly appointed by state or municipal regulations.
Veterinarian clinic and/or hospital means an establishment used by a veterinarian for the care, grooming, and treatment of small animals and household pets, with all facilities within a completely enclosure building, except for vehicle parking.
Wall means a fence made of concrete, concrete block, brick, stone or similar masonry materials.
Wholesaling means selling and/or distributing merchandise to retailers; to industrial, commercial, institutional, or professional business users, or to other wholesalers: or, acting as agents or brokers and buying merchandise for, or selling merchandise to, such individuals or companies. This is not considered a retail commercial use and it specially excludes the selling of goods directly to the ultimate consumer.
(Ord. No. 1828, § 8(Exh. A), 5-12-20; Ord. No. 1961, § 4(Exh. A), 1-28-25)
This section of the Form-Based Code establishes the permitted land uses in each district and the corresponding permit requirements. A parcel or building subject to the Form-Based Code shall be occupied with only the land uses allowed by Table 30-300.A—Land Uses. Definitions of allowed land uses are provided in Section 30-632 list of definitions.
(1)
Section 30-405—Overall Form-Based Code district map illustrates the overall land use plan for the Form-Based Code areas.
(2)
If a land use is not defined in this section, the Director of Planning may determine that the use is not permitted, or determine the appropriate definition and determine the proposed use to be permitted provided the Director of Planning approves a Director's determination and makes the following findings in writing:
a.
The land use will not impair the orderly implementation of the City of Fontana General Plan.
b.
The land use is consistent with the purpose of the applicable zoning district.
c.
The characteristics and activities associated with the proposed land use are similar to one or more of the listed land uses in Table 30-359.A—Land Uses and will not produce greater impacts than the land uses listed for the zoning district.
d.
The land use will be compatible with the other land uses allowed in the zoning district.
e.
The land use is not listed as allowed in another zoning district.
(3)
A "P" indicates a use is permitted by right subject to design review by the Planning Commission or administrative site plan review by the Director of Planning.
(4)
An "M" indicates the use requires the granting of a minor use permit (MUP).
(5)
A "C" indicates the use requires the granting of a conditional use permit (CUP).
(6)
A "—" means the use is not permitted in that zoning district. Any use that is not listed is not permitted.
(7)
Uses marked with an asterisk "*" indicate that the use is not permitted on the ground floor except on Sierra Avenue.
(8)
Uses marked with an S superscript " S " indicate that the use is subject to special use regulations in (reference specific use regulations) Section 30-360.
(9)
Uses marked with a DT superscript " DT " indicate that the requirement pertains to parcels within the downtown boundary.
Table 30-359.A.—Land Uses
Table 30-359.B.—Land Uses
(Ord. No. 1828, § 8(Exh. A), 5-12-20; Ord. No. 1830, § 8(Exh. A), 6-9-20; Ord. No. 1846, § 2, 11-10-20; Ord. No. 1865, § 8(Att. 2), 3-23-21; Ord. No. 1923, § 5(Exh. A), 9-12-23; Ord. No. 1961, § 4(Exh. A), 1-28-25; Ord. No. 1969, § 4(Exh. A), 5-27-25)
(a)
Bed and breakfast.
(1)
Operator. Bed and breakfast inns shall be operated by the property owner/manager living on the site.
(2)
Number of rooms. Bed and breakfast inns shall be limited to a maximum of six guest rooms for lodging, plus accommodations for the property manager/owner.
(3)
Food service. Food may only be served to registered overnight guests. Guest room cooking facilities are prohibited.
(4)
Rental period. Guest rooms shall not be rented for a period of less than 18 hours nor for a period not to exceed 72 hours.
(b)
Live/work.
(1)
The commercial component of live/work units are intended for use by the following occupations:
Accountants
Architects
Artists and artisans
Attorneys
Computer software professionals
Consultants
Engineers
Fashion, graphic, interior designers
Hair stylists
Home-based office workers
Insurance and real estate agents
One-on-one instructors photographers
The Director of Planning may authorize other similar uses/occupations.
(2)
A live/work unit shall not be established or used in conjunction with any of the following activities:
a.
Adult-oriented business, head shops, massage, or similar uses
b.
Entertainment, drinking, and public eating establishments
c.
Veterinary services, including grooming and boarding, and the breeding or care of animals for hire or for sale
d.
Businesses that involves the use of prescription drugs or recreational drugs
e.
Trade or private schools (this excludes private instruction of up to two students at any one time, such as music lessons and tutoring)
f.
Vehicle maintenance or repair (e.g. body or mechanical work, including boats and recreational vehicles), vehicle detailing and painting, upholstery, etc.)
g.
Storage of flammable liquids or hazardous material beyond that normally associated with a residential use
h.
Welding, machining, or any open flame work
i.
Any other activity or use, as determined by the Director of Planning to not be compatible with residential activities and/or to have the possibility of affecting the health or safety of live/work unit residents, because of the potential for the use to create dust, glare, heat, noise, noxious gasses, odor, smoke, traffic, vibration, or other impacts, or would be hazardous because of materials, processes, products, or wastes.
(3)
Occupancy requirement. The residential space within a live/work unit shall be occupied by at least one individual employee in the business conducted within the live/work unit. No portion of the unit shall be sold or rented separately.
(4)
Design standards.
a.
Residential areas are permitted above the commercial component, to the side or behind the business component, provided that there is internal access between the residential and commercial space.
b.
The commercial component shall be restricted to the unit and shall not be conducted in the open space, garage, or any accessory structure.
c.
Floor area requirements. The floor area of the work space shall be between 25 and 50 percent of the total floor area. All floor area other than that reserved for living space shall be reserved and regularly used for working space.
d.
Separation and access. Each live/work unit shall be separated from other live/work units or other uses in the structure. Access to each live/work unit shall be provided from a public street, or common access areas, corridors, or halls. The access to each unit shall be clearly separate from other live/work units or other uses within the structure.
e.
Parking. Each live/work unit shall be provided with at least two off-street parking spaces. For areas outside of the downtown area plan, at least one of the two off-street parking spaces shall be accessible to the public. The Director of Planning may modify this requirement for the use of existing structures with limited parking.
(5)
Operating requirements.
a.
Sale or rental of portions of unit. No portion of a live/work unit may be separately rented or sold as a commercial or industrial space for any person not living in the premises or as a residential space for any person not working in the same unit.
b.
On-premises sales. On-premises sales of goods is limited to those produced within the live/work unit; provided, the retail sales activity shall be incidental to the primary production work within the unit. These provisions shall allow occasional open studio programs and gallery shows.
c.
Nonresident employees. Up to one person who does not reside in the live/work unit may work in the unit at any time.
d.
Client and customer visits. Client and customer visits to live/work units are allowed.
(6)
Changes in use. After approval and construction, a live/work unit shall not be converted to either entirely residential use or entirely business use unless authorized through a separate minor use permit.
(c)
Outdoor dining in the public right-of-way. The purpose of the regulations and standards in this section are to allow increased business and pedestrian traffic, encourage appropriate outdoor dining opportunities within public rights-of-way and to ensure that the space used for outdoor dining within the public right-of-way will service a public purpose. This section does not apply to outdoor dining on private property.
(1)
Location permitted. Outdoor dining areas within the public right-of-way are permitted on all commercially utilized properties, provided all development standards are met.
(2)
Permits required. It shall be unlawful for any business to use the public sidewalk and/or public right-of-way for outdoor dining without first obtaining a valid minor use permit and encroachment permit.
(3)
Establishment of an outdoor dining area shall require site plan review and permit issuance. Any person or business wishing to operate an outdoor dining area shall apply for a permit by submitting the following to the City:
a.
The site plan for the proposed outdoor dining are shall include the following:
1.
Chairs, tables, umbrellas, planters, signs and any other fixtures and furnishings to be included in the outdoor dining operation.
2.
The applicants primary eating establishment or food court and the proposed circulation to and from the outdoor dining area, as well as pedestrian circulation at the perimeter of the outdoor dining area.
3.
The public sidewalk or public right-of-way to be occupied with dimensions of the entire sidewalk or right-of-way and the clearance proposed for pedestrian access.
4.
Names of and main entrances to the businesses immediately adjacent to the applicant's eating establishment.
b.
Specifications and photographs of all proposed chairs, tables, umbrellas, signs, railings railing connections to the public sidewalk or right-of-way and the adjacent building, or other furnishing.
(4)
Design standards for outdoor dining area.
a.
The outdoor dining area shall be designed to facilitate sit-down dining activity through the utilization of chairs and tables. It shall also be compact and shall be clearly delineated to promote a visual relationship between the dining area and the surrounding pedestrian areas.
b.
Outdoor dining is permitted only where the sidewalk is wide enough to adequately accommodate both the usually pedestrian traffic in the area and the operation of the proposed activity. A clear, continuous pedestrian path not less than four feet in width shall be required for unimpeded pedestrian circulation outside of the outdoor dining area. The minimum width of said pedestrian path may be increased by the City Engineer in areas requiring public utility access. Pedestrian path means a continuous, obstruction-free sidewalk area between the outside boundary of the dining area and any obstruction including, but not limited to, parking meters, street trees, landscaping, streetlights, bus benches, public art, and curb lines.
c.
No outdoor dining area shall be located to block access either to or from a building. A minimum unobstructed clearance which extends two feet to either side of both door jambs shall be maintained.
d.
Where an outdoor dining area is located on a corner, the outdoor dining area shall not be permitted within three feet of the corner of the building, along both frontages. Where an outdoor dining area is located adjacent to a driveway or an alley, the outdoor dining area shall not be permitted within five feet of the driveway or alley. These requirements may be modified at the discretion of the City Engineer or Director of Planning in locations where the sidewalk adjacent to the proposed outdoor dining area is wider than usual, where the perimeter of the building has an unusual configuration, or where public safety is at risk.
e.
The floor of the outdoor dining area shall be at the same level as the sidewalk, and no alterations to the sidewalk or coverings on the sidewalk shall be permitted, unless expressly approved by the City Engineer.
f.
The permittee shall not expand its outdoor dining area onto the sidewalk frontage of an adjacent business.
g.
An outdoor dining area may be located directly adjacent to another outdoor dining area. No separation between outdoor dining areas shall apply.
h.
In no case shall an outdoor dining area be located directly to parking, unless separated by a landscape barrier at least four feet deep and three feet high.
i.
The design and appearance of all proposed improvements or furniture, including, but not limited to, tables, chairs, benches, umbrellas, and planters, to be placed in the sidewalk dining area shall present a coordinated and concerted theme and shall be compatible with the appearance and design of the principal building.
j.
A perimeter barrier shall be provided for the outdoor dining area. However, no barrier shall be required if the applicant proposes to limit the outdoor dining area to one row of tables and chairs abutting the wall of the establishment and if no alcohol will be served outside.
k.
All barriers shall complement the building façade as well as any street furniture and shall be between 24 inches and 36 inches in height.
l.
Barriers shall be removable. Barriers need not be removed each evening or night, but shall be capable of being removed, if needed, using recessed sleeves and posts, or by wheels that can be locked into place.
m.
Barriers shall be able to withstand inclement weather and 100 pounds of horizontal force at the top of the barriers when in their fixed positions.
n.
Objects placed on the sidewalk shall not interfere with or obstruct line-of-sight and shall maintain a clear sight triangle.
o.
Any umbrellas, heater, or similar feature used in an outdoor dining area shall be safely secured. All heaters shall be in compliance with applicable fire code.
p.
Outdoor lighting fixtures shall complement the style of the site. Lighting fixtures shall not create glare to pedestrians on the adjacent right-of-way and shall illuminate only the outdoor dining area. Outdoor lighting may be installed on the façade of the building or in the dining area in front of the façade.
q.
Signage advertising alcohol products on umbrellas shall be prohibited.
(5)
Parking. Space used for outdoor dining in the public right-of-way shall not be added to the gross square footage of the food service establishment when calculating parking requirements.
(6)
Standards of operation.
a.
The management of the eating establishment shall be responsible for operating the outdoor dining area and shall not delegate or assign the responsibility.
b.
Hours of operation for the outdoor dining areas are to coincide with those of the associated indoor restaurant. When the establishment ceases serving food for the day, further seating in the outdoor dining area shall be prohibited and the outdoor dining area shall close when the patrons already seated in it leave.
c.
The operator shall not permit the following outside of the building: food preparation, utensils, glasses, napkins, and condiments on unoccupied tables, busing service stations, or trash and garbage storage. All exterior surfaces within the outdoor dining area shall be easily cleaned and shall be kept clean at all times by the permittee.
d.
The permittee shall maintain the outdoor dining area and the adjoining street, curb, gutter, and sidewalk in a neat, clean, and orderly condition at all times. This shall include all tables, chairs, benches, displays, or other appurtenances placed in the public right-of-way. Provisions shall be made for trash receptacles to service the sidewalk dining area. The operator shall remove the debris to a closed receptacle. No debris shall be swept, washed, or blown into the sidewalk, gutter or street.
e.
Awnings and umbrellas shall be kept clean and in good condition at all times. Umbrellas shall not advertise alcohol products.
f.
Musical instruments or sound reproduction systems are permitted in outdoor dining areas but shall be maintained at sufficiently low volumes so as not to adversely affect the neighboring businesses, residents, or users of the public right-of-way beyond the outdoor dining area, or in violation of the City of Fontana Noise Ordinance.
g.
Fixtures and equipment approved by the City pursuant to an outdoor dining area permit may remain in and on the sidewalk during such time that an outdoor dining permit is in effect.
h.
Upon revocation or termination of an outdoor dining permit, all fixtures and equipment shall immediately be removed from the sidewalk, and the sidewalk returned to its original condition.
i.
No bar serving alcohol shall be allowed in the outside dining area.
(7)
Special closures. The City of Fontana shall have the right and power, acting through the City Manager or his/her designee, to prohibit the operation of an outdoor dining area at any time because of anticipated or actual problems or conflicts in the use of the sidewalk or right-of-way area. Such problems or conflicts may arise from, but are not limited, festivals, parades, marches and similar events, repairs and widening of the streets or sidewalks, or emergencies occurring in the area. To the extent possible, the permittee shall be given prior notice of any time period during which the operation of the outdoor dining area or the outdoor dining area shall be prohibited by the City.
(d)
Public assembly/auditoriums/meeting halls/religious facilities.
(1)
When this use is proposed within an existing developed property such as a retail shopping center and the parking standards cannot be met, a parking impact study shall be performed. It shall include the following information:
a.
Existing and proposed site plan.
b.
Transit, cycling and walking environment.
c.
Current parking inventory.
d.
Current land uses.
e.
Existing traffic conditions.
f.
Description of proposed land use including square footage.
g.
Calculation of required parking for proposed project based on current standards.
h.
Document availability of on street and shared parking opportunities.
i.
Calculation of peak parking demand based on proposed project land use.
j.
Document recommended parking to be provided (based on analysis with and without shared parking and other demand reduction factors).
k.
Provide maps to summarize and illustrate.
(2)
The completed parking impact study shall be submitted to the planning division for review. City staff will assess the study recommendations based on a standard alternative compliance application review process. This process includes the following criteria:
a.
Review criteria. To approve an exception to the standard, the Director of Planning must first find that the proposed project accomplishes the general purposes of the applicable section(s) of the land use code. In reviewing the request for an exception to the standard parking ratio and in order to determine whether such request is consistent with the purposes of this subsection, as required above, the decision maker shall consider the following:
1.
The anticipated number of employees or residents occupying the building.
2.
The number and frequency of expected customers or clients.
3.
The availability of nearby on-street parking (if any).
4.
The availability of shared parking with abutting, adjacent or surrounding land uses (if any).
5.
The provision of purchased or leased parking spaces in a municipal or private parking lot meeting the requirements of the city.
6.
Travel demand management programs (if any).
7.
Any other factors that may be unique to the applicant's development request.
(3)
The Director of Planning shall not approve an exception to the parking standard unless it:
a.
Does not detract from continuity, connectivity and convenient proximity for pedestrians between or among existing or future uses in the vicinity.
b.
Minimizes the visual and aesthetic impact along the public street of the proposed increased parking by placing parking lots to the rear or along the side of buildings, to the maximum extent feasible.
c.
Minimizes the visual and aesthetic impact of such additional parking on the surrounding neighborhood.
d.
Creates no physical impact on any facilities serving alternative modes of transportation.
e.
Creates no detrimental impact on natural areas or features.
f.
Maintains handicap parking ratios in compliance with current ADA requirements.
(e)
Vehicle sales and service.
(1)
Outdoor display. No vehicles shall be displayed with their hoods open, except in the display building, which shall be an enclosed structure. Balloons, spinners, pennants, banners, and other wind-blown devices are prohibited.
(2)
Orientation and screening, service bays. Service bay doors shall be located perpendicular to the street fronting the site and shall be screened from all other streets and adjacent residential development.
(3)
Outdoor intercoms. Outdoor amplification of sound shall not be audible beyond the property lines.
(4)
Orientation, main building. The structure shall be street-oriented, with pedestrian entrances from the street.
(f)
Schools.
(1)
Drop off/pick up area. The project shall include designated area(s) for drop off and pick up of students to prevent off site cueing and traffic congestion.
(2)
A proposed school shall not operate in a commercial complex.
(g)
Restaurant/coffee shop with drive thru.
(1)
The maximum front building setback of ten feet shall not apply when a drive-thru lane is placed adjacent to a street. The maximum ten-foot setback shall apply to the drive-thru lane instead of the building.
(2)
All buildings that include a drive-thru use shall be required to provide an outdoor patio area with permanent shade, tables and seating. The minimum size of the patio area shall be 20 percent of the total building square footage.
(Ord. No. 1828, § 8(Exh. A), 5-12-20; Ord. No. 1846, § 2, 11-10-20; Ord. No. 1865, § 8(Att. 2), 3-23-21; Ord. No. 1899, § 6, 7-26-22; Ord. No. 1969, § 4(Exh. A), 5-27-25)
The civic district consists primarily of civic and institutional uses and active and passive recreation areas.
* Required setbacks for civic buildings may be modified with Planning Commission approval.
W = Building lot width along primary frontage; D = Building lot depth perpendicular to primary frontage.
Frontage Types
• Forecourt
• Arcade
• Gallery
Encroachments: Buildings, architectural features, and signs may encroach into the required setbacks and right-of-way subject to the following requirements:
(Ord. No. 1923, § 5(Exh. A), 9-12-23; Ord. No. 1954, § 4(Exh. A), 7-23-24)
The station area district includes the Metrolink station and Omnitrans bus terminal as the primary anchors. This area provides a transition between the retail district, the south Sierra gateway district and Chaffey College.
* Required setbacks for civic buildings may be modified with Planning Commission approval.
W = Building lot width along primary frontage; D = Building lot depth perpendicular to primary frontage.
Frontage Types
• Forecourt
• Shopfront
• Arcade
• Gallery
• Stoop
Encroachments: Buildings, architectural features, and signs may encroach into the required setbacks and right-of-way subject to the following requirements:
(Ord. No. 1923, § 5(Exh. A), 9-12-23; Ord. No. 1951, § 4(Exh. A), 5-28-24; Ord. No. 1954, § 4(Exh. A), 7-23-24)
The downtown gateway district is primarily intended for commercial retail and personal service uses. New development should incorporate pedestrian elements to help serve as a transition to surrounding land uses.
* Required setbacks for civic buildings may be modified with Planning Commission approval.
W = Building lot width along primary frontage; D = Building lot depth perpendicular to primary frontage.
Frontage Types
• Forecourt
• Lightcourt
• Shopfront
• Arcade
• Gallery
• Stoop
Encroachments: Buildings, architectural features, and signs may encroach into the required setbacks and right-of-way subject to the following requirements:
(Ord. No. 1923, § 5(Exh. A), 9-12-23; Ord. No. 1951, § 4(Exh. A), 5-28-24; Ord. No. 1954, § 4(Exh. A), 7-23-24)
The neighborhood district is an area primarily developed with single-family detached homes. New development should preserve and exemplify the character of existing neighborhoods.
* See Article III (Form Based Code), Division 10 of the Zoning and Development Code.
W = Building lot width along primary frontage; D = Building lot depth perpendicular to primary frontage.
Living area or a front porch shall be forward of the garage if provided.
Frontage Types
• Porch
• Stoop
• Dooryard
Encroachments: Buildings, architectural features, and signs may encroach into the required setbacks and right-of-way subject to the following requirements:
(Ord. No. 1923, § 5(Exh. A), 9-12-23; Ord. No. 1951, § 4(Exh. A), 5-28-24)
The multi-family district provides higher densities focused along the fringe of the more urban development. New development should incorporate increased density with architectural design and materials that exemplify one of the designated architectural styles.
* See Article III (Form Based Code), Division 10 of the Zoning and Development Code.
W = Building lot width along primary frontage; D = Building lot depth perpendicular to primary frontage.
Frontage Types
• Dooryard
• Stoop
• Forecourt
• Lightcourt
Encroachments: Buildings, architectural features, and signs may encroach into the required setbacks and right-of-way subject to the following requirements:
(Ord. No. 1923, § 5(Exh. A), 9-12-23; Ord. No. 1951, § 4(Exh. A), 5-28-24)
The transitional district is adjacent to more intense commercial uses providing a transition to more sensitive uses, such as residential. This district includes a mixture of commercial office, retail, personal services, and residential.
* Required setbacks for civic buildings may be modified with Planning Commission approval.
W = Building lot width along primary frontage; D = Building lot depth perpendicular to primary frontage.
Frontage Types
• Forecourt
• Stoop
• Porch
• Shopfront
• Dooryard
Encroachments: Buildings, architectural features, and signs may encroach into the required setbacks and right-of-way subject to the following requirements:
(Ord. No. 1923, § 5(Exh. A), 9-12-23; Ord. No. 1951, § 4(Exh. A), 5-28-24; Ord. No. 1954, § 4(Exh. A), 7-23-24)
The Sierra gateway district is intended to encourage pedestrian-oriented development and land uses. Uses are to include a mix of medium- to high-density residential, retail and services, office, entertainment, education, and open space.
* Required setbacks for civic buildings may be modified with Planning Commission approval.
W = Building lot width along primary frontage; D = Building lot depth perpendicular to primary frontage.
Frontage Types
• Forecourt
• Storefront
• Arcade
• Gallery
• Stoop
Encroachments: Buildings, architectural features, and signs may encroach into the required setbacks and right-of-way subject to the following requirements:
(Ord. No. 1923, § 5(Exh. A), 9-12-23; Ord. No. 1951, § 4(Exh. A), 5-28-24; Ord. No. 1954, § 4(Exh. A), 7-23-24)
The Route 66 gateway district is primarily intended for commercial retail and personal service uses with incorporated automobile uses that have traditionally been located along the corridor.
* Required setbacks for civic buildings may be modified with Planning Commission approval.
W = Building lot width along primary frontage; D = Building lot depth perpendicular to primary frontage.
Hotels may be allowed to a maximum of seven stories and 90 feet in height.
Frontage Types
• Forecourt
• Lightcourt
• Storefront
• Arcade
• Gallery
• Stoop
Encroachments: Buildings, architectural features, and signs may encroach into the required setbacks and right-of-way subject to the following requirements:
(Ord. No. 1923, § 5(Exh. A), 9-12-23; Ord. No. 1951, § 4(Exh. A), 5-28-24; Ord. No. 1954, § 4(Exh. A), 7-23-24)
The Valley gateway district is intended to encourage pedestrian and transit-oriented development. Land uses should include a mixture of housing types, retail and services, general and medical office, entertainment and education.
* Required setbacks for civic buildings may be modified with Planning Commission approval.
W = Building lot width along primary frontage; D = Building lot depth perpendicular to primary frontage.
Hotels may be allowed to a maximum number of seven stories and 90 feet in height.
Frontage Types
• Forecourt
• Storefront
• Arcade
• Gallery
Encroachments: Buildings, architectural features, and signs may encroach into the required setbacks and right-of-way subject to the following requirements:
(Ord. No. 1923, § 5(Exh. A), 9-12-23; Ord. No. 1951, § 4(Exh. A), 5-28-24; Ord. No. 1954, § 4(Exh. A), 7-23-24)
The Village district is intended to provide an alternative to conventional subdivision development with a mixture of housing types, neighborhood-service retail, and open space.
* Required setbacks for civic buildings may be modified with Planning Commission approval.
W = Building lot width along primary frontage; D = Building lot depth perpendicular to primary frontage.
Frontage Types
• Forecourt
• Storefront
• Arcade
• Gallery
• Stoop
• Porch
• Dooryard
Encroachments: Buildings, architectural features, and signs may encroach into the required setbacks and right-of-way subject to the following requirements:
(Ord. No. 1923, § 5(Exh. A), 9-12-23; Ord. No. 1951, § 4(Exh. A), 5-28-24; Ord. No. 1954, § 4(Exh. A), 7-23-24; Ord. No. 1961, § 4(Exh. A), 1-28-25)
The downtown core is required to meet the standards of the Form-Based Code, including the following:
(a)
District core development requirements (Section 30-371)
(b)
Fences, hedges and walls (Section 30-389)
(c)
Parking
1.
Off-street parking and loading standards (Section 30-390)
2.
Off-street parking reductions (Section 30-391)
3.
Loading (Section 30-392)
4.
Bicycle parking (Section 30-393)
(d)
Architectural style (Section 30-394)
(e)
Downtown core design regulations (commercial, apartment, and mixed-use buildings) (Section 30-396.1)
(f)
Downtown core design regulations (residential buildings) (Section 30-396.2)
(g)
Private open space types (Section 30-398)
(h)
Downtown core private open space requirements (Section 30-404.1)
Downtown Core Frontages
Frontages shall be provided at all locations where a building meets the street right-of-way and common open space. A frontage type must be selected from Division 6.
Building facades that are visible from the public right-of-way but do not require a building frontage shall be screened with planting, or enhanced in a manner that reflects the architectural style or is in accordance with Article XII—Sign Regulations.
(Ord. No. 1923, § 5(Exh. A), 9-12-23)
The civic core consists primarily of civic and institutional uses as well as active and passive recreation areas.
Minimum lot size:
5,000 square feet
Required frontage:
Porch, dooryard, stoop, forecourt, lightcourt, shopfront, gallery and arcade
Capacity
Setbacks
Building Form
Encroachments
Buildings, architectural features, and signs may encroach into the required setbacks and right-of-way subject to the following requirements and City Engineer approval:
Parking
(Ord. No. 1923, § 5(Exh. A), 9-12-23)
The Sierra core is the commercial core of Fontana and functions as the city center. Uses include a mixture of commercial, retail, entertainment, office, and residential.
Building placement shall be close to the streets and integrated within the pedestrian realm. Architectural features should provide shade and variation in building design.
Capacity
Setbacks
Building Height
* The maximum height along Sierra Ave may be increased to 45 feet and to 70 feet along the side street stepbacks for projects that provide a rooftop amenity. The rooftop amenity must be located along a street frontage with a maximum height of 45 feet and minimum width of 15 feet.
Public and private spaces should be integrated to act as one. Awnings or canopies extending over sidewalks and significant glazing should be included in all new construction or renovation.
Encroachments
Buildings, architectural features, and signs may encroach into the required setbacks and right-of-way subject to the following requirements and City Engineer approval:
Parking
On-site above-ground parking and access shall be located in compliance with the following setback requirements:
Minimum lot size:
5,000 square feet
Required frontage:
Forecourt, shopfront, gallery and arcade
(Ord. No. 1923, § 5(Exh. A), 9-12-23; Ord. No. 1954, § 4(Exh. A), 7-23-24; Ord. No. 1970, § 4(Exh. A), 6-10-25)
The gateway core is primarily intended for commercial retail and personal service uses as well as residential development. New development should incorporate pedestrian elements to help serve as a transition to surrounding land uses.
Capacity
Setbacks
Building Form
Encroachments
Buildings, architectural features, and signs may encroach into the required setbacks and right-of-way subject to the following requirements and City Engineer approval:
Parking
On-site above-ground parking and access shall be located in compliance with the following setback requirements:
Minimum lot size:
5,000 square feet
Required frontage:
Stoop, forecourt, lightcourt, shopfront, gallery and arcade
(Ord. No. 1923, § 5(Exh. A), 9-12-23)
The mixed-use core provides a transition between more intense commercial uses and residential uses. This district includes a mixture of commercial, office, retail, personal services, and residential.
Capacity
Setbacks
Building Form
Encroachments
Buildings, architectural features, and signs may encroach into the required setbacks and right-of-way subject to the following requirements and City Engineer approval:
Parking
On-site above-ground parking and access shall be located in compliance with the following setback requirements:
Minimum lot size:
5,000 square feet
Required frontage:
Porch, dooryard, stoop, forecourt, shopfront, gallery and arcade
(Ord. No. 1923, § 5(Exh. A), 9-12-23)
The multi-family core provides higher residential intensities adjacent to commercial areas. New development should incorporate increased density with architectural design and materials that exemplify one of the designated architectural styles.
Capacity
Setbacks
Building Form
Encroachments
Buildings, architectural features, and signs may encroach into the required setbacks and right-of-way subject to the following requirements and City Engineer approval:
Parking
On-site above-ground parking and access shall be located in compliance with the following setback requirements:
Minimum lot size:
5,000 square feet
Required frontage:
Dooryard, stoop, forecourt and lightcourt
(Ord. No. 1923, § 5(Exh. A), 9-12-23)
The neighborhood core is an area primarily developed with single-family homes. New development should respect and exemplify the character of existing neighborhoods.
Capacity
Setbacks
Building Form
Encroachments
Buildings, architectural features, and signs may encroach into the required setbacks and right-of-way subject to the following requirements and City Engineer approval:
Parking
On-site above-ground parking and access shall be located in compliance with the following setback requirements:
Minimum lot size:
5,000 square feet
Required frontage:
Porch, dooryard, stoop, forecourt and lightcourt
(Ord. No. 1923, § 5(Exh. A), 9-12-23)
Description: The duplex building type is a small- to medium-sized structure that consists of two side-by-side or stacked dwelling units, both facing the street, and within a single building massing. This type has the appearance of a medium to large single-family home and is appropriately scaled to fit within primarily single-family neighborhoods or medium-density neighborhoods. It enables appropriately-scaled, well-designed higher densities and is important for providing a broad choice of housing types and promoting walkability.
The multiplex is a medium structure that consists of three—six side-by-side and/or stacked dwelling units, typically with one shared entry or individual entries along the front. This type has the appearance of a medium-sized family home and is appropriately scaled to fit sparingly within primarily single-family neighborhoods or into medium-density neighborhoods. This type enables appropriately-scaled, well-designed higher densities and is important for providing a broad choice of housing types and promoting walkability.
(Ord. No. 1954, § 4(Exh. A), 7-23-24; Ord. No. 1970, § 4(Exh. A), 6-10-25)
Description: Rosewalk—Six or more single dwellings arranged in a linear manner along either side of a common green. Having the same right-of-way width as a narrow neighborhood street, the Rosewalk (in contrast to the Bungalow Court) must connect two parallel streets. Pedestrian access to the building entrances are accessed from the common green and/or primary street.
Bungalow Court—Four or more single dwellings arranged around a shared courtyard, with pedestrian access to the building entrances from the courtyard and/or fronting street. The courtyard is wholly open to the street and parking is placed in the rear of the lot or behind each unit.
(Ord. No. 1970, § 4(Exh. A), 6-10-25)
Description: A small- to medium-sized building comprised of attached dwelling units arrayed side by side. The ground floor can be raised above grade in order to provide privacy for ground floor rooms. The primary building should sit at the front of the property, with the garage at the rear. Each dwelling unit is directly accessed from the front yard/street or walking path leading to the street. The Rowhouse type is typically located within medium-density neighborhoods or in a location that transitions from a primarily single-family neighborhood into a neighborhood main street. This type enables appropriately-scaled, well-designed higher densities and is important for providing a broad choice of housing types and promoting walkability.
(Ord. No. 1954, § 4(Exh. A), 7-23-24; Ord. No. 1970, § 4(Exh. A), 6-10-25)
Description: Single-family homes are freestanding structure intended to be occupied as a home or residence by a single household. An accessory dwelling unit may also be attached or detached to the main dwelling unit for occupancy by an additional household. Private open space is provided in the rear yard that is secured by walls or fences.
(Ord. No. 1970, § 4(Exh. A), 6-10-25)
Description: The live/work building type is a small to medium-sized attached or detached structure that consists of single dwelling unit above and/or behind a flexible ground floor space that can be used for home-business uses such as residential, personal and general service, or retail uses. Both the ground-floor flex space and the unit above are owned by one entity. This type is typically located within medium-density neighborhoods or in a location that transitions from a neighborhood into an urban neighborhood street. It is especially appropriate for incubating neighborhood-serving retail and service uses and allowing neighborhood main streets to expand as the market demands. The work space is accessed directly from the primary street, and the living space at the rear or above is accessed directly or indirectly from the working space.
(Ord. No. 1970, § 4(Exh. A), 6-10-25)
Description: A group of dwelling units arranged to share one or more common courtyards. The courtyard is intended to be a semi-public outdoor room that is an extension of the public realm. Court buildings may accommodate ground floor commercial/flex uses in either a live/work configuration or as solely commercial/retail space in qualifying zones facing the primary street. This building type enables the incorporation of high-quality, well-designed density within a walkable neighborhood.
(Ord. No. 1970, § 4(Exh. A), 6-10-25)
Description: A building that combines a point-access portion of the building with a walk-up portion. The building may be designed for occupancy by retail, service, and/or office uses on the ground floor, with upper floors also configured for those uses or for residences.
(Ord. No. 1951, § 4(Exh. A), 5-28-24; Ord. No. 1970, § 4(Exh. A), 6-10-25)
Description: A building type designed for occupancy by retail, service, and/or office uses on the ground floor, with upper floors configured for retail, service, office, and/or residential uses. Second floor units may be directly accessed from the street through a stair; upper floors are accessed through a street level lobby.
(Ord. No. 1951, § 4(Exh. A), 5-28-24; Ord. No. 1970, § 4(Exh. A), 6-10-25)
Description: A building that conceals a garage, or other large-scale faceless building (such as a movie theater), "big box" store or surface parking facility, designed for occupancy by retail, service, and/or office uses on the ground floor, with upper floors configured for retail, service, office, and/or residential uses. The access corridor, if applicable, is included in the minimum depth.
(Ord. No. 1951, § 4(Exh. A), 5-28-24; Ord. No. 1970, § 4(Exh. A), 6-10-25)
In the porch frontage type, the main facade of the building is set back from the frontage line. The resulting front yard is defined by a low wall or fence, and is covered by a patio. A projecting porch uses part of the front yard space for a porch that is open on three sides above the low wall or fence.
Size
Design Standard
Porches must be open on at least two sides and have a roof.
(Ord. No. 1923, § 5(Exh. A), 9-12-23; Ord. No. 1954, § 4(Exh. A), 7-23-24)
In the dooryard frontage type, the main facade of the building is set back and the frontage line is defined by a low wall, fence, or hedge, creating a small dooryard. The dooryard shall not provide public circulation along a right-of-way (ROW). The dooryard may be raised, sunken, or at grade and is intended for ground-floor residential uses.
Size
Design Standard
For live/work, retail and service uses, these standards are to be used in conjunction with those for the shopfront frontage type. In case of conflict between them, the dooryard frontage type standards shall prevail. The dooryard frontage type shall not be used for circulation for more than one ground floor entry.
(Ord. No. 1923, § 5(Exh. A), 9-12-23)
In the stoop frontage type, the main facade of the building is set back and an elevated stoop engages the sidewalk. The stoop shall be elevated above the sidewalk to ensure privacy within the building. Stairs or ramps from the stoop may lead directly to the sidewalk or may be side-loaded.
Size
Design Standard
Stairs may be perpendicular or parallel to the building facade. Ramps shall be parallel to facade or along the side of the building. Entry doors are encouraged to be covered or recessed to provide shelter from the elements.
(Ord. No. 1923, § 5(Exh. A), 9-12-23)
In the forecourt frontage type, the main facade of the building is at or near the frontage line and a small percentage is set back, creating a small court space. The space could be used as an entry court or shared garden space for apartment buildings, or as an additional shopping or restaurant seating area within retail and service areas.
Size
Design Standard
The proportions and orientation of these spaces should be carefully considered for solar orientation and user comfort.
(Ord. No. 1923, § 5(Exh. A), 9-12-23)
In the lightcourt frontage type, the main facade of the building is set back from the frontage line by an elevated terrace or a sunken lightcourt. This type buffers residential, retail or service uses from urban sidewalks and removes the private yard from public encroachment.
Size
Design Standard
A short fence may be placed along the setback where it is not defined by a building.
(Ord. No. 1923, § 5(Exh. A), 9-12-23)
In the shopfront frontage type, the main facade of the building has an at-grade entrance along the public way. This type is intended for retail and other commercial uses. It has substantial glazing at the sidewalk level and may include an awning that may encroach into the ROW. It may be used in conjunction with other frontage types.
Size
Awning
Design Standard
Shopfront glass shall be clear without reflective glass frosting or dark tinting. Shopfront windows may be clerestory windows (horizontal panels) between the shopfront and second floor/top of single-story parapet. Glass clerestory may be of a character to allow light, while moderating it such as stained glass, glass block, painted glass, or frosted glass. Shopfronts with accordion-style doors/windows or other operable windows that allow the space to open to the street are encouraged. Operable awnings are encouraged.
(Ord. No. 1923, § 5(Exh. A), 9-12-23; Ord. No. 1961, § 4(Exh. A), 1-28-25)
A gallery is a roof or deck projecting from the facade of a building, supported by columns located just behind the street curb. Galleries shelter the sidewalk with a roof or unenclosed, accessible, out-door space making them ideal for retail use. Galleries may be one- or two-stories in height, functioning as covered or uncovered porches at the second floor. Railings on top of the gallery are only required if the gallery roof is accessible as a deck.
Size
Design Standard
Galleries shall be combined with the shopfront frontage type. Galleries must have consistent depth along a frontage. Ceiling lights are encouraged. Galleries may be entirely on private property or may encroach over the sidewalk in the public right-of-way, subject to an encroachment permit prior to issuance of a building permit. Column spacing and colonnade detailing, including lighting, shall be consistent with the style of the building to which it is attached. Columns shall be placed in relation to curbs to allow passage around and to allow for passengers of cars to disembark.
(Ord. No. 1923, § 5(Exh. A), 9-12-23)
Arcade frontages are composed of a building with ground floor facades which align with the property line, and upper floors which project over the property line to cover the sidewalk. A colonnade structurally and visually supports the building mass which encroaches into the public right-of-way. Arcades contain ground-floor storefronts, making them ideal for retail use as the arcade shelters the pedestrian and shades the storefront glass, preventing glare that might obscure views of merchandise. As allowed, the arcade also provides habitable space over the sidewalk creating a very urban street character.
Size
Design Standard
Arcades shall be combined with the shopfront frontage type. Arcades may be entirely on private property or may encroach over the sidewalk in the public right-of-way, subject to an encroachment permit prior to issuance of a building permit. Column spacing and colonnade detailing, including lighting, shall be consistent with the style of the building to which it is attached. Columns shall be placed in relation to curbs so as to allow passage around and to allow for passengers of cars to disembark. When utilizing an arcade, front building setbacks may not apply. Front setbacks are still measured from the ROW.
(Ord. No. 1923, § 5(Exh. A), 9-12-23)
(a)
Single-family and multi-family site walls and fencing.
(1)
Low walls or hedges may be used to divide space, create a variety in landscaping and to define site edges.
(2)
Locate fences or walls on the property line (excluding the front property line) to define private open space and common open space areas, protect privacy, and buffer residents from noise sources.
a.
Use masonry materials for sound reduction purposes.
b.
Masonry walls shall include a top or cap.
c.
Wood and chain link fencing is prohibited. However, wood picket fencing shall be allowed in the front yard setback area of the neighborhood district.
(3)
Design fences and walls to be an attractive part of the project, with materials and designs that are compatible with the exterior building materials and demonstrate design integrity with the project as a whole.
(4)
Front yard fencing and walls shall comply with the following requirements as applicable:
a.
Single family. Open fencing and solid walls shall be setback from the sidewalk by at least two feet to allow for landscaping; not grass that must be mowed or trimmed;
b.
Multi-family. Open fencing and solid walls shall meet the standards in Table 30-389.A.
(5)
The overall height of fencing, when present, shall not exceed the standards in Table 30-389.A. below:
Table 30-389.A.—Maximum Height of Fences or Walls
(b)
Mixed-use or commercial site walls and fencing.
(1)
Walls and fences shall meet the requirements of Section 30-494(g) and Section 30-500 of the Zoning and Development Code.
(2)
Fence design. Fences shall be constructed, designed and maintained as follows:
a.
Permitted materials. Fencing visible from public view should be open work such as wrought iron and metal (tube) fences with design features. Masonry, stucco and plaster are permitted when deemed more appropriate to the design of the building on the project site.
b.
Fence maintenance. Every fence shall be kept in good repair, consistent with the design thereof. The property owner shall be responsible for landscaping and maintaining the area, if any, between the property line and the owner's fence.
c.
Hazardous and prohibited materials. Fences shall not incorporate barbed wire and razor wire, spiked tips, chain link of any kind, woven wire mesh ("chicken wire"), welded wire mesh, woven wire ("hog wire") rope, cable, railroad ties or any other similar materials or materials not specifically manufactured for permanent fencing.
(Ord. No. 1923, § 5(Exh. A), 9-12-23)
(a)
Off-street parking standards.
(1)
Off-street parking requirements shall be set forth in Division 5 which outlines the development standards by zoning district.
(2)
Off-street parking dimensions shall be as set forth in Table 30-390.A.—Off-Street Parking Dimensions below. Any type of stall not listed shall refer to Section 30-606 of the Zoning and Development Code.
Table 30-390.A.—Off-Street Parking Dimensions
(b)
General performance standards for off-street parking facilities:
(1)
Parking shall be implemented to provide safe and convenient access to and from public thoroughfares which include movement lanes and public frontages.
(2)
Vehicular access through residential properties for nonresidential uses shall be prohibited. This provision shall not apply to mixed-use developments.
(3)
Off-street parking spaces shall be located with sufficient room for safe and convenient parking without infringing on any public thoroughfare or sidewalk.
(4)
Off-street parking or loading area shall not be used for the sale, repair, or dismantling of any vehicle or equipment, or for storage of materials or supplies.
(5)
Parking or storage of commercial trucks, buses, vans, sign trailers; trailers or semi-trailers; or the like shall not be permitted in any form-based code zoning district.
(6)
Parking facilities on adjoining lots may share access points, driveways and parking subject to a recorded covenant running with the property on which the facilities are located, by process of waiver.
(7)
Parking shall be located behind habitable or occupied space, underground, or on the interior or rear of the building. All off-street parking areas shall be separated at least five feet from buildings in order to make room for sidewalks, landscaping and other plantings between the building and the parking area.
a.
This separation may be eliminated to the rear of buildings in areas designed for unloading and loading of materials and in underground parking areas.
(c)
Parking for senior housing.
(1)
Senior housing, in relation to this regulation, is not to be construed as homes or institutions for the aged which are primarily convalescent or nursing homes.
a.
At least one-half of the parking required shall be within carports or garages.
b.
No compact parking spaces shall be permitted for senior housing.
Table 30-390.B.—Parking For Senior Housing
(d)
Off-premise parking.
(1)
Required parking may be provided in off-premises parking facilities (structured or private lot) within 660 feet (1/8 mile) of the site proposed for development, as measured along thoroughfare rights-of-way;
(2)
Pedestrian access between the use or the site and the off-premises parking area shall be via concrete or paved sidewalk or walkway; and
(3)
The owner shall provide an irrevocable parking agreement reflecting the arrangement with the off-premises location.
(e)
Compact parking.
(1)
The proposed land use must require a minimum of 20 spaces for compact spaces to be allowed and shall not exceed 15 percent of the total number of required spaces. Each compact space shall be identified with pavement stenciling and/or signage. Compact spaces shall be located furthest from the building entrances to discourage use by non-compact vehicles.
(f)
Tandem parking.
(1)
Residential development. Tandem parking is allowed in a residential development, but may not be used to provide guest parking for a residential development and both parking spaces shall be assigned to the same residential unit
(2)
Nonresidential development. Tandem parking is only allowed in a nonresidential development where attendant parking is provided on the zone lot and where parking on the zone lot is subject to a tandem parking management program, as approved by the Community Development Director.
a.
For purposes of this provision, a "tandem parking management program" means a formal program undertaken by a property owner or property manager to mitigate the potential adverse effects of tandem parking on vehicle owners and other off-street parking area users.
b.
Elements of a tandem parking management program include, but are not limited to:
1.
A secured vehicle key storage system located near the tandem parking area;
2.
A vehicle key management system administered by on-site personnel;
3.
Reserved tandem program where specific individuals share specific tandem spaces; or
4.
A fleet/motor pool vehicle management program.
5.
On duty parking attendant during business hours or as long as the principal building is occupied
(3)
Tandem parking design standards.
a.
A maximum of two parking spaces may be provided in tandem.
b.
Two parking spaces in tandem shall have a combined minimum dimension of nine feet in width and 35 feet in length.
c.
It must be possible to get any vehicle in or out of a tandem space by moving only one vehicle.
(g)
Shared parking.
(1)
Where two or more uses on the same site or adjacent parcels have distinct and differing peak parking usage periods (e.g., a theater and a bank), a reduction in the required number of parking spaces as determined by the Community Development Director may be allowed in the following manner:
a.
The reduction in number of required parking spaces shall be based on a parking demand study.
b.
The parking demand study shall be in accordance with established professional practices.
c.
Approval shall also require a recorded covenant running with the land, recorded by the owner of the parking lot, guaranteeing that the required parking will be maintained for the uses served and remain for the duration of the use.
d.
Share parking, whether it is publicly shared or shared between two or more specific businesses, shall be clearly designated with signs and markings.
(Ord. No. 1923, § 5(Exh. A), 9-12-23)
(a)
Reductions can be combined to a maximum of 20 percent of the total vehicular parking required.
(1)
Bicycle parking—Required vehicular parking spaces may be reduced at a rate of one vehicular parking space for every five long-term bicycle parking spaces provided above the minimum required, up to a maximum reduction of five percent of the total vehicular parking required.
(2)
Bus Stop—A parking reduction of up to ten percent may be approved by the Community Development Director for any use within one-fourth mile of a designated bus stop (as measured along a public walkway).
(3)
Metrolink—A parking reduction of up to 15 percent may be approved by the Community Development Director for all uses within walking distance of the commuter rail station. Refer to Exhibit 30-665.A. for the precise boundary. Projects within the specified boundary are not eligible for the ten percent bus stop parking reduction.
(4)
Significant centers of employment—A parking reduction of up to ten percent may be approved by the Community Development Director for uses listed under "food/restaurant/eating establishments" and "general merchandise/retail trade," when the use is located within one-quarter mile (as measured along a public walkway) of a significant center of employment. When the use is located within one-half mile, a parking reduction of up to five percent may be approved.
Exhibit 30-391.A.—Area of Downtown Eligible for 15 Percent Metrolink Parking Reduction
(a)
Loading requirements. The following regulations apply to the use of loading zones:
(1)
Permission herein granted to stop or stand a vehicle for purpose of loading or unloading of materials shall apply only to commercial vehicles and shall not extend beyond the time necessary therefore, and in no event for more than 20 minutes.
(2)
The loading or unloading of materials shall apply only to commercial deliveries, also the delivery or pickup of express and parcel post packages and United States mail.
(3)
Loading docks, overhead doors, and other service entries may not be located on street-facing facades.
(4)
Loading areas shall include painted lines, curbs, or other methods of identifying individual loading areas and distinguishing such spaces from drive aisles and other circulation features.
(5)
On-site loading space(s) is not required where the site is adjacent to an alley or side street that provides temporary parking for loading/unloading activities. Temporary is defined as lasting less than 20 minutes.
(6)
Traffic-lanes shall not be used as loading/unloading zones.
(7)
Vehicles that exceed an overall length of 25 feet (bumper to bumper) shall be prohibited from loading and unloading between the hours of seven a.m. and ten a.m., and between 12 p.m. and six p.m. This time restriction shall not apply to vehicles that fit within a designated loading and unloading zone or bay.
(a)
General bicycle parking design guidelines and requirements.
(1)
Bicycle parking may be located in front, to the side, back, or inside of buildings.
(2)
Each space must be accessible without moving another bicycle.
(3)
Allow for two feet by six feet for each bicycle parking space.
(4)
Provide an aisle at least five feet wide behind all parking for maneuvering.
(5)
Bike racks shall enable the bike frame and one or both wheels to be secured.
(6)
When a project requires 25 or more bicycle parking spaces, a bicycle repair station shall be provided.
(7)
In calculating bicycle parking requirements for any use, any resulting fraction shall be rounded up to the next whole number.
(8)
The location of the bicycle rack or locker shall not encroach into the sidewalk which would reduce the unencumbered width of the sidewalk to less than four feet and shall provide adequate clearance surrounding the rack or locker such that bicycles shall not encroach into any walkway, parking space, landscape area or similar.
Table 30-393.A.—Bicycle Spaces Required
(b)
Short-term (fixed bicycle rack facility).
(1)
Cyclists should be able to quickly identify bike racks when arriving from the street. A highly visible location not only makes it easier for the cyclist, but also curbs theft and vandalism. Areas shall be well lit, and, when possible, within view of passerby, retail activity, or windows.
a.
They shall be implemented in areas of high traffic such as building entrances—no further than 50 feet from these entranceways.
b.
Bike racks must be visible from adjacent bikeways and allow for fast street access while avoiding locations that have stairs.
c.
Bicycle parking facilities shared by more than one use are encouraged.
(c)
Long-term (sheltered or enclosed facility).
(1)
Bicycle parking for employees, students, residents, commuters and others who stay at a site for several hours; a secure and weather-protected place to store their bicycles.
a.
Locate on site or within 660 feet of the site. No part of the rack shall be located closer than 24 inches to a wall or other obstruction.
There is no preferred architectural style for buildings in the Form-Based Code areas. However, all buildings shall demonstrate an architectural concept/idea to provide coherence and integrity to the design. Any architectural style that is proposed shall be in keeping with that style, particularly regarding: overall massing, overhangs, expressions of structure, wall thickness, materials and other details.
Architectural Style: Spanish
Design Characteristics
• Red tile roof coverings
• ;hg;Single or crossed-gable roof
• ;hg;Eaves with little or no over-hang
• ;hg;Prominent arches placed above doors and windows, or beneath porched roofs
• ;hg;Stucco wall surface at all exterior walls
• ;hg;Façade is typically asymmetrical
• ;hg;Wall surface extends into gable without break
• ;hg;Balconies, open or roofed, with wood or iron railings
• ;hg;Elaborate chimney top, often with small tiled roof
• ;hg;Towers (round, square or polygon)
• ;hg;Walled entry courtyards
• ;hg;Stucco or tile decorative vents
Architectural Style: Craftsman
Design Characteristics
• Low-pitched, gabled roof
• ;hg;Wide overhanging eaves
• ;hg;Decorative brackets
• ;hg;Multi-paned windows, cased in wide trim
• ;hg;Partially paned doors, typically the upper third of the door
• ;hg;Shingle, lapped and stucco siding is common
• ;hg;Often mixed materials throughout the structure
• ;hg;Simplified windows on side and rear elevations
Architectural Style: Tuscan
Design Characteristics
• Heavy use of stone and plaster
• ;hg;Shaped timber tails at eaves
• ;hg;Simple balconies with wrought iron railings or solid half walls
• ;hg;Asymmetrical fenestration pattern
• ;hg;Vertical forms mixed with horizontal
• ;hg;Occasional use of arched openings
Architectural Style: Art Deco/Moderne
Design Characteristics
• Smooth wall surfaces, including stucco, concrete, smooth-faced stone and terra cotta
• ;hg;Sharp edged, linear appearance
• ;hg;Stylized decorative elements using geometrical forms, zigzags, chevrons, etc.
• ;hg;Low relief decorative panels
• ;hg;Stepped or setback front façade
• ;hg;Stripes of windows with decorative spandrels
• ;hg;Reeding and fluting around doors and windows
Architectural Style: Modern/Contemporary
Design Characteristics
• Interaction between interior and exterior spaces
• ;hg;Functional design
• ;hg;Minimal or no ornamentation
• ;hg;Simple, plain, geometric forms, rectangular shapes, and linear elements
• ;hg;Oversized windows—often floor-to-ceiling length, sliding glass doors, and high-set
windows
Architectural Style: Mediterranean
Design Characteristics
• Ornamental detailing
• ;hg;Doors, gateways, and window frames may feature iron detailing
• ;hg;Courtyards used for outdoor space and/or building entry
• ;hg;Columns, arches, curved windows and keystones
• ;hg;Terraces and balconies are common features
(a)
Crime prevention through environmental design (CPTED). Crime prevention through environmental design (CPTED) concepts shall be incorporated into the project design in order to create a safe built environment.
(b)
General façade composition. Buildings shall be "four-sided," meaning that all facades (including sides and rear) shall be considered visible and treated with articulation and materials.
(c)
Size, mass and scale. The scale of buildings and accessory structures (including canopies) shall be appropriate to the scale of structures built, or anticipated, in that district. Height of buildings shall be proportionate to the number of stories proposed.
(d)
Building materials.
(1)
Building wall materials shall be combined on each façade only horizontally, unless the building is broken vertically by a change of plane, or a vertical architectural element.
(2)
Building walls shall be finished in one or more (but not more than three) of the following materials:
a.
Wood
b.
Fiber cement board siding, smooth finish
c.
Reinforced concrete with stucco
d.
Brick
e.
Corrugated metal, which may be approved by the Director of Community Development based on the surrounding context and location on the site
f.
Other materials as approved by the Director of Community Development, based on visual compatibility with listed approved materials
(3)
Doors shall be made of wood, metal, glass, or fiberglass
(e)
Roof materials.
(1)
Roof materials shall match or complement the proposed architectural style.
(2)
Roof materials that shall not be used include:
a.
Stamped sheet metal used to simulate Mediterranean or Spanish roof tiles.
b.
Corrugated sheet metal.
c.
Lightweight asphalt shingles.
d.
Wood shakes or shingles.
(f)
Roof forms. Where pitched roofs exist, primary roofs shall have a minimum slope of 4:12, while ancillary roof slopes may be no less than 2:12.
(g)
Windows and doors.
(1)
Proportion and details.
a.
Windows shall not be flush with exterior wall treatments. Windows shall be provided with an architectural surround at the jambs and header, and a projecting sill.
b.
Window openings may be grouped horizontally, but trim between windows shall be at least 3.5 inches wide. This does not apply to storefront windows.
(2)
Façade transparency. Building elevations that face the street shall have at least 40 percent of the first-floor wall area consist of windows and/or doors and 15 percent of upper floors.
(h)
Architectural details.
(1)
Shutters. Shutters shall be sized and placed so as to equal the width that would be required to cover the window opening.
(2)
Cornices. Cornices are required to delineate the tops of facades. Expression lines are required to delineate the divisions between the first floor and upper floors. Cornices and expression lines shall either be a molding or a jog in the surface plane of the building.
(i)
Exterior building color.
(1)
Fluorescent colors shall not be used as a primary wall colors or accent colors.
(2)
Colors that relate to the building's existing district character shall be used. Light colors such as different shades of whites and pastels are appropriate. Extremely bright colors shall not be used as primary wall colors.
(3)
Secondary colors shall complement the primary building color. They shall be lighter or darker values than the body color or use more saturated hues of the body color. Secondary colors can be used to give additional emphasis to architectural features such as building bases or wainscots, columns, brackets, cornices, capitals, and bands; or used as trim on doorframes, storefront elements, windows and window frames, railing shutters, ornament, fences, etc.
(j)
Mechanical equipment and screening.
(1)
Rooftop equipment such as mechanical equipment shall be set back a minimum of ten feet from the building façade walls, screened on all sides, and the screening shall be integrated into the overall building design.
(2)
Mechanical equipment, such as ventilation systems, commercial exhaust fans, rooftop terminations, commercial cooling equipment, heating and air conditioning units, TV antennas, and satellite dishes, shall be hidden or screened from view. Architectural features or vegetation can be used to conceal mechanical equipment. Screen material shall be properly maintained. If vegetation is used for screening, the mature size of the vegetation shall be considered so that equipment air flow will not be compromised.
(k)
Proportions of bays and openings. All building bays, including porches, colonnades and porticos as appropriate, shall be square or vertical in proportion, unless the design merits a horizontally-proportioned opening. Wall opening, except for transoms and storefronts, shall be square or vertical in proportion. The façade of a proposed building shall draw upon the proportion and number of bays in surrounding buildings, as defined by windows, doors, and column spacing, to establish a compatible scale.
(l)
Garages and accessory structures. Attached garages, detached garages, and other accessory structures shall be subordinate in height, footprint, and proportion to the primary structure on the site, and shall be compatible with the principal structure in terms of roof form, materials, and color. Where a garage contains an accessory dwelling unit above, it may exceed the height of the primary structure.
(m)
Utility and service equipment areas.
(1)
Locate ancillary facilities within buildings, not along the street facing facade, to the maximum extent feasible. Where ancillary facilities such as trash receptacles and utility meters absolutely cannot be incorporated into a building, locate them at the rear of the site in freestanding, completely enclosed structures designed to be compatible with the architecture of the rest of the development.
(2)
Loading docks, service areas, and trash disposal facilities shall be hidden or screened from view of streets, parks, squares, or significant pedestrian spaces. Service, utility and mechanical functions, including retail loading shall be located in alleys whenever present. When alleys are not present, service functions shall be placed behind buildings. Building design shall accommodate equipment with niches or insets.
(3)
Trash and storage enclosures shall be architecturally integrated into the project design. Landscaping shall be provided adjacent to enclosures for screening and deterring graffiti.
(4)
Build covered trash enclosures with durable materials such as stone, concrete block, steel, and heavy timber.
(5)
The location of trash enclosures shall be easily accessible for trash collection and shall not impede general site circulation patterns during loading operations.
(6)
Trash enclosures shall be required for multi-family developments that have five or more units.
(7)
Locate electrical panels to minimize their visibility from the street, in locations such as side yard walls, and/or behind landscaped areas. Integrate them into the design of residential buildings to the maximum extent feasible.
(8)
Minimize the visibility of utilities connections from the public street.
(n)
Outdoor display of merchandise.
(1)
Definition of "merchandise." For purposes of this section, merchandise is defined as any item that is for sale on the premises or is representative of an item that is for sale on the premises, regardless of whether that particular item is available for purchase.
(2)
Arrangement. Merchandise shall be arranged and spaced so as not to clutter the front of the property, as determined by the Director of Community Development or designee.
(3)
Location:
a.
Merchandise shall not be place on the public sidewalk or within the right-of-way without the approval of the Director of Community Development or designee. If merchandise is displayed on any privately-owned sidewalk, a minimum of four feet of the sidewalk as measured from the curb must remain open and unobstructed to facilitate safe pedestrian circulation.
b.
Areas designated for vehicular parking may not be used as outdoor display areas.
c.
Merchandise shall not be displayed on public street furniture or landscaping.
(4)
Designation in plans. Plans for new developments or reuse of an existing space shall clearly designate any areas for outdoor display of outdoor merchandise. Outdoor display of merchandise shall only occur in areas designated for such display on the approved plan.
(o)
Trellises, marquees, and architectural canopies. Materials, colors, and form shall be derived from the building architecture.
(p)
Balconies. Balconies are encouraged at upper stories to create visual interest, support an architectural style or context, and to provide outdoor spaces for upper story tenants. In addition to upper story balconies, recessed alcoves are recommended to increase the depth and usability of the balcony space and add visual interest to the façade composition.
(q)
Awnings and shade devices.
(1)
Durable materials that complement other building materials shall be used, including canvas, high quality fabric, and metal.
(2)
Vinyl and plastic shall not be used.
(3)
Colors shall complement the building style, materials, and colors.
(4)
Awning mounting heights shall be consistent along the façade, unless varying mounting heights supports the architectural style.
(r)
Security doors.
(1)
To the degree possible, a roll-up security door shall be recessed behind the building façade wall surface.
(2)
Horizontal sliding security grills shall be architecturally concealed when in fully opened position.
(s)
Site landscaping.
(1)
Landscaping shall be incorporated in order to create an active visual outlook for residential units, create usable open space, and provide privacy for adjacent residential units.
(2)
Site landscaping treatments shall be designed to be attractive, with consistent design integrity throughout the project.
(3)
Parking lots, driveways, and other automobile circulation areas shall be landscaped in order to improve the visual appearance of circulation and parking areas.
(4)
Trees, landscape islands, shrubs, and groundcover shall be incorporated throughout parking areas.
This section provides regulations and standards for new or renovated residential building types. These regulations encourage buildings that strengthen the quality and character of Fontana's neighborhoods and surrounding areas while providing opportunities for individuality and creativity.
(1)
Building materials and colors.
a.
Generally acceptable materials shall include stucco, wood siding, native rock and stone, split face, concrete and brick.
b.
Generally prohibited materials shall include aluminum or plastic siding, corrugated fiberglass, and metal.
c.
Generally acceptable colors shall include muted natural colors, earth tones, pastel colors, natural stains and accent colors to contrast eaves, trims, moldings and doors.
d.
Generally prohibited colors shall include bright, fluorescent, or assertive colors as primary or accent wall colors.
(2)
Crime prevention through environmental design (CPTED). Incorporate crime prevention through environmental design (CPTED) concepts into the project design in order to create a safe built environment.
(3)
Garages and accessory structures. Attached garages, detached garages, and other accessory structures shall be subordinate in height, footprint, and proportion to the primary structure on the site, and shall be compatible with the principal structure in terms of roof form, materials, and color. Where a garage contains an accessory dwelling unit above, it may exceed the height of the primary structure.
(4)
Design criteria.
a.
A variety of enhanced architectural features and materials shall be provided on every front elevation. This can include, but is not limited to, porches, bay windows, pop-outs, veneers, rock, brick, wood siding, etc., or similar features.
b.
All garage doors shall be metal, sectional and roll-up.
c.
Trim with a stucco covering may be painted in a contrasting color. The contrasting color shall be color-compatible with the color of the body of the structure.
d.
Decorative trim consistent with the architectural design shall surround vents and windows to enhance the architecture of the structure.
e.
Architectural treatment shall be provided on each chimneystack.
f.
Wall-mounted, decorative lighting fixtures shall be provided at the front porch areas as well as on each side of the garage door. The style of the decorative lighting fixtures shall complement the architectural style.
g.
All front doors shall provide a window or other decorative treatment, including, but not limited to, raised panels, metal work, etc.
h.
Upgraded hardscape shall be used within the concrete walkway(s) leading to the front door of the house in order to complement the home's exterior architectural elements. Examples of upgraded hardscape includes, but is not limited to, decorative patterned scoring, exposed aggregate finishes, stamped concrete, etc.
(5)
Screening of exterior equipment.
a.
All mechanical equipment, ground-mounted equipment, utilities, storage, shall be screened from adjoining properties and public streets by a visual barrier such as a wall, fence, or landscape material. Where landscaping only is used for screening, it shall be planted with five-gallon (minimum size) shrubs spaced to provide a dense screen.
b.
Roof-mounted mechanical equipment shall be hidden from view by building parapets of equal height. If building parapets do not provide adequate screening when observed from adjacent buildings, mechanical equipment shall be screened by designing the parapet so that it appears as an integrated part of the roof and overall architectural design.
c.
Roof-mounted equipment shall not be permitted on the single-family home building type.
d.
No exterior components of plumbing, processing, heating, cooling, and ventilating systems shall be mounted on any building wall unless they are an integrated architectural design feature.
(6)
Central air conditioning or cooling system.
a.
All new residential structures shall be equipped with a central air conditioning or cooling system.
b.
For the purposes of this section, a "central air conditioning or cooling system" shall be defined as all that equipment, including associated refrigeration, intended or installed for the purpose of cooling air by mechanical means and discharging such air into a residential structure used for living purposes. A central air conditioning or cooling system shall not include portable cooling units, absorption units or evaporative coolers.
(7)
Water heaters. Each dwelling unit shall have a separate hot water heater or may be provided with a centralized circulation water heating system sufficient to serve all dwelling units on the property.
(8)
Laundry facilities. All multiple-residential units shall be provided washer and dryer hookups and laundry space within the unit or garage. The laundry area shall not infringe upon garage parking area. In the case of apartments, common laundry facilities may be included in addition to the individual unit hookups.
(9)
Storage facilities. A separate area having a minimum of 125 cubic feet of private and secure storage space shall be provided for each unit.
a.
Said storage area may be located within the garage, provided it does not interfere with garage use for automobile parking.
b.
Normal closet and cupboard space within the dwelling unit shall not count toward meeting this requirement.
c.
No storage shall be in a carport area.
This Section provides regulations and standards for new or renovated commercial, apartment, and mixed-use building types.
(1)
Crime prevention through environmental design (CPTED): Crime prevention through environmental design (CPTED) concepts shall be incorporated into the project design in order to create a safe built environment.
(2)
General facade composition: Buildings should generally be "four-sided," meaning that all facades (including sides and rear) shall be considered visible and treated with articulation and materials.
(3)
Size, mass, and scale: The scale of buildings and accessory structures (including canopies) shall be appropriate to the scale of structures built, or anticipated, in that district. Height of buildings shall be proportionate to the number of stories proposed.
(4)
Building materials:
a.
Building wall materials shall be combined on each facade only horizontally, unless the building is broken vertically by a change of plane, or a vertical architectural element.
b.
Building walls shall be finished in one or more of the following materials:
i.
Wood
ii.
Fiber cement board siding, smooth finish
iii.
Reinforced concrete with stucco
iv.
Brick
v.
Corrugated metal, which may be approved by the Director of Planning based on the surrounding context and location on the site
vi.
Other materials as approved by the Director of Planning, based on visual compatibility with listed approved materials
c.
Doors shall be made of wood, metal, glass, or fiberglass.
(5)
Roof materials:
a.
Roof materials shall match or complement the proposed architectural style.
b.
Roof materials that shall not be used include:
i.
Stamped sheet metal used to simulate Mediterranean or Spanish roof tiles.
ii.
Corrugated sheet metal.
iii.
Lightweight asphalt shingles.
iv.
Wood shakes or shingles.
(6)
Roof forms: Where pitched roofs exist, primary roofs shall have a minimum slope of 4:12, while ancillary roof slopes may be no less than 2:12.
(7)
Windows and doors:
a.
Proportion and details.
i.
Windows shall not be flush with exterior wall treatments. Windows shall be provided with an architectural surround at the jambs and header, and a projecting sill.
ii.
Window openings may be grouped horizontally, but trim between windows shall be at least 3.5 inches wide. This does not apply to storefront windows.
b.
Facade transparency: Building elevations that face the street shall have at least 40% of the first-floor wall area consist of windows and/or doors and 15% of upper floors.
(8)
Architectural Details:
a.
Shutters: Shutters shall be sized and placed so as to equal the width that would be required to cover the window opening.
b.
Cornices: If cornices are used, then the cornices are required to delineate the tops of facades. Expression lines are required to delineate the divisions between the first floor and upper floors. Cornices and expression lines shall either be a molding or a jog in the surface plane of the building.
(9)
Exterior building color:
a.
Fluorescent colors shall not be used as primary wall colors or accent colors except when approved by the Director of Planning when the colors are appropriate for the surrounding area and enhance the visual interest of an area.
b.
Colors that relate to or enhance the building's existing district character shall be used. Light colors such as different shades of whites and pastels are appropriate. Extremely bright colors shall not be used as primary wall colors.
c.
Secondary colors shall complement the primary building color. They shall be lighter or darker values than the body color or use more saturated hues of the body color. Secondary colors can be used to give additional emphasis to architectural features such as building bases or wainscots, columns, brackets, cornices, capitals, and bands; or used as trim on doorframes, storefront elements, windows and window frames, railing shutters, ornament, fences, etc.
(10)
Mechanical equipment and screening:
a.
Rooftop equipment such as mechanical equipment shall be screened on all sides, and the screening shall be integrated into the overall building design.
b.
Mechanical equipment, such as ventilation systems, commercial exhaust fans, rooftop terminations, commercial cooling equipment, heating and air conditioning units, TV antennas, and satellite dishes, shall be hidden or screened from view. Architectural features or vegetation can be used to conceal mechanical equipment. Screen material shall be properly maintained. If vegetation is used for screening, the mature size of the vegetation shall be considered so that equipment air flow will not be compromised.
(11)
Proportions of bays and openings: All building bays, including porches, colonnades and porticos as appropriate, shall be square or vertical in proportion, unless the design merits a horizontally-proportioned opening. Wall opening, except for transoms and storefronts, shall be square or vertical in proportion. The facade of a proposed building shall draw upon the proportion and number of bays in surrounding buildings, as defined by windows, doors, and column spacing, to establish a compatible scale.
(12)
Garages and accessory structures: Attached garages, detached garages, and other accessory structures shall be subordinate in height, footprint, and proportion to the primary structure on the site, and shall be compatible with the principal structure in terms of roof form, materials, and color. Where a garage contains an accessory dwelling unit above, it may exceed the height of the primary structure.
(13)
Utility and service equipment areas:
a.
Locate ancillary facilities within buildings, not along the street facing facade, to the maximum extent feasible. Where ancillary facilities such as trash receptacles and utility meters absolutely cannot be incorporated into a building, locate them at the rear of the site in freestanding, completely enclosed structures designed to be compatible with the architecture of the rest of the development.
b.
Loading docks, service areas, and trash disposal facilities shall be hidden or screened from view of streets, parks, squares, or significant pedestrian spaces. Service, utility and mechanical functions, including retail loading shall be located in alleys whenever present. When alleys are not present, service functions shall be placed behind buildings. Building design shall accommodate equipment with niches or insets.
c.
Trash and storage enclosures shall be architecturally integrated into the project design. Landscaping shall be provided adjacent to enclosures for screening and deterring graffiti.
d.
Build covered trash enclosures with durable materials such as stone, concrete block, steel, and heavy timber.
e.
The location of trash enclosures shall be easily accessible for trash collection and shall not impede general site circulation patterns during loading operations.
f.
Trash service plan shall be provided, which shall be subject to the approval of the Director of Planning.
g.
Locate electrical panels to minimize their visibility from the street, in locations such as side yard walls, and/or behind landscaped areas. Integrate them into the design of residential buildings to the maximum extent feasible.
h.
Utility service connections shall be underground or screened, which shall be subject to the approval of the Director of Planning.
(14)
Outdoor display of merchandise:
a.
Definition of "merchandise": For purposes of this section, merchandise is defined as any item that is for sale on the premises or is representative of an item that is for sale on the premises, regardless of whether that particular item is available for purchase.
b.
Arrangement: Merchandise shall be arranged and spaced so as not to clutter the front of the property, as determined by the Director of Planning or designee.
c.
Location:
i.
Merchandise shall not be placed on the public sidewalk or within the right-of-way without the approval of the Director of Planning or designee. If merchandise is displayed on any privately owned sidewalk, a minimum of four feet of the sidewalk as measured from the curb must remain open and unobstructed to facilitate safe pedestrian circulation.
ii.
Areas designated for vehicular parking may not be used as outdoor display areas except as authorized in the Zoning and Development Code such as temporary use permits.
iii.
Merchandise shall not be displayed on public street furniture or landscaping.
d.
Designation in plans: Plans for new developments or reuse of an existing space shall clearly designate any areas for outdoor display of outdoor merchandise. Outdoor display of merchandise shall only occur in areas designated for such display on the approved plan.
(15)
Trellises, marquees, and architectural canopies: Materials, colors, and form shall be derived from the building architecture
(16)
Balconies: Balconies are encouraged at upper stories to create visual interest, support an architectural style or context, and to provide outdoor spaces for upper story tenants. In addition to upper story balconies, recessed alcoves are recommended to increase the depth and usability of the balcony space and add visual interest to the facade composition.
(17)
Awnings and shade devices:
a.
Durable materials that complement other building materials shall be used, including canvas, high quality fabric, and metal.
b.
Vinyl and plastic shall not be used.
c.
Colors shall complement the building style, materials, and colors.
d.
Awning mounting heights shall be consistent along the facade, unless varying mounting heights supports the architectural style.
(18)
Security doors:
a.
Roll-up security doors shall be decorative, which shall be approved by the Director of Planning and recessed behind the building facade wall surface.
b.
Horizontal sliding security grills shall be decorative, which shall be approved by the Director of Planning and shall be architecturally concealed when in fully opened position.
(19)
Site landscaping:
a.
Landscaping shall be incorporated in order to create an active visual outlook for residential units, create usable open space, and provide privacy for adjacent residential units.
b.
Site landscaping treatments shall be designed to be attractive, with consistent design integrity throughout the project.
c.
Parking lots, driveways, and other automobile circulation areas shall be landscaped in order to improve the visual appearance of circulation and parking areas.
d.
Trees, landscape islands, shrubs, and groundcover shall be incorporated throughout parking areas.
(Ord. No. 1923, § 5(Exh. A), 9-12-23)
This section provides regulations and standards for new or renovated residential buildings that have individual entries from the public ROW or common open space. These regulations encourage buildings that strengthen the quality and character of Fontana's neighborhoods and surrounding areas while providing opportunities for individuality and creativity.
(1)
Building materials and colors:
a.
Generally acceptable materials shall include stucco, wood siding, native rock and stone, split face, concrete and brick.
b.
Generally prohibited materials shall include aluminum or plastic siding, corrugated fiberglass, and metal.
c.
Generally acceptable colors shall include muted natural colors, earth tones, pastel colors, natural stains and accent colors to contrast eaves, trims, moldings and doors.
d.
Generally prohibited colors shall include bright, fluorescent, or assertive colors as primary or accent wall colors.
(2)
Crime prevention through environmental design (CPTED): Incorporate crime prevention through environmental design (CPTED) concepts into the project design in order to create a safe built environment.
(3)
Garages and accessory structures: Attached garages, detached garages, and other accessory structures shall be subordinate in height, footprint, and proportion to the primary structure on the site, and shall be compatible with the principal structure in terms of roof form, materials, and color. Where a garage contains an accessory dwelling unit above, it may exceed the height of the primary structure.
(4)
Design criteria:
a.
A variety of enhanced architectural features and materials shall be provided on every front elevation. This can include, but is not limited to, porches, bay windows, pop-outs, veneers, rock, brick, wood siding, etc., or similar features.
b.
All garage doors shall be decorative, sectional, and roll-up.
c.
Trim with a stucco covering may be painted in a contrasting color. The contrasting color shall be color-compatible with the color of the body of the structure.
d.
Decorative trim consistent with the architectural design shall surround vents and windows to enhance the architecture of the structure.
e.
Architectural treatment shall be provided on each chimneystack.
f.
Wall-mounted, decorative lighting fixtures shall be provided at the front porch areas as well as on each side of the garage door. The style of the decorative lighting fixtures shall complement the architectural style.
g.
All front doors shall provide a window or other decorative treatment, including, but not limited to, raised panels, metal work, etc.
h.
Upgraded hardscape shall be used within the concrete walkway(s) leading to the front door of the house in order to complement the home's exterior architectural elements. Examples of upgraded hardscape includes, but is not limited to, decorative patterned scoring, exposed aggregate finishes, stamped concrete, etc.
(5)
Screening of exterior equipment:
a.
All mechanical equipment, ground-mounted equipment, utilities, storage, shall be screened from adjoining properties and public streets by a visual barrier such as a wall, fence, or landscape material. Where landscaping only is used for screening, it shall be planted with five-gallon (minimum size) shrubs spaced to provide a dense screen.
b.
Roof-mounted mechanical equipment shall be hidden from view by building parapets of equal height. If building parapets do not provide adequate screening when observed from adjacent buildings, mechanical equipment shall be screened by designing the parapet so that it appears as an integrated part of the roof and overall architectural design.
c.
No exterior components of plumbing, processing, heating, cooling, and ventilating systems shall be mounted on any building wall unless they are an integrated architectural design feature.
(6)
Central air conditioning or cooling system:
a.
All new residential structures shall be equipped with a central air conditioning or cooling system.
b.
For the purposes of this section, a "central air conditioning or cooling system" shall be defined as all that equipment, including associated refrigeration, intended or installed for the purpose of cooling air by mechanical means and discharging such air into a residential structure used for living purposes. A central air conditioning or cooling system shall not include portable cooling units, absorption units or evaporative coolers.
(7)
Water heaters: Each dwelling unit shall have a separate hot water heater or may be provided with a centralized circulation water heating system sufficient to serve all dwelling units on the property.
(8)
Laundry facilities: All multiple-residential units shall be provided washer and dryer hookups and laundry space within the unit or garage. The laundry area shall not infringe upon garage parking area. In the case of apartments, common laundry facilities may be included in addition to the individual unit hookups.
(9)
Storage facilities: A separate area having a minimum of 125 cubic feet of private and secure storage space shall be provided for each unit.
a.
Said storage area may be located within the garage, provided it does not interfere with garage use for automobile parking.
b.
Normal closet and cupboard space within the dwelling unit shall not count toward meeting this requirement.
c.
No storage shall be in a carport.
(Ord. No. 1923, § 5(Exh. A), 9-12-23)
This section contains an overview of the predominant architectural style in Fontana that have defined and will continue to define the character and identity of the city. The following architectural descriptions are provided to establish a basis for extending the City's heritage with the rehabilitation of existing buildings and the construction of new buildings. This information is intended to provide guidance for property owners, investors, developers and designers to make sensitive reference to, incorporate, and/or harmonize with characteristics of predominant architectural styles such as (but not limited to) massing, horizontal and vertical scale increments, façade composition, roof form, architectural elements, materials, and colors.
(1)
Early 20thCentury Commercial Style (1900-1930). The Early 20th Century Commercial Style was a simple, economical and adaptable style that arose in reaction to the perception of overly ornate Victorian and Neoclassical styles. It incorporated classical principles of base, shaft and capital organization of massing and façade composition but without the classical orders, using simplified elements instead. The style was applied to all types of commercial and mixed-use buildings.
a.
Roofs are flat, hipped, or gabled. A shaped parapet ("false front") commonly hides the roof profile at the storefront façade.
b.
Front facades are flat, commonly with a shaped parapet at the roofline, occasionally with a projecting cornice instead or as well. The parapet is well-detailed with a continuous parapet cap or a built-up cornice.
c.
Wall materials of the primary building are generally patterned masonry wall surfaces (brick, tile, etc.). Stucco (above the ground floor) and painted horizontal wood siding are also used with strong trim elements.
d.
Ground floor storefront are contained within a large opening in the primary wall material. They may continue to use that material, or in many cases, the storefront has its own architecture and materials distinct from the building yet complementary to it.
e.
Storefront glaze is composed of large panes of shop windows, with a continuous horizontal band of commercial clerestory windows above shop windows and the entrance door.
f.
Fabric awnings are often used at or above commercial clerestory windows divided into segments to match window divisions rather than a single continuous awning.
g.
The front entrance to upper story uses is distinct from the storefronts and is attractively details to be recognizable as not a storefront component.
h.
Window and door shapes are simple and rectangular.
i.
High quality materials such as glazed ceramic tile, painted carved wood, bronze door hardware, etc. are located at the ground level where customers and tenants encounter the building.
(2)
Spanish Mission Revival/Mediterranean Style (1915-1935). Spanish Mission Revival and Mediterranean styles (and their sub-styles such as Spanish Colonial Revival) were period revivals that became popular in California beginning in the 1920s. The historic heritage of the California Missions and previous Spanish presence, the exotic imagery of Spain and Mexico in movies, and California's climate being likened to that of the Mediterranean were sources of inspiration. These styles were applied widely to commercial, civic, mixed-use, and residential buildings.
a.
Roofs were typically finished in fired clay red "barrel" tile, sometimes mixed in with flat roofs with parapet walls with a shaped top profile. Roof domes with colorful ceramic tile are used at towers and important features of civic and religious buildings.
b.
Both formal and informal arrangements of window and door openings are used. Arched openings are used individually and in sequence as arcades.
c.
Storefront designs like those used within the Early 20th Century Commercial Style can occur within storefront openings on facades. Storefront materials and colors such as ceramic tile, dark painted woods, and dark metals are selected in coordination with overall building colors.
d.
Wall colors are often white or light earth tones.
e.
Dark painted or stained wood and dark metal (wrought iron) are used as trim and ornamental elements in Mission and Spanish styles, while light or colored trim may also be used in Mediterranean styles.
(3)
Art Deco (1925-1950). Art Deco and its related styles (Streamline Moderne, Moderne, etc.) emerged as shifts in architectural and commercial fashion between the First and Second World Wars. They were inspired by changes in machine technology and popular taste. These styles were applied widely to commercial, civic, mixed-use, and residential buildings.
a.
Building masses are composed of simple rectangular volumes or combinations of simple volumes, with flat roofs.
b.
Wall planes are smooth with banded windows and "extruded" cornices and overhangs.
c.
Other ornamental motifs of Art Deco include fan-like shapes, zigzag elements, chevrons, and stylized foliage; these are often applied to decorative panels.
d.
Storefront designs similar to those used with the Early 20th Century Commercial Style typically occur within storefront openings.
e.
Polished metal, glass block, and other industrial elements are used as trim and ornamental elements in Art Deco and related styles.
(4)
Contemporary Styles (1950-Present). For the purposes of this plan, Contemporary Styles comprise those architectural styles that draw on Modernism, Post-Modernism, and other current styles in practice today. Most Contemporary Styles have drawn upon contemporary building materials and modern construction methods to create a visual identity that is distinct from historic architectural styles.
a.
Building elements such as walls, windows, and roofs are often expressed as individual plans or forms. Windows can often be expressed as "voids" between walls, or act as entire wall plans. Where they are expressed as opening in walls, they are typically composed as a series of rhythmically or strategically placed "punched openings" for compositional purposes.
b.
Flat roofs are frequently used, but roofs or portions of roofs are often treated as geometric forms that may stand out. Examples include barrel vaults, angled or curved plans, and extended overhangs. They may be accented with special materials, such as metal.
c.
Contemporary Styles employ a wide palette of building materials. Metal cladding, concrete, glass, and tile as well as natural materials may be used. Materials as well as colors are often to define building volumes, planes, or functions.
d.
Building colors may be composed of contrasting hues and tones, with individual building elements or forms emphasized through use of an accent color. Strong, saturated hues are often used to play off neutral hues.
Private open spaces shall be designed as one of the private open space types defined in this section.
(1)
Private yard.
a.
Definition: A side yard or rear yard (excluding required setback areas) which is accessed by secondary unit entrance(s).
b.
The primary access to a private yard shall be from the dwelling(s) served.
c.
The minimum area for a private yard shall be 60 square feet.
d.
The minimum dimensions for a private yard in any single direction shall be four feet.
e.
Landscaping shall consist primarily of planted areas including water-efficient plantings of lawns, trees, plants in pots, etc. and may be combined with a porch.
f.
Private yard spaces may include edge walls or fences, provided that their inclusion does not violate building orientation.
(2)
Porch.
a.
Definition: A patio, terrace, or other platform extending from or adjacent to a building at the ground floor which is accessed by secondary unit entrances(s).
b.
The primary access to a porch shall be from the dwelling(s) served.
c.
The minimum area for a porch shall be 48 square feet.
d.
The minimum dimensions of a porch in any single direction shall be four feet.
(3)
Rooftop deck or garden.
a.
Definition: A private or privately shared deck or yard on the roof of a building.
b.
The minimum dimensions for a rooftop deck or garden in any single direction shall be four feet.
c.
Gardens and green roofs are encouraged to help minimize heat sinks and to pretreat water from storms prior to it entering the storm drain system.
d.
The minimum area for a rooftop deck or garden shall be 60 square feet.
(4)
Balcony.
a.
Definition: An outdoor space extending from a private upper floor of a building, which is accessed directly from a secondary unit entrance.
b.
Access to a balcony shall be limited to the dwelling served.
c.
The minimum area for a rooftop deck or garden shall be 48 square feet.
d.
The minimum dimensions for a balcony in any single direction shall be four feet.
(Ord. No. 1923, § 5(Exh. A), 9-12-23; Ord. No. 1970, § 4(Exh. A), 6-10-25)
(a)
This section describes the guidelines for the development of common and public open spaces throughout the Form-Based Code areas.
(b)
The standards in this section shall apply to all proposed development within the Form-Based Code districts and shall be considered in combination with the standards for the applicable district.
(c)
Additional public open spaces can be integrated into this section as they are approved by the City of Fontana.
(d)
The downtown core shall be required to comply with 30-404.1.
(Ord. No. 1906, § 73, 10-25-22; Ord. No. 1923, § 5(Exh. A), 9-12-23)
Common open spaces and public open spaces play an important role in place-making. Their standards must be considered alongside building form, building types, frontage types, and thoroughfares in creating urban environments. The diverse palette of common open spaces, parks and other publicly accessible open spaces are assigned to one or more downtown zones.
(Ord. No. 1906, § 73, 10-25-22)
Each application that involves at least two acres shall be required to provide a minimum of five percent of the project area as either common open space or public open space. The required open space shall be designed in compliance with the applicable requirements from Exhibit 404.A.—Public Open Space Types.
For development projects that are two acres or more in size that propose only commercial development (no residential uses)or civic development, the Planning Commission shall have the authority to reduce or eliminate the requirements for open space size, type, and location if the following findings are made:
(1)
The proposed commercial use(s) is incompatible with a large open space area.
(2)
The Police Department recommends the elimination or reduction of the open space requirement.
(3)
Eliminating or reducing the open space requirement promotes public health and safety.
Subdividing or phasing the project to separate commercial and residential uses or to reduce lot size to less than two acres shall not eliminate the open space requirement.
(Ord. No. 1846, § 2, 11-10-20; Ord. No. 1906, § 73, 10-25-22)
(a)
Common open spaces shall be designed within private development projects for patrons of commercial development and residential communities with amenities as required in [Section] 30-404 below.
(b)
Public open spaces shall be designed as one of the public open space types defined in Exhibit 30-404.A.
(c)
Public open spaces shall include amenities such as seating, lighting, and landscaping.
(d)
Public open spaces shall be built within the development area by developers as development occurs.
(e)
At the discretion of the Planning Director, required open space may be constructed off-site and/or as part of a larger public open space that will be provided by the City or other private developments.
(f)
Common open spaces shall include an amenity such as a tot lot, outdoor sports recreation area, bar-b-que with picnic tables, or equivalent. This requirement can include paseos connecting the amenity to the rest of the site.
(g)
All public open spaces shall abut public right-of-way or be otherwise connected to public sidewalks and shall be open to the public 24 hours per day. At the discretion of the Community Development Planning Director, public access to a public open space may be restricted after dark.
(h)
All public open spaces shall be visible from surrounding streets and masses of shrubs around edges shall be avoided.
(Ord. No. 1906, § 73, 10-25-22)
(a)
All public open spaces shall abut public right-of-way or be otherwise connected to public sidewalks and shall be open to the public 24 hours per day. At the discretion of the Community Development Director, public access to a public open space may be restricted after dark.
(b)
All public open spaces shall be visible from surrounding streets and masses of shrubs around edges shall be avoided.
(c)
Common open spaces shall include an amenity such as a tot lot. outdoor sports recreation area, bar-b-que with picnic tables, paseos, or equivalent.
Exhibit 404.A.—Public Open Space Types
(Ord. No. 1906, § 73, 10-25-22; Ord. No. 1951, § 4(Exh. A), 5-28-24)
Common Open Space Required
Amenities Required
Developers shall provide on-site recreational facilities as a minimum requirement for all multi-family projects.
(1)
Development with less than 35 units shall provide a minimum of ten percent of the project lot area as common open space (private open space that exceeds the minimum may be counted towards the common open space requirement) and shall provide one of the following recreational facilities, or equivalent, as approved by the Director of Planning:
a.
Indoor gym/fitness facility (minimum 500 square feet).
b.
Tot-lot with multiple play equipment.
c.
Spa and pool (minimum 25 yard by 15 yards).
d.
Barbecue facility equipped with built-in grill, picnic benches, etc.
(2)
Development consisting of 35 units to 79 units shall provide three of the recreational facilities listed below, or equivalent, as approved by the Director of Planning:
a.
Indoor gym/fitness facility (minimum 500 square feet).
b.
Tot-lot with multiple play equipment.
c.
Spa and pool (minimum 25 yard by 15 yards).
d.
Barbecue facility equipped with built-in grill, picnic benches, etc. (minimum of three areas).
e.
A minimum of ten percent of the project lot area as common open space. Private open space that exceeds the minimum may be counted towards the common open space requirement.
(3)
Development consisting of 80 units to 200 units shall provide all amenities listed above, or equivalent, as approved by the Director of Planning.
(4)
Development consisting of 201 units to 400 units shall provide all amenities listed above and a minimum of one of the following additional recreational facilities, or equivalent, as approved by the Planning Commission:
a.
Large open lawn area, minimum dimensions shall be 100 feet by 50 feet (e.g. rooftop garden).
b.
Multiple tot-lots with multiple play equipment. The tot-lots shall be conveniently located throughout the site. The number of tot-lots and their location shall be subject to Planning Commission review and approval.
c.
Lap pool and spa (e.g. rooftop, minimum 25 yard by 25 yards).
d.
Community multi-purpose room equipped with kitchen, defined areas for games, exercises, etc.
e.
Barbecue facilities equipped with multiple grills, picnic benches and shade structures. The barbecue facilities shall be conveniently located throughout the site. The number of barbecue facilities and their location shall be subject to Planning Commission review and approval.
f.
Court facilities (e.g. tennis, volleyball, basketball, etc.).
g.
Other recreational facilities not listed above may be considered subject to the Planning Commission review and approval.
h.
Related recreational activities may be grouped together and located at any one area of the common open space. All recreational areas or facilities required by this section shall be maintained by private homeowner's associations, property owners, or private assessment districts.
(5)
Circulation, pedestrian, and vehicular parking. Pedestrian circulation. Each multiple-family residential development shall be designed with adequate walkways to provide convenience to the needs of the residents, guests, and the service providers of public agencies. Pedestrian access to the unifying elements of any development shall be separate from, and free of, conflict with vehicular access ways. All developments consisting of six units or more shall provide directories placed in a convenient location at the development entry.
General Requirements
(1)
Common open spaces shall include amenities such as seating, lighting, and landscaping.
(2)
Public open spaces shall be built within the development area by developers as development occurs.
(3)
At the discretion of the Director of Planning, required open space may be constructed off-site and/or as part of a larger public open space that will be provided by the City or other private developments.
(Ord. No. 1923, § 5(Exh. A), 9-12-23; Ord. No. 1954, § 4(Exh. A), 7-23-24)
(Ord. No. 1923, § 5(Exh. A), 9-12-23)
Editor's note— Ord. No. 1923, § 5(Exh. A), adopted Sept. 12, 2023, amended § 30-405 in its entirety, in effect repealing and reenacting said § 30-405 to read as set out herein. The former § 30-405, pertained to Downtown Form-Based Code sub-district map and derived from Prior Code.
(Ord. No. 1923, § 5(Exh. A), 9-12-23)