BUILDING CODE
(a)
The owner or occupant of each building in the city, other than accessory buildings, shall place and maintain an official building number in Arabic numerals in a conspicuous place on the premises other than the curb so that it can be clearly seen from the public street upon which the building fronts. The number must be placed within 20 days after a certificate of occupancy is issued for a new building.
(b)
The building official shall establish and designate the official building number of each building in the city. The owner of each new building shall apply for and obtain an official building number from the building official.
(c)
An official building number placed pursuant to this section shall be at least three inches high and of a color which contrasts with the background; provided, however, that an official building number placed on both sides of a mailbox or mailbox post located at the curb shall be at least two inches high.
(d)
A building or building complex composed of multiple occupancies or structures must have an official building number assigned to each occupancy or structure. The official building number shall be placed on both the front and the rear of the premises so that it can be clearly seen from the nearest vehicular access, whether a public street or an internal vehicular access.
(Ord. No. 96-02, art. I, § 4-1, 2-19-96)
(a)
After a certificate of occupancy has been issued for a building in accordance with this article, no add-on type of construction such as patio covers, carports, balconies, stoops, porches or any structural alteration of the building shall be made unless a new building permit is first obtained. The plans must be submitted to and approved by the building official.
(b)
Requests for a building permit to allow add-on type construction or structural alteration of a building shall indicate that the proposed construction will be in harmony with the style of the original building.
(1)
Where add-on construction to a single-family detached dwelling in district A involves structural alteration that will increase the square feet of enclosed living area on the ground floor, such add-on construction shall be permitted only to the side or rear of the existing dwelling, as space on the lot may allow while maintaining conformance with the applicable standards for minimum side and rear building setbacks.
a.
Where such add-on construction will result in a finished building height that at any point exceeds the height of the front façade of the existing dwelling at any point, the add-on construction shall be permitted only to the rear of the existing dwelling.
(Ord. No. 96-02, art. I, § 4-2, 2-19-96; Ord. No. 2013-35, § 2(Exh. A), 11-18-13)
For all areas, lowest finished floor elevations shall meet the minimum flood protection elevations. Refer to table 14-5, section 14-222 (5). The lowest finished floor elevation of all dwelling units shall be at least 12 inches above grade, and also shall be a minimum of 12 inches above the top of the curbline. For additions to existing dwelling units located outside of the 100-year floodplain, where the addition will directly communicate to the existing structure and where the lowest contiguous finished floor elevation is lower than 12 inches above grade, then the addition may match the existing lowest contiguous finished floor elevations, provided that: the finish floor elevation is at or above the minimum flood protection elevation; where the provisions for protection against decay found in the International Residential Code and the International Building Code are met; where not in conflict with table 14-5, section 14-222(5); and where in compliance with the provisions found in sections 14-353 and 14-359, as applicable. Streets and lots shall be graded so that all lots can be made to drain from the back of the lot toward the curbline. The lot grade from back to front shall be at least one percent except where rear lot elevations have been established at a lower elevation by previously developed lots to the rear, such lots having a common rear property line with the lot under consideration. When that condition makes general one percent grading impossible, a grading plan must be approved by the building official prior to issuance of a building permit. However, all lots which are adjacent and contiguous to a bayou shall be permitted to drain into the bayou. No additional net fill at each lot is permissible with the exception of fill for slab-on-grade foundation forms if located outside of the limits of the 100-year floodplain and minimal fill as determined by the city used to meet the International Residential Code or International Building Code requirements for drainage away from a structure if located outside of the limits of the 100-year floodplain. Soil cut and fill quantities shall be provided on the construction plans for all earthwork activities.
(Ord. No. 96-02, art. I, § 4-3, 2-19-96; Ord. No. 2011-14, § 5(Exh. E), 3-21-11; Ord. No. 2012-06, § 2, 2-20-12; Ord. No. 2013-20, § 2, 6-17-13; Ord. No. 2020-29, § 2(Exh. A), 12-21-20)
There is hereby adopted for the city for the purpose of establishing rules and regulations for the construction, alteration, removal, demolition, equipment, use and occupancy, location and maintenance of buildings and structures that certain building code known as the "International Building Code," 2024 edition and appendices C, E, F, G and I thereto, as published by the International Code Council, Inc., save and except such portions as are deleted, modified, added or amended as enumerated herein, of which one copy is filed with the city secretary. The code is hereby adopted and incorporated as fully as if set out at length herein, and the provisions of such code shall be controlling in the construction of all buildings and other structures within the city, save and except such portions of such code as may be inconsistent with this article.
(Ord. No. 96-02, art. I, § 4-51, 2-19-96; Ord. No. 99-08, § 1, 4-19-99; Ord. No. 00-12, § 1, 5-15-00; Ord. No. 03-14, § 1, 3-17-03; Ord. No. 05-01, § 1, 1-17-05; Ord. No. 2007-7, § 1, 3-19-07; Ord. No. 2014-19, § 1, 6-16-14; Ord. No. 2019-04, § 1, 2-18-19; Ord. No. 2024-27, § 2, 8-19-24)
(a)
Fees for the issuance of building permits shall be as set out and defined in the schedule of fees.
(b)
Permits for single-family residential construction shall terminate upon expiration of a specified period of time as provided herein:
New structure:
Up to 2,000 square feet .....180 days
2,001 square feet to 3,000 square feet .....270 days
3,001 square feet or more .....360 days
New accessory structure:
Up to 1,000 square feet .....90 days
Pool/spa .....90 days
Paving, including driveways, sidewalks, and patios .....60 days
Additions and remodels .....180 days.
(c)
A building permit may be renewed for a period of time equal to that provided by the original permit. The fee for renewal of a permit shall be two times the fee for the original permit. The fee for each and every subsequent renewal of a permit after the first renewal shall be four times the fee for the original permit.
(d)
A building permit shall terminate if the permitted work is not commenced within 60 days from its issuance or if the permitted work is stopped for 60 days.
(Ord. No. 96-02, art. I, § 4-53, 2-19-96; Ord. No. 99-12, § 2, 5-17-99; Ord. No. 03-14, § 1, 3-17-03; Ord. No. 05-21, § 1, 7-18-05; Ord. No. 2018-26, § 3, 11-19-18; Ord. No. 2019-04, § 2, 2-18-19)
The International Building Code adopted by section 14-351 is hereby amended as set forth in this section:
Chapter 1, Scope and Application, Section 103, Code Compliance Agency, is hereby deleted in its entirety.
Section 105.2 Work exempt from permit is hereby amended by adding thereto modified paragraphs to read as follows:
"Building:"...
1.
One-story detached accessory structures used as tool and storage sheds, playhouses and similar uses, provided that the floor area is not greater than 120 square feet (11 m 2 ) - unless located within an Area of Special Flood Hazards.
2.
Fences both not over 42 inches (1067 mm) high and not over 25 lineal feet. Replacement fencing will be considered new work and must comply with the governing building, development and storm water damage and prevention codes, whether subject to permitting or not.
3.
Oil derricks - unless located within an Area of Special Flood Hazards.
4.
Retaining walls that are not over 4 feet (1219 mm) in height measured from the bottom of the footing to the top of the wall, unless supporting a surcharge or impounding Class I, II or IIIA liquids - unless located within an Area of Special Flood Hazards.
5.
Water tanks supported directly on grade if the capacity is not greater than 5,000 gallons (18,925 L) and the ratio of height to diameter or width is not greater than 2:1 - unless located within an Area of Special Flood Hazards.
6.
Flatwork in a rear yard that is not part of an accessible route in 1 & 2 Family structures..."
7.
Painting, papering, tiling, carpeting, cabinets, counter tops and similar finish work - unless located within an Area of Special Flood Hazards.
8.
Temporary motion picture, television and theater stage sets and scenery - unless located within an Area of Special Flood Hazards.
9.
Prefabricated swimming pools that are less than 24 inches (610 mm) deep, are not greater than 5,000 gallons (18 925 L) and are installed entirely above ground - unless located within an Area of Special Flood Hazards.
10.
Shade cloth structures constructed for nursery or agricultural purposes, not including service systems - unless located in the regulatory floodway.
11.
Swings and other playground equipment - unless located in the regulatory floodway.
12.
Window awnings in Group U occupancies, supported by an exterior wall that do not project more than 54 inches (1372 mm) from the exterior wall and do not require additional support.
Section 105.2.3 Repairs. Application or notice to the building official is not required for ordinary repairs to structures, replacement of lamps or the connection of approved portable electrical equipment to approved permanently installed receptacles. Such repairs shall not include the cutting away of any wall, partition or portion thereof - to include suspended acoustical ceiling modifications - the removal or cutting of any structural beam or load-bearing support, or the removal or change of any required means of egress, or rearrangement of parts of a structure affecting the egress requirements; nor shall ordinary repairs include addition to, alteration of, replacement or relocation of any standpipe, water supply, sewer, drainage, drain leader, gas, soil, waste, vent or similar piping, electric wiring or mechanical or other work affecting public health or general safety.
Section 107.2.6 Site Plan is hereby amended by adding thereto new paragraphs to read as follows:
(a)
For all building sites or lots outside and within the 100-year floodplain according to the latest flood insurance rate map as established by the Federal Emergency Management Agency in the National Flood Insurance Program, an elevation certificate shall be prepared by a qualified surveyor, licensed by the State of Texas, certifying that the elevation of the first floor of the building or structure is at the required height with relation to the curb of the street and/or the base flood elevation. This certificate shall be required once the foundation is formed and ready for inspection.
(b)
A survey shall be prepared by a qualified surveyor, licensed by the State of Texas, for each building site showing that the slab height is at or above the DFE and the distance from interior lot lines. This shall be required at the foundation form make-up or upon completion of sub-flooring framing for pier-and-beam construction.
(c)
An elevation survey shall be prepared by a qualified surveyor, licensed by the State of Texas, for each building site or lot showing that all drainage requirements have been satisfied. This shall be required before a certificate of occupancy is issued.
Section 113, Means of Appeals, is hereby deleted in its entirety.
Section 114.4, Violation penalties, is hereby deleted in its entirety.
Chapter 7, Fire-Resistance-Rated Construction, is hereby amended by adding Section 723, Townhouse Fire Separation, to provide as follows:
Each townhouse shall be considered a separate building and shall be separated from adjoining townhouses by the use of separate exterior walls meeting the requirements for zero clearance from property lines as required by the type of construction and fire protection requirements, or by a party wall; or when not more than three stories in height, may be separated by a single wall meeting the following requirements:
(1)
A firewall shall be constructed of noncombustible materials between each townhouse with a party wall, such as solid masonry, hollow masonry or reinforced concrete or equal where approved by the building official, having no openings and having a fire-resistive rating of not less than four hours, and having sufficient structural stability under fire conditions to allow collapse of construction on either side without collapse of the wall. Firewalls may be loadbearing or nonloadbearing; however, recesses may be cut into firewalls so long as the four-hour fire-resistive rating is not reduced. Plumbing, piping, ducts, electrical or other building services shall not be installed within or through the four-hour wall.
(2)
Firewalls shall start at the foundation and extend continuously through all stories to and above the roof for a distance of not less than 18 inches, except where the roof assembly is of fire-resistive construction having not less than a two-hour fire-resistive rating and the wall is carried up tightly and continuously against the underside of the roof deck.
(3)
For townhouses to be built in a straight-line configuration, that is the units are not staggered either along front or rear walls or rooflines, then in such event the firewalls shall be extended 18 inches beyond the front and rear exterior walls of the common units they protect, and 24 inches above the common roof they protect. For townhouses to be built in a staggered configuration, either front or rear, the firewall shall extend at least 18 inches beyond the adjoining exterior wall. For townhouses which are to be built with staggered rooflines, the firewall shall extend beyond the roofline of the highest of two adjacent roofs unless the elevation of the adjoining rooflines are less than 24 inches apart in which event the firewall shall extend at least 18 inches above the highest of the two adjoining roofs. The extended portion of any firewall required herein shall comply with the requirements of a firewall as set forth in subsection (1) of section 705. In no event shall the extended portion of any firewall required by this subsection which would otherwise be exposed be covered or have attached thereto combustible materials.
(4)
Roof construction of all townhouses and patio homes shall be of metal, slate, tile or fire-retardant fiberglass 225-pound composition shingles or approved equal.
Section 903 Automatic Sprinkler Systems.
903.1.1 of the International Building Code is hereby amended to provide as follows:
Section 903.1.1.1 Exempt Locations. Automatic sprinklers may not be required with the approval of the fire code official in certain rooms or areas located within a structure.
903.2. Where required. Approved automatic sprinkler systems shall be installed throughout all levels to which access is granted of all new Group A, B, E, F, H, I, M, R, S and U occupancies when the building square footage is 3000 square feet or more. In accordance with section 903, and the fire department interpretation and as set in this section, fire walls shall not be added with the intent of separating or dividing a structure for purposes of not installing a fire sprinkler system.
Exceptions: Automatic fire sprinklers are not required in the following open structures: Pavilions, open gazebos, detached canopies or open parking garages as defined by the Building Code. Except for parking garages, open structures shall have a minimum of seventy (70) percent clear opening on all sides.
903.2.1 Group A. An automatic sprinkler system shall be provided throughout buildings and portions thereof used as Group A occupancies in accordance with NFPA 13 installation of sprinkler systems and section 903.2 of the fire department interpretation.
903.2.3 Group E. An automatic sprinkler system shall be provided for Group E occupancies in accordance with NFPA 13 installation of sprinkler systems and section 903.2 of the fire department interpretation.
903.2.4 Group F. An automatic sprinkler system shall be provided throughout all Group F occupancies in accordance with NFPA 13 installation of sprinkler systems and section 903.2 of the fire department interpretation.
903.2.5 Group H. Automatic sprinkler systems shall be provided throughout all high-hazard occupancies in accordance with NFPA 13 installation of sprinkler systems and section 903.2 of the fire department interpretation.
903.2.6 Group I. An automatic sprinkler system shall be provided throughout all Group I occupancies in accordance with NFPA 13 installation of sprinkler systems and section 903.2 of the fire department interpretation.
903.2.7 Group M. An automatic sprinkler system shall be provided throughout all Group M occupancies in accordance with NFPA 13 installation of sprinkler systems and section 903.2 of the fire department interpretation.
903.2.8 Group R. An automatic sprinkler system shall be provided throughout all Group R occupancies in accordance with NFPA 13,13-R or 13-D installation of sprinkler systems and section 903.2 of the fire department interpretation.
903.2.9 Group S-1. An automatic sprinkler system shall be provided throughout all Group S-1 occupancies in accordance with NFPA 13 installation of sprinkler systems and section 903.2 of the fire department interpretation.
903.2.10 Group S-2. An automatic sprinkler system shall be provided throughout all Group S-2 occupancies in accordance with NFPA 13 installation of sprinkler systems and section 903.2 of the fire department interpretation.
903.2.13 Group B. Is added to the International Building Code: An automatic sprinkler system shall be installed throughout all Group B occupancies in accordance with NFPA 13 installation of sprinkler systems and section 903.2 of the fire department interpretation.
903.3 Installation requirements. Automatic sprinkler systems shall be designed and installed in accordance with NFPA 13, 13-R, 13-D installation of sprinkler systems as modified by the fire department interpretation and applications manual.
903.3.7 Fire department connections. The fire department connections shall be located in accordance with section 912 or as approved by the fire code official.
Section 903.4 of the International Building Code is hereby amended to provide as follows:
Section 903.4, Sprinkler System supervision and alarms. All valves controlling the water supply for automatic sprinkler systems shall be electrically supervised. Valves located in a secure location, under the supervision of the property owner, may be supervised in accordance with NFPA 13.
Exceptions: Automatic sprinkler systems protecting one and two-family dwellings. Limited area systems serving fewer than 20 sprinklers. Automatic sprinkler systems installed in accordance with 13R where a common supply main is used to supply both domestic and automatic sprinkler systems and a separate shutoff valve for the automatic sprinkler system is not provided. Jockey pump control valves that are sealed or locked in the open position. Control valves to commercial kitchen hoods, paint spray booths or dip tanks that are sealed or locked in the open position. Valves controlling the fuel supply to fire pump engines that are sealed or locked in the open position. Trim valves to pressure switches in dry, pre-action and deluge sprinkler systems that are sealed or locked in the open position.
Section 903.4.3 of the International Building Code is hereby amended to provide as follows:
Section 903.4.3 Alarms. Approved audible devices shall be connected to every automatic sprinkler system. Such sprinkler water flow alarm devices shall be activated by water flow equivalent to the flow of a single sprinkler of the smallest orifice size installed in the system. Alarm devices shall be provided on the exterior of the building, in an approved location. When water flow supervisions is provided, alarm devices shall be located within the interior of the building to provide an internal evacuation signal throughout the building. Groups R-1, R-2 and Condominiums shall be provided with an alarm signal device in each unit to provide an internal evacuation signal. Where a fire alarm system is installed, actuation of the automatic sprinkler system shall actuate the building fire alarm system.
Section 905.3 of the International Building Code is hereby amended to provide as follows:
Section 905.3. Required installations. Standpipe systems shall be installed where required by Sections 905.3.1 through 905.3.6 and in the locations indicated in Sections 905.4, 905.5, 905.6 and in open or closed automobile parking garages, as defined by the Building Code. Standpipe systems are allowed to be combined with automatic sprinkler systems.
Exception: Standpipe systems are not required in Group R-3 occupancies.
Section 907.2 of the International Building Code is hereby amended to provide as follows:
907.2 Where Required—New buildings and structures. An approved fire alarm system installed in accordance with the provisions of this code and NFPA 72 shall be provided in new buildings and structures.
Chapter 9 is hereby amended by adding Section 908.3 as follows:
Section 908.3. In dwellings and dwelling units, smoke detectors shall be mounted on the ceiling or wall at a point centrally located in the corridor or area giving access to each group of rooms used for sleeping purposes and in each sleeping room, and, in dwellings or dwelling units containing more than one story, on each story including basements, but not including uninhabitable attics, in close proximity to the stairway leading to the floor above. Required smoke detectors shall be wired to the structure's electrical system and shall have battery backup. Required smoke detectors shall be connected so that when one alarm sounds all alarms sound.
Section 912.1 of the International Building Code is hereby amended to provide as follows:
Section 912.1, Installation. New Fire department connections shall be installed in accordance with NFPA standard applicable to the system design. The connection shall be a 5 inch Storz connection and shall comply with sections 912.2 through 912.6.
Section 912.3 of the International Building Code is hereby amended to provide as follows:
912.3 Fire Hose threads. Fire hose threads and fittings used in connection with automatic sprinkler systems shall be national standard thread (NST). Fire Department Connection shall be a 5-inch Storz connection.
Section 1612.3, Establishment of flood hazard areas, is hereby amended to read as follows:
See minimum flood elevation protection graphics at Section 14-334 of the Code of Ordinances.
Chapter 23, to the extent of conflict with the following provisions, is hereby deleted.
(1)
All walls where plumbing drain, waste and vent lines are located shall be two-inch by six-inch sized lumber minimum.
(2)
All framing shall be no more than 16 inches on center including rafters, joists and vertical framing.
(3)
All lumber, including rafters, joists and vertical framing, shall be number 2 grade minimum. Utility grade lumber is not allowed.
Chapter 34, Existing Structures, is hereby amended to read as follows:
(a)
If, within any 12-month period, alterations, additions, renovations, repairs, or any combination thereof, costing in excess of 50 percent of the then physical value of the building are made to an existing building in the floodplain, such building and associated mechanical, electrical, plumbing and fuel gas equipment, fixtures and appurtenances shall be made to conform to the requirements of this code for new buildings in regards to the Design Flood Elevation (DFE).
(b)
If an existing building is damaged by fire or otherwise in excess of 50 percent of its then physical value before such damage is repaired, it shall be made to conform to the requirements of this code for new buildings, except in regards to slab height, where the structure is located outside the floodplain, the footprint is not modified and the slab is intact.
(c)
[Reserved.]
(d)
For the purpose of this section physical value of the building shall be its appraised value as shown on the city's latest tax roll or the value of the building from an appraisal by an independent professional appraiser. Alternatively, upon filing for an appeal to the floodplain manager, a professional market appraisal for the pre-event evaluation, assessed post-event, may be submitted for review.
(e)
If the occupancy of any existing building is entirely changed the building shall be made to conform to the requirements of this code for the new occupancy. If the occupancy of only a portion of an existing building is changed and that portion is separated from the remainder as stipulated in Chapter 3, then only such portion need be made to conform.
(f)
The following are authorized: Repair and alterations, not covered by the preceding paragraphs of this section, restoring a building to its condition previous to damage or deterioration, or altering it in conformity with the provisions of this code or in such manner as will not extend or increase the same kind of materials as those of which the building is constructed; but not more than 25 percent of the roof covering of a building shall be replaced in any period of 12 months unless the entire roof covering is made to conform with the requirements of this Code for new buildings and, where warranted, with the applicable permits.
Appendix G. Section G101.3, Scope, is hereby amended to provide as follows:
The provisions of this appendix shall apply to all proposed development in a flood hazard area established in Section 1612 of this code, including certain building work exempt from permit under Section 105.2. Where in conflict with either/or Part II, Chapter 14, Article I, Section 14-5 and Part II, Chapter 14, Article IX of the Code of Ordinances, the provisions of the most stringent shall apply.
Appendix G, Section G101.4, Violations, shall read as follows:
Any violation of a provision of this appendix, or failure to comply with a permit, or variance, or any requirement of this appendix, shall be handled in accordance with the Code of Ordinances of the City of Jersey Village.
Appendix G, Section G106, Variances, is deleted in its entirety.
(Ord. No. 96-02, art. I, § 4-54, 2-19-96; Ord. No. 00-12, § 2, 5-15-00; Ord. No. 01-23, § 1, 7-16-01; Ord. No. 03-14, § 1, 3-17-03; Ord. No. 2011-14, § 5(Exh. E), 3-21-11; Ord. No. 2013-32, § 1(Exh. A), 10-21-13; Ord. No. 2014-23, § 2(Exh. A), 6-16-14; Ord. No. 2017-51, § 2, 11-20-17; Ord. No. 2019-04, § 3, 2-18-19; Ord. No. 2020-31, § 2(Exh. A), 12-21-20; Ord. No. 2024-27, § 3, 8-19-24)
Editor's note— Ord. No. 03-14, § 1, adopted Mar. 17, 2003, amended §§ 14-351—14-353 to provide as herein set out. Inasmuch as the provisions of the current §§ 14-352 and 14-353 pertained to the same subject matter as former §§ 14-353 and 14-354, § 14-354 was reserved. Formerly, § 14-352 pertained to definitions, derived from Ord. No. 96-02, art. I, § 4-52, adopted Feb. 19, 1996; and Ord. No. 99-12, § 2, adopted May 17, 1999.
(a)
Footings and foundations shall be constructed of grillages of steel, of masonry or of reinforced concrete with the following exception: Temporary structures of secondary buildings not exceeding one story in height and 400 square feet in area shall be exempt from the requirements of this subsection. One-family and two-family dwellings shall be required to have footings and foundations of reinforced concrete. All footings shall extend at least 12 inches below the finished grade. All foundations must be designed and sealed by a licensed professional engineer registered in the state of Texas.
(b)
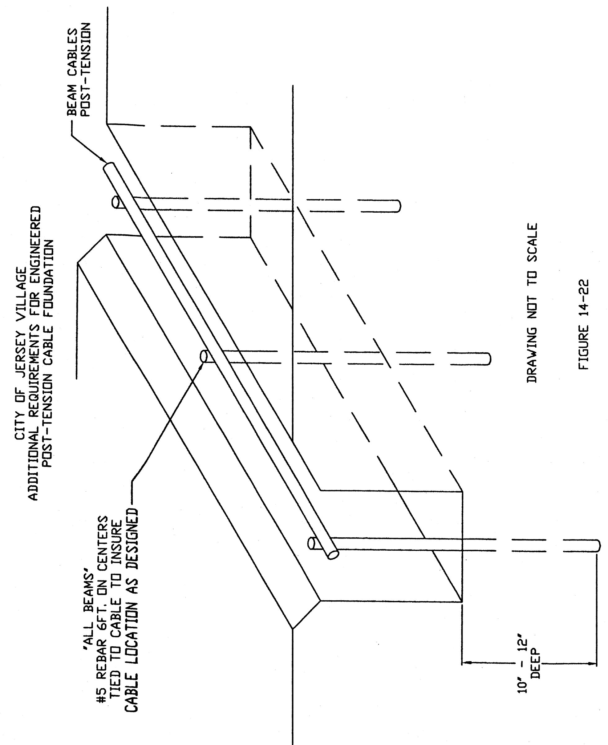
Post-tension foundations shall be designed to meet or exceed the standards provided in Figures 14-21 and 14-22 below. A registered professional engineer shall certify to the building official that the foundation, as built, is in accordance with the plans approved by the city.
Fig.14-21.Post-Tension Cable Foundation
Fig.14-22.Post-Tension Cable Foundation
(c)
A post-tension cable foundation and any other foundation, except a foundation for an addition not exceeding 600 square feet in ground floor area to an existing single-family dwelling, shall be signed and sealed by a registered professional engineer. A foundation for an addition not exceeding 600 square feet in ground floor area to an existing single-family dwelling shall be designed to support all loads. All foundations must be designed and sealed by a licensed professional engineer registered in the state of Texas.
(Ord. No. 96-02, art. I, § 4-55, 2-19-96; Ord. No. 00-12, § 3, 5-15-00; Ord. No. 01-23, § 2, 7-16-01; Ord. No. 02-09, § 1, 4-15-02; Ord. No. 2014-22, § 2(Exh. A), 6-16-14; Ord. No. 2019-04, § 4, 2-18-19)
Wood shingle roofing materials on any building within the city are expressly prohibited.
(Ord. No. 96-02, art. I, § 4-56, 2-19-96)
(a)
The holder of a permit issued under the building code adopted by section 14-351 shall:
(1)
Immediately dispose of all trash, rubbish, and debris present at the work site or which may have blown or transported from the work site to nearby property;
(2)
Maintain on the work site a container or other receptacle adequate to contain all trash, rubbish, and debris generated on the work site and such silt fencing, or other system, as may be necessary to prevent the flow of water and debris onto other property;
(3)
Immediately stack, restack, or otherwise secure all building material, equipment and tools located on or near the work site and not in actual use;
(4)
Immediately clear and sweep all sidewalks and streets used or blocked for construction activity except those areas temporarily barricaded for activities authorized by the permit; and
(5)
Immediately remove all mud, dirt, and debris that may have been deposited on any street or sidewalk in connection with, or as a result of, the work.
(b)
The building official shall have the power to suspend the work at any site not maintained as required by this section.
(Ord. No. 98-27, § 1, 12-14-98; Ord. No. 2007-10, § 1, 3-19-07)
There is hereby adopted for the city for the purpose of establishing rules and regulations for the construction and alteration of one- and two-family dwelling structures that certain code known as the International Residential Code, 2024 edition and appendices A, B, C, D, E, G, H, I, J and K thereto, as published by the International Code Council, Inc., of which one copy is filed with the city secretary. The code is hereby adopted and incorporated as fully as if set out at length herein, and the provisions of such code shall be controlling in the construction of all one- and two-family structures within the city, save and except such portions of the code as may be inconsistent with this article.
(Ord. No. 03-15, § 3, 4-21-03; Ord. No. 05-01, § 2, 1-17-05; Ord. No. 2007-7, § 2, 3-19-07; Ord. No. 2014-19, § 2, 6-16-14; Ord. No. 2019-04, § 5, 2-18-19; Ord. No. 2024-27, § 4, 8-19-24)
The International Residential Code adopted by section 14-358 is hereby amended as set forth in this section:
Chapter 1, Scope and administration, Section R103, Code Compliance Agency, of the International Residential Code, is hereby deleted in its entirety.
Sec. R105 Permits is hereby amended to include a new subsection, Sec. R501.1.1, Additional permits. Temporary storage units and receptacles for debris and rubbish require permits, unless associated with a building permit. Where located in an area of special flood hazard areas (ASFH) special flood hazard area (SFHA), a floodplain development permit will be required.
Section R105.2 Work exempt from permit, is hereby amended to provide as follows:
1.
One-story detached accessory structures, provided that the floor area does not exceed 200 square feet (18.58 m 2 )—unless located in an area of special flood hazards (ASFH) / special flood hazard area (SFHA) then a floodplain development permit will be required.
2.
Fences both not over 42 inches (1067 mm) high and not over 25 lineal feet. Replacement fencing will be considered new work and must comply with the governing building, development and storm water damage and prevention codes, whether subject to permitting or not — though any fencing in an ASFH / SFHA will require a floodplain development permit.
3.
Retaining walls that are not over 4 feet (1219 mm) in height measured from the bottom of the footing to the top of the wall, unless supporting a surcharge—though any retaining wall of any size, height, and whether or not supporting a surcharge in an ASFH / SFHA will require a floodplain development permit.
4.
Water tanks supported directly upon grade if the capacity does not exceed 5,000 gallons (18 927 L) and the ratio of height to diameter or width does not exceed 2 to 1—though any water tank of any capacity or size in an ASFH / SFHA will require a floodplain development permit.
5.
Flatwork in a rear yard—unless located in an ASFH / SFHA, then a floodplain development permit will be required.
6.
Painting, papering, tiling, carpeting, cabinets, counter tops and similar finish work—unless located in an ASFH / SFHA, then a floodplain development permit will be required.
7.
Prefabricated swimming pools that are less than 24 inches (610 mm) deep—though any pool of any capacity or depth in an ASFH / SFHA will require a floodplain development permit.
8.
Swings and other playground equipment—unless located in the regulatory floodway, then a floodplain development permit will be required.
9.
Window awnings supported by an exterior wall that do not project more than 54 inches (1372 mm) from the exterior wall and do not require additional support—though, any awning addition of any size in an ASFH / SFHA will require a floodplain development permit.
10.
Decks not exceeding 200 square feet (18.58 m 2 ) in area, that are not more than 30 inches (762 mm) above grade at any point, are not attached to a dwelling and do not serve the exit door required by Section R311.4—though any deck of any size or height in an ASFH / SFHA will require a Floodplain Development Permit.
Where located within an ASFH / SFHA, a floodplain development permit will also be required for all development, to include work involving the dwelling unit, the dwelling unit's lot, grading and outdoor storage (ex: temporary portable storage units; vehicles that aren't fully licensed and highway ready), temporary refuse containers, etc.
Section R105.2.2, Repairs, is hereby amended by adding thereto a modified opening sentence to read as follows:
Except in an ASFH / SFHA,
Section R106.2, Site Plan, is hereby amended by adding thereto new paragraphs (a), (b) and (c) to read as follows:
(a)
For all building sites or lots outside and in an ASFH / SFHA according to the latest flood insurance rate map (FIRM) as established by the Federal Emergency Management Agency in the National Flood Insurance Program, an elevation certificate shall be prepared by a qualified surveyor, licensed by the State of Texas, certifying that the elevation of the first floor of the building or structure is at the required height with relation to the curb of the street and/or the base flood elevation. This certificate shall be required once the foundation is formed and ready for inspection or, in the case of pier-and-beam construction, when floor decking is installed.
(b)
A survey shall be prepared by a qualified surveyor, licensed by the State of Texas, for each building site showing that the slab height or floor decking is at or above the Design Flood Elevation (DFE) and also show the distance from interior lot lines. This shall be required at the foundation form make-up or upon completion of floor decking for pier-and-beam construction.
(c)
An elevation certificate, topographical survey and civil "As-Builts" shall be prepared by a qualified surveyor, licensed by the State of Texas, for each building site or lot showing that all drainage requirements have been satisfied. This shall be required before a certificate of occupancy is issued.
Section R110.1, Exception No. 2, is hereby deleted.
Section R112, Means of Appeals, is hereby deleted in its entirety.
Section 113.4, Violation penalties, is hereby deleted in its entirety.
Chapter 3, Building Planning.
Table R301 is hereby amended to read:
TABLE R301.2(1)
CLIMATIC AND GEOGRAPHIC DESIGN CRITERIA
or SI: 1 pound per square foot = 0.0479 kPa, 1 mile per hour = 0.447 m/s.
a. Where weathering requires a higher strength concrete or grade of masonry than necessary to satisfy the structural requirements of this code, the frost line depth strength required for weathering shall govern. The weathering column shall be filled in with the weathering index, "negligible," "moderate" or "severe" for concrete as determined from Figure R301.2(4). The grade of masonry units shall be determined from ASTM C34, C55, C62, C73, C90, C129, C145, C216 or C652.
b. Where the frost line depth requires deeper footings than indicated in Figure R403.1(1), the frost line depth strength required for weathering shall govern. The jurisdiction shall fill in the frost line depth column with the minimum depth of footing below finish grade.
c. The jurisdiction shall fill in this part of the table to indicate the need for protection depending on whether there has been a history of local subterranean termite damage.
d. The jurisdiction shall fill in this part of the table with the wind speed from the basic wind speed map [Figure R301.2(5)A]. Wind exposure category shall be determined on a site-specific basis in accordance with Section R301.2.1.4.
e. The outdoor design dry-bulb temperature shall be selected from the columns of 97½-percent values for winter from Appendix D of the International Plumbing Code. Deviations from the Appendix D temperatures shall be permitted to reflect local climates or local weather experience as determined by the building official. [Also see Figure R301.2(1).]
f. The jurisdiction shall fill in this part of the table with the seismic design category determined from Section R301.2.2.1.
g. Effective Flood Insurance Rate Maps (FIRMs) and effective FIRM index dates and Flood Insurance study dates.
h. In accordance with Sections R905.1.2, R905.4.3.1, R905.5.3.1, R905.6.3.1, R905.7.3.1 and R905.8.3.1, where there has been a history of local damage from the effects of ice damming, the jurisdiction shall fill in this part of the table with "YES." Otherwise, the jurisdiction shall fill in this part of the table with "NO."
i. The jurisdiction shall fill in this part of the table with the 100-year return period air freezing index (BF-days) from Figure R403.3(2) or from the 100-year (99 percent) value on the National Climatic Data Center data table "Air Freezing Index-USA Method (Base 32°F)."
j. The jurisdiction shall fill in this part of the table with the mean annual temperature from the National Climatic Data Center data table "Air Freezing Index-USA Method (Base 32°F)."
k. In accordance with Section R301.2.1.5, where there is local historical data documenting structural damage to buildings due to topographic wind speed-up effects, the jurisdiction shall fill in this part of the table with "YES." Otherwise, the jurisdiction shall indicate "NO" in this part of the table.
l. In accordance with Figure R301.2(5)A, where there is local historical data documenting unusual wind conditions, the jurisdiction shall fill in this part of the table with "YES" and identify any specific requirements. Otherwise, the jurisdiction shall indicate "NO" in this part of the table.
m. In accordance with Section R301.2.1.2 the jurisdiction shall indicate the wind-borne debris wind zone(s). Otherwise, the jurisdiction shall indicate "NO" in this part of the table.
n. The jurisdiction shall fill in these sections of the table to establish the design criteria using Table 1a or 1b from ACCA Manual J or established criteria determined by the jurisdiction.
o. The jurisdiction shall fill in this section of the table using the Ground Snow Loads in Figure R301.2(6).
Section, R305.1, Subterranean termite control methods, is hereby amended by adding thereto a modified section to read as follows:
In areas subject to damage from termites as indicated by Table R301.2(1), for all structures of 600 square feet or greater, protection shall be by one, or a combination, of the following methods:
1.
Chemical termiticide treatment in accordance with Section R305.2, except an ASFH/ SFHA.
R306 Flood-Resistant Construction, Section R322.1.4 Establishing the Design Flood Elevation, is hereby amended to read as follows:
See Table R301.2(1).
Section R306.1.10 As-Built Elevation Documentation, is hereby amended to read as follows:
A registered design professional shall prepare and seal a FEMA Elevation Certificate of the elevations specified in Section R306.2 or R306.3. The completed Elevation Certificate shall be provided to the Building Official and/or Floodplain Manager prior to issuance of a certificate of occupancy.
Section R306.1.6 Protection of Mechanical, Plumbing and Electrical systems, is hereby amended to read as follows:
Electrical systems, equipment and components; heating, ventilating, air-conditioning; plumbing appliances and plumbing fixtures; duct systems; and other service equipment shall be located at or above the elevation required in Section R322.2 or R322.3. If replaced as part of a substantial improvement, electrical systems, equipment and components; heating, ventilating, air-conditioning and plumbing appliances and plumbing fixtures; duct systems; and other service equipment shall meet the requirements of this section. Systems, fixtures, and equipment and components shall not be mounted on or penetrate through walls intended to break away under flood loads.
Exception: Locating electrical systems, equipment and components is permitted below the elevation required in Section R322.2 or R322.3 provided that they are designed and installed to prevent water from entering or accumulating within the components and to resist hydrostatic and hydrodynamic loads and stresses, including the effects of buoyancy, during the occurrence of flooding to the design flood elevation in accordance with ASCE 24. Electrical wiring systems are permitted to be located below the required elevation provided that they conform to the provisions of the electrical part of this code for wet locations.
Section R306.1.7 Protection of water supply and sanitary sewage systems, is hereby amended to provide for an additional last sentence:
A dwelling unit's sanitary drains, such as where the flood level rim of the plumbing fixture is below the DFE, may be placed below the DFE where the building's sanitary sewer is protected with a backflow device.
Section R306.2.1 Elevation Requirements, is hereby amended to read as follows:
1.
Buildings and structures shall have the lowest floors elevated to or above the design flood elevation.
2.
In areas of shallow flooding (AO and AH Zones), buildings and structures shall have the lowest floor (including basement) elevated to or above the DFE.
R317 Garages and Carports, Section R317.3 Flood Hazard Areas, is hereby amended to read as follows:
For buildings located in an area of special flood hazards (ASFH) / special flood hazard areas (SFHA) as established by the latest flood insurance rate map (FIRM) and Table R301.2(1), garage floors shall be:
1.
Elevated to or above the design flood elevation as determined in Section R322; or
2.
If the garage floor level is lower than the design flood elevation, the garage shall be used solely for parking, building access or storage and the floor shall be at or above grade on all sides and shall meet the requirements in Section R322, and are otherwise constructed in accordance with this code. All new construction or substantial improvements shall be constructed with materials resistant to flood damage.
Chapter 5, Floors, R506.3.1 Concrete Floors, is hereby amended to read as follows:
Fill material, when utilized in full compliance with other provisions of the code, shall be free of vegetation and foreign material. All fill shall be compacted to assure uniform support of the slab.
Chapter 33, Storm Drainage, P3302.1 Area Drainage, is hereby amended to read as follows:
1.
Storm water flows shall be contained within the property and discharged to a public right-of-way. Acceptable methods to contain flows include use of adequately sized swales, curbs, area inlets, or methods that will contain flows on the development parcel and prevent spill over onto adjacent private property. Fence lines shall be designed to avoid impeding storm water flows within the side lot swales. All swales must be contained within the development parcel unless a recorded easement is provided.
2.
Storm water flows up to the city's design storm shall not go onto an adjacent private property without a drainage easement recorded at the Harris County Clerk's office. No private agreements between property owners will be allowed unless recorded at the county clerk's office and approved by the city.
3.
The use of French drains are not permissible as a drainage element to contain and convey flows to public rights-of-way.
4.
Area drains shall have a minimum grate size of 12 inches by 12 inches and be designed to accommodate the full design storm. Cleanouts shall be provided at all junctions and at every bend.
5.
For single family residential developments, roof drains may be tied into a storm sewer system. All tie in points shall be identified on the construction plans. A minimum pipe diameter of four inches shall be allowed for one roof drain. A minimum pipe diameter of six inches shall be allowed for up to four roof drains. For all other land uses, roof drains shall be properly sized by a registered engineer or architect. The minimum pipe sizes listed for single family developments shall also be used.
Section P3303 Sumps and Pumping Systems. The sump pump, pit and discharge piping shall conform to Sections P3303.1.1 through P3303.1.4.
P3304 Materials. Piping and fittings shall meet the requirements of Sections P3002.1, P3002.2, P3002.3 and P3003. Discharge piping shall include an accessible full flow check valve. Pipe and fittings shall be the same size as, or larger than, pump discharge tapping.
Appendix BO, Existing Buildings and Structures, Section BO102.7 Flood hazard areas is hereby amended by adding new paragraphs (a), (b), (c), (d) and (e) to read as follows:
Work performed in existing buildings located in a flood hazard area as established by Table R301.2(1) shall be subject to the provisions of Section R105.3.1.1, and
(a)
If, within any 12-month period, alterations, additions, renovations, repairs or any combination thereof, costing in excess of 50 percent of the then physical value of the building are made to an existing building in the floodplain, such building and associated mechanical, electrical, plumbing and fuel gas equipment, fixtures and appurtenances shall be made to conform to the requirements of this Code for new buildings in regards to the design flood elevation (DFE).
(b)
If an existing building is damaged by fire or otherwise in excess of 50 percent of its then physical value before such damage is repaired, it shall be made to conform to the requirements of this Code for new buildings, except in regards to slab height, where the structure is located outside the floodplain, the footprint is not modified and the slab is intact.
(c)
[Reserved.]
(d)
For the purpose of this section physical value of the building shall be its appraised value as shown on the city's latest tax roll or the value of the building from an appraisal by an independent professional appraiser. Alternatively, upon filing for an appeal to the floodplain manager, a professional market appraisal for the pre-event evaluation, assessed post-event, may be submitted for review.
(e)
The following are authorized: Repair and alterations, not covered by the preceding paragraphs of this section, restoring a building to its condition previous to damage or deterioration, or altering it in conformity with the provisions of this code or in such manner as will not extend or increase the same kind of materials as those of which the building is constructed; but not more than 25 percent of the roof covering of a building shall be replaced in any period of 12 months unless the entire roof covering is made to conform with the requirements of this code for new buildings and, where warranted, with the applicable permits.
(Ord. No. 2011-14, § 5(Exh. E), 3-21-11; Ord. No. 2013-21, § 2(Exh. A), 6-17-13; Ord. No. 2013-32, § 2(Exh. B), 10-21-13; Ord. No. 2014-24, § 2(Exh. A), 6-16-14; Ord. No. 2017-52, § 2(Exh. A), 11-20-17; Ord. No. 2017-53, § 2(Exh. A), 12-18-17; Ord. No. 2019-04, § 6, 2-18-19; Ord. No. 2020-30, § 2(Exh. A), 12-21-20; Ord. No. 2024-27, § 5, 8-19-24)
BUILDING CODE
(a)
The owner or occupant of each building in the city, other than accessory buildings, shall place and maintain an official building number in Arabic numerals in a conspicuous place on the premises other than the curb so that it can be clearly seen from the public street upon which the building fronts. The number must be placed within 20 days after a certificate of occupancy is issued for a new building.
(b)
The building official shall establish and designate the official building number of each building in the city. The owner of each new building shall apply for and obtain an official building number from the building official.
(c)
An official building number placed pursuant to this section shall be at least three inches high and of a color which contrasts with the background; provided, however, that an official building number placed on both sides of a mailbox or mailbox post located at the curb shall be at least two inches high.
(d)
A building or building complex composed of multiple occupancies or structures must have an official building number assigned to each occupancy or structure. The official building number shall be placed on both the front and the rear of the premises so that it can be clearly seen from the nearest vehicular access, whether a public street or an internal vehicular access.
(Ord. No. 96-02, art. I, § 4-1, 2-19-96)
(a)
After a certificate of occupancy has been issued for a building in accordance with this article, no add-on type of construction such as patio covers, carports, balconies, stoops, porches or any structural alteration of the building shall be made unless a new building permit is first obtained. The plans must be submitted to and approved by the building official.
(b)
Requests for a building permit to allow add-on type construction or structural alteration of a building shall indicate that the proposed construction will be in harmony with the style of the original building.
(1)
Where add-on construction to a single-family detached dwelling in district A involves structural alteration that will increase the square feet of enclosed living area on the ground floor, such add-on construction shall be permitted only to the side or rear of the existing dwelling, as space on the lot may allow while maintaining conformance with the applicable standards for minimum side and rear building setbacks.
a.
Where such add-on construction will result in a finished building height that at any point exceeds the height of the front façade of the existing dwelling at any point, the add-on construction shall be permitted only to the rear of the existing dwelling.
(Ord. No. 96-02, art. I, § 4-2, 2-19-96; Ord. No. 2013-35, § 2(Exh. A), 11-18-13)
For all areas, lowest finished floor elevations shall meet the minimum flood protection elevations. Refer to table 14-5, section 14-222 (5). The lowest finished floor elevation of all dwelling units shall be at least 12 inches above grade, and also shall be a minimum of 12 inches above the top of the curbline. For additions to existing dwelling units located outside of the 100-year floodplain, where the addition will directly communicate to the existing structure and where the lowest contiguous finished floor elevation is lower than 12 inches above grade, then the addition may match the existing lowest contiguous finished floor elevations, provided that: the finish floor elevation is at or above the minimum flood protection elevation; where the provisions for protection against decay found in the International Residential Code and the International Building Code are met; where not in conflict with table 14-5, section 14-222(5); and where in compliance with the provisions found in sections 14-353 and 14-359, as applicable. Streets and lots shall be graded so that all lots can be made to drain from the back of the lot toward the curbline. The lot grade from back to front shall be at least one percent except where rear lot elevations have been established at a lower elevation by previously developed lots to the rear, such lots having a common rear property line with the lot under consideration. When that condition makes general one percent grading impossible, a grading plan must be approved by the building official prior to issuance of a building permit. However, all lots which are adjacent and contiguous to a bayou shall be permitted to drain into the bayou. No additional net fill at each lot is permissible with the exception of fill for slab-on-grade foundation forms if located outside of the limits of the 100-year floodplain and minimal fill as determined by the city used to meet the International Residential Code or International Building Code requirements for drainage away from a structure if located outside of the limits of the 100-year floodplain. Soil cut and fill quantities shall be provided on the construction plans for all earthwork activities.
(Ord. No. 96-02, art. I, § 4-3, 2-19-96; Ord. No. 2011-14, § 5(Exh. E), 3-21-11; Ord. No. 2012-06, § 2, 2-20-12; Ord. No. 2013-20, § 2, 6-17-13; Ord. No. 2020-29, § 2(Exh. A), 12-21-20)
There is hereby adopted for the city for the purpose of establishing rules and regulations for the construction, alteration, removal, demolition, equipment, use and occupancy, location and maintenance of buildings and structures that certain building code known as the "International Building Code," 2024 edition and appendices C, E, F, G and I thereto, as published by the International Code Council, Inc., save and except such portions as are deleted, modified, added or amended as enumerated herein, of which one copy is filed with the city secretary. The code is hereby adopted and incorporated as fully as if set out at length herein, and the provisions of such code shall be controlling in the construction of all buildings and other structures within the city, save and except such portions of such code as may be inconsistent with this article.
(Ord. No. 96-02, art. I, § 4-51, 2-19-96; Ord. No. 99-08, § 1, 4-19-99; Ord. No. 00-12, § 1, 5-15-00; Ord. No. 03-14, § 1, 3-17-03; Ord. No. 05-01, § 1, 1-17-05; Ord. No. 2007-7, § 1, 3-19-07; Ord. No. 2014-19, § 1, 6-16-14; Ord. No. 2019-04, § 1, 2-18-19; Ord. No. 2024-27, § 2, 8-19-24)
(a)
Fees for the issuance of building permits shall be as set out and defined in the schedule of fees.
(b)
Permits for single-family residential construction shall terminate upon expiration of a specified period of time as provided herein:
New structure:
Up to 2,000 square feet .....180 days
2,001 square feet to 3,000 square feet .....270 days
3,001 square feet or more .....360 days
New accessory structure:
Up to 1,000 square feet .....90 days
Pool/spa .....90 days
Paving, including driveways, sidewalks, and patios .....60 days
Additions and remodels .....180 days.
(c)
A building permit may be renewed for a period of time equal to that provided by the original permit. The fee for renewal of a permit shall be two times the fee for the original permit. The fee for each and every subsequent renewal of a permit after the first renewal shall be four times the fee for the original permit.
(d)
A building permit shall terminate if the permitted work is not commenced within 60 days from its issuance or if the permitted work is stopped for 60 days.
(Ord. No. 96-02, art. I, § 4-53, 2-19-96; Ord. No. 99-12, § 2, 5-17-99; Ord. No. 03-14, § 1, 3-17-03; Ord. No. 05-21, § 1, 7-18-05; Ord. No. 2018-26, § 3, 11-19-18; Ord. No. 2019-04, § 2, 2-18-19)
The International Building Code adopted by section 14-351 is hereby amended as set forth in this section:
Chapter 1, Scope and Application, Section 103, Code Compliance Agency, is hereby deleted in its entirety.
Section 105.2 Work exempt from permit is hereby amended by adding thereto modified paragraphs to read as follows:
"Building:"...
1.
One-story detached accessory structures used as tool and storage sheds, playhouses and similar uses, provided that the floor area is not greater than 120 square feet (11 m 2 ) - unless located within an Area of Special Flood Hazards.
2.
Fences both not over 42 inches (1067 mm) high and not over 25 lineal feet. Replacement fencing will be considered new work and must comply with the governing building, development and storm water damage and prevention codes, whether subject to permitting or not.
3.
Oil derricks - unless located within an Area of Special Flood Hazards.
4.
Retaining walls that are not over 4 feet (1219 mm) in height measured from the bottom of the footing to the top of the wall, unless supporting a surcharge or impounding Class I, II or IIIA liquids - unless located within an Area of Special Flood Hazards.
5.
Water tanks supported directly on grade if the capacity is not greater than 5,000 gallons (18,925 L) and the ratio of height to diameter or width is not greater than 2:1 - unless located within an Area of Special Flood Hazards.
6.
Flatwork in a rear yard that is not part of an accessible route in 1 & 2 Family structures..."
7.
Painting, papering, tiling, carpeting, cabinets, counter tops and similar finish work - unless located within an Area of Special Flood Hazards.
8.
Temporary motion picture, television and theater stage sets and scenery - unless located within an Area of Special Flood Hazards.
9.
Prefabricated swimming pools that are less than 24 inches (610 mm) deep, are not greater than 5,000 gallons (18 925 L) and are installed entirely above ground - unless located within an Area of Special Flood Hazards.
10.
Shade cloth structures constructed for nursery or agricultural purposes, not including service systems - unless located in the regulatory floodway.
11.
Swings and other playground equipment - unless located in the regulatory floodway.
12.
Window awnings in Group U occupancies, supported by an exterior wall that do not project more than 54 inches (1372 mm) from the exterior wall and do not require additional support.
Section 105.2.3 Repairs. Application or notice to the building official is not required for ordinary repairs to structures, replacement of lamps or the connection of approved portable electrical equipment to approved permanently installed receptacles. Such repairs shall not include the cutting away of any wall, partition or portion thereof - to include suspended acoustical ceiling modifications - the removal or cutting of any structural beam or load-bearing support, or the removal or change of any required means of egress, or rearrangement of parts of a structure affecting the egress requirements; nor shall ordinary repairs include addition to, alteration of, replacement or relocation of any standpipe, water supply, sewer, drainage, drain leader, gas, soil, waste, vent or similar piping, electric wiring or mechanical or other work affecting public health or general safety.
Section 107.2.6 Site Plan is hereby amended by adding thereto new paragraphs to read as follows:
(a)
For all building sites or lots outside and within the 100-year floodplain according to the latest flood insurance rate map as established by the Federal Emergency Management Agency in the National Flood Insurance Program, an elevation certificate shall be prepared by a qualified surveyor, licensed by the State of Texas, certifying that the elevation of the first floor of the building or structure is at the required height with relation to the curb of the street and/or the base flood elevation. This certificate shall be required once the foundation is formed and ready for inspection.
(b)
A survey shall be prepared by a qualified surveyor, licensed by the State of Texas, for each building site showing that the slab height is at or above the DFE and the distance from interior lot lines. This shall be required at the foundation form make-up or upon completion of sub-flooring framing for pier-and-beam construction.
(c)
An elevation survey shall be prepared by a qualified surveyor, licensed by the State of Texas, for each building site or lot showing that all drainage requirements have been satisfied. This shall be required before a certificate of occupancy is issued.
Section 113, Means of Appeals, is hereby deleted in its entirety.
Section 114.4, Violation penalties, is hereby deleted in its entirety.
Chapter 7, Fire-Resistance-Rated Construction, is hereby amended by adding Section 723, Townhouse Fire Separation, to provide as follows:
Each townhouse shall be considered a separate building and shall be separated from adjoining townhouses by the use of separate exterior walls meeting the requirements for zero clearance from property lines as required by the type of construction and fire protection requirements, or by a party wall; or when not more than three stories in height, may be separated by a single wall meeting the following requirements:
(1)
A firewall shall be constructed of noncombustible materials between each townhouse with a party wall, such as solid masonry, hollow masonry or reinforced concrete or equal where approved by the building official, having no openings and having a fire-resistive rating of not less than four hours, and having sufficient structural stability under fire conditions to allow collapse of construction on either side without collapse of the wall. Firewalls may be loadbearing or nonloadbearing; however, recesses may be cut into firewalls so long as the four-hour fire-resistive rating is not reduced. Plumbing, piping, ducts, electrical or other building services shall not be installed within or through the four-hour wall.
(2)
Firewalls shall start at the foundation and extend continuously through all stories to and above the roof for a distance of not less than 18 inches, except where the roof assembly is of fire-resistive construction having not less than a two-hour fire-resistive rating and the wall is carried up tightly and continuously against the underside of the roof deck.
(3)
For townhouses to be built in a straight-line configuration, that is the units are not staggered either along front or rear walls or rooflines, then in such event the firewalls shall be extended 18 inches beyond the front and rear exterior walls of the common units they protect, and 24 inches above the common roof they protect. For townhouses to be built in a staggered configuration, either front or rear, the firewall shall extend at least 18 inches beyond the adjoining exterior wall. For townhouses which are to be built with staggered rooflines, the firewall shall extend beyond the roofline of the highest of two adjacent roofs unless the elevation of the adjoining rooflines are less than 24 inches apart in which event the firewall shall extend at least 18 inches above the highest of the two adjoining roofs. The extended portion of any firewall required herein shall comply with the requirements of a firewall as set forth in subsection (1) of section 705. In no event shall the extended portion of any firewall required by this subsection which would otherwise be exposed be covered or have attached thereto combustible materials.
(4)
Roof construction of all townhouses and patio homes shall be of metal, slate, tile or fire-retardant fiberglass 225-pound composition shingles or approved equal.
Section 903 Automatic Sprinkler Systems.
903.1.1 of the International Building Code is hereby amended to provide as follows:
Section 903.1.1.1 Exempt Locations. Automatic sprinklers may not be required with the approval of the fire code official in certain rooms or areas located within a structure.
903.2. Where required. Approved automatic sprinkler systems shall be installed throughout all levels to which access is granted of all new Group A, B, E, F, H, I, M, R, S and U occupancies when the building square footage is 3000 square feet or more. In accordance with section 903, and the fire department interpretation and as set in this section, fire walls shall not be added with the intent of separating or dividing a structure for purposes of not installing a fire sprinkler system.
Exceptions: Automatic fire sprinklers are not required in the following open structures: Pavilions, open gazebos, detached canopies or open parking garages as defined by the Building Code. Except for parking garages, open structures shall have a minimum of seventy (70) percent clear opening on all sides.
903.2.1 Group A. An automatic sprinkler system shall be provided throughout buildings and portions thereof used as Group A occupancies in accordance with NFPA 13 installation of sprinkler systems and section 903.2 of the fire department interpretation.
903.2.3 Group E. An automatic sprinkler system shall be provided for Group E occupancies in accordance with NFPA 13 installation of sprinkler systems and section 903.2 of the fire department interpretation.
903.2.4 Group F. An automatic sprinkler system shall be provided throughout all Group F occupancies in accordance with NFPA 13 installation of sprinkler systems and section 903.2 of the fire department interpretation.
903.2.5 Group H. Automatic sprinkler systems shall be provided throughout all high-hazard occupancies in accordance with NFPA 13 installation of sprinkler systems and section 903.2 of the fire department interpretation.
903.2.6 Group I. An automatic sprinkler system shall be provided throughout all Group I occupancies in accordance with NFPA 13 installation of sprinkler systems and section 903.2 of the fire department interpretation.
903.2.7 Group M. An automatic sprinkler system shall be provided throughout all Group M occupancies in accordance with NFPA 13 installation of sprinkler systems and section 903.2 of the fire department interpretation.
903.2.8 Group R. An automatic sprinkler system shall be provided throughout all Group R occupancies in accordance with NFPA 13,13-R or 13-D installation of sprinkler systems and section 903.2 of the fire department interpretation.
903.2.9 Group S-1. An automatic sprinkler system shall be provided throughout all Group S-1 occupancies in accordance with NFPA 13 installation of sprinkler systems and section 903.2 of the fire department interpretation.
903.2.10 Group S-2. An automatic sprinkler system shall be provided throughout all Group S-2 occupancies in accordance with NFPA 13 installation of sprinkler systems and section 903.2 of the fire department interpretation.
903.2.13 Group B. Is added to the International Building Code: An automatic sprinkler system shall be installed throughout all Group B occupancies in accordance with NFPA 13 installation of sprinkler systems and section 903.2 of the fire department interpretation.
903.3 Installation requirements. Automatic sprinkler systems shall be designed and installed in accordance with NFPA 13, 13-R, 13-D installation of sprinkler systems as modified by the fire department interpretation and applications manual.
903.3.7 Fire department connections. The fire department connections shall be located in accordance with section 912 or as approved by the fire code official.
Section 903.4 of the International Building Code is hereby amended to provide as follows:
Section 903.4, Sprinkler System supervision and alarms. All valves controlling the water supply for automatic sprinkler systems shall be electrically supervised. Valves located in a secure location, under the supervision of the property owner, may be supervised in accordance with NFPA 13.
Exceptions: Automatic sprinkler systems protecting one and two-family dwellings. Limited area systems serving fewer than 20 sprinklers. Automatic sprinkler systems installed in accordance with 13R where a common supply main is used to supply both domestic and automatic sprinkler systems and a separate shutoff valve for the automatic sprinkler system is not provided. Jockey pump control valves that are sealed or locked in the open position. Control valves to commercial kitchen hoods, paint spray booths or dip tanks that are sealed or locked in the open position. Valves controlling the fuel supply to fire pump engines that are sealed or locked in the open position. Trim valves to pressure switches in dry, pre-action and deluge sprinkler systems that are sealed or locked in the open position.
Section 903.4.3 of the International Building Code is hereby amended to provide as follows:
Section 903.4.3 Alarms. Approved audible devices shall be connected to every automatic sprinkler system. Such sprinkler water flow alarm devices shall be activated by water flow equivalent to the flow of a single sprinkler of the smallest orifice size installed in the system. Alarm devices shall be provided on the exterior of the building, in an approved location. When water flow supervisions is provided, alarm devices shall be located within the interior of the building to provide an internal evacuation signal throughout the building. Groups R-1, R-2 and Condominiums shall be provided with an alarm signal device in each unit to provide an internal evacuation signal. Where a fire alarm system is installed, actuation of the automatic sprinkler system shall actuate the building fire alarm system.
Section 905.3 of the International Building Code is hereby amended to provide as follows:
Section 905.3. Required installations. Standpipe systems shall be installed where required by Sections 905.3.1 through 905.3.6 and in the locations indicated in Sections 905.4, 905.5, 905.6 and in open or closed automobile parking garages, as defined by the Building Code. Standpipe systems are allowed to be combined with automatic sprinkler systems.
Exception: Standpipe systems are not required in Group R-3 occupancies.
Section 907.2 of the International Building Code is hereby amended to provide as follows:
907.2 Where Required—New buildings and structures. An approved fire alarm system installed in accordance with the provisions of this code and NFPA 72 shall be provided in new buildings and structures.
Chapter 9 is hereby amended by adding Section 908.3 as follows:
Section 908.3. In dwellings and dwelling units, smoke detectors shall be mounted on the ceiling or wall at a point centrally located in the corridor or area giving access to each group of rooms used for sleeping purposes and in each sleeping room, and, in dwellings or dwelling units containing more than one story, on each story including basements, but not including uninhabitable attics, in close proximity to the stairway leading to the floor above. Required smoke detectors shall be wired to the structure's electrical system and shall have battery backup. Required smoke detectors shall be connected so that when one alarm sounds all alarms sound.
Section 912.1 of the International Building Code is hereby amended to provide as follows:
Section 912.1, Installation. New Fire department connections shall be installed in accordance with NFPA standard applicable to the system design. The connection shall be a 5 inch Storz connection and shall comply with sections 912.2 through 912.6.
Section 912.3 of the International Building Code is hereby amended to provide as follows:
912.3 Fire Hose threads. Fire hose threads and fittings used in connection with automatic sprinkler systems shall be national standard thread (NST). Fire Department Connection shall be a 5-inch Storz connection.
Section 1612.3, Establishment of flood hazard areas, is hereby amended to read as follows:
See minimum flood elevation protection graphics at Section 14-334 of the Code of Ordinances.
Chapter 23, to the extent of conflict with the following provisions, is hereby deleted.
(1)
All walls where plumbing drain, waste and vent lines are located shall be two-inch by six-inch sized lumber minimum.
(2)
All framing shall be no more than 16 inches on center including rafters, joists and vertical framing.
(3)
All lumber, including rafters, joists and vertical framing, shall be number 2 grade minimum. Utility grade lumber is not allowed.
Chapter 34, Existing Structures, is hereby amended to read as follows:
(a)
If, within any 12-month period, alterations, additions, renovations, repairs, or any combination thereof, costing in excess of 50 percent of the then physical value of the building are made to an existing building in the floodplain, such building and associated mechanical, electrical, plumbing and fuel gas equipment, fixtures and appurtenances shall be made to conform to the requirements of this code for new buildings in regards to the Design Flood Elevation (DFE).
(b)
If an existing building is damaged by fire or otherwise in excess of 50 percent of its then physical value before such damage is repaired, it shall be made to conform to the requirements of this code for new buildings, except in regards to slab height, where the structure is located outside the floodplain, the footprint is not modified and the slab is intact.
(c)
[Reserved.]
(d)
For the purpose of this section physical value of the building shall be its appraised value as shown on the city's latest tax roll or the value of the building from an appraisal by an independent professional appraiser. Alternatively, upon filing for an appeal to the floodplain manager, a professional market appraisal for the pre-event evaluation, assessed post-event, may be submitted for review.
(e)
If the occupancy of any existing building is entirely changed the building shall be made to conform to the requirements of this code for the new occupancy. If the occupancy of only a portion of an existing building is changed and that portion is separated from the remainder as stipulated in Chapter 3, then only such portion need be made to conform.
(f)
The following are authorized: Repair and alterations, not covered by the preceding paragraphs of this section, restoring a building to its condition previous to damage or deterioration, or altering it in conformity with the provisions of this code or in such manner as will not extend or increase the same kind of materials as those of which the building is constructed; but not more than 25 percent of the roof covering of a building shall be replaced in any period of 12 months unless the entire roof covering is made to conform with the requirements of this Code for new buildings and, where warranted, with the applicable permits.
Appendix G. Section G101.3, Scope, is hereby amended to provide as follows:
The provisions of this appendix shall apply to all proposed development in a flood hazard area established in Section 1612 of this code, including certain building work exempt from permit under Section 105.2. Where in conflict with either/or Part II, Chapter 14, Article I, Section 14-5 and Part II, Chapter 14, Article IX of the Code of Ordinances, the provisions of the most stringent shall apply.
Appendix G, Section G101.4, Violations, shall read as follows:
Any violation of a provision of this appendix, or failure to comply with a permit, or variance, or any requirement of this appendix, shall be handled in accordance with the Code of Ordinances of the City of Jersey Village.
Appendix G, Section G106, Variances, is deleted in its entirety.
(Ord. No. 96-02, art. I, § 4-54, 2-19-96; Ord. No. 00-12, § 2, 5-15-00; Ord. No. 01-23, § 1, 7-16-01; Ord. No. 03-14, § 1, 3-17-03; Ord. No. 2011-14, § 5(Exh. E), 3-21-11; Ord. No. 2013-32, § 1(Exh. A), 10-21-13; Ord. No. 2014-23, § 2(Exh. A), 6-16-14; Ord. No. 2017-51, § 2, 11-20-17; Ord. No. 2019-04, § 3, 2-18-19; Ord. No. 2020-31, § 2(Exh. A), 12-21-20; Ord. No. 2024-27, § 3, 8-19-24)
Editor's note— Ord. No. 03-14, § 1, adopted Mar. 17, 2003, amended §§ 14-351—14-353 to provide as herein set out. Inasmuch as the provisions of the current §§ 14-352 and 14-353 pertained to the same subject matter as former §§ 14-353 and 14-354, § 14-354 was reserved. Formerly, § 14-352 pertained to definitions, derived from Ord. No. 96-02, art. I, § 4-52, adopted Feb. 19, 1996; and Ord. No. 99-12, § 2, adopted May 17, 1999.
(a)
Footings and foundations shall be constructed of grillages of steel, of masonry or of reinforced concrete with the following exception: Temporary structures of secondary buildings not exceeding one story in height and 400 square feet in area shall be exempt from the requirements of this subsection. One-family and two-family dwellings shall be required to have footings and foundations of reinforced concrete. All footings shall extend at least 12 inches below the finished grade. All foundations must be designed and sealed by a licensed professional engineer registered in the state of Texas.
(b)
Post-tension foundations shall be designed to meet or exceed the standards provided in Figures 14-21 and 14-22 below. A registered professional engineer shall certify to the building official that the foundation, as built, is in accordance with the plans approved by the city.
Fig.14-21.Post-Tension Cable Foundation
Fig.14-22.Post-Tension Cable Foundation
(c)
A post-tension cable foundation and any other foundation, except a foundation for an addition not exceeding 600 square feet in ground floor area to an existing single-family dwelling, shall be signed and sealed by a registered professional engineer. A foundation for an addition not exceeding 600 square feet in ground floor area to an existing single-family dwelling shall be designed to support all loads. All foundations must be designed and sealed by a licensed professional engineer registered in the state of Texas.
(Ord. No. 96-02, art. I, § 4-55, 2-19-96; Ord. No. 00-12, § 3, 5-15-00; Ord. No. 01-23, § 2, 7-16-01; Ord. No. 02-09, § 1, 4-15-02; Ord. No. 2014-22, § 2(Exh. A), 6-16-14; Ord. No. 2019-04, § 4, 2-18-19)
Wood shingle roofing materials on any building within the city are expressly prohibited.
(Ord. No. 96-02, art. I, § 4-56, 2-19-96)
(a)
The holder of a permit issued under the building code adopted by section 14-351 shall:
(1)
Immediately dispose of all trash, rubbish, and debris present at the work site or which may have blown or transported from the work site to nearby property;
(2)
Maintain on the work site a container or other receptacle adequate to contain all trash, rubbish, and debris generated on the work site and such silt fencing, or other system, as may be necessary to prevent the flow of water and debris onto other property;
(3)
Immediately stack, restack, or otherwise secure all building material, equipment and tools located on or near the work site and not in actual use;
(4)
Immediately clear and sweep all sidewalks and streets used or blocked for construction activity except those areas temporarily barricaded for activities authorized by the permit; and
(5)
Immediately remove all mud, dirt, and debris that may have been deposited on any street or sidewalk in connection with, or as a result of, the work.
(b)
The building official shall have the power to suspend the work at any site not maintained as required by this section.
(Ord. No. 98-27, § 1, 12-14-98; Ord. No. 2007-10, § 1, 3-19-07)
There is hereby adopted for the city for the purpose of establishing rules and regulations for the construction and alteration of one- and two-family dwelling structures that certain code known as the International Residential Code, 2024 edition and appendices A, B, C, D, E, G, H, I, J and K thereto, as published by the International Code Council, Inc., of which one copy is filed with the city secretary. The code is hereby adopted and incorporated as fully as if set out at length herein, and the provisions of such code shall be controlling in the construction of all one- and two-family structures within the city, save and except such portions of the code as may be inconsistent with this article.
(Ord. No. 03-15, § 3, 4-21-03; Ord. No. 05-01, § 2, 1-17-05; Ord. No. 2007-7, § 2, 3-19-07; Ord. No. 2014-19, § 2, 6-16-14; Ord. No. 2019-04, § 5, 2-18-19; Ord. No. 2024-27, § 4, 8-19-24)
The International Residential Code adopted by section 14-358 is hereby amended as set forth in this section:
Chapter 1, Scope and administration, Section R103, Code Compliance Agency, of the International Residential Code, is hereby deleted in its entirety.
Sec. R105 Permits is hereby amended to include a new subsection, Sec. R501.1.1, Additional permits. Temporary storage units and receptacles for debris and rubbish require permits, unless associated with a building permit. Where located in an area of special flood hazard areas (ASFH) special flood hazard area (SFHA), a floodplain development permit will be required.
Section R105.2 Work exempt from permit, is hereby amended to provide as follows:
1.
One-story detached accessory structures, provided that the floor area does not exceed 200 square feet (18.58 m 2 )—unless located in an area of special flood hazards (ASFH) / special flood hazard area (SFHA) then a floodplain development permit will be required.
2.
Fences both not over 42 inches (1067 mm) high and not over 25 lineal feet. Replacement fencing will be considered new work and must comply with the governing building, development and storm water damage and prevention codes, whether subject to permitting or not — though any fencing in an ASFH / SFHA will require a floodplain development permit.
3.
Retaining walls that are not over 4 feet (1219 mm) in height measured from the bottom of the footing to the top of the wall, unless supporting a surcharge—though any retaining wall of any size, height, and whether or not supporting a surcharge in an ASFH / SFHA will require a floodplain development permit.
4.
Water tanks supported directly upon grade if the capacity does not exceed 5,000 gallons (18 927 L) and the ratio of height to diameter or width does not exceed 2 to 1—though any water tank of any capacity or size in an ASFH / SFHA will require a floodplain development permit.
5.
Flatwork in a rear yard—unless located in an ASFH / SFHA, then a floodplain development permit will be required.
6.
Painting, papering, tiling, carpeting, cabinets, counter tops and similar finish work—unless located in an ASFH / SFHA, then a floodplain development permit will be required.
7.
Prefabricated swimming pools that are less than 24 inches (610 mm) deep—though any pool of any capacity or depth in an ASFH / SFHA will require a floodplain development permit.
8.
Swings and other playground equipment—unless located in the regulatory floodway, then a floodplain development permit will be required.
9.
Window awnings supported by an exterior wall that do not project more than 54 inches (1372 mm) from the exterior wall and do not require additional support—though, any awning addition of any size in an ASFH / SFHA will require a floodplain development permit.
10.
Decks not exceeding 200 square feet (18.58 m 2 ) in area, that are not more than 30 inches (762 mm) above grade at any point, are not attached to a dwelling and do not serve the exit door required by Section R311.4—though any deck of any size or height in an ASFH / SFHA will require a Floodplain Development Permit.
Where located within an ASFH / SFHA, a floodplain development permit will also be required for all development, to include work involving the dwelling unit, the dwelling unit's lot, grading and outdoor storage (ex: temporary portable storage units; vehicles that aren't fully licensed and highway ready), temporary refuse containers, etc.
Section R105.2.2, Repairs, is hereby amended by adding thereto a modified opening sentence to read as follows:
Except in an ASFH / SFHA,
Section R106.2, Site Plan, is hereby amended by adding thereto new paragraphs (a), (b) and (c) to read as follows:
(a)
For all building sites or lots outside and in an ASFH / SFHA according to the latest flood insurance rate map (FIRM) as established by the Federal Emergency Management Agency in the National Flood Insurance Program, an elevation certificate shall be prepared by a qualified surveyor, licensed by the State of Texas, certifying that the elevation of the first floor of the building or structure is at the required height with relation to the curb of the street and/or the base flood elevation. This certificate shall be required once the foundation is formed and ready for inspection or, in the case of pier-and-beam construction, when floor decking is installed.
(b)
A survey shall be prepared by a qualified surveyor, licensed by the State of Texas, for each building site showing that the slab height or floor decking is at or above the Design Flood Elevation (DFE) and also show the distance from interior lot lines. This shall be required at the foundation form make-up or upon completion of floor decking for pier-and-beam construction.
(c)
An elevation certificate, topographical survey and civil "As-Builts" shall be prepared by a qualified surveyor, licensed by the State of Texas, for each building site or lot showing that all drainage requirements have been satisfied. This shall be required before a certificate of occupancy is issued.
Section R110.1, Exception No. 2, is hereby deleted.
Section R112, Means of Appeals, is hereby deleted in its entirety.
Section 113.4, Violation penalties, is hereby deleted in its entirety.
Chapter 3, Building Planning.
Table R301 is hereby amended to read:
TABLE R301.2(1)
CLIMATIC AND GEOGRAPHIC DESIGN CRITERIA
or SI: 1 pound per square foot = 0.0479 kPa, 1 mile per hour = 0.447 m/s.
a. Where weathering requires a higher strength concrete or grade of masonry than necessary to satisfy the structural requirements of this code, the frost line depth strength required for weathering shall govern. The weathering column shall be filled in with the weathering index, "negligible," "moderate" or "severe" for concrete as determined from Figure R301.2(4). The grade of masonry units shall be determined from ASTM C34, C55, C62, C73, C90, C129, C145, C216 or C652.
b. Where the frost line depth requires deeper footings than indicated in Figure R403.1(1), the frost line depth strength required for weathering shall govern. The jurisdiction shall fill in the frost line depth column with the minimum depth of footing below finish grade.
c. The jurisdiction shall fill in this part of the table to indicate the need for protection depending on whether there has been a history of local subterranean termite damage.
d. The jurisdiction shall fill in this part of the table with the wind speed from the basic wind speed map [Figure R301.2(5)A]. Wind exposure category shall be determined on a site-specific basis in accordance with Section R301.2.1.4.
e. The outdoor design dry-bulb temperature shall be selected from the columns of 97½-percent values for winter from Appendix D of the International Plumbing Code. Deviations from the Appendix D temperatures shall be permitted to reflect local climates or local weather experience as determined by the building official. [Also see Figure R301.2(1).]
f. The jurisdiction shall fill in this part of the table with the seismic design category determined from Section R301.2.2.1.
g. Effective Flood Insurance Rate Maps (FIRMs) and effective FIRM index dates and Flood Insurance study dates.
h. In accordance with Sections R905.1.2, R905.4.3.1, R905.5.3.1, R905.6.3.1, R905.7.3.1 and R905.8.3.1, where there has been a history of local damage from the effects of ice damming, the jurisdiction shall fill in this part of the table with "YES." Otherwise, the jurisdiction shall fill in this part of the table with "NO."
i. The jurisdiction shall fill in this part of the table with the 100-year return period air freezing index (BF-days) from Figure R403.3(2) or from the 100-year (99 percent) value on the National Climatic Data Center data table "Air Freezing Index-USA Method (Base 32°F)."
j. The jurisdiction shall fill in this part of the table with the mean annual temperature from the National Climatic Data Center data table "Air Freezing Index-USA Method (Base 32°F)."
k. In accordance with Section R301.2.1.5, where there is local historical data documenting structural damage to buildings due to topographic wind speed-up effects, the jurisdiction shall fill in this part of the table with "YES." Otherwise, the jurisdiction shall indicate "NO" in this part of the table.
l. In accordance with Figure R301.2(5)A, where there is local historical data documenting unusual wind conditions, the jurisdiction shall fill in this part of the table with "YES" and identify any specific requirements. Otherwise, the jurisdiction shall indicate "NO" in this part of the table.
m. In accordance with Section R301.2.1.2 the jurisdiction shall indicate the wind-borne debris wind zone(s). Otherwise, the jurisdiction shall indicate "NO" in this part of the table.
n. The jurisdiction shall fill in these sections of the table to establish the design criteria using Table 1a or 1b from ACCA Manual J or established criteria determined by the jurisdiction.
o. The jurisdiction shall fill in this section of the table using the Ground Snow Loads in Figure R301.2(6).
Section, R305.1, Subterranean termite control methods, is hereby amended by adding thereto a modified section to read as follows:
In areas subject to damage from termites as indicated by Table R301.2(1), for all structures of 600 square feet or greater, protection shall be by one, or a combination, of the following methods:
1.
Chemical termiticide treatment in accordance with Section R305.2, except an ASFH/ SFHA.
R306 Flood-Resistant Construction, Section R322.1.4 Establishing the Design Flood Elevation, is hereby amended to read as follows:
See Table R301.2(1).
Section R306.1.10 As-Built Elevation Documentation, is hereby amended to read as follows:
A registered design professional shall prepare and seal a FEMA Elevation Certificate of the elevations specified in Section R306.2 or R306.3. The completed Elevation Certificate shall be provided to the Building Official and/or Floodplain Manager prior to issuance of a certificate of occupancy.
Section R306.1.6 Protection of Mechanical, Plumbing and Electrical systems, is hereby amended to read as follows:
Electrical systems, equipment and components; heating, ventilating, air-conditioning; plumbing appliances and plumbing fixtures; duct systems; and other service equipment shall be located at or above the elevation required in Section R322.2 or R322.3. If replaced as part of a substantial improvement, electrical systems, equipment and components; heating, ventilating, air-conditioning and plumbing appliances and plumbing fixtures; duct systems; and other service equipment shall meet the requirements of this section. Systems, fixtures, and equipment and components shall not be mounted on or penetrate through walls intended to break away under flood loads.
Exception: Locating electrical systems, equipment and components is permitted below the elevation required in Section R322.2 or R322.3 provided that they are designed and installed to prevent water from entering or accumulating within the components and to resist hydrostatic and hydrodynamic loads and stresses, including the effects of buoyancy, during the occurrence of flooding to the design flood elevation in accordance with ASCE 24. Electrical wiring systems are permitted to be located below the required elevation provided that they conform to the provisions of the electrical part of this code for wet locations.
Section R306.1.7 Protection of water supply and sanitary sewage systems, is hereby amended to provide for an additional last sentence:
A dwelling unit's sanitary drains, such as where the flood level rim of the plumbing fixture is below the DFE, may be placed below the DFE where the building's sanitary sewer is protected with a backflow device.
Section R306.2.1 Elevation Requirements, is hereby amended to read as follows:
1.
Buildings and structures shall have the lowest floors elevated to or above the design flood elevation.
2.
In areas of shallow flooding (AO and AH Zones), buildings and structures shall have the lowest floor (including basement) elevated to or above the DFE.
R317 Garages and Carports, Section R317.3 Flood Hazard Areas, is hereby amended to read as follows:
For buildings located in an area of special flood hazards (ASFH) / special flood hazard areas (SFHA) as established by the latest flood insurance rate map (FIRM) and Table R301.2(1), garage floors shall be:
1.
Elevated to or above the design flood elevation as determined in Section R322; or
2.
If the garage floor level is lower than the design flood elevation, the garage shall be used solely for parking, building access or storage and the floor shall be at or above grade on all sides and shall meet the requirements in Section R322, and are otherwise constructed in accordance with this code. All new construction or substantial improvements shall be constructed with materials resistant to flood damage.
Chapter 5, Floors, R506.3.1 Concrete Floors, is hereby amended to read as follows:
Fill material, when utilized in full compliance with other provisions of the code, shall be free of vegetation and foreign material. All fill shall be compacted to assure uniform support of the slab.
Chapter 33, Storm Drainage, P3302.1 Area Drainage, is hereby amended to read as follows:
1.
Storm water flows shall be contained within the property and discharged to a public right-of-way. Acceptable methods to contain flows include use of adequately sized swales, curbs, area inlets, or methods that will contain flows on the development parcel and prevent spill over onto adjacent private property. Fence lines shall be designed to avoid impeding storm water flows within the side lot swales. All swales must be contained within the development parcel unless a recorded easement is provided.
2.
Storm water flows up to the city's design storm shall not go onto an adjacent private property without a drainage easement recorded at the Harris County Clerk's office. No private agreements between property owners will be allowed unless recorded at the county clerk's office and approved by the city.
3.
The use of French drains are not permissible as a drainage element to contain and convey flows to public rights-of-way.
4.
Area drains shall have a minimum grate size of 12 inches by 12 inches and be designed to accommodate the full design storm. Cleanouts shall be provided at all junctions and at every bend.
5.
For single family residential developments, roof drains may be tied into a storm sewer system. All tie in points shall be identified on the construction plans. A minimum pipe diameter of four inches shall be allowed for one roof drain. A minimum pipe diameter of six inches shall be allowed for up to four roof drains. For all other land uses, roof drains shall be properly sized by a registered engineer or architect. The minimum pipe sizes listed for single family developments shall also be used.
Section P3303 Sumps and Pumping Systems. The sump pump, pit and discharge piping shall conform to Sections P3303.1.1 through P3303.1.4.
P3304 Materials. Piping and fittings shall meet the requirements of Sections P3002.1, P3002.2, P3002.3 and P3003. Discharge piping shall include an accessible full flow check valve. Pipe and fittings shall be the same size as, or larger than, pump discharge tapping.
Appendix BO, Existing Buildings and Structures, Section BO102.7 Flood hazard areas is hereby amended by adding new paragraphs (a), (b), (c), (d) and (e) to read as follows:
Work performed in existing buildings located in a flood hazard area as established by Table R301.2(1) shall be subject to the provisions of Section R105.3.1.1, and
(a)
If, within any 12-month period, alterations, additions, renovations, repairs or any combination thereof, costing in excess of 50 percent of the then physical value of the building are made to an existing building in the floodplain, such building and associated mechanical, electrical, plumbing and fuel gas equipment, fixtures and appurtenances shall be made to conform to the requirements of this Code for new buildings in regards to the design flood elevation (DFE).
(b)
If an existing building is damaged by fire or otherwise in excess of 50 percent of its then physical value before such damage is repaired, it shall be made to conform to the requirements of this Code for new buildings, except in regards to slab height, where the structure is located outside the floodplain, the footprint is not modified and the slab is intact.
(c)
[Reserved.]
(d)
For the purpose of this section physical value of the building shall be its appraised value as shown on the city's latest tax roll or the value of the building from an appraisal by an independent professional appraiser. Alternatively, upon filing for an appeal to the floodplain manager, a professional market appraisal for the pre-event evaluation, assessed post-event, may be submitted for review.
(e)
The following are authorized: Repair and alterations, not covered by the preceding paragraphs of this section, restoring a building to its condition previous to damage or deterioration, or altering it in conformity with the provisions of this code or in such manner as will not extend or increase the same kind of materials as those of which the building is constructed; but not more than 25 percent of the roof covering of a building shall be replaced in any period of 12 months unless the entire roof covering is made to conform with the requirements of this code for new buildings and, where warranted, with the applicable permits.
(Ord. No. 2011-14, § 5(Exh. E), 3-21-11; Ord. No. 2013-21, § 2(Exh. A), 6-17-13; Ord. No. 2013-32, § 2(Exh. B), 10-21-13; Ord. No. 2014-24, § 2(Exh. A), 6-16-14; Ord. No. 2017-52, § 2(Exh. A), 11-20-17; Ord. No. 2017-53, § 2(Exh. A), 12-18-17; Ord. No. 2019-04, § 6, 2-18-19; Ord. No. 2020-30, § 2(Exh. A), 12-21-20; Ord. No. 2024-27, § 5, 8-19-24)