- SIGNS
The regulations in this chapter specify the number, type, size, height, and location of signs in Iredell County jurisdiction. It shall be unlawful for any person to erect, place, alter or maintain a sign in this jurisdiction except in accordance with the provisions of this chapter.
Any sign, display or device allowed under this chapter may contain, in lieu of any other copy, any otherwise lawful noncommercial message which does not direct attention to a business operated for profit or to a commodity or service for sale, provided that such sign complies with the size, lighting, spacing, setback and other requirements of this chapter. This includes signs requiring and not requiring a permit.
Signs, which are illuminated from within or from an external source, must be illuminated in a manner which avoids glare or reflection which interferes with traffic safety. Any external source of illumination such as spotlights or floodlights shall be placed so that the source is not directly visible from any adjacent residential zoning districts.
With the exception of those signs specifically exempt from requiring a permit as stated in Section 6.6., it shall be unlawful for any person to print, paint, stand, stain, engrave, construct, place, erect, illuminate, attach, suspend, enlarge, move, relocate, replace or otherwise put into use or materially alter any sign or cause the same to be done, without first obtaining a development permit for such sign from the Zoning Administrator. Notwithstanding the above, changing or replacing the permanent copy of an existing lawful sign shall not require a permit, provided the copy change does not change the nature or size of the sign such as to render the sign in violation of this Ordinance.
Signs shall comply with the provisions of Section 2.2.8 stating that signs at intersections cannot be located within a ten (10) feet by seventy (70) feet sight triangle.
In order to ensure the safety and public well being of the citizens of Iredell County the following regulations have been adopted to ensure signs are kept in a state of good repair.
Every sign and its support, braces, guys, anchors, and electrical equipment shall be maintained in safe condition at all times. All signs shall be kept in a state of good repair and aesthetic condition, free from defective, rusting, or missing parts, or broken sign facing, broken supports, loose appendages or struts, or disfigured, cracked, ripped or peeling paint or poster paper, or missing letters or numbers. Signs shall be able to withstand the wind pressure as prescribed in the North Carolina Building Code. Illuminated signs shall not be allowed to operate with only partial illumination. The area within ten (10) feet in all directions of the base of a freestanding sign shall be kept clear of debris and undergrowth.
If the Zoning Administrator shall find that any sign is dangerous or is menace to the public, he shall give written notice of such violations to the owner of the sign, or to the manager or other person in charge of the premises or by affixing a copy of the notice to the sign, sign structure or building. A mailed notice will also serve as sufficient notice. The notice shall set forth the nature of the violation and order the violator within ten (10) days of receipt of the notice to remove the sign or repair the sign in such a manner to be approved by the Zoning Administrator in conformance with the provisions of this section.
If within ten (10) days the notice is not complied with, the Zoning Administrator shall have the authority to remove the sign at the recipient's expense and to destroy or otherwise dispose of the same.
In cases of emergency, the Zoning Administrator may cause the immediate removal of a dangerous or unsafe sign without notice.
If a sign, other than an off-premises advertising (billboard) sign, advertises a business, service, commodity, accommodation, attraction or other enterprise or activity that is no longer operating or being offered or conducted, that sign and sign structure including, but not limited to, the supporting braces, anchors or similar components shall be considered discontinued and shall be removed by the owner of the property where the sign is located within one (1) year after such discontinuation. This section shall not be construed to prevent the changing of the message of a sign. This provision shall apply to all related signs located both on and off the premises.
The Zoning Administrator shall possess the authority to remove and destroy or otherwise dispose of any sign placed within the right-of-way of any road.
A.
In measuring the copy area of a sign permitted under this chapter, the entire face of the sign shall be included. (See Figures 6.1, 6.2, 6.3, 6.4 on the following page.)
B.
Where both sides of a double-faced sign contain lettering or other allowable display, only one side shall be used to compute the allowable copy area of the sign.
C.
Where the sign consists of individual letters, numbers, characters, figures, or displays attached in some manner to a building or a sign face of irregular shape, the sign copy area shall include the area of the smallest circle, square, or rectangle that can encompass the total sign area composed of letter, number, characters, or figures or displays or the irregular shaped sign face.
D.
Where signs have appendages or additions, such as "pop-ups" or "cutouts" that extend beyond the main sign copy area, the area of such appendages or additions, shall be measured separately, but included in the total sign copy area.
E.
Any area designed for changeable copy shall be included in total sign copy area.
F.
Where allowed, portable signs shall be counted toward permitted maximum total aggregate sign copy area and maximum number of freestanding signs on each public road.
Figure 6.1 Free-standing and Monument Sign Height and Copy Area
Figure 6.3 Wall Sign Copy Area
A.
Setback. No sign shall be located closer than five (5) feet from any property line or closer than five (5) feet from any road right-of-way, or within the area of required visibility as described in Section 2.2.8. In determining setback, measurement shall be made from the nearest road right-of-way line and/or property line to the nearest part of the sign structure.
B.
Height. All freestanding signs permitted by this section in all zoning districts shall have a maximum height limit of ten (10) feet unless otherwise stated.
C.
Wall signs. Wall signage not exceeding a total of fifty (50) square feet shall be permitted for the uses in this section unless otherwise stated.
D.
Temporary signs. All temporary signs must be removed five (5) days after the event is complete.
This section gives the standards for signs that have the potential to be located in all zoning districts.
Table 6.1 Signs permitted in all Zoning Districts
*Sign shall be located at the intersection of two (2) or more public and/or private roads. The maximum size of each off-premises sign shall be nine (9) square feet. The aggregate sign copy of all off-premises signs under this category, unless the co-location option is used, shall be eighteen (18) square feet and the maximum number of signs at each approved location shall be two (2). In the event that co-location of more than one (1) sign face or placard is utilized, the maximum aggregate square footage of each sign in an approved location shall be twelve (12) square feet. The maximum individual copy area of each sign face or placard when utilizing the co-location option shall be three (3) square feet. Where the aggregate sign copy area is met at an intersection, no additional signs shall be located within one thousand (1,000) yards of that location.
(Ord. of 11-5-16(1); Ord. of 4-20-21)
This section regulates the types of signs that are allowed with a zoning permit. One may think of these types of signs as the typical restaurant, gas station, or storefront signs. Sign permits are required for these signs.
The following section uses road classification to set sign regulations. These road designations are defined in the Iredell County Comprehensive Transportation Plan.
(Ord. of 11-5-16(1))
Permanent on-premises signs are permitted in the respective zoning districts for single establishments on single parcels or lots upon issuance of a zoning permit regarding the proposed sign(s), provided stated conditions and stipulations are met, as follows.
One freestanding sign is allowed per parcel. Except, lots with frontage on two minor thoroughfares or higher classified roads may have one freestanding sign per road, where each sign is allowed to have the maximum copy area as designated in Table 6.2.
Table 6.2 Permanent On-Premise Sign Standards
(Ord. of 7-17-12(1); Ord. of 11-5-16(1))
One combined or common permanent on-premises freestanding sign for multiple establishments on a single parcel or lot shall be allowed on each public road and may exceed the maximum copy area for freestanding signs in Section 6.6 by the following percentages:
Wall signage shall be figured based on a ten (10) percent of wall space formula. The wall space of each establishment shall be figured separately.
Establishments on adjacent parcels or lots utilizing shared parking and driveway connections may exceed maximum copy area for freestanding signs in Section 6.7 by twenty-five (25) percent for a combined or common freestanding sign. Such combined or common freestanding sign shall not be considered to be an off-premises sign for any of the establishments advertising on the sign. Establishments participating in combined or common freestanding signs may not also have individual freestanding signs.
Permanent on-premises freestanding pole signs located within four hundred (400) feet of the right-of-way of an interstate interchange may be increased in sign copy area up to a maximum of two hundred (200) square feet and up to a maximum height of eighty (80) feet and may be illuminated.
(Ord. of 7-17-12(1); Ord. of 11-5-16(1))
There are two types of billboards (outdoor advertising signs) addressed by this Ordinance, static and digital. Static billboards are considered the traditional billboard with a manual change in copy that is generally leased/rented on a long-term basis. Digital billboards are, as their name suggests, electronic in nature and typically have a group of messages that rotate or change frequently.
The following permanent off-premises advertising (billboard) signs are permitted in H-B, G-B, M-1, and M-2 Zoning Districts upon issuance of a zoning permit regarding the proposed sign(s), provided that the stated specific requirements, conditions and stipulations are met:
A.
Size.
1.
The maximum copy area of static billboards shall be three hundred (300) square feet, or six hundred (600) square feet if located within six hundred sixty (660) feet of the right-of-way of an interstate highway, or four hundred (400) square feet if located within six hundred sixty (660) feet of a US or NC primary highway.
a.
The maximum permitted copy area shall be determined from the road which the sign predominantly faces.
b.
If a sign equally faces two (2) different roads, the larger of the two (2) permitted copy areas may be erected.
2.
One (1) sign face shall be permitted per sign, except that if back-to-back or v-shaped there may be two (2) sign faces; so long as the two (2) sign display boards are located within fifteen (15) feet of each other at their farthest point.
B.
Setbacks.
1.
Billboards shall not be located closer than one hundred (100) feet to a residentially zoned property or a residential use.
2.
The minimum horizontal separation on any one road between two (2) billboards shall be one thousand (1,000) linear feet.
3.
Billboards shall not be located less than five hundred (500) feet from any interstate highway access/exit ramp or safety rest area measured along the Interstate roadway from the beginning or ending of pavement widening at the exit from or entrance to the main traveled way. (Refer to Figure 6.5.)
4.
All advertising signs within six hundred (660) feet of the edge of an interstate highway right-of-way, located on opposite sides of the same roadway shall be spaced at least one thousand (1,000) feet apart from each other. The distance between signs shall be measured along the center line of the road by the closest distance between the points of perpendicular intersection of each sign.
a.
This provision shall not apply when one side of the roadway and all advertising signs on that portion of the roadway are not visible to the motorist on the opposite side of the roadway.
b.
In no instance, however, shall two (2) advertising signs on the same side of the roadway be located less than one thousand (1,000) feet apart. (Refer to Figure 6.6.)
5.
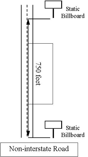
All advertising signs within six hundred sixty (660) feet of the edge of all non-Interstate road rights-of-way, located on opposite sides of the same roadway shall be spaced seven hundred fifty (750) feet apart from each other. The distance between signs shall be measured along the center line of the road by the closest distance between the points of perpendicular intersection of each sign.
a.
This provision shall not apply when one (1) side of the roadway and all advertising signs on the roadway are not visible to the motorist on the opposite side of the roadway.
b.
In no instance, however, shall two (2) advertising signs on the same side of the roadway be located less than seven hundred fifty (750) feet apart. (Refer to Figure 6.6.)
6.
All advertising signs shall be located at least one thousand feet (1,000) feet from any portion of the lot containing the principal use being advertised.
C.
Height. Maximum height: thirty-five (35) feet (fifty (50) feet if located within six hundred sixty (660) feet of the right-of-way of an interstate highway; forty (40) feet if located within six hundred sixty (660) feet of a US or NC primary highway).
D.
Illumination. Signs may be either internally or externally illuminated.
E.
NCDOT approval. Must have written verification of NC DOT approval prior to the issuance of a zoning permit.
The following permanent off-premises advertising (billboard) signs are permitted in H-B, G-B, M-1, and M-2 Zoning Districts upon issuance of a zoning permit regarding the proposed sign(s), provided that the stated specific requirements, conditions and stipulations are met:
A.
Size.
1.
Maximum sign face area shall be three hundred eighty (380) square feet.
2.
One (1) sign face shall be permitted per sign, except that if back-to-back or v-shaped there may be two (2) sign faces; so long as the two (2) sign display boards are located within fifteen (15) feet of each other at their farthest point.
3.
There can only be one (1) message at a time on the outdoor advertising sign.
4.
Advertising messages or information shall remain in a fixed, static position for a minimum of ten (10) seconds. The change sequence must be accomplished within an interval of two (2) seconds or less.
5.
The maximum permitted copy area shall be determined from the road which the sign predominantly faces. If a sign equally faces two (2) different roads, the larger of the two permitted copy areas may be erected. The copy area of an advertising sign shall be measured by the smallest square, rectangle, triangle, circle or combination thereof which will encompass the entire sign. The copy area shall include any border or trim but shall exclude the base or apron supports and other structural devices. If an advertising message appears on the base or apron, it will not be excluded from the copy area.
B.
Setbacks.
1.
There shall be a minimum spacing of four hundred (400) feet between the electronic changeable face outdoor advertising sign and residential zoning properties and residential uses. The distance shall be calculated as the shortest measurable distance between the nearest point of the sign to the edge of residential property or to the property line of the institutional use.
2.
There shall be a minimum spacing of two thousand (2,000) feet between any electronic changeable face outdoor advertising sign and other electronic changeable face outdoor advertising sign on the same side or opposite side of the street.
3.
There shall be a minimum spacing of one thousand (1,000) feet between any electronic changeable face outdoor advertising sign and static billboard sign on the same side or opposite side of the street. (Refer to Figure 6.7.)
4.
Off-premises advertising (billboard) signs shall not be located less than 500 feet from any interstate highway access/exit ramp or safety rest area measured along the Interstate roadway from the beginning or ending of pavement widening at the exit from or entrance to the main traveled way. (Refer to Figure 6.5.)
5.
All electronic changeable face outdoor advertising signs within six hundred sixty (660) feet of the edge of a right-of-way, located on opposite sides of the same roadway shall be spaced at least two thousand (2,000) feet apart from each other. (Refer to Figure 6.7.) The distance between signs shall be measured along the center line of the road by the closest distance between the points of perpendicular intersection of each sign. All advertising signs shall be located at least one thousand (1,000) feet from any portion of the lot containing the principal use being advertised.
C.
Height. The maximum height shall be fifty (50) feet if located within six hundred sixty (660) feet of the right-of-way of an interstate highway and forty (40) feet if located within six hundred sixty (660) feet of a US primary highway.
D.
Illumination.
1.
Permitted illumination: The outdoor advertising sign shall have an automatic dimmer (factory set to the illumination intensities set below) and a photo cell sensor to adjust the illumination intensity or brilliance of the sign so that it shall not cause glare or impair the vision of motorists, and shall not interfere with any driver's operation of a motor vehicle.
a.
The sign shall not exceed a maximum illumination of seven thousand five hundred (7,500) nits (candelas per square meter) during daylight hours and a maximum illumination of five hundred (500) nits between dusk and dawn as measured from the sign's face at maximum brightness.
b.
Before receiving a certificate of occupancy, the Zoning Administrator shall be present at a test (by the applicant) to ensure that the sign meets this standard. Furthermore, a written report of the test shall be given to the Zoning Administrator in order for the original test to be duplicated at any given time.
2.
Any external illumination devices shall be effectively shielded so as to prevent beams or rays of light from being directed at any portion of a street or highway, or any residential use.
3.
Electronic changeable face outdoor advertising signs shall contain a default design that will freeze the sign in one position with no more than a maximum illumination of five hundred (500) nits if a malfunction occurs.
E.
NCDOT approval. Must have written verification of NC DOT approval prior to the issuance of a zoning permit.
F.
Maintenance. The area immediately surrounding advertising (billboard) structures shall be appropriately maintained.
G.
Construction.
1.
Sign support shall be freestanding with uni-pole construction only.
2.
No moving, rotating, fluttering, blinking, or flashing elements are permitted. No animation, video, audio, pyrotechnic, or blue-casting components are permitted.
H.
Location.
1.
Electronic changeable face outdoor advertising signs shall not be located in any Municipal Growth Overlay.
2.
Electronic changeable face outdoor advertising signs are permitted only along limited access interstate highways and limited access US primary highways as defined in the Iredell County Comprehensive Transportation Plan.
A.
Comprehensive Sign Package. As an option to the sign standards as set forth in this Section of the Ordinance, developments located on ten (10) or more acres shall be allowed to submit an application for a Comprehensive Sign Package. The intent is to allow for flexibility in administration of the sign regulations for projects that are unusual, especially large, or which do not fit the standard development scheme for the area. Application for a Comprehensive Sign Package shall be reviewed by the Board of Adjustment as a Special Use Permit in accordance with the procedures set forth in Section 12.2.4 of this Ordinance. The Comprehensive Sign Package must show all the proposed permanent signage for the overall development. In developing the sign package, signs shall meet the following criteria:
•
There should be a visually continuous theme throughout the development; and
•
All signage shall be designed to be of compatible scale with the proposed building(s)/site; and
•
All signage must meet the setback requirement in Section 6.5 (A).
(Ord. of 11-5-16(1))
The following signs, components and characteristics are expressly prohibited within all zoning districts.
•
Simulated Public Safety, Warning or Traffic Signs
•
Snipe Signs
•
Flashing Signs
•
Motion Signs
•
Vehicle Signs
•
Signs Obstructing Motorist Visibility
•
Signs in Rights-of-Way
•
Signs Emitting Glare
•
Obscene Signs
•
All Other Signs not Expressly Permitted
(Ord. of 11-5-16(1))
- SIGNS
The regulations in this chapter specify the number, type, size, height, and location of signs in Iredell County jurisdiction. It shall be unlawful for any person to erect, place, alter or maintain a sign in this jurisdiction except in accordance with the provisions of this chapter.
Any sign, display or device allowed under this chapter may contain, in lieu of any other copy, any otherwise lawful noncommercial message which does not direct attention to a business operated for profit or to a commodity or service for sale, provided that such sign complies with the size, lighting, spacing, setback and other requirements of this chapter. This includes signs requiring and not requiring a permit.
Signs, which are illuminated from within or from an external source, must be illuminated in a manner which avoids glare or reflection which interferes with traffic safety. Any external source of illumination such as spotlights or floodlights shall be placed so that the source is not directly visible from any adjacent residential zoning districts.
With the exception of those signs specifically exempt from requiring a permit as stated in Section 6.6., it shall be unlawful for any person to print, paint, stand, stain, engrave, construct, place, erect, illuminate, attach, suspend, enlarge, move, relocate, replace or otherwise put into use or materially alter any sign or cause the same to be done, without first obtaining a development permit for such sign from the Zoning Administrator. Notwithstanding the above, changing or replacing the permanent copy of an existing lawful sign shall not require a permit, provided the copy change does not change the nature or size of the sign such as to render the sign in violation of this Ordinance.
Signs shall comply with the provisions of Section 2.2.8 stating that signs at intersections cannot be located within a ten (10) feet by seventy (70) feet sight triangle.
In order to ensure the safety and public well being of the citizens of Iredell County the following regulations have been adopted to ensure signs are kept in a state of good repair.
Every sign and its support, braces, guys, anchors, and electrical equipment shall be maintained in safe condition at all times. All signs shall be kept in a state of good repair and aesthetic condition, free from defective, rusting, or missing parts, or broken sign facing, broken supports, loose appendages or struts, or disfigured, cracked, ripped or peeling paint or poster paper, or missing letters or numbers. Signs shall be able to withstand the wind pressure as prescribed in the North Carolina Building Code. Illuminated signs shall not be allowed to operate with only partial illumination. The area within ten (10) feet in all directions of the base of a freestanding sign shall be kept clear of debris and undergrowth.
If the Zoning Administrator shall find that any sign is dangerous or is menace to the public, he shall give written notice of such violations to the owner of the sign, or to the manager or other person in charge of the premises or by affixing a copy of the notice to the sign, sign structure or building. A mailed notice will also serve as sufficient notice. The notice shall set forth the nature of the violation and order the violator within ten (10) days of receipt of the notice to remove the sign or repair the sign in such a manner to be approved by the Zoning Administrator in conformance with the provisions of this section.
If within ten (10) days the notice is not complied with, the Zoning Administrator shall have the authority to remove the sign at the recipient's expense and to destroy or otherwise dispose of the same.
In cases of emergency, the Zoning Administrator may cause the immediate removal of a dangerous or unsafe sign without notice.
If a sign, other than an off-premises advertising (billboard) sign, advertises a business, service, commodity, accommodation, attraction or other enterprise or activity that is no longer operating or being offered or conducted, that sign and sign structure including, but not limited to, the supporting braces, anchors or similar components shall be considered discontinued and shall be removed by the owner of the property where the sign is located within one (1) year after such discontinuation. This section shall not be construed to prevent the changing of the message of a sign. This provision shall apply to all related signs located both on and off the premises.
The Zoning Administrator shall possess the authority to remove and destroy or otherwise dispose of any sign placed within the right-of-way of any road.
A.
In measuring the copy area of a sign permitted under this chapter, the entire face of the sign shall be included. (See Figures 6.1, 6.2, 6.3, 6.4 on the following page.)
B.
Where both sides of a double-faced sign contain lettering or other allowable display, only one side shall be used to compute the allowable copy area of the sign.
C.
Where the sign consists of individual letters, numbers, characters, figures, or displays attached in some manner to a building or a sign face of irregular shape, the sign copy area shall include the area of the smallest circle, square, or rectangle that can encompass the total sign area composed of letter, number, characters, or figures or displays or the irregular shaped sign face.
D.
Where signs have appendages or additions, such as "pop-ups" or "cutouts" that extend beyond the main sign copy area, the area of such appendages or additions, shall be measured separately, but included in the total sign copy area.
E.
Any area designed for changeable copy shall be included in total sign copy area.
F.
Where allowed, portable signs shall be counted toward permitted maximum total aggregate sign copy area and maximum number of freestanding signs on each public road.
Figure 6.1 Free-standing and Monument Sign Height and Copy Area
Figure 6.3 Wall Sign Copy Area
A.
Setback. No sign shall be located closer than five (5) feet from any property line or closer than five (5) feet from any road right-of-way, or within the area of required visibility as described in Section 2.2.8. In determining setback, measurement shall be made from the nearest road right-of-way line and/or property line to the nearest part of the sign structure.
B.
Height. All freestanding signs permitted by this section in all zoning districts shall have a maximum height limit of ten (10) feet unless otherwise stated.
C.
Wall signs. Wall signage not exceeding a total of fifty (50) square feet shall be permitted for the uses in this section unless otherwise stated.
D.
Temporary signs. All temporary signs must be removed five (5) days after the event is complete.
This section gives the standards for signs that have the potential to be located in all zoning districts.
Table 6.1 Signs permitted in all Zoning Districts
*Sign shall be located at the intersection of two (2) or more public and/or private roads. The maximum size of each off-premises sign shall be nine (9) square feet. The aggregate sign copy of all off-premises signs under this category, unless the co-location option is used, shall be eighteen (18) square feet and the maximum number of signs at each approved location shall be two (2). In the event that co-location of more than one (1) sign face or placard is utilized, the maximum aggregate square footage of each sign in an approved location shall be twelve (12) square feet. The maximum individual copy area of each sign face or placard when utilizing the co-location option shall be three (3) square feet. Where the aggregate sign copy area is met at an intersection, no additional signs shall be located within one thousand (1,000) yards of that location.
(Ord. of 11-5-16(1); Ord. of 4-20-21)
This section regulates the types of signs that are allowed with a zoning permit. One may think of these types of signs as the typical restaurant, gas station, or storefront signs. Sign permits are required for these signs.
The following section uses road classification to set sign regulations. These road designations are defined in the Iredell County Comprehensive Transportation Plan.
(Ord. of 11-5-16(1))
Permanent on-premises signs are permitted in the respective zoning districts for single establishments on single parcels or lots upon issuance of a zoning permit regarding the proposed sign(s), provided stated conditions and stipulations are met, as follows.
One freestanding sign is allowed per parcel. Except, lots with frontage on two minor thoroughfares or higher classified roads may have one freestanding sign per road, where each sign is allowed to have the maximum copy area as designated in Table 6.2.
Table 6.2 Permanent On-Premise Sign Standards
(Ord. of 7-17-12(1); Ord. of 11-5-16(1))
One combined or common permanent on-premises freestanding sign for multiple establishments on a single parcel or lot shall be allowed on each public road and may exceed the maximum copy area for freestanding signs in Section 6.6 by the following percentages:
Wall signage shall be figured based on a ten (10) percent of wall space formula. The wall space of each establishment shall be figured separately.
Establishments on adjacent parcels or lots utilizing shared parking and driveway connections may exceed maximum copy area for freestanding signs in Section 6.7 by twenty-five (25) percent for a combined or common freestanding sign. Such combined or common freestanding sign shall not be considered to be an off-premises sign for any of the establishments advertising on the sign. Establishments participating in combined or common freestanding signs may not also have individual freestanding signs.
Permanent on-premises freestanding pole signs located within four hundred (400) feet of the right-of-way of an interstate interchange may be increased in sign copy area up to a maximum of two hundred (200) square feet and up to a maximum height of eighty (80) feet and may be illuminated.
(Ord. of 7-17-12(1); Ord. of 11-5-16(1))
There are two types of billboards (outdoor advertising signs) addressed by this Ordinance, static and digital. Static billboards are considered the traditional billboard with a manual change in copy that is generally leased/rented on a long-term basis. Digital billboards are, as their name suggests, electronic in nature and typically have a group of messages that rotate or change frequently.
The following permanent off-premises advertising (billboard) signs are permitted in H-B, G-B, M-1, and M-2 Zoning Districts upon issuance of a zoning permit regarding the proposed sign(s), provided that the stated specific requirements, conditions and stipulations are met:
A.
Size.
1.
The maximum copy area of static billboards shall be three hundred (300) square feet, or six hundred (600) square feet if located within six hundred sixty (660) feet of the right-of-way of an interstate highway, or four hundred (400) square feet if located within six hundred sixty (660) feet of a US or NC primary highway.
a.
The maximum permitted copy area shall be determined from the road which the sign predominantly faces.
b.
If a sign equally faces two (2) different roads, the larger of the two (2) permitted copy areas may be erected.
2.
One (1) sign face shall be permitted per sign, except that if back-to-back or v-shaped there may be two (2) sign faces; so long as the two (2) sign display boards are located within fifteen (15) feet of each other at their farthest point.
B.
Setbacks.
1.
Billboards shall not be located closer than one hundred (100) feet to a residentially zoned property or a residential use.
2.
The minimum horizontal separation on any one road between two (2) billboards shall be one thousand (1,000) linear feet.
3.
Billboards shall not be located less than five hundred (500) feet from any interstate highway access/exit ramp or safety rest area measured along the Interstate roadway from the beginning or ending of pavement widening at the exit from or entrance to the main traveled way. (Refer to Figure 6.5.)
4.
All advertising signs within six hundred (660) feet of the edge of an interstate highway right-of-way, located on opposite sides of the same roadway shall be spaced at least one thousand (1,000) feet apart from each other. The distance between signs shall be measured along the center line of the road by the closest distance between the points of perpendicular intersection of each sign.
a.
This provision shall not apply when one side of the roadway and all advertising signs on that portion of the roadway are not visible to the motorist on the opposite side of the roadway.
b.
In no instance, however, shall two (2) advertising signs on the same side of the roadway be located less than one thousand (1,000) feet apart. (Refer to Figure 6.6.)
5.
All advertising signs within six hundred sixty (660) feet of the edge of all non-Interstate road rights-of-way, located on opposite sides of the same roadway shall be spaced seven hundred fifty (750) feet apart from each other. The distance between signs shall be measured along the center line of the road by the closest distance between the points of perpendicular intersection of each sign.
a.
This provision shall not apply when one (1) side of the roadway and all advertising signs on the roadway are not visible to the motorist on the opposite side of the roadway.
b.
In no instance, however, shall two (2) advertising signs on the same side of the roadway be located less than seven hundred fifty (750) feet apart. (Refer to Figure 6.6.)
6.
All advertising signs shall be located at least one thousand feet (1,000) feet from any portion of the lot containing the principal use being advertised.
C.
Height. Maximum height: thirty-five (35) feet (fifty (50) feet if located within six hundred sixty (660) feet of the right-of-way of an interstate highway; forty (40) feet if located within six hundred sixty (660) feet of a US or NC primary highway).
D.
Illumination. Signs may be either internally or externally illuminated.
E.
NCDOT approval. Must have written verification of NC DOT approval prior to the issuance of a zoning permit.
The following permanent off-premises advertising (billboard) signs are permitted in H-B, G-B, M-1, and M-2 Zoning Districts upon issuance of a zoning permit regarding the proposed sign(s), provided that the stated specific requirements, conditions and stipulations are met:
A.
Size.
1.
Maximum sign face area shall be three hundred eighty (380) square feet.
2.
One (1) sign face shall be permitted per sign, except that if back-to-back or v-shaped there may be two (2) sign faces; so long as the two (2) sign display boards are located within fifteen (15) feet of each other at their farthest point.
3.
There can only be one (1) message at a time on the outdoor advertising sign.
4.
Advertising messages or information shall remain in a fixed, static position for a minimum of ten (10) seconds. The change sequence must be accomplished within an interval of two (2) seconds or less.
5.
The maximum permitted copy area shall be determined from the road which the sign predominantly faces. If a sign equally faces two (2) different roads, the larger of the two permitted copy areas may be erected. The copy area of an advertising sign shall be measured by the smallest square, rectangle, triangle, circle or combination thereof which will encompass the entire sign. The copy area shall include any border or trim but shall exclude the base or apron supports and other structural devices. If an advertising message appears on the base or apron, it will not be excluded from the copy area.
B.
Setbacks.
1.
There shall be a minimum spacing of four hundred (400) feet between the electronic changeable face outdoor advertising sign and residential zoning properties and residential uses. The distance shall be calculated as the shortest measurable distance between the nearest point of the sign to the edge of residential property or to the property line of the institutional use.
2.
There shall be a minimum spacing of two thousand (2,000) feet between any electronic changeable face outdoor advertising sign and other electronic changeable face outdoor advertising sign on the same side or opposite side of the street.
3.
There shall be a minimum spacing of one thousand (1,000) feet between any electronic changeable face outdoor advertising sign and static billboard sign on the same side or opposite side of the street. (Refer to Figure 6.7.)
4.
Off-premises advertising (billboard) signs shall not be located less than 500 feet from any interstate highway access/exit ramp or safety rest area measured along the Interstate roadway from the beginning or ending of pavement widening at the exit from or entrance to the main traveled way. (Refer to Figure 6.5.)
5.
All electronic changeable face outdoor advertising signs within six hundred sixty (660) feet of the edge of a right-of-way, located on opposite sides of the same roadway shall be spaced at least two thousand (2,000) feet apart from each other. (Refer to Figure 6.7.) The distance between signs shall be measured along the center line of the road by the closest distance between the points of perpendicular intersection of each sign. All advertising signs shall be located at least one thousand (1,000) feet from any portion of the lot containing the principal use being advertised.
C.
Height. The maximum height shall be fifty (50) feet if located within six hundred sixty (660) feet of the right-of-way of an interstate highway and forty (40) feet if located within six hundred sixty (660) feet of a US primary highway.
D.
Illumination.
1.
Permitted illumination: The outdoor advertising sign shall have an automatic dimmer (factory set to the illumination intensities set below) and a photo cell sensor to adjust the illumination intensity or brilliance of the sign so that it shall not cause glare or impair the vision of motorists, and shall not interfere with any driver's operation of a motor vehicle.
a.
The sign shall not exceed a maximum illumination of seven thousand five hundred (7,500) nits (candelas per square meter) during daylight hours and a maximum illumination of five hundred (500) nits between dusk and dawn as measured from the sign's face at maximum brightness.
b.
Before receiving a certificate of occupancy, the Zoning Administrator shall be present at a test (by the applicant) to ensure that the sign meets this standard. Furthermore, a written report of the test shall be given to the Zoning Administrator in order for the original test to be duplicated at any given time.
2.
Any external illumination devices shall be effectively shielded so as to prevent beams or rays of light from being directed at any portion of a street or highway, or any residential use.
3.
Electronic changeable face outdoor advertising signs shall contain a default design that will freeze the sign in one position with no more than a maximum illumination of five hundred (500) nits if a malfunction occurs.
E.
NCDOT approval. Must have written verification of NC DOT approval prior to the issuance of a zoning permit.
F.
Maintenance. The area immediately surrounding advertising (billboard) structures shall be appropriately maintained.
G.
Construction.
1.
Sign support shall be freestanding with uni-pole construction only.
2.
No moving, rotating, fluttering, blinking, or flashing elements are permitted. No animation, video, audio, pyrotechnic, or blue-casting components are permitted.
H.
Location.
1.
Electronic changeable face outdoor advertising signs shall not be located in any Municipal Growth Overlay.
2.
Electronic changeable face outdoor advertising signs are permitted only along limited access interstate highways and limited access US primary highways as defined in the Iredell County Comprehensive Transportation Plan.
A.
Comprehensive Sign Package. As an option to the sign standards as set forth in this Section of the Ordinance, developments located on ten (10) or more acres shall be allowed to submit an application for a Comprehensive Sign Package. The intent is to allow for flexibility in administration of the sign regulations for projects that are unusual, especially large, or which do not fit the standard development scheme for the area. Application for a Comprehensive Sign Package shall be reviewed by the Board of Adjustment as a Special Use Permit in accordance with the procedures set forth in Section 12.2.4 of this Ordinance. The Comprehensive Sign Package must show all the proposed permanent signage for the overall development. In developing the sign package, signs shall meet the following criteria:
•
There should be a visually continuous theme throughout the development; and
•
All signage shall be designed to be of compatible scale with the proposed building(s)/site; and
•
All signage must meet the setback requirement in Section 6.5 (A).
(Ord. of 11-5-16(1))
The following signs, components and characteristics are expressly prohibited within all zoning districts.
•
Simulated Public Safety, Warning or Traffic Signs
•
Snipe Signs
•
Flashing Signs
•
Motion Signs
•
Vehicle Signs
•
Signs Obstructing Motorist Visibility
•
Signs in Rights-of-Way
•
Signs Emitting Glare
•
Obscene Signs
•
All Other Signs not Expressly Permitted
(Ord. of 11-5-16(1))