GENERAL STANDARDS
Editor's note— Ord. No. 24-20 N.S., § 2, adopted Nov. 10, 2020, repealed the former Art. 15.04.603, §§ 15.04.603.010—15.04.603.100, and enacted a new Art. 15.04.603 as set out herein. The former Art. 15.04.603 pertained to inclusionary housing and derived from Ord. No. 16-16 N.S., § I(Exh. A, Exh. B), adopted Nov. 15, 2016; and Ord. No. 30-18 N.S., § I(Exh. A), adopted Dec. 18, 2018.
A.
Applicability. The following standards shall apply to all detached buildings and structures that are clearly incidental or subordinate to the main building on the same lot. Typical structures include garages, garden sheds, gazebos, greenhouses, pergolas, storage shelters, dish antennas, pay telephone, and covered patios. Accessory dwelling units and junior accessory dwelling units are regulated by Section 15.04.610.020; solar installations are regulated by Section 15.04.601.120. Accessory uses are regulated by Section 15.04.610.040.
B.
Height. In residential districts, the maximum allowable height for accessory structures shall be 14 feet. In mixed use, commercial and industrial districts, the maximum allowable height for accessory structures shall not exceed the building height allowed in the base district unless a lower height is set in the base district regulations for such structures.
C.
Location and Setbacks.
1.
The accessory structure may be located anywhere on a lot except within a required front or street side setback with the following exceptions:
a.
Accessory structures not occupied by an accessory dwelling unit may be built to the side or rear lot line provided that no portion of such structure exceeds 9½ feet in height within the required yard setback for the property.
2.
An accessory structure shall be no closer than five feet to a main building or less than five feet from any public right-of-way and property line. The width of accessory structures shall not exceed 80 percent of the average width of the rear yard. Accessory structures, such as covered patios, gazebos, or pergolas, that are open on three sides, may encroach into a required rear yard as long as such encroachment does not exceed 50 percent of the area of the required rear yard setback.
D.
Operational Limits. In Residential districts, accessory structures:
1.
Shall, where the rear yard abuts the side yard on an adjacent parcel, observe a rear yard setback equal to the side yard setback required on the adjacent lot;
2.
When located on a corner lot, shall not project into the required street side yard or its extension to the rear lot line.
3.
When located on a lot having a slope of 25 percent or more, an accessory structure may be located in the required front yard, provided every portion is located at least five feet from the front line, and the distance between it and the main building may be reduced to zero; if such lot slopes upward from the street, the accessory structure may encroach upon one side yard if the rear of its roof is at or below the natural ground level.
4.
Shall not exceed 75 percent of the floor area of the main building, including an accessory dwelling unit.
E.
Discontinuance of Use—Pay Telephones. All equipment and improvements associated with an abandoned pay telephone communications facility located on an exterior wall visible from a public right-of-way shall be removed within 90 days of the discontinuation of the use and the building wall to which it was attached shall be restored to its original, pre-installation condition, or as approved by the Zoning Administrator. Written verification of the removal of a pay telephone on private property shall be provided to the Zoning Administrator within 90 days of the discontinuation of the use.
1.
If the provider fails to remove the pay telephone from the site as required herein, the property owner shall be responsible for removal. If such facilities are not removed and are visible from a public right-of-way, the pay telephone shall be deemed to be a public nuisance and the City may take such action as it deems appropriate to abate the public nuisance in accordance with this Code and any other applicable provision of law.
2.
Failure to inform the Zoning Administrator of cessation of operations of any existing pay telephone shall constitute a violation of the Zoning Ordinance.
(Ord. No. 30-18 N.S., § I(Exh. A), 12-18-2018)
Building projections may extend into required yards, according to the standards of Table 15.04.601.020, Allowed Building Projections into Yards. The "Limitations" column states any dimensional, area, or other limitations that apply to such structures when they project into required yards.
In addition, in R districts, the main residential building may project into a required rear yard up to, but not within, 10 feet of the rear lot line, provided that the maximum lot coverage and minimum required open space standards are met. This building projection shall not encroach into a required side yard, nor shall it be wider than 50 percent of the average lot width in the rear half of the lot.
Figure 15.04.601.020: Allowed Building Projections
(Ord. No. 30-18 N.S., § I(Exh. A), 12-18-2018)
A.
General. Where a lot is divided by a zoning district boundary, the regulations applicable to each district shall be applied to the area within the district, and no use, other than parking serving a principal use on the site, can be located in a district in which it is not a permitted or conditionally permitted use.
B.
Access. All access to parking serving a use must be from a street abutting that portion of the lot where the use is allowed. Pedestrian or vehicular access from a street to a non-residential use cannot traverse an R District in which the non-residential use is not permitted or conditionally permitted.
C.
Minimum Lot Area and Width. The minimum lot area and width requirements of the zoning district that covers the greatest portion of the lot area will apply to the entire lot. If the lot area is divided equally between two or more zones, the requirements of the district with greater minimum lot area, width, or frontage shall apply to the entire lot.
D.
Exceptions. If more than 60 percent of a lot is located in one zoning district, modifications to the provisions of this Section may be granted through Planning Commission approval of a conditional use permit.
Any lot or parcel of land that was legally created through a recorded deed may be used as a building site even when consisting of less area, width, or depth than that required by the regulations for the zoning district in which it is located. However, no substandard lot can be further reduced in area, width, or depth, unless such reduction is required as part of a public improvement.
(Ord. No. 30-18 N.S., § I(Exh. A), 12-18-2018)
The standards of this Section apply to all new development and to all existing structures. The structures listed in Table 15.04.601.050 below may exceed the maximum permitted building height for the zoning district in which they are located, subject to the limitations stated in the Table and further provided that no portion of a structure in excess of the building height limit may be used for sleeping quarters or advertising. Projections not listed in Table 15.04.601.050 and projections in excess of those listed in Table 15.04.601.050 may be allowed with a conditional use permit.
A.
Permits Required. All fences require Zoning Conformance approval by the Zoning Administrator. Any fence over six feet in height requires a building permit.
B.
Maintenance. Fencing shall be continuously maintained, with no sign of rust or disrepair.
C.
Fencing Location.
1.
Fence Location on a Lot. Fences may be erected, placed or maintained along or adjacent to a lot line or within a yard. A fence located on a lot line shall be considered as being within the yard adjacent to that lot line. The fence owner shall be responsible for properly locating all lot lines before construction of any fence.
2.
Fence Encroachment onto Public Property. No portion of any fence, including gate doors, shall encroach upon or project into any public right-of-way or other public property without the fence owner first obtaining from the City an encroachment permit.
3.
Prohibited Fence Locations. No person shall place, construct, maintain, or cause to be placed any fence that may endanger the public safety, including but not limited to the following:
a.
Fire Hydrant Access. No fence shall obstruct free access to any fire hydrant.
b.
Sight Triangle. No fence that is a visual obstruction may be constructed or maintained within the sight triangle (see Section 15.04.601.160). A fence shall be deemed to be a visual obstruction if any part of it over 42 inches high has opacity in excess of 50 percent.
D.
Maximum Fencing Height in Residential Zone Districts. Fence height in Residential zoning districts shall be limited by its location as specified below in Table 15.04.601.060-D.
E.
Fence Design in Residential Zoning Districts. Fences in Residential zoning districts shall be constructed, designed and maintained as follows:
1.
Permitted Materials. Fences shall be constructed of wood, metal, polyvinyl chloride (PVC), masonry or other permanent materials designed for permanent fencing. No more than two types of related fencing materials shall be used in any fence or wall. Fences constructed of wood shall have posts in contact with ground of preservative-treated wood conforming to ASTM D1760 treated with waterborne preservatives to a minimum retention of 6.4 kilograms per cubic meter (0.40 pounds per cubic feet) and components not in contact with the ground treated with waterborne preservatives to a minimum retention of 4.0 kilograms per cubic meter (0.25 pounds per cubic feet) or shall be of heartwood of a decay-resistant species such as redwood or cedar. For non-residential uses in residential zoning districts, a chain-link (nonmetallic finish) fence with vinyl slats may be used if deemed acceptable and appropriate through design review.
2.
Hazardous and Prohibited Materials. Fences shall not incorporate electrically charged wire, barbed wire and razor wire, chain link (with or without slats or vinyl or other coatings), unfinished plywood or similar unfinished materials, woven wire mesh ("chicken wire"), welded wire mesh, woven wire ("hog wire") rope, cable, railroad ties, landscape timbers, utility poles or any other similar materials or materials not specifically manufactured for permanent fencing.
3.
Posts and Supporting Members. All fence posts and related supporting members of the fence shall be erected so that the finished side or sides of the fence shall be facing the adjacent lot or public right-of-way.
4.
Painting and Staining. All wood fences shall be painted or stained, except when constructed of the heartwood of a decay-resistant species such as redwood or cedar. All ferrous metal fences, except hot-dipped galvanized steel shall be painted with a three-coat system consisting of a corrosion-resistant primer and two finish coats, with preparation and application as recommended by the manufacturer. All other metal fences, including aluminum hot-dipped galvanized steel, shall be painted with at least a two-coat system intended for that purpose.
5.
Gates.
a.
Gates with locks that are routinely locked shall be equipped with a doorbell device capable of notifying the occupants within the residential structure or a telephone number that can be used to notify the occupants.
b.
Entry features over front yard gates (e.g., open latticed arbors and trellises), not exceeding eight feet in height, three feet in depth or five feet in width are allowed when located within the required front yard but outside the sight triangle.
c.
When a rear yard abuts an alley, the alley facing side of a solid fence shall be clearly labeled with the house address number.
F.
Fence Design in Mixed Use, Commercial and Industrial Districts.
1.
Solid Fencing. Any activity may have a solid fence. All outside storage/maintenance areas are required to be screened from public streets by a painted, view-obscuring wood board fence or masonry wall. The following specifications for low solid screen, high solid screen and/or solid screen fencing shall also apply.
a.
Low Solid Screen. A fence or wall three to four feet high and fully sight-obscuring is permitted. It may be painted, view-obscuring wood board fence or masonry wall of uniform material and must be designed and constructed to withstand a 15 pound-per-square foot wind load and deterioration resulting from contact with soil, vermin and weathering.
b.
High Solid Screen. A screening source or wall six to eight feet high and sight-obscuring is permitted. It may be painted, view-obscuring wood board fence or masonry wall of uniform material and must be designed and constructed to withstand a 15 pound-per-square foot wind load and deterioration resulting from contact with soil, vermin and weathering. This screening wall may also be a masonry wall with lattice work resulting from an open brick pattern or use of open masonry blocks.
c.
Wire Fence with Planting. Wire fences with dark colored, durable, matte finishes (both wire and posts) and vinyl slats are permitted if fast growing trees, hedge plants, upright shrubs or evergreen vines are planted alongside and used in combination with green growing ground cover or low hedge landscaping.
d.
Solid Wall. A wall 6 to 8 feet high and fully sight-obscuring is permitted. The wall may be masonry, brick, concrete or exposed aggregate; it must be designed and constructed to withstand a 15 pound-per-square foot wind load and deterioration resulting from contact with soil, vermin and weathering. Masonry walls shall include split-face or other decorative treatment.
2.
Open or Semi-Open Fencing. A chain-link (nonmetallic finish) fence with or without vinyl slats may be used if a solid fence is not required. No fence or wall that adjoins a residential lot or residential zoning district or fronts on a public street or highway shall incorporate barbed wire or other sharp, protruding objects.
G.
Exceptions to Residential Fence Height Regulations. The Zoning Administrator may grant an exception to the front yard fence height requirements imposed by this Section. Such exception shall be made only after public noticing of the proposed fence adjustment to side yard abutting property owners, the completion of a site visit, and administrative design review pursuant to Article 15.04.805 if he/she makes all of the following findings:
1.
The proposed fence will not create or exacerbate a public safety hazard;
2.
The proposed fence is of design, materials, scale and color that are compatible and harmonious with the subject site, site improvements and other properties within the immediate vicinity; and
3.
Front yard fencing that prohibits access to the home shall be equipped with a doorbell device.
H.
Exceptions to Mixed Use, Commercial and Industrial Fence Height Regulations. The Design Review Board or Planning Commission may grant an exception to the fence height requirements imposed by this Section. Such exception shall be made only after a public hearing, and subject to major design review or a conditional use permit pursuant to Article 15.04.805 or Article 15.04.806 making all of the following findings:
1.
The proposed fence will not create or exacerbate a public safety hazard; and
2.
The proposed fence is of design, materials, scale and color that are compatible and harmonious with the subject site, site improvements and other properties within the immediate vicinity.
I.
Nonconforming Fences.
1.
Existing Nonconforming Fences Deemed Approved. Existing nonconforming fences existing prior to the date of adoption of the ordinance codified in this Section shall be deemed approved unless they are one of the types of fences listed in Subsection 2, below. The deemed approved status shall continue until the property owner requests approval of new construction, of a structural alteration, of an addition that requires discretionary review, or the property is sold, at which point, the fence shall be modified to conform to the standards for fences in this Section or be removed.
2.
Other Nonconforming Fences. The following fences do not qualify as deemed approved and must be modified or removed.
a.
Front yard fencing over 6 feet in height;
b.
Front yard fencing which is solid (in excess of 50 percent opacity) over 4' in height;
c.
Any portion of fencing in the sight triangle established by Section 15.04.601.170 that is over 3' 6" high with an opacity of more than 20 percent; and
d.
Any dilapidated fencing or fencing constructed of materials or components not allowed by this Section.
(Ord. No. 30-18 N.S., § I(Exh. A), 12-18-2018)
Open storage of goods, materials, machines, equipment, and vehicles or parts outside of a building for more than 24 hours must conform to the standards of this Section. The regulations of this Section do not apply to processing equipment, tanks, or other equipment fixed to the ground, to temporary storage of construction materials reasonably required for construction work on the premises pursuant to a valid building permit, and to agricultural/farming equipment used for agriculture or farming on the property.
A.
Permitted Locations. Table 15.04.601.070-A states where outdoor storage is permitted.
B.
Screening and Setbacks. Storage areas visible from public streets that are not separated from the street by intervening building(s) must be screened.
1.
Screening Walls. Screening walls and fences must be high enough to sufficiently screen stored material. Fences and walls must not exceed the maximum allowable fence heights unless allowed pursuant to administrative use permit approval.
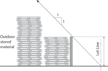
2.
Setback. A setback must be provided for outdoor stored material at the ratio of 1:1 from all lot lines equal to the total height of stored material above required screen wall.
C.
Storage Containers. See Section 15.04.610.400 (Storage Containers).
Figure 15.04.601.070-C: Screening and Setbacks—Outdoor Storage
(Ord. No. 30-18 N.S., § I(Exh. A), 12-18-2018)
Each person, company or corporation residing in and/or using a property in the City of Richmond shall, at all times, maintain such property in good order. This shall include a litter management program and repair and maintenance of all structures, fences, signs, walks, driveways, paving, striping, lawns, landscaping, painting, etc., as may be necessary to preserve a quality environment.
This Section establishes design and locational criteria for the construction of refuse, solid waste, recycling, and green waste container storage areas. Refuse, solid waste, recycling, and green waste are collectively referred to as "solid waste and recycling."
A.
General Requirements and Alternatives. All trash, garbage, green waste, and recycling materials must be placed in an appropriate receptacle. All garbage cans, mobile trash bins, and receptacles must be maintained and stored in accord with this Section.
1.
Applicability. Solid waste and recycling-container enclosures are required for new dwelling groups of three or more dwelling units and for all new non-residential development and additions and remodels of non-residential buildings.
2.
Alternatives. Projects with 10 or fewer residential units may have individual solid waste and recycling containers for each unit, provided that there is a designated screened location for each individual container adjacent to the dwelling unit or within garage areas and provided that solid waste and recycling containers for each unit are brought to the curbside for regular collection.
B.
Size. Solid waste and recycling-container enclosures must be sized to accommodate all trash, garbage, recyclables, and green waste until such items are picked up by the City or its contracted solid waste and recycling collector(s).
C.
Location and Orientation. All solid waste and recycling-container enclosures must meet the following requirements, unless the Zoning Administrator determines that compliance is infeasible. A Building Permit shall not be issued for a project until documentation of approval of the location is provided by the Zoning Administrator.
1.
Location. The solid waste and recycling storage area shall not be located within any required front yard, street side yard, any required parking and landscaped areas, or any other area that is required to be constructed or maintained unencumbered.
2.
Visibility. The solid waste and recycling enclosure cannot be visible from a public right-of-way.
3.
Consolidation and Distance for Buildings Served. Solid waste and recycling areas must be consolidated to minimize the number of collection sites and located so as to reasonably equalize the distance from the building spaces they serve. For multi-unit residential projects, there must be at least one trash enclosure per 20 units, and the enclosure must be located within 100 feet of the residential units.
4.
Accessibility. Solid waste and recycling storage areas must be accessible so that trucks and equipment used by the contracted solid waste and recycling collector(s) have sufficient maneuvering areas and, if feasible, so that the collection equipment can avoid backing up.
D.
Materials, Construction, and Design.
1.
Minimum Height of Screening. Solid waste and recycling storage areas located outside or on the exterior of any building must be screened with a solid enclosure at least six feet high and include a roof structure.
2.
Enclosure Material. Enclosure material must be wood, solid masonry, or concrete tilt-up with decorated exterior-surface finish. The trash enclosure must match and complement the color scheme and architecture of the building.
3.
Gate Material. Latching, view-obscuring gates must be provided to screen trash enclosure openings.
4.
Access to Enclosure from Residential Projects. Each solid waste and recycling enclosure serving a residential project must be designed to allow disposal to the appropriate receptacle without having to open the main enclosure gate.
5.
Enclosure Pad. Pads must be a minimum of four-inch-thick concrete.
6.
Bumpers. Bumpers must be two inches by six inches thick and made of concrete, steel, or other suitable material, and must be anchored to the concrete pad.
7.
Protection for Enclosures. Concrete curbs or the equivalent must protect enclosures from adjacent vehicle parking and travel ways.
8.
Clear Zone. The area in front of and surrounding all enclosure types must be kept clear of obstructions, and must be painted, striped, and marked "No Parking."
9.
Drainage. The floor of the enclosure must have a drain that connects to the sanitary sewer system.
10.
Travelways and Area in Front of Enclosure. The travelways and area in front of the enclosure must be designed to have an adequate engineered base meeting the City's Building Code for the likely truck use and capable of supporting a maximum fully-loaded gross vehicle weight of at least 62,000 pounds. The minimum pavement engineering standard shall be 100 pounds per square foot "live load" unless the applicant can present a report from a California-registered civil engineer justifying a different design load factor.
Screening and landscaped buffer yards must be provided in accordance with this Section at the time of new construction or expansion of buildings, or a change from one use classification to another non-residential use classification. Screening and buffer yards must be installed and maintained along interior side and rear lot lines between differing land uses.
A.
Required Screening and Landscape Buffer Yards. Table 15.04.601.100-A, Required Screening and Landscape Buffers, shows when a buffer and screening treatment is required, and of what type, based on the proposed and the adjoining use. Only the proposed use is required to provide the screening and buffer yard. Adjoining uses are not required to provide the screening and buffer yard. The type of screening buffer yard required refers to screening and buffer yard-type designations, as shown in Table 15.04.601.100-B, Screening and Buffer Yard Requirements. "-" means that screening and a buffer yard are not required.
B.
Screening and Buffer Types. Table 15.04.601.100-B, Screening and Buffer Type Requirements, describes the minimum width, plant materials, and wall requirements for each type of screening and buffer yard. The listed number of trees and shrubs are required for each 100 lineal feet of buffer yard. Trees must be planted at no more than 40 feet from center of tree to center of tree; see Figure 15.04.601.100-B. Natural areas with native vegetation or alternative planting materials that achieve equivalent buffering effects may be approved by the Zoning Administrator.
Figure 15.04.601.100-B: Tree Spacing
C.
Width Reduction for Adjacent Landscaped Buffer. If an equivalent landscape buffer exists on the adjacent lot, the width of the required buffer may be reduced 50 percent provided that the abutting property owners have provided and recorded a written agreement restricting the use of the adjacent landscape buffer.
D.
Location. Screening walls and buffer yards must follow the lot line of the lot to be screened or be so arranged within the boundaries of the lot so as to substantially hide from adjoining lots, the building, facility, or activity required to be screened. Openings in screening walls are allowed for pedestrian access.
E.
Screening Wall Materials. Industrial uses must provide a solid screening wall of stucco, decorative block, or concrete panel. Screening walls for other uses may be constructed of stucco, decorative block, concrete panel, wood or other substantially equivalent material. Chain-link fencing is prohibited.
F.
Berms. A vegetated earthen berm may be used in combination with the above types of screening walls, but not more than two-thirds of the required height of such screening may be provided by the berm.
The standards of this Section apply to new development, replacement equipment that is added to serve existing buildings, and condominium conversions; they do not apply to existing equipment that serves existing buildings. The Zoning Administrator may waive or modify screening requirements for upgrades to existing mechanical equipment.
A.
General Requirements. All exterior mechanical equipment, whether on a roof, on the side of a structure, or located on the ground, must be screened from public view. Exterior mechanical equipment to be screened includes, without limitation, heating, ventilation, air conditioning, refrigeration equipment, plumbing lines, ductwork, transformers, smoke exhaust fans, water meters, backflow preventers, service entry section, and similar utility devices.
1.
Screening must be architecturally integrated into the main structure with regard to materials, color, shape, and size to appear as an integral part of the building or structure.
2.
Equipment must be screened on all sides, and screening materials must be opaque.
3.
When screening with plants, evergreen types of vegetation must be planted and maintained. Plant material sizes and types must be selected and installed so that, at the time of building occupancy, such plants effectively screen their respective equipment.
4.
The use of wood, expanded metal lath, and chain link for the purpose of screening is prohibited.
B.
Requirements for Specific Types of Mechanical Equipment. The following additional screening standards apply to the specified types of mechanical equipment:
1.
Roof-Mounted Equipment.
a.
Whenever feasible, roof-mounted equipment screening must be constructed as an encompassing monolithic unit or a series of architecturally similar screening units on large roofs, rather than as several individual screens (i.e., multiple equipment screens, or "hats," surrounding individual elements will not be permitted).
b.
The height of the screening element must equal or exceed the height of the structure's tallest piece of installed equipment.
Figure 15.04.601.110-B(1): Screening of Roof Mounted Equipment
2.
Ground-Mounted Equipment. Ground-mounted equipment that faces a street must be screened to a height of 12 inches above the equipment, unless such screening conflicts with utility access, in which case reasonable accommodation must be allowed.
a.
Acceptable screening devices consist of decorative walls and/or berms (3:1 maximum slope) with supplemental plant materials, including trees, shrubs, and groundcovers.
b.
For screen walls that are three feet high or lower, vegetative materials may be substituted for 50 percent of the screening device.
c.
This requirement does not apply to incidental equipment in the interior of a lot that is not visible from the street. However, electrical substations, water tanks, sewer pump stations, and similar utilities are required to be screened and secured with an eight-foot-high wall.
Figure 15.04.601.110-B(2): Screening of Ground Mounted Equipment
3.
Exterior Wall Equipment. Wall-mounted equipment, including, without limitation, electrical meters, electrical distribution cabinets, service entry sections, and valves and cabinets that face a street or public parking and are not recessed and/or separated from the street by intervening building(s) or walls or gates, must be screened. Screening devices must incorporate elements of the building design (e.g., shape, color, texture and material). For screen walls that are three feet in height or lower, vegetative materials may be substituted for 50 percent of the screening device. This requirement does not apply to fire-related elements.
C.
Exceptions in the IG and IW Zoning Districts. Due to its size, some outdoor equipment that is ancillary to operations in IG and IW zoning districts may not be fully screened from view. In these cases, operators of such equipment shall only be required to provide screening that is consistent with provisions of Section 15.04.601.110 to the extent feasible.
This Section establishes development standards for solar energy systems.
A.
Height.
1.
On Single-Unit Lots. Photovoltaic solar energy systems may extend up to five feet above the height limit in the zoning district. Solar water or swimming pool heating systems may extend up to seven feet above the height limit in the district.
2.
On All Other Lots. Photovoltaic solar energy systems may extend up to five feet above the roof surface on which they are installed, even if this exceeds the maximum height limit in the district in which it is located. Solar water or swimming pool heating systems may extend up to seven feet above the roof surface on which they are installed even if this exceeds the maximum height limit in the district in which it is located.
B.
Required Setback. Excluding solar collector panels, solar energy system equipment may be installed within a required side and rear setback, but must not be closer than three feet to any property line.
A.
Incorporation of Best Management Practices for Stormwater Management. New development must be designed to minimize impacts to water quality from increased runoff volumes and discharges of pollutants from nonpoint sources to the maximum extent feasible. Post-construction best management practices must be designed to treat, infiltrate, or filter stormwater runoff, in accordance with applicable standards as required by law. Examples of best management practices include:
1.
Retention and detention basins.
2.
Vegetated swales.
3.
Infiltration galleries or injection wells.
4.
Use of permeable paving materials.
5.
Mechanical devices such as oil-water separators and filters.
6.
Revegetation of graded or disturbed areas.
B.
Stormwater Management Requirements. The following requirements apply to specific types of development:
1.
Non-residential and multi-unit development must use best management practices to control polluted runoff from structures, parking, and loading areas.
2.
Eating and drinking establishments must incorporate best management practices designed to prevent runoff of oil and grease, solvents, phosphates, and suspended solids to the storm drain system.
3.
Automobile/vehicle sales and services uses must incorporate best management practices designed to prevent runoff of oil and grease, solvents, car battery acid, engine coolants, and gasoline to the stormwater system.
4.
Outdoor storage areas must be designed to incorporate best management practices to prevent stormwater contamination from stored materials.
5.
Trash storage areas must be designed using best management practices to prevent stormwater contamination by loose trash and debris.
C.
Maintenance of Stormwater Management Facilities. New development is required to provide ongoing maintenance of best management practice measures where maintenance is necessary for their effective operation. The permittee and/or owner, including successors in interest, is responsible for all structural treatment controls and devices as follows:
1.
All structural best management practices must be inspected, cleaned, and repaired when necessary prior to September 30th of each year or as specified in a City-approved operations and maintenance agreement.
2.
Additional inspections, repairs, and maintenance must be performed after storms, as needed, throughout the rainy season, with any major repairs completed prior to the beginning of the next rainy season.
3.
Public streets and parking lots must be swept, as needed and financially feasible, to remove debris and contaminated residue.
4.
The homeowners association, or other private owner, must be responsible for sweeping of private streets and parking lots.
This Section establishes standards for swimming pools and spas.
A.
Filtration Equipment. Swimming pool or spa filtration equipment and pumps shall not be located in the front or street side yard and cannot be closer than 15 feet to the main building on an adjoining lot. All equipment must be mounted and enclosed/screened so that its sound is in compliance with Article 15.04.605 (Noise).
B.
Pool Setbacks and Covers. The outside wall of the water-containing portion of any swimming pool or spa must be a minimum of 15 feet from street side lot lines, five feet from all interior lot lines, and five feet from the residence and any accessory dwelling unit on the site. All pools must be equipped with an approved safety pool cover meeting the standards of the American Society for Testing and Materials or have another drowning prevention safety feature, as required by the California Health and Safety Code.
C.
Elevated Swimming Pools. All elevated swimming pools constructed on the ground may not be higher than four feet.
D.
Public and Semi-Public Pools. A conditional use permit must be obtained before the construction of any pool for use by the general public.
In addition to the requirements outlined in Article 15.04.607 (Parking and Loading Standards), all truck docks, loading, and service areas must be located and screened as follows:
A.
Minimum Distance from Residential District. Truck docks, loading, and service areas are not permitted within 50 feet of the boundary of any R District.
B.
Location on Lot. In all districts except the Agricultural and Industrial Districts, truck docks, loading areas, and service areas must be located at the rear or interior side of buildings, rather than facing a street.
C.
Screening. Truck docks, loading areas, and service areas located in any zoning district must be screened from any adjacent R District. Docks, loading, and service areas in any district, except the Industrial Districts, must be screened from view of adjacent streets. Screening must consist of a solid masonry wall at least eight feet in height or opaque automated gates.
All electrical, telephone, cable television, fiber-optic cable, gas, water, sewer, irrigation/recycled water, and similar distribution lines providing direct service to a project must be installed underground within the site. This requirement may be waived by the Zoning Administrator upon determining that underground installation is infeasible or the electrical line is otherwise exempt from an undergrounding requirement.
A.
Street Intersections. Vegetation and structures, including signs, must not exceed a height of three feet within the sight distance triangular area formed by the intersecting curb lines (or edge of pavement when no curbs exist) and a line joining points on these curb lines at a distance of 10 feet along both lines from their intersection, unless there is a "transparency" feature, such as open railings or well-pruned climbing plants, allowing for sight visibility. Trees that are located within this sight distance triangle must have a minimum clearance of 13 feet high between the lowest portion of the canopy and street.
1.
Subsection (A) does not apply to unsignalized intersections of local streets, unless specifically required by the Zoning Administrator.
Figure 15.04.601.170-A: Visibility at Street Intersections
B.
Driveways and Alleys. Visibility of a driveway crossing a street lot line must not be blocked above a height of three feet within the sight distance triangular area formed by the intersecting curb lines (or edge of pavement when no curbs exist) and a line joining points on these curb lines at a distance of 12 feet along both lines from their intersection. Street trees that are pruned at least seven feet above the established grade of the curb so as not to obstruct clear view by motor vehicle drivers are permitted.
Figure 15.04.601.170-B: Visibility at Driveways
C.
Exempt Structures and Plantings. The regulations of this Section do not apply to existing buildings; public utility poles; saplings or plant species of open growth habits and not planted in the form of a hedge that are so planted and trimmed as to leave at all seasons a clear and unobstructed cross view; official warning signs or signals; or places where the contour of the ground is such that there can be no cross visibility at the intersection.
The purpose of this Article is to provide increased residential densities for projects that guarantee that a portion of the housing units, constructed in a housing development, will be restricted to senior citizens or affordable to moderate, lower, very low, or extremely low income persons or for the donation of land for very low income housing.
A.
State Law Governs. Where a conflict occurs between the provisions of this Article and State law, State law will govern.
B.
Compatibility. All affordable housing units must be dispersed within market-rate projects whenever feasible. Affordable housing units within market-rate projects must be comparable with the design and appearance of market-rate units in appearance, use of materials, and finish quality.
C.
Availability. All affordable housing units must be constructed concurrently with, and made available for qualified occupants at the same time as, the market-rate housing units within the same project, unless both the City and the developer agree in the Density Bonus Agreement to an alternative schedule for development.
D.
Density Bonus Agreement. A Density Bonus Agreement will be made a condition of the discretionary permits for all projects granted a density bonus, pursuant to this Article. The Agreement must be recorded as a restriction on the parcel or parcels on which the affordable housing units will be constructed. The Agreement must be consistent with Section 15.04.602.060.
E.
Effect of Granting Density Bonus. The granting of a density bonus will not, in and of itself, be interpreted to require a General Plan amendment, Zoning Text or Map change, or other discretionary approval.
A.
Minimum Requirements for Density Bonus. The City shall grant one density bonus when a housing developer seeks and agrees to construct a housing development with five or more units, excluding any units permitted by the density bonus awarded, that will contain housing for any one of the following household income groups, as defined by State law, and satisfies the findings outlined in this Section:
1.
Low Income Households. Ten percent of the total dwelling units of a housing development for lower-income households.
2.
Very Low Income Households. Five percent of the total dwelling units of a housing development for very low income households.
3.
Extremely Low Income Households. Five percent of the total dwelling units of a housing development for extremely low income households.
4.
Senior Households. A senior citizen housing development or mobile home park that limits residency based on age requirements for housing for older persons pursuant to Section 798.76 or 799.5 of the Civil Code.
5.
Common Interest Developments. Ten percent of the total dwelling units in a common interest development for persons and families of moderate income provided that all units in the development are offered to the public for purchase.
B.
Calculation of Density Bonus. The amount of density bonus to which the developer is entitled shall vary according to the amount by which the percentage of affordable housing units equals or exceeds the percentage established in Table 15.04.602.030-B. The density bonus shall not be included when determining the number of housing units which are to be affordable.
1.
Density Bonus.The density bonus for housing developments shall be calculated as shown in Table 15.04.602.030-B:
2.
Density Bonus for Common Interest Developments.The density bonus for common interest developments with moderate income units shall be calculated as follows:
3.
Rounding of Fractional Units. All density bonus calculations resulting in fractional units shall be rounded up to the next whole number.
4.
Density Bonus for Land Donations.When the developer for a tentative subdivision map, parcel map, or other residential development approval donates land to the City in return for providing housing for very low income households, the developer shall be entitled to a 15 percent increase above the otherwise maximum allowable residential density under the applicable zoning district for the entire development, as follows:
This increase shall be in addition to any increase in density otherwise mandated, up to a maximum combined mandated density increase of 35 percent if the developer seeks both the increase required pursuant to this Section and a density bonus. The developer shall be eligible for the increased density bonus described in this paragraph 4 if all the following conditions are met:
a.
The developer shall donate and transfer lands no later than the date of approval of the final subdivision map, parcel map, or residential development application.
b.
The developable acreage and zoning classification of the land being transferred are sufficient to permit construction of units affordable to very low income households in the amount not less than 10 percent of the number of residential units of the proposed development.
c.
The transferred land is at least one acre in size or of sufficient size to permit development of at least 40 units, has the appropriate General Plan designation, is appropriately zoned for development as affordable housing, and is or will be served by adequate public facilities and infrastructure. The transferred lands shall have all of the permits and approvals, other than building permits, necessary for the development of the very low income housing units prior to the date of approval of the final subdivision map, parcel map, or the residential development.
d.
The transferred lands and the affordable units shall be subject to a deed restriction ensuring continued affordability of the units consistent with this Article, which shall be recorded on the property at the time of dedication.
e.
The land is transferred to the City or to a housing developer approved by the City. The City may require the developer to identify and transfer the land to the developer.
f.
The transferred land shall be within the boundary of the proposed development or, if the City agrees, within one-quarter mile of the boundary of the proposed development.
5.
Density Bonus for Development with a Childcare Facility.
a.
When a developer proposes to construct a housing development that conforms to the requirements of subsection 15.04.602.030(A) and includes a child care facility that will be located on the site of, as part of, or adjacent to, the project, the City shall grant either of the following:
i.
An additional density bonus that is an amount of square feet of residential space that is equal to the amount of square feet in the child care facility; or
ii.
An additional concession or incentive that contributes significantly to the economic feasibility of the construction of the child care facility.
b.
The City shall require, as a condition of approving a density bonus housing development with a child care facility that the following shall occur:
i.
The child care facility shall remain in operation for a period of time that is as long as or longer than the period of time during which the density bonus units are required to remain affordable.
ii.
Of the children who attend the child care facility, the children of extremely low income, very low income households, lower-income households, or families of moderate income shall equal a percentage that is equal to or greater than the percentage of dwelling units that are required for extremely low income, very low income households, lower-income households, or families of moderate income pursuant to this Section.
c.
The City shall not be required to provide a density bonus or concession for a child care facility if it finds, based upon substantial evidence, that the surrounding neighborhood has adequate child care facilities.
C.
Possible Incentives or Concessions. When a developer seeks and agrees to construct any one of the housing specified in subsections 15.04.602.030(A) and (B), the City shall grant incentives or concessions as described below, if requested by the developer, in addition to a density bonus, unless the City makes written findings per subsection 15.04.602.050(C) of this Article:
1.
A reduction in site development standards or a modification of zoning requirements or design requirements that exceed the minimum building standards approved by the California Standards Commission as provided for in Part 2.5 (commencing with Section 18901) of Division 13 of the California Health and Safety Code including, but not limited to the following:
a.
Reduced minimum lot sizes and/or dimensions;
b.
Reduced minimum setbacks;
c.
Reduced minimum common and/or private outdoor open space;
d.
Increased maximum lot coverage;
e.
Increased maximum building height and/or stories;
f.
Reduced on-site parking standards;
g.
Reduced minimum building separation requirements;
h.
Reduced street standards, including street widths;
i.
Approval of mixed-use zoning within the housing development where it is demonstrated that commercial, office, or other nonresidential land uses will reduce housing costs over residential-only uses on a site and will be compatible with the existing and planned housing units on the site and the surrounding neighborhood where the proposed housing development will be located.
2.
Other incentives proposed by the developer or the City that result in identifiable, financially sufficient, and actual cost reductions, including, but not limited to, the following:
a.
Expedited "fast track" processing of development applications and permits (e.g., allowing plan check to begin during planning appeal period);
b.
Waiver of filing or processing fees on development applications and permits, or other development fees, following established City fee waiver processes or policies;
c.
Use of public financing; or
d.
Other regulatory incentives or concessions that result in identifiable cost reductions.
There is no limit or requirement, however, for the City to provide any direct financial incentives for the housing development, to waive fees and/or dedication requirements, or to provide publicly-owned land for a housing development.
D.
Number of Concessions Available. The developer shall receive the number of incentives or concessions shown in Table 15.04.602.030-D, in addition to a density bonus:
E.
No Maximum Density Bonus or Number of Concessions. Nothing in this Article shall be construed to prohibit the City from granting a density bonus greater than what is described in this Section or a greater number of concessions or incentives than what is described in this Section for a development that meets the requirements of this Section.
F.
Standards for Density Bonus and Incentives. The following standards shall apply to the granting of the density bonus and incentives:
1.
Duration of Affordability. For the purposes of this Section, "total units" or "total dwelling units" does not include units added by a density bonus awarded pursuant to this Section or any other Municipal Code provision granting a greater density bonus.
a.
An applicant shall agree to, and City shall ensure, the continued affordability of all extremely low, very low and low-income rental units that qualified the applicant for the award of the density bonus for 55 years or a longer period of time if required by the construction or mortgage financing assistance program, mortgage insurance program, or rental subsidy program. Rents for the lower income density bonus units shall be set at an affordable rent as defined in Section 50053 of the Health and Safety Code.
b.
An applicant shall agree to, and the City shall ensure that, the initial occupant of all for-sale units that qualified the applicant for the award of the density bonus are persons and families of extremely low, very low, low, or moderate income, as required, and that the units are offered at an affordable housing cost, as that cost is defined in Section 50052.5 of the Health and Safety Code.
2.
Equity Sharing Agreement. An applicant shall agree to, and the City shall ensure that, the initial occupant of all for-sale units that qualified the applicant for the award of the density bonus are persons and families of extremely low, very low, low, or moderate income, as required, and that the units are offered at an affordable housing cost, as that cost is defined in Health and Safety Code Section 50052.5. The following provisions must be included in an equity sharing agreement:
a.
Upon resale, the seller of the unit shall retain the value of any improvements, the down payment, and the seller's proportionate share of appreciation. The City shall recapture any initial subsidy, as defined in subsection ii. below, and its proportionate share of appreciation, as defined in subsection iii. below, which amount shall be used within five years for any of the purposes described in Health and Safety Code Section 33334.2(e) that promote home ownership.
i.
The City's initial subsidy shall be equal to the fair market value of the home at the time of initial sale minus the initial sale price to the moderate income household, plus the amount of any down payment assistance or mortgage assistance. If upon resale the market value is lower than the initial market value, then the value at the time of the resale shall be used as the initial market value.
ii.
The City's proportionate share of appreciation shall be equal to the ratio of the City's initial subsidy to the fair market value of the home at the time of initial sale.
3.
Protection of Existing Rental Units. An applicant shall be ineligible for a density bonus or any other incentives or concessions under this Section if the housing development is proposed on any property that includes a parcel or parcels on which rental dwelling units are or, if the dwelling units have been vacated or demolished in the five-year period preceding the application, have been subject to a recorded covenant, ordinance, or law that restricts rents to levels affordable to persons and families of low, very low, or extremely low income; subject to any other form of rent or price control through the City's valid exercise of its police power; or occupied by low, very low, or extremely low income households, unless the proposed housing development replaces those units, and either of the following applies:
a.
The proposed housing development, inclusive of the units replaced pursuant to this paragraph, contains affordable units at the percentages set forth in subsection 15.04.602.030(B).
b.
Each unit in the development, exclusive of a manager's unit or units, is affordable to, and occupied by, either a lower or very low income household.
c.
For the purposes of this paragraph, "replace" shall mean the following:
i.
If any dwelling units described in paragraph 15.04.602.030(F)(3) are occupied on the date of application, the proposed housing development shall provide at least the same number of units of equivalent size or type, or both, to be made available at affordable rent or affordable housing cost to, and occupied by, persons and families in the same or lower income category as those households in occupancy. For unoccupied dwelling units described in paragraph 15.04.602.030(F)(3) in a development with occupied units, the proposed housing development shall provide units of equivalent size or type, or both, to be made available at affordable rent or affordable housing cost to, and occupied by, persons and families in the same or lower income category in the same proportion of affordability as the occupied units.
ii.
If all dwelling units described in subparagraph (i) have been vacated or demolished within the five-year period preceding the application, the proposed housing development shall provide at least the same number of units of equivalent size or type, or both, as existed at the highpoint of those units in the five-year period preceding the application to be made available at affordable rent or affordable housing cost to, and occupied by, persons and families in the same or lower income category as those persons and families in occupancy at that time, if known. If the incomes of the persons and families in occupancy at the highpoint is not known, then one-half of the required units shall be made available at affordable rent or affordable housing cost to, and occupied by, very low income persons and families and one-half of the required units shall be made available for rent at affordable housing costs to, and occupied by, low income persons and families.
iii.
All replacement calculations resulting in fractional units shall be rounded up to the next whole number. If the replacement units will be rental dwelling units, these units shall be subject to a recorded affordability restriction for at least 55 years. If the proposed development is for-sale units, the units replaced shall be subject to an equity sharing agreement pursuant to paragraph 15.04.602.030(F)(2).
d.
If any dwelling units described in paragraph 15.04.602.030(F)(3) are occupied on the date of application, each household of extremely low, very low, low, or moderately low income residing in the dwelling units must be offered the right to return to a comparable unit in the proposed housing development with rent for the first 12 months subsequent to that return being the lower of the following: up to 5 percent higher than the rent at the time of application, or up to 30 percent of household income.
e.
Paragraph 15.04.602.030(F)(3) does not apply to an applicant seeking a density bonus for a proposed housing development if his or her application was submitted to, or processed by, the City before January 1, 2015.
4.
Location and Design of Affordable Housing Units. The affordable housing units shall be integrated with other housing units in the housing development with regard to siting and placement within buildings, and shall not differ in exterior appearance from the other housing units. The location of the affordable housing units may or may not be on contiguous parcels within the site. In no event shall the affordable housing units be located in only one portion of the housing development or situated in one building of a multi-building development;
5.
Location of Density Bonus Units. The density bonus units can be located in geographic areas of the development site other than the areas where the units for the affordable housing units are located, and can be located only on parcels for which the density bonus was granted;
6.
Zoning Basis. The maximum units allowed in the underlying zoning district of the project site and the net acreage of the project site shall be the basis on which the density bonus is determined unless the project is in a specific plan area, a Form-Based code zone, or a Planned Area District, in which case the density bonus shall be determined based on the maximum residential density for the General Plan designation for the site.
G.
Vehicular Parking Ratio.
1.
Maximum Parking Ratio. Upon the request of the developer, the City shall not require a vehicular parking ratio, inclusive of parking for disabled persons and guest parking, of a development meeting the criteria of subsection 15.04.613.020(B) that exceeds the following ratios:
a.
Zero to one bedrooms: one on-site parking space;
b.
Two to three bedrooms: two on-site parking spaces; and
c.
Four or more bedrooms: two and one-half parking spaces.
2.
Maximum Parking Ratio for Projects Near Transit. If a development includes the maximum percentage of extremely low, low or very low income units provided for in subsection 15.04.613.020(B) and is located within one-half mile of the Richmond BART/Intermodal Terminal, El Cerrito Plaza BART and the El Cerrito Del Norte BART Station, measured from the station platform, and there is unobstructed access to the major transit stop from the development, then, upon the request of the developer, the vehicular parking ratio, inclusive of handicapped and guest parking, shall not exceed 0.25 spaces per bedroom or the ratios set below, whichever are lower. For purposes of this paragraph, a development is considered to have unobstructed access to a major transit stop if a resident is able to access the major transit stop without encountering natural or constructed impediments.
a.
If a development consists solely of rental units, exclusive of a manager's unit(s), with an affordable housing cost to lower income families, then, upon the request of the developer, the number of required parking spaces, inclusive of parking for disabled persons and guest parking, shall not exceed the following ratios:
i.
If the development is located within one-half mile of a major transit stop and there is unobstructed access to the major transit stop from the development: 0.25 spaces per unit.
ii.
If the development is a for-rent housing development for individuals who are 62 years of age or older that complies with Sections 51.2 and 51.3 of the Civil Code: 0.25 spaces per unit, provided the development has either paratransit service or unobstructed access, within one-half mile, to fixed bus route service that operates at least eight times per day.
iii.
If the development is a special needs housing development, as defined in Section 51312 of the Health and Safety Code: no parking is required, provided the development has either paratransit service or unobstructed access, within one-half mile, to fixed bus route service that operates at least eight times per day.
b.
If the total number of parking spaces required for a development is other than a whole number, the number shall be rounded up to the next whole number.
c.
For purposes of this subsection, a development may provide on-site parking through tandem parking or uncovered parking, but not through on-street parking.
d.
This subdivision does not preclude the City from reducing or eliminating a parking requirement for development projects of any type in any location.
3.
Parking Study. Notwithstanding paragraph (2), if the City or an independent consultant has conducted an area-wide or jurisdiction-wide parking study in the last seven years, then the City may impose a higher vehicular parking ratio, based upon substantial evidence found in the parking study, that includes, but is not limited to, an analysis of parking availability, differing levels of transit access, walkability access to transit services, the potential for shared parking, the effect of parking requirements on the cost of market-rate and subsidized developments, and the lower rates of car ownership for low, very low, and extremely low income individuals, including seniors and special needs individuals.
(Ord. No. 30-18 N.S., § I(Exh. A), 12-18-2018)
When a developer agrees to construct affordable housing as specified in this Section, the City may provide other incentives of equivalent financial value which make the affordable housing units economically feasible, instead of granting the density bonus and incentive(s) from the above section.
A.
Preliminary Proposal. A developer requesting a density bonus or incentive(s) pursuant to this Article may submit a preliminary proposal for feedback prior to the submittal of any formal requests for approval of a density bonus and incentive and other planning approvals, such as a General Plan amendment, subdivision map, development plan, or design review. The purpose of the preliminary proposal is to determine whether the proposed housing development is in substantial compliance with applicable planning regulations and to establish the basis and procedures for granting the incentive(s) or concession(s). Approval of a preliminary proposal does not constitute approval of the housing development, but indicates that the housing development nominally complies with the City's zoning regulations, and establishes the type of incentive(s) or concession(s) and agreement to ensure compliance with this Article to be recommended by staff.
1.
The following information is required to be submitted for a preliminary proposal:
a.
A concise written description of the project, including location, number and type of housing units, including affordable units and bonus units, and the planning approval(s) required;
b.
A site map showing the location and general layout of the proposed housing development and surrounding land uses and roadways;
c.
A written request for the specific incentive(s) or concession(s) sought accompanied by a rationale and accurate supporting information sufficient to demonstrate that any requested incentive is required in order to provide for affordable housing costs or for rents for the targeted units to be set as specified above. If applicable, the developer shall identify the proposed use of any housing subventions or programs for the housing development, such as California Housing Community Development programs or other sources of funding.
2.
Within 90 days of receipt of a complete preliminary proposal, the Zoning Administrator shall notify the developer in writing what the staff will recommend as to how the City will comply with this Article, and shall indicate whether or not the housing development complies with this Article and with the applicable planning and zoning regulations.
B.
Housing Density Bonus and Incentive Application. An application for a housing density bonus and, if requested, an incentive or concession must include:
1.
Documentation for a Requested Density Bonus.
a.
Evidence that the project includes the qualifying percentages of residential units set forth in Table 15.04.602.030-B, excluding the units added by the granted density bonus;
b.
Calculations showing the maximum base density;
c.
Number or percentage of affordable units and the income level at which the units will be restricted to;
d.
Number of market rate units that will result from the granted density bonus;
e.
Resulting density, described in units per square foot; and
f.
A written acknowledgement that the project will be subject to the affordability restrictions and other provisions set forth in this Article.
2.
Documentation of Requested Incentives or Concessions.
a.
A pro forma or other report demonstrating that the requested incentives and concessions result in identifiable, financially sufficient and actual cost reductions necessary to ensure the financial feasibility of the proposed units shall be prepared. The City may require that an independent financial review be conducted at the expense of the applicant.
b.
A description of any proposed waivers of development standards or other zoning requirements and why they are necessary for making the project physically possible.
3.
If the housing development is proposed as a Planned Area District, the density bonus and incentive(s) shall be reviewed concurrently with the rezoning application. If the housing development is not proposed as a Planned Area District, a conditional use permit shall be required for the density bonus and incentive(s) or concession(s).
C.
Housing Density Bonus and Incentive Approval. The City shall grant the concession or incentive requested unless the City makes a written finding, based upon substantial evidence, that:
1.
The concession or incentive is not required in order to provide for affordable housing costs or for rents for the targeted units to be set as specified above; or
2.
The concession or incentive would have a specific adverse impact, as defined in paragraph (2) of subdivision (d) of Section 65589.5 of the Government Code, upon public health and safety or the physical environment or on any real property that is listed in the California Register of Historic Resources and for which there is no feasible method to satisfactorily mitigate or avoid the specific adverse impact without rendering the development unaffordable to low and moderate-income households; or
3.
The concession or incentive would be contrary to State or federal law.
D.
Standards Must Not Preclude Development. In no case will the City apply any development standard that will have the effect of physically precluding the construction of a development meeting the criteria of subsection 15.04.602.030(A) at the densities or with the concessions or incentives permitted by this Article. An applicant may submit a proposal for the waiver or reduction of development standards that will have the effect of physically precluding the construction of a development meeting the criteria of subsection 15.04.602.030(A) at the densities or with the concessions or incentives permitted, and the Planning Commission shall consider that request at the same time as it reviews the application. A proposal for the waiver or reduction of development standards pursuant to this Section shall not include a request to reduce nor increase the number of incentives or concessions to which the applicant is otherwise entitled.
Prior to the issuance of a building permit for any dwelling unit in a development for which a density bonus has been awarded or incentives or concessions have been granted, the developer shall enter into a written agreement with the City for the duration of affordability. The terms and conditions of the agreement shall be binding upon the successor in interest of the developer, and shall be recorded in the Contra Costa County Clerk Recorder's Office, County Recorder Division. The agreement shall be approved by the City Attorney and shall include provisions for the following:
A.
The number and proportion of housing units affordable to moderate-income, lower-income, very low income, and extremely low income households by type, location and number of bedrooms;
B.
Standards for maximum qualifying household incomes and maximum rents or sale prices;
C.
The party responsible for certifying rents and sales prices of affordable housing units;
D.
The process that will be used to certify incomes of tenants or purchasers of the affordable housing units;
E.
The manner in which vacancies will be marketed and filled, including the screening and qualifying of prospective renters and purchasers of the affordable units;
F.
Deed restrictions on the affordable housing units binding on property upon sale or transfer;
G.
Enforcement mechanisms to ensure that the affordable units are continuously occupied by eligible households and are not sold, rented, leased, sublet, assigned, or otherwise transferred to non-eligible households;
H.
Project phasing, including the timing of completions, and rental or sale of the affordable housing units, in relation to the timing of the market-rate units; and
I.
For Common Interest Development. An equity-sharing agreement for moderate-income units that are directly related to the receipt of the density bonus in the common interest development, unless it is in conflict with the requirements of another public funding source or law. The following provisions must be included pursuant to paragraph 15.04.602.030(F)(2): (1) Upon resale, the seller of the unit shall retain the value of any improvements, the down payment, and the seller's proportionate share of appreciation. (2) The City shall recapture any initial subsidy and its proportionate share of appreciation, which shall then be used within three years for any of the purposes described in subdivision (e) of Section 33334.2 of the Health and Safety Code that promote homeownership.
A.
The purpose of this article is to enhance the public welfare by establishing policies to increase the production of housing units affordable to persons and households of very low, low, and moderate-income. These requirements implement the Housing Element of the General Plan through assisting in meeting the City's regional housing obligations, providing funding for the City's affordable housing programs, and affirmatively furthering fair housing by ensuring that affordable housing is constructed in all parts of the City.
B.
The City Council desires to provide and maintain affordable housing opportunities in the community through an inclusionary housing program for both ownership and rental housing, and, in furtherance of that goal, includes rental affordable housing requirements in this chapter consistent with Government Code Sections 65850(g) and 65850.01.
C.
The City's inclusionary housing requirements will assist in alleviating the use of available residential land solely for the benefit of households that are able to afford market rate housing, because such market-rate development will be required to contribute to the provision of affordable housing for the entire Richmond community. The requirements will also assist in alleviating the impacts of the demand for new affordable housing created by new market-rate residential development by making additional affordable housing available in Richmond.
D.
The City Council desires to provide and maintain affordable housing opportunities in the community through an affordable housing linkage fee program for non-residential development consistent with Government Code Sections 66000 et seq.
E.
The City's affordable housing linkage fee requirements will assist in alleviating the impacts of the demand for new affordable housing created by new non-residential development by providing funds for the development and preservation of housing affordable to employees.
(Ord. No. 24-20 N.S., § 2, 11-10-2020)
A.
The provisions of this article shall apply to any residential development project, non-residential development project, and mixed-use project unless exempt under Section 15.04.603.030.
B.
Residential development projects and the residential components of mixed-use development projects shall comply with the inclusionary housing requirements specified in Section 15.04.603.040.
C.
Non-residential development projects and the non-residential components of mixed-use development projects shall comply with the affordable housing linkage fee requirements specified in Section 15.04.603.090.
D.
A developer of a residential development project, non-residential development project, or mixed-use development project shall not avoid the requirements of this article by submitting piecemeal project applications. At the time of the application for first approval for a project, the developer shall identify all contiguous property under common ownership or control. The developer shall not be required to construct dwelling units upon the contiguous property at the time of the application for first approval; however, the developer shall be required to include the contiguous property under common ownership or control in its affordable housing plan and its inclusionary housing agreement. The inclusionary housing agreement shall be recorded against the project and all contiguous property under common ownership or control and shall require compliance with this article upon development of each contiguous property at such time as there are development applications that would authorize a total of ten or more residential units and/or 5,000 square feet of non-residential floor area for the development and the contiguous property under common ownership or control or as otherwise specified in the inclusionary housing agreement.
(Ord. No. 24-20 N.S., § 2, 11-10-2020)
The following projects are exempt from the provisions of this article:
A.
Residential development projects and the residential components of mixed-use development projects with fewer than ten dwelling units or lots, unless subject to this article under Section 15.04.603.020(D) above.
B.
Non-residential development projects and the non-residential components of mixed-use development projects with less than 5,000 square feet of net new floor area.
C.
Developments developed in accordance with the terms of a development agreement adopted by ordinance pursuant to the authority and provisions of California Government Code Section 65864 et seq., and that is executed prior to the effective date of the ordinance codified in this article, provided that such developments shall comply with any requirements included in the development agreement or any predecessor ordinance in effect on the date the development agreement was executed.
D.
Developments exempted by California Government Code Section 65589.5, 66474.2 or 66498.1, provided that such developments shall comply with any predecessor ordinance, resolution, or policy in effect on the date that the application for the development was deemed substantially complete under Government Code Section 65943 or successor provision.
E.
Developments exempted by California Government Code Section 65589.5(o) or successor provision, provided that such residential developments shall comply with any predecessor ordinance, resolution, or policy in effect on the date that a preliminary application for the development containing all of the information required by Government Code Section 65941.1 was submitted to the City.
F.
Developments exempted by another state law or by final judgement of a court of competent jurisdiction.
G.
Non-residential development projects shall be subject to any non-residential linkage fee in effect on the date that the application for a building permit is submitted.
H.
Residential development projects that have submitted a complete application or that have been approved prior to the effective date of the ordinance codified in this article have the option of complying with this article or the policies in effect on the date the application for the development was deemed substantially complete under Government Code Section 65943 or successor provision.
(Ord. No. 24-20 N.S., § 2, 11-10-2020)
All new residential development projects and residential components of mixed-use development projects, unless exempt under Section 15.04.603.030, shall provide inclusionary units upon the same site or comply with an alternative that is approved as described in Section 15.04.603.080.
A.
The developer of an ownership residential development shall provide either:
1.
Seven percent of the dwelling units in the residential development project made available at an affordable sales price to low-income households; or
2.
Ten percent of the dwelling units in the residential development project made available at an affordable sales price to moderate-income households.
B.
The developer of a rental residential development shall provide either:
1.
Nine percent of the dwelling units in the residential development project made available at an affordable rent to very low-income households; or
2.
Ten percent of the dwelling units in the residential development project made available at an affordable rent to low-income households.
C.
Calculations of the number of inclusionary units required by this section shall be based on the number of dwelling units in the residential development project, excluding any density bonus units.
D.
In calculating the number of required inclusionary units, any decimal fraction equal to or greater than 0.50 shall be construed as requiring one inclusionary unit. For any decimal fraction less than 0.5, the applicant must either provide one inclusionary unit or pay the City an in-lieu fee calculated in accordance with Section 15.04.603.070.
E.
When a residential development project includes both ownership and rental dwelling units, the provisions of this article that apply to ownership residential developments shall apply to that portion of the development that consists of ownership dwelling units, while the provisions of this article that apply to rental residential developments shall apply to that portion of the development that consists of rental dwelling units.
(Ord. No. 24-20 N.S., § 2, 11-10-2020)
A.
Inclusionary units shall be comparable in exterior appearance and overall quality of construction to market-rate units in the same housing development project. Interior finishes, features, and amenities may differ from those provided in the market rate units, so as long as the finishes, features, and amenities are durable, of good quality, and consistent with contemporary standards for new housing.
B.
The number of bedrooms and the size of the inclusionary units shall be comparable to or greater than the average number of bedrooms and average size of the market rate units.
C.
The inclusionary units shall be distributed throughout the residential development project located so as not to create a concentration of inclusionary units within the residential development project.
D.
The inclusionary units shall have the same amenities as the market rate units included within the affordable rent or affordable sales price for the inclusionary unit. For example, residents of the inclusionary units shall have the same access to and enjoyment of common open space, parking, storage, and other facilities in the residential development project, and residents of the inclusionary units shall not be charged more than affordable rent or affordable sales price for the use of such facilities and amenities.
E.
A developer of a residential development project providing all required inclusionary units upon the same site as the market-rate units may, at the developer's election, use the following incentives:
1.
Apply for a density bonus and other regulatory incentives pursuant to Government Code Section 65915 and the provisions of Article 15.04.602 if the residential development project contains sufficient inclusionary units or other affordable units to qualify for a density bonus.
2.
If required by the funding source (e.g., tax credit financing) or legal requirements imposed on the type of project (e.g., senior housing), the inclusionary units may be concentrated within a portion of the building or site containing the residential development project.
3.
The developer may provide inclusionary units within the residential development project that are of a different unit type or size than the market rate units within the residential development project, if the decision-making body finds that a smaller size or different type will provide adequate and decent housing and will result in at least five percent more affordable units than required under this article. The inclusionary units shall continue to have the same average bedroom count as the market rate units.
(Ord. No. 24-20 N.S., § 2, 11-10-2020)
All required inclusionary units shall be made available for occupancy concurrently with the market rate units. For the purposes of this subsection, "concurrently" means one of the following:
A.
Inclusionary units must be constructed in proportion to construction of the market-rate units, at a ratio of one inclusionary unit to each nine market-rate units.
1.
A building permit may not be issued for any market-rate unit unless a proportional number of building permits have been issued for inclusionary units.
2.
A certificate of occupancy or final inspection may not be issued for market-rate units unless a proportional number of certificates of occupancy or final inspections have been issued for inclusionary units.
B.
In-lieu fees, if required, have been paid in accordance with Section 15.04.603.070.
C.
The applicant has met, or made arrangements satisfactory to the City to meet, an alternative requirement as permitted by Section 15.04.603.080, or the City has approved an alternative phasing plan for the inclusionary units as part of the affordable housing plan and inclusionary housing agreement.
(Ord. No. 24-20 N.S., § 2, 11-10-2020)
Except for ownership residential developments proposed south of Interstate Highway 580 and on the Point San Pablo peninsula, at the developer's election, the inclusionary housing requirements in Section 15.04.603.040 may be satisfied by the payment of a fee to the City in-lieu of constructing the inclusionary units within the residential development project in accordance with the following requirements:
A.
No building permit shall be issued by the City for any market rate unit in the residential development project until all in-lieu fees due have been paid to the City, unless the conditions of approval allow the fees to be paid at occupancy. Fees for fractional units shall be paid at issuance of the first building permit in the project.
B.
Prior to recordation of any final or parcel map for the development, notice of this requirement shall be recorded against each lot in the subdivision. The developer shall provide specific written notice to any purchaser of any dwelling unit prior to the acceptance of any offer to purchase, and shall obtain executed acknowledgment of the receipt of such notice, that the purchaser shall not have any right to occupy the dwelling unit until such time as all in-lieu fees owing for the residential development are paid to the City.
C.
All in-lieu fees shall be deposited in the affordable housing fund described in Section 15.04.603.130.
D.
In-lieu fees may be established from time-to-time by resolution of the City Council.
Ownership residential developments proposed south of interstate highway 580 and on the Point San Pablo Peninsula are prohibited from electing to pay an in-lieu fee and must instead provide on-site inclusionary housing or another alternative approved under Section 15.04.603.080.
(Ord. No. 24-20 N.S., § 2, 11-10-2020)
A.
The inclusionary housing requirement for ownership residential developments in Section 15.04.603.040.A may be satisfied by providing ten percent of the dwelling units in the residential development project at affordable rent to very low income households. The inclusionary housing agreement shall include provisions to allow for the sale of the inclusionary units at an affordable sales price and relocation benefits for tenants of the inclusionary units if the owner of the ownership residential development later determines to offer any inclusionary units in the residential development project for sale. At sale, appropriate documents shall be recorded to ensure affordability of the inclusionary units to very low income households for a 45-year term.
B.
The developer, or an entity controlled by the developer, or another entity that has entered into an agreement with the developer to provide affordable housing, may propose to construct the inclusionary units required by Section 15.04.603.040 on another site in the City of Richmond. Two or more developers may also jointly propose off-site construction of affordable units on a single site. The City shall grant a credit for off-site construction if the proposal meets all of the following conditions:
1.
Financing or a viable financing plan, which may include public funding, shall be in place for the off-site inclusionary units;
2.
The off-site location is suitable for the proposed inclusionary housing, consistent with any adopted guidelines and the Housing Element, will not tend to cause residential segregation or concentrations of poverty, and is located within one mile of the residential development project with appropriate infrastructure and services; and
3.
Construction of the off-site inclusionary units may not have commenced prior to the first approval of the residential development.
Final inspections for occupancy of the market-rate units in the residential development project will be granted only after final inspections are completed for the off-site affordable units related to those market-rate units. However, the timing requirements set forth in this subsection may be modified by the approval body. The City may require that completion of off-site affordable units be further secured by the applicant's agreement to pay in-lieu fees in the amount due under Section 15.04.603.070 in the event the off-site units are not timely completed.
C.
The developer may propose to meet the requirements of Section 15.04.603.040 by dedicating property to the City in-lieu of constructing inclusionary units within the residential development project. The City shall approve property dedication under this subsection only if the proposal meets all of the following conditions:
1.
The number of affordable units to be constructed on the dedicated property shall be at least ten percent greater than the number of inclusionary units otherwise required under this article;
2.
Financing or a viable financing plan, which may include public funding, shall be in place for construction of the affordable units on the dedicated property; and
3.
The property to be dedicated is suitable for the proposed inclusionary housing, consistent with any adopted guidelines and the housing element, will not tend to cause residential segregation or concentrations of poverty, and is located within one mile of the residential development project with appropriate infrastructure and services.
The property shall be dedicated to the City prior to issuance of any building permit for the residential development project.
D.
Other Alternative Compliance Methods. The developer may propose an alternative compliance method to provide inclusionary units through other means. The approval body may approve or conditionally approve such an alternative only if the approval body determines, based on substantial evidence, that such alternative compliance will provide as many or more affordable units at the same or lower income levels, will not tend to cause residential segregation or concentrations of poverty, and will otherwise provide greater public benefit than would provision of the inclusionary units on site. The affordable units to be created shall conform with all other requirements of this article except as modified by the approval body.
(Ord. No. 24-20 N.S., § 2, 11-10-2020)
A.
Non-residential linkage fees may be established from time-to-time by resolution of the City Council.
B.
No building permit shall be issued by the City for any non-residential development project until all linkage fees have been paid to the City, unless the conditions of approval allow the fees to be paid at occupancy.
C.
All linkage fees shall be deposited in the affordable housing fund described in Section 15.04.603.130.
(Ord. No. 24-20 N.S., § 2, 11-10-2020)
A.
An application for the first approval of a residential development project or mixed-use project shall include an affordable housing plan describing how the project will comply with the provisions of this article, either with on-site units, payment of in-lieu fees, or an alternative measure consistent with Section 15.04.603.080.
B.
Any adopted guidelines or City application form may specify the contents of the affordable housing plan. No application for a first approval for a residential development may be deemed complete unless an affordable housing plan is submitted in conformance with this article.
C.
The affordable housing plan shall be processed concurrently with all other permits required for the residential development. Before approving the affordable housing plan, the approval body shall find that the affordable housing plan conforms to this article.
(Ord. No. 24-20 N.S., § 2, 11-10-2020)
Prior to the issuance of a building permit or approval of a final or parcel map for any residential development project subject to this article that includes inclusionary units, the developer shall enter into a written agreement with the City for the duration of affordability. An agreement is not required for developers who pay an in-lieu fee. The terms and conditions of the agreement shall be binding upon any successor in interest of the developer and shall be recorded in the Contra Costa County Clerk Recorder's Office, County Recorder Division prior to issuance of the building permit or recordation of the final or parcel map. The agreement shall be in a form approved by the City Attorney and executed by the City Manager and shall include provisions for the following:
A.
The number and proportion of housing units affordable to moderate-income, lower-income, very low income, and extremely low income households by type, location and number of bedrooms;
B.
The party responsible for certifying rents and sales prices of inclusionary housing units and certifying incomes of tenants or purchasers of the inclusionary housing units (the City may specify the party certifying rents, sales prices, and incomes);
C.
The financing of ongoing administrative and monitoring costs;
D.
The manner in which vacancies will be marketed and filled, including the screening and qualifying of prospective renters and purchasers of the affordable units;
E.
Deed restrictions including resale control mechanisms and rent limitations, as applicable;
F.
Provision allowing sale of ownership units to a nonprofit housing organization, nonprofit land trust, or governmental agency, which may rent the units to eligible households;
G.
Enforcement mechanisms to ensure that the affordable units are continuously occupied by eligible households and are not sold, rented, leased, sublet, assigned, or otherwise transferred to non-eligible households (unless owned by a nonprofit housing organization, nonprofit land trust, or governmental agency); and
H.
Project phasing, including the timing of completions, and rental or sale of the inclusionary housing units, in relation to the timing of the market-rate units.
The agreement shall be subject to administrative review by the Community Development Department for the affordability term for the purpose of verifying that the inclusionary units are maintained at affordable rates within the affordability category originally established for the project. For each inclusionary unit, the owner may be required to pay to the City an annual monitoring fee for the term of required affordability that does not exceed the City's costs to monitor the affordable unit, if such a fee is adopted by resolution of the City Council or is otherwise included in the City's master fee schedule.
(Ord. No. 24-20 N.S., § 2, 11-10-2020)
In order to maintain the availability of inclusionary units constructed pursuant to this article, the following requirements shall apply:
A.
Any adopted guidelines may include standard documents for execution by the City Manager, in a form approved by the City Attorney, to ensure the continued affordability of the inclusionary units approved for each residential development project. The documents shall be recorded against the residential development project, all inclusionary units, and any site subject to the provisions of this article.
B.
All inclusionary units to be sold shall remain affordable at an affordable sales price to the targeted income group for 45 years, unless a longer term is required in connection with state law or financing requirements.
C.
All inclusionary units to be rented shall remain affordable at the affordable rent to the targeted income group for 55 years, unless a longer term is required in connection with State law or financing requirements.
D.
Any eligible household that occupies an inclusionary unit must occupy that unit as its principal residence, unless otherwise approved in writing for rental to a third party eligible household for a limited period of time due to household hardship, as may be specified in any adopted guidelines.
E.
No household may begin occupancy of an inclusionary unit until the household has been determined to be eligible to occupy that unit by the City or designee. Any adopted guidelines may establish standards for determining household income, affordable sales price, provisions for continued monitoring of tenant eligibility, and other eligibility criteria.
F.
Officials, employees, or consultants of the City and members of City boards and commissions shall comply with all applicable laws, regulations, and policies relating to conflicts of interest as to their eligibility to develop, construct, sell, rent, lease, occupy, or purchase an inclusionary unit. Any adopted guidelines shall include conflict of interest provisions relating to the administration of this article and the eligibility of persons to occupy inclusionary units.
(Ord. No. 24-20 N.S., § 2, 11-10-2020)
A.
All in-lieu fees, linkage fees, or other funds collected under this article shall be deposited into the City's Affordable Housing Fund.
B.
The moneys in the Affordable Housing Fund and all earnings from investment of the moneys in the Fund shall be expended on activities that provide housing affordable to extremely low-income, very low-income, lower-income, moderate-income households and any special needs populations in the City consistent with the goals and policies contained in the City's Housing Element, which may include without limitation land acquisition, predevelopment costs, rehabilitation of existing units to extend their useful life and add affordability restrictions, and construction of new residential units, and for administration and compliance monitoring of the affordable housing program, as approved by the City Council.
(Ord. No. 24-20 N.S., § 2, 11-10-2020)
A.
Any request for a waiver, adjustment, or reduction under this article shall be submitted to the City concurrently with an application for a first approval for a residential development project based upon a showing that applying the requirements of this section would result in an unconstitutional taking of property or would result in any other unconstitutional result. The request for a waiver, adjustment, or reduction shall set forth in detail the factual and legal basis for the claim.
B.
The request for a waiver, adjustment, or reduction shall be processed concurrently with all other permits required for the residential development project, including the affordable housing plan. The body with the authority to approve the residential development project shall have the authority to act on the request for a waiver, adjustment, or reduction, subject to any appeals otherwise authorized for the residential development project.
C.
The waiver or modification may be approved only to the extent necessary to avoid an unconstitutional result, based upon legal advice provided by or at the behest of the City Attorney, after adoption of written findings, based on legal analysis and substantial evidence. If a waiver or modification is granted, any change in the project shall invalidate the waiver or modification, and a new application shall be required for a waiver or modification under this section.
(Ord. No. 24-20 N.S., § 2, 11-10-2020)
A.
The City Council, by resolution, may establish fees for the ongoing administration and monitoring of the affordable units, which fees may be updated periodically, as required.
B.
The City Council, by resolution, may adopt guidelines to implement this article. The City may review this chapter as frequently as appropriate to evaluate its effectiveness in creating affordable housing and shall review the effectiveness of this chapter as part of each adoption of the City's housing element of the general plan.
C.
The City Attorney shall be authorized to enforce the provisions of this article and all inclusionary housing agreements, regulatory agreements, and all other covenants or restrictions placed on inclusionary units, by civil action and any other proceeding or method permitted by law.
D.
Failure of any official or agency to fulfill the requirements of this article shall not excuse any developer or owner from the requirements of this article. No permit, license, map, or other approval or entitlement for a residential development project shall be issued, including without limitation a final inspection or certificate of occupancy, until all applicable requirements of this article have been satisfied.
E.
The remedies provided for herein shall be cumulative and not exclusive and shall not preclude the City from any other remedy or relief to which it otherwise would be entitled under law or equity.
(Ord. No. 24-20 N.S., § 2, 11-10-2020)
The purpose of this Article is to control outdoor lighting in order to maintain adequate visibility and safety, conserve energy, and protect against direct glare and excessive lighting.
A.
The standards of this Article apply to all new development and to exterior alterations and additions that involve replacement light fixtures or systems. The total outdoor light output shall not exceed that allowed on the site for individual lighting zones, except as provided in the "Exemptions" subsection below.
1.
Lighting Zones. The following lighting zones are established to tailor illumination standards to land use:
a.
Lighting Zone LZ3. Areas of high ambient lighting levels. This Zone includes the CM-3, CM-4, and CM-5, CG, CR, IB, IL, IG, and IW zoning districts.
b.
Lighting Zone LZ2. Areas of medium ambient lighting levels. This Zone includes the RL2, RM, CM-1, CM-2, LW, CC, ILL and PCI zoning districts.
c.
Lighting Zone LZ1. Areas of low ambient lighting levels. This Zone includes the RH, RL1, PR, OS, and AG zoning districts.
2.
Classes of Lighting.
a.
Class 1 Lighting. All outdoor lighting used for, but not limited to, outdoor sales or eating areas, assembly or repair areas, advertising and other signs, recreational facilities and other similar applications where color rendition is important to preserve the effectiveness of the activity. Designation of lighting as Class 1 requires a finding by the Zoning Administrator of the essential nature of color rendition for the application. Recognized Class 1 uses are: outdoor eating and retail food or beverage service areas; outdoor maintenance areas; display lots; assembly areas such as concert or theater amphitheaters.
b.
Class 2 Lighting. All outdoor lighting used for, but not limited to, illumination for walkways, roadways, equipment yards, parking lots and outdoor security where general illumination for safety or security of the grounds is the primary concern.
c.
Class 3 Lighting. Any outdoor lighting used for decorative effects including, but not limited to, architectural illumination, flag and monument lighting, and illumination of trees, bushes, etc.
A.
General Exemptions. The following lighting is exempt from the provisions of this Article.
1.
Emergency Lighting. Temporary emergency lighting needed by police, fire, and other emergency services.
2.
Holiday Lights. Holiday lighting from October 30th to February 1 st , provided that no individual lamp exceeds 10 watts and 70 lumens. Flashing holiday lights are prohibited on commercial properties.
3.
Nonconformance. All other outdoor light fixtures lawfully installed prior to and operable on the effective date of this Article are exempt from all requirements of this Article. There shall be no change in use or lamp type, or any replacement (except for same-type and same-output lamp replacement) or structural alteration made, without conforming to all applicable requirements of this Article. Further, if the property is abandoned, or if there is a change in use of the property, the provisions of this Article will apply when the abandonment ceases or the new use commences.
B.
Other Exemptions.
1.
Swimming Pool and Fountain Lighting. Underwater lighting used for the illumination of swimming pools and fountains is exempt from the lamp type and shielding standards, though it must conform to all other provisions of this Code.
2.
Solar-powered Lighting. Solar-powered lights of 5 watts or less per fixture used in residential landscaping applications and to illuminate walkways are exempt from applicable lamp type and shielding standards and are excluded from the total lumen calculations for the site.
3.
Temporary Exemptions. Any individual may submit a written request to the Zoning Administrator for a temporary exemption from the requirements of this Article. If approved, such exemption will be valid for up to 30 days, and is renewable at the discretion of the Zoning Administrator. The request for a temporary exemption must describe:
a.
Specific exemptions requested;
b.
Type and use of exterior light involved;
c.
Duration of time for requested exemption;
d.
Type of lamp and calculated lumens;
e.
Total wattage of lamp or lamps;
f.
Proposed location of exterior light;
g.
Previous temporary exemptions, if any; and
h.
Physical size of exterior light and type of shielding provided.
The following are prohibited:
A.
Searchlights. The operation of searchlights for advertising purposes.
B.
Laser Source Light. The use of laser source light or any similar high intensity light for outdoor advertising or entertainment, when projected above the horizontal, is prohibited.
C.
Advertising Sign or Landscape Illumination. The unshielded outdoor illumination of any outdoor advertising sign or landscaping. However, low voltage accent landscape lighting is allowed.
D.
Mercury Vapor. The installation of new mercury vapor fixtures. Existing mercury vapor fixtures must be removed and replaced with compliant lighting fixtures wherever substantial alterations and additions are undertaken, exclusive of ordinary maintenance and repair.
E.
Other Light Types. Blinking, flashing, revolving, flickering, changing intensity of illumination, and changing color lights. This prohibition does not apply to holiday lights or digital displays that are regulated by Article 15.04.609 (Signs).
A.
Design of Fixtures. Fixtures must be appropriate to the style and scale of the architecture and be shielded as required by paragraph (D) below. The top of the fixture must not exceed the height of the parapet or roof or eave of roof.
B.
Efficient Use. All outdoor lighting in non-residential development must be turned off during daylight hours and during any hours when the building is not in use and the lighting is not required for security. Time clocks or photo-sensor systems may be required as a condition of approval of a discretionary permit.
C.
Entrances in Multi-Unit Dwelling Development. All entrances to multi-unit residential buildings containing more than 4 units shall be lighted with low intensity fixtures to ensure the safety of persons and the security of the building.
D.
Shielding. All nonexempt outdoor lighting fixtures shall have shielding as shown in Table 15.04.604.050-D.
E.
Nuisance Prevention. All outdoor lighting shall be designed, located, installed, directed downward or toward structures, be shielded or fully shielded, and well-maintained in order to prevent glare, light trespass (unwanted light on adjacent lots and public rights-of-way), and light pollution to the maximum extent feasible.
Use Codes:
A = all types of fixtures allowed; shielding not required but highly recommended, except that any spot or flood-light must be aimed no higher than 45 degrees above straight down
F = only fully shielded fixtures allowed
X = not allowed
F.
Total Outdoor Light Output Standards. Total non-exempt outdoor light output shall not exceed the limits in Table 15.04.604.050-E. Lighting used for external illumination of signs is counted, while lighting used for internal illumination of signs is not counted.
1.
Outdoor light fixtures installed on poles (such as parking lot luminaires) and light fixtures installed on the sides of buildings or other structures, when not shielded from above by the structure itself are to be included in the total outdoor light output by simply adding the initial lumen outputs of the lamps.
2.
Outdoor light fixtures installed under canopies, buildings (including parking garage decks), overhangs or roof eaves where all parts of the lamp or luminaire are located at least five feet but less than 10 feet from the nearest edge of the canopy or overhang are to be included in the total outdoor light output as though they produced only one-quarter (0.25) of the lamp's rated initial lumen output.
3.
Outdoor light fixtures installed under canopies, buildings (including parking garage decks), overhangs, or roof eaves where all parts of the lamp or luminaire are located at least 10 feet but less than 30 feet from the nearest edge of the canopy or overhang are to be included in the total outdoor light output as though they produced only one-tenth (0.10) of the lamp's rated initial lumen output.
4.
Outdoor light fixtures installed under canopies, buildings (including parking garage decks), overhangs, or roof eaves where all parts of the lamp or luminaire are located 30 or more feet from the nearest edge of the canopy or overhang are not to be included in the total outdoor light output.
G.
Multi-Class Lighting Standard. Multi-class lighting must conform to the shielding and timing restrictions, if any, that apply to the most restrictive class.
H.
Maximum Height. The maximum height of freestanding light fixtures in parking lots serving multi-family or non-residential uses shall be 20 feet or 15 feet if within 20 feet of an RL1 or RL2 zoning district, but within industrial zoning districts, the maximum height of freestanding light fixtures, including security light, is 25 feet.
I.
Maintenance. Fixtures and lighting shall be maintained in good working order and in a manner that serves the original design intent.
1.
Burnt out and broken light bulbs shall be replaced.
2.
Lighting fixtures shall be periodically cleaned and refinished or repainted so as to be free of graffiti and rust, with surfaces free of chipping and peeling.
(Ord. No. 30-18 N.S., § I(Exh. A), 12-18-2018)
A.
Outdoor Recreational Facilities. Light fixtures in outdoor recreational facilities such as ball fields, and other outdoor nighttime facilities may exceed the height limits of the zoning district.
1.
All lighting for outdoor recreations facilities shall require an administrative use permit.
2.
Lighting for outdoor athletic fields, courts or tracks shall be considered Class 1 (Color Rendition), and shall be exempt from the lumens per acre limits of subsection 15.04.604.050(F).
3.
Shielding. Fully shielded lighting is required for all fields, unless another type of luminaire will not cause light trespass in adjacent residential neighborhoods.
4.
Illuminance. All lighting installations shall be designed to achieve no greater than the minimal illuminance levels for the activity as recommended by the Illuminating Engineering Society of North America (IESNA), with adjustments allowed, as appropriate, for the level of play, the most light-demanding sport in a multi-sport venue, and the maximum number of attendees.
5.
Off-Site Spill. The installation shall also limit off-site spill (off the site containing the sports facility) to the maximum extent possible consistent with the illumination constraints of the design.
6.
Certification. Every such lighting system design and installation shall be certified by a registered engineer as conforming to all applicable restrictions of this Article.
B.
Exterior Display/Sales Areas. Lighting levels on exterior display/sales areas must be adequate to facilitate the activities taking place in such locations and cannot be used to attract attention to the business.
1.
Display Lots. Lighting for display lots shall be considered Class 1 (Color Rendition), and shall be exempt from the lumens per acre limits of paragraph 15.04.604.050F.4.
2.
Shielding. All display lot lighting shall utilize fully shielded luminaires that are installed in a fashion that maintains the fully shielded characteristics.
3.
Illuminance. The display lot shall be designed to achieve no greater than the minimal illuminance levels for the activity as recommended by the Illuminating Engineering Society of North America (IESNA).
4.
Off-Site Spill. The display lot shall limit off-site spill (off the parcel containing the display lot) to a maximum of 5 lux (0.5 fc) at any location on any non-residential property, and 0.5 lux (0.05 fc) at any location on any residential property, as measurable from any orientation of the measuring device.
5.
Curfew. Display lot lighting exceeding the lumens per acre cap shall be turned off or within thirty minutes after closing of the business. Lighting in the display lot after this time shall be considered Class 2 lighting, and shall conform to all restrictions of this Article applicable for this Class, including the lumens per acre caps.
C.
Gasoline Station/Convenience Store Aprons and Canopies. Lighting levels on gasoline station/convenience store aprons and under canopies must be adequate to facilitate the activities taking place in such locations.
1.
Service Stations. Lighting for service station canopies shall be considered Class 2 lighting (General Illumination).
2.
Shielding. Light fixtures mounted on canopies must be recessed so that the lens cover is recessed or flush with the bottom surface of the canopy and/or shielded by the fixture or the edge of the canopy.
3.
Total Under-Canopy Output. The total light output used for illuminating service station canopies, defined as the sum of all under-canopy initial bare-lamp outputs in lumens, shall not exceed 40 lumens per square foot. All lighting mounted under the canopy, including but not limited to luminaires mounted on the lower surface or recessed into the lower surface of the canopy and any lighting within signage or illuminated panels over the pumps, is to be included toward the total at full initial lumen output.
The purpose of this Article is to establish standards for maximum noise limits and procedures for enforcing them to ensure that the General Plan limits on noise exposure and land use compatibility policies are achieved and maintained.
This Article does not apply to:
A.
Emergencies. The emission of sound for the purpose of alerting persons to the existence of an emergency, or the emission of sound in the performance of emergency work.
B.
Warning Devices. Warning devices necessary for the protection of the public safety, such as police, fire, and ambulance sirens.
C.
Special Events. Occasional outdoor gatherings, public dances, shows, and sporting and entertainment events, provided that such events are conducted pursuant to a permit or license issued by the City.
D.
Religious Institutions and Other Similar Organizations. Unamplified bells, chimes, or other similar devices used by religious institutions and other houses of religious worship.
E.
Municipal Solid Waste Collection. Collection of solid waste, vegetative waste, and recyclable materials by the City or under contract with the City.
F.
Public Works Construction Projects, Maintenance, and Repair. Street, utility, and similar construction projects undertaken by or under contract to or direction of the City, or the State of California or a public utility regulated by the California Public Utilities Commission, as well as maintenance and repair operations conducted by such parties, including street sweeping, debris and litter removal, removal of downed wires, restoring electrical service, repairing traffic signals, unplugging sewers, vacuuming catch basins, repairing of damaged poles, removal of abandoned vehicles, repairing of water hydrants and mains, gas lines, oil lines, sewers, storm drains, roads, and sidewalks.
G.
Utility Facilities. Facilities including without limitation 60-cycle electric power transformers and related equipment, sewer lift stations, municipal wells, and pumping stations.
No person shall make, or cause to suffer, or permit to be made upon any public property, public right-of-way or private property, any excessive noise, annoying noise, amplified sound or vibrations that are physically annoying to reasonable persons of normal sensitivity or that are so harsh or so prolonged or unnatural or unusual in their use, time or place as to cause or contribute to the unnecessary and unreasonable discomfort of any persons of normal sensitivity located at the lot line of the property from which these noises emanate or that interfere with the peace and comfort of residents or their guests, or the operators or customers in places of business in the vicinity, or that may detrimentally or adversely affect such residences or places of business. The purpose of this standard is to establish the principles and context for the application of noise limits, standards for noise exposure and land use compatibility, and requirements for reasonable noise attenuation measures, all which are intended to protect noise sensitive uses from excessive noise exposure from other uses.
A.
Designated Noise Zones. The land uses listed below are assigned to the following noise zones:
1.
Noise Zone 1: All hospitals, libraries, churches, and low density and medium density residential uses.
2.
Noise Zone 2: Outdoor sports and recreation uses, parks and playgrounds, including such sport, recreation, park and playground areas at schools.
3.
Noise Zone 3: All high density multi-family residential, mixed use, professional office, schools, and public institutional properties.
4.
Noise Zone 4: All commercial uses, excluding professional office and mixed use development.
5.
Noise Zone 5: All industrial uses.
B.
Exterior and Interior Noise Standards.
1.
The noise standards established in Table 15.04.605.040, unless otherwise specifically indicated, shall apply to all land within a designated noise zone. They are intended to express limits on regularly occurring noise for the specified time periods, averaged over an hour, and do not apply to incidental, infrequent, or unexpected noise, which are subject to Chapter 9.52, Community Noise Ordinance, and to unamplified human voices. The general prohibitions and specific prohibitions contained in Chapter 9.52, along with the provisions for persistent noises in that Chapter, apply to all land uses and activities in the City, and, in the case of a conflict, the more restrictive provisions apply.
2.
No use or activity shall create any noise or to allow the creation of any noise on property owned, leased, occupied or otherwise controlled by such person which causes the noise level when measured on any property within designated noise zones to exceed the applicable noise standard, unless the activity is exempt or a specific regulation applies.
3.
In the event that the noise source and the affected property are within different noise zones, the noise standards of the affected property shall apply.
4.
These noise standards may justify denial of an application and/or imposition of reasonable conditions of approval, including noise attenuation measures (see Section 15.024.605.080), to minimize or eliminate incompatibilities. Proposals for new development that would cause a specified standard to be exceeded may only be approved if the project would provide a substantial benefit to the City.
5.
The noise exposure limits specified in Table 15.04.605.040 do not apply to noise generated by automobile traffic or other mobile noise sources in the public right-of-way.
6.
In the event the measured ambient noise level exceeds the applicable noise level standard in any category above, the applicable standards shall be adjusted so as to equal the ambient noise level (see Section 15.04.605.080(C)).
7.
New development must incorporate noise-attenuation measures to achieve the applicable interior noise levels. See subsection 15.04.605.080(C).
Table 15.04.605.050, Noise Exposure-Land Requirements and Limitations, describes the requirements and limitations of various land uses within the listed Day/Night Average Sound Level (Ldn) ranges.
(Ord. No. 30-18 N.S., § I(Exh. A), 12-18-2018)
A.
General construction noise shall be limited to weekdays from 7:00 a.m. to 6:00 p.m. Pile driving and similar loud activities shall be limited to weekdays from 8:00 a.m. to 5:00 p.m. General construction noise on projects repairing, renovating, or adding to residential structures with one to five dwelling units shall be limited to the hours of 7:00 a.m. to 8:00 p.m. Monday through Friday and 9:00 a.m. to 6:00 p.m. on Saturdays, Sundays and federal holidays. Pre-construction activities, including loading and unloading, cleaning of mechanical toilets, deliveries, truck idling, backup beeps, yelling, and radios also are limited to these construction noise hours.
1.
No noise-producing construction activities shall be permitted outside of these hours or on Sundays and federal holidays unless a temporary waiver is granted by the Building Official or his or her authorized representative.
2.
More restrictive construction noise hours may be established as a conditional of approval of an administrative use permit or a conditional use permit when appropriate, given the surrounding neighborhood, the type of noise, or other unique factors.
3.
Trucks, vehicles, and equipment that are making or are involved with material deliveries, loading, or transfer of materials, equipment service, maintenance of any devices or appurtenances for or within any construction project in the City shall not be operated or driven on City streets outside of these hours or on Sundays and federal holidays unless a temporary waiver is granted by the Building Official.
4.
Any waiver granted shall take the potential noise impacts upon the surrounding neighborhood and the larger community into consideration.
5.
No construction or agricultural activity shall be permitted outside of these hours that creates construction noise, except in emergencies, including maintenance work on the City rights-of-way that might be required.
B.
Deliveries to or pickups from any commercial use sharing a lot line with any residential use may occur between 7:00 a.m. and 10:00 p.m. daily. No deliveries to or pickups from any such use shall occur outside of these hours unless specifically authorized by a conditional use permit.
C.
Maintenance of real property operations may exceed the noise standards between 7:00 a.m. and 7:00 p.m. on any day except Sundays and between 9:00 a.m. and 6:00 p.m. on Sundays or a federal holiday.
D.
The use of leaf blowers shall be regulated as follows:
1.
Definition of Leaf Blower. Leaf blowers are defined as portable power equipment that is powered by fuel or electricity and used in any landscape maintenance, construction, property repair, or property maintenance for the purpose of blowing, dispersing or redistributing dust, dirt, leaves, grass clippings, cuttings and trimmings from trees and shrubs or other debris.
2.
Limitations on Use.
a.
All leaf blowers shall be equipped with a permanently installed limiter that restricts the individual equipment motor performance to half throttle speed or less, and will produce not more than 70 decibels dB(A) measured at the midpoint of a wall area 20 feet long and 10 feet high and at a horizontal distance 50 feet away from the midpoint of the wall, or not more than 76 dB(A) at a horizontal distance of 25 feet using a sound level meter set at level A.
b.
The use of leaf blowers is prohibited except between the hours of 8:00 a.m. and 5:00 p.m. Monday through Friday and between 9:00 a.m. and 5:00 p.m. on Saturday.
c.
Leaf blower operations shall not cause dirt, dust, debris, leaves, grass clippings, cuttings or trimmings from trees or shrubs to be blown or deposited on any adjacent or other parcel of land, lot, or public right-of-way/property other than the parcel, land, or lot upon which the leaf blower is being operated. Deposits of dirt, dust, leaves, grass clippings, debris, cuttings or trimmings from trees or shrubs shall be removed and disposed of in a sanitary manner which will prevent disbursement by wind, vandalism or similar means within six hours of deposit by the user or property occupant.
d.
Leaf blowers shall not be operated within a horizontal distance of 10 feet of any operable window, door, or mechanical air intake opening or duct.
e.
No person using leaf blowers shall exceed noise limitations set by this Article.
Noise shall be measured with a sound level meter that meets the standards of the American National Standards Institute. Noise levels shall be measured in decibels (dBA) on a sound level meter using the A-weighted filter network. Exterior noise shall be measured at the lot line. Interior noise shall be measured in the center of a habitable room with an exterior window on the side of the building with the loudest ambient exterior noise. All noise measurements shall be made when there is no noise source present inside the room at a point five feet above the floor level. A calibration check of the instrument shall be made at the time any noise measurement is made. Excluded from these standards are occasional sounds generated by the movement of railroad equipment or warning devices.
A.
Scope of Study. The Zoning Administrator shall require an acoustical study, to be paid for by the applicant, that includes field measurement of noise levels for any proposed project that would locate a noise source with the potential to increase noise levels to levels exceeding limits in Table 15.04.605.050 or locate a noise sensitive land use near an existing known or potentially known intrusive noise source, such as a railroad crossing, freeway, or industrial facility. Acoustical studies must identify noise sources and magnitudes, describe existing and future noise exposure, and propose mitigation measures for any on-site generated noise in order to ensure that the noise exposure limits in Table 15.04.605.050 are not exceeded.
B.
For Residential Development. Acoustical studies for new residential development and other noise sensitive uses near railroad crossings or other sources of brief loud noise must include an analysis of both 24-hour average noise and maximum instantaneous noise on interior noise levels and any effects on sleep disturbance and other essential human functions. The study shall also evaluate the effectiveness of potential mitigation measures, including noise-abating materials, technology and construction standards to minimize noise from these sources.
C.
Establishing Ambient Noise. When the Director has determined that there could be cause to make adjustments to the standards, an acoustical study shall be performed to establish ambient noise levels. In order to determine if adjustments to the standards should be made upwards, a minimum 24-hour duration noise measurement shall be conducted. The noise measurements shall collect data utilizing noise metrics that are consistent with the noise standards presented in Table 15.04.605.050. An arithmetic average of ambient noise levels during the three loudest hours should be made to demonstrate that ambient noise levels regularly exceed the noise standards.
Any project subject to the acoustic study requirements of Section 15.04.605.070 (Noise Measurement) may be required as a condition of approval to incorporate noise attenuation measures deemed necessary to ensure that noise standards are not exceeded.
A.
New noise-sensitive uses in Noise Zone 1 must incorporate noise-attenuation measures to achieve and maintain an interior noise level as listed in Table 15.04.605.040. Commercial and industrial uses are exempt from this requirement.
B.
Noise-attenuation measures identified in an acoustical study must be incorporated into the project to the extent feasible to reduce noise at the lot line and on the site of noise sensitive use in Noise Zone 1 to acceptable levels, conforming to the noise exposure limits in Table 15.04.605.040.
C.
The preferred noise attenuation measures are those based on site planning and building orientation along with state-of-the-art noise-abating materials, technology and construction standards to minimize noise. The use of noise barriers for attenuation will be considered only after all feasible design-related noise measures have been incorporated into the project. Where noise barriers are used, they must provide noise reduction to meet the limits in Table 15.04.605.040.
New and existing heating, ventilation, and air conditioning equipment and other commercial/industrial equipment must be adequately maintained in proper working order so that noise levels emitted by such equipment do not create noise levels on the site of a noise-sensitive use in Noise Zone 1 exceeding applicable limits in Table 15.04.605.040. The Zoning Administrator may require noise shielding or insulation for such equipment if the operation of the equipment results in objectionable noise levels at adjacent properties.
A.
Purpose. This Article establishes regulations for nonconforming uses, structures, and lots. The purpose of these regulations is to regulate uses of land, lots, and structures that were legal when they were established, but are no longer in compliance with the standards and requirements of Article XV or any applicable specific plan adopted by the City Council. It is the intent of this Article to distinguish between incompatible nonconformities that are detrimental to public health, safety, and general welfare and nonconformities that are economically productive and compatible with surrounding development despite being inconsistent with the long-term future of an area, as expressed in the General Plan, the use regulations or development standards of Article XV or any applicable specific plan.
B.
Applicability. The provisions of this Article apply to structures, land, and uses that have become nonconforming by adoption of Article XV, as well as structures, land, and uses that become nonconforming due to subsequent amendments to Article XV's text or to the Zoning Map or adoption of a specific plan.
A.
Nonconformities, Generally. Subject to the exemptions provided herein, a nonconforming use, lot, or structure ("nonconformity") is any use of land, use of a structure, lot, or structure that was legally established prior to the adoption of the current provisions in Article XV or of any subsequent rezoning or other amendments thereto, but that does not conform to the provisions of Article XV, the Zoning Map, or any applicable specific plan. Nonconformities may be continued, maintained, repaired, altered, expanded, restored, or reestablished, only in conformance with the requirements of this Article.
1.
A nonconformity may result from any inconsistency with the requirements of Article XV, the Zoning Map, or any applicable specific plan, including but not limited to location, density, floor area ratio (FAR), height, setback, usable open space, parking, or performance standards.
2.
Nonconforming uses include:
a.
Uses made nonconforming by the addition of a standard or requirement in Article XV or any applicable specific plan that was not previously required for such use.
b.
Uses that were previously permitted by right and are subject to a discretionary permit under the requirements of Article XV and any applicable specific plan; and
c.
Uses made nonconforming by revisions to the Zoning Map.
3.
Nonconforming lots include any lot that is smaller than the minimum lot size required by Article XV or does not meet any of the applicable dimensional requirements.
B.
Right to Continue. A nonconformity may be continued and maintained indefinitely, and the right to the nonconformity shall run with the land, except as otherwise specified in the nonconforming use regulations. Nonconformities may be continued, maintained, repaired, altered, expanded, restored, or reestablished only in conformance with the requirements of this Article.
C.
Illegal Use. An illegal use is a use of land, use of structure, lot, or structure that was not legally established under Article XV that was applicable at the time that such use of land, use of structure, lot, or structure was established. Any and all illegal uses are a public nuisance and must be discontinued or legalized within 90 days of receiving written notice from the Zoning Administrator.
A.
For Limited Parking. Residential structures with at least one parking space per dwelling unit are not considered nonconforming due to inadequate parking.
B.
For Certain Residential Uses. Any residential use, lot, or structure that was legally established prior to the adoption of Article XV and that has been continuously maintained in residential use in compliance with the requirements of all applicable codes is considered is classified as a conforming use, lot, or structure. However, any enlargement or replacement of such use must conform to Article XV and any applicable specific plan.
C.
For Certain Nonconforming Features. A use, lot, or structure shall not be deemed nonconforming solely because it does not conform with standards for parking and loading, setbacks, landscaping and planting requirements, fencing and screening, standards for projections above the top of buildings, or restrictions on features allowed in required yards, or because of other deviations from the requirements of Article XV or any applicable specific plan that are determined to be minor by the Zoning Administrator.
D.
For Specific Repairs and Improvements. Nothing in this Article prevents repairs, improvements, or maintenance, including in replacement of building features, that are necessary to comply with the Municipal Code or to strengthen or restore to a safe condition any building, structure, or part thereof declared to be unsafe by the Building Official. More specifically, this Article does not prohibit the following solely because a use, lot or structure is nonconforming: internal improvements, safety improvements to address earthquake, flood, fire, criminal activity or other hazards; improvements to mitigate nuisance characteristics either from or to other properties or the environment, including but not limited to noise and vibration, light and glare, air emissions, stormwater flows, and aesthetic appearance and visual impacts; or improvements related to conservation of resources, including but not limited to reduction of water, gas and electricity use, improvement of indoor air quality, reduction of waste, or similar safety, environmental and conservation measures.
A.
Changes of Use. A nonconforming use can be changed to a different use based on the future use as follows:
1.
New Use Permitted by Right. Any nonconforming use may be changed to a use that is allowed by right in the zoning district in which it is located (or subarea of a specific plan) and complies with all applicable standards for such use.
2.
New Use Requires a Use Permit. No nonconforming use can be changed to a use not allowed by right without approval of a conditional use permit. This requirement does not apply to a change of ownership, tenancy, or management where the new use is in the same use type as the previous use, as defined in Article XV, and the facility(ies) housing the use is/are not expanded.
3.
New Use Not Permitted. No nonconforming use shall be changed to a different nonconforming use.
B.
Absence of a Use Permit. Any use that is nonconforming solely by reason of the absence of a Use Permit may become a conforming use by obtaining a Use Permit.
C.
Expansion of Nonconforming Uses. No lawful nonconforming use may expand the floor area of the use by more than 10 percent. For any expansions of a use that expands the floor area by 10 percent or less, the approval of an administrative use permit is required, subject to the following requirements:
1.
Expansions to Other Structures or Lots. A nonconforming use may not be expanded to occupy all or a part of another structure or another lot in different ownership that it did not occupy on the date of this revision to Article XV.
2.
Required Findings. The Zoning Administrator may only approve an administrative use permit for an expansion of a nonconforming use after making the following additional findings:
a.
The proposed expansion will not unreasonably preclude or interfere with implementation of the General Plan and any applicable specific plan;
b.
No significant planning purpose would be served by strict application of the provisions or requirements of Article XV and any applicable specific plan with which the use does not conform;
c.
The nonconforming use is not an Adult-Oriented Business.
(Ord. No. 30-18 N.S., § I(Exh. A), 12-18-2018)
This Article establishes provisions to allow for reinvestment in nonconforming industrial uses in order to achieve public safety or environmental benefits or short-to mid-term economic and fiscal benefits notwithstanding the longer term goals of the City for a specific plan area. These exceptions may be granted if limited expansion of a nonconforming industrial use is not incompatible with existing uses in the surrounding area and such enlargement, extension or intensification would not unreasonably impede orderly development over the long term under an applicable specific plan.
A.
Limited Exception Determinations for Certain Nonconforming Industrial Uses. The City finds that the need may exist to continue to support industrial development and to improve the safety or reduce the environmental effects of certain nonconforming industrial uses by allowing changes that could result in minor enlargements, extensions, expansions or structural alterations to buildings or structures dedicated to such nonconforming uses, despite the fact that they do not conform to all current provisions of Article XV and any applicable specific plan. Therefore, an improvement comprising minor enlargements, extensions, expansions, or structural alterations of a building or structure dedicated to a nonconforming industrial use may be allowed with an administrative use permit, subject to the following process and findings:
1.
Process. No administrative use permit will be granted unless the Zoning Administrator makes the findings for a Limited Exception Determination established in this Section. Where a discretionary permit has been previously issued, changes to that permit may be made pursuant to this Section and the appropriate non-discretionary permits may be issued after a Limited Exception Determination has been granted.
2.
Information Required. Unless specifically waived by the Zoning Administrator, the following information must be submitted to support a Limited Exception Determination:
a.
Statement of project objectives;
b.
Project description, including construction requirements (schedule, equipment, labor, parking), physical changes to existing facilities, and any changes to facility operations or ancillary operations (truck trips, hazardous materials storage, etc.) as a result of the improvement;
c.
A map showing contiguous properties, including Assessor Parcel Numbers and property owners' names;
d.
Site plan to scale showing all existing and proposed facilities on the site and any modifications to existing equipment;
e.
Design specifications for any new components;
f.
Estimated expenditures for the improvement, including materials, labor, and equipment;
g.
Written justification and such data, report(s), and documentation that demonstrates and verifies the improvement's economic or fiscal benefits or public health and safety or environmental benefits; and
h.
Any other supplemental data or information requested by the Zoning Administrator.
B.
Benefit Assessment. Upon acceptance of a complete application, the Zoning Administrator will conduct an assessment of the economic and fiscal benefits, public health and safety, and/or environmental benefits of the application and prepare a report on its consideration of an application for a Limited Exception Determination.
C.
Limited Exception Determination Findings. After a duly-noticed public hearing, the Zoning Administrator may approve or conditionally approve a Limited Exception Determination and the associated administrative use permit only if all of the following findings are made in addition to the findings required for the administrative use permit:
1.
The improvement has one or more of the following: demonstrable economic, fiscal, public health, safety, and/or environmental benefit.
2.
The improvement does not result in any new unmitigated significant environmental impacts.
3.
The improvement does not result in a significant (i.e., 20 percent) increase in the overall intensity of use beyond the existing permitted use.
4.
The improvement does not significantly extend or expand the existing developed square footage of the industrial operation or site.
5.
The improvement does not result in a substantial expansion or extension of life of the nonconforming use. Any extension in the life of the nonconforming use affected by the improvement results solely from improved operational efficiency and is incidental to the primary purpose of improving public health and safety or providing an economic, fiscal or environmental benefit.
6.
The improvement will not unreasonably impede implementation of the General Plan and the applicable specific plan over the longer term because one or more of the following apply:
a.
There are significant vacant or underutilized properties in the plan area available or likely to become available in the near term for the development called for in the plan;
b.
The infrastructure, including the street network and shoreline protection necessary to support the long-term development of the plan area, is incomplete;
c.
The applicable plan calls for a land reserve necessary to accommodate the high-intensity uses called for in the plan's long-term development vision, and the project site could contribute to that land reserve;
d.
The applicable plan calls for market forces to drive the transition to new uses and to provide development opportunities consistent with the long-term vision for the plan area, and the proposed changes will not significantly impair the ability of market forces to do so;
e.
The location of the site is still relatively distant from the location of the new long-term development envisioned in the plan;
f.
The type of development for which there exists market demand for the site would not contribute to a Complete Neighborhood or a jobs/housing balance in the plan area; and
g.
The development vision of the specific plan applicable to this site has not proven to be achievable or viable over time.
7.
If prior Limited Exception Determinations have been made for the same nonconforming use under this Section, the successive Limited Exception Determinations cumulatively provide a public health and safety or economic, fiscal or environmental benefit.
D.
Appeals. The Zoning Administrator's decision may be appealed to the Planning Commission, and its decision may be appealed to the City Council pursuant to Article 15.04.803 (Common Procedures).
No nonconforming use may be resumed, reestablished, reopened, or replaced by any other nonconforming use after it has been abandoned or vacated for a period of one year, except as provided for in this Section.
A.
Abandonment. The one-year period commences when the use ceases and any one of the following occurs:
1.
The site is vacated;
2.
The business license lapses;
3.
Utilities are terminated and facilities have been permanently removed or disabled;
4.
The lease is terminated; or
5.
The use ceases.
A nonconforming use is not abandoned following damage from an act of God or casualty event provided that the business owner is actively engaged in restoring the use. Moreover, the one year period does not include the period between the date the City notifies the owner that the application for reconstruction of the use has been found to be complete and the date the City's action on the application becomes final or the date the building permit issued by the City for the reconstruction expires, whichever is later.
B.
Reestablishment. The nonconforming use of a legally established structure may be reestablished after abandonment if the Planning Commission approves a conditional use permit after making all the following findings in addition to the findings required in Article 15.04.806 (Use Permits). As a condition of approving the resumption of such nonconforming use, the Commission may impose a time limit on its duration if necessary in order to make the required findings.
1.
The structure cannot practically or economically be used for any conforming use because of its original design or because of lawful structural changes made for a previous nonconforming use;
2.
The structure can be reasonably expected to remain in active use for a period of 20 years without requiring repairs or maintenance in excess of 50 percent of the replacement cost of the structure, as determined by the Building Official, within any five-year period; and
3.
The continuation of the use or structure will not be incompatible with or detrimental to surrounding conforming uses.
C.
Vehicle Service Stations. Where the nonconforming use is a vehicle service station, this use must be reestablished within a six-month period of the use being abandoned, rather than within the one-year period allowed by subparagraph (A) above, in order to continue to be considered a nonconforming use.
D.
Exceptions. The nonconforming status of a single-unit dwelling will not lapse, regardless of the length of time of non-use.
(Ord. No. 30-18 N.S., § I(Exh. A), 12-18-2018)
A.
Right to Continue. Any nonconforming building or structure may only be continued and maintained provided there is no alteration, enlargement, or addition; and no substantial increase in occupant load except as provided in this Article. The right to continue to use a nonconforming building or structure attaches to the land and is not affected by a change in ownership or short-term vacancy.
B.
Right to Repair or Restore. Nonconforming structures may be repaired, maintained, or restored in compliance with the requirements of this Article, unless deemed to be an irreparable public nuisance under Chapter 9.22 of the Municipal Code.
C.
Enlargements or Alterations. Nonconforming structures may be enlarged, extended, structurally altered, or repaired in compliance with all applicable laws only under the following provisions:
1.
Alterations and enlargements that are consistent with the current requirements of the zoning district in which the structure is located or with the standards of an applicable specific plan only require Zoning Administrator approval.
2.
Alterations and enlargements that extend into a nonconforming yard may be allowed with Zoning Administrator approval of an administrative use permit provided that the alteration or enlargement would not:
a.
Further reduce any existing nonconforming yard, meaning the alteration or extension occurs on top of an existing structural element or feature that already extends into an existing nonconforming yard;
b.
Exceed applicable building height limits;
c.
Further increase any existing nonconforming lot coverage; or
d.
Increase the required number of off-street parking spaces unless parking is provided under current standards set forth in Article XV for the additional floor area.
D.
Maintenance and Nonstructural Repairs and Alterations. Maintenance and nonstructural repairs and alterations are permitted to a nonconforming structure or to a structure occupied by a nonconforming use, so long as the repairs and alterations do not materially enlarge the structure.
E.
Structural Repairs.
1.
Generally. Structural repairs may be undertaken when the cost of such work does not, within a 12-month period, exceed 50 percent of the replacement cost of the nonconforming structure as determined by the Building Official. All other structural repairs require an administrative use permit.
2.
Single-Unit Residential Structures. Structural repairs are permitted as-of-right for single-unit residential structures, regardless of valuation, if the structural change meets the following criteria:
a.
The dwelling is located in a residential zoning district;
b.
The dwelling has an existing garage that meets minimum dimensional requirements of Article XV; and
c.
The improvement will not add new habitable space to the dwelling exceeding 10 percent of the existing gross floor area.
A nonconforming use or structure that is damaged or destroyed by fire, flood, explosion, earthquake, or natural disaster when the damage or destruction is not caused by a malicious act or omission of the property owner, his or her agent, or person acting on his or her behalf or in concert may be restored or rebuilt subject to the following provisions:
A.
Restoration or Reconstruction When Damage is 75 Percent or Less of Replacement Cost. If the cost of repair or reconstruction does not exceed 75 percent of the replacement cost of the building(s) or structure(s), replacement of the damaged portion of the building(s) is allowed by right, provided that the replaced portions are the same size, extent, and configuration as previously existed and a building permit is obtained.
B.
Restoration When Damage Exceeds 75 Percent of Replacement Cost. If the cost of repair or reconstruction exceeds 75 percent of the replacement cost of the building or structure, the land and building will be subject to all of the requirements of Article XV and any applicable specific plan, except as provided below.
1.
Non-Residential Structures. The Planning Commission may approve a conditional use permit for the structure to be rebuilt to substantially the same size, extent, and configuration as previously existed. In such cases, any expansion or exterior change to the previous use must conform to the requirements of this Article to the maximum extent reasonably feasible, but need not conform to the requirements of an applicable specific plan.
2.
Residential Structures. Any nonconforming residential use may be reconstructed, restored, or rebuilt up to the size and number of dwelling units prior to the damage and the nonconforming use, if any, may be resumed subject to a Zoning Compliance Review under Article 15.04.804 in the case of single-unit dwellings or a conditional use permit under Article 15.04.806 in the case of other residential uses, unless the Zoning Administrator finds that:
a.
The reconstruction, restoration, or rebuilding will be detrimental or injurious to the health, safety, or general welfare of persons residing or working in the neighborhood, or will be detrimental or injurious to property and improvements in the neighborhood; or
b.
The existing nonconforming use of the building or structure can be more appropriately moved to a zoning district in which the use is permitted, or that there no longer exists a district in which the existing nonconforming use is permitted.
3.
Any reconstruction, restoration, or rebuilding undertaken pursuant to this Section must conform to all applicable Building Code requirements, and a Building Permit must be obtained within two years after the date of the damage or destruction or the issuance of any required discretionary permit, whichever is later.
4.
Any application for a conditional use permit must be submitted within one year of the date of the damage to the use or structure.
C.
Replacement Cost. The property owner or his or her agent shall have the right to present information on the replacement cost of the damaged use or structure by providing a report from a construction professional licensed by the State of California. The Chief Building Official will determine the replacement cost of the damaged use or structure based on that information, if presented, and other published construction industry data.
Any legally created lot that fails to meet the current standards for area or dimensions of the district in which it is located may be developed, subject to the following.
A.
General. Any lot that is smaller than the minimum lot size or width required by Article XV may be developed subject to all other requirements of Article XV and any applicable specific plan if it is described in the official records on file in the Contra Costa County Clerk-Recorder's Office, County Recorder Division as a lot of record.
B.
Exception. Where a lot is less than 50 feet in width or where a lot of less than 5,000 square feet exists and the lot has been recorded under separate ownership from all adjacent lots continuously since January 31, 1949, and the lot is level (having an average longitudinal and cross slope of less than 5 percent), such lot may be developed into any use permitted in the base zoning district or any applicable specific plan.
1.
Any such lot that is 3,300 square feet or less in area, and/or is 33 feet or less in average width can only be developed for one single-unit dwelling.
2.
Any such lot that exceeds the dimensions and area enumerated in (1) immediately above, but which is 3,700 square feet or less in area, and/or is 37.5 feet or less in average width can be a building site for one or two dwelling units.
A.
Uses or structures defined as nonconforming due to inadequate parking, screening, and/or landscaping may be enlarged, altered, moved, extended or reconstructed within the following limits:
1.
Where no major building other than an accessory building is involved, the cost of such change may not exceed the total current assessed value of the land.
2.
Where a principal building is involved, the cost of such change may not exceed the current replacement cost of the original building(s).
B.
Restrictions on the nonconforming use of the land where no building other than an accessory building is involved: the nonconforming use may be continued up to five years after it became a nonconforming use subject to the following conditions:
1.
The nonconforming use of land shall not be expanded or extended.
2.
If the nonconforming use is discontinued or changed, any further use of land shall be in conformity with the provisions of Article XV and any applicable specific plan.
C.
In any district where residences are prohibited, additions and alterations to an existing single or two-unit dwelling are permitted, providing all of the following conditions are met:
1.
Such structural changes can be made only if in conformity with all the regulations of use, height, area, yard, interior yard space, off-street parking, etc., as required for a multi-family residential district.
2.
No additional dwelling units shall be created nor a conversion of the building allowed that would create a lodging house, care home, or similar residential use.
3.
Floor area added shall not exceed 50 percent of the total floor area existing in the dwelling at the time the regulations prohibiting residences became effective for the site in question.
4.
No addition shall be permitted if any portion of the existing dwelling is converted to commercial or industrial use subsequent to when the regulations prohibiting residences became effective for the site in question.
The purposes of the off-street parking and loading regulations are to:
A.
Ensure that off-street parking and loading facilities are provided for new uses and major alterations to existing uses;
B.
Avoid or minimize negative impacts associated with spillover parking into adjacent neighborhoods;
C.
Minimize the negative environmental and urban design impacts that can result from parking lots, driveways, and drive aisles within parking lots;
D.
Address the needs of people traveling by bicycle or on foot by promoting development of active land uses and activities in place of surface parking lots, and where parking is to be provided, promoting parking lot designs that offer safe, attractive, and direct pedestrian routes and secure bicycle parking.
E.
Support bicycling and address the circulation, access, and security needs of people traveling by bicycle by requiring short-term and long-term bicycle parking and storage, and requiring parking lot designs that offer safe bicycle access routes;
F.
Establish standards and regulations for safe and well-designed parking, loading, and vehicle circulation areas that minimize conflicts between pedestrian and vehicles within parking lots and, where appropriate, create buffers from surrounding land uses;
G.
Offer flexible means of minimizing the amount of land area devoted to parking of automobiles by (1) allowing reductions in the number of required parking spaces in the most transit accessible areas, areas with a diverse mix of land uses with off-setting periods of peak parking demand, for shared parking facilities, and for other situations expected to have lower vehicle parking demand; and (2) establishing limits on the number of private off-street parking spaces that can be provided in association with certain land uses and in certain locations, with allowance for provision of additional parking spaces above these established maximums provided that such spaces are shared and publicly accessible.
H.
Reduce urban stormwater run-off and heat island effect.
A.
New Development. Unless otherwise specified, the parking and loading requirements of this Article apply to all new buildings and to all new conditionally permitted uses in existing buildings.
B.
Reconstruction, Expansion and Change in Use of Existing Non-Residential Buildings.
1.
Changes in use, expansions of a use, or expansions of floor area that create an increase of more than three required parking spaces or more than 10 percent of required spaces, whichever is greater, shall provide on-site automobile parking, bicycle parking, and loading space according to the provisions of this Article. A building shall be granted no more than one expansion with no required increase in parking under this provision.
2.
Existing parking shall be maintained, and additional parking shall be required only for such addition, enlargement, or change in use and not for the entire building or site. If the number of existing parking spaces is greater than the requirements for such use, the number of spaces in excess of the prescribed minimum may be counted toward meeting the parking requirements for the addition, enlargement, or change in use.
3.
A change of use shall provide the difference between the required parking ratio of the proposed use and one parking space per 300 square feet.
4.
A change in occupancy is not considered a change in use unless the new occupant is in a different use classification (use type) than the former occupant.
C.
Reconstruction, Expansion and Change in Use of Existing Residential Buildings.
1.
For any new commercial, cultural, medical office, or health use of an existing residential building or structure, parking spaces in the number specified in Section 15.04.607.040 (Calculation of Parking Requirements) shall be provided for the entire site.
2.
For any new residential or educational use of an existing residential building or structure such that the new residential or educational use will require a greater number of parking spaces as compared to the previous use, parking spaces in the number specified in Section 15.04.607.040 (Calculation of Parking Requirements) shall be provided for the new use.
D.
Alterations that Increase the Number of Dwelling Units. The creation of additional dwelling units through the alteration of an existing building or construction of an additional structure or structures requires the provision of on-site parking to serve the new dwelling units in compliance with the provisions of this Article. This requirement does not apply when sufficient on-site parking exists to provide the number of spaces required for the existing and new dwelling units in compliance with all applicable requirements.
E.
Conversion of Existing Parking Facilities for Shared Use. An existing parking facility is not required to be maintained for the exclusive private use of the land use for which it was constructed as accessory parking. A property owner may submit to the Zoning Administrator a parking inventory and occupancy study of off-street parking and on-street parking in the vicinity of the project, conducted by an independent transportation planning and/or engineering consultant, to demonstrate that a certain share of the existing parking spaces on his/her property are infrequently utilized. On the basis of this study, the Zoning Administrator may grant the property owner authorization to dedicate the underutilized portion of his/her off-street parking to other, non-accessory uses, including leasing such spaces to other individuals, or to other property owners or developers of projects within a one-quarter mile walking distance of the facility to provide some or all of their required off-street parking obligations.
F.
Construction Timing. On-site parking facilities required by this Article shall be constructed or installed prior to the issuance of a Certificate of Occupancy for the uses that they serve.
G.
Damage or Destruction. When a use that has been involuntarily damaged or destroyed is re-established, off-street parking and loading facilities must also be re-established or continued in operation in an amount equal to the number maintained at the time of such damage or destruction. It is not necessary, however, to restore or maintain parking or loading facilities in excess of those required by this Article.
H.
Exceptions.
1.
Neighborhood Retail. Commercial uses having a gross floor area of 5,000 square feet or less are exempt from the off-street parking and loading requirements of this Article.
2.
BART Station Area. Within one-half mile of the Richmond BART/Intermodal Terminal, the El Cerrito Del Norte and El Cerrito Plaza BART Stations measured from the station platform and within one-quarter mile of an AC Transit bus stop, the minimum and maximum parking requirements shall be reduced to 50 percent of the requirements set forth in this Article, and minimum parking requirements may be further reduced or eliminated upon the granting of a conditional use permit.
3.
Alternative Access and Parking Plans. If an alternative access and parking plan is approved pursuant to Section 15.04.607.070, the off-street parking requirements shall be subject to the provisions of that plan.
(Ord. No. 30-18 N.S., § I(Exh. A), 12-18-2018)
A.
No Reduction in Off-Street Parking and Loading Spaces. Off-street parking and loading spaces established as of the effective date of the ordinance codified in this Article shall not be reduced in number during the life of such building or land use below that which would be required for a new building or use of a similar type under the requirements of this Article. All such off-street parking and loading spaces shall remain permanently available and accessible for the parking or loading of vehicles by occupants of the property, except that any surplus spaces may be rented out to non-occupants, or otherwise made publicly accessible with the provision that such spaces must be vacated on 30 days' notice if they become needed by occupants of the property.
1.
Exception for Garage Conversions. In the RL1 and RL2 districts, conversion of a garage for residential use, may eliminate covered parking. This change shall be permitted with an Administrative Use Permit if replacement surface parking, which may include tandem parking, is provided within a front setback area that is at least 18 feet in depth, within a side setback area that is at least 10 feet in width, or in the rear of the lot.
B.
Separate Parking and Loading Spaces. No area may be utilized and counted both as a required parking space and a required loading space. However, maneuvering aisles and driveways may serve both required parking spaces and loading spaces if they meet the requirements specified in this Article for both parking and loading facilities.
C.
Location of Parking.
1.
Off-street parking spaces for nonresidential uses shall be located on the same site or within a distance not to exceed 1,500 feet from the lot line of the property where the use for which the parking spaces are required. The applicant shall be required to show evidence that the off-site parking is reserved for the applicant's use, if such parking is on private property.
2.
In Industrial zoning districts, surface parking lots shall be paved and set back from public streets as follows:
a.
For lots 20,000 square feet or larger the minimum setbacks required are as follows:
b.
For lots under 20,000 square feet, a minimum 10 feet setback is required from both minor and collector streets.
D.
Parking for Disabled Persons. Parking spaces intended for the exclusive use of Disabled Person permitted vehicles and provision of access for disabled persons shall be provided as required by the California Building Code, Division 11, Site Accessibility. Such spaces will be counted towards the parking requirements of this Article.
1.
Number. The number of the required off-street parking spaces required for any use by this Article to be reserved and be designed for Disabled Person permit holders shall be provided in accord with State law and the following standards:
2.
Design, Designation, and Location. All parking spaces for Disabled Person permit holders shall, at a minimum, comply with the requirements of the California Building Code, Division 11, Site Accessibility.
E.
Nonconforming Parking Facilities. Existing land uses with off-street parking and loading facilities that do not conform to the requirements of this Article may be enlarged or expanded; provided, that additional parking and loading facilities shall be added so that the enlarged or expanded portion of the building conforms to the requirements of this Article, subject to the applicable provisions for nonconforming uses and structures in Article 15.04.606 (Nonconforming Uses, Structures and Lots).
F.
Unbundled Parking. The following rules shall apply to the sale or rental of parking spaces in new Multi-Unit Residential buildings with ten or more units:
1.
All off-street parking spaces shall be leased or sold separately from the rental or purchase fees for dwelling units for the life of the dwelling units, such that potential renters or buyers have the option of renting or buying a residential unit at a price lower than would be the case if there were a single price for both the residential unit and the parking space(s).
2.
In cases where there are fewer parking spaces than dwelling units, the parking spaces shall be offered first to the potential buyers or renters of three bedroom or more units, second to potential buyers or renters of two bedroom units, and then to potential buyers and renters of other units.
3.
Potential buyers and renters of affordable units shall have an equal opportunity to buy or rent a parking space on the same terms and conditions as offered to potential buyers and renters of market-rate units, at a price proportional to the sale or rental price of their units as compared to comparable market-rate units. This stipulation shall be included in any agreement recorded between the City and developer pertaining to the affordable housing units pursuant to Article 15.04.603 (Inclusionary Housing).
4.
Parking spaces shall be offered only to residents of the dwelling units served by the off-street parking, except that any surplus spaces may be rented out to non-residents, or otherwise made available for public use, with the provision that such spaces must be vacated on 30 days' notice if they are needed by residents. Required visitor spaces shall not be rented out, but may be made available for public use.
The Zoning Administrator may grant an exception from the requirements of this subsection for affordable units that include financing for affordable housing that requires that costs for parking and housing be bundled together.
G.
Garages/Carports/Uncovered Residential Parking. For residential uses, required off-street parking located in the front half of a lot or within 25 feet of the side street on a corner lot shall be covered with carport, garage or roofed structure except as allowed below or for secondary dwelling units, for which one uncovered parking space may be provided in the required front yard if the parking pad and driveways are decoratively paved with aggregate, brick, pavers or similar material.
1.
For single-family residences, the interior dimension of a garage for each required parking space (if provided) shall not be less than 10 feet by 20 feet. Such private parking areas shall be located as part of the main building or in accordance with the requirements for accessory buildings.
2.
Uncovered off-street parking may be located in the rear half of the lot or in the front half of the lot if provided as replacement parking for a garage conversion, subject to the approval of an administrative use permit.
H.
Surface Parking Lots. Surface parking lots shall be subject to the following restrictions and standards. The area of a surface parking lot shall include all features within the lot's outer edges, including all parking spaces, maneuvering aisles, access driveways, and perimeter and interior landscaping, walkways, and other features.
1.
Large Parking Lots. If on-site parking for more than 250 spaces is needed, such parking facilities shall be designed to have exceptional landscaping or design features, shall be located such that it is not highly visible from public rights-of-way, shall be provided within buildings or parking structures or in separate lots that are each less than two acres in size, or shall be otherwise covered by a structure that serves a non-parking function, such as solar panels, recreational facilities, roof deck, or green roof.
2.
Other Parking Lots. New or expanded surface parking lots are subject to the requirements of this Article including the design standards of Section 15.04.607.060.
3.
Pedestrian Circulation. Parking lots containing 50 or more spaces shall have walkways separated from motor vehicle maneuvering aisles and driveways connecting the principal building or buildings served by the lot to the farthest point of the lot from the main pedestrian entrance of such building or buildings.
a.
Materials and Width. Walkways shall provide at least four feet of unobstructed width and be hard-surfaced.
b.
Identification. Pedestrian walkways shall be clearly differentiated from driveways, parking aisles, and parking and loading spaces through the use of elevation changes, curb separation, different paving material, or similar method.
c.
Separation. Where a pedestrian walkway is parallel and adjacent to an auto travel lane, it must be raised and separated from the travel lane by a raised curb at least six inches high, bollards, or other physical barrier.
(Ord. No. 30-18 N.S., § I(Exh. A), 12-18-2018)
The minimum number of parking spaces required and the maximum number of parking spaces allowed shall be based on the estimated peak period parking demand by use type as listed in Table 15.04.607.040. The following rules apply when calculating the estimated peak period parking demand:
A.
Multiple Uses. When two or more principal uses are located on the same lot, the estimated peak period parking demand shall be the sum of the estimated demand of the various individual uses during the period of peak combined demand for all uses, as determined through a parking study prepared by an independent transportation planning or engineering firm and based on the latest edition of the Urban Land Institute's Shared Parking methodology, a comparable shared parking model, and/or local data sources.
B.
Area-Based Estimates. All area-based estimated peak period parking demands shall be computed on the basis of gross floor area, excluding parking and loading areas.
C.
Exclusion of First 2,000 Square Feet. For all nonresidential uses in Mixed Use Zones with area-based estimated peak period parking demands, the first 2,000 square feet shall be subtracted from the gross square footage of the use when calculating the estimated parking demand. When there are multiple principal uses on the same lot with separate estimated parking demands, pursuant to subsection (A) of this Section, the first 2,000 square feet shall be subtracted from each such use, meaning that any use in a Mixed Use Zone that occupies 2,000 square feet or less is not required to provide off-street parking.
D.
Parking Credit for Reuse of Historically Significant Structures. Projects that convert a historically significant structure designated by the City Council that has a legal nonconforming parking deficiency to a different use shall receive a credit equal to the number of required automobile parking spaces unmet by the previous use.
E.
Motorcycle Parking. There shall be a credit of one automobile parking space for every four motorcycle parking spaces provided, not to exceed five percent of the total number of automobile parking spaces required. Motorcycle parking spaces shall be no less than four feet wide by eight feet long with an aisle width of no less than 10 feet and shall be clearly marked.
F.
If Estimated Parking Demand is "TBD—To Be Determined."
1.
If Table 15.04.607.040 indicates that the estimated parking demand is to be determined ("TBD"), the estimated parking demand shall be determined based on the characteristics of the specific use in question and other similar uses. Where no Planning Commission approval is required, the Zoning Administrator shall determine the estimated parking demand; the Zoning Administrator's determination may be appealed to the Planning Commission in accordance with the appeal procedures in Article 15.04.803 (Common Procedures). Where Planning Commission approval is required, the Commission shall determine the estimated parking demand based on a recommendation from the Zoning Administrator.
2.
If the proposed use is not listed in Table 15.04.607.040, the estimated parking demand may be determined pursuant to paragraph (F)(1) of this Section.
G.
Minimum Parking Requirements. Except as otherwise provided in this Section, no less than the minimum number of parking spaces, as required by this subsection, shall be provided for each use or site. The minimum number of parking spaces required shall be 33 percent less than the estimated parking demand as indicated in Table 15.04.607.040.
H.
Maximum Private Parking Requirements. Except as otherwise provided in this Section, no more than the maximum number of private, off-street parking spaces, as specified in this subsection, shall be provided for each use or site. The maximum number of private parking spaces allowed shall equal to the estimated peak period parking demand as indicated in Table 15.04.607.040.
1.
Excess Parking to be Shared. Off-street parking spaces may be provided in excess of the maximum number of spaces specified in this subsection (equal to the estimated peak period parking demand as indicated in Table 15.04.607.040) or pursuant to paragraph 15.04.607.040I.2., provided that all such excess spaces are designed and operated to be shared and publicly accessible parking spaces available for public use at any time, except for uses with safety concerns, including but not limited to schools and daycare centers, which the Planning Commission confirms are valid and justify not sharing the spaces. Property owners may charge an hourly, daily, or monthly fee for use of any such public access parking provided in excess of the maximum off-street parking limits of this subsection.
I.
Parking Spaces Below the Minimum or Above the Maximum. Parking spaces less than the required minimum or more than the allowed maximum may be provided upon the granting of a conditional use permit as set forth below.
1.
Parking Spaces Less Than the Minimum. To grant a conditional use permit to provide less than the minimum number of parking spaces required by subsection (G) of this Section, including elimination of all parking spaces, the following findings must be made in addition to the findings otherwise required by Article 15.04.806:
a.
That adequate measures will be put in place to reduce parking demand, such as promoting use of public transit, bicycling, and walking, and allowing modified working hours and telecommuting; and
b.
That the reduction or elimination of the required parking spaces will not substantially reduce the availability of on-street parking for the occupants of nearby commercial and, or residential buildings.
2.
Parking Spaces More Than the Maximum. To grant a conditional use permit to provide more than the maximum number of private parking spaces allowed by subsection (G) of this Section, the following findings must be made in addition to the findings required by Article 15.04.806:
a.
That the applicant has convincingly demonstrated that the additional parking is required to meet the anticipated parking demand of the proposed uses; and
b.
That the provision of the additional parking will not result in an overdependence on automobiles and will not adversely affect transit, bicycle, or pedestrian access to the site or other adjacent uses.
(Ord. No. 30-18 N.S., § I(Exh. A), 12-18-2018; Ord. No. 27-20 N.S., § 6, 11-10-2020)
Shared parking represents an arrangement in which drivers seeking access to two or more nonresidential uses on the same lot with different peak parking demand periods use the same off-street parking spaces. Where shared parking is proposed, or planned for, off-street parking requirements must be adjusted.
A.
Calculation of Parking Requirement for Shared Parking. Within a shared parking environment, peak period parking demand shall be calculated by estimating the parking demand for all uses at the combined peak period of demand for the site. The estimated parking demand for each use shall be calculated for each hour of a 24-hour period, based on the percent of peak demand for each hour. The hourly demand for all uses shall be totaled for each hour, and the greatest resulting hourly demand shall be the required number of parking spaces. This required number may be reduced or increased. The hourly demand for each use shall be based on the most recent edition of Parking Generation published by the Institute of Transportation Engineers, Shared Parking, published by the Urban Land Institute, or other equivalent information. See Table 15.04.607.060 for an example.
The parking area design standards of this Section apply to all off-street parking areas. All required parking spaces and associated maneuvering aisles, driveways, and other related features shall be designed and arranged so as to provide motor vehicles with adequate ingress to and egress from all required parking spaces, and to provide pedestrians with adequate access to parked vehicles.
A.
Parking Layout and Dimensions. The layout and dimensions of off-street parking facilities shall be as set forth in Figure 15.04.607.060 and Table 15.04.607.060, as further provided below.
1.
Regulatory and Calculated Dimensions. Stall width, stall length, and aisle width, as shown in Table 15.04.607.060, are regulatory. Other dimensions shown in Table 15.04.607.060 are calculated from these required dimensions, and are provided for convenience.
2.
Stall Width and Length. As indicated in Table 15.04.607.060, the required minimum stall width and length for various parking angles are as set forth below. Compact spaces with an eight-foot width and 16-foot length are permitted for up to 25 percent of the required spaces.
a.
Width. For parking angles of more than 30 degrees the required minimum stall width is eight feet six inches. For parking angles of 30 degrees or less, the required minimum stall width is eight feet.
b.
Length. For all parking angles other than parallel parking, the required minimum stall length is 18 feet. For parallel parking, the required minimum stall length is 20 feet.
3.
Aisle Width for Parking Angles Not Shown. For parking angles not shown in Table 15.04.607.060, the required aisle width shall be interpolated from the values in the table. For example, for a parking angle of 70 degrees, which is two-thirds of the increment between 60 degrees and 75 degrees, the required one-way aisle width is 18 feet eight inches, which is two-thirds of the increment between the required aisle widths for 60 degree parking and 75 degree parking, 16 feet and 20 feet respectively.
4.
Alternate Maneuvering Aisle and Parking Space Widths. For parking angles equal to or greater than 45 degrees and less than 90 degrees, one-way aisle width may be decreased by three inches for each one-inch increase in stall width, up to a maximum stall width of nine feet two inches. For 90 degree parking, one-way and two-way aisle width may be decreased by three inches for each one-inch increase in stall width, up to a maximum stall width of nine feet two inches and a minimum aisle width of twenty-two feet.
5.
Two-Way Modules. Table 15.04.607.060 provides the dimensions for parking modules with one-way traffic. For parking modules with two-way traffic, add the difference in width between a two-way aisle and a one-way aisle. For example, for a two-way module with a parking angle of 45-degrees, add eight feet, which is the difference between a two-way aisle (20 feet) and a one-way aisle (12 feet).
6.
Overhang. Parking stall lengths, except for parallel spaces, may be reduced by two feet where the parking stall is designed to abut a landscaped area a minimum of five feet wide, such that the front of the vehicle can overhang the landscaped area.
7.
Spaces Abutting Walls or Posts. For each side of a parking space abutting a wall or post, an additional foot of width shall be required.
Figure 15.04.607.060: Parking Layout
B.
Recreation Vehicle Parking Standards. The off-street parking of operable recreational vehicles, boats and trailers in residential districts shall be allowed as follows:
1.
No recreational vehicle, boat or trailer that exceeds 2.5 tons in dry weight, 36 feet in length or 14 feet in height, not including rooftop equipment, shall be parked, stored or loaded in a Residential zoning district.
2.
Permitted recreational vehicles may be parked, stored or loaded on an approved parking space, in any location in which passenger vehicles may be parked, stored or loaded, as long as it does not block the sidewalk and/or driveway. Further, recreational vehicles may be parked, stored or loaded in other location as indicated below, provided that no other location on the site ordinarily available for vehicle parking can accommodate the recreational vehicle because access to those locations is blocked by a permanent building element such as a structural wall, an eave or a roof. These locations are:
a.
In areas blocking access to required parking spaces, provided that the spaces being blocked are for a single-family dwelling only and the owner of the recreational vehicle resides in that dwelling; and
b.
In the side yard setback area, provided that:
i.
The recreational vehicle is located as far as physically feasible from the side lot line, consistent with requirements for light and ventilation into adjoining rooms.
ii.
The recreational vehicle is located as far to the rear of the lot as is physically consistent with maintaining access to the garage.
C.
Location of Parking Areas. Excerpt as provided for off-site parking, required parking spaces must be located on the same lot as the use to be served by the parking. Additionally, parking areas shall be located in accordance with the following standards:
1.
No vehicle shall be required to cross a loading space or another parking space in order to gain access to a required parking space, except for any tandem parking permitted.
2.
No off-street parking shall be located in required front or street side yards.
3.
No off-street parking spaces shall be located between the front lot line and the front wall of a building or its projection across the lot, except upon the granting of an administrative use permit. To grant such a use permit, the Zoning Administrator must make the following findings in addition to the findings otherwise required:
a.
That there is no other feasible way to provide the required parking or the use has unique access or operational needs and the parking is deemed compatible with the streetscape and adjacent uses;
b.
That all applicable provisions of the design standards have been met;
c.
That the applicable landscaping and screening requirements have been met; and
d.
Thou on-street parking availability is limited, such that accommodation of all auto access and vehicle parking demand on-street is impractical.
D.
Driveways and Access.
1.
Driveway Width.
a.
Parking facilities containing fewer than 15 required parking spaces shall have only a single driveway of no less than nine feet and no more than 10 feet in width.
b.
Parking facilities containing 15 or more required parking spaces may have one lane driveways of no less than nine feet and no more than 10 feet in width, and two-lane driveways of no less than 18 feet and no more than 20 feet in width.
2.
Vehicle Flow.
a.
Except for those serving four or fewer residential units, all parking areas shall be designed so that a motor vehicle leaving the parking area will enter the public right-of-way traveling in a forward direction.
b.
Parking areas shall be designed so that a vehicle will not have to enter a public right-of-way to move from one location to another within the parking area.
E.
Surface. All outdoor parking spaces, driveways, and maneuvering areas shall be designed, built and permanently maintained to avoid dust, mud and standing water and to maximize permeability, where feasible and appropriate. These surfaces may include traditional asphalt and concrete as well as pervious pavements, sand-set pavers, and supported turf systems,. A combination of surfaces may be used; for example, two track driveways of concrete strips with pervious areas between the strips and on the edges.
1.
Cross-grades. Cross-grades shall be designed for slower stormwater flow and to direct stormwater toward landscaping, bio-retention areas, or other water collection/treatment areas.
2.
Landscaping Alternative. Up to two feet of the front of a parking space as measured from a line parallel to the direction of the bumper of a vehicle using the space may be landscaped with ground cover plants instead of paving.
3.
Permeable Paving. Permeable paving, sand-set pavers, supported turf systems, and vegetation shall be used in all overflow parking areas and installed in accordance with manufacturer recommended specifications.
4.
Turf Grids/Grassy Pavers. Turf grids/grassy pavers shall be installed in areas of low traffic or infrequent use wherever feasible.
F.
Striping and Marking. In all parking facilities with four or more spaces, each parking space shall be clearly striped with paint or similar distinguishable material, except that the Zoning Administrator may approve alternate means of marking spaces.
G.
Perimeter Curbing. A six-inch wide and six-inch high concrete curb shall be provided along the outer edge of the parking facility pavement, except where said pavement abuts a fence or wall. Curbs separating landscaped areas from parking areas shall be designed to allow stormwater runoff to pass through.
H.
Separation from On-Site Buildings. Parking areas must be separated from the front and side exterior walls of on-site buildings by walkways a minimum of four feet in width. Commercial buildings with 25,000 square feet or more of gross floor area must be separated from on-site parking on all sides by a walkway a minimum of five feet in width, as well as a planter area at least three feet in width. These requirements do not apply to parking areas containing five or fewer spaces.
I.
Heat Island Reduction. A heat island is the increase in ambient temperature that occurs over large paved areas compared to natural landscape. In order to reduce ambient surface temperatures in parking areas, at least 50 percent of the areas not landscaped shall be shaded, of light colored materials with a Solar Reflectance Index of at least 29, or a combination of shading and light colored materials.
1.
Shade may be provided by canopies, shade structures, trees, or other equivalent mechanism. If shade is provided by trees, the amount of required shading is to be reached within 15 years. To the extent maximizing the shading effect causes the trees to be placed in different locations than would be required by paragraph 15.04.607.060(N)(4), the placement required by this Section controls.
2.
Trees shall be selected from a list maintained by the Parks Division.
J.
Vertical Clearance. All covered parking shall have a minimum vertical clearance of seven feet six inches except for spaces in parking lifts; the minimum vertical clearance for disabled parking shall be as required by the Building Code.
K.
Slope. The maximum slope of parking facilities shall be as set forth below unless the Zoning Administrator approves a greater slope based upon the advice of a California-registered civil engineer or other qualified professional.
1.
Parking Spaces. All parking spaces and abutting access aisles shall have a maximum slope of five percent measured in any direction.
2.
Driveways and Ramps. The maximum slope of any driveway or ramp shall be 20 percent. If the slope of such driveway or ramp exceeds 10 percent, transitions shall be provided at each end not less than eight feet in length and having a slope equal to one-half the driveway or ramp slope.
L.
Tandem Parking. Required parking may be arranged as tandem spaces; provided, that pairs of spaces in tandem are assigned to the same residential unit or to employees of the same nonresidential establishment, or that a full-time parking attendant supervises the parking arrangements during periods of peak demand for the uses served. The required stall width, stall length, and aisle width shall apply to tandem spaces, except that the stall length shall be doubled for each pair of tandem spaces.
M.
Parking Lifts. Required parking may be provided in parking lifts; provided, that if it is necessary to remove one vehicle from the lift to access another vehicle, the parking shall be subject to the provisions applicable to tandem parking. Parking lifts allowing each vehicle to be independently accessed have no such restrictions. The dimensional standards for 90-degree parking shall apply to parking lifts, including the requirement for an aisle of 24 feet. Exterior parking lifts shall be screened from public view.
N.
Landscaping and Screening. Landscaping of parking areas shall be provided and maintained according to the general standards of Article 15.04.613 (Water-Efficient Landscaping), as well as the standards of this subsection for all uses except Single-Unit Dwellings and Duplexes.
1.
Landscape Area Required. A minimum of 10 percent of the interior of any parking lot area shall be landscaped.
2.
Minimum Planter Dimension. No landscape planter that is to be counted toward the required landscape area shall be smaller than 25 square feet in area, or four feet in any horizontal dimension, excluding curbing.
3.
Layout. Landscaped areas shall be well-distributed throughout the parking lot area. Parking lot landscaping may be provided in any combination of:
a.
Landscaped planting strips at least four feet wide between rows of parking stalls;
b.
Landscaped planting strips between parking areas and adjacent buildings or internal pedestrian walkways;
c.
Landscaped islands located between parking stalls or at the ends of rows of parking stalls; and
d.
On-site landscaping at the parking lot perimeter.
4.
Required Landscaped Islands. A landscaped island at least six feet in all interior dimensions and containing at least one 15-gallon-size tree shall be provided at each end of each interior row of parking stalls and between every six consecutive parking stalls.
5.
Landscaped Buffer for Open Parking Adjacent to Right-of-Way. A landscaped area at least five feet wide shall be provided between any surface parking area and any property line adjacent to a public street, unless a different dimension is specified in the base district standards applicable to a site.
6.
Landscaped Buffer for Open Parking Abutting Interior Lot Line. A landscaped area at least three feet wide shall be provided between any surface parking area and any adjacent lot for the length of the parking area.
7.
Landscaped Buffer for Parking Garages. A parking garage that does not incorporate ground-floor nonresidential or residential use or is not otherwise screened or concealed at street frontages on the ground level, must provide a landscaped area at least 10 feet wide between the parking garage and public street.
8.
Parking Garage Rooftop Planting. Uncovered parking on the top level of a parking structure shall have rooftop planters with a minimum dimension of 24 inches around the entire perimeter of the top floor.
9.
Trees.
a.
Number Required. One for each five parking spaces.
b.
Distribution. Trees shall be distributed relatively evenly throughout the parking area.
c.
Species. Tree species shall be selected from a list maintained by the Parks Division.
d.
Size. All trees shall be a minimum 15-gallon size with a one-inch diameter at 48 inches above natural grade.
e.
Minimum Planter Size. Any planting area for a tree must have a minimum interior horizontal dimension of five feet. Additional space may be required for some tree species.
Figure 15.04.607.060-N(9): Parking Lot Landscaping
10.
Protection of Vegetation.
a.
Clearance from Vehicles. All required landscaped areas shall be designed so that plant materials, at maturity, are protected from vehicle damage by providing a minimum two-foot clearance of low-growing plants where a vehicle overhang is permitted, or by wheel stops set a minimum of two feet from the back of the curb.
b.
Planters. All required parking lot landscaping shall be within planters bounded by a concrete curb at least six inches wide and six inches high. Curbs separating landscaped areas from parking areas shall be designed to allow stormwater runoff to pass through.
Figure 15.04.607.060-N(10): Protection of Vegetation
11.
Visibility and Clearance. Landscaping in planters at the end of parking aisles shall not obstruct driver's vision of vehicular and pedestrian cross-traffic. Mature trees shall have a foliage clearance maintained at eight feet from the surface of the parking area. Other plant materials located in the interior of a parking lot shall not exceed 30 inches in height.
O.
Screening. Parking areas shall be screened from view from public streets and adjacent lots in a more restrictive district, according to the following standards.
1.
Height. Screening of parking lots from adjacent public streets shall be three feet in height. Screening of parking lots along interior lot lines that abut residential districts shall be six feet in height, except within the required front setback of the applicable zoning district, where screening shall be three feet in height.
2.
Materials. Screening may consist of one or any combination of the methods listed below.
a.
Walls. Low-profile walls consisting of brick, stone, stucco, or other quality durable material approved by the Zoning Administrator, and including a decorative cap or top finish as well as edge detail at wall ends. Plain concrete blocks are not allowed as a screening wall material unless capped and finished with stucco or other material approved by the Zoning Administrator.
b.
Fences. An open fence of wrought iron or similar material combined with plant materials to form an opaque screen. Use of chain-link or vinyl fencing for screening purposes is prohibited.
c.
Planting. Plant materials consisting of compact evergreen plants that form an opaque screen. Such plant materials must achieve a minimum height of two feet within 18 months after initial installation.
d.
Berms. Berms planted with grass, ground cover, or other low-growing plant materials.
P.
Lighting. Except for those facilities serving four or fewer residential units, all open parking areas shall be provided with exterior lighting meeting the following minimums:
1.
The lighting system shall provide not less than one footcandle and not more than five footcandles overall average illumination with a minimum of one-fourth footcandles on the parking surface.
2.
All lighting shall be on a time clock or photo-sensor system so as to be turned off during daylight hours and during any hours when the parking area is not in use. This requirement does not apply to security lighting.
3.
All parking area lighting shall meet applicable energy efficiency requirements of the Building Code.
4.
All lighting shall be designed to confine direct rays to the premises. No light fixture shall emit any direct light above a horizontal plane through the fixture. No spillover beyond the lot line shall be permitted, except onto public thoroughfares.
Q.
Electric Vehicle Charging Stations. Electric vehicle (EV) parking shall be provided for residential and commercial projects as shown in Table 15.04.607.060. Such spaces may be counted towards the parking requirements of this Article:
1.
Size. Electric vehicle charging stations shall be the same size as other spaces, and electric vehicle charging equipment shall not reduce the size of the space.
2.
Signage. Each electrical vehicle charging station shall be clearly marked with a sign reading "Electrical Vehicle Charging Station" and the associated California Vehicle Code restrictions, and only a vehicle that is connected for electric charging shall be allowed to park in the stalls or spaces so designated.
3.
Location. EV spaces shall be easily accessible, and charging equipment, cables and connectors shall not interfere with minimum pedestrian clearance widths nor extend across paths of travel on walkways or sidewalks.
4.
Protection. Protective guard posts shall be installed if required by the California Fire Code Part 9, Title 24.
5.
Controls and Equipment. Electrical vehicle charging stations shall be equipped with electrical outlets, and may also be equipped with card readers, controls, connector devices and other equipment, as necessary for public use. Such controls and equipment shall be no lower than 36 inches or higher than 48 inches above the parking space. Retracting devices or a place to hang permanent cords and connectors shall be provided.
6.
Contact Information. A phone number or other contact information shall be provided to enable reporting of malfunctioning equipment or other problems or to seek information on charging procedures and towing of unauthorized vehicles.
R.
Parking in Underground Garages in Residential Zoning Districts. Parking may be located in underground garages and such garages shall not be deemed as obstructions in the required yards in which they are located provided that these garages meet the following requirements:
1.
Driveway and Curb Cut Limitation. No single curb cut may be more than 20 feet wide and there shall be a minimum of 20 feet between curb cuts on the same lot.
2.
Substantial Roofs. Substantial roofs suitable for pedestrian use are provided.
3.
Excavations. The structural extensions into required yards shall be as follows:
a.
Front yard: not more than five feet;
b.
Side yard: interior, up to full width; street side, not allowed; and
c.
Rear yard and/or useable open space: up to a full depth of the yard, but not less than six feet.
4.
Height. The height of such structures above the natural grade in the areas noted below shall not exceed the following dimensions:
a.
Front and interior side yard: three feet; and
b.
Rear yard: five feet.
5.
Structural Limitations. No structure, other than a fence no more than six feet in height, shall be erected or maintained on the roof of an underground garage located in a required interior yard or required useable open space. The garage shall be paved and include bumper guards, drainage facilities, and similar design features.
(Ord. No. 30-18 N.S., § I(Exh. A), 12-18-2018)
A.
Alternative Parking and Loading Plan. Where an applicant can demonstrate to the satisfaction of the Planning Commission that variations in the standards or dimensions otherwise required by this Article are warranted for uses with unique needs, such as schools or in order to achieve environmental design and green building objectives, including but not limited to achieving certification under the LEED™ Green Building Rating System or equivalent, an alternative parking area design and loading plan may be allowed with approval of a conditional use permit. To grant such a conditional use permit, the Planning Commission must make the following findings in addition to the findings otherwise required:
1.
That the applicant has convincingly demonstrated that the alternative plan is a superior solution and the requested modifications in the design standards of Section 15.04.607.060 are warranted; and
2.
That the alternative parking arrangement will be in place at all times during operation of the principal uses to be served by the parking.
B.
On-Street Parking. Consistently available on-street parking may be counted towards all or a portion of the parking spaces required of each land use and activity proposed in a development application on a one to one basis. To qualify for on-street parking credits, the project applicant must fund completion of an on-street parking inventory and occupancy study, or refer to such a study completed by another project applicant within the preceding two years that provides evidence of the number of on-street parking spaces that are vacant or unoccupied during the hour of combined peak demand for the uses proposed on site, on each block face within two blocks of the project site address. For any one project, a maximum of 50 percent of the total on-street parking supply on the block faces located within a one block walk of the project site, including curbside parking on the project frontage(s), may be counted towards satisfaction of the project's minimum parking requirement.
C.
Off-Site Parking. Required off-street parking spaces may be located on a remote and separate lot from the lot on which the principal use is located, subject to the following standards:
1.
Zoning District. Newly constructed off-site parking may not be located in a zoning district in which the principal use served by the parking is prohibited. Off-site parking may be provided within an existing off-street parking facility in any zoning district, provided that a parking study is conducted and approved by the Zoning Administrator establishing the number of parking spaces in the existing facility that are typically unoccupied even during periods of peak parking demand for the uses to which the parking is accessory.
2.
Distance. Unless a shuttle service is provided, the off-site parking shall be located within 1,500 feet walking distance of the principal use served.
D.
Valet Parking. Valet parking may be permitted as a means of satisfying all or a portion of the off-street parking requirement. Valet parking may be used to accommodate more parking spaces on the site of the principal use served by the parking than could be accommodated in conformance with the design standards of Section 15.04.607.060. It may also be used to provide off-site parking. No valet parking shall cause interference with the public use of rights-of-way or imperil public safety.
E.
Access and Parking In-Lieu Fees. As an alternative to providing off-street parking on-site, or off-site as allowed by subsection (C) above, project applicants may elect to pay a fee in-lieu to fund public access and parking improvements. This optional Access and Parking In-Lieu Fee is intended to enable the City to (1) acquire sites for and develop off-street public parking, or to lease unused, or underutilized private parking for public use to accommodate auto access and vehicle storage demand that cannot be addressed either on site, or on-street in the vicinity of the project, or (2) to fund transportation demand management programs and services, and/or public transportation, bicycle, and/or pedestrian facilities and services, as necessary to accommodate an equivalent number of person trips to the site. The fee shall be established by the City Council and administered by the Director on a per vehicle trip basis, such that the developer of a nonresidential project contributes toward the provision of parking and/or non-auto facilities and services accommodating the same number of person trips to the site as would have been accommodated by the provision of the minimum number of off-street parking spaces required by Table 15.04.607.040, as adjusted by other provisions of this Article. The Zoning Administrator shall determine the vehicle trip generation rate for each land use or site seeking to use the Access and Parking In-Lieu Fee option with reference to the vehicle trip generation rates published in the latest edition of the Institute for Transportation Engineers' (ITE) Trip Generation Manual, with adjustments for mixing of uses, density of population and employment, and proximity to frequent transit service. An Access and Parking in-lieu fee shall be provided for nonresidential uses only as follows:
1.
Parking In-Lieu Fee Amount. The amount of the parking in-lieu fee shall be as set forth in the Master Fee Schedule.
2.
Deposit of Funds. Parking in-lieu fees shall be deposited with the City prior to issuance of a building permit in a separate fund to be known as the Access and Parking In-Lieu Fee Fund and shall be used only as described in this Section.
3.
Refund of Fee. A parking in-lieu fee may be refunded, without interest, to the person who made such payment, or his or her assignee or designee, if additional off-street parking spaces are provided for such building or use by others than the City, so as to satisfy the parking requirement for which the in-lieu payment was made. To obtain a refund, the required off-street parking spaces must be in place prior to issuance of a Certificate of Occupancy and before funds are spent or committed by the City.
A.
General Requirements. Short-term publicly accessible bicycle parking for visitors, and long-term secured bicycle parking for building occupants, shall be required when:
1.
A building is constructed;
2.
An existing building, including a legal nonconforming structure, is enlarged by more than 10 percent for any purpose; or
3.
The use of any building or portion thereof is changed to one requiring the issuance of a conditional use permit and then only to that portion of the building subject to the change of use.
B.
Exemptions. No bicycle parking is required for Single Unit or Two Unit (duplex) dwellings.
C.
Space Required. The minimum number of bicycle parking spaces required and related facilities that must be provided form specific land uses are listed in Table 15.04.607.080. For uses not listed in the table, one short-term bicycle parking space and one long-term bicycle parking space shall be provided for every 20 motor vehicle parking spaces provided on-site (either shared or reserved).
D.
Standards for All Bicycle Parking.
1.
Class 1 Long-Term Bicycle Parking Spaces. Class 1 paces shall be located with direct access for bicycles without requiring use of stairs. The location of such spaces shall allow bicycles users to ride to the entrance of the space or the entrance of the lobby leading to the space. The design shall provide safe and convenient access to and from bicycle parking facilities. Use of elevators to access Class 1 spaces shall be minimized. In residential buildings, Class 1 space shall not be provided within dwelling units, on balconies, or in required outdoor living area. Class 1 bicycle parking shall be located:
a.
On the ground floor within 100 feet of a major entrance to the lobby. There shall be either: (i) convenient access to and from the street to the bicycle parking space and another entrance from the bicycle parking space to the lobby area, or (ii) a minimum five foot wide hallway or lobby space that leads to the bicycle parking entrance, where direct access to bicycle parking space from the street does not exist. Such access route may include up to two limited constriction points, such as doorways, provided that these constrictions are no narrower than three feet wide and extend for no more than one foot of distance.
b.
In a structured parking facility, on the first level of automobile parking either above or below grade, near elevators or other pedestrian entrances to the facility.
2.
Class 2 Short-Term Bicycle Parking Spaces. Class 2 paces shall be located, as feasible, near all main pedestrian entries to the use to which they are accessory. Class 2 bicycle parking may be on a sidewalk or in place of an on-street auto parking space, within 100 feet of a main entry to the building, subject to approval of the Director of the Department of Transportation. If existing Class 2 bicycle parking in the required quantities already exists in a public right-of-way immediately fronting a project site, and such spaces are not satisfying bicycle parking requirements for another use, such parking shall be deemed to meet the Class 2 requirement for that project.
3.
Design and Installation.
a.
A bicycle parking space shall be in a paved, level, drained, lighted area with access to a right-of-way without the use of stairs, and shall consist of either:
i.
One side of a securely fixed rack element that supports the bicycle upright by its frame, prevents the bicycle from tipping over, and allows the frame and at least one wheel to be locked to the rack element with one lock; or
ii.
For Class 1 long-term parking only, a bicycle locker constructed of theft-resistant material with a lockable door which opens to the full width and height of the locker. Bicycle lockers shall be weather-proof if exposed to the elements; or
iii.
For Class 1 long-term bicycle parking only, wall-mounted racks or wall- or ceiling-mounted hooks so that bicycles may be hung vertically.
b.
Each bicycle parking space shall be no less than 15 inches wide, by six feet deep, with an overhead clearance of no less than seven feet. This can be satisfied by placing racks, each of which supports two bicycles, 30 inches apart.
c.
Each row of bicycle parking spaces shall be served by an aisle no less than four feet wide. Rack elements must be placed two feet from walls, fences or curbs.
d.
Required bicycle parking may not be tandem; parking or removing a bicycle shall not require moving another parked bicycle.
e.
Bicycle rack elements shall be fixed, securely anchored to the ground or to a structure by means that resist tampering or removal. Bicycle locker edges shall be secured with no exposed fittings or connectors. The Zoning Administrator may specify preferred installation methods, such as, but not limited to, embedded mounting in poured-in-place concrete, recessed bolt heads or grouted-in anchoring.
4.
Location.
a.
Direct access from the bicycle parking to the public right-of-way shall be provided by means of access ramps, if necessary, and pedestrian access from the bicycle parking area to the building entrance shall also be provided.
b.
Where bicycle parking is not directly visible and obvious from the right-of-way, signs shall be provided, except that directions to long-term bicycle parking may be posted or distributed by the building management, as appropriate.
c.
Bicycle parking must be separated from automobile parking by a sufficient distance to prevent damage from moving automobiles or their loading and unloading. The Zoning Administrator may require a barrier or curb between bicycle and automobile parking areas on constrained sites.
d.
Bicycle parking may be provided inside a building provided it is easily accessible from a building entrance and a bicyclist does not have to use stairs to reach it.
e.
The placement of bicycle parking, bicycle rack elements and bicycle lockers shall not interfere with pedestrian circulation.
E.
Removal of Abandoned Bicycles. Property owners shall remove abandoned bicycles from short-term and long-term parking associated with their property on a quarterly basis after posting a notice of removal warning on such bicycles for one month. This requirement shall not preclude provision of seasonal bicycle storage.
A.
Number of Spaces Required.
1.
None Required. No off-street loading spaces are required for uses for which the estimated parking demand is "none." In addition, no off-street loading spaces are required for Single Unit or Two Unit (duplex) dwellings.
2.
Requirement "To Be Determined." The off-street loading requirement for uses for which the estimated parking demand is "To be determined" ("TBD") shall be determined in the same manner in which the estimated parking demand is determined.
3.
All Other Uses. The off-street loading requirement for all other uses shall be as set forth in Table 15.04.607.090-A.
B.
Size of Spaces. The size of each type of loading space shall be as follows:
1.
Small. Small loading spaces shall have a width of no less than 10 feet, a length of no less than 25 feet, and a vertical clearance of no less than eight feet.
2.
Medium. Medium loading spaces shall have a width of no less than 12 feet, a length of no less than 35 feet, and a vertical clearance of no less than 14 feet.
3.
Large. Large loading spaces shall have a width of no less than 12 feet, a length of no less than 50 feet, and a vertical clearance of no less than 14 feet.
C.
Modifications. In approving a project, the Zoning Administrator or the Planning Commission, as the case may be, may modify the number and size of loading spaces required because of the nature of the use or the design of the project.
D.
Maneuvering Areas. All off-street loading spaces shall be designed and located so that there is sufficient off-street maneuvering area to accommodate vehicles using the loading spaces. Maneuvering areas shall be designed to accommodate the largest vehicle intended to use the loading spaces and shall not be encumbered by parking stalls or physical obstructions.
E.
Surface and Maintenance. Loading spaces and the maneuvering areas and driveways serving them shall be paved and maintained with concrete, asphalt, or similar material of sufficient thickness and consistency to support anticipated traffic volumes and weights; properly graded for drainage; and maintained in good condition free of weeds, dust, trash, and debris.
F.
Location. Loading spaces shall be located on the same lot on which the use for which they are required is located, except that, upon the granting of a conditional use permit, loading spaces may be provided in a common loading area serving multiple adjacent uses and located on an adjacent lot within 300 feet of the lot on which the use requiring the loading spaces is located. To grant such a conditional use permit, the Planning Commission shall make the following findings in addition to the findings otherwise required:
1.
That the common loading area results in a more efficient design than individual loading areas serving each use separately;
2.
That the total number of loading spaces provided in the common loading area is no less than the number of loading spaces that would be required if the uses served were located in a single facility; and
3.
That the common loading area will be in place at all times during operation of the principal uses to be served by the loading spaces.
G.
Access to Tenant Spaces Served by Loading Spaces. Buildings served by loading spaces shall be designed such that there is a direct interior path of travel between the loading spaces and each tenant space served by the loading spaces of sufficient width and height to accommodate all material to be loaded and unloaded.
H.
Availability and Utilization of Loading Spaces. All loading spaces shall be made readily available to pick-up and delivery vehicles during all hours when pick-ups and deliveries are allowed. Owners of property containing such loading spaces shall be responsible for advising drivers of pick-up and delivery vehicles of the location and hours of such loading spaces, shall require drivers to use such loading spaces, and shall not allow pick-up and delivery vehicles to be loaded in the public right-of-way.
I.
Landscaping and Screening. All loading spaces and the maneuvering areas and driveways serving them shall be landscaped and/or screened as required by this Article.
J.
Lighting. All exterior loading spaces and the maneuvering areas and driveways serving them shall be provided with lighting meeting the minimums established for parking areas.
The purpose of this Article is to establish performance standards to protect the public health and safety and ensure that all land uses and development do not produce adverse impacts on surrounding neighborhoods and uses, and the community at large. The standards contained in this Article apply to all zoning districts.
Land or buildings cannot be used or occupied in a manner creating any dangerous, injurious, or noxious conditions, chemical fires, explosive, or other hazards that could adversely affect the surrounding area. If necessary, the Zoning Administrator will retain a professional expert or designated regulatory agency to assist in assessing possible impacts, and any cost incurred will be paid by the applicant or business owner.
A.
Purpose. The purpose of this Section is to establish bird-safe glazing treatment standards for new building construction and replacement facades to reduce bird mortality from circumstances that are known to pose a high risk to birds and are considered to be "bird hazards." The two circumstances regulated by this Section are: 1) location-related hazards, where the siting of a structure creates increased risk to birds; and 2) feature-related hazards, which may create increased risk to birds regardless of where the structure is located.
B.
Exceptions.
1.
Limited Glass Façade. Residential buildings that are less than 45 feet in height and have an exposed façade comprised of less than 50 percent glass are exempt from new or replacement façade bird-safe glazing requirements.
2.
Substantial Glass Façade. Residential buildings that are less than 45 feet in height but have a façade with surface area composed of more than 50 percent glass, shall provide bird-safe glazing treatments for 90 percent of all large, unbroken glazed segments that are 24 square feet or larger.
3.
General Exceptions for Historic Buildings. Bird-safe treatment of replacement glass facades for structures designated as City landmarks or within designated historic districts as shown on the Zoning Map is not required. Reversible treatment methods, such as netting, glass films, grates and screens, are recommended for bird collision zones, as defined below.
C.
Bird-Safe Glazing Treatment. Bird-safe glazing treatment may include fritting, netting, permanent stencils, frosted glass, exterior screens, physical grids placed on the exterior of glazing, or UV patterns visible to birds. To qualify as Bird-Safe Glazing Treatment, vertical elements of the window patterns shall be at least one-quarter inch wide at a minimum spacing of four inches, and horizontal elements at least one-eighth inch wide at a maximum spacing of two inches. No glazing proposed as having a bird-safe treatment shall have a visible light reflectance exceeding 10 percent. Exceptions on the reflectance may be granted by the Zoning Administrator if a surface frit, louvers or nets are used.
D.
Standards.
1.
Location-Related Standards. These standards apply to new buildings with a floor area of 10,000 square feet or more that are two stories or more in height and located within or adjacent to open spaces two acres and larger in size that are dominated by open water or vegetation, including vegetated landscaping, forest, meadows, grassland, and wetlands.
a.
Facade Requirement. Bird-safe glazing treatment is required such that a bird collision zone facing the open space consists of at least 80 percent bird-safe glazing. To the extent feasible, buildings shall be designed to locate permitted transparent glazing, which is not considered bird-safe, on the ground floor and at lobby entrances to enhance visual interest for pedestrians. On the ground floor patterns that provide marketing or other information or artistic design which do not obscure the view through glass are preferred. For purposes of this requirement, a "bird collision zone" shall mean the portion of buildings most likely to sustain bird-strikes from local and migrant birds in search of food and shelter and includes:
i.
Glass facades beginning at grade and extending upwards for 60 feet; and
ii.
Glass facades directly adjacent to landscaped roofs two acres or larger in area and extending upwards 60 feet from the level of the roof.
b.
Lighting. No uplighting shall be used in bird collision zones.
2.
Feature-Related Standards. Feature-related hazards include free-standing glass walls over 15 feet in height and 30 feet in length, glass wind barriers, skywalks, and greenhouses on rooftops that have unbroken glazed segments 24 square feet and larger in size. Feature-related hazards can occur throughout the City. Any structure that contains these elements shall treat 100 percent of the glazing so that it is bird-safe.
E.
Conflict with Other Codes. If any of the requirements of this Section conflict with provisions in the City's Building and Fire Codes, the provisions of the California Code of Regulations Title 24, as amended by the City, shall prevail.
During the construction of a project, all portions of the site shall be watered as necessary to reduce emissions of dust and other particulate matter, and all stockpiles shall be covered. Streets and sidewalks shall be made dirt free at the completion of construction. All construction and transport equipment shall be muffled in accordance with State and federal laws. Construction and transport equipment shall be operated so as to minimize exhaust emissions. Grading and pile driving operations within ¼ mile of residential units shall be limited to between 8 a.m. and 5 p.m. on weekdays, or as otherwise restricted as part of an approval. All water run-off from construction sites shall be controlled. During construction, trucks and equipment should be running only when necessary.
The storage, use, transportation or production of products which, either in the raw or finished state, constitute a flammable or explosive material shall be subject to approval of the Fire Department. Fire Department personnel may, without prior notice, visit and observe operations on the site and any directives issued by said personnel shall be satisfied in a timely manner. Burning of waste materials in open fires or unapproved incinerators is prohibited.
The use, handling, storage and transportation of waste materials, including hazardous wastes, shall comply with the provisions of the California Hazardous Materials Regulations and any other applicable laws. Discharge at any point into a public or private sewage disposal system, stream, or the ground, of any material which could contaminate any water supply, or otherwise cause the emission of dangerous or offensive elements is prohibited. No exceptions are allowed unless in accordance with regulations, licenses or approvals of the various local and state agencies having jurisdiction over such activities.
No continuous, frequent or repetitive odors are permitted that exceed limits established by the San Francisco Bay Area Air Quality Management District, the California Air Resources Board or federal agencies. An odor detected no more than a total of 15 minutes in any one day shall not be deemed to be continuous, frequent or repetitive for this regulation. No dust or particulate matter shall be emitted that exceeds limits established by the San Francisco Bay Area Air Quality Management District, the California Air Resources Board or federal agencies. Exhaust air ducts shall be located or directed away from abutting residentially-zoned properties.
Machinery used for manufacturing and industrial processes, including oil and gas collection, processing and distribution must be designed and housed to ensure that vibration will be reduced to the minimum amount allowable by applicable State and federal regulations. Vibrations from temporary construction, demolition, and vehicles that enter and leave the subject parcel (e.g., construction equipment, trains, trucks, etc.) are exempt from this standard.
This Article shall be known as the Sign Article of the City of Richmond. The purpose of this Article is to regulate signs as an information system that preserves and enhances the aesthetic character and environmental values of Richmond, its residential neighborhoods, its Downtown, and commercial/industrial areas. These regulations recognize the importance of business activity to the economic vitality of the City as well as the need to protect the visual environment. More specifically, this Article is intended to achieve the following objectives:
A.
To implement the purposes, policies and programs of the Richmond General Plan and adopted Specific Plans;
B.
To promote and maintain strong commercial and industrial centers and corridors and their property values by regulating the size, location, design, and illumination of signs, thereby avoiding unsightly signs that are incompatible in design and detract from the aesthetics of these centers and corridors;
C.
To protect and enhance the character of residential neighborhoods and their property values, by avoiding the erection of signs that are grossly incompatible with their surroundings;
D.
To provide adequate opportunity for the exercise of free speech by display of a message or image on a sign, while balancing that opportunity with other public interests;
E.
To improve the visual appearance of City streets and the image of the City derived by residents and visitors;
F.
To ensure that commercial signs are accessory or auxiliary to a principal business on the site, rather than functioning as general advertising for hire;
G.
To protect public safety by ensuring that signs are not constructed, located, erected, and maintained in a hazardous manner and do not distract motorists and other users of streets and highways;
H.
To restrict signs that may create visual clutter or a nuisance to nearby properties, violate privacy, or create hazards for pedestrians and drivers;
I.
To protect the rights of residents and businesses to communicate ideas and messages through signage as guaranteed by the United States and California constitutions; and
J.
To provide clear, objective guidelines for minimizing the visual clutter of signs and maintaining the aesthetic integrity of Richmond neighborhoods and shopping districts.
This Article is incorporated into the Zoning Ordinance of the City of Richmond, and any term not defined in this Article has the same definition and the same meaning as it has in the Zoning Ordinance.
This Article regulates signs that are located or mounted on private property within the jurisdictional boundaries of the City of Richmond. The provisions in this Article apply in all Zoning Districts within the City and in all areas subject to Specific Plans except as specifically superseded by regulations adopted for individual Specific Plans. No sign within the regulatory scope of this Article shall be erected or maintained anywhere in the City except in conformity with this Article. If any part, section, subsection, paragraph, subparagraph, sentence, phrase, clause term or word in this Article is declared invalid, such invalidity shall not affect the validity or enforceability of the remaining portions of the Article.
A.
Signs Must Comply with This Article. In all zones, only such signs as are specifically permitted in this Article may be placed, erected, maintained, displayed or used, and the placement, erection, maintenance, display or use of signs shall be subject to all restrictions, limitations and regulations contained in this Article. The placement, erection, maintenance, display or use of all other signs is prohibited.
B.
Design Review Required. Unless exempt from the requirements of this Article, the design and placement of any permanent sign erected for a non-residential use is subject to design review, and the level of review (Director or Design Review Board) shall be that for the use with which the sign is associated.
C.
Enforcement Authority. The Zoning Administrator is authorized and directed to enforce and administer the provisions of this Article.
A-Frame sign (also known as A-Board sign). A temporary freestanding sign that is composed of two panels hinged at the top and capable of standing on its own frame without external support or attachment. Sandwich board sign and sidewalk sign have the same meaning as A-Frame sign.
Abandoned sign. A sign remaining in place or not maintained for 30 days that does not provide direction for, advertise, or identify a legally established business, product, or service available on the business premises where the sign is located.
Advertising display, outdoor. A sign that directs attention to a business, profession, commodity, service or entertainment that is conducted, sold, or offered elsewhere than the lot or parcel where the sign is located. Also known as an Outdoor Advertising Sign and a Billboard.
Animated sign. A sign with messages that visually change, or images that move or appear to move, flash on or off, wink or blink with varying light intensity, show motion or create the illusion of motion, or revolve to create an illusion of being on or off. This definition does not include traditional barber poles or scoreboards, nor does it include commercial mascots, digital displays, and electronic signs, which are defined separately.
Awning. Any structure made of flexible fabric or similar material covering a metal frame attached to a building, whether or not the same is so erected as to permit its being raised to a position flat against the building when not in use.
Awning or canopy sign. A sign placed on an awning or any other projecting structure made of flexible fabric or similar material covering a metal frame supported by the ground or sidewalk.
Banner sign. A sign that is painted or printed on lightweight flexible material and hung from a staff or other device by ropes, wires or similar means in a manner to minimize movement. A banner sign may be temporary or permanent.
Billboard. See Advertising display, outdoor.
Building frontage. An exterior wall of a building that faces a public street (not including a freeway). If no exterior wall of a building faces a public street, the exterior wall of the building containing the main entry is the building frontage. The length of frontage shall be measured at the base of the building wall.
Changeable copy. A sign copy that is constructed or designed to allow for periodic changes of copy. Examples include signs for an auditorium, theater, school, church, meeting hall, or similar uses characterized by public assembly and changing programs or events, or gas station prices. This definition does not include animated signs or electronic signs.
Commercial mascot. A person or animal, whether or not costumed or decorated, intended to serve or function as a commercial advertising device. Includes sign twirlers, sign clowns, human sandwich boards, and persons or animals holding or supporting any sign or advertising device displaying commercial speech or conveying a commercial message. This definition also applies to robotic devices intended to simulate a live person and/or animal.
Commercial message. A message on a sign, or portion of a sign, that promotes, informs, or proposes an economic transaction, primarily concerns the economic interests of the sign sponsor and/or audience, or is intended to further discussion in the marketplace of goods and services.
Copy. Any letters, numerals, or symbols displayed on a sign face conveying a message to the public.
Digital display. A method of displaying a visual image that uses liquid crystal cells or other types of light emitting diodes (LEDs) or their functional equivalent to allow for the message or image to be easily changed, typically by remote control or computer programming. This definition applies to signs displaying a series of still images.
Electronic message center sign. A sign capable of displaying words, symbols, figures or images that can be electronically or mechanically changed by remote or automatic means.
Electronic sign. A sign that is capable of presenting variable message displays by projecting an electronically controlled pattern and which can be programmed to periodically change the message display. See also Digital display.
Exempt sign. A sign which may be legally displayed, erected or maintained, but is not subject to a sign permit requirement.
Externally illuminated sign. Any sign that is lit by a light source that is external to the sign directed towards and shining on the face of the sign.
Face. That portion of a sign upon which the copy is mounted or displayed.
Finished grade. The elevation of the sign site after all site grading is completed.
Flag. A piece of fabric or other flexible material, usually rectangular, of distinctive design, used as a symbol, which is capable of movement, or fluttering in moving air or wind.
Flashing illumination sign. See Animated sign.
Freestanding sign. A sign standing directly on the ground or attached to any support other than a building. Freestanding signs include A-board signs, monument signs, and pylon signs.
Freeway oriented sign. A permanent pylon sign larger than 20 square feet and located within 500 feet of and/or are visible from the outside travel lane of a freeway. For shopping centers with at least 500,000 square feet of commercial space, such signs may be located on and/or off-site.
General advertising for hire. The advertising or promoting of other businesses, establishments or causes using methods of advertising, typically for a fee or other consideration, in contrast to self-promotion or on-site advertising.
Hand-held sign. A sign that is designed to be held or carried by a person, rather than placed on or in the ground or other support.
Illuminated sign. An internally or externally illuminated business sign, which uses a source of light in order to make the message readable and the illumination is maintained at constant intensity, color or pattern during all times the sign is illuminated.
Inflatable sign. A form of inflatable device that includes a commercial or noncommercial message displayed, printed, or painted on the surface of an inflatable background, and is primarily installed outside a building. This sign type includes balloon signs.
Lot. A parcel, tract, or area of land whose boundaries have been established by a legal instrument, such as a deed or map recorded with Contra Costa County, and is recognized as a separate legal entity for purposes of transfer of title, except public easements or rights-of-way.
Lot equivalent. Either an area within a site of 5,000 square feet or a lot that is smaller than 5,000 square feet.
Mansard sign. A sign attached below the deck line or principal roofline of a mansard roof or similar roof-like façade.
Marquee sign. A sign attached in any manner to, made part of, or painted on a hood or permanent construction that projects more than 18 inches from the wall of the building to which it is attached, usually above the entrance.
Master sign program. Signage included as part of new building construction or as part of building modifications subject to design review by the Design Review Board.
Mobile billboard. Any vehicle, or wheeled conveyance which carries, conveys, pulls, displays, or transports any sign or billboard for the primary purpose of advertising a commercial or noncommercial message, or other general advertising for hire.
Monument sign. A low-profile freestanding sign erected upon or supported solely by a planter, pedestal base, or similar ground structure approximately the same width as the sign and which is designed to incorporate the architectural theme and building material of the building on the premises. Internal supports, poles or pylons, if any, are enclosed by decorative covers or otherwise not exposed to view.
Moving sign. A sign any visible portion of which rotates or moves in any way.
Noncommercial message. A message or image on a sign, or portion of a sign, which displays noncommercial speech, e.g., commentary or advocacy on topics of public debate and concern. This definition shall be construed and interpreted in light of relevant court decisions. Noncommercial messages do not have a location factor, such as on-site or off-site.
Nonconforming sign. A sign lawfully erected and legally existing on the effective date of this Section, or of amendments thereto, but which does not conform to the provisions of this Article.
On-site sign. Any sign or portion thereof that identifies, advertises, or attracts attention to a business, product, service, event or activity sold, existing or offered upon the same property or land use as the sign. The off-site/on-site distinction applies only to commercial messages.
Pennant. Any lightweight plastic, fabric, or other material, whether or not containing a message of any kind, attached to a rope, wire, or string, usually in a series, designed to move in the wind and attract attention. Flags and banners are not within this definition.
Permanent sign. A sign that is intended to be and is so constructed as to be of a lasting and enduring condition, remaining unchanged in character, condition (beyond normal wear) and position, and in a permanent manner affixed to the ground, wall, or building.
Portable sign. A temporary sign that is capable of being moved easily and is not affixed to the ground or a structure. Portable signs include A-Frame (or sandwich board) signs.
Projecting sign. A sign other than a wall, roof, or marquee sign that is supported by a building and projects outward therefrom.
Pylon sign. A freestanding sign that is supported and in direct contact with the ground or one or more solid, monumental structures or pylons and which typically has a sign face with a vertical dimension that is greater than its horizontal dimension.
Figure 15.04.609.040: Pylon Sign
Readerboard sign. A sign structure or mounting device on which at least a portion of the display face may be used for changeable copy that may be either non-commercial or commercial, electronic or manual.
Roof sign. Any sign supported by or attached to or projecting through the roof of a building or structure, or projecting above the eave line or parapet wall of the building or structure. A sign attached to a mansard roof is not included within this definition, provided it does not project above the eave line of the mansard roof.
Sign. A device, structure, or fixture that incorporates graphics, symbols, or written copy that is visible to the public and is intended to communicate information. Graphics, art work, and seasonal decorations that do not relate to the use of a site or structure are not considered signs. A device, structure, or fixture is not "visible to the public" if it is located inside a building or structure and is not visible from a public street, park, walkway, or other public space through a window or building opening. Notwithstanding the generality of the foregoing, the following are not within this definition:
Architectural features. Decorative or architectural features of buildings (not including lettering, trademarks or moving parts), that do not perform a communicative function; foundation stones, cornerstones;
Cemetery markers. Grave markers, grave stones, headstones, mausoleums, shrines, and other markers of the deceased;
Certain insignia on vehicles and vessels. On street legal vehicles and properly licensed watercraft: license plates, license plate frames, registration insignia, non-commercial messages, messages relating to the business of which the vehicle or vessel is an instrument or tool (not including general advertising) and messages relating to the proposed sale, lease or exchange of the vehicle or vessel;
Fireworks, etc. The legal use of fireworks, candles and artificial lighting not otherwise regulated by this Code;
Personal Appearance. Items or devices of personal apparel, decoration or appearance, including tattoos, makeup, wigs, costumes, and masks, but not including commercial mascots or hand-held signs; and
Symbols Embedded in Architecture. Symbols of noncommercial organizations or concepts including, but not limited to, religious or political symbols, when such are permanently integrated into the structure of a permanent building, including stained glass windows on churches, carved or bas relief doors or walls, bells, and religious statuary.
Sign area. The area contained within a single continuous perimeter enclosing all parts of such sign copy, excluding any structural elements outside the limits of the sign required to support the sign.
Street frontage. That portion of a lot that faces a street, road, path or public right-of-way (but not freeway) providing direct pedestrian and/or vehicular access to the lot.
Temporary sign. Any sign, banner, pennant, valance or display constructed of cloth, canvas, light fabric, cardboard, wallboard or other like materials, with or without a frame, and any other type of sign not permanently attached to the ground or a structure, that is intended to be displayed for a limited period of time only.
Wall sign. A sign posted or painted on, suspended from or otherwise affixed in an essentially flat position to the wall of a building.
Wind sign. A display of streamers, pennants, whirligigs, windsocks or similar devices made of flexible lightweight material designed to move in response to air pressure. Banner signs and flags are not a wind signs.
Window sign. A sign that is posted or painted on or otherwise affixed to and is visible through or upon a window, including signs in the interior of the building, within three feet of a window, intended to be viewed from the exterior of such building.
(Ord. No. 30-18 N.S., § I(Exh. A), 12-18-2018)
A.
Calculation of Sign Area.
1.
Single-Faced Signs. Sign area includes the entire area within a single continuous perimeter composed of squares or rectangles that enclose the extreme limits of all sign elements, including, but not limited to, sign structures or borders, written copy, logos, symbols, trademarks, illustrations, lighted surface, and color. Supporting structures such as sign bases and columns are not included in sign area, provided that they contain no lettering or graphics except for addresses or required tags. The calculation of sign area for various types of single-faced signs is illustrated in Figure 15.04.609.050-A(1).
Figure 15.04.609.050-A(1): Calculation of Single-Faced Sign Area
2.
Double-Faced Signs. Where two faces of a double-faced sign are located two feet or less from one another at all points, or located at an interior angle of 45 degrees or less from one another, the area of only one face will be used to determine the sign area. Where the two faces are not equal in size, the larger sign face will be used. Where two faces of a double-faced sign are located more than two feet or 45 degrees from one another, both sign faces will be counted toward sign area. See Figure 15.04.609.050-A(2). For freeway oriented signs, the distance between double faced signs shall be six feet or less.
Figure 15.04.609.050-A(2): Calculation of Double-Faced Sign Area
3.
Multi-Faced Signs. On a three-faced sign, where at least one interior angle is 45 degrees or less, the area of two faces (the largest and smallest face) must be summed to determine sign area. In all other situations involving a sign with three or more sides, the sign area will be calculated as the sum of all faces. See Figure 15.04.609.050-A(3), which is the same number as referred to in double-faced sign provision.
Figure 15.04.609.050-A(3): Calculation of Multi-Faced Sign Area
4.
Three-Dimensional Signs. Signs that consist of, or have attached to them, one or more three-dimensional objects (i.e., balls, cubes, clusters of objects, sculpture, or statue-like trademarks), may have a sign area that is the sum of two adjacent sides of the smallest cube that will encompass the sign. See Figure 15.04.609.050-A(4).
Figure 15.04.609.050-A(4): Calculation of Three-Dimensional Sign Area
B.
Calculation of Lot Frontage. If a lot fronts on two streets, both frontages may be used for calculating the allowable sign area. On lots with three or more frontages on a public street, the length of only two contiguous sides shall be added together to determine allowable sign area. See Figure 15.04.609.050-B.
Figure 15.04.609.050-B: Sites with Multiple Frontages
C.
Calculation of Building Frontage. Building frontage is the building facade that directly abuts a public street, private street, parking lot driveway, or parking spaces in which main customer access is provided to the business. A building's frontage is considered continuous if projections or recesses in a building wall do not exceed 10 feet in any direction. For buildings with two or more frontages, the length of the wall and allowable sign area shall be calculated separately for each building frontage. See Figure 15.04.609.050-C.
Figure 15.04.609.050-C: Calculation of Aggregate Sign Area for Multi-Occupancy Commercial Sites with Limited Frontage
D.
Measuring Sign Height. The height of a sign is the vertical distance measured from the ground level, at finished grade, directly beneath the sign to the highest point at the top of the sign, including any structural or architectural components of the sign. The height of freestanding signs is measured as the vertical distance from grade at the edge of the right-of-way along which a sign is placed to the highest point of the sign, including any structural or architectural components of the sign. When the grade at the edge of the right-of-way is higher than the site on which the sign is placed, that portion of the sign below the grade at the edge of the right-of-way is not included in determining the sign's overall height.
E.
Measuring Sign Clearance. Sign clearance is measured as the smallest vertical distance between the finished grade and the lowest point of the sign, including any framework or other embellishments.
(Ord. No. 30-18 N.S., § I(Exh. A), 12-18-2018)
A.
Address signs that are required by and conform to the Building Code.
B.
Commercial displays on vehicles, provided that display is not outdoor advertising ("general advertising for hire") and no changeable copy or special illumination is employed.
C.
Flags subject to the following standards:
1.
Location on a lot: not allowed within any required side yard setbacks.
2.
Maximum number: One per lot or lot equivalent.
3.
Maximum pole height: 30 feet or the distance from the base of the pole to the closest lot line plus two feet, whichever is less, unless a permit is granted by the Zoning Administrator allowing greater height.
4.
Maximum size: 48 square feet.
5.
Pennants, banners, feather banners, strings of ornamental fringes and streamers are not included in this exemption and are regulated as Temporary Signs.
D.
Interior signs located entirely within a building or enclosed structure and not visible from the public right-of-way.
E.
Mobile vendor signs and menu display boards fixed to mobile vending carts or food trucks that identify or advertise the name, product, or service provided by the vendor. Each mobile vending cart or food truck is limited to a maximum of eight square feet of sign area, plus a menu display board.
Figure 15.04.609.060-E: Mobile Vendor Sign
F.
Official notices posted by public officers in performance of their duties.
G.
Public carrier graphics mounted on buses, taxicabs, limousines and similar vehicles for hire that legally pass through the City.
H.
Signs less than four square feet in area.
I.
Traffic control and danger signs erected by a governmental entity.
J.
Window signs in non-residential districts, provided they do not obstruct more than 25 percent of the area of any individual window or more than 10 percent of the total fenestration on the frontage of a building.
Unless expressly allowed by another section of this Article or other applicable law, the following signs, locations, and materials are prohibited:
A.
Animated or Moving Signs. Animated, flashing, blinking, reflecting, revolving, or other similar sign with visibly moving or rotating parts or visible mechanical movement of any kind, unless expressly permitted under this Article. This prohibition does not apply to signs using digital display technology, such as LED (light emitting diodes) or functionally equivalent display methods, which may be permitted, subject to the regulations of this Article.
B.
Air-Activated Graphics and Other Attention-Getting Devices. Balloons and air activated graphics that serve as attention-getting devices, made of light-weight fabric or similar material, designed to rotate or move with the wind or activated by forced air, that direct, promote, or that are otherwise designed to attract attention for outdoor advertising purposes are prohibited in all zoning districts.
C.
Commercial Mascots. All commercial signs held, posted or attended by commercial mascots, as defined, are prohibited in all zones.
D.
Electronic Signs and Digital Displays. All freestanding and building mounted electronic signs and digital displays, including digital billboards, are prohibited, except for fuel price signs and readerboards and electronic message center signs that meet the standards of this Article. Interior digital displays located within two feet of a window or door are exempt from this prohibition provided they do not exceed more than 20 percent of the allowable area for a window sign.
E.
General Advertising. Temporary or hand-held signs that publicize or promote other businesses or causes using methods of advertising (in contrast to self-promotion, on-site sales, or on-site advertising). General advertising is also known as "general advertising for hire."
F.
Outdoor Advertising Displays ("Billboards"). Signs that display outdoor advertising for hire are prohibited in all zones. Existing billboards may be removed, and may be relocated with approval of a billboard relocation agreement by the City Council consistent with California Business and Professions Code Section 5412 and other applicable state law.
G.
Mobile Billboards. The City prohibits any person to conduct, or cause to be conducted, any mobile billboard advertising upon any street, or other public place within the City in which the public has the right of travel. The purpose of this prohibition is to eliminate mobile billboard advertising within the City in order to reduce traffic congestion, promote the safe movement of vehicular traffic, to reduce air pollution, and to improve the aesthetic appearance of the City. This prohibition does not apply to signage on a licensed commercial vehicle that is related to the goods or services provided by the vehicle owner or operator and to public transit/public carrier graphics on properly licensed buses and taxicabs.
Figure 15.04.609.070-G: Mobile Billboards
H.
Outdoor Advertising Displays ("Billboards"). Signs that display outdoor advertising for hire are prohibited in all zones. Existing billboards may be removed, and may be relocated with approval of a billboard relocate agreement by the City Council.
I.
Roof Signs. Roof signs, including signs mounted or painted on roofs, except those painted on a flat roof and not visible from the public right-of-way.
Figure 15.04.609.070-I: Roof Signs
J.
Search Lights and Klieg Lights. Search and Klieg lights when used as attention attracting devises for commercial uses. They may be allowed with a conditional use permit for special events.
K.
Signs in the Public Right-of-Way without an Encroachment Permit. Other than government signage, no sign can be placed in the public right-of-way in median strips or islands, sidewalks, on street trees or retaining walls, on bridges, public benches, traffic signals, public fences, street poles, utility poles and equipment, street lighting, traffic signs, or within a railroad right-of-way, unless it has been authorized by an encroachment permit issued by the City.
L.
Signs on Doors, Windows, or Fire Escapes. Signs shall not be located or installed on any door, window, or fire escape that will prevent free ingress or egress. No sign shall be attached to any standpipe or fire escape, except those required by other codes.
M.
Signs that Create a Traffic Hazard or Affect Pedestrian Safety. Signs located in such a manner as to constitute a safety hazard or to impede the public use of the public right-of-way. These signs include but are not limited to:
1.
Signs located in such a manner as to constitute a traffic hazard or obstruct the view of traffic or any authorized traffic sign or signal device.
2.
Signs that may create confusion with any authorized traffic sign, signal, or traffic control device because their color, design, illumination, location or wording, or use of any phrase, symbol, or character which interferes with, misleads, or confuses vehicular drivers in their use of roads or conflicts with any traffic control sign or device.
3.
Signs within five feet of a fire hydrant, street sign, or traffic signal.
4.
Signs erected at or near the intersections of public and/or private rights-of-way in such a manner as to create a safety hazard by obstructing clear view of pedestrian and vehicular traffic or encroaching into sight triangles and sight distances, as defined in the Zoning Article.
N.
Signs that Produce Noise or Emissions. Signs that produce visible smoke, vapor, particles, odor, noise, or sounds that can be heard at the property line, excluding voice units at menu boards and devices for servicing customers from their vehicles, such as drive up windows at banks or pharmacies, provided these latter units comply with the standards of the City's Noise Ordinance and with Article 15.04.605.
O.
Snipe Signs. Signs tacked, nailed, posted, pasted, glued, or otherwise attached to trees, utility poles, government signs, fences, trailers, temporary construction barriers or other supporting structures.
The following sign design principles shall be used as criteria for review and approval of sign permits and Master Sign Programs.
A.
Architectural Compatibility. A sign, including its supporting structure, if any, should be designed as an integral design element of a building's architecture and be architecturally compatible, including color and scale, with any building to which the sign is to be attached and with surrounding structures. A sign that covers a window or that spills over "natural" boundaries or architectural features and obliterates parts of upper floors of buildings is detrimental to visual order and will not be permitted. Common indicators of compatibility include:
1.
Quality sign design and construction;
2.
Proportional size and scale; and
3.
Use of materials, shapes and colors that complement the building's architectural style and the surrounding environment.
B.
Legibility. The size and proportion of the elements of the sign's message, including logos, letters, icons and other graphic images, should be selected based on the average distance and average travel speed of the viewer. Sign messages oriented towards pedestrians may be smaller than those oriented towards automobile drivers. Colors chosen for the sign text and/or graphics should have sufficient contrast with the sign background in order to be easily read during both day and night. Symbols and logos can be used in place of words. Substantial contrast should be provided between the color and materials of the background and the letters or symbols to make the sign easier to read in both day and night.
C.
Visibility. A sign should be conspicuous and readily distinguishable from its surroundings so a viewer can easily see the information it communicates.
D.
Placement. Often, a building's architectural details create logical places for signage. Signs should not cover or interrupt architectural details or ornaments of a building's façade. On buildings with a monolithic or plain façade, signs can establish or continue appropriate design rhythm, scale and proportion. Well-designed and well-located retail signs create visual interest and continuity with other storefronts on the same or adjacent buildings. Signs should not obstruct windows or doors.
A.
Signs Must Comply with This Article. In all zones, only such signs as are specifically permitted in this Article may be placed, erected, maintained, displayed or used, and the placement, erection, maintenance, display or use of signs shall be subject to all restrictions, limitations and regulations contained in this Article. The placement, erection, maintenance, display or use of all other signs is prohibited.
B.
Message Neutrality. It is the City's policy to regulate signs in a constitutional manner that is content neutral as to noncommercial messages that are within the protections of the First Amendment to the U.S. Constitution and the corollary provisions of the California Constitution.
C.
Maximum Sign Area. The maximum allowable, permittable sign area on a lot for permanent signs, exclusive of area of exempt signs, is based on the Zoning District in which the sign is located and the type of sign to be installed. The signs allowed and the dimensional standards for individual sign types are established in subsequent sections of this Article.
1.
Residential Zoning Districts: 1 freestanding sign and 1 building sign per lot
2.
Commercial and Mixed Use Zoning Districts: 1 square foot of sign area per linear foot of building frontage per frontage, which may be increased to 1.5 square feet per linear foot of building frontage for shopping centers with at least 500,000 square feet of commercial space with an approved master sign program.
3.
Industrial Zoning Districts: 0.5 square foot of sign area per linear foot of building frontage per frontage.
4.
Other Zoning Districts: as established in the Zoning Ordinance.
D.
Changes to Copy of Approved Signs. Changes to the copy of approved signs that were legally established and have not been modified so as to become illegal are exempt from permitting pursuant to this Article. Changes to copy do not include changes to the type or level of illumination of an approved sign.
E.
Message Substitution. A noncommercial message of any type may be substituted, in whole or in part, for any duly permitted commercial message, and any noncommercial message may be substituted, in whole or in part, for any other noncommercial message.
1.
No Additional Approval. Such substitution of message may be made without any additional approvals. The purpose of this Section is to prevent any inadvertent favoring of commercial speech over noncommercial speech, or favoring of any particular noncommercial message over any other noncommercial message.
2.
Limitations. This message substitution provision does not: 1) create a right to increase the total amount of signage on a parcel, lot or land use; 2) affect the requirement that a sign structure or mounting device be properly permitted; 3) allow a change in the physical structure of a sign or its mounting device; or 4) authorize the substitution of an off-site commercial message in place of an on-site commercial message or in place of a noncommercial message.
F.
Rules for Non-Communicative Aspects of Signs. All rules and regulations concerning the non-communicative aspects of signs, such as location, size, height, illumination, spacing, orientation, etc., stand enforceable independently of any permit or approval process.
G.
Sites of Non-Commercial Message Signs. The onsite/offsite distinction applies only to commercial messages on signs.
H.
Mixed Use Development and Mixed Use Zones. In any zone where both residential and non-residential uses are allowed, the sign-related rights and responsibilities applicable to any particular use shall be determined as follows: residential uses shall be treated as if they were located where that type of use would be allowed as a matter of right, and nonresidential uses shall be treated as if they were located in a zone where that particular use would be allowed, either as a matter of right or subject to a conditional use permit or similar discretionary process.
I.
Changeable Copy. Non-electronic changeable copy shall represent no more than 20 percent of the total allowable sign area. Copy shall not be changed more than once every 24 hours.
J.
Illumination. The illumination of signs, from either an internal or external source, must be designed to avoid negative impacts on surrounding rights-of-way and properties. The following standards apply to all illuminated signs:
1.
Light Intensity. Sign lighting must not be of an intensity or brightness that will create a nuisance for residential buildings in a direct line of sight to the sign.
2.
Shielding Required. External light sources must be directed, shielded, and filtered to limit direct illumination of any object other than the sign, according to Table 15.04.609.090-J(2) below.
3.
Energy Conservation. Light sources shall be hard-wired fluorescent or compact florescent lamps, or other lighting technology that is of equal or greater energy efficiency. Incandescent lamps are prohibited, except when used in signs of historic character as part of the architectural design.
4.
Light Sources Adjacent to Residential Areas. Illuminated signs located adjacent to any residential area shall be controlled by a rheostat or other acceptable method to reduce glare that will create a nuisance for residential or mixed use buildings in a direct line of sight to the sign.
K.
Materials. Signs shall be made of sturdy, durable materials. Paper, cardboard, or other material subject to rapid deterioration can only be used for signs that comply with applicable requirements for temporary signs. Fabric signs are restricted to awnings, canopies, flags, and temporary signs.
L.
Mounting Required. All permanent signs shall be firmly anchored and comply with all requirements for public safety and building codes.
M.
Permitted Sign Locations.
1.
Building Signs. All building signs must be located on and directly parallel to a building wall, canopy fascia or mansard roof directly abutting the use or occupancy being identified and directly facing a parking lot, mall, street, driveway, alley or freeway.
2.
Window Signs. Except for signs painted directly on the exterior surface of the window, all window signs must be located on or within 24 inches of the inner surface of a window directly used by the use or occupancy being identified and be directly facing a parking lot, mall, street, driveway, alley or freeway.
3.
Under Canopy and Shingle Signs. All under canopy and shingle signs shall be suspended from the underside of a pedestrian canopy or awning directly adjacent to the business identified on the sign or a support attached to and projecting from the building wall. Such signs shall be oriented perpendicular to the adjacent wall of the business being identified and shall be attached with rigid supports of a type and in a manner acceptable to the Building and Safety Division. A minimum clearance of 7 feet shall be maintained between the grade level below the sign and the lowermost portion of the sign except when the sign is projecting over a public right-of-way, in that case the minimum clearance shall be 8 feet.
Figure 15.04.609.090-M(3): Under Canopy and Shingle Signs
4.
Pylon and Monument Signs. All pylon and monument signs shall be oriented toward a parking lot, mall, street, driveway or alley. Such signs shall be situated on the lot or parcel on which the use or occupancy identified is located, except in a commercial, office or industrial complex where such a sign may be located on any lot or parcel in the complex where the use or occupancy identified is located.
5.
Sign Projection from a Building Face. Building signs shall not project more than 12 inches from the face of the building on which they are placed with the following exceptions:
a.
Signs placed on a mansard roof may project such a distance from the face of the roof as necessary for the sign face to be perpendicular to the floor of the building.
Figure 15.04.609.090-M(5): Mansard Roof Sign
b.
In any neighborhood commercial zones, a maximum 4 square foot, double-faced sign, oriented perpendicular to the building wall is permitted in lieu of an under canopy sign. Such a perpendicular sign shall not project more than 30 inches from the face of the building wall on which it is placed, shall be attached with rigid supports in a manner acceptable to the Building Division and shall maintain a minimum clearance of 8 feet between the grade level below the sign and the lowermost portion of the sign.
c.
A marquee sign or three-dimensional sign that complies with the applicable requirements of this Article.
6.
Projection of Permanent Signs over Public Rights-of-Way. All signs that project over or into the public right-of-way require approval of an encroachment permit.
N.
Minimum Clearance from Utilities. Signs and their supporting structures shall maintain clearance from and not interfere with electrical conductors, communications equipment, or lines, underground facilities and conduits.
O.
Concealed Electrical Systems. External conduits, boxes, and other connections related to the function of a sign and associated lighting shall not be exposed. A switch disconnecting each circuit shall be placed in plain sight and near the inspection opening.
(Ord. No. 30-18 N.S., § I(Exh. A), 12-18-2018)
A.
Signs Allowed in Any District. The following signs shall comply with all provisions and regulations of this Article. However, no fee, permit or application is required to erect or maintain them.
1.
Permanent, rigid signs located on the fence of a park, playground, athletic field, or other outdoor assembly use, provided that they comply with the following limitations: Each sign shall be no more than 16 square feet in area and there shall be no more than two signs within any eight linear feet of fence, provided that two signs of equal dimensions placed back-to-back on either side of the fence shall constitute one sign for purposes of this paragraph. No sign shall project above the top of the fence.
2.
Temporary signs, provided that:
a.
The total area for all temporary signs displayed simultaneously shall not exceed 16 square feet per lot equivalent; and
b.
No temporary sign shall remain on display for more than 90 days.
B.
Signs Allowed in All Residential Districts.
1.
Signs Allowed Without a Permit.
a.
Permanent wall signs on single-family and two-family buildings (duplexes), provided that:
i.
The total area of all wall signs shall not exceed one square foot per building (two square feet for a duplex); and
ii.
No wall sign shall project more than six inches from the building wall.
b.
On any developed residential lot, permanent, non-illuminated freestanding signs, provided that:
i.
The total area of all such signs shall not exceed one and one-half square feet per lot; and
ii.
No sign shall exceed 6 feet in height.
c.
At the entrance of any multi-tenant building, one permanent, non-illuminated wall sign not exceeding six square feet in area and not projecting more than six inches from the building wall.
d.
Portable signs within the public right-of-way on Saturdays, Sundays, and holidays between the hours of ten a.m. and seven p.m., provided: (a) the signs do not interfere with, obstruct, or misdirect traffic or pedestrian movement; and (b) no person may erect or cause to be erected more than six portable signs at any one time.
2.
Signs Allowed with a Permit. The following signs may be erected, maintained and/or displayed in any residential district with a sign permit or as part of a master sign program:
a.
On residential lots where there are no more than two residential units, permanent, non-illuminated, freestanding signs, provided that the total sign area for all freestanding signs shall not exceed six square feet per lot or lot equivalent; and no freestanding sign shall exceed six feet in height. An illuminated sign is allowed along arterial streets.
b.
On residential lots where there are three or more residential units, permanent, non-illuminated, freestanding signs, provided that the total sign area for all freestanding signs shall not exceed 12 square feet per lot or lot equivalent; and no freestanding sign shall exceed 6 feet in height. An illuminated sign is allowed along arterial streets.
c.
At the entrance to a subdivision, permanent, freestanding signs, provided that the total sign area for all freestanding signs shall not exceed 20 square feet per subdivision; and no freestanding sign shall exceed 6 feet in height.
d.
On commercial or public buildings, wall signs, provided that the total sign area for all signs allowed pursuant to this paragraph shall not exceed 0.5 times the lineal feet of building frontage; and no individual wall sign may exceed 16 square feet in area.
e.
On lots containing commercial, public, or assembly uses, permanent, non-illuminated signs, provided that the total sign area for all signs shall not exceed 16 square feet; and no sign shall exceed 6 feet in height.
C.
Signs Allowed in Commercial, Industrial, Mixed Use Districts.
1.
Signs Allowed Without a Permit. The following signs are allowed without a permit on a lot in commercial districts:
a.
One permanent, freestanding non-illuminated sign not exceeding 16 square feet in area and 6 feet in height.
b.
One wall sign per building, not exceeding 6 square feet in area and not projecting more than 6 inches from the building wall.
c.
Window signs not exceeding 25 percent of the window area.
2.
Signs Allowed with a Permit. The following signs may be erected, maintained and/or displayed in any Commercial, Industrial, or Mixed Use district with a sign permit or as part of a master sign program: awning signs, blade signs, freestanding signs, marquee signs, projecting signs, wall signs, and wall mural signs. Dimensional standards for all of these signs are in Tables 15.04.609.100-C(1) to C(6) on the following pages.
3.
Multiple-Occupancy Commercial Sites with Limited Frontage. Where a multiple-occupancy commercial site has public street frontage equal to 20 percent or less of the perimeter measurement of the site, the maximum allowable wall sign area for the site is calculated as follows:
a.
One square foot of sign area per one lineal foot of public street frontage.
b.
One lineal foot of exterior building walls fronting on driveways and parking lots that are generally used for public access and are located on the same site.
c.
Pedestrian-only passageways that are lined on both sides by building walls are considered interior spaces, and although signs may be placed on such walls, the area of such walls is not included in the calculation of the maximum allowable sign area for the site.
4.
A-Frame Signs. A-Frames are allowed to advertise the location, goods or services offered on the premises. They must be made of a durable, rigid material such as, without limitation, wood, plastic or metal and conform to the following standards. No sign permit is required, unless an A-Frame sign is to be placed in a public right-of-way, in which case an encroachment permit is required.
a.
Prohibitions. A-Frame signs are prohibited from any form of broadcasting or audio presentation.
b.
Locations Allowed. A-Frame signs are allowed within a front or corner side setback area and in the public right-of-way directly in front of a business. They are not permitted in planters, flower beds or tree wells, nor in sight visibility triangles as established in the Zoning Ordinance.
c.
Maximum Height and Area. The A-Frame sign, when placed in an open position must not exceed a height of 42 inches from ground level to the top of the sign and be no more than 6 square feet per sign face.
d.
Maximum Number: One per business, which does not count against maximum allowed sign area. They must be removed at the close of business.
e.
Placement: A-Frame signs shall be placed so that a minimum four feet is left clear for pedestrian passage on all sidewalks and walkways. They shall only be placed at grade level and shall not be placed on walls, boulders, planters, vehicles, other signs or any other type of structure.
f.
City's Right to Remove: If at any time any portion of the public right-of-way occupied and used by the A-Frame sign may be needed or required by the City, or the business fails to maintain the permitted sign, it may be removed by the City.
D.
Signs Allowed in All Other Districts.
1.
Permanent, freestanding signs, provided that:
a.
The total sign area for all freestanding signs shall not exceed 20 square feet per lot equivalent; and
b.
No individual freestanding sign shall exceed 10 feet in height.
c.
The base or supporting members of each freestanding sign shall be located in a planted landscaped area. The landscaped area shall be differentiated from adjoining paved areas by a six-inch wide border which is at least four inches above the ground level. All planted landscaped areas shall be irrigated and maintained on a regular basis.
2.
For each building, one wall sign not exceeding 6 square feet in area and not projecting more than 6 inches from the building wall.
(Ord. No. 30-18 N.S., § I(Exh. A), 12-18-2018)
A.
Readerboard Signs. Readerboard signs with manually or electronically changeable copy may be displayed in lieu of building or freestanding signs subject to the following requirements.
1.
Residential Districts. Signs located in a residential district or readily visible from a residential property shall not be changed more than twice during any 24 hour period.
2.
Elementary, Middle and High Schools. Elementary, middle and high schools shall be permitted 1 freestanding or building mounted combination readerboard on-premises sign per use as described below:
a.
Sites Less Than Fifteen Acres. One maximum 40 square foot, 6 foot high static or readerboard on-premises, monument sign or 40 square foot static or readerboard building sign.
b.
Sites Fifteen Acres or More. One maximum 65 square foot, 15 foot high static or readerboard on-premises freestanding sign or 65 square foot static or readerboard building sign.
3.
Other Public Assemblies Not for Entertainment. Other public assemblies that are not engaged in commercial entertainment shall be permitted one freestanding or building mounted combination readerboard on-premises sign per use as described below:
a.
Sites One Acre in Size or Less. One static readerboard monument sign up to 16 square feet in area and 6 feet in height or one static readerboard building sign up to 24 square feet in area.
b.
Sites Greater Than One Acre in Size. One static readerboard monument sign up to 25 square feet in area and 6 feet in height or one static readerboard building sign up to 25 square feet in area.
c.
Time Limits. The copy shall not be changed more than once during any 24-hour period and shall not be illuminated between the hours of 10:00 p.m. and 7:00 a.m.
4.
Other Public Assemblies Within a Commercial or Non-Residential Complex. Other public assemblies located within an existing office, commercial or industrial complex shall be allowed one readerboard sign serving that particular use in lieu of the permitted monument sign for the existing multi-tenant office, commercial or industrial complex.
5.
Other Public Entertainment Venues. Public entertainment venues shall be permitted 1 freestanding or building mounted combination readerboard on-premises sign per use using either manually or electronically changeable copy, selected from the following options:
a.
Sites Less than Fifteen Acres. One maximum 40 square foot, 6 foot high combination readerboard on-premises monument sign, or 1 building mounted sign shall be permitted, located on the frontage occupied by the use, maximum 1½ square feet of sign for each foot of the occupancy frontage, not to exceed 100 square feet.
b.
Sites Fifteen or More Acres. One maximum 65 square foot, 15 foot high combination readerboard on premises freestanding sign, or 1 building mounted sign shall be permitted, located on the frontage occupied by the use, maximum 1½ square feet of sign for each foot of the primary building frontage, not to exceed 100 square feet. On a corner building, only one readerboard sign is allowed.
6.
Theaters. Theaters offering live performances or motion pictures and having permanent seating for at least 100 persons may, in lieu of on-premises building sign, display 1 readerboard sign, with a maximum 1½ square feet of signage for each lineal foot of building frontage; not to exceed 100 square feet of signage.
B.
Electronic Message Center Sign. Electronic Message Center signs (EMC) are permitted in commercial complexes 10 acres or larger and on parcels with an approved entertainment use 15 acres or larger subject to the approval of a conditional use permit and compliance with the following requirements:
1.
EMC are only permitted on sites with frontage on Routes of Regional Significance as defined by the West Contra Costa Transportation Advisory Committee, excluding highways and freeways.
2.
No EMC shall face a residential zoning district.
3.
The copy of electronically displayed messages may change no more frequently than once every eight seconds. A minimum of 0.3 second of time with no message displayed shall be provided between each message displayed on the sign.
4.
Displays shall contain static messages only, and shall not have movement, or the appearance or optical illusion of movement, of any part of the sign structure, design, or pictorial segment of the sign, including the movement or appearance of movement of any illumination, or the flashing, scintillating or varying of light intensity.
5.
All electronic message displays shall be equipped with a sensor or other device that automatically determines ambient illumination and is programmed to automatically dim according to ambient light conditions or can be adjusted to comply with the following illumination requirements in sub-section 6 of this Section.
6.
Between dusk and dawn the luminance of an EMC shall not exceed 0.3 footcandles more than ambient lighting conditions when measured at the exterior of the site.
A.
General Requirements.
1.
General. Each property or establishment in non-residential zones, as specified, shall be allowed sign copy area for the display of temporary signs, in addition to allowed permanent signage as specified in this Article. No permit shall be required for temporary signage.
2.
Limits. Temporary signage must comply with the sign area limits and maximum number of allowed temporary signs, for each of the categories of temporary signage specified in this Section. No other temporary signage shall be allowed in non-residential zones.
3.
Material. Temporary signs shall not be made of standard paper or other materials subject to rapid deterioration.
4.
Illumination. Temporary signs cannot be illuminated.
B.
Portable Signs. Portable signs are allowed subject to the following standards.
1.
Relation to Associated Business. Portable signs may be located up to 300 feet away from the business so long as they remain within the development site with which the business is associated and the business obtains property owner authorization.
2.
Maximum Sign Area per Parcel or Business Location. Each business establishment shall not have more than an aggregate sign area of 16 square feet.
3.
Maximum Size and Sign Area. All portable signs, except A-Frame signs, shall not exceed 8 feet in height above ground level, nor have a maximum sign area greater than 8 square feet. A-Frame signs, when placed in an open position, must not exceed a height of 42 inches above the ground level, to the top of the sign, nor have a maximum sign area greater than 6 square feet.
4.
Placement. The portable signs shall be placed on private property on the same lot as the establishment that qualifies for such sign and, with an encroachment permit, may be placed in the public right-of-way in front of the associated use or on the nearest sidewalk provided a four-foot wide pedestrian clear zone is maintained. They must be a minimum of seven feet from the back of the curb, or edge of pavement where no curb exists.
5.
Prohibited Locations. Portable signs shall not be located:
a.
In any public right-of-way;
b.
In parking lot driving lanes, aisles or stalls;
c.
On multi-use trails or sidewalks if they would block a four-foot wide pedestrian clear zone;
d.
At any location where they would block pedestrian access;
e.
Within 100 feet on either side, or in front of a freestanding sign;
f.
Within 20 feet from any other portable sign; and
g.
Within 30 feet from a shopping center access drive or street intersection.
6.
Display Hours for A-Frame signs. A-Frame signs are permitted during the hours a business is open for business and one-half hour before opening and one-half hour after closing. They must be removed during hours when the establishment is not open to the public.
7.
Maximum Duration. Portable signs, except A-Frame signs, may be displayed for a maximum of 90 days.
C.
Banners, Feather Banners, and Pennants. Banner signs, feather banners, and pennants, including similar devices such as strings of ornamental fringes or streamers, are allowed for establishments within non-residential zones, subject to the following standards:
1.
Maximum Sign Area per Parcel or Business Location. The total aggregate sign area for banners, feather banners or pennants shall not exceed 20 square feet for each lot, or business location where more than one business is located on a single lot. Where a lot or business location has a street frontage exceeding 75 lineal feet, the aggregate sign area for banners, feather banners or pennants shall be 32 square feet for each 75-foot segment of street frontage.
2.
Maximum Height. Banners and pennants shall not extend above the roofline or the parapet of a wall. Feather banners may not exceed 8 feet above ground level.
3.
Allowable Locations. Banners are only allowed on sites where permanent signs are allowed.
4.
Maximum Duration. No banner, feather banner, or pennant shall be displayed for more than 60 days and a period of 30 days must lapse before displaying another banner or pennant. On a calendar year basis, banners, feather banners, and pennants shall not be displayed for more than four 60-day periods.
D.
Temporary Window Signs. Temporary window signs are allowed for establishments within non-residential zones, subject to the following standards:
1.
Maximum Size. The total area of temporary window signs shall not exceed 10 percent of the aggregate window area on a single side of a wall.
2.
Maximum Duration. No temporary window sign shall be displayed for more than 60 days and a period of 30 days must lapse before displaying another sign. On a calendar year basis, temporary window signs shall not be displayed for more than four 60-day periods.
The City Council may designate historic signs following a duly-noticed public hearing and a recommendation from the Historic Preservation Commission.
A.
Criteria. Historic signs must meet defined criteria, including, without limitation, to the fact that the sign is 50 or more years old and has significance to the Richmond community because it is associated with a significant historical event or it is associated with a historic business.
B.
Allowances for Historic Signs.
1.
Structural Improvements. Historic signs may have structural improvements completed in order to extend the life of the sign.
2.
Damage Repairs. If the sign is damaged, it may be repaired and replaced with the original sign area and original height, even if the sign does not conform to the standards of this Section.
A.
Purpose. The purpose of this Section is to establish regulations that enhance the appearance of the City by requiring removal of closed business signs within a reasonable period after a business has closed or a building has been vacated.
B.
Applicability. A closed business sign is any sign located on a building, in the window of a building, or on the same lot as a building that advertises or identifies either (1) the owner or lessor of a building that has been vacated, or (2) a use, activity, business, service or product no longer offered or conducted in a building, and that continues to be displayed more than thirty days after the owner or lessor has vacated the building or more than thirty days after the use, activity, business, service or product has ceased to be offered or conducted in the building.
C.
Removal or Covering Required. All closed business signs shall be removed or completely obscured from public view. A sign is "completely obscured from public view" when it has been completely covered with a solid material, such as plywood or lumber, that is securely fastened to the sign or its supporting structure and painted to match the color of the building in which or on which the sign is located. Plastic or fiber sheets shall not constitute a solid material that adequately obscures a closed business sign.
A.
A permit issued by the Zoning Administrator is required to erect, construct, install, structurally alter or relocate any non-exempt sign. Signs that project over or extend into a public street or sidewalk more than 8 inches require an encroachment permit issued by the City.
B.
All applications for sign permits are subject to review under the provisions of Section 15.04.803.040 (Review of Applications) and must be determined to be complete before review of the applicant begins. To be considered complete, an application for a sign permit shall include:
1.
A completed sign permit application form accompanied by the required fee.
2.
A letter or other written evidence of the property owner or business owners to have the proposed sign(s) displayed on the property owned.
3.
A site plan and/or building elevation plans drawn to scale and dimension showing the following (as applicable):
a.
Existing structures; lot frontage and building frontage (dimensioned);
b.
Driveways and public rights-of-way;
c.
Existing and proposed signs;
d.
Vision clearance; vertical clearance over public rights-of-way.
4.
A proposed sign plan drawn to scale and dimension showing the following (as applicable):
a.
Sign height, width, area, and thickness.
b.
Color of lettering and background.
c.
Type of illumination.
d.
Materials.
C.
Within 10 business days after receipt of an application for a sign permit, the Zoning Administrator shall inform the applicant in writing if the application is incomplete and will list the submittals required to complete the application. If the Zoning Administrator does not notify the applicant within 10 days after receipt that the application is incomplete, then the application will be deemed complete.
D.
The Zoning Administrator shall either grant or deny a sign permit within 15 business days after receipt of a complete application. A denial shall be accompanied by written findings stating the reasons for the denial and may be appealed to the Design Review Board.
(Ord. No. 30-18 N.S., § I(Exh. A), 12-18-2018)
A.
Any person seeking to erect on one or more sites or to distribute 25 or more temporary signs at one time, either personally or by supervising others, must provide:
1.
The name and address of the person(s) responsible for erecting or distributing, maintaining and removing the multiple temporary signs;
2.
A description of the method of installation and support for each sign (if signs are to be freestanding and supported by a method other than wire no greater than 3 millimeters in diameter, the applicant must include a scaled drawing of the supporting structure);
3.
A copy, drawing, or photograph of the proposed temporary sign; and
4.
The fee specified in the master fee schedule adopted by the City Council.
B.
One day after submittal of all of the items required in subparagraph (A), the Zoning Administrator shall issue or deny a permit for multiple temporary signs, subject to the following terms and conditions:
1.
The Zoning Administrator shall assign an identification number (ID#) to the sign plan, and such number shall be referred to in the permit;
2.
The permittee shall provide the Zoning Administrator with a prototype of the sign marked with the ID#.
3.
All temporary signs and structures are to be removed within 90 days from the date the permit is issued.
4.
Any denial of a permit for multiple temporary signs shall be accompanied by written findings stating the reasons for the denial and may be appealed to the Design Review Board.
C.
No temporary sign shall be posted in a City right-of-way, landscaped area, parkland or any road median before the Superintendent of Parks has confirmed that a permit has been issued and that the proposed posting will not interfere with the ordinary use and enjoyment of the area, underground irrigation or utilities, or line of sight for motor vehicle, bicycle and pedestrian traffic. Placement of signs shall not harm landscape plantings or structures. The Superintendent may require the sign permittee to call for a USA marking confirmation of utilities prior to posting.
A.
Purpose. The purpose of a Master Sign Program (MSP) is to integrate all signs into a project's design to achieve a unified architectural statement. A MSP provides a means for flexible application of sign regulations for properties with multiple signs, multi-tenant properties, and other properties with unified development, in order to encourage creativity and provide incentives to achieve, not circumvent, the intent of this Section.
B.
Applicability and Approval Required.
1.
Master Sign Program Required. A Master Sign Program approved by the Design Review Board is required for:
a.
Multi-tenant centers, buildings, or developments with six or more separate tenant spaces that share the same parcel, building or structure, or use common access and parking facilities, public spaces, and landscaping, such as multitenant commercial and office buildings, shopping centers, office parks, and mixed use developments;
b.
Major rehabilitation or additions to existing nonresidential projects with five or more tenants, that involve construction or renovation of more than 25,000 square feet or 50 percent or more of the exterior of the building, or 25 percent of the existing signs on the site within a 12 month period, whichever is less. For the purposes of this Section, major rehabilitation means adding or remodeling 50 percent of the gross floor area of the structures, or exterior redesign of more than 25 percent of any façade within the project;
c.
When the Planning Division determines that a Master Sign Program shall be required for a project due to special circumstances (e.g., the number or size of signs proposed, size or location of the project, or constrained visibility of the site relative to freeways, etc.); and
d.
An applicant that seeks approval of a master sign program that includes any freeway oriented sign(s) shall obtain approval of a design review permit and conditional use permit for said master sign program. Freeway oriented sign(s) may only be permitted if all of the following findings are made:
1.
The required findings pursuant to Article 15.04.805.050 (Design Review) and Article 15.04.806.040(Use Permits).
2.
The sign(s) must be part of a master sign program under subsection (1)(a) of this Section.s
3.
The sign(s) must serve a multi-tenant regional retail center development (with three or more separate tenant spaces) that consists of a minimum of 500,000 square feet of retail and similar commercial uses.
4.
The sign(s) are of appropriate size, scale, and design for the area in which it will be located.
5.
The sign(s) are of high quality in appearance, design, and construction, and will be subject to conditions, as appropriate, governing its design and operation.
6.
The sign(s) will not contribute to significant visual blight or clutter, and will not significantly degrade the visual quality of the area in which it will be located.
7.
No sign(s) shall significantly impair public safety.
8.
Any freestanding sign may only be used to advertise the name of the business, type of business, or product manufactured, presented or sold on the premises by such person, firm, or corporation occupying the multi-tenant regional retail center development where the sign(s) are located, and, upon advance written demand of the City, and to the extent allowed by law, to publicize City-run or City-sponsored events (or certain designated partners) and/or disseminate City of Richmond news, traffic/safety/security announcements, and similar civic information and public service announcements.
9.
The sign(s) shall satisfy applicable requirements of the Outdoor Advertising Act (Business and Professions Code Sections 5200 through 5486, inclusive), as amended from time to time.
10.
The sign(s) shall satisfy applicable California Department of Transportation standards for freeway-oriented signs, as amended from time to time.
11.
The sign(s) approved as part of the master sign program shall be built in a perpendicular manner (as is feasible based on site constraints in order to best maximize sign visibility) to the freeway and shall not be required to face any other public streets.
2.
Optional Sign Program. A Master Sign Program may be substituted for specific sign designs and individual applications if requested by an applicant and approved by the Design Review Board.
C.
Required Submittals. Applications for a Master Sign Program must include the following plans and text:
1.
A site plan showing the location of buildings, parking lots, driveways and landscaped areas;
2.
Computation of the maximum total sign area, the maximum area for individual signs, the height of signs and the number of freestanding signs allowed, if proposed;
3.
An accurate indication on the site plan of the proposed location of each proposed sign and existing sign which is to remain;
4.
Color schemes, lettering and graphic style (if tenants are not known, generic styles may be presented);
5.
Lighting and sign construction materials; and
6.
Sign dimensions (if tenants are not known, generic dimensions may be presented); and
7.
A written program of standards for all sign types to be distributed to future tenants, including color, size, illumination, construction details, and sign placement.
D.
Findings Required. The Design Review Board may approve variations in dimensional standards such as height, sign area, number of signs and other limitations of this Chapter, provided they are necessary for the visibility of signage and can achieve a result that is superior to what would otherwise be allowed. The Design Review Board shall make the following findings in order to approve or conditionally approve a Master Sign Program:
1.
That the proposed Master Sign Program improves the safety and welfare of the general public by minimizing distractions, hazards, and obstructions from sign design or placement;
2.
Provides for sign design or placement appropriate for the area;
3.
Incorporates sign design and placement related to architectural and landscape features on site; and
4.
The approval of a master sign program does not adversely affect surrounding land uses or obscure adjacent conforming signs.
E.
Conditions. Reasonable conditions of approval may be imposed by the Design Review Board to achieve the purposes of this Section and ensure compatibility with adjacent land uses and signage.
F.
Post-Approval Procedures. After approval of a Master Sign Program, no signs shall be erected, placed, painted, or maintained, except in conformance with such Program, and such Program may be enforced in the same way as any provision in this Section.
1.
Lease Agreements. The Master Sign Program and all conditions of approval shall be attached to the lease agreements for all leasable space within a project.
2.
Individual Signs. Any sign that conforms to an approved Master Sign Program may be approved by the Zoning Administrator or designee; however, approval of a Master Sign Program does not waive the permit requirements for individual signs.
3.
Amendments. The Zoning Administrator may approve minor amendments to a Master Sign Program that are in substantial conformance with the original approval. All other amendments, including amendments to conditions of approval shall be processed as a new application.
(Ord. No. 30-18 N.S., § I(Exh. A), 12-18-2018)
A.
The Design Review Board may approve a variance to any requirement for a permanent sign upon finding all of the following:
1.
Strict application of the requirements of this Article would deny the applicant a reasonable opportunity to communicate by sign in a manner similar to like persons or uses because of an unusual or unique circumstance relating to the property or the proposal, such as site or building location, building design, physical features on the property, or some other circumstance;
2.
The sign resulting from the variance will not affect the surrounding neighborhood or other property affected by the request in a manner materially inconsistent with the purpose and objectives of this Article; and
3.
The extent of the variance from the requirement is limited to that reasonably necessary to alleviate the problem created by the unique or unusual circumstance identified pursuant to paragraph (A)(1), above.
B.
The Design Review Board's decision regarding a variance may be appealed to the City Council in accordance with Article 15.04.808 (Variances), except that, within 30 days after the City's receipt of an appeal of a variance denial pursuant to this Section, the City Council shall hear and decide the appeal. The City Council's review of the Design Review Board's decision shall be governed by the criteria set forth in this Article. The City Council shall issue written findings in support of its decision.
A.
Denial of a sign permit may be appealed to the Design Review Board by submitting a written appeal to the Planning and Building Services Director within ten days. The appeal must be accompanied by the appeal fee published in the City's Master Fee Schedule.
B.
The Design Review Board shall hear the appeal and render a decision within 15 days of the close of the hearing. The Design Review Board's review of the permit denial shall be governed by the criteria set forth in this Article, and its decision shall be final. The Design Review Board shall issue written findings in support of its decision.
C.
Denials of a Master Sign Program may be appealed to the Planning Commission by submitting a written appeal to the Planning and Building Services Director within ten days of the date of the Board's action. The appeal must be accompanied by the appeal fee published in the City's master fee schedule.
D.
The Planning Commission shall hear the appeal and render a decision within 15 days of the close of the hearing. The Commission's review of the permit denial shall be governed by the criteria set forth in this Article, and its decision shall be final. The Commission shall issue written findings in support of its decision.
The most recent edition of the Uniform Sign Code, published by the International Conference of Building Officials, is adopted by reference as though fully set forth in this Article. Three copies of the Uniform Sign Code and all amendments thereto, shall be kept on file in the office of the City Clerk for inspection by the public. The following additions and amendments are made to the Uniform Sign Code.
A.
Addition—Ordinance 1, Section 102. The following additional paragraphs are added to the Purpose and Scope:
1.
"Sec. 102 … The Administrative part of this code is in addition to the City of Richmond's Building Regulations Administrative Code Ordinance 6.02 of the Municipal Code. Where conflicts occur between this Ordinance and Ordinance 6.02 of the Municipal Code, the provisions of Ordinance 6.02 of the Municipal Code shall govern."
2.
"This code is supplemental to Ordinance 15 'Zoning' of the Municipal Code of the City of Richmond. All signs subject to issuance of a permit, as specified in this code, shall comply with regulations as set forth in Ordinance 15 as a condition of issuance of such permit. No sign shall be erected or placed upon any private or public property or attached to building, structure or premises which in any way conflicts with the provisions of Ordinance 15, nor shall any sign be erected or placed without the consent of the owner, holder, lessee, agent or trustee of said building, structure or premises, or located contrary to the provisions of any setback requirement."
B.
Amendment—Section 103 (c). Uniform Sign Code Section 103(c) is amended to read as follows: "(c) Board of Appeals. In order to provide for reasonable interpretation of the provisions of this code and to hear appeals provided for hereunder, the Board of Appeals created in section 6.02.130 of this Code shall act as the Appeals Board for this code."
C.
Definitions—Section 202 et seq. The following definitions in Section 15.04.609.040 are added to the definitions: Awning, Banner Sign, Face, Marquee Sign, and Wind Sign.
D.
Addition—Section 403—Construction. The following restrictions are added to Uniform Sign Code Section 404: "(h) Restrictions on Marquee, Projecting and Roof Signs. All marquee, projecting and roof signs shall have structural bracing which is either internal or external; if external such bracing shall be by guy wires which are approved by the Building Official as to type and method. No external struts shall be permitted." "(i) Prohibited Locations. Signs shall be prohibited in a public street, sidewalk, public way, place or public property except as provided for in this code." "(j) Utility Safety Clearance. No sign shall be erected in such a manner that it will violate or interfere with any space or safety requirement of any public utility as declared by the California Public Utilities Commission." "(k) Traffic Clearance. No sign shall be located so as to obscure the view of approaching traffic." "(l) Lights Used for Illumination. Lights used for illumination shall be treated the same as an electric sign."
E.
Amendment—Section 1201—General. The following amendment is made Uniform Sign Code Section 1201, to read as follows: "Sec. 1201. Signs may be placed on, attached to, or constructed in a marquee or awning. Such signs shall, for the purpose of determining projection, clearance, height and material, be considered a part of and shall meet the requirements for a marquee or awning specified in Ordinance 45 of the Building Code."
Every sign shall be kept up and maintained in a secure and safe condition. Signs shall be kept free of rust, corrosion, peeling paint, cracks, fading and other surface deterioration. Illuminated signs shall function as designed and permitted. If a sign is not maintained in accordance with this paragraph, the City may notify the owner of the property on which the sign is located or to the person responsible for the maintenance of the sign in writing that he or she must comply with this Article. If the condition is not corrected or eliminated within the time specified in the notice, the City may revoke the permit for the sign and remove the sign in the manner provided in the notice.
Nonconforming signs lawfully existing on the date this ordinance becomes effective may continue to be used and need not be modified to conform to the requirements of this Article unless deemed to be a public nuisance because of health or safety conditions. Except that if any such sign is altered, partially demolished or reconstructed or the business with which is associated is closed for a period of 90 days or more, the provisions of this Article shall apply. Normal repairs, copy substitution or replacement, and maintenance that do not change the location or appearance of the sign may be made without conforming the sign to the requirements of this Article.
A sign that fails to comply with or violates any provision of this Article, or is developed or maintained contrary to the terms of a sign permit, is hereby declared to be unlawful and a nuisance.
A.
Nuisance Violations. It is unlawful for any person, firm or corporation to erect, construct, enlarge, alter, repair, move, improve, remove, convert, demolish, equip, use or maintain any sign or structure in the City, or cause or permit the same to be done, contrary to or in violation of any of the provisions of this Code.
Any sign that is placed, erected or maintained in violation of provisions of this Article or of any other ordinance of the City, or of any other provision or law, is hereby declared to be a nuisance.
B.
Abatement Procedures. Any sign declared to be a nuisance may be subject to the abatement procedures established in the Municipal Code.
The purpose of this Article is to establish standards for specific uses and activities that are permitted or conditionally permitted in several or all zoning districts. These provisions are intended to minimize the impacts of these uses and activities on surrounding properties and the City at large and to protect the health, safety, and welfare of their occupants and of the general public.
Accessory dwelling units (ADUs) and junior accessory dwelling units (JADUs) must be located, developed, and operated in compliance with the standards of this Chapter 15.04.610.020 in zones where single-family or multi-family dwellings are permitted.
A.
Zoning Compliance Review. An applicant for an accessory dwelling unit or junior accessory dwelling unit must submit the application fee and all of the information contained on the application forms provided by the City to the Zoning Administrator for ministerial approval or as part of a building permit application. No discretionary review may be permitted unless the application includes other work unrelated to the accessory dwelling unit, in which case discretionary review shall be limited to the work unrelated to the application for the accessory dwelling unit. The decision of the Zoning Administrator is final and no appeal may be filed.
B.
Time Limit to Act. All accessory dwelling unit and junior accessory dwelling unit applications shall be approved or disapproved within 60 days of receiving a completed application if there is an existing dwelling on the lot. The City shall grant a delay in processing if requested by the applicant. Action for an accessory dwelling unit or junior accessory dwelling unit application in connection with a proposed new single-family dwelling may be delayed until the City acts on the permit application for the primary building. Occupancy of the junior or accessory dwelling unit shall not be allowed until the City approves occupancy of the primary dwelling.
C.
General Requirements.
1.
Relation to Main Dwelling Unit. An accessory dwelling unit shall be located behind the primary dwelling. The accessory dwelling unit shall be either attached to the primary dwelling, located within the primary dwelling, or detached from the primary dwelling and located on the same lot as the primary dwelling. Detached or attached accessory dwelling units shall have exterior designs that are consistent with the primary dwelling and incorporate the same or similar building materials, colors, and exterior surfaces and finishes as those on the primary dwelling.
2.
Kitchen Facility. An accessory dwelling unit and junior accessory dwelling unit must contain its own kitchen.
3.
Objective Design Standards.
a.
The materials and colors of the exterior walls, roof, eaves, and windows and doors shall match the appearance and architectural design of those of the primary dwelling.
b.
The roof slope shall match that of the dominant roof slope of the primary dwelling. The dominant roof slope is the slope shared by the largest portion of the roof.
c.
The exterior lighting shall be limited to down-lights or as otherwise required by the building or fire code.
d.
All windows that are located 12 feet in height above the finished floor shall be clerestory windows and must be frosted or obscure glass.
e.
A new detached ADU shall not be located closer to the front property line than the primary residence unless it would not be physically feasible to construct an 800-square-foot attached or detached ADU not exceeding 16 feet in height with four-foot side and rear setbacks anywhere else on the property.
f.
The architectural treatment of an ADU to be constructed on a lot that has an identified historical resource listed on the federal, state, or local register of historic places shall comply with all applicable ministerial requirements imposed by the Secretary of the Interior.
4.
Parking. The minimum parking requirements for an accessory dwelling unit shall be as prescribed in Article 15.04.607 (Parking and Loading Standards), subject to the following additional provisions. Parking for an accessory dwelling unit may be provided as tandem parking on an existing driveway or in a setback area. No additional parking shall be required if the accessory unit is located: (1) within one-half mile walking distance of public transit; (2) in an architecturally and historically significant historic district; (3) in part of a proposed or existing primary residence or an accessory structure; (4) in an area requiring on-street parking permits but they are not offered to the occupant of the second unit; or (5) within one block of a car-share pick up/drop-off location. When a garage, carport, or covered parking structure is demolished or converted in conjunction with the construction of an accessory dwelling unit, the parking spaces need not be replaced.
5.
Deed Restriction. Prior to obtaining building permits for an accessory dwelling unit or junior accessory dwelling unit, a property owner shall file with the Contra Costa County Recorder a deed restriction, in a form approved by the City Attorney, which shall include the following provisions. This deed restriction shall run with the land, and shall be binding upon any future owners, heirs, or assigns. A copy of the recorded deed restriction shall be filed with the Zoning Administrator stating that:
a.
The accessory dwelling unit or junior accessory dwelling unit shall not be sold separately from the primary dwelling unit unless consistent with the provisions of Government Code section 65852.26 or successor provision;
b.
The accessory dwelling unit or junior accessory dwelling unit is restricted to the size and attributes approved by the Zoning Administrator in its Zoning Compliance review per Article 15.04.804;
c.
The accessory dwelling unit or junior accessory dwelling unit shall not be rented for a period shorter than 30 days;
d.
For a junior accessory dwelling unit, the junior accessory dwelling unit or the remaining portion of the single-family structure must be owner occupied;
e.
The restrictions shall be binding upon any successor in owner of the property and lack of compliance with any provisions of the Municipal Code may result in legal action against the property owner, including revocation of any right to maintain an accessory dwelling unit or junior accessory dwelling unit on the property.
D.
Development Standards.
1.
Accessory Dwelling Units.
a.
Setbacks. Side and rear setbacks shall be no less than four feet. No setback shall be required for the conversion of an existing living area or accessory structure or a structure constructed in the same location and to the same dimensions as an existing structure that is converted to an ADU.
b.
Floor Area. The maximum floor area for an accessory dwelling unit attached to or detached from a dwelling shall not exceed 850 square feet for a studio or one bedroom or 1,000 square feet for a unit that contains two or more bedrooms. No accessory dwelling unit shall be smaller than the size required to allow an efficiency unit pursuant to Health and Safety Code Section 17958.1. Additional limitations apply to junior accessory dwelling units; see paragraph (3) below.
c.
Height. The maximum height of a detached or attached ADU shall be 16 feet.
d.
Limits on lot coverage, floor area ratio, open space, and size must permit or shall be waived to allow an 800 square feet detached or attached accessory dwelling unit 16 feet high with four-foot side and rear yards, if the proposed accessory dwelling unit is in compliance with all other development standards, including but not limited to front yard setbacks. Front yard setbacks shall be waived if it would not be physically feasible to construct an 800-square-foot ADU not exceeding 16 feet in height with four-foot side and rear setbacks anywhere on the property except within the front setback.
e.
An accessory dwelling unit must comply with all development standards for the applicable zoning districts, including setbacks, maximum floor area, and building height, unless they are inconsistent with the provisions of this section, in which case the provisions of this section shall apply.
f.
A portion of a single family dwelling or detached accessory structure legally in existence may be converted into an accessory dwelling unit or a structure may be constructed in the same location and to the same dimensions as the existing detached accessory structure, regardless of any existing zoning nonconformity if the existing structure is not modified or added to in any way that increases the level of nonconformity with all applicable zoning regulations.
2.
Supplemental Standards for Attached Accessory Dwelling Units.
a.
An attached accessory dwelling unit must share at least one common wall or roofline with the living area of the primary dwelling.
b.
An attached accessory dwelling unit shall have a separate entrance, located on the side or the rear of the primary dwelling; provided, however, that in no event shall any external stairwell be placed within the side yard setback.
3.
Supplemental Standards for Detached Accessory Dwelling Units.
a.
The distance between the primary dwelling and a detached accessory dwelling unit must be at least five feet provided, however, that this requirement shall not be applied to prohibit construction of a detached accessory dwelling unit with a total floor area not greater than 800 square feet, not more than 16 feet high, and with side and rear yard setbacks of at least four feet.
4.
Supplemental Standards for Exempt Accessory Dwelling Units.
a.
Notwithstanding any other standard provided in subsections (C) and (D), one of the following categories of accessory dwelling units shall be permitted on a lot with a proposed or existing single family dwelling if they meet the standards of this subsection (D)(4)(a):
i.
One accessory dwelling unit per lot within the proposed or existing space of a single-family dwelling or existing space of an accessory structure. The accessory dwelling unit within the existing space of an accessory structure may include an expansion of not more than 150 square feet beyond the same physical dimensions as the existing accessory structure to accommodate ingress and egress. The accessory dwelling unit shall have exterior access from the single family home. The setbacks must be sufficient for fire and safety; or
ii.
One new detached accessory dwelling unit per lot with a proposed or existing single-family dwelling up to 800 square feet, up to 16 feet in height, and up to four-foot side and rear setbacks;
b.
Notwithstanding any other standard provided in subsections (C) and (D), one of the following categories of accessory dwelling units shall be permitted on a lot with an existing multifamily dwelling if they meet the standards of this subsection (D)(4)(b):
i.
Accessory dwelling units within the portions of an existing multifamily dwelling structure that are not used as livable space, provided that each unit complies with state building standards for dwellings. An accessory dwelling unit shall not be created within any portion of the habitable area of an existing dwelling unit in a multifamily structure. Up to 25 percent of the number of existing multifamily units in the building, but at least one unit, shall be allowed per lot; or
ii.
Up to two detached accessory dwelling units per lot, provided that the height of the accessory dwelling units does not exceed 16 feet and that four-foot side and rear yard setbacks are maintained.
5.
Junior Accessory Dwelling Units. Junior accessory dwelling units shall comply with the following standards:
a.
Number of Units Allowed. Only one junior accessory dwelling unit may be located on any lot zoned for and containing a proposed or existing single-family dwelling. A junior accessory dwelling unit is not permitted on a lot with an accessory dwelling unit unless the accessory dwelling unit is:
i.
A detached, new construction accessory dwelling unit up to 800 square feet, up to 16 feet in height, and with up to four-foot side and rear setbacks; or
ii.
An accessory dwelling unit within the proposed or existing space of a single-family dwelling or existing space of an accessory structure. The accessory dwelling unit within the existing space of an accessory structure may include an expansion of not more than 150 square feet beyond the same physical dimensions as the existing accessory structure to accommodate ingress and egress. The accessory dwelling unit shall have exterior access from the single family home. The setbacks must be sufficient for fire and safety
b.
Unit Size. No junior accessory dwelling unit shall contain more than 500 square feet of floor space and shall be contained entirely within an existing or proposed single-family. An efficiency unit (a single room that includes sleeping and kitchen functions) shall not contain less than 150 square feet of floor space, exclusive of a bathroom.
c.
Owner Occupancy. The owner of a lot proposed for a junior accessory dwelling unit shall occupy as a principal residence either the primary dwelling or the accessory dwelling unless the owner is a government agency, a land trust, or a housing organization.
d.
Separate Sale Prohibited. A junior accessory dwelling unit shall not be sold independently of the primary dwelling on the parcel.
e.
Deed Restriction. A deed restriction shall be completed and recorded, in compliance with paragraph D(5) above.
f.
Location of Junior Accessory Dwelling Unit. A junior accessory dwelling unit must be created within the existing walls of a proposed or existing single-family dwelling.
g.
Separate Entry Required. A separate exterior entry shall be provided to serve a junior accessory dwelling unit.
h.
Kitchen Required. The junior accessory dwelling unit shall include an efficiency kitchen, requiring and limited to the following components:
i.
A cooking facility with appliances; and
ii.
A food preparation counter and storage cabinets that are of a reasonable size in relation to the size of the junior accessory dwelling unit.
i.
Bathroom Required. Access to a bathroom is required, which may be part of the junior accessory dwelling unit or located in the existing primary dwelling. If provided as part of the primary dwelling, the junior accessory dwelling unit shall have direct access to the main living area of the primary dwelling so a resident does not need to go outside to access the bathroom.
j.
No Additional Parking Required. No additional parking is required for a junior accessory dwelling unit.
E.
Utilities and Impact Fees.
1.
Except as provided in subsection (2) below, an accessory dwelling unit may be required to have a new or separate utility connection, including a separate sewer lateral, between the accessory dwelling unit and the utility. A connection fee or capacity charge may be charged that is proportionate to the size in square feet of the accessory dwelling unit or its drainage fixture unit (DFU) values. Separate electric and water meters shall be required for the accessory dwelling unit.
2.
Junior accessory dwelling units and accessory dwelling units converted from the proposed or existing space of a single-family dwelling or existing space of an accessory structure are exempt from any requirement to install a new or separate utility connection and to pay any associated connection or capacity fees or charges.
3.
All utility extensions shall be placed underground.
4.
Junior and accessory dwelling units shall comply with all applicable building code requirements. However, fire sprinklers shall not be required in a junior or accessory dwelling unit if they are not required for the primary dwelling unit.
5.
No impact fees may be imposed on a junior or accessory dwelling unit that is less than 750 square feet in size. For purposes of this section, "impact fees" include the fees specified in Section 66000 and 66477 of the Government Code, but do not include utility connection fees or capacity charges. For accessory dwelling units that have a floor area of 750 square feet or more, impact fees shall be charged proportionately in relation to the square footage of the primary dwelling unit.
F.
Conformance with State Law. In cases of conflict between this section and any other provision of this title, the provisions of this section shall prevail. To the extent that any provision of this section is in conflict with State law, the applicable provision of State law shall control, but all other provisions of this section shall remain in full force and effect.
(Ord. No. 27-20 N.S., § 7, 11-10-2020)
Editor's note— Ord. No. 27-20 N.S., § 7, adopted Nov. 10, 2020, repealed the former § 15.04.610.020, and enacted a new § 15.04.610.020 as set out herein. The former § 15.04.610.020 pertained to accessory dwelling units and derived from Ord. No. 16-16 N.S., § I(Exh. A, Exh. B), adopted Nov. 15, 2016; and Ord. No. 30-18 N.S., § I(Exh. A), adopted Dec. 18, 2018.
Accessory short-term rentals must be located, developed, and operated in compliance with the following standards, where allowed by the 200 Series, Base Zoning Districts:
A.
Where Allowed. Accessory short-term rentals of one or two bedrooms in a dwelling unit are allowed in Residential and Commercial Mixed-Use zoning districts, subject to the standards of this section and applicable license requirements of the Municipal Code, provided they do not detract from neighborhood character and the primary use of the dwelling remains residential. Accessory dwelling units and junior accessory dwelling units may not be rented for periods shorter than 30 days.
B.
Resident Occupancy Required. A resident must occupy the dwelling unit for at least 200 days during each calendar year, and at least one of the unit's primary residents, acting as the host must be on-site, meaning the host is living in one of the bedrooms in the primary structure or in an accessory dwelling unit on the site.
C.
No Limitation on Number of Short-term Rentals. There are no limitations on the annual number of home shares permitted by this section, provided all of standards of this Code are met.
D.
Habitable Space Required. A home-share may only offer space for short-term rentals that qualifies as habitable space, as defined by the Building Code. This means that a host may not rent space in an accessory structure, such as a storage shed or a garage, as a "home-share" space.
E.
Business License Required and Transient Occupancy Tax Required. A valid business license is required to conduct a home-share business, and the applicable transient occupancy tax, as established by the Chapter 7.88 of the Municipal Code, must be paid by the guest when paying the rental. The collected transient occupancy tax must then be remitted to the City within 30 days of receipt.
F.
Hired Services. Hired services for normal maintenance, repair and care of the residence or the site, such as yard maintenance and house cleaning, are allowed.
G.
Permit Number in All Advertising. In any advertisement of the home-share service, a host must include the business license number issued by the City.
H.
Emergency Exits. A host must provide guests with information related to emergency exits if the unit is part of a multi-unit complex of more than one story.
(Ord. No. 27-20 N.S., § 8, 11-10-2020)
An accessory use must be incidental, related, appropriate and clearly subordinate to the principal use of the building or site to which it relates and is subject to the same regulations and permitting requirements as the principal use. If then principal use requires a conditional use permit, then the accessory use also requires a conditional use permit.
A.
Exclusions. No use will be considered to be accessory to a principal use that involves or requires any of the following:
1.
Residential Districts. The use of more than one-quarter (25 percent) of the total floor area in the principal building and accessory building.
2.
Non-Residential Districts. The use of more than one-third (33 percent) of the total floor area in the principal building and the accessory building.
B.
Prohibited Uses. The following uses are prohibited from being accessory uses:
1.
Adult Businesses;
2.
Medical Marijuana Uses (including dispensaries, cultivation, and product manufacturing facilities);
3.
Liquor Stores;
4.
Bar/Nightclub/Lounge, except in hotels and at golf courses; and
5.
General and Limited Industrial Uses.
Adult businesses must be located, developed, and operated in compliance with the following standards, where allowed by the 200 Series, Base Zoning Districts:
A.
General Provisions. Because certain types of Adult businesses possess certain characteristics that are found objectionable, when concentrated, and can have a deleterious effect upon adjacent areas, locating them in the vicinity of facilities frequented by minors increases the likelihood that minors will be exposed to materials intended for adults. In addition, many persons are offended by the public display of certain sexual material. Therefore, special regulation of such uses is necessary to ensure that these adverse effects will not contribute to the blighting or downgrading of the surrounding neighborhood or have an adverse effect on minors.
B.
Applicability. The uses subject to these regulations include, without limitation:
1.
Adult bookstores, adult novelty stores, or adult video stores;
2.
Adult live entertainment theaters;
3.
Adult motion picture or video arcades; and
4.
Adult motion picture theaters.
5.
Exceptions. An "Adult business" does not include the practice of massage in compliance with Chapter 9.38 of the Municipal Code or persons depicting "specified anatomical areas" in a modeling class operated:
a.
By a college, junior college, or university supported entirely or partly by public revenue; or
b.
By a private college or university that maintains and operates educational programs in which credits are transferable to a college, junior college, or university supported entirely or partly by public revenue; or
c.
In a structure operated either as a profit or nonprofit facility:
i.
Which has no sign visible from the exterior of the structure and no other advertising that indicates a nude person is available for viewing; and
ii.
Where, in order to participate in a class, a student must enroll at least three days in advance of the class.
C.
Development Standards.
1.
Specific Location. Adult businesses must be located the following minimum distances:
a.
From any Residential District: 300 feet.
b.
From any educational institution, including, without limitation, public or private schools, nursery schools or child care facilities, religious and/or cultural institutions, hospitals and clinics, private or public parks or other areas where large numbers of minors regularly congregate: 1,000 feet.
c.
From another Adult business: 1,000 feet.
2.
Hours of Operation. Hours of operation are limited to the time period between 8 a.m. and 10 p.m. on Sunday, Monday, Tuesday, Wednesday and Thursday, and from 8 a.m.to 11 p.m. on Friday and Saturday.
3.
Display. No Adult business may display or exhibit any material in a manner that exposes to the public view, photographs or illustrations of specified sexual activities or naked adults in poses which emphasize or direct the viewer's attention to the subject's genitals. Adult news racks are also subject to this limitation.
4.
Security Program. An on-site security program must be prepared and implemented as follows:
a.
Exterior Lighting. All off-street parking areas and building entries serving an Adult business must be illuminated during all hours of operation with a lighting system that provides a minimum maintained horizontal illumination of one foot-candle of light on the parking surface and/or walkway.
b.
Interior Lighting. All interior portions of the Adult business, except those devoted to mini-motion or motion pictures, must be illuminated during all hours of operation with a lighting system that provides a minimum maintained horizontal illumination of not less than two foot-candles of light on the floor surface.
c.
Security Guards. Security guards for Adult businesses may be required if it is determined by the Police Department that their presence is necessary in order to prevent any unlawful conduct from occurring on the premises.
D.
Site Conditions.
1.
Façade. For existing buildings, pictures of the building(s) where the adult-oriented business is proposed to be located must be provided to the City upon submittal of a conditional use permit application. The exterior of the building(s) may be required to be repainted and repaired.
2.
Landscaping. The site must comply with all landscaping requirements of Article 15.04.613 (Water-Efficient Landscaping) in effect at the time of application.
3.
Litter. The exterior of an Adult business, including all signs and accessory buildings and structures, must be maintained free of litter and graffiti at all times. The owner or operator must provide for daily removal of trash, litter, and debris from premises and on all abutting sidewalks within 20 feet of the premises. The owner or operator also must remove graffiti within 72 hours. One permanent, non-flammable trash receptacle shall be installed near to the entrance/exit of the building.
Retail establishments that sell alcoholic beverages, including liquor stores and convenience markets, must be located, developed, and operated in compliance with the following standards, where allowed by the 200 Series, Base Zoning Districts:
A.
Applicability. These standards apply to alcohol sales for off-sale and on-sale consumption.
B.
Use Permit Required. Alcoholic beverage sales shall be allowed only in Industrial, Commercial and Mixed-Use zoning districts. A conditional use permit is required except an administrative use permit may be issued for on-sale beer and wine as part of a restaurant. In addition to the findings required for use permits by Section 15.04.806.040, the Planning Commission or Zoning Administrator must find that all of the following criteria have been met:
1.
That the proposed use will not aggravate existing problems in the neighborhood created by the sale of alcohol; and
2.
That the proposed use will not adversely affect adjacent or nearby uses, including churches and other places for religious assembly, schools, hospitals, parks, recreation centers, and residences; and
3.
That the proposed use will not interfere with vehicular or pedestrian circulation along a public street or sidewalk; and
4.
That the proposed use will be compatible with or enhance, where appropriate, the visual quality of the surrounding area; and
5.
That there is not an "undue concentration" of alcoholic beverage establishments in the surrounding area, as defined in Business and Professions Code Section 23958.4, and that the number of alcoholic beverage sales licenses in the census tract where the use will be located does not exceed the limit set by the California Department of Alcoholic Beverage Control; or
6.
If the criteria set forth in subparagraph 5 above are not met, then the Planning Commission or Zoning Administrator, as the case may be, must find that the public convenience or necessity would be served by approving retail alcoholic beverage sales at the proposed location for any two or more of the following reasons:
a.
The sale of alcoholic beverages will enhance recreational or entertainment opportunities in the area.
b.
The sale of alcoholic beverages will promote the economic viability of the area in which it is proposed.
c.
The sale of alcoholic beverages complements the sale of other goods and merchandise at the location.
d.
The issuance of a license at the proposed location will improve the safety and convenience of area residents who purchase alcoholic beverages.
C.
Location of off-sale retail establishments.
1.
Minimum distance from other liquor stores and convenience markets: 600 feet.
2.
Minimum distance from schools, recreational centers and public parks: 600 feet.
3.
Exception. These distance restrictions do not apply to general markets with an off-sale alcoholic beverage license that meet the following criteria: 25 or more full-time employees and/or a floor area of 20,000 square feet or more.
D.
Prohibited Products. To discourage nuisance activities, off-sale alcohol licensees shall be prohibited from selling any of the following products:
1.
Wine or distilled spirits in containers of less than 750 milliliters;
2.
Malt beverage products with alcohol content greater than five and one-half percent by volume;
3.
Wine with an alcoholic content greater than 14 percent by volume unless in corked bottles and aged at least two years;
4.
Single containers of beer or malt liquor (except craft beer, made by a small, independent, and traditional brewery, in a 22-ounce size or larger container);
5.
Containers of beer or malt liquor not in their original factory packages of six-packs or greater, notwithstanding the exception set forth above;
6.
Containers of beer or malt liquor larger than 39 ounces;
7.
Cooler products, either wine- or malt-beverage-based, in less than four-pack quantities.
E.
Standard List of Conditions of Approval for Alcoholic Beverage Sales.
1.
Hours of Operation. Days and hours of operation shall be between 8:00 a.m. and 8:00 p.m., seven days a week. Additional hours may be allowed by the Planning Commission or Zoning Administrator with appropriate conditions of approval.
2.
Lighting. All off-street parking areas and building entries serving a business selling alcoholic beverages must be illuminated during all hours of operation with a lighting system that provides a minimum maintained horizontal illumination of one foot-candle of light on the parking surface and/or walkway.
3.
Signs. The following signs must be prominently posted in a readily visible manner in English, Spanish, and the predominant language of the patrons:
a.
"California State Law prohibits the sale of alcoholic beverages to persons under 21 years of age";
b.
"No Loitering or Public Drinking"; and
c.
"It is illegal to possess an open container of alcohol in the vicinity of this establishment."
4.
Presentation of Documents. A copy of the conditions of approval and the California Department of Alcoholic Beverage Control license must be kept on the premises and presented to any law enforcement officer or authorized City official upon request.
5.
State License. Liquor stores shall comply with all provisions of any license required for such stores by the California Department of Alcoholic Beverage Control.
6.
Security Cameras. At least two 24-hour time-lapse security cameras are required to be installed and properly maintained on the exterior of the building at locations recommended by the Police Department. All criminal and suspicious activities recorded on this surveillance equipment must be reported to local law enforcement. To the extent allowed by law, the establishment's operators may be required to provide any tapes or other recording media from the security cameras to the Police Department.
7.
Inspections.
a.
All businesses that engage in retail alcoholic beverage sales shall be subject to inspection by the City staff any time the Chief of Police, or their designee, finds that criminal or nuisance activities are occurring on or near the premises.
b.
To ensure compliance with performance standards and/or conditions of approval, all businesses that engage in retail alcoholic beverage sales (for off-site consumption, not including full-service eating and drinking establishments) shall be subject to inspection once every calendar year. If a business is not compliant with all performance standards and/or conditions of approval upon first inspection, it shall be inspected a second time on a date determined by the inspection team, no later than 60 days from first inspection. If a business is not fully compliant upon second inspection, it may be inspected a third time on a date determined by the inspection team, no later than 30 days from the date of second inspection, or, if the continuing non-compliance poses imminent danger to the public health, safety, or welfare the inspection team may issue a notice of violation and take such other actions as are necessary to remedy the violation. If a business is found to be in violation of any performance standards and/or conditions of approval after a maximum of three inspections, planning staff shall schedule a hearing before the Planning Commission to determine whether the conditional use permit or deemed approved status should be revoked or modified. The business owner shall be invoiced for the costs of the inspection and any necessary re-inspection and enforcement costs in accordance with the City's master fee schedule.
8.
Sound Walls. If the alcoholic beverage sales commercial activity abuts a residential zoning district, a sound wall is required between the activity and the abutting lot. The sound wall must be no higher than six feet and must not obstruct the view of the building and parking areas from the street.
9.
Windows. On the primary frontage of a business engaged in retail alcoholic beverage sales there must be a minimum of 240 square feet of transparent fenestration in the area 30 inches above grade to 84 inches above grade that is to remain unobstructed during business hours.
10.
Cups. In uses with off-sale alcohol beverage retail sales, the sale or distribution to the customer of paper or plastic cups in quantities less than their usual and customary packaging is prohibited.
11.
Drug Paraphernalia. Uses with off-sale alcoholic beverage sales is prohibited from selling drug paraphernalia products as defined in Health and Safety Code Sections 11014.5 and 11364.5.
F.
Deemed Approved Alcoholic Beverage Sales Regulations. The general purposes of this chapter are to protect and promote the public health, safety, comfort, convenience, prosperity, and general welfare by requiring minimum performance standards for on- and off-sale retail alcoholic beverage sales that were legal nonconforming uses immediately prior to the effective date of this chapter.
1.
Performance standards for deemed approved status.
a.
The retail sale of alcoholic beverages shall retain its deemed approved status only if it conforms to all of the following deemed approved performance standards:
i.
The establishment does not change its type of retail on-sale or off-sale license granted by the State Department of Alcoholic Beverage Control (i.e., beer and wine to distilled spirits, or any conditions of its current license).
ii.
The business operation of the establishment is not abandoned, suspended or discontinued (including the case where retail alcoholic beverage sales for such operation is suspended) for a period of 120 days or more; provided that, this provision shall not apply when the business operation is suspended or discontinued because the building or structure in which the establishment is operating is:
(1)
Destroyed or damaged due to causes beyond the owner or operator of the establishment's control (i.e., fire, flood, act of God, etc.) and which prevents the establishment from operating; or
(2)
Being remodeled, enlarged or improved which prevents the establishment from operating, provided that building and other appropriate City permits have been obtained within 120 days after the business operation is discontinued. In the event that such building and other City permits expire or are revoked, then such establishment shall be required to obtain a conditional use permit in order to continue or reestablish its operation.
iii.
The square footage of the floor area within the establishment devoted to the display or sale of alcoholic beverages is not increased by 25 percent or more.
iv.
The retail ABC license is not transferred to another location within the City of Richmond or the establishment, either in whole or in part, is moved or relocated to another location within the City of Richmond.
v.
The business operator is not found by an administrative hearing officer or court of competent jurisdiction to have violated any ordinance of this City, or any federal or state law or regulation.
vi.
The business operation does not result in repeated nuisance activities within the premises or in close proximity of the premises, including but not limited to disturbance of the peace, illegal drug activity, public drunkenness, drinking in public, harassment of passersby, gambling, prostitution, sale of stolen goods, public urination, theft, assaults, batteries, acts of vandalism, excessive littering, loitering, graffiti, illegal parking, excessive loud noises, especially in the late night or early morning hours, traffic violations, curfew violations, lewd conduct, or police detentions and arrests. In evaluating whether nuisance activities are occurring on or near the premises of an establishment, the Chief of Police, Planning Commission or City Council shall take into consideration whether the owner of the establishment, or the owner's agent, has taken reasonable steps to abate the nuisance, including contacting and cooperating with the Richmond Police Department, provided that:
(1)
Neither the owner of the establishment nor the owner's agent shall be required to engage in abatement activities that would endanger the safety of the owner or the owner's agent; and
(2)
The fact that the owner of the establishment or the owner's agent calls for Richmond Police Department assistance shall not by itself constitute a basis for finding that a nuisance exists on the premises of the establishment.
G.
Standards and Procedures for Existing Alcoholic Beverage Retail Establishments ("Deemed Approved" Activities). All on-sale and off-sale alcoholic beverage retail establishments that have been legally existing and operating with all required licenses and without conditional use permit prior to the adoption of this section shall be permitted to operate at their present location as a "deemed approved" activity; provided that such establishments shall not be permitted to operate without a conditional use permit if any of the following occur:
1.
The establishment changes its type of retail on-sale or off-sale license granted by the California Department of Alcoholic Beverage Control (i.e., beer and wine to distilled spirits);
2.
The business operation of the establishment is abandoned, suspended or discontinued (including the case where a retail ABC license for such operation is suspended) for a period of 120 days; provided that, this provision shall not apply when the business operation is suspended or discontinued because the building or structure in which the establishment is operating is:
a.
Destroyed or damaged due to causes beyond the owner of the establishment's control (i.e., fire, flood, act of God, etc.) and which prevents the establishment from operating, or
b.
Being remodeled, enlarged or improved which prevents the establishment from operating, provided that building and other appropriate City permits have been obtained within 120 days after the business operation is discontinued. In the event that such permits expire or are revoked, then such establishment shall be required to obtain a conditional use permit in order to continue or reestablish its operation;
3.
The square footage of the floor area within the establishment devoted to the display or sale of alcoholic beverages is increased by 25 percent or more;
4.
The retail ABC license is transferred to another location within the City or the establishment, either in whole or in part, is moved or relocated to another location within the City.
(Ord. No. 30-18 N.S., § I(Exh. A), 12-18-2018; Ord. No. 25-20 N.S., § I(Exh. A), 11-10-2020)
Animal Keeping establishments must be located, developed, and operated in compliance with the following standards, where allowed by the 200 Series, Base Zoning Districts:
A.
Where Allowed. Animal keeping is allowed as an accessory use to a residential use subject to the standards of this Section. Animal husbandry is allowed in Open Space and Agricultural Districts.
B.
Household Pets. The keeping of four or fewer small domestic household pets, such as cats, dogs, chickens, and birds for noncommercial purposes, is permitted. The keeping of more than four small domestic, household pets is subject to administrative use permit approval.
C.
Other Animals Allowed in Residential Districts. In Residential Districts, the following animals are allowed, subject to the specified standards.
1.
Large Animals. See RMC Section 9.24.060.
a.
Horse Stables.
i.
Proximity. No horse stable shall be located closer than 50 feet to any property line, closer than 50 feet to any dwelling on the site, or closer than 100 feet to any other dwelling.
ii.
Maximum Equine Boarding. A maximum of two equines not owned by the resident of the involved property may be boarded or kept as an accessory use without such boarding or keeping being regarded as a commercial equine keeping operation; provided, however, that the total number of equines being boarded or kept does not exceed one for each 4,000 square feet of lot area.
2.
Small Animals. The keeping of four or fewer small animals (e.g., chickens, birds, ducks, and rabbits) are permitted, provided that:
a.
Such small animals are for the domestic use of the residents of the lot only and are not kept for commercial purposes.
b.
The keeping of such small animals is not injurious to the health, safety, or welfare of the neighborhood and does not create offensive noise or odor as determined by the Zoning Administrator after advice from the County Health Department or County Animal Services Officer.
c.
Such animals shall be kept in coops or enclosures that are no closer than 15 feet to any dwelling.
D.
Offspring. The offspring of any permitted animal may be kept until weaned, unless they do not exceed the total number of animals allowed.
E.
Prohibited Animals. No predatory wild animals, roosters, endangered animals, or protected animals are allowed to be kept within the City.
F.
Slaughtering of Animals Prohibited. No slaughter of animals is allowed anywhere in the City.
G.
Odor and Vector Control. Animal structures and exercise areas, including pens, coops, cages, and feed areas, must be maintained free from litter, garbage, and the accumulation of manure so as to discourage the proliferation of flies, other disease vectors and offensive odors. Manure and feces must not be allowed to accumulate within setback areas.
H.
Containment. Animals must be effectively contained on the site and not be allowed to run free on any lot in a separate ownership or in a public right-of-way.
I.
Unlawful Acts. It is unlawful for a person owning an animal to do any of the following. A violation of this Section is also a public nuisance and may be prosecuted as such.
1.
Abandon the animal, except to surrender it to an animal shelter or Contra Costa Animal Services;
2.
Fail to license a dog over the age of four months, or allow a dog to leave its premises when the dog does not have a current license affixed to its collar;
3.
Allow an animal to be at large (or to be at a public park, playground or school unless under leash restraint);
4.
Allow a dog to enter on private property without the consent of the person in possession of the property or to damage or destroy a lawn, tree, shrub, or other planting or any other improvement or thing of value on the property;
5.
Allow an animal to defecate on public property or private property of another without immediately cleaning up. The owner of each animal is responsible for the immediate removal of any excreta deposited by the animal anywhere but the owner's own property, and the sanitary disposal of the removal;
6.
Fail to clean up excreta on one's own property within a reasonable period of time;
7.
Allow a barking dog or another animal-related noise that continues for 30 minutes or more in any 24-hour period or intermittently for 60 minutes or more during any 24-hour period causing disturbance to any person regardless of whether the animal is physically situated on private property;
8.
Allow a female dog to roam at large or remain accessible to other roaming dogs while the dog is in heat or breeding condition;
9.
Allow an animal to be tethered or leashed on any street or other public place unattended, except temporary tethering or leashing (or tying in an appropriate and safe place) as the owner enters a store or public place for a specific purpose. In no case shall the temporary tethering exceed 15 minutes;
10.
Tether, fasten, chain, tie or restrain a dog to a dog house, tree, fence or other stationary object for any longer than three hours in a 24-hour period, except:
a.
To a running line, pulley, or trolley system (without a choke or pinch collar); or
b.
As required by a camping or recreational area.
11.
Harbor or feed a feral cat except on one's own property;
12.
Beat, cruelly ill-treat, torment, tease, overload, overwork, or otherwise abuse an animal, nor cause, instigate, or permit any dogfight, cockfight, or combat between animals or animals and humans, excluding police canines;
13.
Own, keep or train a dog with the intent that the dog engage in an exhibition of fighting; or cause a dog to fight with or injure another dog, for amusement or gain; or permit either of those actions on premises under his or her control; and
14.
Expose any known poisonous substance, whether mixed with food or not, so that the substance is liable to be eaten by an animal (except for a person to expose on his or her own property common rat poison mixed only with vegetable substances for the sole purpose of combating rat infestation).
J.
Compliance with Contra Costa County Code. All animal keeping shall be in compliance with the Contra Costa County Code, Title IV Article 416 (Animals). With an administrative use permit, the number of animals allowed may be increased by one from the maximum number set in the County Code.
(Ord. No. 30-18 N.S., § I(Exh. A), 12-18-2018; Ord. No. 01-19 N.S., § II(Exh. A), 1-15-2019)
Automobile/vehicle sales and leasing facilities must be located, developed, and operated in compliance with the following standards, where allowed by the 200 Series, Base Zoning Districts:
A.
Location. Automobile/Vehicle Sales and Leasing are permitted on a site with at least one frontage on an arterial street.
B.
Landscaping and Screening. In addition to complying with the landscaping standards in Article 15.04.613 (Water-Efficient Landscaping), additional screening and landscaping may be required where necessary to screen adjacent Residential districts.
C.
Vehicle Loading and Unloading. All vehicle loading and unloading must occur on site in the rear half of the site. If the lot abuts a Residential District, the loading and unloading may be located where it will have a lesser impact on the adjacent lot. All loading and unloading must occur during weekday business hours.
D.
Vehicle Storage. All vehicles displayed for sale or lease shall be stored on site; no overnight storage on public streets is allowed.
(Ord. No. 30-18 N.S., § I(Exh. A), 12-18-2018)
Major automobile/vehicle repair facilities, including facilities accessory to a dealership, must be located, developed, and operated in compliance with the following standards, where allowed by the 200 Series Base Zoning Districts:
A.
Landscaping and Screening. In addition to complying with the landscaping standards in Article 15.04.613 (Water-Efficient Landscaping), additional screening and landscaping may be required where necessary to screen adjacent Residential districts.
B.
Work Areas. All work must be conducted within an enclosed building, except pumping motor vehicle fluids, checking and supplementing fluids, and mechanical inspection and adjustments not involving any disassembly.
C.
Vehicle Storage. Vehicles being worked on or awaiting service or pick up must be stored within an enclosed building or in a parking lot that is adequately screened, with an earthen berm, screen wall or a building. Screen walls must be located on lot lines with the exception of yards along streets, where the screen wall must be located outside of required setbacks. Unattended vehicles shall not be parked or stored on the sidewalk adjoining the property, or on the street. Screen walls are not required when the site is located in an Industrial District that abuts a non-arterial street.
D.
Equipment and Product Storage. Exterior storage, including tires, must not be visible from arterial streets or a Residential District.
E.
Spray/Paint Booths. Spray booth stacks must be screened from arterial streets, and must be separated a minimum of 500 feet from Residential districts, parks, schools, and daycare centers. The Planning Commission may reduce this separation to no less than 100 feet if a human health risk assessment (HHRA), prepared by a qualified professional, demonstrates to the satisfaction of the Commission that levels of spray booth chemicals present in the ambient air at adjacent properties will be below applicable thresholds of concern for human health.
F.
Discard. No used or discarded automotive parts or equipment or permanently disabled, junked, unregistered, or wrecked vehicles may be stored outside of the main building, except in an approved location on-site. Parts or equipment may be temporarily stored outdoors for no longer than one week, but must be screened from view.
G.
Noise. All body and fender work or similar noise-generating activity must be enclosed in a masonry or similar building with sound-attenuating measures incorporated into the building design and construction to absorb noise. Bay openings must be oriented so as to minimize the effects of sound emanating from the auto repair building towards residential uses, outdoor restaurant seating, and outdoor reception areas. Compressors must be located within separately enclosed, sound-attenuated rooms.
Automobile/vehicle washing facilities must be located, developed, and operated in compliance with the following standards, where allowed by the 200 Series, Base Zoning Districts:
A.
Landscaping and Screening. In addition to complying with the landscaping standards in Article 15.04.613 (Water-Efficient Landscaping), additional screening and landscaping may be required where necessary to prevent visual impacts on adjacent Residential districts.
B.
Washing Facilities. A recycled water system is required.
C.
Hours of Operation. Washing facilities are limited to 7 a.m. to 11 p.m., seven days a week. When abutting or adjacent to a Residential District, the hours of operation are limited to 8 a.m. to 7 p.m., seven days a week.
D.
Litter. The site must be maintained free of litter and graffiti at all times. The owner or operator must provide for daily removal of trash, litter, and debris from premises and on all abutting sidewalks within 20 feet of the premises. The owner or operator must remove graffiti within 72 hours.
E.
Adequate Queuing Areas. Vehicle queuing areas shall be provided to ensure that there is no interference with vehicle access and on-site circulation and with circulation on adjacent public streets. Vehicle queuing areas must be approved by the Director of Engineering and Capital Improvement Projects.
Bed and breakfast establishments shall be located, developed, and operated in compliance with the following standards, where allowed by the 200 Series, Base Zoning Districts:
A.
Type of Residence. Bed and breakfast establishments must be located, developed and operated within a single-unit dwelling.
B.
Number of Rooms. No more than two rooms shall be rented unless the right to rent additional rooms is granted by an administrative use permit.
C.
Appearance. The exterior appearance of a structure housing a bed and breakfast establishment shall not be altered from its original single-unit character.
D.
Limitation on Services Provided. Meals and rental of bedrooms shall be limited to registered guests. Separate or additional kitchens for guests are prohibited.
E.
When located on the Shoreline. Any lodging or visitor-services located on the shoreline of San Francisco Bay and San Pablo Bay are required to provide and maintain public access facilities, as required by the Bay Conservation and Development Commission, unless such access would adversely affect natural resources or natural processes.
Industrial and commercial establishments that manufacture and sell beer, wine and similar beverages, including production breweries, wineries, brew-on-premises breweries, and micro-breweries, must be located, developed, and operated in compliance with the following standards, where allowed by the 200 Series, Base Zoning Districts:
A.
Accessory Retail Sales. Breweries and Wineries that sell alcoholic beverages for off-site consumption must conform to the regulations in Section 15.04.610.060 Alcoholic Beverage Sales.
1.
Accessory retail sales within the Industrial Buffer Zone, as shown on the Zoning Map, are not allowed.
2.
In all other zones where breweries and wineries are allowed, the gross floor area devoted to accessory retail sales shall not exceed 10 percent of the total floor area and the sales are limited to beverages manufactured on-site.
B.
On-site Sales or Tasting. On-site sale or tasting, for a fee or no fee, of alcoholic beverages is allowed as an accessory use with an administrative use permit and a license from the California Department of Alcoholic Beverage Control, if required. Only the beverages manufactured on-site shall be offered for sale or tasting, and the total floor area for on-site sales and tasting/ shall not exceed 10 percent of the gross floor area of the brewery. Beer brewed by a customer in a brew-on-premises brewer shall not be sold and must be used by the customer for personal or family use.
(Ord. No. 30-18 N.S., § I(Exh. A), 12-18-2018)
Commercial/Recreation and Entertainment must be located, developed, and operated in compliance with the following standards, where allowed by the 200 Series, Base Zoning Districts:
A.
Entrance. Lobby entrance areas should be designed so as to minimize obstruction of sidewalks during operation hours.
B.
Location.
1.
Minimum distance from nearest school: 1,000 feet.
2.
Minimum distance from nearest religious assembly use, residential facility, rest home or public library: 300 feet.
3.
The distance requirements imposed by this subsection may be waived by the Planning Commission pursuant to Article 15.04.809 (Waivers).
(Ord. No. 30-18 N.S., § I(Exh. A), 12-18-2018)
Community assembly facilities must be located, developed, and operated in compliance with the following standards, where allowed by the 200 Series, Base Zoning Districts:
A.
Minimum Site Area.
1.
In Non-Residential Districts. 10,000 square feet.
2.
In Residential Districts. 20,000 square feet.
B.
Setback from Residential District or Use. A minimum setback of 20 feet must be provided adjacent to any Residential District.
C.
Outdoor Activity Areas. Outdoor areas used for recreation, meetings, services or other activities involving groups of persons must be at least 50 feet from any Residential District boundary or residential use.
D.
Hours of Operation. Permitted hours of operation are between 9:00 a.m. and 9:00 p.m., seven days a week. Additional hours may be allowed with a conditional use permit.
E.
Permitted Accessory Uses. Community assembly uses may include administrative offices, kitchen facilities, multi-purpose rooms, storage, and other uses that are accessory to the facilities for public or private meetings. Places of worship may provide religious instruction as an accessory use; however, when a full school curriculum is offered, the school use will be separately classified as a school and subject to review as such.
Convenience Markets must be located, developed, and operated in compliance with the following standards, where allowed by the 200 Series, Base Zoning Districts:
A.
Conditional Use Permit. Conditional use permits are required for any convenience market of more than 3,000 square feet (1,000 square feet in an ILL district).
B.
Maximum Size. 5,000 square feet.
C.
Setbacks. No building or structure shall be located within 20 feet of an interior lot line abutting a Residential district.
D.
Litter. The site must be maintained free of litter and graffiti at all times. The owner or operator must provide for daily removal of trash, litter, and debris from premises and on all abutting sidewalks within 20 feet of the premises. The owner or operator must remove graffiti within 72 hours. One permanent, non-flammable trash receptacle shall be installed near to the entrance/exit of the building.
E.
Hours of Operation. Permitted hours of operation are between 7:00 a.m. and 11:00 p.m., seven days a week, unless longer hours are allowed with a conditional use permit.
F.
Limitation on Sales Area of Tobacco Products and Alcoholic Beverages. No more than 20 percent of the sales display shelves shall be devoted to tobacco products or alcoholic beverages.
Domestic Violence Shelters must be located, developed, and operated in compliance with the following standards, where allowed by the 200 Series, Base Zoning Districts:
A.
Plan of Operation. Domestic Violence Shelters must have a plan of operation, including but not limited to, patron access requirements, hours of operation, control of congregate activity, security measures, litter control, and noise attenuation; and
B.
Building and Fire Safety Regulations. Evidence of compliance with all Building and Fire Safety regulations and any other measures necessary and appropriate to ensure compatibility of the proposed use with the surrounding area is required.
Drive-in and drive-through facilities must be located, developed, and operated in compliance with the following standards, where allowed by the 200 Series, Base Zoning Districts:
A.
Landscaping and Screening. In addition to complying with the landscaping standards in Article 15.04.613 (Water-Efficient Landscaping), additional screening and landscaping may be required where necessary to prevent visual impacts on adjacent Residential districts.
B.
Circulation. Drive-through facilities must provide safe, unimpeded movement of vehicles at street access points, in travel aisles, and parking areas. A site plan showing directional movements for interior traffic circulation must be provided for review by the Public Works Director.
C.
Pedestrian Walkways. Vehicle aisles must not intersect with interior pedestrian walkways, unless no alternative exists. In such cases, pedestrian walkways must have clear visibility, emphasized by enhanced paving or markings.
D.
Stacking. Vehicular stacking areas must be provided to ensure vehicle queue will not interfere with public rights-of-way, private streets, or with on- or off-site parking and circulation. Stacking area size requires approval by the Public Works Director.
E.
Screening. Each drive-through aisle must be screened with a combination of decorative walls and landscape to a height of 36 inches to prevent headlight glare and direct visibility of vehicles from adjacent streets and parking lots.
F.
Trash and Waste.
1.
Garbage and trash containers shall be provided in locations suitably enclosed and screened so as not to be visible from a public right-of-way.
2.
A waste receptacle shall be placed near the entry way to the drive-in or drive-through facility.
3.
The site must be maintained free of litter and graffiti at all times. The owner or operator must provide for daily removal of trash, litter, and debris from premises and on all abutting sidewalks within 100 feet of the premises. The owner or operator must remove graffiti within 72 hours. One permanent, non-flammable trash receptacle shall be installed near to the entrance/exit of the building.
G.
Site Design.
1.
Drive-through elements must be placed to the side or rear of the building. Drive-through windows must be oriented away from the street frontage and provide adequate screening measures through landscaping and design to minimize visibility of the drive-through.
2.
The design of freestanding drive-through facilities must be compatible with the principal building, in terms of building color, materials, and form.
Emergency shelters must be located, developed, and operated in compliance with the following standards where allowed by the 200 Series, Base Zoning Districts:
A.
Proximity to Other Shelters. Minimum distance from other emergency shelter: 300 feet.
B.
Facility Requirements. Each emergency shelter shall include, at a minimum:
1.
A courtyard or other on-site area for outdoor client congregation, so that clients waiting for services are not required to use the public sidewalk for queuing;
2.
On-site management during hours of operation when clients are present, and an area for the manager near the entry to the facility;
3.
Exterior lighting at all building entrances and outdoor activity areas activated between sunset and sunrise of each day for security purposes.
C.
Common Facilities. The emergency shelter facility may provide one or more of the following specific facilities and services:
1.
Child care facilities.
2.
Commercial kitchen facilities operated in compliance with Health and Safety Code Section 113700, et seq.;
3.
Dining area;
4.
Laundry;
5.
Recreation room; and
6.
Support services (e.g., training, counseling).
D.
Maximum Number of Beds. No more than 10 beds shall be provided in any single emergency shelter located in a Residential zoning district and no more than 25 beds shall be provided in any single emergency shelter located within a Mixed-Use zoning district, except:
1.
In response to a disaster; or
2.
As authorized by a conditional use permit.
E.
Parking. At least one parking space for every four beds and one additional parking space for every ten beds. The Zoning Administrator may reduce this parking requirement upon finding that the actual parking demand will be less than the standard assumes.
F.
Bicycle Parking. At least one bicycle space for every five beds.
A day care center must be located, developed, and operated in compliance with the following standards, where allowed by the 200 Series, Base Zoning Districts:
A.
Licensing. Day Care Centers shall be licensed or certified by the State of California and shall be operated according to all applicable state and local regulations.
B.
Screening. A periphery fence or wall, constructed of wood or masonry, must be provided to screen and secure outdoor areas. Barbed wire is prohibited.
C.
Outdoor Space. A minimum of 50 square feet of outdoor recreational space must be provided for each child over two years old. Swimming pools and adjacent pool decking shall not count towards meeting this space. The outdoor area cannot be located in any required front or street side yard, nor can it be shared with other property owners.
D.
Passenger Loading. Curbside loading is presumed adequate for drop-off and pick-up of children; however, where the Zoning Administrator determines that curbside loading is not adequate, a passenger loading plan will be required.
E.
Notification of Changes in Operation. The operator of the Day Care Center shall notify the Zoning Administrator in writing of any modifications to hours of operation and drop off and pick up locations.
(Ord. No. 30-18 N.S., § I(Exh. A), 12-18-2018)
Farmers markets must be located, developed, and operated in compliance with the following standards, where allowed by the 200 Series, Base Zoning Districts:
A.
Qualified Operator. Farmers markets must be operated by one or more producers, a nonprofit organization, or a local government agency.
B.
Permits Required. The market operator and vendors must obtain an administrative use permit and secure all necessary licenses, certificates and health permits, including permits for street closure, if applicable. All permits (or copies of them) must be in the possession of the farmers market manager during all hours of operation.
C.
Management Plan. A management plan must be prepared and provided to the Zoning Administrator. The management plan must include the following:
1.
Identification of a market manager or managers, who must be present during all hours of operation.
2.
A set of operating rules addressing the governance structure of the market; the method of assigning booths and registering vendors; hours of operation; maintenance; security; refuse collection; and parking.
D.
Hours of Operation. Market activities may be conducted between 7:00 a.m. and 8:00 p.m., seven days a week. Set-up of market operations cannot begin more than one hour prior to the operational hours of the market, and take-down must be completed within one hour of the close of the market.
E.
Waste Disposal. Adequate composting, recycling, and trash containers must be provided during hours of operation, and must be removed from site for appropriate disposal. The site must be cleaned at the end of each day of operations, including the removal of all stalls and debris.
F.
Pedestrian Clearance. A farmers market must not obstruct any sidewalk or path that is part of a pedestrian circulation system.
Group residential facilities must be located, developed, and operated in compliance with the following standards, where allowed by the 200 Series, Base Zoning Districts:
A.
Minimum Lot Area. When located in a Residential district, the minimum lot area is 10,000 square feet.
B.
Laundry Facilities. Laundry facilities must be provided on-site.
C.
Common Open Space. Common open space of 20 square feet for each person who resides in the facility must be provided.
D.
Security. Parking garages, surface parking, and private and common areas located outside the building must be designed to protect the security of residents, guests, and employees by controlling access to the facilities by other persons.
A.
Conditional Use Permit Required. All hazardous waste facility projects require a Use Permit pursuant to Article 15.04.806 (Use Permits). All applications for hazardous waste facility projects in the Contra Costa County Hazardous Waste Management Plan shall comply with the procedures set forth in Public Resources Code Sections 21000-21177 and Government Code Section 65920 et seq. or any successor statutes. The local permitting process is intended to ensure adequate protection of public health and the environment without imposing undue restrictions on projects.
B.
Application Contents. Every application for a hazardous waste facility project shall be made in writing to the Zoning Administrator on the forms provided by the Planning Department, accompanied by a filing fee pursuant to Article 15.04.803 (Common Procedures) and shall include all information contained in the submittal requirements list published by the Zoning Administrator.
C.
Specified Hazardous Waste Facilities. All applications for specified hazardous waste facility projects must follow the procedures set forth in Article 15.04.806 (Use Permits), Health and Safety Code Sections 25199 et seq. or any successor statute, Public Resources Code Sections 21000—21177, and Government Code Section 65920 et seq. or any successor statutes.
D.
Standards and Locational Criteria. All specified hazardous waste facility projects in the City shall comply with the siting criteria set forth in the Contra Costa County Hazardous Waste Management Plan and the following criteria:
1.
Proximity to Populations. Residuals repositories shall be a minimum distance of 2,000 from any residence.
2.
Capability of Emergency Services. All facilities shall be located in areas where Fire Departments is able to respond immediately to hazardous material accidents, where mutual aid and immediate aid agreements are well established and where demonstrated emergency response times are the same or better than those recommended by the National Fire Prevention Association. In addition, hazardous materials accident response services at the facility may be required based on the type of wastes handled or the location of the facility.
3.
Flood Hazard Areas. Residuals repositories are prohibited in areas subject to inundation by floods with a 100-year return frequency, and shall not be located in areas subject to flash floods and debris flows. All other facilities shall not locate in floodplains or areas subject to flash floods and debris flows unless they are designed, constructed, operated, and maintained to prevent migration of hazardous wastes in the event of inundation.
4.
Proximity to Active or Potentially Active Faults. All facilities are required to have a minimum 200-foot setback from a known active earthquake fault.
5.
Slope Stability. Residuals repositories are prohibited in areas of potential rapid geologic change. All other facilities shall not locate in areas of potential rapid geologic change unless containment structures are designed, constructed, and maintained to preclude failure as result of such changes.
6.
Subsidence/Liquefaction. Residuals repositories are prohibited from locating in areas of potential rapid geologic change. All other facilities shall avoid locating in areas of potential rapid geologic change unless containment structures are designed, constructed, and maintained to preclude failure as a result of such changes.
7.
Discharge of Treated Effluent. Facilities generating wastewater shall be located in areas with adequate sewer capacity to accommodate the expected wastewater discharge. If sewers are not available, the site should be evaluated for ease of connecting to a sewer or for the feasibility of discharge directly into a stream or the ocean. All facilities should comply with all State and federal permitting requirements.
8.
Depth to Groundwater. Residuals repositories and facilities with subsurface storage and/or treatment are prohibited in areas where the highest anticipated elevation of underlying groundwater is five feet or less from the lowest subsurface point of the facility. At all facilities, the foundation of all containment structures at the facility must be capable of withstanding hydraulic pressure gradients to prevent failure due to settlement, compression, or uplift as certified by a California-registered civil engineering geologist.
9.
Groundwater Monitoring. Residuals repositories and facilities with subsurface storage and/or treatment must develop a program that successfully satisfies the Regional Water Quality Control Board permit requirements for groundwater monitoring. Facilities that handle liquids should be located where groundwater flow is in one direction with no vertical interformational transfer of water.
10.
Major Aquifer Recharge Area. Residuals repositories are prohibited within any area known to be, or suspected of, supplying principal recharge to a regional aquifer. Facilities with subsurface storage or treatment must be located at least one-half mile away from potential drinking water sources. All other facilities located in areas known to be, or suspected of providing recharge to an existing water supply well, shall provide for increased spill containment and inspection measures.
11.
Soil Permeability. Soil permeability requirements for disposal and subsurface treatment and storage facilities shall conform to those required by the State Water Resources Control Board. All other above-ground facilities shall have engineered structural design features common to other types of industrial facilities. These features shall include spill containment and monitoring devices. All other facilities may be located in areas where surficial materials are principally highly permeable if adequate spill containment and inspection measures are employed.
12.
Existing Groundwater Quality. Residuals repositories are allowed only where the uppermost water-bearing zoning district or aquifer is presently mineralized (by natural or human induced conditions) to the extent that it could not reasonably be considered for beneficial use. All other facilities located in areas where existing groundwater quality is Class 1 or Class 2 shall provide increased spill containment and inspection measures.
13.
Proximity to Areas of Waste Generation. Subject to other standards and criteria described herein, all facilities shall be located in areas best suited for providing services to any hazardous waste generators in the City. Facilities that will primarily serve generators from outside the City must demonstrate why the facility cannot be located closer to the points of hazardous waste generation to be serviced.
E.
Conditions. The following conditions shall apply to all proposed facilities:
1.
Fire and Building Codes. All storage or use of hazardous materials must be approved by the Fire Chief and be in conformance with all applicable fire and building codes.
2.
Safety and Security. The operator shall provide a 24-hour surveillance system that continuously monitors and controls entry onto the facility. Perimeter fencing shall be constructed and security measures taken to prevent climbing and scaling of fences. Masonry walls shall be used when the facility is adjacent to non-industrial uses. The Zoning Administrator shall determine compliance with this standard.
3.
Monitoring.
a.
Upon reasonable notice, and for the purpose of ensuring compliance with all standards, conditions, and other requirements that the City is authorized to enforce, City officials may enter the premises on which a hazardous waste facility permit has been granted.
b.
The owner or operator of a facility shall report quarterly to the Zoning Administrator the amount, type and disposition of all wastes processed by the facility. The report shall include copies of all manifests showing the delivery and types of hazardous wastes, a map showing the exact location (coordinates and elevation), and the quantities and types of materials placed in repositories, stored or disposed of onsite.
c.
The owner or operator of a hazardous waste facility shall immediately send copies of all complaints regarding facility operations and copies of all inspection reports made by other local, state or federal agencies to the Zoning Administrator.
Home occupations must be located, developed, and operated in compliance with the following standards, where allowed by the 200 Series, Base Zoning Districts:
A.
Applicability. The standards of this Section apply to an occupation head conducted in a dwelling unit, garage or accessory building in a residential or mixed use district that is incidental to the principal residential use.
B.
Zoning Compliance Review. An application for zoning compliance review must be filed in accordance with the provisions of Article 15.04.804.
C.
Exterior Residential Appearance. The exterior residential appearance of the unit within which the home occupation is conducted must be maintained. No exterior indication of a home occupation is permitted. There shall be no visible signs, except as required by law.
D.
Outdoor Equipment. No outdoor storage or display of vehicles, equipment, materials or supplies related to the home occupation shall be permitted, with a single exception: one business vehicle, up to one-ton payload capacity, with signage, used for the home occupation is permitted.
E.
Employees. No more than one person other than resident(s) of the dwelling shall be employed on-site or report to work at the site of the home occupation, except for other employees of licensed child care facilities. This prohibition also applies to independent contractors.
F.
On-Site Client Contact. Customer and client visits are permitted, provided the home occupation does not generate pedestrian or vehicular traffic in excess of that customarily associated with the zoning district in which the use is located.
G.
Nuisances. A home occupation must be conducted such that no offensive or objectionable noise, dust, vibration, smell, smoke, heat, humidity, glare, refuse, radiation, electrical disturbance, interference with the transmission of wireless telecommunications, interference with radio or television reception, or other hazard or nuisance is perceptible on adjacent lots or in neighboring units in a multiple-unit building.
H.
Sale. There shall be no sale or display of a commodity on the premises of a home occupation. This prohibition does not apply to cottage food operations meeting the requirements of the California Department of Public Health.
I.
Prohibited Occupations and Activities. The business of distributing, transporting, or delivery of medical cannabis or medical cannabis products from the home is not an allowable home occupation. For the regulations and standards for medical marijuana uses, see Section 15.04.610.270.
Hospitals and clinics must be located, developed, and operated in compliance with the following standards, where allowed by the 200 Series, Base Zoning Districts:
A.
Location. Hospitals are only allowed on sites with at least one frontage on an arterial street.
B.
Minimum Street Frontage. 100 feet for hospitals; 50 feet for clinics.
Live-work units must be located, developed, and operated in compliance with the following standards, where allowed by the 200 Series, Base Zoning Districts:
A.
Establishment. Live-work units may be established through new construction or through the conversion of existing residential, commercial, and industrial buildings.
B.
Allowable Uses. Work activities in live-work units are limited to uses that are permitted outright, or allowed with an administrative use permit or conditional use permit in the zoning district in which the live-work units are located. The owner of an existing or proposed live-work building or unit, or an authorized agent of the owner may apply for the use permit. Live-work units are not permitted to contain only "work" or commercial uses. On-site storage and sale of materials and merchandise is allowed.
C.
Development Standards. Live-work buildings shall comply with the following standards.
1.
The minimum size of a live-work unit shall be 750 square feet.
2.
The work space must meet the requirements of the building code for the type activity/use being undertaken. Similarly, the area defined as the living space must comply with the building code requirements for habitable space.
3.
The reuse of existing commercial or industrial buildings for live-work occupancy shall not necessarily constitute a change of use.
4.
The occupant of a live-work space must acknowledge in writing that he/she, by selecting this type of occupancy, accepts the conditions found in the area, including but not limited to industrial noise, pollution, fumes, dirt, traffic and odors to the extent that they are permitted by law in the base district. The Planning Commission may include conditions to this effect to be recorded as part of the approval of a live-work application.
D.
Sale or Rental of Portions of Unit Above the Ground Level Prohibited. No portion of a live-work unit located above the ground level may be separately rented or sold as a commercial space for a person or persons not living on the premises, or as a residential space for a person or persons not working on the premises.
Manufactured homes must be located, developed, and operated in compliance with the following standards, where allowed by the 200 Series, Base Zoning Districts:
A.
Required Certification. A manufactured home must be certified under the standards set forth in the National Manufactured Housing Construction and Safety Standards Act of 1976, as amended, at the time of any application for placement of such manufactured home.
B.
Permanent Foundation. The manufactured home must be placed on a permanent foundation in accordance with the standards set forth in the Uniform Building Code.
C.
Age of Home. No more than 10 years may elapse between the date of the manufacture of the manufactured home and the date of the application for issuance of a permit to install a home on a lot in the City.
D.
Utilities. Each manufactured home must be provided permanent hookups for electricity, gas, water, and sewer connections in the same manner applicable to permanent buildings. Gas shutoff valves, meters, and regulators must not be located beneath the manufactured home, in compliance with the requirements of the Building Code for comparable residential structures.
Commercial Cannabis activities, including but not limited to cultivation, manufacturing, testing, distribution, and retail are subject to the standards and procedures of the Municipal Code, State Law, and the regulations set forth in these Zoning Regulations.
A.
Applicability. These standards apply to all establishments that are involved in any commercial cannabis activity.
B.
Definitions [5]. The following words or phrases, whenever used in this section, have the following definitions:
1.
A-license. A State license issued for cannabis or cannabis products that are intended for adults 21 years of age and over and who do not possess physician's recommendations.
2.
Attending Physician. An individual who possesses a license in good standing to practice medicine or osteopathy issued by the Medical Board of California or the Osteopathic Medical Board of California and who has taken responsibility for an aspect of the medical care, treatment, diagnosis, counseling, or referral of a patient and who has conducted a medical examination of that patient before recording in the patient's medical record the physician's assessment of whether the patient has a serious medical condition and whether the medical use of cannabis is appropriate.
3.
Bureau of Cannabis Control ("the Bureau"). The bureau within the California Department of Consumer Affairs created to develop, administer and enforce comprehensive rules for medicinal and adult-use cannabis in California. The Bureau is responsible for the regulation and licensing of all commercial cannabis retail, distribution, testing, microbusinesses and temporary cannabis events in California.
4.
California Department of Food and Agriculture — CalCannabis Cultivation Licensing ("the CDFA"). A division of the California Department of Food and Agriculture, responsible for the regulation and licensing of commercial cannabis cultivation in California.
5.
California Department of Public Health — Manufactured Cannabis Safety Branch ("the DPH"). A division of the California Department of Public Health, responsible for the regulation and licensing of all commercial cannabis manufacturing in California.
6.
Cannabis. All parts of the plant Cannabis sativa Linnaeus, Cannabis indica, or Cannabis ruderalis, whether growing or not; the seeds thereof; the crude or purified resin extracted from any part of the plant; and every compound, manufacture, salt, derivative, mixture, or preparation of the plant, its seeds or resin. It does not include the mature stalks of the plant, fiber produced from the stalks, oil or cake made from the seeds of the plant, any other compound, manufacture, salt, derivative, mixture, or preparation of the mature stalks (except the resin extracted therefrom), fiber, oil, or cake, or the sterilized seed of the plant which is incapable of germination. For the purposes of these zoning regulations, "cannabis" does not include "industrial hemp" as defined by Section 81000 of the California Food and Agricultural Code or Section 11018.5 of the California Health and Safety Code.
7.
Cannabis Business. Establishments, properties, parcels, and/or structures involved in any commercial cannabis activity, including retailers, non-storefront retailers, cultivators, manufacturers, transporters, testers, and distributors.
8.
Cannabis Plant. Any immature, flowering, or dried flower in accordance with State Law. Immature cannabis plant means a cannabis plant that has a first true leaf measuring greater than one-half inch long from base to tip (if started from seed) or a mass of roots measuring greater than one-half inch wide at its widest point (if vegetatively propagated), but which is not flowering. Flowing cannabis plant means that a cannabis plant has formed a mass of pistils measuring greater than one-half inch wide at its widest point. Dried flower means all dead cannabis that has been harvested, dried, cured, or otherwise processed, excluding leaves and stems.
9.
Cannabis Products. Cannabis that has undergone a process whereby the plant material has been transformed into a concentrate, including, but not limited to, concentrated cannabis, or an edible or topical product containing cannabis or concentrated cannabis and other ingredients.
10.
Collective. See Retail Facility.
11.
Commercial Cannabis Activity. The cultivation, possession, manufacture, distribution, processing, storing, laboratory testing, packaging, labeling, transportation, delivery or sale of adult-use or medicinal cannabis or cannabis products, as provided for in this Ordinance and in accordance to State Law.
12.
Cultivation. Any activity involving the planting, growing, harvesting, drying, curing, grading, or trimming of cannabis within an enclosed structure.
13.
Cultivation Site. An in-door location, including greenhouses, where cannabis is planted, grown, harvested, dried, cured, graded, or trimmed, or a location where any combination of those activities occurs.
14.
Customer. A natural person 21 years of age or older, a natural person 18 years of age or older who possesses a physician's recommendation, or a qualified patient or a primary caregiver.
15.
Delivery. The commercial transfer of cannabis or cannabis products from a retail or non-storefront retail facility to a customer.
16.
Dispensary. See Retail Facility.
17.
Distributor. A person or licensed entity engaged in the business of procuring, selling, storing, packaging, labeling, rolling and transporting cannabis or cannabis products from a licensed cultivator, manufacturer, or from any other State cannabis licensees for sale to any State cannabis licensee, in accordance with State Law. A distributor shall distribute only cannabis goods, cannabis accessories, and licensees' branded merchandise or promotional materials.
18.
Distribution. Means the procurement, sale, and transport of cannabis and cannabis products between licensees pursuant to Section 26000 of the California Business and Professions Code.
19.
Edible Cannabis Products. Manufactured cannabis that is intended to be used, in whole or in part, for human consumption, including, but not limited to, chewing gum, but excluding products set forth in Division 15 (commencing with Section 32501) of the California Food and Agricultural Code.
20.
Enclosure. An area fully surrounded by a fence, wall, or other solid barrier that prevents access to cannabis. Enclosures must be equipped with a locked gate or door.
21.
Greenhouse. A building, room, or structure, usually chiefly of transparent material, used for cultivation of cannabis which meets State requirements for mixed-light cultivation.
22.
Indoor Cultivation. The cultivation of cannabis within a permanent structure using exclusively artificial light or within any type of structure using artificial light.
23.
License. A State issued cannabis license, which includes both an A-license and an M-license, as well as a testing laboratory license.
24.
Licensee. Any person or entity holding a State issued commercial cannabis A-license or an M-license, and includes the holder of a cannabis testing laboratory license.
25.
M-license. A State license issued for commercial cannabis activity involving medicinal cannabis.
26.
Manager. A person with responsibility for the establishment, organization, registration, supervision, or oversight of the operation of a cannabis business, including but not limited to persons who perform the functions of president, vice president, director, operating officer, financial officer, secretary, treasurer, or manager of the business.
27.
Manufacturer. A State-licensee that manufactures cannabis by compounding, blending, extracting, infusing, or otherwise making or preparing cannabis products. "Manufacture" includes extraction, infusion, packaging or repackaging, and labeling or relabeling packages of cannabis products, in accordance with State law.
28.
Marijuana. See Cannabis.
29.
Mixed-Light Cultivation. The cultivation of mature cannabis in a greenhouse, glasshouse, conservatory, or other similar structure using light deprivation and/or one of the artificial lighting models described below:
a.
Mixed-light Tier 1, the use of artificial light at a rate of six watts per square foot or less;
b.
Mixed-light Tier 2, the use of artificial light at a rate above six and below or equal to 25 watts per square foot.
30.
Non-Storefront Retail Facility. A facility that is closed to the public where cannabis, cannabis products, edible cannabis products, or devices for the use of cannabis or cannabis products are offered for retail sale exclusively by delivery, in accordance with State Law.
31.
Owner or Ownership Interest. An interest held by a person who is an owner as defined by State of California commercial cannabis regulations or who has a financial interest in the commercial cannabis business of five percent or more.
32.
Personal Cultivation. The cultivation of no more than six cannabis plants conducted by an individual strictly for that individual's personal use, possession, processing, transporting, or giving away without any compensation whatsoever in accordance with State law, including but not limited to Health and Safety Code sections 11362.1 and 11362.2, as may be amended. Personal cultivation also means and includes cultivation of medicinal cannabis conducted by a qualified patient exclusively for his or her personal medicinal use, and cultivation conducted by a primary caregiver for the personal medicinal purposes of no more than five specified qualified patients for whom he or she is the primary caregiver, in accordance with State law, including Health and Safety Code sections 11362.7 and 11362.765, as may be amended. Except as herein defined, personal cultivation does not include, and shall not authorize, any cultivation conducted as part of a business or commercial activity, including cultivation for compensation or retail or wholesale sales of cannabis.
33.
Primary Caregiver. The individual, designated by a qualified patient or by a person with an identification card issued pursuant to California Health and Safety Code Section 11362.7, who has consistently assumed responsibility for the housing, health, or safety of that patient or person. The primary caregiver may be a licensed clinic, residential care facility, hospice, or home health agency.
34.
Private Residence. A house, apartment unit, mobile home, or any other similar dwelling.
35.
Qualified Patient. A person who is entitled to the protections of California Health and Safety Code Section 11362.5, for patients who obtain and use cannabis for medicinal purposes upon the recommendation of an attending physician, whether or not that person applied for and received a valid identification card issued pursuant to State Law.
36.
Retail Facility. A facility where cannabis, cannabis products, edible cannabis products, or devices for the use of cannabis or cannabis products are offered for retail sale, including an establishment that delivers cannabis and cannabis products as part of a retail sale.
37.
State. The State of California.
38.
Testing Laboratory. The facility where tests are performed on cannabis or cannabis products and that holds a valid certificate of accreditation and license from the Bureau, if required.
39.
Volatile Solvent. Is the same as defined by the California Department of Health in § 40100 of the California Code of Regulations, as may be amended, and means any solvent that is or produces a flammable gas or vapor that, when present in the air in sufficient quantities, will create explosive or ignitable mixtures. Examples of volatile solvents include, but are not limited to, butane, hexane, and propane.
C.
Permits Required. A Conditional Use Permit (CUP) and a Cannabis Business Permit (CBP) are both required for all commercial cannabis activities prior to operation. Cannabis businesses shall first obtain a CUP by submitting an application pursuant to Section 15.04.610.270(H) of this article and any application forms and fees required in accordance with Article 15.04.803 as a requisite for obtaining a CBP. The provisions of Article 15.04.806 Use Permits apply, including but not limited to procedures for appeals, modifications, and approval. Once building permits are obtained and finaled, if required, the required State licenses are obtained, and Police Regulatory fees paid, a CBP will be granted. CUPs and CBPs will only be granted to entities operating legally according to the Medicinal and Adult-Use Cannabis Regulation and Safety Act (MAUCRSA), other applicable State Law, and the State regulations. Reasonable conditions of approval may be imposed, including but not limited to requirements for permits from the County for retail sales of edible cannabis products and from the State for food product manufacturing.
D.
Operating Without Permits. It shall be unlawful for any person as defined by this article to engage in, conduct or carry on, in or upon any premises within the City any commercial cannabis business without a CUP and CBP. Persons operating in violation of this article shall be given an amnesty period to come into compliance by submitting a complete CUP application within 120 days of the effective date of this article and securing both the required CUP and CBP within 180 days of application submittal. Failure to submit a complete CUP application within the amnesty period will result in further enforcement. Any persons in violation of this subsection shall be prohibited from applying for a CUP for one year anywhere in the City of Richmond. In addition, commercial cannabis uses shall be prohibited on the subject property for one year.
E.
Existing Medicinal Cannabis Businesses. Existing permitted medicinal cannabis businesses, including those temporarily authorized for A-license activities, operating within the City are required to submit an application for an AUP within 90 days of this article taking effect to continue to conduct A-license activities for authorized medicinal uses and/or to conduct distribution activities. Any expansion of use beyond an A-license addition or addition of distribution activities requires a CUP modification. Applications for a CBP shall be required within 30 days of final approval of an AUP or CUP modification. If a complete application is not made within the required time, A-license activities temporarily authorized shall cease. All other authorized medicinal cannabis businesses shall submit a CBP application within 30 days of this article taking into effect.
F.
Locations Where Allowed and Number Allowed.
1.
Cultivators, Manufacturers, Mixed-light Cultivators, Testing Laboratories, and Distributors. All commercial cannabis cultivation, manufacturing, mixed-light cultivation, testing, and distributor operations shall be conditionally permitted as provided for in the City's Land Use Regulations Tables in Chapter 15.04.
2.
Retail Facilities.
a.
Existing Retail Facilities. Existing retail facilities may expand at their current location subject to Planning Commission approval of a modified CUP, upon making the following findings:
i.
The retail facility has operated in compliance with all local and State regulations; and
ii.
The expanded use will not negatively impact the surrounding community.
b.
New Retail Facilities. Any new commercial cannabis retail and non-storefront retail facilities are only allowed to locate in a CR, Regional Commercial Zoning District with a conditional use permit unless, following a public hearing, the Planning Commission makes all of the following findings to authorize a retail facility to locate on a site in the CG General Commercial Zoning District:
i.
The retail facility has demonstrated that it considered locations within the CR District and found no location meeting the requirements of this section that serves the needs of its customers; and
ii.
The proposed location within the CG District would complement the surrounding community while providing necessary services to its customers; and
iii.
The proposed location is not abutting a residential use.
3.
Distance from Schools, Parks, Community Centers, Youth Center, Child-Care Center, or Nursery School.
a.
All commercial cannabis activity must be located a minimum of 1,500 feet from any public or private high school and a minimum of 600 feet from any public or private kindergarten, elementary, middle or junior high school that is in existence at the time the permit is issued.
b.
All commercial cannabis activity shall be located a minimum of 600 feet from any park, community center, youth center, and public or private child-care center that is in existence at the time the permit is issued.
c.
Following a public hearing, the Planning Commission may make exceptions to the distance requirements for all commercial activities if all of the following findings are made based on specific facts:
i.
The location, design and proposed operating characteristics of the cannabis business is such that it is highly improbable that persons on, in or travelling to or from nearby parks, community centers, youth centers, or child-care centers would be able to view persons in, entering, or leaving the cannabis facility; and
ii.
Allowing the cannabis business to locate within 1,500 feet of a public or private high school or within 600 feet of a park, community center, youth center, and public or private child-care center, will not grant the cannabis business a special privilege not available to other commercial cannabis businesses within the City; and
iii.
The cannabis business has demonstrated that it considered other locations and selected the location that would have the least negative impact on the surrounding community while providing necessary services to its customers.
4.
Number of Commercial Cannabis Businesses.
a.
No more than three commercial cannabis retail facilities shall be permitted or allowed to operate in the City. The City has established a competitive selection process in Section 15.04.601.010(I) of this article to objectively award permits for which there are a limited number of permits available, such as for retail facilities. All competitive-based considerations shall be included with the application forms.
b.
There shall be no limit on the number of commercial cannabis cultivators, distributors, testing laboratories, or manufacturing businesses in the City as long as they obtain valid State and local permits and licenses, including CUP and CBP from the City of Richmond for each location.
G.
Delivery of Commercial Cannabis and Cannabis Products.
a.
The delivery of commercial cannabis or cannabis products from a State licensed retail facility or non-storefront retail facility to a customer is permitted, provided such deliveries are conducted in accordance with this article and State law, including obtaining a Richmond Business license. All other unpermitted and unlicensed delivery services within the City are prohibited.
b.
Existing permitted retail cannabis businesses operating within the City are not required to obtain a CUP modification before conducting delivery activities. Notice of intent to commence delivery activities shall be provided prior to conducting such activities.
H.
Conditional Use Permit Application Process.
1.
Conditional Use Permit Applications. In addition to any application forms and fees required in accordance with Article 15.04.803, an application for a commercial cannabis business must provide specific information, as determined by the Zoning Director, based on this section, State law and regulations, and County input relative to edible cannabis products. This information includes, but is not limited to, the following:
a.
Requirements for All Commercial Cannabis Businesses. A commercial cannabis business is required to provide the following information in support of its permit application.
i.
Information Regarding the Proposed Property.
(1)
The address of the property where the proposed commercial cannabis business will operate.
(2)
A site plan with fully dimensioned interior and exterior floor plans, including electrical, mechanical, plumbing, parking, and disabled access compliance pursuant to Title 24 of the State of California Code of Regulations and the federal Americans with Disabilities Act. For a retail facility, the site plan must show that there are separate rooms or partitioned areas within the retail facility for the receipt of supplies and for the delivery of cannabis to customers.
(3)
Exterior photographs of the entrance(s), exit(s), street frontage(s), parking, front, rear and side(s) of the site.
(4)
Photographs depicting the entire existing interior of buildings on the site.
(5)
If the site is being rented or leased or is being purchased under contract, a copy of such lease or contract.
(6)
If the site is being rented or leased, written proof that the property owner, and landlord if applicable, were given notice that the property will be used as a commercial cannabis business, and that the property owner, and landlord if applicable, agree(s) to said operations. If the retail facility is to be a subtenant, then "landlord" shall mean the primary tenant.
ii.
Information Regarding Each Business Owner and Manager. For each owner and manager, the following information must be provided, to the extent applicable:
(1)
The name, address, telephone number, title and function(s);
(2)
A fully legible copy of one valid government-issued form of photo identification, such as a driver's license; and
(3)
A summary criminal history ("LiveScan") prepared by the Richmond Police Department not more than 30 days prior to the date of application.
iii.
Information Regarding the Commercial Cannabis Business.
(1)
Written confirmation as to whether the commercial cannabis business, or a commercial cannabis business with one or more owner or managers in common with the applicant, previously operated in the City or any other county, city or state under a similar license/permit, and whether the business applicant ever had such a license/permit revoked or suspended and the reason(s) therefore.
(2)
The name and address of the commercial cannabis business' current Agent for Service of Process.
(3)
Information pertaining to a Notice of Violation for unpermitted cannabis operations or any cannabis related enforcement violations or within the City.
iv.
Plan for Unsold Cannabis. A plan for the disposal of any unsold cannabis or cannabis product must be submitted that renders or prevents any portion thereof from being recognizable and useable by any person or animal.
v.
Neighborhood Responsibility Plan. A neighborhood responsibility plan that demonstrates how the business will fulfill its responsibilities to the neighborhood, including neighborhood outreach, methods for future communication, and dispute resolution.
vi.
Security Plan. A security plan indicating how the applicant will comply with the requirements of this section and any other applicable law, rule, or regulation.
vii.
Affirmation that the Application is True. A statement dated and signed by each management member, under penalty of perjury, that the management member has personal knowledge of the information contained in the application, that the information contained therein is true and correct, and that the application has been completed under the supervision of the management member(s).
b.
Supplemental Application Requirements for Retail Facilities. In addition to the application requirements applicable to all commercial cannabis businesses, the following apply to commercial cannabis retail facilities.
i.
Security Plan. A retail facility's security plan must include procedures for verifying identification of customers and primary caregivers both before entering the retail facility and again before receiving cannabis; the number, location and hours of security guards; and a theft prevention plan including a detailed description of all surveillance and video equipment, location and coverage of cameras and how law enforcement or their representatives will be given real-time and stored access.
ii.
Daily Customer Limits. A retail facility or non-storefront facility shall adhere to daily limits on adult-use and medicinal cannabis and cannabis products by its customers in accordance to State law.
c.
Supplemental Application Requirements for Manufacturers. In addition to the standards applicable to all commercial cannabis businesses, the following apply to commercial cannabis manufacturing operations.
i.
Safety of Manufacturing Process. A commercial cannabis manufacturer must demonstrate one or both of the following:
(1)
The only manufacturing processes used are either solventless or employ only nonflammable, nontoxic solvents that are generally recognized as safe pursuant to the federal Food, Drug, and Cosmetic Act (21 U.S.C. Sec. 301 et seq.).
(2)
The manufacturing processes only use solvents exclusively within a closed-loop system that meets all of the following requirements:
(a)
The system uses only solvents that are generally recognized as safe pursuant to the federal Food, Drug, and Cosmetic Act (21 U.S.C. Sec. 301 et seq.).
(b)
The system is designed to recapture and contain solvents during the manufacturing process and otherwise prevent the off-gassing of solvents into the atmosphere to mitigate the risks of ignition and explosion during the manufacturing process.
(c)
A licensed engineer certifies that the system was commercially manufactured, is safe for its intended use, and was built to codes of recognized and generally accepted good engineering practices, including, but not limited to, the American Society of Mechanical Engineers, the American National Standards Institute, Underwriters Laboratories, the American Society for Testing and Materials, or OSHA Nationally Recognized Testing Laboratories.
(d)
The system has a certification document that contains the signature and stamp of a professional engineer and the serial number of the extraction unit being certified and that the certification is renewed either annually or according to the manufacturer's recommendations.
ii.
Fire, Safety, and Building Code Requirements. The manufacturer must meet all State, county and locally required fire, safety, and building code requirements.
iii.
Approval from Richmond Fire Prevention Services Division or designee. The commercial cannabis manufacturer must receive and maintain approval from the Richmond Fire Prevention Services Division for the closed-loop system and for other equipment used for manufacturing and extraction operations, per guidelines adopted by the Richmond Fire Prevention Services Division.
iv.
Edible Cannabis Products. Commercial cannabis manufacturers that prepare edible cannabis products must demonstrate compliance with State, County and local requirements regarding the preparation, distribution, labeling, and sale of food.
d.
Supplemental Application Requirements for Cultivators and Manufacturers. In addition to the application requirements applicable to all commercial cannabis businesses, the following apply to commercial cannabis cultivation and manufacturing operations.
i.
Plans for Use of Renewable Electicity. All cultivation and manufacturing operations must submit detailed plans demonstrating that the electricity used in the cultivation and manufacturing operations is from a renewable energy source or arrangements have been made to offset use of nonrenewable electrical energy with renewable energy from another source. If written evidence of enrollment in the Deep Green 100 percent renewable energy program administered by Marin Clean Energy (MCE) is provided, no further details need to be submitted with the application. Enrollment shall be maintained, and evidence provided annually in order to renew CBP.
ii.
Plans for Water Conservation. All cultivation and manufacturing operations must submit detailed plans demonstrating strict water conservation methods will be instituted and maintained at all times, and such plans must include records of monthly water consumption. These plans also must show that the cultivation facility will be equipped with water collection and filtration systems to reduce irrigation water to the maximum extent possible as determined by the Zoning Director or the State, if its regulations are more restrictive.
iii.
Plans for Wastewater. All cultivation and manufacturing operations must demonstrate compliance with the limitations on discharge into the City's wastewater system, as set forth in Richmond Municipal Code Chapter 12.18. This shall include the submittal of an Industrial User Permit Application (Baseline Monitoring Report) to the Water Resource Recovery Department.
iv.
Plans for Stormwater. All cultivation and manufacturing operations must demonstrate compliance with the limitations on discharge into the City's municipal separate storm sewer system (MS4), as set forth in Richmond Municipal Code Chapter 12.22. This shall include any and all provisions required under the Municipal Regional Permit (NPDES Permit No. CAS612008).
v.
Plans to Prevent Mold. All cultivation and manufacturing operations must submit a plan that specifies the methods to be used to prevent the growth of harmful mold.
vi.
Ventilation Plan. All cultivation and manufacturing operations must submit detailed information about the proposed ventilation system, including technical specifications indicating that the system is capable of preventing the release into the atmosphere of cannabis odors from the cultivation or manufacturing operation.
2.
Duration of Conditional Use Permit. Permits issued under this section will be subject to time limits, renewal, and reporting requirements as specified in conditions of approval. These conditions shall include resubmittal requirements for any change in circumstances, including substantive changes in ownership, management, sources of electricity, or operations, from those described in the original application.
3.
Expiration and Extension. A commercial cannabis CUP is subject to the expiration and extension procedures in RMC Section 15.04.803.110.
4.
Modification of Permit Conditions. Modifications to the permit or the conditions of approval may be requested in accordance with Section 15.04.803.110 and with prior notification and approval from the appropriate State cannabis regulatory agency.
5.
Revocation or Suspension of Conditional Use Permit.
a.
The CUP for a commercial cannabis business may be revoked if the State denies or revokes a State license for the operation of commercial cannabis business.
b.
A CUP for commercial cannabis business may be revoked after the business is operational, if the business ceases to be in regular and continuous operation for 90 days.
c.
Whenever a CUP for a commercial cannabis business has been revoked or suspended, no permit application by any of the owners or managers of that commercial cannabis business shall be considered for a period of three years from the date that the notice of the revocation or suspension was mailed to the business owner.
d.
The procedures provided in RMC Section 15.04.803.130 Revocation apply.
I.
Cannabis Business Permit Application Process.
1.
Cannabis Business Permit Applications. Following the issuance of a CUP, a cannabis business is required to submit an application for a CBP specific to the business activity defined by the State pertaining to that activity for any medicinal or adult-use or any other commercial cannabis activity the State may license. It shall be unlawful for any person to engage in, conduct or carry on, in or upon any premises within the City any commercial cannabis business without a CBP.
a.
Requirements for All Commercial Cannabis Businesses. A commercial cannabis business is required to provide the following information in support of its permit application.
i.
A copy of its CUP, containing a statement dated and signed by each business owner, under penalty of perjury, that they have read, understand and shall ensure compliance with the conditions of the CUP.
ii.
A copy of its State license (for renewals).
iii.
A copy of its Certificate of Occupancy Permit, if applicable.
iv.
A copy of its Permit to Operate from the Richmond Fire Prevention Services Division, if applicable.
v.
A copy of its City of Richmond Business License.
vi.
A copy of the cannabis business operating conditions, containing a statement dated and signed by each owner and manager, under penalty of perjury, that they have read, understand and shall ensure compliance with all operating standards set forth in this article.
vii.
A statement dated and signed by each owner and manager, under the penalty of perjury, that the information regarding each business owner and manager submitted with the CUP application is current and accurate, or proof that Zoning Administrator approval has been obtained for any changes in management or ownership.
viii.
A valid seller's permit from the California Department of Tax and Fee Administration or successor agency.
ix.
Proof that payment of all City of Richmond fees and taxes is current.
2.
Issuance of Cannabis Business Permit. The Zoning Administrator or designee after receiving the completed application and aforementioned information will grant the permit where the above-listed requirements are met.
3.
Duration of Cannabis Business Permit. A CBP shall be valid for one year or until December 31 each year, unless sooner revoked. No permit granted herein shall confer any vested right to any person or business for more than the above-referenced period.
4.
Cannabis Permit Annual Renewal. Applications for the renewal of a permit shall be filed with the Zoning Administrator or designee at least 60 calendar days before the expiration of the current permit. Any cannabis business allowing their permit to lapse, or which permit expired during a suspension shall be required to submit a new application, pay the corresponding application fees.
5.
Transfer of Cannabis Business Permit/Business Modifications. A CBP does not run with the land or business. A CBP is not transferable or assignable to another person or owner, except as approved by the Zoning Administrator. Notwithstanding the foregoing, the Zoning Administrator may administratively approve any changes in management or ownership or change in business name or structure and may require additional background check(s) or additional information for such approvals.
6.
Revocation or Suspension of Cannabis Business Permit. Any CBP issued under this section may be immediately suspended or not renewed for any of the reasons listed below. Any CBP issued under this ordinance may be revoked by the City following notice and opportunity for a hearing before the Zoning Administrator or designee for any of the following reasons:
a.
A cannabis business fails to comply with the requirements of this article or any conditions of approval of CUP.
b.
A cannabis business's State license for commercial cannabis operations is revoked, terminated or not renewed.
c.
The cannabis business's State license for commercial cannabis operations is suspended. The City shall not reinstate the CBP until documentation is received showing that the State license has been reinstated or reissued. It shall be up to the City's discretion whether the City reinstates any permit
d.
The cannabis business fails to become operative within one year of obtaining its CBP.
e.
Once operational, the business ceases to be in regular and continuous operation for 90 days unless given prior approval by the City for extenuating and unusual circumstances.
f.
State law permitting the use for which the license was issued is amended or repealed resulting in the prohibition of such use, or the City receives credible information that the federal government will commence enforcement measures against such businesses and/or local governments that permit them.
g.
Circumstances under which the CBP was granted have significantly changed and the public health, safety and welfare require the suspension, revocation, or modification.
h.
The CBP was granted, in whole or part, on the basis of a misrepresentation or omission of a material statement in the permit application.
i.
The cannabis business is not current on City taxes or fees.
j.
The owner was found to operate another cannabis facility illegally within the City.
J.
Competitive Selection Process. The City has established a competitive selection process to objectively award permits for which there are a limited number of permits available, such as for retail facilities.
1.
Competitive Application Period. In the event that a permit for a commercial cannabis activity with a limited permit number becomes available, the Director shall open the competitive application period and make permit applications available.
a.
Notice of the competitive selection period shall be published by means determined necessary by the Director to provide public notice of the opportunity to apply.
b.
The competitive application period shall be a minimum 30 calendar days from the date the applications are released. Should the last day fall on a day when City Hall is closed, the application period shall be extended to the next open day.
c.
Following the application period, the Director or designee shall stop accepting applications and review all applications received.
2.
Initial Application Review. The Director or designee shall determine whether each application demonstrates compliance with minimum requirements required in the permit application and be entered into a pool of applicants for the Final Application Review and Scoring. These requirements include but are not limited to:
a.
Application was submitted during the application period.
b.
Application forms are filled out completely and demonstrate compliance with minimum requirements required in the permit application.
c.
Any application forms required in accordance with Article 15.04.803 are completed and required fees per master fee schedule are paid.
d.
A signed statement that the proposed location of the commercial cannabis business on the application meets the zoning criteria established in this article including, but not limited to, any and all sensitive use separation criteria required by this article.
3.
Final Application Review and Scoring. The Director or designee, after reviewing the applications approved in the initial application review shall convene a selection panel composed of the Fire, Police, Finance and Planning, or their designees, to make the final decision, based on the priority point system to objectively award the top applicant(s). A complete description of the priority point system and all priority point considerations shall be included with the application forms.
K.
Minimum Standards Related to the Operation of Commercial Cannabis Businesses. Any permits issued, renewed, or modified pursuant to this section includes the following conditions of operation. Each permittee is required to comply with the following conditions. The Planning Commission may impose additional conditions as necessary to preserve the public health, safety and welfare.
1.
Standards Applicable to All Commercial Cannabis Businesses. The following standards are applicable to all commercial cannabis businesses.
a.
Compliance with State and Local Law Required. The applicant shall fully comply with all State laws and local laws for commercial cannabis businesses.
b.
Maintain Licenses and Permits. All commercial cannabis businesses must maintain all licenses and permits required by the State, the county and the City.
c.
Compliance with Laws Regarding Edible Cannabis Products. Commercial cannabis businesses that manufacture, prepare, dispense, and/or sell food, including cannabis-infused foods and/or edible cannabis products, must comply with and are subject to the provisions of all relevant State and local laws and county regulations regarding the preparation, distribution, labeling and sale of such items.
d.
Job Opportunities for Richmond Residents. All commercial cannabis business shall provide maximum feasible opportunities for Richmond residents to apply for jobs through outreach, advertising, and contacts with local job centers. The City encourages "local hires" whenever possible, consistent with General Plan policies and State and federal employment law. Commercial cannabis businesses shall coordinate hiring opportunities with the City's Employment and Training Department.
e.
Exterior Lighting. Exterior building and parking area lighting at the commercial cannabis businesses must be in compliance with all applicable provisions of Article 15.04.604.
f.
Roof Hatches. The commercial cannabis business's windows and roof hatches shall be secured so as to prevent unauthorized entry; equipped with latches that may be released quickly from the inside to allow exit in the event of emergency; and comply with all applicable Building and Fire Code provisions.
g.
Ventilation. The commercial cannabis business must provide a sufficient odor absorbing ventilation and exhaust system so that odor generated inside the property is not detected outside the property, anywhere on adjacent property or public rights-of-way, or within any other unit located within the same building as the cannabis retail facility, cultivation site, cannabis product manufacturer or any other subsequently approved cannabis business.
h.
Video Surveillance System. The commercial cannabis business must be monitored at all times by digital surveillance system for security purposes. The digital surveillance system must be of adequate quality, color rendition and resolution in accordance to State law. The cameras shall record continuously 24 hours per day at a minimum of 15 frames per second and shall be maintained at the property for a minimum of 90 calendar days. Failure to maintain the cameras in good working condition at all times is a violation of this section and cause for permit revocation or suspension.
i.
Alarm System. A permittee shall maintain an alarm system as defined in Business and Professions Code section 7590.1(n) at the licensed premises an in accordance with California Code of Regulations Title 16, Division 42.
j.
Consent to Inspection. Authorized City, county, and State representatives may enter and inspect the property of every commercial cannabis business between the hours of 9:00 a.m. and 5:00 p.m. during the week (Monday through Friday), or at any reasonable time to ensure compliance and enforcement of the provisions of this section, except that the inspection and copying of private medical records shall be made available to the Police Department only pursuant to a properly-executed search warrant, subpoena, or court order. It is unlawful and cause for immediate suspension or revocation of the CBP for any property owner, landlord, lessee, commercial cannabis business, and/or its owner, agent, employee to refuse to allow, impede, obstruct or interfere with an inspection.
k.
Restrictions on Access and Sale. No commercial cannabis retail facility shall cause or permit the access, sale, or exchange of cannabis to any person who is not 21 years of age or a qualified patient who is 18 years of age or older. No commercial cannabis manufacturer, distributor, testing laboratory, or cultivator shall cause, permit or allow any sale, distribution or exchange of cannabis to any person at the manufacturing, testing, distribution, or cultivation location, nor shall the manufacturer, testing laboratory, distributor, or cultivator permit any walk-ins or allow any person into the site, unless such person is authorized to engage in commercial cannabis business under State and local law.
l.
Visibility of Cannabis. No cannabis or cannabis products on the site of a commercial cannabis business shall be visible with the naked eye from any adjacent public or private property, nor shall commercial cannabis or commercial cannabis products be visible from the building exterior. No cultivation shall occur at the retail facility's location unless the business owner has the appropriate local and State permits, and the area devoted to the cultivation is secured from public access by means of a locked gate and any other security measures necessary to prevent unauthorized entry, and has been inspected and approved by the Richmond Fire Prevention Services Division and Richmond Building Departments.
m.
Age Restriction. Employees or persons retained by a permittee to work within or on a permitted premises or to handle cannabis goods shall be at least 21 years of age. No customer under the age of 21 shall be allowed at an adult-use cannabis business and no person under the age of 18 shall be allowed at a medicinal cannabis business.
n.
No Alcoholic Beverages or Tobacco Products. No commercial cannabis business and/or commercial cannabis permittee shall cause or permit the sale, dispensing, or consumption of alcoholic beverages or tobacco products at a commercial cannabis business or its parking area, except that employees of the commercial cannabis business and/or commercial cannabis permittee may consume tobacco products in outdoor areas designated in accordance with applicable provisions of the Richmond Municipal Code and State law.
o.
No Cannabis Consumption. No commercial cannabis business and/or commercial cannabis permittee shall cause or permit the smoking, ingesting, or otherwise consuming cannabis on the premises of a commercial cannabis business or in its parking area.
p.
Secure Storage. All cannabis and cannabis products shall be stored on-site in structures that are completely enclosed, in a locked vault or safe that is not bolted to the floor, or in any other secured storage structure. No off-site storage is allowed.
q.
No Retail Sales in Cultivation, Distribution, Testing or Manufacturing Facilities. No commercial cannabis cultivator, distributor, manufacturer or tester shall allow or permit retail sale of its product at the facility location.
r.
Maintenance of Records. Records of commercial cannabis activity must be maintained in accordance with State and local law, be maintained in order to show compliance with this section and be made available to the City upon request electronically as well as in hard copy if requested. Failure to provide such records is grounds for revocation of the conditional use permit and Cannabis Business Permit. Records maintained must include but are not limited to the following.
i.
All commercial cannabis businesses must maintain:
(1)
Proof of a valid conditional use permit issued by the Planning Commission in conformance with this section. A copy of the CUP shall be displayed at all times in a place visible to the public.
(2)
Proof of a valid CBP issued by the Planning Department in conformance with this section. A copy of the CBP shall be displayed at all times in a place visible to the public.
(3)
The full name, address, and telephone number(s) of the owner, landlord and/or lessee of the property.
(4)
The full name, address, and telephone number(s) of each person engaged in the management of the business and the exact nature of the participation in the management of the business, and for cultivators, the full name, address, and telephone number(s) of each employee engaged in the cultivation of cannabis at the property.
(5)
A written accounting of all cash and in-kind contributions, revenues received, reimbursements, and compensation to the business and all expenditures and costs incurred by the business.
ii.
A retail facility shall maintain the following records on the property:
(1)
An inventory record documenting the dates and the daily amounts of cannabis and cannabis products stored on the property and an inventory record of all cannabis shipments distributed to the facility, as required by the State's track and trace system.
(2)
Copies of the prohibited activity checklist, available from the Richmond Police Department, containing a statement dated and signed by each manager, under penalty of perjury, that they read, understand and shall not engage in any prohibited activity.
(3)
Evidence of: (a) verification that all manufactured products are manufactured, packaged, and labeled in compliance with all applicable State and local laws; and (b) laboratory testing as required by State and local laws.
iii.
A manufacturer shall maintain the following records on the property:
(1)
Evidence of: (a) verification that all cannabis products manufactured and packaged at the location are manufactured, packaged, and labeled in compliance with all applicable State and local laws; and (b) laboratory testing as required by State and local laws.
(2)
A list of any commercial cannabis distributor that the manufacturer has provided or intends to provide its product to. The list shall include the name of the distributor, its address, the date the cannabis product was sold or transferred to the distributor, and the type and amount of the product that was distributed as required by the State's track and trace program.
iv.
A cultivator shall maintain the following records on the property:
(1)
The current address of all sites at which cannabis is cultivated.
(2)
An inventory record documenting the dates and amounts of cannabis cultivated at the property, the daily amounts of cannabis stored on the property, and an inventory record of all cannabis transferred to a commercial cannabis distributor. The inventory records shall include total plants grown and total weight of cannabis cultivated by the cultivator, the total weight of all cannabis sold or transferred to a distributor, and receipts and documents detailing the sale or transfer of cannabis as required by the State's track and trace program.
(3)
Copies of the prohibited activity checklist, available from the Richmond Police Department, containing a statement dated and signed by the permittee(s) for the cultivation site, under penalty of perjury, that they read, understand and shall not engage in any prohibited activity.
(4)
Evidence to verify that all cannabis is cultivated in compliance with all applicable State and local laws.
v.
A distributor shall maintain the following records on the property:
(1)
A list of any commercial cannabis businesses that the distributor has provided or intends to provide its product to. The list shall include the name of the cannabis business, its address, the date the cannabis product was sold or transferred to the business, and the type and amount of the product that was distributed as required by the State's track and trace program.
vi.
A commercial cannabis business that produces edible cannabis products shall maintain the following records on the property:
(1)
Proof of inspections and approvals by Contra Costa Environmental Health Department and the County Health Officer for food manufacturers, packagers and/or distributors, when such inspections or approvals become required.
(2)
Producers of edible cannabis products shall maintain a written or computerized log documenting:
(a)
The source of the cannabis used in each batch of product;
(b)
The contaminant testing date; and
(c)
The testing facility for the cannabis.
s.
Use of Pesticides. No pesticides or insecticides that are prohibited by applicable law for fertilization or production of edible produce may be used on any cannabis cultivated, produced, or distributed by a commercial cannabis business. A commercial cannabis business shall comply with all applicable laws regarding use of pesticides.
t.
Disposal of Cannabis and Cannabis Byproducts. All cannabis and any product containing a usable form of cannabis must be made unusable and unrecognizable prior to removal from the business in compliance with all applicable State laws.
u.
On-site Community Relations Contact. Commercial cannabis businesses must provide the Police Department and all residents, businesses and property owners within 100 feet with the current name, phone number, secondary phone number and e-mail address of an on-site community relations contact person to whom notice of any operating problems associated with the commercial cannabis business may be reported.
v.
On-Site Manager. All commercial cannabis businesses must have an on-site manager, at each commercial cannabis business, who is responsible for overall operation at all times that employees are conducting operations, and provide the Police Department with contact information for such person, including a telephone number and e-mail address.
w.
Discouraging Nuisance. Commercial cannabis businesses must take all reasonable steps to discourage and correct objectionable conditions that constitute a public or private nuisance in parking areas, sidewalks, alleys and areas surrounding the commercial cannabis business and adjacent properties. Such conditions include but are not limited to smoking, creating a noise disturbance, loitering, littering, and graffiti.
x.
State Licenses. Any commercial cannabis business that fails to obtain or qualify for the required State license, or is refused such license, shall immediately cease all operations in the City.
y.
Testing and Labeling. All cannabis, cannabis products, and edible cannabis products, must be tested and labeled as follows and as required by State law.
i.
Baked goods, such as cookies and brownies, shall be exempt from testing for contaminants. These products are still subject to testing for potency, as required for the label information, and must use cannabis or cannabis products that have been tested for contaminants. All baked products must contain a list and warning of any known food allergens, like nuts, etc., and comply with CCR Title 17, Division 1, Chapter 13, §40254 and any other food safety requirement of local or State regulations.
2.
Supplemental Standards for Retail Facilities. In addition to the standards applicable to all commercial cannabis businesses, the following apply to commercial cannabis retail; facilities.
a.
Signage. A sign must be posted in a conspicuous location inside the commercial cannabis business and advise that:
i.
You must be at least 21 years old or at least 18 years old with a valid physician's recommendation to purchase, possess, or consume cannabis or cannabis products.
ii.
The use of cannabis may impair a person's ability to drive a motor vehicle or operate heavy machinery;
iii.
Loitering at the location of a cannabis retail facility for an illegal purpose is prohibited by California Penal Code Section 647(h); and
iv.
This retail facility is permitted in accordance with the Municipal Code, and State law, including the MAUCRSA, and Bureau regulations.
b.
Hours of Operation. A licensed cannabis retail facility or non-storefront retail facility may sell and deliver cannabis between the hours of 8:00 a.m. and 9:00 p.m.
c.
Safety of Products. The retail facility must ensure that the cannabis, cannabis products, and edible cannabis it offers for sale are manufactured, packaged, tested, and labeled in compliance with all applicable State and local laws. No retail facility may obtain or distribute cannabis products from any commercial cannabis business unless such business has a valid permit or license issued by the Bureau and a California city or county.
d.
Onsite Consumption. On-site consumption of cannabis or cannabis products is specifically prohibited on the premises at all times.
3.
Supplemental Standards for Cultivators. In addition to the standards applicable to all commercial cannabis businesses, the following apply to commercial cannabis cultivators.
a.
Outdoor Cultivation Prohibited. All cultivation must be done inside a fully enclosed structure, which may be a greenhouse, and the cultivation operation shall not be visible from the exterior of the structure. Outdoor cultivation of cannabis is not permitted in any zoning district.
4.
Supplemental Standards for Retail Facilities Engaged in Deliveries.
a.
Commercial cannabis deliveries may be made only from a commercial cannabis retail facility permitted by the City or from a State licensed retail facility outside of the City limits in compliance with this section, and in compliance with all State regulations.
b.
All deliveries of cannabis goods shall be performed by a delivery employee of a retailer.
c.
While carrying cannabis goods for delivery, a retailer's delivery employee shall ensure the cannabis goods are not visible to the public.
d.
Persons engaged in delivery of cannabis or cannabis products on behalf of a licensed retailer, shall adhere to the delivery vehicle requirements and restrictions on the amount of cannabis and cannabis goods stored in the vehicle during delivery as set forth under State law.
e.
No cannabis delivery vehicle shall display signs, decals or any other form of advertisement.
5.
Supplemental Standards for Distributors.
a.
A distributor shall not store or distribute non-cannabis goods on or from the premises permitted for distribution of cannabis goods.
b.
A distributor shall ensure a label with the following information is physically attached to each container of each batch:
i.
The manufacturer or cultivator's name and license number;
ii.
The date of entry into the distributor's storage area;
iii.
The unique identifiers and batch number associated with the batch;
iv.
A description of the cannabis goods with enough detail to easily identify the batch; and
v.
The weight of or quantity of units in the batch.
c.
Employee breakrooms, eating areas, changing facilities, and bathrooms shall be completely separated from the storage areas.
d.
A distributor shall adhere to all requirements for transportation of cannabis goods as set forth in State law.
6.
Supplemental Standards for Testing Laboratory Businesses.
a.
A permitted cannabis testing facility shall comply with all State regulations contained in California Code of Regulations Title 16, Division 42 and as it may be amended from time to time.
b.
Any cannabis testing facility must maintain all certifications required by the State.
c.
A permitted cannabis testing facility business, its owners and its employees may not hold an interest in any other cannabis business except another testing business.
7.
Supplemental Standards for Commercial Cannabis Businesses Producing Edible Cannabis Products.
a.
The manufacturer and seller of edible cannabis products must ensure that all cannabis products and edible cannabis products it manufactures and/or sells complies with the any applicable provisions of all State and local laws, including regulations of the Contra Costa County Environmental Health Officer regarding the testing, preparation, distribution, labeling and sale of food.
b.
Preparation of Edibles.
i.
Individuals involved in the production or distribution of edible cannabis products must thoroughly wash their hands before commencing production and before handling the finished product.
ii.
Gloves must be worn when packaging edible products containing cannabis.
iii.
In order to reduce the likelihood of foodborne disease transmission, individuals who are suffering from symptoms associated with acute gastrointestinal illness or are known to be infected with a communicable disease that is transmissible through foodstuffs are prohibited from preparing edible products containing cannabis until they are free of that illness or disease, or are incapable of transmitting the illness or disease through foodstuffs. Individuals who have sores or cuts on their hands must use gloves when preparing and handling edible products containing cannabis.
iv.
Edibles that are sold at a retail facility may only be prepared by a locally-permitted, and State-licensed manufacturing facility.
v.
Any and all persons who produce edible cannabis products must be a State-certified food handler. The valid certificate number of such persons must be on record at each manufacturing facility where the edible product is distributed, and a copy of the certificate kept either on-site, or made available during inspections if kept off-site.
vi.
Hand-washing facilities shall be adequate and convenient and be furnished with running water at a suitable temperature. Hand-washing facilities shall be located in the facility in edible cannabis product preparation areas and where good sanitary practices require employees to wash and/or sanitize their hands and provide effective hand-cleaning and sanitizing preparations and sanitary towel service or suitable drying devices.
c.
Packaging of Edibles.
i.
Edible cannabis products shall comply with State packaging requirements contained in California Code of Regulations Title 17, Division 1, as it may be amended.
d.
Labeling.
i.
Edible cannabis products shall comply with State labeling requirements contained in California Code of Regulations Title 17, Division 1, as it may be amended.
8.
Prohibited Activity. On-site consumption of cannabis or cannabis products is specifically prohibited on all commercial cannabis premises at all times. Cannabis may not be inhaled, smoked, eaten, ingested, or otherwise consumed anywhere on the property of a commercial cannabis business, in the parking areas of the business, or in those areas restricted under the provisions of California Health and Safety Code Section 11362.3.
L.
Fees and Taxes. All commercial cannabis businesses shall pay applicable fees and taxes, which may include one or more of the following:
1.
Application Fees. The applicant shall pay all fees required by the master fee schedule to cover the costs of processing commercial cannabis business permits, including but not limited to use, design review, building, fire, and CBP permits.
2.
Business License Fee. The business owner shall at all times maintain a current and valid business license and pay all business taxes required by the City of Richmond Municipal Code, including but not limited to those due under Richmond Municipal Code Section 7.04.139.
3.
Commercial Cannabis Regulatory Fee. The business owner shall pay an annual regulatory fee to cover the costs of anticipated enforcement and inspections relating to the cannabis operation. The amount of the fee shall be set by Resolution of the City Council and be supported by the estimated additional costs of enforcement and monitoring associated with the cannabis operation. The regulatory fee shall be due upon issuance of the CBP. The Regulatory Fee may be amended from time to time based upon actual costs.
4.
All required taxes including sales and use taxes, business, payroll etc.
5.
Additional cannabis-specific taxes approved by the voters of the City of Richmond.
M.
Liability and Indemnification.
1.
To the fullest extent permitted by law, any actions taken by a public officer or employee under the provisions of this section shall not become a personal liability of any public officer or employee of the City.
2.
To the maximum extent permitted by law, the permittee(s) under this section shall defend (with counsel acceptable to the City), indemnify and hold harmless the City, the City Council, and its respective officials, officers, employees, representatives, agents and volunteers (hereafter collectively called "City") from any liability, damages, actions, claims, demands, litigation, loss (direct or indirect), causes of action, proceedings, or judgment (including legal costs, attorneys' fees, expert witness or consultant fees, City Attorney or staff time, expenses or costs) (collectively called "action") against the City to attack, set aside, void or annual, any cannabis-related approvals and actions and strictly comply with the conditions under which such permit is granted, if any. The City may elect, in its sole discretion, to participate in the defense of said action and the permittee shall reimburse the City for its reasonable legal costs and attorneys' fees.
3.
Within ten calendar days of the service of the pleadings upon the City of any action as specified in paragraph [(M)(2)] above, the permittee shall execute a letter of agreement with the City, acceptable to the Office of the City Attorney, which memorializes the above obligations. These obligations and the letter of agreement shall survive termination, extinguishment or invalidation of the cannabis-related approval. Failure to timely execute the letter of agreement does not relieve the applicant of any of the obligations contained in this section or any other requirements or performance or operating standards that may be imposed by the City.
N.
Violations and Enforcement. In addition to Article 15.04.815 (Enforcement Provisions):
1.
Any person violating any provision of this section, including engaging in a commercial cannabis business without a CUP and CBP or knowingly or intentionally misrepresenting any material fact in procuring a CUP and CBP, shall be deemed guilty of a misdemeanor punishable by a fine of not more than $1,000.00 for each day or portion thereof of the violation or by imprisonment for not more than 12 months, or by both such fine and imprisonment;
2.
Any violation of this section shall be subject to injunctive relief, revocation of the certificate of occupancy for the property, disgorgement and payment to the City of any and all monies unlawfully obtained, costs of abatement, costs of investigation, attorney fees, and any other relief or remedy available at law or equity; and
3.
Any violation of any condition of a CUP or CBP for a commercial cannabis business, including failure to remit any fees required to maintain the permits and/or failure to remit the quarterly gross receipt taxes, shall be grounds for permit suspension or revocation.
(Ord. No. 16-19 N.S., § I(Exh. A), 11-5-2019)
Editor's note— Ord. No. 16-19 N.S., § I(Exh. A), adopted Nov. 5, 2019, repealed the former § 15.04.610.270 and enacted § 15.04.610.270 as set out herein. The former § 15.04.610.270 pertained to Medical Marijuana Uses and derived from Ord. No. 16-16 N.S., adopted November 15, 2016.
Additional terms, such as "applicant" and "person", "permit" and "use", are defined in Zoning and Subdivision Regulations, Series 100, General Provisions, and are not repeated here.
A.
Purpose. The purpose of this section is to provide, pursuant to California Health and Safety Code section 11362.2, rules to regulate the non-commercial cultivation or consumption for medicinal or adult-use of the six living cannabis plants authorized to be grown under California Health and Safety Code Section 11362.1 to mitigate the negative impacts and secondary effects associated with the cultivation of cannabis.
B.
Prohibited Activities. It is unlawful and shall constitute a public nuisance for any person to cultivate cannabis for their personal, non-commercial use in violation of the provisions of this section or State law.
C.
Restrictions Related to Personal Cultivation of Cannabis for Non-Commercial Uses. The following restrictions apply to any person who cultivates cannabis for their personal, non-commercial use within the City limits of the City of Richmond. Any person who complies with these restrictions does not require a CUP or CBP.
1.
No more than six cannabis plants may be cultivated at any one time at a single private residence or on a single parcel of property within the approved zones.
2.
Indoor personal cultivation of cannabis shall not interfere with the primary occupancy of the building or structure, including regular use of kitchen(s) or bathroom(s).
3.
The private residence containing the cannabis plants must be occupied by, and the cannabis plants must be cultivated by, persons 21 years of age or older, or by persons 18 years or older with a valid physician's recommendation for cannabis.
4.
Cannabis plants must not be visible with normal unaided vision from a public right-of-way.
5.
Cultivation of cannabis for personal use is limited to parcels with a residence and a full-time resident on the premises where the cultivation is occurring.
6.
The use of CO2 or any volatile solvents as defined by the State and this section to manufacture cannabis products is prohibited.
7.
All structures and equipment used for personal indoor cultivation, such as indoor grow lights, shall comply with all applicable building, electrical, mechanical, plumbing and fire code regulations by the City, County or State.
8.
No cannabis odors shall be detectable from offsite, and the use of odor prevention devices, such as a ventilation system with a carbon filter, shall be utilized if necessary.
9.
Grow lights shall not exceed 1,200 watts per light and are prohibited from producing a glare that interferes with other residents' reasonable enjoyment of life or property.
10.
Cannabis plants cultivated indoors must remain at least 12 inches below the ceiling.
11.
The use of generators other than as back-up for emergency purposes is prohibited.
12.
Nothing in this section is intended, nor shall it be construed to preclude any landlord from limiting or prohibiting cannabis cultivation by tenants.
13.
Nothing in this section is intended, nor shall it be construed, to authorize any public or private nuisance as specified in the Richmond City Municipal Code and any violation of this section is declared to be a nuisance and may be abated by the City pursuant to this ordinance or any applicable City code.
14.
Nothing in this section is intended, nor shall it be construed, to authorize any cannabis activity in violation of State law. All personal cannabis consumption, cultivation, or any other personal cannabis activity must comply with all current State laws and regulations.
D.
Consumption. All regulations regarding smoking contained in the City of Richmond Municipal Code are applicable to smoking of cannabis or smoking of any cannabis products. Cannabis may not be inhaled, smoked, eaten, ingested, or otherwise consumed in areas restricted under the provisions of California Health and Safety Code Section 11362.3
E.
Enforcement and Penalties. The City may pursue one or more of those alternatives set forth in the City of Richmond Municipal Code to enforce this section. It shall be a separate offense for each and every day during any portion of which any violation of, or failure to comply with, any provision of this section is committed, continued or permitted. In the event of any conflict between the penalties set forth in this section and any penalties set forth in State law, the maximum penalties allowable under State law shall govern.
1.
The City may issue administrative citations and fines as set forth in Chapter 2.62 of this Code.
2.
Whenever the City determines that a violation of this section exists at any location within the City of Richmond, the City is authorized to issue a Notice of Violation and demand to abate. Any failure to comply with said notice shall constitute a violation subject to the penalties and legal actions as set forth in Chapter 1.04 of this Code.
3.
Nothing in this section shall be construed as imposing on the City of Richmond any duty to issue a notice of violation, nor to abate any unlawful cannabis activity, nor to take any other action with regard to any unlawful cannabis activity, and the City shall not be held liable for failure to issue an order to abate any unlawful cannabis activity, nor for failure to abate any unlawful cannabis activity, nor for failure to take any other action with regard to any unlawful cannabis activity.
(Ord. No. 16-19 N.S., § I(Exh. A), 11-5-2019)
Nontraditional Financial Institutions (e.g., check-cashing facilities) must be located, developed, and operated in compliance with the following standards, where allowed by the 200 Series, Base Zoning Districts:
A.
Conditional Use Permit Criteria. A conditional use permit for any Nontraditional Financial Institution may only be granted upon determining that the proposal conforms to the use permit criteria set forth in Article 15.04.806 (Use Permits), and to all of the following performance standards:
1.
Location.
a.
Minimum distance from another Nontraditional Financial Institution: 1,000 feet.
b.
Minimum distance from an educational, religious, or cultural institution or public park: 500 feet.
c.
Minimum distance from liquor stores: 500 feet.
2.
Performance Standards.
a.
Exterior lighting with shielded fixtures shall be provided on all frontages. Such lighting shall be designed to illuminate persons standing outside such that they can be identified 30 feet away.
b.
A minimum of 60 percent of a storefront shall have glass or transparent glazing in the windows and doors providing views into the building's interior within a zone of transparency of between two feet and six feet above the adjacent sidewalk grade. No more than 10 percent of any window or door area shall be covered by signs, banners, or opaque coverings of any kind so that law enforcement personnel will have clear view of the entire public area in the premises from the public sidewalk.
c.
Days and hours of operation shall be between 7:00 a.m. and 7:00 p.m. Monday through Saturday.
d.
The site must be maintained free of litter and graffiti at all times. The owner or operator must provide for daily removal of trash, litter, and debris from premises and on all abutting sidewalks within 20 feet of the premises. The owner or operator must remove graffiti within 72 hours. One permanent, non-flammable trash receptacle shall be installed near to the entrance/exit of the building.
e.
Patrons shall be discouraged from loitering prior to, during and/or after hours. A sign shall be posted in the front of the business indicating that no loitering is permitted per the Municipal Code.
Nurseries and garden centers must be located, developed, and operated in compliance with the following standards, where allowed by the 200 Series, Base Zoning Districts:
A.
Products for Sale. Products offered for sale are limited to nursery stock and related materials incidental to the planting, care, and maintenance of plants, including fertilizer, pesticides, seeds, and planting containers, and exclude general building materials, hardware, tools other than for soil preparation and general landscaping.
B.
Enclosure. All storage, display, and sale of products other than nursery stock must be conducted within a completely enclosed building or within an area enclosed by a solid wall or fence and gate between five and six feet in height.
Outdoor Dining and Seating facilities must be located, developed, and operated in compliance with the following standards, where allowed by the 200 Series, Base Zoning Districts:
A.
Applicability. The standards of this Section apply to outdoor dining and seating located on private property. Outdoor dining and seating located in the public-right-of-way requires an encroachment permit issued by the Public Works Department.
B.
Accessory Use. Outdoor dining and seating must be conducted as an accessory use to an eating or eating and drinking establishment located on the same lot or an adjacent lot.
C.
Enclosure. Awnings or umbrellas may be used, but must be adequately secured and/or retractable.
D.
Furnishing and Fixtures. Furnishing may consist only of movable tables, chairs, and umbrellas. Lighting fixtures may be permanently affixed onto the exterior front of the principal building.
E.
Litter Removal. Outdoor dining and seating areas must remain clear of litter at all times.
F.
Hours of Operation. The hours of operation are limited to the hours of operation of the associated eating or eating and drinking establishment.
G.
Parking. Where an outdoor dining and seating area occupies less than 200 square feet, no additional parking spaces for the associated eating and drinking establishment is required. Otherwise, parking must be provided according to Article 15.04.607 (Parking and Loading Standards).
H.
Pedestrian Space. Tables and chairs must be placed in a way that allows for an unobstructed pedestrian walkway with a minimum width of four feet.
I.
Accessibility. At least 25 percent of the seating must be accessible to persons using wheelchairs.
Outdoor sales must be located, developed, and operated in compliance with the following standards, where allowed by the 200 Series, Base Zoning Districts:
A.
Seasonal and Temporary Sales. For seasonal and temporary sales, such as holiday tree and pumpkin lots, refer to Section 15.04.610.410 (Temporary Uses).
B.
Permanent Outdoor Display and Sales. The permanent outdoor display of merchandise, except for automobile/vehicle sales and leasing, which is subject to Section 15.04.610.080 Automobile/Vehicle Sales and Leasing, requires administrative use permit approval and must comply with the following standards:
1.
Relationship to Main Use. The outdoor display and sales area must be directly related to a business occupying a primary structure on the subject parcel.
2.
Display Locations.
a.
Outdoor sales and display located in the public-right-of-way requires an encroachment permit issued by the Public Works Department.
b.
The displayed merchandise must not disrupt the vehicle and pedestrian circulation on the site, obstruct driver visibility or otherwise create hazards for vehicles or pedestrians.
c.
A four-foot pedestrian pathway to the main entrance of the use must be maintained and not blocked by merchandise. If there is more than a four-foot-wide pathway provided, merchandise may be displayed in an area outside of the required four feet.
3.
Allowable Merchandise. Only merchandise generally sold at the business is permitted to be displayed outdoors.
4.
Refuse/Litter. The operator is responsible for collecting trash due to outdoor sales.
Outdoor vendors (mobile vending units) must be located, developed, and operated in compliance with the following standards, where allowed by the 200 Series, Base Zoning Districts:
A.
Permits Required. In addition to an administrative use permit, outdoor vendors shall submit proof of compliance with the following to the Zoning Administrator:
1.
Business License. Every outdoor vendor shall obtain a City business license prior to operation.
2.
County Health Department. If food and/or beverages are being sold, a valid permit from the County Health Department is required for the commissary as well as for the mobile vending unit.
3.
State Certified Vehicle. Any mobile food vending unit owner shall provide proof that the vehicle is State-certified for operation as a mobile food preparation truck, including compliance with plumbing and electrical standards.
4.
Vehicle Insurance and Registration. Proof of current insurance and registration of the vehicle must be present with the administrative use permit application.
All permits and licenses shall be displayed at the place of business at all times.
B.
Exemptions. The following activities shall be excluded from the requirements of this outdoor vendors ordinance:
1.
Outdoor activities that take place within the public right-of-way (e.g., peddler businesses);
2.
Pumpkin sales from October 1 to October 31, inclusive;
3.
Holiday tree sales from November 1 to December 25, inclusive;
4.
Residential yard sales activities up to three days within any three-month period;
5.
Nonprofit activities related to religious establishments, community events, and fundraisers up to three days within any three-month period; and
6.
Special events that take place on land within the PCI zoning district for no more than a maximum of 30 calendar days within any twelve-month period.
C.
Site Criteria/Operational Characteristics. The following criteria shall apply to the siting and operational characteristics of outdoor vendors:
1.
Outdoor vending activities shall be allowed only in Mixed-Use, Commercial and Industrial zoning districts with an administrative use permit as identified in the land use tables for the applicable zoning district.
2.
The minimum distance between outdoor vendors is 300 feet.
3.
Outdoor vendors located on the premises of an already established business shall be allowed to operate their business on that location only if it can be shown that there is adequate parking for both the established business and for customers of the outdoor vendor business.
4.
The off-site location where the mobile vending unit is to be stored overnight must be identified in the application. Mobile vending units shall not be parked in Residential zoning districts.
5.
Wash down of the mobile vending unit shall be only permitted at an approved facility that will capture the wastewater in an approved sanitary sewer.
6.
The outdoor vendor shall be responsible for cleaning up the site and adjacent surrounding area of the trash and debris generated by the business during and at the end of each business day.
7.
The mobile vending unit shall not be located within a 12-foot radius of the outer edge of any entranceway to any building or facility used by the public.
8.
The mobile vending unit shall not be located where space for pedestrian passage will be reduced to less than six feet.
9.
The administrative use permit for outdoor vendors is considered temporary and is granted only for a maximum of two years. It may be renewed.
D.
Signage. One sign per vendor not to exceed 20 square feet in size.
(Ord. No. 30-18 N.S., § I(Exh. A), 12-18-2018)
Pawn shops and secondhand dealers must be located, developed, and operated in compliance with the following standards, where allowed by the 200 Series, Base Zoning Districts:
A.
License Review Required. An operator shall submit a California Department of Justice Secondhand Dealer or Pawnbroker License Application form to the Police Department for review and processing. The completed application must include a request for a live scan, processing fees, and a money order or check payable to the Department of Justice. If the application is for a pawnbroker license, a surety bond must be attached to the application package.
B.
Site Location and Access.
1.
Pawn shops and secondhand dealers are only permitted in CM-3, Commercial Mixed-Use, Commercial Emphasis; CM-4, Commercial Mixed-Use, Gateway/Node; and CM-5, Commercial Mixed-Use, Activity Center zoning districts.
2.
A minimum separation distance of 1,000 feet is required from each secondhand dealer business.
3.
No pawn shops or secondhand dealers are allowed on lots that abut a residential zoning district.
C.
Operation and Development Standards.
1.
An on-site lighting plan must be submitted and approved by the Zoning Administrator prior to issuance of a business license.
2.
A security plan must be submitted to and approved by the Police Department prior to issuance of a business license.
3.
Windows of the business shall not be tinted or obscured in any way, including by temporary or painted window signs, and the interior lighting of the business shall remain at adequate levels to clearly see into the business from the exterior of the business.
4.
Patrons shall be discouraged from loitering prior to, during and/or after hours. A sign shall be posted in the front of the business indicating that no loitering is permitted per the Municipal Code.
5.
Hours of operation shall be between 9:00 a.m. and 6:00 p.m., Monday through Saturday.
D.
Standard Conditions of Approval.
1.
All businesses that engage in secondhand dealer operations shall be subject to Chapter 7.60 and inspection by the Chief of Police or any police officer of the City.
2.
The applicant shall fully comply with all requirements for secondhand dealers set forth in the California Business and Professions Code, Section 21625 et seq. and any other applicable statutes or ordinances.
3.
The business owner or operator shall maintain in good repair all building exteriors, walls, drainage facilities, landscaping, driveways and parking areas. The premises shall be kept clean and free of liter and weeds. Any graffiti shall be removed within 72 hours of occurrence.
4.
All businesses are subject to inspection by the Police Department every year to determine compliance with these conditions. The business owner shall pay a fee based on the City's master fee schedule for this inspection.
5.
The facility shall have a digital video recording system that covers all points of entry, exit and areas of purchase. The video recording shall also cover areas where cash and gold/precious metals are stored within the facility. Records of this recording capability shall be of good quality and have archives up to 45 days. These video archives shall be accessible to members of the Police Department and California Department of Justice upon request. The hard-drive or computer storing all digital records shall be maintained in a secured area and away from the view of the public.
6.
The facility shall be equipped with an alarm system that has instant panic-button/robbery notification capabilities and silent monitoring. The applicant shall maintain a valid alarm permit on file with the Police Department.
7.
A separate room/area shall be maintained and alarmed for the storage of gold and cash. Tangible property may be stored off-site for the Department of Justice 30-day holding requirements.
8.
The applicant shall properly document all property taken in trade or exchanged for cash and documented by the Secondhand Dealer Report Form (JUS123).
9.
The following forms of documentation/processes shall be administered during each customer transaction:
a.
A clear photo or digital copy of each person's driver's license, identification card, passport, military identification or any valid government issued form of identification.
b.
No sales will be conducted without proper identification. The identification provided will be photocopied and attached to the sales receipt or slip. A description of the property shall be entered on the sales receipt.
c.
A digital photograph of each item of property taken in trade or exchanged for cash. This photograph shall be maintained by the business for a minimum of five years.
d.
Items purchased from a customer shall be stored and maintained by the business for 30 days prior to disposition and these shall be available for inspection at any time by the Police Department or any other law enforcement agency.
e.
All Secondhand Dealer Report Forms shall be submitted weekly to the Police Department (Regulatory Unit).
Personal services must be located, developed, and operated in compliance with the following standards, where allowed by the 200 Series, Base Zoning Districts:
A.
Hours of Operation. Hours of operation are limited to 7:00 a.m. to 9:00 p.m., seven days a week unless otherwise specified.
B.
Massage Establishments. Massage establishments, including massage establishments conducted as Accessory Uses, are subject to the requirements listed in this Section, in Municipal Code Chapter 9.38 (Massage Establishments and Services), and the following standards.
1.
Permits Required. An administrative use permit and a massage service permit issued pursuant to Chapter 9.38.020 of the Municipal Code are required.
2.
Facility Requirements. Every massage establishment shall meet the following requirements:
a.
Minimum lighting shall be provided in accordance with the National Electrical Code, and, in addition, at least one light of not less than forty watts shall be provided in each room or enclosure where massage services are performed on patrons.
b.
Minimum ventilation shall be provided in accordance with the Building Code.
c.
Hot and cold running water shall be provided at all times.
d.
Closed cabinets shall be provided for storage of clean linens.
e.
Adequate dressing, locker and toilet facilities shall be provided for patrons.
f.
A minimum of one sink shall be provided at all times. The sink shall be located within or as close as practicable to the area devoted to performing of massage services. Sanitary towels shall also be provided at each sink.
C.
Tattoo or Body Modification Parlor.
1.
Registration Required. Any person who is engaged in the business of tattooing or body modification must provide evidence of registration with the County Department of Health.
2.
No Persons under 18. A sign must be posted on the door or in view of the entrance, stating that no person under the age of 18 is allowed on site, unless accompanied by a parent or legal guardian.
Recycling facilities must be located, developed, and operated in compliance with the following standards, where allowed by the 200 Series, Base Zoning Districts:
A.
Reverse Vending Machines.
1.
Accessory Use. Reverse vending machines may be installed as an accessory use to a permitted or conditionally permitted primary use on the same site.
2.
Location. Machines must be located adjacent or as near as feasibly possible, to the entrance of the commercial host use and must not obstruct pedestrian or vehicular circulation. Machines can be located against a wall, but not in parking areas.
3.
Identification. Machines must be clearly marked to identify the type of material to be deposited, operating instructions, and the identity and phone number of the operator or responsible person to call if the machine is inoperative.
4.
Trash Receptacle. Machines must provide a minimum 40-gallon garbage can for non-recyclable materials located adjacent to the reverse vending machine.
5.
Hours of Operation. No restrictions. Machines shall be illuminated to ensure comfortable and safe operation if operating hours are between dusk and dawn.
B.
Recycling Collection Facilities.
1.
Size. Recycling collection facilities must not exceed a building site footprint of 350 square feet.
2.
Setback. Facilities must not be located within a required setback.
3.
Use. Collection Facilities shall accept only glass, metals, plastic containers, papers and reusable items. Used motor oil may be accepted with approval of the Fire Chief and in accord with all federal, State, and City regulations.
4.
Equipment. No power-driven processing equipment, except for reverse vending machines, can be used.
5.
Containers. Recycling collection facilities shall use containers that are constructed and maintained with durable waterproof and rust-proof material, covered when site is not attended, secured from unauthorized entry or removal of material, and shall be of a capacity sufficient to accommodate materials collected and collection schedule. Containers for the 24-hour donation of materials shall be at least 30 feet from any lot zoning districts or occupied for residential use unless there is a recognized service corridor and acoustical shielding between the containers and the residential use.
6.
Site Maintenance. Recycling facility sites must be maintained clean, sanitary, and free of litter and any other undesirable materials.
7.
Location. Recycling collection facilities must not be located in residential zoning districts. Recycling collection facilities located within 75 feet of a lot zoning districts or occupied for residential use shall operate only during the hours between 9:00 a.m. and 7:00 p.m.
8.
Identification. Containers must be clearly marked to identify the type of accepted material, the name and telephone number of the facility operator, and the hours of operation.
9.
Signs. The maximum sign area is limited to 20 percent of the area of the side of facility or container or 16 square feet, whichever is larger. In the case of a wheeled facility, the side is measured from the pavement to the top of the container.
10.
Parking. No additional parking spaces are required for customers of a small collection facility located at the established parking lot of a host use. One space must be provided for the attendant. Mobile recycling units shall have an area clearly marked to prohibit other vehicular parking during hours when the mobile unit is scheduled to be present.
C.
Recycling Processing Facility.
1.
Location. Facilities must be at least 100 feet from a Residential District. If the facility is located within 500 feet of land zoning districts, developed, or planned for residential use, it shall operate only during the hours between 9:00 a.m. and 7:00 p.m.
2.
Operations. The facility must be administered by on-site personnel during the hours the facility is open.
3.
Screening. The facility must be screened from public rights-of-way. Power-driven processing shall be permitted, provided all noise level requirements are met.
4.
Use. Used motor oil may be accepted with approval of the Fire Chief and in accordance with state and local regulations.
5.
Landscaping. Landscaping and irrigation plan shall be approved by the Zoning Administrator.
6.
Outdoor Storage. Exterior storage of material must conform to applicable requirements.
7.
Maintenance. Site shall be maintained free of litter and any other undesirable materials, and shall be cleaned of loose debris on a daily basis and will be secured from unauthorized entry and removal of materials when attendants are not present.
8.
Site Design. Space shall be provided on site for the anticipated peak load of customers to circulate, park and deposit recyclable materials. If the facility is open to the public, space shall be provided for a minimum of 10 customers or the peak load, whichever is higher, except where the Planning Commission determines that allowing overflow traffic will not adversely affect surrounding businesses and public safety.
9.
Parking. One parking space shall be provided for each commercial vehicle operated by the processing center.
10.
Identification. Containers shall be clearly marked to identify the type of material that may be deposited, the name and number of the facility operator, and the hours of operation; facility shall display a notice stating that no material shall be left outside the recycling containers.
11.
Nuisance. No dust, fumes, smoke, vibration or odor above ambient level shall be generated that adversely affects the health, peace, or safety of people residing or working on the premises or in the vicinity.
D.
Composting and Waste Disposal Facilities.
1.
Maintenance—Pest Infestation Prohibited. Waste disposal facilities must be maintained in such a manner that vermin and pest infestation cannot take place.
2.
Covering or Wetting to Prevent Dust. The owner, proprietor, or caretaker of any composting facility or solid waste landfill must use a tarp, covering or wet down the waste disposal facility with water or chemical stabilizers at intervals sufficiently frequent to prevent dust.
E.
Conversion Technology Facilities and Transformation (Waste-to-Energy) Facilities.
1.
Location. Facilities must not be located within 250 feet of a Residential District.
2.
Adjacency. Conversion technology facilities and transformation (waste-to-energy) facilities must be located next to existing solid waste facilities unless an applicant can demonstrate that a location adjacent to existing solid waste facilities is not feasible.
3.
Permit. The permittee shall submit evidence of the following permits and approvals or proof of an exemption:
a.
A Spill Prevention, Control and Countermeasure Plan approved by the U.S. Environmental Protection Agency.
b.
Permits to construct and to operate from the Bay Area Air Quality Management District (BAAQMD), or documentation that the facility is exempt from BAAQMD's permitting requirements.
c.
An industrial discharge permit from the City Wastewater Division, or documentation that the facility is exempt from the Wastewater Division's permitting requirement.
d.
A permit from the State or Fire Chief for the storage and use of combustible liquids.
e.
Permits for all storage tanks (above-ground and underground) from the State or Fire Chief.
f.
A solid waste permit from the Contra Costa Health Services Department of Environmental Health, if applicable.
g.
A permit from the Bay Conservation and Development Commission if the proposed project is within 100 feet of the shoreline.
h.
A Hazardous Materials Safety Permit from the U.S. Department of Transportation or California Department of Transportation if the permittee will be transporting hazardous materials over State highways.
i.
A seller's permit from the California Board of Equalization.
4.
Standards.
a.
The permittee shall follow the most up-to-date version of Biodiesel Handling and Use Guide prepared by the U.S. Department of Energy National Renewable Energy Laboratory.
b.
The permittee shall comply with the California Regional Water Quality Control Boards' C.3 Stormwater Control Management requirements.
General residential facilities must be located, developed, and operated in compliance with the following standards, where allowed by the 200 Series, Base Zoning Districts:
A.
Location. Minimum distance from any other residential facility: 300 feet.
B.
Common Open Space. At least 20 square feet of common open space must be provided for each person who resides in the facility.
(Ord. No. 30-18 N.S., § I(Exh. A), 12-18-2018)
Non-exempt schools must be located, developed, and operated in compliance with the following standards, where allowed by the 200 Series, Base Zones:
A.
Use Permit Required.
1.
An administrative use permit is required if a new school will be located in an existing building, and any new space added to the building will not exceed 20 percent of existing floor area, excluding space if portable classrooms.
2.
A conditional use permit is required for all new construction of schools and for additions to existing building that exceed 20 percent of existing floor area.
3.
To grant the use permit, the Zoning Administrator or the Planning Commission as the case may be, must determine, based on the information presented by the applicant and the standards of this Section, that the school location is appropriate for the use, and that adjacent uses will not be adversely affected; that adequate access, student drop-off areas and required off-street parking is provided; and that outdoor play areas are appropriately-sized, furnished with facilities and equipment, safe, and secure.
B.
Site Plan Required. The applicant shall provide a site plan with the use permit application that includes all of the following information:
1.
The proposed enrollment and student capacity of the school;
2.
The number and size of all classrooms;
3.
The size and location of all indoor and outdoor areas for physical education;
4.
The pedestrian and traffic circulation systems proposed for the site, include student drop-off areas;
5.
The proposed parking, both on-site and off-site; and
6.
A development phasing schedule, if the school will be developed in phases.
C.
Locational Standards.
1.
If the proposed site is within 1,500 feet of a railroad track easement, a safety study shall be submitted with the use permit application, prepared by a competent professional trained in assessing the frequency, speed, and schedule of railroad traffic and pedestrian and vehicle safeguards at railroad crossings. In addition to the analysis, reasonable and feasible mitigation measures to address existing or potential safety issues must be identified, which shall be incorporated into conditions of approval, as appropriate.
2.
If the proposed site is within 1,500 feet of an above-ground fuel storage tank or high pressure oil or gas pipeline, or within 2,000 feet of a hazardous waste disposal site, a hazards risk assessment shall be submitted with the use permit application, and recommendations of that assessment shall be incorporated into conditions of approval, as appropriate.
3.
The Zoning Administrator may waive submission of the studies required above if a safety or hazards risk assessment has been previously prepared for the site and submitted to the City or another permitting agency, and the applicant agrees to the recommendations and mitigation measures of such an assessment.
D.
Site Standards.
1.
The site shall be easily accessible from arterial or collector streets and shall allow minimum peripheral visibility from planned driveways and drop-off areas.
2.
Parent drop-off areas, bus loading areas if provided, and on-site parking shall be separated from walkways to allow students to enter and exit the school grounds safely.
3.
Adequate outdoor or indoor play areas shall be provided to meet the needs for the planned enrollment. The minimum standard is 50 square feet of active play area per student. The Zoning Administrator or the Planning Commission, whichever has use permit approval authority, may reduce this requirement upon finding that (1) public parks are with one-quarter mile of the school and a joint-use agreement with the City has been executed, or (2) the scheduling of physical education (e.g., staggered recess times) permits more efficient use of on-site facilities. All outdoor play facilities that border a street or parking area shall be enclosed by a minimum six-foot high fence or wall.
4.
Delivery and service areas shall be located to provide vehicular access that does not jeopardize the safety of students and staff. Delivery/utility vehicles must have direct access from the street to the delivery area without crossing over playground or field areas or interfering with bus or parent loading unless a fence or other barrier protects students from large vehicle traffic on playgrounds.
E.
Parking Required. As prescribed by Article 15.04.607 (Parking and Loading Standards).
F.
Accessory Uses. Accessory uses customarily found in conjunction with schools, including dormitories, gymnasiums, stadiums, performing arts facilities, and auditoriums, are permitted with an administrative use permit or a conditional use permit, as required for the principal use, provided such accessory uses are located on the same lot or a contiguous lot adjoining the school.
G.
Design Standards.
1.
Schools shall be designed at a neighborhood scale, and new or replacement elementary schools, kindergarten through grade 5 or 6, generally shall not exceed 500 students in size, unless the Planning Commission determines that a larger facility is warranted at a specific location.
2.
The design of structures shall incorporate setbacks, recesses, projections, upper-story stepbacks, and similar architectural measures to help diminish visible building bulk as seen from adjoining public streets.
3.
Larger structures with high levels of activities and parking areas shall be located away from surrounding residential development that is smaller in scale or less intense.
4.
School campuses, excluding outdoor recreational areas, shall be subject to the minimum lighting standards set in Section 15.04.604.050 that apply to multi-family development. Entries shall be lighted to ensure the safety of persons and the security of buildings. Outdoor lighting that is not required for security shall be turned off when a building or outdoor recreational area is not in use.
(Ord. No. 27-18 N.S., § I(Exh. A), 11-20-2018)
Service stations must be located, developed, and operated in compliance with the following standards, where allowed by the 200 Series, Base Zoning Districts:
A.
Site Design.
1.
Site Dimensions.
a.
Minimum site size: 15,000 square feet.
b.
Minimum primary street frontage: 120 feet.
c.
Exceptions: Where property to be used for service station purposes was under lease for such purposes at November 8, 1971, the minimum site size shall be 10,000 square feet, and the minimum primary street frontage shall be 100 feet.
2.
Landscape Plan. An acceptable landscape plan shall be submitted at the time of application. In addition to the specific standards established below, landscape plans shall comply with the provisions of Article 15.04.613 (Water-Efficient Landscaping).
a.
At least a five-foot planting strip located inside of and parallel to the street frontage or frontages (except for necessary driveways) and in other locations as may be designated by the Director of Engineering and Capital Improvement Projects. Probable planting areas would be adjacent to buildings, fencing or storage areas.
b.
The location and type of watering system which meets the approval of the Director of Engineering and Capital Improvement Projects shall service all landscaped areas.
c.
The landscape plan shall specify the size, number, location and type (genus, species or variety) of plant materials to be planted.
3.
Maintenance. The applicant shall submit a written statement to the effect that landscaping, watering systems and fencing shall be maintained to standards acceptable to the Director of Engineering and Capital Improvement Projects.
4.
Illumination. Any area lighting, including illuminated signs, shall be installed in such a manner so as not to distract passing traffic, or to produce any glare or excessive illumination on adjacent lots.
5.
Trash Storage. An outdoor refuse or storage area shall be provided on the site and shall be enclosed by a six-foot-high solid wall that complement the design and appearance of other fences and walls on the site. No used or discarded automotive parts of equipment or permanently disabled, junked, wrecked or damaged vehicles shall be located outside the buildings, except within this enclosed refuse or storage area.
6.
Activity Locations.
a.
Sale, Storage and Display of Merchandise. The exterior display and storage of merchandise, except for oil can racks and new tire display cabinets, shall be subject to design review.
b.
Ancillary Activities. The sale or rental of equipment, such as spare parts not installed on the premises, lawn mowers, concrete mixers, automobiles, trucks, trailers, garden equipment or the conduct of any other commercial enterprise not directly related to the operation of a motor vehicle service station, shall be permitted subject to such conditions as to exterior or interior location, quantity and screening as deemed appropriate through design review.
7.
Access. There must be no more than two vehicular access points to/from a single public street. However, fleet fuel stations in Industrial districts may provide additional access points.
8.
Tanks and Utility Boxes. Propane tanks, vapor-recovery systems, air compressors, utility boxes, garbage, recycling containers/enclosures, and other similar mechanical equipment must be screened from public view.
9.
Air and Water Stations. Air and water stations must be identified on plans. They cannot be located within required setback areas.
10.
Pump Islands. Pump islands must be located a minimum of 15 feet from any lot line to the nearest edge of the pump island. A canopy or roof structure over a pump island may encroach up to 10 feet within this distance.
Single Room Occupancy (SRO) Housing, also called residential hotels, must be located, developed, and operated in compliance with the following standards, where allowed by the 200 Series, Base Zoning Districts:
A.
Maximum Number of Units. If an SRO contains a common kitchen that serves all residents, the maximum allowable number of individual units shall be 20 percent above the maximum number otherwise allowed by the base density applicable to residential development in the zoning district where the SRO is located.
B.
Maximum Occupancy. Each living unit must be designed to accommodate a maximum of two persons.
C.
Minimum Width and Minimum Size. A unit comprised of one room, not including a bathroom, must not be less than 12 feet in width and include at least 180 square feet of habitable space.
D.
Entrances. All units must be independently accessible from a single main entry, excluding emergency and other service support exits.
E.
Cooking Facilities. Cooking facilities must be provided either in individual units or in a community kitchen. Where cooking is in individual units, each unit must have a sink with hot and cold water; a counter with dedicated electrical outlets and a microwave oven or a properly engineered cook top unit pursuant to Building Code requirements; at minimum a small refrigerator; and cabinets for storage.
F.
Bathroom. A unit is not required to, but may contain partial or full bathroom facilities. A partial bathroom facility must have at least a toilet and sink; a full facility must have a toilet, sink, and bathtub or shower, or bathtub/shower combination. If a full bathroom facility is not provided, common bathroom facilities must be provided that meet the standards of the Building Code for congregate residences with at least one full bathroom per floor.
G.
Closet. Each unit must have a separate closet.
H.
Common Area. Four square feet per living unit of common area must be provided, excluding janitorial storage, laundry facilities, and common hallways. At least 200 square feet of common area must be on the ground floor near the entry to serve as a central focus for tenant social interaction and meetings.
I.
Tenancy. Tenancy of residential hotel units is limited to 30 or more days.
J.
Facility Management. A facility with 10 or more units must provide full-time on-site management. A facility with fewer than 10 units must provide a management office on site.
K.
Management Plan. A management plan must be submitted with the conditional use permit application for an SRO project for review and approval by the Planning Commission. At minimum, the management plan must include the following:
1.
Security/Safety. Proposed security and safety features such as lighting, security cameras, defensible space, central access, and user surveillance;
2.
Management Policies. Management policies, including desk service, visitation rights, occupancy restrictions, and use of cooking appliances;
3.
Rental Procedures. All rental procedures, including the monthly tenancy requirement;
4.
Maintenance. Maintenance provisions, including sidewalk cleaning and litter control, recycling programs, general upkeep, and the use of durable materials.
Storage Containers must be located, developed, and operated in compliance with the following standards, where allowed by the 200 Series, Base Zoning Districts:
A.
Location.
1.
For Construction Projects. One storage container shall be allowed on a lot in conjunction with an active construction project for which a building permit has been issued. The storage container must be removed prior to issuance of a certificate of occupancy. An administrative use permit is required to place more than one storage container on a lot.
2.
In Residential and Mixed-Use Zoning Districts. Cargo storage containers may be allowed in residential and mixed use zoning districts with a Temporary Use Permit as a temporary use for up to one year. In order to approve a cargo storage container, the Zoning Administrator must find that: the placement of a container does not adversely affect access to and use of any required parking or loading space; is not located within a required setback area; and is screened from view from a public right-of-way and any adjacent residences by solid screening materials at least the same height as the storage container.
3.
In IL, IG and IW Industrial Districts. Cargo storage containers are allowed in the IL, IG, and IW Industrial districts anywhere on a lot, except in required front and street side setback areas and in required parking and loading areas. Such containers shall be fully screened from view from public rights-of-way and adjacent residential and mixed use zoning districts with solid screening materials at least the same height as the storage containers. Transport storage containers shall not be stacked higher than two containers.
B.
Business Activity. All personal storage facilities must be limited to inactive items. No retail sales, repair, or other commercial use can be conducted out of an individual rental storage unit.
C.
No Hazardous Materials Storage. No storage of hazardous materials is permitted.
This Section establishes standards for certain uses that are intended to be of limited duration of time and that will not permanently alter the character or physical features of the site where they occur.
A.
Exempt Temporary Uses. The following minor and limited duration temporary uses are exempt from the requirement for a Temporary Use Permit. Other permits, such as Building Permits, may be required.
1.
Car Washes. Car washes conducted by a qualifying sponsoring organization on non-residential properties. Sponsorship shall be limited to educational, fraternal, religious, or service organizations directly engaged in civic or charitable efforts, or to tax exempt organizations in compliance with 501(c) of the federal Internal Revenue Code. Temporary car washes shall not occur on a site more than four times per calendar year and may not operate for a continuous period of more than 12 hours.
2.
Emergency Facilities. Emergency public health and safety needs/land use activities.
3.
Garage/Yard Sales. Garage/yard sales of personal property conducted by a resident of the premises may be conducted in accordance with the following standards.
a.
A nonprofit organization or association of persons may conduct a garage/yard sale at the residence of one or more of its members pursuant to all of the requirements of this Section. One such sale may be held per year without such sale being deemed one chargeable to the premises in question for the purpose of applying the two sales per quarter limitation set forth below.
i.
No more than two garage/yard sales shall be conducted on a site per quarter, for a maximum of three consecutive days each.
ii.
Garage/yard sales shall not be held for more than two consecutive weekends. Each weekend that sales are conducted constitutes a single sale event.
iii.
Signs may be displayed 24 hours before and during the hours the garage/yard sale is actively being conducted and shall be removed at the completion of the sale.
iv.
The conduct of general retail sales or commercial activities in residential zoning districts, except as is otherwise expressly authorized under this Article, shall be prohibited.
4.
On-site Construction Yards. On-site contractors' construction yards, including temporary trailers and storage of equipment, in conjunction with an approved construction project on the same site. The construction yard shall be removed immediately upon completion of the construction project, or the expiration of the companion Building Permit authorizing the construction, whichever occurs first.
5.
Temporary Real Estate Sales Office. A temporary real estate sales office within the area of an approved development project, solely for the first sale of units, approved as part of the overall project.
B.
Temporary Use Permit Required. The following uses may be permitted pursuant to Article 15.04.807 (Temporary Use Permits) subject to the following standards.
1.
Special Events and Sales. Short term special events, outdoor sales, and displays that do not exceed three consecutive days, may be permitted in accordance with the following standards:
a.
Location. Events are limited to non-residential districts.
b.
Number of Events. No more than four events at one site shall be allowed within any 12-month period.
c.
Time Limit. When located adjacent to a Residential District, the hours of operation shall be limited to 8:00 a.m. to 9:00 p.m., seven days a week.
2.
Temporary Outdoor Sales. Temporary outdoor sales—including, but not limited to, grand opening events, and other special sales events—may be permitted in accordance with the following standards:
a.
Temporary outdoor sales shall be part of an existing business on the same site.
b.
Outdoor display and sales areas must be located on a paved or concrete area on the same lot as the structure(s) containing the business with which the temporary sale is associated.
c.
Location of the displayed merchandise must not disrupt the normal circulation of the site, nor encroach upon driveways, pedestrian walkways, or required landscaped areas, or obstruct sight distances or otherwise create hazards for vehicle or pedestrian traffic.
3.
Commercial Filming. The temporary use of a site for the filming of commercials, movies, videos, provided the Zoning Administrator finds the approval would not result in a frequency of uses likely to create incompatibility between the temporary filming activity and the surrounding neighborhood.
4.
Off-site Construction Yards. Off-site contractors' construction yards, in conjunction with an approved construction project. The permit shall expire and the construction yard shall be removed immediately upon completion of the construction project, or the expiration of the companion Building Permit authorizing the construction project, whichever first occurs.
5.
Real Estate Sales. Onsite real estate sales from a manufactured or mobile unit office for the temporary marketing, sales, or rental of residential, commercial, or industrial development.
6.
Temporary Structure. A temporary classroom, office, or similar portable structure, including a manufactured or mobile unit, may be approved, for a maximum time period of two years, as an accessory use or as the first phase of a development project, in a non-residential district. A one-year extension may be granted.
7.
Temporary Work Trailer.
a.
A trailer or mobile home may be used as a temporary work site for employees of a business:
i.
During construction of a subdivision or other development project when a valid Building Permit is in force; or
ii.
Upon demonstration by the applicant that the temporary work site is a short-term necessity, while a permanent work site is being obtained.
b.
A permit for temporary work trailers may be granted for up to 12 months.
8.
Similar Temporary Uses. Similar temporary uses which, in the opinion of the Zoning Administrator, are compatible with the district and surrounding land uses, and are necessary because of unusual or unique circumstances beyond the control of the applicant.
9.
Temporary Eating and Drinking Establishments. A temporary eating and drinking establishment, such as a beer garden, including containers and other temporary structures, may be approved for a maximum period of two years, as a temporary use on an arterial street in a Mixed Use District upon finding that it would not affect long-term implementation of the General Plan land use vision for the corridor. Conditions of approval may be imposed to ensure land use compatibility. Up to three successive one-year extensions may be approved upon finding that the use is compatible with surrounding uses.
(Ord. No. 30-18 N.S., § I(Exh. A), 12-18-2018)
Transient lodging must be located, developed, and operated in compliance with the following standards, where allowed by the 200 Series, Base Zoning Districts:
A.
Limitation on Long-term Stays. All hotels and motels, including hotels that are operated as hotel condominiums, time-shares, or under a fractional ownership model, are limited to occupancy of up to 30 consecutive days at any one time and must be available for overnight stays by the general public.
B.
Residential Use Prohibition. Residential uses are prohibited.
C.
When located on the Shoreline. Any hotel or motel located on the shoreline of San Francisco Bay and San Pablo Bay will be required to provide and maintain public access facilities and expand existing access, including parking for visitors, as required by the Bay Conservation and Development Commission, if feasible, unless expansion would adversely affect natural resources or natural processes.
Urban Agriculture facilities must be located, developed, and operated in compliance with the following standards, where allowed by the 200 Series, Base Zoning Districts:
A.
Maintenance. Urban agriculture uses shall be maintained in an orderly manner, including litter removal, irrigation, weeding, pruning, pest control and removal of dead or diseased plant materials.
B.
Equipment. Use of mechanized farm equipment is prohibited in residential districts.
1.
Heavy equipment may be used initially to prepare the land for agriculture use, and landscaping equipment designed for household use is permitted.
2.
All equipment, when not in use, must be enclosed or otherwise screened from sight.
C.
Accessory Structures. Structures to support urban agriculture, such as storage sheds, chicken coops, hop-houses, and greenhouses, are permitted, subject to the regulations of the underlying zoning district and the standards for accessory structures in Article 15.04.601 (General Site Regulations) and animal-keeping enclosures in Section 15.04.610.070.
D.
Best Practices. Urban agriculture activities shall include best practices to prevent animal waste and pollutants from entering the stormwater conveyance system and shall comply with all applicable federal, state, and local laws, ordinances, or regulations, including, but not limited to, Chapter 12.22, Stormwater Management and Discharge Control Code of the Municipal Code.
E.
Animal Keeping. See Section 15.04.610.070.
F.
Garbage and Compost. Garbage and compost receptacles must be screened from the street and adjacent properties by utilizing landscaping, fencing or storage within structures and all garbage must be removed from the site weekly. Compost piles and containers must be set back at least 20 feet from residential buildings when an urban agriculture use abuts a residential use.
G.
Hours of Operation in Residential and Mixed-Use Zoning Districts. In residential and mixed-use zoning districts, urban agricultural operations may begin at sunrise or 7:00 a.m., whichever is earlier, and must end at sunset or 9:00 p.m., whichever is later, seven days a week. Automatic equipment functioning, such as sprinklers, is not considered an operation.
H.
Home Gardens. The maximum size of a home garden shall not exceed 25 percent of the total floor area of the dwelling unit on the lot.
I.
Community Gardens. Community gardens can be organized by community groups, nonprofit organizations, the City, or land owners. A manager must be designated for each community garden who will serve as liaison between gardeners, property owner(s), and the City.
J.
Food Membership Distribution. Food Membership Distribution is an all allowable accessory to food and beverage sales and retail sales uses, and with an administrative use permit, other commercial uses.
1.
The maximum number of members who may come to the site to pick up items delivered on one delivery day is 100, and the number of delivery days allowed in a calendar year is 70. The operator of a site is responsible for compliance with the regulations that apply to the frequency of delivery days and maximum number of members who may come to the site. This may require limiting the number of members who may participate in each order, or moving some deliveries to other locations.
2.
Members may pick up items at the site only between 7:00 a.m. and 9:00 p.m.
3.
Truck deliveries are allowed between 8:00 a.m. and 5:00 p.m.
Wind Energy Conversion Systems must be located, developed, and operated in compliance with the following standards, where allowed by the 200 Series, Base Zoning Districts:
A.
Applicability. This Section applies to wind energy conversion systems (WECS) that are used for electrical energy generation only.
B.
Permit Requirements. WECS with a rated microturbine capacity up to 25 kW are permitted in all zoning districts subject to a conditional use permit except as provided below.
1.
Exemptions. The following systems only require approval of an administrative use permit:
a.
Microturbines that generate two kW or less of electrical energy each, to a maximum cumulative total of 10 kW per lot; and
b.
WECS that generate less than 10 kW per system.
C.
Development Standards. The development standards in Table 15.04.610.440-C apply to all WECS, including those that only require an administrative use permit.
D.
Additional Standards.
1.
Minimum Blade Height—Horizontal Axis WECS. To prevent harmful wind turbulence from existing structures, the lowest extension of any horizontal axis blade must be at least 30 feet above the highest structure or tree within a 250-foot radius. Modification of this standard may be allowed when the applicant demonstrates that a lower height will not jeopardize the safety of the system.
2.
Separation Distance—Vertical Axis WECS. Vertical axis systems must be placed at a distance of at least 10 rotor diameters from any structure or tree. A modification may be granted by the Zoning Administrator or Planning Commission for good cause shown, however, in no case can the turbine be located closer than three blade diameters to any occupied structure.
3.
Guy Wires. Anchor points of any guy wires for a system tower must be located within the property that the system is located on. Guy wires must not cross any above-ground electric transmission or distribution lines. The points of attachment for the guy wires must be either enclosed by a fence six feet high or sheathed in bright orange or yellow coverings from three to eight feet above the ground.
E.
Minimum Performance Standards.
1.
Electromagnetic Interference. The WECS must be designed, installed, and operated so that no disrupting electromagnetic interference is caused. Disruptive interference from the facility must be promptly rectified to include the discontinued operation of one or more WECS.
2.
Noise. All WECS are subject to the noise standards of Article 15.04.608 (Performance Standards).
3.
Maintenance. Maintenance and inspection records shall be maintained on the site and shall be made available for inspection by the building official on request.
F.
Tower Access. Towers must either:
1.
Have tower-climbing apparatus located no closer than 12 feet from the ground;
2.
Have a locked anti-climb device installed on the tower;
3.
Be completely enclosed by a locked, protective fence at least six feet high; or
4.
Have a tower-access limitation program approved by the review authority.
G.
Rotor Safety. Each WECS must be equipped with both manual and automatic controls to limit the rotational speed of the blade within the design limits of the rotor.
H.
Utility Notification and Undergrounding. For interconnected systems, no wind turbine can be installed until evidence has been given to the Zoning Administrator that the electric utility service provider has been notified and has indicated that the proposed interconnection is acceptable. On-site electrical wires associated with the system must be installed underground, except for "tie-ins" to the electric utility service provider and its transmission poles, towers, and lines.
I.
Color. Structural components, including, without limitation, towers, blades, and fencing must be of a non-reflective, unobtrusive color.
J.
Exterior Lighting. Exterior lighting on any structure associated with the WECS is prohibited, with the exception of that specifically required by the Federal Aviation Administration.
K.
Notices.
1.
At least one notice shall be posted with the following information:
a.
Maximum power output (kw), rated voltage (volts) and current;
b.
Normal and emergency shutdown procedures;
c.
The maximum wind speed the WECS in automatic, unattended operation can sustain without damage to structural components or loss of the ability to function normally; and
d.
Emergency telephone numbers.
2.
No advertising sign or logo can be placed or painted on any WECS or tower.
L.
WECS for Common Use. Contiguous property owners may construct a WECS for use in common. In such cases, the Planning Commission may permit a WECS machine to have a diameter blade configuration greater than 23 feet.
The purpose of this Article is to support the protection of open space and natural resource areas identified in the General Plan by allowing the transfer of development potential and development credits from a site in such areas having a resource deserving protection, land suitable for agriculture and outdoor recreation, land subject to hazards, including landslides and very high fire hazard risk, or otherwise designated by the General Plan as a protected sending area to a site in designated receiving zones requiring less protection. The mechanism for transfer of development rights (TDRs) is used to implement the General Plan, protect farmland and resource areas and/or to provide the owners of property an alternative to development. Payment of fees to a trust fund for use by the City in acquiring property having a resource deserving of protection is an alternative to the purchase or transfer of development rights. The TDR program and the fee-in-lieu option in this Article are voluntary for property owners and provided as a means to further the objectives of the General Plan.
(Ord. No. 06-21 N.S., § II(Exh. A), 4-20-2021)
"Development Rights." The legal rights for development established in zoning regulation, which include the maximum number of dwelling units or square feet of floor area, that are permitted by the zoning district regulations for a specific site, lot or parcel.
"Sending Zone." A geographic area, which may be a zoning district, from which development rights can be transferred. Sending zones may include specified areas where land use and development is restricted by the General Plan and zoning regulations. Once development rights are "sent" to another parcel, they can no longer be used for development in the sending zone.
"Receiving Zone." A geographic area, which may be a zoning district, that is identified as suitable to receive a transfer of development rights from a sending zone, which enable am increase in the density or development intensity above that which is otherwise allowed by the zoning district regulations.
"Transfer of Development Rights (TDRs)." A method for transferring a development right from a sending zone to a receiving zone, which allows an increase in density or development intensity in the receiving zone above the limit established in the zoning regulations that otherwise would apply. This is normally done by a legal instrument in the form of a contract, which is recorded with the title of the property. An easement restricting development in the sending zone also may be required as a condition of allowing a transfer of development rights to occur.
(Ord. No. 06-21 N.S., § II(Exh. A), 4-20-2021)
Editor's note— Ord. No. 06-21 N.S., § II(Exh. A), adopted April 20, 2021, enacted provisions designated as 15.04.611.020 and renumbered prior §§ 15.04.611.020—15.04.611.150 as §§ 15.04.611.030—15.04.611.160.
The City Council, upon a recommendation of the Planning Commission, shall identify Sending Zone(s), as defined in this Article, and assign a specific number of TDRs to each zone unless the General Plan itself and/or the zoning district regulations establishes transferable development rights or credits for a specific area in which case these rights or credits shall be used. These TDRs may be used to obtain approval for development on other parcels of land located in a TDR Receiving Zones, which also shall be identified by the City Council, at a density or intensity of use greater than would otherwise be allowed on those parcels, up to a maximum specified in this Article or in the zoning district regulations.
(Ord. No. 06-21 N.S., § II(Exh. A), 4-20-2021)
Editor's note— See editor's note to 15.04.611.020.
Every parcel of land located in a Receiving Zone may be developed at additional density/intensity of use, through the acquisition of TDRs, up to the maximum density/intensity identified in Table 15.04.611.040 below.
(Ord. No. 06-21 N.S., § II(Exh. A), 4-20-2021)
Editor's note— See editor's note to 15.04.611.020.
Development rights assigned to parcels in Sending Zones may be transferred to parcels in Receiving Zones and used to increase the density/intensity on a Receiving Parcel in accordance with the provisions of this Article and the General Plan.
A.
Limitations. A development right may not be used in any manner inconsistent with the General Plan, Table 15.04.611.040, and the following provisions of this Article:
1.
No development right may be used to increase intensity or density within a Receiving Zone that exceeds the maximum intensity or density set by the General Plan for parcels in the Receiving Zone that can be achieved under the TDR program unless a specific exemption from density limitations has been established in the General Plan for transferable development credits from a specific area to the extent that these limits would bar or make impracticable their construction; and
2.
No development right may be derived from land in a Sending Zone that is already precluded from development by nature of a recorded restrictive covenant or easement.
3.
No more than two TDR-based dwelling units may be built on a parcel except as authorized by a Specific Plan or a Planned Area District.
B.
Intermediate Transfer. A development right may be transferred to a transferee prior to the time when its use for a specific Receiving Parcel has been finally approved in accordance with this Article.
(Ord. No. 06-21 N.S., § II(Exh. A), 4-20-2021)
Editor's note— See editor's note to 15.04.611.020.
For purposes of converting residential TDRs to non-residential FAR, one residential TDR unit equals 0.05 non-residential FAR unless an alternative ratio has been set by the City Council for a specific Sending Zone(s).
(Ord. No. 06-21 N.S., § II(Exh. A), 4-20-2021)
Editor's note— See editor's note to 15.04.611.020.
After development rights have been transferred by an original instrument of transfer:
A.
The Sending Parcel shall not be further subdivided or developed to a greater density or intensity of use than permitted by the remaining development rights.
B.
The Sending Parcel shall not be used in connection with any determination of site area or site capacity, except as may be necessary in determining the number of development rights involved in the transfer.
C.
All development rights that are the subject of the transfer, and the value of such rights, shall be deemed for all other purposes, including assessment and taxation, to be appurtenant to the Sending Parcel, until such rights are certified by the Zoning Administrator and have been finally approved for use on a specific Receiving Parcel.
(Ord. No. 06-21 N.S., § II(Exh. A), 4-20-2021)
Editor's note— See editor's note to 15.04.611.020.
Between the time of the transfer of a development right by an original transferor and the time when its use on a specific Receiving Parcel is final in accordance with the provisions of this Article, a transferee has only the right to use the development right to the extent authorized by all applicable provisions of Article XV in effect at the time when use of the development right for a specific Receiving Parcel is finally approved. No transfer shall be construed to limit or affect the power of the City Council to amend, supplement or repeal any or all of the provisions of this Article or any other section of Article XV or to entitle any transferor or transferee to damages or compensation of any kind as the result of any such amendment, supplementation or repeal.
(Ord. No. 06-21 N.S., § II(Exh. A), 4-20-2021)
Editor's note— See editor's note to 15.04.611.020.
A.
Determination. The number of development rights involved in an original instrument of transfer shall be equal to the lesser of (1) "maximum dwelling units" or (2) "number of dwelling units" permitted on the Sending Parcel, as determined in accordance with the procedures for determining site area and residential land use site capacity and floor area in this Code and specific procedures for such calculations as may be established in the General Plan. In making such calculations, "gross site area" shall refer to the gross site area of the Sending Parcel as determined by actual on-site survey.
B.
Fractional Rights. Fractional parts of a development right shall be disregarded. No transfer shall include other than a whole number of development rights.
(Ord. No. 06-21 N.S., § II(Exh. A), 4-20-2021)
Editor's note— See editor's note to 15.04.611.020.
A.
Requirement. No transfer shall be recognized under this Article unless the original instrument of transfer contains the certification of the Zoning Administrator that the number of development rights that are the subject of the transfer represents the number of development rights applicable to the Sending Parcel and is recorded by the Zoning Administrator as provided in this Article.
B.
Responsibility. The transferor and the transferee named in an original instrument of transfer shall have sole responsibility to supply all information required by this Article, to provide a proper original instrument of transfer, and to pay, in addition to any other fees required by this Article, all costs of its recordation in the Contra Costa County Clerk-Recorder's Office, County Recorder Division.
C.
Application for Certificate. An application for a certificate shall contain such information prescribed by the Zoning Administrator as necessary to determine the number of development rights involved in the proposed transfer. In addition, the application shall include a certificate of title and land survey prepared by a California-registered civil engineer or licensed land surveyor.
D.
Issuance of Certificate. On the basis of the information submitted to him or her, the Zoning Administrator shall affix a certificate of his/her findings to the original instrument of transfer. The certificate shall contain a specific statement of the number of development rights that are derived from the Sending Parcel.
E.
Effect of Determination. The determination of the Zoning Administrator shall not be construed to enlarge or otherwise affect in any manner the nature, character and effect of a transfer as set forth above.
(Ord. No. 06-21 N.S., § II(Exh. A), 4-20-2021)
Editor's note— See editor's note to 15.04.611.020.
An instrument of transfer shall conform to the requirements of this Section and shall contain:
A.
The names of the transferor and the transferee;
B.
A certificate of title approved by the City Attorney;
C.
A covenant that the transferor grants and assigns to the transferee and the transferee's heirs, personal representatives, successors and assigns a specified number of development rights from the Sending Parcel;
D.
If the instrument is not an original instrument of transfer, a statement that the transfer is an intermediate transfer of rights derived from a Sending Parcel described in an original instrument of transfer (which original instrument shall be identified by its date, the names of the original transferor and transferee and the book and page where it is recorded in the Contra Costa County Clerk-Recorder's Office, County Recorder Division);
E.
A statement of the rights involved in the transfer that are derived from a Sending Parcel and the number of such rights included within the transfer;
F.
A covenant by which the transferor acknowledges that he/she has no further use or right of use with respect to the development rights being transferred;
G.
Except when development rights are being transferred to the City, a statement of the rights of the transferee prior to final approval of the use of those development rights on a specific Receiving Parcel.
(Ord. No. 06-21 N.S., § II(Exh. A), 4-20-2021)
Editor's note— See editor's note to 15.04.611.020.
A.
In addition to fulfilling the requirements of Section 15.04.611.100, an original instrument of transfer shall also contain:
1.
A legal description of the Sending Parcel, prepared by a California-registered civil engineer or licensed land surveyor and named in the instrument;
2.
A covenant by which use of the Sending Parcel is restricted to, and may be used only for open space or agricultural uses as defined in in Article XV;
3.
A covenant that all provisions of the instrument of transfer shall run with and bind the Sending Parcel and may be enforced by the City;
4.
The certificate of the Zoning Administrator required by this section.
B.
Recordation of Original Transfer. After it is properly executed, an original instrument of transfer shall be delivered to the Zoning Administrator, who shall deliver it to the Contra Costa County Clerk-Recorder's Office, County Recorder Division, together with the required fees for recording. The Zoning Administrator shall notify the original transferor and transferee in writing of such recording.
(Ord. No. 06-21 N.S., § II(Exh. A), 4-20-2021)
Editor's note— See editor's note to 15.04.611.020.
A.
Filing Requirements. The owner of a proposed Receiving Parcel shall file with the Zoning Administrator an application to use transferred development rights with respect to the development on a Receiving Parcel.
B.
Contents. The application shall contain such information as may be prescribed by the Zoning Administrator and shall be accompanied by the required fee established in the Master Fee Schedule, and:
1.
Original or certified copies of a recorded original instrument of transfer involving the development rights proposed to be used and any intervening instruments of transfer through which the applicant became a transferee of those rights; or
2.
A signed, written agreement between the applicant and a proposed original transferor, which contains the survey of a proposed Sending Parcel and other information required by the Zoning Administrator and in which the proposed transferor agrees to execute an original instrument of transfer from the proposed Sending Parcel to the applicant at the time when the use of such rights on the proposed Receiving Parcel is finally approved.
(Ord. No. 06-21 N.S., § II(Exh. A), 4-20-2021)
Editor's note— See editor's note to 15.04.611.020.
A.
Review of Application. The Zoning Administrator shall review the instrument(s) of transfer or agreement submitted with the application and determine their sufficiency to fulfill the requirements of this Article.
B.
Determination. The Zoning Administrator shall determine: (a) the number of development rights that are available for use under the terms of the instrument(s) submitted with the application and (b) the number of such rights that the City Council has determined to be available to be used on the proposed Receiving Parcel, and shall report his preliminary determination in writing to the applicant within 30 days after all information necessary to make such determination has been received.
C.
Effect. Any determination of the Zoning Administrator under this Section shall not be final and shall be subject to amendment, modification or rescission until the time when the transfer is final.
(Ord. No. 06-21 N.S., § II(Exh. A), 4-20-2021)
Editor's note— See editor's note to 15.04.611.020.
A.
When Completed. Transfer from a Sending Parcel to a Receiving Parcel is final at the time when (a) final subdivision approval or final site plan approval with respect to the Receiving Parcel, based upon use of development rights, has been given in accordance with this Article and (b) all development rights upon which such approval was based have been certified by the Zoning Administrator.
B.
Required Instruments. Final approval shall not be given to any site plan or final subdivision map that involves the use of development rights transferred under the provisions of this Article until satisfactory evidence is presented that each of the following instruments as may be required to effect transfer of those rights to the Receiving Parcel have been approved as to form and legal sufficiency by the City Attorney. Said instruments shall be recorded in the Contra Costa County Clerk-Recorder's Office, County Recorder Division following final site plan approval or final subdivision map approval, but prior to release of building permits.
1.
An original instrument of transfer to a transferee;
2.
An instrument of transfer to the owner of the Receiving Parcel; and
3.
Instrument(s) of transfer between any intervening transferees.
(Ord. No. 06-21 N.S., § II(Exh. A), 4-20-2021)
Editor's note— See editor's note to 15.04.611.020.
In lieu of purchasing development rights from a Sending Parcel for use in development of a Receiving Parcel, a developer may pay a fee to the City which the City shall hold in a separate Open Space Lands Trust Fund for use in purchasing development rights from Sending Parcels and other related purposes.
A.
Fee Schedule. A schedule of the in-lieu fees for the Open Lands Trust Fund shall be established by the City Council on the basis of a nexus study.
B.
Administration of Fee-in-Lieu Program. The Zoning Administrator shall administer the Fee-in-Lieu program and establish application requirements and documentation consistent with the requirements of this Article authorizing the fee-in-lieu payer to apply credits received for payments to develop at an additional density or intensity of use on a Receiving Parcel.
C.
Use of Funds from Payment of Fees-in-Lieu. Payments received by the City as fees-in-lieu of purchase of development rights from Sending Zones, may be used by the City to purchase development rights, acquire property having a resource deserving of protection, and/or replenish the Open Lands Trust Fund.
(Ord. No. 06-21 N.S., § II(Exh. A), 4-20-2021)
Editor's note— See editor's note to 15.04.611.020.
The specific purposes of this Article are to promote maximum efficiency in the existing transportation system, and to further the transportation goals of the Measure C and Measure J Growth Management Program, Contra Costa's Countywide Transportation Plan and Congestion Management Program, and the San Francisco Bay Area Clean Air Plan, including reducing total vehicle miles traveled (VMT), while enhancing access and expanding mobility by:
A.
Promoting and encouraging the use of transit, ridesharing, bicycling, walking, flexible work hours and telecommuting as alternatives to solo driving;
B.
Incorporating these objectives into the development review process;
C.
Developing proactive programs and/or projects either alone or in conjunction with other jurisdictions, the Contra Costa Transportation Authority (CCTA), and/or the West Contra Costa Transportation Advisory Committee (WCCTAC), to support countywide planning efforts;
D.
Considering the incorporation of appropriate technology designed to facilitate traffic flow, provide transit and highway information, provide trip generation alternatives, and incorporate related technology into the transportation system;
E.
Cooperating with other jurisdictions, the private sector, and transit operators in planning and implementing transportation programs;
F.
Promoting the more efficient utilization of existing transportation facilities and ensuring that new developments are designed in ways to maximize the potential for people and goods to arrive/depart by walking, cycling, riding public transportation, or traveling in a high occupancy vehicle; and
G.
Establishing an ongoing monitoring and enforcement program to ensure that the City's desired alternative mode use percentages are achieved.
(Ord. No. 03-21 N.S., § Exh. A, 4-6-2021)
The requirements of this Article apply to:
A.
New multi-unit development of ten units or more;
B.
New nonresidential development of 10,000 square feet or more; and
C.
Establishment of a new use, change of use, or change in operational characteristics in a building that is 10,000 square feet or more in size that results in an average daily trip increase of more than ten percent of the current use, based on the most recent Institute of Traffic Engineers (ITE) trip generation rates.
(Ord. No. 03-21 N.S., § Exh. A, 4-6-2021)
A.
All projects subject to the requirements of this Article shall incorporate measures to reduce to the extent feasible single-occupant vehicle trip generation rates 15 percent below the standard rates as established in the most recent edition of the Institute of Transportation Engineers (ITE) Trip Generation Manual by promoting walking, cycling, public transit, and ridesharing/vanpooling, and/or discouraging single-occupant vehicle travel, ensure that the average Vehicle Miles Traveled (VMT) by residents or workers in the development, or students or workers in schools, is less than the average citywide VMT. This performance target is consistent with the General Plan and the version of Plan Bay Area effective in 2016.
B.
GreenTRIP Certification. Residential developments that obtain GreenTRIP Certification from TransForm, or other equivalent certification, prior to issuance of a certificate of occupancy, shall be deemed to have met this performance requirement.
(Ord. No. 03-21 N.S., § Exh. A, 4-6-2021)
All projects subject to the requirements of this Article that do not have GreenTRIP Certification shall implement a combination of the following measures and/or the strategies presented in the CCTA 2020 VMT Methodology (as summarized in the following table and further described in the VMT Methodology technical memorandum), to achieve the required VMT reduction and promote use of non-auto and shared mobility options.
A.
Passenger Loading Zones. Passenger loading zones for carpool and vanpool drop-off located near the main building entrance (eligible for VMT reduction percentages of CCTA Strategy 6).
B.
Direct Route to Transit. A well-lighted path or sidewalk utilizing the most direct route to the nearest transit or shuttle stop from the building (eligible for VMT reduction percentages of CCTA Strategy 6).
C.
Pedestrian Connections and Network Improvements. Safe, convenient pedestrian connections provided from the project to surrounding public streets and, if applicable, trails building (eligible for VMT reduction percentages of CCTA Strategy 6).
D.
Bicycle Connections and Low-Stress Bicycle Facilities. If a site is abutting a bicycle path, lane or route, provision of a bicycle connection close to an entrance to the building on the site. Traffic calming that reduces vehicle speeds and volumes to reduce stress on bicyclists (eligible for VMT reduction percentages of CCTA Strategy 6).
E.
Land Dedication for Transit/Bus Shelter. Where appropriate, land dedicated for transit or a bus shelter provided based on the proximity to a transit route (eligible for VMT reduction percentages of CCTA Strategy 6).
F.
Long-Term Bicycle Parking (eligible for VMT reduction percentages of CCTA Strategy 6). Covered and secure long-term bicycle parking located within 75 feet of a main entrance. Long-term bicycle parking must be in at least one of the following facilities:
1.
An enclosed bicycle locker;
2.
A fenced, covered, locked or guarded bicycle storage area; or
3.
A rack or stand inside a building that is within view of an attendant or security guard or visible from employee work areas.
G.
Short-Term Bicycle Parking. Secure short-term bicycle parking located within 50 feet of a main entrance to the building (eligible for VMT reduction percentages of CCTA Strategy 6).
H.
Free Preferential Carpool and Vanpool Parking. Ten percent of vehicle spaces reserved for carpools or vanpools, with a minimum of one space required. The preferential parking spaces shall be provided free of charge (eligible for VMT reduction percentages of CCTA Strategy 2).
I.
Showers/Clothes Lockers. Shower and clothes locker facilities free of charge (eligible for VMT reduction percentages of CCTA Strategy 6).
J.
Transportation Management Association (TMA). Participation in or requirement for tenant to participate in a local or citywide TMA or a similar organization approved by the Director of the Department of Transportation, that provides ongoing administration of and support for non-auto and shared mobility commute incentives, facilities, and services (eligible for VMT reduction percentages of CCTA strategies assignable to individual TMA measures committed at construction and for life of project).
K.
Paid Parking at Prevalent Market Rates. Parking provided at a cost equal to the prevalent market rate, as determined by the City based on a survey of paid parking in the City and adjacent communities (eligible for VMT reduction percentages of CCTA Strategy 5).
L.
Alternative Commute Subsidies/Parking Cash Out. Provide employees with a subsidy, determined by the applicant and subject to review by the Department of Transportation, if they use transit or commute by other alternative modes (eligible for VMT reduction percentages of CCTA Strategy 5).
M.
Carpool and Vanpool Ride-Matching Services. Matching of potential carpoolers and vanpoolers by administering a carpool/vanpool matching program or participating actively in such a program administered by a local or citywide TMA, the City, or other public agency (eligible for VMT reduction percentages of CCTA Strategy 2).
N.
Guaranteed Ride Home. Guaranteed rides home in emergency situations for carpool, vanpool and transit riders. Rides shall be provided either by a transportation service provider (taxi, rental car, or services provided by transportation network/ride sharing companies) or an informal policy using company vehicles with designated employee drivers (eligible for VMT reduction percentages of CCTA Strategy 9).
O.
Shuttle Program. Provision of a shuttle program or participation in an existing shuttle program approved by the Department of Transportation and subject to any fees for the existing program (eligible for VMT reduction percentages of CCTA Strategy 8).
P.
Reserved.
R.
Compressed Work Week. Allow employees or require tenants to allow employees to adjust their work schedule in order to complete the basic work requirement of five eight-hour workdays by adjusting their schedule to reduce the number of days per week employees are expected or required to be on-site, thereby reducing the number of vehicle trips to the worksite (eligible for VMT reduction percentages of CCTA Strategy 4).
S.
Flextime. Provide or require tenants to provide employees with staggered work hours involving a shift in the set work hours of all employees at the workplace or flexible work hours involving individually determined work hours, such that a substantial share of employees regularly arrive at and depart from the worksite before or after the a.m. and p.m. peak periods for vehicle travel (eligible for VMT reduction percentages of CCTA Strategy 6).
T.
On-Site Amenities. One or more of the following amenities provided on site: day care, cafeteria, limited food service establishment, dry cleaners, exercise facilities, convenience retail, post office, or on-site transit pass sales (eligible for VMT reduction percentages of CCTA Strategy 1).
U.
Telecommuting. Provide or require tenants to provide opportunities and the ability for employees to work off site (eligible for VMT reduction percentages of CCTA Strategy 4).
(Ord. No. 03-21 N.S., § Exh. A, 4-6-2021)
All projects subject to the requirements of this Article shall submit a transportation demand management plan in conjunction with the development application. These plans must demonstrate that, upon implementation, they will achieve the performance requirement and shall include the following.
A.
Checklist. A completed checklist of the trip reduction measures chosen by the applicant pursuant to Section 15.04.612.040 (Vehicle Trip Reduction Measures).
B.
Trip Generation. Estimated daily trip generation for the proposed use based on the ITE trip generation rates and the reductions anticipated with implementation of the measures proposed. The Director of the Department of Transportation, a citywide TMA, or a consulting traffic engineer retained by the City at applicants' expense shall maintain guidelines and checklists for evaluation of trip reduction potential of proposed measures and make these available to applicants. [6]
C.
Implementation Plan. A description of how the performance requirements will be achieved and maintained over the life of the project.
D.
Project-Designated TDM Contact. Designation of an employee or resident as the official contact for the transportation demand management program. The City shall be provided with a current name and phone number of the project-designated TDM contact who administers carpool and vanpool ride-matching services and promotional programs, updates information on the information boards/kiosks, and is the official contact for the administration of the programs.
E.
Site Plan. A site plan that designates transportation demand management design elements including, as applicable, the location and layout/design of:
1.
External: preferential parking areas, paid parking areas, bicycle connections, bicycle parking, location of on-site amenities, passenger loading areas, land dedicated for transit facilities and bus shelters, direct route to transit, and pedestrian connections.
2.
Internal: showers/lockers, information boards/kiosks, ATM, dry cleaners, day care, convenience retail, post office, cafeteria, limited food service establishment, exercise facilities, and on-site transit pass sales.
(Ord. No. 03-21 N.S., § Exh. A, 4-6-2021)
The Appendix includes a sample TDM checklist, which will be maintained and periodically updated by the Department of Transportation.
Prior to approval of a project subject to the requirements of this Article, the Zoning Administrator or the Planning Commission, whichever has approval authority, shall make both of the following findings based on recommendations of the Department of Transportation:
A.
The proposed trip reduction measures are feasible and appropriate for the project, considering the proposed use or mix of uses and the project's location, size, and hours of operation; and
B.
The proposed vehicle trip reductions will ensure that the performance targets of this Article will be achieved and maintained.
(Ord. No. 03-21 N.S., § Exh. A, 4-6-2021)
A.
Minor Modifications. The Director of the Department of Transportation may approve minor modifications to an approved transportation demand management plan that are consistent with the original findings and conditions approved by the review authority and would result in the same target minimum alternative mode use.
B.
Changed Plans. A proposed change in an approved project subject to the requirements of this Article that would result in a ten percent increase in the number of average daily vehicle trips shall be accompanied by a statement of what modifications or additions to the approved transportation demand management plan will be made to ensure the same target alternative mode use. The Director may conditionally approve such a change, subject to annual monitoring to confirm that the program's objectives are being met.
(Ord. No. 03-21 N.S., § Exh. A, 4-6-2021)
A report, documenting the TDM activities undertaken and their results or an affidavit confirming that the requirements of this Section have been met, shall be submitted to the Department of Transportation or citywide TMA by the designated TDM contact. If the TDM measures consist of solely measures that would be performed once, this report must be submitted at the completion of the implementation of those measures. For measures that are ongoing commitments, this report must be submitted annually. If the annual report shows compliance for three consecutive years, no further annual reports are required. A five-year review may be required by the Director of the Department of Transportation or citywide TMA to evaluate the overall effectiveness of all of the TDM activities and may suggest new or modified activities or substitute activities to meet the program's objectives, per the Department of Transportation's or TMA's review and approval. The Director of the Department of Transportation may impose reasonable changes to assure the program's objectives will be met.
(Ord. No. 03-21 N.S., § Exh. A, 4-6-2021)
The specific purposes of the water-efficient landscape regulations are to:
A.
Improve the appearance of the community by requiring aesthetically pleasing landscaping on public and private sites;
B.
Aid in energy conservation by providing shade from the sun and shelter from the wind;
C.
Soften the appearance of parking lots and other development through landscaping;
D.
Conserve water resources through the use of native and drought-tolerant plans and water-conserving irrigation practices;
E.
Restore natural communities and provide habitat through the reestablishment of native plants;
F.
Assist in mitigating air quality impacts by reducing or absorbing pollutants; and
G.
Minimize or eliminate conflicts between potentially incompatible but otherwise permitted land uses on adjoining lots through visual screening.
These regulations are intended to comply with the requirements of California Government Code of Regulations, Title 23, Division 2, Chapter 2.7 for a "water efficient landscape ordinance".
A.
This Article applies to the following landscape projects associated with any development requiring a building permit, design review, or a use permit:
1.
New landscape installations of 500 square feet or more;
2.
Rehabilitated landscapes with an area 2,500 square feet or more;
3.
New construction and rehabilitated landscapes that are developer-installed in single-family and multi-family projects with a landscape area equal to or greater than 2,500 square feet requiring a building permit, design review, or other discretionary permit; and
4.
New construction landscapes that are homeowner-provided and/or homeowner-hired in single-family and multi-family residential projects with a total project landscape area equal to or greater than 5,000 square feet requiring a building permit, design review or other discretionary permit.
B.
The following are exempt:
1.
Registered local, state or federal historical sites;
2.
Ecological restoration projects that do not require a permanent irrigation system; and
3.
Plant collections, as part of botanical gardens and arboretums open to the public.
C.
Recognizing the special landscape management needs of cemeteries, new and rehabilitated cemeteries are only subject to the requirements of subsection 15.04.613.060(D) and Sections 15.04.613.080-090.
The following areas shall be landscaped, and may count toward the total area of site landscaping required by the zoning district regulations and other citywide or special purpose landscape regulations.
A.
Required Setbacks. All required front and street-facing side setbacks, except for areas used for exit and entry, shall be landscaped.
Figure 15.04.613.030-A: Required Setbacks
B.
Lot Perimeters. Landscape buffers shall be installed and maintained alongside and rear lot lines between differing land uses, in accordance with the following standards.
1.
Required Landscape Buffers. Table 15.04.613.030-B(1), Required Landscape Buffers, shows when a buffer treatment is required, and of what type, based on the proposed and the adjoining use. Only the proposed use is required to provide the buffer yard. Adjoining uses are not required to provide the buffer yard. The type of buffer yard required refers to buffer yard-type designations as shown in the table and defined in subsection (2), below. "-" means that a buffer yard is not required unless required by another section of this Article.
2.
Buffer-yard Types. Table 15.04.613.030-B(2), Buffer Yard Requirements, describes the minimum width, plant materials, and wall requirements for each type of buffer yard. The listed number of trees and shrubs are required for each 100 lineal feet of buffer yard. Trees shall be planted at least 40 feet on center. Natural areas with native vegetation or alternative planting materials which achieve equivalent buffering effects may be approved by the Zoning Administrator.
Figure 15.04.613.030-B(2): Buffer Yard Requirements
3.
Width Reduction for Adjacent Landscaped Buffer. If an equivalent landscape buffer exists on the adjacent lot, the width of the required buffer may be reduced 50 percent provided that the abutting property owners have provided a written agreement restricting the use of the adjacent landscape buffer.
C.
Building Perimeters. The portions of a building that front a public street shall have one or more landscape planters installed along a minimum 20 percent of that building face. The minimum width of the planter shall be three feet. This standard does not apply where a building is located on the front or street side property line.
Figure 15.04.613.030-C: Building Perimeters
D.
Parking Areas. Parking areas shall be landscaped as required by Article 15.04.607 (Parking and Loading Standards).
E.
Unused Areas. All areas of a project site not intended for a specific use, including areas planned for future phases of a phased development, shall be landscaped or left in a natural state.
A.
General. Landscaping may consist of a combination of ground cover materials, shrubs, and trees. Ground cover may include grasses, shrubs, perennials, vines, or other herbaceous or non-herbaceous plants. Ground cover also includes, mulch such as gravel, rock, cinder, bark, or other permeable materials, provided that such materials present an attractive setting consistent with the intent of this Article. Landscaping may also include incidental features, such as stepping-stones, site furniture, water features, art, or other ornamental features placed within a landscaped setting.
B.
Plant Materials.
1.
Turf Allowance. The maximum amount of turf in required landscape areas is 30 percent for non-residential uses and 50 percent for residential uses, except for turf areas that comprise an essential component of a project (e.g., golf courses or playing fields), which are exempt from this limit. Turf is prohibited on slopes greater than 25 percent.
2.
Plant Selection.
a.
Any plant that is not specifically prohibited may be selected for the landscape, providing the Estimated Total Water Use (ETWU) in the landscape area does not exceed the Maximum Applied Water Allowance (MAWA) Methods to achieve water efficiency include one or more of the following:
i.
Protection and preservation of native species and natural vegetation;
ii.
Selection of water-conserving plant, tree and turf species, especially local native plants;
iii.
Selection of plants based on local climate suitability, disease and pest resistance; and
iv.
Selection of trees based on size at maturity as appropriate for the planting area.
b.
Plants must be selected and planted appropriately based upon their adaptability to the climatic, geologic, and topographical conditions of the project site. Methods to achieve water efficiency include:
i.
Using the Sunset Western Climate Zone System which takes into account temperature, humidity, elevation, terrain, latitude, and varying degrees of continental and marine influence on local climate;
ii.
Recognizing the horticultural attributes of plants (i.e., mature plant size, invasive surface roots) to minimize damage to property or infrastructure (e.g., buildings, sidewalks, power lines) and to allow for adequate soil volume for healthy root growth; and
iii.
Using solar orientation for plant placement to maximize summer shade and winter solar gain.
c.
Common Interest Development Guidelines. The architectural guidelines of a common interest development, which include community apartment projects, condominiums, planned developments, and stock cooperatives, may not prohibit or include conditions that have the effect of prohibiting the use of low-water use plants as a group.
C.
Water Features. Recirculating water systems must be used for water features. The surface area of a water feature must be included in the high water use hydrozone area of the water budget calculation.
D.
Soil Preparation. Prior to the planting of any materials, compacted soils must be transformed to a friable condition. On engineered slopes, only amended planting holes need meet this requirement.
E.
Mulch. A minimum three-inch layer of mulch must be applied on all exposed soil surfaces of planting areas except in turf areas, areas receiving closely spaced plugs as a lawn alternative, or direct seeding applications where mulch is contraindicated. To provide habitat for beneficial insects and other wildlife, up to five percent of the landscape area may be left without mulch. Stabilizing mulching products must be used on slopes that meet current engineering standards. The mulching portion of the seed/mulch slurry in hydro-seeded applications must meet the mulching requirement. Use of organic mulch materials made from recycled or post-consumer material is preferred over inorganic materials or virgin forest products unless the recycled post-consumer organic products are not locally available.
A.
On-Site Trees. On-site trees must be provided as follows:
1.
Residential Zoning Districts. One tree for every 1,000 square feet of lot area for residential development.
2.
Mixed-Use and Commercial Zoning Districts. One tree for every 2,000 square feet of lot area.
3.
Industrial Zoning Districts. One tree for every 5,000 square feet of lot area.
4.
Off-Site Planting. If the lot size or other site conditions make planting of the required trees impractical, the Zoning Administrator may allow the trees be planted off-site at twice the ratio.
5.
Exception for Existing Trees. If the required number and size of trees already exists on the site, the applicant shall not be required to plant new trees on-site.
B.
Street Trees. All new development must provide at least one street tree that is a minimum of 1 ½ inches diameter at breast height or 15 gallons in size for each 50 linear foot of street frontage unless the Director of Engineering and Capital Improvement Projects determines that a different number of trees is warranted because of existing conditions and the number of street trees in the vicinity. All street trees, must be installed with approved root and/or any other tree plantings within 10 feet of the public right-of-way, including sidewalks, curbs and gutters, or street surface barriers and deep water tubes (three per tree).
C.
Maintenance. All trees must be maintained to be free from physical damage or injury arising from lack of water, chemical damage, accidents, vandalism, insects and disease. Any tree showing such damage to the extent that its life would be impaired must be replaced with another tree.
A.
General Requirements. The section establishes what required documentation must be provided for all non-exempt landscape projects unless they qualify for streamlined submittal requirements. Streamlined submittals are available for two specific types of projects:
1.
Small Sites. A project with a landscape area of 2,500 square feet or less that complies with the prescriptive measures listed in subsection (H), below, are exempt from certain submittal requirements for the Landscape Documentation Package.
2.
Graywater or Rainwater Projects. For projects using treated or untreated graywater or rainwater captured on site, any lot or parcel within the project that has less than 2,500 square feet of landscape and meets the lot or parcel's landscape water requirement (Estimated Total Water Use) entirely with treated or untreated graywater or through stored rainwater captured on site is subject only to the requirements of paragraph (H)(6), below.
3.
Existing Landscape. All existing landscape over one acre in size may be required to have an irrigation audit under subsection 15.04.613.090(B) if a property owner proposes an expansion of floor area that is more than 10 percent of existing floor area or structural alterations that exceed 10 percent of the replacement cost of the building. Restrictions on overspray and runoff may be imposed as conditions of approval of a discretionary permit in order to conserve water.
B.
Landscape Documentation Package. A Landscape Documentation Package must be submitted by the project applicant for review and approval prior to start of construction. The Landscape Documentation Package must include the following elements, shown on either plan sheets or supplemental pages:
1.
Project Information Sheet. The plan information must include, but is not limited to, the following: date; project name; project address, parcel, and/or lot number(s); total landscape area (square feet) and rehabilitated landscape area (if applicable); project type (e.g., new, rehabilitated, public, private, public, private, cemetery, homeowner-installed); water supply type (e.g., potable, recycled, well) and identification of the local retail water purveyor if the project applicant is not served by a private well; checklist or index of all documents in the Landscape Documentation Package; project contacts information for the project applicant and property owner.
2.
A Landscape Design Plan: see subsection (C), below.
3.
A Water-Efficient Landscape Worksheet: see subsection (D), below.
4.
A Soil Management Plan: see subsection (E), below.
5.
An Irrigation Design Plan: see subsection (F), below.
6.
A Grading Design Plan: see subsection (G), below.
C.
Landscape Design Plan. The Landscape Design Plan must identify all of the following, to the extent they apply:
1.
Proposed plant locations, species, and sizes.
2.
Location of any existing trees over six inches in diameter at breast height, each tree's diameter at breast height, and whether such tree is proposed for retention or removal.
3.
Recreational areas.
4.
Areas permanently and solely dedicated to edible plants.
5.
Each hydrozone, labeled or identified by number, letter or other method and noted as low, moderate, high water or mixed water use. Temporarily irrigated areas of the landscape must be included in the low water use hydrozone of the water budget calculation. Each hydrozone must have plant materials with similar water use, with the exception of hydrozones with plants of mixed water use.
6.
Areas irrigated with recycled water.
7.
Type of mulch and application depth and proposed soil amendments by type and quantity.
8.
Type and surface area of water features.
9.
Hardscapes (pervious and non-pervious).
10.
Location, installation details, and 24-hour retention or infiltration capacity of on-site stormwater retention areas.
11.
Any applicable rain harvesting or catchment technologies and their 24-hour retention or infiltration capacity.
12.
Any applicable graywater discharge piping, system components and area(s) of distribution.
13.
In Fire-Prone Areas. A Landscape Design Plan for projects in fire-prone areas must address fire safety and prevention. A defensible space or zone around a building or structure is required by the Public Resources Code Section 4291(a) and (b).
D.
Water Efficient Landscape Calculations and Alternatives. A fully-completed Water Efficient Landscape Worksheet (available from the Zoning Administrator) [7] must contain information on the plant factors, irrigation method, irrigation efficiency and area associated with each hydrozone and show:
1.
The Estimated Total Water Use (ETWU) allowable for the landscape area (LA) does not exceed the Maximum Applied Water Allowance (MAWA); and
2.
The evapotranspiration adjustment factor (ETAF) for the landscape project does not, on average, exceed a factor of 0.55 for residential areas and 0.45 for non-residential areas, exclusive of Special Landscape Areas (SLA), within the landscape project, which are calculated using an ETAF of 1.0.
Water efficiency calculations must be calculated as follows:
Maximum Applied Water Allowance (MAWA)
MAWA = (25.92) × [(ETAF × LA) + ((1-ETAF) × SLA)]
Estimated Total Water Use (ETWU)
3.
Variables Used in Water Efficiency Calculations.
a.
Plant Factors (PF). The plant factors range from 0 to 0.1 for very low water using plants, 0.1 to 0.3 for low water use plants, from 0.4 to 0.6 for moderate water use plants, and from 0.7 to 1.0 for high water use plants. Any and all water features must be included in the high water use hydrozone. Any and all temporarily irrigated areas must be included in the low water use hydrozone.
b.
Landscape Areas (LA). Total Landscape Area, expressed in square feet, include all areas dedicated to planting, turf, and water features, excluding footprints of building or structures, sidewalks, driveways, parking lots, decks, patios, gravel or stone walks, pervious or non-pervious hardscapes, or other non-irrigated areas designated for non-development (e.g., open spaces and existing native vegetation).
c.
Special Landscape Areas (SLA). Special Landscape Areas are areas of the landscape dedicated solely to edible plants, recreational areas, areas irrigated with recycled water, or water features using recycled water.
d.
Irrigation Efficiency (IE). For the purpose of determining Estimated Total Water Use, the average IE is assumed to be 0.75 for overhead spray devices and 0.81 for drip system devices.
e.
Hydrozone Area (HA). The square feet in the hydrozone. Note that PF x HA as used in the formula for calculating ETWU is the sum of the individual PF and respective HA calculations.
4.
Evapotranspiration Adjustment Factor (ETAF). The ETAF for a landscape project is calculated based on the plant factors and irrigation methods selected. The Water Efficient Landscape Worksheet must show that the average ETAF for Regular Landscape Areas is no greater than 0.55 for residential areas and 0.45 for non-residential areas. The ETAF for Special Landscape Areas can be up to 1.0.
E.
Soil Management Report. A Soil Management Report must include:
1.
Analysis of Soil Samples. Soil samples must be submitted to a laboratory for analysis and recommendations.
a.
Soil sampling must be conducted in accordance with laboratory protocol, including protocols regarding adequate sampling depth for the intended plants.
b.
The soil analysis must include:
i.
Soil texture;
ii.
Infiltration rate determined by laboratory test or soil texture infiltration rate table;
iii.
pH;
iv.
Total soluble salts;
v.
Sodium;
vi.
Percent organic matter; and
vii.
Recommendations.
c.
In residential projects with multiple landscape installations, a soil sampling rate of one in seven lots or approximately 15 percent will satisfy this requirement. Large landscape projects must sample at a rate equivalent to one in seven lots.
2.
Timing of Submittal.
a.
If significant mass grading is not planned, the Soil Management Report must be submitted as part of the Landscape Documentation Package.
b.
If significant mass grading is planned, the Soil Management Report must be submitted as part of the Certificate of Completion.
3.
Availability of Report to Landscape Professionals. The Soil Management Report must be made available, in a timely manner, to the professionals preparing the landscape design and irrigation design plans.
4.
Implementation Verification. Verification of implementation of the Soil Management Report recommendations must be submitted with the Certificate of Completion.
F.
Irrigation Design Plan. The Irrigation Design Plan, at a minimum, must contain:
1.
The location and size of separate water meters for landscape;
2.
The location, type and size of all components of the irrigation system, including controllers, main and lateral lines, valves, sprinkler heads, moisture sensing devices, rain switches, quick couplers, pressure regulators, and backflow prevention devices;
3.
Static water pressure at the point of connection to the public water supply; and
4.
Flow rate (gallons per minute), application rate (inches per hour), and design operating pressure (pressure per square inch) for each station.
5.
Design Criteria for Hydrozones.
a.
Each valve must irrigate a hydrozone with similar site, slope, sun exposure, soil conditions, and plant materials with similar water use.
b.
Sprinkler heads and other emission devices must be selected based on what is appropriate for the plant type within that hydrozone.
c.
Where feasible, trees must be placed on separate valves from shrubs, groundcovers, and turf to facilitate the appropriate irrigation of trees. The mature size and extent of the root zone must be considered when designing irrigation for the tree.
d.
Individual hydrozones that mix plants of moderate and low water use, or moderate and high water use, may be allowed if:
i.
The plant factor calculation is based on the proportions of the respective plant water uses and their plant factor; or
ii.
The plant factor of the higher water using plant is used for calculations.
e.
Individual hydrozones that mix high and low water use plants are not permitted.
6.
The installation of the water irrigation systems must allow for the current and future use of recycled water when feasible All recycled water irrigation systems must be designed and operated in accordance with all applicable City regulations and State laws.
7.
System Components.
a.
Landscape Water Meters. Landscape water meters, defined as either a dedicated water service meter or private submeter, must be installed for all non-residential irrigated landscapes of 1,000 square feet or more and residential irrigated landscapes of 5,000 square feet or more. A landscape water meter may be either:
i.
A customer service meter dedicated to landscape use provided by the local water purveyor; or
ii.
A privately owned meter or submeter.
b.
Soil Moisture or Evapotranspiration-Based Irrigation Controllers. Automatic irrigation controllers utilizing either evapotranspiration or soil moisture sensor data utilizing non-volatile memory is required for irrigation scheduling in all irrigation systems.
c.
Pressure Regulating Devices. If the water pressure is below or exceeds the recommended pressure of the specified irrigation devices, the installation of a pressure regulating device is required to ensure that the dynamic pressure at each emission device is within the manufacturer's recommended pressure range for optimal performance.
i.
If the static pressure is above or below the required dynamic pressure of the irrigation system, pressure-regulating devices such as inline pressure regulators, booster pumps, or other devices must be installed to meet the required dynamic pressure of the irrigation system.
ii.
Static water pressure, dynamic or operating pressure, and flow reading of the water supply must be measured at the point of connection. These pressure and flow measurements must be conducted at the design stage. If the measurements are not available at the design stage, the measurements must be conducted at installation.
d.
Weather-Based Irrigation Controllers. Sensors (rain, freeze, wind, etc.), either integral or auxiliary, that suspend or alter irrigation operation during unfavorable weather conditions are required on all irrigation systems, as appropriate for local climatic conditions. Irrigation should be avoided during windy or freezing weather or during rain.
e.
Manual Shut-Off Valves. Manual shut-off valves (such as a gate valve, ball valve, or butterfly valve) are required, as close as possible to the point of connection of the water supply, to minimize water loss in case of an emergency (such as a main line break) or routine repair.
f.
Backflow Prevention Devices. Backflow prevention devices are required to protect the water supply from contamination by the irrigation system.
g.
Flow Sensors. Flow sensors that detect high flow conditions created by system damage or malfunction are required for all on non-residential landscapes and residential landscapes of 5,000 square feet or more.
h.
Master Shut-Off Valves. Master shut-off valves are required on all projects except landscapes that make use of technologies that allow for the individual control of sprinklers that are individually pressurized in a system equipped with low pressure shut down features.
i.
Prevent Water Waste. The irrigation system must be designed to prevent runoff, low head drainage, overspray, or other similar conditions where irrigation water flows onto non-targeted areas, such as adjacent property, non-irrigated areas, hardscapes, roadways, or structures.
j.
Irrigation Efficiency (IE). The irrigation system must be designed and installed to meet, at a minimum, the irrigation efficiency criteria regarding the Maximum Applied Water Allowance.
k.
Meet ASABE/ICC Standard. All irrigation emission devices must meet the requirements of the American National Standards Institute (ANSI) and the American Society of Agricultural and Biological Engineers'/International Code Council's (ASABE/ICC) 802-2014 "Landscape Irrigation Sprinkler and Emitter Standard." All sprinkler heads must have a documented distribution uniformity low quarter of 0.65 or higher using protocols in ASABE/ICC 802-2014.
l.
Peak Water Operating Demands or Restrictions. It is highly recommended that the project applicant inquire with the local water purveyor about peak water operating demands (on the water supply system) or water restrictions that may impact the effectiveness of the irrigation system.
m.
Mulched Planting Areas. In mulched planting areas, the use of low volume irrigation is required to maximize water infiltration into the root zone.
n.
Matched Precipitation Rates. Sprinkler heads and other emission devices must have matched precipitation rates, unless otherwise directed by the manufacturer's recommendations.
o.
Head to Head Coverage. Head to head coverage is recommended. However, sprinkler spacing must be designed to achieve the highest possible distribution uniformity using the manufacturer's recommendations.
p.
Riser-Protection Components. Swing joints or other riser-protection components are required on all risers subject to damage that are adjacent to hardscapes or in high traffic areas of turf.
q.
Low Point Drainage. Check valves or anti-drain valves are required on all sprinkler heads where low point drainage could occur.
r.
Areas Less Than Ten Feet Wide. Areas less than 10 feet in width in any direction must be irrigated with subsurface irrigation or other means that produces no runoff or overspray.
s.
Adjacent to Non-Permeable Surfaces. Overhead irrigation is not permitted within 24 inches of any non-permeable surface. Allowable irrigation within the setback from non-permeable surfaces may include drip, drip line, or other low flow non-spray technology. The surfacing of the setback may be mulch, gravel, or other porous material. These restrictions may be modified if:
i.
The landscape area is adjacent to permeable surfacing and no runoff occurs;
ii.
The adjacent non-permeable surfaces are designed and constructed to drain entirely to landscaping; or
iii.
The irrigation designer specifies an alternative design or technology and clearly demonstrates strict adherence to irrigation system design criteria. Prevention of overspray and runoff must be confirmed during the irrigation audit.
t.
Slopes Greater Than 25 Percent. Slopes greater than 25 percent shall not be irrigated with an irrigation system with an application rate exceeding 0.75 inches per hour. This restriction may be modified by the Zoning Administrator if the landscape designer specifies an alternative design or technology, and clearly demonstrates no runoff or erosion will occur. Prevention of runoff and erosion must be confirmed during the irrigation audit.
G.
The Grading Design Plan.
1.
The Grading Design Plan must indicate finished configurations and elevations of the landscape area, including:
a.
Height of graded slopes;
b.
Drainage patterns;
c.
Pad elevations;
d.
Finish grade; and
e.
Stormwater retention improvements, if applicable.
2.
To prevent excessive erosion and runoff, project applicants may be required to:
a.
Grade so that all irrigation and normal rainfall remains on-site and does not drain on to non-permeable hardscapes;
b.
Avoid disruption of natural drainage patterns and undisturbed soil; and
c.
Avoid soil compaction in landscape areas.
H.
Prescriptive Compliance Option for Smaller Sites. Landscape projects that involve 2,500 square feet or less of landscape area may be approved through a Zoning Compliance review if the applicant meets all of the following requirements. Under this procedure, no landscape design plan needs be prepared, and requirements for a water-efficient landscape worksheet, a soil management plan, an irrigation design plan, and a grading design plan are waived.
1.
Submit a Prescriptive Compliance Landscape Documentation Package that includes the following elements:
a.
Date;
b.
Project applicant;
c.
Project address (if available, parcel and/or lot number(s));
d.
Total landscape area (square feet), including a breakdown of turf and plant material;
e.
Project type (e.g., new, rehabilitated, public, private, cemetery, homeowner-installed);
f.
Water supply type (e.g., potable, recycled, well) and identification of the local retail water purveyor if the applicant is not served by a private well;
g.
Contact information for the project applicant and property owner; and
h.
Applicant signature and date with statement, "I agree to comply with the requirements of the prescriptive compliance option of the City of Richmond's Water-Efficient Landscape Regulations."
2.
Incorporate compost at a rate of at least four cubic yards per 1,000 square feet to a depth of six inches into landscape area (unless contraindicated by a soil test);
3.
Use plant material as follows:
a.
For residential areas, install climate adapted plants that require occasional, little or no summer water (average WUCOLS plant factor 0.3) for 75 percent of the plant area, excluding edibles and areas using recycled water;
b.
For non-residential areas, install climate adapted plants that require occasional, little or no summer water (average WUCOLS plant factor 0.3) for 100 percent of the plant area, excluding edibles and areas using recycled water;
4.
Apply a minimum three-inch layer of mulch on all exposed soil surfaces of planting areas except in turf areas, areas receiving closely spaced plugs as a lawn alternative, or direct seeding applications where mulch is contraindicated.
5.
Turf must comply with all of the following:
a.
Turf shall not exceed 25 percent of the landscape area in residential and mixed-use areas with residential dwellings;
b.
Turf is prohibited in non-residential areas;
c.
Turf shall not be planted on sloped areas that exceed a slope of one foot vertical elevation change for every four feet of horizontal length; and
d.
Turf is prohibited in parkways less than 10 feet wide, unless the parkway is adjacent to a parking strip and used to enter and exit vehicles. Any turf in parkways must be irrigated by sub-surface irrigation or by other technology that creates no overspray or runoff.
6.
Irrigation systems must comply with all of the following:
a.
Automatic irrigation controllers are required and must use evapotranspiration or soil moisture sensor data and utilize a rain sensor.
b.
Irrigation controllers must be of a type that does not lose programming data in the event the primary power source is interrupted.
c.
Pressure regulators must be installed on the irrigation system to ensure the dynamic pressure of the system is within the manufacturers recommended pressure range.
d.
Manual shut-off valves (such as a gate valve, ball valve, or butterfly valve) must be installed as close as possible to the point of connection of the water supply.
e.
All irrigation emission devices must meet the requirements set in the American National Standards Institute standard, American Society of Agricultural and Biological Engineers'/International Code Council's (ASABE/ICC) 802-2014 "Landscape Irrigation Sprinkler and Emitter Standard." All sprinkler heads installed in the landscape must document a distribution uniformity low quarter of 0.65 or higher using the protocol defined in ASABE/ICC 802-2014.
f.
Areas less than 10 feet in width in any direction must be irrigated with subsurface irrigation or other means that produces no runoff or overspray.
7.
For non-residential projects with landscape areas of 1,000 square feet or more, a private submeter(s) to measure landscape water use shall be installed.
8.
At the time of final inspection, the applicant must provide the owner of the property with a certificate of completion, certificate of installation, irrigation schedule, and a schedule of landscape and irrigation maintenance.
The State's Model Water-efficient Landscape Ordinance includes a sample worksheet, which can be posted on the City's website and be a Microsoft Excel for or in other interactive form to make it easy to use.
A Certificate of Completion, in the form specified by the Zoning Administrator [8], must be submitted to the Zoning Administrator upon completion of the installation.
A.
The Certificate of Completion must include the following six elements:
1.
Project information sheet that contains:
a.
Date;
b.
Project name;
c.
Project applicant name, telephone, and mailing address;
d.
Project address and location; and
e.
Property owner name, telephone, and mailing address;
2.
A Landscape Installation Certification of Completion that includes certification by a landscape professional that the project was installed per the approved Landscape Documentation Package. Where there have been significant changes made in the field during construction, "as-built" or record drawings must be included with the Certificate;
3.
Irrigation scheduling parameters used to set the controller;
4.
Landscape and irrigation maintenance schedule;
5.
Irrigation Audit Report; and
6.
Soil Management report, if not submitted with Landscape Documentation Package, and documentation verifying implementation of soil report recommendations.
B.
The project applicant must submit the signed Certificate of Completion to the Zoning Administrator for review; and ensure that copies of the approved Certificate of Completion are submitted to the local water purveyor and to the property owner or his or her designee.
C.
The Zoning Administrator will approve or deny the Certificate of Completion within ten days of receipt. If the Certificate of Completion is denied, the Zoning Administrator must provide information to the project applicant regarding deficiencies noted and appeal procedures.
The State's Model Water-efficient Landscape Ordinance includes a sample certificate.
For the efficient use of water, all irrigation schedules must be developed, managed, and evaluated to utilize the minimum amount of water required to maintain plant health. Irrigation schedules must meet the following criteria:
A.
Irrigation scheduling must be regulated by automatic irrigation controllers.
B.
Overhead irrigation must be scheduled between 8:00 p.m. and 10:00 a.m. unless weather conditions prevent it. Operation of the irrigation system outside the normal watering window is allowed for auditing and system maintenance or if required by the water purveyor.
C.
Attention must be paid to irrigation run times, emission device, flow rate, and current reference evapotranspiration, so that the applied water meets the Estimated Total Water Use (ETWU). Total annual applied water must be less than or equal to the Maximum Applied Water Allowance (MAWA).
D.
Parameters used to set the automatic irrigation controller must be developed and submitted with the Certificate of Completion for each of the following:
1.
The plant establishment period;
2.
The established landscape; and
3.
Temporarily irrigated areas.
E.
A diagram of the irrigation plan showing hydrozones must be kept with the irrigation controller.
A.
Landscape and Irrigation Maintenance.
1.
A regular maintenance schedule must be submitted with the Certificate of Completion. This schedule must address routine inspections; auditing, adjustment and repair of the irrigation system and its components; aerating and dethatching turf areas; topdressing with compost, replenishing mulch; fertilizing; pruning; weeding in all landscape areas, and removing obstructions to emission devices.
2.
Repair of all irrigation equipment must be done with the originally installed components or their equivalents or with components with greater efficiency.
B.
Irrigation Audit Report.
1.
After completion of the installation, a landscape irrigation audit must be conducted by a City landscape irrigation auditor or a third party certified landscape irrigation auditor and submitted with the Certificate of Completion.
2.
Landscape audits shall not be conducted by the person who designed the landscape or installed the landscape.
3.
In large projects or projects with multiple landscape installations, an auditing rate of one in seven lots or approximately 15 percent will satisfy this requirement.
4.
The irrigation audit report may include, but is not limited to: inspection, system tune-up, system test with distribution uniformity, reporting overspray or run off that causes overland flow, and preparation of an irrigation schedule, including configuring irrigation controllers with application rate, soil types, plant factors, slope, exposure, and any other factors necessary for accurate programming.
All model homes that are landscaped must use signs and written information to demonstrate the principles of water efficient landscapes described in this Article.
A.
Signs must be used to identify the model home as an example of water efficient landscaping, featuring elements such as hydrozones, irrigation equipment, and others that contribute to the overall water efficient theme. Signage must include information about the site water use as designed per this Article; specify who designed and installed the water efficient landscape; and demonstrate low water use approaches to landscaping such as using native plants, graywater systems, and rainwater catchment systems.
B.
Information must be provided about designing, installing, managing, and maintaining water efficient landscapes.
A.
This Article is intended to reasonably regulate, to the extent permitted under California and federal law, the installation, operation, collocation, modification, maintenance and removal of wireless communication facilities in a manner that promotes and protects public health, safety and welfare, and balances the benefits that flow from robust and ubiquitous wireless services with the local values and aesthetic character of the City, its neighborhoods and other districts.
B.
This Article is not intended to, and shall not be interpreted or applied to: (1) prohibit or effectively prohibit any personal wireless service provider's ability to provide personal wireless services; (2) unreasonably discriminate among providers of functionally equivalent personal wireless services; (3) regulate the installation, operation, collocation, modification, maintenance or removal of personal wireless services based on environmental effects from radio frequency emissions to the extent such emissions comply with all applicable Federal Communications Commission (FCC) regulations; (4) create barriers that prohibit or effectively prohibit any telecommunications service provider's ability to provide any interstate or intrastate telecommunications service; (5) prohibit or effectively prohibit any collocation or modification that the City may not deny under applicable California or federal law; or (6) preempt any applicable California or federal laws, regulations or other mandatory rules.
A.
Applicable Facilities. This Article applies to all applications to install, construct, collocate, modify or otherwise alter wireless communication facilities in the City of Richmond.
B.
Legal Nonconforming Facilities. Any existing facility within the City's jurisdictional boundaries that does not conform to the requirements in this Article is deemed a "legal nonconforming use" as defined in Article 15.04.104 and subject to the provisions in Article 15.04.606.
C.
Exempted Facilities. Notwithstanding subsection 15.04.614.020(A), this Article does not apply to the following:
1.
Amateur radio antennas;
2.
Over-the-air-reception devices (OTARD antennas);
3.
Wireless antennas and related equipment installed completely indoors and intended to extend signals for personal wireless services in a personal residence or a business (such as a femtocell or indoor distributed antenna system);
4.
Antennas and related equipment owned and operated by California Public Utilities Commission (CPUC)-regulated electric companies for use in connection with electrical power generation, transmission and distribution facilities covered under CPUC General Order 131-D, as may be amended or superseded;
5.
City-owned and operated facilities for public purposes; and
6.
Wireless antennas and related equipment installed in the public rights-of-way on City-owned or controlled support structures under a valid lease or license agreement with the City.
D.
Special Provisions for Section 6409 Approvals. Any application submitted with a written request for approval pursuant to Section 6409(a) of the Middle Class Tax Relief and Job Creation Act, Pub. L. No. 112-96, 126 Stat. 156 (Feb. 22, 2012) (codified as 47 U.S.C. § 1455(a)) shall be subject to the provisions in Section 15.04.614.100 and exempt from the other provisions in this Article.
E.
Special Provisions for Small Wireless Facilities. Notwithstanding any provision in this Article, including any exemption under subsection 15.04.614.020(C), all small wireless facilities as defined by the FCC in 47 C.F.R. § 1.6002(l), as may be amended or superseded, are subject to a permit as specified in a policy adopted for small wireless facilities by City Council resolution. All small wireless facilities shall comply with the City Council policy. If the policy is repealed, an application for a small wireless facility shall be processed pursuant to this Article.
(Ord. No. 29-18 N.S., § I(Exh. A), 12-18-2018)
A.
Conditional Use Permit. A conditional use permit, subject to the Planning Commission's review and approval and in accordance with Article 15.04.806 (Use Permits), is required for any new facilities and collocations or modifications to existing facilities as follows:
1.
All unconcealed wireless facilities on private property;
2.
Any wireless facility that requires a limited exception pursuant to Section 15.04.614.090;
3.
All wireless facilities on private property in locations listed in paragraphs 15.04.614.050(A)(3) through (A)(7); and
4.
All other wireless facilities that do not meet the criteria for an administrative use permit.
B.
Administrative Use Permit. An administrative use permit, subject to the Zoning Administrator's review and approval and in accordance with Article 15.04.806 (Use Permits), is required for any new facilities and collocations or modifications to existing facilities as follows:
1.
All concealed facilities in locations listed in paragraphs 15.04.614.050(A)(1) and (A)(2) without the need for a limited exception pursuant to Section 15.04.614.090; and
2.
All wireless facilities in the public rights-of-way, unless exempted under this Article.
C.
Design Review. All projects subject to a conditional use permit or an administrative use permit must also obtain design review and approval, in accordance with Article 15.04.805 (Design Review). The Design Review Board shall conduct major design review for facilities subject to a conditional use permit. The Zoning Administrator shall conduct minor design review for facilities subject to an administrative use permit.
D.
Other Regulatory Permits or Approvals. In addition to any conditional use permit or administrative use permit required under this Article, the applicant must obtain all other required prior permits and other regulatory approvals from other City departments, and state and federal agencies. Any conditional use permit or administrative use permit granted under this Article will be subject to the conditions and/or other requirements in any other required prior permits or other regulatory approvals from other City departments, and state and federal agencies.
(Ord. No. 29-18 N.S., § I(Exh. A), 12-18-2018)
A.
Application Required; Applicability. The City shall not grant any application for any permit under this Article except upon a duly filed application consistent with the provisions in Article 15.04.803 (Common Procedures), this Section and any written rules or regulations the Director may publish in any publicly stated format. In the event that any conflict arises between the requirements in Article 15.04.803 and this Section 15.04.614.040, the requirements in this Section shall govern. Applications for collocations or modifications submitted for approval pursuant to Section 6409 are governed under Section 15.04.614.100.
B.
Application Content. All applications for an administrative use permit or conditional use permit must include all the information and materials required by the Director for the application. The City Council authorizes the Director to develop, publish and from time-to-time update or amend permit application requirements, forms, checklists, guidelines, informational handouts and other related materials as the Director deems necessary, appropriate or useful for processing any application governed under this Article, and/or to respond to regulatory, technological or other changes related to this Article. The Director shall provide notice to the public, Planning Commission and City Council when such updates or amendments occur.
C.
Submittal and Review Procedures.
1.
Pre-application Conferences. Prior to application submittal, applicants must schedule and attend a pre-application conference with City staff for all proposed facilities that require a conditional use permit. The City strongly encourages but does not require a pre-application conference for all other proposed facilities. Such pre-application conference is intended to streamline the application review through discussions including, but not limited to, the appropriate project classification, including whether the project may qualify for approval pursuant to Section 6409(a); potential concealment issues (if applicable); coordination with other City departments responsible for application review; and application completeness issues. Applicant's may but shall not be required to bring any particular materials to a pre-application conference. City staff will endeavor to provide applicants with an appointment within approximately five business days after receipt of a written or email request. For any applicant that schedules, attends and fully participates in a pre-application conference, the Zoning Administrator may grant a written exemption from a specific application requirement or requirements when the applicant shows that the information requested is duplicative of information contained in other materials to be submitted with the application or otherwise unnecessary for the City's review under the facts and circumstances in that particular case. Any such written waiver shall be limited to the project discussed at the pre-application conference and shall not extend to any other projects.
2.
Submittal Appointments. Applicants must submit an application at a pre-scheduled appointment. Applicants may generally submit only one application per appointment, but may schedule successive appointments for multiple applications whenever feasible and not prejudicial to other applicants. City staff will endeavor to provide applicants with an appointment within five business days after staff receives a written request for an appointment. Any applications received without an appointment, whether delivered in-person or any other means, shall not be considered duly filed unless the applicant received a written exemption at a pre-submittal conference. The Zoning Administrator will begin to review the application once it is duly filed.
3.
Applications Deemed Withdrawn. To promote efficient review and timely decisions, an application will be automatically deemed withdrawn by the applicant when the applicant fails to tender a substantive response to the City within 90 calendar days after the City deems the application incomplete in a written notice to the applicant. The Zoning Administrator may, in the Zoning Administrator's sole discretion, grant a written extension for up to an additional 30 calendar days when the applicant submits a written request prior to the 90th day that shows good cause to grant the extension. Delays due to circumstances outside the applicant's reasonable control will be considered good cause to grant the extension.
4.
Authorization to Develop Departmental Rules. The City Council authorizes the Director to establish other reasonable rules and regulations, which may include without limitation regular hours for appointments with applicants, as the Director deems necessary or appropriate to organize, document and manage the application intake process. All such rules and regulations must be in written form and publicly stated to provide applicants with prior notice. In addition, the Director shall make publicly available an inventory of small wireless facilities that shows the location of each such facility deployed within the City and categorized by neighborhood.
D.
Independent Consultants.
1.
Authorization. The City Council authorizes the Zoning Administrator to, in the Zoning Administrator's discretion, and at any time in the review process, select and retain an independent consultant with qualifications and expertise satisfactory to the Zoning Administrator.
2.
Scope. The Zoning Administrator may request independent consultant review on any issue that involves specialized or expert knowledge in connection with the permit application. Such issues may include, but are not limited to:
a.
Permit application completeness or accuracy;
b.
Planned compliance with applicable RF exposure standards;
c.
Whether and where a significant gap exists or may exist, and whether such a gap relates to service coverage or service capacity;
d.
Whether technically feasible and potentially available alternative locations and designs exist;
e.
The applicability, reliability and sufficiency of analyses or methodologies used by the applicant to reach conclusions about any issue within this scope; and
f.
Any other issue that requires expert or specialized knowledge identified by the Zoning Administrator.
3.
Deposit; Invoices. The applicant must pay for the cost and expense in connection with the independent consultant's review and participation in any meeting. Before the City incurs any costs or expenses, the Zoning Administrator shall require the applicant to tender a reasonable deposit, at the Zoning Administrator's sole discretion. In the event that the deposit is insufficient to cover all costs and expenses, the Zoning Administrator may either (a) require an additional deposit or (b) invoice the applicant. Any required deposit or invoice must be paid in full within 10 days. The City shall not issue any permit to an applicant who has not paid any applicable fee, deposit or invoice as required in this Code.
(Ord. No. 29-18 N.S., § I(Exh. A), 12-18-2018)
A.
Preferred Locations. All applicants must, to the extent feasible, propose new facilities in locations according to the following preferences, ordered from most preferred to least preferred:
1.
City-owned parcels in any zoning district;
2.
IB, ILL, IL, IG, and IW zoning districts;
3.
CG, CR, and CC zoning districts;
4.
CM-1, CM-2, CM-3, CM-4, CM-5, and LW zoning districts;
5.
PCI, PR, OS and AG zoning districts;
6.
Planned Area districts; and
7.
RH, RL1, RL2, RM-1, and RM-2 zoning districts.
B.
Preferred Support Structures. In addition to the preferred districts described in subsection 15.04.614.050(A) above, the City also expresses its preference for certain support structures within those districts as follows, ordered from most preferred to least preferred:
1.
Collocations with existing building-mounted wireless facilities;
2.
Collocations with existing wireless facilities on electric transmission towers;
3.
Installations on existing buildings or rooftops;
4.
Installations on existing wireless towers;
5.
Installations on existing electric transmission towers;
6.
New freestanding wireless towers.
Note: As a hypothetical example, and not a limitation, in an industrial district where an applicant could achieve its technical objective equally well with antennas mounted on either an electric transmission tower (that does not currently support any wireless facilities) or a new freestanding wireless tower, the applicant must mount the antennas on the electric transmission tower in accordance with the City's preference.
C.
General Development Standards. All new wireless facilities and collocations or modifications not subject to a Section 6409 Request must conform to all the standards in this Section.
1.
Concealment. Wireless facilities must incorporate concealment measures sufficient to render the facility either camouflaged or stealth, as appropriate for the proposed location and design. All facilities must be designed to visually blend into the surrounding area in a manner compatible with the uses germane to the underlying zoning district and consistent with the existing uses in the immediate vicinity of the project site.
2.
Future Collocations. All wireless facilities must be designed and sited in a manner that contemplates future collocations, and will allow additional equipment to be integrated into the proposed facility with no or negligible visible changes to its outward appearance to the greatest extent feasible.
3.
Compliance with Laws. All wireless facilities must be designed and sited in compliance with all applicable federal, state and local laws, regulations, rules, restrictions and conditions, including without limitation the California Building Standards Code, General Plan and any specific plan, the Richmond Municipal Code and any conditions or restrictions in any permit or other governmental approval issued by any public agency with jurisdiction over the project.
4.
Overall Height. Wireless facilities must not exceed the applicable height limit for structures in the applicable zoning district.
5.
Setbacks. Wireless facilities may not encroach into any applicable setback for structures in the applicable zoning district.
6.
Noise. A wireless facility and all equipment associated with a wireless facility must not generate noise that exceeds the applicable ambient noise limit in the zone where the wireless facility is located, including without limitation the provisions in Article 15.04.608 (Performance Standards) and Article 15.04.605 (Noise). The Approval Authority may require the applicant to install noise attenuating or baffling materials and/or other measures, including but not limited to walls or landscape features, as the Approval Authority deems necessary or appropriate to ensure compliance with the applicable ambient noise limit.
7.
Lights. Unless otherwise required under FAA or FCC regulations, applicants may install only timed or motion-sensitive light controllers and lights, and must install such lights so as to comply with Article 15.04.604 (Lighting and Illumination) and avoid illumination impacts to adjacent properties to the maximum extent feasible. The Approval Authority may, in its discretion, exempt an applicant from the foregoing requirement when the applicant demonstrates a substantial public safety need. All aircraft warning lighting must use lighting enclosures that avoid illumination impacts to properties in the City to the maximum extent feasible.
8.
Signs. No facility may display any signage or advertisements unless expressly allowed by the City in a written approval, recommended under FCC regulations or required by law or permit condition. Every facility shall at all times display signage that accurately identifies the facility owner and provides the facility owner's unique site number, and also provides a local or toll-free telephone number to contact the facility owner's operations center.
9.
Fences, Enclosures and Security. Any fencing or enclosures proposed in connection with a wireless facility must comply with Section 15.04.614.060 (Fences and Walls) and blend with the natural and/or man-made surroundings, subject to the City's review and approval. The Approval Authority may require additional landscape features to screen fences. The Approval Authority shall not approve barbed wire, razor ribbon, electrified fences or any similar measures to secure a wireless facility, except when the applicant demonstrates that the need for such measures significantly outweighs the potential danger to the public and as provided in Chapter 11.88 of the Richmond Municipal Code. For proposed towers without any fence or enclosure, the applicant must incorporate anti-climbing measures, such as a ladder guard or removable ladder rungs, to prevent unauthorized access, vandalism and other attractive nuisances.
10.
Landscape Features. Landscaping may be required to be installed and maintained by Applicant to visually screen facilities from adjacent properties or public view or to provide a backdrop to camouflage the facilities. All proposed landscaping is subject to Approval Authority review and approval. Landscaping must comply with Article 15.04.613 (Water-Efficient Landscaping). To the extent that Article 15.04.613 is inapplicable to the landscaping described in this subsection, landscaping must still comply with the methods for achieving water efficiency, contained in the General Landscaping Standards in Section 15.04.613.040.
11.
Utilities. All cables and connectors for telephone, primary electric and other similar utility services must be routed underground to the extent feasible in conduits large enough to accommodate future collocated facilities. The Approval Authority shall not approve new overhead utility lines or service drops merely because compliance with the undergrounding requirements would increase the project cost.
D.
Freestanding Towers.
1.
Tower-mounted Equipment. All tower-mounted equipment must be mounted as close to the vertical support structure as possible to reduce its visual profile. Applicants must mount non-antenna, tower-mounted equipment (including, but not limited to, remote radio units/heads, surge suppressors and utility demarcation boxes) directly behind the antennas to the maximum extent feasible. All tower-mounted equipment, cables and hardware must be painted with flat colors subject to the Approval Authority's prior approval.
2.
Ground-mounted Equipment. All ground-mounted equipment must be concealed within an existing or new structure, opaque fences or other enclosures subject to the Approval Authority's approval. The Approval Authority may require, as a condition of approval, design and/or landscape features in addition to other concealment when necessary to blend the equipment or enclosure into the surrounding environment.
3.
Faux Tree Standards. The Approval Authority may approve a new freestanding wireless facility camouflaged as a faux tree only when it blends with the mature, natural trees in proximity to the proposed project site. The Approval Authority may require the applicant to plant and maintain new, natural trees around the project site when necessary or appropriate to adequately conceal the proposed faux-tree wireless facility.
E.
Building-Mounted Facilities.
1.
Preferred Concealment Techniques. All applicants should, to the extent feasible, propose new non-tower facilities that are completely concealed and architecturally integrated into the existing facade or rooftop features with no visible impacts from any publicly accessible areas at ground level (examples include, but are not limited to, antennas behind existing parapet walls or facades replaced with RF-transparent material and finished to mimic the replaced materials). Alternatively, when integration with existing building features is not feasible, the applicant should propose completely concealed new structures or appurtenances designed to mimic the support structure's original architecture and proportions (examples include, but are not limited to, cupolas, steeples, chimneys and water tanks).
2.
Facade-mounted Equipment. All facade-mounted equipment must be concealed behind screen walls and mounted as flush to the facade as practicable. The Approval Authority may not approve "pop-out" screen boxes unless the design is architecturally consistent with the original building or support structure. Except in industrial zones, the Approval Authority may not approve any exposed facade-mounted antennas, including but not limited to exposed antennas painted to match the facade.
3.
Rooftop-mounted Equipment. All rooftop-mounted equipment must be screened from public view with concealment measures that match the underlying structure in proportion, quality, architectural style and finish. The Approval Authority may approve unscreened rooftop equipment only when it expressly finds that such equipment is effectively concealed due to its low height and/or setback from the roofline.
4.
Ground-mounted Equipment. Outdoor ground-mounted equipment associated with building-mounted facilities must be avoided whenever feasible. In publicly visible or accessible locations, applicants must conceal outdoor ground-mounted equipment with opaque fences or landscape features that mimic the adjacent structure(s) such as dumpster corrals and other accessory structures.
F.
Facilities in the Public Rights-of-Way.
1.
General Prohibition. Facilities in the rights-of-way shall not unreasonably subject the public use, for any purpose including expressive or aesthetic purposes, to inconvenience, discomfort, trouble, annoyance, hindrance, impediment or obstruction.
2.
Concealment. All facilities in the rights-of-way must be concealed to the extent feasible with design elements and techniques that blend with the underlying support structure, surrounding environment and adjacent uses.
3.
Undergrounded Equipment. To conceal the non-antenna equipment, applicants for a proposed facility within any area in which the existing utilities are primarily located underground shall underground all non-antenna equipment other than any required electric meter or disconnect switch. In all other areas, applicants shall install all non-antenna equipment underground to the extent feasible. Additional expense to install and maintain an underground equipment enclosure does not exempt an applicant from this requirement, except where the applicant demonstrates by clear and convincing evidence that this requirement will effectively prohibit the provision of personal wireless services.
4.
Ground-mounted Equipment. To the extent that the equipment cannot be placed underground as required, applicants must install ground-mounted equipment in the location so that it does not obstruct pedestrian or vehicular traffic. The City may require landscaping as a condition of approval to conceal ground-mounted equipment.
5.
Pole-mounted Equipment. All pole-mounted equipment must be installed as close to the pole as technically and legally feasible to minimize impacts to the visual profile. All required or permitted signage in the rights-of-way must face toward the street or otherwise placed to minimize visibility from adjacent sidewalks and structures. All conduits, conduit attachments, cables, wires and other connectors must be concealed from public view to the extent feasible.
6.
Support Structures. If an applicant proposes a new facility in the public rights-of-way, then the applicant must use existing above-ground structures, such as streetlights or traffic signals. If no such existing above-ground structures exist or are otherwise not available to the applicant, then the Approval Authority may require the applicant to install a decorative or integrated pole specifically designed to conceal wireless transmission equipment.
7.
Utility Lines. When the point of contact is not on the pole itself, service lines must be undergrounded whenever feasible to avoid additional overhead lines. The Approval Authority shall not approve new overhead service lines merely because compliance with the undergrounding requirements would increase the project cost. For metal poles, undergrounded cables and wires must transition directly into the pole base without any external doghouse.
8.
Electric Meter. Multiple operators on a shared pole must share a single electric meter. Site operators must use the smallest and least intrusive electric meter available. In the event that a smaller or less intrusive meter becomes available after the site operator installs its equipment, the site operator must remove the current meter and install the new one within a reasonable time. The City strongly encourages site operators to use flat-rate electric service when it would eliminate the need for a meter. The electric meter or its case must be painted to match the pole unless painting is expressly not permitted by the electric service provider.
9.
Spools and Coils. To reduce clutter and deter vandalism, excess fiber optic or coaxial cables must not be spooled, coiled or otherwise stored on the pole whether in a cabinet or not.
10.
Finishes. No above-ground or pole-mounted equipment in the rights-of-way may be finished with reflective materials unless approved by the Approval Authority.
(Ord. No. 29-18 N.S., § I(Exh. A), 12-18-2018)
A.
Public Notice.
1.
Public Hearings. Public notice is required for all applications that either (i) may have a substantial or significant impact on a real property interest of a third party, or (ii) require a public hearing before the City Council, Planning Commission, Design Review Board or the Zoning Administrator in accordance with Section 15.04.803.080 (Conduct of Public Hearings).
2.
Deemed-Approved Notice. No more than 30 days before the applicable timeframe for review expires 90 days for collocations and 150 days for all other applications), the applicant must provide written notice to all persons entitled to notice in accordance with Section 15.04.803.060, as modified in this subsection 15.04.614.060(A).
a.
Required Disclosure. The notice must contain the following statement: "California Government Code section 65964.1 may deem the application approved in 30 days unless the City approves or disapproves the application, or the City and applicant reach a mutual tolling agreement."
b.
Notice to the City. In addition to all persons entitled to notice in accordance with Section 15.04.803.060, the applicant must deliver written notice to the Department, which contains the same statement required in subsection A.2.a, above, and a mailing list for public notices sent out under this subsection A.2. The applicant may tender such notice in person or certified United States mail.
B.
Required Findings. The Approval Authority may approve or conditionally approve an application for a conditional use permit or an administrative use permit only when the Approval Authority finds:
1.
The proposed facility complies with all criteria for a conditional use permit or an administrative use permit in accordance with Article 15.04.806 (Use Permits) and, if applicable, with the criteria for design review approval in accordance with Article 15.04.805 (Design Review);
2.
The proposed facility complies with all applicable standards described in this Article 15.04.614; and
3.
The applicant has provided a meaningful comparative analysis that demonstrates all alternative designs and locations identified in the application review process are either technically infeasible or not potentially available.
C.
Conditional Approvals. The Approval Authority may impose reasonable conditions on an administrative use permit or conditional use permit, related and proportionate to the subject matter in the application, as the Approval Authority deems necessary or appropriate to promote and ensure conformance with the General Plan, any applicable specific plan and the provisions in this Article. As an illustration and not a limitation, the Approval Authority may impose conditions that require the applicant to install, construct or enhance concealment elements to areas outside the boundaries of the applicant's immediate leased or owned site, as long as such concealment is (i) limited to the underlying support structure; (ii) reasonably related to mitigating the impacts created by the proposed project; and (iii) reasonably necessary to maintain visual consistency among the site, the support structure and other improvements or architectural features on the support structure. In addition the Approval Authority must make an individualized finding, supported with substantial evidence, that the concealment condition is related to the proposed development in nature and scope.
D.
Notice of Decision. Within five days after the Approval Authority approves or denies an application for a conditional use permit or an administrative use permit, the Approval Authority shall provide written notice to the applicant, in accordance with subsection 15.04.803.080(E) (Notice of Decision). All denial notice must contain the reasons for the denial.
E.
Appeals.
1.
Conditional Use Permits. Any person or entity may appeal a final decision by the Planning Commission in accordance with Section 15.04.803.130 (Appeals), except as modified in this subsection (E)(1). The appeal must state in plain terms the grounds for reversal and the facts that support those grounds. The City Council shall review the decision of the Planning Commission denovo.
2.
Administrative Use Permits. Any person or entity may appeal a final decision by the Zoning Administrator in accordance with Section 15.04.803.130 (Appeals), except as modified in this paragraph. The appeal must state in plain terms the grounds for reversal and the facts that support those grounds. The Planning Commission shall review the decision of the Zoning Administrator de novo.
(Ord. No. 29-18 N.S., § I(Exh. A), 12-18-2018)
In addition to all other conditions that may be adopted by the Approval Authority, all conditional use permits or administrative use permits, whether approved by the Approval Authority or deemed approved by the operation of law, shall be automatically subject to the standard conditions of approval provided in this Section. The Approval Authority (or the appellate authority on appeal) may add, remove or modify any conditions of approval on a case-by-case basis as may be necessary or appropriate under the circumstances to protect public health and safety or allow for the proper operation of the approved facility consistent with the goals of this Article and any other applicable provisions in the Richmond Municipal Code, the General Plan and any specific plan.
A.
Permit Duration. The permit will automatically expire 10 years from the issuance date, except when California Government Code section 65964(b), as may be amended, authorizes the City to issue a permit with a shorter term.
B.
Permit Renewal. Any application to renew this permit must be tendered to the City between 365 days and 180 days prior to its expiration, and must be accompanied by all required application materials, fees and deposits for a new application as then in effect. The City shall review an application for permit renewal in accordance with the standards for new facilities as then in effect. The Zoning Administrator may, but is not obligated to, grant a written temporary extension on the permit term to allow sufficient time to review a timely submitted permit renewal application.
C.
Build-out Period. Any permit approved under this Article or by operation of law shall automatically expire one year from the approval date if the applicant fails to commence construction within that one-year period; provided, however, that the Zoning Administrator may renew any such permit for up to one additional year if the Zoning Administrator receives a written request from the permittee within 30 days prior to the expiration date, at the Zoning Administrator's sole discretion.
D.
Compliance with Laws. Permittee shall at all times maintain compliance with all applicable federal, state and local laws, regulations, ordinance or other rules.
E.
Permittee's Contact Information. Permittee shall at all times maintain accurate contact information for all parties responsible for the facility, which shall include a phone number, street mailing address and email address for at least one natural person. All such contact information for responsible parties shall be provided to the Zoning Administrator within one business day after permittee receives a written request from the Zoning Administrator.
F.
Cooperation with Access and Inspections. The City or its designee may enter onto the facility area to inspect the facility upon reasonable notice to the permittee. The permittee shall cooperate with all inspections. The City reserves the right to enter or direct its designee to enter the facility to support, repair, disable or remove any elements of the facility in emergencies or when the facility threatens imminent harm to persons or property.
G.
Maintenance. The site and the facility, including but not limited to all landscaping, fencing and related transmission equipment, must be maintained in a neat and clean manner and in accordance with all approved plans and conditions of approval.
H.
Concealment Elements. Permittee acknowledges and agrees that each and every aspect and/or element of the wireless facility, including without limitation its coloring, finishes, placement, orientation and proportionality with the structures in the immediate vicinity, that, by its sense and context, aids, contributes or otherwise furthers the concealment of the facility, in whole or in part, shall be deemed to be a concealment element of the support structure.
I.
Graffiti Abatement. Permittee shall promptly remove any graffiti on the wireless facility at permittee's sole cost and expense, and in no instance more than 48 hours from the time of notification by the City or after discovery by the permittee.
J.
Backup Generator Use. Permittee shall not use any backup or standby power generator except (1) when necessary due to a primary power source failure or (2) for routine maintenance/cycling. Permittee shall not operate the generator for maintenance/cycling more frequently than twice per month and then only for no longer than 30 minutes at a time on Wednesdays between 10:00 a.m. and 11:00 a.m.
K.
Indemnification. The permittee and, if applicable, the non-government owner of the private property upon which the tower/and or base station is installed shall defend, indemnify and hold harmless the City, its agents, officers, officials and employees (i) from any and all damages, liabilities, injuries, losses, costs and expenses and from any and all claims, demands, law suits, writs of mandamus and other actions or proceedings brought against the City or its agents, officers, officials or employees to challenge, attack, seek to modify, set aside, void or annul the City's approval of the permit, and (ii) from any and all damages, liabilities, injuries, losses, costs and expenses and any and all claims, demands, law suits or causes of action and other actions or proceedings of any kind or form, whether for personal injury, death or property damage, arising out of or in connection with the activities or performance of the permittee or, if applicable, the private property owner or any of each one's agents, employees, licensees, contractors, subcontractors or independent contractors. In the event the City becomes aware of any such actions or claims the City shall promptly notify the permittee and the private property owner and shall reasonably cooperate in the defense. It is expressly agreed that the City shall have the right to approve, which approval shall not be unreasonably withheld, the legal counsel providing the City's defense, and the property owner and/or permittee (as applicable) shall reimburse City for any costs and expenses directly and necessarily incurred by the City in the course of the defense.
L.
Adverse Impacts. Permittee shall take all reasonable efforts to avoid undue adverse impacts to adjacent properties and/or uses that may arise from the construction, operation, maintenance, modification and removal of the facility.
M.
Building Permit Application Plans. In addition to the information required by Section 6.02.160 of the RMC, the permittee must incorporate into building plans and submit with any application to the Building Department, three copies of each of the following: (1) the conditional use permit, administrative use permit, and/or design review approval associated with the facility, including without limitation all findings and conditions of approval; and (2) the photo simulations, as required for the application and accurately representing the approved facility as may be modified by any conditions of approval, associated with the conditional use permit, administrative use permit, and/or design review approval associated with the facility. The Building Official is not authorized to waive any of these specific submittal requirements irrespective of the exception authority granted by Section 6.02.160.
N.
Record Retention. The permittee shall retain full and complete copies of all permits and other regulatory approvals issued in connection with the facility, which includes without limitation all conditions of approval, approved plans and specifications, resolutions and other documentation associated with the permit or regulatory approval. In the event that neither the City nor the permittee can locate any permit or other regulatory approval that would have been required for the equipment deployed or installed in connection with the facility, the permittee acknowledges that the City will presume that any such equipment was deployed or installed without proper review and approval.
O.
Joint and Several Liability. The permittee and the property owner shall be jointly and severally liable for compliance with all conditions of approval adopted under this permit, which includes without limitation compliance with any maintenance and concealment conditions.
(Ord. No. 29-18 N.S., § I(Exh. A), 12-18-2018)
A.
Permit Revocation. Any permit issued under this Article, including any permit deemed granted or deemed approved by operation of law, may be revoked in accordance with the provisions in Section 15.04.803.120 (Revocation).
B.
Discontinued Uses.
1.
Discontinued by Application. Any permittee that intends to decommission a wireless facility must send 30-days' prior written notice by United States Certified Mail to the Director. The permit will automatically expire 30 days after the Director receives such notice of intent to decommission, unless the permittee rescinds its notice within the 30-day period.
2.
Facilities Declared Discontinued. To promote the public health, safety and welfare, the Director may declare a facility abandoned when: (i) the permittee notifies the Director that it abandoned the use of a facility for a continuous period of 90 days; or (ii) the permittee fails to respond within 30 days to a written notice sent by Certified U.S. Mail, Return Receipt Requested, from the Director that states the basis for the Director's belief that the facility has been abandoned for a continuous period of 90 days; or (iii) the permit expires and the permittee has failed to file a timely application for renewal.
a.
After the Director declares a facility abandoned, the permittee shall have 90 days from the date of the declaration (or longer time as the Director may approve in writing as reasonably necessary) to: (i) reactivate the use of the abandoned facility subject to the provisions of this Article and all conditions of approval; (ii) transfer its rights to use the facility, subject to the provisions of this Article and all conditions of approval, to another person or entity that immediately commences use of the abandoned facility; or (iii) remove the facility and all improvements installed solely in connection with the facility, and restore the site to a condition compliant with all applicable codes consistent with the then-existing surrounding area.
b.
If the permittee fails to act as required in paragraph 15.04.614.080(B)(2)(a) above within the prescribed time period, the City Council may deem the facility abandoned and revoke the underlying permit(s) in the manner provided in Section 15.04.803.130 (Revocation). Further, the City Council may take any legally permissible action or combination of actions reasonably necessary to protect the public health, safety and welfare from the abandoned wireless facility.
C.
Removal and Restoration Obligations.
1.
Removal by Permittee. The permittee or property owner must completely remove the wireless facility and all related improvements within 90 days after the (1) the permit expires, (2) the City Council properly revokes a permit in accordance with Section 15.04.803.130 (Revocation), (3) the permittee discontinues the wireless facility, or (4) the City Council properly deems the wireless facility abandoned pursuant to subsection 15.04.614.080(B). In addition, within the 90-day period, the permittee or property owner must restore the former wireless facility site area to a condition compliant with all applicable codes and consistent with the then-existing surrounding area.
2.
Removal by City. The City may, but is not obligated to, remove an abandoned wireless facility, restore the site to a condition compliant with all applicable codes and consistent with the then-existing surrounding area, and repair any and all damages that occurred in connection with such removal and restoration work. The City may, but shall not be obligated to, store the removed wireless facility or any part thereof, and may use, sell or otherwise dispose of it in any manner the City deems appropriate in its sole discretion. The last-known permittee or its successor-in-interest and, if on private property, the real property owner shall be jointly liable for all costs incurred by the City in connection with its removal, restoration, repair and storage, and shall promptly reimburse the City upon receipt of a written demand, including any interest on the balance owing at the maximum lawful rate. The City may, but shall not be obligated to, use any financial security required in connection with the granting of the facility permit to recover its costs and interest. A lien may be placed on all abandoned personal property and the real property on which the abandoned wireless facility is located for all costs incurred in connection with any removal, repair, restoration and storage performed by the City. The City Clerk shall cause such a lien to be recorded with the County of Contra Costa Recorder's Office.
(Ord. No. 29-18 N.S., § I(Exh. A), 12-18-2018)
A.
Limited Exceptions for Personal Wireless Service Facilities. The City Council recognizes that federal law prohibits a permit denial when it would effectively prohibit the provision of personal wireless services and the applicant proposes the least intrusive means to provide such services. The City Council finds that, due to wide variation among wireless facilities, technical service objectives and changed circumstances over time, a limited exception for proposals in which strict compliance with this Article would effectively prohibit personal wireless services serves the public interest. The City Council further finds that circumstances in which an effective prohibition may occur are extremely difficult to discern, and that specified findings to guide the analysis promotes clarity and the City's legitimate interest in well-planned wireless facilities deployment. Therefore, in the event that any applicant asserts that strict compliance with any provision in this Article, as applied to a specific proposed personal wireless services facility, would effectively prohibit the provision of personal wireless services, the Planning Commission, or the Zoning Administrator in the case of a wireless facility in the public rights-of-way subject to an Administrative Use Permit, may grant a limited, one-time exception from strict compliance subject to the provisions in this subsection 15.04.614.090(A).
1.
Required Findings. The Approval Authority shall not grant any exception unless the applicant demonstrates with clear and convincing evidence all the following findings:
a.
The proposed wireless facility qualifies as a "personal wireless services facility" as defined in U.S.C 47 § 332(c)(7)(C)(ii);
b.
The applicant has provided the City with a clearly defined technical service objective and a clearly defined potential site search area;
c.
The applicant has provided the City with a meaningful comparative analysis that includes the factual reasons why an alternative location(s) or design(s) suggested by the City or otherwise identified in the administrative record, including by not limited to potential alternatives identified at any public meeting or hearing, are not technically feasible or potentially available; and
d.
The applicant has provided the City with a meaningful comparative analysis that includes the factual reasons why the proposed location and design deviation is the least noncompliant location and design necessary to reasonably achieve the applicant's reasonable technical service objectives.
2.
Scope of Exception. The Approval Authority shall limit its exception to the extent to which the applicant demonstrates such exception is necessary to reasonably achieve its reasonable technical service objectives. The Approval Authority may adopt conditions of approval as reasonably necessary to promote the purposes in this Article and protect the public health, safety and welfare.
B.
Variances. All other requests to relieve or waive any provision under this Article for any non-personal wireless services facility are subject to the variance procedures under Article 15.04.808.
(Ord. No. 29-18 N.S., § I(Exh. A), 12-18-2018)
A.
Applicability. The provisions in this Section 15.04.614.100 apply only to applications for collocations and/or modifications to existing wireless towers or base stations submitted for approval pursuant to Section 6409(a) of the Middle Class Tax Relief and Job Creation Act, Pub. L. No. 112-96, 126 Stat. 156 (Feb. 22, 2012) (codified as 47 U.S.C. § 1455(a)). Any approval under this Section shall be referred to as a "Section 6409(a) Approval".
B.
Definitions. The definitions in this Section are applicable to Type I applications for a minor modification and are provided for easy reference. In the event that any defined term conflicts with any applicable federal law or regulation, the federal law or regulation shall control.
1.
"Base station" means the same as defined by the FCC in 47 C.F.R. § 1.40001(b)(1), as may be amended, which defines that term as follows:
A structure or equipment at a fixed location that enables [FCC]-licensed or authorized wireless communications between user equipment and a communications network. The term does not encompass a tower as defined in [47 C.F.R. § 1.40001(b)(9)] or any equipment associated with a tower.
a.
The term includes, but is not limited to, equipment associated with wireless communications services such as private, broadcast, and public safety services, as well as unlicensed wireless services and fixed wireless services such as microwave backhaul.
b.
The term includes, but is not limited to, radio transceivers, antennas, coaxial or fiber-optic cable, regular and backup power supplies, and comparable equipment, regardless of technological configuration (including Distributed Antenna Systems and small-cell networks).
c.
The term includes any structure other than a tower that, at the time the relevant application is filed with the State or local government under this Section, supports or houses equipment described in paragraphs (b)(1)(i) through (ii) of this Section that has been reviewed and approved under the applicable zoning or siting process, or under another State or local regulatory review process, even if the structure was not built for the sole or primary purpose of providing such support.
d.
The term does not include any structure that, at the time the relevant application is filed with the State or local government under this Section, does not support or house equipment described in paragraphs (b)(1)(i)—(ii) of this Section.
Note: As an illustration and not a limitation, the FCC's definition refers to any structure that actually supports wireless equipment even though it was not originally intended for that purpose. Examples include, but are not limited to, wireless facilities mounted on buildings, utility poles and transmission towers, light standards or traffic signals. A structure without wireless equipment replaced with a new structure designed to bear the additional weight from wireless equipment constitutes a base station.
2.
"Collocation" means the same as defined by the FCC in 47 C.F.R. § 1.40001(b)(2), as may be amended, which defines that term as "[t]he mounting or installation of transmission equipment on an eligible support structure for the purpose of transmitting and/or receiving radio frequency signals for communications purposes."
3.
"Eligible facilities request" means the same as defined by the FCC in 47 C.F.R. § 1.40001(b)(3), as may be amended, which defines that term as "[a]ny request for modification of an existing tower or base station that does not substantially change the physical dimensions of such tower or base station, involving: (i) [c]ollocation of new transmission equipment; (ii) [r]emoval of transmission equipment; or (iii) [r]eplacement of transmission equipment."
4.
"Eligible support structure" means the same as defined by the FCC in 47 C.F.R. § 1.40001(b)(4), as may be amended, which defines that term as "[a]ny tower or base station as defined in this Section, provided that it is existing at the time the relevant application is filed with the State or local government under this Section."
5.
"Existing" means the same as defined by the FCC in 47 C.F.R. § 1.40001(b)(4), as may be amended, which provides that "[a] constructed tower or base station is existing for purposes of [the FCC's Section 6409(a) regulations] if it has been reviewed and approved under the applicable zoning or siting process, or under another State or local regulatory review process, provided that a tower that has not been reviewed and approved because it was not in a zoned area when it was built, but was lawfully constructed, is existing for purposes of this definition."
6.
"Site" means the same as defined by the FCC in 47 C.F.R. § 1.40001(b)(6), as may be amended, which provides that "[f]or towers other than towers in the public rights-of-way, the current boundaries of the leased or owned property surrounding the tower and any access or utility easements currently related to the site, and, for other eligible support structures, further restricted to that area in proximity to the structure and to other transmission equipment already deployed on the ground."
7.
"Substantial change" means the same as defined by the FCC in 47 C.F.R. § 1.40001(b)(7), as may be amended, which defines that term as a collocation or modification that:
a.
Increases the overall height more than either (i) 10 percent or the height of one additional antenna array not to exceed 20 feet (whichever is greater) for towers on private property, or (ii) 10 percent or 10 feet (whichever is greater) for towers in the public rights-of-way and base stations;
b.
Increases the width more than either (i) 20 feet or the width of the tower at the level of the appurtenance (whichever is greater) for towers on private property, or (ii) 6 feet from the edge of the support structure for towers in the public rights-of-way and base stations;
c.
For towers on private property, involves the installation of more than the standard number of equipment cabinets for the technology involved, not to exceed four;
d.
For towers in the public rights-of-way and base stations, involves the installation of (i) any new equipment cabinets on the ground when there are no existing ground-mounted equipment cabinets, or (ii) any new ground-mounted equipment cabinets that are 10 percent larger in height or volume than any existing ground-mounted equipment cabinets;
e.
For towers on private property, involves excavation outside the current boundaries of the leased or owned property surrounding the wireless tower, including any access or utility easements currently related to the site;
f.
For towers in the public rights-of-way and base stations, involves excavation or deployment of equipment outside the area in proximity to the structure and other transmission equipment already deployed on the ground;
g.
Would defeat the existing concealment elements of the support structure as determined by the Approval Authority; or
h.
Violates a prior condition of approval, provided however that the collocation need not comply with any prior condition of approval related to height, width, equipment cabinets or excavation that is inconsistent with the thresholds for a substantial change.
Note: The thresholds for a substantial change outlined above are disjunctive. The failure to meet any one or more of the applicable thresholds means that a substantial change would occur. The thresholds for height increases are cumulative limits. For sites with horizontally separated deployments, the cumulative limit is measured from the originally-permitted support structure without regard to any increases in size due to wireless equipment not included in the original design. For sites with vertically separated deployments, the cumulative limit is measured from the permitted site dimensions as they existed on February 22, 2012—the date that Congress passed Section 6409(a) of the Middle Class Tax Relief and Job Creation Act.
8.
"Tower" means the same as defined by the FCC in 47 C.F.R. § 1.40001(b)(9), as may be amended, which defines that term as "[a]ny structure built for the sole or primary purpose of supporting any [FCC]-licensed or authorized antennas and their associated facilities, including structures that are constructed for wireless communications services including, but not limited to, private, broadcast, and public safety services, as well as unlicensed wireless services and fixed wireless services such as microwave backhaul, and the associated site." Examples include, but are not limited to, monopoles, mono-trees and lattice towers.
9.
"Transmission equipment" means the same as defined by the FCC in 47 C.F.R. § 1.40001(b)(8), as may be amended, which defines that term as "[e]quipment that facilitates transmission for any [FCC]-licensed or authorized wireless communication service, including, but not limited to, radio transceivers, antennas, coaxial or fiber-optic cable, and regular and backup power supply. The term includes equipment associated with wireless communications services including, but not limited to, private, broadcast, and public safety services, as well as unlicensed wireless services and fixed wireless services such as microwave backhaul."
C.
Required Permits. Any request to collocate, replace or remove transmission equipment at an existing wireless tower or base station submitted for approval under Section 6409(a) shall require a Section 6409(a) Approval subject to the Zoning Administrator's approval, conditional approval or denial under the standards and procedures contained in this Section 15.04.614.100. No construction in connection with any Section 6409(a) Approval may occur unless the applicant also obtains all other permits or regulatory approvals from other City departments and state or federal agencies. An applicant must obtain a Section 6409(a) Approval before it may apply for permits or other regulatory approvals from other City departments. Furthermore, any Section 6409(a) Approval granted under this Section 15.04.614.100 shall remain subject to the lawful conditions and/or requirements associated with such other permits or regulatory approvals from other City departments and state or federal agencies.
D.
Applications.
1.
Application Required; Applicability. The City shall not grant any application for any permit under this Section 15.04.614.100 except upon a duly filed application consistent with the provisions in this Section and any written rules or regulations the Director may publish in any publicly stated format.
2.
Application Content. All applications for a Section 6409(a) Approval must include all the information and materials required by the Director for the application. The City Council authorizes the Director to develop, publish and from time-to-time amend permit application requirements, forms, checklists, guidelines, informational handouts and other related materials as the Director deems necessary, appropriate or useful for processing requests for Section 6409(a) approvals, and/or to respond to regulatory, technological or other changes. The Director shall provide notice to the public, Planning Commission and City Council when such updates or amendments occur.
3.
Pre-application Conferences. Prior to application submittal, applicants must schedule and attend a pre-application conference with City staff. Such pre-application conference is intended to streamline the application review through discussions including, but not limited to, the appropriate project classification, including whether the project may qualify for approval pursuant to Section 6409(a); potential concealment issues (if applicable); coordination with other City departments responsible for application review; and application completeness issues. Applicant's may but shall not be required to bring any particular materials to a pre-application conference. City staff will endeavor to provide applicants with an appointment within approximately five business days after receipt of a written or email request. For any applicant that schedules, attends and fully participates in a pre-application conference, the Zoning Administrator may grant a written exemption from a specific application requirement or requirements when the applicant shows that the information requested is duplicative of information contained in other materials to be submitted with the application or otherwise unnecessary for the City's review under the facts and circumstances in that particular case. Any such written waiver shall be limited to the project discussed at the pre-application conference and shall not extend to any other projects
4.
Submittal Appointments. Applicants must submit an application at a pre-scheduled appointment. Applicants may generally submit only one application per appointment, but may schedule successive appointments for multiple applications whenever feasible and not prejudicial to other applicants. City staff will endeavor to provide applicants with an appointment within five business days after staff receives a written request for an appointment. Any applications received without an appointment, whether delivered in-person or any other means, shall not be considered duly filed unless the applicant received a written exemption at a pre-submittal conference.
5.
Applications Deemed Withdrawn. To promote efficient review and timely decisions, an application will be automatically deemed withdrawn by the applicant when the applicant fails to tender a substantive response to the City within 90 calendar days after the City deems the application incomplete in a written notice to the applicant. The Zoning Administrator may, in the Zoning Administrator's sole discretion, grant a written extension for up to an additional 30 calendar days when the applicant submits a written request prior to the 90th day that shows good cause to grant the extension. Delays due to circumstances outside the applicant's reasonable control will be considered good cause to grant the extension.
6.
Authorization to Develop Departmental Rules. The City Council authorizes the Director to establish other reasonable rules and regulations, which may include without limitation regular hours for appointments with applicants, as the Director deems necessary or appropriate to organize, document and manage the application intake process. All such rules and regulations must be in written form and publicly stated to provide applicants with prior notice.
7.
Independent Consultants.
a.
Authorization. The City Council authorizes the Zoning Administrator to, in the Zoning Administrator's discretion, and at any time in the review process, select and retain an independent consultant with qualifications and expertise satisfactory to the Zoning Administrator.
b.
Scope. The Zoning Administrator may request independent consultant review on any issue that involves specialized or expert knowledge in connection with the permit application. Such issues may include, but are not limited to:
i.
Permit application completeness or accuracy;
ii.
Planned compliance with applicable RF exposure standards;
iii.
Whether and where a significant gap exists or may exist, and whether such a gap relates to service coverage or service capacity;
Iv.
Whether technically feasible and potentially available alternative locations and designs exist;
v.
The applicability, reliability and sufficiency of analyses or methodologies used by the applicant to reach conclusions about any issue within this scope; and
vi.
Any other issue that requires expert or specialized knowledge identified by the Zoning Administrator.
c.
Deposit; Invoices. The applicant must pay for the cost and expense in connection with the independent consultant's review and participation in any meeting. Before the City incurs any costs or expenses, the Zoning Administrator shall require the applicant to tender a reasonable deposit, at the Zoning Administrator's sole discretion. In the event that the deposit is insufficient to cover all costs and expenses, the Zoning Administrator may either (a) require an additional deposit or (b) invoice the applicant. Any required deposit or invoice must be paid in full within 10 days. The City shall not issue any permit to an applicant who has not paid any applicable fee, deposit or invoice as required in this Code.
E.
Decisions; Appeals.
1.
Administrative Review. The Zoning Administrator shall administratively review a complete and duly filed application for a Section 6409(a) Approval and may act on such application without prior notice or a public hearing.
2.
Findings for Approval. The Zoning Administrator may approve or conditionally approve an application submitted for approval pursuant to Section 6409(a) when it finds that the proposed project:
a.
Involves collocation, removal or replacement of transmission equipment on an existing wireless tower or base station; and
b.
Does not substantially change the physical dimensions of the existing wireless tower or base station.
3.
Criteria for Denial. Notwithstanding any other provisions in this Article, and consistent with all applicable federal laws and regulations, the Zoning Administrator may deny an application submitted for approval pursuant to Section 6409(a) when it finds that the proposed project:
a.
Does not satisfy the criteria for approval;
b.
Violates any legally enforceable standard or permit condition reasonably related to public health and safety then in effect; or
c.
Involves the replacement of the entire support structure.
4.
Conditional Approvals. Subject to any applicable limitations in federal or state law, nothing in this Article is intended to limit the City's authority to conditionally approve an application for a Section 6409(a) Approval to protect and promote the public health, safety and welfare.
5.
Written Decision. Within five working days after the Zoning Administrator renders a decision, the Zoning Administrator shall send written notice to the applicant. In the event that the Zoning Administrator determines that an application submitted for approval pursuant to Section 6409(a) does not qualify for approval, the Zoning Administrator will send written notice to the applicant that includes the reasons to support the Zoning Administrator's decision and states that the application will be automatically denied on the 60th day after the date the application was filed unless the applicant withdraws the application.
6.
Appeal. Subject to the applicable federal timeframe for permit application review (accounting for any tolling periods), any aggrieved party may appeal an action of the Director as provided in Section 15.04.803.130 of this Code. The Planning Commission shall serve as the hearing body for all appeals of all actions of the Zoning Administrator taken pursuant to this Article, subject to further appeal to the City Council. The applicable hearing body shall limit its review to whether the project should be approved or denied in accordance with the provisions in paragraphs (E)(2) and (E)(3) in this Section.
F.
Standard Conditions of Approval. In addition to all other conditions that may be adopted by the Zoning Administrator, all Section 6409(a) Approvals, whether approved by the Zoning Administrator or deemed-granted by the operation of federal law, shall be automatically subject to the conditions of approval described in this subsection 15.04.614.100(F). The Zoning Administrator (or the Planning Commission in its capacity as the appellate authority) shall have discretion to modify or amend these conditions on a case-by-case basis as may be necessary or appropriate under the circumstances to protect public health and safety or allow for the proper operation of the approved facility consistent with the goals of this Article.
1.
No Extension of the Underlying Permit Duration. The City's grant or grant by operation of law of a Section 6409(a) Approval constitutes a federally-mandated modification to the underlying permit or approval for the subject tower or base station. The City's grant or grant by operation of law of a Section 6409(a) Approval will not extend the permit term for any conditional use permit, land use permit or other underlying regulatory approval and its term shall be coterminous with the underlying permit or other regulatory approval for the subject tower or base station.
2.
Accelerated Permit Terms Due to Invalidation. In the event that any court of competent jurisdiction invalidates any portion of Section 6409(a) or any FCC rule that interprets Section 6409(a) such that federal law would not mandate approval for any Section 6409(a) Approval(s), such approval(s) shall automatically expire one year from the effective date of the judicial order, unless the decision would not authorize accelerated termination of previously approved Section 6409(a) Approvals. A permittee shall not be required to remove its improvements approved under the invalidated Section 6409(a) Approval when it has submitted an application for either a conditional use permit or an administrative use permit for those improvements before the one-year period ends. The Zoning Administrator may extend the expiration date on the accelerated permit upon a written request from the permittee that shows good cause for an extension.
3.
No Waiver of Standing. The City's grant or grant by operation of law of a Section 6409(a) Approval does not waive, and shall not be construed to waive, any standing by the City to challenge Section 6409(a), any FCC rules that interpret Section 6409(a) or any Section 6409(a) Approval.
4.
Build-out Period. Any permit approved under this Article or by operation of law shall automatically expire one (1) year from the approval date if the applicant fails to commence construction within that one-year period; provided, however, that the Zoning Administrator may renew any such permit for up to one (1) additional year if the Zoning Administrator receives a written request from the permittee within thirty (30) days prior to the expiration date, at the Zoning Administrator's sole discretion.
5.
Compliance with Laws. Permittee shall at all times maintain compliance with all applicable federal, state and local laws, regulations, ordinance or other rules.
6.
Permittee's Contact Information. Permittee shall at all times maintain accurate contact information for all parties responsible for the facility, which shall include a phone number, street mailing address and email address for at least one natural person. All such contact information for responsible parties shall be provided to the Zoning Administrator within one (1) business day after permittee receives a written request from the Zoning Administrator.
7.
Cooperation with Access and Inspections. The City or its designee may enter onto the facility area to inspect the facility upon reasonable notice to the permittee. The permittee shall cooperate with all inspections. The City reserves the right to enter or direct its designee to enter the facility to support, repair, disable or remove any elements of the facility in emergencies or when the facility threatens imminent harm to persons or property.
8.
Maintenance. The site and the facility, including but not limited to all landscaping, fencing and related transmission equipment, must be maintained in a neat and clean manner and in accordance with all approved plans and conditions of approval.
9.
Concealment Elements. Permittee acknowledges and agrees that each and every aspect and/or element of the wireless facility, including without limitation its coloring, finishes, placement, orientation and proportionality with the structures in the immediate vicinity, that, by its sense and context, aids, contributes or otherwise furthers the concealment of the facility, in whole or in part, shall be deemed to be a concealment element of the support structure.
10.
Graffiti Abatement. Permittee shall promptly remove any graffiti on the wireless facility at permittee sole expense, and in no instance more than 48 hours from the time of notification by the City or after discovery by the permittee.
11.
Backup Generator Use. Permittee shall not use any backup or standby power generator except (1) when necessary due to a primary power source failure or (2) for routine maintenance/cycling. Permittee shall not operate the generator for maintenance/cycling more frequently than twice per month and then only for no longer than 30 minutes at a time on Wednesdays between 10:00 a.m. and 11:00 a.m.
12.
Indemnification. The permittee and, if applicable, the non-government owner of the private property upon which the tower/and or base station is installed shall defend, indemnify and hold harmless the City, its agents, officers, officials and employees (i) from any and all damages, liabilities, injuries, losses, costs and expenses and from any and all claims, demands, law suits, writs of mandamus and other actions or proceedings brought against the City or its agents, officers, officials or employees to challenge, attack, seek to modify, set aside, void or annul the City's approval of the permit, and (ii) from any and all damages, liabilities, injuries, losses, costs and expenses and any and all claims, demands, law suits or causes of action and other actions or proceedings of any kind or form, whether for personal injury, death or property damage, arising out of or in connection with the activities or performance of the permittee or, if applicable, the private property owner or any of each one's agents, employees, licensees, contractors, subcontractors or independent contractors. In the event the City becomes aware of any such actions or claims the City shall promptly notify the permittee and the private property owner and shall reasonably cooperate in the defense. It is expressly agreed that the City shall have the right to approve, which approval shall not be unreasonably withheld, the legal counsel providing the City's defense, and the property owner and/or permittee (as applicable) shall reimburse City for any costs and expenses directly and necessarily incurred by the City in the course of the defense.
13.
Adverse Impacts. Permittee shall take all reasonable efforts to avoid undue adverse impacts to adjacent properties and/or uses that may arise from the construction, operation, maintenance, modification and removal of the facility.
14.
Building Permit Application Plans. In addition to the information required by Section 6.02.160 of the RMC, the permittee must incorporate into building plans and submit with any application to the Building Department, three copies of each of the following: (1) the Section 6409(a) Approval associated with the facility, including without limitation all findings and conditions of approval; and (2) the photo simulations, as required for the application and accurately representing the approved facility as may be modified by any conditions of approval, associated with the Section 6409(a) Approval associated with the facility. The Building Official is not authorized to waive any of these specific submittal requirements irrespective of the exception authority granted by Section 6.02.160.
15.
Record Retention. The permittee shall retain full and complete copies of all permits and other regulatory approvals issued in connection with the facility, which includes without limitation all conditions of approval, approved plans and specifications, resolutions and other documentation associated with the permit or regulatory approval. In the event that neither the City nor the permittee can locate any permit or other regulatory approval that would have been required for the equipment deployed or installed in connection with the facility, the permittee acknowledges that the City will presume that any such equipment was deployed or installed without proper review and approval.
16.
Joint and Several Liability. The permittee and the property owner shall be jointly and severally liable for compliance with all conditions of approval adopted under this permit, which includes without limitation compliance with any maintenance or concealment conditions.
(Ord. No. 29-18 N.S., § I(Exh. A), 12-18-2018)
An applicant or permittee will not be relieved of its obligation to comply with every applicable provision in the Code, this Article, any permit, any permit condition or any applicable law or regulation by reason of any failure by the City to timely notice, prompt or enforce compliance by the applicant or permittee.
A.
This article is intended to protect and promote the health, safety, and welfare of the City's citizens, visitors, and workers by reducing the release of pollutants into the environment as a result of coal and petroleum coke storage and handling. This article is also intended to reduce the public health, safety, or welfare impacts (including, without limitation, adverse impacts to property values, aesthetics, and economic interests) caused by the storage and handling of coal and petroleum coke.
B.
This article bans the establishment and/or expansion of storage and handling of coal and/or petroleum coke throughout the City of Richmond, with certain exceptions. The article also phases out existing allowed uses of land involving the storage and handling of coal and petroleum coke, by providing an amortization period for such existing allowed uses to transition to other lawful uses and materials. This amortization period is intended to strike a proper balance between protecting the public from the health hazards of coal and petroleum coke storage and handling, while also protecting existing jobs and providing sufficient time for businesses to transition.
C.
This article is not intended to, and shall not be interpreted to regulate or applied to prohibit the transportation of coal and/or petroleum coke, for example, by train or marine vessel, including without limitation through the City of Richmond or to or from a coal or petroleum coke storage and handling facility.
(Ord. No. 05-20 N.S., § II(Exh. A), 2-4-2020; Ord. No. 02-22 N.S., §§ I, II, (Exh. A), 2-1-2022)
As used in this article, the following terms have the following meanings: ;p0;o Coal means a solid, brittle, carbonaceous rock classified as anthracite, bituminous, subbituminous, or lignite by the American Society for Testing and Materials ("ASTM") Designation D388-77.
Coal or Petroleum Coke Storage and Handling Facility means an existing or proposed site or facility, including all contiguous land, structures, other appurtenances, and improvements thereon, or any part thereof, where coal or petroleum coke is or may be stored or handled.
Effective Date means the date that Ordinance No. 05-20, adding Article 15.04.615 to the Richmond Municipal Code, took effect.
Owner or Operator means any person who has legal title to any coal or petroleum coke storage and handling facility; who has charge, care, or control of any coal or petroleum coke storage and handling facility; who is in possession of any coal or petroleum coke storage and handling facility or any part thereof; and/or who is entitled to control or direct the management of any coal or petroleum coke storage and handling facility.
Petroleum Coke means a solid carbonaceous residue produced from a coker after cracking and distillation from petroleum refining operations, including such residues produced by petroleum upgraders in addition to petroleum refining.
Store or Handle, or Storing or Handling, or Storage or Handling means to allow or maintain any pile, including without limitation covered and uncovered piles, piles located above ground, underground, or within containers, or to load, unload, stockpile, or otherwise handle and/or manage, temporarily or permanently, coal and/or petroleum coke.
(Ord. No. 05-20 N.S., § II(Exh. A), 2-4-2020)
The storage and handling of coal and petroleum coke at a coal or petroleum coke storage and handling facility is prohibited in all zoning districts.
(Ord. No. 05-20 N.S., § II(Exh. A), 2-4-2020)
The following non-commercial uses are exempt from the provisions of this Article 15.04.615: residential, educational, scientific, recreational, religious, or cultural uses in which persons store or handle small amounts of coal or petroleum coke.
(Ord. No. 05-20 N.S., § II(Exh. A), 2-4-2020)
A.
Notwithstanding any provision in this Code to the contrary, this section shall apply to all existing land uses that do not conform with the requirements of Section 15.04.615.030 of this Code as of the effective date.
B.
As used in this section, "nonconforming land use" means any lawful coal or petroleum coke storage and handling facility in existence prior to the effective date.
C.
Except as otherwise provided in this section, all nonconforming land uses shall be discontinued by December 31, 2026. The period from the March 5, 2020 effective date of Ordinance No. 05-20 N.S. through December 31, 2026, shall be referred to as the "amortization period."
D.
Nonconforming land uses shall not increase the amount of coal or petroleum coke stored or handled in a calendar year beyond the average amount of coal or petroleum coke stored or handled annually at the coal or petroleum coke storage and handling facility in the three years prior to the effective date. Nonconforming land uses shall not expand the footprint of coal or petroleum coke storage or handling activities at the coal or petroleum coke storage and handling facility.
E.
Within two months of the effective date, the Zoning Administrator shall use reasonable efforts to identify and provide notice to all owners or operators of any coal or petroleum coke storage and handling facility informing them that they must do either of the following: (a) discontinue any nonconforming land use before the conclusion of the amortization period; or (b) apply for an extension of the amortization period pursuant to sub-section F of this section. Failure to receive notice from the Zoning Administrator shall not excuse an owner or operator from compliance with the provisions of this section.
F.
Any affected owner or operator of a nonconforming land use may apply to the Planning Commission for an extension of the amortization period on a form provided by the Director pursuant to Section 15.04.803.020. The affected owner or operator shall pay any applicable fees established pursuant to that section. Applications for an extension of the amortization period shall be submitted no later than 12 months prior to the end of the amortization period. The Planning Commission shall conduct a duly noticed public hearing to consider the application for extension of the amortization period within a reasonable time after the application has been deemed complete by the Zoning Administrator.
1.
"Limited Notice (Type B)" shall be provided pursuant to Section 15.04.803.070 of this Code not less than 24 calendar days prior to the date of the hearing.
2.
In deciding whether to extend the amortization period, the Planning Commission shall consider all documentary and oral evidence and testimony submitted prior to the conclusion of the hearing. As part of the application, an amortization analysis shall be prepared, at the applicant's expense, by an expert retained by the City, prior to Planning Commission consideration.
3.
The Planning Commission shall grant an extension of the amortization period if it finds, based on substantial evidence, that such extension is necessary to prevent an unconstitutional taking of property without compensation or to avoid a violation of state or federal law. Any extension so granted shall be the minimum necessary to prevent such impairment or violation. In no event shall the Planning Commission grant any extension if it finds that continuing the nonconforming land use would constitute a public nuisance under Civil Code Sections 3479 and 3480.
4.
The Planning Commission's decision shall be based upon the following factors, where applicable:
a.
The cost to the applicant of acquiring the affected property and the applicant's reasonable investment-backed expectations at the time the property was acquired;
b.
The present actual or depreciated value of the affected property and improvements with and without the nonconforming land use;
c.
The total length of time the nonconforming land use has existed and the remaining useful life of the nonconforming land use;
d.
The applicant's investments in the nonconforming land use and whether and to what extent the applicant will have recouped those investments before the conclusion of the amortization period;
e.
The salvage value of any improvements that may be used for purposes other than the nonconforming land use;
f.
The remaining value and allowed uses of the property after discontinuing the nonconforming land use;
g.
Whether the nonconforming land use interferes with the use and enjoyment of land of nearby property owners or residents, or interferes with or threatens the public health, safety, and welfare of the community;
h.
The extent to which the nonconforming land use on the property is incompatible with surrounding uses and properties; and
i.
Any other factor the Planning Commission reasonably determines is related to determining whether the investment in the nonconforming land use has been recovered.
5.
The owner or operator requesting the extension shall have the burden of demonstrating that it is entitled to an extension under subsection F above. The Planning Commission's determination under this sub-section may be appealed to the City Council in the same manner as prescribed in Section 15.04.803.140 of this Code.
K.
Nothing in this section is intended to affect or restrict the City's authority to immediately terminate, discontinue, or abate any land uses found to be a nuisance, or that are otherwise operating unlawfully, including a nonconforming land use. This article does not create or confer any vested rights.
(Ord. No. 05-20 N.S., § II(Exh. A), 2-4-2020; Ord. No. 02-22 N.S., §§ I, II, (Exh. A), 2-1-2022)
Any land use that fails to comply with or violates any provision of this article is hereby declared to be an unlawful nuisance. Any land use declared to be a nuisance pursuant to this section may be subject to the abatement procedures established in Section 15.04.815.040 and Chapter 9.22 of this Code.
(Ord. No. 05-20 N.S., § II(Exh. A), 2-4-2020)
A.
The provisions of this article shall not be applicable to the extent, but only to the extent, that they would violate the constitution or laws of the United States or of the State of California.
B.
In the event a property owner contends that the application of this article effects an unconstitutional taking of property without compensation, the property owner may request, and the Planning Commission shall grant, an exception to application of any provision of the article if the Planning Commission finds, based on substantial evidence, that both (1) the application of any aspect of the article would constitute an unconstitutional taking of property, and (2) the exception will allow continued land uses only to the minimum extent necessary to avoid such a taking; provided, however, that in the case of nonconforming uses, the procedures set forth in Section 15.04.615.050.F shall govern. The property owner shall have the burden of demonstrating that it is entitled to an exception under this sub-section. The Planning Commission's determination under this sub-section may be appealed to the City Council in the same manner as prescribed in Section 15.04.803.140 of this Code.
(Ord. No. 05-20 N.S., § II(Exh. A), 2-4-2020)
Notwithstanding anything to the contrary contained in this article, this article is not intended to and shall not be interpreted to regulate the transportation of coal and/or petroleum coke, for example, by train or marine vessel, including without limitation through the City of Richmond or to or from a coal or petroleum coke storage and handling facility.
(Ord. No. 05-20 N.S., § II(Exh. A), 2-4-2020)
Where a conflict exists between the requirements in this article and applicable requirements contained in other provisions of this Code, the applicable requirements of this article shall prevail.
(Ord. No. 05-20 N.S., § II(Exh. A), 2-4-2020)
GENERAL STANDARDS
Editor's note— Ord. No. 24-20 N.S., § 2, adopted Nov. 10, 2020, repealed the former Art. 15.04.603, §§ 15.04.603.010—15.04.603.100, and enacted a new Art. 15.04.603 as set out herein. The former Art. 15.04.603 pertained to inclusionary housing and derived from Ord. No. 16-16 N.S., § I(Exh. A, Exh. B), adopted Nov. 15, 2016; and Ord. No. 30-18 N.S., § I(Exh. A), adopted Dec. 18, 2018.
A.
Applicability. The following standards shall apply to all detached buildings and structures that are clearly incidental or subordinate to the main building on the same lot. Typical structures include garages, garden sheds, gazebos, greenhouses, pergolas, storage shelters, dish antennas, pay telephone, and covered patios. Accessory dwelling units and junior accessory dwelling units are regulated by Section 15.04.610.020; solar installations are regulated by Section 15.04.601.120. Accessory uses are regulated by Section 15.04.610.040.
B.
Height. In residential districts, the maximum allowable height for accessory structures shall be 14 feet. In mixed use, commercial and industrial districts, the maximum allowable height for accessory structures shall not exceed the building height allowed in the base district unless a lower height is set in the base district regulations for such structures.
C.
Location and Setbacks.
1.
The accessory structure may be located anywhere on a lot except within a required front or street side setback with the following exceptions:
a.
Accessory structures not occupied by an accessory dwelling unit may be built to the side or rear lot line provided that no portion of such structure exceeds 9½ feet in height within the required yard setback for the property.
2.
An accessory structure shall be no closer than five feet to a main building or less than five feet from any public right-of-way and property line. The width of accessory structures shall not exceed 80 percent of the average width of the rear yard. Accessory structures, such as covered patios, gazebos, or pergolas, that are open on three sides, may encroach into a required rear yard as long as such encroachment does not exceed 50 percent of the area of the required rear yard setback.
D.
Operational Limits. In Residential districts, accessory structures:
1.
Shall, where the rear yard abuts the side yard on an adjacent parcel, observe a rear yard setback equal to the side yard setback required on the adjacent lot;
2.
When located on a corner lot, shall not project into the required street side yard or its extension to the rear lot line.
3.
When located on a lot having a slope of 25 percent or more, an accessory structure may be located in the required front yard, provided every portion is located at least five feet from the front line, and the distance between it and the main building may be reduced to zero; if such lot slopes upward from the street, the accessory structure may encroach upon one side yard if the rear of its roof is at or below the natural ground level.
4.
Shall not exceed 75 percent of the floor area of the main building, including an accessory dwelling unit.
E.
Discontinuance of Use—Pay Telephones. All equipment and improvements associated with an abandoned pay telephone communications facility located on an exterior wall visible from a public right-of-way shall be removed within 90 days of the discontinuation of the use and the building wall to which it was attached shall be restored to its original, pre-installation condition, or as approved by the Zoning Administrator. Written verification of the removal of a pay telephone on private property shall be provided to the Zoning Administrator within 90 days of the discontinuation of the use.
1.
If the provider fails to remove the pay telephone from the site as required herein, the property owner shall be responsible for removal. If such facilities are not removed and are visible from a public right-of-way, the pay telephone shall be deemed to be a public nuisance and the City may take such action as it deems appropriate to abate the public nuisance in accordance with this Code and any other applicable provision of law.
2.
Failure to inform the Zoning Administrator of cessation of operations of any existing pay telephone shall constitute a violation of the Zoning Ordinance.
(Ord. No. 30-18 N.S., § I(Exh. A), 12-18-2018)
Building projections may extend into required yards, according to the standards of Table 15.04.601.020, Allowed Building Projections into Yards. The "Limitations" column states any dimensional, area, or other limitations that apply to such structures when they project into required yards.
In addition, in R districts, the main residential building may project into a required rear yard up to, but not within, 10 feet of the rear lot line, provided that the maximum lot coverage and minimum required open space standards are met. This building projection shall not encroach into a required side yard, nor shall it be wider than 50 percent of the average lot width in the rear half of the lot.
Figure 15.04.601.020: Allowed Building Projections
(Ord. No. 30-18 N.S., § I(Exh. A), 12-18-2018)
A.
General. Where a lot is divided by a zoning district boundary, the regulations applicable to each district shall be applied to the area within the district, and no use, other than parking serving a principal use on the site, can be located in a district in which it is not a permitted or conditionally permitted use.
B.
Access. All access to parking serving a use must be from a street abutting that portion of the lot where the use is allowed. Pedestrian or vehicular access from a street to a non-residential use cannot traverse an R District in which the non-residential use is not permitted or conditionally permitted.
C.
Minimum Lot Area and Width. The minimum lot area and width requirements of the zoning district that covers the greatest portion of the lot area will apply to the entire lot. If the lot area is divided equally between two or more zones, the requirements of the district with greater minimum lot area, width, or frontage shall apply to the entire lot.
D.
Exceptions. If more than 60 percent of a lot is located in one zoning district, modifications to the provisions of this Section may be granted through Planning Commission approval of a conditional use permit.
Any lot or parcel of land that was legally created through a recorded deed may be used as a building site even when consisting of less area, width, or depth than that required by the regulations for the zoning district in which it is located. However, no substandard lot can be further reduced in area, width, or depth, unless such reduction is required as part of a public improvement.
(Ord. No. 30-18 N.S., § I(Exh. A), 12-18-2018)
The standards of this Section apply to all new development and to all existing structures. The structures listed in Table 15.04.601.050 below may exceed the maximum permitted building height for the zoning district in which they are located, subject to the limitations stated in the Table and further provided that no portion of a structure in excess of the building height limit may be used for sleeping quarters or advertising. Projections not listed in Table 15.04.601.050 and projections in excess of those listed in Table 15.04.601.050 may be allowed with a conditional use permit.
A.
Permits Required. All fences require Zoning Conformance approval by the Zoning Administrator. Any fence over six feet in height requires a building permit.
B.
Maintenance. Fencing shall be continuously maintained, with no sign of rust or disrepair.
C.
Fencing Location.
1.
Fence Location on a Lot. Fences may be erected, placed or maintained along or adjacent to a lot line or within a yard. A fence located on a lot line shall be considered as being within the yard adjacent to that lot line. The fence owner shall be responsible for properly locating all lot lines before construction of any fence.
2.
Fence Encroachment onto Public Property. No portion of any fence, including gate doors, shall encroach upon or project into any public right-of-way or other public property without the fence owner first obtaining from the City an encroachment permit.
3.
Prohibited Fence Locations. No person shall place, construct, maintain, or cause to be placed any fence that may endanger the public safety, including but not limited to the following:
a.
Fire Hydrant Access. No fence shall obstruct free access to any fire hydrant.
b.
Sight Triangle. No fence that is a visual obstruction may be constructed or maintained within the sight triangle (see Section 15.04.601.160). A fence shall be deemed to be a visual obstruction if any part of it over 42 inches high has opacity in excess of 50 percent.
D.
Maximum Fencing Height in Residential Zone Districts. Fence height in Residential zoning districts shall be limited by its location as specified below in Table 15.04.601.060-D.
E.
Fence Design in Residential Zoning Districts. Fences in Residential zoning districts shall be constructed, designed and maintained as follows:
1.
Permitted Materials. Fences shall be constructed of wood, metal, polyvinyl chloride (PVC), masonry or other permanent materials designed for permanent fencing. No more than two types of related fencing materials shall be used in any fence or wall. Fences constructed of wood shall have posts in contact with ground of preservative-treated wood conforming to ASTM D1760 treated with waterborne preservatives to a minimum retention of 6.4 kilograms per cubic meter (0.40 pounds per cubic feet) and components not in contact with the ground treated with waterborne preservatives to a minimum retention of 4.0 kilograms per cubic meter (0.25 pounds per cubic feet) or shall be of heartwood of a decay-resistant species such as redwood or cedar. For non-residential uses in residential zoning districts, a chain-link (nonmetallic finish) fence with vinyl slats may be used if deemed acceptable and appropriate through design review.
2.
Hazardous and Prohibited Materials. Fences shall not incorporate electrically charged wire, barbed wire and razor wire, chain link (with or without slats or vinyl or other coatings), unfinished plywood or similar unfinished materials, woven wire mesh ("chicken wire"), welded wire mesh, woven wire ("hog wire") rope, cable, railroad ties, landscape timbers, utility poles or any other similar materials or materials not specifically manufactured for permanent fencing.
3.
Posts and Supporting Members. All fence posts and related supporting members of the fence shall be erected so that the finished side or sides of the fence shall be facing the adjacent lot or public right-of-way.
4.
Painting and Staining. All wood fences shall be painted or stained, except when constructed of the heartwood of a decay-resistant species such as redwood or cedar. All ferrous metal fences, except hot-dipped galvanized steel shall be painted with a three-coat system consisting of a corrosion-resistant primer and two finish coats, with preparation and application as recommended by the manufacturer. All other metal fences, including aluminum hot-dipped galvanized steel, shall be painted with at least a two-coat system intended for that purpose.
5.
Gates.
a.
Gates with locks that are routinely locked shall be equipped with a doorbell device capable of notifying the occupants within the residential structure or a telephone number that can be used to notify the occupants.
b.
Entry features over front yard gates (e.g., open latticed arbors and trellises), not exceeding eight feet in height, three feet in depth or five feet in width are allowed when located within the required front yard but outside the sight triangle.
c.
When a rear yard abuts an alley, the alley facing side of a solid fence shall be clearly labeled with the house address number.
F.
Fence Design in Mixed Use, Commercial and Industrial Districts.
1.
Solid Fencing. Any activity may have a solid fence. All outside storage/maintenance areas are required to be screened from public streets by a painted, view-obscuring wood board fence or masonry wall. The following specifications for low solid screen, high solid screen and/or solid screen fencing shall also apply.
a.
Low Solid Screen. A fence or wall three to four feet high and fully sight-obscuring is permitted. It may be painted, view-obscuring wood board fence or masonry wall of uniform material and must be designed and constructed to withstand a 15 pound-per-square foot wind load and deterioration resulting from contact with soil, vermin and weathering.
b.
High Solid Screen. A screening source or wall six to eight feet high and sight-obscuring is permitted. It may be painted, view-obscuring wood board fence or masonry wall of uniform material and must be designed and constructed to withstand a 15 pound-per-square foot wind load and deterioration resulting from contact with soil, vermin and weathering. This screening wall may also be a masonry wall with lattice work resulting from an open brick pattern or use of open masonry blocks.
c.
Wire Fence with Planting. Wire fences with dark colored, durable, matte finishes (both wire and posts) and vinyl slats are permitted if fast growing trees, hedge plants, upright shrubs or evergreen vines are planted alongside and used in combination with green growing ground cover or low hedge landscaping.
d.
Solid Wall. A wall 6 to 8 feet high and fully sight-obscuring is permitted. The wall may be masonry, brick, concrete or exposed aggregate; it must be designed and constructed to withstand a 15 pound-per-square foot wind load and deterioration resulting from contact with soil, vermin and weathering. Masonry walls shall include split-face or other decorative treatment.
2.
Open or Semi-Open Fencing. A chain-link (nonmetallic finish) fence with or without vinyl slats may be used if a solid fence is not required. No fence or wall that adjoins a residential lot or residential zoning district or fronts on a public street or highway shall incorporate barbed wire or other sharp, protruding objects.
G.
Exceptions to Residential Fence Height Regulations. The Zoning Administrator may grant an exception to the front yard fence height requirements imposed by this Section. Such exception shall be made only after public noticing of the proposed fence adjustment to side yard abutting property owners, the completion of a site visit, and administrative design review pursuant to Article 15.04.805 if he/she makes all of the following findings:
1.
The proposed fence will not create or exacerbate a public safety hazard;
2.
The proposed fence is of design, materials, scale and color that are compatible and harmonious with the subject site, site improvements and other properties within the immediate vicinity; and
3.
Front yard fencing that prohibits access to the home shall be equipped with a doorbell device.
H.
Exceptions to Mixed Use, Commercial and Industrial Fence Height Regulations. The Design Review Board or Planning Commission may grant an exception to the fence height requirements imposed by this Section. Such exception shall be made only after a public hearing, and subject to major design review or a conditional use permit pursuant to Article 15.04.805 or Article 15.04.806 making all of the following findings:
1.
The proposed fence will not create or exacerbate a public safety hazard; and
2.
The proposed fence is of design, materials, scale and color that are compatible and harmonious with the subject site, site improvements and other properties within the immediate vicinity.
I.
Nonconforming Fences.
1.
Existing Nonconforming Fences Deemed Approved. Existing nonconforming fences existing prior to the date of adoption of the ordinance codified in this Section shall be deemed approved unless they are one of the types of fences listed in Subsection 2, below. The deemed approved status shall continue until the property owner requests approval of new construction, of a structural alteration, of an addition that requires discretionary review, or the property is sold, at which point, the fence shall be modified to conform to the standards for fences in this Section or be removed.
2.
Other Nonconforming Fences. The following fences do not qualify as deemed approved and must be modified or removed.
a.
Front yard fencing over 6 feet in height;
b.
Front yard fencing which is solid (in excess of 50 percent opacity) over 4' in height;
c.
Any portion of fencing in the sight triangle established by Section 15.04.601.170 that is over 3' 6" high with an opacity of more than 20 percent; and
d.
Any dilapidated fencing or fencing constructed of materials or components not allowed by this Section.
(Ord. No. 30-18 N.S., § I(Exh. A), 12-18-2018)
Open storage of goods, materials, machines, equipment, and vehicles or parts outside of a building for more than 24 hours must conform to the standards of this Section. The regulations of this Section do not apply to processing equipment, tanks, or other equipment fixed to the ground, to temporary storage of construction materials reasonably required for construction work on the premises pursuant to a valid building permit, and to agricultural/farming equipment used for agriculture or farming on the property.
A.
Permitted Locations. Table 15.04.601.070-A states where outdoor storage is permitted.
B.
Screening and Setbacks. Storage areas visible from public streets that are not separated from the street by intervening building(s) must be screened.
1.
Screening Walls. Screening walls and fences must be high enough to sufficiently screen stored material. Fences and walls must not exceed the maximum allowable fence heights unless allowed pursuant to administrative use permit approval.
2.
Setback. A setback must be provided for outdoor stored material at the ratio of 1:1 from all lot lines equal to the total height of stored material above required screen wall.
C.
Storage Containers. See Section 15.04.610.400 (Storage Containers).
Figure 15.04.601.070-C: Screening and Setbacks—Outdoor Storage
(Ord. No. 30-18 N.S., § I(Exh. A), 12-18-2018)
Each person, company or corporation residing in and/or using a property in the City of Richmond shall, at all times, maintain such property in good order. This shall include a litter management program and repair and maintenance of all structures, fences, signs, walks, driveways, paving, striping, lawns, landscaping, painting, etc., as may be necessary to preserve a quality environment.
This Section establishes design and locational criteria for the construction of refuse, solid waste, recycling, and green waste container storage areas. Refuse, solid waste, recycling, and green waste are collectively referred to as "solid waste and recycling."
A.
General Requirements and Alternatives. All trash, garbage, green waste, and recycling materials must be placed in an appropriate receptacle. All garbage cans, mobile trash bins, and receptacles must be maintained and stored in accord with this Section.
1.
Applicability. Solid waste and recycling-container enclosures are required for new dwelling groups of three or more dwelling units and for all new non-residential development and additions and remodels of non-residential buildings.
2.
Alternatives. Projects with 10 or fewer residential units may have individual solid waste and recycling containers for each unit, provided that there is a designated screened location for each individual container adjacent to the dwelling unit or within garage areas and provided that solid waste and recycling containers for each unit are brought to the curbside for regular collection.
B.
Size. Solid waste and recycling-container enclosures must be sized to accommodate all trash, garbage, recyclables, and green waste until such items are picked up by the City or its contracted solid waste and recycling collector(s).
C.
Location and Orientation. All solid waste and recycling-container enclosures must meet the following requirements, unless the Zoning Administrator determines that compliance is infeasible. A Building Permit shall not be issued for a project until documentation of approval of the location is provided by the Zoning Administrator.
1.
Location. The solid waste and recycling storage area shall not be located within any required front yard, street side yard, any required parking and landscaped areas, or any other area that is required to be constructed or maintained unencumbered.
2.
Visibility. The solid waste and recycling enclosure cannot be visible from a public right-of-way.
3.
Consolidation and Distance for Buildings Served. Solid waste and recycling areas must be consolidated to minimize the number of collection sites and located so as to reasonably equalize the distance from the building spaces they serve. For multi-unit residential projects, there must be at least one trash enclosure per 20 units, and the enclosure must be located within 100 feet of the residential units.
4.
Accessibility. Solid waste and recycling storage areas must be accessible so that trucks and equipment used by the contracted solid waste and recycling collector(s) have sufficient maneuvering areas and, if feasible, so that the collection equipment can avoid backing up.
D.
Materials, Construction, and Design.
1.
Minimum Height of Screening. Solid waste and recycling storage areas located outside or on the exterior of any building must be screened with a solid enclosure at least six feet high and include a roof structure.
2.
Enclosure Material. Enclosure material must be wood, solid masonry, or concrete tilt-up with decorated exterior-surface finish. The trash enclosure must match and complement the color scheme and architecture of the building.
3.
Gate Material. Latching, view-obscuring gates must be provided to screen trash enclosure openings.
4.
Access to Enclosure from Residential Projects. Each solid waste and recycling enclosure serving a residential project must be designed to allow disposal to the appropriate receptacle without having to open the main enclosure gate.
5.
Enclosure Pad. Pads must be a minimum of four-inch-thick concrete.
6.
Bumpers. Bumpers must be two inches by six inches thick and made of concrete, steel, or other suitable material, and must be anchored to the concrete pad.
7.
Protection for Enclosures. Concrete curbs or the equivalent must protect enclosures from adjacent vehicle parking and travel ways.
8.
Clear Zone. The area in front of and surrounding all enclosure types must be kept clear of obstructions, and must be painted, striped, and marked "No Parking."
9.
Drainage. The floor of the enclosure must have a drain that connects to the sanitary sewer system.
10.
Travelways and Area in Front of Enclosure. The travelways and area in front of the enclosure must be designed to have an adequate engineered base meeting the City's Building Code for the likely truck use and capable of supporting a maximum fully-loaded gross vehicle weight of at least 62,000 pounds. The minimum pavement engineering standard shall be 100 pounds per square foot "live load" unless the applicant can present a report from a California-registered civil engineer justifying a different design load factor.
Screening and landscaped buffer yards must be provided in accordance with this Section at the time of new construction or expansion of buildings, or a change from one use classification to another non-residential use classification. Screening and buffer yards must be installed and maintained along interior side and rear lot lines between differing land uses.
A.
Required Screening and Landscape Buffer Yards. Table 15.04.601.100-A, Required Screening and Landscape Buffers, shows when a buffer and screening treatment is required, and of what type, based on the proposed and the adjoining use. Only the proposed use is required to provide the screening and buffer yard. Adjoining uses are not required to provide the screening and buffer yard. The type of screening buffer yard required refers to screening and buffer yard-type designations, as shown in Table 15.04.601.100-B, Screening and Buffer Yard Requirements. "-" means that screening and a buffer yard are not required.
B.
Screening and Buffer Types. Table 15.04.601.100-B, Screening and Buffer Type Requirements, describes the minimum width, plant materials, and wall requirements for each type of screening and buffer yard. The listed number of trees and shrubs are required for each 100 lineal feet of buffer yard. Trees must be planted at no more than 40 feet from center of tree to center of tree; see Figure 15.04.601.100-B. Natural areas with native vegetation or alternative planting materials that achieve equivalent buffering effects may be approved by the Zoning Administrator.
Figure 15.04.601.100-B: Tree Spacing
C.
Width Reduction for Adjacent Landscaped Buffer. If an equivalent landscape buffer exists on the adjacent lot, the width of the required buffer may be reduced 50 percent provided that the abutting property owners have provided and recorded a written agreement restricting the use of the adjacent landscape buffer.
D.
Location. Screening walls and buffer yards must follow the lot line of the lot to be screened or be so arranged within the boundaries of the lot so as to substantially hide from adjoining lots, the building, facility, or activity required to be screened. Openings in screening walls are allowed for pedestrian access.
E.
Screening Wall Materials. Industrial uses must provide a solid screening wall of stucco, decorative block, or concrete panel. Screening walls for other uses may be constructed of stucco, decorative block, concrete panel, wood or other substantially equivalent material. Chain-link fencing is prohibited.
F.
Berms. A vegetated earthen berm may be used in combination with the above types of screening walls, but not more than two-thirds of the required height of such screening may be provided by the berm.
The standards of this Section apply to new development, replacement equipment that is added to serve existing buildings, and condominium conversions; they do not apply to existing equipment that serves existing buildings. The Zoning Administrator may waive or modify screening requirements for upgrades to existing mechanical equipment.
A.
General Requirements. All exterior mechanical equipment, whether on a roof, on the side of a structure, or located on the ground, must be screened from public view. Exterior mechanical equipment to be screened includes, without limitation, heating, ventilation, air conditioning, refrigeration equipment, plumbing lines, ductwork, transformers, smoke exhaust fans, water meters, backflow preventers, service entry section, and similar utility devices.
1.
Screening must be architecturally integrated into the main structure with regard to materials, color, shape, and size to appear as an integral part of the building or structure.
2.
Equipment must be screened on all sides, and screening materials must be opaque.
3.
When screening with plants, evergreen types of vegetation must be planted and maintained. Plant material sizes and types must be selected and installed so that, at the time of building occupancy, such plants effectively screen their respective equipment.
4.
The use of wood, expanded metal lath, and chain link for the purpose of screening is prohibited.
B.
Requirements for Specific Types of Mechanical Equipment. The following additional screening standards apply to the specified types of mechanical equipment:
1.
Roof-Mounted Equipment.
a.
Whenever feasible, roof-mounted equipment screening must be constructed as an encompassing monolithic unit or a series of architecturally similar screening units on large roofs, rather than as several individual screens (i.e., multiple equipment screens, or "hats," surrounding individual elements will not be permitted).
b.
The height of the screening element must equal or exceed the height of the structure's tallest piece of installed equipment.
Figure 15.04.601.110-B(1): Screening of Roof Mounted Equipment
2.
Ground-Mounted Equipment. Ground-mounted equipment that faces a street must be screened to a height of 12 inches above the equipment, unless such screening conflicts with utility access, in which case reasonable accommodation must be allowed.
a.
Acceptable screening devices consist of decorative walls and/or berms (3:1 maximum slope) with supplemental plant materials, including trees, shrubs, and groundcovers.
b.
For screen walls that are three feet high or lower, vegetative materials may be substituted for 50 percent of the screening device.
c.
This requirement does not apply to incidental equipment in the interior of a lot that is not visible from the street. However, electrical substations, water tanks, sewer pump stations, and similar utilities are required to be screened and secured with an eight-foot-high wall.
Figure 15.04.601.110-B(2): Screening of Ground Mounted Equipment
3.
Exterior Wall Equipment. Wall-mounted equipment, including, without limitation, electrical meters, electrical distribution cabinets, service entry sections, and valves and cabinets that face a street or public parking and are not recessed and/or separated from the street by intervening building(s) or walls or gates, must be screened. Screening devices must incorporate elements of the building design (e.g., shape, color, texture and material). For screen walls that are three feet in height or lower, vegetative materials may be substituted for 50 percent of the screening device. This requirement does not apply to fire-related elements.
C.
Exceptions in the IG and IW Zoning Districts. Due to its size, some outdoor equipment that is ancillary to operations in IG and IW zoning districts may not be fully screened from view. In these cases, operators of such equipment shall only be required to provide screening that is consistent with provisions of Section 15.04.601.110 to the extent feasible.
This Section establishes development standards for solar energy systems.
A.
Height.
1.
On Single-Unit Lots. Photovoltaic solar energy systems may extend up to five feet above the height limit in the zoning district. Solar water or swimming pool heating systems may extend up to seven feet above the height limit in the district.
2.
On All Other Lots. Photovoltaic solar energy systems may extend up to five feet above the roof surface on which they are installed, even if this exceeds the maximum height limit in the district in which it is located. Solar water or swimming pool heating systems may extend up to seven feet above the roof surface on which they are installed even if this exceeds the maximum height limit in the district in which it is located.
B.
Required Setback. Excluding solar collector panels, solar energy system equipment may be installed within a required side and rear setback, but must not be closer than three feet to any property line.
A.
Incorporation of Best Management Practices for Stormwater Management. New development must be designed to minimize impacts to water quality from increased runoff volumes and discharges of pollutants from nonpoint sources to the maximum extent feasible. Post-construction best management practices must be designed to treat, infiltrate, or filter stormwater runoff, in accordance with applicable standards as required by law. Examples of best management practices include:
1.
Retention and detention basins.
2.
Vegetated swales.
3.
Infiltration galleries or injection wells.
4.
Use of permeable paving materials.
5.
Mechanical devices such as oil-water separators and filters.
6.
Revegetation of graded or disturbed areas.
B.
Stormwater Management Requirements. The following requirements apply to specific types of development:
1.
Non-residential and multi-unit development must use best management practices to control polluted runoff from structures, parking, and loading areas.
2.
Eating and drinking establishments must incorporate best management practices designed to prevent runoff of oil and grease, solvents, phosphates, and suspended solids to the storm drain system.
3.
Automobile/vehicle sales and services uses must incorporate best management practices designed to prevent runoff of oil and grease, solvents, car battery acid, engine coolants, and gasoline to the stormwater system.
4.
Outdoor storage areas must be designed to incorporate best management practices to prevent stormwater contamination from stored materials.
5.
Trash storage areas must be designed using best management practices to prevent stormwater contamination by loose trash and debris.
C.
Maintenance of Stormwater Management Facilities. New development is required to provide ongoing maintenance of best management practice measures where maintenance is necessary for their effective operation. The permittee and/or owner, including successors in interest, is responsible for all structural treatment controls and devices as follows:
1.
All structural best management practices must be inspected, cleaned, and repaired when necessary prior to September 30th of each year or as specified in a City-approved operations and maintenance agreement.
2.
Additional inspections, repairs, and maintenance must be performed after storms, as needed, throughout the rainy season, with any major repairs completed prior to the beginning of the next rainy season.
3.
Public streets and parking lots must be swept, as needed and financially feasible, to remove debris and contaminated residue.
4.
The homeowners association, or other private owner, must be responsible for sweeping of private streets and parking lots.
This Section establishes standards for swimming pools and spas.
A.
Filtration Equipment. Swimming pool or spa filtration equipment and pumps shall not be located in the front or street side yard and cannot be closer than 15 feet to the main building on an adjoining lot. All equipment must be mounted and enclosed/screened so that its sound is in compliance with Article 15.04.605 (Noise).
B.
Pool Setbacks and Covers. The outside wall of the water-containing portion of any swimming pool or spa must be a minimum of 15 feet from street side lot lines, five feet from all interior lot lines, and five feet from the residence and any accessory dwelling unit on the site. All pools must be equipped with an approved safety pool cover meeting the standards of the American Society for Testing and Materials or have another drowning prevention safety feature, as required by the California Health and Safety Code.
C.
Elevated Swimming Pools. All elevated swimming pools constructed on the ground may not be higher than four feet.
D.
Public and Semi-Public Pools. A conditional use permit must be obtained before the construction of any pool for use by the general public.
In addition to the requirements outlined in Article 15.04.607 (Parking and Loading Standards), all truck docks, loading, and service areas must be located and screened as follows:
A.
Minimum Distance from Residential District. Truck docks, loading, and service areas are not permitted within 50 feet of the boundary of any R District.
B.
Location on Lot. In all districts except the Agricultural and Industrial Districts, truck docks, loading areas, and service areas must be located at the rear or interior side of buildings, rather than facing a street.
C.
Screening. Truck docks, loading areas, and service areas located in any zoning district must be screened from any adjacent R District. Docks, loading, and service areas in any district, except the Industrial Districts, must be screened from view of adjacent streets. Screening must consist of a solid masonry wall at least eight feet in height or opaque automated gates.
All electrical, telephone, cable television, fiber-optic cable, gas, water, sewer, irrigation/recycled water, and similar distribution lines providing direct service to a project must be installed underground within the site. This requirement may be waived by the Zoning Administrator upon determining that underground installation is infeasible or the electrical line is otherwise exempt from an undergrounding requirement.
A.
Street Intersections. Vegetation and structures, including signs, must not exceed a height of three feet within the sight distance triangular area formed by the intersecting curb lines (or edge of pavement when no curbs exist) and a line joining points on these curb lines at a distance of 10 feet along both lines from their intersection, unless there is a "transparency" feature, such as open railings or well-pruned climbing plants, allowing for sight visibility. Trees that are located within this sight distance triangle must have a minimum clearance of 13 feet high between the lowest portion of the canopy and street.
1.
Subsection (A) does not apply to unsignalized intersections of local streets, unless specifically required by the Zoning Administrator.
Figure 15.04.601.170-A: Visibility at Street Intersections
B.
Driveways and Alleys. Visibility of a driveway crossing a street lot line must not be blocked above a height of three feet within the sight distance triangular area formed by the intersecting curb lines (or edge of pavement when no curbs exist) and a line joining points on these curb lines at a distance of 12 feet along both lines from their intersection. Street trees that are pruned at least seven feet above the established grade of the curb so as not to obstruct clear view by motor vehicle drivers are permitted.
Figure 15.04.601.170-B: Visibility at Driveways
C.
Exempt Structures and Plantings. The regulations of this Section do not apply to existing buildings; public utility poles; saplings or plant species of open growth habits and not planted in the form of a hedge that are so planted and trimmed as to leave at all seasons a clear and unobstructed cross view; official warning signs or signals; or places where the contour of the ground is such that there can be no cross visibility at the intersection.
The purpose of this Article is to provide increased residential densities for projects that guarantee that a portion of the housing units, constructed in a housing development, will be restricted to senior citizens or affordable to moderate, lower, very low, or extremely low income persons or for the donation of land for very low income housing.
A.
State Law Governs. Where a conflict occurs between the provisions of this Article and State law, State law will govern.
B.
Compatibility. All affordable housing units must be dispersed within market-rate projects whenever feasible. Affordable housing units within market-rate projects must be comparable with the design and appearance of market-rate units in appearance, use of materials, and finish quality.
C.
Availability. All affordable housing units must be constructed concurrently with, and made available for qualified occupants at the same time as, the market-rate housing units within the same project, unless both the City and the developer agree in the Density Bonus Agreement to an alternative schedule for development.
D.
Density Bonus Agreement. A Density Bonus Agreement will be made a condition of the discretionary permits for all projects granted a density bonus, pursuant to this Article. The Agreement must be recorded as a restriction on the parcel or parcels on which the affordable housing units will be constructed. The Agreement must be consistent with Section 15.04.602.060.
E.
Effect of Granting Density Bonus. The granting of a density bonus will not, in and of itself, be interpreted to require a General Plan amendment, Zoning Text or Map change, or other discretionary approval.
A.
Minimum Requirements for Density Bonus. The City shall grant one density bonus when a housing developer seeks and agrees to construct a housing development with five or more units, excluding any units permitted by the density bonus awarded, that will contain housing for any one of the following household income groups, as defined by State law, and satisfies the findings outlined in this Section:
1.
Low Income Households. Ten percent of the total dwelling units of a housing development for lower-income households.
2.
Very Low Income Households. Five percent of the total dwelling units of a housing development for very low income households.
3.
Extremely Low Income Households. Five percent of the total dwelling units of a housing development for extremely low income households.
4.
Senior Households. A senior citizen housing development or mobile home park that limits residency based on age requirements for housing for older persons pursuant to Section 798.76 or 799.5 of the Civil Code.
5.
Common Interest Developments. Ten percent of the total dwelling units in a common interest development for persons and families of moderate income provided that all units in the development are offered to the public for purchase.
B.
Calculation of Density Bonus. The amount of density bonus to which the developer is entitled shall vary according to the amount by which the percentage of affordable housing units equals or exceeds the percentage established in Table 15.04.602.030-B. The density bonus shall not be included when determining the number of housing units which are to be affordable.
1.
Density Bonus.The density bonus for housing developments shall be calculated as shown in Table 15.04.602.030-B:
2.
Density Bonus for Common Interest Developments.The density bonus for common interest developments with moderate income units shall be calculated as follows:
3.
Rounding of Fractional Units. All density bonus calculations resulting in fractional units shall be rounded up to the next whole number.
4.
Density Bonus for Land Donations.When the developer for a tentative subdivision map, parcel map, or other residential development approval donates land to the City in return for providing housing for very low income households, the developer shall be entitled to a 15 percent increase above the otherwise maximum allowable residential density under the applicable zoning district for the entire development, as follows:
This increase shall be in addition to any increase in density otherwise mandated, up to a maximum combined mandated density increase of 35 percent if the developer seeks both the increase required pursuant to this Section and a density bonus. The developer shall be eligible for the increased density bonus described in this paragraph 4 if all the following conditions are met:
a.
The developer shall donate and transfer lands no later than the date of approval of the final subdivision map, parcel map, or residential development application.
b.
The developable acreage and zoning classification of the land being transferred are sufficient to permit construction of units affordable to very low income households in the amount not less than 10 percent of the number of residential units of the proposed development.
c.
The transferred land is at least one acre in size or of sufficient size to permit development of at least 40 units, has the appropriate General Plan designation, is appropriately zoned for development as affordable housing, and is or will be served by adequate public facilities and infrastructure. The transferred lands shall have all of the permits and approvals, other than building permits, necessary for the development of the very low income housing units prior to the date of approval of the final subdivision map, parcel map, or the residential development.
d.
The transferred lands and the affordable units shall be subject to a deed restriction ensuring continued affordability of the units consistent with this Article, which shall be recorded on the property at the time of dedication.
e.
The land is transferred to the City or to a housing developer approved by the City. The City may require the developer to identify and transfer the land to the developer.
f.
The transferred land shall be within the boundary of the proposed development or, if the City agrees, within one-quarter mile of the boundary of the proposed development.
5.
Density Bonus for Development with a Childcare Facility.
a.
When a developer proposes to construct a housing development that conforms to the requirements of subsection 15.04.602.030(A) and includes a child care facility that will be located on the site of, as part of, or adjacent to, the project, the City shall grant either of the following:
i.
An additional density bonus that is an amount of square feet of residential space that is equal to the amount of square feet in the child care facility; or
ii.
An additional concession or incentive that contributes significantly to the economic feasibility of the construction of the child care facility.
b.
The City shall require, as a condition of approving a density bonus housing development with a child care facility that the following shall occur:
i.
The child care facility shall remain in operation for a period of time that is as long as or longer than the period of time during which the density bonus units are required to remain affordable.
ii.
Of the children who attend the child care facility, the children of extremely low income, very low income households, lower-income households, or families of moderate income shall equal a percentage that is equal to or greater than the percentage of dwelling units that are required for extremely low income, very low income households, lower-income households, or families of moderate income pursuant to this Section.
c.
The City shall not be required to provide a density bonus or concession for a child care facility if it finds, based upon substantial evidence, that the surrounding neighborhood has adequate child care facilities.
C.
Possible Incentives or Concessions. When a developer seeks and agrees to construct any one of the housing specified in subsections 15.04.602.030(A) and (B), the City shall grant incentives or concessions as described below, if requested by the developer, in addition to a density bonus, unless the City makes written findings per subsection 15.04.602.050(C) of this Article:
1.
A reduction in site development standards or a modification of zoning requirements or design requirements that exceed the minimum building standards approved by the California Standards Commission as provided for in Part 2.5 (commencing with Section 18901) of Division 13 of the California Health and Safety Code including, but not limited to the following:
a.
Reduced minimum lot sizes and/or dimensions;
b.
Reduced minimum setbacks;
c.
Reduced minimum common and/or private outdoor open space;
d.
Increased maximum lot coverage;
e.
Increased maximum building height and/or stories;
f.
Reduced on-site parking standards;
g.
Reduced minimum building separation requirements;
h.
Reduced street standards, including street widths;
i.
Approval of mixed-use zoning within the housing development where it is demonstrated that commercial, office, or other nonresidential land uses will reduce housing costs over residential-only uses on a site and will be compatible with the existing and planned housing units on the site and the surrounding neighborhood where the proposed housing development will be located.
2.
Other incentives proposed by the developer or the City that result in identifiable, financially sufficient, and actual cost reductions, including, but not limited to, the following:
a.
Expedited "fast track" processing of development applications and permits (e.g., allowing plan check to begin during planning appeal period);
b.
Waiver of filing or processing fees on development applications and permits, or other development fees, following established City fee waiver processes or policies;
c.
Use of public financing; or
d.
Other regulatory incentives or concessions that result in identifiable cost reductions.
There is no limit or requirement, however, for the City to provide any direct financial incentives for the housing development, to waive fees and/or dedication requirements, or to provide publicly-owned land for a housing development.
D.
Number of Concessions Available. The developer shall receive the number of incentives or concessions shown in Table 15.04.602.030-D, in addition to a density bonus:
E.
No Maximum Density Bonus or Number of Concessions. Nothing in this Article shall be construed to prohibit the City from granting a density bonus greater than what is described in this Section or a greater number of concessions or incentives than what is described in this Section for a development that meets the requirements of this Section.
F.
Standards for Density Bonus and Incentives. The following standards shall apply to the granting of the density bonus and incentives:
1.
Duration of Affordability. For the purposes of this Section, "total units" or "total dwelling units" does not include units added by a density bonus awarded pursuant to this Section or any other Municipal Code provision granting a greater density bonus.
a.
An applicant shall agree to, and City shall ensure, the continued affordability of all extremely low, very low and low-income rental units that qualified the applicant for the award of the density bonus for 55 years or a longer period of time if required by the construction or mortgage financing assistance program, mortgage insurance program, or rental subsidy program. Rents for the lower income density bonus units shall be set at an affordable rent as defined in Section 50053 of the Health and Safety Code.
b.
An applicant shall agree to, and the City shall ensure that, the initial occupant of all for-sale units that qualified the applicant for the award of the density bonus are persons and families of extremely low, very low, low, or moderate income, as required, and that the units are offered at an affordable housing cost, as that cost is defined in Section 50052.5 of the Health and Safety Code.
2.
Equity Sharing Agreement. An applicant shall agree to, and the City shall ensure that, the initial occupant of all for-sale units that qualified the applicant for the award of the density bonus are persons and families of extremely low, very low, low, or moderate income, as required, and that the units are offered at an affordable housing cost, as that cost is defined in Health and Safety Code Section 50052.5. The following provisions must be included in an equity sharing agreement:
a.
Upon resale, the seller of the unit shall retain the value of any improvements, the down payment, and the seller's proportionate share of appreciation. The City shall recapture any initial subsidy, as defined in subsection ii. below, and its proportionate share of appreciation, as defined in subsection iii. below, which amount shall be used within five years for any of the purposes described in Health and Safety Code Section 33334.2(e) that promote home ownership.
i.
The City's initial subsidy shall be equal to the fair market value of the home at the time of initial sale minus the initial sale price to the moderate income household, plus the amount of any down payment assistance or mortgage assistance. If upon resale the market value is lower than the initial market value, then the value at the time of the resale shall be used as the initial market value.
ii.
The City's proportionate share of appreciation shall be equal to the ratio of the City's initial subsidy to the fair market value of the home at the time of initial sale.
3.
Protection of Existing Rental Units. An applicant shall be ineligible for a density bonus or any other incentives or concessions under this Section if the housing development is proposed on any property that includes a parcel or parcels on which rental dwelling units are or, if the dwelling units have been vacated or demolished in the five-year period preceding the application, have been subject to a recorded covenant, ordinance, or law that restricts rents to levels affordable to persons and families of low, very low, or extremely low income; subject to any other form of rent or price control through the City's valid exercise of its police power; or occupied by low, very low, or extremely low income households, unless the proposed housing development replaces those units, and either of the following applies:
a.
The proposed housing development, inclusive of the units replaced pursuant to this paragraph, contains affordable units at the percentages set forth in subsection 15.04.602.030(B).
b.
Each unit in the development, exclusive of a manager's unit or units, is affordable to, and occupied by, either a lower or very low income household.
c.
For the purposes of this paragraph, "replace" shall mean the following:
i.
If any dwelling units described in paragraph 15.04.602.030(F)(3) are occupied on the date of application, the proposed housing development shall provide at least the same number of units of equivalent size or type, or both, to be made available at affordable rent or affordable housing cost to, and occupied by, persons and families in the same or lower income category as those households in occupancy. For unoccupied dwelling units described in paragraph 15.04.602.030(F)(3) in a development with occupied units, the proposed housing development shall provide units of equivalent size or type, or both, to be made available at affordable rent or affordable housing cost to, and occupied by, persons and families in the same or lower income category in the same proportion of affordability as the occupied units.
ii.
If all dwelling units described in subparagraph (i) have been vacated or demolished within the five-year period preceding the application, the proposed housing development shall provide at least the same number of units of equivalent size or type, or both, as existed at the highpoint of those units in the five-year period preceding the application to be made available at affordable rent or affordable housing cost to, and occupied by, persons and families in the same or lower income category as those persons and families in occupancy at that time, if known. If the incomes of the persons and families in occupancy at the highpoint is not known, then one-half of the required units shall be made available at affordable rent or affordable housing cost to, and occupied by, very low income persons and families and one-half of the required units shall be made available for rent at affordable housing costs to, and occupied by, low income persons and families.
iii.
All replacement calculations resulting in fractional units shall be rounded up to the next whole number. If the replacement units will be rental dwelling units, these units shall be subject to a recorded affordability restriction for at least 55 years. If the proposed development is for-sale units, the units replaced shall be subject to an equity sharing agreement pursuant to paragraph 15.04.602.030(F)(2).
d.
If any dwelling units described in paragraph 15.04.602.030(F)(3) are occupied on the date of application, each household of extremely low, very low, low, or moderately low income residing in the dwelling units must be offered the right to return to a comparable unit in the proposed housing development with rent for the first 12 months subsequent to that return being the lower of the following: up to 5 percent higher than the rent at the time of application, or up to 30 percent of household income.
e.
Paragraph 15.04.602.030(F)(3) does not apply to an applicant seeking a density bonus for a proposed housing development if his or her application was submitted to, or processed by, the City before January 1, 2015.
4.
Location and Design of Affordable Housing Units. The affordable housing units shall be integrated with other housing units in the housing development with regard to siting and placement within buildings, and shall not differ in exterior appearance from the other housing units. The location of the affordable housing units may or may not be on contiguous parcels within the site. In no event shall the affordable housing units be located in only one portion of the housing development or situated in one building of a multi-building development;
5.
Location of Density Bonus Units. The density bonus units can be located in geographic areas of the development site other than the areas where the units for the affordable housing units are located, and can be located only on parcels for which the density bonus was granted;
6.
Zoning Basis. The maximum units allowed in the underlying zoning district of the project site and the net acreage of the project site shall be the basis on which the density bonus is determined unless the project is in a specific plan area, a Form-Based code zone, or a Planned Area District, in which case the density bonus shall be determined based on the maximum residential density for the General Plan designation for the site.
G.
Vehicular Parking Ratio.
1.
Maximum Parking Ratio. Upon the request of the developer, the City shall not require a vehicular parking ratio, inclusive of parking for disabled persons and guest parking, of a development meeting the criteria of subsection 15.04.613.020(B) that exceeds the following ratios:
a.
Zero to one bedrooms: one on-site parking space;
b.
Two to three bedrooms: two on-site parking spaces; and
c.
Four or more bedrooms: two and one-half parking spaces.
2.
Maximum Parking Ratio for Projects Near Transit. If a development includes the maximum percentage of extremely low, low or very low income units provided for in subsection 15.04.613.020(B) and is located within one-half mile of the Richmond BART/Intermodal Terminal, El Cerrito Plaza BART and the El Cerrito Del Norte BART Station, measured from the station platform, and there is unobstructed access to the major transit stop from the development, then, upon the request of the developer, the vehicular parking ratio, inclusive of handicapped and guest parking, shall not exceed 0.25 spaces per bedroom or the ratios set below, whichever are lower. For purposes of this paragraph, a development is considered to have unobstructed access to a major transit stop if a resident is able to access the major transit stop without encountering natural or constructed impediments.
a.
If a development consists solely of rental units, exclusive of a manager's unit(s), with an affordable housing cost to lower income families, then, upon the request of the developer, the number of required parking spaces, inclusive of parking for disabled persons and guest parking, shall not exceed the following ratios:
i.
If the development is located within one-half mile of a major transit stop and there is unobstructed access to the major transit stop from the development: 0.25 spaces per unit.
ii.
If the development is a for-rent housing development for individuals who are 62 years of age or older that complies with Sections 51.2 and 51.3 of the Civil Code: 0.25 spaces per unit, provided the development has either paratransit service or unobstructed access, within one-half mile, to fixed bus route service that operates at least eight times per day.
iii.
If the development is a special needs housing development, as defined in Section 51312 of the Health and Safety Code: no parking is required, provided the development has either paratransit service or unobstructed access, within one-half mile, to fixed bus route service that operates at least eight times per day.
b.
If the total number of parking spaces required for a development is other than a whole number, the number shall be rounded up to the next whole number.
c.
For purposes of this subsection, a development may provide on-site parking through tandem parking or uncovered parking, but not through on-street parking.
d.
This subdivision does not preclude the City from reducing or eliminating a parking requirement for development projects of any type in any location.
3.
Parking Study. Notwithstanding paragraph (2), if the City or an independent consultant has conducted an area-wide or jurisdiction-wide parking study in the last seven years, then the City may impose a higher vehicular parking ratio, based upon substantial evidence found in the parking study, that includes, but is not limited to, an analysis of parking availability, differing levels of transit access, walkability access to transit services, the potential for shared parking, the effect of parking requirements on the cost of market-rate and subsidized developments, and the lower rates of car ownership for low, very low, and extremely low income individuals, including seniors and special needs individuals.
(Ord. No. 30-18 N.S., § I(Exh. A), 12-18-2018)
When a developer agrees to construct affordable housing as specified in this Section, the City may provide other incentives of equivalent financial value which make the affordable housing units economically feasible, instead of granting the density bonus and incentive(s) from the above section.
A.
Preliminary Proposal. A developer requesting a density bonus or incentive(s) pursuant to this Article may submit a preliminary proposal for feedback prior to the submittal of any formal requests for approval of a density bonus and incentive and other planning approvals, such as a General Plan amendment, subdivision map, development plan, or design review. The purpose of the preliminary proposal is to determine whether the proposed housing development is in substantial compliance with applicable planning regulations and to establish the basis and procedures for granting the incentive(s) or concession(s). Approval of a preliminary proposal does not constitute approval of the housing development, but indicates that the housing development nominally complies with the City's zoning regulations, and establishes the type of incentive(s) or concession(s) and agreement to ensure compliance with this Article to be recommended by staff.
1.
The following information is required to be submitted for a preliminary proposal:
a.
A concise written description of the project, including location, number and type of housing units, including affordable units and bonus units, and the planning approval(s) required;
b.
A site map showing the location and general layout of the proposed housing development and surrounding land uses and roadways;
c.
A written request for the specific incentive(s) or concession(s) sought accompanied by a rationale and accurate supporting information sufficient to demonstrate that any requested incentive is required in order to provide for affordable housing costs or for rents for the targeted units to be set as specified above. If applicable, the developer shall identify the proposed use of any housing subventions or programs for the housing development, such as California Housing Community Development programs or other sources of funding.
2.
Within 90 days of receipt of a complete preliminary proposal, the Zoning Administrator shall notify the developer in writing what the staff will recommend as to how the City will comply with this Article, and shall indicate whether or not the housing development complies with this Article and with the applicable planning and zoning regulations.
B.
Housing Density Bonus and Incentive Application. An application for a housing density bonus and, if requested, an incentive or concession must include:
1.
Documentation for a Requested Density Bonus.
a.
Evidence that the project includes the qualifying percentages of residential units set forth in Table 15.04.602.030-B, excluding the units added by the granted density bonus;
b.
Calculations showing the maximum base density;
c.
Number or percentage of affordable units and the income level at which the units will be restricted to;
d.
Number of market rate units that will result from the granted density bonus;
e.
Resulting density, described in units per square foot; and
f.
A written acknowledgement that the project will be subject to the affordability restrictions and other provisions set forth in this Article.
2.
Documentation of Requested Incentives or Concessions.
a.
A pro forma or other report demonstrating that the requested incentives and concessions result in identifiable, financially sufficient and actual cost reductions necessary to ensure the financial feasibility of the proposed units shall be prepared. The City may require that an independent financial review be conducted at the expense of the applicant.
b.
A description of any proposed waivers of development standards or other zoning requirements and why they are necessary for making the project physically possible.
3.
If the housing development is proposed as a Planned Area District, the density bonus and incentive(s) shall be reviewed concurrently with the rezoning application. If the housing development is not proposed as a Planned Area District, a conditional use permit shall be required for the density bonus and incentive(s) or concession(s).
C.
Housing Density Bonus and Incentive Approval. The City shall grant the concession or incentive requested unless the City makes a written finding, based upon substantial evidence, that:
1.
The concession or incentive is not required in order to provide for affordable housing costs or for rents for the targeted units to be set as specified above; or
2.
The concession or incentive would have a specific adverse impact, as defined in paragraph (2) of subdivision (d) of Section 65589.5 of the Government Code, upon public health and safety or the physical environment or on any real property that is listed in the California Register of Historic Resources and for which there is no feasible method to satisfactorily mitigate or avoid the specific adverse impact without rendering the development unaffordable to low and moderate-income households; or
3.
The concession or incentive would be contrary to State or federal law.
D.
Standards Must Not Preclude Development. In no case will the City apply any development standard that will have the effect of physically precluding the construction of a development meeting the criteria of subsection 15.04.602.030(A) at the densities or with the concessions or incentives permitted by this Article. An applicant may submit a proposal for the waiver or reduction of development standards that will have the effect of physically precluding the construction of a development meeting the criteria of subsection 15.04.602.030(A) at the densities or with the concessions or incentives permitted, and the Planning Commission shall consider that request at the same time as it reviews the application. A proposal for the waiver or reduction of development standards pursuant to this Section shall not include a request to reduce nor increase the number of incentives or concessions to which the applicant is otherwise entitled.
Prior to the issuance of a building permit for any dwelling unit in a development for which a density bonus has been awarded or incentives or concessions have been granted, the developer shall enter into a written agreement with the City for the duration of affordability. The terms and conditions of the agreement shall be binding upon the successor in interest of the developer, and shall be recorded in the Contra Costa County Clerk Recorder's Office, County Recorder Division. The agreement shall be approved by the City Attorney and shall include provisions for the following:
A.
The number and proportion of housing units affordable to moderate-income, lower-income, very low income, and extremely low income households by type, location and number of bedrooms;
B.
Standards for maximum qualifying household incomes and maximum rents or sale prices;
C.
The party responsible for certifying rents and sales prices of affordable housing units;
D.
The process that will be used to certify incomes of tenants or purchasers of the affordable housing units;
E.
The manner in which vacancies will be marketed and filled, including the screening and qualifying of prospective renters and purchasers of the affordable units;
F.
Deed restrictions on the affordable housing units binding on property upon sale or transfer;
G.
Enforcement mechanisms to ensure that the affordable units are continuously occupied by eligible households and are not sold, rented, leased, sublet, assigned, or otherwise transferred to non-eligible households;
H.
Project phasing, including the timing of completions, and rental or sale of the affordable housing units, in relation to the timing of the market-rate units; and
I.
For Common Interest Development. An equity-sharing agreement for moderate-income units that are directly related to the receipt of the density bonus in the common interest development, unless it is in conflict with the requirements of another public funding source or law. The following provisions must be included pursuant to paragraph 15.04.602.030(F)(2): (1) Upon resale, the seller of the unit shall retain the value of any improvements, the down payment, and the seller's proportionate share of appreciation. (2) The City shall recapture any initial subsidy and its proportionate share of appreciation, which shall then be used within three years for any of the purposes described in subdivision (e) of Section 33334.2 of the Health and Safety Code that promote homeownership.
A.
The purpose of this article is to enhance the public welfare by establishing policies to increase the production of housing units affordable to persons and households of very low, low, and moderate-income. These requirements implement the Housing Element of the General Plan through assisting in meeting the City's regional housing obligations, providing funding for the City's affordable housing programs, and affirmatively furthering fair housing by ensuring that affordable housing is constructed in all parts of the City.
B.
The City Council desires to provide and maintain affordable housing opportunities in the community through an inclusionary housing program for both ownership and rental housing, and, in furtherance of that goal, includes rental affordable housing requirements in this chapter consistent with Government Code Sections 65850(g) and 65850.01.
C.
The City's inclusionary housing requirements will assist in alleviating the use of available residential land solely for the benefit of households that are able to afford market rate housing, because such market-rate development will be required to contribute to the provision of affordable housing for the entire Richmond community. The requirements will also assist in alleviating the impacts of the demand for new affordable housing created by new market-rate residential development by making additional affordable housing available in Richmond.
D.
The City Council desires to provide and maintain affordable housing opportunities in the community through an affordable housing linkage fee program for non-residential development consistent with Government Code Sections 66000 et seq.
E.
The City's affordable housing linkage fee requirements will assist in alleviating the impacts of the demand for new affordable housing created by new non-residential development by providing funds for the development and preservation of housing affordable to employees.
(Ord. No. 24-20 N.S., § 2, 11-10-2020)
A.
The provisions of this article shall apply to any residential development project, non-residential development project, and mixed-use project unless exempt under Section 15.04.603.030.
B.
Residential development projects and the residential components of mixed-use development projects shall comply with the inclusionary housing requirements specified in Section 15.04.603.040.
C.
Non-residential development projects and the non-residential components of mixed-use development projects shall comply with the affordable housing linkage fee requirements specified in Section 15.04.603.090.
D.
A developer of a residential development project, non-residential development project, or mixed-use development project shall not avoid the requirements of this article by submitting piecemeal project applications. At the time of the application for first approval for a project, the developer shall identify all contiguous property under common ownership or control. The developer shall not be required to construct dwelling units upon the contiguous property at the time of the application for first approval; however, the developer shall be required to include the contiguous property under common ownership or control in its affordable housing plan and its inclusionary housing agreement. The inclusionary housing agreement shall be recorded against the project and all contiguous property under common ownership or control and shall require compliance with this article upon development of each contiguous property at such time as there are development applications that would authorize a total of ten or more residential units and/or 5,000 square feet of non-residential floor area for the development and the contiguous property under common ownership or control or as otherwise specified in the inclusionary housing agreement.
(Ord. No. 24-20 N.S., § 2, 11-10-2020)
The following projects are exempt from the provisions of this article:
A.
Residential development projects and the residential components of mixed-use development projects with fewer than ten dwelling units or lots, unless subject to this article under Section 15.04.603.020(D) above.
B.
Non-residential development projects and the non-residential components of mixed-use development projects with less than 5,000 square feet of net new floor area.
C.
Developments developed in accordance with the terms of a development agreement adopted by ordinance pursuant to the authority and provisions of California Government Code Section 65864 et seq., and that is executed prior to the effective date of the ordinance codified in this article, provided that such developments shall comply with any requirements included in the development agreement or any predecessor ordinance in effect on the date the development agreement was executed.
D.
Developments exempted by California Government Code Section 65589.5, 66474.2 or 66498.1, provided that such developments shall comply with any predecessor ordinance, resolution, or policy in effect on the date that the application for the development was deemed substantially complete under Government Code Section 65943 or successor provision.
E.
Developments exempted by California Government Code Section 65589.5(o) or successor provision, provided that such residential developments shall comply with any predecessor ordinance, resolution, or policy in effect on the date that a preliminary application for the development containing all of the information required by Government Code Section 65941.1 was submitted to the City.
F.
Developments exempted by another state law or by final judgement of a court of competent jurisdiction.
G.
Non-residential development projects shall be subject to any non-residential linkage fee in effect on the date that the application for a building permit is submitted.
H.
Residential development projects that have submitted a complete application or that have been approved prior to the effective date of the ordinance codified in this article have the option of complying with this article or the policies in effect on the date the application for the development was deemed substantially complete under Government Code Section 65943 or successor provision.
(Ord. No. 24-20 N.S., § 2, 11-10-2020)
All new residential development projects and residential components of mixed-use development projects, unless exempt under Section 15.04.603.030, shall provide inclusionary units upon the same site or comply with an alternative that is approved as described in Section 15.04.603.080.
A.
The developer of an ownership residential development shall provide either:
1.
Seven percent of the dwelling units in the residential development project made available at an affordable sales price to low-income households; or
2.
Ten percent of the dwelling units in the residential development project made available at an affordable sales price to moderate-income households.
B.
The developer of a rental residential development shall provide either:
1.
Nine percent of the dwelling units in the residential development project made available at an affordable rent to very low-income households; or
2.
Ten percent of the dwelling units in the residential development project made available at an affordable rent to low-income households.
C.
Calculations of the number of inclusionary units required by this section shall be based on the number of dwelling units in the residential development project, excluding any density bonus units.
D.
In calculating the number of required inclusionary units, any decimal fraction equal to or greater than 0.50 shall be construed as requiring one inclusionary unit. For any decimal fraction less than 0.5, the applicant must either provide one inclusionary unit or pay the City an in-lieu fee calculated in accordance with Section 15.04.603.070.
E.
When a residential development project includes both ownership and rental dwelling units, the provisions of this article that apply to ownership residential developments shall apply to that portion of the development that consists of ownership dwelling units, while the provisions of this article that apply to rental residential developments shall apply to that portion of the development that consists of rental dwelling units.
(Ord. No. 24-20 N.S., § 2, 11-10-2020)
A.
Inclusionary units shall be comparable in exterior appearance and overall quality of construction to market-rate units in the same housing development project. Interior finishes, features, and amenities may differ from those provided in the market rate units, so as long as the finishes, features, and amenities are durable, of good quality, and consistent with contemporary standards for new housing.
B.
The number of bedrooms and the size of the inclusionary units shall be comparable to or greater than the average number of bedrooms and average size of the market rate units.
C.
The inclusionary units shall be distributed throughout the residential development project located so as not to create a concentration of inclusionary units within the residential development project.
D.
The inclusionary units shall have the same amenities as the market rate units included within the affordable rent or affordable sales price for the inclusionary unit. For example, residents of the inclusionary units shall have the same access to and enjoyment of common open space, parking, storage, and other facilities in the residential development project, and residents of the inclusionary units shall not be charged more than affordable rent or affordable sales price for the use of such facilities and amenities.
E.
A developer of a residential development project providing all required inclusionary units upon the same site as the market-rate units may, at the developer's election, use the following incentives:
1.
Apply for a density bonus and other regulatory incentives pursuant to Government Code Section 65915 and the provisions of Article 15.04.602 if the residential development project contains sufficient inclusionary units or other affordable units to qualify for a density bonus.
2.
If required by the funding source (e.g., tax credit financing) or legal requirements imposed on the type of project (e.g., senior housing), the inclusionary units may be concentrated within a portion of the building or site containing the residential development project.
3.
The developer may provide inclusionary units within the residential development project that are of a different unit type or size than the market rate units within the residential development project, if the decision-making body finds that a smaller size or different type will provide adequate and decent housing and will result in at least five percent more affordable units than required under this article. The inclusionary units shall continue to have the same average bedroom count as the market rate units.
(Ord. No. 24-20 N.S., § 2, 11-10-2020)
All required inclusionary units shall be made available for occupancy concurrently with the market rate units. For the purposes of this subsection, "concurrently" means one of the following:
A.
Inclusionary units must be constructed in proportion to construction of the market-rate units, at a ratio of one inclusionary unit to each nine market-rate units.
1.
A building permit may not be issued for any market-rate unit unless a proportional number of building permits have been issued for inclusionary units.
2.
A certificate of occupancy or final inspection may not be issued for market-rate units unless a proportional number of certificates of occupancy or final inspections have been issued for inclusionary units.
B.
In-lieu fees, if required, have been paid in accordance with Section 15.04.603.070.
C.
The applicant has met, or made arrangements satisfactory to the City to meet, an alternative requirement as permitted by Section 15.04.603.080, or the City has approved an alternative phasing plan for the inclusionary units as part of the affordable housing plan and inclusionary housing agreement.
(Ord. No. 24-20 N.S., § 2, 11-10-2020)
Except for ownership residential developments proposed south of Interstate Highway 580 and on the Point San Pablo peninsula, at the developer's election, the inclusionary housing requirements in Section 15.04.603.040 may be satisfied by the payment of a fee to the City in-lieu of constructing the inclusionary units within the residential development project in accordance with the following requirements:
A.
No building permit shall be issued by the City for any market rate unit in the residential development project until all in-lieu fees due have been paid to the City, unless the conditions of approval allow the fees to be paid at occupancy. Fees for fractional units shall be paid at issuance of the first building permit in the project.
B.
Prior to recordation of any final or parcel map for the development, notice of this requirement shall be recorded against each lot in the subdivision. The developer shall provide specific written notice to any purchaser of any dwelling unit prior to the acceptance of any offer to purchase, and shall obtain executed acknowledgment of the receipt of such notice, that the purchaser shall not have any right to occupy the dwelling unit until such time as all in-lieu fees owing for the residential development are paid to the City.
C.
All in-lieu fees shall be deposited in the affordable housing fund described in Section 15.04.603.130.
D.
In-lieu fees may be established from time-to-time by resolution of the City Council.
Ownership residential developments proposed south of interstate highway 580 and on the Point San Pablo Peninsula are prohibited from electing to pay an in-lieu fee and must instead provide on-site inclusionary housing or another alternative approved under Section 15.04.603.080.
(Ord. No. 24-20 N.S., § 2, 11-10-2020)
A.
The inclusionary housing requirement for ownership residential developments in Section 15.04.603.040.A may be satisfied by providing ten percent of the dwelling units in the residential development project at affordable rent to very low income households. The inclusionary housing agreement shall include provisions to allow for the sale of the inclusionary units at an affordable sales price and relocation benefits for tenants of the inclusionary units if the owner of the ownership residential development later determines to offer any inclusionary units in the residential development project for sale. At sale, appropriate documents shall be recorded to ensure affordability of the inclusionary units to very low income households for a 45-year term.
B.
The developer, or an entity controlled by the developer, or another entity that has entered into an agreement with the developer to provide affordable housing, may propose to construct the inclusionary units required by Section 15.04.603.040 on another site in the City of Richmond. Two or more developers may also jointly propose off-site construction of affordable units on a single site. The City shall grant a credit for off-site construction if the proposal meets all of the following conditions:
1.
Financing or a viable financing plan, which may include public funding, shall be in place for the off-site inclusionary units;
2.
The off-site location is suitable for the proposed inclusionary housing, consistent with any adopted guidelines and the Housing Element, will not tend to cause residential segregation or concentrations of poverty, and is located within one mile of the residential development project with appropriate infrastructure and services; and
3.
Construction of the off-site inclusionary units may not have commenced prior to the first approval of the residential development.
Final inspections for occupancy of the market-rate units in the residential development project will be granted only after final inspections are completed for the off-site affordable units related to those market-rate units. However, the timing requirements set forth in this subsection may be modified by the approval body. The City may require that completion of off-site affordable units be further secured by the applicant's agreement to pay in-lieu fees in the amount due under Section 15.04.603.070 in the event the off-site units are not timely completed.
C.
The developer may propose to meet the requirements of Section 15.04.603.040 by dedicating property to the City in-lieu of constructing inclusionary units within the residential development project. The City shall approve property dedication under this subsection only if the proposal meets all of the following conditions:
1.
The number of affordable units to be constructed on the dedicated property shall be at least ten percent greater than the number of inclusionary units otherwise required under this article;
2.
Financing or a viable financing plan, which may include public funding, shall be in place for construction of the affordable units on the dedicated property; and
3.
The property to be dedicated is suitable for the proposed inclusionary housing, consistent with any adopted guidelines and the housing element, will not tend to cause residential segregation or concentrations of poverty, and is located within one mile of the residential development project with appropriate infrastructure and services.
The property shall be dedicated to the City prior to issuance of any building permit for the residential development project.
D.
Other Alternative Compliance Methods. The developer may propose an alternative compliance method to provide inclusionary units through other means. The approval body may approve or conditionally approve such an alternative only if the approval body determines, based on substantial evidence, that such alternative compliance will provide as many or more affordable units at the same or lower income levels, will not tend to cause residential segregation or concentrations of poverty, and will otherwise provide greater public benefit than would provision of the inclusionary units on site. The affordable units to be created shall conform with all other requirements of this article except as modified by the approval body.
(Ord. No. 24-20 N.S., § 2, 11-10-2020)
A.
Non-residential linkage fees may be established from time-to-time by resolution of the City Council.
B.
No building permit shall be issued by the City for any non-residential development project until all linkage fees have been paid to the City, unless the conditions of approval allow the fees to be paid at occupancy.
C.
All linkage fees shall be deposited in the affordable housing fund described in Section 15.04.603.130.
(Ord. No. 24-20 N.S., § 2, 11-10-2020)
A.
An application for the first approval of a residential development project or mixed-use project shall include an affordable housing plan describing how the project will comply with the provisions of this article, either with on-site units, payment of in-lieu fees, or an alternative measure consistent with Section 15.04.603.080.
B.
Any adopted guidelines or City application form may specify the contents of the affordable housing plan. No application for a first approval for a residential development may be deemed complete unless an affordable housing plan is submitted in conformance with this article.
C.
The affordable housing plan shall be processed concurrently with all other permits required for the residential development. Before approving the affordable housing plan, the approval body shall find that the affordable housing plan conforms to this article.
(Ord. No. 24-20 N.S., § 2, 11-10-2020)
Prior to the issuance of a building permit or approval of a final or parcel map for any residential development project subject to this article that includes inclusionary units, the developer shall enter into a written agreement with the City for the duration of affordability. An agreement is not required for developers who pay an in-lieu fee. The terms and conditions of the agreement shall be binding upon any successor in interest of the developer and shall be recorded in the Contra Costa County Clerk Recorder's Office, County Recorder Division prior to issuance of the building permit or recordation of the final or parcel map. The agreement shall be in a form approved by the City Attorney and executed by the City Manager and shall include provisions for the following:
A.
The number and proportion of housing units affordable to moderate-income, lower-income, very low income, and extremely low income households by type, location and number of bedrooms;
B.
The party responsible for certifying rents and sales prices of inclusionary housing units and certifying incomes of tenants or purchasers of the inclusionary housing units (the City may specify the party certifying rents, sales prices, and incomes);
C.
The financing of ongoing administrative and monitoring costs;
D.
The manner in which vacancies will be marketed and filled, including the screening and qualifying of prospective renters and purchasers of the affordable units;
E.
Deed restrictions including resale control mechanisms and rent limitations, as applicable;
F.
Provision allowing sale of ownership units to a nonprofit housing organization, nonprofit land trust, or governmental agency, which may rent the units to eligible households;
G.
Enforcement mechanisms to ensure that the affordable units are continuously occupied by eligible households and are not sold, rented, leased, sublet, assigned, or otherwise transferred to non-eligible households (unless owned by a nonprofit housing organization, nonprofit land trust, or governmental agency); and
H.
Project phasing, including the timing of completions, and rental or sale of the inclusionary housing units, in relation to the timing of the market-rate units.
The agreement shall be subject to administrative review by the Community Development Department for the affordability term for the purpose of verifying that the inclusionary units are maintained at affordable rates within the affordability category originally established for the project. For each inclusionary unit, the owner may be required to pay to the City an annual monitoring fee for the term of required affordability that does not exceed the City's costs to monitor the affordable unit, if such a fee is adopted by resolution of the City Council or is otherwise included in the City's master fee schedule.
(Ord. No. 24-20 N.S., § 2, 11-10-2020)
In order to maintain the availability of inclusionary units constructed pursuant to this article, the following requirements shall apply:
A.
Any adopted guidelines may include standard documents for execution by the City Manager, in a form approved by the City Attorney, to ensure the continued affordability of the inclusionary units approved for each residential development project. The documents shall be recorded against the residential development project, all inclusionary units, and any site subject to the provisions of this article.
B.
All inclusionary units to be sold shall remain affordable at an affordable sales price to the targeted income group for 45 years, unless a longer term is required in connection with state law or financing requirements.
C.
All inclusionary units to be rented shall remain affordable at the affordable rent to the targeted income group for 55 years, unless a longer term is required in connection with State law or financing requirements.
D.
Any eligible household that occupies an inclusionary unit must occupy that unit as its principal residence, unless otherwise approved in writing for rental to a third party eligible household for a limited period of time due to household hardship, as may be specified in any adopted guidelines.
E.
No household may begin occupancy of an inclusionary unit until the household has been determined to be eligible to occupy that unit by the City or designee. Any adopted guidelines may establish standards for determining household income, affordable sales price, provisions for continued monitoring of tenant eligibility, and other eligibility criteria.
F.
Officials, employees, or consultants of the City and members of City boards and commissions shall comply with all applicable laws, regulations, and policies relating to conflicts of interest as to their eligibility to develop, construct, sell, rent, lease, occupy, or purchase an inclusionary unit. Any adopted guidelines shall include conflict of interest provisions relating to the administration of this article and the eligibility of persons to occupy inclusionary units.
(Ord. No. 24-20 N.S., § 2, 11-10-2020)
A.
All in-lieu fees, linkage fees, or other funds collected under this article shall be deposited into the City's Affordable Housing Fund.
B.
The moneys in the Affordable Housing Fund and all earnings from investment of the moneys in the Fund shall be expended on activities that provide housing affordable to extremely low-income, very low-income, lower-income, moderate-income households and any special needs populations in the City consistent with the goals and policies contained in the City's Housing Element, which may include without limitation land acquisition, predevelopment costs, rehabilitation of existing units to extend their useful life and add affordability restrictions, and construction of new residential units, and for administration and compliance monitoring of the affordable housing program, as approved by the City Council.
(Ord. No. 24-20 N.S., § 2, 11-10-2020)
A.
Any request for a waiver, adjustment, or reduction under this article shall be submitted to the City concurrently with an application for a first approval for a residential development project based upon a showing that applying the requirements of this section would result in an unconstitutional taking of property or would result in any other unconstitutional result. The request for a waiver, adjustment, or reduction shall set forth in detail the factual and legal basis for the claim.
B.
The request for a waiver, adjustment, or reduction shall be processed concurrently with all other permits required for the residential development project, including the affordable housing plan. The body with the authority to approve the residential development project shall have the authority to act on the request for a waiver, adjustment, or reduction, subject to any appeals otherwise authorized for the residential development project.
C.
The waiver or modification may be approved only to the extent necessary to avoid an unconstitutional result, based upon legal advice provided by or at the behest of the City Attorney, after adoption of written findings, based on legal analysis and substantial evidence. If a waiver or modification is granted, any change in the project shall invalidate the waiver or modification, and a new application shall be required for a waiver or modification under this section.
(Ord. No. 24-20 N.S., § 2, 11-10-2020)
A.
The City Council, by resolution, may establish fees for the ongoing administration and monitoring of the affordable units, which fees may be updated periodically, as required.
B.
The City Council, by resolution, may adopt guidelines to implement this article. The City may review this chapter as frequently as appropriate to evaluate its effectiveness in creating affordable housing and shall review the effectiveness of this chapter as part of each adoption of the City's housing element of the general plan.
C.
The City Attorney shall be authorized to enforce the provisions of this article and all inclusionary housing agreements, regulatory agreements, and all other covenants or restrictions placed on inclusionary units, by civil action and any other proceeding or method permitted by law.
D.
Failure of any official or agency to fulfill the requirements of this article shall not excuse any developer or owner from the requirements of this article. No permit, license, map, or other approval or entitlement for a residential development project shall be issued, including without limitation a final inspection or certificate of occupancy, until all applicable requirements of this article have been satisfied.
E.
The remedies provided for herein shall be cumulative and not exclusive and shall not preclude the City from any other remedy or relief to which it otherwise would be entitled under law or equity.
(Ord. No. 24-20 N.S., § 2, 11-10-2020)
The purpose of this Article is to control outdoor lighting in order to maintain adequate visibility and safety, conserve energy, and protect against direct glare and excessive lighting.
A.
The standards of this Article apply to all new development and to exterior alterations and additions that involve replacement light fixtures or systems. The total outdoor light output shall not exceed that allowed on the site for individual lighting zones, except as provided in the "Exemptions" subsection below.
1.
Lighting Zones. The following lighting zones are established to tailor illumination standards to land use:
a.
Lighting Zone LZ3. Areas of high ambient lighting levels. This Zone includes the CM-3, CM-4, and CM-5, CG, CR, IB, IL, IG, and IW zoning districts.
b.
Lighting Zone LZ2. Areas of medium ambient lighting levels. This Zone includes the RL2, RM, CM-1, CM-2, LW, CC, ILL and PCI zoning districts.
c.
Lighting Zone LZ1. Areas of low ambient lighting levels. This Zone includes the RH, RL1, PR, OS, and AG zoning districts.
2.
Classes of Lighting.
a.
Class 1 Lighting. All outdoor lighting used for, but not limited to, outdoor sales or eating areas, assembly or repair areas, advertising and other signs, recreational facilities and other similar applications where color rendition is important to preserve the effectiveness of the activity. Designation of lighting as Class 1 requires a finding by the Zoning Administrator of the essential nature of color rendition for the application. Recognized Class 1 uses are: outdoor eating and retail food or beverage service areas; outdoor maintenance areas; display lots; assembly areas such as concert or theater amphitheaters.
b.
Class 2 Lighting. All outdoor lighting used for, but not limited to, illumination for walkways, roadways, equipment yards, parking lots and outdoor security where general illumination for safety or security of the grounds is the primary concern.
c.
Class 3 Lighting. Any outdoor lighting used for decorative effects including, but not limited to, architectural illumination, flag and monument lighting, and illumination of trees, bushes, etc.
A.
General Exemptions. The following lighting is exempt from the provisions of this Article.
1.
Emergency Lighting. Temporary emergency lighting needed by police, fire, and other emergency services.
2.
Holiday Lights. Holiday lighting from October 30th to February 1 st , provided that no individual lamp exceeds 10 watts and 70 lumens. Flashing holiday lights are prohibited on commercial properties.
3.
Nonconformance. All other outdoor light fixtures lawfully installed prior to and operable on the effective date of this Article are exempt from all requirements of this Article. There shall be no change in use or lamp type, or any replacement (except for same-type and same-output lamp replacement) or structural alteration made, without conforming to all applicable requirements of this Article. Further, if the property is abandoned, or if there is a change in use of the property, the provisions of this Article will apply when the abandonment ceases or the new use commences.
B.
Other Exemptions.
1.
Swimming Pool and Fountain Lighting. Underwater lighting used for the illumination of swimming pools and fountains is exempt from the lamp type and shielding standards, though it must conform to all other provisions of this Code.
2.
Solar-powered Lighting. Solar-powered lights of 5 watts or less per fixture used in residential landscaping applications and to illuminate walkways are exempt from applicable lamp type and shielding standards and are excluded from the total lumen calculations for the site.
3.
Temporary Exemptions. Any individual may submit a written request to the Zoning Administrator for a temporary exemption from the requirements of this Article. If approved, such exemption will be valid for up to 30 days, and is renewable at the discretion of the Zoning Administrator. The request for a temporary exemption must describe:
a.
Specific exemptions requested;
b.
Type and use of exterior light involved;
c.
Duration of time for requested exemption;
d.
Type of lamp and calculated lumens;
e.
Total wattage of lamp or lamps;
f.
Proposed location of exterior light;
g.
Previous temporary exemptions, if any; and
h.
Physical size of exterior light and type of shielding provided.
The following are prohibited:
A.
Searchlights. The operation of searchlights for advertising purposes.
B.
Laser Source Light. The use of laser source light or any similar high intensity light for outdoor advertising or entertainment, when projected above the horizontal, is prohibited.
C.
Advertising Sign or Landscape Illumination. The unshielded outdoor illumination of any outdoor advertising sign or landscaping. However, low voltage accent landscape lighting is allowed.
D.
Mercury Vapor. The installation of new mercury vapor fixtures. Existing mercury vapor fixtures must be removed and replaced with compliant lighting fixtures wherever substantial alterations and additions are undertaken, exclusive of ordinary maintenance and repair.
E.
Other Light Types. Blinking, flashing, revolving, flickering, changing intensity of illumination, and changing color lights. This prohibition does not apply to holiday lights or digital displays that are regulated by Article 15.04.609 (Signs).
A.
Design of Fixtures. Fixtures must be appropriate to the style and scale of the architecture and be shielded as required by paragraph (D) below. The top of the fixture must not exceed the height of the parapet or roof or eave of roof.
B.
Efficient Use. All outdoor lighting in non-residential development must be turned off during daylight hours and during any hours when the building is not in use and the lighting is not required for security. Time clocks or photo-sensor systems may be required as a condition of approval of a discretionary permit.
C.
Entrances in Multi-Unit Dwelling Development. All entrances to multi-unit residential buildings containing more than 4 units shall be lighted with low intensity fixtures to ensure the safety of persons and the security of the building.
D.
Shielding. All nonexempt outdoor lighting fixtures shall have shielding as shown in Table 15.04.604.050-D.
E.
Nuisance Prevention. All outdoor lighting shall be designed, located, installed, directed downward or toward structures, be shielded or fully shielded, and well-maintained in order to prevent glare, light trespass (unwanted light on adjacent lots and public rights-of-way), and light pollution to the maximum extent feasible.
Use Codes:
A = all types of fixtures allowed; shielding not required but highly recommended, except that any spot or flood-light must be aimed no higher than 45 degrees above straight down
F = only fully shielded fixtures allowed
X = not allowed
F.
Total Outdoor Light Output Standards. Total non-exempt outdoor light output shall not exceed the limits in Table 15.04.604.050-E. Lighting used for external illumination of signs is counted, while lighting used for internal illumination of signs is not counted.
1.
Outdoor light fixtures installed on poles (such as parking lot luminaires) and light fixtures installed on the sides of buildings or other structures, when not shielded from above by the structure itself are to be included in the total outdoor light output by simply adding the initial lumen outputs of the lamps.
2.
Outdoor light fixtures installed under canopies, buildings (including parking garage decks), overhangs or roof eaves where all parts of the lamp or luminaire are located at least five feet but less than 10 feet from the nearest edge of the canopy or overhang are to be included in the total outdoor light output as though they produced only one-quarter (0.25) of the lamp's rated initial lumen output.
3.
Outdoor light fixtures installed under canopies, buildings (including parking garage decks), overhangs, or roof eaves where all parts of the lamp or luminaire are located at least 10 feet but less than 30 feet from the nearest edge of the canopy or overhang are to be included in the total outdoor light output as though they produced only one-tenth (0.10) of the lamp's rated initial lumen output.
4.
Outdoor light fixtures installed under canopies, buildings (including parking garage decks), overhangs, or roof eaves where all parts of the lamp or luminaire are located 30 or more feet from the nearest edge of the canopy or overhang are not to be included in the total outdoor light output.
G.
Multi-Class Lighting Standard. Multi-class lighting must conform to the shielding and timing restrictions, if any, that apply to the most restrictive class.
H.
Maximum Height. The maximum height of freestanding light fixtures in parking lots serving multi-family or non-residential uses shall be 20 feet or 15 feet if within 20 feet of an RL1 or RL2 zoning district, but within industrial zoning districts, the maximum height of freestanding light fixtures, including security light, is 25 feet.
I.
Maintenance. Fixtures and lighting shall be maintained in good working order and in a manner that serves the original design intent.
1.
Burnt out and broken light bulbs shall be replaced.
2.
Lighting fixtures shall be periodically cleaned and refinished or repainted so as to be free of graffiti and rust, with surfaces free of chipping and peeling.
(Ord. No. 30-18 N.S., § I(Exh. A), 12-18-2018)
A.
Outdoor Recreational Facilities. Light fixtures in outdoor recreational facilities such as ball fields, and other outdoor nighttime facilities may exceed the height limits of the zoning district.
1.
All lighting for outdoor recreations facilities shall require an administrative use permit.
2.
Lighting for outdoor athletic fields, courts or tracks shall be considered Class 1 (Color Rendition), and shall be exempt from the lumens per acre limits of subsection 15.04.604.050(F).
3.
Shielding. Fully shielded lighting is required for all fields, unless another type of luminaire will not cause light trespass in adjacent residential neighborhoods.
4.
Illuminance. All lighting installations shall be designed to achieve no greater than the minimal illuminance levels for the activity as recommended by the Illuminating Engineering Society of North America (IESNA), with adjustments allowed, as appropriate, for the level of play, the most light-demanding sport in a multi-sport venue, and the maximum number of attendees.
5.
Off-Site Spill. The installation shall also limit off-site spill (off the site containing the sports facility) to the maximum extent possible consistent with the illumination constraints of the design.
6.
Certification. Every such lighting system design and installation shall be certified by a registered engineer as conforming to all applicable restrictions of this Article.
B.
Exterior Display/Sales Areas. Lighting levels on exterior display/sales areas must be adequate to facilitate the activities taking place in such locations and cannot be used to attract attention to the business.
1.
Display Lots. Lighting for display lots shall be considered Class 1 (Color Rendition), and shall be exempt from the lumens per acre limits of paragraph 15.04.604.050F.4.
2.
Shielding. All display lot lighting shall utilize fully shielded luminaires that are installed in a fashion that maintains the fully shielded characteristics.
3.
Illuminance. The display lot shall be designed to achieve no greater than the minimal illuminance levels for the activity as recommended by the Illuminating Engineering Society of North America (IESNA).
4.
Off-Site Spill. The display lot shall limit off-site spill (off the parcel containing the display lot) to a maximum of 5 lux (0.5 fc) at any location on any non-residential property, and 0.5 lux (0.05 fc) at any location on any residential property, as measurable from any orientation of the measuring device.
5.
Curfew. Display lot lighting exceeding the lumens per acre cap shall be turned off or within thirty minutes after closing of the business. Lighting in the display lot after this time shall be considered Class 2 lighting, and shall conform to all restrictions of this Article applicable for this Class, including the lumens per acre caps.
C.
Gasoline Station/Convenience Store Aprons and Canopies. Lighting levels on gasoline station/convenience store aprons and under canopies must be adequate to facilitate the activities taking place in such locations.
1.
Service Stations. Lighting for service station canopies shall be considered Class 2 lighting (General Illumination).
2.
Shielding. Light fixtures mounted on canopies must be recessed so that the lens cover is recessed or flush with the bottom surface of the canopy and/or shielded by the fixture or the edge of the canopy.
3.
Total Under-Canopy Output. The total light output used for illuminating service station canopies, defined as the sum of all under-canopy initial bare-lamp outputs in lumens, shall not exceed 40 lumens per square foot. All lighting mounted under the canopy, including but not limited to luminaires mounted on the lower surface or recessed into the lower surface of the canopy and any lighting within signage or illuminated panels over the pumps, is to be included toward the total at full initial lumen output.
The purpose of this Article is to establish standards for maximum noise limits and procedures for enforcing them to ensure that the General Plan limits on noise exposure and land use compatibility policies are achieved and maintained.
This Article does not apply to:
A.
Emergencies. The emission of sound for the purpose of alerting persons to the existence of an emergency, or the emission of sound in the performance of emergency work.
B.
Warning Devices. Warning devices necessary for the protection of the public safety, such as police, fire, and ambulance sirens.
C.
Special Events. Occasional outdoor gatherings, public dances, shows, and sporting and entertainment events, provided that such events are conducted pursuant to a permit or license issued by the City.
D.
Religious Institutions and Other Similar Organizations. Unamplified bells, chimes, or other similar devices used by religious institutions and other houses of religious worship.
E.
Municipal Solid Waste Collection. Collection of solid waste, vegetative waste, and recyclable materials by the City or under contract with the City.
F.
Public Works Construction Projects, Maintenance, and Repair. Street, utility, and similar construction projects undertaken by or under contract to or direction of the City, or the State of California or a public utility regulated by the California Public Utilities Commission, as well as maintenance and repair operations conducted by such parties, including street sweeping, debris and litter removal, removal of downed wires, restoring electrical service, repairing traffic signals, unplugging sewers, vacuuming catch basins, repairing of damaged poles, removal of abandoned vehicles, repairing of water hydrants and mains, gas lines, oil lines, sewers, storm drains, roads, and sidewalks.
G.
Utility Facilities. Facilities including without limitation 60-cycle electric power transformers and related equipment, sewer lift stations, municipal wells, and pumping stations.
No person shall make, or cause to suffer, or permit to be made upon any public property, public right-of-way or private property, any excessive noise, annoying noise, amplified sound or vibrations that are physically annoying to reasonable persons of normal sensitivity or that are so harsh or so prolonged or unnatural or unusual in their use, time or place as to cause or contribute to the unnecessary and unreasonable discomfort of any persons of normal sensitivity located at the lot line of the property from which these noises emanate or that interfere with the peace and comfort of residents or their guests, or the operators or customers in places of business in the vicinity, or that may detrimentally or adversely affect such residences or places of business. The purpose of this standard is to establish the principles and context for the application of noise limits, standards for noise exposure and land use compatibility, and requirements for reasonable noise attenuation measures, all which are intended to protect noise sensitive uses from excessive noise exposure from other uses.
A.
Designated Noise Zones. The land uses listed below are assigned to the following noise zones:
1.
Noise Zone 1: All hospitals, libraries, churches, and low density and medium density residential uses.
2.
Noise Zone 2: Outdoor sports and recreation uses, parks and playgrounds, including such sport, recreation, park and playground areas at schools.
3.
Noise Zone 3: All high density multi-family residential, mixed use, professional office, schools, and public institutional properties.
4.
Noise Zone 4: All commercial uses, excluding professional office and mixed use development.
5.
Noise Zone 5: All industrial uses.
B.
Exterior and Interior Noise Standards.
1.
The noise standards established in Table 15.04.605.040, unless otherwise specifically indicated, shall apply to all land within a designated noise zone. They are intended to express limits on regularly occurring noise for the specified time periods, averaged over an hour, and do not apply to incidental, infrequent, or unexpected noise, which are subject to Chapter 9.52, Community Noise Ordinance, and to unamplified human voices. The general prohibitions and specific prohibitions contained in Chapter 9.52, along with the provisions for persistent noises in that Chapter, apply to all land uses and activities in the City, and, in the case of a conflict, the more restrictive provisions apply.
2.
No use or activity shall create any noise or to allow the creation of any noise on property owned, leased, occupied or otherwise controlled by such person which causes the noise level when measured on any property within designated noise zones to exceed the applicable noise standard, unless the activity is exempt or a specific regulation applies.
3.
In the event that the noise source and the affected property are within different noise zones, the noise standards of the affected property shall apply.
4.
These noise standards may justify denial of an application and/or imposition of reasonable conditions of approval, including noise attenuation measures (see Section 15.024.605.080), to minimize or eliminate incompatibilities. Proposals for new development that would cause a specified standard to be exceeded may only be approved if the project would provide a substantial benefit to the City.
5.
The noise exposure limits specified in Table 15.04.605.040 do not apply to noise generated by automobile traffic or other mobile noise sources in the public right-of-way.
6.
In the event the measured ambient noise level exceeds the applicable noise level standard in any category above, the applicable standards shall be adjusted so as to equal the ambient noise level (see Section 15.04.605.080(C)).
7.
New development must incorporate noise-attenuation measures to achieve the applicable interior noise levels. See subsection 15.04.605.080(C).
Table 15.04.605.050, Noise Exposure-Land Requirements and Limitations, describes the requirements and limitations of various land uses within the listed Day/Night Average Sound Level (Ldn) ranges.
(Ord. No. 30-18 N.S., § I(Exh. A), 12-18-2018)
A.
General construction noise shall be limited to weekdays from 7:00 a.m. to 6:00 p.m. Pile driving and similar loud activities shall be limited to weekdays from 8:00 a.m. to 5:00 p.m. General construction noise on projects repairing, renovating, or adding to residential structures with one to five dwelling units shall be limited to the hours of 7:00 a.m. to 8:00 p.m. Monday through Friday and 9:00 a.m. to 6:00 p.m. on Saturdays, Sundays and federal holidays. Pre-construction activities, including loading and unloading, cleaning of mechanical toilets, deliveries, truck idling, backup beeps, yelling, and radios also are limited to these construction noise hours.
1.
No noise-producing construction activities shall be permitted outside of these hours or on Sundays and federal holidays unless a temporary waiver is granted by the Building Official or his or her authorized representative.
2.
More restrictive construction noise hours may be established as a conditional of approval of an administrative use permit or a conditional use permit when appropriate, given the surrounding neighborhood, the type of noise, or other unique factors.
3.
Trucks, vehicles, and equipment that are making or are involved with material deliveries, loading, or transfer of materials, equipment service, maintenance of any devices or appurtenances for or within any construction project in the City shall not be operated or driven on City streets outside of these hours or on Sundays and federal holidays unless a temporary waiver is granted by the Building Official.
4.
Any waiver granted shall take the potential noise impacts upon the surrounding neighborhood and the larger community into consideration.
5.
No construction or agricultural activity shall be permitted outside of these hours that creates construction noise, except in emergencies, including maintenance work on the City rights-of-way that might be required.
B.
Deliveries to or pickups from any commercial use sharing a lot line with any residential use may occur between 7:00 a.m. and 10:00 p.m. daily. No deliveries to or pickups from any such use shall occur outside of these hours unless specifically authorized by a conditional use permit.
C.
Maintenance of real property operations may exceed the noise standards between 7:00 a.m. and 7:00 p.m. on any day except Sundays and between 9:00 a.m. and 6:00 p.m. on Sundays or a federal holiday.
D.
The use of leaf blowers shall be regulated as follows:
1.
Definition of Leaf Blower. Leaf blowers are defined as portable power equipment that is powered by fuel or electricity and used in any landscape maintenance, construction, property repair, or property maintenance for the purpose of blowing, dispersing or redistributing dust, dirt, leaves, grass clippings, cuttings and trimmings from trees and shrubs or other debris.
2.
Limitations on Use.
a.
All leaf blowers shall be equipped with a permanently installed limiter that restricts the individual equipment motor performance to half throttle speed or less, and will produce not more than 70 decibels dB(A) measured at the midpoint of a wall area 20 feet long and 10 feet high and at a horizontal distance 50 feet away from the midpoint of the wall, or not more than 76 dB(A) at a horizontal distance of 25 feet using a sound level meter set at level A.
b.
The use of leaf blowers is prohibited except between the hours of 8:00 a.m. and 5:00 p.m. Monday through Friday and between 9:00 a.m. and 5:00 p.m. on Saturday.
c.
Leaf blower operations shall not cause dirt, dust, debris, leaves, grass clippings, cuttings or trimmings from trees or shrubs to be blown or deposited on any adjacent or other parcel of land, lot, or public right-of-way/property other than the parcel, land, or lot upon which the leaf blower is being operated. Deposits of dirt, dust, leaves, grass clippings, debris, cuttings or trimmings from trees or shrubs shall be removed and disposed of in a sanitary manner which will prevent disbursement by wind, vandalism or similar means within six hours of deposit by the user or property occupant.
d.
Leaf blowers shall not be operated within a horizontal distance of 10 feet of any operable window, door, or mechanical air intake opening or duct.
e.
No person using leaf blowers shall exceed noise limitations set by this Article.
Noise shall be measured with a sound level meter that meets the standards of the American National Standards Institute. Noise levels shall be measured in decibels (dBA) on a sound level meter using the A-weighted filter network. Exterior noise shall be measured at the lot line. Interior noise shall be measured in the center of a habitable room with an exterior window on the side of the building with the loudest ambient exterior noise. All noise measurements shall be made when there is no noise source present inside the room at a point five feet above the floor level. A calibration check of the instrument shall be made at the time any noise measurement is made. Excluded from these standards are occasional sounds generated by the movement of railroad equipment or warning devices.
A.
Scope of Study. The Zoning Administrator shall require an acoustical study, to be paid for by the applicant, that includes field measurement of noise levels for any proposed project that would locate a noise source with the potential to increase noise levels to levels exceeding limits in Table 15.04.605.050 or locate a noise sensitive land use near an existing known or potentially known intrusive noise source, such as a railroad crossing, freeway, or industrial facility. Acoustical studies must identify noise sources and magnitudes, describe existing and future noise exposure, and propose mitigation measures for any on-site generated noise in order to ensure that the noise exposure limits in Table 15.04.605.050 are not exceeded.
B.
For Residential Development. Acoustical studies for new residential development and other noise sensitive uses near railroad crossings or other sources of brief loud noise must include an analysis of both 24-hour average noise and maximum instantaneous noise on interior noise levels and any effects on sleep disturbance and other essential human functions. The study shall also evaluate the effectiveness of potential mitigation measures, including noise-abating materials, technology and construction standards to minimize noise from these sources.
C.
Establishing Ambient Noise. When the Director has determined that there could be cause to make adjustments to the standards, an acoustical study shall be performed to establish ambient noise levels. In order to determine if adjustments to the standards should be made upwards, a minimum 24-hour duration noise measurement shall be conducted. The noise measurements shall collect data utilizing noise metrics that are consistent with the noise standards presented in Table 15.04.605.050. An arithmetic average of ambient noise levels during the three loudest hours should be made to demonstrate that ambient noise levels regularly exceed the noise standards.
Any project subject to the acoustic study requirements of Section 15.04.605.070 (Noise Measurement) may be required as a condition of approval to incorporate noise attenuation measures deemed necessary to ensure that noise standards are not exceeded.
A.
New noise-sensitive uses in Noise Zone 1 must incorporate noise-attenuation measures to achieve and maintain an interior noise level as listed in Table 15.04.605.040. Commercial and industrial uses are exempt from this requirement.
B.
Noise-attenuation measures identified in an acoustical study must be incorporated into the project to the extent feasible to reduce noise at the lot line and on the site of noise sensitive use in Noise Zone 1 to acceptable levels, conforming to the noise exposure limits in Table 15.04.605.040.
C.
The preferred noise attenuation measures are those based on site planning and building orientation along with state-of-the-art noise-abating materials, technology and construction standards to minimize noise. The use of noise barriers for attenuation will be considered only after all feasible design-related noise measures have been incorporated into the project. Where noise barriers are used, they must provide noise reduction to meet the limits in Table 15.04.605.040.
New and existing heating, ventilation, and air conditioning equipment and other commercial/industrial equipment must be adequately maintained in proper working order so that noise levels emitted by such equipment do not create noise levels on the site of a noise-sensitive use in Noise Zone 1 exceeding applicable limits in Table 15.04.605.040. The Zoning Administrator may require noise shielding or insulation for such equipment if the operation of the equipment results in objectionable noise levels at adjacent properties.
A.
Purpose. This Article establishes regulations for nonconforming uses, structures, and lots. The purpose of these regulations is to regulate uses of land, lots, and structures that were legal when they were established, but are no longer in compliance with the standards and requirements of Article XV or any applicable specific plan adopted by the City Council. It is the intent of this Article to distinguish between incompatible nonconformities that are detrimental to public health, safety, and general welfare and nonconformities that are economically productive and compatible with surrounding development despite being inconsistent with the long-term future of an area, as expressed in the General Plan, the use regulations or development standards of Article XV or any applicable specific plan.
B.
Applicability. The provisions of this Article apply to structures, land, and uses that have become nonconforming by adoption of Article XV, as well as structures, land, and uses that become nonconforming due to subsequent amendments to Article XV's text or to the Zoning Map or adoption of a specific plan.
A.
Nonconformities, Generally. Subject to the exemptions provided herein, a nonconforming use, lot, or structure ("nonconformity") is any use of land, use of a structure, lot, or structure that was legally established prior to the adoption of the current provisions in Article XV or of any subsequent rezoning or other amendments thereto, but that does not conform to the provisions of Article XV, the Zoning Map, or any applicable specific plan. Nonconformities may be continued, maintained, repaired, altered, expanded, restored, or reestablished, only in conformance with the requirements of this Article.
1.
A nonconformity may result from any inconsistency with the requirements of Article XV, the Zoning Map, or any applicable specific plan, including but not limited to location, density, floor area ratio (FAR), height, setback, usable open space, parking, or performance standards.
2.
Nonconforming uses include:
a.
Uses made nonconforming by the addition of a standard or requirement in Article XV or any applicable specific plan that was not previously required for such use.
b.
Uses that were previously permitted by right and are subject to a discretionary permit under the requirements of Article XV and any applicable specific plan; and
c.
Uses made nonconforming by revisions to the Zoning Map.
3.
Nonconforming lots include any lot that is smaller than the minimum lot size required by Article XV or does not meet any of the applicable dimensional requirements.
B.
Right to Continue. A nonconformity may be continued and maintained indefinitely, and the right to the nonconformity shall run with the land, except as otherwise specified in the nonconforming use regulations. Nonconformities may be continued, maintained, repaired, altered, expanded, restored, or reestablished only in conformance with the requirements of this Article.
C.
Illegal Use. An illegal use is a use of land, use of structure, lot, or structure that was not legally established under Article XV that was applicable at the time that such use of land, use of structure, lot, or structure was established. Any and all illegal uses are a public nuisance and must be discontinued or legalized within 90 days of receiving written notice from the Zoning Administrator.
A.
For Limited Parking. Residential structures with at least one parking space per dwelling unit are not considered nonconforming due to inadequate parking.
B.
For Certain Residential Uses. Any residential use, lot, or structure that was legally established prior to the adoption of Article XV and that has been continuously maintained in residential use in compliance with the requirements of all applicable codes is considered is classified as a conforming use, lot, or structure. However, any enlargement or replacement of such use must conform to Article XV and any applicable specific plan.
C.
For Certain Nonconforming Features. A use, lot, or structure shall not be deemed nonconforming solely because it does not conform with standards for parking and loading, setbacks, landscaping and planting requirements, fencing and screening, standards for projections above the top of buildings, or restrictions on features allowed in required yards, or because of other deviations from the requirements of Article XV or any applicable specific plan that are determined to be minor by the Zoning Administrator.
D.
For Specific Repairs and Improvements. Nothing in this Article prevents repairs, improvements, or maintenance, including in replacement of building features, that are necessary to comply with the Municipal Code or to strengthen or restore to a safe condition any building, structure, or part thereof declared to be unsafe by the Building Official. More specifically, this Article does not prohibit the following solely because a use, lot or structure is nonconforming: internal improvements, safety improvements to address earthquake, flood, fire, criminal activity or other hazards; improvements to mitigate nuisance characteristics either from or to other properties or the environment, including but not limited to noise and vibration, light and glare, air emissions, stormwater flows, and aesthetic appearance and visual impacts; or improvements related to conservation of resources, including but not limited to reduction of water, gas and electricity use, improvement of indoor air quality, reduction of waste, or similar safety, environmental and conservation measures.
A.
Changes of Use. A nonconforming use can be changed to a different use based on the future use as follows:
1.
New Use Permitted by Right. Any nonconforming use may be changed to a use that is allowed by right in the zoning district in which it is located (or subarea of a specific plan) and complies with all applicable standards for such use.
2.
New Use Requires a Use Permit. No nonconforming use can be changed to a use not allowed by right without approval of a conditional use permit. This requirement does not apply to a change of ownership, tenancy, or management where the new use is in the same use type as the previous use, as defined in Article XV, and the facility(ies) housing the use is/are not expanded.
3.
New Use Not Permitted. No nonconforming use shall be changed to a different nonconforming use.
B.
Absence of a Use Permit. Any use that is nonconforming solely by reason of the absence of a Use Permit may become a conforming use by obtaining a Use Permit.
C.
Expansion of Nonconforming Uses. No lawful nonconforming use may expand the floor area of the use by more than 10 percent. For any expansions of a use that expands the floor area by 10 percent or less, the approval of an administrative use permit is required, subject to the following requirements:
1.
Expansions to Other Structures or Lots. A nonconforming use may not be expanded to occupy all or a part of another structure or another lot in different ownership that it did not occupy on the date of this revision to Article XV.
2.
Required Findings. The Zoning Administrator may only approve an administrative use permit for an expansion of a nonconforming use after making the following additional findings:
a.
The proposed expansion will not unreasonably preclude or interfere with implementation of the General Plan and any applicable specific plan;
b.
No significant planning purpose would be served by strict application of the provisions or requirements of Article XV and any applicable specific plan with which the use does not conform;
c.
The nonconforming use is not an Adult-Oriented Business.
(Ord. No. 30-18 N.S., § I(Exh. A), 12-18-2018)
This Article establishes provisions to allow for reinvestment in nonconforming industrial uses in order to achieve public safety or environmental benefits or short-to mid-term economic and fiscal benefits notwithstanding the longer term goals of the City for a specific plan area. These exceptions may be granted if limited expansion of a nonconforming industrial use is not incompatible with existing uses in the surrounding area and such enlargement, extension or intensification would not unreasonably impede orderly development over the long term under an applicable specific plan.
A.
Limited Exception Determinations for Certain Nonconforming Industrial Uses. The City finds that the need may exist to continue to support industrial development and to improve the safety or reduce the environmental effects of certain nonconforming industrial uses by allowing changes that could result in minor enlargements, extensions, expansions or structural alterations to buildings or structures dedicated to such nonconforming uses, despite the fact that they do not conform to all current provisions of Article XV and any applicable specific plan. Therefore, an improvement comprising minor enlargements, extensions, expansions, or structural alterations of a building or structure dedicated to a nonconforming industrial use may be allowed with an administrative use permit, subject to the following process and findings:
1.
Process. No administrative use permit will be granted unless the Zoning Administrator makes the findings for a Limited Exception Determination established in this Section. Where a discretionary permit has been previously issued, changes to that permit may be made pursuant to this Section and the appropriate non-discretionary permits may be issued after a Limited Exception Determination has been granted.
2.
Information Required. Unless specifically waived by the Zoning Administrator, the following information must be submitted to support a Limited Exception Determination:
a.
Statement of project objectives;
b.
Project description, including construction requirements (schedule, equipment, labor, parking), physical changes to existing facilities, and any changes to facility operations or ancillary operations (truck trips, hazardous materials storage, etc.) as a result of the improvement;
c.
A map showing contiguous properties, including Assessor Parcel Numbers and property owners' names;
d.
Site plan to scale showing all existing and proposed facilities on the site and any modifications to existing equipment;
e.
Design specifications for any new components;
f.
Estimated expenditures for the improvement, including materials, labor, and equipment;
g.
Written justification and such data, report(s), and documentation that demonstrates and verifies the improvement's economic or fiscal benefits or public health and safety or environmental benefits; and
h.
Any other supplemental data or information requested by the Zoning Administrator.
B.
Benefit Assessment. Upon acceptance of a complete application, the Zoning Administrator will conduct an assessment of the economic and fiscal benefits, public health and safety, and/or environmental benefits of the application and prepare a report on its consideration of an application for a Limited Exception Determination.
C.
Limited Exception Determination Findings. After a duly-noticed public hearing, the Zoning Administrator may approve or conditionally approve a Limited Exception Determination and the associated administrative use permit only if all of the following findings are made in addition to the findings required for the administrative use permit:
1.
The improvement has one or more of the following: demonstrable economic, fiscal, public health, safety, and/or environmental benefit.
2.
The improvement does not result in any new unmitigated significant environmental impacts.
3.
The improvement does not result in a significant (i.e., 20 percent) increase in the overall intensity of use beyond the existing permitted use.
4.
The improvement does not significantly extend or expand the existing developed square footage of the industrial operation or site.
5.
The improvement does not result in a substantial expansion or extension of life of the nonconforming use. Any extension in the life of the nonconforming use affected by the improvement results solely from improved operational efficiency and is incidental to the primary purpose of improving public health and safety or providing an economic, fiscal or environmental benefit.
6.
The improvement will not unreasonably impede implementation of the General Plan and the applicable specific plan over the longer term because one or more of the following apply:
a.
There are significant vacant or underutilized properties in the plan area available or likely to become available in the near term for the development called for in the plan;
b.
The infrastructure, including the street network and shoreline protection necessary to support the long-term development of the plan area, is incomplete;
c.
The applicable plan calls for a land reserve necessary to accommodate the high-intensity uses called for in the plan's long-term development vision, and the project site could contribute to that land reserve;
d.
The applicable plan calls for market forces to drive the transition to new uses and to provide development opportunities consistent with the long-term vision for the plan area, and the proposed changes will not significantly impair the ability of market forces to do so;
e.
The location of the site is still relatively distant from the location of the new long-term development envisioned in the plan;
f.
The type of development for which there exists market demand for the site would not contribute to a Complete Neighborhood or a jobs/housing balance in the plan area; and
g.
The development vision of the specific plan applicable to this site has not proven to be achievable or viable over time.
7.
If prior Limited Exception Determinations have been made for the same nonconforming use under this Section, the successive Limited Exception Determinations cumulatively provide a public health and safety or economic, fiscal or environmental benefit.
D.
Appeals. The Zoning Administrator's decision may be appealed to the Planning Commission, and its decision may be appealed to the City Council pursuant to Article 15.04.803 (Common Procedures).
No nonconforming use may be resumed, reestablished, reopened, or replaced by any other nonconforming use after it has been abandoned or vacated for a period of one year, except as provided for in this Section.
A.
Abandonment. The one-year period commences when the use ceases and any one of the following occurs:
1.
The site is vacated;
2.
The business license lapses;
3.
Utilities are terminated and facilities have been permanently removed or disabled;
4.
The lease is terminated; or
5.
The use ceases.
A nonconforming use is not abandoned following damage from an act of God or casualty event provided that the business owner is actively engaged in restoring the use. Moreover, the one year period does not include the period between the date the City notifies the owner that the application for reconstruction of the use has been found to be complete and the date the City's action on the application becomes final or the date the building permit issued by the City for the reconstruction expires, whichever is later.
B.
Reestablishment. The nonconforming use of a legally established structure may be reestablished after abandonment if the Planning Commission approves a conditional use permit after making all the following findings in addition to the findings required in Article 15.04.806 (Use Permits). As a condition of approving the resumption of such nonconforming use, the Commission may impose a time limit on its duration if necessary in order to make the required findings.
1.
The structure cannot practically or economically be used for any conforming use because of its original design or because of lawful structural changes made for a previous nonconforming use;
2.
The structure can be reasonably expected to remain in active use for a period of 20 years without requiring repairs or maintenance in excess of 50 percent of the replacement cost of the structure, as determined by the Building Official, within any five-year period; and
3.
The continuation of the use or structure will not be incompatible with or detrimental to surrounding conforming uses.
C.
Vehicle Service Stations. Where the nonconforming use is a vehicle service station, this use must be reestablished within a six-month period of the use being abandoned, rather than within the one-year period allowed by subparagraph (A) above, in order to continue to be considered a nonconforming use.
D.
Exceptions. The nonconforming status of a single-unit dwelling will not lapse, regardless of the length of time of non-use.
(Ord. No. 30-18 N.S., § I(Exh. A), 12-18-2018)
A.
Right to Continue. Any nonconforming building or structure may only be continued and maintained provided there is no alteration, enlargement, or addition; and no substantial increase in occupant load except as provided in this Article. The right to continue to use a nonconforming building or structure attaches to the land and is not affected by a change in ownership or short-term vacancy.
B.
Right to Repair or Restore. Nonconforming structures may be repaired, maintained, or restored in compliance with the requirements of this Article, unless deemed to be an irreparable public nuisance under Chapter 9.22 of the Municipal Code.
C.
Enlargements or Alterations. Nonconforming structures may be enlarged, extended, structurally altered, or repaired in compliance with all applicable laws only under the following provisions:
1.
Alterations and enlargements that are consistent with the current requirements of the zoning district in which the structure is located or with the standards of an applicable specific plan only require Zoning Administrator approval.
2.
Alterations and enlargements that extend into a nonconforming yard may be allowed with Zoning Administrator approval of an administrative use permit provided that the alteration or enlargement would not:
a.
Further reduce any existing nonconforming yard, meaning the alteration or extension occurs on top of an existing structural element or feature that already extends into an existing nonconforming yard;
b.
Exceed applicable building height limits;
c.
Further increase any existing nonconforming lot coverage; or
d.
Increase the required number of off-street parking spaces unless parking is provided under current standards set forth in Article XV for the additional floor area.
D.
Maintenance and Nonstructural Repairs and Alterations. Maintenance and nonstructural repairs and alterations are permitted to a nonconforming structure or to a structure occupied by a nonconforming use, so long as the repairs and alterations do not materially enlarge the structure.
E.
Structural Repairs.
1.
Generally. Structural repairs may be undertaken when the cost of such work does not, within a 12-month period, exceed 50 percent of the replacement cost of the nonconforming structure as determined by the Building Official. All other structural repairs require an administrative use permit.
2.
Single-Unit Residential Structures. Structural repairs are permitted as-of-right for single-unit residential structures, regardless of valuation, if the structural change meets the following criteria:
a.
The dwelling is located in a residential zoning district;
b.
The dwelling has an existing garage that meets minimum dimensional requirements of Article XV; and
c.
The improvement will not add new habitable space to the dwelling exceeding 10 percent of the existing gross floor area.
A nonconforming use or structure that is damaged or destroyed by fire, flood, explosion, earthquake, or natural disaster when the damage or destruction is not caused by a malicious act or omission of the property owner, his or her agent, or person acting on his or her behalf or in concert may be restored or rebuilt subject to the following provisions:
A.
Restoration or Reconstruction When Damage is 75 Percent or Less of Replacement Cost. If the cost of repair or reconstruction does not exceed 75 percent of the replacement cost of the building(s) or structure(s), replacement of the damaged portion of the building(s) is allowed by right, provided that the replaced portions are the same size, extent, and configuration as previously existed and a building permit is obtained.
B.
Restoration When Damage Exceeds 75 Percent of Replacement Cost. If the cost of repair or reconstruction exceeds 75 percent of the replacement cost of the building or structure, the land and building will be subject to all of the requirements of Article XV and any applicable specific plan, except as provided below.
1.
Non-Residential Structures. The Planning Commission may approve a conditional use permit for the structure to be rebuilt to substantially the same size, extent, and configuration as previously existed. In such cases, any expansion or exterior change to the previous use must conform to the requirements of this Article to the maximum extent reasonably feasible, but need not conform to the requirements of an applicable specific plan.
2.
Residential Structures. Any nonconforming residential use may be reconstructed, restored, or rebuilt up to the size and number of dwelling units prior to the damage and the nonconforming use, if any, may be resumed subject to a Zoning Compliance Review under Article 15.04.804 in the case of single-unit dwellings or a conditional use permit under Article 15.04.806 in the case of other residential uses, unless the Zoning Administrator finds that:
a.
The reconstruction, restoration, or rebuilding will be detrimental or injurious to the health, safety, or general welfare of persons residing or working in the neighborhood, or will be detrimental or injurious to property and improvements in the neighborhood; or
b.
The existing nonconforming use of the building or structure can be more appropriately moved to a zoning district in which the use is permitted, or that there no longer exists a district in which the existing nonconforming use is permitted.
3.
Any reconstruction, restoration, or rebuilding undertaken pursuant to this Section must conform to all applicable Building Code requirements, and a Building Permit must be obtained within two years after the date of the damage or destruction or the issuance of any required discretionary permit, whichever is later.
4.
Any application for a conditional use permit must be submitted within one year of the date of the damage to the use or structure.
C.
Replacement Cost. The property owner or his or her agent shall have the right to present information on the replacement cost of the damaged use or structure by providing a report from a construction professional licensed by the State of California. The Chief Building Official will determine the replacement cost of the damaged use or structure based on that information, if presented, and other published construction industry data.
Any legally created lot that fails to meet the current standards for area or dimensions of the district in which it is located may be developed, subject to the following.
A.
General. Any lot that is smaller than the minimum lot size or width required by Article XV may be developed subject to all other requirements of Article XV and any applicable specific plan if it is described in the official records on file in the Contra Costa County Clerk-Recorder's Office, County Recorder Division as a lot of record.
B.
Exception. Where a lot is less than 50 feet in width or where a lot of less than 5,000 square feet exists and the lot has been recorded under separate ownership from all adjacent lots continuously since January 31, 1949, and the lot is level (having an average longitudinal and cross slope of less than 5 percent), such lot may be developed into any use permitted in the base zoning district or any applicable specific plan.
1.
Any such lot that is 3,300 square feet or less in area, and/or is 33 feet or less in average width can only be developed for one single-unit dwelling.
2.
Any such lot that exceeds the dimensions and area enumerated in (1) immediately above, but which is 3,700 square feet or less in area, and/or is 37.5 feet or less in average width can be a building site for one or two dwelling units.
A.
Uses or structures defined as nonconforming due to inadequate parking, screening, and/or landscaping may be enlarged, altered, moved, extended or reconstructed within the following limits:
1.
Where no major building other than an accessory building is involved, the cost of such change may not exceed the total current assessed value of the land.
2.
Where a principal building is involved, the cost of such change may not exceed the current replacement cost of the original building(s).
B.
Restrictions on the nonconforming use of the land where no building other than an accessory building is involved: the nonconforming use may be continued up to five years after it became a nonconforming use subject to the following conditions:
1.
The nonconforming use of land shall not be expanded or extended.
2.
If the nonconforming use is discontinued or changed, any further use of land shall be in conformity with the provisions of Article XV and any applicable specific plan.
C.
In any district where residences are prohibited, additions and alterations to an existing single or two-unit dwelling are permitted, providing all of the following conditions are met:
1.
Such structural changes can be made only if in conformity with all the regulations of use, height, area, yard, interior yard space, off-street parking, etc., as required for a multi-family residential district.
2.
No additional dwelling units shall be created nor a conversion of the building allowed that would create a lodging house, care home, or similar residential use.
3.
Floor area added shall not exceed 50 percent of the total floor area existing in the dwelling at the time the regulations prohibiting residences became effective for the site in question.
4.
No addition shall be permitted if any portion of the existing dwelling is converted to commercial or industrial use subsequent to when the regulations prohibiting residences became effective for the site in question.
The purposes of the off-street parking and loading regulations are to:
A.
Ensure that off-street parking and loading facilities are provided for new uses and major alterations to existing uses;
B.
Avoid or minimize negative impacts associated with spillover parking into adjacent neighborhoods;
C.
Minimize the negative environmental and urban design impacts that can result from parking lots, driveways, and drive aisles within parking lots;
D.
Address the needs of people traveling by bicycle or on foot by promoting development of active land uses and activities in place of surface parking lots, and where parking is to be provided, promoting parking lot designs that offer safe, attractive, and direct pedestrian routes and secure bicycle parking.
E.
Support bicycling and address the circulation, access, and security needs of people traveling by bicycle by requiring short-term and long-term bicycle parking and storage, and requiring parking lot designs that offer safe bicycle access routes;
F.
Establish standards and regulations for safe and well-designed parking, loading, and vehicle circulation areas that minimize conflicts between pedestrian and vehicles within parking lots and, where appropriate, create buffers from surrounding land uses;
G.
Offer flexible means of minimizing the amount of land area devoted to parking of automobiles by (1) allowing reductions in the number of required parking spaces in the most transit accessible areas, areas with a diverse mix of land uses with off-setting periods of peak parking demand, for shared parking facilities, and for other situations expected to have lower vehicle parking demand; and (2) establishing limits on the number of private off-street parking spaces that can be provided in association with certain land uses and in certain locations, with allowance for provision of additional parking spaces above these established maximums provided that such spaces are shared and publicly accessible.
H.
Reduce urban stormwater run-off and heat island effect.
A.
New Development. Unless otherwise specified, the parking and loading requirements of this Article apply to all new buildings and to all new conditionally permitted uses in existing buildings.
B.
Reconstruction, Expansion and Change in Use of Existing Non-Residential Buildings.
1.
Changes in use, expansions of a use, or expansions of floor area that create an increase of more than three required parking spaces or more than 10 percent of required spaces, whichever is greater, shall provide on-site automobile parking, bicycle parking, and loading space according to the provisions of this Article. A building shall be granted no more than one expansion with no required increase in parking under this provision.
2.
Existing parking shall be maintained, and additional parking shall be required only for such addition, enlargement, or change in use and not for the entire building or site. If the number of existing parking spaces is greater than the requirements for such use, the number of spaces in excess of the prescribed minimum may be counted toward meeting the parking requirements for the addition, enlargement, or change in use.
3.
A change of use shall provide the difference between the required parking ratio of the proposed use and one parking space per 300 square feet.
4.
A change in occupancy is not considered a change in use unless the new occupant is in a different use classification (use type) than the former occupant.
C.
Reconstruction, Expansion and Change in Use of Existing Residential Buildings.
1.
For any new commercial, cultural, medical office, or health use of an existing residential building or structure, parking spaces in the number specified in Section 15.04.607.040 (Calculation of Parking Requirements) shall be provided for the entire site.
2.
For any new residential or educational use of an existing residential building or structure such that the new residential or educational use will require a greater number of parking spaces as compared to the previous use, parking spaces in the number specified in Section 15.04.607.040 (Calculation of Parking Requirements) shall be provided for the new use.
D.
Alterations that Increase the Number of Dwelling Units. The creation of additional dwelling units through the alteration of an existing building or construction of an additional structure or structures requires the provision of on-site parking to serve the new dwelling units in compliance with the provisions of this Article. This requirement does not apply when sufficient on-site parking exists to provide the number of spaces required for the existing and new dwelling units in compliance with all applicable requirements.
E.
Conversion of Existing Parking Facilities for Shared Use. An existing parking facility is not required to be maintained for the exclusive private use of the land use for which it was constructed as accessory parking. A property owner may submit to the Zoning Administrator a parking inventory and occupancy study of off-street parking and on-street parking in the vicinity of the project, conducted by an independent transportation planning and/or engineering consultant, to demonstrate that a certain share of the existing parking spaces on his/her property are infrequently utilized. On the basis of this study, the Zoning Administrator may grant the property owner authorization to dedicate the underutilized portion of his/her off-street parking to other, non-accessory uses, including leasing such spaces to other individuals, or to other property owners or developers of projects within a one-quarter mile walking distance of the facility to provide some or all of their required off-street parking obligations.
F.
Construction Timing. On-site parking facilities required by this Article shall be constructed or installed prior to the issuance of a Certificate of Occupancy for the uses that they serve.
G.
Damage or Destruction. When a use that has been involuntarily damaged or destroyed is re-established, off-street parking and loading facilities must also be re-established or continued in operation in an amount equal to the number maintained at the time of such damage or destruction. It is not necessary, however, to restore or maintain parking or loading facilities in excess of those required by this Article.
H.
Exceptions.
1.
Neighborhood Retail. Commercial uses having a gross floor area of 5,000 square feet or less are exempt from the off-street parking and loading requirements of this Article.
2.
BART Station Area. Within one-half mile of the Richmond BART/Intermodal Terminal, the El Cerrito Del Norte and El Cerrito Plaza BART Stations measured from the station platform and within one-quarter mile of an AC Transit bus stop, the minimum and maximum parking requirements shall be reduced to 50 percent of the requirements set forth in this Article, and minimum parking requirements may be further reduced or eliminated upon the granting of a conditional use permit.
3.
Alternative Access and Parking Plans. If an alternative access and parking plan is approved pursuant to Section 15.04.607.070, the off-street parking requirements shall be subject to the provisions of that plan.
(Ord. No. 30-18 N.S., § I(Exh. A), 12-18-2018)
A.
No Reduction in Off-Street Parking and Loading Spaces. Off-street parking and loading spaces established as of the effective date of the ordinance codified in this Article shall not be reduced in number during the life of such building or land use below that which would be required for a new building or use of a similar type under the requirements of this Article. All such off-street parking and loading spaces shall remain permanently available and accessible for the parking or loading of vehicles by occupants of the property, except that any surplus spaces may be rented out to non-occupants, or otherwise made publicly accessible with the provision that such spaces must be vacated on 30 days' notice if they become needed by occupants of the property.
1.
Exception for Garage Conversions. In the RL1 and RL2 districts, conversion of a garage for residential use, may eliminate covered parking. This change shall be permitted with an Administrative Use Permit if replacement surface parking, which may include tandem parking, is provided within a front setback area that is at least 18 feet in depth, within a side setback area that is at least 10 feet in width, or in the rear of the lot.
B.
Separate Parking and Loading Spaces. No area may be utilized and counted both as a required parking space and a required loading space. However, maneuvering aisles and driveways may serve both required parking spaces and loading spaces if they meet the requirements specified in this Article for both parking and loading facilities.
C.
Location of Parking.
1.
Off-street parking spaces for nonresidential uses shall be located on the same site or within a distance not to exceed 1,500 feet from the lot line of the property where the use for which the parking spaces are required. The applicant shall be required to show evidence that the off-site parking is reserved for the applicant's use, if such parking is on private property.
2.
In Industrial zoning districts, surface parking lots shall be paved and set back from public streets as follows:
a.
For lots 20,000 square feet or larger the minimum setbacks required are as follows:
b.
For lots under 20,000 square feet, a minimum 10 feet setback is required from both minor and collector streets.
D.
Parking for Disabled Persons. Parking spaces intended for the exclusive use of Disabled Person permitted vehicles and provision of access for disabled persons shall be provided as required by the California Building Code, Division 11, Site Accessibility. Such spaces will be counted towards the parking requirements of this Article.
1.
Number. The number of the required off-street parking spaces required for any use by this Article to be reserved and be designed for Disabled Person permit holders shall be provided in accord with State law and the following standards:
2.
Design, Designation, and Location. All parking spaces for Disabled Person permit holders shall, at a minimum, comply with the requirements of the California Building Code, Division 11, Site Accessibility.
E.
Nonconforming Parking Facilities. Existing land uses with off-street parking and loading facilities that do not conform to the requirements of this Article may be enlarged or expanded; provided, that additional parking and loading facilities shall be added so that the enlarged or expanded portion of the building conforms to the requirements of this Article, subject to the applicable provisions for nonconforming uses and structures in Article 15.04.606 (Nonconforming Uses, Structures and Lots).
F.
Unbundled Parking. The following rules shall apply to the sale or rental of parking spaces in new Multi-Unit Residential buildings with ten or more units:
1.
All off-street parking spaces shall be leased or sold separately from the rental or purchase fees for dwelling units for the life of the dwelling units, such that potential renters or buyers have the option of renting or buying a residential unit at a price lower than would be the case if there were a single price for both the residential unit and the parking space(s).
2.
In cases where there are fewer parking spaces than dwelling units, the parking spaces shall be offered first to the potential buyers or renters of three bedroom or more units, second to potential buyers or renters of two bedroom units, and then to potential buyers and renters of other units.
3.
Potential buyers and renters of affordable units shall have an equal opportunity to buy or rent a parking space on the same terms and conditions as offered to potential buyers and renters of market-rate units, at a price proportional to the sale or rental price of their units as compared to comparable market-rate units. This stipulation shall be included in any agreement recorded between the City and developer pertaining to the affordable housing units pursuant to Article 15.04.603 (Inclusionary Housing).
4.
Parking spaces shall be offered only to residents of the dwelling units served by the off-street parking, except that any surplus spaces may be rented out to non-residents, or otherwise made available for public use, with the provision that such spaces must be vacated on 30 days' notice if they are needed by residents. Required visitor spaces shall not be rented out, but may be made available for public use.
The Zoning Administrator may grant an exception from the requirements of this subsection for affordable units that include financing for affordable housing that requires that costs for parking and housing be bundled together.
G.
Garages/Carports/Uncovered Residential Parking. For residential uses, required off-street parking located in the front half of a lot or within 25 feet of the side street on a corner lot shall be covered with carport, garage or roofed structure except as allowed below or for secondary dwelling units, for which one uncovered parking space may be provided in the required front yard if the parking pad and driveways are decoratively paved with aggregate, brick, pavers or similar material.
1.
For single-family residences, the interior dimension of a garage for each required parking space (if provided) shall not be less than 10 feet by 20 feet. Such private parking areas shall be located as part of the main building or in accordance with the requirements for accessory buildings.
2.
Uncovered off-street parking may be located in the rear half of the lot or in the front half of the lot if provided as replacement parking for a garage conversion, subject to the approval of an administrative use permit.
H.
Surface Parking Lots. Surface parking lots shall be subject to the following restrictions and standards. The area of a surface parking lot shall include all features within the lot's outer edges, including all parking spaces, maneuvering aisles, access driveways, and perimeter and interior landscaping, walkways, and other features.
1.
Large Parking Lots. If on-site parking for more than 250 spaces is needed, such parking facilities shall be designed to have exceptional landscaping or design features, shall be located such that it is not highly visible from public rights-of-way, shall be provided within buildings or parking structures or in separate lots that are each less than two acres in size, or shall be otherwise covered by a structure that serves a non-parking function, such as solar panels, recreational facilities, roof deck, or green roof.
2.
Other Parking Lots. New or expanded surface parking lots are subject to the requirements of this Article including the design standards of Section 15.04.607.060.
3.
Pedestrian Circulation. Parking lots containing 50 or more spaces shall have walkways separated from motor vehicle maneuvering aisles and driveways connecting the principal building or buildings served by the lot to the farthest point of the lot from the main pedestrian entrance of such building or buildings.
a.
Materials and Width. Walkways shall provide at least four feet of unobstructed width and be hard-surfaced.
b.
Identification. Pedestrian walkways shall be clearly differentiated from driveways, parking aisles, and parking and loading spaces through the use of elevation changes, curb separation, different paving material, or similar method.
c.
Separation. Where a pedestrian walkway is parallel and adjacent to an auto travel lane, it must be raised and separated from the travel lane by a raised curb at least six inches high, bollards, or other physical barrier.
(Ord. No. 30-18 N.S., § I(Exh. A), 12-18-2018)
The minimum number of parking spaces required and the maximum number of parking spaces allowed shall be based on the estimated peak period parking demand by use type as listed in Table 15.04.607.040. The following rules apply when calculating the estimated peak period parking demand:
A.
Multiple Uses. When two or more principal uses are located on the same lot, the estimated peak period parking demand shall be the sum of the estimated demand of the various individual uses during the period of peak combined demand for all uses, as determined through a parking study prepared by an independent transportation planning or engineering firm and based on the latest edition of the Urban Land Institute's Shared Parking methodology, a comparable shared parking model, and/or local data sources.
B.
Area-Based Estimates. All area-based estimated peak period parking demands shall be computed on the basis of gross floor area, excluding parking and loading areas.
C.
Exclusion of First 2,000 Square Feet. For all nonresidential uses in Mixed Use Zones with area-based estimated peak period parking demands, the first 2,000 square feet shall be subtracted from the gross square footage of the use when calculating the estimated parking demand. When there are multiple principal uses on the same lot with separate estimated parking demands, pursuant to subsection (A) of this Section, the first 2,000 square feet shall be subtracted from each such use, meaning that any use in a Mixed Use Zone that occupies 2,000 square feet or less is not required to provide off-street parking.
D.
Parking Credit for Reuse of Historically Significant Structures. Projects that convert a historically significant structure designated by the City Council that has a legal nonconforming parking deficiency to a different use shall receive a credit equal to the number of required automobile parking spaces unmet by the previous use.
E.
Motorcycle Parking. There shall be a credit of one automobile parking space for every four motorcycle parking spaces provided, not to exceed five percent of the total number of automobile parking spaces required. Motorcycle parking spaces shall be no less than four feet wide by eight feet long with an aisle width of no less than 10 feet and shall be clearly marked.
F.
If Estimated Parking Demand is "TBD—To Be Determined."
1.
If Table 15.04.607.040 indicates that the estimated parking demand is to be determined ("TBD"), the estimated parking demand shall be determined based on the characteristics of the specific use in question and other similar uses. Where no Planning Commission approval is required, the Zoning Administrator shall determine the estimated parking demand; the Zoning Administrator's determination may be appealed to the Planning Commission in accordance with the appeal procedures in Article 15.04.803 (Common Procedures). Where Planning Commission approval is required, the Commission shall determine the estimated parking demand based on a recommendation from the Zoning Administrator.
2.
If the proposed use is not listed in Table 15.04.607.040, the estimated parking demand may be determined pursuant to paragraph (F)(1) of this Section.
G.
Minimum Parking Requirements. Except as otherwise provided in this Section, no less than the minimum number of parking spaces, as required by this subsection, shall be provided for each use or site. The minimum number of parking spaces required shall be 33 percent less than the estimated parking demand as indicated in Table 15.04.607.040.
H.
Maximum Private Parking Requirements. Except as otherwise provided in this Section, no more than the maximum number of private, off-street parking spaces, as specified in this subsection, shall be provided for each use or site. The maximum number of private parking spaces allowed shall equal to the estimated peak period parking demand as indicated in Table 15.04.607.040.
1.
Excess Parking to be Shared. Off-street parking spaces may be provided in excess of the maximum number of spaces specified in this subsection (equal to the estimated peak period parking demand as indicated in Table 15.04.607.040) or pursuant to paragraph 15.04.607.040I.2., provided that all such excess spaces are designed and operated to be shared and publicly accessible parking spaces available for public use at any time, except for uses with safety concerns, including but not limited to schools and daycare centers, which the Planning Commission confirms are valid and justify not sharing the spaces. Property owners may charge an hourly, daily, or monthly fee for use of any such public access parking provided in excess of the maximum off-street parking limits of this subsection.
I.
Parking Spaces Below the Minimum or Above the Maximum. Parking spaces less than the required minimum or more than the allowed maximum may be provided upon the granting of a conditional use permit as set forth below.
1.
Parking Spaces Less Than the Minimum. To grant a conditional use permit to provide less than the minimum number of parking spaces required by subsection (G) of this Section, including elimination of all parking spaces, the following findings must be made in addition to the findings otherwise required by Article 15.04.806:
a.
That adequate measures will be put in place to reduce parking demand, such as promoting use of public transit, bicycling, and walking, and allowing modified working hours and telecommuting; and
b.
That the reduction or elimination of the required parking spaces will not substantially reduce the availability of on-street parking for the occupants of nearby commercial and, or residential buildings.
2.
Parking Spaces More Than the Maximum. To grant a conditional use permit to provide more than the maximum number of private parking spaces allowed by subsection (G) of this Section, the following findings must be made in addition to the findings required by Article 15.04.806:
a.
That the applicant has convincingly demonstrated that the additional parking is required to meet the anticipated parking demand of the proposed uses; and
b.
That the provision of the additional parking will not result in an overdependence on automobiles and will not adversely affect transit, bicycle, or pedestrian access to the site or other adjacent uses.
(Ord. No. 30-18 N.S., § I(Exh. A), 12-18-2018; Ord. No. 27-20 N.S., § 6, 11-10-2020)
Shared parking represents an arrangement in which drivers seeking access to two or more nonresidential uses on the same lot with different peak parking demand periods use the same off-street parking spaces. Where shared parking is proposed, or planned for, off-street parking requirements must be adjusted.
A.
Calculation of Parking Requirement for Shared Parking. Within a shared parking environment, peak period parking demand shall be calculated by estimating the parking demand for all uses at the combined peak period of demand for the site. The estimated parking demand for each use shall be calculated for each hour of a 24-hour period, based on the percent of peak demand for each hour. The hourly demand for all uses shall be totaled for each hour, and the greatest resulting hourly demand shall be the required number of parking spaces. This required number may be reduced or increased. The hourly demand for each use shall be based on the most recent edition of Parking Generation published by the Institute of Transportation Engineers, Shared Parking, published by the Urban Land Institute, or other equivalent information. See Table 15.04.607.060 for an example.
The parking area design standards of this Section apply to all off-street parking areas. All required parking spaces and associated maneuvering aisles, driveways, and other related features shall be designed and arranged so as to provide motor vehicles with adequate ingress to and egress from all required parking spaces, and to provide pedestrians with adequate access to parked vehicles.
A.
Parking Layout and Dimensions. The layout and dimensions of off-street parking facilities shall be as set forth in Figure 15.04.607.060 and Table 15.04.607.060, as further provided below.
1.
Regulatory and Calculated Dimensions. Stall width, stall length, and aisle width, as shown in Table 15.04.607.060, are regulatory. Other dimensions shown in Table 15.04.607.060 are calculated from these required dimensions, and are provided for convenience.
2.
Stall Width and Length. As indicated in Table 15.04.607.060, the required minimum stall width and length for various parking angles are as set forth below. Compact spaces with an eight-foot width and 16-foot length are permitted for up to 25 percent of the required spaces.
a.
Width. For parking angles of more than 30 degrees the required minimum stall width is eight feet six inches. For parking angles of 30 degrees or less, the required minimum stall width is eight feet.
b.
Length. For all parking angles other than parallel parking, the required minimum stall length is 18 feet. For parallel parking, the required minimum stall length is 20 feet.
3.
Aisle Width for Parking Angles Not Shown. For parking angles not shown in Table 15.04.607.060, the required aisle width shall be interpolated from the values in the table. For example, for a parking angle of 70 degrees, which is two-thirds of the increment between 60 degrees and 75 degrees, the required one-way aisle width is 18 feet eight inches, which is two-thirds of the increment between the required aisle widths for 60 degree parking and 75 degree parking, 16 feet and 20 feet respectively.
4.
Alternate Maneuvering Aisle and Parking Space Widths. For parking angles equal to or greater than 45 degrees and less than 90 degrees, one-way aisle width may be decreased by three inches for each one-inch increase in stall width, up to a maximum stall width of nine feet two inches. For 90 degree parking, one-way and two-way aisle width may be decreased by three inches for each one-inch increase in stall width, up to a maximum stall width of nine feet two inches and a minimum aisle width of twenty-two feet.
5.
Two-Way Modules. Table 15.04.607.060 provides the dimensions for parking modules with one-way traffic. For parking modules with two-way traffic, add the difference in width between a two-way aisle and a one-way aisle. For example, for a two-way module with a parking angle of 45-degrees, add eight feet, which is the difference between a two-way aisle (20 feet) and a one-way aisle (12 feet).
6.
Overhang. Parking stall lengths, except for parallel spaces, may be reduced by two feet where the parking stall is designed to abut a landscaped area a minimum of five feet wide, such that the front of the vehicle can overhang the landscaped area.
7.
Spaces Abutting Walls or Posts. For each side of a parking space abutting a wall or post, an additional foot of width shall be required.
Figure 15.04.607.060: Parking Layout
B.
Recreation Vehicle Parking Standards. The off-street parking of operable recreational vehicles, boats and trailers in residential districts shall be allowed as follows:
1.
No recreational vehicle, boat or trailer that exceeds 2.5 tons in dry weight, 36 feet in length or 14 feet in height, not including rooftop equipment, shall be parked, stored or loaded in a Residential zoning district.
2.
Permitted recreational vehicles may be parked, stored or loaded on an approved parking space, in any location in which passenger vehicles may be parked, stored or loaded, as long as it does not block the sidewalk and/or driveway. Further, recreational vehicles may be parked, stored or loaded in other location as indicated below, provided that no other location on the site ordinarily available for vehicle parking can accommodate the recreational vehicle because access to those locations is blocked by a permanent building element such as a structural wall, an eave or a roof. These locations are:
a.
In areas blocking access to required parking spaces, provided that the spaces being blocked are for a single-family dwelling only and the owner of the recreational vehicle resides in that dwelling; and
b.
In the side yard setback area, provided that:
i.
The recreational vehicle is located as far as physically feasible from the side lot line, consistent with requirements for light and ventilation into adjoining rooms.
ii.
The recreational vehicle is located as far to the rear of the lot as is physically consistent with maintaining access to the garage.
C.
Location of Parking Areas. Excerpt as provided for off-site parking, required parking spaces must be located on the same lot as the use to be served by the parking. Additionally, parking areas shall be located in accordance with the following standards:
1.
No vehicle shall be required to cross a loading space or another parking space in order to gain access to a required parking space, except for any tandem parking permitted.
2.
No off-street parking shall be located in required front or street side yards.
3.
No off-street parking spaces shall be located between the front lot line and the front wall of a building or its projection across the lot, except upon the granting of an administrative use permit. To grant such a use permit, the Zoning Administrator must make the following findings in addition to the findings otherwise required:
a.
That there is no other feasible way to provide the required parking or the use has unique access or operational needs and the parking is deemed compatible with the streetscape and adjacent uses;
b.
That all applicable provisions of the design standards have been met;
c.
That the applicable landscaping and screening requirements have been met; and
d.
Thou on-street parking availability is limited, such that accommodation of all auto access and vehicle parking demand on-street is impractical.
D.
Driveways and Access.
1.
Driveway Width.
a.
Parking facilities containing fewer than 15 required parking spaces shall have only a single driveway of no less than nine feet and no more than 10 feet in width.
b.
Parking facilities containing 15 or more required parking spaces may have one lane driveways of no less than nine feet and no more than 10 feet in width, and two-lane driveways of no less than 18 feet and no more than 20 feet in width.
2.
Vehicle Flow.
a.
Except for those serving four or fewer residential units, all parking areas shall be designed so that a motor vehicle leaving the parking area will enter the public right-of-way traveling in a forward direction.
b.
Parking areas shall be designed so that a vehicle will not have to enter a public right-of-way to move from one location to another within the parking area.
E.
Surface. All outdoor parking spaces, driveways, and maneuvering areas shall be designed, built and permanently maintained to avoid dust, mud and standing water and to maximize permeability, where feasible and appropriate. These surfaces may include traditional asphalt and concrete as well as pervious pavements, sand-set pavers, and supported turf systems,. A combination of surfaces may be used; for example, two track driveways of concrete strips with pervious areas between the strips and on the edges.
1.
Cross-grades. Cross-grades shall be designed for slower stormwater flow and to direct stormwater toward landscaping, bio-retention areas, or other water collection/treatment areas.
2.
Landscaping Alternative. Up to two feet of the front of a parking space as measured from a line parallel to the direction of the bumper of a vehicle using the space may be landscaped with ground cover plants instead of paving.
3.
Permeable Paving. Permeable paving, sand-set pavers, supported turf systems, and vegetation shall be used in all overflow parking areas and installed in accordance with manufacturer recommended specifications.
4.
Turf Grids/Grassy Pavers. Turf grids/grassy pavers shall be installed in areas of low traffic or infrequent use wherever feasible.
F.
Striping and Marking. In all parking facilities with four or more spaces, each parking space shall be clearly striped with paint or similar distinguishable material, except that the Zoning Administrator may approve alternate means of marking spaces.
G.
Perimeter Curbing. A six-inch wide and six-inch high concrete curb shall be provided along the outer edge of the parking facility pavement, except where said pavement abuts a fence or wall. Curbs separating landscaped areas from parking areas shall be designed to allow stormwater runoff to pass through.
H.
Separation from On-Site Buildings. Parking areas must be separated from the front and side exterior walls of on-site buildings by walkways a minimum of four feet in width. Commercial buildings with 25,000 square feet or more of gross floor area must be separated from on-site parking on all sides by a walkway a minimum of five feet in width, as well as a planter area at least three feet in width. These requirements do not apply to parking areas containing five or fewer spaces.
I.
Heat Island Reduction. A heat island is the increase in ambient temperature that occurs over large paved areas compared to natural landscape. In order to reduce ambient surface temperatures in parking areas, at least 50 percent of the areas not landscaped shall be shaded, of light colored materials with a Solar Reflectance Index of at least 29, or a combination of shading and light colored materials.
1.
Shade may be provided by canopies, shade structures, trees, or other equivalent mechanism. If shade is provided by trees, the amount of required shading is to be reached within 15 years. To the extent maximizing the shading effect causes the trees to be placed in different locations than would be required by paragraph 15.04.607.060(N)(4), the placement required by this Section controls.
2.
Trees shall be selected from a list maintained by the Parks Division.
J.
Vertical Clearance. All covered parking shall have a minimum vertical clearance of seven feet six inches except for spaces in parking lifts; the minimum vertical clearance for disabled parking shall be as required by the Building Code.
K.
Slope. The maximum slope of parking facilities shall be as set forth below unless the Zoning Administrator approves a greater slope based upon the advice of a California-registered civil engineer or other qualified professional.
1.
Parking Spaces. All parking spaces and abutting access aisles shall have a maximum slope of five percent measured in any direction.
2.
Driveways and Ramps. The maximum slope of any driveway or ramp shall be 20 percent. If the slope of such driveway or ramp exceeds 10 percent, transitions shall be provided at each end not less than eight feet in length and having a slope equal to one-half the driveway or ramp slope.
L.
Tandem Parking. Required parking may be arranged as tandem spaces; provided, that pairs of spaces in tandem are assigned to the same residential unit or to employees of the same nonresidential establishment, or that a full-time parking attendant supervises the parking arrangements during periods of peak demand for the uses served. The required stall width, stall length, and aisle width shall apply to tandem spaces, except that the stall length shall be doubled for each pair of tandem spaces.
M.
Parking Lifts. Required parking may be provided in parking lifts; provided, that if it is necessary to remove one vehicle from the lift to access another vehicle, the parking shall be subject to the provisions applicable to tandem parking. Parking lifts allowing each vehicle to be independently accessed have no such restrictions. The dimensional standards for 90-degree parking shall apply to parking lifts, including the requirement for an aisle of 24 feet. Exterior parking lifts shall be screened from public view.
N.
Landscaping and Screening. Landscaping of parking areas shall be provided and maintained according to the general standards of Article 15.04.613 (Water-Efficient Landscaping), as well as the standards of this subsection for all uses except Single-Unit Dwellings and Duplexes.
1.
Landscape Area Required. A minimum of 10 percent of the interior of any parking lot area shall be landscaped.
2.
Minimum Planter Dimension. No landscape planter that is to be counted toward the required landscape area shall be smaller than 25 square feet in area, or four feet in any horizontal dimension, excluding curbing.
3.
Layout. Landscaped areas shall be well-distributed throughout the parking lot area. Parking lot landscaping may be provided in any combination of:
a.
Landscaped planting strips at least four feet wide between rows of parking stalls;
b.
Landscaped planting strips between parking areas and adjacent buildings or internal pedestrian walkways;
c.
Landscaped islands located between parking stalls or at the ends of rows of parking stalls; and
d.
On-site landscaping at the parking lot perimeter.
4.
Required Landscaped Islands. A landscaped island at least six feet in all interior dimensions and containing at least one 15-gallon-size tree shall be provided at each end of each interior row of parking stalls and between every six consecutive parking stalls.
5.
Landscaped Buffer for Open Parking Adjacent to Right-of-Way. A landscaped area at least five feet wide shall be provided between any surface parking area and any property line adjacent to a public street, unless a different dimension is specified in the base district standards applicable to a site.
6.
Landscaped Buffer for Open Parking Abutting Interior Lot Line. A landscaped area at least three feet wide shall be provided between any surface parking area and any adjacent lot for the length of the parking area.
7.
Landscaped Buffer for Parking Garages. A parking garage that does not incorporate ground-floor nonresidential or residential use or is not otherwise screened or concealed at street frontages on the ground level, must provide a landscaped area at least 10 feet wide between the parking garage and public street.
8.
Parking Garage Rooftop Planting. Uncovered parking on the top level of a parking structure shall have rooftop planters with a minimum dimension of 24 inches around the entire perimeter of the top floor.
9.
Trees.
a.
Number Required. One for each five parking spaces.
b.
Distribution. Trees shall be distributed relatively evenly throughout the parking area.
c.
Species. Tree species shall be selected from a list maintained by the Parks Division.
d.
Size. All trees shall be a minimum 15-gallon size with a one-inch diameter at 48 inches above natural grade.
e.
Minimum Planter Size. Any planting area for a tree must have a minimum interior horizontal dimension of five feet. Additional space may be required for some tree species.
Figure 15.04.607.060-N(9): Parking Lot Landscaping
10.
Protection of Vegetation.
a.
Clearance from Vehicles. All required landscaped areas shall be designed so that plant materials, at maturity, are protected from vehicle damage by providing a minimum two-foot clearance of low-growing plants where a vehicle overhang is permitted, or by wheel stops set a minimum of two feet from the back of the curb.
b.
Planters. All required parking lot landscaping shall be within planters bounded by a concrete curb at least six inches wide and six inches high. Curbs separating landscaped areas from parking areas shall be designed to allow stormwater runoff to pass through.
Figure 15.04.607.060-N(10): Protection of Vegetation
11.
Visibility and Clearance. Landscaping in planters at the end of parking aisles shall not obstruct driver's vision of vehicular and pedestrian cross-traffic. Mature trees shall have a foliage clearance maintained at eight feet from the surface of the parking area. Other plant materials located in the interior of a parking lot shall not exceed 30 inches in height.
O.
Screening. Parking areas shall be screened from view from public streets and adjacent lots in a more restrictive district, according to the following standards.
1.
Height. Screening of parking lots from adjacent public streets shall be three feet in height. Screening of parking lots along interior lot lines that abut residential districts shall be six feet in height, except within the required front setback of the applicable zoning district, where screening shall be three feet in height.
2.
Materials. Screening may consist of one or any combination of the methods listed below.
a.
Walls. Low-profile walls consisting of brick, stone, stucco, or other quality durable material approved by the Zoning Administrator, and including a decorative cap or top finish as well as edge detail at wall ends. Plain concrete blocks are not allowed as a screening wall material unless capped and finished with stucco or other material approved by the Zoning Administrator.
b.
Fences. An open fence of wrought iron or similar material combined with plant materials to form an opaque screen. Use of chain-link or vinyl fencing for screening purposes is prohibited.
c.
Planting. Plant materials consisting of compact evergreen plants that form an opaque screen. Such plant materials must achieve a minimum height of two feet within 18 months after initial installation.
d.
Berms. Berms planted with grass, ground cover, or other low-growing plant materials.
P.
Lighting. Except for those facilities serving four or fewer residential units, all open parking areas shall be provided with exterior lighting meeting the following minimums:
1.
The lighting system shall provide not less than one footcandle and not more than five footcandles overall average illumination with a minimum of one-fourth footcandles on the parking surface.
2.
All lighting shall be on a time clock or photo-sensor system so as to be turned off during daylight hours and during any hours when the parking area is not in use. This requirement does not apply to security lighting.
3.
All parking area lighting shall meet applicable energy efficiency requirements of the Building Code.
4.
All lighting shall be designed to confine direct rays to the premises. No light fixture shall emit any direct light above a horizontal plane through the fixture. No spillover beyond the lot line shall be permitted, except onto public thoroughfares.
Q.
Electric Vehicle Charging Stations. Electric vehicle (EV) parking shall be provided for residential and commercial projects as shown in Table 15.04.607.060. Such spaces may be counted towards the parking requirements of this Article:
1.
Size. Electric vehicle charging stations shall be the same size as other spaces, and electric vehicle charging equipment shall not reduce the size of the space.
2.
Signage. Each electrical vehicle charging station shall be clearly marked with a sign reading "Electrical Vehicle Charging Station" and the associated California Vehicle Code restrictions, and only a vehicle that is connected for electric charging shall be allowed to park in the stalls or spaces so designated.
3.
Location. EV spaces shall be easily accessible, and charging equipment, cables and connectors shall not interfere with minimum pedestrian clearance widths nor extend across paths of travel on walkways or sidewalks.
4.
Protection. Protective guard posts shall be installed if required by the California Fire Code Part 9, Title 24.
5.
Controls and Equipment. Electrical vehicle charging stations shall be equipped with electrical outlets, and may also be equipped with card readers, controls, connector devices and other equipment, as necessary for public use. Such controls and equipment shall be no lower than 36 inches or higher than 48 inches above the parking space. Retracting devices or a place to hang permanent cords and connectors shall be provided.
6.
Contact Information. A phone number or other contact information shall be provided to enable reporting of malfunctioning equipment or other problems or to seek information on charging procedures and towing of unauthorized vehicles.
R.
Parking in Underground Garages in Residential Zoning Districts. Parking may be located in underground garages and such garages shall not be deemed as obstructions in the required yards in which they are located provided that these garages meet the following requirements:
1.
Driveway and Curb Cut Limitation. No single curb cut may be more than 20 feet wide and there shall be a minimum of 20 feet between curb cuts on the same lot.
2.
Substantial Roofs. Substantial roofs suitable for pedestrian use are provided.
3.
Excavations. The structural extensions into required yards shall be as follows:
a.
Front yard: not more than five feet;
b.
Side yard: interior, up to full width; street side, not allowed; and
c.
Rear yard and/or useable open space: up to a full depth of the yard, but not less than six feet.
4.
Height. The height of such structures above the natural grade in the areas noted below shall not exceed the following dimensions:
a.
Front and interior side yard: three feet; and
b.
Rear yard: five feet.
5.
Structural Limitations. No structure, other than a fence no more than six feet in height, shall be erected or maintained on the roof of an underground garage located in a required interior yard or required useable open space. The garage shall be paved and include bumper guards, drainage facilities, and similar design features.
(Ord. No. 30-18 N.S., § I(Exh. A), 12-18-2018)
A.
Alternative Parking and Loading Plan. Where an applicant can demonstrate to the satisfaction of the Planning Commission that variations in the standards or dimensions otherwise required by this Article are warranted for uses with unique needs, such as schools or in order to achieve environmental design and green building objectives, including but not limited to achieving certification under the LEED™ Green Building Rating System or equivalent, an alternative parking area design and loading plan may be allowed with approval of a conditional use permit. To grant such a conditional use permit, the Planning Commission must make the following findings in addition to the findings otherwise required:
1.
That the applicant has convincingly demonstrated that the alternative plan is a superior solution and the requested modifications in the design standards of Section 15.04.607.060 are warranted; and
2.
That the alternative parking arrangement will be in place at all times during operation of the principal uses to be served by the parking.
B.
On-Street Parking. Consistently available on-street parking may be counted towards all or a portion of the parking spaces required of each land use and activity proposed in a development application on a one to one basis. To qualify for on-street parking credits, the project applicant must fund completion of an on-street parking inventory and occupancy study, or refer to such a study completed by another project applicant within the preceding two years that provides evidence of the number of on-street parking spaces that are vacant or unoccupied during the hour of combined peak demand for the uses proposed on site, on each block face within two blocks of the project site address. For any one project, a maximum of 50 percent of the total on-street parking supply on the block faces located within a one block walk of the project site, including curbside parking on the project frontage(s), may be counted towards satisfaction of the project's minimum parking requirement.
C.
Off-Site Parking. Required off-street parking spaces may be located on a remote and separate lot from the lot on which the principal use is located, subject to the following standards:
1.
Zoning District. Newly constructed off-site parking may not be located in a zoning district in which the principal use served by the parking is prohibited. Off-site parking may be provided within an existing off-street parking facility in any zoning district, provided that a parking study is conducted and approved by the Zoning Administrator establishing the number of parking spaces in the existing facility that are typically unoccupied even during periods of peak parking demand for the uses to which the parking is accessory.
2.
Distance. Unless a shuttle service is provided, the off-site parking shall be located within 1,500 feet walking distance of the principal use served.
D.
Valet Parking. Valet parking may be permitted as a means of satisfying all or a portion of the off-street parking requirement. Valet parking may be used to accommodate more parking spaces on the site of the principal use served by the parking than could be accommodated in conformance with the design standards of Section 15.04.607.060. It may also be used to provide off-site parking. No valet parking shall cause interference with the public use of rights-of-way or imperil public safety.
E.
Access and Parking In-Lieu Fees. As an alternative to providing off-street parking on-site, or off-site as allowed by subsection (C) above, project applicants may elect to pay a fee in-lieu to fund public access and parking improvements. This optional Access and Parking In-Lieu Fee is intended to enable the City to (1) acquire sites for and develop off-street public parking, or to lease unused, or underutilized private parking for public use to accommodate auto access and vehicle storage demand that cannot be addressed either on site, or on-street in the vicinity of the project, or (2) to fund transportation demand management programs and services, and/or public transportation, bicycle, and/or pedestrian facilities and services, as necessary to accommodate an equivalent number of person trips to the site. The fee shall be established by the City Council and administered by the Director on a per vehicle trip basis, such that the developer of a nonresidential project contributes toward the provision of parking and/or non-auto facilities and services accommodating the same number of person trips to the site as would have been accommodated by the provision of the minimum number of off-street parking spaces required by Table 15.04.607.040, as adjusted by other provisions of this Article. The Zoning Administrator shall determine the vehicle trip generation rate for each land use or site seeking to use the Access and Parking In-Lieu Fee option with reference to the vehicle trip generation rates published in the latest edition of the Institute for Transportation Engineers' (ITE) Trip Generation Manual, with adjustments for mixing of uses, density of population and employment, and proximity to frequent transit service. An Access and Parking in-lieu fee shall be provided for nonresidential uses only as follows:
1.
Parking In-Lieu Fee Amount. The amount of the parking in-lieu fee shall be as set forth in the Master Fee Schedule.
2.
Deposit of Funds. Parking in-lieu fees shall be deposited with the City prior to issuance of a building permit in a separate fund to be known as the Access and Parking In-Lieu Fee Fund and shall be used only as described in this Section.
3.
Refund of Fee. A parking in-lieu fee may be refunded, without interest, to the person who made such payment, or his or her assignee or designee, if additional off-street parking spaces are provided for such building or use by others than the City, so as to satisfy the parking requirement for which the in-lieu payment was made. To obtain a refund, the required off-street parking spaces must be in place prior to issuance of a Certificate of Occupancy and before funds are spent or committed by the City.
A.
General Requirements. Short-term publicly accessible bicycle parking for visitors, and long-term secured bicycle parking for building occupants, shall be required when:
1.
A building is constructed;
2.
An existing building, including a legal nonconforming structure, is enlarged by more than 10 percent for any purpose; or
3.
The use of any building or portion thereof is changed to one requiring the issuance of a conditional use permit and then only to that portion of the building subject to the change of use.
B.
Exemptions. No bicycle parking is required for Single Unit or Two Unit (duplex) dwellings.
C.
Space Required. The minimum number of bicycle parking spaces required and related facilities that must be provided form specific land uses are listed in Table 15.04.607.080. For uses not listed in the table, one short-term bicycle parking space and one long-term bicycle parking space shall be provided for every 20 motor vehicle parking spaces provided on-site (either shared or reserved).
D.
Standards for All Bicycle Parking.
1.
Class 1 Long-Term Bicycle Parking Spaces. Class 1 paces shall be located with direct access for bicycles without requiring use of stairs. The location of such spaces shall allow bicycles users to ride to the entrance of the space or the entrance of the lobby leading to the space. The design shall provide safe and convenient access to and from bicycle parking facilities. Use of elevators to access Class 1 spaces shall be minimized. In residential buildings, Class 1 space shall not be provided within dwelling units, on balconies, or in required outdoor living area. Class 1 bicycle parking shall be located:
a.
On the ground floor within 100 feet of a major entrance to the lobby. There shall be either: (i) convenient access to and from the street to the bicycle parking space and another entrance from the bicycle parking space to the lobby area, or (ii) a minimum five foot wide hallway or lobby space that leads to the bicycle parking entrance, where direct access to bicycle parking space from the street does not exist. Such access route may include up to two limited constriction points, such as doorways, provided that these constrictions are no narrower than three feet wide and extend for no more than one foot of distance.
b.
In a structured parking facility, on the first level of automobile parking either above or below grade, near elevators or other pedestrian entrances to the facility.
2.
Class 2 Short-Term Bicycle Parking Spaces. Class 2 paces shall be located, as feasible, near all main pedestrian entries to the use to which they are accessory. Class 2 bicycle parking may be on a sidewalk or in place of an on-street auto parking space, within 100 feet of a main entry to the building, subject to approval of the Director of the Department of Transportation. If existing Class 2 bicycle parking in the required quantities already exists in a public right-of-way immediately fronting a project site, and such spaces are not satisfying bicycle parking requirements for another use, such parking shall be deemed to meet the Class 2 requirement for that project.
3.
Design and Installation.
a.
A bicycle parking space shall be in a paved, level, drained, lighted area with access to a right-of-way without the use of stairs, and shall consist of either:
i.
One side of a securely fixed rack element that supports the bicycle upright by its frame, prevents the bicycle from tipping over, and allows the frame and at least one wheel to be locked to the rack element with one lock; or
ii.
For Class 1 long-term parking only, a bicycle locker constructed of theft-resistant material with a lockable door which opens to the full width and height of the locker. Bicycle lockers shall be weather-proof if exposed to the elements; or
iii.
For Class 1 long-term bicycle parking only, wall-mounted racks or wall- or ceiling-mounted hooks so that bicycles may be hung vertically.
b.
Each bicycle parking space shall be no less than 15 inches wide, by six feet deep, with an overhead clearance of no less than seven feet. This can be satisfied by placing racks, each of which supports two bicycles, 30 inches apart.
c.
Each row of bicycle parking spaces shall be served by an aisle no less than four feet wide. Rack elements must be placed two feet from walls, fences or curbs.
d.
Required bicycle parking may not be tandem; parking or removing a bicycle shall not require moving another parked bicycle.
e.
Bicycle rack elements shall be fixed, securely anchored to the ground or to a structure by means that resist tampering or removal. Bicycle locker edges shall be secured with no exposed fittings or connectors. The Zoning Administrator may specify preferred installation methods, such as, but not limited to, embedded mounting in poured-in-place concrete, recessed bolt heads or grouted-in anchoring.
4.
Location.
a.
Direct access from the bicycle parking to the public right-of-way shall be provided by means of access ramps, if necessary, and pedestrian access from the bicycle parking area to the building entrance shall also be provided.
b.
Where bicycle parking is not directly visible and obvious from the right-of-way, signs shall be provided, except that directions to long-term bicycle parking may be posted or distributed by the building management, as appropriate.
c.
Bicycle parking must be separated from automobile parking by a sufficient distance to prevent damage from moving automobiles or their loading and unloading. The Zoning Administrator may require a barrier or curb between bicycle and automobile parking areas on constrained sites.
d.
Bicycle parking may be provided inside a building provided it is easily accessible from a building entrance and a bicyclist does not have to use stairs to reach it.
e.
The placement of bicycle parking, bicycle rack elements and bicycle lockers shall not interfere with pedestrian circulation.
E.
Removal of Abandoned Bicycles. Property owners shall remove abandoned bicycles from short-term and long-term parking associated with their property on a quarterly basis after posting a notice of removal warning on such bicycles for one month. This requirement shall not preclude provision of seasonal bicycle storage.
A.
Number of Spaces Required.
1.
None Required. No off-street loading spaces are required for uses for which the estimated parking demand is "none." In addition, no off-street loading spaces are required for Single Unit or Two Unit (duplex) dwellings.
2.
Requirement "To Be Determined." The off-street loading requirement for uses for which the estimated parking demand is "To be determined" ("TBD") shall be determined in the same manner in which the estimated parking demand is determined.
3.
All Other Uses. The off-street loading requirement for all other uses shall be as set forth in Table 15.04.607.090-A.
B.
Size of Spaces. The size of each type of loading space shall be as follows:
1.
Small. Small loading spaces shall have a width of no less than 10 feet, a length of no less than 25 feet, and a vertical clearance of no less than eight feet.
2.
Medium. Medium loading spaces shall have a width of no less than 12 feet, a length of no less than 35 feet, and a vertical clearance of no less than 14 feet.
3.
Large. Large loading spaces shall have a width of no less than 12 feet, a length of no less than 50 feet, and a vertical clearance of no less than 14 feet.
C.
Modifications. In approving a project, the Zoning Administrator or the Planning Commission, as the case may be, may modify the number and size of loading spaces required because of the nature of the use or the design of the project.
D.
Maneuvering Areas. All off-street loading spaces shall be designed and located so that there is sufficient off-street maneuvering area to accommodate vehicles using the loading spaces. Maneuvering areas shall be designed to accommodate the largest vehicle intended to use the loading spaces and shall not be encumbered by parking stalls or physical obstructions.
E.
Surface and Maintenance. Loading spaces and the maneuvering areas and driveways serving them shall be paved and maintained with concrete, asphalt, or similar material of sufficient thickness and consistency to support anticipated traffic volumes and weights; properly graded for drainage; and maintained in good condition free of weeds, dust, trash, and debris.
F.
Location. Loading spaces shall be located on the same lot on which the use for which they are required is located, except that, upon the granting of a conditional use permit, loading spaces may be provided in a common loading area serving multiple adjacent uses and located on an adjacent lot within 300 feet of the lot on which the use requiring the loading spaces is located. To grant such a conditional use permit, the Planning Commission shall make the following findings in addition to the findings otherwise required:
1.
That the common loading area results in a more efficient design than individual loading areas serving each use separately;
2.
That the total number of loading spaces provided in the common loading area is no less than the number of loading spaces that would be required if the uses served were located in a single facility; and
3.
That the common loading area will be in place at all times during operation of the principal uses to be served by the loading spaces.
G.
Access to Tenant Spaces Served by Loading Spaces. Buildings served by loading spaces shall be designed such that there is a direct interior path of travel between the loading spaces and each tenant space served by the loading spaces of sufficient width and height to accommodate all material to be loaded and unloaded.
H.
Availability and Utilization of Loading Spaces. All loading spaces shall be made readily available to pick-up and delivery vehicles during all hours when pick-ups and deliveries are allowed. Owners of property containing such loading spaces shall be responsible for advising drivers of pick-up and delivery vehicles of the location and hours of such loading spaces, shall require drivers to use such loading spaces, and shall not allow pick-up and delivery vehicles to be loaded in the public right-of-way.
I.
Landscaping and Screening. All loading spaces and the maneuvering areas and driveways serving them shall be landscaped and/or screened as required by this Article.
J.
Lighting. All exterior loading spaces and the maneuvering areas and driveways serving them shall be provided with lighting meeting the minimums established for parking areas.
The purpose of this Article is to establish performance standards to protect the public health and safety and ensure that all land uses and development do not produce adverse impacts on surrounding neighborhoods and uses, and the community at large. The standards contained in this Article apply to all zoning districts.
Land or buildings cannot be used or occupied in a manner creating any dangerous, injurious, or noxious conditions, chemical fires, explosive, or other hazards that could adversely affect the surrounding area. If necessary, the Zoning Administrator will retain a professional expert or designated regulatory agency to assist in assessing possible impacts, and any cost incurred will be paid by the applicant or business owner.
A.
Purpose. The purpose of this Section is to establish bird-safe glazing treatment standards for new building construction and replacement facades to reduce bird mortality from circumstances that are known to pose a high risk to birds and are considered to be "bird hazards." The two circumstances regulated by this Section are: 1) location-related hazards, where the siting of a structure creates increased risk to birds; and 2) feature-related hazards, which may create increased risk to birds regardless of where the structure is located.
B.
Exceptions.
1.
Limited Glass Façade. Residential buildings that are less than 45 feet in height and have an exposed façade comprised of less than 50 percent glass are exempt from new or replacement façade bird-safe glazing requirements.
2.
Substantial Glass Façade. Residential buildings that are less than 45 feet in height but have a façade with surface area composed of more than 50 percent glass, shall provide bird-safe glazing treatments for 90 percent of all large, unbroken glazed segments that are 24 square feet or larger.
3.
General Exceptions for Historic Buildings. Bird-safe treatment of replacement glass facades for structures designated as City landmarks or within designated historic districts as shown on the Zoning Map is not required. Reversible treatment methods, such as netting, glass films, grates and screens, are recommended for bird collision zones, as defined below.
C.
Bird-Safe Glazing Treatment. Bird-safe glazing treatment may include fritting, netting, permanent stencils, frosted glass, exterior screens, physical grids placed on the exterior of glazing, or UV patterns visible to birds. To qualify as Bird-Safe Glazing Treatment, vertical elements of the window patterns shall be at least one-quarter inch wide at a minimum spacing of four inches, and horizontal elements at least one-eighth inch wide at a maximum spacing of two inches. No glazing proposed as having a bird-safe treatment shall have a visible light reflectance exceeding 10 percent. Exceptions on the reflectance may be granted by the Zoning Administrator if a surface frit, louvers or nets are used.
D.
Standards.
1.
Location-Related Standards. These standards apply to new buildings with a floor area of 10,000 square feet or more that are two stories or more in height and located within or adjacent to open spaces two acres and larger in size that are dominated by open water or vegetation, including vegetated landscaping, forest, meadows, grassland, and wetlands.
a.
Facade Requirement. Bird-safe glazing treatment is required such that a bird collision zone facing the open space consists of at least 80 percent bird-safe glazing. To the extent feasible, buildings shall be designed to locate permitted transparent glazing, which is not considered bird-safe, on the ground floor and at lobby entrances to enhance visual interest for pedestrians. On the ground floor patterns that provide marketing or other information or artistic design which do not obscure the view through glass are preferred. For purposes of this requirement, a "bird collision zone" shall mean the portion of buildings most likely to sustain bird-strikes from local and migrant birds in search of food and shelter and includes:
i.
Glass facades beginning at grade and extending upwards for 60 feet; and
ii.
Glass facades directly adjacent to landscaped roofs two acres or larger in area and extending upwards 60 feet from the level of the roof.
b.
Lighting. No uplighting shall be used in bird collision zones.
2.
Feature-Related Standards. Feature-related hazards include free-standing glass walls over 15 feet in height and 30 feet in length, glass wind barriers, skywalks, and greenhouses on rooftops that have unbroken glazed segments 24 square feet and larger in size. Feature-related hazards can occur throughout the City. Any structure that contains these elements shall treat 100 percent of the glazing so that it is bird-safe.
E.
Conflict with Other Codes. If any of the requirements of this Section conflict with provisions in the City's Building and Fire Codes, the provisions of the California Code of Regulations Title 24, as amended by the City, shall prevail.
During the construction of a project, all portions of the site shall be watered as necessary to reduce emissions of dust and other particulate matter, and all stockpiles shall be covered. Streets and sidewalks shall be made dirt free at the completion of construction. All construction and transport equipment shall be muffled in accordance with State and federal laws. Construction and transport equipment shall be operated so as to minimize exhaust emissions. Grading and pile driving operations within ¼ mile of residential units shall be limited to between 8 a.m. and 5 p.m. on weekdays, or as otherwise restricted as part of an approval. All water run-off from construction sites shall be controlled. During construction, trucks and equipment should be running only when necessary.
The storage, use, transportation or production of products which, either in the raw or finished state, constitute a flammable or explosive material shall be subject to approval of the Fire Department. Fire Department personnel may, without prior notice, visit and observe operations on the site and any directives issued by said personnel shall be satisfied in a timely manner. Burning of waste materials in open fires or unapproved incinerators is prohibited.
The use, handling, storage and transportation of waste materials, including hazardous wastes, shall comply with the provisions of the California Hazardous Materials Regulations and any other applicable laws. Discharge at any point into a public or private sewage disposal system, stream, or the ground, of any material which could contaminate any water supply, or otherwise cause the emission of dangerous or offensive elements is prohibited. No exceptions are allowed unless in accordance with regulations, licenses or approvals of the various local and state agencies having jurisdiction over such activities.
No continuous, frequent or repetitive odors are permitted that exceed limits established by the San Francisco Bay Area Air Quality Management District, the California Air Resources Board or federal agencies. An odor detected no more than a total of 15 minutes in any one day shall not be deemed to be continuous, frequent or repetitive for this regulation. No dust or particulate matter shall be emitted that exceeds limits established by the San Francisco Bay Area Air Quality Management District, the California Air Resources Board or federal agencies. Exhaust air ducts shall be located or directed away from abutting residentially-zoned properties.
Machinery used for manufacturing and industrial processes, including oil and gas collection, processing and distribution must be designed and housed to ensure that vibration will be reduced to the minimum amount allowable by applicable State and federal regulations. Vibrations from temporary construction, demolition, and vehicles that enter and leave the subject parcel (e.g., construction equipment, trains, trucks, etc.) are exempt from this standard.
This Article shall be known as the Sign Article of the City of Richmond. The purpose of this Article is to regulate signs as an information system that preserves and enhances the aesthetic character and environmental values of Richmond, its residential neighborhoods, its Downtown, and commercial/industrial areas. These regulations recognize the importance of business activity to the economic vitality of the City as well as the need to protect the visual environment. More specifically, this Article is intended to achieve the following objectives:
A.
To implement the purposes, policies and programs of the Richmond General Plan and adopted Specific Plans;
B.
To promote and maintain strong commercial and industrial centers and corridors and their property values by regulating the size, location, design, and illumination of signs, thereby avoiding unsightly signs that are incompatible in design and detract from the aesthetics of these centers and corridors;
C.
To protect and enhance the character of residential neighborhoods and their property values, by avoiding the erection of signs that are grossly incompatible with their surroundings;
D.
To provide adequate opportunity for the exercise of free speech by display of a message or image on a sign, while balancing that opportunity with other public interests;
E.
To improve the visual appearance of City streets and the image of the City derived by residents and visitors;
F.
To ensure that commercial signs are accessory or auxiliary to a principal business on the site, rather than functioning as general advertising for hire;
G.
To protect public safety by ensuring that signs are not constructed, located, erected, and maintained in a hazardous manner and do not distract motorists and other users of streets and highways;
H.
To restrict signs that may create visual clutter or a nuisance to nearby properties, violate privacy, or create hazards for pedestrians and drivers;
I.
To protect the rights of residents and businesses to communicate ideas and messages through signage as guaranteed by the United States and California constitutions; and
J.
To provide clear, objective guidelines for minimizing the visual clutter of signs and maintaining the aesthetic integrity of Richmond neighborhoods and shopping districts.
This Article is incorporated into the Zoning Ordinance of the City of Richmond, and any term not defined in this Article has the same definition and the same meaning as it has in the Zoning Ordinance.
This Article regulates signs that are located or mounted on private property within the jurisdictional boundaries of the City of Richmond. The provisions in this Article apply in all Zoning Districts within the City and in all areas subject to Specific Plans except as specifically superseded by regulations adopted for individual Specific Plans. No sign within the regulatory scope of this Article shall be erected or maintained anywhere in the City except in conformity with this Article. If any part, section, subsection, paragraph, subparagraph, sentence, phrase, clause term or word in this Article is declared invalid, such invalidity shall not affect the validity or enforceability of the remaining portions of the Article.
A.
Signs Must Comply with This Article. In all zones, only such signs as are specifically permitted in this Article may be placed, erected, maintained, displayed or used, and the placement, erection, maintenance, display or use of signs shall be subject to all restrictions, limitations and regulations contained in this Article. The placement, erection, maintenance, display or use of all other signs is prohibited.
B.
Design Review Required. Unless exempt from the requirements of this Article, the design and placement of any permanent sign erected for a non-residential use is subject to design review, and the level of review (Director or Design Review Board) shall be that for the use with which the sign is associated.
C.
Enforcement Authority. The Zoning Administrator is authorized and directed to enforce and administer the provisions of this Article.
A-Frame sign (also known as A-Board sign). A temporary freestanding sign that is composed of two panels hinged at the top and capable of standing on its own frame without external support or attachment. Sandwich board sign and sidewalk sign have the same meaning as A-Frame sign.
Abandoned sign. A sign remaining in place or not maintained for 30 days that does not provide direction for, advertise, or identify a legally established business, product, or service available on the business premises where the sign is located.
Advertising display, outdoor. A sign that directs attention to a business, profession, commodity, service or entertainment that is conducted, sold, or offered elsewhere than the lot or parcel where the sign is located. Also known as an Outdoor Advertising Sign and a Billboard.
Animated sign. A sign with messages that visually change, or images that move or appear to move, flash on or off, wink or blink with varying light intensity, show motion or create the illusion of motion, or revolve to create an illusion of being on or off. This definition does not include traditional barber poles or scoreboards, nor does it include commercial mascots, digital displays, and electronic signs, which are defined separately.
Awning. Any structure made of flexible fabric or similar material covering a metal frame attached to a building, whether or not the same is so erected as to permit its being raised to a position flat against the building when not in use.
Awning or canopy sign. A sign placed on an awning or any other projecting structure made of flexible fabric or similar material covering a metal frame supported by the ground or sidewalk.
Banner sign. A sign that is painted or printed on lightweight flexible material and hung from a staff or other device by ropes, wires or similar means in a manner to minimize movement. A banner sign may be temporary or permanent.
Billboard. See Advertising display, outdoor.
Building frontage. An exterior wall of a building that faces a public street (not including a freeway). If no exterior wall of a building faces a public street, the exterior wall of the building containing the main entry is the building frontage. The length of frontage shall be measured at the base of the building wall.
Changeable copy. A sign copy that is constructed or designed to allow for periodic changes of copy. Examples include signs for an auditorium, theater, school, church, meeting hall, or similar uses characterized by public assembly and changing programs or events, or gas station prices. This definition does not include animated signs or electronic signs.
Commercial mascot. A person or animal, whether or not costumed or decorated, intended to serve or function as a commercial advertising device. Includes sign twirlers, sign clowns, human sandwich boards, and persons or animals holding or supporting any sign or advertising device displaying commercial speech or conveying a commercial message. This definition also applies to robotic devices intended to simulate a live person and/or animal.
Commercial message. A message on a sign, or portion of a sign, that promotes, informs, or proposes an economic transaction, primarily concerns the economic interests of the sign sponsor and/or audience, or is intended to further discussion in the marketplace of goods and services.
Copy. Any letters, numerals, or symbols displayed on a sign face conveying a message to the public.
Digital display. A method of displaying a visual image that uses liquid crystal cells or other types of light emitting diodes (LEDs) or their functional equivalent to allow for the message or image to be easily changed, typically by remote control or computer programming. This definition applies to signs displaying a series of still images.
Electronic message center sign. A sign capable of displaying words, symbols, figures or images that can be electronically or mechanically changed by remote or automatic means.
Electronic sign. A sign that is capable of presenting variable message displays by projecting an electronically controlled pattern and which can be programmed to periodically change the message display. See also Digital display.
Exempt sign. A sign which may be legally displayed, erected or maintained, but is not subject to a sign permit requirement.
Externally illuminated sign. Any sign that is lit by a light source that is external to the sign directed towards and shining on the face of the sign.
Face. That portion of a sign upon which the copy is mounted or displayed.
Finished grade. The elevation of the sign site after all site grading is completed.
Flag. A piece of fabric or other flexible material, usually rectangular, of distinctive design, used as a symbol, which is capable of movement, or fluttering in moving air or wind.
Flashing illumination sign. See Animated sign.
Freestanding sign. A sign standing directly on the ground or attached to any support other than a building. Freestanding signs include A-board signs, monument signs, and pylon signs.
Freeway oriented sign. A permanent pylon sign larger than 20 square feet and located within 500 feet of and/or are visible from the outside travel lane of a freeway. For shopping centers with at least 500,000 square feet of commercial space, such signs may be located on and/or off-site.
General advertising for hire. The advertising or promoting of other businesses, establishments or causes using methods of advertising, typically for a fee or other consideration, in contrast to self-promotion or on-site advertising.
Hand-held sign. A sign that is designed to be held or carried by a person, rather than placed on or in the ground or other support.
Illuminated sign. An internally or externally illuminated business sign, which uses a source of light in order to make the message readable and the illumination is maintained at constant intensity, color or pattern during all times the sign is illuminated.
Inflatable sign. A form of inflatable device that includes a commercial or noncommercial message displayed, printed, or painted on the surface of an inflatable background, and is primarily installed outside a building. This sign type includes balloon signs.
Lot. A parcel, tract, or area of land whose boundaries have been established by a legal instrument, such as a deed or map recorded with Contra Costa County, and is recognized as a separate legal entity for purposes of transfer of title, except public easements or rights-of-way.
Lot equivalent. Either an area within a site of 5,000 square feet or a lot that is smaller than 5,000 square feet.
Mansard sign. A sign attached below the deck line or principal roofline of a mansard roof or similar roof-like façade.
Marquee sign. A sign attached in any manner to, made part of, or painted on a hood or permanent construction that projects more than 18 inches from the wall of the building to which it is attached, usually above the entrance.
Master sign program. Signage included as part of new building construction or as part of building modifications subject to design review by the Design Review Board.
Mobile billboard. Any vehicle, or wheeled conveyance which carries, conveys, pulls, displays, or transports any sign or billboard for the primary purpose of advertising a commercial or noncommercial message, or other general advertising for hire.
Monument sign. A low-profile freestanding sign erected upon or supported solely by a planter, pedestal base, or similar ground structure approximately the same width as the sign and which is designed to incorporate the architectural theme and building material of the building on the premises. Internal supports, poles or pylons, if any, are enclosed by decorative covers or otherwise not exposed to view.
Moving sign. A sign any visible portion of which rotates or moves in any way.
Noncommercial message. A message or image on a sign, or portion of a sign, which displays noncommercial speech, e.g., commentary or advocacy on topics of public debate and concern. This definition shall be construed and interpreted in light of relevant court decisions. Noncommercial messages do not have a location factor, such as on-site or off-site.
Nonconforming sign. A sign lawfully erected and legally existing on the effective date of this Section, or of amendments thereto, but which does not conform to the provisions of this Article.
On-site sign. Any sign or portion thereof that identifies, advertises, or attracts attention to a business, product, service, event or activity sold, existing or offered upon the same property or land use as the sign. The off-site/on-site distinction applies only to commercial messages.
Pennant. Any lightweight plastic, fabric, or other material, whether or not containing a message of any kind, attached to a rope, wire, or string, usually in a series, designed to move in the wind and attract attention. Flags and banners are not within this definition.
Permanent sign. A sign that is intended to be and is so constructed as to be of a lasting and enduring condition, remaining unchanged in character, condition (beyond normal wear) and position, and in a permanent manner affixed to the ground, wall, or building.
Portable sign. A temporary sign that is capable of being moved easily and is not affixed to the ground or a structure. Portable signs include A-Frame (or sandwich board) signs.
Projecting sign. A sign other than a wall, roof, or marquee sign that is supported by a building and projects outward therefrom.
Pylon sign. A freestanding sign that is supported and in direct contact with the ground or one or more solid, monumental structures or pylons and which typically has a sign face with a vertical dimension that is greater than its horizontal dimension.
Figure 15.04.609.040: Pylon Sign
Readerboard sign. A sign structure or mounting device on which at least a portion of the display face may be used for changeable copy that may be either non-commercial or commercial, electronic or manual.
Roof sign. Any sign supported by or attached to or projecting through the roof of a building or structure, or projecting above the eave line or parapet wall of the building or structure. A sign attached to a mansard roof is not included within this definition, provided it does not project above the eave line of the mansard roof.
Sign. A device, structure, or fixture that incorporates graphics, symbols, or written copy that is visible to the public and is intended to communicate information. Graphics, art work, and seasonal decorations that do not relate to the use of a site or structure are not considered signs. A device, structure, or fixture is not "visible to the public" if it is located inside a building or structure and is not visible from a public street, park, walkway, or other public space through a window or building opening. Notwithstanding the generality of the foregoing, the following are not within this definition:
Architectural features. Decorative or architectural features of buildings (not including lettering, trademarks or moving parts), that do not perform a communicative function; foundation stones, cornerstones;
Cemetery markers. Grave markers, grave stones, headstones, mausoleums, shrines, and other markers of the deceased;
Certain insignia on vehicles and vessels. On street legal vehicles and properly licensed watercraft: license plates, license plate frames, registration insignia, non-commercial messages, messages relating to the business of which the vehicle or vessel is an instrument or tool (not including general advertising) and messages relating to the proposed sale, lease or exchange of the vehicle or vessel;
Fireworks, etc. The legal use of fireworks, candles and artificial lighting not otherwise regulated by this Code;
Personal Appearance. Items or devices of personal apparel, decoration or appearance, including tattoos, makeup, wigs, costumes, and masks, but not including commercial mascots or hand-held signs; and
Symbols Embedded in Architecture. Symbols of noncommercial organizations or concepts including, but not limited to, religious or political symbols, when such are permanently integrated into the structure of a permanent building, including stained glass windows on churches, carved or bas relief doors or walls, bells, and religious statuary.
Sign area. The area contained within a single continuous perimeter enclosing all parts of such sign copy, excluding any structural elements outside the limits of the sign required to support the sign.
Street frontage. That portion of a lot that faces a street, road, path or public right-of-way (but not freeway) providing direct pedestrian and/or vehicular access to the lot.
Temporary sign. Any sign, banner, pennant, valance or display constructed of cloth, canvas, light fabric, cardboard, wallboard or other like materials, with or without a frame, and any other type of sign not permanently attached to the ground or a structure, that is intended to be displayed for a limited period of time only.
Wall sign. A sign posted or painted on, suspended from or otherwise affixed in an essentially flat position to the wall of a building.
Wind sign. A display of streamers, pennants, whirligigs, windsocks or similar devices made of flexible lightweight material designed to move in response to air pressure. Banner signs and flags are not a wind signs.
Window sign. A sign that is posted or painted on or otherwise affixed to and is visible through or upon a window, including signs in the interior of the building, within three feet of a window, intended to be viewed from the exterior of such building.
(Ord. No. 30-18 N.S., § I(Exh. A), 12-18-2018)
A.
Calculation of Sign Area.
1.
Single-Faced Signs. Sign area includes the entire area within a single continuous perimeter composed of squares or rectangles that enclose the extreme limits of all sign elements, including, but not limited to, sign structures or borders, written copy, logos, symbols, trademarks, illustrations, lighted surface, and color. Supporting structures such as sign bases and columns are not included in sign area, provided that they contain no lettering or graphics except for addresses or required tags. The calculation of sign area for various types of single-faced signs is illustrated in Figure 15.04.609.050-A(1).
Figure 15.04.609.050-A(1): Calculation of Single-Faced Sign Area
2.
Double-Faced Signs. Where two faces of a double-faced sign are located two feet or less from one another at all points, or located at an interior angle of 45 degrees or less from one another, the area of only one face will be used to determine the sign area. Where the two faces are not equal in size, the larger sign face will be used. Where two faces of a double-faced sign are located more than two feet or 45 degrees from one another, both sign faces will be counted toward sign area. See Figure 15.04.609.050-A(2). For freeway oriented signs, the distance between double faced signs shall be six feet or less.
Figure 15.04.609.050-A(2): Calculation of Double-Faced Sign Area
3.
Multi-Faced Signs. On a three-faced sign, where at least one interior angle is 45 degrees or less, the area of two faces (the largest and smallest face) must be summed to determine sign area. In all other situations involving a sign with three or more sides, the sign area will be calculated as the sum of all faces. See Figure 15.04.609.050-A(3), which is the same number as referred to in double-faced sign provision.
Figure 15.04.609.050-A(3): Calculation of Multi-Faced Sign Area
4.
Three-Dimensional Signs. Signs that consist of, or have attached to them, one or more three-dimensional objects (i.e., balls, cubes, clusters of objects, sculpture, or statue-like trademarks), may have a sign area that is the sum of two adjacent sides of the smallest cube that will encompass the sign. See Figure 15.04.609.050-A(4).
Figure 15.04.609.050-A(4): Calculation of Three-Dimensional Sign Area
B.
Calculation of Lot Frontage. If a lot fronts on two streets, both frontages may be used for calculating the allowable sign area. On lots with three or more frontages on a public street, the length of only two contiguous sides shall be added together to determine allowable sign area. See Figure 15.04.609.050-B.
Figure 15.04.609.050-B: Sites with Multiple Frontages
C.
Calculation of Building Frontage. Building frontage is the building facade that directly abuts a public street, private street, parking lot driveway, or parking spaces in which main customer access is provided to the business. A building's frontage is considered continuous if projections or recesses in a building wall do not exceed 10 feet in any direction. For buildings with two or more frontages, the length of the wall and allowable sign area shall be calculated separately for each building frontage. See Figure 15.04.609.050-C.
Figure 15.04.609.050-C: Calculation of Aggregate Sign Area for Multi-Occupancy Commercial Sites with Limited Frontage
D.
Measuring Sign Height. The height of a sign is the vertical distance measured from the ground level, at finished grade, directly beneath the sign to the highest point at the top of the sign, including any structural or architectural components of the sign. The height of freestanding signs is measured as the vertical distance from grade at the edge of the right-of-way along which a sign is placed to the highest point of the sign, including any structural or architectural components of the sign. When the grade at the edge of the right-of-way is higher than the site on which the sign is placed, that portion of the sign below the grade at the edge of the right-of-way is not included in determining the sign's overall height.
E.
Measuring Sign Clearance. Sign clearance is measured as the smallest vertical distance between the finished grade and the lowest point of the sign, including any framework or other embellishments.
(Ord. No. 30-18 N.S., § I(Exh. A), 12-18-2018)
A.
Address signs that are required by and conform to the Building Code.
B.
Commercial displays on vehicles, provided that display is not outdoor advertising ("general advertising for hire") and no changeable copy or special illumination is employed.
C.
Flags subject to the following standards:
1.
Location on a lot: not allowed within any required side yard setbacks.
2.
Maximum number: One per lot or lot equivalent.
3.
Maximum pole height: 30 feet or the distance from the base of the pole to the closest lot line plus two feet, whichever is less, unless a permit is granted by the Zoning Administrator allowing greater height.
4.
Maximum size: 48 square feet.
5.
Pennants, banners, feather banners, strings of ornamental fringes and streamers are not included in this exemption and are regulated as Temporary Signs.
D.
Interior signs located entirely within a building or enclosed structure and not visible from the public right-of-way.
E.
Mobile vendor signs and menu display boards fixed to mobile vending carts or food trucks that identify or advertise the name, product, or service provided by the vendor. Each mobile vending cart or food truck is limited to a maximum of eight square feet of sign area, plus a menu display board.
Figure 15.04.609.060-E: Mobile Vendor Sign
F.
Official notices posted by public officers in performance of their duties.
G.
Public carrier graphics mounted on buses, taxicabs, limousines and similar vehicles for hire that legally pass through the City.
H.
Signs less than four square feet in area.
I.
Traffic control and danger signs erected by a governmental entity.
J.
Window signs in non-residential districts, provided they do not obstruct more than 25 percent of the area of any individual window or more than 10 percent of the total fenestration on the frontage of a building.
Unless expressly allowed by another section of this Article or other applicable law, the following signs, locations, and materials are prohibited:
A.
Animated or Moving Signs. Animated, flashing, blinking, reflecting, revolving, or other similar sign with visibly moving or rotating parts or visible mechanical movement of any kind, unless expressly permitted under this Article. This prohibition does not apply to signs using digital display technology, such as LED (light emitting diodes) or functionally equivalent display methods, which may be permitted, subject to the regulations of this Article.
B.
Air-Activated Graphics and Other Attention-Getting Devices. Balloons and air activated graphics that serve as attention-getting devices, made of light-weight fabric or similar material, designed to rotate or move with the wind or activated by forced air, that direct, promote, or that are otherwise designed to attract attention for outdoor advertising purposes are prohibited in all zoning districts.
C.
Commercial Mascots. All commercial signs held, posted or attended by commercial mascots, as defined, are prohibited in all zones.
D.
Electronic Signs and Digital Displays. All freestanding and building mounted electronic signs and digital displays, including digital billboards, are prohibited, except for fuel price signs and readerboards and electronic message center signs that meet the standards of this Article. Interior digital displays located within two feet of a window or door are exempt from this prohibition provided they do not exceed more than 20 percent of the allowable area for a window sign.
E.
General Advertising. Temporary or hand-held signs that publicize or promote other businesses or causes using methods of advertising (in contrast to self-promotion, on-site sales, or on-site advertising). General advertising is also known as "general advertising for hire."
F.
Outdoor Advertising Displays ("Billboards"). Signs that display outdoor advertising for hire are prohibited in all zones. Existing billboards may be removed, and may be relocated with approval of a billboard relocation agreement by the City Council consistent with California Business and Professions Code Section 5412 and other applicable state law.
G.
Mobile Billboards. The City prohibits any person to conduct, or cause to be conducted, any mobile billboard advertising upon any street, or other public place within the City in which the public has the right of travel. The purpose of this prohibition is to eliminate mobile billboard advertising within the City in order to reduce traffic congestion, promote the safe movement of vehicular traffic, to reduce air pollution, and to improve the aesthetic appearance of the City. This prohibition does not apply to signage on a licensed commercial vehicle that is related to the goods or services provided by the vehicle owner or operator and to public transit/public carrier graphics on properly licensed buses and taxicabs.
Figure 15.04.609.070-G: Mobile Billboards
H.
Outdoor Advertising Displays ("Billboards"). Signs that display outdoor advertising for hire are prohibited in all zones. Existing billboards may be removed, and may be relocated with approval of a billboard relocate agreement by the City Council.
I.
Roof Signs. Roof signs, including signs mounted or painted on roofs, except those painted on a flat roof and not visible from the public right-of-way.
Figure 15.04.609.070-I: Roof Signs
J.
Search Lights and Klieg Lights. Search and Klieg lights when used as attention attracting devises for commercial uses. They may be allowed with a conditional use permit for special events.
K.
Signs in the Public Right-of-Way without an Encroachment Permit. Other than government signage, no sign can be placed in the public right-of-way in median strips or islands, sidewalks, on street trees or retaining walls, on bridges, public benches, traffic signals, public fences, street poles, utility poles and equipment, street lighting, traffic signs, or within a railroad right-of-way, unless it has been authorized by an encroachment permit issued by the City.
L.
Signs on Doors, Windows, or Fire Escapes. Signs shall not be located or installed on any door, window, or fire escape that will prevent free ingress or egress. No sign shall be attached to any standpipe or fire escape, except those required by other codes.
M.
Signs that Create a Traffic Hazard or Affect Pedestrian Safety. Signs located in such a manner as to constitute a safety hazard or to impede the public use of the public right-of-way. These signs include but are not limited to:
1.
Signs located in such a manner as to constitute a traffic hazard or obstruct the view of traffic or any authorized traffic sign or signal device.
2.
Signs that may create confusion with any authorized traffic sign, signal, or traffic control device because their color, design, illumination, location or wording, or use of any phrase, symbol, or character which interferes with, misleads, or confuses vehicular drivers in their use of roads or conflicts with any traffic control sign or device.
3.
Signs within five feet of a fire hydrant, street sign, or traffic signal.
4.
Signs erected at or near the intersections of public and/or private rights-of-way in such a manner as to create a safety hazard by obstructing clear view of pedestrian and vehicular traffic or encroaching into sight triangles and sight distances, as defined in the Zoning Article.
N.
Signs that Produce Noise or Emissions. Signs that produce visible smoke, vapor, particles, odor, noise, or sounds that can be heard at the property line, excluding voice units at menu boards and devices for servicing customers from their vehicles, such as drive up windows at banks or pharmacies, provided these latter units comply with the standards of the City's Noise Ordinance and with Article 15.04.605.
O.
Snipe Signs. Signs tacked, nailed, posted, pasted, glued, or otherwise attached to trees, utility poles, government signs, fences, trailers, temporary construction barriers or other supporting structures.
The following sign design principles shall be used as criteria for review and approval of sign permits and Master Sign Programs.
A.
Architectural Compatibility. A sign, including its supporting structure, if any, should be designed as an integral design element of a building's architecture and be architecturally compatible, including color and scale, with any building to which the sign is to be attached and with surrounding structures. A sign that covers a window or that spills over "natural" boundaries or architectural features and obliterates parts of upper floors of buildings is detrimental to visual order and will not be permitted. Common indicators of compatibility include:
1.
Quality sign design and construction;
2.
Proportional size and scale; and
3.
Use of materials, shapes and colors that complement the building's architectural style and the surrounding environment.
B.
Legibility. The size and proportion of the elements of the sign's message, including logos, letters, icons and other graphic images, should be selected based on the average distance and average travel speed of the viewer. Sign messages oriented towards pedestrians may be smaller than those oriented towards automobile drivers. Colors chosen for the sign text and/or graphics should have sufficient contrast with the sign background in order to be easily read during both day and night. Symbols and logos can be used in place of words. Substantial contrast should be provided between the color and materials of the background and the letters or symbols to make the sign easier to read in both day and night.
C.
Visibility. A sign should be conspicuous and readily distinguishable from its surroundings so a viewer can easily see the information it communicates.
D.
Placement. Often, a building's architectural details create logical places for signage. Signs should not cover or interrupt architectural details or ornaments of a building's façade. On buildings with a monolithic or plain façade, signs can establish or continue appropriate design rhythm, scale and proportion. Well-designed and well-located retail signs create visual interest and continuity with other storefronts on the same or adjacent buildings. Signs should not obstruct windows or doors.
A.
Signs Must Comply with This Article. In all zones, only such signs as are specifically permitted in this Article may be placed, erected, maintained, displayed or used, and the placement, erection, maintenance, display or use of signs shall be subject to all restrictions, limitations and regulations contained in this Article. The placement, erection, maintenance, display or use of all other signs is prohibited.
B.
Message Neutrality. It is the City's policy to regulate signs in a constitutional manner that is content neutral as to noncommercial messages that are within the protections of the First Amendment to the U.S. Constitution and the corollary provisions of the California Constitution.
C.
Maximum Sign Area. The maximum allowable, permittable sign area on a lot for permanent signs, exclusive of area of exempt signs, is based on the Zoning District in which the sign is located and the type of sign to be installed. The signs allowed and the dimensional standards for individual sign types are established in subsequent sections of this Article.
1.
Residential Zoning Districts: 1 freestanding sign and 1 building sign per lot
2.
Commercial and Mixed Use Zoning Districts: 1 square foot of sign area per linear foot of building frontage per frontage, which may be increased to 1.5 square feet per linear foot of building frontage for shopping centers with at least 500,000 square feet of commercial space with an approved master sign program.
3.
Industrial Zoning Districts: 0.5 square foot of sign area per linear foot of building frontage per frontage.
4.
Other Zoning Districts: as established in the Zoning Ordinance.
D.
Changes to Copy of Approved Signs. Changes to the copy of approved signs that were legally established and have not been modified so as to become illegal are exempt from permitting pursuant to this Article. Changes to copy do not include changes to the type or level of illumination of an approved sign.
E.
Message Substitution. A noncommercial message of any type may be substituted, in whole or in part, for any duly permitted commercial message, and any noncommercial message may be substituted, in whole or in part, for any other noncommercial message.
1.
No Additional Approval. Such substitution of message may be made without any additional approvals. The purpose of this Section is to prevent any inadvertent favoring of commercial speech over noncommercial speech, or favoring of any particular noncommercial message over any other noncommercial message.
2.
Limitations. This message substitution provision does not: 1) create a right to increase the total amount of signage on a parcel, lot or land use; 2) affect the requirement that a sign structure or mounting device be properly permitted; 3) allow a change in the physical structure of a sign or its mounting device; or 4) authorize the substitution of an off-site commercial message in place of an on-site commercial message or in place of a noncommercial message.
F.
Rules for Non-Communicative Aspects of Signs. All rules and regulations concerning the non-communicative aspects of signs, such as location, size, height, illumination, spacing, orientation, etc., stand enforceable independently of any permit or approval process.
G.
Sites of Non-Commercial Message Signs. The onsite/offsite distinction applies only to commercial messages on signs.
H.
Mixed Use Development and Mixed Use Zones. In any zone where both residential and non-residential uses are allowed, the sign-related rights and responsibilities applicable to any particular use shall be determined as follows: residential uses shall be treated as if they were located where that type of use would be allowed as a matter of right, and nonresidential uses shall be treated as if they were located in a zone where that particular use would be allowed, either as a matter of right or subject to a conditional use permit or similar discretionary process.
I.
Changeable Copy. Non-electronic changeable copy shall represent no more than 20 percent of the total allowable sign area. Copy shall not be changed more than once every 24 hours.
J.
Illumination. The illumination of signs, from either an internal or external source, must be designed to avoid negative impacts on surrounding rights-of-way and properties. The following standards apply to all illuminated signs:
1.
Light Intensity. Sign lighting must not be of an intensity or brightness that will create a nuisance for residential buildings in a direct line of sight to the sign.
2.
Shielding Required. External light sources must be directed, shielded, and filtered to limit direct illumination of any object other than the sign, according to Table 15.04.609.090-J(2) below.
3.
Energy Conservation. Light sources shall be hard-wired fluorescent or compact florescent lamps, or other lighting technology that is of equal or greater energy efficiency. Incandescent lamps are prohibited, except when used in signs of historic character as part of the architectural design.
4.
Light Sources Adjacent to Residential Areas. Illuminated signs located adjacent to any residential area shall be controlled by a rheostat or other acceptable method to reduce glare that will create a nuisance for residential or mixed use buildings in a direct line of sight to the sign.
K.
Materials. Signs shall be made of sturdy, durable materials. Paper, cardboard, or other material subject to rapid deterioration can only be used for signs that comply with applicable requirements for temporary signs. Fabric signs are restricted to awnings, canopies, flags, and temporary signs.
L.
Mounting Required. All permanent signs shall be firmly anchored and comply with all requirements for public safety and building codes.
M.
Permitted Sign Locations.
1.
Building Signs. All building signs must be located on and directly parallel to a building wall, canopy fascia or mansard roof directly abutting the use or occupancy being identified and directly facing a parking lot, mall, street, driveway, alley or freeway.
2.
Window Signs. Except for signs painted directly on the exterior surface of the window, all window signs must be located on or within 24 inches of the inner surface of a window directly used by the use or occupancy being identified and be directly facing a parking lot, mall, street, driveway, alley or freeway.
3.
Under Canopy and Shingle Signs. All under canopy and shingle signs shall be suspended from the underside of a pedestrian canopy or awning directly adjacent to the business identified on the sign or a support attached to and projecting from the building wall. Such signs shall be oriented perpendicular to the adjacent wall of the business being identified and shall be attached with rigid supports of a type and in a manner acceptable to the Building and Safety Division. A minimum clearance of 7 feet shall be maintained between the grade level below the sign and the lowermost portion of the sign except when the sign is projecting over a public right-of-way, in that case the minimum clearance shall be 8 feet.
Figure 15.04.609.090-M(3): Under Canopy and Shingle Signs
4.
Pylon and Monument Signs. All pylon and monument signs shall be oriented toward a parking lot, mall, street, driveway or alley. Such signs shall be situated on the lot or parcel on which the use or occupancy identified is located, except in a commercial, office or industrial complex where such a sign may be located on any lot or parcel in the complex where the use or occupancy identified is located.
5.
Sign Projection from a Building Face. Building signs shall not project more than 12 inches from the face of the building on which they are placed with the following exceptions:
a.
Signs placed on a mansard roof may project such a distance from the face of the roof as necessary for the sign face to be perpendicular to the floor of the building.
Figure 15.04.609.090-M(5): Mansard Roof Sign
b.
In any neighborhood commercial zones, a maximum 4 square foot, double-faced sign, oriented perpendicular to the building wall is permitted in lieu of an under canopy sign. Such a perpendicular sign shall not project more than 30 inches from the face of the building wall on which it is placed, shall be attached with rigid supports in a manner acceptable to the Building Division and shall maintain a minimum clearance of 8 feet between the grade level below the sign and the lowermost portion of the sign.
c.
A marquee sign or three-dimensional sign that complies with the applicable requirements of this Article.
6.
Projection of Permanent Signs over Public Rights-of-Way. All signs that project over or into the public right-of-way require approval of an encroachment permit.
N.
Minimum Clearance from Utilities. Signs and their supporting structures shall maintain clearance from and not interfere with electrical conductors, communications equipment, or lines, underground facilities and conduits.
O.
Concealed Electrical Systems. External conduits, boxes, and other connections related to the function of a sign and associated lighting shall not be exposed. A switch disconnecting each circuit shall be placed in plain sight and near the inspection opening.
(Ord. No. 30-18 N.S., § I(Exh. A), 12-18-2018)
A.
Signs Allowed in Any District. The following signs shall comply with all provisions and regulations of this Article. However, no fee, permit or application is required to erect or maintain them.
1.
Permanent, rigid signs located on the fence of a park, playground, athletic field, or other outdoor assembly use, provided that they comply with the following limitations: Each sign shall be no more than 16 square feet in area and there shall be no more than two signs within any eight linear feet of fence, provided that two signs of equal dimensions placed back-to-back on either side of the fence shall constitute one sign for purposes of this paragraph. No sign shall project above the top of the fence.
2.
Temporary signs, provided that:
a.
The total area for all temporary signs displayed simultaneously shall not exceed 16 square feet per lot equivalent; and
b.
No temporary sign shall remain on display for more than 90 days.
B.
Signs Allowed in All Residential Districts.
1.
Signs Allowed Without a Permit.
a.
Permanent wall signs on single-family and two-family buildings (duplexes), provided that:
i.
The total area of all wall signs shall not exceed one square foot per building (two square feet for a duplex); and
ii.
No wall sign shall project more than six inches from the building wall.
b.
On any developed residential lot, permanent, non-illuminated freestanding signs, provided that:
i.
The total area of all such signs shall not exceed one and one-half square feet per lot; and
ii.
No sign shall exceed 6 feet in height.
c.
At the entrance of any multi-tenant building, one permanent, non-illuminated wall sign not exceeding six square feet in area and not projecting more than six inches from the building wall.
d.
Portable signs within the public right-of-way on Saturdays, Sundays, and holidays between the hours of ten a.m. and seven p.m., provided: (a) the signs do not interfere with, obstruct, or misdirect traffic or pedestrian movement; and (b) no person may erect or cause to be erected more than six portable signs at any one time.
2.
Signs Allowed with a Permit. The following signs may be erected, maintained and/or displayed in any residential district with a sign permit or as part of a master sign program:
a.
On residential lots where there are no more than two residential units, permanent, non-illuminated, freestanding signs, provided that the total sign area for all freestanding signs shall not exceed six square feet per lot or lot equivalent; and no freestanding sign shall exceed six feet in height. An illuminated sign is allowed along arterial streets.
b.
On residential lots where there are three or more residential units, permanent, non-illuminated, freestanding signs, provided that the total sign area for all freestanding signs shall not exceed 12 square feet per lot or lot equivalent; and no freestanding sign shall exceed 6 feet in height. An illuminated sign is allowed along arterial streets.
c.
At the entrance to a subdivision, permanent, freestanding signs, provided that the total sign area for all freestanding signs shall not exceed 20 square feet per subdivision; and no freestanding sign shall exceed 6 feet in height.
d.
On commercial or public buildings, wall signs, provided that the total sign area for all signs allowed pursuant to this paragraph shall not exceed 0.5 times the lineal feet of building frontage; and no individual wall sign may exceed 16 square feet in area.
e.
On lots containing commercial, public, or assembly uses, permanent, non-illuminated signs, provided that the total sign area for all signs shall not exceed 16 square feet; and no sign shall exceed 6 feet in height.
C.
Signs Allowed in Commercial, Industrial, Mixed Use Districts.
1.
Signs Allowed Without a Permit. The following signs are allowed without a permit on a lot in commercial districts:
a.
One permanent, freestanding non-illuminated sign not exceeding 16 square feet in area and 6 feet in height.
b.
One wall sign per building, not exceeding 6 square feet in area and not projecting more than 6 inches from the building wall.
c.
Window signs not exceeding 25 percent of the window area.
2.
Signs Allowed with a Permit. The following signs may be erected, maintained and/or displayed in any Commercial, Industrial, or Mixed Use district with a sign permit or as part of a master sign program: awning signs, blade signs, freestanding signs, marquee signs, projecting signs, wall signs, and wall mural signs. Dimensional standards for all of these signs are in Tables 15.04.609.100-C(1) to C(6) on the following pages.
3.
Multiple-Occupancy Commercial Sites with Limited Frontage. Where a multiple-occupancy commercial site has public street frontage equal to 20 percent or less of the perimeter measurement of the site, the maximum allowable wall sign area for the site is calculated as follows:
a.
One square foot of sign area per one lineal foot of public street frontage.
b.
One lineal foot of exterior building walls fronting on driveways and parking lots that are generally used for public access and are located on the same site.
c.
Pedestrian-only passageways that are lined on both sides by building walls are considered interior spaces, and although signs may be placed on such walls, the area of such walls is not included in the calculation of the maximum allowable sign area for the site.
4.
A-Frame Signs. A-Frames are allowed to advertise the location, goods or services offered on the premises. They must be made of a durable, rigid material such as, without limitation, wood, plastic or metal and conform to the following standards. No sign permit is required, unless an A-Frame sign is to be placed in a public right-of-way, in which case an encroachment permit is required.
a.
Prohibitions. A-Frame signs are prohibited from any form of broadcasting or audio presentation.
b.
Locations Allowed. A-Frame signs are allowed within a front or corner side setback area and in the public right-of-way directly in front of a business. They are not permitted in planters, flower beds or tree wells, nor in sight visibility triangles as established in the Zoning Ordinance.
c.
Maximum Height and Area. The A-Frame sign, when placed in an open position must not exceed a height of 42 inches from ground level to the top of the sign and be no more than 6 square feet per sign face.
d.
Maximum Number: One per business, which does not count against maximum allowed sign area. They must be removed at the close of business.
e.
Placement: A-Frame signs shall be placed so that a minimum four feet is left clear for pedestrian passage on all sidewalks and walkways. They shall only be placed at grade level and shall not be placed on walls, boulders, planters, vehicles, other signs or any other type of structure.
f.
City's Right to Remove: If at any time any portion of the public right-of-way occupied and used by the A-Frame sign may be needed or required by the City, or the business fails to maintain the permitted sign, it may be removed by the City.
D.
Signs Allowed in All Other Districts.
1.
Permanent, freestanding signs, provided that:
a.
The total sign area for all freestanding signs shall not exceed 20 square feet per lot equivalent; and
b.
No individual freestanding sign shall exceed 10 feet in height.
c.
The base or supporting members of each freestanding sign shall be located in a planted landscaped area. The landscaped area shall be differentiated from adjoining paved areas by a six-inch wide border which is at least four inches above the ground level. All planted landscaped areas shall be irrigated and maintained on a regular basis.
2.
For each building, one wall sign not exceeding 6 square feet in area and not projecting more than 6 inches from the building wall.
(Ord. No. 30-18 N.S., § I(Exh. A), 12-18-2018)
A.
Readerboard Signs. Readerboard signs with manually or electronically changeable copy may be displayed in lieu of building or freestanding signs subject to the following requirements.
1.
Residential Districts. Signs located in a residential district or readily visible from a residential property shall not be changed more than twice during any 24 hour period.
2.
Elementary, Middle and High Schools. Elementary, middle and high schools shall be permitted 1 freestanding or building mounted combination readerboard on-premises sign per use as described below:
a.
Sites Less Than Fifteen Acres. One maximum 40 square foot, 6 foot high static or readerboard on-premises, monument sign or 40 square foot static or readerboard building sign.
b.
Sites Fifteen Acres or More. One maximum 65 square foot, 15 foot high static or readerboard on-premises freestanding sign or 65 square foot static or readerboard building sign.
3.
Other Public Assemblies Not for Entertainment. Other public assemblies that are not engaged in commercial entertainment shall be permitted one freestanding or building mounted combination readerboard on-premises sign per use as described below:
a.
Sites One Acre in Size or Less. One static readerboard monument sign up to 16 square feet in area and 6 feet in height or one static readerboard building sign up to 24 square feet in area.
b.
Sites Greater Than One Acre in Size. One static readerboard monument sign up to 25 square feet in area and 6 feet in height or one static readerboard building sign up to 25 square feet in area.
c.
Time Limits. The copy shall not be changed more than once during any 24-hour period and shall not be illuminated between the hours of 10:00 p.m. and 7:00 a.m.
4.
Other Public Assemblies Within a Commercial or Non-Residential Complex. Other public assemblies located within an existing office, commercial or industrial complex shall be allowed one readerboard sign serving that particular use in lieu of the permitted monument sign for the existing multi-tenant office, commercial or industrial complex.
5.
Other Public Entertainment Venues. Public entertainment venues shall be permitted 1 freestanding or building mounted combination readerboard on-premises sign per use using either manually or electronically changeable copy, selected from the following options:
a.
Sites Less than Fifteen Acres. One maximum 40 square foot, 6 foot high combination readerboard on-premises monument sign, or 1 building mounted sign shall be permitted, located on the frontage occupied by the use, maximum 1½ square feet of sign for each foot of the occupancy frontage, not to exceed 100 square feet.
b.
Sites Fifteen or More Acres. One maximum 65 square foot, 15 foot high combination readerboard on premises freestanding sign, or 1 building mounted sign shall be permitted, located on the frontage occupied by the use, maximum 1½ square feet of sign for each foot of the primary building frontage, not to exceed 100 square feet. On a corner building, only one readerboard sign is allowed.
6.
Theaters. Theaters offering live performances or motion pictures and having permanent seating for at least 100 persons may, in lieu of on-premises building sign, display 1 readerboard sign, with a maximum 1½ square feet of signage for each lineal foot of building frontage; not to exceed 100 square feet of signage.
B.
Electronic Message Center Sign. Electronic Message Center signs (EMC) are permitted in commercial complexes 10 acres or larger and on parcels with an approved entertainment use 15 acres or larger subject to the approval of a conditional use permit and compliance with the following requirements:
1.
EMC are only permitted on sites with frontage on Routes of Regional Significance as defined by the West Contra Costa Transportation Advisory Committee, excluding highways and freeways.
2.
No EMC shall face a residential zoning district.
3.
The copy of electronically displayed messages may change no more frequently than once every eight seconds. A minimum of 0.3 second of time with no message displayed shall be provided between each message displayed on the sign.
4.
Displays shall contain static messages only, and shall not have movement, or the appearance or optical illusion of movement, of any part of the sign structure, design, or pictorial segment of the sign, including the movement or appearance of movement of any illumination, or the flashing, scintillating or varying of light intensity.
5.
All electronic message displays shall be equipped with a sensor or other device that automatically determines ambient illumination and is programmed to automatically dim according to ambient light conditions or can be adjusted to comply with the following illumination requirements in sub-section 6 of this Section.
6.
Between dusk and dawn the luminance of an EMC shall not exceed 0.3 footcandles more than ambient lighting conditions when measured at the exterior of the site.
A.
General Requirements.
1.
General. Each property or establishment in non-residential zones, as specified, shall be allowed sign copy area for the display of temporary signs, in addition to allowed permanent signage as specified in this Article. No permit shall be required for temporary signage.
2.
Limits. Temporary signage must comply with the sign area limits and maximum number of allowed temporary signs, for each of the categories of temporary signage specified in this Section. No other temporary signage shall be allowed in non-residential zones.
3.
Material. Temporary signs shall not be made of standard paper or other materials subject to rapid deterioration.
4.
Illumination. Temporary signs cannot be illuminated.
B.
Portable Signs. Portable signs are allowed subject to the following standards.
1.
Relation to Associated Business. Portable signs may be located up to 300 feet away from the business so long as they remain within the development site with which the business is associated and the business obtains property owner authorization.
2.
Maximum Sign Area per Parcel or Business Location. Each business establishment shall not have more than an aggregate sign area of 16 square feet.
3.
Maximum Size and Sign Area. All portable signs, except A-Frame signs, shall not exceed 8 feet in height above ground level, nor have a maximum sign area greater than 8 square feet. A-Frame signs, when placed in an open position, must not exceed a height of 42 inches above the ground level, to the top of the sign, nor have a maximum sign area greater than 6 square feet.
4.
Placement. The portable signs shall be placed on private property on the same lot as the establishment that qualifies for such sign and, with an encroachment permit, may be placed in the public right-of-way in front of the associated use or on the nearest sidewalk provided a four-foot wide pedestrian clear zone is maintained. They must be a minimum of seven feet from the back of the curb, or edge of pavement where no curb exists.
5.
Prohibited Locations. Portable signs shall not be located:
a.
In any public right-of-way;
b.
In parking lot driving lanes, aisles or stalls;
c.
On multi-use trails or sidewalks if they would block a four-foot wide pedestrian clear zone;
d.
At any location where they would block pedestrian access;
e.
Within 100 feet on either side, or in front of a freestanding sign;
f.
Within 20 feet from any other portable sign; and
g.
Within 30 feet from a shopping center access drive or street intersection.
6.
Display Hours for A-Frame signs. A-Frame signs are permitted during the hours a business is open for business and one-half hour before opening and one-half hour after closing. They must be removed during hours when the establishment is not open to the public.
7.
Maximum Duration. Portable signs, except A-Frame signs, may be displayed for a maximum of 90 days.
C.
Banners, Feather Banners, and Pennants. Banner signs, feather banners, and pennants, including similar devices such as strings of ornamental fringes or streamers, are allowed for establishments within non-residential zones, subject to the following standards:
1.
Maximum Sign Area per Parcel or Business Location. The total aggregate sign area for banners, feather banners or pennants shall not exceed 20 square feet for each lot, or business location where more than one business is located on a single lot. Where a lot or business location has a street frontage exceeding 75 lineal feet, the aggregate sign area for banners, feather banners or pennants shall be 32 square feet for each 75-foot segment of street frontage.
2.
Maximum Height. Banners and pennants shall not extend above the roofline or the parapet of a wall. Feather banners may not exceed 8 feet above ground level.
3.
Allowable Locations. Banners are only allowed on sites where permanent signs are allowed.
4.
Maximum Duration. No banner, feather banner, or pennant shall be displayed for more than 60 days and a period of 30 days must lapse before displaying another banner or pennant. On a calendar year basis, banners, feather banners, and pennants shall not be displayed for more than four 60-day periods.
D.
Temporary Window Signs. Temporary window signs are allowed for establishments within non-residential zones, subject to the following standards:
1.
Maximum Size. The total area of temporary window signs shall not exceed 10 percent of the aggregate window area on a single side of a wall.
2.
Maximum Duration. No temporary window sign shall be displayed for more than 60 days and a period of 30 days must lapse before displaying another sign. On a calendar year basis, temporary window signs shall not be displayed for more than four 60-day periods.
The City Council may designate historic signs following a duly-noticed public hearing and a recommendation from the Historic Preservation Commission.
A.
Criteria. Historic signs must meet defined criteria, including, without limitation, to the fact that the sign is 50 or more years old and has significance to the Richmond community because it is associated with a significant historical event or it is associated with a historic business.
B.
Allowances for Historic Signs.
1.
Structural Improvements. Historic signs may have structural improvements completed in order to extend the life of the sign.
2.
Damage Repairs. If the sign is damaged, it may be repaired and replaced with the original sign area and original height, even if the sign does not conform to the standards of this Section.
A.
Purpose. The purpose of this Section is to establish regulations that enhance the appearance of the City by requiring removal of closed business signs within a reasonable period after a business has closed or a building has been vacated.
B.
Applicability. A closed business sign is any sign located on a building, in the window of a building, or on the same lot as a building that advertises or identifies either (1) the owner or lessor of a building that has been vacated, or (2) a use, activity, business, service or product no longer offered or conducted in a building, and that continues to be displayed more than thirty days after the owner or lessor has vacated the building or more than thirty days after the use, activity, business, service or product has ceased to be offered or conducted in the building.
C.
Removal or Covering Required. All closed business signs shall be removed or completely obscured from public view. A sign is "completely obscured from public view" when it has been completely covered with a solid material, such as plywood or lumber, that is securely fastened to the sign or its supporting structure and painted to match the color of the building in which or on which the sign is located. Plastic or fiber sheets shall not constitute a solid material that adequately obscures a closed business sign.
A.
A permit issued by the Zoning Administrator is required to erect, construct, install, structurally alter or relocate any non-exempt sign. Signs that project over or extend into a public street or sidewalk more than 8 inches require an encroachment permit issued by the City.
B.
All applications for sign permits are subject to review under the provisions of Section 15.04.803.040 (Review of Applications) and must be determined to be complete before review of the applicant begins. To be considered complete, an application for a sign permit shall include:
1.
A completed sign permit application form accompanied by the required fee.
2.
A letter or other written evidence of the property owner or business owners to have the proposed sign(s) displayed on the property owned.
3.
A site plan and/or building elevation plans drawn to scale and dimension showing the following (as applicable):
a.
Existing structures; lot frontage and building frontage (dimensioned);
b.
Driveways and public rights-of-way;
c.
Existing and proposed signs;
d.
Vision clearance; vertical clearance over public rights-of-way.
4.
A proposed sign plan drawn to scale and dimension showing the following (as applicable):
a.
Sign height, width, area, and thickness.
b.
Color of lettering and background.
c.
Type of illumination.
d.
Materials.
C.
Within 10 business days after receipt of an application for a sign permit, the Zoning Administrator shall inform the applicant in writing if the application is incomplete and will list the submittals required to complete the application. If the Zoning Administrator does not notify the applicant within 10 days after receipt that the application is incomplete, then the application will be deemed complete.
D.
The Zoning Administrator shall either grant or deny a sign permit within 15 business days after receipt of a complete application. A denial shall be accompanied by written findings stating the reasons for the denial and may be appealed to the Design Review Board.
(Ord. No. 30-18 N.S., § I(Exh. A), 12-18-2018)
A.
Any person seeking to erect on one or more sites or to distribute 25 or more temporary signs at one time, either personally or by supervising others, must provide:
1.
The name and address of the person(s) responsible for erecting or distributing, maintaining and removing the multiple temporary signs;
2.
A description of the method of installation and support for each sign (if signs are to be freestanding and supported by a method other than wire no greater than 3 millimeters in diameter, the applicant must include a scaled drawing of the supporting structure);
3.
A copy, drawing, or photograph of the proposed temporary sign; and
4.
The fee specified in the master fee schedule adopted by the City Council.
B.
One day after submittal of all of the items required in subparagraph (A), the Zoning Administrator shall issue or deny a permit for multiple temporary signs, subject to the following terms and conditions:
1.
The Zoning Administrator shall assign an identification number (ID#) to the sign plan, and such number shall be referred to in the permit;
2.
The permittee shall provide the Zoning Administrator with a prototype of the sign marked with the ID#.
3.
All temporary signs and structures are to be removed within 90 days from the date the permit is issued.
4.
Any denial of a permit for multiple temporary signs shall be accompanied by written findings stating the reasons for the denial and may be appealed to the Design Review Board.
C.
No temporary sign shall be posted in a City right-of-way, landscaped area, parkland or any road median before the Superintendent of Parks has confirmed that a permit has been issued and that the proposed posting will not interfere with the ordinary use and enjoyment of the area, underground irrigation or utilities, or line of sight for motor vehicle, bicycle and pedestrian traffic. Placement of signs shall not harm landscape plantings or structures. The Superintendent may require the sign permittee to call for a USA marking confirmation of utilities prior to posting.
A.
Purpose. The purpose of a Master Sign Program (MSP) is to integrate all signs into a project's design to achieve a unified architectural statement. A MSP provides a means for flexible application of sign regulations for properties with multiple signs, multi-tenant properties, and other properties with unified development, in order to encourage creativity and provide incentives to achieve, not circumvent, the intent of this Section.
B.
Applicability and Approval Required.
1.
Master Sign Program Required. A Master Sign Program approved by the Design Review Board is required for:
a.
Multi-tenant centers, buildings, or developments with six or more separate tenant spaces that share the same parcel, building or structure, or use common access and parking facilities, public spaces, and landscaping, such as multitenant commercial and office buildings, shopping centers, office parks, and mixed use developments;
b.
Major rehabilitation or additions to existing nonresidential projects with five or more tenants, that involve construction or renovation of more than 25,000 square feet or 50 percent or more of the exterior of the building, or 25 percent of the existing signs on the site within a 12 month period, whichever is less. For the purposes of this Section, major rehabilitation means adding or remodeling 50 percent of the gross floor area of the structures, or exterior redesign of more than 25 percent of any façade within the project;
c.
When the Planning Division determines that a Master Sign Program shall be required for a project due to special circumstances (e.g., the number or size of signs proposed, size or location of the project, or constrained visibility of the site relative to freeways, etc.); and
d.
An applicant that seeks approval of a master sign program that includes any freeway oriented sign(s) shall obtain approval of a design review permit and conditional use permit for said master sign program. Freeway oriented sign(s) may only be permitted if all of the following findings are made:
1.
The required findings pursuant to Article 15.04.805.050 (Design Review) and Article 15.04.806.040(Use Permits).
2.
The sign(s) must be part of a master sign program under subsection (1)(a) of this Section.s
3.
The sign(s) must serve a multi-tenant regional retail center development (with three or more separate tenant spaces) that consists of a minimum of 500,000 square feet of retail and similar commercial uses.
4.
The sign(s) are of appropriate size, scale, and design for the area in which it will be located.
5.
The sign(s) are of high quality in appearance, design, and construction, and will be subject to conditions, as appropriate, governing its design and operation.
6.
The sign(s) will not contribute to significant visual blight or clutter, and will not significantly degrade the visual quality of the area in which it will be located.
7.
No sign(s) shall significantly impair public safety.
8.
Any freestanding sign may only be used to advertise the name of the business, type of business, or product manufactured, presented or sold on the premises by such person, firm, or corporation occupying the multi-tenant regional retail center development where the sign(s) are located, and, upon advance written demand of the City, and to the extent allowed by law, to publicize City-run or City-sponsored events (or certain designated partners) and/or disseminate City of Richmond news, traffic/safety/security announcements, and similar civic information and public service announcements.
9.
The sign(s) shall satisfy applicable requirements of the Outdoor Advertising Act (Business and Professions Code Sections 5200 through 5486, inclusive), as amended from time to time.
10.
The sign(s) shall satisfy applicable California Department of Transportation standards for freeway-oriented signs, as amended from time to time.
11.
The sign(s) approved as part of the master sign program shall be built in a perpendicular manner (as is feasible based on site constraints in order to best maximize sign visibility) to the freeway and shall not be required to face any other public streets.
2.
Optional Sign Program. A Master Sign Program may be substituted for specific sign designs and individual applications if requested by an applicant and approved by the Design Review Board.
C.
Required Submittals. Applications for a Master Sign Program must include the following plans and text:
1.
A site plan showing the location of buildings, parking lots, driveways and landscaped areas;
2.
Computation of the maximum total sign area, the maximum area for individual signs, the height of signs and the number of freestanding signs allowed, if proposed;
3.
An accurate indication on the site plan of the proposed location of each proposed sign and existing sign which is to remain;
4.
Color schemes, lettering and graphic style (if tenants are not known, generic styles may be presented);
5.
Lighting and sign construction materials; and
6.
Sign dimensions (if tenants are not known, generic dimensions may be presented); and
7.
A written program of standards for all sign types to be distributed to future tenants, including color, size, illumination, construction details, and sign placement.
D.
Findings Required. The Design Review Board may approve variations in dimensional standards such as height, sign area, number of signs and other limitations of this Chapter, provided they are necessary for the visibility of signage and can achieve a result that is superior to what would otherwise be allowed. The Design Review Board shall make the following findings in order to approve or conditionally approve a Master Sign Program:
1.
That the proposed Master Sign Program improves the safety and welfare of the general public by minimizing distractions, hazards, and obstructions from sign design or placement;
2.
Provides for sign design or placement appropriate for the area;
3.
Incorporates sign design and placement related to architectural and landscape features on site; and
4.
The approval of a master sign program does not adversely affect surrounding land uses or obscure adjacent conforming signs.
E.
Conditions. Reasonable conditions of approval may be imposed by the Design Review Board to achieve the purposes of this Section and ensure compatibility with adjacent land uses and signage.
F.
Post-Approval Procedures. After approval of a Master Sign Program, no signs shall be erected, placed, painted, or maintained, except in conformance with such Program, and such Program may be enforced in the same way as any provision in this Section.
1.
Lease Agreements. The Master Sign Program and all conditions of approval shall be attached to the lease agreements for all leasable space within a project.
2.
Individual Signs. Any sign that conforms to an approved Master Sign Program may be approved by the Zoning Administrator or designee; however, approval of a Master Sign Program does not waive the permit requirements for individual signs.
3.
Amendments. The Zoning Administrator may approve minor amendments to a Master Sign Program that are in substantial conformance with the original approval. All other amendments, including amendments to conditions of approval shall be processed as a new application.
(Ord. No. 30-18 N.S., § I(Exh. A), 12-18-2018)
A.
The Design Review Board may approve a variance to any requirement for a permanent sign upon finding all of the following:
1.
Strict application of the requirements of this Article would deny the applicant a reasonable opportunity to communicate by sign in a manner similar to like persons or uses because of an unusual or unique circumstance relating to the property or the proposal, such as site or building location, building design, physical features on the property, or some other circumstance;
2.
The sign resulting from the variance will not affect the surrounding neighborhood or other property affected by the request in a manner materially inconsistent with the purpose and objectives of this Article; and
3.
The extent of the variance from the requirement is limited to that reasonably necessary to alleviate the problem created by the unique or unusual circumstance identified pursuant to paragraph (A)(1), above.
B.
The Design Review Board's decision regarding a variance may be appealed to the City Council in accordance with Article 15.04.808 (Variances), except that, within 30 days after the City's receipt of an appeal of a variance denial pursuant to this Section, the City Council shall hear and decide the appeal. The City Council's review of the Design Review Board's decision shall be governed by the criteria set forth in this Article. The City Council shall issue written findings in support of its decision.
A.
Denial of a sign permit may be appealed to the Design Review Board by submitting a written appeal to the Planning and Building Services Director within ten days. The appeal must be accompanied by the appeal fee published in the City's Master Fee Schedule.
B.
The Design Review Board shall hear the appeal and render a decision within 15 days of the close of the hearing. The Design Review Board's review of the permit denial shall be governed by the criteria set forth in this Article, and its decision shall be final. The Design Review Board shall issue written findings in support of its decision.
C.
Denials of a Master Sign Program may be appealed to the Planning Commission by submitting a written appeal to the Planning and Building Services Director within ten days of the date of the Board's action. The appeal must be accompanied by the appeal fee published in the City's master fee schedule.
D.
The Planning Commission shall hear the appeal and render a decision within 15 days of the close of the hearing. The Commission's review of the permit denial shall be governed by the criteria set forth in this Article, and its decision shall be final. The Commission shall issue written findings in support of its decision.
The most recent edition of the Uniform Sign Code, published by the International Conference of Building Officials, is adopted by reference as though fully set forth in this Article. Three copies of the Uniform Sign Code and all amendments thereto, shall be kept on file in the office of the City Clerk for inspection by the public. The following additions and amendments are made to the Uniform Sign Code.
A.
Addition—Ordinance 1, Section 102. The following additional paragraphs are added to the Purpose and Scope:
1.
"Sec. 102 … The Administrative part of this code is in addition to the City of Richmond's Building Regulations Administrative Code Ordinance 6.02 of the Municipal Code. Where conflicts occur between this Ordinance and Ordinance 6.02 of the Municipal Code, the provisions of Ordinance 6.02 of the Municipal Code shall govern."
2.
"This code is supplemental to Ordinance 15 'Zoning' of the Municipal Code of the City of Richmond. All signs subject to issuance of a permit, as specified in this code, shall comply with regulations as set forth in Ordinance 15 as a condition of issuance of such permit. No sign shall be erected or placed upon any private or public property or attached to building, structure or premises which in any way conflicts with the provisions of Ordinance 15, nor shall any sign be erected or placed without the consent of the owner, holder, lessee, agent or trustee of said building, structure or premises, or located contrary to the provisions of any setback requirement."
B.
Amendment—Section 103 (c). Uniform Sign Code Section 103(c) is amended to read as follows: "(c) Board of Appeals. In order to provide for reasonable interpretation of the provisions of this code and to hear appeals provided for hereunder, the Board of Appeals created in section 6.02.130 of this Code shall act as the Appeals Board for this code."
C.
Definitions—Section 202 et seq. The following definitions in Section 15.04.609.040 are added to the definitions: Awning, Banner Sign, Face, Marquee Sign, and Wind Sign.
D.
Addition—Section 403—Construction. The following restrictions are added to Uniform Sign Code Section 404: "(h) Restrictions on Marquee, Projecting and Roof Signs. All marquee, projecting and roof signs shall have structural bracing which is either internal or external; if external such bracing shall be by guy wires which are approved by the Building Official as to type and method. No external struts shall be permitted." "(i) Prohibited Locations. Signs shall be prohibited in a public street, sidewalk, public way, place or public property except as provided for in this code." "(j) Utility Safety Clearance. No sign shall be erected in such a manner that it will violate or interfere with any space or safety requirement of any public utility as declared by the California Public Utilities Commission." "(k) Traffic Clearance. No sign shall be located so as to obscure the view of approaching traffic." "(l) Lights Used for Illumination. Lights used for illumination shall be treated the same as an electric sign."
E.
Amendment—Section 1201—General. The following amendment is made Uniform Sign Code Section 1201, to read as follows: "Sec. 1201. Signs may be placed on, attached to, or constructed in a marquee or awning. Such signs shall, for the purpose of determining projection, clearance, height and material, be considered a part of and shall meet the requirements for a marquee or awning specified in Ordinance 45 of the Building Code."
Every sign shall be kept up and maintained in a secure and safe condition. Signs shall be kept free of rust, corrosion, peeling paint, cracks, fading and other surface deterioration. Illuminated signs shall function as designed and permitted. If a sign is not maintained in accordance with this paragraph, the City may notify the owner of the property on which the sign is located or to the person responsible for the maintenance of the sign in writing that he or she must comply with this Article. If the condition is not corrected or eliminated within the time specified in the notice, the City may revoke the permit for the sign and remove the sign in the manner provided in the notice.
Nonconforming signs lawfully existing on the date this ordinance becomes effective may continue to be used and need not be modified to conform to the requirements of this Article unless deemed to be a public nuisance because of health or safety conditions. Except that if any such sign is altered, partially demolished or reconstructed or the business with which is associated is closed for a period of 90 days or more, the provisions of this Article shall apply. Normal repairs, copy substitution or replacement, and maintenance that do not change the location or appearance of the sign may be made without conforming the sign to the requirements of this Article.
A sign that fails to comply with or violates any provision of this Article, or is developed or maintained contrary to the terms of a sign permit, is hereby declared to be unlawful and a nuisance.
A.
Nuisance Violations. It is unlawful for any person, firm or corporation to erect, construct, enlarge, alter, repair, move, improve, remove, convert, demolish, equip, use or maintain any sign or structure in the City, or cause or permit the same to be done, contrary to or in violation of any of the provisions of this Code.
Any sign that is placed, erected or maintained in violation of provisions of this Article or of any other ordinance of the City, or of any other provision or law, is hereby declared to be a nuisance.
B.
Abatement Procedures. Any sign declared to be a nuisance may be subject to the abatement procedures established in the Municipal Code.
The purpose of this Article is to establish standards for specific uses and activities that are permitted or conditionally permitted in several or all zoning districts. These provisions are intended to minimize the impacts of these uses and activities on surrounding properties and the City at large and to protect the health, safety, and welfare of their occupants and of the general public.
Accessory dwelling units (ADUs) and junior accessory dwelling units (JADUs) must be located, developed, and operated in compliance with the standards of this Chapter 15.04.610.020 in zones where single-family or multi-family dwellings are permitted.
A.
Zoning Compliance Review. An applicant for an accessory dwelling unit or junior accessory dwelling unit must submit the application fee and all of the information contained on the application forms provided by the City to the Zoning Administrator for ministerial approval or as part of a building permit application. No discretionary review may be permitted unless the application includes other work unrelated to the accessory dwelling unit, in which case discretionary review shall be limited to the work unrelated to the application for the accessory dwelling unit. The decision of the Zoning Administrator is final and no appeal may be filed.
B.
Time Limit to Act. All accessory dwelling unit and junior accessory dwelling unit applications shall be approved or disapproved within 60 days of receiving a completed application if there is an existing dwelling on the lot. The City shall grant a delay in processing if requested by the applicant. Action for an accessory dwelling unit or junior accessory dwelling unit application in connection with a proposed new single-family dwelling may be delayed until the City acts on the permit application for the primary building. Occupancy of the junior or accessory dwelling unit shall not be allowed until the City approves occupancy of the primary dwelling.
C.
General Requirements.
1.
Relation to Main Dwelling Unit. An accessory dwelling unit shall be located behind the primary dwelling. The accessory dwelling unit shall be either attached to the primary dwelling, located within the primary dwelling, or detached from the primary dwelling and located on the same lot as the primary dwelling. Detached or attached accessory dwelling units shall have exterior designs that are consistent with the primary dwelling and incorporate the same or similar building materials, colors, and exterior surfaces and finishes as those on the primary dwelling.
2.
Kitchen Facility. An accessory dwelling unit and junior accessory dwelling unit must contain its own kitchen.
3.
Objective Design Standards.
a.
The materials and colors of the exterior walls, roof, eaves, and windows and doors shall match the appearance and architectural design of those of the primary dwelling.
b.
The roof slope shall match that of the dominant roof slope of the primary dwelling. The dominant roof slope is the slope shared by the largest portion of the roof.
c.
The exterior lighting shall be limited to down-lights or as otherwise required by the building or fire code.
d.
All windows that are located 12 feet in height above the finished floor shall be clerestory windows and must be frosted or obscure glass.
e.
A new detached ADU shall not be located closer to the front property line than the primary residence unless it would not be physically feasible to construct an 800-square-foot attached or detached ADU not exceeding 16 feet in height with four-foot side and rear setbacks anywhere else on the property.
f.
The architectural treatment of an ADU to be constructed on a lot that has an identified historical resource listed on the federal, state, or local register of historic places shall comply with all applicable ministerial requirements imposed by the Secretary of the Interior.
4.
Parking. The minimum parking requirements for an accessory dwelling unit shall be as prescribed in Article 15.04.607 (Parking and Loading Standards), subject to the following additional provisions. Parking for an accessory dwelling unit may be provided as tandem parking on an existing driveway or in a setback area. No additional parking shall be required if the accessory unit is located: (1) within one-half mile walking distance of public transit; (2) in an architecturally and historically significant historic district; (3) in part of a proposed or existing primary residence or an accessory structure; (4) in an area requiring on-street parking permits but they are not offered to the occupant of the second unit; or (5) within one block of a car-share pick up/drop-off location. When a garage, carport, or covered parking structure is demolished or converted in conjunction with the construction of an accessory dwelling unit, the parking spaces need not be replaced.
5.
Deed Restriction. Prior to obtaining building permits for an accessory dwelling unit or junior accessory dwelling unit, a property owner shall file with the Contra Costa County Recorder a deed restriction, in a form approved by the City Attorney, which shall include the following provisions. This deed restriction shall run with the land, and shall be binding upon any future owners, heirs, or assigns. A copy of the recorded deed restriction shall be filed with the Zoning Administrator stating that:
a.
The accessory dwelling unit or junior accessory dwelling unit shall not be sold separately from the primary dwelling unit unless consistent with the provisions of Government Code section 65852.26 or successor provision;
b.
The accessory dwelling unit or junior accessory dwelling unit is restricted to the size and attributes approved by the Zoning Administrator in its Zoning Compliance review per Article 15.04.804;
c.
The accessory dwelling unit or junior accessory dwelling unit shall not be rented for a period shorter than 30 days;
d.
For a junior accessory dwelling unit, the junior accessory dwelling unit or the remaining portion of the single-family structure must be owner occupied;
e.
The restrictions shall be binding upon any successor in owner of the property and lack of compliance with any provisions of the Municipal Code may result in legal action against the property owner, including revocation of any right to maintain an accessory dwelling unit or junior accessory dwelling unit on the property.
D.
Development Standards.
1.
Accessory Dwelling Units.
a.
Setbacks. Side and rear setbacks shall be no less than four feet. No setback shall be required for the conversion of an existing living area or accessory structure or a structure constructed in the same location and to the same dimensions as an existing structure that is converted to an ADU.
b.
Floor Area. The maximum floor area for an accessory dwelling unit attached to or detached from a dwelling shall not exceed 850 square feet for a studio or one bedroom or 1,000 square feet for a unit that contains two or more bedrooms. No accessory dwelling unit shall be smaller than the size required to allow an efficiency unit pursuant to Health and Safety Code Section 17958.1. Additional limitations apply to junior accessory dwelling units; see paragraph (3) below.
c.
Height. The maximum height of a detached or attached ADU shall be 16 feet.
d.
Limits on lot coverage, floor area ratio, open space, and size must permit or shall be waived to allow an 800 square feet detached or attached accessory dwelling unit 16 feet high with four-foot side and rear yards, if the proposed accessory dwelling unit is in compliance with all other development standards, including but not limited to front yard setbacks. Front yard setbacks shall be waived if it would not be physically feasible to construct an 800-square-foot ADU not exceeding 16 feet in height with four-foot side and rear setbacks anywhere on the property except within the front setback.
e.
An accessory dwelling unit must comply with all development standards for the applicable zoning districts, including setbacks, maximum floor area, and building height, unless they are inconsistent with the provisions of this section, in which case the provisions of this section shall apply.
f.
A portion of a single family dwelling or detached accessory structure legally in existence may be converted into an accessory dwelling unit or a structure may be constructed in the same location and to the same dimensions as the existing detached accessory structure, regardless of any existing zoning nonconformity if the existing structure is not modified or added to in any way that increases the level of nonconformity with all applicable zoning regulations.
2.
Supplemental Standards for Attached Accessory Dwelling Units.
a.
An attached accessory dwelling unit must share at least one common wall or roofline with the living area of the primary dwelling.
b.
An attached accessory dwelling unit shall have a separate entrance, located on the side or the rear of the primary dwelling; provided, however, that in no event shall any external stairwell be placed within the side yard setback.
3.
Supplemental Standards for Detached Accessory Dwelling Units.
a.
The distance between the primary dwelling and a detached accessory dwelling unit must be at least five feet provided, however, that this requirement shall not be applied to prohibit construction of a detached accessory dwelling unit with a total floor area not greater than 800 square feet, not more than 16 feet high, and with side and rear yard setbacks of at least four feet.
4.
Supplemental Standards for Exempt Accessory Dwelling Units.
a.
Notwithstanding any other standard provided in subsections (C) and (D), one of the following categories of accessory dwelling units shall be permitted on a lot with a proposed or existing single family dwelling if they meet the standards of this subsection (D)(4)(a):
i.
One accessory dwelling unit per lot within the proposed or existing space of a single-family dwelling or existing space of an accessory structure. The accessory dwelling unit within the existing space of an accessory structure may include an expansion of not more than 150 square feet beyond the same physical dimensions as the existing accessory structure to accommodate ingress and egress. The accessory dwelling unit shall have exterior access from the single family home. The setbacks must be sufficient for fire and safety; or
ii.
One new detached accessory dwelling unit per lot with a proposed or existing single-family dwelling up to 800 square feet, up to 16 feet in height, and up to four-foot side and rear setbacks;
b.
Notwithstanding any other standard provided in subsections (C) and (D), one of the following categories of accessory dwelling units shall be permitted on a lot with an existing multifamily dwelling if they meet the standards of this subsection (D)(4)(b):
i.
Accessory dwelling units within the portions of an existing multifamily dwelling structure that are not used as livable space, provided that each unit complies with state building standards for dwellings. An accessory dwelling unit shall not be created within any portion of the habitable area of an existing dwelling unit in a multifamily structure. Up to 25 percent of the number of existing multifamily units in the building, but at least one unit, shall be allowed per lot; or
ii.
Up to two detached accessory dwelling units per lot, provided that the height of the accessory dwelling units does not exceed 16 feet and that four-foot side and rear yard setbacks are maintained.
5.
Junior Accessory Dwelling Units. Junior accessory dwelling units shall comply with the following standards:
a.
Number of Units Allowed. Only one junior accessory dwelling unit may be located on any lot zoned for and containing a proposed or existing single-family dwelling. A junior accessory dwelling unit is not permitted on a lot with an accessory dwelling unit unless the accessory dwelling unit is:
i.
A detached, new construction accessory dwelling unit up to 800 square feet, up to 16 feet in height, and with up to four-foot side and rear setbacks; or
ii.
An accessory dwelling unit within the proposed or existing space of a single-family dwelling or existing space of an accessory structure. The accessory dwelling unit within the existing space of an accessory structure may include an expansion of not more than 150 square feet beyond the same physical dimensions as the existing accessory structure to accommodate ingress and egress. The accessory dwelling unit shall have exterior access from the single family home. The setbacks must be sufficient for fire and safety
b.
Unit Size. No junior accessory dwelling unit shall contain more than 500 square feet of floor space and shall be contained entirely within an existing or proposed single-family. An efficiency unit (a single room that includes sleeping and kitchen functions) shall not contain less than 150 square feet of floor space, exclusive of a bathroom.
c.
Owner Occupancy. The owner of a lot proposed for a junior accessory dwelling unit shall occupy as a principal residence either the primary dwelling or the accessory dwelling unless the owner is a government agency, a land trust, or a housing organization.
d.
Separate Sale Prohibited. A junior accessory dwelling unit shall not be sold independently of the primary dwelling on the parcel.
e.
Deed Restriction. A deed restriction shall be completed and recorded, in compliance with paragraph D(5) above.
f.
Location of Junior Accessory Dwelling Unit. A junior accessory dwelling unit must be created within the existing walls of a proposed or existing single-family dwelling.
g.
Separate Entry Required. A separate exterior entry shall be provided to serve a junior accessory dwelling unit.
h.
Kitchen Required. The junior accessory dwelling unit shall include an efficiency kitchen, requiring and limited to the following components:
i.
A cooking facility with appliances; and
ii.
A food preparation counter and storage cabinets that are of a reasonable size in relation to the size of the junior accessory dwelling unit.
i.
Bathroom Required. Access to a bathroom is required, which may be part of the junior accessory dwelling unit or located in the existing primary dwelling. If provided as part of the primary dwelling, the junior accessory dwelling unit shall have direct access to the main living area of the primary dwelling so a resident does not need to go outside to access the bathroom.
j.
No Additional Parking Required. No additional parking is required for a junior accessory dwelling unit.
E.
Utilities and Impact Fees.
1.
Except as provided in subsection (2) below, an accessory dwelling unit may be required to have a new or separate utility connection, including a separate sewer lateral, between the accessory dwelling unit and the utility. A connection fee or capacity charge may be charged that is proportionate to the size in square feet of the accessory dwelling unit or its drainage fixture unit (DFU) values. Separate electric and water meters shall be required for the accessory dwelling unit.
2.
Junior accessory dwelling units and accessory dwelling units converted from the proposed or existing space of a single-family dwelling or existing space of an accessory structure are exempt from any requirement to install a new or separate utility connection and to pay any associated connection or capacity fees or charges.
3.
All utility extensions shall be placed underground.
4.
Junior and accessory dwelling units shall comply with all applicable building code requirements. However, fire sprinklers shall not be required in a junior or accessory dwelling unit if they are not required for the primary dwelling unit.
5.
No impact fees may be imposed on a junior or accessory dwelling unit that is less than 750 square feet in size. For purposes of this section, "impact fees" include the fees specified in Section 66000 and 66477 of the Government Code, but do not include utility connection fees or capacity charges. For accessory dwelling units that have a floor area of 750 square feet or more, impact fees shall be charged proportionately in relation to the square footage of the primary dwelling unit.
F.
Conformance with State Law. In cases of conflict between this section and any other provision of this title, the provisions of this section shall prevail. To the extent that any provision of this section is in conflict with State law, the applicable provision of State law shall control, but all other provisions of this section shall remain in full force and effect.
(Ord. No. 27-20 N.S., § 7, 11-10-2020)
Editor's note— Ord. No. 27-20 N.S., § 7, adopted Nov. 10, 2020, repealed the former § 15.04.610.020, and enacted a new § 15.04.610.020 as set out herein. The former § 15.04.610.020 pertained to accessory dwelling units and derived from Ord. No. 16-16 N.S., § I(Exh. A, Exh. B), adopted Nov. 15, 2016; and Ord. No. 30-18 N.S., § I(Exh. A), adopted Dec. 18, 2018.
Accessory short-term rentals must be located, developed, and operated in compliance with the following standards, where allowed by the 200 Series, Base Zoning Districts:
A.
Where Allowed. Accessory short-term rentals of one or two bedrooms in a dwelling unit are allowed in Residential and Commercial Mixed-Use zoning districts, subject to the standards of this section and applicable license requirements of the Municipal Code, provided they do not detract from neighborhood character and the primary use of the dwelling remains residential. Accessory dwelling units and junior accessory dwelling units may not be rented for periods shorter than 30 days.
B.
Resident Occupancy Required. A resident must occupy the dwelling unit for at least 200 days during each calendar year, and at least one of the unit's primary residents, acting as the host must be on-site, meaning the host is living in one of the bedrooms in the primary structure or in an accessory dwelling unit on the site.
C.
No Limitation on Number of Short-term Rentals. There are no limitations on the annual number of home shares permitted by this section, provided all of standards of this Code are met.
D.
Habitable Space Required. A home-share may only offer space for short-term rentals that qualifies as habitable space, as defined by the Building Code. This means that a host may not rent space in an accessory structure, such as a storage shed or a garage, as a "home-share" space.
E.
Business License Required and Transient Occupancy Tax Required. A valid business license is required to conduct a home-share business, and the applicable transient occupancy tax, as established by the Chapter 7.88 of the Municipal Code, must be paid by the guest when paying the rental. The collected transient occupancy tax must then be remitted to the City within 30 days of receipt.
F.
Hired Services. Hired services for normal maintenance, repair and care of the residence or the site, such as yard maintenance and house cleaning, are allowed.
G.
Permit Number in All Advertising. In any advertisement of the home-share service, a host must include the business license number issued by the City.
H.
Emergency Exits. A host must provide guests with information related to emergency exits if the unit is part of a multi-unit complex of more than one story.
(Ord. No. 27-20 N.S., § 8, 11-10-2020)
An accessory use must be incidental, related, appropriate and clearly subordinate to the principal use of the building or site to which it relates and is subject to the same regulations and permitting requirements as the principal use. If then principal use requires a conditional use permit, then the accessory use also requires a conditional use permit.
A.
Exclusions. No use will be considered to be accessory to a principal use that involves or requires any of the following:
1.
Residential Districts. The use of more than one-quarter (25 percent) of the total floor area in the principal building and accessory building.
2.
Non-Residential Districts. The use of more than one-third (33 percent) of the total floor area in the principal building and the accessory building.
B.
Prohibited Uses. The following uses are prohibited from being accessory uses:
1.
Adult Businesses;
2.
Medical Marijuana Uses (including dispensaries, cultivation, and product manufacturing facilities);
3.
Liquor Stores;
4.
Bar/Nightclub/Lounge, except in hotels and at golf courses; and
5.
General and Limited Industrial Uses.
Adult businesses must be located, developed, and operated in compliance with the following standards, where allowed by the 200 Series, Base Zoning Districts:
A.
General Provisions. Because certain types of Adult businesses possess certain characteristics that are found objectionable, when concentrated, and can have a deleterious effect upon adjacent areas, locating them in the vicinity of facilities frequented by minors increases the likelihood that minors will be exposed to materials intended for adults. In addition, many persons are offended by the public display of certain sexual material. Therefore, special regulation of such uses is necessary to ensure that these adverse effects will not contribute to the blighting or downgrading of the surrounding neighborhood or have an adverse effect on minors.
B.
Applicability. The uses subject to these regulations include, without limitation:
1.
Adult bookstores, adult novelty stores, or adult video stores;
2.
Adult live entertainment theaters;
3.
Adult motion picture or video arcades; and
4.
Adult motion picture theaters.
5.
Exceptions. An "Adult business" does not include the practice of massage in compliance with Chapter 9.38 of the Municipal Code or persons depicting "specified anatomical areas" in a modeling class operated:
a.
By a college, junior college, or university supported entirely or partly by public revenue; or
b.
By a private college or university that maintains and operates educational programs in which credits are transferable to a college, junior college, or university supported entirely or partly by public revenue; or
c.
In a structure operated either as a profit or nonprofit facility:
i.
Which has no sign visible from the exterior of the structure and no other advertising that indicates a nude person is available for viewing; and
ii.
Where, in order to participate in a class, a student must enroll at least three days in advance of the class.
C.
Development Standards.
1.
Specific Location. Adult businesses must be located the following minimum distances:
a.
From any Residential District: 300 feet.
b.
From any educational institution, including, without limitation, public or private schools, nursery schools or child care facilities, religious and/or cultural institutions, hospitals and clinics, private or public parks or other areas where large numbers of minors regularly congregate: 1,000 feet.
c.
From another Adult business: 1,000 feet.
2.
Hours of Operation. Hours of operation are limited to the time period between 8 a.m. and 10 p.m. on Sunday, Monday, Tuesday, Wednesday and Thursday, and from 8 a.m.to 11 p.m. on Friday and Saturday.
3.
Display. No Adult business may display or exhibit any material in a manner that exposes to the public view, photographs or illustrations of specified sexual activities or naked adults in poses which emphasize or direct the viewer's attention to the subject's genitals. Adult news racks are also subject to this limitation.
4.
Security Program. An on-site security program must be prepared and implemented as follows:
a.
Exterior Lighting. All off-street parking areas and building entries serving an Adult business must be illuminated during all hours of operation with a lighting system that provides a minimum maintained horizontal illumination of one foot-candle of light on the parking surface and/or walkway.
b.
Interior Lighting. All interior portions of the Adult business, except those devoted to mini-motion or motion pictures, must be illuminated during all hours of operation with a lighting system that provides a minimum maintained horizontal illumination of not less than two foot-candles of light on the floor surface.
c.
Security Guards. Security guards for Adult businesses may be required if it is determined by the Police Department that their presence is necessary in order to prevent any unlawful conduct from occurring on the premises.
D.
Site Conditions.
1.
Façade. For existing buildings, pictures of the building(s) where the adult-oriented business is proposed to be located must be provided to the City upon submittal of a conditional use permit application. The exterior of the building(s) may be required to be repainted and repaired.
2.
Landscaping. The site must comply with all landscaping requirements of Article 15.04.613 (Water-Efficient Landscaping) in effect at the time of application.
3.
Litter. The exterior of an Adult business, including all signs and accessory buildings and structures, must be maintained free of litter and graffiti at all times. The owner or operator must provide for daily removal of trash, litter, and debris from premises and on all abutting sidewalks within 20 feet of the premises. The owner or operator also must remove graffiti within 72 hours. One permanent, non-flammable trash receptacle shall be installed near to the entrance/exit of the building.
Retail establishments that sell alcoholic beverages, including liquor stores and convenience markets, must be located, developed, and operated in compliance with the following standards, where allowed by the 200 Series, Base Zoning Districts:
A.
Applicability. These standards apply to alcohol sales for off-sale and on-sale consumption.
B.
Use Permit Required. Alcoholic beverage sales shall be allowed only in Industrial, Commercial and Mixed-Use zoning districts. A conditional use permit is required except an administrative use permit may be issued for on-sale beer and wine as part of a restaurant. In addition to the findings required for use permits by Section 15.04.806.040, the Planning Commission or Zoning Administrator must find that all of the following criteria have been met:
1.
That the proposed use will not aggravate existing problems in the neighborhood created by the sale of alcohol; and
2.
That the proposed use will not adversely affect adjacent or nearby uses, including churches and other places for religious assembly, schools, hospitals, parks, recreation centers, and residences; and
3.
That the proposed use will not interfere with vehicular or pedestrian circulation along a public street or sidewalk; and
4.
That the proposed use will be compatible with or enhance, where appropriate, the visual quality of the surrounding area; and
5.
That there is not an "undue concentration" of alcoholic beverage establishments in the surrounding area, as defined in Business and Professions Code Section 23958.4, and that the number of alcoholic beverage sales licenses in the census tract where the use will be located does not exceed the limit set by the California Department of Alcoholic Beverage Control; or
6.
If the criteria set forth in subparagraph 5 above are not met, then the Planning Commission or Zoning Administrator, as the case may be, must find that the public convenience or necessity would be served by approving retail alcoholic beverage sales at the proposed location for any two or more of the following reasons:
a.
The sale of alcoholic beverages will enhance recreational or entertainment opportunities in the area.
b.
The sale of alcoholic beverages will promote the economic viability of the area in which it is proposed.
c.
The sale of alcoholic beverages complements the sale of other goods and merchandise at the location.
d.
The issuance of a license at the proposed location will improve the safety and convenience of area residents who purchase alcoholic beverages.
C.
Location of off-sale retail establishments.
1.
Minimum distance from other liquor stores and convenience markets: 600 feet.
2.
Minimum distance from schools, recreational centers and public parks: 600 feet.
3.
Exception. These distance restrictions do not apply to general markets with an off-sale alcoholic beverage license that meet the following criteria: 25 or more full-time employees and/or a floor area of 20,000 square feet or more.
D.
Prohibited Products. To discourage nuisance activities, off-sale alcohol licensees shall be prohibited from selling any of the following products:
1.
Wine or distilled spirits in containers of less than 750 milliliters;
2.
Malt beverage products with alcohol content greater than five and one-half percent by volume;
3.
Wine with an alcoholic content greater than 14 percent by volume unless in corked bottles and aged at least two years;
4.
Single containers of beer or malt liquor (except craft beer, made by a small, independent, and traditional brewery, in a 22-ounce size or larger container);
5.
Containers of beer or malt liquor not in their original factory packages of six-packs or greater, notwithstanding the exception set forth above;
6.
Containers of beer or malt liquor larger than 39 ounces;
7.
Cooler products, either wine- or malt-beverage-based, in less than four-pack quantities.
E.
Standard List of Conditions of Approval for Alcoholic Beverage Sales.
1.
Hours of Operation. Days and hours of operation shall be between 8:00 a.m. and 8:00 p.m., seven days a week. Additional hours may be allowed by the Planning Commission or Zoning Administrator with appropriate conditions of approval.
2.
Lighting. All off-street parking areas and building entries serving a business selling alcoholic beverages must be illuminated during all hours of operation with a lighting system that provides a minimum maintained horizontal illumination of one foot-candle of light on the parking surface and/or walkway.
3.
Signs. The following signs must be prominently posted in a readily visible manner in English, Spanish, and the predominant language of the patrons:
a.
"California State Law prohibits the sale of alcoholic beverages to persons under 21 years of age";
b.
"No Loitering or Public Drinking"; and
c.
"It is illegal to possess an open container of alcohol in the vicinity of this establishment."
4.
Presentation of Documents. A copy of the conditions of approval and the California Department of Alcoholic Beverage Control license must be kept on the premises and presented to any law enforcement officer or authorized City official upon request.
5.
State License. Liquor stores shall comply with all provisions of any license required for such stores by the California Department of Alcoholic Beverage Control.
6.
Security Cameras. At least two 24-hour time-lapse security cameras are required to be installed and properly maintained on the exterior of the building at locations recommended by the Police Department. All criminal and suspicious activities recorded on this surveillance equipment must be reported to local law enforcement. To the extent allowed by law, the establishment's operators may be required to provide any tapes or other recording media from the security cameras to the Police Department.
7.
Inspections.
a.
All businesses that engage in retail alcoholic beverage sales shall be subject to inspection by the City staff any time the Chief of Police, or their designee, finds that criminal or nuisance activities are occurring on or near the premises.
b.
To ensure compliance with performance standards and/or conditions of approval, all businesses that engage in retail alcoholic beverage sales (for off-site consumption, not including full-service eating and drinking establishments) shall be subject to inspection once every calendar year. If a business is not compliant with all performance standards and/or conditions of approval upon first inspection, it shall be inspected a second time on a date determined by the inspection team, no later than 60 days from first inspection. If a business is not fully compliant upon second inspection, it may be inspected a third time on a date determined by the inspection team, no later than 30 days from the date of second inspection, or, if the continuing non-compliance poses imminent danger to the public health, safety, or welfare the inspection team may issue a notice of violation and take such other actions as are necessary to remedy the violation. If a business is found to be in violation of any performance standards and/or conditions of approval after a maximum of three inspections, planning staff shall schedule a hearing before the Planning Commission to determine whether the conditional use permit or deemed approved status should be revoked or modified. The business owner shall be invoiced for the costs of the inspection and any necessary re-inspection and enforcement costs in accordance with the City's master fee schedule.
8.
Sound Walls. If the alcoholic beverage sales commercial activity abuts a residential zoning district, a sound wall is required between the activity and the abutting lot. The sound wall must be no higher than six feet and must not obstruct the view of the building and parking areas from the street.
9.
Windows. On the primary frontage of a business engaged in retail alcoholic beverage sales there must be a minimum of 240 square feet of transparent fenestration in the area 30 inches above grade to 84 inches above grade that is to remain unobstructed during business hours.
10.
Cups. In uses with off-sale alcohol beverage retail sales, the sale or distribution to the customer of paper or plastic cups in quantities less than their usual and customary packaging is prohibited.
11.
Drug Paraphernalia. Uses with off-sale alcoholic beverage sales is prohibited from selling drug paraphernalia products as defined in Health and Safety Code Sections 11014.5 and 11364.5.
F.
Deemed Approved Alcoholic Beverage Sales Regulations. The general purposes of this chapter are to protect and promote the public health, safety, comfort, convenience, prosperity, and general welfare by requiring minimum performance standards for on- and off-sale retail alcoholic beverage sales that were legal nonconforming uses immediately prior to the effective date of this chapter.
1.
Performance standards for deemed approved status.
a.
The retail sale of alcoholic beverages shall retain its deemed approved status only if it conforms to all of the following deemed approved performance standards:
i.
The establishment does not change its type of retail on-sale or off-sale license granted by the State Department of Alcoholic Beverage Control (i.e., beer and wine to distilled spirits, or any conditions of its current license).
ii.
The business operation of the establishment is not abandoned, suspended or discontinued (including the case where retail alcoholic beverage sales for such operation is suspended) for a period of 120 days or more; provided that, this provision shall not apply when the business operation is suspended or discontinued because the building or structure in which the establishment is operating is:
(1)
Destroyed or damaged due to causes beyond the owner or operator of the establishment's control (i.e., fire, flood, act of God, etc.) and which prevents the establishment from operating; or
(2)
Being remodeled, enlarged or improved which prevents the establishment from operating, provided that building and other appropriate City permits have been obtained within 120 days after the business operation is discontinued. In the event that such building and other City permits expire or are revoked, then such establishment shall be required to obtain a conditional use permit in order to continue or reestablish its operation.
iii.
The square footage of the floor area within the establishment devoted to the display or sale of alcoholic beverages is not increased by 25 percent or more.
iv.
The retail ABC license is not transferred to another location within the City of Richmond or the establishment, either in whole or in part, is moved or relocated to another location within the City of Richmond.
v.
The business operator is not found by an administrative hearing officer or court of competent jurisdiction to have violated any ordinance of this City, or any federal or state law or regulation.
vi.
The business operation does not result in repeated nuisance activities within the premises or in close proximity of the premises, including but not limited to disturbance of the peace, illegal drug activity, public drunkenness, drinking in public, harassment of passersby, gambling, prostitution, sale of stolen goods, public urination, theft, assaults, batteries, acts of vandalism, excessive littering, loitering, graffiti, illegal parking, excessive loud noises, especially in the late night or early morning hours, traffic violations, curfew violations, lewd conduct, or police detentions and arrests. In evaluating whether nuisance activities are occurring on or near the premises of an establishment, the Chief of Police, Planning Commission or City Council shall take into consideration whether the owner of the establishment, or the owner's agent, has taken reasonable steps to abate the nuisance, including contacting and cooperating with the Richmond Police Department, provided that:
(1)
Neither the owner of the establishment nor the owner's agent shall be required to engage in abatement activities that would endanger the safety of the owner or the owner's agent; and
(2)
The fact that the owner of the establishment or the owner's agent calls for Richmond Police Department assistance shall not by itself constitute a basis for finding that a nuisance exists on the premises of the establishment.
G.
Standards and Procedures for Existing Alcoholic Beverage Retail Establishments ("Deemed Approved" Activities). All on-sale and off-sale alcoholic beverage retail establishments that have been legally existing and operating with all required licenses and without conditional use permit prior to the adoption of this section shall be permitted to operate at their present location as a "deemed approved" activity; provided that such establishments shall not be permitted to operate without a conditional use permit if any of the following occur:
1.
The establishment changes its type of retail on-sale or off-sale license granted by the California Department of Alcoholic Beverage Control (i.e., beer and wine to distilled spirits);
2.
The business operation of the establishment is abandoned, suspended or discontinued (including the case where a retail ABC license for such operation is suspended) for a period of 120 days; provided that, this provision shall not apply when the business operation is suspended or discontinued because the building or structure in which the establishment is operating is:
a.
Destroyed or damaged due to causes beyond the owner of the establishment's control (i.e., fire, flood, act of God, etc.) and which prevents the establishment from operating, or
b.
Being remodeled, enlarged or improved which prevents the establishment from operating, provided that building and other appropriate City permits have been obtained within 120 days after the business operation is discontinued. In the event that such permits expire or are revoked, then such establishment shall be required to obtain a conditional use permit in order to continue or reestablish its operation;
3.
The square footage of the floor area within the establishment devoted to the display or sale of alcoholic beverages is increased by 25 percent or more;
4.
The retail ABC license is transferred to another location within the City or the establishment, either in whole or in part, is moved or relocated to another location within the City.
(Ord. No. 30-18 N.S., § I(Exh. A), 12-18-2018; Ord. No. 25-20 N.S., § I(Exh. A), 11-10-2020)
Animal Keeping establishments must be located, developed, and operated in compliance with the following standards, where allowed by the 200 Series, Base Zoning Districts:
A.
Where Allowed. Animal keeping is allowed as an accessory use to a residential use subject to the standards of this Section. Animal husbandry is allowed in Open Space and Agricultural Districts.
B.
Household Pets. The keeping of four or fewer small domestic household pets, such as cats, dogs, chickens, and birds for noncommercial purposes, is permitted. The keeping of more than four small domestic, household pets is subject to administrative use permit approval.
C.
Other Animals Allowed in Residential Districts. In Residential Districts, the following animals are allowed, subject to the specified standards.
1.
Large Animals. See RMC Section 9.24.060.
a.
Horse Stables.
i.
Proximity. No horse stable shall be located closer than 50 feet to any property line, closer than 50 feet to any dwelling on the site, or closer than 100 feet to any other dwelling.
ii.
Maximum Equine Boarding. A maximum of two equines not owned by the resident of the involved property may be boarded or kept as an accessory use without such boarding or keeping being regarded as a commercial equine keeping operation; provided, however, that the total number of equines being boarded or kept does not exceed one for each 4,000 square feet of lot area.
2.
Small Animals. The keeping of four or fewer small animals (e.g., chickens, birds, ducks, and rabbits) are permitted, provided that:
a.
Such small animals are for the domestic use of the residents of the lot only and are not kept for commercial purposes.
b.
The keeping of such small animals is not injurious to the health, safety, or welfare of the neighborhood and does not create offensive noise or odor as determined by the Zoning Administrator after advice from the County Health Department or County Animal Services Officer.
c.
Such animals shall be kept in coops or enclosures that are no closer than 15 feet to any dwelling.
D.
Offspring. The offspring of any permitted animal may be kept until weaned, unless they do not exceed the total number of animals allowed.
E.
Prohibited Animals. No predatory wild animals, roosters, endangered animals, or protected animals are allowed to be kept within the City.
F.
Slaughtering of Animals Prohibited. No slaughter of animals is allowed anywhere in the City.
G.
Odor and Vector Control. Animal structures and exercise areas, including pens, coops, cages, and feed areas, must be maintained free from litter, garbage, and the accumulation of manure so as to discourage the proliferation of flies, other disease vectors and offensive odors. Manure and feces must not be allowed to accumulate within setback areas.
H.
Containment. Animals must be effectively contained on the site and not be allowed to run free on any lot in a separate ownership or in a public right-of-way.
I.
Unlawful Acts. It is unlawful for a person owning an animal to do any of the following. A violation of this Section is also a public nuisance and may be prosecuted as such.
1.
Abandon the animal, except to surrender it to an animal shelter or Contra Costa Animal Services;
2.
Fail to license a dog over the age of four months, or allow a dog to leave its premises when the dog does not have a current license affixed to its collar;
3.
Allow an animal to be at large (or to be at a public park, playground or school unless under leash restraint);
4.
Allow a dog to enter on private property without the consent of the person in possession of the property or to damage or destroy a lawn, tree, shrub, or other planting or any other improvement or thing of value on the property;
5.
Allow an animal to defecate on public property or private property of another without immediately cleaning up. The owner of each animal is responsible for the immediate removal of any excreta deposited by the animal anywhere but the owner's own property, and the sanitary disposal of the removal;
6.
Fail to clean up excreta on one's own property within a reasonable period of time;
7.
Allow a barking dog or another animal-related noise that continues for 30 minutes or more in any 24-hour period or intermittently for 60 minutes or more during any 24-hour period causing disturbance to any person regardless of whether the animal is physically situated on private property;
8.
Allow a female dog to roam at large or remain accessible to other roaming dogs while the dog is in heat or breeding condition;
9.
Allow an animal to be tethered or leashed on any street or other public place unattended, except temporary tethering or leashing (or tying in an appropriate and safe place) as the owner enters a store or public place for a specific purpose. In no case shall the temporary tethering exceed 15 minutes;
10.
Tether, fasten, chain, tie or restrain a dog to a dog house, tree, fence or other stationary object for any longer than three hours in a 24-hour period, except:
a.
To a running line, pulley, or trolley system (without a choke or pinch collar); or
b.
As required by a camping or recreational area.
11.
Harbor or feed a feral cat except on one's own property;
12.
Beat, cruelly ill-treat, torment, tease, overload, overwork, or otherwise abuse an animal, nor cause, instigate, or permit any dogfight, cockfight, or combat between animals or animals and humans, excluding police canines;
13.
Own, keep or train a dog with the intent that the dog engage in an exhibition of fighting; or cause a dog to fight with or injure another dog, for amusement or gain; or permit either of those actions on premises under his or her control; and
14.
Expose any known poisonous substance, whether mixed with food or not, so that the substance is liable to be eaten by an animal (except for a person to expose on his or her own property common rat poison mixed only with vegetable substances for the sole purpose of combating rat infestation).
J.
Compliance with Contra Costa County Code. All animal keeping shall be in compliance with the Contra Costa County Code, Title IV Article 416 (Animals). With an administrative use permit, the number of animals allowed may be increased by one from the maximum number set in the County Code.
(Ord. No. 30-18 N.S., § I(Exh. A), 12-18-2018; Ord. No. 01-19 N.S., § II(Exh. A), 1-15-2019)
Automobile/vehicle sales and leasing facilities must be located, developed, and operated in compliance with the following standards, where allowed by the 200 Series, Base Zoning Districts:
A.
Location. Automobile/Vehicle Sales and Leasing are permitted on a site with at least one frontage on an arterial street.
B.
Landscaping and Screening. In addition to complying with the landscaping standards in Article 15.04.613 (Water-Efficient Landscaping), additional screening and landscaping may be required where necessary to screen adjacent Residential districts.
C.
Vehicle Loading and Unloading. All vehicle loading and unloading must occur on site in the rear half of the site. If the lot abuts a Residential District, the loading and unloading may be located where it will have a lesser impact on the adjacent lot. All loading and unloading must occur during weekday business hours.
D.
Vehicle Storage. All vehicles displayed for sale or lease shall be stored on site; no overnight storage on public streets is allowed.
(Ord. No. 30-18 N.S., § I(Exh. A), 12-18-2018)
Major automobile/vehicle repair facilities, including facilities accessory to a dealership, must be located, developed, and operated in compliance with the following standards, where allowed by the 200 Series Base Zoning Districts:
A.
Landscaping and Screening. In addition to complying with the landscaping standards in Article 15.04.613 (Water-Efficient Landscaping), additional screening and landscaping may be required where necessary to screen adjacent Residential districts.
B.
Work Areas. All work must be conducted within an enclosed building, except pumping motor vehicle fluids, checking and supplementing fluids, and mechanical inspection and adjustments not involving any disassembly.
C.
Vehicle Storage. Vehicles being worked on or awaiting service or pick up must be stored within an enclosed building or in a parking lot that is adequately screened, with an earthen berm, screen wall or a building. Screen walls must be located on lot lines with the exception of yards along streets, where the screen wall must be located outside of required setbacks. Unattended vehicles shall not be parked or stored on the sidewalk adjoining the property, or on the street. Screen walls are not required when the site is located in an Industrial District that abuts a non-arterial street.
D.
Equipment and Product Storage. Exterior storage, including tires, must not be visible from arterial streets or a Residential District.
E.
Spray/Paint Booths. Spray booth stacks must be screened from arterial streets, and must be separated a minimum of 500 feet from Residential districts, parks, schools, and daycare centers. The Planning Commission may reduce this separation to no less than 100 feet if a human health risk assessment (HHRA), prepared by a qualified professional, demonstrates to the satisfaction of the Commission that levels of spray booth chemicals present in the ambient air at adjacent properties will be below applicable thresholds of concern for human health.
F.
Discard. No used or discarded automotive parts or equipment or permanently disabled, junked, unregistered, or wrecked vehicles may be stored outside of the main building, except in an approved location on-site. Parts or equipment may be temporarily stored outdoors for no longer than one week, but must be screened from view.
G.
Noise. All body and fender work or similar noise-generating activity must be enclosed in a masonry or similar building with sound-attenuating measures incorporated into the building design and construction to absorb noise. Bay openings must be oriented so as to minimize the effects of sound emanating from the auto repair building towards residential uses, outdoor restaurant seating, and outdoor reception areas. Compressors must be located within separately enclosed, sound-attenuated rooms.
Automobile/vehicle washing facilities must be located, developed, and operated in compliance with the following standards, where allowed by the 200 Series, Base Zoning Districts:
A.
Landscaping and Screening. In addition to complying with the landscaping standards in Article 15.04.613 (Water-Efficient Landscaping), additional screening and landscaping may be required where necessary to prevent visual impacts on adjacent Residential districts.
B.
Washing Facilities. A recycled water system is required.
C.
Hours of Operation. Washing facilities are limited to 7 a.m. to 11 p.m., seven days a week. When abutting or adjacent to a Residential District, the hours of operation are limited to 8 a.m. to 7 p.m., seven days a week.
D.
Litter. The site must be maintained free of litter and graffiti at all times. The owner or operator must provide for daily removal of trash, litter, and debris from premises and on all abutting sidewalks within 20 feet of the premises. The owner or operator must remove graffiti within 72 hours.
E.
Adequate Queuing Areas. Vehicle queuing areas shall be provided to ensure that there is no interference with vehicle access and on-site circulation and with circulation on adjacent public streets. Vehicle queuing areas must be approved by the Director of Engineering and Capital Improvement Projects.
Bed and breakfast establishments shall be located, developed, and operated in compliance with the following standards, where allowed by the 200 Series, Base Zoning Districts:
A.
Type of Residence. Bed and breakfast establishments must be located, developed and operated within a single-unit dwelling.
B.
Number of Rooms. No more than two rooms shall be rented unless the right to rent additional rooms is granted by an administrative use permit.
C.
Appearance. The exterior appearance of a structure housing a bed and breakfast establishment shall not be altered from its original single-unit character.
D.
Limitation on Services Provided. Meals and rental of bedrooms shall be limited to registered guests. Separate or additional kitchens for guests are prohibited.
E.
When located on the Shoreline. Any lodging or visitor-services located on the shoreline of San Francisco Bay and San Pablo Bay are required to provide and maintain public access facilities, as required by the Bay Conservation and Development Commission, unless such access would adversely affect natural resources or natural processes.
Industrial and commercial establishments that manufacture and sell beer, wine and similar beverages, including production breweries, wineries, brew-on-premises breweries, and micro-breweries, must be located, developed, and operated in compliance with the following standards, where allowed by the 200 Series, Base Zoning Districts:
A.
Accessory Retail Sales. Breweries and Wineries that sell alcoholic beverages for off-site consumption must conform to the regulations in Section 15.04.610.060 Alcoholic Beverage Sales.
1.
Accessory retail sales within the Industrial Buffer Zone, as shown on the Zoning Map, are not allowed.
2.
In all other zones where breweries and wineries are allowed, the gross floor area devoted to accessory retail sales shall not exceed 10 percent of the total floor area and the sales are limited to beverages manufactured on-site.
B.
On-site Sales or Tasting. On-site sale or tasting, for a fee or no fee, of alcoholic beverages is allowed as an accessory use with an administrative use permit and a license from the California Department of Alcoholic Beverage Control, if required. Only the beverages manufactured on-site shall be offered for sale or tasting, and the total floor area for on-site sales and tasting/ shall not exceed 10 percent of the gross floor area of the brewery. Beer brewed by a customer in a brew-on-premises brewer shall not be sold and must be used by the customer for personal or family use.
(Ord. No. 30-18 N.S., § I(Exh. A), 12-18-2018)
Commercial/Recreation and Entertainment must be located, developed, and operated in compliance with the following standards, where allowed by the 200 Series, Base Zoning Districts:
A.
Entrance. Lobby entrance areas should be designed so as to minimize obstruction of sidewalks during operation hours.
B.
Location.
1.
Minimum distance from nearest school: 1,000 feet.
2.
Minimum distance from nearest religious assembly use, residential facility, rest home or public library: 300 feet.
3.
The distance requirements imposed by this subsection may be waived by the Planning Commission pursuant to Article 15.04.809 (Waivers).
(Ord. No. 30-18 N.S., § I(Exh. A), 12-18-2018)
Community assembly facilities must be located, developed, and operated in compliance with the following standards, where allowed by the 200 Series, Base Zoning Districts:
A.
Minimum Site Area.
1.
In Non-Residential Districts. 10,000 square feet.
2.
In Residential Districts. 20,000 square feet.
B.
Setback from Residential District or Use. A minimum setback of 20 feet must be provided adjacent to any Residential District.
C.
Outdoor Activity Areas. Outdoor areas used for recreation, meetings, services or other activities involving groups of persons must be at least 50 feet from any Residential District boundary or residential use.
D.
Hours of Operation. Permitted hours of operation are between 9:00 a.m. and 9:00 p.m., seven days a week. Additional hours may be allowed with a conditional use permit.
E.
Permitted Accessory Uses. Community assembly uses may include administrative offices, kitchen facilities, multi-purpose rooms, storage, and other uses that are accessory to the facilities for public or private meetings. Places of worship may provide religious instruction as an accessory use; however, when a full school curriculum is offered, the school use will be separately classified as a school and subject to review as such.
Convenience Markets must be located, developed, and operated in compliance with the following standards, where allowed by the 200 Series, Base Zoning Districts:
A.
Conditional Use Permit. Conditional use permits are required for any convenience market of more than 3,000 square feet (1,000 square feet in an ILL district).
B.
Maximum Size. 5,000 square feet.
C.
Setbacks. No building or structure shall be located within 20 feet of an interior lot line abutting a Residential district.
D.
Litter. The site must be maintained free of litter and graffiti at all times. The owner or operator must provide for daily removal of trash, litter, and debris from premises and on all abutting sidewalks within 20 feet of the premises. The owner or operator must remove graffiti within 72 hours. One permanent, non-flammable trash receptacle shall be installed near to the entrance/exit of the building.
E.
Hours of Operation. Permitted hours of operation are between 7:00 a.m. and 11:00 p.m., seven days a week, unless longer hours are allowed with a conditional use permit.
F.
Limitation on Sales Area of Tobacco Products and Alcoholic Beverages. No more than 20 percent of the sales display shelves shall be devoted to tobacco products or alcoholic beverages.
Domestic Violence Shelters must be located, developed, and operated in compliance with the following standards, where allowed by the 200 Series, Base Zoning Districts:
A.
Plan of Operation. Domestic Violence Shelters must have a plan of operation, including but not limited to, patron access requirements, hours of operation, control of congregate activity, security measures, litter control, and noise attenuation; and
B.
Building and Fire Safety Regulations. Evidence of compliance with all Building and Fire Safety regulations and any other measures necessary and appropriate to ensure compatibility of the proposed use with the surrounding area is required.
Drive-in and drive-through facilities must be located, developed, and operated in compliance with the following standards, where allowed by the 200 Series, Base Zoning Districts:
A.
Landscaping and Screening. In addition to complying with the landscaping standards in Article 15.04.613 (Water-Efficient Landscaping), additional screening and landscaping may be required where necessary to prevent visual impacts on adjacent Residential districts.
B.
Circulation. Drive-through facilities must provide safe, unimpeded movement of vehicles at street access points, in travel aisles, and parking areas. A site plan showing directional movements for interior traffic circulation must be provided for review by the Public Works Director.
C.
Pedestrian Walkways. Vehicle aisles must not intersect with interior pedestrian walkways, unless no alternative exists. In such cases, pedestrian walkways must have clear visibility, emphasized by enhanced paving or markings.
D.
Stacking. Vehicular stacking areas must be provided to ensure vehicle queue will not interfere with public rights-of-way, private streets, or with on- or off-site parking and circulation. Stacking area size requires approval by the Public Works Director.
E.
Screening. Each drive-through aisle must be screened with a combination of decorative walls and landscape to a height of 36 inches to prevent headlight glare and direct visibility of vehicles from adjacent streets and parking lots.
F.
Trash and Waste.
1.
Garbage and trash containers shall be provided in locations suitably enclosed and screened so as not to be visible from a public right-of-way.
2.
A waste receptacle shall be placed near the entry way to the drive-in or drive-through facility.
3.
The site must be maintained free of litter and graffiti at all times. The owner or operator must provide for daily removal of trash, litter, and debris from premises and on all abutting sidewalks within 100 feet of the premises. The owner or operator must remove graffiti within 72 hours. One permanent, non-flammable trash receptacle shall be installed near to the entrance/exit of the building.
G.
Site Design.
1.
Drive-through elements must be placed to the side or rear of the building. Drive-through windows must be oriented away from the street frontage and provide adequate screening measures through landscaping and design to minimize visibility of the drive-through.
2.
The design of freestanding drive-through facilities must be compatible with the principal building, in terms of building color, materials, and form.
Emergency shelters must be located, developed, and operated in compliance with the following standards where allowed by the 200 Series, Base Zoning Districts:
A.
Proximity to Other Shelters. Minimum distance from other emergency shelter: 300 feet.
B.
Facility Requirements. Each emergency shelter shall include, at a minimum:
1.
A courtyard or other on-site area for outdoor client congregation, so that clients waiting for services are not required to use the public sidewalk for queuing;
2.
On-site management during hours of operation when clients are present, and an area for the manager near the entry to the facility;
3.
Exterior lighting at all building entrances and outdoor activity areas activated between sunset and sunrise of each day for security purposes.
C.
Common Facilities. The emergency shelter facility may provide one or more of the following specific facilities and services:
1.
Child care facilities.
2.
Commercial kitchen facilities operated in compliance with Health and Safety Code Section 113700, et seq.;
3.
Dining area;
4.
Laundry;
5.
Recreation room; and
6.
Support services (e.g., training, counseling).
D.
Maximum Number of Beds. No more than 10 beds shall be provided in any single emergency shelter located in a Residential zoning district and no more than 25 beds shall be provided in any single emergency shelter located within a Mixed-Use zoning district, except:
1.
In response to a disaster; or
2.
As authorized by a conditional use permit.
E.
Parking. At least one parking space for every four beds and one additional parking space for every ten beds. The Zoning Administrator may reduce this parking requirement upon finding that the actual parking demand will be less than the standard assumes.
F.
Bicycle Parking. At least one bicycle space for every five beds.
A day care center must be located, developed, and operated in compliance with the following standards, where allowed by the 200 Series, Base Zoning Districts:
A.
Licensing. Day Care Centers shall be licensed or certified by the State of California and shall be operated according to all applicable state and local regulations.
B.
Screening. A periphery fence or wall, constructed of wood or masonry, must be provided to screen and secure outdoor areas. Barbed wire is prohibited.
C.
Outdoor Space. A minimum of 50 square feet of outdoor recreational space must be provided for each child over two years old. Swimming pools and adjacent pool decking shall not count towards meeting this space. The outdoor area cannot be located in any required front or street side yard, nor can it be shared with other property owners.
D.
Passenger Loading. Curbside loading is presumed adequate for drop-off and pick-up of children; however, where the Zoning Administrator determines that curbside loading is not adequate, a passenger loading plan will be required.
E.
Notification of Changes in Operation. The operator of the Day Care Center shall notify the Zoning Administrator in writing of any modifications to hours of operation and drop off and pick up locations.
(Ord. No. 30-18 N.S., § I(Exh. A), 12-18-2018)
Farmers markets must be located, developed, and operated in compliance with the following standards, where allowed by the 200 Series, Base Zoning Districts:
A.
Qualified Operator. Farmers markets must be operated by one or more producers, a nonprofit organization, or a local government agency.
B.
Permits Required. The market operator and vendors must obtain an administrative use permit and secure all necessary licenses, certificates and health permits, including permits for street closure, if applicable. All permits (or copies of them) must be in the possession of the farmers market manager during all hours of operation.
C.
Management Plan. A management plan must be prepared and provided to the Zoning Administrator. The management plan must include the following:
1.
Identification of a market manager or managers, who must be present during all hours of operation.
2.
A set of operating rules addressing the governance structure of the market; the method of assigning booths and registering vendors; hours of operation; maintenance; security; refuse collection; and parking.
D.
Hours of Operation. Market activities may be conducted between 7:00 a.m. and 8:00 p.m., seven days a week. Set-up of market operations cannot begin more than one hour prior to the operational hours of the market, and take-down must be completed within one hour of the close of the market.
E.
Waste Disposal. Adequate composting, recycling, and trash containers must be provided during hours of operation, and must be removed from site for appropriate disposal. The site must be cleaned at the end of each day of operations, including the removal of all stalls and debris.
F.
Pedestrian Clearance. A farmers market must not obstruct any sidewalk or path that is part of a pedestrian circulation system.
Group residential facilities must be located, developed, and operated in compliance with the following standards, where allowed by the 200 Series, Base Zoning Districts:
A.
Minimum Lot Area. When located in a Residential district, the minimum lot area is 10,000 square feet.
B.
Laundry Facilities. Laundry facilities must be provided on-site.
C.
Common Open Space. Common open space of 20 square feet for each person who resides in the facility must be provided.
D.
Security. Parking garages, surface parking, and private and common areas located outside the building must be designed to protect the security of residents, guests, and employees by controlling access to the facilities by other persons.
A.
Conditional Use Permit Required. All hazardous waste facility projects require a Use Permit pursuant to Article 15.04.806 (Use Permits). All applications for hazardous waste facility projects in the Contra Costa County Hazardous Waste Management Plan shall comply with the procedures set forth in Public Resources Code Sections 21000-21177 and Government Code Section 65920 et seq. or any successor statutes. The local permitting process is intended to ensure adequate protection of public health and the environment without imposing undue restrictions on projects.
B.
Application Contents. Every application for a hazardous waste facility project shall be made in writing to the Zoning Administrator on the forms provided by the Planning Department, accompanied by a filing fee pursuant to Article 15.04.803 (Common Procedures) and shall include all information contained in the submittal requirements list published by the Zoning Administrator.
C.
Specified Hazardous Waste Facilities. All applications for specified hazardous waste facility projects must follow the procedures set forth in Article 15.04.806 (Use Permits), Health and Safety Code Sections 25199 et seq. or any successor statute, Public Resources Code Sections 21000—21177, and Government Code Section 65920 et seq. or any successor statutes.
D.
Standards and Locational Criteria. All specified hazardous waste facility projects in the City shall comply with the siting criteria set forth in the Contra Costa County Hazardous Waste Management Plan and the following criteria:
1.
Proximity to Populations. Residuals repositories shall be a minimum distance of 2,000 from any residence.
2.
Capability of Emergency Services. All facilities shall be located in areas where Fire Departments is able to respond immediately to hazardous material accidents, where mutual aid and immediate aid agreements are well established and where demonstrated emergency response times are the same or better than those recommended by the National Fire Prevention Association. In addition, hazardous materials accident response services at the facility may be required based on the type of wastes handled or the location of the facility.
3.
Flood Hazard Areas. Residuals repositories are prohibited in areas subject to inundation by floods with a 100-year return frequency, and shall not be located in areas subject to flash floods and debris flows. All other facilities shall not locate in floodplains or areas subject to flash floods and debris flows unless they are designed, constructed, operated, and maintained to prevent migration of hazardous wastes in the event of inundation.
4.
Proximity to Active or Potentially Active Faults. All facilities are required to have a minimum 200-foot setback from a known active earthquake fault.
5.
Slope Stability. Residuals repositories are prohibited in areas of potential rapid geologic change. All other facilities shall not locate in areas of potential rapid geologic change unless containment structures are designed, constructed, and maintained to preclude failure as result of such changes.
6.
Subsidence/Liquefaction. Residuals repositories are prohibited from locating in areas of potential rapid geologic change. All other facilities shall avoid locating in areas of potential rapid geologic change unless containment structures are designed, constructed, and maintained to preclude failure as a result of such changes.
7.
Discharge of Treated Effluent. Facilities generating wastewater shall be located in areas with adequate sewer capacity to accommodate the expected wastewater discharge. If sewers are not available, the site should be evaluated for ease of connecting to a sewer or for the feasibility of discharge directly into a stream or the ocean. All facilities should comply with all State and federal permitting requirements.
8.
Depth to Groundwater. Residuals repositories and facilities with subsurface storage and/or treatment are prohibited in areas where the highest anticipated elevation of underlying groundwater is five feet or less from the lowest subsurface point of the facility. At all facilities, the foundation of all containment structures at the facility must be capable of withstanding hydraulic pressure gradients to prevent failure due to settlement, compression, or uplift as certified by a California-registered civil engineering geologist.
9.
Groundwater Monitoring. Residuals repositories and facilities with subsurface storage and/or treatment must develop a program that successfully satisfies the Regional Water Quality Control Board permit requirements for groundwater monitoring. Facilities that handle liquids should be located where groundwater flow is in one direction with no vertical interformational transfer of water.
10.
Major Aquifer Recharge Area. Residuals repositories are prohibited within any area known to be, or suspected of, supplying principal recharge to a regional aquifer. Facilities with subsurface storage or treatment must be located at least one-half mile away from potential drinking water sources. All other facilities located in areas known to be, or suspected of providing recharge to an existing water supply well, shall provide for increased spill containment and inspection measures.
11.
Soil Permeability. Soil permeability requirements for disposal and subsurface treatment and storage facilities shall conform to those required by the State Water Resources Control Board. All other above-ground facilities shall have engineered structural design features common to other types of industrial facilities. These features shall include spill containment and monitoring devices. All other facilities may be located in areas where surficial materials are principally highly permeable if adequate spill containment and inspection measures are employed.
12.
Existing Groundwater Quality. Residuals repositories are allowed only where the uppermost water-bearing zoning district or aquifer is presently mineralized (by natural or human induced conditions) to the extent that it could not reasonably be considered for beneficial use. All other facilities located in areas where existing groundwater quality is Class 1 or Class 2 shall provide increased spill containment and inspection measures.
13.
Proximity to Areas of Waste Generation. Subject to other standards and criteria described herein, all facilities shall be located in areas best suited for providing services to any hazardous waste generators in the City. Facilities that will primarily serve generators from outside the City must demonstrate why the facility cannot be located closer to the points of hazardous waste generation to be serviced.
E.
Conditions. The following conditions shall apply to all proposed facilities:
1.
Fire and Building Codes. All storage or use of hazardous materials must be approved by the Fire Chief and be in conformance with all applicable fire and building codes.
2.
Safety and Security. The operator shall provide a 24-hour surveillance system that continuously monitors and controls entry onto the facility. Perimeter fencing shall be constructed and security measures taken to prevent climbing and scaling of fences. Masonry walls shall be used when the facility is adjacent to non-industrial uses. The Zoning Administrator shall determine compliance with this standard.
3.
Monitoring.
a.
Upon reasonable notice, and for the purpose of ensuring compliance with all standards, conditions, and other requirements that the City is authorized to enforce, City officials may enter the premises on which a hazardous waste facility permit has been granted.
b.
The owner or operator of a facility shall report quarterly to the Zoning Administrator the amount, type and disposition of all wastes processed by the facility. The report shall include copies of all manifests showing the delivery and types of hazardous wastes, a map showing the exact location (coordinates and elevation), and the quantities and types of materials placed in repositories, stored or disposed of onsite.
c.
The owner or operator of a hazardous waste facility shall immediately send copies of all complaints regarding facility operations and copies of all inspection reports made by other local, state or federal agencies to the Zoning Administrator.
Home occupations must be located, developed, and operated in compliance with the following standards, where allowed by the 200 Series, Base Zoning Districts:
A.
Applicability. The standards of this Section apply to an occupation head conducted in a dwelling unit, garage or accessory building in a residential or mixed use district that is incidental to the principal residential use.
B.
Zoning Compliance Review. An application for zoning compliance review must be filed in accordance with the provisions of Article 15.04.804.
C.
Exterior Residential Appearance. The exterior residential appearance of the unit within which the home occupation is conducted must be maintained. No exterior indication of a home occupation is permitted. There shall be no visible signs, except as required by law.
D.
Outdoor Equipment. No outdoor storage or display of vehicles, equipment, materials or supplies related to the home occupation shall be permitted, with a single exception: one business vehicle, up to one-ton payload capacity, with signage, used for the home occupation is permitted.
E.
Employees. No more than one person other than resident(s) of the dwelling shall be employed on-site or report to work at the site of the home occupation, except for other employees of licensed child care facilities. This prohibition also applies to independent contractors.
F.
On-Site Client Contact. Customer and client visits are permitted, provided the home occupation does not generate pedestrian or vehicular traffic in excess of that customarily associated with the zoning district in which the use is located.
G.
Nuisances. A home occupation must be conducted such that no offensive or objectionable noise, dust, vibration, smell, smoke, heat, humidity, glare, refuse, radiation, electrical disturbance, interference with the transmission of wireless telecommunications, interference with radio or television reception, or other hazard or nuisance is perceptible on adjacent lots or in neighboring units in a multiple-unit building.
H.
Sale. There shall be no sale or display of a commodity on the premises of a home occupation. This prohibition does not apply to cottage food operations meeting the requirements of the California Department of Public Health.
I.
Prohibited Occupations and Activities. The business of distributing, transporting, or delivery of medical cannabis or medical cannabis products from the home is not an allowable home occupation. For the regulations and standards for medical marijuana uses, see Section 15.04.610.270.
Hospitals and clinics must be located, developed, and operated in compliance with the following standards, where allowed by the 200 Series, Base Zoning Districts:
A.
Location. Hospitals are only allowed on sites with at least one frontage on an arterial street.
B.
Minimum Street Frontage. 100 feet for hospitals; 50 feet for clinics.
Live-work units must be located, developed, and operated in compliance with the following standards, where allowed by the 200 Series, Base Zoning Districts:
A.
Establishment. Live-work units may be established through new construction or through the conversion of existing residential, commercial, and industrial buildings.
B.
Allowable Uses. Work activities in live-work units are limited to uses that are permitted outright, or allowed with an administrative use permit or conditional use permit in the zoning district in which the live-work units are located. The owner of an existing or proposed live-work building or unit, or an authorized agent of the owner may apply for the use permit. Live-work units are not permitted to contain only "work" or commercial uses. On-site storage and sale of materials and merchandise is allowed.
C.
Development Standards. Live-work buildings shall comply with the following standards.
1.
The minimum size of a live-work unit shall be 750 square feet.
2.
The work space must meet the requirements of the building code for the type activity/use being undertaken. Similarly, the area defined as the living space must comply with the building code requirements for habitable space.
3.
The reuse of existing commercial or industrial buildings for live-work occupancy shall not necessarily constitute a change of use.
4.
The occupant of a live-work space must acknowledge in writing that he/she, by selecting this type of occupancy, accepts the conditions found in the area, including but not limited to industrial noise, pollution, fumes, dirt, traffic and odors to the extent that they are permitted by law in the base district. The Planning Commission may include conditions to this effect to be recorded as part of the approval of a live-work application.
D.
Sale or Rental of Portions of Unit Above the Ground Level Prohibited. No portion of a live-work unit located above the ground level may be separately rented or sold as a commercial space for a person or persons not living on the premises, or as a residential space for a person or persons not working on the premises.
Manufactured homes must be located, developed, and operated in compliance with the following standards, where allowed by the 200 Series, Base Zoning Districts:
A.
Required Certification. A manufactured home must be certified under the standards set forth in the National Manufactured Housing Construction and Safety Standards Act of 1976, as amended, at the time of any application for placement of such manufactured home.
B.
Permanent Foundation. The manufactured home must be placed on a permanent foundation in accordance with the standards set forth in the Uniform Building Code.
C.
Age of Home. No more than 10 years may elapse between the date of the manufacture of the manufactured home and the date of the application for issuance of a permit to install a home on a lot in the City.
D.
Utilities. Each manufactured home must be provided permanent hookups for electricity, gas, water, and sewer connections in the same manner applicable to permanent buildings. Gas shutoff valves, meters, and regulators must not be located beneath the manufactured home, in compliance with the requirements of the Building Code for comparable residential structures.
Commercial Cannabis activities, including but not limited to cultivation, manufacturing, testing, distribution, and retail are subject to the standards and procedures of the Municipal Code, State Law, and the regulations set forth in these Zoning Regulations.
A.
Applicability. These standards apply to all establishments that are involved in any commercial cannabis activity.
B.
Definitions [5]. The following words or phrases, whenever used in this section, have the following definitions:
1.
A-license. A State license issued for cannabis or cannabis products that are intended for adults 21 years of age and over and who do not possess physician's recommendations.
2.
Attending Physician. An individual who possesses a license in good standing to practice medicine or osteopathy issued by the Medical Board of California or the Osteopathic Medical Board of California and who has taken responsibility for an aspect of the medical care, treatment, diagnosis, counseling, or referral of a patient and who has conducted a medical examination of that patient before recording in the patient's medical record the physician's assessment of whether the patient has a serious medical condition and whether the medical use of cannabis is appropriate.
3.
Bureau of Cannabis Control ("the Bureau"). The bureau within the California Department of Consumer Affairs created to develop, administer and enforce comprehensive rules for medicinal and adult-use cannabis in California. The Bureau is responsible for the regulation and licensing of all commercial cannabis retail, distribution, testing, microbusinesses and temporary cannabis events in California.
4.
California Department of Food and Agriculture — CalCannabis Cultivation Licensing ("the CDFA"). A division of the California Department of Food and Agriculture, responsible for the regulation and licensing of commercial cannabis cultivation in California.
5.
California Department of Public Health — Manufactured Cannabis Safety Branch ("the DPH"). A division of the California Department of Public Health, responsible for the regulation and licensing of all commercial cannabis manufacturing in California.
6.
Cannabis. All parts of the plant Cannabis sativa Linnaeus, Cannabis indica, or Cannabis ruderalis, whether growing or not; the seeds thereof; the crude or purified resin extracted from any part of the plant; and every compound, manufacture, salt, derivative, mixture, or preparation of the plant, its seeds or resin. It does not include the mature stalks of the plant, fiber produced from the stalks, oil or cake made from the seeds of the plant, any other compound, manufacture, salt, derivative, mixture, or preparation of the mature stalks (except the resin extracted therefrom), fiber, oil, or cake, or the sterilized seed of the plant which is incapable of germination. For the purposes of these zoning regulations, "cannabis" does not include "industrial hemp" as defined by Section 81000 of the California Food and Agricultural Code or Section 11018.5 of the California Health and Safety Code.
7.
Cannabis Business. Establishments, properties, parcels, and/or structures involved in any commercial cannabis activity, including retailers, non-storefront retailers, cultivators, manufacturers, transporters, testers, and distributors.
8.
Cannabis Plant. Any immature, flowering, or dried flower in accordance with State Law. Immature cannabis plant means a cannabis plant that has a first true leaf measuring greater than one-half inch long from base to tip (if started from seed) or a mass of roots measuring greater than one-half inch wide at its widest point (if vegetatively propagated), but which is not flowering. Flowing cannabis plant means that a cannabis plant has formed a mass of pistils measuring greater than one-half inch wide at its widest point. Dried flower means all dead cannabis that has been harvested, dried, cured, or otherwise processed, excluding leaves and stems.
9.
Cannabis Products. Cannabis that has undergone a process whereby the plant material has been transformed into a concentrate, including, but not limited to, concentrated cannabis, or an edible or topical product containing cannabis or concentrated cannabis and other ingredients.
10.
Collective. See Retail Facility.
11.
Commercial Cannabis Activity. The cultivation, possession, manufacture, distribution, processing, storing, laboratory testing, packaging, labeling, transportation, delivery or sale of adult-use or medicinal cannabis or cannabis products, as provided for in this Ordinance and in accordance to State Law.
12.
Cultivation. Any activity involving the planting, growing, harvesting, drying, curing, grading, or trimming of cannabis within an enclosed structure.
13.
Cultivation Site. An in-door location, including greenhouses, where cannabis is planted, grown, harvested, dried, cured, graded, or trimmed, or a location where any combination of those activities occurs.
14.
Customer. A natural person 21 years of age or older, a natural person 18 years of age or older who possesses a physician's recommendation, or a qualified patient or a primary caregiver.
15.
Delivery. The commercial transfer of cannabis or cannabis products from a retail or non-storefront retail facility to a customer.
16.
Dispensary. See Retail Facility.
17.
Distributor. A person or licensed entity engaged in the business of procuring, selling, storing, packaging, labeling, rolling and transporting cannabis or cannabis products from a licensed cultivator, manufacturer, or from any other State cannabis licensees for sale to any State cannabis licensee, in accordance with State Law. A distributor shall distribute only cannabis goods, cannabis accessories, and licensees' branded merchandise or promotional materials.
18.
Distribution. Means the procurement, sale, and transport of cannabis and cannabis products between licensees pursuant to Section 26000 of the California Business and Professions Code.
19.
Edible Cannabis Products. Manufactured cannabis that is intended to be used, in whole or in part, for human consumption, including, but not limited to, chewing gum, but excluding products set forth in Division 15 (commencing with Section 32501) of the California Food and Agricultural Code.
20.
Enclosure. An area fully surrounded by a fence, wall, or other solid barrier that prevents access to cannabis. Enclosures must be equipped with a locked gate or door.
21.
Greenhouse. A building, room, or structure, usually chiefly of transparent material, used for cultivation of cannabis which meets State requirements for mixed-light cultivation.
22.
Indoor Cultivation. The cultivation of cannabis within a permanent structure using exclusively artificial light or within any type of structure using artificial light.
23.
License. A State issued cannabis license, which includes both an A-license and an M-license, as well as a testing laboratory license.
24.
Licensee. Any person or entity holding a State issued commercial cannabis A-license or an M-license, and includes the holder of a cannabis testing laboratory license.
25.
M-license. A State license issued for commercial cannabis activity involving medicinal cannabis.
26.
Manager. A person with responsibility for the establishment, organization, registration, supervision, or oversight of the operation of a cannabis business, including but not limited to persons who perform the functions of president, vice president, director, operating officer, financial officer, secretary, treasurer, or manager of the business.
27.
Manufacturer. A State-licensee that manufactures cannabis by compounding, blending, extracting, infusing, or otherwise making or preparing cannabis products. "Manufacture" includes extraction, infusion, packaging or repackaging, and labeling or relabeling packages of cannabis products, in accordance with State law.
28.
Marijuana. See Cannabis.
29.
Mixed-Light Cultivation. The cultivation of mature cannabis in a greenhouse, glasshouse, conservatory, or other similar structure using light deprivation and/or one of the artificial lighting models described below:
a.
Mixed-light Tier 1, the use of artificial light at a rate of six watts per square foot or less;
b.
Mixed-light Tier 2, the use of artificial light at a rate above six and below or equal to 25 watts per square foot.
30.
Non-Storefront Retail Facility. A facility that is closed to the public where cannabis, cannabis products, edible cannabis products, or devices for the use of cannabis or cannabis products are offered for retail sale exclusively by delivery, in accordance with State Law.
31.
Owner or Ownership Interest. An interest held by a person who is an owner as defined by State of California commercial cannabis regulations or who has a financial interest in the commercial cannabis business of five percent or more.
32.
Personal Cultivation. The cultivation of no more than six cannabis plants conducted by an individual strictly for that individual's personal use, possession, processing, transporting, or giving away without any compensation whatsoever in accordance with State law, including but not limited to Health and Safety Code sections 11362.1 and 11362.2, as may be amended. Personal cultivation also means and includes cultivation of medicinal cannabis conducted by a qualified patient exclusively for his or her personal medicinal use, and cultivation conducted by a primary caregiver for the personal medicinal purposes of no more than five specified qualified patients for whom he or she is the primary caregiver, in accordance with State law, including Health and Safety Code sections 11362.7 and 11362.765, as may be amended. Except as herein defined, personal cultivation does not include, and shall not authorize, any cultivation conducted as part of a business or commercial activity, including cultivation for compensation or retail or wholesale sales of cannabis.
33.
Primary Caregiver. The individual, designated by a qualified patient or by a person with an identification card issued pursuant to California Health and Safety Code Section 11362.7, who has consistently assumed responsibility for the housing, health, or safety of that patient or person. The primary caregiver may be a licensed clinic, residential care facility, hospice, or home health agency.
34.
Private Residence. A house, apartment unit, mobile home, or any other similar dwelling.
35.
Qualified Patient. A person who is entitled to the protections of California Health and Safety Code Section 11362.5, for patients who obtain and use cannabis for medicinal purposes upon the recommendation of an attending physician, whether or not that person applied for and received a valid identification card issued pursuant to State Law.
36.
Retail Facility. A facility where cannabis, cannabis products, edible cannabis products, or devices for the use of cannabis or cannabis products are offered for retail sale, including an establishment that delivers cannabis and cannabis products as part of a retail sale.
37.
State. The State of California.
38.
Testing Laboratory. The facility where tests are performed on cannabis or cannabis products and that holds a valid certificate of accreditation and license from the Bureau, if required.
39.
Volatile Solvent. Is the same as defined by the California Department of Health in § 40100 of the California Code of Regulations, as may be amended, and means any solvent that is or produces a flammable gas or vapor that, when present in the air in sufficient quantities, will create explosive or ignitable mixtures. Examples of volatile solvents include, but are not limited to, butane, hexane, and propane.
C.
Permits Required. A Conditional Use Permit (CUP) and a Cannabis Business Permit (CBP) are both required for all commercial cannabis activities prior to operation. Cannabis businesses shall first obtain a CUP by submitting an application pursuant to Section 15.04.610.270(H) of this article and any application forms and fees required in accordance with Article 15.04.803 as a requisite for obtaining a CBP. The provisions of Article 15.04.806 Use Permits apply, including but not limited to procedures for appeals, modifications, and approval. Once building permits are obtained and finaled, if required, the required State licenses are obtained, and Police Regulatory fees paid, a CBP will be granted. CUPs and CBPs will only be granted to entities operating legally according to the Medicinal and Adult-Use Cannabis Regulation and Safety Act (MAUCRSA), other applicable State Law, and the State regulations. Reasonable conditions of approval may be imposed, including but not limited to requirements for permits from the County for retail sales of edible cannabis products and from the State for food product manufacturing.
D.
Operating Without Permits. It shall be unlawful for any person as defined by this article to engage in, conduct or carry on, in or upon any premises within the City any commercial cannabis business without a CUP and CBP. Persons operating in violation of this article shall be given an amnesty period to come into compliance by submitting a complete CUP application within 120 days of the effective date of this article and securing both the required CUP and CBP within 180 days of application submittal. Failure to submit a complete CUP application within the amnesty period will result in further enforcement. Any persons in violation of this subsection shall be prohibited from applying for a CUP for one year anywhere in the City of Richmond. In addition, commercial cannabis uses shall be prohibited on the subject property for one year.
E.
Existing Medicinal Cannabis Businesses. Existing permitted medicinal cannabis businesses, including those temporarily authorized for A-license activities, operating within the City are required to submit an application for an AUP within 90 days of this article taking effect to continue to conduct A-license activities for authorized medicinal uses and/or to conduct distribution activities. Any expansion of use beyond an A-license addition or addition of distribution activities requires a CUP modification. Applications for a CBP shall be required within 30 days of final approval of an AUP or CUP modification. If a complete application is not made within the required time, A-license activities temporarily authorized shall cease. All other authorized medicinal cannabis businesses shall submit a CBP application within 30 days of this article taking into effect.
F.
Locations Where Allowed and Number Allowed.
1.
Cultivators, Manufacturers, Mixed-light Cultivators, Testing Laboratories, and Distributors. All commercial cannabis cultivation, manufacturing, mixed-light cultivation, testing, and distributor operations shall be conditionally permitted as provided for in the City's Land Use Regulations Tables in Chapter 15.04.
2.
Retail Facilities.
a.
Existing Retail Facilities. Existing retail facilities may expand at their current location subject to Planning Commission approval of a modified CUP, upon making the following findings:
i.
The retail facility has operated in compliance with all local and State regulations; and
ii.
The expanded use will not negatively impact the surrounding community.
b.
New Retail Facilities. Any new commercial cannabis retail and non-storefront retail facilities are only allowed to locate in a CR, Regional Commercial Zoning District with a conditional use permit unless, following a public hearing, the Planning Commission makes all of the following findings to authorize a retail facility to locate on a site in the CG General Commercial Zoning District:
i.
The retail facility has demonstrated that it considered locations within the CR District and found no location meeting the requirements of this section that serves the needs of its customers; and
ii.
The proposed location within the CG District would complement the surrounding community while providing necessary services to its customers; and
iii.
The proposed location is not abutting a residential use.
3.
Distance from Schools, Parks, Community Centers, Youth Center, Child-Care Center, or Nursery School.
a.
All commercial cannabis activity must be located a minimum of 1,500 feet from any public or private high school and a minimum of 600 feet from any public or private kindergarten, elementary, middle or junior high school that is in existence at the time the permit is issued.
b.
All commercial cannabis activity shall be located a minimum of 600 feet from any park, community center, youth center, and public or private child-care center that is in existence at the time the permit is issued.
c.
Following a public hearing, the Planning Commission may make exceptions to the distance requirements for all commercial activities if all of the following findings are made based on specific facts:
i.
The location, design and proposed operating characteristics of the cannabis business is such that it is highly improbable that persons on, in or travelling to or from nearby parks, community centers, youth centers, or child-care centers would be able to view persons in, entering, or leaving the cannabis facility; and
ii.
Allowing the cannabis business to locate within 1,500 feet of a public or private high school or within 600 feet of a park, community center, youth center, and public or private child-care center, will not grant the cannabis business a special privilege not available to other commercial cannabis businesses within the City; and
iii.
The cannabis business has demonstrated that it considered other locations and selected the location that would have the least negative impact on the surrounding community while providing necessary services to its customers.
4.
Number of Commercial Cannabis Businesses.
a.
No more than three commercial cannabis retail facilities shall be permitted or allowed to operate in the City. The City has established a competitive selection process in Section 15.04.601.010(I) of this article to objectively award permits for which there are a limited number of permits available, such as for retail facilities. All competitive-based considerations shall be included with the application forms.
b.
There shall be no limit on the number of commercial cannabis cultivators, distributors, testing laboratories, or manufacturing businesses in the City as long as they obtain valid State and local permits and licenses, including CUP and CBP from the City of Richmond for each location.
G.
Delivery of Commercial Cannabis and Cannabis Products.
a.
The delivery of commercial cannabis or cannabis products from a State licensed retail facility or non-storefront retail facility to a customer is permitted, provided such deliveries are conducted in accordance with this article and State law, including obtaining a Richmond Business license. All other unpermitted and unlicensed delivery services within the City are prohibited.
b.
Existing permitted retail cannabis businesses operating within the City are not required to obtain a CUP modification before conducting delivery activities. Notice of intent to commence delivery activities shall be provided prior to conducting such activities.
H.
Conditional Use Permit Application Process.
1.
Conditional Use Permit Applications. In addition to any application forms and fees required in accordance with Article 15.04.803, an application for a commercial cannabis business must provide specific information, as determined by the Zoning Director, based on this section, State law and regulations, and County input relative to edible cannabis products. This information includes, but is not limited to, the following:
a.
Requirements for All Commercial Cannabis Businesses. A commercial cannabis business is required to provide the following information in support of its permit application.
i.
Information Regarding the Proposed Property.
(1)
The address of the property where the proposed commercial cannabis business will operate.
(2)
A site plan with fully dimensioned interior and exterior floor plans, including electrical, mechanical, plumbing, parking, and disabled access compliance pursuant to Title 24 of the State of California Code of Regulations and the federal Americans with Disabilities Act. For a retail facility, the site plan must show that there are separate rooms or partitioned areas within the retail facility for the receipt of supplies and for the delivery of cannabis to customers.
(3)
Exterior photographs of the entrance(s), exit(s), street frontage(s), parking, front, rear and side(s) of the site.
(4)
Photographs depicting the entire existing interior of buildings on the site.
(5)
If the site is being rented or leased or is being purchased under contract, a copy of such lease or contract.
(6)
If the site is being rented or leased, written proof that the property owner, and landlord if applicable, were given notice that the property will be used as a commercial cannabis business, and that the property owner, and landlord if applicable, agree(s) to said operations. If the retail facility is to be a subtenant, then "landlord" shall mean the primary tenant.
ii.
Information Regarding Each Business Owner and Manager. For each owner and manager, the following information must be provided, to the extent applicable:
(1)
The name, address, telephone number, title and function(s);
(2)
A fully legible copy of one valid government-issued form of photo identification, such as a driver's license; and
(3)
A summary criminal history ("LiveScan") prepared by the Richmond Police Department not more than 30 days prior to the date of application.
iii.
Information Regarding the Commercial Cannabis Business.
(1)
Written confirmation as to whether the commercial cannabis business, or a commercial cannabis business with one or more owner or managers in common with the applicant, previously operated in the City or any other county, city or state under a similar license/permit, and whether the business applicant ever had such a license/permit revoked or suspended and the reason(s) therefore.
(2)
The name and address of the commercial cannabis business' current Agent for Service of Process.
(3)
Information pertaining to a Notice of Violation for unpermitted cannabis operations or any cannabis related enforcement violations or within the City.
iv.
Plan for Unsold Cannabis. A plan for the disposal of any unsold cannabis or cannabis product must be submitted that renders or prevents any portion thereof from being recognizable and useable by any person or animal.
v.
Neighborhood Responsibility Plan. A neighborhood responsibility plan that demonstrates how the business will fulfill its responsibilities to the neighborhood, including neighborhood outreach, methods for future communication, and dispute resolution.
vi.
Security Plan. A security plan indicating how the applicant will comply with the requirements of this section and any other applicable law, rule, or regulation.
vii.
Affirmation that the Application is True. A statement dated and signed by each management member, under penalty of perjury, that the management member has personal knowledge of the information contained in the application, that the information contained therein is true and correct, and that the application has been completed under the supervision of the management member(s).
b.
Supplemental Application Requirements for Retail Facilities. In addition to the application requirements applicable to all commercial cannabis businesses, the following apply to commercial cannabis retail facilities.
i.
Security Plan. A retail facility's security plan must include procedures for verifying identification of customers and primary caregivers both before entering the retail facility and again before receiving cannabis; the number, location and hours of security guards; and a theft prevention plan including a detailed description of all surveillance and video equipment, location and coverage of cameras and how law enforcement or their representatives will be given real-time and stored access.
ii.
Daily Customer Limits. A retail facility or non-storefront facility shall adhere to daily limits on adult-use and medicinal cannabis and cannabis products by its customers in accordance to State law.
c.
Supplemental Application Requirements for Manufacturers. In addition to the standards applicable to all commercial cannabis businesses, the following apply to commercial cannabis manufacturing operations.
i.
Safety of Manufacturing Process. A commercial cannabis manufacturer must demonstrate one or both of the following:
(1)
The only manufacturing processes used are either solventless or employ only nonflammable, nontoxic solvents that are generally recognized as safe pursuant to the federal Food, Drug, and Cosmetic Act (21 U.S.C. Sec. 301 et seq.).
(2)
The manufacturing processes only use solvents exclusively within a closed-loop system that meets all of the following requirements:
(a)
The system uses only solvents that are generally recognized as safe pursuant to the federal Food, Drug, and Cosmetic Act (21 U.S.C. Sec. 301 et seq.).
(b)
The system is designed to recapture and contain solvents during the manufacturing process and otherwise prevent the off-gassing of solvents into the atmosphere to mitigate the risks of ignition and explosion during the manufacturing process.
(c)
A licensed engineer certifies that the system was commercially manufactured, is safe for its intended use, and was built to codes of recognized and generally accepted good engineering practices, including, but not limited to, the American Society of Mechanical Engineers, the American National Standards Institute, Underwriters Laboratories, the American Society for Testing and Materials, or OSHA Nationally Recognized Testing Laboratories.
(d)
The system has a certification document that contains the signature and stamp of a professional engineer and the serial number of the extraction unit being certified and that the certification is renewed either annually or according to the manufacturer's recommendations.
ii.
Fire, Safety, and Building Code Requirements. The manufacturer must meet all State, county and locally required fire, safety, and building code requirements.
iii.
Approval from Richmond Fire Prevention Services Division or designee. The commercial cannabis manufacturer must receive and maintain approval from the Richmond Fire Prevention Services Division for the closed-loop system and for other equipment used for manufacturing and extraction operations, per guidelines adopted by the Richmond Fire Prevention Services Division.
iv.
Edible Cannabis Products. Commercial cannabis manufacturers that prepare edible cannabis products must demonstrate compliance with State, County and local requirements regarding the preparation, distribution, labeling, and sale of food.
d.
Supplemental Application Requirements for Cultivators and Manufacturers. In addition to the application requirements applicable to all commercial cannabis businesses, the following apply to commercial cannabis cultivation and manufacturing operations.
i.
Plans for Use of Renewable Electicity. All cultivation and manufacturing operations must submit detailed plans demonstrating that the electricity used in the cultivation and manufacturing operations is from a renewable energy source or arrangements have been made to offset use of nonrenewable electrical energy with renewable energy from another source. If written evidence of enrollment in the Deep Green 100 percent renewable energy program administered by Marin Clean Energy (MCE) is provided, no further details need to be submitted with the application. Enrollment shall be maintained, and evidence provided annually in order to renew CBP.
ii.
Plans for Water Conservation. All cultivation and manufacturing operations must submit detailed plans demonstrating strict water conservation methods will be instituted and maintained at all times, and such plans must include records of monthly water consumption. These plans also must show that the cultivation facility will be equipped with water collection and filtration systems to reduce irrigation water to the maximum extent possible as determined by the Zoning Director or the State, if its regulations are more restrictive.
iii.
Plans for Wastewater. All cultivation and manufacturing operations must demonstrate compliance with the limitations on discharge into the City's wastewater system, as set forth in Richmond Municipal Code Chapter 12.18. This shall include the submittal of an Industrial User Permit Application (Baseline Monitoring Report) to the Water Resource Recovery Department.
iv.
Plans for Stormwater. All cultivation and manufacturing operations must demonstrate compliance with the limitations on discharge into the City's municipal separate storm sewer system (MS4), as set forth in Richmond Municipal Code Chapter 12.22. This shall include any and all provisions required under the Municipal Regional Permit (NPDES Permit No. CAS612008).
v.
Plans to Prevent Mold. All cultivation and manufacturing operations must submit a plan that specifies the methods to be used to prevent the growth of harmful mold.
vi.
Ventilation Plan. All cultivation and manufacturing operations must submit detailed information about the proposed ventilation system, including technical specifications indicating that the system is capable of preventing the release into the atmosphere of cannabis odors from the cultivation or manufacturing operation.
2.
Duration of Conditional Use Permit. Permits issued under this section will be subject to time limits, renewal, and reporting requirements as specified in conditions of approval. These conditions shall include resubmittal requirements for any change in circumstances, including substantive changes in ownership, management, sources of electricity, or operations, from those described in the original application.
3.
Expiration and Extension. A commercial cannabis CUP is subject to the expiration and extension procedures in RMC Section 15.04.803.110.
4.
Modification of Permit Conditions. Modifications to the permit or the conditions of approval may be requested in accordance with Section 15.04.803.110 and with prior notification and approval from the appropriate State cannabis regulatory agency.
5.
Revocation or Suspension of Conditional Use Permit.
a.
The CUP for a commercial cannabis business may be revoked if the State denies or revokes a State license for the operation of commercial cannabis business.
b.
A CUP for commercial cannabis business may be revoked after the business is operational, if the business ceases to be in regular and continuous operation for 90 days.
c.
Whenever a CUP for a commercial cannabis business has been revoked or suspended, no permit application by any of the owners or managers of that commercial cannabis business shall be considered for a period of three years from the date that the notice of the revocation or suspension was mailed to the business owner.
d.
The procedures provided in RMC Section 15.04.803.130 Revocation apply.
I.
Cannabis Business Permit Application Process.
1.
Cannabis Business Permit Applications. Following the issuance of a CUP, a cannabis business is required to submit an application for a CBP specific to the business activity defined by the State pertaining to that activity for any medicinal or adult-use or any other commercial cannabis activity the State may license. It shall be unlawful for any person to engage in, conduct or carry on, in or upon any premises within the City any commercial cannabis business without a CBP.
a.
Requirements for All Commercial Cannabis Businesses. A commercial cannabis business is required to provide the following information in support of its permit application.
i.
A copy of its CUP, containing a statement dated and signed by each business owner, under penalty of perjury, that they have read, understand and shall ensure compliance with the conditions of the CUP.
ii.
A copy of its State license (for renewals).
iii.
A copy of its Certificate of Occupancy Permit, if applicable.
iv.
A copy of its Permit to Operate from the Richmond Fire Prevention Services Division, if applicable.
v.
A copy of its City of Richmond Business License.
vi.
A copy of the cannabis business operating conditions, containing a statement dated and signed by each owner and manager, under penalty of perjury, that they have read, understand and shall ensure compliance with all operating standards set forth in this article.
vii.
A statement dated and signed by each owner and manager, under the penalty of perjury, that the information regarding each business owner and manager submitted with the CUP application is current and accurate, or proof that Zoning Administrator approval has been obtained for any changes in management or ownership.
viii.
A valid seller's permit from the California Department of Tax and Fee Administration or successor agency.
ix.
Proof that payment of all City of Richmond fees and taxes is current.
2.
Issuance of Cannabis Business Permit. The Zoning Administrator or designee after receiving the completed application and aforementioned information will grant the permit where the above-listed requirements are met.
3.
Duration of Cannabis Business Permit. A CBP shall be valid for one year or until December 31 each year, unless sooner revoked. No permit granted herein shall confer any vested right to any person or business for more than the above-referenced period.
4.
Cannabis Permit Annual Renewal. Applications for the renewal of a permit shall be filed with the Zoning Administrator or designee at least 60 calendar days before the expiration of the current permit. Any cannabis business allowing their permit to lapse, or which permit expired during a suspension shall be required to submit a new application, pay the corresponding application fees.
5.
Transfer of Cannabis Business Permit/Business Modifications. A CBP does not run with the land or business. A CBP is not transferable or assignable to another person or owner, except as approved by the Zoning Administrator. Notwithstanding the foregoing, the Zoning Administrator may administratively approve any changes in management or ownership or change in business name or structure and may require additional background check(s) or additional information for such approvals.
6.
Revocation or Suspension of Cannabis Business Permit. Any CBP issued under this section may be immediately suspended or not renewed for any of the reasons listed below. Any CBP issued under this ordinance may be revoked by the City following notice and opportunity for a hearing before the Zoning Administrator or designee for any of the following reasons:
a.
A cannabis business fails to comply with the requirements of this article or any conditions of approval of CUP.
b.
A cannabis business's State license for commercial cannabis operations is revoked, terminated or not renewed.
c.
The cannabis business's State license for commercial cannabis operations is suspended. The City shall not reinstate the CBP until documentation is received showing that the State license has been reinstated or reissued. It shall be up to the City's discretion whether the City reinstates any permit
d.
The cannabis business fails to become operative within one year of obtaining its CBP.
e.
Once operational, the business ceases to be in regular and continuous operation for 90 days unless given prior approval by the City for extenuating and unusual circumstances.
f.
State law permitting the use for which the license was issued is amended or repealed resulting in the prohibition of such use, or the City receives credible information that the federal government will commence enforcement measures against such businesses and/or local governments that permit them.
g.
Circumstances under which the CBP was granted have significantly changed and the public health, safety and welfare require the suspension, revocation, or modification.
h.
The CBP was granted, in whole or part, on the basis of a misrepresentation or omission of a material statement in the permit application.
i.
The cannabis business is not current on City taxes or fees.
j.
The owner was found to operate another cannabis facility illegally within the City.
J.
Competitive Selection Process. The City has established a competitive selection process to objectively award permits for which there are a limited number of permits available, such as for retail facilities.
1.
Competitive Application Period. In the event that a permit for a commercial cannabis activity with a limited permit number becomes available, the Director shall open the competitive application period and make permit applications available.
a.
Notice of the competitive selection period shall be published by means determined necessary by the Director to provide public notice of the opportunity to apply.
b.
The competitive application period shall be a minimum 30 calendar days from the date the applications are released. Should the last day fall on a day when City Hall is closed, the application period shall be extended to the next open day.
c.
Following the application period, the Director or designee shall stop accepting applications and review all applications received.
2.
Initial Application Review. The Director or designee shall determine whether each application demonstrates compliance with minimum requirements required in the permit application and be entered into a pool of applicants for the Final Application Review and Scoring. These requirements include but are not limited to:
a.
Application was submitted during the application period.
b.
Application forms are filled out completely and demonstrate compliance with minimum requirements required in the permit application.
c.
Any application forms required in accordance with Article 15.04.803 are completed and required fees per master fee schedule are paid.
d.
A signed statement that the proposed location of the commercial cannabis business on the application meets the zoning criteria established in this article including, but not limited to, any and all sensitive use separation criteria required by this article.
3.
Final Application Review and Scoring. The Director or designee, after reviewing the applications approved in the initial application review shall convene a selection panel composed of the Fire, Police, Finance and Planning, or their designees, to make the final decision, based on the priority point system to objectively award the top applicant(s). A complete description of the priority point system and all priority point considerations shall be included with the application forms.
K.
Minimum Standards Related to the Operation of Commercial Cannabis Businesses. Any permits issued, renewed, or modified pursuant to this section includes the following conditions of operation. Each permittee is required to comply with the following conditions. The Planning Commission may impose additional conditions as necessary to preserve the public health, safety and welfare.
1.
Standards Applicable to All Commercial Cannabis Businesses. The following standards are applicable to all commercial cannabis businesses.
a.
Compliance with State and Local Law Required. The applicant shall fully comply with all State laws and local laws for commercial cannabis businesses.
b.
Maintain Licenses and Permits. All commercial cannabis businesses must maintain all licenses and permits required by the State, the county and the City.
c.
Compliance with Laws Regarding Edible Cannabis Products. Commercial cannabis businesses that manufacture, prepare, dispense, and/or sell food, including cannabis-infused foods and/or edible cannabis products, must comply with and are subject to the provisions of all relevant State and local laws and county regulations regarding the preparation, distribution, labeling and sale of such items.
d.
Job Opportunities for Richmond Residents. All commercial cannabis business shall provide maximum feasible opportunities for Richmond residents to apply for jobs through outreach, advertising, and contacts with local job centers. The City encourages "local hires" whenever possible, consistent with General Plan policies and State and federal employment law. Commercial cannabis businesses shall coordinate hiring opportunities with the City's Employment and Training Department.
e.
Exterior Lighting. Exterior building and parking area lighting at the commercial cannabis businesses must be in compliance with all applicable provisions of Article 15.04.604.
f.
Roof Hatches. The commercial cannabis business's windows and roof hatches shall be secured so as to prevent unauthorized entry; equipped with latches that may be released quickly from the inside to allow exit in the event of emergency; and comply with all applicable Building and Fire Code provisions.
g.
Ventilation. The commercial cannabis business must provide a sufficient odor absorbing ventilation and exhaust system so that odor generated inside the property is not detected outside the property, anywhere on adjacent property or public rights-of-way, or within any other unit located within the same building as the cannabis retail facility, cultivation site, cannabis product manufacturer or any other subsequently approved cannabis business.
h.
Video Surveillance System. The commercial cannabis business must be monitored at all times by digital surveillance system for security purposes. The digital surveillance system must be of adequate quality, color rendition and resolution in accordance to State law. The cameras shall record continuously 24 hours per day at a minimum of 15 frames per second and shall be maintained at the property for a minimum of 90 calendar days. Failure to maintain the cameras in good working condition at all times is a violation of this section and cause for permit revocation or suspension.
i.
Alarm System. A permittee shall maintain an alarm system as defined in Business and Professions Code section 7590.1(n) at the licensed premises an in accordance with California Code of Regulations Title 16, Division 42.
j.
Consent to Inspection. Authorized City, county, and State representatives may enter and inspect the property of every commercial cannabis business between the hours of 9:00 a.m. and 5:00 p.m. during the week (Monday through Friday), or at any reasonable time to ensure compliance and enforcement of the provisions of this section, except that the inspection and copying of private medical records shall be made available to the Police Department only pursuant to a properly-executed search warrant, subpoena, or court order. It is unlawful and cause for immediate suspension or revocation of the CBP for any property owner, landlord, lessee, commercial cannabis business, and/or its owner, agent, employee to refuse to allow, impede, obstruct or interfere with an inspection.
k.
Restrictions on Access and Sale. No commercial cannabis retail facility shall cause or permit the access, sale, or exchange of cannabis to any person who is not 21 years of age or a qualified patient who is 18 years of age or older. No commercial cannabis manufacturer, distributor, testing laboratory, or cultivator shall cause, permit or allow any sale, distribution or exchange of cannabis to any person at the manufacturing, testing, distribution, or cultivation location, nor shall the manufacturer, testing laboratory, distributor, or cultivator permit any walk-ins or allow any person into the site, unless such person is authorized to engage in commercial cannabis business under State and local law.
l.
Visibility of Cannabis. No cannabis or cannabis products on the site of a commercial cannabis business shall be visible with the naked eye from any adjacent public or private property, nor shall commercial cannabis or commercial cannabis products be visible from the building exterior. No cultivation shall occur at the retail facility's location unless the business owner has the appropriate local and State permits, and the area devoted to the cultivation is secured from public access by means of a locked gate and any other security measures necessary to prevent unauthorized entry, and has been inspected and approved by the Richmond Fire Prevention Services Division and Richmond Building Departments.
m.
Age Restriction. Employees or persons retained by a permittee to work within or on a permitted premises or to handle cannabis goods shall be at least 21 years of age. No customer under the age of 21 shall be allowed at an adult-use cannabis business and no person under the age of 18 shall be allowed at a medicinal cannabis business.
n.
No Alcoholic Beverages or Tobacco Products. No commercial cannabis business and/or commercial cannabis permittee shall cause or permit the sale, dispensing, or consumption of alcoholic beverages or tobacco products at a commercial cannabis business or its parking area, except that employees of the commercial cannabis business and/or commercial cannabis permittee may consume tobacco products in outdoor areas designated in accordance with applicable provisions of the Richmond Municipal Code and State law.
o.
No Cannabis Consumption. No commercial cannabis business and/or commercial cannabis permittee shall cause or permit the smoking, ingesting, or otherwise consuming cannabis on the premises of a commercial cannabis business or in its parking area.
p.
Secure Storage. All cannabis and cannabis products shall be stored on-site in structures that are completely enclosed, in a locked vault or safe that is not bolted to the floor, or in any other secured storage structure. No off-site storage is allowed.
q.
No Retail Sales in Cultivation, Distribution, Testing or Manufacturing Facilities. No commercial cannabis cultivator, distributor, manufacturer or tester shall allow or permit retail sale of its product at the facility location.
r.
Maintenance of Records. Records of commercial cannabis activity must be maintained in accordance with State and local law, be maintained in order to show compliance with this section and be made available to the City upon request electronically as well as in hard copy if requested. Failure to provide such records is grounds for revocation of the conditional use permit and Cannabis Business Permit. Records maintained must include but are not limited to the following.
i.
All commercial cannabis businesses must maintain:
(1)
Proof of a valid conditional use permit issued by the Planning Commission in conformance with this section. A copy of the CUP shall be displayed at all times in a place visible to the public.
(2)
Proof of a valid CBP issued by the Planning Department in conformance with this section. A copy of the CBP shall be displayed at all times in a place visible to the public.
(3)
The full name, address, and telephone number(s) of the owner, landlord and/or lessee of the property.
(4)
The full name, address, and telephone number(s) of each person engaged in the management of the business and the exact nature of the participation in the management of the business, and for cultivators, the full name, address, and telephone number(s) of each employee engaged in the cultivation of cannabis at the property.
(5)
A written accounting of all cash and in-kind contributions, revenues received, reimbursements, and compensation to the business and all expenditures and costs incurred by the business.
ii.
A retail facility shall maintain the following records on the property:
(1)
An inventory record documenting the dates and the daily amounts of cannabis and cannabis products stored on the property and an inventory record of all cannabis shipments distributed to the facility, as required by the State's track and trace system.
(2)
Copies of the prohibited activity checklist, available from the Richmond Police Department, containing a statement dated and signed by each manager, under penalty of perjury, that they read, understand and shall not engage in any prohibited activity.
(3)
Evidence of: (a) verification that all manufactured products are manufactured, packaged, and labeled in compliance with all applicable State and local laws; and (b) laboratory testing as required by State and local laws.
iii.
A manufacturer shall maintain the following records on the property:
(1)
Evidence of: (a) verification that all cannabis products manufactured and packaged at the location are manufactured, packaged, and labeled in compliance with all applicable State and local laws; and (b) laboratory testing as required by State and local laws.
(2)
A list of any commercial cannabis distributor that the manufacturer has provided or intends to provide its product to. The list shall include the name of the distributor, its address, the date the cannabis product was sold or transferred to the distributor, and the type and amount of the product that was distributed as required by the State's track and trace program.
iv.
A cultivator shall maintain the following records on the property:
(1)
The current address of all sites at which cannabis is cultivated.
(2)
An inventory record documenting the dates and amounts of cannabis cultivated at the property, the daily amounts of cannabis stored on the property, and an inventory record of all cannabis transferred to a commercial cannabis distributor. The inventory records shall include total plants grown and total weight of cannabis cultivated by the cultivator, the total weight of all cannabis sold or transferred to a distributor, and receipts and documents detailing the sale or transfer of cannabis as required by the State's track and trace program.
(3)
Copies of the prohibited activity checklist, available from the Richmond Police Department, containing a statement dated and signed by the permittee(s) for the cultivation site, under penalty of perjury, that they read, understand and shall not engage in any prohibited activity.
(4)
Evidence to verify that all cannabis is cultivated in compliance with all applicable State and local laws.
v.
A distributor shall maintain the following records on the property:
(1)
A list of any commercial cannabis businesses that the distributor has provided or intends to provide its product to. The list shall include the name of the cannabis business, its address, the date the cannabis product was sold or transferred to the business, and the type and amount of the product that was distributed as required by the State's track and trace program.
vi.
A commercial cannabis business that produces edible cannabis products shall maintain the following records on the property:
(1)
Proof of inspections and approvals by Contra Costa Environmental Health Department and the County Health Officer for food manufacturers, packagers and/or distributors, when such inspections or approvals become required.
(2)
Producers of edible cannabis products shall maintain a written or computerized log documenting:
(a)
The source of the cannabis used in each batch of product;
(b)
The contaminant testing date; and
(c)
The testing facility for the cannabis.
s.
Use of Pesticides. No pesticides or insecticides that are prohibited by applicable law for fertilization or production of edible produce may be used on any cannabis cultivated, produced, or distributed by a commercial cannabis business. A commercial cannabis business shall comply with all applicable laws regarding use of pesticides.
t.
Disposal of Cannabis and Cannabis Byproducts. All cannabis and any product containing a usable form of cannabis must be made unusable and unrecognizable prior to removal from the business in compliance with all applicable State laws.
u.
On-site Community Relations Contact. Commercial cannabis businesses must provide the Police Department and all residents, businesses and property owners within 100 feet with the current name, phone number, secondary phone number and e-mail address of an on-site community relations contact person to whom notice of any operating problems associated with the commercial cannabis business may be reported.
v.
On-Site Manager. All commercial cannabis businesses must have an on-site manager, at each commercial cannabis business, who is responsible for overall operation at all times that employees are conducting operations, and provide the Police Department with contact information for such person, including a telephone number and e-mail address.
w.
Discouraging Nuisance. Commercial cannabis businesses must take all reasonable steps to discourage and correct objectionable conditions that constitute a public or private nuisance in parking areas, sidewalks, alleys and areas surrounding the commercial cannabis business and adjacent properties. Such conditions include but are not limited to smoking, creating a noise disturbance, loitering, littering, and graffiti.
x.
State Licenses. Any commercial cannabis business that fails to obtain or qualify for the required State license, or is refused such license, shall immediately cease all operations in the City.
y.
Testing and Labeling. All cannabis, cannabis products, and edible cannabis products, must be tested and labeled as follows and as required by State law.
i.
Baked goods, such as cookies and brownies, shall be exempt from testing for contaminants. These products are still subject to testing for potency, as required for the label information, and must use cannabis or cannabis products that have been tested for contaminants. All baked products must contain a list and warning of any known food allergens, like nuts, etc., and comply with CCR Title 17, Division 1, Chapter 13, §40254 and any other food safety requirement of local or State regulations.
2.
Supplemental Standards for Retail Facilities. In addition to the standards applicable to all commercial cannabis businesses, the following apply to commercial cannabis retail; facilities.
a.
Signage. A sign must be posted in a conspicuous location inside the commercial cannabis business and advise that:
i.
You must be at least 21 years old or at least 18 years old with a valid physician's recommendation to purchase, possess, or consume cannabis or cannabis products.
ii.
The use of cannabis may impair a person's ability to drive a motor vehicle or operate heavy machinery;
iii.
Loitering at the location of a cannabis retail facility for an illegal purpose is prohibited by California Penal Code Section 647(h); and
iv.
This retail facility is permitted in accordance with the Municipal Code, and State law, including the MAUCRSA, and Bureau regulations.
b.
Hours of Operation. A licensed cannabis retail facility or non-storefront retail facility may sell and deliver cannabis between the hours of 8:00 a.m. and 9:00 p.m.
c.
Safety of Products. The retail facility must ensure that the cannabis, cannabis products, and edible cannabis it offers for sale are manufactured, packaged, tested, and labeled in compliance with all applicable State and local laws. No retail facility may obtain or distribute cannabis products from any commercial cannabis business unless such business has a valid permit or license issued by the Bureau and a California city or county.
d.
Onsite Consumption. On-site consumption of cannabis or cannabis products is specifically prohibited on the premises at all times.
3.
Supplemental Standards for Cultivators. In addition to the standards applicable to all commercial cannabis businesses, the following apply to commercial cannabis cultivators.
a.
Outdoor Cultivation Prohibited. All cultivation must be done inside a fully enclosed structure, which may be a greenhouse, and the cultivation operation shall not be visible from the exterior of the structure. Outdoor cultivation of cannabis is not permitted in any zoning district.
4.
Supplemental Standards for Retail Facilities Engaged in Deliveries.
a.
Commercial cannabis deliveries may be made only from a commercial cannabis retail facility permitted by the City or from a State licensed retail facility outside of the City limits in compliance with this section, and in compliance with all State regulations.
b.
All deliveries of cannabis goods shall be performed by a delivery employee of a retailer.
c.
While carrying cannabis goods for delivery, a retailer's delivery employee shall ensure the cannabis goods are not visible to the public.
d.
Persons engaged in delivery of cannabis or cannabis products on behalf of a licensed retailer, shall adhere to the delivery vehicle requirements and restrictions on the amount of cannabis and cannabis goods stored in the vehicle during delivery as set forth under State law.
e.
No cannabis delivery vehicle shall display signs, decals or any other form of advertisement.
5.
Supplemental Standards for Distributors.
a.
A distributor shall not store or distribute non-cannabis goods on or from the premises permitted for distribution of cannabis goods.
b.
A distributor shall ensure a label with the following information is physically attached to each container of each batch:
i.
The manufacturer or cultivator's name and license number;
ii.
The date of entry into the distributor's storage area;
iii.
The unique identifiers and batch number associated with the batch;
iv.
A description of the cannabis goods with enough detail to easily identify the batch; and
v.
The weight of or quantity of units in the batch.
c.
Employee breakrooms, eating areas, changing facilities, and bathrooms shall be completely separated from the storage areas.
d.
A distributor shall adhere to all requirements for transportation of cannabis goods as set forth in State law.
6.
Supplemental Standards for Testing Laboratory Businesses.
a.
A permitted cannabis testing facility shall comply with all State regulations contained in California Code of Regulations Title 16, Division 42 and as it may be amended from time to time.
b.
Any cannabis testing facility must maintain all certifications required by the State.
c.
A permitted cannabis testing facility business, its owners and its employees may not hold an interest in any other cannabis business except another testing business.
7.
Supplemental Standards for Commercial Cannabis Businesses Producing Edible Cannabis Products.
a.
The manufacturer and seller of edible cannabis products must ensure that all cannabis products and edible cannabis products it manufactures and/or sells complies with the any applicable provisions of all State and local laws, including regulations of the Contra Costa County Environmental Health Officer regarding the testing, preparation, distribution, labeling and sale of food.
b.
Preparation of Edibles.
i.
Individuals involved in the production or distribution of edible cannabis products must thoroughly wash their hands before commencing production and before handling the finished product.
ii.
Gloves must be worn when packaging edible products containing cannabis.
iii.
In order to reduce the likelihood of foodborne disease transmission, individuals who are suffering from symptoms associated with acute gastrointestinal illness or are known to be infected with a communicable disease that is transmissible through foodstuffs are prohibited from preparing edible products containing cannabis until they are free of that illness or disease, or are incapable of transmitting the illness or disease through foodstuffs. Individuals who have sores or cuts on their hands must use gloves when preparing and handling edible products containing cannabis.
iv.
Edibles that are sold at a retail facility may only be prepared by a locally-permitted, and State-licensed manufacturing facility.
v.
Any and all persons who produce edible cannabis products must be a State-certified food handler. The valid certificate number of such persons must be on record at each manufacturing facility where the edible product is distributed, and a copy of the certificate kept either on-site, or made available during inspections if kept off-site.
vi.
Hand-washing facilities shall be adequate and convenient and be furnished with running water at a suitable temperature. Hand-washing facilities shall be located in the facility in edible cannabis product preparation areas and where good sanitary practices require employees to wash and/or sanitize their hands and provide effective hand-cleaning and sanitizing preparations and sanitary towel service or suitable drying devices.
c.
Packaging of Edibles.
i.
Edible cannabis products shall comply with State packaging requirements contained in California Code of Regulations Title 17, Division 1, as it may be amended.
d.
Labeling.
i.
Edible cannabis products shall comply with State labeling requirements contained in California Code of Regulations Title 17, Division 1, as it may be amended.
8.
Prohibited Activity. On-site consumption of cannabis or cannabis products is specifically prohibited on all commercial cannabis premises at all times. Cannabis may not be inhaled, smoked, eaten, ingested, or otherwise consumed anywhere on the property of a commercial cannabis business, in the parking areas of the business, or in those areas restricted under the provisions of California Health and Safety Code Section 11362.3.
L.
Fees and Taxes. All commercial cannabis businesses shall pay applicable fees and taxes, which may include one or more of the following:
1.
Application Fees. The applicant shall pay all fees required by the master fee schedule to cover the costs of processing commercial cannabis business permits, including but not limited to use, design review, building, fire, and CBP permits.
2.
Business License Fee. The business owner shall at all times maintain a current and valid business license and pay all business taxes required by the City of Richmond Municipal Code, including but not limited to those due under Richmond Municipal Code Section 7.04.139.
3.
Commercial Cannabis Regulatory Fee. The business owner shall pay an annual regulatory fee to cover the costs of anticipated enforcement and inspections relating to the cannabis operation. The amount of the fee shall be set by Resolution of the City Council and be supported by the estimated additional costs of enforcement and monitoring associated with the cannabis operation. The regulatory fee shall be due upon issuance of the CBP. The Regulatory Fee may be amended from time to time based upon actual costs.
4.
All required taxes including sales and use taxes, business, payroll etc.
5.
Additional cannabis-specific taxes approved by the voters of the City of Richmond.
M.
Liability and Indemnification.
1.
To the fullest extent permitted by law, any actions taken by a public officer or employee under the provisions of this section shall not become a personal liability of any public officer or employee of the City.
2.
To the maximum extent permitted by law, the permittee(s) under this section shall defend (with counsel acceptable to the City), indemnify and hold harmless the City, the City Council, and its respective officials, officers, employees, representatives, agents and volunteers (hereafter collectively called "City") from any liability, damages, actions, claims, demands, litigation, loss (direct or indirect), causes of action, proceedings, or judgment (including legal costs, attorneys' fees, expert witness or consultant fees, City Attorney or staff time, expenses or costs) (collectively called "action") against the City to attack, set aside, void or annual, any cannabis-related approvals and actions and strictly comply with the conditions under which such permit is granted, if any. The City may elect, in its sole discretion, to participate in the defense of said action and the permittee shall reimburse the City for its reasonable legal costs and attorneys' fees.
3.
Within ten calendar days of the service of the pleadings upon the City of any action as specified in paragraph [(M)(2)] above, the permittee shall execute a letter of agreement with the City, acceptable to the Office of the City Attorney, which memorializes the above obligations. These obligations and the letter of agreement shall survive termination, extinguishment or invalidation of the cannabis-related approval. Failure to timely execute the letter of agreement does not relieve the applicant of any of the obligations contained in this section or any other requirements or performance or operating standards that may be imposed by the City.
N.
Violations and Enforcement. In addition to Article 15.04.815 (Enforcement Provisions):
1.
Any person violating any provision of this section, including engaging in a commercial cannabis business without a CUP and CBP or knowingly or intentionally misrepresenting any material fact in procuring a CUP and CBP, shall be deemed guilty of a misdemeanor punishable by a fine of not more than $1,000.00 for each day or portion thereof of the violation or by imprisonment for not more than 12 months, or by both such fine and imprisonment;
2.
Any violation of this section shall be subject to injunctive relief, revocation of the certificate of occupancy for the property, disgorgement and payment to the City of any and all monies unlawfully obtained, costs of abatement, costs of investigation, attorney fees, and any other relief or remedy available at law or equity; and
3.
Any violation of any condition of a CUP or CBP for a commercial cannabis business, including failure to remit any fees required to maintain the permits and/or failure to remit the quarterly gross receipt taxes, shall be grounds for permit suspension or revocation.
(Ord. No. 16-19 N.S., § I(Exh. A), 11-5-2019)
Editor's note— Ord. No. 16-19 N.S., § I(Exh. A), adopted Nov. 5, 2019, repealed the former § 15.04.610.270 and enacted § 15.04.610.270 as set out herein. The former § 15.04.610.270 pertained to Medical Marijuana Uses and derived from Ord. No. 16-16 N.S., adopted November 15, 2016.
Additional terms, such as "applicant" and "person", "permit" and "use", are defined in Zoning and Subdivision Regulations, Series 100, General Provisions, and are not repeated here.
A.
Purpose. The purpose of this section is to provide, pursuant to California Health and Safety Code section 11362.2, rules to regulate the non-commercial cultivation or consumption for medicinal or adult-use of the six living cannabis plants authorized to be grown under California Health and Safety Code Section 11362.1 to mitigate the negative impacts and secondary effects associated with the cultivation of cannabis.
B.
Prohibited Activities. It is unlawful and shall constitute a public nuisance for any person to cultivate cannabis for their personal, non-commercial use in violation of the provisions of this section or State law.
C.
Restrictions Related to Personal Cultivation of Cannabis for Non-Commercial Uses. The following restrictions apply to any person who cultivates cannabis for their personal, non-commercial use within the City limits of the City of Richmond. Any person who complies with these restrictions does not require a CUP or CBP.
1.
No more than six cannabis plants may be cultivated at any one time at a single private residence or on a single parcel of property within the approved zones.
2.
Indoor personal cultivation of cannabis shall not interfere with the primary occupancy of the building or structure, including regular use of kitchen(s) or bathroom(s).
3.
The private residence containing the cannabis plants must be occupied by, and the cannabis plants must be cultivated by, persons 21 years of age or older, or by persons 18 years or older with a valid physician's recommendation for cannabis.
4.
Cannabis plants must not be visible with normal unaided vision from a public right-of-way.
5.
Cultivation of cannabis for personal use is limited to parcels with a residence and a full-time resident on the premises where the cultivation is occurring.
6.
The use of CO2 or any volatile solvents as defined by the State and this section to manufacture cannabis products is prohibited.
7.
All structures and equipment used for personal indoor cultivation, such as indoor grow lights, shall comply with all applicable building, electrical, mechanical, plumbing and fire code regulations by the City, County or State.
8.
No cannabis odors shall be detectable from offsite, and the use of odor prevention devices, such as a ventilation system with a carbon filter, shall be utilized if necessary.
9.
Grow lights shall not exceed 1,200 watts per light and are prohibited from producing a glare that interferes with other residents' reasonable enjoyment of life or property.
10.
Cannabis plants cultivated indoors must remain at least 12 inches below the ceiling.
11.
The use of generators other than as back-up for emergency purposes is prohibited.
12.
Nothing in this section is intended, nor shall it be construed to preclude any landlord from limiting or prohibiting cannabis cultivation by tenants.
13.
Nothing in this section is intended, nor shall it be construed, to authorize any public or private nuisance as specified in the Richmond City Municipal Code and any violation of this section is declared to be a nuisance and may be abated by the City pursuant to this ordinance or any applicable City code.
14.
Nothing in this section is intended, nor shall it be construed, to authorize any cannabis activity in violation of State law. All personal cannabis consumption, cultivation, or any other personal cannabis activity must comply with all current State laws and regulations.
D.
Consumption. All regulations regarding smoking contained in the City of Richmond Municipal Code are applicable to smoking of cannabis or smoking of any cannabis products. Cannabis may not be inhaled, smoked, eaten, ingested, or otherwise consumed in areas restricted under the provisions of California Health and Safety Code Section 11362.3
E.
Enforcement and Penalties. The City may pursue one or more of those alternatives set forth in the City of Richmond Municipal Code to enforce this section. It shall be a separate offense for each and every day during any portion of which any violation of, or failure to comply with, any provision of this section is committed, continued or permitted. In the event of any conflict between the penalties set forth in this section and any penalties set forth in State law, the maximum penalties allowable under State law shall govern.
1.
The City may issue administrative citations and fines as set forth in Chapter 2.62 of this Code.
2.
Whenever the City determines that a violation of this section exists at any location within the City of Richmond, the City is authorized to issue a Notice of Violation and demand to abate. Any failure to comply with said notice shall constitute a violation subject to the penalties and legal actions as set forth in Chapter 1.04 of this Code.
3.
Nothing in this section shall be construed as imposing on the City of Richmond any duty to issue a notice of violation, nor to abate any unlawful cannabis activity, nor to take any other action with regard to any unlawful cannabis activity, and the City shall not be held liable for failure to issue an order to abate any unlawful cannabis activity, nor for failure to abate any unlawful cannabis activity, nor for failure to take any other action with regard to any unlawful cannabis activity.
(Ord. No. 16-19 N.S., § I(Exh. A), 11-5-2019)
Nontraditional Financial Institutions (e.g., check-cashing facilities) must be located, developed, and operated in compliance with the following standards, where allowed by the 200 Series, Base Zoning Districts:
A.
Conditional Use Permit Criteria. A conditional use permit for any Nontraditional Financial Institution may only be granted upon determining that the proposal conforms to the use permit criteria set forth in Article 15.04.806 (Use Permits), and to all of the following performance standards:
1.
Location.
a.
Minimum distance from another Nontraditional Financial Institution: 1,000 feet.
b.
Minimum distance from an educational, religious, or cultural institution or public park: 500 feet.
c.
Minimum distance from liquor stores: 500 feet.
2.
Performance Standards.
a.
Exterior lighting with shielded fixtures shall be provided on all frontages. Such lighting shall be designed to illuminate persons standing outside such that they can be identified 30 feet away.
b.
A minimum of 60 percent of a storefront shall have glass or transparent glazing in the windows and doors providing views into the building's interior within a zone of transparency of between two feet and six feet above the adjacent sidewalk grade. No more than 10 percent of any window or door area shall be covered by signs, banners, or opaque coverings of any kind so that law enforcement personnel will have clear view of the entire public area in the premises from the public sidewalk.
c.
Days and hours of operation shall be between 7:00 a.m. and 7:00 p.m. Monday through Saturday.
d.
The site must be maintained free of litter and graffiti at all times. The owner or operator must provide for daily removal of trash, litter, and debris from premises and on all abutting sidewalks within 20 feet of the premises. The owner or operator must remove graffiti within 72 hours. One permanent, non-flammable trash receptacle shall be installed near to the entrance/exit of the building.
e.
Patrons shall be discouraged from loitering prior to, during and/or after hours. A sign shall be posted in the front of the business indicating that no loitering is permitted per the Municipal Code.
Nurseries and garden centers must be located, developed, and operated in compliance with the following standards, where allowed by the 200 Series, Base Zoning Districts:
A.
Products for Sale. Products offered for sale are limited to nursery stock and related materials incidental to the planting, care, and maintenance of plants, including fertilizer, pesticides, seeds, and planting containers, and exclude general building materials, hardware, tools other than for soil preparation and general landscaping.
B.
Enclosure. All storage, display, and sale of products other than nursery stock must be conducted within a completely enclosed building or within an area enclosed by a solid wall or fence and gate between five and six feet in height.
Outdoor Dining and Seating facilities must be located, developed, and operated in compliance with the following standards, where allowed by the 200 Series, Base Zoning Districts:
A.
Applicability. The standards of this Section apply to outdoor dining and seating located on private property. Outdoor dining and seating located in the public-right-of-way requires an encroachment permit issued by the Public Works Department.
B.
Accessory Use. Outdoor dining and seating must be conducted as an accessory use to an eating or eating and drinking establishment located on the same lot or an adjacent lot.
C.
Enclosure. Awnings or umbrellas may be used, but must be adequately secured and/or retractable.
D.
Furnishing and Fixtures. Furnishing may consist only of movable tables, chairs, and umbrellas. Lighting fixtures may be permanently affixed onto the exterior front of the principal building.
E.
Litter Removal. Outdoor dining and seating areas must remain clear of litter at all times.
F.
Hours of Operation. The hours of operation are limited to the hours of operation of the associated eating or eating and drinking establishment.
G.
Parking. Where an outdoor dining and seating area occupies less than 200 square feet, no additional parking spaces for the associated eating and drinking establishment is required. Otherwise, parking must be provided according to Article 15.04.607 (Parking and Loading Standards).
H.
Pedestrian Space. Tables and chairs must be placed in a way that allows for an unobstructed pedestrian walkway with a minimum width of four feet.
I.
Accessibility. At least 25 percent of the seating must be accessible to persons using wheelchairs.
Outdoor sales must be located, developed, and operated in compliance with the following standards, where allowed by the 200 Series, Base Zoning Districts:
A.
Seasonal and Temporary Sales. For seasonal and temporary sales, such as holiday tree and pumpkin lots, refer to Section 15.04.610.410 (Temporary Uses).
B.
Permanent Outdoor Display and Sales. The permanent outdoor display of merchandise, except for automobile/vehicle sales and leasing, which is subject to Section 15.04.610.080 Automobile/Vehicle Sales and Leasing, requires administrative use permit approval and must comply with the following standards:
1.
Relationship to Main Use. The outdoor display and sales area must be directly related to a business occupying a primary structure on the subject parcel.
2.
Display Locations.
a.
Outdoor sales and display located in the public-right-of-way requires an encroachment permit issued by the Public Works Department.
b.
The displayed merchandise must not disrupt the vehicle and pedestrian circulation on the site, obstruct driver visibility or otherwise create hazards for vehicles or pedestrians.
c.
A four-foot pedestrian pathway to the main entrance of the use must be maintained and not blocked by merchandise. If there is more than a four-foot-wide pathway provided, merchandise may be displayed in an area outside of the required four feet.
3.
Allowable Merchandise. Only merchandise generally sold at the business is permitted to be displayed outdoors.
4.
Refuse/Litter. The operator is responsible for collecting trash due to outdoor sales.
Outdoor vendors (mobile vending units) must be located, developed, and operated in compliance with the following standards, where allowed by the 200 Series, Base Zoning Districts:
A.
Permits Required. In addition to an administrative use permit, outdoor vendors shall submit proof of compliance with the following to the Zoning Administrator:
1.
Business License. Every outdoor vendor shall obtain a City business license prior to operation.
2.
County Health Department. If food and/or beverages are being sold, a valid permit from the County Health Department is required for the commissary as well as for the mobile vending unit.
3.
State Certified Vehicle. Any mobile food vending unit owner shall provide proof that the vehicle is State-certified for operation as a mobile food preparation truck, including compliance with plumbing and electrical standards.
4.
Vehicle Insurance and Registration. Proof of current insurance and registration of the vehicle must be present with the administrative use permit application.
All permits and licenses shall be displayed at the place of business at all times.
B.
Exemptions. The following activities shall be excluded from the requirements of this outdoor vendors ordinance:
1.
Outdoor activities that take place within the public right-of-way (e.g., peddler businesses);
2.
Pumpkin sales from October 1 to October 31, inclusive;
3.
Holiday tree sales from November 1 to December 25, inclusive;
4.
Residential yard sales activities up to three days within any three-month period;
5.
Nonprofit activities related to religious establishments, community events, and fundraisers up to three days within any three-month period; and
6.
Special events that take place on land within the PCI zoning district for no more than a maximum of 30 calendar days within any twelve-month period.
C.
Site Criteria/Operational Characteristics. The following criteria shall apply to the siting and operational characteristics of outdoor vendors:
1.
Outdoor vending activities shall be allowed only in Mixed-Use, Commercial and Industrial zoning districts with an administrative use permit as identified in the land use tables for the applicable zoning district.
2.
The minimum distance between outdoor vendors is 300 feet.
3.
Outdoor vendors located on the premises of an already established business shall be allowed to operate their business on that location only if it can be shown that there is adequate parking for both the established business and for customers of the outdoor vendor business.
4.
The off-site location where the mobile vending unit is to be stored overnight must be identified in the application. Mobile vending units shall not be parked in Residential zoning districts.
5.
Wash down of the mobile vending unit shall be only permitted at an approved facility that will capture the wastewater in an approved sanitary sewer.
6.
The outdoor vendor shall be responsible for cleaning up the site and adjacent surrounding area of the trash and debris generated by the business during and at the end of each business day.
7.
The mobile vending unit shall not be located within a 12-foot radius of the outer edge of any entranceway to any building or facility used by the public.
8.
The mobile vending unit shall not be located where space for pedestrian passage will be reduced to less than six feet.
9.
The administrative use permit for outdoor vendors is considered temporary and is granted only for a maximum of two years. It may be renewed.
D.
Signage. One sign per vendor not to exceed 20 square feet in size.
(Ord. No. 30-18 N.S., § I(Exh. A), 12-18-2018)
Pawn shops and secondhand dealers must be located, developed, and operated in compliance with the following standards, where allowed by the 200 Series, Base Zoning Districts:
A.
License Review Required. An operator shall submit a California Department of Justice Secondhand Dealer or Pawnbroker License Application form to the Police Department for review and processing. The completed application must include a request for a live scan, processing fees, and a money order or check payable to the Department of Justice. If the application is for a pawnbroker license, a surety bond must be attached to the application package.
B.
Site Location and Access.
1.
Pawn shops and secondhand dealers are only permitted in CM-3, Commercial Mixed-Use, Commercial Emphasis; CM-4, Commercial Mixed-Use, Gateway/Node; and CM-5, Commercial Mixed-Use, Activity Center zoning districts.
2.
A minimum separation distance of 1,000 feet is required from each secondhand dealer business.
3.
No pawn shops or secondhand dealers are allowed on lots that abut a residential zoning district.
C.
Operation and Development Standards.
1.
An on-site lighting plan must be submitted and approved by the Zoning Administrator prior to issuance of a business license.
2.
A security plan must be submitted to and approved by the Police Department prior to issuance of a business license.
3.
Windows of the business shall not be tinted or obscured in any way, including by temporary or painted window signs, and the interior lighting of the business shall remain at adequate levels to clearly see into the business from the exterior of the business.
4.
Patrons shall be discouraged from loitering prior to, during and/or after hours. A sign shall be posted in the front of the business indicating that no loitering is permitted per the Municipal Code.
5.
Hours of operation shall be between 9:00 a.m. and 6:00 p.m., Monday through Saturday.
D.
Standard Conditions of Approval.
1.
All businesses that engage in secondhand dealer operations shall be subject to Chapter 7.60 and inspection by the Chief of Police or any police officer of the City.
2.
The applicant shall fully comply with all requirements for secondhand dealers set forth in the California Business and Professions Code, Section 21625 et seq. and any other applicable statutes or ordinances.
3.
The business owner or operator shall maintain in good repair all building exteriors, walls, drainage facilities, landscaping, driveways and parking areas. The premises shall be kept clean and free of liter and weeds. Any graffiti shall be removed within 72 hours of occurrence.
4.
All businesses are subject to inspection by the Police Department every year to determine compliance with these conditions. The business owner shall pay a fee based on the City's master fee schedule for this inspection.
5.
The facility shall have a digital video recording system that covers all points of entry, exit and areas of purchase. The video recording shall also cover areas where cash and gold/precious metals are stored within the facility. Records of this recording capability shall be of good quality and have archives up to 45 days. These video archives shall be accessible to members of the Police Department and California Department of Justice upon request. The hard-drive or computer storing all digital records shall be maintained in a secured area and away from the view of the public.
6.
The facility shall be equipped with an alarm system that has instant panic-button/robbery notification capabilities and silent monitoring. The applicant shall maintain a valid alarm permit on file with the Police Department.
7.
A separate room/area shall be maintained and alarmed for the storage of gold and cash. Tangible property may be stored off-site for the Department of Justice 30-day holding requirements.
8.
The applicant shall properly document all property taken in trade or exchanged for cash and documented by the Secondhand Dealer Report Form (JUS123).
9.
The following forms of documentation/processes shall be administered during each customer transaction:
a.
A clear photo or digital copy of each person's driver's license, identification card, passport, military identification or any valid government issued form of identification.
b.
No sales will be conducted without proper identification. The identification provided will be photocopied and attached to the sales receipt or slip. A description of the property shall be entered on the sales receipt.
c.
A digital photograph of each item of property taken in trade or exchanged for cash. This photograph shall be maintained by the business for a minimum of five years.
d.
Items purchased from a customer shall be stored and maintained by the business for 30 days prior to disposition and these shall be available for inspection at any time by the Police Department or any other law enforcement agency.
e.
All Secondhand Dealer Report Forms shall be submitted weekly to the Police Department (Regulatory Unit).
Personal services must be located, developed, and operated in compliance with the following standards, where allowed by the 200 Series, Base Zoning Districts:
A.
Hours of Operation. Hours of operation are limited to 7:00 a.m. to 9:00 p.m., seven days a week unless otherwise specified.
B.
Massage Establishments. Massage establishments, including massage establishments conducted as Accessory Uses, are subject to the requirements listed in this Section, in Municipal Code Chapter 9.38 (Massage Establishments and Services), and the following standards.
1.
Permits Required. An administrative use permit and a massage service permit issued pursuant to Chapter 9.38.020 of the Municipal Code are required.
2.
Facility Requirements. Every massage establishment shall meet the following requirements:
a.
Minimum lighting shall be provided in accordance with the National Electrical Code, and, in addition, at least one light of not less than forty watts shall be provided in each room or enclosure where massage services are performed on patrons.
b.
Minimum ventilation shall be provided in accordance with the Building Code.
c.
Hot and cold running water shall be provided at all times.
d.
Closed cabinets shall be provided for storage of clean linens.
e.
Adequate dressing, locker and toilet facilities shall be provided for patrons.
f.
A minimum of one sink shall be provided at all times. The sink shall be located within or as close as practicable to the area devoted to performing of massage services. Sanitary towels shall also be provided at each sink.
C.
Tattoo or Body Modification Parlor.
1.
Registration Required. Any person who is engaged in the business of tattooing or body modification must provide evidence of registration with the County Department of Health.
2.
No Persons under 18. A sign must be posted on the door or in view of the entrance, stating that no person under the age of 18 is allowed on site, unless accompanied by a parent or legal guardian.
Recycling facilities must be located, developed, and operated in compliance with the following standards, where allowed by the 200 Series, Base Zoning Districts:
A.
Reverse Vending Machines.
1.
Accessory Use. Reverse vending machines may be installed as an accessory use to a permitted or conditionally permitted primary use on the same site.
2.
Location. Machines must be located adjacent or as near as feasibly possible, to the entrance of the commercial host use and must not obstruct pedestrian or vehicular circulation. Machines can be located against a wall, but not in parking areas.
3.
Identification. Machines must be clearly marked to identify the type of material to be deposited, operating instructions, and the identity and phone number of the operator or responsible person to call if the machine is inoperative.
4.
Trash Receptacle. Machines must provide a minimum 40-gallon garbage can for non-recyclable materials located adjacent to the reverse vending machine.
5.
Hours of Operation. No restrictions. Machines shall be illuminated to ensure comfortable and safe operation if operating hours are between dusk and dawn.
B.
Recycling Collection Facilities.
1.
Size. Recycling collection facilities must not exceed a building site footprint of 350 square feet.
2.
Setback. Facilities must not be located within a required setback.
3.
Use. Collection Facilities shall accept only glass, metals, plastic containers, papers and reusable items. Used motor oil may be accepted with approval of the Fire Chief and in accord with all federal, State, and City regulations.
4.
Equipment. No power-driven processing equipment, except for reverse vending machines, can be used.
5.
Containers. Recycling collection facilities shall use containers that are constructed and maintained with durable waterproof and rust-proof material, covered when site is not attended, secured from unauthorized entry or removal of material, and shall be of a capacity sufficient to accommodate materials collected and collection schedule. Containers for the 24-hour donation of materials shall be at least 30 feet from any lot zoning districts or occupied for residential use unless there is a recognized service corridor and acoustical shielding between the containers and the residential use.
6.
Site Maintenance. Recycling facility sites must be maintained clean, sanitary, and free of litter and any other undesirable materials.
7.
Location. Recycling collection facilities must not be located in residential zoning districts. Recycling collection facilities located within 75 feet of a lot zoning districts or occupied for residential use shall operate only during the hours between 9:00 a.m. and 7:00 p.m.
8.
Identification. Containers must be clearly marked to identify the type of accepted material, the name and telephone number of the facility operator, and the hours of operation.
9.
Signs. The maximum sign area is limited to 20 percent of the area of the side of facility or container or 16 square feet, whichever is larger. In the case of a wheeled facility, the side is measured from the pavement to the top of the container.
10.
Parking. No additional parking spaces are required for customers of a small collection facility located at the established parking lot of a host use. One space must be provided for the attendant. Mobile recycling units shall have an area clearly marked to prohibit other vehicular parking during hours when the mobile unit is scheduled to be present.
C.
Recycling Processing Facility.
1.
Location. Facilities must be at least 100 feet from a Residential District. If the facility is located within 500 feet of land zoning districts, developed, or planned for residential use, it shall operate only during the hours between 9:00 a.m. and 7:00 p.m.
2.
Operations. The facility must be administered by on-site personnel during the hours the facility is open.
3.
Screening. The facility must be screened from public rights-of-way. Power-driven processing shall be permitted, provided all noise level requirements are met.
4.
Use. Used motor oil may be accepted with approval of the Fire Chief and in accordance with state and local regulations.
5.
Landscaping. Landscaping and irrigation plan shall be approved by the Zoning Administrator.
6.
Outdoor Storage. Exterior storage of material must conform to applicable requirements.
7.
Maintenance. Site shall be maintained free of litter and any other undesirable materials, and shall be cleaned of loose debris on a daily basis and will be secured from unauthorized entry and removal of materials when attendants are not present.
8.
Site Design. Space shall be provided on site for the anticipated peak load of customers to circulate, park and deposit recyclable materials. If the facility is open to the public, space shall be provided for a minimum of 10 customers or the peak load, whichever is higher, except where the Planning Commission determines that allowing overflow traffic will not adversely affect surrounding businesses and public safety.
9.
Parking. One parking space shall be provided for each commercial vehicle operated by the processing center.
10.
Identification. Containers shall be clearly marked to identify the type of material that may be deposited, the name and number of the facility operator, and the hours of operation; facility shall display a notice stating that no material shall be left outside the recycling containers.
11.
Nuisance. No dust, fumes, smoke, vibration or odor above ambient level shall be generated that adversely affects the health, peace, or safety of people residing or working on the premises or in the vicinity.
D.
Composting and Waste Disposal Facilities.
1.
Maintenance—Pest Infestation Prohibited. Waste disposal facilities must be maintained in such a manner that vermin and pest infestation cannot take place.
2.
Covering or Wetting to Prevent Dust. The owner, proprietor, or caretaker of any composting facility or solid waste landfill must use a tarp, covering or wet down the waste disposal facility with water or chemical stabilizers at intervals sufficiently frequent to prevent dust.
E.
Conversion Technology Facilities and Transformation (Waste-to-Energy) Facilities.
1.
Location. Facilities must not be located within 250 feet of a Residential District.
2.
Adjacency. Conversion technology facilities and transformation (waste-to-energy) facilities must be located next to existing solid waste facilities unless an applicant can demonstrate that a location adjacent to existing solid waste facilities is not feasible.
3.
Permit. The permittee shall submit evidence of the following permits and approvals or proof of an exemption:
a.
A Spill Prevention, Control and Countermeasure Plan approved by the U.S. Environmental Protection Agency.
b.
Permits to construct and to operate from the Bay Area Air Quality Management District (BAAQMD), or documentation that the facility is exempt from BAAQMD's permitting requirements.
c.
An industrial discharge permit from the City Wastewater Division, or documentation that the facility is exempt from the Wastewater Division's permitting requirement.
d.
A permit from the State or Fire Chief for the storage and use of combustible liquids.
e.
Permits for all storage tanks (above-ground and underground) from the State or Fire Chief.
f.
A solid waste permit from the Contra Costa Health Services Department of Environmental Health, if applicable.
g.
A permit from the Bay Conservation and Development Commission if the proposed project is within 100 feet of the shoreline.
h.
A Hazardous Materials Safety Permit from the U.S. Department of Transportation or California Department of Transportation if the permittee will be transporting hazardous materials over State highways.
i.
A seller's permit from the California Board of Equalization.
4.
Standards.
a.
The permittee shall follow the most up-to-date version of Biodiesel Handling and Use Guide prepared by the U.S. Department of Energy National Renewable Energy Laboratory.
b.
The permittee shall comply with the California Regional Water Quality Control Boards' C.3 Stormwater Control Management requirements.
General residential facilities must be located, developed, and operated in compliance with the following standards, where allowed by the 200 Series, Base Zoning Districts:
A.
Location. Minimum distance from any other residential facility: 300 feet.
B.
Common Open Space. At least 20 square feet of common open space must be provided for each person who resides in the facility.
(Ord. No. 30-18 N.S., § I(Exh. A), 12-18-2018)
Non-exempt schools must be located, developed, and operated in compliance with the following standards, where allowed by the 200 Series, Base Zones:
A.
Use Permit Required.
1.
An administrative use permit is required if a new school will be located in an existing building, and any new space added to the building will not exceed 20 percent of existing floor area, excluding space if portable classrooms.
2.
A conditional use permit is required for all new construction of schools and for additions to existing building that exceed 20 percent of existing floor area.
3.
To grant the use permit, the Zoning Administrator or the Planning Commission as the case may be, must determine, based on the information presented by the applicant and the standards of this Section, that the school location is appropriate for the use, and that adjacent uses will not be adversely affected; that adequate access, student drop-off areas and required off-street parking is provided; and that outdoor play areas are appropriately-sized, furnished with facilities and equipment, safe, and secure.
B.
Site Plan Required. The applicant shall provide a site plan with the use permit application that includes all of the following information:
1.
The proposed enrollment and student capacity of the school;
2.
The number and size of all classrooms;
3.
The size and location of all indoor and outdoor areas for physical education;
4.
The pedestrian and traffic circulation systems proposed for the site, include student drop-off areas;
5.
The proposed parking, both on-site and off-site; and
6.
A development phasing schedule, if the school will be developed in phases.
C.
Locational Standards.
1.
If the proposed site is within 1,500 feet of a railroad track easement, a safety study shall be submitted with the use permit application, prepared by a competent professional trained in assessing the frequency, speed, and schedule of railroad traffic and pedestrian and vehicle safeguards at railroad crossings. In addition to the analysis, reasonable and feasible mitigation measures to address existing or potential safety issues must be identified, which shall be incorporated into conditions of approval, as appropriate.
2.
If the proposed site is within 1,500 feet of an above-ground fuel storage tank or high pressure oil or gas pipeline, or within 2,000 feet of a hazardous waste disposal site, a hazards risk assessment shall be submitted with the use permit application, and recommendations of that assessment shall be incorporated into conditions of approval, as appropriate.
3.
The Zoning Administrator may waive submission of the studies required above if a safety or hazards risk assessment has been previously prepared for the site and submitted to the City or another permitting agency, and the applicant agrees to the recommendations and mitigation measures of such an assessment.
D.
Site Standards.
1.
The site shall be easily accessible from arterial or collector streets and shall allow minimum peripheral visibility from planned driveways and drop-off areas.
2.
Parent drop-off areas, bus loading areas if provided, and on-site parking shall be separated from walkways to allow students to enter and exit the school grounds safely.
3.
Adequate outdoor or indoor play areas shall be provided to meet the needs for the planned enrollment. The minimum standard is 50 square feet of active play area per student. The Zoning Administrator or the Planning Commission, whichever has use permit approval authority, may reduce this requirement upon finding that (1) public parks are with one-quarter mile of the school and a joint-use agreement with the City has been executed, or (2) the scheduling of physical education (e.g., staggered recess times) permits more efficient use of on-site facilities. All outdoor play facilities that border a street or parking area shall be enclosed by a minimum six-foot high fence or wall.
4.
Delivery and service areas shall be located to provide vehicular access that does not jeopardize the safety of students and staff. Delivery/utility vehicles must have direct access from the street to the delivery area without crossing over playground or field areas or interfering with bus or parent loading unless a fence or other barrier protects students from large vehicle traffic on playgrounds.
E.
Parking Required. As prescribed by Article 15.04.607 (Parking and Loading Standards).
F.
Accessory Uses. Accessory uses customarily found in conjunction with schools, including dormitories, gymnasiums, stadiums, performing arts facilities, and auditoriums, are permitted with an administrative use permit or a conditional use permit, as required for the principal use, provided such accessory uses are located on the same lot or a contiguous lot adjoining the school.
G.
Design Standards.
1.
Schools shall be designed at a neighborhood scale, and new or replacement elementary schools, kindergarten through grade 5 or 6, generally shall not exceed 500 students in size, unless the Planning Commission determines that a larger facility is warranted at a specific location.
2.
The design of structures shall incorporate setbacks, recesses, projections, upper-story stepbacks, and similar architectural measures to help diminish visible building bulk as seen from adjoining public streets.
3.
Larger structures with high levels of activities and parking areas shall be located away from surrounding residential development that is smaller in scale or less intense.
4.
School campuses, excluding outdoor recreational areas, shall be subject to the minimum lighting standards set in Section 15.04.604.050 that apply to multi-family development. Entries shall be lighted to ensure the safety of persons and the security of buildings. Outdoor lighting that is not required for security shall be turned off when a building or outdoor recreational area is not in use.
(Ord. No. 27-18 N.S., § I(Exh. A), 11-20-2018)
Service stations must be located, developed, and operated in compliance with the following standards, where allowed by the 200 Series, Base Zoning Districts:
A.
Site Design.
1.
Site Dimensions.
a.
Minimum site size: 15,000 square feet.
b.
Minimum primary street frontage: 120 feet.
c.
Exceptions: Where property to be used for service station purposes was under lease for such purposes at November 8, 1971, the minimum site size shall be 10,000 square feet, and the minimum primary street frontage shall be 100 feet.
2.
Landscape Plan. An acceptable landscape plan shall be submitted at the time of application. In addition to the specific standards established below, landscape plans shall comply with the provisions of Article 15.04.613 (Water-Efficient Landscaping).
a.
At least a five-foot planting strip located inside of and parallel to the street frontage or frontages (except for necessary driveways) and in other locations as may be designated by the Director of Engineering and Capital Improvement Projects. Probable planting areas would be adjacent to buildings, fencing or storage areas.
b.
The location and type of watering system which meets the approval of the Director of Engineering and Capital Improvement Projects shall service all landscaped areas.
c.
The landscape plan shall specify the size, number, location and type (genus, species or variety) of plant materials to be planted.
3.
Maintenance. The applicant shall submit a written statement to the effect that landscaping, watering systems and fencing shall be maintained to standards acceptable to the Director of Engineering and Capital Improvement Projects.
4.
Illumination. Any area lighting, including illuminated signs, shall be installed in such a manner so as not to distract passing traffic, or to produce any glare or excessive illumination on adjacent lots.
5.
Trash Storage. An outdoor refuse or storage area shall be provided on the site and shall be enclosed by a six-foot-high solid wall that complement the design and appearance of other fences and walls on the site. No used or discarded automotive parts of equipment or permanently disabled, junked, wrecked or damaged vehicles shall be located outside the buildings, except within this enclosed refuse or storage area.
6.
Activity Locations.
a.
Sale, Storage and Display of Merchandise. The exterior display and storage of merchandise, except for oil can racks and new tire display cabinets, shall be subject to design review.
b.
Ancillary Activities. The sale or rental of equipment, such as spare parts not installed on the premises, lawn mowers, concrete mixers, automobiles, trucks, trailers, garden equipment or the conduct of any other commercial enterprise not directly related to the operation of a motor vehicle service station, shall be permitted subject to such conditions as to exterior or interior location, quantity and screening as deemed appropriate through design review.
7.
Access. There must be no more than two vehicular access points to/from a single public street. However, fleet fuel stations in Industrial districts may provide additional access points.
8.
Tanks and Utility Boxes. Propane tanks, vapor-recovery systems, air compressors, utility boxes, garbage, recycling containers/enclosures, and other similar mechanical equipment must be screened from public view.
9.
Air and Water Stations. Air and water stations must be identified on plans. They cannot be located within required setback areas.
10.
Pump Islands. Pump islands must be located a minimum of 15 feet from any lot line to the nearest edge of the pump island. A canopy or roof structure over a pump island may encroach up to 10 feet within this distance.
Single Room Occupancy (SRO) Housing, also called residential hotels, must be located, developed, and operated in compliance with the following standards, where allowed by the 200 Series, Base Zoning Districts:
A.
Maximum Number of Units. If an SRO contains a common kitchen that serves all residents, the maximum allowable number of individual units shall be 20 percent above the maximum number otherwise allowed by the base density applicable to residential development in the zoning district where the SRO is located.
B.
Maximum Occupancy. Each living unit must be designed to accommodate a maximum of two persons.
C.
Minimum Width and Minimum Size. A unit comprised of one room, not including a bathroom, must not be less than 12 feet in width and include at least 180 square feet of habitable space.
D.
Entrances. All units must be independently accessible from a single main entry, excluding emergency and other service support exits.
E.
Cooking Facilities. Cooking facilities must be provided either in individual units or in a community kitchen. Where cooking is in individual units, each unit must have a sink with hot and cold water; a counter with dedicated electrical outlets and a microwave oven or a properly engineered cook top unit pursuant to Building Code requirements; at minimum a small refrigerator; and cabinets for storage.
F.
Bathroom. A unit is not required to, but may contain partial or full bathroom facilities. A partial bathroom facility must have at least a toilet and sink; a full facility must have a toilet, sink, and bathtub or shower, or bathtub/shower combination. If a full bathroom facility is not provided, common bathroom facilities must be provided that meet the standards of the Building Code for congregate residences with at least one full bathroom per floor.
G.
Closet. Each unit must have a separate closet.
H.
Common Area. Four square feet per living unit of common area must be provided, excluding janitorial storage, laundry facilities, and common hallways. At least 200 square feet of common area must be on the ground floor near the entry to serve as a central focus for tenant social interaction and meetings.
I.
Tenancy. Tenancy of residential hotel units is limited to 30 or more days.
J.
Facility Management. A facility with 10 or more units must provide full-time on-site management. A facility with fewer than 10 units must provide a management office on site.
K.
Management Plan. A management plan must be submitted with the conditional use permit application for an SRO project for review and approval by the Planning Commission. At minimum, the management plan must include the following:
1.
Security/Safety. Proposed security and safety features such as lighting, security cameras, defensible space, central access, and user surveillance;
2.
Management Policies. Management policies, including desk service, visitation rights, occupancy restrictions, and use of cooking appliances;
3.
Rental Procedures. All rental procedures, including the monthly tenancy requirement;
4.
Maintenance. Maintenance provisions, including sidewalk cleaning and litter control, recycling programs, general upkeep, and the use of durable materials.
Storage Containers must be located, developed, and operated in compliance with the following standards, where allowed by the 200 Series, Base Zoning Districts:
A.
Location.
1.
For Construction Projects. One storage container shall be allowed on a lot in conjunction with an active construction project for which a building permit has been issued. The storage container must be removed prior to issuance of a certificate of occupancy. An administrative use permit is required to place more than one storage container on a lot.
2.
In Residential and Mixed-Use Zoning Districts. Cargo storage containers may be allowed in residential and mixed use zoning districts with a Temporary Use Permit as a temporary use for up to one year. In order to approve a cargo storage container, the Zoning Administrator must find that: the placement of a container does not adversely affect access to and use of any required parking or loading space; is not located within a required setback area; and is screened from view from a public right-of-way and any adjacent residences by solid screening materials at least the same height as the storage container.
3.
In IL, IG and IW Industrial Districts. Cargo storage containers are allowed in the IL, IG, and IW Industrial districts anywhere on a lot, except in required front and street side setback areas and in required parking and loading areas. Such containers shall be fully screened from view from public rights-of-way and adjacent residential and mixed use zoning districts with solid screening materials at least the same height as the storage containers. Transport storage containers shall not be stacked higher than two containers.
B.
Business Activity. All personal storage facilities must be limited to inactive items. No retail sales, repair, or other commercial use can be conducted out of an individual rental storage unit.
C.
No Hazardous Materials Storage. No storage of hazardous materials is permitted.
This Section establishes standards for certain uses that are intended to be of limited duration of time and that will not permanently alter the character or physical features of the site where they occur.
A.
Exempt Temporary Uses. The following minor and limited duration temporary uses are exempt from the requirement for a Temporary Use Permit. Other permits, such as Building Permits, may be required.
1.
Car Washes. Car washes conducted by a qualifying sponsoring organization on non-residential properties. Sponsorship shall be limited to educational, fraternal, religious, or service organizations directly engaged in civic or charitable efforts, or to tax exempt organizations in compliance with 501(c) of the federal Internal Revenue Code. Temporary car washes shall not occur on a site more than four times per calendar year and may not operate for a continuous period of more than 12 hours.
2.
Emergency Facilities. Emergency public health and safety needs/land use activities.
3.
Garage/Yard Sales. Garage/yard sales of personal property conducted by a resident of the premises may be conducted in accordance with the following standards.
a.
A nonprofit organization or association of persons may conduct a garage/yard sale at the residence of one or more of its members pursuant to all of the requirements of this Section. One such sale may be held per year without such sale being deemed one chargeable to the premises in question for the purpose of applying the two sales per quarter limitation set forth below.
i.
No more than two garage/yard sales shall be conducted on a site per quarter, for a maximum of three consecutive days each.
ii.
Garage/yard sales shall not be held for more than two consecutive weekends. Each weekend that sales are conducted constitutes a single sale event.
iii.
Signs may be displayed 24 hours before and during the hours the garage/yard sale is actively being conducted and shall be removed at the completion of the sale.
iv.
The conduct of general retail sales or commercial activities in residential zoning districts, except as is otherwise expressly authorized under this Article, shall be prohibited.
4.
On-site Construction Yards. On-site contractors' construction yards, including temporary trailers and storage of equipment, in conjunction with an approved construction project on the same site. The construction yard shall be removed immediately upon completion of the construction project, or the expiration of the companion Building Permit authorizing the construction, whichever occurs first.
5.
Temporary Real Estate Sales Office. A temporary real estate sales office within the area of an approved development project, solely for the first sale of units, approved as part of the overall project.
B.
Temporary Use Permit Required. The following uses may be permitted pursuant to Article 15.04.807 (Temporary Use Permits) subject to the following standards.
1.
Special Events and Sales. Short term special events, outdoor sales, and displays that do not exceed three consecutive days, may be permitted in accordance with the following standards:
a.
Location. Events are limited to non-residential districts.
b.
Number of Events. No more than four events at one site shall be allowed within any 12-month period.
c.
Time Limit. When located adjacent to a Residential District, the hours of operation shall be limited to 8:00 a.m. to 9:00 p.m., seven days a week.
2.
Temporary Outdoor Sales. Temporary outdoor sales—including, but not limited to, grand opening events, and other special sales events—may be permitted in accordance with the following standards:
a.
Temporary outdoor sales shall be part of an existing business on the same site.
b.
Outdoor display and sales areas must be located on a paved or concrete area on the same lot as the structure(s) containing the business with which the temporary sale is associated.
c.
Location of the displayed merchandise must not disrupt the normal circulation of the site, nor encroach upon driveways, pedestrian walkways, or required landscaped areas, or obstruct sight distances or otherwise create hazards for vehicle or pedestrian traffic.
3.
Commercial Filming. The temporary use of a site for the filming of commercials, movies, videos, provided the Zoning Administrator finds the approval would not result in a frequency of uses likely to create incompatibility between the temporary filming activity and the surrounding neighborhood.
4.
Off-site Construction Yards. Off-site contractors' construction yards, in conjunction with an approved construction project. The permit shall expire and the construction yard shall be removed immediately upon completion of the construction project, or the expiration of the companion Building Permit authorizing the construction project, whichever first occurs.
5.
Real Estate Sales. Onsite real estate sales from a manufactured or mobile unit office for the temporary marketing, sales, or rental of residential, commercial, or industrial development.
6.
Temporary Structure. A temporary classroom, office, or similar portable structure, including a manufactured or mobile unit, may be approved, for a maximum time period of two years, as an accessory use or as the first phase of a development project, in a non-residential district. A one-year extension may be granted.
7.
Temporary Work Trailer.
a.
A trailer or mobile home may be used as a temporary work site for employees of a business:
i.
During construction of a subdivision or other development project when a valid Building Permit is in force; or
ii.
Upon demonstration by the applicant that the temporary work site is a short-term necessity, while a permanent work site is being obtained.
b.
A permit for temporary work trailers may be granted for up to 12 months.
8.
Similar Temporary Uses. Similar temporary uses which, in the opinion of the Zoning Administrator, are compatible with the district and surrounding land uses, and are necessary because of unusual or unique circumstances beyond the control of the applicant.
9.
Temporary Eating and Drinking Establishments. A temporary eating and drinking establishment, such as a beer garden, including containers and other temporary structures, may be approved for a maximum period of two years, as a temporary use on an arterial street in a Mixed Use District upon finding that it would not affect long-term implementation of the General Plan land use vision for the corridor. Conditions of approval may be imposed to ensure land use compatibility. Up to three successive one-year extensions may be approved upon finding that the use is compatible with surrounding uses.
(Ord. No. 30-18 N.S., § I(Exh. A), 12-18-2018)
Transient lodging must be located, developed, and operated in compliance with the following standards, where allowed by the 200 Series, Base Zoning Districts:
A.
Limitation on Long-term Stays. All hotels and motels, including hotels that are operated as hotel condominiums, time-shares, or under a fractional ownership model, are limited to occupancy of up to 30 consecutive days at any one time and must be available for overnight stays by the general public.
B.
Residential Use Prohibition. Residential uses are prohibited.
C.
When located on the Shoreline. Any hotel or motel located on the shoreline of San Francisco Bay and San Pablo Bay will be required to provide and maintain public access facilities and expand existing access, including parking for visitors, as required by the Bay Conservation and Development Commission, if feasible, unless expansion would adversely affect natural resources or natural processes.
Urban Agriculture facilities must be located, developed, and operated in compliance with the following standards, where allowed by the 200 Series, Base Zoning Districts:
A.
Maintenance. Urban agriculture uses shall be maintained in an orderly manner, including litter removal, irrigation, weeding, pruning, pest control and removal of dead or diseased plant materials.
B.
Equipment. Use of mechanized farm equipment is prohibited in residential districts.
1.
Heavy equipment may be used initially to prepare the land for agriculture use, and landscaping equipment designed for household use is permitted.
2.
All equipment, when not in use, must be enclosed or otherwise screened from sight.
C.
Accessory Structures. Structures to support urban agriculture, such as storage sheds, chicken coops, hop-houses, and greenhouses, are permitted, subject to the regulations of the underlying zoning district and the standards for accessory structures in Article 15.04.601 (General Site Regulations) and animal-keeping enclosures in Section 15.04.610.070.
D.
Best Practices. Urban agriculture activities shall include best practices to prevent animal waste and pollutants from entering the stormwater conveyance system and shall comply with all applicable federal, state, and local laws, ordinances, or regulations, including, but not limited to, Chapter 12.22, Stormwater Management and Discharge Control Code of the Municipal Code.
E.
Animal Keeping. See Section 15.04.610.070.
F.
Garbage and Compost. Garbage and compost receptacles must be screened from the street and adjacent properties by utilizing landscaping, fencing or storage within structures and all garbage must be removed from the site weekly. Compost piles and containers must be set back at least 20 feet from residential buildings when an urban agriculture use abuts a residential use.
G.
Hours of Operation in Residential and Mixed-Use Zoning Districts. In residential and mixed-use zoning districts, urban agricultural operations may begin at sunrise or 7:00 a.m., whichever is earlier, and must end at sunset or 9:00 p.m., whichever is later, seven days a week. Automatic equipment functioning, such as sprinklers, is not considered an operation.
H.
Home Gardens. The maximum size of a home garden shall not exceed 25 percent of the total floor area of the dwelling unit on the lot.
I.
Community Gardens. Community gardens can be organized by community groups, nonprofit organizations, the City, or land owners. A manager must be designated for each community garden who will serve as liaison between gardeners, property owner(s), and the City.
J.
Food Membership Distribution. Food Membership Distribution is an all allowable accessory to food and beverage sales and retail sales uses, and with an administrative use permit, other commercial uses.
1.
The maximum number of members who may come to the site to pick up items delivered on one delivery day is 100, and the number of delivery days allowed in a calendar year is 70. The operator of a site is responsible for compliance with the regulations that apply to the frequency of delivery days and maximum number of members who may come to the site. This may require limiting the number of members who may participate in each order, or moving some deliveries to other locations.
2.
Members may pick up items at the site only between 7:00 a.m. and 9:00 p.m.
3.
Truck deliveries are allowed between 8:00 a.m. and 5:00 p.m.
Wind Energy Conversion Systems must be located, developed, and operated in compliance with the following standards, where allowed by the 200 Series, Base Zoning Districts:
A.
Applicability. This Section applies to wind energy conversion systems (WECS) that are used for electrical energy generation only.
B.
Permit Requirements. WECS with a rated microturbine capacity up to 25 kW are permitted in all zoning districts subject to a conditional use permit except as provided below.
1.
Exemptions. The following systems only require approval of an administrative use permit:
a.
Microturbines that generate two kW or less of electrical energy each, to a maximum cumulative total of 10 kW per lot; and
b.
WECS that generate less than 10 kW per system.
C.
Development Standards. The development standards in Table 15.04.610.440-C apply to all WECS, including those that only require an administrative use permit.
D.
Additional Standards.
1.
Minimum Blade Height—Horizontal Axis WECS. To prevent harmful wind turbulence from existing structures, the lowest extension of any horizontal axis blade must be at least 30 feet above the highest structure or tree within a 250-foot radius. Modification of this standard may be allowed when the applicant demonstrates that a lower height will not jeopardize the safety of the system.
2.
Separation Distance—Vertical Axis WECS. Vertical axis systems must be placed at a distance of at least 10 rotor diameters from any structure or tree. A modification may be granted by the Zoning Administrator or Planning Commission for good cause shown, however, in no case can the turbine be located closer than three blade diameters to any occupied structure.
3.
Guy Wires. Anchor points of any guy wires for a system tower must be located within the property that the system is located on. Guy wires must not cross any above-ground electric transmission or distribution lines. The points of attachment for the guy wires must be either enclosed by a fence six feet high or sheathed in bright orange or yellow coverings from three to eight feet above the ground.
E.
Minimum Performance Standards.
1.
Electromagnetic Interference. The WECS must be designed, installed, and operated so that no disrupting electromagnetic interference is caused. Disruptive interference from the facility must be promptly rectified to include the discontinued operation of one or more WECS.
2.
Noise. All WECS are subject to the noise standards of Article 15.04.608 (Performance Standards).
3.
Maintenance. Maintenance and inspection records shall be maintained on the site and shall be made available for inspection by the building official on request.
F.
Tower Access. Towers must either:
1.
Have tower-climbing apparatus located no closer than 12 feet from the ground;
2.
Have a locked anti-climb device installed on the tower;
3.
Be completely enclosed by a locked, protective fence at least six feet high; or
4.
Have a tower-access limitation program approved by the review authority.
G.
Rotor Safety. Each WECS must be equipped with both manual and automatic controls to limit the rotational speed of the blade within the design limits of the rotor.
H.
Utility Notification and Undergrounding. For interconnected systems, no wind turbine can be installed until evidence has been given to the Zoning Administrator that the electric utility service provider has been notified and has indicated that the proposed interconnection is acceptable. On-site electrical wires associated with the system must be installed underground, except for "tie-ins" to the electric utility service provider and its transmission poles, towers, and lines.
I.
Color. Structural components, including, without limitation, towers, blades, and fencing must be of a non-reflective, unobtrusive color.
J.
Exterior Lighting. Exterior lighting on any structure associated with the WECS is prohibited, with the exception of that specifically required by the Federal Aviation Administration.
K.
Notices.
1.
At least one notice shall be posted with the following information:
a.
Maximum power output (kw), rated voltage (volts) and current;
b.
Normal and emergency shutdown procedures;
c.
The maximum wind speed the WECS in automatic, unattended operation can sustain without damage to structural components or loss of the ability to function normally; and
d.
Emergency telephone numbers.
2.
No advertising sign or logo can be placed or painted on any WECS or tower.
L.
WECS for Common Use. Contiguous property owners may construct a WECS for use in common. In such cases, the Planning Commission may permit a WECS machine to have a diameter blade configuration greater than 23 feet.
The purpose of this Article is to support the protection of open space and natural resource areas identified in the General Plan by allowing the transfer of development potential and development credits from a site in such areas having a resource deserving protection, land suitable for agriculture and outdoor recreation, land subject to hazards, including landslides and very high fire hazard risk, or otherwise designated by the General Plan as a protected sending area to a site in designated receiving zones requiring less protection. The mechanism for transfer of development rights (TDRs) is used to implement the General Plan, protect farmland and resource areas and/or to provide the owners of property an alternative to development. Payment of fees to a trust fund for use by the City in acquiring property having a resource deserving of protection is an alternative to the purchase or transfer of development rights. The TDR program and the fee-in-lieu option in this Article are voluntary for property owners and provided as a means to further the objectives of the General Plan.
(Ord. No. 06-21 N.S., § II(Exh. A), 4-20-2021)
"Development Rights." The legal rights for development established in zoning regulation, which include the maximum number of dwelling units or square feet of floor area, that are permitted by the zoning district regulations for a specific site, lot or parcel.
"Sending Zone." A geographic area, which may be a zoning district, from which development rights can be transferred. Sending zones may include specified areas where land use and development is restricted by the General Plan and zoning regulations. Once development rights are "sent" to another parcel, they can no longer be used for development in the sending zone.
"Receiving Zone." A geographic area, which may be a zoning district, that is identified as suitable to receive a transfer of development rights from a sending zone, which enable am increase in the density or development intensity above that which is otherwise allowed by the zoning district regulations.
"Transfer of Development Rights (TDRs)." A method for transferring a development right from a sending zone to a receiving zone, which allows an increase in density or development intensity in the receiving zone above the limit established in the zoning regulations that otherwise would apply. This is normally done by a legal instrument in the form of a contract, which is recorded with the title of the property. An easement restricting development in the sending zone also may be required as a condition of allowing a transfer of development rights to occur.
(Ord. No. 06-21 N.S., § II(Exh. A), 4-20-2021)
Editor's note— Ord. No. 06-21 N.S., § II(Exh. A), adopted April 20, 2021, enacted provisions designated as 15.04.611.020 and renumbered prior §§ 15.04.611.020—15.04.611.150 as §§ 15.04.611.030—15.04.611.160.
The City Council, upon a recommendation of the Planning Commission, shall identify Sending Zone(s), as defined in this Article, and assign a specific number of TDRs to each zone unless the General Plan itself and/or the zoning district regulations establishes transferable development rights or credits for a specific area in which case these rights or credits shall be used. These TDRs may be used to obtain approval for development on other parcels of land located in a TDR Receiving Zones, which also shall be identified by the City Council, at a density or intensity of use greater than would otherwise be allowed on those parcels, up to a maximum specified in this Article or in the zoning district regulations.
(Ord. No. 06-21 N.S., § II(Exh. A), 4-20-2021)
Editor's note— See editor's note to 15.04.611.020.
Every parcel of land located in a Receiving Zone may be developed at additional density/intensity of use, through the acquisition of TDRs, up to the maximum density/intensity identified in Table 15.04.611.040 below.
(Ord. No. 06-21 N.S., § II(Exh. A), 4-20-2021)
Editor's note— See editor's note to 15.04.611.020.
Development rights assigned to parcels in Sending Zones may be transferred to parcels in Receiving Zones and used to increase the density/intensity on a Receiving Parcel in accordance with the provisions of this Article and the General Plan.
A.
Limitations. A development right may not be used in any manner inconsistent with the General Plan, Table 15.04.611.040, and the following provisions of this Article:
1.
No development right may be used to increase intensity or density within a Receiving Zone that exceeds the maximum intensity or density set by the General Plan for parcels in the Receiving Zone that can be achieved under the TDR program unless a specific exemption from density limitations has been established in the General Plan for transferable development credits from a specific area to the extent that these limits would bar or make impracticable their construction; and
2.
No development right may be derived from land in a Sending Zone that is already precluded from development by nature of a recorded restrictive covenant or easement.
3.
No more than two TDR-based dwelling units may be built on a parcel except as authorized by a Specific Plan or a Planned Area District.
B.
Intermediate Transfer. A development right may be transferred to a transferee prior to the time when its use for a specific Receiving Parcel has been finally approved in accordance with this Article.
(Ord. No. 06-21 N.S., § II(Exh. A), 4-20-2021)
Editor's note— See editor's note to 15.04.611.020.
For purposes of converting residential TDRs to non-residential FAR, one residential TDR unit equals 0.05 non-residential FAR unless an alternative ratio has been set by the City Council for a specific Sending Zone(s).
(Ord. No. 06-21 N.S., § II(Exh. A), 4-20-2021)
Editor's note— See editor's note to 15.04.611.020.
After development rights have been transferred by an original instrument of transfer:
A.
The Sending Parcel shall not be further subdivided or developed to a greater density or intensity of use than permitted by the remaining development rights.
B.
The Sending Parcel shall not be used in connection with any determination of site area or site capacity, except as may be necessary in determining the number of development rights involved in the transfer.
C.
All development rights that are the subject of the transfer, and the value of such rights, shall be deemed for all other purposes, including assessment and taxation, to be appurtenant to the Sending Parcel, until such rights are certified by the Zoning Administrator and have been finally approved for use on a specific Receiving Parcel.
(Ord. No. 06-21 N.S., § II(Exh. A), 4-20-2021)
Editor's note— See editor's note to 15.04.611.020.
Between the time of the transfer of a development right by an original transferor and the time when its use on a specific Receiving Parcel is final in accordance with the provisions of this Article, a transferee has only the right to use the development right to the extent authorized by all applicable provisions of Article XV in effect at the time when use of the development right for a specific Receiving Parcel is finally approved. No transfer shall be construed to limit or affect the power of the City Council to amend, supplement or repeal any or all of the provisions of this Article or any other section of Article XV or to entitle any transferor or transferee to damages or compensation of any kind as the result of any such amendment, supplementation or repeal.
(Ord. No. 06-21 N.S., § II(Exh. A), 4-20-2021)
Editor's note— See editor's note to 15.04.611.020.
A.
Determination. The number of development rights involved in an original instrument of transfer shall be equal to the lesser of (1) "maximum dwelling units" or (2) "number of dwelling units" permitted on the Sending Parcel, as determined in accordance with the procedures for determining site area and residential land use site capacity and floor area in this Code and specific procedures for such calculations as may be established in the General Plan. In making such calculations, "gross site area" shall refer to the gross site area of the Sending Parcel as determined by actual on-site survey.
B.
Fractional Rights. Fractional parts of a development right shall be disregarded. No transfer shall include other than a whole number of development rights.
(Ord. No. 06-21 N.S., § II(Exh. A), 4-20-2021)
Editor's note— See editor's note to 15.04.611.020.
A.
Requirement. No transfer shall be recognized under this Article unless the original instrument of transfer contains the certification of the Zoning Administrator that the number of development rights that are the subject of the transfer represents the number of development rights applicable to the Sending Parcel and is recorded by the Zoning Administrator as provided in this Article.
B.
Responsibility. The transferor and the transferee named in an original instrument of transfer shall have sole responsibility to supply all information required by this Article, to provide a proper original instrument of transfer, and to pay, in addition to any other fees required by this Article, all costs of its recordation in the Contra Costa County Clerk-Recorder's Office, County Recorder Division.
C.
Application for Certificate. An application for a certificate shall contain such information prescribed by the Zoning Administrator as necessary to determine the number of development rights involved in the proposed transfer. In addition, the application shall include a certificate of title and land survey prepared by a California-registered civil engineer or licensed land surveyor.
D.
Issuance of Certificate. On the basis of the information submitted to him or her, the Zoning Administrator shall affix a certificate of his/her findings to the original instrument of transfer. The certificate shall contain a specific statement of the number of development rights that are derived from the Sending Parcel.
E.
Effect of Determination. The determination of the Zoning Administrator shall not be construed to enlarge or otherwise affect in any manner the nature, character and effect of a transfer as set forth above.
(Ord. No. 06-21 N.S., § II(Exh. A), 4-20-2021)
Editor's note— See editor's note to 15.04.611.020.
An instrument of transfer shall conform to the requirements of this Section and shall contain:
A.
The names of the transferor and the transferee;
B.
A certificate of title approved by the City Attorney;
C.
A covenant that the transferor grants and assigns to the transferee and the transferee's heirs, personal representatives, successors and assigns a specified number of development rights from the Sending Parcel;
D.
If the instrument is not an original instrument of transfer, a statement that the transfer is an intermediate transfer of rights derived from a Sending Parcel described in an original instrument of transfer (which original instrument shall be identified by its date, the names of the original transferor and transferee and the book and page where it is recorded in the Contra Costa County Clerk-Recorder's Office, County Recorder Division);
E.
A statement of the rights involved in the transfer that are derived from a Sending Parcel and the number of such rights included within the transfer;
F.
A covenant by which the transferor acknowledges that he/she has no further use or right of use with respect to the development rights being transferred;
G.
Except when development rights are being transferred to the City, a statement of the rights of the transferee prior to final approval of the use of those development rights on a specific Receiving Parcel.
(Ord. No. 06-21 N.S., § II(Exh. A), 4-20-2021)
Editor's note— See editor's note to 15.04.611.020.
A.
In addition to fulfilling the requirements of Section 15.04.611.100, an original instrument of transfer shall also contain:
1.
A legal description of the Sending Parcel, prepared by a California-registered civil engineer or licensed land surveyor and named in the instrument;
2.
A covenant by which use of the Sending Parcel is restricted to, and may be used only for open space or agricultural uses as defined in in Article XV;
3.
A covenant that all provisions of the instrument of transfer shall run with and bind the Sending Parcel and may be enforced by the City;
4.
The certificate of the Zoning Administrator required by this section.
B.
Recordation of Original Transfer. After it is properly executed, an original instrument of transfer shall be delivered to the Zoning Administrator, who shall deliver it to the Contra Costa County Clerk-Recorder's Office, County Recorder Division, together with the required fees for recording. The Zoning Administrator shall notify the original transferor and transferee in writing of such recording.
(Ord. No. 06-21 N.S., § II(Exh. A), 4-20-2021)
Editor's note— See editor's note to 15.04.611.020.
A.
Filing Requirements. The owner of a proposed Receiving Parcel shall file with the Zoning Administrator an application to use transferred development rights with respect to the development on a Receiving Parcel.
B.
Contents. The application shall contain such information as may be prescribed by the Zoning Administrator and shall be accompanied by the required fee established in the Master Fee Schedule, and:
1.
Original or certified copies of a recorded original instrument of transfer involving the development rights proposed to be used and any intervening instruments of transfer through which the applicant became a transferee of those rights; or
2.
A signed, written agreement between the applicant and a proposed original transferor, which contains the survey of a proposed Sending Parcel and other information required by the Zoning Administrator and in which the proposed transferor agrees to execute an original instrument of transfer from the proposed Sending Parcel to the applicant at the time when the use of such rights on the proposed Receiving Parcel is finally approved.
(Ord. No. 06-21 N.S., § II(Exh. A), 4-20-2021)
Editor's note— See editor's note to 15.04.611.020.
A.
Review of Application. The Zoning Administrator shall review the instrument(s) of transfer or agreement submitted with the application and determine their sufficiency to fulfill the requirements of this Article.
B.
Determination. The Zoning Administrator shall determine: (a) the number of development rights that are available for use under the terms of the instrument(s) submitted with the application and (b) the number of such rights that the City Council has determined to be available to be used on the proposed Receiving Parcel, and shall report his preliminary determination in writing to the applicant within 30 days after all information necessary to make such determination has been received.
C.
Effect. Any determination of the Zoning Administrator under this Section shall not be final and shall be subject to amendment, modification or rescission until the time when the transfer is final.
(Ord. No. 06-21 N.S., § II(Exh. A), 4-20-2021)
Editor's note— See editor's note to 15.04.611.020.
A.
When Completed. Transfer from a Sending Parcel to a Receiving Parcel is final at the time when (a) final subdivision approval or final site plan approval with respect to the Receiving Parcel, based upon use of development rights, has been given in accordance with this Article and (b) all development rights upon which such approval was based have been certified by the Zoning Administrator.
B.
Required Instruments. Final approval shall not be given to any site plan or final subdivision map that involves the use of development rights transferred under the provisions of this Article until satisfactory evidence is presented that each of the following instruments as may be required to effect transfer of those rights to the Receiving Parcel have been approved as to form and legal sufficiency by the City Attorney. Said instruments shall be recorded in the Contra Costa County Clerk-Recorder's Office, County Recorder Division following final site plan approval or final subdivision map approval, but prior to release of building permits.
1.
An original instrument of transfer to a transferee;
2.
An instrument of transfer to the owner of the Receiving Parcel; and
3.
Instrument(s) of transfer between any intervening transferees.
(Ord. No. 06-21 N.S., § II(Exh. A), 4-20-2021)
Editor's note— See editor's note to 15.04.611.020.
In lieu of purchasing development rights from a Sending Parcel for use in development of a Receiving Parcel, a developer may pay a fee to the City which the City shall hold in a separate Open Space Lands Trust Fund for use in purchasing development rights from Sending Parcels and other related purposes.
A.
Fee Schedule. A schedule of the in-lieu fees for the Open Lands Trust Fund shall be established by the City Council on the basis of a nexus study.
B.
Administration of Fee-in-Lieu Program. The Zoning Administrator shall administer the Fee-in-Lieu program and establish application requirements and documentation consistent with the requirements of this Article authorizing the fee-in-lieu payer to apply credits received for payments to develop at an additional density or intensity of use on a Receiving Parcel.
C.
Use of Funds from Payment of Fees-in-Lieu. Payments received by the City as fees-in-lieu of purchase of development rights from Sending Zones, may be used by the City to purchase development rights, acquire property having a resource deserving of protection, and/or replenish the Open Lands Trust Fund.
(Ord. No. 06-21 N.S., § II(Exh. A), 4-20-2021)
Editor's note— See editor's note to 15.04.611.020.
The specific purposes of this Article are to promote maximum efficiency in the existing transportation system, and to further the transportation goals of the Measure C and Measure J Growth Management Program, Contra Costa's Countywide Transportation Plan and Congestion Management Program, and the San Francisco Bay Area Clean Air Plan, including reducing total vehicle miles traveled (VMT), while enhancing access and expanding mobility by:
A.
Promoting and encouraging the use of transit, ridesharing, bicycling, walking, flexible work hours and telecommuting as alternatives to solo driving;
B.
Incorporating these objectives into the development review process;
C.
Developing proactive programs and/or projects either alone or in conjunction with other jurisdictions, the Contra Costa Transportation Authority (CCTA), and/or the West Contra Costa Transportation Advisory Committee (WCCTAC), to support countywide planning efforts;
D.
Considering the incorporation of appropriate technology designed to facilitate traffic flow, provide transit and highway information, provide trip generation alternatives, and incorporate related technology into the transportation system;
E.
Cooperating with other jurisdictions, the private sector, and transit operators in planning and implementing transportation programs;
F.
Promoting the more efficient utilization of existing transportation facilities and ensuring that new developments are designed in ways to maximize the potential for people and goods to arrive/depart by walking, cycling, riding public transportation, or traveling in a high occupancy vehicle; and
G.
Establishing an ongoing monitoring and enforcement program to ensure that the City's desired alternative mode use percentages are achieved.
(Ord. No. 03-21 N.S., § Exh. A, 4-6-2021)
The requirements of this Article apply to:
A.
New multi-unit development of ten units or more;
B.
New nonresidential development of 10,000 square feet or more; and
C.
Establishment of a new use, change of use, or change in operational characteristics in a building that is 10,000 square feet or more in size that results in an average daily trip increase of more than ten percent of the current use, based on the most recent Institute of Traffic Engineers (ITE) trip generation rates.
(Ord. No. 03-21 N.S., § Exh. A, 4-6-2021)
A.
All projects subject to the requirements of this Article shall incorporate measures to reduce to the extent feasible single-occupant vehicle trip generation rates 15 percent below the standard rates as established in the most recent edition of the Institute of Transportation Engineers (ITE) Trip Generation Manual by promoting walking, cycling, public transit, and ridesharing/vanpooling, and/or discouraging single-occupant vehicle travel, ensure that the average Vehicle Miles Traveled (VMT) by residents or workers in the development, or students or workers in schools, is less than the average citywide VMT. This performance target is consistent with the General Plan and the version of Plan Bay Area effective in 2016.
B.
GreenTRIP Certification. Residential developments that obtain GreenTRIP Certification from TransForm, or other equivalent certification, prior to issuance of a certificate of occupancy, shall be deemed to have met this performance requirement.
(Ord. No. 03-21 N.S., § Exh. A, 4-6-2021)
All projects subject to the requirements of this Article that do not have GreenTRIP Certification shall implement a combination of the following measures and/or the strategies presented in the CCTA 2020 VMT Methodology (as summarized in the following table and further described in the VMT Methodology technical memorandum), to achieve the required VMT reduction and promote use of non-auto and shared mobility options.
A.
Passenger Loading Zones. Passenger loading zones for carpool and vanpool drop-off located near the main building entrance (eligible for VMT reduction percentages of CCTA Strategy 6).
B.
Direct Route to Transit. A well-lighted path or sidewalk utilizing the most direct route to the nearest transit or shuttle stop from the building (eligible for VMT reduction percentages of CCTA Strategy 6).
C.
Pedestrian Connections and Network Improvements. Safe, convenient pedestrian connections provided from the project to surrounding public streets and, if applicable, trails building (eligible for VMT reduction percentages of CCTA Strategy 6).
D.
Bicycle Connections and Low-Stress Bicycle Facilities. If a site is abutting a bicycle path, lane or route, provision of a bicycle connection close to an entrance to the building on the site. Traffic calming that reduces vehicle speeds and volumes to reduce stress on bicyclists (eligible for VMT reduction percentages of CCTA Strategy 6).
E.
Land Dedication for Transit/Bus Shelter. Where appropriate, land dedicated for transit or a bus shelter provided based on the proximity to a transit route (eligible for VMT reduction percentages of CCTA Strategy 6).
F.
Long-Term Bicycle Parking (eligible for VMT reduction percentages of CCTA Strategy 6). Covered and secure long-term bicycle parking located within 75 feet of a main entrance. Long-term bicycle parking must be in at least one of the following facilities:
1.
An enclosed bicycle locker;
2.
A fenced, covered, locked or guarded bicycle storage area; or
3.
A rack or stand inside a building that is within view of an attendant or security guard or visible from employee work areas.
G.
Short-Term Bicycle Parking. Secure short-term bicycle parking located within 50 feet of a main entrance to the building (eligible for VMT reduction percentages of CCTA Strategy 6).
H.
Free Preferential Carpool and Vanpool Parking. Ten percent of vehicle spaces reserved for carpools or vanpools, with a minimum of one space required. The preferential parking spaces shall be provided free of charge (eligible for VMT reduction percentages of CCTA Strategy 2).
I.
Showers/Clothes Lockers. Shower and clothes locker facilities free of charge (eligible for VMT reduction percentages of CCTA Strategy 6).
J.
Transportation Management Association (TMA). Participation in or requirement for tenant to participate in a local or citywide TMA or a similar organization approved by the Director of the Department of Transportation, that provides ongoing administration of and support for non-auto and shared mobility commute incentives, facilities, and services (eligible for VMT reduction percentages of CCTA strategies assignable to individual TMA measures committed at construction and for life of project).
K.
Paid Parking at Prevalent Market Rates. Parking provided at a cost equal to the prevalent market rate, as determined by the City based on a survey of paid parking in the City and adjacent communities (eligible for VMT reduction percentages of CCTA Strategy 5).
L.
Alternative Commute Subsidies/Parking Cash Out. Provide employees with a subsidy, determined by the applicant and subject to review by the Department of Transportation, if they use transit or commute by other alternative modes (eligible for VMT reduction percentages of CCTA Strategy 5).
M.
Carpool and Vanpool Ride-Matching Services. Matching of potential carpoolers and vanpoolers by administering a carpool/vanpool matching program or participating actively in such a program administered by a local or citywide TMA, the City, or other public agency (eligible for VMT reduction percentages of CCTA Strategy 2).
N.
Guaranteed Ride Home. Guaranteed rides home in emergency situations for carpool, vanpool and transit riders. Rides shall be provided either by a transportation service provider (taxi, rental car, or services provided by transportation network/ride sharing companies) or an informal policy using company vehicles with designated employee drivers (eligible for VMT reduction percentages of CCTA Strategy 9).
O.
Shuttle Program. Provision of a shuttle program or participation in an existing shuttle program approved by the Department of Transportation and subject to any fees for the existing program (eligible for VMT reduction percentages of CCTA Strategy 8).
P.
Reserved.
R.
Compressed Work Week. Allow employees or require tenants to allow employees to adjust their work schedule in order to complete the basic work requirement of five eight-hour workdays by adjusting their schedule to reduce the number of days per week employees are expected or required to be on-site, thereby reducing the number of vehicle trips to the worksite (eligible for VMT reduction percentages of CCTA Strategy 4).
S.
Flextime. Provide or require tenants to provide employees with staggered work hours involving a shift in the set work hours of all employees at the workplace or flexible work hours involving individually determined work hours, such that a substantial share of employees regularly arrive at and depart from the worksite before or after the a.m. and p.m. peak periods for vehicle travel (eligible for VMT reduction percentages of CCTA Strategy 6).
T.
On-Site Amenities. One or more of the following amenities provided on site: day care, cafeteria, limited food service establishment, dry cleaners, exercise facilities, convenience retail, post office, or on-site transit pass sales (eligible for VMT reduction percentages of CCTA Strategy 1).
U.
Telecommuting. Provide or require tenants to provide opportunities and the ability for employees to work off site (eligible for VMT reduction percentages of CCTA Strategy 4).
(Ord. No. 03-21 N.S., § Exh. A, 4-6-2021)
All projects subject to the requirements of this Article shall submit a transportation demand management plan in conjunction with the development application. These plans must demonstrate that, upon implementation, they will achieve the performance requirement and shall include the following.
A.
Checklist. A completed checklist of the trip reduction measures chosen by the applicant pursuant to Section 15.04.612.040 (Vehicle Trip Reduction Measures).
B.
Trip Generation. Estimated daily trip generation for the proposed use based on the ITE trip generation rates and the reductions anticipated with implementation of the measures proposed. The Director of the Department of Transportation, a citywide TMA, or a consulting traffic engineer retained by the City at applicants' expense shall maintain guidelines and checklists for evaluation of trip reduction potential of proposed measures and make these available to applicants. [6]
C.
Implementation Plan. A description of how the performance requirements will be achieved and maintained over the life of the project.
D.
Project-Designated TDM Contact. Designation of an employee or resident as the official contact for the transportation demand management program. The City shall be provided with a current name and phone number of the project-designated TDM contact who administers carpool and vanpool ride-matching services and promotional programs, updates information on the information boards/kiosks, and is the official contact for the administration of the programs.
E.
Site Plan. A site plan that designates transportation demand management design elements including, as applicable, the location and layout/design of:
1.
External: preferential parking areas, paid parking areas, bicycle connections, bicycle parking, location of on-site amenities, passenger loading areas, land dedicated for transit facilities and bus shelters, direct route to transit, and pedestrian connections.
2.
Internal: showers/lockers, information boards/kiosks, ATM, dry cleaners, day care, convenience retail, post office, cafeteria, limited food service establishment, exercise facilities, and on-site transit pass sales.
(Ord. No. 03-21 N.S., § Exh. A, 4-6-2021)
The Appendix includes a sample TDM checklist, which will be maintained and periodically updated by the Department of Transportation.
Prior to approval of a project subject to the requirements of this Article, the Zoning Administrator or the Planning Commission, whichever has approval authority, shall make both of the following findings based on recommendations of the Department of Transportation:
A.
The proposed trip reduction measures are feasible and appropriate for the project, considering the proposed use or mix of uses and the project's location, size, and hours of operation; and
B.
The proposed vehicle trip reductions will ensure that the performance targets of this Article will be achieved and maintained.
(Ord. No. 03-21 N.S., § Exh. A, 4-6-2021)
A.
Minor Modifications. The Director of the Department of Transportation may approve minor modifications to an approved transportation demand management plan that are consistent with the original findings and conditions approved by the review authority and would result in the same target minimum alternative mode use.
B.
Changed Plans. A proposed change in an approved project subject to the requirements of this Article that would result in a ten percent increase in the number of average daily vehicle trips shall be accompanied by a statement of what modifications or additions to the approved transportation demand management plan will be made to ensure the same target alternative mode use. The Director may conditionally approve such a change, subject to annual monitoring to confirm that the program's objectives are being met.
(Ord. No. 03-21 N.S., § Exh. A, 4-6-2021)
A report, documenting the TDM activities undertaken and their results or an affidavit confirming that the requirements of this Section have been met, shall be submitted to the Department of Transportation or citywide TMA by the designated TDM contact. If the TDM measures consist of solely measures that would be performed once, this report must be submitted at the completion of the implementation of those measures. For measures that are ongoing commitments, this report must be submitted annually. If the annual report shows compliance for three consecutive years, no further annual reports are required. A five-year review may be required by the Director of the Department of Transportation or citywide TMA to evaluate the overall effectiveness of all of the TDM activities and may suggest new or modified activities or substitute activities to meet the program's objectives, per the Department of Transportation's or TMA's review and approval. The Director of the Department of Transportation may impose reasonable changes to assure the program's objectives will be met.
(Ord. No. 03-21 N.S., § Exh. A, 4-6-2021)
The specific purposes of the water-efficient landscape regulations are to:
A.
Improve the appearance of the community by requiring aesthetically pleasing landscaping on public and private sites;
B.
Aid in energy conservation by providing shade from the sun and shelter from the wind;
C.
Soften the appearance of parking lots and other development through landscaping;
D.
Conserve water resources through the use of native and drought-tolerant plans and water-conserving irrigation practices;
E.
Restore natural communities and provide habitat through the reestablishment of native plants;
F.
Assist in mitigating air quality impacts by reducing or absorbing pollutants; and
G.
Minimize or eliminate conflicts between potentially incompatible but otherwise permitted land uses on adjoining lots through visual screening.
These regulations are intended to comply with the requirements of California Government Code of Regulations, Title 23, Division 2, Chapter 2.7 for a "water efficient landscape ordinance".
A.
This Article applies to the following landscape projects associated with any development requiring a building permit, design review, or a use permit:
1.
New landscape installations of 500 square feet or more;
2.
Rehabilitated landscapes with an area 2,500 square feet or more;
3.
New construction and rehabilitated landscapes that are developer-installed in single-family and multi-family projects with a landscape area equal to or greater than 2,500 square feet requiring a building permit, design review, or other discretionary permit; and
4.
New construction landscapes that are homeowner-provided and/or homeowner-hired in single-family and multi-family residential projects with a total project landscape area equal to or greater than 5,000 square feet requiring a building permit, design review or other discretionary permit.
B.
The following are exempt:
1.
Registered local, state or federal historical sites;
2.
Ecological restoration projects that do not require a permanent irrigation system; and
3.
Plant collections, as part of botanical gardens and arboretums open to the public.
C.
Recognizing the special landscape management needs of cemeteries, new and rehabilitated cemeteries are only subject to the requirements of subsection 15.04.613.060(D) and Sections 15.04.613.080-090.
The following areas shall be landscaped, and may count toward the total area of site landscaping required by the zoning district regulations and other citywide or special purpose landscape regulations.
A.
Required Setbacks. All required front and street-facing side setbacks, except for areas used for exit and entry, shall be landscaped.
Figure 15.04.613.030-A: Required Setbacks
B.
Lot Perimeters. Landscape buffers shall be installed and maintained alongside and rear lot lines between differing land uses, in accordance with the following standards.
1.
Required Landscape Buffers. Table 15.04.613.030-B(1), Required Landscape Buffers, shows when a buffer treatment is required, and of what type, based on the proposed and the adjoining use. Only the proposed use is required to provide the buffer yard. Adjoining uses are not required to provide the buffer yard. The type of buffer yard required refers to buffer yard-type designations as shown in the table and defined in subsection (2), below. "-" means that a buffer yard is not required unless required by another section of this Article.
2.
Buffer-yard Types. Table 15.04.613.030-B(2), Buffer Yard Requirements, describes the minimum width, plant materials, and wall requirements for each type of buffer yard. The listed number of trees and shrubs are required for each 100 lineal feet of buffer yard. Trees shall be planted at least 40 feet on center. Natural areas with native vegetation or alternative planting materials which achieve equivalent buffering effects may be approved by the Zoning Administrator.
Figure 15.04.613.030-B(2): Buffer Yard Requirements
3.
Width Reduction for Adjacent Landscaped Buffer. If an equivalent landscape buffer exists on the adjacent lot, the width of the required buffer may be reduced 50 percent provided that the abutting property owners have provided a written agreement restricting the use of the adjacent landscape buffer.
C.
Building Perimeters. The portions of a building that front a public street shall have one or more landscape planters installed along a minimum 20 percent of that building face. The minimum width of the planter shall be three feet. This standard does not apply where a building is located on the front or street side property line.
Figure 15.04.613.030-C: Building Perimeters
D.
Parking Areas. Parking areas shall be landscaped as required by Article 15.04.607 (Parking and Loading Standards).
E.
Unused Areas. All areas of a project site not intended for a specific use, including areas planned for future phases of a phased development, shall be landscaped or left in a natural state.
A.
General. Landscaping may consist of a combination of ground cover materials, shrubs, and trees. Ground cover may include grasses, shrubs, perennials, vines, or other herbaceous or non-herbaceous plants. Ground cover also includes, mulch such as gravel, rock, cinder, bark, or other permeable materials, provided that such materials present an attractive setting consistent with the intent of this Article. Landscaping may also include incidental features, such as stepping-stones, site furniture, water features, art, or other ornamental features placed within a landscaped setting.
B.
Plant Materials.
1.
Turf Allowance. The maximum amount of turf in required landscape areas is 30 percent for non-residential uses and 50 percent for residential uses, except for turf areas that comprise an essential component of a project (e.g., golf courses or playing fields), which are exempt from this limit. Turf is prohibited on slopes greater than 25 percent.
2.
Plant Selection.
a.
Any plant that is not specifically prohibited may be selected for the landscape, providing the Estimated Total Water Use (ETWU) in the landscape area does not exceed the Maximum Applied Water Allowance (MAWA) Methods to achieve water efficiency include one or more of the following:
i.
Protection and preservation of native species and natural vegetation;
ii.
Selection of water-conserving plant, tree and turf species, especially local native plants;
iii.
Selection of plants based on local climate suitability, disease and pest resistance; and
iv.
Selection of trees based on size at maturity as appropriate for the planting area.
b.
Plants must be selected and planted appropriately based upon their adaptability to the climatic, geologic, and topographical conditions of the project site. Methods to achieve water efficiency include:
i.
Using the Sunset Western Climate Zone System which takes into account temperature, humidity, elevation, terrain, latitude, and varying degrees of continental and marine influence on local climate;
ii.
Recognizing the horticultural attributes of plants (i.e., mature plant size, invasive surface roots) to minimize damage to property or infrastructure (e.g., buildings, sidewalks, power lines) and to allow for adequate soil volume for healthy root growth; and
iii.
Using solar orientation for plant placement to maximize summer shade and winter solar gain.
c.
Common Interest Development Guidelines. The architectural guidelines of a common interest development, which include community apartment projects, condominiums, planned developments, and stock cooperatives, may not prohibit or include conditions that have the effect of prohibiting the use of low-water use plants as a group.
C.
Water Features. Recirculating water systems must be used for water features. The surface area of a water feature must be included in the high water use hydrozone area of the water budget calculation.
D.
Soil Preparation. Prior to the planting of any materials, compacted soils must be transformed to a friable condition. On engineered slopes, only amended planting holes need meet this requirement.
E.
Mulch. A minimum three-inch layer of mulch must be applied on all exposed soil surfaces of planting areas except in turf areas, areas receiving closely spaced plugs as a lawn alternative, or direct seeding applications where mulch is contraindicated. To provide habitat for beneficial insects and other wildlife, up to five percent of the landscape area may be left without mulch. Stabilizing mulching products must be used on slopes that meet current engineering standards. The mulching portion of the seed/mulch slurry in hydro-seeded applications must meet the mulching requirement. Use of organic mulch materials made from recycled or post-consumer material is preferred over inorganic materials or virgin forest products unless the recycled post-consumer organic products are not locally available.
A.
On-Site Trees. On-site trees must be provided as follows:
1.
Residential Zoning Districts. One tree for every 1,000 square feet of lot area for residential development.
2.
Mixed-Use and Commercial Zoning Districts. One tree for every 2,000 square feet of lot area.
3.
Industrial Zoning Districts. One tree for every 5,000 square feet of lot area.
4.
Off-Site Planting. If the lot size or other site conditions make planting of the required trees impractical, the Zoning Administrator may allow the trees be planted off-site at twice the ratio.
5.
Exception for Existing Trees. If the required number and size of trees already exists on the site, the applicant shall not be required to plant new trees on-site.
B.
Street Trees. All new development must provide at least one street tree that is a minimum of 1 ½ inches diameter at breast height or 15 gallons in size for each 50 linear foot of street frontage unless the Director of Engineering and Capital Improvement Projects determines that a different number of trees is warranted because of existing conditions and the number of street trees in the vicinity. All street trees, must be installed with approved root and/or any other tree plantings within 10 feet of the public right-of-way, including sidewalks, curbs and gutters, or street surface barriers and deep water tubes (three per tree).
C.
Maintenance. All trees must be maintained to be free from physical damage or injury arising from lack of water, chemical damage, accidents, vandalism, insects and disease. Any tree showing such damage to the extent that its life would be impaired must be replaced with another tree.
A.
General Requirements. The section establishes what required documentation must be provided for all non-exempt landscape projects unless they qualify for streamlined submittal requirements. Streamlined submittals are available for two specific types of projects:
1.
Small Sites. A project with a landscape area of 2,500 square feet or less that complies with the prescriptive measures listed in subsection (H), below, are exempt from certain submittal requirements for the Landscape Documentation Package.
2.
Graywater or Rainwater Projects. For projects using treated or untreated graywater or rainwater captured on site, any lot or parcel within the project that has less than 2,500 square feet of landscape and meets the lot or parcel's landscape water requirement (Estimated Total Water Use) entirely with treated or untreated graywater or through stored rainwater captured on site is subject only to the requirements of paragraph (H)(6), below.
3.
Existing Landscape. All existing landscape over one acre in size may be required to have an irrigation audit under subsection 15.04.613.090(B) if a property owner proposes an expansion of floor area that is more than 10 percent of existing floor area or structural alterations that exceed 10 percent of the replacement cost of the building. Restrictions on overspray and runoff may be imposed as conditions of approval of a discretionary permit in order to conserve water.
B.
Landscape Documentation Package. A Landscape Documentation Package must be submitted by the project applicant for review and approval prior to start of construction. The Landscape Documentation Package must include the following elements, shown on either plan sheets or supplemental pages:
1.
Project Information Sheet. The plan information must include, but is not limited to, the following: date; project name; project address, parcel, and/or lot number(s); total landscape area (square feet) and rehabilitated landscape area (if applicable); project type (e.g., new, rehabilitated, public, private, public, private, cemetery, homeowner-installed); water supply type (e.g., potable, recycled, well) and identification of the local retail water purveyor if the project applicant is not served by a private well; checklist or index of all documents in the Landscape Documentation Package; project contacts information for the project applicant and property owner.
2.
A Landscape Design Plan: see subsection (C), below.
3.
A Water-Efficient Landscape Worksheet: see subsection (D), below.
4.
A Soil Management Plan: see subsection (E), below.
5.
An Irrigation Design Plan: see subsection (F), below.
6.
A Grading Design Plan: see subsection (G), below.
C.
Landscape Design Plan. The Landscape Design Plan must identify all of the following, to the extent they apply:
1.
Proposed plant locations, species, and sizes.
2.
Location of any existing trees over six inches in diameter at breast height, each tree's diameter at breast height, and whether such tree is proposed for retention or removal.
3.
Recreational areas.
4.
Areas permanently and solely dedicated to edible plants.
5.
Each hydrozone, labeled or identified by number, letter or other method and noted as low, moderate, high water or mixed water use. Temporarily irrigated areas of the landscape must be included in the low water use hydrozone of the water budget calculation. Each hydrozone must have plant materials with similar water use, with the exception of hydrozones with plants of mixed water use.
6.
Areas irrigated with recycled water.
7.
Type of mulch and application depth and proposed soil amendments by type and quantity.
8.
Type and surface area of water features.
9.
Hardscapes (pervious and non-pervious).
10.
Location, installation details, and 24-hour retention or infiltration capacity of on-site stormwater retention areas.
11.
Any applicable rain harvesting or catchment technologies and their 24-hour retention or infiltration capacity.
12.
Any applicable graywater discharge piping, system components and area(s) of distribution.
13.
In Fire-Prone Areas. A Landscape Design Plan for projects in fire-prone areas must address fire safety and prevention. A defensible space or zone around a building or structure is required by the Public Resources Code Section 4291(a) and (b).
D.
Water Efficient Landscape Calculations and Alternatives. A fully-completed Water Efficient Landscape Worksheet (available from the Zoning Administrator) [7] must contain information on the plant factors, irrigation method, irrigation efficiency and area associated with each hydrozone and show:
1.
The Estimated Total Water Use (ETWU) allowable for the landscape area (LA) does not exceed the Maximum Applied Water Allowance (MAWA); and
2.
The evapotranspiration adjustment factor (ETAF) for the landscape project does not, on average, exceed a factor of 0.55 for residential areas and 0.45 for non-residential areas, exclusive of Special Landscape Areas (SLA), within the landscape project, which are calculated using an ETAF of 1.0.
Water efficiency calculations must be calculated as follows:
Maximum Applied Water Allowance (MAWA)
MAWA = (25.92) × [(ETAF × LA) + ((1-ETAF) × SLA)]
Estimated Total Water Use (ETWU)
3.
Variables Used in Water Efficiency Calculations.
a.
Plant Factors (PF). The plant factors range from 0 to 0.1 for very low water using plants, 0.1 to 0.3 for low water use plants, from 0.4 to 0.6 for moderate water use plants, and from 0.7 to 1.0 for high water use plants. Any and all water features must be included in the high water use hydrozone. Any and all temporarily irrigated areas must be included in the low water use hydrozone.
b.
Landscape Areas (LA). Total Landscape Area, expressed in square feet, include all areas dedicated to planting, turf, and water features, excluding footprints of building or structures, sidewalks, driveways, parking lots, decks, patios, gravel or stone walks, pervious or non-pervious hardscapes, or other non-irrigated areas designated for non-development (e.g., open spaces and existing native vegetation).
c.
Special Landscape Areas (SLA). Special Landscape Areas are areas of the landscape dedicated solely to edible plants, recreational areas, areas irrigated with recycled water, or water features using recycled water.
d.
Irrigation Efficiency (IE). For the purpose of determining Estimated Total Water Use, the average IE is assumed to be 0.75 for overhead spray devices and 0.81 for drip system devices.
e.
Hydrozone Area (HA). The square feet in the hydrozone. Note that PF x HA as used in the formula for calculating ETWU is the sum of the individual PF and respective HA calculations.
4.
Evapotranspiration Adjustment Factor (ETAF). The ETAF for a landscape project is calculated based on the plant factors and irrigation methods selected. The Water Efficient Landscape Worksheet must show that the average ETAF for Regular Landscape Areas is no greater than 0.55 for residential areas and 0.45 for non-residential areas. The ETAF for Special Landscape Areas can be up to 1.0.
E.
Soil Management Report. A Soil Management Report must include:
1.
Analysis of Soil Samples. Soil samples must be submitted to a laboratory for analysis and recommendations.
a.
Soil sampling must be conducted in accordance with laboratory protocol, including protocols regarding adequate sampling depth for the intended plants.
b.
The soil analysis must include:
i.
Soil texture;
ii.
Infiltration rate determined by laboratory test or soil texture infiltration rate table;
iii.
pH;
iv.
Total soluble salts;
v.
Sodium;
vi.
Percent organic matter; and
vii.
Recommendations.
c.
In residential projects with multiple landscape installations, a soil sampling rate of one in seven lots or approximately 15 percent will satisfy this requirement. Large landscape projects must sample at a rate equivalent to one in seven lots.
2.
Timing of Submittal.
a.
If significant mass grading is not planned, the Soil Management Report must be submitted as part of the Landscape Documentation Package.
b.
If significant mass grading is planned, the Soil Management Report must be submitted as part of the Certificate of Completion.
3.
Availability of Report to Landscape Professionals. The Soil Management Report must be made available, in a timely manner, to the professionals preparing the landscape design and irrigation design plans.
4.
Implementation Verification. Verification of implementation of the Soil Management Report recommendations must be submitted with the Certificate of Completion.
F.
Irrigation Design Plan. The Irrigation Design Plan, at a minimum, must contain:
1.
The location and size of separate water meters for landscape;
2.
The location, type and size of all components of the irrigation system, including controllers, main and lateral lines, valves, sprinkler heads, moisture sensing devices, rain switches, quick couplers, pressure regulators, and backflow prevention devices;
3.
Static water pressure at the point of connection to the public water supply; and
4.
Flow rate (gallons per minute), application rate (inches per hour), and design operating pressure (pressure per square inch) for each station.
5.
Design Criteria for Hydrozones.
a.
Each valve must irrigate a hydrozone with similar site, slope, sun exposure, soil conditions, and plant materials with similar water use.
b.
Sprinkler heads and other emission devices must be selected based on what is appropriate for the plant type within that hydrozone.
c.
Where feasible, trees must be placed on separate valves from shrubs, groundcovers, and turf to facilitate the appropriate irrigation of trees. The mature size and extent of the root zone must be considered when designing irrigation for the tree.
d.
Individual hydrozones that mix plants of moderate and low water use, or moderate and high water use, may be allowed if:
i.
The plant factor calculation is based on the proportions of the respective plant water uses and their plant factor; or
ii.
The plant factor of the higher water using plant is used for calculations.
e.
Individual hydrozones that mix high and low water use plants are not permitted.
6.
The installation of the water irrigation systems must allow for the current and future use of recycled water when feasible All recycled water irrigation systems must be designed and operated in accordance with all applicable City regulations and State laws.
7.
System Components.
a.
Landscape Water Meters. Landscape water meters, defined as either a dedicated water service meter or private submeter, must be installed for all non-residential irrigated landscapes of 1,000 square feet or more and residential irrigated landscapes of 5,000 square feet or more. A landscape water meter may be either:
i.
A customer service meter dedicated to landscape use provided by the local water purveyor; or
ii.
A privately owned meter or submeter.
b.
Soil Moisture or Evapotranspiration-Based Irrigation Controllers. Automatic irrigation controllers utilizing either evapotranspiration or soil moisture sensor data utilizing non-volatile memory is required for irrigation scheduling in all irrigation systems.
c.
Pressure Regulating Devices. If the water pressure is below or exceeds the recommended pressure of the specified irrigation devices, the installation of a pressure regulating device is required to ensure that the dynamic pressure at each emission device is within the manufacturer's recommended pressure range for optimal performance.
i.
If the static pressure is above or below the required dynamic pressure of the irrigation system, pressure-regulating devices such as inline pressure regulators, booster pumps, or other devices must be installed to meet the required dynamic pressure of the irrigation system.
ii.
Static water pressure, dynamic or operating pressure, and flow reading of the water supply must be measured at the point of connection. These pressure and flow measurements must be conducted at the design stage. If the measurements are not available at the design stage, the measurements must be conducted at installation.
d.
Weather-Based Irrigation Controllers. Sensors (rain, freeze, wind, etc.), either integral or auxiliary, that suspend or alter irrigation operation during unfavorable weather conditions are required on all irrigation systems, as appropriate for local climatic conditions. Irrigation should be avoided during windy or freezing weather or during rain.
e.
Manual Shut-Off Valves. Manual shut-off valves (such as a gate valve, ball valve, or butterfly valve) are required, as close as possible to the point of connection of the water supply, to minimize water loss in case of an emergency (such as a main line break) or routine repair.
f.
Backflow Prevention Devices. Backflow prevention devices are required to protect the water supply from contamination by the irrigation system.
g.
Flow Sensors. Flow sensors that detect high flow conditions created by system damage or malfunction are required for all on non-residential landscapes and residential landscapes of 5,000 square feet or more.
h.
Master Shut-Off Valves. Master shut-off valves are required on all projects except landscapes that make use of technologies that allow for the individual control of sprinklers that are individually pressurized in a system equipped with low pressure shut down features.
i.
Prevent Water Waste. The irrigation system must be designed to prevent runoff, low head drainage, overspray, or other similar conditions where irrigation water flows onto non-targeted areas, such as adjacent property, non-irrigated areas, hardscapes, roadways, or structures.
j.
Irrigation Efficiency (IE). The irrigation system must be designed and installed to meet, at a minimum, the irrigation efficiency criteria regarding the Maximum Applied Water Allowance.
k.
Meet ASABE/ICC Standard. All irrigation emission devices must meet the requirements of the American National Standards Institute (ANSI) and the American Society of Agricultural and Biological Engineers'/International Code Council's (ASABE/ICC) 802-2014 "Landscape Irrigation Sprinkler and Emitter Standard." All sprinkler heads must have a documented distribution uniformity low quarter of 0.65 or higher using protocols in ASABE/ICC 802-2014.
l.
Peak Water Operating Demands or Restrictions. It is highly recommended that the project applicant inquire with the local water purveyor about peak water operating demands (on the water supply system) or water restrictions that may impact the effectiveness of the irrigation system.
m.
Mulched Planting Areas. In mulched planting areas, the use of low volume irrigation is required to maximize water infiltration into the root zone.
n.
Matched Precipitation Rates. Sprinkler heads and other emission devices must have matched precipitation rates, unless otherwise directed by the manufacturer's recommendations.
o.
Head to Head Coverage. Head to head coverage is recommended. However, sprinkler spacing must be designed to achieve the highest possible distribution uniformity using the manufacturer's recommendations.
p.
Riser-Protection Components. Swing joints or other riser-protection components are required on all risers subject to damage that are adjacent to hardscapes or in high traffic areas of turf.
q.
Low Point Drainage. Check valves or anti-drain valves are required on all sprinkler heads where low point drainage could occur.
r.
Areas Less Than Ten Feet Wide. Areas less than 10 feet in width in any direction must be irrigated with subsurface irrigation or other means that produces no runoff or overspray.
s.
Adjacent to Non-Permeable Surfaces. Overhead irrigation is not permitted within 24 inches of any non-permeable surface. Allowable irrigation within the setback from non-permeable surfaces may include drip, drip line, or other low flow non-spray technology. The surfacing of the setback may be mulch, gravel, or other porous material. These restrictions may be modified if:
i.
The landscape area is adjacent to permeable surfacing and no runoff occurs;
ii.
The adjacent non-permeable surfaces are designed and constructed to drain entirely to landscaping; or
iii.
The irrigation designer specifies an alternative design or technology and clearly demonstrates strict adherence to irrigation system design criteria. Prevention of overspray and runoff must be confirmed during the irrigation audit.
t.
Slopes Greater Than 25 Percent. Slopes greater than 25 percent shall not be irrigated with an irrigation system with an application rate exceeding 0.75 inches per hour. This restriction may be modified by the Zoning Administrator if the landscape designer specifies an alternative design or technology, and clearly demonstrates no runoff or erosion will occur. Prevention of runoff and erosion must be confirmed during the irrigation audit.
G.
The Grading Design Plan.
1.
The Grading Design Plan must indicate finished configurations and elevations of the landscape area, including:
a.
Height of graded slopes;
b.
Drainage patterns;
c.
Pad elevations;
d.
Finish grade; and
e.
Stormwater retention improvements, if applicable.
2.
To prevent excessive erosion and runoff, project applicants may be required to:
a.
Grade so that all irrigation and normal rainfall remains on-site and does not drain on to non-permeable hardscapes;
b.
Avoid disruption of natural drainage patterns and undisturbed soil; and
c.
Avoid soil compaction in landscape areas.
H.
Prescriptive Compliance Option for Smaller Sites. Landscape projects that involve 2,500 square feet or less of landscape area may be approved through a Zoning Compliance review if the applicant meets all of the following requirements. Under this procedure, no landscape design plan needs be prepared, and requirements for a water-efficient landscape worksheet, a soil management plan, an irrigation design plan, and a grading design plan are waived.
1.
Submit a Prescriptive Compliance Landscape Documentation Package that includes the following elements:
a.
Date;
b.
Project applicant;
c.
Project address (if available, parcel and/or lot number(s));
d.
Total landscape area (square feet), including a breakdown of turf and plant material;
e.
Project type (e.g., new, rehabilitated, public, private, cemetery, homeowner-installed);
f.
Water supply type (e.g., potable, recycled, well) and identification of the local retail water purveyor if the applicant is not served by a private well;
g.
Contact information for the project applicant and property owner; and
h.
Applicant signature and date with statement, "I agree to comply with the requirements of the prescriptive compliance option of the City of Richmond's Water-Efficient Landscape Regulations."
2.
Incorporate compost at a rate of at least four cubic yards per 1,000 square feet to a depth of six inches into landscape area (unless contraindicated by a soil test);
3.
Use plant material as follows:
a.
For residential areas, install climate adapted plants that require occasional, little or no summer water (average WUCOLS plant factor 0.3) for 75 percent of the plant area, excluding edibles and areas using recycled water;
b.
For non-residential areas, install climate adapted plants that require occasional, little or no summer water (average WUCOLS plant factor 0.3) for 100 percent of the plant area, excluding edibles and areas using recycled water;
4.
Apply a minimum three-inch layer of mulch on all exposed soil surfaces of planting areas except in turf areas, areas receiving closely spaced plugs as a lawn alternative, or direct seeding applications where mulch is contraindicated.
5.
Turf must comply with all of the following:
a.
Turf shall not exceed 25 percent of the landscape area in residential and mixed-use areas with residential dwellings;
b.
Turf is prohibited in non-residential areas;
c.
Turf shall not be planted on sloped areas that exceed a slope of one foot vertical elevation change for every four feet of horizontal length; and
d.
Turf is prohibited in parkways less than 10 feet wide, unless the parkway is adjacent to a parking strip and used to enter and exit vehicles. Any turf in parkways must be irrigated by sub-surface irrigation or by other technology that creates no overspray or runoff.
6.
Irrigation systems must comply with all of the following:
a.
Automatic irrigation controllers are required and must use evapotranspiration or soil moisture sensor data and utilize a rain sensor.
b.
Irrigation controllers must be of a type that does not lose programming data in the event the primary power source is interrupted.
c.
Pressure regulators must be installed on the irrigation system to ensure the dynamic pressure of the system is within the manufacturers recommended pressure range.
d.
Manual shut-off valves (such as a gate valve, ball valve, or butterfly valve) must be installed as close as possible to the point of connection of the water supply.
e.
All irrigation emission devices must meet the requirements set in the American National Standards Institute standard, American Society of Agricultural and Biological Engineers'/International Code Council's (ASABE/ICC) 802-2014 "Landscape Irrigation Sprinkler and Emitter Standard." All sprinkler heads installed in the landscape must document a distribution uniformity low quarter of 0.65 or higher using the protocol defined in ASABE/ICC 802-2014.
f.
Areas less than 10 feet in width in any direction must be irrigated with subsurface irrigation or other means that produces no runoff or overspray.
7.
For non-residential projects with landscape areas of 1,000 square feet or more, a private submeter(s) to measure landscape water use shall be installed.
8.
At the time of final inspection, the applicant must provide the owner of the property with a certificate of completion, certificate of installation, irrigation schedule, and a schedule of landscape and irrigation maintenance.
The State's Model Water-efficient Landscape Ordinance includes a sample worksheet, which can be posted on the City's website and be a Microsoft Excel for or in other interactive form to make it easy to use.
A Certificate of Completion, in the form specified by the Zoning Administrator [8], must be submitted to the Zoning Administrator upon completion of the installation.
A.
The Certificate of Completion must include the following six elements:
1.
Project information sheet that contains:
a.
Date;
b.
Project name;
c.
Project applicant name, telephone, and mailing address;
d.
Project address and location; and
e.
Property owner name, telephone, and mailing address;
2.
A Landscape Installation Certification of Completion that includes certification by a landscape professional that the project was installed per the approved Landscape Documentation Package. Where there have been significant changes made in the field during construction, "as-built" or record drawings must be included with the Certificate;
3.
Irrigation scheduling parameters used to set the controller;
4.
Landscape and irrigation maintenance schedule;
5.
Irrigation Audit Report; and
6.
Soil Management report, if not submitted with Landscape Documentation Package, and documentation verifying implementation of soil report recommendations.
B.
The project applicant must submit the signed Certificate of Completion to the Zoning Administrator for review; and ensure that copies of the approved Certificate of Completion are submitted to the local water purveyor and to the property owner or his or her designee.
C.
The Zoning Administrator will approve or deny the Certificate of Completion within ten days of receipt. If the Certificate of Completion is denied, the Zoning Administrator must provide information to the project applicant regarding deficiencies noted and appeal procedures.
The State's Model Water-efficient Landscape Ordinance includes a sample certificate.
For the efficient use of water, all irrigation schedules must be developed, managed, and evaluated to utilize the minimum amount of water required to maintain plant health. Irrigation schedules must meet the following criteria:
A.
Irrigation scheduling must be regulated by automatic irrigation controllers.
B.
Overhead irrigation must be scheduled between 8:00 p.m. and 10:00 a.m. unless weather conditions prevent it. Operation of the irrigation system outside the normal watering window is allowed for auditing and system maintenance or if required by the water purveyor.
C.
Attention must be paid to irrigation run times, emission device, flow rate, and current reference evapotranspiration, so that the applied water meets the Estimated Total Water Use (ETWU). Total annual applied water must be less than or equal to the Maximum Applied Water Allowance (MAWA).
D.
Parameters used to set the automatic irrigation controller must be developed and submitted with the Certificate of Completion for each of the following:
1.
The plant establishment period;
2.
The established landscape; and
3.
Temporarily irrigated areas.
E.
A diagram of the irrigation plan showing hydrozones must be kept with the irrigation controller.
A.
Landscape and Irrigation Maintenance.
1.
A regular maintenance schedule must be submitted with the Certificate of Completion. This schedule must address routine inspections; auditing, adjustment and repair of the irrigation system and its components; aerating and dethatching turf areas; topdressing with compost, replenishing mulch; fertilizing; pruning; weeding in all landscape areas, and removing obstructions to emission devices.
2.
Repair of all irrigation equipment must be done with the originally installed components or their equivalents or with components with greater efficiency.
B.
Irrigation Audit Report.
1.
After completion of the installation, a landscape irrigation audit must be conducted by a City landscape irrigation auditor or a third party certified landscape irrigation auditor and submitted with the Certificate of Completion.
2.
Landscape audits shall not be conducted by the person who designed the landscape or installed the landscape.
3.
In large projects or projects with multiple landscape installations, an auditing rate of one in seven lots or approximately 15 percent will satisfy this requirement.
4.
The irrigation audit report may include, but is not limited to: inspection, system tune-up, system test with distribution uniformity, reporting overspray or run off that causes overland flow, and preparation of an irrigation schedule, including configuring irrigation controllers with application rate, soil types, plant factors, slope, exposure, and any other factors necessary for accurate programming.
All model homes that are landscaped must use signs and written information to demonstrate the principles of water efficient landscapes described in this Article.
A.
Signs must be used to identify the model home as an example of water efficient landscaping, featuring elements such as hydrozones, irrigation equipment, and others that contribute to the overall water efficient theme. Signage must include information about the site water use as designed per this Article; specify who designed and installed the water efficient landscape; and demonstrate low water use approaches to landscaping such as using native plants, graywater systems, and rainwater catchment systems.
B.
Information must be provided about designing, installing, managing, and maintaining water efficient landscapes.
A.
This Article is intended to reasonably regulate, to the extent permitted under California and federal law, the installation, operation, collocation, modification, maintenance and removal of wireless communication facilities in a manner that promotes and protects public health, safety and welfare, and balances the benefits that flow from robust and ubiquitous wireless services with the local values and aesthetic character of the City, its neighborhoods and other districts.
B.
This Article is not intended to, and shall not be interpreted or applied to: (1) prohibit or effectively prohibit any personal wireless service provider's ability to provide personal wireless services; (2) unreasonably discriminate among providers of functionally equivalent personal wireless services; (3) regulate the installation, operation, collocation, modification, maintenance or removal of personal wireless services based on environmental effects from radio frequency emissions to the extent such emissions comply with all applicable Federal Communications Commission (FCC) regulations; (4) create barriers that prohibit or effectively prohibit any telecommunications service provider's ability to provide any interstate or intrastate telecommunications service; (5) prohibit or effectively prohibit any collocation or modification that the City may not deny under applicable California or federal law; or (6) preempt any applicable California or federal laws, regulations or other mandatory rules.
A.
Applicable Facilities. This Article applies to all applications to install, construct, collocate, modify or otherwise alter wireless communication facilities in the City of Richmond.
B.
Legal Nonconforming Facilities. Any existing facility within the City's jurisdictional boundaries that does not conform to the requirements in this Article is deemed a "legal nonconforming use" as defined in Article 15.04.104 and subject to the provisions in Article 15.04.606.
C.
Exempted Facilities. Notwithstanding subsection 15.04.614.020(A), this Article does not apply to the following:
1.
Amateur radio antennas;
2.
Over-the-air-reception devices (OTARD antennas);
3.
Wireless antennas and related equipment installed completely indoors and intended to extend signals for personal wireless services in a personal residence or a business (such as a femtocell or indoor distributed antenna system);
4.
Antennas and related equipment owned and operated by California Public Utilities Commission (CPUC)-regulated electric companies for use in connection with electrical power generation, transmission and distribution facilities covered under CPUC General Order 131-D, as may be amended or superseded;
5.
City-owned and operated facilities for public purposes; and
6.
Wireless antennas and related equipment installed in the public rights-of-way on City-owned or controlled support structures under a valid lease or license agreement with the City.
D.
Special Provisions for Section 6409 Approvals. Any application submitted with a written request for approval pursuant to Section 6409(a) of the Middle Class Tax Relief and Job Creation Act, Pub. L. No. 112-96, 126 Stat. 156 (Feb. 22, 2012) (codified as 47 U.S.C. § 1455(a)) shall be subject to the provisions in Section 15.04.614.100 and exempt from the other provisions in this Article.
E.
Special Provisions for Small Wireless Facilities. Notwithstanding any provision in this Article, including any exemption under subsection 15.04.614.020(C), all small wireless facilities as defined by the FCC in 47 C.F.R. § 1.6002(l), as may be amended or superseded, are subject to a permit as specified in a policy adopted for small wireless facilities by City Council resolution. All small wireless facilities shall comply with the City Council policy. If the policy is repealed, an application for a small wireless facility shall be processed pursuant to this Article.
(Ord. No. 29-18 N.S., § I(Exh. A), 12-18-2018)
A.
Conditional Use Permit. A conditional use permit, subject to the Planning Commission's review and approval and in accordance with Article 15.04.806 (Use Permits), is required for any new facilities and collocations or modifications to existing facilities as follows:
1.
All unconcealed wireless facilities on private property;
2.
Any wireless facility that requires a limited exception pursuant to Section 15.04.614.090;
3.
All wireless facilities on private property in locations listed in paragraphs 15.04.614.050(A)(3) through (A)(7); and
4.
All other wireless facilities that do not meet the criteria for an administrative use permit.
B.
Administrative Use Permit. An administrative use permit, subject to the Zoning Administrator's review and approval and in accordance with Article 15.04.806 (Use Permits), is required for any new facilities and collocations or modifications to existing facilities as follows:
1.
All concealed facilities in locations listed in paragraphs 15.04.614.050(A)(1) and (A)(2) without the need for a limited exception pursuant to Section 15.04.614.090; and
2.
All wireless facilities in the public rights-of-way, unless exempted under this Article.
C.
Design Review. All projects subject to a conditional use permit or an administrative use permit must also obtain design review and approval, in accordance with Article 15.04.805 (Design Review). The Design Review Board shall conduct major design review for facilities subject to a conditional use permit. The Zoning Administrator shall conduct minor design review for facilities subject to an administrative use permit.
D.
Other Regulatory Permits or Approvals. In addition to any conditional use permit or administrative use permit required under this Article, the applicant must obtain all other required prior permits and other regulatory approvals from other City departments, and state and federal agencies. Any conditional use permit or administrative use permit granted under this Article will be subject to the conditions and/or other requirements in any other required prior permits or other regulatory approvals from other City departments, and state and federal agencies.
(Ord. No. 29-18 N.S., § I(Exh. A), 12-18-2018)
A.
Application Required; Applicability. The City shall not grant any application for any permit under this Article except upon a duly filed application consistent with the provisions in Article 15.04.803 (Common Procedures), this Section and any written rules or regulations the Director may publish in any publicly stated format. In the event that any conflict arises between the requirements in Article 15.04.803 and this Section 15.04.614.040, the requirements in this Section shall govern. Applications for collocations or modifications submitted for approval pursuant to Section 6409 are governed under Section 15.04.614.100.
B.
Application Content. All applications for an administrative use permit or conditional use permit must include all the information and materials required by the Director for the application. The City Council authorizes the Director to develop, publish and from time-to-time update or amend permit application requirements, forms, checklists, guidelines, informational handouts and other related materials as the Director deems necessary, appropriate or useful for processing any application governed under this Article, and/or to respond to regulatory, technological or other changes related to this Article. The Director shall provide notice to the public, Planning Commission and City Council when such updates or amendments occur.
C.
Submittal and Review Procedures.
1.
Pre-application Conferences. Prior to application submittal, applicants must schedule and attend a pre-application conference with City staff for all proposed facilities that require a conditional use permit. The City strongly encourages but does not require a pre-application conference for all other proposed facilities. Such pre-application conference is intended to streamline the application review through discussions including, but not limited to, the appropriate project classification, including whether the project may qualify for approval pursuant to Section 6409(a); potential concealment issues (if applicable); coordination with other City departments responsible for application review; and application completeness issues. Applicant's may but shall not be required to bring any particular materials to a pre-application conference. City staff will endeavor to provide applicants with an appointment within approximately five business days after receipt of a written or email request. For any applicant that schedules, attends and fully participates in a pre-application conference, the Zoning Administrator may grant a written exemption from a specific application requirement or requirements when the applicant shows that the information requested is duplicative of information contained in other materials to be submitted with the application or otherwise unnecessary for the City's review under the facts and circumstances in that particular case. Any such written waiver shall be limited to the project discussed at the pre-application conference and shall not extend to any other projects.
2.
Submittal Appointments. Applicants must submit an application at a pre-scheduled appointment. Applicants may generally submit only one application per appointment, but may schedule successive appointments for multiple applications whenever feasible and not prejudicial to other applicants. City staff will endeavor to provide applicants with an appointment within five business days after staff receives a written request for an appointment. Any applications received without an appointment, whether delivered in-person or any other means, shall not be considered duly filed unless the applicant received a written exemption at a pre-submittal conference. The Zoning Administrator will begin to review the application once it is duly filed.
3.
Applications Deemed Withdrawn. To promote efficient review and timely decisions, an application will be automatically deemed withdrawn by the applicant when the applicant fails to tender a substantive response to the City within 90 calendar days after the City deems the application incomplete in a written notice to the applicant. The Zoning Administrator may, in the Zoning Administrator's sole discretion, grant a written extension for up to an additional 30 calendar days when the applicant submits a written request prior to the 90th day that shows good cause to grant the extension. Delays due to circumstances outside the applicant's reasonable control will be considered good cause to grant the extension.
4.
Authorization to Develop Departmental Rules. The City Council authorizes the Director to establish other reasonable rules and regulations, which may include without limitation regular hours for appointments with applicants, as the Director deems necessary or appropriate to organize, document and manage the application intake process. All such rules and regulations must be in written form and publicly stated to provide applicants with prior notice. In addition, the Director shall make publicly available an inventory of small wireless facilities that shows the location of each such facility deployed within the City and categorized by neighborhood.
D.
Independent Consultants.
1.
Authorization. The City Council authorizes the Zoning Administrator to, in the Zoning Administrator's discretion, and at any time in the review process, select and retain an independent consultant with qualifications and expertise satisfactory to the Zoning Administrator.
2.
Scope. The Zoning Administrator may request independent consultant review on any issue that involves specialized or expert knowledge in connection with the permit application. Such issues may include, but are not limited to:
a.
Permit application completeness or accuracy;
b.
Planned compliance with applicable RF exposure standards;
c.
Whether and where a significant gap exists or may exist, and whether such a gap relates to service coverage or service capacity;
d.
Whether technically feasible and potentially available alternative locations and designs exist;
e.
The applicability, reliability and sufficiency of analyses or methodologies used by the applicant to reach conclusions about any issue within this scope; and
f.
Any other issue that requires expert or specialized knowledge identified by the Zoning Administrator.
3.
Deposit; Invoices. The applicant must pay for the cost and expense in connection with the independent consultant's review and participation in any meeting. Before the City incurs any costs or expenses, the Zoning Administrator shall require the applicant to tender a reasonable deposit, at the Zoning Administrator's sole discretion. In the event that the deposit is insufficient to cover all costs and expenses, the Zoning Administrator may either (a) require an additional deposit or (b) invoice the applicant. Any required deposit or invoice must be paid in full within 10 days. The City shall not issue any permit to an applicant who has not paid any applicable fee, deposit or invoice as required in this Code.
(Ord. No. 29-18 N.S., § I(Exh. A), 12-18-2018)
A.
Preferred Locations. All applicants must, to the extent feasible, propose new facilities in locations according to the following preferences, ordered from most preferred to least preferred:
1.
City-owned parcels in any zoning district;
2.
IB, ILL, IL, IG, and IW zoning districts;
3.
CG, CR, and CC zoning districts;
4.
CM-1, CM-2, CM-3, CM-4, CM-5, and LW zoning districts;
5.
PCI, PR, OS and AG zoning districts;
6.
Planned Area districts; and
7.
RH, RL1, RL2, RM-1, and RM-2 zoning districts.
B.
Preferred Support Structures. In addition to the preferred districts described in subsection 15.04.614.050(A) above, the City also expresses its preference for certain support structures within those districts as follows, ordered from most preferred to least preferred:
1.
Collocations with existing building-mounted wireless facilities;
2.
Collocations with existing wireless facilities on electric transmission towers;
3.
Installations on existing buildings or rooftops;
4.
Installations on existing wireless towers;
5.
Installations on existing electric transmission towers;
6.
New freestanding wireless towers.
Note: As a hypothetical example, and not a limitation, in an industrial district where an applicant could achieve its technical objective equally well with antennas mounted on either an electric transmission tower (that does not currently support any wireless facilities) or a new freestanding wireless tower, the applicant must mount the antennas on the electric transmission tower in accordance with the City's preference.
C.
General Development Standards. All new wireless facilities and collocations or modifications not subject to a Section 6409 Request must conform to all the standards in this Section.
1.
Concealment. Wireless facilities must incorporate concealment measures sufficient to render the facility either camouflaged or stealth, as appropriate for the proposed location and design. All facilities must be designed to visually blend into the surrounding area in a manner compatible with the uses germane to the underlying zoning district and consistent with the existing uses in the immediate vicinity of the project site.
2.
Future Collocations. All wireless facilities must be designed and sited in a manner that contemplates future collocations, and will allow additional equipment to be integrated into the proposed facility with no or negligible visible changes to its outward appearance to the greatest extent feasible.
3.
Compliance with Laws. All wireless facilities must be designed and sited in compliance with all applicable federal, state and local laws, regulations, rules, restrictions and conditions, including without limitation the California Building Standards Code, General Plan and any specific plan, the Richmond Municipal Code and any conditions or restrictions in any permit or other governmental approval issued by any public agency with jurisdiction over the project.
4.
Overall Height. Wireless facilities must not exceed the applicable height limit for structures in the applicable zoning district.
5.
Setbacks. Wireless facilities may not encroach into any applicable setback for structures in the applicable zoning district.
6.
Noise. A wireless facility and all equipment associated with a wireless facility must not generate noise that exceeds the applicable ambient noise limit in the zone where the wireless facility is located, including without limitation the provisions in Article 15.04.608 (Performance Standards) and Article 15.04.605 (Noise). The Approval Authority may require the applicant to install noise attenuating or baffling materials and/or other measures, including but not limited to walls or landscape features, as the Approval Authority deems necessary or appropriate to ensure compliance with the applicable ambient noise limit.
7.
Lights. Unless otherwise required under FAA or FCC regulations, applicants may install only timed or motion-sensitive light controllers and lights, and must install such lights so as to comply with Article 15.04.604 (Lighting and Illumination) and avoid illumination impacts to adjacent properties to the maximum extent feasible. The Approval Authority may, in its discretion, exempt an applicant from the foregoing requirement when the applicant demonstrates a substantial public safety need. All aircraft warning lighting must use lighting enclosures that avoid illumination impacts to properties in the City to the maximum extent feasible.
8.
Signs. No facility may display any signage or advertisements unless expressly allowed by the City in a written approval, recommended under FCC regulations or required by law or permit condition. Every facility shall at all times display signage that accurately identifies the facility owner and provides the facility owner's unique site number, and also provides a local or toll-free telephone number to contact the facility owner's operations center.
9.
Fences, Enclosures and Security. Any fencing or enclosures proposed in connection with a wireless facility must comply with Section 15.04.614.060 (Fences and Walls) and blend with the natural and/or man-made surroundings, subject to the City's review and approval. The Approval Authority may require additional landscape features to screen fences. The Approval Authority shall not approve barbed wire, razor ribbon, electrified fences or any similar measures to secure a wireless facility, except when the applicant demonstrates that the need for such measures significantly outweighs the potential danger to the public and as provided in Chapter 11.88 of the Richmond Municipal Code. For proposed towers without any fence or enclosure, the applicant must incorporate anti-climbing measures, such as a ladder guard or removable ladder rungs, to prevent unauthorized access, vandalism and other attractive nuisances.
10.
Landscape Features. Landscaping may be required to be installed and maintained by Applicant to visually screen facilities from adjacent properties or public view or to provide a backdrop to camouflage the facilities. All proposed landscaping is subject to Approval Authority review and approval. Landscaping must comply with Article 15.04.613 (Water-Efficient Landscaping). To the extent that Article 15.04.613 is inapplicable to the landscaping described in this subsection, landscaping must still comply with the methods for achieving water efficiency, contained in the General Landscaping Standards in Section 15.04.613.040.
11.
Utilities. All cables and connectors for telephone, primary electric and other similar utility services must be routed underground to the extent feasible in conduits large enough to accommodate future collocated facilities. The Approval Authority shall not approve new overhead utility lines or service drops merely because compliance with the undergrounding requirements would increase the project cost.
D.
Freestanding Towers.
1.
Tower-mounted Equipment. All tower-mounted equipment must be mounted as close to the vertical support structure as possible to reduce its visual profile. Applicants must mount non-antenna, tower-mounted equipment (including, but not limited to, remote radio units/heads, surge suppressors and utility demarcation boxes) directly behind the antennas to the maximum extent feasible. All tower-mounted equipment, cables and hardware must be painted with flat colors subject to the Approval Authority's prior approval.
2.
Ground-mounted Equipment. All ground-mounted equipment must be concealed within an existing or new structure, opaque fences or other enclosures subject to the Approval Authority's approval. The Approval Authority may require, as a condition of approval, design and/or landscape features in addition to other concealment when necessary to blend the equipment or enclosure into the surrounding environment.
3.
Faux Tree Standards. The Approval Authority may approve a new freestanding wireless facility camouflaged as a faux tree only when it blends with the mature, natural trees in proximity to the proposed project site. The Approval Authority may require the applicant to plant and maintain new, natural trees around the project site when necessary or appropriate to adequately conceal the proposed faux-tree wireless facility.
E.
Building-Mounted Facilities.
1.
Preferred Concealment Techniques. All applicants should, to the extent feasible, propose new non-tower facilities that are completely concealed and architecturally integrated into the existing facade or rooftop features with no visible impacts from any publicly accessible areas at ground level (examples include, but are not limited to, antennas behind existing parapet walls or facades replaced with RF-transparent material and finished to mimic the replaced materials). Alternatively, when integration with existing building features is not feasible, the applicant should propose completely concealed new structures or appurtenances designed to mimic the support structure's original architecture and proportions (examples include, but are not limited to, cupolas, steeples, chimneys and water tanks).
2.
Facade-mounted Equipment. All facade-mounted equipment must be concealed behind screen walls and mounted as flush to the facade as practicable. The Approval Authority may not approve "pop-out" screen boxes unless the design is architecturally consistent with the original building or support structure. Except in industrial zones, the Approval Authority may not approve any exposed facade-mounted antennas, including but not limited to exposed antennas painted to match the facade.
3.
Rooftop-mounted Equipment. All rooftop-mounted equipment must be screened from public view with concealment measures that match the underlying structure in proportion, quality, architectural style and finish. The Approval Authority may approve unscreened rooftop equipment only when it expressly finds that such equipment is effectively concealed due to its low height and/or setback from the roofline.
4.
Ground-mounted Equipment. Outdoor ground-mounted equipment associated with building-mounted facilities must be avoided whenever feasible. In publicly visible or accessible locations, applicants must conceal outdoor ground-mounted equipment with opaque fences or landscape features that mimic the adjacent structure(s) such as dumpster corrals and other accessory structures.
F.
Facilities in the Public Rights-of-Way.
1.
General Prohibition. Facilities in the rights-of-way shall not unreasonably subject the public use, for any purpose including expressive or aesthetic purposes, to inconvenience, discomfort, trouble, annoyance, hindrance, impediment or obstruction.
2.
Concealment. All facilities in the rights-of-way must be concealed to the extent feasible with design elements and techniques that blend with the underlying support structure, surrounding environment and adjacent uses.
3.
Undergrounded Equipment. To conceal the non-antenna equipment, applicants for a proposed facility within any area in which the existing utilities are primarily located underground shall underground all non-antenna equipment other than any required electric meter or disconnect switch. In all other areas, applicants shall install all non-antenna equipment underground to the extent feasible. Additional expense to install and maintain an underground equipment enclosure does not exempt an applicant from this requirement, except where the applicant demonstrates by clear and convincing evidence that this requirement will effectively prohibit the provision of personal wireless services.
4.
Ground-mounted Equipment. To the extent that the equipment cannot be placed underground as required, applicants must install ground-mounted equipment in the location so that it does not obstruct pedestrian or vehicular traffic. The City may require landscaping as a condition of approval to conceal ground-mounted equipment.
5.
Pole-mounted Equipment. All pole-mounted equipment must be installed as close to the pole as technically and legally feasible to minimize impacts to the visual profile. All required or permitted signage in the rights-of-way must face toward the street or otherwise placed to minimize visibility from adjacent sidewalks and structures. All conduits, conduit attachments, cables, wires and other connectors must be concealed from public view to the extent feasible.
6.
Support Structures. If an applicant proposes a new facility in the public rights-of-way, then the applicant must use existing above-ground structures, such as streetlights or traffic signals. If no such existing above-ground structures exist or are otherwise not available to the applicant, then the Approval Authority may require the applicant to install a decorative or integrated pole specifically designed to conceal wireless transmission equipment.
7.
Utility Lines. When the point of contact is not on the pole itself, service lines must be undergrounded whenever feasible to avoid additional overhead lines. The Approval Authority shall not approve new overhead service lines merely because compliance with the undergrounding requirements would increase the project cost. For metal poles, undergrounded cables and wires must transition directly into the pole base without any external doghouse.
8.
Electric Meter. Multiple operators on a shared pole must share a single electric meter. Site operators must use the smallest and least intrusive electric meter available. In the event that a smaller or less intrusive meter becomes available after the site operator installs its equipment, the site operator must remove the current meter and install the new one within a reasonable time. The City strongly encourages site operators to use flat-rate electric service when it would eliminate the need for a meter. The electric meter or its case must be painted to match the pole unless painting is expressly not permitted by the electric service provider.
9.
Spools and Coils. To reduce clutter and deter vandalism, excess fiber optic or coaxial cables must not be spooled, coiled or otherwise stored on the pole whether in a cabinet or not.
10.
Finishes. No above-ground or pole-mounted equipment in the rights-of-way may be finished with reflective materials unless approved by the Approval Authority.
(Ord. No. 29-18 N.S., § I(Exh. A), 12-18-2018)
A.
Public Notice.
1.
Public Hearings. Public notice is required for all applications that either (i) may have a substantial or significant impact on a real property interest of a third party, or (ii) require a public hearing before the City Council, Planning Commission, Design Review Board or the Zoning Administrator in accordance with Section 15.04.803.080 (Conduct of Public Hearings).
2.
Deemed-Approved Notice. No more than 30 days before the applicable timeframe for review expires 90 days for collocations and 150 days for all other applications), the applicant must provide written notice to all persons entitled to notice in accordance with Section 15.04.803.060, as modified in this subsection 15.04.614.060(A).
a.
Required Disclosure. The notice must contain the following statement: "California Government Code section 65964.1 may deem the application approved in 30 days unless the City approves or disapproves the application, or the City and applicant reach a mutual tolling agreement."
b.
Notice to the City. In addition to all persons entitled to notice in accordance with Section 15.04.803.060, the applicant must deliver written notice to the Department, which contains the same statement required in subsection A.2.a, above, and a mailing list for public notices sent out under this subsection A.2. The applicant may tender such notice in person or certified United States mail.
B.
Required Findings. The Approval Authority may approve or conditionally approve an application for a conditional use permit or an administrative use permit only when the Approval Authority finds:
1.
The proposed facility complies with all criteria for a conditional use permit or an administrative use permit in accordance with Article 15.04.806 (Use Permits) and, if applicable, with the criteria for design review approval in accordance with Article 15.04.805 (Design Review);
2.
The proposed facility complies with all applicable standards described in this Article 15.04.614; and
3.
The applicant has provided a meaningful comparative analysis that demonstrates all alternative designs and locations identified in the application review process are either technically infeasible or not potentially available.
C.
Conditional Approvals. The Approval Authority may impose reasonable conditions on an administrative use permit or conditional use permit, related and proportionate to the subject matter in the application, as the Approval Authority deems necessary or appropriate to promote and ensure conformance with the General Plan, any applicable specific plan and the provisions in this Article. As an illustration and not a limitation, the Approval Authority may impose conditions that require the applicant to install, construct or enhance concealment elements to areas outside the boundaries of the applicant's immediate leased or owned site, as long as such concealment is (i) limited to the underlying support structure; (ii) reasonably related to mitigating the impacts created by the proposed project; and (iii) reasonably necessary to maintain visual consistency among the site, the support structure and other improvements or architectural features on the support structure. In addition the Approval Authority must make an individualized finding, supported with substantial evidence, that the concealment condition is related to the proposed development in nature and scope.
D.
Notice of Decision. Within five days after the Approval Authority approves or denies an application for a conditional use permit or an administrative use permit, the Approval Authority shall provide written notice to the applicant, in accordance with subsection 15.04.803.080(E) (Notice of Decision). All denial notice must contain the reasons for the denial.
E.
Appeals.
1.
Conditional Use Permits. Any person or entity may appeal a final decision by the Planning Commission in accordance with Section 15.04.803.130 (Appeals), except as modified in this subsection (E)(1). The appeal must state in plain terms the grounds for reversal and the facts that support those grounds. The City Council shall review the decision of the Planning Commission denovo.
2.
Administrative Use Permits. Any person or entity may appeal a final decision by the Zoning Administrator in accordance with Section 15.04.803.130 (Appeals), except as modified in this paragraph. The appeal must state in plain terms the grounds for reversal and the facts that support those grounds. The Planning Commission shall review the decision of the Zoning Administrator de novo.
(Ord. No. 29-18 N.S., § I(Exh. A), 12-18-2018)
In addition to all other conditions that may be adopted by the Approval Authority, all conditional use permits or administrative use permits, whether approved by the Approval Authority or deemed approved by the operation of law, shall be automatically subject to the standard conditions of approval provided in this Section. The Approval Authority (or the appellate authority on appeal) may add, remove or modify any conditions of approval on a case-by-case basis as may be necessary or appropriate under the circumstances to protect public health and safety or allow for the proper operation of the approved facility consistent with the goals of this Article and any other applicable provisions in the Richmond Municipal Code, the General Plan and any specific plan.
A.
Permit Duration. The permit will automatically expire 10 years from the issuance date, except when California Government Code section 65964(b), as may be amended, authorizes the City to issue a permit with a shorter term.
B.
Permit Renewal. Any application to renew this permit must be tendered to the City between 365 days and 180 days prior to its expiration, and must be accompanied by all required application materials, fees and deposits for a new application as then in effect. The City shall review an application for permit renewal in accordance with the standards for new facilities as then in effect. The Zoning Administrator may, but is not obligated to, grant a written temporary extension on the permit term to allow sufficient time to review a timely submitted permit renewal application.
C.
Build-out Period. Any permit approved under this Article or by operation of law shall automatically expire one year from the approval date if the applicant fails to commence construction within that one-year period; provided, however, that the Zoning Administrator may renew any such permit for up to one additional year if the Zoning Administrator receives a written request from the permittee within 30 days prior to the expiration date, at the Zoning Administrator's sole discretion.
D.
Compliance with Laws. Permittee shall at all times maintain compliance with all applicable federal, state and local laws, regulations, ordinance or other rules.
E.
Permittee's Contact Information. Permittee shall at all times maintain accurate contact information for all parties responsible for the facility, which shall include a phone number, street mailing address and email address for at least one natural person. All such contact information for responsible parties shall be provided to the Zoning Administrator within one business day after permittee receives a written request from the Zoning Administrator.
F.
Cooperation with Access and Inspections. The City or its designee may enter onto the facility area to inspect the facility upon reasonable notice to the permittee. The permittee shall cooperate with all inspections. The City reserves the right to enter or direct its designee to enter the facility to support, repair, disable or remove any elements of the facility in emergencies or when the facility threatens imminent harm to persons or property.
G.
Maintenance. The site and the facility, including but not limited to all landscaping, fencing and related transmission equipment, must be maintained in a neat and clean manner and in accordance with all approved plans and conditions of approval.
H.
Concealment Elements. Permittee acknowledges and agrees that each and every aspect and/or element of the wireless facility, including without limitation its coloring, finishes, placement, orientation and proportionality with the structures in the immediate vicinity, that, by its sense and context, aids, contributes or otherwise furthers the concealment of the facility, in whole or in part, shall be deemed to be a concealment element of the support structure.
I.
Graffiti Abatement. Permittee shall promptly remove any graffiti on the wireless facility at permittee's sole cost and expense, and in no instance more than 48 hours from the time of notification by the City or after discovery by the permittee.
J.
Backup Generator Use. Permittee shall not use any backup or standby power generator except (1) when necessary due to a primary power source failure or (2) for routine maintenance/cycling. Permittee shall not operate the generator for maintenance/cycling more frequently than twice per month and then only for no longer than 30 minutes at a time on Wednesdays between 10:00 a.m. and 11:00 a.m.
K.
Indemnification. The permittee and, if applicable, the non-government owner of the private property upon which the tower/and or base station is installed shall defend, indemnify and hold harmless the City, its agents, officers, officials and employees (i) from any and all damages, liabilities, injuries, losses, costs and expenses and from any and all claims, demands, law suits, writs of mandamus and other actions or proceedings brought against the City or its agents, officers, officials or employees to challenge, attack, seek to modify, set aside, void or annul the City's approval of the permit, and (ii) from any and all damages, liabilities, injuries, losses, costs and expenses and any and all claims, demands, law suits or causes of action and other actions or proceedings of any kind or form, whether for personal injury, death or property damage, arising out of or in connection with the activities or performance of the permittee or, if applicable, the private property owner or any of each one's agents, employees, licensees, contractors, subcontractors or independent contractors. In the event the City becomes aware of any such actions or claims the City shall promptly notify the permittee and the private property owner and shall reasonably cooperate in the defense. It is expressly agreed that the City shall have the right to approve, which approval shall not be unreasonably withheld, the legal counsel providing the City's defense, and the property owner and/or permittee (as applicable) shall reimburse City for any costs and expenses directly and necessarily incurred by the City in the course of the defense.
L.
Adverse Impacts. Permittee shall take all reasonable efforts to avoid undue adverse impacts to adjacent properties and/or uses that may arise from the construction, operation, maintenance, modification and removal of the facility.
M.
Building Permit Application Plans. In addition to the information required by Section 6.02.160 of the RMC, the permittee must incorporate into building plans and submit with any application to the Building Department, three copies of each of the following: (1) the conditional use permit, administrative use permit, and/or design review approval associated with the facility, including without limitation all findings and conditions of approval; and (2) the photo simulations, as required for the application and accurately representing the approved facility as may be modified by any conditions of approval, associated with the conditional use permit, administrative use permit, and/or design review approval associated with the facility. The Building Official is not authorized to waive any of these specific submittal requirements irrespective of the exception authority granted by Section 6.02.160.
N.
Record Retention. The permittee shall retain full and complete copies of all permits and other regulatory approvals issued in connection with the facility, which includes without limitation all conditions of approval, approved plans and specifications, resolutions and other documentation associated with the permit or regulatory approval. In the event that neither the City nor the permittee can locate any permit or other regulatory approval that would have been required for the equipment deployed or installed in connection with the facility, the permittee acknowledges that the City will presume that any such equipment was deployed or installed without proper review and approval.
O.
Joint and Several Liability. The permittee and the property owner shall be jointly and severally liable for compliance with all conditions of approval adopted under this permit, which includes without limitation compliance with any maintenance and concealment conditions.
(Ord. No. 29-18 N.S., § I(Exh. A), 12-18-2018)
A.
Permit Revocation. Any permit issued under this Article, including any permit deemed granted or deemed approved by operation of law, may be revoked in accordance with the provisions in Section 15.04.803.120 (Revocation).
B.
Discontinued Uses.
1.
Discontinued by Application. Any permittee that intends to decommission a wireless facility must send 30-days' prior written notice by United States Certified Mail to the Director. The permit will automatically expire 30 days after the Director receives such notice of intent to decommission, unless the permittee rescinds its notice within the 30-day period.
2.
Facilities Declared Discontinued. To promote the public health, safety and welfare, the Director may declare a facility abandoned when: (i) the permittee notifies the Director that it abandoned the use of a facility for a continuous period of 90 days; or (ii) the permittee fails to respond within 30 days to a written notice sent by Certified U.S. Mail, Return Receipt Requested, from the Director that states the basis for the Director's belief that the facility has been abandoned for a continuous period of 90 days; or (iii) the permit expires and the permittee has failed to file a timely application for renewal.
a.
After the Director declares a facility abandoned, the permittee shall have 90 days from the date of the declaration (or longer time as the Director may approve in writing as reasonably necessary) to: (i) reactivate the use of the abandoned facility subject to the provisions of this Article and all conditions of approval; (ii) transfer its rights to use the facility, subject to the provisions of this Article and all conditions of approval, to another person or entity that immediately commences use of the abandoned facility; or (iii) remove the facility and all improvements installed solely in connection with the facility, and restore the site to a condition compliant with all applicable codes consistent with the then-existing surrounding area.
b.
If the permittee fails to act as required in paragraph 15.04.614.080(B)(2)(a) above within the prescribed time period, the City Council may deem the facility abandoned and revoke the underlying permit(s) in the manner provided in Section 15.04.803.130 (Revocation). Further, the City Council may take any legally permissible action or combination of actions reasonably necessary to protect the public health, safety and welfare from the abandoned wireless facility.
C.
Removal and Restoration Obligations.
1.
Removal by Permittee. The permittee or property owner must completely remove the wireless facility and all related improvements within 90 days after the (1) the permit expires, (2) the City Council properly revokes a permit in accordance with Section 15.04.803.130 (Revocation), (3) the permittee discontinues the wireless facility, or (4) the City Council properly deems the wireless facility abandoned pursuant to subsection 15.04.614.080(B). In addition, within the 90-day period, the permittee or property owner must restore the former wireless facility site area to a condition compliant with all applicable codes and consistent with the then-existing surrounding area.
2.
Removal by City. The City may, but is not obligated to, remove an abandoned wireless facility, restore the site to a condition compliant with all applicable codes and consistent with the then-existing surrounding area, and repair any and all damages that occurred in connection with such removal and restoration work. The City may, but shall not be obligated to, store the removed wireless facility or any part thereof, and may use, sell or otherwise dispose of it in any manner the City deems appropriate in its sole discretion. The last-known permittee or its successor-in-interest and, if on private property, the real property owner shall be jointly liable for all costs incurred by the City in connection with its removal, restoration, repair and storage, and shall promptly reimburse the City upon receipt of a written demand, including any interest on the balance owing at the maximum lawful rate. The City may, but shall not be obligated to, use any financial security required in connection with the granting of the facility permit to recover its costs and interest. A lien may be placed on all abandoned personal property and the real property on which the abandoned wireless facility is located for all costs incurred in connection with any removal, repair, restoration and storage performed by the City. The City Clerk shall cause such a lien to be recorded with the County of Contra Costa Recorder's Office.
(Ord. No. 29-18 N.S., § I(Exh. A), 12-18-2018)
A.
Limited Exceptions for Personal Wireless Service Facilities. The City Council recognizes that federal law prohibits a permit denial when it would effectively prohibit the provision of personal wireless services and the applicant proposes the least intrusive means to provide such services. The City Council finds that, due to wide variation among wireless facilities, technical service objectives and changed circumstances over time, a limited exception for proposals in which strict compliance with this Article would effectively prohibit personal wireless services serves the public interest. The City Council further finds that circumstances in which an effective prohibition may occur are extremely difficult to discern, and that specified findings to guide the analysis promotes clarity and the City's legitimate interest in well-planned wireless facilities deployment. Therefore, in the event that any applicant asserts that strict compliance with any provision in this Article, as applied to a specific proposed personal wireless services facility, would effectively prohibit the provision of personal wireless services, the Planning Commission, or the Zoning Administrator in the case of a wireless facility in the public rights-of-way subject to an Administrative Use Permit, may grant a limited, one-time exception from strict compliance subject to the provisions in this subsection 15.04.614.090(A).
1.
Required Findings. The Approval Authority shall not grant any exception unless the applicant demonstrates with clear and convincing evidence all the following findings:
a.
The proposed wireless facility qualifies as a "personal wireless services facility" as defined in U.S.C 47 § 332(c)(7)(C)(ii);
b.
The applicant has provided the City with a clearly defined technical service objective and a clearly defined potential site search area;
c.
The applicant has provided the City with a meaningful comparative analysis that includes the factual reasons why an alternative location(s) or design(s) suggested by the City or otherwise identified in the administrative record, including by not limited to potential alternatives identified at any public meeting or hearing, are not technically feasible or potentially available; and
d.
The applicant has provided the City with a meaningful comparative analysis that includes the factual reasons why the proposed location and design deviation is the least noncompliant location and design necessary to reasonably achieve the applicant's reasonable technical service objectives.
2.
Scope of Exception. The Approval Authority shall limit its exception to the extent to which the applicant demonstrates such exception is necessary to reasonably achieve its reasonable technical service objectives. The Approval Authority may adopt conditions of approval as reasonably necessary to promote the purposes in this Article and protect the public health, safety and welfare.
B.
Variances. All other requests to relieve or waive any provision under this Article for any non-personal wireless services facility are subject to the variance procedures under Article 15.04.808.
(Ord. No. 29-18 N.S., § I(Exh. A), 12-18-2018)
A.
Applicability. The provisions in this Section 15.04.614.100 apply only to applications for collocations and/or modifications to existing wireless towers or base stations submitted for approval pursuant to Section 6409(a) of the Middle Class Tax Relief and Job Creation Act, Pub. L. No. 112-96, 126 Stat. 156 (Feb. 22, 2012) (codified as 47 U.S.C. § 1455(a)). Any approval under this Section shall be referred to as a "Section 6409(a) Approval".
B.
Definitions. The definitions in this Section are applicable to Type I applications for a minor modification and are provided for easy reference. In the event that any defined term conflicts with any applicable federal law or regulation, the federal law or regulation shall control.
1.
"Base station" means the same as defined by the FCC in 47 C.F.R. § 1.40001(b)(1), as may be amended, which defines that term as follows:
A structure or equipment at a fixed location that enables [FCC]-licensed or authorized wireless communications between user equipment and a communications network. The term does not encompass a tower as defined in [47 C.F.R. § 1.40001(b)(9)] or any equipment associated with a tower.
a.
The term includes, but is not limited to, equipment associated with wireless communications services such as private, broadcast, and public safety services, as well as unlicensed wireless services and fixed wireless services such as microwave backhaul.
b.
The term includes, but is not limited to, radio transceivers, antennas, coaxial or fiber-optic cable, regular and backup power supplies, and comparable equipment, regardless of technological configuration (including Distributed Antenna Systems and small-cell networks).
c.
The term includes any structure other than a tower that, at the time the relevant application is filed with the State or local government under this Section, supports or houses equipment described in paragraphs (b)(1)(i) through (ii) of this Section that has been reviewed and approved under the applicable zoning or siting process, or under another State or local regulatory review process, even if the structure was not built for the sole or primary purpose of providing such support.
d.
The term does not include any structure that, at the time the relevant application is filed with the State or local government under this Section, does not support or house equipment described in paragraphs (b)(1)(i)—(ii) of this Section.
Note: As an illustration and not a limitation, the FCC's definition refers to any structure that actually supports wireless equipment even though it was not originally intended for that purpose. Examples include, but are not limited to, wireless facilities mounted on buildings, utility poles and transmission towers, light standards or traffic signals. A structure without wireless equipment replaced with a new structure designed to bear the additional weight from wireless equipment constitutes a base station.
2.
"Collocation" means the same as defined by the FCC in 47 C.F.R. § 1.40001(b)(2), as may be amended, which defines that term as "[t]he mounting or installation of transmission equipment on an eligible support structure for the purpose of transmitting and/or receiving radio frequency signals for communications purposes."
3.
"Eligible facilities request" means the same as defined by the FCC in 47 C.F.R. § 1.40001(b)(3), as may be amended, which defines that term as "[a]ny request for modification of an existing tower or base station that does not substantially change the physical dimensions of such tower or base station, involving: (i) [c]ollocation of new transmission equipment; (ii) [r]emoval of transmission equipment; or (iii) [r]eplacement of transmission equipment."
4.
"Eligible support structure" means the same as defined by the FCC in 47 C.F.R. § 1.40001(b)(4), as may be amended, which defines that term as "[a]ny tower or base station as defined in this Section, provided that it is existing at the time the relevant application is filed with the State or local government under this Section."
5.
"Existing" means the same as defined by the FCC in 47 C.F.R. § 1.40001(b)(4), as may be amended, which provides that "[a] constructed tower or base station is existing for purposes of [the FCC's Section 6409(a) regulations] if it has been reviewed and approved under the applicable zoning or siting process, or under another State or local regulatory review process, provided that a tower that has not been reviewed and approved because it was not in a zoned area when it was built, but was lawfully constructed, is existing for purposes of this definition."
6.
"Site" means the same as defined by the FCC in 47 C.F.R. § 1.40001(b)(6), as may be amended, which provides that "[f]or towers other than towers in the public rights-of-way, the current boundaries of the leased or owned property surrounding the tower and any access or utility easements currently related to the site, and, for other eligible support structures, further restricted to that area in proximity to the structure and to other transmission equipment already deployed on the ground."
7.
"Substantial change" means the same as defined by the FCC in 47 C.F.R. § 1.40001(b)(7), as may be amended, which defines that term as a collocation or modification that:
a.
Increases the overall height more than either (i) 10 percent or the height of one additional antenna array not to exceed 20 feet (whichever is greater) for towers on private property, or (ii) 10 percent or 10 feet (whichever is greater) for towers in the public rights-of-way and base stations;
b.
Increases the width more than either (i) 20 feet or the width of the tower at the level of the appurtenance (whichever is greater) for towers on private property, or (ii) 6 feet from the edge of the support structure for towers in the public rights-of-way and base stations;
c.
For towers on private property, involves the installation of more than the standard number of equipment cabinets for the technology involved, not to exceed four;
d.
For towers in the public rights-of-way and base stations, involves the installation of (i) any new equipment cabinets on the ground when there are no existing ground-mounted equipment cabinets, or (ii) any new ground-mounted equipment cabinets that are 10 percent larger in height or volume than any existing ground-mounted equipment cabinets;
e.
For towers on private property, involves excavation outside the current boundaries of the leased or owned property surrounding the wireless tower, including any access or utility easements currently related to the site;
f.
For towers in the public rights-of-way and base stations, involves excavation or deployment of equipment outside the area in proximity to the structure and other transmission equipment already deployed on the ground;
g.
Would defeat the existing concealment elements of the support structure as determined by the Approval Authority; or
h.
Violates a prior condition of approval, provided however that the collocation need not comply with any prior condition of approval related to height, width, equipment cabinets or excavation that is inconsistent with the thresholds for a substantial change.
Note: The thresholds for a substantial change outlined above are disjunctive. The failure to meet any one or more of the applicable thresholds means that a substantial change would occur. The thresholds for height increases are cumulative limits. For sites with horizontally separated deployments, the cumulative limit is measured from the originally-permitted support structure without regard to any increases in size due to wireless equipment not included in the original design. For sites with vertically separated deployments, the cumulative limit is measured from the permitted site dimensions as they existed on February 22, 2012—the date that Congress passed Section 6409(a) of the Middle Class Tax Relief and Job Creation Act.
8.
"Tower" means the same as defined by the FCC in 47 C.F.R. § 1.40001(b)(9), as may be amended, which defines that term as "[a]ny structure built for the sole or primary purpose of supporting any [FCC]-licensed or authorized antennas and their associated facilities, including structures that are constructed for wireless communications services including, but not limited to, private, broadcast, and public safety services, as well as unlicensed wireless services and fixed wireless services such as microwave backhaul, and the associated site." Examples include, but are not limited to, monopoles, mono-trees and lattice towers.
9.
"Transmission equipment" means the same as defined by the FCC in 47 C.F.R. § 1.40001(b)(8), as may be amended, which defines that term as "[e]quipment that facilitates transmission for any [FCC]-licensed or authorized wireless communication service, including, but not limited to, radio transceivers, antennas, coaxial or fiber-optic cable, and regular and backup power supply. The term includes equipment associated with wireless communications services including, but not limited to, private, broadcast, and public safety services, as well as unlicensed wireless services and fixed wireless services such as microwave backhaul."
C.
Required Permits. Any request to collocate, replace or remove transmission equipment at an existing wireless tower or base station submitted for approval under Section 6409(a) shall require a Section 6409(a) Approval subject to the Zoning Administrator's approval, conditional approval or denial under the standards and procedures contained in this Section 15.04.614.100. No construction in connection with any Section 6409(a) Approval may occur unless the applicant also obtains all other permits or regulatory approvals from other City departments and state or federal agencies. An applicant must obtain a Section 6409(a) Approval before it may apply for permits or other regulatory approvals from other City departments. Furthermore, any Section 6409(a) Approval granted under this Section 15.04.614.100 shall remain subject to the lawful conditions and/or requirements associated with such other permits or regulatory approvals from other City departments and state or federal agencies.
D.
Applications.
1.
Application Required; Applicability. The City shall not grant any application for any permit under this Section 15.04.614.100 except upon a duly filed application consistent with the provisions in this Section and any written rules or regulations the Director may publish in any publicly stated format.
2.
Application Content. All applications for a Section 6409(a) Approval must include all the information and materials required by the Director for the application. The City Council authorizes the Director to develop, publish and from time-to-time amend permit application requirements, forms, checklists, guidelines, informational handouts and other related materials as the Director deems necessary, appropriate or useful for processing requests for Section 6409(a) approvals, and/or to respond to regulatory, technological or other changes. The Director shall provide notice to the public, Planning Commission and City Council when such updates or amendments occur.
3.
Pre-application Conferences. Prior to application submittal, applicants must schedule and attend a pre-application conference with City staff. Such pre-application conference is intended to streamline the application review through discussions including, but not limited to, the appropriate project classification, including whether the project may qualify for approval pursuant to Section 6409(a); potential concealment issues (if applicable); coordination with other City departments responsible for application review; and application completeness issues. Applicant's may but shall not be required to bring any particular materials to a pre-application conference. City staff will endeavor to provide applicants with an appointment within approximately five business days after receipt of a written or email request. For any applicant that schedules, attends and fully participates in a pre-application conference, the Zoning Administrator may grant a written exemption from a specific application requirement or requirements when the applicant shows that the information requested is duplicative of information contained in other materials to be submitted with the application or otherwise unnecessary for the City's review under the facts and circumstances in that particular case. Any such written waiver shall be limited to the project discussed at the pre-application conference and shall not extend to any other projects
4.
Submittal Appointments. Applicants must submit an application at a pre-scheduled appointment. Applicants may generally submit only one application per appointment, but may schedule successive appointments for multiple applications whenever feasible and not prejudicial to other applicants. City staff will endeavor to provide applicants with an appointment within five business days after staff receives a written request for an appointment. Any applications received without an appointment, whether delivered in-person or any other means, shall not be considered duly filed unless the applicant received a written exemption at a pre-submittal conference.
5.
Applications Deemed Withdrawn. To promote efficient review and timely decisions, an application will be automatically deemed withdrawn by the applicant when the applicant fails to tender a substantive response to the City within 90 calendar days after the City deems the application incomplete in a written notice to the applicant. The Zoning Administrator may, in the Zoning Administrator's sole discretion, grant a written extension for up to an additional 30 calendar days when the applicant submits a written request prior to the 90th day that shows good cause to grant the extension. Delays due to circumstances outside the applicant's reasonable control will be considered good cause to grant the extension.
6.
Authorization to Develop Departmental Rules. The City Council authorizes the Director to establish other reasonable rules and regulations, which may include without limitation regular hours for appointments with applicants, as the Director deems necessary or appropriate to organize, document and manage the application intake process. All such rules and regulations must be in written form and publicly stated to provide applicants with prior notice.
7.
Independent Consultants.
a.
Authorization. The City Council authorizes the Zoning Administrator to, in the Zoning Administrator's discretion, and at any time in the review process, select and retain an independent consultant with qualifications and expertise satisfactory to the Zoning Administrator.
b.
Scope. The Zoning Administrator may request independent consultant review on any issue that involves specialized or expert knowledge in connection with the permit application. Such issues may include, but are not limited to:
i.
Permit application completeness or accuracy;
ii.
Planned compliance with applicable RF exposure standards;
iii.
Whether and where a significant gap exists or may exist, and whether such a gap relates to service coverage or service capacity;
Iv.
Whether technically feasible and potentially available alternative locations and designs exist;
v.
The applicability, reliability and sufficiency of analyses or methodologies used by the applicant to reach conclusions about any issue within this scope; and
vi.
Any other issue that requires expert or specialized knowledge identified by the Zoning Administrator.
c.
Deposit; Invoices. The applicant must pay for the cost and expense in connection with the independent consultant's review and participation in any meeting. Before the City incurs any costs or expenses, the Zoning Administrator shall require the applicant to tender a reasonable deposit, at the Zoning Administrator's sole discretion. In the event that the deposit is insufficient to cover all costs and expenses, the Zoning Administrator may either (a) require an additional deposit or (b) invoice the applicant. Any required deposit or invoice must be paid in full within 10 days. The City shall not issue any permit to an applicant who has not paid any applicable fee, deposit or invoice as required in this Code.
E.
Decisions; Appeals.
1.
Administrative Review. The Zoning Administrator shall administratively review a complete and duly filed application for a Section 6409(a) Approval and may act on such application without prior notice or a public hearing.
2.
Findings for Approval. The Zoning Administrator may approve or conditionally approve an application submitted for approval pursuant to Section 6409(a) when it finds that the proposed project:
a.
Involves collocation, removal or replacement of transmission equipment on an existing wireless tower or base station; and
b.
Does not substantially change the physical dimensions of the existing wireless tower or base station.
3.
Criteria for Denial. Notwithstanding any other provisions in this Article, and consistent with all applicable federal laws and regulations, the Zoning Administrator may deny an application submitted for approval pursuant to Section 6409(a) when it finds that the proposed project:
a.
Does not satisfy the criteria for approval;
b.
Violates any legally enforceable standard or permit condition reasonably related to public health and safety then in effect; or
c.
Involves the replacement of the entire support structure.
4.
Conditional Approvals. Subject to any applicable limitations in federal or state law, nothing in this Article is intended to limit the City's authority to conditionally approve an application for a Section 6409(a) Approval to protect and promote the public health, safety and welfare.
5.
Written Decision. Within five working days after the Zoning Administrator renders a decision, the Zoning Administrator shall send written notice to the applicant. In the event that the Zoning Administrator determines that an application submitted for approval pursuant to Section 6409(a) does not qualify for approval, the Zoning Administrator will send written notice to the applicant that includes the reasons to support the Zoning Administrator's decision and states that the application will be automatically denied on the 60th day after the date the application was filed unless the applicant withdraws the application.
6.
Appeal. Subject to the applicable federal timeframe for permit application review (accounting for any tolling periods), any aggrieved party may appeal an action of the Director as provided in Section 15.04.803.130 of this Code. The Planning Commission shall serve as the hearing body for all appeals of all actions of the Zoning Administrator taken pursuant to this Article, subject to further appeal to the City Council. The applicable hearing body shall limit its review to whether the project should be approved or denied in accordance with the provisions in paragraphs (E)(2) and (E)(3) in this Section.
F.
Standard Conditions of Approval. In addition to all other conditions that may be adopted by the Zoning Administrator, all Section 6409(a) Approvals, whether approved by the Zoning Administrator or deemed-granted by the operation of federal law, shall be automatically subject to the conditions of approval described in this subsection 15.04.614.100(F). The Zoning Administrator (or the Planning Commission in its capacity as the appellate authority) shall have discretion to modify or amend these conditions on a case-by-case basis as may be necessary or appropriate under the circumstances to protect public health and safety or allow for the proper operation of the approved facility consistent with the goals of this Article.
1.
No Extension of the Underlying Permit Duration. The City's grant or grant by operation of law of a Section 6409(a) Approval constitutes a federally-mandated modification to the underlying permit or approval for the subject tower or base station. The City's grant or grant by operation of law of a Section 6409(a) Approval will not extend the permit term for any conditional use permit, land use permit or other underlying regulatory approval and its term shall be coterminous with the underlying permit or other regulatory approval for the subject tower or base station.
2.
Accelerated Permit Terms Due to Invalidation. In the event that any court of competent jurisdiction invalidates any portion of Section 6409(a) or any FCC rule that interprets Section 6409(a) such that federal law would not mandate approval for any Section 6409(a) Approval(s), such approval(s) shall automatically expire one year from the effective date of the judicial order, unless the decision would not authorize accelerated termination of previously approved Section 6409(a) Approvals. A permittee shall not be required to remove its improvements approved under the invalidated Section 6409(a) Approval when it has submitted an application for either a conditional use permit or an administrative use permit for those improvements before the one-year period ends. The Zoning Administrator may extend the expiration date on the accelerated permit upon a written request from the permittee that shows good cause for an extension.
3.
No Waiver of Standing. The City's grant or grant by operation of law of a Section 6409(a) Approval does not waive, and shall not be construed to waive, any standing by the City to challenge Section 6409(a), any FCC rules that interpret Section 6409(a) or any Section 6409(a) Approval.
4.
Build-out Period. Any permit approved under this Article or by operation of law shall automatically expire one (1) year from the approval date if the applicant fails to commence construction within that one-year period; provided, however, that the Zoning Administrator may renew any such permit for up to one (1) additional year if the Zoning Administrator receives a written request from the permittee within thirty (30) days prior to the expiration date, at the Zoning Administrator's sole discretion.
5.
Compliance with Laws. Permittee shall at all times maintain compliance with all applicable federal, state and local laws, regulations, ordinance or other rules.
6.
Permittee's Contact Information. Permittee shall at all times maintain accurate contact information for all parties responsible for the facility, which shall include a phone number, street mailing address and email address for at least one natural person. All such contact information for responsible parties shall be provided to the Zoning Administrator within one (1) business day after permittee receives a written request from the Zoning Administrator.
7.
Cooperation with Access and Inspections. The City or its designee may enter onto the facility area to inspect the facility upon reasonable notice to the permittee. The permittee shall cooperate with all inspections. The City reserves the right to enter or direct its designee to enter the facility to support, repair, disable or remove any elements of the facility in emergencies or when the facility threatens imminent harm to persons or property.
8.
Maintenance. The site and the facility, including but not limited to all landscaping, fencing and related transmission equipment, must be maintained in a neat and clean manner and in accordance with all approved plans and conditions of approval.
9.
Concealment Elements. Permittee acknowledges and agrees that each and every aspect and/or element of the wireless facility, including without limitation its coloring, finishes, placement, orientation and proportionality with the structures in the immediate vicinity, that, by its sense and context, aids, contributes or otherwise furthers the concealment of the facility, in whole or in part, shall be deemed to be a concealment element of the support structure.
10.
Graffiti Abatement. Permittee shall promptly remove any graffiti on the wireless facility at permittee sole expense, and in no instance more than 48 hours from the time of notification by the City or after discovery by the permittee.
11.
Backup Generator Use. Permittee shall not use any backup or standby power generator except (1) when necessary due to a primary power source failure or (2) for routine maintenance/cycling. Permittee shall not operate the generator for maintenance/cycling more frequently than twice per month and then only for no longer than 30 minutes at a time on Wednesdays between 10:00 a.m. and 11:00 a.m.
12.
Indemnification. The permittee and, if applicable, the non-government owner of the private property upon which the tower/and or base station is installed shall defend, indemnify and hold harmless the City, its agents, officers, officials and employees (i) from any and all damages, liabilities, injuries, losses, costs and expenses and from any and all claims, demands, law suits, writs of mandamus and other actions or proceedings brought against the City or its agents, officers, officials or employees to challenge, attack, seek to modify, set aside, void or annul the City's approval of the permit, and (ii) from any and all damages, liabilities, injuries, losses, costs and expenses and any and all claims, demands, law suits or causes of action and other actions or proceedings of any kind or form, whether for personal injury, death or property damage, arising out of or in connection with the activities or performance of the permittee or, if applicable, the private property owner or any of each one's agents, employees, licensees, contractors, subcontractors or independent contractors. In the event the City becomes aware of any such actions or claims the City shall promptly notify the permittee and the private property owner and shall reasonably cooperate in the defense. It is expressly agreed that the City shall have the right to approve, which approval shall not be unreasonably withheld, the legal counsel providing the City's defense, and the property owner and/or permittee (as applicable) shall reimburse City for any costs and expenses directly and necessarily incurred by the City in the course of the defense.
13.
Adverse Impacts. Permittee shall take all reasonable efforts to avoid undue adverse impacts to adjacent properties and/or uses that may arise from the construction, operation, maintenance, modification and removal of the facility.
14.
Building Permit Application Plans. In addition to the information required by Section 6.02.160 of the RMC, the permittee must incorporate into building plans and submit with any application to the Building Department, three copies of each of the following: (1) the Section 6409(a) Approval associated with the facility, including without limitation all findings and conditions of approval; and (2) the photo simulations, as required for the application and accurately representing the approved facility as may be modified by any conditions of approval, associated with the Section 6409(a) Approval associated with the facility. The Building Official is not authorized to waive any of these specific submittal requirements irrespective of the exception authority granted by Section 6.02.160.
15.
Record Retention. The permittee shall retain full and complete copies of all permits and other regulatory approvals issued in connection with the facility, which includes without limitation all conditions of approval, approved plans and specifications, resolutions and other documentation associated with the permit or regulatory approval. In the event that neither the City nor the permittee can locate any permit or other regulatory approval that would have been required for the equipment deployed or installed in connection with the facility, the permittee acknowledges that the City will presume that any such equipment was deployed or installed without proper review and approval.
16.
Joint and Several Liability. The permittee and the property owner shall be jointly and severally liable for compliance with all conditions of approval adopted under this permit, which includes without limitation compliance with any maintenance or concealment conditions.
(Ord. No. 29-18 N.S., § I(Exh. A), 12-18-2018)
An applicant or permittee will not be relieved of its obligation to comply with every applicable provision in the Code, this Article, any permit, any permit condition or any applicable law or regulation by reason of any failure by the City to timely notice, prompt or enforce compliance by the applicant or permittee.
A.
This article is intended to protect and promote the health, safety, and welfare of the City's citizens, visitors, and workers by reducing the release of pollutants into the environment as a result of coal and petroleum coke storage and handling. This article is also intended to reduce the public health, safety, or welfare impacts (including, without limitation, adverse impacts to property values, aesthetics, and economic interests) caused by the storage and handling of coal and petroleum coke.
B.
This article bans the establishment and/or expansion of storage and handling of coal and/or petroleum coke throughout the City of Richmond, with certain exceptions. The article also phases out existing allowed uses of land involving the storage and handling of coal and petroleum coke, by providing an amortization period for such existing allowed uses to transition to other lawful uses and materials. This amortization period is intended to strike a proper balance between protecting the public from the health hazards of coal and petroleum coke storage and handling, while also protecting existing jobs and providing sufficient time for businesses to transition.
C.
This article is not intended to, and shall not be interpreted to regulate or applied to prohibit the transportation of coal and/or petroleum coke, for example, by train or marine vessel, including without limitation through the City of Richmond or to or from a coal or petroleum coke storage and handling facility.
(Ord. No. 05-20 N.S., § II(Exh. A), 2-4-2020; Ord. No. 02-22 N.S., §§ I, II, (Exh. A), 2-1-2022)
As used in this article, the following terms have the following meanings: ;p0;o Coal means a solid, brittle, carbonaceous rock classified as anthracite, bituminous, subbituminous, or lignite by the American Society for Testing and Materials ("ASTM") Designation D388-77.
Coal or Petroleum Coke Storage and Handling Facility means an existing or proposed site or facility, including all contiguous land, structures, other appurtenances, and improvements thereon, or any part thereof, where coal or petroleum coke is or may be stored or handled.
Effective Date means the date that Ordinance No. 05-20, adding Article 15.04.615 to the Richmond Municipal Code, took effect.
Owner or Operator means any person who has legal title to any coal or petroleum coke storage and handling facility; who has charge, care, or control of any coal or petroleum coke storage and handling facility; who is in possession of any coal or petroleum coke storage and handling facility or any part thereof; and/or who is entitled to control or direct the management of any coal or petroleum coke storage and handling facility.
Petroleum Coke means a solid carbonaceous residue produced from a coker after cracking and distillation from petroleum refining operations, including such residues produced by petroleum upgraders in addition to petroleum refining.
Store or Handle, or Storing or Handling, or Storage or Handling means to allow or maintain any pile, including without limitation covered and uncovered piles, piles located above ground, underground, or within containers, or to load, unload, stockpile, or otherwise handle and/or manage, temporarily or permanently, coal and/or petroleum coke.
(Ord. No. 05-20 N.S., § II(Exh. A), 2-4-2020)
The storage and handling of coal and petroleum coke at a coal or petroleum coke storage and handling facility is prohibited in all zoning districts.
(Ord. No. 05-20 N.S., § II(Exh. A), 2-4-2020)
The following non-commercial uses are exempt from the provisions of this Article 15.04.615: residential, educational, scientific, recreational, religious, or cultural uses in which persons store or handle small amounts of coal or petroleum coke.
(Ord. No. 05-20 N.S., § II(Exh. A), 2-4-2020)
A.
Notwithstanding any provision in this Code to the contrary, this section shall apply to all existing land uses that do not conform with the requirements of Section 15.04.615.030 of this Code as of the effective date.
B.
As used in this section, "nonconforming land use" means any lawful coal or petroleum coke storage and handling facility in existence prior to the effective date.
C.
Except as otherwise provided in this section, all nonconforming land uses shall be discontinued by December 31, 2026. The period from the March 5, 2020 effective date of Ordinance No. 05-20 N.S. through December 31, 2026, shall be referred to as the "amortization period."
D.
Nonconforming land uses shall not increase the amount of coal or petroleum coke stored or handled in a calendar year beyond the average amount of coal or petroleum coke stored or handled annually at the coal or petroleum coke storage and handling facility in the three years prior to the effective date. Nonconforming land uses shall not expand the footprint of coal or petroleum coke storage or handling activities at the coal or petroleum coke storage and handling facility.
E.
Within two months of the effective date, the Zoning Administrator shall use reasonable efforts to identify and provide notice to all owners or operators of any coal or petroleum coke storage and handling facility informing them that they must do either of the following: (a) discontinue any nonconforming land use before the conclusion of the amortization period; or (b) apply for an extension of the amortization period pursuant to sub-section F of this section. Failure to receive notice from the Zoning Administrator shall not excuse an owner or operator from compliance with the provisions of this section.
F.
Any affected owner or operator of a nonconforming land use may apply to the Planning Commission for an extension of the amortization period on a form provided by the Director pursuant to Section 15.04.803.020. The affected owner or operator shall pay any applicable fees established pursuant to that section. Applications for an extension of the amortization period shall be submitted no later than 12 months prior to the end of the amortization period. The Planning Commission shall conduct a duly noticed public hearing to consider the application for extension of the amortization period within a reasonable time after the application has been deemed complete by the Zoning Administrator.
1.
"Limited Notice (Type B)" shall be provided pursuant to Section 15.04.803.070 of this Code not less than 24 calendar days prior to the date of the hearing.
2.
In deciding whether to extend the amortization period, the Planning Commission shall consider all documentary and oral evidence and testimony submitted prior to the conclusion of the hearing. As part of the application, an amortization analysis shall be prepared, at the applicant's expense, by an expert retained by the City, prior to Planning Commission consideration.
3.
The Planning Commission shall grant an extension of the amortization period if it finds, based on substantial evidence, that such extension is necessary to prevent an unconstitutional taking of property without compensation or to avoid a violation of state or federal law. Any extension so granted shall be the minimum necessary to prevent such impairment or violation. In no event shall the Planning Commission grant any extension if it finds that continuing the nonconforming land use would constitute a public nuisance under Civil Code Sections 3479 and 3480.
4.
The Planning Commission's decision shall be based upon the following factors, where applicable:
a.
The cost to the applicant of acquiring the affected property and the applicant's reasonable investment-backed expectations at the time the property was acquired;
b.
The present actual or depreciated value of the affected property and improvements with and without the nonconforming land use;
c.
The total length of time the nonconforming land use has existed and the remaining useful life of the nonconforming land use;
d.
The applicant's investments in the nonconforming land use and whether and to what extent the applicant will have recouped those investments before the conclusion of the amortization period;
e.
The salvage value of any improvements that may be used for purposes other than the nonconforming land use;
f.
The remaining value and allowed uses of the property after discontinuing the nonconforming land use;
g.
Whether the nonconforming land use interferes with the use and enjoyment of land of nearby property owners or residents, or interferes with or threatens the public health, safety, and welfare of the community;
h.
The extent to which the nonconforming land use on the property is incompatible with surrounding uses and properties; and
i.
Any other factor the Planning Commission reasonably determines is related to determining whether the investment in the nonconforming land use has been recovered.
5.
The owner or operator requesting the extension shall have the burden of demonstrating that it is entitled to an extension under subsection F above. The Planning Commission's determination under this sub-section may be appealed to the City Council in the same manner as prescribed in Section 15.04.803.140 of this Code.
K.
Nothing in this section is intended to affect or restrict the City's authority to immediately terminate, discontinue, or abate any land uses found to be a nuisance, or that are otherwise operating unlawfully, including a nonconforming land use. This article does not create or confer any vested rights.
(Ord. No. 05-20 N.S., § II(Exh. A), 2-4-2020; Ord. No. 02-22 N.S., §§ I, II, (Exh. A), 2-1-2022)
Any land use that fails to comply with or violates any provision of this article is hereby declared to be an unlawful nuisance. Any land use declared to be a nuisance pursuant to this section may be subject to the abatement procedures established in Section 15.04.815.040 and Chapter 9.22 of this Code.
(Ord. No. 05-20 N.S., § II(Exh. A), 2-4-2020)
A.
The provisions of this article shall not be applicable to the extent, but only to the extent, that they would violate the constitution or laws of the United States or of the State of California.
B.
In the event a property owner contends that the application of this article effects an unconstitutional taking of property without compensation, the property owner may request, and the Planning Commission shall grant, an exception to application of any provision of the article if the Planning Commission finds, based on substantial evidence, that both (1) the application of any aspect of the article would constitute an unconstitutional taking of property, and (2) the exception will allow continued land uses only to the minimum extent necessary to avoid such a taking; provided, however, that in the case of nonconforming uses, the procedures set forth in Section 15.04.615.050.F shall govern. The property owner shall have the burden of demonstrating that it is entitled to an exception under this sub-section. The Planning Commission's determination under this sub-section may be appealed to the City Council in the same manner as prescribed in Section 15.04.803.140 of this Code.
(Ord. No. 05-20 N.S., § II(Exh. A), 2-4-2020)
Notwithstanding anything to the contrary contained in this article, this article is not intended to and shall not be interpreted to regulate the transportation of coal and/or petroleum coke, for example, by train or marine vessel, including without limitation through the City of Richmond or to or from a coal or petroleum coke storage and handling facility.
(Ord. No. 05-20 N.S., § II(Exh. A), 2-4-2020)
Where a conflict exists between the requirements in this article and applicable requirements contained in other provisions of this Code, the applicable requirements of this article shall prevail.
(Ord. No. 05-20 N.S., § II(Exh. A), 2-4-2020)