58 - MIXED-USE AND MULTI-FAMILY DESIGN AND DEVELOPMENT STANDARDS11
Editor's note—Ord. No. 399, § 1(Att. A), adopted April 3, 2024, amended the title of Article 15-58 to read as herein set out. The former Article 15-58 title pertained to mixed-use development standards.
The purpose of the mixed-use and multi-family design and development standards is to guide the design of multi-family residential and mixed-use development and to support the implementation of the Housing Element of the General Plan. The goal is to establish objective standards that will provide consistent guidance for future development in the multi-family residential, mixed-use, commercial, and office zoning districts of the City. It is further the goal of these standards to ensure that new residential and mixed-use development is designed to be compatible with adjacent residential uses as well as existing and future commercial development.
(Ord. 230 § 2 (part), 2004)
(Amended by Ord. No. 277, § 1(Exh. A), 4-21-2010; Ord. No. 399, § 1(Att. 1), 4-3-2024)
The provisions of this article apply to all multi-family residential and mixed-use projects that are allowed uses under this Code or State law. The standards contained herein are intended to be objective in nature, meaning that the application of the standards involves no personal or subjective judgement by a public official and are uniformly verifiable by reference to an external and uniform benchmark or criterion available and knowable by both the development applicant or proponent and the public official prior to submittal. The standards that apply to commercial uses are not applicable to a project that includes only multi-family residential development, but they are applicable to the commercial portion(s) of a mixed-use project. Those standards that apply to residential uses apply to both multi-family residential projects and the residential portion(s) of a mixed-use project.
(a)
Residential and commercial density and intensity is determined by the base zoning district.
(b)
Commercial uses in the P-A, C-N, C-V, CH-1 and CH-2 districts. Commercial use(s) are required along all ground floor street facing frontages. Dwelling unit(s) may be located in all other portions of the structure.
(c)
Residential uses in the P-A, C-N, C-V, CH-1 and CH-2 districts. Up to fifty percent of building square footage, exclusive of parking, may be developed with residential uses (which uses shall not include garages or shared utility, storage and laundry rooms), except that the City shall ministerially approve an applicant's request to occupy more than fifty percent of building square footage, exclusive of parking, with residential uses (which uses shall not include garages or shared utility, storage and laundry rooms) when the Applicant demonstrates both of the following:
(1)
That the proposed location of the mixed-use and the conditions under which it would be operated or maintained will not cause a significant quantifiable, direct, and unavoidable impact, based on an objective, identified written public health or safety standard, policy, or condition; and
(2)
That the proposed mixed-use will comply with each of the applicable provisions of this Chapter.
(d)
Parking for both the nonresidential use and the dwelling unit(s) shall be as specified in Article 15-35 of this Chapter. The Planning Commission may reduce the required parking specified in Article 15-35 through approval of shared parking.
(e)
Perimeter fencing shall be required to conform to the following sections of Article 15-29 of this Chapter:
(1)
Section 15-29.010(a) through (c);
(2)
Section 15-29.010(e) through (l);
(3)
Section 15-29.030;
(4)
Section 15-29.040; and
(5)
Section 15-29.060.
(f)
The maximum height of a mixed-use structure shall be as it is stated in the underlying zoning district. Nothing in this article shall allow structure heights higher than those specified for the underlying zoning district. Standards in this article that apply to heights or stories above those specified for the underlying zoning district shall apply in the event that such heights are allowed under State or other applicable law.
(g)
Fences at least six feet in height are required along all interior perimeters of mixed-use projects abutting single-family residential districts.
(h)
Every multi-family project (including a multi-family portion of a mixed-use project that does not involve a subdivision) shall be required to dedicate a portion of land and/or pay a fee in lieu thereof, for the purpose of providing park or recreational facilities reasonably related to serving the development project and in accord with the standards and provisions of Section 14-25.080(b) through (e) of this Code, provided that for purposes of this Article, references in Section 14-25.080 to "subdivision" shall mean "development project," references to "subdivider" shall mean "applicant," and references to "parcels" or "lots" shall mean "dwelling units." Sections 14-25.080(b) and (e) notwithstanding, a project of twenty or fewer dwelling units shall only be required to pay fees pursuant to this section. A project shall be required to pay fees and/or dedicate land pursuant to Section 14-25.080 or this section, but not both.
(Ord. 230 § 2 (part), 2004)
(Amended by Ord. No. 277, § 1(Exh. A), 4-21-2010; Ord. No. 399, § 1(Att. 1), 4-3-2024)
(a)
Building placement.
(1)
R-M district. No building placement standards.
(2)
CH-1 and CH-2 districts. A minimum eighty percent of ground-floor building frontage must be built at the front setback line to maintain a consistent street wall, as illustrated in Figure 15-58.030-1.
Figure 15-58.030-1: Building Placement, CH-1 and CH-2 Districts
(3)
M-U, P-A, C-V, and C-N districts. A minimum seventy percent of ground-floor building frontage must be built within ten feet of the front setback line, as illustrated in Figure 15-58.030-2. Standard applicable only to lots that conform to the zoning district's minimum size and lot width requirements.
Figure 15-58.030-2: Building Placement, MU-MD, MU-HD, MU-VHD, P-A and C-N Districts
(4)
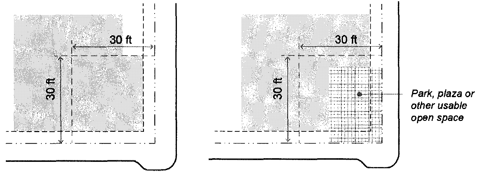
Corner areas, all districts. On street corners, buildings must be located at the intersecting front and street side setback lines or the corner area must be improved as part of a public plaza, a small park, or other publicly-accessible improved open space. The corner area is the area bounded by the intersecting property lines and lines perpendicular to and thirty feet from the intersecting property lines, as illustrated in Figure 15-58.030-3.
Figure 15-58.030-3: Corner Areas
(b)
Upper-story step-back.
(1)
P-A, R-M, C-V, C-N, CH-1, and CH-2 districts. Requirements for upper-story step-backs are established in the base zone standards.
(2)
MU-MD district.
(a)
Front and street side. On the front and street side of the building, the third story and above must be stepped back a minimum of six feet from the ground floor façade or located within a sloped roof form.
(b)
Interior side and rear. Where buildings abut or directly face an R-1 district, the third story and above along interior side and rear facades must be either stepped back a minimum of six feet from the ground floor façade or located within a sloped roof form, as illustrated in Figure 15-58.030-4. Roof forms must be in accordance with Section 15-58.050(a).
Figure 15-58.030-4: Upper-Story Step-Back MU-MD District
(3)
MU-HD district.
(a)
Front and street side. The fourth story and above must be stepped back a minimum of six feet from the ground floor façade or located within a sloped roof form. Roof forms must be in accordance with Section 15-58.050(a).
(b)
Interior side and rear. Where buildings abut an R-1 district, the fourth story and above must be either stepped back a minimum of six feet from the ground floor façade for a minimum fifty percent of the façade length or located within a sloped roof form, as illustrated in Figure 15-58.030-5. Roof forms must be in accordance with Section 15-58.050(a).
Figure 15-58.030-5: Upper-Story Front and Side Step-Back, MU-HD District
(4)
MU-VHD district
(a)
Front and street side
(1)
For portions of the building within twenty-five feet of the property line, the third story and above must be stepped back a minimum of twelve feet from the ground floor façade.
(2)
For portions of the building set back more than twenty-five feet from the front or street-side property line, no upper story step-back is required, provided the setback area is improved as a landscaped and publicly accessible area, as illustrated in Figure 15-58.030-6.
Figure 15-58.030-6: Upper-Story Front Step-Back, MU-VHD District
(b)
Interior side and rear. No upper story step-back required.
(c)
Building articulation.
(1)
Attached rowhouses facades.
(a)
Variation in plan. Where a row of attached rowhouses exceeds six units, facades of abutting attached units must be offset a minimum of twelve inches in plan view to avoid monotony in design.
(b)
Length of townhouse building. Any single block of attached townhouses must not exceed two hundred fifty feet in length.
(2)
Street-facing facades over fifty feet in length. For buildings façades over fifty feet in length, all street-facing facades above the ground floor must incorporate at least one of the following, as illustrated in Figure 15-58.030-7:
(a)
A regular pattern of window bays a minimum of twenty-four inches in depth from building façade; or
(b)
At least two changes of plane a minimum of thirty inches in depth from the building façade.
Figure 15-58.030-7: Building Articulation, Facades over 50 Feet
(3)
Street-facing facades over one hundred fifty feet in length.
(a)
Street-facing facades over one hundred fifty feet in length must comply with the standards of 15-58.040(c)(2).
(b)
As to all stories above the ground floor, all street-facing façades over 150 feet in length must be separated into primary façade bays no greater than 70 feet in length and secondary façade bays defined by a recess a minimum of five feet in depth and 12 feet in width, and must incorporate one of the following as illustrated in Figure 15-58.040-8.
i.
A change in building height of a least eight feet; or
ii.
A change in roof form, parapet height, or parapet shape visible from all abutting rights-of-way.
Figure 15-58.030-8: Building Articulation, Facades over 150 Feet
(4)
Street-facing facades over four hundred feet in length.
(a)
Street-facing facades over four hundred feet in length must comply with the standards of 15-58.030(3)(a) and (b).
(b)
Street-facing façades over four hundred feet in length must also incorporate a full height recess a minimum of forty feet in depth and sixty feet in width, as illustrated in Figure 15-58.030-9. The recess must:
(i)
Be closed to vehicular circulation;
(ii)
Be improved with pedestrian amenities and a combination of landscaping and paving that serves as an extension of the abutting sidewalk;
(iii)
Provide a minimum of one hundred square feet that is protected from the elements; and
(iv)
Remain accessible and open to the public.
(5)
Height of secondary façade bays. The roof of secondary façade bays shall be no higher than the corresponding elements of the primary façade bay.
Figure 15-58.030-9: Building Articulation, Façade over 400 Feet
(d)
Privacy and views.
(1)
Balconies and decks facing an abutting R-1 district.
(a)
No portion of any balcony or deck may extend into a required setback along a property line shared with an R-1 district or within four feet of a property line shared with an R-1 district, whichever is greater.
(b)
Balconies and decks facing an abutting R-1 district may be a maximum nine feet in length and three feet in depth.
(c)
All open perimeters of balconies or decks facing an abutting R-1 district must incorporate an opaque wall at least four feet in height.
(2)
Privacy and window placement. As illustrated in Figure 15-58.040-10, windows to a living room, dining room or family room within ten feet of a setback line and oriented toward an interior side setback must be at least one of the following:
(a)
Be angled a minimum of thirty degrees as measured perpendicular to the adjacent side setback line;
(b)
Have a minimum sill height of forty-two inches from the finished floor; or
(c)
Use permanently translucent or frosted glazing.
Figure 15-58.040-10: Privacy
(Ord. No. 399, § 1(Att. 1), 4-3-2024; Ord. No. 405, § 1(Att. 1.7), 10-15-2024)
(a)
Roofs.
(1)
Roof design. Roof forms shall be limited to pitched roofs (hipped, gabled, or shed), mansard roofs, or flat roofs.
(a)
Pitched roofs.
(1)
Pitched roof slope must be no less than 4:12
(2)
Pitched roofs must incorporate eaves a minimum of twelve inches in depth. Where eaves exceed eighteen inches in depth, a regular pattern of exterior brackets, beams, dentils, or other detailing is required.
(b)
Mansard roofs.
(1)
The lower slope of the mansard roof must be no less than sixty-five degrees.
(2)
Mansard roofs must include a regular pattern of dormers for the story within.
(3)
False mansard roofs are prohibited. This refers to a design where a non-structural mansard form is placed over a top story with a flat roof.
(c)
Flat roofs. Flat roofs must incorporate one of the following:
(1)
A cornice line with a minimum six-inch overhang.
(2)
A parapet with segments that do not exceed fifteen feet in length without interruption in height or form.
(d)
Visibility of roof form. When any top story is stepped back and located within a sloped roof form such as a mansard roof or a hipped and/or gabled roof with dormers, the floor below must (and other floors may) be stepped back to meet the slope of the top story, as illustrated in Figure 15-58.040-1.
Figure 15-58.040-1: Visibility of Roof Forms
(2)
Roof materials. Roof materials shall be limited to wood or composition shingles, tile, standing seam metal, concrete roof tiles, or, for flat roofs, a cool roof membrane.
(b)
Ground floor height. The ground floor ceiling height must be a minimum of 12 inches taller than the average upper floor floor-to-ceiling height of the building, as illustrated in Figure 15-58.040-2.
Figure 15-58.040-2: Ground Floor Height
(c)
Building entrances.
(1)
Entry location.
(a)
Each street-facing building façade must have at least one pedestrian entry into the structure.
(b)
All ground floor dwelling units located along public rights-of-way, public open space, or internal pathways must have a primary entrance, either individual or shared, facing a public street, open space, or pathway.
(c)
Primary entrances to ground floor dwelling units internal to a site may face an internal drive aisle or pathway. Such units must be designed so that the primary entryway is visible from a pedestrian pathway connected to a street.
(d)
Street-facing non-residential building façades must incorporate at least one ground floor entrance per sixty linear feet of building frontage.
(2)
Entry protection. All building entrances must have a roofed projection or recess with a minimum depth of four feet and a minimum width of six feet.
(3)
Entry types. Building entries must take one of the following forms:
(a)
Stoop. Individual covered stoop entries with dimensions as indicated below, and as illustrated in Figure 15-58.040-3:
(1)
Width of stoop: Minimum five feet, maximum eight feet
(2)
Depth of stoop: Minimum five feet, maximum eight feet
(3)
Finish floor level above sidewalk: Minimum eighteen inches
(4)
Projection depth: Minimum five feet, maximum eight feet
(5)
Clear height to projection: Minimum eight feet
Figure 15-58.040-3: Stoop
(b)
Porch. Individual porch entries with dimensions as indicated below, and as illustrated in Figure 15-58.040-4:
(1)
Width of porch: Minimum twelve feet
(2)
Depth of porch: Minimum eight feet
(3)
Finish floor level above sidewalk: Minimum eighteen inches
(4)
Clear height, if porch is covered: Minimum eight feet, maximum twelve feet
Figure 15-58.050-4: Porch
(c)
Dooryard. Individual covered dooryard entries with dimensions as indicated below, and as illustrated in Figure 15-58.040-5.
(1)
Width of usable yard area: Minimum of six feet.
(2)
Depth of dooryard from door: Minimum four feet, maximum twelve feet.
(3)
Projection depth: Maximum six feet.
(4)
Height of enclosure: Maximum three feet.
(5)
Clear height to projection: Minimum eight feet, maximum twelve feet.
Figure 15-58.040-5: Dooryard
(d)
Terrace. Terrace entry with dimensions as indicated below, and as illustrated in Figure 15-58.040-6:
(1)
Width of terrace: Maximum 120 feet
(2)
Depth of terrace: Minimum 8 feet
(3)
Distance of between entry stairs: Maximum 50 feet
(4)
Finish floor level above sidewalk: Minimum 24 inches; maximum 5 feet
Figure 15-58.040-6: Terrance
(e)
Shopfront. Shopfront entry with dimensions as indicated below, and as illustrated in Figure 15-58.040-7:
(1)
Combined Recess/Projection Depth: Minimum four feet
(2)
Projection setback from curb: Minimum two feet
(3)
Clear height: Minimum eight feet
(4)
Finish floor level above sidewalk: Maximum twelve inches
(5)
Shopfront width: Minimum six feet, maximum twenty feet
(6)
Shopfront entrances are allowed for non-residential uses only.
(7)
On buildings with street frontages exceeding fifty feet in length, shopfront frontages must incorporate:
(a)
A recess a maximum depth of four feet and minimum width of six feet to provide additional window display space; and
(b)
Variations in building base, awnings, materials, and/or color to visually articulate individual shopfronts.
(8)
Separation of residential and non-residential entrances. Entrances to residential units, either shared or common, shall be a minimum thirty horizontal feet from commercial entrances.
Figure 15-58.040-7: Shopfront
(f)
Façade design.
(1)
Blank Walls. No wall on any level shall extend in a continuous horizontal plane of more than twelve feet without a window or a projection, offset, or recess of the building wall at least one foot in depth.
(2)
Non-residential ground-floor transparency. On any commercial ground floor street-facing façades, a minimum sixty percent of the area between two and seven feet in height must include a transparent window, as illustrated in Figure 15-58.050-8. Blank walls at the ground level must include architectural details, landscaping, and/or plant-bearing trellises or lattices.
Figure 15-58.040-8: Ground-Level Transparency
(g)
Windows and glazing.
(1)
Window design. Trim at least two inches in width and ¾-inch in depth must be provided around all windows, or windows must be recessed at least 2.5 inches from the plane of the surrounding exterior wall, as illustrated in Figure 15-58.040-9.
Figure 15-58.040-9: Window Design
(2)
Reflectivity. All glazing must be either clear glass or smart glass. Reflective or opaque tinting is prohibited.
(3)
Bird-safe glazing.
(a)
Bird-safe glazing is required for a minimum ninety percent all glazing in uninterrupted segments twenty-four square feet or larger on portions of buildings up to sixty feet in height.
(b)
Bird-safe glazing includes glazing that is translucent, dichroic, fritted, etched, or frosted. When glazing incorporates patterns, the pattern must uniformly cover the entire window and consist of vertical elements at least one-fourth inch wide at a maximum spacing of four inches or horizontal elements at least one-eighth inch wide at a maximum spacing of two inches.
(c)
Exceptions.
(i)
Residential-zoned buildings less than forty-five feet tall with less than fifty percent glazing are exempt from glazing requirements. However, the requirement for bird-safe glazing applies to uninterrupted glazed segments twenty-four square feet or larger.
(ii)
A minimum ninety-five percent bird-safe glazing is required for residential-zoned buildings less than forty-five feet tall with more than fifty percent glazing.
(iii)
Requirements may be modified or waived in accordance with a documented recommendation from a qualified biologist.
(h)
Building Materials.
(1)
Primary and secondary building materials. All buildings must incorporate a primary non-reflective and non-glossy building material and a secondary non-glossy and non-reflective building material.
(a)
Primary materials. Primary materials must be applied to or incorporated within fifty percent or more of a façade surface area, excluding transparent surfaces. Permitted primary materials are limited to:
(i)
Siding (lap, vertical, or shingle). All siding shall be wood, composite wood, or cement fiberboard, and wood siding shall be painted or stained.
(ii)
Stucco, minimum two-coat.
(iii)
Stone.
(iv)
Brick.
(b)
Secondary materials. Secondary materials must be applied to or incorporated within less than fifty percent of a façade surface area, excluding transparent surfaces. Permitted secondary materials are limited to:
(i)
Siding (lap, vertical, or shingle). All siding shall be wood, composite wood, or cement fiberboard, and wood siding shall be painted or stained.
(ii)
Stucco, minimum two-coat.
(iii)
Stone, building base only.
(iv)
Brick.
(v)
Tile.
(vi)
Galvanized or stainless metal with a matte finish, or weathering steel.
(vii)
Concrete masonry units (building base only).
(viii)
Concrete (building base only).
(2)
Reflective building materials. The use of reflective building materials is limited to twenty-five percent of a façade surface area, excluding transparent surfaces.
(3)
Material durability/protection.
(a)
Exterior finish materials shall have an expected lifespan of no less than thirty years per manufacturer's specifications.
(b)
Exterior timber shall be protected from decay by stain and sealant.
(c)
Exterior ferrous metals shall be protected from corrosion either through the use of galvanized, stainless, or weathering steel.
(4)
Prohibited materials. The following are prohibited as building cladding materials:
(a)
Synthetic stucco.
(b)
Ribbed metal.
(c)
Mirrored metal finishes.
(d)
Vinyl.
(e)
Aluminum.
(g)
Architectural integrity and unified palette. All buildings shall be designed such that each exterior building façade is designed with the same level of detail and quality as the primary façade. Elements that must be consistent across all facades are not limited to building materials, colors, window and door trim, window and door recesses, cornices, belt courses, columns, posts/beams, brackets, columns/arches, and roof forms.
(i)
Unit design.
(1)
Sound abatement requirements.
(a)
Sound-abatement windows with an STC (Sound Transmission Class) rating of 42 or higher shall be installed for all residential windows facing, and within two hundred feet of, Highway 85, Saratoga Avenue, or Saratoga-Sunnyvale Road.
(b)
All elevated private open spaces such as roof gardens and terraces within two hundred feet of Highway 85, Saratoga Avenue, or Saratoga-Sunnyvale Road shall face away from the right-of-way.
(2)
Affordable unit design. Affordable units and market rate units in the same group of buildings constructed under the same approval shall be constructed with the same exterior materials and details so that the affordable units are not distinguishable from market-rate units.
(Ord. No. 399, § 1(Att. 1), 4-3-2024)
(a)
Parking location. Required off-street parking must be located in:
(1)
Ground-floor "tuck-under" individually secured garages;
(2)
Shared garages (podium or underground); or
(3)
Above-ground structures "wrapped" with buildings containing residential or commercial uses.
(b)
Tandem Parking. Tandem parking may satisfy the off-street parking requirement in accordance with the following:
(1)
No more than two vehicles may be placed one behind the other.
(2)
Both spaces shall be assigned to a single dwelling unit or to employees of the same non-residential establishment.
(3)
Each tandem parking bay must be a minimum forty feet in length by ten feet in width.
(4)
The number of tandem parking spaces may not exceed fifty percent of the total number of spaces.
(5)
Tandem parking may not be used to satisfy the parking requirement for guest parking.
(c)
Ground-level visibility.
(1)
Individually secured garages. Individually secured garages shall be accessed from a shared rear or side drive aisle where such abuts the property. Where individual garages are accessed from the right-of-way, garages shall occupy no more than fifty percent of the frontage of each unit, as illustrated in Figure 15-58.050-1.
Figure 15-58.050-1: Individual Garages
(2)
Structured parking. Where structured parking faces the street frontage, as illustrated in Figure 15-58.050-2, the structure must be one of the following:
(a)
A maximum of thirty percent of the building frontage or sixty feet (whichever is less); or
(b)
Recessed a minimum of four feet from the rest of the building façade and screened with a living wall or textured or decorative screening; or
(c)
Designed such that the parking area is located in a basement, where the vertical distance from grade to the finished floor directly above the parking area is a maximum of forty-two inches.
Figure 15-58.050-2: Structured Parking Ground Level
(d)
Upper-level visibility. All upper-level street facing structured parking must be screened from view from the right of way by at least one of the following features:
(1)
Regular openings designed to resemble windows of habitable spaces;
(2)
A plant-bearing trellis or living wall; or
(3)
Textured or decorative screening.
(e)
Access. As illustrated in Figure 15-58.060-3, access to parking must comply with the following standards:
(1)
A maximum of one driveway to shared parking is permitted on street frontages up to one hundred twenty feet in length; a maximum two shared driveways are permitted on street frontages exceeding one hundred twenty feet in length.
(2)
Driveways to shared parking shall not exceed thirty feet in width along Lawrence Expressway and twenty-four feet in width along all other rights-of-way.
(3)
Controlled entrances to shared parking facilities (i.e. gates, doors, etc.) shall be located a minimum twenty feet from the back of sidewalk.
(4)
Vehicular entrances to parking areas shall be a minimum of eighty horizontal feet from vehicular entrances to parking areas on adjacent properties.
(f)
Mechanical parking lifts are allowed in all structured parking configurations.
Figure 15-58.060-3: Parking Access
(g)
Parking separation. Parking for residential units shall be physically separated from parking for non-residential uses though a controlled fence, gate, or other barrier.
(Ord. No. 399, § 1(Att. 1), 4-3-2024)
(a)
Private open space design.
(1)
Required private open space must take the form of balconies, decks, patios, fenced yards, or other similar areas outside the residence. Private open space may be at-grade or elevated.
(2)
Private open space shall be a minimum of forty-eight square feet per unit.
(3)
Required private open space for upper-level units shall be accessible to only one living unit by a doorway to a habitable room.
(4)
When required common open space abuts private open space, a minimum two-foot buffer is required in addition to the required private and common open space. The buffer must be planted or otherwise designed to screen the private open space from view from the common open space.
(b)
Common open space design.
(1)
Required common areas must be improved to enhance the outdoor environment of the development and/or provide amenities to residents. Improvements may include but are not limited to landscaped areas, walks, patios, swimming pools, barbeque areas, playgrounds, and turf.
(a)
Minimum size: Four hundred square feet per lot or fifteen square feet per unit, whichever is greater.
(b)
Minimum dimension in any direction: Fifteen feet.
(2)
Required common open space shall be accessible to all living units on the development site by a stairway or other accessway qualifying as an egress facility from a habitable room.
(3)
Common open spaces may be at-grade, elevated, on parking podiums, or on rooftops.
(4)
Common space shall be surfaced with materials that allow convenient use for outdoor living and/or recreation. The surface may be any combination of lawn, flagstone, wood planking, asphalt, or concrete.
(5)
No more than seventy-five percent of common open area may be hardscaped.
(6)
The slope of required common open space shall not exceed ten percent at any point.
(c)
Landscaping.
(1)
Required landscaping. A minimum of twelve percent of a site must be landscaped.
(2)
Areas to be landscaped. The following areas shall be landscaped and count toward the required site landscaping.
(a)
Required setbacks. All required front and street-facing side setbacks, except for areas used for exit and entry.
(b)
Required common open space. That portion of required common open space, whether at-grade or elevated, that must be landscaped in accordance with subsection 15.58.070(b).
(c)
Interior property lines abutting residential districts. Wherever a nonresidential use is located adjacent to a residential district or use, a landscape buffer at least thirty inches in width planted with a mix of trees and shrubs shall be provided along interior property lines. At least one tree of at least fifteen-gallon size shall be planted per twenty linear feet or as appropriate to create a tree canopy over the buffer yard. In addition, at least three shrubs shall be planted per twenty linear feet. At least ten percent of the required trees shall be twenty-four-inch box size.
(d)
Ground-floor residential building perimeters. A landscaped area a minimum of thirty inches in width shall be incorporated around the base of residential building frontages to separate ground floor residential uses from parking, drive aisles, and sidewalks.
(e)
Parking areas. Landscaped portions of parking areas as required by Chapter 15-58.060 ("Design Standards, Parking and Loading").
(f)
Unused areas. All areas of a project site not intended for a specific use, including areas planned for future phases of a phased development, shall either be landscaped or kept in a natural state.
(3)
Dimension of landscaped areas. No landscaped area smaller than thirty inches in any horizontal dimension shall count toward required landscaping.
(d)
Pedestrian and bicycle circulation.
(1)
Pedestrian walkways shall connect all primary building or unit entrances on a site to each other, to on-site automobile and bicycle parking areas, and to any on-site common open space areas, pedestrian amenities, and transit stops.
(2)
Walkways between any primary entrance and sidewalk shall be the shortest practical distance, generally no more than one hundred twenty-five percent of the straight-line distance.
(3)
Walkways must link residential units with recreational and other internal facilities and with other residential units.
(4)
Walkways shall be a minimum of five feet wide, hard-surfaced, and paved with permeable materials.
(5)
Where a required walkway crosses driveways, parking areas, or loading areas, it must be clearly identifiable through a raised crosswalk, a different paving material, a painted crosswalk, or similar method.
(6)
Where a required walkway is parallel and adjacent to a vehicle travel lane, it must be raised from the vehicle travel lane either by a curb a minimum of four inches high or separated by bollards or other physical barriers.
(e)
Exterior lighting.
(1)
Fixtures. All exterior lighting fixtures shall be fully shielded to prevent light intrusion into adjacent buildings, oriented downward, and certified by the International Dark Sky Association.
(2)
Color Temperature. The color temperature of outdoor lighting shall not exceed three thousand Kelvins to minimize blue light emission.
(3)
Controls. All exterior lighting must be capable of accepting controls that enable dimmers, timers motion sensors, or networking to avoid unnecessary lighting and energy use.
(4)
Exterior building lighting.
(a)
Ground-floor building façades and an adjacent four-foot-wide zone shall be illuminated with lighting fixtures that are placed:
(i)
Every forty feet or less for all building façades to illuminate the sidewalk along primary and secondary streets.
(ii)
Every thirty feet or less for all building façades facing public open spaces and paseos.
(iii)
Every twenty feet or less for all ground floor blank walls.
(b)
Electrical elements such as wires, conduits, and panel boxes shall be concealed from public view or painted to match the background surface color.
(5)
Other on-site lighting. Parking lots, driveways, circulation areas, aisles, passageways, recesses, and ground contiguous buildings shall be provided. The following minimum levels of illumination shall be achieved:
(a)
Open parking lots: One to two foot-candles at ground level.
(b)
Pedestrian path/bike path: One-half to one foot-candle at ground level.
(c)
Covered parking: Five foot-candles at ground level.
(d)
Parking lot lighting shall be designed and installed so that light and glare is not directed onto residential use areas or adjacent public rights-of-way.
(e)
Prohibited Lighting. The following types of exterior lighting are prohibited:
(i)
Mercury vapor luminaires;
(ii)
Searchlights;
(iii)
Sky beams;
(iv)
Upward-directed fixtures; and
(v)
Aerial lasers.
(Ord. No. 399, § 1(Att. 1), 4-3-2024)
58 - MIXED-USE AND MULTI-FAMILY DESIGN AND DEVELOPMENT STANDARDS11
Editor's note—Ord. No. 399, § 1(Att. A), adopted April 3, 2024, amended the title of Article 15-58 to read as herein set out. The former Article 15-58 title pertained to mixed-use development standards.
The purpose of the mixed-use and multi-family design and development standards is to guide the design of multi-family residential and mixed-use development and to support the implementation of the Housing Element of the General Plan. The goal is to establish objective standards that will provide consistent guidance for future development in the multi-family residential, mixed-use, commercial, and office zoning districts of the City. It is further the goal of these standards to ensure that new residential and mixed-use development is designed to be compatible with adjacent residential uses as well as existing and future commercial development.
(Ord. 230 § 2 (part), 2004)
(Amended by Ord. No. 277, § 1(Exh. A), 4-21-2010; Ord. No. 399, § 1(Att. 1), 4-3-2024)
The provisions of this article apply to all multi-family residential and mixed-use projects that are allowed uses under this Code or State law. The standards contained herein are intended to be objective in nature, meaning that the application of the standards involves no personal or subjective judgement by a public official and are uniformly verifiable by reference to an external and uniform benchmark or criterion available and knowable by both the development applicant or proponent and the public official prior to submittal. The standards that apply to commercial uses are not applicable to a project that includes only multi-family residential development, but they are applicable to the commercial portion(s) of a mixed-use project. Those standards that apply to residential uses apply to both multi-family residential projects and the residential portion(s) of a mixed-use project.
(a)
Residential and commercial density and intensity is determined by the base zoning district.
(b)
Commercial uses in the P-A, C-N, C-V, CH-1 and CH-2 districts. Commercial use(s) are required along all ground floor street facing frontages. Dwelling unit(s) may be located in all other portions of the structure.
(c)
Residential uses in the P-A, C-N, C-V, CH-1 and CH-2 districts. Up to fifty percent of building square footage, exclusive of parking, may be developed with residential uses (which uses shall not include garages or shared utility, storage and laundry rooms), except that the City shall ministerially approve an applicant's request to occupy more than fifty percent of building square footage, exclusive of parking, with residential uses (which uses shall not include garages or shared utility, storage and laundry rooms) when the Applicant demonstrates both of the following:
(1)
That the proposed location of the mixed-use and the conditions under which it would be operated or maintained will not cause a significant quantifiable, direct, and unavoidable impact, based on an objective, identified written public health or safety standard, policy, or condition; and
(2)
That the proposed mixed-use will comply with each of the applicable provisions of this Chapter.
(d)
Parking for both the nonresidential use and the dwelling unit(s) shall be as specified in Article 15-35 of this Chapter. The Planning Commission may reduce the required parking specified in Article 15-35 through approval of shared parking.
(e)
Perimeter fencing shall be required to conform to the following sections of Article 15-29 of this Chapter:
(1)
Section 15-29.010(a) through (c);
(2)
Section 15-29.010(e) through (l);
(3)
Section 15-29.030;
(4)
Section 15-29.040; and
(5)
Section 15-29.060.
(f)
The maximum height of a mixed-use structure shall be as it is stated in the underlying zoning district. Nothing in this article shall allow structure heights higher than those specified for the underlying zoning district. Standards in this article that apply to heights or stories above those specified for the underlying zoning district shall apply in the event that such heights are allowed under State or other applicable law.
(g)
Fences at least six feet in height are required along all interior perimeters of mixed-use projects abutting single-family residential districts.
(h)
Every multi-family project (including a multi-family portion of a mixed-use project that does not involve a subdivision) shall be required to dedicate a portion of land and/or pay a fee in lieu thereof, for the purpose of providing park or recreational facilities reasonably related to serving the development project and in accord with the standards and provisions of Section 14-25.080(b) through (e) of this Code, provided that for purposes of this Article, references in Section 14-25.080 to "subdivision" shall mean "development project," references to "subdivider" shall mean "applicant," and references to "parcels" or "lots" shall mean "dwelling units." Sections 14-25.080(b) and (e) notwithstanding, a project of twenty or fewer dwelling units shall only be required to pay fees pursuant to this section. A project shall be required to pay fees and/or dedicate land pursuant to Section 14-25.080 or this section, but not both.
(Ord. 230 § 2 (part), 2004)
(Amended by Ord. No. 277, § 1(Exh. A), 4-21-2010; Ord. No. 399, § 1(Att. 1), 4-3-2024)
(a)
Building placement.
(1)
R-M district. No building placement standards.
(2)
CH-1 and CH-2 districts. A minimum eighty percent of ground-floor building frontage must be built at the front setback line to maintain a consistent street wall, as illustrated in Figure 15-58.030-1.
Figure 15-58.030-1: Building Placement, CH-1 and CH-2 Districts
(3)
M-U, P-A, C-V, and C-N districts. A minimum seventy percent of ground-floor building frontage must be built within ten feet of the front setback line, as illustrated in Figure 15-58.030-2. Standard applicable only to lots that conform to the zoning district's minimum size and lot width requirements.
Figure 15-58.030-2: Building Placement, MU-MD, MU-HD, MU-VHD, P-A and C-N Districts
(4)
Corner areas, all districts. On street corners, buildings must be located at the intersecting front and street side setback lines or the corner area must be improved as part of a public plaza, a small park, or other publicly-accessible improved open space. The corner area is the area bounded by the intersecting property lines and lines perpendicular to and thirty feet from the intersecting property lines, as illustrated in Figure 15-58.030-3.
Figure 15-58.030-3: Corner Areas
(b)
Upper-story step-back.
(1)
P-A, R-M, C-V, C-N, CH-1, and CH-2 districts. Requirements for upper-story step-backs are established in the base zone standards.
(2)
MU-MD district.
(a)
Front and street side. On the front and street side of the building, the third story and above must be stepped back a minimum of six feet from the ground floor façade or located within a sloped roof form.
(b)
Interior side and rear. Where buildings abut or directly face an R-1 district, the third story and above along interior side and rear facades must be either stepped back a minimum of six feet from the ground floor façade or located within a sloped roof form, as illustrated in Figure 15-58.030-4. Roof forms must be in accordance with Section 15-58.050(a).
Figure 15-58.030-4: Upper-Story Step-Back MU-MD District
(3)
MU-HD district.
(a)
Front and street side. The fourth story and above must be stepped back a minimum of six feet from the ground floor façade or located within a sloped roof form. Roof forms must be in accordance with Section 15-58.050(a).
(b)
Interior side and rear. Where buildings abut an R-1 district, the fourth story and above must be either stepped back a minimum of six feet from the ground floor façade for a minimum fifty percent of the façade length or located within a sloped roof form, as illustrated in Figure 15-58.030-5. Roof forms must be in accordance with Section 15-58.050(a).
Figure 15-58.030-5: Upper-Story Front and Side Step-Back, MU-HD District
(4)
MU-VHD district
(a)
Front and street side
(1)
For portions of the building within twenty-five feet of the property line, the third story and above must be stepped back a minimum of twelve feet from the ground floor façade.
(2)
For portions of the building set back more than twenty-five feet from the front or street-side property line, no upper story step-back is required, provided the setback area is improved as a landscaped and publicly accessible area, as illustrated in Figure 15-58.030-6.
Figure 15-58.030-6: Upper-Story Front Step-Back, MU-VHD District
(b)
Interior side and rear. No upper story step-back required.
(c)
Building articulation.
(1)
Attached rowhouses facades.
(a)
Variation in plan. Where a row of attached rowhouses exceeds six units, facades of abutting attached units must be offset a minimum of twelve inches in plan view to avoid monotony in design.
(b)
Length of townhouse building. Any single block of attached townhouses must not exceed two hundred fifty feet in length.
(2)
Street-facing facades over fifty feet in length. For buildings façades over fifty feet in length, all street-facing facades above the ground floor must incorporate at least one of the following, as illustrated in Figure 15-58.030-7:
(a)
A regular pattern of window bays a minimum of twenty-four inches in depth from building façade; or
(b)
At least two changes of plane a minimum of thirty inches in depth from the building façade.
Figure 15-58.030-7: Building Articulation, Facades over 50 Feet
(3)
Street-facing facades over one hundred fifty feet in length.
(a)
Street-facing facades over one hundred fifty feet in length must comply with the standards of 15-58.040(c)(2).
(b)
As to all stories above the ground floor, all street-facing façades over 150 feet in length must be separated into primary façade bays no greater than 70 feet in length and secondary façade bays defined by a recess a minimum of five feet in depth and 12 feet in width, and must incorporate one of the following as illustrated in Figure 15-58.040-8.
i.
A change in building height of a least eight feet; or
ii.
A change in roof form, parapet height, or parapet shape visible from all abutting rights-of-way.
Figure 15-58.030-8: Building Articulation, Facades over 150 Feet
(4)
Street-facing facades over four hundred feet in length.
(a)
Street-facing facades over four hundred feet in length must comply with the standards of 15-58.030(3)(a) and (b).
(b)
Street-facing façades over four hundred feet in length must also incorporate a full height recess a minimum of forty feet in depth and sixty feet in width, as illustrated in Figure 15-58.030-9. The recess must:
(i)
Be closed to vehicular circulation;
(ii)
Be improved with pedestrian amenities and a combination of landscaping and paving that serves as an extension of the abutting sidewalk;
(iii)
Provide a minimum of one hundred square feet that is protected from the elements; and
(iv)
Remain accessible and open to the public.
(5)
Height of secondary façade bays. The roof of secondary façade bays shall be no higher than the corresponding elements of the primary façade bay.
Figure 15-58.030-9: Building Articulation, Façade over 400 Feet
(d)
Privacy and views.
(1)
Balconies and decks facing an abutting R-1 district.
(a)
No portion of any balcony or deck may extend into a required setback along a property line shared with an R-1 district or within four feet of a property line shared with an R-1 district, whichever is greater.
(b)
Balconies and decks facing an abutting R-1 district may be a maximum nine feet in length and three feet in depth.
(c)
All open perimeters of balconies or decks facing an abutting R-1 district must incorporate an opaque wall at least four feet in height.
(2)
Privacy and window placement. As illustrated in Figure 15-58.040-10, windows to a living room, dining room or family room within ten feet of a setback line and oriented toward an interior side setback must be at least one of the following:
(a)
Be angled a minimum of thirty degrees as measured perpendicular to the adjacent side setback line;
(b)
Have a minimum sill height of forty-two inches from the finished floor; or
(c)
Use permanently translucent or frosted glazing.
Figure 15-58.040-10: Privacy
(Ord. No. 399, § 1(Att. 1), 4-3-2024; Ord. No. 405, § 1(Att. 1.7), 10-15-2024)
(a)
Roofs.
(1)
Roof design. Roof forms shall be limited to pitched roofs (hipped, gabled, or shed), mansard roofs, or flat roofs.
(a)
Pitched roofs.
(1)
Pitched roof slope must be no less than 4:12
(2)
Pitched roofs must incorporate eaves a minimum of twelve inches in depth. Where eaves exceed eighteen inches in depth, a regular pattern of exterior brackets, beams, dentils, or other detailing is required.
(b)
Mansard roofs.
(1)
The lower slope of the mansard roof must be no less than sixty-five degrees.
(2)
Mansard roofs must include a regular pattern of dormers for the story within.
(3)
False mansard roofs are prohibited. This refers to a design where a non-structural mansard form is placed over a top story with a flat roof.
(c)
Flat roofs. Flat roofs must incorporate one of the following:
(1)
A cornice line with a minimum six-inch overhang.
(2)
A parapet with segments that do not exceed fifteen feet in length without interruption in height or form.
(d)
Visibility of roof form. When any top story is stepped back and located within a sloped roof form such as a mansard roof or a hipped and/or gabled roof with dormers, the floor below must (and other floors may) be stepped back to meet the slope of the top story, as illustrated in Figure 15-58.040-1.
Figure 15-58.040-1: Visibility of Roof Forms
(2)
Roof materials. Roof materials shall be limited to wood or composition shingles, tile, standing seam metal, concrete roof tiles, or, for flat roofs, a cool roof membrane.
(b)
Ground floor height. The ground floor ceiling height must be a minimum of 12 inches taller than the average upper floor floor-to-ceiling height of the building, as illustrated in Figure 15-58.040-2.
Figure 15-58.040-2: Ground Floor Height
(c)
Building entrances.
(1)
Entry location.
(a)
Each street-facing building façade must have at least one pedestrian entry into the structure.
(b)
All ground floor dwelling units located along public rights-of-way, public open space, or internal pathways must have a primary entrance, either individual or shared, facing a public street, open space, or pathway.
(c)
Primary entrances to ground floor dwelling units internal to a site may face an internal drive aisle or pathway. Such units must be designed so that the primary entryway is visible from a pedestrian pathway connected to a street.
(d)
Street-facing non-residential building façades must incorporate at least one ground floor entrance per sixty linear feet of building frontage.
(2)
Entry protection. All building entrances must have a roofed projection or recess with a minimum depth of four feet and a minimum width of six feet.
(3)
Entry types. Building entries must take one of the following forms:
(a)
Stoop. Individual covered stoop entries with dimensions as indicated below, and as illustrated in Figure 15-58.040-3:
(1)
Width of stoop: Minimum five feet, maximum eight feet
(2)
Depth of stoop: Minimum five feet, maximum eight feet
(3)
Finish floor level above sidewalk: Minimum eighteen inches
(4)
Projection depth: Minimum five feet, maximum eight feet
(5)
Clear height to projection: Minimum eight feet
Figure 15-58.040-3: Stoop
(b)
Porch. Individual porch entries with dimensions as indicated below, and as illustrated in Figure 15-58.040-4:
(1)
Width of porch: Minimum twelve feet
(2)
Depth of porch: Minimum eight feet
(3)
Finish floor level above sidewalk: Minimum eighteen inches
(4)
Clear height, if porch is covered: Minimum eight feet, maximum twelve feet
Figure 15-58.050-4: Porch
(c)
Dooryard. Individual covered dooryard entries with dimensions as indicated below, and as illustrated in Figure 15-58.040-5.
(1)
Width of usable yard area: Minimum of six feet.
(2)
Depth of dooryard from door: Minimum four feet, maximum twelve feet.
(3)
Projection depth: Maximum six feet.
(4)
Height of enclosure: Maximum three feet.
(5)
Clear height to projection: Minimum eight feet, maximum twelve feet.
Figure 15-58.040-5: Dooryard
(d)
Terrace. Terrace entry with dimensions as indicated below, and as illustrated in Figure 15-58.040-6:
(1)
Width of terrace: Maximum 120 feet
(2)
Depth of terrace: Minimum 8 feet
(3)
Distance of between entry stairs: Maximum 50 feet
(4)
Finish floor level above sidewalk: Minimum 24 inches; maximum 5 feet
Figure 15-58.040-6: Terrance
(e)
Shopfront. Shopfront entry with dimensions as indicated below, and as illustrated in Figure 15-58.040-7:
(1)
Combined Recess/Projection Depth: Minimum four feet
(2)
Projection setback from curb: Minimum two feet
(3)
Clear height: Minimum eight feet
(4)
Finish floor level above sidewalk: Maximum twelve inches
(5)
Shopfront width: Minimum six feet, maximum twenty feet
(6)
Shopfront entrances are allowed for non-residential uses only.
(7)
On buildings with street frontages exceeding fifty feet in length, shopfront frontages must incorporate:
(a)
A recess a maximum depth of four feet and minimum width of six feet to provide additional window display space; and
(b)
Variations in building base, awnings, materials, and/or color to visually articulate individual shopfronts.
(8)
Separation of residential and non-residential entrances. Entrances to residential units, either shared or common, shall be a minimum thirty horizontal feet from commercial entrances.
Figure 15-58.040-7: Shopfront
(f)
Façade design.
(1)
Blank Walls. No wall on any level shall extend in a continuous horizontal plane of more than twelve feet without a window or a projection, offset, or recess of the building wall at least one foot in depth.
(2)
Non-residential ground-floor transparency. On any commercial ground floor street-facing façades, a minimum sixty percent of the area between two and seven feet in height must include a transparent window, as illustrated in Figure 15-58.050-8. Blank walls at the ground level must include architectural details, landscaping, and/or plant-bearing trellises or lattices.
Figure 15-58.040-8: Ground-Level Transparency
(g)
Windows and glazing.
(1)
Window design. Trim at least two inches in width and ¾-inch in depth must be provided around all windows, or windows must be recessed at least 2.5 inches from the plane of the surrounding exterior wall, as illustrated in Figure 15-58.040-9.
Figure 15-58.040-9: Window Design
(2)
Reflectivity. All glazing must be either clear glass or smart glass. Reflective or opaque tinting is prohibited.
(3)
Bird-safe glazing.
(a)
Bird-safe glazing is required for a minimum ninety percent all glazing in uninterrupted segments twenty-four square feet or larger on portions of buildings up to sixty feet in height.
(b)
Bird-safe glazing includes glazing that is translucent, dichroic, fritted, etched, or frosted. When glazing incorporates patterns, the pattern must uniformly cover the entire window and consist of vertical elements at least one-fourth inch wide at a maximum spacing of four inches or horizontal elements at least one-eighth inch wide at a maximum spacing of two inches.
(c)
Exceptions.
(i)
Residential-zoned buildings less than forty-five feet tall with less than fifty percent glazing are exempt from glazing requirements. However, the requirement for bird-safe glazing applies to uninterrupted glazed segments twenty-four square feet or larger.
(ii)
A minimum ninety-five percent bird-safe glazing is required for residential-zoned buildings less than forty-five feet tall with more than fifty percent glazing.
(iii)
Requirements may be modified or waived in accordance with a documented recommendation from a qualified biologist.
(h)
Building Materials.
(1)
Primary and secondary building materials. All buildings must incorporate a primary non-reflective and non-glossy building material and a secondary non-glossy and non-reflective building material.
(a)
Primary materials. Primary materials must be applied to or incorporated within fifty percent or more of a façade surface area, excluding transparent surfaces. Permitted primary materials are limited to:
(i)
Siding (lap, vertical, or shingle). All siding shall be wood, composite wood, or cement fiberboard, and wood siding shall be painted or stained.
(ii)
Stucco, minimum two-coat.
(iii)
Stone.
(iv)
Brick.
(b)
Secondary materials. Secondary materials must be applied to or incorporated within less than fifty percent of a façade surface area, excluding transparent surfaces. Permitted secondary materials are limited to:
(i)
Siding (lap, vertical, or shingle). All siding shall be wood, composite wood, or cement fiberboard, and wood siding shall be painted or stained.
(ii)
Stucco, minimum two-coat.
(iii)
Stone, building base only.
(iv)
Brick.
(v)
Tile.
(vi)
Galvanized or stainless metal with a matte finish, or weathering steel.
(vii)
Concrete masonry units (building base only).
(viii)
Concrete (building base only).
(2)
Reflective building materials. The use of reflective building materials is limited to twenty-five percent of a façade surface area, excluding transparent surfaces.
(3)
Material durability/protection.
(a)
Exterior finish materials shall have an expected lifespan of no less than thirty years per manufacturer's specifications.
(b)
Exterior timber shall be protected from decay by stain and sealant.
(c)
Exterior ferrous metals shall be protected from corrosion either through the use of galvanized, stainless, or weathering steel.
(4)
Prohibited materials. The following are prohibited as building cladding materials:
(a)
Synthetic stucco.
(b)
Ribbed metal.
(c)
Mirrored metal finishes.
(d)
Vinyl.
(e)
Aluminum.
(g)
Architectural integrity and unified palette. All buildings shall be designed such that each exterior building façade is designed with the same level of detail and quality as the primary façade. Elements that must be consistent across all facades are not limited to building materials, colors, window and door trim, window and door recesses, cornices, belt courses, columns, posts/beams, brackets, columns/arches, and roof forms.
(i)
Unit design.
(1)
Sound abatement requirements.
(a)
Sound-abatement windows with an STC (Sound Transmission Class) rating of 42 or higher shall be installed for all residential windows facing, and within two hundred feet of, Highway 85, Saratoga Avenue, or Saratoga-Sunnyvale Road.
(b)
All elevated private open spaces such as roof gardens and terraces within two hundred feet of Highway 85, Saratoga Avenue, or Saratoga-Sunnyvale Road shall face away from the right-of-way.
(2)
Affordable unit design. Affordable units and market rate units in the same group of buildings constructed under the same approval shall be constructed with the same exterior materials and details so that the affordable units are not distinguishable from market-rate units.
(Ord. No. 399, § 1(Att. 1), 4-3-2024)
(a)
Parking location. Required off-street parking must be located in:
(1)
Ground-floor "tuck-under" individually secured garages;
(2)
Shared garages (podium or underground); or
(3)
Above-ground structures "wrapped" with buildings containing residential or commercial uses.
(b)
Tandem Parking. Tandem parking may satisfy the off-street parking requirement in accordance with the following:
(1)
No more than two vehicles may be placed one behind the other.
(2)
Both spaces shall be assigned to a single dwelling unit or to employees of the same non-residential establishment.
(3)
Each tandem parking bay must be a minimum forty feet in length by ten feet in width.
(4)
The number of tandem parking spaces may not exceed fifty percent of the total number of spaces.
(5)
Tandem parking may not be used to satisfy the parking requirement for guest parking.
(c)
Ground-level visibility.
(1)
Individually secured garages. Individually secured garages shall be accessed from a shared rear or side drive aisle where such abuts the property. Where individual garages are accessed from the right-of-way, garages shall occupy no more than fifty percent of the frontage of each unit, as illustrated in Figure 15-58.050-1.
Figure 15-58.050-1: Individual Garages
(2)
Structured parking. Where structured parking faces the street frontage, as illustrated in Figure 15-58.050-2, the structure must be one of the following:
(a)
A maximum of thirty percent of the building frontage or sixty feet (whichever is less); or
(b)
Recessed a minimum of four feet from the rest of the building façade and screened with a living wall or textured or decorative screening; or
(c)
Designed such that the parking area is located in a basement, where the vertical distance from grade to the finished floor directly above the parking area is a maximum of forty-two inches.
Figure 15-58.050-2: Structured Parking Ground Level
(d)
Upper-level visibility. All upper-level street facing structured parking must be screened from view from the right of way by at least one of the following features:
(1)
Regular openings designed to resemble windows of habitable spaces;
(2)
A plant-bearing trellis or living wall; or
(3)
Textured or decorative screening.
(e)
Access. As illustrated in Figure 15-58.060-3, access to parking must comply with the following standards:
(1)
A maximum of one driveway to shared parking is permitted on street frontages up to one hundred twenty feet in length; a maximum two shared driveways are permitted on street frontages exceeding one hundred twenty feet in length.
(2)
Driveways to shared parking shall not exceed thirty feet in width along Lawrence Expressway and twenty-four feet in width along all other rights-of-way.
(3)
Controlled entrances to shared parking facilities (i.e. gates, doors, etc.) shall be located a minimum twenty feet from the back of sidewalk.
(4)
Vehicular entrances to parking areas shall be a minimum of eighty horizontal feet from vehicular entrances to parking areas on adjacent properties.
(f)
Mechanical parking lifts are allowed in all structured parking configurations.
Figure 15-58.060-3: Parking Access
(g)
Parking separation. Parking for residential units shall be physically separated from parking for non-residential uses though a controlled fence, gate, or other barrier.
(Ord. No. 399, § 1(Att. 1), 4-3-2024)
(a)
Private open space design.
(1)
Required private open space must take the form of balconies, decks, patios, fenced yards, or other similar areas outside the residence. Private open space may be at-grade or elevated.
(2)
Private open space shall be a minimum of forty-eight square feet per unit.
(3)
Required private open space for upper-level units shall be accessible to only one living unit by a doorway to a habitable room.
(4)
When required common open space abuts private open space, a minimum two-foot buffer is required in addition to the required private and common open space. The buffer must be planted or otherwise designed to screen the private open space from view from the common open space.
(b)
Common open space design.
(1)
Required common areas must be improved to enhance the outdoor environment of the development and/or provide amenities to residents. Improvements may include but are not limited to landscaped areas, walks, patios, swimming pools, barbeque areas, playgrounds, and turf.
(a)
Minimum size: Four hundred square feet per lot or fifteen square feet per unit, whichever is greater.
(b)
Minimum dimension in any direction: Fifteen feet.
(2)
Required common open space shall be accessible to all living units on the development site by a stairway or other accessway qualifying as an egress facility from a habitable room.
(3)
Common open spaces may be at-grade, elevated, on parking podiums, or on rooftops.
(4)
Common space shall be surfaced with materials that allow convenient use for outdoor living and/or recreation. The surface may be any combination of lawn, flagstone, wood planking, asphalt, or concrete.
(5)
No more than seventy-five percent of common open area may be hardscaped.
(6)
The slope of required common open space shall not exceed ten percent at any point.
(c)
Landscaping.
(1)
Required landscaping. A minimum of twelve percent of a site must be landscaped.
(2)
Areas to be landscaped. The following areas shall be landscaped and count toward the required site landscaping.
(a)
Required setbacks. All required front and street-facing side setbacks, except for areas used for exit and entry.
(b)
Required common open space. That portion of required common open space, whether at-grade or elevated, that must be landscaped in accordance with subsection 15.58.070(b).
(c)
Interior property lines abutting residential districts. Wherever a nonresidential use is located adjacent to a residential district or use, a landscape buffer at least thirty inches in width planted with a mix of trees and shrubs shall be provided along interior property lines. At least one tree of at least fifteen-gallon size shall be planted per twenty linear feet or as appropriate to create a tree canopy over the buffer yard. In addition, at least three shrubs shall be planted per twenty linear feet. At least ten percent of the required trees shall be twenty-four-inch box size.
(d)
Ground-floor residential building perimeters. A landscaped area a minimum of thirty inches in width shall be incorporated around the base of residential building frontages to separate ground floor residential uses from parking, drive aisles, and sidewalks.
(e)
Parking areas. Landscaped portions of parking areas as required by Chapter 15-58.060 ("Design Standards, Parking and Loading").
(f)
Unused areas. All areas of a project site not intended for a specific use, including areas planned for future phases of a phased development, shall either be landscaped or kept in a natural state.
(3)
Dimension of landscaped areas. No landscaped area smaller than thirty inches in any horizontal dimension shall count toward required landscaping.
(d)
Pedestrian and bicycle circulation.
(1)
Pedestrian walkways shall connect all primary building or unit entrances on a site to each other, to on-site automobile and bicycle parking areas, and to any on-site common open space areas, pedestrian amenities, and transit stops.
(2)
Walkways between any primary entrance and sidewalk shall be the shortest practical distance, generally no more than one hundred twenty-five percent of the straight-line distance.
(3)
Walkways must link residential units with recreational and other internal facilities and with other residential units.
(4)
Walkways shall be a minimum of five feet wide, hard-surfaced, and paved with permeable materials.
(5)
Where a required walkway crosses driveways, parking areas, or loading areas, it must be clearly identifiable through a raised crosswalk, a different paving material, a painted crosswalk, or similar method.
(6)
Where a required walkway is parallel and adjacent to a vehicle travel lane, it must be raised from the vehicle travel lane either by a curb a minimum of four inches high or separated by bollards or other physical barriers.
(e)
Exterior lighting.
(1)
Fixtures. All exterior lighting fixtures shall be fully shielded to prevent light intrusion into adjacent buildings, oriented downward, and certified by the International Dark Sky Association.
(2)
Color Temperature. The color temperature of outdoor lighting shall not exceed three thousand Kelvins to minimize blue light emission.
(3)
Controls. All exterior lighting must be capable of accepting controls that enable dimmers, timers motion sensors, or networking to avoid unnecessary lighting and energy use.
(4)
Exterior building lighting.
(a)
Ground-floor building façades and an adjacent four-foot-wide zone shall be illuminated with lighting fixtures that are placed:
(i)
Every forty feet or less for all building façades to illuminate the sidewalk along primary and secondary streets.
(ii)
Every thirty feet or less for all building façades facing public open spaces and paseos.
(iii)
Every twenty feet or less for all ground floor blank walls.
(b)
Electrical elements such as wires, conduits, and panel boxes shall be concealed from public view or painted to match the background surface color.
(5)
Other on-site lighting. Parking lots, driveways, circulation areas, aisles, passageways, recesses, and ground contiguous buildings shall be provided. The following minimum levels of illumination shall be achieved:
(a)
Open parking lots: One to two foot-candles at ground level.
(b)
Pedestrian path/bike path: One-half to one foot-candle at ground level.
(c)
Covered parking: Five foot-candles at ground level.
(d)
Parking lot lighting shall be designed and installed so that light and glare is not directed onto residential use areas or adjacent public rights-of-way.
(e)
Prohibited Lighting. The following types of exterior lighting are prohibited:
(i)
Mercury vapor luminaires;
(ii)
Searchlights;
(iii)
Sky beams;
(iv)
Upward-directed fixtures; and
(v)
Aerial lasers.
(Ord. No. 399, § 1(Att. 1), 4-3-2024)