OFF-STREET PARKING AND LOADING
Off-street parking is permitted as an accessory use in all zoning districts; provided that it complies with this article. Off-street parking as a principal use is permitted only when expressly authorized by the regulations of the applicable zoning district.
(1)
No reduction of required spaces. Any off-street parking or loading space required in connection with buildings or structures existing on the effective date of the ordinance from which this article is derived shall not be removed, except in conformance with the requirements of this chapter. Any building or structure that is erected or substantially altered after the effective date of the ordinance from which this article is derived shall provide off-street parking and loading spaces in accordance with this article.
(2)
Provision of additional spaces. Nothing in this chapter shall be deemed to prevent the voluntary establishment of off-street parking or loading facilities; provided that such facilities meet the requirements of this chapter governing the location, design and operation of such facilities.
(3)
Limitations on use of parking and loading spaces. No motor vehicle repair work of any kind shall be permitted in any parking space, parking lot or loading berth. The repair or maintenance of motor vehicles conducted as a business or commercial activity is prohibited in off-street parking facilities located in a residential district.
(4)
Change in land use. Whenever the existing use of a building or structure shall hereafter be changed to a new type of use, parking and loading facilities shall be provided as required for such new type of use. For those buildings and structures erected prior to the effective date of the ordinance from which this article is derived, additional parking and loading facilities shall be provided only in the amount by which the requirements for the new type of use exceed the requirement for the existing type of use.
(5)
Change in intensity of use. When a building or structure shall undergo any increase in the number of dwelling units, gross floor area, seating capacity or other unit of measurement, parking and loading facilities shall be provided for such increase in intensity. If, however, additional parking or loading facilities cannot be added, in whole or in part, due to a lack of available land area, a property owner may request a variation from this provision. The planning and zoning board of appeals shall consider each variation request as it relates to the standards established in section 56-101.
(6)
Buildings erected prior to the effective date of the ordinance from which this article is derived. This article shall not be construed to require the addition of any parking or loading spaces for uses in buildings or structures existing on the effective date of the ordinance from which this article is derived. When a building permit has been issued prior to the effective date of the ordinance from which this article is derived and construction has begun within one year and has been diligently pursued, parking and loading facilities shall be provided in the amount required for the issuance of the permit, regardless of any amount required by this article.
(7)
Site plan review. Any application for a building permit or occupancy permit for a new or enlarged building, structure or use, except for a single-family home, shall include a site plan, drawn to scale and fully dimensioned, showing any off-street parking or loading facilities to be provided. In accordance with section 56-98, the planning and development director shall review the site plan for compliance with this article.
(Ord. of 5-1-2003, § 11.1)
(a)
Basis. The total number of required parking and loading spaces shall be based upon the requirements for the principal use of the lot. However, when more than one use occupies the same lot, the number of required spaces shall be the sum of the separate requirements for each use. All off-street parking facilities shall be completed before occupancy of the building or structure it serves.
(b)
Fractional spaces. When determination of the number of required off-street parking or loading spaces results in a requirement of a fractional space, any fraction of one-half or less may be dropped, while a fraction in excess of one-half shall be counted as one parking space.
(c)
Bench seating. In places of assembly in which patrons or spectators occupy benches, pews or similar seating facilities, each 22 inches of such seating facility shall be counted as one seat for the purpose of determining the requirement for off-street parking facilities under this chapter.
(Ord. of 5-1-2003, § 11.2)
(a)
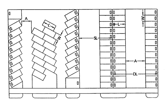
Dimensions. A required off-street parking space shall be of a size indicated in the following illustration, exclusive of access drives, aisles, ramps and columns. Such space shall have vertical clearance of at least seven feet. The dimensions of spaces and aisles shall be as shown in the following illustration.
Figure 56-4. Off-Street Parking Dimensions (in feet)
_____
Table 56-311 Parking Dimensions
*Two-way traffic authorized.
_____
(b)
Surfacing and striping. All off-street parking areas and driveways shall be improved with a hard surface pavement as specified in the current edition of the state department of transportation design manual or alternate approved by the village. Striping of the surface to define each parking space shall be provided and visible at all times.
(c)
Access. Each required off-street parking space shall open directly upon an aisle or a driveway of such width and design as to provide safe and efficient means of vehicular access to the parking spaces. All off-street parking facilities shall be provided with appropriate means of vehicular access in a manner which least interferes with traffic movements and allows the driver of the vehicle to proceed forward into traffic rather than back out. All required off-street parking facilities shall have vehicular access from a street, alley, or driveway, containing all-weather, hard surfaced pavement. The location and route of access to such a parking area shall be identified. Except for access to loading berths, no driveway across public property and no driveway serving a single-family residence shall have a width exceeding 24 feet, measured at the property line, exclusive of curb returns. In the case of a circular driveway with two curb cuts, in residential areas, the maximum width of shall not exceed 12 feet measured at the property line. Parking spaces shall not be located in a manner such that parked vehicles would obstruct fire department connections, hydrants, fire lanes or emergency access to the site.
(d)
Drainage. All parking and loading areas shall be graded and drained to dispose of surface water accumulation by means of a positive stormwater drainage system connected to a public storm sewer system. Runoff from parking lots shall be detained on-site in accordance with applicable village standards.
(e)
Screening. All open parking areas shall be effectively screened in accordance with article XII of this chapter.
(f)
Lighting. Parking areas of more than ten spaces shall be illuminated. Illumination of off-street parking areas shall be shielded so as not to project or reflect rays of light onto adjacent properties and so as not to create a traffic hazard on adjacent streets. The level of illumination shall be in accordance with section 56-266(f).
(g)
Slope. Except for parking spaces accessory to a single-family detached dwelling, no area of any parking facility shall have a slope of more than five percent. No access ramp shall have a slope of more than eight percent.
(h)
Maintenance. Except in the manufacturing district, no cleaning or maintenance of parking lots utilizing motorized equipment may be performed between 11:30 p.m. and 6:00 a.m. each day, except for snow removal.
(Ord. of 5-1-2003, § 11.3; Ord. No. 23-032, § 24, 8-15-2023)
(a)
Yards. Off-street parking spaces may be provided in surface lots, below grade, beneath a building and, in those zoning districts where specifically allowed, in parking structures. Off-street parking spaces may be located in any yard, except required front yards, unless approved by the planning and zoning board of appeals.
(b)
Off-site spaces and/or CBD district parking waivers. Parking spaces required for single-family or two-family dwelling units shall be located on the same lot as the dwelling served. Parking spaces required for all other uses, except uses in CBD district established after the effective date of the ordinance from which this article is derived, shall be located on the same lot as the use served.
(1)
Within the CBD district, uses in existence on the effective date of the ordinance from which this article is derived which are subsequently altered or enlarged, and all new uses, may be served by parking facilities located on land other than the lot on which the use is located. Such facilities shall be located within 600 feet of the main entrance to the building being served. The building commissioner shall have the authority to waive the required parking spaces in the CBD district where it is determined that the use will be adequately served by public, or a combination of public and private, parking facilities. For all parking waivers, the building commissioner shall consider safety standards, future enforcement and sound traffic design.
(2)
In cases where parking facilities are permitted on land other than the zoning lot on which the use is located, the applicant shall be required to provide written documentation in the form of a letter of agreement from the property owner that controls the land where parking is proposed to be used. The letter shall, to the satisfaction of the planning and development director or planning and zoning board of appeals, ensure that the parking will serve the proposed use.
(Ord. of 5-1-2003, § 11.4; Ord. No. 14-028, § 1, 8-19-2014)
(a)
Standards. Off-street parking and loading facilities for separate uses may be provided collectively if the total number of spaces so provided is not less than the sum of the separate requirements of each such use and if all regulations governing the location of accessory parking spaces in relation to the use served are observed. However, no parking or loading space, or portion thereof, shall serve as the required space for more than one use, unless otherwise authorized in accordance with section 56-312.
(b)
Procedures. The following shared-parking procedures shall be observed.
(1)
The planning and zoning board of appeals may authorize a reduction in the total number of required parking or loading spaces for two or more uses jointly providing off-street parking when their respective hours of operation do not substantially overlap. The applicant shall provide sufficient data to indicate that there is not a substantial conflict in the principal hours of operation of the uses.
(2)
The applicant shall submit a legal agreement guaranteeing that the parking spaces or loading spaces shall be maintained so long as the uses are in existence, unless the required parking is provided elsewhere in accordance with this article. The instrument shall be approved by the village attorney and shall be recorded with the recorder of deeds.
(Ord. of 5-1-2003, § 11.5)
(a)
Required spaces. In all off-street parking facilities, except single-family detached or attached dwellings, parking spaces for handicapped persons shall be provided. The number of accessible parking spaces shall be included in the total number of required parking spaces and shall be in accordance with the requirements of the state administrative code, as amended from time to time.
(b)
Dimensions and design. Such spaces shall comply with the design standards presented in the state accessibility standards. Such spaces shall be identified by a sign and by pavement markings indicating parking for the handicapped only. Such spaces shall be the spaces closest to the entrance of the building or structure and shall be connected by a paved surface designed to provide safe and easy access.
(Ord. of 5-1-2003, § 11.6; Ord. No. 23-032, § 25, 8-15-2023)
(a)
Required spaces. Every drive-through facility shall provide a minimum of six stacking spaces per facility, plus one space per waiting area provided.
(b)
Design and layout. The stacking spaces shall be designed so as not to interfere with the ingress and egress of the off-street parking provided on the site.
(Ord. of 5-1-2003, § 11.7)
(a)
Required spaces. Any building or structure, which is erected or substantially altered after the effective date of the ordinance from which this article is derived, and which requires the receipt or distribution of materials or merchandise by trucks or other similar vehicles, shall provide no less than the number of off-street loading berths specified in Table 56-311. The planning and zoning board of appeals may vary these requirements as provided in section 56-101. For uses not specified, off-street loading berths shall be provided based on the recommendations of the director of planning and development and approved by the planning and zoning board of appeals, taking into consideration requirements for similar uses. Any loading operation shall not create traffic congestion or traffic hazards on the public streets. Space allocated for an off-street loading berth shall not be used to satisfy the space requirements for any off-street parking facilities. All required off-street loading spaces shall be completed before occupancy of the building or structure.
_____
Table 56-316 Off-Street Loading Requirements
_____
(b)
Dimensions. A required off-street loading berth shall be at least 12 feet in width by at least 30 feet in length, exclusive of aisle and maneuvering space, and shall have a vertical clearance of at least 14 feet. No curb cut across public property that serves an off-street loading space shall exceed 30 feet in width.
(c)
Surfacing and screening. All open off-street loading berths shall be surfaced with a pavement providing an all-weather, durable and dustless surface approved by the village. Screening of the loading berths shall be provided in accordance with article XII of this chapter.
(d)
Access. Each required off-street loading space shall be designed with appropriate means of vehicular access to a street or alley in a manner which will least interfere with traffic movements.
(e)
Location. Loading berths shall be in the following locations.
(1)
Loading berths shall be located within the rear yard or within the confines of a building. All required loading spaces shall be located on the same lot as the use to be served and no portion of any vehicle shall, while occupying any loading space, project into a street or alley. No loading berth shall be located within 25 feet of the nearest point of intersection of any two streets. In the M1 and AT districts, loading berths for vehicles of more than two-ton capacity shall be located no less than 50 feet from any residential district.
(2)
Uses which require off-street loading facilities, but which are located in buildings or structures of less floor area than is specified for such use, shall be provided with receiving facilities, accessible by motor vehicles, off any adjacent alley, service drive or open space on the same lot.
(f)
Maneuvering space. Every loading space shall be provided with sufficient maneuvering space on the lot where it is located to allow vehicles to access and exit the space without having to make a backing movement onto any public street.
(g)
Exception, CBD. Within the CBD, the building commissioner shall have the authority to waive the required off-street loading where it is determined that off-street loading pursuant to this section would not be practical. For all off-street loading waivers, the building commissioner shall consider safety standards, future enforcement and sound traffic design.
(Ord. of 5-1-2003, § 11.8; Ord. No. 14-028, § 2, 8-19-2014)
(a)
Semitruck tractor units, with or without attached trailers and buses, are not permitted to be stored or parked on any residentially zoned property, or adjacent to any residentially zoned property including, but not limited to, driveways, streets, alleys or parkways.
(b)
Only standard size passenger vehicles, which include, but are not limited to, automobiles, vans, sports utility vehicles and pickup trucks are permitted to be stored or parked outdoors on residentially zoned property. All other commercial vehicles in excess of 10,000 pounds maximum gross weight, commercial trailers, box trucks, tow trucks, construction vehicles or trailers, or other vehicles of a similar nature are not permitted to be stored or parked outside residentially zoned property, or on any street, parkway or alley adjacent thereto, unless kept in an enclosed building, which complies with all village building codes, a garage, or upon a driveway, and in no event shall more than one such commercial vehicle be parked or stored on any residential lot of parcel.
(c)
Any commercial vehicle engaged in loading or unloading, or engaged in current work being done on the premises adjacent to where the vehicle is located, shall be exempt from subsections (a) and (b) of this section during the time of the loading, unloading or performance of said work operations.
(d)
Not more than one limousine shall be parked or stored on a residential lot or parcel, and then only if parked or stored in a driveway, garage or otherwise enclosed building, or is situated on a residential zoning lot or parcel in such a matter so as not to be intrusive or encroaching on adjoining properties or to create a safety hazard. In no event shall any limousine be permitted to park or be stored upon any street, parkway or alley within the village.
(e)
No stored or parked vehicles shall be used for human habitation.
(f)
No commercial vehicle shall be parked on private property in such a manner as to impair the safety of pedestrians, sidewalk access or vehicular traffic, including the safe entrance and exit of vehicles from adjacent properties. No commercial vehicle or equipment shall be stored or parked in a side or front yard.
(g)
Any vehicle, even if in compliance with the technical requirements of this article, parked in such a manner so that it creates a legitimate safety hazard, or intrudes on or encroaches upon neighboring premises, shall not be permitted.
(Ord. of 5-1-2003, § 11.9)
(a)
No recreational vehicle shall be parked or stored on any public street, alley, parkway or right-of-way in a district zoned for residential purposes, except when engaged in loading or unloading.
(b)
All recreational vehicles parked or stored on residentially zoned private property shall be parked in either a garage or enclosed building, or upon a driveway or rear yard of said residential property, not less than five feet from the rear and side lot lines.
(c)
No recreational vehicles shall be parked on private property in such a manner as to impair the safety of pedestrians, sidewalk access or vehicular traffic, including the safe entrance and exit of vehicles from adjacent properties. No recreational vehicle or equipment shall be stored or parked in a side or front yard.
(d)
No recreational vehicle shall be used for living, sleeping or housekeeping purposes in any zoning district.
(e)
Any vehicle, even if in compliance with the technical requirements of this article, parked in such a manner so that it creates a legitimate safety hazard, or intrudes on or encroaches upon neighboring premises, shall not be permitted.
(Ord. of 5-1-2003, § 11.10)
The following table contains the off-street parking requirements for each use.
Table 56-319 Off-Street Parking Requirements Table
du= Dwelling Unit
GPA= Gross Floor Area
GIA= Gross Land Area
NOTES: 1 For any use not listed, the planning and zoning board of appeals shall have the discretion to determine the appropriate parking standards based on similar uses listed in the table.
(Ord. of 5-1-2003, § 11.11)
OFF-STREET PARKING AND LOADING
Off-street parking is permitted as an accessory use in all zoning districts; provided that it complies with this article. Off-street parking as a principal use is permitted only when expressly authorized by the regulations of the applicable zoning district.
(1)
No reduction of required spaces. Any off-street parking or loading space required in connection with buildings or structures existing on the effective date of the ordinance from which this article is derived shall not be removed, except in conformance with the requirements of this chapter. Any building or structure that is erected or substantially altered after the effective date of the ordinance from which this article is derived shall provide off-street parking and loading spaces in accordance with this article.
(2)
Provision of additional spaces. Nothing in this chapter shall be deemed to prevent the voluntary establishment of off-street parking or loading facilities; provided that such facilities meet the requirements of this chapter governing the location, design and operation of such facilities.
(3)
Limitations on use of parking and loading spaces. No motor vehicle repair work of any kind shall be permitted in any parking space, parking lot or loading berth. The repair or maintenance of motor vehicles conducted as a business or commercial activity is prohibited in off-street parking facilities located in a residential district.
(4)
Change in land use. Whenever the existing use of a building or structure shall hereafter be changed to a new type of use, parking and loading facilities shall be provided as required for such new type of use. For those buildings and structures erected prior to the effective date of the ordinance from which this article is derived, additional parking and loading facilities shall be provided only in the amount by which the requirements for the new type of use exceed the requirement for the existing type of use.
(5)
Change in intensity of use. When a building or structure shall undergo any increase in the number of dwelling units, gross floor area, seating capacity or other unit of measurement, parking and loading facilities shall be provided for such increase in intensity. If, however, additional parking or loading facilities cannot be added, in whole or in part, due to a lack of available land area, a property owner may request a variation from this provision. The planning and zoning board of appeals shall consider each variation request as it relates to the standards established in section 56-101.
(6)
Buildings erected prior to the effective date of the ordinance from which this article is derived. This article shall not be construed to require the addition of any parking or loading spaces for uses in buildings or structures existing on the effective date of the ordinance from which this article is derived. When a building permit has been issued prior to the effective date of the ordinance from which this article is derived and construction has begun within one year and has been diligently pursued, parking and loading facilities shall be provided in the amount required for the issuance of the permit, regardless of any amount required by this article.
(7)
Site plan review. Any application for a building permit or occupancy permit for a new or enlarged building, structure or use, except for a single-family home, shall include a site plan, drawn to scale and fully dimensioned, showing any off-street parking or loading facilities to be provided. In accordance with section 56-98, the planning and development director shall review the site plan for compliance with this article.
(Ord. of 5-1-2003, § 11.1)
(a)
Basis. The total number of required parking and loading spaces shall be based upon the requirements for the principal use of the lot. However, when more than one use occupies the same lot, the number of required spaces shall be the sum of the separate requirements for each use. All off-street parking facilities shall be completed before occupancy of the building or structure it serves.
(b)
Fractional spaces. When determination of the number of required off-street parking or loading spaces results in a requirement of a fractional space, any fraction of one-half or less may be dropped, while a fraction in excess of one-half shall be counted as one parking space.
(c)
Bench seating. In places of assembly in which patrons or spectators occupy benches, pews or similar seating facilities, each 22 inches of such seating facility shall be counted as one seat for the purpose of determining the requirement for off-street parking facilities under this chapter.
(Ord. of 5-1-2003, § 11.2)
(a)
Dimensions. A required off-street parking space shall be of a size indicated in the following illustration, exclusive of access drives, aisles, ramps and columns. Such space shall have vertical clearance of at least seven feet. The dimensions of spaces and aisles shall be as shown in the following illustration.
Figure 56-4. Off-Street Parking Dimensions (in feet)
_____
Table 56-311 Parking Dimensions
*Two-way traffic authorized.
_____
(b)
Surfacing and striping. All off-street parking areas and driveways shall be improved with a hard surface pavement as specified in the current edition of the state department of transportation design manual or alternate approved by the village. Striping of the surface to define each parking space shall be provided and visible at all times.
(c)
Access. Each required off-street parking space shall open directly upon an aisle or a driveway of such width and design as to provide safe and efficient means of vehicular access to the parking spaces. All off-street parking facilities shall be provided with appropriate means of vehicular access in a manner which least interferes with traffic movements and allows the driver of the vehicle to proceed forward into traffic rather than back out. All required off-street parking facilities shall have vehicular access from a street, alley, or driveway, containing all-weather, hard surfaced pavement. The location and route of access to such a parking area shall be identified. Except for access to loading berths, no driveway across public property and no driveway serving a single-family residence shall have a width exceeding 24 feet, measured at the property line, exclusive of curb returns. In the case of a circular driveway with two curb cuts, in residential areas, the maximum width of shall not exceed 12 feet measured at the property line. Parking spaces shall not be located in a manner such that parked vehicles would obstruct fire department connections, hydrants, fire lanes or emergency access to the site.
(d)
Drainage. All parking and loading areas shall be graded and drained to dispose of surface water accumulation by means of a positive stormwater drainage system connected to a public storm sewer system. Runoff from parking lots shall be detained on-site in accordance with applicable village standards.
(e)
Screening. All open parking areas shall be effectively screened in accordance with article XII of this chapter.
(f)
Lighting. Parking areas of more than ten spaces shall be illuminated. Illumination of off-street parking areas shall be shielded so as not to project or reflect rays of light onto adjacent properties and so as not to create a traffic hazard on adjacent streets. The level of illumination shall be in accordance with section 56-266(f).
(g)
Slope. Except for parking spaces accessory to a single-family detached dwelling, no area of any parking facility shall have a slope of more than five percent. No access ramp shall have a slope of more than eight percent.
(h)
Maintenance. Except in the manufacturing district, no cleaning or maintenance of parking lots utilizing motorized equipment may be performed between 11:30 p.m. and 6:00 a.m. each day, except for snow removal.
(Ord. of 5-1-2003, § 11.3; Ord. No. 23-032, § 24, 8-15-2023)
(a)
Yards. Off-street parking spaces may be provided in surface lots, below grade, beneath a building and, in those zoning districts where specifically allowed, in parking structures. Off-street parking spaces may be located in any yard, except required front yards, unless approved by the planning and zoning board of appeals.
(b)
Off-site spaces and/or CBD district parking waivers. Parking spaces required for single-family or two-family dwelling units shall be located on the same lot as the dwelling served. Parking spaces required for all other uses, except uses in CBD district established after the effective date of the ordinance from which this article is derived, shall be located on the same lot as the use served.
(1)
Within the CBD district, uses in existence on the effective date of the ordinance from which this article is derived which are subsequently altered or enlarged, and all new uses, may be served by parking facilities located on land other than the lot on which the use is located. Such facilities shall be located within 600 feet of the main entrance to the building being served. The building commissioner shall have the authority to waive the required parking spaces in the CBD district where it is determined that the use will be adequately served by public, or a combination of public and private, parking facilities. For all parking waivers, the building commissioner shall consider safety standards, future enforcement and sound traffic design.
(2)
In cases where parking facilities are permitted on land other than the zoning lot on which the use is located, the applicant shall be required to provide written documentation in the form of a letter of agreement from the property owner that controls the land where parking is proposed to be used. The letter shall, to the satisfaction of the planning and development director or planning and zoning board of appeals, ensure that the parking will serve the proposed use.
(Ord. of 5-1-2003, § 11.4; Ord. No. 14-028, § 1, 8-19-2014)
(a)
Standards. Off-street parking and loading facilities for separate uses may be provided collectively if the total number of spaces so provided is not less than the sum of the separate requirements of each such use and if all regulations governing the location of accessory parking spaces in relation to the use served are observed. However, no parking or loading space, or portion thereof, shall serve as the required space for more than one use, unless otherwise authorized in accordance with section 56-312.
(b)
Procedures. The following shared-parking procedures shall be observed.
(1)
The planning and zoning board of appeals may authorize a reduction in the total number of required parking or loading spaces for two or more uses jointly providing off-street parking when their respective hours of operation do not substantially overlap. The applicant shall provide sufficient data to indicate that there is not a substantial conflict in the principal hours of operation of the uses.
(2)
The applicant shall submit a legal agreement guaranteeing that the parking spaces or loading spaces shall be maintained so long as the uses are in existence, unless the required parking is provided elsewhere in accordance with this article. The instrument shall be approved by the village attorney and shall be recorded with the recorder of deeds.
(Ord. of 5-1-2003, § 11.5)
(a)
Required spaces. In all off-street parking facilities, except single-family detached or attached dwellings, parking spaces for handicapped persons shall be provided. The number of accessible parking spaces shall be included in the total number of required parking spaces and shall be in accordance with the requirements of the state administrative code, as amended from time to time.
(b)
Dimensions and design. Such spaces shall comply with the design standards presented in the state accessibility standards. Such spaces shall be identified by a sign and by pavement markings indicating parking for the handicapped only. Such spaces shall be the spaces closest to the entrance of the building or structure and shall be connected by a paved surface designed to provide safe and easy access.
(Ord. of 5-1-2003, § 11.6; Ord. No. 23-032, § 25, 8-15-2023)
(a)
Required spaces. Every drive-through facility shall provide a minimum of six stacking spaces per facility, plus one space per waiting area provided.
(b)
Design and layout. The stacking spaces shall be designed so as not to interfere with the ingress and egress of the off-street parking provided on the site.
(Ord. of 5-1-2003, § 11.7)
(a)
Required spaces. Any building or structure, which is erected or substantially altered after the effective date of the ordinance from which this article is derived, and which requires the receipt or distribution of materials or merchandise by trucks or other similar vehicles, shall provide no less than the number of off-street loading berths specified in Table 56-311. The planning and zoning board of appeals may vary these requirements as provided in section 56-101. For uses not specified, off-street loading berths shall be provided based on the recommendations of the director of planning and development and approved by the planning and zoning board of appeals, taking into consideration requirements for similar uses. Any loading operation shall not create traffic congestion or traffic hazards on the public streets. Space allocated for an off-street loading berth shall not be used to satisfy the space requirements for any off-street parking facilities. All required off-street loading spaces shall be completed before occupancy of the building or structure.
_____
Table 56-316 Off-Street Loading Requirements
_____
(b)
Dimensions. A required off-street loading berth shall be at least 12 feet in width by at least 30 feet in length, exclusive of aisle and maneuvering space, and shall have a vertical clearance of at least 14 feet. No curb cut across public property that serves an off-street loading space shall exceed 30 feet in width.
(c)
Surfacing and screening. All open off-street loading berths shall be surfaced with a pavement providing an all-weather, durable and dustless surface approved by the village. Screening of the loading berths shall be provided in accordance with article XII of this chapter.
(d)
Access. Each required off-street loading space shall be designed with appropriate means of vehicular access to a street or alley in a manner which will least interfere with traffic movements.
(e)
Location. Loading berths shall be in the following locations.
(1)
Loading berths shall be located within the rear yard or within the confines of a building. All required loading spaces shall be located on the same lot as the use to be served and no portion of any vehicle shall, while occupying any loading space, project into a street or alley. No loading berth shall be located within 25 feet of the nearest point of intersection of any two streets. In the M1 and AT districts, loading berths for vehicles of more than two-ton capacity shall be located no less than 50 feet from any residential district.
(2)
Uses which require off-street loading facilities, but which are located in buildings or structures of less floor area than is specified for such use, shall be provided with receiving facilities, accessible by motor vehicles, off any adjacent alley, service drive or open space on the same lot.
(f)
Maneuvering space. Every loading space shall be provided with sufficient maneuvering space on the lot where it is located to allow vehicles to access and exit the space without having to make a backing movement onto any public street.
(g)
Exception, CBD. Within the CBD, the building commissioner shall have the authority to waive the required off-street loading where it is determined that off-street loading pursuant to this section would not be practical. For all off-street loading waivers, the building commissioner shall consider safety standards, future enforcement and sound traffic design.
(Ord. of 5-1-2003, § 11.8; Ord. No. 14-028, § 2, 8-19-2014)
(a)
Semitruck tractor units, with or without attached trailers and buses, are not permitted to be stored or parked on any residentially zoned property, or adjacent to any residentially zoned property including, but not limited to, driveways, streets, alleys or parkways.
(b)
Only standard size passenger vehicles, which include, but are not limited to, automobiles, vans, sports utility vehicles and pickup trucks are permitted to be stored or parked outdoors on residentially zoned property. All other commercial vehicles in excess of 10,000 pounds maximum gross weight, commercial trailers, box trucks, tow trucks, construction vehicles or trailers, or other vehicles of a similar nature are not permitted to be stored or parked outside residentially zoned property, or on any street, parkway or alley adjacent thereto, unless kept in an enclosed building, which complies with all village building codes, a garage, or upon a driveway, and in no event shall more than one such commercial vehicle be parked or stored on any residential lot of parcel.
(c)
Any commercial vehicle engaged in loading or unloading, or engaged in current work being done on the premises adjacent to where the vehicle is located, shall be exempt from subsections (a) and (b) of this section during the time of the loading, unloading or performance of said work operations.
(d)
Not more than one limousine shall be parked or stored on a residential lot or parcel, and then only if parked or stored in a driveway, garage or otherwise enclosed building, or is situated on a residential zoning lot or parcel in such a matter so as not to be intrusive or encroaching on adjoining properties or to create a safety hazard. In no event shall any limousine be permitted to park or be stored upon any street, parkway or alley within the village.
(e)
No stored or parked vehicles shall be used for human habitation.
(f)
No commercial vehicle shall be parked on private property in such a manner as to impair the safety of pedestrians, sidewalk access or vehicular traffic, including the safe entrance and exit of vehicles from adjacent properties. No commercial vehicle or equipment shall be stored or parked in a side or front yard.
(g)
Any vehicle, even if in compliance with the technical requirements of this article, parked in such a manner so that it creates a legitimate safety hazard, or intrudes on or encroaches upon neighboring premises, shall not be permitted.
(Ord. of 5-1-2003, § 11.9)
(a)
No recreational vehicle shall be parked or stored on any public street, alley, parkway or right-of-way in a district zoned for residential purposes, except when engaged in loading or unloading.
(b)
All recreational vehicles parked or stored on residentially zoned private property shall be parked in either a garage or enclosed building, or upon a driveway or rear yard of said residential property, not less than five feet from the rear and side lot lines.
(c)
No recreational vehicles shall be parked on private property in such a manner as to impair the safety of pedestrians, sidewalk access or vehicular traffic, including the safe entrance and exit of vehicles from adjacent properties. No recreational vehicle or equipment shall be stored or parked in a side or front yard.
(d)
No recreational vehicle shall be used for living, sleeping or housekeeping purposes in any zoning district.
(e)
Any vehicle, even if in compliance with the technical requirements of this article, parked in such a manner so that it creates a legitimate safety hazard, or intrudes on or encroaches upon neighboring premises, shall not be permitted.
(Ord. of 5-1-2003, § 11.10)
The following table contains the off-street parking requirements for each use.
Table 56-319 Off-Street Parking Requirements Table
du= Dwelling Unit
GPA= Gross Floor Area
GIA= Gross Land Area
NOTES: 1 For any use not listed, the planning and zoning board of appeals shall have the discretion to determine the appropriate parking standards based on similar uses listed in the table.
(Ord. of 5-1-2003, § 11.11)