OFF-STREET PARKING AND LOADING
The regulation of off-street parking spaces in these zoning regulations is intended to alleviate or prevent congestion of the public right-of-way and to promote the safety and general welfare of the public, by establishing minimum requirements for off-street parking of motor vehicles in accordance with the intensity of utilization of the various parcels of land or structures.
The off-street parking requirements of this Chapter shall apply within all zoning districts for uses and structures, except as hereinafter provided.
Subd. 1.
Application.
(a)
For the purposes of this Chapter, the off-street parking provisions of this section shall apply to all motorized vehicles including, but not limited to, passenger automobiles, trucks, vans, and motorcycles, unless otherwise specified herein.
(b)
For the purpose of determining off-street parking and loading requirements, Commercial Districts include the O, Office District. Except where otherwise allowed by this Chapter, requirements for the P-I District shall be the same as for Commercial District.
Subd. 2.
Site Plans. All site plans submitted for a structure requiring parking spaces and/or loading facilities shall show or designate the parking and/or loading area(s), number of parking spaces, and type of surfacing, screening, drainage, curbing, sidewalks, and other improvements which may be required to be installed. Said plan shall be a part of the building permit for any such structure, and except for one and two family dwellings, no final certificate of occupancy shall be issued until all items shown on the plan for parking and loading facilities have been completed, unless an agreement supported by a financial security is provided for the completion of said plan. For lots of record established after 1 January 1997, all site plans for single family homes must provide for location of a one stall attached garage, whether or not construction is intended.
Subd. 3.
Change in Land Use. When the site intensity or use of a building and/or property is increased with consequential effect upon the parking requirements as prescribed in this section, the parking requirements as prescribed herein shall be used to provide for such increase in the site intensity and/or use.
Subd. 4.
Reduction of Existing Off-Street Parking Space or Lot Area. Off-street parking spaces and loading spaces or lot area devoted to parking or loading space existing upon the effective date of this Chapter shall not be reduced in number or size unless said number or size exceeds the requirements set forth herein for a similar new use.
(Amended by Ord. No. 2002-02, 01/22/02; Ord. No. 2020-11, § 13, 10/13/2020)
Except as otherwise allowed in CC Zoning Districts, when parking is provided on a site other than the lot or tract upon which a principal use is located, said parking area shall be in the ownership of and remain in the possession of the owner of the principal use for which it is designated. No authorization for separate parking facilities shall be given until such time as the City Council is reasonably certain that the ownership and use of the parking area will continue and that the site will be well maintained. Off-site parking facilities may only be allowed by conditional use permit and shall be subject to the following conditions.
Subd. 1.
Ordinance Compliance. Off-site parking shall be developed and maintained in compliance with all requirements and standards of this Chapter.
Subd. 2.
Access. Reasonable access from off-street parking facilities to the use being serviced shall be provided as determined by the Zoning Administrator.
Subd. 3.
Proximity to Multiple Family Dwelling. The furthest space of an off-site parking lot for multiple family dwellings shall not be located more than 300 feet (excluding public rights-of-way) from any normally used entrance of the principal use serviced.
Subd. 4.
Proximity for Non-Residential Uses. The furthest space of an off-site parking lot for non-residential uses shall not be located more than 300 feet (excluding public rights-of-way) from the main entrance of the principal use being served.
Subd. 1.
Off-Street Parking Areas. All exposed parking areas of four or more required spaces shall be landscaped on all sides in compliance with Section 21130 of this Chapter. No landscaping or screening shall interfere with driver or pedestrian visibility for vehicles entering or exiting the premises. Such parking areas shall devote not less than 350 square feet of land to internal landscape islands (in addition to required traffic safety islands) for each 3,000 square feet of parking space after the first 3,000 square feet. Such islands shall be bounded by concrete curbing. Trees may be installed in approved traffic safety islands to delineate parking spaces from drive aisles and other areas. The land area devoted to internal landscape islands may be decreased in cases where the land area devoted to traffic islands meets or exceeds the above requirement.
Subd. 2.
Off-Street Loading Areas. Loading areas established after 7 March 1995 shall be prohibited within 300 feet of residentially zoned or guided property unless completely screened by an intervening building. Loading areas not screened by an intervening building shall be screened from adjacent residentially zoned or guided property by the use of berms, fences, or walls to provide 100 percent opacity to a height of at least ten feet. The height of the screening shall be measured from the grade of the loading areas.
(Amended by Ord. No. 2000-06, 02/29/00; Ord. No. 2004-02, 01/13/04)
Subd. 1.
Prohibited Parking and Storage. Except where otherwise allowed as exterior storage or in a zoning district, trucks and buses with a gross vehicle weight rating (GVWR) of 12,000 pounds or more, or greater than 30 feet in length, as well as contracting or excavating vehicles or equipment, storage trailers, and mobile storage containers or compartments shall not be parked, stored or otherwise located on any property within the City unless being used in conjunction with a temporary service, not to exceed 30 days, benefiting the premises or not to exceed 180 days for a construction or remodeling project for which building permits have been issued, unless approved by the Zoning Administrator. Storage trailers or mobile storage compartments used in conjunction with a temporary service shall be removed from the site within 15 calendar days after completion of the temporary service or within one year from the issuance date of the building permit related to the temporary service, whichever occurs first.
(Amended by Ord. No. 99-5, 01/19/99; Ord. No. 2001-06, 02/13/01; Ord. No. 2005-01, 01/11/05; Ord. No. 2012-05, 02/28/12; Ord. No. 2024-09, § 32, 3/26/2024)
Subd. 2.
Junked or Inoperable Vehicles. Junked or inoperable vehicles may not be parked, stored or otherwise located on any property within the City for a period greater than 96 hours unless placed completely within an enclosed building or garage.
(Amended by Ord. No. 2010-01, 02/23/10)
Subd. 3.
Motor Vehicle Repair. No motor vehicle repair work of any kind shall be permitted in conjunction with exposed off-street parking facilities, except for minor repairs of vehicles owned by the occupant or resident of the principal use for which the parking space is intended. No exterior storage of car parts are allowed at any time.
(Amended by Ord. No. 2019-01, 02/12/19)
Subd. 1.
Construction.
(a)
Except in the FRD District and except for residential uses in the RSF-1 and RSF-2 Districts, all exposed parking areas and driveways shall be surfaced with asphalt, concrete, or an equivalent surfacing material (including porous pavement options) as may be approved by the Zoning Administrator. For all uses in the FRD District and for residential uses in the RSF-1 and RSF-2 Districts, parking areas and driveways located within front yards shall be surfaced with asphalt, concrete, class 5 gravel, or other surfacing material as may be approved by the Zoning Administrator.
(Amended by Ord. No. 2001-06, 02/13/01; Ord. No. 2004-02, 01/13/04)
(b)
Except as may be required or exempted by the Zoning Administrator, drive aisles and parking stalls shall be constructed in accordance with the following minimum tonnage standards:
(1)
Drive aisles — seven ton.
(2)
Parking stalls — five ton.
Subd. 2.
Striping and Curbing. All parking areas where four or more spaces are required shall be marked by durable painted stripes designating the parking spaces. A continuous curb and gutter shall be provided around the periphery of the paved parking area of the lot, including drives. Exceptions to the above requirement may be approved by the Zoning Administrator.
Subd. 3.
Setbacks.
(a)
Front, side and rear setback requirements for off-street parking areas shall be consistent with the applicable provisions of Section 21135.07, Subd. 5.e.
(b)
In the case of properties which abut street easements, applicable setbacks shall be determined by the Zoning Administrator and relate to roadway classification as identified in the Plymouth Comprehensive Plan.
Subd. 4.
Calculating Space.
(a)
Floor Area. The term "floor area" for the purpose of calculating the number of off-street parking spaces required shall be determined on the basis of the exterior floor area dimensions of the buildings, structure or use times the number of floors, minus ten percent except as may be hereinafter modified, and where a gross floor area calculation is specified.
(b)
Computation. When calculating parking stall requirements, any fraction of a number shall be rounded up to the next whole number.
(Amended by Ord. No. 2010-01, 02/23/10)
(c)
Places of Public Assembly. In stadiums, sports arenas, churches and other places of public assembly in which patrons or spectators occupy benches, pews or other similar seating facilities, each 18 inches of such seating facilities shall be counted as one seat for the purpose of determining parking requirements.
(d)
Snow Storage in Parking Stalls. Provision shall be made in the parking area for adequate snow storage or removal in order to ensure that the required number of spaces are available at all times during the year.
(e)
Use of Required Area. Required accessory off-street parking spaces in any district shall not be utilized for open storage, sale or rental of goods, or storage of inoperable vehicles unless approved by the Zoning Administrator.
Subd.
5. Design.
(a)
Circulation. Traffic circulation systems shall be designed to accommodate anticipated traffic demands. Vehicular traffic generated by a use shall be channeled and controlled in a manner which will avoid congestion or interference with other vehicular transportation systems and pedestrians and which will avoid creating traffic hazards or excessive traffic. The adequacy of any proposed traffic circulation system to accomplish these objectives shall be determined by the City, which may require such additional measures for traffic control as it may deem necessary, including but not limited to the following: directional signage, channelization, standby turn lanes, sidewalks, illumination and other facilities within the site to prevent a backup of vehicles on public streets.
(b)
Parking Space Size. All required off-street parking spaces shall comply with the minimum dimension requirements of Section 21135.07, Subd. 5.e of this Chapter.
(c)
Pedestrian Provision. All off-street parking areas shall be designed with due regard to pedestrian circulation. Off-street parking areas shall be designed such that vehicle and pedestrian circulation is accommodated in a safe, complementary, and orderly fashion.
(d)
Compact Car Spaces. Except as provided below, up to 20 percent of the parking spaces in a parking lot may be permanently marked for compact cars only, provided that:
(1)
The parking lot contains 40 or more off-street parking spaces.
(2)
All compact car spaces are a minimum of eight feet in width and 16 feet in length.
(3)
Signs and markings, as approved by the City, are placed and maintained for compact car spaces.
(4)
All required off-street parking aisle widths are maintained.
(5)
The compact car stalls not displace preferred handicap parking stall locations.
(6)
The design, layout, and location of designated compact car spaces shall not encourage utilization by oversized vehicles and shall be subject to approval by the Zoning Administrator.
(e)
If Dedicated EVCS are provided, the maximum share of compact car spaces may be increased by one percent for every EVCS; up to a maximum of 25% of the parking spaces in a parking lot. To be eligible, EVSE must be level-2 or faster.
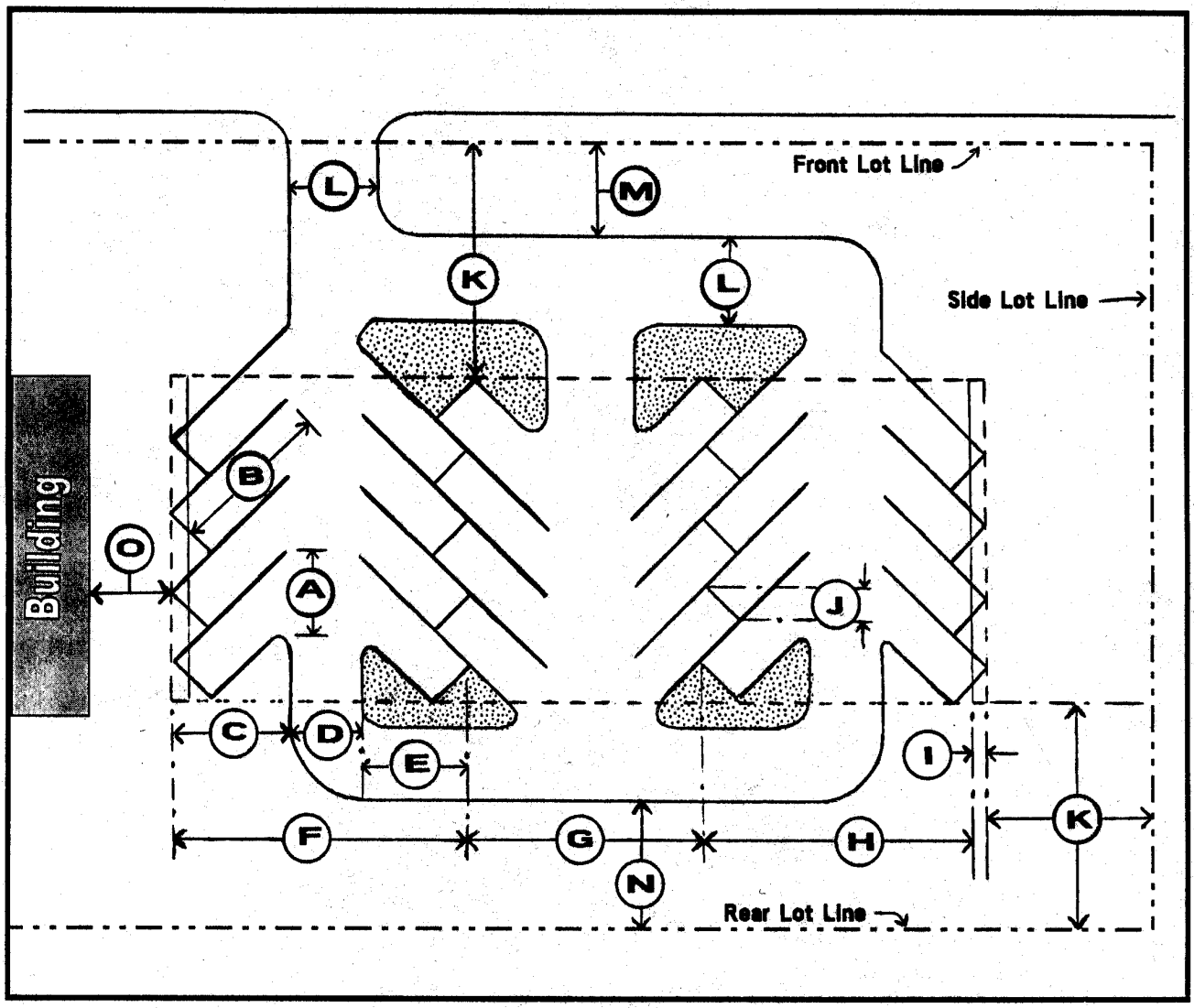
PARKING LOT DIAGRAM
* Required handicap stalls and ramps shall be per State Code.
** Except that parking shall not occur within any established drainage or utility easement - refer to Section 21135.08, Subd. 5.
*** Joint or combined parking facilities on separate lots as authorized and when constructed adjacent to a common lot line separating two or more parking lot areas are not required to observe the parking/drive aisle setback from such common lot line.
**** Except that the setback for lots with frontage on cul-de-sac turnarounds may be less than three feet for that portion of the lot located within 15 feet of such cul-de-sac turnaround.
***** Except that entry vestibules containing less than 120 square feet may encroach up to seven feet into this setback provided there are no exit doors on the vestibule wall that directly faces toward the parking area, and except that drive aisles do not need to be set back from walls containing bank teller or drive-thru drop-off/pickup windows.
(f)
Parking Garages/Parking Within Structures. Required garage parking for structures containing three or more dwelling units shall be provided underground, under principal structures or in a similar manner to avoid excessive site coverage. The off-street parking requirement may be furnished by providing fee free space so designed within the principal building or structures attached thereto; however, unless provisions are made, no building permit shall be issued to convert said parking structure into a dwelling unit or living area or other activity until other adequate provisions are made to comply with the required off-street parking provisions of this Chapter. In no case shall on-street parking be utilized to satisfy the required off-street parking supply.
(g)
Parking Ramps.
(1)
Parking ramps shall be set back from lot lines as required for the principal building on the lot, or as required for parking spaces specified by this section, whichever is greater.
(2)
Except as otherwise approved by the Zoning Administrator, off-street parking ramps shall be designed in compliance with the applicable dimensional requirements of Section 21135.07, Subd. 5.e.
(h)
Street Encroachments. Except in the case of single, two family and townhouse and manor home dwellings, parking areas shall be designed so that circulation between parking bays or aisles occurs within the designated parking lot upon the property being serviced and does not depend upon a public street or alley. Except in the case of single, two family, townhouse, and manor home dwellings, parking area design which requires backing into the public street is prohibited. Parking spaces in a public right-of-way shall not be utilized in meeting required off-street parking standards, except as may be provided in this Chapter.
(i)
Curb Cut Proximity to Intersection. No curb cut or other driveway access shall be located less than 40 feet from the intersection of two or more street rights-of-way. This distance shall be measured from the intersection of lot lines, not curb lines. The City Engineer may require a greater distance on collector and arterial streets and at signalized intersections to satisfy recognized traffic safety standards.
(j)
Curb Cut Maximum. For single-family detached uses, curb cut access for driveways shall not exceed 24 feet in width, except upon approval by the Zoning Administrator. For all other uses, curb cut access for driveways shall not exceed 36 feet in width except upon approval by the Zoning Administrator.
(k)
Curb Cut Spacing Minimum. Curb cut openings shall be located at a minimum of three feet from the side yard lot line in residential districts and a minimum of ten feet from the side lot line in all other districts.
(l)
Curb Cut Separation. Driveway access curb openings on a public street except for single, two family, townhouse, and manor home dwellings shall not be located less than 40 feet from one another except on approval by the Zoning Administrator.
(m)
Parking Area Grades. The grade elevation of the required parking area or portion thereof shall not exceed five percent.
(n)
Driveway Access. Each apartment or non-residential property shall be allowed one driveway access for each 125 feet of street frontage. All such properties shall be entitled to at least one driveway access. Two family homes, townhouses, and manor homes shall be allowed one driveway access per dwelling unit. Single family uses shall be allowed one driveway access per lot, except when the property exceeds the required street frontage per zoning district requirements, a second driveway access may be allowed by approval of the Zoning Administrator. Except as otherwise approved by the Zoning Administrator, single family, two family, townhouse, and manor home uses shall not access arterial and major collector streets. In such cases, if a lot does not have frontage upon a local street and where driveway access to arterial and major collector streets is determined necessary by the Zoning Administrator, joint access through the use of shared curb cuts and access easements shall be utilized to the extent possible.
(o)
Street Access. Except as allowed by a conditional use permit or property subdivision, each lot shall have frontage and access directly onto an abutting, improved and City accepted public street.
(p)
Lighting. Any lighting used to illuminate an off-street parking area shall be so arranged as to reflect glare away from adjoining property, adjacent residential uses and public rights-of-way and be in compliance with Section 21105.06 of this Chapter.
(q)
Signs. No sign shall be so located as to restrict the sight lines and orderly operation and traffic movement within any parking lot. All signs shall be in conformance with Section 21155 of this Chapter.
(r)
Cart Storage. Retail commercial uses exceeding 55,000 square feet in gross floor area may be required to provide ample space for the storage of customer service carts within off-street parking areas. The need and specific amount of required cart storage space shall be determined as part of site plan review. When required, cart storage areas shall not occupy required off-street parking space, shall be clearly delineated, and include facilities for cart confinement.
(Amended by Ord. No. 2000-06, 02/29/00; Ord. No. 2001-06, 02/13/01; Ord. No. 2002-32, 11/26/02; Ord. No. 2006-04, 02/07/06; Ord. No. 2008-09, 03/25/08; Ord. No. 2009-07, 05/12/09; Ord. No. 2011-05, 02/22/11; Ord. No. 2016-11, 04/26/16; Ord. No. 2019-01, 02/12/19; Ord. No. 2022-10, § 10, 8/16/2022; Ord. No. 2024-22, § 60, 9/24/2024)
Subd. 1.
Required accessory off-street parking shall be on the same lot under the same ownership as the principal use being served, except as provided for under the provisions of Section 21135.04 and 21135.13.
Subd. 2.
Except for single family, two family, townhouse, and manor home dwellings, head-in parking, directly off of and adjacent to a public street, with each stall having its own direct access to the public street, shall be prohibited.
Subd. 3.
Except for single family, two family, townhouse, and manor home dwellings, there shall be no off-street parking within 15 feet of any street surface.
Subd. 4.
The boulevard portion of the street right-of-way shall not be used for parking or parking lot circulation.
Subd. 5.
In the case of single family, two family, townhouse, and manor home dwellings, parking shall be prohibited:
(a)
Within three feet of any side or rear lot line.
(b)
Within any established drainage or utility easement, unless approved by the City Engineer.
(c)
In any portion of a front yard except designated driveways leading directly into a garage or one parking space located along the side of, and parallel to, the driveway or attached garage, away from the principal use. This provision does not prohibit installation and use of an on-site maneuvering area (non-parking area) for driveways that gain their access from an arterial or collector roadway, in order to allow vehicles to turn around prior to entering the street system.
Subd. 6.
In the case of single family, two family, townhouse and manor home buildings, driveways providing access to garages may qualify as required off-street parking spaces if all of the following conditions are met:
(a)
The driveway shall serve a dwelling unit which has use of a two-stall garage.
(b)
The driveway shall be under the direct control of the dwelling unit served by the garage.
(c)
The driveway shall measure at least 22 feet in length between the front of the garage and the street or roadway; and
(d)
Parking on the driveway shall not impede pedestrian or traffic circulation or access to any other dwelling unit, nor shall it adversely affect the ability to provide public utilities or public safety.
(Amended by Ord. No. 2000-06, 02/29/00; Ord. No. 2002-02, 01/22/02; Ord. No. 2008-09, 03/25/08; Ord. No. 2010, 02/23/10; Ord. No. 2020-11, § 14, 10/13/2020)
A pedestrian circulation route shall be provided from all parking areas, and loading zones as may be applicable to the entrance of the building. Such circulation routes shall be surfaced with material such as asphalt, concrete, or equivalent material determined acceptable by the Zoning Administrator.
It shall be the joint and several responsibility of the owner of the principal use (or lessee), to use and to maintain in a neat and adequate manner, the parking space, accessway, striping, landscaping, and required fences and to undertake snow removal.
The following minimum number of off-street parking spaces shall be provided and maintained by ownership, easement, and/or lease for and during the life of the respective uses hereinafter set forth.
(Amended by Ord. No. 99-5, 01/19/99; Ord. No. 2001-06, 02/13/01; Ord. No. 2005-01, 01/11/05; Ord. No. 2006-04, 02/07/06; Ord. No. 2007-05, 01/23/07; Ord. No. 2008-09, 03/25/08; Ord. No. 2009-07, 05/12/09) Amended by Ord. No. 2011-05, 02/22/11; Ord. No. 2012-05, 02/28/12; Ord. No. 2015-15, 05/26/15; Ord. No. 2016-11, 04/26/16; Ord. No. 2020-11, § 15, 10/13/2020; Ord. No. 2022-10, § 11, 8/16/2022)
Subd.
1. Upon receipt of a written request as part of a site plan review pursuant to Section 21045, the Zoning Administrator may reduce or, where a maximum is specified, may expand the parking requirements if the applicant demonstrates, in documented form, a demand which is different than required by this Chapter, based on the specifics of the proposed use or due to high employee participation in alternative transportation (e.g., public transit or bicycle commuting). In the case of a request for a reduction, the City may require land to be reserved for parking development should the use or needs change.
Subd.
2. For commercial and industrial districts, a five percent reduction in required parking spaces will be allowed if ten percent or more parking spaces are Dedicated EVCS. The parking spaces must be served by Level-3 EVSE to be eligible for this space reduction. Five percent of the parking spaces will be calculated before the reduction, rounded to the nearest whole number.
(Amended by Ord. No. 2009-07, 05/12/09; Ord. No. 2024-22, § 11, 9/24/2024)
Subd. 1.
Joint Use of Off-Street Parking. Upon receipt of a written request as part of a site plan review pursuant to Section 21045, the Zoning Administrator may approve a reduction of up to ten percent in the number of required off-street parking spaces in the case of shared parking areas between abutting uses, subject to the following additional criteria:
(a)
Proximity. Any off-street parking facilities shall be located within 500 feet (excluding public rights-of-way) of the site where such off-street parking is requested.
(b)
Conflict in Hours. The applicant shall demonstrate in documented fashion that there is no substantial conflict in the principal operating hours of the two buildings or uses for which joint use of off-street parking facilities is proposed.
(c)
Pedestrian Circulation. Each property shall provide a designated pedestrian circulation system through and from off-street parking areas into the principal structures. This circulation system shall also connect to the pedestrian circulation systems of adjacent affected properties.
(d)
Written Consent and Agreement. A legally binding instrument, executed by the parties concerned, for joint use of off-street parking facilities, duly approved as to title of grantors or lessors, and in a form and manner of execution approved by the City Attorney, shall be filed with the City Clerk and recorded with the Hennepin County Recorder or Registrar of Titles, and a certified copy of the recorded document shall be filed with the City within 30 days after approval of the joint parking use by the City or the approval shall be considered null and void, unless a request for an extension is granted subject to the review and approval of the Zoning Administrator.
(Amended by Ord. No. 2009-07, 05/12/09)
Subd. 1.
Design.
(a)
Dimensional Requirements.
(1)
Residential Uses. Required off-street truck loading or unloading spaces for residential uses shall be at least 12 feet in width and 32 feet in length. Where a loading space parallel to a building is to be utilized, such area shall not be less than 12 feet in width nor less than 40 feet in length. In no instance shall any designated side loading space encroach upon a fire lane or driving aisle or parking spaces.
(2)
Non-Residential Uses. Required off-street truck loading or unloading spaces for non-residential uses shall be at least 12 feet in width, 14 feet in height, and 60 feet in length. Where a loading space parallel to a building is to be utilized, such area shall not be less than 12 feet in width nor less than 65 feet in length. In no instance shall any designated side loading space encroach upon a fire lane or driving aisle or parking spaces.
(3)
Reductions. Reductions to loading space size may be granted by the Zoning Administrator upon demonstration of facility need.
(b)
All maneuvering for off-street loading shall be accomplished on private property.
(c)
In addition to the required loading space, all loading spaces shall include a maneuvering area. The maneuvering area shall not use any of that portion of the site containing parking stalls or customer service areas. Maneuvering areas shall be of such size as to permit the backing of truck tractors and coupled trailers into the loading space, without blocking the use of other loading spaces, drives, parking spaces, or maneuvering areas on public right-of-way.
(d)
The construction and setback standards listed in Section 21135.07, Subd. 1 and 3 shall apply to all loading spaces.
(e)
Customer drop off spaces shall not constitute off-street loading spaces.
(Amended by Ord. No. 2016-11, 04/26/16)
Subd. 2.
Number of Loading Spaces Required. The number of required off-street loading spaces shall be as follows:
* ;hg;Reductions to loading space quantity requirements may be granted by the Zoning Administrator upon determination of facility need.
Subd. 3.
Landscaping and Screening of Loading Spaces. Loading spaces shall be screened from all property lines. Said screening shall be accomplished by a solid wall or fence and shall be so designed as to be architecturally harmonious with the principal structure and in conformance with Section 21130 of this Chapter. Screening plantings may be substituted, provided such plantings are in conformance with Section 21130 to this Chapter.
Subd. 4.
Location.
(a)
Off-Street. All required loading spaces for a non-residential use shall be off-street and located on the same lot as the building or use to be served.
(b)
Distance from Intersection. All loading space curb cuts shall be located at minimum 50 feet from the intersection of two or more street rights-of-way. This distance shall be measured from the property line.
(c)
Distance from Residential Use. Loading areas established after 7 March 1995 shall be prohibited within 300 feet of residentially zoned or guided property unless completely screened by an intervening building, or unless screened from adjacent residentially zoned or guided property by the use of berms, fences, or walls to provide 100 percent opacity to a height of at least ten feet. The height of the screening shall be measured from the grade of the loading areas.
(Amended by Ord. No. 2000-06, 02/29/00; Ord. No. 2004-02, 01/13/04; Ord. No. 2010-01, 02/23/10)
(d)
Pedestrians. Loading spaces shall not conflict with pedestrian movement.
(e)
Visibility. Loading spaces shall not obstruct the view of the public right-of-way from off-street parking access.
(f)
General Compliance. Loading spaces shall comply with all other requirements of this section.
(g)
Traffic Interference. Each loading space shall be located with appropriate means of vehicular access to a street or public alley in a manner which will cause the least interference with traffic.
(h)
Accessory Use; Parking and Storage. Required loading spaces shall not be used for the storage of goods, inoperable vehicles or snow and shall not be included as part of the space requirements to meet off-street parking requirements.
Provisions shall be made for the off-street parking of bicycles and motorcycles in all multiple family and non-residential developments and uses. Plans for such facilities shall be reviewed and evaluated on an individual project or use basis as part of site plan review provisions of Section 21045 of this Chapter.
In addition to the provisions of this Section, drive through businesses are also regulated by Section 21120.04, Subd. 3 of this chapter.
(Amended by Ord. No. 2002-02, 01/22/02; Ord. No. 2013-11, 04/23/13; Ord. No. 2015-15, 05/26/15)
OFF-STREET PARKING AND LOADING
The regulation of off-street parking spaces in these zoning regulations is intended to alleviate or prevent congestion of the public right-of-way and to promote the safety and general welfare of the public, by establishing minimum requirements for off-street parking of motor vehicles in accordance with the intensity of utilization of the various parcels of land or structures.
The off-street parking requirements of this Chapter shall apply within all zoning districts for uses and structures, except as hereinafter provided.
Subd. 1.
Application.
(a)
For the purposes of this Chapter, the off-street parking provisions of this section shall apply to all motorized vehicles including, but not limited to, passenger automobiles, trucks, vans, and motorcycles, unless otherwise specified herein.
(b)
For the purpose of determining off-street parking and loading requirements, Commercial Districts include the O, Office District. Except where otherwise allowed by this Chapter, requirements for the P-I District shall be the same as for Commercial District.
Subd. 2.
Site Plans. All site plans submitted for a structure requiring parking spaces and/or loading facilities shall show or designate the parking and/or loading area(s), number of parking spaces, and type of surfacing, screening, drainage, curbing, sidewalks, and other improvements which may be required to be installed. Said plan shall be a part of the building permit for any such structure, and except for one and two family dwellings, no final certificate of occupancy shall be issued until all items shown on the plan for parking and loading facilities have been completed, unless an agreement supported by a financial security is provided for the completion of said plan. For lots of record established after 1 January 1997, all site plans for single family homes must provide for location of a one stall attached garage, whether or not construction is intended.
Subd. 3.
Change in Land Use. When the site intensity or use of a building and/or property is increased with consequential effect upon the parking requirements as prescribed in this section, the parking requirements as prescribed herein shall be used to provide for such increase in the site intensity and/or use.
Subd. 4.
Reduction of Existing Off-Street Parking Space or Lot Area. Off-street parking spaces and loading spaces or lot area devoted to parking or loading space existing upon the effective date of this Chapter shall not be reduced in number or size unless said number or size exceeds the requirements set forth herein for a similar new use.
(Amended by Ord. No. 2002-02, 01/22/02; Ord. No. 2020-11, § 13, 10/13/2020)
Except as otherwise allowed in CC Zoning Districts, when parking is provided on a site other than the lot or tract upon which a principal use is located, said parking area shall be in the ownership of and remain in the possession of the owner of the principal use for which it is designated. No authorization for separate parking facilities shall be given until such time as the City Council is reasonably certain that the ownership and use of the parking area will continue and that the site will be well maintained. Off-site parking facilities may only be allowed by conditional use permit and shall be subject to the following conditions.
Subd. 1.
Ordinance Compliance. Off-site parking shall be developed and maintained in compliance with all requirements and standards of this Chapter.
Subd. 2.
Access. Reasonable access from off-street parking facilities to the use being serviced shall be provided as determined by the Zoning Administrator.
Subd. 3.
Proximity to Multiple Family Dwelling. The furthest space of an off-site parking lot for multiple family dwellings shall not be located more than 300 feet (excluding public rights-of-way) from any normally used entrance of the principal use serviced.
Subd. 4.
Proximity for Non-Residential Uses. The furthest space of an off-site parking lot for non-residential uses shall not be located more than 300 feet (excluding public rights-of-way) from the main entrance of the principal use being served.
Subd. 1.
Off-Street Parking Areas. All exposed parking areas of four or more required spaces shall be landscaped on all sides in compliance with Section 21130 of this Chapter. No landscaping or screening shall interfere with driver or pedestrian visibility for vehicles entering or exiting the premises. Such parking areas shall devote not less than 350 square feet of land to internal landscape islands (in addition to required traffic safety islands) for each 3,000 square feet of parking space after the first 3,000 square feet. Such islands shall be bounded by concrete curbing. Trees may be installed in approved traffic safety islands to delineate parking spaces from drive aisles and other areas. The land area devoted to internal landscape islands may be decreased in cases where the land area devoted to traffic islands meets or exceeds the above requirement.
Subd. 2.
Off-Street Loading Areas. Loading areas established after 7 March 1995 shall be prohibited within 300 feet of residentially zoned or guided property unless completely screened by an intervening building. Loading areas not screened by an intervening building shall be screened from adjacent residentially zoned or guided property by the use of berms, fences, or walls to provide 100 percent opacity to a height of at least ten feet. The height of the screening shall be measured from the grade of the loading areas.
(Amended by Ord. No. 2000-06, 02/29/00; Ord. No. 2004-02, 01/13/04)
Subd. 1.
Prohibited Parking and Storage. Except where otherwise allowed as exterior storage or in a zoning district, trucks and buses with a gross vehicle weight rating (GVWR) of 12,000 pounds or more, or greater than 30 feet in length, as well as contracting or excavating vehicles or equipment, storage trailers, and mobile storage containers or compartments shall not be parked, stored or otherwise located on any property within the City unless being used in conjunction with a temporary service, not to exceed 30 days, benefiting the premises or not to exceed 180 days for a construction or remodeling project for which building permits have been issued, unless approved by the Zoning Administrator. Storage trailers or mobile storage compartments used in conjunction with a temporary service shall be removed from the site within 15 calendar days after completion of the temporary service or within one year from the issuance date of the building permit related to the temporary service, whichever occurs first.
(Amended by Ord. No. 99-5, 01/19/99; Ord. No. 2001-06, 02/13/01; Ord. No. 2005-01, 01/11/05; Ord. No. 2012-05, 02/28/12; Ord. No. 2024-09, § 32, 3/26/2024)
Subd. 2.
Junked or Inoperable Vehicles. Junked or inoperable vehicles may not be parked, stored or otherwise located on any property within the City for a period greater than 96 hours unless placed completely within an enclosed building or garage.
(Amended by Ord. No. 2010-01, 02/23/10)
Subd. 3.
Motor Vehicle Repair. No motor vehicle repair work of any kind shall be permitted in conjunction with exposed off-street parking facilities, except for minor repairs of vehicles owned by the occupant or resident of the principal use for which the parking space is intended. No exterior storage of car parts are allowed at any time.
(Amended by Ord. No. 2019-01, 02/12/19)
Subd. 1.
Construction.
(a)
Except in the FRD District and except for residential uses in the RSF-1 and RSF-2 Districts, all exposed parking areas and driveways shall be surfaced with asphalt, concrete, or an equivalent surfacing material (including porous pavement options) as may be approved by the Zoning Administrator. For all uses in the FRD District and for residential uses in the RSF-1 and RSF-2 Districts, parking areas and driveways located within front yards shall be surfaced with asphalt, concrete, class 5 gravel, or other surfacing material as may be approved by the Zoning Administrator.
(Amended by Ord. No. 2001-06, 02/13/01; Ord. No. 2004-02, 01/13/04)
(b)
Except as may be required or exempted by the Zoning Administrator, drive aisles and parking stalls shall be constructed in accordance with the following minimum tonnage standards:
(1)
Drive aisles — seven ton.
(2)
Parking stalls — five ton.
Subd. 2.
Striping and Curbing. All parking areas where four or more spaces are required shall be marked by durable painted stripes designating the parking spaces. A continuous curb and gutter shall be provided around the periphery of the paved parking area of the lot, including drives. Exceptions to the above requirement may be approved by the Zoning Administrator.
Subd. 3.
Setbacks.
(a)
Front, side and rear setback requirements for off-street parking areas shall be consistent with the applicable provisions of Section 21135.07, Subd. 5.e.
(b)
In the case of properties which abut street easements, applicable setbacks shall be determined by the Zoning Administrator and relate to roadway classification as identified in the Plymouth Comprehensive Plan.
Subd. 4.
Calculating Space.
(a)
Floor Area. The term "floor area" for the purpose of calculating the number of off-street parking spaces required shall be determined on the basis of the exterior floor area dimensions of the buildings, structure or use times the number of floors, minus ten percent except as may be hereinafter modified, and where a gross floor area calculation is specified.
(b)
Computation. When calculating parking stall requirements, any fraction of a number shall be rounded up to the next whole number.
(Amended by Ord. No. 2010-01, 02/23/10)
(c)
Places of Public Assembly. In stadiums, sports arenas, churches and other places of public assembly in which patrons or spectators occupy benches, pews or other similar seating facilities, each 18 inches of such seating facilities shall be counted as one seat for the purpose of determining parking requirements.
(d)
Snow Storage in Parking Stalls. Provision shall be made in the parking area for adequate snow storage or removal in order to ensure that the required number of spaces are available at all times during the year.
(e)
Use of Required Area. Required accessory off-street parking spaces in any district shall not be utilized for open storage, sale or rental of goods, or storage of inoperable vehicles unless approved by the Zoning Administrator.
Subd.
5. Design.
(a)
Circulation. Traffic circulation systems shall be designed to accommodate anticipated traffic demands. Vehicular traffic generated by a use shall be channeled and controlled in a manner which will avoid congestion or interference with other vehicular transportation systems and pedestrians and which will avoid creating traffic hazards or excessive traffic. The adequacy of any proposed traffic circulation system to accomplish these objectives shall be determined by the City, which may require such additional measures for traffic control as it may deem necessary, including but not limited to the following: directional signage, channelization, standby turn lanes, sidewalks, illumination and other facilities within the site to prevent a backup of vehicles on public streets.
(b)
Parking Space Size. All required off-street parking spaces shall comply with the minimum dimension requirements of Section 21135.07, Subd. 5.e of this Chapter.
(c)
Pedestrian Provision. All off-street parking areas shall be designed with due regard to pedestrian circulation. Off-street parking areas shall be designed such that vehicle and pedestrian circulation is accommodated in a safe, complementary, and orderly fashion.
(d)
Compact Car Spaces. Except as provided below, up to 20 percent of the parking spaces in a parking lot may be permanently marked for compact cars only, provided that:
(1)
The parking lot contains 40 or more off-street parking spaces.
(2)
All compact car spaces are a minimum of eight feet in width and 16 feet in length.
(3)
Signs and markings, as approved by the City, are placed and maintained for compact car spaces.
(4)
All required off-street parking aisle widths are maintained.
(5)
The compact car stalls not displace preferred handicap parking stall locations.
(6)
The design, layout, and location of designated compact car spaces shall not encourage utilization by oversized vehicles and shall be subject to approval by the Zoning Administrator.
(e)
If Dedicated EVCS are provided, the maximum share of compact car spaces may be increased by one percent for every EVCS; up to a maximum of 25% of the parking spaces in a parking lot. To be eligible, EVSE must be level-2 or faster.
PARKING LOT DIAGRAM
* Required handicap stalls and ramps shall be per State Code.
** Except that parking shall not occur within any established drainage or utility easement - refer to Section 21135.08, Subd. 5.
*** Joint or combined parking facilities on separate lots as authorized and when constructed adjacent to a common lot line separating two or more parking lot areas are not required to observe the parking/drive aisle setback from such common lot line.
**** Except that the setback for lots with frontage on cul-de-sac turnarounds may be less than three feet for that portion of the lot located within 15 feet of such cul-de-sac turnaround.
***** Except that entry vestibules containing less than 120 square feet may encroach up to seven feet into this setback provided there are no exit doors on the vestibule wall that directly faces toward the parking area, and except that drive aisles do not need to be set back from walls containing bank teller or drive-thru drop-off/pickup windows.
(f)
Parking Garages/Parking Within Structures. Required garage parking for structures containing three or more dwelling units shall be provided underground, under principal structures or in a similar manner to avoid excessive site coverage. The off-street parking requirement may be furnished by providing fee free space so designed within the principal building or structures attached thereto; however, unless provisions are made, no building permit shall be issued to convert said parking structure into a dwelling unit or living area or other activity until other adequate provisions are made to comply with the required off-street parking provisions of this Chapter. In no case shall on-street parking be utilized to satisfy the required off-street parking supply.
(g)
Parking Ramps.
(1)
Parking ramps shall be set back from lot lines as required for the principal building on the lot, or as required for parking spaces specified by this section, whichever is greater.
(2)
Except as otherwise approved by the Zoning Administrator, off-street parking ramps shall be designed in compliance with the applicable dimensional requirements of Section 21135.07, Subd. 5.e.
(h)
Street Encroachments. Except in the case of single, two family and townhouse and manor home dwellings, parking areas shall be designed so that circulation between parking bays or aisles occurs within the designated parking lot upon the property being serviced and does not depend upon a public street or alley. Except in the case of single, two family, townhouse, and manor home dwellings, parking area design which requires backing into the public street is prohibited. Parking spaces in a public right-of-way shall not be utilized in meeting required off-street parking standards, except as may be provided in this Chapter.
(i)
Curb Cut Proximity to Intersection. No curb cut or other driveway access shall be located less than 40 feet from the intersection of two or more street rights-of-way. This distance shall be measured from the intersection of lot lines, not curb lines. The City Engineer may require a greater distance on collector and arterial streets and at signalized intersections to satisfy recognized traffic safety standards.
(j)
Curb Cut Maximum. For single-family detached uses, curb cut access for driveways shall not exceed 24 feet in width, except upon approval by the Zoning Administrator. For all other uses, curb cut access for driveways shall not exceed 36 feet in width except upon approval by the Zoning Administrator.
(k)
Curb Cut Spacing Minimum. Curb cut openings shall be located at a minimum of three feet from the side yard lot line in residential districts and a minimum of ten feet from the side lot line in all other districts.
(l)
Curb Cut Separation. Driveway access curb openings on a public street except for single, two family, townhouse, and manor home dwellings shall not be located less than 40 feet from one another except on approval by the Zoning Administrator.
(m)
Parking Area Grades. The grade elevation of the required parking area or portion thereof shall not exceed five percent.
(n)
Driveway Access. Each apartment or non-residential property shall be allowed one driveway access for each 125 feet of street frontage. All such properties shall be entitled to at least one driveway access. Two family homes, townhouses, and manor homes shall be allowed one driveway access per dwelling unit. Single family uses shall be allowed one driveway access per lot, except when the property exceeds the required street frontage per zoning district requirements, a second driveway access may be allowed by approval of the Zoning Administrator. Except as otherwise approved by the Zoning Administrator, single family, two family, townhouse, and manor home uses shall not access arterial and major collector streets. In such cases, if a lot does not have frontage upon a local street and where driveway access to arterial and major collector streets is determined necessary by the Zoning Administrator, joint access through the use of shared curb cuts and access easements shall be utilized to the extent possible.
(o)
Street Access. Except as allowed by a conditional use permit or property subdivision, each lot shall have frontage and access directly onto an abutting, improved and City accepted public street.
(p)
Lighting. Any lighting used to illuminate an off-street parking area shall be so arranged as to reflect glare away from adjoining property, adjacent residential uses and public rights-of-way and be in compliance with Section 21105.06 of this Chapter.
(q)
Signs. No sign shall be so located as to restrict the sight lines and orderly operation and traffic movement within any parking lot. All signs shall be in conformance with Section 21155 of this Chapter.
(r)
Cart Storage. Retail commercial uses exceeding 55,000 square feet in gross floor area may be required to provide ample space for the storage of customer service carts within off-street parking areas. The need and specific amount of required cart storage space shall be determined as part of site plan review. When required, cart storage areas shall not occupy required off-street parking space, shall be clearly delineated, and include facilities for cart confinement.
(Amended by Ord. No. 2000-06, 02/29/00; Ord. No. 2001-06, 02/13/01; Ord. No. 2002-32, 11/26/02; Ord. No. 2006-04, 02/07/06; Ord. No. 2008-09, 03/25/08; Ord. No. 2009-07, 05/12/09; Ord. No. 2011-05, 02/22/11; Ord. No. 2016-11, 04/26/16; Ord. No. 2019-01, 02/12/19; Ord. No. 2022-10, § 10, 8/16/2022; Ord. No. 2024-22, § 60, 9/24/2024)
Subd. 1.
Required accessory off-street parking shall be on the same lot under the same ownership as the principal use being served, except as provided for under the provisions of Section 21135.04 and 21135.13.
Subd. 2.
Except for single family, two family, townhouse, and manor home dwellings, head-in parking, directly off of and adjacent to a public street, with each stall having its own direct access to the public street, shall be prohibited.
Subd. 3.
Except for single family, two family, townhouse, and manor home dwellings, there shall be no off-street parking within 15 feet of any street surface.
Subd. 4.
The boulevard portion of the street right-of-way shall not be used for parking or parking lot circulation.
Subd. 5.
In the case of single family, two family, townhouse, and manor home dwellings, parking shall be prohibited:
(a)
Within three feet of any side or rear lot line.
(b)
Within any established drainage or utility easement, unless approved by the City Engineer.
(c)
In any portion of a front yard except designated driveways leading directly into a garage or one parking space located along the side of, and parallel to, the driveway or attached garage, away from the principal use. This provision does not prohibit installation and use of an on-site maneuvering area (non-parking area) for driveways that gain their access from an arterial or collector roadway, in order to allow vehicles to turn around prior to entering the street system.
Subd. 6.
In the case of single family, two family, townhouse and manor home buildings, driveways providing access to garages may qualify as required off-street parking spaces if all of the following conditions are met:
(a)
The driveway shall serve a dwelling unit which has use of a two-stall garage.
(b)
The driveway shall be under the direct control of the dwelling unit served by the garage.
(c)
The driveway shall measure at least 22 feet in length between the front of the garage and the street or roadway; and
(d)
Parking on the driveway shall not impede pedestrian or traffic circulation or access to any other dwelling unit, nor shall it adversely affect the ability to provide public utilities or public safety.
(Amended by Ord. No. 2000-06, 02/29/00; Ord. No. 2002-02, 01/22/02; Ord. No. 2008-09, 03/25/08; Ord. No. 2010, 02/23/10; Ord. No. 2020-11, § 14, 10/13/2020)
A pedestrian circulation route shall be provided from all parking areas, and loading zones as may be applicable to the entrance of the building. Such circulation routes shall be surfaced with material such as asphalt, concrete, or equivalent material determined acceptable by the Zoning Administrator.
It shall be the joint and several responsibility of the owner of the principal use (or lessee), to use and to maintain in a neat and adequate manner, the parking space, accessway, striping, landscaping, and required fences and to undertake snow removal.
The following minimum number of off-street parking spaces shall be provided and maintained by ownership, easement, and/or lease for and during the life of the respective uses hereinafter set forth.
(Amended by Ord. No. 99-5, 01/19/99; Ord. No. 2001-06, 02/13/01; Ord. No. 2005-01, 01/11/05; Ord. No. 2006-04, 02/07/06; Ord. No. 2007-05, 01/23/07; Ord. No. 2008-09, 03/25/08; Ord. No. 2009-07, 05/12/09) Amended by Ord. No. 2011-05, 02/22/11; Ord. No. 2012-05, 02/28/12; Ord. No. 2015-15, 05/26/15; Ord. No. 2016-11, 04/26/16; Ord. No. 2020-11, § 15, 10/13/2020; Ord. No. 2022-10, § 11, 8/16/2022)
Subd.
1. Upon receipt of a written request as part of a site plan review pursuant to Section 21045, the Zoning Administrator may reduce or, where a maximum is specified, may expand the parking requirements if the applicant demonstrates, in documented form, a demand which is different than required by this Chapter, based on the specifics of the proposed use or due to high employee participation in alternative transportation (e.g., public transit or bicycle commuting). In the case of a request for a reduction, the City may require land to be reserved for parking development should the use or needs change.
Subd.
2. For commercial and industrial districts, a five percent reduction in required parking spaces will be allowed if ten percent or more parking spaces are Dedicated EVCS. The parking spaces must be served by Level-3 EVSE to be eligible for this space reduction. Five percent of the parking spaces will be calculated before the reduction, rounded to the nearest whole number.
(Amended by Ord. No. 2009-07, 05/12/09; Ord. No. 2024-22, § 11, 9/24/2024)
Subd. 1.
Joint Use of Off-Street Parking. Upon receipt of a written request as part of a site plan review pursuant to Section 21045, the Zoning Administrator may approve a reduction of up to ten percent in the number of required off-street parking spaces in the case of shared parking areas between abutting uses, subject to the following additional criteria:
(a)
Proximity. Any off-street parking facilities shall be located within 500 feet (excluding public rights-of-way) of the site where such off-street parking is requested.
(b)
Conflict in Hours. The applicant shall demonstrate in documented fashion that there is no substantial conflict in the principal operating hours of the two buildings or uses for which joint use of off-street parking facilities is proposed.
(c)
Pedestrian Circulation. Each property shall provide a designated pedestrian circulation system through and from off-street parking areas into the principal structures. This circulation system shall also connect to the pedestrian circulation systems of adjacent affected properties.
(d)
Written Consent and Agreement. A legally binding instrument, executed by the parties concerned, for joint use of off-street parking facilities, duly approved as to title of grantors or lessors, and in a form and manner of execution approved by the City Attorney, shall be filed with the City Clerk and recorded with the Hennepin County Recorder or Registrar of Titles, and a certified copy of the recorded document shall be filed with the City within 30 days after approval of the joint parking use by the City or the approval shall be considered null and void, unless a request for an extension is granted subject to the review and approval of the Zoning Administrator.
(Amended by Ord. No. 2009-07, 05/12/09)
Subd. 1.
Design.
(a)
Dimensional Requirements.
(1)
Residential Uses. Required off-street truck loading or unloading spaces for residential uses shall be at least 12 feet in width and 32 feet in length. Where a loading space parallel to a building is to be utilized, such area shall not be less than 12 feet in width nor less than 40 feet in length. In no instance shall any designated side loading space encroach upon a fire lane or driving aisle or parking spaces.
(2)
Non-Residential Uses. Required off-street truck loading or unloading spaces for non-residential uses shall be at least 12 feet in width, 14 feet in height, and 60 feet in length. Where a loading space parallel to a building is to be utilized, such area shall not be less than 12 feet in width nor less than 65 feet in length. In no instance shall any designated side loading space encroach upon a fire lane or driving aisle or parking spaces.
(3)
Reductions. Reductions to loading space size may be granted by the Zoning Administrator upon demonstration of facility need.
(b)
All maneuvering for off-street loading shall be accomplished on private property.
(c)
In addition to the required loading space, all loading spaces shall include a maneuvering area. The maneuvering area shall not use any of that portion of the site containing parking stalls or customer service areas. Maneuvering areas shall be of such size as to permit the backing of truck tractors and coupled trailers into the loading space, without blocking the use of other loading spaces, drives, parking spaces, or maneuvering areas on public right-of-way.
(d)
The construction and setback standards listed in Section 21135.07, Subd. 1 and 3 shall apply to all loading spaces.
(e)
Customer drop off spaces shall not constitute off-street loading spaces.
(Amended by Ord. No. 2016-11, 04/26/16)
Subd. 2.
Number of Loading Spaces Required. The number of required off-street loading spaces shall be as follows:
* ;hg;Reductions to loading space quantity requirements may be granted by the Zoning Administrator upon determination of facility need.
Subd. 3.
Landscaping and Screening of Loading Spaces. Loading spaces shall be screened from all property lines. Said screening shall be accomplished by a solid wall or fence and shall be so designed as to be architecturally harmonious with the principal structure and in conformance with Section 21130 of this Chapter. Screening plantings may be substituted, provided such plantings are in conformance with Section 21130 to this Chapter.
Subd. 4.
Location.
(a)
Off-Street. All required loading spaces for a non-residential use shall be off-street and located on the same lot as the building or use to be served.
(b)
Distance from Intersection. All loading space curb cuts shall be located at minimum 50 feet from the intersection of two or more street rights-of-way. This distance shall be measured from the property line.
(c)
Distance from Residential Use. Loading areas established after 7 March 1995 shall be prohibited within 300 feet of residentially zoned or guided property unless completely screened by an intervening building, or unless screened from adjacent residentially zoned or guided property by the use of berms, fences, or walls to provide 100 percent opacity to a height of at least ten feet. The height of the screening shall be measured from the grade of the loading areas.
(Amended by Ord. No. 2000-06, 02/29/00; Ord. No. 2004-02, 01/13/04; Ord. No. 2010-01, 02/23/10)
(d)
Pedestrians. Loading spaces shall not conflict with pedestrian movement.
(e)
Visibility. Loading spaces shall not obstruct the view of the public right-of-way from off-street parking access.
(f)
General Compliance. Loading spaces shall comply with all other requirements of this section.
(g)
Traffic Interference. Each loading space shall be located with appropriate means of vehicular access to a street or public alley in a manner which will cause the least interference with traffic.
(h)
Accessory Use; Parking and Storage. Required loading spaces shall not be used for the storage of goods, inoperable vehicles or snow and shall not be included as part of the space requirements to meet off-street parking requirements.
Provisions shall be made for the off-street parking of bicycles and motorcycles in all multiple family and non-residential developments and uses. Plans for such facilities shall be reviewed and evaluated on an individual project or use basis as part of site plan review provisions of Section 21045 of this Chapter.
In addition to the provisions of this Section, drive through businesses are also regulated by Section 21120.04, Subd. 3 of this chapter.
(Amended by Ord. No. 2002-02, 01/22/02; Ord. No. 2013-11, 04/23/13; Ord. No. 2015-15, 05/26/15)