- OFF-STREET PARKING AND LOADING
The purpose of this article is to:
1.
Protect water quality and storm sewer capacity by limiting the number of off-street parking spaces and amount of impervious surfaces that may be permitted on a parcel of land or accessory to a use or building.
2.
Preserve the historic development pattern and character of the downtown area by limiting parking in front yard areas, promoting the use and development of shared parking and centralized public parking facilities, and restricting the use and development of scattered private parking lots.
3.
Establish flexible minimum and maximum standards for off-street parking and loading, and promote the use and development of shared parking and loading facilities, cross-access between sites, and a pedestrian-oriented development pattern.
Off-street parking, stacking, and loading spaces shall be provided in all districts whenever any structure is constructed, altered, or enlarged; a new land use is established; an existing use is replaced by a new use (change of use); or an existing use is expanded or increased in intensity. Such spaces shall be provided in accordance with the provisions of this article, prior to the issuance of a certificate of occupancy for the structure or use.
The following general standards shall apply to all off-street parking and loading facilities:
A.
Location of spaces. Off-street parking spaces shall be located within 300 feet of a primary building entrance for the use to which such spaces are accessory. Off-street parking shall be prohibited within the front yard area of any zoning lot in a special parking district established in accordance with section 9.09.A. (special parking districts). Off-street parking facilities may be located within required front, side, and rear yard setback areas, subject to provision of adequate screening in accordance with section 11.05.A. (parking lot landscaping).
B.
Use. Any area once designated as required off-street parking, stacking, and loading spaces shall not be changed to any other use, unless adequate spaces meeting the standards of this article have first been provided at another location acceptable to the planning commission. Use of off-street parking, stacking, and loading facilities shall be further subject to the following:
1.
No commercial activity or selling of any kind shall be conducted within required parking areas, except as part of a permitted temporary use.
2.
Parking lots and loading areas shall not be used for parking of inoperable vehicles, outside storage of any equipment, products or materials, or dumping of refuse.
3.
Parking of an operable motor vehicle shall not exceed a continuous period of more than 48 hours. Repairs, servicing or display of vehicles for sale shall be prohibited.
4.
No person shall park any motor vehicle on any private property without the authorization of the owner, holder, occupant, lessee, agent or trustee of such property. Ownership shall be shown of all lots intended for use as parking by the applicant.
C.
Shared facilities. The development and use of a parking or loading facility shared between two or more contiguous uses shall be permitted where peak activity for each use will occur at different periods of the day or week. Shared facilities shall be subject to acceptance by the planning commission of a signed shared facility agreement between the property owners. Where shared parking facilities are provided, the number of parking spaces shall not be less than 80 percent of the sum of the minimum requirements for the various individual uses specified in section 9.05 (schedule of required parking by use), nor more than the sum of the maximum requirements for the various individual uses, as follows:
Minimum shared parking requirement = (minimum for use A + minimum for use B) × 80%
Maximum shared parking requirement = (minimum for use A + minimum for use B) × 133%
Off-street parking spaces for single-and two-family (duplex) dwellings, including residential dwellings converted to apartments shall consist of an accessory driveway, garage, parking strip or bay, or combination thereof, subject to the following:
1.
Such parking spaces shall be hard-surfaced with concrete, plant-mixed bituminous material, brick or stone, and shall be located on the same zoning lot as the principal dwelling.
2.
A maximum of one driveway curb cut shall be permitted accessory to each dwelling on lots with a lot width of less than 80 feet. Lots with a minimum lot width of 80 feet, and corner lots with a minimum lot depth exceeding 120 feet, shall be permitted one additional driveway curb cut.
3.
Residential driveways shall not exceed a maximum width of 12 feet or the total width of all accessory garage doors served by the driveway, whichever is greater. A maximum of two parking space may be provided on a driveway within the required front yard, and no parking shall be permitted on lawns or other unpaved areas of a residential lot.
4.
One recreational vehicle, as defined in section 25.02 (Definitions), may be parked or stored by the owner of a residential lot within any non-required side or rear yard area, provided that use of the vehicle for living or residential purposes shall be prohibited. Recreational vehicles including utility trailers shall not be stored within a street right-of-way. Exceptions to this section include:
a.
One travel trailer may be temporarily stored within the driveway in front of the front edge of the principal dwelling for 48 hours prior to leaving for a trip and 48 hours upon returning in order to load/unload the travel trailer. At no time shall the trailer block the sidewalk. If the trailer blocks the sidewalk, the owner shall be ticketed under section 46-71, subsection 5, Nuisances, of the Richmond Code of Ordinances.
b.
One boat and trailer may be temporarily stored within the driveway in front of the front edge of the principal dwelling for 24 hours prior to leaving for a trip and 24 hours upon returning in order to load/unload the boat. At no time shall the trailer block the sidewalk. If the boat/trailer blocks the sidewalk, the owner shall be ticketed under section 46-71, subsection 5, Nuisances, of the Richmond Code of Ordinances. A boat shall not be stored within the driveway in front of the front edge of the principal dwelling more than a total of 48 hours in a given seven-day period.
(Ord. No. 156-34, § I, 3-17-25)
The minimum number of required off-street parking spaces for an individual use shall be determined in accordance with the following:
A.
Parking calculations. Where a use is not specifically mentioned in this article, the planning commission shall apply the standards for a similar listed use. Where calculations determining the number of required parking spaces result in a fractional space, any fraction up to and including one-half shall be disregarded, and any fraction over one-half shall be rounded-up to the next highest whole number.
B.
Minimum and maximum parking requirements.
1.
Minimum required spaces. Off-street parking, stacking, and loading spaces shall be provided in accordance with the minimum requirements of section 9.05c (schedule of required parking by use). The planning commission may require any use to provide parking spaces above the required minimum, up to the maximum permitted by this section.
2.
Maximum permitted parking spaces. The maximum amount of off-street parking permitted for any use shall not exceed 133 percent of the minimum parking requirements of this section. This requirement shall not apply to single-family or two-family dwellings, nor to spaces reserved for off-site uses as part of an off-site parking facility agreement per section 9.09.B. (off-site parking facilities).
C.
Schedule of required parking by use.
Off-street parking facilities designed, constructed, and maintained in accordance with the following:
A.
Barrier-free parking requirements. Barrier-free parking spaces signed and striped shall be provided at conveniently accessible locations within each parking lot, in accordance with the state construction code enforced by the city and the following (see illustration):
B.
Landscaping and screening. Landscaping and screening shall be provided for all parking and loading facilities in accordance with the provisions of section 11.05 (standards for specific areas).
C.
Exterior lighting. Where provided, exterior lighting shall comply with the standards of article 14 (exterior lighting).
D.
Ingress/egress. Adequate means of ingress and egress shall be provided for all parking and loading facilities by means of clearly limited and defined drives, curb cuts, and maneuvering lanes. Backing directly onto a street or using a street for maneuvering between parking rows shall be prohibited. Ingress and egress for off-street parking lots shall be set back a minimum of 25 feet from abutting single-family residential districts and existing single-family and two-family dwellings.
E.
Pavement, curbing and sidewalks. Off-street parking facilities shall be paved with concrete, bituminous asphalt or similar hard-surfacing materials, in accordance with the construction and design standards established by the city. Where off-street parking spaces directly abut a sidewalk, the sidewalk shall have a minimum width of seven feet to accommodate vehicle encroachment.
Concrete curbing of at least six inches in height shall be provided within and around the perimeter of off-street parking lots for the purpose of minimizing vehicle encroachment into sidewalks, landscaped areas, and street rights-of-way. The planning commission may permit use of wheel stops, bumper guards or similar devices in place of concrete curbing, upon determining that such devices would be more appropriate for the site or use.
F.
Stacking spaces. Where required by this article, stacking spaces for drive-through facilities shall be ten feet wide by 20 feet long. Stacking spaces shall not intrude into any street right-of-way, public easement, sidewalk or maneuvering lane for an off-street parking lot.
G.
Grading and drainage. Driveways and other parking areas shall be graded and drained to dispose of surface waters in accordance with the construction and design standards established by the city. Surface water shall not be permitted to drain on to adjoining lots or to sheet flow across a public sidewalk, except in accordance with a drainage plan approved by the city.
H.
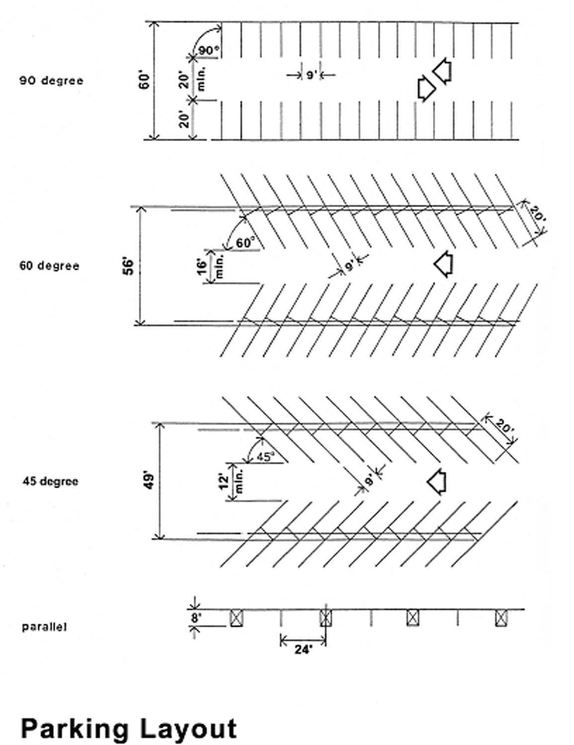
Parking layout. The layout of off-street parking facilities shall be in accordance with the following minimum requirements (see illustration):
1.
Parking rows shall not exceed 300 feet in length without providing a break in circulation or a mid-point landscaped island.
2.
Up to ten percent of the parking spaces provided may be compact car parking spaces with a reduced width of eight feet and a reduced length of 17 feet. Compact car only spaces shall be identified with signage or pavement striping.
3.
One attendant shelter building may be provided for an off-street parking lot, which shall conform to setback requirements for the zoning district.
Construction or alteration of off-street parking lots shall be in accordance with an approved site plan, and shall be subject to review and approval of appropriate permits by the building official. Plans for parking lots shall indicate existing and proposed grades, drainage, water mains and sewers, surfacing and base materials, and the proposed parking layout in accordance with the construction and design standards established by the city.
1.
Inspection. Upon completion of construction, the parking lot shall be inspected and approved by the Building Official before a certificate of occupancy can be issued for the parking lot and the structure or use the parking is intended to serve.
2.
Performance guarantee. In the event that required paving cannot be completed because of cold or inclement weather, the city may require submittal of a performance guarantee to ensure completion of all required improvements per the approved site plan, in accordance with section 1.06 (performance guarantees).
To avoid undue interference with public use of dedicated street and alley rights-of-way, adequate space shall be provided for loading and unloading activities associated with any use involving the receipt or distribution of vehicles, materials or merchandise, subject to the following:
A.
General standards. The following shall apply to loading and unloading areas in all zoning districts:
1.
Loading spaces shall be of adequate area and height to accommodate the anticipated needs of the proposed use, subject to planning commission approval.
2.
Loading spaces shall be set back a minimum of 50 feet from any residential district or use, except where enclosed within a building or screened to the satisfaction of the planning commission, in accordance with section 11.04 (methods of screening and buffering).
3.
Loading spaces, truck docks, overhead doors, and similar loading and unloading facilities shall be prohibited within any front yard, or on any building facade visible from a public street, except where the planning commission determines that such a location is necessary due to the location or internal arrangement of the building.
4.
Loading spaces shall be paved with concrete or bituminous asphalt in accordance with the construction and design standards established by the city.
B.
District standards. The minimum size or number of required loading spaces shall be in accordance with the following standards by zoning district:
1.
Office-service (O) district standards. Adequate loading space shall be provided for in the side or rear yard at a minimum ratio of five square feet per one linear front foot width of the principal building.
2.
Business (B-1, B-2, B-3) district standards. Adequate loading space shall be provided for in the side or rear yard at a minimum ratio of ten square feet per one linear front foot width of the principal building.
3.
Industrial (I-1, I-2) district standards. Adequate loading space shall be provided for in the side or rear yard in accordance with the following minimum requirements:
Limited modifications to the standards of this article shall be permitted, subject to the following:
A.
Special parking districts. Special parking districts may be established by the city council, with recommendation from the planning commission. The purpose of such districts is to define areas of the city within which a reduction of off-street parking requirements for individual uses shall be permitted due to the availability of public parking lots owned or operated by the city, on-street parking, and similar public parking facilities. The boundaries of areas classified as special parking districts shall be delineated on the official zoning map.
Individual uses within the boundaries of a special parking district shall not be required to construct or maintain private off-street parking facilities, provided that the use is located within 750 feet of an existing or planned off-street public parking lot.
B.
Off-site parking facilities. Required parking facilities accessory to non-residential uses in any zoning district may be located off-site (on other than the same zoning lot as the use served), subject to the following:
1.
Required parking shall be located within 500 feet of a principal building entrance for the use.
2.
Use of off-site parking spaces within a residential zoning district shall be prohibited.
3.
A written agreement shall be drawn to the satisfaction of the city attorney and executed by all parties concerned assuring the continued availability of the off-site parking facilities for the use they are intended to serve.
C.
Exceeding maximum number of required spaces. The planning commission may require any use to provide parking spaces above the required minimum, up to the maximum permitted by this section. Exceeding the maximum parking space requirements shall be prohibited, except where the planning commission determines that additional parking is necessary to accommodate the use on a typical day of operation, based upon evidence supplied by the applicant.
D.
Deferment of parking spaces. Where an applicant demonstrates to the satisfaction of the planning commission that the minimum required number of parking spaces is excessive, the planning commission may approve the construction of a lesser number of parking spaces, provided that the deferred parking is shown on the site plan and set aside as open space. Deferred parking spaces shall be constructed in accordance with the approved site plan upon written request by the city after the city planner has documented three incidents of problem parking on the site.
E.
Modification of loading space requirements. The planning commission may modify or waive the requirement for off-street loading areas, upon determining that adequate public or private loading space is available to serve the building or use, or that provision of such loading space is unnecessary or impractical to provide.
F.
Other circumstances. The planning commission may modify or waive off-street parking requirements under any of the following circumstances:
1.
A combination of off-street parking spaces and on-street spaces adjacent to the lot can effectively accommodate the parking needs of a given use without negatively impacting traffic safety or adjacent uses.
2.
Sufficient evidence has been provided by the applicant to demonstrate that an alternative parking standard would be more appropriate for the type, scale or intensity of the use.
All parking and loading areas shall be maintained in accordance with the provisions of this article, an approved site plan and the following:
1.
Alterations to an approved parking or loading facility that are not in accordance with an approved site plan shall be considered a violation of this ordinance.
2.
All parking areas, perimeter landscaped areas, and required screening shall be kept free from tall grass, weeds, trash, and debris. Surfacing, curbing, lighting fixtures, signage, and related appurtenances shall be kept in good repair.
- OFF-STREET PARKING AND LOADING
The purpose of this article is to:
1.
Protect water quality and storm sewer capacity by limiting the number of off-street parking spaces and amount of impervious surfaces that may be permitted on a parcel of land or accessory to a use or building.
2.
Preserve the historic development pattern and character of the downtown area by limiting parking in front yard areas, promoting the use and development of shared parking and centralized public parking facilities, and restricting the use and development of scattered private parking lots.
3.
Establish flexible minimum and maximum standards for off-street parking and loading, and promote the use and development of shared parking and loading facilities, cross-access between sites, and a pedestrian-oriented development pattern.
Off-street parking, stacking, and loading spaces shall be provided in all districts whenever any structure is constructed, altered, or enlarged; a new land use is established; an existing use is replaced by a new use (change of use); or an existing use is expanded or increased in intensity. Such spaces shall be provided in accordance with the provisions of this article, prior to the issuance of a certificate of occupancy for the structure or use.
The following general standards shall apply to all off-street parking and loading facilities:
A.
Location of spaces. Off-street parking spaces shall be located within 300 feet of a primary building entrance for the use to which such spaces are accessory. Off-street parking shall be prohibited within the front yard area of any zoning lot in a special parking district established in accordance with section 9.09.A. (special parking districts). Off-street parking facilities may be located within required front, side, and rear yard setback areas, subject to provision of adequate screening in accordance with section 11.05.A. (parking lot landscaping).
B.
Use. Any area once designated as required off-street parking, stacking, and loading spaces shall not be changed to any other use, unless adequate spaces meeting the standards of this article have first been provided at another location acceptable to the planning commission. Use of off-street parking, stacking, and loading facilities shall be further subject to the following:
1.
No commercial activity or selling of any kind shall be conducted within required parking areas, except as part of a permitted temporary use.
2.
Parking lots and loading areas shall not be used for parking of inoperable vehicles, outside storage of any equipment, products or materials, or dumping of refuse.
3.
Parking of an operable motor vehicle shall not exceed a continuous period of more than 48 hours. Repairs, servicing or display of vehicles for sale shall be prohibited.
4.
No person shall park any motor vehicle on any private property without the authorization of the owner, holder, occupant, lessee, agent or trustee of such property. Ownership shall be shown of all lots intended for use as parking by the applicant.
C.
Shared facilities. The development and use of a parking or loading facility shared between two or more contiguous uses shall be permitted where peak activity for each use will occur at different periods of the day or week. Shared facilities shall be subject to acceptance by the planning commission of a signed shared facility agreement between the property owners. Where shared parking facilities are provided, the number of parking spaces shall not be less than 80 percent of the sum of the minimum requirements for the various individual uses specified in section 9.05 (schedule of required parking by use), nor more than the sum of the maximum requirements for the various individual uses, as follows:
Minimum shared parking requirement = (minimum for use A + minimum for use B) × 80%
Maximum shared parking requirement = (minimum for use A + minimum for use B) × 133%
Off-street parking spaces for single-and two-family (duplex) dwellings, including residential dwellings converted to apartments shall consist of an accessory driveway, garage, parking strip or bay, or combination thereof, subject to the following:
1.
Such parking spaces shall be hard-surfaced with concrete, plant-mixed bituminous material, brick or stone, and shall be located on the same zoning lot as the principal dwelling.
2.
A maximum of one driveway curb cut shall be permitted accessory to each dwelling on lots with a lot width of less than 80 feet. Lots with a minimum lot width of 80 feet, and corner lots with a minimum lot depth exceeding 120 feet, shall be permitted one additional driveway curb cut.
3.
Residential driveways shall not exceed a maximum width of 12 feet or the total width of all accessory garage doors served by the driveway, whichever is greater. A maximum of two parking space may be provided on a driveway within the required front yard, and no parking shall be permitted on lawns or other unpaved areas of a residential lot.
4.
One recreational vehicle, as defined in section 25.02 (Definitions), may be parked or stored by the owner of a residential lot within any non-required side or rear yard area, provided that use of the vehicle for living or residential purposes shall be prohibited. Recreational vehicles including utility trailers shall not be stored within a street right-of-way. Exceptions to this section include:
a.
One travel trailer may be temporarily stored within the driveway in front of the front edge of the principal dwelling for 48 hours prior to leaving for a trip and 48 hours upon returning in order to load/unload the travel trailer. At no time shall the trailer block the sidewalk. If the trailer blocks the sidewalk, the owner shall be ticketed under section 46-71, subsection 5, Nuisances, of the Richmond Code of Ordinances.
b.
One boat and trailer may be temporarily stored within the driveway in front of the front edge of the principal dwelling for 24 hours prior to leaving for a trip and 24 hours upon returning in order to load/unload the boat. At no time shall the trailer block the sidewalk. If the boat/trailer blocks the sidewalk, the owner shall be ticketed under section 46-71, subsection 5, Nuisances, of the Richmond Code of Ordinances. A boat shall not be stored within the driveway in front of the front edge of the principal dwelling more than a total of 48 hours in a given seven-day period.
(Ord. No. 156-34, § I, 3-17-25)
The minimum number of required off-street parking spaces for an individual use shall be determined in accordance with the following:
A.
Parking calculations. Where a use is not specifically mentioned in this article, the planning commission shall apply the standards for a similar listed use. Where calculations determining the number of required parking spaces result in a fractional space, any fraction up to and including one-half shall be disregarded, and any fraction over one-half shall be rounded-up to the next highest whole number.
B.
Minimum and maximum parking requirements.
1.
Minimum required spaces. Off-street parking, stacking, and loading spaces shall be provided in accordance with the minimum requirements of section 9.05c (schedule of required parking by use). The planning commission may require any use to provide parking spaces above the required minimum, up to the maximum permitted by this section.
2.
Maximum permitted parking spaces. The maximum amount of off-street parking permitted for any use shall not exceed 133 percent of the minimum parking requirements of this section. This requirement shall not apply to single-family or two-family dwellings, nor to spaces reserved for off-site uses as part of an off-site parking facility agreement per section 9.09.B. (off-site parking facilities).
C.
Schedule of required parking by use.
Off-street parking facilities designed, constructed, and maintained in accordance with the following:
A.
Barrier-free parking requirements. Barrier-free parking spaces signed and striped shall be provided at conveniently accessible locations within each parking lot, in accordance with the state construction code enforced by the city and the following (see illustration):
B.
Landscaping and screening. Landscaping and screening shall be provided for all parking and loading facilities in accordance with the provisions of section 11.05 (standards for specific areas).
C.
Exterior lighting. Where provided, exterior lighting shall comply with the standards of article 14 (exterior lighting).
D.
Ingress/egress. Adequate means of ingress and egress shall be provided for all parking and loading facilities by means of clearly limited and defined drives, curb cuts, and maneuvering lanes. Backing directly onto a street or using a street for maneuvering between parking rows shall be prohibited. Ingress and egress for off-street parking lots shall be set back a minimum of 25 feet from abutting single-family residential districts and existing single-family and two-family dwellings.
E.
Pavement, curbing and sidewalks. Off-street parking facilities shall be paved with concrete, bituminous asphalt or similar hard-surfacing materials, in accordance with the construction and design standards established by the city. Where off-street parking spaces directly abut a sidewalk, the sidewalk shall have a minimum width of seven feet to accommodate vehicle encroachment.
Concrete curbing of at least six inches in height shall be provided within and around the perimeter of off-street parking lots for the purpose of minimizing vehicle encroachment into sidewalks, landscaped areas, and street rights-of-way. The planning commission may permit use of wheel stops, bumper guards or similar devices in place of concrete curbing, upon determining that such devices would be more appropriate for the site or use.
F.
Stacking spaces. Where required by this article, stacking spaces for drive-through facilities shall be ten feet wide by 20 feet long. Stacking spaces shall not intrude into any street right-of-way, public easement, sidewalk or maneuvering lane for an off-street parking lot.
G.
Grading and drainage. Driveways and other parking areas shall be graded and drained to dispose of surface waters in accordance with the construction and design standards established by the city. Surface water shall not be permitted to drain on to adjoining lots or to sheet flow across a public sidewalk, except in accordance with a drainage plan approved by the city.
H.
Parking layout. The layout of off-street parking facilities shall be in accordance with the following minimum requirements (see illustration):
1.
Parking rows shall not exceed 300 feet in length without providing a break in circulation or a mid-point landscaped island.
2.
Up to ten percent of the parking spaces provided may be compact car parking spaces with a reduced width of eight feet and a reduced length of 17 feet. Compact car only spaces shall be identified with signage or pavement striping.
3.
One attendant shelter building may be provided for an off-street parking lot, which shall conform to setback requirements for the zoning district.
Construction or alteration of off-street parking lots shall be in accordance with an approved site plan, and shall be subject to review and approval of appropriate permits by the building official. Plans for parking lots shall indicate existing and proposed grades, drainage, water mains and sewers, surfacing and base materials, and the proposed parking layout in accordance with the construction and design standards established by the city.
1.
Inspection. Upon completion of construction, the parking lot shall be inspected and approved by the Building Official before a certificate of occupancy can be issued for the parking lot and the structure or use the parking is intended to serve.
2.
Performance guarantee. In the event that required paving cannot be completed because of cold or inclement weather, the city may require submittal of a performance guarantee to ensure completion of all required improvements per the approved site plan, in accordance with section 1.06 (performance guarantees).
To avoid undue interference with public use of dedicated street and alley rights-of-way, adequate space shall be provided for loading and unloading activities associated with any use involving the receipt or distribution of vehicles, materials or merchandise, subject to the following:
A.
General standards. The following shall apply to loading and unloading areas in all zoning districts:
1.
Loading spaces shall be of adequate area and height to accommodate the anticipated needs of the proposed use, subject to planning commission approval.
2.
Loading spaces shall be set back a minimum of 50 feet from any residential district or use, except where enclosed within a building or screened to the satisfaction of the planning commission, in accordance with section 11.04 (methods of screening and buffering).
3.
Loading spaces, truck docks, overhead doors, and similar loading and unloading facilities shall be prohibited within any front yard, or on any building facade visible from a public street, except where the planning commission determines that such a location is necessary due to the location or internal arrangement of the building.
4.
Loading spaces shall be paved with concrete or bituminous asphalt in accordance with the construction and design standards established by the city.
B.
District standards. The minimum size or number of required loading spaces shall be in accordance with the following standards by zoning district:
1.
Office-service (O) district standards. Adequate loading space shall be provided for in the side or rear yard at a minimum ratio of five square feet per one linear front foot width of the principal building.
2.
Business (B-1, B-2, B-3) district standards. Adequate loading space shall be provided for in the side or rear yard at a minimum ratio of ten square feet per one linear front foot width of the principal building.
3.
Industrial (I-1, I-2) district standards. Adequate loading space shall be provided for in the side or rear yard in accordance with the following minimum requirements:
Limited modifications to the standards of this article shall be permitted, subject to the following:
A.
Special parking districts. Special parking districts may be established by the city council, with recommendation from the planning commission. The purpose of such districts is to define areas of the city within which a reduction of off-street parking requirements for individual uses shall be permitted due to the availability of public parking lots owned or operated by the city, on-street parking, and similar public parking facilities. The boundaries of areas classified as special parking districts shall be delineated on the official zoning map.
Individual uses within the boundaries of a special parking district shall not be required to construct or maintain private off-street parking facilities, provided that the use is located within 750 feet of an existing or planned off-street public parking lot.
B.
Off-site parking facilities. Required parking facilities accessory to non-residential uses in any zoning district may be located off-site (on other than the same zoning lot as the use served), subject to the following:
1.
Required parking shall be located within 500 feet of a principal building entrance for the use.
2.
Use of off-site parking spaces within a residential zoning district shall be prohibited.
3.
A written agreement shall be drawn to the satisfaction of the city attorney and executed by all parties concerned assuring the continued availability of the off-site parking facilities for the use they are intended to serve.
C.
Exceeding maximum number of required spaces. The planning commission may require any use to provide parking spaces above the required minimum, up to the maximum permitted by this section. Exceeding the maximum parking space requirements shall be prohibited, except where the planning commission determines that additional parking is necessary to accommodate the use on a typical day of operation, based upon evidence supplied by the applicant.
D.
Deferment of parking spaces. Where an applicant demonstrates to the satisfaction of the planning commission that the minimum required number of parking spaces is excessive, the planning commission may approve the construction of a lesser number of parking spaces, provided that the deferred parking is shown on the site plan and set aside as open space. Deferred parking spaces shall be constructed in accordance with the approved site plan upon written request by the city after the city planner has documented three incidents of problem parking on the site.
E.
Modification of loading space requirements. The planning commission may modify or waive the requirement for off-street loading areas, upon determining that adequate public or private loading space is available to serve the building or use, or that provision of such loading space is unnecessary or impractical to provide.
F.
Other circumstances. The planning commission may modify or waive off-street parking requirements under any of the following circumstances:
1.
A combination of off-street parking spaces and on-street spaces adjacent to the lot can effectively accommodate the parking needs of a given use without negatively impacting traffic safety or adjacent uses.
2.
Sufficient evidence has been provided by the applicant to demonstrate that an alternative parking standard would be more appropriate for the type, scale or intensity of the use.
All parking and loading areas shall be maintained in accordance with the provisions of this article, an approved site plan and the following:
1.
Alterations to an approved parking or loading facility that are not in accordance with an approved site plan shall be considered a violation of this ordinance.
2.
All parking areas, perimeter landscaped areas, and required screening shall be kept free from tall grass, weeds, trash, and debris. Surfacing, curbing, lighting fixtures, signage, and related appurtenances shall be kept in good repair.