STREETS, ROADS, OFF-STREET PARKING AND LOADING
A.
Intent.
Unimpeded, safe access to parcels of land throughout the City is necessary to provide adequate police and fire protection, ambulance services, and other public services, and to otherwise promote and protect the health, safety, and welfare of the public. The standards of this Article are determined to be the minimum necessary to meet the above stated intentions.
B.
Public Access Required/Minimum Frontage.
The front lot line of all lots shall abut onto a publicly dedicated road right-of-way. The required frontage on an approved road right-of-way shall be equal to or greater than the minimum lot width for the district in which the lot is located, as specified in Article 9 (Schedule of Regulations); except that the minimum frontage of lots that abut the turnaround at the end of a cul-de-sac shall be equal to or greater than fifty percent (50%) of the minimum lot width. On lots located on a curve, frontage shall be measured along a straight line between the two points where the side lot lines intersect the curved right-of-way line (see drawing). Frontage on a "T" turnaround shall not be counted toward the minimum road frontage requirements.
C.
Access on Residential Double Frontage Lots.
On double frontage lots in residential districts, the driveway providing the primary means of vehicular access shall intersect the road on which lot frontage is greatest. However, if the property line abutting the road not providing access has been designated as the "front lot line" on an approved lot split application or subdivision plat, then the driveway providing the primary means of vehicular access shall intersect the road that abuts the designated front lot line.
The Community Development Director may approve a primary means of access that varies from these requirements upon finding that such access would facilitate traffic safety (for example, by limiting access on an arterial street) or achieve consistency with existing adjacent and nearby residences.
D.
Street and Driveway Standards.
Public streets shall comply with the requirements of the Wayne County Department of Public Services or the Michigan Department of Transportation, as applicable. Driveways shall comply with the following minimum requirements in addition to engineering standards that are enforced by the City:
1.
Minimum Driveway Setbacks. Driveways shall be set back a minimum of ten (10) feet from any side or rear property line, except for a private driveway serving one (1) single-family residence.
2.
Vertical Clearance. Driveways and roads needed for emergency and fire department access shall maintain a minimum vertical clearance of 15 feet.
3.
Standards by Development Type.
Footnotes to table above:
1.
The entrance road extends from the edge of the public road to the edge of any parking lot, intersection, tee, or similar terminus within the development.
2.
Curb and gutter requirements are not applicable for access routes through parking lots.
3.
Subject to Wayne County review and requirements, "T" turnarounds shall only be used at the end of stub streets that have no dwelling unit fronting on them, and a cul-de-sac shall be constructed at the end of each dead-end public road, regardless of whether the road is expected to the extended in the future.
4.
Shared driveways for adjoining single-family parcels shall be permitted, provided that an access easement is recorded for joint use and maintenance of the driveway. All parcels shall comply with minimum road frontage and lot width requirements.
E.
Access Across Residential District Land.
No land that is located in a residential district shall be used for a driveway, walkway, or an access purpose to any land that is located in a non residential district, unless such access is by way of a dedicated public road.
F.
Service Roads/Secondary Access Streets.
If the Planning Commission determines that proposed or anticipated development will result in an excessive number of entrance or exit drives (curb cuts) onto a public street thereby creating potentially hazardous traffic conditions and diminishing the carrying capacity of the street, the Commission may require construction of service roads across abutting parcels and generally parallel to the public road to allow traffic to circulate from one parcel to another without re-entering the public road. The service road may be public or private and shall comply with the following requirements:
1.
An easement shall be recorded with the Wayne County Register of Deeds allowing free vehicular access across the service road between adjoining parcels. The easement shall be in a form acceptable to the City Council, and it shall be recorded prior to the issuance of a Certificate of Occupancy for the principal building.
2.
The service road shall comply with the design requirements set forth previously in Section 13.01D. The service road shall comply with the engineering and construction standards established by the City Council.
3.
In anticipation of future need for a service drive, the Planning Commission may require, as a condition of site plan approval, granting of an easement to allow future vehicular access between adjoining parcels.
4.
In lieu of a designated service road, the Planning Commission may require the development of parking to permit vehicular circulation between parking areas on contiguous lots or parcels.
5.
Each property owner shall be responsible for continued maintenance of the service road and easement so that it continues to provide a safe means of access from one parcel to another.
6.
Backing from parking spaces onto the service road shall not be permitted.
7.
The site plan shall indicate the proposed elevation of the service road at the property line and the Building Official shall maintain a record of all service road elevations so that their grades can be coordinated. Service road elevations shall conform to elevations established by the City.
G.
Performance Guarantee.
To assure completion of a service road in conformance with the requirements set forth herein, the Building Official may require the applicant or owner to provide a performance guarantee, in accordance with Section 24.11 (Performance Guarantee).
A.
Scope of Off-Street Parking Requirements.
Compliance with the off-street parking regulations shall be required as follows:
1.
General Applicability. For all buildings and uses established after the effective date of this Ordinance, off-street parking shall be provided as required in this Article prior to the issuance of a Certificate of Occupancy. However, where a building permit has been issued prior to the effective date of the Ordinance and construction has been diligently carried on, compliance with the parking requirements in effect at the time of issuance of the building permit may be allowed.
2.
Change in Use or Intensity. Whenever a use of a building, structure, or lot is changed, a parking facility shall be provided as required by this Article for the new use, regardless of any variance that may have been in effect prior to change of use.
If the intensity of use of any building, structure, or lot is increased through the addition of dwelling units, increase in floor area, increase in seating capacity or through other means requiring additional off-street parking; sufficient parking shall be provided for such increase in intensity of use.
3.
Existing Parking Facilities. Off-street parking facilities in existence on the effective date of this Ordinance shall not be reduced below, or if already less than, shall not be further reduced below the requirements for the use or uses being served as set forth in this Ordinance.
An area designated as required off-street parking shall not be changed to any other use unless sufficient facilities are provided elsewhere in accordance with the provisions of this Ordinance.
4.
Review Compliance. Compliance with the requirements in this Article shall be subject to site plan review and approval as specified in Section 20.01 (Site Plan Review).
5.
Required Parking Spaces. The required parking facilities shall be defined as a minimum and maximum number.
6.
The Planning Commission may adjust the required number of off-street parking spaces provided one (1) of the following two (2) standards is met:
a.
Standards of Section 13.02.B.5., Collective Use of Off-Street Parking, are met.
b.
A parking study provided by the applicant and approved by the Planning Commission is provided.
B.
General Requirements.
In all zoning districts, off-street vehicle parking facilities shall be provided and maintained as herein prescribed
1.
Location.
a.
Proximity to building or use being served. Off-street parking for multiple-family and non-residential uses shall be located on the same lot, zoning lot, or parcel as the building or use being served or within 300 feet of the building it is intended to serve (measured from the nearest point of the building or use to the nearest point of the parking), except as otherwise permitted for collective use of off-street parking.
b.
Within yards. Off-street parking in commercial, office, multiple-family, and industrial districts may only be located in a side or rear yard or non-required front yard, provided that all landscaping requirements in Article 14 (Landscaping and Screening) are met, and provided further that off-street parking shall not be permitted within 20 feet of a single-family residential zone boundary, nor within ten (10) feet of any road right-of-way line.
2.
Residential Parking. Lawn and yard areas, other than designated parking areas, shall not be utilized for off-street parking:
a.
Off-street parking spaces in single-family residential districts shall consist of a parking strip, driveway, garage, or combination thereof, and shall be located on the premises they are intended to serve.
b.
Commercial and recreational vehicle parking in residential districts shall comply with the standards in Section 13.02, subsection E.
3.
Control of Off-Site Parking. It shall be unlawful to park or store any motor vehicle on private property without the expressed or implied consent of the owner, holder, occupant, lessee, agent, or trustee of said private property. Where required parking is permitted on land other than on the same lot as the building or use being served, the land on which the parking is located shall be under the same ownership or control as the lot occupied by said building or use.
4.
Access to Parking. Each off-street parking space shall open directly onto a clearly-defined aisle or driveway of sufficient width and design as to provide safe and efficient access to or from a public street or alley in a manner that will least interfere with the smooth flow of traffic. Parking designed for backing directly onto a street or road is prohibited. Access to off-street parking which serves a non-residential use shall not be permitted across land that is zoned or used for residential purposes.
5.
Collective Use of Off-Street Parking. Off-street parking for separate buildings, separate uses, or mixed uses may be provided collectively subject to the following:
a.
The total number of spaces provided collectively shall not be less than the sum of spaces required for each separate use, unless the operating hours of the buildings or uses do not overlap, in which case the Planning Commission may reduce the total number of spaces to a number deemed reasonable based on the operational characteristics of the buildings or uses.
b.
Each use served by collective off-street parking shall have direct access to the parking without crossing public streets.
c.
The collective off-street parking shall not be located farther than 500 feet from the building or use being served.
d.
Written easements that provide for continued use and maintenance of the parking shall be submitted to the City for approval.
6.
Reserved.
7.
Storage and Repair Prohibited. The storage of merchandise, sale of motor vehicles, storage of inoperable vehicles, or repair of vehicles are prohibited in required off-street parking lots or areas. Emergency service for vehicles may be permitted.
8.
Duration. Except when land is used as approved storage space in direct connection with a legitimate business, a 24 hour time limit for parking in non-residential off-street parking areas shall prevail provided that it shall be unlawful to permit the storage of wrecked, inoperable, for sale or junked vehicles in any parking area in any district for any period of time.
9.
Parking Structures. Parking structures shall be permitted subject to the following standards:
a.
Any parking structure shall comply with the required setbacks for the district in which it is located.
b.
Parking structures shall be designed as integral elements of the overall site plan, taking into account the relationship to the principal building and other structures on the site.
c.
The facade of the parking structure shall be compatible in design, color, and type of material to the principal building(s) on the site.
d.
Landscaping shall be placed around the parking structure in accordance with an approved landscape plan. Any such landscaping shall be compatible with the overall landscape plan for the entire site.
C.
Number of Spaces Required.
The following standards shall be used in determining the minimum required number of parking spaces:
1.
Definitions. For the purposes of determining minimum required number of parking spaces, "floor area" and "usable floor area" shall be measured in accordance with the definitions in Section 25.02 (Definitions).
a.
Fractional spaces. When calculations for determining the required number of parking spaces results in a fractional space, any fraction of less than one-half (½) may be disregarded, while a fraction of one-half (½) or more shall be counted as one space.
b.
Employee parking. Parking spaces required for employees shall be based on the maximum number of employees on the premises at any one time.
2.
Uses Not Cited. For those uses not specifically mentioned, the requirements for off-street parking for a similar use shall apply, as determined by the Community Development Director.
3.
Barrier-Free Parking. Each parking lot that serves a building, except for single- and two-family dwelling units, shall provide barrier-free parking spaces. These spaces shall be level parking spaces, reserved for physically handicapped persons. Parking for the handicapped shall comply with the State of Michigan Barrier-Free Rules, Michigan Public Act No. 1 of 1966, as amended, and the State Construction Code enforced by the City. Each barrier-free parking space shall have the following:
a.
A sign with the international symbol of accessibility mounted high enough so it can be seen while a vehicle is parked in the space. If the space is van accessible, the sign should contain the phrase "van accessible."
b.
The space shall be not less than eight (8) feet in width, and the same depth as adjoining spaces.
c.
The space must be adjacent to an access aisle not less than five (5) feet in width for car accessible spaces and eight (8) feet in width for van accessible spaces. The access aisle must be level (1:50 maximum slope [2%] in all directions), be the same length as the adjacent parking space(s) it serves, and connect to an accessible route to the entrance of the building. Boundaries of the access aisle must be marked and ramps may not extend into the access aisle. Car accessible access aisles may share an access aisle.
d.
Van accessible spaces shall have an eight (8) foot high clearance area at the van parking space and an access aisle on the vehicular route to and from the van space.
The number of barrier-free spaces required is as follows:
Schedule of Required Barrier-Free Spaces
4.
Use of Loading Space. Required loading space shall not be counted or used for required parking.
5.
Stacking Spaces. All stacking spaces required in the Schedule of Off-Street Parking shall be provided off-street and conform to the standards in Section 13.02D (Layout and Construction).
6.
Number of Spaces per Use. The minimum number of required off-street parking spaces shall be determined in accordance with the requirements in Schedule of Required Off-Street Parking (below). Where calculations determining the number of required parking spaces results in a fractional space, the fraction shall be rounded up to the next highest whole number:
Schedule of Required Off-Street Parking by Use
7.
Electric Vehicle Charging Stations. In the event electric charging stations are proposed, such spaces shall be included in the required number of off-street parking spaces. Such spaces shall meet the required dimensions of a standard parking space.
D.
Layout and Construction.
Off-street parking lots, as defined in Section 25.02 (Definitions), shall be designed, constructed, and maintained in accordance with the following requirements. These regulations do not apply to driveways serving single or two-family dwelling units.
1.
Review and Approval Requirements. Plans for the construction of any parking lot in conjunction with a new development shall be submitted for review and approval according to the normal site plan review procedures. Plans for expansion of an existing parking lot that is not associated with other new development shall be submitted for administrative approval prior to the start of construction.
a.
Upon completion of construction, the parking lot must be inspected and approved by the Building Official before a certificate of occupancy can be issued for the parking lot and for the building or use the parking is intended to serve.
b.
Plans for parking lots shall indicate existing and proposed grades, drainage, water mains and sewers, surfacing and base materials, and the proposed parking layout. The plans shall conform to the construction and design standards established by the City.
c.
In the event that required paving cannot be completed because of cold or inclement weather, a temporary Certificate of Occupancy may be issued by the Building Official provided the applicant deposits a performance guarantee in accordance with Section 24.11 (Performance Guarantee).
2.
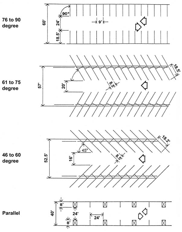
Dimensions. Off-street parking shall be designed in conformance with the following schedule. This schedule represents the minimum dimensions and may be exceeded:
Schedule of Off-Street Parking Dimensions
These dimensions may be increased in those instances where fire or safety apparatus is required to utilize a maneuvering lane.
Driveways providing access to residential, commercial, or industrial uses shall comply with the standards of Section 13.01 (Streets, Roads, and Other Means of Access)
3.
Ingress and Egress. All spaces shall be provided with adequate access by means of clearly defined maneuvering lanes and driveways. Spaces backing directly onto a street shall be prohibited. Entrances and exits from off-street parking lots shall be located at least 25 feet from the nearest point of any property zoned for single-family residential use.
4.
Surfacing and Drainage. Grading, surfacing, drainage and retention/detention plans shall be subject to review and approval by the Building Official and City Engineer. All off-street parking areas, access lanes, driveways and other vehicle maneuvering areas shall be hard-surfaced with concrete or plant-mixed bituminous material.
Off-street parking areas, access lanes, and driveways shall be graded and drained so as to dispose of surface waters. Surface water shall not be permitted to drain onto adjoining property, unless in accordance with an approved drainage plan.
5.
Curbs, Wheel Chocks. A curb of at least six (6) inches in height shall be installed to present motor vehicles from being driven or parking so that any part of the vehicle extends within two (2) feet of abutting landscaped areas, sidewalks, street, building, or adjoining property. In lieu of a curb, wheel chocks may be provided to prevent vehicles from extending over grass areas, setback lines, or lot lines.
6.
Lighting. All parking areas, driveways, and walkways shall be illuminated to ensure the security of the property and all persons using such areas, in accordance with the requirements of Article 16 (Lighting). Parking lot entrances shall be illuminated. Lighting shall be arranged so as to reflect away from residential areas.
7.
Buildings. No building or structure shall be permitted on an off-street parking lot, except for a maintenance building or attendant structure, which shall be no more than 50 square feet in area and not exceed 15 feet in height.
8.
Signs. Accessory directional signs shall be permitted in parking areas in accordance with Article 17 (Signs).
9.
Screening and Landscaping. All off-street parking areas, except those serving single and two-family residences, shall be screened and landscaped in accordance with the provisions set forth in Article 14 (Landscaping and Screening).
10.
Maintenance. All parking areas shall be maintained free of dust, trash, and debris. Surfacing, curbing, lighting fixtures, signage, and related appurtenances shall be maintained in good condition.
11.
Parking Structures. Parking structures are permitted in commercial or industrial zoning districts and may satisfy off-street parking requirements. Parking structures are subject to the area, height, bulk and placement regulations for principal buildings in the zoning districts where they are located.
E.
Recreational Vehicle Parking in Residential Districts.
Recreational vehicles, as defined in Section 25.02 (Definitions), shall not be used for living or residential purposes in residentially zoned districts. Recreational vehicles may be parked or stored by the owner in accordance with the applicable conditions set forth in the Riverview Code of Ordinances.
(Ord. No. 704, art. I, 8-20-2018)
A.
Scope of Loading Space Requirements.
Compliance with the loading space regulations set forth herein shall be required in order to avoid interference with the public use of streets, alleys, parking areas, driveways, sidewalks, and other public areas.
1.
General Applicability. On the same premises with every building, or part thereof, erected and occupied for manufacturing, storage, warehousing, retailing, display and sale of goods, including department stores, wholesale stores, markets, hotels, hospitals, mortuaries, laundries, dry cleaning establishments, and other uses involving the receipt or distribution of materials, merchandise, or vehicles, there shall be provided and maintained adequate space for loading and unloading as required in this section.
2.
Change In Use or Intensity. Whenever use of a building, structure, or lot is changed, loading space shall be provided as required by this Ordinance for the new use, regardless of any variance which may have been in effect prior to change of use.
B.
General Requirements.
1.
Location. Required loading space shall be located to the rear or on the side of the building being served such that it is screened from view from adjoining roads. Loading/unloading operations shall not interfere with traffic on public streets or off-street parking.
No loading space shall be located closer than 50 feet from any residential zoning district or any residential use unless the loading area adjoins a public alley, is located entirely within an enclosed building, or is screened on all sides from the residential zoning district or use by a six (6) foot high solid masonry wall. An ornamental fence not less than six (6) feet in height may be substituted for the masonry wall with the approval of the Planning Commission.
2.
Size. Unless otherwise specified, each required loading space shall be a minimum of 12 feet in width and 50 feet in length, with a vertical clearance of 15 feet.
3.
Surfacing and Drainage. Loading areas shall be hard-surfaced with concrete or plant-mixed bituminous material. Loading areas shall be graded and drained so as to dispose of surface waters. Surface water shall not be permitted to drain onto adjoining property, unless in accordance with an approved drainage plan. Grading, surfacing, and drainage plans shall be subject to review and approval by the Building Official and City Engineer.
4.
Storage and Repair Prohibited. The storage of merchandise, sale of motor vehicles, storage of inoperable vehicles, or repair of vehicles is prohibited in required loading space.
5.
Use of Loading Space. Required loading space shall not be counted or used for required parking.
6.
Central Loading. Central loading facilities may be substituted for individual loading spaces serving businesses on separate lots or zoning lots provided that all of the following conditions are fulfilled:
a.
Each business served shall have direct access to the central loading area without crossing streets or alleys.
b.
Total loading space provided shall meet the minimum requirements specified herein, in consideration of total floor area of all businesses served by the central loading space.
c.
No building served shall be more than 300 feet from the central loading area.
7.
Minimum Loading Space. The amount of required loading space shall be determined in accordance with the following schedule. The Planning Commission may modify these requirements upon making the determination that another standard would be more appropriate because of the number or type of deliveries experienced by a particular business or use:
Schedule of Required Minimum Loading Spaces
Footnote for table above:
1.
Establishments containing less than 5,000 square feet of gross floor area shall be provided with adequate off-street loading space that is accessible by motor vehicle, but which does not interfere with pedestrian or vehicular traffic. The size of any such loading space shall be based on the types of delivery vehicles typically utilized by the establishment, provided that in industrial districts sufficient land area must be available to provide a 12 ft. by 50 ft. space in the event that the use of the property changes.
ILLUSTRATIONS
Parking Layouts
STREETS, ROADS, OFF-STREET PARKING AND LOADING
A.
Intent.
Unimpeded, safe access to parcels of land throughout the City is necessary to provide adequate police and fire protection, ambulance services, and other public services, and to otherwise promote and protect the health, safety, and welfare of the public. The standards of this Article are determined to be the minimum necessary to meet the above stated intentions.
B.
Public Access Required/Minimum Frontage.
The front lot line of all lots shall abut onto a publicly dedicated road right-of-way. The required frontage on an approved road right-of-way shall be equal to or greater than the minimum lot width for the district in which the lot is located, as specified in Article 9 (Schedule of Regulations); except that the minimum frontage of lots that abut the turnaround at the end of a cul-de-sac shall be equal to or greater than fifty percent (50%) of the minimum lot width. On lots located on a curve, frontage shall be measured along a straight line between the two points where the side lot lines intersect the curved right-of-way line (see drawing). Frontage on a "T" turnaround shall not be counted toward the minimum road frontage requirements.
C.
Access on Residential Double Frontage Lots.
On double frontage lots in residential districts, the driveway providing the primary means of vehicular access shall intersect the road on which lot frontage is greatest. However, if the property line abutting the road not providing access has been designated as the "front lot line" on an approved lot split application or subdivision plat, then the driveway providing the primary means of vehicular access shall intersect the road that abuts the designated front lot line.
The Community Development Director may approve a primary means of access that varies from these requirements upon finding that such access would facilitate traffic safety (for example, by limiting access on an arterial street) or achieve consistency with existing adjacent and nearby residences.
D.
Street and Driveway Standards.
Public streets shall comply with the requirements of the Wayne County Department of Public Services or the Michigan Department of Transportation, as applicable. Driveways shall comply with the following minimum requirements in addition to engineering standards that are enforced by the City:
1.
Minimum Driveway Setbacks. Driveways shall be set back a minimum of ten (10) feet from any side or rear property line, except for a private driveway serving one (1) single-family residence.
2.
Vertical Clearance. Driveways and roads needed for emergency and fire department access shall maintain a minimum vertical clearance of 15 feet.
3.
Standards by Development Type.
Footnotes to table above:
1.
The entrance road extends from the edge of the public road to the edge of any parking lot, intersection, tee, or similar terminus within the development.
2.
Curb and gutter requirements are not applicable for access routes through parking lots.
3.
Subject to Wayne County review and requirements, "T" turnarounds shall only be used at the end of stub streets that have no dwelling unit fronting on them, and a cul-de-sac shall be constructed at the end of each dead-end public road, regardless of whether the road is expected to the extended in the future.
4.
Shared driveways for adjoining single-family parcels shall be permitted, provided that an access easement is recorded for joint use and maintenance of the driveway. All parcels shall comply with minimum road frontage and lot width requirements.
E.
Access Across Residential District Land.
No land that is located in a residential district shall be used for a driveway, walkway, or an access purpose to any land that is located in a non residential district, unless such access is by way of a dedicated public road.
F.
Service Roads/Secondary Access Streets.
If the Planning Commission determines that proposed or anticipated development will result in an excessive number of entrance or exit drives (curb cuts) onto a public street thereby creating potentially hazardous traffic conditions and diminishing the carrying capacity of the street, the Commission may require construction of service roads across abutting parcels and generally parallel to the public road to allow traffic to circulate from one parcel to another without re-entering the public road. The service road may be public or private and shall comply with the following requirements:
1.
An easement shall be recorded with the Wayne County Register of Deeds allowing free vehicular access across the service road between adjoining parcels. The easement shall be in a form acceptable to the City Council, and it shall be recorded prior to the issuance of a Certificate of Occupancy for the principal building.
2.
The service road shall comply with the design requirements set forth previously in Section 13.01D. The service road shall comply with the engineering and construction standards established by the City Council.
3.
In anticipation of future need for a service drive, the Planning Commission may require, as a condition of site plan approval, granting of an easement to allow future vehicular access between adjoining parcels.
4.
In lieu of a designated service road, the Planning Commission may require the development of parking to permit vehicular circulation between parking areas on contiguous lots or parcels.
5.
Each property owner shall be responsible for continued maintenance of the service road and easement so that it continues to provide a safe means of access from one parcel to another.
6.
Backing from parking spaces onto the service road shall not be permitted.
7.
The site plan shall indicate the proposed elevation of the service road at the property line and the Building Official shall maintain a record of all service road elevations so that their grades can be coordinated. Service road elevations shall conform to elevations established by the City.
G.
Performance Guarantee.
To assure completion of a service road in conformance with the requirements set forth herein, the Building Official may require the applicant or owner to provide a performance guarantee, in accordance with Section 24.11 (Performance Guarantee).
A.
Scope of Off-Street Parking Requirements.
Compliance with the off-street parking regulations shall be required as follows:
1.
General Applicability. For all buildings and uses established after the effective date of this Ordinance, off-street parking shall be provided as required in this Article prior to the issuance of a Certificate of Occupancy. However, where a building permit has been issued prior to the effective date of the Ordinance and construction has been diligently carried on, compliance with the parking requirements in effect at the time of issuance of the building permit may be allowed.
2.
Change in Use or Intensity. Whenever a use of a building, structure, or lot is changed, a parking facility shall be provided as required by this Article for the new use, regardless of any variance that may have been in effect prior to change of use.
If the intensity of use of any building, structure, or lot is increased through the addition of dwelling units, increase in floor area, increase in seating capacity or through other means requiring additional off-street parking; sufficient parking shall be provided for such increase in intensity of use.
3.
Existing Parking Facilities. Off-street parking facilities in existence on the effective date of this Ordinance shall not be reduced below, or if already less than, shall not be further reduced below the requirements for the use or uses being served as set forth in this Ordinance.
An area designated as required off-street parking shall not be changed to any other use unless sufficient facilities are provided elsewhere in accordance with the provisions of this Ordinance.
4.
Review Compliance. Compliance with the requirements in this Article shall be subject to site plan review and approval as specified in Section 20.01 (Site Plan Review).
5.
Required Parking Spaces. The required parking facilities shall be defined as a minimum and maximum number.
6.
The Planning Commission may adjust the required number of off-street parking spaces provided one (1) of the following two (2) standards is met:
a.
Standards of Section 13.02.B.5., Collective Use of Off-Street Parking, are met.
b.
A parking study provided by the applicant and approved by the Planning Commission is provided.
B.
General Requirements.
In all zoning districts, off-street vehicle parking facilities shall be provided and maintained as herein prescribed
1.
Location.
a.
Proximity to building or use being served. Off-street parking for multiple-family and non-residential uses shall be located on the same lot, zoning lot, or parcel as the building or use being served or within 300 feet of the building it is intended to serve (measured from the nearest point of the building or use to the nearest point of the parking), except as otherwise permitted for collective use of off-street parking.
b.
Within yards. Off-street parking in commercial, office, multiple-family, and industrial districts may only be located in a side or rear yard or non-required front yard, provided that all landscaping requirements in Article 14 (Landscaping and Screening) are met, and provided further that off-street parking shall not be permitted within 20 feet of a single-family residential zone boundary, nor within ten (10) feet of any road right-of-way line.
2.
Residential Parking. Lawn and yard areas, other than designated parking areas, shall not be utilized for off-street parking:
a.
Off-street parking spaces in single-family residential districts shall consist of a parking strip, driveway, garage, or combination thereof, and shall be located on the premises they are intended to serve.
b.
Commercial and recreational vehicle parking in residential districts shall comply with the standards in Section 13.02, subsection E.
3.
Control of Off-Site Parking. It shall be unlawful to park or store any motor vehicle on private property without the expressed or implied consent of the owner, holder, occupant, lessee, agent, or trustee of said private property. Where required parking is permitted on land other than on the same lot as the building or use being served, the land on which the parking is located shall be under the same ownership or control as the lot occupied by said building or use.
4.
Access to Parking. Each off-street parking space shall open directly onto a clearly-defined aisle or driveway of sufficient width and design as to provide safe and efficient access to or from a public street or alley in a manner that will least interfere with the smooth flow of traffic. Parking designed for backing directly onto a street or road is prohibited. Access to off-street parking which serves a non-residential use shall not be permitted across land that is zoned or used for residential purposes.
5.
Collective Use of Off-Street Parking. Off-street parking for separate buildings, separate uses, or mixed uses may be provided collectively subject to the following:
a.
The total number of spaces provided collectively shall not be less than the sum of spaces required for each separate use, unless the operating hours of the buildings or uses do not overlap, in which case the Planning Commission may reduce the total number of spaces to a number deemed reasonable based on the operational characteristics of the buildings or uses.
b.
Each use served by collective off-street parking shall have direct access to the parking without crossing public streets.
c.
The collective off-street parking shall not be located farther than 500 feet from the building or use being served.
d.
Written easements that provide for continued use and maintenance of the parking shall be submitted to the City for approval.
6.
Reserved.
7.
Storage and Repair Prohibited. The storage of merchandise, sale of motor vehicles, storage of inoperable vehicles, or repair of vehicles are prohibited in required off-street parking lots or areas. Emergency service for vehicles may be permitted.
8.
Duration. Except when land is used as approved storage space in direct connection with a legitimate business, a 24 hour time limit for parking in non-residential off-street parking areas shall prevail provided that it shall be unlawful to permit the storage of wrecked, inoperable, for sale or junked vehicles in any parking area in any district for any period of time.
9.
Parking Structures. Parking structures shall be permitted subject to the following standards:
a.
Any parking structure shall comply with the required setbacks for the district in which it is located.
b.
Parking structures shall be designed as integral elements of the overall site plan, taking into account the relationship to the principal building and other structures on the site.
c.
The facade of the parking structure shall be compatible in design, color, and type of material to the principal building(s) on the site.
d.
Landscaping shall be placed around the parking structure in accordance with an approved landscape plan. Any such landscaping shall be compatible with the overall landscape plan for the entire site.
C.
Number of Spaces Required.
The following standards shall be used in determining the minimum required number of parking spaces:
1.
Definitions. For the purposes of determining minimum required number of parking spaces, "floor area" and "usable floor area" shall be measured in accordance with the definitions in Section 25.02 (Definitions).
a.
Fractional spaces. When calculations for determining the required number of parking spaces results in a fractional space, any fraction of less than one-half (½) may be disregarded, while a fraction of one-half (½) or more shall be counted as one space.
b.
Employee parking. Parking spaces required for employees shall be based on the maximum number of employees on the premises at any one time.
2.
Uses Not Cited. For those uses not specifically mentioned, the requirements for off-street parking for a similar use shall apply, as determined by the Community Development Director.
3.
Barrier-Free Parking. Each parking lot that serves a building, except for single- and two-family dwelling units, shall provide barrier-free parking spaces. These spaces shall be level parking spaces, reserved for physically handicapped persons. Parking for the handicapped shall comply with the State of Michigan Barrier-Free Rules, Michigan Public Act No. 1 of 1966, as amended, and the State Construction Code enforced by the City. Each barrier-free parking space shall have the following:
a.
A sign with the international symbol of accessibility mounted high enough so it can be seen while a vehicle is parked in the space. If the space is van accessible, the sign should contain the phrase "van accessible."
b.
The space shall be not less than eight (8) feet in width, and the same depth as adjoining spaces.
c.
The space must be adjacent to an access aisle not less than five (5) feet in width for car accessible spaces and eight (8) feet in width for van accessible spaces. The access aisle must be level (1:50 maximum slope [2%] in all directions), be the same length as the adjacent parking space(s) it serves, and connect to an accessible route to the entrance of the building. Boundaries of the access aisle must be marked and ramps may not extend into the access aisle. Car accessible access aisles may share an access aisle.
d.
Van accessible spaces shall have an eight (8) foot high clearance area at the van parking space and an access aisle on the vehicular route to and from the van space.
The number of barrier-free spaces required is as follows:
Schedule of Required Barrier-Free Spaces
4.
Use of Loading Space. Required loading space shall not be counted or used for required parking.
5.
Stacking Spaces. All stacking spaces required in the Schedule of Off-Street Parking shall be provided off-street and conform to the standards in Section 13.02D (Layout and Construction).
6.
Number of Spaces per Use. The minimum number of required off-street parking spaces shall be determined in accordance with the requirements in Schedule of Required Off-Street Parking (below). Where calculations determining the number of required parking spaces results in a fractional space, the fraction shall be rounded up to the next highest whole number:
Schedule of Required Off-Street Parking by Use
7.
Electric Vehicle Charging Stations. In the event electric charging stations are proposed, such spaces shall be included in the required number of off-street parking spaces. Such spaces shall meet the required dimensions of a standard parking space.
D.
Layout and Construction.
Off-street parking lots, as defined in Section 25.02 (Definitions), shall be designed, constructed, and maintained in accordance with the following requirements. These regulations do not apply to driveways serving single or two-family dwelling units.
1.
Review and Approval Requirements. Plans for the construction of any parking lot in conjunction with a new development shall be submitted for review and approval according to the normal site plan review procedures. Plans for expansion of an existing parking lot that is not associated with other new development shall be submitted for administrative approval prior to the start of construction.
a.
Upon completion of construction, the parking lot must be inspected and approved by the Building Official before a certificate of occupancy can be issued for the parking lot and for the building or use the parking is intended to serve.
b.
Plans for parking lots shall indicate existing and proposed grades, drainage, water mains and sewers, surfacing and base materials, and the proposed parking layout. The plans shall conform to the construction and design standards established by the City.
c.
In the event that required paving cannot be completed because of cold or inclement weather, a temporary Certificate of Occupancy may be issued by the Building Official provided the applicant deposits a performance guarantee in accordance with Section 24.11 (Performance Guarantee).
2.
Dimensions. Off-street parking shall be designed in conformance with the following schedule. This schedule represents the minimum dimensions and may be exceeded:
Schedule of Off-Street Parking Dimensions
These dimensions may be increased in those instances where fire or safety apparatus is required to utilize a maneuvering lane.
Driveways providing access to residential, commercial, or industrial uses shall comply with the standards of Section 13.01 (Streets, Roads, and Other Means of Access)
3.
Ingress and Egress. All spaces shall be provided with adequate access by means of clearly defined maneuvering lanes and driveways. Spaces backing directly onto a street shall be prohibited. Entrances and exits from off-street parking lots shall be located at least 25 feet from the nearest point of any property zoned for single-family residential use.
4.
Surfacing and Drainage. Grading, surfacing, drainage and retention/detention plans shall be subject to review and approval by the Building Official and City Engineer. All off-street parking areas, access lanes, driveways and other vehicle maneuvering areas shall be hard-surfaced with concrete or plant-mixed bituminous material.
Off-street parking areas, access lanes, and driveways shall be graded and drained so as to dispose of surface waters. Surface water shall not be permitted to drain onto adjoining property, unless in accordance with an approved drainage plan.
5.
Curbs, Wheel Chocks. A curb of at least six (6) inches in height shall be installed to present motor vehicles from being driven or parking so that any part of the vehicle extends within two (2) feet of abutting landscaped areas, sidewalks, street, building, or adjoining property. In lieu of a curb, wheel chocks may be provided to prevent vehicles from extending over grass areas, setback lines, or lot lines.
6.
Lighting. All parking areas, driveways, and walkways shall be illuminated to ensure the security of the property and all persons using such areas, in accordance with the requirements of Article 16 (Lighting). Parking lot entrances shall be illuminated. Lighting shall be arranged so as to reflect away from residential areas.
7.
Buildings. No building or structure shall be permitted on an off-street parking lot, except for a maintenance building or attendant structure, which shall be no more than 50 square feet in area and not exceed 15 feet in height.
8.
Signs. Accessory directional signs shall be permitted in parking areas in accordance with Article 17 (Signs).
9.
Screening and Landscaping. All off-street parking areas, except those serving single and two-family residences, shall be screened and landscaped in accordance with the provisions set forth in Article 14 (Landscaping and Screening).
10.
Maintenance. All parking areas shall be maintained free of dust, trash, and debris. Surfacing, curbing, lighting fixtures, signage, and related appurtenances shall be maintained in good condition.
11.
Parking Structures. Parking structures are permitted in commercial or industrial zoning districts and may satisfy off-street parking requirements. Parking structures are subject to the area, height, bulk and placement regulations for principal buildings in the zoning districts where they are located.
E.
Recreational Vehicle Parking in Residential Districts.
Recreational vehicles, as defined in Section 25.02 (Definitions), shall not be used for living or residential purposes in residentially zoned districts. Recreational vehicles may be parked or stored by the owner in accordance with the applicable conditions set forth in the Riverview Code of Ordinances.
(Ord. No. 704, art. I, 8-20-2018)
A.
Scope of Loading Space Requirements.
Compliance with the loading space regulations set forth herein shall be required in order to avoid interference with the public use of streets, alleys, parking areas, driveways, sidewalks, and other public areas.
1.
General Applicability. On the same premises with every building, or part thereof, erected and occupied for manufacturing, storage, warehousing, retailing, display and sale of goods, including department stores, wholesale stores, markets, hotels, hospitals, mortuaries, laundries, dry cleaning establishments, and other uses involving the receipt or distribution of materials, merchandise, or vehicles, there shall be provided and maintained adequate space for loading and unloading as required in this section.
2.
Change In Use or Intensity. Whenever use of a building, structure, or lot is changed, loading space shall be provided as required by this Ordinance for the new use, regardless of any variance which may have been in effect prior to change of use.
B.
General Requirements.
1.
Location. Required loading space shall be located to the rear or on the side of the building being served such that it is screened from view from adjoining roads. Loading/unloading operations shall not interfere with traffic on public streets or off-street parking.
No loading space shall be located closer than 50 feet from any residential zoning district or any residential use unless the loading area adjoins a public alley, is located entirely within an enclosed building, or is screened on all sides from the residential zoning district or use by a six (6) foot high solid masonry wall. An ornamental fence not less than six (6) feet in height may be substituted for the masonry wall with the approval of the Planning Commission.
2.
Size. Unless otherwise specified, each required loading space shall be a minimum of 12 feet in width and 50 feet in length, with a vertical clearance of 15 feet.
3.
Surfacing and Drainage. Loading areas shall be hard-surfaced with concrete or plant-mixed bituminous material. Loading areas shall be graded and drained so as to dispose of surface waters. Surface water shall not be permitted to drain onto adjoining property, unless in accordance with an approved drainage plan. Grading, surfacing, and drainage plans shall be subject to review and approval by the Building Official and City Engineer.
4.
Storage and Repair Prohibited. The storage of merchandise, sale of motor vehicles, storage of inoperable vehicles, or repair of vehicles is prohibited in required loading space.
5.
Use of Loading Space. Required loading space shall not be counted or used for required parking.
6.
Central Loading. Central loading facilities may be substituted for individual loading spaces serving businesses on separate lots or zoning lots provided that all of the following conditions are fulfilled:
a.
Each business served shall have direct access to the central loading area without crossing streets or alleys.
b.
Total loading space provided shall meet the minimum requirements specified herein, in consideration of total floor area of all businesses served by the central loading space.
c.
No building served shall be more than 300 feet from the central loading area.
7.
Minimum Loading Space. The amount of required loading space shall be determined in accordance with the following schedule. The Planning Commission may modify these requirements upon making the determination that another standard would be more appropriate because of the number or type of deliveries experienced by a particular business or use:
Schedule of Required Minimum Loading Spaces
Footnote for table above:
1.
Establishments containing less than 5,000 square feet of gross floor area shall be provided with adequate off-street loading space that is accessible by motor vehicle, but which does not interfere with pedestrian or vehicular traffic. The size of any such loading space shall be based on the types of delivery vehicles typically utilized by the establishment, provided that in industrial districts sufficient land area must be available to provide a 12 ft. by 50 ft. space in the event that the use of the property changes.
ILLUSTRATIONS
Parking Layouts