- SITE DEVELOPMENT
Editor's note— Ord. No. 2022-08-12, § 1, adopted Aug. 22, 2022, repealed the former 10.3, §§ 10.3.1—10.3.25, and enacted a new 10.3 as set out herein. The former 10.3 pertained to similar subject matter and derived from Ord. No. 2019-04-17, § 1, adopted April 8, 2019; Ord. No. 2019-08-26, §§ 1, 2, adopted Aug. 26, 2019; Ord. No. 2020-03-04, § 1, adopted March 9, 2020.
A.
New Construction. Any new building or site improvement must comply with the parking requirements of this UDC.
B.
Maintenance and Repair. An existing building or site may be repaired, maintained or modernized without providing additional parking, provided there is no increase in gross floor area or improved site area.
C.
Additions.
1.
When an existing building, use or site is increased in gross floor area or improved site area by up to 25% cumulatively, parking is required for the additional floor or site area only.
2.
When an existing building, use or site is increased in gross floor area or improved site area by more than 25% cumulatively, both the existing building, use or site and the additional floor or site area must conform to the parking requirements.
D.
Change in Use.
1.
A change in use based on the parking table of Sec. 10.1.3.B. must comply with the parking requirements unless the use has the same or a lesser parking demand than the previous use.
2.
Where the required number of parking spaces for a new use according to Sec. 10.1.3.B. is 125% or less of the parking spaces required for the existing use, no additional parking spaces are required.
3.
Where required parking spaces for the new use exceed 125% of the required parking spaces for the existing use, additional parking is only required for the difference between the current parking spaces required and the parking spaces required for the new use.
Before any building permit is issued, the parking lot layout and area must be found by the Zoning Director to be in compliance with all requirements of this UDC. The Building Inspector cannot allow occupancy or use of a building until advised by the Zoning Director that parking facilities meet the requirements of this UDC.
A.
Calculation of Required Parking Spaces.
1.
Vehicle and bicycle parking spaces must be provided in accordance with Sec. 10.1.3.B. Where a use is not specifically listed or only a broad use category is shown, the Zoning Director is responsible for categorizing the use in accordance with Sec. 9.1.
2.
When a site or lot is used for a combination of uses, the parking requirements are the sum of the requirements for each use, and no parking space for one use can be included in the calculation of parking requirements for any other use, except as allowed in Sec. 10.1.7.
3.
In determining the required number of parking spaces, fractional spaces are rounded to the nearest whole number, with one-half or more counted as an additional space.
4.
Unless otherwise noted, the parking requirement is based on the gross floor area of the building devoted to the particular use specified.
5.
In industrial buildings where tenants are specified, parking is calculated according to the uses identified in the floor plan. Where tenants are not specified, parking is calculated using 20% office and 80% warehouse.
B.
Required Parking Spaces.
1.
Unless specifically provided otherwise in this parking section, parking spaces must be provided in accordance with the following table.
2.
Where guest parking is shown in the following table, it is required only for development containing 10 or more residential units. Guest parking is not required on each lot, but must be provided within the subdivision or development site.
3.
Alternative parking requirements apply in the Downtown Historic Districts (see Sec. 10.1.6).
A.
Facilities that require 25 or more vehicle parking spaces must provide a minimum of 1 motorcycle parking space, plus 1 space for each additional 25 required parking spaces. After the initial 100 parking spaces, 1 additional motorcycle parking space for each additional 100 required spaces must also be provided.
B.
Motorcycle parking spaces may be counted as fulfilling the vehicle parking requirements at the rate of 2 motorcycle spaces for 1 vehicle space (90 degree, head-in) or 4 motorcycle spaces for one vehicle space (parallel). Only the minimum required motorcycle spaces may be used to reduce the vehicle parking requirements.
C.
Motorcycle parking spaces must be at least 4 feet in width and 7 feet in length and be accessed by a drive aisle at least 8 feet in width.
A.
The following maximum parking requirements apply to:
1.
All medical uses;
2.
All office uses; and
3.
All retail sales uses.
B.
Surface parking spaces cannot exceed 133% of the required minimum vehicle parking. Parking spaces provided in an underground or structured parking garage do not count toward the maximum number of spaces permitted.
A.
Applicability. The following parking requirements apply in a Downtown Historic District (-HOD).
B.
Building Constructed Prior to 1959. The change of use of any building built prior to 1959 located within the Historic District is required to meet the parking standards that are indicated in letter C below. Any change of use that goes from a less intense use to a more intense use must supply the additional parking required.
C.
Parking Requirements for Downtown.
1.
Residential. Vehicle parking and bicycle parking spaces are required per Sec. 10.1.3.B.
2.
Nonresidential. Except for restaurants, one vehicle parking space per 500 square feet is required for all nonresidential gross floor area or the minimum number of parking spaces specified in Sec. 10.1.3.B., whichever is less. The bicycle parking requirements of Sec. 10.1.3.B. apply.
3.
Restaurants. One vehicle parking space per 300 square feet of gross floor area is required. The bicycle parking requirements of Sec. 10.1.3.B. apply.
4.
Motorcycle Parking. The motorcycle parking requirements of Sec. 10.1.4 apply.
(Ord. No. 2020-07-08, §§ 1, 2, 7-13-2020)
A.
Applicants wishing to use shared parking as a means of reducing the total number of required spaces may submit a shared parking analysis using the Urban Land Institute (ULI) Shared Parking Model (latest edition).
B.
The study must be provided in a form established by the Zoning Director.
C.
Reductions in the total number of required spaces for shared parking are not permitted unless the Zoning Director determines a reduction is appropriate on a case-by-case basis through the use of the ULI Shared Parking Model (latest edition).
D.
Uses providing shared parking must have either mutually exclusive or compatibly overlapping normal hours of operation. The Zoning Director will determine whether hours of operation are compatibly overlapping on a case-by-case basis through the use of the ULI Shared Parking Model (latest edition).
Parking spaces may be reserved for a specific tenant or unit, provided that the following standards are not exceeded.
A.
Residential.
1.
One space per efficiency or one-bedroom multi-family dwelling unit.
2.
Two spaces per two-bedroom or greater multi-family dwelling unit.
B.
Nonresidential. No more than one-third of the total provided spaces may be reserved.
Editor's note— Ord. No. 2023-03-06, § 1, adopted March 27, 2023, repealed § 10.1.9, which pertained to alternative compliance and derived from the Original Unified Development Code.
Required vehicles parking spaces must be located on the same lot or site they are intended to serve, except as provided below.
A.
On-Street Parking.
1.
Where on-street parking spaces exist in the public right-of-way, one on-street parking space may be sub stituted for every required on-site parking space, provided the on-street space immediately abuts the subject property.
2.
Each on-street parking space may only be counted for one property. Where a space straddles an extension of a property line, the space may only be counted by the owner whose property abuts 50% or more of the on-street parking space.
3.
The Zoning Director may determine that to ensure future roadway capacity, the on-street parking credit may not be available.
B.
Remote Parking.
1.
All required vehicle and motorcycle parking spaces, except required accessible spaces, may be located off-site, provided the remote parking spaces are located within 800 feet of the primary entrance of the use served and are located within the same or more intense zoning district as the principal use served.
2.
Lease agreements must be for a term of not less than 1 year to serve the use or uses proposed to be satisfied by the off-site leased parking. Each year the use is renewed (as shown by the renewed application for a business license), the applicant for the business license must show a current lease agreement for not less than 1 year for the necessary off-site parking.
3.
The distances referred to above are measured by the most direct route of travel on the ground and are measured in the following manner:
a.
From the front door of the principal structure on the applicant's property;
b.
In a straight line to the nearest public sidewalk, street, road or highway;
c.
Along a public sidewalk, walkway, street, road, or highway by the nearest route; and
d.
To the edge of the off-site parking area to be used by the applicant to meet parking requirements.
4.
Additional requirements for remote parking lots are provided under Sec. 9.5.7.C.
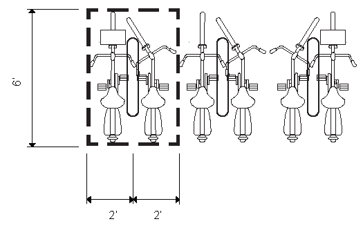
The following general provisions apply to all required bicycle parking facilities (see Sec. 10.1.3.B.).
A.
In no case is a single use required to provide more than 20 bicycle parking spaces.
B.
Each required bicycle parking space must be at least 2 feet by 6 feet. Where a bike can be locked on both sides of a bicycle rack without conflict, each side can be counted as a required space.
C.
Bicycle racks must be securely anchored, be easily usable with both U-locks and cable locks, and support a bicycle at 2 points of contact to prevent damage to the bicycle wheels and frame.
D.
Bicycle racks must be publicly accessible and be located no more than 100 feet from the building entrance the bicycle rack is intended to serve.
E.
Bicycle parking must be provided in a well-lit area.
F.
Spacing of the bicycle racks must provide clear and maneuverable access.
G.
Bicycle facilities may be placed within the public right-of-way, provided the encroachment is approved by the Zoning Director.
A.
General Provisions.
1.
Accessible parking spaces must be provided in accordance with the requirements of the Americans with Disabilities Act (ADA) (Public Law 101-136), the State Building Code, and the American National Standards Institute.
2.
The required number of accessible spaces, which must be provided on-site, must be as provided below. Accessible spaces count toward the requirements of Sec. 10.1.3.B.
3.
In addition, accessible van spaces are required at a rate of 1 van space for every 8 required accessible spaces, with a minimum of 1.
B.
Location. Accessible parking spaces serving a particular building must be located on the shortest accessible route of travel from the parking area to an accessible entrance. In parking facilities that do not serve a particular building, or buildings with multiple entrances, accessible parking must be located on the shortest accessible route of travel to an accessible pedestrian entrance of the parking facility.
C.
Dimensions.
1.
An accessible parking space must be at least 9 feet wide with a minimum 5-foot-wide access aisle.
2.
For van spaces, the width of the parking space must be at least 11 feet with a minimum 5-foot-wide access aisle.
3.
Parking access aisles must be part of an accessible route to the building or facility entrance;
4.
Two accessible parking spaces may share a common access aisle.
D.
Signs. Accessible parking spaces must be designated as reserved by a sign showing the symbol of accessibility. Such signs must be located so that they cannot be obscured by a vehicle parked in that space.
A.
Applicability. Adequate stacking space must be made available on-site for any use having a drive-thru, control gate or areas having drop-off and pick-up.
B.
Restaurant. A restaurant (including a coffee shop) with a drive-thru must provide a minimum of 6 spaces before the order board, with another 4 spaces provided between the order board and the transaction window.
C.
Bank. A bank with a drive-thru must provide a minimum of 3 spaces measured from the teller box.
D.
Pharmacy. A pharmacy with a drive-thru must provide a minimum of 3 spaces measured from the order box.
E.
Dry Cleaner. A dry cleaner with a drive-thru must provide a minimum of 3 spaces measured from the pick up door.
F.
Control Gate. If a control gate is used to restrict entry for vehicles, a minimum of 1 space must be provided.
G.
All Other Uses. All other uses will be determined by the Zoning Director.
H.
Dimensions.
1.
The number of required stacking spaces includes the space at the window or communication/mechanical device (e.g., order board, pick up window).
2.
If a drive-thru has multiple order boxes, teller boxes or pick up windows, the number of required stacking spaces may be split between each order box, teller box or pick up window.
3.
Each stacking space must be a minimum of 20 feet in length and 10 feet in width along straight portions. Stacking spaces and stacking lanes must be a minimum of 12 feet in width along curved segments.
4.
Vehicles may not encroach on or interfere with the public use of streets and sidewalks by vehicles, bicycles or pedestrians.
5.
Drive-thru lanes must be separated by striping or curbing from other parking areas. Individual lanes must be striped, marked or otherwise distinctly delineated.
I.
Screening.
1.
Where drive-thru windows and lanes are allowed to be placed between a public street (see Sec. 9.7.5 for additional requirements), not including an alley, or ground floor residential use and the associated building, the entire length of the drive-thru lane, including but not limited to menu boards, stacking lanes, trash receptacles, ordering box, drive up windows, and other objects associated with the drive-thru must be screened.
2.
Screening must be a continuous compact evergreen hedge. At the time of installation, the screening must be at least 3 feet in height and reach a height of 4 feet within 3 years of planting.
3.
In lieu of the compact evergreen hedge, a screening wall with a minimum height of 4 feet may be installed. The wall must be compatible with the principal building in terms of texture, quality, material and color.
A.
Access. All on-site parking must be arranged so that no vehicle is forced to back out on a public street or forced to use a public street, not including an alley, to gain access from one parking aisle to another parking aisle.
B.
Parking Space and Aisle Specifications. Parking spaces and drive aisles must meet the following dimensions. Parking spaces and drive aisles using dimensions other than those specified may be approved if prepared and sealed by a registered engineer in the State of Georgia with expertise in parking facility design, subject to approval by the Zoning Director.
C.
Compact Parking.
1.
Compact car parking spaces may be used in place of a standard size parking space. The total number of compact car parking spaces may not exceed 15% of the total number of required parking spaces.
2.
No more than 2 compact parking spaces may be placed side by side. Compact spaces may be reduced to 8 feet in width and 18 feet in depth. All compact parking spaces must be clearly and visibly striped and labeled for compact car use only.
D.
Parking Lot Landscaping. All on-site surface parking lots with more than 20 spaces must be landscaped as specified in Sec. 10.2.6.
E.
Visibility at Intersections. No parking or loading area may interfere with a clear sight triangle as established in Sec. 11.4.6.
F.
Surfacing. Parking and loading areas must be surfaced with concrete, asphaltic concrete, asphalt, or other dust-free surface. Porous pavement material may be substituted for standard dust-free pavements subject to the approval of the Zoning Director. Permitted materials may include, but are not limited to, grass, "grasscrete," ring and grid systems used in porous or grid pavers. Within the Historic Overlay District, aggregate surface may be considered appropriate.
G.
Curbs and Drainage.
1.
Parking and loading areas must be graded and drained to collect, retain and infiltrate surface water on-site so as to prevent damage to abutting properties or public streets.
2.
Curbing or parking block must be installed as required by the Zoning Director. Curbing must have openings to allow drainage to enter and percolate through landscaped areas.
H.
Lighting. Parking and loading area lighting must be installed as specified in Sec. 10.4.
I.
Residential Parking. Parking requirements for single-family and two-family uses are specified in Sec. 2.2.18.
The following applies to parking structures in RX-, CX-, SH-, DR-, DX-, DS- and OR-.
A.
The ground story of a structured parking garage must have active uses (such as, but not limited to, residential, commercial, office or civic space) located between the parking structure and the street (not including an alley).
B.
Where upper stories of structured parking are located at the perimeter of a building, they must be screened so that cars are not visible from ground level view from adjacent property or adjacent public street right-of-way (not including an alley).
A.
Loading Not Required. If determined necessary by the Zoning Director, adequate space must be made available on-site for the unloading and loading of goods, materials, items or stock for delivery and shipping, otherwise on-site loading space is not required.
B.
Location. If a loading area is provided or required, it must meet the following.
1.
With the exception of areas specifically designated by the City, loading and unloading activities are not permitted in a public street, not including an alley.
2.
Loading and unloading activities may not encroach on or interfere with the use of sidewalks, drive aisles, stacking areas and parking areas by vehicles, bicycles or pedestrians.
3.
In NX-, CX- SH-, CC-, DX-, DS- and OP-, loading areas must be located to the rear of buildings. Loading areas may not be placed between a public street (not including an alley) and the associated building.
4.
No loading area is permitted within 50 feet of a ground floor residential use (measured from the residential lot line to the closest point of the loading area);
C.
Screening. If a loading area is provided or required, it must meet the following.
1.
Where a loading dock designed for tractor-trailers is placed between a public street (not including an alley) or a shared lot line and the associated building, the entire length of the loading area must be screened.
2.
Screening must consist of either:
a.
An 8-foot high wall compatible with the principal building in terms of texture, quality, material and color; or
b.
Evergreen plant material that can be expected to reach a height of 8 feet with a spread of 4 feet within 3 years of planting.
Parking and loading areas must be operated and maintained in accordance with the following.
A.
Parking and loading areas cannot be used for the repair or dismantling of any vehicle, equipment, materials or supplies.
B.
Parking and loading areas cannot be used to store vehicles for sale, except in cases where the property owner owns the vehicle, provided auto sales is a permitted use in the district in which the property is located. This provision does not apply to the placing of a "For Sale" sign on or in one licensed vehicle, boat, or other vehicle located in a private residential driveway and which licensed vehicle, boat or other vehicle is owned by an occupant of the private residence.
C.
An attendant's building less than 50 square feet in size that is set back at least than 20 feet from any boundary of the parking lot may be permitted.
D.
Upon application, the Zoning Director may approve temporary structures and uses such as tent sales within required parking spaces that are not used on a continuous basis, provided that such uses are movable from the site upon order by the Zoning Director. Such activities are allowed to occur on the same site no more than 3 times a year and each time for a period not to exceed 10 days (see also Sec. 9.8.6).
A.
New Construction. Any new building or site improvement must comply with the landscaping and screening requirements of this UDC.
B.
Maintenance and Repair. An existing building or site may be repaired, maintained or modernized without providing additional landscaping or screening, provided there is no increase in gross floor area or improved site area.
C.
Additions.
1.
When an existing building is increased in gross floor area or improved site area by up to 25% cumulatively, landscaping and screening is required for the additional floor or site area only.
2.
When an existing building is increased in gross floor area or improved site area by more than 25% cumulatively, both the existing building and the additional floor or site area must conform to the landscaping and screening requirements of this UDC.
D.
Change in Use. A change in use does not trigger the application of these requirements except when there is a specific use standard requiring landscaping or screening for the new use.
A.
Before any building permit is issued, the building, use or site must be found by the Zoning Director to be in compliance with all requirements of this UDC. The Building Inspector cannot allow occupancy or use of a building until advised by the Zoning Director that building, use or site meet the requirements of this UDC.
B.
Landscape design and planning must be integrated with the overall design concept for any project; therefore, site plan approval will evaluate landscaping schemes as to their relationship to the existing natural landscape, developed or proposed landscapes on adjacent properties and public rights-of-way, and the building or buildings existing or proposed on the subject property and adjacent sites.
Neighborhood compatibility buffers are required as specified in the table below. No buffer is required for new development in in AG-43, RS-87, RS-30, RS-18, RS-12, REC or CON districts. Any variance request for a change in the standards set forth in this section shall be heard and decided by the Mayor and City Council.
KEY:
A/B = Buffer A or B required, choice of A or B at applicant's discretion
C/D = Buffer C or D required, choice of C or D at applicant's discretion
C/D, PV = Buffer C or D required, choice of C or D at applicant's discretion, PV Buffer
D required for village of 7 acres+
D = Buffer D required
D, PV = Buffer D required, PV Buffer D required for village of 7 acres+
(1) In the event a proposed PRD abuts existing residential PRD, the required buffer will be determined by first establishing a PRD Lot Size by calculating the lesser of: a) the average lot size of the proposed lots abutting the existing residential and b) the average lot size for the entire PRD. Then, using Table 10.2.3, identify a comparable zoning category for the PRD based on the PRD Lot Size. The comparable zoning category will be used to determine the required proposed PRD buffer.
A buffer is required along perimeter lot lines for specific uses as specified in Article 9. While screening walls may be incorporated into buffers as described below, retaining walls are not to be constructed within buffers.
A.
Location.
1.
A required buffer must be located at the outer perimeter of the site or lot, parallel to and extending to the property boundary line and must be provided along the entire site or lot immediately abutting the property line.
2.
Breaks for pedestrian, bicycle and vehicle access are allowed, as approved by the Design Review Board or Historic Preservation Commission, as applicable. Driveways or walkways must cross a buffer at as near a perpendicular angle as practical.
3.
Reserved.
4.
All building and structure setbacks are measured from the inside edge of the landscape buffer. In no case can a building be placed less than 10 feet from the interior edge of the buffer.
5.
The parking of vehicles and the placement of buildings or structures, except as provided below, is not allowed in a required buffer.
B.
Screening Walls. Screening walls in a required buffer must meet the following.
1.
Screening walls must be opaque and be constructed of high quality materials including one or a combination of the following: decorative blocks; brick; stone; cast-stone; split-faced block; stucco over standard concrete masonry blocks: glass block: or other material approved by the Design Review Board or Historic Preservation Commission, as applicable.
2.
No screening wall can be located within any required drainage or utility easement.
C.
Fences. Fences are not required but if provided must meet the requirements of Sec. 10.2.10.
D.
Evergreen Trees. Trees in a required buffer must meet the following.
1.
To the extent practical, natural vegetation must be used to meet the buffer requirements. Where the natural buffer is insufficient, supplemental plantings must be used.
2.
All required evergreen trees must be chosen from the approved tree list and be at least 8 feet tall at time of planting. The approved tree list is available from the City Arborist.
3.
Required trees must be distributed along the entire length of the buffer at an average rate of 10 feet on center.
4.
Evergreen trees installed in a required buffer count toward the minimum tree unit density requirements of Sec. 12.1.
E.
Grade Change.
1.
In lieu of a required screening wall or fence, a natural or man-made grade separation of at least 6 feet in elevation may be provided.
2.
The developing property must be located at an elevation lower than the property to be screened.
3.
The stabilized side slopes of the grade change can be no greater than 3: 1.
F.
Alternative Compliance.
1.
The neighborhood compatibility buffer and use buffer requirements may be modified by the Design Review Board or the Historic Preservation Commission, as applicable.
2.
Design Review Board or the Historic Preservation Commission will consider the following criteria, among others, in determining the appropriateness of alternative compliance:
a.
The existing topography or vegetation achieve the purpose and intent of the landscaping and screening requirements of this UDC; or
b.
For topographic reasons, a fence or screening wall or other required screening device could not screen activities from an abutting property as required by this UDC.
(Ord. No. 2019-01-03, § 1, 1-14-2019; Ord. No. 2019-03-14, § 1, 3-25-2019)
A.
Applicability. Parking lot landscaping is required on all on-site surface parking lots with more than 20 spaces created after the effective date of this UDC. Multiple platted lots contained on a single site plan and any separate parking areas connected with drive aisles are considered a single parking area.
B.
Perimeter Screening. All surface parking areas (of any size) abutting a public street (not including an alley) must be screened by a landscape strip as specified in Sec. 10.2.7 Perimeter screening that is not next to a public street must be a minimum of 5 feet in width with a single hedgerow.
C.
Interior Islands.
1.
A landscaped interior island must be provided every 8 parking spaces. Interior islands must be distributed evenly throughout the parking area. Interior islands may be consolidated or intervals may be expanded in order to preserve existing trees.
2.
An interior island abutting a single row of parking spaces must be a minimum of 9 feet in width and 200 square feet in area. Each island must include 1 shade tree.
3.
An interior island abutting a double row of parking spaces must be a minimum of 9 feet in width and 400 square feet in area. Each island must include 2 shade trees.
4.
All required shade trees must be chosen from the approved tree list. The approved tree list is available from the City Arborist.
5.
All required shade trees must have a minimum caliper of 3 inches and be at least 10 feet tall at time of planting.
6.
Interior islands must be installed below the level of the parking lot surface to allow for runoff capture.
D.
Median Islands.
1.
A landscape median island must be provided between every 6 single parking rows. Intervals may be expanded in order to preserve existing trees.
2.
A landscape median island must be a minimum of 6 feet wide.
3.
Median islands must be installed below the level of the parking lot surface to allow for runoff capture.
A.
Applicability. All surface parking areas (of any size) abutting a public street (not including an alley) must be screened using one of the following options.
B.
Landscape Strip with Shrubs. A minimum 10-foot wide landscape strip planted with a minimum of 10 shrubs per 35 linear feet of street frontage, excluding driveway openings. Shrubs shall be provided to screen paved areas and parking lots from the right-of-way. Shrubs shall be 2 feet tall at time of planting. They must be planted 2 rows deep, and provide a screen within 3 years of planting.
C.
Landscape Strip with Screening Wall.
1.
A 2.5-foot high screening wall in a minimum 4-foot planting strip.
2.
Screening walls must be closed and be constructed of high quality materials including one or a combination of the following: decorative blocks; brick; stone; cast-stone; split-faced block; stucco over standard concrete masonry blocks; glass block; or other material approved by the Design Review Board or Historic Preservation Commission, as applicable.
D.
Landscape Strip with Berm.
1.
An earth berm a minimum of 2.5 feet higher than the finished elevation of the parking area, planted with 5 shrubs for every 35 linear feet of street frontage, excluding driveway openings.
2.
The berm must contain a rounded crown suitable for planting, and a stabilized side slope of no greater than 3:1.
E.
Landscape Strip with Grade Change.
1.
A 6-foot landscaped strip with a minimum 3-foot grade drop from the public street to the parking area, planted with 5 shrubs for every 35 linear feet of street frontage, excluding driveway openings.
F.
Location. A required landscape strip must be located at the outer perimeter of the parking area and must be provided along the entire parking area abutting the street, excluding breaks for pedestrians, bicycles and driveways.
G.
Plant Material. Required shrubs must be a minimum of 2.5 feet in height at time of planting. 70% of the required amount of shrubs must be evergreen.
A.
Service Areas.
1.
Trash and recycling collection and other similar service areas must be located to the side or rear of buildings. Trash and recycling collection areas must be located as far away from residential structures on neighboring properties as practical.
2.
Service areas must be screened on 3 sides by a screening wall a minimum 6 feet in height and on the 4th side by a solid gate at a minimum of 6 feet in height.
3.
The screening wall must be opaque and be constructed of high quality materials including one or a combination of the following: decorative blocks: brick: stone; cast-stone; split-faced block: stucco over standard concrete masonry blocks: or other material approved by the Design Review Board or Historic Preservation Commission, as applicable.
4.
The gate and screening wall must be maintained in good working order and must remain closed except when trash pick-ups occur.
B.
Roof-Mounted Equipment.
1.
Roof-mounted equipment must be set back at least 10 feet from the edge of the roof and screened from ground level view from abutting property or abutting public street (not including an alley).
2.
New buildings must provide a parapet wall or other architectural element that is compatible with the principal building in terms of texture, quality, material and color that fully screens roof-mounted equipment from ground level view.
3.
Buildings with no or low parapet walls, roof-mounted equipment must be screened on all sides by an opaque screen compatible with the principal building in terms of texture, quality, material and color.
C.
Wall-Mounted Equipment.
1.
Wall-mounted equipment located on any surface that is visible from a public street (not including an alley) must be fully screened by landscaping or an opaque screening wall or fence that is compatible with the principal building in terms of texture, quality, material and color.
2.
Screening must be of a height equal to or greater than the height of the mechanical equipment being screened.
D.
Ground-Mounted Equipment.
1.
Ground-mounted mechanical equipment that is visible from a public street (not including an alley) must be fully screened by landscaping or an opaque wall or fence that is compatible with the principal building in terms of texture, quality, material and color.
2.
Screening must be of a height equal to or greater than the height of the mechanical equipment being screened.
Street trees may be required in conformance with Sec. 11.4.
A.
General Standards.
1.
Fences must be constructed of high quality materials including one or a combination of the following: wood; wrought iron; composite fencing, PVC; aluminum; and metal. If subject to design or historic review, an alternative fence material may be approved by the Design Review Board or Historic Preservation Commission, as applicable.
2.
Screening walls must be constructed of high quality materials including one or a combination of the following: decorative blocks; brick; stone; cast-stone; splitfaced block; stucco over standard concrete masonry blocks; and glass block. If subject to design or historic review, an alternative wall material may be approved by the Design Review Board or Historic Preservation Commission, as applicable.
3.
No screening wall or fence may be constructed of tires, junk, or other discarded materials.
4.
No screening wall or fence may be located within any required drainage or utility easement.
5.
Chain-link fence, barbed wire and concertina wire are allowed only in a rear or side yard in a Corridors and Nodes District or Employment District. Chain-link fence, barbed wire and concertina wire are not allowed in the Historic Overlay District. Chain link is allowed as a fence material around a tennis court, community swimming pool or sports field in the Residential, Civic and Recreational districts.
6.
The maximum length of a continuous, unbroken and uninterrupted fence or screening wall plane is 100 feet. Breaks must be provided through the use of columns, landscaped areas, transparent sections or a change in material.
7.
A screening wall or fence located in a side yard or rear yard can be no more than 8 feet in height.
8.
A screening wall or fence located in a front yard that is greater than 4 feet in height to maximum 6 feet in height requires 50% transparency for the entire fence. For purposes of this Section the definition of front yard is from lot line to lot line and takes precedence over side yard definition.
9.
The finished face of all screening walls and fences must be located toward the abutting property.
10.
Screening wall or fence height is measured from the subject property grade to the highest point of the fence. Screening walls or fences may not be used to retain dirt or other materials.
B.
Subdivision Entrances. A subdivision entrance wall or fence may not exceed 8 feet in height and is subject to location and architectural approval by the Zoning Director as part of a Minor Design Plan (see Sec. 13.6.6).
(Ord. No. 2023-05-10, § 1, 5-8-2023)
A.
Replacement Bond.
1.
Prior to issuance of a Certificate of Occupancy, a performance bond or cash escrow must be paid guaranteeing all landscaping and screening materials and work for a period of 2 years after issuance of the Certificate of Occupancy.
2.
The bond must be in the amount of 100% of the estimated cost of replacing all of the landscaping required by this UDC.
3.
At the end of 2 years, the City Arborist must make an inspection and notify the owner and the bond company of any corrections to be made.
B.
Visibility at Intersections. No landscaping or screening may interfere with a clear sight triangle as established in Sec. 11.4.6.
C.
Plant Material.
1.
Plant materials must be hardy to zone 7b in accordance with the U.S. Department of Agriculture's Plant Hardiness Zone Map.
2.
Plant materials must be able to survive on natural rainfall once established with no loss of health.
3.
Tree height is measured from the top of the root ball to the tip of the main stem.
4.
No artificial plants, trees, or other vegetation may be installed as required landscaping and screening.
A.
Responsibility. The property owner is responsible for maintaining all required landscaping and screening in good health and condition. Any dead, unhealthy, damaged or missing landscaping and screening must be replaced with landscaping and screening that conforms to this UDC within 90 days (or within 180 days where weather concerns would jeopardize the health of plant materials).
B.
Soil Erosion.
1.
All planting areas must be stabilized from soil erosion immediately upon planting and must be maintained for the duration of the use.
2.
Grass areas must be sodded prior to the issuance of a Certificate of Occupancy. If grass seed must be used, it must be a variety suitable to the area that produces complete coverage.
C.
Pruning and Trimming.
1.
All required landscaping must be allowed to reach its required size and must be maintained at no less than required size.
2.
To prevent long-term harm to the health of required landscaping, all pruning of shrubs and trees must be done in accordance with the International Society of Arboriculture Standards entitled '"ANSI A300 Standards."
3.
"Topping," defined as removal of more than one-third of the leaves and branches of a tree, as measured from the lowest branch on the trunk of the tree to the top of the tree, is prohibited, except where necessary to maintain public overhead utilities.
A.
Purpose. This Article is enacted with for following purposes:
1.
To protect the rights of individuals and businesses to convey their messages through signs;
2.
To encourage the effective use of signs as a means of communication;
3.
To promote economic development;
4.
To improve traffic and pedestrian safety as it may be affected by distracting signs;
5.
To prevent the destruction of the natural beauty and environment of the City;
6.
To protect the public health, safety, and general welfare;
7.
To restrict the continued existence of abandoned or non-conforming signs unless in compliance with the terms of this Article and to eliminate, over time, all non-conforming signs;
8.
To ensure the fair and consistent enforcement of sign standards; and
9.
To make it easier, quicker, and more economically efficient to apply for a sign permit.
B.
Findings.
1.
The City finds that signs are a proper use of private property, are a means of personal free expression and a necessary component of a commercial environment. As such, signs are entitled to the protection of the law. In the absence of regulation, however, the number of such signs tends to proliferate, with property owners' desiring ever increasing numbers and sizes of signs, leading to cluttered and aesthetically blighted thoroughfares. In addition, the competition among competing sign owners for visibility of their signs contributes to safety hazards for both vehicles and pedestrians and undermines the sign owners' original purpose of presenting a clear message of its idea or identification of its premises.
2.
The City further finds that the regulation of the size, height, number and spacing of signs is necessary to protect the public safety, to assure compatibility of signs with surrounding land uses, to enhance the business and economy of the City, to protect the public investment in the streets and highways, to maintain the tranquil environment of residential areas, to promote industry and commerce, to eliminate visual clutter and blight, to provide an aesthetically appealing environment, and to provide for the orderly and reasonable display of advertising for the benefit of all the City's citizens.
3.
The City further finds that there is a substantial difference between signs erected by public authority and signs erected by private citizens or businesses. Signs erected by public authority are virtually all erected for the purpose of maintaining the public safety either through direct control of traffic or through provision of such type signage as street signs which enable the traveling public to know where they are located and to find where they are going. As such, with the exception of signs identifying government buildings, virtually all government signs are erected purely for public safety purposes. Moreover, their use in the public right-of-way is necessary to ensure their visibility to the motoring public. The City Council finds that public utility signs are frequently of the same nature as those signs erected by governmental entities in that they provide necessary information to safeguard the public from downed power lines and from street excavations. Even where signs serve a propriety purpose, such as identifying markings on utility poles, those signs are marked primarily for the purpose of benefiting the public generally through identification of locations where there may be temporary losses of power.
4.
The City further finds that some signage has a single targeted function and that identification of such signage by description is impossible without referring to its function. For instance, address numerals are used for the sole purpose of locating addresses, which is of benefit to persons looking for those addresses and is essential to public safety personnel responding to emergencies. Subdivision signs at the entrances to subdivisions favor a similar purpose in enabling both the traveling public and emergency personnel to quickly locate subdivision entrances for the purpose of either visitation or responding to emergency calls. While such signage is referenced based upon the function it serves within the context of this ordinance, the bulk of the provisions of this chapter are unrelated to the content of the speech provided and allow maximum expressive potential to sign owners.
(Ord. No. 2022-08-12, § 1, 8-22-2022)
Words and phrases used in this Article shall have the meanings set forth in this section. Words and phrases not defined in this section, but defined in this UDC of the City of Roswell, shall be given the meanings set forth in such ordinance. All other words and phrases shall be given their common, ordinary meaning, unless the context clearly requires otherwise. Section headings or captions are for reference purposes only and shall not be used in the interpretation of this Article.
Abandoned sign. Any sign that contains or exhibits broken panels, visible rust, visible rot, damaged support structures, or missing letters or which is otherwise dilapidated, unsightly, or unkempt, and for which no person accepts maintenance responsibility.
Accessory Freestanding Signs. Freestanding signs subordinate to the primary freestanding sign on a lot.
Animated sign. Any sign, or part of a sign, that uses any movement or change of lighting or color to depict action or create a special effect or scene.
Audible sign. Any sign which emits a sound which is audible or emits a signal which can be converted into audible sounds, whether by radio or other means.
Awning/canopy sign. Any sign that is a part of, or attached to, an awning, canopy or other fabric, plastic or structural protective cover over a door, entrance, window, or outdoor service area. A marquee is not a canopy.
Banner. A sign other than a flag with or without characters, letters, illustrations or ornamentation applied to cloth, paper, or fabric that is intended to be hung either with a frame or without a frame. Neither flags nor canopy signs are considered banners.
Beacon. Any light with one or more beams directed into the atmosphere or directed at one or more points not on the same lot as the light source; also, any light with one or more beams that rotate or move.
Billboard. A freestanding sign with an area of more than seventy-two (72) square feet but not more than six hundred seventy-two (672) square feet.
Changeable copy sign. Any sign that incorporates changing lettering or images to form a sign message or messages, whether such changes are accomplished electronically or manually. A sign panel is not considered changeable copy.
City Council. The City Council of the City of Roswell.
City. The City of Roswell.
Directory sign. A single sign for multiple businesses, offices, professionals, industries, or other entities located within a planned center.
Drive-through/drive-in facility. A location where products and/or services are distributed to, or business is transacted with, a person seated in a motor vehicle.
Fall zone. An area equal to one hundred thirty-three percent (133%) of the height of the structure in every direction.
Feather Sign. Any lightweight plastic, fabric, or other material, whether or not containing a message of any kind, attached to a single pole or staff for support and exceeding five (5) feet in height and designed to move in the wind.
Flag. Any fabric or bunting containing colors, patterns, or symbols used as a symbol of a government or other entity or organization.
Flashing sign. A sign, the illumination of which is not kept constant in intensity at all times when in use and which exhibits marked changes in lighting effects.
Freestanding sign. Any sign supported by structures or supports that are placed on, or anchored in, the ground and that are independent from any building or other structure. A permanently affixed sign which is wholly independent of a building for support with a base of a width not less than the width of the sign face. The base of the sign face shall be flush with the supporting base, and the supporting base shall be flush with the ground and extend the full width of the sign. Except for subdivision entrance signs, freestanding signs may not be constructed before the principal building is on a lot.
Illuminated sign, External. A sign illuminated by an external light source. Such source cannot be a device that changes color, flashes or alternates.
Illuminated sign, Internal. A sign illuminated by an internal light source. Such source cannot be a device that changes color, flashes, or alternates.
Master Planned Development. A contiguous area or subdivision of land of at least 10 acres planned and maintained as a single entity under a set of master covenants in order to accommodate retail, service, commercial, office, industrial or residential uses or a combination of such uses (i.e. office park, industrial park, mixed-use development).
Marquee, marquee sign. Any permanent roof-like structure projecting beyond a building or extending along and projecting beyond the wall of the building, generally designed and constructed to provide protection from the weather.
Moving sign. A sign which revolves, rotates, swings, undulates, or otherwise attracts attention through the structural movement of parts.
Multi-tenant. One or more buildings, located on a single premise, containing two (2) or more separate and distinct individual establishments, which occupy separate portions of the building and which are physically separated from each other by walls.
Obscene. Material is obscene if to the average person, applying contemporary community standards, taken as a whole, it predominantly appeals to the prurient interest, that is, a shameful or morbid interest in nudity, sex or excretion; the material taken as a whole lacks serious literary, artistic, political or scientific value; and the material depicts or describes, in a patently offensive way, sexual conduct specifically defined as: (A) acts of sexual intercourse, heterosexual or homosexual, normal or perverted, actual or simulated; (B) acts of masturbation; (C) acts involving excretory functions or lewd exhibition of the genitals; (D) acts of bestiality or the fondling of sex organs of animals; or (E) sexual acts of flagellation, torture, or other violence indicating a sadomasochistic sexual relationship.
Off-premises sign. Signs fitting the following characteristics:
1.
Off-premises advertising sign. A sign which is not located upon the premises of the business or entity indicated or advertised by said sign. This includes products advertised in conjunction with a business; or
2.
Off-premises directional sign. A sign not located upon the premises of the business or entity indicated on the sign and limited to directing traffic to business establishments, real estate, public or private clubs and other such facilities.
Out of store marketing device. An out of store marketing device is any facility or equipment which is located outside of a primary building on a site zoned for non-residential uses, which is used for the primary purpose of providing a product or service without the owner's immediate presence, and which is manufactured to include a color, form, graphic, illumination, symbol, and/or writing thereon to communicate information regarding the product or service provided thereby to the public. Examples of out-of-store marketing devices include: fuel pumps, bank ATM units, vending machines, newspaper racks, drink machines, ice boxes, and phone booths.
Pennant, streamer. Any lightweight plastic, fabric, or other material, whether or not containing a message of any kind, suspended from a rope, wire, or string, usually in a series, designed to move in the wind.
Permanent sign. Any sign which, when installed, is intended for permanent use. A permanent freestanding sign shall be of a type and construction as not to be easily or readily removed from the lot on which it has been erected.
Permit. A sign permit reviewed, approved, and issued by the Community Development Department.
Permittee. The person and/or entity owning or leasing the land on which the sign is erected or for which an application has been submitted.
Person. A natural or legal person, including a firm, organization, partnership, trust, and corporation.
Place of Business. The physical location within a building at which a single business or entity legally operates pursuant to all Federal, State, City or other applicable laws and regulations. Any interconnectivity within a building from one location or tenant space to another shall constitute the same place of business. The use of a physical location, which is bounded on all sides by walls by more than one (1) legally operating business or entity shall only constitute a single place of business. In the event such a physical location is used or occupied by more than one (1) business, in order for such physical location to constitute a "place of business," all businesses and/or entities operating therein must be operating pursuant to all Federal, State, City or other applicable laws and regulations.
Portable sign. A sign which is not permanently affixed to the ground or to a structure, including but not limited to signs on trailers or signs mounted or painted on vehicles which are parked in such a manner as to serve the purpose of a sign.
Principal building. The building in which the principal use of the lot is conducted. Non-residential lots with multiple principal uses may have multiple principal buildings, but storage buildings, garages, and other structures with clearly accessory uses shall not be considered principal buildings.
Projecting sign. Any sign which is suspended or projected from the wall, eave, or soffit of the building.
Public sign. Any sign erected by a governmental entity.
Roof sign. Any sign erected and constructed wholly on and over the roof of a building, or supported by the roof structure.
Sidewalk or Sandwich Sign. A temporary, movable sign not secured or attached to the ground or surface upon which it is located. This type of sign is typically "A" shaped or in some variation thereof and usually double-sided. Definition shall include a sign displayed on an easel.
Sign face. That part of a sign that is or can be used to announce, direct attention to, identify, advertise or otherwise communicate information.
Sign. Any device, fixture, placard, or structure affixed to, supported by, or suspended by a stationary object, to a building or to the ground that uses any color, graphic, illumination, symbol, or writing to announce, direct attention to, identify, advertise or communicate a message to the public. Signs do not include the flag or emblem of any nation, organization of nations, state, city or any fraternal, religious or civic organizations; works of art which in no way identify a product; or scoreboards located on athletic fields. Except where the address is also the name of the business, or institution owning or occupying the premises, displayed address information is not a sign or part of a sign for the purposes of this code.
Sign panel. A physically removable panel on a sign face of at least one (1) square foot that may be changed for different like-sized panels. Sign panels do not include electronic signs, reader boards or changeable copy.
Suspended sign. Any sign which is suspended from the eave or soffit of the building.
Temporary sign. Any sign that is not permanently mounted.
Wall sign. Any sign attached parallel to a wall, painted on the wall surface or erected and confined within the limits of an outside wall of any building or structure, which is supported by such wall or building and which displays only one sign surface. No wall sign shall extend more than six (6) inches from any wall, building, or structure.
Window sign. Any sign that is placed inside a window, within two (2) feet of a window, or upon the window panes or glass, either inside or outside the building, and is visible from the exterior of the structure.
(Ord. No. 2022-08-12, § 1, 8-22-2022)
The Zoning Director is hereby authorized and directed to administer and enforce this article, unless otherwise specifically provided by resolution of the Roswell City Council.
(Ord. No. 2022-08-12, § 1, 8-22-2022)
The standards of this Article shall apply to all signs erected within the corporate limits of the City.
(Ord. No. 2022-08-12, § 1, 8-22-2022)
Except where specifically not required by the standards of this Article, it shall be unlawful for any person to post, display, materially change, or erect a sign in the City without first having obtained a sign permit. Notwithstanding the foregoing, signs which are not visible from a public right-of-way or from neighboring properties shall not be subject to the standards of this Article.
(Ord. No. 2022-08-12, § 1, 8-22-2022)
No permit shall be issued until the appropriate application has been filed with the Zoning Director or their designee and fees, as set from time to time by Resolution of the City Council, have been paid.
(Ord. No. 2022-08-12, § 1, 8-22-2022)
Applications for sign permits required by this Article shall be filed by the person owning the subject Lot, or the owner's agent with express permission of the owner, in the office of the Director upon forms furnished by that office. The application shall describe and set forth the following:
1.
The type and purpose of the sign as defined in this Article.
2.
The value of the sign.
3.
A survey to scale showing the street address of the property upon which the subject sign is to be located, the proposed location of subject sign on subject property, the distance of the proposed sign from the subject property's boundaries, and all existing structures or buildings on the subject property.
4.
The square foot area per sign and the aggregate square foot area if there is more than one (1) sign face.
5.
The name(s) and address(es) of the owner(s) of the real property upon which the subject sign is to be located.
6.
Written consent of the owner of the property, or his/her agent, granting permission for the placement, maintenance, size, and height of the subject sign to be placed on the property.
7.
For wall signs: Building elevations.
8.
The name, address, telephone number, and business license number of the sign contractor. All applicants for signs which incorporate electricity must obtain an electrical permit.
9.
Sign details, including a proposed color scheme of sign, and scaled elevation of the size and height of the proposed sign from ground level and adjacent street level.
10.
The zoning district in which the subject property is located and a statement of compliance with all requirements of the zoning district regarding use of the property.
(Ord. No. 2022-08-12, § 1, 8-22-2022)
A.
Incomplete; False. The Director shall reject any application that is incomplete or inaccurate, that contains false material statements or omissions, or that is for a sign which would violate any standard within this Article within forty-five (45) business days of receipt of said application. The Director may reject at any time prior to the expiration of the 45-day period, if the application is incomplete, inaccurate or contains false material statements or omissions, by returning the application to the applicant.
B.
Processing Time; Denial. The City shall process all complete and accurate sign permit applications within forty-five (45) business days of the Community Development Department's actual receipt of a complete and accurate application and upon remittance of the appropriate sign permit fee. The Director shall give notice to the applicant of his/her decision in writing to the address on the permit application on or before the 45th business day. If the decision of the Director is to deny the application, the decision shall state the grounds upon which the denial is based. Failure of the City to act within the 45 business-day period shall be deemed an approval of the permit. If notice is mailed in conformity with this Section, notice shall be deemed to have been given upon the date of mailing. Any application meeting the standards of this Article will be granted. Any application not meeting the standards of this Article will be denied.
C.
Appealable. A rejection pursuant to this Section shall be appealable pursuant to the procedures for Appeals outlined in Sec. 13.12. However, notwithstanding the foregoing, a final decision will be rendered within ninety (90) days from date an appeal is filed. If a final decision is not rendered within the 90-day period, the decision sought to be appealed shall be affirmed.
D.
Resubmission. A rejected application later resubmitted in conformity with this Article shall be deemed to have been submitted on the date of resubmission, instead of the original submission date. An application which is resubmitted shall meet all the standards for an original application.
(Ord. No. 2022-08-12, § 1, 8-22-2022)
Should it be determined that a sign permit was issued pursuant to an application containing a false material statement or omission, the Zoning Director shall revoke said permit and the subject sign shall be immediately removed. A revocation pursuant to this Section shall be appealable pursuant to the procedures for Appeals outlined in Sec. 13.12. However, notwithstanding the foregoing, a final decision will be rendered within sixty (60) days from date an appeal is filed. If a final decision is not rendered within the 60-day period, the decision sought to be appealed shall be affirmed. The permit for any sign not meeting the standards of this Article will be revoked.
(Ord. No. 2022-08-12, § 1, 8-22-2022)
So long as an application conforms to the standards and procedures of this Article, the applicant is exempted from any additional setback requirements in the City's ordinance regulating zoning.
(Ord. No. 2022-08-12, § 1, 8-22-2022)
A.
Limitations. The Board of Zoning Appeals shall be allowed to grant variances where a hardship has been demonstrated only as to set back, building material, and as provided for in Sec. 13.11.7.
B.
Timing. The Board of Zoning Appeals shall hear and decide upon a variance within one-hundred twenty (120) days of the submission of a complete and accurate application. If the subject of the sign appeal is currently constructed, it shall be concealed by a tarp or other means until the issue is decided by the Board of Zoning Appeals.
C.
Procedure. Except as modified by this Article, the procedures for requesting a variance from the standards of this Article shall be the same procedures as that for seeking a variance from the City's ordinances regulating zoning.
D.
Standards. A variance shall be granted in accordance Sec. 13.11. A variance to sign setback shall only be granted if one of the following conditions is met:
1.
The topography of the lot on which the sign is located or to be located renders it impossible to comport with the strict standards of this Article; or
2.
The natural features of the lot on which the sign is located or to be located, or of the land immediately adjacent to the Lot, impairs the visibility of the sign such that it cannot be seen.
(Ord. No. 2022-08-12, § 1, 8-22-2022)
A.
Violation. Except as provided in Sec. 10.3.9, violation of any provision of this Article shall be grounds for terminating the valid permit granted by the City to the permittee or the person or entity erecting the sign. No permit shall be suspended, revoked or canceled except for due cause, as hereinafter defined, and until after the permittee is granted a public hearing before the City council.
B.
Hearing. The permittee shall be given ten (10) business days written notice of the time, place, and purpose of the hearing, with a statement of the reason for the suspension, revocation, or canceling of such permit and/or license. "Due cause" is the violation of the standards of this Article. The termination of the permit does not in any way preclude the person or persons alleged to have violated the standards of this Article from being tried under Section 19(F) of this Article or preclude the City from taking any other action authorized by this Code and/or any action authorized by law.
(Ord. No. 2022-08-12, § 1, 8-22-2022)
A sign permit shall become null and void if the sign for which the permit was issued has not been installed and completed within six (6) months after the date of issuance; provided, however, that where an applicant can demonstrate that a commercial entity was timely engaged to construct the permitted sign, but the fabrication has not yet been completed, one (1) 90-day extension may be granted by the Zoning Director. No refunds shall be made for a permit after the permit is issued. If later an individual desires to erect a sign at the same location, a new application for the sign must be processed and another fee paid in accordance with the fee schedule applicable at such time.
(Ord. No. 2022-08-12, § 1, 8-22-2022)
It shall be unlawful for any person to engage in the business of erecting or maintaining signs within the City, unless and until such entity shall have obtained a City occupation tax certificate and a certificate of insurance from an insurance company authorized to do business in the state evidencing that the entity has in effect public liability and property damage insurance in the sum of twenty-five thousand dollars ($25,000.00) for property damage for any one (1) claim, and public liability insurance in an amount not less than one hundred thousand dollars ($100,000.00) for injuries, including accidental death to one (1) person. The certificate of insurance shall state that the insurance carrier shall notify the City thirty (30) days in advance of any termination and/or restriction of the coverage, including nonrenewal, cancellation, and nonpayment of any premium.
(Ord. No. 2022-08-12, § 1, 8-22-2022)
A.
Identification Labels. With each sign permit, the Director shall issue a sticker bearing the same number as the permit with which it is issued. It shall be the duty of the permittee or his agent to affix such sticker to the sign in the lower right hand area so it is easily seen. The absence of a proper sticker shall be prima facie evidence that the sign has been, or is being, erected or operated in violation of the standards of this Article.
(Ord. No. 2022-08-12, § 1, 8-22-2022)
The following types of signs are exempt from this Section except for size, height, number and location limitations contained herein.
A.
Public Interest Signs. Signs of a noncommercial nature and in the public interest, erected by or on the order of a public officer in the performance of their duty, such as public notices, safety sign, danger signs, trespassing signs, traffic and street signs, memorial plaques and signs of historical interest.
B.
Traffic Movement Signs on Private Property. Signs on private property directing traffic movement, not exceeding 3 square feet in area, and not advertising any business, service or product. Signs cannot be located within the public right-of-way.
C.
Credit Card Identification Signs. On-premises credit card identification signs up to 3 square feet in total area, located on the building of the business to which they relate.
D.
Signs not Visible from the Public Right-of Way. Any sign not visible from a public street.
E.
Window Signs.
1.
A sign installed inside a window for purposes of viewing from outside the premises. Signs cannot exceed 30% of the window area.
2.
An exposed neon window sign stating "open" that is not greater than 5 square feet in area and does not exceed 30% of the window area, limited to 1 per establishment. Neon signs are not allowed in the -HOD or -PV districts.
F.
Quasi-Public Signs. Off-premises non-illuminated school, hospital, or other quasi-public signs not exceeding 4 square feet in area. Signs cannot be located within the public right-of-way.
G.
Public Notice Signs. On-premises warning or similar public notice type signs not exceeding 6 square feet in area. Signs cannot be located within the public right-of-way. Signs can be placed no closer than 100 feet from one another.
H.
Flags. Any fabric or other flexible material containing distinctive colors, patterns or symbols used to identify a local, state, or national government or private organization designed to be flown from a flagpole.
1.
A maximum of 3 of the following flags are permitted per lot or site:
a.
The official flag of The United States of America;
b.
Any official flag of a state or territory of the United States of America;
c.
Any official flag adopted by a member state of the United Nations;
d.
Any official flag adopted by a sovereign nation, including Switzerland; and
e.
Any flag that contains the official logo or trademarked symbol of the business, entity or development on which the flagpole is located.
2.
An individual flag cannot exceed 60 square feet in area.
3.
The maximum height of a flagpole is 40 feet, measured from the highest point of the flagpole to the top of the abutting sidewalk or parking area.
4.
A flagpole must be set back from a property line a distance equal to the height of the pole. For example, a flagpole 40 feet in height must be set back at least 40 feet from a property line.
I.
Murals. A mural or work of visual art that conforms with the following standards:
1.
Is located on the wall of a building in any district, except a Residential District;
2.
Includes no text legible from a public right-of-way;
3.
Includes no logo or trademarked symbol;
4.
Includes no specific commercial product, although it may include generic products such as automobiles, furniture, soft drinks or other items where the brand is not apparent; and
5.
Includes no picture, symbol or device of any kind that relates to a commercial business, product or service offered on the premises where the wall is located.
J.
One Percent Rule. On premise signs attached to the outside wall of any business establishment, which are designed to identify services rendered, products sold or activities conducted on the premises are allowed provided:
1.
The total area of such signs does not exceed 1% of the total area of the wall on which they are affixed; and
2.
No more than two such signs are allowed per building.
K.
Temporary Signs Not Requiring a Permit. The following temporary signs are allowed without the issuance of a temporary sign permit, provided they meet the specified standards below.
1.
Political Signs. A sign identifying or urging voter support for a particular election issue, political party, or candidate for public office. A political sign cannot exceed 32 square feet in area and 8 feet in height.
2.
Civic or Educational Institutions. Temporary signs not exceeding 4 feet in area pertaining to drives or events of civic, philanthropic, educational, religious organizations are allowed, provided signs are posted not more than 2 days before the event and removed the day after the event.
3.
New and Used Automobile Sales.
a.
New and used automobile sales establishments may display 8-inch vinyl letters professionally made, not hand lettered, indicating the price, model and year of vehicles for sale on the front windshield, not to exceed a total of 320 square inches of area per vehicle.
b.
Establishments are allowed to use 2 of the following 3 colors: non-fluorescent white, pastel blue and yellow.
4.
Off-Site Real Estate Directional Signs. A temporary sign erected by the owner, or their agent, conveying the route to real property, but not located on the property itself.
a.
Signs are allowed for a maximum period of 2 consecutive days in any one week.
b.
A maximum of 3 signs per house/lot are allowed.
c.
Signs must be located within 2 miles of the property to which they refer, as measured along existing streets.
d.
No sign can be located within the public right-of-way.
e.
Signs cannot exceed a maximum area of 4 square feet per sign.
f.
Not more than 1 sign is allowed at any "T" intersection and no more than 2 signs are allowed at any 4-way intersection.
g.
Signs cannot have any balloons, streamers, and pennants attached to them.
h.
Such signs cannot be illuminated.
i.
Signs can only be placed on property with the owner's express written permission.
5.
On-Site Real Estate Signs, Single-Family Residential District. A temporary sign erected by the owner, or their agent, advertising the real property upon which the sign is located for rent, lease, or for sale.
a.
Only one sign is permitted per lot or home for sale.
b.
The sign cannot be illuminated.
c.
The sign cannot exceed 6 square feet in area.
d.
Signs must be removed within 10 days after the lot or building is leased, or sold.
e.
Signs cannot be located within the public right-of-way.
(Ord. No. 2022-08-12, § 1, 8-22-2022)
A.
Whenever these sign regulations permit a commercial sign, a noncommercial message may be substituted in lieu of the commercial message.
B.
The right to substitute a noncommercial message does not waive any requirement imposed by this UDC as to the number, size, construction, location, lighting, safety or any other regulated attribute.
(Ord. No. 2022-08-12, § 1, 8-22-2022)
The following types of signs are prohibited in the City:
A.
Balloons, Pennants, Streamers. Balloons, except as explicitly allowed herein, pennants, streamers, feather signs, or air or gas filled figures.
B.
Any freestanding sign that sits upon a pylon that is less than 75% of the width of the sign face, does not include a post sign under 32 square feet or a double post sign under 32 square feet.
C.
Beacons, Search Lights, Laser. Promotional beacons, search lights or laser lights or images.
D.
Audible Signs. Audible signs.
E.
Signs in Right-of-Way. Signs in a public right-of-way, other than those belonging to a government, public service agency, or railroad.
F.
Signs on Tree or Utility Pole. Signs mounted or located on a tree, utility pole, or other similar structure.
G.
Roof Signs. Roof signs and signs which extend vertically above any portion of a roof or parapet of the applicable wall.
H.
Portable Signs. Portable signs (except sidewalk/sandwich signs), including signs attached to any parked vehicle or trailer, so as to be visible from a public right-of way, except as explicitly allowed in this Article.
I.
Obscene Signs. Signs which depict obscene material.
J.
Illegal Activity Signs. Signs which advertise an activity which is illegal under federal, state or local laws.
K.
Signs Not Maintained. Signs not in good repair, in violation of codes, or containing or exhibiting broken panels, visible rust, visible rot, damaged support structures, or missing letters.
L.
Abandoned Signs. Abandoned signs.
M.
Rotating, Animated; Flashing; Electronic. Rotating signs, animated signs, flashing signs, electronic signs, varying light intensity signs and changeable copy signs (except as explicitly allowed herein).
N.
Imitation Traffic Signs. Signs which contain or are an imitation of an official traffic sign or signal or contain the words "stop," "go," "slow," "caution," "warning," or similar words in such a manner as to resemble official traffic control signs.
O.
Human Sign. A sign held by or attached to a human for the purposes of advertising or otherwise drawing attention to an individual, business, commodity, service or product, mere costumes without wording or logos shall not be considered signage.
P.
Off-premises signs, except non-illuminated school, hospital, or other quasi-public signs not exceeding 4 square feet in area not located in the right-of-way.
Q.
Graffiti.
(Ord. No. 2022-08-12, § 1, 8-22-2022)
A.
Noncompliance. No person shall erect on any premises owned or controlled by that person any sign which does not comply with the standards of this Article.
B.
Dangerous or Defective. No person shall maintain or permit to be maintained on any premises owned or controlled by that person any sign which is in a dangerous or defective condition. Any such sign shall be removed or repaired by the permittee of the sign, the owner of the premises, or as otherwise provided for in this Article.
C.
Separate Violation. Each sign installed, created, erected or maintained in violation of this Article shall be considered a separate violation when applying the penalty portions herein.
D.
Public Nuisance. Any violation of this Article is hereby declared to be a public nuisance.
E.
Notice. The Zoning Director shall give the permittee ten (10) to thirty (30) days written notice, based on the practical considerations of completing measures to comport with the standards of this Article, to correct the deficiencies or to remove the sign(s) which is in violation of this Article.
F.
Citations. If any sign or other device covered by this Article is erected, constructed, altered, converted or used in violation of any provision of this Article, the Zoning Director shall issue a citation. Additionally, the City may seek an injunction for a continuing violation or take other appropriate action to prevent such unlawful erection, construction, alteration, conversion or use to correct or abate such violation. Any violation of this Article shall be an offense, and the violator shall be subject to a fine of up to one thousand dollars ($1,000.00), imprisonment for up to six (6) months, or by both such fine and imprisonment.
(Ord. No. 2022-08-12, § 1, 8-22-2022)
A.
Maintained. A nonconforming sign shall not be replaced by another nonconforming sign including face material, except that the substitution or interchange of poster panels, painted boards, or dismountable material on nonconforming signs shall be permitted. All nonconforming signs shall be maintained in good repair.
B.
Repairs; Material Change. Minor repairs and maintenance of nonconforming signs, the cumulative costs of which does not exceed fifty percent (50%) of the total value of the sign, shall be permitted; provided, however, no structural repairs or changes in the size or shape of a nonconforming sign shall be permitted except to bring the sign to a higher degree of conformity with the standards of this Article.
C.
Grandfathering. Nonconforming signs may stay in place until one of the following conditions occurs:
1.
The advertised business ceases at that location for a period of more than thirty (30) days;
2.
The deterioration of the sign or damage to the sign makes it a hazard or renders it dilapidated, unsightly, or unkempt; or
3.
The sign has been damaged to such extent that repairs or maintenance with cumulative costs exceeding fifty percent (50%) of the total value of the sign is required to restore the sign. No structural repairs or change in shape or size shall be permitted except to bring the sign to a higher degree of conformity with the standards of this Article.
D.
To the extent any portion of this Article conflicts with O.C.G.A. § 32-6-83 or Ga. Const. Art. 3 § 6, ¶ 4(a) in application, this section shall be deemed to provide effected parties the minimum protections provided by O.C.G.A. § 32-6-83 or Ga. Const. Art. 3 § 6, ¶ 4(a), as amended from time to time. In no event is it the City's intent to obligate itself to pay any compensation related to the removal of any nonconforming sign.
(Ord. No. 2022-08-12, § 1, 8-22-2022)
A.
Removal. The City may order the removal of any sign in violation of this Article by written notice to the permit holder; or if there is no permit holder, then to the owner of the sign; or if the sign owner cannot be found or cannot be determined, then to the sign erector and any party that procured the erection of the sign. If a permit has been issued, such notice shall operate to revoke the permit.
B.
Procedure Following Removal Order. If the sign is not removed within the time allowable the City shall remove or cause to be removed the sign and collect the costs thereof as provided below.
C.
Removal without Notice. The City shall have removed any sign in violation of this Article, without giving notice to any party, if:
1.
Said sign is upon the public right-of-way or upon other public property or upon the pavement of a private street or drive; or
2.
Said sign poses an immediate safety threat to the life or health of any members of the public.
D.
Removal after Court Determination. Other than signs located in a public right-of-way or on public property, a sign shall be removed by the City after a final determination by a court that the sign is unlawful and should be removed. If the permittee or owner fails to remove the sign, the sign may be immediately removed and disposed of by the City.
(Ord. No. 2022-08-12, § 1, 8-22-2022)
The following temporary signs are permitted following issuance of a temporary sign permit.
A.
Promotional Signs. A temporary sign or attention getting device used to advertise a temporary special event.
1.
Air- or gas-filled balloons or other devices that have a capacity for air or gas that does not exceed 3 cubic feet.
2.
Flags, signs, pennants, streamers and banners, a maximum size of 32 square feet, except official government flags.
3.
Promotional signs can be used for a period not exceeding 10 consecutive days.
4.
No temporary sign permit for a promotional sign will be issued for the same premises more than 80 days per year.
5.
No business will be issued a promotional sign for more than one sign or device per street frontage to be located on the premises at any one time. Each individual establishment within a multi-tenant center is considered to have one street frontage.
6.
No sign can be located within the public right-of-way.
B.
Yard/Garage Sale Sign. A temporary sign used to advertise a yard/garage sale.
1.
No sign can be located within the public right-of-way.
2.
Signs must be on private property with the property owner's consent.
3.
No sign is allowed on a telephone pole, tree or traffic sign.
4.
The maximum size of a sign is 4 square feet per sign.
5.
Decals must be attached to each sign.
6.
Signs are permitted 2 days prior to sale and must be removed the day after the sale.
7.
The temporary sign permit must be displayed upon the request of any municipal officer or citizen requesting identification or proof of permission for the yard/garage sale.
8.
A maximum of 6 signs per yard/garage sale are allowed.
9.
The temporary sign permit is valid only for family use and may not exceed 3 per year.
10.
Additional requirements for yard/garage sales are in Sec. 9.8.3.
C.
Grand Opening Signs. A temporary sign used to advertise a grand opening or final closing sale.
1.
On-premises temporary signs relating to the initial opening or final closing of a business or service are allowed, provided each sign does not exceed 32 square feet each and is not located in the public right-of-way.
2.
The Zoning Director can approve signs for a maximum period of 2 weeks for initial opening signs and 4 weeks for final closing signs, after which all signs must be removed.
D.
Farmers' Market.
1.
One temporary banner identifying a city-approved farmers' market with a maximum size of 32 square feet is allowed no more than 24 hours before and 2 hours after the hours of operation for the farmers' market. The banner cannot be located in the public right-of-way.
2.
Additional requirements for Farmers' Market are in Sec. 9.7.7.
E.
On-Site Real Estate Signs, All Other Non-Single Family Districts. A temporary sign erected by the owner, or their agent, advertising the real property upon which the sign is located for rent, lease, or for sale.
1.
Only 1 sign is permitted per parcel for sale or lease, except that corner lots may have 1 sign per frontage, separated by not less than 50 feet.
2.
Once the building is occupied, no on-site real estate signs are allowed on the ground; they must be located on a panel on an existing monument sign or placed in the window of an empty tenant space.
3.
The sign cannot be illuminated.
4.
Each sign cannot exceed 32 square feet in area and 10 feet in height.
5.
Signs must be removed within 10 days after the lot or building is leased, or sold.
6.
Signs cannot be located within the public right-of-way.
F.
Construction Sign. A temporary sign erected and maintained on premises for a proposed construction project.
1.
Only 1 sign is permitted per lot or parcel, except that corner lots may have 1 sign per frontage, separated by not less than 50 feet.
2.
Each sign cannot exceed 32 square feet in area and 10 feet in height.
3.
Signs cannot be illuminated.
4.
Signs may be erected once the first development permit for the project has been issued. If development is not begun in 60 days or if construction is not continuously and actively pursued to completion, all signs must be removed.
5.
Signs must be removed upon completion of the project or when the development permit expires.
6.
Signs cannot be located within the public right-of-way.
7.
Construction Fence Wraps.
a.
Wraps are allowed on fences securing new construction sites for the duration of the construction activity.
b.
The wrap must be removed prior to the issuance of a Certificate of Occupancy.
c.
The fence wrap must be maintained in good condition and be properly attached to the fence.
d.
Messages, logos, renderings or similar information shall not exceed 30 percent of the total fence wrap area.
(Ord. No. 2022-08-12, § 1, 8-22-2022)
A.
Obstructions to Doors, Windows, or Fire Escapes. No sign shall be erected, relocated, or maintained so as to prevent free ingress or egress from any door, window, or fire escape.
B.
Signs Not to Constitute Traffic Hazard. No sign or any part thereof, except authorized traffic signs, shall be located in any government right-of-way. No sign may be located any closer than twenty (20) feet to an intersection as measured from the intersection of the two (2) rights-of-way.
C.
Setback. Unless otherwise noted in conditions of zoning or in this Article, all signs shall set back at least ten (10) feet from the right-of-way and no sign shall project over the right-of-way. Freestanding signs shall be a minimum of 35 feet from any other freestanding signs. All signs shall provide an adequate visibility triangle as per Transportation Department standards. Upon demonstrating adequate sight distance, signs may be permitted in medians of private streets without providing a setback from internal streets.
(Ord. No. 2022-08-12, § 1, 8-22-2022)
Computation of Sign Area. The area of all signs is determined as follows:
1.
For wall signs, awning signs, canopy signs and crown signs consisting of freestanding letters or logos, sign area is calculated as the total area of the rectangle, circle or square that fully encloses all the letters or logo.
2.
For signs on a background, the entire area of the background is calculated as sign area, including any material or color forming the sign face and the background used to differentiate the sign from the structure on which it is mounted. For ground signs, projecting signs, shingle signs, double post signs, single post signs and sidewalk signs, sign area includes the face of the structure that the message is affixed to, not including any supports, bracing or street number.
3.
For subdivision entrance signs, sign area does not include the wall the sign is located on. Sign area only includes the background designed to hold the sign or in the case of freestanding letters, the total area of the rectangle, circle or square that fully encloses all the letters or logo.
4.
The sign area of a three-dimensional sign is calculated as total area of the smallest rectangle, circle or square that fully encloses the largest profile of the three-dimensional sign.
5.
The area for a sign with more than one face is computed by adding together the area of all sign faces greater than 60 degrees; if the sign face angle is less than 60 degrees, only the area of the largest sign face is computed as part of the sign area.
(Ord. No. 2022-08-12, § 1, 8-22-2022)
Measurement of Sign Height. The total height of a ground or post sign is measured from the highest point of the sign or supporting structure to the top of the abutting sidewalk.
The height of a sign shall be computed as the distance from the base of the sign structure at normal grade to the top of the highest attached component of the sign. Normal grade shall be construed to be the lower of: (1) existing grade prior to construction or (2) the newly established grade after construction, exclusive of any filling, berming, mounding, or excavating solely for the purpose of locating the sign. In cases in which the normal grade cannot reasonably be determined, sign height shall be computed on the assumption that the elevation of the normal grade at the base of the sign is equal to the elevation of the nearest point of the crown of a public street or the grade of the land at the principal entrance to the principal structure on the zone lot, whichever is greater. Where the normal grade is below the normal grade of a public street, the sign base can be raised to the elevation of the normal grade of the street before the height limitations are applied (surveyor's certificate required).
(Ord. No. 2022-08-12, § 1, 8-22-2022)
A.
Building and Safety Codes. All signs permitted under this code shall be constructed and maintained in accordance with the applicable City building and safety codes. The City may remove after due notice any sign which shows neglect or becomes dilapidated.
B.
Faces. The face of sign shall be flat, with protrusions of no more than two (2) inches to allow for the texture of the sign and words, letters, figures, symbols, logos, fixtures, colors, or other design elements. No sign or other advertising structure shall be constructed so as to have nails, tacks, or wires protruding therefrom. Lettering for address signage shall not exceed four (4) inches in height or as required by the applicable building code.
C.
Illumination. Signs, when illumination is permitted and except as otherwise set forth, may be illuminated internally or externally. Free standing signs with external illumination shall have light directed downward. Externally illuminated signs shall not exceed fifty-five (55) foot-candles.
D.
Landscaping. Landscaping, weeds, and grass shall be kept cut in front of, behind, underneath, and around the base of freestanding signs.
E.
Sign Materials. Freestanding sign structure/base materials shall be constructed of brick or stone with a base of at least two feet. Any sign panels on a sign shall have a uniform background color and material. All freestanding signs shall display the property address in numbers at least six (6) inches in height but not more than twelve (12) inches in height. The numerical address shall not be considered part of the sign face and shall not count against the allowable sign square footage.
(Ord. No. 2022-08-12, § 1, 8-22-2022)
Signs are allowed by district as set forth below. Specific requirements for each sign are shown on the following pages. All of the following sign types require a sign permit.
KEY:
● = Sign type allowed
▲ = Allowed sign type for nonresidential uses only
— = Sign type not allowed
KEY:
● = Sign type allowed
▲ = Allowed sign type for nonresidential uses only
— = Sign type not allowed
(Ord. No. 2022-08-12, § 1, 8-22-2022)
* For buildings with a store frontage of more than 30 linear feet. All other buildings may have a wall sign of 18 square feet.
(Ord. No. 2022-08-12, § 1, 8-22-2022)
A.
All signs must be maintained in good condition and present a neat and orderly appearance. The Zoning Director may cause to be removed after due notice any sign which shows gross neglect, becomes dilapidated, or if the ground area around it is not well maintained.
B.
The Zoning Director will give the owner 10 days written notice to correct the deficiencies or to remove the sign or signs. If the owner refuses to correct the deficiencies or remove the sign, the Zoning Director will have the sign removed at the expense of the owner.
(Ord. No. 2022-08-12, § 1, 8-22-2022)
Illumination of signs must be in accordance with the following requirements.
A.
Prohibited Light Sources. The following light sources are not allowed:
1.
Blinking, flashing and chasing.
2.
Bare bulb illumination.
3.
Colored lights used in any manner so as to be confused with or construed as traffic control devices.
4.
Direct reflected light that create a hazard to operators of motor vehicles.
B.
Brightness. The light from any illuminated sign cannot be of an intensity or brightness that will interfere with the peace, comfort, convenience, and general welfare of residents or occupants of adjacent properties.
C.
Internal Illumination.
1.
Internally illuminated signs are not allowed in the -HOD district.
2.
Channel letters may be internally lit or back-lit.
3.
For internally illuminated signs on a background, the background must be a contrasting color.
4.
Neon window signs stating "Open" are allowed as specified in Sec. 10.3.16.E.2.
5.
The number of neon strokes used in internally illuminated channel letters is based on the width of the letters as follows:
a.
0" to 4" - no more than a single stroke;
b.
>4" to 8" - no more than a double stroke; and
c.
>8" - no more than a triple stroke.
6.
Light emitting diodes (LEDs) are allowed as a light source in a manner that the LED is behind acrylic, aluminum or similar sign face and returns in such a manner that the LED modules are not visible from the exterior of the sign.
D.
External Illumination.
1.
Lighting directed toward a sign must be shielded so that it illuminates only the face of the sign and does not shine directly onto public right-of-way or adjacent properties.
2.
Projecting light fixtures used for externally illuminated signs must be simple and unobtrusive in appearance, and not obscure the sign.
E.
Raceways and Transformers.
1.
If a raceway is necessary, it cannot extend in width or height beyond the area of the sign.
2.
A raceway must be finished to match the background wall or canopy, or integrated into the overall design of the sign.
3.
Visible transformers are not allowed.
(Ord. No. 2022-08-12, § 1, 8-22-2022)
Changeable copy signs must be in accordance with the following requirements.
A.
Manual changeable copy sign. A sign or portion of a sign that has a readerboard for the display of text information in which each alphanumeric character, graphic or symbol is defined by objects, not consisting of an illumination device and may be changed or re-arranged manually or mechanically with characters, letters, or illustrations that can be changed or rearranged without altering the face or the surface of the sign.
B.
Signs Allowed.
1.
Manual changeable copy is allowed in conjunction with a permitted ground sign. No electronic changeable copy is allowed.
2.
The changeable copy portion of the ground sign can be no greater than 50% of the total sign area, however, in no case can the changeable copy portion of the ground sign exceed 32 square feet in area.
3.
Ground signs permitted with the use of a convenience store with fuel pumps are allowed to have changeable copy as provided for by the laws and regulations of the State of Georgia.
(Ord. No. 2022-08-12, § 1, 8-22-2022)
Should any article, section, clause, or provision of this Article be declared by a court of competent jurisdiction to be invalid, such action shall not affect the validity of the ordinance as a whole or any part hereof other than the part so declared to be invalid, it being the intent of the City Council of the City that each article, section, clause, and provision hereof be severable.
(Ord. No. 2022-08-12, § 1, 8-22-2022)
The purpose and intent of this Section is to provide a regulatory strategy for outdoor lighting that will permit reasonable uses of outdoor lighting for nighttime safety, utility, security, productivity, enjoyment and commerce; curtail and reverse the degradation of the nighttime visual environment and the night sky; preserve the dark night sky for astronomy; minimize glare, obtrusive light and artificial sky glow by limiting outdoor lighting that is misdirected, excessive or unnecessary; conserve energy and resources to the greatest extent possible; and help to protect the natural environment from the damaging effects of night lighting from man-made sources.
All outdoor illuminating devices must be installed in conformance with the provisions of this UDC, the Building Code and the Electrical Code as applicable and under appropriate permit and inspection.
For all land uses, developments and buildings that require a permit, all outdoor lighting fixtures shall meet the requirements of this UDC. All building additions of 50% or more in terms of additional dwelling units, gross floor area, or parking spaces, either with a single addition or with cumulative additions subsequent to the effective date of this Section, will invoke the requirements of this Section for the entire property, including previously installed and any new outdoor lighting. Cumulative modification or replacement of outdoor lighting constituting 60% or more of the permitted lumens for the parcel, no matter the actual amount of lighting already on a nonconforming site, will constitute a major addition for purposes of this Section.
A.
Minor Additions. Additions of less than 50% of additional dwelling units, gross floor area, or parking spaces that require a permit, and that include changes to existing lighting require the submission of a complete inventory and site plan detailing all existing and any proposed new outdoor lighting. Any new lighting on the site must meet the requirements of this Section with regard to shielding and lamp type.
B.
Exempt Lighting. The following luminaires and lighting systems are exempt from these requirements:
1.
Lighting for pools used at night;
2.
Underwater lighting used for the illumination of swimming pools and fountains;
3.
Temporary holiday lighting;
4.
Lighting required and regulated by the Federal Aviation Administration, or other federal, state or local agency;
5.
Emergency lighting used by police, fire, or medical personnel, or at their direction;
6.
All outdoor light fixtures producing light directly from the combustion of fossil fuels, such as kerosene and gasoline; and
7.
Security lighting controlled and activated by a motion sensor device for a duration of 10 minutes or less.
C.
Prohibited Lighting. The following lighting systems are prohibited:
1.
Aerial lasers;
2.
Searchlight style lights;
3.
Other very intense lighting, defined as having a light source exceeding 200,000 lumens or intensity in any direction of 2 million candelas or more;
4.
Mercury vapor lamps;
5.
Neon lighting, excluding neon lighting used for accent lighting or backlighting of signs so long as the neon source is not visible.
All nonexempt outdoor lighting fixtures shall meet the following criteria:
A.
Fixtures must be full cutoff placed so as to allow no light above the horizontal as measured at the luminaire, except as noted in this Section (as in the case of period fixtures, cutoff fixtures may be used).
B.
Shall be located, aimed or shielded so as to minimize glare and stray light trespassing across property boundaries and into the public right of way in accordance with the following standards:
C.
Flood or spot lamps must be positioned no higher than 45 degrees above straight down (half-way between the vertical and the horizontal) when the source is visible from any off-site residential property or public roadway.
D.
All light fixtures that are required to be shielded shall be installed and maintained in such a manner that the shielding is effective as described herein for fully shielded fixtures.
E.
Multi use development lighting must conform to the standards of its respective use.
F.
Illumination levels are measured from any height and orientation of the measuring device at any location along the property line, except the lighting of parking lots shall be measured at grade with the meter sensor held horizontally on the surface.
All lighting not directly associated with the special use areas designated below must conform to the lighting standards described in this Section.
A.
Outdoor Sports, Recreation Fields, or Performance Areas. Lighting of outdoor recreational facilities (public or private), such as, but not limited to, outdoor athletic fields, courts, tracks, special event or show areas shall meet the following requirements:
1.
Luminaires. Facilities designed for municipal leagues, elementary to high school levels of play and training fields for recreational or social levels of play, college play, semi-professional, professional or national levels of play shall utilize luminaires with minimal uplight consistent with the illumination constraints of the design. Where fully shielded fixtures are not used, acceptable luminaires shall include those which:
a.
Are provided with internal or external glare control louvers or lenses, and are installed so as to minimize uplight and offsite light trespass and glare; and
b.
Are installed and maintained so as to avoid aiming more than 2.5 times the mounting height.
2.
Illuminance. All lighting installations shall be designed to achieve the illuminance levels for the activity as recommended by the Illuminating Engineering Society of North America (IESNA RP-6).
3.
Off-Site Spill. The installation must also limit off-site spill (off the parcel containing the sports facility) to the maximum extent possible consistent with the illumination constraints of the design. For all recreational or social levels of play and training fields, as well as, performance areas, illumination levels must not exceed 1.5 foot-candles at any location along any non-residential property line, and 0.5 foot-candles at any location along any residential property line.
4.
Curfew. All events shall be scheduled so as to complete all activity no later than 10:30 p.m. Illumination of the playing field, court or track shall be permitted after the curfew only to conclude a scheduled event that was unable to conclude before the curfew due to unusual circumstances. Field lighting for these facilities shall be turned off within 30 minutes after the last event of the night.
5.
Setback. All light poles shall be set back the greater of 50 feet or one foot for every foot in height from any residential property line or right-of-way.
B.
Service Station Canopies and Parking Structures.
1.
All luminaires mounted on or recessed into the lower surface of service station canopies and parking structures must be fully shielded and use flat lenses.
2.
The total light output of luminaires mounted on the lower surface, or recessed into the lower surface of the canopy, and any lighting within signage or illuminated panels over the pumps, must not exceed 50 foot-candles.
3.
The total light output of illuminated areas of a service station other than as detailed in paragraph 2. above shall not exceed 15 foot-candles.
4.
Illuminance levels for the interior of parking structures, where interior lighting is visible from outside the structure, must conform to the IESNA recommendation (RP-20).
5.
Lights must not be mounted on the top or sides of a canopy and the sides of a canopy must not be illuminated.
C.
Security Lighting.
1.
Security lighting is lighting that provides a level of illumination to clearly identify persons or objects and creates a psychological deterrent to unwanted or unsafe activity in the area being protected.
2.
Security lighting must be directed toward the targeted area.
3.
Sensor activated lighting must be located in such a manner as to prevent direct glare and lighting into properties of others or into a public right-of-way, and the light must not be triggered by activity off the property.
D.
Pedestrian Path Lighting. Lighting posts must not exceed 16 feet from the finished grade.
E.
Architectural Accent Lighting.
1.
Fixtures used to accent architectural features, materials, colors, style of buildings, landscaping, or art must be located, aimed and shielded so that light is directed only on those features. Such fixtures must be aimed or shielded to minimize light spill into the dark night sky in conformance with the luminaire standards.
2.
Lighting fixtures must not generate glare, or direct light beyond the facade onto a neighboring property, streets or into the night sky.
F.
Temporary Lighting Permits.
1.
Permits for temporary lighting will be granted by the Zoning Director where the total output from the luminaires does not exceed 50 foot-candles and the following conditions apply:
a.
The purpose for which the lighting is proposed can be completed within 30 days, except that the permit for a major construction project may extend to completion.
b.
The proposed lighting is designed in such a manner as to minimize light trespass and glare.
2.
The application for the Temporary Lighting Permit must include, but not be limited to, the following information:
a.
Name and address of applicant and property owner;
b.
Location of proposed luminaires;
c.
Date and times for the lighting;
d.
Type, wattage and lumen output of lamps;
e.
Type and shielding of proposed luminaires;
f.
Intended use of the lighting;
g.
Duration of time for requested exemption;
h.
The nature of the exemption; and
i.
The means to minimize light trespass and glare.
G.
Commercial Parking Areas.
1.
All lighting fixtures servicing parking lots, except floodlights, must be cutoff fixtures, directed downward and not toward buildings or other areas.
2.
The minimum illumination level for a parking lot is 0.4 foot-candles at grade level and the ratio of the average illumination to the minimum illumination must not exceed 4:1.
3.
Floodlights must be aimed or shielded to minimize uplight.
4.
Light poles used in parking lots must not exceed 35 feet in height.
H.
Street Lights. All street light fixtures installed as new, repaired (outside of normal maintenance) or replaced must be cutoff fixtures.
A.
Any person may submit an application to the Board of Zoning Appeals for a variance from the provisions of this Section. The application should include, but not be limited to, evidence about the following:
1.
How the proposed design and appearance of the luminaire are superior;
2.
How light trespass and glare will be limited;
3.
How the proposed solution will provide a benefit without negative impact on the health, safety, or welfare of the community.
B.
The application may include the recommended practices of the Illuminating Engineering Society of North America, a professional engineer, or other authority on outdoor lighting.
A.
The applicant for any permit required by any provision of the laws of the City of Roswell in connection with proposed work involving outdoor lighting fixtures must submit, as part of the application for permit, evidence that the proposed work will comply with this Section. Even should no other permit be required, the installation or modification, except for routine servicing and same-type lamp replacement of any exterior lighting, will require submission of the information described below. The submission must contain but is not necessarily limited to the following, all or part of which may be part or in addition to the information required elsewhere in the laws of the City of Roswell upon application for the required permit:
1.
Plans indicating the location on the premises of each illuminating device, both proposed and any already existing on the site.
2.
Description of all illuminating devices, fixtures, lamps, supports, reflectors, both proposed and existing. The description may include, but is not limited to catalog cuts and illustrations by manufacturers.
3.
Photometric data, such as that furnished by manufacturers or similar, showing the angle of cut off of light emissions.
B.
Additional Submission. The above required plans, descriptions and data must be sufficiently complete to enable the Department to readily determine whether compliance with the requirements of this Section will be secured. If such plans, descriptions and data cannot enable this ready determination, the applicant must submit additional evidence of compliance to enable such determination, such as certified reports of tests, provided that the tests have been performed and certified by a recognized testing laboratory.
C.
Subdivision Plats. All new subdivided properties must submit information as described above for installed street lights and other common or public area outdoor lighting.
D.
Certification. For all projects, certification that the lighting as installed conforms to the approved plans shall be provided by an illumination engineer/professional before the Certificate of Occupancy is issued. Until this certification is submitted, approval for use by the issuance of the Certificate of Occupancy will not be issued.
E.
Reserved.
New or replaced retaining walls for all non-single-family residential applications must meet the requirements of the UDC and the City Standard Construction Specifications.
A.
Retaining walls must be constructed of high quality materials; material approval shall be subject to approval by the Design Review Board or Historic Preservation Commission, as applicable.
B.
When finished grades are proposed to be steeper than 2:1 (one vertical foot of rise for every two feet of horizontal displacement) an appropriate retaining structure shall be designed to reinforce or retain the resulting embankment.
C.
All retaining walls equal to or greater than 8 feet shall be designed by a qualified registered professional engineer. All proposed retaining walls equal to or greater than 6 feet in height will be subject to review and approval by the Mayor and City Council. Retaining walls that are not in substantial accordance with a previously approved site plan, as defined in Article 13, will be also subject to review and approval by the Mayor and City Council.
D.
Stepped retaining walls shall have the upper wall setback a minimum distance of 1.5 times the height of the tallest wall or as approved by the City Engineer, with review by the Community Development and Transportation Committee.
E.
All structural components of the wall shall meet the minimum building codes for the proposed use.
F.
Wall design will consider foundation drainage and select backfill material for the proposed conditions.
G.
Walls shall be located in such a fashion as to not encroach upon existing or proposed drainage easements, drainage courses or floodplains or to encumber the natural flow of surface runoff of stormwater. Walls shall be located at a distance from such watercourses to allow for anticipated future maintenance of the easement.
H.
Retaining walls that are proposed for the purpose of stormwater detention/retention must be designed to demonstrate that the walls are capable of a hydrostatic load.
I.
Where stormwater detention/retention walls are exposed equal to or greater than 6 feet they are required to be faced with stone, brick or decorative concrete modular block, as approved, modified, or denied by the Design Review Board and/or the Historic Preservation Commission, as applicable.
J.
The maximum length of continuous, unbroken and uninterrupted retaining wall equal to or greater than 6 feet in height is 100 feet. For walls greater than 100 feet in length, breaks must be provided through the use of columns or change in material.
K.
Retaining walls equal to or greater than 6 feet in height shall be screened with landscaping, as approved by the Design Review Board or Historic Preservation.
- SITE DEVELOPMENT
Editor's note— Ord. No. 2022-08-12, § 1, adopted Aug. 22, 2022, repealed the former 10.3, §§ 10.3.1—10.3.25, and enacted a new 10.3 as set out herein. The former 10.3 pertained to similar subject matter and derived from Ord. No. 2019-04-17, § 1, adopted April 8, 2019; Ord. No. 2019-08-26, §§ 1, 2, adopted Aug. 26, 2019; Ord. No. 2020-03-04, § 1, adopted March 9, 2020.
A.
New Construction. Any new building or site improvement must comply with the parking requirements of this UDC.
B.
Maintenance and Repair. An existing building or site may be repaired, maintained or modernized without providing additional parking, provided there is no increase in gross floor area or improved site area.
C.
Additions.
1.
When an existing building, use or site is increased in gross floor area or improved site area by up to 25% cumulatively, parking is required for the additional floor or site area only.
2.
When an existing building, use or site is increased in gross floor area or improved site area by more than 25% cumulatively, both the existing building, use or site and the additional floor or site area must conform to the parking requirements.
D.
Change in Use.
1.
A change in use based on the parking table of Sec. 10.1.3.B. must comply with the parking requirements unless the use has the same or a lesser parking demand than the previous use.
2.
Where the required number of parking spaces for a new use according to Sec. 10.1.3.B. is 125% or less of the parking spaces required for the existing use, no additional parking spaces are required.
3.
Where required parking spaces for the new use exceed 125% of the required parking spaces for the existing use, additional parking is only required for the difference between the current parking spaces required and the parking spaces required for the new use.
Before any building permit is issued, the parking lot layout and area must be found by the Zoning Director to be in compliance with all requirements of this UDC. The Building Inspector cannot allow occupancy or use of a building until advised by the Zoning Director that parking facilities meet the requirements of this UDC.
A.
Calculation of Required Parking Spaces.
1.
Vehicle and bicycle parking spaces must be provided in accordance with Sec. 10.1.3.B. Where a use is not specifically listed or only a broad use category is shown, the Zoning Director is responsible for categorizing the use in accordance with Sec. 9.1.
2.
When a site or lot is used for a combination of uses, the parking requirements are the sum of the requirements for each use, and no parking space for one use can be included in the calculation of parking requirements for any other use, except as allowed in Sec. 10.1.7.
3.
In determining the required number of parking spaces, fractional spaces are rounded to the nearest whole number, with one-half or more counted as an additional space.
4.
Unless otherwise noted, the parking requirement is based on the gross floor area of the building devoted to the particular use specified.
5.
In industrial buildings where tenants are specified, parking is calculated according to the uses identified in the floor plan. Where tenants are not specified, parking is calculated using 20% office and 80% warehouse.
B.
Required Parking Spaces.
1.
Unless specifically provided otherwise in this parking section, parking spaces must be provided in accordance with the following table.
2.
Where guest parking is shown in the following table, it is required only for development containing 10 or more residential units. Guest parking is not required on each lot, but must be provided within the subdivision or development site.
3.
Alternative parking requirements apply in the Downtown Historic Districts (see Sec. 10.1.6).
A.
Facilities that require 25 or more vehicle parking spaces must provide a minimum of 1 motorcycle parking space, plus 1 space for each additional 25 required parking spaces. After the initial 100 parking spaces, 1 additional motorcycle parking space for each additional 100 required spaces must also be provided.
B.
Motorcycle parking spaces may be counted as fulfilling the vehicle parking requirements at the rate of 2 motorcycle spaces for 1 vehicle space (90 degree, head-in) or 4 motorcycle spaces for one vehicle space (parallel). Only the minimum required motorcycle spaces may be used to reduce the vehicle parking requirements.
C.
Motorcycle parking spaces must be at least 4 feet in width and 7 feet in length and be accessed by a drive aisle at least 8 feet in width.
A.
The following maximum parking requirements apply to:
1.
All medical uses;
2.
All office uses; and
3.
All retail sales uses.
B.
Surface parking spaces cannot exceed 133% of the required minimum vehicle parking. Parking spaces provided in an underground or structured parking garage do not count toward the maximum number of spaces permitted.
A.
Applicability. The following parking requirements apply in a Downtown Historic District (-HOD).
B.
Building Constructed Prior to 1959. The change of use of any building built prior to 1959 located within the Historic District is required to meet the parking standards that are indicated in letter C below. Any change of use that goes from a less intense use to a more intense use must supply the additional parking required.
C.
Parking Requirements for Downtown.
1.
Residential. Vehicle parking and bicycle parking spaces are required per Sec. 10.1.3.B.
2.
Nonresidential. Except for restaurants, one vehicle parking space per 500 square feet is required for all nonresidential gross floor area or the minimum number of parking spaces specified in Sec. 10.1.3.B., whichever is less. The bicycle parking requirements of Sec. 10.1.3.B. apply.
3.
Restaurants. One vehicle parking space per 300 square feet of gross floor area is required. The bicycle parking requirements of Sec. 10.1.3.B. apply.
4.
Motorcycle Parking. The motorcycle parking requirements of Sec. 10.1.4 apply.
(Ord. No. 2020-07-08, §§ 1, 2, 7-13-2020)
A.
Applicants wishing to use shared parking as a means of reducing the total number of required spaces may submit a shared parking analysis using the Urban Land Institute (ULI) Shared Parking Model (latest edition).
B.
The study must be provided in a form established by the Zoning Director.
C.
Reductions in the total number of required spaces for shared parking are not permitted unless the Zoning Director determines a reduction is appropriate on a case-by-case basis through the use of the ULI Shared Parking Model (latest edition).
D.
Uses providing shared parking must have either mutually exclusive or compatibly overlapping normal hours of operation. The Zoning Director will determine whether hours of operation are compatibly overlapping on a case-by-case basis through the use of the ULI Shared Parking Model (latest edition).
Parking spaces may be reserved for a specific tenant or unit, provided that the following standards are not exceeded.
A.
Residential.
1.
One space per efficiency or one-bedroom multi-family dwelling unit.
2.
Two spaces per two-bedroom or greater multi-family dwelling unit.
B.
Nonresidential. No more than one-third of the total provided spaces may be reserved.
Editor's note— Ord. No. 2023-03-06, § 1, adopted March 27, 2023, repealed § 10.1.9, which pertained to alternative compliance and derived from the Original Unified Development Code.
Required vehicles parking spaces must be located on the same lot or site they are intended to serve, except as provided below.
A.
On-Street Parking.
1.
Where on-street parking spaces exist in the public right-of-way, one on-street parking space may be sub stituted for every required on-site parking space, provided the on-street space immediately abuts the subject property.
2.
Each on-street parking space may only be counted for one property. Where a space straddles an extension of a property line, the space may only be counted by the owner whose property abuts 50% or more of the on-street parking space.
3.
The Zoning Director may determine that to ensure future roadway capacity, the on-street parking credit may not be available.
B.
Remote Parking.
1.
All required vehicle and motorcycle parking spaces, except required accessible spaces, may be located off-site, provided the remote parking spaces are located within 800 feet of the primary entrance of the use served and are located within the same or more intense zoning district as the principal use served.
2.
Lease agreements must be for a term of not less than 1 year to serve the use or uses proposed to be satisfied by the off-site leased parking. Each year the use is renewed (as shown by the renewed application for a business license), the applicant for the business license must show a current lease agreement for not less than 1 year for the necessary off-site parking.
3.
The distances referred to above are measured by the most direct route of travel on the ground and are measured in the following manner:
a.
From the front door of the principal structure on the applicant's property;
b.
In a straight line to the nearest public sidewalk, street, road or highway;
c.
Along a public sidewalk, walkway, street, road, or highway by the nearest route; and
d.
To the edge of the off-site parking area to be used by the applicant to meet parking requirements.
4.
Additional requirements for remote parking lots are provided under Sec. 9.5.7.C.
The following general provisions apply to all required bicycle parking facilities (see Sec. 10.1.3.B.).
A.
In no case is a single use required to provide more than 20 bicycle parking spaces.
B.
Each required bicycle parking space must be at least 2 feet by 6 feet. Where a bike can be locked on both sides of a bicycle rack without conflict, each side can be counted as a required space.
C.
Bicycle racks must be securely anchored, be easily usable with both U-locks and cable locks, and support a bicycle at 2 points of contact to prevent damage to the bicycle wheels and frame.
D.
Bicycle racks must be publicly accessible and be located no more than 100 feet from the building entrance the bicycle rack is intended to serve.
E.
Bicycle parking must be provided in a well-lit area.
F.
Spacing of the bicycle racks must provide clear and maneuverable access.
G.
Bicycle facilities may be placed within the public right-of-way, provided the encroachment is approved by the Zoning Director.
A.
General Provisions.
1.
Accessible parking spaces must be provided in accordance with the requirements of the Americans with Disabilities Act (ADA) (Public Law 101-136), the State Building Code, and the American National Standards Institute.
2.
The required number of accessible spaces, which must be provided on-site, must be as provided below. Accessible spaces count toward the requirements of Sec. 10.1.3.B.
3.
In addition, accessible van spaces are required at a rate of 1 van space for every 8 required accessible spaces, with a minimum of 1.
B.
Location. Accessible parking spaces serving a particular building must be located on the shortest accessible route of travel from the parking area to an accessible entrance. In parking facilities that do not serve a particular building, or buildings with multiple entrances, accessible parking must be located on the shortest accessible route of travel to an accessible pedestrian entrance of the parking facility.
C.
Dimensions.
1.
An accessible parking space must be at least 9 feet wide with a minimum 5-foot-wide access aisle.
2.
For van spaces, the width of the parking space must be at least 11 feet with a minimum 5-foot-wide access aisle.
3.
Parking access aisles must be part of an accessible route to the building or facility entrance;
4.
Two accessible parking spaces may share a common access aisle.
D.
Signs. Accessible parking spaces must be designated as reserved by a sign showing the symbol of accessibility. Such signs must be located so that they cannot be obscured by a vehicle parked in that space.
A.
Applicability. Adequate stacking space must be made available on-site for any use having a drive-thru, control gate or areas having drop-off and pick-up.
B.
Restaurant. A restaurant (including a coffee shop) with a drive-thru must provide a minimum of 6 spaces before the order board, with another 4 spaces provided between the order board and the transaction window.
C.
Bank. A bank with a drive-thru must provide a minimum of 3 spaces measured from the teller box.
D.
Pharmacy. A pharmacy with a drive-thru must provide a minimum of 3 spaces measured from the order box.
E.
Dry Cleaner. A dry cleaner with a drive-thru must provide a minimum of 3 spaces measured from the pick up door.
F.
Control Gate. If a control gate is used to restrict entry for vehicles, a minimum of 1 space must be provided.
G.
All Other Uses. All other uses will be determined by the Zoning Director.
H.
Dimensions.
1.
The number of required stacking spaces includes the space at the window or communication/mechanical device (e.g., order board, pick up window).
2.
If a drive-thru has multiple order boxes, teller boxes or pick up windows, the number of required stacking spaces may be split between each order box, teller box or pick up window.
3.
Each stacking space must be a minimum of 20 feet in length and 10 feet in width along straight portions. Stacking spaces and stacking lanes must be a minimum of 12 feet in width along curved segments.
4.
Vehicles may not encroach on or interfere with the public use of streets and sidewalks by vehicles, bicycles or pedestrians.
5.
Drive-thru lanes must be separated by striping or curbing from other parking areas. Individual lanes must be striped, marked or otherwise distinctly delineated.
I.
Screening.
1.
Where drive-thru windows and lanes are allowed to be placed between a public street (see Sec. 9.7.5 for additional requirements), not including an alley, or ground floor residential use and the associated building, the entire length of the drive-thru lane, including but not limited to menu boards, stacking lanes, trash receptacles, ordering box, drive up windows, and other objects associated with the drive-thru must be screened.
2.
Screening must be a continuous compact evergreen hedge. At the time of installation, the screening must be at least 3 feet in height and reach a height of 4 feet within 3 years of planting.
3.
In lieu of the compact evergreen hedge, a screening wall with a minimum height of 4 feet may be installed. The wall must be compatible with the principal building in terms of texture, quality, material and color.
A.
Access. All on-site parking must be arranged so that no vehicle is forced to back out on a public street or forced to use a public street, not including an alley, to gain access from one parking aisle to another parking aisle.
B.
Parking Space and Aisle Specifications. Parking spaces and drive aisles must meet the following dimensions. Parking spaces and drive aisles using dimensions other than those specified may be approved if prepared and sealed by a registered engineer in the State of Georgia with expertise in parking facility design, subject to approval by the Zoning Director.
C.
Compact Parking.
1.
Compact car parking spaces may be used in place of a standard size parking space. The total number of compact car parking spaces may not exceed 15% of the total number of required parking spaces.
2.
No more than 2 compact parking spaces may be placed side by side. Compact spaces may be reduced to 8 feet in width and 18 feet in depth. All compact parking spaces must be clearly and visibly striped and labeled for compact car use only.
D.
Parking Lot Landscaping. All on-site surface parking lots with more than 20 spaces must be landscaped as specified in Sec. 10.2.6.
E.
Visibility at Intersections. No parking or loading area may interfere with a clear sight triangle as established in Sec. 11.4.6.
F.
Surfacing. Parking and loading areas must be surfaced with concrete, asphaltic concrete, asphalt, or other dust-free surface. Porous pavement material may be substituted for standard dust-free pavements subject to the approval of the Zoning Director. Permitted materials may include, but are not limited to, grass, "grasscrete," ring and grid systems used in porous or grid pavers. Within the Historic Overlay District, aggregate surface may be considered appropriate.
G.
Curbs and Drainage.
1.
Parking and loading areas must be graded and drained to collect, retain and infiltrate surface water on-site so as to prevent damage to abutting properties or public streets.
2.
Curbing or parking block must be installed as required by the Zoning Director. Curbing must have openings to allow drainage to enter and percolate through landscaped areas.
H.
Lighting. Parking and loading area lighting must be installed as specified in Sec. 10.4.
I.
Residential Parking. Parking requirements for single-family and two-family uses are specified in Sec. 2.2.18.
The following applies to parking structures in RX-, CX-, SH-, DR-, DX-, DS- and OR-.
A.
The ground story of a structured parking garage must have active uses (such as, but not limited to, residential, commercial, office or civic space) located between the parking structure and the street (not including an alley).
B.
Where upper stories of structured parking are located at the perimeter of a building, they must be screened so that cars are not visible from ground level view from adjacent property or adjacent public street right-of-way (not including an alley).
A.
Loading Not Required. If determined necessary by the Zoning Director, adequate space must be made available on-site for the unloading and loading of goods, materials, items or stock for delivery and shipping, otherwise on-site loading space is not required.
B.
Location. If a loading area is provided or required, it must meet the following.
1.
With the exception of areas specifically designated by the City, loading and unloading activities are not permitted in a public street, not including an alley.
2.
Loading and unloading activities may not encroach on or interfere with the use of sidewalks, drive aisles, stacking areas and parking areas by vehicles, bicycles or pedestrians.
3.
In NX-, CX- SH-, CC-, DX-, DS- and OP-, loading areas must be located to the rear of buildings. Loading areas may not be placed between a public street (not including an alley) and the associated building.
4.
No loading area is permitted within 50 feet of a ground floor residential use (measured from the residential lot line to the closest point of the loading area);
C.
Screening. If a loading area is provided or required, it must meet the following.
1.
Where a loading dock designed for tractor-trailers is placed between a public street (not including an alley) or a shared lot line and the associated building, the entire length of the loading area must be screened.
2.
Screening must consist of either:
a.
An 8-foot high wall compatible with the principal building in terms of texture, quality, material and color; or
b.
Evergreen plant material that can be expected to reach a height of 8 feet with a spread of 4 feet within 3 years of planting.
Parking and loading areas must be operated and maintained in accordance with the following.
A.
Parking and loading areas cannot be used for the repair or dismantling of any vehicle, equipment, materials or supplies.
B.
Parking and loading areas cannot be used to store vehicles for sale, except in cases where the property owner owns the vehicle, provided auto sales is a permitted use in the district in which the property is located. This provision does not apply to the placing of a "For Sale" sign on or in one licensed vehicle, boat, or other vehicle located in a private residential driveway and which licensed vehicle, boat or other vehicle is owned by an occupant of the private residence.
C.
An attendant's building less than 50 square feet in size that is set back at least than 20 feet from any boundary of the parking lot may be permitted.
D.
Upon application, the Zoning Director may approve temporary structures and uses such as tent sales within required parking spaces that are not used on a continuous basis, provided that such uses are movable from the site upon order by the Zoning Director. Such activities are allowed to occur on the same site no more than 3 times a year and each time for a period not to exceed 10 days (see also Sec. 9.8.6).
A.
New Construction. Any new building or site improvement must comply with the landscaping and screening requirements of this UDC.
B.
Maintenance and Repair. An existing building or site may be repaired, maintained or modernized without providing additional landscaping or screening, provided there is no increase in gross floor area or improved site area.
C.
Additions.
1.
When an existing building is increased in gross floor area or improved site area by up to 25% cumulatively, landscaping and screening is required for the additional floor or site area only.
2.
When an existing building is increased in gross floor area or improved site area by more than 25% cumulatively, both the existing building and the additional floor or site area must conform to the landscaping and screening requirements of this UDC.
D.
Change in Use. A change in use does not trigger the application of these requirements except when there is a specific use standard requiring landscaping or screening for the new use.
A.
Before any building permit is issued, the building, use or site must be found by the Zoning Director to be in compliance with all requirements of this UDC. The Building Inspector cannot allow occupancy or use of a building until advised by the Zoning Director that building, use or site meet the requirements of this UDC.
B.
Landscape design and planning must be integrated with the overall design concept for any project; therefore, site plan approval will evaluate landscaping schemes as to their relationship to the existing natural landscape, developed or proposed landscapes on adjacent properties and public rights-of-way, and the building or buildings existing or proposed on the subject property and adjacent sites.
Neighborhood compatibility buffers are required as specified in the table below. No buffer is required for new development in in AG-43, RS-87, RS-30, RS-18, RS-12, REC or CON districts. Any variance request for a change in the standards set forth in this section shall be heard and decided by the Mayor and City Council.
KEY:
A/B = Buffer A or B required, choice of A or B at applicant's discretion
C/D = Buffer C or D required, choice of C or D at applicant's discretion
C/D, PV = Buffer C or D required, choice of C or D at applicant's discretion, PV Buffer
D required for village of 7 acres+
D = Buffer D required
D, PV = Buffer D required, PV Buffer D required for village of 7 acres+
(1) In the event a proposed PRD abuts existing residential PRD, the required buffer will be determined by first establishing a PRD Lot Size by calculating the lesser of: a) the average lot size of the proposed lots abutting the existing residential and b) the average lot size for the entire PRD. Then, using Table 10.2.3, identify a comparable zoning category for the PRD based on the PRD Lot Size. The comparable zoning category will be used to determine the required proposed PRD buffer.
A buffer is required along perimeter lot lines for specific uses as specified in Article 9. While screening walls may be incorporated into buffers as described below, retaining walls are not to be constructed within buffers.
A.
Location.
1.
A required buffer must be located at the outer perimeter of the site or lot, parallel to and extending to the property boundary line and must be provided along the entire site or lot immediately abutting the property line.
2.
Breaks for pedestrian, bicycle and vehicle access are allowed, as approved by the Design Review Board or Historic Preservation Commission, as applicable. Driveways or walkways must cross a buffer at as near a perpendicular angle as practical.
3.
Reserved.
4.
All building and structure setbacks are measured from the inside edge of the landscape buffer. In no case can a building be placed less than 10 feet from the interior edge of the buffer.
5.
The parking of vehicles and the placement of buildings or structures, except as provided below, is not allowed in a required buffer.
B.
Screening Walls. Screening walls in a required buffer must meet the following.
1.
Screening walls must be opaque and be constructed of high quality materials including one or a combination of the following: decorative blocks; brick; stone; cast-stone; split-faced block; stucco over standard concrete masonry blocks: glass block: or other material approved by the Design Review Board or Historic Preservation Commission, as applicable.
2.
No screening wall can be located within any required drainage or utility easement.
C.
Fences. Fences are not required but if provided must meet the requirements of Sec. 10.2.10.
D.
Evergreen Trees. Trees in a required buffer must meet the following.
1.
To the extent practical, natural vegetation must be used to meet the buffer requirements. Where the natural buffer is insufficient, supplemental plantings must be used.
2.
All required evergreen trees must be chosen from the approved tree list and be at least 8 feet tall at time of planting. The approved tree list is available from the City Arborist.
3.
Required trees must be distributed along the entire length of the buffer at an average rate of 10 feet on center.
4.
Evergreen trees installed in a required buffer count toward the minimum tree unit density requirements of Sec. 12.1.
E.
Grade Change.
1.
In lieu of a required screening wall or fence, a natural or man-made grade separation of at least 6 feet in elevation may be provided.
2.
The developing property must be located at an elevation lower than the property to be screened.
3.
The stabilized side slopes of the grade change can be no greater than 3: 1.
F.
Alternative Compliance.
1.
The neighborhood compatibility buffer and use buffer requirements may be modified by the Design Review Board or the Historic Preservation Commission, as applicable.
2.
Design Review Board or the Historic Preservation Commission will consider the following criteria, among others, in determining the appropriateness of alternative compliance:
a.
The existing topography or vegetation achieve the purpose and intent of the landscaping and screening requirements of this UDC; or
b.
For topographic reasons, a fence or screening wall or other required screening device could not screen activities from an abutting property as required by this UDC.
(Ord. No. 2019-01-03, § 1, 1-14-2019; Ord. No. 2019-03-14, § 1, 3-25-2019)
A.
Applicability. Parking lot landscaping is required on all on-site surface parking lots with more than 20 spaces created after the effective date of this UDC. Multiple platted lots contained on a single site plan and any separate parking areas connected with drive aisles are considered a single parking area.
B.
Perimeter Screening. All surface parking areas (of any size) abutting a public street (not including an alley) must be screened by a landscape strip as specified in Sec. 10.2.7 Perimeter screening that is not next to a public street must be a minimum of 5 feet in width with a single hedgerow.
C.
Interior Islands.
1.
A landscaped interior island must be provided every 8 parking spaces. Interior islands must be distributed evenly throughout the parking area. Interior islands may be consolidated or intervals may be expanded in order to preserve existing trees.
2.
An interior island abutting a single row of parking spaces must be a minimum of 9 feet in width and 200 square feet in area. Each island must include 1 shade tree.
3.
An interior island abutting a double row of parking spaces must be a minimum of 9 feet in width and 400 square feet in area. Each island must include 2 shade trees.
4.
All required shade trees must be chosen from the approved tree list. The approved tree list is available from the City Arborist.
5.
All required shade trees must have a minimum caliper of 3 inches and be at least 10 feet tall at time of planting.
6.
Interior islands must be installed below the level of the parking lot surface to allow for runoff capture.
D.
Median Islands.
1.
A landscape median island must be provided between every 6 single parking rows. Intervals may be expanded in order to preserve existing trees.
2.
A landscape median island must be a minimum of 6 feet wide.
3.
Median islands must be installed below the level of the parking lot surface to allow for runoff capture.
A.
Applicability. All surface parking areas (of any size) abutting a public street (not including an alley) must be screened using one of the following options.
B.
Landscape Strip with Shrubs. A minimum 10-foot wide landscape strip planted with a minimum of 10 shrubs per 35 linear feet of street frontage, excluding driveway openings. Shrubs shall be provided to screen paved areas and parking lots from the right-of-way. Shrubs shall be 2 feet tall at time of planting. They must be planted 2 rows deep, and provide a screen within 3 years of planting.
C.
Landscape Strip with Screening Wall.
1.
A 2.5-foot high screening wall in a minimum 4-foot planting strip.
2.
Screening walls must be closed and be constructed of high quality materials including one or a combination of the following: decorative blocks; brick; stone; cast-stone; split-faced block; stucco over standard concrete masonry blocks; glass block; or other material approved by the Design Review Board or Historic Preservation Commission, as applicable.
D.
Landscape Strip with Berm.
1.
An earth berm a minimum of 2.5 feet higher than the finished elevation of the parking area, planted with 5 shrubs for every 35 linear feet of street frontage, excluding driveway openings.
2.
The berm must contain a rounded crown suitable for planting, and a stabilized side slope of no greater than 3:1.
E.
Landscape Strip with Grade Change.
1.
A 6-foot landscaped strip with a minimum 3-foot grade drop from the public street to the parking area, planted with 5 shrubs for every 35 linear feet of street frontage, excluding driveway openings.
F.
Location. A required landscape strip must be located at the outer perimeter of the parking area and must be provided along the entire parking area abutting the street, excluding breaks for pedestrians, bicycles and driveways.
G.
Plant Material. Required shrubs must be a minimum of 2.5 feet in height at time of planting. 70% of the required amount of shrubs must be evergreen.
A.
Service Areas.
1.
Trash and recycling collection and other similar service areas must be located to the side or rear of buildings. Trash and recycling collection areas must be located as far away from residential structures on neighboring properties as practical.
2.
Service areas must be screened on 3 sides by a screening wall a minimum 6 feet in height and on the 4th side by a solid gate at a minimum of 6 feet in height.
3.
The screening wall must be opaque and be constructed of high quality materials including one or a combination of the following: decorative blocks: brick: stone; cast-stone; split-faced block: stucco over standard concrete masonry blocks: or other material approved by the Design Review Board or Historic Preservation Commission, as applicable.
4.
The gate and screening wall must be maintained in good working order and must remain closed except when trash pick-ups occur.
B.
Roof-Mounted Equipment.
1.
Roof-mounted equipment must be set back at least 10 feet from the edge of the roof and screened from ground level view from abutting property or abutting public street (not including an alley).
2.
New buildings must provide a parapet wall or other architectural element that is compatible with the principal building in terms of texture, quality, material and color that fully screens roof-mounted equipment from ground level view.
3.
Buildings with no or low parapet walls, roof-mounted equipment must be screened on all sides by an opaque screen compatible with the principal building in terms of texture, quality, material and color.
C.
Wall-Mounted Equipment.
1.
Wall-mounted equipment located on any surface that is visible from a public street (not including an alley) must be fully screened by landscaping or an opaque screening wall or fence that is compatible with the principal building in terms of texture, quality, material and color.
2.
Screening must be of a height equal to or greater than the height of the mechanical equipment being screened.
D.
Ground-Mounted Equipment.
1.
Ground-mounted mechanical equipment that is visible from a public street (not including an alley) must be fully screened by landscaping or an opaque wall or fence that is compatible with the principal building in terms of texture, quality, material and color.
2.
Screening must be of a height equal to or greater than the height of the mechanical equipment being screened.
Street trees may be required in conformance with Sec. 11.4.
A.
General Standards.
1.
Fences must be constructed of high quality materials including one or a combination of the following: wood; wrought iron; composite fencing, PVC; aluminum; and metal. If subject to design or historic review, an alternative fence material may be approved by the Design Review Board or Historic Preservation Commission, as applicable.
2.
Screening walls must be constructed of high quality materials including one or a combination of the following: decorative blocks; brick; stone; cast-stone; splitfaced block; stucco over standard concrete masonry blocks; and glass block. If subject to design or historic review, an alternative wall material may be approved by the Design Review Board or Historic Preservation Commission, as applicable.
3.
No screening wall or fence may be constructed of tires, junk, or other discarded materials.
4.
No screening wall or fence may be located within any required drainage or utility easement.
5.
Chain-link fence, barbed wire and concertina wire are allowed only in a rear or side yard in a Corridors and Nodes District or Employment District. Chain-link fence, barbed wire and concertina wire are not allowed in the Historic Overlay District. Chain link is allowed as a fence material around a tennis court, community swimming pool or sports field in the Residential, Civic and Recreational districts.
6.
The maximum length of a continuous, unbroken and uninterrupted fence or screening wall plane is 100 feet. Breaks must be provided through the use of columns, landscaped areas, transparent sections or a change in material.
7.
A screening wall or fence located in a side yard or rear yard can be no more than 8 feet in height.
8.
A screening wall or fence located in a front yard that is greater than 4 feet in height to maximum 6 feet in height requires 50% transparency for the entire fence. For purposes of this Section the definition of front yard is from lot line to lot line and takes precedence over side yard definition.
9.
The finished face of all screening walls and fences must be located toward the abutting property.
10.
Screening wall or fence height is measured from the subject property grade to the highest point of the fence. Screening walls or fences may not be used to retain dirt or other materials.
B.
Subdivision Entrances. A subdivision entrance wall or fence may not exceed 8 feet in height and is subject to location and architectural approval by the Zoning Director as part of a Minor Design Plan (see Sec. 13.6.6).
(Ord. No. 2023-05-10, § 1, 5-8-2023)
A.
Replacement Bond.
1.
Prior to issuance of a Certificate of Occupancy, a performance bond or cash escrow must be paid guaranteeing all landscaping and screening materials and work for a period of 2 years after issuance of the Certificate of Occupancy.
2.
The bond must be in the amount of 100% of the estimated cost of replacing all of the landscaping required by this UDC.
3.
At the end of 2 years, the City Arborist must make an inspection and notify the owner and the bond company of any corrections to be made.
B.
Visibility at Intersections. No landscaping or screening may interfere with a clear sight triangle as established in Sec. 11.4.6.
C.
Plant Material.
1.
Plant materials must be hardy to zone 7b in accordance with the U.S. Department of Agriculture's Plant Hardiness Zone Map.
2.
Plant materials must be able to survive on natural rainfall once established with no loss of health.
3.
Tree height is measured from the top of the root ball to the tip of the main stem.
4.
No artificial plants, trees, or other vegetation may be installed as required landscaping and screening.
A.
Responsibility. The property owner is responsible for maintaining all required landscaping and screening in good health and condition. Any dead, unhealthy, damaged or missing landscaping and screening must be replaced with landscaping and screening that conforms to this UDC within 90 days (or within 180 days where weather concerns would jeopardize the health of plant materials).
B.
Soil Erosion.
1.
All planting areas must be stabilized from soil erosion immediately upon planting and must be maintained for the duration of the use.
2.
Grass areas must be sodded prior to the issuance of a Certificate of Occupancy. If grass seed must be used, it must be a variety suitable to the area that produces complete coverage.
C.
Pruning and Trimming.
1.
All required landscaping must be allowed to reach its required size and must be maintained at no less than required size.
2.
To prevent long-term harm to the health of required landscaping, all pruning of shrubs and trees must be done in accordance with the International Society of Arboriculture Standards entitled '"ANSI A300 Standards."
3.
"Topping," defined as removal of more than one-third of the leaves and branches of a tree, as measured from the lowest branch on the trunk of the tree to the top of the tree, is prohibited, except where necessary to maintain public overhead utilities.
A.
Purpose. This Article is enacted with for following purposes:
1.
To protect the rights of individuals and businesses to convey their messages through signs;
2.
To encourage the effective use of signs as a means of communication;
3.
To promote economic development;
4.
To improve traffic and pedestrian safety as it may be affected by distracting signs;
5.
To prevent the destruction of the natural beauty and environment of the City;
6.
To protect the public health, safety, and general welfare;
7.
To restrict the continued existence of abandoned or non-conforming signs unless in compliance with the terms of this Article and to eliminate, over time, all non-conforming signs;
8.
To ensure the fair and consistent enforcement of sign standards; and
9.
To make it easier, quicker, and more economically efficient to apply for a sign permit.
B.
Findings.
1.
The City finds that signs are a proper use of private property, are a means of personal free expression and a necessary component of a commercial environment. As such, signs are entitled to the protection of the law. In the absence of regulation, however, the number of such signs tends to proliferate, with property owners' desiring ever increasing numbers and sizes of signs, leading to cluttered and aesthetically blighted thoroughfares. In addition, the competition among competing sign owners for visibility of their signs contributes to safety hazards for both vehicles and pedestrians and undermines the sign owners' original purpose of presenting a clear message of its idea or identification of its premises.
2.
The City further finds that the regulation of the size, height, number and spacing of signs is necessary to protect the public safety, to assure compatibility of signs with surrounding land uses, to enhance the business and economy of the City, to protect the public investment in the streets and highways, to maintain the tranquil environment of residential areas, to promote industry and commerce, to eliminate visual clutter and blight, to provide an aesthetically appealing environment, and to provide for the orderly and reasonable display of advertising for the benefit of all the City's citizens.
3.
The City further finds that there is a substantial difference between signs erected by public authority and signs erected by private citizens or businesses. Signs erected by public authority are virtually all erected for the purpose of maintaining the public safety either through direct control of traffic or through provision of such type signage as street signs which enable the traveling public to know where they are located and to find where they are going. As such, with the exception of signs identifying government buildings, virtually all government signs are erected purely for public safety purposes. Moreover, their use in the public right-of-way is necessary to ensure their visibility to the motoring public. The City Council finds that public utility signs are frequently of the same nature as those signs erected by governmental entities in that they provide necessary information to safeguard the public from downed power lines and from street excavations. Even where signs serve a propriety purpose, such as identifying markings on utility poles, those signs are marked primarily for the purpose of benefiting the public generally through identification of locations where there may be temporary losses of power.
4.
The City further finds that some signage has a single targeted function and that identification of such signage by description is impossible without referring to its function. For instance, address numerals are used for the sole purpose of locating addresses, which is of benefit to persons looking for those addresses and is essential to public safety personnel responding to emergencies. Subdivision signs at the entrances to subdivisions favor a similar purpose in enabling both the traveling public and emergency personnel to quickly locate subdivision entrances for the purpose of either visitation or responding to emergency calls. While such signage is referenced based upon the function it serves within the context of this ordinance, the bulk of the provisions of this chapter are unrelated to the content of the speech provided and allow maximum expressive potential to sign owners.
(Ord. No. 2022-08-12, § 1, 8-22-2022)
Words and phrases used in this Article shall have the meanings set forth in this section. Words and phrases not defined in this section, but defined in this UDC of the City of Roswell, shall be given the meanings set forth in such ordinance. All other words and phrases shall be given their common, ordinary meaning, unless the context clearly requires otherwise. Section headings or captions are for reference purposes only and shall not be used in the interpretation of this Article.
Abandoned sign. Any sign that contains or exhibits broken panels, visible rust, visible rot, damaged support structures, or missing letters or which is otherwise dilapidated, unsightly, or unkempt, and for which no person accepts maintenance responsibility.
Accessory Freestanding Signs. Freestanding signs subordinate to the primary freestanding sign on a lot.
Animated sign. Any sign, or part of a sign, that uses any movement or change of lighting or color to depict action or create a special effect or scene.
Audible sign. Any sign which emits a sound which is audible or emits a signal which can be converted into audible sounds, whether by radio or other means.
Awning/canopy sign. Any sign that is a part of, or attached to, an awning, canopy or other fabric, plastic or structural protective cover over a door, entrance, window, or outdoor service area. A marquee is not a canopy.
Banner. A sign other than a flag with or without characters, letters, illustrations or ornamentation applied to cloth, paper, or fabric that is intended to be hung either with a frame or without a frame. Neither flags nor canopy signs are considered banners.
Beacon. Any light with one or more beams directed into the atmosphere or directed at one or more points not on the same lot as the light source; also, any light with one or more beams that rotate or move.
Billboard. A freestanding sign with an area of more than seventy-two (72) square feet but not more than six hundred seventy-two (672) square feet.
Changeable copy sign. Any sign that incorporates changing lettering or images to form a sign message or messages, whether such changes are accomplished electronically or manually. A sign panel is not considered changeable copy.
City Council. The City Council of the City of Roswell.
City. The City of Roswell.
Directory sign. A single sign for multiple businesses, offices, professionals, industries, or other entities located within a planned center.
Drive-through/drive-in facility. A location where products and/or services are distributed to, or business is transacted with, a person seated in a motor vehicle.
Fall zone. An area equal to one hundred thirty-three percent (133%) of the height of the structure in every direction.
Feather Sign. Any lightweight plastic, fabric, or other material, whether or not containing a message of any kind, attached to a single pole or staff for support and exceeding five (5) feet in height and designed to move in the wind.
Flag. Any fabric or bunting containing colors, patterns, or symbols used as a symbol of a government or other entity or organization.
Flashing sign. A sign, the illumination of which is not kept constant in intensity at all times when in use and which exhibits marked changes in lighting effects.
Freestanding sign. Any sign supported by structures or supports that are placed on, or anchored in, the ground and that are independent from any building or other structure. A permanently affixed sign which is wholly independent of a building for support with a base of a width not less than the width of the sign face. The base of the sign face shall be flush with the supporting base, and the supporting base shall be flush with the ground and extend the full width of the sign. Except for subdivision entrance signs, freestanding signs may not be constructed before the principal building is on a lot.
Illuminated sign, External. A sign illuminated by an external light source. Such source cannot be a device that changes color, flashes or alternates.
Illuminated sign, Internal. A sign illuminated by an internal light source. Such source cannot be a device that changes color, flashes, or alternates.
Master Planned Development. A contiguous area or subdivision of land of at least 10 acres planned and maintained as a single entity under a set of master covenants in order to accommodate retail, service, commercial, office, industrial or residential uses or a combination of such uses (i.e. office park, industrial park, mixed-use development).
Marquee, marquee sign. Any permanent roof-like structure projecting beyond a building or extending along and projecting beyond the wall of the building, generally designed and constructed to provide protection from the weather.
Moving sign. A sign which revolves, rotates, swings, undulates, or otherwise attracts attention through the structural movement of parts.
Multi-tenant. One or more buildings, located on a single premise, containing two (2) or more separate and distinct individual establishments, which occupy separate portions of the building and which are physically separated from each other by walls.
Obscene. Material is obscene if to the average person, applying contemporary community standards, taken as a whole, it predominantly appeals to the prurient interest, that is, a shameful or morbid interest in nudity, sex or excretion; the material taken as a whole lacks serious literary, artistic, political or scientific value; and the material depicts or describes, in a patently offensive way, sexual conduct specifically defined as: (A) acts of sexual intercourse, heterosexual or homosexual, normal or perverted, actual or simulated; (B) acts of masturbation; (C) acts involving excretory functions or lewd exhibition of the genitals; (D) acts of bestiality or the fondling of sex organs of animals; or (E) sexual acts of flagellation, torture, or other violence indicating a sadomasochistic sexual relationship.
Off-premises sign. Signs fitting the following characteristics:
1.
Off-premises advertising sign. A sign which is not located upon the premises of the business or entity indicated or advertised by said sign. This includes products advertised in conjunction with a business; or
2.
Off-premises directional sign. A sign not located upon the premises of the business or entity indicated on the sign and limited to directing traffic to business establishments, real estate, public or private clubs and other such facilities.
Out of store marketing device. An out of store marketing device is any facility or equipment which is located outside of a primary building on a site zoned for non-residential uses, which is used for the primary purpose of providing a product or service without the owner's immediate presence, and which is manufactured to include a color, form, graphic, illumination, symbol, and/or writing thereon to communicate information regarding the product or service provided thereby to the public. Examples of out-of-store marketing devices include: fuel pumps, bank ATM units, vending machines, newspaper racks, drink machines, ice boxes, and phone booths.
Pennant, streamer. Any lightweight plastic, fabric, or other material, whether or not containing a message of any kind, suspended from a rope, wire, or string, usually in a series, designed to move in the wind.
Permanent sign. Any sign which, when installed, is intended for permanent use. A permanent freestanding sign shall be of a type and construction as not to be easily or readily removed from the lot on which it has been erected.
Permit. A sign permit reviewed, approved, and issued by the Community Development Department.
Permittee. The person and/or entity owning or leasing the land on which the sign is erected or for which an application has been submitted.
Person. A natural or legal person, including a firm, organization, partnership, trust, and corporation.
Place of Business. The physical location within a building at which a single business or entity legally operates pursuant to all Federal, State, City or other applicable laws and regulations. Any interconnectivity within a building from one location or tenant space to another shall constitute the same place of business. The use of a physical location, which is bounded on all sides by walls by more than one (1) legally operating business or entity shall only constitute a single place of business. In the event such a physical location is used or occupied by more than one (1) business, in order for such physical location to constitute a "place of business," all businesses and/or entities operating therein must be operating pursuant to all Federal, State, City or other applicable laws and regulations.
Portable sign. A sign which is not permanently affixed to the ground or to a structure, including but not limited to signs on trailers or signs mounted or painted on vehicles which are parked in such a manner as to serve the purpose of a sign.
Principal building. The building in which the principal use of the lot is conducted. Non-residential lots with multiple principal uses may have multiple principal buildings, but storage buildings, garages, and other structures with clearly accessory uses shall not be considered principal buildings.
Projecting sign. Any sign which is suspended or projected from the wall, eave, or soffit of the building.
Public sign. Any sign erected by a governmental entity.
Roof sign. Any sign erected and constructed wholly on and over the roof of a building, or supported by the roof structure.
Sidewalk or Sandwich Sign. A temporary, movable sign not secured or attached to the ground or surface upon which it is located. This type of sign is typically "A" shaped or in some variation thereof and usually double-sided. Definition shall include a sign displayed on an easel.
Sign face. That part of a sign that is or can be used to announce, direct attention to, identify, advertise or otherwise communicate information.
Sign. Any device, fixture, placard, or structure affixed to, supported by, or suspended by a stationary object, to a building or to the ground that uses any color, graphic, illumination, symbol, or writing to announce, direct attention to, identify, advertise or communicate a message to the public. Signs do not include the flag or emblem of any nation, organization of nations, state, city or any fraternal, religious or civic organizations; works of art which in no way identify a product; or scoreboards located on athletic fields. Except where the address is also the name of the business, or institution owning or occupying the premises, displayed address information is not a sign or part of a sign for the purposes of this code.
Sign panel. A physically removable panel on a sign face of at least one (1) square foot that may be changed for different like-sized panels. Sign panels do not include electronic signs, reader boards or changeable copy.
Suspended sign. Any sign which is suspended from the eave or soffit of the building.
Temporary sign. Any sign that is not permanently mounted.
Wall sign. Any sign attached parallel to a wall, painted on the wall surface or erected and confined within the limits of an outside wall of any building or structure, which is supported by such wall or building and which displays only one sign surface. No wall sign shall extend more than six (6) inches from any wall, building, or structure.
Window sign. Any sign that is placed inside a window, within two (2) feet of a window, or upon the window panes or glass, either inside or outside the building, and is visible from the exterior of the structure.
(Ord. No. 2022-08-12, § 1, 8-22-2022)
The Zoning Director is hereby authorized and directed to administer and enforce this article, unless otherwise specifically provided by resolution of the Roswell City Council.
(Ord. No. 2022-08-12, § 1, 8-22-2022)
The standards of this Article shall apply to all signs erected within the corporate limits of the City.
(Ord. No. 2022-08-12, § 1, 8-22-2022)
Except where specifically not required by the standards of this Article, it shall be unlawful for any person to post, display, materially change, or erect a sign in the City without first having obtained a sign permit. Notwithstanding the foregoing, signs which are not visible from a public right-of-way or from neighboring properties shall not be subject to the standards of this Article.
(Ord. No. 2022-08-12, § 1, 8-22-2022)
No permit shall be issued until the appropriate application has been filed with the Zoning Director or their designee and fees, as set from time to time by Resolution of the City Council, have been paid.
(Ord. No. 2022-08-12, § 1, 8-22-2022)
Applications for sign permits required by this Article shall be filed by the person owning the subject Lot, or the owner's agent with express permission of the owner, in the office of the Director upon forms furnished by that office. The application shall describe and set forth the following:
1.
The type and purpose of the sign as defined in this Article.
2.
The value of the sign.
3.
A survey to scale showing the street address of the property upon which the subject sign is to be located, the proposed location of subject sign on subject property, the distance of the proposed sign from the subject property's boundaries, and all existing structures or buildings on the subject property.
4.
The square foot area per sign and the aggregate square foot area if there is more than one (1) sign face.
5.
The name(s) and address(es) of the owner(s) of the real property upon which the subject sign is to be located.
6.
Written consent of the owner of the property, or his/her agent, granting permission for the placement, maintenance, size, and height of the subject sign to be placed on the property.
7.
For wall signs: Building elevations.
8.
The name, address, telephone number, and business license number of the sign contractor. All applicants for signs which incorporate electricity must obtain an electrical permit.
9.
Sign details, including a proposed color scheme of sign, and scaled elevation of the size and height of the proposed sign from ground level and adjacent street level.
10.
The zoning district in which the subject property is located and a statement of compliance with all requirements of the zoning district regarding use of the property.
(Ord. No. 2022-08-12, § 1, 8-22-2022)
A.
Incomplete; False. The Director shall reject any application that is incomplete or inaccurate, that contains false material statements or omissions, or that is for a sign which would violate any standard within this Article within forty-five (45) business days of receipt of said application. The Director may reject at any time prior to the expiration of the 45-day period, if the application is incomplete, inaccurate or contains false material statements or omissions, by returning the application to the applicant.
B.
Processing Time; Denial. The City shall process all complete and accurate sign permit applications within forty-five (45) business days of the Community Development Department's actual receipt of a complete and accurate application and upon remittance of the appropriate sign permit fee. The Director shall give notice to the applicant of his/her decision in writing to the address on the permit application on or before the 45th business day. If the decision of the Director is to deny the application, the decision shall state the grounds upon which the denial is based. Failure of the City to act within the 45 business-day period shall be deemed an approval of the permit. If notice is mailed in conformity with this Section, notice shall be deemed to have been given upon the date of mailing. Any application meeting the standards of this Article will be granted. Any application not meeting the standards of this Article will be denied.
C.
Appealable. A rejection pursuant to this Section shall be appealable pursuant to the procedures for Appeals outlined in Sec. 13.12. However, notwithstanding the foregoing, a final decision will be rendered within ninety (90) days from date an appeal is filed. If a final decision is not rendered within the 90-day period, the decision sought to be appealed shall be affirmed.
D.
Resubmission. A rejected application later resubmitted in conformity with this Article shall be deemed to have been submitted on the date of resubmission, instead of the original submission date. An application which is resubmitted shall meet all the standards for an original application.
(Ord. No. 2022-08-12, § 1, 8-22-2022)
Should it be determined that a sign permit was issued pursuant to an application containing a false material statement or omission, the Zoning Director shall revoke said permit and the subject sign shall be immediately removed. A revocation pursuant to this Section shall be appealable pursuant to the procedures for Appeals outlined in Sec. 13.12. However, notwithstanding the foregoing, a final decision will be rendered within sixty (60) days from date an appeal is filed. If a final decision is not rendered within the 60-day period, the decision sought to be appealed shall be affirmed. The permit for any sign not meeting the standards of this Article will be revoked.
(Ord. No. 2022-08-12, § 1, 8-22-2022)
So long as an application conforms to the standards and procedures of this Article, the applicant is exempted from any additional setback requirements in the City's ordinance regulating zoning.
(Ord. No. 2022-08-12, § 1, 8-22-2022)
A.
Limitations. The Board of Zoning Appeals shall be allowed to grant variances where a hardship has been demonstrated only as to set back, building material, and as provided for in Sec. 13.11.7.
B.
Timing. The Board of Zoning Appeals shall hear and decide upon a variance within one-hundred twenty (120) days of the submission of a complete and accurate application. If the subject of the sign appeal is currently constructed, it shall be concealed by a tarp or other means until the issue is decided by the Board of Zoning Appeals.
C.
Procedure. Except as modified by this Article, the procedures for requesting a variance from the standards of this Article shall be the same procedures as that for seeking a variance from the City's ordinances regulating zoning.
D.
Standards. A variance shall be granted in accordance Sec. 13.11. A variance to sign setback shall only be granted if one of the following conditions is met:
1.
The topography of the lot on which the sign is located or to be located renders it impossible to comport with the strict standards of this Article; or
2.
The natural features of the lot on which the sign is located or to be located, or of the land immediately adjacent to the Lot, impairs the visibility of the sign such that it cannot be seen.
(Ord. No. 2022-08-12, § 1, 8-22-2022)
A.
Violation. Except as provided in Sec. 10.3.9, violation of any provision of this Article shall be grounds for terminating the valid permit granted by the City to the permittee or the person or entity erecting the sign. No permit shall be suspended, revoked or canceled except for due cause, as hereinafter defined, and until after the permittee is granted a public hearing before the City council.
B.
Hearing. The permittee shall be given ten (10) business days written notice of the time, place, and purpose of the hearing, with a statement of the reason for the suspension, revocation, or canceling of such permit and/or license. "Due cause" is the violation of the standards of this Article. The termination of the permit does not in any way preclude the person or persons alleged to have violated the standards of this Article from being tried under Section 19(F) of this Article or preclude the City from taking any other action authorized by this Code and/or any action authorized by law.
(Ord. No. 2022-08-12, § 1, 8-22-2022)
A sign permit shall become null and void if the sign for which the permit was issued has not been installed and completed within six (6) months after the date of issuance; provided, however, that where an applicant can demonstrate that a commercial entity was timely engaged to construct the permitted sign, but the fabrication has not yet been completed, one (1) 90-day extension may be granted by the Zoning Director. No refunds shall be made for a permit after the permit is issued. If later an individual desires to erect a sign at the same location, a new application for the sign must be processed and another fee paid in accordance with the fee schedule applicable at such time.
(Ord. No. 2022-08-12, § 1, 8-22-2022)
It shall be unlawful for any person to engage in the business of erecting or maintaining signs within the City, unless and until such entity shall have obtained a City occupation tax certificate and a certificate of insurance from an insurance company authorized to do business in the state evidencing that the entity has in effect public liability and property damage insurance in the sum of twenty-five thousand dollars ($25,000.00) for property damage for any one (1) claim, and public liability insurance in an amount not less than one hundred thousand dollars ($100,000.00) for injuries, including accidental death to one (1) person. The certificate of insurance shall state that the insurance carrier shall notify the City thirty (30) days in advance of any termination and/or restriction of the coverage, including nonrenewal, cancellation, and nonpayment of any premium.
(Ord. No. 2022-08-12, § 1, 8-22-2022)
A.
Identification Labels. With each sign permit, the Director shall issue a sticker bearing the same number as the permit with which it is issued. It shall be the duty of the permittee or his agent to affix such sticker to the sign in the lower right hand area so it is easily seen. The absence of a proper sticker shall be prima facie evidence that the sign has been, or is being, erected or operated in violation of the standards of this Article.
(Ord. No. 2022-08-12, § 1, 8-22-2022)
The following types of signs are exempt from this Section except for size, height, number and location limitations contained herein.
A.
Public Interest Signs. Signs of a noncommercial nature and in the public interest, erected by or on the order of a public officer in the performance of their duty, such as public notices, safety sign, danger signs, trespassing signs, traffic and street signs, memorial plaques and signs of historical interest.
B.
Traffic Movement Signs on Private Property. Signs on private property directing traffic movement, not exceeding 3 square feet in area, and not advertising any business, service or product. Signs cannot be located within the public right-of-way.
C.
Credit Card Identification Signs. On-premises credit card identification signs up to 3 square feet in total area, located on the building of the business to which they relate.
D.
Signs not Visible from the Public Right-of Way. Any sign not visible from a public street.
E.
Window Signs.
1.
A sign installed inside a window for purposes of viewing from outside the premises. Signs cannot exceed 30% of the window area.
2.
An exposed neon window sign stating "open" that is not greater than 5 square feet in area and does not exceed 30% of the window area, limited to 1 per establishment. Neon signs are not allowed in the -HOD or -PV districts.
F.
Quasi-Public Signs. Off-premises non-illuminated school, hospital, or other quasi-public signs not exceeding 4 square feet in area. Signs cannot be located within the public right-of-way.
G.
Public Notice Signs. On-premises warning or similar public notice type signs not exceeding 6 square feet in area. Signs cannot be located within the public right-of-way. Signs can be placed no closer than 100 feet from one another.
H.
Flags. Any fabric or other flexible material containing distinctive colors, patterns or symbols used to identify a local, state, or national government or private organization designed to be flown from a flagpole.
1.
A maximum of 3 of the following flags are permitted per lot or site:
a.
The official flag of The United States of America;
b.
Any official flag of a state or territory of the United States of America;
c.
Any official flag adopted by a member state of the United Nations;
d.
Any official flag adopted by a sovereign nation, including Switzerland; and
e.
Any flag that contains the official logo or trademarked symbol of the business, entity or development on which the flagpole is located.
2.
An individual flag cannot exceed 60 square feet in area.
3.
The maximum height of a flagpole is 40 feet, measured from the highest point of the flagpole to the top of the abutting sidewalk or parking area.
4.
A flagpole must be set back from a property line a distance equal to the height of the pole. For example, a flagpole 40 feet in height must be set back at least 40 feet from a property line.
I.
Murals. A mural or work of visual art that conforms with the following standards:
1.
Is located on the wall of a building in any district, except a Residential District;
2.
Includes no text legible from a public right-of-way;
3.
Includes no logo or trademarked symbol;
4.
Includes no specific commercial product, although it may include generic products such as automobiles, furniture, soft drinks or other items where the brand is not apparent; and
5.
Includes no picture, symbol or device of any kind that relates to a commercial business, product or service offered on the premises where the wall is located.
J.
One Percent Rule. On premise signs attached to the outside wall of any business establishment, which are designed to identify services rendered, products sold or activities conducted on the premises are allowed provided:
1.
The total area of such signs does not exceed 1% of the total area of the wall on which they are affixed; and
2.
No more than two such signs are allowed per building.
K.
Temporary Signs Not Requiring a Permit. The following temporary signs are allowed without the issuance of a temporary sign permit, provided they meet the specified standards below.
1.
Political Signs. A sign identifying or urging voter support for a particular election issue, political party, or candidate for public office. A political sign cannot exceed 32 square feet in area and 8 feet in height.
2.
Civic or Educational Institutions. Temporary signs not exceeding 4 feet in area pertaining to drives or events of civic, philanthropic, educational, religious organizations are allowed, provided signs are posted not more than 2 days before the event and removed the day after the event.
3.
New and Used Automobile Sales.
a.
New and used automobile sales establishments may display 8-inch vinyl letters professionally made, not hand lettered, indicating the price, model and year of vehicles for sale on the front windshield, not to exceed a total of 320 square inches of area per vehicle.
b.
Establishments are allowed to use 2 of the following 3 colors: non-fluorescent white, pastel blue and yellow.
4.
Off-Site Real Estate Directional Signs. A temporary sign erected by the owner, or their agent, conveying the route to real property, but not located on the property itself.
a.
Signs are allowed for a maximum period of 2 consecutive days in any one week.
b.
A maximum of 3 signs per house/lot are allowed.
c.
Signs must be located within 2 miles of the property to which they refer, as measured along existing streets.
d.
No sign can be located within the public right-of-way.
e.
Signs cannot exceed a maximum area of 4 square feet per sign.
f.
Not more than 1 sign is allowed at any "T" intersection and no more than 2 signs are allowed at any 4-way intersection.
g.
Signs cannot have any balloons, streamers, and pennants attached to them.
h.
Such signs cannot be illuminated.
i.
Signs can only be placed on property with the owner's express written permission.
5.
On-Site Real Estate Signs, Single-Family Residential District. A temporary sign erected by the owner, or their agent, advertising the real property upon which the sign is located for rent, lease, or for sale.
a.
Only one sign is permitted per lot or home for sale.
b.
The sign cannot be illuminated.
c.
The sign cannot exceed 6 square feet in area.
d.
Signs must be removed within 10 days after the lot or building is leased, or sold.
e.
Signs cannot be located within the public right-of-way.
(Ord. No. 2022-08-12, § 1, 8-22-2022)
A.
Whenever these sign regulations permit a commercial sign, a noncommercial message may be substituted in lieu of the commercial message.
B.
The right to substitute a noncommercial message does not waive any requirement imposed by this UDC as to the number, size, construction, location, lighting, safety or any other regulated attribute.
(Ord. No. 2022-08-12, § 1, 8-22-2022)
The following types of signs are prohibited in the City:
A.
Balloons, Pennants, Streamers. Balloons, except as explicitly allowed herein, pennants, streamers, feather signs, or air or gas filled figures.
B.
Any freestanding sign that sits upon a pylon that is less than 75% of the width of the sign face, does not include a post sign under 32 square feet or a double post sign under 32 square feet.
C.
Beacons, Search Lights, Laser. Promotional beacons, search lights or laser lights or images.
D.
Audible Signs. Audible signs.
E.
Signs in Right-of-Way. Signs in a public right-of-way, other than those belonging to a government, public service agency, or railroad.
F.
Signs on Tree or Utility Pole. Signs mounted or located on a tree, utility pole, or other similar structure.
G.
Roof Signs. Roof signs and signs which extend vertically above any portion of a roof or parapet of the applicable wall.
H.
Portable Signs. Portable signs (except sidewalk/sandwich signs), including signs attached to any parked vehicle or trailer, so as to be visible from a public right-of way, except as explicitly allowed in this Article.
I.
Obscene Signs. Signs which depict obscene material.
J.
Illegal Activity Signs. Signs which advertise an activity which is illegal under federal, state or local laws.
K.
Signs Not Maintained. Signs not in good repair, in violation of codes, or containing or exhibiting broken panels, visible rust, visible rot, damaged support structures, or missing letters.
L.
Abandoned Signs. Abandoned signs.
M.
Rotating, Animated; Flashing; Electronic. Rotating signs, animated signs, flashing signs, electronic signs, varying light intensity signs and changeable copy signs (except as explicitly allowed herein).
N.
Imitation Traffic Signs. Signs which contain or are an imitation of an official traffic sign or signal or contain the words "stop," "go," "slow," "caution," "warning," or similar words in such a manner as to resemble official traffic control signs.
O.
Human Sign. A sign held by or attached to a human for the purposes of advertising or otherwise drawing attention to an individual, business, commodity, service or product, mere costumes without wording or logos shall not be considered signage.
P.
Off-premises signs, except non-illuminated school, hospital, or other quasi-public signs not exceeding 4 square feet in area not located in the right-of-way.
Q.
Graffiti.
(Ord. No. 2022-08-12, § 1, 8-22-2022)
A.
Noncompliance. No person shall erect on any premises owned or controlled by that person any sign which does not comply with the standards of this Article.
B.
Dangerous or Defective. No person shall maintain or permit to be maintained on any premises owned or controlled by that person any sign which is in a dangerous or defective condition. Any such sign shall be removed or repaired by the permittee of the sign, the owner of the premises, or as otherwise provided for in this Article.
C.
Separate Violation. Each sign installed, created, erected or maintained in violation of this Article shall be considered a separate violation when applying the penalty portions herein.
D.
Public Nuisance. Any violation of this Article is hereby declared to be a public nuisance.
E.
Notice. The Zoning Director shall give the permittee ten (10) to thirty (30) days written notice, based on the practical considerations of completing measures to comport with the standards of this Article, to correct the deficiencies or to remove the sign(s) which is in violation of this Article.
F.
Citations. If any sign or other device covered by this Article is erected, constructed, altered, converted or used in violation of any provision of this Article, the Zoning Director shall issue a citation. Additionally, the City may seek an injunction for a continuing violation or take other appropriate action to prevent such unlawful erection, construction, alteration, conversion or use to correct or abate such violation. Any violation of this Article shall be an offense, and the violator shall be subject to a fine of up to one thousand dollars ($1,000.00), imprisonment for up to six (6) months, or by both such fine and imprisonment.
(Ord. No. 2022-08-12, § 1, 8-22-2022)
A.
Maintained. A nonconforming sign shall not be replaced by another nonconforming sign including face material, except that the substitution or interchange of poster panels, painted boards, or dismountable material on nonconforming signs shall be permitted. All nonconforming signs shall be maintained in good repair.
B.
Repairs; Material Change. Minor repairs and maintenance of nonconforming signs, the cumulative costs of which does not exceed fifty percent (50%) of the total value of the sign, shall be permitted; provided, however, no structural repairs or changes in the size or shape of a nonconforming sign shall be permitted except to bring the sign to a higher degree of conformity with the standards of this Article.
C.
Grandfathering. Nonconforming signs may stay in place until one of the following conditions occurs:
1.
The advertised business ceases at that location for a period of more than thirty (30) days;
2.
The deterioration of the sign or damage to the sign makes it a hazard or renders it dilapidated, unsightly, or unkempt; or
3.
The sign has been damaged to such extent that repairs or maintenance with cumulative costs exceeding fifty percent (50%) of the total value of the sign is required to restore the sign. No structural repairs or change in shape or size shall be permitted except to bring the sign to a higher degree of conformity with the standards of this Article.
D.
To the extent any portion of this Article conflicts with O.C.G.A. § 32-6-83 or Ga. Const. Art. 3 § 6, ¶ 4(a) in application, this section shall be deemed to provide effected parties the minimum protections provided by O.C.G.A. § 32-6-83 or Ga. Const. Art. 3 § 6, ¶ 4(a), as amended from time to time. In no event is it the City's intent to obligate itself to pay any compensation related to the removal of any nonconforming sign.
(Ord. No. 2022-08-12, § 1, 8-22-2022)
A.
Removal. The City may order the removal of any sign in violation of this Article by written notice to the permit holder; or if there is no permit holder, then to the owner of the sign; or if the sign owner cannot be found or cannot be determined, then to the sign erector and any party that procured the erection of the sign. If a permit has been issued, such notice shall operate to revoke the permit.
B.
Procedure Following Removal Order. If the sign is not removed within the time allowable the City shall remove or cause to be removed the sign and collect the costs thereof as provided below.
C.
Removal without Notice. The City shall have removed any sign in violation of this Article, without giving notice to any party, if:
1.
Said sign is upon the public right-of-way or upon other public property or upon the pavement of a private street or drive; or
2.
Said sign poses an immediate safety threat to the life or health of any members of the public.
D.
Removal after Court Determination. Other than signs located in a public right-of-way or on public property, a sign shall be removed by the City after a final determination by a court that the sign is unlawful and should be removed. If the permittee or owner fails to remove the sign, the sign may be immediately removed and disposed of by the City.
(Ord. No. 2022-08-12, § 1, 8-22-2022)
The following temporary signs are permitted following issuance of a temporary sign permit.
A.
Promotional Signs. A temporary sign or attention getting device used to advertise a temporary special event.
1.
Air- or gas-filled balloons or other devices that have a capacity for air or gas that does not exceed 3 cubic feet.
2.
Flags, signs, pennants, streamers and banners, a maximum size of 32 square feet, except official government flags.
3.
Promotional signs can be used for a period not exceeding 10 consecutive days.
4.
No temporary sign permit for a promotional sign will be issued for the same premises more than 80 days per year.
5.
No business will be issued a promotional sign for more than one sign or device per street frontage to be located on the premises at any one time. Each individual establishment within a multi-tenant center is considered to have one street frontage.
6.
No sign can be located within the public right-of-way.
B.
Yard/Garage Sale Sign. A temporary sign used to advertise a yard/garage sale.
1.
No sign can be located within the public right-of-way.
2.
Signs must be on private property with the property owner's consent.
3.
No sign is allowed on a telephone pole, tree or traffic sign.
4.
The maximum size of a sign is 4 square feet per sign.
5.
Decals must be attached to each sign.
6.
Signs are permitted 2 days prior to sale and must be removed the day after the sale.
7.
The temporary sign permit must be displayed upon the request of any municipal officer or citizen requesting identification or proof of permission for the yard/garage sale.
8.
A maximum of 6 signs per yard/garage sale are allowed.
9.
The temporary sign permit is valid only for family use and may not exceed 3 per year.
10.
Additional requirements for yard/garage sales are in Sec. 9.8.3.
C.
Grand Opening Signs. A temporary sign used to advertise a grand opening or final closing sale.
1.
On-premises temporary signs relating to the initial opening or final closing of a business or service are allowed, provided each sign does not exceed 32 square feet each and is not located in the public right-of-way.
2.
The Zoning Director can approve signs for a maximum period of 2 weeks for initial opening signs and 4 weeks for final closing signs, after which all signs must be removed.
D.
Farmers' Market.
1.
One temporary banner identifying a city-approved farmers' market with a maximum size of 32 square feet is allowed no more than 24 hours before and 2 hours after the hours of operation for the farmers' market. The banner cannot be located in the public right-of-way.
2.
Additional requirements for Farmers' Market are in Sec. 9.7.7.
E.
On-Site Real Estate Signs, All Other Non-Single Family Districts. A temporary sign erected by the owner, or their agent, advertising the real property upon which the sign is located for rent, lease, or for sale.
1.
Only 1 sign is permitted per parcel for sale or lease, except that corner lots may have 1 sign per frontage, separated by not less than 50 feet.
2.
Once the building is occupied, no on-site real estate signs are allowed on the ground; they must be located on a panel on an existing monument sign or placed in the window of an empty tenant space.
3.
The sign cannot be illuminated.
4.
Each sign cannot exceed 32 square feet in area and 10 feet in height.
5.
Signs must be removed within 10 days after the lot or building is leased, or sold.
6.
Signs cannot be located within the public right-of-way.
F.
Construction Sign. A temporary sign erected and maintained on premises for a proposed construction project.
1.
Only 1 sign is permitted per lot or parcel, except that corner lots may have 1 sign per frontage, separated by not less than 50 feet.
2.
Each sign cannot exceed 32 square feet in area and 10 feet in height.
3.
Signs cannot be illuminated.
4.
Signs may be erected once the first development permit for the project has been issued. If development is not begun in 60 days or if construction is not continuously and actively pursued to completion, all signs must be removed.
5.
Signs must be removed upon completion of the project or when the development permit expires.
6.
Signs cannot be located within the public right-of-way.
7.
Construction Fence Wraps.
a.
Wraps are allowed on fences securing new construction sites for the duration of the construction activity.
b.
The wrap must be removed prior to the issuance of a Certificate of Occupancy.
c.
The fence wrap must be maintained in good condition and be properly attached to the fence.
d.
Messages, logos, renderings or similar information shall not exceed 30 percent of the total fence wrap area.
(Ord. No. 2022-08-12, § 1, 8-22-2022)
A.
Obstructions to Doors, Windows, or Fire Escapes. No sign shall be erected, relocated, or maintained so as to prevent free ingress or egress from any door, window, or fire escape.
B.
Signs Not to Constitute Traffic Hazard. No sign or any part thereof, except authorized traffic signs, shall be located in any government right-of-way. No sign may be located any closer than twenty (20) feet to an intersection as measured from the intersection of the two (2) rights-of-way.
C.
Setback. Unless otherwise noted in conditions of zoning or in this Article, all signs shall set back at least ten (10) feet from the right-of-way and no sign shall project over the right-of-way. Freestanding signs shall be a minimum of 35 feet from any other freestanding signs. All signs shall provide an adequate visibility triangle as per Transportation Department standards. Upon demonstrating adequate sight distance, signs may be permitted in medians of private streets without providing a setback from internal streets.
(Ord. No. 2022-08-12, § 1, 8-22-2022)
Computation of Sign Area. The area of all signs is determined as follows:
1.
For wall signs, awning signs, canopy signs and crown signs consisting of freestanding letters or logos, sign area is calculated as the total area of the rectangle, circle or square that fully encloses all the letters or logo.
2.
For signs on a background, the entire area of the background is calculated as sign area, including any material or color forming the sign face and the background used to differentiate the sign from the structure on which it is mounted. For ground signs, projecting signs, shingle signs, double post signs, single post signs and sidewalk signs, sign area includes the face of the structure that the message is affixed to, not including any supports, bracing or street number.
3.
For subdivision entrance signs, sign area does not include the wall the sign is located on. Sign area only includes the background designed to hold the sign or in the case of freestanding letters, the total area of the rectangle, circle or square that fully encloses all the letters or logo.
4.
The sign area of a three-dimensional sign is calculated as total area of the smallest rectangle, circle or square that fully encloses the largest profile of the three-dimensional sign.
5.
The area for a sign with more than one face is computed by adding together the area of all sign faces greater than 60 degrees; if the sign face angle is less than 60 degrees, only the area of the largest sign face is computed as part of the sign area.
(Ord. No. 2022-08-12, § 1, 8-22-2022)
Measurement of Sign Height. The total height of a ground or post sign is measured from the highest point of the sign or supporting structure to the top of the abutting sidewalk.
The height of a sign shall be computed as the distance from the base of the sign structure at normal grade to the top of the highest attached component of the sign. Normal grade shall be construed to be the lower of: (1) existing grade prior to construction or (2) the newly established grade after construction, exclusive of any filling, berming, mounding, or excavating solely for the purpose of locating the sign. In cases in which the normal grade cannot reasonably be determined, sign height shall be computed on the assumption that the elevation of the normal grade at the base of the sign is equal to the elevation of the nearest point of the crown of a public street or the grade of the land at the principal entrance to the principal structure on the zone lot, whichever is greater. Where the normal grade is below the normal grade of a public street, the sign base can be raised to the elevation of the normal grade of the street before the height limitations are applied (surveyor's certificate required).
(Ord. No. 2022-08-12, § 1, 8-22-2022)
A.
Building and Safety Codes. All signs permitted under this code shall be constructed and maintained in accordance with the applicable City building and safety codes. The City may remove after due notice any sign which shows neglect or becomes dilapidated.
B.
Faces. The face of sign shall be flat, with protrusions of no more than two (2) inches to allow for the texture of the sign and words, letters, figures, symbols, logos, fixtures, colors, or other design elements. No sign or other advertising structure shall be constructed so as to have nails, tacks, or wires protruding therefrom. Lettering for address signage shall not exceed four (4) inches in height or as required by the applicable building code.
C.
Illumination. Signs, when illumination is permitted and except as otherwise set forth, may be illuminated internally or externally. Free standing signs with external illumination shall have light directed downward. Externally illuminated signs shall not exceed fifty-five (55) foot-candles.
D.
Landscaping. Landscaping, weeds, and grass shall be kept cut in front of, behind, underneath, and around the base of freestanding signs.
E.
Sign Materials. Freestanding sign structure/base materials shall be constructed of brick or stone with a base of at least two feet. Any sign panels on a sign shall have a uniform background color and material. All freestanding signs shall display the property address in numbers at least six (6) inches in height but not more than twelve (12) inches in height. The numerical address shall not be considered part of the sign face and shall not count against the allowable sign square footage.
(Ord. No. 2022-08-12, § 1, 8-22-2022)
Signs are allowed by district as set forth below. Specific requirements for each sign are shown on the following pages. All of the following sign types require a sign permit.
KEY:
● = Sign type allowed
▲ = Allowed sign type for nonresidential uses only
— = Sign type not allowed
KEY:
● = Sign type allowed
▲ = Allowed sign type for nonresidential uses only
— = Sign type not allowed
(Ord. No. 2022-08-12, § 1, 8-22-2022)
* For buildings with a store frontage of more than 30 linear feet. All other buildings may have a wall sign of 18 square feet.
(Ord. No. 2022-08-12, § 1, 8-22-2022)
A.
All signs must be maintained in good condition and present a neat and orderly appearance. The Zoning Director may cause to be removed after due notice any sign which shows gross neglect, becomes dilapidated, or if the ground area around it is not well maintained.
B.
The Zoning Director will give the owner 10 days written notice to correct the deficiencies or to remove the sign or signs. If the owner refuses to correct the deficiencies or remove the sign, the Zoning Director will have the sign removed at the expense of the owner.
(Ord. No. 2022-08-12, § 1, 8-22-2022)
Illumination of signs must be in accordance with the following requirements.
A.
Prohibited Light Sources. The following light sources are not allowed:
1.
Blinking, flashing and chasing.
2.
Bare bulb illumination.
3.
Colored lights used in any manner so as to be confused with or construed as traffic control devices.
4.
Direct reflected light that create a hazard to operators of motor vehicles.
B.
Brightness. The light from any illuminated sign cannot be of an intensity or brightness that will interfere with the peace, comfort, convenience, and general welfare of residents or occupants of adjacent properties.
C.
Internal Illumination.
1.
Internally illuminated signs are not allowed in the -HOD district.
2.
Channel letters may be internally lit or back-lit.
3.
For internally illuminated signs on a background, the background must be a contrasting color.
4.
Neon window signs stating "Open" are allowed as specified in Sec. 10.3.16.E.2.
5.
The number of neon strokes used in internally illuminated channel letters is based on the width of the letters as follows:
a.
0" to 4" - no more than a single stroke;
b.
>4" to 8" - no more than a double stroke; and
c.
>8" - no more than a triple stroke.
6.
Light emitting diodes (LEDs) are allowed as a light source in a manner that the LED is behind acrylic, aluminum or similar sign face and returns in such a manner that the LED modules are not visible from the exterior of the sign.
D.
External Illumination.
1.
Lighting directed toward a sign must be shielded so that it illuminates only the face of the sign and does not shine directly onto public right-of-way or adjacent properties.
2.
Projecting light fixtures used for externally illuminated signs must be simple and unobtrusive in appearance, and not obscure the sign.
E.
Raceways and Transformers.
1.
If a raceway is necessary, it cannot extend in width or height beyond the area of the sign.
2.
A raceway must be finished to match the background wall or canopy, or integrated into the overall design of the sign.
3.
Visible transformers are not allowed.
(Ord. No. 2022-08-12, § 1, 8-22-2022)
Changeable copy signs must be in accordance with the following requirements.
A.
Manual changeable copy sign. A sign or portion of a sign that has a readerboard for the display of text information in which each alphanumeric character, graphic or symbol is defined by objects, not consisting of an illumination device and may be changed or re-arranged manually or mechanically with characters, letters, or illustrations that can be changed or rearranged without altering the face or the surface of the sign.
B.
Signs Allowed.
1.
Manual changeable copy is allowed in conjunction with a permitted ground sign. No electronic changeable copy is allowed.
2.
The changeable copy portion of the ground sign can be no greater than 50% of the total sign area, however, in no case can the changeable copy portion of the ground sign exceed 32 square feet in area.
3.
Ground signs permitted with the use of a convenience store with fuel pumps are allowed to have changeable copy as provided for by the laws and regulations of the State of Georgia.
(Ord. No. 2022-08-12, § 1, 8-22-2022)
Should any article, section, clause, or provision of this Article be declared by a court of competent jurisdiction to be invalid, such action shall not affect the validity of the ordinance as a whole or any part hereof other than the part so declared to be invalid, it being the intent of the City Council of the City that each article, section, clause, and provision hereof be severable.
(Ord. No. 2022-08-12, § 1, 8-22-2022)
The purpose and intent of this Section is to provide a regulatory strategy for outdoor lighting that will permit reasonable uses of outdoor lighting for nighttime safety, utility, security, productivity, enjoyment and commerce; curtail and reverse the degradation of the nighttime visual environment and the night sky; preserve the dark night sky for astronomy; minimize glare, obtrusive light and artificial sky glow by limiting outdoor lighting that is misdirected, excessive or unnecessary; conserve energy and resources to the greatest extent possible; and help to protect the natural environment from the damaging effects of night lighting from man-made sources.
All outdoor illuminating devices must be installed in conformance with the provisions of this UDC, the Building Code and the Electrical Code as applicable and under appropriate permit and inspection.
For all land uses, developments and buildings that require a permit, all outdoor lighting fixtures shall meet the requirements of this UDC. All building additions of 50% or more in terms of additional dwelling units, gross floor area, or parking spaces, either with a single addition or with cumulative additions subsequent to the effective date of this Section, will invoke the requirements of this Section for the entire property, including previously installed and any new outdoor lighting. Cumulative modification or replacement of outdoor lighting constituting 60% or more of the permitted lumens for the parcel, no matter the actual amount of lighting already on a nonconforming site, will constitute a major addition for purposes of this Section.
A.
Minor Additions. Additions of less than 50% of additional dwelling units, gross floor area, or parking spaces that require a permit, and that include changes to existing lighting require the submission of a complete inventory and site plan detailing all existing and any proposed new outdoor lighting. Any new lighting on the site must meet the requirements of this Section with regard to shielding and lamp type.
B.
Exempt Lighting. The following luminaires and lighting systems are exempt from these requirements:
1.
Lighting for pools used at night;
2.
Underwater lighting used for the illumination of swimming pools and fountains;
3.
Temporary holiday lighting;
4.
Lighting required and regulated by the Federal Aviation Administration, or other federal, state or local agency;
5.
Emergency lighting used by police, fire, or medical personnel, or at their direction;
6.
All outdoor light fixtures producing light directly from the combustion of fossil fuels, such as kerosene and gasoline; and
7.
Security lighting controlled and activated by a motion sensor device for a duration of 10 minutes or less.
C.
Prohibited Lighting. The following lighting systems are prohibited:
1.
Aerial lasers;
2.
Searchlight style lights;
3.
Other very intense lighting, defined as having a light source exceeding 200,000 lumens or intensity in any direction of 2 million candelas or more;
4.
Mercury vapor lamps;
5.
Neon lighting, excluding neon lighting used for accent lighting or backlighting of signs so long as the neon source is not visible.
All nonexempt outdoor lighting fixtures shall meet the following criteria:
A.
Fixtures must be full cutoff placed so as to allow no light above the horizontal as measured at the luminaire, except as noted in this Section (as in the case of period fixtures, cutoff fixtures may be used).
B.
Shall be located, aimed or shielded so as to minimize glare and stray light trespassing across property boundaries and into the public right of way in accordance with the following standards:
C.
Flood or spot lamps must be positioned no higher than 45 degrees above straight down (half-way between the vertical and the horizontal) when the source is visible from any off-site residential property or public roadway.
D.
All light fixtures that are required to be shielded shall be installed and maintained in such a manner that the shielding is effective as described herein for fully shielded fixtures.
E.
Multi use development lighting must conform to the standards of its respective use.
F.
Illumination levels are measured from any height and orientation of the measuring device at any location along the property line, except the lighting of parking lots shall be measured at grade with the meter sensor held horizontally on the surface.
All lighting not directly associated with the special use areas designated below must conform to the lighting standards described in this Section.
A.
Outdoor Sports, Recreation Fields, or Performance Areas. Lighting of outdoor recreational facilities (public or private), such as, but not limited to, outdoor athletic fields, courts, tracks, special event or show areas shall meet the following requirements:
1.
Luminaires. Facilities designed for municipal leagues, elementary to high school levels of play and training fields for recreational or social levels of play, college play, semi-professional, professional or national levels of play shall utilize luminaires with minimal uplight consistent with the illumination constraints of the design. Where fully shielded fixtures are not used, acceptable luminaires shall include those which:
a.
Are provided with internal or external glare control louvers or lenses, and are installed so as to minimize uplight and offsite light trespass and glare; and
b.
Are installed and maintained so as to avoid aiming more than 2.5 times the mounting height.
2.
Illuminance. All lighting installations shall be designed to achieve the illuminance levels for the activity as recommended by the Illuminating Engineering Society of North America (IESNA RP-6).
3.
Off-Site Spill. The installation must also limit off-site spill (off the parcel containing the sports facility) to the maximum extent possible consistent with the illumination constraints of the design. For all recreational or social levels of play and training fields, as well as, performance areas, illumination levels must not exceed 1.5 foot-candles at any location along any non-residential property line, and 0.5 foot-candles at any location along any residential property line.
4.
Curfew. All events shall be scheduled so as to complete all activity no later than 10:30 p.m. Illumination of the playing field, court or track shall be permitted after the curfew only to conclude a scheduled event that was unable to conclude before the curfew due to unusual circumstances. Field lighting for these facilities shall be turned off within 30 minutes after the last event of the night.
5.
Setback. All light poles shall be set back the greater of 50 feet or one foot for every foot in height from any residential property line or right-of-way.
B.
Service Station Canopies and Parking Structures.
1.
All luminaires mounted on or recessed into the lower surface of service station canopies and parking structures must be fully shielded and use flat lenses.
2.
The total light output of luminaires mounted on the lower surface, or recessed into the lower surface of the canopy, and any lighting within signage or illuminated panels over the pumps, must not exceed 50 foot-candles.
3.
The total light output of illuminated areas of a service station other than as detailed in paragraph 2. above shall not exceed 15 foot-candles.
4.
Illuminance levels for the interior of parking structures, where interior lighting is visible from outside the structure, must conform to the IESNA recommendation (RP-20).
5.
Lights must not be mounted on the top or sides of a canopy and the sides of a canopy must not be illuminated.
C.
Security Lighting.
1.
Security lighting is lighting that provides a level of illumination to clearly identify persons or objects and creates a psychological deterrent to unwanted or unsafe activity in the area being protected.
2.
Security lighting must be directed toward the targeted area.
3.
Sensor activated lighting must be located in such a manner as to prevent direct glare and lighting into properties of others or into a public right-of-way, and the light must not be triggered by activity off the property.
D.
Pedestrian Path Lighting. Lighting posts must not exceed 16 feet from the finished grade.
E.
Architectural Accent Lighting.
1.
Fixtures used to accent architectural features, materials, colors, style of buildings, landscaping, or art must be located, aimed and shielded so that light is directed only on those features. Such fixtures must be aimed or shielded to minimize light spill into the dark night sky in conformance with the luminaire standards.
2.
Lighting fixtures must not generate glare, or direct light beyond the facade onto a neighboring property, streets or into the night sky.
F.
Temporary Lighting Permits.
1.
Permits for temporary lighting will be granted by the Zoning Director where the total output from the luminaires does not exceed 50 foot-candles and the following conditions apply:
a.
The purpose for which the lighting is proposed can be completed within 30 days, except that the permit for a major construction project may extend to completion.
b.
The proposed lighting is designed in such a manner as to minimize light trespass and glare.
2.
The application for the Temporary Lighting Permit must include, but not be limited to, the following information:
a.
Name and address of applicant and property owner;
b.
Location of proposed luminaires;
c.
Date and times for the lighting;
d.
Type, wattage and lumen output of lamps;
e.
Type and shielding of proposed luminaires;
f.
Intended use of the lighting;
g.
Duration of time for requested exemption;
h.
The nature of the exemption; and
i.
The means to minimize light trespass and glare.
G.
Commercial Parking Areas.
1.
All lighting fixtures servicing parking lots, except floodlights, must be cutoff fixtures, directed downward and not toward buildings or other areas.
2.
The minimum illumination level for a parking lot is 0.4 foot-candles at grade level and the ratio of the average illumination to the minimum illumination must not exceed 4:1.
3.
Floodlights must be aimed or shielded to minimize uplight.
4.
Light poles used in parking lots must not exceed 35 feet in height.
H.
Street Lights. All street light fixtures installed as new, repaired (outside of normal maintenance) or replaced must be cutoff fixtures.
A.
Any person may submit an application to the Board of Zoning Appeals for a variance from the provisions of this Section. The application should include, but not be limited to, evidence about the following:
1.
How the proposed design and appearance of the luminaire are superior;
2.
How light trespass and glare will be limited;
3.
How the proposed solution will provide a benefit without negative impact on the health, safety, or welfare of the community.
B.
The application may include the recommended practices of the Illuminating Engineering Society of North America, a professional engineer, or other authority on outdoor lighting.
A.
The applicant for any permit required by any provision of the laws of the City of Roswell in connection with proposed work involving outdoor lighting fixtures must submit, as part of the application for permit, evidence that the proposed work will comply with this Section. Even should no other permit be required, the installation or modification, except for routine servicing and same-type lamp replacement of any exterior lighting, will require submission of the information described below. The submission must contain but is not necessarily limited to the following, all or part of which may be part or in addition to the information required elsewhere in the laws of the City of Roswell upon application for the required permit:
1.
Plans indicating the location on the premises of each illuminating device, both proposed and any already existing on the site.
2.
Description of all illuminating devices, fixtures, lamps, supports, reflectors, both proposed and existing. The description may include, but is not limited to catalog cuts and illustrations by manufacturers.
3.
Photometric data, such as that furnished by manufacturers or similar, showing the angle of cut off of light emissions.
B.
Additional Submission. The above required plans, descriptions and data must be sufficiently complete to enable the Department to readily determine whether compliance with the requirements of this Section will be secured. If such plans, descriptions and data cannot enable this ready determination, the applicant must submit additional evidence of compliance to enable such determination, such as certified reports of tests, provided that the tests have been performed and certified by a recognized testing laboratory.
C.
Subdivision Plats. All new subdivided properties must submit information as described above for installed street lights and other common or public area outdoor lighting.
D.
Certification. For all projects, certification that the lighting as installed conforms to the approved plans shall be provided by an illumination engineer/professional before the Certificate of Occupancy is issued. Until this certification is submitted, approval for use by the issuance of the Certificate of Occupancy will not be issued.
E.
Reserved.
New or replaced retaining walls for all non-single-family residential applications must meet the requirements of the UDC and the City Standard Construction Specifications.
A.
Retaining walls must be constructed of high quality materials; material approval shall be subject to approval by the Design Review Board or Historic Preservation Commission, as applicable.
B.
When finished grades are proposed to be steeper than 2:1 (one vertical foot of rise for every two feet of horizontal displacement) an appropriate retaining structure shall be designed to reinforce or retain the resulting embankment.
C.
All retaining walls equal to or greater than 8 feet shall be designed by a qualified registered professional engineer. All proposed retaining walls equal to or greater than 6 feet in height will be subject to review and approval by the Mayor and City Council. Retaining walls that are not in substantial accordance with a previously approved site plan, as defined in Article 13, will be also subject to review and approval by the Mayor and City Council.
D.
Stepped retaining walls shall have the upper wall setback a minimum distance of 1.5 times the height of the tallest wall or as approved by the City Engineer, with review by the Community Development and Transportation Committee.
E.
All structural components of the wall shall meet the minimum building codes for the proposed use.
F.
Wall design will consider foundation drainage and select backfill material for the proposed conditions.
G.
Walls shall be located in such a fashion as to not encroach upon existing or proposed drainage easements, drainage courses or floodplains or to encumber the natural flow of surface runoff of stormwater. Walls shall be located at a distance from such watercourses to allow for anticipated future maintenance of the easement.
H.
Retaining walls that are proposed for the purpose of stormwater detention/retention must be designed to demonstrate that the walls are capable of a hydrostatic load.
I.
Where stormwater detention/retention walls are exposed equal to or greater than 6 feet they are required to be faced with stone, brick or decorative concrete modular block, as approved, modified, or denied by the Design Review Board and/or the Historic Preservation Commission, as applicable.
J.
The maximum length of continuous, unbroken and uninterrupted retaining wall equal to or greater than 6 feet in height is 100 feet. For walls greater than 100 feet in length, breaks must be provided through the use of columns or change in material.
K.
Retaining walls equal to or greater than 6 feet in height shall be screened with landscaping, as approved by the Design Review Board or Historic Preservation.