35 - Commercial and Office Districts
A.
The purpose of this Chapter is to guide the growth and development of the Town in an orderly manner consistent with the goals, policies and action plans of the General Plan and the Comprehensive Economic Development Plan; to protect and enhance the quality of the natural and improved environment; and to promote the public health, safety and welfare by achieving the following:
1.
Providing appropriately located areas for office uses, retail stores and service establishments to meet the needs of the Town.
2.
Promoting office and commercial locations and site designs which are conveniently accessible by equestrian, bicycle and foot traffic, as well as autos.
3.
Supporting development that is compatible with surrounding uses and neighborhoods while suggesting uniqueness and character.
4.
Providing for open spaces and areas for landscaping through the use of Site Development Standards to protect the property values of existing business developments from inappropriately located uses and to enhance the investment of residents and business owners.
5.
Encouraging office and commercial uses to be grouped for the safety of the public and to avoid nuisance impacts from incompatible land uses.
6.
Clustering commercial activities in selected locations adjacent to major roads and in the vicinity of the Apple Valley Airport.
7.
Allowing for the development of projects that include residential and retail and office commercial development in an integrated, master planned project in the Mixed Use zone.
8.
Supporting sound destination attractions/commercial recreation projects that can uniquely occur in Apple Valley.
9.
To establish zoning for lands surrounding the Town, both within and outside its sphere of influence, which establishes Town zoning districts for these lands, if they are annexed to the Town in the future.
A.
Office Professional District (O-P). The O-P district is intended as a buffer to general commercial uses and is primarily for the development of professional and administrative offices and ancillary retail uses. Setbacks, landscaping and architectural requirements designed to make such uses sensitive to surrounding land uses, especially residential uses, are required, consistent with the Office Professional (O-P) land use designation of the General Plan. A maximum floor area ratio (F.A.R.) of 1.0 is permitted in the O-P District.
B.
General Commercial District (C-G). The C-G district is intended for the development of a full range of retail stores, offices and personal and business services, including shopping centers along major roadways, consistent with the General Commercial (C-G) land use designation of the General Plan. A maximum floor area ratio (F.A.R.) of 0.5 is permitted in the C-G District.
C.
Service Commercial District (C-S). The C-S district is intended to provide an area in which certain light industrial uses may be combined with those commercial activities which are frequently not compatible with conventional retail, service and office uses. This district implements the Service Commercial (S-C) land use designation of the General Plan. A maximum floor area ratio (F.A.R.) of 0.5 is permitted in the C-S District.
D.
Regional Commercial District (C-R). The C-R district is intended for the development of a full range of retail stores, offices and personal and business services on a scale to serve the needs of the Town and the surrounding region, to be located in proximity to interstate and state highways and arterial roadways. This district implements the Regional Commercial (C-R) land use designation of the General Plan. A maximum floor area ratio (F.A.R.) of 1.0 is permitted in the C-R District. A total of 978 acres within the CR District bounded by Interstate 15 (I-15) freeway to the west, Dante Road to the south and Caplet Street to the north, and CR District's boundary to the east allows for eCommerce fulfillment and distribution centers.
E.
Village Commercial District (C-V). The C-V district is intended as a vehicle for the revitalization of a specific area of the Town commonly known as the "Village". A variety of uses including, but not limited to, food service, office, auto, truck and recreation vehicle sales and service, lumber yards, home repair and building supplies, discount and wholesale sales and light manufacturing are permitted, consistent with the goals, policies and objectives of the General Plan. A maximum floor area ratio (F.A.R.) of 0.5 is permitted in the C-V District.
F.
Mixed Use District (M-U). The M-U District is intended to allow for the development of projects that include residential, retail and office commercial development in an integrated, master planned project. The M-U District is consistent with the Mixed Use land use designation of the General Plan. A wide range of specifically designated commercial uses are permitted, including retail stores, offices, personal and business services. Residential development should occur over commercial development, or within a commercial complex (i.e. residential building abutting a commercial building). A maximum floor area ratio (F.A.R.) of 0.5 is permitted for commercial development in the Mixed Use District. In addition to the commercial floor area, a density of 4 to 30 units per acre is permitted for residential development.
(Ord. No. 547, § 6, 1-11-2022)
If a proposed use is not listed in this Section, the Director shall, upon written request and in accordance with Section 9.05.070, Similar Uses, of this Code, review the proposed unlisted use. Based on the characteristics of the proposed use, the "Standard Industrial Classification Manual" and other available resource material, the Director may determine that the proposed unlisted use is equivalent in nature and intensity to a listed use. The proposed use shall then be treated in the same manner as the equivalent listed use in determining where it can be located, what permits are required and what standards affect its establishment if the findings required in Section 9.05.070, Similar Uses, of this Code, can be made.
ABBREVIATIONS
The Conditional Use Permit process is detailed in Chapter 9.16 and the Development Permit process is detailed in Chapter 9.17 of this Code.
The uses listed in Table 9.35.030-A of this Chapter, below, apply to applications for expansion, tenant improvements, change of occupancy, or new development.
Table 9.35.030-A Permitted Uses
(See Chapter 9.36 for applicable Specific Use Standards)
(Ord. No. 517, §§ 4, 5, 10-8-2019; Ord. No. 519, § 4, 10-22-2019; Ord. No. 520, § 3, 11-12-2019; Ord. No. 535, § 4, 9-8-2020; Ord. No. 541, § 5, 1-12-2021; Ord. No. 547, § 6, 1-11-2022; Ord. No. 565, § 4, 3-28-2023)
The site development standards in Table 9.35.040-A are intended to provide standards for the development and use of land within the Commercial and Office districts. (summarized in Table 9.35.040-B and Figure 9.35.040-C). These standards apply in conjunction with the applicable specific use regulations in Chapter 9.36, the design standards in Chapter 9.37, and the performance standards in Chapter 9.70 of this Development Code. All submissions to the Town of Apple Valley for a development or other permit, whether for Planning Commission, Town Council, or Plan Check and Building Permit review, may be required to provide public right-of-way or other appropriate dedication(s) and off-site and/or street and other related public improvement(s) consistent with the Circulation Element of the adopted General Plan and/or applicable standards established by the Town Engineer, as determined by the Town of Apple Valley Town Engineer, to mitigate and/or contribute toward mitigation of impacts, to promote the public health, safety and welfare, and as not otherwise restricted by law.
The setbacks specified in Table 9.35.040-A shall be the setback Standards unless approved otherwise by a different setback is required, as delineated on all Final Maps, Parcel Maps and Records of Survey Maps recorded in San Bernardino County between March 1, 1948, and January 1, 1987, or on Composite Development Plans on file in Town offices; then these setbacks shall be the street and yard setback distances required on the property within said Final Map, Parcel Map, Records of Survey or Composite Development Plan. Notwithstanding any other provision of this Development Code, any request to modify or deviate from a building setback line designated on a recorded map or final map shall be made in accordance with the provisions of Chapter 9.24, Variances or Chapter 9.25 Deviation Permits, of this Code.
All commercial development, including new construction, exterior modifications and additions, are subject to the provisions within Development Code Chapter 9.17 "Development Permits".
Table 9.35.040-A Site Development Standards(Amended Ord. 313)
(1) In the case of existing substandard lots, setbacks may be reduced proportionately.
(2) Unless part of an approved Development Permit.
(3) Setbacks for buildings located adjacent to a residential use or district shall be twenty-five (25) feet and rear and street side setbacks shall be as specified for that district, where applicable. Refer to Section 9.25.030.E for deviations to this requirement.
(4) From the perimeter of the development.
(5) Up to 100 feet with a Development Permit reviewed and approved by the Planning Commission.
(6) Accessory Structures shall meet all of the setback requirements of the zoning district in which they are located.
(7) Open fencing constructed of wrought iron or other decorative metal and incorporating decorative features may be constructed either in conjunction with a solid wall(s) or fence(s) where the solid portion of the wall or fence is not more than two (2) feet in height, with the wrought iron or other decorative fencing extending not more than four (4) feet about the solid wall or fence (where the maximum overall height of the combined materials does not exceed six (6) feet) from the highest adjoining grade.
(8) Walls over a height of seventy-two (72) inches are not allowed in any Office Professional District.
(9) Building materials for use on the same or adjacent parcel or building site may be stored on the parcel building site during the time that a valid building permit is in effect.
(10) Areas not utilized for structures, walkways, parking and driveways shall be landscaped. A minimum ten (10)-foot landscape strip is required along street frontages. This may include landscaping within the right-of-way. In the Mixed Use district, 10% landscaping requirement applies for parking and project perimeter only. Additional landscaped open space is required for residential component of the project (see Section 9.36 for open space requirements). Refer to Section 9.25.030.E and 9.72.080.A for deviations to this requirement.
(11) The incidental exterior storage of hay, packaged feed and related bulk feed products when associated with a Feed and Tack business is permitted and may be located anywhere on site to the rear of the leading edge of the building on said site or behind the required street side-yard setback area. Said stored hay, packaged feed and related bulk feed products need not be screened from view and may be stacked to a height not to exceed ten (10) feet.
(12) Floor Area Ratio applies to commercial component only. In addition, residential development in a Mixed Use Project shall include:
a) A minimum of 4 dwelling units per acre; or
b) A minimum of 1 dwelling unit (only for existing lots of record of less than one acre as of the date of adoption of this Ordinance).
A.
Access and Circulation
1.
Opposing driveways and intersections along major streets shall be spaced a minimum of 150 feet apart, 200 feet is preferred.
2.
Driveway access to a site shall be located as far as possible (minimum of 150 feet) from a street intersection. The number of access points shall be limited to the minimum to provide adequate circulation.
B.
Utilities
1.
Utility and service lines shall be installed underground.
2.
All utility connections shall be designed to coordinate with the architectural elements of the site so as not to be exposed except where necessary. Pad-mounted transformers and/or meter box locations shall be included in the site plan with any appropriate screening treatment (Figures 9.35.040-A and B).
Figure 9.35.040-B Screen Utility Equipment
Table 9.35.040-B Summary of Site Development Standards
for Commercial and Office Districts
Table 9.35.040-B summarizes minimum site development standards for commercial and
office zoning districts
(1) Maximum height in all commercial, office and mixed use districts is twenty-five (25) feet within 100 feet of a residential use or district.
(2) Maximum height may be extended to 100 feet with a Conditional Use Permit.
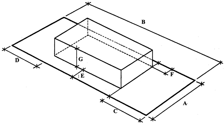
Figure 9.35.040-C Building Envelope
(Ord. No. 473, §§ 5, 6, 8-25-2015; Ord. No. 491, § 5, 2-14-2017; Res. No. 2019-004, § 4, 6-19-2019; Ord. No. 512, § 3, 8-27-2019; Ord. No. 513, § 5, 8-27-2019; Ord. No. 523, § 5, 1-14-2020; Ord. No. 534, § 4, 9-8-2020)
A.
Table 9.35.050-A summarizes the various projections that are permitted into the required setbacks in the Commercial and Office Districts.
Table 9.35.050-A Projections Into Yards
B.
Projections into required yards shall be subject to the following limitations:
1.
No portion of eaves or cantilevered roofs shall be less than eight (8) feet above grade, and no related vertical supports or members shall be located within the required yard.
2.
Raised structures, less than thirty (30) inches in height, including porches, landings, decks, balconies and stairs thereto shall be open and un-enclosed.
3.
Awnings and canopies shall have no vertical support located in the required yard.
C.
Use of Required Yards. Required yards may be used for landscaping, walkways, and driveways from the street to the interior of the lot. Required yards may be used for parking when all other requirements, such as landscaping, have been satisfied, except that no parking shall be allowed in the minimum required front and street side setbacks, as established in Table 9.35.040-A.
(1) Access to roofs shall be from the interior of the building or screened from view from any public street or public parking area. If roof access is on the exterior of the building, security shall be provided to prevent unauthorized access.
A.
Antennas. Telecommunications facilities shall be subject to Chapter 9.77 of this Code.
B.
Structures. Architectural features such as cupolas, belltowers, and steeples may exceed the height limits by a maximum of fifteen (15) feet when approved by the Planning Commission. The Planning Commission must find that any such projection which exceeds the height limits is an integral part of the building and will enhance the overall design of the building(s).
C.
Walls, Fences and Hedges
1.
On corner lots, no man-made visual obstructions may be erected, placed, planted or allowed to grow within the Clear Sight Triangle to a height in excess of thirty (30) inches above the nearest street elevation. The Clear Sight Triangle is defined as the area within the triangle formed by connecting the points thirty (30) feet (10 feet at driveways) from the intersection of the two right-of-way lines. Trees within the Clear Sight Triangle shall be trimmed (to the trunk) to a line at least six (6) feet above the nearest street elevation (Figure 9.35.060-A).
Figure 9.35.060-A Clear Site Triangle
Figure 9.35.060-A Clear Site Triangle
2.
On all other lots, and corner lots outside of the Clear Sight Triangle, a maximum six (6) foot high solid wall or fence may be located anywhere except in the required front or street side setback, unless greater height is required to screen an outdoor use in accordance with Section 9.35.080. Within the required front or street side setback solid walls or fences are limited to forty-two (42) inches in height; open fences constructed of wrought iron incorporating decorative features such as pilasters and spires or other embellishments, may be six (6) feet in height.
3.
When there is a difference in the ground level between two adjoining lots or between Town right-of-way and an adjoining lot, the height of any retaining wall constructed along the property line or right-of-way shall be determined from the lowest finished grade at the wall.
4.
Retaining walls not within the Clear Sight Triangle and not exceeding the maximum permitted height may incorporate a protective guardrail when specifically required by the Uniform Building Code. Guardrails shall not exceed forty-two (42) inches above the top of the retaining wall and shall be constructed of wrought iron with intermediate rails or an ornamental pattern such that a sphere four (4) inches in diameter cannot pass through.
The following provisions for accessory structures shall apply to all Commercial and Office districts:
A.
Accessory structures shall not be located in the front or street side setback or in front of the primary structure.
B.
Accessory structures shall meet all of the setback requirements of the zoning district in which it is located.
C.
Accessory structures shall be constructed of or finished with materials, colors, and architectural treatment that are similar to those of the primary building on the site.
A.
Outdoor Storage. Outdoor storage of materials and equipment is permitted in all commercial districts and the M-U district, with the exception of the Office Professional (O-P) district, when it is clearly incidental to the permitted use on the site and is in compliance with the provisions of this Chapter. Such storage shall be located in the rear one-half of the site and screened completely from view from any adjoining property or roadway by a solid wall or fence at least six (6) feet in height, but not to exceed ten (10) feet in height. Said fence or wall shall be constructed of or finished with materials that are compatible with those of the primary building on the site. In the M-U district, outdoor storage shall be screened by a solid decorative block or stucco wall. Acceptable materials can include, masonry, stucco, solid metal, but shall not include corrugated metal. Rigid vinyl panels may also be approved by the Director, when consistent with the provisions of the Development Code. Items that are being stored outdoors shall not be stacked to a height exceeding the height of the required wall or fence.
In the C-S and C-V districts, when on-site barriers are necessary for security, open view fencing shall be used. Open view fencing shall have pilasters of materials that complement the building architecture. Metal rails and pickets shall be sufficiently spaced to restrict trespassing. Spires or spikes or other detailing may be used to impede trespassing. Chain link with metal slats can be used in these districts as long as the slats are maintained in such a manner so the material being stored behind the fencing cannot be seen directly or indirectly through the fence. Barbed wire, razor wire, electrification or similar barriers are only permitted for law enforcement agency vehicle impound yards.
Notwithstanding the above, the exterior storage of hay, packaged feed and related bulk feed products shall be permitted as specified in Tables 9.35.030-A 'Permitted Uses' and 9.35.040-A 'Site Development Standards' of the Town of Apple Valley Development Code.
B.
Visible Storage. Except as may be otherwise permitted in this Chapter, there shall be no visible storage of motor vehicles (except display areas for sales or rentals), trailers, airplanes, boats, recreational vehicles, or their composite parts; loose rubbish, garbage, junk, or their receptacles; or building materials on any portion of a lot. No storage shall occur on a vacant parcel.
C.
Permitted Storage of Building Materials. Building materials for use on the same parcel or building site may be stored on the parcel or building site during the time that a valid building permit is in effect.
D.
Other Outdoor Storage Standards
1.
Storage shall not be permitted in the required setback areas.
2.
Storage shall not be permitted in required parking spaces or driveways and shall not at any time impede the use of any required parking space or driveway.
3.
The limits of the outdoor storage area shall be clearly delineated on the approved site plan.
E.
Cargo Containers. In the Village Commercial (C-V) district and Service Commercial (C-S) Districts, cargo containers shall be permitted subject to Section 9.36.170.D.
(Ord. No. 490, § 3, 12-13-2016; Ord. No. 523, §§ 3, 4, 1-14-2020.)
Every new development project shall provide trash/recycling material enclosures in conformance with Figures 9.35.090-A & B as necessary to serve the development project. For businesses that generate four (4) cubic yards of commercial solid waste per week, the enclosure shall accommodate a recycle bin. All trash and/or recycling material receptacles shall be continuously contained within enclosures. Garbage containers or trash bins shall not be kept, placed or maintained so as to be visible from any public street or alley, except on days designated for trash collection, in accordance with Section 6.20.130 of the Town Municipal Code. In addition, the standards cited below shall apply.
A.
Size of Trash Enclosures. Trash receptacles for commercial and office district uses shall be of sufficient size to accommodate the trash generated by the uses being served, consistent with the Town trash enclosure standards and Figures 9.35.090-A and B.
1.
One (1) trash bin per each three (3) commercial establishments or units (or fraction thereof) where the units are 5,000 square feet or less.
2.
One (1) trash bin per commercial establishment or unit where they are between 5,001 and 15,000 square feet.
3.
Two (2) trash bins per commercial establishment or unit where they are greater than 15,000 square feet.
4.
In the M-U district, trash bins for commercial development shall be separate from those for residential development. The requirements for residential trash bins shall be consistent with the requirements of Section 9.28.150 of this Code.
B.
Screening of Trash Storage Areas. Gates of trash enclosures shall remain closed at all times except when the enclosure is being accessed for refuse disposal or pick-up.
C.
Architectural Treatment. All trash enclosures visible from streets or public parking areas shall be constructed and finished to be compatible with the architectural details and decor of the primary structure.
D.
Location. Trash enclosures shall not be located in the required front or street side setbacks and shall be located near a driveway that allows access by the trash pick-up vehicles on paved access. No receptacles shall be placed in such a manner as to encroach in required parking spaces or driveways.
E.
Variations. Any variation from these standards shall be approved by the Director. The double bin design may be modified to accommodate a single bin for projects that generate less than four (4) cubic yards of commercial solid waste per week and requiring only one bin capacity to serve the entire development. Design modifications to accommodate special circumstances are allowed, however, all deviations from the standard designs and policies must be approved by the Planning Division prior to building permit issuance.
Figure 9.35.090-A
Figure 9.35.090-B
A.
Purpose. The purpose of this Section is to encourage the addition of enhanced site amenities or environmentally sustainable design features with and increased flexibility in design for new developments in the commercial and office districts through the granting of additional floor space, additional building height, reduced setbacks or other variations from the Site Development Standards, Section 9.35.040. Such variations are subject to the approval of the applicable review authority.
B.
Types of Amenities and environmentally sustainable measures:
1.
Employee trip reduction incentives and/or facilities
2.
Shaded public spaces, plazas
3.
Public art, sculptures and fountains
4.
Enhanced landscaping
5.
Energy efficiencies shall exceed Title 24 standards and incorporate two or more of the following energy reduction measures:
a.
Alternative energy systems on-site;
b.
Design parameters that allow for frequent, reliable and convenient public transit;
c.
Site design that utilizes appropriate site orientation to assure solar access and the use of shade and windbreak trees to enhance the use of alternative energy systems;
d.
Site design that utilizes a minimum of fifty (50) percent sustainable and energy efficient interior and exterior building materials;
e.
Landscape plans that exceed Town water efficient landscape requirements by at least fifteen (15) percent through the use of landscape materials and efficient irrigation systems;
f.
Installation of energy-efficient indoor and outdoor lighting that reduces energy use at least twenty-five (25) percent over traditional or existing lighting fixtures.
6.
Certification as LEED Gold or Platinum.
7.
Other amenities or environmentally sustainable measures as approved by the review authority.
C.
Types of Intensity Bonuses. Variations from the provisions of Section 9.35.040, Site Development Standards, of this Chapter, may be granted by the review authority through the approval of a Development or Use Permit when enhanced site amenities or sustainable design measures as described in subsection B of this Section are provided. Such variations are limited to:
1.
Fifteen (15)-foot increase in height, except within 100 feet of a residential use or district; or
2.
Ten (10) percent decrease in required landscape coverage, e.g., 10 percent to 9 percent, 15 percent to 13.5 percent; or
3.
Ten (10) percent decrease in required setbacks, except when adjacent to residential uses or districts.
4.
Ten (10) percent increase to floor area ratio (F.A.R.).
5.
A reduction of up to ten (10) percent in the ratio of vehicular parking spaces.
6.
Other concessions proposed by the developer that result in identifiable and actual reductions in energy or water use, subject to the approval of the review authority.
A.
Property Maintenance. All buildings, structures, yards and improvements shall be maintained in a manner which does not detract from the appearance of the neighborhood. The following conditions are prohibited:
1.
Dilapidated, deteriorating, unrepaired, or vandalized (such as graffiti) structures including fences, roofs, doors, walls and windows.
2.
Accumulation of scrap lumber, junk, trash or debris.
3.
Unattended, overgrown or dead landscape materials and damaged or unmaintained landscape features such as benches and sculptures.
B.
Vehicle and Equipment Repair and Storage. The following provisions shall apply to any vehicle, motor vehicle, camper, camper trailer, trailer, unmounted camper, trailer coach, motorhome, motorcycle, boat or similar conveyance, for uses within the commercial and office districts.
1.
Off-street parking and storage of the above listed conveyances shall be permitted on paved surfaces only.
2.
Servicing, repairing, assembling, disassembling, wrecking, modifying, restoring or otherwise working on any of the above listed conveyances is prohibited unless conducted within an enclosed building, except when permitted by this Chapter or by approval of a Conditional Use Permit.
3.
Storing, placing or parking of any of the above listed conveyances, or any part thereof, which is disabled, unlicensed, unregistered, inoperative, or from which an essential or legally required operating part is removed, shall be prohibited unless conducted within an enclosed building or otherwise completely screened from public view or views from adjacent properties, except when permitted by this Chapter or by approval of a Conditional Use Permit.
A.
Pre-fabricated Structures. The following standards shall apply to the use of pre-fabricated structures:
1.
Permitted pre-fabricated structures shall be compatible in scale and design with surrounding structures.
2.
Pre-fabricated structures shall conform to all standards, goals and objectives of this Chapter and the General Plan.
3.
The design and finish of the pre-fabricated structures shall be compatible with and complementary to existing structures on the site.
4.
Adequate screening from adjacent residential uses and public streets shall be provided as indicated in Section 9.37.060, Buffering and Screening, of this Code.
5.
A permanent foundation system shall be provided.
6.
ADA Requirements shall apply. Access and adequate sanitary facilities for the handicapped shall be provided as required by the California Accessibility Standards.
7.
Prefabricated structures in the Mixed Use district shall also be compatible with, and complementary to surrounding development.
B.
Metal Buildings
1.
The use of metal exteriors when staff or the Planning Commission determines, during a project's Development Permit or Conditional Use Permit review, may include exposed metal when used as an architectural feature or design element which provides a varying material to the buildings design. Metal siding that replicates other material, such as embossed stucco, wood, stone, tile, or replicates the appearance of traditional shiplap or board and batten may also be used. The proposed structure shall also have an appearance emulating and simulating the color, texture and appearance of other structures within the surrounding area or where it can be clearly demonstrated that the proposed structure is an enhancement to the surrounding area. A structure which proposes an exposed metal exterior as the primarily building siding shall require the application to be approved by the Planning Commission. Textured panels may not be corrugated or metal seam.
A.
Conversions of Existing Residential Structures
1.
Structures originally designed for residential occupancy (including hotels and motels), or as accessory structures or additions to residences, and located in a non-residential district, shall not be used for any commercial or office use unless the building and site are improved to meet all applicable code requirements for a change in occupancy. This includes, but is not limited to, Building and Safety, Engineering, Fire District, Police, Water District and Planning Division requirements.
2.
Conversions of residential structures to commercial or office use is subject to the approval of a Development Permit.
3.
In approving a Development Permit the review authority shall impose conditions necessary to make the following findings:
a.
The conversion will not adversely impact adjacent properties or the reasonable use thereof.
b.
Adequate parking and circulation will be provided.
c.
The architectural design and materials used will be compatible with the character of the neighborhood.
d.
Public improvements that would normally be required for new construction will be provided.
B.
Relocation
Structures may be relocated in accordance with the following standards:
1.
Upon relocation of a structure, The parcel, and the relocated structure, shall comply with all applicable provisions of this Chapter including all development standards, regulations, and restrictions for the proposed use in the zoning district to which the structure is relocated.
2.
Construction on a relocated structure shall commence within thirty (30) days and shall be completed within one (1) year of the date that the structure is moved onto the relocation site.
3.
Conditions and requirements of all other applicable regulations and ordinances and the goals and objectives of the General Plan shall be complied with, except as may be otherwise required by State law.
A.
Abandoned Service Stations
1.
Service stations that remain vacant or cease operations for more than 180 days shall be required to have all underground storage tanks (unless waived in writing by the Apple Valley Fire District and the San Bernardino County Environmental Health Services Department), all gasoline pumps and pump islands, and free-standing canopies removed.
2.
If the service station is to resume operation, the Director shall be notified by the owner in writing prior to the 180th day from the time operations ceased. Such notification shall include verification that a gasoline allocation has been received and that operation will resume within thirty (30) days.
3.
If the service station is to resume operation after the 180 days, the approval of a Conditional Use Permit is required to ensure that the facilities will be upgraded and maintained. Such approval could include, but is not limited to, replanting existing landscape areas, installing new landscape areas, painting structures, upgrading trash enclosures, striping parking spaces, removal of nonconforming signs, installation of new signs in conformance with the adopted sign ordinance, resurfacing of driveways and parking areas, and the installation of required street improvements.
B.
Converted Service Stations. Service station sites and buildings which are proposed for conversion to another use are subject to the approval of a Conditional Use Permit. Such approval could include, but is not limited to, replanting existing landscape areas, installing new landscape areas, painting structures, upgrading trash enclosures, striping parking spaces, removal of nonconforming signs, installation of new signs in conformance with the adopted sign ordinance, resurfacing of driveways and parking areas, and the installation of required street improvements as necessary to comply with the applicable standards and property maintenance provisions of this Development Code.
35 - Commercial and Office Districts
A.
The purpose of this Chapter is to guide the growth and development of the Town in an orderly manner consistent with the goals, policies and action plans of the General Plan and the Comprehensive Economic Development Plan; to protect and enhance the quality of the natural and improved environment; and to promote the public health, safety and welfare by achieving the following:
1.
Providing appropriately located areas for office uses, retail stores and service establishments to meet the needs of the Town.
2.
Promoting office and commercial locations and site designs which are conveniently accessible by equestrian, bicycle and foot traffic, as well as autos.
3.
Supporting development that is compatible with surrounding uses and neighborhoods while suggesting uniqueness and character.
4.
Providing for open spaces and areas for landscaping through the use of Site Development Standards to protect the property values of existing business developments from inappropriately located uses and to enhance the investment of residents and business owners.
5.
Encouraging office and commercial uses to be grouped for the safety of the public and to avoid nuisance impacts from incompatible land uses.
6.
Clustering commercial activities in selected locations adjacent to major roads and in the vicinity of the Apple Valley Airport.
7.
Allowing for the development of projects that include residential and retail and office commercial development in an integrated, master planned project in the Mixed Use zone.
8.
Supporting sound destination attractions/commercial recreation projects that can uniquely occur in Apple Valley.
9.
To establish zoning for lands surrounding the Town, both within and outside its sphere of influence, which establishes Town zoning districts for these lands, if they are annexed to the Town in the future.
A.
Office Professional District (O-P). The O-P district is intended as a buffer to general commercial uses and is primarily for the development of professional and administrative offices and ancillary retail uses. Setbacks, landscaping and architectural requirements designed to make such uses sensitive to surrounding land uses, especially residential uses, are required, consistent with the Office Professional (O-P) land use designation of the General Plan. A maximum floor area ratio (F.A.R.) of 1.0 is permitted in the O-P District.
B.
General Commercial District (C-G). The C-G district is intended for the development of a full range of retail stores, offices and personal and business services, including shopping centers along major roadways, consistent with the General Commercial (C-G) land use designation of the General Plan. A maximum floor area ratio (F.A.R.) of 0.5 is permitted in the C-G District.
C.
Service Commercial District (C-S). The C-S district is intended to provide an area in which certain light industrial uses may be combined with those commercial activities which are frequently not compatible with conventional retail, service and office uses. This district implements the Service Commercial (S-C) land use designation of the General Plan. A maximum floor area ratio (F.A.R.) of 0.5 is permitted in the C-S District.
D.
Regional Commercial District (C-R). The C-R district is intended for the development of a full range of retail stores, offices and personal and business services on a scale to serve the needs of the Town and the surrounding region, to be located in proximity to interstate and state highways and arterial roadways. This district implements the Regional Commercial (C-R) land use designation of the General Plan. A maximum floor area ratio (F.A.R.) of 1.0 is permitted in the C-R District. A total of 978 acres within the CR District bounded by Interstate 15 (I-15) freeway to the west, Dante Road to the south and Caplet Street to the north, and CR District's boundary to the east allows for eCommerce fulfillment and distribution centers.
E.
Village Commercial District (C-V). The C-V district is intended as a vehicle for the revitalization of a specific area of the Town commonly known as the "Village". A variety of uses including, but not limited to, food service, office, auto, truck and recreation vehicle sales and service, lumber yards, home repair and building supplies, discount and wholesale sales and light manufacturing are permitted, consistent with the goals, policies and objectives of the General Plan. A maximum floor area ratio (F.A.R.) of 0.5 is permitted in the C-V District.
F.
Mixed Use District (M-U). The M-U District is intended to allow for the development of projects that include residential, retail and office commercial development in an integrated, master planned project. The M-U District is consistent with the Mixed Use land use designation of the General Plan. A wide range of specifically designated commercial uses are permitted, including retail stores, offices, personal and business services. Residential development should occur over commercial development, or within a commercial complex (i.e. residential building abutting a commercial building). A maximum floor area ratio (F.A.R.) of 0.5 is permitted for commercial development in the Mixed Use District. In addition to the commercial floor area, a density of 4 to 30 units per acre is permitted for residential development.
(Ord. No. 547, § 6, 1-11-2022)
If a proposed use is not listed in this Section, the Director shall, upon written request and in accordance with Section 9.05.070, Similar Uses, of this Code, review the proposed unlisted use. Based on the characteristics of the proposed use, the "Standard Industrial Classification Manual" and other available resource material, the Director may determine that the proposed unlisted use is equivalent in nature and intensity to a listed use. The proposed use shall then be treated in the same manner as the equivalent listed use in determining where it can be located, what permits are required and what standards affect its establishment if the findings required in Section 9.05.070, Similar Uses, of this Code, can be made.
ABBREVIATIONS
The Conditional Use Permit process is detailed in Chapter 9.16 and the Development Permit process is detailed in Chapter 9.17 of this Code.
The uses listed in Table 9.35.030-A of this Chapter, below, apply to applications for expansion, tenant improvements, change of occupancy, or new development.
Table 9.35.030-A Permitted Uses
(See Chapter 9.36 for applicable Specific Use Standards)
(Ord. No. 517, §§ 4, 5, 10-8-2019; Ord. No. 519, § 4, 10-22-2019; Ord. No. 520, § 3, 11-12-2019; Ord. No. 535, § 4, 9-8-2020; Ord. No. 541, § 5, 1-12-2021; Ord. No. 547, § 6, 1-11-2022; Ord. No. 565, § 4, 3-28-2023)
The site development standards in Table 9.35.040-A are intended to provide standards for the development and use of land within the Commercial and Office districts. (summarized in Table 9.35.040-B and Figure 9.35.040-C). These standards apply in conjunction with the applicable specific use regulations in Chapter 9.36, the design standards in Chapter 9.37, and the performance standards in Chapter 9.70 of this Development Code. All submissions to the Town of Apple Valley for a development or other permit, whether for Planning Commission, Town Council, or Plan Check and Building Permit review, may be required to provide public right-of-way or other appropriate dedication(s) and off-site and/or street and other related public improvement(s) consistent with the Circulation Element of the adopted General Plan and/or applicable standards established by the Town Engineer, as determined by the Town of Apple Valley Town Engineer, to mitigate and/or contribute toward mitigation of impacts, to promote the public health, safety and welfare, and as not otherwise restricted by law.
The setbacks specified in Table 9.35.040-A shall be the setback Standards unless approved otherwise by a different setback is required, as delineated on all Final Maps, Parcel Maps and Records of Survey Maps recorded in San Bernardino County between March 1, 1948, and January 1, 1987, or on Composite Development Plans on file in Town offices; then these setbacks shall be the street and yard setback distances required on the property within said Final Map, Parcel Map, Records of Survey or Composite Development Plan. Notwithstanding any other provision of this Development Code, any request to modify or deviate from a building setback line designated on a recorded map or final map shall be made in accordance with the provisions of Chapter 9.24, Variances or Chapter 9.25 Deviation Permits, of this Code.
All commercial development, including new construction, exterior modifications and additions, are subject to the provisions within Development Code Chapter 9.17 "Development Permits".
Table 9.35.040-A Site Development Standards(Amended Ord. 313)
(1) In the case of existing substandard lots, setbacks may be reduced proportionately.
(2) Unless part of an approved Development Permit.
(3) Setbacks for buildings located adjacent to a residential use or district shall be twenty-five (25) feet and rear and street side setbacks shall be as specified for that district, where applicable. Refer to Section 9.25.030.E for deviations to this requirement.
(4) From the perimeter of the development.
(5) Up to 100 feet with a Development Permit reviewed and approved by the Planning Commission.
(6) Accessory Structures shall meet all of the setback requirements of the zoning district in which they are located.
(7) Open fencing constructed of wrought iron or other decorative metal and incorporating decorative features may be constructed either in conjunction with a solid wall(s) or fence(s) where the solid portion of the wall or fence is not more than two (2) feet in height, with the wrought iron or other decorative fencing extending not more than four (4) feet about the solid wall or fence (where the maximum overall height of the combined materials does not exceed six (6) feet) from the highest adjoining grade.
(8) Walls over a height of seventy-two (72) inches are not allowed in any Office Professional District.
(9) Building materials for use on the same or adjacent parcel or building site may be stored on the parcel building site during the time that a valid building permit is in effect.
(10) Areas not utilized for structures, walkways, parking and driveways shall be landscaped. A minimum ten (10)-foot landscape strip is required along street frontages. This may include landscaping within the right-of-way. In the Mixed Use district, 10% landscaping requirement applies for parking and project perimeter only. Additional landscaped open space is required for residential component of the project (see Section 9.36 for open space requirements). Refer to Section 9.25.030.E and 9.72.080.A for deviations to this requirement.
(11) The incidental exterior storage of hay, packaged feed and related bulk feed products when associated with a Feed and Tack business is permitted and may be located anywhere on site to the rear of the leading edge of the building on said site or behind the required street side-yard setback area. Said stored hay, packaged feed and related bulk feed products need not be screened from view and may be stacked to a height not to exceed ten (10) feet.
(12) Floor Area Ratio applies to commercial component only. In addition, residential development in a Mixed Use Project shall include:
a) A minimum of 4 dwelling units per acre; or
b) A minimum of 1 dwelling unit (only for existing lots of record of less than one acre as of the date of adoption of this Ordinance).
A.
Access and Circulation
1.
Opposing driveways and intersections along major streets shall be spaced a minimum of 150 feet apart, 200 feet is preferred.
2.
Driveway access to a site shall be located as far as possible (minimum of 150 feet) from a street intersection. The number of access points shall be limited to the minimum to provide adequate circulation.
B.
Utilities
1.
Utility and service lines shall be installed underground.
2.
All utility connections shall be designed to coordinate with the architectural elements of the site so as not to be exposed except where necessary. Pad-mounted transformers and/or meter box locations shall be included in the site plan with any appropriate screening treatment (Figures 9.35.040-A and B).
Figure 9.35.040-B Screen Utility Equipment
Table 9.35.040-B Summary of Site Development Standards
for Commercial and Office Districts
Table 9.35.040-B summarizes minimum site development standards for commercial and
office zoning districts
(1) Maximum height in all commercial, office and mixed use districts is twenty-five (25) feet within 100 feet of a residential use or district.
(2) Maximum height may be extended to 100 feet with a Conditional Use Permit.
Figure 9.35.040-C Building Envelope
(Ord. No. 473, §§ 5, 6, 8-25-2015; Ord. No. 491, § 5, 2-14-2017; Res. No. 2019-004, § 4, 6-19-2019; Ord. No. 512, § 3, 8-27-2019; Ord. No. 513, § 5, 8-27-2019; Ord. No. 523, § 5, 1-14-2020; Ord. No. 534, § 4, 9-8-2020)
A.
Table 9.35.050-A summarizes the various projections that are permitted into the required setbacks in the Commercial and Office Districts.
Table 9.35.050-A Projections Into Yards
B.
Projections into required yards shall be subject to the following limitations:
1.
No portion of eaves or cantilevered roofs shall be less than eight (8) feet above grade, and no related vertical supports or members shall be located within the required yard.
2.
Raised structures, less than thirty (30) inches in height, including porches, landings, decks, balconies and stairs thereto shall be open and un-enclosed.
3.
Awnings and canopies shall have no vertical support located in the required yard.
C.
Use of Required Yards. Required yards may be used for landscaping, walkways, and driveways from the street to the interior of the lot. Required yards may be used for parking when all other requirements, such as landscaping, have been satisfied, except that no parking shall be allowed in the minimum required front and street side setbacks, as established in Table 9.35.040-A.
(1) Access to roofs shall be from the interior of the building or screened from view from any public street or public parking area. If roof access is on the exterior of the building, security shall be provided to prevent unauthorized access.
A.
Antennas. Telecommunications facilities shall be subject to Chapter 9.77 of this Code.
B.
Structures. Architectural features such as cupolas, belltowers, and steeples may exceed the height limits by a maximum of fifteen (15) feet when approved by the Planning Commission. The Planning Commission must find that any such projection which exceeds the height limits is an integral part of the building and will enhance the overall design of the building(s).
C.
Walls, Fences and Hedges
1.
On corner lots, no man-made visual obstructions may be erected, placed, planted or allowed to grow within the Clear Sight Triangle to a height in excess of thirty (30) inches above the nearest street elevation. The Clear Sight Triangle is defined as the area within the triangle formed by connecting the points thirty (30) feet (10 feet at driveways) from the intersection of the two right-of-way lines. Trees within the Clear Sight Triangle shall be trimmed (to the trunk) to a line at least six (6) feet above the nearest street elevation (Figure 9.35.060-A).
Figure 9.35.060-A Clear Site Triangle
Figure 9.35.060-A Clear Site Triangle
2.
On all other lots, and corner lots outside of the Clear Sight Triangle, a maximum six (6) foot high solid wall or fence may be located anywhere except in the required front or street side setback, unless greater height is required to screen an outdoor use in accordance with Section 9.35.080. Within the required front or street side setback solid walls or fences are limited to forty-two (42) inches in height; open fences constructed of wrought iron incorporating decorative features such as pilasters and spires or other embellishments, may be six (6) feet in height.
3.
When there is a difference in the ground level between two adjoining lots or between Town right-of-way and an adjoining lot, the height of any retaining wall constructed along the property line or right-of-way shall be determined from the lowest finished grade at the wall.
4.
Retaining walls not within the Clear Sight Triangle and not exceeding the maximum permitted height may incorporate a protective guardrail when specifically required by the Uniform Building Code. Guardrails shall not exceed forty-two (42) inches above the top of the retaining wall and shall be constructed of wrought iron with intermediate rails or an ornamental pattern such that a sphere four (4) inches in diameter cannot pass through.
The following provisions for accessory structures shall apply to all Commercial and Office districts:
A.
Accessory structures shall not be located in the front or street side setback or in front of the primary structure.
B.
Accessory structures shall meet all of the setback requirements of the zoning district in which it is located.
C.
Accessory structures shall be constructed of or finished with materials, colors, and architectural treatment that are similar to those of the primary building on the site.
A.
Outdoor Storage. Outdoor storage of materials and equipment is permitted in all commercial districts and the M-U district, with the exception of the Office Professional (O-P) district, when it is clearly incidental to the permitted use on the site and is in compliance with the provisions of this Chapter. Such storage shall be located in the rear one-half of the site and screened completely from view from any adjoining property or roadway by a solid wall or fence at least six (6) feet in height, but not to exceed ten (10) feet in height. Said fence or wall shall be constructed of or finished with materials that are compatible with those of the primary building on the site. In the M-U district, outdoor storage shall be screened by a solid decorative block or stucco wall. Acceptable materials can include, masonry, stucco, solid metal, but shall not include corrugated metal. Rigid vinyl panels may also be approved by the Director, when consistent with the provisions of the Development Code. Items that are being stored outdoors shall not be stacked to a height exceeding the height of the required wall or fence.
In the C-S and C-V districts, when on-site barriers are necessary for security, open view fencing shall be used. Open view fencing shall have pilasters of materials that complement the building architecture. Metal rails and pickets shall be sufficiently spaced to restrict trespassing. Spires or spikes or other detailing may be used to impede trespassing. Chain link with metal slats can be used in these districts as long as the slats are maintained in such a manner so the material being stored behind the fencing cannot be seen directly or indirectly through the fence. Barbed wire, razor wire, electrification or similar barriers are only permitted for law enforcement agency vehicle impound yards.
Notwithstanding the above, the exterior storage of hay, packaged feed and related bulk feed products shall be permitted as specified in Tables 9.35.030-A 'Permitted Uses' and 9.35.040-A 'Site Development Standards' of the Town of Apple Valley Development Code.
B.
Visible Storage. Except as may be otherwise permitted in this Chapter, there shall be no visible storage of motor vehicles (except display areas for sales or rentals), trailers, airplanes, boats, recreational vehicles, or their composite parts; loose rubbish, garbage, junk, or their receptacles; or building materials on any portion of a lot. No storage shall occur on a vacant parcel.
C.
Permitted Storage of Building Materials. Building materials for use on the same parcel or building site may be stored on the parcel or building site during the time that a valid building permit is in effect.
D.
Other Outdoor Storage Standards
1.
Storage shall not be permitted in the required setback areas.
2.
Storage shall not be permitted in required parking spaces or driveways and shall not at any time impede the use of any required parking space or driveway.
3.
The limits of the outdoor storage area shall be clearly delineated on the approved site plan.
E.
Cargo Containers. In the Village Commercial (C-V) district and Service Commercial (C-S) Districts, cargo containers shall be permitted subject to Section 9.36.170.D.
(Ord. No. 490, § 3, 12-13-2016; Ord. No. 523, §§ 3, 4, 1-14-2020.)
Every new development project shall provide trash/recycling material enclosures in conformance with Figures 9.35.090-A & B as necessary to serve the development project. For businesses that generate four (4) cubic yards of commercial solid waste per week, the enclosure shall accommodate a recycle bin. All trash and/or recycling material receptacles shall be continuously contained within enclosures. Garbage containers or trash bins shall not be kept, placed or maintained so as to be visible from any public street or alley, except on days designated for trash collection, in accordance with Section 6.20.130 of the Town Municipal Code. In addition, the standards cited below shall apply.
A.
Size of Trash Enclosures. Trash receptacles for commercial and office district uses shall be of sufficient size to accommodate the trash generated by the uses being served, consistent with the Town trash enclosure standards and Figures 9.35.090-A and B.
1.
One (1) trash bin per each three (3) commercial establishments or units (or fraction thereof) where the units are 5,000 square feet or less.
2.
One (1) trash bin per commercial establishment or unit where they are between 5,001 and 15,000 square feet.
3.
Two (2) trash bins per commercial establishment or unit where they are greater than 15,000 square feet.
4.
In the M-U district, trash bins for commercial development shall be separate from those for residential development. The requirements for residential trash bins shall be consistent with the requirements of Section 9.28.150 of this Code.
B.
Screening of Trash Storage Areas. Gates of trash enclosures shall remain closed at all times except when the enclosure is being accessed for refuse disposal or pick-up.
C.
Architectural Treatment. All trash enclosures visible from streets or public parking areas shall be constructed and finished to be compatible with the architectural details and decor of the primary structure.
D.
Location. Trash enclosures shall not be located in the required front or street side setbacks and shall be located near a driveway that allows access by the trash pick-up vehicles on paved access. No receptacles shall be placed in such a manner as to encroach in required parking spaces or driveways.
E.
Variations. Any variation from these standards shall be approved by the Director. The double bin design may be modified to accommodate a single bin for projects that generate less than four (4) cubic yards of commercial solid waste per week and requiring only one bin capacity to serve the entire development. Design modifications to accommodate special circumstances are allowed, however, all deviations from the standard designs and policies must be approved by the Planning Division prior to building permit issuance.
Figure 9.35.090-A
Figure 9.35.090-B
A.
Purpose. The purpose of this Section is to encourage the addition of enhanced site amenities or environmentally sustainable design features with and increased flexibility in design for new developments in the commercial and office districts through the granting of additional floor space, additional building height, reduced setbacks or other variations from the Site Development Standards, Section 9.35.040. Such variations are subject to the approval of the applicable review authority.
B.
Types of Amenities and environmentally sustainable measures:
1.
Employee trip reduction incentives and/or facilities
2.
Shaded public spaces, plazas
3.
Public art, sculptures and fountains
4.
Enhanced landscaping
5.
Energy efficiencies shall exceed Title 24 standards and incorporate two or more of the following energy reduction measures:
a.
Alternative energy systems on-site;
b.
Design parameters that allow for frequent, reliable and convenient public transit;
c.
Site design that utilizes appropriate site orientation to assure solar access and the use of shade and windbreak trees to enhance the use of alternative energy systems;
d.
Site design that utilizes a minimum of fifty (50) percent sustainable and energy efficient interior and exterior building materials;
e.
Landscape plans that exceed Town water efficient landscape requirements by at least fifteen (15) percent through the use of landscape materials and efficient irrigation systems;
f.
Installation of energy-efficient indoor and outdoor lighting that reduces energy use at least twenty-five (25) percent over traditional or existing lighting fixtures.
6.
Certification as LEED Gold or Platinum.
7.
Other amenities or environmentally sustainable measures as approved by the review authority.
C.
Types of Intensity Bonuses. Variations from the provisions of Section 9.35.040, Site Development Standards, of this Chapter, may be granted by the review authority through the approval of a Development or Use Permit when enhanced site amenities or sustainable design measures as described in subsection B of this Section are provided. Such variations are limited to:
1.
Fifteen (15)-foot increase in height, except within 100 feet of a residential use or district; or
2.
Ten (10) percent decrease in required landscape coverage, e.g., 10 percent to 9 percent, 15 percent to 13.5 percent; or
3.
Ten (10) percent decrease in required setbacks, except when adjacent to residential uses or districts.
4.
Ten (10) percent increase to floor area ratio (F.A.R.).
5.
A reduction of up to ten (10) percent in the ratio of vehicular parking spaces.
6.
Other concessions proposed by the developer that result in identifiable and actual reductions in energy or water use, subject to the approval of the review authority.
A.
Property Maintenance. All buildings, structures, yards and improvements shall be maintained in a manner which does not detract from the appearance of the neighborhood. The following conditions are prohibited:
1.
Dilapidated, deteriorating, unrepaired, or vandalized (such as graffiti) structures including fences, roofs, doors, walls and windows.
2.
Accumulation of scrap lumber, junk, trash or debris.
3.
Unattended, overgrown or dead landscape materials and damaged or unmaintained landscape features such as benches and sculptures.
B.
Vehicle and Equipment Repair and Storage. The following provisions shall apply to any vehicle, motor vehicle, camper, camper trailer, trailer, unmounted camper, trailer coach, motorhome, motorcycle, boat or similar conveyance, for uses within the commercial and office districts.
1.
Off-street parking and storage of the above listed conveyances shall be permitted on paved surfaces only.
2.
Servicing, repairing, assembling, disassembling, wrecking, modifying, restoring or otherwise working on any of the above listed conveyances is prohibited unless conducted within an enclosed building, except when permitted by this Chapter or by approval of a Conditional Use Permit.
3.
Storing, placing or parking of any of the above listed conveyances, or any part thereof, which is disabled, unlicensed, unregistered, inoperative, or from which an essential or legally required operating part is removed, shall be prohibited unless conducted within an enclosed building or otherwise completely screened from public view or views from adjacent properties, except when permitted by this Chapter or by approval of a Conditional Use Permit.
A.
Pre-fabricated Structures. The following standards shall apply to the use of pre-fabricated structures:
1.
Permitted pre-fabricated structures shall be compatible in scale and design with surrounding structures.
2.
Pre-fabricated structures shall conform to all standards, goals and objectives of this Chapter and the General Plan.
3.
The design and finish of the pre-fabricated structures shall be compatible with and complementary to existing structures on the site.
4.
Adequate screening from adjacent residential uses and public streets shall be provided as indicated in Section 9.37.060, Buffering and Screening, of this Code.
5.
A permanent foundation system shall be provided.
6.
ADA Requirements shall apply. Access and adequate sanitary facilities for the handicapped shall be provided as required by the California Accessibility Standards.
7.
Prefabricated structures in the Mixed Use district shall also be compatible with, and complementary to surrounding development.
B.
Metal Buildings
1.
The use of metal exteriors when staff or the Planning Commission determines, during a project's Development Permit or Conditional Use Permit review, may include exposed metal when used as an architectural feature or design element which provides a varying material to the buildings design. Metal siding that replicates other material, such as embossed stucco, wood, stone, tile, or replicates the appearance of traditional shiplap or board and batten may also be used. The proposed structure shall also have an appearance emulating and simulating the color, texture and appearance of other structures within the surrounding area or where it can be clearly demonstrated that the proposed structure is an enhancement to the surrounding area. A structure which proposes an exposed metal exterior as the primarily building siding shall require the application to be approved by the Planning Commission. Textured panels may not be corrugated or metal seam.
A.
Conversions of Existing Residential Structures
1.
Structures originally designed for residential occupancy (including hotels and motels), or as accessory structures or additions to residences, and located in a non-residential district, shall not be used for any commercial or office use unless the building and site are improved to meet all applicable code requirements for a change in occupancy. This includes, but is not limited to, Building and Safety, Engineering, Fire District, Police, Water District and Planning Division requirements.
2.
Conversions of residential structures to commercial or office use is subject to the approval of a Development Permit.
3.
In approving a Development Permit the review authority shall impose conditions necessary to make the following findings:
a.
The conversion will not adversely impact adjacent properties or the reasonable use thereof.
b.
Adequate parking and circulation will be provided.
c.
The architectural design and materials used will be compatible with the character of the neighborhood.
d.
Public improvements that would normally be required for new construction will be provided.
B.
Relocation
Structures may be relocated in accordance with the following standards:
1.
Upon relocation of a structure, The parcel, and the relocated structure, shall comply with all applicable provisions of this Chapter including all development standards, regulations, and restrictions for the proposed use in the zoning district to which the structure is relocated.
2.
Construction on a relocated structure shall commence within thirty (30) days and shall be completed within one (1) year of the date that the structure is moved onto the relocation site.
3.
Conditions and requirements of all other applicable regulations and ordinances and the goals and objectives of the General Plan shall be complied with, except as may be otherwise required by State law.
A.
Abandoned Service Stations
1.
Service stations that remain vacant or cease operations for more than 180 days shall be required to have all underground storage tanks (unless waived in writing by the Apple Valley Fire District and the San Bernardino County Environmental Health Services Department), all gasoline pumps and pump islands, and free-standing canopies removed.
2.
If the service station is to resume operation, the Director shall be notified by the owner in writing prior to the 180th day from the time operations ceased. Such notification shall include verification that a gasoline allocation has been received and that operation will resume within thirty (30) days.
3.
If the service station is to resume operation after the 180 days, the approval of a Conditional Use Permit is required to ensure that the facilities will be upgraded and maintained. Such approval could include, but is not limited to, replanting existing landscape areas, installing new landscape areas, painting structures, upgrading trash enclosures, striping parking spaces, removal of nonconforming signs, installation of new signs in conformance with the adopted sign ordinance, resurfacing of driveways and parking areas, and the installation of required street improvements.
B.
Converted Service Stations. Service station sites and buildings which are proposed for conversion to another use are subject to the approval of a Conditional Use Permit. Such approval could include, but is not limited to, replanting existing landscape areas, installing new landscape areas, painting structures, upgrading trash enclosures, striping parking spaces, removal of nonconforming signs, installation of new signs in conformance with the adopted sign ordinance, resurfacing of driveways and parking areas, and the installation of required street improvements as necessary to comply with the applicable standards and property maintenance provisions of this Development Code.