45 - Industrial Districts
A.
Purpose. The purpose of this Chapter is to guide the growth of industrial development within the Town in an orderly manner consistent with the goals and policies of the General Plan; to protect and enhance the quality of the natural and improved environment; and to promote the public health, safety and welfare by achieving the following:
1.
Providing appropriately located areas for industrial uses to meet the needs of the Town;
2.
Providing standards for the development of clean, high quality development in the Town's industrial districts;
3.
Encouraging industrial uses to be grouped for the convenience of the public and to avoid nuisances among adjacent land uses;
4.
Establishing measures that buffer both new and established residences from industrial activities.
5.
Ensuring that adequate roadways, infrastructure, and public services are provided;
6.
Promoting open spaces and areas for landscaping through the use of Site Development Standards to create a visually pleasing environment and to protect and enhance property values.
7.
To establish zoning for lands surrounding the Town, both within and outside its sphere of influence, which establishes Town zoning districts for these lands, if they are annexed to the Town in the future.
Additionally, the purpose of this Chapter is to implement the goals, objectives, strategies and action plans of the Town's Comprehensive Economic Development Plan through industrial development featuring design and planning excellence.
B.
General Plan Consistency. The I-P district is deemed to be consistent with the Planned Industrial (I-P) designation of the General Plan, and the I-RE district is deemed to be consistent with the Mineral Resources (M-R) designation of the General Plan.
The Town Industrial Districts are established to provide locations for the development of clean, safe and modern industrial activities. In addition, provisions for mineral extraction activities are included to recognize this historic regional industry. The following districts are established to delineate the locations for the specific uses described.
A.
Planned Industrial (I-P). The I-P district is intended to provide for light industrial uses, research and development, and multi-tenant industrial buildings, as well as certain supporting administrative and professional offices and commercial activities on a limited basis in an attractive and pleasant working environment. This district implements the Planned Industrial (I-P) designation of the General Plan.
B.
Resource Extraction (I-RE). The I-RE district is intended to implement the Mineral Resources (M-R) designation of the General Plan by promoting uses for the mining and processing of mineral resources while ensuring their compatibility with adjacent land uses. This district also provides for the development of interim land uses including, but not limited to, lumber yards, outdoor storage, plant nurseries, and the like, that do not impair the long term ability to extract and process mineral resources.
If a proposed use is not listed in this Section, the Director shall, upon written request and in accordance with Section 9.05.070, Similar Uses, of this Code, review the proposed unlisted use. Based on the characteristics of the proposed use, the "Standard Industrial Classification Manual" and other available resource material, the Director may determine that the proposed unlisted use is equivalent in nature and intensity to a listed use. The proposed use shall then be treated in the same manner as the equivalent listed use in determining where it can be located, what permits are required and what standards affect its establishment if the findings required in Section 9.05.070, Similar Uses, of this Code, can be made.
ABBREVIATIONS
The Conditional Use Permit process is detailed in Chapter 9.16 and the Development Permit process is detailed in Chapter 9.17 of this Code.
The uses listed in Table 9.45.030-A, below, apply to applications for expansion, tenant improvements, change of occupancy, or new development.
Table 9.45.030-A Permitted Uses
(See Chapter 9.46 for Specific Use Regulations)
(1) All uses shall be conducted within a completely enclosed building unless the use is specifically permitted in this Chapter as an outdoor use or is specifically approved through a Conditional Use Permit or Special Use Permit.
(2) CUP: Conditional Use Permit
P: Permitted uses
SUP: ;hg;Special Use Permit
SM: ;hg;Surface mining permit, requires Town Council review
"-": ;hg;denotes uses are prohibited
(3) Industrial activities other than mining or mineral extraction are permitted only after the site has been mined and the land reclaimed. Vacant land not previously used for mining may be used on an interim basis with approval of a Conditional Use Permit provided that such use does not preclude, in any way, future mining or mineral extraction operations.
(4) Fees waived.
(Ord. No. 520, § 4, 11-12-2019; Ord. No. 541, § 3, 1-12-2021)
The site development standards in Table 9.45.040-A are intended to provide minimum standards for the development and use of land within the Industrial Districts. (summarized in Table 9.45.040-B and Figure 9.45.040-C). These standards apply in conjunction with the applicable specific use regulations in Chapter 9.46, the design standards in Chapter 9.47, and the performance standards in Chapter 9.70 of this Development Code. All submissions to the Town of Apple Valley for a development permit, whether by Planning Commission or Town Council, or other permit, whether Plan Check or Building Permit review, may be required to provide public right-of-way or other appropriate dedication(s) and off-site improvements (including street and/or other related public facilities). These required improvements shall be consistent with the Circulation Element of the adopted General Plan and/or applicable standards established by the Town Engineer. Conformance to these requirements shall be determined by the Town of Apple Valley Town Engineer and shall mitigate, and/or contribute toward mitigation, of impacts, resulting from the development or permit, shall promote the public health, safety and welfare, and shall not otherwise be restricted by law.
The setbacks specified in Table 9.45.040-A shall be the Setback standards different setback is required, as delineated on all Final Maps, Parcel Maps and Records of Survey Maps recorded in San Bernardino County between March 1, 1948, and January 1, 1987, or on Composite Development Plans on file in Town offices. then these setbacks shall be the street and yard setback distances required on the property within said Final Map, Parcel Map, Records of Survey or Composite Development Plan. Notwithstanding any other provision of this Development Code, any request to modify or deviate from a building setback line designated on a recorded map or final map shall be made in accordance with the provisions of Chapter 9.24, Variances, of this Code.
Table 9.45.040-A Site Development Standards
A.
Screening
1.
Screening and Buffering. Screening and buffering shall be in accordance with Section 9.47.060, Buffering and Screening, of this Code.
2.
Street Frontages Across from Residential Districts. Along all street frontages situated across from residentially zoned property, a three-foot high landscaped earthen berm shall be constructed.
3.
All Other Lot Lines Adjacent to Residential Districts. Along all other lot lines adjacent to residential districts, a maximum eight (8)-foot high decorative masonry wall or fence shall be constructed.
B.
Parking. Parking shall be provided in accordance with Chapter 9.72, Off-Street Parking and Loading Regulations, of this Code, as modified by the following:
1.
Except in the I-P district, parking may be permitted in any required setback, excluding the required front and street side setbacks, only after all other requirements, such as landscaping, have been met. Parking may be permitted in setbacks adjacent to residential uses or districts provided the minimum forty-five (45)-foot landscaped setback, as required by Section 9.45.040.A (footnote #1), of this Code, is maintained.
2.
Except in the I-P district, parking in any setback adjacent to residential uses or districts may be permitted where the building is setback at least 100 feet and a minimum thirty (30)-foot wide landscaped buffer adjacent to the property lines is provided.
C.
Utilities
1.
Utility and service lines shall be installed under-ground.
2.
All utility connections shall be designed to co-ordinate with the architectural elements of the site so as not to be ex-posed except where necessary. Pad-mounted transformers and/or meter box locations shall be included in the site plan with any appropriate screening treatment (Figures 9.45.040-A and B).
Figure 9.45.040-A Screen Utility Equipment
Figure 9.45.040-B Screen Utility Equipment
Table 9.45.040-B Summary of Site Development Standards
for Industrial Districts
Table 9.45.040-B summarizes minimum site development standards for industrial zoning
districts
(1) Height is limited to thirty-five (35) feet at the setback line when adjacent to or across a street or alley from a residential use or district, thereafter, height may be increased at the rate of one (1)-foot in height for every two (2)-foot increase in setback.
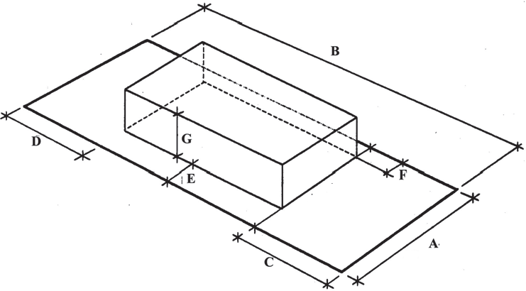
(2) A minimum twenty-five (25)-foot setback is required from a local street in I-P district, and a fifty (50)-foot setback in I-RE. A minimum fifty (50)-foot setback is required from all secondary, major or major divided roads, as shown on the Streets and Roads Plan of the General Plan.
Figure 9.45.040-C Building Envelope
(1) In the case of substandard lots, setbacks may be reduced proportionately.
(2) Setbacks for buildings twenty-five (25) feet in height and adjacent to or across a street or alley from a residential use or district shall be a minimum of seventy-five (75) feet; one hundred (100) feet for buildings over twenty-five (25) feet in height. The first forty-five (45) feet of such setbacks shall be landscaped. This provision also applies to the perimeter setback around project area.
(3) Height is limited to thirty-five (35) feet at the setback line when adjacent to or across a street or alley from a residential use or district, thereafter, height may be increased at the rate of one (1)-foot in height for every two (2)-foot increase in setback.
(4) All areas not utilized for structures, storage, walkways, parking and driveways shall be landscaped.
A.
Table 9.45.050-A summarizes the various projections that are permitted into the required setbacks in the Industrial Districts.
Table 9.45.050-A Projections into Yards
B.
Projections into required yards shall be subject to the following limitations:
1.
No portion of eaves or cantilevered roofs shall be less than eight (8) feet above grade, and no related vertical supports or members shall be located within the required yard.
2.
Raised structures, less than thirty inches in height, including porches, landings, decks, balconies and stairs thereto shall be open and unenclosed.
3.
Awnings and canopies shall have no vertical support located in the required yard.
C.
Use of Required Yards. Required yards may be used for landscaping, walkways, and driveways from the street to the interior of the lot. Required yards may be used for parking when all other requirements, such as landscaping, have been satisfied, except that no parking shall be allowed in the minimum required front and street side setbacks, as established in Table 9.45.040-A.
(Ord. No. 513, § 9, 8-27-2019)
Access to roofs shall be from the interior of the building or screened from view from any public street or public parking area. If roof access is on the exterior of the building, security shall be provided to prevent unauthorized access.
A.
Antennas. Telecommunications facilities shall be subject to Chapter 9.77 of this Code.
B.
Structures. Architectural features such as cupolas, belltowers, and steeples may exceed the height limits by a maximum of fifteen (15) feet when approved by the Planning Commission. The Planning Commission must find that any such projection which exceeds the height limits is an integral part of the building and will enhance the overall design of the building(s).
C.
Walls, Fences and Hedges
1.
On corner lots, no man-made visual obstructions may be erected, placed, planted or allowed to grow within the Clear Sight Triangle to a height in excess of thirty (30) inches above the nearest street elevation. The Clear Sight Triangle is defined as the area within the triangle formed by connecting the points thirty (30) feet (10 feet at driveways) from the intersection of the two right-of-way lines. Trees within the Clear Sight Triangle shall be trimmed (to the trunk) to a line at least six (6) feet above the nearest street elevation (see Figure 9.45.060-A).
Figure 9.45.060-A Clear Site Triangle
2.
On all other lots, and corner lots outside of the Clear Sight Triangle, a maximum six (6)-foot high solid wall or fence may be located anywhere except in the required front or street side setback, unless greater height is required to screen an outdoor use in accordance with Section 9.46.050, of this Code. Within the required front or street side setback solid walls or fences are limit-ed to forty-two (42) inches in height; open fences constructed of wrought iron incorporating decorative features such as pilasters and spires or other embellishments, may be six (6) feet in height.
3.
When there is a difference in the ground level between two adjoining lots or between Town right-of-way and an adjoining lot, the height of any retaining wall constructed along the property line or right-of-way shall be determined from the lowest finished grade at the wall.
4.
Retaining walls not within the Clear Sight Triangle and not exceeding the maximum permitted height may incorporate a protective guardrail when specifically required by the Uniform Building Code. Guardrails shall not exceed forty-two (42) inches above the top of the retaining wall and shall be constructed of wrought iron with intermediate rails or an ornamental pattern such that a sphere four (4) inches in diameter cannot pass through them.
A.
Property Maintenance
All buildings, structures, yards and improvements shall be maintained in a manner which does not detract from the appearance of the neighborhood. The following conditions are prohibited:
1.
Dilapidated, deteriorating, unrepaired, or vandalized (such as graffiti) structures including fences, roofs, doors, walls and windows.
2.
Accumulation of scrap lumber, junk, trash or debris.
3.
Unattended, overgrown or dead landscape materials and damaged or unmaintained landscape features such as benches and sculptures.
B.
Vehicle and Equipment Repair and Storage
The following provisions shall apply to any vehicle, motor vehicle, camper, camper trailer, trailer, unmounted camper, trailer coach, motorhome, motorcycle, boat or similar conveyance, for uses within the industrial districts.
1.
Off-street parking and storage of the above listed conveyances shall be permitted on paved surfaces only.
2.
Servicing, repairing, assembling, disassembling, wrecking, modifying, restoring or otherwise working on any of the above listed conveyances is prohibited unless conducted within an enclosed building, except when permitted by this Chapter or approval of a Conditional Use Permit.
3.
Storing, placing or parking of any of the above listed conveyances, or any part thereof, which is disabled, unlicensed, unregistered, inoperative, or from which an essential or legally required operating part is removed, shall be prohibited unless conducted within an enclosed building, except when permitted by this Chapter or approval of a Conditional Use Permit.
Trash/recycling material enclosures shall be provided in conformance with Figures 9.45.080-A & B as necessary to serve the development project. Businesses that generate four (4) cubic yards of solid waste per week, recycle bins shall be provided. In addition, the standards cited below shall apply.
A.
Size of Trash Enclosures. Trash receptacles for commercial and office district uses shall be of sufficient size to accommodate the trash generated by the uses being served, consistent with the Town trash enclosure standards and Figures 9.45.080-A and B.
1.
One (1) trash bin per each three (3) units where the units are 5,000 square feet or less.
2.
One (1) trash bin per unit where they are between 5,001 and 15,000 square feet.
3.
Two (2) trash bins per unit where they are greater than 15,000 square feet.
B.
Architectural Treatment. All trash enclosures visible from streets or public parking areas shall be constructed and finished to be compatible with the architectural details and decor of the primary structure.
C.
Location. Trash enclosures shall not be located in the required front or street side setbacks and shall be located near a driveway that allows access by the trash pick-up vehicles on paved access. No receptacles shall be placed in such a manner as to encroach in required parking spaces or driveways.
D.
Variations. Any variation from these standards shall be approved by the Planning Division. Design modifications to accommodate special circumstances are allowed; however, all deviations from the standard designs and policies must be approved by the Planning Division prior to building permit issuance. This Section does not apply to industrial development projects wholly utilizing trash compactors.
Figure 9.45.080-A
Figure 9.45.080-B
45 - Industrial Districts
A.
Purpose. The purpose of this Chapter is to guide the growth of industrial development within the Town in an orderly manner consistent with the goals and policies of the General Plan; to protect and enhance the quality of the natural and improved environment; and to promote the public health, safety and welfare by achieving the following:
1.
Providing appropriately located areas for industrial uses to meet the needs of the Town;
2.
Providing standards for the development of clean, high quality development in the Town's industrial districts;
3.
Encouraging industrial uses to be grouped for the convenience of the public and to avoid nuisances among adjacent land uses;
4.
Establishing measures that buffer both new and established residences from industrial activities.
5.
Ensuring that adequate roadways, infrastructure, and public services are provided;
6.
Promoting open spaces and areas for landscaping through the use of Site Development Standards to create a visually pleasing environment and to protect and enhance property values.
7.
To establish zoning for lands surrounding the Town, both within and outside its sphere of influence, which establishes Town zoning districts for these lands, if they are annexed to the Town in the future.
Additionally, the purpose of this Chapter is to implement the goals, objectives, strategies and action plans of the Town's Comprehensive Economic Development Plan through industrial development featuring design and planning excellence.
B.
General Plan Consistency. The I-P district is deemed to be consistent with the Planned Industrial (I-P) designation of the General Plan, and the I-RE district is deemed to be consistent with the Mineral Resources (M-R) designation of the General Plan.
The Town Industrial Districts are established to provide locations for the development of clean, safe and modern industrial activities. In addition, provisions for mineral extraction activities are included to recognize this historic regional industry. The following districts are established to delineate the locations for the specific uses described.
A.
Planned Industrial (I-P). The I-P district is intended to provide for light industrial uses, research and development, and multi-tenant industrial buildings, as well as certain supporting administrative and professional offices and commercial activities on a limited basis in an attractive and pleasant working environment. This district implements the Planned Industrial (I-P) designation of the General Plan.
B.
Resource Extraction (I-RE). The I-RE district is intended to implement the Mineral Resources (M-R) designation of the General Plan by promoting uses for the mining and processing of mineral resources while ensuring their compatibility with adjacent land uses. This district also provides for the development of interim land uses including, but not limited to, lumber yards, outdoor storage, plant nurseries, and the like, that do not impair the long term ability to extract and process mineral resources.
If a proposed use is not listed in this Section, the Director shall, upon written request and in accordance with Section 9.05.070, Similar Uses, of this Code, review the proposed unlisted use. Based on the characteristics of the proposed use, the "Standard Industrial Classification Manual" and other available resource material, the Director may determine that the proposed unlisted use is equivalent in nature and intensity to a listed use. The proposed use shall then be treated in the same manner as the equivalent listed use in determining where it can be located, what permits are required and what standards affect its establishment if the findings required in Section 9.05.070, Similar Uses, of this Code, can be made.
ABBREVIATIONS
The Conditional Use Permit process is detailed in Chapter 9.16 and the Development Permit process is detailed in Chapter 9.17 of this Code.
The uses listed in Table 9.45.030-A, below, apply to applications for expansion, tenant improvements, change of occupancy, or new development.
Table 9.45.030-A Permitted Uses
(See Chapter 9.46 for Specific Use Regulations)
(1) All uses shall be conducted within a completely enclosed building unless the use is specifically permitted in this Chapter as an outdoor use or is specifically approved through a Conditional Use Permit or Special Use Permit.
(2) CUP: Conditional Use Permit
P: Permitted uses
SUP: ;hg;Special Use Permit
SM: ;hg;Surface mining permit, requires Town Council review
"-": ;hg;denotes uses are prohibited
(3) Industrial activities other than mining or mineral extraction are permitted only after the site has been mined and the land reclaimed. Vacant land not previously used for mining may be used on an interim basis with approval of a Conditional Use Permit provided that such use does not preclude, in any way, future mining or mineral extraction operations.
(4) Fees waived.
(Ord. No. 520, § 4, 11-12-2019; Ord. No. 541, § 3, 1-12-2021)
The site development standards in Table 9.45.040-A are intended to provide minimum standards for the development and use of land within the Industrial Districts. (summarized in Table 9.45.040-B and Figure 9.45.040-C). These standards apply in conjunction with the applicable specific use regulations in Chapter 9.46, the design standards in Chapter 9.47, and the performance standards in Chapter 9.70 of this Development Code. All submissions to the Town of Apple Valley for a development permit, whether by Planning Commission or Town Council, or other permit, whether Plan Check or Building Permit review, may be required to provide public right-of-way or other appropriate dedication(s) and off-site improvements (including street and/or other related public facilities). These required improvements shall be consistent with the Circulation Element of the adopted General Plan and/or applicable standards established by the Town Engineer. Conformance to these requirements shall be determined by the Town of Apple Valley Town Engineer and shall mitigate, and/or contribute toward mitigation, of impacts, resulting from the development or permit, shall promote the public health, safety and welfare, and shall not otherwise be restricted by law.
The setbacks specified in Table 9.45.040-A shall be the Setback standards different setback is required, as delineated on all Final Maps, Parcel Maps and Records of Survey Maps recorded in San Bernardino County between March 1, 1948, and January 1, 1987, or on Composite Development Plans on file in Town offices. then these setbacks shall be the street and yard setback distances required on the property within said Final Map, Parcel Map, Records of Survey or Composite Development Plan. Notwithstanding any other provision of this Development Code, any request to modify or deviate from a building setback line designated on a recorded map or final map shall be made in accordance with the provisions of Chapter 9.24, Variances, of this Code.
Table 9.45.040-A Site Development Standards
A.
Screening
1.
Screening and Buffering. Screening and buffering shall be in accordance with Section 9.47.060, Buffering and Screening, of this Code.
2.
Street Frontages Across from Residential Districts. Along all street frontages situated across from residentially zoned property, a three-foot high landscaped earthen berm shall be constructed.
3.
All Other Lot Lines Adjacent to Residential Districts. Along all other lot lines adjacent to residential districts, a maximum eight (8)-foot high decorative masonry wall or fence shall be constructed.
B.
Parking. Parking shall be provided in accordance with Chapter 9.72, Off-Street Parking and Loading Regulations, of this Code, as modified by the following:
1.
Except in the I-P district, parking may be permitted in any required setback, excluding the required front and street side setbacks, only after all other requirements, such as landscaping, have been met. Parking may be permitted in setbacks adjacent to residential uses or districts provided the minimum forty-five (45)-foot landscaped setback, as required by Section 9.45.040.A (footnote #1), of this Code, is maintained.
2.
Except in the I-P district, parking in any setback adjacent to residential uses or districts may be permitted where the building is setback at least 100 feet and a minimum thirty (30)-foot wide landscaped buffer adjacent to the property lines is provided.
C.
Utilities
1.
Utility and service lines shall be installed under-ground.
2.
All utility connections shall be designed to co-ordinate with the architectural elements of the site so as not to be ex-posed except where necessary. Pad-mounted transformers and/or meter box locations shall be included in the site plan with any appropriate screening treatment (Figures 9.45.040-A and B).
Figure 9.45.040-A Screen Utility Equipment
Figure 9.45.040-B Screen Utility Equipment
Table 9.45.040-B Summary of Site Development Standards
for Industrial Districts
Table 9.45.040-B summarizes minimum site development standards for industrial zoning
districts
(1) Height is limited to thirty-five (35) feet at the setback line when adjacent to or across a street or alley from a residential use or district, thereafter, height may be increased at the rate of one (1)-foot in height for every two (2)-foot increase in setback.
(2) A minimum twenty-five (25)-foot setback is required from a local street in I-P district, and a fifty (50)-foot setback in I-RE. A minimum fifty (50)-foot setback is required from all secondary, major or major divided roads, as shown on the Streets and Roads Plan of the General Plan.
Figure 9.45.040-C Building Envelope
(1) In the case of substandard lots, setbacks may be reduced proportionately.
(2) Setbacks for buildings twenty-five (25) feet in height and adjacent to or across a street or alley from a residential use or district shall be a minimum of seventy-five (75) feet; one hundred (100) feet for buildings over twenty-five (25) feet in height. The first forty-five (45) feet of such setbacks shall be landscaped. This provision also applies to the perimeter setback around project area.
(3) Height is limited to thirty-five (35) feet at the setback line when adjacent to or across a street or alley from a residential use or district, thereafter, height may be increased at the rate of one (1)-foot in height for every two (2)-foot increase in setback.
(4) All areas not utilized for structures, storage, walkways, parking and driveways shall be landscaped.
A.
Table 9.45.050-A summarizes the various projections that are permitted into the required setbacks in the Industrial Districts.
Table 9.45.050-A Projections into Yards
B.
Projections into required yards shall be subject to the following limitations:
1.
No portion of eaves or cantilevered roofs shall be less than eight (8) feet above grade, and no related vertical supports or members shall be located within the required yard.
2.
Raised structures, less than thirty inches in height, including porches, landings, decks, balconies and stairs thereto shall be open and unenclosed.
3.
Awnings and canopies shall have no vertical support located in the required yard.
C.
Use of Required Yards. Required yards may be used for landscaping, walkways, and driveways from the street to the interior of the lot. Required yards may be used for parking when all other requirements, such as landscaping, have been satisfied, except that no parking shall be allowed in the minimum required front and street side setbacks, as established in Table 9.45.040-A.
(Ord. No. 513, § 9, 8-27-2019)
Access to roofs shall be from the interior of the building or screened from view from any public street or public parking area. If roof access is on the exterior of the building, security shall be provided to prevent unauthorized access.
A.
Antennas. Telecommunications facilities shall be subject to Chapter 9.77 of this Code.
B.
Structures. Architectural features such as cupolas, belltowers, and steeples may exceed the height limits by a maximum of fifteen (15) feet when approved by the Planning Commission. The Planning Commission must find that any such projection which exceeds the height limits is an integral part of the building and will enhance the overall design of the building(s).
C.
Walls, Fences and Hedges
1.
On corner lots, no man-made visual obstructions may be erected, placed, planted or allowed to grow within the Clear Sight Triangle to a height in excess of thirty (30) inches above the nearest street elevation. The Clear Sight Triangle is defined as the area within the triangle formed by connecting the points thirty (30) feet (10 feet at driveways) from the intersection of the two right-of-way lines. Trees within the Clear Sight Triangle shall be trimmed (to the trunk) to a line at least six (6) feet above the nearest street elevation (see Figure 9.45.060-A).
Figure 9.45.060-A Clear Site Triangle
2.
On all other lots, and corner lots outside of the Clear Sight Triangle, a maximum six (6)-foot high solid wall or fence may be located anywhere except in the required front or street side setback, unless greater height is required to screen an outdoor use in accordance with Section 9.46.050, of this Code. Within the required front or street side setback solid walls or fences are limit-ed to forty-two (42) inches in height; open fences constructed of wrought iron incorporating decorative features such as pilasters and spires or other embellishments, may be six (6) feet in height.
3.
When there is a difference in the ground level between two adjoining lots or between Town right-of-way and an adjoining lot, the height of any retaining wall constructed along the property line or right-of-way shall be determined from the lowest finished grade at the wall.
4.
Retaining walls not within the Clear Sight Triangle and not exceeding the maximum permitted height may incorporate a protective guardrail when specifically required by the Uniform Building Code. Guardrails shall not exceed forty-two (42) inches above the top of the retaining wall and shall be constructed of wrought iron with intermediate rails or an ornamental pattern such that a sphere four (4) inches in diameter cannot pass through them.
A.
Property Maintenance
All buildings, structures, yards and improvements shall be maintained in a manner which does not detract from the appearance of the neighborhood. The following conditions are prohibited:
1.
Dilapidated, deteriorating, unrepaired, or vandalized (such as graffiti) structures including fences, roofs, doors, walls and windows.
2.
Accumulation of scrap lumber, junk, trash or debris.
3.
Unattended, overgrown or dead landscape materials and damaged or unmaintained landscape features such as benches and sculptures.
B.
Vehicle and Equipment Repair and Storage
The following provisions shall apply to any vehicle, motor vehicle, camper, camper trailer, trailer, unmounted camper, trailer coach, motorhome, motorcycle, boat or similar conveyance, for uses within the industrial districts.
1.
Off-street parking and storage of the above listed conveyances shall be permitted on paved surfaces only.
2.
Servicing, repairing, assembling, disassembling, wrecking, modifying, restoring or otherwise working on any of the above listed conveyances is prohibited unless conducted within an enclosed building, except when permitted by this Chapter or approval of a Conditional Use Permit.
3.
Storing, placing or parking of any of the above listed conveyances, or any part thereof, which is disabled, unlicensed, unregistered, inoperative, or from which an essential or legally required operating part is removed, shall be prohibited unless conducted within an enclosed building, except when permitted by this Chapter or approval of a Conditional Use Permit.
Trash/recycling material enclosures shall be provided in conformance with Figures 9.45.080-A & B as necessary to serve the development project. Businesses that generate four (4) cubic yards of solid waste per week, recycle bins shall be provided. In addition, the standards cited below shall apply.
A.
Size of Trash Enclosures. Trash receptacles for commercial and office district uses shall be of sufficient size to accommodate the trash generated by the uses being served, consistent with the Town trash enclosure standards and Figures 9.45.080-A and B.
1.
One (1) trash bin per each three (3) units where the units are 5,000 square feet or less.
2.
One (1) trash bin per unit where they are between 5,001 and 15,000 square feet.
3.
Two (2) trash bins per unit where they are greater than 15,000 square feet.
B.
Architectural Treatment. All trash enclosures visible from streets or public parking areas shall be constructed and finished to be compatible with the architectural details and decor of the primary structure.
C.
Location. Trash enclosures shall not be located in the required front or street side setbacks and shall be located near a driveway that allows access by the trash pick-up vehicles on paved access. No receptacles shall be placed in such a manner as to encroach in required parking spaces or driveways.
D.
Variations. Any variation from these standards shall be approved by the Planning Division. Design modifications to accommodate special circumstances are allowed; however, all deviations from the standard designs and policies must be approved by the Planning Division prior to building permit issuance. This Section does not apply to industrial development projects wholly utilizing trash compactors.
Figure 9.45.080-A
Figure 9.45.080-B